[go: up one dir, main page]

KR20190032646A - 카트리지 리시버, 카트리지 시스템, 음료 제조 기계, 및 음료 제조 방법 - Google Patents

카트리지 리시버, 카트리지 시스템, 음료 제조 기계, 및 음료 제조 방법 Download PDF

Info

Publication number
KR20190032646A
KR20190032646A KR1020197008038A KR20197008038A KR20190032646A KR 20190032646 A KR20190032646 A KR 20190032646A KR 1020197008038 A KR1020197008038 A KR 1020197008038A KR 20197008038 A KR20197008038 A KR 20197008038A KR 20190032646 A KR20190032646 A KR 20190032646A
Authority
KR
South Korea
Prior art keywords
cartridge
beverage
reservoir
air
mixing chamber
Prior art date
Legal status (The legal status is an assumption and is not a legal conclusion. Google has not performed a legal analysis and makes no representation as to the accuracy of the status listed.)
Ceased
Application number
KR1020197008038A
Other languages
English (en)
Inventor
마르크 그뤼거
군터 엠플
다니엘 피셔
Original Assignee
프리지오 아게
Priority date (The priority date is an assumption and is not a legal conclusion. Google has not performed a legal analysis and makes no representation as to the accuracy of the date listed.)
Filing date
Publication date
Application filed by 프리지오 아게 filed Critical 프리지오 아게
Publication of KR20190032646A publication Critical patent/KR20190032646A/ko
Ceased legal-status Critical Current

Links

Images

Classifications

    • BPERFORMING OPERATIONS; TRANSPORTING
    • B67OPENING, CLOSING OR CLEANING BOTTLES, JARS OR SIMILAR CONTAINERS; LIQUID HANDLING
    • B67DDISPENSING, DELIVERING OR TRANSFERRING LIQUIDS, NOT OTHERWISE PROVIDED FOR
    • B67D1/00Apparatus or devices for dispensing beverages on draught
    • B67D1/08Details
    • BPERFORMING OPERATIONS; TRANSPORTING
    • B67OPENING, CLOSING OR CLEANING BOTTLES, JARS OR SIMILAR CONTAINERS; LIQUID HANDLING
    • B67DDISPENSING, DELIVERING OR TRANSFERRING LIQUIDS, NOT OTHERWISE PROVIDED FOR
    • B67D1/00Apparatus or devices for dispensing beverages on draught
    • B67D1/0042Details of specific parts of the dispensers
    • B67D1/0078Ingredient cartridges
    • AHUMAN NECESSITIES
    • A23FOODS OR FOODSTUFFS; TREATMENT THEREOF, NOT COVERED BY OTHER CLASSES
    • A23LFOODS, FOODSTUFFS OR NON-ALCOHOLIC BEVERAGES, NOT OTHERWISE PROVIDED FOR; PREPARATION OR TREATMENT THEREOF
    • A23L2/00Non-alcoholic beverages; Dry compositions or concentrates therefor; Preparation or treatment thereof
    • A23L2/385Concentrates of non-alcoholic beverages
    • A23L2/39Dry compositions
    • AHUMAN NECESSITIES
    • A23FOODS OR FOODSTUFFS; TREATMENT THEREOF, NOT COVERED BY OTHER CLASSES
    • A23LFOODS, FOODSTUFFS OR NON-ALCOHOLIC BEVERAGES, NOT OTHERWISE PROVIDED FOR; PREPARATION OR TREATMENT THEREOF
    • A23L2/00Non-alcoholic beverages; Dry compositions or concentrates therefor; Preparation or treatment thereof
    • A23L2/52Adding ingredients
    • AHUMAN NECESSITIES
    • A23FOODS OR FOODSTUFFS; TREATMENT THEREOF, NOT COVERED BY OTHER CLASSES
    • A23LFOODS, FOODSTUFFS OR NON-ALCOHOLIC BEVERAGES, NOT OTHERWISE PROVIDED FOR; PREPARATION OR TREATMENT THEREOF
    • A23L2/00Non-alcoholic beverages; Dry compositions or concentrates therefor; Preparation or treatment thereof
    • A23L2/52Adding ingredients
    • A23L2/54Mixing with gases
    • AHUMAN NECESSITIES
    • A47FURNITURE; DOMESTIC ARTICLES OR APPLIANCES; COFFEE MILLS; SPICE MILLS; SUCTION CLEANERS IN GENERAL
    • A47JKITCHEN EQUIPMENT; COFFEE MILLS; SPICE MILLS; APPARATUS FOR MAKING BEVERAGES
    • A47J31/00Apparatus for making beverages
    • A47J31/06Filters or strainers for coffee or tea makers ; Holders therefor
    • A47J31/0657Filters or strainers for coffee or tea makers ; Holders therefor for brewing coffee under pressure, e.g. for espresso machines
    • A47J31/0668Filters or strainers for coffee or tea makers ; Holders therefor for brewing coffee under pressure, e.g. for espresso machines specially adapted for cartridges
    • A47J31/0673Means to perforate the cartridge for creating the beverage outlet
    • AHUMAN NECESSITIES
    • A47FURNITURE; DOMESTIC ARTICLES OR APPLIANCES; COFFEE MILLS; SPICE MILLS; SUCTION CLEANERS IN GENERAL
    • A47JKITCHEN EQUIPMENT; COFFEE MILLS; SPICE MILLS; APPARATUS FOR MAKING BEVERAGES
    • A47J31/00Apparatus for making beverages
    • A47J31/24Coffee-making apparatus in which hot water is passed through the filter under pressure, i.e. in which the coffee grounds are extracted under pressure
    • A47J31/34Coffee-making apparatus in which hot water is passed through the filter under pressure, i.e. in which the coffee grounds are extracted under pressure with hot water under liquid pressure
    • A47J31/36Coffee-making apparatus in which hot water is passed through the filter under pressure, i.e. in which the coffee grounds are extracted under pressure with hot water under liquid pressure with mechanical pressure-producing means
    • A47J31/3604Coffee-making apparatus in which hot water is passed through the filter under pressure, i.e. in which the coffee grounds are extracted under pressure with hot water under liquid pressure with mechanical pressure-producing means with a mechanism arranged to move the brewing chamber between loading, infusing and ejecting stations
    • A47J31/3623Cartridges being employed
    • A47J31/3628Perforating means therefor
    • AHUMAN NECESSITIES
    • A47FURNITURE; DOMESTIC ARTICLES OR APPLIANCES; COFFEE MILLS; SPICE MILLS; SUCTION CLEANERS IN GENERAL
    • A47JKITCHEN EQUIPMENT; COFFEE MILLS; SPICE MILLS; APPARATUS FOR MAKING BEVERAGES
    • A47J31/00Apparatus for making beverages
    • A47J31/40Beverage-making apparatus with dispensing means for adding a measured quantity of ingredients, e.g. coffee, water, sugar, cocoa, milk, tea
    • A47J31/407Beverage-making apparatus with dispensing means for adding a measured quantity of ingredients, e.g. coffee, water, sugar, cocoa, milk, tea with ingredient-containing cartridges; Cartridge-perforating means
    • AHUMAN NECESSITIES
    • A47FURNITURE; DOMESTIC ARTICLES OR APPLIANCES; COFFEE MILLS; SPICE MILLS; SUCTION CLEANERS IN GENERAL
    • A47JKITCHEN EQUIPMENT; COFFEE MILLS; SPICE MILLS; APPARATUS FOR MAKING BEVERAGES
    • A47J31/00Apparatus for making beverages
    • A47J31/44Parts or details or accessories of beverage-making apparatus
    • A47J31/4403Constructional details
    • A47J31/441Warming devices or supports for beverage containers
    • A47J31/4425Supports for beverage containers when filled or while being filled
    • AHUMAN NECESSITIES
    • A47FURNITURE; DOMESTIC ARTICLES OR APPLIANCES; COFFEE MILLS; SPICE MILLS; SUCTION CLEANERS IN GENERAL
    • A47JKITCHEN EQUIPMENT; COFFEE MILLS; SPICE MILLS; APPARATUS FOR MAKING BEVERAGES
    • A47J31/00Apparatus for making beverages
    • A47J31/44Parts or details or accessories of beverage-making apparatus
    • A47J31/4492Means to read code provided on ingredient pod or cartridge
    • BPERFORMING OPERATIONS; TRANSPORTING
    • B65CONVEYING; PACKING; STORING; HANDLING THIN OR FILAMENTARY MATERIAL
    • B65DCONTAINERS FOR STORAGE OR TRANSPORT OF ARTICLES OR MATERIALS, e.g. BAGS, BARRELS, BOTTLES, BOXES, CANS, CARTONS, CRATES, DRUMS, JARS, TANKS, HOPPERS, FORWARDING CONTAINERS; ACCESSORIES, CLOSURES, OR FITTINGS THEREFOR; PACKAGING ELEMENTS; PACKAGES
    • B65D51/00Closures not otherwise provided for
    • B65D51/18Arrangements of closures with protective outer cap-like covers or of two or more co-operating closures
    • B65D51/20Caps, lids, or covers co-operating with an inner closure arranged to be opened by piercing, cutting, or tearing
    • B65D51/22Caps, lids, or covers co-operating with an inner closure arranged to be opened by piercing, cutting, or tearing having means for piercing, cutting, or tearing the inner closure
    • B65D51/221Caps, lids, or covers co-operating with an inner closure arranged to be opened by piercing, cutting, or tearing having means for piercing, cutting, or tearing the inner closure a major part of the inner closure being left inside the container after the opening
    • B65D51/222Caps, lids, or covers co-operating with an inner closure arranged to be opened by piercing, cutting, or tearing having means for piercing, cutting, or tearing the inner closure a major part of the inner closure being left inside the container after the opening the piercing or cutting means being integral with, or fixedly attached to, the outer closure
    • B65D51/223Caps, lids, or covers co-operating with an inner closure arranged to be opened by piercing, cutting, or tearing having means for piercing, cutting, or tearing the inner closure a major part of the inner closure being left inside the container after the opening the piercing or cutting means being integral with, or fixedly attached to, the outer closure the outer closure having to be removed or inverted for piercing or cutting
    • BPERFORMING OPERATIONS; TRANSPORTING
    • B65CONVEYING; PACKING; STORING; HANDLING THIN OR FILAMENTARY MATERIAL
    • B65DCONTAINERS FOR STORAGE OR TRANSPORT OF ARTICLES OR MATERIALS, e.g. BAGS, BARRELS, BOTTLES, BOXES, CANS, CARTONS, CRATES, DRUMS, JARS, TANKS, HOPPERS, FORWARDING CONTAINERS; ACCESSORIES, CLOSURES, OR FITTINGS THEREFOR; PACKAGING ELEMENTS; PACKAGES
    • B65D51/00Closures not otherwise provided for
    • B65D51/18Arrangements of closures with protective outer cap-like covers or of two or more co-operating closures
    • B65D51/20Caps, lids, or covers co-operating with an inner closure arranged to be opened by piercing, cutting, or tearing
    • B65D51/22Caps, lids, or covers co-operating with an inner closure arranged to be opened by piercing, cutting, or tearing having means for piercing, cutting, or tearing the inner closure
    • B65D51/221Caps, lids, or covers co-operating with an inner closure arranged to be opened by piercing, cutting, or tearing having means for piercing, cutting, or tearing the inner closure a major part of the inner closure being left inside the container after the opening
    • B65D51/226Caps, lids, or covers co-operating with an inner closure arranged to be opened by piercing, cutting, or tearing having means for piercing, cutting, or tearing the inner closure a major part of the inner closure being left inside the container after the opening the piercing or cutting means being non integral with, or not fixedly attached to, the outer closure
    • BPERFORMING OPERATIONS; TRANSPORTING
    • B65CONVEYING; PACKING; STORING; HANDLING THIN OR FILAMENTARY MATERIAL
    • B65DCONTAINERS FOR STORAGE OR TRANSPORT OF ARTICLES OR MATERIALS, e.g. BAGS, BARRELS, BOTTLES, BOXES, CANS, CARTONS, CRATES, DRUMS, JARS, TANKS, HOPPERS, FORWARDING CONTAINERS; ACCESSORIES, CLOSURES, OR FITTINGS THEREFOR; PACKAGING ELEMENTS; PACKAGES
    • B65D85/00Containers, packaging elements or packages, specially adapted for particular articles or materials
    • B65D85/70Containers, packaging elements or packages, specially adapted for particular articles or materials for materials not otherwise provided for
    • B65D85/804Disposable containers or packages with contents which are mixed, infused or dissolved in situ, i.e. without having been previously removed from the package
    • B65D85/8043Packages adapted to allow liquid to pass through the contents
    • BPERFORMING OPERATIONS; TRANSPORTING
    • B65CONVEYING; PACKING; STORING; HANDLING THIN OR FILAMENTARY MATERIAL
    • B65DCONTAINERS FOR STORAGE OR TRANSPORT OF ARTICLES OR MATERIALS, e.g. BAGS, BARRELS, BOTTLES, BOXES, CANS, CARTONS, CRATES, DRUMS, JARS, TANKS, HOPPERS, FORWARDING CONTAINERS; ACCESSORIES, CLOSURES, OR FITTINGS THEREFOR; PACKAGING ELEMENTS; PACKAGES
    • B65D85/00Containers, packaging elements or packages, specially adapted for particular articles or materials
    • B65D85/70Containers, packaging elements or packages, specially adapted for particular articles or materials for materials not otherwise provided for
    • B65D85/804Disposable containers or packages with contents which are mixed, infused or dissolved in situ, i.e. without having been previously removed from the package
    • B65D85/8043Packages adapted to allow liquid to pass through the contents
    • B65D85/8055Means for influencing the liquid flow inside the package
    • BPERFORMING OPERATIONS; TRANSPORTING
    • B67OPENING, CLOSING OR CLEANING BOTTLES, JARS OR SIMILAR CONTAINERS; LIQUID HANDLING
    • B67DDISPENSING, DELIVERING OR TRANSFERRING LIQUIDS, NOT OTHERWISE PROVIDED FOR
    • B67D1/00Apparatus or devices for dispensing beverages on draught
    • B67D1/0015Apparatus or devices for dispensing beverages on draught the beverage being prepared by mixing at least two liquid components
    • B67D1/0021Apparatus or devices for dispensing beverages on draught the beverage being prepared by mixing at least two liquid components the components being mixed at the time of dispensing, i.e. post-mix dispensers
    • B67D1/0022Apparatus or devices for dispensing beverages on draught the beverage being prepared by mixing at least two liquid components the components being mixed at the time of dispensing, i.e. post-mix dispensers the apparatus comprising means for automatically controlling the amount to be dispensed
    • BPERFORMING OPERATIONS; TRANSPORTING
    • B67OPENING, CLOSING OR CLEANING BOTTLES, JARS OR SIMILAR CONTAINERS; LIQUID HANDLING
    • B67DDISPENSING, DELIVERING OR TRANSFERRING LIQUIDS, NOT OTHERWISE PROVIDED FOR
    • B67D1/00Apparatus or devices for dispensing beverages on draught
    • B67D1/0042Details of specific parts of the dispensers
    • B67D1/0043Mixing devices for liquids
    • BPERFORMING OPERATIONS; TRANSPORTING
    • B67OPENING, CLOSING OR CLEANING BOTTLES, JARS OR SIMILAR CONTAINERS; LIQUID HANDLING
    • B67DDISPENSING, DELIVERING OR TRANSFERRING LIQUIDS, NOT OTHERWISE PROVIDED FOR
    • B67D1/00Apparatus or devices for dispensing beverages on draught
    • B67D1/0042Details of specific parts of the dispensers
    • B67D1/0043Mixing devices for liquids
    • B67D1/0044Mixing devices for liquids for mixing inside the dispensing nozzle
    • B67D1/0046Mixing chambers
    • BPERFORMING OPERATIONS; TRANSPORTING
    • B67OPENING, CLOSING OR CLEANING BOTTLES, JARS OR SIMILAR CONTAINERS; LIQUID HANDLING
    • B67DDISPENSING, DELIVERING OR TRANSFERRING LIQUIDS, NOT OTHERWISE PROVIDED FOR
    • B67D1/00Apparatus or devices for dispensing beverages on draught
    • B67D1/0042Details of specific parts of the dispensers
    • B67D1/0078Ingredient cartridges
    • B67D1/0079Ingredient cartridges having their own dispensing means
    • BPERFORMING OPERATIONS; TRANSPORTING
    • B67OPENING, CLOSING OR CLEANING BOTTLES, JARS OR SIMILAR CONTAINERS; LIQUID HANDLING
    • B67DDISPENSING, DELIVERING OR TRANSFERRING LIQUIDS, NOT OTHERWISE PROVIDED FOR
    • B67D1/00Apparatus or devices for dispensing beverages on draught
    • B67D1/04Apparatus utilising compressed air or other gas acting directly or indirectly on beverages in storage containers
    • BPERFORMING OPERATIONS; TRANSPORTING
    • B67OPENING, CLOSING OR CLEANING BOTTLES, JARS OR SIMILAR CONTAINERS; LIQUID HANDLING
    • B67DDISPENSING, DELIVERING OR TRANSFERRING LIQUIDS, NOT OTHERWISE PROVIDED FOR
    • B67D1/00Apparatus or devices for dispensing beverages on draught
    • B67D1/04Apparatus utilising compressed air or other gas acting directly or indirectly on beverages in storage containers
    • B67D1/045Apparatus utilising compressed air or other gas acting directly or indirectly on beverages in storage containers using elastic bags and pistons actuated by air or other gas
    • BPERFORMING OPERATIONS; TRANSPORTING
    • B67OPENING, CLOSING OR CLEANING BOTTLES, JARS OR SIMILAR CONTAINERS; LIQUID HANDLING
    • B67DDISPENSING, DELIVERING OR TRANSFERRING LIQUIDS, NOT OTHERWISE PROVIDED FOR
    • B67D1/00Apparatus or devices for dispensing beverages on draught
    • B67D1/08Details
    • B67D1/0857Cooling arrangements
    • BPERFORMING OPERATIONS; TRANSPORTING
    • B67OPENING, CLOSING OR CLEANING BOTTLES, JARS OR SIMILAR CONTAINERS; LIQUID HANDLING
    • B67DDISPENSING, DELIVERING OR TRANSFERRING LIQUIDS, NOT OTHERWISE PROVIDED FOR
    • B67D3/00Apparatus or devices for controlling flow of liquids under gravity from storage containers for dispensing purposes
    • B67D3/0012Apparatus or devices for controlling flow of liquids under gravity from storage containers for dispensing purposes provided with mixing devices
    • BPERFORMING OPERATIONS; TRANSPORTING
    • B67OPENING, CLOSING OR CLEANING BOTTLES, JARS OR SIMILAR CONTAINERS; LIQUID HANDLING
    • B67DDISPENSING, DELIVERING OR TRANSFERRING LIQUIDS, NOT OTHERWISE PROVIDED FOR
    • B67D3/00Apparatus or devices for controlling flow of liquids under gravity from storage containers for dispensing purposes
    • B67D3/0019Apparatus or devices for controlling flow of liquids under gravity from storage containers for dispensing purposes using ingredient cartridges
    • BPERFORMING OPERATIONS; TRANSPORTING
    • B67OPENING, CLOSING OR CLEANING BOTTLES, JARS OR SIMILAR CONTAINERS; LIQUID HANDLING
    • B67DDISPENSING, DELIVERING OR TRANSFERRING LIQUIDS, NOT OTHERWISE PROVIDED FOR
    • B67D7/00Apparatus or devices for transferring liquids from bulk storage containers or reservoirs into vehicles or into portable containers, e.g. for retail sale purposes
    • B67D7/02Apparatus or devices for transferring liquids from bulk storage containers or reservoirs into vehicles or into portable containers, e.g. for retail sale purposes for transferring liquids other than fuel or lubricants
    • B67D7/0227Apparatus or devices for transferring liquids from bulk storage containers or reservoirs into vehicles or into portable containers, e.g. for retail sale purposes for transferring liquids other than fuel or lubricants by an ejection plunger
    • BPERFORMING OPERATIONS; TRANSPORTING
    • B67OPENING, CLOSING OR CLEANING BOTTLES, JARS OR SIMILAR CONTAINERS; LIQUID HANDLING
    • B67DDISPENSING, DELIVERING OR TRANSFERRING LIQUIDS, NOT OTHERWISE PROVIDED FOR
    • B67D7/00Apparatus or devices for transferring liquids from bulk storage containers or reservoirs into vehicles or into portable containers, e.g. for retail sale purposes
    • B67D7/02Apparatus or devices for transferring liquids from bulk storage containers or reservoirs into vehicles or into portable containers, e.g. for retail sale purposes for transferring liquids other than fuel or lubricants
    • B67D7/0227Apparatus or devices for transferring liquids from bulk storage containers or reservoirs into vehicles or into portable containers, e.g. for retail sale purposes for transferring liquids other than fuel or lubricants by an ejection plunger
    • B67D7/0233Apparatus or devices for transferring liquids from bulk storage containers or reservoirs into vehicles or into portable containers, e.g. for retail sale purposes for transferring liquids other than fuel or lubricants by an ejection plunger the plunger being gas driven
    • AHUMAN NECESSITIES
    • A23FOODS OR FOODSTUFFS; TREATMENT THEREOF, NOT COVERED BY OTHER CLASSES
    • A23VINDEXING SCHEME RELATING TO FOODS, FOODSTUFFS OR NON-ALCOHOLIC BEVERAGES AND LACTIC OR PROPIONIC ACID BACTERIA USED IN FOODSTUFFS OR FOOD PREPARATION
    • A23V2002/00Food compositions, function of food ingredients or processes for food or foodstuffs
    • AHUMAN NECESSITIES
    • A47FURNITURE; DOMESTIC ARTICLES OR APPLIANCES; COFFEE MILLS; SPICE MILLS; SUCTION CLEANERS IN GENERAL
    • A47JKITCHEN EQUIPMENT; COFFEE MILLS; SPICE MILLS; APPARATUS FOR MAKING BEVERAGES
    • A47J31/00Apparatus for making beverages
    • A47J31/24Coffee-making apparatus in which hot water is passed through the filter under pressure, i.e. in which the coffee grounds are extracted under pressure
    • A47J31/34Coffee-making apparatus in which hot water is passed through the filter under pressure, i.e. in which the coffee grounds are extracted under pressure with hot water under liquid pressure
    • A47J31/36Coffee-making apparatus in which hot water is passed through the filter under pressure, i.e. in which the coffee grounds are extracted under pressure with hot water under liquid pressure with mechanical pressure-producing means
    • A47J31/3666Coffee-making apparatus in which hot water is passed through the filter under pressure, i.e. in which the coffee grounds are extracted under pressure with hot water under liquid pressure with mechanical pressure-producing means whereby the loading of the brewing chamber with the brewing material is performed by the user
    • A47J31/3676Cartridges being employed
    • A47J31/369Impermeable cartridges being employed
    • A47J31/3695Cartridge perforating means for creating the hot water inlet
    • BPERFORMING OPERATIONS; TRANSPORTING
    • B65CONVEYING; PACKING; STORING; HANDLING THIN OR FILAMENTARY MATERIAL
    • B65DCONTAINERS FOR STORAGE OR TRANSPORT OF ARTICLES OR MATERIALS, e.g. BAGS, BARRELS, BOTTLES, BOXES, CANS, CARTONS, CRATES, DRUMS, JARS, TANKS, HOPPERS, FORWARDING CONTAINERS; ACCESSORIES, CLOSURES, OR FITTINGS THEREFOR; PACKAGING ELEMENTS; PACKAGES
    • B65D51/00Closures not otherwise provided for
    • B65D51/24Closures not otherwise provided for combined or co-operating with auxiliary devices for non-closing purposes
    • B65D51/28Closures not otherwise provided for combined or co-operating with auxiliary devices for non-closing purposes with auxiliary containers for additional articles or materials
    • B65D51/2807Closures not otherwise provided for combined or co-operating with auxiliary devices for non-closing purposes with auxiliary containers for additional articles or materials the closure presenting means for placing the additional articles or materials in contact with the main contents by acting on a part of the closure without removing the closure, e.g. by pushing down, pulling up, rotating or turning a part of the closure, or upon initial opening of the container
    • B65D51/2814Closures not otherwise provided for combined or co-operating with auxiliary devices for non-closing purposes with auxiliary containers for additional articles or materials the closure presenting means for placing the additional articles or materials in contact with the main contents by acting on a part of the closure without removing the closure, e.g. by pushing down, pulling up, rotating or turning a part of the closure, or upon initial opening of the container the additional article or materials being released by piercing, cutting or tearing an element enclosing it
    • B65D51/2828Closures not otherwise provided for combined or co-operating with auxiliary devices for non-closing purposes with auxiliary containers for additional articles or materials the closure presenting means for placing the additional articles or materials in contact with the main contents by acting on a part of the closure without removing the closure, e.g. by pushing down, pulling up, rotating or turning a part of the closure, or upon initial opening of the container the additional article or materials being released by piercing, cutting or tearing an element enclosing it said element being a film or a foil
    • B65D51/2835Closures not otherwise provided for combined or co-operating with auxiliary devices for non-closing purposes with auxiliary containers for additional articles or materials the closure presenting means for placing the additional articles or materials in contact with the main contents by acting on a part of the closure without removing the closure, e.g. by pushing down, pulling up, rotating or turning a part of the closure, or upon initial opening of the container the additional article or materials being released by piercing, cutting or tearing an element enclosing it said element being a film or a foil ruptured by a sharp element, e.g. a cutter or a piercer
    • BPERFORMING OPERATIONS; TRANSPORTING
    • B67OPENING, CLOSING OR CLEANING BOTTLES, JARS OR SIMILAR CONTAINERS; LIQUID HANDLING
    • B67DDISPENSING, DELIVERING OR TRANSFERRING LIQUIDS, NOT OTHERWISE PROVIDED FOR
    • B67D1/00Apparatus or devices for dispensing beverages on draught
    • B67D2001/0091Component storage means
    • BPERFORMING OPERATIONS; TRANSPORTING
    • B67OPENING, CLOSING OR CLEANING BOTTLES, JARS OR SIMILAR CONTAINERS; LIQUID HANDLING
    • B67DDISPENSING, DELIVERING OR TRANSFERRING LIQUIDS, NOT OTHERWISE PROVIDED FOR
    • B67D1/00Apparatus or devices for dispensing beverages on draught
    • B67D1/08Details
    • B67D1/0801Details of beverage containers, e.g. casks, kegs
    • B67D2001/0811Details of beverage containers, e.g. casks, kegs provided with coded information
    • BPERFORMING OPERATIONS; TRANSPORTING
    • B67OPENING, CLOSING OR CLEANING BOTTLES, JARS OR SIMILAR CONTAINERS; LIQUID HANDLING
    • B67DDISPENSING, DELIVERING OR TRANSFERRING LIQUIDS, NOT OTHERWISE PROVIDED FOR
    • B67D1/00Apparatus or devices for dispensing beverages on draught
    • B67D1/08Details
    • B67D1/0801Details of beverage containers, e.g. casks, kegs
    • B67D2001/0812Bottles, cartridges or similar containers

Landscapes

  • Engineering & Computer Science (AREA)
  • Mechanical Engineering (AREA)
  • Food Science & Technology (AREA)
  • Health & Medical Sciences (AREA)
  • Nutrition Science (AREA)
  • Life Sciences & Earth Sciences (AREA)
  • Chemical & Material Sciences (AREA)
  • Polymers & Plastics (AREA)
  • Physics & Mathematics (AREA)
  • Thermal Sciences (AREA)
  • Devices For Dispensing Beverages (AREA)
  • Apparatus For Making Beverages (AREA)
  • Packging For Living Organisms, Food Or Medicinal Products That Are Sensitive To Environmental Conditiond (AREA)
  • Containers And Packaging Bodies Having A Special Means To Remove Contents (AREA)
  • Non-Alcoholic Beverages (AREA)
  • Coating Apparatus (AREA)
  • Packages (AREA)
  • Packaging Of Annular Or Rod-Shaped Articles, Wearing Apparel, Cassettes, Or The Like (AREA)
  • Basic Packing Technique (AREA)
  • Accessories For Mixers (AREA)
  • Processing And Handling Of Plastics And Other Materials For Molding In General (AREA)
  • Package Specialized In Special Use (AREA)
  • Separation Using Semi-Permeable Membranes (AREA)

Abstract

본 발명은, 음료 제조 기계에서 음료를 제조하기 위한 카트리지 시스템(1)에 있어서, 음료 재료(7)로 충진되는 저장조(6)를 구비한 카트리지(2), 및 카트리지에 가역적으로 연결될 수 있는 카트리지 리시버(10)를 포함하되, 상기 카트리지 리시버(10)는 혼합 챔버(8), 및 저장조(6)로부터 혼합 챔버(8) 내로 음료 재료(7)의 적어도 부분적인 이송을 야기하는 카트리지 토출 장치(34)를 포함하고, 상기 카트리지 리시버(10)는 혼합 챔버(8) 내로 개방되는 유체 공급부(12)를 포함하는, 카트리지 시스템(1)에 관한 것이다. 본 발명은 또한 카트리지 시스템(1)의 카트리지 리시버(10), 음료 제조 기계, 및 대응하는 음료(70) 제조 방법에 관한 것이다.

Description

카트리지 리시버, 카트리지 시스템, 음료 제조 기계, 및 음료 제조 방법{CARTRIDGE RECEIVER, CARTRIDGE SYSTEM, DRINK PREPARATION MACHINE AND METHOD FOR PRODUCING A DRINK}
본 발명은, 음료 재료로 충진되는 저장조를 구비한 카트리지, 및 카트리지에 가역적으로 연결 가능하며 카트리지가 가역적으로 삽입 가능한 카트리지 리셉터클, 및 저장조로부터 혼합 챔버 내로 음료 재료의 적어도 부분적인 이송을 실시하는 카트리지 소개 장치를 구비한, 음료, 특히 저온 음료를 제조하기 위한, 음료 제조 기계에 삽입 가능한 카트리지 시스템에 관한 것이다.
이와 같은 시스템은 원칙적으로 종래 기술, 예를 들어 EP 1 806 314 A1 및 US 2002/130140 A1에 공지되어 있고, 사전-분할된 카트리지들로부터 음료를 제조하는 데에 사용된다. 이와 같은 시스템을 이용한 음료의 제조는 카트리지를 삽입하고 시작 버튼을 누르기만 하면 되기 때문에 사용자에게 굉장히 편리하다. 다음으로, 음료 제조 기계는 완전 자동화 방식으로 음료의 제조를 수행한다. 즉, 특히 음료 재료는 기결정된 양의 액체, 특히 저온 탄산수와 혼합되고, 음료 용기 내로 운반된다. 이런 방식으로, 특히 혼합 음료가 훨씬 더 용이하게, 신속하게, 및 사용자의 더 적은 노력으로 제조될 수 있다. 사용자는 여기서 다수의 상이한 카트리지로부터 선택할 수 있고, 그에 따라 원하는 대로 상이한 음료를 제조할 수 있다.
이와 같은 시스템의 주요 문제는, 음료 제조 기계 내의 곰팡이 형성을 통한 오염 가능성이 있기 때문에, 음료의 제조 중에 음료 제조 기계의 역오염(back-contamination)을 신뢰할 만하게 및 완벽하게 방지하는 것이다. 이는 특히 과당, 알코올, 또는 우유를 함유하는 음료 재료를 포함하는 카트리지들에 해당된다.
종래 기술에 공지된 시스템에서, 카트리지는 대개 음료 제조 기계의 고정 구성요소로 구성되는 카트리지 리셉터클에 삽입되고, 이후 카트리지는 양측, 즉 유입측 및 토출측이 개방된다. 유입측에서, 물이 이어서 유체 공급부에 의해 카트리지에 도입되고, 그에 따라 음료 재료가 물과 혼합됨으로써 음료는 이미 카트리지의 저장조 내에 형성되어 있다. 토출측에서, 음료는 카트리지를 빠져나가며 음료 용기로 운반된다. 물은 그 과정 중에 저장조를 통해 충분히 흘러서, 음료 재료가 저장조 밖으로 운반되게 한다.
물이 음료 재료로 충진된 저장조에 직접 도입될 때, 저장조가 보통 음료 재료로 완전히 충진되고 그 결과 물의 도입시 저장조 내에 상당한 압력 상승이 일어나기 때문에, 공급부의 역오염을 완전히 방지할 수 없다는 것이 밝혀졌다. 저장조 내의 이러한 압력 상승 및 저장조의 플러싱은 모두, 음료 제조 중에 및/또는 직후에, 음료 재료의 매우 작은 액적, 입자, 및 또는 부유 물질이 유체 공급부에 들어가게 하고, 거기에서 음료 제조 기계의 지속적인 오염을 초래하게 한다.
따라서, 본 발명의 목적은 카트리지 리셉터클, 카트리지 시스템, 음료 제조 기계, 및 음료 제조 기계에 카트리지 시스템을 삽입함으로써 음료를 제조하는 방법을 제공하여, 음료 제조 기계의 역오염을 효과적으로 방지하는 데에 있다.
상기 목적은 청구항 제1항에 따른 카트리지 리셉터클 및 청구항 제13항에 따른 카트리지 시스템에 의해 달성된다.
본 발명에 따른 카트리지 리셉터클 및 본 발명에 따른 카트리지 시스템은, 종래 기술과 비교할 때, 유체 공급부가 종래 기술과 달리 카트리지의 저장조 내로 이어지는 것이 아니라, 저장조와 분리되어 있는 혼합 챔버 내로 이어진다는 이점이 있다. 이는 간단하며 비용효율적으로 구현되는 방식으로 음료 제조 기계의 역오염이 유체 공급부를 통해 일어나는 것을 효과적으로 방지한다. 이런 목적으로, 저장조는 유체에 의해 플러싱되는 것이 아니라, 본 발명에 따르면, 음료 재료 및 유체는 서로 따로따로 혼합 챔버에 들어간다. 유체는 혼합 챔버 내로 직접 전달되는 반면, 음료 재료는 유체와 독립적으로 카트리지 소개 장치에 의해 혼합 챔버 내로 이송된다. 그 결과, 특히 유체 공급부에 직접 작용하는 과압이 저장조 내에 발생되지 않기 때문에, 종래 기술에 비해 훨씬 더 효과적인 방식으로 음료 제조 기계의 역오염을 방지한다는 것이 밝혀졌다. 음료 제조 기계에 가역적으로 삽입 가능한 카트리지 리셉터클 내의 혼합 챔버의 구성은 유리하게는 혼합 챔버가 교환 가능한 카트리지 시스템의 일부가 되도록 보장한다. 이런 방식으로, 교환 가능한 일회용 또는 재사용 카트리지 시스템의 일부만이 음료 재료와 접촉하기 때문에, 음료 재료에 의한 음료 제조 기계의 오염을 효과적으로 방지한다. 카트리지가 각각의 음료 제조 작업을 위해 교환되는 반면, 카트리지 리셉터클이 교환되기 전에도 여러 음료 제조 작업을 위해 사용되는 것을 또한 고려할 수 있다. 바람직하게는, 카트리지 시스템의 저장조는 카트리지 시스템이 음료 제조 기계에 삽입되는 중에 또는 후에만 개방되는 밀봉 요소에 의해 폐쇄된다. 밀봉 요소는 이송 또는 보관 중에 향기-기밀 방식으로 카트리지를 폐쇄하는 역할을 하고, 그 결과 예를 들어 카트리지의 긴 보관 수명을 달성할 수 있다.
본 발명의 유리한 구성 및 개선은 종속항 및 도면을 참조한 설명에서 발견될 수 있다.
본 발명의 하나의 바람직한 구현예에 따르면, 카트리지가 카트리지 리셉터클에 고정 또는 착탈식으로 연결되게 하거나, 카트리지 리셉터클이 카트리지에 고정 또는 착탈식으로 연결 가능하게 한다. 바람직하게는, 카트리지 리셉터클은 특히 바람직하게는 래칭 연결부에 의해 카트리지에 가역적으로 체결된다. 예를 들어, 카트리지가 원주상 유지 플랜지를 갖는 (카트리지 개구를 구비한) 일종의 병목을 포함하고, 카트리지 리셉터클이 병목 상에 클립-체결되는 것을 고려할 수 있다. 그 과정 중에, 특히 탄성 래칭 요소들, 예를 들어 유지 암들이 유지 플랜지 뒤에 맞물린다. 카트리지는 특히 재활용 가능한, 특히 음료 재료를 위한 일회용 컨테이너로 구비된다. 유리하게는, 카트리지 리셉터클은 상이한 카트리지에 체결될 수 있음으로써 여러 번 사용될 수 있다. 또한, 카트리지 및 카트리지 리셉터클이 별개로 제조될 수 있고 카트리지 리셉터클이 이어서 카트리지 상에 단지 클립-체결되기 때문에, 카트리지 시스템의 제조는 단순화된다. 카트리지는 특히 각지거나, 원형이거나, 둥글게 된 병을 포함한다. 카트리지는 특히 사출 블로우-성형 공정 또는 사출-성형 공정으로 또는 다른 성형 공정에 의해 플라스틱으로 제조된다. 그러나, 원칙적으로, 카트리지의 제조를 위해 열성형 공정을 또한 고려할 수 있다. 마찬가지로, 물론, 카트리지가 여러 번 사용 가능한 것도 역시 고려할 수 있다.
본 발명의 다른 바람직한 구현예에 따르면, 카트리지 소개 장치가 압축-공기원에 연결하기 위한 압축-공기 연결부, 및 압축-공기 연결부로부터 압축-공기 토출구로 연장되는 압축-공기 라인을 포함하게 하되, 압축-공기 토출구는 저장조 내로 압축 공기를 송풍하기 위해 특히 카트리지의 저장조의 방향으로 돌출된다. 그러므로, 카트리지 리셉터클에 통합되는 카트리지 소개 장치는, 본 발명의 의미 내에서, 우선 외부로부터 저장조로 압축 공기를 도입할 수 있는 단 하나의 압축-공기 라인을 포함한다. 카트리지 시스템은 음료 재료가 압축 공기에 의해 저장조로부터 혼합 챔버로 밀어 넣어지도록 구성된다. 압축 공기는 특히 음료 제조 기계에 의해 제공된다. 카트리지 시스템이 음료 제조 기계에 삽입되자마자 압축-공기원이 압축-공기 연결부에 직접 결합되는 것을 고려할 수 있다. 이는 카트리지 소개 장치가 카트리지 시스템의 삽입시 즉시 과압 하에 있고, 그에 따라 음료 재료가 음료 제조 기계의 압축-공기 라인의 방향으로, 특히 압축-공기원의 방향으로 이동하는 것을 방지하기 때문에, 음료 제조 기계의 방향으로 역오염을 효과적으로 방지한다는 이점을 갖는다. 따라서, 음료 재료는 저장조로부터 혼합 챔버의 방향으로만 이동할 수 있다.
본 발명의 또 다른 바람직한 구현예에 따르면, 혼합 챔버가 음료 재료와 유체의 혼합으로 형성되는 음료를 토출하는 음료 토출구를 구비하게 하되, 카트리지 시스템은 바람직하게는 음료가 음료 토출구로부터 휴대용 용기로 직접 도입될 수 있도록 구성된다. 그러므로, 유리하게는, 음료 재료나 제조된 음료가 음료 제조 기계의 어떤 부분과도 접촉하지 않고, 그에 따라 음료 제조 기계의 임의의 (역)오염을 어느 정도 방지한다. 유체는 혼합 챔버에 별도로 공급된다. 바람직하게는, 유체는 과압 하에 혼합 챔버에 도입된다. 유체는 특히 음료 제조 기계에 의해 제공된다. 카트리지 시스템이 음료 제조 기계에 삽입되자마자 유체원이 카트리지 리셉터클의 대응하는 유체 연결부에 직접 결합되는 것을 고려할 수 있다. 유체 연결부는 이 경우 유체 라인을 통해 혼합 챔버에 유체 연결된다. 이는 유체 연결부가 카트리지 시스템의 삽입시 즉시 과압 하에 있고, 그에 따라 음료 재료가 음료 제조 기계의 유체 라인의 방향으로, 특히 유체원의 방향으로 이동하는 것을 방지하기 때문에, 음료 제조 기계의 방향으로 역오염을 효과적으로 방지한다는 이점을 갖는다. 따라서, 음료 재료 및 음료는 혼합 챔버로부터 음료 토출구의 방향으로만 이동할 수 있다. 유체는 특히 물, 바람직하게는, 냉각되고/되거나 탄산화된 식수를 포함한다.
본 발명의 하나의 바람직한 구현예에 따르면, 혼합 챔버가 혼합 구조들을 구비하게 한다. 혼합 구조들은 유리하게는 혼합 재료 및 유체의 개선된 혼합을 보장한다. 이런 목적으로, 혼합 구조들은 특히 혼합 챔버 내로 흐르는 유체가 소용돌이 치도록 구성된다. 혼합 구조들이, 유체가 흐르는 방향에 실질적으로 수직으로 연장되며 혼합 챔버의 저부에서 유체 공급부의 영역에 배치되는 하나 이상의 혼합 리브를 포함하는 것을 고려할 수 있다. 그러므로, 혼합 리브들은 유체를 위한 배리어의 역할을 하고, 그 결과 유체가 소용돌이 치고, 음료 재료의 더 양호한 혼합이 달성된다.
본 발명의 다른 바람직한 구현예에 따르면, 유체 공급부에는 냉장 장치에 의해 냉각되는 유체가 공급되게 하되, 냉장 장치는 음료 제조 기계, 또는 음료 제조 기계에 작동 가능하게 연결되는 별개의 냉장고의 일부이다. 따라서, 유리하게는, 카트리지가 냉각되지 않고 예를 들어 실온에 있을 때에도 저온 음료를 제조할 수 있다. 기존 냉장고에 시스템을 통합하는 것은 냉장고의 기존 냉장 장치가 음료 제조 기계를 위해 효율적인 방식으로 용이하게 공동-사용될 수 있다는 이점을 갖는다. 특히, (미국식 냉장고로도 자주 불리는) 이른바 "양문형(side-by-side)" 냉장고에서는, 시스템을 통합하기에 충분한 설치 공간을 전방에서 찾을 수 있다. 음료 제조 기계가 이와 같은 냉장고의 개량 세트(retrofitting set)인 것을 고려할 수 있다. 냉장 장치는 바람직하게는 압축기 냉각 장치, 흡수기 냉각 장치, 또는 열전 냉각기를 포함한다.
본 발명의 또 다른 바람직한 구현예에 따르면, 유체 공급부에는 카보네이터(carbonator)에 의해 탄산이 추가된 유체가 공급되게 한다. 카보네이터가 음료 제조 기계의 일부인 것을 고려할 수 있되, 카보네이터는 CO2 카트리지용 리셉터클, 및 CO2 카트리지로부터 유체로 CO2를 추가하기 위한 공급 장치를 구비한다. 따라서, 유리하게는, 시스템으로 탄산화된 청량 음료를 또한 제조할 수 있다. 대안적으로, 카보네이터가 외부 CO2 연결부를 구비하는 것도 역시 고려할 수 있다.
본 발명의 또 다른 바람직한 구현예에 따르면, 카트리지 리셉터클이 실질적으로 1부품으로 형성되게 하거나, 카트리지 리셉터클이 커버 요소, 및 커버 요소에 연결되는 토출 요소를 포함하게 한다. 본 발명의 의미 내에서, 카트리지 리셉터클의 1부품 형태는 특히 카트리지 리셉터클이 단일 부품으로 구성되어야 한다는 것이 아니라, 단지 카트리지 리셉터클이 이러한 특정 1부품 구현예에서 커버 요소 및 별개의 토출 요소로만 구성되지 않는다는 것을 의미한다. 다시 말하면: 커버 요소 및 토출 요소는 1부품 구현예에서 하나의 부품으로 형성된다.
본 발명의 또 다른 바람직한 구현예에 따르면, 저장조로 이어지는 카트리지 개구가 커버 요소에 의해 적어도 일시적으로 또는 부분적으로 폐쇄되도록, 커버 요소가 카트리지에 가역적으로 연결 가능, 특히 래칭 가능하게 하되, 토출 요소는 커버 요소에 가역적으로 연결 가능, 특히 래칭 가능하다. 카트리지 시스템의 이러한 구현예를 제조하기 위해, 카트리지가 제조되며, 이어서 카트리지는 카트리지 개구를 통해 음료 재료로 충진되고, 이어서 카트리지 개구를 폐쇄하기 위해, 카트리지 리셉터클이 카트리지 상에 클립-체결된다. 이 경우, 토출 요소는 특히 유체 공급부, 압축-공기 연결부, 혼합 챔버, 및 음료 토출구를 구비하는 반면, 커버 요소는 저장조에 압축 공기를 도입하기 위해 특히 저장조 내로 돌출되는 압축-공기 토출구를 구비한다. 압축-공기 토출구가 커버 요소 또는 토출 요소 상에 형성되는 압축-공기 연결부에 압축-공기 라인을 통해 작동 가능하게 연결되는 중공 스파이크를 포함하는 것을 고려할 수 있다.
본 발명의 또 다른 바람직한 구현예에 따르면, 카트리지 개구와 혼합 챔버 사이의 유체 연결부가 밸브 장치에 의해 구축될 수 있게 하되, 밸브 장치는 유체 연결부를 구축하기 위해 커버 요소와 토출 요소 사이의 상대 이동에 의해 폐쇄 상태로부터 개방 상태로 이동 가능하다. 따라서, 유리하게는, 저장조는, 간단히 커버 요소와 토출 요소 사이의 상대 이동이 수행됨으로써, 음료 재료가 압축 공기에 의해 저장조로부터 혼합 챔버 내로 이송될 수 있도록, 개방될 수 있다. 이러한 상대 이동은 카트리지 시스템이 음료 제조 기계에 삽입되기 전에 또는 후에 일어날 수 있다.
바람직하게는, 커버 요소는 카트리지 개구로 이어지는 유로 개구를 구비하고, 밸브 장치는 유로 개구, 및 유로 개구 내로 돌출되는 토출 요소의 돌출부에 의해 형성되며, 커버 요소와 토출 요소 사이의 상대 이동을 통해, 돌출부는 유로 개구를 폐쇄하는 위치로부터 유로 개구를 부분적으로 개방하는 위치로 이동된다. 유로 개구의 벽은 특히 적어도 하나의 측방향 채널을 구비하고, 돌출부는 유로 개구를 부분적으로 개방하는 위치에서 적어도 하나의 측방향 채널의 영역에 배치된다. 바람직하게는, 평행 방식으로 배치되는 복수의 측방향 채널이 유로 개구의 벽에 구비된다. 측방향 채널들은 유로 개구의 단면에 수직으로 연장되지만, 각각 벽의 일부 상에서만 연장된다. 돌출부는 특히, 폐쇄 위치에서 유로 개구의 내벽을 지탱하여 유로 개구를 폐쇄하는 외주 밀봉 에지를 구비한다. 상대 이동의 결과로, 돌출부는 바람직하게는 저장조로부터 멀리 또는 저장조의 방향으로 선형 방식으로 변위되고, 그에 따라 음료 재료가 측방향 채널들을 통해 밀봉 에지 주위로 흐를 수 있기 때문에, 외주 밀봉 에지는 측방향 채널들의 영역에 들어가며 밀봉 작용을 잃게 된다.
측방향 채널들의 단면 및/또는 측방향 채널들의 개수가 음료 재료의 점도에 맞게 조정되고, 그에 따라 측방향 채널들이 혼합 챔버의 방향으로 음료 재료의 유동을 제한하거나 제어하는 것을 고려할 수 있다. 높은 점도에서, 복수의 측방향 채널들 또는 상대적으로 큰 단면을 갖는 측방향 채널들이 사용되는 반면, 더 낮은 점도에서는, 더 적은 수의 측방향 채널들 또는 더 작은 단면을 갖는 측방향 채널들이 구비된다. 그 결과, 상이한 유형의 음료 재료에 대해, 바람직하게는 상이한 커버 요소(각각 조정된 측방향 채널들을 구비함)가 사용된다. 그러므로, 각각의 카트리지를 위해 부합하는 커버 요소가 존재한다. 돌출부는 특히 앤빌(anvil)의 형태로 구성되고, 외주 밀봉 에지는 앤빌의 기저부에 대해 단면 확대부를 형성한다.
전술한 구현예에서, 커버 요소 및 토출 요소는 상대 이동이 실행 가능하도록 별개의 부품들로 구성된다. 상대 이동은 이 경우 특히, 유로 개구 내에서 측방향 채널들에 대해 돌출부를 이동시키기 위한, 서로를 향한 커버 요소 및 토출 요소의 선형 이동 또는 서로 멀어지는 커버 요소 및 토출 요소의 선형 이동을 포함한다.
본 발명의 대안적인 또 다른 바람직한 구현예에 따르면, 카트리지가 저장조에 유체 연결되는 카트리지 개구를 구비하게 하되, 카트리지 개구는 밀봉 요소에 의해 폐쇄되고, 밀봉 요소는 특히, 카트리지 개구의 에지에 적용되고 바람직하게는 그 위에 밀봉된 밀봉 포일을 포함한다. 이러한 구현예에서, 카트리지 리셉터클은 특히 1부품으로 구성된다. 즉, 별개의 토출 및 커버 요소들이 존재하지 않는다. 이러한 카트리지 시스템을 제조하기 위해, 우선 카트리지 개구를 갖는 카트리지가 형성된 후, 카트리지는 카트리지 개구를 통해 음료 재료로 충진되고, 이어서 카트리지 개구가 밀봉 요소에 의해 폐쇄되며, 마지막으로 카트리지 리셉터클이 폐쇄된 카트리지 개구의 영역에서 카트리지 상에 클립-체결된다. 카트리지 시스템이 음료 제조 기계에 삽입되기 전에, 중에, 또는 후에, 음료 재료가 압축 공기의 도입에 의해 저장조로부터 혼합 챔버 내로 이송될 수 있도록, 밀봉 요소는 예를 들어 밀봉 포일의 천공에 의해 카트리지 개구의 영역에서 개방되어야 한다. 바람직하게는, 이를 위해, 카트리지 리셉터클은 카트리지의 방향으로 돌출되는 관통 스파이크를 구비하고, 그에 따라 카트리지 리셉터클과 카트리지 사이의 상대 이동의 결과로, 관통 스파이크는 밀봉 요소를 관통하며, 저장조와 혼합 챔버 사이의 유체 연결부가 형성된다. 카트리지는 우선 관통 스파이크가 밀봉 요소로부터 멀리 있는 카트리지 리셉터클 내의 예비 위치에 안착되고, 카트리지 시스템이 음료 제조 기계에 도입된 후에, 예비 위치로부터 관통 스파이크가 밀봉 요소를 관통하는 단부 위치로 이동되는 것을 고려할 수 있다. 카트리지 시스템이 예비 위치로부터 단부 위치로 이동될 때, 카트리지 및 카트리지 리셉터클은 추가로 서로를 향해 특히 병진 이동되고, 밀봉 요소는 이러한 이동 중에 관통 스파이크에 의해 능동적으로 관통된다. 이어서, 관통 스파이크는 카트리지 개구의 방향으로 밀봉 요소를 통해 돌출된다. 바람직하게는, 밀봉 요소가 관통되었을 때 혼합 챔버의 방향으로 음료 재료를 운반하기 위한 적어도 하나의 측방향 채널이 관통 스파이크의 벽에 도입되었다. 관통 스파이크 상에 측방향으로 형성되는 측방향 채널을 통해, 음료 재료는 이후 혼합 챔버의 방향으로 밀봉 요소를 지나 흐를 수 있다. 바람직하게는, 복수의 측방향 채널이 관통 스파이크 상에 형성된다. 측방향 채널들은 특히 각각 일측이 개방된 홈의 형태로 구성된다.
측방향 채널들의 단면 및/또는 측방향 채널들의 개수가 음료 재료의 점도에 맞게 조정되고, 그에 따라 측방향 채널들이 혼합 챔버의 방향으로 음료 재료의 유동을 제한하거나 제어하는 것을 고려할 수 있다. 높은 점도에서, 복수의 측방향 채널들 또는 상대적으로 큰 단면을 갖는 측방향 채널들이 사용되는 반면, 더 낮은 점도에서는, 더 적은 수의 측방향 채널들 또는 더 작은 단면을 갖는 측방향 채널들이 구비된다. 그러므로, 각각의 카트리지를 위해 부합하는 카트리지 리셉터클이 존재한다.
바람직하게는, 관통 스파이크는, 압축-공기 선단부가 저장조의 방향으로 관통 스파이크를 넘어서 돌출되지 않는 수축 위치와 압축-공기 선단부가 관통 스파이크를 넘어서 저장조 내로 돌출되는 연장 위치 사이에서 변위 가능하도록, 압축-공기 선단부가 장착되는 관통홀을 구비한다. 바람직하게는, 관통 스파이크는 밀봉 요소가 관통 스파이크에 의해 천공된 후에 수축 위치로부터 연장 위치의 방향으로 이동된다. 압축-공기 선단부의 도움으로, 압축 공기는 이후 저장조에 도입되고, 그에 따라 음료 재료는 홈들을 통해 혼합 챔버에 밀어 넣어지며, 혼합 챔버 내에서 유체와 함께 음료를 형성한다. 바람직하게는, 이런 목적으로, 압축-공기 라인은 압축-공기 선단부에 통합된다. 특히 저장조로부터 멀리 있는 압축-공기 선단부의 측에는, 압축-공기 연결부가 형성되고, 압축-공기 연결부는 바람직하게는 카트리지 리셉터클의 외부로부터 액세스 가능하며, 그에 따라 음료 제조 기계의 압축-공기원에 연결될 수 있다. 카트리지 시스템이 음료 제조 기계에 삽입될 때, 압축-공기 선단부가 음료 제조 기계의 해제 요소에 의해 수축 위치로부터 연장 위치로 이동되는 것을 고려할 수 있다. 바람직하게는, 압축 공기는 임의의 역오염을 방지하기 위해 이 경우 이미 압축-공기 선단부에 적용되어 있다. 대안적으로, 압축-공기 선단부는 음료 제조 기계를 통해 적용되는 압축 공기에 의해 수축 위치로부터 연장 위치로 이동된다.
전술한 구현예의 대안적인 형태에서, 관통 스파이크가 카트리지 리셉터클과 일체로 또는 이에 고정된 방식으로 구성되는 것이 아니라, 카트리지 리셉터클이 스파이크 가이드, 및 스파이크 가이드 내에 변위 가능한 방식으로 장착되는 관통 스파이크를 포함한다. 관통 스파이크는 관통 스파이크가 밀봉 요소로부터 멀리 있는 수축 위치와 관통 스파이크가 밀봉 요소를 관통하며 저장조 내로 돌출되는 연장 위치 사이에서 스파이크 가이드에 대해 변위 가능하도록 장착된다. 다음으로, 관통 스파이크의 외벽은 밀봉 요소가 관통되었을 때 혼합 챔버의 방향으로 음료 재료를 운반하기 위한 적어도 하나의 측방향 채널을 구비한다. 관통 스파이크 상에 측방향으로 형성되는 측방향 채널을 통해, 음료 재료는 이후 혼합 챔버의 방향으로 밀봉 요소를 지나 흐를 수 있다. 바람직하게는, 복수의 측방향 채널이 관통 스파이크 상에 형성된다. 측방향 채널들은 특히 각각 일측이 개방된 홈의 형태로 구성된다.
이러한 구현예에서, 측방향 채널들의 단면 및/또는 측방향 채널들의 개수가 음료 재료의 점도에 맞게 조정되고, 그에 따라 측방향 채널들이 혼합 챔버의 방향으로 음료 재료의 유동을 제한하거나 제어하는 것을 또한 고려할 수 있다. 높은 점도에서, 복수의 측방향 채널들 또는 상대적으로 큰 단면을 갖는 측방향 채널들이 사용되는 반면, 더 낮은 점도에서는, 더 적은 수의 측방향 채널들 또는 더 작은 단면을 갖는 측방향 채널들이 구비된다. 그러므로, 각각의 카트리지를 위해 부합하는 카트리지 리셉터클이 존재한다.
바람직하게는, 이러한 대안적인 형태에서도, 압축-공기 라인은 관통 스파이크에 통합된다. 그러나, 관통 스파이크가 가동 압축-공기 선단부를 구비하는 것이 아니라, 압축-공기 라인이 관통 스파이크의 단부에서 고정 압축-공기 선단부를 통해 카트리지 개구 내로 이어진다. 특히 저장조로부터 멀리 있는 관통 스파이크의 측에는, 압축-공기 연결부가 형성되고, 압축-공기 연결부는 바람직하게는 카트리지 리셉터클의 외부로부터 액세스 가능하다. 바람직하게는, 카트리지 시스템이 음료 제조 기계에 삽입될 때, 관통 스파이크는 음료 제조 기계의 해제 요소에 의해 수축 위치로부터 연장 위치로 이동된다. 바람직하게는, 압축 공기는 음료 제조 기계의 임의의 역오염을 방지하기 위해 이 경우 이미 압축-공기 선단부에 적용되어 있다. 대안적으로, 압축-공기 선단부는 음료 제조 기계를 통해 적용되는 압축 공기에 의해 수축 위치로부터 연장 위치로 이동된다.
본 발명의 또 다른 바람직한 구현예에 따르면, 카트리지가 카트리지 개구의 반대측에 추가적인 카트리지 개구를 구비하게 하되, 상기 추가적인 카트리지 개구는 추가적인 밀봉 요소, 특히 추가적인 밀봉 포일에 의해 폐쇄된다. 따라서, 유리하게는, 카트리지는 또한 적합한 사출-성형 공정으로 제조될 수 있다.
본 발명의 바람직한 구현예에 따르면, 카트리지 및/또는 카트리지 리셉터클이 제품 식별자를 구비하게 하고, 음료 제조 기계 또는 카트리지 리셉터클이 제품 식별자를 식별하기 위한 식별자 검출기를 구비하게 한다. 바람직하게는, 제품 식별자는 바코드, RFID 코드, QR 코드, 데이터 매트릭스 코드, 컬러 코드, 홀로그램 코드 등에 내장된다. 그러므로, 유리하게는, 제품 식별자의 자동 판독이 가능하다. 식별자 검출기는 특히, 카트리지가 음료 제조 기계에 삽입되었을 때 바코드 또는 QR 코드 또는 데이터 매트릭스 코드를 자동으로 판독하는 광 센서, 예를 들어 CCD 카메라를 포함한다. 대안적으로, 식별자 검출기는 RFID 코드를 자동으로 판독하기 위한 송수신 안테나를 포함한다. 대안적으로, 제품 식별자가 또한 다른 자동 판독 가능한 컴퓨터 칩에 내장되는 것을 고려할 수 있다. QR 코드라는 용어는, 본 발명의 의미 내에서, 특히 임의의 데이터 매트릭스 코드를 포함한다. 이와 관련하여, QR 코드 및 데이터 매트릭스 코드라는 용어는 동의어처럼 사용된다. 대안적으로 또는 추가적으로, 제품 식별자가 바코드, 도트 코드, 이진 코드, 모스 코드, 점자 코드(요철 인쇄) 등을 포함하는 것도 역시 고려할 수 있다. 코드는 이 경우 3차원 구조, 예를 들어 양각으로 내장될 수 있다. 제품 식별자는 특히 이른바 제품 식별 번호, 특히 통일 상품 코드(UPC), 유럽 상품 번호(EAN), GS1 코드, 국제 거래 단품 식별 번호(GTIN) 등을 포함한다. 이런 방식으로, 새로운 코드 시스템을 도입할 필요가 없다. 특히, 제품 식별자는 GS1 표준이 적용된다.
제품 식별자는 특히 카트리지 내에 위치하는 음료 재료를 명시하는 역할을 한다. 음료 제조 과정의 시작 중에 또는 전에, 제품 식별자는 식별자 검출기로 판독된다. 그러므로, 음료 제조 기계는 어떤 유형의 카트리지가 음료 제조 기계에 삽입되었는지 알게 된다. 음료 제조 기계의 평가 및 제어 장치가 다수의 기저장된 음료 제조 프로그램을 구비하되, 이들은 상이한 음료의 제조를 위해 제공되며, 예를 들어 공급되는 유체의 전달 속도, 전달 시간, 전달 일시정지, 온도, 탄산화 정도, 및/또는 압력의 측면에서 서로 상이한 것을 고려할 수 있다. (예를 들어, 상이한 압력의) 상이한 압축-공기 공급부가 상이한 음료 제조 프로그램에 사용되는 것도 역시 고려할 수 있다. 각각의 음료 제조 프로그램은 하나 이상의 제품 식별자에 연결된다. 카트리지가 음료 제조 기계에 도입될 때, 카트리지 상의 제품 식별자는 식별자 검출기로 판독된 후, 기저장된 데이터와 비교된다. 따라서, 제품 식별자를 사용하여, 복수의 기저장된 음료 제조 프로그램에서 음료 제조 프로그램이 선택되고, 이어서 선택된 음료 제조 프로그램을 갖는 음료 제조 과정이 시작된다. 공급되는 유체의 전달 속도, 전달 시간, 전달 일시정지, 온도, 탄산화 정도, 및/또는 압력과 같은 파라미터들은 특정 음료 재료로 제조될 음료를 위한 최적의 결과를 달성하기 위해 선택된 음료 제조 프로그램에 의해 제어되거나 기결정된다.
제품 식별자가 식별 가능하지 않거나 식별된 제품 식별자가 임의의 기저장된 음료 제조 프로그램과 부합하지 않을 때 음료 제조 과정이 시작되지 않는 것을 고려할 수 있다. 이는, 결과적으로 예를 들어 (카트리지가 더 낮은 압력에서의 작업을 위한 것일 때) 카트리지의 파열에 의한 사용자의 위험 또는 음료 제조 기계의 손상 가능성이 있는, 음료 제조 기계에서의 작업을 위해 인증되지 않은 시스템-비호환적 카트리지가 음료 제조 기계에 사용되는 것을 방지한다.
제품 식별자는 바람직하게는 카트리지 개구를 밀봉하기 위한 밀봉 요소(특히, 밀봉 포일) 또는 카트리지의 벽에 인쇄 또는 접착된다. 특히, 카트리지가 음료 제조 기계에 삽입되었을 때 제품 식별자가 음료 제조 기계의 식별자 검출기의 검출 범위 내에 배치되도록, 제품 식별자는 카트리지 상에 위치한다. 대안적으로, 제품 식별자가 카트리지 상에 배치되는 것이 아니라, 카트리지 리셉터클의 외벽 상에 적절한 방식으로 배치되는 것도 역시 고려할 수 있다.
서두에 명시된 목적을 달성하기 위한 본 발명의 다른 주제는, 본 발명에 따른 카트리지 시스템이 삽입 가능한 음료 제조 기계에 있어서, 카트리지에 연결되는 카트리지 리셉터클이 삽입 가능한 유지 장치, 유체 공급부에 유체를 주입하기 위한 유체원, 및 압축-공기 연결부 내로 압축 공기를 송풍하기 위한 압축-공기원을 구비하는, 음료 제조 기계이다. 바람직하게는, 음료 제조 기계는 수축 위치로부터 연장 위치로 압축-공기 선단부 또는 관통 스파이크를 이동시키기 위한 해제 요소를 구비한다.
바람직하게는, 음료 제조 기계는, 식별자 검출기에 결합되며, 검출된 QR 코드를 분석함으로써 제품 식별자를 판단하기 위한 평가 및 제어 장치를 구비한다. 바람직하게는 평가 전자기기는 음료 제조 기계 내에 배치되는 카트리지의 분명한 식별을 가능하게 하는 GS1 코드를 QR 코드로부터 판단한다. 음료 제조 기계는 또한 바람직하게는 결정된 제품 식별자를 기저장된 제품 식별자들의 목록과 비교하기 위한 비교 장치를 구비하며, 비교에 근거하여 음료 제조 프로그램을 선택한다. 대안적으로, 음료 제조 기계가, 알고리즘을 이용하여, 검출된 QR 코드가 시스템에 속하는지(즉, 공지되어 있는지) 또는 시스템-호환적인지 식별하는 알고리즘 식별 수단을 구비하는 것을 고려할 수 있다. 알고리즘은 이 경우 암호 암호화/복호화 방법에 따라 기능한다.
서두에 명시된 목적을 달성하기 위한 본 발명의 또 다른 주제는, 본 발명에 따른 카트리지 시스템으로 음료를 제조하는 방법에 있어서, 음료 제조 기계의 유지 장치에 카트리지 시스템을 삽입하는 단계; 카트리지 소개 장치에 의해 카트리지의 저장조로부터 카트리지 리셉터클의 혼합 챔버 내로 음료 재료를 이송하는 단계; 유체 공급부에 의해 혼합 챔버에 유체를 주입하는 단계; 및 음료 토출구에 의해, 음료 재료와 유체를 혼합함으로써 혼합 챔버 내에 형성되는 음료를 토출하는 단계를 포함하는, 방법이다. 바람직하게는, 그 과정 중에, 음료 재료는 압축 공기에 의해 저장조로부터 혼합 챔버 내로 이송된다.
바람직하게는, 혼합 챔버에 주입되기 전에, 유체는 냉각되고/되거나 탄산화되고, 그에 따라 저온 음료 및 탄산화된 청량 음료가 제조 가능하다.
본 발명의 다른 바람직한 구현예에 따르면, 카트리지 시스템이 유지 장치에 삽입되기 전에, 중에, 또는 후에, 압축-공기 선단부 또는 관통 스파이크가 수축 위치로부터 연장 위치로 이동되어, 카트리지 개구의 밀봉 요소를 천공하게 한다. 따라서, 유리하게는, 저장조는 자동으로 개방되고, 그에 따라 음료 재료는 혼합 챔버 내로 이송될 수 있다. 바람직하게는, 개방 작동 중에, 압축 공기 및 유체는 이미 카트리지 리셉터클에 도입되어 있고, 그에 따라 음료 재료에 의한 음료 제조 기계의 역오염을 방지한다. 압축-공기 선단부 및/또는 관통 스파이크는 특히 구동 액추에이터 또는 압축 공기에 의해 이동된다.
본 발명의 바람직한 대안적인 구현예에 따르면, 카트리지 시스템이 유지 장치에 삽입되기 전에, 중에, 또는 후에, 밸브 장치가 커버 요소와 토출 요소 사이의 상대 이동을 통해 개방됨으로써, 유체 연결부가 저장조와 혼합 챔버 사이에 구축되게 한다. 그러므로, 유리하게는, 저장조는 자동으로 개방되고, 그에 따라 음료 재료는 혼합 챔버 내로 이송될 수 있다. 바람직하게는, 밸브 개방 작동 중에, 압축 공기 및 유체는 이미 카트리지 리셉터클에 도입되어 있고, 그에 따라 음료 재료에 의한 음료 제조 기계의 역오염을 방지한다. 상대 이동은 특히 구동 액추에이터 또는 압축 공기에 의해 초래된다.
본 발명의 추가적인 상세들, 특징들, 및 이점들은 도면, 및 도면을 참조한 바람직한 구현예들의 후술하는 설명에서 명확해진다. 도면은 본 발명의 본질적인 개념을 제한하지 않는 본 발명의 예시적인 구현예들을 도시할 뿐이다.
도 1은 본 발명의 하나의 예시적인 구현예에 따른 음료 제조 기계에 삽입되는 카트리지 시스템 및 카트리지 리셉터클로 음료를 제조하는 방법의 기본 원리를 도시한다.
도 2a 내지 도 2h는 본 발명의 제1 구현예에 따른 카트리지 시스템 및 카트리지 리셉터클의 개략도를 도시한다.
도 3a 내지 도 3g는 본 발명의 제2 구현예에 따른 카트리지 시스템 및 카트리지 리셉터클의 개략도를 도시한다.
도 4a 내지 도 4c는 본 발명의 제3 구현예에 따른 카트리지 시스템 및 카트리지 리셉터클의 개략도를 도시한다.
도 5a 및 도 5b는 본 발명의 제3 구현예에 따른 음료 제조 기계의 유지 장치에 삽입되는 카트리지 시스템 및 카트리지 리셉터클의 개략도를 도시한다.
다양한 도면에서, 동일한 부품들에는 항상 동일한 참조 번호들이 부여되므로, 각각 일반적으로 또한 한번만 언급한다.
도 1은 일반적인 작동 원리를 예시하기 위해 본 발명에 따른 카트리지 시스템(1)의 개략적인 단면도를 도시하는데, 이는 음료 제조 기계(3)에 삽입되어 있고, 이에 의해 음료(70)가 제조된다.
본 시스템은 교환 가능한 카트리지 시스템들(1)이 삽입 가능한 음료 제조 기계(3; 개략적으로만 도시됨)를 포함한다. 각각의 카트리지 시스템(2)은 특정 음료 재료(7)로 충진되는 카트리지(2)를 구비한다. 음료 제조 기계(3) 내에서, 대응하는 음료(70)가 음료 재료(7) 및 후술하는 내용에서 유체원(41)으로 지칭되는 추가 수원의 도움으로 형성된다. 카트리지(2)는 이 경우 바람직하게는 특정 음료 부분, 예를 들어 원하는 음료(70)의 음료수잔 충진물을 형성하기에 필요한 사전-분할된 양의 음료 재료(7)로 충진된다. 특히, 복수의 상이한 카트리지 시스템(1)이 이용 가능하며, 그 카트리지들(2) 또는 저장조들(6)은 상이한 음료(70)를 제조하기 위한 상이한 음료 재료(7)로 충진된다. 시스템(1)의 사용자가 특정 음료(7)를 마시고 싶을 때, 사용자가 해야 하는 일은, 원하는 음료(70)를 제조하기 위한 대응하는 음료 재료(7)를 포함하는 카트리지 시스템(1)을 복수의 상이한 카트리지 시스템(1)으로부터 선택하고, 이를 음료 제조 기계(3)의 유지 장치(90)에 삽입하며, 적절한 경우, 예를 들어, 시작 버튼을 누르거나, 적절한 방식으로 터치 감지 디스플레이를 터치하거나, 제스처 또는 음성 제어에 의해, 또는 휴대폰 상의 적절한 애플리케이션에 의해, 음료 제조 기계(3)의 음료 제조 과정을 시작하는 것이다. 새로운 카트리지 시스템(1)이 유지 장치(90)에 삽입된 것이 감지될 때 음료 제조 과정이 자동으로 시작되는 것도 고려할 수 있다. 각각의 전술한 경우, 원하는 음료(70)는 이후 자동으로 제조되며, 음료 용기 내로 운반되고, 그에 따라 사용자에게 제공된다. 이어서, 사용된 카트리지 시스템(1)은 제거되어 폐기된다. 음료 제조 기계(3)는 이제 다른 음료(70)를 제조하기 위해 다시 한번 임의의 원하는 새로운 카트리지 시스템(1)으로 충진될 준비가 된다.
음료 재료(7)는 바람직하게는 카페인 함유, 탄산 함유, 과일맛 및/또는 달콤한 소다 및 주스, 맥주 (혼합) 음료, 또는 다른 알코올 또는 비알코올 (혼합) 음료와 같은 청량 음료를 위한 액체 예혼합 성분들을 포함한다.
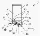
카트리지 시스템(1)은 둥근 모서리를 갖는 원통형 컨테이너 형태의 카트리지(2)를 포함한다. 컨테이너는 중공이므로, 음료 재료(7)를 위한 저장조(6)를 포함한다. 카트리지(2)는 특히 사출 블로우-성형 공정에 의해 플라스틱으로 제조된다. 카트리지(2)는 또한 액체 음료 재료(7)로 저장조(6)를 충진하는 카트리지 개구(63)를 구비한다. 저장조(6)의 저부는 본 예에서 깔때기형 방식으로 구성되고, 카트리지 개구(63)는 깔때기형 저부의 중앙에 배치된다. 카트리지(2)는 카트리지(2)의 충진 후에 카트리지 개구(63)의 영역에서 래칭 연결부(50)에 의해 카트리지(2)에 연결되는 본 발명에 따른 카트리지 리셉터클(10)에 가역적으로 연결된다. 카트리지 리셉터클(10)은 이를 위해 카트리지 개구(63)의 영역에 배치되는 카트리지(2)의 원주상 유지 플랜지(52) 주위에 맞물리는 탄성 유지 암 형태의 측방향 래칭 요소들(51)을 구비한다. 카트리지 리셉터클(10)은 카트리지(2)의 충진 후에 카트리지(2) 상에 클립-체결된다.
카트리지 리셉터클(10)은 음료 제조 과정 중에 저장조(6)에 유체 연결되는 혼합 챔버(8)를 구비하고, 그에 따라 카트리지 리셉터클(10)의 카트리지 소개 장치(34)의 도움으로, 음료 재료(7)가 저장조(6)로부터 혼합 챔버(8) 내로 적어도 부분적으로 이송될 수 있다. 카트리지 소개 장치(34)는 이를 위해 압축-공기 라인(40)을 포함한다. 압축-공기 라인(40)의 일 단부는 압축-공기 라인(40)에 압축 공기를 도입하기 위해 음료 제조 기계(3)의 압축-공기원(41)에 연결될 수 있는 압축-공기 연결부(42)에 연결되는 반면, 타 단부는 저장조(6)의 방향으로 개방되며 저장조(6)에 압축 공기를 도입하는 압축-공기 토출구(43) 내로 이어진다. 압축 공기의 도입은 음료 재료(7)가 혼합 챔버(8)에 밀어 넣어지게 한다.
음료 제조 기계(3)의 유체원(91)에 의해 공급받는 카트리지 리셉터클(10)의 유체 공급부(12)도 역시 혼합 챔버(8) 내로 이어진다. 유체 공급부(12)가 음료 제조 기계(3)의 유체원(91)에 유체 공급부(12)를 연결할 수 있는 신속 결합구를 구비하는 것을 고려할 수 있다. 신속 결합구는 예를 들어, 카트리지 시스템(1)이 유지 장치(90)에 삽입될 때, 유체 공급부(12)를 통해 유체원(91)과 혼합 챔버(8) 사이에 유체 연결부가 자동으로 구축되도록 구성될 수 있다. 음료 제조 과정 중에, 유체, 특히 냉각되고 탄산화된 식수는 이러한 유체 연결부를 통해 유체 공급부(12)로부터 혼합 챔버(8) 내로 전달된다. 게다가, 음료 제조 과정 중에, 전술한 바와 같이, 음료 재료(7)는 저장조(6)로부터 혼합 챔버(8) 내로 전달된다. 음료 재료(7)가 혼합 챔버(8) 내에서 유체와 혼합된 결과로, 음료(70)가 형성되고, 이는 이후 음료 토출구(11)를 통해 혼합 챔버(8)를 빠져나간다.
카트리지 리셉터클(10)은 음료 토출구(11)를 포함하고, 이를 통해 혼합 챔버(8) 내에 제조된 음료(70)는 혼합 챔버(8)를 빠져나가며, 음료 용기(미도시) 내로 특히 직접, 즉 음료 제조 기계(3)의 일부가 음료(70)와 접촉할 필요 없이, 운반된다. 이런 방식으로, 음료 제조 기계(3)의 역오염을 방지한다. 음료 용기는 특히 음료 토출구(11) 바로 아래에 배치된다.
음료 제조 과정의 완료 후에, 카트리지 시스템(1)은 유지 장치(90)로부터 제거되고, 그에 따라 음료 제조 기계(3)에는 새로운 미사용 카트리지 시스템(1)이 끼워질 수 있다. 카트리지 리셉터클(10)은 래칭 연결부(50)를 해제하여 사용된 카트리지(2)로부터 분리되고, 새로운 카트리지(2) 상에 클립-체결됨으로써 재사용될 수 있다.
카트리지 시스템(1)의 3가지 상이한 구현예가 후술하는 내용에 설명된다. 3가지 상이한 구현예는 특히 카트리지 리셉터클(10)이 상이한 방식으로 구성되고 저장조(6)와 혼합 챔버(8) 사이에 유체 연결부를 구축하기 위한 메커니즘이 상이한 방식으로 구성된다는 점에서 다르다; 이를 제외하면, 3가지 구현예는 모두 도 1을 통해 상기에 예시된 카트리지 시스템(1)에 실질적으로 대응한다.
도 2a 내지 도 2h는 본 발명의 제1 구현예에 따른 카트리지 시스템(1) 및 카트리지 리셉터클(10)의 개략도를 도시한다.
제1 구현예에서, 카트리지 리셉터클(10)은 커버 요소(60) 및 별개의 토출 요소(61)를 포함한다. 커버 요소(60)는 전술한 착탈식 래칭 연결부(50)에 의해 카트리지(2) 상에 직접 클립-체결된다. 토출 요소(61)도 마찬가지로 착탈식 래칭 연결부를 통해 커버 요소(60) 상에 클립-체결된다. 혼합 챔버(8) 및 음료 토출구(11)는 토출 요소(61)에 통합된다. 커버 요소(60)와 토출 요소(61) 사이에는, 카트리지 개구(63)를 폐쇄하고 음료 재료(7)가 혼합 챔버(8) 내로 이송될 수 있도록 음료 제조 과정 중에만 이를 개방하는 밸브 장치가 있다. 음료 제조 과정 중에, 밸브 장치는 또한 혼합 챔버(8)로의 음료 재료(7)의 유동을 제한하거나 제어하는 유동 제어 장치의 역할을 한다.
밸브 장치를 형성하기 위해, 커버 요소(60)는, 개방된 카트리지 개구(63)의 영역에 배치되어 저장조(6)에 직접 유체 연결되는 중앙 유로 개구(62)를 포함한다. 토출 요소(61)는 유로 개구(62) 내로 돌출되는 돌출부(64)를 구비한다. 돌출부(64)는 앤빌의 형태로 구성되며, 앤빌의 기저부에 대해 단면 확대부를 형성하는 외주 밀봉 에지를 포함한다. 커버 요소(60)와 토출 요소(61) 사이의 상대 이동을 통해, 돌출부(64)는 유로 개구(62)를 폐쇄하는 위치로부터 유로 개구(62)를 부분적으로 개방하는 위치로 이동된다. 폐쇄 위치에서, 밀봉 에지는 유로 개구(62)의 내벽을 편평하게 지탱하고, 그에 따라 유로 개구(63)는 음료 재료(7)에 대해 폐쇄된다. 상대 이동의 결과로, 본 예에서, 돌출부(63)는 저장조(6)로부터 멀리 혼합 챔버(8)의 방향으로 선형으로 이동되고, 그에 따라 외주 밀봉 에지는 복수의 평행 측방향 채널(82)을 구비한 유로 개구(63)의 영역에 들어간다. 따라서, 음료 재료(7)가 이제 혼합 챔버(8)의 방향으로 측방향 채널들(82)을 통해 밀봉 에지 주위로 흐를 수 있기 때문에, 밀봉 에지의 밀봉 작용이 제거된다. 측방향 채널들(82)은 유로 개구(63)의 벽에서 선형 방향으로 연장되며, 각각 일측이 개방된 홈을 포함한다. 그러므로, 측방향 채널들(82)은 유로 개구(63)의 단면에 수직으로 연장되지만, 각각 유로 개구(62)를 폐쇄하는 위치 및 유로 개구(62)를 부분적으로 개방하는 위치가 구현되도록 벽의 일부 상에서만 연장된다.
측방향 채널들(82)의 단면 및/또는 측방향 채널들(82)의 개수는 바람직하게는 음료 재료(7)의 점도에 맞게 조정되고, 그에 따라 측방향 채널들(82)은 혼합 챔버(8)의 방향으로 음료 재료(7)의 유동을 제한하거나 제어한다. 높은 점도에서, 복수의 측방향 채널들(82) 및/또는 상대적으로 큰 단면을 갖는 측방향 채널들(82)이 사용되는 반면, 더 낮은 점도에서는, 더 적은 수의 측방향 채널들(82) 및/또는 더 작은 단면을 갖는 측방향 채널들(82)이 구비된다.
커버 요소(60)와 토출 요소(61) 사이의 상대 이동은 카트리지 시스템(1)이 음료 제조 기계(3)에 삽입되기 전에 수동으로 또는 카트리지 시스템(1)이 음료 제조 기계(3)에 삽입되는 중에 또는 후에 자동으로 수행된다.
음료 제조 과정이 신속하게 진행되도록, 저장조(6)로부터 혼합 챔버(8)로의 음료 재료(7)의 이송은 카트리지 소개 장치(34)에 의해 지원된다. 카트리지 소개 장치(34)는 본 예에서 카트리지 개구(63) 내로 돌출되는 중공 스파이크의 형태로 구성되는 압축-공기 토출구(43)를 포함한다. 이러한 스파이크를 통해, 압축 공기는 저장조(6)로 송풍되되, 상기 압축 공기는 음료 재료(7)가 측방향 채널들(82)을 통해 혼합 챔버(8) 내로 전달되게 하거나 이를 가속화한다. 압축 공기는 음료 제조 기계(3)에 의해 제공되며, 압축-공기 연결부(42)를 통해 카트리지 리셉터클(10)에 도입되고, 압축-공기 라인(40)에 의해 중공 스파이크로 운반된다. 중공 스파이크는 커버 요소(60)의 일부인 반면, 압축-공기 연결부(42) 및 압축-공기 라인(40)은 선택적으로 커버 요소(60) 또는 토출 요소(61)에 형성될 수 있다. 그러므로, 커버 요소(60)의 일부로서의 중공 스파이크는 유로 개구(62)가 개방되기 전에 이미 저장조(6)에 유체 연결되어 있다. 혼합 챔버(8)는 또한 혼합 챔버(8)에 특히 냉각되고/되거나 탄산화된 식수를 공급하는 별개의 유체 공급부(12)를 구비한다. 유체 공급부(12)는 본 예에서 토출 요소(61)의 일부이다.
바람직하게는, 카트리지 시스템(1)이 음료 제조 기계(3)에 삽입되거나 음료 제조 과정이 시작되자마자, 및 특히 유로 개구(62)가 개방되기 전에, 유체원(91) 및 압축-공기원(41)은 모두 각각 유체 공급부(12) 및 압축-공기 연결부(42)에 직접 결합된다. 이런 방식으로, 유체 공급부(12) 및 카트리지 소개 장치(34)는 카트리지 시스템(1)의 삽입시 즉시 과압 하에 있고, 이는 음료 재료(7)가 각각 유체원(91) 및 압축-공기원(41)의 방향으로 이동하는 것을 방지하기 때문에, 음료 제조 기계(3)의 방향으로 역오염을 효과적으로 방지한다. 따라서, 유로 개구(62)가 개방되자마자 음료 재료(7)는 저장조(6)로부터 혼합 챔버(8)의 방향으로만 이동할 수 있다.
도 3a 내지 도 3g는 본 발명의 제2 구현예에 따른 카트리지 시스템(1) 및 카트리지 리셉터클(10)의 개략도를 도시한다.
제2 구현예는 카트리지 리셉터클(10)이 2부품(별개의 커버 요소(60) 및 토출 요소(61))으로 구현되는 것이 아니라 1부품으로 구현된다는 점에서 제1 구현예와 다르다. 즉, 커버 요소(60) 및 토출 요소(61)는 공통 부품(카트리지 리셉터클(10))으로 구현되고, 이는 전술한 방식으로 카트리지(2) 상에 클립-체결되며, 혼합 챔버(8), 음료 토출구(11), 카트리지 소개 장치(34), 및 유체 공급부(12)를 구비한다. 카트리지(2)가 카트리지 시스템(1)의 보관 및 이송 중에 향기-기밀 방식으로 폐쇄되도록, 본 구현예에서, 카트리지 개구(63)는 얇은 밀봉 포일 형태의 밀봉 요소(18)로 폐쇄된다. 사출 블로우-성형 공정으로 카트리지(2)를 제조한 후에, 밀봉 포일은 카트리지 개구(63)의 에지 상에 접착 결합되거나 밀봉된다(도 3a 참조). 그 뒤에야 카트리지 리셉터클(10)은 카트리지(2) 상에 클립-체결된다(도 3b 참조).
도 3c는 카트리지(2)가 사출 블로우-성형 공정으로 제조되는 것이 아니라 사출-성형 공정으로 제조되는 대안을 도시한다. 카트리지(2)는 이 경우 추가적인 밀봉 포일(19)이 유사한 방식으로 추가적인 카트리지 개구의 에지 상에 밀봉된다는 점에서 추가적인 밀봉 포일(19)에 의해 폐쇄되는 추가적인 카트리지 개구를 구비한다. 그러나, 이 경우 두 밀봉 단계가 필요하기 때문에, 이러한 대안은 덜 바람직하다. 그러므로, 도 3d 내지 도 3g는 다시 도 3a 및 도 3b에 도시된 카트리지(2)에 기반한다.
카트리지 리셉터클(10)은 이제 제2 구현예에서 카트리지(2)의 방향으로 돌출되는 고정 관통 스파이크(73)를 구비한다. 서로를 향한 카트리지(2)와 수용 요소(10) 사이의 상대 이동의 결과로, 관통 스파이크(73)는 밀봉 요소(18)를 관통한다. 카트리지 시스템(1)의 제조 후에, 카트리지(2)는 먼저 카트리지 리셉터클(10) 내의 예비 위치에 안착되고, 여기서 관통 스파이크(73)는 밀봉 요소(18)로부터 멀리 있다. 단지 카트리지 시스템(1)이 음료 제조 기계(3)에 도입되기 직전에, 중에, 또는 직후에, 또는 음료 제조 과정의 개시 직후에, 카트리지(2)는 이러한 예비 위치로부터 관통 스파이크(73)가 밀봉 요소(18)를 관통하는 단부 위치로 이동된다. 카트리지(2)가 예비 위치로부터 단부 위치로 이동될 때, 카트리지(2) 및 카트리지 리셉터클(10)은 추가로 서로를 향해 병진 이동되고, 밀봉 요소(18)는 이러한 이동 중에 관통 스파이크(73)에 의해 능동적으로 관통된다(도 3e 및 도 3f 비교). 관통 스파이크(73)는 이어서 저수조(6)의 방향으로 카트리지 개구(63) 내의 밀봉 요소(18)를 통해 돌출된다. 서로 평행하게 연장되며 일측이 개방되는 홈의 형태로 구성되는 복수의 측방향 채널(71)이 관통 스파이크(73)의 외측에 도입된다. 밀봉 요소(18)의 관통 후에, 측방향 채널들(71)은 저장조(6)에 유체 연결되고, 그에 따라 음료 재료(7)는 혼합 챔버(8)의 방향으로 관통된 밀봉 요소(18)의 에지 주위로 흐를 수 있다.
이 구현예에서도, 측방향 채널들(71)의 단면 및/또는 측방향 채널들(71)의 개수는 바람직하게는 음료 재료(7)의 점도에 맞게 조정되고, 그에 따라 측방향 채널들(71)은 혼합 챔버(8)의 방향으로 음료 재료(7)의 유동을 제한하거나 제어한다. 높은 점도에서, 복수의 측방향 채널들(71) 및/또는 상대적으로 큰 단면을 갖는 측방향 채널들(71)이 사용되는 반면, 더 낮은 점도에서는, 더 적은 수의 측방향 채널들(71) 및/또는 더 작은 단면을 갖는 측방향 채널들(71)이 구비된다.
관통 스파이크(73)는 압축-공기 선단부(72)가 이동 가능한 방식으로 배치되는 관통홀을 구비한다. 압축-공기 선단부(72)는 압축-공기 선단부(72)가 저장조(6)의 방향으로 관통 스파이크(73)를 넘어서 돌출되지 않는 수축 위치(도 3f에 도시)와 압축-공기 선단부(72)가 관통 스파이크(73)를 넘어서 카트리지 개구(63) 또는 저장조(6) 내로 돌출되는 연장 위치(도 3g에 도시) 사이에서 이동될 수 있다. 압축-공기 연결부(42)에 연결되는 압축-공기 라인(40)이 압축-공기 선단부(72)에 통합된다. 특히 저장조(6)로부터 멀리 있는 압축-공기 선단부(72)의 측에는, 압축-공기 연결부(42)가 형성되고, 그에 따라 이는 카트리지 리셉터클(10)의 외부로부터 액세스 가능하며, 음료 제조 기계(3)의 압축-공기원(41)에 직접 연결될 수 있다.
압축-공기 선단부(72)는 밀봉 요소(18)가 관통 스파이크(73)에 의해 천공된 후에 수축 위치로부터 연장 위치의 방향으로 이동된다. 압축-공기 선단부(72)의 도움으로, 압축 공기는 이후 저장조(6) 내로 송풍되고, 그에 따라 음료 재료(7)는 측방향 채널들(71)을 통해 혼합 챔버(8)에 밀어 넣어진다. 혼합 챔버(8) 내에서, 음료 재료(7)는 유체와 혼합되므로, 음료(70)를 형성한다. 카트리지 시스템(1)이 음료 제조 기계(3)에 삽입될 때에 또는 후에 또는 음료 제조 과정의 시작 후에, 압축-공기 선단부(72)가 수축 위치로부터 연장 위치로 이동되는 것을 고려할 수 있다. 이는 특히 압축 공기가 압축-공기 선단부(72)에 적용되고, 그 결과 압축-공기 선단부(72)가 수축 위치로부터 연장 위치로 이동됨으로써 일어난다.
바람직하게는, 카트리지 시스템(1)이 음료 제조 기계(3)에 삽입되거나 음료 제조 과정이 시작되자마자, 및 특히 밀봉 요소(18)가 개방되기 전에, 유체원(91) 및 압축-공기원(41)은 모두 각각 유체 공급부(12) 및 압축-공기 연결부(42)에 직접 결합된다. 이런 방식으로, 유체 공급부(12) 및 카트리지 소개 장치(34)는 카트리지 시스템(1)의 삽입시 즉시 과압 하에 있고, 이는 음료 재료(7)가 각각 유체원(91) 및 압축-공기원(41)의 방향으로 이동하는 것을 방지하기 때문에, 음료 제조 기계(3)의 방향으로 역오염을 효과적으로 방지한다. 따라서, 밀봉 요소(18)가 개방되자마자 음료 재료(7)는 저장조(6)로부터 혼합 챔버(8)의 방향으로만 이동할 수 있다.
도 4a 내지 도 4c는 본 발명의 제3 구현예에 따른 카트리지 시스템(1) 및 카트리지 리셉터클(10)의 개략도를 도시한다. 제3 구현예는 도 3a 내지 도 3g에 의해 도시된 제2 구현예와 유사하지만, 제3 구현예에서는, 제2 구현예와 달리, 관통 스파이크(73)가 카트리지 리셉터클(10)에 고정 연결되는 것이 아니라, 관통 스파이크(73)가 변위 가능한 방식으로 장착되는 스파이크 가이드(80)가 카트리지 리셉터클(10)에 구비된다. 밀봉 요소(18)는 이 경우 카트리지(2)와 카트리지 리셉터클(10) 사이의 상대 이동에 의해서가 아니라, 관통 스파이크(73)가 밀봉 요소(18)로부터 멀리 있는 수축 위치(도 4b 참조)와 관통 스파이크(73)가 밀봉 요소(18)를 관통하며 카트리지 개구(63) 또는 저장조(6) 내로 돌출되는 연장 위치(도 4c 참조) 사이에서 변위 가능한 관통 스파이크(73)를 이동시킴으로써, 개방된다.
제2 구현예에 대해 이미 설명된 바와 같이, 관통 스파이크(73)의 외벽은 밀봉 요소(18)가 관통될 때 혼합 챔버(8)의 방향으로 음료 재료(7)를 운반하기 위한 복수의 측방향 채널(82)을 다시 구비한다. 게다가, 압축-공기 라인(40)은 관통 스파이크(73)에 통합된다. 그러나, 제2 구현예에서와 같이, 관통 스파이크(73)가 또한 가동 압축-공기 선단부(72)를 구비하는 것이 아니라, 압축-공기 라인(40)이 관통 스파이크(73)의 단부에서 고정 압축-공기 선단부(72)를 통해 카트리지 개구(63) 내로 이어진다. 이와 관련하여-제2 구현예에서와 달리-관통 스파이크(73)에 대한 압축-공기 선단부(72)의 이동이 여기서 또한 필요하지 않다. 그 대신, 압축-공기 선단부(72)는 관통 스파이크(73)가 연장 위치로 이동되었을 때 유로 개구(63) 내로 자동으로 돌출된다.
다시, 특히 저장조(6)로부터 멀리 있는 관통 스파이크(73)의 측에는, 압축-공기 연결부(42)가 형성되고, 그에 따라 이는 카트리지 리셉터클(10)의 외부로부터 액세스 가능하며, 음료 제조 기계(3)의 압축-공기원(41)에 연결 가능하다. 바람직하게는, 관통 스파이크(73)는, 바람직하게는 압축-공기원(41)이 관통 스파이크(73)의 저단부에 형성되는 압축-공기 연결부(42)에 연결될 때 카트리지 소개 장치(34) 내로 흐르는 압축 공기에 의해, 카트리지 시스템(10)이 음료 제조 기계(3)에 삽입되는 중에 또는 후에 또는 음료 제조 과정의 시작 후에, 수축 위치로부터 연장 위치로 이동된다.
제2 구현예와 유사한 방식으로, 제3 구현예에서도 바람직하게는, 카트리지 시스템(1)이 음료 제조 기계(3)에 삽입되거나 음료 제조 과정이 시작되자마자, 및 특히 밀봉 요소(18)가 관통되기 전에, 유체원(91) 및 압축-공기원(41)이 모두 각각 유체 공급부(12) 및 압축-공기 연결부(42)에 직접 결합되게 한다. 이런 방식으로, 유체 공급부(12) 및 카트리지 소개 장치(34)는 카트리지 시스템(1)의 삽입시 즉시 과압 하에 있고, 이는 음료 재료(7)가 각각 유체원(91) 및 압축-공기원(41)의 방향으로 이동하는 것을 방지하기 때문에, 음료 제조 기계(3)의 방향으로 역오염을 효과적으로 방지한다. 따라서, 밀봉 요소(18)가 개방되자마자 음료 재료(7)는 저장조(6)로부터 혼합 챔버(8)의 방향으로만 이동할 수 있다.
도 5a는 음료 제조 기계(3)의 유지 장치(90)에 삽입되는, 본 발명의 제1, 제2, 또는 제3 구현예에 따른 카트리지 시스템(1) 및 카트리지 리셉터클(10)의 개략도를 도시한다. 도 5b는 유지 장치(90)의 상세도를 도시하는데, 이는 실질적으로 카트리지 리셉터클(10)을 위한 리셉터클로 구성되며, 카트리지 시스템(1)의 유체 공급부에 연결하기 위한, 음료 제조 기계(3)의 유체원(91)으로 이어지는 라인을 포함한다.
후술하는 내용에서는, 본 발명에 따른 카트리지 리셉터클, 본 발명에 따른 카트리지 시스템, 본 발명에 따른 음료 제조 기계, 및 본 발명에 따른 음료 제조 방법의 있을 수 있는 구현예들이 설명된다.
구현예 1은, 음료 재료(7)로 충진되는 저장조(6)를 포함하는 카트리지(2)에 의해 음료(70)를 제조하기 위한 카트리지 리셉터클(10)에 있어서, 카트리지 리셉터클(10)은 음료 제조 기계(3)에 삽입 가능하며 카트리지(2)에 연결 가능하고, 카트리지 리셉터클(10)은 저장조(6)에 유체 연결 가능한 혼합 챔버(8), 및 혼합 챔버(8) 내로 이어지는 유체 공급부(12)를 구비하는, 카트리지 리셉터클(10)에 관한 것이다.
구현예 2는, 구현예 1에 따른 카트리지 리셉터클(10)에 있어서, 카트리지 리셉터클(10)은 저장조(6)로부터 혼합 챔버(8) 내로 음료 재료(7)를 적어도 부분적으로 이송하도록 제공되는 카트리지 소개 장치(34)를 구비하는, 카트리지 리셉터클(10)에 관한 것이다.
구현예 3은, 구현예 1 또는 2에 따른 카트리지 리셉터클(10)에 있어서, 카트리지 리셉터클(10)은 카트리지(2)에 고정 또는 착탈식으로 연결 가능하고/하거나, 혼합 챔버(8)는 혼합 챔버(8)로의 유체 공급구(12)의 토출구의 영역에 혼합 구조들을 구비하는, 카트리지 리셉터클(10)에 관한 것이다.
구현예 4는, 이전 구현예들 중 하나에 따른 카트리지 리셉터클(10)에 있어서, 카트리지 소개 장치(34)는 압축-공기원(41)에 연결하기 위한 압축-공기 연결부(42), 및 압축-공기 연결부(42)로부터 압축-공기 토출구(43)로 연장되는 압축-공기 라인(40)을 포함하고, 압축-공기 토출구(43)는 저장조(6) 내로 압축 공기를 송풍하기 위해 특히 카트리지(2)의 저장조(6)의 방향으로 돌출되는, 카트리지 리셉터클(10)에 관한 것이다.
구현예 5는, 구현예 4에 따른 카트리지 리셉터클(10)에 있어서, 카트리지 소개 장치(34)는 음료 재료(7)가 압축 공기에 의해 저장조(6)로부터 혼합 챔버(8)로 밀어 넣어지도록 구성되는, 카트리지 리셉터클(10)에 관한 것이다.
구현예 6은, 이전 구현예들 중 하나에 따른 카트리지 리셉터클(10)에 있어서, 혼합 챔버(8)는 음료 재료(7)와 유체의 혼합으로 형성되는 음료(70)를 토출하는 음료 토출구(11)를 구비하고, 카트리지 리셉터클(10)은 바람직하게는 음료(70)가 음료 토출구(11)로부터 휴대용 용기로 직접 도입될 수 있도록 구성되는, 카트리지 리셉터클(10)에 관한 것이다.
구현예 7은, 이전 구현예들 중 하나에 따른 카트리지 리셉터클(10)에 있어서, 카트리지 리셉터클(10)은 래칭 연결부(50)를 통해 카트리지(2)에 착탈식으로 연결 가능한, 카트리지 리셉터클(10)에 관한 것이다.
구현예 8은, 구현예 7에 따른 카트리지 리셉터클(10)에 있어서, 카트리지 리셉터클(10)은 카트리지(2)가 카트리지 리셉터클(10) 내에 체결될 때 카트리지(2) 상에 형성되는 유지 플랜지(52) 뒤에 맞물리는 탄성 래칭 요소들(51)을 구비하는, 카트리지 리셉터클(10)에 관한 것이다.
구현예 9는, 이전 구현예들 중 하나에 따른 카트리지 리셉터클(10)에 있어서, 카트리지 리셉터클(10)은 실질적으로 1부품으로 형성되거나, 카트리지 리셉터클(10)은 커버 요소(60), 및 커버 요소(60)에 연결되는 토출 요소(61)를 포함하는, 카트리지 리셉터클(10)에 관한 것이다.
구현예 10은, 구현예 9에 따른 카트리지 리셉터클(10)에 있어서, 저장조(6)로 이어지는 카트리지 개구(63)가 커버 요소(60)에 의해 적어도 일시적으로 또는 부분적으로 폐쇄되도록, 커버 요소(60)는 카트리지(2)에 가역적으로 연결 가능, 특히 래칭 가능하고, 토출 요소(61)는 커버 요소(60)에 가역적으로 연결 가능, 특히 래칭 가능한, 카트리지 리셉터클(10)에 관한 것이다.
구현예 11은, 구현예 10에 따른 카트리지 리셉터클(10)에 있어서, 토출 요소(61)는 유체 공급부(12), 압축-공기 연결부(42), 혼합 챔버(8), 및/또는 음료 토출구(11)를 구비하는, 카트리지 리셉터클(10)에 관한 것이다.
구현예 12는, 구현예 9 또는 11에 따른 카트리지 리셉터클(10)에 있어서, 커버 요소(60)는 커버 요소(60) 또는 토출 요소(61) 상에 형성되는 압축-공기 연결부(42)에 압축-공기 라인(40)을 통해 작동 가능하게 연결되는, 특히 중공 스파이크의 형태로 저장조(6)의 방향으로 돌출되는 압축-공기 토출구(43)를 구비하는, 카트리지 리셉터클(10)에 관한 것이다.
구현예 13은, 구현예 10 내지 12 중 어느 하나에 따른 카트리지 리셉터클(10)에 있어서, 카트리지 개구(63)와 혼합 챔버(8) 사이의 유체 연결부가 밸브 장치에 의해 구축될 수 있고, 밸브 장치는 유체 연결부를 구축하기 위해 커버 요소(60)와 토출 요소(61) 사이의 상대 이동에 의해 폐쇄 상태로부터 개방 상태로 이동 가능한, 카트리지 리셉터클(10)에 관한 것이다.
구현예 14는, 구현예 10 내지 13 중 어느 하나에 따른 카트리지 리셉터클(10)에 있어서, 커버 요소(60)는 카트리지 개구(63)로 이어지는 유로 개구(62)를 구비하고, 밸브 장치는 유로 개구(62), 및 유로 개구(62) 내로 돌출되는 토출 요소(61)의 돌출부(64)에 의해 형성되며, 커버 요소(60)와 토출 요소(61) 사이의 상대 이동을 통해, 돌출부(64)는 유로 개구(62)를 폐쇄하는 위치로부터 유로 개구(62)를 부분적으로 개방하는 위치로 이동되는, 카트리지 리셉터클(10)에 관한 것이다.
구현예 15는, 구현예 14에 따른 카트리지 리셉터클(10)에 있어서, 유로 개구(62)의 벽은 적어도 하나의 측방향 채널(65)을 구비하고, 돌출부(64)는 유로 개구(62)를 부분적으로 개방하는 위치에서 적어도 하나의 측방향 채널(65)의 영역에 배치되는, 카트리지 리셉터클(10)에 관한 것이다.
구현예 16은, 구현예 1 내지 9 중 어느 하나에 따른 카트리지 리셉터클(10)에 있어서, 카트리지(2)는 저장조(6)에 유체 연결되는 카트리지 개구(63)를 구비하고, 카트리지 개구(63)는 밀봉 요소(18)에 의해 폐쇄되고, 밀봉 요소(18)는 특히, 카트리지 개구(63)의 에지에 적용되고 바람직하게는 그 위에 밀봉된 밀봉 포일을 포함하는, 카트리지 리셉터클(10)에 관한 것이다.
구현예 17은, 구현예 16에 따른 카트리지 리셉터클(10)에 있어서, 카트리지 리셉터클(10)은 카트리지(2)의 방향으로 돌출되는 관통 스파이크(73)를 구비하고, 그에 따라 카트리지 리셉터클(10)과 카트리지(2) 사이의 상대 이동의 결과로, 관통 스파이크(73)는 밀봉 요소(18)를 관통하며, 저장조(6)와 혼합 챔버(8) 사이의 유체 연결부가 형성되는, 카트리지 리셉터클(10)에 관한 것이다.
구현예 18은, 구현예 17에 따른 카트리지 리셉터클(10)에 있어서, 밀봉 요소(18)가 관통되었을 때 혼합 챔버(8)의 방향으로 음료 재료(7)를 운반하기 위한 적어도 하나의 측방향 채널(71)이 관통 스파이크(73)의 벽에 도입된, 카트리지 리셉터클(10)에 관한 것이다.
구현예 19는, 구현예 16 내지 18 중 어느 하나에 따른 카트리지 리셉터클(10)에 있어서, 관통 스파이크(73)는, 압축-공기 선단부(72)가 저장조(6)의 방향으로 관통 스파이크(73)를 넘어서 돌출되지 않는 수축 위치와 압축-공기 선단부(72)가 관통 스파이크(73)를 넘어서 저장조(6) 내로 돌출되는 연장 위치 사이에서 변위 가능하도록, 압축-공기 선단부(72)가 장착되는 관통홀을 구비하는, 카트리지 리셉터클(10)에 관한 것이다.
구현예 20은, 구현예 19에 따른 카트리지 리셉터클(10)에 있어서, 압축-공기 라인(40)은 압축-공기 선단부(72)에 통합되고, 압축-공기 연결부(42)는 특히 저장조(6)로부터 멀리 있는 압축-공기 선단부(72)의 측에 형성되며, 압축-공기 연결부(42)는 바람직하게는 카트리지 리셉터클(10)의 외부로부터 액세스 가능한, 카트리지 리셉터클(10)에 관한 것이다.
구현예 21은, 구현예 19 또는 20에 따른 카트리지 리셉터클(10)에 있어서, 카트리지 시스템(1)이 음료 제조 기계에 삽입될 때, 압축-공기 선단부(72)는 음료 제조 기계의 해제 요소에 의해 수축 위치로부터 연장 위치로 이동되는, 카트리지 리셉터클(10)에 관한 것이다.
구현예 22는, 구현예 16에 따른 카트리지 리셉터클(10)에 있어서, 카트리지 리셉터클(10)은 스파이크 가이드(80), 및 스파이크 가이드(80) 내에 변위 가능한 방식으로 장착되는 관통 스파이크(81)를 포함하고, 관통 스파이크(81)는 관통 스파이크(81)가 밀봉 요소(19)로부터 멀리 있는 수축 위치와 관통 스파이크(81)가 밀봉 요소(18)를 관통하며 저장조(6) 내로 돌출되는 연장 위치 사이에서 변위 가능한, 카트리지 리셉터클(10)에 관한 것이다.
구현예 23은, 구현예 22에 따른 카트리지 리셉터클(10)에 있어서, 밀봉 요소(18)가 관통되었을 때 혼합 챔버(8)의 방향으로 음료 재료(7)를 운반하기 위한 적어도 하나의 측방향 채널(82)이 관통 스파이크(81)의 외벽에 도입된, 카트리지 리셉터클(10)에 관한 것이다.
구현예 24는, 구현예 22 또는 23에 따른 카트리지 리셉터클(10)에 있어서, 압축-공기 라인(40)은 관통 스파이크(81)에 통합되고, 압축-공기 연결부(42)는 특히 저장조(6)로부터 멀리 있는 관통 스파이크(81)의 측에 형성되며, 압축-공기 연결부(42)는 바람직하게는 카트리지 리셉터클(10)의 외부로부터 액세스 가능한, 카트리지 리셉터클(10)에 관한 것이다.
구현예 25는 구현예 22 내지 24 중 어느 하나에 따른 카트리지 리셉터클(10)에 있어서, 카트리지 시스템(1)이 음료 제조 기계에 삽입될 때, 관통 스파이크(81)는 음료 제조 기계의 해제 요소에 의해 수축 위치로부터 연장 위치로 이동되는, 카트리지 리셉터클(10)에 관한 것이다.
구현예 26은, 음료(70)를 제조하기 위한 카트리지 시스템(1)에 있어서, 카트리지 시스템(1)은 음료 제조 기계(3)에 삽입 가능하며, 카트리지 시스템(1)은 음료 재료(7)로 충진되는 저장조(6)를 포함하는 카트리지(2), 및 이전 구현예들 중 어느 하나에 따른 카트리지(2)에 연결되는 카트리지 리셉터클(10)을 구비하는, 카트리지 시스템(1)에 관한 것이다.
구현예 27은, 구현예 26에 따른 카트리지 시스템에 있어서, 카트리지 리셉터클(10)은 혼합 챔버(8), 저장조(6)로부터 혼합 챔버(8) 내로 음료 재료(7)를 적어도 부분적으로 이송하도록 제공되는 카트리지 소개 장치(34), 및 혼합 챔버(8) 내로 이어지는 유체 공급부(12)를 구비하는, 카트리지 시스템에 관한 것이다.
구현예 28은, 구현예 27에 따른 카트리지 시스템에 있어서, 카트리지(2)는 카트리지 리셉터클(10)에 고정 또는 착탈식으로 연결되고, 카트리지 시스템(1)은 음료 재료(7)가 압축 공기에 의해 저장조(6)로부터 혼합 챔버(8)로 밀어 넣어지도록 구성되는, 카트리지 시스템에 관한 것이다.
구현예 29는, 구현예 27 또는 28에 따른 카트리지 시스템에 있어서, 유체 공급부(12)에는 냉장 장치에 의해 냉각되는 유체가 공급되고, 냉장 장치는 음료 제조 기계, 또는 음료 제조 기계에 작동 가능하게 연결되는 별개의 냉장고의 일부인, 카트리지 시스템에 관한 것이다.
구현예 30은, 구현예 29에 따른 카트리지 시스템에 있어서, 냉장 장치는 압축기 냉각 장치, 흡수기 냉각 장치, 또는 열전 냉각기를 포함하는, 카트리지 시스템에 관한 것이다.
구현예 31은, 구현예 27 내지 30 중 어느 하나에 따른 카트리지 시스템에 있어서, 유체 공급부(12)에는 카보네이터에 의해 탄산이 추가된 유체가 공급되는, 카트리지 시스템에 관한 것이다.
구현예 32는, 구현예 31에 따른 카트리지 시스템에 있어서, 카보네이터는 음료 제조 기계(3)의 일부이며, 카보네이터는 CO2 카트리지용 리셉터클, 및 CO2 카트리지로부터 유체로 CO2를 추가하기 위한 공급 장치를 구비하는, 카트리지 시스템에 관한 것이다.
구현예 33은, 구현예 27 내지 32 중 어느 하나에 따른 카트리지 시스템에 있어서, 카트리지 리셉터클(10)은 래칭 연결부(50)를 통해 카트리지(2)에 착탈식으로 연결되는, 카트리지 시스템에 관한 것이다.
구현예 34는, 구현예 33에 따른 카트리지 시스템에 있어서, 카트리지 리셉터클(10)은 카트리지(2)가 카트리지 리셉터클(10) 내에 체결될 때 카트리지(2) 상에 형성되는 유지 플랜지(52) 뒤에 맞물리는 탄성 래칭 요소들(51)을 구비하는, 카트리지 시스템에 관한 것이다.
구현예 35는, 구현예 26 내지 34 중 어느 하나에 따른 카트리지 시스템에 있어서, 카트리지(2)는 저장조(6)에 유체 연결되는 카트리지 개구(63)를 구비하고, 카트리지 개구(63)는 밀봉 요소(18)에 의해 폐쇄되며, 밀봉 요소(18)는 특히, 카트리지 개구(63)의 에지에 적용되고 바람직하게는 그 위에 밀봉된 밀봉 포일을 포함하는, 카트리지 시스템에 관한 것이다.
구현예 36은, 구현예 26 내지 35 중 어느 하나에 따른 카트리지 시스템에 있어서, 카트리지(2)는 카트리지 개구(63)의 반대측에 추가적인 카트리지 개구를 구비하되, 상기 추가적인 카트리지 개구는 추가적인 밀봉 요소(10), 특히 추가적인 밀봉 포일에 의해 폐쇄되는, 카트리지 시스템에 관한 것이다.
구현예 37은, 구현예 26 내지 36 중 어느 하나에 따른 카트리지 시스템(1)이 삽입 가능한, 음료(70)를 제조하기 위한 음료 제조 기계(3)에 있어서, 음료 제조 기계(3)는 카트리지(2)에 연결되는 카트리지 리셉터클(10)이 삽입 가능한 유지 장치(90), 유체 공급부(12)에 유체를 주입하기 위한 유체원(91), 및 압축-공기 연결부(42) 내로 압축 공기를 송풍하기 위한 압축-공기원(41)을 구비하는, 음료 제조 기계(3)에 관한 것이다.
구현예 38은, 구현예 37에 따른 음료 제조 기계(3)에 있어서, 음료 제조 기계(3)는 수축 위치로부터 연장 위치로 압축-공기 선단부(72) 또는 관통 스파이크(81)를 이동시키기 위한 해제 요소를 구비하는, 음료 제조 기계(3)에 관한 것이다.
구현예 39는, 구현예 26 내지 36 중 어느 하나에 따른 카트리지 시스템(1)으로 음료(70)를 제조하는 방법에 있어서,
음료 제조 기계(3)의 유지 장치(90)에 카트리지 시스템(1)을 삽입하는 단계, 카트리지 소개 장치(34)에 의해 카트리지(2)의 저장조(6)로부터 카트리지 리셉터클(10)의 혼합 챔버(8) 내로 음료 재료(7)를 이송하는 단계, 유체 공급부(12)에 의해 혼합 챔버(8)에 유체를 주입하는 단계, 음료 토출구(11)에 의해, 음료 재료(7)와 유체를 혼합함으로써 혼합 챔버(8) 내에 형성되는 음료(70)를 토출하는 단계를 포함하는, 방법에 관한 것이다.
구현예 40은, 구현예 39에 따른 방법에 있어서, 음료 재료(7)는 압축 공기에 의해 저장조(6)로부터 혼합 챔버(8) 내로 이송되는, 방법에 관한 것이다.
구현예 41은, 구현예 39 또는 40에 따른 방법에 있어서, 유체는 혼합 챔버(8)에 주입되기 전에 냉각되고/되거나 탄산화되는, 방법에 관한 것이다.
구현예 42는, 구현예 39 내지 41 중 어느 하나에 따른 방법에 있어서, 카트리지 시스템(1)이 유지 장치(90)에 삽입되기 전에, 중에, 또는 후에, 압축-공기 선단부(72) 또는 관통 스파이크(81)는 수축 위치로부터 연장 위치로 이동되어, 카트리지 개구(63)의 밀봉 요소(18)를 천공하는, 방법에 관한 것이다.
구현예 43은, 구현예 39 내지 42 중 어느 하나에 따른 방법에 있어서, 카트리지 시스템(1)이 유지 장치(90)에 삽입되기 전에, 중에, 또는 후에, 밸브 장치가 커버 요소(60)와 토출 요소(61) 사이의 상대 이동을 통해 개방됨으로써, 유체 연결부가 저장조(6)와 혼합 챔버(8) 사이에 구축되는, 방법에 관한 것이다.
1 카트리지 시스템
2 카트리지
3 음료 제조 기계
6 저장조
7 음료 재료
8 혼합 챔버
10 카트리지 리셉터클
11 음료 토출구
12 유체 공급부
18 밀봉 요소
19 추가적인 밀봉 요소
34 카트리지 소개 장치
40 압축-공기 라인
41 압축-공기원
42 압축-공기 연결부
43 압축-공기 토출구
50 래칭 연결부
51 래칭 요소
52 유지 플랜지
60 커버 요소
61 토출 요소
62 유로 개구
63 카트리지 개구
64 돌출부
65, 71, 82 측방향 채널
70 음료
71 측방향 채널
72 압축-공기 선단부
73 관통 스파이크
80 스파이크 가이드
81 관통 스파이크
82 측방향 채널
90 유지 장치
91 유체원

Claims (19)

  1. 음료 재료(7)로 충진되는 저장조(6)를 포함하는 카트리지(2)에 의해 음료(70)를 제조하기 위한 카트리지 리셉터클(10)에 있어서,
    상기 카트리지 리셉터클(10)은 음료 제조 기계(3)에 삽입 가능하며 카트리지(2)에 연결 가능하고, 상기 카트리지 리셉터클(10)은 상기 저장조(6)에 유체 연결 가능한 혼합 챔버(8), 및 상기 혼합 챔버(8) 내로 이어지는 유체 공급부(12)를 구비하고, 상기 카트리지(2)는 상기 저장조(6)에 유체 연결되는 카트리지 개구(63)를 구비하고, 상기 카트리지 개구(63)는 밀봉 요소(18)에 의해 폐쇄되며, 상기 밀봉 요소(18)는 상기 카트리지 개구(63)의 에지에 적용된 밀봉 포일을 포함하며, 상기 카트리지 리셉터클(10)은 상기 카트리지(2)의 방향으로 돌출되는 관통 스파이크(73)를 포함하고, 그에 따라 상기 카트리지 리셉터클(10)과 상기 카트리지(2) 사이의 상대 이동의 결과로, 상기 관통 스파이크(73)는 상기 밀봉 요소(18)를 관통하며, 상기 저장조(6)와 상기 혼합 챔버(8) 사이의 유체 연결부가 형성되는, 카트리지 리셉터클(10).
  2. 제1항에 있어서,
    상기 카트리지 리셉터클(10)은 상기 저장조(6)로부터 상기 혼합 챔버(8) 내로 상기 음료 재료(7)를 적어도 부분적으로 이송하도록 제공되는 카트리지 소개 장치(34)를 구비하는, 카트리지 리셉터클(10).
  3. 제1항 또는 제2항에 있어서,
    상기 카트리지 소개 장치(34)는 압축-공기원(41)에 연결하기 위한 압축-공기 연결부(42), 및 상기 압축-공기 연결부(42)로부터 압축-공기 토출구(43)로 연장되는 압축-공기 라인(40)을 포함하고, 상기 압축-공기 토출구(43)는 상기 저장조(6) 내로 압축 공기를 송풍하기 위해 특히 상기 카트리지(2)의 상기 저장조(6)의 방향으로 돌출되며, 상기 카트리지 소개 장치(34)는 상기 음료 재료(7)가 압축 공기에 의해 상기 저장조(6)로부터 상기 혼합 챔버(8)로 밀어 넣어지도록 구성되는, 카트리지 리셉터클(10).
  4. 제1항 내지 제3항 중 어느 한 항에 있어서,
    상기 카트리지 리셉터클(10)은 래칭 연결부(50)를 통해 상기 카트리지(2)에 착탈식으로 연결 가능한, 카트리지 리셉터클(10).
  5. 제1항 내지 제4항 중 어느 한 항에 있어서,
    상기 밀봉 요소(18)가 관통되었을 때 상기 혼합 챔버(8)의 방향으로 상기 음료 재료(7)를 운반하기 위한 적어도 하나의 측방향 채널(71)이 상기 관통 스파이크(73)의 벽에 도입된, 카트리지 리셉터클(10).
  6. 제1항 내지 제5항 중 어느 한 항에 있어서,
    상기 관통 스파이크(73)는, 압축-공기 선단부(72)가 상기 저장조(6)의 방향으로 상기 관통 스파이크(73)를 넘어서 돌출되지 않는 수축 위치와 상기 압축-공기 선단부(72)가 상기 관통 스파이크(73)를 넘어서 상기 저장조(6) 내로 돌출되는 연장 위치 사이에서 변위 가능하도록, 상기 압축-공기 선단부(72)가 장착되는 관통홀을 구비하는, 카트리지 리셉터클(10).
  7. 제6항에 있어서,
    상기 압축-공기 라인(40)은 상기 압축-공기 선단부(72)에 통합되고, 상기 압축-공기 연결부(42)는 특히 상기 저장조(6)로부터 멀리 있는 상기 압축-공기 선단부(72)의 측에 형성되며, 상기 압축-공기 연결부(42)는 바람직하게는 상기 카트리지 리셉터클(10)의 외부로부터 액세스 가능한, 카트리지 리셉터클(10).
  8. 제6항 또는 제7항에 있어서,
    상기 카트리지 시스템(1)이 상기 음료 제조 기계에 삽입될 때, 상기 압축-공기 선단부(72)는 상기 음료 제조 기계의 해제 요소에 의해 수축 위치로부터 연장 위치로 이동되는, 카트리지 리셉터클(10).
  9. 음료(70)를 제조하기 위한 카트리지 시스템(1)에 있어서,
    상기 카트리지 시스템(1)은 음료 제조 기계(3)에 삽입 가능하며, 상기 카트리지 시스템(1)은 음료 재료(7)로 충진되는 저장조(6)를 포함하는 카트리지(2), 및 제1항 내지 제8항 중 어느 한 항에 따른 상기 카트리지(2)에 연결되는 카트리지 리셉터클(10)을 구비하는, 카트리지 시스템(1).
  10. 제9항에 있어서,
    상기 유체 공급부(12)에는 냉장 장치에 의해 냉각되는 유체가 공급되고, 상기 냉장 장치는 상기 음료 제조 기계, 또는 상기 음료 제조 기계에 작동 가능하게 연결되는 별개의 냉장고의 일부인, 카트리지 시스템(1).
  11. 제10항에 있어서,
    상기 냉장 장치는 압축기 냉각 장치, 흡수기 냉각 장치, 또는 열전 냉각기를 포함하는, 카트리지 시스템(1).
  12. 제9항 내지 제11항 중 어느 한 항에 있어서,
    상기 유체 공급부(12)에는 카보네이터에 의해 탄산이 추가된 유체가 공급되는, 카트리지 시스템(1).
  13. 제12항에 있어서,
    상기 카보네이터는 상기 음료 제조 기계(3)의 일부이며, 상기 카보네이터는 CO2 카트리지용 리셉터클, 및 상기 CO2 카트리지로부터 상기 유체로 CO2를 추가하기 위한 공급 장치를 구비하는, 카트리지 시스템(1).
  14. 제9항 내지 제13항 중 어느 한 항에 따른 카트리지 시스템(1)이 삽입 가능한, 음료(70)를 제조하기 위한 음료 제조 기계(3)에 있어서,
    상기 음료 제조 기계(3)는 상기 카트리지(2)에 연결되는 상기 카트리지 리셉터클(10)이 삽입 가능한 유지 장치(90), 상기 유체 공급부(12)에 유체를 주입하기 위한 유체원(91), 및 상기 압축-공기 연결부(42) 내로 압축 공기를 송풍하기 위한 압축-공기원(41)을 구비하는, 음료 제조 기계(3).
  15. 제14항에 있어서,
    상기 음료 제조 기계(3)는 수축 위치로부터 연장 위치로 상기 압축-공기 선단부(72)를 이동시키기 위한 해제 요소를 구비하는, 음료 제조 기계(3).
  16. 제9항 내지 제13항 중 어느 한 항에 따른 카트리지 시스템(1)으로 음료(70)를 제조하는 방법에 있어서,
    - 음료 제조 기계(3)의 유지 장치(90)에 상기 카트리지 시스템(1)을 삽입하는 단계,
    - 상기 카트리지 소개 장치(34)에 의해 상기 카트리지(2)의 상기 저장조(6)로부터 상기 카트리지 리셉터클(10)의 상기 혼합 챔버(8) 내로 상기 음료 재료(7)를 이송하는 단계,
    - 상기 유체 공급부(12)에 의해 상기 혼합 챔버(8)에 유체를 주입하는 단계, 및
    - 음료 토출구(11)에 의해, 상기 음료 재료(7)와 상기 유체를 혼합함으로써 상기 혼합 챔버(8) 내에 형성되는 상기 음료(70)를 토출하는 단계를 포함하는, 방법.
  17. 제16항에 있어서,
    상기 음료 재료(7)는 압축 공기에 의해 상기 저장조(6)로부터 상기 혼합 챔버(8) 내로 이송되는, 방법.
  18. 제16항 또는 제17항에 있어서,
    상기 유체는 상기 혼합 챔버(8)에 주입되기 전에 냉각되고/되거나 탄산화되는, 방법.
  19. 제16항 내지 제18항 중 어느 한 항에 있어서,
    상기 카트리지 시스템(1)이 상기 유지 장치(90)에 삽입되기 전에, 중에, 또는 후에, 압축-공기 선단부(72)는 수축 위치로부터 연장 위치로 이동되며 상기 카트리지 개구(63)의 밀봉 요소(18)를 천공하는, 방법.
KR1020197008038A 2016-01-12 2017-01-12 카트리지 리시버, 카트리지 시스템, 음료 제조 기계, 및 음료 제조 방법 Ceased KR20190032646A (ko)

Applications Claiming Priority (13)

Application Number Priority Date Filing Date Title
DE102016200254.6 2016-01-12
DE102016200254 2016-01-12
DE102016212012.3 2016-07-01
DE102016212013 2016-07-01
DE102016212013.1 2016-07-01
DE102016212012 2016-07-01
DE102016218507.1 2016-09-27
DE102016218509 2016-09-27
DE102016218507 2016-09-27
DE102016218509.8 2016-09-27
DE102016218884.4 2016-09-29
DE102016218884 2016-09-29
PCT/EP2017/050567 WO2017121802A1 (de) 2016-01-12 2017-01-12 Kartuschenaufnahme, kartuschensystem, getränkezubereitungsmaschine und verfahren zur herstellung eines getränks

Related Parent Applications (1)

Application Number Title Priority Date Filing Date
KR1020187022817A Division KR20180121496A (ko) 2016-01-12 2017-01-12 카트리지 리시버, 카트리지 시스템, 음료 제조 기계, 및 음료 제조 방법

Publications (1)

Publication Number Publication Date
KR20190032646A true KR20190032646A (ko) 2019-03-27

Family

ID=57796360

Family Applications (18)

Application Number Title Priority Date Filing Date
KR1020187023015A Ceased KR20180121498A (ko) 2016-01-12 2017-01-12 음료 생산을 위한 시스템, 카트릿지, 음료 준비 유닛 및 방법
KR1020197008374A Ceased KR20190034692A (ko) 2016-01-12 2017-01-12 음료 또는 식품 카트릿지용 카트릿지 하우징
KR1020197008038A Ceased KR20190032646A (ko) 2016-01-12 2017-01-12 카트리지 리시버, 카트리지 시스템, 음료 제조 기계, 및 음료 제조 방법
KR1020197008041A Active KR102449618B1 (ko) 2016-01-12 2017-01-12 카트리지 리시버, 카트리지 시스템, 음료 제조 기계, 및 음료 제조 방법
KR1020197008039A Withdrawn KR20190033652A (ko) 2016-01-12 2017-01-12 카트리지 리시버, 카트리지 시스템, 음료 제조 기계, 및 음료 제조 방법
KR1020197008567A Pending KR20190034701A (ko) 2016-01-12 2017-01-12 카트릿지 홀더를 가지는 분배기
KR1020197008239A Ceased KR20190034355A (ko) 2016-01-12 2017-01-12 음료 생산을 위한 시스템, 카트릿지, 음료 준비 유닛 및 방법
KR1020197008237A Ceased KR20190034354A (ko) 2016-01-12 2017-01-12 음료 생산을 위한 시스템, 카트릿지, 음료 준비 유닛 및 방법
KR1020187023142A Active KR102592645B1 (ko) 2016-01-12 2017-01-12 음료 또는 식품 카트릿지용 카트릿지 하우징
KR1020197008235A Ceased KR20190034353A (ko) 2016-01-12 2017-01-12 음료 생산을 위한 시스템, 카트릿지, 음료 준비 유닛 및 방법
KR1020197008236A Ceased KR20190032663A (ko) 2016-01-12 2017-01-12 음료 생산을 위한 시스템, 카트릿지, 음료 준비 유닛 및 방법
KR1020187023145A Ceased KR20180121501A (ko) 2016-01-12 2017-01-12 카트릿지 홀더를 가지는 분배기
KR1020197008569A Active KR102522464B1 (ko) 2016-01-12 2017-01-12 카트릿지 홀더를 가지는 분배기
KR1020187022818A Active KR102522460B1 (ko) 2016-01-12 2017-01-12 카트리지 리셉터클, 카트리지 시스템, 음료 제조 기계, 및 음료 제조 방법
KR1020187022817A Ceased KR20180121496A (ko) 2016-01-12 2017-01-12 카트리지 리시버, 카트리지 시스템, 음료 제조 기계, 및 음료 제조 방법
KR1020197008568A Active KR102592667B1 (ko) 2016-01-12 2017-01-12 카트릿지 홀더를 가지는 분배기
KR1020187023016A Ceased KR20180121499A (ko) 2016-01-12 2017-01-12 음료 또는 식품 기재용 카트릿지
KR1020187022819A Active KR102592621B1 (ko) 2016-01-12 2017-01-12 카트리지 리시버, 카트리지 시스템, 음료 제조 기계, 및 음료 제조 방법

Family Applications Before (2)

Application Number Title Priority Date Filing Date
KR1020187023015A Ceased KR20180121498A (ko) 2016-01-12 2017-01-12 음료 생산을 위한 시스템, 카트릿지, 음료 준비 유닛 및 방법
KR1020197008374A Ceased KR20190034692A (ko) 2016-01-12 2017-01-12 음료 또는 식품 카트릿지용 카트릿지 하우징

Family Applications After (15)

Application Number Title Priority Date Filing Date
KR1020197008041A Active KR102449618B1 (ko) 2016-01-12 2017-01-12 카트리지 리시버, 카트리지 시스템, 음료 제조 기계, 및 음료 제조 방법
KR1020197008039A Withdrawn KR20190033652A (ko) 2016-01-12 2017-01-12 카트리지 리시버, 카트리지 시스템, 음료 제조 기계, 및 음료 제조 방법
KR1020197008567A Pending KR20190034701A (ko) 2016-01-12 2017-01-12 카트릿지 홀더를 가지는 분배기
KR1020197008239A Ceased KR20190034355A (ko) 2016-01-12 2017-01-12 음료 생산을 위한 시스템, 카트릿지, 음료 준비 유닛 및 방법
KR1020197008237A Ceased KR20190034354A (ko) 2016-01-12 2017-01-12 음료 생산을 위한 시스템, 카트릿지, 음료 준비 유닛 및 방법
KR1020187023142A Active KR102592645B1 (ko) 2016-01-12 2017-01-12 음료 또는 식품 카트릿지용 카트릿지 하우징
KR1020197008235A Ceased KR20190034353A (ko) 2016-01-12 2017-01-12 음료 생산을 위한 시스템, 카트릿지, 음료 준비 유닛 및 방법
KR1020197008236A Ceased KR20190032663A (ko) 2016-01-12 2017-01-12 음료 생산을 위한 시스템, 카트릿지, 음료 준비 유닛 및 방법
KR1020187023145A Ceased KR20180121501A (ko) 2016-01-12 2017-01-12 카트릿지 홀더를 가지는 분배기
KR1020197008569A Active KR102522464B1 (ko) 2016-01-12 2017-01-12 카트릿지 홀더를 가지는 분배기
KR1020187022818A Active KR102522460B1 (ko) 2016-01-12 2017-01-12 카트리지 리셉터클, 카트리지 시스템, 음료 제조 기계, 및 음료 제조 방법
KR1020187022817A Ceased KR20180121496A (ko) 2016-01-12 2017-01-12 카트리지 리시버, 카트리지 시스템, 음료 제조 기계, 및 음료 제조 방법
KR1020197008568A Active KR102592667B1 (ko) 2016-01-12 2017-01-12 카트릿지 홀더를 가지는 분배기
KR1020187023016A Ceased KR20180121499A (ko) 2016-01-12 2017-01-12 음료 또는 식품 기재용 카트릿지
KR1020187022819A Active KR102592621B1 (ko) 2016-01-12 2017-01-12 카트리지 리시버, 카트리지 시스템, 음료 제조 기계, 및 음료 제조 방법

Country Status (22)

Country Link
US (18) US10562751B2 (ko)
EP (22) EP3517491B1 (ko)
JP (19) JP7088845B2 (ko)
KR (18) KR20180121498A (ko)
CN (18) CN110655030B (ko)
AU (18) AU2017207768B2 (ko)
BR (7) BR112018014074B1 (ko)
CA (17) CA3038373A1 (ko)
DK (9) DK3402739T3 (ko)
ES (16) ES2939370T3 (ko)
FI (6) FI3674257T3 (ko)
HR (3) HRP20230485T1 (ko)
HU (15) HUE061196T2 (ko)
IL (16) IL260533B (ko)
PH (14) PH12018501482A1 (ko)
PL (19) PL3517493T3 (ko)
PT (9) PT3402736T (ko)
RS (3) RS64211B1 (ko)
RU (13) RU2744424C2 (ko)
SG (18) SG10202006647PA (ko)
WO (7) WO2017121800A1 (ko)
ZA (17) ZA201805341B (ko)

Families Citing this family (59)

* Cited by examiner, † Cited by third party
Publication number Priority date Publication date Assignee Title
ES2939370T3 (es) * 2016-01-12 2023-04-21 Freezio Ag Sistema de dispensador con soporte para cartucho
CH712695A1 (de) 2016-07-07 2018-01-15 Mühlemann Ip Gmbh Einportionenpackung zur Herstellung eines Getränks aus einem Getränkekonzentrat.
MX2019004895A (es) * 2016-11-08 2019-06-20 Ngk Insulators Ltd Metodo para secar membrana de separacion y metodo para producir estructura de membrana de separacion.
US11643269B2 (en) * 2016-12-01 2023-05-09 Bedford Systems, LLC Container and opening arrangement for beverage production
DK3548404T3 (en) 2016-12-01 2021-06-21 Bedford Systems Llc Container and opening arrangement for beverage production
US11607073B2 (en) 2017-06-26 2023-03-21 Freezio Ag Device for producing a beverage
ES2913264T3 (es) * 2017-11-27 2022-06-01 Freezio Ag Aceptación de cartucho, sistema de cartuchos, máquina de preparación de bebidas y método para producir una bebida
EP4296186A3 (en) 2018-03-22 2024-06-19 Bedford Systems LLC Pod assembly for beverage machine
CN112041258A (zh) * 2018-03-22 2020-12-04 贝德福德系统有限责任公司 独立饮料流的冲调
EP4289317A3 (en) 2018-03-22 2023-12-20 Bedford Systems LLC Puncture mechanism for beverage machine
CN108577560B (zh) * 2018-04-30 2020-06-26 瑞安市捷达机械制造有限公司 一种用于办公室的可移动的饮水装置
EP3870521B1 (en) * 2018-10-25 2025-01-15 Société des Produits Nestlé S.A. Pack for preparing food or beverage products
KR102782412B1 (ko) * 2018-11-01 2025-03-14 소시에떼 데 프로듀이 네슬레 소시에떼아노님 인식 수단 및 적응가능 개방 및 주입 메커니즘을 갖는 캡슐 시스템
EP3877322A4 (en) 2018-11-08 2023-03-08 Bedford Systems LLC MULTIPURPOSE BEVERAGE SYSTEM
HUE072587T2 (hu) * 2019-07-15 2025-11-28 Freezio Ag Kapszulafoglalat, kapszularendszer és italkészítõ gép ital elõállítására
US20220232859A1 (en) * 2019-07-22 2022-07-28 Good Design, Inc. Beverage dispensing apparatus and methods for preparing beverages
BR112022001232A2 (pt) 2019-07-26 2022-03-15 Freezio Ag Sistema de cartucho e método para produzir um sistema de cartucho
GB201912089D0 (en) 2019-08-22 2019-10-09 Diageo Ireland A beverage dispense apparatus and method relating to same
KR20220047642A (ko) 2019-08-22 2022-04-18 프리지오 아게 카트리지 시스템 및 카트리지 시스템의 제조 방법
WO2021053475A1 (en) * 2019-09-18 2021-03-25 Petrini Angelo Improved capsule for the infusion of drinks
KR20220066267A (ko) * 2019-09-23 2022-05-24 칼스버그 브류어리스 에이/에스 케그를 위해 rfid가 장착된 압력 챔버
WO2021097335A1 (en) 2019-11-14 2021-05-20 Product Ventures, Ltd. Automated pet food dispenser
US12440057B2 (en) 2019-12-04 2025-10-14 Société des Produits Nestlé S.A. Beverage preparation machine
EP4069042A1 (en) * 2019-12-04 2022-10-12 Société des Produits Nestlé S.A. A fluid-processing device for a beverage preparation machine
US11337438B2 (en) 2020-01-15 2022-05-24 Coldsnap, Corp. Rapidly cooling food and drinks
PH12022553412A1 (en) * 2020-07-30 2024-04-22 Socia‰Ta‰ Des Produits Nestla‰ S A Beverage preparation system
JP7668342B2 (ja) * 2020-10-22 2025-04-24 フレーツィオ アーゲー カートリッジシステム、飲料調製機械、および、カートリッジシステムの製造方法
JP7471208B2 (ja) * 2020-12-02 2024-04-19 株式会社 ゼンショーホールディングス 汁体供給装置、汁体供給方法及びプログラム
KR20230128373A (ko) * 2021-01-07 2023-09-04 프리지오 아게 카트리지 리셉터클, 카트리지 시스템, 음료 조제 시스템및 음료를 조제하기 위한 방법
KR20230144609A (ko) * 2021-03-11 2023-10-16 프리지오 아게 구동부를 갖는 음료 조제 기계, 및 음료 조제 시스템
HUE072038T2 (hu) * 2021-03-11 2025-10-28 Freezio Ag Italkészítõ gép reteszelõeszközzel és összekapcsolóelemmel, valamint italkészítõ rendszer
WO2022200564A1 (de) 2021-03-25 2022-09-29 Freezio Ag Kartusche zum einsetzen in eine getränkezubereitungsmaschine, verfahren zum betrieb einer solchen kartusche
GB202104233D0 (en) * 2021-03-25 2021-05-12 Edwards Harrison Brewing cartridge
WO2023285670A1 (de) 2021-07-15 2023-01-19 Freezio Ag Kartuschensystem mit einer durch ein ventil verschlossenen kartusche
US12528058B2 (en) 2022-03-24 2026-01-20 Spritz, Inc. Container for liquid and method associated therewith
US11751585B1 (en) 2022-05-13 2023-09-12 Sharkninja Operating Llc Flavored beverage carbonation system
US12213617B2 (en) 2022-05-13 2025-02-04 Sharkninja Operating Llc Flavored beverage carbonation process
WO2023216231A1 (en) 2022-05-13 2023-11-16 Sharkninja Operating Llc Agitator for a carbonation system
US12096880B2 (en) 2022-05-13 2024-09-24 Sharkninja Operating Llc Flavorant for beverage carbonation system
US11647860B1 (en) 2022-05-13 2023-05-16 Sharkninja Operating Llc Flavored beverage carbonation system
DE102022115715A1 (de) 2022-06-23 2023-12-28 Pressure Wave Systems Gmbh Kompressorvorrichtung und Kühlvorrichtung mit Kompressorvorrichtung
KR102862056B1 (ko) * 2022-07-15 2025-09-18 지구환 음료용기 냉각 장치
US12005404B2 (en) 2022-08-22 2024-06-11 Sharkninja Operating Llc Beverage carbonation system flow control
US12539500B2 (en) 2022-08-31 2026-02-03 Sharkninja Operating Llc Additive containers
CN218683765U (zh) * 2022-11-01 2023-03-24 康富(天津)有限公司 饮料机
US12103840B2 (en) 2022-11-17 2024-10-01 Sharkninja Operating Llc Ingredient container with sealing valve
US11745996B1 (en) 2022-11-17 2023-09-05 Sharkninja Operating Llc Ingredient containers for use with beverage dispensers
US12084334B2 (en) 2022-11-17 2024-09-10 Sharkninja Operating Llc Ingredient container
US11634314B1 (en) 2022-11-17 2023-04-25 Sharkninja Operating Llc Dosing accuracy
US11738988B1 (en) 2022-11-17 2023-08-29 Sharkninja Operating Llc Ingredient container valve control
USD1091308S1 (en) 2022-12-23 2025-09-02 Sharkninja Operating Llc Ingredient container
USD1092208S1 (en) 2022-12-23 2025-09-09 Sharkninja Operating Llc Cap of ingredient container
US12116257B1 (en) 2023-03-22 2024-10-15 Sharkninja Operating Llc Adapter for beverage dispenser
US11871867B1 (en) 2023-03-22 2024-01-16 Sharkninja Operating Llc Additive container with bottom cover
US11925287B1 (en) 2023-03-22 2024-03-12 Sharkninja Operating Llc Additive container with inlet tube
US12005408B1 (en) 2023-04-14 2024-06-11 Sharkninja Operating Llc Mixing funnel
WO2025018455A1 (ko) * 2023-07-19 2025-01-23 주식회사 만상코리아 음료수 농도를 일정하게 유지하게 할 수 있는 컵 뚜껑
WO2025045731A1 (en) * 2023-08-25 2025-03-06 Société des Produits Nestlé S.A. Piercing and fluid processing device
WO2025099239A1 (de) * 2023-11-09 2025-05-15 Freezio Ag Aufstechdorn, kartuschenaufnahme, system zur herstellung eines getränks, verfahren zur herstellung eines getränks und verwendung eines aufstechdorns

Family Cites Families (260)

* Cited by examiner, † Cited by third party
Publication number Priority date Publication date Assignee Title
AT283183B (de) 1968-11-02 1970-07-27 Kantor Internat S A Kapsel zur Aufnahme von für die Zubereitung von Getränken bestimmten Stoffen
SE378409B (ko) * 1968-12-18 1975-09-01 Kantor Int Sa
US3685694A (en) * 1969-12-18 1972-08-22 Yan Nell Corp Liquid dispenser plastic bottle and receptacle with piercing units
US3904083A (en) 1974-04-19 1975-09-09 Gen Electric Self-sealing viscous material dispenser loading apparatus
US4098434A (en) 1975-06-20 1978-07-04 Owens-Illinois, Inc. Fluid product dispenser
US4012823A (en) * 1975-12-08 1977-03-22 American Optical Corporation Method of making artificial intraocular lenses
ES480259A1 (es) 1978-05-05 1980-01-01 Goglio Luigi Sistema de suministro de jarabe para aparatos distribuidores de bebidas del tipo de post-
US4216885A (en) * 1978-10-20 1980-08-12 The Coca-Cola Company Disposable package for dispensing liquids with a controlled rate of flow
JPS56500817A (ko) * 1979-07-02 1981-06-18
US4376496A (en) 1979-10-12 1983-03-15 The Coca-Cola Company Post-mix beverage dispensing system syrup package, valving system, and carbonator therefor
US4306667A (en) * 1979-10-12 1981-12-22 The Coca-Cola Company Post-mix beverage dispensing system syrup package, valving system, and carbonator therefor
US4408701A (en) * 1980-04-16 1983-10-11 Cadbury Schweppes Plc Liquid dispensing valve
US4363424A (en) * 1980-10-23 1982-12-14 Cadbury Schweppes Pcl Quick coupling device for a gas pressurization system
DK162369C (da) 1982-07-19 1992-03-23 Mars G B Ltd Fremgangsmaade og dispenser til fremstilling af en infusionsdrikkevare
JPS6181991A (ja) * 1984-09-28 1986-04-25 日世冷機株式会社 飲料液供給装置
US4708266A (en) 1986-03-21 1987-11-24 The Coca-Cola Company Concentrate dispensing system for a post-mix beverage dispenser
CA1280903C (en) * 1987-05-30 1991-03-05 Hirosato Takeuchi Dispenser
JPH0424949Y2 (ko) * 1988-02-29 1992-06-12
JPH01226387A (ja) 1988-03-07 1989-09-11 Nitto Denko Corp 感熱記録材料とその記録方法
JP2656935B2 (ja) 1988-03-08 1997-09-24 キリンビバレッジ株式会社 バッグインボックスを使用したディスペンサ
GB8806666D0 (en) * 1988-03-21 1988-04-20 Gen Foods Ltd Method for preparing beverages & beverage preparing machines
JPH01254597A (ja) * 1988-04-05 1989-10-11 Sanden Corp 後混合炭酸飲料分配装置の調合弁装置
SE462713B (sv) 1988-04-27 1990-08-20 Drinx Productions Ab Doserings- och blandningsanordning
CN88205971U (zh) * 1988-05-20 1988-12-28 罗宁 散啤酒零售器
US4901890A (en) * 1988-06-24 1990-02-20 Mivelaz Michael B Watering system automatic additive dispenser kit
JPH0279300A (ja) * 1988-09-16 1990-03-19 Sanyo Electric Co Ltd 音声録音再生装置
US5025953A (en) * 1988-10-17 1991-06-25 Doundoulakis George J Deformable beverage containers for preserving carbonation
JPH049360Y2 (ko) 1988-11-30 1992-03-09
JPH02269696A (ja) * 1989-04-04 1990-11-05 Sanyo Electric Co Ltd 飲料供給装置
US4984711A (en) * 1989-10-23 1991-01-15 Ellis Charles V Wine dispenser
DK533789D0 (da) 1989-10-26 1989-10-26 Torben Peter Petersen Ismaskine til spiseis med roterende blandeorgan
US5842603A (en) * 1990-06-06 1998-12-01 The Coca-Cola Company Postmix juice dispenser
US6460734B1 (en) 1990-06-06 2002-10-08 Lancer Partnership Dispensing apparatus including a pump package system
CN1042415C (zh) * 1990-06-23 1999-03-10 伊索沃思有限公司 一种用以排出配量的液体浓缩物的装置
US5301838A (en) 1991-01-23 1994-04-12 Continental Pet Technologies, Inc. Multilayer bottle with separable inner layer and method for forming same
US5897899A (en) * 1991-05-08 1999-04-27 Nestec S.A. Cartridges containing substances for beverage preparation
TW199884B (ko) 1991-05-08 1993-02-11 Sociere Des Produits Nestle S A
JPH05138101A (ja) * 1991-11-21 1993-06-01 Kawasaki Steel Corp 高粘性コーテイング剤の滴下装置
JPH05270592A (ja) 1992-03-25 1993-10-19 Hidefusa Kudo 液体用カートリッジ装置
JP2591744Y2 (ja) 1993-01-20 1999-03-10 ノードソン株式会社 液体封入カートリッジ収納ケース付き液体吐出用ディスペンサ
US5425404A (en) * 1993-04-20 1995-06-20 Minnesota Mining And Manufacturing Company Gravity feed fluid dispensing system
US5494194A (en) 1993-12-10 1996-02-27 White Consolidated Industries, Inc. Viscous material dispenser
JPH07309397A (ja) * 1994-05-12 1995-11-28 Sanyo Electric Co Ltd バッグインボックスの原液注出装置
US5876995A (en) 1996-02-06 1999-03-02 Bryan; Bruce Bioluminescent novelty items
JPH10245099A (ja) * 1997-03-06 1998-09-14 Fuji Electric Co Ltd 飲料ディスペンサ
US5836482A (en) 1997-04-04 1998-11-17 Ophardt; Hermann Automated fluid dispenser
US5992685A (en) * 1998-01-23 1999-11-30 The Coca-Cola Company Fountain dispensing module
GB2335412B (en) 1998-03-18 2003-03-05 Alan David Somerfield Improved fluid dispenser
DE29825074U1 (de) * 1998-10-08 2004-09-09 Sumitomo Rubber Industries Ltd., Kobe Abdichtvorrichtung
US6689108B2 (en) 1998-11-13 2004-02-10 Elan Pharma International Limited Device for measuring a volume of drug
US6267496B1 (en) * 1998-12-03 2001-07-31 Bryan Real Beverage supply apparatus for dispensing machine
US6079315A (en) 1999-01-19 2000-06-27 Keurig, Inc. Beverage filter cartridge holder
GB2352682A (en) 1999-04-08 2001-02-07 Crossflow Internat Ltd Method and apparatus for displacing flowable materials
US7597922B2 (en) 1999-05-18 2009-10-06 Nestec S.A. System for dispensing a liquid beverage concentrate
SE515590C2 (sv) * 1999-09-24 2001-09-03 Asept Int Ab Förfarande och anordning för framställning av drycker på vilka ska bildas skum
ATE246144T1 (de) 1999-12-01 2003-08-15 Procter & Gamble Vorrichtung zu produktenlieferung
AUPQ450999A0 (en) 1999-12-07 2000-01-06 Perna Pty Ltd Storage and dispensing of carbonated beverages
EP1118301A1 (de) * 2000-01-19 2001-07-25 Cws International Ag Vorrichtung zur Abgabe von Seifenlösung in einem Spender
NL1015368C2 (nl) * 2000-05-31 2001-12-12 Heineken Tech Services Drankafgiftesamenstel alsmede houder voor drank, in het bijzonder koolzuurhoudende drank, en drankafgifteleiding voor toepassing in een dergelijk samenstel.
US6896159B2 (en) 2000-06-08 2005-05-24 Beverage Works, Inc. Beverage dispensing apparatus having fluid director
JP4552969B2 (ja) * 2000-08-24 2010-09-29 日本軽金属株式会社 飲料容器の嫌気開栓器
JP2004508897A (ja) 2000-09-21 2004-03-25 エラン・ファルマ・インターナショナル・リミテッド 再形成および注入システム
FR2815328B1 (fr) 2000-10-17 2002-12-20 Biodome Dispositif de connexion entre un recipient et un contenant et ensemble pret a l'emploi comprenant un tel dispositif
US6740345B2 (en) 2000-12-22 2004-05-25 Edward Zhihua Cai Beverage making cartridge
US6554165B2 (en) * 2001-03-15 2003-04-29 Cactrus Drink Systems Inc. Beverage dispenser
DE60107199T2 (de) 2001-04-03 2005-11-03 Société des Produits Nestlé S.A. Extraktionsvorrichtung mit integrierter Kapselzuführeinrichtung
US6606938B2 (en) 2001-04-06 2003-08-19 Keurig, Incorporated Two step puncturing and venting of single serve filter cartridge in a beverage brewer
US6655260B2 (en) 2001-04-11 2003-12-02 Keurig, Incorporated Beverage filter cartridge holder
ITTO20010902A1 (it) 2001-09-21 2003-03-21 Sgl Italia Srl Macchina da caffe'.
NL1019054C2 (nl) * 2001-09-28 2003-03-31 Heineken Tech Services Drankafgifte-inrichting voorzien van een tweevoudige sluiting.
JP2003141625A (ja) * 2001-11-06 2003-05-16 Fuji Electric Co Ltd カップ式飲料自動販売機
CA2421128C (en) * 2002-03-14 2008-05-20 Robert Hale Beverage cartridge and filter assembly
CA2432814C (en) * 2003-06-19 2012-05-08 Hygiene-Technik Inc. Manual or pump assist fluid dispenser
WO2003092456A1 (en) * 2002-05-06 2003-11-13 Bunn-O-Matic Corporation Spray head
WO2003107110A1 (en) * 2002-06-01 2003-12-24 Unilever Plc Beverage dispenser
US20040055472A1 (en) 2002-09-24 2004-03-25 Sto Corporation One-cup coffee brewer
AU2003280165B2 (en) 2002-11-29 2009-07-16 Interbrew S.A. Beer dispensing system with gas pressure reservoir
WO2004065225A2 (en) 2003-01-24 2004-08-05 Kraft Foods R & D, Inc. Cartridge for the preparation of beverages and method of manufacturing a cartridge
AU2004206096A1 (en) 2003-01-24 2004-08-05 Kraft Foods R & D, Inc. Machine for the preparation of beverages
US7097074B2 (en) 2003-01-24 2006-08-29 Kraft Foods R&D, Inc. Machine for the preparation of beverages
US7316178B2 (en) 2003-01-24 2008-01-08 Kraft Foods R & D, Inc. Machine for the preparation of beverages
JP2006516398A (ja) 2003-01-31 2006-07-06 ネステク ソシエテ アノニム 粘性食物及び飲料注出システム
US6959839B2 (en) * 2003-02-10 2005-11-01 Donna Roth Flavoring component holding dispenser for use with consumable beverages
US6971549B2 (en) 2003-04-18 2005-12-06 S.C. Johnson & Son, Inc. Bottle adapter for dispensing of cleanser from bottle used in an automated cleansing sprayer
US20050001095A1 (en) * 2003-05-05 2005-01-06 Christensen Donald J. Self-aligning thrust reverser system lock assembly
ATE517841T1 (de) * 2003-05-06 2011-08-15 Carlsberg Breweries As Verfahren zur herstellung eines getränkespenders
US6955116B2 (en) * 2003-06-13 2005-10-18 Robert Hale Beverage dispensing machine including cartridge ejector assembly
US8327754B2 (en) * 2003-07-22 2012-12-11 The Coca-Cola Company Coffee and tea pod
PT1500357E (pt) 2003-07-23 2006-07-31 Monodor Sa Processo para preparacao de uma bebida a partir de uma capsula e dispositivo para execucao do processo
ATE529027T1 (de) * 2003-08-25 2011-11-15 Nestec Sa Verfahren und vorrichtung zum herstellen eines getränkes aus einer eine substanz enthaltenden kapsel
MXPA06002172A (es) 2003-08-25 2006-05-22 Henry Macler Ii Enfriador portatil de agua con fluidos en bolsas.
US6983863B2 (en) * 2003-08-28 2006-01-10 Lancer Partnership, Ltd. Method and apparatus for beverage dispensing nozzle
US7234787B2 (en) 2004-01-08 2007-06-26 Eastman Kodak Company Liquid level detection method and apparatus
DE102004004314B4 (de) 2004-01-28 2014-05-15 Tchibo Gmbh Brühvorrichtung für eine Kaffeemaschine
US7614524B2 (en) 2004-02-13 2009-11-10 Intelligent Coffee Company, Llc Liquid concentrate/extract beverage dispenser with replaceable concentrate/extract cartridge
US7651015B2 (en) * 2004-02-13 2010-01-26 Intelligent Coffee Company, Llc Liquid concentrate/extract beverage dispenser with replaceable concentrate/extract cartridge
GB2413480B (en) 2004-02-17 2006-08-30 Kraft Foods R & D Inc An insert and a system for the preparation of beverages
EP1579793B1 (en) * 2004-03-26 2007-07-11 ILLYCAFFE' S.p.A. Beverage extraction assembly for extracting a beverage from a particulate substance contained in a cartridge
JP4727658B2 (ja) 2004-05-05 2011-07-20 コロムブス イー.エーピーエス 使い捨て調合装置
US7347345B2 (en) 2004-06-02 2008-03-25 Nestec S.A. Device and method for hygienically delivering a liquid food
ATE477210T1 (de) * 2004-07-09 2010-08-15 Nestec Sa System und vorrichtung zur herstellung und lieferung von nahrungsmittelprodukten aus einer mischung aus einer nahrungsmittelflüssigkeit und einem verdünnungsmittel
JP4349985B2 (ja) 2004-07-15 2009-10-21 フジテクノ株式会社 飲料サーバーおよび飲料サーバー用接続部
GB2416757A (en) * 2004-08-06 2006-02-08 Imi Vision Ltd Apparatus for dispensing a flowable foodstuff
US20060047250A1 (en) 2004-08-30 2006-03-02 Hickingbotham Dyson W Fluid delivery device
US7661352B2 (en) * 2004-08-31 2010-02-16 Nestec S.A. Method and system for in-cup dispensing, mixing and foaming hot and cold beverages from liquid concentrates
CN101080358B (zh) * 2004-10-19 2016-02-10 皇家戴维艾格伯茨有限公司 制备适于消费的饮料的系统和方法
NL1029155C2 (nl) * 2004-10-19 2006-04-20 Sara Lee De Nv Systeem en werkwijze voor het bereiden van een voor consumptie geschikte drank.
US20060115570A1 (en) * 2004-11-30 2006-06-01 Guerrero Arturo F Beverage dispenser with variable-concentration additive dispensing
US7621426B2 (en) 2004-12-15 2009-11-24 Joseph Kanfer Electronically keyed dispensing systems and related methods utilizing near field frequency response
JP4419854B2 (ja) * 2005-01-21 2010-02-24 富士電機リテイルシステムズ株式会社 飲料水のディスペンサ
US20060249536A1 (en) * 2005-05-09 2006-11-09 Hartman Eric E Device and method for dispensing a food product using a reclosable resilient valve
US20060278657A1 (en) * 2005-06-14 2006-12-14 Roatis Calin V Concentrate dispensing units and disposable concentrate packages including impeller pumps
US7866508B2 (en) * 2005-09-19 2011-01-11 JMF Group LLC Beverage dispensing system and method
US7651010B2 (en) 2005-09-23 2010-01-26 Nestec S.A. Food dispenser with pump for dispensing from a plurality of sources
EP1806314A1 (en) * 2006-01-09 2007-07-11 Nestec S.A. Device for dispensing a beverage with a controlled air inlet, and method therefor
NL1033412C2 (nl) * 2006-02-17 2007-11-13 Meccano Asia Ltd Verpakking en systeem voor het bereiden van een voedingsproduct, zoals een drank.
NL1031177C2 (nl) 2006-02-17 2007-08-20 Meccano Asia Ltd Verpakking en inrichting voor het bereiden van een drank.
US7905373B2 (en) * 2006-03-06 2011-03-15 Deka Products Limited Partnership System and method for generating a drive signal
NL1032081C2 (nl) 2006-04-19 2007-10-22 Sara Lee De Nv Drankbereidingssysteem, -houder en -apparaat.
NL1031622C2 (nl) * 2006-04-19 2007-10-22 Sara Lee De Nv Systeem voor het bereiden van een voor consumptie geschikte drank, alsmede verwisselbare houder voor een dergelijk systeem.
DK1908706T3 (da) 2006-06-06 2010-04-06 Nestec Sa Kapsel med reduceret dryppen
JP5012160B2 (ja) 2006-06-13 2012-08-29 富士電機リテイルシステムズ株式会社 飲料抽出装置
CN101528099A (zh) * 2006-08-25 2009-09-09 德利卡股份公司 刺穿装有萃取物的定量包装的机构及其制造方法、萃取装在定量包装中的萃取物的装置
ITMI20061989A1 (it) 2006-10-17 2008-04-18 Maddalena Ricotti Apparatio di infusione per macchina da caffe' e relativo metodo di azionamento
NL1032893C2 (nl) * 2006-11-17 2008-05-20 Heineken Supply Chain Bv Container voor het afgeven van drank.
WO2008075346A2 (en) 2006-12-18 2008-06-26 Avishai Hatuka System for the preparation and distribution of beverages in a transportation unit
ATE474798T1 (de) 2007-01-15 2010-08-15 Swiss Caffe Asia Ltd Kapsel, mittel zum penetrieren des bodens einer kapsel und vorrichtung für die zubereitung eines getränks
ATE431712T1 (de) 2007-03-06 2009-06-15 Nestec Sa System zur herstellung eines getränkes aus einer kapsel und verfahren
ATE454073T1 (de) 2007-03-06 2010-01-15 Nestec Sa Vorrichtung zur herstellung eines flüssigen lebensmittels aus einer kapsel
EP2243405B1 (en) * 2007-06-05 2012-09-19 Criali Investment SA Capsule for preparing a drink and method for preparing a drink using such capsule
RU2010100139A (ru) 2007-06-11 2011-07-20 ЭСПРЕССИ, Инк. (US) Портативное варочное устройство и способ приготовления и использования
EP2017221A1 (en) * 2007-07-19 2009-01-21 Nestec, Ltd. Device for dispensing a liquid
ATE479626T1 (de) * 2007-07-19 2010-09-15 Nestec Ltd Vorrichtung zur abgabe einer flüssigkeit
EP2017220B1 (en) * 2007-07-19 2010-09-15 Nestec, Ltd. Device for dispensing a liquid
RS54663B1 (sr) * 2007-08-20 2016-08-31 Carlsberg Breweries A/S Modularna jedinica za regulisanje pritiska za sistem za točenje pića
CN101868420B (zh) * 2007-09-06 2014-02-12 德卡产品有限公司 饮料配给系统
CN201105986Y (zh) * 2007-10-16 2008-08-27 犍为一中外国语实验学校 食用油定量取用器
DE602008002045D1 (de) 2008-01-18 2010-09-16 Nestec Sa Getränkeautomat und Durchbohrungsteil für eine Öffnungsvorrichtung eines Getränkeautomaten
EP2082975A1 (de) * 2008-01-23 2009-07-29 Rychiger AG Kapsel für Aufgussgetränke
CA2716536A1 (fr) 2008-03-14 2009-09-17 Monodor S.A. Appareil et capsule pour la preparation d'une boisson
DE102008021778A1 (de) * 2008-04-30 2009-11-05 Eugster/Frismag Ag Verfahren zur Zubereitung und Verabreichung von Milchschaum oder eines Getränks, Vorrichtung zur Ausübung des Verfahrens, Espressomaschine mit einer solchen Vorrichtung sowie Zubereitungsgefäß zur Verwendung in einer solchen Vorrichtung bzw. Espressomaschine
DE102008021777A1 (de) 2008-04-30 2009-11-05 Eugster/Frismag Ag Verfahren zur Herstellung eines Getränks sowie Getränkezubereitungsvorrichtung zur Ausübung des Verfahrens
US8522841B2 (en) 2008-06-11 2013-09-03 Enpulz, L.L.C. Soft drink container supporting additive containment and selective release
ES2701803T3 (es) 2008-08-29 2019-02-26 Pepsico Inc Sistema de bebidas postmezcla que comprende un cartucho que tiene dos cámaras
US9272827B2 (en) 2008-08-29 2016-03-01 Pepsico, Inc. Post-mix beverage system
IT1391885B1 (it) * 2008-11-03 2012-01-27 Hausbrandt Trieste 1892 Spa Dispositivo perforatore per capsule e macchina per la preparazione di bevande inglobante tale dispositivo.
EP2184259A1 (en) * 2008-11-05 2010-05-12 Carlsberg Breweries A/S Pressure generating device for beverage dispensing system
WO2010080707A1 (en) 2009-01-09 2010-07-15 Vitality Foodservice, Inc. Coupling for pump and container
EP2210826B1 (en) * 2009-01-22 2012-08-29 Nestec S.A. Capsule with integrated piercing member and system for preparing a beverage
PL2236437T3 (pl) 2009-03-31 2012-08-31 Nestec Sa Kapsułka z filtrem do przyrządzania ciekłej kompozycji odżywczej lub spożywczej i powiązany układ wytwarzania napojów
KR20120018156A (ko) 2009-04-15 2012-02-29 루나 테크놀로지 시스템즈 엘티에스 게엠베하 1회 분량의 포장으로부터 추출 산물을 배출시키기 위한 장치;천공 장치 및 추출 장치
GB2469873B (en) 2009-05-01 2011-09-07 Kraft Foods R & D Inc Beverage preparation machines
SA110310345B1 (ar) 2009-05-05 2013-12-30 Nestec Sa كبسولة لتحضير منتج التغذية يشمل مرشح مياه
JP2012530529A (ja) 2009-06-17 2012-12-06 コーニンクラケ ダウ エグバート ビー.ブイ. 飲料成分を容れるためのカプセル
US20120180671A1 (en) 2009-09-23 2012-07-19 Nestec S.A. Container holding assembly and receiving assembly adapted for connecting a container to a machine
CA2776957A1 (en) 2009-10-08 2011-04-14 Daniel Roland Manser Portioned system for preparing a nutritional product
IT1396016B1 (it) * 2009-10-15 2012-11-09 Swiss Caffe Asia Ltd Dispositivo di infusione per capsule da infusi e simili, particolarmente per macchine da caffe' espresso e simili.
DE102009049945A1 (de) 2009-10-19 2011-04-21 Krüger Gmbh & Co. Kg Brühvorrichtung und Verfahren zum Extrahieren einer Portionskapsel
DE102009052513A1 (de) * 2009-11-11 2011-05-12 K System Gmbh Brühvorrichtung zum Extrahieren einer Portionskapsel und Verwendung einer Brühvorrichtung
GB2475291B (en) * 2009-11-12 2012-03-28 Kraft Foods R & D Inc Beverage preparation machines
JP2013510680A (ja) 2009-11-12 2013-03-28 ジェネレーション アイ.ディー.イー.エー.,エルエルシー. 液体混合物を調製するための装置及び方法
RU2012129998A (ru) * 2009-12-16 2014-02-20 ИНТЕЛЛИДЖЕНТ КОФФИ КОМПАНИ, ЭлЭлСи Насос и устройство, содержащее насос
US9402787B2 (en) * 2010-02-01 2016-08-02 Medmix Systems Ag Device for removing a fluid from a vial
KR20120134118A (ko) * 2010-02-01 2012-12-11 그린 마운틴 커피 로스터스, 인크. 카트리지 기반 음료 탄산화 장치 및 방법
US9936834B2 (en) 2010-02-01 2018-04-10 Bedford Systems Llc Method and apparatus for cartridge-based carbonation of beverages
CA2789851A1 (en) * 2010-02-17 2011-08-25 Koninklijke Philips Electronics N.V. Coffee bean packaging cartridge and coffee beverage system including the same
EP2374733B1 (en) 2010-03-30 2012-10-31 Capitani S.r.l. Capsule or pod for the production of an infused drink
CN101897544B (zh) 2010-03-31 2012-02-15 宁波西文电器有限公司 一种能自动脱包的咖啡机
EP2384996A1 (de) 2010-05-04 2011-11-09 Luna Technology Systems LTS GmbH Kapsel für ein Extraktionsgut, Verfahren zu deren Herstellung, und Einrichtung zum Brühen von Kaffee
TW201200433A (en) 2010-05-06 2012-01-01 Brita Gmbh Container and device with such a container
JP2011235905A (ja) * 2010-05-06 2011-11-24 Sakagami Kogyo Kk 飲料用ディスペンサーにおける合成樹脂製ボトルの浮上防止装置
CA2799644C (en) * 2010-05-19 2018-06-05 Nestec S.A. Beverage production system using capsules
DE102010044945A1 (de) 2010-05-28 2011-12-01 Eugster/Frismag Ag Brühvorrichtung zum Extrahieren einer Portionskapsel, Verfahren zum Betrieb einer Brühvorrichtung, Verfahren zur Herstellung einer Brühvorrichtung und Verwendung einer Brühvorrichtung
GB2481068B (en) * 2010-06-11 2012-06-20 Kraft Foods R & D Inc Cartridge for the preparation of beverages
EP4473875A3 (en) 2010-07-16 2025-03-26 Société des Produits Nestlé S.A. Preparing a beverage by centrifugation
JP5965400B2 (ja) 2010-08-13 2016-08-03 コーニンクラケ ダウ エグバート ビー.ブイ. カプセルから摂取に適した飲料を調製するための装置、システムおよび方法
US8505777B2 (en) 2010-08-16 2013-08-13 Lancer Corporation Method and apparatus for a sanitizable mixing nozzle
DE102011012881A1 (de) * 2010-09-22 2012-03-22 Krüger Gmbh & Co. Kg Portionskapsel und Verfahren zur Herstellung eines Getränks mit einer Portionskapsel
CN103153143B (zh) 2010-10-08 2016-08-24 皇家飞利浦电子股份有限公司 具有水平运动的泡制单元
JP3164948U (ja) * 2010-10-12 2010-12-24 慎一 矢野 ウォーターサーバーに用いるニードル
US8646379B2 (en) * 2010-11-15 2014-02-11 Conair Corporation Brewed beverage appliance and method
KR101859595B1 (ko) 2010-12-16 2018-05-18 브리고,엘엘씨 끓인 에스프레소 음료를 생성하기 위한 장치 및 방법
CN202186881U (zh) * 2011-01-13 2012-04-11 阮志燕 注油器
US9370272B2 (en) 2011-01-31 2016-06-21 Nestec S.A. Beverage production machine comprising features to facilitate capsule loading and unloading
WO2012151295A2 (en) * 2011-05-02 2012-11-08 Mouse Trap Design, Llc Mixing and dispensing device
JP2014515297A (ja) 2011-06-01 2014-06-30 フライドマン,アラン 加圧飲料抽出用カプセル
CN102838076A (zh) * 2011-06-23 2012-12-26 可口可乐公司 封盖组件以及具有封盖组件的饮料分配器
JP5514777B2 (ja) * 2011-08-03 2014-06-04 富士山の銘水株式会社 ウォーターサーバーにおける飲料水包装袋の穿孔装置
JP6129834B2 (ja) * 2011-08-03 2017-05-17 キューリグ グリーン マウンテン インク 飲料のカートリッジ式炭酸飽和を行う方法および装置
ITRE20110065A1 (it) 2011-09-05 2013-03-06 Raimondi Spa Dispositivo distanziatore livellante per la posa in opera di manufatti lastriformi per il rivestimento di superfici
DE102011053294A1 (de) 2011-09-06 2013-03-07 Eugster/Frismag Ag Verfahren und Vorrichtung zur Herstellung einer Kaffeezubereitung
EP2782485B1 (en) * 2011-09-09 2018-10-24 Fountain Master, LLC Beverage maker
DE102011086420A1 (de) 2011-11-15 2013-05-16 BSH Bosch und Siemens Hausgeräte GmbH Kartuschenaufnahme für eine Brühkammer eines auf Basis von formstabilen Getränkekartuschen arbeitenden Heißgetränkeautomaten
CN103202653B (zh) 2012-01-17 2015-07-15 唐锋机电科技(深圳)有限公司 一种榨汁机
ITTO20120061A1 (it) 2012-01-25 2013-07-26 Lavazza Luigi Spa Sistema e macchina per la preparazione di bevande con l'impiego di capsule
GB2499004A (en) * 2012-02-02 2013-08-07 Kraft Foods R & D Inc Clamping mechanism for a beverage preparation machine
MX2014009385A (es) 2012-02-02 2015-01-14 Sodastream Ind Ltd Una capsula de jarabe.
MX2014009634A (es) 2012-02-09 2015-03-19 Keurig Green Mountain Inc Dispositivo de elaboracion de bebida y metodo con boton de activacion.
MY185241A (en) 2012-02-09 2021-04-30 Keurig Green Mountain Inc Beverage forming device and method with cartridge retainer
JP6223362B2 (ja) 2012-02-09 2017-11-01 キューリグ グリーン マウンテン インク 移動する飲料カートリッジホルダを用いた飲料生成デバイスおよび飲料生成方法
US8622246B2 (en) * 2012-02-13 2014-01-07 Ecolab Usa Inc. Fluid reservoir docking station
US9365405B2 (en) * 2012-02-17 2016-06-14 Gus Stratton Beverage dispensing system
US20130224340A1 (en) 2012-02-27 2013-08-29 Hanan BenDavid Optimal extraction rate coffee capsule with effective seal for diverse group heads
CN104271015B (zh) * 2012-02-29 2017-02-22 雀巢产品技术援助有限公司 用在制备即饮营养液体的机器中的过滤单元
US9795245B2 (en) 2012-03-14 2017-10-24 Hamilton Beach Brands, Inc. Kitchen appliance for preparing a beverage and method of operating same
GB201204999D0 (en) * 2012-03-21 2012-05-02 Bacardi & Company Ltd Method and system for providing drinks, drinks container and drinks device
US20130340626A1 (en) 2012-06-22 2013-12-26 Touch Coffee and Beverages, LLC. Beverage brewing system
US20140079856A1 (en) * 2012-06-29 2014-03-20 Darren Hatherell Beverage Carbonating System and Method for Carbonating a Beverage
WO2014008926A1 (en) * 2012-07-10 2014-01-16 Foster Jody James System for the preparation of nursing bottles
US20140013958A1 (en) 2012-07-12 2014-01-16 Select Brands, Inc. Hybrid coffee maker with multiple brewing modes
DE102012108653A1 (de) 2012-08-20 2014-02-20 Eugster/Frismag Ag Elektrohaushaltgeräte Brühvorrichtung und Verfahren zum Betrieb einer Brühvorrichtung
IN2015MN00024A (ko) * 2012-09-13 2015-10-16 Strauss Water Ltd
JP2014076814A (ja) * 2012-10-09 2014-05-01 Muramoto Kosakusho:Kk ウォーターサーバー
KR20150070242A (ko) 2012-10-12 2015-06-24 네스텍 소시에테아노님 식품 또는 음료 성분들을 담기 위한 카드
NL2009864C2 (en) * 2012-11-22 2014-05-27 Heineken Supply Chain Bv Beverage dispensing assembly and container for use in a beverage dispensing assembly.
ITTO20121076A1 (it) * 2012-12-14 2014-06-15 Lavazza Luigi Spa Capsula o cialda e gruppo di infusione per la preparazione di una bevanda, in particolare caffe'
US9415990B2 (en) * 2013-02-13 2016-08-16 Cryovac, Inc. Bag-in-box system for use in dispensing a pumpable product
NL2011917C2 (nl) * 2013-02-20 2014-12-18 At Venture B V Systeem voor het bereiden van een drank en werkwijze daarvoor.
US20140245893A1 (en) * 2013-03-02 2014-09-04 Robert Bao Vu Methods, apparatus and products for grinding brewable materials into a filter cartridge
US10524609B2 (en) * 2013-03-14 2020-01-07 Altria Client Services Llc Disposable beverage pod and apparatus for making a beverage
CA2943914C (en) 2013-04-03 2018-11-06 2266170 Ontario Inc. Capsule machine and components
WO2014182423A2 (en) 2013-05-10 2014-11-13 Juicero, Inc. Juicing systems and methods
WO2014186897A1 (en) * 2013-05-23 2014-11-27 2266170 Ontario Inc. Capsule housing
JP6240006B2 (ja) 2013-06-05 2017-11-29 シャープ株式会社 画像形成装置
SG11201508684PA (en) 2013-06-12 2015-12-30 Nestec Sa Mixing nozzle
DE102013110121A1 (de) * 2013-09-13 2015-03-19 Krones Ag Einwegentleerungssystem für Behältnisse
GB201318315D0 (en) 2013-10-16 2013-11-27 Sab Miller Plc Dispensing apparatus
MX2016007250A (es) 2013-12-11 2017-07-19 Quickflow Beverage Tech (Pty) Ltd Aparato y sistema dispensador de fluidos.
US9821993B2 (en) 2013-12-16 2017-11-21 Paul Hertensen Dispenser platform apparatus and method
JP2015134645A (ja) 2013-12-16 2015-07-27 パナソニックIpマネジメント株式会社 飲料ディスペンサ
JP6150725B2 (ja) * 2013-12-27 2017-06-21 サントリーホールディングス株式会社 希釈用ボトルおよび飲料提供装置
AU2014374517B2 (en) 2014-01-03 2019-05-30 Koninklijke Douwe Egberts B.V. System for preparing beverage consumptions
US10136754B2 (en) 2014-01-17 2018-11-27 Keurig Green Mountain, Inc. Beverage machine cartridge holder
US9474406B2 (en) 2014-01-17 2016-10-25 Keurig Green Mountain, Inc. Apparatus with beverage cartridge holder having movable outlet
US9462911B2 (en) 2014-02-03 2016-10-11 Aroma Polti Sa Coffee machine for preparation of coffee
US9788682B2 (en) 2014-02-25 2017-10-17 Newco Enterprises, Inc. Beverage brewing device for automatically brewing and dispensing single cup quantities of beverage through a vending machine with minimal manual participation
WO2015148710A1 (en) 2014-03-26 2015-10-01 Secor Water, Llc Water station with integrated qr code-reading system for user access
EP2923772B1 (en) * 2014-03-28 2018-06-20 Lawrence M. Levenstein Aerosol refill cartridge
KR101433602B1 (ko) 2014-05-21 2014-08-26 주식회사 크로버 회전식 추출챔버를 구비한 음료생성장치
US9521921B2 (en) * 2014-05-31 2016-12-20 Steven W. Joseph Integrated hybrid water and beverage dispenser and brewing cups for use therewith
GB2527292A (en) 2014-06-13 2015-12-23 Kraft Foods R&D Inc Cartridge for the preparation of beverages
ES2711854T3 (es) * 2014-09-04 2019-05-07 Nestec Sa Una máquina de preparación de bebidas
US9327900B2 (en) 2014-09-09 2016-05-03 Keurig Green Mountain, Inc. Method and apparatus for cartridge-based carbonation of beverages
EP3209952B1 (en) 2014-10-20 2019-12-11 Bedford Systems LLC Beverage machine with thermoelectric cooler, heat pipe and heat sink arrangement
BR112017010244B1 (pt) 2014-11-17 2022-10-04 Apiqe Holdings, Llc Sistema e método para preparação de um produto líquido
CN204474309U (zh) * 2015-01-27 2015-07-15 永骏塑胶制品(深圳)有限公司 双齿单嘴发泡式啤酒机
BE1022703B1 (nl) 2015-02-10 2016-08-17 CARDIFF GROUP,naamloze vennootschap Vat voor CO2-bevattende dranken en gebruik daarvan
US9364018B1 (en) * 2015-02-11 2016-06-14 Keurig Green Mountain, Inc. Adsorbent particle sizing for gas dissolution in beverages
ES2726994T3 (es) * 2015-03-09 2019-10-11 Nestle Sa Cabezal automatizado de inyección de fluido para un dispositivo para la preparación de bebidas
US20160338527A1 (en) 2015-03-20 2016-11-24 Bruce Burrows Coffee brewing system and method of using the same
US9346611B1 (en) 2015-03-20 2016-05-24 Meltz, LLC Apparatus and processes for creating a consumable liquid food or beverage product from frozen contents
US9968217B2 (en) 2015-06-16 2018-05-15 Starbucks Corporation Beverage preparation systems with brew chamber securing mechanisms
US10625283B2 (en) * 2015-07-15 2020-04-21 Gary Rayner Systems and methods for producing a foamable and/or flowable material for consumption
CN105110278A (zh) * 2015-08-31 2015-12-02 成都创想智造科技有限公司 一种智能散装白酒销售机
CN105118175A (zh) * 2015-08-31 2015-12-02 成都创想智造科技有限公司 一种自动识别身份的智能散装白酒自助销售机
DK3368447T3 (da) 2015-10-27 2020-05-04 Douwe Egberts Bv Kapsel, system og fremgangsmåde til tilberedning af en drikkevare
US20170135516A1 (en) 2015-11-12 2017-05-18 Giancarlo Fantappiè System for mixing and dispensing a beverage
ES2939370T3 (es) * 2016-01-12 2023-04-21 Freezio Ag Sistema de dispensador con soporte para cartucho
DK3548404T3 (en) 2016-12-01 2021-06-21 Bedford Systems Llc Container and opening arrangement for beverage production
WO2018170054A1 (en) 2017-03-14 2018-09-20 Saudi Arabian Oil Company Process for ethylene oligomerization to produce alpha-olefins

Also Published As

Publication number Publication date
HUE053324T2 (hu) 2021-06-28
CN108473298A (zh) 2018-08-31
PL3517488T3 (pl) 2023-05-02
EP3402739A1 (de) 2018-11-21
EP3517489A1 (de) 2019-07-31
DK3402735T3 (da) 2020-12-07
IL260538B1 (en) 2023-01-01
RU2018128570A3 (ko) 2020-02-28
IL274255B (en) 2022-01-01
SG10202004416UA (en) 2020-06-29
US20190031485A1 (en) 2019-01-31
HRP20230485T1 (hr) 2023-07-21
ZA201905296B (en) 2021-03-31
EP3402736A1 (de) 2018-11-21
SG10202004045YA (en) 2020-06-29
EP3674254A1 (de) 2020-07-01
PH12020550546A1 (en) 2021-07-26
EP3517492B1 (de) 2023-02-22
AU2019201568A1 (en) 2019-03-28
JP2019503946A (ja) 2019-02-14
EP3402738C0 (de) 2023-11-15
PT3402739T (pt) 2023-02-02
IL260524B (en) 2022-01-01
EP3402739B1 (de) 2022-11-02
EP3514106B1 (de) 2025-04-09
IL274232A (en) 2020-06-30
JP2019506263A (ja) 2019-03-07
ES2969229T3 (es) 2024-05-17
PL3517492T3 (pl) 2023-06-05
JP6872576B2 (ja) 2021-05-19
RU2739371C1 (ru) 2020-12-23
SG11201805982YA (en) 2018-08-30
RU2018128660A (ru) 2020-02-13
CA3038629A1 (en) 2017-07-20
CN108463426A (zh) 2018-08-28
BR112018014074B1 (pt) 2023-11-28
AU2017207770A1 (en) 2018-08-23
CA3011064C (en) 2024-04-16
US20190225476A1 (en) 2019-07-25
EP3402740B1 (de) 2023-10-11
KR102592621B1 (ko) 2023-10-23
US20190248642A1 (en) 2019-08-15
JP2023093730A (ja) 2023-07-04
AU2019201574A1 (en) 2019-03-28
IL274251B (en) 2021-12-01
EP3402738B1 (de) 2023-11-15
SG10202006647PA (en) 2020-08-28
US10968093B2 (en) 2021-04-06
AU2019201732B2 (en) 2021-06-10
PH12018501478A1 (en) 2019-03-11
US20190248639A1 (en) 2019-08-15
RU2018128570A (ru) 2020-02-13
PL3402736T3 (pl) 2023-02-27
ES2936402T3 (es) 2023-03-16
ES2969813T3 (es) 2024-05-22
RU2720570C2 (ru) 2020-05-12
PH12020550565A1 (en) 2021-04-26
SG11201805975YA (en) 2018-08-30
US11993505B2 (en) 2024-05-28
EP3402736B1 (de) 2022-11-02
PH12020550562A1 (en) 2021-04-26
EP3674256C0 (de) 2023-08-30
JP7088845B2 (ja) 2022-06-21
DK3674257T3 (da) 2023-03-13
JP2019116325A (ja) 2019-07-18
EP3517489B1 (de) 2022-12-21
SG10202004417YA (en) 2020-06-29
PL3517486T3 (pl) 2023-07-10
EP3517486B1 (de) 2023-03-08
KR20190034692A (ko) 2019-04-02
AU2017207769A1 (en) 2018-08-23
HUE061284T2 (hu) 2023-06-28
EP3517491A1 (de) 2019-07-31
CA3038295C (en) 2022-09-13
CN110028031A (zh) 2019-07-19
WO2017121800A1 (de) 2017-07-20
JP2019501087A (ja) 2019-01-17
JP6823078B2 (ja) 2021-01-27
SG10202004042QA (en) 2020-05-28
PT3674255T (pt) 2023-02-22
CA3038409A1 (en) 2017-07-20
ES3034778T3 (en) 2025-08-22
PH12018501480A1 (en) 2019-03-25
KR102592645B1 (ko) 2023-10-23
KR20190034703A (ko) 2019-04-02
EP3514106A3 (de) 2019-08-21
JP7036761B2 (ja) 2022-03-15
AU2019201610B2 (en) 2021-01-14
CA3038296C (en) 2022-12-13
RU2746240C1 (ru) 2021-04-09
KR20190034353A (ko) 2019-04-01
EP3674257B1 (de) 2022-12-21
RU2018128718A3 (ko) 2020-02-28
KR20190034355A (ko) 2019-04-01
RS64211B1 (sr) 2023-06-30
WO2017121796A1 (de) 2017-07-20
AU2017207772A1 (en) 2018-08-30
HUE072214T2 (hu) 2025-10-28
RS61386B1 (sr) 2021-02-26
EP3402740C0 (de) 2023-10-11
PL3517485T3 (pl) 2024-03-04
EP3402737B1 (de) 2020-11-11
CN108463427B (zh) 2020-07-10
JP2019508190A (ja) 2019-03-28
EP3402740A1 (de) 2018-11-21
CN108463428A (zh) 2018-08-28
HUE061337T2 (hu) 2023-06-28
PH12020550545A1 (en) 2021-07-26
IL274261B (en) 2022-06-01
EP3517485B1 (de) 2023-10-11
CA3038373A1 (en) 2017-07-20
WO2017121797A1 (de) 2017-07-20
RU2719693C2 (ru) 2020-04-21
CA3038635A1 (en) 2017-07-20
RU2018128700A (ru) 2020-02-13
SG10202004047VA (en) 2020-06-29
IL260535B (en) 2022-02-01
FI3517486T3 (fi) 2023-05-26
JP6880066B2 (ja) 2021-06-02
RU2018128620A (ru) 2020-02-13
US11565926B2 (en) 2023-01-31
CA3038223C (en) 2023-01-03
IL274228A (en) 2020-06-30
JP2019116323A (ja) 2019-07-18
PL3674257T3 (pl) 2023-05-02
SG11201805985UA (en) 2018-08-30
HUE061283T2 (hu) 2023-06-28
US20190233273A1 (en) 2019-08-01
ZA201805340B (en) 2019-11-27
JP6963580B2 (ja) 2021-11-10
CN110577180A (zh) 2019-12-17
RU2018129054A3 (ko) 2020-06-11
CA3038295A1 (en) 2017-07-20
CN110655030B (zh) 2022-06-03
EP3517487B1 (de) 2023-10-11
AU2017207772B2 (en) 2022-09-01
ES2939370T3 (es) 2023-04-21
CN108495808A (zh) 2018-09-04
IL274252B (en) 2021-12-01
RU2744424C2 (ru) 2021-03-09
ZA201905294B (en) 2021-03-31
CA3011183A1 (en) 2017-07-20
BR112018014080B1 (pt) 2023-11-28
EP3514106C0 (de) 2025-04-09
CN110577182B (zh) 2022-01-14
RU2741893C2 (ru) 2021-01-29
ZA201905299B (en) 2021-05-26
RU2018128660A3 (ko) 2020-05-20
EP3674255B1 (de) 2022-12-07
ES2966039T3 (es) 2024-04-18
IL260538A (ko) 2018-08-30
IL260527B (en) 2022-02-01
CA3038406A1 (en) 2017-07-20
BR122020000674B1 (pt) 2024-01-02
RU2018128360A (ru) 2020-02-13
CA3038635C (en) 2023-01-03
BR112018014080A2 (pt) 2018-12-11
KR20190034354A (ko) 2019-04-01
PT3517486T (pt) 2023-05-30
US11542144B2 (en) 2023-01-03
US20190248640A1 (en) 2019-08-15
EP3517488B1 (de) 2022-12-21
WO2017121798A1 (de) 2017-07-20
CN110655030A (zh) 2020-01-07
CN110615397B (zh) 2021-12-07
IL274260B (en) 2022-06-01
EP3517494B1 (de) 2023-02-22
EP3517493B1 (de) 2023-02-22
US10669143B2 (en) 2020-06-02
PL3517494T3 (pl) 2023-06-05
PH12020550566A1 (en) 2021-04-26
IL260538B2 (en) 2023-05-01
KR20180121496A (ko) 2018-11-07
PL3517489T3 (pl) 2023-04-24
RU2018129054A (ru) 2020-02-13
ZA201805342B (en) 2019-10-30
AU2017207768B2 (en) 2020-07-02
HUE061196T2 (hu) 2023-05-28
BR112018014074A2 (pt) 2018-12-11
JP2019172375A (ja) 2019-10-10
HUE064064T2 (hu) 2024-02-28
AU2019201571A1 (en) 2019-03-28
AU2017207773B2 (en) 2022-06-02
FI3517488T3 (fi) 2023-03-25
SG11201805976XA (en) 2018-08-30
SG11201805987XA (en) 2018-08-30
FI3674257T3 (fi) 2023-03-25
EP3402735A1 (de) 2018-11-21
US10562751B2 (en) 2020-02-18
CA3038630A1 (en) 2017-07-20
PH12018501481A1 (en) 2019-03-25
JP7190904B2 (ja) 2022-12-16
CA3011078C (en) 2024-04-02
AU2019201570B2 (en) 2021-03-25
EP3517488A1 (de) 2019-07-31
BR112018014091A2 (pt) 2018-12-11
JP6956108B2 (ja) 2021-10-27
CN110577183A (zh) 2019-12-17
KR20180121498A (ko) 2018-11-07
ES2964462T3 (es) 2024-04-08
CN110589747A (zh) 2019-12-20
ZA201905301B (en) 2021-03-31
US11254555B2 (en) 2022-02-22
CN110589747B (zh) 2022-01-28
CN110127581A (zh) 2019-08-16
RU2739334C1 (ru) 2020-12-23
PH12018501483A1 (en) 2019-04-08
KR20180121500A (ko) 2018-11-07
US20190016580A1 (en) 2019-01-17
WO2017121802A1 (de) 2017-07-20
AU2019201605A1 (en) 2019-04-04
CN108463429B (zh) 2020-11-06
US11167973B2 (en) 2021-11-09
KR20180121499A (ko) 2018-11-07
ZA201905302B (en) 2021-05-26
PL3517493T3 (pl) 2023-06-19
AU2019201571B2 (en) 2021-03-25
US11021358B2 (en) 2021-06-01
ES2945420T3 (es) 2023-07-03
CN108463426B (zh) 2020-06-09
US20190284037A1 (en) 2019-09-19
KR102522464B1 (ko) 2023-04-17
CN110127581B (zh) 2021-02-05
HRP20210168T1 (hr) 2021-03-19
KR20190034702A (ko) 2019-04-02
IL274251A (en) 2020-06-30
CN110150978A (zh) 2019-08-23
US10407291B2 (en) 2019-09-10
RU2755088C1 (ru) 2021-09-14
JP2019506344A (ja) 2019-03-07
RU2731493C2 (ru) 2020-09-03
EP3402742A1 (de) 2018-11-21
PL3674255T3 (pl) 2023-03-27
AU2017207771A1 (en) 2018-08-30
AU2019201569B2 (en) 2021-03-25
HUE061789T2 (hu) 2023-08-28
JP2019116321A (ja) 2019-07-18
CA3010892C (en) 2024-03-05
ZA201905298B (en) 2021-03-31
EP3674254C0 (de) 2023-10-25
EP3514107A1 (de) 2019-07-24
IL274255A (en) 2020-06-30
EP3514106A2 (de) 2019-07-24
DK3674255T3 (da) 2023-02-27
SG10202004048TA (en) 2020-06-29
KR20180121497A (ko) 2018-11-07
WO2017121799A1 (de) 2017-07-20
RU2725774C2 (ru) 2020-07-06
ES2831078T3 (es) 2021-06-07
RU2018128360A3 (ko) 2020-07-10
IL274227B (en) 2022-01-01
HRP20201976T1 (hr) 2021-02-05
PT3402736T (pt) 2023-01-06
ES2965724T3 (es) 2024-04-16
CA3010898A1 (en) 2017-07-20
JP2019116322A (ja) 2019-07-18
SG10202004413SA (en) 2020-06-29
AU2017207774B2 (en) 2020-01-23
DK3517486T3 (da) 2023-05-30
IL274259A (en) 2020-06-30
PL3674254T3 (pl) 2024-03-25
RS61240B1 (sr) 2021-01-29
IL274253B (en) 2021-12-01
US11167974B2 (en) 2021-11-09
AU2017207771B2 (en) 2020-07-02
JP2019116324A (ja) 2019-07-18
AU2019201727B2 (en) 2021-05-27
CA3011191A1 (en) 2017-07-20
EP3517491B1 (de) 2023-02-22
CN108463425B (zh) 2020-11-06
EP3402735B1 (de) 2020-09-16
KR20180121501A (ko) 2018-11-07
IL274259B (en) 2022-10-01
JP6974382B2 (ja) 2021-12-01
US20190284036A1 (en) 2019-09-19
ZA201805341B (en) 2019-11-27
EP3517494A1 (de) 2019-07-31
AU2019201610A1 (en) 2019-04-04
PL3402737T3 (pl) 2021-06-14
JP7581414B2 (ja) 2024-11-12
US11518667B2 (en) 2022-12-06
JP6888040B2 (ja) 2021-06-16
AU2019201570A1 (en) 2019-03-28
JP6882333B2 (ja) 2021-06-02
US20190241421A1 (en) 2019-08-08
US11274027B2 (en) 2022-03-15
US20190023552A1 (en) 2019-01-24
SG11201805989SA (en) 2018-08-30
EP3517492A1 (de) 2019-07-31
RU2742642C2 (ru) 2021-02-09
EP3402738A1 (de) 2018-11-21
EP3517493A1 (de) 2019-07-31
JP2019141611A (ja) 2019-08-29
SG10202004044UA (en) 2020-05-28
CA3011071A1 (en) 2017-07-20
DK3402739T3 (da) 2023-01-30
EP3674255A1 (de) 2020-07-01
RU2018128700A3 (ko) 2020-06-11
DK3402737T3 (da) 2021-02-08
ZA201905304B (en) 2021-05-26
CN110577181A (zh) 2019-12-17
JP2019506264A (ja) 2019-03-07
RU2018128620A3 (ko) 2020-06-22
US20190010041A1 (en) 2019-01-10
ZA201805345B (en) 2019-10-30
BR112018014125A2 (pt) 2018-12-11
CN108463427A (zh) 2018-08-28
JP2019135175A (ja) 2019-08-15
ZA201905303B (en) 2021-03-31
CA3038296A1 (en) 2017-07-20
AU2017207768A1 (en) 2018-08-23
CA3038409C (en) 2023-10-03
ES2939235T3 (es) 2023-04-20
CN110615397A (zh) 2019-12-27
SG10202004046XA (en) 2020-06-29
US20190248641A1 (en) 2019-08-15
EP3674257A1 (de) 2020-07-01
ES2826329T3 (es) 2021-05-18
KR20190033653A (ko) 2019-03-29
ZA201905295B (en) 2021-03-31
SG11201805979RA (en) 2018-08-30
HUE065334T2 (hu) 2024-05-28
US20190127200A1 (en) 2019-05-02
PL3517491T3 (pl) 2023-06-19
HUE051841T2 (hu) 2021-03-29
CN108463429A (zh) 2018-08-28
PL3514106T3 (pl) 2025-08-11
IL274260A (en) 2020-06-30
ES2939306T3 (es) 2023-04-20
ZA201905300B (en) 2021-03-31
PL3674256T3 (pl) 2024-03-18
KR20190034701A (ko) 2019-04-02
EP3517487C0 (de) 2023-10-11
CN110054137B (zh) 2021-10-22
US20190016579A1 (en) 2019-01-17
EP3674256B1 (de) 2023-08-30
JP2019510592A (ja) 2019-04-18
AU2019201736B2 (en) 2020-11-26
AU2017207774A1 (en) 2018-08-23
EP3517485A1 (de) 2019-07-31
KR20180122603A (ko) 2018-11-13
US11479457B2 (en) 2022-10-25
KR20190032663A (ko) 2019-03-27
CA3038406C (en) 2023-10-03
AU2019201601B2 (en) 2020-10-22
CA3011071C (en) 2024-04-09
DK3517488T3 (da) 2023-03-13
CN110577182A (zh) 2019-12-17
CN110028031B (zh) 2021-09-07
BR112018014135B1 (pt) 2024-01-16
EP3517485C0 (de) 2023-10-11
ES2939118T3 (es) 2023-04-19
EP3402742B1 (de) 2020-10-21
KR102522460B1 (ko) 2023-04-17
BR112018014063A2 (pt) 2018-12-11
AU2017207773A1 (en) 2018-08-30
CA3011078A1 (en) 2017-07-20
AU2019201605B2 (en) 2020-12-17
IL274261A (en) 2020-06-30
ES2846903T3 (es) 2021-07-30
EP3674256A1 (de) 2020-07-01
IL274228B (en) 2022-01-01
PL3402738T3 (pl) 2024-04-08
JP6909253B2 (ja) 2021-07-28
KR102449618B1 (ko) 2022-10-04
KR20190033652A (ko) 2019-03-29
PH12018501484A1 (en) 2019-03-25
WO2017121801A1 (de) 2017-07-20
CN108473298B (zh) 2022-01-04
IL274252A (en) 2020-06-30
PT3517488T (pt) 2023-03-03
ZA201805339B (en) 2019-10-30
CA3038629C (en) 2021-12-21
AU2019201601A1 (en) 2019-04-04
EP3402737A1 (de) 2018-11-21
US11148926B2 (en) 2021-10-19
IL274232B (en) 2022-01-01
RU2751585C1 (ru) 2021-07-15
PH12018501479A1 (en) 2019-03-11
CA3038403A1 (en) 2017-07-20
PL3402739T3 (pl) 2023-05-15
PL3402735T3 (pl) 2021-04-19
EP3517486A1 (de) 2019-07-31
HUE064622T2 (hu) 2024-04-28
JP7042232B2 (ja) 2022-03-25
IL274259B2 (en) 2023-02-01
CA3010892A1 (en) 2017-07-20
US20190225477A1 (en) 2019-07-25
ZA201805344B (en) 2019-10-30
PT3402737T (pt) 2021-02-01
US20190010042A1 (en) 2019-01-10
IL274253A (en) 2020-06-30
ES2937684T3 (es) 2023-03-30
PH12020550548A1 (en) 2021-07-26
SG10202004043WA (en) 2020-05-28
KR102592667B1 (ko) 2023-10-23
CA3038223A1 (en) 2017-07-20
PT3402735T (pt) 2020-10-15
CN108463425A (zh) 2018-08-28
US11174146B2 (en) 2021-11-16
PT3517489T (pt) 2023-03-03
PH12020550559A1 (en) 2021-11-03
JP2019141609A (ja) 2019-08-29
PL3402740T3 (pl) 2024-03-11
AU2019201727A1 (en) 2019-04-04
AU2017207769B2 (en) 2020-09-10
CN110577181B (zh) 2021-12-14
IL260520B (en) 2022-01-01
JP2019141610A (ja) 2019-08-29
CA3011064A1 (en) 2017-07-20
EP3517487A1 (de) 2019-07-31
RU2018128718A (ru) 2020-02-13
AU2019201732A1 (en) 2019-04-04
US20190233274A1 (en) 2019-08-01
BR112018014135A2 (pt) 2018-12-11
CN110054137A (zh) 2019-07-26
PT3674257T (pt) 2023-02-22
DK3517489T3 (da) 2023-03-13
HUE064626T2 (hu) 2024-04-28
IL274227A (en) 2020-06-30
EP3674254B1 (de) 2023-10-25
HUE060969T2 (hu) 2023-04-28
CN108463428B (zh) 2021-02-05
FI3402739T3 (fi) 2023-02-28
RU2741289C1 (ru) 2021-01-25
AU2019201574B2 (en) 2021-03-25
DK3402736T3 (da) 2023-01-30
JP2019112144A (ja) 2019-07-11
JP7036762B2 (ja) 2022-03-15
AU2019201736A1 (en) 2019-04-04
CN108495808B (zh) 2020-05-26
PH12018501482A1 (en) 2019-04-08
IL260533B (en) 2022-01-01
FI3517489T3 (fi) 2023-03-25
HUE065214T2 (hu) 2024-05-28
FI3674255T3 (fi) 2023-03-19
JP7015247B2 (ja) 2022-02-02
BR112018014087A2 (pt) 2018-12-11
AU2019201569A1 (en) 2019-03-28
ZA201805343B (en) 2019-11-27
HUE060829T2 (hu) 2023-04-28

Similar Documents

Publication Publication Date Title
KR20190032646A (ko) 카트리지 리시버, 카트리지 시스템, 음료 제조 기계, 및 음료 제조 방법

Legal Events

Date Code Title Description
A107 Divisional application of patent
PA0104 Divisional application for international application

Comment text: Divisional Application for International Patent

Patent event code: PA01041R01D

Patent event date: 20190320

Application number text: 1020187022817

Filing date: 20180808

PG1501 Laying open of application
A201 Request for examination
PA0201 Request for examination

Patent event code: PA02012R01D

Patent event date: 20210106

Comment text: Request for Examination of Application

E902 Notification of reason for refusal
PE0902 Notice of grounds for rejection

Comment text: Notification of reason for refusal

Patent event date: 20220717

Patent event code: PE09021S01D

E601 Decision to refuse application
PE0601 Decision on rejection of patent

Patent event date: 20220926

Comment text: Decision to Refuse Application

Patent event code: PE06012S01D

Patent event date: 20220717

Comment text: Notification of reason for refusal

Patent event code: PE06011S01I