JP2005322547A - 低温作動型固体酸化物形燃料電池単セル - Google Patents
低温作動型固体酸化物形燃料電池単セル Download PDFInfo
- Publication number
- JP2005322547A JP2005322547A JP2004140546A JP2004140546A JP2005322547A JP 2005322547 A JP2005322547 A JP 2005322547A JP 2004140546 A JP2004140546 A JP 2004140546A JP 2004140546 A JP2004140546 A JP 2004140546A JP 2005322547 A JP2005322547 A JP 2005322547A
- Authority
- JP
- Japan
- Prior art keywords
- solid electrolyte
- single cell
- operation type
- air electrode
- temperature operation
- Prior art date
- Legal status (The legal status is an assumption and is not a legal conclusion. Google has not performed a legal analysis and makes no representation as to the accuracy of the status listed.)
- Granted
Links
Images
Classifications
-
- H—ELECTRICITY
- H01—ELECTRIC ELEMENTS
- H01M—PROCESSES OR MEANS, e.g. BATTERIES, FOR THE DIRECT CONVERSION OF CHEMICAL ENERGY INTO ELECTRICAL ENERGY
- H01M4/00—Electrodes
- H01M4/86—Inert electrodes with catalytic activity, e.g. for fuel cells
- H01M4/90—Selection of catalytic material
- H01M4/9041—Metals or alloys
- H01M4/905—Metals or alloys specially used in fuel cell operating at high temperature, e.g. SOFC
- H01M4/9066—Metals or alloys specially used in fuel cell operating at high temperature, e.g. SOFC of metal-ceramic composites or mixtures, e.g. cermets
-
- H—ELECTRICITY
- H01—ELECTRIC ELEMENTS
- H01M—PROCESSES OR MEANS, e.g. BATTERIES, FOR THE DIRECT CONVERSION OF CHEMICAL ENERGY INTO ELECTRICAL ENERGY
- H01M4/00—Electrodes
- H01M4/86—Inert electrodes with catalytic activity, e.g. for fuel cells
- H01M4/8605—Porous electrodes
- H01M4/8621—Porous electrodes containing only metallic or ceramic material, e.g. made by sintering or sputtering
-
- H—ELECTRICITY
- H01—ELECTRIC ELEMENTS
- H01M—PROCESSES OR MEANS, e.g. BATTERIES, FOR THE DIRECT CONVERSION OF CHEMICAL ENERGY INTO ELECTRICAL ENERGY
- H01M4/00—Electrodes
- H01M4/86—Inert electrodes with catalytic activity, e.g. for fuel cells
- H01M4/90—Selection of catalytic material
- H01M4/9016—Oxides, hydroxides or oxygenated metallic salts
- H01M4/9025—Oxides specially used in fuel cell operating at high temperature, e.g. SOFC
- H01M4/9033—Complex oxides, optionally doped, of the type M1MeO3, M1 being an alkaline earth metal or a rare earth, Me being a metal, e.g. perovskites
-
- H—ELECTRICITY
- H01—ELECTRIC ELEMENTS
- H01M—PROCESSES OR MEANS, e.g. BATTERIES, FOR THE DIRECT CONVERSION OF CHEMICAL ENERGY INTO ELECTRICAL ENERGY
- H01M4/00—Electrodes
- H01M4/86—Inert electrodes with catalytic activity, e.g. for fuel cells
- H01M4/90—Selection of catalytic material
- H01M4/9041—Metals or alloys
- H01M4/905—Metals or alloys specially used in fuel cell operating at high temperature, e.g. SOFC
- H01M4/9058—Metals or alloys specially used in fuel cell operating at high temperature, e.g. SOFC of noble metals or noble-metal based alloys
-
- H—ELECTRICITY
- H01—ELECTRIC ELEMENTS
- H01M—PROCESSES OR MEANS, e.g. BATTERIES, FOR THE DIRECT CONVERSION OF CHEMICAL ENERGY INTO ELECTRICAL ENERGY
- H01M8/00—Fuel cells; Manufacture thereof
- H01M8/10—Fuel cells with solid electrolytes
- H01M8/12—Fuel cells with solid electrolytes operating at high temperature, e.g. with stabilised ZrO2 electrolyte
- H01M8/124—Fuel cells with solid electrolytes operating at high temperature, e.g. with stabilised ZrO2 electrolyte characterised by the process of manufacturing or by the material of the electrolyte
- H01M8/1246—Fuel cells with solid electrolytes operating at high temperature, e.g. with stabilised ZrO2 electrolyte characterised by the process of manufacturing or by the material of the electrolyte the electrolyte consisting of oxides
-
- H—ELECTRICITY
- H01—ELECTRIC ELEMENTS
- H01M—PROCESSES OR MEANS, e.g. BATTERIES, FOR THE DIRECT CONVERSION OF CHEMICAL ENERGY INTO ELECTRICAL ENERGY
- H01M8/00—Fuel cells; Manufacture thereof
- H01M8/10—Fuel cells with solid electrolytes
- H01M8/12—Fuel cells with solid electrolytes operating at high temperature, e.g. with stabilised ZrO2 electrolyte
- H01M2008/1293—Fuel cells with solid oxide electrolytes
-
- H—ELECTRICITY
- H01—ELECTRIC ELEMENTS
- H01M—PROCESSES OR MEANS, e.g. BATTERIES, FOR THE DIRECT CONVERSION OF CHEMICAL ENERGY INTO ELECTRICAL ENERGY
- H01M8/00—Fuel cells; Manufacture thereof
- H01M8/10—Fuel cells with solid electrolytes
- H01M8/12—Fuel cells with solid electrolytes operating at high temperature, e.g. with stabilised ZrO2 electrolyte
- H01M8/124—Fuel cells with solid electrolytes operating at high temperature, e.g. with stabilised ZrO2 electrolyte characterised by the process of manufacturing or by the material of the electrolyte
- H01M8/1246—Fuel cells with solid electrolytes operating at high temperature, e.g. with stabilised ZrO2 electrolyte characterised by the process of manufacturing or by the material of the electrolyte the electrolyte consisting of oxides
- H01M8/1253—Fuel cells with solid electrolytes operating at high temperature, e.g. with stabilised ZrO2 electrolyte characterised by the process of manufacturing or by the material of the electrolyte the electrolyte consisting of oxides the electrolyte containing zirconium oxide
-
- Y—GENERAL TAGGING OF NEW TECHNOLOGICAL DEVELOPMENTS; GENERAL TAGGING OF CROSS-SECTIONAL TECHNOLOGIES SPANNING OVER SEVERAL SECTIONS OF THE IPC; TECHNICAL SUBJECTS COVERED BY FORMER USPC CROSS-REFERENCE ART COLLECTIONS [XRACs] AND DIGESTS
- Y02—TECHNOLOGIES OR APPLICATIONS FOR MITIGATION OR ADAPTATION AGAINST CLIMATE CHANGE
- Y02E—REDUCTION OF GREENHOUSE GAS [GHG] EMISSIONS, RELATED TO ENERGY GENERATION, TRANSMISSION OR DISTRIBUTION
- Y02E60/00—Enabling technologies; Technologies with a potential or indirect contribution to GHG emissions mitigation
- Y02E60/30—Hydrogen technology
- Y02E60/50—Fuel cells
-
- Y—GENERAL TAGGING OF NEW TECHNOLOGICAL DEVELOPMENTS; GENERAL TAGGING OF CROSS-SECTIONAL TECHNOLOGIES SPANNING OVER SEVERAL SECTIONS OF THE IPC; TECHNICAL SUBJECTS COVERED BY FORMER USPC CROSS-REFERENCE ART COLLECTIONS [XRACs] AND DIGESTS
- Y02—TECHNOLOGIES OR APPLICATIONS FOR MITIGATION OR ADAPTATION AGAINST CLIMATE CHANGE
- Y02P—CLIMATE CHANGE MITIGATION TECHNOLOGIES IN THE PRODUCTION OR PROCESSING OF GOODS
- Y02P70/00—Climate change mitigation technologies in the production process for final industrial or consumer products
- Y02P70/50—Manufacturing or production processes characterised by the final manufactured product
Landscapes
- Chemical & Material Sciences (AREA)
- Engineering & Computer Science (AREA)
- Chemical Kinetics & Catalysis (AREA)
- Electrochemistry (AREA)
- General Chemical & Material Sciences (AREA)
- Materials Engineering (AREA)
- Ceramic Engineering (AREA)
- Manufacturing & Machinery (AREA)
- Composite Materials (AREA)
- Life Sciences & Earth Sciences (AREA)
- Sustainable Development (AREA)
- Sustainable Energy (AREA)
- Fuel Cell (AREA)
- Inert Electrodes (AREA)
Abstract
【解決手段】800℃における酸素イオン導電率が0.015S/cm以上、かつ、曲げ強度が600MPa以上である第1固体電解質の一方の面に、触媒と、800℃における酸素イオン導電率が0.08S/cm以上である第2固体電解質とのサーメットよりなる燃料極が接合され、前記第1固体電解質の他方の面に、第4固体電解質よりなる中間層を任意に介して、第1ペロブスカイト型酸化物と第3固体電解質との複合物よりなる空気極が接合されてなる低温作動型SOFC単セルとする。また、燃料極表面に燃料極コンタクト層、空気極表面に空気極コンタクト層をそれぞれ被覆するのが好ましい。
【選択図】 図1
Description
(数2)
面積抵抗[Ωcm2]=(開回路電圧[V]−出力電圧[V])/電流密度[A/cm2]
(1.低温作動型SOFC単セルの主な構成)
本発明に係る低温作動型SOFC単セルは、第1固体電解質の一方の面に、燃料極が接合されるとともに、この第1固体電解質の他方の面に、中間層を任意に介して、空気極が接合された構造を少なくとも備えている。そしてさらに、上記燃料極の表面に燃料極コンタクト層、上記空気極の表面に空気極コンタクト層が被覆されることがある。
本発明において、第1固体電解質としては、800℃における酸素イオン導電率が、少なくとも0.015S/cm以上、好ましくは、0.020S/cm以上、より好ましくは、0.025S/cm以上、かつ、曲げ強度が、少なくとも600MPa以上、好ましくは、700MPa以上、より好ましくは、800MPa以上、さらに好ましくは、1000MPa以上ある固体電解質を好適に用いることができる。
酸素イオン導電率σ[S/cm]=(1/抵抗値R[Ω])×試験片長さL[cm]/試験片断面積S[cm2]
本発明において、燃料極には、触媒と高酸素イオン導電性を示す第2固体電解質とのサーメットを好適に用いることができる。
本発明において、空気極には、第1ペロブスカイト型酸化物と第3固体電解質との複合物を好適に用いることができる。空気極がこれらの材料からなれば、600〜900℃程度の低温度域であっても、空気極の過電圧(電極抵抗)が小さい。そのため、空気極でイオン化された酸素イオンは、電極から第1固体電解質へより多く移行し、低温度域であっても電池反応が促進される。
本発明において、中間層は、主に、第1固体電解質材料と空気極材料との反応を抑制するなどの機能を有する。このような機能を十分に発揮させるため、中間層には、酸素イオン導電性および電子導電性を示す第4固体電解質を好適に用いることができる。
本発明において、燃料極コンタクト層は、主に、燃料極とセパレータとの間に生じる隙間を埋めて両者間の密着度を向上させ、これにより接触抵抗を減じ、集電効率を向上させるなどの機能を有する。このような機能を十分に発揮させるため、燃料極コンタクト層としては、第1金属粉体を少なくとも含む燃料極コンタクト材料を好適に用いることができる。
本発明において、空気極コンタクト層は、主に、空気極とセパレータとの間に生じる隙間を埋めて両者間の密着度を向上させ、これにより接触抵抗を減じ、集電効率を向上させるなどの機能を有する。このような機能を十分に発揮させるため、空気極コンタクト層としては、第2金属粉体と第2ペロブスカイト型酸化物粉体とを少なくとも含む空気極コンタクト材料を好適に用いることができる。
本発明において、3層セル、4層セル、5層セル、6層セルの各セルは、セパレータが接触するセル最外表面が、特定範囲の表面粗さパラメータを有しているのが好ましい。
本発明において、第1固体電解質の表面は、特定範囲の粗さパラメータを有しているのが好ましい。
本発明において、低温作動型SOFC単セルは、その性能指標として、面積抵抗(ASR)が、0.45〜0.9Ωcm2、好ましくは、0.45〜0.8Ωcm2の範囲内にあるのが良い。ASRが小さいと、単セル性能が向上するからである。
面積抵抗[Ωcm2]=(開回路電圧[V]−出力電圧[V])/電流密度[A/cm2]
次に、上述した構成を有する本発明に係る低温作動型SOFC単セルの製造方法の一例について説明する。なお、本発明に係る低温作動型SOFC単セルの製造方法は、以下の記載により限定されるものではない。
次に、上記のようにして製造された本発明に係る低温作動型SOFC単セルの品質検査方法について説明する。
一方、上記低温作動型SOFC単セルをセパレータを介して複数積層すれば、SOFCを得ることができ、これに燃料ガス導入手段および酸化剤ガス導入手段などをそれぞれ取り付ければ、発電可能となる。
先ず、第1固体電解質の酸素イオン導電率、機械的特性およびその結晶相の測定を行った。
なお、各ScSZ材料は第一稀元素化学工業製、Al2O3粉末は大明化学工業製である。
次に、第2固体電解質の酸素イオン導電率およびその結晶相の測定を行った。
次に、800℃における空気極の電極活性を定量的に評価するため、小型セルを作製し、交流インピーダンス法により、空気極の過電圧(電極抵抗)を測定した。
(空気極コンタクト材料No.1の作製)
次に、以下の手順により4種の空気極コンタクト材料を作製した。
すなわち、先ず、第2金属粉体として、Ag粉体とPd粉体を用意した。また、第2ペロブスカイト型酸化物粉体として、La0.6Sr0.4CoO3(以下「L0.6S0.4C」という。)粉体を用意した。次いで、Ag粉体:Pd粉体=98:2重量%の混合比となるように、各粉体を所定量秤量した。次いで、Ag粉体とPd粉体との混合粉体:L0.6S0.4C粉体=20:80重量%の混合比となるように、各粉体を所定量秤量した。
空気極コンタクト材料No.1において、Ag粉体とPd粉体との混合粉体:L0.6S0.4C粉体=40:60重量%の混合比とした以外は同様にして、空気極コンタクト材料No.2を作製した。
空気極コンタクト材料No.1において、Ag粉体とPd粉体との混合粉体:L0.6S0.4C粉体=50:50重量%の混合比とした以外は同様にして、空気極コンタクト材料No.3を作製した。
空気極コンタクト材料No.1において、Ag粉体とPd粉体との混合粉体:L0.6S0.4C粉体=70:30重量%の混合比とした以外は、同様にして、空気極コンタクト材料No.4を作製した。
L0.6S0.4C粉体のみをポリエチレングリコールで溶いてスラリー状にし、比較用空気極コンタクト材料を作製した。
次に、上記のように作製した空気極コンタクト材料No.1〜No.4、比較用空気極コンタクト材料について導電率の測定を行った。
導電率(S/cm)=(1/電気抵抗測定値(Ω))×(材料塗布面の長さ(cm)/材料塗布面の断面積(cm2))
次に、以下の手順に従い、3層セルを作製した。
次に、以下の手順に従い、4層セルを作製した。
次に、以下の手順に従い、6層セルを作製した。
次に、参考セルBを作製した。この参考セルBは、燃料極コンタクト層/燃料極/第1固体電解質/空気極/空気極コンタクト層よりなる。ここで、参考セルBと上記作製した各セルとの違いは次の通りである。
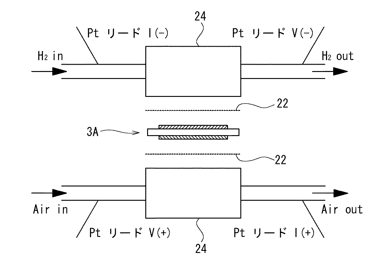
次に、上記にて得られた各セルを用いて、発電試験を行った。すなわち、図5に示すように、低温作動型SOFC単セル(各電極面積16cm2、図5では、3層セル3Aを例示している)の最外表面の両側を白金網(80メッシュ)22、22により挟持し、さらにこの白金網22、22の両側にガスマニホルド(アルミナ製)24、24を設け、燃料ガスとして水素(流量1L/min)、酸化剤ガスとして空気(流量1L/min)を供給した。なお、発電温度は800℃であり、燃料ガスは、オイルバスで加湿したバブラを通して3%の湿度に加湿したものを用いた。
次に、上記3層セルの作製において、50体積%径が10.4μm、90体積%径が28.2μmのスラリー状の燃料極材料、50体積%径が18.7μm、90体積%径が33.1μmのスラリー状の空気極材料を用いた以外は、同様にして、参考セルCを作製した。
上記3層セルと参考セルEとを用いてセルの品質確認を行った。すなわち、上記3層セルと参考セルEとをそれぞれ、平滑面を有するガラス板(厚さ5mm)により挟持し、万能材料試験装置(インストロン・ジャパン製:4301型)を用いて、クロスヘッドスピード0.5mm/分、負荷加重0.2kgf/cm2の条件下にて負荷加重試験を行った。
12 燃料極
14 空気極
16 中間層
18 燃料極コンタクト層
20 空気極コンタクト層
22 白金網
24 ガスマニホルド(アルミナ製)
Claims (15)
- 800℃における酸素イオン導電率が0.015S/cm以上、かつ、曲げ強度が600MPa以上である第1固体電解質の一方の面に、
触媒と、800℃における酸素イオン導電率が0.08S/cm以上である第2固体電解質とのサーメットよりなる燃料極が接合され、
前記第1固体電解質の他方の面に、第4固体電解質よりなる中間層を任意に介して、第1ペロブスカイト型酸化物と第3固体電解質との複合物よりなる空気極が接合されてなることを特徴とする低温作動型固体酸化物形燃料電池単セル。 - 前記第1固体電解質は、3〜6モル%のSc2O3を含み、かつ、結晶相が主として正方晶よりなるスカンジア安定化ジルコニア、または3〜6モル%のSc2O3を含むスカンジア安定化ジルコニアに対してAl2O3が0.3〜5重量%分散され、かつ、結晶相が主として正方晶よりなる分散強化型固体電解質であることを特徴とする請求項1に記載の低温作動型固体酸化物形燃料電池単セル。
- 前記触媒は、Niであり、
前記第2固体電解質は、9〜12モル%のSc2O3を含むスカンジア安定化ジルコニアであることを特徴とする請求項1または2に記載の低温作動型固体酸化物形燃料電池単セル。 - 前記第2固体電解質は、さらに、Y2O3およびCeO2から選択される少なくとも1種の酸化物を0モル%よりも多く2モル%以下含み、かつ、結晶相が主として立方晶よりなるスカンジア安定化ジルコニアであることを特徴とする請求項3に記載の低温作動型固体酸化物形燃料電池単セル。
- 前記第1ペロブスカイト型酸化物は、La1−xSrxCo1−yFeyO3(0.2≦x≦0.6、0.6≦y≦0.9)、Pr1−xSrxMnO3(0.2≦x≦0.6)およびLa1−xSrxCoO3(0.1≦x≦0.6)から選択される少なくとも1種の遷移金属ペロブスカイト型酸化物であり、
前記第3固体電解質は、8〜10モル%のY2O3を含むイットリア安定化ジルコニアもしくは9〜12モル%のSc2O3を含むスカンジア安定化ジルコニアまたはGd2O3、Y2O3およびSm2O3から選択される少なくとも1種の酸化物を10〜35モル%含むセリア系固溶体あるいはこれらの組み合わせよりなる混合固体電解質であることを特徴とする請求項1から4のいずれかに記載の低温作動型固体酸化物形燃料電池単セル。 - 前記第4固体電解質は、Gd2O3、Y2O3およびSm2O3から選択される少なくとも1種の酸化物を10〜35モル%含むセリア系固溶体であることを特徴とする請求項1から5のいずれかに記載の低温作動型固体酸化物形燃料電池単セル。
- 前記燃料極の表面には、第1金属粉体を少なくとも含む燃料極コンタクト材料よりなる燃料極コンタクト層が被覆されるとともに、前記空気極の表面には、第2金属粉体と第2ペロブスカイト型酸化物粉体とを少なくとも含む空気極コンタクト材料よりなる空気極コンタクト層が被覆されてなることを特徴とする請求項1から6のいずれかに記載の低温作動型固体酸化物形燃料電池単セル。
- 前記第1金属粉体は、Ni粉体またはNi合金粉体であることを特徴とする請求項7に記載の低温作動型固体酸化物形燃料電池単セル。
- 前記第2金属粉体は、Ag粉体もしくはAg合金粉体またはこれら粉体の何れか一方もしくは双方とPd、Ru、Pt、Rh、IrおよびAuから選択される少なくとも1種の貴金属の粉体もしくは前記貴金属の合金の粉体とが混合されてなる混合粉体であり、
前記第2ペロブスカイト型酸化物は、La1−xSrxCoO3(0.1≦x≦0.6)であることを特徴とする請求項7または8に記載の低温作動型固体酸化物形燃料電池単セル。 - 前記燃料極コンタクト材料および前記空気極コンタクト材料は、さらに、バインダーを含むスラリー状であることを特徴とする請求項7から9のいずれかに記載の低温作動型固体酸化物形燃料電池単セル。
- レーザー光学式非接触三次元形状測定装置で測定した前記燃料極の表面粗さは、最大粗さ深度Rmaxが5〜25μm、平均化された粗さ深度Rzが3〜20μmの範囲にあり、前記空気極の表面粗さは、最大粗さ深度Rmaxが3〜20μm、平均化された粗さ深度Rzが2〜18μmの範囲にあることを特徴とする請求項1から6のいずれかに記載の低温作動型固体酸化物形燃料電池単セル。
- レーザー光学式非接触三次元形状測定装置で測定した前記燃料極コンタクト層の表面粗さは、最大粗さ深度Rmaxが5〜25μm、平均化された粗さ深度Rzが3〜22μmの範囲にあり、前記空気極コンタクト層の表面粗さは、最大粗さ深度Rmaxが3〜24μm、平均化された粗さ深度Rzが2〜20μmの範囲にあることを特徴とする請求項7から10のいずれかに記載の低温作動型固体酸化物形燃料電池単セル。
- レーザー光学式非接触三次元形状測定装置で測定した前記第1固体電解質の表面粗さは、最大粗さ深度Rmaxが3〜15μm、平均化された粗さ深度Rzが2〜10μmの範囲にあることを特徴とする請求項1から12のいずれかに記載の低温作動型固体酸化物形燃料電池単セル。
- 前記燃料極に供給する燃料ガスとして水素、前記空気極に供給する酸化剤ガスとして空気を用い、白金網を集電材としてアルミナ製セパレータを介して800℃において発電試験を行った場合、電流密度が0.5A/cm2のときに、以下の数1より算出される面積抵抗が0.45〜0.9Ωcm2の範囲にあることを特徴とする請求項1から13のいずれかに記載の低温作動型固体酸化物形燃料電池単セル。
(数1)
面積抵抗[Ωcm2]=(開回路電圧[V]−出力電圧[V])/電流密度[A/cm2] - 請求項1から14のいずれかに記載の低温作動型固体酸化物形燃料電池単セルを、この単セル表面積よりも大きく、かつ、平滑面を有する緻密質板により挟持し、この単セルの全面に対して0.2kgf/cm2の荷重を負荷した後に、目視観察にて割れないしひびが実質的に確認されないことを特徴とする低温作動型固体酸化物形燃料電池単セル。
Priority Applications (6)
| Application Number | Priority Date | Filing Date | Title |
|---|---|---|---|
| JP2004140546A JP4476689B2 (ja) | 2004-05-11 | 2004-05-11 | 低温作動型固体酸化物形燃料電池単セル |
| US11/008,843 US7235325B2 (en) | 2004-05-11 | 2004-12-10 | Single cell for a solid oxide fuel cell |
| AU2004237860A AU2004237860A1 (en) | 2004-05-11 | 2004-12-10 | Single cell for a solid oxide fuel cell |
| CNA2005100550680A CN1697229A (zh) | 2004-05-11 | 2005-03-15 | 固体氧化物燃料电池的单电池 |
| EP05009823A EP1598892A1 (en) | 2004-05-11 | 2005-05-04 | Single cell for a solid oxide fuel cell |
| US11/680,185 US7422822B2 (en) | 2004-05-11 | 2007-02-28 | Single cell for a solid oxide fuel cell |
Applications Claiming Priority (1)
| Application Number | Priority Date | Filing Date | Title |
|---|---|---|---|
| JP2004140546A JP4476689B2 (ja) | 2004-05-11 | 2004-05-11 | 低温作動型固体酸化物形燃料電池単セル |
Publications (2)
| Publication Number | Publication Date |
|---|---|
| JP2005322547A true JP2005322547A (ja) | 2005-11-17 |
| JP4476689B2 JP4476689B2 (ja) | 2010-06-09 |
Family
ID=34977041
Family Applications (1)
| Application Number | Title | Priority Date | Filing Date |
|---|---|---|---|
| JP2004140546A Expired - Fee Related JP4476689B2 (ja) | 2004-05-11 | 2004-05-11 | 低温作動型固体酸化物形燃料電池単セル |
Country Status (5)
| Country | Link |
|---|---|
| US (2) | US7235325B2 (ja) |
| EP (1) | EP1598892A1 (ja) |
| JP (1) | JP4476689B2 (ja) |
| CN (1) | CN1697229A (ja) |
| AU (1) | AU2004237860A1 (ja) |
Cited By (25)
| Publication number | Priority date | Publication date | Assignee | Title |
|---|---|---|---|---|
| JP2006278089A (ja) * | 2005-03-29 | 2006-10-12 | Kyocera Corp | 燃料電池セル及び燃料電池 |
| JP2007324087A (ja) * | 2006-06-05 | 2007-12-13 | Nippon Telegr & Teleph Corp <Ntt> | 固体酸化物形燃料電池の空気極用セリア系バッファー層及びその製造方法 |
| JP2008041306A (ja) * | 2006-08-02 | 2008-02-21 | Mitsubishi Materials Corp | 発電セルおよびその発電セルを組み込んだ固体電解質形燃料電池 |
| JP2008305669A (ja) * | 2007-06-07 | 2008-12-18 | Nippon Telegr & Teleph Corp <Ntt> | 固体電解質型燃料電池セル |
| JP2009064640A (ja) * | 2007-09-05 | 2009-03-26 | Toshiba Corp | 固体酸化物電気化学セルの燃料極、その製造方法、及び固体酸化物電気化学セル |
| JP2009117198A (ja) * | 2007-11-07 | 2009-05-28 | Nippon Telegr & Teleph Corp <Ntt> | 固体酸化物形燃料電池及びその製造方法 |
| JP2009140693A (ja) * | 2007-12-05 | 2009-06-25 | Nippon Telegr & Teleph Corp <Ntt> | 固体酸化物形燃料電池 |
| JP2009163884A (ja) * | 2007-12-28 | 2009-07-23 | Honda Motor Co Ltd | 電解質・電極接合体 |
| JP2009529771A (ja) * | 2006-03-14 | 2009-08-20 | ピレリ・アンド・チ・ソチエタ・ペル・アツィオーニ | 電気化学デバイス及び電気化学デバイスの製造方法 |
| JP2009259568A (ja) * | 2008-04-16 | 2009-11-05 | Nippon Telegr & Teleph Corp <Ntt> | 固体酸化物形燃料電池 |
| JP2010140895A (ja) * | 2008-11-11 | 2010-06-24 | Toto Ltd | 固体酸化物形燃料電池セル、及びそれを備える燃料電池モジュール |
| JP2010538956A (ja) * | 2007-09-14 | 2010-12-16 | サン−ゴベン・セントル・ドゥ・レシェルシェ・エ・デチュード・ユーロペアン | 細長い粒子を含む粉末および固体酸化物燃料電池の電極を製造するためのその使用 |
| JP2011091028A (ja) * | 2009-09-25 | 2011-05-06 | Nippon Shokubai Co Ltd | 燃料電池材料の欠陥検出方法及び燃料電池材料の分別方法、並びに燃料電池用単セルの製造方法 |
| JP2012104408A (ja) * | 2010-11-11 | 2012-05-31 | Honda Motor Co Ltd | 電解質・電極接合体及びその製造方法 |
| KR20120085321A (ko) * | 2009-11-18 | 2012-07-31 | 플란제 에스이 | 고온 연료전지용 양극 및 그의 제조 |
| WO2012105575A1 (ja) * | 2011-01-31 | 2012-08-09 | Toto株式会社 | 固体電解質材料およびこれを備えた固体酸化物形燃料電池 |
| WO2012105576A1 (ja) * | 2011-01-31 | 2012-08-09 | Toto株式会社 | 固体酸化物形燃料電池 |
| JP2012164672A (ja) * | 2006-02-10 | 2012-08-30 | Nippon Shokubai Co Ltd | 固体酸化物形燃料電池用空気極材料 |
| WO2012153446A1 (ja) * | 2011-05-11 | 2012-11-15 | 日本特殊陶業株式会社 | 固体酸化物形燃料電池 |
| JP2013101965A (ja) * | 2013-01-24 | 2013-05-23 | Nippon Telegr & Teleph Corp <Ntt> | 固体酸化物形燃料電池 |
| CN103187581A (zh) * | 2011-12-29 | 2013-07-03 | Toto株式会社 | 固体氧化物型燃料电池单电池 |
| WO2013116712A1 (en) * | 2012-02-01 | 2013-08-08 | Carelton Life Support Systems, Inc. | Composite electrolyte consisting of fully stabilized zirconia and partially stabilized zirconia |
| JP2013532364A (ja) * | 2010-06-25 | 2013-08-15 | コリア インスティテュート オブ インダストリアル テクノロジー | 固体酸化物形燃料電池単位セルの製造方法 |
| CN105493328A (zh) * | 2013-09-27 | 2016-04-13 | 株式会社Lg化学 | 制造固体氧化物燃料电池的燃料电极支撑体的方法和固体氧化物燃料电池的燃料电极支撑体 |
| WO2018030132A1 (ja) * | 2016-08-08 | 2018-02-15 | 日本特殊陶業株式会社 | 電気化学反応単セルおよび電気化学反応セルスタック |
Families Citing this family (43)
| Publication number | Priority date | Publication date | Assignee | Title |
|---|---|---|---|---|
| JP4334894B2 (ja) * | 2003-03-20 | 2009-09-30 | 日産自動車株式会社 | 固体電解質の製造方法 |
| UA83400C2 (uk) * | 2003-12-02 | 2008-07-10 | Нанодайнемікс, Інк. | Твердооксидні паливні елементи з керметним електролітом та спосіб їх одержання |
| JP4977621B2 (ja) | 2005-11-24 | 2012-07-18 | 独立行政法人科学技術振興機構 | 電気化学セル及び電気化学セルの製造方法 |
| WO2007061043A1 (ja) * | 2005-11-25 | 2007-05-31 | Nippon Telegraph And Telephone Corporation | 固体酸化物形燃料電池 |
| CN100456544C (zh) * | 2006-08-18 | 2009-01-28 | 中国科学院上海硅酸盐研究所 | 固体氧化物燃料电池的阳极支撑型固体电解质复合膜及制备方法 |
| ES2394194T3 (es) * | 2006-11-23 | 2013-01-23 | Technical University Of Denmark | Método para la producción de celdas reversibles de óxidos sólidos |
| US20080261099A1 (en) * | 2007-04-13 | 2008-10-23 | Bloom Energy Corporation | Heterogeneous ceramic composite SOFC electrolyte |
| CN101339997B (zh) * | 2007-07-06 | 2010-08-11 | 中国科学院大连化学物理研究所 | 一种中温固体氧化物燃料电池膜电极组件及其制备 |
| DE102008009985B4 (de) | 2008-02-19 | 2015-04-09 | Sunfire Gmbh | Elektrolyt für eine elektrolytgestützte Hochtemperatur-Brennstoffzelle, Verfahren zu dessen Herstellung, dessen Verwendung für eine elektrolytgestützte Brennstoffzelle und Verwendung der Brennstoffzelle für einen Brennstoffzellen-Stapel |
| KR101579308B1 (ko) * | 2008-02-25 | 2015-12-21 | 가부시키가이샤 노리타케 캄파니 리미티드 | 세라믹 제품 및 세라믹 부재의 접합 방법 |
| CN102089835A (zh) * | 2008-07-08 | 2011-06-08 | 丹麦理工大学 | 磁致热致冷器 |
| US8163353B2 (en) * | 2008-07-08 | 2012-04-24 | Siemens Energy, Inc. | Fabrication of copper-based anodes via atmosphoric plasma spraying techniques |
| DE102008049712A1 (de) * | 2008-09-30 | 2010-04-01 | Siemens Aktiengesellschaft | Planare Hochtemperatur-Brennstoffzelle |
| JP5418975B2 (ja) * | 2008-10-16 | 2014-02-19 | Toto株式会社 | 固体酸化物形燃料電池セル、及びそれを備える燃料電池モジュール |
| FR2943049B1 (fr) | 2009-03-12 | 2011-06-03 | Saint Gobain Ct Recherches | Produit de cermet fondu |
| DE102009017190A1 (de) * | 2009-04-09 | 2010-10-14 | Forschungszentrum Jülich GmbH | Verfahren zur Herstellung eines Brennstoffzellenstapels |
| JP2011018629A (ja) * | 2009-07-09 | 2011-01-27 | Samsung Electro-Mechanics Co Ltd | メッシュ構造の支持体を備えた燃料電池 |
| US20110135485A1 (en) * | 2009-12-30 | 2011-06-09 | Jing Wang | Spar for a wind turbine rotor blade and method for fabricating the same |
| KR20110109104A (ko) * | 2010-03-30 | 2011-10-06 | 삼성전기주식회사 | 금속 산화물-이트리아 안정화 지르코니아 복합체 및 이를 포함하는 고체산화물 연료전지 |
| WO2011127283A1 (en) * | 2010-04-09 | 2011-10-13 | The Regents Of The University Of California | Method of making electrochemical device with porous metal layer |
| CN101847726B (zh) * | 2010-05-31 | 2014-09-10 | 吉世尔(合肥)能源科技有限公司 | 组合物及一种固体氧化物燃料电池阴极接触层的制备方法 |
| FR2964669B1 (fr) | 2010-09-14 | 2012-08-31 | Saint Gobain Ct Recherches | Poudre de grains de cermet fondu |
| CN102013501B (zh) * | 2010-11-08 | 2013-10-23 | 中国科学院宁波材料技术与工程研究所 | 一种电解质隔膜、电化学装置和固体氧化物燃料电池 |
| FR2968000B1 (fr) | 2010-11-29 | 2013-03-08 | Saint Gobain Ct Recherches | Poudre de zircone yttriee fondue |
| FR2980190B1 (fr) | 2011-09-16 | 2013-09-27 | Saint Gobain Ct Recherches | Produit fondu pour electrode. |
| US20140322633A1 (en) | 2011-12-09 | 2014-10-30 | Posco | Solid oxide fuel cell comprising reaction preventing layer and method for manufacturing same |
| US10431833B2 (en) | 2012-03-01 | 2019-10-01 | Bloom Energy Corporation | Coatings for metal interconnects to reduce SOFC degradation |
| TWI566461B (zh) * | 2012-03-01 | 2017-01-11 | 博隆能源股份有限公司 | 用於固態氧化物燃料電池(sofc)金屬互連體之塗層 |
| US9452475B2 (en) | 2012-03-01 | 2016-09-27 | Bloom Energy Corporation | Coatings for SOFC metallic interconnects |
| CN103022532B (zh) * | 2012-12-25 | 2015-05-20 | 中国科学院宁波材料技术与工程研究所 | 用于固体氧化物燃料电池阴极侧与连接件间的接触层及其制备方法 |
| CN103199278A (zh) * | 2013-03-06 | 2013-07-10 | 中国科学院宁波材料技术与工程研究所 | 电池集流层及其制备方法 |
| JP6146474B2 (ja) * | 2013-08-22 | 2017-06-14 | 株式会社村田製作所 | 固体電解質形燃料電池 |
| WO2015080889A1 (en) | 2013-11-27 | 2015-06-04 | Bloom Energy Corporation | Fuel cell interconnect with reduced voltage degradation over time |
| US9634335B2 (en) | 2014-01-09 | 2017-04-25 | Bloom Energy Corporation | Duplex coating for SOFC interconnect |
| US10079393B1 (en) | 2014-01-09 | 2018-09-18 | Bloom Energy Corporation | Method of fabricating an interconnect for a fuel cell stack |
| US9993874B2 (en) | 2014-02-25 | 2018-06-12 | Bloom Energy Corporation | Composition and processing of metallic interconnects for SOFC stacks |
| US9923211B2 (en) | 2014-04-24 | 2018-03-20 | Bloom Energy Corporation | Fuel cell interconnect with reduced voltage degradation over time |
| JP6079745B2 (ja) * | 2014-10-27 | 2017-02-15 | トヨタ自動車株式会社 | 燃料電池の検査方法および製造方法 |
| US9837681B2 (en) * | 2015-06-16 | 2017-12-05 | Amazon Technologies, Inc. | Low capacity, low area-specific resistance battery cell for electronic devices |
| KR102054537B1 (ko) * | 2015-08-26 | 2019-12-10 | 주식회사 엘지화학 | 고체 산화물 연료전지의 제조방법, 고체 산화물 연료전지 및 이를 포함하는 전지 모듈 |
| KR20170055325A (ko) * | 2015-11-11 | 2017-05-19 | 현대자동차주식회사 | 전고체 배터리용 전해질층 및 이를 이용한 전고체 배터리의 제조방법 |
| US20220190373A1 (en) * | 2020-12-14 | 2022-06-16 | Bloom Energy Corporation | Solid oxide electrolyzer cell including electrolysis-tolerant air-side electrode |
| CN118738482B (zh) * | 2024-06-07 | 2025-11-07 | 紫金矿业集团股份有限公司 | 用于固体氧化物电池的电解质陶瓷膜的制备方法 |
Family Cites Families (13)
| Publication number | Priority date | Publication date | Assignee | Title |
|---|---|---|---|---|
| JPH05225820A (ja) | 1992-02-07 | 1993-09-03 | Nippon Telegr & Teleph Corp <Ntt> | イオン導伝体及び固体燃料電池 |
| JP3460727B2 (ja) * | 1992-08-12 | 2003-10-27 | 日本電信電話株式会社 | 酸素イオン導伝体及び固体燃料電池 |
| JP3323038B2 (ja) | 1995-08-10 | 2002-09-09 | 京セラ株式会社 | 固体電解質型燃料電池セル |
| JP3218555B2 (ja) | 1995-09-18 | 2001-10-15 | 日本電信電話株式会社 | 保護層付きセリア系固体電解質 |
| DE19735781A1 (de) | 1997-08-18 | 1999-02-25 | Forschungszentrum Juelich Gmbh | Scandium-stabilisiertes Zirkoniumoxid mit zugesetztem Metalloxid |
| US6680197B2 (en) * | 1998-12-28 | 2004-01-20 | Corixa Corporation | Compositions and methods for the therapy and diagnosis of breast cancer |
| JP2001351647A (ja) | 2000-06-09 | 2001-12-21 | Tokyo Gas Co Ltd | 固体電解質型燃料電池 |
| JP3843766B2 (ja) * | 2000-07-04 | 2006-11-08 | 日産自動車株式会社 | 固体電解質型燃料電池 |
| GB2368450B (en) * | 2000-10-25 | 2004-05-19 | Imperial College | Fuel cells |
| JP2002289248A (ja) * | 2001-01-17 | 2002-10-04 | Nissan Motor Co Ltd | 燃料電池用単セル及び固体電解質型燃料電池 |
| JP4580755B2 (ja) | 2002-05-22 | 2010-11-17 | 株式会社日本触媒 | 固体酸化物形燃料電池セル用電極支持基板およびその製法 |
| JP3976181B2 (ja) | 2002-07-19 | 2007-09-12 | 東邦瓦斯株式会社 | 固体酸化物燃料電池単セル及びこれを用いた固体酸化物燃料電池 |
| CA2501877A1 (en) | 2002-10-11 | 2004-04-22 | Nippon Shokubai Co., Ltd. | Electrolyte sheets for solid oxide fuel cells and production process thereof |
-
2004
- 2004-05-11 JP JP2004140546A patent/JP4476689B2/ja not_active Expired - Fee Related
- 2004-12-10 AU AU2004237860A patent/AU2004237860A1/en not_active Abandoned
- 2004-12-10 US US11/008,843 patent/US7235325B2/en not_active Expired - Fee Related
-
2005
- 2005-03-15 CN CNA2005100550680A patent/CN1697229A/zh active Pending
- 2005-05-04 EP EP05009823A patent/EP1598892A1/en not_active Withdrawn
-
2007
- 2007-02-28 US US11/680,185 patent/US7422822B2/en not_active Expired - Fee Related
Cited By (42)
| Publication number | Priority date | Publication date | Assignee | Title |
|---|---|---|---|---|
| JP2006278089A (ja) * | 2005-03-29 | 2006-10-12 | Kyocera Corp | 燃料電池セル及び燃料電池 |
| JP2012164672A (ja) * | 2006-02-10 | 2012-08-30 | Nippon Shokubai Co Ltd | 固体酸化物形燃料電池用空気極材料 |
| JP2009529771A (ja) * | 2006-03-14 | 2009-08-20 | ピレリ・アンド・チ・ソチエタ・ペル・アツィオーニ | 電気化学デバイス及び電気化学デバイスの製造方法 |
| JP2007324087A (ja) * | 2006-06-05 | 2007-12-13 | Nippon Telegr & Teleph Corp <Ntt> | 固体酸化物形燃料電池の空気極用セリア系バッファー層及びその製造方法 |
| JP2008041306A (ja) * | 2006-08-02 | 2008-02-21 | Mitsubishi Materials Corp | 発電セルおよびその発電セルを組み込んだ固体電解質形燃料電池 |
| JP2008305669A (ja) * | 2007-06-07 | 2008-12-18 | Nippon Telegr & Teleph Corp <Ntt> | 固体電解質型燃料電池セル |
| JP2009064640A (ja) * | 2007-09-05 | 2009-03-26 | Toshiba Corp | 固体酸化物電気化学セルの燃料極、その製造方法、及び固体酸化物電気化学セル |
| JP2010538956A (ja) * | 2007-09-14 | 2010-12-16 | サン−ゴベン・セントル・ドゥ・レシェルシェ・エ・デチュード・ユーロペアン | 細長い粒子を含む粉末および固体酸化物燃料電池の電極を製造するためのその使用 |
| JP2009117198A (ja) * | 2007-11-07 | 2009-05-28 | Nippon Telegr & Teleph Corp <Ntt> | 固体酸化物形燃料電池及びその製造方法 |
| JP2009140693A (ja) * | 2007-12-05 | 2009-06-25 | Nippon Telegr & Teleph Corp <Ntt> | 固体酸化物形燃料電池 |
| JP2009163884A (ja) * | 2007-12-28 | 2009-07-23 | Honda Motor Co Ltd | 電解質・電極接合体 |
| JP2009259568A (ja) * | 2008-04-16 | 2009-11-05 | Nippon Telegr & Teleph Corp <Ntt> | 固体酸化物形燃料電池 |
| JP2010140895A (ja) * | 2008-11-11 | 2010-06-24 | Toto Ltd | 固体酸化物形燃料電池セル、及びそれを備える燃料電池モジュール |
| JP2011091028A (ja) * | 2009-09-25 | 2011-05-06 | Nippon Shokubai Co Ltd | 燃料電池材料の欠陥検出方法及び燃料電池材料の分別方法、並びに燃料電池用単セルの製造方法 |
| KR101649012B1 (ko) * | 2009-11-18 | 2016-08-17 | 플란제 에스이 | 고온 연료전지용 양극 및 그의 제조 |
| KR20120085321A (ko) * | 2009-11-18 | 2012-07-31 | 플란제 에스이 | 고온 연료전지용 양극 및 그의 제조 |
| JP2013532364A (ja) * | 2010-06-25 | 2013-08-15 | コリア インスティテュート オブ インダストリアル テクノロジー | 固体酸化物形燃料電池単位セルの製造方法 |
| JP2012104408A (ja) * | 2010-11-11 | 2012-05-31 | Honda Motor Co Ltd | 電解質・電極接合体及びその製造方法 |
| WO2012105576A1 (ja) * | 2011-01-31 | 2012-08-09 | Toto株式会社 | 固体酸化物形燃料電池 |
| WO2012105575A1 (ja) * | 2011-01-31 | 2012-08-09 | Toto株式会社 | 固体電解質材料およびこれを備えた固体酸化物形燃料電池 |
| JP5652752B2 (ja) * | 2011-01-31 | 2015-01-14 | Toto株式会社 | 固体電解質材料およびこれを備えた固体酸化物形燃料電池 |
| JP5652753B2 (ja) * | 2011-01-31 | 2015-01-14 | Toto株式会社 | 固体酸化物形燃料電池 |
| KR101713464B1 (ko) * | 2011-05-11 | 2017-03-07 | 니혼도꾸슈도교 가부시키가이샤 | 고체산화물형 연료전지 |
| WO2012153446A1 (ja) * | 2011-05-11 | 2012-11-15 | 日本特殊陶業株式会社 | 固体酸化物形燃料電池 |
| CN103534855A (zh) * | 2011-05-11 | 2014-01-22 | 日本特殊陶业株式会社 | 固体氧化物型燃料电池 |
| KR20150065949A (ko) * | 2011-05-11 | 2015-06-15 | 니혼도꾸슈도교 가부시키가이샤 | 고체산화물형 연료전지 |
| US9853308B2 (en) | 2011-05-11 | 2017-12-26 | Ngk Spark Plug Co., Ltd. | Solid oxide fuel cell |
| JP2012238439A (ja) * | 2011-05-11 | 2012-12-06 | Ngk Spark Plug Co Ltd | 固体酸化物形燃料電池 |
| CN103534855B (zh) * | 2011-05-11 | 2016-10-12 | 日本特殊陶业株式会社 | 固体氧化物型燃料电池 |
| JP2013140696A (ja) * | 2011-12-29 | 2013-07-18 | Toto Ltd | 固体酸化物形燃料電池セル |
| CN103187581A (zh) * | 2011-12-29 | 2013-07-03 | Toto株式会社 | 固体氧化物型燃料电池单电池 |
| WO2013116712A1 (en) * | 2012-02-01 | 2013-08-08 | Carelton Life Support Systems, Inc. | Composite electrolyte consisting of fully stabilized zirconia and partially stabilized zirconia |
| JP2013101965A (ja) * | 2013-01-24 | 2013-05-23 | Nippon Telegr & Teleph Corp <Ntt> | 固体酸化物形燃料電池 |
| JP2016528693A (ja) * | 2013-09-27 | 2016-09-15 | エルジー・ケム・リミテッド | 固体酸化物燃料電池の燃料極支持体の製造方法および固体酸化物燃料電池の燃料極支持体 |
| CN105493328A (zh) * | 2013-09-27 | 2016-04-13 | 株式会社Lg化学 | 制造固体氧化物燃料电池的燃料电极支撑体的方法和固体氧化物燃料电池的燃料电极支撑体 |
| CN105493328B (zh) * | 2013-09-27 | 2018-02-06 | 株式会社Lg化学 | 制造固体氧化物燃料电池的燃料电极支撑体的方法和固体氧化物燃料电池的燃料电极支撑体 |
| US10505198B2 (en) | 2013-09-27 | 2019-12-10 | Lg Chem, Ltd. | Method for manufacturing fuel electrode support for solid oxide fuel cell and fuel electrode support for solid oxide fuel cell |
| WO2018030132A1 (ja) * | 2016-08-08 | 2018-02-15 | 日本特殊陶業株式会社 | 電気化学反応単セルおよび電気化学反応セルスタック |
| JPWO2018030132A1 (ja) * | 2016-08-08 | 2018-08-09 | 日本特殊陶業株式会社 | 電気化学反応単セルおよび電気化学反応セルスタック |
| KR20190025661A (ko) * | 2016-08-08 | 2019-03-11 | 니뽄 도쿠슈 도교 가부시키가이샤 | 전기 화학 반응 단셀 및 전기 화학 반응 셀 스택 |
| KR102169225B1 (ko) * | 2016-08-08 | 2020-10-23 | 모리무라 에스오에프씨 테크놀로지 가부시키가이샤 | 전기 화학 반응 단셀 및 전기 화학 반응 셀 스택 |
| US11024856B2 (en) | 2016-08-08 | 2021-06-01 | Morimura Sofc Technology Co., Ltd. | Electrochemical reaction single cell having cathode including cerium oxide and strontium sulfate and electrochemical reaction cell stack including the same |
Also Published As
| Publication number | Publication date |
|---|---|
| AU2004237860A1 (en) | 2005-12-01 |
| US20050255355A1 (en) | 2005-11-17 |
| US7422822B2 (en) | 2008-09-09 |
| US20070148521A1 (en) | 2007-06-28 |
| EP1598892A1 (en) | 2005-11-23 |
| JP4476689B2 (ja) | 2010-06-09 |
| US7235325B2 (en) | 2007-06-26 |
| CN1697229A (zh) | 2005-11-16 |
Similar Documents
| Publication | Publication Date | Title |
|---|---|---|
| JP4476689B2 (ja) | 低温作動型固体酸化物形燃料電池単セル | |
| US8349511B2 (en) | Fuel cell | |
| JP5560381B1 (ja) | 燃料電池セル | |
| US8940455B2 (en) | Fuel cell | |
| JP4018378B2 (ja) | 固体電解質型燃料電池及びその製造方法 | |
| JP2008258064A (ja) | 電解質・電極接合体及びその製造方法 | |
| JP5055463B1 (ja) | 燃料電池セル | |
| JP5023250B1 (ja) | 燃料電池セル | |
| JP6396127B2 (ja) | 燃料電池用アノードおよび燃料電池単セル | |
| JP5596594B2 (ja) | 固体酸化物形燃料電池セルの燃料極材料,燃料極,固体酸化物形燃料電池セル,および燃料極材料の製造方法 | |
| JP4820463B2 (ja) | 燃料電池セル及び固体酸化物型燃料電池 | |
| JP2017147030A (ja) | 固体酸化物形燃料電池 | |
| JP4743949B2 (ja) | 固体電解質形燃料電池セル | |
| JP4367843B2 (ja) | 燃料極、電気化学セルおよび燃料極の製造方法 | |
| JP6060224B1 (ja) | 集電部材及び燃料電池 | |
| JP5137416B2 (ja) | 燃料極用集電材料、固体酸化物形燃料電池単セルおよび固体酸化物形燃料電池 | |
| JP5555682B2 (ja) | 固体酸化物型燃料電池 | |
| JP5205543B1 (ja) | 燃料電池セル | |
| JP2012074304A (ja) | 固体酸化物形燃料電池用発電セル | |
| JP6130445B2 (ja) | 燃料電池 | |
| JP2017139078A (ja) | 固体酸化物形燃料電池セル | |
| JP2014110193A (ja) | 固体酸化物形燃料電池 |
Legal Events
| Date | Code | Title | Description |
|---|---|---|---|
| A621 | Written request for application examination |
Free format text: JAPANESE INTERMEDIATE CODE: A621 Effective date: 20051228 |
|
| A977 | Report on retrieval |
Free format text: JAPANESE INTERMEDIATE CODE: A971007 Effective date: 20071109 |
|
| A131 | Notification of reasons for refusal |
Free format text: JAPANESE INTERMEDIATE CODE: A131 Effective date: 20071127 |
|
| A521 | Request for written amendment filed |
Free format text: JAPANESE INTERMEDIATE CODE: A523 Effective date: 20080124 |
|
| A02 | Decision of refusal |
Free format text: JAPANESE INTERMEDIATE CODE: A02 Effective date: 20090609 |
|
| A521 | Request for written amendment filed |
Free format text: JAPANESE INTERMEDIATE CODE: A523 Effective date: 20090901 |
|
| A911 | Transfer to examiner for re-examination before appeal (zenchi) |
Free format text: JAPANESE INTERMEDIATE CODE: A911 Effective date: 20091023 |
|
| TRDD | Decision of grant or rejection written | ||
| A01 | Written decision to grant a patent or to grant a registration (utility model) |
Free format text: JAPANESE INTERMEDIATE CODE: A01 Effective date: 20100302 |
|
| A01 | Written decision to grant a patent or to grant a registration (utility model) |
Free format text: JAPANESE INTERMEDIATE CODE: A01 |
|
| A61 | First payment of annual fees (during grant procedure) |
Free format text: JAPANESE INTERMEDIATE CODE: A61 Effective date: 20100310 |
|
| R150 | Certificate of patent or registration of utility model |
Ref document number: 4476689 Country of ref document: JP Free format text: JAPANESE INTERMEDIATE CODE: R150 Free format text: JAPANESE INTERMEDIATE CODE: R150 |
|
| FPAY | Renewal fee payment (event date is renewal date of database) |
Free format text: PAYMENT UNTIL: 20130319 Year of fee payment: 3 |
|
| FPAY | Renewal fee payment (event date is renewal date of database) |
Free format text: PAYMENT UNTIL: 20130319 Year of fee payment: 3 |
|
| FPAY | Renewal fee payment (event date is renewal date of database) |
Free format text: PAYMENT UNTIL: 20140319 Year of fee payment: 4 |
|
| R250 | Receipt of annual fees |
Free format text: JAPANESE INTERMEDIATE CODE: R250 |
|
| R250 | Receipt of annual fees |
Free format text: JAPANESE INTERMEDIATE CODE: R250 |
|
| R250 | Receipt of annual fees |
Free format text: JAPANESE INTERMEDIATE CODE: R250 |
|
| R250 | Receipt of annual fees |
Free format text: JAPANESE INTERMEDIATE CODE: R250 |
|
| R250 | Receipt of annual fees |
Free format text: JAPANESE INTERMEDIATE CODE: R250 |
|
| R250 | Receipt of annual fees |
Free format text: JAPANESE INTERMEDIATE CODE: R250 |
|
| R250 | Receipt of annual fees |
Free format text: JAPANESE INTERMEDIATE CODE: R250 |
|
| LAPS | Cancellation because of no payment of annual fees |
