[go: up one dir, main page]

KR102180037B1 - 가요성 표시 장치 및 그 제조 방법 - Google Patents

가요성 표시 장치 및 그 제조 방법 Download PDF

Info

Publication number
KR102180037B1
KR102180037B1 KR1020130134331A KR20130134331A KR102180037B1 KR 102180037 B1 KR102180037 B1 KR 102180037B1 KR 1020130134331 A KR1020130134331 A KR 1020130134331A KR 20130134331 A KR20130134331 A KR 20130134331A KR 102180037 B1 KR102180037 B1 KR 102180037B1
Authority
KR
South Korea
Prior art keywords
layer
barrier layer
flexible substrate
buffer layer
forming
Prior art date
Legal status (The legal status is an assumption and is not a legal conclusion. Google has not performed a legal analysis and makes no representation as to the accuracy of the status listed.)
Active
Application number
KR1020130134331A
Other languages
English (en)
Other versions
KR20150052645A (ko
Inventor
강진규
Original Assignee
삼성디스플레이 주식회사
Priority date (The priority date is an assumption and is not a legal conclusion. Google has not performed a legal analysis and makes no representation as to the accuracy of the date listed.)
Filing date
Publication date
Application filed by 삼성디스플레이 주식회사 filed Critical 삼성디스플레이 주식회사
Priority to KR1020130134331A priority Critical patent/KR102180037B1/ko
Priority to US14/461,657 priority patent/US9305984B2/en
Priority to EP20140190490 priority patent/EP2871685A3/en
Priority to CN201410612762.7A priority patent/CN104637438B/zh
Publication of KR20150052645A publication Critical patent/KR20150052645A/ko
Priority to US15/072,658 priority patent/US9548343B2/en
Application granted granted Critical
Publication of KR102180037B1 publication Critical patent/KR102180037B1/ko
Active legal-status Critical Current
Anticipated expiration legal-status Critical

Links

Images

Classifications

    • HELECTRICITY
    • H10SEMICONDUCTOR DEVICES; ELECTRIC SOLID-STATE DEVICES NOT OTHERWISE PROVIDED FOR
    • H10KORGANIC ELECTRIC SOLID-STATE DEVICES
    • H10K77/00Constructional details of devices covered by this subclass and not covered by groups H10K10/80, H10K30/80, H10K50/80 or H10K59/80
    • H10K77/10Substrates, e.g. flexible substrates
    • H10K77/111Flexible substrates
    • HELECTRICITY
    • H10SEMICONDUCTOR DEVICES; ELECTRIC SOLID-STATE DEVICES NOT OTHERWISE PROVIDED FOR
    • H10DINORGANIC ELECTRIC SEMICONDUCTOR DEVICES
    • H10D86/00Integrated devices formed in or on insulating or conducting substrates, e.g. formed in silicon-on-insulator [SOI] substrates or on stainless steel or glass substrates
    • H10D86/01Manufacture or treatment
    • H10D86/021Manufacture or treatment of multiple TFTs
    • HELECTRICITY
    • H10SEMICONDUCTOR DEVICES; ELECTRIC SOLID-STATE DEVICES NOT OTHERWISE PROVIDED FOR
    • H10KORGANIC ELECTRIC SOLID-STATE DEVICES
    • H10K50/00Organic light-emitting devices
    • H10K50/80Constructional details
    • H10K50/84Passivation; Containers; Encapsulations
    • H10K50/844Encapsulations
    • HELECTRICITY
    • H10SEMICONDUCTOR DEVICES; ELECTRIC SOLID-STATE DEVICES NOT OTHERWISE PROVIDED FOR
    • H10KORGANIC ELECTRIC SOLID-STATE DEVICES
    • H10K59/00Integrated devices, or assemblies of multiple devices, comprising at least one organic light-emitting element covered by group H10K50/00
    • H10K59/10OLED displays
    • H10K59/12Active-matrix OLED [AMOLED] displays
    • HELECTRICITY
    • H10SEMICONDUCTOR DEVICES; ELECTRIC SOLID-STATE DEVICES NOT OTHERWISE PROVIDED FOR
    • H10KORGANIC ELECTRIC SOLID-STATE DEVICES
    • H10K59/00Integrated devices, or assemblies of multiple devices, comprising at least one organic light-emitting element covered by group H10K50/00
    • H10K59/10OLED displays
    • H10K59/12Active-matrix OLED [AMOLED] displays
    • H10K59/121Active-matrix OLED [AMOLED] displays characterised by the geometry or disposition of pixel elements
    • H10K59/1213Active-matrix OLED [AMOLED] displays characterised by the geometry or disposition of pixel elements the pixel elements being TFTs
    • HELECTRICITY
    • H10SEMICONDUCTOR DEVICES; ELECTRIC SOLID-STATE DEVICES NOT OTHERWISE PROVIDED FOR
    • H10KORGANIC ELECTRIC SOLID-STATE DEVICES
    • H10K59/00Integrated devices, or assemblies of multiple devices, comprising at least one organic light-emitting element covered by group H10K50/00
    • H10K59/10OLED displays
    • H10K59/12Active-matrix OLED [AMOLED] displays
    • H10K59/123Connection of the pixel electrodes to the thin film transistors [TFT]
    • HELECTRICITY
    • H10SEMICONDUCTOR DEVICES; ELECTRIC SOLID-STATE DEVICES NOT OTHERWISE PROVIDED FOR
    • H10KORGANIC ELECTRIC SOLID-STATE DEVICES
    • H10K59/00Integrated devices, or assemblies of multiple devices, comprising at least one organic light-emitting element covered by group H10K50/00
    • H10K59/10OLED displays
    • H10K59/12Active-matrix OLED [AMOLED] displays
    • H10K59/127Active-matrix OLED [AMOLED] displays comprising two substrates, e.g. display comprising OLED array and TFT driving circuitry on different substrates
    • HELECTRICITY
    • H10SEMICONDUCTOR DEVICES; ELECTRIC SOLID-STATE DEVICES NOT OTHERWISE PROVIDED FOR
    • H10KORGANIC ELECTRIC SOLID-STATE DEVICES
    • H10K59/00Integrated devices, or assemblies of multiple devices, comprising at least one organic light-emitting element covered by group H10K50/00
    • H10K59/80Constructional details
    • H10K59/87Passivation; Containers; Encapsulations
    • H10K59/873Encapsulations
    • HELECTRICITY
    • H10SEMICONDUCTOR DEVICES; ELECTRIC SOLID-STATE DEVICES NOT OTHERWISE PROVIDED FOR
    • H10KORGANIC ELECTRIC SOLID-STATE DEVICES
    • H10K2102/00Constructional details relating to the organic devices covered by this subclass
    • H10K2102/301Details of OLEDs
    • H10K2102/311Flexible OLED
    • HELECTRICITY
    • H10SEMICONDUCTOR DEVICES; ELECTRIC SOLID-STATE DEVICES NOT OTHERWISE PROVIDED FOR
    • H10KORGANIC ELECTRIC SOLID-STATE DEVICES
    • H10K2102/00Constructional details relating to the organic devices covered by this subclass
    • H10K2102/301Details of OLEDs
    • H10K2102/351Thickness
    • HELECTRICITY
    • H10SEMICONDUCTOR DEVICES; ELECTRIC SOLID-STATE DEVICES NOT OTHERWISE PROVIDED FOR
    • H10KORGANIC ELECTRIC SOLID-STATE DEVICES
    • H10K59/00Integrated devices, or assemblies of multiple devices, comprising at least one organic light-emitting element covered by group H10K50/00
    • H10K59/10OLED displays
    • H10K59/12Active-matrix OLED [AMOLED] displays
    • H10K59/1201Manufacture or treatment
    • YGENERAL TAGGING OF NEW TECHNOLOGICAL DEVELOPMENTS; GENERAL TAGGING OF CROSS-SECTIONAL TECHNOLOGIES SPANNING OVER SEVERAL SECTIONS OF THE IPC; TECHNICAL SUBJECTS COVERED BY FORMER USPC CROSS-REFERENCE ART COLLECTIONS [XRACs] AND DIGESTS
    • Y02TECHNOLOGIES OR APPLICATIONS FOR MITIGATION OR ADAPTATION AGAINST CLIMATE CHANGE
    • Y02EREDUCTION OF GREENHOUSE GAS [GHG] EMISSIONS, RELATED TO ENERGY GENERATION, TRANSMISSION OR DISTRIBUTION
    • Y02E10/00Energy generation through renewable energy sources
    • Y02E10/50Photovoltaic [PV] energy
    • Y02E10/549Organic PV cells
    • YGENERAL TAGGING OF NEW TECHNOLOGICAL DEVELOPMENTS; GENERAL TAGGING OF CROSS-SECTIONAL TECHNOLOGIES SPANNING OVER SEVERAL SECTIONS OF THE IPC; TECHNICAL SUBJECTS COVERED BY FORMER USPC CROSS-REFERENCE ART COLLECTIONS [XRACs] AND DIGESTS
    • Y02TECHNOLOGIES OR APPLICATIONS FOR MITIGATION OR ADAPTATION AGAINST CLIMATE CHANGE
    • Y02PCLIMATE CHANGE MITIGATION TECHNOLOGIES IN THE PRODUCTION OR PROCESSING OF GOODS
    • Y02P70/00Climate change mitigation technologies in the production process for final industrial or consumer products
    • Y02P70/50Manufacturing or production processes characterised by the final manufactured product

Landscapes

  • Engineering & Computer Science (AREA)
  • Microelectronics & Electronic Packaging (AREA)
  • Physics & Mathematics (AREA)
  • Manufacturing & Machinery (AREA)
  • Optics & Photonics (AREA)
  • Geometry (AREA)
  • Electroluminescent Light Sources (AREA)
  • Devices For Indicating Variable Information By Combining Individual Elements (AREA)
  • Thin Film Transistor (AREA)

Abstract

본 발명의 한 실시예에 따른 가요성 표시 장치의 제조 방법은 가요성 기판 위에 제1 베리어층을 형성하는 단계, 제1 베리어층 위에 질화 규소로 제2 베리어층을 형성하는 단계, 제2 베리어층의 스트레스를 이완하는 단계, 제2 베리어층 위에 질화 규소로 제1 버퍼층을 형성하는 단계, 제1 버퍼층 위에 제2 버퍼층을 형성하는 단계, 제2 버퍼층 위에 박막 트랜지스터를 형성하는 단계를 포함한다.

Description

가요성 표시 장치 및 그 제조 방법{FLEXIBLE DISPLAY AND MANUFACTURING METHOD THEREOF}
본 발명은 가요성 표시 장치 및 그 제조 방법에 관한 것이다.
박막 트랜지스터(thin film transistor, TFT)는 다양한 분야에 이용되고 있으며, 특히 액정 표시 장치(liquid crystal display, LCD), 유기 발광 표시 장치(organic light emitting diode display, OLED display) 및 전기 영동 표시 장치(electrophoretic display) 등의 평탄 표시 장치에서 스위칭 및 구동 소자로 이용되고 있다.
박막 트랜지스터는 주사 신호를 전달하는 게이트선에 연결되어 있는 게이트 전극, 화소 전극에 인가될 신호를 전달하는 데이터선에 연결되어 있는 소스 전극, 소스 전극과 마주하는 드레인 전극, 그리고 소스 전극 및 드레인 전극에 전기적으로 연결되어 있는 반도체를 포함한다.
박막 트랜지스터의 반도체는 비정질 규소(amorphous silicon) 또는 다결정 규소(crystalline silicon) 등으로 이루어진다. 비정질 규소는 낮은 온도에서 증착하여 박막(thin film)을 형성하는 것이 가능하여, 주로 낮은 용융점을 가지는 유리를 기판으로 사용하는 표시 장치에 많이 사용되고, 다결정 규소는 높은 전계 효과 이동도와 고주파 동작 특성 및 낮은 누설 전류(leakage current) 의 전기적 특성을 가진다.
이러한 박막 트랜지스터를 기판 위에 형성하기 위해서는 박막 트랜지스터로 불순물 등이 유입되는 것을 방지하기 위한 버퍼층을 필요로 한다.
그러나 버퍼층에 수소가 많이 함유될 경우 박막 트랜지스터의 반도체를 결정화하기 위한 공정시 막터짐 현상 등으로 인한 박막 트랜지스터의 불량이 발생한다.
그리고, 수소는 기판의 위치에 따라서 서로 다른 수소 패시베이션 효과를 유발하여 불균일한 소자 특성을 유발하는 문제점이 있다.
또한, 유기 발광 표시 장치와 같이 가요성 표시 장치를 제조하는 경우, 가요성 표시 장치의 특성상 반복적 굽힘에 의해서 이러한 버퍼층이 기판과 분리될 수 있다.
따라서 본 발명은 수소로 인한 박막 트랜지스터의 불량이 발생하지 않는 가요성 표시 장치 및 그 제조 방법을 제공하는 것이다.
또한, 본 발명은 가요성 표시 장치의 반복적인 굽힘에도 박막이 분리되지 않는 가요성 표시 장치 및 그 제조 방법을 제공하는 것이다.
본 발명의 한 실시예에 따른 가요성 표시 장치의 제조 방법은 가요성 기판 위에 제1 베리어층을 형성하는 단계, 제1 베리어층 위에 질화 규소로 제2 베리어층을 형성하는 단계, 제2 베리어층의 스트레스를 이완하는 단계, 제2 베리어층 위에 질화 규소로 제1 버퍼층을 형성하는 단계, 제1 버퍼층 위에 제2 버퍼층을 형성하는 단계, 제2 버퍼층 위에 박막 트랜지스터를 형성하는 단계를 포함한다.
상기 이완하는 단계는 제2 베리어층을 형성하는 단계 후 상기 제2 베리어층을 대기 중에 노출할 수 있다.
상기 가요성 기판은 폴리이미드(polyimide)로 이루어진 고분자 물질층을 적어도 한층 이상 포함할 수 있다.
상기 가요성 기판은 제1 가요성 기판을 형성하는 단계, 제1 가요성 기판 위에 중간 베리어층을 형성하는 단계, 중간 베리어층 위에 제2 가요성 기판을 형성하는 단계를 포함하고, 중간 베리어층은 상기 제1 베리어층과 동일한 물질을 포함할 수 있다.
상기 제1 가요성 기판과 상기 제2 가요성 기판 사이에 접착층을 형성하는 단계를 더 포함하고, 접착층은 P형 또는 N형 도전형 불순물이 도핑된 비정질 실리콘 또는 수소화된 비정질 실리콘으로 형성할 수 있다.
상기 중간 베리어층은 1,000Å 내지 6,000Å의 두께로 형성할 수 있다.
상기 제1 가요성 기판과 상기 제2 가요성 기판은 폴리이미드(polyimide)로 형성할 수 있다.
상기 제1 고분자 기판과 상기 제2 고분자 기판은 각각 8㎛ 내지 12㎛의 두께로 형성할 수 있다.
상기한 다른 과제를 달성하기 위한 본 발명에 따른 제1 가요성 기판, 제1 가요성 기판 위에 위치하며 산화 규소로 이루어지는 중간 베리어층, 중간 베리어층 위에 위치하며 P형 또는 N형 도전형 불순물이 도핑된 비정질 실리콘 또는 수소화된 비정질 실리콘으로 이루어지는 접착층, 접착층 위에 위치하는 제2 가요성 기판, 제2 가요성 기판 위에 위치하며 산화 규소로 이루어지는 제1 베리어층, 제1 베리어층 위에 위치하며 질화 규소로 이루어지는 제2 베리어층, 제2 베리어층 위에 위치하며 산화 규소로 이루어지는 버퍼층, 버퍼층 위에 위치하는 박막 트랜지스터, 박막 트랜지스터와 연결되어 있는 유기 발광 소자를 포함한다.
상기 제1 가요성 기판 및 제2 가요성 기판은 폴리 이미드로 이루어질 수 있다.
상기 제1 가요성 기판과 상기 제2 가요성 기판은 각각 8㎛ 내지 12㎛의 두께로 형성할 수 있다.
상기 중간 베리어층의 두께는 1,000Å 내지 6,000Å일 수 있다.
상기 버퍼층은 제2 베리어층 위에 위치하는 제1 버퍼층과 상기 제1 버퍼층 위에 위치하는 제2 버퍼층을 포함하고, 제1 버퍼층은 질화 규소로 이루어질 수 있다.
상기 제1 베리어층의 두께는 1,000Å 내지 6,000Å이고, 제2 베리어층의 두께는 500Å 내지 2,000Å이고, 제1 버퍼층의 두께는 500Å 내지 1,000Å이고, 제2 버퍼층의 두께는 1,000Å 내지 3,000Å일 수 있다.
상기 접착층은 100Å인 두께로 형성할 수 있다.
본 발명의 한 실시예에서와 같이 베리어층과 버퍼층을 형성하면, 수소로 인한 소자 불량을 최소화할 수 있어, 고품질의 가요성 표시 장치를 제공할 수 있다.
또한, 박막 스트레스로 인한 크랙 등이 발생하지 않아 박막 분리 현상을 최소화한 가요성 표시 장치를 제공할 수 있다.
도 1은 본 발명의 한 실시예에 따른 유기 발광 표시 장치가 갖는 화소 회로를 나타낸 회로도이다.
도 2는 도 1의 유기 발광 표시 장치의 한 화소의 단면도이다.
도 3 내지 도 7은 본 발명의 한 실시예에 따른 유기 발광 표시 장치의 제조 방법을 공정 순서대로 도시한 단면도이다.
도 8은 본 발명의 다른 실시예에 따른 유기 발광 표시 장치의 단면도이다.
이하, 첨부한 도면을 참고로 하여 본 발명의 실시예에 대하여 본 발명이 속하는 기술 분야에서 통상의 지식을 가진 자가 용이하게 실시할 수 있도록 상세히 설명한다. 본 발명은 여러 가지 상이한 형태로 구현될 수 있으며 여기에서 설명하는 실시예에 한정되지 않는다.
본 발명을 명확하게 설명하기 위해서 설명과 관계없는 부분은 생략하였으며, 명세서 전체를 통하여 동일 또는 유사한 구성요소에 대해서는 동일한 참조 부호를 붙이도록 한다.
또한, 도면에서 나타난 각 구성의 크기 및 두께는 설명의 편의를 위해 임의로 나타내었으므로, 본 발명이 반드시 도시된 바에 한정되지 않는다.
도면에서 여러 층 및 영역을 명확하게 표현하기 위하여 두께를 확대하여 나타내었다. 그리고 도면에서, 설명의 편의를 위해, 일부 층 및 영역의 두께를 과장되게 나타내었다. 층, 막, 영역, 판 등의 부분이 다른 부분 "위에" 또는 "상에" 있다고 할 때, 이는 다른 부분 "바로 위에" 있는 경우뿐 아니라 그 중간에 또 다른 부분이 있는 경우도 포함한다.
또한, 명세서 전체에서, 어떤 부분이 어떤 구성요소를 "포함" 한다고 할 때, 이는 특별히 반대되는 기재가 없는 한 다른 구성요소를 제외하는 것이 아니라 다른 구성요소를 더 포함할 수 있는 것을 의미한다. 또한, 명세서 전체에서, "~상에"라 함은 대상 부분의 위 또는 아래에 위치함을 의미하는 것이며, 반드시 중력 방향을 기준으로 상 측에 위치하는 것을 의미하는 것은 아니다.
그러면 본 발명의 한 실시예에 따른 가요성 표시 장치 및 그 제조 방법에 대해서 도면을 참조하여 구체적으로 설명한다.
본 발명의 한 실시예에 따른 가요성 표시 장치는 유기 발광 소자를 포함하는 유기 발광 표시 장치일 수 있다.
도 1은 본 발명의 한 실시예에 따른 유기 발광 표시 장치가 갖는 화소 회로를 나타낸 회로도이다.
본 실시예에 따른 유기 발광 표시 장치는 복수의 신호선(121, 171, 172)과 이들에 연결되어 있는 화소(pixel)(PX)를 포함한다.
신호선은 게이트 신호(또는 주사 신호)를 전달하는 게이트선(gate line)(121), 데이터 신호를 전달하는 데이터선(data line)(171), 구동 전압을 전달하는 구동 전압선(driving voltage line)(172) 등을 포함한다. 게이트선(121)은 대략 행 방향으로 뻗어 있으며 서로가 거의 평행하고, 데이터선(171)은 대략 열 방향으로 뻗어 있으며 서로가 거의 평행하다. 구동 전압선(172)은 대략 열 방향으로 뻗어 있는 것으로 도시되어 있으나, 행 방향 또는 열 방향으로 뻗거나 그물 모양으로 형성될 수 있다.
한 화소(PX)는 스위칭 트랜지스터(switching transistor)(Qs), 구동 트랜지스터(driving transitor)(Qd), 유지 축전기(storage capacitor)(Cst) 및 유기 발광 소자(organic light emitting element)(LD)를 포함한다.
스위칭 트랜지스터(Qs)는 제어 단자(control terminal), 입력 단자(input terminal) 및 출력 단자(output terminal)를 가지는데, 제어 단자는 게이트선(121)에 연결되어 있고, 입력 단자는 데이터선(171)에 연결되어 있으며, 출력 단자는 구동 트랜지스터(Qd)에 연결되어 있다. 스위칭 트랜지스터(Qs)는 게이트선(121)으로부터 받은 주사 신호에 응답하여 데이터선(171)으로부터 받은 데이터 신호를 구동 트랜지스터(Qd)에 전달한다.
구동 트랜지스터(Qd) 또한 제어 단자, 입력 단자 및 출력 단자를 가지는데, 제어 단자는 스위칭 트랜지스터(Qs)에 연결되어 있고, 입력 단자는 구동 전압선(172)에 연결되어 있으며, 출력 단자는 유기 발광 소자(LD)에 연결되어 있다. 구동 트랜지스터(Qd)는 제어 단자와 출력 단자 사이에 걸리는 전압에 따라 그 크기가 달라지는 출력 전류(ILD)를 흘린다.
축전기(Cst)는 구동 트랜지스터(Qd)의 제어 단자와 입력 단자 사이에 연결되어 있다. 이 축전기(Cst)는 구동 트랜지스터(Qd)의 제어 단자에 인가되는 데이터 신호를 충전하고 스위칭 트랜지스터(Qd)가 턴 오프(turn-off)된 뒤에도 이를 유지한다.
유기 발광 소자(70)는 예를 들면 유기 발광 다이오드(organic light emitting diode, OLED)로서, 구동 트랜지스터(Qd)의 출력 단자에 연결되어 있는 애노드(anode)와 공통 전압(Vss)에 연결되어 있는 캐소드(cathode)를 가진다. 유기 발광 소자(70)는 구동 트랜지스터(Qd)의 출력 전류(ILD)에 따라 세기를 달리하여 발광함으로써 영상을 표시한다. 유기 발광 소자(LD)는 적색, 녹색, 청색의 삼원색 등 기본색(primary color) 중 어느 하나 또는 하나 이상의 빛을 고유하게 내는 유기 물질을 포함할 수 있으며, 유기 발광 표시 장치는 이들 색의 공간적인 합으로 원하는 영상을 표시한다.
이하, 도 2를 참조하여 본 발명의 한 실시예에 따른 유기 발광 표시 장치를 구체적으로 설명한다.
도 2는 도 1의 유기 발광 표시 장치의 한 화소의 단면도이다.
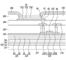
도 2에서는 도 1의 구동 박막 트랜지스터(Qd) 및 유기 발광 소자(70)을 중심으로 적층 순서에 따라 상세히 설명한다. 이하에서는 구동 박막 트랜지스터(Qd)를 박막 트랜지스터라 한다.
도 2에 도시한 바와 같이, 기판(100) 위에는 버퍼층(120)이 형성되어 있다.
기판(100)은 절연성이며 450℃이상의 온도에서 열처리가 가능한 유연한 유기물일 수 있으며, 예를 들어 폴리이미드(polyimide)로 단층 또는 도포 및 경화를 반복 적층하여 복수층으로 형성할 수 있다.
기판(100)은 8㎛ 내지 12㎛의 두께로 형성할 수 있으며, 기판의 두께가 얇아 핸들링이 용이하지 않으므로, PET, PEN 등의 보조 기판을 부착(도시하지 않음)할 수 있다.
기판(100) 위에는 베리어층(110)이 형성되어 있다. 베리어층(110)은 외부로부터 수분이나 산소와 같은 불필요한 성분이 발광 소자에 유입되는 것을 차단한다 베리어층(110)은 산화 규소로 이루어지는 제1 베리어층(12)과 질화 규소로 이루어지는 제2 베리어층(14)을 포함한다. 제1 베리어층의 두께는 1,000Å 내지 6,000Å이고, 제2 베리어층의 두께는 500Å 내지 2,000Å일 수 있다.
베리어층(110) 위에는 버퍼층(120)이 형성되어 있다.
버퍼층(120)은 질화 규소로 이루어지는 제1 버퍼층(22)과 산화 규소로 이루어지는 제2 버퍼층(24)을 포함한다.
제2 베리어층(14)과 제1 버퍼층(22)은 동일한 막질, 예를 들어 동일한 밀도 및 박막 스트레스를 가지는 질화 규소로 이루어질 수 있으며, 제2 베리어층(14)과 제1 버퍼층(22) 사이의 계면에 산화막이 위치할 수 있다. 산화막은 제2 베리어층(14)을 형성하고 제1 버퍼층(22)을 형성하는 공정 사이에 형성되는 자연 산화막일 수 있으며, 수십 Å이하의 두께일 수 있다.
버퍼층(120)은 불순물 또는 수분과 같이 불필요한 성분의 침투를 방지하면서 동시에 표면을 평탄화하는 역할을 한다. 또한, 베리어층으로 인해서 발생할 수 있는 불순물을 방지할 수 있다.
제1 버퍼층의 두께는 500Å 내지 1,000Å이고, 제2 버퍼층의 두께는 1,000Å 내지 3,000Å일 수 있다.
버퍼층(120) 위에는 다결정 규소로 이루어진 반도체(135)가 형성되어 있다.
반도체(135)는 채널 영역(1355), 채널 영역(1355)의 양측에 각각 형성된 소스 영역(1356) 및 드레인 영역(1357)로 구분된다. 반도체의 채널 영역(1355)은 불순물이 도핑되지 않은 다결정 규소, 즉 진성 반도체(intrinsic semiconductor)이다. 소스 영역(1356) 및 드레인 영역(1357)은 도전성 불순물이 도핑된 다결정 규소, 즉 불순물 반도체(impurity semiconductor)이다. 소스 영역(1356), 드레인 영역(1357)에 도핑되는 불순물은 p형 불순물 및 n형 불순물 중 어느 하나 일 수 있다.
반도체(135) 위에는 게이트 절연막(140)이 형성되어 있다. 게이트 절연막(140)은 테트라에톡시실란(tetra ethyl ortho silicate, TEOS), 질화 규소 및 산화 규소 중 적어도 하나를 포함한 단층 또는 복수층일 수 있다.
반도체(135) 위에는 게이트 전극(155)이 형성되어 있으며, 게이트 전극(155)은 채널 영역(1355)과 중첩한다.
게이트 전극(155)은 Al, Ti, Mo, Cu, Ni 또는 이들의 합금과 같이 저저항 물질 또는 부식이 강한 물질을 포함하여 단층 또는 복수층으로 형성할 수 있다.
게이트 전극(155) 위에는 제1 층간 절연막(160)이 형성된다. 제1 층간 절연막(160)은 게이트 절연막(140)과 마찬가지로 테트라에톡시실란(tetra ethyl ortho silicate, TEOS), 질화 규소 또는 산화 규소 등으로 단층 또는 복수층으로 형성될 수 있다.
제1 층간 절연막(160)과 게이트 절연막(140)에는 소스 영역(1356)과 드레인 영역(1357)을 각각 노출하는 소스 접촉 구멍(66)과 드레인 접촉 구멍(67)을 갖는다.
제1 층간 절연막(160) 위에는 소스 전극(176) 및 드레인 전극(177)이 형성되어 있다. 소스 전극(176)은 접촉 구멍(66)을 통해서 소스 영역(1356)과 연결되어 있고, 드레인 전극(177)은 접촉 구멍(67)을 통해서 드레인 영역(1357)과 연결되어 있다.
소스 전극(176) 및 드레인 전극(177)은 Al, Ti, Mo, Cu, Ni 또는 이들의 합금과 같이 저저항 물질 또는 부식이 강한 물질을 단층 또는 복수층으로 형성할 수 있다. 예를 들어, Ti/Cu/Ti, Ti/Ag/Ti, Mo/Al/Mo의 삼중층일 수 있다.
게이트 전극(155), 소스 전극(176) 및 드레인 전극(177)은 각각 도 1의 제어 전극, 입력 전극 및 출력 전극으로, 반도체(135)와 함께 박막 트랜지스터를 이룬다. 박막 트랜지스터의 채널(channel)은 소스 전극(176)과 드레인 전극(177) 사이의 반도체(135)에 형성된다.
소스 전극(176)과 드레인 전극(177) 위에는 제2 층간 절연막(180)이 형성되어 있다. 제2 층간 절연막(180)은 드레인 전극(177)을 노출하는 접촉 구멍(85)을 포함한다.
제2 층간 절연막(180)은 제1 층간 절연막과 마찬가지로 테트라에톡시실란(tetra ethyl ortho silicate, TEOS), 질화 규소 또는 산화 규소 등으로 단층 또는 복수층으로 형성할 수 있으며, 저유전율 유기 물질로 이루어질 수 있다.
제2 층간 절연막(180) 위에는 제1 전극(710)이 형성되어 있다. 제1 전극(710)은 비아홀(via hole)(85)을 통해서 드레인 전극(177)과 전기적으로 연결되며, 제1 전극(710)은 도 1의 유기 발광 소자의 애노드 전극일 수 있다.
제1 전극(710)위에는 화소 정의막(190)이 형성되어 있다.
화소 정의막(190)은 제1 전극(710)을 노출하는 개구부(95)를 가진다. 화소 정의막(190)은 폴리아크릴계(polyacrylates) 또는 폴리이미드계(polyimides) 등의 수지와 실리카 계열의 무기물 등을 포함하여 이루어질 수 있다.
화소 정의막(190)의 개구부(95)에는 유기 발광층(720)이 형성되어 있다.
유기 발광층(720)은 발광층과 정공 수송층(hole-injection layer, HIL), 정공 수송층(hole-transporting layer, HTL), 전자 수송층(electron-transporting layer, ETL) 및 전자 주입층(electron-injection layer, EIL) 중 하나 이상을 포함하는 복수층으로 형성된다.
유기 발광층(720)이 이들 모두를 포함할 경우 정공 주입층이 애노드 전극인 제1 전극(710) 위에 위치하고 그 위로 정공 수송층, 발광층, 전자 수송층, 전자 주입층이 차례로 적층될 수 있다.
화소 정의막(190) 및 유기 발광층(720) 위에는 제2 전극(730)이 형성된다.
제2 전극(730)은 유기 발광 소자의 캐소드 전극이 된다. 따라서 제1 전극(710), 유기 발광층(720) 및 제2 전극(730)은 유기 발광 소자(70)를 이룬다.
유기 발광 소자(70)가 빛을 방출하는 방향에 따라서 유기 발광 표시 장치는 전면 표시형, 배면 표시형 및 양면 표시형 중 어느 한 구조를 가질 수 있다.
전면 표시형일 경우 제1 전극(710)은 반사막으로 형성하고 제2 전극(730)은 반투과막 또는 투과막으로 형성한다. 반면, 배면 표시형일 경우 제1 전극(710)은 반투과막으로 형성하고 제2 전극(730)은 반사막으로 형성한다. 그리고 양면 표시형일 경우 제1 전극(710) 및 제2 전극(730)은 투명막 또는 반투과막으로 형성한다.
반사막 및 반투과막은 마그네슘(Mg), 은(Ag), 금(Au), 칼슘(Ca), 리튬(Li), 크롬(Cr) 및 알루미늄(Al) 중 하나 이상의 금속 또는 이들의 합금을 사용하여 만들어진다. 반사막과 반투과막은 두께로 결정되며, 두께가 얇아질수록 빛의 투과율이 높아지므로, 반투과막은 200nm 이하의 두께로 형성될 수 있다.
투명막은 ITO(indium tin oxide), IZO(indium zinc oxide), ZnO(산화 아연) 또는 In2O3(indium oxide) 등의 물질로 이루어진다.
제2 전극(730) 위에는 봉지 부재(260)가 형성되어 있다.
봉지 부재(260)은 하나 이상의 유기층과 하나 이상의 무기층이 상호 교번하여 적층 형성될 수 있다.
상기 무기층 또는 유기층은 각각 복수 층일 수 있다.
상기 유기층은 고분자로 형성되며, 바람직하게는 폴리에틸렌테레프탈레이트, 폴리이미드, 폴라카보네이트, 에폭시, 폴리에틸렌 및 폴리아크릴레이트 중 어느 하나로 형성되는 단일막 또는 적층막일 수 있다. 더욱 바람직하게는, 상기 유기층은 폴리아크릴레이트로 형성될 수 있으며, 구체적으로는 디아크릴레이트계 모노머와 트리아크릴레이트계 모노머를 포함하는 모노머 조성물이 고분자화된 것을 포함한다. 상기 모노머 조성물에 모노아크릴레이트계 모노머가 더 포함될 수 있다. 또한, 상기 모노머 조성물에 TPO와 같은 공지의 광개시제가 더욱 포함될 수 있으나 이에 한정되는 것은 아니다.
상기 무기층은 금속 산화물 또는 금속 질화물을 포함하는 단일막 또는 적층막일 수 있다. 구체적으로, 상기 무기층은 SiNx, Al2O3, SiO2, TiO2 중 어느 하나를 포함할 수 있다.
상기 봉지층 중 외부로 노출된 최상층은 유기발광소자에 대한 투습을 방지하기 위하여 무기층으로 형성될 수 있다.
상기 봉지층은 적어도 2개의 무기층 사이에 적어도 하나의 유기층이 삽입된 샌드위치 구조를 적어도 하나 포함할 수 있다. 또한, 상기 봉지층은 적어도 2개의 유기층 사이에 적어도 하나의 무기층이 삽입된 샌드위치 구조를 적어도 하나 포함할 수 있다.
상기 봉지층은 상기 디스플레이부의 상부로부터 순차적으로 제1 무기층, 제1 유기층, 제2 무기층을 포함할 수 있다. 또한, 상기 봉지층은 상기 디스플레이부의 상부로부터 순차적으로 제1 무기층, 제1 유기층, 제2 무기층, 제2 유기층, 제3 무기층을 포함할 수 있다. 또한, 상기 봉지층은 상기 디스플레이부의 상부로부터 순차적으로 제1 무기층, 제1 유기층, 제2 무기층, 제2 유기층, 제3 무기층, 제3 유기층, 제4 무기층을 포함할 수 있다.
상기 디스플레이부와 상기 제1 무기층 사이에 LiF를 포함하는 할로겐화 금속층이 추가로 포함될 수 있다. 상기 할로겐화 금속층은 상기 제1 무기층을 스퍼터링 방식 또는 플라즈마 증착 방식으로 형성할 때 상기 디스플레이부가 손상되는 것을 방지할 수 있다.
상기 제1 유기층은 상기 제2 무기층 보다 면적이 좁은 것을 특징으로 하며, 상기 제2 유기층도 상기 제3 무기층 보다 면적이 좁을 수 있다. 또한, 상기 제1 유기층은 상기 제2 무기층에 의해 완전히 뒤덮이는 것을 특징으로 하며, 상기 제2 유기층도 상기 제3 무기층에 의해 완전히 뒤덮일 수 있다.
그럼 이상의 유기 발광 표시 장치를 제조하는 방법에 대해서 도 3 내지 7과 기 설명한 도 2를 참조하여 구체적으로 설명한다.
도 3 내지 도 7은 본 발명의 한 실시예에 따른 유기 발광 표시 장치의 제조 방법을 공정 순서대로 도시한 단면도이다.
먼저, 도 3에 도시한 바와 같이, 기판(100) 위에 베리어층(110)을 형성한다.
기판(100)은 지지 기판(도시하지 않음) 위에 폴리 이미드와 같은 고분자 물질을 도포한 후 경화시켜 형성한 가요성 기판일 수 있다. 이때, 고분자 물질은 도포 및 경화를 반복하여 복수층으로 형성할 수 있다. 지지 기판은 글라스(glass), 금속 또는 세라믹(ceramic) 등으로 이루어질 수 있으며, 폴리 이미드는 지지 기판 위에 스핀 코팅(spin coating), 슬릿 코팅(slit coating), 잉크젯 코팅(inkjet coating) 등의 도포 공정으로 도포할 수 있다.
베리어층(110)은 산화 규소를 증착하여 제1 베리어층(12)을 형성하고, 연속해서 인시츄(in-situ)공정으로 질화 규소를 증착하여 제2 베리어층(14)을 형성한다.
이때, 제1 베리어층(12)은 SiOx 또는 SiON으로 이루어지며, 제1 베리어층(12)은 1,000Å 내지 6,000Å의 두께로 형성할 수 있다.
그리고 제2 베리어층(14)은 SiNx 또는 SiON으로 이루어지며, 제2 베리어층(14)은 500Å 내지 2,000Å의 두께로 형성할 수 있다.
다음, 도 4에 도시한 바와 같이, 제2 베리어층(14) 위에 버퍼층(120)을 형성한다.
버퍼층(120)은 제1 버퍼층(22)과 제2 버퍼층(24)을 포함한다.
이때, 제2 베리어층(14)을 형성한 후 제2 베리어층(14)을 대기 중에 노출시켜 제2 베리어층(14)의 스트레스를 이완한 다음 제1 버퍼층(22)을 형성한다.
제2 베리어층(14)과 제1 버퍼층(22)은 동일한 물질로 이루어져 연속해서 하나의 박막으로 형성할 수 있으나, 본 발명에서와 같이 제2 베리어층(14)을 형성한 후, 제2 베리어층(14)의 스트레스를 이완한 다음 제1 버퍼층(22)을 형성함으로써 베리어층(110)과 버퍼층(120)으로 인한 크랙을 줄일 수 있다.
즉, 박막의 두께가 증가할수록 박막의 스트레스는 증가하는데, 본 발명에서와 같이 제2 베리어층(14)을 형성한 후 대기 중에 노출함으로써 제2 베리어층(14)의 스트레스를 이완 시키고, 다시 제2 베리어층(14)과 동일한 물질로 제1 버퍼층(22)을 형성하면, 한번에 두꺼운 박막을 형성했을 때의 박막 스트레스보다 스트레스를 줄일 수 있다. 따라서 박막 스트레스로 인한 박막 크랙을 감소시켜 반도체 등이 손상되고, 박막이 분리되는 현상을 방지할 수 있다.
제1 버퍼층(22)은 SiNx 또는 SiON으로 제2 베리어층(14) 위에 형성되며, 제2 베리어층(14)과 동일한 박막 스트레스를 가지도록 형성한다. 이때, 제1 버퍼층(22)은 제1 베리어층(12)을 형성하는 온도와 같거나 그 이상의 온도에서 형성하며, 500Å 내지 1,000Å의 두께로 형성할 수 있다.
그리고 제2 버퍼층(24)은 제1 버퍼층(24) 위에 인시츄(in-situ) 공정으로 형성하며, SiO2 또는 SiON일 수 있다. 이때, 제2 버퍼층(24)은 1,000Å 내지 3,000Å의 두께로 형성할 수 있다.
버퍼층(120) 위에 비정질 규소막(35)을 형성하고 탈수소화 공정을 진행한다. 탈수소화 공정은 450℃ 내지 470℃에서 5분 내지 1시간 동안 진행할 수 있다.
탈수소화 공정은 비정질 규소막 내의 수소를 제거하기 위해서 진행한다. 이때, 제2 베리어층(14)과 제1 버퍼층(22)에 포함된 수소도 일부 제거될 수 있다.
다음, 도 5에 도시한 바와 같이, 비정질 규소막을 결정화한 후 패터닝하여 반도체(135)를 형성한다.
그리고 반도체(135) 위에 산화 규소 또는 질화 규소로 게이트 절연막(140)을 형성하고, 게이트 절연막(140) 위에 금속막을 형성한 후 패터닝하여 게이트 전극(155)을 형성한다.
그런 다음, 게이트 전극(155)을 마스크로 반도체(135)에 도전형 불순물 이온을 고농도로 도핑하여 소스 영역(1356) 및 드레인 영역(1357)을 형성한다. 소스 영역(1356)과 드레인 영역(1357) 사이는 채널 영역(1355)이 된다.
이후, 도전형 불순물 이온을 활성화하기 위해서 활성화 공정을 진행한다.
활성화 공정은 450℃ 내지 470℃에서 5분 내지 2시간 동안 진행하거나, RTA(rapid thermal annealing)로 500℃이상의 온도에서 2분 이내로 진행할 수 있다. 이때, 불순물 이온이 활성화 되는 것과 함께 제2 베리어층(14) 및 제1 버퍼층(22) 내의 수소도 일부 제거될 수 있다.
다음, 도 6에 도시한 바와 같이, 게이트 전극(155)위에 제1 층간 절연막(160)을 형성한다.
이후 제1 층간 절연막(160), 게이트 절연막(140)을 식각하여 반도체(135)를 노출하는 콘택홀(contact hole)(66, 67)을 형성한다.
그리고, 열처리 공정을 진행한다. 열처리는 접촉 구멍을 형성하기 위한 식각 공정시 플라스마에 의해서 손상된 층간 절연막 및 반도체 표면을 큐어링하기 위한 것이다. 수소 패시베이션 공정은 330℃ 내지 380℃의 온도에서 30분 내지 60분 동안 진행할 수 있다.
그리고 제1 층간 절연막(160) 위에 금속막을 형성한 후 패터닝하여 접촉 구멍(66, 67)을 통해서 소스 영역(1356) 및 드레인 영역(1357)과 각각 연결되는 소스 전극(176) 및 드레인 전극(177)을 형성한다.
다음, 도 7에 도시한 바와 같이, 소스 전극(176) 및 드레인 전극(177) 위에 제2 층간 절연막(180)을 형성한다.
이후, 제2 층간 절연막(180)을 식각하여 드레인 전극(177)을 노출하는 접촉 구멍(85)을 형성한다.
다음, 도 2에 도시한 바와 같이 제2 층간 절연막(180) 위에 금속막을 형성한 후 패터닝하여 제1 전극(710)을 형성한다.
그리고 제1 전극(710) 위에 개구부(95)를 가지는 화소 정의막(190)을 형성하고, 화소 정의막(190)의 개구부(95) 내에 유기 발광층(720)을 형성하고 유기 발광층(720) 위에 제2 전극(730)을 형성한다.
이후, 제2 전극 위에 봉지층을 형성한 다음 지지 기판(도시하지 않음)을 제거하여 유기 발광 표시 장치를 완성한다.
도 8은 본 발명의 다른 실시예에 따른 유기 발광 표시 장치의 단면도이다.
도 8의 유기 발광 표시 장치의 대부분의 층간 구성은 도 2의 유기 발광 표시 장치와 동일하므로 다른 부분에 대해서만 구체적으로 설명한다.
도 8의 유기 발광 표시 장치의 기판(102)은 제1 가요성 기판(10), 중간 베리어층(16), 접착층(18) 및 제2 가요성 기판(20)을 포함한다.
제1 가요성 기판(10) 및 제2 가요성 기판(20)은 동일한 물질로, 예를 들어 폴리이미드로 이루어지며, 중간 베리어층은 SiOx 또는 SiNx 중 적어도 하나를 포함하는 무기물질로 이루어지고, 접착층(18)은 수소화된 비정질 실리콘(a-Si:H)으로 이루어질 수 있다.
비정질 규소는 가요성 기판을 이루는 고분자 물질의 주 구성이 탄소(C)와의 결합력이 우수한 수소와 중간 베리어층의 규소를 포함하여 가요성 기판과 중간 베리어층 사이를 강하게 결합하기 위한 접착 물질로 사용할 수 있다.
제1 가요성 기판(10) 및 제2 가요성 기판(20)은 유기 발광 표시 장치를 제조하는 공정시의 핸드링을 용이하게 하기 위해서 PET(poly ethylene terephthlate), PEN(poly ethylene naphthalate)과 같은 보조 기판(도시하지 않음)을 더 포함할 수 있다.
기판(100)은 지지 기판(도시하지 않음) 위에 고분자 물질을 도포한 후 경화시켜 제1 가요성 기판(10)을 형성한다. 지지 기판은 글라스, 금속 또는 세라믹 등으로 이루어질 수 있으며, 폴리 이미드는 지지 기판 위에 스핀 코팅, 슬릿 코팅, 잉크젯 코팅 등의 도포 공정으로 도포할 수 있다.
그리고 제1 가요성 기판(10) 위에 산화 규소를 증착하여 중간 베리어층(16)을 형성한다. 중간 베리어층(16)은 1,000Å 내지 6,000Å의 두께로 형성할 수 있다.
이후, 중간 베리어층(16) 위에 P형 또는 N형 반도체 물질이 도핑된 비정질 실리콘 또는 수소화된 비정질 실리콘을 증착하여 접착층(18)을 형성한다. 접착층(18)은 100Å이하의 두께로 형성하며, 제1 가요성 기판과 제2 가요성 기판의 결합력을 증가시킨다.
제1 가요성 기판과 동일한 물질을 도포한 후 경화하여 제2 가요성 기판(20)을 형성한다. 제2 가요성 기판(20)은 폴리 이미드로 형성할 수 있으며, 폴리 이미드는 제1 가요성 기판과 동일한 방법으로 형성한다.
제1 가요성 기판(10) 및 제2 가요성 기판(20)은 각각 8㎛ 내지 12㎛의 두께로 형성할 수 있다.
도 8에서와 같이 기판을 제1 가요성 기판과 제2 가요성 기판으로 형성하면, 제1 가요성 기판을 제조할 때 형성되는 핀홀 또는 크랙 등이 제2 가요성 기판에 의해서 덮어지므로, 이러한 결함을 제거할 수 있다.
상기에서는 본 발명의 바람직한 실시예에 대하여 설명하였지만, 본 발명은 이에 한정되는 것이 아니고 특허청구범위와 발명의 상세한 설명 및 첨부한 도면의 범위 안에서 여러 가지로 변형하여 실시하는 것이 가능하고 이 또한 본 발명의 범위에 속하는 것은 당연하다.
10: 제1 가요성 기판 12: 제1 베리어층
14: 제2 베리어층 16: 중간 베리어층
20: 제2 가요성 기판 22: 제1 버퍼층
24: 제2 버퍼층 35: 비정질 규소막
66, 67: 콘택홀
85: 비아홀
70: 유기 발광 소자
95: 개구부 100, 102: 기판
120: 버퍼층 121: 게이트선
135: 반도체 140: 게이트 절연막
155: 게이트 전극 160: 제1 층간 절연막
180: 제2 층간 절연막 190: 화소 정의막
710: 제1 전극 720: 유기 발광층
730: 제2 전극 1355: 채널 영역
1356: 소스 영역 1357: 드레인 영역

Claims (15)

  1. 가요성 기판 위에 제1 베리어층을 형성하는 단계,
    상기 제1 베리어층 위에 질화 규소로 제2 베리어층을 형성하는 단계,
    상기 제2 베리어층을 형성하고 나서, 상기 제2 베리어층을 대기 중에 노출하여 상기 제2 베리어층의 스트레스를 이완하는 단계,
    상기 제2 베리어층 위에 질화 규소로 제1 버퍼층을 형성하는 단계,
    상기 제1 버퍼층 위에 제2 버퍼층을 형성하는 단계,
    상기 제2 버퍼층 위에 박막 트랜지스터를 형성하는 단계
    를 포함하는 가요성 표시 장치의 제조 방법.
  2. 삭제
  3. 제1항에서,
    상기 가요성 기판은 폴리이미드(polyimide)로 이루어진 고분자 물질층을 적어도 한층 이상 포함하는 가요성 표시 장치의 제조 방법.
  4. 제3항에서,
    상기 가요성 기판은 제1 가요성 기판을 형성하는 단계,
    상기 제1 가요성 기판 위에 중간 베리어층을 형성하는 단계,
    상기 중간 베리어층 위에 제2 가요성 기판을 형성하는 단계
    를 포함하고,
    상기 중간 베리어층은 상기 제1 베리어층과 동일한 물질을 포함하는 가요성 표시 장치의 제조 방법.
  5. 제4항에서,
    상기 제1 가요성 기판과 상기 제2 가요성 기판 사이에 접착층을 형성하는 단계를 더 포함하고,
    상기 접착층은 P형 또는 N형 도전형 불순물이 도핑된 비정질 실리콘 또는 수소화된 비정질 실리콘으로 형성하는 가요성 표시 장치의 제조 방법.
  6. 제4항에서,
    상기 중간 베리어층은 1,000Å내지 6,000Å의 두께로 형성하는 가요성 표시 장치의 제조 방법.
  7. 제4항에서,
    상기 제1 가요성 기판과 상기 제2 가요성 기판은 폴리이미드(polyimide)로 형성하는 가요성 표시 장치의 제조 방법.
  8. 제4항에서,
    상기 제1 가요성 기판과 상기 제2 가요성 기판은 각각 8㎛ 내지 12㎛의 두께로 형성하는 가요성 표시 장치의 제조 방법.
  9. 제1 가요성 기판,
    상기 제1 가요성 기판 위에 위치하며 산화 규소로 이루어지는 중간 베리어층,
    상기 중간 베리어층 위에 위치하며 P형 또는 N형 도전형 불순물이 도핑된 비정질 실리콘 또는 수소화된 비정질 실리콘으로 이루어지는 접착층,
    상기 접착층 위에 위치하는 제2 가요성 기판,
    상기 제2 가요성 기판 위에 위치하며 산화 규소로 이루어지는 제1 베리어층,
    상기 제1 베리어층 위에 위치하며 질화 규소로 이루어지는 제2 베리어층,
    상기 제2 베리어층 위에 위치하며 산화 규소로 이루어지는 버퍼층,
    상기 버퍼층 위에 위치하는 박막 트랜지스터,
    상기 박막 트랜지스터와 연결되어 있는 유기 발광 소자
    를 포함하고,
    상기 박막 트랜지스터는 상기 제2 가요성 기판과 상기 유기 발광 소자 사이에 위치하고,
    상기 버퍼층은 제2 베리어층 위에 위치하는 제1 버퍼층과 상기 제1 버퍼층 위에 위치하는 제2 버퍼층을 포함하고,
    상기 제1 버퍼층은 상기 제1 버퍼층과 동일한 막질을 가지는 질화 규소로 이루어지는 가요성 표시 장치.
  10. 제9항에서,
    상기 제1 가요성 기판 및 제2 가요성 기판은 폴리 이미드로 이루어지는 가요성 표시 장치.
  11. 제10항에서,
    상기 제1 가요성 기판과 상기 제2 가요성 기판은 각각 8㎛ 내지 12㎛의 두께로 형성하는 가요성 표시 장치.
  12. 제10항에서,
    상기 중간 베리어층의 두께는 1,000Å 내지 6,000Å인 가요성 표시 장치.
  13. 삭제
  14. 제9항에서,
    상기 제1 베리어층의 두께는 1,000Å 내지 6,000Å이고,
    상기 제2 베리어층의 두께는 500Å 내지 2,000Å이고,
    상기 제1 버퍼층의 두께는 500Å 내지 1,000Å이고,
    상기 제2 버퍼층의 두께는 1,000Å 내지 3,000Å인 가요성 표시 장치.
  15. 제9항에서,
    상기 접착층은 100Å의 두께로 형성하는 가요성 표시 장치.
KR1020130134331A 2013-11-06 2013-11-06 가요성 표시 장치 및 그 제조 방법 Active KR102180037B1 (ko)

Priority Applications (5)

Application Number Priority Date Filing Date Title
KR1020130134331A KR102180037B1 (ko) 2013-11-06 2013-11-06 가요성 표시 장치 및 그 제조 방법
US14/461,657 US9305984B2 (en) 2013-11-06 2014-08-18 Flexible display and manufacturing method thereof
EP20140190490 EP2871685A3 (en) 2013-11-06 2014-10-27 Flexible display and manufacturing method thereof
CN201410612762.7A CN104637438B (zh) 2013-11-06 2014-11-04 柔性显示器及其制造方法
US15/072,658 US9548343B2 (en) 2013-11-06 2016-03-17 Flexible display

Applications Claiming Priority (1)

Application Number Priority Date Filing Date Title
KR1020130134331A KR102180037B1 (ko) 2013-11-06 2013-11-06 가요성 표시 장치 및 그 제조 방법

Publications (2)

Publication Number Publication Date
KR20150052645A KR20150052645A (ko) 2015-05-14
KR102180037B1 true KR102180037B1 (ko) 2020-11-18

Family

ID=51903757

Family Applications (1)

Application Number Title Priority Date Filing Date
KR1020130134331A Active KR102180037B1 (ko) 2013-11-06 2013-11-06 가요성 표시 장치 및 그 제조 방법

Country Status (4)

Country Link
US (2) US9305984B2 (ko)
EP (1) EP2871685A3 (ko)
KR (1) KR102180037B1 (ko)
CN (1) CN104637438B (ko)

Families Citing this family (63)

* Cited by examiner, † Cited by third party
Publication number Priority date Publication date Assignee Title
KR102347532B1 (ko) 2014-01-23 2022-01-05 삼성디스플레이 주식회사 접을 수 있는 플렉서블 표시 장치 및 이의 제조 방법
US9166188B1 (en) * 2014-06-10 2015-10-20 Arolltech Co., Ltd. Organic light emitting diode device
KR102313361B1 (ko) * 2014-11-17 2021-10-18 삼성디스플레이 주식회사 유기 발광 표시 장치, 이를 포함하는 전자 기기, 및 유기 발광 표시 장치의 제조 방법
KR102281329B1 (ko) * 2014-12-19 2021-07-26 삼성디스플레이 주식회사 플렉서블 디스플레이 장치 및 그 제조방법
CN104992945A (zh) * 2015-05-28 2015-10-21 京东方科技集团股份有限公司 显示基板及其制作方法以及显示装置
JP6784969B2 (ja) * 2015-10-22 2020-11-18 天馬微電子有限公司 薄膜デバイスとその製造方法
CN105374882A (zh) * 2015-12-21 2016-03-02 武汉华星光电技术有限公司 一种低温多晶硅薄膜晶体管及其制备方法
KR20170087568A (ko) 2016-01-20 2017-07-31 삼성디스플레이 주식회사 액정 표시 장치 및 이의 제조 방법
US10283574B2 (en) * 2016-03-25 2019-05-07 Samsung Display Co., Ltd. Display apparatus with bending area capable of minimizing manufacturing defects
CN105957978B (zh) * 2016-05-30 2018-03-06 京东方科技集团股份有限公司 封装结构及其制造方法
CN106098740B (zh) * 2016-08-04 2019-11-01 深圳市景方盈科技有限公司 有机发光二极管显示面板及装置的制造方法
CN105977281B (zh) * 2016-08-04 2019-03-15 深圳爱易瑞科技有限公司 有机发光二极管显示装置、面板
CN106222619A (zh) * 2016-08-16 2016-12-14 京东方科技集团股份有限公司 一种基底、基板及其制作方法、电子器件
KR102657577B1 (ko) * 2016-08-22 2024-04-15 삼성디스플레이 주식회사 표시 장치
US11374184B2 (en) 2016-09-08 2022-06-28 Boe Technology Group Co., Ltd. Flexible substrate and fabrication method thereof, and flexible display apparatus
CN106206945A (zh) * 2016-09-08 2016-12-07 京东方科技集团股份有限公司 一种柔性基板及其制备方法、柔性显示装置
KR102832749B1 (ko) * 2016-09-23 2025-07-10 엘지디스플레이 주식회사 플렉서블 표시장치
CN106229321B (zh) * 2016-09-29 2024-03-29 上海天马微电子有限公司 一种阵列基板及显示面板
CN106784412B (zh) * 2017-03-30 2019-02-26 武汉华星光电技术有限公司 柔性有机发光二极管显示器及其制作方法
KR102324219B1 (ko) * 2017-04-24 2021-11-12 삼성디스플레이 주식회사 표시 장치 및 이의 제조 방법
KR102385098B1 (ko) * 2017-05-16 2022-04-13 삼성디스플레이 주식회사 플렉서블 표시 장치 및 이의 제조 방법
CN109088006B (zh) * 2017-06-13 2021-02-19 上海和辉光电股份有限公司 柔性基板及显示面板
US10658592B2 (en) * 2017-07-31 2020-05-19 Wuhan China Star Optoelectronics Semiconductor Display Technology Co., Ltd. Method for fabricating flexible display device, flexible display device, and display apparatus
CN107464893A (zh) * 2017-07-31 2017-12-12 武汉华星光电半导体显示技术有限公司 柔性显示器件的制备方法、柔性显示器件及显示器
CN109360888A (zh) * 2017-08-18 2019-02-19 武汉华星光电半导体显示技术有限公司 柔性oled显示面板的柔性基底及其制备方法
KR20190027984A (ko) * 2017-09-07 2019-03-18 삼성디스플레이 주식회사 디스플레이 장치
KR102349279B1 (ko) 2017-09-08 2022-01-11 삼성디스플레이 주식회사 디스플레이 장치
CN107768530B (zh) * 2017-11-15 2020-01-17 武汉华星光电半导体显示技术有限公司 柔性基板及其制作方法
KR102606995B1 (ko) * 2018-02-13 2023-11-30 삼성디스플레이 주식회사 박막 트랜지스터 기판의 제조 방법
KR20190100554A (ko) * 2018-02-19 2019-08-29 삼성디스플레이 주식회사 유기 발광 표시 장치
CN108336118B (zh) * 2018-02-28 2020-12-15 京东方科技集团股份有限公司 显示基板及其制造方法、显示装置
KR102504565B1 (ko) 2018-03-08 2023-03-02 삼성디스플레이 주식회사 표시 장치
KR102486879B1 (ko) 2018-04-12 2023-01-11 삼성디스플레이 주식회사 디스플레이 장치 및 그 제조방법
KR102603872B1 (ko) * 2018-04-20 2023-11-21 삼성디스플레이 주식회사 디스플레이 장치 및 그 제조방법
CN108987426B (zh) * 2018-07-23 2020-09-29 上海天马微电子有限公司 一种柔性led显示面板及电子设备
CN109065590B (zh) * 2018-08-09 2020-12-04 京东方科技集团股份有限公司 有机发光显示基板及其制作方法、有机发光显示装置
KR102612577B1 (ko) * 2018-08-13 2023-12-08 엘지디스플레이 주식회사 박막 트랜지스터 기판, 쉬프트 레지스터 및 표시장치
KR102562902B1 (ko) 2018-09-14 2023-08-04 삼성디스플레이 주식회사 표시장치
US10360825B1 (en) 2018-09-24 2019-07-23 Innolux Corporation Flexible electronic device
KR102783947B1 (ko) * 2018-11-07 2025-03-18 엘지디스플레이 주식회사 표시 장치
TWI730277B (zh) * 2018-12-20 2021-06-11 華碩電腦股份有限公司 顯示裝置製造方法
US11038153B2 (en) * 2019-01-15 2021-06-15 Applied Materials, Inc. Methods for HMDSO thermal stability
CN109830621B (zh) * 2019-02-19 2021-08-10 成都京东方光电科技有限公司 柔性基板及其制造方法、柔性显示基板及其制造方法
CN113261101A (zh) * 2019-03-19 2021-08-13 深圳市柔宇科技股份有限公司 透明显示面板和显示装置
CN110112292A (zh) * 2019-05-14 2019-08-09 武汉华星光电半导体显示技术有限公司 柔性显示屏及其制作方法、智能设备
CN110379823B (zh) * 2019-07-24 2021-01-01 武汉华星光电半导体显示技术有限公司 一种阵列基板及oled显示面板
KR20210080685A (ko) * 2019-12-20 2021-07-01 삼성디스플레이 주식회사 표시 장치 및 표시 장치의 제조 방법
JP7499089B2 (ja) * 2019-12-26 2024-06-13 Tianma Japan株式会社 表示装置
CN113053952A (zh) * 2019-12-26 2021-06-29 天马日本株式会社 显示装置及其制造方法
WO2021189669A1 (zh) * 2020-03-23 2021-09-30 京东方科技集团股份有限公司 显示基板及其制备方法、显示母板和显示装置
KR102729031B1 (ko) 2020-04-09 2024-11-14 삼성디스플레이 주식회사 표시 장치 및 그 제조 방법
CN111584565B (zh) * 2020-05-11 2023-09-26 武汉华星光电半导体显示技术有限公司 一种柔性阵列基板及显示面板
KR102512014B1 (ko) 2020-05-21 2023-03-21 삼성디스플레이 주식회사 표시 장치
CN112002741B (zh) * 2020-08-11 2022-12-06 深圳市华星光电半导体显示技术有限公司 显示面板及其制作方法
KR102782697B1 (ko) * 2020-11-23 2025-03-17 삼성디스플레이 주식회사 표시 장치
KR102801693B1 (ko) 2020-11-27 2025-04-30 삼성디스플레이 주식회사 디스플레이 장치 및 그 제조방법
CN112687705A (zh) * 2020-12-28 2021-04-20 厦门天马微电子有限公司 一种显示面板及显示装置
CN112885849B (zh) * 2021-01-29 2022-09-09 武汉华星光电半导体显示技术有限公司 显示面板及显示装置
CN217562578U (zh) * 2021-06-18 2022-10-11 三星显示有限公司 电子装置
KR20230064672A (ko) 2021-11-03 2023-05-11 삼성디스플레이 주식회사 표시 장치
KR20230064669A (ko) * 2021-11-03 2023-05-11 삼성디스플레이 주식회사 표시 장치
CN114566506B (zh) * 2022-02-21 2025-01-03 深圳市华星光电半导体显示技术有限公司 柔性tft基板、柔性显示面板以及柔性显示装置
CN114759045B (zh) * 2022-03-10 2025-11-28 武汉华星光电半导体显示技术有限公司 柔性显示面板

Family Cites Families (13)

* Cited by examiner, † Cited by third party
Publication number Priority date Publication date Assignee Title
EP1145338B1 (en) 1998-12-16 2012-12-05 Samsung Display Co., Ltd. Environmental barrier material for organic light emitting device and method of making
HK1043664A1 (zh) 1999-04-28 2002-09-20 E‧I‧内穆尔杜邦公司 具有改进的抗氧和抗湿降解性的挠性有机电子器件
TWI313059B (ko) * 2000-12-08 2009-08-01 Sony Corporatio
TW548860B (en) 2001-06-20 2003-08-21 Semiconductor Energy Lab Light emitting device and method of manufacturing the same
KR100611219B1 (ko) 2003-03-05 2006-08-09 삼성에스디아이 주식회사 박막 트랜지스터 및 그의 제조방법
KR101189147B1 (ko) 2005-09-30 2012-10-10 엘지디스플레이 주식회사 액정표시장치와 그 제조방법
JP4680850B2 (ja) * 2005-11-16 2011-05-11 三星モバイルディスプレイ株式會社 薄膜トランジスタ及びその製造方法
KR100729054B1 (ko) * 2005-11-16 2007-06-14 삼성에스디아이 주식회사 박막 트랜지스터 및 그 제조 방법
KR101393632B1 (ko) * 2007-05-02 2014-05-12 삼성디스플레이 주식회사 박막 트랜지스터 표시판, 이를 이용한 표시 장치 및 표시장치 제조 방법
KR100899393B1 (ko) * 2007-09-07 2009-05-27 주식회사 하이닉스반도체 반도체 소자의 소자분리막 형성방법
KR101137389B1 (ko) * 2009-12-15 2012-04-20 삼성모바일디스플레이주식회사 플렉서블 디스플레이용 기판, 이를 제조하는 방법, 및 이 기판제조방법을 이용한 유기 발광 디스플레이 장치의 제조 방법
KR101108166B1 (ko) * 2010-02-09 2012-01-31 삼성모바일디스플레이주식회사 실리콘 산화물막과 실리콘 리치 실리콘 질화물막을 포함하는 배리어층을 포함하는 유기 발광 장치
US9142804B2 (en) 2010-02-09 2015-09-22 Samsung Display Co., Ltd. Organic light-emitting device including barrier layer and method of manufacturing the same

Also Published As

Publication number Publication date
EP2871685A3 (en) 2015-05-20
US9548343B2 (en) 2017-01-17
US20160197129A1 (en) 2016-07-07
EP2871685A2 (en) 2015-05-13
KR20150052645A (ko) 2015-05-14
CN104637438A (zh) 2015-05-20
US20150123098A1 (en) 2015-05-07
CN104637438B (zh) 2018-12-28
US9305984B2 (en) 2016-04-05

Similar Documents

Publication Publication Date Title
KR102180037B1 (ko) 가요성 표시 장치 및 그 제조 방법
JP6021770B2 (ja) 酸化物薄膜トランジスタ及びその製造方法
KR101309863B1 (ko) 발광 표시 장치 및 그 제조 방법
KR102257978B1 (ko) 표시 장치 및 이의 제조 방법
US9595694B2 (en) Thin film transistor substrate, organic light-emitting apparatus including the same, method of manufacturing the thin film transistor substrate, and method of manufacturing the organic light-emitting apparatus
US12075661B2 (en) Display apparatus
US9496510B2 (en) Flexible substrate, method of manufacturing the same, and organic light emitting diode display
US7994706B2 (en) Organic light emitting diode display device and method of fabricating the same
US9245905B2 (en) Back plane for flat panel display device and method of manufacturing the same
CN106098730B (zh) 有机发光设备及其制造方法
KR20150001173A (ko) 박막트랜지스터 기판, 이를 구비하는 유기 발광 장치, 박막트랜지스터 기판 제조방법 및 유기 발광 장치 제조방법
KR102392007B1 (ko) 박막트랜지스터 및 이를 포함하는 표시 장치
KR20120044042A (ko) 유기 발광 표시 장치 및 그 제조 방법
US9224988B2 (en) Method for manufacturing display device
CN106992189A (zh) 氧化物半导体tft基板结构及氧化物半导体tft基板的制作方法
KR102556027B1 (ko) 디스플레이장치 및 이의 제조방법
KR102317821B1 (ko) 유기발광소자
US20140141577A1 (en) Method of manufacturing thin film transistor array panel
KR20160042353A (ko) 박막트랜지스터 어레이 기판 및 그 제조방법
KR20140123367A (ko) 박막 트랜지스터 및 유기 발광 표시 장치의 제조 방법

Legal Events

Date Code Title Description
PA0109 Patent application

St.27 status event code: A-0-1-A10-A12-nap-PA0109

PG1501 Laying open of application

St.27 status event code: A-1-1-Q10-Q12-nap-PG1501

R18-X000 Changes to party contact information recorded

St.27 status event code: A-3-3-R10-R18-oth-X000

A201 Request for examination
PA0201 Request for examination

St.27 status event code: A-1-2-D10-D11-exm-PA0201

R18-X000 Changes to party contact information recorded

St.27 status event code: A-3-3-R10-R18-oth-X000

D13-X000 Search requested

St.27 status event code: A-1-2-D10-D13-srh-X000

D14-X000 Search report completed

St.27 status event code: A-1-2-D10-D14-srh-X000

E902 Notification of reason for refusal
PE0902 Notice of grounds for rejection

St.27 status event code: A-1-2-D10-D21-exm-PE0902

E13-X000 Pre-grant limitation requested

St.27 status event code: A-2-3-E10-E13-lim-X000

P11-X000 Amendment of application requested

St.27 status event code: A-2-2-P10-P11-nap-X000

P13-X000 Application amended

St.27 status event code: A-2-2-P10-P13-nap-X000

E90F Notification of reason for final refusal
PE0902 Notice of grounds for rejection

St.27 status event code: A-1-2-D10-D21-exm-PE0902

P11-X000 Amendment of application requested

St.27 status event code: A-2-2-P10-P11-nap-X000

P13-X000 Application amended

St.27 status event code: A-2-2-P10-P13-nap-X000

E701 Decision to grant or registration of patent right
PE0701 Decision of registration

St.27 status event code: A-1-2-D10-D22-exm-PE0701

GRNT Written decision to grant
PR0701 Registration of establishment

St.27 status event code: A-2-4-F10-F11-exm-PR0701

PR1002 Payment of registration fee

St.27 status event code: A-2-2-U10-U11-oth-PR1002

Fee payment year number: 1

PG1601 Publication of registration

St.27 status event code: A-4-4-Q10-Q13-nap-PG1601

P22-X000 Classification modified

St.27 status event code: A-4-4-P10-P22-nap-X000

PR1001 Payment of annual fee

St.27 status event code: A-4-4-U10-U11-oth-PR1001

Fee payment year number: 4

PR1001 Payment of annual fee

St.27 status event code: A-4-4-U10-U11-oth-PR1001

Fee payment year number: 5

PR1001 Payment of annual fee

St.27 status event code: A-4-4-U10-U11-oth-PR1001

Fee payment year number: 6

U11 Full renewal or maintenance fee paid

Free format text: ST27 STATUS EVENT CODE: A-4-4-U10-U11-OTH-PR1001 (AS PROVIDED BY THE NATIONAL OFFICE)

Year of fee payment: 6