JP5191843B2 - 半導体発光素子及びウェーハ - Google Patents
半導体発光素子及びウェーハ Download PDFInfo
- Publication number
- JP5191843B2 JP5191843B2 JP2008231097A JP2008231097A JP5191843B2 JP 5191843 B2 JP5191843 B2 JP 5191843B2 JP 2008231097 A JP2008231097 A JP 2008231097A JP 2008231097 A JP2008231097 A JP 2008231097A JP 5191843 B2 JP5191843 B2 JP 5191843B2
- Authority
- JP
- Japan
- Prior art keywords
- layer
- concentration
- light emitting
- barrier
- type
- Prior art date
- Legal status (The legal status is an assumption and is not a legal conclusion. Google has not performed a legal analysis and makes no representation as to the accuracy of the status listed.)
- Active
Links
Images
Classifications
-
- H—ELECTRICITY
- H10—SEMICONDUCTOR DEVICES; ELECTRIC SOLID-STATE DEVICES NOT OTHERWISE PROVIDED FOR
- H10H—INORGANIC LIGHT-EMITTING SEMICONDUCTOR DEVICES HAVING POTENTIAL BARRIERS
- H10H20/00—Individual inorganic light-emitting semiconductor devices having potential barriers, e.g. light-emitting diodes [LED]
- H10H20/80—Constructional details
- H10H20/81—Bodies
- H10H20/811—Bodies having quantum effect structures or superlattices, e.g. tunnel junctions
-
- H—ELECTRICITY
- H10—SEMICONDUCTOR DEVICES; ELECTRIC SOLID-STATE DEVICES NOT OTHERWISE PROVIDED FOR
- H10H—INORGANIC LIGHT-EMITTING SEMICONDUCTOR DEVICES HAVING POTENTIAL BARRIERS
- H10H20/00—Individual inorganic light-emitting semiconductor devices having potential barriers, e.g. light-emitting diodes [LED]
- H10H20/80—Constructional details
- H10H20/81—Bodies
- H10H20/811—Bodies having quantum effect structures or superlattices, e.g. tunnel junctions
- H10H20/812—Bodies having quantum effect structures or superlattices, e.g. tunnel junctions within the light-emitting regions, e.g. having quantum confinement structures
-
- H—ELECTRICITY
- H10—SEMICONDUCTOR DEVICES; ELECTRIC SOLID-STATE DEVICES NOT OTHERWISE PROVIDED FOR
- H10H—INORGANIC LIGHT-EMITTING SEMICONDUCTOR DEVICES HAVING POTENTIAL BARRIERS
- H10H20/00—Individual inorganic light-emitting semiconductor devices having potential barriers, e.g. light-emitting diodes [LED]
- H10H20/80—Constructional details
- H10H20/81—Bodies
- H10H20/822—Materials of the light-emitting regions
- H10H20/824—Materials of the light-emitting regions comprising only Group III-V materials, e.g. GaP
-
- H—ELECTRICITY
- H10—SEMICONDUCTOR DEVICES; ELECTRIC SOLID-STATE DEVICES NOT OTHERWISE PROVIDED FOR
- H10H—INORGANIC LIGHT-EMITTING SEMICONDUCTOR DEVICES HAVING POTENTIAL BARRIERS
- H10H20/00—Individual inorganic light-emitting semiconductor devices having potential barriers, e.g. light-emitting diodes [LED]
- H10H20/80—Constructional details
- H10H20/81—Bodies
- H10H20/822—Materials of the light-emitting regions
- H10H20/824—Materials of the light-emitting regions comprising only Group III-V materials, e.g. GaP
- H10H20/825—Materials of the light-emitting regions comprising only Group III-V materials, e.g. GaP containing nitrogen, e.g. GaN
- H10H20/8252—Materials of the light-emitting regions comprising only Group III-V materials, e.g. GaP containing nitrogen, e.g. GaN characterised by the dopants
Landscapes
- Led Devices (AREA)
- Semiconductor Lasers (AREA)
Description
なお、図面は模式的または概念的なものであり、各部分の厚みと幅との関係、部分間の大きさの比係数などは、必ずしも現実のものと同一とは限らない。また、同じ部分を表す場合であっても、図面により互いの寸法や比係数が異なって表される場合もある。
また、本願明細書と各図において、既出の図に関して前述したものと同様の要素には同一の符号を付して詳細な説明は適宜省略する。
図1は、本発明の第1の実施形態に係る半導体発光素子の構成を例示する模式的断面図である。
図1に表したように、本発明の第1の実施形態に係る半導体発光素子10は、例えば、表面がサファイアc面からなる基板110の上に、高炭素濃度のAlNからなる第1バッファ層121、高純度のAlNからなる第2バッファ層122、ノンドープのGaNからなる格子緩和層123、Siドープのn型GaNからなるn型コンタクト層130、Siドープのn型AlGaNからなるn型閉じ込め層(第1の層)131、発光部140、Mgドープのp型AlGaNからなるp型閉じ込め層(第2の層)151、及び、Mgドープのp型GaNからなるp型コンタクト層(第3の層)150、が積層された構造を有する。
発光部140は、Siドープのn型AlGaInNからなる障壁層141と、GaInNからなる井戸層142と、とが交互に6周期積層されてなる多重量子井戸構造を有している。
ここで、上記のAlGaInNは、AlxGa1−x−yInyN(0≦x、0≦y、x+y≦1)である。
なお、井戸層142には、GaInNだけでなく、AlGaInNも用いることができる。
この時、第2の部分143bにおけるSi濃度は、p側障壁層141a以外の障壁層141、すなわち、n側障壁層141b及び内側障壁層141c、におけるSi濃度よりも低い。
すなわち、本実施形態に係る半導体発光素子10では、n側障壁層141b、内側障壁層141c及び第1の部分143aのSi濃度が相対的に高く、第2の部分143bのSi濃度が相対的に低い。
第1バッファ層121においては、例えば、炭素濃度を1×1019cm−3〜5×1020cm−3とし、層厚を3nm〜20nmとすることができる。
第2バッファ層122においては、例えば、炭素濃度を1×1016cm−3〜1×1019cm−3とし、層厚を約2μmとすることができる。
また、格子緩和層123の層厚は、例えば2μmとすることができる。
そして、p型閉じ込め層151においては、例えば、第2の部分143bの側におけるMg濃度は3×1019cm−3で、表面側(第2の部分143bとは反対の側であり、p側電極160の側)におけるMg濃度は1×1019cm−3とすることができる。
GaN混晶のヘテロ接合では価電子帯側の不連続が少ないため、ホールの閉じ込め効果が弱い。従って、発光部140の効率改善には、少数キャリアであるホールを井戸層142に強く閉じ込めることが重要であると考えられる。
この原因は、高濃度でSiをドープしたために電子濃度が上昇し、電子がp型半導体層へオーバーフローを起していることであると推測された。
ところで、紫外などの短波長の光を発光する窒化物半導体を用いたLED素子では、動作電圧が実用的な範囲になるように、p型閉じ込め層151におけるMgの濃度は、長波長のLED素子に比べ、高濃度とされる。これは、窒化物半導体では、正孔の移動度が低いうえ、キャリア密度も低いため、p型閉じ込め層151のMgの濃度を高くしないと動作電圧が上昇してしまうためである。すなわち、p型閉じ込め層151にかかるピエゾ電界が通電を阻害して動作電圧を上昇させる。このピエゾ電界を打ち消すためは、例えば、1×1019cm−3以上のMg濃度が必要である。
発光効率が増加しない原因を調べるため、LED素子のSIMS分析を行った結果、p型閉じ込め層151において、Mg濃度は、発光部140側が高く表面側が低くなった特異な分布を示し、さらに、Mgは発光部140にまで拡散していた。このように、Mgが発光部140へ拡散したために、発光効率が向上しなかったと推測された。
この分析結果は、Mgの特異な分布は、熱によるものだけではなく、他の要因によっても発生していることを示唆した。
すなわち、本発明者は、p側障壁層141aのp型閉じ込め層151の側のSi濃度を、井戸層142の側のSi濃度よりも低くすることにより、発光効率を増加させることに成功した。すなわち、例えば、第2の部分143bにはSiをノンドープとし、第1の部分143aには高い濃度でSiをドープする。
そして、p型閉じ込め層151の膜厚を厚くするか、Al組成比を高くするかのいずれかによって、電子のオーバーフローの発生を抑制でき、これにより障壁層141にSiを高濃度でドープでき、井戸層142にホールを強く閉じ込めることができる。その結果として、さらに、発光効率が向上できる。
なお、p側障壁層141aの井戸層142側には、高濃度でSiがドープされ、これにより、井戸層142にホールを強く閉じ込めることができる。
まず、有機金属気相成長法を用いて、表面がサファイアc面からなる基板110の上に、第1バッファ層121となる高炭素濃度(炭素濃度1×1019cm−3〜5×1020cm−3)のAlN膜を厚さ3nm〜20nmで、第2バッファ層122となる炭素濃度1×1016cm−3〜1×1019cm−3の高純度AlN膜を厚さ2μmで、格子緩和層123となるノンドープGaN膜を厚さ2μmで、n型コンタクト層となるSi濃度1×1019cm−3〜2×1019cm−3のSiドープn型GaN膜を厚さ4μmで、n型閉じ込め層131となるSi濃度2×1018cm−3のSiドープn型Al0.13Ga0.87N膜を厚さ0.02μmで、積層して成膜し、そして、障壁層141(n側障壁層141b及び内側障壁層141c)となる厚さ13.5nmのSi濃度1.1〜3×1019cm−3のSiドープn型Al0.065Ga0.93In0.005N膜と、井戸層142となる厚さ4.5nmのGaInN膜と、を交互に6周期積層して成膜し(ただし、第1の部分143aとなるSi濃度1.1〜3.0×1019cm−3の高Si濃度Al0.065Ga0.93In0.005N膜は厚さ4.5nmである)、第2の部分143bとなるSi濃度1×1016〜3×1018cm−3のAl0.065Ga0.93In0.005N膜を厚さ4.5nmで、p型閉じ込め層151となるMgドープp型Al0.25Ga0.75N膜(Mg濃度は第2の部分143側が1.8×1019cm−3で、表面側が1×1019cm−3)を厚さ24nmで、p型コンタクト層150となるMgドープp型GaN膜(Mg濃度はp型閉じ込め層151側が1×1019cm−3で、表面側が5〜9×1019cm−3)の各層を順次積層して成膜する。
すなわち、まず、図1に表したように、これら半導体層の一部の領域において、n型コンタクト層130が表面に露出するまで、マスクを用いてドライエッチングによってp型の半導体層と発光部140を取り除く。そして、露出したn型の半導体層を含む半導体層全体に、熱CVD(Chemical Vapor Deposition)装置を用いて図示していないSiO2膜を400nmの厚さで成膜する。
すなわち、同表は、障壁層141(n側障壁層141b、内側障壁層141c、及び、第1の部分143a)の各種のSi濃度に対し、放射束とPL強度の関係から素子特性を判定した結果を例示しており、同表中の×印は放射束が10mW以下であることを表し、△印は放射束が10mW以上13mW未満であることを表し、○印は放射束が13mW以上15mW未満であることを表し、◎印は放射束が15mW以上であることを表している。
表1に表したように、Si濃度が増加するにつれ、PL強度は増加し、Si濃度が1.5×1019cm−3〜1.66×1019cm−3の時にPL強度が大きく、1.94×1019cm−3以上ではPL強度が減少した。
すなわち、障壁層141のうち、p側閉じ込め層151に最も近い障壁層141以外の障壁層(n側障壁層141b及び内側障壁層141c)におけるSi濃度は、1.1×1019cm−3以上、3×1019cm−3以下が望ましい。そして、第1の部分143aにおけるSi濃度は、1.1×1019cm−3以上、3×1019cm−3以下が望ましい。
上記で説明した本実施形態に係る半導体発光素子10においては、第1の部分143a及び第2の部分143bにおいて、Si濃度が階段状に、すなわち、不連続に変化している。このような場合は、第1の部分143aと第2の部分143bとは、明確に区別される。
以下では、説明を簡単にするために、Si濃度は2段階で不連続に変化しているとして説明する。
また、第2の部分143bの層厚は、第1の部分143a及びn側障壁層141b及び内側障壁層141cの層厚とは独立して、設定することができる。
図2は、本発明の第1の実施形態に係る半導体発光素子の特性を例示するグラフ図である。
すなわち、同図は、第1の部分143aの層厚及び第2の部分143bの層厚をそれぞれ変えて、その時の発光効率を調べた実験結果を例示しており、横軸は、第1の部分143a及び第2の部分143bの層厚の合計Dを表し、縦軸は放射束を表す。
本実験では、発光部140の内側障壁層141cの層厚は13.5μmであり、このことから、第1の部分143aと第2の部分143bとの層厚の合計Dは、発光部140の内側障壁層141cよりも薄くすることが望ましい。
表2は、第2の部分143bの層厚tbと素子特性の関係について調べた実験結果を例示している。すなわち、同表は、第2の部分143bの層厚tbと平均放射束の関係を例示しており、同表中の×印は放射束が10mW以下であることを表し、△印は放射束が10mW以上13mW未満であることを表し、○印は放射束が13mW以上15mW未満であることを表し、◎印は放射束が15mW以上であることを表している。
表2に表したように、放射束は、第2の部分143bの層厚tbが、4.5nmの時に一番大きく、そして、9nmの時に低くなった。そして、第2の部分143bの層厚tbが0nm、すなわち、第2の部分143bを設けない比較例の場合には、放射束は低かった。
従って、第2の部分143bの層厚tbは、3nm以上9nm以下が望ましい。
さらに、素子特性の再現性や生産性に優れているのは、第2の部分143bの層厚tbが、3nm以上、6nm以下の時である。
図3は、本発明の第1の実施形態に係る半導体発光素子の特性を例示するグラフ図である。
すなわち、同図は、第2の部分143bのSi濃度と、発光効率との関係を調べた実験結果を例示しており、横軸は、第2の部分143bのSi濃度C3を表し、縦軸は平均放射束を表す。
本実施形態に係る半導体発光素子10においては、4元混晶AlGaInNからなる障壁層141により、発光部140の結晶品質が改善したため、p型閉じ込め層151に、従来よりもMgを高濃度にドープすることが可能になる。
表3から、p型閉じ込め層151の平均Mg濃度C4は、0.9×1019cm−3〜1.6×1019cm−3が望ましい。
すなわち、p型閉じ込め層151のMg濃度は、第2の部分143bの側が高く、その時2×1019cm−3であり、表面側(第2の部分143bとは反対の側)が低く、その時8×1018cm−3の時に良好な結果が得られた。
すなわち、p型閉じ込め層151のMg濃度は、8×1018cm−3〜2×1019cm−3とすることができる。また、p側閉じ込め層151における平均Mg濃度C4は、2×1019cm−3とすることもできる。
すなわち、p型コンタクト層150のMg濃度は、発光部140の側で低く、表面側(発光部140とは反対の側)で高くなっている。これにより、正孔の注入を阻害するp型閉じ込め層151中のピエゾ電界を打ち消し、動作電圧の低減とともにキャリア閉じ込め効果を改善することができる。
p型コンタクト層150の表面付近のMg濃度は、1×1020cm−3以上では発光部140への拡散が生じ、効率と信頼性が劣化する。また、5×1019cm−3以下では動作電圧が上昇する。
図4は、本発明の第2の実施形態に係る半導体発光素子の構成を例示する模式的断面図である。
図4に表したように、本発明の第2の実施形態に係る半導体発光素子20は、表面がサファイアc面からなる基板110の上に、高炭素濃度のAlNからなる第1バッファ層121、高純度のAlNからなる第2バッファ層122、ノンドープのGaNからなる格子緩和層123、Siドープのn型GaNからなるn型コンタクト層130、Siドープのn型AlGaNからなるn型閉じ込め層131、発光部140、Mgドープのp型AlGaNからなるp型閉じ込め層151、Mgドープのp型GaNからなるp型コンタクト層150、が積層された構造を有する。
ここで、上記のAlGaInNは、AlxGa1−x−yInyN(0≦x、0≦y、x+y≦1)である。
なお、井戸層142には、GaInNだけでなく、AlGaInNも用いることができる。
高Si濃度の第4の部分143dには、例えばAl0.08Ga0.9In0.02Nを用いることができ、例えば、Si濃度は2×1019cm−3とされ、膜厚は9nmとすることができる。
例えば、p側障壁層141aには、Si濃度の低いAl0.08Ga0.9In0.02Nを用いることができ、例えば、Si濃度は1×1016cm−3とされ、膜厚は9nmとすることができる。なお、p側障壁層141aにおけるSi濃度は、第3の部分143cにおけるSi濃度と同等でも良く、異なっても良い。また膜厚も同じであっても、異なっても良い。 そして、n側障壁層141bには、例えばAl0.08Ga0.9In0.02Nを用いることができ、例えば、Si濃度は2×1019cm−3とされ、膜厚は9nmとすることができる。
井戸層142には、ピエゾ電界が印加されるため、井戸層142と、井戸層142から見てp型閉じ込め層151の側に接する障壁層141との界面では、正のチャージが井戸層142から障壁層141へ染み出す。一方、井戸層142と、井戸層142から見てn型閉じ込め層131の側に接する障壁層141の界面では、負のチャージが井戸層142から障壁層141へ染み出す。
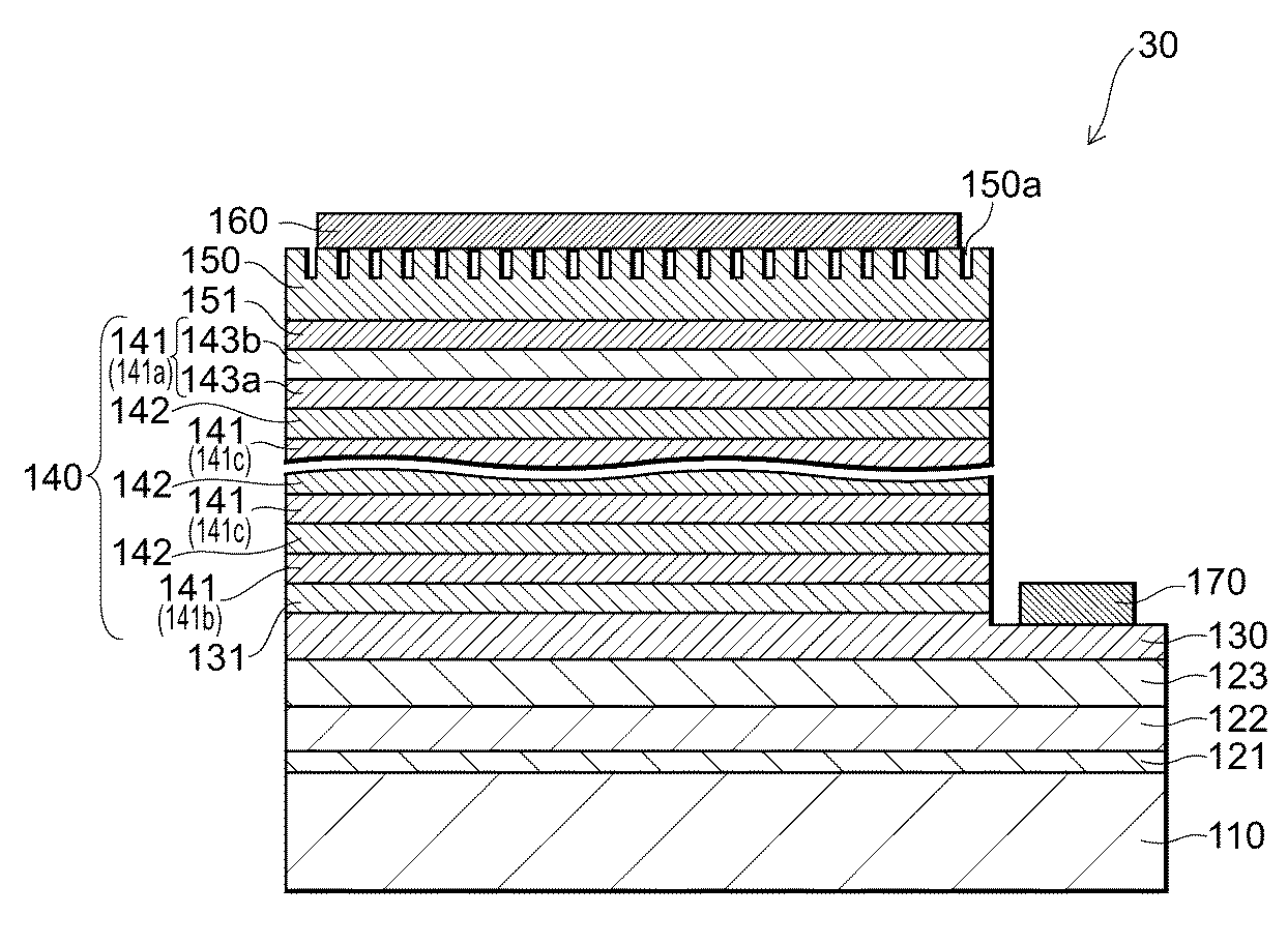
図5は、本発明の第3の実施形態に係る半導体発光素子の構成を例示する模式的断面図である。
図5に表したように、本発明の第3の実施形態に係る半導体発光素子30においては、p型コンタクト層150のp側電極160との界面に、凹凸150aが設けられている。これに以外は、第1の実施形態に係る半導体発光素子10と同様なので説明を省略する。
図6は、本発明の第4の実施形態に係る半導体発光素子の構成を例示する模式的断面図である。
図6に表したように、本発明の第4の実施形態に係る半導体発光素子40は、n型GaNウェーハ133の上に、第1の実施形態で説明したn型閉じ込め層131、発光部140、p型閉じ込め層151、及び、p型コンタクト層150が順に設けられている。そして、p型コンタクト層150の上にp側電極160が設けられている。さらに、n型GaNウェーハ133の裏面133aの側に、凹凸133bを設けられ、n側電極170は、n型GaNウェーハ133の裏面133aの側に、凹凸133bに接して設けられている。これに以外は、第1の実施形態に係る半導体発光素子10と同様なので説明を省略する。
図7は、本発明の第5の実施形態に係る半導体発光素子の構成を例示する模式的断面図である。
図7に表したように、本発明の第5の実施形態に係る半導体発光素子50は、n型GaNウェーハ133の上に、第1の実施形態で説明したn型閉じ込め層131、発光部140、p型閉じ込め層151、及び、p型コンタクト層150を順に設けられている。そして、p型コンタクト層150の上面に凹凸150aが設けられ、その上にp側電極160が設けられている。さらに、n型GaNウェーハ133の裏面133aの側に、凹凸133bが設けられ、n側電極170は、n型GaNウェーハ133の裏面133aの側に、凹凸133bに接して設けられている。これ以外は、第1の実施形態に係る半導体発光素子10と同様なので説明を省略する。
図8は、本発明の第6の実施形態に係るウェーハの構成を例示する模式的断面図である。
図8に表したように、本発明の第6の実施形態に係るウェーハ60は、n型GaN及びn型AlGaNの少なくともいずれかからなる第1の層131と、Mgを含有するp型AlGaNからなる第2の層と、前記第1の層131と前記第2の層151との間に設けられ、Siを含有するAlxGa1−x−yInyN(0≦x、0≦y、x+y≦1)からなる複数の障壁層141と、前記複数の障壁層141のそれぞれの間に設けられ、GaInNまたはAlGaInNからなる井戸層142と、を有する発光部140であって、前記障壁層141のうち、前記第2の層に最も近い前記障壁層141が、Siを含有するAlxGa1−x−yInyN(0≦x、0≦y、x+y≦1)からなる第1の部分143aと、前記第1の部分143aと前記第2の層151との間に設けられ、前記第1の部分143aにおけるSi濃度よりも低く、前記障壁層のうち、前記第2の層に最も近い前記障壁層以外の障壁層におけるSi濃度よりも低い濃度でSiを含有するAlxGa1−x−yInyN(0≦x、0≦y、x+y≦1)からなる第2の部分143bと、を有する発光部140と、を備える。
また、前記第2の部分143bにおけるSi濃度は、1×1016cm−3以上9.0×1018cm−3以下が望ましい。
また、前記第1の部分143aにおけるSi濃度は、1.1×1019cm−3以上、3×1019cm−3以下が望ましい。
図9は、本発明の第7の実施形態に係るウェーハの構成を例示する模式的断面図である。
図9に表したように、本発明の第7の実施形態に係るウェーハ70は、n型GaN及びn型AlGaNの少なくともいずれかからなる第1の層131と、Mgを含有するp型AlGaNからなる第2の層151と、前記第1の層131と前記第2の層151との間に設けられ、Siを含有するAlxGa1−x−yInyN(0≦x、0≦y、x+y≦1)からなる複数の障壁層141と、前記複数の障壁層141のそれぞれの間に設けられ、GaInNまたはAlGaInNからなる井戸層142と、を有する発光部140であって、前記井戸層142に挟まれた前記障壁層141のそれぞれが、前記第1の層131の側に設けられ、Siを含有するAlxGa1−x−yInyN(0≦x、0≦y、x+y≦1)からなる第3の部分143cと、前記第2の層151の側に設けられ、前記第3の部分143cにおけるSi濃度よりも高い濃度でSiを含有するAlxGa1−x−yInyN(0≦x、0≦y、x+y≦1)からなる第4の部分143dと、有する発光部140と、を備える。
また、前記第2の層151の前記発光部140の側におけるMg濃度は、前記第2の層151の前記発光部140とは反対の側におけるMg濃度よりも高く設定することができる。
また、前記第2の層151のMg濃度は、8×1018cm−3以上3×1019cm−3以下に設定することができる。
そして、前記発光部140は、サファイアc面からなる基板110上に、AlxGa1−xN(0.8≦x≦1)の組成範囲の単結晶バッファ層を介して成長したGaN層上に設けられることができる。
前記単結晶バッファ層は、前記基板110上に設けられた第2バッファ122と、前記第第2バッファ層122と前記基板110との間に設けられ、前記第2バッファ層122よりも炭素濃度が高く、厚さが3nm以上、20nm以下の第1バッファ層を有することができる。
また、各具体例のいずれか2つ以上の要素を技術的に可能な範囲で組み合わせたものも、本発明の要旨を包含する限り本発明の範囲に含まれる。
60、70 ウェーハ
110 基板
121 第1バッファ層
122 第2バッファ層
123 格子緩和層
130 n型コンタクト層
131 n型閉じ込め層(第1の層)
133 ウェーハ
133a 裏面
133b 凹凸
140 発光部
141 障壁層
141a p側障壁層
141b n側障壁層
141c 内側障壁層
142 井戸層
143a 第1の部分(高Si濃度層)
143b 第2の部分(低Si濃度層)
143c 第3の部分(低Si障壁層)
143d 第4の部分(高Si障壁層)
150 p型コンタクト層(第3の層)
150a 凹凸
151 p型閉じ込め層(第2の層)
160 p側電極
170 n側電極
Claims (7)
- n型GaN及びn型AlGaNの少なくともいずれかからなる第1の層と、
Mgを含有するp型AlGaNからなる第2の層と、
前記第1の層と前記第2の層との間に設けられ、
Siを含有するAlxGa1−x−yInyN(0<x、0<y、x+y≦1)からなる複数の障壁層と、
前記複数の障壁層のそれぞれの間に設けられ、GaInNまたはAlGaInNからなる井戸層と、
を有する発光部であって、
前記障壁層のうち、前記第2の層に最も近い前記障壁層が、
Siを含有するAlxGa1−x−yInyN(0<x、0<y、x+y≦1)からなる第1の部分と、
前記第1の部分と前記第2の層との間に設けられ、前記第1の部分におけるSi濃度よりも低く、前記障壁層のうち前記第2の層に最も近い前記障壁層以外の障壁層におけるSi濃度よりも低い濃度でSiを含有するAlxGa1−x−yInyN(0<x、0<y、x+y≦1)からなる第2の部分と、
を有する発光部と、
を備え、
前記xは、6%以上8%以下であり、前記yは、0.3%以上1.0%以下であり、
前記第1の部分は、前記井戸層に接し、
前記第2の部分の層厚は、3nm以上9nm以下であり、
前記第1の部分におけるSi濃度は、1.1×10 19 cm −3 以上、3×10 19 cm −3 以下であり、
前記第2の部分におけるSi濃度は、1×10 16 cm −3 以上9.0×10 18 cm −3 以下であり、
前記障壁層のうち、前記第2の層に最も近い前記障壁層以外の障壁層におけるSi濃度は、1.1×10 19 cm −3 以上、3×10 19 cm −3 以下であり、
前記第2の層のMg濃度は、8×10 18 cm −3 以上3×10 19 cm −3 以下であり、
前記第2の層の前記発光部の側におけるMg濃度は、前記第2の層の前記発光部とは反対の側におけるMg濃度よりも高いことを特徴とする半導体発光素子。 - 前記第2の層は、AlxGa1−xN(0.2≦x≦0.32)からなることを特徴とする請求項1記載の半導体発光素子。
- )
前記第2の層の前記発光部とは反対の側に設けられ、p型GaN及びp型AlGaNの少なくともいずれかからなる第3の層をさらに備え、
前記第3の層の前記第1の層の側におけるMg濃度は、前記第3の層の前記第1の層とは反対の側におけるMg濃度よりも低いことを特徴とする請求項1または2に記載の半導体発光素子。 - 前記発光部から放出される発光のピーク波長は、370〜400nmの範囲にあることを特徴とする請求項1〜3のいずれか1つに記載の半導体発光素子。
- 前記発光部は、サファイアc面からなる基板上に、AlxGa1−xN(0.8≦x≦1)の組成範囲の単結晶バッファ層を介して成長したGaN層上に設けられていることを特徴とする請求項1〜4のいずれか1つに記載の半導体発光素子。
- 前記単結晶バッファ層は、前記基板上に設けられた第2バッファ層と、前記第2バッファ層と前記基板との間に設けられ、前記第2バッファ層よりも炭素濃度が高く、厚さが3nm以上、20nm以下の第1バッファ層を有することを特徴とする請求項5記載の半導体発光素子。
- n型GaN及びn型AlGaNの少なくともいずれかからなる第1の層と、
Mgを含有するp型AlGaNからなる第2の層と、
前記第1の層と前記第2の層との間に設けられ、
Siを含有するAlxGa1−x−yInyN(0<x、0<y、x+y≦1)からなる複数の障壁層と、
前記複数の障壁層のそれぞれの間に設けられ、GaInNまたはAlGaInNからなる井戸層と、
を有する発光部であって、
前記障壁層のうち、前記第2の層に最も近い前記障壁層が、
Siを含有するAlxGa1−x−yInyN(0<x、0<y、x+y≦1)からなる第1の部分と、
前記第1の部分と前記第2の層との間に設けられ、前記第1の部分におけるSi濃度よりも低く、前記障壁層のうち前記第2の層に最も近い前記障壁層以外の障壁層におけるSi濃度よりも低い濃度でSiを含有するAlxGa1−x−yInyN(0<x、0<y、x+y≦1)からなる第2の部分と、
を有する発光部と、
を備え、
前記xは、6%以上8%以下であり、前記yは、0.3%以上1.0%以下であり、
前記第1の部分は、前記井戸層に接し、
前記第2の部分の層厚は、3nm以上9nm以下であり、
前記第1の部分におけるSi濃度は、1.1×10 19 cm −3 以上、3×10 19 cm −3 以下であり、
前記第2の部分におけるSi濃度は、1×10 16 cm −3 以上9.0×10 18 cm −3 以下であり、
前記障壁層のうち、前記第2の層に最も近い前記障壁層以外の障壁層におけるSi濃度は、1.1×10 19 cm −3 以上、3×10 19 cm −3 以下であり、
前記第2の層のMg濃度は、8×10 18 cm −3 以上3×10 19 cm −3 以下であり、
前記第2の層の前記発光部の側におけるMg濃度は、前記第2の層の前記発光部とは反対の側におけるMg濃度よりも高いことを特徴とするウェーハ。
Priority Applications (4)
| Application Number | Priority Date | Filing Date | Title |
|---|---|---|---|
| JP2008231097A JP5191843B2 (ja) | 2008-09-09 | 2008-09-09 | 半導体発光素子及びウェーハ |
| US12/505,053 US8039830B2 (en) | 2008-09-09 | 2009-07-17 | Semiconductor light emitting device and wafer |
| US13/137,728 US8324611B2 (en) | 2008-09-09 | 2011-09-08 | Semiconductor light emitting device and wafer |
| US13/671,578 US8692228B2 (en) | 2008-09-09 | 2012-11-08 | Semiconductor light emitting device and wafer |
Applications Claiming Priority (1)
| Application Number | Priority Date | Filing Date | Title |
|---|---|---|---|
| JP2008231097A JP5191843B2 (ja) | 2008-09-09 | 2008-09-09 | 半導体発光素子及びウェーハ |
Publications (3)
| Publication Number | Publication Date |
|---|---|
| JP2010067709A JP2010067709A (ja) | 2010-03-25 |
| JP2010067709A5 JP2010067709A5 (ja) | 2011-01-13 |
| JP5191843B2 true JP5191843B2 (ja) | 2013-05-08 |
Family
ID=41798426
Family Applications (1)
| Application Number | Title | Priority Date | Filing Date |
|---|---|---|---|
| JP2008231097A Active JP5191843B2 (ja) | 2008-09-09 | 2008-09-09 | 半導体発光素子及びウェーハ |
Country Status (2)
| Country | Link |
|---|---|
| US (3) | US8039830B2 (ja) |
| JP (1) | JP5191843B2 (ja) |
Cited By (1)
| Publication number | Priority date | Publication date | Assignee | Title |
|---|---|---|---|---|
| US9543475B2 (en) | 2014-11-14 | 2017-01-10 | Samsung Electronics Co., Ltd | Light emitting device and method of manufacturing the same |
Families Citing this family (34)
| Publication number | Priority date | Publication date | Assignee | Title |
|---|---|---|---|---|
| JP5129527B2 (ja) * | 2006-10-02 | 2013-01-30 | 株式会社リコー | 結晶製造方法及び基板製造方法 |
| US9082892B2 (en) * | 2007-06-11 | 2015-07-14 | Manulius IP, Inc. | GaN Based LED having reduced thickness and method for making the same |
| JP5139519B2 (ja) | 2009-09-01 | 2013-02-06 | 株式会社東芝 | 半導体発光素子及び半導体発光装置 |
| WO2011027417A1 (ja) | 2009-09-01 | 2011-03-10 | 株式会社 東芝 | 半導体発光素子 |
| JP5549338B2 (ja) * | 2010-04-09 | 2014-07-16 | ウシオ電機株式会社 | 紫外光放射用窒素化合物半導体ledおよびその製造方法 |
| JP5143214B2 (ja) * | 2010-11-29 | 2013-02-13 | 株式会社東芝 | 半導体発光素子 |
| US8557654B2 (en) * | 2010-12-13 | 2013-10-15 | Sandisk 3D Llc | Punch-through diode |
| JP4940363B1 (ja) | 2011-02-28 | 2012-05-30 | 株式会社東芝 | 半導体発光素子及び半導体発光装置 |
| US9659260B2 (en) | 2011-03-15 | 2017-05-23 | Dan Caligor | Calendar based task and time management systems and methods |
| US9269870B2 (en) | 2011-03-17 | 2016-02-23 | Epistar Corporation | Light-emitting device with intermediate layer |
| KR101953716B1 (ko) * | 2012-08-23 | 2019-03-05 | 엘지이노텍 주식회사 | 발광소자, 발광 소자 패키지 및 조명 시스템 |
| JP6156681B2 (ja) * | 2013-02-13 | 2017-07-05 | ウシオ電機株式会社 | 窒化物半導体発光素子及びその製造方法 |
| CN105103392B (zh) * | 2013-04-08 | 2018-01-05 | 学校法人名城大学 | 氮化物半导体多层膜反射镜以及使用了该反射镜的发光元件 |
| US9190270B2 (en) * | 2013-06-04 | 2015-11-17 | Samsung Electronics Co., Ltd. | Low-defect semiconductor device and method of manufacturing the same |
| KR102341263B1 (ko) * | 2013-06-04 | 2021-12-22 | 삼성전자주식회사 | 저결함 반도체 소자 및 그 제조 방법 |
| JP6183060B2 (ja) * | 2013-08-24 | 2017-08-23 | 日亜化学工業株式会社 | 半導体発光素子 |
| JP6302254B2 (ja) * | 2014-01-15 | 2018-03-28 | 株式会社東芝 | 窒化物半導体素子、窒化物半導体ウェーハ、及び、窒化物半導体素子の製造方法 |
| JP2015188048A (ja) * | 2014-03-10 | 2015-10-29 | 株式会社東芝 | 窒化物半導体積層体および半導体発光素子 |
| DE102015100029A1 (de) * | 2015-01-05 | 2016-07-07 | Osram Opto Semiconductors Gmbh | Optoelektronisches Bauelement |
| JP6327323B2 (ja) * | 2015-11-30 | 2018-05-23 | 日亜化学工業株式会社 | 半導体レーザ素子及びその製造方法 |
| JP6387978B2 (ja) * | 2016-02-09 | 2018-09-12 | 日亜化学工業株式会社 | 窒化物半導体発光素子 |
| CN105609603A (zh) * | 2016-03-02 | 2016-05-25 | 厦门乾照光电股份有限公司 | 一种具有复合结构的氮化物缓冲层 |
| CN105895759B (zh) * | 2016-06-24 | 2018-07-17 | 太原理工大学 | 一种duv led外延片结构 |
| TWI703726B (zh) * | 2016-09-19 | 2020-09-01 | 新世紀光電股份有限公司 | 含氮半導體元件 |
| JP2019079994A (ja) * | 2017-10-26 | 2019-05-23 | 豊田合成株式会社 | テンプレート基板およびその製造方法、発光素子 |
| CN109524517B (zh) * | 2018-11-13 | 2020-05-15 | 华灿光电(浙江)有限公司 | 一种发光二极管外延片及其制造方法 |
| JP6968122B2 (ja) * | 2019-06-06 | 2021-11-17 | 日機装株式会社 | 窒化物半導体発光素子 |
| TWI784266B (zh) * | 2020-04-30 | 2022-11-21 | 晶元光電股份有限公司 | 半導體元件及其製造方法 |
| KR102540198B1 (ko) | 2020-05-22 | 2023-06-02 | 충칭 콘카 포토일렉트릭 테크놀로지 리서치 인스티튜트 컴퍼니 리미티드 | 초격자층, led 에피택셜 구조, 디스플레이 장치 및 이의 제조 방법 |
| CN113451458B (zh) * | 2020-05-22 | 2022-04-01 | 重庆康佳光电技术研究院有限公司 | 一种超晶格层、led外延结构、显示装置及其制造方法 |
| JP7194720B2 (ja) * | 2020-10-30 | 2022-12-22 | 日機装株式会社 | 窒化物半導体発光素子 |
| JP7260807B2 (ja) * | 2020-12-24 | 2023-04-19 | 日亜化学工業株式会社 | 窒化物半導体発光素子およびその製造方法 |
| JP7397348B2 (ja) | 2021-11-22 | 2023-12-13 | 日亜化学工業株式会社 | 発光素子 |
| CN114583557B (zh) * | 2022-03-03 | 2023-04-07 | 中国科学院苏州纳米技术与纳米仿生研究所 | 氮化镓基激光器限制层的制备方法及所得限制层和激光器 |
Family Cites Families (17)
| Publication number | Priority date | Publication date | Assignee | Title |
|---|---|---|---|---|
| JP2713094B2 (ja) | 1993-01-08 | 1998-02-16 | 日亜化学工業株式会社 | 半導体発光素子およびその製造方法 |
| JP3648386B2 (ja) * | 1998-07-08 | 2005-05-18 | 株式会社東芝 | 半導体素子およびウェーハならびにそれらの製造方法 |
| JP4149054B2 (ja) * | 1998-11-27 | 2008-09-10 | シャープ株式会社 | 半導体装置 |
| JP3551101B2 (ja) * | 1999-03-29 | 2004-08-04 | 日亜化学工業株式会社 | 窒化物半導体素子 |
| JP3438648B2 (ja) * | 1999-05-17 | 2003-08-18 | 松下電器産業株式会社 | 窒化物半導体素子 |
| DE60230602D1 (de) | 2001-03-28 | 2009-02-12 | Nichia Corp | Nitrid-halbleiterelement |
| ATE448589T1 (de) * | 2001-04-12 | 2009-11-15 | Nichia Corp | Halbleiterelement aus galliumnitridzusammensetzung |
| US6630692B2 (en) * | 2001-05-29 | 2003-10-07 | Lumileds Lighting U.S., Llc | III-Nitride light emitting devices with low driving voltage |
| DE60225322T2 (de) * | 2001-11-05 | 2009-02-26 | Nichia Corp., Anan | Halbleiterelement |
| JP4285949B2 (ja) * | 2002-06-27 | 2009-06-24 | シャープ株式会社 | 窒化物半導体発光素子 |
| JP2004087908A (ja) * | 2002-08-28 | 2004-03-18 | Sharp Corp | 窒化物半導体発光素子、その製造方法、それを搭載した光学装置 |
| TWI234915B (en) * | 2002-11-18 | 2005-06-21 | Pioneer Corp | Semiconductor light-emitting element and method of manufacturing the same |
| JP4011569B2 (ja) * | 2003-08-20 | 2007-11-21 | 株式会社東芝 | 半導体発光素子 |
| JP4653671B2 (ja) * | 2005-03-14 | 2011-03-16 | 株式会社東芝 | 発光装置 |
| JP4884826B2 (ja) * | 2006-04-28 | 2012-02-29 | ローム株式会社 | 半導体発光素子 |
| JP5349849B2 (ja) * | 2007-06-12 | 2013-11-20 | ソウル オプト デバイス カンパニー リミテッド | 多重量子ウェル構造の活性領域を有する発光ダイオード |
| KR20100128297A (ko) * | 2008-02-15 | 2010-12-07 | 크리, 인코포레이티드 | 백색 광 출력을 제공하기 위한 광대역 발광 장치 램프들 |
-
2008
- 2008-09-09 JP JP2008231097A patent/JP5191843B2/ja active Active
-
2009
- 2009-07-17 US US12/505,053 patent/US8039830B2/en active Active
-
2011
- 2011-09-08 US US13/137,728 patent/US8324611B2/en active Active
-
2012
- 2012-11-08 US US13/671,578 patent/US8692228B2/en active Active
Cited By (1)
| Publication number | Priority date | Publication date | Assignee | Title |
|---|---|---|---|---|
| US9543475B2 (en) | 2014-11-14 | 2017-01-10 | Samsung Electronics Co., Ltd | Light emitting device and method of manufacturing the same |
Also Published As
| Publication number | Publication date |
|---|---|
| US20130112988A1 (en) | 2013-05-09 |
| US8692228B2 (en) | 2014-04-08 |
| US20100059734A1 (en) | 2010-03-11 |
| JP2010067709A (ja) | 2010-03-25 |
| US8039830B2 (en) | 2011-10-18 |
| US8324611B2 (en) | 2012-12-04 |
| US20120001151A1 (en) | 2012-01-05 |
Similar Documents
| Publication | Publication Date | Title |
|---|---|---|
| JP5191843B2 (ja) | 半導体発光素子及びウェーハ | |
| JP5084837B2 (ja) | 深紫外線発光素子及びその製造方法 | |
| CN102194934B (zh) | 半导体发光器件及其制造方法、以及晶片及其制造方法 | |
| JP5050574B2 (ja) | Iii族窒化物系半導体発光素子 | |
| US8513694B2 (en) | Nitride semiconductor device and manufacturing method of the device | |
| JP5653327B2 (ja) | 半導体発光素子、ウェーハ、半導体発光素子の製造方法及びウェーハの製造方法 | |
| JP4954536B2 (ja) | 窒化物半導体発光素子 | |
| JP7604311B2 (ja) | 紫外半導体発光素子 | |
| CN101593805A (zh) | 氮化物半导体发光器件 | |
| JP2005268581A (ja) | 窒化ガリウム系化合物半導体発光素子 | |
| JPWO2016002419A1 (ja) | 窒化物半導体発光素子 | |
| JP5873260B2 (ja) | Iii族窒化物積層体の製造方法 | |
| JP2014143338A (ja) | 窒化物半導体発光素子 | |
| JP5762901B2 (ja) | 半導体発光素子、ウェーハ、半導体発光素子の製造方法及びウェーハの製造方法 | |
| JP4827706B2 (ja) | 窒化物半導体発光素子 | |
| JP2006339427A (ja) | 窒化物半導体発光ダイオード用エピタキシャルウエハの製造方法、窒化物半導体発光ダイオード用エピタキシャルウエハ、及び窒化物半導体発光ダイオード | |
| JP5948767B2 (ja) | 窒化物半導体発光素子 | |
| WO2024085201A1 (ja) | 紫外半導体発光素子 | |
| JP5777770B2 (ja) | 半導体発光素子及びウェーハ | |
| JP2006210692A (ja) | 3族窒化物系化合物半導体発光素子 | |
| JP2005340762A (ja) | Iii族窒化物半導体発光素子 | |
| JP5364818B2 (ja) | 半導体発光素子及びその製造方法 | |
| JP2005340789A (ja) | Iii族窒化物半導体発光素子 | |
| WO2025134884A1 (ja) | 紫外半導体発光素子及びその製造方法 | |
| JP4055794B2 (ja) | 窒化ガリウム系化合物半導体発光素子 |
Legal Events
| Date | Code | Title | Description |
|---|---|---|---|
| A621 | Written request for application examination |
Free format text: JAPANESE INTERMEDIATE CODE: A621 Effective date: 20100928 |
|
| A521 | Request for written amendment filed |
Free format text: JAPANESE INTERMEDIATE CODE: A523 Effective date: 20101110 |
|
| A977 | Report on retrieval |
Free format text: JAPANESE INTERMEDIATE CODE: A971007 Effective date: 20120523 |
|
| A131 | Notification of reasons for refusal |
Free format text: JAPANESE INTERMEDIATE CODE: A131 Effective date: 20120524 |
|
| A521 | Request for written amendment filed |
Free format text: JAPANESE INTERMEDIATE CODE: A523 Effective date: 20120713 |
|
| TRDD | Decision of grant or rejection written | ||
| A01 | Written decision to grant a patent or to grant a registration (utility model) |
Free format text: JAPANESE INTERMEDIATE CODE: A01 Effective date: 20130107 |
|
| A61 | First payment of annual fees (during grant procedure) |
Free format text: JAPANESE INTERMEDIATE CODE: A61 Effective date: 20130130 |
|
| R151 | Written notification of patent or utility model registration |
Ref document number: 5191843 Country of ref document: JP Free format text: JAPANESE INTERMEDIATE CODE: R151 |
|
| FPAY | Renewal fee payment (event date is renewal date of database) |
Free format text: PAYMENT UNTIL: 20160208 Year of fee payment: 3 |
|
| R250 | Receipt of annual fees |
Free format text: JAPANESE INTERMEDIATE CODE: R250 |
|
| S111 | Request for change of ownership or part of ownership |
Free format text: JAPANESE INTERMEDIATE CODE: R313111 |
|
| R350 | Written notification of registration of transfer |
Free format text: JAPANESE INTERMEDIATE CODE: R350 |
|
| S111 | Request for change of ownership or part of ownership |
Free format text: JAPANESE INTERMEDIATE CODE: R313113 |
|
| R350 | Written notification of registration of transfer |
Free format text: JAPANESE INTERMEDIATE CODE: R350 |
|
| R250 | Receipt of annual fees |
Free format text: JAPANESE INTERMEDIATE CODE: R250 |
|
| R250 | Receipt of annual fees |
Free format text: JAPANESE INTERMEDIATE CODE: R250 |
|
| R250 | Receipt of annual fees |
Free format text: JAPANESE INTERMEDIATE CODE: R250 |
|
| R250 | Receipt of annual fees |
Free format text: JAPANESE INTERMEDIATE CODE: R250 |
|
| R250 | Receipt of annual fees |
Free format text: JAPANESE INTERMEDIATE CODE: R250 |
|
| R250 | Receipt of annual fees |
Free format text: JAPANESE INTERMEDIATE CODE: R250 |
|
| R250 | Receipt of annual fees |
Free format text: JAPANESE INTERMEDIATE CODE: R250 |
