[go: up one dir, main page]

TWI691088B - Semiconductor device - Google Patents

Semiconductor device Download PDF

Info

Publication number
TWI691088B
TWI691088B TW104137569A TW104137569A TWI691088B TW I691088 B TWI691088 B TW I691088B TW 104137569 A TW104137569 A TW 104137569A TW 104137569 A TW104137569 A TW 104137569A TW I691088 B TWI691088 B TW I691088B
Authority
TW
Taiwan
Prior art keywords
insulator
transistor
oxide semiconductor
conductor
semiconductor
Prior art date
Application number
TW104137569A
Other languages
Chinese (zh)
Other versions
TW201631778A (en
Inventor
田中哲弘
松林大介
種村和幸
Original Assignee
日商半導體能源研究所股份有限公司
Priority date (The priority date is an assumption and is not a legal conclusion. Google has not performed a legal analysis and makes no representation as to the accuracy of the date listed.)
Filing date
Publication date
Application filed by 日商半導體能源研究所股份有限公司 filed Critical 日商半導體能源研究所股份有限公司
Publication of TW201631778A publication Critical patent/TW201631778A/en
Application granted granted Critical
Publication of TWI691088B publication Critical patent/TWI691088B/en

Links

Images

Classifications

    • HELECTRICITY
    • H10SEMICONDUCTOR DEVICES; ELECTRIC SOLID-STATE DEVICES NOT OTHERWISE PROVIDED FOR
    • H10DINORGANIC ELECTRIC SEMICONDUCTOR DEVICES
    • H10D30/00Field-effect transistors [FET]
    • H10D30/60Insulated-gate field-effect transistors [IGFET]
    • H10D30/67Thin-film transistors [TFT]
    • H10D30/6704Thin-film transistors [TFT] having supplementary regions or layers in the thin films or in the insulated bulk substrates for controlling properties of the device
    • HELECTRICITY
    • H10SEMICONDUCTOR DEVICES; ELECTRIC SOLID-STATE DEVICES NOT OTHERWISE PROVIDED FOR
    • H10BELECTRONIC MEMORY DEVICES
    • H10B41/00Electrically erasable-and-programmable ROM [EEPROM] devices comprising floating gates
    • H10B41/70Electrically erasable-and-programmable ROM [EEPROM] devices comprising floating gates the floating gate being an electrode shared by two or more components
    • HELECTRICITY
    • H10SEMICONDUCTOR DEVICES; ELECTRIC SOLID-STATE DEVICES NOT OTHERWISE PROVIDED FOR
    • H10DINORGANIC ELECTRIC SEMICONDUCTOR DEVICES
    • H10D30/00Field-effect transistors [FET]
    • H10D30/60Insulated-gate field-effect transistors [IGFET]
    • H10D30/67Thin-film transistors [TFT]
    • H10D30/6729Thin-film transistors [TFT] characterised by the electrodes
    • H10D30/673Thin-film transistors [TFT] characterised by the electrodes characterised by the shapes, relative sizes or dispositions of the gate electrodes
    • H10D30/6733Multi-gate TFTs
    • H10D30/6734Multi-gate TFTs having gate electrodes arranged on both top and bottom sides of the channel, e.g. dual-gate TFTs
    • HELECTRICITY
    • H10SEMICONDUCTOR DEVICES; ELECTRIC SOLID-STATE DEVICES NOT OTHERWISE PROVIDED FOR
    • H10DINORGANIC ELECTRIC SEMICONDUCTOR DEVICES
    • H10D30/00Field-effect transistors [FET]
    • H10D30/60Insulated-gate field-effect transistors [IGFET]
    • H10D30/67Thin-film transistors [TFT]
    • H10D30/674Thin-film transistors [TFT] characterised by the active materials
    • H10D30/6755Oxide semiconductors, e.g. zinc oxide, copper aluminium oxide or cadmium stannate
    • HELECTRICITY
    • H10SEMICONDUCTOR DEVICES; ELECTRIC SOLID-STATE DEVICES NOT OTHERWISE PROVIDED FOR
    • H10DINORGANIC ELECTRIC SEMICONDUCTOR DEVICES
    • H10D30/00Field-effect transistors [FET]
    • H10D30/60Insulated-gate field-effect transistors [IGFET]
    • H10D30/67Thin-film transistors [TFT]
    • H10D30/6757Thin-film transistors [TFT] characterised by the structure of the channel, e.g. transverse or longitudinal shape or doping profile
    • HELECTRICITY
    • H10SEMICONDUCTOR DEVICES; ELECTRIC SOLID-STATE DEVICES NOT OTHERWISE PROVIDED FOR
    • H10DINORGANIC ELECTRIC SEMICONDUCTOR DEVICES
    • H10D30/00Field-effect transistors [FET]
    • H10D30/60Insulated-gate field-effect transistors [IGFET]
    • H10D30/68Floating-gate IGFETs
    • HELECTRICITY
    • H10SEMICONDUCTOR DEVICES; ELECTRIC SOLID-STATE DEVICES NOT OTHERWISE PROVIDED FOR
    • H10DINORGANIC ELECTRIC SEMICONDUCTOR DEVICES
    • H10D30/00Field-effect transistors [FET]
    • H10D30/60Insulated-gate field-effect transistors [IGFET]
    • H10D30/68Floating-gate IGFETs
    • H10D30/681Floating-gate IGFETs having only two programming levels
    • HELECTRICITY
    • H10SEMICONDUCTOR DEVICES; ELECTRIC SOLID-STATE DEVICES NOT OTHERWISE PROVIDED FOR
    • H10DINORGANIC ELECTRIC SEMICONDUCTOR DEVICES
    • H10D86/00Integrated devices formed in or on insulating or conducting substrates, e.g. formed in silicon-on-insulator [SOI] substrates or on stainless steel or glass substrates
    • H10D86/40Integrated devices formed in or on insulating or conducting substrates, e.g. formed in silicon-on-insulator [SOI] substrates or on stainless steel or glass substrates characterised by multiple TFTs
    • H10D86/421Integrated devices formed in or on insulating or conducting substrates, e.g. formed in silicon-on-insulator [SOI] substrates or on stainless steel or glass substrates characterised by multiple TFTs having a particular composition, shape or crystalline structure of the active layer
    • H10D86/423Integrated devices formed in or on insulating or conducting substrates, e.g. formed in silicon-on-insulator [SOI] substrates or on stainless steel or glass substrates characterised by multiple TFTs having a particular composition, shape or crystalline structure of the active layer comprising semiconductor materials not belonging to the Group IV, e.g. InGaZnO
    • HELECTRICITY
    • H10SEMICONDUCTOR DEVICES; ELECTRIC SOLID-STATE DEVICES NOT OTHERWISE PROVIDED FOR
    • H10DINORGANIC ELECTRIC SEMICONDUCTOR DEVICES
    • H10D86/00Integrated devices formed in or on insulating or conducting substrates, e.g. formed in silicon-on-insulator [SOI] substrates or on stainless steel or glass substrates
    • H10D86/40Integrated devices formed in or on insulating or conducting substrates, e.g. formed in silicon-on-insulator [SOI] substrates or on stainless steel or glass substrates characterised by multiple TFTs
    • H10D86/481Integrated devices formed in or on insulating or conducting substrates, e.g. formed in silicon-on-insulator [SOI] substrates or on stainless steel or glass substrates characterised by multiple TFTs integrated with passive devices, e.g. auxiliary capacitors
    • HELECTRICITY
    • H10SEMICONDUCTOR DEVICES; ELECTRIC SOLID-STATE DEVICES NOT OTHERWISE PROVIDED FOR
    • H10DINORGANIC ELECTRIC SEMICONDUCTOR DEVICES
    • H10D86/00Integrated devices formed in or on insulating or conducting substrates, e.g. formed in silicon-on-insulator [SOI] substrates or on stainless steel or glass substrates
    • H10D86/40Integrated devices formed in or on insulating or conducting substrates, e.g. formed in silicon-on-insulator [SOI] substrates or on stainless steel or glass substrates characterised by multiple TFTs
    • H10D86/60Integrated devices formed in or on insulating or conducting substrates, e.g. formed in silicon-on-insulator [SOI] substrates or on stainless steel or glass substrates characterised by multiple TFTs wherein the TFTs are in active matrices
    • HELECTRICITY
    • H10SEMICONDUCTOR DEVICES; ELECTRIC SOLID-STATE DEVICES NOT OTHERWISE PROVIDED FOR
    • H10DINORGANIC ELECTRIC SEMICONDUCTOR DEVICES
    • H10D87/00Integrated devices comprising both bulk components and either SOI or SOS components on the same substrate
    • HELECTRICITY
    • H10SEMICONDUCTOR DEVICES; ELECTRIC SOLID-STATE DEVICES NOT OTHERWISE PROVIDED FOR
    • H10KORGANIC ELECTRIC SOLID-STATE DEVICES
    • H10K59/00Integrated devices, or assemblies of multiple devices, comprising at least one organic light-emitting element covered by group H10K50/00
    • H10K59/10OLED displays
    • H10K59/12Active-matrix OLED [AMOLED] displays
    • H10K59/121Active-matrix OLED [AMOLED] displays characterised by the geometry or disposition of pixel elements
    • H10K59/1213Active-matrix OLED [AMOLED] displays characterised by the geometry or disposition of pixel elements the pixel elements being TFTs
    • HELECTRICITY
    • H10SEMICONDUCTOR DEVICES; ELECTRIC SOLID-STATE DEVICES NOT OTHERWISE PROVIDED FOR
    • H10KORGANIC ELECTRIC SOLID-STATE DEVICES
    • H10K59/00Integrated devices, or assemblies of multiple devices, comprising at least one organic light-emitting element covered by group H10K50/00
    • H10K59/10OLED displays
    • H10K59/12Active-matrix OLED [AMOLED] displays
    • H10K59/131Interconnections, e.g. wiring lines or terminals
    • HELECTRICITY
    • H10SEMICONDUCTOR DEVICES; ELECTRIC SOLID-STATE DEVICES NOT OTHERWISE PROVIDED FOR
    • H10DINORGANIC ELECTRIC SEMICONDUCTOR DEVICES
    • H10D62/00Semiconductor bodies, or regions thereof, of devices having potential barriers
    • H10D62/10Shapes, relative sizes or dispositions of the regions of the semiconductor bodies; Shapes of the semiconductor bodies
    • H10D62/17Semiconductor regions connected to electrodes not carrying current to be rectified, amplified or switched, e.g. channel regions
    • H10D62/351Substrate regions of field-effect devices
    • H10D62/357Substrate regions of field-effect devices of FETs
    • H10D62/364Substrate regions of field-effect devices of FETs of IGFETs
    • H10D62/371Inactive supplementary semiconductor regions, e.g. for preventing punch-through, improving capacity effect or leakage current
    • HELECTRICITY
    • H10SEMICONDUCTOR DEVICES; ELECTRIC SOLID-STATE DEVICES NOT OTHERWISE PROVIDED FOR
    • H10FINORGANIC SEMICONDUCTOR DEVICES SENSITIVE TO INFRARED RADIATION, LIGHT, ELECTROMAGNETIC RADIATION OF SHORTER WAVELENGTH OR CORPUSCULAR RADIATION
    • H10F39/00Integrated devices, or assemblies of multiple devices, comprising at least one element covered by group H10F30/00, e.g. radiation detectors comprising photodiode arrays
    • H10F39/80Constructional details of image sensors
    • H10F39/803Pixels having integrated switching, control, storage or amplification elements
    • H10F39/8037Pixels having integrated switching, control, storage or amplification elements the integrated elements comprising a transistor

Landscapes

  • Engineering & Computer Science (AREA)
  • Microelectronics & Electronic Packaging (AREA)
  • Physics & Mathematics (AREA)
  • Geometry (AREA)
  • Thin Film Transistor (AREA)
  • Metal-Oxide And Bipolar Metal-Oxide Semiconductor Integrated Circuits (AREA)
  • Semiconductor Memories (AREA)
  • Solid State Image Pick-Up Elements (AREA)
  • Liquid Crystal (AREA)
  • Electroluminescent Light Sources (AREA)
  • Internal Circuitry In Semiconductor Integrated Circuit Devices (AREA)
  • Non-Volatile Memory (AREA)
  • Insulated Gate Type Field-Effect Transistor (AREA)

Abstract

A semiconductor device includes a first conductor, a second conductor, a first insulator, a second insulator, a third insulator, a semiconductor, and an electron trap layer. The semiconductor includes a channel formation region. The electron trap layer overlaps with the channel formation region with the second insulator interposed therebetween. The first conductor overlaps with the channel formation region with the first insulator interposed therebetween. The second conductor overlaps with the electron trap layer with the third insulator interposed therebetween. The second conductor does not overlap with the channel formation region.

Description

半導體裝置 Semiconductor device

本發明係關於一種物體、方法或製造方法。或者,本發明係關於一種製程(process)、機器(machine)、產品(manufacture)或組合物(composition of matter)。本發明的一個實施方式尤其係關於一種半導體裝置、顯示裝置、發光裝置、蓄電裝置、攝像裝置、記憶體裝置以及它們的驅動方法或製造方法。本發明的一個實施方式尤其係關於一種包含氧化物半導體的半導體裝置、顯示裝置或發光裝置。 The invention relates to an object, method or manufacturing method. Or, the present invention relates to a process, machine, manufacturing, or composition of matter. An embodiment of the present invention particularly relates to a semiconductor device, a display device, a light-emitting device, a power storage device, an imaging device, a memory device, and a driving method or manufacturing method thereof. An embodiment of the present invention particularly relates to a semiconductor device, a display device, or a light-emitting device including an oxide semiconductor.

在本說明書等中,半導體裝置是指能夠利用半導體特性而工作的所有裝置。顯示裝置、發光裝置、照明設備、電光裝置、半導體電路以及電子裝置有時包括半導體裝置。 In this specification and the like, a semiconductor device refers to all devices that can operate using semiconductor characteristics. Display devices, light emitting devices, lighting equipment, electro-optic devices, semiconductor circuits, and electronic devices sometimes include semiconductor devices.

作為用於電晶體的半導體的矽,根據用途適當地使用非晶矽或多晶矽。例如,在構成大型顯示裝置的電晶體中,較佳為使用在大面積基板上進行成膜的技術已得到確立的非晶矽。另一方面,作為在同一基板上形成有驅動電路及像素部的高功能顯示裝置所包括的電晶體,較佳為使用可以製造場效移動率高的電晶體的多晶矽。作為多晶矽的形成方法,已知藉由 對非晶矽進行高溫的加熱處理或雷射處理來形成的方法。 As the silicon used for the semiconductor of the transistor, amorphous silicon or polycrystalline silicon is suitably used according to the application. For example, among the transistors constituting a large-scale display device, it is preferable to use amorphous silicon, which has been established as a technology for forming a film on a large-area substrate. On the other hand, as a transistor included in a high-function display device in which a driving circuit and a pixel portion are formed on the same substrate, polycrystalline silicon that can produce a transistor with a high field-effect mobility is preferably used. As a method of forming polysilicon, it is known to A method of forming amorphous silicon by high-temperature heat treatment or laser treatment.

近年來,對使用氧化物半導體(典型的是In-Ga-Zn氧化物)的電晶體的開發十分積極。使用氧化物半導體的電晶體具有與使用非晶矽的電晶體及使用多晶矽的電晶體不同的特徵。例如,已知應用了使用氧化物半導體的電晶體的顯示裝置的功耗低。 In recent years, the development of transistors using oxide semiconductors (typically In-Ga-Zn oxides) has been very active. Transistors using oxide semiconductors have different characteristics from those using amorphous silicon and those using polycrystalline silicon. For example, it is known that a display device using transistors using an oxide semiconductor has low power consumption.

另外,已知使用氧化物半導體的電晶體在非導通狀態下洩漏電流極小。例如,應用了使用氧化物半導體的電晶體的洩漏電流小的特性的低功耗CPU等已被公開(參照專利文獻1)。 In addition, it is known that a transistor using an oxide semiconductor has a very small leakage current in a non-conductive state. For example, a low-power consumption CPU to which a characteristic of using an oxide semiconductor transistor with a small leakage current has been disclosed (see Patent Document 1).

為了利用電源閘控降低功耗,使用氧化物半導體的電晶體較佳為具有常關閉的電特性。作為控制使用氧化物半導體的電晶體的臨界電壓而使該電晶體具有常關閉的電特性的方法之一,在與氧化物半導體重疊的區域配置浮動閘極,並對該浮動閘極注入固定負電荷的方法已被公開(參照專利文獻2)。 In order to use power gating to reduce power consumption, transistors using oxide semiconductors preferably have normally-off electrical characteristics. As one of the methods for controlling the critical voltage of a transistor using an oxide semiconductor so that the transistor has normally-off electrical characteristics, a floating gate is arranged in an area overlapping the oxide semiconductor, and a fixed negative is injected into the floating gate The method of charge has been disclosed (refer to Patent Document 2).

氧化物半導體可以利用濺射法等形成,所以可以被用於構成大型顯示裝置的電晶體。另外,使用氧化物半導體的電晶體具有高場效移動率,因而可以實現在同一基板上形成有驅動電路和像素部的高功能顯示裝置。此外,因為可以將使用非晶矽的電晶體或使用多晶矽的電晶體的生產設備的一部分改良而利用,所以還有可以抑制設備投資的優點。 The oxide semiconductor can be formed by a sputtering method or the like, so it can be used for transistors constituting a large-scale display device. In addition, a transistor using an oxide semiconductor has a high field-effect mobility, and thus a high-function display device in which a driving circuit and a pixel portion are formed on the same substrate can be realized. In addition, since it is possible to improve and use a part of the production equipment for the transistor using amorphous silicon or the transistor using polycrystalline silicon, there is also an advantage that the investment in equipment can be suppressed.

氧化物半導體自早期就已開始被研究,於1985年已有關於結晶In-Ga-Zn氧化物的合成的報告(參照非專利文獻1)。另外,於1995年已有關於In-Ga-Zn氧化物形成同系結構且被表示為組成式InGaO3(ZnO)m(m為自然數)的報告(參照非專利文獻2)。 Oxide semiconductors have been studied since the early days, and reports on the synthesis of crystalline In-Ga-Zn oxides have been available in 1985 (see Non-Patent Document 1). In addition, in 1995, there has been a report that In-Ga-Zn oxide forms a homologous structure and is expressed as a composition formula InGaO 3 (ZnO) m (m is a natural number) (refer to Non-Patent Document 2).

此外,於1995年發明了使用氧化物半導體的電晶體,並公開了其電特性(參照專利文獻3)。 In addition, a transistor using an oxide semiconductor was invented in 1995, and its electrical characteristics were disclosed (see Patent Document 3).

另外,於2014年已有關於使用結晶氧化物半導體的電晶體的報告(參照非專利文獻3及非專利文獻4)。在此,已有關於能夠大量生產且具有優異的電特性及高可靠性的包括CAAC-OS(C-Axis Aligned Crystalline Oxide Semiconductor)的電晶體的報告。 In addition, there were reports on transistors using crystalline oxide semiconductors in 2014 (see Non-Patent Document 3 and Non-Patent Document 4). Here, there have been reports on transistors including CAAC-OS (C-Axis Aligned Crystalline Oxide Semiconductor) that can be mass-produced, have excellent electrical characteristics, and have high reliability.

[專利文獻1]日本專利申請公開第2012-257187號公報 [Patent Document 1] Japanese Patent Application Publication No. 2012-257187

[專利文獻2]日本專利申請公開第2013-247143號公報 [Patent Document 2] Japanese Patent Application Publication No. 2013-247143

[專利文獻3]日本PCT國際申請翻譯平11-505377號公報 [Patent Document 3] Japanese PCT International Application Translation Hei 11-505377

[非專利文獻1]N. Kimizuka,and T. Mohri:Journal of Solid State Chemistry,1985,volume 60,p.382-384 [Non-Patent Document 1] N. Kimizuka, and T. Mohri: Journal of Solid State Chemistry, 1985, volume 60, p. 382-384

[非專利文獻2]N. Kimizuka,M. Isobe,and M. Nakamura:Journal of Solid State Chemistry,1995,volume 116,p.170-178 [Non-Patent Document 2] N. Kimizuka, M. Isobe, and M. Nakamura: Journal of Solid State Chemistry, 1995, volume 116, p. 170-178

[非專利文獻3]S. Yamazaki,T. Hirohashi,M. Takahashi,S. Adachi,M. Tsubuku,J. Koezuka,K. Okazaki,Y. Kanzaki,H. Matsukizono,S. Kaneko,S. Mori,and T. Matsuo:Journal of the Society for Information Display,2014, volume 22, Issue 1, p.55-p.67 [Non-Patent Document 3] S. Yamazaki, T. Hirohashi, M. Takahashi, S. Adachi, M. Tsubuku, J. Koezuka, K. Okazaki, Y. Kanzaki, H. Matsukizono, S. Kaneko, S. Mori, and T. Matsuo: Journal of the Society for Information Display, 2014, volume 22, Issue 1, p.55-p.67

[非專利文獻4]S. Yamazaki,T. Atsumi,K. Dairiki,K. Okazaki,and N. Kimizuka:ECS Journal of Solid State Science and Technology,2014,volume 3,Issue 9,p.Q3012-p.Q3022 [Non-Patent Document 4] S. Yamazaki, T. Atsumi, K. Dairiki, K. Okazaki, and N. Kimizuka: ECS Journal of Solid State Science and Technology, 2014, volume 3, Issue 9, p.Q3012-p. Q3022

本發明的一個實施方式的目的之一是提供一種包括關態電流(off-state current)小的電晶體的半導體裝置。另外,本發明的一個實施方式的目的之一是提供一種功耗低的半導體裝置。另外,本發明的一個實施方式的目的之一是提供一種微型的半導體裝置。另外,本發明的一個實施方式的目的之一是提供一種可靠性高的半導體裝置。另外,本發明的一個實施方式的目的之一是提供一種寫入速度快的半導體裝置。另外,本發明的一個實施方式的目的之一是提供一種讀出速度快的半導體裝置。另外,本發明的一個實施方式的目的之一是提供一種能夠長期間保持資料的半導體裝置。另外,本發明的一個實施方式的目的之一是提供一種新穎的半導體裝置。另外,本發明的一個實施方式的目的之一是提供一種對眼睛刺激少的顯示裝置。另外,本發明的一個實施方式的目的之一是提供一種包括透明半導體的半導體裝置。 One of the objects of one embodiment of the present invention is to provide a semiconductor device including a transistor with a small off-state current. In addition, one of the objects of one embodiment of the present invention is to provide a semiconductor device with low power consumption. In addition, one of the objects of one embodiment of the present invention is to provide a miniature semiconductor device. In addition, one of the objects of one embodiment of the present invention is to provide a highly reliable semiconductor device. In addition, one of the objects of one embodiment of the present invention is to provide a semiconductor device with a fast writing speed. In addition, one of the objects of one embodiment of the present invention is to provide a semiconductor device with a fast reading speed. In addition, one of the objects of one embodiment of the present invention is to provide a semiconductor device capable of holding data for a long period of time. In addition, one of the objects of one embodiment of the present invention is to provide a novel semiconductor device. In addition, one of the objects of one embodiment of the present invention is to provide a display device with less eye irritation. In addition, one of the objects of one embodiment of the present invention is to provide a semiconductor device including a transparent semiconductor.

注意,這些目的的記載並不妨礙其他目的的存在。此外,本發明的一個實施方式並不需要實現所有上述目的。上述目的以外的目的從說明書、圖式、申請專利範圍等的描述中看來是顯而易見的,並且可以從該描述中抽取上述目的以外的目的。 Note that the description of these purposes does not prevent the existence of other purposes. In addition, an embodiment of the present invention does not need to achieve all of the above objects. Objects other than the above objects are apparent from the description of the specification, drawings, patent application scope, etc., and objects other than the above objects can be extracted from the description.

(1)本發明的一個實施方式是一種半導體裝置,其中,電晶體包括第一導電體、第二導電體、第一絕緣體、第二絕緣體、第三絕緣體、半導體以及電子俘獲層,半導體包括通道形成區域,電子俘獲層包括隔著第二絕緣體與通道形成區域相互重疊的區域,第一導電體包括隔著第一絕緣體與通道形成區域相互重疊的區域,第二導電體包括隔著第三絕緣體與電子俘獲層相互重疊的區域,第二導電體不包括與通道形成區域重疊的區域。 (1) One embodiment of the present invention is a semiconductor device, wherein the transistor includes a first conductor, a second conductor, a first insulator, a second insulator, a third insulator, a semiconductor, and an electron trapping layer, and the semiconductor includes a channel Forming region, the electron trapping layer includes a region overlapping with the channel formation region via the second insulator, the first conductor includes a region overlapping the channel formation region via the first insulator, and the second conductor includes a third insulator across the region In the region overlapping with the electron trap layer, the second conductor does not include the region overlapping with the channel formation region.

(2)本發明的另一個實施方式是一種半導體裝置,其中,電晶體包括第一導電體、第二導電體、第三導電體、第四導電體、第一絕緣體、第二絕緣體、第三絕緣體、半導體以及電子俘獲層,半導體包括與第三導電體接觸的第一區域、與第四導電體接觸的第二區域、配置在第一區域與第二區域之間的第三區域,電子俘獲層包括隔著第二絕緣體與第三區域相互重疊的區域,第一導電體包括隔著第一絕緣體與第三區域相互重疊的區域,第二導電體包括隔著第三絕緣體與電子俘獲層相互重疊的區域,第二導電體不包括與第三區域重疊的區域。 (2) Another embodiment of the present invention is a semiconductor device, wherein the transistor includes a first conductor, a second conductor, a third conductor, a fourth conductor, a first insulator, a second insulator, a third An insulator, a semiconductor, and an electron trapping layer. The semiconductor includes a first region in contact with the third conductor, a second region in contact with the fourth conductor, and a third region disposed between the first region and the second region. The layer includes a region overlapping with the third region through the second insulator, the first conductor includes a region overlapping with the third region through the first insulator, and the second conductor includes a region overlapping with the electron trapping layer through the third insulator In the overlapping area, the second conductor does not include the overlapping area with the third area.

(3)另外,本發明的另一個實施方式是一種半導體裝置,其中,電晶體包括第一導電體、第二導電體、第三導電體、第四導電體、第一絕緣體、第二絕緣體、第三絕緣體、半導體以及電子俘獲層,半導體包括與第三導 電體接觸的第一區域、與第四導電體接觸的第二區域、配置在第一區域與第二區域之間的第三區域,電子俘獲層包括隔著第二絕緣體與第一區域及第三區域相互重疊的區域,第一導電體包括隔著第一絕緣體與第三區域相互重疊的區域,第二導電體包括隔著第三絕緣體與電子俘獲層相互重疊的區域,第二導電體包括與第一區域重疊的區域。 (3) In addition, another embodiment of the present invention is a semiconductor device, wherein the transistor includes a first conductor, a second conductor, a third conductor, a fourth conductor, a first insulator, a second insulator, The third insulator, semiconductor, and electron trapping layer, the semiconductor includes The first region in contact with the electrical body, the second region in contact with the fourth conductor, and the third region disposed between the first region and the second region, the electron trapping layer includes the first region and the first region separated by a second insulator A region where the three regions overlap each other, the first conductor includes a region overlapping the first insulator and the third region, the second conductor includes a region overlapping the third insulator and the electron trap layer, and the second conductor includes The area that overlaps the first area.

(4)本發明的另一個實施方式是(1)至(3)中的任一個所記載的半導體裝置,其中電子俘獲層包括導電體或半導體。 (4) Another embodiment of the present invention is the semiconductor device according to any one of (1) to (3), wherein the electron trap layer includes a conductor or a semiconductor.

本發明的一個實施方式能夠提供一種包括關態電流小的電晶體的半導體裝置等。或者,本發明的一個實施方式能夠提供一種功耗低的半導體裝置。或者,本發明的一個實施方式能夠提供一種微型的半導體裝置。或者,本發明的一個實施方式能夠提供一種可靠性高的半導體裝置。或者,本發明的一個實施方式能夠提供一種寫入速度快的半導體裝置。或者,本發明的一個實施方式能夠提供一種能夠長期間保持資料的半導體裝置。或者,本發明的一個實施方式能夠提供一種讀出速度快的半導體裝置。或者,本發明的一個實施方式能夠提供一種新穎的半導體裝置。或者,本發明的一個實施方式能夠提供一種對眼睛刺激少的顯示裝置。或者,本發明的一個實施方式能夠提供一種包括透明半導體的半導體裝置。 An embodiment of the present invention can provide a semiconductor device including a transistor with a small off-state current, and the like. Alternatively, one embodiment of the present invention can provide a semiconductor device with low power consumption. Alternatively, one embodiment of the present invention can provide a miniature semiconductor device. Alternatively, one embodiment of the present invention can provide a highly reliable semiconductor device. Alternatively, one embodiment of the present invention can provide a semiconductor device with a fast writing speed. Alternatively, one embodiment of the present invention can provide a semiconductor device capable of holding data for a long period of time. Alternatively, one embodiment of the present invention can provide a semiconductor device with a fast readout speed. Alternatively, one embodiment of the present invention can provide a novel semiconductor device. Alternatively, one embodiment of the present invention can provide a display device with less eye irritation. Alternatively, one embodiment of the present invention can provide a semiconductor device including a transparent semiconductor.

注意,這些效果的記載並不妨礙其他效果的存在。此外,本發明的一個實施方式並不需要具有所有上述效果。上述效果以外的效果從說明書、圖式、申請專利範圍等的描述中看來是顯而易見的,並且可以從該描述中 抽取上述效果以外的效果。 Note that the description of these effects does not prevent the existence of other effects. In addition, an embodiment of the present invention does not need to have all the above-mentioned effects. Effects other than the above effects are apparent from the description of the specification, drawings, patent application scope, etc., and can be seen from the description Extract effects other than the above.

101‧‧‧半導體 101‧‧‧Semiconductor

102‧‧‧電子俘獲層 102‧‧‧ Electron capture layer

102a‧‧‧絕緣體 102a‧‧‧Insulator

102b‧‧‧絕緣體 102b‧‧‧Insulator

102c‧‧‧絕緣體 102c‧‧‧Insulator

102d‧‧‧導電體 102d‧‧‧Conductor

102e‧‧‧絕緣體 102e‧‧‧Insulator

103‧‧‧閘極電極 103‧‧‧Gate electrode

104‧‧‧閘極絕緣體 104‧‧‧Gate insulator

105‧‧‧閘極電極 105‧‧‧Gate electrode

106‧‧‧電子俘獲能階 106‧‧‧ electron capture energy level

107‧‧‧電子 107‧‧‧Electronics

108‧‧‧曲線 108‧‧‧curve

109‧‧‧曲線 109‧‧‧curve

110‧‧‧電晶體 110‧‧‧Transistor

111‧‧‧電容元件 111‧‧‧capacitor element

200‧‧‧攝像裝置 200‧‧‧Camera device

201‧‧‧開關 201‧‧‧switch

202‧‧‧開關 202‧‧‧switch

203‧‧‧開關 203‧‧‧ switch

210‧‧‧像素部 210‧‧‧Pixel Department

211‧‧‧像素 211‧‧‧ pixels

212‧‧‧子像素 212‧‧‧subpixel

212B‧‧‧子像素 212B‧‧‧Sub-pixel

212G‧‧‧子像素 212G‧‧‧subpixel

212R‧‧‧子像素 212R‧‧‧Sub-pixel

220‧‧‧光電轉換元件 220‧‧‧Photoelectric conversion element

230‧‧‧像素電路 230‧‧‧ pixel circuit

231‧‧‧佈線 231‧‧‧Wiring

247‧‧‧佈線 247‧‧‧Wiring

248‧‧‧佈線 248‧‧‧Wiring

249‧‧‧佈線 249‧‧‧Wiring

250‧‧‧佈線 250‧‧‧Wiring

253‧‧‧佈線 253‧‧‧Wiring

254‧‧‧濾光片 254‧‧‧ filter

254B‧‧‧濾光片 254B‧‧‧filter

254G‧‧‧濾光片 254G‧‧‧filter

254R‧‧‧濾光片 254R‧‧‧filter

255‧‧‧透鏡 255‧‧‧ lens

256‧‧‧光 256‧‧‧ light

257‧‧‧佈線 257‧‧‧Wiring

260‧‧‧週邊電路 260‧‧‧Peripheral circuit

270‧‧‧週邊電路 270‧‧‧ Peripheral circuit

280‧‧‧週邊電路 280‧‧‧Peripheral circuit

290‧‧‧週邊電路 290‧‧‧ Peripheral circuit

291‧‧‧光源 291‧‧‧Light source

300‧‧‧電晶體 300‧‧‧Transistor

302‧‧‧絕緣體 302‧‧‧Insulator

303‧‧‧絕緣體 303‧‧‧Insulator

304‧‧‧接觸孔 304‧‧‧contact hole

305‧‧‧絕緣體 305‧‧‧Insulator

308‧‧‧絕緣體 308‧‧‧Insulator

310‧‧‧電晶體 310‧‧‧Transistor

315‧‧‧電容元件 315‧‧‧capacitor element

320‧‧‧電容元件 320‧‧‧Capacitive element

330‧‧‧閘極電極 330‧‧‧Gate electrode

341‧‧‧電極 341‧‧‧electrode

342‧‧‧電極 342‧‧‧electrode

350‧‧‧基板 350‧‧‧ substrate

351‧‧‧STI 351‧‧‧STI

353‧‧‧擴散層 353‧‧‧Diffusion layer

354‧‧‧絕緣體 354‧‧‧Insulator

355‧‧‧側壁 355‧‧‧Side wall

360‧‧‧絕緣體 360‧‧‧Insulator

361‧‧‧絕緣體 361‧‧‧Insulator

362‧‧‧絕緣體 362‧‧‧Insulator

363‧‧‧絕緣體 363‧‧‧Insulator

364‧‧‧絕緣體 364‧‧‧Insulator

365‧‧‧絕緣體 365‧‧‧Insulator

370‧‧‧插頭 370‧‧‧plug

371‧‧‧插頭 371‧‧‧plug

372‧‧‧插頭 372‧‧‧plug

373‧‧‧佈線層 373‧‧‧Wiring layer

374‧‧‧佈線層 374‧‧‧Wiring layer

375‧‧‧佈線層 375‧‧‧Wiring layer

376‧‧‧佈線層 376‧‧‧Wiring layer

377‧‧‧佈線層 377‧‧‧Wiring layer

378‧‧‧佈線層 378‧‧‧Wiring layer

379‧‧‧佈線層 379‧‧‧Wiring layer

380‧‧‧佈線層 380‧‧‧Wiring layer

381‧‧‧佈線層 381‧‧‧Wiring layer

382‧‧‧插頭 382‧‧‧plug

383‧‧‧插頭 383‧‧‧plug

384‧‧‧插頭 384‧‧‧plug

385‧‧‧佈線層 385‧‧‧Wiring layer

386‧‧‧佈線層 386‧‧‧Wiring layer

387‧‧‧佈線層 387‧‧‧Wiring layer

388‧‧‧插頭 388‧‧‧plug

389‧‧‧插頭 389‧‧‧plug

390‧‧‧佈線層 390‧‧‧Wiring layer

391‧‧‧插頭 391‧‧‧plug

392‧‧‧插頭 392‧‧‧plug

393‧‧‧佈線層 393‧‧‧Wiring layer

394‧‧‧佈線層 394‧‧‧Wiring layer

400‧‧‧基板 400‧‧‧ substrate

401‧‧‧像素部 401‧‧‧Pixel Department

402‧‧‧掃描線驅動電路 402‧‧‧scan line driver circuit

403‧‧‧掃描線驅動電路 403‧‧‧scan line drive circuit

404‧‧‧信號線驅動電路 404‧‧‧Signal line driver circuit

410‧‧‧電容佈線 410‧‧‧Capacitor wiring

412‧‧‧閘極佈線 412‧‧‧Gate wiring

413‧‧‧閘極佈線 413‧‧‧Gate wiring

414‧‧‧汲極電極 414‧‧‧Drain electrode

416‧‧‧電晶體 416‧‧‧Transistor

417‧‧‧電晶體 417‧‧‧Transistor

418‧‧‧液晶元件 418‧‧‧Liquid crystal element

419‧‧‧液晶元件 419‧‧‧Liquid crystal element

420‧‧‧像素 420‧‧‧ pixels

421‧‧‧切換電晶體 421‧‧‧Switch transistor

422‧‧‧驅動電晶體 422‧‧‧Drive transistor

423‧‧‧電容元件 423‧‧‧capacitor element

424‧‧‧發光元件 424‧‧‧Lighting element

425‧‧‧信號線 425‧‧‧Signal cable

496‧‧‧掃描線 496‧‧‧scan line

427‧‧‧電源線 427‧‧‧Power cord

428‧‧‧共用電極 428‧‧‧Common electrode

500‧‧‧矽基板 500‧‧‧Silicon substrate

510‧‧‧層 510‧‧‧ storey

520‧‧‧層 520‧‧‧ storey

530‧‧‧層 530‧‧‧ storey

540‧‧‧層 540‧‧‧ storey

551‧‧‧電晶體 551‧‧‧Transistor

552‧‧‧電晶體 552‧‧‧Transistor

553‧‧‧電晶體 553‧‧‧Transistor

560‧‧‧光電二極體 560‧‧‧Photodiode

561‧‧‧陽極 561‧‧‧Anode

562‧‧‧陰極 562‧‧‧Cathode

563‧‧‧低電阻區域 563‧‧‧Low resistance area

570‧‧‧插頭 570‧‧‧plug

571‧‧‧佈線 571‧‧‧Wiring

572‧‧‧佈線 572‧‧‧Wiring

573‧‧‧佈線 573‧‧‧Wiring

580‧‧‧絕緣體 580‧‧‧Insulator

581‧‧‧絕緣體 581‧‧‧Insulator

583‧‧‧接觸孔 583‧‧‧Contact hole

590‧‧‧微透鏡陣列層 590‧‧‧Microlens array layer

592‧‧‧濾色片層 592‧‧‧Color filter layer

594‧‧‧遮光層 594‧‧‧ shading layer

600‧‧‧基板 600‧‧‧ substrate

602‧‧‧絕緣體 602‧‧‧Insulator

604‧‧‧絕緣體 604‧‧‧Insulator

606‧‧‧閘極電極 606‧‧‧Gate electrode

606b‧‧‧閘極電極 606b‧‧‧Gate electrode

608‧‧‧絕緣體 608‧‧‧Insulator

610‧‧‧電子俘獲層 610‧‧‧ Electron capture layer

612‧‧‧絕緣體 612‧‧‧Insulator

612b‧‧‧汲極電極 612b‧‧‧Drain electrode

613‧‧‧氧化物半導體 613‧‧‧Oxide Semiconductor

614‧‧‧氧化物半導體 614‧‧‧Oxide Semiconductor

614a‧‧‧氧化物半導體 614a‧‧‧oxide semiconductor

614c‧‧‧氧化物半導體 614c‧‧‧Oxide Semiconductor

615‧‧‧導電體 615‧‧‧Conductor

616a‧‧‧源極電極 616a‧‧‧Source electrode

616b‧‧‧汲極電極 616b‧‧‧Drain electrode

618‧‧‧閘極絕緣體 618‧‧‧Gate insulator

620‧‧‧閘極電極 620‧‧‧Gate electrode

622‧‧‧絕緣體 622‧‧‧Insulator

650‧‧‧通道形成區域 650‧‧‧Channel formation area

700‧‧‧基板 700‧‧‧ substrate

704a‧‧‧導電體 704a‧‧‧Conductor

704b‧‧‧導電體 704b‧‧‧Conductor

706‧‧‧半導體 706‧‧‧Semiconductor

708‧‧‧絕緣體 708‧‧‧Insulator

712a‧‧‧絕緣體 712a‧‧‧Insulator

712b‧‧‧絕緣體 712b‧‧‧Insulator

714a‧‧‧導電體 714a‧‧‧Conductor

714b‧‧‧導電體 714b‧‧‧Conductor

715‧‧‧電子俘獲層 715‧‧‧ Electron capture layer

716a‧‧‧導電體 716a‧‧‧Conductor

716b‧‧‧導電體 716b‧‧‧Conductor

718a‧‧‧絕緣體 718a‧‧‧Insulator

718b‧‧‧絕緣體 718b‧‧‧Insulator

718c‧‧‧絕緣體 718c‧‧‧Insulator

719‧‧‧發光元件 719‧‧‧Lighting element

720‧‧‧絕緣體 720‧‧‧Insulator

721‧‧‧絕緣體 721‧‧‧Insulator

731‧‧‧端子 731‧‧‧terminal

732‧‧‧FPC 732‧‧‧FPC

733a‧‧‧佈線 733a‧‧‧Wiring

734‧‧‧密封材料 734‧‧‧Sealing material

735‧‧‧驅動電路 735‧‧‧Drive circuit

736‧‧‧驅動電路 736‧‧‧Drive circuit

737‧‧‧像素 737‧‧‧ pixels

741‧‧‧電晶體 741‧‧‧Transistor

742‧‧‧電容元件 742‧‧‧Capacitive element

743‧‧‧切換元件 743‧‧‧Switching element

744‧‧‧信號線 744‧‧‧Signal cable

750‧‧‧基板 750‧‧‧ substrate

751‧‧‧電晶體 751‧‧‧Transistor

752‧‧‧電容元件 752‧‧‧capacitor element

753‧‧‧液晶元件 753‧‧‧Liquid crystal element

754‧‧‧掃描線 754‧‧‧scan line

755‧‧‧信號線 755‧‧‧Signal cable

781‧‧‧導電體 781‧‧‧Conductor

782‧‧‧發光層 782‧‧‧luminous layer

783‧‧‧導電體 783‧‧‧Conductor

784‧‧‧分隔壁 784‧‧‧Partition wall

791‧‧‧導電體 791‧‧‧Conductor

792‧‧‧絕緣體 792‧‧‧Insulator

793‧‧‧液晶層 793‧‧‧Liquid crystal layer

794‧‧‧絕緣體 794‧‧‧Insulator

795‧‧‧間隔物 795‧‧‧ spacer

796‧‧‧導電體 796‧‧‧Conductor

797‧‧‧基板 797‧‧‧Substrate

800‧‧‧RF標籤 800‧‧‧RF tag

801‧‧‧通信器 801‧‧‧Communication

802‧‧‧天線 802‧‧‧ Antenna

803‧‧‧無線信號 803‧‧‧Wireless signal

804‧‧‧天線 804‧‧‧ antenna

805‧‧‧整流電路 805‧‧‧Rectifier circuit

806‧‧‧恆壓電路 806‧‧‧Constant voltage circuit

807‧‧‧解調變電路 807‧‧‧ Demodulation circuit

808‧‧‧調變電路 808‧‧‧ Modulation circuit

809‧‧‧邏輯電路 809‧‧‧Logic circuit

810‧‧‧記憶體電路 810‧‧‧Memory circuit

811‧‧‧ROM 811‧‧‧ROM

901‧‧‧外殼 901‧‧‧Housing

902‧‧‧外殼 902‧‧‧Housing

903‧‧‧顯示部 903‧‧‧ Display

904‧‧‧顯示部 904‧‧‧Display

905‧‧‧麥克風 905‧‧‧Microphone

906‧‧‧揚聲器 906‧‧‧speaker

907‧‧‧操作鍵 907‧‧‧Operation keys

908‧‧‧觸控筆 908‧‧‧stylus

911‧‧‧外殼 911‧‧‧Housing

912‧‧‧外殼 912‧‧‧Housing

913‧‧‧顯示部 913‧‧‧ Display

914‧‧‧顯示部 914‧‧‧ Display

915‧‧‧連接部 915‧‧‧Connect

916‧‧‧操作鍵 916‧‧‧Operation keys

921‧‧‧外殼 921‧‧‧Housing

922‧‧‧顯示部 922‧‧‧Display

923‧‧‧鍵盤 923‧‧‧ keyboard

924‧‧‧指向裝置 924‧‧‧pointing device

931‧‧‧外殼 931‧‧‧Housing

932‧‧‧冷藏室門 932‧‧‧Refrigerator door

933‧‧‧冷凍室門 933‧‧‧Freezer door

941‧‧‧外殼 941‧‧‧Housing

942‧‧‧外殼 942‧‧‧Housing

943‧‧‧顯示部 943‧‧‧Display

944‧‧‧操作鍵 944‧‧‧Operation keys

945‧‧‧透鏡 945‧‧‧Lens

946‧‧‧連接部 946‧‧‧Connecting Department

951‧‧‧車身 951‧‧‧Body

952‧‧‧車輪 952‧‧‧wheel

953‧‧‧儀表板 953‧‧‧ Dashboard

954‧‧‧燈 954‧‧‧ lamp

1189‧‧‧ROM介面 1189‧‧‧ROM interface

1190‧‧‧基板 1190‧‧‧ substrate

1191‧‧‧ALU 1191‧‧‧ALU

1192‧‧‧ALU控制器 1192‧‧‧ALU controller

1193‧‧‧指令解碼器 1193‧‧‧Decoder

1194‧‧‧中斷控制器 1194‧‧‧Interrupt controller

1195‧‧‧時序控制器 1195‧‧‧sequence controller

1196‧‧‧暫存器 1196‧‧‧register

1197‧‧‧暫存器控制器 1197‧‧‧register controller

1198‧‧‧匯流排介面 1198‧‧‧bus interface

1199‧‧‧ROM 1199‧‧‧ROM

1200‧‧‧記憶體電路 1200‧‧‧Memory circuit

1201‧‧‧電路 1201‧‧‧ circuit

1202‧‧‧電路 1202‧‧‧ circuit

1203‧‧‧開關 1203‧‧‧switch

1204‧‧‧開關 1204‧‧‧switch

1206‧‧‧邏輯元件 1206‧‧‧Logic components

1207‧‧‧電容元件 1207‧‧‧capacitor element

1208‧‧‧電容元件 1208‧‧‧capacitor element

1209‧‧‧電晶體 1209‧‧‧Transistor

1210‧‧‧電晶體 1210‧‧‧Transistor

1213‧‧‧電晶體 1213‧‧‧Transistor

1214‧‧‧電晶體 1214‧‧‧Transistor

1220‧‧‧電路 1220‧‧‧ circuit

4000‧‧‧RF標籤 4000‧‧‧RF tag

5100‧‧‧顆粒 5100‧‧‧Particles

5120‧‧‧基板 5120‧‧‧ substrate

5161‧‧‧區域 5161‧‧‧Region

在圖式中:圖1A至圖1C是示出實施方式的半導體裝置的例子的圖;圖2是示出實施方式的半導體裝置的例子的圖;圖3A至圖3D是示出實施方式的半導體裝置的能帶圖的例子的圖;圖4A及圖4B是示意性地示出實施方式的半導體裝置特性的圖以及使用半導體裝置的電路的例子的圖;圖5A至圖5C是根據本發明的電晶體的俯視圖及剖面圖;圖6A至圖6C是根據本發明的電晶體的俯視圖及剖面圖;圖7A至圖7C是根據本發明的電晶體的剖面圖;圖8A及圖8B是根據本發明的電晶體的剖面圖;圖9A至圖9C是根據本發明的電晶體的剖面圖及能帶圖;圖10A及圖10B是根據本發明的電晶體的剖面圖;圖11A至圖11C是根據本發明的電晶體的俯視圖及剖面圖;圖12A至圖12C是根據本發明的電晶體的俯視圖及剖面圖;圖13A至圖13C是根據本發明的電晶體的俯視圖及剖面圖;圖14A至圖14C是根據說明本發明的電晶體的製造方法的圖;圖15A至圖15C是根據說明本發明的電晶體的製造方法的圖;圖16A至圖16D是CAAC-OS的剖面的Cs校正高解析度TEM影像及CAAC-OS的剖面示意圖; 圖17A至圖17D是CAAC-OS的平面的Cs校正高解析度TEM影像;圖18A至圖18C是說明藉由XRD得到的CAAC-OS以及單晶氧化物半導體的結構分析的圖;圖19A及圖19B是示出CAAC-OS的電子繞射圖案的圖;圖20是示出電子照射所引起的In-Ga-Zn氧化物的結晶部的變化的圖;圖21A及圖21B是根據本發明的半導體裝置的電路圖及剖面圖;圖22是根據本發明的半導體裝置的剖面圖;圖23A及圖23B是示出根據本發明的半導體裝置的俯視圖;圖24A及圖24B是示出根據本發明的半導體裝置的俯視圖及方塊圖;圖25A及圖25B是示出根據本發明的半導體裝置的剖面圖;圖26是示出根據本發明的半導體裝置的剖面圖;圖27是示出根據本發明的半導體裝置的剖面圖;圖28A1、圖28A2、圖28A3、圖28B1、圖28B2及圖28B3是示出根據本發明的半導體裝置的透視圖及剖面圖;圖29A至圖29C是示出根據本發明的半導體裝置的電路圖、俯視圖及剖面圖;圖30A及圖30B是示出根據本發明的半導體裝置的電路圖及剖面圖;圖31是根據本發明的RF標籤的結構例子;圖32是根據本發明的半導體裝置的方塊圖;圖33是說明根據本發明的記憶體裝置的電路圖;圖34A至圖34C是根據本發明的顯示裝置的俯視圖及電路圖;圖35A至圖35F是示出根據本發明的電子裝置的例子的圖; 圖36A至圖36F是根據本發明的RF標籤的使用例子。 In the drawings: FIGS. 1A to 1C are diagrams showing examples of semiconductor devices of an embodiment; FIG. 2 is a diagram showing examples of semiconductor devices of an embodiment; FIGS. 3A to 3D are semiconductors showing embodiments 4A and 4B are diagrams schematically showing characteristics of the semiconductor device of the embodiment and examples of circuits using the semiconductor device; FIGS. 5A to 5C are diagrams according to the present invention. Top and cross-sectional views of the transistor; Figures 6A to 6C are top and cross-sectional views of the transistor according to the present invention; Figures 7A to 7C are cross-sectional views of the transistor according to the present invention; Figures 8A and 8B are based on the present invention FIG. 9A to FIG. 9C are cross-sectional views and energy band diagrams of the transistor according to the present invention; FIGS. 10A and 10B are cross-sectional views of the transistor according to the present invention; FIGS. 11A to 11C are Top and cross-sectional views of the transistor according to the present invention; FIGS. 12A to 12C are top and cross-sectional views of the transistor according to the present invention; FIGS. 13A to 13C are top and cross-sectional views of the transistor according to the present invention; FIG. 14A 14C are diagrams illustrating the method of manufacturing the transistor of the present invention; FIGS. 15A to 15C are diagrams illustrating the method of manufacturing the transistor of the present invention; FIGS. 16A to 16D are Cs corrections of the cross section of CAAC-OS High-resolution TEM image and CAAC-OS cross-sectional schematic diagram; FIGS. 17A to 17D are Cs-corrected high-resolution TEM images of the plane of CAAC-OS; FIGS. 18A to 18C are diagrams illustrating the structural analysis of CAAC-OS and single crystal oxide semiconductors obtained by XRD; FIGS. 19A and 19B is a diagram showing the electron diffraction pattern of CAAC-OS; FIG. 20 is a diagram showing the change of the crystal part of In-Ga-Zn oxide caused by electron irradiation; FIGS. 21A and 21B are according to the present invention Circuit diagram and cross-sectional view of the semiconductor device of FIG. 22; FIG. 22 is a cross-sectional view of the semiconductor device according to the present invention; FIGS. 23A and 23B are top views showing the semiconductor device according to the present invention; FIG. 24A and FIG. 25A and 25B are cross-sectional views showing the semiconductor device according to the present invention; FIG. 26 is a cross-sectional view showing the semiconductor device according to the present invention; FIG. 27 is a cross-sectional view showing the semiconductor device according to the present invention; 28A1, 28A2, 28A3, 28B1, 28B2, and 28B3 are perspective views and cross-sectional views of the semiconductor device according to the present invention; FIGS. 29A to 29C are shown according to the present invention. Circuit diagram, top view, and cross-sectional view of the inventive semiconductor device; FIGS. 30A and 30B are circuit diagrams and cross-sectional views showing the semiconductor device according to the present invention; FIG. 31 is a structural example of an RF tag according to the present invention; FIG. 32 is based on the present invention. A block diagram of a semiconductor device of the invention; FIG. 33 is a circuit diagram illustrating a memory device according to the present invention; FIGS. 34A to 34C are a top view and a circuit diagram of a display device according to the present invention; FIGS. 35A to 35F are diagrams showing the present invention. Diagram of an example of an electronic device; 36A to 36F are examples of use of RF tags according to the present invention.

本發明的選擇圖為圖5A至圖5C。 The selection diagram of the present invention is shown in FIGS. 5A to 5C.

參照圖式對實施方式進行詳細說明。注意,本發明不侷限於以下說明,所屬技術領域的普通技術人員可以很容易地理解一個事實就是其方式及詳細內容在不脫離本發明的精神及其範圍的情況下可以被變換為各種各樣的形式。因此,本發明不應該被解釋為僅限定於以下所示的實施方式的記載內容中。 The embodiment will be described in detail with reference to the drawings. Note that the present invention is not limited to the following description, and those of ordinary skill in the art can easily understand the fact that its methods and details can be transformed into various forms without departing from the spirit and scope of the present invention form. Therefore, the present invention should not be interpreted as being limited to the description of the embodiments shown below.

注意,在以下說明的發明的結構中,有時在不同的圖式中共同使用相同的元件符號來表示相同的部分或具有相同功能的部分,而省略其重複說明。另外,在表示具有相同功能的部分時有時使用相同的陰影線,而不特別附加元件符號。 Note that in the structure of the invention described below, the same element symbols are commonly used in different drawings to denote the same parts or parts having the same function, and repeated description thereof is omitted. In addition, the same hatched lines are sometimes used when representing parts having the same function, without particularly adding element symbols.

另外,電晶體的“源極”和“汲極”的功能在使用極性不同的電晶體的情況下或在電路工作中電流方向變化的情況等下,有時相互調換。因此,在本說明書中,“源極”和“汲極”可以相互調換。 In addition, the functions of “source” and “drain” of the transistor may be interchanged when using transistors with different polarities or when the direction of the current changes during circuit operation. Therefore, in this specification, "source" and "drain" can be interchanged.

另外,在本說明書等中使用的“第一”、“第二”等序數詞是為了方便識別構成要素而附的,而不是為了在數目方面上進行限定的。 In addition, ordinal numbers such as “first” and “second” used in this specification and the like are attached to facilitate identification of constituent elements, and are not intended to be limited in number.

注意,在本說明書所說明的各個圖式中,有時為了明確起見,誇大表示各構成要素的大小、層的厚度或區域。因此,本發明並不一定限定於該尺寸。 Note that in the drawings described in this specification, for the sake of clarity, the size of each component, the thickness of the layer, or the area may be exaggerated. Therefore, the present invention is not necessarily limited to this size.

電晶體是半導體元件的一種,可以進行電流或電壓的放大、控制導通或非導通的切換工作等。本說明書中的電晶體包括IGFET(Insulated Gate Field Effect Transistor:絕緣閘場效電晶體)和薄膜電晶體(TFT:Thin Film Transistor)。 Transistor is a kind of semiconductor element, which can amplify current or voltage, control conduction or non-conduction switching, etc. Transistors in this specification include IGFET (Insulated Gate Field Effect Transistor) and thin film transistor (TFT: Thin Film Transistor).

注意,“膜”和“層”可以相互調換。例如,有時可以將“導電層”換稱為“導電膜”。或者,例如有時可以將“絕緣膜”換稱為“絕緣層”。 Note that "membrane" and "layer" can be interchanged. For example, sometimes the "conductive layer" may be referred to as a "conductive film". Alternatively, for example, the “insulating film” may be referred to as an “insulating layer”.

另外,在本說明書中,在沒有特別的說明的情況下,關態電流是指電晶體處於關閉狀態(也稱為非導通狀態、遮斷狀態)的汲極電流。在沒有特別的說明的情況下,在n通道型電晶體中,關閉狀態是指閘極與源極間的電壓Vgs低於臨界電壓Vth的狀態,在p通道型電晶體中,關閉狀態是指閘極與源極間的電壓Vgs高於臨界電壓Vth的狀態。例如,n通道型電晶體的關態電流有時是指閘極與源極間的電壓Vgs低於臨界電壓Vth時的汲極電流。 In addition, in this specification, unless otherwise specified, the off-state current refers to the drain current in which the transistor is in an off state (also referred to as a non-conducting state or an off state). Unless otherwise specified, in the n-channel transistor, the off state refers to the state where the voltage Vgs between the gate and the source is lower than the critical voltage Vth, and in the p-channel transistor, the off state refers to The state where the voltage Vgs between the gate and the source is higher than the threshold voltage Vth. For example, the off-state current of an n-channel transistor sometimes refers to the drain current when the voltage Vgs between the gate and the source is lower than the threshold voltage Vth.

電晶體的關態電流有時取決於Vgs。因此,“電晶體的關態電流為I以下”有時指存在使電晶體的關態電流成為I以下的Vgs的值。電晶體的關態 電流有時是指預定的Vgs中的關閉狀態、預定的範圍內的Vgs中的關閉狀態或能夠獲得充分被降低的關態電流的Vgs中的關閉狀態等時的關態電流。 The off-state current of the transistor sometimes depends on Vgs. Therefore, "the off-state current of the transistor is I or less" sometimes means that there is a value of Vgs that makes the off-state current of the transistor be I or less. Off state of transistor The current sometimes refers to the off-state current when the off-state in a predetermined Vgs, the off-state in Vgs within a predetermined range, or the off-state in Vgs capable of obtaining a sufficiently reduced off-state current.

作為一個例子,設想一種n通道型電晶體,該n通道型電晶體的臨界電壓Vth為0.5V,Vgs為0.5V時的汲極電流為1×10-9A,Vgs為0.1V時的汲極電流為1×10-13A,Vgs為-0.5V時的汲極電流為1×10-19A,Vgs為-0.8V時的汲極電流為1×10-22A。在Vgs為-0.5V時或在Vgs為-0.5V至-0.8V的範圍內,該電晶體的汲極電流為1×10-19A以下,所以有時稱該電晶體的關態電流為1×10-19A以下。由於存在該電晶體的汲極電流為1×10-22A以下的Vgs,因此有時稱該電晶體的關態電流為1×10-22A以下。 As an example, consider an n-channel transistor with a critical voltage Vth of 0.5V, a drain current of 1×10 -9 A when Vgs is 0.5V, and a drain current of Vgs of 0.1V The pole current is 1×10 -13 A, the drain current when Vgs is -0.5V is 1×10 -19 A, and the drain current when Vgs is -0.8V is 1×10 -22 A. When Vgs is -0.5V or within the range of -0.5V to -0.8V, the drain current of the transistor is 1×10 -19 A or less, so the off-state current of the transistor is sometimes called 1×10 -19 A or less. Since the drain current of the transistor is Vgs of 1×10 -22 A or less, the off-state current of the transistor is sometimes called 1×10 -22 A or less.

在本說明書中,有時以每通道寬度W的電流值表示具有通道寬度W的電晶體的關態電流。另外,有時以每預定的通道寬度(例如1μm)的電流值表示具有通道寬度W的電晶體的關態電流。在為後者時,關態電流的單位有時以具有電流/長度的因次的單位(例如,A/μm)表示。 In this specification, the off-state current of a transistor having a channel width W is sometimes expressed as a current value per channel width W. In addition, the off-state current of a transistor having a channel width W is sometimes expressed as a current value per predetermined channel width (for example, 1 μm). In the latter case, the unit of the off-state current is sometimes expressed as a unit having a dimension of current/length (for example, A/μm).

電晶體的關態電流有時取決於溫度。在本說明書中,在沒有特別的說明的情況下,關態電流有時表示室溫、60℃、85℃、95℃或125℃下的關態電流。或者,有時表示保證包括該電晶體的半導體裝置等的可靠性的溫度或者包括該電晶體的半導體裝置等被使用的溫度(例如,5℃至35℃中的任一溫度)下的關態電流。“電晶體的關態電流為I以下”是指:在室溫、60℃、85℃、95℃、125℃、保證包括該電晶體的半導體裝置等的可靠性的溫 度或者包括該電晶體的半導體裝置等被使用的溫度(例如,5℃至35℃中的任一溫度)下,存在使電晶體的關態電流成為I以下的Vgs的值。 The off-state current of the transistor sometimes depends on the temperature. In this specification, unless otherwise specified, the off-state current sometimes means the off-state current at room temperature, 60°C, 85°C, 95°C, or 125°C. Alternatively, it sometimes indicates the temperature at which the reliability of the semiconductor device including the transistor is guaranteed or the temperature at which the semiconductor device including the transistor is used (for example, any temperature from 5°C to 35°C) Current. "The off-state current of the transistor is I or less" means: the temperature at room temperature, 60°C, 85°C, 95°C, 125°C, which guarantees the reliability of the semiconductor device including the transistor At a temperature or a temperature at which a semiconductor device including the transistor is used (for example, any temperature from 5°C to 35°C), there is a value of Vgs that makes the off-state current of the transistor I or less.

電晶體的關態電流有時取決於汲極與源極間的電壓Vds。在本說明書中,在沒有特別的說明的情況下,關態電流有時表示Vds為0.1V、0.8V、1V、1.2V、1.8V、2.5V、3V、3.3V、10V、12V、16V或20V時的關態電流。或者,有時表示保證包括該電晶體的半導體裝置等的可靠性的Vds,或者,有時表示包括該電晶體的半導體裝置等所使用的Vds下的關態電流。“電晶體的關態電流為I以下”是指:在Vds為0.1V、0.8V、1V、1.2V、1.8V、2.5V、3V、3.3V、10V、12V、16V、20V、在保證包括該電晶體的半導體裝置等的可靠性的Vds或包括該電晶體的半導體裝置等所使用的Vds下,存在使電晶體的關態電流成為I以下的Vgs的值。 The off-state current of the transistor sometimes depends on the voltage Vds between the drain and the source. In this specification, unless otherwise specified, the off-state current sometimes indicates that Vds is 0.1V, 0.8V, 1V, 1.2V, 1.8V, 2.5V, 3V, 3.3V, 10V, 12V, 16V or Off-state current at 20V. Alternatively, it sometimes indicates Vds that guarantees the reliability of the semiconductor device including the transistor, or sometimes indicates the off-state current under Vds used by the semiconductor device including the transistor. "The off-state current of the transistor is below I" means: at Vds of 0.1V, 0.8V, 1V, 1.2V, 1.8V, 2.5V, 3V, 3.3V, 10V, 12V, 16V, 20V, including Under the reliability Vds of a semiconductor device such as a transistor or the Vds used in a semiconductor device including the same, there is a value of Vgs that makes the off-state current of the transistor I or less.

在本說明書中,有時將關態電流記作洩漏電流。 In this specification, the off-state current is sometimes referred to as leakage current.

在本說明書中,關態電流例如有時指當電晶體處於關閉狀態時流在源極與汲極間的電流。 In this specification, the off-state current sometimes refers to the current flowing between the source and the drain when the transistor is in the off state, for example.

在本說明書中,“平行”是指兩條直線形成的角度為-10°以上且10°以下的狀態。因此,也包括該角度為-5°以上且5°以下的狀態。另外,“大致平行”是指兩條直線形成的角度為-30°以上且30°以下的狀態。另外,“垂直”是指兩條直線形成的角度為80°以上且100°以下的狀態。因此,也包括 該角度為85°以上且95°以下的狀態。另外,“大致垂直”是指兩條直線形成的角度為60°以上且120°以下的狀態。 In this specification, "parallel" refers to a state where the angle formed by two straight lines is -10° or more and 10° or less. Therefore, the state where the angle is -5° or more and 5° or less is also included. In addition, "substantially parallel" refers to a state where the angle formed by two straight lines is -30° or more and 30° or less. In addition, "vertical" refers to a state where the angle formed by two straight lines is 80° or more and 100° or less. Therefore, it also includes This angle is in a state of 85° or more and 95° or less. In addition, "substantially perpendicular" refers to a state where the angle formed by two straight lines is 60° or more and 120° or less.

另外,在本說明書中,六方晶系包括三方晶系和菱方晶系。 In addition, in this specification, the hexagonal crystal system includes a trigonal crystal system and a rhombohedral crystal system.

實施方式1 Embodiment 1

在本實施方式中,說明包括半導體、電子俘獲層及閘極電極的半導體裝置的結構、工作原理以及應用該半導體裝置的電路。圖1A示出包括半導體101、電子俘獲層102、閘極電極103、閘極絕緣體104以及閘極電極105的半導體裝置。 In this embodiment, the structure, operating principle, and circuit of the semiconductor device including the semiconductor, the electron trap layer, and the gate electrode will be described. FIG. 1A shows a semiconductor device including a semiconductor 101, an electron trapping layer 102, a gate electrode 103, a gate insulator 104, and a gate electrode 105.

在此,作為電子俘獲層102,例如可以採用如圖1B所示的絕緣體102a與絕緣體102b的疊層體。或者,也可以採用如圖1C所示的絕緣體102a、絕緣體102b與絕緣體102c的疊層體。或者,還可以採用更多的絕緣體的疊層體。另外,如圖2所示,電子俘獲層102也可以包括絕緣體102e以及絕緣體102e中的被電絕緣的導電體102d。絕緣體102e也可以由多個絕緣體形成。 Here, as the electron-trapping layer 102, for example, a laminate of an insulator 102a and an insulator 102b as shown in FIG. 1B can be used. Alternatively, a laminate of insulator 102a, insulator 102b, and insulator 102c as shown in FIG. 1C may be used. Alternatively, a laminate of more insulators may be used. In addition, as shown in FIG. 2, the electron trapping layer 102 may also include an insulator 102e and an electrically insulated conductor 102d in the insulator 102e. The insulator 102e may be formed of a plurality of insulators.

例如,圖3A示出圖1B所示的半導體裝置的從點A到點B的能帶圖的例子。在圖3A至圖3D中,Ec表示導帶底的能量,Ev表示價帶頂的能量。在圖3A中,閘極電極103的電位與源極電極或汲極電極(都未圖示)相同。 For example, FIG. 3A shows an example of an energy band diagram from point A to point B of the semiconductor device shown in FIG. 1B. In FIGS. 3A to 3D, Ec represents the energy at the bottom of the conduction band, and Ev represents the energy at the top of the valence band. In FIG. 3A, the potential of the gate electrode 103 is the same as the source electrode or the drain electrode (neither is shown).

在該例子中,絕緣體102a的能隙比絕緣體102b的能隙大。另外,在此絕緣體102a的電子親和力比絕緣體102b的電子親和力小,但是並不侷限於此。 In this example, the energy gap of the insulator 102a is larger than the energy gap of the insulator 102b. In addition, the electron affinity of the insulator 102a is smaller than the electron affinity of the insulator 102b, but it is not limited to this.

在絕緣體102a與絕緣體102b的介面或/及絕緣體102b的內部存在電子俘獲能階106。圖3B示出閘極電極103的電位高於源極電極或汲極電極的情況。在此,閘極電極103的電位可以比源極電極或汲極電極高出1V以上。另外,閘極電極103的電位也可以比在結束該處理之後供應到閘極電極105的最高電位低。典型的是,該電位可以低於4V。 There is an electron trap level 106 in the interface between the insulator 102a and the insulator 102b or/and inside the insulator 102b. FIG. 3B shows a case where the potential of the gate electrode 103 is higher than the source electrode or the drain electrode. Here, the potential of the gate electrode 103 may be higher than the source electrode or the drain electrode by 1 V or more. In addition, the potential of the gate electrode 103 may be lower than the highest potential supplied to the gate electrode 105 after the process is completed. Typically, the potential can be lower than 4V.

注意,此時閘極電極105的電位較佳為與源極電極或汲極電極相同。存在於半導體101中的電子107向具有更高電位的閘極電極103的方向上移動。從半導體101向閘極電極103的方向上移動的電子107中的一些被電子俘獲能階106俘獲。 Note that the potential of the gate electrode 105 at this time is preferably the same as the source electrode or the drain electrode. The electrons 107 present in the semiconductor 101 move in the direction of the gate electrode 103 having a higher potential. Some of the electrons 107 moving in the direction from the semiconductor 101 to the gate electrode 103 are trapped by the electron trap level 106.

作為電子107越過絕緣體102a的能障而到達絕緣體102b的過程,可以推測出如下幾個過程。第一是由穿隧效應引起的過程。絕緣體102a越薄,穿隧效應則越明顯。但此時,被電子俘獲能階106俘獲的電子因穿隧效應而再次流失。 As a process in which the electron 107 crosses the energy barrier of the insulator 102a and reaches the insulator 102b, the following processes can be presumed. The first is the process caused by the tunneling effect. The thinner the insulator 102a, the more obvious the tunneling effect. But at this time, the electrons captured by the electron trap level 106 are lost again due to the tunneling effect.

此外,藉由對閘極電極103施加適當的電壓,即使在絕緣體102a較厚的情況下,也可以發生穿隧效應(Fowler-Nordheim(福勒諾德海姆)穿隧效 應)。當發生Fowler-Nordheim穿隧效應時,在閘極電極103與半導體101之間的電場變強時,穿隧電流會急劇增加。 In addition, by applying an appropriate voltage to the gate electrode 103, the tunneling effect (Fowler-Nordheim) tunneling effect can occur even when the insulator 102a is thick should). When the Fowler-Nordheim tunneling effect occurs, when the electric field between the gate electrode 103 and the semiconductor 101 becomes strong, the tunneling current sharply increases.

第二是電子107在絕緣體102a中的缺陷能階等能隙中的俘獲能階之間跳躍而到達絕緣體102b的過程。這是被稱為Poole-Frenkel(普爾-夫倫克爾)傳導的傳導機制,在該機制中絕對溫度越高且俘獲能階越淺,導電性則越高。 The second is the process in which the electron 107 jumps between trap levels in the energy gap of the defect level in the insulator 102a and reaches the insulator 102b. This is a conduction mechanism called Poole-Frenkel conduction. In this mechanism, the higher the absolute temperature and the shallower the trapping energy level, the higher the conductivity.

第三是電子107因熱激發而越過絕緣體102a的能障的過程。根據費米-狄拉克分佈(Fermi-Dirac distribution),在存在於半導體101中的電子的分佈中,一般而言,溫度越高能量高的電子的比率越高。例如,在具有比費米能階高出3eV的能量的電子的300K(27℃)下的密度為1的情況下,450K(177℃)下的密度為6×1016,600K(327℃)下的密度為1.5×1025,750K(477℃)下的密度為1.6×1030The third is the process by which the electron 107 crosses the energy barrier of the insulator 102a due to thermal excitation. According to the Fermi-Dirac distribution, in the distribution of electrons present in the semiconductor 101, generally speaking, the higher the temperature, the higher the ratio of electrons with higher energy. For example, in the case of an electron having an energy 3eV higher than the Fermi level at 300K (27°C) with a density of 1, the density at 450K (177°C) is 6×10 16 and 600K (327°C) The density at 1.5×10 25 and the density at 750K (477° C.) are 1.6×10 30 .

可以推測,電子107越過絕緣體102a的能障而向閘極電極103的移動是經過上述三個過程或它們組合的過程而發生的。尤其是,在第二過程及第三過程中,當溫度高時電流以指數函數的方式增加。 It can be speculated that the movement of the electron 107 to the gate electrode 103 across the energy barrier of the insulator 102a occurs through the above three processes or a combination of these processes. In particular, in the second and third processes, when the temperature is high, the current increases exponentially.

另外,絕緣體102a的能障層的薄的部分(能量高的部分)的電子濃度越高,第一過程中的Fowler-Nordheim穿隧效應也越容易發生,所以溫度越高越好。 In addition, the higher the electron concentration of the thin portion (high energy portion) of the energy barrier layer of the insulator 102a, the easier the Fowler-Nordheim tunneling effect in the first process occurs, so the higher the temperature, the better.

在上述過程中發生的電流尤其在閘極電極103的電位低(5V以下)的情況下大多非常微弱,但是藉由進行長時間的處理,可以使所需要的量的電子被電子俘獲能階106俘獲。其結果,電子俘獲層102帶負電。 The current generated in the above process is usually very weak especially when the potential of the gate electrode 103 is low (5 V or less). However, by processing for a long time, the required amount of electrons can be trapped by the electrons at the energy level 106 Captured. As a result, the electron-trapping layer 102 is negatively charged.

也就是說,藉由在更高的溫度(比半導體裝置的使用溫度或保管溫度高的溫度或者125℃以上且450℃以下,典型地為150℃以上且300℃以下)下保持閘極電極103的電位比源極或汲極的電位高的狀態5毫秒以上且不到10秒,典型地為3秒以上,所需要的量的電子從半導體101向閘極電極103移動,而其一部分被電子俘獲能階106俘獲。下面,將在俘獲電子的處理中使用的溫度稱為處理溫度。 That is, by holding the gate electrode 103 at a higher temperature (a temperature higher than the use temperature or storage temperature of the semiconductor device or 125°C or more and 450°C or less, typically 150°C or more and 300°C or less) The potential of the source is higher than the source or drain potential for 5 milliseconds or more and less than 10 seconds, typically 3 seconds or more. The required amount of electrons moves from the semiconductor 101 to the gate electrode 103, and part of the electrons are The trap level 106 is captured. Hereinafter, the temperature used in the process of trapping electrons is referred to as a process temperature.

此時,被電子俘獲能階106俘獲的電子量可以由閘極電極103的電位控制。當相應量的電子被電子俘獲能階106俘獲時,閘極電極103的電場因其電荷而被遮擋,從而形成在半導體101中的通道消失。 At this time, the amount of electrons captured by the electron trap level 106 can be controlled by the potential of the gate electrode 103. When a corresponding amount of electrons is trapped by the electron trap level 106, the electric field of the gate electrode 103 is blocked by its charge, so that the channel formed in the semiconductor 101 disappears.

被電子俘獲能階106俘獲的電子的總量首先線性增加,但是其增加率逐漸下降,然後電子的總量收斂到一定值。該收斂的值依賴於閘極電極103的電位,有電位越高,被俘獲的電子的個數越增加的傾向,但是不會比電子俘獲能階106的總數多。 The total amount of electrons captured by the electron-trapping level 106 first increases linearly, but the rate of increase gradually decreases, and then the total amount of electrons converges to a certain value. The value of this convergence depends on the potential of the gate electrode 103, and the higher the potential, the more the number of trapped electrons tends to increase, but it does not exceed the total number of electron trap levels 106.

需要使被電子俘獲能階106俘獲的電子不從電子俘獲層102流失。為 此,首先較佳為將絕緣體102a及絕緣體102b的厚度設定為穿隧效應不會成為問題的厚度。例如,物理厚度較佳為大於1nm。 The electrons captured by the electron trap level 106 need not be lost from the electron trap layer 102. for Therefore, first, it is preferable to set the thicknesses of the insulator 102a and the insulator 102b to such a thickness that the tunneling effect does not cause a problem. For example, the physical thickness is preferably greater than 1 nm.

典型地,將絕緣體102a的厚度設定為10nm以上且20nm以下,將絕緣體102b的等效氧化矽厚度設定為10nm以上且25nm以下。 Typically, the thickness of the insulator 102a is set to 10 nm or more and 20 nm or less, and the equivalent silicon oxide thickness of the insulator 102b is set to 10 nm or more and 25 nm or less.

另外,藉由使半導體裝置的使用溫度或保管溫度充分地低,可以抑制被電子俘獲能階106俘獲的電子的流出。例如,半導體裝置的保管溫度為120℃時的電子越過3eV的能障的概率低於處理溫度為300℃時的十萬分之一。 In addition, by sufficiently lowering the use temperature or storage temperature of the semiconductor device, the outflow of electrons trapped by the electron trap level 106 can be suppressed. For example, the probability of electrons crossing the energy barrier of 3 eV when the storage temperature of the semiconductor device is 120° C. is lower than 1 in 100,000 when the processing temperature is 300° C.

半導體101中的電洞的有效質量極大或者實質上定域化也是有效的。在此情況下,電洞不從半導體101注入到絕緣體102a及絕緣體102b中,因此,不會發生被電子俘獲能階106俘獲的電子與電洞再結合而消失的現象。 It is also effective that the effective mass of holes in the semiconductor 101 is extremely large or substantially localized. In this case, holes are not injected from the semiconductor 101 into the insulator 102a and the insulator 102b, and therefore, the phenomenon that the electrons trapped by the electron trap level 106 recombine with the holes does not occur and disappear.

另外,絕緣體102b也可以使用呈現Poole-Frenkel傳導的材料。如上所述,Poole-Frenkel傳導是材料中的缺陷能階等之間的電子的跳躍傳導,缺陷能階多或缺陷能階深的材料具有充分低的導電性,因此可以長期間保持被電子俘獲能階106俘獲的電子。 In addition, the insulator 102b may use a material that exhibits Poole-Frenkel conduction. As mentioned above, Poole-Frenkel conduction is the hopping conduction of electrons between defect levels in a material. Materials with many defect levels or deep defect levels have sufficiently low conductivity, so they can remain trapped by electrons for a long period of time The electrons captured by the energy level 106.

另外,也可以適當地設計電路或/及選擇材料以便不施加使絕緣體102a或/及絕緣體102b所俘獲的電子釋放的電壓。例如,在如In-Ga-Zn類氧化物 半導體那樣的電洞的有效質量極大或者實質上定域化的材料中,在閘極電極103的電位比源極電極或汲極電極高的情況下形成通道,而在比其低的情況下呈現與絕緣體同樣的特性。此時,閘極電極103與半導體101之間的電場變得極小,因此起因於Fowler-Nordheim穿隧效應或Poole-Frenkel傳導的電子傳導顯著減少。 In addition, the circuit or/and the material may be appropriately designed so as not to apply a voltage that releases electrons captured by the insulator 102a or/and the insulator 102b. For example, in In-Ga-Zn based oxides In materials such as semiconductors where the effective mass of a hole is extremely large or substantially localized, a channel is formed when the potential of the gate electrode 103 is higher than that of the source electrode or the drain electrode, and appears when it is lower Same characteristics as insulators. At this time, the electric field between the gate electrode 103 and the semiconductor 101 becomes extremely small, so the electron conduction due to Fowler-Nordheim tunneling effect or Poole-Frenkel conduction is significantly reduced.

如圖1C所示,由三層的絕緣體形成電子俘獲層102,並且使絕緣體102c的電子親和力比絕緣體102b的電子親和力小,使絕緣體102c的能隙比絕緣體102b的能隙大,由此可以有效地保持被絕緣體102b內部或與其他絕緣體之間的介面的電子俘獲能階俘獲的電子。 As shown in FIG. 1C, the electron-trapping layer 102 is formed by three layers of insulators, and the electron affinity of the insulator 102c is smaller than that of the insulator 102b, so that the energy gap of the insulator 102c is larger than the energy gap of the insulator 102b, which can be effective The electrons captured by the electron trap level of the interface inside the insulator 102b or the interface with other insulators are held.

在此情況下,即使絕緣體102b的厚度小,但只要絕緣體102c有充分的物理厚度,就可以保持被電子俘獲能階106俘獲的電子。絕緣體102c可以使用與絕緣體102a同樣的材料。另外,也可以使用其構成元素與絕緣體102b相同但電子俘獲能階充分少的材料。電子俘獲能階的個數(密度)會受到形成方法的影響。 In this case, even if the thickness of the insulator 102b is small, as long as the insulator 102c has a sufficient physical thickness, the electrons captured by the electron trapping level 106 can be maintained. The insulator 102c can use the same material as the insulator 102a. In addition, a material whose constituent elements are the same as those of the insulator 102b but whose electron trap levels are sufficiently small may be used. The number (density) of electron trap levels will be affected by the formation method.

如圖2所示,在絕緣體102e中具有被電絕緣的導電體102d的情況下,也由於與上述同樣的原理,電子被導電體102d俘獲。在此,作為電子俘獲層使用導電體,但也可以使用半導體。在圖3C中,閘極電極103的電位與源極電極或汲極電極相同。 As shown in FIG. 2, in the case where the insulator 102e has an electrically insulated conductor 102d, electrons are trapped by the conductor 102d due to the same principle as described above. Here, a conductor is used as the electron-trapping layer, but a semiconductor can also be used. In FIG. 3C, the potential of the gate electrode 103 is the same as the source electrode or the drain electrode.

圖3D示出閘極電極103的電位高於源極電極或汲極電極的情況。存在於半導體101中的電子107向具有更高電位的閘極電極103的方向上移動。從半導體101移動到閘極電極103的方向上的電子107中的一些被導電體102d俘獲。也就是說,在圖2所示的半導體裝置中,導電體102d具有與圖1B的半導體裝置中的電子俘獲能階106相同的功能。 FIG. 3D shows the case where the potential of the gate electrode 103 is higher than the source electrode or the drain electrode. The electrons 107 present in the semiconductor 101 move in the direction of the gate electrode 103 having a higher potential. Some of the electrons 107 in the direction moving from the semiconductor 101 to the gate electrode 103 are captured by the electrical conductor 102d. That is, in the semiconductor device shown in FIG. 2, the conductor 102 d has the same function as the electron trap level 106 in the semiconductor device of FIG. 1B.

另外,當導電體102d的功函數大時,導電體102d與絕緣體102e之間的能障變高,所以可以抑制被電子俘獲能階106俘獲的電子流出。 In addition, when the work function of the conductor 102d is large, the energy barrier between the conductor 102d and the insulator 102e becomes high, so that the outflow of electrons captured by the electron trapping level 106 can be suppressed.

在上述結構中,絕緣體102a、絕緣體102b及絕緣體102c都可以由多個絕緣體構成。另外,也可以由構成元素相同但形成方法不同的多個絕緣體構成。 In the above structure, the insulator 102a, the insulator 102b, and the insulator 102c may all be composed of a plurality of insulators. In addition, it may be composed of a plurality of insulators having the same constituent elements but different formation methods.

例如,當絕緣體102a和絕緣體102b的構成元素相同(例如,使用氧化鉿)時,可以利用CVD法或ALD(原子層沉積:Atomic Layer Deposition)法形成絕緣體102a,並利用濺射法形成絕緣體102b。 For example, when the constituent elements of the insulator 102a and the insulator 102b are the same (for example, hafnium oxide is used), the insulator 102a can be formed by the CVD method or ALD (Atomic Layer Deposition) method, and the insulator 102b can be formed by the sputtering method.

另外,CVD法可以採用各種方法:熱CVD法、光CVD法、電漿CVD法、MOCVD(Metal Organic Chemical Vapor Deposition:金屬有機氣相沉積)法、LPCVD法等。因此,多個絕緣體也可以利用不同的CVD法形成。 In addition, various methods can be used for the CVD method: thermal CVD method, optical CVD method, plasma CVD method, MOCVD (Metal Organic Chemical Vapor Deposition) method, LPCVD method, and the like. Therefore, multiple insulators can also be formed using different CVD methods.

一般而言,利用濺射法形成的絕緣體所含的缺陷比利用CVD法或ALD 法形成的絕緣體多,因此俘獲電子的性質強。出於同樣的理由,當絕緣體102b和絕緣體102c的構成元素相同時,可以利用濺射法形成絕緣體102b,並利用CVD法或ALD法形成絕緣體102c。 In general, insulators formed by sputtering contain more defects than CVD or ALD There are many insulators formed by the method, so the property of capturing electrons is strong. For the same reason, when the constituent elements of the insulator 102b and the insulator 102c are the same, the insulator 102b can be formed by a sputtering method, and the insulator 102c can be formed by a CVD method or an ALD method.

另外,當絕緣體102b由構成元素相同的多個絕緣體構成時,可以利用濺射法形成其中一個並利用CVD法或ALD法形成另一個。 In addition, when the insulator 102b is composed of a plurality of insulators having the same constituent elements, one of them may be formed by a sputtering method and the other may be formed by a CVD method or an ALD method.

如此,當電子俘獲層102俘獲電子時,如圖4A所示,半導體裝置的臨界電壓得到增高。尤其是,當半導體101使用能隙大的材料(寬能隙半導體)時,可以大幅度地減少閘極電極103及閘極電極105的電位為0V時的源極與汲極之間的電流。 As such, when the electron trapping layer 102 traps electrons, as shown in FIG. 4A, the threshold voltage of the semiconductor device is increased. In particular, when a material with a large energy gap (a wide energy gap semiconductor) is used for the semiconductor 101, the current between the source and the drain when the potential of the gate electrode 103 and the gate electrode 105 is 0V can be greatly reduced.

例如,藉由使用能隙為3.2eV的In-Ga-Zn氧化物半導體,閘極電極103及閘極電極105的電位為0V時的源極與汲極之間的電流密度(每通道寬度1μm的電流值)降低至1zA/μm(1×10-21A/μm)以下,典型地降低至1yA/μm(1×10-24A/μm)以下。 For example, by using an In-Ga-Zn oxide semiconductor with an energy gap of 3.2 eV, the current density between the source and the drain when the potential of the gate electrode 103 and the gate electrode 105 is 0 V (1 μm per channel width) Current value) is reduced to below 1zA/μm (1×10 -21 A/μm), typically to below 1yA/μm (1×10 -24 A/μm).

圖4A示意性地示出電子俘獲層102俘獲電子之前以及之後的室溫下的源極電極與汲極電極之間的每通道寬度1μm的電流(Id/μm)的閘極電極105的電位(Vg)依賴性。注意,將源極電極及閘極電極103的電位設定為0V,將汲極電極的電位設定為+1V。雖然難以直接測定小於1fA的電流,但是可以根據利用其他方法測定的值及SS值(次臨界擺幅值:Subthreshold Swing value)等估計小於1fA的電流。 4A schematically shows the potential of the gate electrode 105 of current (Id/μm) per channel width between the source electrode and the drain electrode at room temperature before and after the electron trapping layer 102 captures electrons (Id/μm) ( Vg) dependence. Note that the potentials of the source electrode and the gate electrode 103 are set to 0V, and the potential of the drain electrode is set to +1V. Although it is difficult to directly measure the current less than 1fA, it can be based on the value measured by other methods and the SS value (sub-critical swing amplitude: Subthreshold Swing value) etc. estimated current less than 1fA.

如曲線108所示,半導體裝置的原來的臨界電壓為Vth1,而在俘獲電子之後,臨界電壓增高(向正方向漂移)至Vth2。其結果,Vg=0時的電流密度為1aA/μm(1×10-18A/μm)以下,例如為1yA/μm以上且1zA/μm以下。 As shown by curve 108, the original threshold voltage of the semiconductor device is Vth1, and after trapping electrons, the threshold voltage increases (drifts in the positive direction) to Vth2. As a result, the current density at Vg=0 is 1 aA/μm (1×10 -18 A/μm) or less, for example, 1 yA/μm or more and 1 zA/μm or less.

例如,圖4B示出由電晶體110控制積累在電容元件111中的電荷的電路。在此,不考慮電容元件111的電極間的洩漏電流。電容元件111的電容為1fF,電容元件111的電晶體110一側的電位為+1V,Vd的電位為0V。 For example, FIG. 4B shows a circuit in which the electric charge accumulated in the capacitive element 111 is controlled by the transistor 110. Here, the leakage current between the electrodes of the capacitive element 111 is not considered. The capacitance of the capacitance element 111 is 1 fF, the potential on the transistor 110 side of the capacitance element 111 is +1V, and the potential of Vd is 0V.

在電晶體110具有圖4A中的曲線108所示的Id-Vg特性,且通道寬度為0.1μm的情況下,閘極電極103及閘極電極105的電位為0V時的源極與汲極之間的電流密度大約為1fA,電晶體110此時的電阻大約為1×1015Ω。因此,由電晶體110和電容元件111構成的電路的時間常數大約為1秒。這意味著經過1秒左右之後,積累在電容元件111中的大部分的電荷會消失。 In the case where the transistor 110 has the Id-Vg characteristic shown by the curve 108 in FIG. 4A and the channel width is 0.1 μm, the gate electrode 103 and the gate electrode 105 have a potential of 0 V between the source and the drain The current density between is about 1 fA, and the resistance of the transistor 110 at this time is about 1×10 15 Ω. Therefore, the time constant of the circuit composed of the transistor 110 and the capacitive element 111 is about 1 second. This means that most of the electric charge accumulated in the capacitive element 111 will disappear after about 1 second.

在電晶體110具有圖4A中的曲線109所示的Id-Vg特性,且通道寬度為0.1μm的情況下,閘極電極103及閘極電極105的電位為0V時的源極與汲極之間的電流密度大約為1yA,電晶體110此時的電阻大約為1×1024Ω。因此,由電晶體110和電容元件111構成的電路的時間常數大約為1×109秒(大約31年)。這意味著即使經過10年之後,積累在電容元件111中的電荷的三分之一也會殘留。 In the case where the transistor 110 has the Id-Vg characteristic shown by the curve 109 in FIG. 4A and the channel width is 0.1 μm, the gate electrode 103 and the gate electrode 105 have a potential of 0 V between the source and the drain The current density between them is about 1yA, and the resistance of the transistor 110 at this time is about 1×10 24 Ω. Therefore, the time constant of the circuit composed of the transistor 110 and the capacitive element 111 is about 1×10 9 seconds (about 31 years). This means that even after 10 years have passed, one third of the electric charge accumulated in the capacitive element 111 will remain.

也就是說,在由電晶體和電容元件構成的簡單結構的電路中,可以保持電荷10年。這可應用於各種記憶體裝置。 In other words, in a circuit with a simple structure composed of a transistor and a capacitive element, charge can be held for 10 years. This can be applied to various memory devices.

實施方式2 Embodiment 2

在本實施方式中,參照圖式對本發明的一個實施方式的電晶體的結構進行說明。 In this embodiment, the structure of the transistor according to one embodiment of the present invention will be described with reference to the drawings.

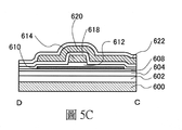
圖5A至圖5C示出本發明的一個實施方式的電晶體的俯視圖及剖面圖。圖5A是俯視圖,圖5B是沿著圖5A所示的點劃線A-B的剖面,圖5C是沿著點劃線C-D的剖面。注意,在圖5A的俯視圖中,為了明確起見,省略一部分的構成要素。另外,有時將點劃線A-B的方向稱為通道長度方向,將點劃線C-D的方向稱為通道寬度方向。 5A to 5C show a plan view and a cross-sectional view of a transistor according to an embodiment of the present invention. FIG. 5A is a plan view, FIG. 5B is a cross-section taken along the chain line A-B shown in FIG. 5A, and FIG. 5C is a cross-section taken along the chain line C-D. Note that, in the top view of FIG. 5A, for the sake of clarity, some constituent elements are omitted. In addition, the direction of the alternate long and short dash line A-B may be referred to as a channel length direction, and the direction of the alternate long and short dash line C-D may be referred to as a channel width direction.

圖5A至圖5C所示的電晶體包括:基板600上的絕緣體602;絕緣體602上的絕緣體604;埋入絕緣體604中的閘極電極606;絕緣體604及閘極電極606上的絕緣體608;絕緣體608上的電子俘獲層610;絕緣體608上及電子俘獲層610上的絕緣體612;絕緣體612上的氧化物半導體614;氧化物半導體614上的源極電極616a及汲極電極616b;氧化物半導體614、源極電極616a及汲極電極616b上的閘極絕緣體618;在閘極絕緣體618上並與其接觸且與氧化物半導體614的頂面及側面面對的閘極電極620;以及絕緣體612、源極電極616a、汲極電極616b及閘極電極620上的絕緣體622。 The transistor shown in FIGS. 5A to 5C includes: an insulator 602 on a substrate 600; an insulator 604 on the insulator 602; a gate electrode 606 buried in the insulator 604; an insulator 608 on the insulator 604 and the gate electrode 606; an insulator Electron trapping layer 610 on 608; insulator 612 on insulator 608 and electron trapping layer 610; oxide semiconductor 614 on insulator 612; source electrode 616a and drain electrode 616b on oxide semiconductor 614; oxide semiconductor 614 Gate insulator 618 on source electrode 616a and drain electrode 616b; gate electrode 620 on and in contact with gate insulator 618 and facing the top and side surfaces of oxide semiconductor 614; and insulator 612, source The insulator 622 on the pole electrode 616a, the drain electrode 616b, and the gate electrode 620.

氧化物半導體614包括通道形成區域650。通道形成區域650包括隔著絕緣體612與電子俘獲層610重疊的區域。閘極電極606包括隔著絕緣體608與電子俘獲層610重疊的區域,但不包括與通道形成區域650重疊的區域。 The oxide semiconductor 614 includes a channel formation region 650. The channel formation region 650 includes a region overlapping the electron trap layer 610 via the insulator 612. The gate electrode 606 includes a region overlapping the electron-trapping layer 610 via the insulator 608, but does not include a region overlapping the channel formation region 650.

如在實施方式1中說明的工作原理那樣,在本電晶體中,能夠藉由對閘極電極606施加電壓而對電子俘獲層610注入電子來控制電晶體的臨界電壓,但是並不因對閘極電極606施加電壓而使通道形成區域650以及與通道形成區域650重疊的閘極絕緣體618劣化。 As in the operation principle described in Embodiment 1, in this transistor, the threshold voltage of the transistor can be controlled by applying a voltage to the gate electrode 606 and injecting electrons into the electron trap layer 610, but it is not due to the gate The electrode electrode 606 applies a voltage to deteriorate the channel formation region 650 and the gate insulator 618 overlapping the channel formation region 650.

當閘極電極606和通道形成區域650具有相互重疊的區域時,藉由對閘極電極606施加電壓,可以使Fowler-Nordheim穿隧效應發生。在閘極電極606與通道形成區域650之間的電場變強時,因Fowler-Nordheim穿隧效應而產生的穿隧電流會急劇增加。因此,有可能通道形成區域650中的缺陷增加而電子陷阱也增加。並且,在與通道形成區域650重疊的閘極絕緣體618中,同樣地有可能因缺陷的增加而電子陷阱增加,由此可能會引起電晶體特性的不穩定及可靠性的下降。 When the gate electrode 606 and the channel formation region 650 have overlapping regions, by applying a voltage to the gate electrode 606, the Fowler-Nordheim tunneling effect can occur. When the electric field between the gate electrode 606 and the channel formation region 650 becomes stronger, the tunneling current due to the Fowler-Nordheim tunneling effect increases sharply. Therefore, it is possible that defects in the channel formation region 650 increase and electron traps also increase. Also, in the gate insulator 618 overlapping with the channel formation region 650, the electron trap may increase due to an increase in defects, which may cause unstable characteristics of the transistor and a decrease in reliability.

根據本發明,如圖5B所示,藉由不重疊地配置閘極電極606和通道形成區域650,可以避免上述不良現象。下面進行說明。 According to the present invention, as shown in FIG. 5B, by arranging the gate electrode 606 and the channel formation region 650 without overlapping, the above-mentioned undesirable phenomenon can be avoided. This is explained below.

藉由使閘極電極606和電子俘獲層610具有相互重疊的區域,可以對閘極電極606施加電壓,而對電子俘獲層610注入電子。藉由使電子俘獲層610和通道形成區域650具有相互重疊的區域,可以根據對電子俘獲層610注入的電子量控制電晶體的臨界電壓。也就是說,藉由使閘極電極606和通道形成區域650不具有相互重疊的區域,可以避免上述不良現象,並控制電晶體的臨界電壓。 By making the gate electrode 606 and the electron trap layer 610 have overlapping areas, a voltage can be applied to the gate electrode 606 and electrons can be injected into the electron trap layer 610. By making the electron-trapping layer 610 and the channel forming region 650 have mutually overlapping regions, the critical voltage of the transistor can be controlled according to the amount of electrons injected into the electron-trapping layer 610. That is to say, by making the gate electrode 606 and the channel forming region 650 not have overlapping regions, the above-mentioned undesirable phenomenon can be avoided, and the critical voltage of the transistor can be controlled.

在本發明中,作為電子俘獲層610,使用(其中)被電子俘獲層610俘獲的電子能夠在電子俘獲層610中及電子俘獲層610與絕緣體608的介面移動的導電體或半導體等,由此可以控制電晶體的臨界電壓。作為導電體,可以使用鉭、鎢、鈦、鉬、鋁、銅、鉬鎢合金等。另外,也可以適當地組合不容易使氧透過的氮化鉭、氮化鎢、氮化鈦等作為多層膜。作為半導體,可以使用多晶矽、微晶矽、非結晶矽、氧化物半導體等。例如,可以使用與本電晶體中的氧化物半導體614相同的氧化物半導體。當作為電子俘獲層610使用氧化物半導體時,在絕緣體612包含過量氧的情況下,可以防止過量氧從絕緣體612向電子俘獲層610擴散,所以是較佳的。 In the present invention, as the electron-trapping layer 610, a conductor or a semiconductor in which the electrons captured by the electron-trapping layer 610 can move in the electron-trapping layer 610 and the interface between the electron-trapping layer 610 and the insulator 608 is used, thereby The critical voltage of the transistor can be controlled. As the conductor, tantalum, tungsten, titanium, molybdenum, aluminum, copper, molybdenum-tungsten alloy, or the like can be used. In addition, tantalum nitride, tungsten nitride, titanium nitride, or the like that does not easily permeate oxygen may be appropriately combined as a multilayer film. As the semiconductor, polycrystalline silicon, microcrystalline silicon, amorphous silicon, oxide semiconductor, or the like can be used. For example, the same oxide semiconductor as the oxide semiconductor 614 in the present transistor can be used. When an oxide semiconductor is used as the electron-trapping layer 610, in the case where the insulator 612 contains excessive oxygen, it is possible to prevent excessive oxygen from diffusing from the insulator 612 to the electron-trapping layer 610, which is preferable.

另外,如圖6A及圖6B所示,也可以使電子俘獲層610延伸到與汲極電極616b相互重疊的區域。或者,可以另外在汲極電極616b與電子俘獲層610相互重疊的區域也配置閘極電極606b,如圖6C所示,還可以只在汲極電極616b與電子俘獲層610相互重疊的區域配置閘極電極606。 In addition, as shown in FIGS. 6A and 6B, the electron trap layer 610 may be extended to a region overlapping with the drain electrode 616b. Alternatively, the gate electrode 606b may be additionally arranged in the region where the drain electrode 616b and the electron trap layer 610 overlap each other. As shown in FIG. 6C, the gate may be arranged only in the region where the drain electrode 616b and the electron trap layer 610 overlap each other.极 electrode 606.

如圖7A及圖7C所示,閘極電極606和通道形成區域650不相互重疊的區域也可以是通道形成區域的大約一半。 As shown in FIGS. 7A and 7C, the region where the gate electrode 606 and the channel formation region 650 do not overlap each other may be about half of the channel formation region.

在圖5A至圖5C中,雖然示出閘極電極606和電子俘獲層610具有與源極電極616a相互重疊的區域的一個例子,但是閘極電極606和電子俘獲層610也可以具有與汲極電極616b相互重疊的區域(參照圖7B及圖7C)。 In FIGS. 5A to 5C, although an example is shown in which the gate electrode 606 and the electron trapping layer 610 have a region overlapping with the source electrode 616a, the gate electrode 606 and the electron trapping layer 610 may also have a drain A region where the electrodes 616b overlap each other (see FIGS. 7B and 7C).

另外,如圖8A及圖8B所示,閘極電極606也可以不具有與源極電極616a或汲極電極616b重疊的區域。 In addition, as shown in FIGS. 8A and 8B, the gate electrode 606 may not have a region overlapping with the source electrode 616 a or the drain electrode 616 b.

接下來,說明氧化物半導體614具有不同結構的電晶體。關於其他結構,參照上述內容。 Next, transistors having different structures of the oxide semiconductor 614 will be explained. For other configurations, refer to the above.

圖9A是與圖5B所示的電晶體同樣的通道長度方向上的剖面圖。另外,圖9B是與圖5C所示的電晶體同樣的通道寬度方向上的剖面圖。 9A is a cross-sectional view in the same channel length direction as the transistor shown in FIG. 5B. 9B is a cross-sectional view in the same channel width direction as the transistor shown in FIG. 5C.

在圖9A及圖9B所示的電晶體的結構中,在絕緣體612與氧化物半導體614之間配置氧化物半導體614a。另外,在絕緣體612與閘極絕緣體618之間、源極電極616a與閘極絕緣體618之間、汲極電極616b與閘極絕緣體618之間、氧化物半導體614a與閘極絕緣體618之間、氧化物半導體614與閘極絕緣體618之間配置氧化物半導體614c。 In the structure of the transistor shown in FIGS. 9A and 9B, the oxide semiconductor 614 a is arranged between the insulator 612 and the oxide semiconductor 614. In addition, between the insulator 612 and the gate insulator 618, between the source electrode 616a and the gate insulator 618, between the drain electrode 616b and the gate insulator 618, between the oxide semiconductor 614a and the gate insulator 618, the oxide An oxide semiconductor 614c is arranged between the object semiconductor 614 and the gate insulator 618.

氧化物半導體614例如是包含銦的氧化物半導體。例如,在氧化物半導體614包含銦時,其載子移動率(電子移動率)得到提高。此外,氧化物半導體614較佳為包含元素M。元素M較佳為鋁、鎵或錫等。作為可用作元素M的其他元素,有硼、矽、鈦、鐵、鎳、鍺、釔、鋯、鉬、鑭、鈰、釹、鉿、鉭、鎢等。注意,作為元素M有時也可以組合多個上述元素。元素M例如是與氧的鍵能高的元素。元素M例如是與氧的鍵能高於銦的元素。或者,元素M例如是具有增大氧化物半導體的能隙的功能的元素。此外,氧化物半導體614較佳為包含鋅。當氧化物半導體包含鋅時,有時容易晶化。 The oxide semiconductor 614 is, for example, an oxide semiconductor containing indium. For example, when the oxide semiconductor 614 contains indium, its carrier mobility (electron mobility) is improved. In addition, the oxide semiconductor 614 preferably contains the element M. The element M is preferably aluminum, gallium, tin, or the like. As other elements usable as the element M, there are boron, silicon, titanium, iron, nickel, germanium, yttrium, zirconium, molybdenum, lanthanum, cerium, neodymium, hafnium, tantalum, tungsten and the like. Note that as the element M, a plurality of the above elements may be combined. The element M is, for example, an element with a high bond energy with oxygen. The element M is, for example, an element having a higher bonding energy with oxygen than indium. Alternatively, the element M is, for example, an element having a function of increasing the energy gap of the oxide semiconductor. In addition, the oxide semiconductor 614 preferably contains zinc. When the oxide semiconductor contains zinc, it is sometimes easily crystallized.

注意,氧化物半導體614不侷限於包含銦的氧化物半導體。氧化物半導體614例如也可以是鋅錫氧化物或鎵錫氧化物等不包含銦且包含鋅、鎵或錫的氧化物半導體等。 Note that the oxide semiconductor 614 is not limited to an oxide semiconductor containing indium. The oxide semiconductor 614 may be, for example, an oxide semiconductor that does not contain indium and contains zinc, gallium, or tin, such as zinc tin oxide or gallium tin oxide.

作為氧化物半導體614例如使用能隙大的氧化物。氧化物半導體614的能隙例如是2.5eV以上且4.2eV以下,較佳為2.8eV以上且3.8eV以下,更佳為3eV以上且3.5eV以下。 As the oxide semiconductor 614, for example, an oxide having a large energy gap is used. The energy gap of the oxide semiconductor 614 is, for example, 2.5 eV or more and 4.2 eV or less, preferably 2.8 eV or more and 3.8 eV or less, and more preferably 3 eV or more and 3.5 eV or less.

例如,氧化物半導體614a及氧化物半導體614c是包含一種以上或兩種以上的構成氧化物半導體614的除了氧之外的元素的氧化物半導體。因為氧化物半導體614a及氧化物半導體614c包含一種以上或兩種以上構成氧化物半導體614的除了氧之外的元素,所以不容易在氧化物半導體614a與氧 化物半導體614的介面以及氧化物半導體614與氧化物半導體614c的介面處形成缺陷能階。 For example, the oxide semiconductor 614a and the oxide semiconductor 614c are oxide semiconductors containing one or more elements other than oxygen constituting the oxide semiconductor 614. Since the oxide semiconductor 614a and the oxide semiconductor 614c contain one or more types of elements other than oxygen constituting the oxide semiconductor 614, it is not easy A defect level is formed at the interface of the compound semiconductor 614 and the interface of the oxide semiconductor 614 and the oxide semiconductor 614c.

氧化物半導體614a、氧化物半導體614及氧化物半導體614c較佳為至少包含銦。另外,在氧化物半導體614a是In-M-Zn氧化物且In和M的總和為100atomic%時,較佳的是:In低於50atomic%,M高於50atomic%,更佳的是:In低於25atomic%,M高於75atomic%。此外,在氧化物半導體614是In-M-Zn氧化物且In和M的總和為100atomic%時,較佳的是:In高於25atomic%,M低於75atomic%,更佳的是:In高於34atomic%,M低於66atomic%。此外,在氧化物半導體614c是In-M-Zn氧化物且In和M的總和為100atomic%時,較佳的是:In低於50atomic%,M高於50atomic%,更佳的是:In低於25atomic%,M高於75atomic%。另外,氧化物半導體614c也可以使用與氧化物半導體614a相同的種類的氧化物。注意,氧化物半導體614a或/及氧化物半導體614c有時也可以不包含銦。例如,氧化物半導體614a或/及氧化物半導體614c也可以是氧化鎵。注意,氧化物半導體614a、氧化物半導體614及氧化物半導體614c所含的各元素的原子個數也可以不是簡單的整數比。 The oxide semiconductor 614a, the oxide semiconductor 614, and the oxide semiconductor 614c preferably include at least indium. In addition, when the oxide semiconductor 614a is an In-M-Zn oxide and the sum of In and M is 100 atomic%, it is preferably: In is less than 50 atomic%, M is more than 50 atomic%, and more preferably: In is low At 25 atomic%, M is higher than 75 atomic%. In addition, when the oxide semiconductor 614 is an In-M-Zn oxide and the sum of In and M is 100 atomic%, it is preferable that In is higher than 25 atomic%, M is lower than 75 atomic%, and it is more preferable that In is high At 34 atomic%, M is lower than 66 atomic%. In addition, when the oxide semiconductor 614c is an In-M-Zn oxide and the sum of In and M is 100 atomic%, it is preferable that In is less than 50 atomic%, M is more than 50 atomic%, and it is more preferable that In is low At 25 atomic%, M is higher than 75 atomic%. In addition, the oxide semiconductor 614c may use the same kind of oxide as the oxide semiconductor 614a. Note that the oxide semiconductor 614a and/or the oxide semiconductor 614c may not contain indium in some cases. For example, the oxide semiconductor 614a and/or the oxide semiconductor 614c may be gallium oxide. Note that the number of atoms of each element included in the oxide semiconductor 614a, the oxide semiconductor 614, and the oxide semiconductor 614c may not be a simple integer ratio.

作為氧化物半導體614使用其電子親和力大於氧化物半導體614a及氧化物半導體614c的氧化物。例如,作為氧化物半導體614使用:電子親和力比氧化物半導體614a及氧化物半導體614c大0.07eV以上且1.3eV以下,較佳為大0.1eV以上且0.7eV以下,更佳為大0.15eV以上且0.4eV以下的氧 化物。注意,電子親和力是真空能階和導帶底之間的能量差。 As the oxide semiconductor 614, an oxide having an electron affinity greater than that of the oxide semiconductor 614a and the oxide semiconductor 614c is used. For example, as the oxide semiconductor 614, the electron affinity is higher than the oxide semiconductor 614a and the oxide semiconductor 614c by 0.07eV or more and 1.3eV or less, preferably 0.1eV or more and 0.7eV or less, and more preferably 0.15eV or more and Oxygen below 0.4eV Chemical compound. Note that the electron affinity is the energy difference between the vacuum level and the bottom of the conduction band.

注意,銦鎵氧化物的電子親和力小,其氧阻擋性高。因此,氧化物半導體614c較佳為包含銦鎵氧化物。鎵原子的比率[Ga/(In+Ga)]例如為70%以上,較佳為80%以上,更佳為90%以上。 Note that the indium gallium oxide has a low electron affinity, and its oxygen barrier property is high. Therefore, the oxide semiconductor 614c preferably includes indium gallium oxide. The ratio of gallium atoms [Ga/(In+Ga)] is, for example, 70% or more, preferably 80% or more, and more preferably 90% or more.

此時,當施加閘極電壓時,通道形成在氧化物半導體614a、氧化物半導體614和氧化物半導體614c當中的電子親和力最大的氧化物半導體614中。 At this time, when a gate voltage is applied, a channel is formed in the oxide semiconductor 614 having the largest electron affinity among the oxide semiconductor 614a, the oxide semiconductor 614, and the oxide semiconductor 614c.

在此,有時在氧化物半導體614a與氧化物半導體614之間具有氧化物半導體614a和氧化物半導體614的混合區域。另外,有時在氧化物半導體614與氧化物半導體614c之間具有氧化物半導體614和氧化物半導體614c的混合區域。混合區域的缺陷態密度較低。因此,在氧化物半導體614a、氧化物半導體614和氧化物半導體614c的疊層體的能帶圖中,各層之間的介面及介面附近的能量連續地變化(也稱為連續接合)(參照圖9C)。注意,有時難以明確地分辨氧化物半導體614a、氧化物半導體614及氧化物半導體614c的各個介面。 Here, there may be a mixed region of the oxide semiconductor 614a and the oxide semiconductor 614 between the oxide semiconductor 614a and the oxide semiconductor 614. In addition, there may be a mixed region of the oxide semiconductor 614 and the oxide semiconductor 614c between the oxide semiconductor 614 and the oxide semiconductor 614c. The density of defect states in the mixed region is low. Therefore, in the energy band diagram of the laminate of the oxide semiconductor 614a, the oxide semiconductor 614, and the oxide semiconductor 614c, the energy between the interface between the layers and the vicinity of the interface changes continuously (also referred to as continuous bonding) (refer to FIG. 9C). Note that sometimes it is difficult to clearly distinguish the interfaces of the oxide semiconductor 614a, the oxide semiconductor 614, and the oxide semiconductor 614c.

此時,電子不在氧化物半導體614a及氧化物半導體614c中而主要在氧化物半導體614中移動。如上所述,藉由降低氧化物半導體614a與氧化物半導體614的介面處的缺陷態密度、氧化物半導體614與氧化物半導體614c 的介面處的缺陷態密度,氧化物半導體614中的電子移動被妨礙的情況減少,從而可以提高電晶體的通態電流。 At this time, electrons mainly move in the oxide semiconductor 614 instead of the oxide semiconductor 614a and the oxide semiconductor 614c. As described above, by reducing the density of defect states at the interface between the oxide semiconductor 614a and the oxide semiconductor 614, the oxide semiconductor 614 and the oxide semiconductor 614c The density of defect states at the interface of the semiconductor device is reduced, and the movement of electrons in the oxide semiconductor 614 is hindered, so that the on-state current of the transistor can be increased.

越減少妨礙電子移動的原因,越能夠提高電晶體的通態電流。例如,在沒有妨礙電子移動的原因的情況下,估計電子會高效率地移動。例如,在通道形成區域中的物理性凹凸較大的情況下電子的移動也會被妨礙。 The less the reasons that hinder the movement of electrons, the higher the on-state current of the transistor. For example, it is estimated that electrons will move efficiently without hindering the movement of electrons. For example, when the physical irregularities in the channel formation area are large, the movement of electrons is also hindered.

為了提高電晶體的通態電流,例如,氧化物半導體614的頂面或底面(被形成面,在此為氧化物半導體614a)的1μm×1μm的範圍內的均方根(RMS:Root Mean Square)粗糙度低於1nm,較佳為低於0.6nm,更佳為低於0.5nm,進一步較佳為低於0.4nm,即可。另外,其1μm×1μm的範圍內的平均表面粗糙度(也稱為Ra)低於1nm,較佳為低於0.6nm,更佳為低於0.5nm,進一步較佳為低於0.4nm,即可。其1μm×1μm的範圍內的最大高低差(也稱為P-V)低於10nm,較佳為低於9nm,更佳為低於8nm,進一步較佳為低於7nm。RMS粗糙度、Ra以及P-V可以藉由使用由精工電子奈米科技(SII Nano Technology)有限公司製造的掃描探針顯微鏡SPA-500等測定。 In order to increase the on-state current of the transistor, for example, the root mean square (RMS: Root Mean Square) in the range of 1 μm×1 μm of the top surface or bottom surface of the oxide semiconductor 614 (formed surface, here, oxide semiconductor 614a) ) The roughness is less than 1 nm, preferably less than 0.6 nm, more preferably less than 0.5 nm, and even more preferably less than 0.4 nm. In addition, the average surface roughness (also referred to as Ra) in the range of 1 μm×1 μm is less than 1 nm, preferably less than 0.6 nm, more preferably less than 0.5 nm, and even more preferably less than 0.4 nm, that is can. The maximum height difference (also referred to as P-V) in the range of 1 μm×1 μm is less than 10 nm, preferably less than 9 nm, more preferably less than 8 nm, and still more preferably less than 7 nm. RMS roughness, Ra, and P-V can be measured by using a scanning probe microscope SPA-500 manufactured by SII Nano Technology Co., Ltd.

或者,例如,在形成有通道的區域中的缺陷態密度高的情況下也電子移動會被妨礙。 Or, for example, in the case where the density of defect states in the region where the channel is formed is high, electron movement may be hindered.

例如,在氧化物半導體614具有氧缺陷(也記為“VO”)的情況下, 有時因為氫進入該氧缺陷位點而形成施體能階。下面,有時將氫進入該氧缺陷位點的狀態記為“VOH”。由於VOH使電子散射,所以會成為降低電晶體的通態電流的原因。另外,氧缺陷位點會在氧進入的情況比氫進入的情況下更加穩定。因此,藉由降低氧化物半導體614中的氧缺陷,有時能夠提高電晶體的通態電流。 For example, in the case where the oxide semiconductor 614 has an oxygen defect (also referred to as "V O "), sometimes a donor level is formed because hydrogen enters the oxygen defect site. Hereinafter, the state where hydrogen enters the oxygen defect site is sometimes referred to as "V O H". Since V O H scatters electrons, it will cause a reduction in the on-state current of the transistor. In addition, oxygen defect sites will be more stable when oxygen enters than if hydrogen enters. Therefore, by reducing the oxygen defects in the oxide semiconductor 614, the on-state current of the transistor can sometimes be increased.

另外,在形成有通道的區域中的缺陷態密度高時,有時會使電晶體的電特性變動。例如,當缺陷能階成為載子發生源時,有時會使電晶體的臨界電壓變動。 In addition, when the density of defect states in the region where the channel is formed is high, the electrical characteristics of the transistor may vary. For example, when the defect level becomes a carrier generation source, the critical voltage of the transistor may sometimes be changed.

為了減少氧化物半導體614的氧缺陷,例如採用將包含於絕緣體612中的過量氧經過氧化物半導體614a移動到氧化物半導體614的方法等。此時,氧化物半導體614a較佳為具有氧透過性的層(使氧經過或透過的層)。 In order to reduce the oxygen defects of the oxide semiconductor 614, for example, a method of moving excess oxygen contained in the insulator 612 to the oxide semiconductor 614 through the oxide semiconductor 614a is adopted. At this time, the oxide semiconductor 614a is preferably a layer having oxygen permeability (layer through which oxygen passes or permeates).

此外,為了提高電晶體的通態電流,氧化物半導體614c的厚度越小越佳。例如,氧化物半導體614c具有其厚度小於10nm,較佳為5nm以下,更佳為3nm以下的區域即可。另一方面,氧化物半導體614c能夠阻擋構成相鄰的絕緣體的氧之外的元素(氫、矽等)侵入形成有通道的氧化物半導體614中。因此,氧化物半導體614c較佳為具有一定程度的厚度。例如,氧化物半導體614c具有其厚度為0.3nm以上,較佳為1nm以上,更佳為2nm以上的區域即可。另外,為了抑制從絕緣體612等釋放的氧向外擴散,氧化物半導體614c較佳為具有阻擋氧的性質。 In addition, in order to increase the on-state current of the transistor, the smaller the thickness of the oxide semiconductor 614c, the better. For example, the oxide semiconductor 614c may have a region whose thickness is less than 10 nm, preferably 5 nm or less, and more preferably 3 nm or less. On the other hand, the oxide semiconductor 614c can block elements (hydrogen, silicon, etc.) other than oxygen constituting adjacent insulators from intruding into the oxide semiconductor 614 in which channels are formed. Therefore, the oxide semiconductor 614c preferably has a certain thickness. For example, the oxide semiconductor 614c may have a region having a thickness of 0.3 nm or more, preferably 1 nm or more, and more preferably 2 nm or more. In addition, in order to suppress the outward diffusion of oxygen released from the insulator 612 and the like, the oxide semiconductor 614c preferably has a property of blocking oxygen.

此外,為了提高可靠性,較佳為使氧化物半導體614a變厚並使氧化物半導體614c變薄。例如,氧化物半導體614a具有其厚度例如為10nm以上,較佳為20nm以上,更佳為40nm以上,進一步較佳為60nm以上的區域即可。藉由將氧化物半導體614a形成得厚,可以拉開從相鄰的絕緣體和氧化物半導體614a的介面到形成有通道的氧化物半導體614的距離。注意,因為半導體裝置的生產率可能會下降,所以氧化物半導體614a具有其厚度例如為200nm以下,較佳為120nm以下,更佳為80nm以下的區域即可。 In addition, in order to improve reliability, it is preferable to make the oxide semiconductor 614a thick and make the oxide semiconductor 614c thin. For example, the oxide semiconductor 614a may have a region whose thickness is, for example, 10 nm or more, preferably 20 nm or more, more preferably 40 nm or more, and still more preferably 60 nm or more. By forming the oxide semiconductor 614a thick, the distance from the interface between the adjacent insulator and the oxide semiconductor 614a to the oxide semiconductor 614 in which the channel is formed can be increased. Note that since the productivity of the semiconductor device may decrease, the oxide semiconductor 614a may have a region whose thickness is, for example, 200 nm or less, preferably 120 nm or less, and more preferably 80 nm or less.

例如在氧化物半導體614與氧化物半導體614a之間具有藉由二次離子質譜分析法(SIMS:Secondary Ion Mass Spectrometry)得到的矽濃度為1×1016atoms/cm3以上且1×1019atoms/cm3以下,較佳為1×1016atoms/cm3以上且5×1018atoms/cm3以下,更佳為1×1016atoms/cm3以上且2×1018atoms/cm3以下的區域。此外,在氧化物半導體614與氧化物半導體614c之間具有藉由SIMS得到的矽濃度為1×1016atoms/cm3以上且1×1019atoms/cm3以下,較佳為1×1016atoms/cm3以上且5×1018atoms/cm3以下,更佳為1×1016atoms/cm3以上且2×1018atoms/cm3以下的區域。 For example, between the oxide semiconductor 614 and the oxide semiconductor 614a, the silicon concentration obtained by secondary ion mass spectrometry (SIMS: Secondary Ion Mass Spectrometry) is 1×10 16 atoms/cm 3 or more and 1×10 19 atoms /cm 3 or less, preferably 1×10 16 atoms/cm 3 or more and 5×10 18 atoms/cm 3 or less, more preferably 1×10 16 atoms/cm 3 or more and 2×10 18 atoms/cm 3 or less Area. In addition, the silicon concentration obtained by SIMS between the oxide semiconductor 614 and the oxide semiconductor 614c is 1×10 16 atoms/cm 3 or more and 1×10 19 atoms/cm 3 or less, preferably 1×10 16 The area of atoms/cm 3 or more and 5×10 18 atoms/cm 3 or less, more preferably 1×10 16 atoms/cm 3 or more and 2×10 18 atoms/cm 3 or less.

此外,為了降低氧化物半導體614的氫濃度,較佳為降低氧化物半導體614a及氧化物半導體614c的氫濃度。氧化物半導體614a及氧化物半導體614c具有藉由SIMS得到的氫濃度為1×1016atoms/cm3以上且2×1020atoms/cm3以下,較佳為1×1016atoms/cm3以上且5×1019atoms/cm3以下,更 佳為1×1016atoms/cm3以上且1×1019atoms/cm3以下,進一步較佳為1×1016atoms/cm3以上且5×1018atoms/cm3以下的區域。此外,為了降低氧化物半導體614的氮濃度,較佳為降低氧化物半導體614a及氧化物半導體614c的氮濃度。氧化物半導體614a及氧化物半導體614c具有藉由SIMS得到的氮濃度為1×1015atoms/cm3以上且5×1019atoms/cm3以下,較佳為1×1015atoms/cm3以上且5×1018atoms/cm3以下,更佳為1×1015atoms/cm3以上且1×1018atoms/cm3以下,進一步較佳為1×1015atoms/cm3以上且5×1017atoms/cm3以下的區域。 In addition, in order to reduce the hydrogen concentration of the oxide semiconductor 614, it is preferable to reduce the hydrogen concentration of the oxide semiconductor 614a and the oxide semiconductor 614c. The oxide semiconductor 614a and the oxide semiconductor 614c have a hydrogen concentration obtained by SIMS of 1×10 16 atoms/cm 3 or more and 2×10 20 atoms/cm 3 or less, preferably 1×10 16 atoms/cm 3 or more And 5×10 19 atoms/cm 3 or less, more preferably 1×10 16 atoms/cm 3 or more and 1×10 19 atoms/cm 3 or less, further preferably 1×10 16 atoms/cm 3 or more and 5× The area below 10 18 atoms/cm 3 . In addition, in order to reduce the nitrogen concentration of the oxide semiconductor 614, it is preferable to reduce the nitrogen concentration of the oxide semiconductor 614a and the oxide semiconductor 614c. The oxide semiconductor 614a and the oxide semiconductor 614c have a nitrogen concentration obtained by SIMS of 1×10 15 atoms/cm 3 or more and 5×10 19 atoms/cm 3 or less, preferably 1×10 15 atoms/cm 3 or more And 5×10 18 atoms/cm 3 or less, more preferably 1×10 15 atoms/cm 3 or more and 1×10 18 atoms/cm 3 or less, further preferably 1×10 15 atoms/cm 3 or more and 5× 10 17 atoms/cm 3 or less.

上述三層結構是一個例子。例如,也可以採用氧化物半導體614與氧化物半導體614a的雙層結構或氧化物半導體614與氧化物半導體614c的雙層結構。或者,也可以採用在氧化物半導體614a上或下、或者在氧化物半導體614c上或下設置作為氧化物半導體614a、氧化物半導體614和氧化物半導體614c例示的半導體中的任何一個半導體的四層結構。或者,也可以採用在氧化物半導體614a上、氧化物半導體614a下、氧化物半導體614c上、氧化物半導體614c下中的任何兩個以上的位置設置作為氧化物半導體614a、氧化物半導體614和氧化物半導體614c例示的半導體中的任何一個半導體的n層結構(n為5以上的整數)。 The above three-layer structure is an example. For example, a double-layer structure of oxide semiconductor 614 and oxide semiconductor 614a or a double-layer structure of oxide semiconductor 614 and oxide semiconductor 614c may be used. Alternatively, a four-layer semiconductor provided as any of the semiconductors exemplified as the oxide semiconductor 614a, the oxide semiconductor 614, and the oxide semiconductor 614c may be provided above or below the oxide semiconductor 614a, or above or below the oxide semiconductor 614c. structure. Alternatively, any two or more positions on the oxide semiconductor 614a, under the oxide semiconductor 614a, on the oxide semiconductor 614c, or under the oxide semiconductor 614c may be adopted as the oxide semiconductor 614a, the oxide semiconductor 614, and the oxide The n-layer structure (n is an integer of 5 or more) of any of the semiconductors exemplified as the physical semiconductor 614c.

在此,參照圖10A及圖10B說明與圖9A及圖9B所示的電晶體不同的結構。關於其他結構,參照上述內容。 Here, a structure different from the transistor shown in FIGS. 9A and 9B will be described with reference to FIGS. 10A and 10B. For other configurations, refer to the above.

圖10A及圖10B所示的電晶體與圖9A及圖9B所示的電晶體的結構的 不同之處在於:在圖10A及圖10B中,絕緣體612不具有被蝕刻而變薄的區域。藉由將氧化物半導體614a也殘留於不與氧化物半導體614重疊的區域,可以防止絕緣體612變薄。在對閘極電極606施加電壓,而對電子俘獲層610注入電子時,若絕緣體612的膜厚變薄,則有可能導致絕緣體612的靜電破壞或電子陷阱等的不良現象。藉由如本發明所述那樣防止絕緣體612變薄,可以避免上述不良現象。雖然未圖示,但是在形成閘極電極620後,與閘極絕緣體618及氧化物半導體614c一起去除殘留的氧化物半導體614a的不需要的部分。由此,可以實現與上述圖9A及圖9B所示的使用三層氧化物半導體的電晶體同樣的特性。 The structure of the transistor shown in FIGS. 10A and 10B and the transistor shown in FIGS. 9A and 9B The difference is that in FIGS. 10A and 10B, the insulator 612 does not have an area that is etched and thinned. By leaving the oxide semiconductor 614a in a region that does not overlap with the oxide semiconductor 614, the insulator 612 can be prevented from becoming thin. When a voltage is applied to the gate electrode 606 and electrons are injected into the electron-trapping layer 610, if the film thickness of the insulator 612 becomes thinner, there is a possibility of causing electrostatic breakdown of the insulator 612, an undesirable phenomenon such as an electron trap, or the like. By preventing the insulator 612 from becoming thinner as described in the present invention, the above-mentioned undesirable phenomenon can be avoided. Although not shown, after the gate electrode 620 is formed, the unnecessary portion of the remaining oxide semiconductor 614a is removed together with the gate insulator 618 and the oxide semiconductor 614c. Thereby, the same characteristics as the transistor using the three-layer oxide semiconductor shown in FIGS. 9A and 9B described above can be achieved.

接著,參照圖11A至圖11C說明與圖5A至圖5C所示的電晶體不同的結構。關於其他結構,參照上述內容。 Next, a structure different from the transistor shown in FIGS. 5A to 5C will be described with reference to FIGS. 11A to 11C. For other configurations, refer to the above.

圖11A是俯視圖,圖11B為沿著圖11A所示的點劃線A-B的剖面,圖11C為沿著點劃線C-D的剖面。注意,在圖11A的俯視圖中,為了明確起見,省略一部分的構成要素。另外,有時將點劃線A-B的方向稱為通道長度方向,將點劃線C-D的方向稱為通道寬度方向。 FIG. 11A is a plan view, FIG. 11B is a cross-section taken along the chain line A-B shown in FIG. 11A, and FIG. 11C is a cross-section taken along the chain line C-D. Note that, in the top view of FIG. 11A, for the sake of clarity, some of the constituent elements are omitted. In addition, the direction of the alternate long and short dash line A-B may be referred to as a channel length direction, and the direction of the alternate long and short dash line C-D may be referred to as a channel width direction.

圖11A及圖11B所示的電晶體與圖5A至圖5C所示的電晶體的不同之處在於:圖11A及圖11B所示的電晶體不具有閘極電極620與源極電極616a或汲極電極616b相互重疊的區域。 The difference between the transistor shown in FIGS. 11A and 11B and the transistor shown in FIGS. 5A to 5C is that the transistor shown in FIGS. 11A and 11B does not have the gate electrode 620 and the source electrode 616a or A region where the pole electrodes 616b overlap each other.

藉由使電晶體不具有閘極電極620與源極電極616a或汲極電極616b相互重疊的區域,不存在閘極電極620與源極電極616a或汲極電極616b之間的寄生電容,因此電晶體可以進行高速工作,所以是較佳的。還可以防止閘極電極620與源極電極616a或汲極電極616b之間的電流洩漏。 Since the transistor does not have a region where the gate electrode 620 and the source electrode 616a or the drain electrode 616b overlap each other, there is no parasitic capacitance between the gate electrode 620 and the source electrode 616a or the drain electrode 616b, The crystal can work at high speed, so it is preferable. It is also possible to prevent current leakage between the gate electrode 620 and the source electrode 616a or the drain electrode 616b.

接下來,參照圖12A至圖12C說明電子俘獲層610的配置與圖11A至圖11C所示的電晶體不同的電晶體。圖12A為俯視圖,圖12B為沿著圖12A所示的點劃線A-B的剖面,圖12C為沿著點劃線C-D的剖面。注意,在圖12A的俯視圖中,為了明確起見,省略一部分的構成要素。另外,有時將點劃線A-B的方向稱為通道長度方向,將點劃線C-D的方向稱為通道寬度方向。 Next, a transistor having a configuration different from that shown in FIGS. 11A to 11C will be described with reference to FIGS. 12A to 12C. FIG. 12A is a plan view, FIG. 12B is a cross section taken along the dashed-dotted line A-B shown in FIG. 12A, and FIG. 12C is a cross section taken along the dashed-dotted line C-D. Note that, in the top view of FIG. 12A, some of the constituent elements are omitted for clarity. In addition, the direction of the alternate long and short dash line A-B may be referred to as a channel length direction, and the direction of the alternate long and short dash line C-D may be referred to as a channel width direction.

圖12A及圖12B所示的電晶體與圖11A至圖11C所示的電晶體的相同之處在於:電子俘獲層610和閘極電極620具有相互重疊的區域,而不同之處在於:在圖12A及圖12B所示的電晶體中,閘極電極620的端部與電子俘獲層610的端部的位置一致。 The transistors shown in FIGS. 12A and 12B are the same as the transistors shown in FIGS. 11A to 11C in that the electron trap layer 610 and the gate electrode 620 have overlapping areas, and the difference is that: In the transistor shown in 12A and 12B, the end of the gate electrode 620 and the end of the electron-trapping layer 610 coincide with each other.

與圖11A至圖11C所示的電晶體同樣地,藉由使電晶體不具有閘極電極620與源極電極616a或汲極電極616b相互重疊的區域,不存在閘極電極620與源極電極616a或汲極電極616b之間的寄生電容,因此電晶體可以進行高速工作,所以是較佳的。還可以防止閘極電極620與源極電極616a或汲極電極616b之間的電流洩漏。 As in the transistor shown in FIGS. 11A to 11C, since the transistor does not have a region where the gate electrode 620 and the source electrode 616a or the drain electrode 616b overlap each other, there is no gate electrode 620 and source electrode The parasitic capacitance between 616a or the drain electrode 616b, so the transistor can work at high speed, so it is preferable. It is also possible to prevent current leakage between the gate electrode 620 and the source electrode 616a or the drain electrode 616b.

接著,參照圖13A至圖13C說明與圖5A至圖5C所示的電晶體不同的結構。圖13A為俯視圖,圖13B為沿著圖13A所示的點劃線A-B的剖面,圖13C為沿著點劃線C-D的剖面。注意,在圖13A的俯視圖中,為了明確起見,省略一部分的構成要素。另外,有時將點劃線A-B的方向稱為通道長度方向,將點劃線C-D的方向稱為通道寬度方向。 Next, a structure different from the transistor shown in FIGS. 5A to 5C will be described with reference to FIGS. 13A to 13C. FIG. 13A is a plan view, FIG. 13B is a cross-section taken along the chain line A-B shown in FIG. 13A, and FIG. 13C is a cross-section taken along the chain line C-D. Note that, in the top view of FIG. 13A, some constituent elements are omitted for clarity. In addition, the direction of the alternate long and short dash line A-B may be referred to as a channel length direction, and the direction of the alternate long and short dash line C-D may be referred to as a channel width direction.

圖13A至圖13C所示的電晶體包括:基板600上的絕緣體602;絕緣體602上的絕緣體604;埋入絕緣體604中的閘極電極606;絕緣體604及閘極電極606上的絕緣體612;絕緣體612上的氧化物半導體614;氧化物半導體614上的源極電極616a及汲極電極616b;絕緣體612、氧化物半導體614、源極電極616a及汲極電極616b上的閘極絕緣體618;閘極絕緣體618上的電子俘獲層610;電子俘獲層610及閘極絕緣體618上的絕緣體608;絕緣體608上的閘極電極620;以及閘極電極620及絕緣體608上的絕緣體622。 The transistor shown in FIGS. 13A to 13C includes: an insulator 602 on a substrate 600; an insulator 604 on the insulator 602; a gate electrode 606 buried in the insulator 604; an insulator 612 on the insulator 604 and the gate electrode 606; an insulator Oxide semiconductor 614 on 612; source electrode 616a and drain electrode 616b on oxide semiconductor 614; gate insulator 618 on insulator 612, oxide semiconductor 614, source electrode 616a and drain electrode 616b; gate Electron trapping layer 610 on insulator 618; electron trapping layer 610 and insulator 608 on gate insulator 618; gate electrode 620 on insulator 608; and gate electrode 620 and insulator 622 on insulator 608.

氧化物半導體614包括通道形成區域650。通道形成區域650包括隔著閘極絕緣體618與電子俘獲層610重疊的區域。閘極電極620包括隔著絕緣體608與電子俘獲層610重疊的區域,但不包括與通道形成區域650重疊的區域。 The oxide semiconductor 614 includes a channel formation region 650. The channel formation region 650 includes a region overlapping the electron trapping layer 610 via the gate insulator 618. The gate electrode 620 includes a region overlapping the electron-trapping layer 610 via the insulator 608, but does not include a region overlapping the channel formation region 650.

圖13A至圖13C所示的電晶體與圖5A至圖5C所示的電晶體的不同之處在於:在圖13A至圖13C所示的電晶體中,為了對電子俘獲層610注入 電子而對閘極電極620施加電壓。能夠藉由對閘極電極620施加電壓而對電子俘獲層610注入電子來控制電晶體的臨界電壓,但是並不因對閘極電極620施加電壓而使通道形成區域650以及與通道形成區域650重疊的閘極絕緣體618劣化。 The difference between the transistor shown in FIGS. 13A to 13C and the transistor shown in FIGS. 5A to 5C is that in the transistor shown in FIGS. 13A to 13C, in order to inject the electron capture layer 610 The electrons apply a voltage to the gate electrode 620. The threshold voltage of the transistor can be controlled by applying a voltage to the gate electrode 620 and injecting electrons into the electron-trapping layer 610, but the channel forming region 650 and the channel forming region 650 are not overlapped by applying a voltage to the gate electrode 620 Of the gate insulator 618 is degraded.

關於本電晶體的工作原理,參照實施方式1及圖5A至圖5C所示的電晶體的說明。 For the operation principle of this transistor, refer to Embodiment 1 and the description of the transistor shown in FIGS. 5A to 5C.

在本實施方式中,描述本發明的一個實施方式。或者,在其他實施方式中,描述本發明的一個實施方式。注意,本發明的一個實施方式並不侷限於此。換而言之,在本實施方式及其他實施方式中,記載有各種各樣的發明的方式,因此本發明的一個實施方式不侷限於特定的方式。例如,作為本發明的一個實施方式,雖然示出電晶體的通道形成區域包括氧化物半導體的情況的例子或者電晶體包括氧化物半導體614等的氧化物半導體的情況的例子等,但是本發明的一個實施方式並不侷限於此。本發明的一個實施方式中的各種各樣的電晶體可以包括各種各樣的半導體。本發明的一個實施方式中的各種各樣的電晶體例如也可以包括矽、鍺、矽鍺、碳化矽、砷化鎵、砷化鋁鎵、銦磷、氮化鎵和有機半導體等中的至少一個。或者,例如本發明的一個實施方式中的各種各樣的電晶體也可以不包括氧化物半導體。 In this embodiment, an embodiment of the present invention is described. Or, in other embodiments, one embodiment of the present invention is described. Note that one embodiment of the present invention is not limited to this. In other words, in this embodiment and other embodiments, various aspects of the invention are described, so one embodiment of the present invention is not limited to a specific aspect. For example, as an embodiment of the present invention, although an example in which the channel formation region of the transistor includes an oxide semiconductor or an example in which the transistor includes an oxide semiconductor such as an oxide semiconductor 614, etc., the present invention One embodiment is not limited to this. The various transistors in one embodiment of the present invention may include various semiconductors. The various transistors in one embodiment of the present invention may include, for example, at least one of silicon, germanium, silicon germanium, silicon carbide, gallium arsenide, aluminum gallium arsenide, indium phosphorous, gallium nitride, organic semiconductors, etc. One. Alternatively, for example, various transistors in one embodiment of the present invention may not include an oxide semiconductor.

注意,本實施方式可以與本說明書所示的其他實施方式適當地組合。 Note that this embodiment mode can be combined with other embodiments shown in this specification as appropriate.

實施方式3 Embodiment 3

在本實施方式中,參照圖14A至圖15C說明在實施方式2中說明的圖5A至圖5C所示的電晶體的製造方法。 In this embodiment, a method of manufacturing the transistor shown in FIGS. 5A to 5C described in Embodiment 2 will be described with reference to FIGS. 14A to 15C.

在圖14A至圖15C的左側示出沿著圖5A所示的點劃線A-B的剖面,在圖14A至圖15C的右側示出沿著點劃線C-D的剖面。 The cross section along the dash-dot line A-B shown in FIG. 5A is shown on the left side of FIGS. 14A to 15C, and the cross section along the dash-dot line C-D is shown on the right side of FIGS. 14A to 15C.

在基板600上形成絕緣體602。作為基板600,例如可以使用包括矽或鍺等的單一材料半導體基板、或者包括碳化矽、矽鍺、砷化鎵、磷化銦、氧化鋅或氧化鎵等的化合物半導體基板等。或者,也可以使用石英或玻璃等的絕緣體基板。作為絕緣體602,可以使用氧化矽膜、氧氮化矽膜、氮氧化矽膜、氮化矽膜、氧化鋁膜、氮化鋁膜或氧化鉿膜等。作為成膜方法,可以使用熱氧化法、CVD法、濺射法、ALD法、電漿氧化法或電漿氮化法等。 An insulator 602 is formed on the substrate 600. As the substrate 600, for example, a single material semiconductor substrate including silicon or germanium, or a compound semiconductor substrate including silicon carbide, silicon germanium, gallium arsenide, indium phosphide, zinc oxide, gallium oxide, or the like can be used. Alternatively, an insulator substrate such as quartz or glass may be used. As the insulator 602, a silicon oxide film, a silicon oxynitride film, a silicon oxynitride film, a silicon nitride film, an aluminum oxide film, an aluminum nitride film, a hafnium oxide film, or the like can be used. As the film formation method, a thermal oxidation method, a CVD method, a sputtering method, an ALD method, a plasma oxidation method, a plasma nitridation method, or the like can be used.

在絕緣體602上形成絕緣體604,在絕緣體604的一部分形成開口部,並將閘極電極606埋入開口部(參照圖14A)中。利用光微影法形成光阻遮罩,並利用乾蝕刻法去除絕緣體的不需要的部分,由此形成絕緣體604的開口部。絕緣體604可以使用與上述絕緣體602同樣的膜及同樣的成膜方法形成。閘極電極606利用濺射法、CVD法、MBE法或PLD法、ALD法、電鍍法等形成即可。另外,作為閘極電極606,可以使用鉭、鎢、鈦、鉬、鋁、 銅、鉬鎢合金等。或者,也可以適當地組合氮化鉭、氮化鎢、氮化鈦等作為多層膜。作為將閘極電極606埋入開口部中的方法,可以使用化學機械拋光(Chemical Mechanical Polishing:CMP)即可(參照圖14A)。 An insulator 604 is formed on the insulator 602, an opening is formed in a part of the insulator 604, and the gate electrode 606 is buried in the opening (see FIG. 14A). The photoresist mask is formed by the photolithography method, and unnecessary portions of the insulator are removed by the dry etching method, thereby forming the opening portion of the insulator 604. The insulator 604 can be formed using the same film and the same film forming method as the insulator 602 described above. The gate electrode 606 may be formed by a sputtering method, CVD method, MBE method, PLD method, ALD method, plating method, or the like. In addition, as the gate electrode 606, tantalum, tungsten, titanium, molybdenum, aluminum, Copper, molybdenum-tungsten alloy, etc. Alternatively, tantalum nitride, tungsten nitride, titanium nitride, or the like may be appropriately combined as a multilayer film. As a method of burying the gate electrode 606 in the opening, chemical mechanical polishing (CMP) may be used (see FIG. 14A).

接著,在閘極電極606及絕緣體604上形成絕緣體608。絕緣體608可以使用與上述絕緣體602同樣的膜及同樣的成膜方法形成。接著,在絕緣體608上形成將成為電子俘獲層610的導電體或半導體。然後,利用光微影法在將成為電子俘獲層610的導電體或半導體上以具有與閘極電極606相互重疊的區域的方式形成光阻遮罩,並利用乾蝕刻法去除導電體或半導體的不需要的部分,由此形成電子俘獲層610。接著,在電子俘獲層610及絕緣體608上形成絕緣體612(參照圖14B)。 Next, an insulator 608 is formed on the gate electrode 606 and the insulator 604. The insulator 608 can be formed using the same film and the same film forming method as the insulator 602 described above. Next, on the insulator 608, a conductor or a semiconductor that will become the electron-trapping layer 610 is formed. Then, a photolithography method is used to form a photoresist mask on the conductor or semiconductor to be the electron-trapping layer 610 so as to have a region overlapping with the gate electrode 606, and the conductor or semiconductor is removed by dry etching Unnecessary portions, thereby forming the electron trapping layer 610. Next, an insulator 612 is formed on the electron trap layer 610 and the insulator 608 (refer to FIG. 14B).

作為電子俘獲層610可以使用導電體或半導體。導電體可以利用濺射法、CVD法、MBE法、PLD法或ALD法等形成。另外,作為導電體,可以使用鉭、鎢、鈦、鉬、鋁、銅、鉬鎢合金等。另外,也可以適當地組合不容易使氧透過的氮化鉭、氮化鎢、氮化鈦等作為多層膜。半導體可以利用濺射法、CVD法、MBE法、PLD法或ALD法等形成。另外,作為半導體可以使用多晶矽、微晶矽、非結晶矽、氧化物半導體等。 As the electron trap layer 610, a conductor or a semiconductor can be used. The conductor can be formed by sputtering, CVD, MBE, PLD, ALD, or the like. In addition, as a conductor, tantalum, tungsten, titanium, molybdenum, aluminum, copper, molybdenum-tungsten alloy, or the like can be used. In addition, tantalum nitride, tungsten nitride, titanium nitride, or the like that does not easily permeate oxygen may be appropriately combined as a multilayer film. The semiconductor can be formed by sputtering, CVD, MBE, PLD, ALD, or the like. In addition, as the semiconductor, polycrystalline silicon, microcrystalline silicon, amorphous silicon, oxide semiconductor, or the like can be used.

絕緣體612可以使用與上述絕緣體602同樣的膜及同樣的成膜方法形成。或者,也可以使用含有過量氧的絕緣體。 The insulator 612 can be formed using the same film and the same film forming method as the insulator 602 described above. Alternatively, an insulator containing excessive oxygen can also be used.

接著,在絕緣體612上形成氧化物半導體613,並進行加熱處理(參照圖14C)。氧化物半導體613可以利用濺射法、CVD法、MBE法、PLD法或ALD法等形成。加熱處理可以在250℃以上且650℃以下,較佳為300℃以上且500℃以下進行。加熱處理在惰性氣體氛圍或者包含10ppm以上、1%以上或10%以上的氧化性氣體的氛圍下進行。加熱處理也可以在減壓狀態下進行。或者,也可以以如下方法進行加熱處理:在惰性氣體氛圍下進行加熱處理之後,為了填補脫離了的氧而在包含10ppm以上、1%以上或10%以上的氧化性氣體的氛圍下進行另一個加熱處理。加熱處理可以提高氧化物半導體613的結晶性或去除氫、水等雜質等。 Next, an oxide semiconductor 613 is formed on the insulator 612, and heat treatment is performed (see FIG. 14C). The oxide semiconductor 613 can be formed by sputtering, CVD, MBE, PLD, ALD, or the like. The heat treatment may be performed at 250°C or higher and 650°C or lower, preferably 300°C or higher and 500°C or lower. The heat treatment is performed in an inert gas atmosphere or an atmosphere containing an oxidizing gas of 10 ppm or more, 1% or more, or 10% or more. The heat treatment may be performed under reduced pressure. Alternatively, the heat treatment may be performed by performing the heat treatment under an inert gas atmosphere, and then performing another treatment in an atmosphere containing an oxidizing gas of 10 ppm or more, 1% or more, or 10% or more in order to fill the desorbed oxygen. Heat treatment. The heat treatment can improve the crystallinity of the oxide semiconductor 613 or remove impurities such as hydrogen and water.

在氧化物半導體613上形成導電體,利用光微影法在氧化物半導體613上的將成為通道形成區域的部分形成光阻劑圖案,並利用乾蝕刻法去除導電體,由此形成導電體615(參照圖15A)。導電體615可以使用與上述閘極電極606同樣的膜及同樣的成膜方法形成。 A conductor is formed on the oxide semiconductor 613, a photoresist pattern is formed on the portion of the oxide semiconductor 613 that will become the channel formation region by photolithography, and the conductor is removed by a dry etching method, thereby forming the conductor 615 (See Fig. 15A). The conductor 615 can be formed using the same film and the same film forming method as the gate electrode 606 described above.

接著,利用光微影法在導電體615及氧化物半導體613上形成光阻劑圖案,並利用乾蝕刻法去除氧化物半導體613的不需要的部分,由此形成島狀的氧化物半導體614。同時形成源極電極616a及汲極電極616b(參照圖15B)。 Next, a photoresist pattern is formed on the conductor 615 and the oxide semiconductor 613 by photolithography, and an unnecessary portion of the oxide semiconductor 613 is removed by dry etching, thereby forming an island-shaped oxide semiconductor 614. The source electrode 616a and the drain electrode 616b are simultaneously formed (see FIG. 15B).

接著,在絕緣體612、源極電極616a、汲極電極616b及氧化物半導體614上形成閘極絕緣體618。閘極絕緣體618可以使用與上述絕緣體602同 樣的膜及同樣的成膜方法形成。 Next, a gate insulator 618 is formed on the insulator 612, the source electrode 616a, the drain electrode 616b, and the oxide semiconductor 614. The gate insulator 618 can be the same as the above insulator 602 The same kind of film and the same film formation method are formed.

在閘極絕緣體618上形成閘極電極620。閘極電極620可以使用與上述閘極電極606同樣的膜及同樣的成膜方法形成。在閘極絕緣體618上形成將成為閘極電極620的導電體,利用光微影法在該導電體上形成光阻遮罩,並利用乾蝕刻法去除該導電體的不需要的部分,由此形成閘極電極620。接著,在閘極電極620上及閘極絕緣體618上利用光微影法形成光阻遮罩,並利用乾蝕刻法去除閘極絕緣體618的不需要的部分。或者,也可以不去除閘極絕緣體618。 A gate electrode 620 is formed on the gate insulator 618. The gate electrode 620 can be formed using the same film and the same film forming method as the gate electrode 606 described above. An electrical conductor to be the gate electrode 620 is formed on the gate insulator 618, a photoresist mask is formed on the electrical conductor by photolithography, and an unnecessary portion of the electrical conductor is removed by dry etching, thereby The gate electrode 620 is formed. Next, a photoresist mask is formed on the gate electrode 620 and the gate insulator 618 by photolithography, and unnecessary parts of the gate insulator 618 are removed by dry etching. Alternatively, the gate insulator 618 may not be removed.

接著,在絕緣體612、源極電極616a、汲極電極616b、閘極絕緣體618及閘極電極620上形成絕緣體622(參照圖15C)。絕緣體622可以使用與上述絕緣體602同樣的膜及同樣的成膜方法形成,但是尤其較佳為使用不容易使氧或氫透過的氧化鋁膜等。 Next, an insulator 622 is formed on the insulator 612, the source electrode 616a, the drain electrode 616b, the gate insulator 618, and the gate electrode 620 (see FIG. 15C). The insulator 622 can be formed using the same film and the same film forming method as the insulator 602 described above, but it is particularly preferable to use an aluminum oxide film or the like that does not easily permeate oxygen or hydrogen.

藉由上述製造方法可以製造實施方式1的電晶體。 The transistor of Embodiment 1 can be manufactured by the above-mentioned manufacturing method.

實施方式4 Embodiment 4

在本實施方式中,對氧化物半導體的結構進行說明。 In this embodiment, the structure of the oxide semiconductor will be described.

氧化物半導體被分為單晶氧化物半導體和非單晶氧化物半導體。作為非單晶氧化物半導體有CAAC-OS(C-Axis Aligned Crystalline Oxide Semiconductor:c軸配向結晶氧化物半導體)、多晶氧化物半導體、nc-OS(nanocrystalline Oxide Semiconductor:奈米晶氧化物半導體)、a-like OS(amorphous like Oxide Semiconductor)以及非晶氧化物半導體等。 Oxide semiconductors are classified into single crystal oxide semiconductors and non-single crystal oxide semiconductors. As a non-single-crystal oxide semiconductor, there is CAAC-OS (C-Axis Aligned Crystalline Oxide Semiconductor: c-axis aligned crystalline oxide semiconductor), polycrystalline oxide semiconductor, nc-OS (nanocrystalline Oxide Semiconductor), a-like OS (amorphous like Oxide Semiconductor), amorphous oxide semiconductor, etc. .

從其他觀點看來,氧化物半導體被分為非晶氧化物半導體和結晶氧化物半導體。作為結晶氧化物半導體有單晶氧化物半導體、CAAC-OS、多晶氧化物半導體以及nc-OS等。 From other viewpoints, oxide semiconductors are classified into amorphous oxide semiconductors and crystalline oxide semiconductors. Examples of crystalline oxide semiconductors include single crystal oxide semiconductors, CAAC-OS, polycrystalline oxide semiconductors, and nc-OS.

作為非晶結構的定義,一般而言,已知:它處於亞穩態並沒有被固定化,具有各向同性而不具有不均勻結構等。也可以換句話說為非晶結構的鍵角不固定,具有短程有序而不具有長程有序。 As the definition of the amorphous structure, generally speaking, it is known that it is in a metastable state and is not fixed, has isotropy but does not have an uneven structure, and the like. In other words, the bond angle of the amorphous structure is not fixed and has short-range order but not long-range order.

從相反的觀點來看,不能將本質上穩定的氧化物半導體稱為完全非晶(completely amorphous)氧化物半導體。另外,不能將不具有各向同性(例如,在微小區域中具有週期結構)的氧化物半導體稱為完全非晶氧化物半導體。注意,a-like OS在微小區域中具有週期結構,但是同時具有空洞(也稱為void),並具有不穩定結構。因此,a-like OS在物性上近乎於非晶氧化物半導體。 From the opposite point of view, an oxide semiconductor that is essentially stable cannot be called a completely amorphous oxide semiconductor. In addition, an oxide semiconductor that does not have isotropy (for example, has a periodic structure in a minute region) cannot be called a completely amorphous oxide semiconductor. Note that a-like OS has a periodic structure in a micro area, but at the same time has a hole (also called void) and has an unstable structure. Therefore, a-like OS is almost similar to amorphous oxide semiconductor in physical properties.

首先,對CAAC-OS進行說明。 First, the CAAC-OS will be described.

CAAC-OS是包含多個c軸配向的結晶部(也稱為顆粒)的氧化物半導 體之一。 CAAC-OS is an oxide semiconductor that contains multiple c-axis aligned crystals (also called particles) One of the body.

在利用穿透式電子顯微鏡(TEM:Transmission Electron Microscope)觀察所得到的CAAC-OS的明視野影像與繞射圖案的複合分析影像(也稱為高解析度TEM影像)中,觀察到多個顆粒。然而,在高解析度TEM影像中,難以觀察到顆粒與顆粒之間的明確的邊界,亦即晶界(grain boundary)。因此,可以說在CAAC-OS中,不容易發生起因於晶界的電子移動率的降低。 In the composite analysis image (also referred to as high-resolution TEM image) of the bright field image of the CAAC-OS obtained by observation with a transmission electron microscope (TEM: Transmission Electron Microscope) and a diffraction pattern (also referred to as a high-resolution TEM image), multiple particles were observed . However, in high-resolution TEM images, it is difficult to observe a clear boundary between particles, that is, a grain boundary. Therefore, it can be said that in CAAC-OS, a decrease in the electron mobility due to the grain boundary is unlikely to occur.

下面,對利用TEM觀察的CAAC-OS進行說明。圖16A示出從大致平行於樣本面的方向觀察所得到的CAAC-OS的剖面的高解析度TEM影像。利用球面像差校正(Spherical Aberration Corrector)功能得到高解析度TEM影像。將利用球面像差校正功能所得到的高解析度TEM影像特別稱為Cs校正高解析度TEM影像。例如可以使用日本電子株式會社製造的原子解析度分析型電子顯微鏡JEM-ARM200F等得到Cs校正高解析度TEM影像。 Next, the CAAC-OS observed by TEM will be described. FIG. 16A shows a high-resolution TEM image of the cross section of the CAAC-OS obtained when viewed from a direction substantially parallel to the sample plane. Use the Spherical Aberration Corrector function to obtain high-resolution TEM images. The high-resolution TEM image obtained by the spherical aberration correction function is particularly called a Cs-corrected high-resolution TEM image. For example, an atomic resolution analysis electron microscope JEM-ARM200F manufactured by JEOL Ltd. can be used to obtain a Cs corrected high-resolution TEM image.

圖16B示出將圖16A中的區域(1)放大的Cs校正高解析度TEM影像。由圖16B可以確認到在顆粒中金屬原子排列為層狀。各金屬原子層具有反映了形成CAAC-OS膜的面(也稱為被形成面)或CAAC-OS的頂面的凸凹的配置並以平行於CAAC-OS的被形成面或頂面的方式排列。 FIG. 16B shows a Cs corrected high-resolution TEM image in which the area (1) in FIG. 16A is enlarged. It can be confirmed from FIG. 16B that the metal atoms are arranged in a layer in the particles. Each metal atomic layer has a concave-convex configuration reflecting the surface (also referred to as the formed surface) on which the CAAC-OS film is formed or the top surface of the CAAC-OS and is arranged parallel to the formed surface or the top surface of the CAAC-OS .

如圖16B所示,CAAC-OS具有特有的原子排列。圖16C是以輔助線示出特有的原子排列的圖。由圖16B和圖16C可知,一個顆粒的尺寸為1nm 以上且3nm以下左右,因顆粒與顆粒之間的傾斜產生的空隙的尺寸為0.8nm左右。因此,也可以將顆粒稱為奈米晶(nc:nanocrystal)。注意,也可以將CAAC-OS稱為具有CANC(C-Axis Aligned nanocrystals:c軸配向奈米晶)的氧化物半導體。 As shown in FIG. 16B, CAAC-OS has a unique atomic arrangement. FIG. 16C is a diagram showing a unique atomic arrangement with auxiliary lines. It can be seen from Fig. 16B and Fig. 16C that the size of a particle is 1 nm From above to about 3 nm or less, the size of the void due to the inclination between the particles is about 0.8 nm. Therefore, the particles may also be referred to as nanocrystals (nc: nanocrystal). Note that CAAC-OS may also be referred to as an oxide semiconductor having CANC (C-Axis Aligned nanocrystals: c-axis aligned nanocrystals).

在此,根據Cs校正高解析度TEM影像,將基板5120上的CAAC-OS的顆粒5100的配置示意性地表示為沉積磚塊或塊體的結構(參照圖16D)。在圖16C中觀察到的在顆粒與顆粒之間產生傾斜的部分相當於圖16D所示的區域5161。 Here, the high-resolution TEM image is corrected based on Cs, and the arrangement of the CAAC-OS particles 5100 on the substrate 5120 is schematically represented as a structure of deposited bricks or blocks (see FIG. 16D ). The portion where the inclination occurs between the particles observed in FIG. 16C corresponds to the area 5161 shown in FIG. 16D.

圖17A示出從大致垂直於樣本面的方向觀察所得到的CAAC-OS的平面的Cs校正高解析度TEM影像。圖17B、圖17C和圖17D分別示出將圖17A中的區域(1)、區域(2)和區域(3)放大的Cs校正高解析度TEM影像。由圖17B、圖17C和圖17D可知在顆粒中金屬原子排列為三角形狀、四角形狀或六角形狀。但是,在不同的顆粒之間金屬原子的排列沒有規律性。 FIG. 17A shows a Cs corrected high-resolution TEM image of the plane of the CAAC-OS obtained when viewed from a direction substantially perpendicular to the sample plane. 17B, 17C, and 17D show the Cs-corrected high-resolution TEM images of the area (1), area (2), and area (3) in FIG. 17A, respectively. It can be seen from FIGS. 17B, 17C, and 17D that the metal atoms in the particles are arranged in a triangular shape, a quadrangular shape, or a hexagonal shape. However, the arrangement of metal atoms between different particles is not regular.

接著,說明使用X射線繞射(XRD:X-Ray Diffraction)裝置進行分析的CAAC-OS。例如,當利用out-of-plane法分析包含InGaZnO4結晶的CAAC-OS的結構時,如圖18A所示,在繞射角(2θ)為31°附近時常出現峰值。由於該峰值來源於InGaZnO4結晶的(009)面,由此可知CAAC-OS中的結晶具有c軸配向性,並且c軸朝向大致垂直於被形成面或頂面的方向。 Next, the CAAC-OS analyzed using an X-ray diffraction (XRD: X-Ray Diffraction) device will be described. For example, when the structure of CAAC-OS containing InGaZnO 4 crystals is analyzed by the out-of-plane method, as shown in FIG. 18A, a peak often occurs when the diffraction angle (2θ) is around 31°. Since this peak comes from the (009) plane of the InGaZnO 4 crystal, it can be seen that the crystal in CAAC-OS has a c-axis alignment, and the c-axis direction is substantially perpendicular to the direction of the formed surface or the top surface.

注意,當利用out-of-plane法分析CAAC-OS的結構時,除了2θ為31°附近的峰值以外,有時在2θ為36°附近時也出現峰值。2θ為36°附近的峰值表示CAAC-OS中的一部分包含不具有c軸配向性的結晶。較佳的是,在利用out-of-plane法分析的CAAC-OS的結構中,在2θ為31°附近時出現峰值而在2θ為36°附近時不出現峰值。 Note that when the structure of the CAAC-OS is analyzed by the out-of-plane method, in addition to the peak around 2θ of 31°, the peak may also appear around 2θ at around 36°. The peak value of 2θ at around 36° indicates that a part of CAAC-OS contains crystals that do not have c-axis alignment. Preferably, in the structure of CAAC-OS analyzed by the out-of-plane method, a peak appears when 2θ is around 31°, and a peak does not appear when 2θ is around 36°.

另一方面,當利用從大致垂直於c軸的方向使X射線入射到樣本的in-plane法分析CAAC-OS的結構時,在2θ為56°附近時出現峰值。該峰值來源於InGaZnO4結晶的(110)面。在CAAC-OS中,即使將2θ固定為56°附近並在以樣本面的法線向量為軸(Φ軸)旋轉樣本的條件下進行分析(Φ掃描),也如圖18B所示的那樣觀察不到明確的峰值。相比之下,在InGaZnO4的單晶氧化物半導體中,在將2θ固定為56°附近來進行Φ掃描時,如圖18C所示的那樣觀察到來源於相等於(110)面的結晶面的六個峰值。因此,由使用XRD的結構分析可以確認到CAAC-OS中的a軸和b軸的配向沒有規律性。 On the other hand, when the structure of CAAC-OS is analyzed by the in-plane method in which X-rays are incident on the sample from a direction substantially perpendicular to the c-axis, a peak appears when 2θ is around 56°. This peak comes from the (110) plane of InGaZnO 4 crystal. In CAAC-OS, even if 2θ is fixed at around 56° and the sample is analyzed (Φ scan) with the normal vector of the sample surface as the axis (Φ axis), the observation is performed as shown in FIG. 18B There is no clear peak. In contrast, in the single crystal oxide semiconductor of InGaZnO 4 , when 2θ was fixed at 56° to perform Φ scanning, as shown in FIG. 18C, a crystal plane derived from the (110) plane was observed. Six peaks. Therefore, from the structural analysis using XRD, it can be confirmed that the alignment of the a-axis and b-axis in CAAC-OS has no regularity.

接著,說明利用電子繞射進行分析的CAAC-OS。例如,當對包含InGaZnO4結晶的CAAC-OS在平行於樣本面的方向上入射束徑為300nm的電子線時,可能會獲得圖19A所示的繞射圖案(也稱為選區穿透式電子繞射圖案)。在該繞射圖案中包含起因於InGaZnO4結晶的(009)面的斑點。因此,由電子繞射也可知CAAC-OS所包含的顆粒具有c軸配向性,並且c軸朝向大致垂直於被形成面或頂面的方向。另一方面,圖19B示出對相同的 樣本在垂直於樣本面的方向上入射束徑為300nm的電子線時的繞射圖案。由圖19B觀察到環狀的繞射圖案。因此,由電子繞射也可知CAAC-OS所包含的顆粒的a軸和b軸不具有配向性。可以認為圖19B中的第一環起因於InGaZnO4結晶的(010)面和(100)面等。另外,可以認為圖19B中的第二環起因於(110)面等。 Next, the CAAC-OS analyzed by electron diffraction will be described. For example, when an electron beam with a beam diameter of 300 nm is incident on a CAAC-OS containing InGaZnO 4 crystal in a direction parallel to the sample plane, a diffraction pattern (also referred to as a selective transmission electron) may be obtained as shown in FIG. 19A Diffraction pattern). This diffraction pattern includes specks from the (009) plane of InGaZnO 4 crystal. Therefore, it can also be seen from the electron diffraction that the particles contained in CAAC-OS have c-axis alignment, and the c-axis is oriented in a direction substantially perpendicular to the surface to be formed or the top surface. On the other hand, FIG. 19B shows a diffraction pattern when an electron beam with a beam diameter of 300 nm is incident on the same sample in a direction perpendicular to the sample plane. A ring-shaped diffraction pattern is observed from FIG. 19B. Therefore, it can also be seen from the electron diffraction that the a-axis and the b-axis of the particles contained in CAAC-OS do not have alignment. It can be considered that the first ring in FIG. 19B is caused by the (010) plane and the (100) plane of InGaZnO 4 crystal. In addition, it can be considered that the second ring in FIG. 19B is caused by the (110) plane or the like.

如上所述,CAAC-OS是結晶性高的氧化物半導體。因為氧化物半導體的結晶性有時因雜質的混入或缺陷的生成等而降低,所以從相反的觀點來看,可以說CAAC-OS是雜質或缺陷(氧缺陷等)少的氧化物半導體。 As described above, CAAC-OS is an oxide semiconductor with high crystallinity. Since the crystallinity of the oxide semiconductor sometimes decreases due to the mixing of impurities or the generation of defects, from the opposite viewpoint, it can be said that CAAC-OS is an oxide semiconductor with few impurities or defects (oxygen defects, etc.).

此外,雜質是指氧化物半導體的主要成分以外的元素,諸如氫、碳、矽和過渡金屬元素等。例如,與氧的鍵合力比構成氧化物半導體的金屬元素強的矽等元素會奪取氧化物半導體中的氧,由此打亂氧化物半導體的原子排列,導致結晶性下降。另外,由於鐵或鎳等的重金屬、氬、二氧化碳等的原子半徑(或分子半徑)大,所以會打亂氧化物半導體的原子排列,導致結晶性下降。 In addition, impurities refer to elements other than the main components of the oxide semiconductor, such as hydrogen, carbon, silicon, and transition metal elements. For example, elements such as silicon, which has a stronger bonding force with oxygen than the metal element constituting the oxide semiconductor, take oxygen from the oxide semiconductor, thereby disrupting the atomic arrangement of the oxide semiconductor, resulting in decreased crystallinity. In addition, since the atomic radius (or molecular radius) of heavy metals such as iron and nickel, argon, and carbon dioxide is large, the atomic arrangement of the oxide semiconductor is disturbed, resulting in decreased crystallinity.

當氧化物半導體包含雜質或缺陷時,其特性有時因光或熱等會發生變動。包含於氧化物半導體的雜質有時會成為載子陷阱或載子發生源。另外,氧化物半導體中的氧缺陷有時會成為載子陷阱或因俘獲氫而成為載子發生源。 When the oxide semiconductor contains impurities or defects, its characteristics may change due to light or heat. Impurities contained in the oxide semiconductor may sometimes become carrier traps or carrier generation sources. In addition, oxygen defects in the oxide semiconductor may sometimes become a carrier trap or a carrier generation source by trapping hydrogen.

雜質及氧缺陷少的CAAC-OS是載子密度低的氧化物半導體。明確而言,可以使用載子密度小於8×1011/cm3,較佳為小於1×1011/cm3,更佳為小於1×1010/cm3,且是1×10-9/cm3以上的氧化物半導體。將這樣的氧化物半導體稱為高純度本質或實質上高純度本質的氧化物半導體。CAAC-OS的雜質濃度和缺陷態密度低。亦即,可以說CAAC-OS是具有穩定特性的氧化物半導體。 CAAC-OS with few impurities and oxygen defects is an oxide semiconductor with a low carrier density. Specifically, the carrier density can be less than 8×10 11 /cm 3 , preferably less than 1×10 11 /cm 3 , more preferably less than 1×10 10 /cm 3 , and 1×10 -9 / An oxide semiconductor of cm 3 or more. Such an oxide semiconductor is called a high-purity essence or a substantially high-purity essence oxide semiconductor. The impurity concentration and defect state density of CAAC-OS are low. That is, it can be said that CAAC-OS is an oxide semiconductor having stable characteristics.

接著說明nc-OS。 Next, nc-OS will be described.

在nc-OS的高解析度TEM影像中有能夠觀察到結晶部的區域和難以觀察到明確的結晶部的區域。nc-OS所包含的結晶部的尺寸大多為1nm以上且10nm以下或1nm以上且3nm以下。注意,有時將其結晶部的尺寸大於10nm且是100nm以下的氧化物半導體稱為微晶氧化物半導體。例如,在nc-OS的高解析度TEM影像中,有時難以明確地觀察到晶界。注意,奈米晶的來源有可能與CAAC-OS中的顆粒相同。因此,下面有時將nc-OS的結晶部稱為顆粒。 In the nc-OS high-resolution TEM image, there are regions in which crystal parts can be observed and regions in which crystal parts are difficult to observe. The size of the crystal part included in nc-OS is often 1 nm or more and 10 nm or less or 1 nm or more and 3 nm or less. Note that an oxide semiconductor whose crystal part has a size greater than 10 nm and 100 nm or less is sometimes referred to as a microcrystalline oxide semiconductor. For example, in nc-OS high-resolution TEM images, it may be difficult to clearly observe the grain boundaries. Note that the source of nanocrystals may be the same as the particles in CAAC-OS. Therefore, in the following, the crystal portion of nc-OS is sometimes referred to as particles.

在nc-OS中,微小的區域(例如1nm以上且10nm以下的區域,特別是1nm以上且3nm以下的區域)中的原子排列具有週期性。另外,nc-OS在不同的顆粒之間觀察不到結晶定向的規律性。因此,在膜整體中觀察不到配向性。所以,有時nc-OS在某些分析方法中與a-like OS或非晶氧化物半導體沒有差別。例如,當利用使用其束徑比顆粒大的X射線的out-of-plane法對nc-OS進行結構分析時,檢測不到表示結晶面的峰值。在使用其束徑比 顆粒大(例如,50nm以上)的電子射線對nc-OS進行電子繞射時,觀察到類似光暈圖案的繞射圖案。另一方面,在使用其束徑近於顆粒或者比顆粒小的電子射線對nc-OS進行奈米束電子繞射時,觀察到斑點。另外,在nc-OS的奈米束電子繞射圖案中,有時觀察到如圓圈那樣的(環狀的)亮度高的區域。而且,在nc-OS的奈米束電子繞射圖案中,有時還觀察到環狀的區域內的多個斑點。 In nc-OS, the atomic arrangement in a minute region (for example, a region of 1 nm or more and 10 nm or less, especially a region of 1 nm or more and 3 nm or less) has periodicity. In addition, nc-OS can not observe the regularity of crystal orientation between different particles. Therefore, alignment is not observed in the entire film. Therefore, sometimes nc-OS is not different from a-like OS or amorphous oxide semiconductor in some analysis methods. For example, when an out-of-plane method using X-rays with a larger beam diameter than particles is used for structural analysis of nc-OS, no peak indicating the crystal plane can be detected. When using its beam diameter ratio When electron beams with large particles (for example, 50 nm or more) diffract nc-OS, a diffraction pattern similar to a halo pattern is observed. On the other hand, when using nano-beam electron diffraction of nc-OS with electron beams whose beam diameter is close to or smaller than particles, speckles were observed. In addition, in the nanobeam electron diffraction pattern of nc-OS, a high-brightness (circular) region such as a circle is sometimes observed. In addition, in the nanobeam electron diffraction pattern of nc-OS, a plurality of spots in a ring-shaped area may be observed.

如此,由於在顆粒(奈米晶)之間結晶定向都沒有規律性,所以也可以將nc-OS稱為包含RANC(Random Aligned nanocrystals:無規配向奈米晶)的氧化物半導體或包含NANC(Non-Aligned nanocrystals:無配向奈米晶)的氧化物半導體。 In this way, since there is no regularity in the crystal orientation between the particles (nanocrystals), nc-OS may also be called an oxide semiconductor containing RANC (Random Aligned nanocrystals) or containing NANC ( Non-Aligned nanocrystals: non-aligned nanocrystals) oxide semiconductors.

nc-OS是規律性比非晶氧化物半導體高的氧化物半導體。因此,nc-OS的缺陷態密度比a-like OS或非晶氧化物半導體低。但是,在nc-OS中的不同的顆粒之間觀察不到晶體配向的規律性。所以,nc-OS的缺陷態密度比CAAC-OS高。 nc-OS is an oxide semiconductor with higher regularity than amorphous oxide semiconductors. Therefore, the density of defect states of nc-OS is lower than that of a-like OS or amorphous oxide semiconductors. However, no regularity of crystal alignment was observed between different particles in nc-OS. Therefore, the density of defect states of nc-OS is higher than that of CAAC-OS.

a-like OS是具有介於nc-OS與非晶氧化物半導體之間的結構的氧化物半導體。 The a-like OS is an oxide semiconductor having a structure between nc-OS and an amorphous oxide semiconductor.

在a-like OS的高解析度TEM影像中有時觀察到空洞。另外,在高解析度TEM影像中,有能夠明確地觀察到結晶部的區域和難以觀察到結晶部的 區域。 In high-resolution TEM images of a-like OS, holes are sometimes observed. In addition, in high-resolution TEM images, there are areas where crystal parts can be clearly observed and those where crystal parts are difficult to observe area.

由於a-like OS包含空洞,所以其結構不穩定。為了證明與CAAC-OS及nc-OS相比a-like OS具有不穩定的結構,下面示出電子照射所導致的結構變化。 Since a-like OS contains holes, its structure is unstable. In order to prove that a-like OS has an unstable structure compared to CAAC-OS and nc-OS, the structural changes caused by electron irradiation are shown below.

作為進行電子照射的樣本,準備a-like OS(記載為樣本A)、nc-OS(記載為樣本B)和CAAC-OS(記載為樣本C)。每個樣本都是In-Ga-Zn氧化物。 As samples subjected to electron irradiation, a-like OS (described as sample A), nc-OS (described as sample B), and CAAC-OS (described as sample C) were prepared. Each sample is In-Ga-Zn oxide.

首先,取得各樣本的高解析度剖面TEM影像。由高解析度剖面TEM影像可知,每個樣本都具有結晶部。 First, obtain high-resolution cross-sectional TEM images of each sample. It can be seen from the high-resolution cross-sectional TEM image that each sample has a crystal part.

注意,如下那樣決定將哪個部分作為一個結晶部。例如,已知InGaZnO4結晶的單位晶格具有包括三個In-O層和六個Ga-Zn-O層的九個層在c軸方向上以層狀層疊的結構。這些彼此靠近的層的間隔與(009)面的晶格表面間隔(也稱為d值)是幾乎相等的,由結晶結構分析求出其值為0.29nm。由此,可以將晶格條紋的間隔為0.28nm以上且0.30nm以下的部分作為InGaZnO4結晶部。每個晶格條紋對應於InGaZnO4結晶的a-b面。 Note that it is decided which part is to be a crystal part as follows. For example, it is known that the unit lattice of InGaZnO 4 crystal has a structure in which nine layers including three In-O layers and six Ga-Zn-O layers are layered in the c-axis direction. The interval between these layers close to each other is almost equal to the lattice surface interval (also referred to as d value) of the (009) plane, and the value is 0.29 nm as determined by crystal structure analysis. Thus, a portion of the lattice fringe having a distance of 0.28 nm or more and 0.30 nm or less can be used as the InGaZnO 4 crystal part. Each lattice fringe corresponds to the ab plane of InGaZnO 4 crystal.

圖20示出調查了各樣本的結晶部(22個部分至45個部分)的平均尺寸的例子。注意,結晶部尺寸對應於上述晶格條紋的長度。由圖20可知,在a-like OS中,結晶部根據電子的累積照射量逐漸變大。明確而言,如圖 20中的(1)所示,可知在利用TEM的觀察初期尺寸為1.2nm左右的結晶部(也稱為初始晶核)在累積照射量為4.2×108e-/nm2時生長到2.6nm左右。另一方面,可知nc-OS和CAAC-OS在開始電子照射時到電子的累積照射量為4.2×108e-/nm2的範圍內,結晶部的尺寸都沒有變化。明確而言,如圖20中的(2)及(3)所示,可知無論電子的累積照射量如何,nc-OS及CAAC-OS的平均結晶部尺寸都分別為1.4nm左右及2.1nm左右。 FIG. 20 shows an example in which the average size of the crystal parts (22 parts to 45 parts) of each sample was investigated. Note that the size of the crystal part corresponds to the length of the lattice fringe described above. As can be seen from FIG. 20, in the a-like OS, the crystalline portion gradually increases in accordance with the cumulative irradiation amount of electrons. Specifically, as shown in 20 (1), it is seen in the initial size was observed by TEM of about 1.2nm crystalline portion (also referred to as initial nuclei) the cumulative exposure dose of 4.2 × 10 8 e - / It grows to about 2.6nm at nm 2 . On the other hand, it can be seen that nc-OS and CAAC-OS did not change the size of the crystal portion within the range of 4.2×10 8 e /nm 2 from the start of electron irradiation to the cumulative amount of electrons. Specifically, as shown in (2) and (3) in FIG. 20, it can be seen that the average crystal size of nc-OS and CAAC-OS are about 1.4 nm and 2.1 nm, respectively, regardless of the cumulative irradiation amount of electrons .

如此,有時電子照射引起a-like OS中的結晶部的生長。另一方面,可知在nc-OS和CAAC-OS中,幾乎沒有電子照射所引起的結晶部的生長。也就是說,a-like OS與CAAC-OS及nc-OS相比具有不穩定的結構。 As such, electron irradiation sometimes causes the growth of crystal parts in a-like OS. On the other hand, it can be seen that in nc-OS and CAAC-OS, there is almost no growth of crystal parts caused by electron irradiation. In other words, a-like OS has an unstable structure compared to CAAC-OS and nc-OS.

此外,由於a-like OS包含空洞,所以其密度比nc-OS及CAAC-OS低。具體地,a-like OS的密度為具有相同組成的單晶氧化物半導體的78.6%以上且小於92.3%。nc-OS的密度及CAAC-OS的密度為具有相同組成的單晶氧化物半導體的92.3%以上且小於100%。注意,難以形成其密度小於單晶氧化物半導體的密度的78%的氧化物半導體。 In addition, since a-like OS contains holes, its density is lower than that of nc-OS and CAAC-OS. Specifically, the density of a-like OS is 78.6% or more and less than 92.3% of single crystal oxide semiconductors having the same composition. The density of nc-OS and the density of CAAC-OS are 92.3% or more and less than 100% of single crystal oxide semiconductors having the same composition. Note that it is difficult to form an oxide semiconductor whose density is less than 78% of the density of a single crystal oxide semiconductor.

例如,在原子數比滿足In:Ga:Zn=1:1:1的氧化物半導體中,具有菱方晶系結構的單晶InGaZnO4的密度為6.357g/cm3。因此,例如,在原子數比滿足In:Ga:Zn=1:1:1的氧化物半導體中,a-like OS的密度為5.0g/cm3以上且小於5.9g/cm3。另外,例如,在原子數比滿足In:Ga:Zn=1:1:1的氧化物半導體中,nc-OS的密度和CAAC-OS的密度為5.9g/cm3以上且小於6.3g/cm3For example, in an oxide semiconductor whose atomic number ratio satisfies In:Ga:Zn=1:1:1, the density of single-crystal InGaZnO 4 having a rhombohedral structure is 6.357 g/cm 3 . Therefore, for example, in an oxide semiconductor whose atomic number ratio satisfies In:Ga:Zn=1:1:1, the density of a-like OS is 5.0 g/cm 3 or more and less than 5.9 g/cm 3 . In addition, for example, in an oxide semiconductor whose atomic ratio satisfies In:Ga:Zn=1:1:1, the density of nc-OS and the density of CAAC-OS are 5.9 g/cm 3 or more and less than 6.3 g/cm 3 .

注意,有時不存在相同組成的單晶氧化物半導體。此時,藉由以任意比例組合組成不同的單晶氧化物半導體,可以估計出相當於所希望的組成的單晶氧化物半導體的密度。根據組成不同的單晶氧化物半導體的組合比例使用加權平均估計出相當於所希望的組成的單晶氧化物半導體的密度即可。注意,較佳為儘可能減少所組合的單晶氧化物半導體的種類來估計密度。 Note that sometimes there is no single crystal oxide semiconductor of the same composition. At this time, by combining single crystal oxide semiconductors having different compositions in arbitrary ratios, the density of single crystal oxide semiconductors corresponding to the desired composition can be estimated. The density of the single crystal oxide semiconductor corresponding to the desired composition may be estimated using a weighted average according to the combination ratio of single crystal oxide semiconductors having different compositions. Note that it is preferable to estimate the density by reducing the types of single crystal oxide semiconductors combined as much as possible.

如上所述,氧化物半導體具有各種結構及各種特性。注意,氧化物半導體例如可以是包括非晶氧化物半導體、a-like OS、nc-OS和CAAC-OS中的兩種以上的疊層膜。 As described above, oxide semiconductors have various structures and various characteristics. Note that the oxide semiconductor may be, for example, a stacked film including two or more of amorphous oxide semiconductor, a-like OS, nc-OS, and CAAC-OS.

實施方式5 Embodiment 5

在本實施方式中,說明使用在實施方式1中說明的電晶體的半導體裝置的一個例子。 In this embodiment, an example of a semiconductor device using the transistor described in Embodiment 1 will be described.

圖21A示出記憶體裝置的電路的一個例子,圖21B示出其剖面圖。 FIG. 21A shows an example of the circuit of the memory device, and FIG. 21B shows a cross-sectional view thereof.

作為基板350,可以使用以矽或碳化矽等為材料的單晶半導體基板或多晶半導體基板、以矽鍺等為材料的化合物半導體基板、SOI(Silicon on Insulator:絕緣層上覆矽)基板等。 As the substrate 350, a single crystal semiconductor substrate or a polycrystalline semiconductor substrate made of silicon, silicon carbide or the like, a compound semiconductor substrate made of silicon germanium or the like, a SOI (Silicon on Insulator) substrate, etc. can be used .

在基板350上形成電晶體300。如圖21B所示,作為電晶體300可以使用具有側壁355的平面型電晶體。形成STI(淺通道隔離:Shallow Trench Isolation)351來將電晶體元件隔離。作為電晶體300也可以使用Fin型電晶體。另外,電晶體300既可以是p通道型電晶體,又可以是n通道型電晶體。或者,也可以使用其兩者。 The transistor 300 is formed on the substrate 350. As shown in FIG. 21B, as the transistor 300, a planar transistor having a side wall 355 can be used. An STI (Shallow Trench Isolation) 351 is formed to isolate the transistor element. As the transistor 300, a Fin-type transistor can also be used. In addition, the transistor 300 may be either a p-channel transistor or an n-channel transistor. Alternatively, both may be used.

在本實施方式中,在電晶體300的通道形成區域使用矽單晶,但是並不侷限於矽單晶,例如也可以在通道形成區域使用氧化物半導體。另外,作為具有閘極絕緣體的功能的絕緣體354,例如使用將矽單晶熱氧化的氧化矽即可。此外,還可以使用氧化矽膜、氧氮化矽膜、氮氧化矽膜、氮化矽膜、氧化鋁膜、氮化鋁膜、氧化鉿膜等。作為成膜方法,可以使用熱氧化法、CVD法、濺射法、ALD法、電漿氧化法或電漿氮化法等。或者,也可以適當地選擇上述膜來形成疊層膜。 In this embodiment, a silicon single crystal is used in the channel formation region of the transistor 300, but it is not limited to the silicon single crystal, and for example, an oxide semiconductor may be used in the channel formation region. In addition, as the insulator 354 having the function of a gate insulator, for example, silicon oxide that thermally oxidizes a silicon single crystal may be used. In addition, a silicon oxide film, a silicon oxynitride film, a silicon oxynitride film, a silicon nitride film, an aluminum oxide film, an aluminum nitride film, a hafnium oxide film, etc. can also be used. As the film formation method, a thermal oxidation method, a CVD method, a sputtering method, an ALD method, a plasma oxidation method, a plasma nitridation method, or the like can be used. Alternatively, the above film may be appropriately selected to form a laminated film.

在電晶體300、STI351及擴散層353上形成絕緣體360,並進行CMP使絕緣體360的表面平坦化。作為絕緣體360,可以使用氧化矽膜、氧氮化矽膜、氮氧化矽膜、氮化矽膜、氧化鋁膜、氮化鋁膜或氧化鉿膜等。作為成膜方法,可以使用熱氧化法、CVD法、濺射法、ALD法、電漿氧化法或電漿氮化法等。也可以藉由其他處理來進行平坦化。或者,還可以組合CMP、蝕刻(乾蝕刻或濕蝕刻)、電漿處理等。 An insulator 360 is formed on the transistor 300, the STI 351, and the diffusion layer 353, and CMP is performed to flatten the surface of the insulator 360. As the insulator 360, a silicon oxide film, a silicon oxynitride film, a silicon oxynitride film, a silicon nitride film, an aluminum oxide film, an aluminum nitride film, a hafnium oxide film, or the like can be used. As the film formation method, a thermal oxidation method, a CVD method, a sputtering method, an ALD method, a plasma oxidation method, a plasma nitridation method, or the like can be used. The flattening can also be performed by other processing. Alternatively, CMP, etching (dry etching or wet etching), plasma treatment, etc. may be combined.

在絕緣體360中形成到達電晶體300的閘極電極330頂面的接觸孔以及 到達擴散層353頂面的接觸孔,將導電體埋入接觸孔內,並進行CMP直到絕緣體360的頂面露出為止,由此形成插頭370、插頭371、插頭372。作為插頭370、插頭371、插頭372,例如可以使用鉭、鎢、鈦、鉬、鋁、銅、鉬鎢合金、氮化鉭、氮化鎢、氮化鈦等。或者,也可以適當地選擇它們中的多個來形成疊層膜。作為成膜方法,可以使用濺射法、CVD法、ALD法、電鍍法等。也可以適當地選擇它們中的多個形成方法而使用。 A contact hole reaching the top surface of the gate electrode 330 of the transistor 300 is formed in the insulator 360 and The contact hole reaching the top surface of the diffusion layer 353 embeds the conductor in the contact hole and performs CMP until the top surface of the insulator 360 is exposed, thereby forming the plug 370, the plug 371, and the plug 372. As the plug 370, the plug 371, and the plug 372, for example, tantalum, tungsten, titanium, molybdenum, aluminum, copper, molybdenum-tungsten alloy, tantalum nitride, tungsten nitride, titanium nitride, or the like can be used. Alternatively, a plurality of them may be appropriately selected to form a laminated film. As the film forming method, a sputtering method, a CVD method, an ALD method, an electroplating method, or the like can be used. A plurality of them may be appropriately selected and used.

接著,在絕緣體360上形成導電體,並且形成佈線層373、佈線層374、佈線層375。佈線層373、佈線層374、佈線層375可以使用與上述插頭370、插頭371、插頭372同樣的膜及同樣的成膜方法形成。 Next, a conductor is formed on the insulator 360, and a wiring layer 373, a wiring layer 374, and a wiring layer 375 are formed. The wiring layer 373, the wiring layer 374, and the wiring layer 375 can be formed using the same film and the same film forming method as the plug 370, the plug 371, and the plug 372 described above.

在絕緣體360上及佈線層373、佈線層374、佈線層375上形成絕緣體361,並進行CMP使絕緣體361的表面平坦化。絕緣體361可以使用與上述絕緣體360同樣的膜及同樣的成膜方法形成。 An insulator 361 is formed on the insulator 360 and on the wiring layer 373, the wiring layer 374, and the wiring layer 375, and CMP is performed to flatten the surface of the insulator 361. The insulator 361 can be formed using the same film and the same film forming method as the insulator 360 described above.

在絕緣體361中形成分別到達佈線層373、佈線層374、佈線層375的頂面的接觸孔及槽,並將導電體埋入接觸孔及槽中。接著,進行CMP直到絕緣體361的頂面露出為止,由此形成兼作插頭及佈線層的佈線層376、佈線層377、佈線層378。佈線層376、佈線層377、佈線層378可以使用與上述插頭370、插頭371、插頭372同樣的膜及同樣的成膜方法形成。 Contact holes and grooves that reach the top surfaces of the wiring layer 373, the wiring layer 374, and the wiring layer 375 are formed in the insulator 361, and the conductor is buried in the contact holes and the groove. Next, CMP is performed until the top surface of the insulator 361 is exposed, thereby forming a wiring layer 376, a wiring layer 377, and a wiring layer 378 that also serve as a plug and a wiring layer. The wiring layer 376, the wiring layer 377, and the wiring layer 378 can be formed using the same film and the same film-forming method as the above-mentioned plug 370, plug 371, and plug 372.

接著,在絕緣體361及佈線層376、佈線層377、佈線層378上形成絕 緣體362,藉由與上述絕緣體361同樣的方法形成兼作插頭及佈線層的佈線層379、佈線層380、佈線層381。絕緣體362可以使用與上述絕緣體360同樣的膜及同樣的成膜方法形成。佈線層379、佈線層380、佈線層381可以使用與上述插頭370、插頭371、插頭372同樣的膜及同樣的成膜方法形成。該兼作插頭及佈線層的佈線層可以根據需要而反復利用上述方法形成,因此可以製造集成度高的半導體裝置。 Next, insulation is formed on the insulator 361, the wiring layer 376, the wiring layer 377, and the wiring layer 378 The edge body 362 forms a wiring layer 379, a wiring layer 380, and a wiring layer 381 that also serve as a plug and a wiring layer in the same manner as the above-mentioned insulator 361. The insulator 362 can be formed using the same film and the same film forming method as the insulator 360 described above. The wiring layer 379, the wiring layer 380, and the wiring layer 381 can be formed using the same film and the same film forming method as the plug 370, the plug 371, and the plug 372 described above. The wiring layer that doubles as a plug and a wiring layer can be formed by using the above method repeatedly as necessary, and therefore, a highly integrated semiconductor device can be manufactured.

接著,在絕緣體362及佈線層379、佈線層380、佈線層381上形成絕緣體363。絕緣體363可以使用與上述絕緣體360同樣的膜及同樣的成膜方法形成。絕緣體363較佳為具有不容易使氫透過的功能。或者,也可以不形成絕緣體363。 Next, an insulator 363 is formed on the insulator 362 and the wiring layer 379, the wiring layer 380, and the wiring layer 381. The insulator 363 can be formed using the same film and the same film forming method as the insulator 360 described above. The insulator 363 preferably has a function of not easily permeating hydrogen. Alternatively, the insulator 363 may not be formed.

在絕緣體363上形成絕緣體302。絕緣體302可以使用與上述絕緣體360同樣的膜及同樣的成膜方法形成。絕緣體302較佳為具有不容易使氧透過的功能。例如,可以使用氧化鋁等。 The insulator 302 is formed on the insulator 363. The insulator 302 can be formed using the same film and the same film forming method as the insulator 360 described above. The insulator 302 preferably has a function of not easily allowing oxygen to pass through. For example, alumina or the like can be used.

接著,藉由在實施方式3中說明的方法形成電晶體310。接著,在電晶體310上形成絕緣體303。絕緣體303可以使用與上述絕緣體360同樣的膜及同樣的成膜方法形成。絕緣體303較佳為具有不容易使氧透過的功能。例如,可以使用氧化鋁等。 Next, the transistor 310 is formed by the method described in the third embodiment. Next, an insulator 303 is formed on the transistor 310. The insulator 303 can be formed using the same film and the same film forming method as the insulator 360 described above. The insulator 303 preferably has a function of not allowing oxygen to easily pass through. For example, alumina or the like can be used.

設置在電晶體300的通道形成區域附近的絕緣體中的氫使矽的懸空鍵 終結,由此可以提高電晶體300的可靠性。另一方面,設置在電晶體310等附近的絕緣體中的氫成為在氧化物半導體中生成載子的原因之一。因此,有時引起電晶體310的可靠性的下降。因此,當在使用矽類半導體的電晶體上層疊設置使用氧化物半導體的電晶體時,在它們之間設置具有阻擋氫的功能的絕緣體302是較佳的。藉由將氫封閉在絕緣體302的下方,可以提高電晶體300的可靠性。並且,由於可以抑制氫從絕緣體302的下方擴散至絕緣體302的上方,所以可以提高電晶體310的可靠性。另外,藉由在電晶體310上設置絕緣體303,可以防止氧化物半導體中的氧的擴散,所以是較佳的。如圖21B所示,更佳的是:採用以絕緣體302及絕緣體303包圍電晶體310的結構,利用接觸孔304連接絕緣體302與絕緣體303,並且進行密封。 Hydrogen in the insulator provided near the channel formation region of the transistor 300 makes dangling bonds of silicon Termination, whereby the reliability of the transistor 300 can be improved. On the other hand, hydrogen in an insulator provided near the transistor 310 or the like becomes one of the causes of generation of carriers in the oxide semiconductor. Therefore, the reliability of the transistor 310 may be reduced. Therefore, when a transistor using an oxide semiconductor is stacked on a transistor using a silicon-based semiconductor, it is preferable to provide an insulator 302 having a function of blocking hydrogen between them. By sealing hydrogen under the insulator 302, the reliability of the transistor 300 can be improved. Furthermore, since the diffusion of hydrogen from below the insulator 302 to above the insulator 302 can be suppressed, the reliability of the transistor 310 can be improved. In addition, by providing the insulator 303 on the transistor 310, the diffusion of oxygen in the oxide semiconductor can be prevented, which is preferable. As shown in FIG. 21B, it is more preferable to adopt a structure that surrounds the transistor 310 with the insulator 302 and the insulator 303, connect the insulator 302 and the insulator 303 with the contact hole 304, and perform sealing.

接著,形成絕緣體308,並且形成插頭382、插頭383、插頭384。在插頭382、插頭383、插頭384上分別形成佈線層385、佈線層386、佈線層387。插頭382、插頭383、插頭384、佈線層385、佈線層386、佈線層387可以使用與上述插頭370、插頭371、插頭372同樣的膜及同樣的成膜方法形成。較佳為採用插頭382、插頭383、插頭384、佈線層385、佈線層386、佈線層387不容易使氫透過的結構。例如,也可以在氮化鈦上形成鎢等來實現雙層結構。 Next, an insulator 308 is formed, and a plug 382, a plug 383, and a plug 384 are formed. A wiring layer 385, a wiring layer 386, and a wiring layer 387 are formed on the plug 382, the plug 383, and the plug 384, respectively. The plug 382, the plug 383, the plug 384, the wiring layer 385, the wiring layer 386, and the wiring layer 387 can be formed using the same film and the same film forming method as the above plug 370, plug 371, and plug 372. It is preferable to adopt a structure in which the plug 382, the plug 383, the plug 384, the wiring layer 385, the wiring layer 386, and the wiring layer 387 do not easily transmit hydrogen. For example, tungsten or the like may be formed on titanium nitride to realize a double-layer structure.

接著,在絕緣體308、佈線層385、佈線層386、佈線層387上形成絕緣體364,並進行CMP使絕緣體364的表面平坦化。絕緣體364可以使用與 上述絕緣體360同樣的膜及同樣的成膜方法形成。 Next, an insulator 364 is formed on the insulator 308, the wiring layer 385, the wiring layer 386, and the wiring layer 387, and CMP is performed to flatten the surface of the insulator 364. Insulator 364 can be used with The above insulator 360 is formed with the same film and the same film formation method.

在絕緣體364中形成到達佈線層386及佈線層387的頂面的接觸孔,將導電體埋入接觸孔內,並進行CMP直到絕緣體364的頂面露出為止,由此形成插頭388及插頭389。插頭388及插頭389可以使用與上述插頭370、插頭371、插頭372同樣的膜及同樣的成膜方法形成。 A contact hole reaching the top surfaces of the wiring layer 386 and the wiring layer 387 is formed in the insulator 364, a conductor is buried in the contact hole, and CMP is performed until the top surface of the insulator 364 is exposed, thereby forming the plug 388 and the plug 389. The plug 388 and the plug 389 can be formed using the same film and the same film forming method as the plug 370, the plug 371, and the plug 372 described above.

接著,在絕緣體364上形成導電體,並且形成電容元件315的一個電極341及佈線層390。電極341及佈線層390可以使用與上述插頭370、插頭371、插頭372同樣的膜及同樣的成膜方法形成。接著,以另一個電極342隔著一個電極341上的絕緣體與一個電極341重疊的方式形成電容元件315。接著,形成絕緣體365,並進行CMP使絕緣體365的表面平坦化。絕緣體365可以使用與上述絕緣體360同樣的膜及同樣的成膜方法形成。 Next, a conductor is formed on the insulator 364, and one electrode 341 of the capacitor element 315 and the wiring layer 390 are formed. The electrode 341 and the wiring layer 390 can be formed using the same film and the same film forming method as the plug 370, the plug 371, and the plug 372 described above. Next, the capacitive element 315 is formed so that the other electrode 342 overlaps the one electrode 341 via the insulator on the one electrode 341. Next, an insulator 365 is formed, and CMP is performed to flatten the surface of the insulator 365. The insulator 365 can be formed using the same film and the same film forming method as the insulator 360 described above.

在絕緣體365中形成到達電容元件315的另一個電極342的頂面的接觸孔,與此同時,形成到達佈線層390的頂面的接觸孔,將導電體埋入接觸孔內,並進行CMP直到絕緣體365的頂面露出為止,由此形成插頭391及插頭392。插頭391、插頭392可以使用與上述插頭370、插頭371、插頭372同樣的膜及同樣的成膜方法形成。 A contact hole reaching the top surface of the other electrode 342 of the capacitor element 315 is formed in the insulator 365, and at the same time, a contact hole reaching the top surface of the wiring layer 390 is formed, the conductor is buried in the contact hole, and CMP is performed until Until the top surface of the insulator 365 is exposed, the plug 391 and the plug 392 are formed. The plug 391 and the plug 392 can be formed using the same film and the same film forming method as the plug 370, the plug 371, and the plug 372 described above.

接著,在絕緣體365上形成導電體,並形成佈線層393及佈線層394。佈線層393及佈線層394可以使用與上述插頭370、插頭371、插頭372同 樣的膜及同樣的成膜方法形成。 Next, a conductor is formed on the insulator 365, and a wiring layer 393 and a wiring layer 394 are formed. The wiring layer 393 and the wiring layer 394 can be the same as the above-mentioned plug 370, plug 371, and plug 372. The same kind of film and the same film formation method are formed.

另外,也可以將圖21B所示的平面型電容元件315形成為圖22所示的氣缸型電容元件320。氣缸型電容元件320的面積比平面型電容元件315小,所以是更佳的。 In addition, the planar capacitive element 315 shown in FIG. 21B may be formed as the cylinder-type capacitive element 320 shown in FIG. 22. The area of the cylinder-type capacitive element 320 is smaller than that of the planar-type capacitive element 315, so it is better.

藉由上述製程可以製造本發明的一個實施方式的半導體裝置。 The semiconductor device according to an embodiment of the present invention can be manufactured through the above process.

本實施方式的至少一部分可以與本說明書所記載的其他實施方式適當地組合而實施。 At least a part of this embodiment can be implemented in appropriate combination with other embodiments described in this specification.

實施方式6 Embodiment 6

〈攝像裝置〉 <Camera device>

以下對本發明的一個實施方式的攝像裝置進行說明。 Hereinafter, an imaging device according to an embodiment of the present invention will be described.

圖23A是示出本發明的一個實施方式的攝像裝置200的例子的俯視圖。攝像裝置200包括像素部210、用來驅動像素部210的週邊電路260、週邊電路270、週邊電路280及週邊電路290。像素部210包括配置為p行q列(p及q為2以上的整數)的矩陣狀的多個像素211。週邊電路260、週邊電路270、週邊電路280及週邊電路290分別與多個像素211連接,並具有供應用來驅動多個像素211的信號的功能。此外,在本說明書等中,有時將週邊電路260、週邊電路270、週邊電路280及週邊電路290等總稱為 “週邊電路”或“驅動電路”。例如,週邊電路260也可以說是週邊電路的一部分。 23A is a plan view showing an example of an imaging device 200 according to an embodiment of the present invention. The imaging device 200 includes a pixel unit 210, a peripheral circuit 260 for driving the pixel unit 210, a peripheral circuit 270, a peripheral circuit 280, and a peripheral circuit 290. The pixel portion 210 includes a plurality of pixels 211 arranged in a matrix of p rows and q columns (p and q are integers of 2 or more). The peripheral circuit 260, the peripheral circuit 270, the peripheral circuit 280, and the peripheral circuit 290 are respectively connected to the plurality of pixels 211, and have a function of supplying signals for driving the plurality of pixels 211. In addition, in this specification and the like, the peripheral circuit 260, the peripheral circuit 270, the peripheral circuit 280, the peripheral circuit 290, and the like are collectively referred to as "Peripheral circuit" or "driving circuit". For example, the peripheral circuit 260 can also be said to be a part of the peripheral circuit.

攝像裝置200較佳為包括光源291。光源291能夠發射檢測光P1。 The camera device 200 preferably includes a light source 291. The light source 291 can emit the detection light P1.

週邊電路至少包括邏輯電路、開關、緩衝器、放大電路或轉換電路中的一個。此外,也可以在形成像素部210的基板上製造週邊電路。另外,也可以將IC等半導體裝置用於週邊電路的一部分或全部。注意,也可以省略週邊電路260、週邊電路270、週邊電路280和週邊電路290中的一個以上。 The peripheral circuit includes at least one of a logic circuit, a switch, a buffer, an amplifier circuit, or a conversion circuit. In addition, peripheral circuits may be manufactured on the substrate on which the pixel portion 210 is formed. In addition, a semiconductor device such as an IC may be used for part or all of peripheral circuits. Note that one or more of the peripheral circuit 260, the peripheral circuit 270, the peripheral circuit 280, and the peripheral circuit 290 may be omitted.

如圖23B所示,在攝像裝置200所包括的像素部210中,也可以以像素211傾斜的方式配置。藉由以像素211傾斜的方式配置,可以縮短在行方向上及列方向上的像素間隔(間距)。由此,可以提高攝像裝置200的攝像品質。 As shown in FIG. 23B, in the pixel portion 210 included in the imaging device 200, the pixel 211 may be arranged so as to be inclined. By arranging the pixels 211 obliquely, the pixel interval (pitch) in the row direction and the column direction can be shortened. Thus, the imaging quality of the imaging device 200 can be improved.

〈像素的結構例子1〉 <Example of pixel structure 1>

藉由使攝像裝置200所包括的一個像素211由多個子像素212構成,且使每個子像素212與使特定的波長區域的光透過的濾光片(濾色片)組合,可以獲得用來實現彩色影像顯示的資訊。 By making one pixel 211 included in the imaging device 200 composed of a plurality of sub-pixels 212, and combining each sub-pixel 212 with a filter (color filter) that transmits light in a specific wavelength region, it can be used to realize Information displayed in color images.

圖24A是示出用來取得彩色影像的像素211的一個例子的俯視圖。圖 24A所示的像素211包括設置有使紅色(R)的波長區域透過的濾色片的子像素212(以下也稱為“子像素212R”)、設置有使綠色(G)的波長區域透過的濾色片的子像素212(以下也稱為“子像素212G”)及設置有使藍色(B)的波長區域透過的濾色片的子像素212(以下也稱為“子像素212B”)。子像素212可以被用作光感測器。 FIG. 24A is a plan view showing an example of pixels 211 for acquiring color images. Fig The pixel 211 shown in 24A includes a sub-pixel 212 (hereinafter also referred to as "sub-pixel 212R") provided with a color filter that transmits the wavelength region of red (R), and a pixel that is provided with the wavelength region of green (G). A sub-pixel 212 of a color filter (hereinafter also referred to as "sub-pixel 212G") and a sub-pixel 212 provided with a color filter that transmits a blue (B) wavelength region (hereinafter also referred to as "sub-pixel 212B") . The sub-pixel 212 may be used as a light sensor.

子像素212(子像素212R、子像素212G及子像素212B)與佈線231、佈線247、佈線248、佈線249、佈線250電連接。此外,子像素212R、子像素212G及子像素212B分別獨立地連接於佈線253。在本說明書等中,例如將與第n行的像素211連接的佈線248及佈線249分別稱為佈線248[n]及佈線249[n]。此外,例如,將與第m列的像素211連接的佈線253稱為佈線253[m]。此外,在圖24A中,與第m列的像素211所包括的子像素212R連接的佈線253稱為佈線253[m]R,將與子像素212G連接的佈線253稱為佈線253[m]G,將與子像素212B連接的佈線253稱為佈線253[m]B。子像素212藉由上述佈線與週邊電路電連接。 The subpixel 212 (subpixel 212R, subpixel 212G, and subpixel 212B) is electrically connected to the wiring 231, the wiring 247, the wiring 248, the wiring 249, and the wiring 250. In addition, the sub-pixel 212R, the sub-pixel 212G, and the sub-pixel 212B are independently connected to the wiring 253. In this specification and the like, for example, the wiring 248 and the wiring 249 connected to the pixel 211 in the n-th row are referred to as wiring 248 [n] and wiring 249 [n], respectively. In addition, for example, the wiring 253 connected to the pixel 211 in the m-th column is referred to as a wiring 253 [m]. In addition, in FIG. 24A, the wiring 253 connected to the sub-pixel 212R included in the pixel 211 in the m-th column is called wiring 253[m]R, and the wiring 253 connected to the sub-pixel 212G is called wiring 253[m]G The wiring 253 connected to the sub-pixel 212B is referred to as a wiring 253[m]B. The sub-pixel 212 is electrically connected to the peripheral circuit through the above wiring.

攝像裝置200具有相鄰的像素211的設置有使相同的波長區域的光透過的濾色片的子像素212藉由開關彼此電連接的結構。圖24B示出配置在第n行(n為1以上且p以下的整數)第m列(m為1以上且q以下的整數)的像素211所包括的子像素212與相鄰於該像素211的配置在第n+1行第m列的像素211所包括的子像素212的連接例子。在圖24B中,配置在第n行第m列的子像素212R與配置在第n+1行第m列的子像素212R藉由開關 201連接。此外,配置在第n行第m列的子像素212G與配置在第n+1行第m列的子像素212G藉由開關202連接。此外,配置在第n行第m列的子像素212B與配置在第n+1行第m列的子像素212B藉由開關203連接。 The imaging device 200 has a structure in which sub-pixels 212 of adjacent pixels 211 provided with color filters that transmit light in the same wavelength region are electrically connected to each other by a switch. 24B shows the sub-pixel 212 included in the pixel 211 arranged in the n-th row (n is an integer of 1 or more and p or less) and the m-th column (m is an integer of 1 or more and q or less) and adjacent to the pixel 211 A connection example of the sub-pixels 212 included in the pixel 211 arranged in the n+1th row and the mth column. In FIG. 24B, the subpixel 212R arranged in the nth row and mth column and the subpixel 212R arranged in the n+1th row and mth column are switched by 201 connections. In addition, the subpixel 212G arranged in the nth row and mth column and the subpixel 212G arranged in the n+1th row and mth column are connected by a switch 202. In addition, the sub-pixel 212B disposed in the n-th row and m-th column and the sub-pixel 212B disposed in the n+1-th row and m-th column are connected by a switch 203.

用於子像素212的濾色片的顏色不侷限於紅色(R)、綠色(G)、藍色(B),也可以使用使青色(C)、黃色(Y)及洋紅色(M)的光透過的濾色片。藉由在一個像素211中設置檢測三種不同波長區域的光的子像素212,可以獲得全彩色影像。 The color filter used for the sub-pixel 212 is not limited to red (R), green (G), and blue (B), and cyan (C), yellow (Y), and magenta (M) may be used. Color filters through which light passes. By providing sub-pixels 212 that detect light in three different wavelength regions in one pixel 211, a full-color image can be obtained.

或者,像素211除了包括分別設置有使紅色(R)、綠色(G)及藍色(B)的光透過的濾色片的各子像素212以外,還可以包括設置有使黃色(Y)的光透過的濾色片的子像素212。或者,像素211除了包括分別設置有使青色(C)、黃色(Y)及洋紅色(M)的光透過的濾色片的各子像素212以外,還可以包括設置有使藍色(B)的光透過的濾色片的子像素212。藉由在一個像素211中設置檢測四種不同波長區域的光的子像素212,可以進一步提高所獲得的像素的顏色再現性。 Alternatively, the pixel 211 may include, in addition to each sub-pixel 212 provided with a color filter that transmits light of red (R), green (G), and blue (B), a pixel provided with yellow (Y). The sub-pixel 212 of the color filter through which light passes. Alternatively, the pixel 211 may include, in addition to each sub-pixel 212 provided with a color filter that transmits light of cyan (C), yellow (Y), and magenta (M), it may also include a color filter (B). The light passes through the sub-pixel 212 of the color filter. By providing a sub-pixel 212 that detects light in four different wavelength regions in one pixel 211, the color reproducibility of the obtained pixel can be further improved.

例如,在圖24A中,檢測紅色的波長區域的子像素212、檢測綠色的波長區域的子像素212及檢測藍色的波長區域的子像素212的像素數比(或受光面積比)不侷限於1:1:1。例如,也可以採用像素數比(受光面積比)為紅色:綠色:藍色=1:2:1的Bayer排列。或者,像素數比(受光面積比)也可以為紅色:綠色:藍色=1:6:1。 For example, in FIG. 24A, the pixel number ratio (or light-receiving area ratio) of the sub-pixel 212 detecting the red wavelength region, the sub-pixel 212 detecting the green wavelength region, and the sub-pixel 212 detecting the blue wavelength region is not limited to 1:1:1. For example, a Bayer arrangement in which the pixel number ratio (light-receiving area ratio) is red: green: blue=1: 2:1 may be used. Alternatively, the pixel number ratio (light-receiving area ratio) may be red: green: blue=1: 6:1.

設置在像素211中的子像素212的數量可以為一個,但較佳為兩個以上。例如,藉由設置兩個以上的檢測相同的波長區域的子像素212,可以提高冗餘性,由此可以提高攝像裝置200的可靠性。 The number of sub-pixels 212 provided in the pixel 211 may be one, but preferably two or more. For example, by providing two or more sub-pixels 212 that detect the same wavelength region, redundancy can be improved, and thus the reliability of the imaging device 200 can be improved.

此外,藉由使用反射或吸收可見光且使紅外光透過的IR(IR:Infrared)濾光片,可以實現檢測紅外光的攝像裝置200。 In addition, by using an IR (Infrared) filter that reflects or absorbs visible light and transmits infrared light, an imaging device 200 that detects infrared light can be realized.

藉由使用ND(ND:Neutral Density)濾光片(減光濾光片),可以防止大光量光入射光電轉換元件(受光元件)時產生的輸出飽和。藉由組合使用減光量不同的ND濾光片,可以增大攝像裝置的動態範圍。 By using an ND (ND: Neutral Density) filter (dimming filter), it is possible to prevent output saturation generated when a large amount of light enters the photoelectric conversion element (light receiving element). By using ND filters with different amounts of dimming in combination, the dynamic range of the imaging device can be increased.

除了上述濾光片以外,還可以在像素211中設置透鏡。這裡,參照圖25A及圖25B的剖面圖說明像素211、濾光片254、透鏡255的配置例子。藉由設置透鏡255,可以使光電轉換元件高效地受光。明確而言,如圖25A所示,可以使光256穿過形成在像素211中的透鏡255、濾光片254(濾光片254R、濾光片254G及濾光片254B)及像素電路230等而入射到光電轉換元件220。 In addition to the above-mentioned filters, a lens may be provided in the pixel 211. Here, an arrangement example of the pixel 211, the filter 254, and the lens 255 will be described with reference to the cross-sectional views of FIGS. 25A and 25B. By providing the lens 255, the photoelectric conversion element can receive light efficiently. Specifically, as shown in FIG. 25A, the light 256 can pass through the lens 255, the filter 254 (the filter 254R, the filter 254G, and the filter 254B) formed in the pixel 211, the pixel circuit 230, etc. And incident on the photoelectric conversion element 220.

注意,如由點劃線圍繞的區域所示,有時箭頭所示的光256的一部分被佈線257的一部分遮蔽。因此,如圖25B所示,較佳為採用在光電轉換元件220一側配置透鏡255及濾光片254,而使光電轉換元件220高效地接 收光256的結構。藉由從光電轉換元件220一側將光256入射到光電轉換元件220,可以提供檢測靈敏度高的攝像裝置200。 Note that, as shown by the area surrounded by the chain line, a part of the light 256 shown by the arrow may be blocked by a part of the wiring 257. Therefore, as shown in FIG. 25B, it is preferable to arrange the lens 255 and the filter 254 on the photoelectric conversion element 220 side, so that the photoelectric conversion element 220 is efficiently connected Receive light 256 structure. By injecting light 256 into the photoelectric conversion element 220 from the photoelectric conversion element 220 side, the imaging device 200 with high detection sensitivity can be provided.

作為圖25A及圖25B所示的光電轉換元件220,也可以使用形成有pn接面或pin接面的光電轉換元件。 As the photoelectric conversion element 220 shown in FIGS. 25A and 25B, a photoelectric conversion element formed with a pn junction or a pin junction can also be used.

光電轉換元件220也可以使用具有吸收輻射產生電荷的功能的物質形成。作為具有吸收輻射產生電荷的功能的物質,可舉出硒、碘化鉛、碘化汞、砷化鎵、碲化鎘、鎘鋅合金等。 The photoelectric conversion element 220 may be formed using a substance having a function of absorbing radiation to generate electric charges. Examples of the substance having a function of absorbing radiation to generate charges include selenium, lead iodide, mercury iodide, gallium arsenide, cadmium telluride, and cadmium zinc alloy.

例如,在將硒用於光電轉換元件220時,可以實現對可見光、紫外光、紅外光、X射線、伽瑪射線等較寬的波長區域具有光吸收係數的光電轉換元件220。 For example, when selenium is used for the photoelectric conversion element 220, the photoelectric conversion element 220 having a light absorption coefficient for a wide wavelength region such as visible light, ultraviolet light, infrared light, X-rays, and gamma rays can be realized.

在此,攝像裝置200所包括的一個像素211除了圖25A及圖25B所示的子像素212以外,還可以包括具有第一濾光片的子像素212。 Here, one pixel 211 included in the imaging device 200 may include a sub-pixel 212 having a first filter in addition to the sub-pixel 212 shown in FIGS. 25A and 25B.

〈像素的結構例子2〉 <Pixel structure example 2>

下面,對包括使用矽的電晶體及使用本發明的氧化物半導體的電晶體的像素的一個例子進行說明。 Next, an example of a pixel including a transistor using silicon and a transistor using the oxide semiconductor of the present invention will be described.

圖26及圖27是構成攝像裝置的元件的剖面圖。圖26所示的攝像裝置 包括設置在矽基板500上的使用矽形成的電晶體551、在電晶體551上層疊配置的使用氧化物半導體形成的電晶體552及電晶體553、設置在矽基板500中的光電二極體560、以及微透鏡陣列層590、濾色片層592及遮光層594。各電晶體及光電二極體560的陰極562與各種插頭570及佈線571電連接。此外,光電二極體560的陽極561藉由低電阻區域563與插頭570電連接。 26 and 27 are cross-sectional views of elements constituting the imaging device. The imaging device shown in FIG. 26 It includes a transistor 551 formed using silicon provided on the silicon substrate 500, a transistor 552 formed using an oxide semiconductor and a transistor 553 stacked on the transistor 551, and a photodiode 560 provided in the silicon substrate 500 , And microlens array layer 590, color filter layer 592, and light shielding layer 594. The cathode 562 of each transistor and the photodiode 560 is electrically connected to various plugs 570 and wiring 571. In addition, the anode 561 of the photodiode 560 is electrically connected to the plug 570 through the low resistance region 563.

攝像裝置包括:包括設置在矽基板500上的電晶體551及光電二極體560的層510、以與層510接觸的方式設置且包括佈線571的層520、以與層520接觸的方式設置且包括電晶體552及電晶體553的層530、以與層530接觸的方式設置且包括佈線572及佈線573的層540。 The imaging device includes: a layer 510 including a transistor 551 and a photodiode 560 disposed on a silicon substrate 500, a layer 520 disposed in contact with the layer 510 and including a wiring 571, and disposed in contact with the layer 520, and The layer 530 including the transistor 552 and the transistor 553 is provided in contact with the layer 530 and includes the wiring 572 and the wiring 573.

在圖26的剖面圖的一個例子中,在矽基板500中,在與形成有電晶體551的面相反一側設置有光電二極體560的受光面。藉由採用該結構,可以確保光路而不受各種電晶體或佈線等的影響。因此,可以形成高開口率的像素。此外,光電二極體560的受光面也可以是與形成有電晶體551的面相同的面。 In one example of the cross-sectional view of FIG. 26, in the silicon substrate 500, the light receiving surface of the photodiode 560 is provided on the side opposite to the surface on which the transistor 551 is formed. By adopting this structure, the optical path can be secured without being affected by various transistors, wiring, or the like. Therefore, a pixel with a high aperture ratio can be formed. In addition, the light receiving surface of the photodiode 560 may be the same surface as the surface on which the transistor 551 is formed.

在像素包括使用氧化物半導體的電晶體時,層530為包括電晶體的層即可。或者,像素也可以只包括使用氧化物半導體的電晶體而省略層510。 When the pixel includes an transistor using an oxide semiconductor, the layer 530 may be a layer including the transistor. Alternatively, the pixel may include only transistors using an oxide semiconductor and omit the layer 510.

在像素包括使用矽的電晶體時,省略層530即可。圖27示出省略層530的剖面圖的一個例子。 When the pixel includes a transistor using silicon, the layer 530 may be omitted. FIG. 27 shows an example of a cross-sectional view of the omitted layer 530.

矽基板500也可以是SOI基板。此外,也可以使用包含鍺、矽鍺、碳化矽、砷化鎵、砷化鋁鎵、磷化銦、氮化鎵、有機半導體的基板代替矽基板500。 The silicon substrate 500 may be an SOI substrate. In addition, instead of the silicon substrate 500, a substrate containing germanium, silicon germanium, silicon carbide, gallium arsenide, aluminum gallium arsenide, indium phosphide, gallium nitride, or an organic semiconductor may be used.

這裡,在包括電晶體551及光電二極體560的層510與包括電晶體552及電晶體553的層530之間設置有絕緣體580。注意,絕緣體580的位置不侷限於此。 Here, an insulator 580 is provided between the layer 510 including the transistor 551 and the photodiode 560 and the layer 530 including the transistor 552 and the transistor 553. Note that the position of the insulator 580 is not limited to this.

設置在電晶體551的通道形成區域附近的絕緣體中的氫使矽的懸空鍵終結,由此可以提高電晶體551的可靠性。另一方面,設置在電晶體552及電晶體553等附近的絕緣體中的氫有可能成為在氧化物半導體中生成載子的原因之一。因此,有時引起電晶體552及電晶體553等的可靠性的下降。因此,當在使用矽類半導體的電晶體上層疊設置使用氧化物半導體的電晶體時,較佳為在它們之間設置具有阻擋氫的功能的絕緣體580。藉由將氫封閉在絕緣體580下,可以提高電晶體551的可靠性。並且,由於可以抑制氫從絕緣體580下擴散到絕緣體580上,所以可以提高電晶體552及電晶體553等的可靠性。另外,藉由在電晶體552及電晶體553上設置絕緣體581,可以防止氧化物半導體中的氧的擴散,所以是較佳的。如圖26所示,更佳的是:採用以絕緣體580及絕緣體581包圍電晶體552及電晶體553的結構,利用接觸孔583連接絕緣體580與絕緣體581,並且進行密封。 The hydrogen provided in the insulator near the channel formation region of the transistor 551 terminates the dangling bonds of silicon, whereby the reliability of the transistor 551 can be improved. On the other hand, hydrogen in an insulator provided near the transistor 552, the transistor 553, and the like may be one of the causes of generation of carriers in the oxide semiconductor. Therefore, the reliability of the transistor 552, the transistor 553, and the like may be reduced. Therefore, when a transistor using an oxide semiconductor is stacked on a transistor using a silicon-based semiconductor, it is preferable to provide an insulator 580 having a function of blocking hydrogen between them. By sealing hydrogen under the insulator 580, the reliability of the transistor 551 can be improved. Furthermore, since the diffusion of hydrogen from below the insulator 580 to the insulator 580 can be suppressed, the reliability of the transistor 552, the transistor 553, and the like can be improved. In addition, by providing the insulator 581 on the transistor 552 and the transistor 553, the diffusion of oxygen in the oxide semiconductor can be prevented, which is preferable. As shown in FIG. 26, it is more preferable to adopt a structure in which the transistor 552 and the transistor 553 are surrounded by the insulator 580 and the insulator 581, and the insulator 580 and the insulator 581 are connected and sealed by the contact hole 583.

作為絕緣體580例如參照關於絕緣體363的記載。 As the insulator 580, for example, the description about the insulator 363 is referred to.

在圖26的剖面圖中,可以以設置在層510中的光電二極體560與設置在層530中的電晶體重疊的方式形成。因此,可以提高像素的集成度。也就是說,可以提高攝像裝置的解析度。 In the cross-sectional view of FIG. 26, it may be formed in such a manner that the photodiode 560 provided in the layer 510 overlaps with the transistor provided in the layer 530. Therefore, the integration of pixels can be improved. In other words, the resolution of the imaging device can be improved.

如圖28A1及圖28B1所示,可以使攝像裝置的一部分或全部彎曲。圖28A1示出使攝像裝置在該圖式中的點劃線X1-X2的方向上彎曲的狀態。圖28A2是沿著圖28A1中的點劃線X1-X2所示的部分的剖面圖。圖28A3是沿著圖28A1中的點劃線Y1-Y2所示的部分的剖面圖。 As shown in FIGS. 28A1 and 28B1, part or all of the imaging device may be bent. FIG. 28A1 shows a state where the imaging device is bent in the direction of the chain line X1-X2 in this drawing. FIG. 28A2 is a cross-sectional view of a portion indicated by the chain line X1-X2 in FIG. 28A1. FIG. 28A3 is a cross-sectional view of the portion indicated by the dot-dash line Y1-Y2 in FIG. 28A1.

圖28B1示出使攝像裝置在該圖式中的點劃線X3-X4的方向上彎曲且在該圖式中的點劃線Y3-Y4的方向上彎曲的狀態。圖28B2是沿著圖28B1中的點劃線X3-X4所示的部分的剖面圖。圖28B3是沿著圖28B1中的點劃線Y3-Y4所示的部分的剖面圖。 FIG. 28B1 shows a state where the imaging device is bent in the direction of the chain line X3-X4 in this figure and is curved in the direction of the chain line Y3-Y4 in this figure. FIG. 28B2 is a cross-sectional view of the portion indicated by the chain line X3-X4 in FIG. 28B1. FIG. 28B3 is a cross-sectional view of the portion indicated by the dot-dash line Y3-Y4 in FIG. 28B1.

藉由使攝像裝置彎曲,可以降低像場彎曲或像散(astigmatism)。因此,可以促進與攝像裝置組合使用的透鏡等的光學設計。例如,由於可以減少用於像差校正的透鏡的數量,因此可以實現使用攝像裝置的電子裝置等的小型化或輕量化。此外,可以提高成像影像的品質。 By bending the camera device, it is possible to reduce field curvature or astigmatism. Therefore, the optical design of a lens and the like used in combination with the imaging device can be promoted. For example, since the number of lenses used for aberration correction can be reduced, it is possible to reduce the size or weight of an electronic device or the like using an imaging device. In addition, the quality of the imaged image can be improved.

實施方式7 Embodiment 7

〈顯示裝置〉 <Display device>

以下參照圖29A至圖30B說明本發明的一個實施方式的顯示裝置。 Hereinafter, a display device according to an embodiment of the present invention will be described with reference to FIGS. 29A to 30B.

作為用於顯示裝置的顯示元件,可以使用液晶元件(也稱為液晶顯示元件)、發光元件(也稱為發光顯示元件)等。發光元件在其範疇內包括其亮度由電流或電壓控制的元件,明確而言,包括無機EL(Electroluminescence:電致發光)元件、有機EL元件等。下面,作為顯示裝置的一個例子對使用EL元件的顯示裝置(EL顯示裝置)及使用液晶元件的顯示裝置(液晶顯示裝置)進行說明。 As a display element used in a display device, a liquid crystal element (also referred to as a liquid crystal display element), a light-emitting element (also referred to as a light-emitting display element), or the like can be used. The light-emitting element includes an element whose brightness is controlled by current or voltage in its category, and specifically includes an inorganic EL (Electroluminescence) element, an organic EL element, and the like. Next, as an example of a display device, a display device using an EL element (EL display device) and a display device using a liquid crystal element (liquid crystal display device) will be described.

另外,下面示出的顯示裝置包括密封有顯示元件的面板及在該面板中安裝有包括控制器的IC等的模組。 In addition, the display device shown below includes a panel in which a display element is sealed, and a module such as an IC including a controller mounted on the panel.

另外,下面示出的顯示裝置是指影像顯示裝置或光源(包括照明設備)。此外,顯示裝置還包括:安裝有連接器諸如FPC或TCP的模組;在TCP的端部設置有印刷線路板的模組;或者藉由COG方式將IC(積體電路)直接安裝到顯示元件的模組。 In addition, the display device shown below refers to an image display device or a light source (including lighting equipment). In addition, the display device includes: a module mounted with a connector such as FPC or TCP; a module provided with a printed circuit board at the end of TCP; or an IC (integrated circuit) directly mounted to the display element by COG Module.

圖29A至圖29C是本發明的一個實施方式的EL顯示裝置的一個例子。圖29A示出EL顯示裝置的像素的電路圖。圖29B是示出EL顯示裝置整體的俯視圖。圖29C是沿著圖29B中的點劃線M-N的部分的剖面圖。 29A to 29C are examples of an EL display device according to an embodiment of the present invention. FIG. 29A shows a circuit diagram of a pixel of an EL display device. 29B is a plan view showing the entire EL display device. FIG. 29C is a cross-sectional view of a portion taken along the chain line M-N in FIG. 29B.

圖29A是用於EL顯示裝置的像素的電路圖的一個例子。 29A is an example of a circuit diagram of a pixel used in an EL display device.

在本說明書等中,有時即使不指定主動元件(電晶體、二極體等)、被動元件(電容元件、電阻元件等)等所具有的所有端子的連接位置,所屬技術領域的普通技術人員也能夠構成發明的一個實施方式。就是說,即使未指定連接位置,也可以說發明的一個實施方式是明確的,並且,當在本說明書等記載有指定連接位置的內容時,有時可以判斷為在本說明書等中記載有該方式。尤其是,在端子的連接位置有多個的情況下,不一定必須要將該端子的連接位置限於指定的部分。因此,有時藉由僅指定主動元件(電晶體、二極體等)、被動元件(電容元件、電阻元件等)等所具有的一部分的端子的連接位置,就能夠構成發明的一個實施方式。 In this specification, etc., even if the connection positions of all terminals of the active element (transistor, diode, etc.), passive element (capacitive element, resistive element, etc.) are not specified, a person of ordinary skill in the art It can also constitute an embodiment of the invention. That is, even if the connection position is not specified, it can be said that one embodiment of the invention is clear, and when the content specifying the connection position is described in this specification, etc., it may sometimes be determined that the description is described in this specification, etc. the way. In particular, when there are multiple connection positions of the terminal, it is not necessary to limit the connection position of the terminal to a designated part. Therefore, it may be possible to configure an embodiment of the invention by only specifying a connection position of a part of terminals that the active element (transistor, diode, etc.), passive element (capacitive element, resistance element, etc.) have.

在本說明書等中,當至少指定某個電路的連接位置時,有時所屬技術領域的普通技術人員能夠指定發明。或者,當至少指定某個電路的功能時,有時所屬技術領域的普通技術人員能夠指定發明。也就是說,只要指定功能,就可以說是發明的一個實施方式是明確的,而判斷為在本說明書等中記載有該方式。因此,即使只指定某個電路的連接位置而不指定其功能時,也可以判斷為該電路作為發明的一個實施方式公開而構成發明的一個實施方式。或者,即使只指定某個電路的功能而不指定其連接位置時,也可以判斷為該電路作為發明的一個實施方式公開而構成發明的一個實施方式。 In this specification and the like, when at least the connection position of a certain circuit is specified, an ordinary person skilled in the art can sometimes specify the invention. Or, when at least the function of a certain circuit is specified, an ordinary person skilled in the art can sometimes specify the invention. That is, as long as the function is specified, it can be said that one embodiment of the invention is clear, and it is judged that this embodiment is described in this specification and the like. Therefore, even if only the connection position of a certain circuit is specified without specifying its function, it can be determined that the circuit is disclosed as an embodiment of the invention and constitutes an embodiment of the invention. Alternatively, even if only the function of a certain circuit is specified without specifying the connection position, it may be determined that the circuit is disclosed as an embodiment of the invention and constitutes an embodiment of the invention.

圖29A所示的EL顯示裝置包含切換元件743、電晶體741、電容元件 742、發光元件719。 The EL display device shown in FIG. 29A includes a switching element 743, a transistor 741, and a capacitive element 742, light emitting element 719.

另外,由於圖29A等是電路結構的一個例子,所以還可以追加設置電晶體。與此相反,在圖29A的各節點中,也可以不追加電晶體、開關、被動元件等。 In addition, since FIG. 29A and the like are an example of a circuit structure, a transistor can be additionally provided. In contrast, in each node of FIG. 29A, transistors, switches, passive elements, etc. may not be added.

電晶體741的閘極與切換元件743的一個端子及電容元件742的一個電極電連接。電晶體741的源極與電容元件742的另一個電極及發光元件719的一個電極電連接。電晶體741的汲極被供應電源電位VDD。切換元件743的另一個端子與信號線744電連接。發光元件719的另一個電極被供應恆電位。另外,恆電位為等於或低於接地電位GND的電位。 The gate of the transistor 741 is electrically connected to one terminal of the switching element 743 and one electrode of the capacitive element 742. The source of the transistor 741 is electrically connected to the other electrode of the capacitive element 742 and one electrode of the light-emitting element 719. The drain of the transistor 741 is supplied with the power supply potential VDD. The other terminal of the switching element 743 is electrically connected to the signal line 744. The other electrode of the light emitting element 719 is supplied with a constant potential. In addition, the constant potential is a potential equal to or lower than the ground potential GND.

作為切換元件743,較佳為使用電晶體。藉由使用電晶體,可以減小像素的面積,由此可以提供解析度高的EL顯示裝置。作為切換元件743,使用藉由與電晶體741同一製程形成的電晶體,由此可以提高EL顯示裝置的生產率。作為電晶體741或/及切換元件743,例如可以適用上述電晶體。 As the switching element 743, a transistor is preferably used. By using transistors, the area of pixels can be reduced, thereby providing an EL display device with high resolution. As the switching element 743, a transistor formed by the same process as the transistor 741 is used, thereby improving the productivity of the EL display device. As the transistor 741 and/or the switching element 743, for example, the above-mentioned transistor can be applied.

圖29B是EL顯示裝置的俯視圖。EL顯示裝置包括基板700、基板750、密封材料734、驅動電路735、驅動電路736、像素737以及FPC732。密封材料734以包圍像素737、驅動電路735以及驅動電路736的方式配置在基板700與基板750之間。另外,驅動電路735或/及驅動電路736也可以配置在密封材料734的外側。 29B is a plan view of the EL display device. The EL display device includes a substrate 700, a substrate 750, a sealing material 734, a driving circuit 735, a driving circuit 736, a pixel 737, and an FPC 732. The sealing material 734 is arranged between the substrate 700 and the substrate 750 so as to surround the pixel 737, the drive circuit 735 and the drive circuit 736. In addition, the drive circuit 735 or/and the drive circuit 736 may be arranged outside the sealing material 734.

圖29C是對應於圖29B的點劃線M-N的一部分的EL顯示裝置的剖面圖。 FIG. 29C is a cross-sectional view of the EL display device corresponding to a part of the chain line M-N in FIG. 29B.

圖29C示出電晶體741,該電晶體741包括:基板700上的絕緣體708;以及埋入絕緣體708中的導電體704a,還包括絕緣體708及導電體704a上的絕緣體712a、絕緣體712a上的電子俘獲層715、絕緣體712a及電子俘獲層715上的絕緣體712b、在絕緣體712b上且具有與導電體704a重疊的區域的半導體706、與半導體706接觸的導電體716a及導電體716b、在半導體706、導電體716a及導電體716b上的絕緣體718a、絕緣體718a上的絕緣體718b、絕緣體718b上的絕緣體718c、在絕緣體718c上且與半導體706重疊的導電體714a。注意,電晶體741的結構只是一個例子,也可以採用與圖29C所示的結構不同的結構。 FIG. 29C shows a transistor 741 including: an insulator 708 on the substrate 700; and a conductor 704a buried in the insulator 708, and further includes the insulator 708 and the insulator 712a on the conductor 704a, and the electrons on the insulator 712a The trapping layer 715, the insulator 712a and the insulator 712b on the electron trapping layer 715, the semiconductor 706 on the insulator 712b and having a region overlapping with the conductor 704a, the conductor 716a and the conductor 716b in contact with the semiconductor 706, the semiconductor 706, The conductor 716a and the insulator 718a on the conductor 716b, the insulator 718b on the insulator 718a, the insulator 718c on the insulator 718b, and the conductor 714a on the insulator 718c and overlapping the semiconductor 706. Note that the structure of the transistor 741 is just an example, and a structure different from that shown in FIG. 29C may be adopted.

因此,在圖29C所示的電晶體741中,導電體704a具有閘極電極的功能,電子俘獲層715具有俘獲電子的功能,絕緣體712a及絕緣體712b具有閘極絕緣體的功能,導電體716a具有源極電極的功能,導電體716b具有汲極電極的功能,絕緣體718a、絕緣體718b及絕緣體718c具有閘極絕緣體的功能,並且導電體714a具有閘極電極的功能。注意,半導體706有時因光照射而其電特性發生變動。因此,較佳的是導電體704a、導電體716a、導電體716b和導電體714a中的任何一個以上具有遮光性。 Therefore, in the transistor 741 shown in FIG. 29C, the conductor 704a has a gate electrode function, the electron trap layer 715 has a function of trapping electrons, the insulator 712a and the insulator 712b have a gate insulator function, and the conductor 716a has a source The function of the pole electrode, the conductor 716b has the function of the drain electrode, the insulator 718a, the insulator 718b and the insulator 718c have the function of the gate insulator, and the conductor 714a has the function of the gate electrode. Note that the semiconductor 706 sometimes changes its electrical characteristics due to light irradiation. Therefore, it is preferable that any one or more of the conductor 704a, the conductor 716a, the conductor 716b, and the conductor 714a have light-shielding properties.

注意,以虛線表示絕緣體718a和絕緣體718b之間的介面,這意味著它們的邊界有時不明確。例如,當作為絕緣體718a及絕緣體718b使用同樣種類的絕緣體時,根據觀察方法有時無法區分它們。 Note that the interface between the insulator 718a and the insulator 718b is indicated by a dotted line, which means that their boundaries are sometimes unclear. For example, when the same kind of insulator is used as the insulator 718a and the insulator 718b, it may not be possible to distinguish them according to the observation method.

圖29C示出電容元件742,該電容元件742包括:基板700上的絕緣體708;埋入絕緣體708中的導電體704b;絕緣體708及導電體704b上的絕緣體712a;絕緣體712a上的絕緣體712b;在絕緣體712b上且與導電體704b重疊的導電體716a;導電體716a上的絕緣體718a;絕緣體718a上的絕緣體718b;絕緣體718b上的絕緣體718c;以及在絕緣體718c上且與導電體716a重疊的導電體714b,並且,電容元件742具有在導電體716a與導電體714b重疊的區域中絕緣體718a的一部分及絕緣體718b的一部分被去除的結構。 29C shows a capacitive element 742 including: an insulator 708 on the substrate 700; a conductor 704b buried in the insulator 708; an insulator 712a on the insulator 708 and the conductor 704b; an insulator 712b on the insulator 712a; Conductor 716a on insulator 712b and overlapping with conductor 704b; insulator 718a on conductor 716a; insulator 718b on insulator 718a; insulator 718c on insulator 718b; and conductor on insulator 718c and overlapping conductor 716a 714b, and the capacitive element 742 has a structure in which a part of the insulator 718a and a part of the insulator 718b are removed in a region where the conductor 716a and the conductor 714b overlap.

在電容元件742中,將導電體704b及導電體714b用作一個電極,將導電體716a用作另一個電極。 In the capacitive element 742, the conductor 704b and the conductor 714b are used as one electrode, and the conductor 716a is used as the other electrode.

因此,可以使用與電晶體741相同的膜製造電容元件742。導電體704a及導電體704b較佳為使用同樣種類的導電體。此時,可以藉由同一製程形成導電體704a及導電體704b。另外,導電體714a及導電體714b較佳為使用同樣種類的導電體。此時,可以藉由同一製程形成導電體714a及導電體714b。 Therefore, the capacitor 742 can be manufactured using the same film as the transistor 741. The conductive body 704a and the conductive body 704b preferably use the same type of conductive body. At this time, the conductor 704a and the conductor 704b can be formed by the same process. In addition, it is preferable to use the same kind of conductors for the conductor 714a and the conductor 714b. At this time, the conductor 714a and the conductor 714b can be formed by the same process.

圖29C所示的電容元件742是相對於佔有面積的電容大的電容元件。 因此,圖29C是顯示品質高的EL顯示裝置。注意,雖然圖29C所示的電容元件742具有絕緣體718a的一部分及絕緣體718b的一部分被去除以便減薄導電體716a與導電體714b重疊的區域的結構,但是本發明的一個實施方式的電容元件的結構不侷限於此。例如,也可以具有絕緣體718c的一部分被去除以便減薄導電體716a與導電體714b重疊的區域的結構。 The capacitance element 742 shown in FIG. 29C is a capacitance element with a large capacitance relative to the occupied area. Therefore, FIG. 29C is an EL display device with high display quality. Note that although the capacitor element 742 shown in FIG. 29C has a structure in which a part of the insulator 718a and a part of the insulator 718b are removed so as to thin the area where the conductor 716a overlaps the conductor 714b, the capacitor element of one embodiment of the present invention The structure is not limited to this. For example, it may have a structure in which a part of the insulator 718c is removed so as to reduce the area where the conductor 716a overlaps the conductor 714b.

在電晶體741及電容元件742上配置有絕緣體720。在此,絕緣體720也可以具有到達用作電晶體741的源極電極的導電體716a的開口部。在絕緣體720上配置有導電體781。導電體781也可以藉由絕緣體720中的開口部與電晶體741電連接。 An insulator 720 is arranged on the transistor 741 and the capacitive element 742. Here, the insulator 720 may have an opening that reaches the conductor 716a serving as the source electrode of the transistor 741. A conductor 781 is arranged on the insulator 720. The conductor 781 may be electrically connected to the transistor 741 through the opening in the insulator 720.

在導電體781上配置有到達導電體781的開口部的分隔壁784。在分隔壁784上配置有在分隔壁784的開口部中與導電體781接觸的發光層782。在發光層782上配置有導電體783。導電體781、發光層782和導電體783重疊的區域被用作發光元件719。 The conductive body 781 is provided with a partition wall 784 that reaches the opening of the conductive body 781. On the partition wall 784, a light-emitting layer 782 in contact with the conductor 781 in the opening of the partition wall 784 is arranged. A conductor 783 is arranged on the light-emitting layer 782. The area where the electrical conductor 781, the light emitting layer 782, and the electrical conductor 783 overlap is used as the light emitting element 719.

至此,說明了EL顯示裝置的例子。接著,將說明液晶顯示裝置的例子。 So far, an example of the EL display device has been described. Next, an example of a liquid crystal display device will be explained.

圖30A是示出液晶顯示裝置的像素的結構例子的電路圖。圖30A和圖30B所示的像素包括電晶體751、電容元件752、在一對電極之間填充有液晶的元件(液晶元件)753。 30A is a circuit diagram showing a configuration example of a pixel of a liquid crystal display device. The pixel shown in FIGS. 30A and 30B includes a transistor 751, a capacitive element 752, and an element (liquid crystal element) 753 filled with liquid crystal between a pair of electrodes.

電晶體751的源極和汲極中的一個與信號線755電連接,電晶體751的閘極與掃描線754電連接。 One of the source and the drain of the transistor 751 is electrically connected to the signal line 755, and the gate of the transistor 751 is electrically connected to the scan line 754.

電容元件752的一個電極與電晶體751的源極和汲極中的另一個電連接,電容元件752的另一個電極與供應共用電位的佈線電連接。 One electrode of the capacitive element 752 is electrically connected to the other of the source and the drain of the transistor 751, and the other electrode of the capacitive element 752 is electrically connected to the wiring supplying a common potential.

液晶元件753的一個電極與電晶體751的源極和汲極中的另一個電連接,液晶元件753的另一個電極與供應共用電位的佈線電連接。此外,供應到與上述電容元件752的另一個電極電連接的佈線的共用電位與供應到液晶元件753的另一個電極的共用電位可以不同。 One electrode of the liquid crystal element 753 is electrically connected to the other of the source and the drain of the transistor 751, and the other electrode of the liquid crystal element 753 is electrically connected to the wiring supplying a common potential. In addition, the common potential supplied to the wiring electrically connected to the other electrode of the above-described capacitance element 752 may be different from the common potential supplied to the other electrode of the liquid crystal element 753.

假設液晶顯示裝置的俯視圖與EL顯示裝置相同來進行說明。圖30B示出對應於沿著圖29B的點劃線M-N的液晶顯示裝置的剖面圖。在圖30B中,FPC732藉由端子731與佈線733a連接。佈線733a也可以使用與構成電晶體751的導電體或半導體同樣種類的導電體或半導體。 The liquid crystal display device will be described assuming the same top view as the EL display device. 30B shows a cross-sectional view of the liquid crystal display device corresponding to the dot-dash line M-N of FIG. 29B. In FIG. 30B, the FPC 732 is connected to the wiring 733a through the terminal 731. For the wiring 733a, the same kind of conductor or semiconductor as that of the transistor 751 may be used.

電晶體751參照關於電晶體741的記載。電容元件752參照關於電容元件742的記載。注意,圖30B示出具有對應於圖29C所示的電容元件742的結構的電容元件752的結構,但是電容元件752的結構不侷限於此。 The transistor 751 refers to the description about the transistor 741. For the capacitance element 752, refer to the description about the capacitance element 742. Note that FIG. 30B shows the structure of the capacitive element 752 having the structure corresponding to the capacitive element 742 shown in FIG. 29C, but the structure of the capacitive element 752 is not limited to this.

當將氧化物半導體用於電晶體751的半導體時,可以實現關態電流極小的電晶體。因此,保持在電容元件752中的電荷不容易洩漏,而可以長 期間保持施加到液晶元件753的電壓。因此,當顯示動作少的動態影像、靜態影像時,藉由使電晶體751處於關閉狀態,不需要用來使電晶體751工作的電力,由此可以實現低功耗的液晶顯示裝置。另外,因為可以縮小電容元件752的佔有面積,所以可以提供一種開口率高的液晶顯示裝置或高解析度液晶顯示裝置。 When an oxide semiconductor is used for the semiconductor of the transistor 751, a transistor with an extremely small off-state current can be realized. Therefore, the charge held in the capacitive element 752 is not likely to leak, but can be long During this time, the voltage applied to the liquid crystal element 753 is maintained. Therefore, when displaying a dynamic image or a static image with little motion, by turning off the transistor 751, no power is required to operate the transistor 751, and a low power consumption liquid crystal display device can be realized. In addition, since the occupied area of the capacitive element 752 can be reduced, a liquid crystal display device or a high-resolution liquid crystal display device with a high aperture ratio can be provided.

在電晶體751及電容元件752上配置有絕緣體721。在此,絕緣體721具有到達電晶體751的開口部。在絕緣體721上配置有導電體791。導電體791藉由絕緣體721中的開口部與電晶體751電連接。 An insulator 721 is arranged on the transistor 751 and the capacitive element 752. Here, the insulator 721 has an opening that reaches the transistor 751. A conductor 791 is arranged on the insulator 721. The conductor 791 is electrically connected to the transistor 751 through the opening in the insulator 721.

在導電體791上配置有用作配向膜的絕緣體792。在絕緣體792上配置有液晶層793。在液晶層793上配置有用作配向膜的絕緣體794。在絕緣體794上配置有隔離物795。在隔離物795及絕緣體794上配置有導電體796。在導電體796上配置有基板797。 On the conductor 791, an insulator 792 serving as an alignment film is arranged. A liquid crystal layer 793 is arranged on the insulator 792. An insulator 794 serving as an alignment film is arranged on the liquid crystal layer 793. A spacer 795 is arranged on the insulator 794. A conductor 796 is arranged on the spacer 795 and the insulator 794. A substrate 797 is arranged on the electrical conductor 796.

藉由採用上述結構,可以提供一種包括佔有面積小的電容元件的顯示裝置。或者,可以提供一種顯示品質高的顯示裝置。或者,可以提供一種高解析度顯示裝置。 By adopting the above structure, it is possible to provide a display device including a capacitive element with a small occupied area. Alternatively, a display device with high display quality may be provided. Alternatively, a high-resolution display device can be provided.

例如,在本說明書等中,顯示元件、作為包括顯示元件的裝置的顯示裝置、發光元件以及作為包括發光元件的裝置的發光裝置可以採用各種方式或者包括各種元件。顯示元件、顯示裝置、發光元件或發光裝置例如包 括EL元件(包含有機物及無機物的EL元件、有機EL元件、無機EL元件)、LED(白色LED、紅色LED、綠色LED或藍色LED等)、電晶體(根據電流而發光的電晶體)、電子發射元件、液晶元件、電子墨水、電泳元件、柵光閥(GLV)、電漿顯示器(PDP)、使用微機電系統(MEMS)的顯示元件、數位微鏡裝置(DMD)、數位微快門(DMS)、IMOD(干涉測量調節)元件、快門方式的MEMS顯示元件、光干涉方式的MEMS顯示元件、電潤濕(electrowetting)元件、壓電陶瓷顯示器或使用碳奈米管的顯示元件等中的至少一個。除此以外,還可以包括其對比度、亮度、反射率、透射率等因電或磁作用而變化的顯示媒體。 For example, in this specification and the like, the display element, the display device as a device including the display element, the light-emitting element, and the light-emitting device as the device including the light-emitting element may adopt various forms or include various elements. Display element, display device, light emitting element or light emitting device such as a package Including EL elements (EL elements including organic and inorganic substances, organic EL elements, inorganic EL elements), LEDs (white LEDs, red LEDs, green LEDs, blue LEDs, etc.), transistors (transistors that emit light according to current), Electron emission element, liquid crystal element, electronic ink, electrophoresis element, grid light valve (GLV), plasma display (PDP), display element using microelectromechanical system (MEMS), digital micromirror device (DMD), digital microshutter ( DMS), IMOD (interferometric adjustment) elements, shutter-type MEMS display elements, optical interference-type MEMS display elements, electrowetting elements, piezoelectric ceramic displays, or display elements using carbon nanotubes, etc. at least one. In addition, it may include a display medium whose contrast, brightness, reflectance, transmittance, etc. change due to electric or magnetic action.

作為使用EL元件的顯示裝置的一個例子,有EL顯示器等。作為使用電子發射元件的顯示裝置的一個例子,有場致發射顯示器(FED)或SED方式平面型顯示器(SED:Surface-conduction Electron-emitter Display:表面傳導電子發射顯示器)等。作為使用液晶元件的顯示裝置的一個例子,有液晶顯示器(透射式液晶顯示器、半透射式液晶顯示器、反射式液晶顯示器、直觀式液晶顯示器、投射式液晶顯示器)等。作為使用電子墨水、電子粉流體(日本的註冊商標)或電泳元件的顯示裝置的一個例子,有電子紙等。注意,當實現半透射型液晶顯示器或反射式液晶顯示器時,使像素電極的一部分或全部具有作為反射電極的功能即可。例如,使像素電極的一部分或全部包含鋁、銀等即可。並且,此時也可以將SRAM等記憶體電路設置在反射電極下。由此,可以進一步降低功耗。 As an example of a display device using EL elements, there is an EL display or the like. As an example of a display device using an electron emission element, there is a field emission display (FED) or an SED system flat display (SED: Surface-conduction Electron-emitter Display). As an example of a display device using a liquid crystal element, there is a liquid crystal display (transmissive liquid crystal display, semi-transmissive liquid crystal display, reflective liquid crystal display, intuitive liquid crystal display, projection liquid crystal display), or the like. As an example of a display device using electronic ink, electronic powder fluid (registered trademark of Japan), or an electrophoretic element, there is electronic paper. Note that when a transflective liquid crystal display or a reflective liquid crystal display is implemented, it is sufficient to make part or all of the pixel electrodes function as reflective electrodes. For example, part or all of the pixel electrode may contain aluminum, silver, or the like. Also, at this time, a memory circuit such as SRAM may be provided under the reflective electrode. Thus, power consumption can be further reduced.

注意,當使用LED時,也可以在LED的電極或氮化物半導體下配置石墨烯或石墨。石墨烯或石墨也可以為層疊有多個層的多層膜。如此,藉由設置石墨烯或石墨,可以更容易地在其上形成氮化物半導體,如具有結晶的n型GaN半導體等。並且,在其上設置具有結晶的p型GaN半導體等,能夠構成LED。此外,也可以在石墨烯或石墨與具有晶體的n型GaN半導體之間設置AlN層。可以利用MOCVD形成LED所包括的GaN半導體。注意,當設置石墨烯時,可以以濺射法形成LED所包括的GaN半導體。 Note that when an LED is used, graphene or graphite may also be arranged under the electrode or nitride semiconductor of the LED. Graphene or graphite may be a multilayer film in which multiple layers are stacked. In this way, by providing graphene or graphite, a nitride semiconductor, such as an n-type GaN semiconductor with crystals, can be more easily formed thereon. Furthermore, a p-type GaN semiconductor having crystals or the like is provided thereon, and an LED can be constructed. In addition, an AlN layer may be provided between graphene or graphite and an n-type GaN semiconductor having crystals. The GaN semiconductor included in the LED can be formed by MOCVD. Note that when graphene is provided, the GaN semiconductor included in the LED can be formed by a sputtering method.

實施方式8 Embodiment 8

在本實施方式中,參照圖31說明包括上述實施方式例示的電晶體或記憶體裝置的RF標籤。 In this embodiment, an RF tag including the transistor or the memory device exemplified in the above embodiment will be described with reference to FIG. 31.

根據本實施方式的RF標籤在其內部包括記憶體電路,在該記憶體電路中儲存所需要的資料,並使用非接觸單元諸如無線通訊向外部發送資料和/或從外部接受資料。由於具有這種特徵,RF標籤可以被用於藉由讀取物品等的個體資訊來識別物品的個體識別系統等。注意,這些用途要求極高的可靠性。 The RF tag according to the present embodiment includes a memory circuit therein, stores required data in the memory circuit, and uses a non-contact unit such as wireless communication to send data to and/or receive data from the outside. With such characteristics, the RF tag can be used for an individual identification system for identifying an article by reading the individual information of the article and the like. Note that these uses require extremely high reliability.

參照圖31說明RF標籤的結構。圖31是示出RF標籤的結構例子的塊圖。 The structure of the RF tag will be described with reference to FIG. 31. FIG. 31 is a block diagram showing an example of the structure of an RF tag.

如圖31所示,RF標籤800包括接收從與通信器801(也稱為詢問器、 讀取器/寫入器等)連接的天線802發送的無線信號803的天線804。RF標籤800還包括整流電路805、恆壓電路806、解調變電路807、調變電路808、邏輯電路809、記憶體電路810、ROM811。另外,在包括在解調變電路807中的具有整流作用的電晶體中,也可以使用充分地抑制反向電流的材料,諸如氧化物半導體。由此,可以抑制起因於反向電流的整流作用的降低並防止解調變電路的輸出飽和,也就是說,可以使解調變電路的輸入和解調變電路的輸出之間的關係靠近於線性關係。注意,資料傳輸方法大致分成如下三種方法:將一對線圈相對地設置並利用互感進行通信的電磁耦合方法;利用感應場進行通信的電磁感應方法;以及利用電波進行通信的電波方法。在本實施方式所示的RF標籤800中可以使用上述任何方法。 As shown in FIG. 31, the RF tag 800 includes a receiving slave communicator 801 (also called an interrogator, Reader/writer, etc.) the antenna 804 of the wireless signal 803 sent by the connected antenna 802. The RF tag 800 further includes a rectifier circuit 805, a constant voltage circuit 806, a demodulation circuit 807, a modulation circuit 808, a logic circuit 809, a memory circuit 810, and a ROM 811. In addition, in a transistor having a rectifying effect included in the demodulation circuit 807, a material that sufficiently suppresses reverse current, such as an oxide semiconductor, can also be used. Thereby, it is possible to suppress the reduction of the rectification effect due to the reverse current and prevent the output of the demodulation circuit from being saturated, that is, the relationship between the input of the demodulation circuit and the output of the demodulation circuit can be prevented Close to linear relationship. Note that the data transmission method is roughly divided into the following three methods: an electromagnetic coupling method in which a pair of coils are relatively arranged and communicate using mutual inductance; an electromagnetic induction method in which an induction field is used for communication; and an electromagnetic wave method in which electric waves are used for communication. Any of the above methods can be used in the RF tag 800 shown in this embodiment.

接著,說明各電路的結構。天線804與連接於通信器801的天線802之間進行無線信號803的發送及接受。在整流電路805中,對藉由由天線804接收無線信號來生成的輸入交流信號進行整流,例如進行半波倍壓整流,並由設置在後級的電容元件使被整流的信號平滑化,由此生成輸入電位。另外,整流電路805的輸入一側或輸出一側也可以設置限制器電路。限制器電路是在輸入交流信號的振幅大且內部生成電壓大時進行控制以不使一定以上的電力輸入到後級的電路中的電路。 Next, the structure of each circuit will be described. The antenna 804 transmits and receives the wireless signal 803 between the antenna 802 connected to the communicator 801. In the rectifier circuit 805, the input AC signal generated by receiving the wireless signal from the antenna 804 is rectified, for example, by half-wave voltage doubler rectification, and the rectified signal is smoothed by the capacitor element provided in the rear stage, by This generates the input potential. In addition, a limiter circuit may be provided on the input side or output side of the rectifier circuit 805. The limiter circuit is a circuit that controls when the amplitude of the input AC signal is large and the internally generated voltage is large so that no more than a certain amount of power is input to the circuit of the subsequent stage.

恆壓電路806是由輸入電位生成穩定的電源電壓而供應到各電路的電路。恆壓電路806也可以在其內部包括重設信號產生電路。重設信號產生電路是利用穩定的電源電壓的上升而生成邏輯電路809的重設信號的電路。 The constant voltage circuit 806 is a circuit that generates a stable power supply voltage from the input potential and supplies it to each circuit. The constant voltage circuit 806 may include a reset signal generating circuit inside. The reset signal generation circuit is a circuit that generates a reset signal of the logic circuit 809 by using a stable rise of the power supply voltage.

解調變電路807是藉由包封檢測對輸入交流信號進行解調並生成解調信號的電路。此外,調變電路808是根據從天線804輸出的資料進行調變的電路。 The demodulation circuit 807 is a circuit that demodulates the input AC signal by envelope detection and generates a demodulated signal. In addition, the modulation circuit 808 is a circuit that performs modulation based on the data output from the antenna 804.

邏輯電路809是分析解調信號並進行處理的電路。記憶體電路810是保持被輸入的資料的電路,並包括行解碼器、列解碼器、存儲區域等。此外,ROM811是保持識別號碼(ID)等並根據處理進行輸出的電路。 The logic circuit 809 is a circuit that analyzes and processes the demodulated signal. The memory circuit 810 is a circuit that holds input data, and includes a row decoder, a column decoder, a storage area, and the like. In addition, the ROM 811 is a circuit that holds an identification number (ID) and the like and outputs according to processing.

注意,根據需要可以適當地設置上述各電路。 Note that the above circuits can be appropriately set as required.

在此,可以將上述實施方式所示的記憶體電路用於記憶體電路810。因為本發明的一個實施方式的記憶體電路即使在關閉電源的狀態下也可以保持資料,所以適用於RF標籤。再者,因為本發明的一個實施方式的記憶體電路的資料寫入所需要的電力(電壓)比習知的非揮發性記憶體低得多,所以也可以不產生資料讀出時和寫入時的最大通信距離的差異。再者,本發明的一個實施方式的記憶體電路可以抑制由於資料寫入時的電力不足引起誤動作或誤寫入的情況。 Here, the memory circuit shown in the above embodiment can be used for the memory circuit 810. Since the memory circuit according to an embodiment of the present invention can hold data even when the power is turned off, it is suitable for RF tags. Furthermore, since the power (voltage) required for data writing in the memory circuit according to an embodiment of the present invention is much lower than that of the conventional non-volatile memory, there is no need to generate data during reading and writing. The difference in the maximum communication distance at the time. Furthermore, the memory circuit according to an embodiment of the present invention can suppress malfunctions or erroneous writes due to insufficient power during data writing.

此外,因為本發明的一個實施方式的記憶體電路可以用作非揮發性記憶體,所以還可以應用於ROM811。在此情況下,較佳為生產者另外準備用來對ROM811寫入資料的指令防止使用者自由地重寫。由於生產者在預先 寫入識別號碼後出貨,可以僅使出貨的良品具有識別號碼而不使所製造的所有RF標籤具有識別號碼,由此不會發生出貨後的產品的識別號碼不連續的情況而可以更容易地根據出貨後的產品進行顧客管理。 In addition, since the memory circuit of one embodiment of the present invention can be used as a non-volatile memory, it can also be applied to ROM811. In this case, it is preferable that the producer additionally prepare instructions for writing data to the ROM 811 to prevent the user from freely rewriting. Because the producer is in advance After the identification number is written and shipped, it is possible to make the shipped good product have the identification number without making all the RF tags manufactured have the identification number, so that the identification number of the product after shipment will not be discontinuous. It is easier to manage customers based on the products shipped.

本實施方式的至少一部分可以與本說明書所記載的其他實施方式適當地組合而實施。 At least a part of this embodiment can be implemented in appropriate combination with other embodiments described in this specification.

實施方式9 Embodiment 9

在本實施方式中,至少可以使用在上述實施方式中說明的電晶體,對包括上述實施方式所說明的記憶體裝置的CPU進行說明。 In this embodiment, at least the transistor described in the above embodiment can be used to describe the CPU including the memory device described in the above embodiment.

圖32是示出其至少一部分使用上述實施方式所說明的電晶體的CPU的一個例子的結構的方塊圖。 32 is a block diagram showing an example of the structure of a CPU using at least a part of the transistor described in the above embodiment.

圖32所示的CPU在基板1190上具有:ALU1191(ALU:Arithmetic logic unit:算術電路)、ALU控制器1192、指令解碼器1193、中斷控制器1194、時序控制器1195、暫存器1196、暫存器控制器1197、匯流排介面1198(Bus I/F)、能夠重寫的ROM1199以及ROM介面1189(ROM I/F)。作為基板1190使用半導體基板、SOI基板、玻璃基板等。ROM1199及ROM介面1189也可以設置在不同的晶片上。當然,圖32所示的CPU只不過是簡化其結構而所示的一個例子,所以實際上的CPU根據其用途具有各種各樣的結構。例如,也可以以包括圖32所示的CPU或算術電路的結構為核心,設置多個該 核心並使其同時工作。另外,在CPU的內部算術電路或資料匯流排中能夠處理的位元數例如可以為8位、16位、32位、64位等。 The CPU shown in FIG. 32 includes on the substrate 1190: ALU1191 (ALU: Arithmetic logic unit: arithmetic circuit), ALU controller 1192, instruction decoder 1193, interrupt controller 1194, timing controller 1195, register 1196, temporary A memory controller 1197, a bus interface 1198 (Bus I/F), a rewritable ROM 1199, and a ROM interface 1189 (ROM I/F). As the substrate 1190, a semiconductor substrate, an SOI substrate, a glass substrate, or the like is used. The ROM 1199 and the ROM interface 1189 can also be provided on different chips. Of course, the CPU shown in FIG. 32 is just an example shown to simplify its structure, so the actual CPU has various structures according to its use. For example, it is also possible to provide a plurality of Core and make it work at the same time. In addition, the number of bits that can be processed in the internal arithmetic circuit of the CPU or the data bus may be, for example, 8-bit, 16-bit, 32-bit, 64-bit, or the like.

藉由匯流排介面1198輸入到CPU的指令在輸入到指令解碼器1193並被解碼之後,輸入到ALU控制器1192、中斷控制器1194、暫存器控制器1197、時序控制器1195。 Commands input to the CPU through the bus interface 1198 are input to the instruction decoder 1193 and decoded, and then input to the ALU controller 1192, interrupt controller 1194, register controller 1197, and timing controller 1195.

ALU控制器1192、中斷控制器1194、暫存器控制器1197、時序控制器1195根據被解碼的指令進行各種控制。明確而言,ALU控制器1192生成用來控制ALU1191的工作的信號。另外,中斷控制器1194在執行CPU的程式時,根據其優先度或遮罩的狀態來判斷來自外部的輸入/輸出裝置或週邊電路的中斷要求而對該要求進行處理。暫存器控制器1197生成暫存器1196的位址,並對應於CPU的狀態來進行暫存器1196的讀出或寫入。 The ALU controller 1192, interrupt controller 1194, register controller 1197, and timing controller 1195 perform various controls according to the decoded instructions. Specifically, the ALU controller 1192 generates signals for controlling the operation of the ALU1191. In addition, when executing the CPU program, the interrupt controller 1194 determines the interrupt request from the external input/output device or the peripheral circuit based on its priority or the state of the mask, and processes the request. The register controller 1197 generates the address of the register 1196, and reads or writes the register 1196 according to the state of the CPU.

另外,時序控制器1195生成用來控制ALU1191、ALU控制器1192、指令解碼器1193、中斷控制器1194以及暫存器控制器1197的工作時序的信號。例如,時序控制器1195具有根據基準時脈信號來生成內部時脈信號的內部時脈生成器,並將內部時脈信號供應到上述各種電路。 In addition, the timing controller 1195 generates signals for controlling the operation timing of the ALU 1191, ALU controller 1192, instruction decoder 1193, interrupt controller 1194, and register controller 1197. For example, the timing controller 1195 has an internal clock generator that generates an internal clock signal based on the reference clock signal, and supplies the internal clock signal to the various circuits described above.

在圖32所示的CPU中,在暫存器1196中設置有記憶單元。作為暫存器1196的記憶單元,可以使用上述實施方式所示的電晶體。 In the CPU shown in FIG. 32, a memory unit is provided in the register 1196. As the memory unit of the temporary memory 1196, the transistor shown in the above embodiment can be used.

在圖32所示的CPU中,暫存器控制器1197根據ALU1191的指令進行暫存器1196中的保持工作的選擇。換言之,暫存器控制器1197選擇在暫存器1196所具有的記憶單元中由正反器保持資料還是由電容元件保持資料。在選擇由正反器保持資料的情況下,對暫存器1196中的記憶單元供應電源電壓。在選擇由電容元件保持資料的情況下,對電容元件進行資料的重寫,而可以停止對暫存器1196中的記憶單元供應電源電壓。 In the CPU shown in FIG. 32, the scratchpad controller 1197 selects the holding operation in the scratchpad 1196 according to the instruction of the ALU1191. In other words, the register controller 1197 selects whether the data is held by the flip-flop or the capacitor in the memory unit of the register 1196. In the case of selecting the data held by the flip-flop, the power supply voltage is supplied to the memory unit in the register 1196. In the case where data is selected to be held by the capacitive element, the data is rewritten to the capacitive element, and the power supply voltage to the memory unit in the temporary memory 1196 can be stopped.

圖33是可以用作暫存器1196的記憶體電路的電路圖的一個例子。記憶體電路1200包括當電源關閉時丟失存儲資料的電路1201、當電源關閉時不丟失存儲資料的電路1202、開關1203、開關1204、邏輯元件1206、電容元件1207以及具有選擇功能的電路1220。電路1202包括電容元件1208、電晶體1209及電晶體1210。另外,根據需要,記憶體電路1200還可以包括其他元件諸如二極體、電阻元件或電感器等。 FIG. 33 is an example of a circuit diagram of a memory circuit that can be used as the register 1196. The memory circuit 1200 includes a circuit 1201 that loses stored data when the power is turned off, a circuit 1202 that does not lose stored data when the power is turned off, a switch 1203, a switch 1204, a logic element 1206, a capacitance element 1207, and a circuit 1220 with a selection function. The circuit 1202 includes a capacitive element 1208, a transistor 1209, and a transistor 1210. In addition, the memory circuit 1200 may include other elements such as diodes, resistive elements, or inductors as needed.

在此,電路1202可以使用上述實施方式所說明的記憶體裝置。在停止對記憶體電路1200供應電源電壓時,地電位(0V)或使電晶體1209關閉的電位連續輸入到電路1202中的電晶體1209的閘極。例如,電晶體1209的閘極藉由電阻器等負載接地。 Here, the circuit 1202 may use the memory device described in the above embodiment. When the power supply voltage to the memory circuit 1200 is stopped, the ground potential (0 V) or the potential to turn off the transistor 1209 is continuously input to the gate of the transistor 1209 in the circuit 1202. For example, the gate of the transistor 1209 is grounded by a load such as a resistor.

在此示出開關1203為具有一導電型(例如,n通道)的電晶體1213,而開關1204為具有與此相反的導電型(例如,p通道)的電晶體1214的例子。這裡,開關1203的第一端子對應於電晶體1213的源極和汲極中的一個, 開關1203的第二端子對應於電晶體1213的源極和汲極中的另一個,並且開關1203的第一端子與第二端子之間的導通或非導通(亦即,電晶體1213的導通狀態或關閉狀態)由輸入到電晶體1213的閘極中的控制信號RD選擇。開關1204的第一端子對應於電晶體1214的源極和汲極中的一個,開關1204的第二端子對應於電晶體1214的源極和汲極中的另一個,並且開關1204的第一端子與第二端子之間的導通或非導通(亦即,電晶體1214的導通狀態或關閉狀態)由輸入到電晶體1214的閘極中的控制信號RD選擇。 Here, the switch 1203 is an example of a transistor 1213 having a conductivity type (for example, n-channel), and the switch 1204 is an example of a transistor 1214 having an opposite conductivity type (for example, p-channel). Here, the first terminal of the switch 1203 corresponds to one of the source and the drain of the transistor 1213, The second terminal of the switch 1203 corresponds to the other of the source and the drain of the transistor 1213, and the conduction or non-conduction between the first terminal and the second terminal of the switch 1203 (ie, the conduction state of the transistor 1213 (Or off state) is selected by the control signal RD input into the gate of the transistor 1213. The first terminal of the switch 1204 corresponds to one of the source and the drain of the transistor 1214, the second terminal of the switch 1204 corresponds to the other of the source and the drain of the transistor 1214, and the first terminal of the switch 1204 The conduction or non-conduction with the second terminal (that is, the conduction state or the off state of the transistor 1214) is selected by the control signal RD input into the gate of the transistor 1214.

電晶體1209的源極和汲極中的一個電連接到電容元件1208的一對電極中的一個及電晶體1210的閘極。在此,將連接部分稱為節點M2。電晶體1210的源極和汲極中的一個電連接到能夠供應低電源電位的佈線(例如,GND線),而另一個電連接到開關1203的第一端子(電晶體1213的源極和汲極中的一個)。開關1203的第二端子(電晶體1213的源極和汲極中的另一個)電連接到開關1204的第一端子(電晶體1214的源極和汲極中的一個)。開關1204的第二端子(電晶體1214的源極和汲極中的另一個)電連接到能夠供應電源電位VDD的佈線。開關1203的第二端子(電晶體1213的源極和汲極中的另一個)、開關1204的第一端子(電晶體1214的源極和汲極中的一個)、邏輯元件1206的輸入端子和電容元件1207的一對電極中的一個是電連接著的。在此,將連接部分稱為節點M1。可以對電容元件1207的一對電極中的另一個輸入固定電位。例如,可以對其輸入低電源電位(GND等)或高電源電位(VDD等)。電容元件1207的一對電極中的另一個電連接到能夠供應低電源電位的佈線(例如,GND線)。可以採用對電容 元件1208的一對電極中的另一個輸入固定電位的結構。例如,可以對其輸入低電源電位(GND等)或高電源電位(VDD等)。電容元件1208的一對電極中的另一個電連接到能夠供應低電源電位的佈線(例如,GND線)。 One of the source and the drain of the transistor 1209 is electrically connected to one of the pair of electrodes of the capacitive element 1208 and the gate of the transistor 1210. Here, the connection part is called a node M2. One of the source and the drain of the transistor 1210 is electrically connected to the wiring capable of supplying a low power supply potential (for example, a GND line), and the other is electrically connected to the first terminal of the switch 1203 (the source and the drain of the transistor 1213 One of the poles). The second terminal of the switch 1203 (the other of the source and the drain of the transistor 1213) is electrically connected to the first terminal of the switch 1204 (one of the source and the drain of the transistor 1214). The second terminal of the switch 1204 (the other of the source and the drain of the transistor 1214) is electrically connected to the wiring capable of supplying the power supply potential VDD. The second terminal of the switch 1203 (the other of the source and the drain of the transistor 1213), the first terminal of the switch 1204 (one of the source and the drain of the transistor 1214), the input terminal of the logic element 1206, and One of the pair of electrodes of the capacitive element 1207 is electrically connected. Here, the connection part is called a node M1. A fixed potential can be input to the other of the pair of electrodes of the capacitive element 1207. For example, a low power supply potential (GND, etc.) or a high power supply potential (VDD, etc.) may be input thereto. The other one of the pair of electrodes of the capacitive element 1207 is electrically connected to a wiring capable of supplying a low power supply potential (for example, a GND line). Capacitance can be used The other of the pair of electrodes of the element 1208 inputs a structure of fixed potential. For example, a low power supply potential (GND, etc.) or a high power supply potential (VDD, etc.) may be input thereto. The other one of the pair of electrodes of the capacitive element 1208 is electrically connected to a wiring capable of supplying a low power source potential (for example, a GND line).

另外,當積極地利用電晶體或佈線的寄生電容等時,可以不設置電容元件1207及電容元件1208。 In addition, when the parasitic capacitance of transistors or wiring is actively used, the capacitive element 1207 and the capacitive element 1208 may not be provided.

控制信號WE輸入到電晶體1209的第一閘極(第一閘極電極)。開關1203及開關1204的第一端子與第二端子之間的導通狀態或非導通狀態由與控制信號WE不同的控制信號RD選擇,當一個開關的第一端子與第二端子之間處於導通狀態時,另一個開關的第一端子與第二端子之間處於非導通狀態。 The control signal WE is input to the first gate (first gate electrode) of the transistor 1209. The conduction state or non-conduction state between the first terminal and the second terminal of the switch 1203 and the switch 1204 is selected by the control signal RD different from the control signal WE, when the first terminal and the second terminal of a switch are in the conductive state At this time, the first terminal and the second terminal of the other switch are in a non-conducting state.

對應於保持在電路1201中的資料的信號被輸入到電晶體1209的源極和汲極中的另一個。圖33示出從電路1201輸出的信號輸入到電晶體1209的源極和汲極中的另一個的例子。由邏輯元件1206使從開關1203的第二端子(電晶體1213的源極和汲極中的另一個)輸出的信號的邏輯值反轉而成為反轉信號,將其經由電路1220輸入到電路1201。 The signal corresponding to the data held in the circuit 1201 is input to the other of the source and the drain of the transistor 1209. FIG. 33 shows another example in which the signal output from the circuit 1201 is input to the source and the drain of the transistor 1209. The logic element 1206 inverts the logic value of the signal output from the second terminal of the switch 1203 (the other of the source and the drain of the transistor 1213) to become an inverted signal, which is input to the circuit 1201 via the circuit 1220 .

另外,雖然圖33示出從開關1203的第二端子(電晶體1213的源極和汲極中的另一個)輸出的信號藉由邏輯元件1206及電路1220輸入到電路1201的例子,但是不侷限於此。也可以不使從開關1203的第二端子(電晶 體1213的源極和汲極中的另一個)輸出的信號的邏輯值反轉而輸入到電路1201。例如,當在電路1201內存在其中保持使從輸入端子輸入的信號的邏輯值反轉的信號的節點時,可以將從開關1203的第二端子(電晶體1213的源極和汲極中的另一個)輸出的信號輸入到該節點。 In addition, although FIG. 33 shows an example in which the signal output from the second terminal of the switch 1203 (the other of the source and the drain of the transistor 1213) is input to the circuit 1201 through the logic element 1206 and the circuit 1220, it is not limited to Here. The second terminal of the slave switch 1203 (transistor The logic value of the output signal of the other of the source and the drain of the body 1213 is inverted and input to the circuit 1201. For example, when there is a node in the circuit 1201 in which the signal inverting the logical value of the signal input from the input terminal is held, the second terminal of the switch 1203 (the other of the source and the drain of the transistor 1213 may be A) The output signal is input to this node.

在圖33所示的用於記憶體電路1200的電晶體中,電晶體1209以外的電晶體也可以使用其通道形成在由氧化物半導體以外的半導體構成的層或基板1190中的電晶體。例如,可以使用其通道形成在矽層或矽基板中的電晶體。此外,也可以作為用於記憶體電路1200的所有電晶體使用其通道由氧化物半導體形成的電晶體。或者,記憶體電路1200除了電晶體1209以外還可以包括其通道由氧化物半導體形成的電晶體,並且作為剩下的電晶體可以使用其通道形成在由氧化物半導體以外的半導體構成的層或基板1190中的電晶體。 In the transistor used for the memory circuit 1200 shown in FIG. 33, a transistor other than the transistor 1209 may use a transistor whose channel is formed in a layer composed of a semiconductor other than an oxide semiconductor or the substrate 1190. For example, transistors whose channels are formed in a silicon layer or a silicon substrate can be used. In addition, a transistor whose channel is formed of an oxide semiconductor may be used as all transistors used in the memory circuit 1200. Alternatively, the memory circuit 1200 may include a transistor whose channel is formed of an oxide semiconductor in addition to the transistor 1209, and the remaining transistor may be formed using a channel formed on a layer or substrate made of a semiconductor other than an oxide semiconductor The transistor in 1190.

圖33所示的電路1201例如可以使用正反器電路。另外,作為邏輯元件1206例如可以使用反相器或時脈反相器等。 For the circuit 1201 shown in FIG. 33, for example, a flip-flop circuit can be used. In addition, as the logic element 1206, for example, an inverter, a clock inverter, or the like can be used.

在本發明的一個實施方式的半導體裝置中,在不向記憶體電路1200供應電源電壓的期間,可以由設置在電路1202中的電容元件1208保持儲存在電路1201中的資料。 In the semiconductor device according to an embodiment of the present invention, while the power supply voltage is not being supplied to the memory circuit 1200, the data stored in the circuit 1201 can be held by the capacitive element 1208 provided in the circuit 1202.

另外,其通道形成在氧化物半導體中的電晶體的關態電流極小。例如, 其通道形成在氧化物半導體膜中的電晶體的關態電流比其通道形成在具有結晶性的矽中的電晶體的關態電流小得多。因此,藉由將該電晶體用作電晶體1209,即使在不向記憶體電路1200供應電源電壓的期間也可以長期間地儲存電容元件1208所保持的信號。因此,記憶體電路1200在停止供應電源電壓的期間也可以保持存儲內容(資料)。 In addition, the off-state current of the transistor whose channel is formed in the oxide semiconductor is extremely small. E.g, The off-state current of the transistor whose channel is formed in the oxide semiconductor film is much smaller than the off-state current of the transistor whose channel is formed in silicon having crystallinity. Therefore, by using the transistor as the transistor 1209, the signal held by the capacitive element 1208 can be stored for a long period of time even when the power supply voltage is not supplied to the memory circuit 1200. Therefore, the memory circuit 1200 can keep the stored content (data) even when the power supply voltage is stopped.

另外,由於該記憶體電路是藉由設置開關1203及開關1204進行預充電工作的記憶體電路,因此它可以縮短直到在再次開始供應電源電壓之後電路1201再次保持原來的資料為止的時間。 In addition, since the memory circuit is a memory circuit that performs a precharge operation by setting the switch 1203 and the switch 1204, it can shorten the time until the circuit 1201 retains the original data again after the power supply voltage is restarted.

另外,在電路1202中,由電容元件1208保持的信號被輸入到電晶體1210的閘極。因此,在再次開始向記憶體電路1200供應電源電壓之後,可以將由電容元件1208保持的信號轉換為電晶體1210的狀態(導通狀態或關閉狀態),並從電路1202讀出。因此,即使對應於保持在電容元件1208中的信號的電位有些變動,也可以準確地讀出原來的信號。 In addition, in the circuit 1202, the signal held by the capacitive element 1208 is input to the gate of the transistor 1210. Therefore, after starting to supply the power supply voltage to the memory circuit 1200 again, the signal held by the capacitive element 1208 can be converted into the state of the transistor 1210 (on state or off state), and read from the circuit 1202. Therefore, even if the potential corresponding to the signal held in the capacitive element 1208 fluctuates slightly, the original signal can be accurately read.

藉由將這種記憶體電路1200用於處理器所具有的暫存器或快取記憶體等記憶體裝置,可以防止記憶體裝置內的資料因停止電源電壓的供應而消失。另外,可以在再次開始供應電源電壓之後在短時間內恢復到停止供應電源之前的狀態。因此,在處理器整體或構成處理器的一個或多個邏輯電路中在短時間內也可以停止電源,從而可以抑制功耗。 By using such a memory circuit 1200 for a memory device such as a temporary memory or a cache memory provided by a processor, data in the memory device can be prevented from disappearing due to the stop of the supply of the power supply voltage. In addition, it is possible to return to the state before stopping the power supply in a short time after the power supply voltage is restarted. Therefore, the power supply can be stopped in a short time in the entire processor or in one or more logic circuits constituting the processor, so that power consumption can be suppressed.

雖然在本實施方式中對將記憶體電路1200用於CPU的例子進行說明,但是也可以將記憶體電路1200應用於LSI諸如DSP(Digital Signal Processor:數位信號處理器)、定製LSI、PLD(Programmable Logic Device:可程式邏輯裝置)等或RF標籤。 Although the example of using the memory circuit 1200 for the CPU is described in this embodiment, the memory circuit 1200 may be applied to LSI such as DSP (Digital Signal Processor), custom LSI, PLD ( Programmable Logic Device: Programmable Logic Device, etc. or RF tag.

本實施方式的至少一部分可以與本說明書所記載的其他實施方式適當地組合而實施。 At least a part of this embodiment can be implemented in appropriate combination with other embodiments described in this specification.

實施方式10 Embodiment 10

在本實施方式中,對本發明的一個實施方式的顯示面板的結構例子進行說明。 In this embodiment, a configuration example of a display panel according to an embodiment of the present invention will be described.

[結構例子] [Structure example]

圖34A是本發明的一個實施方式的顯示面板的俯視圖,圖34B是用來說明在將液晶元件用於本發明的一個實施方式的顯示面板的像素時可以使用的像素電路的電路圖。另外,圖34C是用來說明在將有機EL元件用於本發明的一個實施方式的顯示面板的像素時可以使用的像素電路的電路圖。 34A is a plan view of a display panel according to an embodiment of the present invention, and FIG. 34B is a circuit diagram for explaining a pixel circuit that can be used when a liquid crystal element is used for pixels of a display panel according to an embodiment of the present invention. In addition, FIG. 34C is a circuit diagram for explaining a pixel circuit that can be used when an organic EL element is used for a pixel of a display panel according to an embodiment of the present invention.

可以根據上述實施方式形成配置在像素部中的電晶體。此外,因為該電晶體容易形成為n通道電晶體,所以將驅動電路中的可以由n通道電晶體構成的驅動電路的一部分與像素部的電晶體形成在同一基板上。如上所述,藉由將上述實施方式所示的電晶體用於像素部或驅動電路,可以提供 可靠性高的顯示裝置。 The transistor arranged in the pixel portion can be formed according to the above-described embodiment. In addition, since the transistor is easily formed as an n-channel transistor, a part of the drive circuit that can be composed of an n-channel transistor in the drive circuit is formed on the same substrate as the transistor of the pixel portion. As described above, by using the transistor shown in the above embodiment for the pixel portion or the driving circuit, it is possible to provide Highly reliable display device.

圖34A示出主動矩陣型顯示裝置的塊圖的一個例子。在顯示裝置的基板400上包括:像素部401;第一掃描線驅動電路402;第二掃描線驅動電路403;以及信號線驅動電路404。在像素部401中配置有從信號線驅動電路404延伸的多個信號線以及從第一掃描線驅動電路402及第二掃描線驅動電路403延伸的多個掃描線。此外,在掃描線與信號線的交叉區域中以矩陣狀設置有分別具有顯示元件的像素。另外,顯示裝置的基板400藉由FPC(Flexible Printed Circuit:撓性印刷電路)等的連接部連接到時序控制電路(也稱為控制器、控制IC)。 FIG. 34A shows an example of a block diagram of an active matrix display device. The substrate 400 of the display device includes: a pixel portion 401; a first scan line drive circuit 402; a second scan line drive circuit 403; and a signal line drive circuit 404. In the pixel portion 401, a plurality of signal lines extending from the signal line drive circuit 404 and a plurality of scan lines extending from the first scan line drive circuit 402 and the second scan line drive circuit 403 are arranged. In addition, pixels each having a display element are provided in a matrix in a cross region of the scanning line and the signal line. In addition, the substrate 400 of the display device is connected to a timing control circuit (also referred to as a controller or a control IC) via a connection portion such as FPC (Flexible Printed Circuit).

在圖34A中,與像素部401在同一基板400上形成第一掃描線驅動電路402、第二掃描線驅動電路403、信號線驅動電路404。由此,設置在外部的驅動電路等的構件的數量減少,從而能夠實現成本的降低。另外,當在基板400的外部設置驅動電路時,需要使佈線延伸,且佈線之間的連接數量增加。當在基板400上設置驅動電路時,可以減少該佈線之間的連接數量,從而可以謀求提高可靠性或良率。 In FIG. 34A, the first scan line drive circuit 402, the second scan line drive circuit 403, and the signal line drive circuit 404 are formed on the same substrate 400 as the pixel portion 401. Thereby, the number of components such as a drive circuit provided outside is reduced, and the cost can be reduced. In addition, when the drive circuit is provided outside the substrate 400, the wiring needs to be extended, and the number of connections between the wiring increases. When a drive circuit is provided on the substrate 400, the number of connections between the wirings can be reduced, so that it is possible to improve reliability or yield.

[液晶顯示面板] [LCD panel]

另外,圖34B示出像素的電路結構的一個例子。在此,示出可以用於VA方式的液晶顯示面板的像素的像素電路。 In addition, FIG. 34B shows an example of the circuit configuration of the pixel. Here, a pixel circuit that can be used for pixels of a VA liquid crystal display panel is shown.

可以將該像素電路應用於一個像素具有多個像素電極的結構。各像素電極分別與不同的電晶體連接,以能夠藉由不同閘極信號驅動各電晶體。由此,可以獨立地控制施加到以多域設計的像素中的各像素電極的信號。 The pixel circuit can be applied to a structure in which one pixel has a plurality of pixel electrodes. Each pixel electrode is connected to a different transistor to enable each transistor to be driven by different gate signals. Thus, the signal applied to each pixel electrode in the pixel designed in a multi-domain can be independently controlled.

電晶體416的閘極佈線412和電晶體417的閘極佈線413彼此分離,以便能夠被提供不同的閘極信號。另一方面,電晶體416和電晶體417共同使用用作資料線的源極電極或汲極電極414。作為電晶體416及電晶體417,可以適當地利用上述實施方式所示的電晶體。由此可以提供可靠性高的液晶顯示面板。 The gate wiring 412 of the transistor 416 and the gate wiring 413 of the transistor 417 are separated from each other so that different gate signals can be provided. On the other hand, the transistor 416 and the transistor 417 jointly use the source electrode or the drain electrode 414 serving as a data line. As the transistor 416 and the transistor 417, the transistor described in the above embodiment can be used as appropriate. Thus, a highly reliable liquid crystal display panel can be provided.

另外,電晶體416與第一像素電極電連接,並且電晶體417與第二像素電極電連接。第一像素電極與第二像素電極分離。注意,對第一像素電極及第二像素電極的形狀沒有特別的限制。例如,第一像素電極可以是V字狀。 In addition, the transistor 416 is electrically connected to the first pixel electrode, and the transistor 417 is electrically connected to the second pixel electrode. The first pixel electrode is separated from the second pixel electrode. Note that the shapes of the first pixel electrode and the second pixel electrode are not particularly limited. For example, the first pixel electrode may be V-shaped.

電晶體416的閘極電極連接到閘極佈線412,而電晶體417的閘極電極連接到閘極佈線413。藉由對閘極佈線412和閘極佈線413施加不同的閘極信號,可以使電晶體416及電晶體417的工作時序互不相同來控制液晶配向。 The gate electrode of the transistor 416 is connected to the gate wiring 412, and the gate electrode of the transistor 417 is connected to the gate wiring 413. By applying different gate signals to the gate wiring 412 and the gate wiring 413, the operation timing of the transistor 416 and the transistor 417 can be different from each other to control the liquid crystal alignment.

另外,也可以由電容佈線410、用作電介質的閘極絕緣體以及與第一像素電極層或第二像素電極層電連接的電容電極形成儲存電容器。 In addition, the storage capacitor may be formed by a capacitor wiring 410, a gate insulator serving as a dielectric, and a capacitor electrode electrically connected to the first pixel electrode layer or the second pixel electrode layer.

在多域結構中,在一個像素中設置有第一液晶元件418和第二液晶元件419。第一液晶元件418由第一像素電極、相對電極以及它們之間的液晶層構成,而第二液晶元件419由第二像素電極、相對電極以及它們之間的液晶層構成。 In the multi-domain structure, the first liquid crystal element 418 and the second liquid crystal element 419 are provided in one pixel. The first liquid crystal element 418 is composed of a first pixel electrode, a counter electrode and a liquid crystal layer therebetween, and the second liquid crystal element 419 is composed of a second pixel electrode, a counter electrode and a liquid crystal layer therebetween.

此外,圖34B所示的像素電路不侷限於此。例如,也可以在圖34B所示的像素電路中加上開關、電阻元件、電容元件、電晶體、感測器或邏輯電路等。 In addition, the pixel circuit shown in FIG. 34B is not limited to this. For example, a switch, a resistive element, a capacitive element, a transistor, a sensor, a logic circuit, or the like may be added to the pixel circuit shown in FIG. 34B.

[有機EL顯示面板] [Organic EL display panel]

圖34C示出像素的電路結構的其他例子。在此,示出使用有機EL元件的顯示面板的像素結構。 34C shows another example of the circuit configuration of the pixel. Here, the pixel structure of a display panel using an organic EL element is shown.

在有機EL元件中,藉由對發光元件施加電壓,電子和電洞從一對電極分別注入到包含發光有機化合物的層,而產生電流。然後,藉由使電子和電洞再結合,發光有機化合物達到激發態,並且當該激發態恢復到基態時,獲得發光。根據這種機制,該發光元件被稱為電流激發型發光元件。 In an organic EL element, by applying a voltage to a light-emitting element, electrons and holes are respectively injected from a pair of electrodes into a layer containing a light-emitting organic compound, and a current is generated. Then, by recombining electrons and holes, the light-emitting organic compound reaches an excited state, and when the excited state returns to the ground state, light emission is obtained. According to this mechanism, the light-emitting element is called a current-excitation light-emitting element.

圖34C是示出可以應用的像素電路的一個例子的圖。這裡示出在一個像素中使用兩個n通道電晶體的例子。另外,可以將本發明的一個實施方式的金屬氧化物膜用於n通道型電晶體的通道形成區域。另外,該像素電路可以採用數位時間灰階驅動。 34C is a diagram showing an example of a pixel circuit that can be applied. Here, an example of using two n-channel transistors in one pixel is shown. In addition, the metal oxide film according to one embodiment of the present invention can be used for the channel formation region of the n-channel transistor. In addition, the pixel circuit can be driven by digital time gray scale.

以下說明可以應用的像素電路的結構及採用數位時間灰階驅動時的像素的工作。 The structure of the applicable pixel circuit and the operation of the pixel when using digital time gray scale driving are described below.

像素420包括切換電晶體421、驅動電晶體422、發光元件424以及電容元件423。在切換電晶體421中,閘極電極與掃描線426連接,第一電極(源極電極和汲極電極中的一個)與信號線425連接,並且第二電極(源極電極和汲極電極中的另一個)與驅動電晶體422的閘極電極連接。在驅動電晶體422中,閘極電極藉由電容元件423與電源線427連接,第一電極與電源線427連接,第二電極與發光元件424的第一電極(像素電極)連接。發光元件424的第二電極相當於共用電極428。共用電極428與形成在同一基板上的共用電位線電連接。 The pixel 420 includes a switching transistor 421, a driving transistor 422, a light emitting element 424, and a capacitive element 423. In the switching transistor 421, the gate electrode is connected to the scan line 426, the first electrode (one of the source electrode and the drain electrode) is connected to the signal line 425, and the second electrode (of the source electrode and the drain electrode) The other) is connected to the gate electrode of the driving transistor 422. In the driving transistor 422, the gate electrode is connected to the power supply line 427 through the capacitive element 423, the first electrode is connected to the power supply line 427, and the second electrode is connected to the first electrode (pixel electrode) of the light emitting element 424. The second electrode of the light-emitting element 424 corresponds to the common electrode 428. The common electrode 428 is electrically connected to a common potential line formed on the same substrate.

作為切換電晶體421及驅動電晶體422,可以適當地利用上述實施方式所示的電晶體。由此可以提供可靠性高的有機EL顯示面板。 As the switching transistor 421 and the driving transistor 422, the transistor described in the above embodiment can be appropriately used. Thus, an organic EL display panel with high reliability can be provided.

將發光元件424的第二電極(共用電極428)的電位設定為低電源電位。注意,低電源電位是指低於供應到電源線427的高電源電位的電位,例如可以以GND、0V等為低電源電位。將高電源電位與低電源電位設定為發光元件424的正向臨界電壓以上,將其電位差施加到發光元件424上來使電流流過發光元件424,以使發光元件424發光。發光元件424的正向電壓是指獲得所希望的亮度時的電壓,至少包含正向臨界電壓。 The potential of the second electrode (common electrode 428) of the light-emitting element 424 is set to a low power supply potential. Note that the low power supply potential means a potential lower than the high power supply potential supplied to the power supply line 427, and for example, GND, 0V, or the like can be used as the low power supply potential. The high power supply potential and the low power supply potential are set to be higher than the forward critical voltage of the light emitting element 424, and the potential difference is applied to the light emitting element 424 to cause current to flow through the light emitting element 424 to cause the light emitting element 424 to emit light. The forward voltage of the light-emitting element 424 refers to a voltage at which desired brightness is obtained, and includes at least a forward critical voltage.

另外,還可以使用驅動電晶體422的閘極電容代替電容元件423而省略電容元件423。作為驅動用電晶體422的閘極電容,可以在通道形成區域與閘極電極之間形成電容。 In addition, the gate capacitance of the driving transistor 422 may be used instead of the capacitance element 423 and the capacitance element 423 may be omitted. As the gate capacitance of the driving transistor 422, a capacitance can be formed between the channel formation region and the gate electrode.

接著,說明輸入到驅動電晶體422的信號。當採用電壓輸入電壓驅動方式時,對驅動電晶體422輸入使驅動電晶體422充分處於導通狀態或關閉狀態的兩個狀態的視訊信號。為了使驅動電晶體422在線性區域中工作,所以將比電源線427的電壓高的電壓施加到驅動電晶體422的閘極電極。另外,對信號線425施加電源線電壓和驅動電晶體422的臨界電壓Vth的總和以上的電壓。 Next, the signal input to the driving transistor 422 will be described. When a voltage input voltage driving method is used, two states of video signals are input to the driving transistor 422 so that the driving transistor 422 is sufficiently in an on state or an off state. In order to operate the driving transistor 422 in the linear region, a voltage higher than the voltage of the power supply line 427 is applied to the gate electrode of the driving transistor 422. In addition, a voltage equal to or greater than the sum of the power line voltage and the threshold voltage Vth of the drive transistor 422 is applied to the signal line 425.

當進行類比灰階驅動時,對驅動電晶體422的閘極電極施加發光元件424的正向電壓和驅動電晶體422的臨界電壓Vth的總和以上的電壓。另外,藉由輸入使驅動電晶體422在飽和區域中工作的視訊信號,使電流流過發光元件424。為了使驅動電晶體422在飽和區域中工作,使電源線427的電位高於驅動電晶體422的閘極電位。藉由採用類比方式的視訊信號,可以使與視訊信號對應的電流流過發光元件424中,而進行類比灰階驅動。 When analog gray-scale driving is performed, a voltage equal to or greater than the sum of the forward voltage of the light-emitting element 424 and the threshold voltage Vth of the driving transistor 422 is applied to the gate electrode of the driving transistor 422. In addition, by inputting a video signal that drives the driving transistor 422 in the saturation region, a current flows through the light-emitting element 424. In order to operate the driving transistor 422 in the saturation region, the potential of the power supply line 427 is made higher than the gate potential of the driving transistor 422. By using an analog video signal, a current corresponding to the video signal can flow through the light-emitting element 424 to perform analog gray-scale driving.

注意,像素電路的結構不侷限於圖34C所示的像素結構。例如,還可以在圖34C所示的像素電路中加上開關、電阻元件、電容元件、感測器、電晶體或邏輯電路等。 Note that the structure of the pixel circuit is not limited to the pixel structure shown in FIG. 34C. For example, a switch, a resistive element, a capacitive element, a sensor, a transistor, or a logic circuit may be added to the pixel circuit shown in FIG. 34C.

當將上述實施方式所例示的電晶體應用於圖34A至圖34C所例示的電路時,源極電極(第一電極)及汲極電極(第二電極)分別電連接到低電位一側及高電位一側。再者,可以由控制電路等控制第一閘極電極的電位,並且可以藉由未圖示的佈線將比供應到源極電極的電位低的電位等上述電位輸入到第二閘極電極。 When the transistor exemplified in the above embodiment is applied to the circuits illustrated in FIGS. 34A to 34C, the source electrode (first electrode) and the drain electrode (second electrode) are electrically connected to the low potential side and the high electrode, respectively. Potential side. Furthermore, the potential of the first gate electrode can be controlled by a control circuit or the like, and the potential such as a potential lower than the potential supplied to the source electrode can be input to the second gate electrode through a wiring not shown.

本實施方式的至少一部分可以與本說明書所記載的其他實施方式適當地組合而實施。 At least a part of this embodiment can be implemented in appropriate combination with other embodiments described in this specification.

實施方式11 Embodiment 11

本發明的一個實施方式的半導體裝置可以用於顯示裝置、個人電腦或具備儲存媒體的影像再現裝置(典型的是,能夠播放儲存媒體如數位影音光碟(DVD:Digital Versatile Disc)等並具有可以顯示該影像的顯示器的裝置)中。另外,作為可以使用本發明的一個實施方式的半導體裝置的電子裝置,可以舉出行動電話、包括可攜式的遊戲機、可攜式資料終端、電子書閱讀器終端、拍攝裝置諸如視頻攝影機或數位相機等、護目鏡型顯示器(頭戴式顯示器)、導航系統、音頻再生裝置(汽車音響系統、數位聲訊播放機等)、影印機、傳真機、印表機、多功能印表機、自動櫃員機(ATM)以及自動販賣機等。圖35A至圖35F示出這些電子裝置的具體例子。 A semiconductor device according to an embodiment of the present invention can be used in a display device, a personal computer, or an image reproduction device with a storage medium (typically, it can play a storage medium such as a digital video disc (DVD: Digital Versatile Disc), etc. and has display capability. This image is displayed on the device). In addition, as an electronic device that can use the semiconductor device according to an embodiment of the present invention, a mobile phone, a portable game machine, a portable data terminal, an e-book reader terminal, a shooting device such as a video camera or Digital cameras, etc., goggles-type displays (head-mounted displays), navigation systems, audio reproduction devices (car audio systems, digital audio players, etc.), photocopiers, fax machines, printers, multifunction printers, automatic ATMs and vending machines. 35A to 35F show specific examples of these electronic devices.

圖35A是可攜式遊戲機,其包括外殼901、外殼902、顯示部903、顯 示部904、麥克風905、揚聲器906、操作鍵907以及觸控筆908等。注意,雖然圖35A所示的可攜式遊戲機包括兩個顯示部903和顯示部904,但是可攜式遊戲機所包括的顯示部的個數不限於此。 35A is a portable game machine, which includes a housing 901, a housing 902, a display portion 903, display The display unit 904, the microphone 905, the speaker 906, the operation keys 907, the stylus 908, and the like. Note that although the portable game machine shown in FIG. 35A includes two display parts 903 and display parts 904, the number of display parts included in the portable game machine is not limited to this.

圖35B是可攜式資料終端,其包括第一外殼911、第二外殼912、第一顯示部913、第二顯示部914、連接部915、操作鍵916等。第一顯示部913設置在第一外殼911中,而第二顯示部914設置在第二外殼912中。而且,第一外殼911和第二外殼912由連接部915連接,可以藉由連接部915改變第一外殼911和第二外殼912之間的角度。第一顯示部913的影像也可以根據連接部915所形成的第一外殼911和第二外殼912之間的角度切換。另外,也可以對第一顯示部913和第二顯示部914中的至少一個使用附加有位置輸入功能的顯示裝置。另外,可以藉由在顯示裝置中設置觸控面板來附加位置輸入功能。或者,也可以藉由在顯示裝置的像素部中設置還稱為光感測器的光電轉換元件來附加位置輸入功能。 35B is a portable data terminal, which includes a first housing 911, a second housing 912, a first display portion 913, a second display portion 914, a connection portion 915, operation keys 916, and the like. The first display portion 913 is provided in the first housing 911, and the second display portion 914 is provided in the second housing 912. Moreover, the first housing 911 and the second housing 912 are connected by the connecting portion 915, and the angle between the first housing 911 and the second housing 912 can be changed by the connecting portion 915. The image of the first display unit 913 may be switched according to the angle between the first housing 911 and the second housing 912 formed by the connection unit 915. In addition, a display device to which a position input function is added may be used for at least one of the first display unit 913 and the second display unit 914. In addition, the position input function can be added by providing a touch panel in the display device. Alternatively, a position input function may be added by providing a photoelectric conversion element also called a photo sensor in the pixel portion of the display device.

圖35C是膝上型個人電腦,其包括外殼921、顯示部922、鍵盤923以及指向裝置924等。 35C is a laptop personal computer, which includes a housing 921, a display portion 922, a keyboard 923, a pointing device 924, and the like.

圖35D是電冷藏冷凍箱,其包括外殼931、冷藏室門932、冷凍室門933等。 FIG. 35D is an electric refrigerator-freezer, which includes a housing 931, a refrigerator compartment door 932, a freezer compartment door 933, and the like.

圖35E是視頻攝影機,其包括第一外殼941、第二外殼942、顯示部943、 操作鍵944、透鏡945、連接部946等。操作鍵944及透鏡945設置在第一外殼941中,而顯示部943設置在第二外殼942中。並且,第一外殼941和第二外殼942由連接部946連接,可以藉由連接部946改變第一外殼941和第二外殼942之間的角度。顯示部943的影像也可以根據連接部946所形成的第一外殼941和第二外殼942之間的角度切換。 35E is a video camera, which includes a first housing 941, a second housing 942, a display portion 943, The operation key 944, the lens 945, the connection portion 946, and the like. The operation key 944 and the lens 945 are provided in the first housing 941, and the display portion 943 is provided in the second housing 942. In addition, the first housing 941 and the second housing 942 are connected by the connecting portion 946, and the angle between the first housing 941 and the second housing 942 can be changed by the connecting portion 946. The image of the display unit 943 may be switched according to the angle between the first housing 941 and the second housing 942 formed by the connection unit 946.

圖35F是汽車,其包括車身951、車輪952、儀表板953及燈954等。 35F is an automobile, which includes a body 951, wheels 952, an instrument panel 953, lights 954, and the like.

本實施方式的至少一部分可以與本說明書所記載的其他實施方式適當地組合而實施。 At least a part of this embodiment can be implemented in appropriate combination with other embodiments described in this specification.

實施方式12 Embodiment 12

在本實施方式中,參照圖36A至圖36F說明本發明的一個實施方式的RF標籤的使用例子。RF標籤的用途廣泛,例如可以設置於物品諸如鈔票、硬幣、有價證券類、不記名債券類、證件類(駕駛執照、居民卡等,參照圖36A)、儲存媒體(DVD、錄影帶等,參照圖36B)、包裝用容器類(包裝紙、瓶子等,參照圖36C)、車輛類(自行車等,參照圖36D)、個人物品(包、眼鏡等)、食物類、植物類、動物類、人體、衣物類、生活用品類、包括藥品或藥劑的醫療品、電子裝置(液晶顯示裝置、EL顯示裝置、電視機或行動電話)等或者各物品的裝運標籤(參照圖36E和圖36E)等。 In this embodiment, an example of use of an RF tag according to an embodiment of the present invention will be described with reference to FIGS. 36A to 36F. RF tags are widely used, for example, they can be installed in articles such as banknotes, coins, securities, bearer bonds, certificates (driving licenses, resident cards, etc., see Figure 36A), storage media (DVD, video tape, etc., see 36B), packaging containers (wrapping paper, bottles, etc., see FIG. 36C), vehicles (bicycles, etc., see FIG. 36D), personal items (bags, glasses, etc.), foods, plants, animals, humans , Clothing, daily necessities, medical products including medicines or pharmaceuticals, electronic devices (liquid crystal display devices, EL display devices, televisions, or mobile phones), etc., or shipping labels for each item (see FIGS. 36E and 36E), etc.

本發明的一個實施方式的RF標籤4000以貼到物品表面上或者嵌入物 品的方式固定。例如,當物品為書本時,RF標籤4000以嵌入在書本的紙張裡的方式固定在書本,而當物品為有機樹脂的包裝時,RF標籤4000以嵌入在有機樹脂中的方式固定在有機樹脂的包裝。本發明的一個實施方式的RF標籤4000實現了小型、薄型以及輕量,所以即使固定在物品中也不會影響到該物品的設計性。另外,藉由將本發明的一個實施方式的RF標籤4000設置於鈔票、硬幣、有價證券類、不記名債券類或證件類等,可以賦予識別功能。藉由利用該識別功能可以防止偽造。另外,可以藉由在包裝用容器類、儲存媒體、個人物品、食物類、衣物類、生活用品類或電子裝置等中設置本發明的一個實施方式的RF標籤,可以提高檢品系統等系統的運行效率。另外,藉由在車輛類中安裝本發明的一個實施方式的RF標籤,可以防止盜竊等而提高安全性。 The RF tag 4000 of one embodiment of the present invention can be attached to the surface of an article or embedded The way of the product is fixed. For example, when the item is a book, the RF tag 4000 is fixed to the book by being embedded in the paper of the book, and when the item is an organic resin package, the RF tag 4000 is fixed by being embedded in the organic resin. Organic resin packaging. The RF tag 4000 according to an embodiment of the present invention achieves small size, thinness, and light weight, so even if it is fixed to an article, the design of the article will not be affected. In addition, by providing the RF tag 4000 according to an embodiment of the present invention on banknotes, coins, securities, bearer bonds, or certificates, etc., a recognition function can be provided. By using this identification function, counterfeiting can be prevented. In addition, by installing the RF tag according to an embodiment of the present invention in packaging containers, storage media, personal items, food, clothing, daily necessities, or electronic devices, it is possible to improve the quality of systems such as inspection systems operation efficiency. In addition, by mounting the RF tag of one embodiment of the present invention in vehicles, it is possible to prevent theft and the like and improve the security.

如上所述,藉由將本發明的一個實施方式的RF標籤應用於在本實施方式中列舉的各用途,可以降低包括資料的寫入或讀出等工作的功耗,因此能夠使最大通信距離長。另外,即使在不供應電力的狀態下,也可以在極長的期間保持資料,所以上述RF標籤適用於寫入或讀出的頻率低的用途。 As described above, by applying the RF tag according to one embodiment of the present invention to the uses enumerated in this embodiment, the power consumption of operations including writing or reading of data can be reduced, so the maximum communication distance can be achieved long. In addition, even in a state where power is not supplied, data can be held for an extremely long period of time, so the above-mentioned RF tag is suitable for applications with a low frequency of writing or reading.

本實施方式的至少一部分可以與本說明書所記載的其他實施方式適當地組合而實施。 At least a part of this embodiment can be implemented in appropriate combination with other embodiments described in this specification.

600‧‧‧基板 600‧‧‧ substrate

602‧‧‧絕緣體 602‧‧‧Insulator

604‧‧‧絕緣體 604‧‧‧Insulator

606‧‧‧閘極電極 606‧‧‧Gate electrode

608‧‧‧絕緣體 608‧‧‧Insulator

610‧‧‧電子俘獲層 610‧‧‧ Electron capture layer

612‧‧‧絕緣體 612‧‧‧Insulator

614‧‧‧氧化物半導體 614‧‧‧Oxide Semiconductor

616a‧‧‧源極電極 616a‧‧‧Source electrode

616b‧‧‧汲極電極 616b‧‧‧Drain electrode

618‧‧‧閘極絕緣體 618‧‧‧Gate insulator

620‧‧‧閘極電極 620‧‧‧Gate electrode

622‧‧‧絕緣體 622‧‧‧Insulator

650‧‧‧通道形成區域 650‧‧‧Channel formation area

Claims (9)

一種半導體裝置,包括:第一導電體;第二導電體;第一絕緣體;第二絕緣體;第三絕緣體;半導體;以及電子俘獲層,其中,該半導體包括通道形成區域,該電子俘獲層與該通道形成區域以在其間夾有該第二絕緣體的方式重疊,該第一導電體與該通道形成區域以在其間夾有該第一絕緣體的方式重疊,該第二導電體與該電子俘獲層以在其間夾有該第三絕緣體的方式重疊,並且,該第二導電體不與該通道形成區域重疊。 A semiconductor device includes: a first electrical conductor; a second electrical conductor; a first insulator; a second insulator; a third insulator; a semiconductor; and an electron trap layer, wherein the semiconductor includes a channel formation region, the electron trap layer and the The channel formation region overlaps with the second insulator interposed therebetween, the first conductor and the channel formation region overlap with the first insulator interposed therebetween, the second conductor and the electron capture layer The third insulator is overlapped therebetween, and the second conductor does not overlap the channel formation area. 一種半導體裝置,包括:第一導電體;第二導電體;第三導電體;第四導電體; 第一絕緣體;第二絕緣體;第三絕緣體;半導體;以及電子俘獲層,其中,該半導體包括與該第三導電體接觸的第一區域、與該第四導電體接觸的第二區域、該第一區域與該第二區域之間的第三區域,該電子俘獲層與該第三區域以在其間夾有該第二絕緣體的方式重疊,該第一導電體與該第三區域以在其間夾有該第一絕緣體的方式重疊,該第二導電體與該電子俘獲層以在其間夾有該第三絕緣體的方式重疊,並且,該第二導電體不與該第三區域重疊。 A semiconductor device includes: a first electrical conductor; a second electrical conductor; a third electrical conductor; a fourth electrical conductor; A first insulator; a second insulator; a third insulator; a semiconductor; and an electron-trapping layer, wherein the semiconductor includes a first region in contact with the third conductor, a second region in contact with the fourth conductor, and the first In a third region between a region and the second region, the electron trap layer and the third region overlap with the second insulator interposed therebetween, and the first conductor and the third region are sandwiched therebetween There is overlapping of the first insulator, the second conductor and the electron-trapping layer overlap with the third insulator therebetween, and the second conductor does not overlap the third region. 一種半導體裝置,包括:第一導電體;第二導電體;第三導電體;第四導電體;第一絕緣體;第二絕緣體;第三絕緣體;半導體;以及電子俘獲層, 其中,該半導體包括與該第三導電體接觸的第一區域、與該第四導電體接觸的第二區域、該第一區域與該第二區域之間的第三區域,該電子俘獲層與該第一區域以在其間夾有該第二絕緣體的方式重疊且與該第三區域以在其間夾有該第二絕緣體的方式重疊,該第一導電體與該第三區域以在其間夾有該第一絕緣體的方式重疊,該第二導電體與該電子俘獲層以在其間夾有該第三絕緣體的方式重疊,並且,該第二導電體與該第一區域重疊。 A semiconductor device includes: a first electrical conductor; a second electrical conductor; a third electrical conductor; a fourth electrical conductor; a first insulator; a second insulator; a third insulator; a semiconductor; and an electron trapping layer, Wherein, the semiconductor includes a first region in contact with the third electrical conductor, a second region in contact with the fourth electrical conductor, a third region between the first region and the second region, the electron capture layer and The first region overlaps with the second insulator interposed therebetween and overlaps the third region with the second insulator interposed therebetween, the first conductor and the third region sandwiches therebetween The first insulator overlaps, the second conductor overlaps the electron-trapping layer with the third insulator interposed therebetween, and the second conductor overlaps the first region. 根據申請專利範圍第1至3項任一項之半導體裝置,其中該電子俘獲層包括導電體或半導體。 The semiconductor device according to any one of claims 1 to 3, wherein the electron trapping layer includes a conductor or a semiconductor. 一種半導體裝置,包括:電子俘獲層;與該電子俘獲層重疊的氧化物半導體,該氧化物半導體包括通道形成區域;在該電子俘獲層與該氧化物半導體間的絕緣體;以及被設置作為控制被該電子俘獲層俘獲的電子的個數的閘極電極。 A semiconductor device includes: an electron trap layer; an oxide semiconductor overlapping the electron trap layer, the oxide semiconductor including a channel formation region; an insulator between the electron trap layer and the oxide semiconductor; and being provided as a control The gate electrode of the number of electrons captured by the electron trapping layer. 根據申請專利範圍第5項之半導體裝置,其中該電子俘獲層位在該氧化物半導體下。 According to the semiconductor device of claim 5, the electron trapping layer is located under the oxide semiconductor. 根據申請專利範圍第5項之半導體裝置,其中該電子俘獲層位在該氧化物半導體上。 According to the semiconductor device of claim 5, the electron trapping layer is located on the oxide semiconductor. 根據申請專利範圍第5項之半導體裝置,其中該閘極電極不與該通道形成區域重疊。 According to the semiconductor device of claim 5, the gate electrode does not overlap with the channel formation region. 根據申請專利範圍第5項之半導體裝置,其中該氧化物半導體包括銦、鎵及鋅。 According to the semiconductor device of claim 5, the oxide semiconductor includes indium, gallium, and zinc.
TW104137569A 2014-11-21 2015-11-13 Semiconductor device TWI691088B (en)

Applications Claiming Priority (2)

Application Number Priority Date Filing Date Title
JP2014236313 2014-11-21
JP2014-236313 2014-11-21

Publications (2)

Publication Number Publication Date
TW201631778A TW201631778A (en) 2016-09-01
TWI691088B true TWI691088B (en) 2020-04-11

Family

ID=56011033

Family Applications (4)

Application Number Title Priority Date Filing Date
TW104137569A TWI691088B (en) 2014-11-21 2015-11-13 Semiconductor device
TW109106100A TWI699897B (en) 2014-11-21 2015-11-13 Semiconductor device
TW111120306A TWI841974B (en) 2014-11-21 2015-11-13 Semiconductor device
TW109121215A TWI766298B (en) 2014-11-21 2015-11-13 Semiconductor device

Family Applications After (3)

Application Number Title Priority Date Filing Date
TW109106100A TWI699897B (en) 2014-11-21 2015-11-13 Semiconductor device
TW111120306A TWI841974B (en) 2014-11-21 2015-11-13 Semiconductor device
TW109121215A TWI766298B (en) 2014-11-21 2015-11-13 Semiconductor device

Country Status (4)

Country Link
US (1) US9590115B2 (en)
JP (6) JP6675862B2 (en)
KR (7) KR102401610B1 (en)
TW (4) TWI691088B (en)

Families Citing this family (8)

* Cited by examiner, † Cited by third party
Publication number Priority date Publication date Assignee Title
TWI691088B (en) * 2014-11-21 2020-04-11 日商半導體能源研究所股份有限公司 Semiconductor device
KR102506334B1 (en) * 2016-04-11 2023-03-06 삼성디스플레이 주식회사 Display device
US10096718B2 (en) * 2016-06-17 2018-10-09 Semiconductor Energy Laboratory Co., Ltd. Transistor, electronic device, manufacturing method of transistor
KR102832749B1 (en) * 2016-09-23 2025-07-10 엘지디스플레이 주식회사 Flexible display device
JP7264894B2 (en) * 2018-06-29 2023-04-25 株式会社半導体エネルギー研究所 semiconductor equipment
JP7598749B2 (en) * 2020-12-10 2024-12-12 JDI Design and Development 合同会社 Semiconductor Device
GB2604025B (en) 2020-12-29 2023-06-21 Lg Display Co Ltd Thin film transistor, method for manufacturing the thin film transistor and display device comprising the thin film transistor
KR102801157B1 (en) * 2020-12-29 2025-04-30 엘지디스플레이 주식회사 Thin film transistor, method for manufacturing the thin film transistor and display device comprising the thin film transistor

Citations (1)

* Cited by examiner, † Cited by third party
Publication number Priority date Publication date Assignee Title
US20020196665A1 (en) * 2001-04-25 2002-12-26 Samsung Electronics Co., Ltd. Non-volatile memory device

Family Cites Families (150)

* Cited by examiner, † Cited by third party
Publication number Priority date Publication date Assignee Title
JPS60198861A (en) 1984-03-23 1985-10-08 Fujitsu Ltd Thin film transistor
JPH0244256B2 (en) 1987-01-28 1990-10-03 Kagaku Gijutsucho Mukizaishitsu Kenkyushocho INGAZN2O5DESHIMESARERUROTSUHOSHOKEINOSOJOKOZOOJUSURUKAGOBUTSUOYOBISONOSEIZOHO
JPS63210023A (en) 1987-02-24 1988-08-31 Natl Inst For Res In Inorg Mater Compound having a hexagonal layered structure represented by InGaZn↓4O↓7 and its manufacturing method
JPH0244258B2 (en) 1987-02-24 1990-10-03 Kagaku Gijutsucho Mukizaishitsu Kenkyushocho INGAZN3O6DESHIMESARERUROTSUHOSHOKEINOSOJOKOZOOJUSURUKAGOBUTSUOYOBISONOSEIZOHO
JPH0244260B2 (en) 1987-02-24 1990-10-03 Kagaku Gijutsucho Mukizaishitsu Kenkyushocho INGAZN5O8DESHIMESARERUROTSUHOSHOKEINOSOJOKOZOOJUSURUKAGOBUTSUOYOBISONOSEIZOHO
JPH0244262B2 (en) 1987-02-27 1990-10-03 Kagaku Gijutsucho Mukizaishitsu Kenkyushocho INGAZN6O9DESHIMESARERUROTSUHOSHOKEINOSOJOKOZOOJUSURUKAGOBUTSUOYOBISONOSEIZOHO
JPH0244263B2 (en) 1987-04-22 1990-10-03 Kagaku Gijutsucho Mukizaishitsu Kenkyushocho INGAZN7O10DESHIMESARERUROTSUHOSHOKEINOSOJOKOZOOJUSURUKAGOBUTSUOYOBISONOSEIZOHO
JPH05251705A (en) 1992-03-04 1993-09-28 Fuji Xerox Co Ltd Thin-film transistor
JP3321899B2 (en) * 1992-12-04 2002-09-09 株式会社デンソー Semiconductor device
JP3479375B2 (en) 1995-03-27 2003-12-15 科学技術振興事業団 Metal oxide semiconductor device in which a pn junction is formed with a thin film transistor made of a metal oxide semiconductor such as cuprous oxide, and methods for manufacturing the same
DE69635107D1 (en) 1995-08-03 2005-09-29 Koninkl Philips Electronics Nv SEMICONDUCTOR ARRANGEMENT WITH A TRANSPARENT CIRCUIT ELEMENT
JP3625598B2 (en) 1995-12-30 2005-03-02 三星電子株式会社 Manufacturing method of liquid crystal display device
JPH118387A (en) * 1997-06-18 1999-01-12 Mitsubishi Electric Corp Semiconductor device and manufacturing method thereof
JP4170454B2 (en) 1998-07-24 2008-10-22 Hoya株式会社 Article having transparent conductive oxide thin film and method for producing the same
JP2000150861A (en) 1998-11-16 2000-05-30 Tdk Corp Oxide thin film
JP3276930B2 (en) 1998-11-17 2002-04-22 科学技術振興事業団 Transistor and semiconductor device
TW460731B (en) 1999-09-03 2001-10-21 Ind Tech Res Inst Electrode structure and production method of wide viewing angle LCD
JP2002026313A (en) * 2000-07-06 2002-01-25 Hitachi Ltd Semiconductor integrated circuit device and method of manufacturing the same
JP4089858B2 (en) 2000-09-01 2008-05-28 国立大学法人東北大学 Semiconductor device
KR20020038482A (en) 2000-11-15 2002-05-23 모리시타 요이찌 Thin film transistor array, method for producing the same, and display panel using the same
JP3997731B2 (en) 2001-03-19 2007-10-24 富士ゼロックス株式会社 Method for forming a crystalline semiconductor thin film on a substrate
JP2002289859A (en) 2001-03-23 2002-10-04 Minolta Co Ltd Thin film transistor
JP4168615B2 (en) * 2001-08-28 2008-10-22 ソニー株式会社 Semiconductor device and manufacturing method of semiconductor device
JP3925839B2 (en) 2001-09-10 2007-06-06 シャープ株式会社 Semiconductor memory device and test method thereof
JP4090716B2 (en) 2001-09-10 2008-05-28 雅司 川崎 Thin film transistor and matrix display device
JP4164562B2 (en) 2002-09-11 2008-10-15 独立行政法人科学技術振興機構 Transparent thin film field effect transistor using homologous thin film as active layer
WO2003040441A1 (en) 2001-11-05 2003-05-15 Japan Science And Technology Agency Natural superlattice homologous single crystal thin film, method for preparation thereof, and device using said single crystal thin film
JP4083486B2 (en) 2002-02-21 2008-04-30 独立行政法人科学技術振興機構 Method for producing LnCuO (S, Se, Te) single crystal thin film
CN1445821A (en) 2002-03-15 2003-10-01 三洋电机株式会社 Forming method of ZnO film and ZnO semiconductor layer, semiconductor element and manufacturing method thereof
JP3933591B2 (en) 2002-03-26 2007-06-20 淳二 城戸 Organic electroluminescent device
US7339187B2 (en) 2002-05-21 2008-03-04 State Of Oregon Acting By And Through The Oregon State Board Of Higher Education On Behalf Of Oregon State University Transistor structures
JP2004022625A (en) 2002-06-13 2004-01-22 Murata Mfg Co Ltd Semiconductor device and method of manufacturing the semiconductor device
US7105868B2 (en) 2002-06-24 2006-09-12 Cermet, Inc. High-electron mobility transistor with zinc oxide
US7067843B2 (en) 2002-10-11 2006-06-27 E. I. Du Pont De Nemours And Company Transparent oxide semiconductor thin film transistors
JP4166105B2 (en) 2003-03-06 2008-10-15 シャープ株式会社 Semiconductor device and manufacturing method thereof
JP2004273732A (en) 2003-03-07 2004-09-30 Sharp Corp Active matrix substrate and manufacturing method thereof
JP4108633B2 (en) 2003-06-20 2008-06-25 シャープ株式会社 THIN FILM TRANSISTOR, MANUFACTURING METHOD THEREOF, AND ELECTRONIC DEVICE
US7262463B2 (en) 2003-07-25 2007-08-28 Hewlett-Packard Development Company, L.P. Transistor including a deposited channel region having a doped portion
US7297977B2 (en) 2004-03-12 2007-11-20 Hewlett-Packard Development Company, L.P. Semiconductor device
CN102867855B (en) 2004-03-12 2015-07-15 独立行政法人科学技术振兴机构 Amorphous oxide and thin film transistor
US7145174B2 (en) 2004-03-12 2006-12-05 Hewlett-Packard Development Company, Lp. Semiconductor device
US7282782B2 (en) 2004-03-12 2007-10-16 Hewlett-Packard Development Company, L.P. Combined binary oxide semiconductor device
US7211825B2 (en) 2004-06-14 2007-05-01 Yi-Chi Shih Indium oxide-based thin film transistors and circuits
JP2006100760A (en) 2004-09-02 2006-04-13 Casio Comput Co Ltd Thin film transistor and manufacturing method thereof
US7285501B2 (en) 2004-09-17 2007-10-23 Hewlett-Packard Development Company, L.P. Method of forming a solution processed device
US7298084B2 (en) 2004-11-02 2007-11-20 3M Innovative Properties Company Methods and displays utilizing integrated zinc oxide row and column drivers in conjunction with organic light emitting diodes
CA2585190A1 (en) 2004-11-10 2006-05-18 Canon Kabushiki Kaisha Amorphous oxide and field effect transistor
US7863611B2 (en) 2004-11-10 2011-01-04 Canon Kabushiki Kaisha Integrated circuits utilizing amorphous oxides
CN101057333B (en) 2004-11-10 2011-11-16 佳能株式会社 Light emitting device
US7453065B2 (en) 2004-11-10 2008-11-18 Canon Kabushiki Kaisha Sensor and image pickup device
US7791072B2 (en) 2004-11-10 2010-09-07 Canon Kabushiki Kaisha Display
RU2358355C2 (en) 2004-11-10 2009-06-10 Кэнон Кабусики Кайся Field transistor
US7829444B2 (en) 2004-11-10 2010-11-09 Canon Kabushiki Kaisha Field effect transistor manufacturing method
KR100583972B1 (en) * 2004-11-26 2006-05-26 삼성전자주식회사 Manufacturing Methods of Semiconductor Devices with Node Contact Structures of CMOS Inverters
US7579224B2 (en) 2005-01-21 2009-08-25 Semiconductor Energy Laboratory Co., Ltd. Method for manufacturing a thin film semiconductor device
TWI569441B (en) 2005-01-28 2017-02-01 半導體能源研究所股份有限公司 Semiconductor device, electronic device, and method of manufacturing semiconductor device
TWI505473B (en) 2005-01-28 2015-10-21 半導體能源研究所股份有限公司 Semiconductor device, electronic device, and method of manufacturing semiconductor device
US7858451B2 (en) 2005-02-03 2010-12-28 Semiconductor Energy Laboratory Co., Ltd. Electronic device, semiconductor device and manufacturing method thereof
US7948171B2 (en) 2005-02-18 2011-05-24 Semiconductor Energy Laboratory Co., Ltd. Light emitting device
US20060197092A1 (en) 2005-03-03 2006-09-07 Randy Hoffman System and method for forming conductive material on a substrate
US8681077B2 (en) 2005-03-18 2014-03-25 Semiconductor Energy Laboratory Co., Ltd. Semiconductor device, and display device, driving method and electronic apparatus thereof
WO2006105077A2 (en) 2005-03-28 2006-10-05 Massachusetts Institute Of Technology Low voltage thin film transistor with high-k dielectric material
US7645478B2 (en) 2005-03-31 2010-01-12 3M Innovative Properties Company Methods of making displays
JP4783050B2 (en) * 2005-04-13 2011-09-28 パナソニック株式会社 Semiconductor device and manufacturing method thereof
US8300031B2 (en) 2005-04-20 2012-10-30 Semiconductor Energy Laboratory Co., Ltd. Semiconductor device comprising transistor having gate and drain connected through a current-voltage conversion element
JP2006344849A (en) 2005-06-10 2006-12-21 Casio Comput Co Ltd Thin film transistor
US7691666B2 (en) 2005-06-16 2010-04-06 Eastman Kodak Company Methods of making thin film transistors comprising zinc-oxide-based semiconductor materials and transistors made thereby
US7402506B2 (en) 2005-06-16 2008-07-22 Eastman Kodak Company Methods of making thin film transistors comprising zinc-oxide-based semiconductor materials and transistors made thereby
US7507618B2 (en) 2005-06-27 2009-03-24 3M Innovative Properties Company Method for making electronic devices using metal oxide nanoparticles
KR100711890B1 (en) 2005-07-28 2007-04-25 삼성에스디아이 주식회사 OLED display and manufacturing method thereof
JP2007059128A (en) 2005-08-23 2007-03-08 Canon Inc Organic EL display device and manufacturing method thereof
JP4280736B2 (en) 2005-09-06 2009-06-17 キヤノン株式会社 Semiconductor element
JP5116225B2 (en) 2005-09-06 2013-01-09 キヤノン株式会社 Manufacturing method of oxide semiconductor device
JP4850457B2 (en) 2005-09-06 2012-01-11 キヤノン株式会社 Thin film transistor and thin film diode
JP2007073705A (en) 2005-09-06 2007-03-22 Canon Inc Oxide semiconductor channel thin film transistor and method for manufacturing the same
EP1998373A3 (en) 2005-09-29 2012-10-31 Semiconductor Energy Laboratory Co, Ltd. Semiconductor device having oxide semiconductor layer and manufacturing method thereof
JP5037808B2 (en) 2005-10-20 2012-10-03 キヤノン株式会社 Field effect transistor using amorphous oxide, and display device using the transistor
KR20090130089A (en) 2005-11-15 2009-12-17 가부시키가이샤 한도오따이 에네루기 켄큐쇼 Diodes and Active Matrix Displays
TWI292281B (en) 2005-12-29 2008-01-01 Ind Tech Res Inst Pixel structure of active organic light emitting diode and method of fabricating the same
US7867636B2 (en) 2006-01-11 2011-01-11 Murata Manufacturing Co., Ltd. Transparent conductive film and method for manufacturing the same
JP4977478B2 (en) 2006-01-21 2012-07-18 三星電子株式会社 ZnO film and method of manufacturing TFT using the same
US7576394B2 (en) 2006-02-02 2009-08-18 Kochi Industrial Promotion Center Thin film transistor including low resistance conductive thin films and manufacturing method thereof
US7977169B2 (en) 2006-02-15 2011-07-12 Kochi Industrial Promotion Center Semiconductor device including active layer made of zinc oxide with controlled orientations and manufacturing method thereof
KR20070101595A (en) 2006-04-11 2007-10-17 삼성전자주식회사 ZnO TFT
US20070252928A1 (en) 2006-04-28 2007-11-01 Toppan Printing Co., Ltd. Structure, transmission type liquid crystal display, reflection type display and manufacturing method thereof
JP5028033B2 (en) 2006-06-13 2012-09-19 キヤノン株式会社 Oxide semiconductor film dry etching method
JP4609797B2 (en) 2006-08-09 2011-01-12 Nec液晶テクノロジー株式会社 Thin film device and manufacturing method thereof
JP4999400B2 (en) 2006-08-09 2012-08-15 キヤノン株式会社 Oxide semiconductor film dry etching method
US7601998B2 (en) * 2006-09-14 2009-10-13 Samsung Electronics Co., Ltd. Semiconductor memory device having metallization comprising select lines, bit lines and word lines
JP4332545B2 (en) 2006-09-15 2009-09-16 キヤノン株式会社 Field effect transistor and manufacturing method thereof
JP4274219B2 (en) 2006-09-27 2009-06-03 セイコーエプソン株式会社 Electronic devices, organic electroluminescence devices, organic thin film semiconductor devices
JP5164357B2 (en) 2006-09-27 2013-03-21 キヤノン株式会社 Semiconductor device and manufacturing method of semiconductor device
US7622371B2 (en) 2006-10-10 2009-11-24 Hewlett-Packard Development Company, L.P. Fused nanocrystal thin film semiconductor and method
US7772021B2 (en) 2006-11-29 2010-08-10 Samsung Electronics Co., Ltd. Flat panel displays comprising a thin-film transistor having a semiconductive oxide in its channel and methods of fabricating the same for use in flat panel displays
JP2008140684A (en) 2006-12-04 2008-06-19 Toppan Printing Co Ltd Color EL display and manufacturing method thereof
KR101303578B1 (en) 2007-01-05 2013-09-09 삼성전자주식회사 Etching method of thin film
US8207063B2 (en) 2007-01-26 2012-06-26 Eastman Kodak Company Process for atomic layer deposition
KR100851215B1 (en) 2007-03-14 2008-08-07 삼성에스디아이 주식회사 Thin film transistor and organic light emitting display device using same
US7795613B2 (en) 2007-04-17 2010-09-14 Toppan Printing Co., Ltd. Structure with transistor
KR101325053B1 (en) 2007-04-18 2013-11-05 삼성디스플레이 주식회사 Thin film transistor substrate and manufacturing method thereof
KR20080094300A (en) 2007-04-19 2008-10-23 삼성전자주식회사 Thin film transistors and methods of manufacturing the same and flat panel displays comprising thin film transistors
KR101334181B1 (en) 2007-04-20 2013-11-28 삼성전자주식회사 Thin Film Transistor having selectively crystallized channel layer and method of manufacturing the same
WO2008133345A1 (en) 2007-04-25 2008-11-06 Canon Kabushiki Kaisha Oxynitride semiconductor
KR101345376B1 (en) 2007-05-29 2013-12-24 삼성전자주식회사 Fabrication method of ZnO family Thin film transistor
US8232598B2 (en) 2007-09-20 2012-07-31 Semiconductor Energy Laboratory Co., Ltd. Display device and method for manufacturing the same
KR100953657B1 (en) * 2007-11-13 2010-04-20 삼성모바일디스플레이주식회사 Thin film transistor, manufacturing method thereof and organic light emitting display device having same
JP5430846B2 (en) 2007-12-03 2014-03-05 株式会社半導体エネルギー研究所 Method for manufacturing semiconductor device
JP5215158B2 (en) 2007-12-17 2013-06-19 富士フイルム株式会社 Inorganic crystalline alignment film, method for manufacturing the same, and semiconductor device
JP4623179B2 (en) 2008-09-18 2011-02-02 ソニー株式会社 Thin film transistor and manufacturing method thereof
CN101714546B (en) 2008-10-03 2014-05-14 株式会社半导体能源研究所 Display device and manufacturing method thereof
KR102133478B1 (en) 2008-10-03 2020-07-13 가부시키가이샤 한도오따이 에네루기 켄큐쇼 Display device
JP5451280B2 (en) 2008-10-09 2014-03-26 キヤノン株式会社 Wurtzite crystal growth substrate, manufacturing method thereof, and semiconductor device
KR20180137606A (en) 2008-10-24 2018-12-27 가부시키가이샤 한도오따이 에네루기 켄큐쇼 Semiconductor device and method for manufacturing the same
US8106400B2 (en) 2008-10-24 2012-01-31 Semiconductor Energy Laboratory Co., Ltd. Semiconductor device and method for manufacturing the same
KR101631454B1 (en) 2008-10-31 2016-06-17 가부시키가이샤 한도오따이 에네루기 켄큐쇼 Logic circuit
KR101432764B1 (en) 2008-11-13 2014-08-21 가부시키가이샤 한도오따이 에네루기 켄큐쇼 Method for manufacturing semiconductor device
KR102025505B1 (en) 2008-11-21 2019-09-25 가부시키가이샤 한도오따이 에네루기 켄큐쇼 Semiconductor device
WO2011034012A1 (en) 2009-09-16 2011-03-24 Semiconductor Energy Laboratory Co., Ltd. Logic circuit, light emitting device, semiconductor device, and electronic device
KR101740943B1 (en) 2009-09-24 2017-06-15 가부시키가이샤 한도오따이 에네루기 켄큐쇼 Display device
JP5497417B2 (en) 2009-12-10 2014-05-21 富士フイルム株式会社 THIN FILM TRANSISTOR, MANUFACTURING METHOD THEREOF, AND APPARATUS HAVING THE THIN FILM TRANSISTOR
JP2011138934A (en) 2009-12-28 2011-07-14 Sony Corp Thin film transistor, display device, and electronic equipment
US8385147B2 (en) * 2010-03-30 2013-02-26 Silicon Storage Technology, Inc. Systems and methods of non-volatile memory sensing including selective/differential threshold voltage features
KR101904445B1 (en) 2010-04-16 2018-10-04 가부시키가이샤 한도오따이 에네루기 켄큐쇼 Semiconductor device
JP2012019018A (en) 2010-07-07 2012-01-26 Toshiba Corp Semiconductor device and method of manufacturing the same
DE112011102644B4 (en) 2010-08-06 2019-12-05 Semiconductor Energy Laboratory Co., Ltd. Integrated semiconductor circuit
KR20130102581A (en) 2010-09-03 2013-09-17 가부시키가이샤 한도오따이 에네루기 켄큐쇼 Field effect transistor and method for manufacturing semiconductor device
KR20130007426A (en) * 2011-06-17 2013-01-18 가부시키가이샤 한도오따이 에네루기 켄큐쇼 Semiconductor device and manufacturing method thereof
KR101806405B1 (en) * 2011-06-29 2017-12-08 삼성디스플레이 주식회사 Backplane for flat panel display apparatus, flat panel display apparatus comprising the same, and manufacturing method of the backplane for flat panel display apparatus
US9099560B2 (en) * 2012-01-20 2015-08-04 Semiconductor Energy Laboratory Co., Ltd. Semiconductor device and manufacturing method thereof
JP5981157B2 (en) * 2012-02-09 2016-08-31 株式会社半導体エネルギー研究所 Semiconductor device
US8941113B2 (en) * 2012-03-30 2015-01-27 Semiconductor Energy Laboratory Co., Ltd. Semiconductor element, semiconductor device, and manufacturing method of semiconductor element
US9006024B2 (en) * 2012-04-25 2015-04-14 Semiconductor Energy Laboratory Co., Ltd. Method for manufacturing semiconductor device
JP2013247143A (en) * 2012-05-23 2013-12-09 Semiconductor Energy Lab Co Ltd Semiconductor device
JP6377317B2 (en) 2012-05-30 2018-08-22 株式会社半導体エネルギー研究所 Programmable logic device
KR102113160B1 (en) 2012-06-15 2020-05-20 가부시키가이샤 한도오따이 에네루기 켄큐쇼 Semiconductor device
US20150008428A1 (en) 2013-07-08 2015-01-08 Semiconductor Energy Laboratory Co., Ltd. Semiconductor device and method for manufacturing semiconductor device
US9666697B2 (en) 2013-07-08 2017-05-30 Semiconductor Energy Laboratory Co., Ltd. Semiconductor device and method for manufacturing semiconductor device including an electron trap layer
US9312349B2 (en) 2013-07-08 2016-04-12 Semiconductor Energy Laboratory Co., Ltd. Semiconductor device and method for manufacturing semiconductor device
TWI621130B (en) 2013-07-18 2018-04-11 半導體能源研究所股份有限公司 Semiconductor device and method for manufacturing the same
JP6345023B2 (en) * 2013-08-07 2018-06-20 株式会社半導体エネルギー研究所 Semiconductor device and manufacturing method thereof
US9443990B2 (en) 2013-08-26 2016-09-13 Semiconductor Energy Laboratory Co., Ltd. Semiconductor device and method for manufacturing semiconductor device for adjusting threshold thereof
US9449853B2 (en) 2013-09-04 2016-09-20 Semiconductor Energy Laboratory Co., Ltd. Method for manufacturing semiconductor device comprising electron trap layer
KR102194235B1 (en) * 2013-09-05 2020-12-22 삼성전자주식회사 Thin film transistor and method for driving the same
US9893194B2 (en) 2013-09-12 2018-02-13 Semiconductor Energy Laboratory Co., Ltd. Method for manufacturing semiconductor device
US9269822B2 (en) 2013-09-12 2016-02-23 Semiconductor Energy Laboratory Co., Ltd. Semiconductor device and method for manufacturing semiconductor device
JP6224433B2 (en) * 2013-11-20 2017-11-01 花王株式会社 Absorbent articles
JP6652342B2 (en) * 2014-08-08 2020-02-19 株式会社半導体エネルギー研究所 Semiconductor device
KR20160034200A (en) * 2014-09-19 2016-03-29 가부시키가이샤 한도오따이 에네루기 켄큐쇼 Method for manufacturing semiconductor device
JP6700656B2 (en) * 2014-10-31 2020-05-27 キヤノン株式会社 Imaging device
TWI691088B (en) * 2014-11-21 2020-04-11 日商半導體能源研究所股份有限公司 Semiconductor device

Patent Citations (1)

* Cited by examiner, † Cited by third party
Publication number Priority date Publication date Assignee Title
US20020196665A1 (en) * 2001-04-25 2002-12-26 Samsung Electronics Co., Ltd. Non-volatile memory device

Also Published As

Publication number Publication date
TW201631778A (en) 2016-09-01
TW202027282A (en) 2020-07-16
JP2022008859A (en) 2022-01-14
KR102264974B1 (en) 2021-06-16
US20160149045A1 (en) 2016-05-26
KR102757576B1 (en) 2025-01-22
TWI841974B (en) 2024-05-11
JP2023017895A (en) 2023-02-07
TWI699897B (en) 2020-07-21
KR20240036540A (en) 2024-03-20
KR20230047993A (en) 2023-04-10
KR20160061262A (en) 2016-05-31
US9590115B2 (en) 2017-03-07
KR102401610B1 (en) 2022-05-25
JP7793826B2 (en) 2026-01-05
JP2016105469A (en) 2016-06-09
TW202107717A (en) 2021-02-16
KR102648488B1 (en) 2024-03-19
KR102362356B1 (en) 2022-02-15
JP7482969B2 (en) 2024-05-14
JP7171869B2 (en) 2022-11-15
JP6675862B2 (en) 2020-04-08
JP2020115545A (en) 2020-07-30
KR20250011999A (en) 2025-01-22
TW202236688A (en) 2022-09-16
KR102519233B1 (en) 2023-04-10
JP6956820B2 (en) 2021-11-02
KR20210071897A (en) 2021-06-16
KR20220068212A (en) 2022-05-25
TWI766298B (en) 2022-06-01
JP2024105377A (en) 2024-08-06
JP2025065305A (en) 2025-04-17
JP7631596B2 (en) 2025-02-18
KR20200131204A (en) 2020-11-23

Similar Documents

Publication Publication Date Title
TWI691088B (en) Semiconductor device
TWI721409B (en) Semiconductor device
KR102890593B1 (en) Semiconductor device and electronic device
TW201626550A (en) Semiconductor device and electronic device
JP6717596B2 (en) Semiconductor device

Legal Events

Date Code Title Description
MM4A Annulment or lapse of patent due to non-payment of fees