JP5702689B2 - 半導体装置の駆動方法、及び半導体装置 - Google Patents
半導体装置の駆動方法、及び半導体装置 Download PDFInfo
- Publication number
- JP5702689B2 JP5702689B2 JP2011184333A JP2011184333A JP5702689B2 JP 5702689 B2 JP5702689 B2 JP 5702689B2 JP 2011184333 A JP2011184333 A JP 2011184333A JP 2011184333 A JP2011184333 A JP 2011184333A JP 5702689 B2 JP5702689 B2 JP 5702689B2
- Authority
- JP
- Japan
- Prior art keywords
- transistor
- potential
- oxide
- layer
- oxide semiconductor
- Prior art date
- Legal status (The legal status is an assumption and is not a legal conclusion. Google has not performed a legal analysis and makes no representation as to the accuracy of the status listed.)
- Expired - Fee Related
Links
Images
Classifications
-
- G—PHYSICS
- G11—INFORMATION STORAGE
- G11C—STATIC STORES
- G11C11/00—Digital stores characterised by the use of particular electric or magnetic storage elements; Storage elements therefor
- G11C11/56—Digital stores characterised by the use of particular electric or magnetic storage elements; Storage elements therefor using storage elements with more than two stable states represented by steps, e.g. of voltage, current, phase, frequency
- G11C11/5621—Digital stores characterised by the use of particular electric or magnetic storage elements; Storage elements therefor using storage elements with more than two stable states represented by steps, e.g. of voltage, current, phase, frequency using charge storage in a floating gate
- G11C11/5628—Programming or writing circuits; Data input circuits
-
- G—PHYSICS
- G11—INFORMATION STORAGE
- G11C—STATIC STORES
- G11C11/00—Digital stores characterised by the use of particular electric or magnetic storage elements; Storage elements therefor
- G11C11/21—Digital stores characterised by the use of particular electric or magnetic storage elements; Storage elements therefor using electric elements
- G11C11/34—Digital stores characterised by the use of particular electric or magnetic storage elements; Storage elements therefor using electric elements using semiconductor devices
- G11C11/40—Digital stores characterised by the use of particular electric or magnetic storage elements; Storage elements therefor using electric elements using semiconductor devices using transistors
- G11C11/401—Digital stores characterised by the use of particular electric or magnetic storage elements; Storage elements therefor using electric elements using semiconductor devices using transistors forming cells needing refreshing or charge regeneration, i.e. dynamic cells
- G11C11/403—Digital stores characterised by the use of particular electric or magnetic storage elements; Storage elements therefor using electric elements using semiconductor devices using transistors forming cells needing refreshing or charge regeneration, i.e. dynamic cells with charge regeneration common to a multiplicity of memory cells, i.e. external refresh
- G11C11/404—Digital stores characterised by the use of particular electric or magnetic storage elements; Storage elements therefor using electric elements using semiconductor devices using transistors forming cells needing refreshing or charge regeneration, i.e. dynamic cells with charge regeneration common to a multiplicity of memory cells, i.e. external refresh with one charge-transfer gate, e.g. MOS transistor, per cell
-
- G—PHYSICS
- G11—INFORMATION STORAGE
- G11C—STATIC STORES
- G11C11/00—Digital stores characterised by the use of particular electric or magnetic storage elements; Storage elements therefor
- G11C11/21—Digital stores characterised by the use of particular electric or magnetic storage elements; Storage elements therefor using electric elements
- G11C11/34—Digital stores characterised by the use of particular electric or magnetic storage elements; Storage elements therefor using electric elements using semiconductor devices
- G11C11/40—Digital stores characterised by the use of particular electric or magnetic storage elements; Storage elements therefor using electric elements using semiconductor devices using transistors
- G11C11/401—Digital stores characterised by the use of particular electric or magnetic storage elements; Storage elements therefor using electric elements using semiconductor devices using transistors forming cells needing refreshing or charge regeneration, i.e. dynamic cells
- G11C11/4063—Auxiliary circuits, e.g. for addressing, decoding, driving, writing, sensing or timing
- G11C11/407—Auxiliary circuits, e.g. for addressing, decoding, driving, writing, sensing or timing for memory cells of the field-effect type
- G11C11/4074—Power supply or voltage generation circuits, e.g. bias voltage generators, substrate voltage generators, back-up power, power control circuits
-
- G—PHYSICS
- G11—INFORMATION STORAGE
- G11C—STATIC STORES
- G11C11/00—Digital stores characterised by the use of particular electric or magnetic storage elements; Storage elements therefor
- G11C11/21—Digital stores characterised by the use of particular electric or magnetic storage elements; Storage elements therefor using electric elements
- G11C11/34—Digital stores characterised by the use of particular electric or magnetic storage elements; Storage elements therefor using electric elements using semiconductor devices
- G11C11/40—Digital stores characterised by the use of particular electric or magnetic storage elements; Storage elements therefor using electric elements using semiconductor devices using transistors
- G11C11/401—Digital stores characterised by the use of particular electric or magnetic storage elements; Storage elements therefor using electric elements using semiconductor devices using transistors forming cells needing refreshing or charge regeneration, i.e. dynamic cells
- G11C11/4063—Auxiliary circuits, e.g. for addressing, decoding, driving, writing, sensing or timing
- G11C11/407—Auxiliary circuits, e.g. for addressing, decoding, driving, writing, sensing or timing for memory cells of the field-effect type
- G11C11/409—Read-write [R-W] circuits
- G11C11/4094—Bit-line management or control circuits
-
- G—PHYSICS
- G11—INFORMATION STORAGE
- G11C—STATIC STORES
- G11C11/00—Digital stores characterised by the use of particular electric or magnetic storage elements; Storage elements therefor
- G11C11/56—Digital stores characterised by the use of particular electric or magnetic storage elements; Storage elements therefor using storage elements with more than two stable states represented by steps, e.g. of voltage, current, phase, frequency
- G11C11/565—Digital stores characterised by the use of particular electric or magnetic storage elements; Storage elements therefor using storage elements with more than two stable states represented by steps, e.g. of voltage, current, phase, frequency using capacitive charge storage elements
-
- G—PHYSICS
- G11—INFORMATION STORAGE
- G11C—STATIC STORES
- G11C16/00—Erasable programmable read-only memories
- G11C16/02—Erasable programmable read-only memories electrically programmable
- G11C16/06—Auxiliary circuits, e.g. for writing into memory
- G11C16/10—Programming or data input circuits
-
- G—PHYSICS
- G11—INFORMATION STORAGE
- G11C—STATIC STORES
- G11C16/00—Erasable programmable read-only memories
- G11C16/02—Erasable programmable read-only memories electrically programmable
- G11C16/06—Auxiliary circuits, e.g. for writing into memory
- G11C16/10—Programming or data input circuits
- G11C16/12—Programming voltage switching circuits
-
- G—PHYSICS
- G11—INFORMATION STORAGE
- G11C—STATIC STORES
- G11C16/00—Erasable programmable read-only memories
- G11C16/02—Erasable programmable read-only memories electrically programmable
- G11C16/06—Auxiliary circuits, e.g. for writing into memory
- G11C16/30—Power supply circuits
-
- G—PHYSICS
- G11—INFORMATION STORAGE
- G11C—STATIC STORES
- G11C16/00—Erasable programmable read-only memories
- G11C16/02—Erasable programmable read-only memories electrically programmable
- G11C16/06—Auxiliary circuits, e.g. for writing into memory
- G11C16/34—Determination of programming status, e.g. threshold voltage, overprogramming or underprogramming, retention
- G11C16/3436—Arrangements for verifying correct programming or erasure
- G11C16/3468—Prevention of overerasure or overprogramming, e.g. by verifying whilst erasing or writing
- G11C16/3481—Circuits or methods to verify correct programming of nonvolatile memory cells whilst programming is in progress, e.g. by detecting onset or cessation of current flow in cells and using the detector output to terminate programming
-
- G—PHYSICS
- G11—INFORMATION STORAGE
- G11C—STATIC STORES
- G11C16/00—Erasable programmable read-only memories
- G11C16/02—Erasable programmable read-only memories electrically programmable
- G11C16/06—Auxiliary circuits, e.g. for writing into memory
- G11C16/34—Determination of programming status, e.g. threshold voltage, overprogramming or underprogramming, retention
- G11C16/3436—Arrangements for verifying correct programming or erasure
- G11C16/3468—Prevention of overerasure or overprogramming, e.g. by verifying whilst erasing or writing
- G11C16/3486—Circuits or methods to prevent overprogramming of nonvolatile memory cells, e.g. by detecting onset or cessation of current flow in cells and using the detector output to terminate programming
-
- H—ELECTRICITY
- H10—SEMICONDUCTOR DEVICES; ELECTRIC SOLID-STATE DEVICES NOT OTHERWISE PROVIDED FOR
- H10B—ELECTRONIC MEMORY DEVICES
- H10B41/00—Electrically erasable-and-programmable ROM [EEPROM] devices comprising floating gates
- H10B41/70—Electrically erasable-and-programmable ROM [EEPROM] devices comprising floating gates the floating gate being an electrode shared by two or more components
-
- H—ELECTRICITY
- H10—SEMICONDUCTOR DEVICES; ELECTRIC SOLID-STATE DEVICES NOT OTHERWISE PROVIDED FOR
- H10D—INORGANIC ELECTRIC SEMICONDUCTOR DEVICES
- H10D87/00—Integrated devices comprising both bulk components and either SOI or SOS components on the same substrate
-
- G—PHYSICS
- G11—INFORMATION STORAGE
- G11C—STATIC STORES
- G11C16/00—Erasable programmable read-only memories
- G11C16/02—Erasable programmable read-only memories electrically programmable
- G11C16/04—Erasable programmable read-only memories electrically programmable using variable threshold transistors, e.g. FAMOS
- G11C16/0408—Erasable programmable read-only memories electrically programmable using variable threshold transistors, e.g. FAMOS comprising cells containing floating gate transistors
- G11C16/0433—Erasable programmable read-only memories electrically programmable using variable threshold transistors, e.g. FAMOS comprising cells containing floating gate transistors comprising cells containing a single floating gate transistor and one or more separate select transistors
Landscapes
- Engineering & Computer Science (AREA)
- Computer Hardware Design (AREA)
- Microelectronics & Electronic Packaging (AREA)
- Thin Film Transistor (AREA)
- Semiconductor Memories (AREA)
- Dram (AREA)
- Internal Circuitry In Semiconductor Integrated Circuit Devices (AREA)
- Metal-Oxide And Bipolar Metal-Oxide Semiconductor Integrated Circuits (AREA)
- Recrystallisation Techniques (AREA)
- Physical Vapour Deposition (AREA)
- Non-Volatile Memory (AREA)
Description
本実施の形態では、開示する発明の一態様に係る半導体装置の回路構成およびその駆動方法について、図1乃至図4を参照して説明する。なお、回路図においては、酸化物半導体を用いたトランジスタであることを示すために、OSの符号を併せて付す場合がある。
はじめに、基本的な回路構成およびその駆動方法について、図1を参照して説明する。図1(A)に示す半導体装置の回路構成は、一つのメモリセルが、半導体材料を含む基板に設けられた第1のトランジスタ201と、酸化物半導体層を含んで構成された第2のトランジスタ202と、容量素子203と、により構成されている。また、第1のトランジスタ201は、第1のワード線(WL_1)に電気的に接続された第1のゲート端子と、第1のビット線(BL_1)に電気的に接続された第1のソース端子と、ソース線に電気的に接続された第1のドレイン端子により形成され、第2のトランジスタ202は、第1の酸化物半導体用ワード線(WL_OS1)に電気的に接続された第2のゲート端子と、第1の酸化物半導体用ビット線(BL_OS1)に電気的に接続された第2のソース端子と、第1のトランジスタ201の第1のゲート端子及び、第1の酸化物半導体用線に電気的に接続された第2のドレイン端子により形成され、第1のトランジスタ201の第1のゲート端子と第1のワード線の間には、容量素子203が電気的に接続されている。
図1(A)に示す回路構成では、第1のトランジスタ201の第1のゲート端子の電位が保持可能という特徴を生かすことで、次のように、情報の書き込み、保持、読み出しが可能である。
次に、図1(A)に示す半導体装置の回路構成の駆動方法1と異なる駆動方法について、図1(B)を用いて説明する。
次に、図1に示す回路を応用したより具体的な回路構成及び駆動方法について、図2乃至図5を参照して説明する。
図2は、NOR型の回路構成のメモリ(1bit/cell)の一例を示す。図2に示す回路構成は、設定電位の信号を送る設定電位回路250(Reference Bias)と、ワード線のアドレスを選択/制御するワード線選択回路251(Row Decoder)と、ビット線のアドレスを選択/制御するビット線選択回路252(Column Decoder)と、情報を格納するメモリセルアレイ253と、設定電位とメモリセルアレイ253との電位を比較する電位比較回路254(センスアンプともいう)と、制御と確認を可能とする制御回路259により形成されている。
(実施の形態3)
次に、図2に示した回路構成と異なる回路構成及び駆動方法について、図6及び図7を参照して説明する。
図2と図6の相違点は、図2に示した回路構成は1bit/cellであったのに対し、図6に示す回路構成は2bit/cellのメモリ回路となる。
本実施の形態では、開示する発明の一態様に係る半導体装置の構成およびその作製方法について、図8乃至図10を参照して説明する。
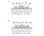
図8は、図1に示すメモリセルアレイ240または図2に示すメモリセルアレイ253、図6に示すメモリセルアレイ353に対応する半導体装置の構成の一例である。図8(A)には、半導体装置の断面を、図8(B)には、半導体装置の平面を、それぞれ示す。ここで、図8(A)は、図8(B)のA1−A2における断面に相当する。なお、図8(B)では、煩雑になることを避けるため、当該半導体装置の構成要素の一部(絶縁層154、絶縁層172、配線171、及び配線158)を省略している。図8(A)および図8(B)に示される半導体装置は、下部に第1の半導体材料を用いた第1のトランジスタ160を有し、上部に第2の半導体材料を用いた第2のトランジスタ162、及び容量素子164を有するものである。
次に、ゲート電極110、電極126、絶縁層128などの上に導電層を形成し、該導電層を選択的にエッチングして、ソース電極142a、ドレイン電極142bを形成する(図11(A)参照)。
本実施の形態では、本明細書に開示する半導体装置に適用できるトランジスタの例を示す。本明細書に開示する半導体装置に適用できるトランジスタの構造は特に限定されず、例えばトップゲート構造、又はボトムゲート構造のスタガ型及びプレーナ型などを用いることができる。また、トランジスタはチャネル形成領域が一つ形成されるシングルゲート構造でも、2つ形成されるダブルゲート構造もしくは3つ形成されるトリプルゲート構造であっても良い。また、チャネル領域の上下にゲート絶縁層を介して配置された2つのゲート電極層を有する、デュアルゲート型でもよい。
上記実施の形態1乃至5において、トランジスタの半導体層に用いることのできる酸化物半導体層の一形態を、図15を用いて説明する。
本実施の形態では、上述の実施の形態で説明した半導体装置を電子機器に適用する場合について、図16を用いて説明する。本実施の形態では、コンピュータ、携帯電話機(携帯電話、携帯電話装置ともいう)、携帯情報端末(携帯型ゲーム機、音響再生装置なども含む)、デジタルカメラ、デジタルビデオカメラ、電子ペーパー、テレビジョン装置(テレビ、またはテレビジョン受信機ともいう)などの電子機器に、上述の半導体装置の駆動方法を適用する場合について説明する。
102 保護層
104 半導体領域
106 素子分離絶縁層
108 ゲート絶縁層
110 ゲート電極
116 チャネル形成領域
120 不純物領域
120a 不純物領域
120b 不純物領域
122 金属層
124 金属化合物領域
124a 金属化合物領域
124b 金属化合物領域
126 電極
128 絶縁層
140 絶縁層
142a ソース電極
142b ドレイン電極
144 酸化物半導体層
146 ゲート絶縁層
148 ゲート電極
150 絶縁層
152 電極
154 絶縁層
156 電極
158 配線
160 トランジスタ
162 トランジスタ
164 容量素子
170 電極
171 配線
172 絶縁層
201 トランジスタ
202 トランジスタ
203 容量素子
211 トランジスタ
212 トランジスタ
213 容量素子
214 ビット線
215 酸化物半導体用ビット線
216 酸化物半導体用ワード線
217 ワード線
240 メモリセルアレイ
250 設定電位回路
251 ワード線選択回路
252 ビット線選択回路
253 メモリセルアレイ
254 電位比較回路
255 出力
256 ラッチ回路
257 電位制御回路
258 状態遷移回路
259 制御回路
301 設定電位
302 抵抗
303 抵抗
304 スイッチ
305 レギュレータ回路
306 カウンタ回路
307 電位比較器
308 トランジスタ
311 トランジスタ
312 トランジスタ
313 容量素子
314 ビット線
315 酸化物半導体用ビット線
316 酸化物半導体用ワード線
317 ワード線
350 設定電位回路
351 ワード線選択回路
352 ビット線選択回路
353 メモリセルアレイ
354a 電位比較回路
354b 電位比較回路
354c 電位比較回路
355 出力
356 ラッチ回路
357 電位制御回路
358 状態遷移回路
359 制御回路
360 設定電位回路
370 設定電位回路
400 絶縁層
401 ゲート電極層
402 ゲート絶縁層
403 酸化物半導体層
404a 酸化物導電層
404b 酸化物導電層
405a ソース電極層
405b ドレイン電極層
407 絶縁層
409 絶縁層
410 トランジスタ
420 トランジスタ
427 絶縁層
430 トランジスタ
436a 配線層
436b 配線層
437 絶縁層
440 トランジスタ
441 トランジスタ
442 トランジスタ
450a 結晶性酸化物半導体層
450b 結晶性酸化物半導体層
453 酸化物半導体層
701 筐体
702 筐体
703 表示部
704 キーボード
711 本体
712 スタイラス
713 表示部
714 操作ボタン
715 外部インターフェイス
720 電子書籍
721 筐体
723 筐体
725 表示部
727 表示部
731 電源
733 操作キー
735 スピーカー
737 軸部
740 筐体
741 筐体
742 表示パネル
743 スピーカー
744 マイクロフォン
745 操作キー
746 ポインティングデバイス
747 カメラ用レンズ
748 外部接続端子
749 太陽電池セル
750 外部メモリスロット
761 本体
763 接眼部
764 操作スイッチ
765 表示部
766 バッテリー
767 表示部
770 テレビジョン装置
771 筐体
773 表示部
775 スタンド
780 リモコン操作機
Claims (5)
- 第1のトランジスタと、
第2のトランジスタと、
容量素子とを有し、
前記第1のトランジスタのチャネル形成領域は、半導体材料を有し、
前記第2のトランジスタのチャネル形成領域は、酸化物半導体材料を有し、
前記第1のトランジスタのゲートは、前記第2のトランジスタのソース又はドレインの一方と電気的に接続され、
前記第1のトランジスタのソース又はドレインの一方は、第1のビット線と電気的に接続され、
前記第2のトランジスタのゲートは、第1のワード線と電気的に接続され、
前記第2のトランジスタのソース又はドレインの他方は、第2のビット線と電気的に接続され、
前記容量素子の一方の電極は、前記第1のトランジスタのゲートと電気的に接続され、
前記容量素子の他方の電極は、第2のワード線と電気的に接続されている半導体装置の駆動方法であって、
書き込み期間では、
前記第2のトランジスタをオンとして、前記第2のビット線に段階的な電位を与え、
前記第1のトランジスタのソース又はドレインの他方の電位を用いて、前記第1のトランジスタに流れる電流を読み取り、
前記第1のトランジスタに流れる電流が設定値を満たすまで、前記第2のビット線に段階的な電位を与え続けることを特徴とする半導体装置の駆動方法。 - 第1のトランジスタと、
第2のトランジスタと、
容量素子とを有し、
前記第1のトランジスタのチャネル形成領域は、半導体材料を有し、
前記第2のトランジスタのチャネル形成領域は、酸化物半導体材料を有し、
前記第1のトランジスタのゲートは、前記第2のトランジスタのソース又はドレインの一方と電気的に接続され、
前記第1のトランジスタのソース又はドレインの一方は、第1のビット線と電気的に接続され、
前記第2のトランジスタのゲートは、第1のワード線と電気的に接続され、
前記第2のトランジスタのソース又はドレインの他方は、第2のビット線と電気的に接続され、
前記容量素子の一方の電極は、前記第1のトランジスタのゲートと電気的に接続され、
前記容量素子の他方の電極は、第2のワード線と電気的に接続されている半導体装置の駆動方法であって、
書き込み期間では、
前記第2のトランジスタをオンとして、前記第2のビット線に段階的な電位を与え、
前記第1のトランジスタのソース又はドレインの他方の電位を用いて、前記第1のトランジスタに流れる電流を読み取り、
前記第1のトランジスタに流れる電流が設定値を満たすまで、前記第2のビット線に段階的な電位を与え続け、
保持期間では、
前記第1のワード線への電位の供給を停止して、前記第1のトランジスタのゲートの電位を保持することを特徴とする半導体装置の駆動方法。 - 請求項1又は請求項2において、
前記段階的な電位は、第1の電位と、前記第1の電位より高い第2の電位とを有することを特徴とする半導体装置の駆動方法。 - 第1のトランジスタと、
第2のトランジスタと、
容量素子とを有し、
前記第1のトランジスタのチャネル形成領域は、半導体材料を有し、
前記第2のトランジスタのチャネル形成領域は、酸化物半導体材料を有し、
前記第1のトランジスタのゲートは、前記第2のトランジスタのソース又はドレインの一方と電気的に接続され、
前記第1のトランジスタのソース又はドレインの一方は、第1のビット線と電気的に接続され、
前記第2のトランジスタのゲートは、第1のワード線と電気的に接続され、
前記第2のトランジスタのソース又はドレインの他方は、第2のビット線と電気的に接続され、
前記容量素子の一方の電極は、前記第1のトランジスタのゲートと電気的に接続され、
前記容量素子の他方の電極は、第2のワード線と電気的に接続され、
前記第2のビット線は、段階的な電位が与えられる機能を有することを特徴とする半導体装置。 - 第1のトランジスタと、
第2のトランジスタと、
容量素子とを有し、
前記第1のトランジスタのチャネル形成領域は、半導体材料を有し、
前記第2のトランジスタのチャネル形成領域は、酸化物半導体材料を有し、
前記第1のトランジスタのゲートは、前記第2のトランジスタのソース又はドレインの一方と電気的に接続され、
前記第1のトランジスタのソース又はドレインの一方は、第1のビット線と電気的に接続され、
前記第2のトランジスタのゲートは、第1のワード線と電気的に接続され、
前記第2のトランジスタのソース又はドレインの他方は、第2のビット線と電気的に接続され、
前記容量素子の一方の電極は、前記第1のトランジスタのゲートと電気的に接続され、
前記容量素子の他方の電極は、第2のワード線と電気的に接続され、
前記第2のビット線は、段階的な電位が与えられる機能を有し、
前記第2のトランジスタがオンとなっているとき、前記第2のビット線の電位に基づき、前記第1のトランジスタに流れる電流を読み取る手段を有することを特徴とする半導体装置。
Priority Applications (1)
| Application Number | Priority Date | Filing Date | Title |
|---|---|---|---|
| JP2011184333A JP5702689B2 (ja) | 2010-08-31 | 2011-08-26 | 半導体装置の駆動方法、及び半導体装置 |
Applications Claiming Priority (3)
| Application Number | Priority Date | Filing Date | Title |
|---|---|---|---|
| JP2010194501 | 2010-08-31 | ||
| JP2010194501 | 2010-08-31 | ||
| JP2011184333A JP5702689B2 (ja) | 2010-08-31 | 2011-08-26 | 半導体装置の駆動方法、及び半導体装置 |
Related Child Applications (1)
| Application Number | Title | Priority Date | Filing Date |
|---|---|---|---|
| JP2015031357A Division JP6042469B2 (ja) | 2010-08-31 | 2015-02-20 | 半導体装置 |
Publications (3)
| Publication Number | Publication Date |
|---|---|
| JP2012074125A JP2012074125A (ja) | 2012-04-12 |
| JP2012074125A5 JP2012074125A5 (ja) | 2014-07-31 |
| JP5702689B2 true JP5702689B2 (ja) | 2015-04-15 |
Family
ID=45697093
Family Applications (3)
| Application Number | Title | Priority Date | Filing Date |
|---|---|---|---|
| JP2011184333A Expired - Fee Related JP5702689B2 (ja) | 2010-08-31 | 2011-08-26 | 半導体装置の駆動方法、及び半導体装置 |
| JP2015031357A Expired - Fee Related JP6042469B2 (ja) | 2010-08-31 | 2015-02-20 | 半導体装置 |
| JP2016218635A Expired - Fee Related JP6329232B2 (ja) | 2010-08-31 | 2016-11-09 | 半導体装置 |
Family Applications After (2)
| Application Number | Title | Priority Date | Filing Date |
|---|---|---|---|
| JP2015031357A Expired - Fee Related JP6042469B2 (ja) | 2010-08-31 | 2015-02-20 | 半導体装置 |
| JP2016218635A Expired - Fee Related JP6329232B2 (ja) | 2010-08-31 | 2016-11-09 | 半導体装置 |
Country Status (2)
| Country | Link |
|---|---|
| US (1) | US8593858B2 (ja) |
| JP (3) | JP5702689B2 (ja) |
Families Citing this family (14)
| Publication number | Priority date | Publication date | Assignee | Title |
|---|---|---|---|---|
| JP5702689B2 (ja) * | 2010-08-31 | 2015-04-15 | 株式会社半導体エネルギー研究所 | 半導体装置の駆動方法、及び半導体装置 |
| US8686415B2 (en) * | 2010-12-17 | 2014-04-01 | Semiconductor Energy Laboratory Co., Ltd. | Semiconductor device |
| US8848464B2 (en) * | 2011-04-29 | 2014-09-30 | Semiconductor Energy Laboratory Co., Ltd. | Semiconductor device and method of driving semiconductor device |
| US9230683B2 (en) * | 2012-04-25 | 2016-01-05 | Semiconductor Energy Laboratory Co., Ltd. | Semiconductor device and driving method thereof |
| JP2014032999A (ja) | 2012-08-01 | 2014-02-20 | Panasonic Liquid Crystal Display Co Ltd | 薄膜トランジスタ及びその製造方法 |
| US9885108B2 (en) | 2012-08-07 | 2018-02-06 | Semiconductor Energy Laboratory Co., Ltd. | Method for forming sputtering target |
| JP5951442B2 (ja) * | 2012-10-17 | 2016-07-13 | 株式会社半導体エネルギー研究所 | 半導体装置 |
| TWI618058B (zh) * | 2013-05-16 | 2018-03-11 | 半導體能源研究所股份有限公司 | 半導體裝置 |
| JP6560508B2 (ja) * | 2014-03-13 | 2019-08-14 | 株式会社半導体エネルギー研究所 | 半導体装置 |
| JP6538426B2 (ja) * | 2014-05-30 | 2019-07-03 | 株式会社半導体エネルギー研究所 | 半導体装置及び電子機器 |
| JP6190920B2 (ja) * | 2016-06-08 | 2017-08-30 | パナソニック液晶ディスプレイ株式会社 | 薄膜トランジスタ |
| US20180358085A1 (en) * | 2016-08-25 | 2018-12-13 | SK Hynix Inc. | Semiconductor memory apparatus and operating method thereof |
| JP7242285B2 (ja) * | 2018-12-19 | 2023-03-20 | キオクシア株式会社 | 半導体装置 |
| KR20220063448A (ko) * | 2020-11-10 | 2022-05-17 | 엘지디스플레이 주식회사 | 표시장치 |
Family Cites Families (122)
| Publication number | Priority date | Publication date | Assignee | Title |
|---|---|---|---|---|
| EP0053878B1 (en) | 1980-12-08 | 1985-08-14 | Kabushiki Kaisha Toshiba | Semiconductor memory device |
| JPH01159895A (ja) * | 1987-12-17 | 1989-06-22 | Sharp Corp | 電気的に書き込み可能な不揮発性メモリに於けるデータ書き込み方法 |
| JPH05198169A (ja) * | 1991-05-28 | 1993-08-06 | Chan Kimu Won | ダイナミックランダムアクセスメモリ及びその作動方 法 |
| JP2775040B2 (ja) | 1991-10-29 | 1998-07-09 | 株式会社 半導体エネルギー研究所 | 電気光学表示装置およびその駆動方法 |
| KR940001151A (ko) * | 1992-06-04 | 1994-01-10 | 이헌일 | 다가 정보 저장회로 및 방법 |
| DE69635107D1 (de) | 1995-08-03 | 2005-09-29 | Koninkl Philips Electronics Nv | Halbleiteranordnung mit einem transparenten schaltungselement |
| JP3625598B2 (ja) | 1995-12-30 | 2005-03-02 | 三星電子株式会社 | 液晶表示装置の製造方法 |
| JP4103968B2 (ja) | 1996-09-18 | 2008-06-18 | 株式会社半導体エネルギー研究所 | 絶縁ゲイト型半導体装置 |
| JP3611280B2 (ja) | 1997-09-30 | 2005-01-19 | シャープ株式会社 | 不揮発性半導体記憶装置 |
| JP4170454B2 (ja) | 1998-07-24 | 2008-10-22 | Hoya株式会社 | 透明導電性酸化物薄膜を有する物品及びその製造方法 |
| JP2000150861A (ja) | 1998-11-16 | 2000-05-30 | Tdk Corp | 酸化物薄膜 |
| JP3276930B2 (ja) | 1998-11-17 | 2002-04-22 | 科学技術振興事業団 | トランジスタ及び半導体装置 |
| JP3955409B2 (ja) * | 1999-03-17 | 2007-08-08 | 株式会社ルネサステクノロジ | 半導体記憶装置 |
| TW460731B (en) | 1999-09-03 | 2001-10-21 | Ind Tech Res Inst | Electrode structure and production method of wide viewing angle LCD |
| JP2001351386A (ja) * | 2000-06-07 | 2001-12-21 | Sony Corp | 半導体記憶装置およびその動作方法 |
| JP4089858B2 (ja) | 2000-09-01 | 2008-05-28 | 国立大学法人東北大学 | 半導体デバイス |
| JP2002133876A (ja) * | 2000-10-23 | 2002-05-10 | Hitachi Ltd | 半導体記憶装置 |
| KR20020038482A (ko) | 2000-11-15 | 2002-05-23 | 모리시타 요이찌 | 박막 트랜지스터 어레이, 그 제조방법 및 그것을 이용한표시패널 |
| JP3997731B2 (ja) | 2001-03-19 | 2007-10-24 | 富士ゼロックス株式会社 | 基材上に結晶性半導体薄膜を形成する方法 |
| JP2002289859A (ja) | 2001-03-23 | 2002-10-04 | Minolta Co Ltd | 薄膜トランジスタ |
| JP2002368226A (ja) * | 2001-06-11 | 2002-12-20 | Sharp Corp | 半導体装置、半導体記憶装置及びその製造方法、並びに携帯情報機器 |
| JP3925839B2 (ja) | 2001-09-10 | 2007-06-06 | シャープ株式会社 | 半導体記憶装置およびその試験方法 |
| JP4090716B2 (ja) | 2001-09-10 | 2008-05-28 | 雅司 川崎 | 薄膜トランジスタおよびマトリクス表示装置 |
| WO2003040441A1 (fr) | 2001-11-05 | 2003-05-15 | Japan Science And Technology Agency | Film mince monocristallin homologue a super-reseau naturel, procede de preparation et dispositif dans lequel est utilise ledit film mince monocristallin |
| JP4164562B2 (ja) | 2002-09-11 | 2008-10-15 | 独立行政法人科学技術振興機構 | ホモロガス薄膜を活性層として用いる透明薄膜電界効果型トランジスタ |
| JP4083486B2 (ja) | 2002-02-21 | 2008-04-30 | 独立行政法人科学技術振興機構 | LnCuO(S,Se,Te)単結晶薄膜の製造方法 |
| CN1445821A (zh) | 2002-03-15 | 2003-10-01 | 三洋电机株式会社 | ZnO膜和ZnO半导体层的形成方法、半导体元件及其制造方法 |
| JP3933591B2 (ja) | 2002-03-26 | 2007-06-20 | 淳二 城戸 | 有機エレクトロルミネッセント素子 |
| US7339187B2 (en) | 2002-05-21 | 2008-03-04 | State Of Oregon Acting By And Through The Oregon State Board Of Higher Education On Behalf Of Oregon State University | Transistor structures |
| JP2004022625A (ja) | 2002-06-13 | 2004-01-22 | Murata Mfg Co Ltd | 半導体デバイス及び該半導体デバイスの製造方法 |
| US7105868B2 (en) | 2002-06-24 | 2006-09-12 | Cermet, Inc. | High-electron mobility transistor with zinc oxide |
| US7067843B2 (en) | 2002-10-11 | 2006-06-27 | E. I. Du Pont De Nemours And Company | Transparent oxide semiconductor thin film transistors |
| JP4166105B2 (ja) | 2003-03-06 | 2008-10-15 | シャープ株式会社 | 半導体装置およびその製造方法 |
| JP2004273732A (ja) | 2003-03-07 | 2004-09-30 | Sharp Corp | アクティブマトリクス基板およびその製造方法 |
| JP4108633B2 (ja) | 2003-06-20 | 2008-06-25 | シャープ株式会社 | 薄膜トランジスタおよびその製造方法ならびに電子デバイス |
| US7262463B2 (en) | 2003-07-25 | 2007-08-28 | Hewlett-Packard Development Company, L.P. | Transistor including a deposited channel region having a doped portion |
| JP2005063548A (ja) * | 2003-08-11 | 2005-03-10 | Semiconductor Energy Lab Co Ltd | メモリ及びその駆動方法 |
| KR100564577B1 (ko) * | 2003-09-25 | 2006-03-28 | 삼성전자주식회사 | 리셋 상태에서 균일한 저항 범위를 가지는 상 변화 메모리장치 및 방법 |
| US7145174B2 (en) | 2004-03-12 | 2006-12-05 | Hewlett-Packard Development Company, Lp. | Semiconductor device |
| CN102867855B (zh) | 2004-03-12 | 2015-07-15 | 独立行政法人科学技术振兴机构 | 薄膜晶体管及其制造方法 |
| US7282782B2 (en) | 2004-03-12 | 2007-10-16 | Hewlett-Packard Development Company, L.P. | Combined binary oxide semiconductor device |
| US7297977B2 (en) | 2004-03-12 | 2007-11-20 | Hewlett-Packard Development Company, L.P. | Semiconductor device |
| DE602004027844D1 (de) * | 2004-05-03 | 2010-08-05 | Unity Semiconductor Corp | Nichtflüchtiger programmierbarer speicher |
| US7211825B2 (en) | 2004-06-14 | 2007-05-01 | Yi-Chi Shih | Indium oxide-based thin film transistors and circuits |
| US7359709B2 (en) | 2004-06-29 | 2008-04-15 | Qualcomm, Incorporated | Methods and apparatus for inter-BSC soft handoff |
| JP2006100760A (ja) | 2004-09-02 | 2006-04-13 | Casio Comput Co Ltd | 薄膜トランジスタおよびその製造方法 |
| US7285501B2 (en) | 2004-09-17 | 2007-10-23 | Hewlett-Packard Development Company, L.P. | Method of forming a solution processed device |
| US7298084B2 (en) | 2004-11-02 | 2007-11-20 | 3M Innovative Properties Company | Methods and displays utilizing integrated zinc oxide row and column drivers in conjunction with organic light emitting diodes |
| CN101057333B (zh) | 2004-11-10 | 2011-11-16 | 佳能株式会社 | 发光器件 |
| CA2585190A1 (en) | 2004-11-10 | 2006-05-18 | Canon Kabushiki Kaisha | Amorphous oxide and field effect transistor |
| US7791072B2 (en) | 2004-11-10 | 2010-09-07 | Canon Kabushiki Kaisha | Display |
| US7453065B2 (en) | 2004-11-10 | 2008-11-18 | Canon Kabushiki Kaisha | Sensor and image pickup device |
| RU2358355C2 (ru) | 2004-11-10 | 2009-06-10 | Кэнон Кабусики Кайся | Полевой транзистор |
| US7863611B2 (en) | 2004-11-10 | 2011-01-04 | Canon Kabushiki Kaisha | Integrated circuits utilizing amorphous oxides |
| US7829444B2 (en) | 2004-11-10 | 2010-11-09 | Canon Kabushiki Kaisha | Field effect transistor manufacturing method |
| US7579224B2 (en) | 2005-01-21 | 2009-08-25 | Semiconductor Energy Laboratory Co., Ltd. | Method for manufacturing a thin film semiconductor device |
| TWI569441B (zh) | 2005-01-28 | 2017-02-01 | 半導體能源研究所股份有限公司 | 半導體裝置,電子裝置,和半導體裝置的製造方法 |
| TWI505473B (zh) | 2005-01-28 | 2015-10-21 | 半導體能源研究所股份有限公司 | 半導體裝置,電子裝置,和半導體裝置的製造方法 |
| US7858451B2 (en) | 2005-02-03 | 2010-12-28 | Semiconductor Energy Laboratory Co., Ltd. | Electronic device, semiconductor device and manufacturing method thereof |
| US7948171B2 (en) | 2005-02-18 | 2011-05-24 | Semiconductor Energy Laboratory Co., Ltd. | Light emitting device |
| US20060197092A1 (en) | 2005-03-03 | 2006-09-07 | Randy Hoffman | System and method for forming conductive material on a substrate |
| US8681077B2 (en) | 2005-03-18 | 2014-03-25 | Semiconductor Energy Laboratory Co., Ltd. | Semiconductor device, and display device, driving method and electronic apparatus thereof |
| WO2006105077A2 (en) | 2005-03-28 | 2006-10-05 | Massachusetts Institute Of Technology | Low voltage thin film transistor with high-k dielectric material |
| US7645478B2 (en) | 2005-03-31 | 2010-01-12 | 3M Innovative Properties Company | Methods of making displays |
| JP4849817B2 (ja) * | 2005-04-08 | 2012-01-11 | ルネサスエレクトロニクス株式会社 | 半導体記憶装置 |
| US8300031B2 (en) | 2005-04-20 | 2012-10-30 | Semiconductor Energy Laboratory Co., Ltd. | Semiconductor device comprising transistor having gate and drain connected through a current-voltage conversion element |
| JP2006344849A (ja) | 2005-06-10 | 2006-12-21 | Casio Comput Co Ltd | 薄膜トランジスタ |
| US7691666B2 (en) | 2005-06-16 | 2010-04-06 | Eastman Kodak Company | Methods of making thin film transistors comprising zinc-oxide-based semiconductor materials and transistors made thereby |
| US7402506B2 (en) | 2005-06-16 | 2008-07-22 | Eastman Kodak Company | Methods of making thin film transistors comprising zinc-oxide-based semiconductor materials and transistors made thereby |
| US7507618B2 (en) | 2005-06-27 | 2009-03-24 | 3M Innovative Properties Company | Method for making electronic devices using metal oxide nanoparticles |
| KR100711890B1 (ko) | 2005-07-28 | 2007-04-25 | 삼성에스디아이 주식회사 | 유기 발광표시장치 및 그의 제조방법 |
| JP2007059128A (ja) | 2005-08-23 | 2007-03-08 | Canon Inc | 有機el表示装置およびその製造方法 |
| JP4280736B2 (ja) | 2005-09-06 | 2009-06-17 | キヤノン株式会社 | 半導体素子 |
| JP5116225B2 (ja) | 2005-09-06 | 2013-01-09 | キヤノン株式会社 | 酸化物半導体デバイスの製造方法 |
| JP2007073705A (ja) | 2005-09-06 | 2007-03-22 | Canon Inc | 酸化物半導体チャネル薄膜トランジスタおよびその製造方法 |
| JP4850457B2 (ja) | 2005-09-06 | 2012-01-11 | キヤノン株式会社 | 薄膜トランジスタ及び薄膜ダイオード |
| EP1998373A3 (en) | 2005-09-29 | 2012-10-31 | Semiconductor Energy Laboratory Co, Ltd. | Semiconductor device having oxide semiconductor layer and manufacturing method thereof |
| JP5037808B2 (ja) | 2005-10-20 | 2012-10-03 | キヤノン株式会社 | アモルファス酸化物を用いた電界効果型トランジスタ、及び該トランジスタを用いた表示装置 |
| KR20090130089A (ko) | 2005-11-15 | 2009-12-17 | 가부시키가이샤 한도오따이 에네루기 켄큐쇼 | 다이오드 및 액티브 매트릭스 표시장치 |
| TWI292281B (en) | 2005-12-29 | 2008-01-01 | Ind Tech Res Inst | Pixel structure of active organic light emitting diode and method of fabricating the same |
| US7867636B2 (en) | 2006-01-11 | 2011-01-11 | Murata Manufacturing Co., Ltd. | Transparent conductive film and method for manufacturing the same |
| JP4977478B2 (ja) | 2006-01-21 | 2012-07-18 | 三星電子株式会社 | ZnOフィルム及びこれを用いたTFTの製造方法 |
| US7576394B2 (en) | 2006-02-02 | 2009-08-18 | Kochi Industrial Promotion Center | Thin film transistor including low resistance conductive thin films and manufacturing method thereof |
| US7977169B2 (en) | 2006-02-15 | 2011-07-12 | Kochi Industrial Promotion Center | Semiconductor device including active layer made of zinc oxide with controlled orientations and manufacturing method thereof |
| KR20070101595A (ko) | 2006-04-11 | 2007-10-17 | 삼성전자주식회사 | ZnO TFT |
| US20070252928A1 (en) | 2006-04-28 | 2007-11-01 | Toppan Printing Co., Ltd. | Structure, transmission type liquid crystal display, reflection type display and manufacturing method thereof |
| JP5028033B2 (ja) | 2006-06-13 | 2012-09-19 | キヤノン株式会社 | 酸化物半導体膜のドライエッチング方法 |
| JP4285511B2 (ja) * | 2006-07-27 | 2009-06-24 | ソニー株式会社 | 半導体メモリデバイス |
| JP4999400B2 (ja) | 2006-08-09 | 2012-08-15 | キヤノン株式会社 | 酸化物半導体膜のドライエッチング方法 |
| JP4609797B2 (ja) | 2006-08-09 | 2011-01-12 | Nec液晶テクノロジー株式会社 | 薄膜デバイス及びその製造方法 |
| JP4332545B2 (ja) | 2006-09-15 | 2009-09-16 | キヤノン株式会社 | 電界効果型トランジスタ及びその製造方法 |
| JP4274219B2 (ja) | 2006-09-27 | 2009-06-03 | セイコーエプソン株式会社 | 電子デバイス、有機エレクトロルミネッセンス装置、有機薄膜半導体装置 |
| JP5164357B2 (ja) | 2006-09-27 | 2013-03-21 | キヤノン株式会社 | 半導体装置及び半導体装置の製造方法 |
| US7622371B2 (en) | 2006-10-10 | 2009-11-24 | Hewlett-Packard Development Company, L.P. | Fused nanocrystal thin film semiconductor and method |
| US7772021B2 (en) | 2006-11-29 | 2010-08-10 | Samsung Electronics Co., Ltd. | Flat panel displays comprising a thin-film transistor having a semiconductive oxide in its channel and methods of fabricating the same for use in flat panel displays |
| JP2008140684A (ja) | 2006-12-04 | 2008-06-19 | Toppan Printing Co Ltd | カラーelディスプレイおよびその製造方法 |
| KR101303578B1 (ko) | 2007-01-05 | 2013-09-09 | 삼성전자주식회사 | 박막 식각 방법 |
| US8207063B2 (en) | 2007-01-26 | 2012-06-26 | Eastman Kodak Company | Process for atomic layer deposition |
| KR100851215B1 (ko) | 2007-03-14 | 2008-08-07 | 삼성에스디아이 주식회사 | 박막 트랜지스터 및 이를 이용한 유기 전계 발광표시장치 |
| US7795613B2 (en) | 2007-04-17 | 2010-09-14 | Toppan Printing Co., Ltd. | Structure with transistor |
| KR101325053B1 (ko) | 2007-04-18 | 2013-11-05 | 삼성디스플레이 주식회사 | 박막 트랜지스터 기판 및 이의 제조 방법 |
| KR20080094300A (ko) | 2007-04-19 | 2008-10-23 | 삼성전자주식회사 | 박막 트랜지스터 및 그 제조 방법과 박막 트랜지스터를포함하는 평판 디스플레이 |
| KR101334181B1 (ko) | 2007-04-20 | 2013-11-28 | 삼성전자주식회사 | 선택적으로 결정화된 채널층을 갖는 박막 트랜지스터 및 그제조 방법 |
| WO2008133345A1 (en) | 2007-04-25 | 2008-11-06 | Canon Kabushiki Kaisha | Oxynitride semiconductor |
| KR101345376B1 (ko) | 2007-05-29 | 2013-12-24 | 삼성전자주식회사 | ZnO 계 박막 트랜지스터 및 그 제조방법 |
| US8354674B2 (en) | 2007-06-29 | 2013-01-15 | Semiconductor Energy Laboratory Co., Ltd. | Semiconductor device wherein a property of a first semiconductor layer is different from a property of a second semiconductor layer |
| WO2009034953A1 (ja) * | 2007-09-10 | 2009-03-19 | Idemitsu Kosan Co., Ltd. | 薄膜トランジスタ |
| JP5215158B2 (ja) | 2007-12-17 | 2013-06-19 | 富士フイルム株式会社 | 無機結晶性配向膜及びその製造方法、半導体デバイス |
| JP5121478B2 (ja) | 2008-01-31 | 2013-01-16 | 株式会社ジャパンディスプレイウェスト | 光センサー素子、撮像装置、電子機器、およびメモリー素子 |
| KR101496148B1 (ko) * | 2008-05-15 | 2015-02-27 | 삼성전자주식회사 | 반도체소자 및 그 제조방법 |
| JP2010021170A (ja) * | 2008-07-08 | 2010-01-28 | Hitachi Ltd | 半導体装置およびその製造方法 |
| JP4623179B2 (ja) | 2008-09-18 | 2011-02-02 | ソニー株式会社 | 薄膜トランジスタおよびその製造方法 |
| JP5451280B2 (ja) | 2008-10-09 | 2014-03-26 | キヤノン株式会社 | ウルツ鉱型結晶成長用基板およびその製造方法ならびに半導体装置 |
| JP5538797B2 (ja) * | 2008-12-12 | 2014-07-02 | キヤノン株式会社 | 電界効果型トランジスタ及び表示装置 |
| JP5781720B2 (ja) | 2008-12-15 | 2015-09-24 | ルネサスエレクトロニクス株式会社 | 半導体装置及び半導体装置の製造方法 |
| KR101813460B1 (ko) | 2009-12-18 | 2017-12-29 | 가부시키가이샤 한도오따이 에네루기 켄큐쇼 | 반도체 장치 |
| CN102714184B (zh) | 2009-12-28 | 2016-05-18 | 株式会社半导体能源研究所 | 半导体器件 |
| KR101762316B1 (ko) | 2009-12-28 | 2017-07-27 | 가부시키가이샤 한도오따이 에네루기 켄큐쇼 | 반도체 장치 |
| JP5743790B2 (ja) * | 2010-08-06 | 2015-07-01 | 株式会社半導体エネルギー研究所 | 半導体装置 |
| JP5702689B2 (ja) * | 2010-08-31 | 2015-04-15 | 株式会社半導体エネルギー研究所 | 半導体装置の駆動方法、及び半導体装置 |
| JP2012079399A (ja) * | 2010-09-10 | 2012-04-19 | Semiconductor Energy Lab Co Ltd | 半導体装置 |
| US8686415B2 (en) * | 2010-12-17 | 2014-04-01 | Semiconductor Energy Laboratory Co., Ltd. | Semiconductor device |
-
2011
- 2011-08-26 JP JP2011184333A patent/JP5702689B2/ja not_active Expired - Fee Related
- 2011-08-26 US US13/218,899 patent/US8593858B2/en not_active Expired - Fee Related
-
2015
- 2015-02-20 JP JP2015031357A patent/JP6042469B2/ja not_active Expired - Fee Related
-
2016
- 2016-11-09 JP JP2016218635A patent/JP6329232B2/ja not_active Expired - Fee Related
Also Published As
| Publication number | Publication date |
|---|---|
| JP2015149116A (ja) | 2015-08-20 |
| JP6042469B2 (ja) | 2016-12-14 |
| US8593858B2 (en) | 2013-11-26 |
| JP6329232B2 (ja) | 2018-05-23 |
| JP2012074125A (ja) | 2012-04-12 |
| US20120051120A1 (en) | 2012-03-01 |
| JP2017062866A (ja) | 2017-03-30 |
Similar Documents
| Publication | Publication Date | Title |
|---|---|---|
| JP5702689B2 (ja) | 半導体装置の駆動方法、及び半導体装置 | |
| JP6034941B2 (ja) | 半導体装置 | |
| JP5767536B2 (ja) | 半導体装置の駆動方法 | |
| JP6268255B2 (ja) | 半導体装置 | |
| JP6116737B2 (ja) | 半導体装置及び半導体装置の作製方法 | |
| JP5905679B2 (ja) | 半導体装置の作製方法 | |
| JP5779396B2 (ja) | 半導体装置 | |
| JP6229026B2 (ja) | 半導体装置 | |
| JP5202672B2 (ja) | 半導体装置 | |
| JP5735872B2 (ja) | 半導体装置 | |
| JP5774413B2 (ja) | 半導体装置の駆動方法 | |
| JP5825742B2 (ja) | 半導体装置 | |
| JP5681570B2 (ja) | 半導体装置 | |
| JP5808580B2 (ja) | 半導体装置 |
Legal Events
| Date | Code | Title | Description |
|---|---|---|---|
| A521 | Request for written amendment filed |
Free format text: JAPANESE INTERMEDIATE CODE: A523 Effective date: 20140612 |
|
| A621 | Written request for application examination |
Free format text: JAPANESE INTERMEDIATE CODE: A621 Effective date: 20140612 |
|
| A977 | Report on retrieval |
Free format text: JAPANESE INTERMEDIATE CODE: A971007 Effective date: 20141128 |
|
| A131 | Notification of reasons for refusal |
Free format text: JAPANESE INTERMEDIATE CODE: A131 Effective date: 20141209 |
|
| A521 | Request for written amendment filed |
Free format text: JAPANESE INTERMEDIATE CODE: A523 Effective date: 20141210 |
|
| TRDD | Decision of grant or rejection written | ||
| A01 | Written decision to grant a patent or to grant a registration (utility model) |
Free format text: JAPANESE INTERMEDIATE CODE: A01 Effective date: 20150217 |
|
| A61 | First payment of annual fees (during grant procedure) |
Free format text: JAPANESE INTERMEDIATE CODE: A61 Effective date: 20150220 |
|
| R150 | Certificate of patent or registration of utility model |
Ref document number: 5702689 Country of ref document: JP Free format text: JAPANESE INTERMEDIATE CODE: R150 |
|
| R250 | Receipt of annual fees |
Free format text: JAPANESE INTERMEDIATE CODE: R250 |
|
| R250 | Receipt of annual fees |
Free format text: JAPANESE INTERMEDIATE CODE: R250 |
|
| R250 | Receipt of annual fees |
Free format text: JAPANESE INTERMEDIATE CODE: R250 |
|
| R250 | Receipt of annual fees |
Free format text: JAPANESE INTERMEDIATE CODE: R250 |
|
| LAPS | Cancellation because of no payment of annual fees |
