JP5423076B2 - パワーモジュール用基板、パワーモジュール及びパワーモジュール用基板の製造方法 - Google Patents
パワーモジュール用基板、パワーモジュール及びパワーモジュール用基板の製造方法 Download PDFInfo
- Publication number
- JP5423076B2 JP5423076B2 JP2009065033A JP2009065033A JP5423076B2 JP 5423076 B2 JP5423076 B2 JP 5423076B2 JP 2009065033 A JP2009065033 A JP 2009065033A JP 2009065033 A JP2009065033 A JP 2009065033A JP 5423076 B2 JP5423076 B2 JP 5423076B2
- Authority
- JP
- Japan
- Prior art keywords
- metal plate
- ceramic substrate
- power module
- substrate
- concentration
- Prior art date
- Legal status (The legal status is an assumption and is not a legal conclusion. Google has not performed a legal analysis and makes no representation as to the accuracy of the status listed.)
- Active
Links
Images
Classifications
-
- H10W90/734—
Landscapes
- Cooling Or The Like Of Semiconductors Or Solid State Devices (AREA)
Description
また、この金属板は回路層として形成され、その金属板の上には、はんだ材を介してパワー素子の半導体チップが搭載される。
なお、セラミックス基板の下面にも放熱のためにAl等の金属板が接合されて金属層とされ、この金属層を介して放熱板上にパワーモジュール用基板全体が接合されたものが提案されている。
なお、Cuを接合界面に添加する方法としては、セラミックス基板及びろう材の表面にCuを蒸着、スパッタリング及びメッキ等によって固着してもよいし、Al−Si系のろう材中にCuを含有させてもよい。
さらに、セラミックス基板とアルミニウムからなる金属板とがSiを含有するろう材を用いて接合されており、前記金属板にSiが固溶し、接合界面側部分のSi濃度が、0.05〜0.5wt%の範囲内に設定されているので、ろう材が確実に溶融してSiが十分に金属板に拡散しており、セラミックス基板と金属板とが強固に接合される。
この場合、金属板の幅方向端部に、アルミニウム中にSi,Cuが固溶されたアルミニウム相以外に、Siの含有率が98wt%以上とされたSi相と、AlとCuとSiの3元共晶組織からなる共晶相が形成されているので、金属板の幅方向端部を強化することが可能となる。
この場合、金属板の幅方向端部に形成された共晶相において、Cuを含む化合物からなる析出粒子が析出しているので、金属板の幅方向端部を析出強化することが可能となる。これにより、金属板の幅方向端部からの破断の発生を防止することができ、接合信頼性を向上させることができる。
この場合、前記金属板と前記セラミックス基板との接合界面に、Si濃度が前記金属板中のSi濃度の5倍以上とされたSi高濃度部が形成されているので、接合界面に存在するSi原子によってAlN又はAl2O3からなるセラミックス基板とアルミニウムからなる金属板との接合強度が向上することになる。なお、ここで、金属板中のSi濃度とは、金属板のうち接合界面から一定距離(例えば、50nm以上)離れた部分におけるSi濃度である。
この場合、Si3N4からなるセラミックス基板とアルミニウムからなる金属板との接合界面に、酸素濃度が前記金属板中及び前記セラミックス基板中の酸素濃度よりも高くされた酸素高濃度部が形成されているので、接合界面に存在する酸素によってSi3N4からなるセラミックス基板とアルミニウムからなる金属板との接合強度が向上する。さらに、この酸素高濃度部の厚さが4nm以下とされているので、熱サイクルを負荷した際の応力によって酸素高濃度部にクラックが発生することが抑制される。
なお、ここで、金属板中及びセラミックス基板中の酸素濃度とは、金属板及びセラミックス基板のうち接合界面から一定距離(例えば、50nm以上)離れた部分における酸素濃度である。
この構成のパワーモジュールによれば、セラミックス基板と金属板との接合強度が高く、使用環境が厳しい場合であっても、その信頼性を飛躍的に向上させることができる。
この場合、蒸着又はスパッタリングによって、Cuが前記セラミックス基板の接合面及び前記ろう材の表面の少なくとも一方に確実に固着され、セラミックス基板と金属板との接合界面にCuを確実に存在させることが可能となる。これにより、Cuによって金属板の表面が活性化され、セラミックス基板と金属板とを強固に接合することが可能となる。
このパワーモジュール1は、回路層12が配設されたパワーモジュール用基板10と、回路層12の表面にはんだ層2を介して接合された半導体チップ3と、ヒートシンク4とを備えている。ここで、はんだ層2は、例えばSn−Ag系、Sn−In系、若しくはSn−Ag−Cu系のはんだ材とされている。なお、本実施形態では、回路層12とはんだ層2との間にNiメッキ層(図示なし)が設けられている。
セラミックス基板11は、回路層12と金属層13との間の電気的接続を防止するものであって、絶縁性の高いAlN(窒化アルミ)で構成されている。また、セラミックス基板11の厚さは、0.2〜1.5mmの範囲内に設定されており、本実施形態では、0.635mmに設定されている。なお、本実施形態では、図1に示すように、セラミック基板11の幅は、回路層12及び金属層13の幅より広く設定されている。
また、本実施形態においては、ヒートシンク4の天板部5と金属層13との間には、アルミニウム又はアルミニウム合金若しくはアルミニウムを含む複合材(例えばAlSiC等)からなる緩衝層15が設けられている。
なお、濃度傾斜層33の接合界面30側のSi濃度及びCu濃度は、EPMA分析(スポット径30μm)で、接合界面30から50μmまでの範囲内を5点測定した平均値である。
ここで、観察する接合界面30は、図4に示すように、回路層12(金属板22)及び金属層13(金属板23)の格子像の界面側端部とセラミックス基板11の格子像の界面側端部との間の中央を基準面Sとする。
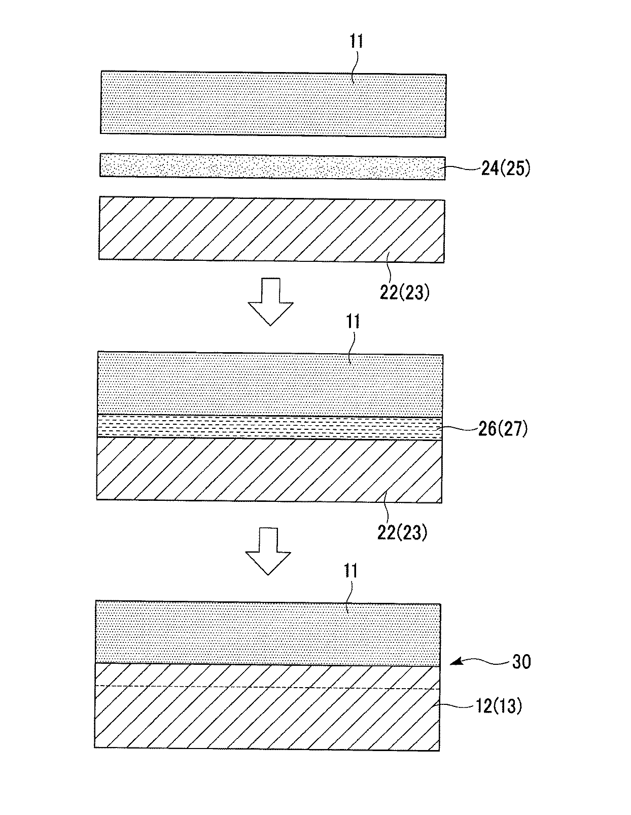
AlNからなるセラミックス基板11の両面に、スパッタリングによってCuが固着される(Cu固着工程)。
そして、図5に示すように、セラミックス基板11の一方の面に、回路層12となる金属板22(4Nアルミニウムの圧延板)が、厚さ10〜30μm(本実施形態では20μm)のろう材箔24を介して積層され、セラミックス基板11の他方の面に金属層13となる金属板23(4Nアルミニウムの圧延板)が厚さ10〜30μm(本実施形態では20μm)のろう材箔25を介して積層される(積層工程)。
次に、積層体20を冷却することによって溶融アルミニウム層26、27を凝固させる(凝固工程)。
このようにして、回路層12及び金属層13となる金属板22、23とセラミックス基板11とが接合され、本実施形態であるパワーモジュール用基板10が製造される。
また、この濃度傾斜層33の接合界面30側のSi濃度が0.05〜0.5wt%の範囲内に設定されているので、Siが十分に回路層12(金属板22)及び金属層13(金属板23)中に拡散しており、ろう材が確実に溶融して凝固されることでセラミックス基板11と回路層12(金属板22)及び金属層13(金属板23)とを強固に接合することができる。
これにより、回路層12(金属板22)及び金属層13(金属板23)の幅方向端部35からの破断の発生を防止することができる。
この第2の実施形態であるパワーモジュール用基板110においては、セラミックス基板111がSi3N4で構成されている点が第1の実施形態と異なっている。
なお、ここで観察する接合界面30は、図8に示すように、回路層12(金属板22)及び金属層13(金属板23)の格子像の界面側端部とセラミックス基板111の格子像の接合界面側端部との間の中央を基準面Sとする。
例えば、回路層及び金属層を構成する金属板を純度99.99%の純アルミニウムの圧延板としたものとして説明したが、これに限定されることはなく、純度99%のアルミニウム(2Nアルミニウム)であってもよい。
さらに、ヒートシンクをアルミニウムで構成したものとして説明したが、アルミニウム合金、又はアルミニウムを含む複合材等で構成されていてもよい。さらに、ヒートシンクとして冷却媒体の流路を有するもので説明したが、ヒートシンクの構造に特に限定はない。
図9に示すように、比較例及び実施例1においては、厚さ0.635mmのAlNからなるセラミックス基板11と、厚さ0.6mmの4Nアルミニウムからなる回路層12と、厚さ0.6mmの4Nアルミニウムからなる金属層13と、厚さ5mmのアルミニウム合金(A6063)からなる天板部5と、厚さ1.0mmの4Nアルミニウムからなる緩衝層15とを共通に有している。
比較例は、Cuを接合界面に添加することなく、セラミックス基板11と回路層12及び金属層13となる金属板をAl−Si系ろう材を用いて接合した。
これらの試験片を用いて接合信頼性の評価を行った。接合信頼性の評価としては、熱サイクル(−45℃−125℃)を繰り返した後の接合率を比較した。評価結果を表1に示す。
一方、接合界面に、Cuが添加された実施例1においては、2000回負荷しても接合率は低下せず、3000回負荷後でも接合率は99.2%であった。
この確認実験により、本発明によれば、接合界面にCuを添加することによって、熱サイクル信頼性が向上することが確認された。
厚さ0.635mmのAlNからなるセラミックス基板11に、厚さ0.6mmの4Nアルミニウムからなる回路層12と、厚さ0.6mmの4Nアルミニウムからなる金属層13とを接合し、パワーモジュール用基板を作製した。
ここで、実施例2−4は、Al―7.5wt%Siろう材の表面に1.5μm厚さのCu層を形成し、このAl―7.5wt%Siろう材を用いて、セラミックス基板11に回路層12と金属層13とを接合した。なお、接合温度を610℃、630℃、650℃の3水準とした。
実施例5−7は、セラミックス基板11の表面に1.5μm厚さのCu層を形成し、Al―7.5wt%Siろう材を用いて、セラミックス基板11に回路層12と金属層13とを接合した。なお、接合温度を610℃、630℃、650℃の3水準とした。
2 半導体チップ(電子部品)
10,110 パワーモジュール用基板
11、111 セラミックス基板
12 回路層
13 金属層
22、23 金属板
24、25 ろう材箔(ろう材)
26、27 溶融アルミニウム層
30 接合界面
32 Si高濃度部
132 酸素高濃度部
Claims (8)
- セラミックス基板の表面に、アルミニウムからなる金属板が積層されて接合されたパワーモジュール用基板であって、
前記金属板と前記セラミックス基板とがSiを含有するろう材を用いて接合されるとともに、前記金属板と前記セラミックス基板の接合界面にCuが添加されており、
前記金属板には、Si及びCuが固溶しており、前記接合界面側部分におけるSi濃度が0.05〜0.5wt%,Cu濃度が0.05〜1.0wt%の範囲内に設定されていることを特徴とするパワーモジュール用基板。 - 前記セラミックス基板の幅が前記金属板の幅よりも広く設定されており、前記金属板の幅方向端部においては、アルミニウム中にSi,Cuが固溶されたアルミニウム相と、Siの含有率が98wt%以上とされたSi相と、AlとCuとSiの3元共晶組織からなる共晶相と、が形成されていることを特徴とする請求項1に記載のパワーモジュール用基板。
- 前記共晶相においては、Cuを含む化合物からなる析出粒子が析出していることを特徴とする請求項2に記載のパワーモジュール用基板。
- 前記セラミックス基板がAlN又はAl2O3で構成されており、前記金属板と前記セラミックス基板との接合界面に、Si濃度が前記金属板中のSi濃度の5倍以上とされたSi高濃度部が形成されていることを特徴とする請求項1から請求項3のいずれか一項に記載のパワーモジュール用基板。
- 前記セラミックス基板がSi3N4で構成されており、前記金属板と前記セラミックス基板との接合界面に、酸素濃度が前記金属板中及び前記セラミックス基板中の酸素濃度よりも高くされた酸素高濃度部が形成されており、該酸素高濃度部の厚さが4nm以下とされていることを特徴とする請求項1から請求項3のいずれか一項に記載のパワーモジュール用基板。
- 請求項1から請求項5のいずれか一項に記載のパワーモジュール用基板と、該パワーモジュール用基板上に搭載される電子部品と、を備えたことを特徴とするパワーモジュール。
- セラミックス基板の表面に、アルミニウムからなる金属板が積層されて接合されたパワーモジュール用基板の製造方法であって、
前記セラミックス基板と前記金属板との間にSiを含有するろう材を介装させて積層させる積層工程と、積層された前記セラミックス基板と前記金属板を加圧した状態で加熱し、前記ろう材を溶融させてセラミックス基板及び金属板の界面に溶融アルミニウム層を形成する溶融工程と、前記溶融アルミニウム層を凝固させる凝固工程と、を有し、
前記積層工程の前に、前記セラミックス基板の接合面及び前記ろう材のセラミックス基板側の表面のうち少なくとも一方にCuを固着させるCu固着工程を有していることを特徴とするパワーモジュール用基板の製造方法。 - 前記Cu固着工程は、蒸着又はスパッタリングによって前記セラミックス基板の接合面及び前記ろう材のセラミックス基板側の表面のうち少なくとも一方にCuを固着させることを特徴とする請求項7に記載のパワーモジュール用基板の製造方法。
Priority Applications (8)
| Application Number | Priority Date | Filing Date | Title |
|---|---|---|---|
| JP2009065033A JP5423076B2 (ja) | 2008-06-06 | 2009-03-17 | パワーモジュール用基板、パワーモジュール及びパワーモジュール用基板の製造方法 |
| KR20107026985A KR20110033117A (ko) | 2008-06-06 | 2009-06-05 | 파워 모듈용 기판, 파워 모듈, 및 파워 모듈용 기판의 제조 방법 |
| PCT/JP2009/060392 WO2009148168A1 (ja) | 2008-06-06 | 2009-06-05 | パワーモジュール用基板、パワーモジュール、及びパワーモジュール用基板の製造方法 |
| CN200980120627.8A CN102047413B (zh) | 2008-06-06 | 2009-06-05 | 功率模块用基板、功率模块以及功率模块用基板的制造方法 |
| US12/737,042 US8564118B2 (en) | 2008-06-06 | 2009-06-05 | Power module substrate, power module, and method for manufacturing power module substrate |
| EP09758435.3A EP2296177B1 (en) | 2008-06-06 | 2009-06-05 | Method for manufacturing a power module substrate |
| US14/027,601 US8921996B2 (en) | 2008-06-06 | 2013-09-16 | Power module substrate, power module, and method for manufacturing power module substrate |
| US14/511,610 US20150022977A1 (en) | 2008-06-06 | 2014-10-10 | Power module substrate, power module, and method for manufacturing power module substrate |
Applications Claiming Priority (3)
| Application Number | Priority Date | Filing Date | Title |
|---|---|---|---|
| JP2008149902 | 2008-06-06 | ||
| JP2008149902 | 2008-06-06 | ||
| JP2009065033A JP5423076B2 (ja) | 2008-06-06 | 2009-03-17 | パワーモジュール用基板、パワーモジュール及びパワーモジュール用基板の製造方法 |
Publications (2)
| Publication Number | Publication Date |
|---|---|
| JP2010016349A JP2010016349A (ja) | 2010-01-21 |
| JP5423076B2 true JP5423076B2 (ja) | 2014-02-19 |
Family
ID=41702122
Family Applications (1)
| Application Number | Title | Priority Date | Filing Date |
|---|---|---|---|
| JP2009065033A Active JP5423076B2 (ja) | 2008-06-06 | 2009-03-17 | パワーモジュール用基板、パワーモジュール及びパワーモジュール用基板の製造方法 |
Country Status (1)
| Country | Link |
|---|---|
| JP (1) | JP5423076B2 (ja) |
Families Citing this family (8)
| Publication number | Priority date | Publication date | Assignee | Title |
|---|---|---|---|---|
| JP5640569B2 (ja) * | 2009-09-09 | 2014-12-17 | 三菱マテリアル株式会社 | パワーモジュール用基板の製造方法 |
| EP2793258A4 (en) * | 2011-12-12 | 2015-11-11 | Mitsubishi Materials Corp | POWER MODULE SUBSTRATE, SUBSTRATE FOR A POWER MODULE WITH A COOLING BODY, POWER MODULE, PASTE FOR PRODUCING A RIVER COMPONENT INHIBITING PREVENTION LAYER AND BINDING METHOD FOR A PRODUCT TO BE BINDED |
| JP6100501B2 (ja) * | 2012-10-31 | 2017-03-22 | デンカ株式会社 | セラミック回路基板および製造方法 |
| CN104961468A (zh) * | 2015-07-08 | 2015-10-07 | 长沙鼎成新材料科技有限公司 | 一种led用氮化铝钛陶瓷基板 |
| CN105039820B (zh) * | 2015-07-29 | 2016-12-07 | 张新峰 | 一种led用铝碳化硅陶瓷基板 |
| JP7272018B2 (ja) * | 2019-03-08 | 2023-05-12 | 三菱マテリアル株式会社 | 絶縁回路基板の製造方法 |
| US12381120B2 (en) | 2019-03-25 | 2025-08-05 | Kyocera Corporation | Circuit base, and heat dissipation base or electronic device provided with same |
| CN117303930A (zh) * | 2023-10-10 | 2023-12-29 | 江苏博睿光电股份有限公司 | 直接敷铝陶瓷基板及其制作方法 |
Family Cites Families (4)
| Publication number | Priority date | Publication date | Assignee | Title |
|---|---|---|---|---|
| JPH08255973A (ja) * | 1995-03-17 | 1996-10-01 | Toshiba Corp | セラミックス回路基板 |
| JP2001010874A (ja) * | 1999-03-27 | 2001-01-16 | Nippon Hybrid Technologies Kk | 無機材料とアルミニウムを含む金属との複合材料の製造方法とその関連する製品 |
| JP4293406B2 (ja) * | 1999-05-28 | 2009-07-08 | 電気化学工業株式会社 | 回路基板 |
| JP4362597B2 (ja) * | 2003-05-30 | 2009-11-11 | Dowaメタルテック株式会社 | 金属−セラミックス回路基板およびその製造方法 |
-
2009
- 2009-03-17 JP JP2009065033A patent/JP5423076B2/ja active Active
Also Published As
| Publication number | Publication date |
|---|---|
| JP2010016349A (ja) | 2010-01-21 |
Similar Documents
| Publication | Publication Date | Title |
|---|---|---|
| KR102097177B1 (ko) | 파워 모듈용 기판, 히트싱크가 부착된 파워 모듈용 기판 및 파워 모듈 | |
| WO2009148168A1 (ja) | パワーモジュール用基板、パワーモジュール、及びパワーモジュール用基板の製造方法 | |
| JP5423076B2 (ja) | パワーモジュール用基板、パワーモジュール及びパワーモジュール用基板の製造方法 | |
| CN102810487B (zh) | 将金属陶瓷基底与金属体接合的方法 | |
| CN107534033A (zh) | 接合体、自带散热器的功率模块用基板、散热器及接合体的制造方法、自带散热器的功率模块用基板的制造方法、散热器的制造方法 | |
| JP5935292B2 (ja) | パワーモジュール用基板の製造方法、ヒートシンク付パワーモジュール用基板の製造方法 | |
| WO2009139472A1 (ja) | パワーモジュール用基板、パワーモジュール、及びパワーモジュール用基板の製造方法 | |
| JP5504842B2 (ja) | パワーモジュール用基板、ヒートシンク付パワーモジュール用基板、パワーモジュール及びパワーモジュール用基板の製造方法 | |
| JP5359954B2 (ja) | ヒートシンク付きパワーモジュール用基板及びパワーモジュール、並びに、ヒートシンク付きパワーモジュール用基板の製造方法 | |
| JP2014112732A (ja) | ヒートシンク付パワーモジュール用基板及びパワーモジュール | |
| WO2015029812A1 (ja) | 接合体及びパワーモジュール用基板 | |
| WO2016158046A1 (ja) | ヒートシンク付パワーモジュール用基板の製造方法 | |
| JP5640569B2 (ja) | パワーモジュール用基板の製造方法 | |
| JP6031784B2 (ja) | パワーモジュール用基板及びその製造方法 | |
| JP5359953B2 (ja) | パワーモジュール用基板、パワーモジュール及びパワーモジュール用基板の製造方法 | |
| JP4807378B2 (ja) | パワーモジュール用基板、パワーモジュール及びパワーモジュール用基板の製造方法 | |
| JP4798171B2 (ja) | パワーモジュール用基板、パワーモジュール及びパワーモジュール用基板の製造方法 | |
| JP5640548B2 (ja) | パワーモジュール用基板の製造方法 | |
| WO2017126641A1 (ja) | 接合体、パワーモジュール用基板、接合体の製造方法及びパワーモジュール用基板の製造方法 | |
| JP5640570B2 (ja) | パワーモジュール用基板の製造方法 | |
| WO2016167217A1 (ja) | 接合体、ヒートシンク付パワーモジュール用基板、ヒートシンク、及び、接合体の製造方法、ヒートシンク付パワーモジュール用基板の製造方法、ヒートシンクの製造方法 | |
| JP5359943B2 (ja) | パワーモジュール用基板、パワーモジュール及びパワーモジュール用基板の製造方法 | |
| KR20120089070A (ko) | 파워 모듈용 기판의 제조 방법, 파워 모듈용 기판, 히트싱크가 부착된 파워 모듈용 기판 및 파워 모듈 | |
| JP5359942B2 (ja) | パワーモジュール用基板、パワーモジュール及びパワーモジュール用基板の製造方法 | |
| JP2011066404A (ja) | パワーモジュール用基板の製造方法、パワーモジュール用基板、ヒートシンク付パワーモジュール用基板及びパワーモジュール |
Legal Events
| Date | Code | Title | Description |
|---|---|---|---|
| A621 | Written request for application examination |
Free format text: JAPANESE INTERMEDIATE CODE: A621 Effective date: 20110928 |
|
| A131 | Notification of reasons for refusal |
Free format text: JAPANESE INTERMEDIATE CODE: A131 Effective date: 20130820 |
|
| A521 | Request for written amendment filed |
Free format text: JAPANESE INTERMEDIATE CODE: A523 Effective date: 20131008 |
|
| TRDD | Decision of grant or rejection written | ||
| A01 | Written decision to grant a patent or to grant a registration (utility model) |
Free format text: JAPANESE INTERMEDIATE CODE: A01 Effective date: 20131029 |
|
| A61 | First payment of annual fees (during grant procedure) |
Free format text: JAPANESE INTERMEDIATE CODE: A61 Effective date: 20131111 |
|
| R150 | Certificate of patent or registration of utility model |
Free format text: JAPANESE INTERMEDIATE CODE: R150 Ref document number: 5423076 Country of ref document: JP Free format text: JAPANESE INTERMEDIATE CODE: R150 |
|
| R250 | Receipt of annual fees |
Free format text: JAPANESE INTERMEDIATE CODE: R250 |
|
| R250 | Receipt of annual fees |
Free format text: JAPANESE INTERMEDIATE CODE: R250 |
