JP2004226813A - 照明装置及びこれを備えたプロジェクタ - Google Patents
照明装置及びこれを備えたプロジェクタ Download PDFInfo
- Publication number
- JP2004226813A JP2004226813A JP2003016071A JP2003016071A JP2004226813A JP 2004226813 A JP2004226813 A JP 2004226813A JP 2003016071 A JP2003016071 A JP 2003016071A JP 2003016071 A JP2003016071 A JP 2003016071A JP 2004226813 A JP2004226813 A JP 2004226813A
- Authority
- JP
- Japan
- Prior art keywords
- light
- light source
- auxiliary
- lens
- optical system
- Prior art date
- Legal status (The legal status is an assumption and is not a legal conclusion. Google has not performed a legal analysis and makes no representation as to the accuracy of the status listed.)
- Granted
Links
- 238000005286 illumination Methods 0.000 title claims abstract description 93
- 230000003287 optical effect Effects 0.000 claims abstract description 121
- 230000010287 polarization Effects 0.000 claims description 81
- 238000006243 chemical reaction Methods 0.000 claims description 37
- 230000005540 biological transmission Effects 0.000 claims description 22
- 238000003491 array Methods 0.000 claims description 5
- 230000002093 peripheral effect Effects 0.000 claims description 3
- 238000010586 diagram Methods 0.000 abstract description 23
- 238000000926 separation method Methods 0.000 description 29
- 239000004973 liquid crystal related substance Substances 0.000 description 10
- QSHDDOUJBYECFT-UHFFFAOYSA-N mercury Chemical compound [Hg] QSHDDOUJBYECFT-UHFFFAOYSA-N 0.000 description 10
- 229910052753 mercury Inorganic materials 0.000 description 10
- 230000005855 radiation Effects 0.000 description 9
- 239000011159 matrix material Substances 0.000 description 7
- 230000015572 biosynthetic process Effects 0.000 description 5
- 230000000694 effects Effects 0.000 description 4
- 229910001507 metal halide Inorganic materials 0.000 description 4
- 150000005309 metal halides Chemical class 0.000 description 4
- 238000005452 bending Methods 0.000 description 3
- 229910052736 halogen Inorganic materials 0.000 description 3
- 150000002367 halogens Chemical class 0.000 description 3
- 238000000034 method Methods 0.000 description 3
- 230000008859 change Effects 0.000 description 2
- 230000008878 coupling Effects 0.000 description 2
- 238000010168 coupling process Methods 0.000 description 2
- 238000005859 coupling reaction Methods 0.000 description 2
- 230000004907 flux Effects 0.000 description 2
- 230000008569 process Effects 0.000 description 2
- 239000004983 Polymer Dispersed Liquid Crystal Substances 0.000 description 1
- 230000000903 blocking effect Effects 0.000 description 1
- 238000001816 cooling Methods 0.000 description 1
- 230000006866 deterioration Effects 0.000 description 1
- 239000011521 glass Substances 0.000 description 1
- 230000020169 heat generation Effects 0.000 description 1
- 230000006872 improvement Effects 0.000 description 1
- 238000002347 injection Methods 0.000 description 1
- 239000007924 injection Substances 0.000 description 1
- 239000013589 supplement Substances 0.000 description 1
Images
Landscapes
- Non-Portable Lighting Devices Or Systems Thereof (AREA)
- Projection Apparatus (AREA)
Abstract
【解決手段】複数の波長域の光を射出する主光源5と、この主光源5から射出した不均一な光強度分布をもつ光を略均一な光強度分布をもつ光に変換するインテグレータ光学系6とを備え、
このインテグレータ光学系6によって複数の集光像(光源像)Aが離散して形成される位置の近傍に、所定の波長域の光を射出する補助光源7を配置したことを特徴とする照明装置。
【選択図】 図1
Description
【発明の属する技術分野】
本発明は、高圧水銀ランプ等の光源ランプを有する照明装置及びこれを備えたプロジェクタに関する。
【0002】
【従来の技術】
一般に、プロジェクタは、照明光を射出する照明装置と、この照明装置からの照明光を画像信号に応じて変調する電気光学変調装置と、この電気光学変調装置によって変調された光を投写画像としてスクリーン上に投写表示する投写光学系とを備えている。このようなプロジェクタにおいては、投写画像が明るいこと及び照明光の光強度が高いことが要求される。
このため、前記した照明装置には、より高い光強度を得るために、光源ランプとしての高圧水銀ランプに凹面鏡を組み合わせてなる光源を備えたものが従来から利用されている。
【0003】
ところで、従来の照明装置に用いられる光源ランプ(高圧水銀ランプ)は、光強度が比較的大きいものの、その発光特性が水銀固有の発光スペクトルを有しており、赤色光(R),緑色光(G)及び青色光(B)の各波長域のうち赤色光の波長域の光強度が不足する傾向があるため、可視域での色バランスがよい照明光を得ることができないという問題があった。
そこで、色バランスのよい照明光を得るために、光強度が不足する波長域の色成分以外の色成分を減光することが考えられるが、この場合には投写画像における明るさ(光源の光利用効率)が低下するという問題があった。
【0004】
そこで、例えば、特許文献1には、この問題を解決するための照明装置が提案されている。図11は、この特許文献1に記載された照明装置の光学系を示す図である。図11に示されるように、この照明装置100は、インテグレータ光学系としての透光性ロッド120の入射側面120iに、200〜430nmの波長の光を吸収して570〜630nmの波長の光を発光する波長変換光学素子130を配置した照明装置である。波長変換光学素子130により高圧水銀ランプの場合に不足する赤色光の強度を高めることができるため、光の色バランスを補正することができる。
【特許文献1】
特開2002−90883号公報(図1〜図6)
【0005】
【発明が解決しようとする課題】
しかしながら、この照明装置においては、波長変換光学素子130による赤色の発光光は等方性の放射光となるため、透光性ロッド120の入射側面120iに入射した赤色の発光光のうち、照明光として利用可能な光は、透光性ロッド120の界面120sにおける全反射条件を満たす光のみである。このため、不足する光の強度を十分には高めることはできず、その結果十分に色バランスのよい照明光を得るのは容易ではないという問題があった。
【0006】
そこで、本発明は、このような問題を解決するためになされたもので、不足する光の強度を十分に高めて十分に色バランスのよい照明光を得ることができるとともに光源の光利用効率の低下を防止することができる照明装置及びこれを備えたプロジェクタを提供することを目的とする。
【0007】
【課題を解決するための手段】
前記した目的を達成するためになされた本発明に係る照明装置は、複数の波長域の光を射出する光源と、この光源から射出した不均一な光強度分布をもつ光を、略均一な光強度分布をもつ光に変換するインテグレータ光学系とを備え、このインテグレータ光学系によって複数の集光像(光源像)が離散して形成される位置の近傍に、所定の波長域の光を射出する補助光源を配置したことを特徴とする。
【0008】
このため、本発明の照明装置によれば、光源から射出される複数の波長域の光において不足する波長域の光が補助光源から射出されるため、光源の発光特性を十分に補足して可視域での色バランスがよい照明光を得ることができる。
また、本発明の照明装置によれば、色バランスのよい照明光を得るために、特定の色成分を減光する必要がないから、光源の光利用効率の低下を防止することができる。
【0009】
本発明の照明装置においては、前記補助光源が、発光素子及び集光素子を有するものであることが好ましい。このように構成することにより、発光素子から射出した光が集光素子によって効率よく照明領域に導かれ、照明効率が高められる。
【0010】
また、本発明の照明装置においては、前記補助光源が、前記光源における光軸の周辺部であって、前記集光像(光源像)のうち外形寸法が相対的に小さい集光像(光源像)の近傍に配置されていることが好ましい。このように構成することにより、補助光源の配置によって光源からの光が遮蔽されることがないため、光利用効率を低下させることなく、色バランスがよい照明光を得ることができる。
【0011】
また、本発明の照明装置においては、前記補助光源が、前記光源の光軸に関して対称な位置に配置された複数の補助光源とされることが好ましい。このように構成することにより、照明光の角度分布が異方性をもたなくなることから、照明対象において照明光の角度分布の不均一性による明るさむらの発生が防止される。特に、表示特性が入射角依存性を有する表示素子を照明する場合には、表示むらの低減が可能となる。また、リレー光学系を備えた三板式のプロジェクタに本照明装置が用いられると、色むらの発生を効果的に防止することができる。
【0012】
また、本発明の照明装置においては、前記インテグレータ光学系として、前記光源から入射した光を界面又は反射面で反射させて照明対象側に射出する導光体と、この導光体からの射出光を照明対象側に導く伝達レンズとを有する構成を採用することができる。このようなインテグレータ光学系は構成が簡単であり、実現が容易であるという特徴がある。この系では、入射側端面と射出側端面との寸法が相似的に異なるテーパーロッドによって、導光体を形成することにより、光源光による集光像の形成位置が制御可能である。
【0013】
また、本発明の照明装置においては、前記伝達レンズがレンズアレイであることが好ましい。このように構成することにより、伝達レンズが単数のレンズである場合と比べて照明効率を高められる。
【0014】
また、本発明の照明装置においては、前記補助光源が、前記伝達レンズの入射側及び射出側の少なくとも一方側に配置されていることが好ましい。このように構成することにより、インテグレータ光学系が導光体及び伝達レンズを有する場合において、補助光源の配置上の自由度が高められる。ここで、補助光源が伝達レンズの入射側に配置されている場合には、伝達レンズによって補助光源から射出した光を集光するように構成することが可能であり、この場合には、補助光源に放射角制御用の光学素子(集光素子)を不要とでき、光学系を簡素化できる。
【0015】
また、本発明の照明装置においては、前記インテグレータ光学系が、前記光源からの光を中間光に分割する第一レンズアレイと、この第一レンズアレイによって分割された中間光を集光する第二レンズアレイとを有する構成を採用することができる。このようなインテグレータ光学系では、2つのレンズアレイにおける各レンズの集光性を変えることで、集光像の形成位置を自在に制御可能であるため、補助光源を配置するための領域が形成し易くなり、光利用効率を低下させることなく、色バランスがよい照明光を得ることができる。
【0016】
また、本発明の照明装置においては、前記補助光源が、前記第二レンズアレイの入射側及び射出側の少なくとも一方側に配置されていることが好ましい。
このように構成することにより、インテグレータ光学系が第一レンズアレイ及び第二レンズアレイを有する場合において、補助光源の配置上の自由度が高められる。ここで、補助光源が第二レンズアレイの入射側に配置されている場合には、第二レンズアレイによって補助光源から射出した光を集光するように構成することが可能であり、この場合には、補助光源に放射角制御用の光学素子(集光素子)が不要となるため、光学系を簡素化できる。
【0017】
また、本発明の照明装置においては、前記第一レンズアレイ及び前記第二レンズアレイが同一のレンズアレイによって形成され、かつ、これらレンズアレイの各レンズが互いに対応させて配置されていることが好ましい。
このように構成することにより、第二レンズアレイを構成するレンズ毎に一つの集光像と一つの補助光源を配置することが容易となる。これにより、照明対象において均一な光強度分布を得ることができ、色バランスと照明効率の向上を同時に実現できる。
【0018】
また、本発明の照明装置においては、前記補助光源の射出側に偏光変換素子が配置されていることが好ましい。このように構成することにより、補助光源から複数の偏光成分をもつ光が放射される場合には、光源からの射出光と共に補助光源からの射出光が偏光変換素子によってP偏光光とS偏光光に空間的に分離された後、一方の偏光光の偏光方向を他方の偏光光の偏光方向に揃えて、偏光方向が略揃った各光が照明対象側に導かれる。これにより、照明対象が画像表示に際して偏光を必要とする液晶表示装置である場合、液晶表示装置における光利用効率を高めて明るい表示状態を達成することができる。
【0019】
また、本発明の照明装置においては、前記偏光変換素子は、前記集光像(光源像)及び前記補助光源が前記各偏光分離面に対応して配置されるよう構成されたものであることが好ましい。
このように構成することにより、光源及び補助光源からの光が偏光方向を揃えて照明対象側に確実に導かれ、偏光の変換効率を高められる。
【0020】
また、本発明の照明装置においては、前記補助光源が、赤色光を放射する補助光源であることが好ましい。このように構成することにより、光源の光源ランプが例えば高圧水銀ランプやメタルハライドランプである場合、不足する赤色光を補助光源によって補足し、可視域での色バランスがよい照明光を得ることができる。
【0021】
また、本発明の照明装置においては、前記補助光源が、青色光を放射する補助光源であることもまた好ましい。このように構成することにより、光源の光源ランプが例えば上記とは別のメタルハライドランプやハロゲンランプである場合、不足する青色光を補助光源によって補足し、可視域での色バランスがよい照明光を得ることができる。
【0022】
また、本発明の照明装置においては、前記補助光源がLED(発光ダイオード)光源であることが好ましい。このように構成することにより、補助光源として発光効率の高い小型の補助光源を用いることができ、装置設計が容易になる。補助光源としては放射角の制御が可能で小型の素子が望ましく、LEDの他では、レーザー、ELやFED等の電界発光素子等を使用できる。
【0023】
本発明の他の発明に係るプロジェクタは、上記した本発明の照明装置と、この照明装置からの照明光を変調して画像を表示する電気光学変調装置と、この電気光学変調装置によって変調された光を投写する投写光学系と、を備えたことを特徴とする。
【0024】
本発明のプロジェクタによれば、色バランスがよく光利用効率のよい優れた照明装置を備えているため、色バランスがよく光利用効率のよい優れたプロジェクタとなる。
【0025】
本発明のプロジェクタにおいては、前記電気光学変調装置が偏光光を変調する電気光学変調装置であっても良いし、無偏光光を変調する電気光学変調装置であっても良い。前者の例としてはTN型液晶を用いた液晶表示素子、後者の例としては高分子分散型液晶を用いた液晶表示素子や微小な可動ミラーをマトリックス状に備えたミラーアレイ素子等が挙げられる。いずれのタイプの電気光学変調装置であっても、色バランスがよく光利用効率のよい優れたプロジェクタを構成することができる。
【0026】
【発明の実施の形態】
以下、本発明が適用された照明装置及びこれを備えたプロジェクタについて、実施の形態に基づいて説明する。
[第一実施形態]
図1は、本発明の第一実施形態に係るプロジェクタの光学系を示す図である。図2は、本発明の第一実施形態における第二レンズアレイの近傍に形成される集光像と補助光源の配置状態を説明するための図である。図3は、本発明の第一実施形態における第二レンズアレイの近傍に形成される集光像と補助光源の別の配置状態を説明するための図である。なお、以下の各実施形態においては、互いに直交する三つの方向を便宜的にX方向,Y方向及びZ方向とする。また、後述する第一レンズアレイや集光レンズアレイによって形成される集光像は光源像に他ならないが、以下の各実施形態では集光像の呼称を用いた。
図1において、符号1で示すプロジェクタは、照明装置2及び電気光学変調装置3と投写レンズ4とによって大略構成されている。このプロジェクタ1の各構成要素2〜4は、照明光軸(光軸)OCに沿って左から右へ順に配置されている。
【0027】
照明装置2は、主光源5及びインテグレータ光学系6と補助光源7と平行化光学系8とを備えている。この照明装置2の各構成要素5〜8は、光軸OCに沿って配置されている。
主光源5は、光源ランプ5A及び凹面鏡5Bを有している。光源ランプ5Aには例えば高圧水銀ランプが用いられている。凹面鏡5Bには放物面鏡が用いられている。これにより、光源ランプ5Aから射出された放射光が凹面鏡5Bによって一方向に反射され、光軸OCに略平行な光となってインテグレータ光学系6に入射される。
なお、凹面鏡5Bとしては、楕円面鏡や球面鏡を用いるようにしてもよい。この場合、光源ランプ5Aから射出される光がインテグレータ光学系6に効率よく入射するように、主光源5とインテグレータ光学系6との間にレンズ等を配置することが好ましい。
【0028】
インテグレータ光学系6は、第一レンズアレイ6A及び第二レンズアレイ6Bを有している。レンズアレイ6A,6Bの仮想中心軸線上に光軸OCが位置するように、インテグレータ光学系6と光源5との位置関係が設定されている。
第一レンズアレイ6Aは、電気光学変調装置3の表示領域と略相似関係にある外形形状(例えばXY平面上でX方向に長い矩形状)を有する複数の光分割レンズ6aをマトリックス状に配列して形成されている。そして、主光源5からの光を中間光aに分割し、光軸OCと垂直な平面(図1ではXY平面)内の中間光aを収束させる位置に光分割レンズ6aと同数の集光像(光源像)Aを形成するように構成されている。
【0029】
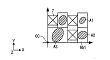
第二レンズアレイ6Bは、第一レンズアレイ6Aと略同様に構成されている。すなわち、この第二レンズアレイ6Bは、光分割レンズ6aと同数の集光レンズ6bをマトリックス状に配列して形成されている。第二レンズアレイ6Bの各集光レンズ6bは、各光分割レンズ6aと一対一で対応するように、すなわち、集光像Aが形成される位置の近傍に配置され、各光分割レンズ6aからの光束を電気光学変調装置3に導くように構成されている。これにより、各光分割レンズ6a上の光束分布は電気光学変調装置3上で重畳結合されるため、電気光学変調装置3は明るさのむらができないように均一に照明される。ここで、第二レンズアレイ6Bの近傍における集光像Aの形成状態の一例を図2に示す。集光像Aは対応する集光レンズ6b毎に離散的に形成される。
【0030】
補助光源7は、図1に示されるように、発光素子7A及び集光素子7Bを有して第二レンズアレイ6Bの入射側に配置される。また、XY平面においては、図2に示すように、各集光レンズ6b内の集光像Aが存在しない空間に集光像Aと重ならないように配置される。ここで、集光像Aの形成位置は第一レンズアレイ6Aにおける光分割レンズ6aの集光特性によって制御可能であるため、各光分割レンズ6aの光軸を偏芯させるなどして、対応する集光レンズ6b内で集光像Aを局在化させ、補助光源7を配置できる空間を確保している。
【0031】
なお、主光源5によって形成される集光像Aの大きさは、図2に示されるように、一般に光軸OC付近では大きく光軸OCから離れるほど小さくなる。その変化の仕方は凹面鏡5Bの光学特性に依存する。したがって、本実施形態では、大きな集光像Aが形成される光軸OC付近の集光レンズ6bには補助光源7を配置せず、比較的小さな集光像Aが形成される光軸OCから離れた集光レンズ6bに補助光源7を配置しているが、これに限定されない。集光像Aの大きさは主光源5や第一レンズアレイ6Aの光学特性に依存するため、全ての集光レンズ6bに補助光源7を配置する構成としても良い。要するに、集光像Aの大きさと集光レンズ6bの相対的な大きさの関係を考慮して、補助光源7の配置場所を決めれば良い。本実施形態では全ての集光レンズ6bを同一の寸法形状としているが、例えば、集光像Aが大きい光軸OC付近の集光レンズ6bを周辺部の集光レンズ6bに比べて大型化すれば、この領域にも補助光源7を配置することが可能となる。
【0032】
発光素子7Aから放射された光は集光素子7Bで集光されて所定の放射角の光となった後、第二レンズアレイ6Bで射出方向を電気光学変調装置3の中心方向に曲げられて、集光像Aからの光と同様に電気光学変調装置3の表示領域の全体を照明する。すなわち、複数の補助光源7から射出された光束は、主光源5からの光束と同様に、電気光学変調装置3上で重畳結合される。したがって、照明対象である電気光学変調装置3は主光源5からの光と複数の補助光源7からの光によって、明るさのむらができないように均一に照明される。なお、補助光源7は、主光源5の光軸OCに関して対称な位置に位置する複数(12個)の補助光源によって構成されている。これにより、照明光の角度分布が異方性をもたなくなるから、照明対象(電気光学変調装置3)の表示特性が入射角依存性を有する場合においても、照明光角度分布の不均一性による表示むらや明るさむらの発生を防止できる。
【0033】
なお、本実施形態においては、補助光源7を第二レンズアレイ6Bの入射側に配置する場合について説明したが、本発明はこれに限定されず、第二レンズアレイ6Bの射出側に、また入射側及び射出側の両側に配置することもできる。このため、補助光源7を配置する上での自由度が高められる。
また、本実施形態においては、補助光源7が第二レンズアレイ6Bの集光レンズ6bの一部に対向する(補助光源7からの光は集光レンズ6bに入射する)場合について説明したが、図3(1/4象限のみ図示)に示すように集光レンズ6b1を小さくして補助光源7が集光レンズ6b1に対向しない(補助光源7からの光は集光レンズ6bに入射しない)ような構造としてもよい。
【0034】
上述したように、集光素子7Bは発光素子7Aからの光を所定の放射角を有する光に変換する機能を有する。したがって、発光素子7Aから放射される光が予め上記の所定の放射角となっている場合には、集光素子7Bを省略することができる。但し、第二レンズアレイ6Bは集光素子7Bからの光の進行方向を照明対象である電気光学変調装置3の中心方向に曲げる機能を有するため、補助光源7の射出側に集光レンズ6bが存在しない構成、例えば、図3の場合や補助光源7が第二レンズアレイ6Bの射出側に配置される場合には、集光素子7Bに第二レンズアレイ6Bの機能を付加する必要があり、よって、集光素子7Bを備えることが望ましい。尤も、発光素子7Aから放射される光が第二レンズアレイ6Bの機能をも考慮した放射特性である場合には、第二レンズアレイ6Bの有無に係わらず集光素子7Bを省略することができる。
【0035】
さらに、本発明において、一つの集光レンズ6bに対応する補助光源7の配置領域と集光像Aの形成領域との位置関係は特に限定されるものではなく、図3に示されるように、本実施形態(図2を参照)とは左右が逆となるような位置関係としてもよい。
【0036】
発光素子7Aには、所定の波長域の光としての赤色光を射出するLED光源(発光ダイオード)が用いられている。これにより、主光源5から射出される光において不足する赤色光を補足するように構成されている。また、LED光源は発光効率の高い小型の発光素子であるため、集光像Aを遮ることなく僅かな空間に配置可能であり、照明装置としての設計が容易になる。集光素子7Bは、放射角制御用の光学素子からなり、発光素子7Aから射出した光を重畳結合するように構成されている。これにより、補助光源7による照明効率が高められる。
【0037】
平行化光学系8は、平行化レンズ(フィールドレンズ)8Aを有し、第二レンズアレイ6Bと電気光学変調装置3との間に配置され、第二レンズアレイ6Bからの各光束をその光束の中心軸に対して平行となるように変換している。これにより、照明対象である電気光学変調装置3への照明光束の角度分布範囲が狭くなるため、表示特性が入射角依存性を有する場合でも、高画質化を実現できる。
なお、平行化光学系8の構成はこれに限定されず、例えば平行化レンズ8Aの入射側(インテグレータ光学系側)に入射側レンズを、またその射出側(電気光学変調装置側)には射出側レンズを配置してなるものなど、複数のレンズによって構成されたものでもよい。
【0038】
電気光学変調装置3は、例えば透過型の液晶表示装置のような電気光学変調装置からなり、平行化光学系8のスクリーンSC側に配置されている。そして、照明装置2から射出された光を入射させ、さらに図示されない画像信号(画像情報)に応じて変調し、この変調された光を透過光bとしてスクリーンSC側に射出するように構成されている。
投写レンズ4は、電気光学変調装置3とスクリーンSCとの間に配置されている。そして、電気光学変調装置3から射出された変調光(透過光b)を投写画像としてスクリーンSC上に投写表示するように構成されている。
【0039】
以上の構成により、照明装置2(主光源5及び補助光源7)から射出された光が電気光学変調装置3に入射して変調され、この変調光が投写レンズ4によってスクリーンSC上に投写表示される。この際、照明装置2の主光源5(光源ランプ5A)から射出される複数の波長域の光において不足する赤色光が照明装置2の補助光源7から射出される。
したがって、本実施形態においては、光源ランプ(高圧水銀ランプ)5Aの発光特性を補正して可視域での色バランスがよい照明光を得ることができ、また、色バランスのよい照明光を得るために、特定の色成分を減光する必要がないから、光源ランプ5Aの光利用効率の低下を防止することができる。これらにより、明るく、色表現域の広い投写画像を実現できる。さらに、補助光源7として発光効率が高く発熱が少ないLED光源を用いているため、明るい投写画像を表示する場合でも、冷却装置などを従来に比べて大型化する必要が無く、小型で低騒音のプロジェクタを実現できる。
【0040】
[第二実施形態]
次に、本発明の第二実施形態につき、図4及び図5を用いて説明する。図4は、本発明の第二実施形態に係るプロジェクタの光学系を示す図である。(a)は上面から見た断面図であり、(b)は側面から見た断面図である。図5は、本発明の第二実施形態における第二レンズアレイの近傍に形成される集光像と補助光源の配置状態を説明するための図である。本実施形態も含めて以降に説明する各実施形態において、既に説明済みの部材と同一又は同等の部材については同一の符号を付し、詳細な説明は省略する。
本実施形態におけるプロジェクタ(照明装置)は、二つのレンズアレイを有するインテグレータ光学系を備え、所定の波長域の光(赤色光)を射出する補助光源の射出側に偏光変換素子(偏光変換光学系)を配置した点に特徴がある。
照明装置41は、主光源5及びインテグレータ光学系6と補助光源7と平行化光学系8と偏光変換光学系42とを備えている。なお、本実施形態で採用している偏光変換光学系は公知技術であり、例えば、本願発明人による特開平8−304739号公報に詳述されている。
【0041】
偏光変換光学系42は、偏光分離ユニットアレイ43及びλ/2位相差板44と射出側レンズ(重畳レンズ)45とを有し、補助光源7の射出側に第二レンズアレイ6Bを介して配置されている。そして、第二レンズアレイ6Bを透過した主光源5からの中間光a及び補助光源7からの赤色光をP偏光光とS偏光光とに空間的に分離した後、一方の偏光光の偏光方向を他方の偏光光の偏光方向に揃え、偏光方向が略揃ったそれぞれの光を照明対象(電気光学変調装置3)側に導くように構成されている。これにより、特定の偏光光を必要とする電気光学変調装置3A(例えばTN型の液晶表示装置)における光利用効率を高めて明るい表示状態が達成される。
【0042】
本実施形態では偏光変換光学系42を用いているため、補助光源7の配置形態は第一実施形態の場合とは異なっている。すなわち、補助光源7は第二レンズアレイ6Bの入射側であって、図5に示されるように、第一レンズアレイ6Aによって複数の集光像Aが離散して形成される位置のY方向における直上方又は直下方に配置されている。この様な配置形態を取る理由は、第一レンズアレイ6Aによって複数の集光像Aが離散して形成される位置の近傍(側方)には、偏光変換を行うための領域(空間)SPを形成する必要があるためである。
なお、補助光源7は、第二レンズアレイ6Bの入射側に配置されているが、単一の偏光成分をもつ光を放射する光源(例えばレーザー等)である場合には、λ/2位相差板44と射出側レンズ45との間に配置されることが可能である。更に加えて、補助光源7の集光素子7Bが射出側レンズ45と同等の機能を有する場合には、補助光源7を射出側レンズ45の射出側に配置することができる。
【0043】
偏光分離ユニットアレイ43は、複数の偏光分離ユニット43Aがマトリックス状に配列して形成されている。偏光分離ユニット43Aは、内部に偏光分離面43a1及び反射面43a2を有する四角柱状の構造体からなり、主光源5からの中間光a及び補助光源7からの光をP偏光光とS偏光光とに空間的に分離するように構成されている。このため、偏光分離面43a1と反射面43a2は、横方向(X方向)に並列して配置されている。また、これら偏光分離面43a1と反射面43a2は、光軸OCに対して約45°傾斜し、かつ互いに平行な状態で配置されている。そして、偏光分離ユニット43Aは、集光像A及び補助光源7のそれぞれ一つが偏光分離面43a1に対応するように配置されている。これにより、偏光分離ユニット43Aに入射した主光源5からの中間光a及び補助光源7からの光は、偏光分離面43a1において進行方向を変えずに偏光分離面43a1を通過するP偏光光と、偏光分離面43a1で反射して反射面43a2に進行方向を変えるS偏光光とに分離される。そして、P偏光光はそのまま偏光分離ユニット43Aから電気光学変調装置3A側に射出され、S偏光光は再び反射面43a2で進行方向を変え、P偏光光と略平行な状態で偏光分離ユニット43Aから射出される。
【0044】
なお、偏光分離ユニット43Aの偏光分離面43a1が存在する領域に主光源5からの中間光a及び補助光源7からの光を導く必要があるため、これら光が偏光分離面43a1の中央部に入射するように、偏光分離ユニット43Aと集光レンズ6bの位置関係や集光レンズ6bのレンズ特性は設定されている。
【0045】
λ/2位相差板44は、複数の位相差板からなり、偏光分離ユニット43AのP射出面に対向する部位に配置されている。これにより、偏光分離ユニット43AのP射出面(偏光分離面43a1を透過したP偏光光が射出する面)から射出されたP偏光光がλ/2位相差板44を通過する際に偏光方向の回転作用を受けてS偏光光へと変換される。一方、偏光分離ユニット43AのS射出面(偏光分離面43a1を反射したS偏光光が射出する面)から射出されたS偏光光はλ/2位相差板44を通過しないため、その偏光方向は変化せず、そのままスクリーンSC側に進行する。これにより、主光源5及び補助光源7からの不定偏光光は略偏光方向が揃った偏光光に変換される。
【0046】
射出側レンズ(重畳レンズ)45は単一のレンズ体からなり、λ/2位相差板44の射出側に配置されている。この射出側レンズ45はλ/2位相差板44の異なる位置から射出された各光束の進行方向を照明対象である電気光学変調装置3Aの中心方向に曲げる機能を有する。これにより、λ/2位相差板44においてS偏光光に揃えられた光束は電気光学変調装置3上で重畳結合される。したがって、照明対象である電気光学変調装置3Aは主光源5からの光と複数の補助光源7からの光によって、明るさのむらができないように均一に、しかも偏光方向が略揃った一種類の偏光光で照明される。なお、補助光源7は、主光源5の光軸OCに関して対称な位置に位置する複数(図5では8個)の補助光源によって構成されている。これにより、照明光の角度分布が異方性をもたなくなるから、照明対象(電気光学変調装置3A)の表示特性が入射角依存性を有する場合においても、照明光角度分布の不均一性による表示むらや明るさむらの発生を防止できる。
さらに、射出側レンズ45は、単一のレンズ体である必要がなく、レンズ集合体であってもよい。
【0047】
以上の構成により、照明装置41(主光源5及び補助光源7)から射出された光は平行化レンズ8Aを経て電気光学変調装置3Aに入射して変調され、この変調光が投写レンズ4によってスクリーンSC上に投写表示される。この際、補助光源7においては、主光源5(光源ランプ5A)から射出される複数の波長域の光において不足する赤色光が射出される。
【0048】
したがって、本実施形態においても第一実施形態と同様の効果を得ることができる。
加えて、本実施形態では主光源5や補助光源7が放射する不定偏光光を偏光方向が揃った特定の偏光光に変換する偏光変換光学系42を備えているため、画像表示に際して偏光光を必要とする電気光学変調装置(例えばTN型の液晶表示装置)を用いたプロジェクタにおいては、一層明るい投写画像を実現できる。なお、本実施形態及び以下の実施形態(偏光変換光学系を含むもの)においては、任意の偏光光から一種類の偏光光としてS偏光光を得る構成としているが、P偏光光を得る構成としても勿論よい。
【0049】
[第三実施形態]
次に、本発明の第三実施形態につき、図6を用いて説明する。図6は、本発明の第三実施形態に係るプロジェクタの光学系を示す図である。(a)は上面から見た断面図であり、(b)は側面から見た断面図である。
本実施形態におけるプロジェクタ(照明装置)は、偏光変換素子(偏光変換光学系)の射出側に第二レンズアレイを配置した点に特徴がある。
【0050】
照明装置61は、主光源5及びインテグレータ光学系62と補助光源7と平行化光学系8と偏光変換光学系42とを備えている。インテグレータ光学系62は、第一レンズアレイ6A及び第二レンズアレイ62Bを有している。
【0051】
第二レンズアレイ62Bは、光分割レンズ6aの二倍の個数の集光レンズ(重畳レンズ)62bをマトリックス状に配列して形成され、各集光レンズ62bは各偏光分離ユニット43AのP射出面とS射出面に対応する位置に配置されている。この第二レンズアレイ62Bは、偏光変換光学系42からの光の進行方向を照明対象である電気光学変調装置3の中心方向に曲げ、各光分割レンズ6aからの光を電気光学変調装置3上で重畳結合させる機能を有する。
【0052】
なお、第一レンズアレイ6Aによって複数の集光像Aが離散して形成される位置の近傍(側方)には、偏光変換を行うための領域(空間)SPを形成する必要があるため、本実施形態に示す補助光源7も第二実施形態に示す補助光源7と同様に配置されている(図5参照)。すなわち、補助光源7は、第二レンズアレイ62Bの入射側であって、第一レンズアレイ6Aによって複数の集光像Aが離散して形成される位置のY方向における直上方又は直下方に配置されている。したがって、一つの集光レンズ62bには偏光変換後の偏光方向が略揃った中間光aと補助光源7からの光が入射する(補助光源7が存在しない位置の集光レンズ62bには中間光aのみが入射する)。そして、これらの光は電気光学変調装置3A上で重畳結合される。
【0053】
以上の構成により、照明装置61(主光源5及び補助光源7)から射出された光は平行化レンズ8Aを経て電気光学変調装置3Aに入射して変調され、この変調光が投写レンズ4によってスクリーンSC上に投写表示される。この際、補助光源7においては、主光源5(光源ランプ5A)から射出される複数の波長域の光において不足する赤色光が射出される。
【0054】
したがって、本実施形態においても第一及び第二実施形態と同様の効果を得ることができる。
加えて、偏光変換素子(偏光変換光学系)の射出側に第二レンズアレイを配置しているため、第二レンズアレイに第二実施形態の射出側レンズ(重畳レンズ)45の機能を併せ持たせ、射出側レンズを省略でき、光学系を簡素化できる。また、偏光変換後の光束毎に集光レンズを対応させるため、照明対象である電気光学変調装置3A上での各光束の重畳結合をより精度良く行え、照明効率を向上させて、より明るい投写画像を実現できる。なお、補助光源7が特定の偏光光(例えば直線偏光光)を射出する光源である場合には、補助光源7をλ/2位相差板44と第二レンズアレイ62Bとの間に配置することができる。更に加えて、補助光源7の集光素子7Bが第2レンズアレイ62Bと同等の機能を有する場合には、補助光源7を第2レンズアレイ62Bの射出側に配置することができる。
【0055】
[第四実施形態]
次に、本発明の第四実施形態につき、図7及び図8を用いて説明する。図7は、本発明の第四実施形態に係るプロジェクタの光学系を示す図である。図8は、本発明の第四実施形態における伝達レンズ73Bの近傍に形成される集光像と補助光源の配置状態を説明するための図である。
本実施形態におけるプロジェクタ(照明装置)は、インテグレータ光学系が、光源から入射した光を界面や反射面で反射させて照明対象側に射出する導光ロッド(導光体)と、この導光ロッドからの射出光を照明対象側に導く伝達レンズとを有するものである点に特徴がある。
照明装置71は、主光源72及びインテグレータ光学系73と補助光源7と平行化光学系8とを備えている。
【0056】
主光源72は、光源ランプ72A及び凹面鏡72Bを有している。光源ランプ72Aには例えば高圧水銀ランプが用いられている。凹面鏡72Bには楕円面鏡が用いられている。これにより、光源ランプ72Aから射出された放射光束が凹面鏡72Bによって集光され、インテグレータ光学系73の導光ロッド(後述)の入射端面に効率よく入射する。
なお、凹面鏡72Bとしては、放物面鏡や球面鏡を用いるようにしてもよい。この場合、光源ランプ72Aから射出される光がインテグレータ光学系73の導光ロッドに効率よく入射するように、主光源72とインテグレータ光学系73との間にレンズ等を配置することが好ましい。
【0057】
インテグレータ光学系73は、導光ロッド73A及び伝達レンズ73Bを有し、主光源72と平行化光学系8との間に配置されている。
導光ロッド73Aは、主光源72からの光を反射させる界面73a1を複数有する導光体であり、照明対象である電気光学変調装置の表示領域と略相似関係にある形状の射出端面を有している。この導光ロッド73Aは、例えば、透明な角柱状のガラス体や反射ミラーを管状に構成したものである。そして、主光源72から入射した不均一な強度分布をもつ光を、界面73a1において反射を繰り返すことにより均一な強度分布をもつ光に変換し、射出端面から射出するように構成されている。
【0058】
また、この導光ロッド73Aの射出端面部には集光レンズ73aが配置され、導光ロッド73Aから異なる方向に角度分離されて射出された光束は、この集光レンズ73aによって複数の集光像Aを光軸OCと垂直な平面(図7ではXY平面)内にマトリックス状に形成する。図8に示すように、複数の集光像Aが離散的に形成される。なお、形成される集光像Aの大きさに関しては、第一実施形態で説明したように、一般に光軸OC付近では大きく、光軸OCから離れるほど小さい。
そして、導光ロッド73Aを、入射端面と射出端面との寸法が相似的に異なる所謂テーパーロッドとすることにより、光源光による集光像Aの形成位置をテーパー形状によって制御することができる。
【0059】
伝達レンズ73Bは、単数のレンズからなり、補助光源7の射出側に配置されている。そして、導光ロッド73A(主光源72)及び補助光源7からの光を照明対象である電気光学変調装置3の中心方向に曲げ、それらの光を電気光学変調装置3上で重畳結合させる機能を有する。
なお、伝達レンズ73Bは、単数のレンズである場合について説明したが、レンズアレイであってもよい。この場合には、伝達レンズ73Bが単数のレンズである場合と比べて照明効率を高められる。
【0060】
図8に示されるように、伝達レンズ73Bの入射側には、集光像Aが存在しない空間に集光像Aと重ならないように補助光源7が配置される。補助光源7から射出された光は伝達レンズ73Bで射出方向を電気光学変調装置3の中心方向に曲げられて、集光像Aからの光と同様に電気光学変調装置3の表示領域の全体を照明する。すなわち、複数の補助光源7から射出された光束は、主光源5からの光束と同様に、電気光学変調装置3上で重畳結合される。したがって、照明対象である電気光学変調装置3は主光源5からの光と複数の補助光源7からの光によって、明るさのむらができないように均一に照明される。
【0061】
なお、補助光源7は、主光源5の光軸OCに関して対称な位置に位置する複数(例えば14個)の補助光源によって構成されている。これにより、照明光の角度分布が異方性をもたなくなるから、照明対象(電気光学変調装置3)の表示特性が入射角依存性を有する場合においても、照明光角度分布の不均一性による表示むらや明るさむらの発生を防止できる。また、伝達レンズ73Bは単レンズではなく、複数のレンズからなる組み合わせレンズ、XY平面内で特性の異なる複数のレンズを組み合わせたレンズアレイ等を用いることもできる。
【0062】
以上の構成により、照明装置71(主光源72及び補助光源7)から射出された光は平行化レンズ8Aを経て電気光学変調装置3に入射して変調され、この変調光が投写レンズ4によってスクリーンSC上に投写表示される。この際、照明装置71においては、主光源72(光源ランプ72A)から射出される複数の波長域の光において不足する赤色光が射出される。
したがって、本実施形態においても第一実施形態と同様の効果を得ることができる。
【0063】
なお、本実施形態においては、伝達レンズ73Bの入射側に補助光源7を配置する場合について説明したが、本発明はこれに限定されず、伝達レンズ73Bの射出側に、また入射側及び射出側の両側に配置することもできる。このため、補助光源7を配置する上での自由度を高められる。
【0064】
[第五実施形態]
次に、本発明の第五実施形態につき、図9及び図10を用いて説明する。図9は、本発明の第五実施形態に係るプロジェクタにおける光学系を示す図である。(a)は上面から見た断面図であり、(b)は側面から見た断面図である。図10は、本発明の第五実施形態における集光レンズアレイの近傍に形成される集光像と補助光源の配置状態を説明するための図である。
本実施形態におけるプロジェクタ(照明装置)は、導光ロッド及び伝達レンズを有するインテグレータ光学系を備え、所定の波長域の光(赤色光)を射出する補助光源の射出側に偏光変換素子(偏光変換光学系)を配置した点に特徴がある。
【0065】
照明装置81は、主光源72及びインテグレータ光学系73と補助光源7と平行化光学系8と偏光変換光学系82とを備えている。なお、本実施形態における偏光変換光学系82の構成及び機能は第二実施形態の偏光変換光学系42と基本的に同じである。大きく異なる点は、偏光分離膜43a1と反射面43a2の配置状態である。具体的には、第二実施形態では偏光分離面43a1と反射面43a1とが光軸OCを対称軸としてX軸の左右で対称に配置されていたが、本実施形態では全ての偏光分離面43a1と反射面43a1とが同じ方向に配置されている。しかし、この差異は偏光変換光学系のバリエーションに過ぎず、本発明の本質ではないため、偏光変換光学系82の詳細な説明は省略する。
【0066】
補助光源7は集光レンズアレイ83の入射側であって、図10に示されるように、導光ロッド73Aによって複数の集光像Aが離散して形成される位置のY方向における直上方又は直下方に配置されている。これにより、照明対象である電気光学変調装置3Aは主光源5からの光と複数の補助光源7からの光によって、明るさのむらができないように均一に、しかも偏光方向が略揃った一種類の偏光光で照明される。ここで、補助光源7は、主光源5の光軸OCに関して対称な位置に位置する複数(図10では6個)の補助光源によって構成されている。なお、補助光源7は、集光レンズアレイ83の入射側に配置されているが、単一の偏光成分をもつ光を放射する光源(例えばレーザー)である場合には、λ/2位相差板44と射出側レンズ73Bとの間に配置されることが可能である。更に加えて、補助光源7の集光素子7Bが射出側レンズ73Bと同等の機能を有する場合には、補助光源7を射出側レンズ73Bの射出側に配置することができる。
【0067】
以上の構成により、照明装置81から射出された光が電気光学変調装置3Aに入射して変調され、この変調光が投写レンズ4によってスクリーンSC上に投写表示される。この際、補助光源7においては、主光源72(光源ランプ72A)から射出される複数の波長域の光において不足する赤色光が射出される。
【0068】
したがって、本実施形態においても第四実施形態と同様の効果を得ることができる。
加えて、本実施形態では主光源5や補助光源7が放射する不定偏光光を偏光方向が揃った特定の偏光光に変換する偏光変換光学系42を備えているため、画像表示に際して偏光光を必要とする電気光学変調装置(例えば液晶表示装置)を用いたプロジェクタにおいては、一層明るい投写画像を実現できる。
【0069】
以上の各実施形態で説明したように、照明対象に至る過程において複数の集光像を離散的に形成する過程を備えた光学系であれば、インテグレータ光学系や偏光変換光学系の形態に関係なく本発明の構成を採用することが可能である。
また、各実施形態においては、主光源5,72の光源ランプ5A,72Aが高圧水銀ランプである場合について説明したが、本発明はこれに限定されず、メタルハライドランプやハロゲンランプ等の他の光源ランプを用いてもよい。メタルハライドランプを用いた場合には、補助光源の発光素子として青色光や赤色光を射出する発光素子を、また、ハロゲンランプを用いた場合には青色光を射出する発光素子を用いると、主光源から射出される光束において不足する特定の色光を補足でき、色バランスの良い照明光を得ることができる。
【0070】
さらに、補助光源として用いる発光素子の発光部の形状を照明対象である電気光学変調装置の表示領域と略対称関係に設定することが望ましい。或いは、発光部の形状が電気光学変調装置の表示領域と略対称関係にない場合には、集光素子の光学特性を制御することによって、電気光学変調装置の表示領域と略対称関係に設定することが望ましい。第二レンズアレイや集光レンズアレイによって、発光素子の発光部と照明対象とは共役関係にあるため、上記の略対称関係を導入することによって、照明効率を向上できるからである。
【0071】
また、各実施形態においては、単一の電気光学変調装置3を備えた単板式のプロジェクタに適用する場合について説明したが、本発明はこれに限定されず、三つの電気光学変調装置を備えた三板式のプロジェクタに適用することもできる。
この他、各実施形態においては、透過型の電気光学変調装置3を備えたプロジェクタに適用する場合について説明したが、本発明はこれに限定されず、反射型(変調光を反射するタイプ)の電気光学変調装置(例えば、多数の微小ミラーをマトリックス状に配列したマイクロミラー表示素子、液晶を用いたLCOS素子)を備えたプロジェクタにも各実施形態と同様に適用可能である。
【図面の簡単な説明】
【図1】第一実施形態に係るプロジェクタの光学系を示す図である。
【図2】第一実施形態における第二レンズアレイの近傍に形成される集光像と補助光源の配置状態を説明するための図である。
【図3】第一実施形態における第二レンズアレイの近傍に形成される集光像と補助光源の別の配置状態を説明するための図である。
【図4】第二実施形態に係るプロジェクタの光学系を示す図である。
【図5】第二実施形態における第二レンズアレイの近傍に形成される集光像と補助光源の配置状態を説明するための図である。
【図6】第三実施形態に係るプロジェクタの光学系を示す図である。
【図7】第四実施形態に係るプロジェクタの光学系を示す図である。
【図8】第四実施形態における集光レンズアレイの近傍に形成される集光像と補助光源の配置状態を説明するための図である。
【図9】第五実施形態に係るプロジェクタの光学系を示す図である。
【図10】第五実施形態における集光レンズアレイの近傍に形成される集光像と補助光源の配置状態を説明するための図である。
【図11】従来のプロジェクタの光学系を示す図である。
【符号の説明】
1 プロジェクタ
2 照明装置
3,3A 電気光学変調装置
4 投写レンズ
5 主光源
5A 光源ランプ
5B 凹面鏡
6 インテグレータ光学系
6A 第一レンズアレイ
6a 光分割レンズ
6B 第二レンズアレイ
6b 集光レンズ
7 補助光源
7A 発光素子
7B 集光素子
8 平行化光学系
8A 平行化レンズ
A,A1〜A3 集光像(光源像)
a 中間光
b 透過光
OC 光軸
SC スクリーン
Claims (18)
- 複数の波長域の光を射出する光源と、
この光源から射出した不均一な光強度分布をもつ光を、略均一な光強度分布をもつ光に変換するインテグレータ光学系とを備え、
このインテグレータ光学系によって複数の集光像(光源像)が離散して形成される位置の近傍に、所定の波長域の光を射出する補助光源を配置したことを特徴とする照明装置。 - 請求項1に記載された照明装置において、前記補助光源が、発光素子及び集光素子を有することを特徴とする照明装置。
- 請求項1又は2に記載された照明装置において、前記補助光源が、前記光源における光軸の周辺部であって、前記集光像(光源像)のうち外形寸法が相対的に小さい集光像(光源像)の近傍に配置されていることを特徴とする照明装置。
- 請求項1〜3のいずれかに記載された照明装置において、前記補助光源が、前記光源の光軸に関して対称な位置に配置された複数の補助光源とされることを特徴とする照明装置。
- 請求項1〜4のいずれかに記載された照明装置において、前記インテグレータ光学系が、前記光源から入射した光を界面又は反射面で反射させて照明対象側に射出する導光体と、この導光体からの射出光を照明対象側に導く伝達レンズとを有することを特徴とする照明装置。
- 請求項5に記載された照明装置において、前記伝達レンズがレンズアレイであることを特徴とする照明装置。
- 請求項5又は6に記載された照明装置において、前記補助光源が、前記伝達レンズの入射側及び射出側の少なくとも一方側に配置されていることを特徴とする照明装置。
- 請求項1〜4のいずれかに記載された照明装置において、前記インテグレータ光学系が、前記光源からの光を中間光に分割する第一レンズアレイと、この第一レンズアレイによって分割された中間光を集光する第二レンズアレイとを有することを特徴とする照明装置。
- 請求項8に記載された照明装置において、前記補助光源が、前記第二レンズアレイの入射側及び射出側の少なくとも一方側に配置されていることを特徴とする照明装置。
- 請求項8又は9に記載された照明装置において、前記第一レンズアレイ及び前記第二レンズアレイが同一のレンズアレイによって形成され、かつこれらレンズアレイの各レンズが互いに対応させて配置されていることを特徴とする照明装置。
- 請求項1〜10のいずれかに記載された照明装置において、前記補助光源の射出側に偏光変換素子が配置されていることを特徴とする照明装置。
- 請求項11に記載された照明装置において、前記偏光変換素子は、前記集光像(光源像)及び前記補助光源のそれぞれが前記各偏光分離面に対応して配置されるよう構成されていることを特徴とする照明装置。
- 請求項1〜12のいずれかに記載された照明装置において、前記補助光源が、赤色光を放射する補助光源であることを特徴とする照明装置。
- 請求項1〜12のいずれかに記載された照明装置において、前記補助光源が、青色光を放射する補助光源であることを特徴とする照明装置。
- 請求項1〜14のいずれかに記載された照明装置において、前記補助光源がLED(発光ダイオード)光源であることを特徴とする照明装置。
- 請求項1〜15のいずれかに記載された照明装置と、この照明装置からの照明光を変調して画像を表示する電気光学変調装置と、この電気光学変調装置によって変調された光を投写する投写光学系と、を備えたことを特徴とするプロジェクタ。
- 請求項16に記載されたプロジェクタにおいて、前記電気光学変調装置が偏光光を変調する電気光学変調装置であることを特徴とするプロジェクタ。
- 請求項16に記載されたプロジェクタにおいて、前記電気光学変調装置が無偏光光を変調する電気光学変調装置であることを特徴とするプロジェクタ。
Priority Applications (1)
| Application Number | Priority Date | Filing Date | Title |
|---|---|---|---|
| JP2003016071A JP4487484B2 (ja) | 2003-01-24 | 2003-01-24 | 照明装置及びこれを備えたプロジェクタ |
Applications Claiming Priority (1)
| Application Number | Priority Date | Filing Date | Title |
|---|---|---|---|
| JP2003016071A JP4487484B2 (ja) | 2003-01-24 | 2003-01-24 | 照明装置及びこれを備えたプロジェクタ |
Related Child Applications (1)
| Application Number | Title | Priority Date | Filing Date |
|---|---|---|---|
| JP2009128614A Division JP4893780B2 (ja) | 2009-05-28 | 2009-05-28 | 照明装置及びこれを備えたプロジェクタ |
Publications (3)
| Publication Number | Publication Date |
|---|---|
| JP2004226813A true JP2004226813A (ja) | 2004-08-12 |
| JP2004226813A5 JP2004226813A5 (ja) | 2005-10-27 |
| JP4487484B2 JP4487484B2 (ja) | 2010-06-23 |
Family
ID=32903645
Family Applications (1)
| Application Number | Title | Priority Date | Filing Date |
|---|---|---|---|
| JP2003016071A Expired - Fee Related JP4487484B2 (ja) | 2003-01-24 | 2003-01-24 | 照明装置及びこれを備えたプロジェクタ |
Country Status (1)
| Country | Link |
|---|---|
| JP (1) | JP4487484B2 (ja) |
Cited By (2)
| Publication number | Priority date | Publication date | Assignee | Title |
|---|---|---|---|---|
| JP2008258038A (ja) * | 2007-04-05 | 2008-10-23 | Ichikoh Ind Ltd | 車両用灯具 |
| JP2019219515A (ja) * | 2018-06-20 | 2019-12-26 | セイコーエプソン株式会社 | 光源装置及びプロジェクター |
-
2003
- 2003-01-24 JP JP2003016071A patent/JP4487484B2/ja not_active Expired - Fee Related
Cited By (3)
| Publication number | Priority date | Publication date | Assignee | Title |
|---|---|---|---|---|
| JP2008258038A (ja) * | 2007-04-05 | 2008-10-23 | Ichikoh Ind Ltd | 車両用灯具 |
| JP2019219515A (ja) * | 2018-06-20 | 2019-12-26 | セイコーエプソン株式会社 | 光源装置及びプロジェクター |
| JP7020315B2 (ja) | 2018-06-20 | 2022-02-16 | セイコーエプソン株式会社 | 光源装置及びプロジェクター |
Also Published As
| Publication number | Publication date |
|---|---|
| JP4487484B2 (ja) | 2010-06-23 |
Similar Documents
| Publication | Publication Date | Title |
|---|---|---|
| EP1363460A2 (en) | Lighting system and projector | |
| JP2002023106A (ja) | 照明光学系およびこれを備えたプロジェクタ | |
| JPH11212023A (ja) | 照明光学系および投写型表示装置 | |
| CN111837073B (zh) | 图像显示设备 | |
| US6987618B2 (en) | Polarization converting device, illumination optical system and projector | |
| CN106062629B (zh) | 投射型显示设备和图像显示方法 | |
| JPWO2005036255A1 (ja) | 照明装置及びこれを備えたプロジェクタ | |
| US8398244B2 (en) | Projector | |
| JPH10170869A (ja) | 偏光照明装置および投写型表示装置 | |
| JP4893780B2 (ja) | 照明装置及びこれを備えたプロジェクタ | |
| EP2233972B1 (en) | Projector and illumination system therefore | |
| JP4487484B2 (ja) | 照明装置及びこれを備えたプロジェクタ | |
| JP6436514B2 (ja) | 投写型表示装置 | |
| JP6422141B2 (ja) | 投写型表示装置および画像表示方法 | |
| US7988298B2 (en) | Projector having a shifted or rotated optical axis | |
| JP2000121997A (ja) | 投写型表示装置 | |
| JP3680847B2 (ja) | 投写型表示装置 | |
| JP3610804B2 (ja) | 照明装置及び投写型表示装置 | |
| JP2004061848A (ja) | 照明光学系およびプロジェクタ | |
| JP2012113081A (ja) | プロジェクター | |
| JP2005258469A (ja) | 照明装置 | |
| JP2009237020A (ja) | 光源装置及びプロジェクタ | |
| JP2007264245A (ja) | プロジェクタ | |
| JP2003241145A (ja) | 照明光学系およびプロジェクタ | |
| JP2010128426A (ja) | 照明装置及びこれを備えるプロジェクタ |
Legal Events
| Date | Code | Title | Description |
|---|---|---|---|
| A521 | Written amendment |
Free format text: JAPANESE INTERMEDIATE CODE: A523 Effective date: 20050907 |
|
| A621 | Written request for application examination |
Free format text: JAPANESE INTERMEDIATE CODE: A621 Effective date: 20050907 |
|
| RD04 | Notification of resignation of power of attorney |
Free format text: JAPANESE INTERMEDIATE CODE: A7424 Effective date: 20070402 |
|
| A977 | Report on retrieval |
Free format text: JAPANESE INTERMEDIATE CODE: A971007 Effective date: 20081114 |
|
| A131 | Notification of reasons for refusal |
Free format text: JAPANESE INTERMEDIATE CODE: A131 Effective date: 20081118 |
|
| A521 | Written amendment |
Free format text: JAPANESE INTERMEDIATE CODE: A523 Effective date: 20090114 |
|
| A131 | Notification of reasons for refusal |
Free format text: JAPANESE INTERMEDIATE CODE: A131 Effective date: 20090127 |
|
| A521 | Written amendment |
Free format text: JAPANESE INTERMEDIATE CODE: A523 Effective date: 20090324 |
|
| A131 | Notification of reasons for refusal |
Free format text: JAPANESE INTERMEDIATE CODE: A131 Effective date: 20090407 |
|
| A521 | Written amendment |
Free format text: JAPANESE INTERMEDIATE CODE: A523 Effective date: 20090528 |
|
| TRDD | Decision of grant or rejection written | ||
| A01 | Written decision to grant a patent or to grant a registration (utility model) |
Free format text: JAPANESE INTERMEDIATE CODE: A01 Effective date: 20100309 |
|
| A01 | Written decision to grant a patent or to grant a registration (utility model) |
Free format text: JAPANESE INTERMEDIATE CODE: A01 |
|
| A61 | First payment of annual fees (during grant procedure) |
Free format text: JAPANESE INTERMEDIATE CODE: A61 Effective date: 20100322 |
|
| FPAY | Renewal fee payment (event date is renewal date of database) |
Free format text: PAYMENT UNTIL: 20130409 Year of fee payment: 3 |
|
| R150 | Certificate of patent or registration of utility model |
Free format text: JAPANESE INTERMEDIATE CODE: R150 |
|
| LAPS | Cancellation because of no payment of annual fees |