[go: up one dir, main page]

KR100934035B1 - 쓰레기 선별장치 - Google Patents

쓰레기 선별장치 Download PDF

Info

Publication number
KR100934035B1
KR100934035B1 KR1020080096987A KR20080096987A KR100934035B1 KR 100934035 B1 KR100934035 B1 KR 100934035B1 KR 1020080096987 A KR1020080096987 A KR 1020080096987A KR 20080096987 A KR20080096987 A KR 20080096987A KR 100934035 B1 KR100934035 B1 KR 100934035B1
Authority
KR
South Korea
Prior art keywords
panel
garbage
waste
key
crankshaft
Prior art date
Legal status (The legal status is an assumption and is not a legal conclusion. Google has not performed a legal analysis and makes no representation as to the accuracy of the status listed.)
Expired - Fee Related
Application number
KR1020080096987A
Other languages
English (en)
Inventor
박래준
Original Assignee
서흥인테크(주)
Priority date (The priority date is an assumption and is not a legal conclusion. Google has not performed a legal analysis and makes no representation as to the accuracy of the date listed.)
Filing date
Publication date
Application filed by 서흥인테크(주) filed Critical 서흥인테크(주)
Priority to KR1020080096987A priority Critical patent/KR100934035B1/ko
Application granted granted Critical
Publication of KR100934035B1 publication Critical patent/KR100934035B1/ko
Expired - Fee Related legal-status Critical Current
Anticipated expiration legal-status Critical

Links

Images

Classifications

    • BPERFORMING OPERATIONS; TRANSPORTING
    • B07SEPARATING SOLIDS FROM SOLIDS; SORTING
    • B07BSEPARATING SOLIDS FROM SOLIDS BY SIEVING, SCREENING, SIFTING OR BY USING GAS CURRENTS; SEPARATING BY OTHER DRY METHODS APPLICABLE TO BULK MATERIAL, e.g. LOOSE ARTICLES FIT TO BE HANDLED LIKE BULK MATERIAL
    • B07B13/00Grading or sorting solid materials by dry methods, not otherwise provided for; Sorting articles otherwise than by indirectly controlled devices
    • B07B13/08Grading or sorting solid materials by dry methods, not otherwise provided for; Sorting articles otherwise than by indirectly controlled devices according to weight
    • BPERFORMING OPERATIONS; TRANSPORTING
    • B07SEPARATING SOLIDS FROM SOLIDS; SORTING
    • B07BSEPARATING SOLIDS FROM SOLIDS BY SIEVING, SCREENING, SIFTING OR BY USING GAS CURRENTS; SEPARATING BY OTHER DRY METHODS APPLICABLE TO BULK MATERIAL, e.g. LOOSE ARTICLES FIT TO BE HANDLED LIKE BULK MATERIAL
    • B07B13/00Grading or sorting solid materials by dry methods, not otherwise provided for; Sorting articles otherwise than by indirectly controlled devices
    • B07B13/04Grading or sorting solid materials by dry methods, not otherwise provided for; Sorting articles otherwise than by indirectly controlled devices according to size
    • B07B13/075Apparatus comprising moving article - receiving openings, the size of which varies as they move
    • BPERFORMING OPERATIONS; TRANSPORTING
    • B07SEPARATING SOLIDS FROM SOLIDS; SORTING
    • B07BSEPARATING SOLIDS FROM SOLIDS BY SIEVING, SCREENING, SIFTING OR BY USING GAS CURRENTS; SEPARATING BY OTHER DRY METHODS APPLICABLE TO BULK MATERIAL, e.g. LOOSE ARTICLES FIT TO BE HANDLED LIKE BULK MATERIAL
    • B07B13/00Grading or sorting solid materials by dry methods, not otherwise provided for; Sorting articles otherwise than by indirectly controlled devices
    • B07B13/14Details or accessories
    • B07B13/16Feed or discharge arrangements
    • BPERFORMING OPERATIONS; TRANSPORTING
    • B07SEPARATING SOLIDS FROM SOLIDS; SORTING
    • B07BSEPARATING SOLIDS FROM SOLIDS BY SIEVING, SCREENING, SIFTING OR BY USING GAS CURRENTS; SEPARATING BY OTHER DRY METHODS APPLICABLE TO BULK MATERIAL, e.g. LOOSE ARTICLES FIT TO BE HANDLED LIKE BULK MATERIAL
    • B07B9/00Combinations of apparatus for screening or sifting or for separating solids from solids using gas currents; General arrangement of plant, e.g. flow sheets
    • B07B9/02Combinations of similar or different apparatus for separating solids from solids using gas currents

Landscapes

  • Processing Of Solid Wastes (AREA)
  • Combined Means For Separation Of Solids (AREA)

Abstract

본 발명은 동력으로 크랭크샤프트를 작동시키는 기계부와, 상기 크랭크샤프트의 회전으로 크랭크샤프트와 연계된 캠로드가 왕복 직선운동하고 캠로드와 연계된 샤프트와 샤프트에 고정된 가이드가 직선운동하게 되어 가이드와 고정된 패널이 왕복 운동하면서 패널에 수용된 쓰레기가 패널에 형성된 주름산을 통과하면서 이동되는 기계부와 선별부로 구성되고 상기 기계부와 선별부는 컨테이너에 수용되어 콘테이너 밖으로 노출된 호퍼로 유입되는 쓰레기 중에서 키 운동과 송풍기의 송풍에 의해 경량쓰레기(비닐시트, 비닐봉지 등)의 쓰레기는 중량쓰레기(pet, pp, ps, pe의 용기류 등)와 쉽게 분리되어 후처리 과정에서 쓰레기의 종류별로 선별이 용이하며 특히, 중량물(유리병, 캔 등)과 이물질(돌, 흙 등)은 아래 경사 방향으로 하강하도록 구성되어 유리병을 파손하지 않고 분리할 수 있을 뿐 아니라 쓰레기의 선별이 용이한 선별장치를 제공한다.
크랭크 샤프트, 캠 축, 패널, 키, 송풍기, 머풀러

Description

쓰레기 선별장치{The sorting apparatus of the waste}
본 발명은 쓰레기 선별장치에 관한 것으로, 상세하게는 동력에 의해 작동하는 크랭크샤프트와 캠로드와 샤프트를 포함하고 이송용 컨베이어가 형성된 기계부와, 그 상면의 길이에 걸쳐 동일한 피치를 갖는 주름 산과 홈이 형성되고 구멍이 형성되며 전면 방향으로 소정의 경사각(0~25°)을 갖는 패널로 형성되는 선별부로 구성되고 상기 기계부와 선별부는 콘테이너에 수용 설치되어 작동되도록 구성되고 쓰레기는 콘테이너 밖으로 노출된 호퍼를 통하여 유입되도록 형성되며 호퍼로 유입되는 쓰레기는 호퍼 저부에 형성된 키와 송풍기의 작동으로 경량쓰레기(비닐 및 비닐봉지)는 멀리 이동하여 패널의 앞 부분에 낙하하게 되고 중량쓰레기량(pet, pp, ps, pe 등의 용기)는 패널의 후방에 낙하되고 중량물(유리병, 캔 등)은 낙하하여 키 바로 아래에 형성된 슈터로 배출되고 중량쓰레기(pet, pp, ps, pe 등의 용기)와 경량쓰레기(비닐시트, 비닐봉지 등)는 분리된 상태로 패널을 이동 통과하므로서
경량쓰레기(비닐시트, 비닐봉지)와 중량쓰레기(pet, pp, ps, pe 등의 용기)가 분리된 상태로 패널의 상 방향으로 이동하여 후처리가 용이하게 되며 슈터로 배출되지 못한 중량물(유리병, 캔 등)은 패널의 아래 방향 경사면으로 이동하여 소프트한 콘베어로 배출되며 슈터로 배출되지 못한 이물질(석편, 흙 등)은 패널을 이동 하면서 패널에 천공 된 구멍으로 배출되도록 구성되며, 특히 후방에 낙하된 중량물(유리병, 캔 등)은 슈터로 배출되어 패널에 직접 낙하하지 않아 파손되지 않고 안전하게 선별할 수 있는 장치에 관한 것이다.
종래의 쓰레기 분류는 혼합 쓰레기에서 중량물(유리병, 캔 등)과 이물질(흙, 석편 등), 중량쓰레기(pet,pp, pe, ps 구성된 용기)와 경량쓰레기(비닐봉지, 비닐시트 등)는 수작업으로 선별하도록 구성되어 있어 선별 작업성이 저하되는 문제점이 있고, 혼합쓰레기에서 작업하기 때문에 작업환경이 열악한 문제점이 있으며, 상기와 같은 혼합쓰레기는 이동하는 콘베어에서 선별하는 것이므로 온전히 선별하기 위해서는 많은 노동력이 필요로 하는 문제점이 있었다.
자동으로 선별하는 쓰레기 선별장치에서 중량쓰레기(pet,pp, pe, ps 로 구성된 용기류)는 쓰레기 모양에 따라 센싱되는 모양 센서에 의해 쓰레기 종류대로 선별할 수 있도록 구성되어 있으나, 상기 용기류가 비닐시트와 뭉쳐있거나 밀착하여 있을 경우 센서가 정확하게 모양을 식별할 수 없기 때문에 온전한 선별을 이루기 위해서는 여러 단계의 선별장치가 필요로 하는 문제점이 있고, 중량물(유리병, 캔 등)의 유리병과 같은 파손되기 쉬운 쓰레기를 안전하게 선별할 수 없는 문제점이 있으며, 파손된 유리병의 파편에 의해 작업중 상해가 발생하는 문제점이 있고,
기존 발리스틱 선별기의 경우 유리병과 같은 파손되기 쉬운 중량물을 안전하게 분리할 수 없는 문제점이 있으며, 파손된 유리병의 파편에 의해 작업중 상해가 발생하는 문제점이 있다.
본 발명은 쓰레기의 선별을 신속하게 실시하고 노동력과 경비를 절약할 수 있으며 쾌적한 작업 환경을 구성하는 장치를 제공하는데 목적이 있다.
본 발명은 혼합쓰레기에 혼합된 중량물(유리병, 캔 등)과 이물질(흙, 석편 등), 중량쓰레기(pet,pp, pe, ps 로 구성된 용기류)와 경량쓰레기(비닐시트, 비닐 봉지 등)를 안전하게 선별하는 장치를 제공하는데 목적이 있고, 특히 유리병과 같이 파손되기 쉬운 쓰레기를 파손되지 않고 선별할 수 있는 장치를 제공하는데 목적이 있다.
본 발명은 분진과 악취를 방지하고 작업의 안전을 위해 컨테이너 내부에 설치한다.
본 발명은 기계부의 작동으로 선별부의 패널이 한 방향으로 왕복하여 직선운동하도록 구성한다.
상기 선별 부는 소정의 넓이를 갖는 패널을 형성하고 상기 패널은 상면에 걸쳐 여러 개의 구멍을 천공하여 작은 체적의 이물질이 낙하하도록 형성하며, 상면 저부에는 후 판을 설치하여 낙하 된 이물질이 분산되지 않고 한 곳으로 모일 수 있도록 구성한다.
상기 패널의 소재는 충돌하는 쓰레기가 파손되지 않도록 탄성(큐션)과 내구성을 갖는 물질로 구성하며 패널의 상면에는 경사면을 따라 소정의 높이를 갖고 동 일한 피치를 갖는 주름 산을 형성하고 호퍼와 키를 통하여 유입되는 쓰레기가 주름 산의 왕복 직선 운동에 의해 패널의 운동 방향으로 이동되도록 한다.
기계부의 동력으로 동력에 연계된 크랭크샤프트를 회전시키고, 크랭크샤프트의 회전에 의해 크랭크샤프트에 연계된 캠로드의 직선운동을 형성하여 캠로드와 연계된 샤프트를 왕복운동시키고 샤프트에 고정된 가이드를 운동시키도록 구성한다.
상기 가이드의 왕복운동은 가이드에 고정된 패널의 직선운동을 반복하여 운동시키도록 구성한다.
상기 가이드를 포용하고 지지하는 프레임은 가이드가 왕복 운동하는 동안 가이드가 탈리되지 않도록 구성한다.
상기 가이드와 결합되어 가이드를 포용하고 지지하는 프레임의 경사각을 조절할 수 있도록 구성하여 패널이 운동하는 동안 쓰레기의 이송 비율을 향상시키도록 한다.
패널은 운동하는 방향으로 경사지게 구성하며 경사각은 쓰레기의 선별 속도와 선별 종류를 고려하여 구성한다.
패널이 일정한 경사각을 갖는 것은 쓰레기의 중량에 따라 이동속도가 상이한 점을 이용하여 쓰레기의 선별을 용이하게 하기 위한 구성이다.
컨테이너와 연계하여 집진기를 설치하고 컨테이너 내부의 먼지를 배출하게 함으로서 장치의 내구성을 유지할 수 있도록 한다.
본 발명에 의한 쓰레기 분리장치는 컨테이너에 수용되고 집진기가 설치된 상 태로 작동하므로 분진과 악취를 방지할 수 있으며, 패널은 탄성과 내구성이 우수한 소재로 형성함으로서 쓰레기의 파손과 패널의 내구성을 향상시킬 수 있고, 패널에 형성된 주름 산의 높이와 경사각에 의해 경량쓰레기(비닐시트, 비닐봉지 등)와 중량쓰레기(pet,pp, pe, ps 로 구성된 용기류)는 패널의 운동방향으로 이동하고 중량물(유리병, 캔 등)은 패널의 아랫 방향으로 이동하게 함으로서 중량물(유리병, 캔 등)은 패널의 아랫 경사 방향으로 이동하게 함으로서 한 기계로 4종류의 선별이 용이하며, 특히 유리병과 같이 파손되기 쉬운 중량물을 파손시키지 않고 분류할 수 있는 효과가 있다.
본 발명은 컨테이너(13)에 수용되어 설치되는 것을 특징으로 한다.
본 발명은 컨테이너(13)로 유입된 혼합쓰레기를 선별하는 선별부와 상기 선별부를 작동시키는 기계부로 구성되고 컨테이너(13) 내부의 먼지를 집진할 수 있는 집진기(38)로 구성된다
상기 기계부는 상기 선별부가 직선 왕복 운동할 수 있도록 동력(14)을 제공하도록 구성된다.
선별부의 패널(12) 상면은 그 길이에 걸쳐 주름 산(21)과 홈(22)이 반복하여 형성되고 경사각을 형성하여 경사각에 따라 패널(12)에 유입된 쓰레기를 분류하는 구성이며 경량쓰레기(비닐시트, 비닐봉지류 등)과 중량쓰레기(pet,pp, pe, ps 로 구성된 용기류 등)는 주름 산(21)의 운동 방향으로 이동하고 중량물(유리병, 캔 등)과 이물질(석편, 흙 등)은 호프(26)의 입구에서 키(29)의 작동에 의해 슈터(37) 를 통하여 분리되며 슈터(37)에 분리되지 못한 중량물과 이물질은 패널(12)의 상면에 낙하하여 이동하면서 선별되는 구성이다.
` 도 1은 컨테이너에 수용된 상태의 본 발명의 상태 도이다.
도 2는 컨테이너에 수용된 선별부의 평면 상태 도이다.
도 3은 컨테이너의 측면을 절개하여 본 측 단면 도이다.
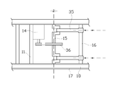
도 4는 기계부에서 선별부로 동력을 전달하는 상태 도이다.
도 5는 패널에 탄도 운동을 제공하는 동력 전달상태와 결합 구조 도이다.
도 6은 키의 구조 도이다.
도 7은 키의 작동 상태 도이다.
도 8은 본 발명의 실시 상태 도이다.
도 3에 도시된 것과 같이 컨테이너(13) 상부에는 혼합쓰레기를 호퍼(26)로 이송시키는 컨베이어(27a)가 설치되어 있다.
상기 호퍼(26)는 컨테이너(13)의 상부에 설치되어 있다.
상기 호퍼(26) 아래에 형성된 키(29)는 컨테이너(13) 폭에 걸쳐 설치되어 있고, 키(29)에 돌출되어 있는 다수개의 각 창(32) 사이에는 탄성이 우수한 연성의 철제 머풀러(31)가 형성되어 있다.
상기 키(29) 아래에는 도 3에 도시된 것과 같이 송풍기(28)의 바람이 키(29) 방향으로 송풍되어 머풀러(31)를 요동하도록 형성되어 있다.
상기 송풍기(28) 아래에는 도 3에 도시된 것과 같이 선별부와 기계부가 설치되어 있고, 선별부 상부에는 패널(12)이 형성되어 있으며 패널(12)의 저부에는 상 기 패널(12)과 소정의 간격을 유지하고 후판(25)이 형성되어 있다.
패널(12)의 상면에는 이 물질(석편, 흙 등)이 배출되는 다수개의 구멍(24)이 천공되어 있다.
패널(12)이 쓰레기를 수용할 때 쓰레기가 넘치지 않도록 패널(12)의 가장자리에는 패널(12)의 상면 보다 높게 테(23)가 형성되어 있다.
패널(12)의 하변 테(23)는 다른 변의 테(23)보다 높게 형성되어 패널(12) 하변으로 이동한 중량물(유리병, 캔 등)과 이물질(석편, 흙 등)의 쓰레기가 패널(12)을 이탈하지 않도록 형성되어 있다.
키(29))의 아래에는 높이에 걸쳐 쓰레기의 이탈을 방지하기 위한 차단막(34)이 형성되어 있다.
상기 선별부는 1차와 2차로 중복되게 설치되어 있고 1차 선별부와 2차 선별부 사이에는 차단막(34)이 설치되어 있다.
패널(12)의 상면은 도 3에 도시된 것과 같이 그 길이에 걸쳐 동일한 피치를 갖는 주름산(21)이 형성되며 주름산(21)과 주름산(21) 사이에는 홈(22)이 형성되어 있고, 주름산(21)의 첨단부는 쓰레기의 충격으로 훼손을 방지하기 위해 라운드화 되어 있으며, 패널(12)의 소재는 충격을 흡수할 수 있도록 탄성과 내구성을 갖도록 구성되어 있다.
도 3에 도시되어 있는 것과 같이 패널(12)은 가이드(18)에 고정되어 있고, 상기 가이드(18)는 프레임(17)에 결합되어 프레임(17)에서 이탈하지 않고 슬라이딩되도록 형성되어 있다.
상기 프레임(17)은 도 3에 도시된 것과 같이 플레이트(11)에서 경사각을 형성하고 슬라이딩 되도록 형성되어 있다.
상기 플레이트(11)에는 프레임(17)의 경사각을 조절할 수 있도록 유압 잭(19)이 설치되어 있다.
상기 플레이트(11)에는 동력(14)이 설치되어 있다.
상기 동력(14)은 동력(14)의 회전수를 조절하기 위해 지름이 큰 휠(36)과 벨트로 연결되어 있다.
상기 휠(36)은 휠(36)의 양쪽에 크랭크를 형성한 크랭크샤프트(15)에 고정되어 있다.
상기 크랭크샤프트(15)의 크랭크에는 캠로드(35)가 회동할 수 있도록 결합 고정되어 있다.
상기 캠로드(35)의 다른 단부는 샤프트(16)와 회동할 수 있도록 결합 고정되어 있다.
상기 샤프트(16)는 도 4에 도시된 것과 같이 양쪽 가이드(18)에 고정되어 있다.
각 패널(12)의 하변 저부에는 중량물 및 이 물질을 이송하기 위한 컨베이어(27b,27c,27d)가 설치되어 있다.
혼합쓰레기가 컨베이어(27a)를 통해 호퍼(26)로 유입되고 호퍼(26)로 유입된 혼합쓰레기는 하강하여 키(29)를 통과하게 된다.
상기 키는 회전하는 캠(33)에 의해 상. 하 키질을 하게 되므로 키(29)를 통 과하는 혼합쓰레기는 키(29)에서 흩어지고 분리는 작업이 이루어지게 되고 중량물(유리병, 고형물 등)과 이물질이 배출할 수 있도록 슈터(37)가 형성된다.
키(29) 아래에 형성된 송풍기(28)는 키(29) 방향으로 송풍하여 머풀러(31)를 요동하여 경량쓰레기(비닐시트, 비닐봉지 등)와 중량쓰레기( pet,pp, pe, ps 로 구성된 용기류)의 분산을 더욱 용이하여 패널(12)의 전. 후방에 낙하하게 되고 슈터(37)로 배출되지 못한 중량물(유리병, 캔 등)과 이물질은 패널(12)의 후방에 낙하하여 패널(12)의 운동에 의해 아래 방향으로 이동하게 된다.
기계부의 동력(14)이 작동하게 되면 휠(36)을 회전시키게 되고 휠(36)의 회전축인 크랭크샤프트(15)를 회전시키게 된다.
상기 크랭크샤프트(15)가 회전하게 되면 크랭크에 회동하도록 고정된 캠로드(35)가 직선 왕복 운동을 하게 된다.
상기와 같이 캠로드(35)가 왕복 직선운동을 하게 되면 캠로드(35)와 회동하도록 고정된 샤프트(16)가 왕복 운동을 하게 된다.
샤프트(16)가 왕복 직선운동을 하게 되면 샤프트(16)와 고정된 가이드(18)가 왕복 운동을 하게 된다.
가이드(18)가 왕복 운동을 하게 되면 가이드(18)에 고정된 패널(12)이 왕복 직선운동을 하면서 패널(12)에 적재된 쓰레기가 탄도 운동을 하면서 상방향으로 이동하게 된다.
상기 프레임(17)은 유압잭(19)의 작동에 의해 수평에서 프레임(17)의 경사각을 조절하여 패널(12)의 경사각을 조절하게 된다.
상기 프레임(17)의 경사각은 0~25도 사이에서 조절할 수 있고, 최초의 경사각은 약 17도 경사각에서 시작하는 것이 바람직하다.
상기 경사진 패널(12)의 왕복 운동에 의해 패널(12) 위에 적재된 쓰레기는 상 방향으로 이송되며 중량물은 패널(12)의 아래 방향으로 굴러 패널(12)의 하변 테(23)에 쌓이게 되고 상기 패널(12)의 하변은 한 방향으로 경사져 있으므로 패널(12)이 지속적으로 왕복운동을 하게 되면 중량물은 패널(12)의 경사진 방향으로 테(23)를 따라 이동하여 콘베이어(27b,27c)로 배출 된다.
패널(12)에 낙하된 이 물질(흙, 작은 돌, 작은 쇠붙이 등)은 패널(12) 상면에 형성된 구멍(24)으로 배출되어 후판(25)에 의해 패널(12)의 경사진 하변 방향으로 이동하여 컨베이어(27b)로 배출된다.
컨베이어(27a)와 패널(12) 사이는 적어도 3m 이상은 되므로 쓰레기가 컨베이어(27a)에서 바로 낙하하게 되면 유리병과 같이 파손되기 쉬운 쓰레기는 패널(12) 상면에서 파손되기 때문에 본 발명에서는 파손되기 쉬운 쓰레기를 보호하면서 분류하기 위해 패널(12) 위의 키(29)에서 중량물(유리병, 캔 등)은 슈터(37)를 통해 분리되고 경량쓰레기(비닐시트,비닐봉지 등)와 중량쓰레기(pet,pp, pe, ps 로 구성된 용기류)는 키(29)의 작동에 의해 분산되도록 형성되었다.
컨테이너(13)에서 작동하는 선별부의 쓰레기는 먼지가 발생하게 되므로 상기 먼지를 배출시키기 위해 컨테이너(13) 상부에 그 내부와 연계하여 내부의 먼지를 집진하기 위한 블로워(39)가 형성되고 상기 블로워(39)에는 먼지의 집진로인 집진관(40)이 형성되고 상기 집진관(40)은 집진기(38)에 연결되어 컨테이너(13)의 먼지 는 집진기(38)에 집진되어 작업장의 청결을 유지할 수 있고, 기계부의 기계가 내구성이 향상되도록 형성된다.
예;금속 등의 재질로 구성된 패널 위에 경도 50~60도의 우레탄을 약 2㎝의 두께로 피복하여 사용할 수 있다.
실시 예
본 발명은 생활쓰레기에서 재활용할 수 있는 쓰레기를 선별하기 위한 것이고, 특히 쓰레기 중에서 중량물(유리병 등)을 파손시키지 않고 자동으로 선별하기 위한 것이다.
독일에서 개발된 쓰레기 선별기 중에서 발리스틱을 이용한 선별기는 쓰레기 선별과정에서 중량물은 인력을 이용하여 선별한 후에 경량쓰레기와 중량쓰레기를 선별하도록 구성되어 있어 본 발명에서는 중량물을 선별하는데 필요한 노동력을 줄이기 위한 것이다.
혼합쓰레기인 경량쓰레기(비닐시트, 봉지 등), 중량쓰레기(합성수지로 형성된 음료수 병 등), 중량물(유리 병 등), 이물질(돌 부스러기, 흙 등) 등이 콘베어를 통하여 호퍼(26)에 유입되면 호퍼(26) 아래의 키(29)에서 혼합쓰레기를 분산시키게 된다.
키(29) 아래에 형성된 송풍기(28)의 송풍에 의해 키(29)에 소정의 간격으로 형성되고 창(32) 사이에 형성된 머풀러(31)가 요동에 의해 경량쓰레기 등은 중량쓰레기와 비교하여 원거리에 낙하하게 된다.
상기와 같은 키(29)의 작동에 의해 뭉처져 있는 쓰레기가 분산되게 되므로 패널(12)로 낙하된 쓰레기의 선별이 더 용이 해지고 특히 경량쓰레기의 선별이 더 용이하게 되며 중량물(유리병 등)은 키질과 송풍에도 불구하고 근 거리에 낙하하게 되고, 특히 유리병 등은 중량물이기 때문에 중량물이 낙하할 때는 패널(12)에 낙하하지 않고 슈터(37)를 이용하여 낙하하고 분리되도록 구성되어 있다.
설혹 슈터(37)를 통하여 분리되는 중량물인 유리병 등에 파손되더라도 그 파편이 패널(12)에 낙하되지 않으므로 일반쓰레기에 유리파편이 섞이지 않게 된다.
상기와 같이 중량물인 유리병 등이 키질에 의해 패널(12)에 낙하되는 경우도 있을 수 있기 때문에 유리병이 패널(12)에 낙하되어 파손되지 않도록 패널(12)은 낙하되는 유리병의 충격을 흡수할 수 있는 재질로 구성되고 패널(12)로 낙하된 유리병 등은 패널(12)의 운동에 의해 상 방향으로 튀어 오르게 되지만 패널(12) 자체가 경사져 있고 2등변 삼각형의 주름(21)이 형성되어 있으므로 튀어 오른 유리병은 낙하되어 다시 튀어 올라 주름산(21)의 첨단에 낙하될 때는 주름산(21)의 첨단 방향이 경사져 있으므로 경사지게 튀어 오르게 되므로 유리병이 몇 번을 튀어오르게 되더라도 유리병은 패널(12)의 제일 아래 부분에 모이게 되어 별도로 분리된다.
또한 유리병을 제외한 중량물인 돌 부스러기 등은 유리병과 같이 슈터(37)로 분리되고 흙 가루, 먼지 등은 패널(12)에 낙하하게 되므로 패널에 천공된 구멍(24)으로 퇴출하게 된다.
키질에서 낙하하는 경량쓰레기(비닐시트, 봉지)는 패널(12)에서 튀어오르지 않을 뿐 아니라 패널(12) 앞 부분에 낙하하기 때문에 용이하게 분리하게 되며 중량쓰레기(수지 용기류)는 중량은 있지만 키질에서 낙하할 때 패널(12)에서 튀어오르기는 하지만 높이 튀어 오르지 않기 때문에 튀어 오르면서 패널(12)의 운동 방향(상방향)으로 이동하게 되어 분리된다.
또한 본 발명에서 패널(12)이 중복되게 설치되어 있는 것은 1차 선별된 경량쓰레기와 중량쓰레기를 효과적으로 중복되게 선별하기 위한 것이다.
1차 패널에서 선별된 경량쓰레기와 중량쓰레기가 혼용되어 있고 중량물도 혼용되어 있을 수 있기 때문에 2차 패널에서 정확하게 선별하게 된다.
도 1은 본 발명의 전체도
도 2는 컨테이너의 평면 절개도
도 3은 컨테이너의 측면 절개도
도 4는 동력전달 전체도
도 5는 동력전달의 상세도
도 6은 키의 구조도
도 7은 키의 작동도
도 8은 본 발명의 작동도
**도면의 중요부분에 대한 부호의 설명**
11: 플레이트 12 : 패널
13: 컨테이너 14: 동력
15: 크랭크 샤프트 16: 샤프트
17: 프레임 18: 가이드
19: 유압 잭 21: 주름산
22: 홈 23 : 테
24 : 구멍 25 : 후판
26 : 호퍼 27 : 콘베어(a, b, c, d)
28 : 송풍기 29 : 키
31 : 머풀러 32 : 창
33 : 캠 34 : 차단막
35 : 캠로드 36 ; 휠
37 : 슈터 38 : 집진기
39 : 블로워 40 : 집진관

Claims (4)

  1. (삭제)
  2. (삭제)
  3. (삭제)
  4. (정정)가이드(18)를 고정한 샤프트(16)와, 샤프트(16)에 회동하도록 고정되어 샤프트(16)를 직선운동시키는 캠로드(35)와, 캠로드(35)가 회동하도록 고정되어 캠로드(35)에 직선운동을 제공하는 크랭크 샤프트(15)와, 크랭크샤프트(15)에 작동을 제공하는 동력(14)으로 구성되는 기계부의 작동으로, 가이드(18)에 고정되고 그 상부에는 삼각형의 주름산(21)과 홈(22)이 형성되며 경사지게 형성되어 경사각으로 직선운동하면서 유입되는 쓰레기를 상 방향으로 이동시키도록 형성된 패널(12)로 구성되고 상기 패널(12)은 충격을 흡수하고 탄성이 큰 소재로 구성되고 4개의 변에는 테(23)가 형성되어 쓰레기가 패널(12)에서 탈리되는 것이 방지되며 하변은 경사각이 형성되어 하변으로 이동한 중량물이 경사진 방향으로 이동이 용이하도록 형성되고, 상면 저부에는 후판(25)이 형성되어 상면의 구멍(24)에서 배출되는 이 물질이 분산되지 않고 경사진 방향으로 모이게 할 수 있도록 형성되며, 패널(12)의 경사각은 유압잭(19)를 작동하여 패널(12)의 경사각을 조절할 수 있도록 형성되어 패널(12)의 직선 왕복운동에 의해 패널(12)의 상면의 쓰레기가 패널(12)의 상 방향으로 이동시킬 수 있도록 구성되고, 상기와 같은 구성은 반복하여 콘테이너(13)에 설치되어 먼지의 비산을 방지할 수 있도록 설치되는 쓰레기 선별장치에 있어서,
    패널(12) 위에 형성되고 컨테이너(13) 밖으로 노출된 호퍼(26) 아래에는 여러 개의 창(32)이 돌출된 키(29)가 형성되고 창(32)과 창(32) 사이에는 탄성이 크고 연성인 머풀러(31)가 형성되며, 키(29)와 접촉한 상태로 작동하는 캠(33)에 의해 키(29)는 상. 하로 운동하도록 형성되고 키(29) 아래에 형성된 송풍기(28)의 송풍에 의해 요동하는 머풀러(31)의 작동과 키질에 의해 호퍼(26)로 유입되는 쓰레기가 분산되면서 패널(12)에 종류대로 낙하되어 패널(12)에서 선별이 용이하도록 구성되는 것을 특징으로 하는 쓰레기 선별장치.
KR1020080096987A 2008-10-02 2008-10-02 쓰레기 선별장치 Expired - Fee Related KR100934035B1 (ko)

Priority Applications (1)

Application Number Priority Date Filing Date Title
KR1020080096987A KR100934035B1 (ko) 2008-10-02 2008-10-02 쓰레기 선별장치

Applications Claiming Priority (1)

Application Number Priority Date Filing Date Title
KR1020080096987A KR100934035B1 (ko) 2008-10-02 2008-10-02 쓰레기 선별장치

Publications (1)

Publication Number Publication Date
KR100934035B1 true KR100934035B1 (ko) 2009-12-28

Family

ID=41684769

Family Applications (1)

Application Number Title Priority Date Filing Date
KR1020080096987A Expired - Fee Related KR100934035B1 (ko) 2008-10-02 2008-10-02 쓰레기 선별장치

Country Status (1)

Country Link
KR (1) KR100934035B1 (ko)

Cited By (4)

* Cited by examiner, † Cited by third party
Publication number Priority date Publication date Assignee Title
KR101956753B1 (ko) * 2018-03-27 2019-03-11 박한결 재활용 쓰레기 형상 선별장치
KR20210077903A (ko) * 2019-12-18 2021-06-28 강성호 발리스틱 선별 처리시스템
CN114798428A (zh) * 2022-04-27 2022-07-29 当阳市红林生态农业科技有限公司 一种蓝莓加工用果实分拣装置
CN116767771A (zh) * 2023-08-16 2023-09-19 江苏金陵干燥科技有限公司 一种多段多层固体废弃物螺旋输送装置

Citations (4)

* Cited by examiner, † Cited by third party
Publication number Priority date Publication date Assignee Title
KR200255197Y1 (ko) 2001-08-16 2001-12-01 주식회사 청석공영 송풍기를 이용한 건식 건설폐기물선별장치
KR20030008203A (ko) * 2002-12-31 2003-01-24 주식회사 남부환경개발 건설폐기물의 자원 재활용 방법 및 그 장치
KR200324087Y1 (ko) 2003-05-14 2003-08-21 (유)남해환경 건축폐기물의 재생골재 선별장치
KR200351064Y1 (ko) 2004-02-23 2004-05-17 주식회사 포스벨 쓰레기 선별장치

Patent Citations (4)

* Cited by examiner, † Cited by third party
Publication number Priority date Publication date Assignee Title
KR200255197Y1 (ko) 2001-08-16 2001-12-01 주식회사 청석공영 송풍기를 이용한 건식 건설폐기물선별장치
KR20030008203A (ko) * 2002-12-31 2003-01-24 주식회사 남부환경개발 건설폐기물의 자원 재활용 방법 및 그 장치
KR200324087Y1 (ko) 2003-05-14 2003-08-21 (유)남해환경 건축폐기물의 재생골재 선별장치
KR200351064Y1 (ko) 2004-02-23 2004-05-17 주식회사 포스벨 쓰레기 선별장치

Cited By (7)

* Cited by examiner, † Cited by third party
Publication number Priority date Publication date Assignee Title
KR101956753B1 (ko) * 2018-03-27 2019-03-11 박한결 재활용 쓰레기 형상 선별장치
KR20210077903A (ko) * 2019-12-18 2021-06-28 강성호 발리스틱 선별 처리시스템
KR102299101B1 (ko) 2019-12-18 2021-09-06 강성호 발리스틱 선별 처리시스템
CN114798428A (zh) * 2022-04-27 2022-07-29 当阳市红林生态农业科技有限公司 一种蓝莓加工用果实分拣装置
CN114798428B (zh) * 2022-04-27 2023-02-07 当阳市红林生态农业科技有限公司 一种蓝莓加工用果实分拣装置
CN116767771A (zh) * 2023-08-16 2023-09-19 江苏金陵干燥科技有限公司 一种多段多层固体废弃物螺旋输送装置
CN116767771B (zh) * 2023-08-16 2023-10-31 江苏金陵干燥科技有限公司 一种多段多层固体废弃物螺旋输送装置

Similar Documents

Publication Publication Date Title
US7584856B2 (en) Air separation of recyclable material
KR101806725B1 (ko) 토사이물질 정밀선별장치
CN208758077U (zh) 建筑垃圾干式分选系统
CA2801119C (en) Waste sorting apparatus and method
CN101326016A (zh) 袋装垃圾处理装置
KR100934035B1 (ko) 쓰레기 선별장치
KR101071235B1 (ko) 혼합쓰레기 전처리 과정에서의 선별방법
KR200440572Y1 (ko) 분리 선별이 용이하도록 스토퍼가 구성된 트롬멜 선별장치
CN112657840A (zh) 一种生活垃圾分选系统
JP4914013B2 (ja) プラスチックボトル破砕機及びプラスチックボトル破砕方法
KR101572416B1 (ko) 트롬멜스크린 선별장치
KR100423207B1 (ko) 폐기물 흡입 분리장치 및 이를 이용한 폐기물 선별 시스템
KR100971723B1 (ko) 폐기물 선별분리 시스템
KR20070073681A (ko) 미세 이물질 분리장치와 그 방법
KR200351064Y1 (ko) 쓰레기 선별장치
KR100528131B1 (ko) 개량된 쓰레기 선별장치
KR100904303B1 (ko) 비중 차를 이용한 폐 플라스틱류 습식 선별방법
CN214132654U (zh) 一种沙土分离机构
KR101060754B1 (ko) 요동식 생활폐기물 선별분리기
KR200381991Y1 (ko) 건설 폐기물 재활용 처리 기계장치
CN211914599U (zh) 高效垃圾分类筛选机
KR200381990Y1 (ko) 건설 폐기물 처리 장치
KR100404147B1 (ko) 쓰레기 분리용 선별장치
JP3734990B2 (ja) 廃棄物選別装置
KR101130679B1 (ko) 재활용품 선별 진동분리기

Legal Events

Date Code Title Description
A201 Request for examination
PA0109 Patent application

St.27 status event code: A-0-1-A10-A12-nap-PA0109

PA0201 Request for examination

St.27 status event code: A-1-2-D10-D11-exm-PA0201

PA0302 Request for accelerated examination

St.27 status event code: A-1-2-D10-D16-exm-PA0302

P11-X000 Amendment of application requested

St.27 status event code: A-2-2-P10-P11-nap-X000

P13-X000 Application amended

St.27 status event code: A-2-2-P10-P13-nap-X000

A302 Request for accelerated examination
PA0302 Request for accelerated examination

St.27 status event code: A-1-2-D10-D17-exm-PA0302

St.27 status event code: A-1-2-D10-D16-exm-PA0302

E902 Notification of reason for refusal
PE0902 Notice of grounds for rejection

St.27 status event code: A-1-2-D10-D21-exm-PE0902

AMND Amendment
P11-X000 Amendment of application requested

St.27 status event code: A-2-2-P10-P11-nap-X000

P13-X000 Application amended

St.27 status event code: A-2-2-P10-P13-nap-X000

P11-X000 Amendment of application requested

St.27 status event code: A-2-2-P10-P11-nap-X000

P13-X000 Application amended

St.27 status event code: A-2-2-P10-P13-nap-X000

E601 Decision to refuse application
PE0601 Decision on rejection of patent

St.27 status event code: N-2-6-B10-B15-exm-PE0601

AMND Amendment
J201 Request for trial against refusal decision
P11-X000 Amendment of application requested

St.27 status event code: A-2-2-P10-P11-nap-X000

P13-X000 Application amended

St.27 status event code: A-2-2-P10-P13-nap-X000

PJ0201 Trial against decision of rejection

St.27 status event code: A-3-3-V10-V11-apl-PJ0201

PB0901 Examination by re-examination before a trial

St.27 status event code: A-6-3-E10-E12-rex-PB0901

B701 Decision to grant
PB0701 Decision of registration after re-examination before a trial

St.27 status event code: A-3-4-F10-F13-rex-PB0701

R18-X000 Changes to party contact information recorded

St.27 status event code: A-3-3-R10-R18-oth-X000

GRNT Written decision to grant
PR0701 Registration of establishment

St.27 status event code: A-2-4-F10-F11-exm-PR0701

PR1002 Payment of registration fee

St.27 status event code: A-2-2-U10-U11-oth-PR1002

Fee payment year number: 1

PG1601 Publication of registration

St.27 status event code: A-4-4-Q10-Q13-nap-PG1601

P14-X000 Amendment of ip right document requested

St.27 status event code: A-5-5-P10-P14-nap-X000

P14-X000 Amendment of ip right document requested

St.27 status event code: A-5-5-P10-P14-nap-X000

P15-X000 Request for amendment of ip right document rejected

St.27 status event code: A-5-5-P10-P15-nap-X000

P16-X000 Ip right document amended

St.27 status event code: A-5-5-P10-P16-nap-X000

Q16-X000 A copy of ip right certificate issued

St.27 status event code: A-4-4-Q10-Q16-nap-X000

P15-X000 Request for amendment of ip right document rejected

St.27 status event code: A-5-5-P10-P15-nap-X000

FPAY Annual fee payment

Payment date: 20121031

Year of fee payment: 4

PR1001 Payment of annual fee

St.27 status event code: A-4-4-U10-U11-oth-PR1001

Fee payment year number: 4

FPAY Annual fee payment

Payment date: 20131220

Year of fee payment: 5

PR1001 Payment of annual fee

St.27 status event code: A-4-4-U10-U11-oth-PR1001

Fee payment year number: 5

PN2301 Change of applicant

St.27 status event code: A-5-5-R10-R13-asn-PN2301

St.27 status event code: A-5-5-R10-R11-asn-PN2301

FPAY Annual fee payment

Payment date: 20141216

Year of fee payment: 6

PR1001 Payment of annual fee

St.27 status event code: A-4-4-U10-U11-oth-PR1001

Fee payment year number: 6

FPAY Annual fee payment

Payment date: 20151217

Year of fee payment: 7

PR1001 Payment of annual fee

St.27 status event code: A-4-4-U10-U11-oth-PR1001

Fee payment year number: 7

LAPS Lapse due to unpaid annual fee
PC1903 Unpaid annual fee

St.27 status event code: A-4-4-U10-U13-oth-PC1903

Not in force date: 20161218

Payment event data comment text: Termination Category : DEFAULT_OF_REGISTRATION_FEE

P22-X000 Classification modified

St.27 status event code: A-4-4-P10-P22-nap-X000

PC1903 Unpaid annual fee

St.27 status event code: N-4-6-H10-H13-oth-PC1903

Ip right cessation event data comment text: Termination Category : DEFAULT_OF_REGISTRATION_FEE

Not in force date: 20161218