[go: up one dir, main page]

JP6401781B2 - 一体型流量調整による経血管的腫瘍塞栓形成の装置及び方法 - Google Patents

一体型流量調整による経血管的腫瘍塞栓形成の装置及び方法 Download PDF

Info

Publication number
JP6401781B2
JP6401781B2 JP2016513090A JP2016513090A JP6401781B2 JP 6401781 B2 JP6401781 B2 JP 6401781B2 JP 2016513090 A JP2016513090 A JP 2016513090A JP 2016513090 A JP2016513090 A JP 2016513090A JP 6401781 B2 JP6401781 B2 JP 6401781B2
Authority
JP
Japan
Prior art keywords
balloon
catheter
distal
flow
proximal
Prior art date
Legal status (The legal status is an assumption and is not a legal conclusion. Google has not performed a legal analysis and makes no representation as to the accuracy of the status listed.)
Active
Application number
JP2016513090A
Other languages
English (en)
Other versions
JP2016517778A5 (ja
JP2016517778A (ja
Inventor
アレン,マイケル,ピー.
ブロマー,ロバート
ハノン,トレバー
ネブ,ロバート デ
ネブ,ロバート デ
Current Assignee (The listed assignees may be inaccurate. Google has not performed a legal analysis and makes no representation or warranty as to the accuracy of the list.)
Embol X Inc
Original Assignee
Embol X Inc
Priority date (The priority date is an assumption and is not a legal conclusion. Google has not performed a legal analysis and makes no representation as to the accuracy of the date listed.)
Filing date
Publication date
Application filed by Embol X Inc filed Critical Embol X Inc
Publication of JP2016517778A publication Critical patent/JP2016517778A/ja
Publication of JP2016517778A5 publication Critical patent/JP2016517778A5/ja
Application granted granted Critical
Publication of JP6401781B2 publication Critical patent/JP6401781B2/ja
Active legal-status Critical Current
Anticipated expiration legal-status Critical

Links

Images

Classifications

    • AHUMAN NECESSITIES
    • A61MEDICAL OR VETERINARY SCIENCE; HYGIENE
    • A61MDEVICES FOR INTRODUCING MEDIA INTO, OR ONTO, THE BODY; DEVICES FOR TRANSDUCING BODY MEDIA OR FOR TAKING MEDIA FROM THE BODY; DEVICES FOR PRODUCING OR ENDING SLEEP OR STUPOR
    • A61M5/00Devices for bringing media into the body in a subcutaneous, intra-vascular or intramuscular way; Accessories therefor, e.g. filling or cleaning devices, arm-rests
    • A61M5/14Infusion devices, e.g. infusing by gravity; Blood infusion; Accessories therefor
    • A61M5/168Means for controlling media flow to the body or for metering media to the body, e.g. drip meters, counters ; Monitoring media flow to the body
    • A61M5/16804Flow controllers
    • AHUMAN NECESSITIES
    • A61MEDICAL OR VETERINARY SCIENCE; HYGIENE
    • A61BDIAGNOSIS; SURGERY; IDENTIFICATION
    • A61B17/00Surgical instruments, devices or methods
    • A61B17/12Surgical instruments, devices or methods for ligaturing or otherwise compressing tubular parts of the body, e.g. blood vessels or umbilical cord
    • A61B17/12022Occluding by internal devices, e.g. balloons or releasable wires
    • A61B17/12027Type of occlusion
    • A61B17/1204Type of occlusion temporary occlusion
    • AHUMAN NECESSITIES
    • A61MEDICAL OR VETERINARY SCIENCE; HYGIENE
    • A61BDIAGNOSIS; SURGERY; IDENTIFICATION
    • A61B17/00Surgical instruments, devices or methods
    • A61B17/12Surgical instruments, devices or methods for ligaturing or otherwise compressing tubular parts of the body, e.g. blood vessels or umbilical cord
    • AHUMAN NECESSITIES
    • A61MEDICAL OR VETERINARY SCIENCE; HYGIENE
    • A61MDEVICES FOR INTRODUCING MEDIA INTO, OR ONTO, THE BODY; DEVICES FOR TRANSDUCING BODY MEDIA OR FOR TAKING MEDIA FROM THE BODY; DEVICES FOR PRODUCING OR ENDING SLEEP OR STUPOR
    • A61M25/00Catheters; Hollow probes
    • AHUMAN NECESSITIES
    • A61MEDICAL OR VETERINARY SCIENCE; HYGIENE
    • A61MDEVICES FOR INTRODUCING MEDIA INTO, OR ONTO, THE BODY; DEVICES FOR TRANSDUCING BODY MEDIA OR FOR TAKING MEDIA FROM THE BODY; DEVICES FOR PRODUCING OR ENDING SLEEP OR STUPOR
    • A61M25/00Catheters; Hollow probes
    • A61M25/0067Catheters; Hollow probes characterised by the distal end, e.g. tips
    • A61M25/0068Static characteristics of the catheter tip, e.g. shape, atraumatic tip, curved tip or tip structure
    • AHUMAN NECESSITIES
    • A61MEDICAL OR VETERINARY SCIENCE; HYGIENE
    • A61MDEVICES FOR INTRODUCING MEDIA INTO, OR ONTO, THE BODY; DEVICES FOR TRANSDUCING BODY MEDIA OR FOR TAKING MEDIA FROM THE BODY; DEVICES FOR PRODUCING OR ENDING SLEEP OR STUPOR
    • A61M25/00Catheters; Hollow probes
    • A61M25/0067Catheters; Hollow probes characterised by the distal end, e.g. tips
    • A61M25/0068Static characteristics of the catheter tip, e.g. shape, atraumatic tip, curved tip or tip structure
    • A61M25/0069Tip not integral with tube
    • AHUMAN NECESSITIES
    • A61MEDICAL OR VETERINARY SCIENCE; HYGIENE
    • A61MDEVICES FOR INTRODUCING MEDIA INTO, OR ONTO, THE BODY; DEVICES FOR TRANSDUCING BODY MEDIA OR FOR TAKING MEDIA FROM THE BODY; DEVICES FOR PRODUCING OR ENDING SLEEP OR STUPOR
    • A61M25/00Catheters; Hollow probes
    • A61M25/0067Catheters; Hollow probes characterised by the distal end, e.g. tips
    • A61M25/0074Dynamic characteristics of the catheter tip, e.g. openable, closable, expandable or deformable
    • A61M25/0075Valve means
    • AHUMAN NECESSITIES
    • A61MEDICAL OR VETERINARY SCIENCE; HYGIENE
    • A61MDEVICES FOR INTRODUCING MEDIA INTO, OR ONTO, THE BODY; DEVICES FOR TRANSDUCING BODY MEDIA OR FOR TAKING MEDIA FROM THE BODY; DEVICES FOR PRODUCING OR ENDING SLEEP OR STUPOR
    • A61M25/00Catheters; Hollow probes
    • A61M25/10Balloon catheters
    • AHUMAN NECESSITIES
    • A61MEDICAL OR VETERINARY SCIENCE; HYGIENE
    • A61MDEVICES FOR INTRODUCING MEDIA INTO, OR ONTO, THE BODY; DEVICES FOR TRANSDUCING BODY MEDIA OR FOR TAKING MEDIA FROM THE BODY; DEVICES FOR PRODUCING OR ENDING SLEEP OR STUPOR
    • A61M25/00Catheters; Hollow probes
    • A61M25/10Balloon catheters
    • A61M25/1025Connections between catheter tubes and inflation tubes
    • AHUMAN NECESSITIES
    • A61MEDICAL OR VETERINARY SCIENCE; HYGIENE
    • A61MDEVICES FOR INTRODUCING MEDIA INTO, OR ONTO, THE BODY; DEVICES FOR TRANSDUCING BODY MEDIA OR FOR TAKING MEDIA FROM THE BODY; DEVICES FOR PRODUCING OR ENDING SLEEP OR STUPOR
    • A61M5/00Devices for bringing media into the body in a subcutaneous, intra-vascular or intramuscular way; Accessories therefor, e.g. filling or cleaning devices, arm-rests
    • A61M5/14Infusion devices, e.g. infusing by gravity; Blood infusion; Accessories therefor
    • A61M5/168Means for controlling media flow to the body or for metering media to the body, e.g. drip meters, counters ; Monitoring media flow to the body
    • A61M5/172Means for controlling media flow to the body or for metering media to the body, e.g. drip meters, counters ; Monitoring media flow to the body electrical or electronic
    • AHUMAN NECESSITIES
    • A61MEDICAL OR VETERINARY SCIENCE; HYGIENE
    • A61MDEVICES FOR INTRODUCING MEDIA INTO, OR ONTO, THE BODY; DEVICES FOR TRANSDUCING BODY MEDIA OR FOR TAKING MEDIA FROM THE BODY; DEVICES FOR PRODUCING OR ENDING SLEEP OR STUPOR
    • A61M5/00Devices for bringing media into the body in a subcutaneous, intra-vascular or intramuscular way; Accessories therefor, e.g. filling or cleaning devices, arm-rests
    • A61M5/14Infusion devices, e.g. infusing by gravity; Blood infusion; Accessories therefor
    • A61M5/168Means for controlling media flow to the body or for metering media to the body, e.g. drip meters, counters ; Monitoring media flow to the body
    • A61M5/172Means for controlling media flow to the body or for metering media to the body, e.g. drip meters, counters ; Monitoring media flow to the body electrical or electronic
    • A61M5/1723Means for controlling media flow to the body or for metering media to the body, e.g. drip meters, counters ; Monitoring media flow to the body electrical or electronic using feedback of body parameters, e.g. blood-sugar, pressure
    • AHUMAN NECESSITIES
    • A61MEDICAL OR VETERINARY SCIENCE; HYGIENE
    • A61BDIAGNOSIS; SURGERY; IDENTIFICATION
    • A61B17/00Surgical instruments, devices or methods
    • A61B17/12Surgical instruments, devices or methods for ligaturing or otherwise compressing tubular parts of the body, e.g. blood vessels or umbilical cord
    • A61B17/12022Occluding by internal devices, e.g. balloons or releasable wires
    • A61B17/12099Occluding by internal devices, e.g. balloons or releasable wires characterised by the location of the occluder
    • A61B17/12109Occluding by internal devices, e.g. balloons or releasable wires characterised by the location of the occluder in a blood vessel
    • AHUMAN NECESSITIES
    • A61MEDICAL OR VETERINARY SCIENCE; HYGIENE
    • A61BDIAGNOSIS; SURGERY; IDENTIFICATION
    • A61B17/00Surgical instruments, devices or methods
    • A61B17/12Surgical instruments, devices or methods for ligaturing or otherwise compressing tubular parts of the body, e.g. blood vessels or umbilical cord
    • A61B17/12022Occluding by internal devices, e.g. balloons or releasable wires
    • A61B17/12131Occluding by internal devices, e.g. balloons or releasable wires characterised by the type of occluding device
    • A61B17/12136Balloons
    • AHUMAN NECESSITIES
    • A61MEDICAL OR VETERINARY SCIENCE; HYGIENE
    • A61MDEVICES FOR INTRODUCING MEDIA INTO, OR ONTO, THE BODY; DEVICES FOR TRANSDUCING BODY MEDIA OR FOR TAKING MEDIA FROM THE BODY; DEVICES FOR PRODUCING OR ENDING SLEEP OR STUPOR
    • A61M5/00Devices for bringing media into the body in a subcutaneous, intra-vascular or intramuscular way; Accessories therefor, e.g. filling or cleaning devices, arm-rests
    • A61M5/14Infusion devices, e.g. infusing by gravity; Blood infusion; Accessories therefor
    • A61M5/168Means for controlling media flow to the body or for metering media to the body, e.g. drip meters, counters ; Monitoring media flow to the body
    • A61M5/172Means for controlling media flow to the body or for metering media to the body, e.g. drip meters, counters ; Monitoring media flow to the body electrical or electronic
    • A61M5/1723Means for controlling media flow to the body or for metering media to the body, e.g. drip meters, counters ; Monitoring media flow to the body electrical or electronic using feedback of body parameters, e.g. blood-sugar, pressure
    • A61M2005/1726Means for controlling media flow to the body or for metering media to the body, e.g. drip meters, counters ; Monitoring media flow to the body electrical or electronic using feedback of body parameters, e.g. blood-sugar, pressure the body parameters being measured at, or proximate to, the infusion site
    • AHUMAN NECESSITIES
    • A61MEDICAL OR VETERINARY SCIENCE; HYGIENE
    • A61MDEVICES FOR INTRODUCING MEDIA INTO, OR ONTO, THE BODY; DEVICES FOR TRANSDUCING BODY MEDIA OR FOR TAKING MEDIA FROM THE BODY; DEVICES FOR PRODUCING OR ENDING SLEEP OR STUPOR
    • A61M25/00Catheters; Hollow probes
    • A61M2025/0001Catheters; Hollow probes for pressure measurement
    • AHUMAN NECESSITIES
    • A61MEDICAL OR VETERINARY SCIENCE; HYGIENE
    • A61MDEVICES FOR INTRODUCING MEDIA INTO, OR ONTO, THE BODY; DEVICES FOR TRANSDUCING BODY MEDIA OR FOR TAKING MEDIA FROM THE BODY; DEVICES FOR PRODUCING OR ENDING SLEEP OR STUPOR
    • A61M25/00Catheters; Hollow probes
    • A61M2025/0001Catheters; Hollow probes for pressure measurement
    • A61M2025/0002Catheters; Hollow probes for pressure measurement with a pressure sensor at the distal end
    • AHUMAN NECESSITIES
    • A61MEDICAL OR VETERINARY SCIENCE; HYGIENE
    • A61MDEVICES FOR INTRODUCING MEDIA INTO, OR ONTO, THE BODY; DEVICES FOR TRANSDUCING BODY MEDIA OR FOR TAKING MEDIA FROM THE BODY; DEVICES FOR PRODUCING OR ENDING SLEEP OR STUPOR
    • A61M25/00Catheters; Hollow probes
    • A61M2025/0001Catheters; Hollow probes for pressure measurement
    • A61M2025/0003Catheters; Hollow probes for pressure measurement having an additional lumen transmitting fluid pressure to the outside for measurement
    • AHUMAN NECESSITIES
    • A61MEDICAL OR VETERINARY SCIENCE; HYGIENE
    • A61MDEVICES FOR INTRODUCING MEDIA INTO, OR ONTO, THE BODY; DEVICES FOR TRANSDUCING BODY MEDIA OR FOR TAKING MEDIA FROM THE BODY; DEVICES FOR PRODUCING OR ENDING SLEEP OR STUPOR
    • A61M25/00Catheters; Hollow probes
    • A61M25/0067Catheters; Hollow probes characterised by the distal end, e.g. tips
    • A61M25/0074Dynamic characteristics of the catheter tip, e.g. openable, closable, expandable or deformable
    • A61M25/0075Valve means
    • A61M2025/0076Unidirectional valves
    • AHUMAN NECESSITIES
    • A61MEDICAL OR VETERINARY SCIENCE; HYGIENE
    • A61MDEVICES FOR INTRODUCING MEDIA INTO, OR ONTO, THE BODY; DEVICES FOR TRANSDUCING BODY MEDIA OR FOR TAKING MEDIA FROM THE BODY; DEVICES FOR PRODUCING OR ENDING SLEEP OR STUPOR
    • A61M25/00Catheters; Hollow probes
    • A61M25/10Balloon catheters
    • A61M2025/1043Balloon catheters with special features or adapted for special applications
    • A61M2025/105Balloon catheters with special features or adapted for special applications having a balloon suitable for drug delivery, e.g. by using holes for delivery, drug coating or membranes
    • AHUMAN NECESSITIES
    • A61MEDICAL OR VETERINARY SCIENCE; HYGIENE
    • A61MDEVICES FOR INTRODUCING MEDIA INTO, OR ONTO, THE BODY; DEVICES FOR TRANSDUCING BODY MEDIA OR FOR TAKING MEDIA FROM THE BODY; DEVICES FOR PRODUCING OR ENDING SLEEP OR STUPOR
    • A61M25/00Catheters; Hollow probes
    • A61M25/10Balloon catheters
    • A61M2025/1043Balloon catheters with special features or adapted for special applications
    • A61M2025/1052Balloon catheters with special features or adapted for special applications for temporarily occluding a vessel for isolating a sector
    • AHUMAN NECESSITIES
    • A61MEDICAL OR VETERINARY SCIENCE; HYGIENE
    • A61MDEVICES FOR INTRODUCING MEDIA INTO, OR ONTO, THE BODY; DEVICES FOR TRANSDUCING BODY MEDIA OR FOR TAKING MEDIA FROM THE BODY; DEVICES FOR PRODUCING OR ENDING SLEEP OR STUPOR
    • A61M25/00Catheters; Hollow probes
    • A61M25/10Balloon catheters
    • A61M2025/1043Balloon catheters with special features or adapted for special applications
    • A61M2025/1061Balloon catheters with special features or adapted for special applications having separate inflations tubes, e.g. coaxial tubes or tubes otherwise arranged apart from the catheter tube
    • AHUMAN NECESSITIES
    • A61MEDICAL OR VETERINARY SCIENCE; HYGIENE
    • A61MDEVICES FOR INTRODUCING MEDIA INTO, OR ONTO, THE BODY; DEVICES FOR TRANSDUCING BODY MEDIA OR FOR TAKING MEDIA FROM THE BODY; DEVICES FOR PRODUCING OR ENDING SLEEP OR STUPOR
    • A61M25/00Catheters; Hollow probes
    • A61M25/10Balloon catheters
    • A61M2025/1043Balloon catheters with special features or adapted for special applications
    • A61M2025/1081Balloon catheters with special features or adapted for special applications having sheaths or the like for covering the balloon but not forming a permanent part of the balloon, e.g. retractable, dissolvable or tearable sheaths
    • AHUMAN NECESSITIES
    • A61MEDICAL OR VETERINARY SCIENCE; HYGIENE
    • A61MDEVICES FOR INTRODUCING MEDIA INTO, OR ONTO, THE BODY; DEVICES FOR TRANSDUCING BODY MEDIA OR FOR TAKING MEDIA FROM THE BODY; DEVICES FOR PRODUCING OR ENDING SLEEP OR STUPOR
    • A61M25/00Catheters; Hollow probes
    • A61M25/10Balloon catheters
    • A61M2025/1043Balloon catheters with special features or adapted for special applications
    • A61M2025/109Balloon catheters with special features or adapted for special applications having balloons for removing solid matters, e.g. by grasping or scraping plaque, thrombus or other matters that obstruct the flow
    • AHUMAN NECESSITIES
    • A61MEDICAL OR VETERINARY SCIENCE; HYGIENE
    • A61MDEVICES FOR INTRODUCING MEDIA INTO, OR ONTO, THE BODY; DEVICES FOR TRANSDUCING BODY MEDIA OR FOR TAKING MEDIA FROM THE BODY; DEVICES FOR PRODUCING OR ENDING SLEEP OR STUPOR
    • A61M25/00Catheters; Hollow probes
    • A61M25/10Balloon catheters
    • A61M2025/1043Balloon catheters with special features or adapted for special applications
    • A61M2025/1093Balloon catheters with special features or adapted for special applications having particular tip characteristics
    • AHUMAN NECESSITIES
    • A61MEDICAL OR VETERINARY SCIENCE; HYGIENE
    • A61MDEVICES FOR INTRODUCING MEDIA INTO, OR ONTO, THE BODY; DEVICES FOR TRANSDUCING BODY MEDIA OR FOR TAKING MEDIA FROM THE BODY; DEVICES FOR PRODUCING OR ENDING SLEEP OR STUPOR
    • A61M25/00Catheters; Hollow probes
    • A61M25/10Balloon catheters
    • A61M2025/1043Balloon catheters with special features or adapted for special applications
    • A61M2025/1097Balloon catheters with special features or adapted for special applications with perfusion means for enabling blood circulation only while the balloon is in an inflated state, e.g. temporary by-pass within balloon
    • AHUMAN NECESSITIES
    • A61MEDICAL OR VETERINARY SCIENCE; HYGIENE
    • A61MDEVICES FOR INTRODUCING MEDIA INTO, OR ONTO, THE BODY; DEVICES FOR TRANSDUCING BODY MEDIA OR FOR TAKING MEDIA FROM THE BODY; DEVICES FOR PRODUCING OR ENDING SLEEP OR STUPOR
    • A61M2210/00Anatomical parts of the body
    • A61M2210/12Blood circulatory system
    • AHUMAN NECESSITIES
    • A61MEDICAL OR VETERINARY SCIENCE; HYGIENE
    • A61MDEVICES FOR INTRODUCING MEDIA INTO, OR ONTO, THE BODY; DEVICES FOR TRANSDUCING BODY MEDIA OR FOR TAKING MEDIA FROM THE BODY; DEVICES FOR PRODUCING OR ENDING SLEEP OR STUPOR
    • A61M25/00Catheters; Hollow probes
    • A61M25/10Balloon catheters
    • A61M25/1002Balloon catheters characterised by balloon shape

Landscapes

  • Health & Medical Sciences (AREA)
  • Life Sciences & Earth Sciences (AREA)
  • Heart & Thoracic Surgery (AREA)
  • General Health & Medical Sciences (AREA)
  • Animal Behavior & Ethology (AREA)
  • Veterinary Medicine (AREA)
  • Engineering & Computer Science (AREA)
  • Biomedical Technology (AREA)
  • Public Health (AREA)
  • Hematology (AREA)
  • Anesthesiology (AREA)
  • Biophysics (AREA)
  • Pulmonology (AREA)
  • Vascular Medicine (AREA)
  • Surgery (AREA)
  • Nuclear Medicine, Radiotherapy & Molecular Imaging (AREA)
  • Molecular Biology (AREA)
  • Reproductive Health (AREA)
  • Medical Informatics (AREA)
  • Child & Adolescent Psychology (AREA)
  • Diabetes (AREA)
  • Media Introduction/Drainage Providing Device (AREA)
  • Infusion, Injection, And Reservoir Apparatuses (AREA)
  • Surgical Instruments (AREA)

Description

関連出願の相互参照
本出願は、2013年5月8日に出願された米国特許出願第61/821,058号、2013年12月12日に出願された同第61/915,425号、及び2013年12月17日に出願された同第61/917,131号の利益を主張するものであり、これらのそれぞれは参照によって全内容が本明細書に組み込まれている。
文献の引用
本明細書中において言及される全ての刊行物及び特許出願は、それぞれ個々の刊行物又は特許出願が参照により具体的且つ個別に示されて組み込まれる場合と同程度に、参照により本明細書に組み込まれる。
本出願は、一般に医療の方法及び装置に関する。より具体的には、本出願は、カテーテルに適合された閉塞器具、並びに、流体、塞栓性物質、及び他の治療用薬剤を体内の部位に送達する際の閉塞器具の使用方法の様々な実施形態を開示する。
米国においてがんと診断される症例は毎年百万を超えており、治療手法は、全身化学療法、放射線、外科的切除など様々である。もし全身化学療法や放射線が健康な組織と相互に作用すると、合併症や毒性が引き起こされる場合が多い。現在は標的薬剤が使用されつつあり、合併症の発生率は低下している。マイクロ波治療、高周波治療、極低温治療などの切除手法も用いられてきた。しかしながら、これらの方法はしばしば選択的ではなく、腫瘍の周囲又は下にある組織や器官が悪影響を受ける可能性がある。
国立衛生研究所(national institute of health)によれば、米国では2013年に、30,640人が原発性肝がん(肝細胞がん(HCC))と診断されており、142,820人が結腸直腸がんと診断されている。これらのうちの75パーセントが肝臓に転移する。肝臓の切除や移植が唯一の治療手段であるが、適格となる患者はごく少数である。全身化学療法は、肝臓における原発性又は転移性の腫瘍に対しては効果がなく、奏効率は約20%であり、延命効果は症状のケアの場合の7.9か月に対して10.7か月である。
カテーテルは、流体、治療用物質、インプラントなどを送達する内科的治療、及び組織や体液の採取において一般的に使用されている。カテーテルは、上述のがんの治療などにおいて、組織を広げたり、流体流をブロックしたり、生体構造の一部分を隔離したりする為に、バルーンや他のツールとともに構築されてよい。
経動脈的塞栓療法は、マイクロカテーテルを使用して薬剤及び/又は塞栓剤を腫瘍血管系に直接、経血管注射する療法である。塞栓療法では、血流を遮断し、薬剤又は放射能が存在する場合には、高濃度の薬剤又は放射能を同時に放出する。この技法は、その毒性レベルが非常に低いことでも注目されている。
1980年代初めには、選択的ながん治療法として、経動脈的化学塞栓療法(TACE)が使用され始めた。この方法は、化学療法剤及び塞栓剤を腫瘍の血管系に直接注入するものであり、肝細胞がんの治療の為の最も一般的な技法である。より最近では、経動脈的放射線塞栓療法(TARE)が臨床で行われている。この方法では、化学療法剤の代わりに放射性塞栓粒子、典型的にはイットリウム−90(y90)が注入される。TACE及びTAREの一般的な対象は肝臓であるが、膵臓、肺、腎臓、胃、結腸、頭頸部などをはじめとする、これらに限定されない他の器官も、これらの方法を用いて治療されてきた。化学塞栓療法は、2006年に中間段階の肝細胞がんの標準治療として確立された。
多くの研究により、経動脈的塞栓形成は、幾つかの原発性がんに対して有効であること、並びに、肝臓内のHCC及び転移性結腸直腸がんの両方に対して化学療法よりも優れた効能を有することが示されているが、諸研究において示された結果は一貫性がなく、報告された腫瘍反応は15%から85%である。患者間での生体構造の違いや個体差は明らかに有意であるが、それぞれがある範囲の患者を包含する複数の臨床研究が示した結果は非常に相異なっており、このことは、現時点では処置の最適化又は標準化がほとんど行われていないことを示している。
上述の処置は、小さなカテーテルを脚の付け根の大腿静脈に挿入し、肝血管系内まで進め、典型的には肝動脈まで進め、更に肝臓の右葉又は左葉内へ進め、或いは、より選択的に、肝臓の特定の部分内へ進め、或いは、超選択的に、腫瘍内又は腫瘍の近傍まで直接進めることにより、達成される。腫瘍血管系内への抗がん剤の超選択的な経動脈的送達は最先端になっており、その為には、小血管内に到達可能なカテーテルが必要である。現時点では、抗がん剤を標的血管系に注入する為に、典型的には3Fr又は約3Frである標準マイクロカテーテルが使用されている。これらの標準マイクロカテーテルは、塞栓剤が腫瘍内に移動する為の手段として通常の血流を頼りにしており、充填力として収縮期圧を頼りにしている。しかしながら、典型的には、注入圧力は血圧より高く、血流が反転する可能性がある。これが起こると、抗がん剤は、通常の血流に対して逆行する方向であって腫瘍から遠ざかる方向に流れ、このことには、抗がん剤の毒物によってダメージを受ける可能性がある器官に抗がん剤が送達される危険が伴う。この状況は又、不明な量の薬剤の損失を引き起こす。
上述の処置のエンドポイントは、医師の視覚的観察によって決定され、塞栓が完全に形成された状態から部分的に形成された状態まで幅がある可能性があり、これは、1回に送達される薬剤の量のばらつきが大きい為である。1回で送達される薬剤の、逆行性及び順行性の還流、分布、充填、量、並びに処置のエンドポイントは、注入の速度及び圧力、エンドポイントのタイプの選択、患者の収縮期血圧、及び操作者に強く依存しうる可変因子である。その為、TACEを使用して肝細胞がんを治療する臨床試験では、腫瘍反応が大きくばらつく結果が示されてきた。塞栓形成療法の現行の送達手段及び方法が原因で起こる最も重大な問題として、効果に一貫性がないこと、並びに非標的塞栓形成であることが挙げられる。
標準的なストレートチップカテーテルを使用する場合、注入の圧力が収縮期血圧を超え、塞栓剤がカテーテルの上を逆流して体循環に入ると、逆行性方向の非標的塞栓形成が引き起こされる可能性がある。塞栓剤が遠位血管系に流入し、動静脈シャントを通って静脈循環に入ると、順行性還流及び非標的塞栓形成が発生する。これが容易に起こりうるのは、拡張期動脈血圧が約80mmHgであるのに対し、静脈血圧が平均で約10〜15mmHgである為である。
通常の順行性血流を利用して治療を標的まで搬送することにより、治療用薬剤を標的構造の血管系内に送達する場合は、薬剤の逆行性還流がカテーテルの上を逆行して体循環に入ることを回避する為に、治療用薬剤の注入の速度及び圧力を、血液の流量及び圧力との関連で注意深く制御しなければならない。具体的には、塞栓剤を腫瘍の血管系に注入する際に、塞栓形成が進むにつれてカテーテル先端の遠位側の圧力が増え続け、これによって、塞栓剤が標的血管系を満たすことを妨げる抵抗が発生し、逆行性還流及び非標的塞栓形成の可能性が発生する。この逆行性還流、非標的塞栓形成、及び現在の技術水準の処置によって標的に送達される1回分の薬剤の量の一貫性のなさを解消することが望ましいであろう。更には、標的血管系全体にわたる粒子の分布及び密度が低レベルであることを解消することが望ましいであろう。更には、標的血管系を常に完全に隔離できるわけではなく、操作者が圧力、流量、及び、治療の送達に関連する他のパラメータを制御することがしばしば不可能になる現行の送達装置を置き換えることが望ましいであろう。
肝臓内の腫瘍に対する現在の技術水準の塞栓形成療法は、塞栓剤を腫瘍内に送達する為に、肝動脈からの大量の順方向流を頼りにしている。しかしながら、より大きな毛細血管に遠位塞栓が形成されると、(1)腫瘍内血管圧が高くなり、(2)腫瘍を養う動脈の圧力が高くなり、(3)送達カテーテルの上を逆行する近位還流が発生し、(4)遠位肝腸動脈内の順行性バイパスが増え、(5)腫瘍内での塞栓剤の充填及び分布が不十分になる。この状況の結果として、腫瘍に入る粒子の数を制御できなくなり、処置のばらつきが大きくなる。
塞栓形成療法の現行の方法において、結果の一貫性のなさを引き起こす問題として、処置エンドポイントのばらつき、送達される1回分の薬剤の量が不明であること、塞栓剤の体循環への還流、塞栓粒子の順行性バイパスが体循環に入ること、非標的塞栓形成、塞栓形成の初期段階での腫瘍内動脈圧の上昇、注入中にカテーテルが動くことなどが挙げられる。現行の送達カテーテルは、上述の可変因子の多くを制御することができず、その為、現行の処置を何らかの形で標準化することは困難又は不可能である。
以下に挙げる特許及び特許出願公開は、現在の技術水準の幾つかの例を与える。米国特許第5,647,198号は、バルーン内空間を画定する、間隔を空けて配置された一対のバルーンを有するカテーテルについて記載されている。管腔がカテーテル内を通り抜け、バルーン内空間内でカテーテルから出て、薬剤、エマルジョン、流体、及び流体と固体の混合物の注入を可能にする。灌流用管腔又はバイパスが、近位バルーンより近位側にあり、遠位先端より近位側にある場所から延びて、膨らんだバルーンを越えた血液のシャントを可能にしている。米国特許第5,674,198号は、固形腫瘍の治療用として設計された2バルーンカテーテルについて記載されている。これらのバルーンは、腫瘍内への血流を隔離するように配置され、血管閉塞用コラーゲン材料を注入して腫瘍への血液供給を阻止することを可能にする。クリフトン等(Clifton et al.)、カンサー(Cancer)、1963年、16号、p.444−452は、肺がんの治療用の2バルーンカテーテルについて記載されている。4管腔カテーテルが、バルーン間の空間に個別注入用管腔を含む。ルースロ等(Rousselot et al.)、JAMA、1965年、191号、p.707−710は、抗がん剤を肝臓内に送達するバルーンカテーテル装置について記載されている。更に、米国特許第6,780,181号、米国特許第6,835,189号、米国特許第7,144,407号、米国特許第7,412,285号、米国特許第7,481,800号、米国特許第7,645,259号、米国特許第7,742,811号、米国特許出願第2001/008451号、米国特許出願第2001/0041862号、米国特許出願第2003/008726号、米国特許出願第2003/0114878号、米国特許出願第2005/0267407号、米国特許出願第2007/0137651号、米国特許出願第2008/0208118号、米国特許出願第2009/0182227号、及び米国特許出願第2010/0114021号も参照されたい。
必要とされていて、先行技術によって提供されていないものは、治療の送達の最適化や標準化を可能にする送達システム及び方法であり、例えば、既知の量の塞栓剤を所定の標的領域に送達すること、及び非標的塞栓形成を行わないことによる送達システム及び方法である。
本発明は、背景技術の課題を解決するためのものである。
本開示の態様によれば、身体内の標的部位に治療用薬剤を送達する為にカテーテルに適合されるように設計された、一方向バイパス流の一部閉塞を行う為の装置及び方法が提供される。そのような送達装置は任意の医療目的を意図されてよいが、本明細書に記載の実施形態は、身体内の標的部位への治療用薬剤の経動脈的送達を実施することを意図された装置に焦点を当てている。送達用カテーテルの挿入部位は、任意の動脈アクセス部位であってよく、典型的には脚の付け根にある大腿静脈であってよい。標的は、任意の構造であってよいが、特に関心対象となるのが、動脈系を介してマイクロカテーテルでアクセス可能な、任意の器官又は組織の、原発性であれ転移性であれ、腫瘍である。特に関心対象となるがんは、肝臓、膵臓、結腸、直腸、腎臓、胃、肺、膀胱、頭頸部、子宮などにおける原発性及び転移性のがんなどであり、これらに限定されない。本開示のアクセス及び送達の方法及び装置から恩恵が得られる処置として、薬剤溶出性ビーズを使用する経動脈的化学塞栓療法(DEB TACE)、リピオドールを使用する経動脈的化学塞栓療法(リピオドールTACE)、経動脈的放射線塞栓療法(TARE)、経動脈的塞栓形成(TAE)などがあり、これらに限定されない。本開示の方法及び装置から恩恵が得られる他の処置として、がんの部位への化学療法又は標的薬剤の直接送達、薬剤、静脈又は動脈用塞栓剤、又は他の物質の、身体の特定領域への全身送達、流体又は組織の水抜き又は吸引などがある。
実施形態によっては、本明細書に開示の、マイクロカテーテルの方法及び装置は、(肝動脈において)一部閉塞を発生させることにより、その閉塞より遠位にある血管区画における圧力及び流量を低減する。これにより、(1)近位還流の解消、(2)閉塞より遠位の肝腸動脈流の反転、(3)順行性バイパスの制限又は停止、(3)腫瘍への流量の低減、(4)腫瘍内圧力の上昇の開始の遅延、(5)塞栓形成量の増加、及び(6)定量的圧力測定値をエンドポイントとして有効化することが可能になる。
実施形態によっては、本装置は、2管腔カテーテルの遠位区間に適合された閉塞構造を含み、この閉塞構造は、その近位面から遠位面にかけて配置された1つ以上の流路を有し、これを通り抜ける流れを可能にする。これらの流路は、非閉塞時の動脈又は静脈の流量より少なくなるように制御可能な動脈又は静脈の流量を可能にするように構成されており、これらの流路は、一方向のみの流れを可能にする一方向弁を有してよい。この流量は、非閉塞時の通常の流量に対して0%流量から最大100%流量までの任意の量であってよく、最も典型的には85%流量から95%流量であってよい。流路及び/又は弁は、閉塞構造の一方の側から他方の側への流量及び/又は圧力を調整するように構成されてよい。流量及び/又は圧力の調整は、固定であっても可変であってもよく、これによって、単一の連続流量又は複数の流量の事前較正又は操作者による調節が可能になる。実施形態によっては、特に関心の対象となるのが、動脈流を、事前較正された一定流量に調整することである。
実施形態によっては、流量の低減の結果として、一部閉塞より遠位にある血管空間内の圧力が低下する。これが起こると、閉塞された動脈から遠ざかるように流れている、閉塞された動脈の遠位動脈側枝、及び動脈網の一部の方向が反転し、閉塞された動脈に向かって流れ始める可能性がある。例えば、肝臓の右葉内の腫瘍の塞栓形成は、右肝動脈(RHA)を通って腫瘍の近傍まで進められたカテーテルによってアクセスされる。典型的には、カテーテルの先端は腫瘍血管系には入らず、腫瘍より近位の、右肝動脈内又はその分枝内にとどまる。この例では、腫瘍を養う動脈は、典型的にはRHAの分枝である。しかしながら、RHAから分枝して、RHAから遠ざかって肝臓及び消化管に流れる他の遠位肝腸動脈がある。この例では、標準ストレートカテーテルを使用して、カテーテルの遠位先端から塞栓剤を注入すると、結果として、塞栓剤が腫瘍及び側枝動脈の両方に流入し、これによって、順行性バイパス及び肝臓及び消化管の非標的塞栓形成が行われ、毒性及び合併症を引き起こす状況が発生する。
本開示の実施形態によっては、一部閉塞装置より遠位の動脈空間における血圧低下の結果として、分枝肝腸動脈は流れが反転し、腫瘍に向かって流れる。この状況によって、順行性バイパスは阻止され、非標的塞栓形成は低減され、注入されたほぼ全ての薬剤及び/又は塞栓剤が腫瘍に集中される。
本開示の実施形態によっては、一部閉塞装置が、流れ調整流路及び一方向弁を有するバルーンを含み、バルーンは、動脈内で膨らむと、一部閉塞より近位にある血管空間から、一部閉塞より遠位にある血管空間への限定された順行性流を可能にし、逆行性流を阻止する。このように構築された本装置は、腫瘍の主な血流源である、腫瘍に入る肝動脈流を大幅に低減する。この例では、注入された抗がん剤は、大幅に遅くなった速度で腫瘍に流入し、腫瘍血管内の圧力上昇及びカテーテル先端に向かう逆行性血流の開始が大幅に遅延される。このように腫瘍への充填がゆっくりになることにより、腫瘍内の塞栓剤の量及び分布が改善される。この、閉塞の遠位側の圧力の低下により、塞栓形成中に遠位肝腸動脈内で流れの反転が起こり、順行性バイパスが制限され、一方向弁によって、胃十二指腸動脈などの近位分枝動脈への塞栓剤の逆行性バイパスが解消される。
腫瘍のそばにある遠位動脈空間を動脈血液源から隔離することにより、本開示の装置は、1つ以上の所定の圧力において処置エンドポイントを通知する為に圧力測定が行われることを可能にする。例えば、処置のエンドポイントは、収縮期圧(120mmHg)に初めて達した時点、又は収縮期圧が安定した時点で発生させることが可能であるが、処置のエンドポイントの決定には任意の圧力、圧力プロファイル、又はアルゴリズムが使用されてよい。そのようにエンドポイントが測定可能であることは、処置の標準化及び有効性の向上に貢献しうる。
本開示の装置の閉塞構造は、同時係属中の米国特許仮出願第61/821058号、同第61/915425号、及び同第61/917,131号に記載されているように、半径方向に拘束された閉塞構造の外径がほぼカテーテルの外径以下となるように、カテーテル内のポケットの中で保持されてよい。ポケットは、カテーテル内の長手方向の空間であってよく、規定の長さと、半径方向に拘束された形態の閉塞構造の厚さ以上の深さとでカテーテル径を減らすことによって形成されてよい。或いは、ポケットは、カテーテルボディの先から遠位方向に突出した延長部を使用して形成されてもよく、この遠位延長部は直径がカテーテルボディの直径より小さい。この例では、カテーテルポケットの遠位端は、ノーズピースの近位端によって画定される。実施形態によっては、ノーズピースは、直径がカテーテルボディの直径以下であり、カテーテルボディの遠位端から規定の距離だけ離れて、遠位延長部の上に配置される。
本開示の装置の閉塞構造は、半径方向に拘束された形態で、身体内の標的の少なくとも近傍まで進められ、そこで半径方向に広がった形態にされてよい。或いは、本装置は、完全に広がった形態であらかじめ成形されてから、カテーテルの遠位端に適合され、標的部位に送達されてよい。弁は、典型的には、近位から遠位の(順行性の)バイパス流を可能にするように構成されるが、逆も可能であり、弁をなくして二方向の流れを可能にしてもよい。
実施形態によっては、カテーテルボディ及び膨張可能バルーンを有するカテーテルアセンブリが提供されてよい。カテーテルボディは、近位端、遠位端、及びバルーン膨張用管腔を有する。膨張可能バルーンは、カテーテルボディの遠位端に取り付け可能である。バルーンは、内部容積を少なくとも部分的に画定する内面を有する。バルーンは、バルーンを膨らませる為に内部容積がカテーテルボディの膨張用管腔と流体連通することが可能であるように構成されている。バルーンは又、近位面及び遠位面を有する。バルーンには、バルーンを貫通して延びる流路が設けられている。流路は、バルーンの近位面とバルーンの遠位面とを流体連通させるように構成されている。
実施形態によっては、身体内の標的部位に治療用薬剤を送達する装置が提供される。本装置は、近位端、遠位端、第1の軸方向管腔、及び第2の軸方向管腔を有するカテーテルボディを含む。第1の軸方向管腔は、カテーテルボディの近位端からカテーテルボディの遠位端に延びて、近位端と遠位端とを流体連通させている。第2の軸方向管腔は、カテーテルボディの近位端からカテーテルボディ上のより遠位の場所まで延びている。本装置は更に、カテーテルボディの遠位端の近くに半径方向に配置されたバルーンを含む。バルーンは、近位バルーン面と、遠位バルーン面と、半径方向に拘束された形態と、半径方向に広がった形態と、を有している。バルーンは、第2の軸方向管腔と流体連通しており、近位バルーン面から遠位バルーン面に延びる少なくとも1つの流路を有することによって、近位バルーン面と遠位バルーン面とを流体連通させている。本装置は更に、バルーンの外面の上に配置されたバルーンシースを含む。シースには近位側と遠位側とがある。近位側は、バルーン流路の近位端と一直線上にある開口を有している。シースの遠位側は、バルーン流路の遠位端の上に延びている。シースの遠位側は、遠位方向の流体圧力が、近位側の開口を通して、バルーン流路を通して、シースの遠位側の近位面に対してかけられると、遠位方向に偏ることによって、流体がバルーン流路を通り抜けて、バルーン及びバルーンシースより遠位にある血管区画に入ることを可能にすることができる。シースの遠位側は又、シースの遠位側に圧力がかけられると、遠位バルーン面に向かって近位方向に偏ることによって、バルーン流路内の近位方向の流れを阻止することもできる。
実施形態によっては、腫瘍に塞栓を形成する方法が提供される。本方法は、カテーテルボディ及び一部閉塞構造を含む装置を身体内の標的腫瘍部位まで進めるステップと、一部閉塞構造を通過する順行性血流を可能にするステップと、を含む。可能にされる順行性血流は、一部閉塞構造が配置されなかったとしたら通常存在するであろう血流より少ない。本方法は更に、装置から塞栓物質を注入して、順行性血流が塞栓物質を腫瘍標的の血管系内まで搬送することを可能にするステップを含む。本方法は更に、一部閉塞構造より遠位にある血管空間におけるリアルタイム圧力測定値を監視するステップと、圧力測定値の監視に基づいて処置エンドポイントを通知するステップと、身体から装置を引き抜くステップと、を含む。
本開示の態様の説明は、特に、化学療法剤、放射線治療剤、塞栓剤、又はこれらの組み合わせを、腫瘍に血液を供給する血管系に送達することに関して行われるが、同じ原理は、身体の他の管腔構造を通して、様々な物質を他の場所に送達したり、他の場所から吸引したりすることにも当てはまる。
本開示の新規な特徴は、以下の特許請求の範囲において詳細に説明される。本開示の原理が利用される例示的実施形態を説明する以下の詳細説明と添付図面とを参照することにより、本開示の特徴及び利点をよりよく理解することができるであろう。
乃至 本開示の実施形態を示す図である。 二方向実施形態の遠位断面図である。 一方向実施形態を示す図である。 バルーン膨張用管腔及びガイドワイヤ/注入管腔を有する一方向実施形態を示す図である。 遠位先端及びアダプタを含む、本開示の一実施形態を示す図である。 カテーテル内に二方向流路を有する、本開示の一実施形態を示す図である。 一方向流路を有する、本開示の一実施形態を示す図である。 遠位先端を有する、本開示の一装置を示す図である。 カテーテル及びバルーンを通る直線断面を示す図である。 カテーテル及びバルーン、並びに2つの円形二方向流路を通る直線断面を示す図である。 カテーテル及びバルーン、並びに3つの円形二方向流路を通る直線断面を示す図である。 カテーテル及びバルーン、並びに各流路に個別の弁がある2つの円形一方向バイパス流路を通る直線断面を示す図である。 カテーテル及びバルーン、並びに各流路に個別の弁がある3つの円形一方向バイパス流路を通る直線断面を示す図である。 カテーテル及びバルーン、並びに両流路を覆う一体型弁がある2つの円形一方向流路を通る直線断面を示す図である。 カテーテル及びバルーン、並びに3つの流路を覆う一体型弁がある2つの円形一方向流路を通る直線断面を示す図である。 カテーテル及びバルーン、並びにバルーン内のひだから形成された4つの二方向バイパス流路を通る直線断面を示す図である。 カテーテル及びバルーン、並びにバルーン内のひだから形成された4つの一方向バイパス流路と4つの流路全てを覆う一体型弁を通る直線断面を示す図である。 カテーテル及びバルーン、並びにカテーテルから半径方向外側に広がる4つの二方向流路を通る直線断面を示す図である。 カテーテル及びバルーン、並びにカテーテルから半径方向外側に広がる4つの一方向流路と4つの流路全てを覆う一体型弁を通る直線断面を示す図である。 カテーテル及びバルーン、並びにカテーテルから半径方向外側に広がる4つの一方向流路と4つの流路全てを覆う単一の十字形弁を通る直線断面を示す図である。 腫瘍及び関連する血管系を示す図である。 腫瘍とその血管系の、血流方向を含む拡大図である。 腫瘍血管系内での注入時に標準マイクロカテーテルがガイドワイヤの上にある様子を示す図である。 大動脈内で本開示のカテーテルがガイドワイヤの上にある様子を示す図である。 分枝動脈内で本開示のカテーテルがガイドワイヤの上にある様子を示す図である。 バルーンが膨らんで弁が閉じている本開示のカテーテルを示す図である。 バルーンが膨らんで弁が開いている本開示のカテーテルを示す図である。 流体注入開始時の、バルーンが膨らんで弁が開いている本開示のカテーテルを示す図である。 注入中の、バルーンが膨らんで弁が閉じている本開示のカテーテルを示す図である。 注入完了後の一定時間における、バルーンが膨らんで弁が開いている本開示のカテーテルを示す図である。 バルーンがしぼんだ様子を示す図である。 カテーテルが大動脈に引き抜かれる様子を示す図である。 カテーテル内に流路があり弁が閉じている本開示の一実施形態を示す図である。 カテーテル内に流路があり弁が開いている本開示の一実施形態を示す図である。 標準マイクロカテーテルを示す図である。 乃至 本開示の一実施形態の一連の組立工程を示す断面図である。 本開示による装置の一実施形態の遠位部分の断面図である。 近位面と遠位面との間に形成されたポケットに隠された閉塞バルーンを含む一実施形態を示す図である。 乃至 閉塞バルーンが膨らんでいない状態と膨らんだ状態の遠位カテーテルを示す図である。 乃至 2層カテーテルを含む、本開示の一実施形態を示す図である。 本開示の様々な実施形態で使用されるバルーンの例を示す図である。 一方向バイパス流路及び弁を有するバルーンの正面図である。 図30のバルーンを通る断面を示す図である。 バルーンポケット及び一体型ノーズコーンを含む、本開示の一実施形態の一連の組立工程を示す断面図である。 バルーンポケット及び独立型ノーズコーンを含む、本開示の一実施形態の一連の組立工程を示す断面図である。 2つのバルーンを有する、本開示の一実施形態を示す図である。 弁を有するバルーンを含む、本開示の一実施形態を示す図である。 圧力センサを有する、本開示の一実施形態を示す図である。 乃至 カテーテルの外周上に1つ以上のバルーンが配置された、本開示の一実施形態を示す図である。 乃至 腫瘍を解剖学的血管構造とともに示し、標準ストレートノーズカテーテルによる塞栓形成を示す図である。 乃至 腫瘍を解剖学的血管構造とともに示し、流路及び弁を含むバルーンを使用する塞栓形成を示す図である。 乃至 腫瘍を解剖学的血管構造とともに示し、閉塞バルーンを使用する塞栓形成を示す図である。 本開示の実施形態の構造を示す図である。 流れが一方向である2層閉塞構造を示す図である。 図42の閉塞構造のプロトタイプを示す図である。 ポケットを有するカテーテルを含む、本開示の一実施形態を示す図である。 完全閉塞の為の、本開示の実施形態を示す図である。 二方向及び一方向の流路を有する一実施形態を示す図である。 本開示の一方向閉塞構造の一実施形態の弁構造を示す図である。 プロトタイプのマイクロ弁を示す図である。 閉塞構造の一代替実施形態を示す図である。 本開示の一方向閉塞構造の一実施形態の動作方法を示す図である。 本開示の一装置を使用する、塞栓粒子の送達方法を示す図である。 流路及び弁を有する一部閉塞バルーンを示す図である。 カテーテルポケット内に拘束された閉塞バルーンの側面図である。 流路及び閉位置の弁を有する、ポケット、拘束されたバルーン、及び広がった一部閉塞バルーンを含む遠位端構造を示す図である。 カテーテル装置の全長の直列構造を示す図である。 肝臓血管系及び関連する腫瘍血管系を示す図である。 標準カテーテルの場合の腫瘍塞栓形成方法を示す図である。 本開示のカテーテルの場合の腫瘍塞栓形成方法を示す図である。 乃至 本開示の態様による閉塞カテーテルの遠位端の組立工程を示す図である。 完成した、図59Aから図59Dの閉塞カテーテルの遠位端が血管系の小さな分枝に導入される様子を示す図である。 本開示の原理に従って構築された閉塞カテーテルの全体を示す図である。 図61Aの閉塞カテーテルの遠位端における構造の特徴の詳細を示す図である。
本開示の装置は、薬剤及び/又は塞栓剤の注入中の動脈の流量及び圧力を減らすことにより、標的腫瘍血管系内への抗がん剤の分布の改善を可能にする。本装置は、塞栓性物質及び/又は抗がん剤の近位動脈枝内への還流をなくすことによって毒性及び複雑さを減らし、塞栓性物質及び/又は抗がん剤の遠位動脈枝内への順行性バイパスを減らすかなくす。更に、本開示は、処置の定量的エンドポイントを達成する手段としての圧力測定を可能にする。そのような装置は、技法の有効性及び再現性を向上させ、複雑さを減らすことが可能である。
図1Aを参照すると、本開示の装置2の長手方向断面が示されており、カテーテルボディ4、遠位先端6、バルーン8(膨らんでいない形態)、バルーン膨張用チューブ10、ガイドワイヤ/注入チューブ12、及び管継手14が示されている。カテーテルボディ4は、長さが10cmから400cmであってよく、典型的には60cmから250cmであってよく、直径が0.25mmから5mmであってよく、典型的には0.5mmから1.5mmであってよい。装置2は遠位先端6があってもなくてもよく、遠位先端は、長さが1mmから50mmであってよく、より典型的には5mmから30mmであってよい。バルーン膨張用チューブ10は、カテーテルボディ4の近位端に配置され、バルーン膨張用管腔に接続されてバルーン膨張用管腔と流体連通しており、バルーン膨張用管腔は、長手方向にカテーテルボディ4の長さいっぱいに延びてバルーン8で終わっており、バルーン8と流体連通している。ガイドワイヤ/注入チューブ12は、カテーテルボディ4の近位端に配置され、管腔に接続されて管腔と流体連通しており、管腔は、長手方向にカテーテルボディ4の長さいっぱいに延びてカテーテルボディ4の遠位端又は遠位先端で終わっており、これによって、ガイドワイヤは、管継手14から入り、カテーテルボディ4内を通って、装置2の遠位端から出ることが可能である。管継手14は、バルーン膨張用チューブ10及びガイドワイヤ/注入チューブ12のそれぞれと接続されており、シリンジ、膨張装置、又は他の任意の、空気、ガス、流体、懸濁液、エマルジョン、造影剤、治療用薬剤、塞栓剤、又は他の任意の、バルーンチューブ10又はガイドワイヤチューブ12と、バルーン又は装置2の遠位端まで延びる長手方向管腔とを通って注入されることが可能な物質を注入する為の装置又は手段に接続可能である。
図1Bを参照すると、本開示の第1の実施形態の長手方向断面が示されており、装置2、バルーン8(膨らんだ形態)が示されており、バルーン8は、開位置にある弁16と、閉位置にある弁18とを有する。この実施形態では、バルーン8を貫通する流路20及び22が造られている。弁16及び18は、流体が一方向にのみ流れることを可能にする。バルーン8には、近位側9と遠位側11とがある。例えば、流体の圧力がバルーン8の近位側でより高く、バルーン8の遠位側でより低い場合、弁16及び18は、この圧力差に対する応答として両方とも開いて、流体がそれらの弁を通って遠位方向に流れることを可能にする。圧力がバルーン8の遠位側でより高い場合、弁16及び18は閉じて、流体が近位方向に流れないようにする。或いは、これらの弁は、流体が近位方向に通り抜けることが可能であるが遠位方向には流れないように、配置されるか造られることが可能である。弁16及び18は、シンプルな「フラップ」式の弁であるように図示されているが、任意のタイプの弁であってよく、例えば、圧力差に応じて開閉するダイヤフラムであってよい。バルーン8は、2つの流路と2つの弁を有するように図示されているが、流路及び/又は弁の数は、1個、2個、3個、又はそれ以上であってよい。この実施形態の装置2は、流路を含んでよく、弁を含んでも含まなくてもよい。弁が含まれない場合、結果として二方向の流れが発生する。
図1Cを参照すると、本開示の別の実施形態の長手方向断面が示されており、装置24及び流路26が示されており、流路26はカテーテルボディ28内を通って延びている。バルーン30には、近位側13と遠位側15とがある。流路26は、バルーン30の近位側からバルーン30の遠位側に延びる。弁32が、流路26の先の、バルーン30の遠位側にあるように示されているが、必要であれば、弁は流路26及びバルーン30の近位側に配置されてよい。本開示のこの実施形態の弁32の機能及び動作は、図1A及び図1Bに示された弁と同じである。その実施形態の場合と同様に、弁32が含まれない場合は、結果として二方向の流れが発生する。
図2には、装置2の遠位端の長手方向断面の一例示的実施形態が示されており、カテーテルボディ4、バルーン膨張用管腔34、バルーン8、及び流路38が示されている。バルーン膨張用管腔34は、カテーテルボディ4の近位端から延び、バルーン8で終わっている。このケースでは、バルーン8内に弁が含まれておらず、結果として二方向の流れが発生する。バルーン膨張用管腔の最適直径は0.1mmから0.5mmであるが、この管腔の直径は、0.25mmから1mmの範囲にあってよい。
図3には、装置2の遠位端の長手方向断面の一例が示されており、カテーテルボディ4、バルーン膨張用管腔34、バルーン8、流路38、及び弁16が示されている。弁16は、流路38の遠位開口部を覆う閉位置で図示されているが、流路38から弁の近位面に圧力がかかると、弁は、流体が遠位方向に通り抜けることを可能にする。弁16は近位方向への流れを阻止する。弁は、近位開口部、又は遠位開口部、或いは流路内の任意の場所に配置されてよい。弁の位置及び構成によって、流れの方向が決まる。
図4を参照すると、装置2の遠位端の長手方向断面が示されており、カテーテルボディ4、バルーン膨張用管腔34、バルーン8、流路38、及びガイドワイヤ/注入管腔40が示されている。ガイドワイヤ/注入管腔40は、カテーテルボディ4の近位端から延び、カテーテルボディ4の遠位端、又は遠位先端6で終わっている。ガイドワイヤ/注入管腔の最適直径は0.1mmから1.0mmであるが、この管腔の直径は0.025mmから2mmの範囲にあってよい。
図5を参照すると、装置2の遠位端の長手方向断面の一例が示されており、カテーテルボディ4、バルーン膨張用管腔34、バルーン8、流路38、ガイドワイヤ/注入管腔40、アダプタ42、バルーンポケット44、及び遠位先端6が示されている。遠位先端6の最適直径は0.3mmから1.3mmであるが、遠位先端6の直径は、0.1mmから4mmの範囲であってよい。アダプタ42は、遠位先端6からカテーテルボディ4への移行が滑らかになるように適合されている。例えば、遠位先端6の直径が1mmであってカテーテルボディ4の直径が2mmである場合、アダプタは、その最遠位点における直径1mmから、その最近位点における直径2mmにかけてテーパ状であることにより、直径が小さい遠位先端から直径が大きいカテーテルボディにかけての移行を滑らかにしている。図5に示されるように、アダプタ42は、遠位先端6上の、カテーテルボディ4の遠位端より遠位にある場所に配置され、これによって、カテーテルボディ4の遠位端とアダプタ42の近位端との間にバルーンポケット44が形成される。バルーンポケット44は、膨らんでいないバルーン8を保持することによって、その膨らんでいない形状を最小化する。バルーン8は、カテーテルボディ4の直径に等しい外径に適合することが好ましいであろう。例えば、遠位先端の直径が1mmであってカテーテルボディの直径が2mmである場合は、深さが0.5mmであるバルーンポケットが形成される。バルーン8の膨らんでいないときの厚さがわずか0.5mmである場合、バルーン8は、カテーテルボディ4の表面と同じ高さに位置するか、それより低く位置する。これにより、カテーテルを動脈内又は静脈内で容易に動かすことが可能になる。
図6を参照すると、装置24の遠位端の長手方向断面が示されており、カテーテルボディ28、バルーン膨張用管腔50、ガイドワイヤ/注入管腔52、バルーン30、及び、近位ポート54と遠位ポート56とを有する流路26が示されている。流路26は、カテーテルボディ28内を通り抜け、バルーン30の近位側からバルーン30の遠位側に延びる。ポート54は、流路26の近位端にあり、カテーテルボディの外側の、バルーン30の近位側と流体連通しており、ポート56は、流路26の遠位端にあり、カテーテルボディ28の外側の領域の、バルーン30の遠位側と流体連通している。このケースでは、流路26を通る流れは二方向である。流路の最適直径は0.1mmから1mmであるが、この流路の直径は、0.05mmから2mmの範囲にあってよい。
図7には、装置24の遠位端の長手方向断面の一例示的実施形態が示されており、カテーテルボディ28、バルーン膨張用管腔50、ガイドワイヤ/注入管腔52、バルーン30、弁32、及び、近位ポート54と遠位ポート56とを有する流路26が示されている。流路26は、カテーテルボディ28内を通り抜け、バルーン30の近位側からバルーン30の遠位側に延びる。ポート54は、流路26の近位端にあり、カテーテルボディの外側の、バルーン30の近位側と流体連通しており、ポート56は、流路26の遠位端にあり、カテーテルボディ28の外側の領域の、バルーン30の遠位側と流体連通している。弁32は、流路26のポート56の開口部にあるように示されている。弁32は、遠位方向の流れを可能にし、近位方向の流れを阻止する。このケースでは、流路26を通る流れは一方向である。流路の最適直径は0.1mmから1mmであるが、この流路の直径は、0.05mmから2mmの範囲にあってよい。弁は、近位開口部、又は遠位開口部、或いは流路内の任意の場所に配置されてよい。弁の位置及び形態によって、流れの方向が決まる。
図8を参照すると、装置24の遠位端の長手方向断面が示されており、カテーテルボディ28、バルーン膨張用管腔50、ガイドワイヤ/注入管腔52、バルーン30、弁32、流路26、及び遠位先端6が示されている。
図9を参照すると、カテーテルボディ4及びバルーン8を通る直線断面が示されている。図9は、カテーテル上に配置されたバルーンを通る流路の例を示しているが、様々な代替形態、修正形態、及び等価形態が使用されてよい。図9Aは、流路がないカテーテル4及びバルーン8を示す。図9Bは、2つの流路38がバルーン8を通るカテーテル4及びバルーン8を示す。このケースでは、流れは二方向である。図9Cは、3つの二方向流路があるカテーテル及びバルーンを示す。図9Dは、2つの流路があって、各流路に一方向弁があるカテーテル4及びバルーン8を示す。このケースでは、各流路の流路流は一方向である。図9Eは、バルーン8と3つの流路38とがあって、各流路に独立弁38があるカテーテル4を示す。流れは一方向である。図9Fは、2つの流路と、両流路38を覆って一方向のみの流れを可能にする単一の円周弁33とを有するカテーテル及びバルーンである。図9Gは、3つの流路と、3つの流路全てを覆う単一の円周弁33とを有するカテーテル4及びバルーン8を示す。図9Hは、カテーテル5、及び4つの二方向流路39を示しており、流路39は、膨らんだバルーンの外周から中央のカテーテルに向かって内向きにバルーン36にひだを付けることによって形成され、バルーンの内側頂点をカテーテルに固定することによって、中央のカテーテルから半径方向外側に広がって「V」字形状をなす三角形の流路が形成されている。「V」字の低い方の点はカテーテルの表面に位置しており、「V」字の開放端は、膨らんだバルーンの最大直径によって画定された円の外周に位置している。図9Iは、4つの流路39を示しており、単一の円周弁35が4つの三角形流路を全て覆っている。図面には4つの流路が示されているが、本開示の装置は、1つ、2つ、3つ、4つ、又は任意の数の流路を有してよい。図9Jは、カテーテル7及びバルーン39を示しており、内側のカテーテル7から膨らんだバルーン39の外周に向かってバルーン39にひだを付けることにより、4つの流路37が形成されている。図9Kは、図9Jと同様の4つの流路37を示しており、単一の円周弁39が4つの流路37を全て覆っている。図9Lは、図9Jと同様の4つの流路37を示しており、これらは、一体型の十字形状のフラップ弁41を有する。
上記は、本開示の例示的実施形態の完全な説明であるが、様々な代替形態、修正形態、及び等価形態が使用されてよい。従って、上記説明は本開示の範囲を限定するものと見なされてはならず、本開示は、添付の特許請求の範囲、並びに本開示の優先権を主張する後続のあらゆる出願における特許請求の範囲によって定義される。
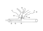
図10には、腫瘍及び腫瘍に関連する血管系が示されており、腫瘍60、大動脈62、側枝動脈64、腫瘍動脈66、腫瘍毛細血管68、及び矢印70で示された順行性動脈流方向が示されている。
図11は、図10の拡大図であり、腫瘍60、大動脈62、側枝動脈64、腫瘍動脈66、及び矢印70で示された順行性動脈流方向が示されている。
図12には、標準マイクロカテーテル72による流体76の注入の様子が示されており、腫瘍60、大動脈62、側枝動脈64、腫瘍動脈66、ガイドワイヤ74、及び矢印70で示された逆行性動脈流方向が示されている。この例では、抗がん剤、ラジオ波塞栓物質、化学塞栓物質、塞栓剤などを含んでよい流体76の、マイクロカテーテル72を通る注入圧力及び流量は、腫瘍血管系が受け入れられるレベルより高い為、腫瘍動脈66、側枝動脈64、及び大動脈62の中で流量流及び血流の反転を引き起こす。この逆行性流が原因となって、注入された流量76が大動脈に入り、両方向に流れ、体循環に入り、結果として、注入された流体は、非標的の組織や器官に移動する。この、流体76の、非標的部位への意図しない送達は望ましくなく、深刻な合併症を引き起こす可能性がある為、回避されなければならない。本開示は、流体76の還流及び関連する非標的送達を阻止することにより、この問題を解決する。
図13には、大動脈に入る本開示のカテーテル4が示されており、バルーン8及び遠位先端6も示されている。体外からの挿入部位は、典型的には、脚の付け根の大腿動脈であるが、標的血管系への経路が形成されるのであれば、身体のどの場所からどの動脈又は静脈がアクセスに使用されてもよい。
図14には、バルーン8を有する、本開示のカテーテル4が示されており、カテーテル4はガイドワイヤ74をたどって側枝動脈64内へと進む。
図15には、側枝動脈64の内部にあるカテーテル4が示されており、膨らんだ形態のバルーン8、流路38、及び弁16が示されている。弁16は、バルーン8の膨張直後の閉位置にあるように示されている。
図16には、側枝動脈64の内部にあるカテーテル4が示されており、膨らんだ形態のバルーン8、流路38、及び弁16が示されている。弁16は開位置にあるように示されており、これは、矢印70で示される順行性血流及びこれに対応する血圧によってこれらの弁が開き、血液が順行性方向に腫瘍血管系内へ流れ続けることが可能になっている為である。
図17には、流体76がカテーテル4を通って側枝動脈64に入る初期注入の様子と、流路38と、開いた弁16とが示されている。注入が開始されると、順行性血流は、腫瘍動脈66及び毛細血管68を含む腫瘍血管系内へ注入流体76を搬送する。
図18には、腫瘍血管系内で流体圧力が上昇し、これに伴って逆行性動脈血及び注入流体が、矢印70で示される方向に流れる時点での、流体76の注入の様子が示されている。この図には、本開示のカテーテル4が、腫瘍60、大動脈62、側枝動脈64、腫瘍動脈66、及びガイドワイヤ74とともに示されている。注入流体76は、抗がん剤、ラジオ波塞栓物質、化学塞栓物質、塞栓剤などを含んでよく、これらは非標的部位に送達されると深刻な合併症を引き起こす可能性がある。このケースでは、逆行性圧力によって弁16が閉じられ、体循環への注入物質の還流が阻止され、これによって、注入流体の非標的部位への送達に伴う合併症が防止される。
図19には、流体注入の完了後の様子が示されている。この時点では、側枝動脈64及び腫瘍動脈66を含む、バルーン8より遠位にある血管系の圧力は、注入された流体が腫瘍血管系に徐々に取り込まれることによって、低下し、通常血圧を下回る。バルーン8及び弁16の近位面に対する血圧によって弁16が開き、順行性血流の再開が可能になる。これが起こると、バルーン8の遠位側で、且つ、側枝動脈64と、腫瘍動脈66及び毛細血管68を含む腫瘍血管系との中で余っていた流体76が、順方向にどっと流れて腫瘍血管系に取り込まれ、これによって、1回分の流体の全量の送達が可能になり、流体の還流とこれに伴う合併症が発生しなくなる。
図20には、カテーテル4上のバルーン8のしぼんだ様子が示されている。
図21には、カテーテル4が大動脈62に引っ込められる様子が示されている。
図22には、図6、図7、及び図8で説明された、本開示の別の実施形態が示されている。このケースでは、カテーテル28の流路26の遠位端にある弁32が閉位置にある。
図23には、図22の実施形態において弁32が開位置にある様子が示されている。
本開示による一方法が図13から図21に示されており、この方法は、図1B、図2、図3、図4、及び図5に示された実施形態、並びに図1C、図6、図7、図8、図22、及び図23に示された実施形態の両方に当てはまる。
図24Aを参照すると、近位端及び遠位端を有する標準的な単一管腔ストレートチップカテーテル101の長手方向断面が、カテーテルボディ102及びハブ105とともに示されている。ハブ105は、近位端に位置し、カテーテル管腔と流体連通するガイドワイヤ/注入管腔110を更に備え、カテーテル管腔は、長手方向を向き、ハブ105から延び、カテーテルボディ102の遠位端で終わっている。この近位ハブは、ルアー継手を介して流体を注入する、シリンジなどの手段に接続され、これによって、長手方向管腔を通り、カテーテルボディ102の遠位端にある出口を通る流体の注入が可能になる。
図24Bから図24Eを参照すると、本開示の好ましい一実施形態の一連の組立工程を示す長手方向断面が示されている。図24Bを参照すると、装置103が示されており、装置103は、近位端及び遠位端と、カテーテルボディ102と、カテーテル延長部104と、ハブ106と、を有する。ハブ106は更に、取っ手109、ガイドワイヤ/注入ルアー継手110、及びバルーン充填ルアー継手112を備える。ルアー継手110は、カテーテル延長部104の遠位端まで延びる、カテーテルボディ102の第1の長手方向ガイドワイヤ/注入管腔と流体連通しており、ルアー継手112は、カテーテルボディ102の遠位端のそばに位置するバルーン充填ポートまで延びる、カテーテルボディ102の第2の長手方向バルーン充填管腔と流体連通している。図24Cには更に、カテーテル延長部104上に位置するノーズコーン114が示されており、ノーズコーン114は、カテーテルボディ102の遠位端との間に配置されたバルーンポケット116を形成している。更に、必要であれば、カテーテル延長部104の一部分がノーズコーン114より遠位方向に延びて遠位先端118を形成することが可能である。図24Cには更に、閉塞バルーン120が半径方向に圧縮された形態で示されており、図24Eには、バルーン120が半径方向に膨らんだ形態で示されている。ハブ106は、任意のジュロメータ硬度のスチレン、ポリウレタン、ポリプロピレン、耐脂質性ポリカーボネート、ポリカーボネート、ペバックス(ポリエーテルブロックアミド)、又は任意の便利な材料で造られてよく、又、カテーテルボディ102の2つの管腔又は管腔の管状延長部が上述のように流体連通していれば、それらを含む固形構造を含み、これに限定されない任意の構成を有してよい。カテーテルボディ102は、ポリウレタン、PTFE、ポリイミド、ポリプロピレン、ペバックスなどを含む任意の可塑性物質又は熱可塑性物質から成形されてよく、単一区間、又は、異なる直径、ジュロメータ硬度、編組補強、又はコイル補強、或いは任意の便利な構造からなる複数区間を含んでよく、直径は1Frから10Fr、より典型的には2Frから5Frである。カテーテル延長部104は、直径が0.5Frから5Frであってよく、より典型的には1Frから3Frであってよく、欠落していてよく、或いは任意の長さであってよく、典型的には2mmから30mmであってよく、より典型的には5mmから20mmであってよい。カテーテル延長部104がノーズコーン114の先まで延びている場合は、ノーズコーンより遠位にある区間が遠位先端118を形成する。遠位先端118は、腫瘍血管系の奥深くへの注入が必要な場合に有利であり、又、急な曲がり角の周囲や曲がりくねった血管系経路の中で装置103がガイドワイヤを追跡することを支援する。ノーズコーン114は、任意のポリマー又は金属から造られてよく、或いは、放射線不透過性マーカバンドから成形されてよい。バルーンポケット116は、2mmから50mmの間の任意の長さであってよく、より典型的には5mmから20mmの間の任意の長さであってよい。閉塞バルーン120は、長手方向の長さが1mmから30mmであり、より典型的には2mmから10mmであり、直径が1mmから50mmであり、典型的には2mmから10mmであり、シリコーン、ポリウレタン、ポリエチレン、PET(ポリエチレンテレフタレート)、ナイロンなどで構成されてよく、任意の構成、又は任意の長さ又は形状であってよく、接着剤、化学的接合、熱接合、RF溶接、超音波溶着、圧縮、又は圧着によって、カラーの下でカテーテル102又はカテーテル延長部104に接合されてよい。
図25Aを参照すると、本開示の好ましい一実施形態の装置128の遠位区間が示されており、この区間は、カテーテルボディ102、カテーテル延長部104、ノーズコーン114、バルーンポケット116、バルーン充填管腔124、ガイドワイヤ/注入管腔126、及び半径方向に圧縮されたバルーン120を含む。図25Bを参照すると、バルーン120は、半径方向に膨らんだ形態で示されている。バルーン充填管腔124は、任意の便利な形状であってよく、例えば、円形、半円形、又は三日月形であってよく、これらに限定されず、或いは、典型的には面積及び流量が最大になるように最適化された任意の形状であってよい。ガイドワイヤ/注入管腔126は、典型的には円形であり、直径が0.005”から0.1”であり、より典型的には0.01”から0.05”であるが、任意の望ましい形状であってよい。
図26Aを参照すると、本開示の一実施形態の遠位端133が示されており、カテーテルボディ102、カテーテル延長部104、ノーズコーン114、バルーンポケット116、バルーン充填管腔124、ガイドワイヤ/注入管腔126、及び半径方向に圧縮されたバルーン120が示されている。この例では、バルーンポケット116は、近位カラー130と遠位カラー114との間に形成され、遠位カラー114は先細(テーパ状)であることによってノーズコーンを形成している。バルーン接合テール115は、ポケット内で接合されてよく、或いは圧縮されてよく、或いは、カラー114及び130の下で接合されてよい。遠位カラー130は、放射線不透過性マーカバンドなどの金属、又は熱収縮チューブなどの可塑性物質で構成されてよく、長さが1mmから20mmであってよく、より典型的には2mmから10mmであってよい。バルーン充填管腔124が、バルーンポケット116の下をその遠位端まで延びているように示されている。ガイドワイヤ/注入管腔126が、長手方向に、カテーテル102及びカテーテル延長部104を通ってカテーテルの遠位端まで延びているように示されている。バルーン120は、ポケット116にしまい込まれて外径がほぼカテーテルボディ102の外径ほどしかないように示されている。図26Bは、図26Aと同じ構造を示しており、且つ、バルーン120が半径方向に膨らんだ形態を示している。
図27Aを参照すると、遠位区間133の図が示されており、これは更に、本開示の好ましい一実施形態の輪郭に、半径方向に圧縮されたバルーン120、遠位カラー114、及び近位バンド130が含まれ、それらの外径がカテーテルボディ102の外径以下であることを示している。図27Bには、図27Aと同じ構成が示されており、バルーン120はカラー114とカラー130との間でポケット116から膨らんでいる。
図28Aを参照すると、本開示の一代替実施形態135の遠位区間が示されており、外側カテーテル119、内側カテーテル127、ノーズコーン125、半径方向に拘束されたバルーン131、及びカテーテル流路123が示されている。外側カテーテル119は内側カテーテル121を覆うように適合されており、これらのカテーテルは、装置135の長さに沿って長手方向に延びる内側カテーテルと外側カテーテルとの間に半径方向に分布する空間ができるように構成されている。外側カテーテル及び内側カテーテルは、長さが10cmから250cmであってよく、より典型的には50cmから150cmであってよく、直径が0.5Frから10Frであってよく、より典型的には1Frから5Frであってよい。内側カテーテル127は外側カテーテル119より短くてよく、同じ長さでもよく、長くてもよいが、この図では、内側カテーテル127は外側カテーテル119より長いように示されており、その遠位端はカテーテル延長部127を形成している。ノーズコーン125は、外側カテーテル119の遠位端から少し離れた場所に、内側カテーテル127の遠位延長部に沿って配置されており、その距離は2mmから50mmであり、より典型的には5mmから20mmである。バルーンポケットは、カテーテル119の遠位端とノーズコーン125の近位端との間に形成されている。図28Bには、内側カテーテル127を覆って配置された外側カテーテル119の端面図が示されており、外側カテーテル119と内側カテーテル127との間に配置された、半径方向に構成された流路123及びスタンドオフ127が示されている。4つの流路が示されているが、装置135は、0個、1個、2個、3個、4個又は任意の数の流路及びスタンドオフを有してよく、スタンドオフは、流路123の外側エッジを画定しており、内側カテーテル上又は外側カテーテル上に形成されてよく、その高さは、内側カテーテル及び外側カテーテルの直径、及びそれらの間隔によってのみ制限される。スタンドオフが図示されているが、内側カテーテルの外径が外側カテーテルの内径より小さいことにより、内側カテーテルと外側カテーテルとの間に空間が形成されていて、この空間を流体が装置135に沿って長手方向に流れることが可能であれば、スタンドオフは必須ではない。装置135は単層の内側カテーテル及び外側カテーテルを含んでよく、或いは、内側カテーテル及び外側カテーテルの一方又は両方が複数の層を有してもよい。好ましい一実施形態では、外側カテーテル19は、外側のペバックス層、コイルや編組などの補強を含む中央のポリイミド層、及び内側のテフロン(登録商標)層による3層構造である。内側カテーテル127は、単層の低摩擦チューブ、又は、外側カテーテル119について説明された構造と同様の構造のチューブである。図28Cには、装置135の長手方向図が示されており、外側カテーテル119、膨らんでいないバルーン131、ノーズコーン125、及び内側カテーテル127のカテーテル延長部が示されている。バルーン131は、カテーテル119の遠位端とノーズコーン125の近位端との間に形成されたポケットの中にしまい込まれているように示されている。図28Dには、装置135の長手方向断面が示されており、外側カテーテル119と内側カテーテル121との間に配置されたバルーン膨張用流路123が示されている。この例では、バルーン131の遠位端は、ノーズコーン125の近位端に差し込まれているように示されているが、バルーンテールがカテーテル119の外径より概ね低く位置していれば、近位バルーンテール及び遠位バルーンテールの両方が、カテーテル119内又はノーズコーン125内にリフローされるか任意の手段によって、内側カテーテル127に直接接合されてよい。
図29Aから図29Eを参照すると、本開示の装置において使用されてよいバルーン構成の例が示されており、これらは、柔軟であってもなくてもよく、膨張状態であっても閉塞状態であってもよく、シリコーン、ポリウレタン、ポリエチレン、PET(ポリエチレンテレフタレート)、ナイロンなどであってこれらに限定されない任意の材料で造られてよい。
図30を参照すると、一方向バイパス流路162及び弁164を有するバルーン160の表面図が示されており、このバルーンについては、同時係属の特許出願第61/821,058号において詳述されている。
バルーン160及び弁164は、バルーン160の近位面より近位にある区画からバルーン160の遠位面より遠位にある区画への流れ(順行性流)を可能にし、バルーン160の遠位面より遠位にある区画からバルーン160の近位面より近位にある区画への流れ(逆行性流)を阻止する。バルーン160は、図24から図29に示されたように、本開示のカテーテルの上に配置され、バルーンポケット内に保持されてよく、バルーン160の流路162を通る通常の(順行性の)血流を維持しながら、動脈内から標的内への治療用薬剤の順行性注入を可能にすることができ、バルーン160の遠位側の圧力が収縮期圧より高くなっても、カテーテルの上を逆行する治療用薬剤の逆行性流(還流)を阻止することが可能である。
図31を参照すると、バルーン160の断面が示されており、流路162と、流路162内に配置されたマイクロ弁164とが示されている。
図32は、本開示の一実施形態の一連の組立工程の例を示す。図32Aを参照すると、装置168のカテーテル170が示されている。図32Bに示される、装置168の組み立ての第1のステップでは、カテーテル170の遠位区間の周囲にバルーンポケット172が形成され、図32Cに示される第2のステップでは、カテーテル170の丸みのある遠位端174が形成され、図32Dに示される第3のステップでは、接合テール178を有するバルーン176がカテーテル170のポケット172内に配置され、第4のオプションのステップでは、バルーンテール178上の場所180でカテーテル170又は他の材料がリフローされる。図32Fには、バルーン176が、半径方向に膨らんだ形態で示されており、バルーンポケット172と、リフロー又は他の手段によって覆われずにポケット172内に接合されたテール178とが示されている。
図33を参照すると、本開示の3つの代替実施形態が示されている。図10Aには装置173が示されており、カテーテル181、バルーンポケット177、半径方向に拘束されたバルーン178、カテーテル延長部171、及びノーズコーン182が示されている。図33Bには装置173が示されており、半径方向に膨らんだバルーン178と、バルーンポケット177内に接合された接合テール183とが示されている。図33Cには、ノーズコーン182を有する装置175が示されており、ここでは、近位接続テール191が場所179においてカテーテル181内にリフローされており、遠位バルーン接合テール193が場所184において、ノーズコーン182内にリフローされているか、ノーズコーン182の下でカテーテル延長部171にリフローされている。図33Dには装置179が示されており、カテーテル181、バルーン178、ノーズコーン182、及びカラー186が示されている。バルーン178は、カラー186の下に配置された近位テール191と、ノーズコーン182の下でカテーテル延長部171にリフロー又は接合されているか、ノーズコーン182内にリフローされている遠位バルーンテール193と、を有する。図33Eには装置179が示されており、ここでは、カラー186とノーズコーン182との間に形成されたバルーンポケットの中からバルーン178が膨らんでいる。
図34には本開示の更に別の実施形態が示されており、2つのバルーン188及び189、カテーテル183、バルーンポケット194及び190、リフロー領域192、及びノーズコーン189が示されている。図34の例ではバルーン188及び189の両方がポケット194及び190内に配置されるように示されているが、ポケット内には1つのバルーンが配置されればよい。
図35には本開示の更に別の実施形態が示されており、流路195及び197を含むバルーン196、閉位置にある弁198、開位置にある弁199、カラー183、ノーズコーン1102、及びリフロー領域1100が示されている。弁198は閉じているように示されており、弁199は開いているように示されているが、これらは、典型的には、一斉に動作し、全てが同時に開くか閉じる。
図36には本開示の更に別の実施形態が示されており、これは、バルーン1110の遠位側及び近位側に配置された2つの圧力センサを含んでいるが、バルーンの遠位側または近位側に配置された単一の圧力センサが使用されてよい。これらの圧力センサは、注入圧力を監視すること、並びに、シリンジと連動して、手動又は自動化手段により、注入圧力を制御することに使用されてよい。或いは、閉塞バルーンの近位側または遠位側の圧力を、カテーテルを通して、外部圧力ゲージ(1113)で測定することも可能であり、遠位圧力は、ガイドワイヤ/注入管腔1105、又は他の任意のカテーテル管腔などのチューブを介して測定される。圧力ゲージは、ポンプに接続されて、処理装置を介して、ポンプが規定圧力を達成すること、又はポンプが、時間の関数としての圧力、体積、及び/又は流量の特定セットをプログラムされることが可能であってよい。
図37を参照すると、バルーンの形態の4つの実施例が示されている。図37Aには装置1115が示されており、バルーン1117及びカテーテル1116が示されている。バルーン117は、半径方向に膨らんだ形態であって、カテーテル1116の円周の一部分だけを占めている。図37Bには装置1118が示されており、カテーテル1119及びバルーン1121が示されており、4つのバルーン1121が、半径方向に膨らんだ形態で、カテーテル1119の周囲に円周方向に配列されており、各バルーンはカテーテル1119の全外周のうちの一部分を占めている。図37Cには装置1123が示されており、カテーテル1125、及び半径方向に膨らんだ形態のバルーン1127が示されており、バルーン1127は、半径方向に拘束された形態でカテーテル1125のポケット内に配置されて、バルーン1127の、半径方向に最も外側の部分がカテーテル1125の外径と概ね同じ高さかそれより低く位置する。図37Dには装置1131が示されており、カテーテル1135、及び半径方向に膨らんだ形態のバルーン1137が示されており、バルーン1137は、半径方向に拘束された形態でカテーテル1135のポケット内に配置されて、バルーン1137の、半径方向に最も外側の部分がカテーテル1135の外径と概ね同じ高さかそれより低く位置する。
図38を参照すると、解剖学的構造1120が示されており、大動脈1122、右動脈1124、左動脈1126、右毛細血管1128、左毛細血管1129、動脈側枝1136、静脈1130、動静脈シャント1132、腫瘍1133、血流方向矢印1134、標準ストレートチップカテーテル1138、及び塞栓粒子1125が示されている。図38Aには、経動脈的塞栓形成(TAE)処置の開始時の様子が示されており、ここでは、塞栓粒子1125が、カテーテル1138の遠位端から出て、血流及び通常血圧によって完全に媒介される送達方法(血流媒介送達)で、順方向(順行性)血流によって腫瘍1133内に搬送される。腫瘍1133の毛細血管床1128及び1129に塞栓粒子1125が充填され始め、動静脈シャント1132から静脈1130に粒子が搬入され、これによって、順行性還流及び非標的塞栓形成が引き起こされる。動脈圧は静脈圧より著しく高い為、動静脈シャント1132を通る流れは速い。図38Bを参照すると、標準ストレートチップカテーテル1138の遠位端からの粒子1125の注入が続けられた結果、毛細血管床1128及び1129の遠位端に粒子が充填され、塞栓が形成される。遠位毛細血管の塞栓形成によって、動静脈シャント1132を通る流れが止まり、左動脈1126内で圧力が高まる。塞栓形成が進むにつれ、動脈1126内の背圧が上昇し続け、これは、塞栓粒子が逆行性方向1142に還流して、右動脈1124、動脈側枝1136、及び大動脈1122の非標的塞栓形成を引き起こすまで続く。この状況に起因して、非標的塞栓形成が行われ、不明な量の粒子が失われ、1回分の送達量が不明であり再現性がなく、腫瘍血管系内の塞栓粒子の分布が最適にならない可能性がある。この例では、順行性還流及び逆行性還流の両方が発生しうる。
図39を参照すると、図38に示された解剖学的構造1120が示されている。この例では、バルーン1141が、流路1143及び一方向弁(図30及び図31)とともに、カテーテル1139の遠位端の周囲に配置されている。図39Aを参照すると、バルーン1141が半径方向に膨らんだ形態で示されており、血液は、血流矢印1134で示されるようにバルーン流路1143を通って流れており、腫瘍1133の血管系に流入している。塞栓粒子1125は、カテーテル1139の遠位端から放出され、血流によって順方向に搬送されて毛細血管1128及び1129に入る。腫瘍1133の毛細血管床1128及び1129に塞栓粒子1125が充填され始め、動静脈シャント1132から静脈1130に粒子が搬入され、これによって、順行性還流及び非標的塞栓形成が引き起こされる。動脈圧は静脈圧より著しく高い為、動静脈シャント1132を通る流れは速い。図39Bを参照すると、バルーンカテーテル1139の遠位端からの粒子1125の注入が続けられた結果、毛細血管床1128及び1129の遠位端に粒子が充填され、塞栓が形成される。遠位毛細血管の塞栓形成によって、動静脈シャント1132を通る流れが止まり、左動脈1126内で圧力が高まる。塞栓形成が進むにつれ、動脈1126内の圧力が上昇し続けるが、バルーン1141の弁が閉じて逆行性還流を防ぐ。この例では、注入が続くと、粒子1125の充填圧が上昇し、これによって、充填密度が増加して、腫瘍又は他の構造の周縁にある遠位部への流入が増加する可能性があり、これによって、標的血管系全体を通して粒子の分布が改善される。本方法の一環として、バルーンの遠位側の圧力を、収縮期圧と(患者にとって安全な範囲内での)収縮期圧を超えるいくらかの圧力との間で調整してよい。例えば、注入圧は、塞栓形成処置の開始時には低くし、その後の何らかの時点で、収縮期圧を超える圧力まで増やしてよい。そのような時点は、例えば、動静脈シャント1132を通る流れが止まる時点と一致するように選択されてよい。本方法は、粒子の分布及び充填を改善することが可能である。或いは、カテーテル1139内の注入圧を、開始時には高くすることによって、粒子を毛細血管1128及び1129の遠位区間に急速に押し込んで、動静脈シャント1132の塞栓形成を急がせることにより、順行性還流を減らしてよい。或いは、本方法によれば、低圧から高圧への勾配、又は高圧から低圧への勾配が使用されてよい。粒子の圧力媒介送達を行う目的は、順行性還流を低レベルにすること、逆行性還流を実質的になくすこと、粒子の分布を高めること、並びに粒子の密度を高めることの為の最適化を行うことである。圧力を監視し、明示的な圧力読みに基づく処置エンドポイントの選択を可能にする為に、バルーン1142の近位側及び/又は遠位側で、図36に示されたような圧力センサが使用されてよい。
図40を参照すると、図38に示された解剖学的構造1120が示されている。この例では、閉塞バルーン1142が、カテーテル1140の遠位端の周囲に配置されている。図40Aを参照すると、カテーテル1140のバルーン1142が半径方向に膨らんだ形態で示されている。膨らんだバルーン1142が動脈1126を完全に閉塞している為、バルーンより遠位にある全ての動脈及び毛細血管が、大動脈1122、右動脈1124、及び側枝動脈1136から隔離されており、これによって、バルーンの遠位側の血圧がほぼ通常の動脈圧である約80mmHgから0〜50mmHgの範囲の圧力まで低下する。これが起こると、動静脈シャント1132を通る血流が、血流矢印1135で示されるように反転するか、或いは、順行性流が遅くなるか止まる可能性がある。図40Bを参照すると、粒子1125の初期注入が圧力に対抗して行われ、順行性流は最小限になるか、均衡して静止状態になる。粒子注入に対抗する逆行性圧力の流れは、静脈1130から動静脈シャント1135を通って動脈毛細血管1129に入る静脈血の流れ、又は、毛細血管1128に関連する動静脈毛細血管床が原因である可能性がある。粒子1125が注入されるにつれて、毛細血管1128及び1129に粒子1125が充填されるが、粒子が動静脈シャント1132内を流れることは容易ではなく、これは、流れが逆になっているか緩やかになっていることと圧力とが原因である。注入を続けることにより、毛細血管1129の遠位部分に塞栓を形成し、動静脈シャント1132を閉塞して、順行性還流を減らすかなくすことが可能である。動静脈シャント1132の塞栓形成後に、カテーテル1140内の注入圧を増やすことにより、粒子の密度及び分布のレベルを高めることが可能である。或いは、本方法に従って、勾配を使用することが可能である。圧力勾配のプロファイルは、時間と圧力の何らかの関数であってよく、例えば、低から高、高から低、低から高と高から低の交互変化である線形関数又はステップ関数であってよく、これらに限定されず、或いは他の任意の関数であってよく、又、このプロファイルの管理は、手動により、又は半自動的に、或いはプログラム可能な送達手段により行われてよい。或いは、本方法によれば、圧力を監視し、明示的な圧力読みに基づいて処置エンドポイントを選択する為に、バルーン1142の近位側及び/又は遠位側で、図36に示されたような圧力センサが使用されてよい。次に図40Dを参照すると、自動ポンプ/圧力監視システムを使用してカテーテル1140から腫瘍1133への注入を達成することが可能であり、このシステムによれば、閉塞バルーン1142の遠位側の圧力がゲージ1152で測定され、この圧力の読みが接続1154を介してポンプ1150に転送され、ポンプ1150はシリンジ1156からの抗がん剤の注入を制御する。ポンプ1150は、手動で制御されてよく、或いは、流量、時間、及び/又は圧力の何らかの関数にプログラムされてもよい。
本方法のねらいは、逆行性還流の解消、順行性還流の低減又は解消、粒子の密度及び分布の制御、最適な用量の送達、規定された圧力エンドポイントの有効化、有効性の向上、及び毒性の低減である。
図41Aを参照すると、カテーテルの長手方向断面が示されており、近位端及び遠位端と、カテーテルボディ204と、遠位先端203と、近位配置されたハブ206とが示されている。カテーテルボディ204には、ハブ206と流体連通している2つの管腔があり、第1の管腔は、ハブ6のポート208からカテーテル204の遠位先端203まで延びていて、これにより、流体を近位ハブ206から注入してカテーテル204の遠位先端203から出すことが可能であり、第2の管腔は、ハブ206のポート210から、カテーテル204の遠位先端203から少し離れている中間的な場所まで延びていて、第2の管腔は、バルーンを膨らませたりしぼませたりする為にバルーンと連通するように適合されている。
図41Bを参照すると、本開示の第1の実施形態の長手方向断面が示されており、近位端及び遠位端と、カテーテルボディ204と、遠位先端203と、流体205及び弁207を有する2層の閉塞バルーン214と、近位配置されたハブ206とが示されている。バルーン214は流路が2つあって各流路に弁があるように示されているが、バルーン214は、1個、2個、3個、4個、又は任意の数の流路と、任意の数の弁とを有してよく、弁はなくてもよい。この例では、弁構成は、流体をバルーン214の近位側からバルーン214の遠位側に流すことと、流体をバルーン214の遠位側からバルーン214の近位側に流さないことと、を可能にしているが、弁の向き及び流れ方向が逆である場合も本開示に包含される。カテーテルボディ204は、直径が1Frから10Frであってよく、より典型的には2Frから5Frであってよく、長さが10cmから250cmであってよく、より典型的には50cmから150cmであってよい。2層の閉塞バルーン214は、半径方向に膨らんだ形態において、直径が1mmから30mmであってよく、より典型的には2mmから10mmであってよい。
図41Cを参照すると、本開示の装置の一代替実施形態が示されており、これは、カテーテルボディ218と、遠位先端209と、ハブ206と、傘状閉塞構造220とを有する。この閉塞構造は、半径方向に広がった形態では、血管の流れを完全に閉塞する。傘状閉塞構造220は、カテーテル216の遠位端から少し離れて配置されていて、カテーテル216の周囲に円周方向に配置された傘状構造を形成しており、その外径は血管と接触する。傘状閉塞構造220は、半径方向に広がった形態では、直径が1mmから30mmであってよく、より典型的には2mmから10mmであってよく、長手方向の厚さが0.25mmから10mmであってよく、より典型的には0.5mmから2mmであってよい。傘状閉塞構造220は、V字の閉端部が開端部より遠位側でカテーテルに取り付けられているように示されているが、逆向きに配置されてもよく、カテーテルボディ18に対して90度の角度で配置されてもよい。
図41Dを参照すると、本開示の装置222が示されており、これは、カテーテル218と、遠位先端209と、ハブ206と、流路230及び弁228を有する一方向傘状閉塞構造224とを有する。閉塞構造224は、近位から遠位への流れを可能にし、遠位から近位への流れを阻止する。
図41Eを参照すると、装置232が示されており、カテーテルボディ234、カテーテル遠位延長部235、及び遠位先端211を有する。カテーテル延長部235は、直径が0.5Frから5Frであってよく、より典型的には1Frから3Frであってよく、欠落していてよく、或いは任意の長さであってよく、典型的には2mmから30mmであってよく、より典型的には5mmから20mmであってよい。
図41Fを参照すると、本開示の好ましい一実施形態が示されており、カテーテルボディ237と、カテーテル延長部235と、遠位先端211と、ノーズピース241と、半径方向に膨らんだ形態の2層の閉塞バルーン243とが示されている。この例では、2層の閉塞バルーン243が、遠位カテーテル延長部235上の、カテーテルボディ237の遠位端とノーズピース241の近位端との間に形成されたポケットの中に配置されている。ノーズピースは、テーパ状ノーズコーンであってよく、或いはチューブ又はカテーテルの遠位部分が丸められたピースであってよく、或いは先端がとがっていないチューブであってよく、或いは直径がカテーテルボディの直径以下である任意の構造であってよい。2層の閉塞バルーン243の、半径方向に拘束された形態での外径は、カテーテルボディ237の外径にほぼ等しい。
図41Gを参照すると、本開示の装置245の更に別の実施形態が示されており、これは、カテーテルボディ247と、遠位先端234と、ノーズピース241と、近位ハブ206と、流路230及び弁228を有する一方向傘状閉塞構造224とを有する。この例では、流路230及び弁228を有する一方向傘状閉塞構造224は、遠位カテーテル延長部234上の、カテーテルボディ247の遠位端とノーズピース241の近位端との間に形成されたポケットの中に配置されている。ノーズピース241は、テーパ状ノーズコーンであってよく、或いは放射線不透過性マーカバンドであってよく、或いはチューブ又はカテーテルの遠位部分が丸められたピースであってよく、或いは先端がとがっていないチューブであってよく、或いは直径がカテーテルボディの直径とほぼ等しい任意の構造であってよい。一方向傘状閉塞構造224の、半径方向に拘束された形態での外径は、カテーテルボディ247の外径にほぼ等しい。
図42を参照すると、本開示の一方向閉塞構造の好ましい一実施形態の4つの図が示されている。図42Aには、(図41B及び図41Fでも見られた)半径方向に膨らんだ形態での2層の一方向閉塞構造236が示されており、これは、近位端238、遠位端240、バルーン242、バルーンシース244、流路246、弁構造250、外側バルーンシーステール254、バルーンテール256、流れ方向矢印252、及び流れ出口248を有する。閉塞構造236が図41Fのようにカテーテル上に配置されている場合、流体は、矢印252で示されるように、流路246及び弁250を通って近位から遠位への方向に流れ(順行性)、遠位流れ出口248から出る。流路246の遠位端におけるバルーンシース244の内面に対する順行性流体圧は、弁250におけるバルーンシース244の内面の遠位方向の変位又は偏位を引き起こし、これによって、流体が流れ出口248を通り抜けることが可能になる。流れを反転させると、弁250におけるバルーンシース244の外側遠位面に対する流体圧によって、バルーンシース244がバルーン242の遠位面を圧迫して弁250を閉じ、逆行性流を阻止する。一方向閉塞構造236をカテーテル上で逆向きに配置すると、遠位から近位への流れが発生し、近位から遠位への流れが阻止される。図42Aの閉塞構造は、内側バルーン及び外側シースを含む2つの層を有するように示されているが、当然のことながら、シースはなくてもよく、近位面から遠位面への流路を有するバルーンが本開示に包含されると見なされる。流路246を含むバルーン242は、所望の数及び構成の流路を含むように材料を、モールド、押し出し、真空成形などの方法で整形することによって成形されてよい。或いは、円形又は楕円形を含み、これに限定されない標準的なバルーンを修正することによって近位から遠位への流路を実現してよい。バルーンを修正する一方法は、円周に沿って揃えられた長手方向のひだを形成して、バルーンの近位面からバルーンの遠位面に延びるV字形の流路を形成することである。そのような修正されたバルーンを覆うシースを、上述されたものと同様に配置することにより、図42Aから図42Dに示されたバルーンと同じ結果が得られる。
図42Bを参照すると、本開示の一方向閉塞構造236の側面図が示されており、近位端238、遠位端240、バルーン242、バルーンシース244、及び流れ方向矢印252が示されている。
図42Cを参照すると、一方向閉塞構造236の近位側の様子が示されており、近位端238、遠位端240、及び流路246が示されている。
図42Dを参照すると、一方向閉塞構造236の遠位面の様子が示されており、近位端238、遠位端240、及び流れ出口248が示されている。流れ出口248は、バルーンテール256とバルーンシース254との間の空間として形成される。バルーンシース244を流路246の真下で終わりにして、バルーンシーステール254を含まない弁250を形成することも可能である。
図43を参照すると、一方向閉塞構造236の一プロトタイプが、半径方向に膨らんだ形態で示されており、近位端238、遠位端240、バルーンシース244、(バルーンシース244の内側に配置された)バルーン242、及び流路246が示されている。この装置の試験を行った結果によれば、この装置は、逆行性流がない状態で、その遠位面に対する少なくとも220mmHgに耐える。
図44を参照すると、装置60は、カテーテル265の遠位延長部267に適合されて半径方向に拘束された形態での一方向閉塞構造272を示しており、これは、遠位端262、近位端264、近位カラー266、(ノーズコーンとして形成された)遠位カラー268、及び装置ポケット270を有する。近位カラー266及び遠位カラー268は、放射線不透過性マーカバンドなどの金属、熱収縮チューブ、又は任意の可塑性物質、例えば、ポリウレタン、ポリエチレン、ポリスチレン、アセタール、PTFE、ナイロンなどで構成されてよく、長さが1mmから20mmであってよく、より典型的には2mmから10mmであってよい。この例では、円周方向に方向づけられた閉塞構造272が、カテーテル265のポケット270内に保持され、外径がカテーテル265の外径にほぼ等しい。
図44Bを参照すると、一方向閉塞構造272が半径方向に膨らんだ形態である装置260が示されており、近位端264、遠位端262、バルーン242、バルーンシース244、弁250、流れ出口248、流路246、流れ矢印252、近位カラー266、遠位カラー268、カテーテル274、バルーン充填管腔270、及びガイドワイヤ/注入管腔276が示されている。この例では、遠位バルーンシーステールがなく、バルーンシースは、バルーン表面上の、流路246の真下、且つカテーテル延長部267の外周の上で終わっており、これによって、流れ出口は、バルーンシースの終わりとカテーテルとの間に配置される。
図45Aを参照すると、装置280が示されており、カテーテル282と、半径方向に広がった形態での傘状閉塞構造2284が示されており、傘状閉塞構造284は、外周がカテーテル282の周囲360度にあるように、カテーテル282の周囲で円周方向に方向づけられている。装置280が動脈内又は静脈内に配置されて、傘状閉塞構造284が半径方向に膨らんだ形態になると、閉塞装置284の外周は、少なくとも血管壁の内側と接触し、流れをほぼ遮断する。図45Aには、V字の閉端部が順方向を向く閉塞構造284が示されており、図45Bに示されている装置282の傘状閉塞装置288は、V字の閉端部が逆方向を向く構成である。本開示の閉塞構造は、半径方向に膨らんだ形態のときはカテーテルに対して90度の方向を有してもよい。
図46Aを参照すると、装置290が示されており、近位端292と、遠位端294と、カテーテル296と、半径方向に膨らんだ形態での二方向閉塞構造299と、フレーム298と、流路2100とが示されており、流体は、流路2100を通って、近位から遠位に、又は遠位から近位に流れることが可能である。2つの流路が図示されているが、二方向閉塞構造298は、1個、2個、3個、又は任意の数の流路を有してよい。
図46Bを参照すると、装置2102が示されており、近位端2104と、遠位端2106と、カテーテル2108と、フレーム2111、流路2112、及び半径方向弁2114を含む一方向傘状閉塞装置2110とが示されており、流体は近位から遠位に流れる(順行性)のみであり、逆行性流は半径方向弁2114によって阻止される。装置2102は順行性流のみを可能にするが、必要であれば、装置2102の装置2110が、逆行性流のみを可能にするように構成されるか、且つ/又は、図示されるようにV字の閉端部が順方向を向く構成を有してよく、或いは、必要であれば、V字の閉端部が逆方向を向く構成を有するか、カテーテル2108に対して90度の方向を有してよい。
閉塞構造2110のフレーム298及び2111は、形状記憶金属のニチノール又はエルジロイなどの金属から造られてよく、或いはポリエチレン、ポリウレタン、ポリスチレン、PTFE、アセタール、ナイロンなどの可塑性樹脂から造られてよく、或いはシリコーンなどの弾性材料から造られてよく、或いはコットンやレーヨンなどの織物から造られてよく、メッシュ、ワイヤフレーム、ダイヤフラムを含んでよく、ひだを付けられるか、他の方法で折り曲げられてよく、或いは、上昇した血管圧を閉塞するのに十分な強度及び多孔度を有し、流路や弁を組み込むことが可能であれば、他の任意の便利な構造又は材料であってよい。弁114は、ポリプロピレンやポリウレタン、シリコーンなどのエラストマ材料を含む柔軟な、又は剛体の可塑性物質から造られてよく、厚さが1ミルから50ミル、より典型的には2ミルから10ミルである、フラップ、ソック、コーン、ダックビル、ダイヤフラムなどを含む構成を有してよい。
図47Aを参照すると、本開示の一方向閉塞構造2120の遠位面の様子が示されており、(順方向に延びる)カテーテル2122と、装置フレーム2124と、半径方向弁2125と、半径方向弁2125の下に配置された流路2126とが示されている。図示されているように、半径方向弁2125は、カテーテル290から半径方向外側に延びて、4つの弁の全てを覆う。この例では4つの流路が示されているが、任意の数の流路が使用可能である。この構成は、一方向傘状閉塞構造2120の近位面から遠位面への流れを可能にしているが、逆に流すことも可能である。
図47Bには、一方向傘状閉塞構造2128を含む、本開示の別の実施形態が示されており、(順方向に延びる)カテーテル2130、装置フレーム2132と、弁2136と、弁2136の下に配置された流路2134とが示されている。この例では、各流路に個別の弁があり、4つの流路及び弁が示されているが、本開示の装置は、弁及び流路のサイズとフレーム2124及び2132の面積によってのみ制限される任意の数の流路及び弁を有してよい。この一方向構成は、傘状閉塞構造2128の近位面から遠位面への流れを可能にしているが、弁の流れ方向を変更するか、一方向閉塞装置をカテーテル2122及び2130に対して180度回転させることにより、逆の流れも容易に実現できる。
図48には、5ミルのポリウレタン材から構成されたプロトタイプのマイクロ弁2140が示されている。この装置の試験を行った結果によれば、この装置は、遠位面に対して加えられる少なくとも220mmHgの流体圧を抑える。
図49Aを参照すると、装置2142が示されており、カテーテル2144に適合され、半径方向に膨らんだ形態の三角形状閉塞構造2145が示されており、閉塞構造2145は、カテーテル2144の周囲で円周方向に方向づけられたフレーム2146を有し、その外周は360度を包含する。装置2142が動脈内又は静脈内に配置されると、フレーム2146が半径方向に膨らんだ形態になり、装置フレーム2146の外周は、少なくとも血管壁の内側と接触し、少なくとも流れをほぼ遮断する。
図49Bを参照すると、装置2148が示されており、カテーテル2150と、フレーム2152、流路2154、及び半径方向弁2158を含む一方向三角形状閉塞構造2151が示されている。参照されているのは、傘状又は三角形状の一方向閉塞弁であるが、当然のことながら、矩形、楕円形、円錐形、及び円形を含んでこれに限定されない任意の形状が使用されてよい。一方向閉塞構造の更に別の構造は、流路及び弁とともに配置される膨張バルーン又は閉塞バルーン又は他の任意の医療用バルーンであり、この弁は近位面から遠位面まで延びる。
図50Aから図50Cを参照すると、閉塞構造2191を半径方向に拘束された形態から半径方向に広がった形態に展開し、その後、拘束された形態に戻す方法が示されている。図50Aには、装置2180の長手方向断面が示されており、近位端2182と、遠位端2184と、外側カテーテル2186と、内側カテーテル2188と、ノーズコーン2190と、フレーム2192、弁2194、及びフレーム取り付け点2196を有する、半径方向に拘束された一方向閉塞構造2191とが示されている。一方向閉塞構造2191は、取り付け点2196において内側カテーテル2188に取り付けられており、閉塞装置2191には、その遠位端を取り付け点2196において近位方向外向きに旋回させる力があらかじめかけられている。この例では、外側カテーテル2186は、あらかじめかけられている力に対抗して閉塞構造2191を拘束する。装置2180は、最初に、標的構造にある血管系、又は標的構造の近傍にある血管系に配置される。
図50Bを参照すると、内側カテーテル2188が固定されたまま、外側カテーテル2186が矢印2200で示されるように近位方向に動かされることにより、閉塞構造2191に対する拘束が取り除かれて、閉塞構造2191が取り付け点2196において近位方向外向きに旋回して、半径方向に広がった形態になることが可能になる。フレーム2192は、ニチノールやエルジロイなどの形状記憶金属から造られてよく、取り付け点2196において、半径方向に広がった形態に事前成形されてよく、これが、半径方向に拘束された形態まで動かされると、閉塞構造2191に対して外向きの力があらかじめたくわえられることになる。編組ニチノールチューブが使用される場合、これは、半径方向に広がった形態に事前成形されてよく、閉塞構造2191は、外周が360度あるように、カテーテル2144の周囲で円周方向に方向づけられている。この例のように、ポリウレタン、PTFE、シリコーンなどによるメッシュがコーティングされてよく、メッシュを通る流路が形成されてよく、流路を覆う弁が配置されてよい。
図50Cを参照すると、内側カテーテル2188が固定されたまま、外側カテーテル2186が遠位方向に動かされることにより、フレーム2192が取り付け点2198において遠位方向に旋回して、閉塞構造2191が半径方向に拘束された形態になる。
図51を参照すると、解剖学的構造2200が示されており、大動脈2202、右動脈2204、左動脈2206、毛細血管2208、腫瘍2209、及び血流方向矢印2212が示されている。図51Aから図51Eには、本開示の方法が示されており、本方法では、経動脈的化学塞栓療法(TACE)の場合と同様に、薬剤溶出性ビーズを使用して腫瘍に塞栓を形成する。
第1のステップでは、2管腔カテーテル2214と、半径方向に拘束された(図42にも示されている)一方向バルーン閉塞構造2216とを含む装置2211が、図51Aに示されるように、カテーテル2214の管腔1(ガイドワイヤ/注入管腔)を使用して、体表上の挿入部位(通常は脚の付け根の大腿静脈)からガイドワイヤ2213の上を進み、腫瘍を養う動脈又はその近傍に配置される。矢印2212で示されるように、血液は、装置2211の上を順行性の方向に流れて腫瘍2209の毛細血管2208に入る。
第2のステップでは、解剖図51Bに見られるように、カテーテル2214の第2の管腔(バルーン膨張用管腔)を使用して、図42の2層装置の内側バルーンを膨らませることにより、一方向バルーン閉塞構造2216が半径方向に膨らんだ形態になる。半径方向に膨らんだ形態になると、約80mmHgと約130mmHgの間である通常血圧の作用で閉塞構造2216の弁2217がただちに開位置になり、これによって、順行性血流が流路2219を通って腫瘍2209の毛細血管2208に入ることが可能になる。
図51Cには第3のステップが示されており、化学塞栓粒子2218が、左動脈2206及び腫瘍209の毛細血管2208に注入され始めている。この時点では、一方向閉塞構造2216の弁2217は開位置にあり、血液は、流路2219を通って順行性の方向に流れながら、化学塞栓粒子2218を腫瘍2209の血管系内へ搬送し続ける。
図51Dを参照すると、第4のステップが示されており、化学塞栓粒子2218が毛細血管2208の遠位端に塞栓を形成し始め、毛細血管2208及び左動脈2206の近位区間の圧力が上昇する。この背圧により、血流及び化学塞栓粒子2218は逆行性の方向に流れるが、左動脈2206の背圧によって弁2217がただちに閉じられ、これによって、粒子2218は、閉塞装置2217より遠位の血管区画内にとどまる。現在入手可能なストレートチップカテーテルを使用した場合、化学塞栓形成処置は、この時点で終えることになる。これは、粒子がカテーテルの上を後方に還流して体循環に入り、非標的塞栓形成及び関連する合併症を引き起こす為である。
図51Eには、現行カテーテルでは不可能な第5のステップが示されており、塞栓粒子が注入され続け、逆行性の還流は発生せず、腫瘍の血管系には粒子2218が更に充填される。この方法は、逆行性還流に伴う合併症を防ぐと同時に、より多くの粒子を腫瘍に投入することを可能にすることができる。
図51Fには本方法の最終ステップが示されており、閉塞構造2216が半径方向に拘束された形態になり、装置2211がガイドワイヤ2213の上を身体から引き抜かれる。
半径方向に拘束された形態から半径方向に膨らんだ形態に移行可能な装置について具体的に記述したが、そのような移行は必須ではない。本開示の一方向閉塞構造は、永続的に膨らんだ形態で構成されてよい。この例では、閉塞構造は、高度に柔軟な材料であってよく、例えば、低ジュロメータ硬度のプラスチックやゴム、又はフレキシブルメッシュ、或いは、血管系内を通って標的まで慎重に進んで一方向閉塞を行うのに十分な強度と柔軟性を提供する任意の材料又は構造であってよい。
図52を参照すると、一装置の遠位区間302が示されており、遠位端303と、近位端304と、カテーテルボディ306と、遠位先端308と、ノーズコーン310と、完全に膨らんだ形態の一部閉塞バルーン312と、流路314と、一方向弁316と、が示されている。この実施形態では、流路314を通る、近位から遠位の方向の流れが許容されており、近位への流れは一方向弁316によって制限されている。一部閉塞バルーン312は、形状は任意であってよく、直径は1mmから30mmであってよく、より典型的には2mmから10mmであってよい。
図53を参照すると、本開示の装置の遠位区間の長手方向区間320が示されており、カテーテルボディ306と、遠位先端308と、ノーズコーン310と、半径方向に拘束されたバルーン322と、近位バルーンポケット境界324と、遠位バルーンポケット境界326とが示されている。半径方向に拘束されたバルーン322は、境界324におけるカテーテル306の遠位端と、境界326におけるノーズコーン310の近位端とによって画定されたポケットの中に位置する。拘束されたバルーンの外径は、カテーテルボディ306の外径にほぼ等しい。これにより、バルーンは、ポケット内に位置し、カテーテルを所望の最小直径で保持することが可能になる。
図54Aを参照すると、本開示の装置の遠位区間330が示されており、カテーテルボディ306と、カテーテル延長部307と、遠位先端308と、ノーズコーン310と、バルーンポケット332と、ガイドワイヤ及び注入管腔334と、バルーン膨張用管腔336とが示されている。カテーテルボディ306は、直径が0.25mmから5mmであり、より典型的には0.5mmから1.5mmであり、長さが10cmから240cmであり、より典型的には75cmから150cmである。カテーテル延長部307は、直径が0.25mmから3mmであり、より典型的には0.4mmから1mmであり、長さが5mmから100mmであり、より典型的には5mmから40mmである。バルーンポケット332は、深さが、カテーテルボディ306とカテーテル延長部307の直径の差に等しく、長さが1mmから50mmであり、より典型的には5mmから15mmである。バルーンポケット332にぴったり収まって、バルーンの、バルーンポケット332から上への延びが最小限になるように、バルーンの壁の厚さ及び内径が選択され、押し出し又はモールドが行われる。
図54Bを参照すると、遠位区間330はバルーン338を含み、バルーン338は、半径方向に拘束された形態でバルーンポケット332内に保持され、外径がカテーテルボディ306の外径にほぼ等しい。
図54Cを参照すると、遠位区間330は、半径方向に膨らんだ形態のバルーン338を含み、バルーン338は、流路314と、閉位置にある一方向弁316とを有する。一部閉塞バルーン338は、任意の形状であってよく、直径が1mmから30mmであってよく、より典型的には2mmから10mmであってよく、長さが1mmから50mmであってよく、より典型的には5mmから15mmであってよい。流路314は任意の形状及び構成であってよく、開口は、通過する所望の流量に合わせて較正される。好ましい一実施形態では、バルーンは直径が6mmとなり、流路は直径が0.5mmから1.5mmとなる。流路314を含むバルーン338は、所望の数及び構成の流路を含むように材料を、モールド、押し出し、真空成形などの方法で整形することによって成形されてよい。
或いは、円形又は楕円形を含み、これに限定されない標準的なバルーンを修正することによって近位から遠位への流路を実現してよい。バルーンを修正する一方法は、円周に沿って揃えられた長手方向のひだを形成して、バルーンの近位端からバルーンの遠位端に延びるV字形の流路を形成することである。そのような修正されたバルーンにシース又はフィルムをかぶせることにより、同時係属中の出願第61/917,131号に記述されているような長手方向流路及び一方向弁が得られる。
図55Aから図55Cを参照すると、本開示の装置の直列構造が示されている。
図55Aを参照すると、装置構造350の長手方向の図が示されており、カテーテルボディ306と、遠位配置されたカテーテル延長部307と、ガイドワイヤ/注入ポート354及びバルーン膨張/収縮用ポート356を含む、近位配置されたハブ352と、が示されている。
図55Bを参照すると、装置構造350の長手方向の図が示されており、追加されたノーズコーン310と、カテーテルボディ306の遠位端とノーズコーン310の近位端との間に配置されたバルーンポケットとが示されている。
図55Cを参照すると、本開示の装置358の長手方向の図が示されており、カテーテルボディ306、バルーン340、及びハブ352が示されている。バルーン340は、半径方向に膨らんだ形態で示されており、流路314と、開位置にある弁316とが示されている。
図56を参照すると、解剖学的構造360が示されており、腫瘍362と、大動脈366と、遠位大動脈367と、側枝動脈370及び374と、腫瘍毛細血管373、375、377、及び379と、血流方向矢印368、372、376、及び378とが示されている。右肝葉内の腫瘍の場合、動脈366は右肝動脈であり、動脈367は遠位右肝動脈であり、これらは流れ方向矢印368及び378で示されるように腫瘍に向かって流れる。この例では、動脈370は胃十二指腸動脈であり、動脈374は十二指腸上動脈などの肝腸動脈であり、これら両方の通常の流れは、流れ方向矢印372及び376で示されるように肝動脈から遠ざかって、肝臓及び消化管の両方を養う動脈網に入る。肝動脈366からの血液は、腫瘍毛細血管373、375、377、及び379にも流入する。右肝動脈を通る通常の血流は、4ミリリットル毎秒のレンジである。
図57Aから図57Hを参照すると、現行医療業務による腫瘍塞栓形成方法が示されている。図示されているステップの少なくとも幾つかは、肝臓の腫瘍における現行カテーテルベースの塞栓形成療法で用いられる。
本処置の第1のステップでは、図57Aの解剖学的構造380に示されるように、ガイドワイヤ382が、脚の付け根の大腿静脈から、回腸動脈、大動脈、腹腔動脈、肝動脈を通って、右肝動脈366内へと進められる。ガイドワイヤ382の直径は、典型的にはおよそ0.25mmから1.25mmであり、より典型的には0.4mmから1mmである。
図57Bに示される、本処置の第2のステップでは、ガイドカテーテル392が、ガイドワイヤ382の上を、ガイドワイヤ382と同じ動脈経路に沿って進められる。典型的には、ガイドカテーテルは、外径がおよそ1.5mmから2.5mmであり、マイクロカテーテルを受け入れることが可能な中央管腔を有しており、その外径は0.5mmから1.5mmである。ガイドカテーテルは、腫瘍の近傍の血管系にアクセスするには大きすぎ、典型的には、腫瘍に向かう血管経路に沿って可能なところまで進められる。血流は、図56に示されたものと同じ通常パターンをたどり、ガイドカテーテル392の側面の周囲を流れる。
図57Cに示される第3のステップでは、任意選択で、ガイドワイヤ382が取り除かれ、マイクロカテーテルの中央管腔にぴったり収まる、より小径のガイドワイヤ398と交換される。ガイドワイヤ398は、典型的には直径が0.2mmから0.75mmであり、より典型的には0.25mmから0.6mmの範囲である。
本処置の第4のステップでは、図57Dの解剖学的構造3102に示されるように、マイクロカテーテル3104が、ガイドワイヤ398の上を、ガイドカテーテル392の遠位端より先の場所まで進められ、腫瘍内の、又は腫瘍の近傍の血管系に入れられる。マイクロカテーテル3104は、実際に可能な限り腫瘍の近くまで進められ、解剖学的に可能であれば、超選択的塞栓形成の場合のように、腫瘍の血管系内まで進められる。マイクロカテーテル3104は、典型的には直径が0.75mmから1.5mmであり、より典型的には約1mmであり、全長が50cmから200cmであり、より典型的には75cmから150cmである。中央管腔マイクロカテーテル3104は、内径が可能な限り大きいように最適化されているが、通常は約0.5mmのレンジにある。
第5のステップでは、図57Eの解剖学的構造3200に示されるように、ガイドワイヤ398がマイクロカテーテル3104から取り除かれる。ガイドワイヤ398を取り除くと、薬剤及び/又は塞栓物質を右肝動脈及び腫瘍の中の標的部位に注入する為に、マイクロカテーテル3104の中央管腔を使用することが可能になる。血液は、矢印368、372、376、及び378で示される通常の流れパターンに従って、ガイドカテーテル392及びマイクロカテーテル3104の周囲を流れ続けて、腫瘍379の毛細血管373、375、377、及び379、胃十二指腸分枝370、及び肝腸分枝374に入る。
図57Fの解剖学的構造3208に示される第6のステップでは、薬剤及び/又は塞栓物質が、シリンジなどの手段により、マイクロカテーテル3104の近位端から注入され、ハブ52(図55)のガイドワイヤ/注入ポート354を通り、ガイドワイヤ/注入管腔334(図54)内を長手方向に通り、カテーテル延長部307の遠位端から出る。この例では、塞栓粒子3210が、通常血流によって、流れ矢印3212で示されるように、遠位右肝動脈3214、腫瘍毛細血管373、375、377、及び379の中まで搬送され、且つ、流れ矢印376で示される方向に肝腸動脈374の中まで搬送される。胃十二指腸分枝動脈374又は他の任意の、マイクロカテーテル3104の遠位先端より遠位にある動脈分枝を通って移動する薬剤及び/又は塞栓物質は、通常の順方向流によって、肝臓及び腸の一部を含む非標的部位に配置される。この(カテーテル先端に対して)順行性のバイパスが遠位肝腸動脈に入ると、深刻な合併症を引き起こす可能性があり、例えば、肝臓又は腸の区間の損傷又は死滅、胃潰瘍、或いは患者の死亡すら引き起こす可能性がある。更には、薬剤及び/又は塞栓物質が非標的部位に移動すると、腫瘍に入らなくなる。この結果として、1回分の量が、腫瘍に送達されるべき最適用量より少なくなり、有効性が所望のレベルより低くなる。しかしながら、前述の深刻な合併症を避ける為に、医師は腫瘍血管系への塞栓形成を控えめにすることが多い。
図57Gを参照すると、順方向流の媒介による塞栓形成が進むにつれて、毛細血管373、375、377、及び379の遠位端には粒子3210が充填され、塞栓が形成される。このプロセスは、腫瘍を通り抜ける血流を大幅に遅くし、腫瘍血管系内の圧力を急上昇させ、これに伴い、大量の血流を肝動脈から逆行性に偏らせる。更に、遠位肝動脈3214内で背圧が発生して大きくなり、その結果、粒子が、流れ方向矢印3234で示されるように、逆行性の方向に流れる。これの結果として、(1)肝腸分枝374に入る順行性バイパスが増加し、還流がカテーテルの上を通って胃十二指腸動脈370に入り、(3)たとえ腫瘍の塞栓形成が部分的でしかなくても粒子注入を停止すべきであることが医師に通知される可能性がある。この例では、大きな毛細血管ほど、血流が大きいことから先に塞栓が形成され、小さい毛細血管は塞栓が形成されないままとなる可能性がある。圧力の急上昇は、部分的には遠位毛細血管の塞栓形成に起因し、部分的には肝動脈からの大量血流に起因する。塞栓形成が所望のエンドポイントであれば、肝動脈からの順方向血流を遅くすれば、腫瘍が血液と薬剤及び/又は塞栓剤との流れをより長時間にわたって受け入れることが可能になり、塞栓形成がより多く行われて、腫瘍血管系内の粒子分布が改善されることが可能になると考えられる。
図57Hを参照すると、薬剤及び/又は塞栓剤の注入が完了し、マイクロカテーテル3104及びガイドカテーテル392が取り外された、腫瘍毛細血管373、375、377、及び379内の最終的な塞栓形成の分布が示されており、この例では、大きな毛細血管379には大量の塞栓が形成されており、小さな毛細血管377には少量の塞栓が形成されており、小さな毛細血管373には塞栓が形成されないままである。
図58を参照すると、本開示の装置による腫瘍塞栓形成の方法が示されている。図57Aから図57Eに示されたステップ1からステップ5は、図57に示された標準カテーテルと本開示の装置とで共通なので、詳しくは説明しない。
図58Aを参照すると、本開示の装置が遠位右肝動脈3214内に配置されており、一部閉塞バルーン3256が、半径方向に膨らんだ形態で流路3258及び3260を含み、一方向弁3262及び3264が開位置にある。図58Aには、2つの流路が示されているが、弁の有無にかかわらず、1つ、2つ、3つ、又は任意の数の流路が使用されてよい。流路の最大サイズはバルーン径によって制限されるが、実際に可能な限り小さくてよい。弁3262及び3264は、フラップ、ダックビル、ダイヤフラム、又は任意のタイプの、一方向の流れのみを可能にする弁であってよい。任意選択の圧力センサ3266及び3265が示されており、圧力センサ3266は、一部閉塞バルーン3256より遠位の血管空間内のリアルタイム圧力測定を行い、圧力センサ3265は、一部閉塞バルーン3256より近位の血管空間内のリアルタイム圧力監視を行う。圧力センサ3266は、遠位血管空間内の圧力を測定するものであり、所定又は非所定の圧力読みに基づいて処置エンドポイントを通知する為に使用されてよい。これにより、現行の主観的な流量媒介エンドポイントに代わって、定量的且つ明示的な圧力媒介エンドポイントが初めて可能になり、処置を再現可能且つ標準化可能にして、病院間及び医師間で整合をとれるようにすることが可能になる。これが可能となるのは、ひとえに、一部閉塞バルーン3256より遠位にある血管空間が一部閉鎖バルーン3256より近位にある血管空間から隔離されることにより、遠位空間内の動脈圧力が腫瘍内動脈血圧に密接に関連付けられることが可能になる為である。肝動脈368、遠位肝動脈3214、及び近位動脈370を通る血流の方向は、流れ方向矢印368、372、及び378で示されるように正常であり、流れ方向矢印3212で示される、腫瘍毛細血管373、375、377、及び379内の血流も同様に正常である。しかしながら、一部閉塞バルーン3256は、遠位右肝動脈214内及び腫瘍毛細血管373、375、377、及び379内の血流を大幅に低減させる。本開示の一部閉塞バルーンは、総流量がほぼ100%(未完了流量)から、完全閉塞の場合に見られるようなほぼ0%までの範囲をとれるように、血流を調整することが可能である。最も注目されるのは、流量が動脈未閉塞時の1%から25%になる一部閉塞である。従って、流路3258及び3220は、通常の血流のうちのほんのわずかが遠位側に通り抜けることを可能にする。一部閉塞バルーン3256の遠位側の血圧も、閉塞の性質に応じて、およそ5mmHg低減から100mmHg低減までのいずれかの幅で大きく低減される。この圧力低下により、分枝動脈374は、流れ方向矢印376で示されるように方向が反転し、遠位大動脈3214及び腫瘍毛細血管373、374、377、及び379に向かって流れるようになる。一部閉塞バルーン256によって引き起こされた流量低下及び圧力低下によって、腫瘍毛細血管373、374、377、及び379内の流量及び圧力も低下する。このことは重要である。なぜなら、これによって、背圧が流れを均衡させ、逆行性流を引き起こす前に、より多くの薬剤/塞栓剤が腫瘍に入ることが可能になる為である。
次に図58Bの解剖学的構造3280を参照すると、薬剤及び/又は塞栓剤に注入が開始される。近位大動脈366からの血流は、流路3258及び3260を通り抜ける際に減衰して遠位大動脈3214に入る。抗がん剤は、減衰した順方向血流によって搬送されて、遠位大動脈3214を通り、腫瘍毛細血管373、375、377、及び379に入る。遠位血管空間内の圧力が、一部閉塞バルーン3256より近位にある血管空間の血圧より低い場合、弁3262及び3264は開位置にある。分枝動脈374は、流れ方向矢印376で示されるように反対方向に流れ続ける。これは、遠位右肝動脈内の血圧が、分枝動脈374の遠位端に接続されている動脈網の血圧より低い為である。この例では、順行性の薬剤/塞栓剤が分枝動脈374に流入しないようになっており、順行性バイパス及び非標的送達は発生しない。リアルタイムの圧力を監視する為に、任意選択の圧力センサ3266及び3265が使用されてよく、或いは、カテーテル6(図54A)のガイドワイヤ/注入管腔334による圧力測定が行われてよい。
図58Cを参照し、解剖学的構造3290に注目すると、遠位肝動脈3214を通る血流の流速及び圧力が低下することにより、腫瘍毛細血管373、375、377、及び379には、調整されないフルの順方向流による現行方法の場合より、充填がゆっくり行われて、広く分布することが可能になる。しかしながら、タイミングによっては、図58Dに示されるように、腫瘍毛細血管の塞栓形成によって、血液及び抗がん剤の逆行性の偏りが発生し、遠位肝動脈3214内の圧力が上昇する。この時点では、遠位右肝動脈3214内の圧力が上昇したことにより、弁3262及び3264が閉じる為、分枝動脈370、又は他の任意の、一部閉塞バルーン3256より近位にある動脈を通る逆行性流及び非標的塞栓形成は発生しない。この逆行性の偏り及び圧力上昇は、図57の現行の標準的な方法の場合よりもゆっくり進む。圧力上昇及び逆行性流がゆっくりであることにより、医師が処理を終える為の時間窓を広くすることが可能になる。圧力監視が完了していれば、規定の圧力を用いて処置を終えてよい。遠位肝動脈3214内の背圧が収縮期圧をほぼ超えると、分枝動脈374は、図56の流れ方向矢印376で示されるように、正常な流れパターンを再度たどる。この状況では、順行性の薬剤及び/又は塞栓剤が分枝動脈374及び非標的部位に流れることが可能になる。しかしながら、分枝動脈374において対照的な動きが視覚的に観測されたら、或いは、規定された圧力測定値が分枝動脈374の流れの反転圧力以下になったら、これを処置エンドポイント通知として使用してよい。
次に図58Eの解剖学的構造3300を参照すると、処置が完了し、本開示のカテーテル3254、及びガイドカテーテル3252が取り外される。本開示の装置による、腫瘍毛細血管373、375、377、及び379の分布及び充填は、図57Hの現行マイクロカテーテル3104による分布及び充填に比べて改善される。
実施形態によっては、流体導入速度(例えば、塞栓形成ビーズ注入速度)を制御する為に、圧力フィードバックループが実装される。そのような実施形態では、閉塞構造又は一部閉塞構造より遠位にある血管系の圧力を監視する為に、カテーテルの遠位先端に血圧センサが配置されてよい。実施形態によっては、所定の圧力設定点が使用されてよい。この設定点は、絶対圧力であってよく、或いは収縮期圧に対するパーセンテージ(例えば、収縮期圧の約100%)であってよい。そのようなシステムは、注入速度(例えば、注入ポンプの速度又は圧力)を自動制御することにより、遠位血管系を設定点以下に維持するようにプログラムされてよい。遠位血管系の圧力が収縮期圧を超えないようにすることにより、逆行性の、且つ/又は他の望ましくない血流を防ぐことが可能である。
実施形態によっては、圧力フィードバックループにおいて、事前設定された圧力の代わりに、又はこれに加えて、圧力変化の速度を使用してよい。例えば、遠位血管系の圧力が所定の速度より急速に上昇し始めた場合は、塞栓物質の注入速度を低下させてよく、或いは注入を一時停止してよく、或いは処置エンドポイントが通知されてよい。エンドポイント通知は、処置に関与する人間に対する聴覚的、視覚的、触覚的、又は他の通知であってよく、且つ/又は、処置に使用されている医療機器のシャットオフ又は状態変更を自動的に行う信号であってよい。
図59Aから図59Dは、本開示の一態様による閉塞カテーテルの遠位端の組立工程を示す。
図60は、完成した、図59Aから図59Dの閉塞カテーテルの遠位端が血管系の小さな分枝に導入される様子を示す。この設計の2つの拡大された接点により、カテーテルは、従来式のカテーテル先端で進むことが可能な血管系より小さい血管系に進んでいくことが可能になる。
図61Aは、本開示の原理に従って構築された閉塞カテーテルの全体を示す。図61Bは、図61Aの閉塞カテーテルの遠位端における構造の特徴の詳細を示す。
重要なのは、本開示の装置が、一部閉塞バルーンより遠位にある動脈空間内の流量及び圧力を調整し、腫瘍毛細血管内の流速及び圧力を大幅に低下させ、遠位分枝動脈の流れを反転させることである。前述の装置及び方法は、従って、非標的部位への逆行性及び順行性のバイパスの実質的解消、及び腫瘍血管系への薬剤及び/又は塞栓剤のより完全な充填を可能にし、標準的な装置及び方法に比して有効性を向上させ合併症を低減するものである。
〔付記1〕
近位端、遠位端、及びバルーン膨張用管腔を有するカテーテルボディと、
前記カテーテルボディの前記遠位端に取り付け可能な膨張可能バルーンであって、前記バルーンは、内部容積を少なくとも部分的に画定する内面を有し、前記バルーンは、前記バルーンを膨らませる為に前記内部容積が前記カテーテルボディの前記膨張用管腔と流体連通することが可能であるように構成されており、前記バルーンは近位面及び遠位面を有する、前記バルーンと、を備えるカテーテルアセンブリであって、
前記バルーンには前記バルーンを貫通して延びる流路が設けられており、前記流路は、前記バルーンの前記近位面と前記バルーンの前記遠位面とを流体連通させるように構成されている、
カテーテルアセンブリ。
〔付記2〕
前記カテーテルボディの前記遠位端を越えて延びる遠位先端区間を備える、付記1に記載のカテーテルアセンブリ。
〔付記3〕
前記バルーンは、前記流路を通る流体流に作用するように構成された弁を備える、付記1に記載のカテーテルアセンブリ。
〔付記4〕
前記弁は、前記流路の遠位端に配置されている、付記3に記載のカテーテルアセンブリ。
〔付記5〕
前記弁は、前記流路内に配置されている、付記3に記載のカテーテルアセンブリ。
〔付記6〕
前記弁は、遠位方向の流れを可能にし、近位方向の流れを制限するように構成されている、付記3に記載のカテーテルアセンブリ。
〔付記7〕
身体内の標的部位に治療用薬剤を送達する装置であって、
近位端、遠位端、第1の軸方向管腔、及び第2の軸方向管腔を有するカテーテルボディであって、前記第1の軸方向管腔は、前記カテーテルボディの前記近位端から前記カテーテルボディの前記遠位端に延びて、前記近位端と前記遠位端とを流体連通させており、前記第2の軸方向管腔は、前記カテーテルボディの前記近位端から前記カテーテルボディ上のより遠位の場所まで延びている、前記カテーテルボディと、
前記カテーテルボディの前記遠位端の近くに半径方向に配置されたバルーンであって、前記バルーンは、近位バルーン面と、遠位バルーン面と、半径方向に拘束された形態と、半径方向に広がった形態と、を有しており、前記バルーンは、前記第2の軸方向管腔と流体連通しており、前記近位バルーン面から前記遠位バルーン面に延びる少なくとも1つの流路を有することによって、前記近位バルーン面と前記遠位バルーン面とを流体連通させている、前記バルーンと、
前記バルーンの外面の上に配置されたバルーンシースであって、前記シースには近位側と遠位側とがあり、前記近位側は、前記バルーン流路の近位端と一直線上にある開口を有しており、前記シースの前記遠位側は前記バルーン流路の遠位端の上に延びており、前記シースの前記遠位側は、遠位方向の流体圧力が、前記近位側の前記開口を通して、前記バルーン流路を通して、前記シースの前記遠位側の近位面に対してかけられると、遠位方向に偏ることによって、流体が前記バルーン流路を通り抜けて、前記バルーン及び前記バルーンシースより遠位にある血管区画に入ることを可能にすることができ、前記シースの前記遠位側は又、前記シースの前記遠位側に圧力がかけられると、前記遠位バルーン面に向かって近位方向に偏ることによって、前記バルーン流路内の近位方向の流れを阻止することもできる、前記シースと、
を備える装置。
〔付記8〕
前記シースの前記遠位側と前記遠位バルーン面との間の境界面が一方向弁を形成している、付記7に記載の装置。
〔付記9〕
前記カテーテルボディの前記遠位端から長手方向にカテーテル延長部が配置されている、付記7に記載の装置。
〔付記10〕
直径が前記カテーテルボディの直径より小さい、付記9に記載のカテーテル延長部。
〔付記11〕
前記バルーン及び前記バルーンシースは、前記カテーテル延長部上に配置されている、付記9に記載の装置。
〔付記12〕
前記カテーテル延長部の、前記バルーン及び前記バルーンシースより遠位の場所にノーズピースが適合されている、付記9に記載の装置。
〔付記13〕
前記バルーン及び前記バルーンシースは、前記カテーテルボディの前記遠位端と前記ノーズピースの近位端との間にあるポケットの中に配置されている、付記12に記載の装置。
〔付記14〕
前記半径方向に拘束されたバルーン及び前記バルーンシースの外径が、前記カテーテルボディの外径以下である、付記9に記載の装置。
〔付記15〕
腫瘍に塞栓を形成する方法であって、
カテーテルボディ及び一部閉塞構造を含む装置を身体内の標的腫瘍部位まで進めるステップと、
前記一部閉塞構造を通過する順行性血流を可能にするステップであって、前記可能にされる順行性血流は、前記一部閉塞構造が配置されなかったとしたら通常存在するであろう血流より少ない、前記可能にするステップと、
前記装置から塞栓物質を注入して、前記順行性血流が前記塞栓物質を前記腫瘍標的の血管系内まで搬送することを可能にするステップと、
前記一部閉塞構造より遠位にある血管空間におけるリアルタイム圧力測定値を監視するステップと、
前記圧力測定値の前記監視に基づいて処置エンドポイントを通知するステップと、
前記身体から前記装置を引き抜くステップと、
を含む方法。
〔付記16〕
前記可能にされる順行性血流は、前記一部閉塞構造が配置されなかったとしたら通常存在するであろう血流の約1%から約25%の範囲内にある、付記15に記載の方法。
〔付記17〕
前記処置エンドポイントの前記通知は、前記一部閉塞構造より遠位にある前記血管空間における圧力が所定圧力に達したときに行われる、付記15に記載の方法。
〔付記18〕
前記所定圧力は、非閉塞時の収縮期圧に対する所定のパーセンテージである、付記17に記載の方法。
〔付記19〕
前記所定のパーセンテージは約100%である、付記17に記載の方法。

Claims (13)

  1. 近位端、遠位端、及びバルーン膨張用管腔を有するカテーテルボディと、
    前記カテーテルボディの前記遠位端に取り付け可能な膨張可能バルーンであって、前記バルーンは、内部容積を少なくとも部分的に画定する内面を有し、前記バルーンは、前記バルーンを膨らませる為に前記内部容積が前記カテーテルボディの前記膨張用管腔と流体連通することが可能であるように構成されており、前記バルーンは近位面及び遠位面を有する、前記バルーンと、を備えるカテーテルアセンブリであって、
    前記バルーンには前記バルーンを貫通して延びる流路が設けられており、前記流路は、前記バルーンの前記近位面と前記バルーンの前記遠位面とを流体連通させるように構成されており、
    前記バルーンは、前記流路を通る流体流に作用するように構成された弁を備え、
    前記バルーンの外面の上に配置されたバルーンシースであって、前記シースには近位側と遠位側とがあり、前記近位側は、前記バルーン流路の近位端と一直線上にある開口を有しており、前記シースの前記遠位側は前記バルーン流路の遠位端の上に延びており、前記シースの前記遠位側は、遠位方向の流体圧力が、前記近位側の前記開口を通して、前記バルーン流路を通して、前記シースの前記遠位側の近位面に対してかけられると、遠位方向に偏ることによって、流体が前記バルーン流路を通り抜けて、前記バルーン及び前記バルーンシースより遠位にある血管区画に入ることを可能にすることができ、前記シースの前記遠位側は又、前記シースの前記遠位側に圧力がかけられると、前記遠位バルーン面に向かって近位方向に偏ることによって、前記バルーン流路内の近位方向の流れを阻止することもできる、前記シース、を備える、カテーテルアセンブリ。
  2. 前記バルーンの前記遠位面から離れた領域における流体圧力を検知するように構成された圧力センサを備える、請求項1に記載のカテーテルアセンブリ。
  3. 前記弁は、前記流路の遠位端に配置されている、請求項に記載のカテーテルアセンブリ。
  4. 前記弁は、前記流路内に配置されている、請求項に記載のカテーテルアセンブリ。
  5. 前記弁は、遠位方向の流れを可能にし、近位方向の流れを制限するように構成されている、請求項に記載のカテーテルアセンブリ。
  6. 前記シースの前記遠位側と前記遠位バルーン面との間の境界面が一方向弁を形成している、請求項に記載のカテーテルアセンブリ
  7. 前記カテーテルボディの前記遠位端から長手方向にカテーテル延長部が配置されている、請求項に記載のカテーテルアセンブリ
  8. 前記カテーテル延長部の直径が前記カテーテルボディの直径より小さい、請求項に記載のカテーテルアセンブリ
  9. 前記バルーン及び前記バルーンシースは、前記カテーテル延長部上に配置されている、請求項に記載のカテーテルアセンブリ
  10. 前記カテーテル延長部の、前記バルーン及び前記バルーンシースより遠位の場所にノーズピースが適合されている、請求項に記載のカテーテルアセンブリ
  11. 前記バルーン及び前記バルーンシースは、前記カテーテルボディの前記遠位端と前記ノーズピースの近位端との間にあるポケットの中に配置されている、請求項10に記載のカテーテルアセンブリ
  12. 半径方向に拘束された前記バルーン及び前記バルーンシースの外径が、前記カテーテルボディの外径以下である、請求項に記載のカテーテルアセンブリ
  13. 前記カテーテルボディは、塞栓剤を塞栓剤送達管腔を介して前記バルーンの前記遠位面から離れた領域に供給するための塞栓剤送達装置に連通可能に構成された前記塞栓剤送達管腔を備え、前記カテーテルアセンブリは、前記圧力センサからの信号に応じて前記塞栓剤送達装置を非アクティブ化することが可能なコントローラに接続可能である、請求項2に記載のカテーテルアセンブリ
JP2016513090A 2013-05-08 2014-05-08 一体型流量調整による経血管的腫瘍塞栓形成の装置及び方法 Active JP6401781B2 (ja)

Applications Claiming Priority (7)

Application Number Priority Date Filing Date Title
US201361821058P 2013-05-08 2013-05-08
US61/821,058 2013-05-08
US201361915425P 2013-12-12 2013-12-12
US61/915,425 2013-12-12
US201361917131P 2013-12-17 2013-12-17
US61/917,131 2013-12-17
PCT/US2014/037385 WO2014182959A2 (en) 2013-05-08 2014-05-08 Device and methods for transvascular tumor embolization with integrated flow regulation

Related Child Applications (1)

Application Number Title Priority Date Filing Date
JP2018168137A Division JP2018187506A (ja) 2013-05-08 2018-09-07 一体型流量調整による経血管的腫瘍塞栓形成の装置及び方法

Publications (3)

Publication Number Publication Date
JP2016517778A JP2016517778A (ja) 2016-06-20
JP2016517778A5 JP2016517778A5 (ja) 2017-04-20
JP6401781B2 true JP6401781B2 (ja) 2018-10-10

Family

ID=51867872

Family Applications (3)

Application Number Title Priority Date Filing Date
JP2016513090A Active JP6401781B2 (ja) 2013-05-08 2014-05-08 一体型流量調整による経血管的腫瘍塞栓形成の装置及び方法
JP2018168137A Pending JP2018187506A (ja) 2013-05-08 2018-09-07 一体型流量調整による経血管的腫瘍塞栓形成の装置及び方法
JP2021142562A Pending JP2021183243A (ja) 2013-05-08 2021-09-01 一体型流量調整による経血管的腫瘍塞栓形成の装置及び方法

Family Applications After (2)

Application Number Title Priority Date Filing Date
JP2018168137A Pending JP2018187506A (ja) 2013-05-08 2018-09-07 一体型流量調整による経血管的腫瘍塞栓形成の装置及び方法
JP2021142562A Pending JP2021183243A (ja) 2013-05-08 2021-09-01 一体型流量調整による経血管的腫瘍塞栓形成の装置及び方法

Country Status (6)

Country Link
US (4) US9205226B2 (ja)
EP (1) EP2994188A4 (ja)
JP (3) JP6401781B2 (ja)
CN (1) CN105530986A (ja)
HK (1) HK1219909A1 (ja)
WO (1) WO2014182959A2 (ja)

Families Citing this family (83)

* Cited by examiner, † Cited by third party
Publication number Priority date Publication date Assignee Title
US8790387B2 (en) 2008-10-10 2014-07-29 Edwards Lifesciences Corporation Expandable sheath for introducing an endovascular delivery device into a body
US9539081B2 (en) 2009-12-02 2017-01-10 Surefire Medical, Inc. Method of operating a microvalve protection device
US10512761B2 (en) 2009-12-02 2019-12-24 Renovorx, Inc. Methods for delivery of therapeutic materials to treat pancreatic cancer
US10779855B2 (en) 2011-08-05 2020-09-22 Route 92 Medical, Inc. Methods and systems for treatment of acute ischemic stroke
EP4529864A3 (en) 2011-08-05 2025-06-04 Route 92 Medical, Inc. System for treatment of acute ischemic stroke
JP6401781B2 (ja) 2013-05-08 2018-10-10 エンボルクス, インク.Embolx, Inc. 一体型流量調整による経血管的腫瘍塞栓形成の装置及び方法
US9844383B2 (en) 2013-05-08 2017-12-19 Embolx, Inc. Devices and methods for low pressure tumor embolization
US9265512B2 (en) 2013-12-23 2016-02-23 Silk Road Medical, Inc. Transcarotid neurovascular catheter
US9968740B2 (en) 2014-03-25 2018-05-15 Surefire Medical, Inc. Closed tip dynamic microvalve protection device
EP3242705B1 (en) * 2015-01-08 2019-06-19 Boston Scientific Scimed, Inc. Medical device with a removable liner
WO2016126974A1 (en) 2015-02-04 2016-08-11 Route 92 Medical, Inc. Rapid aspiration thrombectomy system and method
US11065019B1 (en) 2015-02-04 2021-07-20 Route 92 Medical, Inc. Aspiration catheter systems and methods of use
US9692557B2 (en) * 2015-02-04 2017-06-27 Stryker European Holdings I, Llc Apparatus and methods for administering treatment within a bodily duct of a patient
JP6817948B2 (ja) * 2015-02-04 2021-01-20 ストライカー ヨーロピアン ホールディングス I,エルエルシーStryker European Holdings I,Llc 患者の身体管腔内で治療を施すための装置および方法
BR112017018851B1 (pt) * 2015-03-02 2022-11-29 Accurate Medical Therapeutics Ltd Cateteres com aberturas laterais para modificar e distribuir suspensões a um sujeito
WO2016149653A2 (en) 2015-03-19 2016-09-22 Prytime Medical Devices, Inc. System and method for low-profile occlusion balloon catheter
US20160287839A1 (en) 2015-03-31 2016-10-06 Surefire Medical, Inc. Apparatus and Method for Infusing an Immunotherapy Agent to a Solid Tumor for Treatment
US10792471B2 (en) 2015-04-10 2020-10-06 Edwards Lifesciences Corporation Expandable sheath
US10327896B2 (en) 2015-04-10 2019-06-25 Edwards Lifesciences Corporation Expandable sheath with elastomeric cross sectional portions
US12194256B2 (en) 2015-04-10 2025-01-14 Edwards Lifesciences Corporation Expandable sheath
WO2017019563A1 (en) 2015-07-24 2017-02-02 Route 92 Medical, Inc. Anchoring delivery system and methods
US11147699B2 (en) 2015-07-24 2021-10-19 Route 92 Medical, Inc. Methods of intracerebral implant delivery
US10716915B2 (en) 2015-11-23 2020-07-21 Mivi Neuroscience, Inc. Catheter systems for applying effective suction in remote vessels and thrombectomy procedures facilitated by catheter systems
EP3399923B1 (en) 2016-01-04 2024-08-14 Corflow Therapeutics AG System for treating microvascular obstruction
US11786140B2 (en) 2019-08-21 2023-10-17 Corflow Therapeutics Ag Controlled-flow infusion catheter and method
US11412936B2 (en) 2017-09-19 2022-08-16 Corflow Therapeutics Ag Intracoronary characterization of microvascular obstruction (MVO) and myocardial infarction
US11464948B2 (en) 2016-02-16 2022-10-11 Embolx, Inc. Balloon catheters and methods of manufacture and use
US10350382B1 (en) 2018-06-08 2019-07-16 Embolx, Inc. High torque catheter and methods of manufacture
US9550046B1 (en) * 2016-02-16 2017-01-24 Embolx, Inc. Balloon catheter and methods of fabrication and use
US12268824B2 (en) 2018-07-27 2025-04-08 Embolx, Inc. Shaped catheter tip for tracking over a guidewire through turns in the vasculature
US11565090B2 (en) 2016-03-04 2023-01-31 C.R. Bard, Inc. Perfusion balloon with internal valve
KR20190007017A (ko) * 2016-05-13 2019-01-21 테크리슨 리미티드 간 조직의 치료 방법
JP6408176B2 (ja) 2016-06-02 2018-10-17 プリタイム・メディカル・デバイシーズ・インコーポレイテッドPrytime Medical Devices,Inc. 低プロファイル閉塞バルーンカテーテル用のシステムおよび方法
US11400263B1 (en) 2016-09-19 2022-08-02 Trisalus Life Sciences, Inc. System and method for selective pressure-controlled therapeutic delivery
US10780250B1 (en) 2016-09-19 2020-09-22 Surefire Medical, Inc. System and method for selective pressure-controlled therapeutic delivery
EP3568186B1 (en) 2017-01-10 2022-09-14 Route 92 Medical, Inc. Aspiration catheter systems
JP6928111B2 (ja) 2017-01-12 2021-09-01 ザ リージェンツ オブ ザ ユニバーシティ オブ カリフォルニアThe Regents Of The University Of California 救命救急のための血管内灌流増加
WO2018136745A1 (en) 2017-01-20 2018-07-26 Route 92 Medical, Inc. Single operator intracranial medical device delivery systems and methods of use
US10588636B2 (en) 2017-03-20 2020-03-17 Surefire Medical, Inc. Dynamic reconfigurable microvalve protection device
DE102017106798B4 (de) 2017-03-29 2022-09-15 Michael Friebe Katheter für endovaskuläre Brachytherapie
EP3612086A4 (en) 2017-04-21 2021-01-20 The Regents of the University of California, A California Corporation AORTIC FLOW METER AND PUMP FOR PARTIAL AORTIC OCCLUSION
US10695543B2 (en) * 2017-05-18 2020-06-30 Renovorx, Inc. Methods for treating cancerous tumors
US11052224B2 (en) 2017-05-18 2021-07-06 Renovorx, Inc. Methods for treating cancerous tumors
US12290564B2 (en) 2017-05-18 2025-05-06 Renovorx, Inc. Methods and apparatuses for treating tumors
CN115624683A (zh) * 2017-05-23 2023-01-20 波士顿科学医学有限公司 用于血管内导管系统的低温球囊
US11045128B2 (en) * 2017-06-03 2021-06-29 Sentinel Medical Technologies, LLC Catheter for monitoring intra-abdominal pressure
JP2021501028A (ja) * 2017-10-30 2021-01-14 メタボスコピー メディカル,インコーポレイテッド 糖尿病の治療方法とデバイス
CN107569268B (zh) * 2017-11-01 2020-03-31 中国人民解放军北部战区总医院 一种血管内止血用阻断导管
US10974031B2 (en) * 2017-12-28 2021-04-13 Biosense Webster (Israel) Ltd. Balloon catheter with internal distal end
CN110123489A (zh) * 2018-02-02 2019-08-16 上海微创心通医疗科技有限公司 扩张球囊以及球囊扩张导管
WO2019173758A1 (en) 2018-03-09 2019-09-12 Corflow Therapeutics Ag System for diagnosing and treating microvascular obstructions
EP3793660B1 (en) 2018-05-17 2024-11-13 Route 92 Medical, Inc. Aspiration catheter systems
US12100516B2 (en) 2018-05-31 2024-09-24 Corflow Therapeutics Ag Microfluidic coronary circulatory model
US11850398B2 (en) 2018-08-01 2023-12-26 Trisalus Life Sciences, Inc. Systems and methods for pressure-facilitated therapeutic agent delivery
EP3833273A4 (en) 2018-08-06 2022-06-29 Prytime Medical Devices, Inc. System and method for low profile occlusion balloon catheter
US11419610B2 (en) 2018-08-17 2022-08-23 Empress Medical, Inc. Device and method for passing tension member around tissue mass
US12239322B2 (en) 2018-08-17 2025-03-04 Empress Medical, Inc. Device and method for passing tension member around tissue mass
CA3106037A1 (en) 2018-08-17 2020-02-20 Empress Medical, Inc. Devices and methods for compressing tumors
US12350455B2 (en) * 2018-08-29 2025-07-08 Jonathan SOVEROW Angioplasty balloon snare
ES2964535T3 (es) 2018-09-21 2024-04-08 Corflow Therapeutics Ag Aparato para la evaluación de la disfunción microvascular
US11338117B2 (en) 2018-10-08 2022-05-24 Trisalus Life Sciences, Inc. Implantable dual pathway therapeutic agent delivery port
WO2020092593A1 (en) * 2018-11-01 2020-05-07 Theranova, Llc Devices and methods for treating the prostate
US11400255B1 (en) 2018-11-15 2022-08-02 Route 92 Medical, Inc. Aspiration catheter systems and methods of use
US11672457B2 (en) 2018-11-24 2023-06-13 Sentinel Medical Technologies, Llc. Catheter for monitoring pressure
US11779263B2 (en) 2019-02-08 2023-10-10 Sentinel Medical Technologies, Llc. Catheter for monitoring intra-abdominal pressure for assessing preeclampsia
JP2022536885A (ja) * 2019-04-08 2022-08-22 パテル、ウダヤン バイパス通路を備えたカテーテル上の膨張可能バルーン
US12433597B2 (en) * 2019-06-04 2025-10-07 Trisalus Life Sciences, Inc. Atraumatic occlusive system with compartment for measurement of vascular pressure change
WO2021026020A1 (en) 2019-08-08 2021-02-11 Sentinel Medical Technologies, LLC Cable for use with pressure monitoring catheters
CN114555167A (zh) * 2019-08-20 2022-05-27 埃姆博尔克斯公司 导管及其制造和使用方法
CN114269416B (zh) 2019-08-26 2024-11-12 波士顿科学国际有限公司 用于导管配件的装置、系统和方法
US11918298B2 (en) 2019-09-12 2024-03-05 Biosense Webster (Israel) Ltd. Very narrow probe with coil
US11617543B2 (en) 2019-12-30 2023-04-04 Sentinel Medical Technologies, Llc. Catheter for monitoring pressure
CA3168301A1 (en) * 2020-02-18 2021-08-26 Brijeshwar S. MAINI Deflectable anchor balloon catheter for vascular procedures
JP2023519191A (ja) 2020-03-16 2023-05-10 サータス クリティカル ケア, インコーポレイテッド 血流制御デバイス、システム、及び方法、並びにそれらのエラー検出
CN111700659A (zh) * 2020-05-06 2020-09-25 中国人民解放军陆军军医大学第一附属医院 腔内血管导流装置
EP4225167A4 (en) 2020-10-09 2024-10-09 Route 92 Medical, Inc. ASPIRATION CATHETER SYSTEMS AND METHODS OF USE
US12102330B2 (en) 2021-03-18 2024-10-01 Prytime Medical Devices, Inc. Vascular occlusion catheter for partial occlusion or full occlusion
CN113143423B (zh) * 2021-05-10 2023-05-26 上海德馨医院有限公司 珠串导引件、置入器及保宫手术导引器
EP4363019A4 (en) 2021-07-02 2025-07-16 Embolx Inc CATHETERS SUITABLE FOR THE ADMINISTRATION OF AN AGENT
CN114880961B (zh) * 2021-10-12 2024-03-12 青岛埃米博创医疗科技有限公司 基于流体动力学的血管分割和命名方法
CN114288528B (zh) * 2021-12-31 2024-07-19 科睿驰(深圳)医疗科技发展有限公司 一种球囊微导管及其制备方法
US20230263998A1 (en) * 2022-02-18 2023-08-24 The Cleveland Clinic Foundation Protective cover
WO2025029257A1 (en) * 2023-08-03 2025-02-06 Bard Peripheral Vascular, Inc. Radioembolization pressure systems and methods for the detection of back-pressure within the radioembolization pressure systems

Family Cites Families (207)

* Cited by examiner, † Cited by third party
Publication number Priority date Publication date Assignee Title
US4198981A (en) * 1978-03-27 1980-04-22 Manfred Sinnreich Intrauterine surgical device
US4545390A (en) 1982-09-22 1985-10-08 C. R. Bard, Inc. Steerable guide wire for balloon dilatation procedure
US4581017B1 (en) * 1983-03-07 1994-05-17 Bard Inc C R Catheter systems
US5599296A (en) 1991-02-14 1997-02-04 Wayne State University Apparatus and method of delivery of gas-supersaturated liquids
JPH025799Y2 (ja) 1986-02-07 1990-02-13
US5040548A (en) 1989-06-01 1991-08-20 Yock Paul G Angioplasty mehtod
US4748982A (en) 1987-01-06 1988-06-07 Advanced Cardiovascular Systems, Inc. Reinforced balloon dilatation catheter with slitted exchange sleeve and method
US4892519A (en) 1987-12-03 1990-01-09 Advanced Cardiovascular Systems, Inc. Steerable perfusion dilatation catheter
FR2626476B1 (fr) * 1988-02-01 1997-10-17 Boussignac Georges Sonde destinee a etre introduite a l'interieur d'un corps vivant
US4944745A (en) 1988-02-29 1990-07-31 Scimed Life Systems, Inc. Perfusion balloon catheter
US5156594A (en) 1990-08-28 1992-10-20 Scimed Life Systems, Inc. Balloon catheter with distal guide wire lumen
US4884573A (en) 1988-03-07 1989-12-05 Leocor, Inc. Very low profile angioplasty balloon catheter with capacity to use steerable, removable guidewire
US4909252A (en) * 1988-05-26 1990-03-20 The Regents Of The Univ. Of California Perfusion balloon catheter
US4896669A (en) * 1988-08-31 1990-01-30 Meadox Medicals, Inc. Dilatation catheter
EP0366478B1 (en) 1988-10-28 1994-01-26 Kanji Inoue Balloon catheter
US5090958A (en) * 1988-11-23 1992-02-25 Harvinder Sahota Balloon catheters
US5100381A (en) 1989-11-13 1992-03-31 Scimed Life Systems, Inc. Angioplasty catheter
US5047045A (en) 1989-04-13 1991-09-10 Scimed Life Systems, Inc. Multi-section coaxial angioplasty catheter
US5045072A (en) 1989-06-13 1991-09-03 Cordis Corporation Catheter having highly radiopaque, flexible tip
US4976690A (en) 1989-08-10 1990-12-11 Scimed Life Systems, Inc. Variable stiffness angioplasty catheter
US5484409A (en) 1989-08-25 1996-01-16 Scimed Life Systems, Inc. Intravascular catheter and method for use thereof
US4990143A (en) 1990-04-09 1991-02-05 Sheridan Catheter Corporation Reinforced medico-surgical tubes
US5137513A (en) 1990-07-02 1992-08-11 Advanced Cardiovoascular Systems, Inc. Perfusion dilatation catheter
US5078685A (en) * 1990-07-27 1992-01-07 Cordis Corporation Catheter with exterior tunnel member
US5423754A (en) 1990-09-20 1995-06-13 Scimed Life Systems, Inc. Intravascular catheter
US5234416A (en) 1991-06-06 1993-08-10 Advanced Cardiovascular Systems, Inc. Intravascular catheter with a nontraumatic distal tip
US5769830A (en) 1991-06-28 1998-06-23 Cook Incorporated Soft tip guiding catheter
DE69228478T2 (de) 1991-07-24 1999-09-02 Advanced Cardiovascular Systems Dilatationskatheter mit niedrigem profil zur durchführung von perfusionen
US5217434A (en) 1991-10-15 1993-06-08 Scimed Life Systems, Inc. Innerless dilatation catheter with balloon stretch valve
JPH0722599B2 (ja) * 1991-12-21 1995-03-15 テルモ株式会社 バルーンカテーテルの製造方法
US5334154A (en) * 1992-08-04 1994-08-02 Advanced Cardiovascular Systems, Inc. Perfusion type dilatation catheter having perfusion ports with depressed proximal edges
US5588442A (en) 1992-08-12 1996-12-31 Scimed Life Systems, Inc. Shaft movement control apparatus and method
US5356388A (en) 1992-09-22 1994-10-18 Target Therapeutics, Inc. Perfusion catheter system
US5342386A (en) 1992-10-26 1994-08-30 Cordis Corporation Catheter with multiple flexibilities along the shaft
US5690666A (en) 1992-11-18 1997-11-25 Target Therapeutics, Inc. Ultrasoft embolism coils and process for using them
JP3345147B2 (ja) * 1993-01-26 2002-11-18 テルモ株式会社 血管拡張器具およびカテーテル
US5749837A (en) 1993-05-11 1998-05-12 Target Therapeutics, Inc. Enhanced lubricity guidewire
US5531715A (en) 1993-05-12 1996-07-02 Target Therapeutics, Inc. Lubricious catheters
NL9301642A (nl) 1993-09-22 1995-04-18 Cordis Europ Microcatheter.
EP0650740B1 (en) 1993-10-27 1999-09-22 Schneider (Europe) GmbH Interventional catheter
US5961765A (en) 1994-09-20 1999-10-05 Schneider (Europe) A. G. Method of making a catheter
US5423829A (en) 1993-11-03 1995-06-13 Target Therapeutics, Inc. Electrolytically severable joint for endovascular embolic devices
US5624449A (en) 1993-11-03 1997-04-29 Target Therapeutics Electrolytically severable joint for endovascular embolic devices
NL9400089A (nl) * 1994-01-19 1995-09-01 Cordis Europ Catheter met ballon.
US5792300A (en) * 1994-01-21 1998-08-11 Cordis Corporation Perfusion catheter and striped extrusion method of manufacture
US5429605A (en) 1994-01-26 1995-07-04 Target Therapeutics, Inc. Microballoon catheter
US5830182A (en) 1994-03-02 1998-11-03 Scimed Life Systems, Inc. Block copolymer elastomer catheter balloons
US5556383A (en) 1994-03-02 1996-09-17 Scimed Lifesystems, Inc. Block copolymer elastomer catheter balloons
ATE295127T1 (de) 1994-03-03 2005-05-15 Boston Scient Ltd Vorrichtung zum aufspüren der teilung bei einer vassookklusionsvorrichtung
US5501667A (en) * 1994-03-15 1996-03-26 Cordis Corporation Perfusion balloon and method of use and manufacture
US5509910A (en) 1994-05-02 1996-04-23 Medtronic, Inc. Method of soft tip attachment for thin walled catheters
US5454795A (en) 1994-06-27 1995-10-03 Target Therapeutics, Inc. Kink-free spiral-wound catheter
US5470314A (en) * 1994-07-22 1995-11-28 Walinsky; Paul Perfusion balloon catheter with differential compliance
US5498251A (en) 1994-11-29 1996-03-12 Dalton; Michael J. Tissue perfusion catheter
US5599326A (en) 1994-12-20 1997-02-04 Target Therapeutics, Inc. Catheter with multi-layer section
IL116561A0 (en) 1994-12-30 1996-03-31 Target Therapeutics Inc Severable joint for detachable devices placed within the body
WO1996025970A1 (en) 1995-02-24 1996-08-29 C.R. Bard, Inc. Reinforced monorail balloon catheter
US6143007A (en) 1995-04-28 2000-11-07 Target Therapeutics, Inc. Method for making an occlusive device
US5658263A (en) 1995-05-18 1997-08-19 Cordis Corporation Multisegmented guiding catheter for use in medical catheter systems
WO1996040342A1 (en) 1995-06-07 1996-12-19 Cardima, Inc. Guiding catheter for coronary sinus
FR2735198B1 (fr) 1995-06-12 1997-08-01 Wichard Piece d'accastillage de type manille-cosse
US5674198A (en) 1995-06-23 1997-10-07 Cordis Corporation Tandem balloon catheter
EP0754435B1 (en) 1995-06-30 2000-11-08 Target Therapeutics, Inc. Stretch-resistant vaso-occlusive coils
US5853418A (en) 1995-06-30 1998-12-29 Target Therapeutics, Inc. Stretch resistant vaso-occlusive coils (II)
US6013084A (en) 1995-06-30 2000-01-11 Target Therapeutics, Inc. Stretch resistant vaso-occlusive coils (II)
US5582619A (en) 1995-06-30 1996-12-10 Target Therapeutics, Inc. Stretch resistant vaso-occlusive coils
US6019757A (en) 1995-07-07 2000-02-01 Target Therapeutics, Inc. Endoluminal electro-occlusion detection apparatus and method
US20060271091A1 (en) * 1995-09-18 2006-11-30 Campbell Carey V Balloon catheter device
US5722424A (en) 1995-09-29 1998-03-03 Target Therapeutics, Inc. Multi-coating stainless steel guidewire
US5766192A (en) 1995-10-20 1998-06-16 Zacca; Nadim M. Atherectomy, angioplasty and stent method and apparatus
US5843050A (en) 1995-11-13 1998-12-01 Micro Therapeutics, Inc. Microcatheter
US5882334A (en) 1995-12-04 1999-03-16 Target Therapeutics, Inc. Balloon/delivery catheter assembly with adjustable balloon positioning
US6428489B1 (en) 1995-12-07 2002-08-06 Precision Vascular Systems, Inc. Guidewire system
US5951929A (en) 1995-12-12 1999-09-14 Medi-Dyne Inc. Method for forming a catheter having overlapping welds
US6270495B1 (en) 1996-02-22 2001-08-07 Radiotherapeutics Corporation Method and device for enhancing vessel occlusion
US5649949A (en) 1996-03-14 1997-07-22 Target Therapeutics, Inc. Variable cross-section conical vasoocclusive coils
ATE327797T1 (de) 1996-04-26 2006-06-15 Schneider Europ Gmbh Eingriffkatheter
US6440088B1 (en) 1996-05-24 2002-08-27 Precision Vascular Systems, Inc. Hybrid catheter guide wire apparatus and method
US6090099A (en) 1996-05-24 2000-07-18 Target Therapeutics, Inc. Multi-layer distal catheter section
US5820592A (en) 1996-07-16 1998-10-13 Hammerslag; Gary R. Angiographic and/or guide catheter
US5980514A (en) 1996-07-26 1999-11-09 Target Therapeutics, Inc. Aneurysm closure device assembly
US6014919A (en) 1996-09-16 2000-01-18 Precision Vascular Systems, Inc. Method and apparatus for forming cuts in catheters, guidewires, and the like
US6553880B2 (en) 1996-09-16 2003-04-29 Sarcos, Lc Micromachining system
US5690667A (en) 1996-09-26 1997-11-25 Target Therapeutics Vasoocclusion coil having a polymer tip
US6656550B1 (en) 1996-10-08 2003-12-02 Alan M. Zamore Dilatation device of uniform outer diameter
US5807355A (en) 1996-12-09 1998-09-15 Advanced Cardiovascular Systems, Inc. Catheter with rapid exchange and OTW operative modes
US6071286A (en) 1997-02-19 2000-06-06 Mawad; Michel E. Combination angioplasty balloon/stent deployment device
US5800454A (en) 1997-03-17 1998-09-01 Sarcos, Inc. Catheter deliverable coiled wire thromboginic apparatus and method
US5911717A (en) 1997-03-17 1999-06-15 Precision Vascular Systems, Inc. Catheter deliverable thrombogenic apparatus and method
US5951539A (en) 1997-06-10 1999-09-14 Target Therpeutics, Inc. Optimized high performance multiple coil spiral-wound vascular catheter
US6258080B1 (en) 1997-07-01 2001-07-10 Target Therapeutics, Inc. Kink-free spiral-wound catheter
AU8507698A (en) 1997-07-29 1999-02-22 Ep Technologies Inc Improved catheter distal end assemblies
WO1999008607A1 (en) 1997-08-05 1999-02-25 Boston Scientific Limited Detachable aneurysm neck bridge
GB2328181B (en) 1997-08-16 1999-11-03 Willett Int Ltd Pivotable beam mechanism for ink ribbon feeding
US5984929A (en) 1997-08-29 1999-11-16 Target Therapeutics, Inc. Fast detaching electronically isolated implant
US6860893B2 (en) 1997-08-29 2005-03-01 Boston Scientific Scimed, Inc. Stable coil designs
US6156061A (en) 1997-08-29 2000-12-05 Target Therapeutics, Inc. Fast-detaching electrically insulated implant
US20010041862A1 (en) 1997-09-02 2001-11-15 Morton G. Glickman Novel apparatus and method of treating a tumor in the extremity of a patient
US5891114A (en) 1997-09-30 1999-04-06 Target Therapeutics, Inc. Soft-tip high performance braided catheter
US6036682A (en) 1997-12-02 2000-03-14 Scimed Life Systems, Inc. Catheter having a plurality of integral radiopaque bands
US6203547B1 (en) 1997-12-19 2001-03-20 Target Therapeutics, Inc. Vaso-occlusion apparatus having a manipulable mechanical detachment joint and a method for using the apparatus
US6036670A (en) 1997-12-23 2000-03-14 Cordis Corporation Coiled transition balloon catheter, assembly and procedure
US7070607B2 (en) 1998-01-27 2006-07-04 The Regents Of The University Of California Bioabsorbable polymeric implants and a method of using the same to create occlusions
AU2565099A (en) 1998-01-27 1999-09-20 Regents Of The University Of California, The Biodegradable polymer/protein based coils for intralumenal implants
US6346091B1 (en) 1998-02-13 2002-02-12 Stephen C. Jacobsen Detachable coil for aneurysm therapy
US20050131453A1 (en) 1998-03-13 2005-06-16 Parodi Juan C. Apparatus and methods for reducing embolization during treatment of carotid artery disease
US6287306B1 (en) 1998-06-22 2001-09-11 Daig Corporation Even temperature linear lesion ablation catheter
US7004962B2 (en) 1998-07-27 2006-02-28 Schneider (Usa), Inc. Neuroaneurysm occlusion and delivery device and method of using same
JP2003500121A (ja) * 1998-09-10 2003-01-07 パーカーディア,インコーポレイティド 心室壁の人工導管用導通カテーテル
US6066157A (en) 1998-09-16 2000-05-23 Medtronics Ave, Inc. Anchor joint for coaxial balloon dilatation catheter
WO2000029059A1 (en) 1998-11-19 2000-05-25 Cook Urological Inc. Double-layered non-porous balloon catheter
US6190393B1 (en) 1999-03-29 2001-02-20 Cordis Corporation Direct stent delivery catheter system
US7412285B2 (en) 1999-04-09 2008-08-12 Oncostim, Inc. Method and device for treating cancer with electrical therapy in conjunction with chemotherapeutic agents and radiation therapy
ATE435626T1 (de) 1999-04-15 2009-07-15 Smart Therapeutics Inc Intravaskularer stent zur behandlung von lesionen neurovascularer blutgefässe
US6280457B1 (en) 1999-06-04 2001-08-28 Scimed Life Systems, Inc. Polymer covered vaso-occlusive devices and methods of producing such devices
DE60045555D1 (de) * 1999-06-14 2011-03-03 Gore Enterprise Holdings Inc Apparat zur verringerung des embolierisikos während der behandlung von erkrankungen der kopfschlagader
US6508804B2 (en) 1999-07-28 2003-01-21 Scimed Life Systems, Inc. Catheter having continuous lattice and coil reinforcement
US6066667A (en) 1999-08-17 2000-05-23 Ashbrook; Charles D. Substituted furanones, compositions and antiarthritic use
US6702802B1 (en) 1999-11-10 2004-03-09 Endovascular Technologies, Inc. Catheters with improved transition
US6579246B2 (en) 1999-12-22 2003-06-17 Sarcos, Lc Coronary guidewire system
US6575959B1 (en) 1999-12-27 2003-06-10 Scimed Life Systems, Inc. Catheter incorporating an insert molded hub and method of manufacturing
US6723113B1 (en) 2000-01-19 2004-04-20 Cordis Neurovascular, Inc. Inflatable balloon catheter seal and method
JP4841788B2 (ja) 2000-02-04 2011-12-21 コンメド エンドスコピック テクノロジーズ インコーポレイテッド 3管腔結石バルーン・カテーテルおよびその方法
US6397850B1 (en) 2000-02-09 2002-06-04 Scimed Life Systems Inc Dual-mode apparatus and method for detection of embolic device detachment
US7742811B2 (en) 2000-03-13 2010-06-22 Onco Stim Implantable device and method for the electrical treatment of cancer
US6569180B1 (en) 2000-06-02 2003-05-27 Avantec Vascular Corporation Catheter having exchangeable balloon
US7153323B1 (en) 2000-06-30 2006-12-26 Boston Scientific Scimed, Inc. Aneurysm liner with multi-segment extender
US7037330B1 (en) 2000-10-16 2006-05-02 Scimed Life Systems, Inc. Neurovascular stent and method
US6635069B1 (en) 2000-10-18 2003-10-21 Scimed Life Systems, Inc. Non-overlapping spherical three-dimensional coil
US6623504B2 (en) * 2000-12-08 2003-09-23 Scimed Life Systems, Inc. Balloon catheter with radiopaque distal tip
US7294137B2 (en) 2001-03-27 2007-11-13 Boston Scientific Scimed Device for multi-modal treatment of vascular lesions
US7604612B2 (en) 2001-05-01 2009-10-20 St. Jude Medical, Cardiology Division, Inc. Emboli protection devices and related methods of use
US6921410B2 (en) 2001-05-29 2005-07-26 Scimed Life Systems, Inc. Injection molded vaso-occlusive elements
US6638245B2 (en) 2001-06-26 2003-10-28 Concentric Medical, Inc. Balloon catheter
US6702782B2 (en) 2001-06-26 2004-03-09 Concentric Medical, Inc. Large lumen balloon catheter
EP2292292B1 (en) 2001-09-04 2018-04-11 Covidien LP Occlusion catheter having compliant balloon for use with complex vasculature
US6878151B2 (en) 2001-09-27 2005-04-12 Scimed Life Systems, Inc. Medical retrieval device
US6652508B2 (en) 2001-11-09 2003-11-25 Scimed Life Systems, Inc. Intravascular microcatheter having hypotube proximal shaft with transition
US20040073158A1 (en) 2001-12-12 2004-04-15 Medtronic, Inc. Guide catheter
US6746465B2 (en) 2001-12-14 2004-06-08 The Regents Of The University Of California Catheter based balloon for therapy modification and positioning of tissue
US7717899B2 (en) 2002-01-28 2010-05-18 Cardiac Pacemakers, Inc. Inner and outer telescoping catheter delivery system
US8062251B2 (en) 2002-02-01 2011-11-22 Vascular Designs, Inc. Multi-function catheter and use thereof
WO2003065872A2 (en) 2002-02-01 2003-08-14 Goldman Robert J Multi-function catheter and use thereof
US20050267407A1 (en) 2002-02-01 2005-12-01 Vascular Designs, Inc. Multi-function catheter and use thereof
US7332689B2 (en) 2002-02-26 2008-02-19 Boston Scientific Scimed, Inc. Tacking method and apparatus
US20030199914A1 (en) 2002-04-23 2003-10-23 Juan-Carlos Diaz Coaxial balloon catheter
US7060083B2 (en) 2002-05-20 2006-06-13 Boston Scientific Scimed, Inc. Foldable vaso-occlusive member
US7144407B1 (en) 2002-05-30 2006-12-05 Alsius Corporation Cardiovascular intra aortic balloon pump catheter with heat exchange function and methods of use
US7485122B2 (en) 2002-06-27 2009-02-03 Boston Scientific Scimed, Inc. Integrated anchor coil in stretch-resistant vaso-occlusive coils
WO2004107965A2 (en) * 2002-09-20 2004-12-16 Flowmedica, Inc. Systems and methods for performing bi-lateral interventions or diagnosis in branched body lumens
US6835189B2 (en) 2002-10-15 2004-12-28 Scimed Life Systems, Inc. Controlled deployment balloon
AU2003297241A1 (en) * 2002-12-18 2004-07-22 Scimed Life Systems, Inc. Catheter based sensing for intraluminal procedures
WO2004075776A2 (en) * 2003-02-24 2004-09-10 Plc Systems Inc. Method and system for prevention of radiocontrast nephropathy
US7780626B2 (en) 2003-08-08 2010-08-24 Boston Scientific Scimed, Inc. Catheter shaft for regulation of inflation and deflation
US7316692B2 (en) 2003-08-12 2008-01-08 Boston Scientific Scimed, Inc. Laser-cut clot puller
US20070149927A1 (en) 2003-12-15 2007-06-28 Terumo Kabushiki Kaisha Catheter assembly
US7468070B2 (en) 2004-01-23 2008-12-23 Boston Scientific Scimed, Inc. Stent delivery catheter
US7621904B2 (en) 2004-10-21 2009-11-24 Boston Scientific Scimed, Inc. Catheter with a pre-shaped distal tip
US8038691B2 (en) 2004-11-12 2011-10-18 Boston Scientific Scimed, Inc. Cutting balloon catheter having flexible atherotomes
US8550985B2 (en) * 2004-12-14 2013-10-08 Boston Scientific Scimed, Inc. Applications of LIPSS in polymer medical devices
US7654979B2 (en) 2004-12-21 2010-02-02 Advanced Cardiovascular System, Inc. Balloon catheter having improved balloon seal
US7678075B2 (en) 2004-12-30 2010-03-16 Advanced Cardiovascular Systems, Inc. Infusion catheter and use thereof
US20060276886A1 (en) 2005-06-07 2006-12-07 Cardiomind, Inc. Ten-thousandths scale metal reinforced stent delivery guide sheath or restraint
AU2006264397A1 (en) * 2005-07-05 2007-01-11 Angioslide Ltd. Balloon catheter
DE102005034529A1 (de) * 2005-07-23 2007-01-25 Qualimed Innovative Medizinprodukte Gmbh Ballondilatationskatheter
US20070088380A1 (en) 2005-10-14 2007-04-19 Endocross Ltd. Balloon catheter system for treating vascular occlusions
WO2007061530A1 (en) 2005-10-14 2007-05-31 Cytori Therapeutics, Inc. Cell delivery catheters with distal tip high fidelity sensors
US20070137651A1 (en) 2005-12-16 2007-06-21 Ezc Medical Llc Visualization esophageal-tracheal airway apparatus and methods
US7942847B2 (en) 2005-12-16 2011-05-17 Interface Associates, Inc. Multi-layer balloons for medical applications and methods for manufacturing the same
US8092508B2 (en) 2006-03-30 2012-01-10 Stryker Corporation Implantable medical endoprosthesis delivery system
CN102178553B (zh) 2006-04-17 2014-08-13 泰科保健集团有限合伙公司 用于以机械方式定位血管内植入物的系统和方法
JP2007319468A (ja) * 2006-06-01 2007-12-13 Masahiro Into 動脈瘤塞栓術用カテーテル
US20080045908A1 (en) 2006-08-16 2008-02-21 Boston Scientific Scimed, Inc. Medical device including a metallic tube fillet welded to a core member
WO2008042347A2 (en) 2006-10-02 2008-04-10 President And Fellows Of Harvard College Smart balloon catheter
US7549975B2 (en) 2007-04-20 2009-06-23 Abbott Cardiovascular Systems, Inc. Catheter having a readily bondable multilayer soft tip
US20090131831A1 (en) 2007-11-15 2009-05-21 Wright-Ahn Technologies, Llc Variable Stiffness Guidewire Systems
US8157751B2 (en) 2007-12-13 2012-04-17 Boston Scientific Scimed, Inc. Coil member for a medical device
US8206373B2 (en) 2008-07-01 2012-06-26 Boston Scientific Scimed, Inc. Medical device including braid with coated portion
WO2010045079A1 (en) 2008-10-13 2010-04-22 Boston Scientific Scimed, Inc. Vaso-occlusive coil delivery system
US8241248B2 (en) * 2009-02-27 2012-08-14 Cvdevices, Llc Devices and systems for selective auto-retroperfusion of the cerebral venous system
US20100249491A1 (en) 2009-03-27 2010-09-30 Circulite, Inc. Two-piece transseptal cannula, delivery system, and method of delivery
US8647311B2 (en) * 2009-09-21 2014-02-11 Translational Biologic Infusion Catheter, Llc Biologics infusion system
WO2011081001A1 (ja) 2009-12-28 2011-07-07 テルモ株式会社 バルーンカテーテル
JP2011152181A (ja) * 2010-01-26 2011-08-11 Toray Ind Inc バルーンカテーテル
US8267887B2 (en) * 2010-05-26 2012-09-18 Miracor Medical Systems Gmbh Treating heart tissue
EP3552655B1 (en) * 2010-07-13 2020-12-23 Loma Vista Medical, Inc. Inflatable medical devices
WO2012013662A1 (en) 2010-07-26 2012-02-02 Steerable Instruments Bvba Capillary tube assembly
JP2012090779A (ja) * 2010-10-27 2012-05-17 Olympus Corp 超音波照射装置
WO2012099979A1 (en) * 2011-01-18 2012-07-26 Loma Vista Medical, Inc. Inflatable medical devices
US8597240B2 (en) 2011-02-02 2013-12-03 Futurematrix Interventional, Inc. Coaxial catheter shaft having balloon attachment feature with axial fluid path
US8348890B2 (en) 2011-03-01 2013-01-08 Sanovas, Inc. Nested balloon catheter for localized drug delivery
CN102805893A (zh) * 2011-06-01 2012-12-05 上海市第六人民医院 一种不阻断血/气流的空心/中空球囊导管
US9555165B2 (en) 2011-06-30 2017-01-31 Cordis Corporation Medical tubing for catheters
US9814862B2 (en) 2011-06-30 2017-11-14 The Spectranetics Corporation Reentry catheter and method thereof
EP2822628B1 (en) 2012-03-09 2018-11-14 Clearstream Technologies Limited Balloon catheter with expandable shaft
EP2822636B1 (en) 2012-03-09 2019-07-24 Clearstream Technologies Limited Medical balloon with radiopaque end portion for precisely identifying a working surface location
US8961550B2 (en) 2012-04-17 2015-02-24 Indian Wells Medical, Inc. Steerable endoluminal punch
EP2869751A4 (en) 2012-07-04 2016-04-13 Cibiem Inc DEVICES AND SYSTEMS FOR HEADACHE BODY ABATEMENT
WO2014074132A1 (en) 2012-11-09 2014-05-15 Aga Medical Corporation Devices and methods for delivering vascular implants
WO2014089187A1 (en) 2012-12-06 2014-06-12 Volcano Corporation Reinforced catheter transition with flexible tip portion
ES2752143T3 (es) 2013-02-01 2020-04-03 Boston Scient Scimed Inc Dispositivos para diagnóstico de trompas de Falopio
EP2982406A4 (en) 2013-04-01 2016-12-07 Terumo Corp GUIDEWIRE
US9844383B2 (en) 2013-05-08 2017-12-19 Embolx, Inc. Devices and methods for low pressure tumor embolization
JP6401781B2 (ja) 2013-05-08 2018-10-10 エンボルクス, インク.Embolx, Inc. 一体型流量調整による経血管的腫瘍塞栓形成の装置及び方法
US10569062B2 (en) 2013-09-09 2020-02-25 Prytime Medical Devices, Inc. Low profile occlusion catheter
EP3131487A4 (en) 2014-04-17 2017-12-13 Adagio Medical, Inc. Endovascular near critical fluid based cryoablation catheter having plurality of preformed treatment shapes
US9550046B1 (en) 2016-02-16 2017-01-24 Embolx, Inc. Balloon catheter and methods of fabrication and use

Also Published As

Publication number Publication date
JP2021183243A (ja) 2021-12-02
EP2994188A2 (en) 2016-03-16
US20190083705A1 (en) 2019-03-21
US9205226B2 (en) 2015-12-08
HK1219909A1 (zh) 2017-04-21
EP2994188A4 (en) 2017-03-29
WO2014182959A2 (en) 2014-11-13
WO2014182959A9 (en) 2015-01-15
US11123482B2 (en) 2021-09-21
WO2014182959A3 (en) 2015-03-05
US9174020B2 (en) 2015-11-03
US10130762B2 (en) 2018-11-20
CN105530986A (zh) 2016-04-27
US20160158439A1 (en) 2016-06-09
US20140364835A1 (en) 2014-12-11
US20140371709A1 (en) 2014-12-18
JP2018187506A (ja) 2018-11-29
JP2016517778A (ja) 2016-06-20

Similar Documents

Publication Publication Date Title
JP6401781B2 (ja) 一体型流量調整による経血管的腫瘍塞栓形成の装置及び方法
US10667822B2 (en) Devices and methods for low pressure tumor embolization
US12161823B2 (en) Vascular occlusion and drug delivery devices, systems, and methods
CN105007973B (zh) 具有导丝阀调的输注导管
CN104349804B (zh) 用于监视和控制器官血液灌注的系统
US10799244B2 (en) Single access flow-reversal catheter devices and methods
EP1027094B1 (en) Apparatus for isolated pelvic perfusion
US20220111184A1 (en) Methods for delivery of therapeutic materials to treat cancer
US9126016B2 (en) Augmented delivery catheter and method
US10335577B2 (en) Augmented delivery catheter and method
JP5993745B2 (ja) 治療薬送達装置、システム及び方法
HK1207012B (en) System for monitoring and controlling organ blood perfusion

Legal Events

Date Code Title Description
A521 Request for written amendment filed

Free format text: JAPANESE INTERMEDIATE CODE: A523

Effective date: 20170315

A621 Written request for application examination

Free format text: JAPANESE INTERMEDIATE CODE: A621

Effective date: 20170315

A131 Notification of reasons for refusal

Free format text: JAPANESE INTERMEDIATE CODE: A131

Effective date: 20180130

A977 Report on retrieval

Free format text: JAPANESE INTERMEDIATE CODE: A971007

Effective date: 20180131

A601 Written request for extension of time

Free format text: JAPANESE INTERMEDIATE CODE: A601

Effective date: 20180425

A601 Written request for extension of time

Free format text: JAPANESE INTERMEDIATE CODE: A601

Effective date: 20180627

A521 Request for written amendment filed

Free format text: JAPANESE INTERMEDIATE CODE: A523

Effective date: 20180727

TRDD Decision of grant or rejection written
A01 Written decision to grant a patent or to grant a registration (utility model)

Free format text: JAPANESE INTERMEDIATE CODE: A01

Effective date: 20180814

A61 First payment of annual fees (during grant procedure)

Free format text: JAPANESE INTERMEDIATE CODE: A61

Effective date: 20180907

R150 Certificate of patent or registration of utility model

Ref document number: 6401781

Country of ref document: JP

Free format text: JAPANESE INTERMEDIATE CODE: R150

R250 Receipt of annual fees

Free format text: JAPANESE INTERMEDIATE CODE: R250

R250 Receipt of annual fees

Free format text: JAPANESE INTERMEDIATE CODE: R250

R250 Receipt of annual fees

Free format text: JAPANESE INTERMEDIATE CODE: R250

R250 Receipt of annual fees

Free format text: JAPANESE INTERMEDIATE CODE: R250

R250 Receipt of annual fees

Free format text: JAPANESE INTERMEDIATE CODE: R250