JP4480688B2 - Absorbent articles - Google Patents
Absorbent articles Download PDFInfo
- Publication number
- JP4480688B2 JP4480688B2 JP2006081220A JP2006081220A JP4480688B2 JP 4480688 B2 JP4480688 B2 JP 4480688B2 JP 2006081220 A JP2006081220 A JP 2006081220A JP 2006081220 A JP2006081220 A JP 2006081220A JP 4480688 B2 JP4480688 B2 JP 4480688B2
- Authority
- JP
- Japan
- Prior art keywords
- superabsorbent polymer
- web
- absorber
- absorbent article
- absorbent body
- Prior art date
- Legal status (The legal status is an assumption and is not a legal conclusion. Google has not performed a legal analysis and makes no representation as to the accuracy of the status listed.)
- Expired - Fee Related
Links
- JAPMJSVZDUYFKL-UHFFFAOYSA-N C1C2C1CCC2 Chemical compound C1C2C1CCC2 JAPMJSVZDUYFKL-UHFFFAOYSA-N 0.000 description 1
Images
Landscapes
- Absorbent Articles And Supports Therefor (AREA)
Description
本発明は、使い捨ておむつや生理用ナプキン等の吸収性物品に関する。 The present invention relates to absorbent articles such as disposable diapers and sanitary napkins.
伸縮性サイドパネルを有するパンツ型の使い捨ておむつが知られている(例えば特許文献1参照)。この種のパンツ型使い捨ておむつは、サイドパネルの有する伸縮性に起因して、着用者の身体に密着しやすい傾向にある。従って、着用者の身体とおむつとの間に隙間が生じにくい。このことは、漏れ防止の観点からはプラスに作用する。その反面、着用者の身体から生じた水蒸気が着装内に滞留しやすく、湿度が上昇しやすくなり、蒸れの原因になるというマイナスの作用もある。 A pants-type disposable diaper having a stretchable side panel is known (see, for example, Patent Document 1). This type of pants-type disposable diaper tends to be in close contact with the wearer's body due to the stretchability of the side panel. Therefore, a gap is hardly generated between the wearer's body and the diaper. This works positively from the viewpoint of preventing leakage. On the other hand, the water vapor generated from the wearer's body tends to stay in the dressing, and the humidity tends to rise, resulting in a negative effect of causing stuffiness.
前記のおむつにおいては、サイドパネルが伸縮性を有することに加えて通気性ないし透湿性を有していてもよいとされている。こうすることによって、着装内の湿度の上昇をある程度抑制することは可能である。しかし、蒸れが最も生じやすい部位は、サイドパネルよりもむしろ吸収体及びその近傍の部位なので、サイドパネルに通気性等を付与しただけでは、蒸れを十分に防止することはできない。また吸収体の吸収量を落とせば吸収体が薄くなることで吸収体の通気性は向上するが、その反面、漏れが生じやすくなってしまう。 In the diaper, the side panel may be breathable or moisture permeable in addition to stretchability. By doing so, it is possible to suppress the increase in humidity in the wearing to some extent. However, the most prone to stuffiness is the absorbent body and its vicinity rather than the side panel, so that stuffiness cannot be sufficiently prevented only by imparting air permeability to the side panel. Further, if the absorption amount of the absorbent body is reduced, the absorbent body becomes thinner and the air permeability of the absorbent body is improved. However, on the other hand, leakage tends to occur.
従って本発明の目的は、前述した従来技術が有する欠点を解消し得る吸収性物品を提供することにある。 Therefore, the objective of this invention is providing the absorbent article which can eliminate the fault which the prior art mentioned above has.
本発明は、親水性を有する長繊維のウエブと高吸収性ポリマーとを含む吸収体を具備し、前記高吸収性ポリマー100g/m2あたりの該吸収体の通気抵抗値を0.4kPa・s/m以下となした吸収性物品を提供することにより前記目的を達成したものである。 The present invention comprises an absorbent body comprising a hydrophilic long fiber web and a superabsorbent polymer, and the airflow resistance value of the absorbent per 100 g / m 2 of the superabsorbent polymer is 0.4 kPa · s. The above-mentioned object is achieved by providing an absorbent article having a / m or less.
本発明の吸収性物品においては、吸収体が、親水性を有する長繊維のウエブを有しているので、それに起因して吸収体は柔軟性が高くなり、且つ吸収性能を落とすことなく充分な通気性を確保できる。その結果、本発明の吸収性物品よれば、着用者の身体に対するフィット性が高くなり、また着用中における着装内の湿度上昇が抑制される。 In the absorbent article of the present invention, since the absorbent body has a long fiber web having hydrophilicity, the absorbent body has high flexibility and is sufficient without degrading the absorbent performance. Air permeability can be secured. As a result, according to the absorbent article of the present invention, the fit to the wearer's body is enhanced, and the increase in humidity in the wearing during wearing is suppressed.
以下本発明を、その好ましい実施形態に基づき図面を参照しながら説明する。図1には本発明の吸収性物品の一実施形態としての使い捨ておむつが示されている。図2は図1におけるII−II線断面図である。本実施形態のおむつ1は、液透過性の表面シート2、液不透過性ないし撥水性(以下、これらを総称して液不透過性という)の裏面シート3及び両シート間に介在配置された液保持性の吸収体4を具備し、実質的に縦長に形成されている。
The present invention will be described below based on preferred embodiments with reference to the drawings. FIG. 1 shows a disposable diaper as an embodiment of the absorbent article of the present invention. 2 is a cross-sectional view taken along line II-II in FIG. The
表面シート2としては、不織布やそれに多数の開孔を形成したもの、或いは穿孔フィルムなどを用いることができる。表面シート2は、液透過性であることに加えて通気性も有している。裏面シート3は、液不透過性であることに加えて透湿性も有している。本発明において通気性というときは、主として空気の透過性に関する性質をいう。また透湿性というときには、主として水蒸気の透過性に関する性質をいう。通気性があるということは、空気はもちろんのこと、水蒸気の透過性もあることを意味する。同様に透湿性があるということは、水蒸気はもちろんのこと、空気の透過性もあることを意味する。
As the
おむつ1は、股下部の両側縁が円弧状に湾曲しており、全体として長手方向中央部が内方に括れた砂時計状の形状となっている。表面シート2及び裏面シート3はそれぞれ、吸収体4の左右両側縁及び前後両端縁から外方に延出している。表面シート2は、その幅方向の寸法が、裏面シート3の幅方向の寸法よりも小さくなっている。その結果、表面シート2の左右両側縁2a,2bは、裏面シート3の左右両側縁3a,3bよりも、幅方向の内方で終端している。
The
裏面シート3の外面には、通気性を有する外装シート5が配されている。外装シート5と裏面シート3とは、例えばホットメルト粘着剤によって接合されている。裏面シート3が有する透湿性を損なわないようにするために、ホットメルト粘着剤は、例えばビード塗工やスパイラル塗工のような間欠パターンで塗工されている。外装シート5は、表面シート2及び裏面シート3の左右両側縁及び前後両端縁から外方に延出し、おむつ1の輪郭を画成している。外装シート5の素材としては、例えば各種不織布が用いられる。
An
おむつ1における長手方向の両側には、一対の立体ギャザー6,6及び一対のレッグギャザー7,7が、各々弾性部材を配設することによって形成されている。両ギャザー6,7は何れもおむつ1の長手方向に延びている。立体ギャザー6は、弾性部材61を有する立体ギャザー形成用のシート材62から形成されている。立体ギャザー6の働きは、吸収体4に吸収されずに横方向へ拡散してきた液がそれ以上横方向へ拡散しないようにするための障壁なので、立体ギャザー6を構成するシート材62は撥水性のものであることが好ましい。またおむつ1の着用中における着装内の湿度上昇を抑える観点から、通気性を有することが好ましい。
A pair of three-dimensional gathers 6 and 6 and a pair of leg gathers 7 and 7 are formed on both sides in the longitudinal direction of the
また、立体ギャザーは、左右一対で一組用いるだけでなく、二組以上用いてもよい。この理由は次の通りである。吸収体4及びその近傍の通気性を確保する観点から、吸収体を一層薄くし、また平均密度をできるだけ小さくすることが望ましい。しかし、そのような吸収体は、大量の尿が排泄された場合や、速い速度で尿が排泄された場合(例えば着用者が高月齢の乳幼児や大人の場合)、一時的な液のストック能力に余裕があまりない状態が起こり得る。従って漏れ防止の観点から一対の立体ギャザーを二組以上用いることが好ましい。一対の立体ギャザーを二組以上備えた吸収性物品の詳細については後述する。
Moreover, two or more sets of solid gathers may be used as well as a pair of left and right. The reason is as follows. From the viewpoint of ensuring the air permeability of the
以上の各観点から、シート材62としては、それ自体撥水性を有するか、又は撥水処理された不織布、開孔フィルム等を用いることが好ましい。開孔フィルムは、後述の水蒸気透過性を有するシートの概念を含む。特に不織布、又は不織布と開孔フィルムとの積層体を用いることが好ましい。好ましい不織布の例としては、ポリエチレン、ポリプロピレン、ポリエチレンテレフタレートなどの熱可塑性樹脂を単独で用いた繊維又はこれらの複合繊維を用いた、サーマルボンド不織布、スパンボンド不織布、スパンボンドーメルトブローンースパンボンド不織布、スパンボンドーメルトブローンーメルトブローンースパンボンド不織布等が挙げられる。
From the above viewpoints, as the
立体ギャザーを形成するシート材62は、これらの不織布と弾性体とを複合化して形成してもよいし、予め不織布に繊維状エラストマー材料を複合化したシート材料に伸縮性を付与したシートを用いてもよい。伸縮性を付与する方法としては、エラストマーと不織布を未伸長下で複合化した後に、不織布にスリット加工や、ある種の破砕処理を施す方法が挙げられる。
The
シート材62は、おむつ1の長手方向に延びる縦長形状のものであり、その一側縁に弾性部材61が伸長状態で固定されている。シート材62は、吸収体4の左右両側縁よりも幅方向の外方の位置において、おむつ1の長手方向に沿って表面シート2に接合されている。その接合部が、立体ギャザー6の立ち上がり基端部6aとなっている。
The
シート材62は、基端部6aから幅方向の外方に延出しており、その延出部において、透湿性のシートと接合していることが好ましい。例えば、図2に示したように、シート材62と裏面シート3とが直接接合されることが、立体ギャザー6の液拡散防止や、おむつ1の防漏性向上の観点から好ましい。更に詳しくは、図2に示すように、更にシート材62は、基端部6aから幅方向の外方に延出している。その延出部の途中において、シート材62は、裏面シート3と直接接合されている。更に、シート材62は、その延出部の先端部において外装シート5と接合されている。これによって、レッグフラップL(図2参照)が形成されている。レッグフラップLには、一本又は複数本(本実施形態においては複数本)のレッグ部弾性部材71が、略直線状に配設されて、レッグギャザー7が形成されている。レッグ部弾性部材71は、シート材62の延出部が、裏面シート3に接合している位置と、外装シート5に接合している位置との間の領域において、シート材62と外装シート5との間に配設されている。
It is preferable that the
先に述べた通り、シート材62は通気性を有している。同様に外装シート5も通気性を有しており、また裏面シート3は透湿性を有している。従って、レッグフラップLは通気性ないし透湿性を有している。従って、おむつ1においては、吸収体4の左右両側縁よりも幅方向の外方の部位が通気性ないし透湿性を有している。換言すれば、幅方向の最外方に位置するレッグ部弾性部材71と吸収体4の側縁との間の部位が通気性ないし透湿性を有している。
As described above, the
おむつ1の左右両側部の構成は以上の通りになっており、一方、おむつ1の前後両端部の構成は次の通りになっている。おむつ1の前後両端部においては、吸収体4の前後端縁から表面シート2、裏面シート3及び外装シート5が延出し、これらが接合されて、おむつ1の幅方向に延びるウエストフラップW(図1参照)を形成している。ウエストフラップWを構成するこれらのシートは、すべて通気性ないし透湿性を有しているので、ウエストフラップWは通気性ないし透湿性を有している。
The configuration of the left and right sides of the
ウエストフラップWにおいては、前述したシート間に、幅方向に延びるウエスト部弾性部材81が一本又は複数本配されて(本実施形態では一本)、ウエストギャザー8が形成されている。前述した通り、ウエストフラップWは通気性ないし透湿性を有しているので、長手方向の最外方に位置するウエスト部弾性部材81と吸収体4の端縁との間の部位は、通気性ないし透湿性を有している。なお本実施形態においては、前後のウエストフラップWにウエスト部弾性部材が配されているが、おむつ1の具体的な用途によっては、前後のウエストフラップWの何れか一方にのみウエスト部弾性部材が配されていてもよい。
In the waist flap W, one or a plurality of waist
おむつ1における長手方向の一方の端部においては、その両側縁部に一対のファスニングテープFTが取り付けられている。また、他方の端部においては、外装シート5上にランディングテープLTが取り付けられている。ファスニングテープFT及びランディングテープLTは、おむつ1の着用状態において、ファスニングテープFTがランディングテープLTに止着するような構成になっている。例えばファスニングテープFT及びランディングテープLTは、面ファスナのループ部材とフック部材との組み合わせからなる。
At one end in the longitudinal direction of the
図2に示すように、おむつ1における吸収体4は、親水性を有する長繊維のウエブ4aを有している。ウエブ4aには、高吸収性ポリマー4bが埋没担持されている。吸収体4は、十分な吸収容量を有しながらも、薄型且つ低坪量であり、更に高通気性を有することによって特徴付けられる。
As shown in FIG. 2, the
埋没担持とは、高吸収性ポリマーが、長繊維(特に、捲縮した長繊維)によって形成される空間内に入り込んで、着用者の激しい動作によっても該ポリマーの極端な移動や脱落が起こりにくくなっている状態を言う。このとき、長繊維は高吸収性ポリマーに絡みつき、あるいは引っ掛かりを生じ、あるいはまた、高吸収ポリマーは自身の粘着性により長繊維に付着している。長繊維が形成する空間は、外部から応力を受けても変形しやすく、また、長繊維全体で応力を吸収することができるので、空間が破壊されるのを防いでいる。高吸収性ポリマーは、少なくともその一部がウエブ4a中に埋没担持されている。吸収体1の製造条件によっては高吸収性ポリマーのほぼ全部がウエブ4a中に均一に埋没担持される場合もある。
Imbedded support means that a superabsorbent polymer enters a space formed by long fibers (especially crimped long fibers), and the polymer is unlikely to move or fall off even when the wearer moves vigorously. Say the state. At this time, the long fibers are entangled or caught in the superabsorbent polymer, or the superabsorbent polymer is attached to the long fiber due to its own stickiness. The space formed by the long fibers is easily deformed even when stress is applied from the outside, and the entire long fibers can absorb the stress, thereby preventing the space from being destroyed. The superabsorbent polymer is at least partially embedded and supported in the
長繊維の繊維径に特に制限はない。一般に1〜10dtex、特に1.7〜7.8dtexの長繊維を用いることで満足すべき結果が得られる。また、吸収体に耐よれ性やクッション性を付与したい場合は、特に2.1〜7.2dtexの繊維を用いることが好ましい。本明細書において長繊維とは、繊維長をJIS L1015の平均繊維長測定方法(C法)で測定した場合、好ましくは70mm以上、更に好ましくは80mm以上、一層好ましくは100mm以上である繊維のことをいう。ただし、測定対象とするウエブの全長が100mm未満である場合には、当該ウエブ中の繊維の好ましくは50%以上、更に好ましくは70%以上、一層好ましくは80%以上がウエブ全長にわたって延びている場合に、当該ウエブの繊維は長繊維であるとする。また、該長繊維の一部が切断され繊維長が上記値を下回る繊維(切断された繊維)が、吸収体中に混合されても良い。 There is no restriction | limiting in particular in the fiber diameter of a long fiber. In general, satisfactory results are obtained by using long fibers of 1 to 10 dtex, in particular 1.7 to 7.8 dtex. In addition, when it is desired to give the absorbent body kinking resistance or cushioning properties, it is particularly preferable to use fibers of 2.1 to 7.2 dtex. In the present specification, the long fiber means a fiber having a fiber length of preferably 70 mm or more, more preferably 80 mm or more, and even more preferably 100 mm or more when the fiber length is measured by the average fiber length measurement method (Method C) of JIS L1015. Say. However, when the total length of the web to be measured is less than 100 mm, preferably 50% or more, more preferably 70% or more, more preferably 80% or more of the fibers in the web extend over the entire length of the web. In this case, it is assumed that the fibers of the web are long fibers. In addition, fibers (cut fibers) in which part of the long fibers are cut and the fiber length is less than the above value may be mixed in the absorbent body.
前述の通り、長繊維は親水性を有するものである。親水性を有する長繊維として本発明において用いられるものには、本来的に親水性を有する長繊維、及び本来的には親水性を有さないが、親水化処理が施されることによって親水性が付与された長繊維の双方が包含される。好ましい長繊維は本来的に親水性を有する長繊維であり、特にナイロンやアクリル、アセテートやレーヨンの長繊維が好ましい。とりわけアセテートは湿潤しても嵩高性が保持されるので特に好ましい。アセテートとしては、セルローストリアセテート及びセルロースジアセテートが好ましい。とりわけ水分率が10%未満の繊維であるアセテートは湿潤しても嵩高性が保持されるので特に好ましい。ここで、水分率は25℃、相対湿度65%の環境下で測定した値である。 As described above, the long fibers have hydrophilicity. What is used in the present invention as a long fiber having hydrophilicity is a long fiber that is inherently hydrophilic, and inherently has no hydrophilicity, but is hydrophilic by being subjected to a hydrophilic treatment. Both of the long fibers to which is given are included. Preferred long fibers are inherently hydrophilic long fibers, and nylon, acrylic, acetate, and rayon long fibers are particularly preferable. In particular, acetate is particularly preferable because it retains bulkiness even when wet. As the acetate, cellulose triacetate and cellulose diacetate are preferable. In particular, acetate, which is a fiber having a moisture content of less than 10%, is particularly preferable because it retains its bulkiness even when wet. Here, the moisture content is a value measured in an environment of 25 ° C. and a relative humidity of 65%.
本明細書において親水性ウエブとは、その配向方向について測定されたクレム吸水度が好ましくは20mm以上、更に好ましくは30mm以上であるものを言う。クレム吸水度の測定は、例えば以下のように行われる。吸収体1の高吸収性ポリマーが含まれている部分から、高吸収性ポリマーを取り除き、吸収体1中における長繊維の捲縮率を維持した状態で、長繊維のウエブを用いて、クレム吸水度の測定を行う。測定には、0.3%の赤色2号(外添)で着色したイオン交換水を用いる。セットしてから30秒後の水面からの高さをクレム吸水度とする。なお、クレム吸水度は、JISP8141(1996)「紙及び板紙のクレム法による吸水度試験方法」に準じて測定する。測定方向は、吸収体1の長手方向のみを計測している。試験片は幅15mmとする。3点の試験片の測定値の平均値をもってクレム吸水度とする。試験片によっては幅方向でクレム吸水度にばらつきが出るが、その場合は幅方向で略平均(目視)した値を測定値とする。
In the present specification, the hydrophilic web refers to one having a Klem water absorption measured in the orientation direction of preferably 20 mm or more, more preferably 30 mm or more. The measurement of Klem water absorption is performed, for example, as follows. The superabsorbent polymer is removed from the portion of the
吸収体から高吸収性ポリマーを取り除く操作を行うと、吸収体中でのウエブの密度ρ1と、高吸収性ポリマーが取り除かれた後のウエブの密度ρ2とが相違するおそれがある。そこで、吸収体から高吸収性ポリマーを取り除く前に、吸収体中でのウエブの密度ρ1を予め測定しておき、高吸収性ポリマーが取り除かれた後のウエブの密度ρ2が、予め測定された密度ρ1と同じになるように、高吸収性ポリマーが取り除かれた後のウエブの状態を調整した後に、クレム吸水度を測定する。密度ρ2を密度ρ1に合わせるためには、例えば高吸収性ポリマーが取り除かれた後のウエブを圧縮すればよく、その状態下にクレム吸水度を測定する。密度ρ1は、例えば0.03〜0.05g/cm3であった。 When the operation of removing the superabsorbent polymer from the absorbent body is performed, the web density ρ1 in the absorbent body may be different from the web density ρ2 after the superabsorbent polymer is removed. Therefore, before removing the superabsorbent polymer from the absorbent body, the density ρ1 of the web in the absorbent body was measured in advance, and the density ρ2 of the web after the superabsorbent polymer was removed was measured in advance. After adjusting the state of the web after the superabsorbent polymer is removed so as to be the same as the density ρ1, the Krem water absorption is measured. In order to adjust the density ρ2 to the density ρ1, for example, the web after the superabsorbent polymer is removed may be compressed, and the Klem water absorption is measured in that state. The density ρ1 was, for example, 0.03 to 0.05 g / cm 3 .
吸収体中でのウエブの密度ρ1(g/cm3)は、ウエブの坪量(g/cm2)と、ウエブの厚み(cm)とから算出される。ウエブの坪量は、吸収体から高吸収性ポリマーを取り除いた後の重量(g)と、面積(cm2)とから算出される。一方、ウエブの厚みは次の方法で測定される。吸収性物品から取り出された吸収体に予め24.5kPaの荷重を12時間掛けて、しわを伸ばした状態としておく。次に、吸収体上に5cm×5cmの大きさのアクリル板に重りを載せ、0.245kPaの荷重が加わった状態下に厚みを測定する。具体的には、カミソリ刃で吸収体の断面を切り出し、ウエブが含まれる吸収体の範囲を10倍の実体顕微鏡で観察し、吸収体中のウエブの厚みを測定する。測定点数は5点とし、その平均値をもって厚みとする。20%以上測定値が振れた場合はそのデータを削除し、別の測定値を追加する。 The density ρ1 (g / cm 3 ) of the web in the absorber is calculated from the basis weight (g / cm 2 ) of the web and the thickness (cm) of the web. The basis weight of the web is calculated from the weight (g) after removing the superabsorbent polymer from the absorbent body and the area (cm 2 ). On the other hand, the thickness of the web is measured by the following method. A wrinkle is extended by applying a load of 24.5 kPa to the absorbent body taken out from the absorbent article in advance for 12 hours. Next, a weight is placed on an acrylic plate having a size of 5 cm × 5 cm on the absorber, and the thickness is measured under a state where a load of 0.245 kPa is applied. Specifically, a cross section of the absorber is cut out with a razor blade, the range of the absorber including the web is observed with a 10-fold stereo microscope, and the thickness of the web in the absorber is measured. The number of measurement points is 5, and the average value is the thickness. If the measured value fluctuates by 20% or more, delete the data and add another measured value.
長繊維としては捲縮しているものを用いることが好ましい。長繊維はその捲縮率(JIS L0208)が好ましくは10〜90%であり、更に好ましくは10〜60%、一層更に好ましくは10〜50%である。この範囲の捲縮率を有する捲縮した長繊維を用いることで、吸収体内の繊維の充填密度が過度に高くならなくなり、後述する吸収体の通気性が良好になる。また捲縮率がこの範囲内であることによって、ウエブ4a中に高吸収ポリマーを安定的に且つ多量に埋没担持させることができる。つまり、長繊維の捲縮率を前記の範囲内に設定することで、吸収体の通気性と吸収性能を両立させることができる。長繊維を捲縮させる手段に特に制限はない。また、捲縮は二次元的でもよく或いは三次元的でもよい。捲縮率は、長繊維を引き伸ばしたときの長さと、元の長繊維の長さとの差の、伸ばしたときの長さに対する百分率で定義される。長繊維の捲縮率は前述の通りであり、捲縮数は1cm当たり2〜25個、特に4〜20個、とりわけ10〜20個であることが好ましい。
As the long fiber, it is preferable to use a crimped one. The long fiber has a crimp rate (JIS L0208) of preferably 10 to 90%, more preferably 10 to 60%, and still more preferably 10 to 50%. By using the crimped long fibers having a crimp rate in this range, the packing density of the fibers in the absorbent body does not become excessively high, and the air permeability of the absorbent body described later is improved. Further, when the crimping rate is within this range, the highly absorbent polymer can be stably embedded in a large amount in the
捲縮率は、長繊維をまっすぐに、かつ繊維自身を伸張させずに引き伸ばしたときの長さ(A)と、自然状態における繊維の始点と終点との間に結んだ直線の長さ(B)との差の、伸ばしたときの長さ(A)に対する百分率で定義され、以下の式から算出される。
捲縮率=((A−B)/A)×100 (%)
The crimp rate is the length (A) when the long fiber is stretched straight and without stretching the fiber itself, and the length of the straight line (B) between the start point and the end point of the fiber in the natural state. ) Is defined as a percentage of the length (A) when stretched, and is calculated from the following equation.
Crimp rate = ((A−B) / A) × 100 (%)
高吸収性ポリマーとしては、一般に粒子状のものが用いられるが、繊維状のものでも良い。粒子状の高吸収性ポリマーを用いる場合、その形状が不定形タイプ、塊状タイプ又は俵状タイプである場合には、ウエブ4aの重量に対して同量以上、10倍以下の坪量で埋没担持させることができる。また、球粒凝集タイプや球状タイプの場合には、ウエブ4aの重量に対して同量以上、5倍以下の坪量で埋没担持させることができる。これらの粒子形状は、特に高吸収量と薄型化を両立させたい場合は前者を、風合い(高吸収性ポリマーのしゃり感の低減)を重視する場合は後者を選択することが望ましい。高吸収性ポリマーは、ウエブ4aの厚み方向に均一に分布していてもよく、或いは表面シート2の側又は裏面シート3の側に偏在して分布していてもよい。更に、ウエブ4aの平面方向に関しても均一に分布していてもよく、或いは所定のパターンを形成するように分布していてもよい。高吸収性ポリマーの分布の態様は、おむつ1の具体的な用途に応じて適宜選択すればよい。
As the superabsorbent polymer, a particulate polymer is generally used, but a fibrous polymer may be used. When a particulate superabsorbent polymer is used, if the shape is an irregular type, a block type, or a bowl type, it is buried with a basis weight equal to or greater than 10 times the weight of the
長繊維が捲縮を有する場合には、ウエブ4aには、高吸収性ポリマーの粒子を保持し得る多数の空間を有している。その空間内に高吸収性ポリマーが保持される。その結果、多量の高吸収性ポリマーを散布してもその極端な移動や脱落が起こりにくくなる。また着用者が激しい動作を行っても吸収体4の構造が破壊されにくくなる。使用する高吸収性ポリマーによって、捲縮率や使用する長繊維の量を適宜調節する。
When the long fiber has crimps, the
従来の吸収体においても繊維材料の量を多くすれば高吸収性ポリマーを多量に保持することは可能であったが、その場合には吸収体の坪量及び厚みが大きくなってしまう。その場合、本発明の効果である通気抵抗値を下げる、すなわち高い空気透過性を有する吸収体を得ることができない。これに対して本発明においては、繊維材料の量に対して高吸収性ポリマーの量が相対的に大きくなっている。具体的には、吸収体全体で見たとき、好ましくは高吸収性ポリマーの坪量がウエブの坪量以上、更に好ましくは2倍以上、更に好ましくは3倍以上となっている。これによって吸収体1の薄型化及び低坪量化が図られている。その結果、吸収体1の伸縮応答性が良好になっている。ウエブの坪量に対する高吸収性ポリマーの坪量の比率の上限値は、高吸収性ポリマーの極端な移動や脱落防止の観点から決定される。長繊維の捲縮の程度にもよるが、該上限値が20倍以下、好ましくは15倍以下、更に好ましくは10倍以下であれば、着用者が激しい動作を行っても高吸収性ポリマーの極端な移動や脱落は起こりにくい。
Even in the conventional absorbent body, if the amount of the fiber material is increased, a large amount of the superabsorbent polymer can be retained, but in this case, the basis weight and thickness of the absorbent body are increased. In that case, it is not possible to obtain an absorber having a reduced airflow resistance which is an effect of the present invention, that is, having a high air permeability. On the other hand, in the present invention, the amount of the superabsorbent polymer is relatively large with respect to the amount of the fiber material. Specifically, the basis weight of the superabsorbent polymer is preferably not less than the basis weight of the web, more preferably not less than 2 times, more preferably not less than 3 times when viewed from the whole absorbent body. As a result, the
高吸収性ポリマーの長繊維ウエブへの担持性は、ウエブによって形成される網目構造、及び高吸収性ポリマーの物性に関係している。網目構造の観点からは、本発明においては、ウエブの立体規則性、即ちウエブの捲縮率、繊度、密度等を制御することによって網目を制御し、高吸収性ポリマーの担持性が発現するようにしている。本発明においては、ウエブの構成繊維同士が接着されていないので、ウエブに形成される網目の大きさが、高吸収性ポリマーを保持可能な程度に変化し得る。ウエブにおける網目の大きさが変化し得ることで、不織布などの結合点を有する繊維集合体に高吸収性ポリマーを担持させる場合に比較して、ポリマーの担持性が高くなる。網目の大きさは、例えば(イ)繊維にテンションを加えた状態下に高吸収性ポリマーを散布した後、テンションを解放することにより、或いは(ロ)予めウエブのテンションを制御して特定の捲縮率を発現させた状態下に高吸収性ポリマーを散布し、更にウエブにテンションや圧力を加えることにより、制御することができる。 The supportability of the superabsorbent polymer on the long fiber web is related to the network structure formed by the web and the physical properties of the superabsorbent polymer. From the viewpoint of the network structure, in the present invention, the steric regularity of the web, that is, the web is controlled by controlling the crimp rate, fineness, density, etc. of the web so that the supportability of the superabsorbent polymer is expressed. I have to. In the present invention, since the constituent fibers of the web are not bonded to each other, the size of the network formed on the web can be changed to such an extent that the superabsorbent polymer can be retained. Since the size of the mesh in the web can be changed, the supportability of the polymer becomes higher compared to the case where the superabsorbent polymer is supported on a fiber assembly having a bonding point such as a nonwoven fabric. The size of the mesh can be determined by, for example, (a) applying a superabsorbent polymer in a state where a fiber is tensioned and then releasing the tension, or (b) controlling the web tension in advance. It can be controlled by spraying a superabsorbent polymer under a state in which a shrinkage ratio is expressed, and further applying tension or pressure to the web.
一方、高吸収性ポリマーの担持性に関係している高吸収性ポリマーの物性には形状、粒度分布、粒子サイズ、嵩密度、表面性状、内部摩擦係数、流動性、分散性、水分率、帯電性、付着性、凝集性などがある。これらのうち、高吸収性ポリマーの粒度分布及び粒子サイズについては、前述のウエブの網目構造と密接に関連している。高吸収性ポリマーの担持性は、更に着用者の動きによって吸収体に外力や振動が伝わったとき、吸収体内部におけるポリマーと長繊維との衝突回数にも影響を受ける。衝突回数の多い高吸収性ポリマーほど高吸収性ポリマーが長繊維の作り出す網目によってふるい分けが進み、結果担持性が低くなる。衝突回数は、ポリマーの流動性に影響を受けている。衝突回数は、流動性の高い高吸収性ポリマーほど多くなる。また、流動性が高く、一旦ウエブの拘束から逃れた高吸収性ポリマーは、その後容易に移動して、ウエブに担持され難くなる。 On the other hand, the physical properties of the superabsorbent polymer related to the supportability of the superabsorbent polymer include shape, particle size distribution, particle size, bulk density, surface properties, internal friction coefficient, fluidity, dispersibility, moisture content, charging Properties, adhesion, and cohesion. Among these, the particle size distribution and particle size of the superabsorbent polymer are closely related to the above-described web network structure. The carrying ability of the superabsorbent polymer is also affected by the number of collisions between the polymer and the long fibers inside the absorbent body when an external force or vibration is transmitted to the absorbent body due to the movement of the wearer. The higher the number of collisions, the higher the absorbency of the polymer, and the higher absorbability polymer screens according to the network formed by the long fibers, resulting in lower supportability. The number of collisions is affected by the fluidity of the polymer. The number of collisions increases as the fluidity of the superabsorbent polymer increases. In addition, the superabsorbent polymer which has high fluidity and has once escaped from the restraint of the web easily moves and becomes difficult to be supported on the web.
高吸収性ポリマーの流動性に関して、塊状タイプの高吸収性ポリマーと球粒凝集タイプのポリマーを比較すると、球粒凝集タイプの高吸収性ポリマーの方が、塊状タイプの高吸収性ポリマーよりも流動性が高い。その結果、球粒凝集タイプの高吸収性ポリマーよりも、塊状タイプの高吸収性ポリマーの方が担持性が高い。また球粒凝集タイプの高吸収性ポリマーは、表面が滑らかなので、繊維との摩擦や繊維への引っかかりの程度が塊状タイプの高吸収性ポリマーよりも低い。この観点からも、塊状タイプの高吸収性ポリマーの方が、球粒凝集タイプの高吸収性ポリマーよりも担持性が高い。 Regarding the flowability of the superabsorbent polymer, comparing the bulk type superabsorbent polymer and the spherical aggregate type polymer, the spherical aggregate type superabsorbent polymer is more fluid than the bulk type superabsorbent polymer. High nature. As a result, the bulk type superabsorbent polymer has higher supportability than the spherical particle aggregate type superabsorbent polymer. In addition, since the superabsorbent polymer of the spherical particle agglomeration type has a smooth surface, the degree of friction with the fiber and catching on the fiber is lower than that of the bulky type superabsorbent polymer. Also from this viewpoint, the bulk type superabsorbent polymer has higher supportability than the spherical particle aggregate type superabsorbent polymer.
このように、長繊維の捲縮率や高吸収性ポリマーの形状、長繊維と高吸収性ポリマーの混合比、長繊維ウエブへの高吸収性ポリマーの担持方法等を工夫することで、本発明の効果である通気抵抗値を下げることができる。 As described above, the present invention has been devised in terms of the crimp rate of the long fibers, the shape of the superabsorbent polymer, the mixing ratio of the long fibers and the superabsorbent polymer, the method for supporting the superabsorbent polymer on the long fiber web, and the like. It is possible to lower the ventilation resistance value which is the effect of.
以上の構造を有する吸収体4は、薄型且つ低坪量で、高通気性のものとなる。吸収体4の通気性の程度は、高吸収性ポリマー100g/m2あたりの通気抵抗値で表して0.4kPa・s/m以下、好ましくは0.3kPa・s/m以下である。通気抵抗値は、小さければ小さいほど通気性が高いことを意味する。このような通気抵抗値は、フラップパルプ及び高吸収性ポリマーの積繊体からなる従来の吸収体の通気抵抗値の約1/2という極めて低い値となる。通気抵抗値の下限に特に制限はなく、その値が小さければ小さいほど通気性は高くなる。通気抵抗値はカトーテック製の通気性試験機KES−F8(商品名)によって測定される。この装置によれば、一定流量の空気(4cc平方cm/sec)を通過させたときの圧力損失が測定される。測定された通気抵抗値を高吸収性ポリマー100g/m2あたりの値に換算する。
The
本発明の吸収体の中には、前記の通気抵抗値が、前記測定装置の測定限界以下、即ち約0.2kPa・s/m以下となるものもある。例えば、吸収体の構成材料としてパルプを用いずに、長繊維のウエブ中に高吸収性ポリマーを担持させ、ティッシュペーパーで包んだものが挙げられる。従って本発明においては、前記の通気抵抗値に下限値は存在しない。前記測定装置の測定限界以下となる他の材料の例としては、吸収性物品に用いられる通常のティッシュペーパーや表面シート、ガーゼの類などがある。 Some of the absorbent bodies according to the present invention have a ventilation resistance value of not more than the measurement limit of the measuring device, that is, not more than about 0.2 kPa · s / m. For example, a material in which a superabsorbent polymer is supported in a long fiber web and wrapped with tissue paper without using pulp as a constituent material of the absorbent body can be mentioned. Therefore, in the present invention, there is no lower limit value for the ventilation resistance value. Examples of other materials that are less than or equal to the measurement limit of the measuring device include normal tissue paper, surface sheets, and gauze used for absorbent articles.
長繊維のウエブ4aを含む吸収体4は、その厚さ方向及び平面方向の何れにも高通気性を有する。従って、おむつ1の着用中においては、着用者の身体から放出される水蒸気が吸収体4を通じておむつ1の外部に効果的に放出される。その結果、着装内での湿度の上昇が効果的に抑制される。
The
本実施形態のおむつ1における水蒸気の放出経路は大別して厚み方向と平面方向の2つの経路がある。厚み方向の放出経路は、水蒸気が吸収体4をその厚み方向に移動し、更に水蒸気透過性(透湿性)を有するシートである裏面シート3及び通気性を有するシートである外装シート5を通じておむつ1の外部へ放出される経路である。この経路による水蒸気の放出を一層効果的にする観点から、裏面シート3はその透湿度(JIS Z0208)が0.6〜3.5g/(100cm2・h)、特に1〜3g/(100cm2・h)であることが好ましい。透湿度この範囲内であれば、吸収体4に吸収された液の滲み出しを防止しつつ、十分な水蒸気透過性を確保でき、蒸れ感やかぶれの発生を防止できる。透湿度はJIS Z0208(カップ法)に準じ、30℃/90%RHの条件下で測定する。
The water vapor release path in the
水蒸気透過性を有するシートとしては例えば多孔性シートを用いることができる。多孔性シートは、樹脂組成物の溶融混練物から成形したシートを延伸処理してなるものである。多孔性シートは、成形性やシートの強度を維持しつつ、シートの透湿性が十分なものであることが好ましい。また、得られた多孔性シートには必要に応じてエンボス処理や各種表面処理を行ってもよい。更に、他のシート、例えば不織布、紙等などの外装シート5と複合化して用いても良い
As the sheet having water vapor permeability, for example, a porous sheet can be used. The porous sheet is formed by stretching a sheet formed from a melt-kneaded product of the resin composition. The porous sheet preferably has sufficient moisture permeability of the sheet while maintaining moldability and sheet strength. Moreover, you may perform an embossing process and various surface treatments as needed to the obtained porous sheet. Furthermore, it may be used in combination with other sheets, for example, an
平面方向の水蒸気の放出経路は、水蒸気が吸収体4の内部をその平面方向に移動し、吸収体4の側部又は端部からレッグフラップL又はウエストフラップWを通じておむつ1の外部へ放出される経路である。先に述べた通り、本実施形態のおむつ1におけるレッグフラップL又はウエストフラップWは通気性ないし透湿性を有しているので、これらのフラップを通じての水蒸気の放出は円滑に行われる。特に、レッグフラップLにおいては、表面シート2の左右両側縁が、裏面シート3の左右両側縁よりも内方で終端しているので、レッグフラップLを構成するシートの枚数が少なくなり、その分だけレッグフラップLの通気性ないし透湿性が向上する。レッグフラップL及びウエストフラップWを通じての水蒸気の放出を一層円滑に行う観点から、これらのフラップを形成するためにシートを接合する場合には、例えばホットメルト粘着剤をビード塗工やスパイラル塗工、スプレー塗工のようなパターンで塗工して、通気性の低下を極力防止することが好ましい。塗工面全体が膜状に覆われるような塗工方式は好ましくない。例えばコーターで塗工する場合は、櫛刃状や間欠塗工方式が好ましく、全面塗工法であっても塗工量を十分に少なくし塗工面の一部にかすれた状態(接着剤が一部塗られない状態)を形成させることが好ましい。通気性の低下を極力防止し、且つ適切な接合強度を発現させるために、ホットメルト粘着剤の塗工量は、3〜30g/m2、特に5〜20g/m2であることが好ましい。
In the planar water vapor release path, the water vapor moves in the planar direction inside the
ウエブ4aを有する吸収体4の通気抵抗値を、前述の値以下とするためには、例えばウエブ4aにおける長繊維の坪量や厚み、及び高吸収性ポリマーの坪量を適切に調整すればよい。ウエブ4aの坪量に関しては、5〜200g/m2、特に10〜100g/m2の範囲が好適であることが本発明者らの検討により判明した。一方、高吸収性ポリマーの散布坪量は50〜500g/m2、特に100〜300g/m2の範囲が好適であることが判明した。
In order to make the ventilation resistance value of the
吸収体4におけるウエブ4a及び高吸収性ポリマー4bの合計の坪量は、好ましくは55〜700g/m2、特に110〜400g/m2である。
The total basis weight of the
更に、吸収体の通気抵抗値には、吸収体を構成する各種部材を接着するための、例えばホットメルト粘着剤の塗工パターンや塗工量が影響を与える。水蒸気の放出を一層円滑に行う観点から、ビード塗工やスパイラル塗工、スプレー塗工のようなパターンでホットメルト粘着剤を塗工して、通気性の低下を極力防止することが好ましい。通気性の低下を極力防止し、且つ適当な接合強度を発現させるためには、ホットメルト粘着剤の塗工量は3〜30g/m2、特に5〜20g/m2であることが好ましい。 Furthermore, for example, a coating pattern and a coating amount of a hot melt pressure-sensitive adhesive for bonding various members constituting the absorber have an influence on the ventilation resistance value of the absorber. From the viewpoint of more smoothly releasing water vapor, it is preferable to apply a hot melt pressure-sensitive adhesive in a pattern such as bead coating, spiral coating, or spray coating to prevent a decrease in air permeability as much as possible. In order to prevent a decrease in air permeability as much as possible and to develop an appropriate bonding strength, the coating amount of the hot melt pressure-sensitive adhesive is preferably 3 to 30 g / m 2 , particularly 5 to 20 g / m 2 .
吸収体の通気抵抗に影響を及ぼす要因としては、上述のホットメルト粘着剤に関するものの他、吸収体の厚みや密度の影響が挙げられる。例えば、吸収体を極端に硬くさせることなく、開繊したフラップパルプの中に高吸収性ポリマーを担持させるためには、高吸収性ポリマーの量と同量のフラッフパルプを使用することが必要である。そのため、吸収性能を高めれば高めるほど、吸収体の厚みが増し、その結果、吸収体の通気抵抗が増加してしまう。吸収体の厚みを抑えるためにフラッフパルプの使用量を減らした場合、高吸収性ポリマーの担持性を維持するために吸収体を圧縮しなければならず、その結果、吸収体は薄くなっても密度が上昇するので、吸収体の通気抵抗は大きくなってしまう。 Factors that affect the airflow resistance of the absorber include the effects of the thickness and density of the absorber in addition to those related to the above hot melt pressure-sensitive adhesive. For example, it is necessary to use the same amount of fluff pulp as the amount of the superabsorbent polymer in order to support the superabsorbent polymer in the opened flap pulp without making the absorber extremely hard. is there. Therefore, the higher the absorption performance, the greater the thickness of the absorber, and as a result, the ventilation resistance of the absorber increases. If the amount of fluff pulp used is reduced to reduce the thickness of the absorber, the absorber must be compressed to maintain the supportability of the superabsorbent polymer. Since the density increases, the ventilation resistance of the absorber increases.
高吸収性ポリマーが、捲縮した長繊維によって形成される空間内に安定的に保持される場合には、ウエブ4aに高吸収性ポリマーを多量に保持することが可能になる。従来の吸収体においてもフラッフパルプ等の繊維材料の量を多くすれば高吸収性ポリマーを多量に保持することは可能であったが、その場合には吸収体の坪量及び厚みが大きくなってしまう。しかも通気性も低下してしまう。これに対して本実施形態の吸収体4においては、繊維材料の量に対して高吸収性ポリマーの量が相対的に大きくなっている。具体的には、吸収体全体で見たとき、好ましくは高吸収性ポリマー4bの坪量がウエブ4aの坪量以上になっており、更に好ましくは2倍以上、一層好ましくは3倍以上となっている。これによって吸収体4の通気性を高め、また薄型化及び低坪量化を図っている。ウエブ4aの坪量に対する高吸収性ポリマー4bの坪量の比率の上限値は、主として高吸収性ポリマーの極端な移動や脱落防止の観点から決定される。長繊維の捲縮の程度にもよるが、該上限値が10倍程度であれば、着用者が激しい動作を行っても高吸収性ポリマーの極端な移動や脱落は起こりにくい。
When the superabsorbent polymer is stably held in the space formed by the crimped long fibers, a large amount of the superabsorbent polymer can be held on the
高吸収性ポリマーが埋没担持される程度の評価法として、次の脱落評価試験法を用いることができる。100mm×200mmに作製した吸収体4の長手方向中央部を、幅方向にわたって切断し、100mm×100mmの試験片を得る。この切断面を真下にして、振幅5cmで1回/1秒の速度で左右に往復20回振動を与える。切断面から脱落したポリマーの重量を測定する。脱落した高吸収性ポリマーの重量が、試験片中に存在していた高吸収性ポリマーの全量に対して、25重量%以下、特に20重量%以下、とりわけ10重量%以下である場合、高吸収性ポリマーの極端な移動や脱落が起こり難くなっている状態であると言える。
As an evaluation method to the extent that the superabsorbent polymer is buried and supported, the following drop-off evaluation test method can be used. The longitudinal direction center part of the
高吸収性ポリマーが埋没担持される程度の評価として、前記の脱落評価試験に加えて次の方法によって測定される移動率も採用することができる。先ず、前記の脱落評価試験の測定に用いた100mm×100mmの測定サンプルの初期重量W0を予め測定しておく。脱落評価試験の測定が終わった後の測定サンプルを、長繊維の延びる方向と直交する方向にわたって切断し上下に二等分する。二等分された2つの分断片それぞれの重量を測定し、測定サンプルの初期重量W0の1/2から変化量の大きい方の分断片の重量を、移動率を算出するための重量W1として採用する。例えば2つの分断片の重量がW1’,W1”であるとすると、これらW1’,W1”が以下の式を満たす場合、W1=W1’とする。
|W1’−W0/2|>|W1”−W0/2|
このようにして決定されたW1の値と、測定サンプルの初期重量W0の値を用い、以下の式から移動率を算出する。
移動率(%)={1−W1/(W0/2)}×100
このようにして測定された移動率の値が40%以下、特に30%以下、とりわけ20%以下である場合、高吸収性ポリマーの移動が起こり難くなっている状態であると言える。
As an evaluation of the extent to which the superabsorbent polymer is buried and supported, a mobility measured by the following method can be employed in addition to the above-described dropout evaluation test. First, an initial weight W0 of a 100 mm × 100 mm measurement sample used for the measurement of the drop-off evaluation test is measured in advance. The measurement sample after the measurement of the drop-off evaluation test is finished is cut in a direction perpendicular to the direction in which the long fibers extend, and is divided into two equal parts. The weight of each of the two halves divided into two is measured, and the weight of the halved fragment having the larger variation from 1/2 of the initial weight W0 of the measurement sample is adopted as the weight W1 for calculating the transfer rate. To do. For example, assuming that the weights of two fractional pieces are W1 ′ and W1 ″, if these W1 ′ and W1 ″ satisfy the following expression, W1 = W1 ′.
| W1'-W0 / 2 |> | W1 "-W0 / 2 |
Using the value of W1 determined in this way and the value of the initial weight W0 of the measurement sample, the movement rate is calculated from the following equation.
Movement rate (%) = {1-W1 / (W0 / 2)} × 100
When the value of the migration rate thus measured is 40% or less, particularly 30% or less, particularly 20% or less, it can be said that the migration of the superabsorbent polymer is difficult to occur.
簡易的には、前記の脱落評価の試験を行った試験片に対して、次の評価法を行うこともできる。脱落評価の試験を行った試験片に対して、生理食塩水(0.9重量%NaCl)を50g均等に散布して、試験片の膨らみ方を目視観察する。試験片の厚みのばらつきが2倍以内の場合、高吸収性ポリマーの極端な移動や脱落が起こり難くなっている状態であると言える。 In a simple manner, the following evaluation method can be performed on the test piece subjected to the above-described drop-off evaluation test. 50 g of physiological saline (0.9 wt% NaCl) is evenly sprayed on the test piece subjected to the test for dropout evaluation, and the way of swelling of the test piece is visually observed. When the variation in the thickness of the test piece is within 2 times, it can be said that it is difficult for the superabsorbent polymer to move or drop off.
前記の各評価法においては、ウエブを水平方向で見たときに、高吸収ポリマーが同一坪量で散布してある領域から試験片をサンプリングする。 In each of the evaluation methods described above, when the web is viewed in the horizontal direction, the test piece is sampled from a region where the superabsorbent polymer is dispersed with the same basis weight.
ウエブへの高吸収性ポリマーの埋没担持性が十分でない時は、ホットメルト、各種バインダー(例えばアクリル系エマルジョン粘着剤など)、カルボキシメチルセルロースやエチルセルロースなどの糖誘導体、ポリエチレンやポリプロピレンなどの熱可塑性樹脂等をウエブに適宜添加できる。さらに、ウエブへ凹凸加工を施してもよく、或いは植毛を施したシートなどをウエブに併用しても良い。長繊維が溶剤に溶解するか、あるいは可塑化可能な場合には、適当な溶剤を用いても良い。例えば、長繊維がアセテートを含んでいる場合は、トリアセチンを添加することで、ウエブの一部に結合点を形成することができる。結合点の形成は、高吸収性ポリマーの埋没担持性を向上させるだけでなく、添加量や処理方法を適宜選択することで、ウエブに剛性を与えることができ、よれやくずれなどを防ぐことができる。更に、適度な剛性感の付与は、使用者の取り扱い性を高め、更には、ギャザーが縮みすぎておむつが収縮することを防ぐ効果や、おむつ全体の型崩れを防ぐ効果を有する。 When the superabsorbent polymer is not sufficiently embedded in the web, hot melt, various binders (such as acrylic emulsion adhesives), sugar derivatives such as carboxymethylcellulose and ethylcellulose, thermoplastic resins such as polyethylene and polypropylene, etc. Can be appropriately added to the web. Further, the web may be subjected to uneven processing, or a sheet having flocking may be used in combination with the web. When the long fiber is dissolved in a solvent or can be plasticized, an appropriate solvent may be used. For example, when the long fiber contains acetate, a bonding point can be formed on a part of the web by adding triacetin. The formation of the bonding point not only improves the embedding supportability of the superabsorbent polymer, but can also give rigidity to the web by appropriately selecting the addition amount and the processing method, and prevent the twisting and the like from being damaged. it can. Furthermore, imparting an appropriate rigidity gives the user better handleability, and further has the effect of preventing the diaper from shrinking due to excessive gathering and preventing the entire diaper from being deformed.
ウエブ4aを有する吸収体4は、フラップパルプを主体とする従来の吸収体に比較して繊維間の空隙の大きな疎な構造になっているので、該吸収体4は液の透過性の良好なものでもある。従って、吸収体4の吸収速度が遅い場合は、液が高吸収性ポリマー4bに吸収される前に吸収体4を通過してしまい、該吸収体4に十分吸収されない場合が起こりうる。この観点から、ウエブ4aに含まれる高吸収性ポリマー4bは、充分に吸収速度の速いものであることが好ましい。それによって、吸収体4に液を確実に保持できるようになる。高吸収性ポリマー4bの吸収速度は、当該技術分野においては一般にDW法の測定値によって表現される。DW法による吸収速度(ml/(0.3g・30sec))は、DW法を実施する装置として一般的に知られている装置(Demand Wettability Tester)を用いて測定される。具体的には、生理食塩水の液面を等水位にセットしたポリマー散布台〔70mmφ、No.2濾紙をガラスフィルターNo.1上に置いた台〕上に、測定対象の高吸水性ポリマーを0.3g散布する。高吸水性ポリマーを散布した時点の吸水量を0とし、30秒後の吸水量(この吸収量は、生理食塩水の水位の低下量を示すビュレットの目盛りで測定される)を測定する。得られた吸収量の値を吸水速度とする。
Since the
本実施形態において好ましく用いられる高吸収性ポリマー4bは、DW法に従い測定された吸収速度が2〜10ml/(0.3g・30sec)、特に4〜8ml/(0.3g・30sec)である。なお、このような吸収速度を有する高吸収性ポリマーは、フラッフパルプを主体とする従来の吸収体においては、ゲルブロッキング、ひいては液漏れを発生させる原因になるとしてその使用が避けられていたものである。これに反して、本実施形態においてはウエブ4aが疎な構造を有しているので、高吸収速度を有する高吸収性ポリマーを用いてもゲルブロッキングの懸念はなく、逆に液漏れが効果的に防止される。
The
高吸収性ポリマーの吸収速度との関係で、ウエブ4aはその密度が好ましくは0.005〜0.20g/cm3、更に好ましくは0.01〜0.10g/cm3である。密度がこの範囲内であれば、ウエブ4aにおける液の透過速度を、高吸収性ポリマーの吸収速度に見合った適度な範囲に制御できる。また吸収体の柔らかさを維持することができる。更に、ウエブの繊維間隔を適度な範囲にすることができ、細かな高吸収ポリマーの担持性能を向上させることができる。
In relation to the absorption rate of the superabsorbent polymer, the
ウエブ4aを構成する長繊維は、好ましくは吸収体4の平面方向に一方向に配向している。長繊維が一方向に配向していることに起因して、吸収体4に液が吸収されると、該液は長繊維の配向方向へ優先的に拡散する。つまり吸収体の平面方向に優先的に拡散する。逆に、長繊維の配向方向と直交する方向への拡散は抑制される。連続フィラメントがおむつ1の長手方向に配向している場合には、おむつの側部からの液漏れ(横漏れ)が効果的に防止される。
The long fibers constituting the
長繊維の配向の程度は、配向度で表して1.2以上、特に1.4以上であることが好ましい。本実施形態において配向度はKANZAKI社のMicrowave molecular orientation analyzer MOA-2001Aを用いて測定する。サンプルサイズは長手方向100mm、幅50mmとし、3点の平均値を配向度とする。サンプルサイズがこの大きさに満たない場合は、複数のサンプルを互いに重ならないように配して測定する。 The degree of orientation of the long fibers is preferably 1.2 or more, particularly 1.4 or more in terms of the degree of orientation. In this embodiment, the degree of orientation is measured using a Microwave molecular orientation analyzer MOA-2001A manufactured by KANZAKI. The sample size is 100 mm in the longitudinal direction and 50 mm in width, and the average value of three points is the degree of orientation. When the sample size is less than this size, measurement is performed by arranging a plurality of samples so as not to overlap each other.
横漏れを一層防止する手段の一つとして、直線的な長繊維を用いることが挙げられる。かかる長繊維は、捲縮を有する長繊維に比較して、長繊維の配向方向への液の拡散性に優れているからである。この観点から、ウエブ4aを複数の層から構成し、そのうちの少なくとも一層における一部分の捲縮した長繊維を引き伸ばして直線的な状態にしておくことが好ましい。ウエブ4aが2層構造の場合、表面シート側のウエブの一部分、例えば長手方向中央部に位置する捲縮長繊維を引き伸ばして直線的な状態にすることで、排泄された液を吸収体の前後方向へ優先的に導くことができる。或いは、捲縮した長繊維のウエブに加えて、捲縮を有さない親水性を有する長繊維のウエブを更に用いても同様の効果を得ることができる。例えば、捲縮した長繊維のウエブの上に、高吸収性ポリマーを散布し、その上に、捲縮を有さない長繊維のウエブを配することができる。
One means for further preventing side leakage is to use linear long fibers. This is because such a long fiber is superior in liquid diffusibility in the orientation direction of the long fiber as compared to a long fiber having crimps. From this viewpoint, it is preferable that the
長繊維がおむつ1の長手方向に配向している場合には、ウエブ4aは、長繊維の配向方向を横切るような線状の接着ラインを有していないことが好ましい。かかる接着ラインが存在していると、長繊維の配向方向への液の円滑な拡散が遮断されてしまい、それに起因して横漏れが生じる可能性がある。これに対して、長繊維がおむつ1の幅方向に配向している場合には、おむつ1の長手方向への拡散が抑制され、スポット吸収性が得られる。この場合、側部からの液漏れ(横漏れ)を防止するために、ウエブ4aは、長繊維の配向方向を横切るような線状の接着ラインを有していることが好ましい。「線状」とは、液体の浸透を抑制する連続的な線を意味し、個々のシール線等が途切れなく連続するものである必要はない。例えば、間欠のシール線を幾重にも重ねて並べることで液の移動を阻止できれば、それは線状である。また、線状は、直線状の他、曲線状、折れ線状であっても良い。線の幅は0.2〜15mm程度が好ましい。
When the long fibers are oriented in the longitudinal direction of the
吸収体4は柔軟であることが望ましい。柔軟性の評価として、ハンドルオ・メーターによる測定値を採用した場合、該測定値が4N以下、特に2N以下であることが好ましい。ハンドルオ・メーターによる測定方法は次の通りである。JIS L1096(剛軟性測定法)に準じて測定を行う。幅60mmの溝を刻んだ支持台上に、長手方向に150mm、幅方向に50mm切断した吸収体4を、溝と直交する方向に配置する。吸収体4の中央を厚み2mmのブレードで押した時に要する力を測定する。本実施形態で用いた装置は、大栄科学精機製作所製、風合い試験機(ハンドルオ・メーター法)、HOM−3型である。3点の平均値を測定値とする。
The
本実施形態に係る吸収体4は、ウエブ4a及び高吸収性ポリマー4bのみから構成されていてもよく、或いはこれらが、例えばティッシュペーパーなどの紙や不織布(以下、これらを被覆シートともいう)によって包まれていてもよい。また、ウエブ4a及び高吸収性ポリマー4bの上面及び/又は下面に、乾式パルプシートや、フラッフパルプの積繊層が配されていてもよく、更にそれら全体が被覆シートによって包まれていてもよい。吸収体4が前記のどのような形態である場合でも、その通気抵抗値は、先に述べた値以下とする。また吸収体4の厚みは1〜4mm、特に1.5〜3mmという薄型のものであることが、十分な通気性の確保の点から好ましい。
The
吸収体4及び吸収体4を包む被覆シートなどは、高吸収性ポリマーの他に、他の粒子、例えば、活性炭やシリカ、アルミナ、酸化チタン、各種粘度鉱物(ゼオライト、セピオライト、ベントナイト、カンクリナイト等)等の有機、無機粒子(消臭剤や抗菌剤)を含んでいてもよい。無機粒子としては、金属サイトの一部を置換したものを用いることができる。或いは、各種有機緩衝剤、無機緩衝剤、すなわち、酢酸、リン酸、クエン酸、コハク酸、アジピン酸、リンゴ酸、乳酸及びこれらの塩を単独であるいは組み合わせたものや、各種アミノ酸を含んでいてもよい。これら成分の働きは、吸収体4及び被覆シートに吸収された液の臭いや素材由来の臭いを抑制することである。また、各種有機緩衝剤、無機緩衝剤は、排泄物、例えば尿の分解で発生するアンモニアを中和し、おむつ1を中性〜弱酸性に保つ効果があり、それによって、万一、吸収体4から肌への排泄物の液戻りがあっても、肌への影響が少なくなる。ウエブを構成する長繊維としてアセテート繊維のような分子構造内にエステル結合を有する繊維を用いた場合には、アルカリによるエステル結合の分解に起因する繊維の損傷が防止される効果も期待できる。
The
また、液保持性と吸収速度の向上、ドライの向上を目的に、親水性の微粉又は短繊維をウエブ中に共存させることができる。親水性の微粉又は短繊維としては、フィブリル化されているか又はフィブリル化されていないセルロースパウダー、カルボキシメチルセルロース及びその金属塩、カルボキシエチルセルロース及びその金属塩、ヒドロキシエチルセルロース及びその誘導体、シルクパウダー、ナイロンパウダー、レーヨン、コットン、羊毛などの短繊維が挙げられる。これらのうち、セルロースパウダーを用いると、前記の効果を最大限向上させ得るので好ましい。親水性の微粉又は短繊維は、高吸収性ポリマーの散布前にウエブに散布してもよく、或いは高吸収ポリマーと混合しておき、両者を同時にウエブに散布してもよい。 In addition, hydrophilic fine powder or short fibers can coexist in the web for the purpose of improving liquid retention and absorption rate and improving dryness. Hydrophilic fine powders or short fibers include fibrillated or non-fibrillated cellulose powder, carboxymethyl cellulose and its metal salt, carboxyethyl cellulose and its metal salt, hydroxyethyl cellulose and its derivatives, silk powder, nylon powder, Examples include short fibers such as rayon, cotton, and wool. Among these, it is preferable to use cellulose powder because the above effects can be improved to the maximum. The hydrophilic fine powder or short fiber may be sprayed on the web before spraying the superabsorbent polymer, or may be mixed with the superabsorbent polymer and sprayed on the web at the same time.
吸収体の別の実施形態として、フラッフパルプの積繊層上に、ウエブ4a及び高吸収性ポリマー4bを重ねた構造のものが挙げられる。この吸収体では、ウエブ4a中に高吸収性ポリマーが埋没担持されている。この吸収体では、フラッフパルプの積繊層が、排泄された液の一次ストック層として作用するので、液の排泄速度が高い場合(例えば尿が排泄される場合)であっても、液漏れを効果的に防止できる。
Another embodiment of the absorber includes a structure in which a
吸収体の更に別の実施形態として、フラッフパルプの積繊層上に、ウエブ4a及び高吸収性ポリマー4bを重ねた構造の積繊体を、複数積層した構造のものが挙げられる。フラッフパルプの積繊層中には高吸収性ポリマーを混合させてもよい。この構造の吸収体は、フラッフパルプの積繊層による液の一次ストック層としての効果が、先に述べた実施形態の吸収体に比較して一層高くなる。
As still another embodiment of the absorbent body, there is a structure in which a plurality of stacked fiber bodies having a structure in which a
吸収体の更にまた別の実施形態として、高吸収性ポリマーが埋没担持されているウエブ4aの上側及び/又は下側に、高吸収性ポリマーを含まない親水性長繊維の第2のウエブが配置された構造のものが挙げられる。第2のウエブに含まれる長繊維が捲縮したものである場合、特に前記の捲縮率を有するものである場合には、第2のウエブが厚さ方向の押圧に対するクッション層として作用することから、吸収性物品の着用感が向上する。そればかりでなく、吸収体中の空間が増えることにより、更に通気性が向上する。更に、優れた圧縮回復性を有するので、おむつを複数個パック詰めした包装袋内などで圧縮された状態の時は薄く、包装袋から取り出すと素早く厚みが回復する。
As still another embodiment of the absorbent body, a second web of hydrophilic long fibers not containing the superabsorbent polymer is disposed on the upper and / or lower side of the
ギャザーの影響を取り除いた吸収体部分の圧縮回復性は、少なくとも圧力解放後1時間後の値が、初期厚みの好ましくは1.2倍以上、更に好ましくは1.5倍以上である。吸収体の初期の厚みは、予め250g/cm2の荷重を12時間加えた後に測定する。厚みは、試料5枚分を重ねた状態で測定する。測定値を5で除した値を1枚あたりの厚みとする。測定は、5cm×5cmの大きさのアクリル板に重りを載せ、2.5g/cm2の荷重が加わった状態下に行われる。装置は、キーエンス社LK080クラス2レーザー変位計を用いる。測定点数は5点の平均とし、20%以上測定値が振れた場合はそのデータを削除し、別の測定値を追加した。
As for the compression recovery property of the absorber part from which the influence of gathers has been removed, the value at least one hour after releasing the pressure is preferably 1.2 times or more, more preferably 1.5 times or more of the initial thickness. The initial thickness of the absorber is measured after applying a load of 250 g / cm 2 in advance for 12 hours. The thickness is measured in a state where five samples are stacked. The value obtained by dividing the measured value by 5 is the thickness per sheet. The measurement is performed under a state where a weight is placed on an acrylic plate having a size of 5 cm × 5 cm and a load of 2.5 g / cm 2 is applied. The apparatus uses a
以上の各実施形態の吸収体は、薄型で柔軟、かつ適度な構造安定性を有するものとなる。吸収体の厚さや坪量は、吸収性物品の具体的な用途に応じて適切な値が選択される。吸収体が使い捨ておむつに用いられる場合には、該吸収体が前記のどのような形態である場合でも、その厚みが0.5〜4mm、特に1〜3mmという薄型のものであることが好ましい。吸収体の厚みは、吸収体上に5cm×5cmの大きさのアクリル板に重りを載せ、2.5g/cm2の荷重が加わった状態下に測定される。本実施形態においては、キーエンス社のLK080クラス2レーザー変位計を用いて厚みを測定した。測定点数は5点の平均とし、20%以上測定値が振れた場合はそのデータを削除し、別の測定値を追加した。試料には予め250g/cm2の荷重を12時間掛けて、しわを伸ばした状態としておいた。
The absorber of each of the embodiments described above is thin, flexible, and has an appropriate structural stability. Appropriate values are selected for the thickness and basis weight of the absorbent according to the specific application of the absorbent article. When an absorber is used for a disposable diaper, it is preferable that the thickness is 0.5 to 4 mm, especially 1 to 3 mm, regardless of the shape of the absorber. The thickness of the absorber is measured under a state where a weight is placed on an acrylic plate having a size of 5 cm × 5 cm on the absorber and a load of 2.5 g / cm 2 is applied. In this embodiment, the thickness was measured using an
以上の各実施形態の吸収体の通気性を更に向上させるために、吸収体の一部に開孔部を設けてもよい。各実施形態の吸収体は薄型なので、従来の厚型の吸収体に比べて開孔処理は容易である。或いは、以上の各実施形態の吸収体を、複数の小片から形成することで各小片間に溝を形成しても良い。この場合、ウエブは各小片間で連続な状態で存在してもよく、不連続に存在してもよい。 In order to further improve the air permeability of the absorber of each of the above embodiments, an opening may be provided in a part of the absorber. Since the absorbent body of each embodiment is thin, the opening process is easier than the conventional thick absorbent body. Or you may form a groove | channel between each small piece by forming the absorber of each above embodiment from a several small piece. In this case, the web may exist in a continuous state between each piece, or may exist discontinuously.
次に、本発明の第2及び第3の実施形態について、図3ないし図7を参照しながら説明する。第2及び第3の実施形態について特に説明しない点については、第1の実施形態に関して詳述した説明が適宜適用される。また、図3ないし図7において、図1及び図2と同じ部材に同じ符号を付してある。 Next, second and third embodiments of the present invention will be described with reference to FIGS. Regarding points that are not particularly described in the second and third embodiments, the description in detail regarding the first embodiment is appropriately applied. 3 to 7, the same members as those in FIGS. 1 and 2 are denoted by the same reference numerals.
図3に示す実施形態のおむつ1は、相対向する一対の立体ギャザーを二組有するものである。おむつ1は、吸収体4の側縁から側方に延出したレッグフラッフLの側縁部に、おむつ1の長手方向に延びるレッグ部弾性部材71を伸長状態で配してレッグギャザー7を形成し、更に、レッグギャザー7と吸収体4の側縁部との間に基端部を有する第1立体ギャザー61及び第2立体ギャザー62を配している。第1立体ギャザー61はレッグギャザー寄りに配されており、第2立体ギャザー62は吸収体寄りに配されている。
The
レッグフラップLに位置するこれら3つのギャザーは、最も外方に位置するギャザーの収縮力が、それよりも内方に位置するギャザーの収縮力よりも大きくなるように各ギャザーの収縮力を調整することが好ましい。即ち、レッグギャザー7の収縮力をL1、第1立体ギャザー61の収縮力をL2、第2立体ギャザー62の収縮力をL3としたとき、L1>L2,L3となることが好ましい。特に、最も外方に位置するギャザーから内側に向かってギャザーの収縮力が次第に小さくなることが好ましい。つまりL1>L2>L3となることが好ましい。この理由は次の通りである。 These three gathers located in the leg flap L adjust the shrinkage force of each gather so that the shrinkage force of the outermost gather is larger than the shrinkage force of the gathers located inward. It is preferable. That is, when the contraction force of the leg gather 7 is L1, the contraction force of the first three-dimensional gather 61 is L2, and the contraction force of the second three-dimensional gather 62 is L3, it is preferable that L1> L2, L3. In particular, it is preferable that the gather contraction force gradually decreases from the outermost gather to the inside. That is, it is preferable that L1> L2> L3. The reason is as follows.
従来の吸収性物品の設計手法は、吸収性物品を薄くして、しかも液漏れしにくくするために、ギャザーの収縮力を強くし、着用者の身体と吸収性物品との間に隙間を空けないようにするという考えに基づいていた。しかしながら、ギャザーの収縮力が強すぎると、その跡が肌につきやすくなる。また、本発明のように薄くて柔軟や吸収体を用いた場合には、ギャザーの収縮力によって吸収性物品が収縮してしまい装着しづらくなってしまう。また、ギャザーの収縮力が強すぎると、吸収性物品の装着中に、該収縮力に起因する下向きの力が吸収性物品に働き、ずれが生じやすくなる。これに対して、レッグギャザー及び相対向する一対の立体ギャザーを二組以上用い、その収縮力を前述した関係とすることで、従来の吸収性物品に生じる前述の不都合を回避することができる。 The conventional design method for absorbent articles is to reduce the thickness of the absorbent article and make it difficult to leak liquids, thereby increasing the shrinkage force of gathers and leaving a gap between the wearer's body and the absorbent article. Based on the idea of not. However, if the contraction force of the gathers is too strong, the marks are likely to touch the skin. In addition, when the thin and flexible or absorbent body is used as in the present invention, the absorbent article contracts due to the contraction force of the gathers, making it difficult to wear. If the gather contraction force is too strong, a downward force due to the contraction force acts on the absorbent article during mounting of the absorbent article, and a shift tends to occur. On the other hand, by using two or more sets of leg gathers and a pair of opposing three-dimensional gathers and having the contraction force as described above, the above-described inconveniences that occur in conventional absorbent articles can be avoided.
ギャザーの収縮力は次の方法で測定される。吸収性物品からギャザーを切り取り測定試料とする。テンシロンORIENTEC RTC−1150Aを用いて測定試料のヒステリシス曲線を描かせる。このヒステリシス曲線の戻り時の応力を収縮力とする。引っ張りと戻しの速度は300mm/minとする。試料の初期長は100mm、最大伸びは100mm(元の長さの2倍)とする。ヒステリシス曲線の戻り時の応力は、試料を最大伸びから50mm戻したときの測定値とする。測定は5点の平均値とする。最大伸びが100mmに満たない試料の場合は、伸びを50mmまでとし、そのときの値を測定値とする。 The gather contraction force is measured by the following method. A gather is cut from the absorbent article and used as a measurement sample. A hysteresis curve of the measurement sample is drawn using Tensilon ORIENTEC RTC-1150A. The stress at the return of this hysteresis curve is defined as the contraction force. The speed of pulling and returning is 300 mm / min. The initial length of the sample is 100 mm, and the maximum elongation is 100 mm (twice the original length). The stress at the time of return of the hysteresis curve is a measured value when the sample is returned 50 mm from the maximum elongation. The measurement is an average of 5 points. In the case of a sample whose maximum elongation is less than 100 mm, the elongation is up to 50 mm, and the value at that time is the measured value.
各ギャザーの収縮力を調整するためには、例えば弾性部材の太さを変える、弾性部材の伸長率を変える、弾性部材の本数を変える等の方法を、単独で、或いは組み合わせる。また、レッグギャザー7の伸縮域は、吸収性物品の股下部のみとすることが好ましい。ここで股下部とは、足回りに沿うように、製品中央部両側縁が湾曲している領域を言う。 In order to adjust the contraction force of each gather, for example, methods such as changing the thickness of the elastic member, changing the expansion rate of the elastic member, changing the number of elastic members, etc. are used alone or in combination. Moreover, it is preferable that the stretchable area of the leg gathers 7 is only the crotch part of the absorbent article. Here, the crotch portion refers to a region in which both side edges of the product center portion are curved so as to be along the legs.
図3に示すおむつ1においては、レッグギャザー及び相対向する一対の立体ギャザーが二組用いられている。これに代えて、レッグギャザーは用いずに、相対向する一対の立体ギャザーを二組以上用いてもよい。例えば図4では、第1立体ギャザー61及び第2立体ギャザー62の二組の立体ギャザーを用いている。この場合にも、おむつ1の幅方向外方から内側に向かうに連れて立体ギャザーの収縮力を次第に小さくすることが、前述した理由と同様の理由により好ましい。
In the
次に第3の実施形態について説明する。長繊維のウエブを用いた吸収体を備えた本発明の吸収性物品によれば着装内の湿度上昇を抑制し得ることは先に述べた通りである。この湿度上昇の抑制効果は、着用者の身体へのフィット性が良好な吸収性物品ほど顕著である。第3の実施形態は、このような、着用者の身体へのフィット性が良好なパンツ型使い捨ておむつに係るものである。 Next, a third embodiment will be described. As described above, according to the absorbent article of the present invention including the absorbent body using the long fiber web, it is possible to suppress an increase in humidity in the wearing. The effect of suppressing this increase in humidity is more pronounced for absorbent articles with better fit to the wearer's body. The third embodiment relates to such a pants-type disposable diaper having good fit to the wearer's body.
着用者の身体へのフィット性を一層良好にするために、本実施形態においては次の設計手法を用いておむつを作製している。
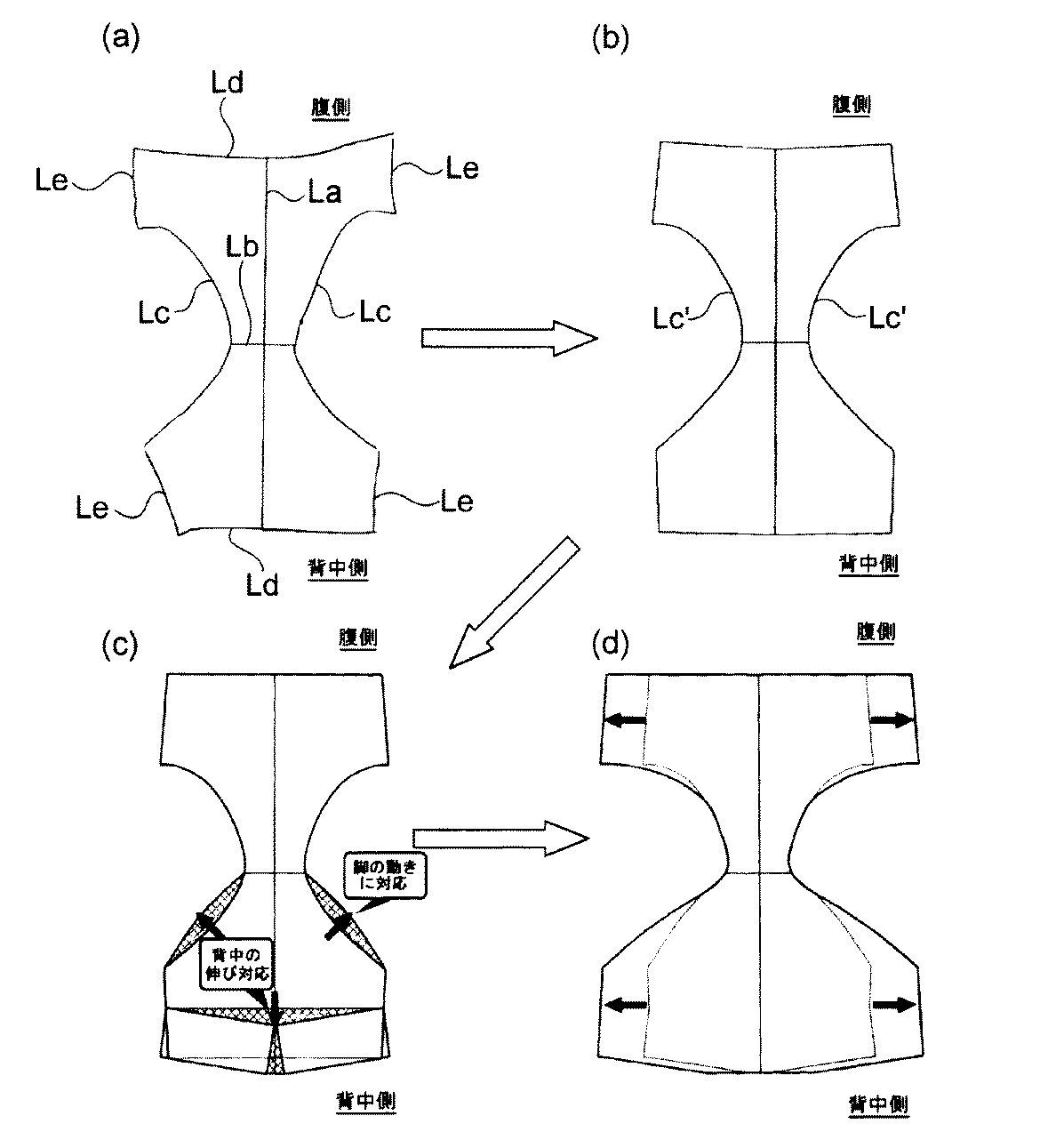
第1ステップ;シーチング(吸収性物品の平面形状に比べて充分な寸法を有する布)を、モニター(幼児等)の身体に直接当て、立体裁断により、モニターのウエスト回り、大腿部の付根に沿った大腿付根回り(図5における大腿付根囲)及び脇の各ラインを書き込み、得られたパターンを平面形状設計のベースパターンとする。このベースパターンをCADに取りこみ、その後の修正処理を行う。図6(a)は、このようにして身体形状を転写して得たベースパターンを示すもので、図中の縦線分Laは、モニターの臍点から第1腰椎までの距離〔図5参照〕を示し、該縦線分に直交する横線分Lbは、左右の大腿付根回りのライン間の距離が最小となる前後方向の位置(モニターの股間幅が最小となる前後方向の位置に相当)及びその最小距離を示している。また、曲線Lcは、前記大腿付根回りのラインを示し、曲線Ldは、臍点及び第1腰椎を通るウエスト回りのラインを示し、曲線Leは、モニターの脇のライン(モニターの左右側部の稜線)を示している。このようにして、複数のモニターについてのベースパターンを得る。
In order to further improve the fit to the wearer's body, in the present embodiment, a diaper is produced using the following design method.
First step: Apply a sheeting (a cloth having sufficient dimensions compared to the planar shape of the absorbent article) directly to the body of the monitor (such as an infant), and by draping around the waist of the monitor and at the root of the thigh The line around the thigh root (the thigh root circumference in FIG. 5) and each side line are written, and the obtained pattern is used as a base pattern for the planar shape design. This base pattern is taken into CAD, and the subsequent correction process is performed. FIG. 6A shows a base pattern obtained by transferring the body shape in this way. The vertical line segment La in the figure is the distance from the umbilical point of the monitor to the first lumbar vertebra [see FIG. The horizontal line segment Lb orthogonal to the vertical line segment indicates the position in the front-rear direction where the distance between the lines around the left and right thigh roots is minimum (corresponding to the position in the front-rear direction where the crotch width of the monitor is minimum) And its minimum distance. A curve Lc indicates a line around the thigh root, a curve Ld indicates a line around the waist passing through the umbilicus and the first lumbar vertebra, and a curve Le indicates a line on the side of the monitor (on the left and right sides of the monitor). (Ridge line). In this way, a base pattern for a plurality of monitors is obtained.
第2ステップ;各ベースパターンに対し、左右の不均一是正のために、一定の規則に従った修正を加える。例えば、縦線分La及び横線分Lbの長さ及び位置関係、並びに縦線分Laの左右両側に存する曲線Lcのうちの信頼性の高い方の形状や長さは修正せず、左右の曲線Lcのうちの信頼性の低い方を、信頼性の高い方を縦線分Laに対して線対称に複写した曲線Lc’に置換し、曲線Leについては、ベースパターンの長手方向の各端部において、左右のいずれか長い方の形状及び長さを、短い方の形状及び長さに統一する。曲線Ldについては、ベースパターンの前後左右の部分に分割し、それらを平均化した形状に統一する。図6(b)は、このようにして修正を加えた修正ベースパターンを示す。 Second step: For each base pattern, corrections according to certain rules are made to correct the left and right non-uniformities. For example, the length and positional relationship of the vertical line segment La and the horizontal line segment Lb, and the shape and length of the more reliable one of the curved lines Lc existing on the left and right sides of the vertical line segment La are not corrected. The lower reliability of Lc is replaced with a curved line Lc ′ in which the higher reliability is copied symmetrically with respect to the vertical line segment La. For the curved line Le, each end of the base pattern in the longitudinal direction is replaced. In FIG. 5, the longer shape and length of the left and right are unified to the shorter shape and length. The curve Ld is divided into front, rear, left and right portions of the base pattern, and these are unified into an averaged shape. FIG. 6B shows a corrected base pattern that has been corrected in this way.
第3ステップ;修正ベースパターンを、モニターの年齢(月例)や男女の別等により複数の群に区分し、区分毎に平均化を行い、マスターパターンを得る。全修正ベースパターンを纏めて平均化し、これをマスターパターンとすることもできる。 Third step: The corrected base pattern is divided into a plurality of groups according to the age of the monitor (monthly), gender, etc., and averaged for each category to obtain a master pattern. All corrected base patterns can be averaged together and used as a master pattern.
第4ステップ;モニターを自由に行動させ、その行動の様子をビデオ等に記録して観察する。モニターが頻繁に行う動作及びそれらの動作において着用者の肌がどのように伸縮するかを判断する。幼児の行動を観察及び分析した結果、パンツ型吸収性物品(特にパンツ型おむつ)を使用する月例の幼児は、匍匐動作、及び、立位から座位又はその逆の動作、座位状態で前かがみになる動作、走り回る動作を頻繁に行い、匍匐動作においては背中面や大腿付根部分、立位から座位又はその逆の動作においては背中面に加えて腹側における胴回り部分、座位状態で前かがみになる動作においては背中面、走り回る動作においては大腿付根部分の皮膚が頻繁に伸縮することが判った。 Fourth step: The monitor is allowed to act freely, and the behavior is recorded on a video and observed. The actions frequently performed by the monitor and how the wearer's skin expands and contracts during these actions is determined. As a result of observing and analyzing the behavior of infants, monthly infants using pants-type absorbent articles (especially pants-type diapers) lean forward and lean from standing to sitting or vice versa. In the heel movement, the back surface and the thigh root part, in the standing to sitting position or vice versa, in addition to the back surface, the waist part in the ventral side, the movement that leans forward in the sitting position It was found that the skin at the base of the thigh frequently expands and contracts when running around the back.
第5ステップ;第3ステップで得られた各マスターパターン(又は単一のマスターパターン)に対し、第4ステップにおいて得られた皮膚の伸縮の知見を反映させた修正を加える。この修正は、皮膚の伸縮に追従して伸縮できるだけの領域を確保するために行う。図6(c)は、着用者の背中面の皮膚の伸縮及び大腿付根部分の皮膚の伸縮に追従して伸縮する領域を使い捨て吸収性物品に確保するために、マスターパターンに格子模様を付した領域を加えて得られた修正マスターパターンを示すものである。腹側における胴回り部分の皮膚の伸縮に追従する領域については、次のステップで付与するはかせやすさ(装着しやすさ)付与のための領域に含まれるので、ここでは省略する。 Fifth step: A correction reflecting the knowledge of skin expansion and contraction obtained in the fourth step is added to each master pattern (or a single master pattern) obtained in the third step. This correction is performed in order to ensure an area that can be expanded and contracted following the expansion and contraction of the skin. FIG. 6 (c) shows a lattice pattern on the master pattern in order to secure the disposable absorbent article with a stretchable region that follows the stretch of the skin on the back of the wearer and the stretch of the skin at the thigh root portion. The correction master pattern obtained by adding the area is shown. The region following the skin expansion and contraction of the waistline portion on the abdominal side is included in the region for imparting ease (ease of wearing) to be applied in the next step, and is omitted here.
第6ステップ;修正マスターパターンに対し、はかせやすさ(装着しやすさ)を付与するための修正を加える。図6(d)は、修正マスターパターンを幅方向に所定の倍率で拡大して得たパターンを示す図である。この修正により得られたパターンがおむつの平面形状となる最終パターンである。 Sixth step: A correction is applied to the correction master pattern to give ease (mounting ease). FIG. 6D is a diagram showing a pattern obtained by enlarging the corrected master pattern at a predetermined magnification in the width direction. The pattern obtained by this correction is the final pattern that becomes the planar shape of the diaper.
第7ステップ;最終パターンに対して、どのように弾性部材を配置するかを、第4ステップにおいて得られた皮膚の伸縮を考慮して決定する。この弾性部材の配置においては、皮膚の伸縮に追従して弾性伸縮し得る領域が形成されるように弾性部材を配置すると共に、漏れ防止等の従来からの観点に基づき弾性部材を配置する。そして、必要な部材の配置等を決定することにより、使い捨て吸収性物品の設計が完了する。 Seventh step: How to dispose the elastic member with respect to the final pattern is determined in consideration of the expansion and contraction of the skin obtained in the fourth step. In the arrangement of the elastic member, the elastic member is arranged so as to form a region that can elastically expand and contract following the expansion and contraction of the skin, and the elastic member is arranged based on a conventional viewpoint such as leakage prevention. And design of a disposable absorbent article is completed by determining arrangement | positioning etc. of a required member.
以上の設計手法に基づき設計されたパンツ型使い捨ておむつにおいては、以下の要件(a)〜(e)の何れか1つ又は2以上を具備することで、着用者の身体へのフィット性が極めて良好になる。2以上の要件の組み合わせとしては、以下の要件(a)〜(e) の何れか一つと他の一つとの組み合わせ〔以下、組み合わせ(1)という。例えば(a)+(b)、(a)+(c)、(a)+(d)、(a)+(e)、 (b)+(c)、(b) +(d)、(b)+(e)、(c)+(d)、(c)+(e)、(d)+(e)等〕、組み合わせ(1)と更に他の一つの要件との組み合わせ〔以下、組み合わせ(2)という〕、組み合わせ(2)と更に他の一つの要件との組み合わせ〔以下、組み合わせ(3)という〕、及び組み合わせ(3)と更に他の一つの要件との組み合わせ等を挙げることができる。 In the pants-type disposable diaper designed based on the above design method, the fit to the wearer's body is extremely high by having any one or more of the following requirements (a) to (e). Become good. The combination of two or more requirements is a combination of any one of the following requirements (a) to (e) with the other [hereinafter referred to as combination (1). For example, (a) + (b), (a) + (c), (a) + (d), (a) + (e), (b) + (c), (b) + (d), ( b) + (e), (c) + (d), (c) + (e), (d) + (e), etc.), a combination of combination (1) and another requirement (hereinafter, (Combination (2)), combination (2) with one more requirement (hereinafter referred to as combination (3)), combination (3) with one more requirement, etc. Can do.
<要件>
(a);腹側部及び背側部のウエスト部に、前記ウエスト開口部の周方向に沿ってウエスト弾性部材が配設されており、両ウエスト部を、吸収性物品幅方向に最大伸張率の50%迄伸張させたときの引張荷重が2〜5Nである。
(b);腹側部の胴回り部における吸収体の両側縁の位置より幅方向外方に位置する両サイド部に、吸収性物品縦方向に対して45度背側に傾いた方向に伸縮可能な弾性伸縮部を有する。腹側部及び背側部の両胴回り部を、おむつ幅方向に最大伸張率の50%迄伸張させたときの引張荷重が1N以下であることが好ましい。
(c); 背側部における吸収体とウエスト開口部の周縁端(展開型の使い捨て吸収性物品においては長手方向の縁端)との間に、吸収性物品縦方向に伸縮する弾性伸縮部を有する。この場合、背側部における前記ウエスト開口部の周縁端が、凸状に形成されていることが好ましい。
(d); ウエスト弾性部材は、吸収性物品着用時に着用者の腸骨棘点よりも上方に位置するように配されている。
(e);背側部におけるレッグ開口部の近傍に、該背側部における該レッグ開口部の周縁端に対して垂直方向に伸縮可能な弾性伸縮部を有している。この場合、前記背側部における前記レッグ開口部の周縁端が、該レッグ開口部の開口部中心に向かって凸に湾曲していることが好ましい。
<Requirements>
(a); waist elastic members are disposed along the circumferential direction of the waist opening at the waist portions of the ventral side portion and the back side portion, and both waist portions are stretched to the maximum in the absorbent article width direction. The tensile load when it is extended to 50% of 2 to 5 N.
(b): Can be expanded and contracted in a direction inclined to the back side by 45 degrees with respect to the longitudinal direction of the absorbent article on both side portions located outward in the width direction from the positions of both side edges of the absorbent body in the waist part of the ventral side It has an elastic elastic part. It is preferable that the tensile load when the both waist portions of the abdominal side and the back side are extended to 50% of the maximum extension rate in the diaper width direction is 1 N or less.
(c); an elastic expansion / contraction part that expands and contracts in the longitudinal direction of the absorbent article between the absorbent body on the back side and the peripheral edge of the waist opening (the longitudinal edge in the case of a deployable disposable absorbent article); Have. In this case, it is preferable that the peripheral edge of the waist opening in the back side is formed in a convex shape.
(d); The waist elastic member is disposed so as to be positioned above the wearer's iliac spine when the absorbent article is worn.
(e) An elastic stretchable portion that can be stretched in the vertical direction with respect to the peripheral edge of the leg opening portion in the back side portion is provided in the vicinity of the leg opening portion in the back side portion. In this case, it is preferable that the peripheral edge of the leg opening in the back side is curved convexly toward the center of the opening of the leg opening.
上述した設計手法に基づき設計されたパンツ型使い捨ておむつは、身体を強く締め付けることなく、ズレ落ちにくさや身体へのフィット性を実現する。 The pants-type disposable diaper designed based on the design method described above realizes difficulty in slipping and fit to the body without strongly tightening the body.
本実施形態のパンツ型使い捨ておむつの展開状態が図7に示されている。図7に示すおむつ100による身体の締め付けに対しては、両ウエスト部D,Dを、おむつ幅方向に最大伸張率の50%迄伸張させたときの引張荷重が2〜5Nであり、特に3〜4Nであることが好ましい。最大伸張率の50%迄伸張させたときの引張荷重は、以下のようにして測定される。
The unfolded state of the pants-type disposable diaper of this embodiment is shown in FIG. For tightening the body with the
〔両ウエスト部の引張荷重の測定方法〕
おむつから両ウエスト部を、両者が連結されたリング状の状態のまま切り取り、これをサンプルとする。このサンプルを、水平な面上に、両ウエスト部の何れか一方のウエスト部の外面が、該水平な面に当接するように載置し、自然に収縮した状態における該サンプルの両端部間(左右のサイド接合部23同士間)の長さを測定して初期長とする。そして、そのサンプルを、テンシロン引っ張り試験機〔(株)オリエンテック社製、「RTC−1150A」〕のチャック間に固定し、速度300mm/minで、おむつ幅方向と同じ方向に伸張させる。サンプルを、初期長から、図7に示す設計寸法(弾性部材の影響を一切排除した状態で平面状に広げたときの寸法と同じ、但し、腹側部Aと背側部Bとでウエスト部の設計寸法が異なる場合にはその平均値)まで伸張させたときの伸張率〔(伸張後の長さ−初期長)/初期長 ×100〕を最大伸張率とし、その最大伸張率の50%の伸張率まで伸張させたときの引張荷重を求める。
[Measurement method of tensile load at both waists]
Both waist parts are cut out from the diaper in a ring-like state in which both are connected, and this is used as a sample. This sample is placed on a horizontal surface so that the outer surface of either one of the waist portions is in contact with the horizontal surface, and between both ends of the sample in a naturally contracted state ( The length between the left and right side joints 23) is measured and set as the initial length. Then, the sample is fixed between chucks of a Tensilon tensile tester [manufactured by Orientec Co., Ltd., “RTC-1150A”] and stretched in the same direction as the diaper width direction at a speed of 300 mm / min. From the initial length, the design dimensions shown in FIG. 7 (same as the dimensions when flattened in a state in which the influence of the elastic member is completely eliminated, except that the waist portion is formed between the ventral portion A and the dorsal portion B. If the design dimensions are different from each other, the average value thereof) is defined as the maximum expansion ratio (expanded length−initial length) / initial length × 100), and 50% of the maximum expansion ratio. Obtain the tensile load when stretched to the stretch rate of.
更に、腹側部及び背側部の両胴回り部E,E(図7参照)を、おむつ幅方向に最大伸張率の50%迄伸張させたときの引張荷重が1N以下である。両胴回り部の前記引張荷重は、以下のようにして測定される。
〔両胴回り部の引張荷重の測定方法〕
おむつから両胴回り部を、両者が連結されたリング状の状態のまま切り取り、これをサンプルとする。このサンプルを、水平な面上に、両ウエスト部の何れか一方の胴回り部の外面が、該水平な面に当接するように載置し、自然に収縮した状態における該サンプルの両端部間(左右のサイド接合部同士間)の長さを測定して初期長とする。そして、そのサンプルを、テンシロン引っ張り試験機〔(株)オリエンテック社製、「RTC−1150A」〕のチャック間に固定し、速度300mm/minで、おむつ幅方向と同じ方向に伸張させる。サンプルを、初期長から、図7に示す設計寸法(弾性部材の影響を一切排除した状態で平面状に広げたときの寸法と同じ。但し、腹側部Aと背側部Bとで胴回り部の設計寸法が異なる場合にはその平均値)まで伸張させたときの伸張率〔(伸張後の長さ−初期長)/初期長 ×100〕を最大伸張率とし、その最大伸張率の50%の伸張率まで伸張させたときの引張荷重を読み取る。
Further, the tensile load when the waist portions E and E (see FIG. 7) of the abdominal side and the back side are extended to 50% of the maximum extension rate in the diaper width direction is 1 N or less. The said tensile load of both waist parts is measured as follows.
[Measurement method of tensile load on both waists]
Both waistline parts are cut out from the diaper in a ring-like state in which both are connected, and this is used as a sample. This sample is placed on a horizontal surface so that the outer surface of one of the waist portions of both waist portions is in contact with the horizontal surface, and between the both ends of the sample in a naturally contracted state ( The length between the left and right side joints) is measured to obtain the initial length. Then, the sample is fixed between chucks of a Tensilon tensile tester [manufactured by Orientec Co., Ltd., “RTC-1150A”] and stretched in the same direction as the diaper width direction at a speed of 300 mm / min. From the initial length, the design dimensions shown in FIG. 7 are the same as the dimensions when the sample is expanded in a flat shape without any influence of the elastic member (however, the waist part is the ventral part A and the back part B). If the design dimensions are different from each other, the average value thereof) is defined as the maximum expansion ratio (expanded length−initial length) / initial length × 100), and 50% of the maximum expansion ratio. Read the tensile load when stretched to the stretch rate of.
本実施形態と同様の構成の試作品を作製し、着用時における腹側部Aの胴回り部Eと着用者の肌との間に圧力センサーを挿入して、肌に対する押圧力を測定したところ2g/cm2以下であり、従来の胴回りギャザー付きパンツ型おむつ(7g/cm2以上)に比して締め付けの程度が極端に小さいことが確認された。 A prototype having the same configuration as that of the present embodiment was prepared, and a pressure sensor was inserted between the waist part E of the abdominal side A and the wearer's skin when worn, and the pressing force against the skin was measured. / Cm 2 or less, and it was confirmed that the degree of tightening was extremely small compared to conventional pants-type diapers with gathers around the waist (7 g / cm 2 or more).
図7に示すおむつ100は、自然状態におけるウエスト開口部の周長に対する最大伸張時の該ウエスト開口部の周長の比が好ましくは1.4〜2.2であり、更に好ましくは1.6〜2.0である。腹側部A及び背側部Bにおけるウエスト弾性部材101は、おむつ着用時に着用者の腸骨棘点(直立した状態の着用者の腸骨棘点の高さ位置)よりも上方に位置するように配されている。
In the
各レッグ開口部の開口周縁部には、その周方向に沿ってレッグ部弾性部材102が配されている。また、胴回り部Eにおける吸収体103の両側縁104,104の位置より幅方向外方の部位に、おむつ幅方向に収縮する弾性伸縮部が形成されている。この弾性伸縮部を形成する胴回り弾性部材105は、吸収体103と重なる部位を挟んで左右に分割配置されているが、左右の胴回り弾性部材105が、吸収体103と重なる部位を横断して連続していても良い。
A leg
背側部Bにおけるレッグ開口部の周縁端106は、図7に示すように、該レッグ開口部の開口部中心に向かって凸に湾曲している。
As shown in FIG. 7, the
以上、本発明をその好ましい実施形態に基づき説明したが、本発明は前記実施形態に制限されない。例えば、本発明を、従来技術の項で述べたようなサイドパネルを有する使い捨ておむつに適用することもできる。サイドパネルを有する使い捨ておむつは、一般に着用者の身体への密着しやすいことから、着装内の湿度が上昇しやすい傾向にあるので、本発明をかかるおむつに適用することは、着装内の湿度上昇を抑制する点から効果的である。 As mentioned above, although this invention was demonstrated based on the preferable embodiment, this invention is not restrict | limited to the said embodiment. For example, the present invention can be applied to a disposable diaper having a side panel as described in the section of the prior art. Since disposable diapers having side panels generally tend to adhere to the wearer's body, the humidity in the clothing tends to increase. Therefore, applying the present invention to such a diaper increases the humidity in the clothing. It is effective from the point of suppressing.
本発明を、サイドパネルを有する使い捨ておむつに適用する場合、サイドパネルの形状は、先に述べた設計方法に基づいて設計されることが望ましい。サイドパネルを構成する伸縮材は、代表的にはエラストマー材料と織布又は不織布、望ましくは不織布を複合化したものである。エラストマー材料としては、ポリスチレン、イソプレン又はポリブタジエンのブロック共重合体(スチレン−エチルブタジエン−スチレン、スチレン−イソプレン−スチレン)、エチレン共重合体、天然ゴム、ウレタン、酢酸ビニル−エチレン、酢酸エチル−エチレン、アクリル酸−エチレンおよびアクリル酸メチル−エチレン、エチレンープロピレン共重合体等が挙げられる。エラストマー材料はフィルムまたは繊維集合体の形に成形される。不織布の例としては、ポリエチレン、ポリプロピレン、ポリエチレンテレフタレートなどの熱可塑性樹脂を単独で用いた繊維又はこれらの複合繊維を用いた、サーマルボンド不織布、スパンボンド不織布、スパンボンドーメルトブローンースパンボンド不織布、スパンボンドーメルトブローンーメルトブローンースパンボンド不織布の他、ニードルパンチ不織布、スパンレース不織布等が挙げられる。エラストマー材料と不織布との複合材料に伸縮性を付与する方法としては、エラストマーと不織布を未伸長下で複合化した後で、不織布にスリット加工やある種の破砕処理を施す方法や、予め伸長状態にあるエラストマーに不織布を複合する方法が挙げられる。いずれの材料、方法を用いて作製された伸縮材も通気性を有することが望ましい。 When the present invention is applied to a disposable diaper having a side panel, the shape of the side panel is desirably designed based on the design method described above. The stretchable material constituting the side panel is typically a composite of an elastomer material and a woven or non-woven fabric, preferably a non-woven fabric. Elastomer materials include polystyrene, isoprene or polybutadiene block copolymers (styrene-ethylbutadiene-styrene, styrene-isoprene-styrene), ethylene copolymers, natural rubber, urethane, vinyl acetate-ethylene, ethyl acetate-ethylene, Examples include acrylic acid-ethylene, methyl acrylate-ethylene, and ethylene-propylene copolymer. The elastomeric material is formed into a film or fiber assembly. Examples of the nonwoven fabric include thermal bond nonwoven fabric, spunbond nonwoven fabric, spunbond-meltblown-spunbond nonwoven fabric, spun using fibers solely using thermoplastic resins such as polyethylene, polypropylene, polyethylene terephthalate, or composite fibers thereof. In addition to bond-melt blown-melt blown-spun bond nonwoven fabric, needle punched nonwoven fabric, spunlace nonwoven fabric and the like can be mentioned. As a method for imparting stretchability to a composite material of an elastomer material and a nonwoven fabric, a method of subjecting the nonwoven fabric to slit processing or some kind of crushing treatment after combining the elastomer and the nonwoven fabric under non-extension, or a stretched state in advance And a method of combining a non-woven fabric with the elastomer described above. It is desirable that the stretch material produced using any material and method has air permeability.
また本発明は、使い捨ておむつに限られず、他の吸収性物品、例えば各種生理用ナプキンや、失禁パッド等にも同様に適用できる。特に、ショーツ型のナプキンを始めとする着用タイプの吸収性物品への適用が効果的である。 Moreover, this invention is not restricted to a disposable diaper, It can apply similarly to other absorbent articles, for example, various sanitary napkins, an incontinence pad, etc. In particular, application to wear-type absorbent articles such as shorts-type napkins is effective.
〔実施例1〕
先ず、捲縮したアセテート長繊維のトウを用意した。この長繊維の繊維径は2.1dtex、トウの全繊維量は2.5万dtexであった。このトウを、伸長下に空気開繊装置を用いて開繊して開繊ウエブを得た。更に、多数の円盤が軸周りに所定間隔おきに組み込まれたロールと、平滑な受けロールとの間に開繊ウエブを通して、該ウエブを梳いた。その後、ウエブを幅100mmに調節し、その搬送速度を減速した状態でバキュームコンベア上に転写し、当該バキュームコンベア上でのウエブの張力を緩めて捲縮を発現させた。ウエブ中の長繊維の捲縮率は30%、1cm当たりの捲縮数は15個であった。これによって長繊維間の空間を広げ、高吸収性ポリマーを入り込ませ易くし、またウエブを厚くして高吸収性ポリマーの埋没担持性を向上させた。ウエブ上に高吸収性ポリマー130g/m2を散布し、該ポリマーの粒子が開繊ウエブ中に埋設担持された第1ウエブp1を得た。以後、この操作と同様の操作をもう一度繰り返して、高吸収性ポリマーの粒子が埋没担持されたウエブからなる第2ウエブをp2得た。このようにして得られた第1ウエブp1と第2ウエブp2の間に、坪量50g/m2のフラッフパルプ層を挟んだ。
[Example 1]
First, a crimped acetate long fiber tow was prepared. The fiber diameter of this long fiber was 2.1 dtex, and the total fiber amount of tow was 25,000 dtex. The tow was opened using an air opening device under elongation to obtain a spread web. Further, the web was wound by passing a spread web between a roll in which a large number of disks were incorporated around the axis at predetermined intervals and a smooth receiving roll. Thereafter, the web was adjusted to a width of 100 mm, transferred to a vacuum conveyor in a state where the conveyance speed was reduced, and the web tension on the vacuum conveyor was relaxed to develop crimps. The crimp rate of the long fibers in the web was 30%, and the number of crimps per 1 cm was 15. As a result, the space between the long fibers was widened to facilitate the entry of the superabsorbent polymer, and the web was thickened to improve the embedding supportability of the superabsorbent polymer. A superabsorbent polymer of 130 g / m 2 was sprayed on the web to obtain a first web p1 in which particles of the polymer were embedded and supported in the spread web. Thereafter, the same operation as this operation was repeated once more to obtain a second web p2 composed of a web in which particles of superabsorbent polymer were embedded and supported. A fluff pulp layer having a basis weight of 50 g / m 2 was sandwiched between the first web p1 and the second web p2 thus obtained.
更に、第2ウエブp2の下に坪量100g/m2のフラッフパルプ層を配した。これら全体を、ホットメルト粘着剤5g/m2をスプレー塗工した坪量16g/m2のティッシュペーパーで包み、吸収体を得た。吸収体においては、肌から最も遠い面側に、坪量100g/m2のフラッフパルプ層が位置している。吸収体全体の坪量は502g/m2、厚さは2.2mmであった。また各開繊ウエブの坪量は13g/m2であった。 Further, a fluff pulp layer having a basis weight of 100 g / m 2 was disposed under the second web p2. Their entirety, wrapped in tissue paper of the hot melt adhesive basis weight 16g / m 2 of a 5 g / m 2 was spray coating, to obtain an absorbent. In the absorbent body, a fluff pulp layer having a basis weight of 100 g / m 2 is located on the side farthest from the skin. The basis weight of the entire absorber was 502 g / m 2 and the thickness was 2.2 mm. The basis weight of each spread web was 13 g / m 2 .
表面シートとして坪量25g/m2のエアスルー不織布を用いた。表面シートには直径5mmの金属ピンで開孔処理が施されていた。エアスルー不織布は、芯がポリプロピレン、鞘が直鎖状低密度ポリエチレンからなる芯鞘型複合繊維(太さ2.1dtex、界面活性剤で表面処理、液透過性を有する)から構成されていた。裏面シートとして坪量20g/m2の多孔質フィルムに、坪量20g/m2のポリプロピレン製スパンボンド不織布をホットメルト1.5g/m2で接着して複合化したものを用いた。多孔質フィルムは、密度0.925g/cm3の直鎖状低密度ポリエチレン樹脂100重量部に、炭酸カルシウム150重量部、及び第三成分としてエステル化合物4重量部を均一混合したものを、インフレーション成形した後、縦方向に2倍に一軸延伸したフィルムであった。それ以外は通常の使い捨ておむつの製造方法に従い、図1及び図2に示す構造の使い捨ておむつを得た。吸収体は、ウエブの配向方向が、おむつの長手方向に一致するように配した。 An air-through nonwoven fabric having a basis weight of 25 g / m 2 was used as the surface sheet. The surface sheet was subjected to a hole opening treatment with a metal pin having a diameter of 5 mm. The air-through nonwoven fabric was composed of a core-sheath type composite fiber (thickness: 2.1 dtex, surface treatment with a surfactant and liquid permeability) having a core made of polypropylene and a sheath made of linear low density polyethylene. A porous film having a basis weight of 20 g / m 2 as a backsheet, used was composite by bonding a polypropylene spunbond nonwoven fabric having a basis weight of 20 g / m 2 hot melt 1.5 g / m 2. The porous film is obtained by uniformly forming 100 parts by weight of a linear low density polyethylene resin having a density of 0.925 g / cm 3 , 150 parts by weight of calcium carbonate, and 4 parts by weight of an ester compound as a third component. The film was uniaxially stretched twice in the longitudinal direction. Other than that, according to the manufacturing method of a normal disposable diaper, the disposable diaper of the structure shown in FIG.1 and FIG.2 was obtained. The absorber was arranged so that the orientation direction of the web coincided with the longitudinal direction of the diaper.
〔実施例2〕
高吸収性ポリマーの散布坪量を110g/m2とした以外は実施例1と同様に高吸収性ポリマーの粒子が開繊ウエブ中に埋没担持されたウエブp1を得た。次に、開繊したフラッフパルプ100重量部と高吸収性ポリマー100重量部を気流中で均一混合し、合計坪量300g/m2の混合体mを得た。混合体におけるフラッフパルプ及び高吸収ポリマーの坪量はそれぞれ150g/m2であった。ウエブp1に混合体mを重ね、これらを親水化処理した坪量16g/m2のスパンボンド−メルトブローン−スパンボンド不織布(SMS)を用いて包み込み、吸収体を得た。吸収体全体の坪量は482g/m2、厚さは2mmであった。それ以外は実施例1と同様にして使い捨ておむつを得た。
[Example 2]
A web p1 in which particles of a superabsorbent polymer were embedded and supported in a spread web was obtained in the same manner as in Example 1 except that the scattering basis weight of the superabsorbent polymer was 110 g / m 2 . Next, 100 parts by weight of the opened fluff pulp and 100 parts by weight of the superabsorbent polymer were uniformly mixed in an air stream to obtain a mixture m having a total basis weight of 300 g / m 2 . The basis weights of fluff pulp and superabsorbent polymer in the mixture were 150 g / m 2 , respectively. The mixture m was overlapped on the web p1, and these were wrapped using a spunbond-meltblown-spunbond nonwoven fabric (SMS) having a basis weight of 16 g / m 2 obtained by hydrophilization to obtain an absorbent body. The basis weight of the entire absorbent body was 482 g / m 2 and the thickness was 2 mm. Other than that was carried out similarly to Example 1, and obtained the disposable diaper.
〔実施例3〕
実施例2において、ウエブp1と混合体mの積層体を直径5mmの金属ピンを用いて開孔処理した以外は実施例2と同様にして吸収体を得た。開孔は吸収体前側先端から100mmの位置を基点に、200mmの長さで、幅50mmにわたって形成した。幅方向に隣り合う金属ピンの先端の間隔は1cm、前後は千鳥パターンで配列してあり、前後の金属ピンの先端の間隔も1cmであるものを使用した。得られた吸収体を用いて、実施例2と同様にして使い捨ておむつを得た。
Example 3
In Example 2, an absorbent body was obtained in the same manner as in Example 2 except that the laminate of the web p1 and the mixture m was subjected to a hole opening treatment using a metal pin having a diameter of 5 mm. The opening was formed with a length of 200 mm and a width of 50 mm starting from a position of 100 mm from the front end of the absorber. The metal pins that are adjacent to each other in the width direction have an interval of 1 cm, the front and rear are arranged in a staggered pattern, and the front and rear metal pins have an interval of 1 cm. The disposable diaper was obtained like Example 2 using the obtained absorber.
〔実施例4〕
実施例1のウエブに対し、高吸収性ポリマーの散布坪量を110g/m2とし、該高吸収性ポリマーを開繊ウエブ中に埋没担持させた。次に、開繊したフラッフパルプ100重量部と高吸収性ポリマー100重量部を気流中で均一混合したものをT字状の型の上に積繊し、合計坪量300g/m2の積繊体を得た。T字状の型は、脚部の幅が100mmで、長さが100mm、横架部の幅が125mmで、長さが100mmあった。積繊体におけるフラッフパルプ及び高吸収ポリマーの坪量はそれぞれ150g/m2であった。積繊体上にウエブを重ね、これら全体をホットメルト粘着剤をスプレー塗工した坪量16g/m2のティッシュペーパーで包み吸収体を得た。それ以外は実施例1と同様にして使い捨ておむつを得た。
Example 4
With respect to the web of Example 1, the basis weight of the superabsorbent polymer was set to 110 g / m 2 , and the superabsorbent polymer was embedded and supported in the spread web. Next, 100 parts by weight of the opened fluff pulp and 100 parts by weight of the superabsorbent polymer are uniformly mixed in an air stream and stacked on a T-shaped mold, and the total basis weight is 300 g / m 2 . Got the body. The T-shaped mold had a leg width of 100 mm, a length of 100 mm, a horizontal frame width of 125 mm, and a length of 100 mm. The basis weights of the fluff pulp and the superabsorbent polymer in the piled body were 150 g / m 2 , respectively. The web was stacked on the piled fiber, and the whole was wrapped with a tissue paper having a basis weight of 16 g / m 2 and spray-coated with a hot melt adhesive to obtain an absorbent. Other than that was carried out similarly to Example 1, and obtained the disposable diaper.
〔実施例5〕
実施例4において、長繊維の繊維径を6.7dtex、トウの全繊維量を1.7万dtex、ウエブ中の長繊維の捲縮率を24%、1cm当たりの捲縮数を10個であり、ウエブの平均坪量を30g/m2とした以外は実施例4と同様にして積層体を得た。それ以外は実施例4と同様にして使い捨ておむつを得た。
Example 5
In Example 4, the fiber diameter of the long fibers was 6.7 dtex, the total fiber amount of the tow was 17,000 dtex, the crimp rate of the long fibers in the web was 24%, and the number of crimps per cm was 10 pieces. Yes, a laminate was obtained in the same manner as in Example 4 except that the average basis weight of the web was 30 g / m 2 . Other than that was carried out similarly to Example 4, and obtained the disposable diaper.
〔比較例1〕
開繊したフラッフパルプ100重量部と高吸収性ポリマー100重量部を気流中で均一混合し、合計坪量520g/m2の混合体を得た。フラッフパルプ及び高吸収ポリマーの坪量はそれぞれ260g/m2であった。得られた混合体を坪量16g/m2のティッシュペーパーで包み吸収体を得た。混合体とティッシュペーパーの間は、ホットメルト粘着剤5g/m2をスプレー塗工し接着した。吸収体全体の坪量は562g/m2、厚さは4.3mmであった。これら以外は実施例1と同様にして使い捨ておむつを得た。
[Comparative Example 1]
100 parts by weight of the opened fluff pulp and 100 parts by weight of the superabsorbent polymer were uniformly mixed in an air stream to obtain a mixture having a total basis weight of 520 g / m 2 . The basis weights of the fluff pulp and the superabsorbent polymer were 260 g / m 2 , respectively. The obtained mixture was wrapped with a tissue paper having a basis weight of 16 g / m 2 to obtain an absorbent. Between the mixture and tissue paper, 5 g / m 2 of hot melt pressure-sensitive adhesive was spray-coated and adhered. The basis weight of the entire absorbent body was 562 g / m 2 and the thickness was 4.3 mm. Except these, it carried out similarly to Example 1, and obtained the disposable diaper.
〔比較例2〕
比較例1と同様に、開繊したフラッフパルプ100重量部と高吸収性ポリマー100重量部を気流中で均一混合し、合計坪量300g/m2の混合体を得た。フラッフパルプ及び高吸収ポリマーの坪量はそれぞれ150g/m2であった。それ以外は比較例1と同様にして吸収体を得た。吸収体全体の坪量は342g/m2、厚さは2.6mmであった。この吸収体を用いる以外は比較例1と同様にして使い捨ておむつを得た。
[Comparative Example 2]
As in Comparative Example 1, 100 parts by weight of the opened fluff pulp and 100 parts by weight of the superabsorbent polymer were uniformly mixed in an air stream to obtain a mixture having a total basis weight of 300 g / m 2 . The basis weights of the fluff pulp and the superabsorbent polymer were 150 g / m 2 , respectively. Other than that was carried out similarly to the comparative example 1, and obtained the absorber. The basis weight of the entire absorbent body was 342 g / m 2 and the thickness was 2.6 mm. A disposable diaper was obtained in the same manner as in Comparative Example 1 except that this absorber was used.
〔比較例3〕
比較例1と同様に、開繊したフラッフパルプ100重量部と高吸収性ポリマー100重量部を気流中で均一混合し、合計坪量400g/m2の混合体を得た。フラッフパルプ及び高吸収ポリマーの坪量はそれぞれ200g/m2であった。それ以外は比較例1と同様にして吸収体を得た。吸収体全体の坪量は442g/m2、厚さは3.0mmであった。この吸収体を用いる以外は比較例1と同様にして使い捨ておむつを得た。
[Comparative Example 3]
In the same manner as in Comparative Example 1, 100 parts by weight of the opened fluff pulp and 100 parts by weight of the superabsorbent polymer were uniformly mixed in an air stream to obtain a mixture having a total basis weight of 400 g / m 2 . The basis weights of the fluff pulp and the superabsorbent polymer were 200 g / m 2 , respectively. Other than that was carried out similarly to the comparative example 1, and obtained the absorber. The basis weight of the entire absorbent body was 442 g / m 2 and the thickness was 3.0 mm. A disposable diaper was obtained in the same manner as in Comparative Example 1 except that this absorber was used.
〔比較例4〕
比較例1と同様に、開繊したフラッフパルプ100重量部と高吸収性ポリマー100重量部を気流中で均一混合し、合計坪量200g/m2の混合体を得た。フラッフパルプ及び高吸収ポリマーの坪量はそれぞれ100g/m2であった。それ以外は比較例1と同様にして吸収体を得た。吸収体全体の坪量は242g/m2、厚さは1.7mmであった。この吸収体を用いる以外は比較例1と同様にして使い捨ておむつを得た。
[Comparative Example 4]
Similarly to Comparative Example 1, 100 parts by weight of the opened fluff pulp and 100 parts by weight of the superabsorbent polymer were uniformly mixed in an air stream to obtain a mixture having a total basis weight of 200 g / m 2 . The basis weights of the fluff pulp and the superabsorbent polymer were 100 g / m 2 , respectively. Other than that was carried out similarly to the comparative example 1, and obtained the absorber. The basis weight of the entire absorbent body was 242 g / m 2 and the thickness was 1.7 mm. A disposable diaper was obtained in the same manner as in Comparative Example 1 except that this absorber was used.
〔性能評価〕
実施例及び比較例で得られたおむつにおける吸収体について、以下の方法で吸収容量、通気抵抗値を測定し、柔軟性及び構造安定性を評価した。また、おむつについてフィット性を評価した。それらの結果を以下の表1に示す。
[Performance evaluation]
About the absorber in the diaper obtained by the Example and the comparative example, the absorption capacity | capacitance and ventilation resistance value were measured with the following method, and the softness | flexibility and structural stability were evaluated. Moreover, fit property was evaluated about the diaper. The results are shown in Table 1 below.
〔吸収容量〕
得られた吸収体を45°の傾斜板に固定し、吸収体の上方側の端部から200mmの位置に生理食塩水を40gずつ、5分間隔に繰り返し注入した。吸収体の下方側の端部から漏れ出すまでの注入量を比較した。比較例1の吸収容量を1.0とした時の相対値を以下の計算式を用いて算出した。
吸収容量(相対値)=(サンプルの吸収容量)/(比較例1の吸収容量)
[Absorption capacity]
The obtained absorbent body was fixed to a 45 ° inclined plate, and 40 g of physiological saline was repeatedly injected at intervals of 5 minutes into a position 200 mm from the upper end of the absorbent body. The amount of injection until leakage from the lower end of the absorber was compared. The relative value when the absorption capacity of Comparative Example 1 was 1.0 was calculated using the following formula.
Absorption capacity (relative value) = (absorption capacity of sample) / (absorption capacity of comparative example 1)
〔通気抵抗値〕
100mm×100mmに作製した吸収体の通気抵抗値を、カトーテック製の通気性試験機KES−F8(商品名)を用いて測定した。この装置によれば、一定流量の空気(4cc平方cm/sec)を通過させたときの圧力損失を測定し、通気抵抗値が算出される。測定は5点行い、その平均値を測定値とした。
(Ventilation resistance value)
The ventilation resistance value of the absorber manufactured to 100 mm x 100 mm was measured using a Kato Tech air permeability tester KES-F8 (trade name). According to this apparatus, the pressure loss when a constant flow rate of air (4 cc square cm / sec) is passed is measured, and the ventilation resistance value is calculated. Measurement was performed at five points, and the average value was taken as the measured value.
〔柔軟性〕
吸収体についてハンドルオ・メーター試験を行い、以下の判断基準に従って柔軟性を評価した。数値が小さい程、当てやすさやフィット性が良好であることを示す。
○:ハンドルオ・メーターの測定値が2N以下である。
△:ハンドルオ・メーターの測定値が2Nを超え、4N以下である。
×:ハンドルオ・メーターの測定値が4Nを超える。
[Flexibility]
The absorber was subjected to a handle-ometer test, and the flexibility was evaluated according to the following criteria. The smaller the value, the better the contactability and fit.
○: The measured value of the handle-o-meter is 2N or less.
(Triangle | delta): The measured value of a handle ohm meter exceeds 2N and is 4N or less.
X: The measured value of the handle o meter exceeds 4N.
〔構造安定性〕
(1)ドライ時
50mm×200mmに作製した吸収体の長手方向中央部を幅方向にわたって切断し、50mm×100mmのサンプルを得た。切断面を真下にして、振幅5cmで1回/1秒の速度で20回振動を与えたとき、切断面からの脱落したポリマーの量を測定した。以下の判断基準に従って構造安定性を評価した。
混合した高吸収ポリマーのうち、
○:脱落した高吸収ポリマーの割合が10%以下である。
△:脱落した高吸収ポリマーの量が10%を超え、25%以下である。
×:脱落した高吸収ポリマーの量が25%を超える
(2)ウエット時
50mm×200mmに作製した吸収体全面に、生理食塩水100gをほぼ均等に吸収させた後、静かに吸収体を持ち上げたとき、吸収体が破壊しないかどうかを目視判定した。また、脱落した高吸収性ポリマーの重量を測定し、別途測定しておいた脱落した高吸収性ポリマー単位重量あたりの遠心保持量で除することで脱落した高吸収性ポリマーのドライ時の重量を算出する。さらに、高吸収性ポリマーの配合量との関係から脱落した高吸収性ポリマーの割合を算出する。なお、高吸収性ポリマーの配合量は、あらかじめ重量を測定しておいた分析対象の吸収体をアスコルビン酸の水溶液に浸漬させ、十分な時間日光暴露をして、高吸収性ポリマーを完全に分解させる。水洗と分解を繰り返し、高吸収性ポリマーが完全に溶解した後乾燥させ、前記分解前の吸収体重量の差から高吸収性ポリマーの配合量を見積もることができる。
○:脱落した高吸収ポリマーの割合が10%以下であり、吸収体の破壊がない。
△:脱落した高吸収ポリマーの割合が10%を超え、25%以下であり、吸収体の破壊がない。
×:脱落した高吸収ポリマーの割合が25%を超える、あるいは吸収体が破壊する。
[Structural stability]
(1) At the time of dry The longitudinal direction center part of the absorber produced to 50 mm x 200 mm was cut | disconnected over the width direction, and the sample of 50 mm x 100 mm was obtained. The amount of polymer dropped from the cut surface was measured when the vibration was applied 20 times at a speed of 1 cm / sec with an amplitude of 5 cm with the cut surface directly below. The structural stability was evaluated according to the following criteria.
Of the mixed superabsorbent polymers,
○: The ratio of the superabsorbent polymer that has dropped off is 10% or less.
(Triangle | delta): The quantity of the superabsorbent polymer which dropped out exceeds 10% and is 25% or less.
X: The amount of the superabsorbent polymer dropped off exceeds 25%. (2) When wet The absorbent body produced 50 mm × 200 mm was absorbed almost uniformly by 100 g of physiological saline, and then the absorbent body was gently lifted. At that time, it was visually determined whether or not the absorber was destroyed. Also, the weight of the dropped superabsorbent polymer was measured, and the weight of the dropped superabsorbent polymer when dried was divided by the centrifugal retention per unit weight of the dropped superabsorbent polymer measured separately. calculate. Furthermore, the ratio of the superabsorbent polymer dropped off from the relationship with the blending amount of the superabsorbent polymer is calculated. The amount of the superabsorbent polymer blended was determined by immersing the absorbent to be analyzed in advance in an ascorbic acid aqueous solution and exposing it to sunlight for a sufficient amount of time to completely decompose the superabsorbent polymer. Let Washing with water and decomposition are repeated, the superabsorbent polymer is completely dissolved and then dried, and the blending amount of the superabsorbent polymer can be estimated from the difference in the weight of the absorber before the decomposition.
○: The ratio of the superabsorbent polymer dropped off is 10% or less, and the absorber is not destroyed.
(Triangle | delta): The ratio of the superabsorbent polymer which dropped out exceeds 10% and is 25% or less, and there is no destruction of an absorber.
X: The ratio of the superabsorbent polymer dropped off exceeds 25%, or the absorber is destroyed.
〔フィット性〕
得られたおむつを、Lサイズパンツおむつ使用の乳幼児5名(7ヶ月〜14ヶ月児)に装着させ、母親の印象を聞き取った。
○:すっきりフィットしていて、股間がもこもこしていない。
△:ややすっきりしている。
×:もこもこ感があってすっきりせず、フィットしていない。
[Fitness]
The obtained diapers were attached to 5 infants (7 to 14 months) using L size pants diapers, and their mother's impression was heard.
○: It fits neatly and the crotch is not stiff.
Δ: A little clear.
X: There is a feeling of muffledness, it is not refreshing, and it does not fit.
表1に示す結果から明らかなように、各実施例で作製された吸収体は、十分な吸収容量を有し、且つ通気抵抗値が低いものであることが判る。また柔軟であり、更にドライ時及びウエット時の何れにおいても吸収体の構造が安定していることが判る。そして、各実施例で作製された吸収体を有するおむつは、フィット性が良好になることが判る。 As is clear from the results shown in Table 1, it can be seen that the absorbent bodies produced in each example have a sufficient absorption capacity and a low ventilation resistance value. Further, it is flexible, and it can be seen that the structure of the absorber is stable both in the dry state and in the wet state. And it turns out that the diaper which has the absorber produced in each Example becomes good fitting property.
〔実施例6〕
本実施例は、長繊維のウエブの捲縮率と高吸収性ポリマーの担持率との関係を調べたものである。この長繊維の繊維径は2.1dtexであった。この長繊維のトウを、伸長下に搬送し空気開繊装置を用いて開繊し開繊ウエブを得た。次いで、多数の円盤が軸周りに所定間隔おきに組み込まれたロールと、平滑な受けロールとの間に開繊ウエブを通して、該ウエブを梳いた。その後、ウエブを幅100mmに調節し、その搬送速度を減速した状態でバキュームコンベア上に転写し、当該バキュームコンベア上でのウエブの張力を緩めて捲縮を発現させた。ウエブの張力を制御し、種々の捲縮率を有するアセテート長繊維のウエブを調整した。これによって長繊維間の空間を広げ、高吸収性ポリマーを入り込ませ易くし、またウエブを厚くして高吸収性ポリマーの埋没担持性を向上させた。ウエブ上に高吸収性ポリマーを散布し、該高吸収性ポリマーを開繊ウエブ中に埋没担持させた。ウエブの坪量は26g/m2であった。ポリマーの散布坪量は260g/m2であった。ポリマーとしては平均粒径330μmの塊状タイプのものを用いた。このようにして得られた吸収体について、前述の構造安定性(ドライ時)試験を行った。試験後にウエブ中に担持されていた高吸収性ポリマーの重量を、試験前にウエブ内に配合されていた高吸収性ポリマーの重量で除して100を乗じ、得られた値を高吸収性ポリマーの担持率(%)とした。結果を表2に示す。
Example 6
In this example, the relationship between the crimp rate of the long fiber web and the loading rate of the superabsorbent polymer was examined. The fiber diameter of this long fiber was 2.1 dtex. This long fiber tow was conveyed under elongation and opened using an air opening device to obtain a spread web. Next, the web was wound through a spread web between a roll in which a large number of disks were incorporated around the axis at predetermined intervals and a smooth receiving roll. Thereafter, the web was adjusted to a width of 100 mm, transferred to a vacuum conveyor in a state where the conveyance speed was reduced, and the web tension on the vacuum conveyor was relaxed to develop crimps. The tension of the web was controlled to prepare a web of acetate long fibers having various crimp rates. As a result, the space between the long fibers was widened to facilitate the entry of the superabsorbent polymer, and the web was thickened to improve the embedding supportability of the superabsorbent polymer. A superabsorbent polymer was sprayed on the web, and the superabsorbent polymer was buried and supported in the spread web. The basis weight of the web was 26 g / m 2 . The spreading basis weight of the polymer was 260 g / m 2 . As the polymer, a bulk type having an average particle size of 330 μm was used. The above-described structural stability (when dry) test was performed on the absorbent body thus obtained. The weight of the superabsorbent polymer supported on the web after the test is divided by the weight of the superabsorbent polymer blended in the web before the test and multiplied by 100, and the obtained value is multiplied by the superabsorbent polymer. The loading ratio (%). The results are shown in Table 2.
1 使い捨ておむつ(吸収性物品)
2 表面シート
3 裏面シート
4 吸収体
4a ウエブ
4b 高吸収性ポリマー
5 外装シート
6 立体ギャザー
7 レッグギャザー
L レッグフラップ
W ウエストフラップ
1 disposable diaper (absorbent article)
2 Top sheet 3
Claims (7)
前記ウエブを構成する前記長繊維が、前記吸収体の平面方向に一方向に配向しており、
前記長繊維が捲縮しており、かつ前記ウエブ中において該長繊維同士が接着されておらず、
前記高吸収性ポリマーが塊状のものであり、かつ塊状の該高吸収性ポリマーが、前記ウエブに形成される網目構造中に埋没担持されており、
前記高吸収性ポリマーの坪量を、ウエブの坪量以上でかつ20倍以下となして、前記高吸収性ポリマー100g/m2あたりの該吸収体の通気抵抗値を0.25kPa・s/m以下となした吸収性物品。 Comprising an absorbent body comprising a hydrophilic long fiber web and a superabsorbent polymer;
The long fibers constituting the web are oriented in one direction in the plane direction of the absorber,
The long fibers are crimped, and the long fibers are not bonded to each other in the web,
The superabsorbent polymer is a lump, and the lump-like superabsorbent polymer is embedded and supported in a network structure formed on the web;
The basis weight of the superabsorbent polymer is not less than the basis weight of the web and not more than 20 times, and the ventilation resistance value of the absorber per 100 g / m 2 of the superabsorbent polymer is 0.25 kPa · s / Absorbent article which became m or less.
Priority Applications (1)
| Application Number | Priority Date | Filing Date | Title |
|---|---|---|---|
| JP2006081220A JP4480688B2 (en) | 2005-03-23 | 2006-03-23 | Absorbent articles |
Applications Claiming Priority (2)
| Application Number | Priority Date | Filing Date | Title |
|---|---|---|---|
| JP2005082909 | 2005-03-23 | ||
| JP2006081220A JP4480688B2 (en) | 2005-03-23 | 2006-03-23 | Absorbent articles |
Publications (2)
| Publication Number | Publication Date |
|---|---|
| JP2006297072A JP2006297072A (en) | 2006-11-02 |
| JP4480688B2 true JP4480688B2 (en) | 2010-06-16 |
Family
ID=37465863
Family Applications (1)
| Application Number | Title | Priority Date | Filing Date |
|---|---|---|---|
| JP2006081220A Expired - Fee Related JP4480688B2 (en) | 2005-03-23 | 2006-03-23 | Absorbent articles |
Country Status (1)
| Country | Link |
|---|---|
| JP (1) | JP4480688B2 (en) |
Cited By (1)
| Publication number | Priority date | Publication date | Assignee | Title |
|---|---|---|---|---|
| JP2007260392A (en) * | 2006-03-03 | 2007-10-11 | Kao Corp | Absorbent articles |
Families Citing this family (1)
| Publication number | Priority date | Publication date | Assignee | Title |
|---|---|---|---|---|
| JP5427405B2 (en) * | 2008-12-26 | 2014-02-26 | 大王製紙株式会社 | Tape type disposable diaper |
Family Cites Families (7)
| Publication number | Priority date | Publication date | Assignee | Title |
|---|---|---|---|---|
| JP3408565B2 (en) * | 1992-12-24 | 2003-05-19 | 積水化成品工業株式会社 | Water absorbing sheet and method for producing the same |
| JPH09154870A (en) * | 1995-12-11 | 1997-06-17 | Asahi Chem Ind Co Ltd | Disposable liquid absorptive liner |
| JP3594103B2 (en) * | 1996-06-10 | 2004-11-24 | 花王株式会社 | Water-absorbing sheet, method for producing the same, and absorbent article using the same |
| JP3856904B2 (en) * | 1997-05-28 | 2006-12-13 | 大王製紙株式会社 | Disposable paper diapers |
| JP2000354760A (en) * | 1999-04-12 | 2000-12-26 | Kao Corp | Absorbers and disposable diapers |
| JP4215370B2 (en) * | 2000-03-10 | 2009-01-28 | 花王株式会社 | Absorbent articles |
| JP3875595B2 (en) * | 2002-06-25 | 2007-01-31 | ユニ・チャーム株式会社 | Water-absorbing structure and method for producing the same |
-
2006
- 2006-03-23 JP JP2006081220A patent/JP4480688B2/en not_active Expired - Fee Related
Cited By (1)
| Publication number | Priority date | Publication date | Assignee | Title |
|---|---|---|---|---|
| JP2007260392A (en) * | 2006-03-03 | 2007-10-11 | Kao Corp | Absorbent articles |
Also Published As
| Publication number | Publication date |
|---|---|
| JP2006297072A (en) | 2006-11-02 |
Similar Documents
| Publication | Publication Date | Title |
|---|---|---|
| EP1627618B1 (en) | Process of producing an absorbent member | |
| CN101180023B (en) | Absorbent article | |
| US20080167634A1 (en) | Absorbent Article | |
| US10888469B2 (en) | Absorbent article with raisable topsheet | |
| JP2006110329A (en) | Absorbent articles | |
| JP3980043B2 (en) | Absorbent articles | |
| JP4901433B2 (en) | Absorber and production method thereof | |
| JP2007105494A (en) | Absorbent articles | |
| JP4519095B2 (en) | Absorbent articles | |
| JP3910202B2 (en) | Absorber manufacturing method | |
| JP2007222673A (en) | Absorbent articles | |
| JP4526490B2 (en) | Absorber | |
| US20040220539A1 (en) | Absorbent article with improved absorbency performance | |
| JP3871698B2 (en) | Absorbent articles | |
| JP4480688B2 (en) | Absorbent articles | |
| TW202122059A (en) | Disposable diaper | |
| EP3406235B1 (en) | Absorbent article with raisable topsheet | |
| EP3406234B1 (en) | Absorbent article with raisable topsheet | |
| JP7700377B2 (en) | Tape-type absorbent article having front and rear elastic waistbands | |
| JP2006198397A (en) | Absorbent articles | |
| EP3406233B1 (en) | Absorbent article with raisable topsheet | |
| JP2006198396A (en) | Elastic absorber | |
| JP3907682B2 (en) | Absorbent articles |
Legal Events
| Date | Code | Title | Description |
|---|---|---|---|
| A621 | Written request for application examination |
Free format text: JAPANESE INTERMEDIATE CODE: A621 Effective date: 20080214 |
|
| A977 | Report on retrieval |
Free format text: JAPANESE INTERMEDIATE CODE: A971007 Effective date: 20090828 |
|
| A131 | Notification of reasons for refusal |
Free format text: JAPANESE INTERMEDIATE CODE: A131 Effective date: 20090908 |
|
| A521 | Request for written amendment filed |
Free format text: JAPANESE INTERMEDIATE CODE: A523 Effective date: 20091109 |
|
| TRDD | Decision of grant or rejection written | ||
| A01 | Written decision to grant a patent or to grant a registration (utility model) |
Free format text: JAPANESE INTERMEDIATE CODE: A01 Effective date: 20100316 |
|
| A01 | Written decision to grant a patent or to grant a registration (utility model) |
Free format text: JAPANESE INTERMEDIATE CODE: A01 |
|
| A61 | First payment of annual fees (during grant procedure) |
Free format text: JAPANESE INTERMEDIATE CODE: A61 Effective date: 20100316 |
|
| FPAY | Renewal fee payment (event date is renewal date of database) |
Free format text: PAYMENT UNTIL: 20130326 Year of fee payment: 3 |
|
| R151 | Written notification of patent or utility model registration |
Ref document number: 4480688 Country of ref document: JP Free format text: JAPANESE INTERMEDIATE CODE: R151 |
|
| FPAY | Renewal fee payment (event date is renewal date of database) |
Free format text: PAYMENT UNTIL: 20130326 Year of fee payment: 3 |
|
| FPAY | Renewal fee payment (event date is renewal date of database) |
Free format text: PAYMENT UNTIL: 20140326 Year of fee payment: 4 |
|
| R250 | Receipt of annual fees |
Free format text: JAPANESE INTERMEDIATE CODE: R250 |
|
| R250 | Receipt of annual fees |
Free format text: JAPANESE INTERMEDIATE CODE: R250 |
|
| R250 | Receipt of annual fees |
Free format text: JAPANESE INTERMEDIATE CODE: R250 |
|
| R250 | Receipt of annual fees |
Free format text: JAPANESE INTERMEDIATE CODE: R250 |
|
| R250 | Receipt of annual fees |
Free format text: JAPANESE INTERMEDIATE CODE: R250 |
|
| R250 | Receipt of annual fees |
Free format text: JAPANESE INTERMEDIATE CODE: R250 |
|
| R250 | Receipt of annual fees |
Free format text: JAPANESE INTERMEDIATE CODE: R250 |
|
| R250 | Receipt of annual fees |
Free format text: JAPANESE INTERMEDIATE CODE: R250 |
|
| R250 | Receipt of annual fees |
Free format text: JAPANESE INTERMEDIATE CODE: R250 |
|
| R250 | Receipt of annual fees |
Free format text: JAPANESE INTERMEDIATE CODE: R250 |
|
| R250 | Receipt of annual fees |
Free format text: JAPANESE INTERMEDIATE CODE: R250 |
|
| R250 | Receipt of annual fees |
Free format text: JAPANESE INTERMEDIATE CODE: R250 |
|
| LAPS | Cancellation because of no payment of annual fees |
