JP4029064B2 - Pattern formation method - Google Patents
Pattern formation method Download PDFInfo
- Publication number
- JP4029064B2 JP4029064B2 JP2003177889A JP2003177889A JP4029064B2 JP 4029064 B2 JP4029064 B2 JP 4029064B2 JP 2003177889 A JP2003177889 A JP 2003177889A JP 2003177889 A JP2003177889 A JP 2003177889A JP 4029064 B2 JP4029064 B2 JP 4029064B2
- Authority
- JP
- Japan
- Prior art keywords
- resist film
- pattern
- forming method
- pattern forming
- derivative
- Prior art date
- Legal status (The legal status is an assumption and is not a legal conclusion. Google has not performed a legal analysis and makes no representation as to the accuracy of the status listed.)
- Expired - Fee Related
Links
Images
Classifications
-
- G—PHYSICS
- G03—PHOTOGRAPHY; CINEMATOGRAPHY; ANALOGOUS TECHNIQUES USING WAVES OTHER THAN OPTICAL WAVES; ELECTROGRAPHY; HOLOGRAPHY
- G03F—PHOTOMECHANICAL PRODUCTION OF TEXTURED OR PATTERNED SURFACES, e.g. FOR PRINTING, FOR PROCESSING OF SEMICONDUCTOR DEVICES; MATERIALS THEREFOR; ORIGINALS THEREFOR; APPARATUS SPECIALLY ADAPTED THEREFOR
- G03F7/00—Photomechanical, e.g. photolithographic, production of textured or patterned surfaces, e.g. printing surfaces; Materials therefor, e.g. comprising photoresists; Apparatus specially adapted therefor
- G03F7/004—Photosensitive materials
- G03F7/038—Macromolecular compounds which are rendered insoluble or differentially wettable
- G03F7/0382—Macromolecular compounds which are rendered insoluble or differentially wettable the macromolecular compound being present in a chemically amplified negative photoresist composition
-
- G—PHYSICS
- G03—PHOTOGRAPHY; CINEMATOGRAPHY; ANALOGOUS TECHNIQUES USING WAVES OTHER THAN OPTICAL WAVES; ELECTROGRAPHY; HOLOGRAPHY
- G03F—PHOTOMECHANICAL PRODUCTION OF TEXTURED OR PATTERNED SURFACES, e.g. FOR PRINTING, FOR PROCESSING OF SEMICONDUCTOR DEVICES; MATERIALS THEREFOR; ORIGINALS THEREFOR; APPARATUS SPECIALLY ADAPTED THEREFOR
- G03F7/00—Photomechanical, e.g. photolithographic, production of textured or patterned surfaces, e.g. printing surfaces; Materials therefor, e.g. comprising photoresists; Apparatus specially adapted therefor
- G03F7/004—Photosensitive materials
- G03F7/0046—Photosensitive materials with perfluoro compounds, e.g. for dry lithography
-
- G—PHYSICS
- G03—PHOTOGRAPHY; CINEMATOGRAPHY; ANALOGOUS TECHNIQUES USING WAVES OTHER THAN OPTICAL WAVES; ELECTROGRAPHY; HOLOGRAPHY
- G03F—PHOTOMECHANICAL PRODUCTION OF TEXTURED OR PATTERNED SURFACES, e.g. FOR PRINTING, FOR PROCESSING OF SEMICONDUCTOR DEVICES; MATERIALS THEREFOR; ORIGINALS THEREFOR; APPARATUS SPECIALLY ADAPTED THEREFOR
- G03F7/00—Photomechanical, e.g. photolithographic, production of textured or patterned surfaces, e.g. printing surfaces; Materials therefor, e.g. comprising photoresists; Apparatus specially adapted therefor
- G03F7/004—Photosensitive materials
- G03F7/039—Macromolecular compounds which are photodegradable, e.g. positive electron resists
- G03F7/0392—Macromolecular compounds which are photodegradable, e.g. positive electron resists the macromolecular compound being present in a chemically amplified positive photoresist composition
-
- G—PHYSICS
- G03—PHOTOGRAPHY; CINEMATOGRAPHY; ANALOGOUS TECHNIQUES USING WAVES OTHER THAN OPTICAL WAVES; ELECTROGRAPHY; HOLOGRAPHY
- G03F—PHOTOMECHANICAL PRODUCTION OF TEXTURED OR PATTERNED SURFACES, e.g. FOR PRINTING, FOR PROCESSING OF SEMICONDUCTOR DEVICES; MATERIALS THEREFOR; ORIGINALS THEREFOR; APPARATUS SPECIALLY ADAPTED THEREFOR
- G03F7/00—Photomechanical, e.g. photolithographic, production of textured or patterned surfaces, e.g. printing surfaces; Materials therefor, e.g. comprising photoresists; Apparatus specially adapted therefor
- G03F7/20—Exposure; Apparatus therefor
- G03F7/2041—Exposure; Apparatus therefor in the presence of a fluid, e.g. immersion; using fluid cooling means
Landscapes
- Physics & Mathematics (AREA)
- Spectroscopy & Molecular Physics (AREA)
- General Physics & Mathematics (AREA)
- Photosensitive Polymer And Photoresist Processing (AREA)
- Exposure And Positioning Against Photoresist Photosensitive Materials (AREA)
- Materials For Photolithography (AREA)
- Exposure Of Semiconductors, Excluding Electron Or Ion Beam Exposure (AREA)
Description
【0001】
【発明の属する技術分野】
本発明は半導体装置の製造プロセス等において用いられるパターン形成方法に関する。
【0002】
【従来の技術】
半導体集積回路の大集積化及び半導体素子のダウンサイジングに伴って、リソグラフィ技術の開発の加速が望まれている。現在のところ、露光光としては、水銀ランプ、KrFエキシマレーザ又はArFエキシマレーザ等を用いる光リソグラフィによりパターン形成が行われていると共に、より短波長であるF2 レーザの使用も検討されているが、露光装置及びレジスト材料における課題が未だ多く残されているため、より短波長の露光光を用いる光リソグラフィの実用化の時期は未だ先になっている。
【0003】
このような状況から、最近、浸漬リソグラフィ(immersion lithography)(非特許文献1を参照)が提案されている。
【0004】
この浸漬リソグラフィによれば、露光装置内における投影レンズとウエハー上のレジスト膜との間の領域が屈折率がnである液体で満たされるため、露光装置のNA(開口数)の値がn・NAとなるので、レジスト膜の解像性が向上する。
【0005】
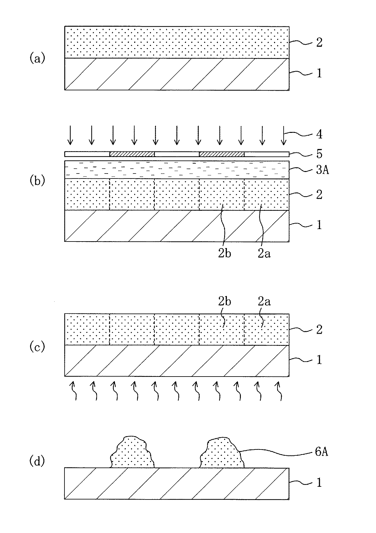
以下、浸漬リソグラフィを用いるパターン形成方法の第1の従来例について図7(a) 〜(d) を参照しながら説明する。
【0006】
まず、以下の組成を有するポジ型の化学増幅型レジスト材料を準備する。
【0007】
ポリ(スチレンヘキサフルオロイソプロピルアルコール)−(α-トリフルオロメチルターシャリ−ブチルアクリレート))(但し、スチレンヘキサフルオロイソプロピルアルコール:α-トリフルオロメチルターシャリ−ブチルアクリレート=40mol%:60mol% )(ベースポリマー)……………………………………………2g
トリフェニルスルフォニウムトリフラート(酸発生剤)……………0.08g
プロピレングリコールモノメチルエーテルアセテート(溶媒)…………20g
次に、図7(a) に示すように、基板1の上に前記の化学増幅型レジスト材料を塗布して、0.35μmの厚さを持つレジスト膜2を形成する。
【0008】
次に、図7(b) に示すように、レジスト膜2の上に水3Aを供給しながら、NAが0.65であるArFエキシマレーザよりなる露光光4をマスク5を介してレジスト膜2に照射してパターン露光を行なう。このようにすると、レジスト膜2の露光部2aにおいては酸発生剤から酸が発生するので、アルカリ性現像液に対して可溶性に変化する一方、レジスト膜2の未露光部2bにおいては酸発生剤から酸が発生しないので、アルカリ性現像液に対して難溶性のままである。
【0009】
次に、図7(c) に示すように、パターン露光が行なわれたレジスト膜2に対して、ホットプレートにより110℃の温度下で60秒間加熱した後、2.38wt%のテトラメチルアンモニウムハイドロキサイド現像液(アルカリ性現像液)により現像を行なうと、図8(d) に示すように、レジスト膜2の未露光部2aよりなり0.09μmのライン幅を有するレジストパターン6Aが得られる。
【0010】
以下、浸漬リソグラフィを用いるパターン形成方法の第2の従来例について図8(a) 〜(d) を参照しながら説明する。
【0011】
まず、以下の組成を有するポジ型の化学増幅型レジスト材料を準備する。
【0012】
ポリ(スチレンヘキサフルオロイソプロピルアルコール)−(α-トリフルオロメチルターシャリ−ブチルアクリレート))(但し、スチレンヘキサフルオロイソプロピルアルコール:α-トリフルオロメチルターシャリ−ブチルアクリレート=40mol%:60mol% )(ベースポリマー)……………………………………………2g
トリフェニルスルフォニウムトリフラート(酸発生剤)……………0.08g
プロピレングリコールモノメチルエーテルアセテート(溶媒)…………20g
次に、図8(a) に示すように、基板1の上に前記の化学増幅型レジスト材料を塗布して、0.20μmの厚さを持つレジスト膜2を形成する。
【0013】
次に、図8(b) に示すように、レジスト膜2の上にパーフルオロポリエーテル3Bを供給しながら、NAが0.60であるF2 レーザよりなる露光光4をマスク5を介してレジスト膜2に照射してパターン露光を行なう。このようにすると、レジスト膜2の露光部2aにおいては酸発生剤から酸が発生するので、アルカリ性現像液に対して可溶性に変化する一方、レジスト膜2の未露光部2bにおいては酸発生剤から酸が発生しないので、アルカリ性現像液に対して難溶性のままである。
【0014】
次に、図8(c) に示すように、パターン露光が行なわれたレジスト膜2に対して、ホットプレートにより100℃の温度下で60秒間加熱した後、2.38wt%のテトラメチルアンモニウムハイドロキサイド現像液(アルカリ性現像液)により現像を行なうと、図8(d) に示すように、レジスト膜2の未露光部2aよりなるレジストパターン6Bが得られる。
【0015】
【非特許文献1】
M.Switkes and M.Rothschild,“Immersion lithography at 157 nm”, J.Vac.Sci.Technol., B19, 2353 (2001)
【0016】
【発明が解決しようとする課題】
ところが、図7(d) 又は図8(d) に示すように、第1又は第2の従来例により得られるレジストパターン6A、6Bは不良形状であった。尚、第1及び第2の従来例は、ポジ型の化学増幅型レジスト材料を用いたが、ネガ型の化学増幅型レジスト材料を用いる場合でも、レジストパターンの形状は不良になった。
【0017】
このような不良形状のレジストパターンを用いて被処理膜に対してエッチングを行なうと、得られるパターンの形状も不良になってしまうので、半導体装置の製造プロセスにおける生産性及び歩留まりが低下してしまうという問題が発生する。
【0018】
前記に鑑み、本発明は、浸漬リソグラフィにより得られるレジストパターンの形状を良好にすることを目的とする。
【0019】
【課題を解決するための手段】
本件発明者らは、浸漬リソグラフィにより得られるレジストパターンの形状が不良になる原因について検討を加えた結果、次のような現象に起因することを見出した。すなわち、レジスト膜の露光部に照射される露光光のうちレジスト膜の未露光部に入射する漏れ光によって未露光部においても酸発生剤から若干の酸が発生し、発生した酸がレジスト膜の未露光部における現像液に対する可溶性を若干ではあるが変化させてしまうので、レジスト膜の露光部と未露光部とのコントラストが低下し、これによって、レジストパターンの形状が不良になってしまうのである。
【0020】
本発明は、前記の知見に基づいてなされたものであり、レジスト膜の上に塩基を発生する溶液を供給した状態でパターン露光を行なうことにより、レジスト膜の未露光部において漏れ光により発生した酸の影響を抑制するものであって、具体的には以下の方法によって実現される。
【0021】
本発明に係る第1のパターン形成方法は、化学増幅型レジストよりなるレジスト膜を形成する工程と、レジスト膜の上に、塩基性化合物を含む溶液を供給した状態で、レジスト膜に対して露光光を選択的に照射してパターン露光を行なう工程と、パターン露光が行なわれたレジスト膜に対して現像を行なってレジストパターンを形成する工程とを備えている。
【0022】
第1のパターン形成方法によると、露光光のうちレジスト膜の未露光部に入射する漏れ光によって未露光部においても酸発生剤から若干の酸が発生するが、レジスト膜の上に塩基性化合物を含む溶液を供給した状態でパターン露光を行なうため、未露光部で発生した酸は溶液に含まれる塩基性化合物によって中和されるので、未露光部の現像液に対する溶解性は不変である。一方、レジスト膜の露光部において酸発生剤から発生する酸の量は多いため、溶液に含まれる塩基性化合物が露光部で発生した酸を中和しても中和作用の影響は小さいので、露光部の現像液に対する溶解性は確実に変化する。このため、レジスト膜の露光部と未露光部とのコントラストが大きく向上するので、レジストパターンの形状は良好になる。
【0023】
ところで、露光光のうちレジスト膜の未露光部に入射する漏れ光は、未露光部の表面部において酸発生剤から若干の酸を発生させるため、第1のパターン形成方法のように、レジスト膜の上に塩基性化合物を含む溶液を供給した状態でパターン露光を行なうと、レジスト膜に塩基性化合物を含ませておく場合に比べて、塩基性化合物は未露光部の表面部において酸発生剤から発生した酸を効率良く中和することができる。
【0024】
第1のパターン形成方法において、溶液に添加される塩基性化合物としては、第一級脂肪族アミン類、第二級脂肪族アミン類、第三級脂肪族アミン類、芳香族アミン類、アミド誘導体、イミド誘導体、又はヒドロキシル基を有し且つ窒素を含む化合物等を用いることができる。
【0025】
本発明に係る第2のパターン形成方法は、化学増幅型レジストよりなるレジスト膜を形成する工程と、レジスト膜の上に、塩基性ポリマーを含む溶液を供給した状態で、レジスト膜に対して露光光を選択的に照射してパターン露光を行なう工程と、パターン露光が行なわれたレジスト膜に対して現像を行なってレジストパターンを形成する工程とを備えている。
【0026】
第2のパターン形成方法によると、露光光のうちレジスト膜の未露光部に入射する漏れ光によって未露光部においても酸発生剤から若干の酸が発生するが、レジスト膜の上に塩基性ポリマーを含む溶液を供給した状態でパターン露光を行なうため、未露光部で発生した酸は溶液に含まれる塩基性ポリマーによって中和されるので、未露光部の現像液に対する溶解性は不変である。一方、レジスト膜の露光部において酸発生剤から発生する酸の量は多いため、溶液に含まれる塩基性ポリマーが露光部で発生した酸を中和しても中和作用の影響は小さいので、露光部の現像液に対する溶解性は確実に変化する。このため、レジスト膜の露光部と未露光部とのコントラストが大きく向上するので、レジストパターンの形状は良好になる。
【0027】
ところで、露光光のうちレジスト膜の未露光部に入射する漏れ光は、未露光部の表面部において酸発生剤から若干の酸を発生させるため、第2のパターン形成方法のように、レジスト膜の上に塩基性化合物を含む溶液を供給した状態でパターン露光を行なうと、レジスト膜に塩基性ポリマーを含ませておく場合に比べて、塩基性ポリマーは未露光部の表面部において酸発生剤から発生した酸を効率良く中和することができる。
【0028】
第2のパターン形成方法において、溶液に添加される塩基性ポリマーとしては、ポリ−N,N−ジメチルアミノメチルスチレン、ポリアニリン、ポリエチレンイミン、ポリビニルアミン、ポリアリルアミン、ポリオルニチン又はポリリジン等を用いることができる。
【0029】
本発明に係る第3のパターン形成方法は、化学増幅型レジストよりなるレジスト膜を形成する工程と、レジスト膜の上に、光により塩基を発生する化合物を含む溶液を供給した状態で、レジスト膜に対して露光光を選択的に照射してパターン露光を行なう工程と、パターン露光が行なわれたレジスト膜に対して現像を行なってレジストパターンを形成する工程とを備えている。
【0030】
第3のパターン形成方法によると、露光光のうちレジスト膜の未露光部に入射する漏れ光によって未露光部においても酸発生剤から若干の酸が発生するが、レジスト膜の上に光により塩基を発生する化合物を含む溶液を供給した状態でパターン露光を行なうため、未露光部で発生した酸は溶液に含まれる塩基を発生する化合物から発生した塩基によって中和されるので、未露光部の現像液に対する溶解性は不変である。一方、レジスト膜の露光部において酸発生剤から発生する酸の量は多いため、溶液に含まれる塩基を発生する化合物から発生した塩基が露光部で発生した酸を中和しても中和作用の影響は小さいので、露光部の現像液に対する溶解性は確実に変化する。このため、レジスト膜の露光部と未露光部とのコントラストが大きく向上するので、レジストパターンの形状は良好になる。
【0031】
ところで、露光光のうちレジスト膜の未露光部に入射する漏れ光は、未露光部の表面部において酸発生剤から若干の酸を発生させるため、第3のパターン形成方法のように、レジスト膜の上に塩基を発生する化合物を含む溶液を供給した状態でパターン露光を行なうと、レジスト膜に光により塩基を発生する化合物を含ませておく場合に比べて、塩基を発生する化合物から発生した塩基は未露光部の表面部において酸発生剤から発生した酸を効率良く中和することができる。
【0032】
第3のパターン形成方法において、溶液に添加される光により塩基を発生する化合物としては、O−アクリロイルアセトフェノンオキシム又はO−アクリロイルアセトナフトンオキシム等のO−アシルオキシム類を用いることができる。
【0033】
本発明に係る第4のパターン形成方法は、化学増幅型レジストよりなるレジスト膜を形成する工程と、レジスト膜の上に、熱により塩基を発生する化合物を含む溶液を供給した状態で、レジスト膜に対して露光光を選択的に照射してパターン露光を行なう工程と、パターン露光が行なわれたレジスト膜に対して現像を行なってレジストパターンを形成する工程とを備えている。
【0034】
第4のパターン形成方法によると、露光光のうちレジスト膜の未露光部に入射する漏れ光によって未露光部においても酸発生剤から若干の酸が発生するが、レジスト膜の上に光により塩基を発生する化合物を含む溶液を供給した状態でパターン露光を行なうため、未露光部で発生した酸は溶液に含まれる塩基を発生する化合物から光のエネルギーによる熱で発生した塩基によって中和されるので、未露光部の現像液に対する溶解性は不変である。一方、レジスト膜の露光部において酸発生剤から発生する酸の量は多いため、溶液に含まれる塩基を発生する化合物から光のエネルギーによる熱で発生した塩基が露光部で発生した酸を中和しても中和作用の影響は小さいので、露光部の現像液に対する溶解性は確実に変化する。このため、レジスト膜の露光部と未露光部とのコントラストが大きく向上するので、レジストパターンの形状は良好になる。
【0035】
ところで、露光光のうちレジスト膜の未露光部に入射する漏れ光は、未露光部の表面部において酸発生剤から若干の酸を発生させるため、第3のパターン形成方法のように、レジスト膜の上に塩基を発生する化合物を含む溶液を供給した状態でパターン露光を行なうと、レジスト膜に熱により塩基を発生する化合物を含ませておく場合に比べて、塩基を発生する化合物から光のエネルギーによる熱で発生した塩基は未露光部の表面部において酸発生剤から発生した酸を効率良く中和することができる。
【0036】
第4のパターン形成方法において、溶液に添加される熱により塩基を発生する化合物としては、p−フェナシルスルホニルスチレン等のアシルスルホニル類を用いることができる。
【0037】
第1〜第4のパターン形成方法において、溶液としては、水又はパーフルオロポリエーテルを用いることができる。
【0038】
また、第1〜第4のパターン形成方法において、露光光としては、KrFエキシマレーザ光、ArFエキシマレーザ光又はF2 レーザ光等を用いることができる。
【0039】
【発明の実施の形態】
(第1の実施形態)
以下、本発明の第1の実施形態に係るパターン形成方法について図1(a) 〜(d) を参照しながら説明する。
【0040】
まず、以下の組成を有するポジ型の化学増幅型レジスト材料を準備する。
【0041】
ポリ(スチレンヘキサフルオロイソプロピルアルコール)−(α-トリフルオロメチルターシャリ−ブチルアクリレート))(但し、スチレンヘキサフルオロイソプロピルアルコール:α-トリフルオロメチルターシャリ−ブチルアクリレート=40mol%:60mol% )(ベースポリマー)……………………………………………2g
トリフェニルスルフォニウムトリフラート(酸発生剤)……………0.08g
プロピレングリコールモノメチルエーテルアセテート(溶媒)…………20g
次に、図1(a) に示すように、基板101の上に前記の化学増幅型レジスト材料を塗布して、0.35μmの厚さを持つレジスト膜102を形成する。
【0042】
次に、図1(b) に示すように、0.01wt%のトリエタノールアミン(塩基性化合物)を含む水よりなる溶液103をレジスト膜102の上に供給した状態で、NAが0.65であるArFエキシマレーザよりなる露光光104を図示しないマスクを介してレジスト膜102に照射してパターン露光を行なう。尚、図1において、106は露光光104をレジスト膜102の上に集光する投影レンズである。このようにすると、レジスト膜102の露光部102aにおいては酸発生剤から酸が発生するので、アルカリ性現像液に対して可溶性に変化する一方、レジスト膜102の未露光部102bにおいては酸発生剤から酸が発生しないので、アルカリ性現像液に対して難溶性のままである。
【0043】
次に、図1(c) に示すように、パターン露光が行なわれたレジスト膜102に対して、ホットプレートにより110℃の温度下で60秒間加熱した後、2.38wt%のテトラメチルアンモニウムハイドロキサイド現像液(アルカリ性現像液)により現像を行なうと、図1(d) に示すように、レジスト膜102の未露光部102bよりなり0.09μmのライン幅を有し且つ良好な形状を持つレジストパターン105が得られる。
【0044】
第1の実施形態によると、露光光104のうちレジスト膜102の未露光部102bに入射する漏れ光によって未露光部102bにおいても酸発生剤から若干の酸が発生するが、レジスト膜102の上に塩基性化合物を含む溶液103を供給した状態でパターン露光を行なうため、未露光部102bで発生した酸は溶液103に含まれる塩基性化合物によって中和されるので、未露光部102bはアルカリ性現像液に難溶性のままである。一方、レジスト膜102の露光部102aにおいて酸発生剤から発生する酸の量は多いため、溶液103に含まれる塩基性化合物が露光部102aで発生した酸を中和しても中和作用の影響は小さいので、レジスト膜102の露光部102aはアルカリ性現像液に容易に溶解する。このため、レジスト膜102の露光部102aと未露光部102bとのコントラストが大きく向上するので、レジストパターン105の形状は良好になる。
【0045】
(第2の実施形態)
以下、本発明の第2の実施形態に係るパターン形成方法について図2(a) 〜(d) を参照しながら説明する。
【0046】
まず、以下の組成を有するネガ型の化学増幅型レジスト材料を準備する。
【0047】
ポリ(スチレンヘキサフルオロイソプロピルアルコール)−(α-トリフルオロメチルアクリル酸))(但し、スチレンヘキサフルオロイソプロピルアルコール:α−トリフルオロメチルアクリル酸=40mol%:60mol%)(ベースポリマー)…2g
1,3,5−N−(ジメトキシメチル)メラミン(架橋剤)……………………0.7g
トリフェニルスルフォニウムトリフラート(酸発生剤)……………0.08g
プロピレングリコールモノメチルエーテルアセテート(溶媒)…………20g
次に、図2(a) に示すように、基板201の上に前記の化学増幅型レジスト材料を塗布して、0.35μmの厚さを持つレジスト膜202を形成する。
【0048】
次に、図2(b) に示すように、0.02wt%のトリメチルアミン(塩基性化合物)を含む水よりなる溶液203をレジスト膜202の上に供給した状態で、NAが0.65であるArFエキシマレーザよりなる露光光204を図示しないマスクを介してレジスト膜202に照射してパターン露光を行なう。このようにすると、レジスト膜202の露光部202aにおいては酸発生剤から酸が発生するので架橋剤の作用により、アルカリ性現像液に対して難溶性に変化する一方、レジスト膜202の未露光部202bにおいては酸発生剤から酸が発生しないので、アルカリ性現像液に対して可溶性のままである。
【0049】
次に、図2(c) に示すように、パターン露光が行なわれたレジスト膜202に対して、ホットプレートにより120℃の温度下で60秒間加熱した後、2.38wt%のテトラメチルアンモニウムハイドロキサイド現像液(アルカリ性現像液)により現像を行なうと、図2(d) に示すように、レジスト膜202の露光部202aよりなり0.09μmのライン幅を有し且つ良好な形状を持つレジストパターン205が得られる。
【0050】
第2の実施形態によると、露光光204のうちレジスト膜202の未露光部202bに入射する漏れ光によって未露光部202bにおいても酸発生剤から若干の酸が発生するが、レジスト膜202の上に塩基性化合物を含む溶液203を供給した状態でパターン露光を行なうため、未露光部202bで発生した酸は溶液203に含まれる塩基性化合物によって中和されるので、未露光部202bはアルカリ性現像液に対して可溶性のままである。一方、レジスト膜202の露光部202aにおいて酸発生剤から発生する酸の量は多いため、溶液203に含まれる塩基性化合物が露光部202aで発生した酸を中和しても中和作用の影響は小さいので、レジスト膜202の露光部202aは架橋剤の作用によりアルカリ性現像液に対して難溶性に変化する。このため、レジスト膜202の露光部202aと未露光部202bとのコントラストが大きく向上するので、レジストパターン205の形状は良好になる。
【0051】
尚、第1又は第2の実施形態において、溶液103、203に添加される塩基性化合物としては、第一級脂肪族アミン類、第二級脂肪族アミン類、第三級脂肪族アミン類、芳香族アミン類、アミド誘導体、イミド誘導体、又はヒドロキシル基を有し且つ窒素を含む化合物等を用いることができる。また、塩基性化合物の添加量は、通常0.01〜0.02wt%程度であるが、添加量はこの程度よりも多くてもよいし少なくてもよい。
【0052】
塩基性化合物となる第一級脂肪族アミン類の例としては、アンモニア、メチルアミン、エチルアミン、n−プロピルアミン、イソプロピルアミン、n−ブチルアミン又はイソブチルアミンを挙げることができる。
【0053】
また、塩基性化合物となる第ニ級脂肪族アミン類の例としては、ジメチルアミン、ジエチルアミン、ジ−n−プロピルアミン、ジイソプロピルアミン、ジ−n−ブチルアミン、ジイソブチルアミン、ジ−sec−ブチルアミン、ジペンチルアミン、ジシクロペンチルアミン、ジヘキシルアミン又はジシクロヘキシルアミン等が挙げられる。
【0054】
また、塩基性化合物となる第三級脂肪族アミン類の例としては、トリメチルアミン、トリエチルアミン、トリ−n−プロピルアミン、トリイソプロピルアミン、トリ−n−ブチルアミン、トリイソブチルアミン、トリ−sec−ブチルアミン、トリペンチルアミン、トリシクロペンチルアミン、トリヘキシルアミン、トリシクロヘキシルアミン、ジメチルエチルアミン、メチルエチルプロピルアミン、ベンジルアミン、フェネチルアミン又はベンジルジメチルアミン等が挙げられる。
【0055】
また、塩基性化合物となる芳香族アミン類の例としては、ジフェニル(p−トリル)アミン、メチルジフェニルアミン、トリフェニルアミン、フェニレンジアミン、ナフチルアミン、ジアミノナフタレン、アニリン誘導体、ピロール誘導体、オキサゾール誘導体、チアゾール誘導体、イミダゾール誘導体、ピロリン誘導体、ピロリジン誘導体、ピリジン誘導体又はキノリン誘導体等が挙げられる。
【0056】
また、塩基性化合物となるアニリン誘導体の例としては、アニリン、N−メチルアニリン、N−エチルアニリン、N−プロピルアニリン、N,N−ジメチルアニリン、2−メチルアニリン、3−メチルアニリン、4−メチルアニリン、エチルアニリン、プロピルアニリン又はトリメチルアニリン等が挙げられる。
【0057】
また、塩基性化合物となるピロール誘導体の例としては、ピロール、2H−ピロール、1−メチルピロール、2,4−ジメチルピロール又はN−メチルピロール等が挙げられる。
【0058】
また、塩基性化合物となるオキサゾール誘導体の例としては、オキサゾール又はイソオキサゾール等が挙げられる。
【0059】
また、塩基性化合物となるチアゾール誘導体の例としては、チアゾール又はイソチアゾール等が挙げられる。
【0060】
また、塩基性化合物となるイミダゾール誘導体の例としては、イミダゾール又は4−メチルイミダゾール等が挙げられる。
【0061】
また、塩基性化合物となるピロリン誘導体の例としては、ピロリン又は2−メチル−1−ピロリン等が挙げられる。
【0062】
また、塩基性化合物となるピロリジン誘導体の例としては、ピロリジン、N−メチルピロリジン又はN−メチルピロリドン等が挙げられる。
【0063】
また、塩基性化合物となるピリジン誘導体の例としては、ピリジン、メチルピリジン、エチルピリジン、プロピルピリジン、ブチルピリジン、4−(1−ブチルペンチル)ピリジン、ジメチルピリジン、トリメチルピリジン、トリエチルピリジン、フェニルピリジン、アミノピリジン又はジメチルアミノピリジン等が挙げられる。
【0064】
また、塩基性化合物となるキノリン誘導体の例としては、キノリン又は3−キノリンカルボニトリル等が挙げられる。
【0065】
また、塩基性化合物となるアミド誘導体の例としては、ホルムアミド、N−メチルホルムアミド、N,N−ジメチルホルムアミド、アセトアミド、N−メチルアセトアミド、N,N−ジメチルアセトアミド又はベンズアミド等が挙げられる。
【0066】
また、塩基性化合物となるイミド誘導体の例としては、フタルイミド、サクシンイミド又はマレイミド等が挙げられる。
【0067】
また、塩基性化合物となるヒドロキシル基を有し且つ窒素を含む化合物の例としては、2−ヒドロキシピリジン、モノエタノールアミン、ジエタノールアミン、トリエタノールアミン、N−エチルジエタノールアミン、N,N−ジエチルエタノールアミン、トリイソプロパノールアミン、2,2’−イミノジエタノール、2−アミノエタノ−ル、3−アミノ−1−プロパノール、4−アミノ−1−ブタノール、2−(2−ヒドロキシエチル)ピリジン、1−(2−ヒドロキシエチル)ピペラジン、ピペリジンエタノール、1−(2−ヒドロキシエチル)ピロリジン、1−(2−ヒドロキシエチル)−2−ピロリジノン、3−ピペリジノ−1,2−プロパンジオール、3−トロパノール、1−メチル−2−ピロリジンエタノール、1−アジリジンエタノール又はN−(2−ヒドロキシエチル)フタルイミド等が挙げられる。
【0068】
(第3の実施形態)
以下、本発明の第3の実施形態に係るパターン形成方法について図3(a) 〜(d) を参照しながら説明する。
【0069】
まず、以下の組成を有するポジ型の化学増幅型レジスト材料を準備する。
【0070】
ポリ(スチレンヘキサフルオロイソプロピルアルコール)−(α−トリフルオロメチルターシャリ−ブチルアクリレート))(但し、スチレンヘキサフルオロイソプロピルアルコール:α−トリフルオロメチルターシャリ−ブチルアクリレート=40mol%:60mol%)(ベースポリマー)…………………………………………2g
トリフェニルスルフォニウムトリフラート(酸発生剤)……………0.08g
プロピレングリコールモノメチルエーテルアセテート(溶媒)…………20g
次に、図3(a) に示すように、基板301の上に前記の化学増幅型レジスト材料を塗布して、0.20μmの厚さを持つレジスト膜302を形成する。
【0071】
次に、図3(b) に示すように、0.02wt%のポリビニルアミン(塩基性ポリマー)を含むパーフルオロポリエーテル([化1]を参照)よりなる溶液303をレジスト膜302の上に供給した状態で、NAが0.60であるF2 レーザよりなる露光光304を図示しないマスクを介してレジスト膜302に照射してパターン露光を行なう。このようにすると、レジスト膜302の露光部302aにおいては酸発生剤から酸が発生するので、アルカリ性現像液に対して可溶性に変化する一方、レジスト膜302の未露光部302bにおいては酸発生剤から酸が発生しないので、アルカリ性現像液に対して難溶性のままである。
【0072】
【化1】
次に、図3(c) に示すように、パターン露光が行なわれたレジスト膜302に対して、ホットプレートにより100℃の温度下で60秒間加熱した後、2.38wt%のテトラメチルアンモニウムハイドロキサイド現像液(アルカリ性現像液)により現像を行なうと、図3(d) に示すように、レジスト膜302の未露光部302bよりなり0.06μmのライン幅を有し且つ良好な形状を持つレジストパターン305が得られる。
【0073】
第3の実施形態によると、露光光304のうちレジスト膜302の未露光部302bに入射する漏れ光によって未露光部302bにおいても酸発生剤から若干の酸が発生するが、レジスト膜302の上に塩基性ポリマーを含む溶液303を供給した状態でパターン露光を行なうため、未露光部302bで発生した酸は溶液303に含まれる塩基性ポリマーによって中和されるので、未露光部302bはアルカリ性現像液に難溶性のままである。一方、レジスト膜302の露光部302aにおいて酸発生剤から発生する酸の量は多いため、溶液303に含まれる塩基性ポリマーが露光部302aで発生した酸を中和しても中和作用の影響は小さいので、レジスト膜302の露光部302aはアルカリ性現像液に容易に溶解する。このため、レジスト膜302の露光部302aと未露光部302bとのコントラストが大きく向上するので、レジストパターン305の形状は良好になる。
【0074】
(第4の実施形態)
以下、本発明の第4の実施形態に係るパターン形成方法について図4(a) 〜(d) を参照しながら説明する。
【0075】
まず、以下の組成を有するネガ型の化学増幅型レジスト材料を準備する。
【0076】
ポリ(スチレンヘキサフルオロイソプロピルアルコール)−(α−トリフルオロメチルアクリル酸))(但し、スチレンヘキサフルオロイソプロピルアルコール:α−トリフルオロメチルアクリル酸=40mol%:60mol%)(ベースポリマー)………………………………………………………………………………………… 2g
1,3,5−N−(ジメトキシメチル)メラミン(架橋剤)……………………0.7g
トリフェニルスルフォニウムトリフラート(酸発生剤)……………0.08g
プロピレングリコールモノメチルエーテルアセテート(溶媒)…………20g
次に、図4(a) に示すように、基板401の上に前記の化学増幅型レジスト材料を塗布して、0.20μmの厚さを持つレジスト膜402を形成する。
【0077】
次に、図4(b) に示すように、0.15wt%のポリアニリン(塩基性ポリマー)をパーフルオロポリエーテルよりなる溶液403をレジスト膜402の上に供給した状態で、NAが0.60であるF2 レーザよりなるよりなる露光光404を図示しないマスクを介してレジスト膜402に照射してパターン露光を行なう。このようにすると、レジスト膜402の露光部402aにおいては酸発生剤から酸が発生するので架橋剤の作用により、アルカリ性現像液に対して難溶性に変化する一方、レジスト膜402の未露光部402bにおいては酸発生剤から酸が発生しないので、アルカリ性現像液に対して可溶性のままである。
【0078】
次に、図4(c) に示すように、パターン露光が行なわれたレジスト膜402に対して、ホットプレートにより110℃の温度下で60秒間加熱した後、2.38wt%のテトラメチルアンモニウムハイドロキサイド現像液(アルカリ性現像液)により現像を行なうと、図4(d) に示すように、レジスト膜402の露光部402aよりなり0.06μmのライン幅を有し且つ良好な形状を持つレジストパターン405が得られる。
【0079】
第4の実施形態によると、露光光404のうちレジスト膜402の未露光部402bに入射する漏れ光によって未露光部402bにおいても酸発生剤から若干の酸が発生するが、レジスト膜402の上に塩基性ポリマーを含む溶液403を供給した状態でパターン露光を行なうため、未露光部402bで発生した酸は溶液403に含まれる塩基性ポリマーによって中和されるので、未露光部402bはアルカリ性現像液に対して可溶性のままである。一方、レジスト膜402の露光部402aにおいて酸発生剤から発生する酸の量は多いため、溶液403に含まれる塩基性化合物が露光部402aで発生した酸を中和しても中和作用の影響は小さいので、レジスト膜402の露光部402aは架橋剤の作用によりアルカリ性現像液に対して難溶性に変化する。このため、レジスト膜402の露光部402aと未露光部402bとのコントラストが大きく向上するので、レジストパターン405の形状は良好になる。
【0080】
尚、第3又は第4の実施形態において、溶液303、403に添加される塩基性ポリマーとしては、ポリ−N,N−ジメチルアミノメチルスチレン、ポリアニリン、ポリエチレンイミン、ポリビニルアミン、ポリアリルアミン、ポリオルニチン又はポリリジン等を用いることができる。また、塩基性ポリマーの添加量は、通常0.01〜0.02wt%程度であるが、添加量はこの程度よりも多くてもよいし少なくてもよい。
【0081】
(第5の実施形態)
以下、本発明の第5の実施形態に係るパターン形成方法について図5(a) 〜(d) を参照しながら説明する。
【0082】
まず、以下の組成を有するポジ型の化学増幅型レジスト材料を準備する。
【0083】
ポリ(スチレンヘキサフルオロイソプロピルアルコール)−(α−トリフルオロメチルターシャリ−ブチルアクリレート))(但し、スチレンヘキサフルオロイソプロピルアルコール:α−トリフルオロメチルターシャリ−ブチルアクリレート=40mol%:60mol%)(ベースポリマー)…………………………………………2g
トリフェニルスルフォニウムトリフラート(酸発生剤)……………0.08g
プロピレングリコールモノメチルエーテルアセテート(溶媒)…………20g
次に、図5(a) に示すように、基板501の上に前記の化学増幅型レジスト材料を塗布して、0.35μmの厚さを持つレジスト膜502を形成する。
【0084】
次に、図5(b) に示すように、0.15wt%のO−アクリロイルアセトフェノンオキシム(光により塩基を発生する化合物)を含む水よりなる溶液503をレジスト膜502の上に供給した状態で、NAが0.65であるArFエキシマレーザよりなる露光光504を図示しないマスクを介してレジスト膜502に照射してパターン露光を行なう。このようにすると、レジスト膜502の露光部502aにおいては酸発生剤から酸が発生するので、アルカリ性現像液に対して可溶性に変化する一方、レジスト膜502の未露光部502bにおいては酸発生剤から酸が発生しないので、アルカリ性現像液に対して難溶性のままである。
【0085】
次に、図5(c) に示すように、パターン露光が行なわれたレジスト膜502に対して、ホットプレートにより110℃の温度下で60秒間加熱した後、2.38wt%のテトラメチルアンモニウムハイドロキサイド現像液(アルカリ性現像液)により現像を行なうと、図5(d) に示すように、レジスト膜502の未露光部502bよりなり0.09μmのライン幅を有し且つ良好な形状を持つレジストパターン505が得られる。
【0086】
第5の実施形態によると、露光光504のうちレジスト膜502の未露光部502bに入射する漏れ光によって未露光部502bにおいても酸発生剤から若干の酸が発生するが、レジスト膜502の上に光により塩基を発生する化合物を含む溶液503を供給した状態でパターン露光を行なうため、未露光部502bで発生した酸は溶液503に含まれる塩基を発生する化合物から発生した塩基によって中和されるので、未露光部502bはアルカリ性現像液に難溶性のままである。一方、レジスト膜502の露光部502aにおいて酸発生剤から発生する酸の量は多いため、溶液503に含まれる塩基を発生する化合物から発生した塩基が露光部502aで発生した酸を中和しても中和作用の影響は小さいので、レジスト膜502の露光部502aはアルカリ性現像液に容易に溶解する。このため、レジスト膜502の露光部502aと未露光部502bとのコントラストが大きく向上するので、レジストパターン505の形状は良好になる。
【0087】
尚、第5の実施形態において、溶液503に添加される光により塩基を発生する化合物としては、O−アクリロイルアセトフェノンオキシム又はO−アクリロイルアセトナフトンオキシム等のO−アシルオキシム類を用いることができる。また、光により塩基を発生する化合物の添加量は、通常0.01〜0.02wt%程度であるが、添加量はこの程度よりも多くてもよいし少なくてもよい。
【0088】
(第6の実施形態)
以下、本発明の第6の実施形態に係るパターン形成方法について、図6(a) 〜(d) を参照しながら説明する。
【0089】
まず、以下の組成を有するポジ型の化学増幅型レジスト材料を準備する。
【0090】
ポリ(スチレンヘキサフルオロイソプロピルアルコール)−(α−トリフルオロメチルターシャリ−ブチルアクリレート))(但し、スチレンヘキサフルオロイソプロピルアルコール:α−トリフルオロメチルターシャリ−ブチルアクリレート=40mol%:60mol%)(ベースポリマー)…………………………………………2g
トリフェニルスルフォニウムトリフラート(酸発生剤)……………0.08g
プロピレングリコールモノメチルエーテルアセテート(溶媒)…………20g
次に、図6(a) に示すように、基板601の上に前記の化学増幅型レジスト材料を塗布して、0.20μmの厚さを持つレジスト膜602を形成する。
【0091】
次に、図6(b) に示すように、0.02wt%のp−フェナシルスルホニルスチレン(熱により塩基を発生する化合物)を含むパーフルオロポリエーテルよりなる溶液603をレジスト膜602の上に供給した状態で、NAが0.60であるF2 レーザよりなる露光光604を図示しないマスクを介してレジスト膜602に照射してパターン露光を行なう。このようにすると、レジスト膜602の露光部602aにおいては酸発生剤から酸が発生するので、アルカリ性現像液に対して可溶性に変化する一方、レジスト膜602の未露光部602bにおいては酸発生剤から酸が発生しないので、アルカリ性現像液に対して難溶性のままである。
【0092】
次に、図6(c) に示すように、パターン露光が行なわれたレジスト膜602に対して、ホットプレートにより100℃の温度下で60秒間加熱した後、2.38wt%のテトラメチルアンモニウムハイドロキサイド現像液(アルカリ性現像液)により現像を行なうと、図6(d) に示すように、レジスト膜602の未露光部602bよりなり0.06μmのライン幅を有し且つ良好な形状を持つレジストパターン605が得られる。
【0093】
第6の実施形態によると、露光光604のうちレジスト膜602の未露光部602bに入射する漏れ光によって未露光部602bにおいても酸発生剤から若干の酸が発生するが、レジスト膜602の上に熱により塩基を発生する化合物を含む溶液603を供給した状態でパターン露光を行なうため、未露光部602bで発生した酸は溶液603に含まれる塩基を発生する化合物から光のエネルギーによる熱で発生した塩基によって中和されるので、未露光部602bはアルカリ性現像液に難溶性のままである。一方、レジスト膜602の露光部602aにおいて酸発生剤から発生する酸の量は多いため、溶液603に含まれる塩基を発生する化合物から光のエネルギーによる熱で発生した塩基が露光部602aで発生した酸を中和しても中和作用の影響は小さいので、レジスト膜602の露光部602aはアルカリ性現像液に容易に溶解する。このため、レジスト膜602の露光部602aと未露光部602bとのコントラストが大きく向上するので、レジストパターン605の形状は良好になる。
【0094】
尚、第6の実施形態においては、溶液603に添加される熱により塩基を発生する化合物としては、p−フェナシルスルホニルスチレンに限られず、その他のアシルスルホニル類を用いることができる。また、熱により塩基を発生する化合物の添加量は、通常0.01〜0.02wt%程度であるが、添加量はこの程度よりも多くてもよいし少なくてもよい。
【0095】
【発明の効果】
本発明に係る第1〜第4のパターン形成方法によると、レジスト膜の未露光部で発生した酸は溶液に含まれる塩基又は溶液中に発生した塩基によって中和されてしまい、未露光部の現像液に対する溶解性は不変になるため、レジスト膜の露光部と未露光部とのコントラストが大きく向上するので、レジストパターンの形状は良好になる。
【図面の簡単な説明】
【図1】(a)〜(d)は本発明の第1の実施形態に係るパターン形成方法の各工程を示す断面図である。
【図2】 (a) 〜(d) は本発明の第2の実施形態に係るパターン形成方法の各工程を示す断面図である。
【図3】 (a) 〜(d) は本発明の第3の実施形態に係るパターン形成方法の各工程を示す断面図である。
【図4】 (a) 〜(d) は本発明の第4の実施形態に係るパターン形成方法の各工程を示す断面図である。
【図5】 (a) 〜(d) は本発明の第5の実施形態に係るパターン形成方法の各工程を示す断面図である。
【図6】 (a) 〜(d) は本発明の第6の実施形態に係るパターン形成方法の各工程を示す断面図である。
【図7】 (a) 〜(d) は第1の従来例に係るパターン方法の各工程を示す断面図である。
【図8】 (a) 〜(d) は第2の従来例に係るパターン方法の各工程を示す断面図である。
【符号の説明】
101 基板
102 レジスト膜
102a 露光部
102b 未露光部
103 溶液
104 露光光
105 レジストパターン
201 基板
202 レジスト膜
202a 露光部
202b 未露光部
203 溶液
204 露光光
205 レジストパターン
301 基板
302 レジスト膜
302a 露光部
302b 未露光部
303 溶液
304 露光光
305 レジストパターン
401 基板
402 レジスト膜
402a 露光部
402b 未露光部
403 溶液
404 露光光
405 レジストパターン
501 基板
502 レジスト膜
502a 露光部
502b 未露光部
503 溶液
504 露光光
505 レジストパターン
601 基板
602 レジスト膜
602a 露光部
602b 未露光部
603 溶液
604 露光光
605 レジストパターン[0001]
BACKGROUND OF THE INVENTION
The present invention relates to a pattern forming method used in a semiconductor device manufacturing process or the like.
[0002]
[Prior art]
Along with the large integration of semiconductor integrated circuits and downsizing of semiconductor elements, acceleration of development of lithography technology is desired. At present, as exposure light, pattern formation is performed by photolithography using a mercury lamp, a KrF excimer laser, an ArF excimer laser, or the like, and F having a shorter wavelength is used. 2 Although the use of a laser is also being studied, since many problems still remain in the exposure apparatus and resist material, the practical use of photolithography using exposure light with a shorter wavelength is still ahead.
[0003]
Under such circumstances, recently, immersion lithography (see Non-Patent Document 1) has been proposed.
[0004]
According to this immersion lithography, since the region between the projection lens and the resist film on the wafer in the exposure apparatus is filled with a liquid having a refractive index n, the NA (numerical aperture) value of the exposure apparatus is n · Since NA, the resolution of the resist film is improved.
[0005]
Hereinafter, a first conventional example of a pattern forming method using immersion lithography will be described with reference to FIGS. 7 (a) to 7 (d).
[0006]
First, a positive chemically amplified resist material having the following composition is prepared.
[0007]
Poly (styrene hexafluoroisopropyl alcohol)-(α-trifluoromethyl tertiary-butyl acrylate)) (however, styrene hexafluoroisopropyl alcohol: α-trifluoromethyl tertiary-butyl acrylate = 40 mol%: 60 mol%) (base Polymer) …………………………………………… 2g
Triphenylsulfonium triflate (acid generator) ………… 0.08g
Propylene glycol monomethyl ether acetate (solvent) 20g
Next, as shown in FIG. 7A, the chemically amplified resist material is coated on the
[0008]
Next, as shown in FIG. 7 (b), while supplying
[0009]
Next, as shown in FIG. 7 (c), the
[0010]
Hereinafter, a second conventional example of a pattern forming method using immersion lithography will be described with reference to FIGS. 8 (a) to 8 (d).
[0011]
First, a positive chemically amplified resist material having the following composition is prepared.
[0012]
Poly (styrene hexafluoroisopropyl alcohol)-(α-trifluoromethyl tertiary-butyl acrylate)) (however, styrene hexafluoroisopropyl alcohol: α-trifluoromethyl tertiary-butyl acrylate = 40 mol%: 60 mol%) (base Polymer) …………………………………………… 2g
Triphenylsulfonium triflate (acid generator) ………… 0.08g
Propylene glycol monomethyl ether acetate (solvent) 20g
Next, as shown in FIG. 8A, the chemically amplified resist material is applied onto the
[0013]
Next, as shown in FIG. 8B, while the
[0014]
Next, as shown in FIG. 8 (c), the
[0015]
[Non-Patent Document 1]
M.Switkes and M.Rothschild, “Immersion lithography at 157 nm”, J. Vac. Sci. Technol., B19, 2353 (2001)
[0016]
[Problems to be solved by the invention]
However, as shown in FIG. 7 (d) or FIG. 8 (d), the
[0017]
If etching is performed on a film to be processed using such a resist pattern having a defective shape, the shape of the obtained pattern also becomes defective, and thus the productivity and yield in the semiconductor device manufacturing process are reduced. The problem occurs.
[0018]
In view of the above, an object of the present invention is to improve the shape of a resist pattern obtained by immersion lithography.
[0019]
[Means for Solving the Problems]
As a result of studying the cause of the poor shape of the resist pattern obtained by immersion lithography, the present inventors have found that it is caused by the following phenomenon. That is, of the exposure light irradiated to the exposed portion of the resist film, some acid is generated from the acid generator also in the unexposed portion due to leakage light incident on the unexposed portion of the resist film, and the generated acid is This slightly changes the solubility of the unexposed portion with respect to the developing solution, so that the contrast between the exposed portion and the unexposed portion of the resist film is lowered, thereby causing the resist pattern shape to be poor. .
[0020]
The present invention has been made on the basis of the above knowledge, and is caused by leakage light in an unexposed portion of a resist film by performing pattern exposure in a state where a base generating solution is supplied onto the resist film. It suppresses the influence of acid, and is specifically realized by the following method.
[0021]
A first pattern forming method according to the present invention includes a step of forming a resist film made of a chemically amplified resist, and exposing the resist film in a state where a solution containing a basic compound is supplied onto the resist film. The method includes a step of selectively irradiating light to perform pattern exposure, and a step of developing the resist film subjected to pattern exposure to form a resist pattern.
[0022]
According to the first pattern forming method, some acid is generated from the acid generator in the unexposed portion by the leaked light incident on the unexposed portion of the resist film in the exposure light, but the basic compound is formed on the resist film. Since the pattern exposure is performed in a state in which a solution containing is supplied, the acid generated in the unexposed area is neutralized by the basic compound contained in the solution, so that the solubility of the unexposed area in the developer remains unchanged. On the other hand, since the amount of acid generated from the acid generator in the exposed portion of the resist film is large, even if the basic compound contained in the solution neutralizes the acid generated in the exposed portion, the effect of neutralization is small. The solubility of the exposed part in the developer changes reliably. For this reason, the contrast between the exposed portion and the unexposed portion of the resist film is greatly improved, and the shape of the resist pattern is improved.
[0023]
By the way, the leakage light incident on the unexposed portion of the resist film in the exposure light generates some acid from the acid generator on the surface portion of the unexposed portion. Therefore, as in the first pattern forming method, the resist film When the pattern exposure is performed in a state where a solution containing a basic compound is supplied on the surface of the resist film, the basic compound is present in the surface portion of the unexposed area as compared with the case where the basic compound is included in the resist film. The acid generated from the water can be neutralized efficiently.
[0024]
In the first pattern forming method, basic compounds added to the solution include primary aliphatic amines, secondary aliphatic amines, tertiary aliphatic amines, aromatic amines, amide derivatives. , An imide derivative, a compound having a hydroxyl group and containing nitrogen, or the like can be used.
[0025]
A second pattern forming method according to the present invention includes a step of forming a resist film made of a chemically amplified resist, and exposing the resist film in a state where a solution containing a basic polymer is supplied onto the resist film. The method includes a step of selectively irradiating light to perform pattern exposure, and a step of developing the resist film subjected to pattern exposure to form a resist pattern.
[0026]
According to the second pattern forming method, some acid is generated from the acid generator in the unexposed portion by the leaked light incident on the unexposed portion of the resist film in the exposure light, but the basic polymer is formed on the resist film. Since the pattern exposure is performed in a state where a solution containing is supplied, the acid generated in the unexposed area is neutralized by the basic polymer contained in the solution, so the solubility of the unexposed area in the developer remains unchanged. On the other hand, since the amount of acid generated from the acid generator in the exposed part of the resist film is large, even if the basic polymer contained in the solution neutralizes the acid generated in the exposed part, the effect of neutralization is small. The solubility of the exposed part in the developer changes reliably. For this reason, the contrast between the exposed portion and the unexposed portion of the resist film is greatly improved, and the shape of the resist pattern is improved.
[0027]
By the way, the leakage light incident on the unexposed portion of the resist film in the exposure light generates some acid from the acid generator on the surface portion of the unexposed portion, so that the resist film as in the second pattern forming method. When pattern exposure is performed with a solution containing a basic compound on the surface, the basic polymer is more acid generator at the surface portion of the unexposed area than when the resist film contains a basic polymer. The acid generated from the water can be neutralized efficiently.
[0028]
In the second pattern forming method, poly-N, N-dimethylaminomethylstyrene, polyaniline, polyethyleneimine, polyvinylamine, polyallylamine, polyornithine, polylysine, or the like is used as the basic polymer added to the solution. it can.
[0029]
A third pattern forming method according to the present invention includes a step of forming a resist film made of a chemically amplified resist, and a state in which a solution containing a compound that generates a base by light is supplied onto the resist film. The method includes a step of selectively irradiating exposure light to pattern exposure, and a step of developing the resist film subjected to pattern exposure to form a resist pattern.
[0030]
According to the third pattern formation method, some acid is generated from the acid generator also in the unexposed portion due to the leaked light incident on the unexposed portion of the resist film in the exposure light. Since the pattern exposure is performed in a state in which a solution containing a compound that generates hydrogen is supplied, the acid generated in the unexposed area is neutralized by the base generated from the compound that generates the base contained in the solution. The solubility in the developer is unchanged. On the other hand, since the amount of acid generated from the acid generator in the exposed part of the resist film is large, even if the base generated from the compound that generates the base contained in the solution neutralizes the acid generated in the exposed part, the neutralizing action Therefore, the solubility of the exposed portion in the developer is surely changed. For this reason, the contrast between the exposed portion and the unexposed portion of the resist film is greatly improved, and the shape of the resist pattern is improved.
[0031]
By the way, the leakage light incident on the unexposed portion of the resist film in the exposure light generates some acid from the acid generator on the surface portion of the unexposed portion. Therefore, as in the third pattern forming method, the resist film When pattern exposure is performed in a state where a solution containing a compound that generates a base is supplied onto the resist film, it is generated from a compound that generates a base, compared to the case where a compound that generates a base by light is included in the resist film. The base can efficiently neutralize the acid generated from the acid generator at the surface portion of the unexposed portion.
[0032]
In the third pattern formation method, O-acyl oximes such as O-acryloyl acetophenone oxime or O-acryloyl acetonaphthone oxime can be used as a compound that generates a base by light added to a solution.
[0033]
According to a fourth pattern forming method of the present invention, a resist film is formed in a state in which a resist film made of a chemically amplified resist is formed, and a solution containing a compound that generates a base by heat is supplied onto the resist film. The method includes a step of selectively irradiating exposure light to pattern exposure, and a step of developing the resist film subjected to pattern exposure to form a resist pattern.
[0034]
According to the fourth pattern forming method, a slight amount of acid is generated from the acid generator also in the unexposed portion due to leakage light incident on the unexposed portion of the resist film in the exposure light. Since the pattern exposure is performed in a state where a solution containing a compound that generates hydrogen is supplied, the acid generated in the unexposed area is neutralized by the base generated by the heat of light energy from the compound that generates the base contained in the solution. Therefore, the solubility of the unexposed part in the developer is unchanged. On the other hand, since the amount of acid generated from the acid generator in the exposed part of the resist film is large, the base generated by the heat of light energy from the compound that generates the base contained in the solution neutralizes the acid generated in the exposed part. Even so, since the influence of the neutralizing action is small, the solubility of the exposed portion in the developing solution surely changes. For this reason, the contrast between the exposed portion and the unexposed portion of the resist film is greatly improved, and the shape of the resist pattern is improved.
[0035]
By the way, the leakage light incident on the unexposed portion of the resist film in the exposure light generates some acid from the acid generator on the surface portion of the unexposed portion. Therefore, as in the third pattern forming method, the resist film When pattern exposure is performed in a state where a solution containing a compound capable of generating a base is supplied on the substrate, light from the compound generating a base is less than when a compound that generates a base due to heat is included in the resist film. The base generated by heat due to energy can efficiently neutralize the acid generated from the acid generator at the surface portion of the unexposed portion.
[0036]
In the fourth pattern formation method, acylsulfonyls such as p-phenacylsulfonylstyrene can be used as the compound that generates a base by heat added to the solution.
[0037]
In the first to fourth pattern forming methods, water or perfluoropolyether can be used as the solution.
[0038]
In the first to fourth pattern formation methods, the exposure light may be KrF excimer laser light, ArF excimer laser light, or F. 2 Laser light or the like can be used.
[0039]
DETAILED DESCRIPTION OF THE INVENTION
(First embodiment)
The pattern forming method according to the first embodiment of the present invention will be described below with reference to FIGS. 1 (a) to 1 (d).
[0040]
First, a positive chemically amplified resist material having the following composition is prepared.
[0041]
Poly (styrene hexafluoroisopropyl alcohol)-(α-trifluoromethyl tertiary-butyl acrylate)) (however, styrene hexafluoroisopropyl alcohol: α-trifluoromethyl tertiary-butyl acrylate = 40 mol%: 60 mol%) (base Polymer) …………………………………………… 2g
Triphenylsulfonium triflate (acid generator) ………… 0.08g
Propylene glycol monomethyl ether acetate (solvent) 20g
Next, as shown in FIG. 1A, the chemically amplified resist material is applied onto the
[0042]
Next, as shown in FIG. 1B, NA is 0.65 in a state where a
[0043]
Next, as shown in FIG. 1 (c), the resist
[0044]
According to the first embodiment, a slight amount of acid is generated from the acid generator in the
[0045]
(Second Embodiment)
The pattern forming method according to the second embodiment of the present invention will be described below with reference to FIGS. 2 (a) to 2 (d).
[0046]
First, a negative chemically amplified resist material having the following composition is prepared.
[0047]
Poly (styrene hexafluoroisopropyl alcohol)-(α-trifluoromethylacrylic acid)) (however, styrene hexafluoroisopropyl alcohol: α-trifluoromethylacrylic acid = 40 mol%: 60 mol%) (base polymer) 2 g
1,3,5-N- (Dimethoxymethyl) melamine (crosslinking agent) ……………… 0.7g
Triphenylsulfonium triflate (acid generator) ………… 0.08g
Propylene glycol monomethyl ether acetate (solvent) 20g
Next, as shown in FIG. 2A, the chemically amplified resist material is applied onto the
[0048]
Next, as shown in FIG. 2B, NA is 0.65 in a state where a
[0049]
Next, as shown in FIG. 2 (c), the resist
[0050]
According to the second embodiment, some acid is generated from the acid generator also in the
[0051]
In the first or second embodiment, the basic compound added to the
[0052]
Examples of primary aliphatic amines that are basic compounds include ammonia, methylamine, ethylamine, n-propylamine, isopropylamine, n-butylamine, and isobutylamine.
[0053]
Examples of secondary aliphatic amines to be basic compounds include dimethylamine, diethylamine, di-n-propylamine, diisopropylamine, di-n-butylamine, diisobutylamine, di-sec-butylamine, dipentyl. Examples include amine, dicyclopentylamine, dihexylamine, dicyclohexylamine, and the like.
[0054]
Examples of tertiary aliphatic amines that become basic compounds include trimethylamine, triethylamine, tri-n-propylamine, triisopropylamine, tri-n-butylamine, triisobutylamine, tri-sec-butylamine, Examples include tripentylamine, tricyclopentylamine, trihexylamine, tricyclohexylamine, dimethylethylamine, methylethylpropylamine, benzylamine, phenethylamine, and benzyldimethylamine.
[0055]
Examples of aromatic amines that become basic compounds include diphenyl (p-tolyl) amine, methyldiphenylamine, triphenylamine, phenylenediamine, naphthylamine, diaminonaphthalene, aniline derivatives, pyrrole derivatives, oxazole derivatives, and thiazole derivatives. Imidazole derivatives, pyrroline derivatives, pyrrolidine derivatives, pyridine derivatives or quinoline derivatives.
[0056]
Examples of aniline derivatives that become basic compounds include aniline, N-methylaniline, N-ethylaniline, N-propylaniline, N, N-dimethylaniline, 2-methylaniline, 3-methylaniline, 4- Examples thereof include methylaniline, ethylaniline, propylaniline, and trimethylaniline.
[0057]
Moreover, as an example of the pyrrole derivative used as a basic compound, pyrrole, 2H-pyrrole, 1-methylpyrrole, 2,4-dimethylpyrrole, N-methylpyrrole, etc. are mentioned.
[0058]
Examples of oxazole derivatives that become basic compounds include oxazole and isoxazole.
[0059]
Examples of thiazole derivatives that become basic compounds include thiazole and isothiazole.
[0060]
Examples of imidazole derivatives that become basic compounds include imidazole and 4-methylimidazole.
[0061]
Moreover, pyrroline, 2-methyl-1-pyrroline, etc. are mentioned as an example of the pyrroline derivative used as a basic compound.
[0062]
Examples of pyrrolidine derivatives that become basic compounds include pyrrolidine, N-methylpyrrolidine, N-methylpyrrolidone, and the like.
[0063]
Examples of pyridine derivatives that become basic compounds include pyridine, methylpyridine, ethylpyridine, propylpyridine, butylpyridine, 4- (1-butylpentyl) pyridine, dimethylpyridine, trimethylpyridine, triethylpyridine, phenylpyridine, Examples include aminopyridine and dimethylaminopyridine.
[0064]
Examples of quinoline derivatives that become basic compounds include quinoline and 3-quinolinecarbonitrile.
[0065]
Examples of amide derivatives that become basic compounds include formamide, N-methylformamide, N, N-dimethylformamide, acetamide, N-methylacetamide, N, N-dimethylacetamide, and benzamide.
[0066]
Examples of imide derivatives that become basic compounds include phthalimide, succinimide, and maleimide.
[0067]
Examples of the compound having a hydroxyl group and containing nitrogen as a basic compound include 2-hydroxypyridine, monoethanolamine, diethanolamine, triethanolamine, N-ethyldiethanolamine, N, N-diethylethanolamine, Triisopropanolamine, 2,2′-iminodiethanol, 2-aminoethanol, 3-amino-1-propanol, 4-amino-1-butanol, 2- (2-hydroxyethyl) pyridine, 1- (2-hydroxy Ethyl) piperazine, piperidineethanol, 1- (2-hydroxyethyl) pyrrolidine, 1- (2-hydroxyethyl) -2-pyrrolidinone, 3-piperidino-1,2-propanediol, 3-tropanol, 1-methyl-2 -Pyrrolidine ethanol, 1-aziridine Examples include ethanol or N- (2-hydroxyethyl) phthalimide.
[0068]
(Third embodiment)
A pattern forming method according to the third embodiment of the present invention will be described below with reference to FIGS. 3 (a) to 3 (d).
[0069]
First, a positive chemically amplified resist material having the following composition is prepared.
[0070]
Poly (styrene hexafluoroisopropyl alcohol)-(α-trifluoromethyl tertiary-butyl acrylate)) (however, styrene hexafluoroisopropyl alcohol: α-trifluoromethyl tertiary-butyl acrylate = 40 mol%: 60 mol%) (base Polymer) ………………………………………… 2g
Triphenylsulfonium triflate (acid generator) ………… 0.08g
Propylene glycol monomethyl ether acetate (solvent) 20g
Next, as shown in FIG. 3A, the chemically amplified resist material is applied onto the
[0071]
Next, as shown in FIG. 3B, a
[0072]
[Chemical 1]
Next, as shown in FIG. 3 (c), the resist
[0073]
According to the third embodiment, a slight amount of acid is generated from the acid generator in the
[0074]
(Fourth embodiment)
A pattern forming method according to the fourth embodiment of the present invention will be described below with reference to FIGS. 4 (a) to 4 (d).
[0075]
First, a negative chemically amplified resist material having the following composition is prepared.
[0076]
Poly (styrene hexafluoroisopropyl alcohol)-(α-trifluoromethylacrylic acid)) (however, styrene hexafluoroisopropyl alcohol: α-trifluoromethylacrylic acid = 40 mol%: 60 mol%) (base polymer) ………… ……………………………………………………………………………… 2g
1,3,5-N- (Dimethoxymethyl) melamine (crosslinking agent) ……………… 0.7g
Triphenylsulfonium triflate (acid generator) ………… 0.08g
Propylene glycol monomethyl ether acetate (solvent) 20g
Next, as shown in FIG. 4A, the chemically amplified resist material is applied on a
[0077]
Next, as shown in FIG. 4B, in a state where a
[0078]
Next, as shown in FIG. 4 (c), the resist
[0079]
According to the fourth embodiment, a slight amount of acid is generated from the acid generator in the
[0080]
In the third or fourth embodiment, the basic polymer added to the
[0081]
(Fifth embodiment)
Hereinafter, a pattern forming method according to a fifth embodiment of the present invention will be described with reference to FIGS. 5 (a) to 5 (d).
[0082]
First, a positive chemically amplified resist material having the following composition is prepared.
[0083]
Poly (styrene hexafluoroisopropyl alcohol)-(α-trifluoromethyl tertiary-butyl acrylate)) (however, styrene hexafluoroisopropyl alcohol: α-trifluoromethyl tertiary-butyl acrylate = 40 mol%: 60 mol%) (base Polymer) ………………………………………… 2g
Triphenylsulfonium triflate (acid generator) ………… 0.08g
Propylene glycol monomethyl ether acetate (solvent) 20g
Next, as shown in FIG. 5A, the chemically amplified resist material is applied on the
[0084]
Next, as shown in FIG. 5B, a
[0085]
Next, as shown in FIG. 5 (c), the resist
[0086]
According to the fifth embodiment, a slight amount of acid is generated from the acid generator in the
[0087]
In the fifth embodiment, O-acyl oximes such as O-acryloyl acetophenone oxime or O-acryloyl acetonaphthone oxime can be used as a compound that generates a base by light added to the
[0088]
(Sixth embodiment)
The pattern forming method according to the sixth embodiment of the present invention will be described below with reference to FIGS. 6 (a) to 6 (d).
[0089]
First, a positive chemically amplified resist material having the following composition is prepared.
[0090]
Poly (styrene hexafluoroisopropyl alcohol)-(α-trifluoromethyl tertiary-butyl acrylate)) (however, styrene hexafluoroisopropyl alcohol: α-trifluoromethyl tertiary-butyl acrylate = 40 mol%: 60 mol%) (base Polymer) ………………………………………… 2g
Triphenylsulfonium triflate (acid generator) ………… 0.08g
Propylene glycol monomethyl ether acetate (solvent) 20g
Next, as shown in FIG. 6A, the chemically amplified resist material is applied on a
[0091]
Next, as shown in FIG. 6B, a
[0092]
Next, as shown in FIG. 6 (c), the resist
[0093]
According to the sixth embodiment, a slight amount of acid is generated from the acid generator in the
[0094]
In the sixth embodiment, the compound that generates a base by the heat added to the
[0095]
【The invention's effect】
According to the first to fourth pattern forming methods according to the present invention, the acid generated in the unexposed portion of the resist film is neutralized by the base contained in the solution or the base generated in the solution, and the unexposed portion Since the solubility in the developing solution is not changed, the contrast between the exposed portion and the unexposed portion of the resist film is greatly improved, so that the resist pattern has a good shape.
[Brief description of the drawings]
FIGS. 1A to 1D are cross-sectional views showing respective steps of a pattern forming method according to a first embodiment of the present invention.
FIGS. 2A to 2D are cross-sectional views showing respective steps of a pattern forming method according to a second embodiment of the present invention.
FIGS. 3A to 3D are cross-sectional views showing respective steps of a pattern forming method according to a third embodiment of the present invention. FIGS.
FIGS. 4A to 4D are cross-sectional views showing respective steps of a pattern forming method according to a fourth embodiment of the present invention.
FIGS. 5A to 5D are cross-sectional views showing respective steps of a pattern forming method according to a fifth embodiment of the present invention. FIGS.
FIGS. 6A to 6D are cross-sectional views showing respective steps of a pattern forming method according to a sixth embodiment of the present invention.
FIGS. 7A to 7D are cross-sectional views showing respective steps of the pattern method according to the first conventional example.
FIGS. 8A to 8D are cross-sectional views showing respective steps of a pattern method according to a second conventional example.
[Explanation of symbols]
101 substrate
102 resist film
102a Exposure unit
102b Unexposed part
103 solution
104 Exposure light
105 resist pattern
201 substrate
202 resist film
202a Exposure unit
202b Unexposed part
203 solution
204 Exposure light
205 resist pattern
301 substrate
302 resist film
302a Exposure unit
302b Unexposed part
303 solution
304 Exposure light
305 resist pattern
401 substrate
402 Resist film
402a Exposure unit
402b Unexposed part
403 solution
404 Exposure light
405 resist pattern
501 substrate
502 resist film
502a Exposure unit
502b Unexposed part
503 solution
504 Exposure light
505 resist pattern
601 substrate
602 resist film
602a Exposure unit
602b Unexposed part
603 solution
604 Exposure light
605 resist pattern
Claims (28)
前記レジスト膜の上に、塩基性化合物を含む溶液を供給した状態で、前記レジスト膜に対して露光光を選択的に照射してパターン露光を行なう工程と、
パターン露光が行なわれた前記レジスト膜に対して現像を行なってレジストパターンを形成する工程とを備えていることを特徴とするパターン形成方法。Forming a resist film made of a chemically amplified resist;
A step of performing pattern exposure by selectively irradiating the resist film with exposure light while supplying a solution containing a basic compound on the resist film;
And a step of developing the resist film subjected to pattern exposure to form a resist pattern.
前記レジスト膜の上に、塩基性ポリマーを含む溶液を供給した状態で、前記レジスト膜に対して露光光を選択的に照射してパターン露光を行なう工程と、
パターン露光が行なわれた前記レジスト膜に対して現像を行なってレジストパターンを形成する工程とを備えていることを特徴とするパターン形成方法。Forming a resist film made of a chemically amplified resist;
On the resist film, in a state where a solution containing a basic polymer is supplied, pattern exposure is performed by selectively irradiating the resist film with exposure light;
And a step of developing the resist film subjected to pattern exposure to form a resist pattern.
前記レジスト膜の上に、光により塩基を発生する化合物を含む溶液を供給した状態で、前記レジスト膜に対して露光光を選択的に照射してパターン露光を行なう工程と、
パターン露光が行なわれた前記レジスト膜に対して現像を行なってレジストパターンを形成する工程とを備えていることを特徴とするパターン形成方法。Forming a resist film made of a chemically amplified resist;
A step of performing pattern exposure by selectively irradiating the resist film with exposure light while supplying a solution containing a compound that generates a base by light on the resist film;
And a step of developing the resist film subjected to pattern exposure to form a resist pattern.
前記レジスト膜の上に、熱により塩基を発生する化合物を含む溶液を供給した状態で、前記レジスト膜に対して露光光を選択的に照射してパターン露光を行なう工程と、
パターン露光が行なわれた前記レジスト膜に対して現像を行なってレジストパターンを形成する工程とを備えていることを特徴とするパターン形成方法。Forming a resist film made of a chemically amplified resist;
A step of performing pattern exposure by selectively irradiating the resist film with exposure light while supplying a solution containing a compound that generates a base by heat on the resist film;
And a step of developing the resist film subjected to pattern exposure to form a resist pattern.
Priority Applications (3)
| Application Number | Priority Date | Filing Date | Title |
|---|---|---|---|
| JP2003177889A JP4029064B2 (en) | 2003-06-23 | 2003-06-23 | Pattern formation method |
| US10/713,217 US7135273B2 (en) | 2003-06-23 | 2003-11-17 | Pattern formation method |
| CN200310120570.6A CN1285100C (en) | 2003-06-23 | 2003-12-12 | Pattern formation method |
Applications Claiming Priority (1)
| Application Number | Priority Date | Filing Date | Title |
|---|---|---|---|
| JP2003177889A JP4029064B2 (en) | 2003-06-23 | 2003-06-23 | Pattern formation method |
Publications (2)
| Publication Number | Publication Date |
|---|---|
| JP2005019433A JP2005019433A (en) | 2005-01-20 |
| JP4029064B2 true JP4029064B2 (en) | 2008-01-09 |
Family
ID=33516296
Family Applications (1)
| Application Number | Title | Priority Date | Filing Date |
|---|---|---|---|
| JP2003177889A Expired - Fee Related JP4029064B2 (en) | 2003-06-23 | 2003-06-23 | Pattern formation method |
Country Status (3)
| Country | Link |
|---|---|
| US (1) | US7135273B2 (en) |
| JP (1) | JP4029064B2 (en) |
| CN (1) | CN1285100C (en) |
Families Citing this family (107)
| Publication number | Priority date | Publication date | Assignee | Title |
|---|---|---|---|---|
| JP3986911B2 (en) * | 2002-07-15 | 2007-10-03 | 松下電器産業株式会社 | Pattern forming material and pattern forming method |
| US7372541B2 (en) | 2002-11-12 | 2008-05-13 | Asml Netherlands B.V. | Lithographic apparatus and device manufacturing method |
| US10503084B2 (en) | 2002-11-12 | 2019-12-10 | Asml Netherlands B.V. | Lithographic apparatus and device manufacturing method |
| US9482966B2 (en) | 2002-11-12 | 2016-11-01 | Asml Netherlands B.V. | Lithographic apparatus and device manufacturing method |
| CN100470367C (en) | 2002-11-12 | 2009-03-18 | Asml荷兰有限公司 | Photolithography apparatus and device manufacturing method |
| TWI251127B (en) | 2002-11-12 | 2006-03-11 | Asml Netherlands Bv | Lithographic apparatus and device manufacturing method |
| US7242455B2 (en) * | 2002-12-10 | 2007-07-10 | Nikon Corporation | Exposure apparatus and method for producing device |
| AU2003289271A1 (en) * | 2002-12-10 | 2004-06-30 | Nikon Corporation | Exposure apparatus, exposure method and method for manufacturing device |
| CN101872135B (en) * | 2002-12-10 | 2013-07-31 | 株式会社尼康 | Exposure system and device producing method |
| KR101037057B1 (en) * | 2002-12-10 | 2011-05-26 | 가부시키가이샤 니콘 | Exposure apparatus and device manufacturing method |
| SG158745A1 (en) | 2002-12-10 | 2010-02-26 | Nikon Corp | Exposure apparatus and method for producing device |
| US7948604B2 (en) * | 2002-12-10 | 2011-05-24 | Nikon Corporation | Exposure apparatus and method for producing device |
| JP4352874B2 (en) * | 2002-12-10 | 2009-10-28 | 株式会社ニコン | Exposure apparatus and device manufacturing method |
| DE10261775A1 (en) | 2002-12-20 | 2004-07-01 | Carl Zeiss Smt Ag | Device for the optical measurement of an imaging system |
| TWI621923B (en) | 2003-02-26 | 2018-04-21 | 尼康股份有限公司 | Exposure apparatus, exposure method, and component manufacturing method |
| EP1610361B1 (en) | 2003-03-25 | 2014-05-21 | Nikon Corporation | Exposure system and device production method |
| WO2004090956A1 (en) | 2003-04-07 | 2004-10-21 | Nikon Corporation | Exposure apparatus and method for manufacturing device |
| KR20110104084A (en) * | 2003-04-09 | 2011-09-21 | 가부시키가이샤 니콘 | Immersion Lithography Fluid Control System |
| EP3352010A1 (en) | 2003-04-10 | 2018-07-25 | Nikon Corporation | Run-off path to collect liquid for an immersion lithography apparatus |
| EP2950148B1 (en) | 2003-04-10 | 2016-09-21 | Nikon Corporation | Environmental system including vaccum scavenge for an immersion lithography apparatus |
| EP1611486B1 (en) * | 2003-04-10 | 2016-03-16 | Nikon Corporation | Environmental system including a transport region for an immersion lithography apparatus |
| WO2004090633A2 (en) * | 2003-04-10 | 2004-10-21 | Nikon Corporation | An electro-osmotic element for an immersion lithography apparatus |
| CN101980087B (en) | 2003-04-11 | 2013-03-27 | 株式会社尼康 | Immersion exposure appratus and method |
| JP4582089B2 (en) * | 2003-04-11 | 2010-11-17 | 株式会社ニコン | Liquid jet recovery system for immersion lithography |
| SG10201803122UA (en) | 2003-04-11 | 2018-06-28 | Nikon Corp | Immersion lithography apparatus and device manufacturing method |
| JP2006523958A (en) | 2003-04-17 | 2006-10-19 | 株式会社ニコン | Optical structure of an autofocus element for use in immersion lithography |
| TWI295414B (en) | 2003-05-13 | 2008-04-01 | Asml Netherlands Bv | Lithographic apparatus and device manufacturing method |
| CN100437358C (en) * | 2003-05-15 | 2008-11-26 | 株式会社尼康 | Exposure apparatus and device manufacturing method |
| TWI612557B (en) * | 2003-05-23 | 2018-01-21 | Nikon Corporation | Exposure method and exposure apparatus and component manufacturing method |
| TWI612556B (en) | 2003-05-23 | 2018-01-21 | 尼康股份有限公司 | Exposure apparatus, exposure method, and component manufacturing method |
| KR101548832B1 (en) * | 2003-05-28 | 2015-09-01 | 가부시키가이샤 니콘 | Exposure method, exposure device, and device manufacturing method |
| US7213963B2 (en) | 2003-06-09 | 2007-05-08 | Asml Netherlands B.V. | Lithographic apparatus and device manufacturing method |
| US7317504B2 (en) * | 2004-04-08 | 2008-01-08 | Asml Netherlands B.V. | Lithographic apparatus and device manufacturing method |
| EP1486827B1 (en) | 2003-06-11 | 2011-11-02 | ASML Netherlands B.V. | Lithographic apparatus and device manufacturing method |
| EP3104396B1 (en) | 2003-06-13 | 2018-03-21 | Nikon Corporation | Exposure method, substrate stage, exposure apparatus, and device manufacturing method |
| TWI564933B (en) | 2003-06-19 | 2017-01-01 | 尼康股份有限公司 | An exposure apparatus, an exposure method, and an element manufacturing method |
| US7236232B2 (en) * | 2003-07-01 | 2007-06-26 | Nikon Corporation | Using isotopically specified fluids as optical elements |
| EP1652003B1 (en) | 2003-07-08 | 2015-01-07 | Nikon Corporation | Wafer table for immersion lithography |
| JP4844123B2 (en) | 2003-07-09 | 2011-12-28 | 株式会社ニコン | Exposure apparatus and device manufacturing method |
| WO2005006418A1 (en) | 2003-07-09 | 2005-01-20 | Nikon Corporation | Exposure apparatus and method for manufacturing device |
| JP4515385B2 (en) | 2003-07-09 | 2010-07-28 | 株式会社ニコン | Exposure apparatus, exposure method, and device manufacturing method |
| EP1650787A4 (en) | 2003-07-25 | 2007-09-19 | Nikon Corp | Inspection method and inspection device for projection optical system, and production method for projection optical system |
| EP1503244A1 (en) | 2003-07-28 | 2005-02-02 | ASML Netherlands B.V. | Lithographic projection apparatus and device manufacturing method |
| CN104122760B (en) | 2003-07-28 | 2017-04-19 | 株式会社尼康 | Exposure apparatus and device manufacturing method |
| US7175968B2 (en) * | 2003-07-28 | 2007-02-13 | Asml Netherlands B.V. | Lithographic apparatus, device manufacturing method and a substrate |
| US7326522B2 (en) * | 2004-02-11 | 2008-02-05 | Asml Netherlands B.V. | Device manufacturing method and a substrate |
| US7779781B2 (en) | 2003-07-31 | 2010-08-24 | Asml Netherlands B.V. | Lithographic apparatus and device manufacturing method |
| KR101419192B1 (en) | 2003-08-29 | 2014-07-15 | 가부시키가이샤 니콘 | Exposure apparatus and device producing method |
| TWI263859B (en) | 2003-08-29 | 2006-10-11 | Asml Netherlands Bv | Lithographic apparatus and device manufacturing method |
| KR101238114B1 (en) | 2003-09-03 | 2013-02-27 | 가부시키가이샤 니콘 | Apparatus and method for providing fluid for immersion lithography |
| JP4444920B2 (en) | 2003-09-19 | 2010-03-31 | 株式会社ニコン | Exposure apparatus and device manufacturing method |
| KR101441840B1 (en) | 2003-09-29 | 2014-11-04 | 가부시키가이샤 니콘 | Exposure apparatus, exposure method, and device manufacturing method |
| WO2005036621A1 (en) | 2003-10-08 | 2005-04-21 | Zao Nikon Co., Ltd. | Substrate carrying apparatus, substrate carrying method, exposure apparatus, exposure method, and method for producing device |
| JP2005136364A (en) | 2003-10-08 | 2005-05-26 | Zao Nikon Co Ltd | Substrate transport apparatus, exposure apparatus, and device manufacturing method |
| EP1672682A4 (en) | 2003-10-08 | 2008-10-15 | Zao Nikon Co Ltd | APPARATUS AND METHOD FOR TRANSPORTING SUBSTRATE, APPARATUS AND METHOD FOR EXPOSING, AND DEVICE PRODUCING METHOD |
| TW200514138A (en) | 2003-10-09 | 2005-04-16 | Nippon Kogaku Kk | Exposure equipment and exposure method, manufacture method of component |
| US7352433B2 (en) | 2003-10-28 | 2008-04-01 | Asml Netherlands B.V. | Lithographic apparatus and device manufacturing method |
| US7411653B2 (en) | 2003-10-28 | 2008-08-12 | Asml Netherlands B.V. | Lithographic apparatus |
| US7528929B2 (en) | 2003-11-14 | 2009-05-05 | Asml Netherlands B.V. | Lithographic apparatus and device manufacturing method |
| TWI440981B (en) | 2003-12-03 | 2014-06-11 | 尼康股份有限公司 | Exposure apparatus, exposure method, and device manufacturing method |
| KR101499405B1 (en) | 2003-12-15 | 2015-03-05 | 가부시키가이샤 니콘 | Stage system, exposure apparatus and exposure method |
| US7394521B2 (en) | 2003-12-23 | 2008-07-01 | Asml Netherlands B.V. | Lithographic apparatus and device manufacturing method |
| KR101135232B1 (en) | 2004-01-20 | 2012-04-12 | 칼 짜이스 에스엠테 게엠베하 | Microlithographic projection exposure apparatus |
| US7589822B2 (en) | 2004-02-02 | 2009-09-15 | Nikon Corporation | Stage drive method and stage unit, exposure apparatus, and device manufacturing method |
| US7990516B2 (en) | 2004-02-03 | 2011-08-02 | Nikon Corporation | Immersion exposure apparatus and device manufacturing method with liquid detection apparatus |
| WO2005081063A1 (en) * | 2004-02-20 | 2005-09-01 | Daikin Industries, Ltd. | Resist laminate used for immersion lithography |
| JP4502715B2 (en) * | 2004-03-05 | 2010-07-14 | 東京応化工業株式会社 | Positive resist composition for immersion exposure and method for forming resist pattern |
| TWI518744B (en) | 2004-03-25 | 2016-01-21 | 尼康股份有限公司 | Exposure apparatus, exposure method, and component manufacturing method |
| US7898642B2 (en) | 2004-04-14 | 2011-03-01 | Asml Netherlands B.V. | Lithographic apparatus and device manufacturing method |
| WO2005111722A2 (en) | 2004-05-04 | 2005-11-24 | Nikon Corporation | Apparatus and method for providing fluid for immersion lithography |
| US7616383B2 (en) | 2004-05-18 | 2009-11-10 | Asml Netherlands B.V. | Lithographic apparatus and device manufacturing method |
| KR101257960B1 (en) | 2004-06-04 | 2013-04-24 | 칼 짜이스 에스엠테 게엠베하 | System for measuring the image quality of an optical imaging system |
| KR20170016532A (en) | 2004-06-09 | 2017-02-13 | 가부시키가이샤 니콘 | Exposure system and device production method |
| JP2006024692A (en) | 2004-07-07 | 2006-01-26 | Toshiba Corp | Resist pattern forming method |
| US7463330B2 (en) | 2004-07-07 | 2008-12-09 | Asml Netherlands B.V. | Lithographic apparatus and device manufacturing method |
| ATE441937T1 (en) | 2004-07-12 | 2009-09-15 | Nikon Corp | EXPOSURE DEVICE AND COMPONENT PRODUCTION METHOD |
| KR20070048164A (en) | 2004-08-18 | 2007-05-08 | 가부시키가이샤 니콘 | Exposure apparatus and device manufacturing method |
| US7701550B2 (en) | 2004-08-19 | 2010-04-20 | Asml Netherlands B.V. | Lithographic apparatus and device manufacturing method |
| US7397533B2 (en) | 2004-12-07 | 2008-07-08 | Asml Netherlands B.V. | Lithographic apparatus and device manufacturing method |
| US7880860B2 (en) | 2004-12-20 | 2011-02-01 | Asml Netherlands B.V. | Lithographic apparatus and device manufacturing method |
| SG124351A1 (en) | 2005-01-14 | 2006-08-30 | Asml Netherlands Bv | Lithographic apparatus and device manufacturing method |
| EP1681597B1 (en) | 2005-01-14 | 2010-03-10 | ASML Netherlands B.V. | Lithographic apparatus and device manufacturing method |
| WO2006080516A1 (en) | 2005-01-31 | 2006-08-03 | Nikon Corporation | Exposure apparatus and method for manufacturing device |
| US8692973B2 (en) | 2005-01-31 | 2014-04-08 | Nikon Corporation | Exposure apparatus and method for producing device |
| US7282701B2 (en) | 2005-02-28 | 2007-10-16 | Asml Netherlands B.V. | Sensor for use in a lithographic apparatus |
| USRE43576E1 (en) | 2005-04-08 | 2012-08-14 | Asml Netherlands B.V. | Dual stage lithographic apparatus and device manufacturing method |
| EP1720072B1 (en) * | 2005-05-01 | 2019-06-05 | Rohm and Haas Electronic Materials, L.L.C. | Compositons and processes for immersion lithography |
| CN100461004C (en) * | 2005-08-05 | 2009-02-11 | 台湾积体电路制造股份有限公司 | Immersion lithography method and processing method thereof |
| US7357768B2 (en) * | 2005-09-22 | 2008-04-15 | William Marshall | Recliner exerciser |
| KR100768849B1 (en) * | 2005-12-06 | 2007-10-22 | 엘지전자 주식회사 | Power supply system and method for grid-connected fuel cell system |
| US7649611B2 (en) | 2005-12-30 | 2010-01-19 | Asml Netherlands B.V. | Lithographic apparatus and device manufacturing method |
| US7893047B2 (en) * | 2006-03-03 | 2011-02-22 | Arch Chemicals, Inc. | Biocide composition comprising pyrithione and pyrrole derivatives |
| DE102006021797A1 (en) | 2006-05-09 | 2007-11-15 | Carl Zeiss Smt Ag | Optical imaging device with thermal damping |
| KR101186689B1 (en) * | 2006-10-30 | 2012-09-27 | 롬 앤드 하스 일렉트로닉 머트어리얼즈, 엘.엘.씨. | Compositions and processes for immersion lithography |
| US8654305B2 (en) | 2007-02-15 | 2014-02-18 | Asml Holding N.V. | Systems and methods for insitu lens cleaning in immersion lithography |
| US8817226B2 (en) | 2007-02-15 | 2014-08-26 | Asml Holding N.V. | Systems and methods for insitu lens cleaning using ozone in immersion lithography |
| US8237911B2 (en) | 2007-03-15 | 2012-08-07 | Nikon Corporation | Apparatus and methods for keeping immersion fluid adjacent to an optical assembly during wafer exchange in an immersion lithography machine |
| US8475924B2 (en) | 2007-07-09 | 2013-07-02 | E.I. Du Pont De Nemours And Company | Compositions and methods for creating electronic circuitry |
| WO2009009070A1 (en) * | 2007-07-09 | 2009-01-15 | E. I. Du Pont De Nemours And Company | Compositions and methods for creating electronic circuitry |
| TWI389551B (en) * | 2007-08-09 | 2013-03-11 | 晨星半導體股份有限公司 | Gamma correction device |
| JP2009199058A (en) | 2007-11-05 | 2009-09-03 | Rohm & Haas Electronic Materials Llc | Composition and process for immersion lithography |
| KR101448152B1 (en) | 2008-03-26 | 2014-10-07 | 삼성전자주식회사 | Distance measuring sensor having vertical photogate and three dimensional color image sensor having the same |
| JP5097166B2 (en) | 2008-05-28 | 2012-12-12 | エーエスエムエル ネザーランズ ビー.ブイ. | Lithographic apparatus and method of operating the apparatus |
| EP2381310B1 (en) | 2010-04-22 | 2015-05-06 | ASML Netherlands BV | Fluid handling structure and lithographic apparatus |
| JP5299347B2 (en) * | 2010-04-26 | 2013-09-25 | 株式会社ニコン | Exposure apparatus, liquid supply method, and device manufacturing method |
| JP5024419B2 (en) * | 2010-04-26 | 2012-09-12 | 株式会社ニコン | Exposure apparatus, liquid supply method, and device manufacturing method |
| US8856695B1 (en) | 2013-03-14 | 2014-10-07 | Samsung Electronics Co., Ltd. | Method for generating post-OPC layout in consideration of top loss of etch mask layer |
Family Cites Families (8)
| Publication number | Priority date | Publication date | Assignee | Title |
|---|---|---|---|---|
| DE9307940U1 (en) * | 1993-05-26 | 1993-09-16 | Comet GmbH Pyrotechnik-Apparatebau, 27574 Bremerhaven | Gas generator, in particular a mechanically triggerable gas generator |
| DE9408259U1 (en) * | 1994-05-19 | 1994-09-08 | Comet GmbH Pyrotechnik-Apparatebau, 27574 Bremerhaven | Shot simulation and / or hit display device |
| DE29607840U1 (en) * | 1996-03-14 | 1996-09-05 | Comet GmbH Pyrotechnik-Apparatebau, 27574 Bremerhaven | Missile simulation means |
| DE10117379A1 (en) * | 2001-04-06 | 2002-10-17 | Comet Gmbh Pyrotechnik Appbau | Closure for a pyrotechnic body |
| WO2002091078A1 (en) * | 2001-05-07 | 2002-11-14 | Massachusetts Institute Of Technology | Methods and apparatus employing an index matching medium |
| DE102005046305A1 (en) * | 2005-01-04 | 2006-07-13 | Comet Gmbh Pyrotechnik-Apparatebau | Device for generating pyrotechnic effects |
| DE102006009554A1 (en) * | 2006-02-28 | 2007-08-30 | Comet Gmbh Pyrotechnik-Apparatebau | Device for generating pyrotechnic effects |
| US7597047B2 (en) * | 2006-06-30 | 2009-10-06 | Raytheon Company | Simulating an explosion of an improvised explosive device |
-
2003
- 2003-06-23 JP JP2003177889A patent/JP4029064B2/en not_active Expired - Fee Related
- 2003-11-17 US US10/713,217 patent/US7135273B2/en not_active Expired - Fee Related
- 2003-12-12 CN CN200310120570.6A patent/CN1285100C/en not_active Expired - Fee Related
Also Published As
| Publication number | Publication date |
|---|---|
| CN1285100C (en) | 2006-11-15 |
| JP2005019433A (en) | 2005-01-20 |
| US7135273B2 (en) | 2006-11-14 |
| US20040259040A1 (en) | 2004-12-23 |
| CN1574218A (en) | 2005-02-02 |
Similar Documents
| Publication | Publication Date | Title |
|---|---|---|
| JP4029064B2 (en) | Pattern formation method | |
| KR101415779B1 (en) | Positive resist composition and pattern-forming method using the same | |
| KR101238315B1 (en) | Positive resist composition for immersion exposure and method of pattern formation with the same | |
| KR101435470B1 (en) | Positive resist composition for liquid immersion exposure and pattern forming method using the same | |
| KR20240009413A (en) | Method for manufacturing semiconductor substrate and composition for forming resist underlayer film | |
| JP4365236B2 (en) | Resist composition for immersion exposure and pattern forming method using the same | |
| JP3835521B2 (en) | Resist surface treatment agent composition | |
| JP4452634B2 (en) | Positive resist composition for immersion exposure and pattern forming method using the same | |
| JP4317772B2 (en) | Resist composition for immersion exposure and pattern forming method using the same | |
| JP4304093B2 (en) | Chemically amplified resist composition for immersion process and pattern forming method using the same | |
| JP2006276657A (en) | Positive resist composition and pattern forming method using same | |
| JP4300131B2 (en) | Chemically amplified resist composition for immersion process and pattern forming method using the same | |
| TWI383257B (en) | Positive photoresist composition for liquid immersion exposure and pattern forming method using same | |
| JP4084798B2 (en) | Barrier film forming material and pattern forming method using the same | |
| JP2005316259A (en) | Positive resist composition for dipping exposure, and pattern forming method using the same | |
| JP2015068850A (en) | Photoresist, mask, and method of manufacturing semiconductor device using the same | |
| JP4210862B2 (en) | Pattern formation method | |
| JP4377271B2 (en) | Immersion liquid for immersion exposure and pattern forming method using the same | |
| JP4425095B2 (en) | Chemically amplified resist composition for immersion process and pattern forming method using the same | |
| JP2006208434A (en) | Resist material, barrier film forming material, and pattern forming method using them | |
| KR20050083026A (en) | Resist composition for immersion exposure and pattern forming method using the same | |
| JP2005227332A (en) | Positive resist composition for immersion exposure and pattern forming method using the same | |
| JP4524199B2 (en) | Chemically amplified resist composition for immersion process and pattern forming method using the same | |
| JP2005236116A (en) | Immersion liquid for immersion exposure and pattern forming method using the same | |
| JP2005292809A (en) | Resist film for immersion exposure and pattern forming method using the same |
Legal Events
| Date | Code | Title | Description |
|---|---|---|---|
| A621 | Written request for application examination |
Free format text: JAPANESE INTERMEDIATE CODE: A621 Effective date: 20050826 |
|
| A977 | Report on retrieval |
Free format text: JAPANESE INTERMEDIATE CODE: A971007 Effective date: 20070906 |
|
| TRDD | Decision of grant or rejection written | ||
| A01 | Written decision to grant a patent or to grant a registration (utility model) |
Free format text: JAPANESE INTERMEDIATE CODE: A01 Effective date: 20070918 |
|
| A61 | First payment of annual fees (during grant procedure) |
Free format text: JAPANESE INTERMEDIATE CODE: A61 Effective date: 20071015 |
|
| FPAY | Renewal fee payment (event date is renewal date of database) |
Free format text: PAYMENT UNTIL: 20101019 Year of fee payment: 3 |
|
| R150 | Certificate of patent or registration of utility model |
Free format text: JAPANESE INTERMEDIATE CODE: R150 |
|
| FPAY | Renewal fee payment (event date is renewal date of database) |
Free format text: PAYMENT UNTIL: 20111019 Year of fee payment: 4 |
|
| FPAY | Renewal fee payment (event date is renewal date of database) |
Free format text: PAYMENT UNTIL: 20121019 Year of fee payment: 5 |
|
| FPAY | Renewal fee payment (event date is renewal date of database) |
Free format text: PAYMENT UNTIL: 20131019 Year of fee payment: 6 |
|
| S533 | Written request for registration of change of name |
Free format text: JAPANESE INTERMEDIATE CODE: R313533 |
|
| FPAY | Renewal fee payment (event date is renewal date of database) |
Free format text: PAYMENT UNTIL: 20131019 Year of fee payment: 6 |
|
| R350 | Written notification of registration of transfer |
Free format text: JAPANESE INTERMEDIATE CODE: R350 |
|
| R250 | Receipt of annual fees |
Free format text: JAPANESE INTERMEDIATE CODE: R250 |
|
| R250 | Receipt of annual fees |
Free format text: JAPANESE INTERMEDIATE CODE: R250 |
|
| R250 | Receipt of annual fees |
Free format text: JAPANESE INTERMEDIATE CODE: R250 |
|
| R250 | Receipt of annual fees |
Free format text: JAPANESE INTERMEDIATE CODE: R250 |
|
| R250 | Receipt of annual fees |
Free format text: JAPANESE INTERMEDIATE CODE: R250 |
|
| LAPS | Cancellation because of no payment of annual fees |
