[go: up one dir, main page]

JP2013524169A - 液滴によるアッセイ用の検出システム - Google Patents

液滴によるアッセイ用の検出システム Download PDF

Info

Publication number
JP2013524169A
JP2013524169A JP2013501528A JP2013501528A JP2013524169A JP 2013524169 A JP2013524169 A JP 2013524169A JP 2013501528 A JP2013501528 A JP 2013501528A JP 2013501528 A JP2013501528 A JP 2013501528A JP 2013524169 A JP2013524169 A JP 2013524169A
Authority
JP
Japan
Prior art keywords
light
pulse
signal
droplet
flow path
Prior art date
Legal status (The legal status is an assumption and is not a legal conclusion. Google has not performed a legal analysis and makes no representation as to the accuracy of the status listed.)
Pending
Application number
JP2013501528A
Other languages
English (en)
Other versions
JP2013524169A5 (ja
Inventor
ケヴィン・ディ・ネス
マーク・エー・アルボア
ジェリー・イー・ハースト
デイヴィッド・エル・クライン
ドナルド・エー・マスケリエール
Original Assignee
クァンタライフ・インコーポレーテッド
Priority date (The priority date is an assumption and is not a legal conclusion. Google has not performed a legal analysis and makes no representation as to the accuracy of the date listed.)
Filing date
Publication date
Application filed by クァンタライフ・インコーポレーテッド filed Critical クァンタライフ・インコーポレーテッド
Publication of JP2013524169A publication Critical patent/JP2013524169A/ja
Publication of JP2013524169A5 publication Critical patent/JP2013524169A5/ja
Pending legal-status Critical Current

Links

Images

Classifications

    • GPHYSICS
    • G01MEASURING; TESTING
    • G01NINVESTIGATING OR ANALYSING MATERIALS BY DETERMINING THEIR CHEMICAL OR PHYSICAL PROPERTIES
    • G01N21/00Investigating or analysing materials by the use of optical means, i.e. using sub-millimetre waves, infrared, visible or ultraviolet light
    • G01N21/62Systems in which the material investigated is excited whereby it emits light or causes a change in wavelength of the incident light
    • G01N21/63Systems in which the material investigated is excited whereby it emits light or causes a change in wavelength of the incident light optically excited
    • G01N21/64Fluorescence; Phosphorescence
    • G01N21/6428Measuring fluorescence of fluorescent products of reactions or of fluorochrome labelled reactive substances, e.g. measuring quenching effects, using measuring "optrodes"
    • GPHYSICS
    • G01MEASURING; TESTING
    • G01NINVESTIGATING OR ANALYSING MATERIALS BY DETERMINING THEIR CHEMICAL OR PHYSICAL PROPERTIES
    • G01N15/00Investigating characteristics of particles; Investigating permeability, pore-volume or surface-area of porous materials
    • G01N15/10Investigating individual particles
    • G01N15/14Optical investigation techniques, e.g. flow cytometry
    • G01N15/1456Optical investigation techniques, e.g. flow cytometry without spatial resolution of the texture or inner structure of the particle, e.g. processing of pulse signals
    • GPHYSICS
    • G01MEASURING; TESTING
    • G01NINVESTIGATING OR ANALYSING MATERIALS BY DETERMINING THEIR CHEMICAL OR PHYSICAL PROPERTIES
    • G01N21/00Investigating or analysing materials by the use of optical means, i.e. using sub-millimetre waves, infrared, visible or ultraviolet light
    • G01N21/01Arrangements or apparatus for facilitating the optical investigation
    • G01N21/03Cuvette constructions
    • G01N21/05Flow-through cuvettes
    • GPHYSICS
    • G01MEASURING; TESTING
    • G01NINVESTIGATING OR ANALYSING MATERIALS BY DETERMINING THEIR CHEMICAL OR PHYSICAL PROPERTIES
    • G01N21/00Investigating or analysing materials by the use of optical means, i.e. using sub-millimetre waves, infrared, visible or ultraviolet light
    • G01N21/17Systems in which incident light is modified in accordance with the properties of the material investigated
    • G01N21/25Colour; Spectral properties, i.e. comparison of effect of material on the light at two or more different wavelengths or wavelength bands
    • G01N21/31Investigating relative effect of material at wavelengths characteristic of specific elements or molecules, e.g. atomic absorption spectrometry
    • GPHYSICS
    • G01MEASURING; TESTING
    • G01NINVESTIGATING OR ANALYSING MATERIALS BY DETERMINING THEIR CHEMICAL OR PHYSICAL PROPERTIES
    • G01N21/00Investigating or analysing materials by the use of optical means, i.e. using sub-millimetre waves, infrared, visible or ultraviolet light
    • G01N21/17Systems in which incident light is modified in accordance with the properties of the material investigated
    • G01N21/55Specular reflectivity
    • G01N21/552Attenuated total reflection
    • G01N21/553Attenuated total reflection and using surface plasmons
    • GPHYSICS
    • G01MEASURING; TESTING
    • G01NINVESTIGATING OR ANALYSING MATERIALS BY DETERMINING THEIR CHEMICAL OR PHYSICAL PROPERTIES
    • G01N21/00Investigating or analysing materials by the use of optical means, i.e. using sub-millimetre waves, infrared, visible or ultraviolet light
    • G01N21/62Systems in which the material investigated is excited whereby it emits light or causes a change in wavelength of the incident light
    • G01N21/63Systems in which the material investigated is excited whereby it emits light or causes a change in wavelength of the incident light optically excited
    • G01N21/64Fluorescence; Phosphorescence
    • G01N21/645Specially adapted constructive features of fluorimeters
    • GPHYSICS
    • G01MEASURING; TESTING
    • G01NINVESTIGATING OR ANALYSING MATERIALS BY DETERMINING THEIR CHEMICAL OR PHYSICAL PROPERTIES
    • G01N21/00Investigating or analysing materials by the use of optical means, i.e. using sub-millimetre waves, infrared, visible or ultraviolet light
    • G01N21/62Systems in which the material investigated is excited whereby it emits light or causes a change in wavelength of the incident light
    • G01N21/63Systems in which the material investigated is excited whereby it emits light or causes a change in wavelength of the incident light optically excited
    • G01N21/64Fluorescence; Phosphorescence
    • G01N21/6486Measuring fluorescence of biological material, e.g. DNA, RNA, cells
    • BPERFORMING OPERATIONS; TRANSPORTING
    • B01PHYSICAL OR CHEMICAL PROCESSES OR APPARATUS IN GENERAL
    • B01LCHEMICAL OR PHYSICAL LABORATORY APPARATUS FOR GENERAL USE
    • B01L3/00Containers or dishes for laboratory use, e.g. laboratory glassware; Droppers
    • B01L3/50Containers for the purpose of retaining a material to be analysed, e.g. test tubes
    • B01L3/502Containers for the purpose of retaining a material to be analysed, e.g. test tubes with fluid transport, e.g. in multi-compartment structures
    • B01L3/5027Containers for the purpose of retaining a material to be analysed, e.g. test tubes with fluid transport, e.g. in multi-compartment structures by integrated microfluidic structures, i.e. dimensions of channels and chambers are such that surface tension forces are important, e.g. lab-on-a-chip
    • B01L3/502769Containers for the purpose of retaining a material to be analysed, e.g. test tubes with fluid transport, e.g. in multi-compartment structures by integrated microfluidic structures, i.e. dimensions of channels and chambers are such that surface tension forces are important, e.g. lab-on-a-chip characterised by multiphase flow arrangements
    • B01L3/502784Containers for the purpose of retaining a material to be analysed, e.g. test tubes with fluid transport, e.g. in multi-compartment structures by integrated microfluidic structures, i.e. dimensions of channels and chambers are such that surface tension forces are important, e.g. lab-on-a-chip characterised by multiphase flow arrangements specially adapted for droplet or plug flow, e.g. digital microfluidics
    • GPHYSICS
    • G01MEASURING; TESTING
    • G01NINVESTIGATING OR ANALYSING MATERIALS BY DETERMINING THEIR CHEMICAL OR PHYSICAL PROPERTIES
    • G01N21/00Investigating or analysing materials by the use of optical means, i.e. using sub-millimetre waves, infrared, visible or ultraviolet light
    • G01N21/01Arrangements or apparatus for facilitating the optical investigation
    • G01N21/03Cuvette constructions
    • G01N2021/0346Capillary cells; Microcells
    • GPHYSICS
    • G01MEASURING; TESTING
    • G01NINVESTIGATING OR ANALYSING MATERIALS BY DETERMINING THEIR CHEMICAL OR PHYSICAL PROPERTIES
    • G01N21/00Investigating or analysing materials by the use of optical means, i.e. using sub-millimetre waves, infrared, visible or ultraviolet light
    • G01N21/01Arrangements or apparatus for facilitating the optical investigation
    • G01N21/03Cuvette constructions
    • G01N21/05Flow-through cuvettes
    • G01N2021/052Tubular type; cavity type; multireflective
    • GPHYSICS
    • G01MEASURING; TESTING
    • G01NINVESTIGATING OR ANALYSING MATERIALS BY DETERMINING THEIR CHEMICAL OR PHYSICAL PROPERTIES
    • G01N21/00Investigating or analysing materials by the use of optical means, i.e. using sub-millimetre waves, infrared, visible or ultraviolet light
    • G01N21/62Systems in which the material investigated is excited whereby it emits light or causes a change in wavelength of the incident light
    • G01N21/63Systems in which the material investigated is excited whereby it emits light or causes a change in wavelength of the incident light optically excited
    • G01N21/64Fluorescence; Phosphorescence
    • G01N2021/6417Spectrofluorimetric devices
    • G01N2021/6419Excitation at two or more wavelengths
    • GPHYSICS
    • G01MEASURING; TESTING
    • G01NINVESTIGATING OR ANALYSING MATERIALS BY DETERMINING THEIR CHEMICAL OR PHYSICAL PROPERTIES
    • G01N21/00Investigating or analysing materials by the use of optical means, i.e. using sub-millimetre waves, infrared, visible or ultraviolet light
    • G01N21/62Systems in which the material investigated is excited whereby it emits light or causes a change in wavelength of the incident light
    • G01N21/63Systems in which the material investigated is excited whereby it emits light or causes a change in wavelength of the incident light optically excited
    • G01N21/64Fluorescence; Phosphorescence
    • G01N2021/6417Spectrofluorimetric devices
    • G01N2021/6421Measuring at two or more wavelengths
    • GPHYSICS
    • G01MEASURING; TESTING
    • G01NINVESTIGATING OR ANALYSING MATERIALS BY DETERMINING THEIR CHEMICAL OR PHYSICAL PROPERTIES
    • G01N21/00Investigating or analysing materials by the use of optical means, i.e. using sub-millimetre waves, infrared, visible or ultraviolet light
    • G01N21/62Systems in which the material investigated is excited whereby it emits light or causes a change in wavelength of the incident light
    • G01N21/63Systems in which the material investigated is excited whereby it emits light or causes a change in wavelength of the incident light optically excited
    • G01N21/64Fluorescence; Phosphorescence
    • G01N21/6428Measuring fluorescence of fluorescent products of reactions or of fluorochrome labelled reactive substances, e.g. measuring quenching effects, using measuring "optrodes"
    • G01N2021/6439Measuring fluorescence of fluorescent products of reactions or of fluorochrome labelled reactive substances, e.g. measuring quenching effects, using measuring "optrodes" with indicators, stains, dyes, tags, labels, marks
    • G01N2021/6441Measuring fluorescence of fluorescent products of reactions or of fluorochrome labelled reactive substances, e.g. measuring quenching effects, using measuring "optrodes" with indicators, stains, dyes, tags, labels, marks with two or more labels
    • GPHYSICS
    • G01MEASURING; TESTING
    • G01NINVESTIGATING OR ANALYSING MATERIALS BY DETERMINING THEIR CHEMICAL OR PHYSICAL PROPERTIES
    • G01N21/00Investigating or analysing materials by the use of optical means, i.e. using sub-millimetre waves, infrared, visible or ultraviolet light
    • G01N21/84Systems specially adapted for particular applications
    • G01N21/85Investigating moving fluids or granular solids
    • G01N2021/8557Special shaping of flow, e.g. using a by-pass line, jet flow, curtain flow
    • G01N2021/8564Sample as drops
    • GPHYSICS
    • G01MEASURING; TESTING
    • G01NINVESTIGATING OR ANALYSING MATERIALS BY DETERMINING THEIR CHEMICAL OR PHYSICAL PROPERTIES
    • G01N2201/00Features of devices classified in G01N21/00
    • G01N2201/06Illumination; Optics
    • G01N2201/062LED's
    • GPHYSICS
    • G01MEASURING; TESTING
    • G01NINVESTIGATING OR ANALYSING MATERIALS BY DETERMINING THEIR CHEMICAL OR PHYSICAL PROPERTIES
    • G01N2201/00Features of devices classified in G01N21/00
    • G01N2201/06Illumination; Optics
    • G01N2201/062LED's
    • G01N2201/0627Use of several LED's for spectral resolution
    • GPHYSICS
    • G01MEASURING; TESTING
    • G01NINVESTIGATING OR ANALYSING MATERIALS BY DETERMINING THEIR CHEMICAL OR PHYSICAL PROPERTIES
    • G01N2201/00Features of devices classified in G01N21/00
    • G01N2201/06Illumination; Optics
    • G01N2201/069Supply of sources
    • G01N2201/0696Pulsed

Landscapes

  • Health & Medical Sciences (AREA)
  • Physics & Mathematics (AREA)
  • Chemical & Material Sciences (AREA)
  • Life Sciences & Earth Sciences (AREA)
  • Immunology (AREA)
  • Analytical Chemistry (AREA)
  • Biochemistry (AREA)
  • General Health & Medical Sciences (AREA)
  • General Physics & Mathematics (AREA)
  • Pathology (AREA)
  • Nuclear Medicine, Radiotherapy & Molecular Imaging (AREA)
  • Spectroscopy & Molecular Physics (AREA)
  • Biomedical Technology (AREA)
  • Molecular Biology (AREA)
  • Engineering & Computer Science (AREA)
  • Dispersion Chemistry (AREA)
  • Chemical Kinetics & Catalysis (AREA)
  • Optics & Photonics (AREA)
  • Investigating, Analyzing Materials By Fluorescence Or Luminescence (AREA)
  • Investigating Or Analysing Materials By Optical Means (AREA)

Abstract

光検出用のシステム、方法、および装置と、液滴によるアッセイ用の信号処理。

Description

優先出願の相互参照
本出願は、2010年3月25日に出願された米国仮特許出願第61/317684号に基づくものであり、米国特許法第119条(e)項により該仮出願の権利を主張し、参照によりそのすべてをすべての目的において本明細書に組み込む。
他の文献の相互参照
本出願は、2006年5月9日に発行された米国特許第7041481号、2010年7月8日に公開された米国特許出願公開第2010/0173394 A1号、およびJoseph R. Lakowicz著、「PRINCIPLES OF FLUORESCENCE SPECTROSCOPY」(第2版、1999年)を参照により、それらすべてをすべての目的において組み込む。
バイオメディカル分野の応用は、試料のハイスループットアッセイに基づいて行われているものが多々ある。例えば、研究・臨床応用では、標的に特異な反応物を用いたハイスループット遺伝試験により、試料についての質の高い情報が得られ、様々な応用の中でもとりわけ、創薬、バイオマーカの開発、および臨床診断に用いられている。別の例として、感染症の検出では、複数の遺伝標的用の試料をスクリーニングして信頼性の高い結果を得ることがしばしば必要である。
ハイスループットアッセイを飛躍的に改善するには乳剤が極めて有望である。乳化技術を使えば、生化学反応用の独立した反応チャンバとして機能する液滴を数十億個という数で作り出すことができる。例として、(例えば、200マイクロリットルの)水性試料を区分けして液滴(例えば、それぞれ50ピコリットルの400万個の液滴)にし、それらを用いて個々のサブコンポーネント(例えば、細胞、核酸、タンパク質)を別個に超ハイスループットで操作し、処理し、検査することができる。
水滴を油中に懸濁させて、油の中に水が入っている状態の乳剤(水/油)を作ることができる。この乳剤を界面活性剤により安定化させて、加熱、冷却、輸送中に液滴の結合を減らすかまたはなくすことができ、それによって、温度サイクリングを実施することができる。このため、ポリメラーゼ連鎖反応(PCR)を利用した液滴中の核酸標的分子の単一コピー増幅は、乳剤を使用して実施していた。これらの液滴のうち、ある標的に対して陽性である液滴をポアソン統計に基づいて解析して、試料中の標的の濃度を推定することができる。
液滴によるアッセイでは、しばしば、液滴中の標識として1種または複数種の蛍光体を用いて、増幅などの反応が起こったかどうかがわかる。こうして、個々の液滴中に標的のコピーが少なくとも1つ存在するか否かがわかる。こうした液滴を生成し反応させ(例えば温度サイクリングを実施し)、次いで、各液滴からの放出光を測定して液滴中に標的が存在するか否かを判断し得る。区別可能な異なる蛍光体がそれぞれ異なる標的ごとのレポータとして機能すれば、複数の異なる標的が存在するか否かを各液滴ごとに測定することができる。しかし、2種以上の色(2種以上の別個の蛍光体からの蛍光)を区別可能に単一点検出し、高分解能の液滴データを収集し、一般的な色素(例えばFAMやVICといった色素)とともに使え、かつ/または、信号の中から液滴を効率的に識別することができる比較的低コストの液滴用の光検出システムを構築するには、越えなければならない多くの技術的なハードルがある。
改善された液滴用の光検出システムが必要とされている。
本開示により、液滴によるアッセイにおける光検出および信号処理のためのシステムが、方法および装置を含めて実現される。
本開示の態様による、液滴によるアッセイにおいて実施し得るステップの例を列記したフローチャートである。 本開示の態様による、液滴を光で照射する照明アセンブリと、液滴からの光を集め検出する集光アセンブリとを備える検出ユニットの例の選択された態様の概略図である。 本開示の態様による、図2の検出ユニットを含む検出システムの例の概略図である。 本明細書で開示する検出システムで使用し得る1対の色素の例の吸収スペクトルおよび発光スペクトルを正規化して示すグラフである。 本開示の態様による、液滴によるアッセイ用の検出システムの別の例の選択された態様の概略図である。 本開示の態様による、図5の検出システムで収集されるデータの例がこのシステムの照明アセンブリによって生成される照明パルスに対応している様子を示す一連のグラフである。 本開示の態様による、図5のシステム用の制御部の例の選択された態様の概略図であり、この制御部はどの光源が検査領域を照明しているかに基づいてこの光源と対応する検出器の1対だけからデータを収集することを示す。 本開示の態様による、液滴によるアッセイ用の検出システムのさらに別の例の選択された態様の概略図である。 本明細書で開示する信号検出システムが含み得る照明アセンブリおよびキャピラリの例の選択された態様の概略図である。 図9の照明アセンブリを概ね図9の線10A−10Aで切った断面図であり、照明アセンブリのスリットと光ビームの関係の例を示している。 図9のキャピラリを概ね図9の線10B−10Bで切った断面図であり、図10Aのスリットによって整形されるビームの断面構成を示している。 本明細書で開示する信号検出システムが含み得る検出ユニットおよびキャピラリの例の選択された態様の概略図である。 本開示の態様による、本明細書で開示する検出システムによって収集されるデータを処理する手法の例を示す一連のグラフである。 本開示の態様による、図5のシステムなど、本明細書で開示する検出システムで用いる検出ユニットの例の光学配置の図である。 本開示の態様による、図4のグラフと、その捕捉として図12の検出ユニットを備えた図5の検出システムで用いる図4の色素に適し得る照明および検出の波長帯の例を付け加えて示す図である。 本開示の態様による、液滴によるアッセイ用の検出システムのさらに別の例の選択された態様の概略図であり、このシステムは、流路に沿って離間して配設された検査部位からなる不連続な検査領域を画定するように配置された一連の検査ユニットを複数備える。 本開示の態様による、液滴によるアッセイ用の検出システムの別の例の選択された態様の概略図であり、このシステムは、流路に沿って離間して配設された多色検査部位からなる不連続な検査領域を画定するように配置された、図5のシステムに示した検出ユニットを複数備える。 本開示の態様による、図14のシステム構成に従って構築された検出システムの実施形態の選択された態様の図である。
本開示により、液滴によるアッセイにおける光検出および信号処理のためのシステムが、方法および装置を含めて実現される。
液滴を検出する方法が提供される。この方法では、流路の検査領域を、液滴がこの検査領域を通過するときに第1の光パルスに対して第2の光パルスが交互に配置された光パルスで照明するようにし得る。第1のパルスは第2のパルスとスペクトル的に異なり得る。検査領域が第1のパルスおよび第2のパルスで照明される期間に検出される光を表すデータを収集するようにし得る。
液滴を検出する別の方法が提供される。この方法では、流路の検査領域を、液滴がこの検査領域を通過するときに第1の光源および第2の光源によって放出される光パルスで交互に照明するようにし得る。光パルスによって照明される検査領域からの光を検出するようにし得る。第1の信号および第2の信号を生成するようにし得る。第1の信号は、第1の領域が第1の光源からの光パルスで照明されるときに少なくとも他に優先して検出される光を表し、第2の信号は、第2の領域が第2の光源からの光パルスで照明されるときに少なくとも他に優先して検出される光を表すようにし得る。
液滴に基づくアッセイ用の検出システムが提供される。このシステムは、流路と、照明アセンブリとを備えるようにし得る。この照明アセンブリは、流路の検査領域を、液滴がこの検査領域を通過するときに第1の光パルスに対して第2の光パルスが交互に配置された光パルスで照明するように構成し得る。第1のパルスは第2のパルスとスペクトル的に異なるようにし得る。このシステムはさらに、検査領域からの光を検出するように構成された1つまたは複数の検出器と、第1のパルスおよび第2のパルスで検査領域が照明される期間に検出される光を表すデータを収集する制御部とを備えるようにし得る。
液滴に基づくアッセイ用の別の検出システムが提供される。このシステムは、流路と、流路の検査領域を、液滴がこの領域を通過するときに照明する光ビームを生成するように構成された照明アセンブリとを備えるようにし得る。このシステムはさらに、検査領域から受け取った光を検出するように構成された検出器と、検出器によって検出される光を表すデータを収集する制御部とを備えるようにし得る。この光ビームは、流路と交差する断面を細長くし得る。
液滴に基づくアッセイ用のさらに別の検出システムが提供される。このシステムは、流路と、流路の検査領域を、液滴がこの領域を通過するときに照明する光源と備えるようにし得る。このシステムはさらに、検査領域から受け取った光を検出するように構成された検出器と、検出器によって検出される光を表すデータを収集する制御部とを備えるようにし得る。光源が放出する光は、光源と検出器の間の少なくとも1つのスリットを通過して進むようにし得る。
液滴を検出する別の方法が提供される。この方法では、断面が細長い光ビームで流路の検査領域を照明するようにし得る。複数の液滴が検査領域を通過するときに、この領域から経時的に検出される光を表すデータを収集するようにし得る。
液滴に基づくアッセイ用の別の検出方法が提供される。この方法では、少なくとも2つの別個の信号を生成するようにし得る。これら別個の信号は、液滴を運ぶ流体の流れから一連の期間に、それぞれ異なる検出構成で検出される光を表す。これら少なくとも2つの別個の信号を混合して混合信号を形成するようにし得る。この混合信号を処理して液滴に対応する期間を特定するようにし得る。
液滴に基づくアッセイ用のさらに別の検出方法が提供される。この方法では、少なくとも2つの別個の信号を生成するようにし得る。これら別個の信号は、液滴を運ぶ流体の流れから一連の期間に検出されるそれぞれ異なる波長または波長帯の光を表す。これらの波長または波長帯の検出光は、個々の液滴中の異なる標的の存在の有無を示す。これら少なくとも2つの別個の信号を混合して混合信号を形成するようにし得る。この混合信号を処理して液滴に対応する期間を識別するようにし得る。これら識別された期間に検出された別個の信号の各々の値に基づいて、液滴が異なる標的の各々を含むかを判断するようにし得る。
液滴に基づくアッセイ用のさらに別の検出方法が提供される。この方法では、少なくとも2つの信号を生成するようにし得る。これらの信号は、液滴を含む流体の流れから一連の期間に検出されるそれぞれ異なる波長帯の光を表す。これら少なくとも2つの信号の複数の値を混合して混合信号を形成するようにし得る。この混合信号の液滴に対応する部分を識別するようにし得る。これら識別された部分に対応する少なくとも2つの信号の値を処理して、どの液滴がどの標的を含むかを判断するようにし得る。
液滴に基づくアッセイ用の別の検出システムが提供される。このシステムは、少なくとも2つの異なる色素を含む液滴を運ぶ流体の流れからの光を検出するように構成された1つまたは複数の検出器を備えるようにし得る。このシステムはさらに、液滴を運ぶ流体の流れから一連の期間に、それぞれ異なる検出構成で検出される光を表す別個の信号を生成し、これら少なくとも2つの別個の信号を混合して混合信号を形成し、この混合信号を処理して液滴に対応する期間を識別するように構成された制御部を備えるようにし得る。
液滴用の検出するさらに別の方法が提供される。この方法では、第1の色素および第2の色素を含む液滴を準備するようにし得る。第1の色素の発光スペクトルおよび第2の色素の吸収スペクトルにより重なり合う波長帯が画定し、この重なり合いは、第1の色素が第2の色素の最大吸収波長で励起された場合に第1の色素からその発光最大値の少なくとも半分が生成される程度に大きくし得る。1つまたは複数のLEDから放出され、第1の色素および第2の色素をともに励起し得る励起光で液滴を照明するようにし得る。この励起光は重なり合う波長帯の短波長側の区域のみを含むようにし得る。第1の色素および第2の色素が放出する光を検出するようにし得る。第2の色素が放出する光は、短波長側の区域から離れた重なり合う波長帯の長波長側の区域のみを含む波長域で検出されるようにし得る。
液滴を検出する別の方法が提供される。この方法では、光ビームを生成するようにし得る。この光ビームを主ビームおよび少なくとも1つのサンプリングビームに分岐するようにし得る。このサンプリングビームの強度を監視するようにし得る。この監視ステップから得られる1つまたは複数の測定値に基づいて、光ビームの強度を調整するようにし得る。流路の検査領域を、液滴がこの検査領域を通過するときに主ビームで照明するようにし得る。検査領域から検出される光を表すデータを収集するようにし得る。
本開示のさらなる態様は、以下の節、(I)液滴によるアッセイ用の検出システムの概要、(II)パルス照明を備えた検出システム、(III)スリットを備えた検出ユニット、(IV)混合信号による液滴の識別、(V)検出ユニットの光学配置、(VI)検査部位を離間させた検出システム、および(VII)選択された実施形態で説明する。
I.液滴によるアッセイ用の検出システムの概要
図1に、液滴によるアッセイまたは他の手段で区画したものによるアッセイを実施するためのシステムの例50を示す。簡単には、このシステムは、試料調製ステップ52、液滴生成ステップ54、反応(例えば増幅)ステップ56、検出ステップ58、およびデータ解析ステップ60を含み得る。このシステムを用いてデジタルPCR(ポリメラーゼ連鎖反応)解析を実施することができる。より具体的には、試料調製ステップ52は、臨床用または環境用などの試料を収集し、試料を処理して関連する核酸を放出させ、(例えば標的核酸を増幅するために)核酸を含む反応混合物を形成することを含み得る。液滴生成ステップ54は、核酸を液滴中に封入することを含み得る。このステップでは、例えば、液滴1個につきほぼ1つの各標的核酸のコピーがあり、液滴はそれと混ざらない搬送流体、例えば油などの中に懸濁し乳剤を形成している。反応ステップ56は、これらの液滴を適切に反応させ、例えば、温度サイクリングを実施してPCR増幅を誘起し、それによって、液滴中に標的核酸がもし存在すれば、その核酸を増幅してさらなるコピーを形成することを含み得る。検出ステップ58は、液滴からの放射など、増幅があったか否かを示す何らかの1つ(または複数)の信号を検出することを含み得る。最後に、データ解析ステップ60は、増幅が生じた液滴の割合(液滴の部分)に基づいて試料中の標的核酸の濃度を推定することを含み得る。本明細書で開示する検出システムは、図1のステップの任意の適切な組合せを任意の適切な順序で、ただし特に検出ステップ58および/またはデータ解析ステップ60を実施すればよい。本開示の検出システムに適したものとなり得る液滴によるアッセイシステムのさらなる態様は、先に列記した相互参照の項に記載されており、特に、2010年3月25日に出願された米国仮特許出願第61/317684号、2006年5月9日に発行された米国特許第7041481号、2010年7月8日に公開された米国特許出願公開第2010/0173394 A1号を参照により本明細書に組み込む。
液滴によるアッセイシステムでは、特に検出ステップ58は、一般に、液滴自体および/または液滴の内容物を感知または検出することを含み得る。液滴自体の検出は、1個の液滴(または複数の液滴)の存在の有無を判断し、かつ/または、その液滴の1つ(または複数)の特徴、中でも例えば、液滴の大きさ(例えば、半径または体積)、形状、種類、および/または凝集状態を決定することを含み得る。液滴の内容物の検出は、内容物の性質(例えば、液滴が1つ(または複数)の標的を含んでいるか否か)、および/または、内容物の特徴(例えば、内容物がPCRなどの反応を経ているか否か、任意のこのような反応の程度、など)を求めることを含み得る。液滴およびその内容物をともに検出し得る場合、これらの検出は独立にまたは並行して、任意の適切な順序で行ってよい。この検出は例えば、1つずつ順番に行うこともできるし(1回に1個の液滴)、並行して行うこともできる。あるいは、あるまとまりで行うことなどもできる。
一般に検出は、所望の情報が得られる、または得られるように処理し得る任意の1種(または複数種)の技術または1つ(または複数)の仕組みを利用して実施し得る。これらの仕組みは、中でも、光学技術(例えば、吸光度、透過率、反射率、散乱、複屈折、2色性、蛍光、燐光などの測定)、電気技術(例えば、バルク抵抗、導電度、容量などの測定)、および/または音響技術(例えば、超音波)を含み得る。蛍光技術は、中でも、蛍光強度、蛍光偏光(または蛍光異方性)(F/P)、蛍光相関分光(FCS)、光退色後の蛍光回復(FRAP)、内部全反射蛍光(TIRF)、蛍光共鳴エネルギー伝達(FRET)、蛍光寿命、および/または蛍光イメージングを含み得る。
図2に、検出ユニットの例70を示す。検出ユニット70は、流路76内に置かれた液滴74からの光72を検出する。この検出ユニットは、少なくとも1つの照明アセンブリ78および少なくとも1つの集光アセンブリ80を含み得る。光は、紫外放射、可視光、赤外放射、またはこれらの任意の組合せを含み得る。
液滴の直径は、流路に対して任意の適切な値とし得る。例えば、液滴の直径は、流路の直径とほぼ同じと(例えば、流路よりもわずかに大きくまたは小さく)することができる。相対的な大きさをこのように設定すると、各液滴を流路のほぼ中心に置くことができ、それによって、液滴が中心からずれることによって生じ得る測定のばらつきがなくなる。あるいは、流路の直径は、液滴の直径よりもかなり大きく、例えば少なくとも約50%大きくすることができる。この場合、一部の液滴は、検出時に中心からずれていることがあり、そのため、信号強度が変化し得る。
照明アセンブリ78は、光源82、84などの少なくとも1つの光源が生成する少なくとも1つの光ビーム(放射とも称する)で流路76を照明するためのものである。照明はさらに、またはそれとは別に照射とも言い、光源はさらに、またはそれとは別に放射源と言うこともできる。光源の例には、発光ダイオード(LED)、レーザなどが含まれる。各光源は、特定の波長または波長域で放射を放出するように構成された励起源とし得る。マルチ光源励起システムにおける各光源は、それぞれ異なるスペクトル特徴を有する放射を放出してこれら様々なスペクトル特徴に応答する蛍光体と反応するように構成し得る(がそうしなくてもよい)。例えば、励起源は、複数の異なる波長で振幅がピークになる放射、すなわち異なる色の放射を放出するように構成されたLEDとし得る。各光源からの光は、照明光学素子85を介して流路76まで伝達し得る。この照明光学素子は、各光源が放出する光のスペクトル特徴を、例えば照明に使われる波長域だけを取り出すことによって改変し得る。
集光アセンブリ80は、照明アセンブリ78による流路の照明に応答して生成される光など、流路76からの光を集め、検出するためのものである。集光アセンブリ80は、検出器86、88などの少なくとも1つの検出器と、流路からの光を透過して1つ(または複数)の検出器まで伝達する集光光学素子90とを含み得る。検出器の例には、光電子増倍管(PMT)、フォトダイオード、アバランシェフォトダイオード、電荷結合素子(CCD)、CMOS素子などが含まれる。このように、各検出器は点検出器または像形成検出器とし得る。これらの検出器の少なくとも1つは、前方散乱光などの散乱光を検出するように構成された散乱検出器とし得る。散乱検出器からは、液滴の大きさ(例えば、体積および/または直径)についての情報を、場合によっては液滴が一定速度で移動しているという仮定の基で得ることができる。散乱検出器および液滴からの散乱光の検出のさらなる態様が、2010年7月8日に公開された米国特許出願公開第2010/0173394 A1号に記載されており、これを参照により本明細書に組み込む。
照明光学素子85および集光光学素子90はそれぞれ、(光学素子85の場合は)各光源から流路76に、また(光学素子90の場合は)流路から各検出器に光を伝達する1つまたは複数の光学要素を含み得る。したがって、照明光学素子は各光源から流路まで進む光の光路を画定し、集光光学素子は流路から各検出器まで進む光の光路を画定し得る。各光路は、分岐させてもよいし、させなくてもよい。検出ユニットで2つ以上の光源を用いる場合、照明光学素子85は、これらの光源からのビームを結合してもよい。こうすると、流路に入射する放射が複数の光源からのビームを結合したものになる。結合ビームの場合、複数の光源からの個々のビームが互いに重なり合う。検出器ユニットで2つ以上の検出器を用いる場合、集光光学素子90は、流路から入射し集められた光(例えば放出光)を分岐してもよく、こうすると、集められた光の一部が各検出器に送られる。場合によっては、単一の検出器ユニット内で、照明光学素子が複数の光源からのビームを結合し、集光光学素子が集められた光を複数の検出器に分配してもよい。あるいは、いくつかの実施形態では、照明光学素子でビームを結合するか、集光光学素子で集められた光を分岐するかのいずれか一方とし、ともには行わなくてもよい。
光学要素は、数ある機能の中でも、光を集め、方向付け、かつ/または結像させ、かつ/または選択的に望まれない光を遮蔽する任意の構造または素子とし得る。光学要素は、任意の適切な仕組みによって機能させることができる。これらの仕組みには、数ある中でもとりわけ、光の屈折、反射、回折、遮蔽、および/またはフィルタリングが含まれる。光学要素の例には、レンズ、ミラー、回折格子、プリズム、フィルタ、ビームスプリッタ、透過ファイバ(光ファイバ)、開口、拡散板などが含まれる。流路76の壁も光学要素として働き得る。例えば、照明光を結像して集光する助けとなる円筒レンズを形成するチューブによって流路を画定することもできる。
検出ユニット内で照明光学素子および/または集光光学素子を使用しない場合もある。例えば、いかなる1つ(または複数)の光学要素も介在させずに、光源からの光ビームを直接、流路まで進ませてもよい。あるいは、またはそれに加えて、いかなる1つ(または複数)の光学要素も介在させずに、流路からの光を直接、検出器(例えば、流路に近い検出器)まで進ませてもよい。
照明アセンブリおよび集光アセンブリは協働して流路の検査領域92を画定する。この検査領域は、1つ(または複数)の照明アセンブリによって照明される流路の任意の1つまたは複数の部分を含み、検査領域からの光は、1つ(または複数)の集光アセンブリによって検出される。したがって、検査領域は、連続したものでも不連続なものでもよい。後者の場合、2つ以上の離間した検査部位が存在し、これらが合わさって検査領域が形成される。場合によっては、検査領域の重なり合う部分または体積を少なくとも2つの光源(および/またはスペクトル的に互いに異なる光パルス)で照明してもよく、かつ/または、検査領域の重なり合う部分または体積からの光を少なくとも2つの検出器で検出してよい。こうした重なり合う部分は、重なり合いが50%より大きい場合には同じ部分と見なし得る。
液滴74は、連続相98を含む乳剤96の分散相とし得る。乳剤、液滴、および乳剤の連続相は、検査領域92を通過させるように流路に沿って移動させることができる。この動きを矢印100で示す。したがって、液滴を運ぶ流体の流れから光を検出し得る。この場合、液滴は、例えば図示するように1つずつ順番に検査領域を通過する。液滴は、1列で互いに離れて検査領域を通過させることができ、こうすると、個々の液滴が検査領域を通過するときにこれらの液滴から光を検出することができる。液滴は、検査領域の上流に配設される少なくとも1つの分離器(個別器とも称する)を通過させることによって互いに分離することができる。流れが集中する領域となり得る分離器により、液滴を1列に並べることができる。あるいは、またはそれに加えて、この分離器で、乳剤に搬送流体(例えば追加の連続相)を加えることによって液滴を含む乳剤を希釈してもよい。分離器の構造には様々なものがあるが、中でも例えば、十字形構造およびT字形構造が挙げられる。検査領域は、この分離器に比較的近づけてよい。例えば、検査領域は、分離器の分離領域または合流領域から、液滴または流路の直径で約100個、50個、25個、または10個未満離れたところとする。
液滴(および/または乳剤)から集められる光102(例えば放出光)は、照明アセンブリからの入射光104(例えば励起光)に応答して生成されるようにし得る。流路から集められる光102および流路への入射光104のそれぞれの光路106、108の方向関係は任意の適切なものとし得る。ここでは、図の表示を簡略化するために、入射光路(108)および集光光路(106)を透過構成として示し、照明および集光が流路の両側で行われるようにする。他の構成例では、集光は、照明を横切るように(例えば直交して)行うか、または反射構成で行う。反射構成では、照明および集光の方向は互いに逆平行になる。
検出ユニット70は、1つまたは複数の光源および1つまたは複数の検出器の任意の適切な組合せを含み得る。例えば、単一光源を単一検出器とともに用いることもできるし、単一光源を複数の検出器とともに用いることもできる。また、2つ以上の光源を単一検出器とともに用いることもできるし、2つ以上の光源を2つ以上の検出器とともに用いることもできる。
いくつかの実施形態では、検出ユニット70は、特定の波長または波長域の放射を放出するように構成された光源82を1つだけと、少なくとも2つの検出器86、88とを含み得る。集光光学素子90は、検査領域92から集めた放射を分岐して、各検出器に放射の適切な部分を受光させるようにし得る。照明された液滴から放出される光は、ビームスプリッタによって分岐してもよいし、かつ/または、1つまたは複数のフィルタによってフィルタリングしてもよい。こうすると、特定の波長域の放射のみが特定の検出器に到達することになる。複数の色素の検出ではそれらの発光スペクトルが重なり合う可能性があるが、上記の構成ではこの状態で複数の色素の検出が可能になる。照明される液滴中に1つまたは複数の標的が存在する場合、これらの標的のレポータは、単一光源から入射する放射によって励起され、特定の波長または波長域の蛍光を発する。得られる蛍光の特徴(すなわち色)は、液滴中に存在する標的によって、または複数の標的の組合せによって決まる。
検出システムの1つまたは複数の検出ユニットは、任意の適切な波長の光で検査領域を照明するようにし得る。重なり合うかまたは離れた複数の照明体積における照明光は、紫外放射、可視光、赤外放射、またはこれらの任意の組合せとし得る。また、複数の検出ユニットは、重なり合うかまたは離れた複数の検出体積からの紫外放射、可視光、および/または赤外放射などの任意の適切な波長の光を検出することができる。例えば、いくつかの実施形態では、液滴が含み得る吸収色素または蛍光色素は、紫外放射、可視光、または赤外放射で励起または照明されると、赤外域(中でも例えば、近赤外または短波長赤外)の光を吸収かつ/または放出する。液滴マーカとし得る赤外色素は、検出される赤外放射を表す信号の液滴領域(ひいては液滴)を識別するために使用するものであり、かつ/または、機器較正用(例えば、検出器利得調整用)の内部参照として機能し得る。あるいは、赤外色素は、液滴中の標的レポータ(例えばプローブ)とし得る。赤外色素を用いると、検出に利用可能な波長域が広がり、そのため、中でも、ハイレベルの多重化、より正確な液滴識別、またはこれらの組合せが可能になる。
1つまたは複数の検出ユニットを用いると、互いに異なる複数の検出構成が得られる。検出構成は一般に、光源、照明光学素子(使用する場合)、集光光学素子(使用する場合)、および検出器の動作可能な組合せを含む。したがって、複数の異なる検出構成を得るには、中でも、照明に用いる光源、光源からの照明光をフィルタリングするのに用いる1つ(または複数)の波長フィルタ(ある場合)、検査部位から集められた光をフィルタリングするのに用いる1つ(または複数)の波長フィルタ(ある場合)、またはこれらの任意の組合せを変更する。場合によっては、別々の信号をそれぞれ異なる検出構成から生成してもよいし、かつ/または、複数の信号をそれに対応する数の異なる検出構成から生成してもよい。2つ以上の検出構成を用いる場合、それぞれの検出構成は、液滴中に存在する複数の色素に対して複数の異なる感度をもつようにし得る。例えば、2種類の色素を用いるアッセイにおいて、2つの異なる検出構成から生成される2つの別々の信号をデコンボルーションしてそれぞれの色素に特異な信号を推定することができる。
図3に、図2の検出ユニット70を含む検出システムの例120を示す。この検出システムはさらに、フルイディクス122、照明アセンブリ用の1つまたは複数のフィードバックセンサ124(監視センサという用語も用いる)、および少なくとも1つの制御部126を含み得る。
フルイディクス122は、流路76とともに用いるものであり、フルイディクス要素の任意の適切な組合せを含み得る。これらのフルイディクス要素は、流路を通して流体の流れを駆動するための少なくとも1つのポンプ128、流路に流入し、それを通過し、かつ/またはそれから流出する流れを調節または方向付けるための1つまたは複数の弁130、流路76と連通する他の流路などを含み得る。これら他の流路は、希釈流体を追加して、検査領域の上流に配設された1つまたは複数の液滴分離器(例えば、T字形または十字形の分離器/個別器132)のところで液滴を互いに分離するための1つまたは複数の希釈流路を含み得る。
フィードバックセンサ124は、各光源からの光のサンプリング強度を検出するようにし得る。場合によっては、照明光学素子は、1つ(または複数)の光源からのビームを分岐して照明ビームおよびサンプリングビームにしてもよい。サンプリングビームは、流路76ではなくフィードバックセンサ124に向けてサンプリング光学素子134を介して送ることができる。このセンサはサンプリングビームの強度を監視するものであり、サンプリングビームの強度は照明ビームの強度に比例している。サンプリングビームは、光源からの主光ビームから、照明光学素子の光路に沿った任意の位置、例えば、1つまたは複数のフィルタによって照明波長帯が画定される前または画定された後で分岐するようにし得る。センサ124からの強度情報は、制御部126に送信するようにし得る。制御部126は、光源に供給される電圧または電力を調整して、ある期間にわたって、例えば、1つのアッセイ内またはアッセイとアッセイの間で光源の強度をより一定に維持するようにし得る。言い換えれば、光源、フィードバックセンサ、および制御部はフィードバックループを形成して、温度変化、光源の古さなどに対して照明強度をより一定に維持し得る。照明波長帯が画定された後の位置にフィードバックセンサを配置すると特に有利となり得る。というのは、ある種の光源(LEDなど)は、中でも温度変化や光源の古さにより発光最大値の波長がシフトすることがあるからである。波長帯が画定された後でサンプリング光を検出すれば、照明強度に及ぼすスペクトル変化の影響がセンサによって測定されるので、このフィードバックループにより照明強度をより一定に維持することができる。フィードバックセンサの例には、様々な候補の中でもとりわけ、フォトダイオードなど本明細書で開示する検出器のいずれかが含まれる。下記の第V節で、光源強度を監視するさらなる態様を説明する。
制御部126は、光源、照明光学素子、フルイディクス、集光光学素子、検出器、フィードバックセンサ、またはこれらの任意の組合せなど、システムの任意の他の構成要素の動作を制御し、これらの構成要素からの入力を受信し、かつ/または、他の方法によりこれらの構成要素とやりとりすることができる。例えば、制御部は、各光源にどのくらいの電力をいつ供給するかを制御し(例えば、各光源をいつオンオフするかを制御し)、各検出器の感度を(例えば、利得を調整することによって)制御し、検出された光からの信号生成を制御し、光学素子のシャッタ機能を制御し、かつ/または、これらの任意の組合せを制御するようにし得る。あるいは、またはこれに加えて、制御部は、他の機能の中でもとりわけ、検出器固有の信号および/または周期的な信号の生成を制御し、信号に対して液滴識別処理を行い、識別された各液滴を解析から排除すべきかどうか、かつ/または識別された各液滴が1種または複数種の標的を含んでいるどうかを判断し、1種または複数種の標的の濃度を推定し、またはこれらの任意の組合せを行うようにし得る。制御部は、データを処理するための1つまたは複数のプロセッサ(例えば、中央/コンピュータ処理装置(CPU)という用語も使われるデジタルプロセッサ)を含み得る。制御部はまた、これらのプロセッサを支援し、かつ/または補助する追加の電子コンポーネント、例えば、増幅器、周波数フィルタ、アナログ/デジタル変換器、バス、1つまたは複数のデータ記憶装置などを含み得る。制御部は、ディスプレイ、キーボード、タッチスクリーン、マウスなどの任意の適切なユーザインターフェースに接続し得る。
II. パルス照明を備えた検出システム
この節では、励起光の時間多重(例えば、パルス照明)および/または発光読取値の時間多重を利用して、吸収および発光のスペクトルが重なり合う状態で、蛍光色素からの光の「単一点」検出を行う検出システムの例を図4〜8を参照して説明する(蛍光色素とは蛍光体を含む化合物である)。
蛍光放出が生じる波長域は、場合によっては重なり合うことがある。例えば、いくつかの実施形態では、同じ(または異なる)液滴中に2つ以上の蛍光体が存在し得る。この場合、1つの蛍光体の励起スペクトルは別の蛍光体の吸収スペクトルと重なり合っている(例えば、第1の蛍光体は青色光を吸収し緑色光を放出するが、第2の蛍光体は緑色光を吸収し赤色光を放出し得る)。このような場合、これら2種の蛍光体からの光を分離して検出することが望ましい。こうした分離は、蛍光体を空間的に分離するか(例えば、異なる蛍光体を含む異なる液滴を空間的に分離する)、かつ/または、蛍光体からの発光を時間的に分離する(例えば、最初に1つの種類の蛍光体を励起しこの蛍光体からの蛍光を検出し、次いで異なる種類の蛍光体を励起しこの蛍光体からの蛍光を検出する)ことによって行う。
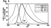
図4に、上記のタイプの重なり合いを有する1対の色素の例のスペクトル特性を表すグラフを示す。このグラフは、本明細書で開示する検出システムで使用し得る色素の吸収スペクトルと発光スペクトルを正規化して示したものである。吸収スペクトルはここでは、各色素の励起スペクトルを表すために用いている。これらの色素は、カルボキシフルオレセイン(FAM)およびVIC(Applied Biosystems製)であり、これらは、実時間PCRアッセイ用のTAQMANプローブなど、蛍光オリゴヌクレオチドプローブ用の標識として一般的なものである。FAM色素およびVIC色素と類似の問題が生じ得る他の一般的な標識は他にもあるが、中でも、TAMRA色素およびROX色素が挙げられる。
FAM色素およびVIC色素は、液滴を用いた「2色」アッセイ用の標識として使用し得る。これらの標識からの発光は区別可能であり、それによって例えば、各液滴中の2つの異なる標的の存在の有無がわかる。しかし、これらの色素は、それぞれのスペクトルが重なり合うという問題140が生じる。つまり、VIC色素の吸収スペクトルとFAM色素の発光スペクトルはほぼ重なり合い、これらのスペクトルはほぼ同じ波長で最大になる。重なり合い140は、それぞれのスペクトルがその最大値の20%以上の値で重なり合う波長帯として定義され、ここでは重なり合いの幅は約45nmである。したがって、VIC色素の励起に適した比較的広い波長帯の光(すなわち、重なり合い140)は、FAMからの発光として誤って検出されることがあり、そのため、誤ったまたは不正確な結果が得られることになる。また、VIC発光を検出するのに十分な感度が得られ、かつFAM発光と十分に区別されるようにFAM色素およびVIC色素の励起波長および発光波長を選択するのは難しいことがある。言い換えると、「VIC」検出構成を用いて検出される強い発光が、VIC発光を放出した液滴によるものか、または、このVIC検出構成によって取得される強いFAM発光を放出した液滴によるものかどうか、あるいはその両方かを判断することは難しいことがある。
重なり合い140によって生じる問題は、FAM色素およびVIC色素からの発光を、検出システムの検査領域内の空間的にずれたそれぞれの検査部位で検出することによって解消することができる。言い換えると、FAM色素からの発光は、FAM選択励起に応答して一方の検査部位で選択的に検出し、VIC選択励起後にVIC色素からの発光を他方の部位で検出すればよい。しかし、このように検査部位を離すことによって、これら2つの部位からの蛍光データを相関させるという問題が生じ得る。具体的には、一方の部位からの液滴信号を他方の部位からの液滴信号と揃えるまたは合わせることは難しいことがある。というのは、液滴同士の相対的な間隔、ひいては液滴がこれらの部位間を移動するのに要する時間はばらつくことがあるからである。言い換えると、液滴は、検査領域を通って移動する際に互いに対して相対的に速くなったり遅くなったりする。別の言い方をすると、これらの部位からの液滴信号は、オフセットを1回実施するだけでは互いに合わないことがある。したがって、検査部位を離して行う液滴による2色アッセイでは、2つの標的が複数の液滴の中で互いにどのように分布しているか判断できないことがある。
光源にレーザを用いると、重なり合い140によって生じるこれらの問題の一部または全部を解消することができる。レーザは、高強度の励起光を単一波長で提供することができ、そのため、対応する色素からの蛍光放出が比較的強くなるように励起し得る。レーザによる励起は単一波長で行い得るので、発光の検出に利用可能な残りの重なり合わない波長域の広さが大きく制限されることはない。また、レーザによって励起され放出される蛍光は強いので、比較的狭い波長帯から十分な量の発光を集めることができる。このことも、励起光と発光の重なり合いをなくす助けになる。レーザには上記その他の利点があるが、液滴によるアッセイに使用するのに十分な強度のレーザは高価であり、場合によっては危険なことがある。
発光ダイオード(LED)は、はるかに安価で安全な蛍光測定用の光源である。しかし、LEDは、いくつかの理由により、蛍光アッセイに用いるには多くの場合非実用的に思われる。第1に、LEDはレーザに比べて強度が低く、そのため、発光レベルが低く検出できないことがある。このことは、色素からの発光の大部分を捨てる(すなわち、フィルタリングして捨てる)ことによって励起光または別の色素からの発光との混合を最小限に抑えるかゼロにする場合に大きな問題になることがある。第2に、LEDは比較的広い波長域の光、例えば最大で50nm幅以上の光を放出するのに対し、レーザは単一波長光源である。したがって、検出波長帯にLED励起光を混合させないようにするのは難しいことがある。このことは、上記の理由から、FAM色素やVIC色素などの2色アッセイにおいて大きな問題になる。第3に、LEDが生成する光のスペクトルは一定ではない。例えば、LEDの最大波長および/またはそのスペクトル分布の形状は、数ある要因の中でもとりわけ、温度、LED自体の物理的な変化(例えば古くなることによる変化)、またはLEDを動作させるのに用いる電圧に応じて変化することがある。光源としてのLEDに固有のこれらの問題は相まって、液滴による2色アッセイにLEDを用いるのは不可能なように思える。スペクトルの重なり合い140を有する1対の色素とともに用いるときは特にそうである。
パルス照明によれば、本明細書で開示するように、LEDを用いることによって生じるこれらの問題の一部を解決し得る。複数の光源からの放射をほぼ同じ空間的な位置で液滴と交差するように構成すればよい。これは、例えば、ある波長域を透過し、他の波長域を反射するダイクロイック面を採用することによって可能である。この場合、複数の励起光源を順次パルス化して、一回にこれらの光源の1つのみからの放射が励起領域に到達するようにするのが望ましいことがある。こうすると、任意の所与の瞬間に1つの励起光源に対応する明確な発光信号を検出することができる。特定の波長域内の放射が特定の検出器に到達することになる。そのため、同じ液滴からの潜在的に重なり合う複数の発光信号を検出することができ、それによって、その液滴内に複数の異なる標的が存在することがわかる。乳剤中の各液滴が励起領域を通過し、そこから出る前に各光源からの放射に少なくとも一度または複数回露光されるのに十分に高速にこれらの光源をパルス化することができる。
異なる蛍光体にあてる照明をパルス化する周波数は、それぞれの蛍光体の寿命によって決まる(または少なくともそれを基にしてわかる)。具体的には、1種類の蛍光体を励起した後で別の種類の蛍光体を励起(かつ/または検出)する前に、少なくとも数期間分(例えば、2、3、5、10、またはそれ以上)の蛍光寿命だけ待ち、それによって、第1の種類の蛍光体からの蛍光が別の種類の蛍光体を励起(かつ/または検出)する前に十分に減衰するようにして、信号があまり混ざらないようにするのが妥当である。実施形態の例では、一般的な蛍光体(中でも、蛍光寿命がナノ秒程度のもの)に対してキロヘルツ以上の高周波数パルスを得ることができる。
図5に、パルス光源などからのパルス照明を利用する検出システムの例150を示す。代替実施形態では、照明光学系85は、連続光源が生成する1つまたは複数の連続ビームから生成される光パルスを透過させる。例えば、光学系85は、光源からの連続光ビームを遮蔽して光パルスにする電気光学シャッタを含み得る。さらに別の実施形態では、照明をパルス化しないこともある。
システム150は、色素を区別するために空間的に離れた検査部位に対応する1対の光源を備えたシステムと同じ利点を提供し得る。このシステムには、これらの部位からのデータを互いに相関させることができないという潜在的な欠点がない。さらに、システム150では、光源としてLEDを用いることができる。システム150は、図3の検出システム120など、本明細書の他の箇所で開示する検出システムの要素、態様、および特徴の任意の適切な組合せを含み得る。
検出システム150は、1対の(または2対以上の)パルス化した光源、例えば、パルス光源152および154を含み得る。各光源は、他の1つ(または複数)の光源と異なる(単一)波長または波長域の光を放出し得る。あるいは、これらの光源には同じ波長域の光を放出させる代わりに、放出光は各光源ごとに異なるフィルタリングを受けるようにしてもよい。システム150の照明アセンブリ78は、パルス光源および/また光学系85により、スペクトル的に別個のパルス光で交互に検査領域92を照明するように構成し得る。スペクトル的に別個の複数のパルスは、とりわけ、最大値をとる波長が異なり、カバーする波長域が異なり、かつ/または、スペクトル分布の形状が異なる。
検出システム150は、パルス光源152、154および検出器86、88を用いて、あたかも2つの空間的に分離した検査部位が形成されるようにし得る。各光源からの光パルスは、検出器からの周期的なデータ収集と同期させることができる。各パルス照明源はそれに対応する検出器を有するようにすることができ、これを同じハッチングパターンで示す。光源152は検出器86と動作可能に対になっており、光源154は検出器88と動作可能に対になっている。光源152および検出器86によって画定される検査部位は、光源154および検出器88によって画定される検査部位と重なり合うようにし得るが、これらの光源/検出器対からの信号は、時間ずらし検出および/また検出器からのデータの時間ずらし収集によって時間的に区別することができる。
このシステムの制御部は、これらの光源および検出器(および/また光学素子)と動作可能に接続し得る。制御部は、各光源/検出器対ごとに別個の周期信号を生成し得る。光源/検出器対に対応するこの周期信号は、光源からの光パルスによる照明の期間は少なくとも他に優先してまたは排他的に検出器からデータを周期的に収集することに起因するものである。あるいは、またはそれに加えて、周期信号は、光源からの光パルスに同期して検出器の利得を周期的に変化させることや、集められる光を検出器にパルス的に透過させることを光源からの照明パルスに同期させることに起因する。いずれにしても、周期信号は、検査部位が複数の光源の1つからのみ放出される光によって少なくとも他に優先してまたは排他的に照明される期間に検出される光を表し得る。別の言い方をすれば、周期信号は、ある検出器に対応する光源によって検査部位が照明されるときに、この検出器によって複数の離間した期間に少なくとも他に優先してまたは排他的に検出される光を表し得る。
照明光学系85および/また収集光学系90は、照明および検出に用いる光の波長帯を制限または画定する助けになり得る。
光源152、154は、照明フィルタ156、158などの少なくとも1つの専用(または共用)の波長フィルタに動作可能に接続し得る。これらのフィルタは、それぞれの光源から流路76への光路の専用の分岐部分に、すなわち、複数の光源からのビームが混合要素160(例えばダイクロイック要素)で混合される前に配設することができ、そのため、各フィルタは複数の光源の1つからの光にのみ影響を及ぼす。照明フィルタ156、158の機能は、光源の発光スペクトルの少なくとも1つの端部を取り除くことであり、かつ/または、液滴中の特定の色素を選択的に励起し得るように光源の能力を改善することである。言い換えると、これらのフィルタは、2つ以上の色素が区別されるように励起光の能力を改善し得る。
検出器86、88は、集光フィルタ162、164などの少なくとも1つの専用(または共用)の波長フィルタに動作可能に接続し得る。これらのフィルタは、流路76からそれぞれの検出器への光路の専用の分岐部分に配設することができる。言い換えると、各フィルタは、ビームスプリッタ166(例えばダイクロイックフィルタ)と検出器の間に配設され得る。集光フィルタ162、164は、異なる波長帯の検出光168、170を透過してそれぞれの検出器に導くように機能し得る。したがって、これらの集光フィルタは、それぞれの検出器が液滴中の特定の色素からの発光を選択的に受け取るように構成し得る。あるいは、またはそれに加えて、これらの集光フィルタは、照明フィルタと協働して、入射光104と検出光168、170の波長の重なり合いを防ぐように構成し得る。いくつかの実施形態では、システム150は、液滴から散乱する光を検出する散乱検出器も含み得る。こうすると、検査領域を通過する個々の液滴の大きさを求めることができる。
図6に、一連のグラフ180〜184を示すが、これらのグラフはいずれも同じ時間範囲を表し、光源152、154からの照明と同期した周期データを示すものである。図の表示を簡略化するために、グラフ180および182では、光源152および154を恣意的にそれぞれ「光源1」および「光源2」と示す。また、光源1からの光による照明パルス期間に検出される光を表すデータを「信号1」とし、光源2からの光による照明パルス期間に検出される光を表すデータを「信号2」とする。
グラフ180、182は、光源1および2からの光による交互光パルス186、188を示す。各パルス186、188は休止期間190または192に続いて生じ、各光源からの光パルスは、複数の離間した期間194に生じる。各光源からの光による照明パルスは、一連の休止期間によって分離することができ、この休止期間には、概ね光源はほとんど光を放出(または伝達)しないか、あるいは全く放出せず(例えば、光源を繰り返しオンオフするか、あるいは、電気光学シャッタを繰り返し開閉し)、各パルスおよび各休止期間が1つのパルスサイクル196を画定する。ある光源によるこれらの照明用のパルスおよび休止期間は、ほぼ同じ長さとすることもできるし、異なる長さとすることもできる。また、複数の光源による照明パルスは、互いに同じ長さとすることもできるし、異なる長さとすることもできる。複数の光源による照明パルスは、互いに同じ周波数(例えば、1秒当たりのパルス数)とすることができ、こうすると、パルスサイクルは同じ長さとなるが、互いに時間的にオフセットされるため、複数の光源からの照明パルスが交互に配置される。例えば、一方の光源は他方の光源が休止するたびに光パルスを放出することができ、逆も同様である。複数の光源からの照明パルス間の時間オフセットは、1パルスサイクルの継続時間のほぼ半分とし得る。複数の光源からの光パルスを交互に配置するやり方はいろいろあるが、中でも、(図示するように)照明が行われない短い時間ギャップをパルス間に含めてもよいし、時間ギャップなしで連続して次々とパルスを生成してもよい。あるいは、パルス同士をわずかに重なり合わせてもよい。各光源からのパルス照明は、任意の適切な周波数で生成することができ、例えば中でも、少なくとも約100Hz、1kHz、10kHz、または100kHzで生成することができる。実施形態の例では、各光源からの光による照明パルスを約100kHzの周波数で生成することが多い。この場合、パルスサイクルは10マイクロ秒とすることができ、パルスおよび休止期間はそれぞれ約5マイクロ秒継続することになる。他の実施形態では、中でもとりわけ、各パルスを約1ミリ秒未満継続させることもあるし、各パルスを約100マイクロ秒、10マイクロ秒、1マイクロ秒未満しか継続させないこともある。
場合によっては、照明パルスの周波数は、各光源からの光による少なくとも1つのパルスすなわち2つ以上のパルスで各液滴を照明するように選択し得る。したがって、検査部位における液滴の滞留時間および各液滴ごとの所望の測定数(例えば信号値の数)によって適切なパルス周波数が決まり得る。液滴が検査部位を横切るのに要する時間よりもパルスレートを速くすることができ、それによって、液滴は少なくとも1回すなわち複数回、光源からの光で照明される。液滴が小さいとき、かつ/または液滴が速く移動するときはパルスレートを速くしてもよい。パルスレートが速い場合には、より高速な検出器が必要になることがある。
グラフ184は、検出器86、88(図5参照)によって検出される光から生成される周期信号210、212がパルス186、188と同期している様子を示す。(210で示す)周期信号1は、光源1(光源152)からの光による照明パルスの期間、少なくとも他に優先してまたは排他的に検出器86によって検出される光から生成され、(212で示す)周期信号2は、光源2(光源154)からの光によるパルスの期間、少なくとも他に優先してまたは排他的に検出器88によって検出される光から生成されるようにし得る。
グラフ184では、信号1または2のうち、標的に対して陽性を示す液滴(すなわち、信号2では「液滴A」であり、信号1では「液滴B」)が存在するために他の部分より強くなっている部分に注目している。各液滴は、信号1または2からの2つまたは3つの信号値216によって表される。いくつかの実施形態では、各パルス期間内の異なる時間に検出される光から2つ以上の信号値216を生成し得る。
照明パルス周波数は、各光源からの少なくとも1つすなわち2つ以上のパルス光で各液滴が照明されるように選択し得る。したがって、検査部位に液滴が留まる時間および各液滴ごとに望まれる(それぞれ異なるパルスからの)信号値の数によって適切なパルス周波数を決めることができる。実施形態の例では、各光源ごとに100kHzで照明をパルス化し得る。1秒につき1000個の液滴が検査部位を通過し得るが、これらの液滴は平均で液滴2個分の直径だけ互いに分離することができ、各光源からの光による30個の照明パルスの期間に、各液滴ごとの各信号につき約30個の信号値を生成し得る。
図7に、システム150用の制御部の例230を示す。制御部230は、図3の制御部126など、本明細書の別の箇所で説明する特性、構造、または特徴の任意のものを有し得る。制御部は、構成要素として中でも、ゲート232、増幅器234、低周波数透過フィルタ236、アナログ/デジタル変換器238、およびプロセッサ240の任意の組合せを含み得る。これらの構成要素のいずれも検出器86専用とすることもできるし、検出器88と共用することもできる。増幅器234は、検出器から受け取った信号を増幅し得る。フィルタ236は、信号の高周波数成分を除去して信号対雑音比を改善し得る。変換器238は、アナログ信号をデジタル信号に変換し得る。プロセッサ240は、このデジタル信号を操作かつ/または記憶することができる。
ここで示す構成では、制御部230は、一方の検出器、すなわち、検出器86(「検出器1」)のみによって検出される光242から信号値を生成しているところである。制御部の各構成要素とプロセッサ240の間を延びる一連の矢印で信号の生成を示す。下側の制御部の構成要素に矢印がないのは、検出器88からは信号が生成されていないことを示す。
光源152からの光パルスの期間に第1の色素244からの光242を他に優先して検出し得る。制御部230は、他方の検出器(検出器88(「検出器2」))によって検出される望まれない光246から信号値を生成しておらず、光源154はオフになっている。望まれない光246は様々な仕組みによって生成されることがあるが、中でも、第1の色素244からの発光248や、光源152からのパルス光を吸収し得る第2の色素252からの発光250である。
ゲート232は、各検出器からの信号生成がその検出器に対応する光源からの光による照明パルスと同期するように構成される。このゲートは、各照明パルス期間に信号が生成され、特にこの信号の1つまたは複数の信号値が生成され、このパルス期間には他方の検出器からは信号が生成されないように構成し得る。この図ではゲートは、検出器88によって検出される光からは信号が生成されず、検出器86から信号が生成されるようにしている。これに続く光源154からの光パルスの期間では、想像線254で概略的に示すように、ゲート232によりこれらの検出器による信号生成が逆になる。ゲート232は、照明スケジュールに対応する時間スケジュールに従って動作し得るので、時間ゲートと言うこともできる。
このゲートは、任意の適切な1つ(または複数)の構成要素に対して、信号生成を許可するか、または許可しないように動作し得る。例えば、このゲートは、例えば検出器86、88の利得をそれぞれの光パルスにほぼ同期させて交互に増減するによって検出器自体の動作を制御することができる。場合によっては、このゲートは、ある照明パルス期間に集められた光が誤った検出器(すなわち、図7の構成では検出器88)に届かないようにする光ゲート、例えば電気光学シャッタとし得る。あるいは、このゲートは、ある検出器によって検出されるほぼ連続した信号をこの検出器に対応しない光源からの照明パルスにほぼ同期して周期的に処理しないことによって、この連続信号を周期信号に変換してもよい。この連続信号はアナログでもデジタルでもよく、ゲート232によってアナログまたはデジタルの形式の連続信号を処理しないようにし得る。このゲートは様々な処理がなされないようにし得るが、例えば中でも、検出器から増幅器234への連続信号の入力、増幅された連続信号のフィルタ236への入力、またはフィルタリングされた信号の変換器238への入力がなされないようにし得る。場合によっては、プロセッサ240が、例えば、信号値を選択的に取り除いて周期信号を生成することによってデジタル的に連続信号を処理し得る。ただし、アナログフィルタ236を通した後で連続信号をデジタル処理によって周期信号に変換するのは望ましくないことがある。アナログフィルタから得られる周期信号の質は劣化していることがある。というのは、アナログフィルタは、連続信号の各部分を一緒に劣化させかねず、そのため、周期信号がデジタル的に形成される際にこれら各部分が分離し難くなるからである。
図8に、液滴によるアッセイ用の検出システムのさらに別の例280を示す。システム280は、図5の検出システム150に類似しており、例えば、少なくとも2つの光源152、154によってパルス化照明を提供することができる。ただし、単一検出器282を利用して各光源からの光による照明期間に光を検出し得る。このシステムの集光光学素子は、1つまたは複数の波長域の光を選択的に取り除く少なくとも1つの波長フィルタ284を含み得る。この1つ(または複数)の波長フィルタは、一方または両方の光源から放出され集められた光102を取り除き、液滴中の少なくとも1対の蛍光体から放出され集められた光を透過させるように選択し得る。異なる複数の標的に対応する複数の信号を区別することは、異なる複数の蛍光体を選択的に励起する複数の光源の能力に依存することがあるが、ここでは単一検出器しか使用しないので、これらの蛍光体の発光スペクトルが異なることには一般に依存しない。
検出器282は、両方の光源からの光によるパルス照明期間に検出される光を表すほぼ連続した信号を生成し得る。このシステムでは、制御部がこの連続信号を、それぞれ異なる光源からの光による照明パルス期間に検出される光を表す2つ以上の周期信号に変換することができる。
III. スリットを備えた検出ユニット
本節では、本明細書で開示する検出システムのいずれかの照明光学素子および/または集光光学素子に組み込むことができるスリットを図9および図10A〜10Cを参照して説明する。
図9、10A、および10Bに、本明細書で開示する検出システムが含み得る照明アセンブリ310およびチューブ312(例えばキャピラリ)の例の選択された態様を示す。チューブ312は、液滴74が照明される場所である流路76を画定するものである。実施形態の例では、チューブ312および流路76は円筒形である。
照明アセンブリ310は、少なくとも1つの光源314と、光源からの光を透過してチューブ312に導く照明光学系316とを含み得る。この照明光学系は、スリット320を画定する開口要素318を含み得る。このスリットは、光源から流路76まで進む光の光路上の1つまたは複数の光学要素322、324の前および/または後ろに配設し得る(図9参照)。
開口要素318には光源314からの光ビーム326を入射させることができるが、このビームの一部のみがスリット320を通過し得る。通過した光は、ある形状のビーム、すなわち、ブレード状の光328を形成する。具体的には、開口要素318は、ガラスなどの光透過性基板330と、この基板上に形成される遮蔽層332とを含み得る。この遮蔽層はほぼ不透明とすることができ、そのため、光を通過させない。実施形態の例では、この遮蔽層は、例えばエッチングによって層332を選択的に除去することによって形成される。フォトリソグラフィなどによって層332の上にマスクを形成することによって層332のエッチングを制限して、スリット位置までエッチングを行えばよい。この遮蔽層の組成は任意の適切なものとし得る。実施形態の例では、この遮蔽層の組成を金およびクロムとし得る。基板330の反対側の面には、MgFからなる被覆を施してもよい。
ブレード状の光328は、その断面形状が、すなわち、ブレード状の光の進行方法に直交する断面が(図10Bに示すように)細長い光である。ブレード状の光328は、少なくとも全体的に平坦な対向面334を有する平面ビームとし得る。このブレード状の光は、例えば、検出ユニットの光源からほぼ平行光でスリットを照明することによって形成し得る。あるいは、光源をスリット上に結像してもよい。場合によっては、光源をスリット上に結像させると、検査部位の照明強度を、他の部分は変えずに、より強くすることができる。というのは、光源からスリットに入射する(ひいてはスリットを通過する)光が多くなり、光源からスリット周囲の非透過材料に入射し遮蔽される光が少なくなるからである。
スリット320は、任意の適切な特性を有するようにし得る。このスリットの長さは、ビーム326の直径とほぼ同じとしてもよいし、それよりも長くも短くもし得る。例えば、図10Aに示すように、スリット320をビーム径よりも長くすると、ブレード状の光328の対向する端部336がスリットの形状にならないようにし得る(図10Aおよび10B参照)。このスリットは、流路76の所望の照明体積と、スリットが流路に投影されるまでに拡大または縮小される度合いとに基づいて任意の適切な幅を有するようにし得る。例えば、ブレード状の光328は、少なくとも1つのレンズ324を通過してから流路76のある領域を照明するようにし得る。レンズ324により流路76上にスリットの像を形成することができる。また、任意選択で、レンズ324によりスリット像をスリット自体よりも小さくすることができる。実施形態の例では、スリット320の幅は約10〜200マイクロメートルであり、スリット像は流路のところでは縮小され、そのため、ブレード状の光328の厚さは流路のところで、様々な値の中でもとりわけ、約5〜150マイクロメートルまたは約50〜100マイクロメートルになる。
図10Bに、流路76全体の距離の半分のところで切ったブレード状の光328の断面領域338を示す。ブレード状の光328は、断面では、流路76によって定義される長軸340に対して横に細長い光である。すなわち、このブレード状の光は、軸340に少なくともほぼ直交する方向に細長い光であり、ほぼ直交する方向とは、約20°、10°、または5°のずれの範囲で直交することを意味する。この領域の長さ342は、その幅344よりもかなり長く、少なくとも約2倍、5倍、または10倍長い。長さ342は、流路76および/またはチューブ312の直径よりも長くし得る。したがって、ブレード形状に沿ったこの位置でのブレード状の光328の断面領域は、流路および/またはチューブと部分的にしか重なり合わず、断面領域は流路および/またはチューブの対向する一方または両方の面から突き出ている。ブレード状の光は一般に、断面長さが流路および/またはチューブの直径よりも長いブレード状の光は特に、円筒形または円錐形の光ビームによる照明と比べて、1つまたは複数の利点がある。これらの利点には、照明光学系と流路の位置合わせずれに対する許容度が大きいこと、および/または、2つの光源からの照明光が流路の互いに重なり合わない領域を照明する危険性が小さいことが含まれる。
ブレード状の光328によれば、流路76の体積346が照明されるようにし得る(図9参照)。体積346の断面形状は、流路76の断面形状に対応するようにし得る。したがって、体積346は、流路がほぼ円筒形の場合には、ほぼ円盤状とし得る。体積346は対向する面が平坦であり、流路軸340に平行に測った寸法(すなわち、図10Bの幅344)を液滴の直径よりも大きくすることもできるし、直径とほぼ同じにすることもできる。または、(図に示すように)直径よりも小さくすることもできる。ブレード状の光328を薄くすると(すなわち、幅344を狭くすると)、体積346から検出される光から生成される信号がより高分解能になり得る。例えば、ブレード状の光を液滴の直径よりも薄くすると、液滴の大きさおよび形状についてのデータをより正確に収集することができ、流路内で互いに近接した液滴をより高い分解能で検出し得る。また、スリットを使用すると、照明の精度が高くなるので、開口数が大きなレンズを使用して発光を収集することができる。あるいは、スリットを使用すると、収集光学系を使用せずに検出することもできる。
図9に、チューブ312の追加の態様を示す。このチューブは、チューブ312全体にわたって光の透過を制限する被覆またはシース348を含むようにすることができ、照明が行われるチューブの区域350に沿って選択的に被覆348を取り除くことができる。被覆348のごく狭い部分のみを正確に取り除くことは難しいことがあり、そのため、区域350を液滴の直径よりもかなり長くするとよい。したがって、ブレード状の光328を使えば、照明を区域350内の狭い領域に制限し得る。被覆は、例えば、ポリイミドで形成する。いくつかの実施形態では、被覆348の狭い部分(例えば、液滴の直径に匹敵する部分またはそれよりも小さい部分)だけを取り除くことができる。
図10Cに、本明細書で開示する信号検出システムが含み得る検出ユニットの別の例360の選択された態様を示す。照明アセンブリ362は、ビーム364で流路76を照明して照明体積366が得られるようにし得る。この照明体積は、流路76に沿って測った寸法が液滴の直径よりも大きくなるようにし得る。あるいは、ブレード状の光によってこの照明体積を生成してもよい(例えば、図9、10A、および10B参照)。いずれにしても、スリット320を備えた開口要素318をユニット360の集光光学系368に含めることができる。このスリットは、流路76によって定義される長軸にほぼ直交する方向を向くようにし得る。このスリットは、流路にかなり近づけることができ、例えば、流路を画定するチューブその他の部材に当接させることができる。あるいは、このスリットは、流路と検出器370の間で集光光学系によって形成される像面に配設し得る。集光光学系にスリットを含めると、光の収集を照明体積の一部にのみ制限することができる。場合によっては、集光光学系でスリットを使用すると、照明光学系を用いずに照明し得る。
実施形態によっては、照明光学系にスリットを含め、集光光学系にも別のスリットを含めることができる。これらのスリットは互いに平行になるようにし得る。このような二重スリット構成を採用すると、流路の照明および集光に関わる体積がより精度よく画定されるので、背景光を減らす助けとなり得る。場合によっては、照明および集光の両側でスリットを使用すると、他には何の照明光学素子または収集光学素子も用いずに照明および集光が可能になり得る。
IV. 混合信号による液滴の識別
本節では、混合信号を用いることによって液滴を識別する手法の例を図11を参照して説明する。
図11に、本明細書で開示する検出システムによって収集されるデータを処理する手法の例を示すフローチャートをグラフ380〜388とともに示す。
グラフ380は、図6に関連してすでに説明したものだが、連続相中の液滴が検査領域を通過する際に検出される光を表す1対の別個の信号210、212を示す。これら別個の信号はそれぞれ、液滴が存在しない領域についての参照用データ402の間に挿入された、個々の液滴についての液滴データ400を含む。1つの目標は、液滴データを効率的に識別して、参照用データに影響されずにさらなる解析を行うことである。しかし、別個の信号が2つ以上ある(例えば、標的が2つ以上ある)場合、これら別個の信号は、液滴データの位置については常に互いに一致するとは限らない。別個の信号の一方または両方が背景光信号に近いときは特にそうである。例えば、液滴Aは信号2から明確に識別されるが、信号1からは明確に識別されず、液滴Bについてはその逆が成り立つ。信号処理アルゴリズムにより、各信号を個々に調べて液滴の特徴を探すことができるが、一方の信号では液滴が識別されるが、他の信号では識別されないことがある。光検出の同じ期間を表す2つ以上の別個の信号中の情報が役に立つ液滴データ識別手法が必要とされている。
グラフ382は、グラフ380の別個の信号を混合した結果、混合信号404が形成されたことを示す。具体的には、同じ期間410に、別個の信号210、212からそれぞれ検出される光を表す個々の信号値406、408を混合して、一連の期間ごとに、混合信号404を形成する混合値412を生成することができる。いくつかの実施形態では、3つ以上の別個の信号からの信号値を混合することができる。各期間ごとに複数の信号値を混合すると、得られた信号値は、その期間の重なり合う部分または重なり合わない部分で検出される光を表す。例えば、この図では、2つの別個の信号は周期的であり、互いに時間的にオフセットされており、混合される個々の信号値は、ある期間の連続しており重なり合っていない部分を表す。他の例では、2つ(または3つ以上)の別個の信号を時間的にオフセットせずに同期させることができる。
別個の信号からの信号値は、任意の適切なやり方で混合し得る。例えば、2つ(または3つ以上)の信号値を各期間ごとに下記の式を用いて混合して線形混合値を形成し得る。
Y=aX+bX
式中、Yは混合信号の混合値であり、aおよびbは定数である。XおよびXは、2つの別個の信号からの互いに対応する個々の信号値である。他の別個の信号からの追加の信号値(例えば、cX、dXなど)も含めることができる。これらの定数は互いに同じとしてもよいし、異なってもよい。実施形態の例では、これらの定数は、少なくともほぼ同じものとし、そのため、別個の信号の同じ割合の部分を用いて混合信号を生成する。したがって、得られた混合信号は、別個の信号210、212の平均に対応し得る。
グラフ384で示すように、液滴を表す混合信号の個々の液滴領域414(例えば、山または谷)を識別することができる。各液滴領域は、複数の混合値412の時間シーケンスを含み、そのため、液滴の特徴を包括的に表し得る。液滴の識別は、任意の適切なアルゴリズムで混合信号を処理して液滴の特徴を探すことによって行うことができる。液滴識別アルゴリズムは、例えば、混合信号によって形成される山415(または谷)の高さ(または深さ)、幅、滑らかさ、および/または単調さの許容される範囲に対応する1つまたは複数のあらかじめ定義した条件に基づくようにし得る。
416、418で示すそれぞれの別個の信号からの各液滴領域414に対応する信号値は、グラフ386、388で示すように、他の信号値に対して選択的に処理し得る。この選択的な処理では、グラフには示していないが、識別された液滴領域の外側の信号値をすべて無視する。この選択的処理により、それぞれの別個の信号によって表される標的が液滴領域に対応する液滴中に存在するか否かを判断することができる。
V. 検出ユニットの光学配置
本節では、本明細書で開示する検出システムで用いる検出ユニットの例440、特にその光学配置の例を図12および図13を参照して説明する。検出ユニット440は、例えば、検出システム150(図5参照)に組み込むことができる。
検出ユニット440は、その構成要素の中でもとりわけ、照明アセンブリ442、集光アセンブリ444、および監視アセンブリ446を含み得る。照明アセンブリ442は、流路76を画定するキャピラリ448を照明するようにし得る。集光アセンブリは、流路76から受け取る光、特に放出される光を集め検出するようにし得る。
照明アセンブリは、約440〜520nm(480〜485nmで最大強度)の光を放出する青色LED450と、約470〜550nm(505〜510nmで最大強度)の光を放出するシアンLED452とを含み得る。これらのLEDは、約300〜1000mAの駆動電流で、とりわけ約10〜200ルーメンの光束を生成し得る。各LEDは、任意の適切な周波数、例えば100kHzでパルス化されるように構成することができ、これらの光源のパルスは互いに交互に配置される。
LED450、452からの光は、これらのLEDが放出する光を平行にする接合レンズ454を介して進み、平行ビーム456が形成されるようにし得る。これらの平行ビームはそれぞれのフィルタ、すなわち、波長フィルタ458、460を介してフィルタリングされるようにし得る。フィルタ458は、485nm以下の光を透過させる短波長透過フィルタとし得る。フィルタ460は、497〜518nmの光を透過させる特定波長域透過フィルタとし得る。こうして、フィルタリングされたビーム462、464が得られる。これらのフィルタリングされたビームは、LEDからのビームに沿って延びる光軸468、469に対して45°傾いたダイクロイック要素466で混合し得る。ダイクロイック要素466は、公称反射カットオフ波長が約495nmになるようにし得る。そのため、青色LED450からの光およびシアンLED452からの光が効率的に混合される。いくつかの実施形態では、ダイクロイック要素466は、軸469の周りで90°回転させた位置に配置し得る。この場合、フィルタリングされた青色ビーム462の光軸は、本紙面では回転されたダイクロイック要素466の後ろに青色LED450が位置した状態で、本紙面の後ろから前に向かってダイクロイック要素まで延びるようにし得る。
いずれにしても、LEDからのフィルタリングされたビームをダイクロイック要素466によって混合することができ、それによって混合ビーム470が得られる。混合ビーム470は、ダイクロイックビームスプリッタ471によって分岐して、主ビーム472およびサンプリングビーム474が形成される。元の光の大部分(例えば95%)が主ビームを形成し、元の光のわずかな部分(例えば5%)がサンプリングビームを形成するようにし得る。このサンプリングビームは、監視アセンブリ446に関連して以下でさらに説明する。主ビーム472は、開口要素478(例えば、図9および図10A〜10Cの開口要素318参照)によって画定されるスリット476を介して進み、それによってブレード状の光480を形成するようにし得る。ブレード状の光480は、1対の離間したレンズ群482によってキャピラリ448上に結像されるようにし得る。このブレード状の光は、キャピラリ448の長軸にほぼ直交する平面を画定するようにし得る。この平面において、ブレード状の光はキャピラリと交差する。
集光アセンブリ444は、キャピラリ448から受け取った光を集め検出する。集められる光の光軸は、キャピラリの長軸と、ブレード状の照明光480によって画定される照明軸との両方にほぼ直交するようにし得る。集光アセンブリ444は、例えば、集光光学系488によってキャピラリから集められる光の検出器として機能する1対の光電子増倍管(PMT)484、486を含み得る。光学系488は、キャピラリから光を受け取り、2つの検出器に送る。キャピラリからの光は、最初は共用の光軸に沿って進むが、次いで、それぞれのPMTに延びる1対の光軸に分かれて進む。
キャピラリから延びる共用の光軸に沿って、非球面レンズ490がキャピラリ近傍に配設されるようにし得る。レンズ490の開口数は、放出光が効率的に集められるように大きく(直径10mmでNAが0.625)し得る。また、キャピラリのうち照明される検査部位は、チャンバ492によってほぼ囲まれるようにし得る。こうすると、非球面レンズを介して照明光が入射し、放出光が出射し、それ以外の光は遮蔽される。このチャンバの内側を光吸収材料で覆い(すなわち、黒くし)、障害物またはエッジの発生を最小限に抑えるかまたはなくして、散乱光および反射光を最小限に抑えるようにし得る。このチャンバは、放出光を非球面レンズに向かって反射する少なくとも1つのミラー493も含み得る。言い換えると、このミラーは、非球面レンズから離れるように放出される光を集める助けとなり得る。それによって、放出光の検出効率が改善される。このミラーは、例えば、楕円ミラーとし得る。場合によっては、検査部位は、ミラー(または少なくともミラーの領域)と集光光学要素(例えば非球面レンズ490)の間、および/またはミラー(または少なくともミラーの領域)と検出器(例えば、集光光学系を用いない場合)の間に少なくとも概ね配設し得る。
非球面レンズ490で集められた光は、最終調整ダイクロイック要素494を通過して進むようにし得る。ダイクロイック要素494は、500nmよりも短い光を取り除いてLEDからの励起光、具体的には青色LED450が放出した光が残っていればそれを除去するためのものである。ダイクロイック要素494を通過した光は、次いで、ダイクロイックビームスプリッタ496に当たり、そこで光は分岐して、約550nmよりも短い反射分岐ビーム部分498と、約550nmよりも長い透過分岐ビーム部分500が形成される。分岐ビーム部分498はPMT484に伝達され、分岐ビーム部分500はPMT486に伝達される。それぞれのビーム部分は、フィルタ502または504などの1つまたは複数の波長フィルタ、少なくとも1つのレンズ506、および光学開口要素508を通過してから、それぞれのPMTに到達するようにし得る。フィルタ502は、約540nmよりも短い光を取り除く長波長透過フィルタとし得る。フィルタ504は、約520nmよりも短い光および約555nmよりも長い光を取り除く特定波長域透過フィルタとし得る。
照明光学系および集光光学系で用いるこれらのフィルタは、励起光が検出器に到達しないようにするのに効果的である。ただし、その代わりに、またはそれに加えて、互いに交差偏光した偏光フィルタを用いることによって、検出光に励起光が混ざるのをさらに減らすか、なくすことができる。この場合、各光源からの照明光ビームを、混合した後で、キャピラリへの光路上の第1偏光フィルタ510(照明側フィルタ)で偏光させて、光源からの光を偏光ビームにすることができる。集められた光は、分岐する前に、第2偏光フィルタ512(集光側フィルタ)を通過させるようにし得る。したがって、第2フィルタ512は、第1フィルタ510によって偏光した光を遮断する。これは、この光が、第2フィルタで遮断される偏光面内で偏光しているからである。このようにして、照明/励起光を第2偏光フィルタによって集光側で遮断していずれの検出器にも到達しないようにし得る。フィルタをこのように構成すると、VICやFAMなどの1対の色素とともに用いる場合、すなわち、一方の色素(例えばVIC色素)の励起スペクトルが他方の色素の発光スペクトルと重なり合う場合に特に適したものになり得る。これに加えて、またはその代わりに、このフィルタ配置により、流路によるクロストークを減らすことができる。フィルタ510および512は、互いに直交する面内で光を偏光させる吸収性直線偏光子とし得る。キャピラリ448から放出される光は一般に無偏光であり、そのため、放出光のかなりの部分(例えば約半分)が偏光フィルタ512を通過し得る。
監視アセンブリ446は、それぞれのLED450、452からの照明光の照明強度を監視するようにし得る。この監視アセンブリは、制御部およびLED450、452とともにフィードバックループの一部として構成することができ、それによって、キャピラリのところで照明強度がほぼ一定に維持される。サンプリングビーム474は、各LEDによるキャピラリ照明波長帯がそれぞれのフィルタ458、460によって画定した後で、ビームスプリッタ471を介してアセンブリ446によって受け取られる。したがって、LEDが出力する光の全体的な増減によって生じる各波長帯ごとの強度変化をアセンブリ446によって測定することができ、それに加えて、LEDのスペクトル分布のシフトその他の変化によって生じるいかなる強度変化もアセンブリ446によって測定することができる。
監視アセンブリ446は、各光源ごとに対応するセンサ514または516を含み得る。このセンサは、例えば、フォトダイオードとし得る。サンプリングビーム474は、ダイクロイックビームスプリッタ518によって分岐されるようにし得るが、このダイクロイックビームスプリッタ518は、ダイクロイック要素466と少なくともほぼ同じ反射特性(例えば、公称反射カットオフ波長が495nm)を有するようにし得る。言い換えると、ビームスプリッタ518は、ダイクロイック混合要素466と逆の働きをする。そのため、ビームスプリッタ518は、LED450に対応する青色ビーム部分520およびLED452に対応する緑色ビーム部分522を生成し得る。緑色ビーム部分522は、ミラー524によって反射されてセンサ516に向かうようにし得る。各ビーム部分は、拡散板526を通過してからセンサ514または516に到達するようにし得る。
図13に、図4のグラフと、その捕捉として図4の色素、すなわち、FAM色素およびVIC色素に適し得る、図12の検出ユニット440を備えた図5の検出システムにおける照明および検出の波長帯の例を付け加えて示す。一方の光源、すなわち、青色LED450は、約485nmよりも短い波長帯530の光でキャピラリ448を照明するようにし得る。波長帯530を定義する波長境界は、より短くてもよいし、そうでなくてもよい。他方の光源、すなわち、シアンLED452は、約495〜515nmの波長帯532の光でキャピラリ448を照明するようにし得る。したがって、これらの波長帯が重なり合う場合が(ない場合も)ある。場合によっては、照明波長帯530と532の間にギャップ534が形成されることがある。ギャップ534は、取り得る値の中でも、例えば、少なくとも約2、5、または10nmとし得る。場合によっては、光源の一方または両方は、ある範囲の波長ではなく、単一波長の光を放出するようにし得る(例えばレーザ)。場合によっては、単一光源により、両方の色素の励起光を生成するようにし得る。いずれにしても、波長帯530の光は一方の色素(FAM色素)によって選択的に吸収され、波長帯532の光は他方の色素(VIC色素)によって選択的に吸収される。したがって、LED450はFAM色素を選択的に励起し、LED452はVIC色素を選択的に励起する。
検出波長帯536、538において光が収集されるようにし得る。これらの検出波長帯は、重なり合ってもよいし、そうでなくてもよい。重なり合いがある場合、重なり合う幅は、取り得る値の中でもとりわけ、約0〜20nmまたは0〜10nmとし得る。検出波長帯536は一方の色素(FAM色素)からの発光を選択するものであり、検出波長帯538は他方の色素(VIC色素)からの発光を選択するものである。したがって、検出波長帯536は、照明波長帯530、青色LED450、およびFAM色素に対応し、検出波長帯538は、照明波長帯532、シアンLED52、およびVIC色素に対応する。
照明波長帯532および検出波長帯536はそれぞれ異なる色素を表している。これらの波長帯は、検出波長帯536の光が上記の節IIで説明したように交互に配置された光パルスを用いて検出されるときに、シアンLED452がオフになっているときに限り、潜在的に重なり合うことがある。ただし、検出波長帯536用の検出器は、LED452からのパルス期間に、照明波長帯532の光によって飽和してしまうことがある。このLED452からのパルスにより、LED452がオフされた後でも、他方の光源による次のパルス期間にこの検出器が光を正確に測定できなくなることがある。というのは、検出器が回復するのに要する時間はパルス継続時間よりもはるかに長いことがあるからである。したがって、照明波長帯532を検出波長帯536から離すことが望ましいことがある。あるいは、またはそれに加えて、波長帯532による照明期間中、波長帯536用の検出器(例えば検出器486)を動作させないことが望ましいことがある。こうするにはいろいろな方法があるが、例えば中でも、PMT検出器のダイノード電圧またはAPD(アバランシェフォトダイオード)検出器に対するバイアス電圧を下げることによって、または、電気光学シャッタを使用して検出器に光が到達しないようにすることによって行うことができる。
図13のグラフには、重なり合い140を照明波長帯532と検出波長帯536の間でバランスよく分割するやり方の例が示されている。短波長側の区域(すなわち、波長帯532)を照明専用とし、それに重なり合わない長波長側の区域(すなわち、波長帯536)を検出専用とし、重なり合い140のそれぞれほぼ同じサイズ(互いに長さで約50%以内)の区域を照明および検出に割り当てることができる。さらに、波長帯532および536は、少なくとも約2、5、または10nmのギャップ540だけ離して、いかなる励起光も検出器に到達しないようにし得る。ギャップ540は、一方の色素の吸収スペクトルの最大値および/または他方の色素の発光スペクトルの最大値の近傍(例えば、約10または20nm以内)にあるようにし得る。
VI. 検査部位を離間させた検出システム
本節では、励起/発光体積を空間的に離して離間した検査部位を画定する検出システムの例を図14〜16を参照して説明する。
いくつかのシステムの実施形態では、複数の励起源からの放射は空間的にずらせてよく、すなわち、それぞれ実質的に異なる空間位置で液滴と交差させてよい。この場合、1つの光源のみからの放射が所与の時間に任意の特定の液滴に到達するので、励起源をパルス化したり、その他の方法で交互に変化したりすることは不要である。共用の単一領域または単一点を励起するシステムの場合と同様に、複数の空間的にずれた領域を励起するシステムでは、液滴から放出される複数の信号を区別するために、ビームスプリッタおよび/またはフィルタを複数の検出器とともに用いるか、または、異なる標的分子を励起した結果生じる複数の発光スペクトルを区別することができる単一の検出器を用いることができる。
図14に、液滴によるアッセイで用いる検査部位を空間的にずらした検出システムの例550を示す。このシステムは、流路76に沿って離間して配設された検査部位556〜560からなる不連続な検査領域554を画定するように配置された複数の検査ユニット552を備える。
これらの検査部位は、互いに任意の適切な空隙(取り得る値の中でも、例えば、約5cm、1cm、または1mm、あるいは約100、50、25、または10個分の液滴または流路の直径よりも短い空隙)で配設するようにし得る。これらの検査部位は互いにできる限り近づけて配設することが望ましいことがある。というのは、検査部位を近づけると、異なる検査部位から検出されるデータを相関させる際に生じる問題を小さくできるからである。液滴が検査部位間を移動するときに、流れの中で液滴間の空隙が変化するほど通過時間は長くない。いくつかの構成では、ある液滴が一連の検査部位をすべて通過してから次の液滴が検査領域に入ることになる程度に検査部位を互いに十分に近づけることができる。検査部位をこの程度に近接させると、それぞれの部位から収集される液滴データを同期させるという問題がなくなる。
各検出ユニット552は、少なくとも1つの光源562、照明光学素子564、集光光学素子566、および検出器568を含み得る。これらの検出ユニットは、互い異なる波長または波長帯の照明光を提供し、かつ/または、互いに異なる波長または波長帯の光を集め検出することができる。
図15に、液滴によるアッセイ用の検出システムのさらに別の例580を示す。システム580は、流路76に沿って離間して配設された検査部位586〜590からなる不連続な検査領域584を画定するように配置された複数の検出ユニット582を備える。各検出ユニットは、少なくとも1つまたは少なくとも1対の光源592、594と、少なくとも1つまたは少なくとも1対の検出器596、598を備えるようにし得る。いくつかの実施形態では、これらの検出ユニットの1つまたは複数に、検出システム150または280(図4〜8)、照明アセンブリ310(図9および10A〜10C)、および/または検出ユニット440(図12)について上記で開示した特徴の任意の組合せを組み込むようにし得る。これらの特徴には、例えば、照明をパルス化し、照明パルスに対応する周期信号を生成すること、スリットにより光ビームを整形し、かつ/または選択的に遮断すること、混合信号を使用して液滴を識別すること、複数の色素について励起/発光が重なり合う領域を一方の色素に用いる照明波長帯および他方の色素に用いる検出波長帯になるようバランスよく分割すること、および/または、照明強度を閉ループにより監視することが含まれる。
図16に、検出システム550の実施形態610を示す。流路76を画定するキャピラリ612は、各検出ユニット552を通って延びる。このキャピラリは、ブラケット614によって定位置で固定される。各光源562はLEDを含む。代替光源または集光器、光ファイバ616は、検出ユニットを通って延びる。各ユニット552の集光光学素子566は、フィルタ618を含み得る。フィルタ618は、ユーザが容易に交換し得るようになっている。光電子増倍管620によって光を検出することができる。
VII. 選択された実施形態
本節では、液滴によるアッセイ用の検出システムの追加の態様および特徴について説明する。これらを一連の番号を振ったパラグラフとして提示するが、追加の態様および特徴はこれらに制限されるものではない。これらのパラグラフはそれぞれ、1つまたは複数の他のパラグラフ、および/または、本出願の他の箇所で開示したものと任意の適切なやり方で組み合わせることができる。以下では、これらのパラグラフの一部は、特に他のパラグラフを参照しさらに制限を加えることによって上記の適切な組合せの一部の例が示されるが、これらに限定されるものではない。
1. 液滴を検出する方法であって、(A)流路の検査領域を、液滴が前記検査領域を通過するときに第1の光パルスに対して第2の光パルスが交互に配置された光パルスで照明するステップであって、前記第1のパルスは前記第2のパルスとスペクトル的に異なる、ステップと、(B)前記検査領域が前記第1のパルスおよび前記第2のパルスで照明される期間に検出される光を表すデータを収集するステップとを含む、方法。
2. 前記第1のパルスは第1の範囲の波長の光を画定し、前記第2のパルスは第2の範囲の波長の光を画定し、前記第1の範囲は前記第2の範囲と異なる、パラグラフ1に記載の方法。
3. 前記第1のパルスのみが単一波長の光によって生成されるか、または、前記第1のパルスおよび前記第2のパルスがともにそれぞれの単一波長の光によって生成される、パラグラフ1に記載の方法。
4. 前記第1のパルスはパルス化された光源によって生成される、パラグラフ1から3のいずれかに記載の方法。
5. 前記第1のパルスおよび前記第2のパルスは、それぞれのパルス化された光源によって生成される、パラグラフ1から4のいずれかに記載の方法。
6. 前記第1のパルスまたは前記第2のパルス、あるいは前記第1のパルスおよび前記第2のパルスの両方は、前記検査領域まで間欠的に伝達される少なくとも1つの連続光ビームによって生成される、パラグラフ1に記載の方法。
7. 前記第1のパルスおよび前記第2のパルスは、少なくとも1つのLEDから放出される光を含む、パラグラフ1に記載の方法。
8. 前記第1のパルスおよび前記第2のパルスは、それぞれのパルス化されたLEDから放出される、パラグラフ7に記載の方法。
9. 前記検査領域のうちそれぞれ重なり合う体積が、前記第1のパルスおよび前記第2のパルスによって照明される、パラグラフ1に記載の方法。
10. 前記第1のパルスおよび前記第2のパルスの期間に、前記検査領域の重なり合う体積からの光を検出するステップをさらに含む、パラグラフ1に記載の方法。
11. 少なくとも1つの第1のパルスおよび少なくとも1つの第2のパルスで各液滴が照明される、パラグラフ1に記載の方法。
12. 複数の第1のパルスおよび複数の第2のパルスで各液滴が照明される、パラグラフ11に記載の方法。
13. 各液滴は、前記液滴の直径よりも狭い光ビームで照明される、パラグラフ1に記載の方法。
14. 前記第1のパルスおよび前記第2のパルスは、それぞれ第1および第2の光源によって放出される光を含み、前記方法は、前記第1および第2の光源によって放出される前記光を、前記光が前記検査領域を照明する前にスリットを通過させるステップをさらに含む、パラグラフ1に記載の方法。
15. データを収集する前記ステップは、前記第1のパルスおよび前記第2のパルスで前記検査領域が照明される期間に検出される光をそれぞれ表す第1の信号および第2の信号を生成するステップを含む、パラグラフ1に記載の方法。
16. 前記液滴は第1の色素および第2の色素を含み、前記第1の信号は第1の検出構成から生成され、前記第2の信号は第2の検出構成から生成され、前記第1の検出構成の前記第1および第2の色素に対する感度は、前記第2の検出構成の前記第1および第2の色素に対する感度と相対的に異なる、パラグラフ15に記載の方法。
17. 第1の検出器および第2の検出器で前記検査領域からの光を検出するステップをさらに含み、前記第1の信号は前記第1の検出器によって少なくとも他に優先して検出される光を表し、前記第2の信号は前記第2の検出器によって少なくとも他に優先して検出される光を表す、パラグラフ15に記載の方法。
18. 各検出器は、前記第1のパルスおよび前記第2のパルスの期間に光を検出する、パラグラフ17に記載の方法。
19. 各検出器の利得は、第1のパルスまたは第2のパルスが前記流路の前記検査領域を照明しているかどうかに従って、経時的に調整される、パラグラフ17に記載の方法。
20. 前記第1の信号および前記第2の信号は周期信号である、パラグラフ15に記載の方法。
21. 前記データは、前記検査領域が前記第1のパルスおよび前記第2のパルスで照明される期間に同じ検出器で検出される光を表す、パラグラフ1に記載の方法。
22. 前記第1のパルスおよび前記第2のパルスの期間に前記検査領域からの光を検出するステップをさらに含み、光を検出する前記ステップでは、第1の信号および第2の信号が生成され、データを収集する前記ステップは、前記第1のパルスおよび前記第2のパルスに対応して前記第1の信号および前記第2の信号をそれぞれ周期的にゲーティングするステップを含む、パラグラフ1に記載の方法。
23. 前記照明ステップは、前記流路によって画定される長軸に対して横方向に細長い断面を有する光ビームを前記流路と交差させるステップを含む、パラグラフ1に記載の方法。
24. 前記照明ステップは、前記流路の円盤状の体積を照明するステップを含む、パラグラフ1に記載の方法。
25. 前記照明ステップは、前記第1のパルスおよび前記第2のパルスとスペクトル的に異なる第3の光パルスで前記流路の前記検査領域を照明するステップを含む、パラグラフ1に記載の方法。
26. 液滴を検出する方法であって、(A)流路の検査領域を、液滴が前記検査領域を通過するときに第1の光源および第2の光源によって放出される光パルスで交互に照明するステップと、(B)前記光パルスによって照明される前記検査領域からの光を検出するステップと、(C)第1の信号および第2の信号を生成するステップとを含み、前記第1の信号は、第1の領域が前記第1の光源からの光パルスで照明されるときに少なくとも他に優先して検出される光を表し、前記第2の信号は、第2の領域が前記第2の光源からの光パルスで照明されるときに少なくとも他に優先して検出される光を表す、方法。
27. 前記第1の信号および前記第2の信号に基づいて、前記液滴中の第1の標的および第2の標的の濃度を推定するステップをさらに含む、パラグラフ26に記載の方法。
28. 個々の液滴中で増幅反応が起こったかどうかを判断するステップをさらに含む、パラグラフ26に記載の方法。
29. 液滴に基づくアッセイ用の検出システムであって、(A)流路と、(B)前記流路の検査領域を、液滴が前記検査領域を通過するときに第1の光パルスに対して第2の光パルスが交互に配置された光パルスで照明するように構成された照明アセンブリであって、前記第1のパルスは前記第2のパルスとスペクトル的に異なる、照明アセンブリと、(C)前記検査領域からの光を検出するように構成された1つまたは複数の検出器と、(D)前記第1のパルスおよび前記第2のパルスで前記検査領域が照明される期間に検出される光を表すデータを収集する制御部とを備える、システム。
30. 前記第1のパルスは第1の範囲の波長の光を画定し、前記第2のパルスは第2の範囲の波長の光を画定し、前記第1の範囲は前記第2の範囲と異なる、パラグラフ29に記載のシステム。
31. 前記第1のパルスのみが単一波長の光によって生成されるか、または、前記第1のパルスおよび前記第2のパルスがともにそれぞれの単一波長の光によって生成される、パラグラフ29に記載のシステム。
32. 前記照明アセンブリは少なくとも1つのパルス化された光源を備える、パラグラフ29に記載のシステム。
33. 前記照明アセンブリは1対のパルス化されたLEDを備える、パラグラフ29に記載のシステム。
34. 前記照明アセンブリは、前記検査領域に間欠的に伝達される光ビームを放出するように構成された少なくとも1つの連続光源を備える、パラグラフ29に記載のシステム。
35. 前記第1のパルスおよび前記第2のパルスは、前記検査領域の重なり合う体積を照明するように構成される、パラグラフ29に記載のシステム。
36. 前記1つまたは複数の検出器は、前記第1のパルスおよび前記第2のパルスの期間に前記検査領域の重なり合う体積からの光を検出するように構成される、パラグラフ29に記載のシステム。
37. 前記照明アセンブリは、前記流路によって画定される長軸に対して横方向に細長い断面を有する光ビームで前記検査領域を照明するように構成される、パラグラフ29に記載のシステム。
38. 前記照明アセンブリは、光が前記検査領域を照明する前に通過する少なくとも1つのスリットを備える、パラグラフ29に記載のシステム。
39. 前記制御部は、前記第1のパルスおよび前記第2のパルスで前記検査領域が照明される期間に検出される光をそれぞれ表す第1の信号および第2の信号を生成するように構成される、パラグラフ29に記載のシステム。
40. 前記1つまたは複数の検出器は、第1の検出器および第2の検出器を含み、前記第1の信号は前記第1の検出器によって少なくとも他に優先して検出される光を表し、前記第2の信号は前記第2の検出器によって少なくとも他に優先して検出される光を表す、パラグラフ39に記載のシステム。
41. 各検出器は、前記第1のパルスおよび前記第2のパルスの期間に光を検出するように構成される、パラグラフ40に記載のシステム。
42. 前記第1の信号および前記第2の信号は周期信号である、パラグラフ39に記載のシステム。
43. 前記制御部は、第1のパルスまたは第2のパルスが前記流路の前記検査領域を照明しているかどうかに従って、経時的に各検出器の利得を調整するように構成される、パラグラフ29に記載のシステム。
44. 前記1つまたは複数の検出器は、それぞれ少なくともほぼ連続な第1の信号および第2の信号を生成し、前記制御部は、前記第1のパルスおよび前記第2のパルスに対応して前記第1の信号および前記第2の信号をそれぞれ周期的にゲートして前記信号を周期的にするように構成される、パラグラフ29に記載のシステム。
45. 前記照明アセンブリは、前記流路によって画定される長軸に対して横に細長い断面を有する光ビームを形成する、パラグラフ29に記載のシステム。
46. 前記照明アセンブリは、前記流路の円盤状の体積を照明するように構成される、パラグラフ29に記載のシステム。
47. 前記照明アセンブリは、第1の光源および第2の光源を備え、前記システムは、前記光源が前記流路の重なり合う体積を照明するときに、前記液滴を前記検査領域に通過させるように構成された少なくとも1つのポンプをさらに備える、パラグラフ29に記載のシステム。
48. 液滴に基づくアッセイにおける検出システムであって、(A)流路と、(B)前記流路の検査領域を、液滴が前記領域を通過するときに照明する光ビームを生成するように構成された照明アセンブリと、(C)前記検査領域から受け取った光を検出するように構成された検出器と、(D)前記検出器によって検出される光を表すデータを収集する制御部とを備え、前記光ビームは、前記流路と交差する断面が細長い、システム。
49. 前記照明アセンブリは光源およびスリットを備え、前記光源によって放射される光は、前記検査領域に到達する前に前記スリットを通過する、パラグラフ48に記載のシステム。
50. 前記光ビームは、前記流路によって画定される長軸に対して横方向に細長い断面を有する、パラグラフ48に記載のシステム。
51. 前記ビームの断面は、前記流路全体の半分の位置で、前記流路の対向する面から外側に延びる、パラグラフ48に記載のシステム。
52. 前記流路はチューブによって画定され、前記ビームの断面は、前記流路全体の半分の位置で、前記チューブの直径よりも長い、パラグラフ51に記載のシステム。
53. 前記断面は、前記流路全体の半分の位置で、前記チューブと交差しない対向する端部を有する、パラグラフ52に記載のシステム。
54. 前記光ビームは、前記流路の円盤状の体積を照明する、パラグラフ48に記載のシステム。
55. 前記光ビームは対向する平坦な側面を有する、パラグラフ48に記載のシステム。
56. 前記光ビームは前記流路の長軸に平行な寸法を有し、前記寸法にわたって前記ビームが前記流路と交差し、前記寸法は前記流路の直径よりも短い、パラグラフ48に記載のシステム。
57. 液滴に基づくアッセイにおける検出システムであって、(A)流路と、(B)前記流路の検査領域を、液滴が前記領域を通過するときに照明する光源と、(C)前記検査領域から受け取った光を検出するように構成された検出器と、(D)前記検出器によって検出される光を表すデータを収集する制御部とを備え、前記光源が放出する光は、前記光源と前記検出器との間の少なくとも1つのスリットを通過して進む、システム。
58. 前記少なくとも1つのスリットは、前記光源から前記検査領域への光路上に配設されるスリットを含む、パラグラフ57に記載のシステム。
59. 前記少なくとも1つのスリットは、集光光学素子と前記流路との間に配設されるスリットを含む、パラグラフ57に記載のシステム。
60. 液滴を検出する方法であって、(A)断面が細長い光ビームで流路の検査領域を照明するステップと、(B)複数の液滴が前記検査領域を通過するときに、前記領域から経時的に検出される光を表すデータを収集するステップとを含む、方法。
61. 前記照明ステップは、光源と前記検査領域との間の光路上に配設されたスリットを通して光を送るステップを含む、パラグラフ60に記載の方法。
62. 前記検査領域の円盤状の体積を照明する、パラグラフ60に記載の方法。
63. 前記光ビームは、前記流路によって画定される長軸に対して横方向に細長い断面を有する、パラグラフ60に記載の方法。
64. 前記照明ステップは、液滴を、前記液滴の直径よりも薄い光ビームで照明するステップを含む、パラグラフ60に記載の方法。
65. 液滴に基づくアッセイ用の検出方法であって、(A)液滴を運ぶ流体の流れから一連の期間に、それぞれ異なる検出構成で検出される光を表す少なくとも2つの別個の信号を生成するステップと、(B)前記少なくとも2つの別個の信号を混合して混合信号を形成するステップと、(C)前記混合信号を処理して液滴に対応する期間を特定するステップとを含む、方法。
66. 前記混合ステップは、個々の期間ごとに前記別個の信号からの値の線形結合を形成するステップを含む、パラグラフ65に記載の方法。
67. 線形結合を形成する前記ステップは、前記値を同じ割合で含む線形結合を形成するステップを含む、パラグラフ66に記載の方法。
68. 前記混合ステップは、前記少なくとも2つの信号によるデジタル形式で行われる、パラグラフ65に記載の方法。
69. 前記混合ステップは、前記少なくとも2つの信号が生成されているときに、少なくとも部分的に行われる、パラグラフ65に記載の方法。
70. 前記混合ステップは、個々の期間ごとに前記別個の信号からの値を混合するステップを含み、所与の期間ごとに混合される値の各々は、前記所与の期間のそれぞれ異なる部分で検出される光を表す、パラグラフ65に記載の方法。
71. 所与の期間ごとに混合される値の各々は、前記所与の期間の互いに重なり合わない部分で検出器される光を表す、パラグラフ70に記載の方法。
72. 前記混合ステップは、個々の期間ごとに前記別個の信号からの値を混合するステップを含み、所与の期間ごとに混合される値の各々は、前記所与の期間の同じ部分またはすべての部分で検出される光を表す、パラグラフ65に記載の方法。
73. 前記別個の信号は、流体の流れを保持する流路のある領域から、第1の光源および第2の光源からの交互に配置された光パルスで前記領域が照明される期間に検出される光を表す第1の信号および第2の信号を含む、パラグラフ65に記載の方法。
74. 前記第1の信号は、前記第1の光源からのパルス期間に第1の検出器によって少なくとも他に優先して検出される光を表し、前記第2の信号は、前記第2の光源からのパルス期間に第2の検出器によって少なくとも他に優先して検出される光を表す、パラグラフ73に記載の方法。
75. それぞれの異なる色素は蛍光体を含む、パラグラフ65に記載の方法。
76. 液滴に基づくアッセイ用の検出方法であって、(A)液滴を運ぶ流体の流れから一連の期間に検出されるそれぞれ異なる波長または波長帯の光を表す少なくとも2つの別個の信号を生成するステップであって、それぞれの波長または波長帯から検出される光は個々の液滴中の異なる標的の存在の有無を示す、ステップと、(B)前記少なくとも2つの別個の信号を混合して混合信号を形成するステップと、(C)前記混合信号を処理して液滴に対応する期間を識別するステップと、(D)前記識別された期間に検出された別個の信号の各々の値に基づいて、液滴が異なる標的の各々を含むかを判断するステップとを含む、方法。
77. 液滴に基づくアッセイ用の検出方法であって、(A)液滴を含む流体の流れから一連の期間に検出されるそれぞれ異なる波長帯の光を表す少なくとも2つの信号を生成するステップと、(B)前記少なくとも2つの信号の複数の値を混合して混合信号を形成するステップと、(C)前記混合信号の液滴に対応する部分を識別するステップと、(D)前記識別された部分に対応する前記少なくとも2つの信号の値を処理して、どの液滴がどの標的を含むかを判断するステップとを含む、方法。
78. 液滴に基づくアッセイ用の検出システムであって、(A)少なくとも2つの異なる色素を含む液滴を運ぶ流体の流れからの光を検出するように構成された1つまたは複数の検出器と、(B)液滴を運ぶ流体の流れから一連の期間に、それぞれ異なる検出構成で検出される光を表す別個の信号を生成し、前記少なくとも2つの別個の信号を混合して混合信号を形成し、前記混合信号を処理して液滴に対応する期間を識別するように構成された制御部とを備える、システム。
79. 液滴用の検出方法であって、(A)第1の色素および第2の色素を含む液滴を準備するステップであって、前記第1の色素の発光スペクトルおよび前記第2の色素の吸収スペクトルが重なり合う波長帯を画定し、前記重なり合いは、前記第1の色素が前記第2の色素の最大吸収波長で励起された場合に前記第1の色素からその発光最大値の少なくとも半分が生成される程度に大きい、ステップと、(B)前記第1の色素および前記第2の色素をともに励起し得る励起光で前記液滴を照明するステップであって、前記励起光は1つまたは複数のLEDによって放出され、前記重なり合う波長帯の短波長側の区域のみを含む、ステップと、(C)前記第1の色素および前記第2の色素が放出する光を検出するステップとを含み、前記第2の色素が放出する光は、前記短波長側の区域から離れた前記重なり合う波長帯の長波長側の区域のみを含む波長域で検出される、方法。
80. 前記吸収スペクトルおよび前記発光スペクトルが、それぞれ約20nm以内である波長でそれぞれ最大値を有する、パラグラフ79に記載の方法。
81. 前記1つまたは複数のLEDは、前記第1の色素を選択的に励起する第1のLEDおよび前記第2の色素を選択的に励起する第2のLEDを含む、パラグラフ79に記載の方法。
82. 前記第1の色素および前記第2の色素からそれぞれ選択的に検出される光を表す第1の組のデータおよび第2の組のデータを収集するステップをさらに含む、パラグラフ79に記載の方法。
83. 前記第1の色素はFAM色素であり、前記第2の色素はVIC色素である、パラグラフ79に記載の方法。
84. 前記重なり合う波長帯は、前記それぞれのスペクトルがその吸収または発光の最大値の20%以上の値で重なり合うところとして定義され、前記重なり合う波長帯の幅は少なくとも25nmである、パラグラフ79に記載の方法。
85. 液滴に基づくアッセイにおける検出システムであって、(A)第1の色素および第2の色素を含む液滴を受け取るように構成された流路であって、前記第1の色素の発光スペクトルおよび前記第2の色素の吸収スペクトルにより重なり合う波長帯が画定され、前記重なり合いは、前記第1の色素が前記第2の色素の最大吸収波長で励起された場合に前記第1の色素からその最大発光値の少なくとも半分が生成される程度に大きい、流路と、(B)1つまたは複数のLEDを含み、前記第1および第2の色素をともに励起し得る励起光で前記液滴を照明するように構成された照明アセンブリであって、前記励起光は、前記LEDから放出され、前記重なり合う波長帯の短波長側の区域のみを含む、照明アセンブリと、(C)前記第1の色素および前記第2の色素が放出する光を検出するように構成された1つまたは複数の検出器であって、前記第2の色素からの前記光は、前記短波長側の区域から離れた前記重なり合う波長帯の長波長側の区域のみを含む波長域で検出される、検出器と、を備えるシステム。
86. 前記照明アセンブリは、前記短波長側の区域を画定する1つまたは複数のフィルタを備える、パラグラフ85に記載のシステム。
87. 前記1つまたは複数の検出器を含む集光アセンブリをさらに備え、前記集光アセンブリは、前記長波長側の区域を画定する1つまたは複数のフィルタを含む、パラグラフ85に記載のシステム。
88. 液滴用の検出方法であって、(A)光ビームを生成するステップと、(B)前記光ビームを主ビームおよび少なくとも1つのサンプリングビームに分岐するステップと、(C)前記サンプリングビームの強度を監視するステップと、(D)前記監視ステップから得られる1つまたは複数の測定値に基づいて、前記光ビームの強度を調整するステップと、(E)流路の検査領域を、液滴が前記検査領域を通過するときに前記主ビームで照明するステップと、(F)前記検査領域から検出される光を表すデータを収集するステップとを含む、方法。
89. 光ビームを生成する前記ステップは、光源から放出される光をフィルタリングして前記放出される光のスペクトルを変化させるステップを含み、前記分岐ステップは、前記フィルタリングステップの後で実施される、パラグラフ88に記載の方法。
90. 前記フィルタリングステップは、特定波長域透過波長フィルタ、長波長透過フィルタ、短波長透過フィルタ、またはこれらの組合せを用いて実施される、パラグラフ88に記載の方法。
91. 光ビームを生成する前記ステップは、少なくとも2つの光源から放出される光ビームを混合するステップを含み、前記混合ステップは、前記フィルタリングステップの後で実施される、パラグラフ88に記載の方法。
92. 光ビームを生成する前記ステップは、LEDを用いて光を放出させるステップを含む、パラグラフ88に記載の方法。
93. 光ビームを生成する前記ステップは、第1の光源および第2の光源からの光を混合するステップを含み、前記分岐ステップは、前記光ビームを第1のサンプリングビームおよび第2のサンプリングビームに分岐するステップを含み、前記第1のサンプリングビームは前記第1の光源に対応し、前記第2のサンプリングビームは前記第2の光源に対応する、パラグラフ88に記載の方法。
94. 前記調整ステップにより、前記主ビームの各光源に対応する部分の強度がほぼ一定に保たれる、パラグラフ93に記載の方法。
上記の開示は、それぞれ独立した有用性を有する複数の別個の発明を含み得る。これらの発明をそれぞれその好ましい1つ(または複数)の形式で開示したが、本明細書で開示し図示したこれらの発明の特定の実施形態を限定的に捉えるべきではない。というのは、数多くの変形例が可能だからである。本発明の対象は、本明細書で開示した様々な要素、特徴、機能、および/または特性のあらゆる新規の自明でない組合せおよび小規模な組合せを含む。添付の特許請求の範囲では、特に、新規で自明でないと見なせるある種の組合せおよび小規模な組合せを示す。上記特徴、機能、要素、および/または特性の他の組合せおよび小規模な組合せで実施される発明は、本出願または関連出願の権利を主張する出願で特許請求することができる。このような特許請求の範囲は、異なる発明や同じ発明を対象にしていたり、元となる特許請求の範囲よりも広かったり、狭かったり、同じであったり、または異なったりするが、本開示の発明の対象に含まれると見なせる。
70 検出ユニット
72 光
74 液滴
76 流路
78 照明アセンブリ
80 集光アセンブリ
82、84 光源
85 照明光学素子
86、88 検出器
90 集光光学素子
92 検査領域
96 乳剤
98 連続相
100 乳剤、液滴の動き
102 集光
104 入射光
106 集光光路
108 入射光路

Claims (94)

  1. 液滴を検出する方法であって、
    流路の検査領域を、液滴が前記検査領域を通過するときに第1の光パルスに対して第2の光パルスが交互に配置された光パルスで照明するステップであって、前記第1のパルスは前記第2のパルスとスペクトル的に異なる、ステップと、
    前記検査領域が前記第1のパルスおよび前記第2のパルスで照明される期間に検出される光を表すデータを収集するステップとを含む、方法。
  2. 前記第1のパルスは第1の範囲の波長の光を画定し、前記第2のパルスは第2の範囲の波長の光を画定し、前記第1の範囲は前記第2の範囲と異なる、請求項1に記載の方法。
  3. 前記第1のパルスのみが単一波長の光によって生成されるか、または、前記第1のパルスおよび前記第2のパルスがともにそれぞれの単一波長の光によって生成される、請求項1に記載の方法。
  4. 前記第1のパルスはパルス化された光源によって生成される、請求項1に記載の方法。
  5. 前記第1のパルスおよび前記第2のパルスは、それぞれのパルス化された光源によって生成される、請求項1に記載の方法。
  6. 前記第1のパルスまたは前記第2のパルス、あるいは前記第1のパルスおよび前記第2のパルスの両方は、前記検査領域まで間欠的に伝達される少なくとも1つの連続光ビームによって生成される、請求項1に記載の方法。
  7. 前記第1のパルスおよび前記第2のパルスは、少なくとも1つのLEDから放出される光を含む、請求項1に記載の方法。
  8. 前記第1のパルスおよび前記第2のパルスは、それぞれのパルス化されたLEDから放出される、請求項7に記載の方法。
  9. 前記検査領域のうちそれぞれ重なり合う体積が、前記第1のパルスおよび前記第2のパルスによって照明される、請求項1に記載の方法。
  10. 前記第1のパルスおよび前記第2のパルスの期間に、前記検査領域の重なり合う体積からの光を検出するステップをさらに含む、請求項1に記載の方法。
  11. 少なくとも1つの第1のパルスおよび少なくとも1つの第2のパルスで各液滴が照明される、請求項1に記載の方法。
  12. 複数の第1のパルスおよび複数の第2のパルスで各液滴が照明される、請求項11に記載の方法。
  13. 各液滴は、前記液滴の直径よりも狭い光ビームで照明される、請求項1に記載の方法。
  14. 前記第1のパルスおよび前記第2のパルスは、それぞれ第1および第2の光源によって放出される光を含み、前記方法は、前記第1および第2の光源によって放出される前記光を、前記光が前記検査領域を照明する前にスリットを通過させるステップをさらに含む、請求項1に記載の方法。
  15. データを収集する前記ステップは、前記第1のパルスおよび前記第2のパルスで前記検査領域が照明される期間に検出される光をそれぞれ表す第1の信号および第2の信号を生成するステップを含む、請求項1に記載の方法。
  16. 前記液滴は第1の色素および第2の色素を含み、前記第1の信号は第1の検出構成から生成され、前記第2の信号は第2の検出構成から生成され、前記第1の検出構成の前記第1および第2の色素に対する感度は、前記第2の検出構成の前記第1および第2の色素に対する感度と相対的に異なる、請求項15に記載の方法。
  17. 第1の検出器および第2の検出器で前記検査領域からの光を検出するステップをさらに含み、前記第1の信号は前記第1の検出器によって少なくとも他に優先して検出される光を表し、前記第2の信号は前記第2の検出器によって少なくとも他に優先して検出される光を表す、請求項15に記載の方法。
  18. 各検出器は、前記第1のパルスおよび前記第2のパルスの期間に光を検出する、請求項17に記載の方法。
  19. 各検出器の利得は、第1のパルスまたは第2のパルスが前記流路の前記検査領域を照明しているかどうかに従って経時的に調整される、請求項17に記載の方法。
  20. 前記第1の信号および前記第2の信号は周期信号である、請求項15に記載の方法。
  21. 前記データは、前記検査領域が前記第1のパルスおよび前記第2のパルスで照明される期間に同じ検出器で検出される光を表す、請求項1に記載の方法。
  22. 前記第1のパルスおよび前記第2のパルスの期間に前記検査領域からの光を検出するステップをさらに含み、光を検出する前記ステップでは、第1の信号および第2の信号が生成され、データを収集する前記ステップは、前記第1のパルスおよび前記第2のパルスに対応して前記第1の信号および前記第2の信号をそれぞれ周期的にゲーティングするステップを含む、請求項1に記載の方法。
  23. 前記照明ステップは、前記流路によって画定される長軸に対して横方向に細長い断面を有する光ビームを前記流路と交差させるステップを含む、請求項1に記載の方法。
  24. 前記照明ステップは、前記流路の円盤状の体積を照明するステップを含む、請求項1に記載の方法。
  25. 前記照明ステップは、前記第1のパルスおよび前記第2のパルスとスペクトル的に異なる第3の光パルスで前記流路の前記検査領域を照明するステップを含む、請求項1に記載の方法。
  26. 液滴を検出する方法であって、
    流路の検査領域を、液滴が前記検査領域を通過するときに第1の光源および第2の光源によって放出される光パルスで交互に照明するステップと、
    前記光パルスによって照明される前記検査領域からの光を検出するステップと、
    第1の信号および第2の信号を生成するステップとを含み、
    前記第1の信号は、第1の領域が前記第1の光源からの光パルスで照明されるときに少なくとも他に優先して検出される光を表し、前記第2の信号は、第2の領域が前記第2の光源からの光パルスで照明されるときに少なくとも他に優先して検出される光を表す、方法。
  27. 前記第1の信号および前記第2の信号に基づいて、前記液滴中の第1の標的および第2の標的の濃度を推定するステップをさらに含む、請求項26に記載の方法。
  28. 個々の液滴中で増幅反応が起こったかどうかを判断するステップをさらに含む、請求項26に記載の方法。
  29. 液滴に基づくアッセイ用の検出システムであって、
    流路と、
    前記流路の検査領域を、液滴が前記検査領域を通過するときに第1の光パルスに対して第2の光パルスが交互に配置された光パルスで照明するように構成された照明アセンブリであって、前記第1のパルスは前記第2のパルスとスペクトル的に異なる、照明アセンブリと、
    前記検査領域からの光を検出するように構成された1つまたは複数の検出器と、
    前記第1のパルスおよび前記第2のパルスで前記検査領域が照明される期間に検出される光を表すデータを収集する制御部とを備える、システム。
  30. 前記第1のパルスは第1の範囲の波長の光を画定し、前記第2のパルスは第2の範囲の波長の光を画定し、前記第1の範囲は前記第2の範囲と異なる、請求項29に記載のシステム。
  31. 前記第1のパルスのみが単一波長の光によって生成されるか、または、前記第1のパルスおよび前記第2のパルスがともにそれぞれの単一波長の光によって生成される、請求項29に記載のシステム。
  32. 前記照明アセンブリは少なくとも1つのパルス化された光源を備える、請求項29に記載のシステム。
  33. 前記照明アセンブリは1対のパルス化されたLEDを備える、請求項29に記載のシステム。
  34. 前記照明アセンブリは、前記検査領域に間欠的に伝達される光ビームを放出するように構成された少なくとも1つの連続光源を備える、請求項29に記載のシステム。
  35. 前記第1のパルスおよび前記第2のパルスは、前記検査領域の重なり合う体積を照明するように構成される、請求項29に記載のシステム。
  36. 前記1つまたは複数の検出器は、前記第1のパルスおよび前記第2のパルスの期間に前記検査領域の重なり合う体積からの光を検出するように構成される、請求項29に記載のシステム。
  37. 前記照明アセンブリは、前記流路によって画定される長軸に対して横方向に細長い断面を有する光ビームで前記検査領域を照明するように構成される、請求項29に記載のシステム。
  38. 前記照明アセンブリは、光が前記検査領域を照明する前に通過する少なくとも1つのスリットを備える、請求項29に記載のシステム。
  39. 前記制御部は、前記第1のパルスおよび前記第2のパルスで前記検査領域が照明される期間に検出される光をそれぞれ表す第1の信号および第2の信号を生成するように構成される、請求項29に記載のシステム。
  40. 前記1つまたは複数の検出器は、第1の検出器および第2の検出器を含み、前記第1の信号は前記第1の検出器によって少なくとも他に優先して検出される光を表し、前記第2の信号は前記第2の検出器によって少なくとも他に優先して検出される光を表す、請求項39に記載のシステム。
  41. 各検出器は、前記第1のパルスおよび前記第2のパルスの期間に光を検出するように構成される、請求項40に記載のシステム。
  42. 前記第1の信号および前記第2の信号は周期信号である、請求項39に記載のシステム。
  43. 前記制御部は、第1のパルスまたは第2のパルスが前記流路の前記検査領域を照明しているかどうかに従って、経時的に各検出器の利得を調整するように構成される、請求項29に記載のシステム。
  44. 前記1つまたは複数の検出器は、それぞれ少なくともほぼ連続な第1の信号および第2の信号を生成し、前記制御部は、前記第1のパルスおよび前記第2のパルスに対応して前記第1の信号および前記第2の信号をそれぞれ周期的にゲートして前記信号を周期的にするように構成される、請求項29に記載のシステム。
  45. 前記照明アセンブリは、前記流路によって画定される長軸に対して横に細長い断面を有する光ビームを形成する、請求項29に記載のシステム。
  46. 前記照明アセンブリは、前記流路の円盤状の体積を照明するように構成される、請求項29に記載のシステム。
  47. 前記照明アセンブリは、第1の光源および第2の光源を備え、前記システムは、前記光源が前記流路の重なり合う体積を照明するときに、前記液滴を前記検査領域に通過させるように構成された少なくとも1つのポンプをさらに備える、請求項29に記載のシステム。
  48. 液滴に基づくアッセイにおける検出システムであって、
    流路と、
    前記流路の検査領域を、液滴が前記領域を通過するときに照明する光ビームを生成するように構成された照明アセンブリと、
    前記検査領域から受け取った光を検出するように構成された検出器と、
    前記検出器によって検出される光を表すデータを収集する制御部とを備え、
    前記光ビームは、前記流路と交差する断面が細長い、システム。
  49. 前記照明アセンブリは光源およびスリットを備え、前記光源によって放射される光は、前記検査領域に到達する前に前記スリットを通過する、請求項48に記載のシステム。
  50. 前記光ビームは、前記流路によって画定される長軸に対して横方向に細長い断面を有する、請求項48に記載のシステム。
  51. 前記ビームの断面は、前記流路全体の半分の位置で、前記流路の対向する面から外側に延びる、請求項48に記載のシステム。
  52. 前記流路はチューブによって画定され、前記ビームの断面は、前記流路全体の半分の位置で、前記チューブの直径よりも長い、請求項51に記載のシステム。
  53. 前記断面は、前記流路全体の半分の位置で、前記チューブと交差しない対向する端部を有する、請求項52に記載のシステム。
  54. 前記光ビームは、前記流路の円盤状の体積を照明する、請求項48に記載のシステム。
  55. 前記光ビームは対向する平坦な側面を有する、請求項48に記載のシステム。
  56. 前記光ビームは前記流路の長軸に平行な寸法を有し、前記寸法にわたって前記ビームが前記流路と交差し、前記寸法は前記流路の直径よりも短い、請求項48に記載のシステム。
  57. 液滴に基づくアッセイにおける検出システムであって、
    流路と、
    前記流路の検査領域を、液滴が前記領域を通過するときに照明する光源と、
    前記検査領域から受け取った光を検出するように構成された検出器と、
    前記検出器によって検出される光を表すデータを収集する制御部とを備え、
    前記光源が放出する光は、前記光源と前記検出器との間の少なくとも1つのスリットを通過して進む、システム。
  58. 前記少なくとも1つのスリットは、前記光源から前記検査領域への光路上に配設されるスリットを含む、請求項57に記載のシステム。
  59. 前記少なくとも1つのスリットは、集光光学素子と前記流路との間に配設されるスリットを含む、請求項57に記載のシステム。
  60. 液滴を検出する方法であって、
    断面が細長い光ビームで流路の検査領域を照明するステップと、
    複数の液滴が前記検査領域を通過するときに、前記領域から経時的に検出される光を表すデータを収集するステップとを含む、方法。
  61. 前記照明ステップは、光源と前記検査領域との間の光路上に配設されたスリットを通して光を送るステップを含む、請求項60に記載の方法。
  62. 前記検査領域の円盤状の体積を照明する、請求項60に記載の方法。
  63. 前記光ビームは、前記流路によって画定される長軸に対して横方向に細長い断面を有する、請求項60に記載の方法。
  64. 前記照明ステップは、液滴を、前記液滴の直径よりも薄い光ビームで照明するステップを含む、請求項60に記載の方法。
  65. 液滴に基づくアッセイ用の検出方法であって、
    液滴を運ぶ流体の流れから一連の期間に、それぞれ異なる検出構成で検出される光を表す少なくとも2つの別個の信号を生成するステップと、
    前記少なくとも2つの別個の信号を混合して混合信号を形成するステップと、
    前記混合信号を処理して液滴に対応する期間を特定するステップとを含む、方法。
  66. 前記混合ステップは、個々の期間ごとに前記別個の信号からの値の線形結合を形成するステップを含む、請求項65に記載の方法。
  67. 線形結合を形成する前記ステップは、前記値を同じ割合で含む線形結合を形成するステップを含む、請求項66に記載の方法。
  68. 前記混合ステップは、前記少なくとも2つの信号によるデジタル形式で行われる、請求項65に記載の方法。
  69. 前記混合ステップは、前記少なくとも2つの信号が生成されているときに、少なくとも部分的に行われる、請求項65に記載の方法。
  70. 前記混合ステップは、個々の期間ごとに前記別個の信号からの値を混合するステップを含み、所与の期間ごとに混合される値の各々は、前記所与の期間のそれぞれ異なる部分で検出される光を表す、請求項65に記載の方法。
  71. 所与の期間ごとに混合される値の各々は、前記所与の期間の互いに重なり合わない部分で検出器される光を表す、請求項70に記載の方法。
  72. 前記混合ステップは、個々の期間ごとに前記別個の信号からの値を混合するステップを含み、所与の期間ごとに混合される値の各々は、前記所与の期間の同じ部分またはすべての部分で検出される光を表す、請求項65に記載の方法。
  73. 前記別個の信号は、流体の流れを保持する流路のある領域から、第1の光源および第2の光源からの交互に配置された光パルスで前記領域が照明される期間に検出される光を表す第1の信号および第2の信号を含む、請求項65に記載の方法。
  74. 前記第1の信号は、前記第1の光源からのパルス期間に第1の検出器によって少なくとも他に優先して検出される光を表し、前記第2の信号は、前記第2の光源からのパルス期間に第2の検出器によって少なくとも他に優先して検出される光を表す、請求項73に記載の方法。
  75. それぞれの異なる色素は蛍光体を含む、請求項65に記載の方法。
  76. 液滴に基づくアッセイ用の検出方法であって、
    液滴を運ぶ流体の流れから一連の期間に検出されるそれぞれ異なる波長または波長帯の光を表す少なくとも2つの別個の信号を生成するステップであって、それぞれの波長または波長帯から検出される光は個々の液滴中の異なる標的の存在の有無を示す、ステップと、
    前記少なくとも2つの別個の信号を混合して混合信号を形成するステップと、
    前記混合信号を処理して液滴に対応する期間を識別するステップと、
    前記識別された期間に検出された別個の信号の各々の値に基づいて、液滴が異なる標的の各々を含むかを判断するステップとを含む、方法。
  77. 液滴に基づくアッセイ用の検出方法であって、
    液滴を含む流体の流れから一連の期間に検出されるそれぞれ異なる波長帯の光を表す少なくとも2つの信号を生成するステップと、
    前記少なくとも2つの信号の複数の値を混合して混合信号を形成するステップと、
    前記混合信号の液滴に対応する部分を識別するステップと、
    前記識別された部分に対応する前記少なくとも2つの信号の値を処理して、どの液滴がどの標的を含むかを判断するステップとを含む、方法。
  78. 液滴に基づくアッセイ用の検出システムであって、
    少なくとも2つの異なる色素を含む液滴を運ぶ流体の流れからの光を検出するように構成された1つまたは複数の検出器と、
    液滴を運ぶ流体の流れから一連の期間に、それぞれ異なる検出構成で検出される光を表す別個の信号を生成し、前記少なくとも2つの別個の信号を混合して混合信号を形成し、前記混合信号を処理して液滴に対応する期間を識別するように構成された制御部とを備える、システム。
  79. 液滴用の検出方法であって、
    第1の色素および第2の色素を含む液滴を準備するステップであって、前記第1の色素の発光スペクトルおよび前記第2の色素の吸収スペクトルが、重なり合う波長帯を画定し、前記重なり合いは、前記第1の色素が前記第2の色素の最大吸収波長で励起された場合に前記第1の色素からその発光最大値の少なくとも半分が生成される程度に大きい、ステップと、
    前記第1の色素および前記第2の色素をともに励起し得る励起光で前記液滴を照明するステップであって、前記励起光は1つまたは複数のLEDによって放出され、前記重なり合う波長帯の短波長側の区域のみを含む、ステップと、
    前記第1の色素および前記第2の色素が放出する光を検出するステップとを含み、前記第2の色素が放出する光は、前記短波長側の区域から離れた前記重なり合う波長帯の長波長側の区域のみを含む波長域で検出される、方法。
  80. 前記吸収スペクトルおよび前記発光スペクトルが、それぞれ約20nm以内である波長でそれぞれ最大値を有する、請求項79に記載の方法。
  81. 前記1つまたは複数のLEDは、前記第1の色素を選択的に励起する第1のLEDおよび前記第2の色素を選択的に励起する第2のLEDを含む、請求項79に記載の方法。
  82. 前記第1の色素および前記第2の色素からそれぞれ選択的に検出される光を表す第1の組のデータおよび第2の組のデータを収集するステップをさらに含む、請求項79に記載の方法。
  83. 前記第1の色素はFAM色素であり、前記第2の色素はVIC色素である、請求項79に記載の方法。
  84. 前記重なり合う波長帯は、前記それぞれのスペクトルがその吸収または発光の最大値の20%以上の値で重なり合うところとして定義され、前記重なり合う波長帯の幅は少なくとも25nmである、請求項79に記載の方法。
  85. 液滴に基づくアッセイにおける検出システムであって、
    第1の色素および第2の色素を含む液滴を受け取るように構成された流路であって、前記第1の色素の発光スペクトルおよび前記第2の色素の吸収スペクトルにより重なり合う波長帯が画定され、前記重なり合いは、前記第1の色素が前記第2の色素の最大吸収波長で励起された場合に前記第1の色素からその最大発光値の少なくとも半分が生成される程度に大きい、流路と、
    1つまたは複数のLEDを含み、前記第1および第2の色素をともに励起し得る励起光で前記液滴を照明するように構成された照明アセンブリであって、前記励起光は、前記LEDから放出され、前記重なり合う波長帯の短波長側の区域のみを含む、照明アセンブリと、
    前記第1の色素および前記第2の色素が放出する光を検出するように構成された1つまたは複数の検出器であって、前記第2の色素からの前記光は、前記短波長側の区域から離れた前記重なり合う波長帯の長波長側の区域のみを含む波長域で検出される、検出器と、を備えるシステム。
  86. 前記照明アセンブリは、前記短波長側の区域を画定する1つまたは複数のフィルタを備える、請求項85に記載のシステム。
  87. 前記1つまたは複数の検出器を含む集光アセンブリをさらに備え、前記集光アセンブリは、前記長波長側の区域を画定する1つまたは複数のフィルタを含む、請求項85に記載のシステム。
  88. 液滴用の検出方法であって、
    光ビームを生成するステップと、
    前記光ビームを主ビームおよび少なくとも1つのサンプリングビームに分岐するステップと、
    前記サンプリングビームの強度を監視するステップと、
    前記監視ステップから得られる1つまたは複数の測定値に基づいて、前記光ビームの強度を調整するステップと、
    流路の検査領域を、液滴が前記検査領域を通過するときに前記主ビームで照明するステップと、
    前記検査領域から検出される光を表すデータを収集するステップとを含む、方法。
  89. 光ビームを生成する前記ステップは、光源から放出される光をフィルタリングして前記放出される光のスペクトルを変化させるステップを含み、前記分岐ステップは、前記フィルタリングステップの後で実施される、請求項88に記載の方法。
  90. 前記フィルタリングステップは、特定波長域透過波長フィルタ、長波長透過フィルタ、短波長透過フィルタ、またはこれらの組合せを用いて実施される、請求項88に記載の方法。
  91. 光ビームを生成する前記ステップは、少なくとも2つの光源から放出される光ビームを混合するステップを含み、前記混合ステップは、前記フィルタリングステップの後で実施される、請求項88に記載の方法。
  92. 光ビームを生成する前記ステップは、LEDを用いて光を放出させるステップを含む、請求項88に記載の方法。
  93. 光ビームを生成する前記ステップは、第1の光源および第2の光源からの光を混合するステップを含み、前記分岐ステップは、前記光ビームを第1のサンプリングビームおよび第2のサンプリングビームに分岐するステップを含み、前記第1のサンプリングビームは前記第1の光源に対応し、前記第2のサンプリングビームは前記第2の光源に対応する、請求項88に記載の方法。
  94. 前記調整ステップにより、前記主ビームの各光源に対応する部分の強度がほぼ一定に保たれる、請求項93に記載の方法。
JP2013501528A 2010-03-25 2011-03-25 液滴によるアッセイ用の検出システム Pending JP2013524169A (ja)

Applications Claiming Priority (3)

Application Number Priority Date Filing Date Title
US31768410P 2010-03-25 2010-03-25
US61/317,684 2010-03-25
PCT/US2011/030077 WO2011120006A1 (en) 2010-03-25 2011-03-25 Detection system for droplet-based assays

Publications (2)

Publication Number Publication Date
JP2013524169A true JP2013524169A (ja) 2013-06-17
JP2013524169A5 JP2013524169A5 (ja) 2014-05-15

Family

ID=44673665

Family Applications (1)

Application Number Title Priority Date Filing Date
JP2013501528A Pending JP2013524169A (ja) 2010-03-25 2011-03-25 液滴によるアッセイ用の検出システム

Country Status (5)

Country Link
US (1) US8730479B2 (ja)
EP (1) EP2550351A4 (ja)
JP (1) JP2013524169A (ja)
CA (1) CA2767113A1 (ja)
WO (1) WO2011120006A1 (ja)

Cited By (10)

* Cited by examiner, † Cited by third party
Publication number Priority date Publication date Assignee Title
JP2016038208A (ja) * 2014-08-05 2016-03-22 株式会社島津製作所 光学的検出器
CN105936930A (zh) * 2015-03-04 2016-09-14 松下知识产权经营株式会社 Dna检测方法和dna检测装置
JP2016168043A (ja) * 2015-03-10 2016-09-23 パナソニックIpマネジメント株式会社 複数の核酸ターゲットの解析方法
WO2017187490A1 (ja) * 2016-04-26 2017-11-02 株式会社日立ハイテクノロジーズ 分析装置
WO2019244358A1 (ja) * 2018-06-22 2019-12-26 株式会社日立ハイテクノロジーズ 電気泳動装置
WO2020008972A1 (ja) * 2018-07-06 2020-01-09 日本板硝子株式会社 反応処理装置
JP2020073912A (ja) * 2020-01-20 2020-05-14 日本板硝子株式会社 反応処理装置
KR20210062596A (ko) * 2019-11-21 2021-05-31 주식회사 바이오티엔에스 형광 검출 장치 및 이를 이용한 형광 검출 방법
JP2022063291A (ja) * 2018-06-22 2022-04-21 株式会社日立ハイテク 電気泳動装置
JP2022545093A (ja) * 2019-08-23 2022-10-25 ミダイアグノスティクス・エヌブイ リアルタイムpcr検出のためのマルチカラーシステム

Families Citing this family (73)

* Cited by examiner, † Cited by third party
Publication number Priority date Publication date Assignee Title
US9417190B2 (en) 2008-09-23 2016-08-16 Bio-Rad Laboratories, Inc. Calibrations and controls for droplet-based assays
US12162008B2 (en) 2008-09-23 2024-12-10 Bio-Rad Laboratories, Inc. Partition-based method of analysis
GB2502409B8 (en) 2008-09-23 2014-10-15 Bio Rad Laboratories Droplet-based assay system
US10512910B2 (en) 2008-09-23 2019-12-24 Bio-Rad Laboratories, Inc. Droplet-based analysis method
US8633015B2 (en) 2008-09-23 2014-01-21 Bio-Rad Laboratories, Inc. Flow-based thermocycling system with thermoelectric cooler
US11130128B2 (en) 2008-09-23 2021-09-28 Bio-Rad Laboratories, Inc. Detection method for a target nucleic acid
US9492797B2 (en) 2008-09-23 2016-11-15 Bio-Rad Laboratories, Inc. System for detection of spaced droplets
US9132394B2 (en) 2008-09-23 2015-09-15 Bio-Rad Laboratories, Inc. System for detection of spaced droplets
US8709762B2 (en) 2010-03-02 2014-04-29 Bio-Rad Laboratories, Inc. System for hot-start amplification via a multiple emulsion
US12090480B2 (en) 2008-09-23 2024-09-17 Bio-Rad Laboratories, Inc. Partition-based method of analysis
US9764322B2 (en) 2008-09-23 2017-09-19 Bio-Rad Laboratories, Inc. System for generating droplets with pressure monitoring
WO2011120024A1 (en) 2010-03-25 2011-09-29 Quantalife, Inc. Droplet generation for droplet-based assays
US9156010B2 (en) 2008-09-23 2015-10-13 Bio-Rad Laboratories, Inc. Droplet-based assay system
US9598725B2 (en) 2010-03-02 2017-03-21 Bio-Rad Laboratories, Inc. Emulsion chemistry for encapsulated droplets
US8951939B2 (en) 2011-07-12 2015-02-10 Bio-Rad Laboratories, Inc. Digital assays with multiplexed detection of two or more targets in the same optical channel
EP2940153B1 (en) 2009-09-02 2020-05-13 Bio-Rad Laboratories, Inc. System for mixing fluids by coalescence of multiple emulsions
EP2556170A4 (en) 2010-03-25 2014-01-01 Quantalife Inc TRAPPING TRANSPORT AND DETECTION SYSTEM
EP4016086A1 (en) 2010-11-01 2022-06-22 Bio-Rad Laboratories, Inc. System for forming emulsions
US12097495B2 (en) 2011-02-18 2024-09-24 Bio-Rad Laboratories, Inc. Methods and compositions for detecting genetic material
CN103534360A (zh) 2011-03-18 2014-01-22 伯乐生命医学产品有限公司 借助对信号的组合使用进行的多重数字分析
WO2012149042A2 (en) 2011-04-25 2012-11-01 Bio-Rad Laboratories, Inc. Methods and compositions for nucleic acid analysis
EP2737089B1 (en) 2011-07-29 2017-09-06 Bio-rad Laboratories, Inc. Library characterization by digital assay
EP2739587B1 (en) 2011-08-01 2020-05-27 Denovo Sciences Cell capture system
US10466160B2 (en) 2011-08-01 2019-11-05 Celsee Diagnostics, Inc. System and method for retrieving and analyzing particles
US9404864B2 (en) 2013-03-13 2016-08-02 Denovo Sciences, Inc. System for imaging captured cells
US9174216B2 (en) 2013-03-13 2015-11-03 DeNovo Science, Inc. System for capturing and analyzing cells
WO2013155531A2 (en) 2012-04-13 2013-10-17 Bio-Rad Laboratories, Inc. Sample holder with a well having a wicking promoter
US9427737B2 (en) 2012-12-14 2016-08-30 Bio-Rad Laboratories, Inc. Methods and compositions for using oils for analysis and detection of molecules
US9752181B2 (en) 2013-01-26 2017-09-05 Denovo Sciences, Inc. System and method for capturing and analyzing cells
CN105492890B (zh) 2013-02-22 2020-05-01 生命技术公司 校准用于执行生物分析的仪器的方法
US9707562B2 (en) 2013-03-13 2017-07-18 Denovo Sciences, Inc. System for capturing and analyzing cells
WO2014152048A2 (en) * 2013-03-14 2014-09-25 Cytonome/St, Llc Assemblies and methods for reducing optical crosstalk in particle processing systems
JP2016114356A (ja) * 2013-04-10 2016-06-23 パナソニック株式会社 蛍光検出装置、及び蛍光検出方法
US9856535B2 (en) 2013-05-31 2018-01-02 Denovo Sciences, Inc. System for isolating cells
US10391490B2 (en) 2013-05-31 2019-08-27 Celsee Diagnostics, Inc. System and method for isolating and analyzing cells
CN105518439B (zh) * 2013-08-27 2018-02-16 株式会社日立高新技术 核酸分析装置及其装置诊断方法
JP6632525B2 (ja) 2013-11-06 2020-01-22 ベクトン・ディキンソン・アンド・カンパニーBecton, Dickinson And Company マイクロ流体デバイスならびにその製造方法および使用方法
CN105899936B (zh) * 2013-11-13 2019-12-24 贝克顿·迪金森公司 光学成像系统及使用其的方法
KR102189845B1 (ko) * 2014-06-03 2020-12-14 한국전자통신연구원 유체의 성질을 측정하는 장치 및 방법
US10274428B2 (en) 2014-11-25 2019-04-30 Ge Healthcare Bio-Sciences Ab Intergration of fluorescence detection capability into light absorbance measurement apparatus
US11123740B2 (en) 2015-06-29 2021-09-21 Arizona Board Of Regents On Behalf Of Arizona State University Systems and methods for continuous flow digital droplet polymerase chain reaction bioanalysis
CN107923070A (zh) * 2015-08-25 2018-04-17 生物辐射实验室股份有限公司 数字式免疫测定
US10379047B2 (en) * 2016-11-30 2019-08-13 Scientific Industries, Inc. Apparatus for detecting pH and dissolved oxygen
US10060847B2 (en) 2015-12-30 2018-08-28 Bio-Rad Laboratories, Inc. Detection and signal processing system for particle assays
CN108700500B (zh) 2015-12-30 2021-10-29 生物辐射实验室股份有限公司 用于颗粒的光学检测系统
US10088468B2 (en) 2016-02-04 2018-10-02 Nova Biomedical Corporation Analyte system and method for determining hemoglobin parameters in whole blood
EP3472591B1 (en) * 2016-06-20 2023-08-30 Plair SA Device and method for detecting and/or characterizing fluid-borne particles
EP3544737B1 (en) 2016-11-28 2025-04-23 Arizona Board of Regents on behalf of Arizona State University Methods related to continuous flow droplet reaction
EP3586094B1 (en) * 2017-02-23 2023-08-16 Phoseon Technology, Inc. Integrated illumination-detection flow cell for liquid chromatography and corresponding method
DE102017113194B4 (de) * 2017-06-14 2019-06-19 Deutsches Zentrum für Luft- und Raumfahrt e.V. Verfahren zum Verfolgen einer Vielzahl von punktförmigen Objekten im Raum
CN112980667B (zh) 2017-08-29 2024-09-17 伯乐实验室有限公司 用于分离和分析细胞的系统和方法
CN107860701A (zh) * 2017-12-22 2018-03-30 广东顺德墨赛生物科技有限公司 微滴式进样荧光检测控制系统
WO2019159109A1 (en) * 2018-02-15 2019-08-22 Societe Des Produits Nestle S.A. Analyzer
CN112236218B (zh) * 2018-04-02 2022-04-26 滴管公司 用于连续流乳液处理的系统和方法
US11040347B2 (en) 2018-06-14 2021-06-22 Owl biomedical, Inc. Microfabricated droplet dispensor with immiscible fluid
US12440841B2 (en) 2018-06-14 2025-10-14 Owl biomedical, Inc. Microfabricated droplet dispensor with immiscible fluid and genetic sequencer
WO2020013811A1 (en) * 2018-07-10 2020-01-16 Xinova, LLC Assessment of water quality using rainbow patterns
WO2020190641A1 (en) * 2019-03-21 2020-09-24 Becton, Dickinson And Company Light detection systems and methods of use thereof
CN110118758B (zh) * 2019-04-01 2022-06-03 深圳市趣方科技有限公司 一种散射荧光双模态流式成像系统
US10633693B1 (en) 2019-04-16 2020-04-28 Celsee Diagnostics, Inc. System and method for leakage control in a particle capture system
US11273439B2 (en) 2019-05-07 2022-03-15 Bio-Rad Laboratories, Inc. System and method for target material retrieval from microwells
WO2020227309A1 (en) 2019-05-07 2020-11-12 Bio-Rad Laboratories, Inc. System and method for automated single cell processing
CN114207407A (zh) 2019-05-31 2022-03-18 安伯斯顿生物科学股份有限公司 低丰度事件的微流体确定
EP3980754A1 (en) * 2019-06-07 2022-04-13 Helmholtz Zentrum München - Deutsches Forschungszentrum für Gesundheit und Umwelt (GmbH) System and method for real-time multicolor shortwave infrared fluorescence imaging
KR20250084977A (ko) 2019-06-14 2025-06-11 바이오 래드 래버러토리스 인코오포레이티드 자동화된 단일 세포 처리 및 분석을 위한 시스템 및 방법
US11504719B2 (en) 2020-03-12 2022-11-22 Bio-Rad Laboratories, Inc. System and method for receiving and delivering a fluid for sample processing
JP6962628B1 (ja) * 2021-03-15 2021-11-05 株式会社ピーアンドエム 検出装置
WO2023003547A1 (en) * 2021-07-21 2023-01-26 Hewlett-Packard Development Company, L.P. Fluidic devices with multiple interface properties
KR20240132441A (ko) * 2021-10-28 2024-09-03 피티티 엑스플러레이션 앤드 프로덕션 퍼블릭 컴퍼니 리미티드 유체 내 입자 검출 장치 및 상기 입자의 검출 방법
EP4444910A4 (en) 2021-12-10 2025-11-05 Bio Rad Laboratories Inc Compositions, processes and systems for the treatment of samples with functionalized particles of adjustable morphology
EP4453246A4 (en) * 2021-12-20 2025-12-24 Countable Labs Inc DIGITAL DETECTION AND QUANTIFICATION OF MULTIPLE TARGETS
CN119053846A (zh) * 2022-02-28 2024-11-29 生物辐射实验室股份有限公司 宽谱分析系统
EP4306929A1 (en) * 2022-07-11 2024-01-17 Ecole Polytechnique Fédérale de Lausanne Fluorometer system, fluorescene analysis method, and use thereof

Citations (3)

* Cited by examiner, † Cited by third party
Publication number Priority date Publication date Assignee Title
JPH0465654A (ja) * 1990-07-05 1992-03-02 Hitachi Ltd 細胞分析装置
JP2007046947A (ja) * 2005-08-08 2007-02-22 Bay Bioscience Kk フローサイトメータおよびフローサイトメトリ方法
JP2008256712A (ja) * 2008-06-12 2008-10-23 Onchip Cellomics Consortium 液滴分光システムと分光法

Family Cites Families (258)

* Cited by examiner, † Cited by third party
Publication number Priority date Publication date Assignee Title
US3575220A (en) 1968-08-12 1971-04-20 Scientific Industries Apparatus for dispensing liquid sample
BR7500831A (pt) 1974-02-11 1975-12-02 Fmc Corp Aparelho de separacao de bolhas de gas corpo de transmissao de gas para uso no aparelho processo para fabricacao do dito corpo e para difusao de bolhas finas de gas em um corpo de liquido
US4051025A (en) 1976-09-29 1977-09-27 The United States Of America As Represented By The Department Of Health, Education And Welfare Preparative countercurrent chromatography with a slowly rotating helical tube array
US4201691A (en) 1978-01-16 1980-05-06 Exxon Research & Engineering Co. Liquid membrane generator
GB2040443B (en) * 1978-12-07 1983-01-12 English Electric Co Ltd Optical particle size analyser
US4283262A (en) 1980-07-01 1981-08-11 Instrumentation Laboratory Inc. Analysis system
GB2097692B (en) 1981-01-10 1985-05-22 Shaw Stewart P D Combining chemical reagents
US4636075A (en) * 1984-08-22 1987-01-13 Particle Measuring Systems, Inc. Particle measurement utilizing orthogonally polarized components of a laser beam
US4948961A (en) 1985-08-05 1990-08-14 Biotrack, Inc. Capillary flow device
US5225332A (en) 1988-04-22 1993-07-06 Massachusetts Institute Of Technology Process for manipulation of non-aqueous surrounded microdroplets
US5055390A (en) 1988-04-22 1991-10-08 Massachusetts Institute Of Technology Process for chemical manipulation of non-aqueous surrounded microdroplets
DE69002767T2 (de) 1989-06-22 1994-03-17 Atta Fluor- und phosphorhaltige amphiphilische moleküle mit oberflächenaktiven eigenschaften.
GB8917963D0 (en) 1989-08-05 1989-09-20 Scras Apparatus for repeated automatic execution of a thermal cycle for treatment of biological samples
KR100236506B1 (ko) 1990-11-29 2000-01-15 퍼킨-엘머시터스인스트루먼츠 폴리머라제 연쇄 반응 수행 장치
US5270183A (en) 1991-02-08 1993-12-14 Beckman Research Institute Of The City Of Hope Device and method for the automated cycling of solutions between two or more temperatures
US5994056A (en) 1991-05-02 1999-11-30 Roche Molecular Systems, Inc. Homogeneous methods for nucleic acid amplification and detection
EP0519338B1 (en) 1991-06-20 1996-08-28 F. Hoffmann-La Roche Ag Improved methods for nucleic acid amplification
US5422277A (en) 1992-03-27 1995-06-06 Ortho Diagnostic Systems Inc. Cell fixative composition and method of staining cells without destroying the cell surface
US5587128A (en) 1992-05-01 1996-12-24 The Trustees Of The University Of Pennsylvania Mesoscale polynucleotide amplification devices
US5637469A (en) 1992-05-01 1997-06-10 Trustees Of The University Of Pennsylvania Methods and apparatus for the detection of an analyte utilizing mesoscale flow systems
EP0636413B1 (en) 1993-07-28 2001-11-14 PE Corporation (NY) Nucleic acid amplification reaction apparatus and method
US5538667A (en) 1993-10-28 1996-07-23 Whitehill Oral Technologies, Inc. Ultramulsions
US5538848A (en) 1994-11-16 1996-07-23 Applied Biosystems Division, Perkin-Elmer Corp. Method for detecting nucleic acid amplification using self-quenching fluorescence probe
JP2909216B2 (ja) 1994-04-29 1999-06-23 パーキン‐エルマー コーポレイション 核酸増幅生成物のリアルタイム検出装置
US5972716A (en) 1994-04-29 1999-10-26 The Perkin-Elmer Corporation Fluorescence monitoring device with textured optical tube and method for reducing background fluorescence
EP0695941B1 (en) 1994-06-08 2002-07-31 Affymetrix, Inc. Method and apparatus for packaging a chip
US5555191A (en) 1994-10-12 1996-09-10 Trustees Of Columbia University In The City Of New York Automated statistical tracker
US5585069A (en) 1994-11-10 1996-12-17 David Sarnoff Research Center, Inc. Partitioned microelectronic and fluidic device array for clinical diagnostics and chemical synthesis
FR2733766B1 (fr) 1995-05-03 1997-06-06 Rhone Poulenc Rorer Sa Methode de diagnostic de la schizophrenie
US20020022261A1 (en) 1995-06-29 2002-02-21 Anderson Rolfe C. Miniaturized genetic analysis systems and methods
US5856174A (en) 1995-06-29 1999-01-05 Affymetrix, Inc. Integrated nucleic acid diagnostic device
US6130098A (en) 1995-09-15 2000-10-10 The Regents Of The University Of Michigan Moving microdroplets
US6057149A (en) 1995-09-15 2000-05-02 The University Of Michigan Microscale devices and reactions in microscale devices
US20020068357A1 (en) 1995-09-28 2002-06-06 Mathies Richard A. Miniaturized integrated nucleic acid processing and analysis device and method
US6562605B1 (en) 1995-11-13 2003-05-13 Genencor International, Inc. Extraction of water soluble biomaterials from fluids using a carbon dioxide/surfactant mixture
US5736314A (en) 1995-11-16 1998-04-07 Microfab Technologies, Inc. Inline thermo-cycler
WO1997036681A1 (en) 1996-04-03 1997-10-09 The Perkin-Elmer Corporation Device and method for multiple analyte detection
NZ333346A (en) 1996-06-28 2000-03-27 Caliper Techn Corp High-throughput screening assay systems in microscale fluidic devices
EP0909385B1 (en) 1996-06-28 2008-09-10 Caliper Life Sciences, Inc. Method of transporting fluid samples within a microfluidic channel
US7026468B2 (en) 1996-07-19 2006-04-11 Valentis, Inc. Process and equipment for plasmid purification
US6558916B2 (en) 1996-08-02 2003-05-06 Axiom Biotechnologies, Inc. Cell flow apparatus and method for real-time measurements of patient cellular responses
US7268179B2 (en) 1997-02-03 2007-09-11 Cytonix Corporation Hydrophobic coating compositions, articles coated with said compositions, and processes for manufacturing same
US6391622B1 (en) 1997-04-04 2002-05-21 Caliper Technologies Corp. Closed-loop biochemical analyzers
US6143496A (en) 1997-04-17 2000-11-07 Cytonix Corporation Method of sampling, amplifying and quantifying segment of nucleic acid, polymerase chain reaction assembly having nanoliter-sized sample chambers, and method of filling assembly
WO1998052691A1 (en) 1997-05-16 1998-11-26 Alberta Research Council Microfluidic system and methods of use
JP3120453B2 (ja) 1997-06-19 2000-12-25 トヨタ自動車株式会社 微小液滴の保持方法、反応方法
US5912945A (en) 1997-06-23 1999-06-15 Regents Of The University Of California X-ray compass for determining device orientation
DE69838521T2 (de) 1997-07-07 2008-05-21 Medical Research Council Methode zur Erhöhung der Konzentration von Nucleinsäuremolekülen
US5980936A (en) 1997-08-07 1999-11-09 Alliance Pharmaceutical Corp. Multiple emulsions comprising a hydrophobic continuous phase
ATE294860T1 (de) 1997-09-16 2005-05-15 Egea Biosciences Llc Methoden zur kompletten chemischen synthese und zusammensetzung von genen und genomen
US6833242B2 (en) 1997-09-23 2004-12-21 California Institute Of Technology Methods for detecting and sorting polynucleotides based on size
US6540895B1 (en) 1997-09-23 2003-04-01 California Institute Of Technology Microfabricated cell sorter for chemical and biological materials
US6074725A (en) 1997-12-10 2000-06-13 Caliper Technologies Corp. Fabrication of microfluidic circuits by printing techniques
EP1059873B1 (en) 1998-03-04 2006-08-16 Visx Incorporated System for laser treatment of presbyopia
US6175669B1 (en) 1998-03-30 2001-01-16 The Regents Of The Universtiy Of California Optical coherence domain reflectometry guidewire
JP3081880B2 (ja) 1998-03-30 2000-08-28 農林水産省食品総合研究所長 マイクロスフィアの連続製造装置
US6384915B1 (en) 1998-03-30 2002-05-07 The Regents Of The University Of California Catheter guided by optical coherence domain reflectometry
JP3012608B1 (ja) 1998-09-17 2000-02-28 農林水産省食品総合研究所長 マイクロチャネル装置及び同装置を用いたエマルションの製造方法
US6146103A (en) 1998-10-09 2000-11-14 The Regents Of The University Of California Micromachined magnetohydrodynamic actuators and sensors
US6637463B1 (en) 1998-10-13 2003-10-28 Biomicro Systems, Inc. Multi-channel microfluidic system design with balanced fluid flow distribution
US6176609B1 (en) 1998-10-13 2001-01-23 V & P Scientific, Inc. Magnetic tumble stirring method, devices and machines for mixing in vessels
US6086740A (en) 1998-10-29 2000-07-11 Caliper Technologies Corp. Multiplexed microfluidic devices and systems
US6261431B1 (en) 1998-12-28 2001-07-17 Affymetrix, Inc. Process for microfabrication of an integrated PCR-CE device and products produced by the same
GB9900298D0 (en) 1999-01-07 1999-02-24 Medical Res Council Optical sorting method
US6522407B2 (en) 1999-01-22 2003-02-18 The Regents Of The University Of California Optical detection dental disease using polarized light
US6326083B1 (en) 1999-03-08 2001-12-04 Calipher Technologies Corp. Surface coating for microfluidic devices that incorporate a biopolymer resistant moiety
US6303343B1 (en) 1999-04-06 2001-10-16 Caliper Technologies Corp. Inefficient fast PCR
US6964846B1 (en) 1999-04-09 2005-11-15 Exact Sciences Corporation Methods for detecting nucleic acids indicative of cancer
US6357907B1 (en) 1999-06-15 2002-03-19 V & P Scientific, Inc. Magnetic levitation stirring devices and machines for mixing in vessels
US6440706B1 (en) 1999-08-02 2002-08-27 Johns Hopkins University Digital amplification
US6524456B1 (en) 1999-08-12 2003-02-25 Ut-Battelle, Llc Microfluidic devices for the controlled manipulation of small volumes
DE19964337B4 (de) 1999-10-01 2004-09-16 Agilent Technologies, Inc. (n.d.Ges.d.Staates Delaware), Palo Alto Mikrofluidischer Mikrochip mit abbiegbarem Ansaugrohr
AU4714201A (en) 1999-12-07 2001-06-18 Exact Sciences Corporation Supracolonic aerodigestive neoplasm detection
ATE340025T1 (de) 2000-01-06 2006-10-15 Caliper Life Sciences Inc Vorrichtungen und verfahren für hochdurchsatz- probenentnahme und analyse
US20020151040A1 (en) 2000-02-18 2002-10-17 Matthew O' Keefe Apparatus and methods for parallel processing of microvolume liquid reactions
US20020058329A1 (en) 2000-02-18 2002-05-16 Sharat Singh Multiple-site reaction device and method
JP3282619B2 (ja) 2000-03-22 2002-05-20 住友電装株式会社 ワイヤーハーネスの屈曲試験方法及び電線の屈曲試験装置
US7279146B2 (en) 2003-04-17 2007-10-09 Fluidigm Corporation Crystal growth devices and systems, and methods for using same
EP1286913A2 (en) 2000-05-24 2003-03-05 Micronics, Inc. Microfluidic concentration gradient loop
US7351376B1 (en) 2000-06-05 2008-04-01 California Institute Of Technology Integrated active flux microfluidic devices and methods
US6466713B2 (en) 2000-08-18 2002-10-15 The Regents Of The University Of California Optical fiber head for providing lateral viewing
US6773566B2 (en) 2000-08-31 2004-08-10 Nanolytics, Inc. Electrostatic actuators for microfluidics and methods for using same
WO2002022878A1 (en) 2000-09-14 2002-03-21 Caliper Technologies Corp. Microfluidic devices and methods for performing temperature mediated reactions
AU2001290879A1 (en) 2000-09-15 2002-03-26 California Institute Of Technology Microfabricated crossflow devices and methods
KR100649342B1 (ko) 2000-10-30 2006-11-27 시쿼넘, 인코포레이티드 기판 상으로 서브마이크로리터 볼륨들을 전달하기 위한 방법 및 장치
KR100435921B1 (ko) 2000-12-29 2004-06-12 주식회사 태평양 동수역학적 이중 안정화에 의한 안정한 수-유-수 다중에멀젼 시스템 및 이의 제조방법
US7567596B2 (en) * 2001-01-30 2009-07-28 Board Of Trustees Of Michigan State University Control system and apparatus for use with ultra-fast laser
DE60211857T2 (de) 2001-02-23 2006-12-21 Japan Science And Technology Agency, Kawaguchi Verfahren zur herstellung einer emulsion und vorrichtung dafür
US6949176B2 (en) 2001-02-28 2005-09-27 Lightwave Microsystems Corporation Microfluidic control using dielectric pumping
US7192557B2 (en) 2001-03-28 2007-03-20 Handylab, Inc. Methods and systems for releasing intracellular material from cells within microfluidic samples of fluids
US6575188B2 (en) 2001-07-26 2003-06-10 Handylab, Inc. Methods and systems for fluid control in microfluidic devices
US7010391B2 (en) 2001-03-28 2006-03-07 Handylab, Inc. Methods and systems for control of microfluidic devices
US7270786B2 (en) 2001-03-28 2007-09-18 Handylab, Inc. Methods and systems for processing microfluidic samples of particle containing fluids
EP1384022A4 (en) 2001-04-06 2004-08-04 California Inst Of Techn NUCLEIC ACID AMPLIFICATION USING MICROFLUID DEVICES
US6793723B2 (en) * 2001-05-10 2004-09-21 Pitney Bowes Inc. Homogeneous photosensitive optically variable ink compositions for ink jet printing
US20030049659A1 (en) 2001-05-29 2003-03-13 Lapidus Stanley N. Devices and methods for isolating samples into subsamples for analysis
NZ530037A (en) 2001-06-12 2006-03-31 Keryx Biopharmaceuticals Inc Use of glycosaminoglycans for the treatment of HIV-associated nephropathy
US6905885B2 (en) 2001-06-12 2005-06-14 The Regents Of The University Of California Portable pathogen detection system
US6808683B2 (en) 2001-09-25 2004-10-26 Cytonome, Inc. Droplet dispensing system
CA2451614C (en) 2001-06-25 2011-01-04 Georgia Tech Research Corporation Dual resonance energy transfer nucleic acid probes
US6797257B2 (en) 2001-06-26 2004-09-28 The Board Of Trustees Of The University Of Illinois Paramagnetic polymerized protein microspheres and methods of preparation thereof
US6573490B2 (en) * 2001-06-28 2003-06-03 Valeo Electrical Systems, Inc. Interleaved mosaic imaging rain sensor
US20030032172A1 (en) 2001-07-06 2003-02-13 The Regents Of The University Of California Automated nucleic acid assay system
US7297778B2 (en) 2001-07-25 2007-11-20 Affymetrix, Inc. Complexity management of genomic DNA
US20030027150A1 (en) 2001-08-03 2003-02-06 Katz David A. Method of haplotyping and kit therefor
AUPR707101A0 (en) 2001-08-16 2001-09-06 Corbett Research Pty Ltd Continuous flow thermal device
US7094379B2 (en) 2001-10-24 2006-08-22 Commissariat A L'energie Atomique Device for parallel and synchronous injection for sequential injection of different reagents
GB0127564D0 (en) 2001-11-16 2002-01-09 Medical Res Council Emulsion compositions
JP4355210B2 (ja) 2001-11-30 2009-10-28 フルイディグム コーポレイション 微小流体デバイスおよび微小流体デバイスの使用方法
US7198897B2 (en) 2001-12-19 2007-04-03 Brandeis University Late-PCR
US20030170698A1 (en) 2002-01-04 2003-09-11 Peter Gascoyne Droplet-based microfluidic oligonucleotide synthesis engine
US20030180765A1 (en) 2002-02-01 2003-09-25 The Johns Hopkins University Digital amplification for detection of mismatch repair deficient tumor cells
ATE397096T1 (de) 2002-03-20 2008-06-15 Innovativebio Biz Mikrokapseln mit kontrollierter durchlässigkeit die ein nukleinsäureamplifizierungsreaktionsgemisch enthalten und deren benutzung als reaktionsgefäss für parallele reaktionen
US7312085B2 (en) 2002-04-01 2007-12-25 Fluidigm Corporation Microfluidic particle-analysis systems
US7993266B2 (en) 2002-04-26 2011-08-09 Lawrence Livermore National Security, Llc Early detection of contagious diseases
EP2302389B1 (en) 2002-05-09 2018-01-24 The University of Chicago Device and method for pressure-driven plug transport and reaction
FR2841063B1 (fr) 2002-06-18 2004-09-17 Commissariat Energie Atomique Dispositif de deplacement de petits volumes de liquide le long d'un micro-catenaire par des forces electrostatiques
JP2006507921A (ja) 2002-06-28 2006-03-09 プレジデント・アンド・フェロウズ・オブ・ハーバード・カレッジ 流体分散のための方法および装置
US6794671B2 (en) * 2002-07-17 2004-09-21 Particle Sizing Systems, Inc. Sensors and methods for high-sensitivity optical particle counting and sizing
US20040038385A1 (en) 2002-08-26 2004-02-26 Langlois Richard G. System for autonomous monitoring of bioagents
US7188731B2 (en) 2002-08-26 2007-03-13 The Regents Of The University Of California Variable flexure-based fluid filter
WO2004040001A2 (en) 2002-10-02 2004-05-13 California Institute Of Technology Microfluidic nucleic acid analysis
US20060094108A1 (en) 2002-12-20 2006-05-04 Karl Yoder Thermal cycler for microfluidic array assays
EP1587940A4 (en) 2002-12-20 2006-06-07 Caliper Life Sciences Inc SINGLE MOLECULAR AMPLIFICATION AND DNA PROOF
US20050042639A1 (en) 2002-12-20 2005-02-24 Caliper Life Sciences, Inc. Single molecule amplification and detection of DNA length
CA2521999A1 (en) 2002-12-20 2004-09-02 Biotrove, Inc. Assay apparatus and method using microfluidic arrays
CA2513535C (en) 2003-01-29 2012-06-12 454 Corporation Bead emulsion nucleic acid amplification
WO2004071638A2 (en) 2003-02-11 2004-08-26 Regents Of The University Of California, The Microfluidic devices and method for controlled viscous shearing and formation of amphiphilic vesicles
US7041481B2 (en) 2003-03-14 2006-05-09 The Regents Of The University Of California Chemical amplification based on fluid partitioning
EP3511693B1 (en) * 2003-03-28 2022-08-24 Inguran, LLC Apparatus for detecting the breakoff point of a droplet generation system
US8828663B2 (en) 2005-03-18 2014-09-09 Fluidigm Corporation Thermal reaction device and method for using the same
US7604965B2 (en) 2003-04-03 2009-10-20 Fluidigm Corporation Thermal reaction device and method for using the same
DE10315640A1 (de) 2003-04-04 2004-10-14 Ignatov, Konstantin Verfahren zur kontrollierten Freisetzung von Komponenten in eine Lösung
DE602004028837D1 (de) 2003-07-03 2010-10-07 Univ New Jersey Med Gene als diagnostische werkzeuge für autismus
US7629123B2 (en) 2003-07-03 2009-12-08 University Of Medicine And Dentistry Of New Jersey Compositions and methods for diagnosing autism
US8048627B2 (en) 2003-07-05 2011-11-01 The Johns Hopkins University Method and compositions for detection and enumeration of genetic variations
EP1654527A4 (en) 2003-08-01 2012-01-04 Ge Healthcare Bio Sciences Ab OPTICAL RESONANCE ANALYSIS UNIT
EP2662136A3 (en) 2003-08-27 2013-12-25 President and Fellows of Harvard College Method for handling and mixing droplets
JP4474870B2 (ja) * 2003-08-27 2010-06-09 セイコーエプソン株式会社 液滴視認方法、液滴吐出ヘッド検査装置および液滴吐出装置
WO2005023091A2 (en) 2003-09-05 2005-03-17 The Trustees Of Boston University Method for non-invasive prenatal diagnosis
US20050277125A1 (en) 2003-10-27 2005-12-15 Massachusetts Institute Of Technology High-density reaction chambers and methods of use
US7141537B2 (en) 2003-10-30 2006-11-28 3M Innovative Properties Company Mixture of fluorinated polyethers and use thereof as surfactant
ES2355242T3 (es) 2003-12-05 2011-03-24 Beatrice And Samuel A. Seaver Foundation Procedimiento de evaluación del riesgo genético relativo al autismo.
CA2553833C (en) 2004-01-28 2012-10-02 454 Corporation Nucleic acid amplification with continuous flow emulsion
US8293471B2 (en) 2004-01-28 2012-10-23 Marshall University Research Corporation Apparatus and method for a continuous rapid thermal cycle system
WO2005075683A1 (en) 2004-02-03 2005-08-18 Postech Foundation High throughput device for performing continuous-flow reactions
KR100552706B1 (ko) 2004-03-12 2006-02-20 삼성전자주식회사 핵산 증폭 방법 및 장치
CN100431679C (zh) 2004-03-23 2008-11-12 独立行政法人科学技术振兴机构 微小液滴的生成方法及装置
US7432106B2 (en) 2004-03-24 2008-10-07 Applied Biosystems Inc. Liquid processing device including gas trap, and system and method
EP2439285B1 (en) 2004-03-31 2019-05-08 The General Hospital Corporation Method to determine responsiveness of cancer to epidermal growth factor receptor targeting treatments
US20050221279A1 (en) 2004-04-05 2005-10-06 The Regents Of The University Of California Method for creating chemical sensors using contact-based microdispensing technology
HU227246B1 (en) 2004-04-30 2010-12-28 Szegedi Biolog Koezpont Use of genes as molecular markers in diagnosis of schizophrenia and diagnostic kit
WO2005110395A1 (en) 2004-05-19 2005-11-24 University Of South Carolina System and device for magnetic drug targeting with magnetic drug carrier particles
US8652851B2 (en) 2004-06-17 2014-02-18 University Of Florida Research Foundation, Inc. Multi-acceptor molecular probes and applications thereof
ATE425264T1 (de) 2004-06-29 2009-03-15 Hoffmann La Roche Assoziation von snps in ppar gamma mit osteoporose
US20080268436A1 (en) 2004-08-20 2008-10-30 Jubao Duan Schizophrenia, Schizoaffective Disorder and Bipolar Disorder Susceptibility Gene Mutation and Applications to Their Diagnosis and Treatment
WO2006027757A2 (en) 2004-09-09 2006-03-16 Institut Curie Microfluidic device using a collinear electric field
US7968287B2 (en) 2004-10-08 2011-06-28 Medical Research Council Harvard University In vitro evolution in microfluidic systems
WO2006047787A2 (en) 2004-10-27 2006-05-04 Exact Sciences Corporation Method for monitoring disease progression or recurrence
US8951746B2 (en) 2004-11-05 2015-02-10 Southwest Research Institute Method and devices for screening cervical cancer
US20090098044A1 (en) 2004-11-15 2009-04-16 Australian Nuclear Science And Technology Organisation Solid particles from controlled destabilisation of microemulsions
US20060166223A1 (en) 2005-01-26 2006-07-27 Reed Michael W DNA purification and analysis on nanoengineered surfaces
US7423751B2 (en) * 2005-02-08 2008-09-09 Northrop Grumman Corporation Systems and methods for use in detecting harmful aerosol particles
CN101193905B (zh) 2005-02-11 2014-06-25 纪念斯隆-凯特林癌症中心 用于检测抗药egfr突变体的方法和组合物
WO2006096571A2 (en) 2005-03-04 2006-09-14 President And Fellows Of Harvard College Method and apparatus for forming multiple emulsions
KR20100099333A (ko) 2005-03-05 2010-09-10 주식회사 씨젠 이중 특이성 올리고뉴클레오타이드를 사용한 방법 및 이중 특이성 올리고뉴클레오타이드
WO2006099579A2 (en) 2005-03-16 2006-09-21 Applera Corporation Compositions and methods for clonal amplification and analysis of polynucleotides
US20070048756A1 (en) 2005-04-18 2007-03-01 Affymetrix, Inc. Methods for whole genome association studies
US20070024658A1 (en) * 2005-07-28 2007-02-01 Eastman Kodak Company Apparatus and method for detection of liquid droplets
DE102005037401B4 (de) 2005-08-08 2007-09-27 MAX-PLANCK-Gesellschaft zur Förderung der Wissenschaften e.V. Bildung einer Emulsion in einem fluidischen Mikrosystem
WO2007038670A2 (en) 2005-09-30 2007-04-05 Perlegen Sciences, Inc. Methods and compositions for screening and treatment of disorders of blood glucose regulation
DE102005062174C5 (de) * 2005-12-23 2010-05-06 INSTITUT FüR MIKROTECHNIK MAINZ GMBH Meßchip
WO2007081386A2 (en) 2006-01-11 2007-07-19 Raindance Technologies, Inc. Microfluidic devices and methods of use
US7976795B2 (en) 2006-01-19 2011-07-12 Rheonix, Inc. Microfluidic systems
WO2007089541A2 (en) 2006-01-27 2007-08-09 President And Fellows Of Harvard College Fluidic droplet coalescence
SI1981995T2 (sl) 2006-02-02 2019-08-30 The Board Of Trustees Of The Leland Stanford Junior University Neinvazivni genetski presejalni test ploda z digitalno analizo
US20100304446A1 (en) 2006-02-07 2010-12-02 Stokes Bio Limited Devices, systems, and methods for amplifying nucleic acids
EP1991357B1 (en) 2006-02-07 2016-09-14 Stokes Bio Limited A microfluidic analysis system
ATE523244T1 (de) 2006-02-07 2011-09-15 Stokes Bio Ltd Flüssigkeitsbrückesystem und verfahren
WO2007120745A2 (en) 2006-04-11 2007-10-25 Optiscan Biomedical Corporation Noise reduction for analyte detection system
US7815871B2 (en) 2006-04-18 2010-10-19 Advanced Liquid Logic, Inc. Droplet microactuator system
US7816121B2 (en) 2006-04-18 2010-10-19 Advanced Liquid Logic, Inc. Droplet actuation system and method
EP2021113A2 (en) 2006-05-11 2009-02-11 Raindance Technologies, Inc. Microfluidic devices
US7608399B2 (en) 2006-06-26 2009-10-27 Blood Cell Storage, Inc. Device and method for extraction and analysis of nucleic acids from biological samples
EP1881079A1 (en) 2006-07-20 2008-01-23 Pangaea Biotech, S.A. Method for the detection of EGFR mutations in blood samples
EP3536396B1 (en) 2006-08-07 2022-03-30 The President and Fellows of Harvard College Fluorocarbon emulsion stabilizing surfactants
WO2008024114A1 (en) 2006-08-24 2008-02-28 Genizon Biosciences Inc. Genemap of the human genes associated with schizophrenia
US20080166720A1 (en) * 2006-10-06 2008-07-10 The Regents Of The University Of California Method and apparatus for rapid nucleic acid analysis
EP1912067A1 (en) 2006-10-12 2008-04-16 Eppendorf Array Technologies S.A. Method for quantification of a target compound obtained from a biological sample upon chips
WO2008052138A2 (en) 2006-10-25 2008-05-02 The Regents Of The University Of California Inline-injection microdevice and microfabricated integrated dna analysis system using same
WO2008070074A2 (en) 2006-12-04 2008-06-12 Pgxhealth Llc Genetic markers of schizophrenia
US20080176237A1 (en) 2006-12-07 2008-07-24 Biocept, Inc. Non-invasive prenatal genetic screen
US8262900B2 (en) 2006-12-14 2012-09-11 Life Technologies Corporation Methods and apparatus for measuring analytes using large scale FET arrays
US8338166B2 (en) 2007-01-04 2012-12-25 Lawrence Livermore National Security, Llc Sorting, amplification, detection, and identification of nucleic acid subsequences in a complex mixture
US8228657B2 (en) 2007-01-17 2012-07-24 University Of Rochester Frequency-addressable apparatus and methods for actuation of liquids
WO2008109878A2 (en) 2007-03-07 2008-09-12 California Institute Of Technology Testing device
US9029085B2 (en) 2007-03-07 2015-05-12 President And Fellows Of Harvard College Assays and other reactions involving droplets
CA2679091A1 (en) 2007-03-08 2008-09-18 Abdelmajid Belouchi Genemap of the human genes associated with schizophrenia
US7776927B2 (en) 2007-03-28 2010-08-17 President And Fellows Of Harvard College Emulsions and techniques for formation
EP2479552B1 (en) * 2007-04-02 2015-09-02 Acoustic Cytometry Systems, Inc. Methods for enhanced analysis of acoustic field focused cells and particles
JP5666763B2 (ja) 2007-04-11 2015-02-12 味の素株式会社 油中水型乳化組成物
US8951732B2 (en) 2007-06-22 2015-02-10 Advanced Liquid Logic, Inc. Droplet-based nucleic acid amplification in a temperature gradient
WO2009011808A1 (en) 2007-07-13 2009-01-22 President And Fellows Of Harvard College Droplet-based selection
US20100086913A1 (en) 2007-07-30 2010-04-08 Roche Molecular Systems, Inc. Methods of Identification Using Methylation of CPG
US20090053719A1 (en) 2007-08-03 2009-02-26 The Chinese University Of Hong Kong Analysis of nucleic acids by digital pcr
GB2452057A (en) * 2007-08-23 2009-02-25 Shaw Stewart P D A microfluidic device for thermal assays
EP2198293B1 (en) 2007-09-07 2012-01-18 Fluidigm Corporation Copy number variation determination, methods and systems
CN102124125A (zh) 2007-10-16 2011-07-13 霍夫曼-拉罗奇有限公司 通过克隆性测序的高分辨率、高通量hla基因分型
US7807920B2 (en) 2007-10-30 2010-10-05 Opel, Inc. Concentrated solar photovoltaic module
US8603566B2 (en) 2007-12-20 2013-12-10 University Of Massachusetts Cross-linked biopolymers, related compounds and methods of use
JP5224801B2 (ja) 2007-12-21 2013-07-03 キヤノン株式会社 核酸増幅装置
US8367370B2 (en) 2008-02-11 2013-02-05 Wheeler Aaron R Droplet-based cell culture and cell assays using digital microfluidics
US20090220434A1 (en) 2008-02-29 2009-09-03 Florida State University Research Foundation Nanoparticles that facilitate imaging of biological tissue and methods of forming the same
US8062903B2 (en) 2008-03-03 2011-11-22 University Of Washington Droplet compartmentalization for chemical separation and on-line sampling
US9487822B2 (en) 2008-03-19 2016-11-08 Fluidigm Corporation Method and apparatus for determining copy number variation using digital PCR
US9011777B2 (en) 2008-03-21 2015-04-21 Lawrence Livermore National Security, Llc Monodisperse microdroplet generation and stopping without coalescence
DK2279405T3 (da) 2008-05-13 2014-01-13 Advanced Liquid Logic Inc Dråbeaktuatorindretninger, -systemer og -fremgangsmåder
EP2313520B1 (en) 2008-07-04 2014-08-27 Decode Genetics EHF Copy number variations predictive of risk of schizophrenia
EP4047367A1 (en) 2008-07-18 2022-08-24 Bio-Rad Laboratories, Inc. Method for detecting target analytes with droplet libraries
US8256931B2 (en) 2008-07-24 2012-09-04 Seward George H Achromatic homogenizer and collimator for LEDs
JP2011530305A (ja) 2008-08-12 2011-12-22 ストークス バイオ リミテッド デジタルpcrのための方法
US9180453B2 (en) 2008-08-15 2015-11-10 University Of Washington Method and apparatus for the discretization and manipulation of sample volumes
WO2010021936A1 (en) 2008-08-16 2010-02-25 The Board Of Trustees Of The Leland Stanford Junior University Digital pcr calibration for high throughput sequencing
US8383345B2 (en) 2008-09-12 2013-02-26 University Of Washington Sequence tag directed subassembly of short sequencing reads into long sequencing reads
WO2010033200A2 (en) 2008-09-19 2010-03-25 President And Fellows Of Harvard College Creation of libraries of droplets and related species
US9598725B2 (en) 2010-03-02 2017-03-21 Bio-Rad Laboratories, Inc. Emulsion chemistry for encapsulated droplets
US9156010B2 (en) 2008-09-23 2015-10-13 Bio-Rad Laboratories, Inc. Droplet-based assay system
US8951939B2 (en) 2011-07-12 2015-02-10 Bio-Rad Laboratories, Inc. Digital assays with multiplexed detection of two or more targets in the same optical channel
US20120171683A1 (en) 2010-03-02 2012-07-05 Ness Kevin D Analysis of fragmented genomic dna in droplets
US8633015B2 (en) 2008-09-23 2014-01-21 Bio-Rad Laboratories, Inc. Flow-based thermocycling system with thermoelectric cooler
US20130059754A1 (en) 2011-09-01 2013-03-07 Bio-Rad Laboratories, Inc. Digital assays with reduced measurement uncertainty
US20130017551A1 (en) 2011-07-13 2013-01-17 Bio-Rad Laboratories, Inc. Computation of real-world error using meta-analysis of replicates
WO2011120024A1 (en) 2010-03-25 2011-09-29 Quantalife, Inc. Droplet generation for droplet-based assays
US9132394B2 (en) 2008-09-23 2015-09-15 Bio-Rad Laboratories, Inc. System for detection of spaced droplets
US8709762B2 (en) 2010-03-02 2014-04-29 Bio-Rad Laboratories, Inc. System for hot-start amplification via a multiple emulsion
US20130084572A1 (en) 2011-09-30 2013-04-04 Quantalife, Inc. Calibrations and controls for droplet-based assays
US20100304978A1 (en) 2009-01-26 2010-12-02 David Xingfei Deng Methods and compositions for identifying a fetal cell
EP3415235B1 (en) 2009-03-23 2025-11-12 Bio-Rad Laboratories, Inc. Manipulation of microfluidic droplets
US20100261230A1 (en) 2009-04-08 2010-10-14 Applied Biosystems, Llc System comprising dual-sided thermal cycler and emulsion pcr in pouch
EP2940153B1 (en) 2009-09-02 2020-05-13 Bio-Rad Laboratories, Inc. System for mixing fluids by coalescence of multiple emulsions
ES2709123T3 (es) 2009-09-21 2019-04-15 Akonni Biosystems Método y dispositivo para lisis magnética
WO2011042564A1 (en) 2009-10-09 2011-04-14 Universite De Strasbourg Labelled silica-based nanomaterial with enhanced properties and uses thereof
EP2488656B1 (en) 2009-10-15 2015-06-03 Ibis Biosciences, Inc. Multiple displacement amplification
US8835358B2 (en) 2009-12-15 2014-09-16 Cellular Research, Inc. Digital counting of individual molecules by stochastic attachment of diverse labels
WO2011079176A2 (en) 2009-12-23 2011-06-30 Raindance Technologies, Inc. Microfluidic systems and methods for reducing the exchange of molecules between droplets
US9399797B2 (en) 2010-02-12 2016-07-26 Raindance Technologies, Inc. Digital analyte analysis
JP5934657B2 (ja) 2010-02-12 2016-06-15 レインダンス テクノロジーズ, インコーポレイテッド デジタル検体分析
EP2556170A4 (en) 2010-03-25 2014-01-01 Quantalife Inc TRAPPING TRANSPORT AND DETECTION SYSTEM
EP2622103B2 (en) 2010-09-30 2022-11-16 Bio-Rad Laboratories, Inc. Sandwich assays in droplets
EP4016086A1 (en) 2010-11-01 2022-06-22 Bio-Rad Laboratories, Inc. System for forming emulsions
WO2012109604A1 (en) 2011-02-11 2012-08-16 Raindance Technologies, Inc. Thermocycling device for nucleic acid amplification and methods of use
EP3859011A1 (en) 2011-02-11 2021-08-04 Bio-Rad Laboratories, Inc. Methods for forming mixed droplets
EP3736281A1 (en) 2011-02-18 2020-11-11 Bio-Rad Laboratories, Inc. Compositions and methods for molecular labeling
CN103534360A (zh) 2011-03-18 2014-01-22 伯乐生命医学产品有限公司 借助对信号的组合使用进行的多重数字分析
US8841071B2 (en) 2011-06-02 2014-09-23 Raindance Technologies, Inc. Sample multiplexing
US9556470B2 (en) 2011-06-02 2017-01-31 Raindance Technologies, Inc. Enzyme quantification
US8658430B2 (en) 2011-07-20 2014-02-25 Raindance Technologies, Inc. Manipulating droplet size
EP2737089B1 (en) 2011-07-29 2017-09-06 Bio-rad Laboratories, Inc. Library characterization by digital assay

Patent Citations (3)

* Cited by examiner, † Cited by third party
Publication number Priority date Publication date Assignee Title
JPH0465654A (ja) * 1990-07-05 1992-03-02 Hitachi Ltd 細胞分析装置
JP2007046947A (ja) * 2005-08-08 2007-02-22 Bay Bioscience Kk フローサイトメータおよびフローサイトメトリ方法
JP2008256712A (ja) * 2008-06-12 2008-10-23 Onchip Cellomics Consortium 液滴分光システムと分光法

Cited By (22)

* Cited by examiner, † Cited by third party
Publication number Priority date Publication date Assignee Title
JP2016038208A (ja) * 2014-08-05 2016-03-22 株式会社島津製作所 光学的検出器
CN105936930A (zh) * 2015-03-04 2016-09-14 松下知识产权经营株式会社 Dna检测方法和dna检测装置
JP2016165276A (ja) * 2015-03-04 2016-09-15 パナソニックIpマネジメント株式会社 Dna検出方法、およびdna検出装置
US9523123B2 (en) 2015-03-04 2016-12-20 Panasonic Intellectual Property Management Co., Ltd. DNA detection method and DNA detection device
JP2016168043A (ja) * 2015-03-10 2016-09-23 パナソニックIpマネジメント株式会社 複数の核酸ターゲットの解析方法
US9528149B2 (en) 2015-03-10 2016-12-27 Panasonic Intellectual Property Management Co., Ltd. Method for analyzing multiple nucleic acid targets
WO2017187490A1 (ja) * 2016-04-26 2017-11-02 株式会社日立ハイテクノロジーズ 分析装置
JP2022063291A (ja) * 2018-06-22 2022-04-21 株式会社日立ハイテク 電気泳動装置
JP7228060B2 (ja) 2018-06-22 2023-02-22 株式会社日立ハイテク 電気泳動装置
US12092607B2 (en) 2018-06-22 2024-09-17 Hitachi High-Tech Corporation Electrophoresis apparatus
US11733205B2 (en) 2018-06-22 2023-08-22 Hitachi High-Tech Corporation Electrophoresis apparatus
WO2019244358A1 (ja) * 2018-06-22 2019-12-26 株式会社日立ハイテクノロジーズ 電気泳動装置
JPWO2019244358A1 (ja) * 2018-06-22 2021-07-01 株式会社日立ハイテク 電気泳動装置
JP7023358B2 (ja) 2018-06-22 2022-02-21 株式会社日立ハイテク 電気泳動装置
WO2020008972A1 (ja) * 2018-07-06 2020-01-09 日本板硝子株式会社 反応処理装置
JP2020008405A (ja) * 2018-07-06 2020-01-16 日本板硝子株式会社 反応処理装置
US12222289B2 (en) 2018-07-06 2025-02-11 Go!Foton, Inc. Reaction processor
JP2022545093A (ja) * 2019-08-23 2022-10-25 ミダイアグノスティクス・エヌブイ リアルタイムpcr検出のためのマルチカラーシステム
KR102278427B1 (ko) 2019-11-21 2021-07-16 주식회사 바이오티엔에스 형광 검출 장치 및 이를 이용한 형광 검출 방법
KR20210062596A (ko) * 2019-11-21 2021-05-31 주식회사 바이오티엔에스 형광 검출 장치 및 이를 이용한 형광 검출 방법
JP7233385B2 (ja) 2020-01-20 2023-03-06 日本板硝子株式会社 反応処理装置
JP2020073912A (ja) * 2020-01-20 2020-05-14 日本板硝子株式会社 反応処理装置

Also Published As

Publication number Publication date
US20120194805A1 (en) 2012-08-02
WO2011120006A8 (en) 2011-12-15
CA2767113A1 (en) 2011-09-29
US8730479B2 (en) 2014-05-20
EP2550351A1 (en) 2013-01-30
WO2011120006A1 (en) 2011-09-29
EP2550351A4 (en) 2014-07-09

Similar Documents

Publication Publication Date Title
JP2013524169A (ja) 液滴によるアッセイ用の検出システム
US9029800B2 (en) Compact analyzer with spatial modulation and multiple intensity modulated excitation sources
US10371621B2 (en) Assemblies and methods for reducing optical crosstalk in particle processing systems
KR100647317B1 (ko) 다채널 형광 측정용 광학계 및 이를 채용한 다채널 형광시료 분석 장치
JP6501714B2 (ja) 光学調査装置
US20070098594A1 (en) Analytical multi-spectral optical detection system
US20240027325A1 (en) Method and apparatus for flow-based, single-particle and/or single-molecule analysis
US11828697B2 (en) Multichannel excitation and emission for miniaturized, planar fluorescence activated cell sorting
JP2013033008A (ja) 光学分析装置及び光学分析方法
CN103221806A (zh) 使用两个以上的波长带的光的测量的光学分析方法
CN110226082B (zh) 具有多个强度峰值设计的流式细胞仪
US10137479B2 (en) Temporal multiplexed excitation for miniaturized, planar fluorescence activated cell sorting
US12449360B2 (en) Apparatus and method for fluorescence excitation and detection
KR102719550B1 (ko) 1차원 광센서를 이용한 다중 웰 pcr 형광 측정 장치
WO2013021984A1 (ja) 共焦点顕微鏡又は多光子顕微鏡の光学系を用いた光分析装置及び光分析方法
WO2015189298A1 (en) An optical system for detecting fluorescent or luminescent signals of at least two samples
JP2005321347A (ja) 光検出装置
US9110023B2 (en) Optical system
JP2010117287A (ja) 蛍光偏光検出装置
EP3317643B1 (en) Modulation of luminescent dyes
KR20210083489A (ko) 현장형 분자진단 장치 및 기기에 사용 가능한 소형이며 저가의 형광 광학 장치
HK1125695A (zh) 分析多光谱光学探测系统

Legal Events

Date Code Title Description
A521 Request for written amendment filed

Free format text: JAPANESE INTERMEDIATE CODE: A523

Effective date: 20140325

A621 Written request for application examination

Free format text: JAPANESE INTERMEDIATE CODE: A621

Effective date: 20140325

A977 Report on retrieval

Free format text: JAPANESE INTERMEDIATE CODE: A971007

Effective date: 20141225

A131 Notification of reasons for refusal

Free format text: JAPANESE INTERMEDIATE CODE: A131

Effective date: 20150126

A02 Decision of refusal

Free format text: JAPANESE INTERMEDIATE CODE: A02

Effective date: 20150713