JP2012147956A - Medical device - Google Patents
Medical device Download PDFInfo
- Publication number
- JP2012147956A JP2012147956A JP2011009048A JP2011009048A JP2012147956A JP 2012147956 A JP2012147956 A JP 2012147956A JP 2011009048 A JP2011009048 A JP 2011009048A JP 2011009048 A JP2011009048 A JP 2011009048A JP 2012147956 A JP2012147956 A JP 2012147956A
- Authority
- JP
- Japan
- Prior art keywords
- layer
- winding
- catheter
- medical device
- wound
- Prior art date
- Legal status (The legal status is an assumption and is not a legal conclusion. Google has not performed a legal analysis and makes no representation as to the accuracy of the status listed.)
- Granted
Links
- 239000000463 material Substances 0.000 claims abstract description 180
- 238000004804 winding Methods 0.000 claims abstract description 167
- 230000003014 reinforcing effect Effects 0.000 claims abstract description 134
- 238000005452 bending Methods 0.000 claims abstract description 47
- 238000005304 joining Methods 0.000 claims description 128
- 238000003466 welding Methods 0.000 claims description 19
- 230000002093 peripheral effect Effects 0.000 claims description 13
- 238000005476 soldering Methods 0.000 claims description 11
- 238000005520 cutting process Methods 0.000 claims description 4
- 238000009751 slip forming Methods 0.000 claims description 2
- 239000003550 marker Substances 0.000 abstract description 12
- 239000010410 layer Substances 0.000 description 256
- 229920005989 resin Polymers 0.000 description 27
- 239000011347 resin Substances 0.000 description 27
- 230000005540 biological transmission Effects 0.000 description 26
- 238000010586 diagram Methods 0.000 description 26
- 210000004204 blood vessel Anatomy 0.000 description 20
- 230000002787 reinforcement Effects 0.000 description 19
- 238000000034 method Methods 0.000 description 13
- 239000002184 metal Substances 0.000 description 9
- 229910052751 metal Inorganic materials 0.000 description 9
- 238000002474 experimental method Methods 0.000 description 6
- -1 polytetrafluoroethylene Polymers 0.000 description 5
- 230000002792 vascular Effects 0.000 description 5
- 239000004698 Polyethylene Substances 0.000 description 4
- 239000004642 Polyimide Substances 0.000 description 4
- 239000007769 metal material Substances 0.000 description 4
- 229920000573 polyethylene Polymers 0.000 description 4
- 229920001721 polyimide Polymers 0.000 description 4
- 239000002033 PVDF binder Substances 0.000 description 3
- 230000000052 comparative effect Effects 0.000 description 3
- 239000003814 drug Substances 0.000 description 3
- 230000001788 irregular Effects 0.000 description 3
- 238000004519 manufacturing process Methods 0.000 description 3
- 238000012986 modification Methods 0.000 description 3
- 230000004048 modification Effects 0.000 description 3
- 229920000139 polyethylene terephthalate Polymers 0.000 description 3
- 239000005020 polyethylene terephthalate Substances 0.000 description 3
- 229920001343 polytetrafluoroethylene Polymers 0.000 description 3
- 239000004810 polytetrafluoroethylene Substances 0.000 description 3
- 229920002981 polyvinylidene fluoride Polymers 0.000 description 3
- 229910000679 solder Inorganic materials 0.000 description 3
- YCKRFDGAMUMZLT-UHFFFAOYSA-N Fluorine atom Chemical compound [F] YCKRFDGAMUMZLT-UHFFFAOYSA-N 0.000 description 2
- 239000004696 Poly ether ether ketone Substances 0.000 description 2
- 239000004952 Polyamide Substances 0.000 description 2
- 239000004734 Polyphenylene sulfide Substances 0.000 description 2
- 239000004743 Polypropylene Substances 0.000 description 2
- 239000004372 Polyvinyl alcohol Substances 0.000 description 2
- 229910001069 Ti alloy Inorganic materials 0.000 description 2
- RTAQQCXQSZGOHL-UHFFFAOYSA-N Titanium Chemical compound [Ti] RTAQQCXQSZGOHL-UHFFFAOYSA-N 0.000 description 2
- BZHJMEDXRYGGRV-UHFFFAOYSA-N Vinyl chloride Chemical compound ClC=C BZHJMEDXRYGGRV-UHFFFAOYSA-N 0.000 description 2
- 239000000853 adhesive Substances 0.000 description 2
- 230000001070 adhesive effect Effects 0.000 description 2
- 230000015572 biosynthetic process Effects 0.000 description 2
- 239000011247 coating layer Substances 0.000 description 2
- 239000002872 contrast media Substances 0.000 description 2
- 229940079593 drug Drugs 0.000 description 2
- 239000005038 ethylene vinyl acetate Substances 0.000 description 2
- 229910052731 fluorine Inorganic materials 0.000 description 2
- 239000011737 fluorine Substances 0.000 description 2
- 229920001903 high density polyethylene Polymers 0.000 description 2
- 239000004700 high-density polyethylene Substances 0.000 description 2
- 238000003780 insertion Methods 0.000 description 2
- 230000037431 insertion Effects 0.000 description 2
- 238000005259 measurement Methods 0.000 description 2
- 238000002844 melting Methods 0.000 description 2
- 230000008018 melting Effects 0.000 description 2
- BASFCYQUMIYNBI-UHFFFAOYSA-N platinum Chemical compound [Pt] BASFCYQUMIYNBI-UHFFFAOYSA-N 0.000 description 2
- 229920001200 poly(ethylene-vinyl acetate) Polymers 0.000 description 2
- 229920002647 polyamide Polymers 0.000 description 2
- 229920002312 polyamide-imide Polymers 0.000 description 2
- 229920001707 polybutylene terephthalate Polymers 0.000 description 2
- 229920002530 polyetherether ketone Polymers 0.000 description 2
- 229920005594 polymer fiber Polymers 0.000 description 2
- 229920000069 polyphenylene sulfide Polymers 0.000 description 2
- 229920001155 polypropylene Polymers 0.000 description 2
- 229920002451 polyvinyl alcohol Polymers 0.000 description 2
- 239000010959 steel Substances 0.000 description 2
- 229920001169 thermoplastic Polymers 0.000 description 2
- 239000010936 titanium Substances 0.000 description 2
- 229910000851 Alloy steel Inorganic materials 0.000 description 1
- 229910000881 Cu alloy Inorganic materials 0.000 description 1
- 239000004677 Nylon Substances 0.000 description 1
- 229920001774 Perfluoroether Polymers 0.000 description 1
- 239000004962 Polyamide-imide Substances 0.000 description 1
- 229910000831 Steel Inorganic materials 0.000 description 1
- 230000001154 acute effect Effects 0.000 description 1
- 238000004458 analytical method Methods 0.000 description 1
- DQXBYHZEEUGOBF-UHFFFAOYSA-N but-3-enoic acid;ethene Chemical compound C=C.OC(=O)CC=C DQXBYHZEEUGOBF-UHFFFAOYSA-N 0.000 description 1
- 238000004364 calculation method Methods 0.000 description 1
- 210000002434 celiac artery Anatomy 0.000 description 1
- 238000004891 communication Methods 0.000 description 1
- 230000006835 compression Effects 0.000 description 1
- 238000007906 compression Methods 0.000 description 1
- 238000005260 corrosion Methods 0.000 description 1
- 230000007797 corrosion Effects 0.000 description 1
- 239000013013 elastic material Substances 0.000 description 1
- 229920001971 elastomer Polymers 0.000 description 1
- 239000000806 elastomer Substances 0.000 description 1
- 230000001771 impaired effect Effects 0.000 description 1
- 229910001000 nickel titanium Inorganic materials 0.000 description 1
- 229920001778 nylon Polymers 0.000 description 1
- 230000003287 optical effect Effects 0.000 description 1
- 210000005259 peripheral blood Anatomy 0.000 description 1
- 239000011886 peripheral blood Substances 0.000 description 1
- 229910052697 platinum Inorganic materials 0.000 description 1
- 229920000728 polyester Polymers 0.000 description 1
- 239000004814 polyurethane Substances 0.000 description 1
- 229920000036 polyvinylpyrrolidone Polymers 0.000 description 1
- 239000001267 polyvinylpyrrolidone Substances 0.000 description 1
- 235000013855 polyvinylpyrrolidone Nutrition 0.000 description 1
- 230000005855 radiation Effects 0.000 description 1
- 230000001105 regulatory effect Effects 0.000 description 1
- 239000012779 reinforcing material Substances 0.000 description 1
- 229910001285 shape-memory alloy Inorganic materials 0.000 description 1
- 238000010008 shearing Methods 0.000 description 1
- 239000010935 stainless steel Substances 0.000 description 1
- 229910001220 stainless steel Inorganic materials 0.000 description 1
- 229910052719 titanium Inorganic materials 0.000 description 1
Images
Landscapes
- Media Introduction/Drainage Providing Device (AREA)
Abstract
Description
本発明は、医療機器に関する。特に、体腔内に挿入するカテーテル等に適した医療機器に関する。 The present invention relates to a medical device. In particular, the present invention relates to a medical device suitable for a catheter or the like to be inserted into a body cavity.
近年、先端部(以下「遠位端部」と呼ぶ)を屈曲させることにより体腔への進入方向が操作可能な各種医療機器が提供されている。その代表例として、例えば、カテーテルが知られている。このカテーテルの技術に関し、遠位端部を屈曲させる態様の一つとして、樹脂等の軟弾性材料製のカテーテルのメインルーメン内に形状記憶合金製のガイドワイヤを挿通し、このガイドワイヤに追随してカテーテルの遠位端部を屈曲させるという方法がとられていた。しかしながら、この方法では、さまざまな角度に分岐する体腔に対してカテーテルを自在に進入させるために、これに対応した角度に屈曲したガイドワイヤを何度も出し入れして目的の患部にカテーテルを到達させる必要があり、時間がかかる等の問題があった。そこで、メインルーメンの遠位端部に操作用ワイヤを固定し、この操作用ワイヤを押し/引き操作することで、ガイドワイヤに頼ることなく、遠位端部を屈曲させる技術が開示されている(例えば、特許文献1参照)。 2. Description of the Related Art In recent years, various medical devices that can manipulate the direction of entry into a body cavity by bending a tip (hereinafter referred to as “distal end”) have been provided. As a typical example, for example, a catheter is known. With regard to this catheter technique, as one aspect of bending the distal end portion, a guide wire made of a shape memory alloy is inserted into the main lumen of a catheter made of a soft elastic material such as a resin, and the guide wire is followed. Therefore, the method of bending the distal end of the catheter has been used. However, in this method, in order to allow the catheter to freely enter a body cavity that branches at various angles, a guide wire bent at an angle corresponding to the catheter is inserted and removed many times to reach the target affected area. There was a problem that it was necessary and time consuming. Therefore, a technique for bending the distal end portion without depending on the guide wire by fixing the operation wire to the distal end portion of the main lumen and pushing / pulling the operation wire is disclosed. (For example, refer to Patent Document 1).
特許文献1には、第一の実施形態として、カテーテルのメインルーメンの外周に、180度の角度を介して一対の操作用ワイヤを固定し、この一対の操作用ワイヤを、近位端部側で操作することで、当該遠位端部を屈曲させるものが記載されている。このカテーテルを構成する管状本体は、扁平な金属板材をコイル状に巻回して形成されている。そして、管状本体の遠位端側には、複数の短管リングからなる円周要素を配置している。これらの短管リングを、操作用ワイヤと円周方向に90度の位置で、長手方向に平行な一対の連結部で軸方向に連結することで、短管リングの偏向方向を規制している。すなわち、操作用ワイヤの操作により、軸方向に対して両操作用ワイヤ方向(それぞれA方向、B方向とよぶ)にそれぞれ直角に遠位端部が屈曲するが連結部材で固定した方向には、遠位端部は屈曲できないようになっている。
In
なお、連結部材と短管リングとは、例えば、YAGレーザ溶接により接合してある。そのため、接合スポットは、長手方向に一直線上に配置されていることとなる。以上のように、金属板材製の管状本体を有することで、カテーテルのメインルーメンの閉塞を防止し、メインルーメンの有効な利用を図っている。また、短管リングにより、A方向、B方向への遠位端部の屈曲性が向上し、ガイドワイヤを使用することなく、操作用ワイヤの操作のみにより、カテーテルの遠位端部をA、Bの2方向に直角に屈曲させることができる。したがって、メインルーメンの有効な利用と、遠位端部の連結部材による固定側には不測に屈曲すること(ぶれ)のない安定した屈曲性とを実現することを図っている。 The connecting member and the short pipe ring are joined by, for example, YAG laser welding. Therefore, the joining spots are arranged on a straight line in the longitudinal direction. As described above, by having the tubular main body made of a metal plate material, the main lumen of the catheter is prevented from being blocked, and the main lumen is effectively used. In addition, the short tube ring improves the flexibility of the distal end in the A direction and the B direction, and without using a guide wire, the distal end of the catheter can be attached to the A, It can be bent at right angles to the two directions of B. Therefore, it is intended to achieve effective use of the main lumen and stable flexibility without unexpected bending (blurring) on the side fixed by the connecting member at the distal end.
また、特許文献1では、金属管に所定の間隙を介してスリットを形成することで、円周要素と軸方向連結要素とを、一体成形した実施形態が開示されている。すなわち、金属管の一部を残してYAGレーザ等で円弧状に金属管を切欠くことで、軸方向に平行に連結された円周要素が形成されている。この方法によれば、上記実施形態のように、別個の連結部材を用意し、溶接する必要がない。また、さらに異なる実施形態として、扁平な金属板材をコイル状に巻回して管状本体を形成する際に、遠位端部までコイルを巻回し、さらに、この遠位端部側のコイルの巻回隙間を、管本体における巻回隙間よりも広く形成している。そして、この巻き同士を一つ置きに軸方向に平行な連結部材で連結している。このような構成により、管本体側ではメインルーメンが閉塞することがなく、遠位端部では広い巻回隙間により、当該遠位端部を円滑に屈曲させることの実現を図っている。
Further,
しかしながら、上記特許文献1に記載の発明では、以下のような問題が生じる。すなわち、第1の実施形態では、連結部材等による固定方向には屈曲不能であるため、操作用ワイヤにより遠位端部をA方向またはB方向に直角まで屈曲させることはできるが、連結部材で連通した方向には屈曲させることができなかった。そのため、患部がA方向またはB方向とは異なる方向に存在する場合は、管本体全体を回転させる必要があった。第2、第3の実施形態においても、固定側には遠位端部を屈曲させることができず、やはり、屈曲させたい方向に管本体全体を回転させる必要があった。
However, the invention described in
ここで、管本体を回転させる場合、管本体にはトルク(ねじりの強さ)が作用する。特許文献1の第1の実施形態のカテーテルは、管本体が螺旋状であるため、この回転等の際にはトルク伝達性が低下する。また、いずれの実施形態においても、遠位端部を軸方向に固定していることで、操作用ワイヤの押し/引きによる様々な方向への微細な屈曲を行うことができず、さらには、操作用ワイヤを操作した場合のカテーテルの遠位端部の曲率は、牽引長さに対応して一意に決められてしまう。このため、さまざまな角度に分岐する体腔に対してカテーテルを自在に進入させることが困難であるという課題があった。
Here, when the tube body is rotated, torque (torsional strength) acts on the tube body. In the catheter of the first embodiment of
本発明は上記課題に鑑みてなされたものであって、ねじり剛性/曲げ剛性の比が高く、トルク伝達性に優れ、かつ、屈曲性にも優れる医療機器を提供するものである。そして、遠位端部を自在に屈曲、回転させることを可能とし、例えば、さまざまな角度に分岐する体腔に対して自在に進入させることのできるカテーテル等の医療機器を提供するものである。 The present invention has been made in view of the above problems, and provides a medical device having a high ratio of torsional rigidity / bending rigidity, excellent torque transmission, and excellent flexibility. Then, it is possible to provide a medical device such as a catheter that can freely bend and rotate a distal end portion and can freely enter a body cavity that branches at various angles.
本発明の医療機器は、体腔内に挿入して用いられ、体腔内の形状に追随して形状を変化させる長尺の医療機器であって、長手方向に延在して、巻回形成された巻回層が形成され、巻回形成された巻回層の巻き同士の少なくとも一部が接合されて、複数の接合部が形成され、複数の接合部が、巻回層の長手方向に存在し、当該複数の接合部のうち、巻回層の長手方向において隣接する接合部が、周方向に対して互いに異なる位置に配置されている。 The medical device of the present invention is a long medical device that is used by being inserted into a body cavity and changes its shape following the shape in the body cavity, and extends in the longitudinal direction and is wound. A winding layer is formed, and at least a part of the windings of the wound layer formed by winding is bonded to form a plurality of bonding portions, and the plurality of bonding portions exist in the longitudinal direction of the winding layer. Of the plurality of joints, joints adjacent in the longitudinal direction of the wound layer are arranged at different positions with respect to the circumferential direction.
また本発明の医療機器においては、より具体的な実施の態様として、巻回層は、複数本の線材料を多条巻きすることで巻回形成されたものであってもよい。 Moreover, in the medical device of the present invention, as a more specific embodiment, the wound layer may be formed by winding a plurality of wire materials in multiple turns.
また本発明の医療機器においては、より具体的な実施の態様として、巻回層の接合部は、隣接する巻き同士が互いにスポット溶接されることにより接合されたものであってもよい。 In the medical device of the present invention, as a more specific embodiment, the joint portion of the wound layer may be joined by spot-welding adjacent windings to each other.
また本発明の医療機器においては、より具体的な実施の態様として、巻回層は、複数の接合部が、周回方向に対して螺旋状に配置されていてもよい。 In the medical device of the present invention, as a more specific embodiment, the wound layer may have a plurality of joints arranged in a spiral shape in the circumferential direction.
また本発明の医療機器においては、より具体的な実施の態様として、巻回層は、隣接する巻き同士が互いに密着して巻回形成され、当該密着して隣接する巻き同士が少なくとも一カ所で接合され、当該密着して隣接する巻き同士の接合部が、巻回層の長手方向に複数存在し、かつ、当該巻回層の周方向に対して互いに異なる位置に配置されていてもよい。 In the medical device of the present invention, as a more specific embodiment, the winding layer is formed by winding the adjacent windings in close contact with each other, and the adjacent and adjacent windings are at least in one place. There may be a plurality of joints between the adjacent and closely wound windings in the longitudinal direction of the winding layer, and may be arranged at different positions with respect to the circumferential direction of the winding layer.
また本発明の医療機器においては、より具体的な実施の態様として、巻回層の複数の接合部は、周方向に少なくとも3カ所以上、等間隔で異なる位置に配置されていてもよい。 In the medical device of the present invention, as a more specific embodiment, the plurality of joint portions of the wound layer may be arranged at different positions at equal intervals in at least three places in the circumferential direction.
また本発明の医療機器においては、より具体的な実施の態様として、巻回層の複数の接合部は、周方向に少なくとも3カ所以上、ランダムに配置されていてもよい。 In the medical device of the present invention, as a more specific embodiment, the plurality of joint portions of the wound layer may be randomly arranged in at least three places in the circumferential direction.
また本発明の医療機器においては、より具体的な実施の態様として、巻回層は、巻回層の巻回方向とは異なる方向に、巻回形成された接合用部材をさらに有し、巻回層と接合用部材との互いの当接部分の少なくとも一部が接合されて接合部が形成されていてもよい。 In the medical device of the present invention, as a more specific embodiment, the wound layer further includes a joining member wound in a direction different from the winding direction of the wound layer, At least a part of the contact portion between the layer and the joining member may be joined to form a joined portion.
また本発明の医療機器においては、より具体的な実施の態様として、巻回層は、巻回層の巻回方向と同一の方向であって、当該巻回層とは異なる巻回ピッチで巻回形成された接合用部材をさらに有し、巻回層と接合用部材との互いの当接部分の少なくとも一部が接合されて接合部が形成されていてもよい。 In the medical device of the present invention, as a more specific embodiment, the winding layer is wound in the same direction as the winding direction of the winding layer and at a winding pitch different from that of the winding layer. It may further include a bonding member formed in a loop, and at least a part of the contact portion between the wound layer and the bonding member may be bonded to form a bonded portion.
また本発明の医療機器においては、より具体的な実施の態様として、接合用部材は、複数本の線材料を多条巻きして巻回形成されていてもよい。 Moreover, in the medical device of the present invention, as a more specific embodiment, the joining member may be formed by winding a plurality of wire materials in a multi-strand manner.
また本発明の医療機器においては、より具体的な実施の態様として、巻回層は、長手方向にリング状の接合用部材が複数個配置され、巻回層とリング状の接合用部材との互いの当接部分の少なくとも二カ所が接合されて接合部が形成されていてもよい。 In the medical device of the present invention, as a more specific embodiment, the wound layer has a plurality of ring-shaped joining members arranged in the longitudinal direction, and the wound layer and the ring-shaped joining member are At least two of the contact portions may be joined to form a joint.
また本発明の医療機器においては、より具体的な実施の態様として、巻回層の接合部は、はんだ付けにより接合されていてもよい。 In the medical device of the present invention, as a more specific embodiment, the joint portion of the wound layer may be joined by soldering.
また本発明の医療機器においては、より具体的な実施の態様として、巻回層は、ねじり剛性/曲げ剛性の比が、1.5以上であってもよい。 In the medical device of the present invention, as a more specific embodiment, the wound layer may have a torsional rigidity / bending rigidity ratio of 1.5 or more.
また本発明の医療機器においては、より具体的な実施の態様として、巻回層は、ねじり剛性/(曲げ剛性)2の比が、0.2以上であってもよい。 In the medical device of the present invention, as a more specific embodiment, the wound layer may have a ratio of torsional rigidity / (bending rigidity) 2 of 0.2 or more.
また本発明の医療機器においては、より具体的な実施の態様として、巻回層は、巻回角度と、巻回層の長手方向の中心軸とのなす角度が、45度以上90度以下であってもよい。 In the medical device of the present invention, as a more specific embodiment, the winding layer has an angle formed by the winding angle and the central axis in the longitudinal direction of the winding layer of 45 degrees or more and 90 degrees or less. There may be.
また本発明の医療機器においては、より具体的な実施の態様として、長尺の管状本体の内部に、メインルーメンと、内部にメインルーメンを有する内層と、内層の外周表面に、巻回形成された巻回層からなる補強層と、補強層を少なくとも含む内層を被覆する外層と、からなる管状本体を有し、巻回形成された補強層の巻き同士の少なくとも一部が接合されて、複数の接合部が形成されたカテーテルであってもよい。 In the medical device of the present invention, as a more specific embodiment, the main lumen is formed inside the long tubular body, the inner layer having the main lumen therein, and the outer peripheral surface of the inner layer is wound. A tubular body having a reinforcing layer composed of a wound layer, and an outer layer covering at least the inner layer including the reinforcing layer, wherein at least some of the windings of the wound reinforcing layer are joined together, It may be a catheter in which the joint portion is formed.
また本発明の医療機器においては、より具体的な実施の態様として、巻回層は、長尺状の管材料に切込みを入れるか、または、管材料の少なくとも一部を、所望の間隙を介して切欠くことにより巻回形成されていてもよい。 In the medical device of the present invention, as a more specific embodiment, the wound layer is formed by cutting a long tube material or at least part of the tube material through a desired gap. Alternatively, the winding may be formed by notching.
また本発明の医療機器においては、より具体的な実施の態様として、管材料への切込みまたは切欠きは、螺旋状に連続的に形成されていてもよい。 In the medical device of the present invention, as a more specific embodiment, the notches or notches in the tube material may be continuously formed in a spiral shape.
また本発明の医療機器においては、より具体的な実施の態様として、管材料への切込みまたは切欠きは、異なる間隙を介して不連続的に形成されていてもよい。 In the medical device of the present invention, as a more specific embodiment, the cut or notch in the tube material may be formed discontinuously through different gaps.
なお、本発明の各種の構成要素は、個々に独立した存在である必要はなく、複数の構成要素が一個の部材として形成されていること、一つの構成要素が複数の部材で形成されていること、ある構成要素が他の構成要素の一部であること、ある構成要素の一部と他の構成要素の一部とが重複していること、等でもよい。 Note that the various components of the present invention do not have to be individually independent, that a plurality of components are formed as one member, and one component is formed of a plurality of members. It may be that a certain component is a part of another component, a part of a certain component overlaps a part of another component, and the like.
本発明の医療機器は、巻回形成された巻回層を有し、当該巻回層の巻き同士の少なくとも一部が接合されているため、ねじり剛性/曲げ剛性の比が向上する。そのため、トルク伝達性に優れる医療機器を提供することができる。したがって、例えば、本発明をカテーテルに適用した場合、良好な屈曲性は損なうことなく、トルク伝達性に優れ、さまざまな角度に分岐する体腔に対して自在に進入させることのできる製品を提供できる。 Since the medical device of the present invention has a wound layer formed by winding, and at least a part of the windings of the wound layer is joined, the ratio of torsional rigidity / bending rigidity is improved. Therefore, it is possible to provide a medical device that is excellent in torque transmission. Therefore, for example, when the present invention is applied to a catheter, it is possible to provide a product that is excellent in torque transmission without sacrificing good bendability and can freely enter a body cavity that branches at various angles.
まず、本発明に至った経緯について図1を用いて説明する。なお、図1(c)に示す第一実施形態では、線材料31を螺旋状に巻回して、長手方向に延在するガイドワイヤ1を形成している。また、図2〜図15に示す第二〜第五実施形態では、内層11の外周に線材料31を螺旋状に巻回して巻回層、すなわち、補強層30を形成している。そして、このような補強層30の巻回方向と、長手方向の中心軸とのなす角度を45度としている。また、図16、図17に示す第六〜第八実施形態では、管材料30aの切込みまたは切欠きを行う際に、中心軸と切込みまたは切欠きとのなす角度を45度としている。
First, the background to the present invention will be described with reference to FIG. In addition, in 1st embodiment shown in FIG.1 (c), the
このように45度とするのが好ましい理由として、図1(a)に示すように、一般的に、パイプ等の管材料a上の物体がトルクを伝えるということは、その断面に剪断力がかかることになる。すなわち、剪断力は、図1(b)に示すように、管材料aにおいて45度方向の引張・圧縮力がかかっていることと同等である。したがって、図1(c)に示すように、線材料31をコイル状に巻回して形成したガイドワイヤ1(すなわち、巻回層30)の場合は、基本的に、軸方向に対してθ=45度方向に線材料31が向いていると、トルク伝達性が高くなると考えられる。したがって、ねじり(回転)に伴う引張・圧縮力に対して巻回層30の耐性が高くなり、ガイドワイヤ1やカテーテル等の医療機器のトルク伝達性が高まるということに発明者は想到した。
The reason why the angle is preferably 45 degrees is that, as shown in FIG. 1 (a), generally, an object on the pipe material a such as a pipe transmits torque. It will take. That is, as shown in FIG. 1B, the shearing force is equivalent to that a tensile / compressing force in the 45 degree direction is applied to the pipe material a. Therefore, as shown in FIG. 1C, in the case of the guide wire 1 (that is, the wound layer 30) formed by winding the
そこで、以降の実施形態で例示するような、軸方向に対する傾斜角度θ=45度とし、さらに、接合部分(以下、この接合部分を「接合部92」とよぶ)が螺旋状に配列するよう、巻回層30を接合することにより、ねじり剛性/曲げ剛性の比が向上し、トルク伝達性に優れる医療機器(ガイドワイヤ1、カテーテル100〜106)を創作するに至った。なお、巻回形成される巻回層30は、線材料31を螺旋状に巻回したものに限定されるものではなく、例えば、全体が少なくとも一部で連結されており、長手方向に延伸および復元ができ、かつ、任意の方向に屈曲可能であれば、平板を螺旋状等に巻回して形成したものであってもよいし、管状体を螺旋状、その他の連続的な形状に切出して形成したものであってもよい。また、巻回とは、螺旋状、その他の連続的なものに限定されるものではなく、周方向に少なくとも一周の周回長さを有する部分と、軸方向に連結する部分とを含んで形成された状態も、巻回に含まれるものとする。
Therefore, as exemplified in the following embodiments, the inclination angle θ with respect to the axial direction is set to 45 degrees, and furthermore, the joining portion (hereinafter, this joining portion is referred to as “joining
以下、本発明をガイドワイヤまたはカテーテルに適用した実施形態を、図面に基づいて説明する。尚、すべての図面において、同様な構成要素には同様の符号を付し、適宜説明を省略する。 Hereinafter, embodiments in which the present invention is applied to a guide wire or a catheter will be described with reference to the drawings. In all the drawings, the same reference numerals are given to the same components, and the description will be omitted as appropriate.
<第一実施形態>
はじめに、図1(c)を用いて第一実施形態のガイドワイヤ1の概要について説明する。図1(c)に示すように、本実施形態のガイドワイヤ1は、1本または複数本の線材料31を長手方向の中心軸とのなす角度θ=45度となるよう、コイル状であって一条または多条に巻回して巻回層30を形成している。図1(c)の左方がガイドワイヤ1の先端側(以下、「遠位端側DE」ともいう)にあたり、右方が手元側(以下、「基端部側」あるいは「近位端側CE」ともいう)にあたる。ただし、図1(c)においてはガイドワイヤ1の近位端側CEは図示を省略している。
<First embodiment>
First, the outline | summary of the
本実施形態のガイドワイヤ1は、隣接する巻き同士を、スポット溶接して接合部92を形成し、この接合部92をガイドワイヤ1全体で螺旋状に配置されるようにしている。この螺旋状のスポット溶接により、隣接する接合部92が周方向に異なる位置に配置されるものとなる。なお、隣接する接合部92が異なる位置に配置されているとは、隣接する巻き同士が、例えば一個おきに接合されているなど、必ずしも隣接する巻き同士のすべてが接合されていないか、または、接合されていても、周方向において異なる位置で接合されていることを示す。本実施形態のように、複数の接合部92が螺旋状に配列するよう、巻回層30を接合することにより、ねじり剛性/曲げ剛性の比が向上し、トルク伝達性に優れるガイドワイヤ1を得ることができる。ここで、スポット溶接とは、部材同士(本実施形態では、ガイドワイヤ1の隣接する巻き同士)がレーザ照射等により点状に溶接されることを意味する。各実施形態または変形例では、このような点状の溶接による接合部92が、少なくとも1個、もしくは複数個、規則的または不規則に点在している。
In the
<第二実施形態>
次に、第二実施形態のカテーテル100の概要について説明する。ここで、図2は第二実施形態に係るカテーテル100における管状本体10の先端部の縦断面模式図である。以下、メインルーメン20を内部に形成された、カテーテル100の管状本体10を、シース10とよぶ。図2の左方がカテーテル100の先端側(以下、「遠位端側DE」ともいう)にあたり、右方が手元側(以下、「基端部側」あるいは「近位端側CE」ともいう)にあたる。ただし、図2においてはカテーテル100の近位端側CEは図示を省略している。
<Second embodiment>
Next, an outline of the
まず、図2〜図4に示すように、本実施形態のカテーテル100は、長尺のシース10を有している。このシース10は、メインルーメン20と、このメインルーメン20を内部に有する内層11と、この内層11の外周表面に、線材料31が螺旋状に巻回されて形成された巻回層からなる補強層30と、補強層30の外周に、軸方向に複数配置されたリング状の接合用部材90と、内層11の遠位端側DEに配置されたリング状のマーカ40と、このマーカ40および補強層30を含む内層11全体を被覆する外層12と、この外層12内に、メインルーメン20よりも小径でメインルーメン20の周囲に180度間隔で対向して配置された一対のサブルーメン80(80a、80b)と、外層12の外周に形成されたコート層50と、から構成されている。
First, as shown in FIGS. 2 to 4, the
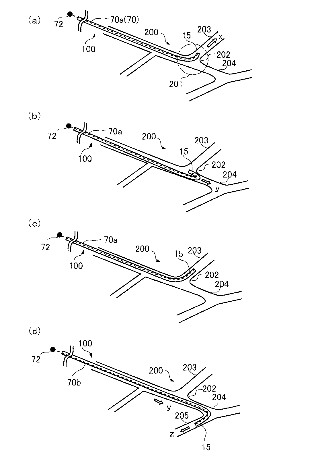
また、サブルーメン80(80a、80b)には、2本の操作線70(第一操作線70aおよび第二操作線70b)が、それぞれ摺動可能に挿通されている。操作線70は、カテーテル100の遠位端側DEであってマーカ40に、先端(以下、「遠位端71」とよぶ。図5参照)が固定されている。また、各操作線70の他方の先端(以下、「近位端72」とよぶ。図5参照)が近位端部16に固定され、この近位端部16を牽引することにより、図5(b)、(c)のように、カテーテル100の遠位端部15が屈曲する。
Further, two operation lines 70 (
なお、図5に示すように、カテーテル100の遠位端部15とは、カテーテル100の遠位端側DEを含む所定の長さ領域をいう。同様に、カテーテル100の近位端部16とは、カテーテル100の近位端側PEを含む所定の長さ領域をいう。また、カテーテル100が屈曲するとは、カテーテル100の一部または全部が、湾曲または折れ曲がって曲がることをいう。そして、本実施形態のカテーテル100は、牽引する操作線70(第一操作線70aまたは第二操作線70b)の選択により、図5に示すように、屈曲する遠位端部15の曲率C(C1、C2)が複数通りに変化する。この屈折の詳細については、後述する。
As shown in FIG. 5, the
次に、本実施形態のカテーテル100の構成部品について詳細に説明する。本実施形態のカテーテル100において、補強層30は、内層11の外周表面に、隣接する巻き同士に一定の間隙33を介して一六条の線材料31を螺旋状に多条巻きして形成されている。各線材料31とシース10の中心軸とのなす角度θは、図2に示すように、45度となるよう巻回されている。なお、本実施形態では、θが45度となるよう線材料31を巻回しているが、本発明がこれに限定されるものではなく、45度未満であってもよい。しかしながら、前述の理論のとおり、45度≦θ≦90度とするのが好ましく、本実施形態のように45度とするのが最も好ましい。
Next, the components of the
また、本実施形態では、このような補強層30の外周に、軸方向に一定の間隙91を介してリング状の接合用部材90を配置している。そして、この接合用部材90と、補強層30のすべての線材料31との接触部分を、図3に示すように、円周方向にスポット溶接により接合し、接合部92を形成している。このようにリング状の接合用部材90と補強層30の各線材料31とを接合することにより、間接的に、隣接する巻き同士が接合される。なお補強層30の線材料31は前述のとおり螺旋状である。そのため、長手方向に複数配置したリング状の接合用部材90と各線材料31とを接合しても、全体的に観察した場合、隣接する線材料31同士、すなわち、隣接する巻き同士の接合部92の位置は、螺旋状となり、同一軸上に並ぶことはない。もし、同軸上となるような場合は、接合用部材90と補強層30の線材料31とを一つおきに接合する、接合用部材90の間隙91を調整するなどして、長手方向に螺旋状、または、不規則に接合部92が配置されるよう調整することが好ましい。この接合により、接合用部材90を介して、補強層30の線材料31が互いに固定されるとともに、前述したように、補強層30を含む遠位端部15のねじり剛性/曲げ剛性の比が向上し、トルク伝達性に優れたカテーテル100を得ることができる。なお、図3および以降の実施形態において、断面図中の線材料31の形状は、一例を概念的に図示しており、切断する場所や巻回ピッチ等により、必ずしもこのような形状となるものではない。また、本実施形態では、リング状の接合用部材90と、すべての線材料31との接触部分を接合しているが、本発明がこれに限定されるものではなく、接合は、少なくとも二カ所以上行うことが好ましい。一カ所でもトルク性は向上する可能性があるが、隣接する巻き同士が接合されないし、リング固定時の安定性が低下するからである。また、リング状の接合用部材90は、軸方向に対して垂直に配置しているが、傾斜して配置してもよいし、曲げ方向等の目的に応じて、各接合用部材90をランダムな方向に配置してもよい。
Further, in the present embodiment, a ring-shaped joining
なお、図4には、接合部92を結ぶ螺旋を一本のみ表しているが、それぞれの接合用部材90と一六条の線材料31とを接合しているので、接合部92を結ぶ螺旋は実質的に16本となる。また、図3に示すように、周方向において接合部92が等間隔で配置される。この場合においても、軸方向では、これらの接合部92は、補強層30の隣接する巻き同士の接合部92が異なる位置に配置されている。しかし、隣接していなければ、軸方向において同じ位置に接合部92が配置されていてもかまわない。すなわち、軸方向で同じ位置に配置されていても、離間しているため、当該接合方向への屈曲性が損なわれないためである。
In FIG. 4, only one spiral that connects the
また、接合部92の接合方法としては、YAGレーザ、その他のレーザによりスポット溶接してもよいし、ガスバーナなどの溶接バーナ、その他によりスポット溶接してもよい。また、屈曲性を損なわないような固定方法であれば、スポット溶接に限らず、一定長さで溶接してもかまわない。また、はんだ付けにより接合してもよい。はんだ付けの場合、当該はんだが補強層30を接合するための第2の接合用部材90としての役目を果たす。また、このはんだ付け用の材料としては、補強層30の材料と接合用部材90との接着性の相性に優れたものを用いるのが好ましい。例えば、補強層30や接合用部材90が金属材料製であれば、当該金属と同一または同種の金属材料を用いることが好ましい。また、補強層30や接合用部材90が樹脂材料製であれば、当該樹脂と同一まだは同種の樹脂材料を用いることが好ましい。なお、本明細書では、同種とは、異なる材料であっても、融点が近い、接着性がよい、などの特性を有する材料同士を示すものである。
As a joining method of the joining
また、外層12の周囲には、カテーテル100の最外層として、潤滑処理が外表面に施された親水性の樹脂材料51からなるコート層50が任意で設けられている。さらに、カテーテル100の遠位端部15には、X線等の放射線が不透過な材料からなるリング状のマーカ40が設けられている。具体的には、マーカ40には白金などの金属材料を用いることができる。本実施形態のマーカ40は、メインルーメン20の周囲であって外層12の内部に設けられている。
Further, around the
また、図5に示すように、カテーテル100には、第一操作線70aおよび第二操作線70bを個別に牽引してカテーテル100の遠位端部15を屈曲させる操作部60が、カテーテル100の近位端部16に設けられている。
In addition, as shown in FIG. 5, the
操作部60は、カテーテル100の長手方向に延びる軸部61と、軸部61に対してカテーテル100の長手方向にそれぞれ進退するスライダ64(64a、64b)と、軸部61を軸回転するハンドル部62と、シース10が回転可能に挿通された把持部63とを備えている。また、シース10の近位端部16は軸部61に固定されている。また、ハンドル部62と軸部61とは一体に構成されている。そして、把持部63とハンドル部62とを相対的に軸回転させることで、操作線70を含むシース10全体が軸部61とともにトルク回転する。
The
したがって、本実施形態の操作部60は、管状本体(シース10)の遠位端部15を回転操作する部材である。なお、本実施形態においては、シース10をトルク回転させる回転操作部としてのハンドル部62と、シース10を屈曲させるための屈曲操作部としてのスライダ64とが一体に設けられている。
Therefore, the
第一操作線70aの近位端72は、シース10の近位端部16から基端側に突出し、操作部70のスライダ64aに接続されている。また、第二操作線70bの近位端72も同様に、操作部70のスライダ64bに接続されている。そして、スライダ64aとスライダ64bを軸部61に対して個別に基端側にスライドさせることにより、これに接続された第一操作線70aまたは第二操作線70bが牽引され、シース10の遠位端部15に引張力が与えられる。これにより、牽引された当該操作線70の側に遠位端部15が屈曲する。
The
ここで、シース10の各部の材料について説明する。上記内層11の材料としては、例えば、フッ素系の熱可塑性ポリマーを用いることができる。より具体的には、ポリテトラフルオロエチレン(PTFE)やポリビニリデンフルオライド(PVDF)、ペルフルオロアルコキシフッ素樹脂(PFA)などの樹脂材料111を用いることができる。このように、内層11にフッ素系樹脂を用いることにより、カテーテル100のメインルーメン20を通じて造影剤や薬液などを患部に供給する際のデリバリー性が良好となる。
Here, the material of each part of the
上記外層12の材料としては、例えば、熱可塑性ポリマーが広く用いられる。一例として、ポリイミド(PI)、ポリアミドイミド(PAI)、ポリエチレンテレフタレート(PET)のほか、ポリエチレン(PE)、ポリアミド(PA)、ナイロンエラストマー、ポリウレタン(PU)、エチレン−酢酸ビニル樹脂(EVA)、ポリ塩化ビニル(PVC)またはポリプロピレン(PP)などの樹脂材料112を用いることができる。
As the material of the
上記コート層50の材料としては、例えば、ポリビニルアルコール(PVA)やポリビニルピロリドンなどの親水性の樹脂材料51を用いることができる。
As a material of the
また、補強層30を構成する線材料31としては、金属製の線材を用いることが好ましい。しかし、本発明がこれに限定されるものではなく、内層11および外層12よりも高剛性で弾性を有する材質材料で形成され、かつ、接合用部材90または隣接する巻き同士が接合可能であれば、その他の材質(例えば樹脂材料等)を用いてもよい。線材の金属材料として、具体的には、例えば、ステンレススチール(SUS)、ニッケルチタン系合金、鋼、チタン或いは銅合金を用いることができる。また、線材の樹脂材料として、具体的には、例えば、PI、PAIまたはPETなどの高分子ファイバーの細線を用いることができる。また、線材料31の断面形状は特に限定されず、円形、楕円形、正方形、長方形、多角形等、いずれの形状であってもよい。本実施形態および以下で説明する第三〜第六実施形態では、図2、図7、図10、および、図13に示すように、一般的な円形となっている。第七〜第九実施形態では、図16および図17に示すように、結果的に板状の線材料31となることから、断面形状は長方形となっている。
Moreover, as the
なお、補強層30を形成する線材料31は、コイル状に限定されるものではなく、たとえば、図16(c)の第七実施形態に示すように、線材料31は、長尺状の管材料30aに隣接する巻き間に一定間隙33aを介して切込みを入れて切込み部32を形成する、図16(e)の第八実施形態に示すように、隣接する巻き間に一定間隙33を介して切欠いて切欠き部34を形成する、などにより平板状に形成してもよい。また、角度θや間隙33も一定に限定されるものではなく、屈曲度合いや目的に応じて、不定の角度θおよび間隙33を介して、切込み部32または切欠き部34を形成し、線状や平板状の線材料31により補強層30を形成してもよい。いずれの場合も、接合により、トルク伝達性および、柔軟な屈曲性を有するカテーテルを得ることが可能となる。
The
また、連続的ではなく、不連続な巻回ピッチで螺旋状に線材料31を巻回して補強層30を形成してもよい。なお、巻回ピッチを変える場合、近位端部16側を密巻きにすれば、ねじり剛性/曲げ剛性の比が向上し、トルク伝達性が良好となる。また、遠位端部15において屈曲部の巻回ピッチを広くすれば、接合によりトルク伝達性を損なうことなく、屈曲性がより向上する。また、遠位端部15の最も先端を狭い巻回ピッチで巻回すか、または密巻きとすることで、先端側の剛性が向上し、体腔内への先端の挿通性が向上する。また、屈曲部の巻回ピッチを変化させることにより、屈曲時の曲率や屈曲方向を、より自在に変化させて操作性に優れたカテーテル100を得ることを実現可能となる。
Further, the reinforcing
また、補強層30を接合するための接合用部材90も、リングや線材料を用いることなく、図17に示す管材料90aに切込み部(図示せず)を形成したり、図17(b)に示すように、管材料90aに切欠き部93を螺旋状に形成したり、図17(e)に示すように、管材料90aに切欠き部93を形成し、その際に接合用部材90の一部が繋がり長尺方向に伸縮可能な形状に形成してもよい。また、リング状の接合用部材90も、本実施形態では、断面形状が円形のものを使用しているが、楕円形、正方形、長方形、多角形等、いずれの形状のリングであってもよい。さらには、所定長さで規則的かつ連続的な切込み部や切欠き部93を1ユニットとして、このユニットを、管材料に一定の間隙または、不規則な間隙を介して形成してもよい。または、補強層30の螺旋や接合用部材90の切込み部または切欠き部93自体を、管材料90aに異なる間隙(不定間隙)91や角度を介して不連続的に形成してもよい。
Further, the joining
操作線70(第一操作線70aおよび第二操作線70b)をサブルーメン80に挿通する方法は、種々の方法を採用することができる。予めサブルーメン80が貫通して形成されたカテーテル100のシース10に対して、その一端側から操作線70を挿通してもよい。または、シース10の押出成形時に、樹脂材料と共に操作線70を押し出してサブルーメン80の内部に挿通してもよい。
Various methods can be adopted as a method of inserting the operation line 70 (the
操作線70を樹脂材料と共に押し出してサブルーメン80に挿通する場合、操作線70には、シース10を構成する樹脂材料の溶融温度以上の耐熱性が求められる。かかる操作線70の場合、具体的な材料としては、たとえば、ポリエーテルエーテルケトン(PEEK)、ポリフェニレンスルフィド(PPS)、ポリブチレンテレフタレート(PBT)、PIもしくはPTFEなどの高分子ファイバー、または、SUS、耐腐食性被覆した鋼鉄線、チタンもしくはチタン合金などの金属線を用いることができる。一方、予め成形されたシース10のサブルーメン80に対して操作線70を挿通する場合など、操作線70に耐熱性が求められない場合は、上記各材料に加えて、PVDF、高密度ポリエチレン(HDPE)またはポリエステルなどを使用することもできる。
When the
なお、サブルーメン80は外層12の内部に一対(80a、80b)形成されている。そして、本実施形態のカテーテル100において、操作線70(70a、70b)がそれぞれ挿通されたサブルーメン80(80a、80b)は、補強層30の外側に形成されている。また、サブルーメン80はカテーテル100の長手方向(図5の紙面左右方向)に沿って設けられ、少なくともカテーテル100の近位端部16が開口している。このように、本実施形態および以降の実施形態では、サブルーメン80を、補強層30の外側に形成している。しかし、本発明がこれに限定されるわけではなく、サブルーメン80を内層11の外側に形成した後、サブルーメン80の外周に補強層30を形成してもよい。
The sub-lumen 80 is formed in a pair (80a, 80b) inside the
ここで、操作線70を挿通するサブルーメン80をメインルーメン20と離間して設けることにより、メインルーメン20を通じて薬剤等を供給したり光学系を挿通したりする際に、これらがサブルーメン80に脱漏することがない。そして、本実施形態のようにサブルーメン80を補強層30の外部に設けることにより、シース10内を摺動する操作線70に対して、補強層30の内部、すなわちメインルーメン20が保護される。このため、かりに操作線70がカテーテル100の遠位端部15から外れたとしても、操作線70がメインルーメン20の周壁を開裂してしまうことがない。
Here, the sub-lumen 80 through which the
操作線70の遠位端71は、カテーテル100の遠位端部15に固定されている。操作線70の遠位端71を遠位端部15に固定する態様は特に限定されない。本実施形態では、前述したように、操作線70の遠位端71をマーカ40に締結している。または、シース10の遠位端部15に溶着してもよく、あるいは、接着剤によりマーカ40またはシース10の遠位端部15に接着固定してもよい。
The
上述のような操作線70(第一操作線70aまたは第二操作線70b)の近位端72側を牽引すると、カテーテル100の遠位端部15に引張力が与えられて、当該操作線70が挿通されたサブルーメン80の側に向かって遠位端部15の一部または全部が屈曲する。一方、操作線70の近位端72側をカテーテル100に対して押し込んだ場合には、当該操作線70からカテーテル100の遠位端部15に対して押込力が実質的に与えられることはない。
When the
なお、本実施形態のカテーテル100では、牽引する操作線70を、第一操作線70aのみとするか、第二操作線70bのみとするか、または2本の操作線70を同時に牽引するかにより、屈曲する遠位端部15の曲率Cが複数通りに変化する。これにより、さまざまな角度に分岐する体腔に対してカテーテル100を自在に進入させることができる。
In the
また、本実施形態のカテーテル100は、図5に示すように、2本の操作線70(第一操作線70aまたは第二操作線70b)の近位端72をそれぞれ個別に牽引した場合の遠位端部15の曲率(C1、C2)が互いに相違する。具体的には、図5(b)、(c)に示すように、第一操作線70aを牽引した場合の遠位端部15の曲率C1に比べて、第二操作線70bを大きく牽引した場合の遠位端部15の曲率C2は、より大きくなる。
Further, as shown in FIG. 5, the
以下、本実施形態のカテーテル100の代表的な寸法について説明する。メインルーメン20の半径は200〜300μm程度、内層11の厚さは10〜30μm程度、外層12の厚さは100〜150μm程度、補強層30の厚さは20〜30μmとすることが好ましい。そして、カテーテル100の軸心からサブルーメン80の中心までの長さは300〜350μm程度、サブルーメン80の内径は40〜100μmをし、操作線70の太さを30〜60μmとすることが好ましい。そして、カテーテル100の最外径を350〜450μm程度とすることが好ましい。
Hereinafter, typical dimensions of the
すなわち、本実施形態のカテーテル100の外径は直径1mm未満とするのが好ましく、腹腔動脈などの血管に挿通可能である。また、本実施形態のカテーテル100に関しては、操作線70の牽引により進行方向が自在に操作されるため、たとえば分岐する血管内においても所望の方向にカテーテル100を進入させることが可能である。
That is, the outer diameter of the
以上のようなカテーテル100の屈曲例について、図5、図6を用いて説明する。例えば、図5(b)に示すように、第一操作線70aをスライダ64aによって牽引すると、カテーテル100の遠位端部15(つまりシース10の遠位端側DE)に引張力が与えられる。これにより、当該牽引された操作線70aの方向に遠位端部15が、例えば、曲率C1で屈曲する。
An example of bending the
同様に、図5(c)に示すように、第二操作線70bをスライダ64bによって牽引すると、カテーテル100の遠位端側DEは当該方向に曲率C2で屈曲する。このとき、上記第一操作線70aを牽引するよりも多くスライダ64bを牽引することにより、カテーテル100の遠位端部15に引張力が与えられる。これにより、当該牽引された操作線70bの方向に遠位端部15が、例えば、曲率C2で屈曲する。
Similarly, as shown in FIG. 5C, when the
このように、第一操作線70aまたは第二操作線70bの何れかの操作線70を個別に牽引する場合、牽引する距離に応じて、遠位端部15の曲率を変化させることができる。なお、操作線70を個別に牽引するだけではカテーテル100の遠位端部15を所望の姿勢に屈曲させることができない場合には、第一および第二操作線70a、70bを同時に牽引することにより、遠位端部15の所望の姿勢を実現することも可能となる。
Thus, when individually pulling the
このように遠位端部15を様々な形状に屈曲させるとともに、ハンドル部62に対する回転操作によってシース10の回転位相を調節する。この操作により、遠位端部15の屈曲量および屈曲方向を調節し、様々な角度に分岐する体腔に対してカテーテル100を自在に進入させることができる。したがって、例えば分岐のある血管や末梢血管に対しても、本実施形態のカテーテル100を所望の方向に進入させることができる。なお、本実施形態のカテーテル100において、遠位端部15の屈曲角度は90度を超えることが好ましい。これにより、血管の分岐角度がUターンするような鋭角の場合であっても、かかる分岐枝に対してカテーテル100を進入させることができる。
In this manner, the
次に図6(a)〜(d)の模式図を用いて、本実施形態にかかるカテーテル100の使用状態の一例を説明する。図6(a)は、血管200内に挿通されたカテーテル100の遠位端側DEが、血管200の分岐部201に到達した状態を示している。ここで、分岐部201より血管枝203に向かって、図中の矢印の示す方向xにカテーテル100を進行させることを試みる。
Next, an example of the usage state of the
そこで、図6(a)に示すように、カテーテル100における操作線70の1本(第一操作線70a)の近位端72を牽引して、遠位端部15を方向xに曲率C1で屈曲させたとする。しかし、第一操作線70aを牽引した場合に、遠位端部15の曲率C1が血管枝203の分岐角度に適合していない場合、図6(b)に示すように、血管200のコーナー部202で遠位端部15が二つ折りに折れ曲がってしまう。かかる状態でカテーテル100を主管204に対して押し込むと、カテーテル100は主管204の延長線上にあたる方向yに進行してしまう場合がある。
Therefore, as shown in FIG. 6A, the
ここで、血管枝203は、主管204に対して、曲率C1よりも小さな曲率で分岐しているとする。そこで、本実施形態のカテーテル100では、第一操作線70aの牽引量を調整することにより、図6(c)に示すように、血管枝203の分岐角度に適合した曲率で遠位端部15を屈曲させることができる。これにより、図6(c)に示すように、遠位端部15を血管枝203に対して十分に深く挿通することにより、カテーテル100の全体をこれに追随して進入させることができる。または、ハンドル部62に対する回転操作によってシース10の回転位相を調節し、第二操作線70bを牽引して曲率C2にて遠位端部15を屈曲させてもよい。
Here, it is assumed that the
なお、いずれの操作線70を個別に牽引しても所望の曲率が達成されない場合には、他の操作線70を牽引して曲率を調整してもよい。より具体的には、第一操作線70aおよび第二操作線70bがシース10の径方向に180度対向配置されている本実施形態のカテーテル100の場合、二本の操作線70をともに牽引することにより、一本の操作線70のみを牽引した場合よりも、遠位端部15の曲率が減少する。これにより、操作者は、操作部70のスライダ64a、64bの牽引量を調整することにより、遠位端部15を所望の曲率で屈曲させることができる。
In addition, when a desired curvature is not achieved even if any
また、図5(d)に示すように、カテーテル100を、主管204から、血管枝203よりも大きな曲率で分岐する血管枝205に進入させる場合は、第二操作線70bを当該分岐方向にあわせた状態で近位端72を牽引するとよい。または、ハンドル部62に対する回転操作によってシース10の回転位相を調節して、第一操作線70aを牽引してもよい。また、第一操作線70aと第二操作線70bの双方を牽引して屈曲の微調整を行ってもよい。いずれの場合でも、カテーテル100の遠位端部15は好適な曲率で屈曲し、血管枝205に対して容易に進入させることができる。
Further, as shown in FIG. 5D, when the
これにより、カテーテル100の全体の進行方向を、主管204の延在方向yから、血管枝205の延在方向zに変えることができる。そして、カテーテル100の遠位端部15を血管枝205に十分な深さで進入させることにより、遠位端部15に追随させてカテーテル100の全体を血管枝205に進入させることができる。
Accordingly, the entire traveling direction of the
また、補強層30の存在により、遠位端部15を急角度で屈曲させても、メインルーメン20が潰れる、カテーテル100が二つ折りに折れ曲がる、などの問題が発生するのを防止することができる。そのため、メインルーメン20の内腔の平滑性を保持することができ、造影剤、薬液、内視鏡などを患部に円滑に供給することができる。
Further, the presence of the reinforcing
以上が本実施形態にかかるカテーテル100の動作例である。ここで、補強層30を用いることにより、一般的には柔軟性が向上して屈曲性が優れるが、管材料に比べてトルク伝達性が低い。一方、管材料はトルク伝達性には優れるが、補強層30に比べ屈曲性に乏しい。しかし、本実施形態では、前述したように、補強層30を接合用部材90によって接合しているため、ねじり剛性/曲げ剛性の比が向上する。特に、接合部92が螺旋状で均一である。そのため、柔軟な屈曲性は損なうことなく、トルク伝達性にも優れたカテーテル100を実現することができ、さまざまな分岐角度で分岐する血管枝に対して本実施形態のカテーテル100を自在に進入させることができる。
The above is an operation example of the
なお、本発明は上述の実施形態に限定されるものではなく、本発明の目的が達成される限りにおける種々の変形、改良等の態様も含む。 The present invention is not limited to the above-described embodiment, and includes various modifications and improvements as long as the object of the present invention is achieved.
たとえば、シース10の遠位端部15、近位端部16、その中間部の内層11または外層12を、それぞれ異なる樹脂材料111、112で形成し、それぞれの部位の剛性や屈曲性を変化させてもよい。また、補強層30の巻回ピッチを変えることにより、それぞれの部位の剛性や屈曲性を変化させてもよい。この場合、遠位端部15の補強層30の線材料31の巻回ピッチを広くすることにより、屈曲性が向上する。また、近位端部16は隣接する巻きが互いに密着するよう線材料31を巻回すれば、剛性が向上する。また、中間部は、遠位端部15の巻回ピッチよりも狭い巻回ピッチで線材料31を巻回することにより、遠位端部15の柔軟性と近位端部16の剛性との調和を図ることができる。このような構成とした上で、補強層30を接合することにより、各部位の屈曲性や剛性を損なうことなく、遠位端部15の屈曲を自在かつ円滑に行うことができる。また、メインルーメン20の平滑性も保つことができる。
For example, the
また、本実施形態では、シース10に二個のサブルーメン80(80a、80b)を180度間隔に対向して設けて、それぞれに操作線70(70a、70b)を挿通しているが、本発明がこれに限定されるものではない。シース10に三個以上のサブルーメン80を等角度間隔に設けてもよい。例えば、三個のサブルーメン80を等角度間隔(120度間隔)に設けた場合、補強層30も周方向に等角度間隔で3カ所、サブルーメン80の位置とは異なる位置(好ましくは、サブルーメン80間の中心位置)で形成することにより、3本の操作線70を操作することにより、トルク伝達性に優れ、しかも目的方向に微細な角度で遠位端部15を屈曲させることが可能となる。また、三個以上のサブルーメン80および3個以上の接合部92を周方向にランダムに設けてもよい。このように、ランダムに設けるとは、上記のように正確な等角度間隔に設けるのではなく、周方向に全体的に分散していれば、多少の角度のズレを生じてもよいという意味である。いずれの場合でも、任意の一本または二本以上の操作線70を選択して牽引することにより、当該操作線70の方向、または当該二本以上の操作線70の中間方向にシース10を屈曲させることができる。
Further, in this embodiment, two sub-lumens 80 (80a, 80b) are provided in the
<第三実施形態>
次に、第三実施形態のカテーテルについて説明する。図7は、本実施形態にかかるカテーテル101の遠位端側DEの縦断面模式図であり、図8は図7のB−B線断面図である。また、図9は本実施形態にかかるシース10の内層11、補強層30および補強層30を接合する接合用部材90の遠位端側DEの斜視図である。なお、第二実施形態と同様な構成については、説明を省略する。
<Third embodiment>
Next, the catheter of the third embodiment will be described. FIG. 7 is a schematic longitudinal sectional view of the distal end DE of the
本実施形態のカテーテル101は、第二実施形態とほぼ同様の構成をしているが、補強層30を接合する接合用部材90が異なる。図7に示すように、本実施形態のカテーテル101は、管状本体(シース10)を有し、このシース10は、メインルーメン20と、樹脂材料111製の内層11と、線材料31が一六条、一定の巻回ピッチであって、隣接する巻き間に一定の間隙33を介して、螺旋状に巻回されて形成された補強層30と、補強層30の外周に、補強層30の線材料31とは逆方向であって、補強層30とは巻回ピッチも異なる螺旋状に線材料を一条巻回して形成した接合用部材90と、内層11の遠位端側DEに配置されたリング状のマーカ40と、樹脂材料112製の外層12と、この外層12内に、メインルーメン20の周囲に180度間隔で対向して配置された一対のサブルーメン80(80a、80b)と、外層12の外周に形成された樹脂材料51製のコート層50と、から構成されている。なお、接合用部材90の線材料の巻回ピッチは、前述したように補強層30とは異なるが、当該線材料の巻回ピッチは一定で、隣接する巻き間の間隙91も一定である。
The
そして、補強層30の線材料31と、接合用部材90とが、螺旋状に規則的に接合部92により接合されている。この接合方法は、スポット溶接やはんだ付けなど、第二実施形態と同様の方法で行うことができる。以降の第四〜第九実施形態でも同様の方法を用いることができる。
The
そして、本実施形態のカテーテル101においても、図7、図8に示すように、第一操作線70aおよび第二操作線70bがそれぞれ挿通されたサブルーメン80a、80bが、補強層30の外側に対向して形成されている。本実施形態でも、接合部92により、トルク伝達性と屈曲性に優れたカテーテル101を得ることができる。
Also in the
<第四実施形態>
次に、第三実施形態のカテーテルについて説明する。図10は、本実施形態にかかるカテーテル102の遠位端側DEの縦断面模式図であり、図11は図10のC−C線断面図である。また、図12は本実施形態にかかるシース10の内層11、補強層30および補強層30を接合する接合用部材90の遠位端側DEの斜視図である。なお、第二、第三実施形態と同様な構成については、説明を省略する。
<Fourth embodiment>
Next, the catheter of the third embodiment will be described. FIG. 10 is a schematic longitudinal sectional view of the distal end DE of the
本実施形態のカテーテル102は、第三実施形態とほぼ同様の構成をしているが、補強層30を接合する接合用部材90の線材料の本数が異なる。図10に示すように、本実施形態のカテーテル102は、管状本体(シース10)を有し、このシース10は、メインルーメン20と、樹脂材料111製の内層11と、線材料31が一六条、一定の巻回ピッチであって、隣接する巻き間に一定の間隙33を介して螺旋状に巻回されて形成された補強層30と、補強層30の外周に、補強層30の線材料31とは逆方向であって、巻回ピッチも異なる螺旋状に線材料を二条巻回して形成した接合用部材90と、内層11の遠位端側DEに配置されたリング状のマーカ40と、樹脂材料112製の外層12と、この外層12内に、メインルーメン20の周囲に180度間隔で対向して配置された一対のサブルーメン80(80a、80b)と、外層12の外周に形成された樹脂材料51製のコート層50と、から構成されている。なお、接合用部材90の二条の線材料の巻回開始位置が異なるが、互いの線材料の巻回ピッチは同一かつ一定であり、隣接する巻き間の間隙91も一定である。
The
そして、補強層30の線材料31と、二条の線材料からなる接合用部材90とが、螺旋状に規則的に接合部92により接合されている。そして、本実施形態のカテーテル102においても、図10、図11に示すように、第一操作線70aおよび第二操作線70bがそれぞれ挿通されたサブルーメン80a、80bが、補強層30の外側に対向して形成されている。本実施形態でも、接合部92により、トルク伝達性と屈曲性に優れたカテーテル102を得ることができる。
The
<第五実施形態>
次に、第五実施形態のカテーテルについて説明する。図13は、本実施形態にかかるカテーテル103の遠位端側DEの縦断面模式図であり、図14は図13のD−D線断面図である。また、図15は本実施形態にかかるシース10の内層11、補強層30および補強層30を接合する接合用部材90の遠位端側DEの斜視図である。なお、第二、第三実施形態と同様な構成については、説明を省略する。
<Fifth embodiment>
Next, the catheter of the fifth embodiment will be described. 13 is a schematic longitudinal sectional view of the distal end DE of the
本実施形態のカテーテル103は、第三実施形態とほぼ同様の構成をしているが、補強層30を接合する接合用部材90の線材料の本数が異なる。すなわち、図13に示すように、本実施形態のカテーテル103は、管状本体(シース10)を有し、このシース10は、メインルーメン20と、樹脂材料111製の内層11と、線材料31が一六条、一定の巻回ピッチであって、隣接する巻き間に一定の間隙33を介して螺旋状に巻回されて形成された補強層30と、補強層30の外周に、補強層30の線材料31とは逆方向であって、巻回ピッチ、および隣接する巻き間の間隙91も補強層30とは異なる螺旋状に線材料を四条巻回して形成した接合用部材90と、内層11の遠位端側DEに配置されたリング状のマーカ40と、樹脂材料112製の外層12と、この外層12内に、メインルーメン20の周囲に180度間隔で対向して配置された一対のサブルーメン80(80a、80b)と、外層12の外周に形成された樹脂材料51製のコート層50と、から構成されている。なお、本実施形態でも、接合用部材90の四条の線材料の巻回開始位置が異なるが、互いの巻回ピッチは同一かつ一定であり、隣接する巻き間の間隙91も一定である。本実施形態では、四条の線材料を多条巻きしているので、図14に示すように、周方向に異なる位置で4カ所、等間隔で接合部92が配置される。
The
そして、補強層30の線材料31と、四条の線材料からなる接合用部材90とが、螺旋状に規則的に接合部92により接合されている。そして、本実施形態のカテーテル103においても、図13、図14に示すように、第一操作線70aおよび第二操作線70bがそれぞれ挿通されたサブルーメン80a、80bが、補強層30の外側に対向して形成されている。本実施形態でも、接合部92により、トルク伝達性と屈曲性に優れたカテーテル103を得ることができる。
The
<ねじり剛性、曲げ剛性等の実験例>
ここで、上記第二〜第五実施形態におけるカテーテル100〜103のねじり剛性、曲げ剛性、引張剛性、ねじり剛性/曲げ剛性の比、および、ねじり剛性/(曲げ剛性)2の比の各特性について計測実験を行った。なお、比較例として、図18に示すように、メインルーメン8を有する内層7の外周表面に、線材料3aを螺旋状に巻回して補強層3を形成したカテーテルについても同様の実験を行った。当該カテーテルの補強層3には、接合用部材を使用しておらず、かつ、補強層3の隣接する巻きも互いに接合していない。また、参考例として、図19に示すように、メインルーメン8を有する内層7の外周表面に、線材料3aを螺旋状に巻回して補強層3を形成し、当該補強層3に、直線状の接合用部材9を配置したカテーテルについても同様の実験を行った。当該カテーテルは、補強層3の外周に、軸方向に平行な直線状の接合用部材9を周方向に180度の角度で一対、対向して配置している。当該接合用部材9と補強層3とを、スポット溶接して溶接部9aを形成している。なお、上記第二〜第五実施形態におけるカテーテル100〜103では、補強層30を一六条で形成しているが、本計測実験で使用したすべてのカテーテルは、補強層30を八条で形成したものを使用している。なお、リング状の接合用部材90や線材料製の接合用部材90の条数や接合方法は、各実施形態と同様である。
<Examples of torsional rigidity, bending rigidity, etc.>
Here, regarding the respective characteristics of the torsional rigidity, bending rigidity, tensile rigidity, torsional rigidity / bending rigidity ratio, and torsional rigidity / (bending rigidity) 2 ratio of the
なお、実験に用いた補強層30の線材料31および接合用部材90として用いた線材料の特性は、以下に示すとおりである。
(1)補強層の線材料
・線材料直径:0.1mm
・巻き数:八条
・内径:0.6mm
・中心軸とのなす角度θ:45度
・ヤング率:200GPa
・ポアソン比:0.3
(2)接合用部材の線材料
・中心軸とのなす角度以外は、上記補強層の線材料と同様のものを使用した。
The characteristics of the
(1) Wire material of reinforcing layer Wire material diameter: 0.1 mm
・ Number of windings: Hachijo ・ Inner diameter: 0.6 mm
・ Angle θ with the central axis: 45 degrees ・ Young's modulus: 200 GPa
-Poisson's ratio: 0.3
(2) Wire material of joining member-The same wire material as that of the reinforcing layer was used except for the angle formed with the central axis.
次に、解析方法を説明する。コンピュータシステムのANSYS(Ver.12.0)を用い、BEAM189要素(はり要素)で、スポット溶接箇所を短い線材料でモデル化した。ねじり、曲げ、引張の仮想的な試験で、剛性を算出した。その算出結果を、以下の表1に示す。 Next, an analysis method will be described. Using a computer system ANSYS (Ver. 12.0), a spot welded part was modeled with a short wire material using a BEAM189 element (beam element). Rigidity was calculated by virtual tests of torsion, bending and tension. The calculation results are shown in Table 1 below.
以上の実験で、第二〜第五実施形態のカテーテル100〜103では、補強層30を接合用部材90によって螺旋状にスポット接合しているため、直線的に接合した参考例や何ら接合のない比較例に比べ、ねじり剛性/曲げ剛性の比もねじり剛性/(曲げ剛性)2の比も、ともに向上することが判明した。いずれの実施形態においても、柔軟な屈曲性は損なうことなく、トルク伝達性にも優れたカテーテル100〜103を実現することができる。したがって、第一操作線70aおよび第二操作線70bを操作することにより、さまざまな分岐角度で分岐する血管枝に対して各実施形態のカテーテル100〜103を自在に進入させることができる。特に、第三、および、第四実施形態のカテーテル101、102は、ねじり剛性/曲げ剛性の比が2.5以上で、かつ、ねじり剛性/(曲げ剛性)2の比が0.2以上であるため、優れた屈曲性とトルク伝達性を有し、最も好ましいということが判明した。
In the above experiments, in the
なお、上記第三〜第五実施形態では、線材料製の接合用部材90の巻回方向を、補強層30の線材料31や板部材の形成方向と異なる方向に形成していたが、本発明がこれに限定されるものではない。例えば、同一方向に巻回してもよい。この場合、補強層30の外周に、螺旋の巻回ピッチを変えるだけで、同一方向で線材料を巻回せばよいので、巻回用装置の設定等を効率的に行うことができる。また、螺旋方向が同一方向であるため、互いを接合した際に、トルク性は向上しながらも、円滑な屈曲が可能となる。
In the third to fifth embodiments, the winding direction of the joining
<第六実施形態>
次に、第六実施形態のカテーテルについて説明する。図16(a)は、本実施形態にかかるカテーテル104の補強層30に用いる母材としての管材料30aである。なお、この管材料30aは、以降で説明する第七、第八実施形態でも同様のものを用いている。
<Sixth embodiment>
Next, the catheter of the sixth embodiment will be described. FIG. 16A shows a
本実施形態のカテーテル104では、上記管材料30aに、図16(b)に示すように、内層11の長手方向の中心軸とのなす角度が45度となるよう、8本の螺旋状の切込み部32を形成している。これにより、断面形状が長方形の線材料31により、八条の多条巻きの螺旋状の補強層30を形成している。そして、このように形成した補強層30の隣接する巻きを互いにスポット溶接やはんだ付けすることで、接合部92を形成してもよい。しかし、本実施形態では、補強層30の外周に、図17(a)に示すように、接合用部材90の母材としての管材料90aを配置し、図17(b)に示すように、当該管材料90aを所定間隙91で螺旋状に切欠いて切欠き部93を形成し、線材状の接合用部材90を形成している。そして、この接合用部材90と補強層30とを、規則的な螺旋状にスポット溶接やはんだ付けして、接合部92を介して接合する。なお、線材料状の接合用部材90と補強層30との接合は、螺旋状に限らず、隣接する接合部92が互いに長尺方向に一直線上にならなければ、螺旋状以外の規則的な接合であってもよい。または、ランダムな接合であってもよい。このような形成により、補強層30が多層のカテーテルを得ることができる。また、この多層の接合により、ねじり剛性/曲げ剛性比が向上し、トルク伝達性に優れたカテーテル104を得ることができる。
In the
なお、本実施形態では、8本の螺旋状の切込み部32を形成し、八条巻きの補強層30としているが、本発明がこれに限定されるものではない。例えば、1本螺旋状の切込み部32として一条巻きの補強層30としてもよいし、8本に限らず、2本以上の複数本の螺旋状の切込み部32を形成することで形成した補強層30も、多条巻きに含まれるものとする。また、本実施形態の補強層30も螺旋状であるため、図示はしないが、線材料31を長手方向に、異なる間隙33で延伸させて、隣接する巻き間の密着度(すなわち、各間隙33)を変化させることができる。したがって、例えば、カテーテル104の近位端側CEは線材料31同士を密に配置することで剛性を保持し、遠位端側DEは線材料31を延伸して隣接する巻き間に間隙33を形成して固定してもよく、カテーテル104の遠位端側に良好な屈曲性を持たせることができる。また、この隣接する巻き間の間隙33も、部位によって異なる広さとすることで、屈曲性を変化させることが可能となる。そのため、操作線70の牽引により、カテーテルの遠位端側DEの屈曲方向や屈曲角度の調整を柔軟に行うことが可能となる。
In the present embodiment, eight spiral cut
<第七実施形態>
次に、第七実施形態のカテーテルについて説明する。図16(c)に示すように、本実施形態のカテーテル105は、紙面の上下方向から、切残し部36を有するように、軸方向に対して45度(θ)の傾斜で互い違いに切込み部32を形成している。このような切込み部32により、線材よりも扁平で広幅の線材料31によって、全体が一部で連結し、長手方向に伸縮および屈曲が可能な補強層30が形成される。このような補強層30であっても、接合により、ねじり剛性/曲げ剛性比が向上し、トルク伝達性に優れたカテーテル105を得ることができる。また、本実施形態では、切残し部36で補強層30が連結されているので、接合部92の役割も果たすものとなる。さらに、補強層30の隣接する巻きを互いにスポット溶接やはんだ付けすることで、接合部92を形成してもよい。また、当該補強層30の外周に、さらに接合用部材90を配置して、補強層30と接合用部材90とを接合して、接合部92を形成した、多層構造の補強層30としてもよい。
<Seventh embodiment>
Next, the catheter of the seventh embodiment will be described. As shown in FIG. 16 (c), the catheter 105 of the present embodiment is alternately cut at 45 degrees (θ) with respect to the axial direction so as to have uncut portions 36 from the vertical direction of the drawing. 32 is formed. By such a
また、本実施形態の補強層30も隣接する巻き間の間隙33を変えて自在に伸縮できる形状である。そのため、管材料30aへ切込み部32を入れて線材料31を形成した後に、第六実施形態等と同様に、図16(d)に示すように、線材料31を長手方向に、異なる間隙33で延伸させて、隣接する巻き間の密着度(すなわち、各間隙33)を変化させることができる。例えば、カテーテル105の近位端側CEは線材料31に間隙33を介さず密にすることで(図示せず)良好な剛性を保持する。一方、図16(d)に示すように、遠位端側DEでは内層11の長手方向に線材料31を延伸して隣接する巻き間の間隙33を広幅に形成すれば、遠位端側DEに良好な屈曲性を持たせることができる。そのため、操作線70の牽引により、カテーテル105の遠位端部15の屈曲方向や屈曲角度の調整を柔軟に行うことが可能となる。また、遠位端側DEの隣接する巻き間の間隙33も、部位によって異なる幅とすることで、屈曲性を変化させることが可能となる。例えば、遠位端側DEの最も先端側の隣接する巻き間の間隙33を狭くするか間隙33を介さずに密着させ、先端以外の遠位端側DEは隣接する巻き間に適宜の間隙33を設けて補強層30を形成することにより、先端の剛性が向上し、体腔内への先端の挿通や進行を容易に行うことも可能となる。そして、挿通後は、カテーテルの遠位端部15の自在な屈曲性やトルク伝達性を得ることができる。
Further, the reinforcing
<第八実施形態>
次に、第八実施形態のカテーテルについて説明する。図16(e)に示すように、本実施形態のカテーテル106は、図16(a)に示す管材料30aに、一定間隙33を介して、内層11の長手方向の中心軸とのなす角度が45度(θ)となるよう、切残し部36を残して紙面上下方向から交互に切欠いている。これにより、複数の切欠き部34が設けられ、かつ、切残し部36により連結された、扁平で間隙33が広幅な線材料31製の補強層30を形成している。したがって、本実施形態でも、切残し部36が、接合部92の役目を果たすものとなる。また、図16(f)は、図16(e)をX−X線方向から観察した状態の模式図である。
<Eighth embodiment>
Next, the catheter of the eighth embodiment will be described. As shown in FIG. 16 (e), the
そして、第八実施形態の変形例として、このような補強層30の外周に、さらに、図17(c)、(d)に示すように接合用部材90の母材となる管材料90aを配置する。次に、図17(e)に示すように、補強層30の切欠き方向とは異なる方向と間隙91(ただし間隙91は一定)を介し、かつ、切残し部94を残して管材料90aを切欠いて複数の切欠き部93を形成している。これにより、切残し部94により連結された平板状の接合用部材90を形成している。そして、この接合用部材90と補強層30とを、螺旋状またはその他の規則的若しくは不規則的であって、隣接する接合部92同士が一直線上にならないように、スポット溶接または、はんだ付けなどにより接合している。このような多層構造の補強層30であっても、接合用部材90との接合により、補強層30の隣接する巻き間の間隙33を変化させた場合に、その間隙33を保持することができる。さらには、ねじり剛性/曲げ剛性比が向上し、トルク伝達性に優れたカテーテル106を得ることができる。
As a modification of the eighth embodiment, a
なお、本実施形態では、接合用部材90の切欠き部93を、補強層30と異なる方向で、かつ一定の間隙91を介して切欠き部93を形成している。しかし、本実施形態がこれに限定されるものではなく、補強層30と同一方向であるが、補強層30の間隙33とは異なる隣接する巻き間の間隙91を介して接合用部材90を形成してもよい。また、隣接する巻き間に不規則な間隙91を介して切欠き部93を形成してもよく、隣接する巻き間の間隙91の広さに応じて屈曲性などを変化させることも可能である。また、接合用部材90の場合は、必ずしも切残し部94を残して切欠く必要はなく、所定間隙ごとに、切り離してもよく、切残し部94のない部分は、屈曲性が向上可能である。また、切残し部94を設けずに、一定または所定間隙91を介して切欠いて、リング状の接合用部材90としてもよい。または、管材料90aに螺旋状の切欠きを1本または複数本形成したものも、一条または多条巻きの接合用部材90に含むものとする。このような切欠きにより形成した接合用部材90を、螺旋状の補強層30と接合することにより、軸方向への伸縮が自在となり、例えば、補強層30の隣接する巻き間の間隙33を、カテーテルの部位に応じて異なる広さとした場合に、この間隙33の広さに追随して接合用部材90の隣接する巻き間の間隙91を異なる広さに調整することができる。したがって、接合用部材90との接合によるトルク伝達性を損なうことなく、より屈曲性が向上したカテーテルを得ることが可能となる。
In the present embodiment, the notch 93 of the joining
なお、上記第六〜第八実施形態では、補強層30用の管材料30aを内層11の外周に配置してから切込み部32や切欠き部34を形成している。次に、このような補強層30の隣接する巻き同士を、はんだ付けして接合部92を複数個形成している。これら複数の接合部92は、補強層の長手方向に配置され、かつ、周方向においては互いに異なる位置になるように配置されている。または、補強層30の外周に接合用部材90用の管材料90aを配置してから、この管材料90aに切込み部(図示せず)や切欠き部93を形成して接合用部材90を得て、この接合用部材90と補強層30とを、スポット溶接や、はんだ付け等により接合している。しかし、本発明がこれに限定されるものではない。例えば、管材料30a、90aに、それぞれ切込み部32や切欠き部34、93を形成して補強層30や接合用部材90を形成した後、内層11の外周に補強層30、接合用部材90を順次配置して、接合してもよい。または、補強層30と接合用部材90とを接合した後に、これらを内層11の外周に配置してもよい。
In the sixth to eighth embodiments, the
また、上記各実施例では、少なくとも遠位端側DEにおいて線材料31を、隣接する巻き間に所定の間隙33を介して巻回層(補強層30)を形成し、その外周に配置したリング状、または螺旋状に形成し、接合用部材90と接合している。または、第一実施形態のように、接合用部材90を用いずにスポット溶接により巻回層30の隣接する巻き同士を接合している。しかし、本発明がこれに限定されるものではなく、接合用部材90としてはんだを用いてもよい。例えば、遠位端側DEまで、隣接する線材料31が互いに密着するよう巻回して巻回層30を形成し、密着して隣接する線材料31の巻き同士を一カ所以上、はんだ付け等により接合する。この場合、はんだが接合用部材90となる。この場合、リングや線材料の配置作業や巻回層30との接合作業を省くこともでき、より簡易な構成とすることができる。また、隣接する巻き同士を、例えば、図1(c)のように長手方向に螺旋状に規則的に接合してもよいし、他の異なる実施形態として、長手方向に不規則に接合してもよい。これらのような構成でも、屈曲性とトルク伝達性とに優れたカテーテルを、より簡易に得ることができる。
Further, in each of the above embodiments, the
また、上記各実施形態は、ガイドワイヤおよびカテーテルについて実施しているが、本発明は上述の実施形態に限定されるものではなく、内視鏡、超音波器具など、体腔内に挿入して使用する、他の長尺な医療機器にも適用することができる。 Moreover, although each said embodiment is implemented about the guide wire and the catheter, this invention is not limited to the above-mentioned embodiment, It uses by inserting in body cavities, such as an endoscope and an ultrasonic instrument. It can also be applied to other long medical devices.
1 ガイドワイヤ(医療機器)
10 管状本体(シース)
11 内層
111 樹脂材料
12 外層
112 樹脂材料
15 遠位端部
16 近位端部
20 メインルーメン
30 補強層(巻回層)
30a 管材料
31 線材料
32 切込み部(切込み)
33、33a 間隙
34 切欠き部(切欠き)
40 マーカ
90 接合用部材
90a 管材料
91 間隙
92 接合部
93 切欠き部(切欠き)
100、101、102、103、104、105、106 カテーテル(医療機器)
C,C1,C2 曲率
DE 遠位端側
CE 近位端側
PE 近位端側
1 Guidewire (medical equipment)
10 Tubular body (sheath)
DESCRIPTION OF
33, 33a Gap 34 Notch (notch)
40
100, 101, 102, 103, 104, 105, 106 Catheter (medical device)
C, C1, C2 Curvature DE Distal end side CE Proximal end side PE Proximal end side
Claims (19)
長手方向に延在して、巻回形成された巻回層が形成され、
巻回形成された前記巻回層の巻き同士の少なくとも一部が接合されて、複数の接合部が形成され、
複数の前記接合部が、前記巻回層の長手方向に存在し、
当該複数の前記接合部のうち、前記巻回層の長手方向において隣接する前記接合部が、周方向に対して互いに異なる位置に配置されていることを特徴とする医療機器。 A long medical device that is inserted into a body cavity and used to change the shape following the shape in the body cavity,
Extending in the longitudinal direction, a wound layer formed by winding is formed,
At least a part of the windings of the winding layer formed by winding is bonded to form a plurality of bonding portions,
A plurality of the joints are present in the longitudinal direction of the wound layer;
Among the plurality of joints, the joints adjacent in the longitudinal direction of the wound layer are arranged at different positions with respect to the circumferential direction.
当該密着して隣接する前記巻き同士が少なくとも一カ所で接合され、当該密着して隣接する前記巻き同士の前記接合部が、前記巻回層の長手方向に複数存在し、かつ、当該巻回層の周方向に対して互いに異なる位置に配置されていることを特徴とする請求項1から4のいずれか一項に記載の医療機器。 The winding layer is formed by closely winding the adjacent windings,
The tightly adjacent windings are joined at at least one location, and there are a plurality of the joining portions of the closely adjacent windings in the longitudinal direction of the wound layer, and the wound layer The medical device according to any one of claims 1 to 4, wherein the medical devices are arranged at positions different from each other in the circumferential direction.
メインルーメンと、
内部に前記メインルーメンを有する内層と、
前記内層の外周表面に、巻回形成された巻回層からなる補強層と、
前記補強層を少なくとも含む前記内層を被覆する外層と、からなる管状本体を有し、
前記巻回形成された前記補強層の巻き同士の少なくとも一部が接合されて、複数の前記接合部が形成されたカテーテルであることを特徴とする請求項1から15のいずれか一項に記載の医療機器。 Inside the long tubular body,
The main lumen,
An inner layer having the main lumen inside;
On the outer peripheral surface of the inner layer, a reinforcing layer composed of a wound layer formed by winding,
An outer layer that covers the inner layer including at least the reinforcing layer;
16. The catheter according to claim 1, wherein the wound portion is a catheter in which a plurality of the joint portions are formed by joining at least a part of the windings of the reinforcing layer. Medical equipment.
Priority Applications (1)
| Application Number | Priority Date | Filing Date | Title |
|---|---|---|---|
| JP2011009048A JP5742238B2 (en) | 2011-01-19 | 2011-01-19 | Medical equipment |
Applications Claiming Priority (1)
| Application Number | Priority Date | Filing Date | Title |
|---|---|---|---|
| JP2011009048A JP5742238B2 (en) | 2011-01-19 | 2011-01-19 | Medical equipment |
Publications (2)
| Publication Number | Publication Date |
|---|---|
| JP2012147956A true JP2012147956A (en) | 2012-08-09 |
| JP5742238B2 JP5742238B2 (en) | 2015-07-01 |
Family
ID=46790849
Family Applications (1)
| Application Number | Title | Priority Date | Filing Date |
|---|---|---|---|
| JP2011009048A Expired - Fee Related JP5742238B2 (en) | 2011-01-19 | 2011-01-19 | Medical equipment |
Country Status (1)
| Country | Link |
|---|---|
| JP (1) | JP5742238B2 (en) |
Cited By (7)
| Publication number | Priority date | Publication date | Assignee | Title |
|---|---|---|---|---|
| WO2014207797A1 (en) * | 2013-06-24 | 2014-12-31 | 住友ベークライト株式会社 | Method for manufacturing medical device and medical device |
| WO2019146088A1 (en) | 2018-01-26 | 2019-08-01 | 朝日インテック株式会社 | Catheter |
| WO2019146086A1 (en) | 2018-01-26 | 2019-08-01 | 朝日インテック株式会社 | Catheter |
| WO2019150427A1 (en) | 2018-01-30 | 2019-08-08 | 朝日インテック株式会社 | Catheter |
| WO2021152816A1 (en) * | 2020-01-31 | 2021-08-05 | 朝日インテック株式会社 | Rotation transmission structure, catheter, and guide wire |
| CN114340709A (en) * | 2019-09-11 | 2022-04-12 | 尼普洛株式会社 | Support conduit and tube |
| CN115212425A (en) * | 2022-07-26 | 2022-10-21 | 上海晓旦生物科技有限公司 | Bendable conduit |
Citations (4)
| Publication number | Priority date | Publication date | Assignee | Title |
|---|---|---|---|---|
| JPH09294812A (en) * | 1995-12-07 | 1997-11-18 | Sarcos Inc | Catheter guide tool |
| JP2003520651A (en) * | 2000-01-28 | 2003-07-08 | ウィリアム クック ユーロープ アーペーエス | Intravascular medical device having a plurality of wires |
| JP2009511184A (en) * | 2005-10-11 | 2009-03-19 | ボストン サイエンティフィック リミテッド | Medical instrument coil |
| US20090160112A1 (en) * | 2007-12-19 | 2009-06-25 | Boston Scientific Scimed, Inc. | Structure for use as part of a medical device |
-
2011
- 2011-01-19 JP JP2011009048A patent/JP5742238B2/en not_active Expired - Fee Related
Patent Citations (4)
| Publication number | Priority date | Publication date | Assignee | Title |
|---|---|---|---|---|
| JPH09294812A (en) * | 1995-12-07 | 1997-11-18 | Sarcos Inc | Catheter guide tool |
| JP2003520651A (en) * | 2000-01-28 | 2003-07-08 | ウィリアム クック ユーロープ アーペーエス | Intravascular medical device having a plurality of wires |
| JP2009511184A (en) * | 2005-10-11 | 2009-03-19 | ボストン サイエンティフィック リミテッド | Medical instrument coil |
| US20090160112A1 (en) * | 2007-12-19 | 2009-06-25 | Boston Scientific Scimed, Inc. | Structure for use as part of a medical device |
Cited By (17)
| Publication number | Priority date | Publication date | Assignee | Title |
|---|---|---|---|---|
| WO2014207797A1 (en) * | 2013-06-24 | 2014-12-31 | 住友ベークライト株式会社 | Method for manufacturing medical device and medical device |
| US11369774B2 (en) | 2018-01-26 | 2022-06-28 | Asahi Intecc Co., Ltd. | Catheter coil with tapered distal joint part |
| WO2019146088A1 (en) | 2018-01-26 | 2019-08-01 | 朝日インテック株式会社 | Catheter |
| WO2019146086A1 (en) | 2018-01-26 | 2019-08-01 | 朝日インテック株式会社 | Catheter |
| US11878130B2 (en) | 2018-01-26 | 2024-01-23 | Asahi Intecc Co., Ltd. | Catheter coil with tapered distal joint part |
| KR20200108039A (en) | 2018-01-26 | 2020-09-16 | 아사히 인텍크 가부시키가이샤 | Catheter |
| KR20200108038A (en) | 2018-01-26 | 2020-09-16 | 아사히 인텍크 가부시키가이샤 | Catheter |
| US11484687B2 (en) | 2018-01-26 | 2022-11-01 | Asahi Intecc Co., Ltd. | Catheter |
| KR20200103748A (en) | 2018-01-30 | 2020-09-02 | 아사히 인텍크 가부시키가이샤 | Catheter |
| WO2019150427A1 (en) | 2018-01-30 | 2019-08-08 | 朝日インテック株式会社 | Catheter |
| CN114340709A (en) * | 2019-09-11 | 2022-04-12 | 尼普洛株式会社 | Support conduit and tube |
| JPWO2021152816A1 (en) * | 2020-01-31 | 2021-08-05 | ||
| WO2021152816A1 (en) * | 2020-01-31 | 2021-08-05 | 朝日インテック株式会社 | Rotation transmission structure, catheter, and guide wire |
| JP7314321B2 (en) | 2020-01-31 | 2023-07-25 | 朝日インテック株式会社 | Rotational transmission structure, catheter, and guidewire |
| EP4098308A4 (en) * | 2020-01-31 | 2023-11-29 | Asahi Intecc Co., Ltd. | ROTATIONAL TRANSFER STRUCTURE, CATHETER AND GUIDE WIRE |
| US12496430B2 (en) | 2020-01-31 | 2025-12-16 | Asahi Intecc Co., Ltd. | Rotation transmission structure, catheter, and guide wire |
| CN115212425A (en) * | 2022-07-26 | 2022-10-21 | 上海晓旦生物科技有限公司 | Bendable conduit |
Also Published As
| Publication number | Publication date |
|---|---|
| JP5742238B2 (en) | 2015-07-01 |
Similar Documents
| Publication | Publication Date | Title |
|---|---|---|
| JP5742238B2 (en) | Medical equipment | |
| US10639456B2 (en) | Guidewire with torque transmission element | |
| JP5929315B2 (en) | Medical device and method for manufacturing medical device | |
| US8636270B2 (en) | Structure for use as part of a medical device | |
| JP7266407B2 (en) | CATHETER AND CATHETER MANUFACTURING METHOD | |
| US20200188633A1 (en) | Progressive flexibility catheter support frame | |
| JP5452026B2 (en) | catheter | |
| US8915865B2 (en) | Medical device for navigation through anatomy and method of making same | |
| JP4981471B2 (en) | Guide wire | |
| JP2008307367A (en) | Guide wire | |
| JP2012213478A (en) | Medical instrument | |
| JP2013180156A (en) | Medical equipment | |
| JP2010227137A (en) | Catheter | |
| JP5927974B2 (en) | Medical equipment | |
| JP2012213507A (en) | Medical instrument | |
| WO2019004100A1 (en) | Catheter, separator, and suction system | |
| JP7137396B2 (en) | guide wire | |
| JP2012187263A (en) | Medical device and method for producing the same | |
| JP2012061070A (en) | Catheter | |
| JP2013169317A (en) | Medical device | |
| JP5891770B2 (en) | Medical device and method for manufacturing medical device | |
| JP5994335B2 (en) | catheter | |
| JP5810507B2 (en) | catheter | |
| JP5957966B2 (en) | Medical device and method for manufacturing medical device | |
| KR102459494B1 (en) | Medical Equipment |
Legal Events
| Date | Code | Title | Description |
|---|---|---|---|
| A621 | Written request for application examination |
Free format text: JAPANESE INTERMEDIATE CODE: A621 Effective date: 20131022 |
|
| A977 | Report on retrieval |
Free format text: JAPANESE INTERMEDIATE CODE: A971007 Effective date: 20140722 |
|
| A131 | Notification of reasons for refusal |
Free format text: JAPANESE INTERMEDIATE CODE: A131 Effective date: 20140805 |
|
| A521 | Written amendment |
Free format text: JAPANESE INTERMEDIATE CODE: A523 Effective date: 20141002 |
|
| TRDD | Decision of grant or rejection written | ||
| A01 | Written decision to grant a patent or to grant a registration (utility model) |
Free format text: JAPANESE INTERMEDIATE CODE: A01 Effective date: 20150407 |
|
| A61 | First payment of annual fees (during grant procedure) |
Free format text: JAPANESE INTERMEDIATE CODE: A61 Effective date: 20150420 |
|
| R150 | Certificate of patent or registration of utility model |
Ref document number: 5742238 Country of ref document: JP Free format text: JAPANESE INTERMEDIATE CODE: R150 |
|
| LAPS | Cancellation because of no payment of annual fees |
