JP2007073198A - 色素増感型太陽電池 - Google Patents
色素増感型太陽電池 Download PDFInfo
- Publication number
- JP2007073198A JP2007073198A JP2005255547A JP2005255547A JP2007073198A JP 2007073198 A JP2007073198 A JP 2007073198A JP 2005255547 A JP2005255547 A JP 2005255547A JP 2005255547 A JP2005255547 A JP 2005255547A JP 2007073198 A JP2007073198 A JP 2007073198A
- Authority
- JP
- Japan
- Prior art keywords
- transparent conductive
- dye
- solar cell
- conductive film
- sensitized solar
- Prior art date
- Legal status (The legal status is an assumption and is not a legal conclusion. Google has not performed a legal analysis and makes no representation as to the accuracy of the status listed.)
- Pending
Links
Images
Classifications
-
- Y—GENERAL TAGGING OF NEW TECHNOLOGICAL DEVELOPMENTS; GENERAL TAGGING OF CROSS-SECTIONAL TECHNOLOGIES SPANNING OVER SEVERAL SECTIONS OF THE IPC; TECHNICAL SUBJECTS COVERED BY FORMER USPC CROSS-REFERENCE ART COLLECTIONS [XRACs] AND DIGESTS
- Y02—TECHNOLOGIES OR APPLICATIONS FOR MITIGATION OR ADAPTATION AGAINST CLIMATE CHANGE
- Y02E—REDUCTION OF GREENHOUSE GAS [GHG] EMISSIONS, RELATED TO ENERGY GENERATION, TRANSMISSION OR DISTRIBUTION
- Y02E10/00—Energy generation through renewable energy sources
- Y02E10/50—Photovoltaic [PV] energy
- Y02E10/542—Dye sensitized solar cells
Landscapes
- Photovoltaic Devices (AREA)
- Hybrid Cells (AREA)
Abstract
【課題】 透明導電膜と電解質とが直接接触しても、十分なエネルギー変換効率を実現できる色素増感型太陽電池を提供すること。
【解決手段】 本発明の色素増感型太陽電池は、一方の面に透明導電膜21が形成された透明基板1と、透明導電膜21に離間対向するように導電層22が形成された対向基板6と、透明基板1と対向基板6との間に設けられる太陽電池セル45とを備え、太陽電池セル45が、増感色素及び酸化物半導体を含有し透明導電膜21と電気的に接続される受光電極3と、導電層22と電気的に接続される対極8と、透明導電膜21と導電層22との間に保持される電解質24とからなる色素増感型太陽電池150であって、透明導電膜21が、アナターゼ型TiO2:Nb及びアナターゼ型TiO2:Taからなる群より選ばれる少なくとも1種の透明導電性金属酸化物を含む。
【選択図】 図3
【解決手段】 本発明の色素増感型太陽電池は、一方の面に透明導電膜21が形成された透明基板1と、透明導電膜21に離間対向するように導電層22が形成された対向基板6と、透明基板1と対向基板6との間に設けられる太陽電池セル45とを備え、太陽電池セル45が、増感色素及び酸化物半導体を含有し透明導電膜21と電気的に接続される受光電極3と、導電層22と電気的に接続される対極8と、透明導電膜21と導電層22との間に保持される電解質24とからなる色素増感型太陽電池150であって、透明導電膜21が、アナターゼ型TiO2:Nb及びアナターゼ型TiO2:Taからなる群より選ばれる少なくとも1種の透明導電性金属酸化物を含む。
【選択図】 図3
Description
本発明は、色素増感型太陽電池に関する。
従来、いわゆる対向型と称される色素増感型太陽電池、並びに3層型と称される色素増感型太陽電池が知られている。
対向型の色素増感型太陽電池は一般に、透明基板及び対向基板を最外層とし、両基板の間には透明基板の側から、透明導電膜、受光電極、対極、導電層が配置されており、受光電極と対極との間の空間部分に電解液が封入された構造となっている。受光電極は、例えばナノサイズの粒径を有し可視光を透過する酸化チタンと増感色素を含有している。一方、対極は、電解液に含まれる酸化還元対の還元触媒となる白金の微粒子若しくは薄膜を備えている。電解液に含まれる酸化還元対として、例えば、ヨウ素(I−/I3 −)が用いられる。
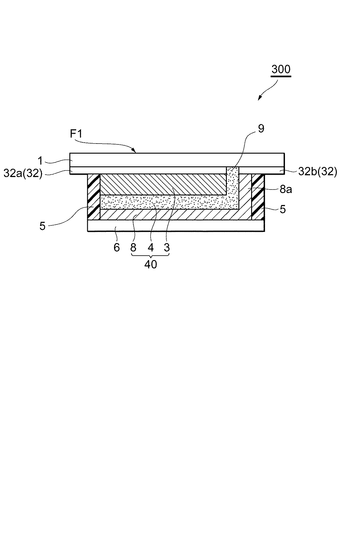
一方、3層型の色素増感型太陽電池は一般に、図4に示すような構成を有するものである。図4は、従来の3層型の色素増感型太陽電池を示す断面図である。図4に示すように、3層型の色素増感型太陽電池300は、透明基板1の一面上に、溝9を介して互いに離間する複数の膜部分(32a,32b)に分けられたフッ素ドープ酸化スズ膜(透明導電膜)32が形成されている。
透明基板1の一面上には、太陽電池セル40が設けられている。太陽電池セル40は、フッ素ドープ酸化スズ膜32のうち一の膜部分32aと電気的に接続される受光電極3と、フッ素ドープ酸化スズ膜32のうち他の膜部分32bと電気的に接続されており炭素電極からなる対極8と、受光電極3と対極8との間に設けられ、一の膜部分と他の膜部分とを絶縁させるセパレータ4とを備えた3層構造を有する。受光電極3においては、酸化チタンからなる多孔体に増感色素が吸着されている。受光電極3、セパレータ4及び対極8の各層の多孔体には電解液が含浸されている。
上記のような対向型及び3層型の色素増感型太陽電池において、受光電極に光が照射されると、増感色素の励起によって電子が生じ、生じた電子は受光電極の酸化物半導体を介して透明導電膜へと流入する。この際、一部の電子が電解質へと流出する現象、いわゆるリーク電流が発生する場合があり、このリーク電流の発生はエネルギー変換効率を低下させる一因となっている。
リーク電流のうち、透明導電膜から流出する成分の発生を抑制するための手段として、例えば、特許文献1には、対向型の色素増感型太陽電池において、透明基板上に形成された透明導電膜の上にさらに厚さ5〜50nmのチタン酸化物膜を具備する透明導電性基板を用いることが記載されている。
特開2003−151355号公報
しかしながら、特許文献1に記載された色素増感型太陽電池においては、リーク電流の発生を抑制できるものの、チタン酸化物膜における電気抵抗がエネルギー変換効率を低下させる原因となる。このため、特許文献1に記載の色素増感型太陽電池においては、未だ十分なエネルギー変換効率を実現できなかった。
そこで、本発明は、透明導電膜と電解質とが直接接触しても、十分なエネルギー変換効率を実現できる色素増感型太陽電池を提供することを目的とする。
上記課題を解決するため、本発明者らは鋭意研究を重ねた結果、透明導電膜の材料としてアナターゼ型のTiO2:Nb及び/又はTiO2:Taを含む透明導電性金属酸化物を用いると十分なエネルギー変換効率が実現されるとの知見を得た。
一般に対向型の色素増感型太陽電池においては、その光電極側の透明導電膜としてSnO2:F(フッ素ドープ酸化スズ)が広く用いられている。SnO2:Fが用いられるのは、SnO2:Fからなる透明導電膜が優れた耐熱性と化学的耐久性を有するためである。しかし、SnO2:Fは、これらの特性を有するものの、電気伝導性などの特性につき不十分であり、SnO2:Fからなる透明導電膜を用いた色素増感型太陽電池では十分なエネルギー変換効率が実現できなかった。
これに対し、アナターゼ型のTiO2:Nb及びTiO2:Taは、優れた化学的耐久性を有すると共に、優れた電気伝導性と可視光透過性を有することが知られていた。このため、色素増感型太陽電池用の透明導電膜としてアナターゼ型のTiO2:Nb及び/又はTiO2:Taを用いると、上記特性に起因して透明導電膜部分の内部抵抗が低減すると共に、色素増感型太陽電池の光利用率が向上する効果が期待される。しかし、これらの効果によるエネルギー変換効率の向上は僅かであると考えられていた。
しかしながら、本発明者らが、色素増感型太陽電池において、SnO2:Fの代わりにアナターゼ型のTiO2:Nb及び/又はTiO2:Taを含む透明導電膜を用いたところ、十分なエネルギー変換効率が実現されることを見出し、本発明を完成させるに至った。アナターゼ型のTiO2:Nb及び/又はTiO2:Taを含む透明導電膜を用いると十分なエネルギー変換効率が実現できる主因は、透明導電膜から流出するリーク電流を十分に抑制することができるためと考えられる。
本発明の色素増感型太陽電池は、少なくとも一方の面に透明導電膜が形成された透明基板と、前記透明導電膜に離間対向するように導電層が形成された対向基板と、前記透明基板と前記対向基板との間に設けられる太陽電池セルとを備え、前記太陽電池セルが、増感色素及び酸化物半導体を含有し前記透明導電膜と電気的に接続される受光電極と、前記導電層と電気的に接続される対極と、前記透明導電膜と前記導電層との間に保持される電解質とからなる色素増感型太陽電池であって、前記透明導電膜が、アナターゼ型TiO2:Nb及びアナターゼ型TiO2:Taからなる群より選ばれる少なくとも1種の透明導電性金属酸化物を含むものである。
本発明の対向型の色素増感型太陽電池によれば、透明導電膜の材料としてアナターゼ型のTiO2:Nb及び/又はTiO2:Taを含む透明導電性金属酸化物を用いるため、十分なエネルギー変換効率を実現できる。
また、アナターゼ型のTiO2:Nb及びTiO2:Taは化学的耐久性に優れることから、これらの材料を透明導電膜として用いると色素増感型太陽電池の耐久性を向上できる。
また、本発明の色素増感型太陽電池は、透明基板と、前記透明基板上に形成され、互いに離隔している第1の膜部分および第2の膜部分を有する透明導電膜と、前記透明導電膜のうち前記第1の膜部分上に形成され、増感色素及び酸化物半導体を含有し前記第1の膜部分と電気的に接続される受光電極と、前記第2の膜部分と電気的に接続される対極と、前記受光電極及び前記対極の間に設けられ、前記第1の膜部分と前記第2の膜部分とを電気的に絶縁し、電解質を保持するセパレータと、を備える色素増感型太陽電池であって、前記透明導電膜が、アナターゼ型TiO2:Nb及びアナターゼ型TiO2:Taからなる群より選ばれる少なくとも1種の透明導電性金属酸化物を含むものである。
従来の3層型の色素増感型太陽電池においても、その光電極側の透明導電膜としてこれまでフッ素ドープ酸化スズ(SnO2:F)が広く用いられてきた。本発明者らは、SnO2:Fの代わりにアナターゼ型のTiO2:Nb及び/又はTiO2:Taを含む透明導電性金属酸化物を用いると上述の対向型の色素増感型太陽電池と同様に、3層型の色素増感型太陽電池においても十分なエネルギー変換効率を実現できることを見出した。
本発明の3層型の色素増感型太陽電池によれば、透明導電膜の材料としてアナターゼ型のTiO2:Nb及び/又はTiO2:Taを含む透明導電性金属酸化物を用いるため、十分なエネルギー変換効率を実現できる。
また、アナターゼ型のTiO2:Nb及びTiO2:Taは化学的耐久性に優れることから、これらの材料を透明導電膜として用いると色素増感型太陽電池の耐久性を向上できる。
また、本発明の対向型及び3層型の色素増感型太陽電池にて使用する電解質においては、1気圧における沸点が300℃以下である溶媒(以下、「低沸点溶媒」という。)の含有量を当該電解質の全質量基準で50質量%以下とすることができる。低沸点溶媒の含有量が50質量%以下の電解質を用いた色素増感型太陽電池は、低沸点溶媒の含有量が50質量%を超える電解質を用いた色素増感型太陽電池よりも高温での耐久性が向上するため、高温状態にて使用してもエネルギー変換効率の低下を十分に抑制できる。低沸点溶媒の含有率が50質量%以下であると、電解質から溶媒成分が揮発することを十分に抑制でき、電解質の変質が十分に防止されるためである。なお、本発明において、電解質とは電子を通さずイオンのみを通す物質をいい、電解質としては液状のもの(電解液)やゲル状のものなどがある。
なお、以下の説明において、TiO2:Nb及びTiO2:Taは、いずれもアナターゼ型の結晶型を有するものを指すものとする。
本発明によれば、透明導電膜と電解質とが直接接触しても、十分なエネルギー変換効率を実現できる色素増感型太陽電池が提供される。
以下、必要に応じて図面を参照しながら、本発明の好適な実施形態について詳細に説明する。なお、同一又は相当部分には同一符号を付し、重複する説明は省略する。
図1は、本発明による色素増感型太陽電池の一実施形態を示す断面図である。図1に示す色素増感型太陽電池100は、3層型と称されるものであり、全体として透明性を有している。色素増感型太陽電池100は、透明基板1と、透明基板1の一方面側(図中下側)において透明基板1と隣接するとともに、溝9を介して互いに離隔している第1の膜部分2a及び第2の膜部分2bを有する透明導電膜と、第1の膜部分2aの透明基板1と反対側の面上に設けられた受光電極3と、受光電極3と対向配置され、第2の膜部分2bと接するように透明基板1と略垂直な方向に延出した延出部8aを有する対極8と、受光電極3及び対極8の間に挟まれるともに第1の膜部分2a及び第2の膜部分2bの間にも挟まれるように形成されたセパレータ4とを備えている。そして、受光電極3、セパレータ4及び対極8からなる太陽電池セル40は、その外周面を覆うように設けられたシール層5によって封止されている。さらに、対極8のセパレータ4と反対側の面上には、透明基板6が設けられている。
この色素増感型太陽電池100においては、透明基板1の太陽電池セル40と反対側(図中上側)の面F1から入射した光が受光電極3に達したときに、受光電極3中の酸化物半導体に吸着されている増感色素が励起され、この増感色素から酸化物半導体へ電子が注入される。そして、酸化物半導体に注入された電子は、第1の膜部分2aに集められて外部に取り出される。取り出された電子は、外部に接続された負荷を経由した後、第2の膜部分2bを経て対極8に達し、更に、セパレータ4に保持された電解液中の酸化還元対によって受光電極3まで運ばれて、増感色素を還元する。このように電子を循環させることで、色素増感型太陽電池100は太陽電池として機能する。
透明基板1は、ガラス、透明プラスチック、無機物透明結晶体等の光を透過する材料で形成された透光性の基板であればよい。ガラス基板としては、その表面を適当に荒らすなどして光の反射を低減した、すりガラス状の半透明のものを用いることもできる。
透明基板1の一方面上には、透明導電膜の第1の膜部分2a及び第2の膜部分2bが、底面に透明基板1が露出している溝9を介して互いに離間した位置に形成されている。第1の膜部分2aは、受光電極3とともにいわゆる光電極を構成しており、第2の膜部分2bは対極8と外部回路との電気的な接続を媒介する。この透明導電膜は、透明導電性金属酸化物であるTiO2:Nb及び/又はTiO2:Taにより形成される。
ここで、TiO2:Nbは、ニオブを酸化チタンに置換固溶したもので、ニオブドープ酸化チタンとも称されるものである。同様に、TiO2:Taはタンタルドープ酸化チタンとも称されるものである。
これまで広く透明導電膜として用いられているSnO2:Fと比較し、TiO2:Nb及びTiO2:Taによれば、これを透明導電膜の材料として使用するとリーク電流の発生を抑制できるため、エネルギー変換効率の高い色素増感型太陽電池を得ることができる。また、TiO2:Nb及びTiO2:Taは、In2O3:Sn(ITO)やZnO:Al(AZO)などの透明導電性金属酸化物と比較し、化学的耐久性に優れるため、透明導電膜がTiO2:Nb及び/又はTiO2:Taにより形成されていると透明導電膜の耐久性、ひいてはこれを備える色素増感型太陽電池の耐久性が向上する。即ち透明導電膜がTiO2:Nb及び/又はTiO2:Taからなる透明導電性金属酸化物により形成されていると、高い耐久性と高いエネルギー変換効率を両立させることができる。
なお、本明細書においては、「置換固溶される側の金属酸化物中の全金属原子の数に対する置換固溶する原子の数の割合(%)」を、置換固溶する原子のドープ率と定義すると、TiO2:Nbの場合はTiO2に含まれるTi原子に対するNb原子の数の割合がNbのドープ率である。
ここで、TiO2:Nbにおいては、Nbのドープ率は0.5〜20%、TiO2:Taにおいては、Taのドープ率は0.5〜20%であることが好ましい。
上記透明導電性金属酸化物において、ドープ率が下限未満では、下限以上である場合に比べて電気伝導性が小さくなるので、これを透明導電膜2に用いた色素増感型太陽電池の形状因子及び変換効率が低下する傾向がある。一方、ドープ率が上限を超えると、ドープ率が上限以下である場合に比べて、光透過率が小さくなる傾向がある。
受光電極3は、酸化物半導体粒子で形成された多孔体及びこれに吸着した増感色素を含有している。受光電極3を構成する酸化物半導体は、半導体として機能する金属酸化物であれば特に限定されるものではないが、好適な具体例としては、TiO2、ZnO、SnO2、Nb2O5、In2O3、WO3、ZrO2、La2O3、Ta2O5、SrTiO3、BaTiO3等が挙げられる。これらの酸化物半導体の中でも、TiO2の中でもアナターゼ型のTiO2が好ましい。
また、受光電極3中の増感色素は、可視光領域または赤外光領域の光により励起されて電子を放出する色素であれば特に限定されるものではないが、特に、200〜10000nmの波長の光により励起されて電子を放出するものが好ましい。このような増感色素としては、金属錯体や有機色素等を用いることができる。金属錯体としては銅フタロシアニン、チタニルフタロシアニン等の金属フタロシアニン、クロロフィルまたはその誘導体、ヘミン、ルテニウム、オスミウム、鉄及び亜鉛の錯体(例えば、シス−ジシアネート−N,N’−ビス(2、2’−ビピリジル−4、4’−ジカルボキシレート)ルテニウム(II))等が挙げられる。有機色素としては、メタルフリーフタロシアニン、シアニン系色素、メロシアニン系色素、キサンテン系色素、トリフェニルメタン系色素等を用いることができる。なお、通常、色素増感型太陽電池100を透過する光は、この増感色素に由来する色に着色されたものとなる。
受光電極3は、増感色素の電子の放出に寄与する可視光領域または赤外光領域の光の透過性を有していれば透明性について特に限定されるものではないが、受光電極3を透かして反対側が視認できる程度の透明性であって、色素増感型太陽電池100が用いられる用途において必要とされる程度の透明性を有していることが好ましい。
セパレータ4は、受光電極3及び対極8の対向面間を充填するとともに、受光電極3の
側面と対極8の延出部8aとの間、並びに溝9も充填するように設けられている。
側面と対極8の延出部8aとの間、並びに溝9も充填するように設けられている。
セパレータ4においては、絶縁性材料からなる透明な絶縁性の多孔体に、液状またはゲル状の電解質が保持されている。電解質は、溶媒に溶解した酸化還元対を含んでおり、この酸化還元対によって、受光電極3と対極8との間の電子の受け渡しが媒介される。なお、この電解質は、通常、その一部が受光電極3内や対極8内にも浸透している。
セパレータ4における絶縁性の多孔体は、例えば、ガラスビーズ、二酸化ケイ素(シリカ)等の粒子で形成される。この絶縁性の多孔体は、コスト削減の観点から塗布及び焼結によって形成することが可能なものが好ましく、具体的には、シリカ粒子を焼結した絶縁性の多孔体が好ましい。シリカ粒子を焼結した多孔体が好ましい理由は、当該多孔体は屈折率が低く光散乱が小さいため、良好な透明性を有するためである。また、当該多孔体は、良好な透明性を確保するため、平均粒径が5〜150nmであることが好ましい。
電解質の溶質としては、酸化還元対I3 −/I−を生じるヨウ化ジメチルプロピルイミダゾリウム、ヨウ化リチウム、ヨウ化1−メチル3−プロピルイミダゾリウム、酸化還元対Br3 −/Br−を生じる臭化リチウム、酸化還元対ハイドロキノン/キノンを生じるキノン等が挙げられ、これらの中でも、特に酸化還元対としてI3 −/I−を生じる溶質を好適に用いることができる。電解質には、更に、受光電極3から電解質中の酸化体への電子の移動を抑制するための添加剤として、例えば、4−tert−ブチルピリジン等を含有させてもよい。
電解質中の溶媒としては、有機溶剤や水を使用できるが、電気的に不活性で、比誘電率が高くかつ粘度の低いものが好ましい。例えば、メトキシプロピオニトリル、アセトニトリル等のニトリル系溶媒、γ−ブチロラクトン、バレロラクトン等のラクトン系溶媒、エチレンカーボネート、プロプレンカーボネート等のカーボネート系溶媒等が挙げられる。
ここで、電解質中の低沸点溶媒の含有量は、当該電解質の全質量基準で50質量%以下とすることができる。電解質中に含まれる低沸点溶媒の含有量が50質量%以下である電解質を用いると、高温での耐久性が向上するため、高温状態にて使用してもエネルギー変換効率の低下を十分に抑制できる。低沸点溶媒の含有率が50質量%以下であると、電解質から溶媒成分が揮発することを十分に抑制でき、電解質の変質が十分に防止されるためである。なお、1気圧における沸点が300℃を超える溶媒としては、室温付近で液体状態をとるイオン液体を用いることができ、具体的には、ヨウ化1−メチル3−プロピルイミダゾリウムなどのイミダゾリウム塩類を使用できる。
対極8は、透明導電性金属酸化物粒子と、遷移金属を含んでいる触媒粒子とを含有し、全体が透明になるように形成された透明電極からなる。対極8は、これを透かして反対側が視認できる程度の透明性であって、色素増感型太陽電池100が用いられる用途において必要とされる程度の透明性を有していればよい。
上記の透明導電性金属酸化物粒子としては、透明導電膜を形成可能な透明導電性金属酸化物を含んでいる粒子であって、単独で製膜されたときに、透明電極を形成することが可能な程度の透明性及び導電性を有するものが用いられる。この透明導電性金属酸化物粒子は、In2O3:Sn(ITO)、SnO2:F(FTO)、SnO2:Sb(ATO)、ZnO:Al(AZO)、ZnO:Ga(GZO)、In2O3:Zn(IZO)、TiO2:Nb及びTiO2:Taからなる群より選択される少なくとも1種の透明導電性金属酸化物を含んでいることが好ましい。
これらの中でも、透明導電性金属酸化物がTiO2:Nb及び/又はTiO2:Taを含むことがより好ましい。対極8が、透明導電性金属酸化物としてTiO2:Nb及び/又はTiO2:Taを含んでいると、TiO2:Nb及びTiO2:Taは、In2O3:SnやZnO:Alなどよりも化学的耐久性に優れるため、対極8の耐久性、ひいてはこれを備える色素増感型太陽電池100の耐久性が向上する。またTiO2:Nb及びTiO2:Taは、SnO2:Sbなどと比較して優れた導電性を有しているため、色素増感型太陽電池100のエネルギー変換効率も向上する。即ち透明導電性金属酸化物がTiO2:Nb及び/又はTiO2:Taを含むと、高い耐久性と高いエネルギー変換効率を両立させることができる。
ここで、In2O3:Snにおいては、Snのドープ率は1〜25%であることが好ましい。同様に、In2O3:Znにおいては、Znのドープ率は1〜25%、SnO2:Fにおいては、Fのドープ率は5〜50%、SnO2:Sbにおいては、Snのドープ率は5〜55%、ZnO:Alにおいては、Alのドープ率は1〜25%、ZnO:GaにおいてはGaのドープ率は1〜25%、In2O3:ZnにおいてはZnのドープ率は1〜25%、TiO2:Nbにおいては、Nbのドープ率は0.5〜20%、TiO2:Taにおいては、Taのドープ率は0.5〜20%であることが好ましい。
上記透明導電性金属酸化物において、ドープ率が下限未満では、下限以上である場合に比べて電気伝導性が小さくなるので、これを対極8に用いた色素増感型太陽電池の形状因子及び変換効率が低下する傾向がある。一方、ドープ率が上限を超えると、ドープ率が上限以下である場合に比べて、光透過率が小さくなる傾向がある。
対極8中の透明導電性金属酸化物粒子は、平均粒径が5〜150nmであることが好ましい。この平均粒径が5nm未満であると、粒子間の間隙が狭くなるために透明電極中を酸化還元対が拡散しにくくなって、エネルギー変換効率が低下する傾向にある。また、平均粒径が150nmを超えると光散乱のため透明性が低下する傾向にある。ここで、透明導電性金属酸化物粒子の平均粒径は、透明電極の薄片を透過型電子顕微鏡で観察し、観察視野中の透明導電性金属酸化物粒子の粒径(内径の最大値)の平均値として求められる値である。
触媒粒子は、遷移金属を、単独の金属として、又は遷移金属を有する金属化合物として含んでいる粒子である。この触媒粒子は、上記の透明導電性金属酸化物粒子とともに、全体として透明となるような混合比率、形態等で透明電極中に存在している。触媒粒子は、Pt、Co、Fe、Ni及びMnからなる群より選ばれる少なくとも1種の遷移金属を含んでいることが好ましい。
触媒粒子の好適な具体例としては、Pt金属を含んでいる(又はPtからなる)Pt粒子や、La0.7Sr0.3Co0.9Fe0.1O3のようなCo、Fe、Ni、Mn等の遷移金属を有する複合酸化物を含んでいる複合酸化物粒子が挙げられる。触媒粒子としてPt粒子又は複合酸化物粒子を用いることにより、透明性を維持しつつ、特に大きなエネルギー変換効率が得られる。
触媒粒子の平均粒径は、150nm以下であることが好ましく、50nm以下であることがより好ましい。触媒粒子の平均粒径が150nmを超えると、酸化還元対の還元反応速度が低下する傾向にあるため、大きなエネルギー変換効率を得るためには触媒粒子の比率を高める必要があるが、触媒粒子の比率を高めると、電極の透明性が低下する傾向にある。また、触媒粒子の平均粒径が大きくなると、その混合比率が低かったとしても電極の透明性が低下する傾向にある。触媒粒子の平均粒径は、2nm以上であることが好ましい。なお、触媒粒子の平均粒径は、透明導電性金属酸化物粒子の平均粒径について上述したのと同様に、透過型電子顕微鏡を用いた方法で求められる値である。
対極8を形成している透明電極は、触媒粒子を、上記の透明導電性金属酸化物粒子の量に対して0.01〜10質量%の割合で含有することが好ましく、0.01〜2質量%の割合で含有することがより好ましい。触媒粒子の割合が0.01質量%未満であるとエネルギー変換効率が低下する傾向にあり、10質量%を超えると透明性が低下する傾向にある。
以上のような透明導電性金属酸化物粒子及び触媒粒子を含有している透明電極は、例えば、透明導電性金属酸化物粒子及び触媒粒子それぞれをメタノール等の溶剤に分散させた分散液を混合した混合液から、加熱により溶剤を除去して、透明導電性金属粒子に触媒粒子が担持された粒子混合物を得、これにエチルセルロース等の増粘剤を加えて調製した透明電極形成用のペーストをセパレータ等に塗布し、加熱して溶剤を除去することにより、形成させることができる。ペーストの塗布は、スクリーン印刷法等の通常の方法で行うことができる。透明導電性金属酸化物粒子及び触媒粒子をそれぞれ分散させた分散液は、公知の方法で調製することができる。
シール層5は、太陽電池セル40の内部に保持されている電解質が外部へ漏れ出すことを防止することを主な目的として設けられている。シール層5は、例えば、熱可塑性樹脂、熱架橋型樹脂、エポキシ系接着剤等で形成させることができる。必要に応じて、対極8と透明基板6との間にも同様のシール層を配置してもよい。
透明基板6は、先に述べた透明基板1と同様の透明基板である。
以上のような構成を有する色素増感型太陽電池100は、例えば、以下のような方法により製造することができる。
まず、透明基板1の一方面上に、透明導電膜を形成させる。透明導電膜は、スプレーコート法、真空蒸着法、スパッタリング法、CVD法及びゾルゲル法等の薄膜製造技術を用いて形成することが好ましい。そして、この透明導電膜の一部を、レーザスクライブ法等の方法で除去して溝9を形成し、互いに離間する第1及び第2の膜部分2a,2bを形成する。
続いて、所定の粒径(好ましくは平均粒径5〜150nm程度)の酸化物半導体粒子を分散溶媒に分散させた分散液を、バーコーター法、印刷法などで第1の膜部分2a上に塗布してから分散溶媒を除去し、さらに加熱して酸化物半導体粒子を焼結して、酸化物半導体粒子からなる多孔体を形成させる。このとき用いる分散溶媒としては、水、有機溶媒、または両者の混合溶媒等、酸化物半導体粒子を分散できるものであればよい。また、分散液中には必要に応じて界面活性剤、粘度調節剤等を加えてもよい。
酸化物半導体粒子からなる多孔体を形成させる他の方法として、第1の膜部分2a上にTiO2等の酸化物半導体を膜状に蒸着させる方法を採用してもよい。例えば、電子ビーム蒸着、抵抗加熱蒸着、スパッタ蒸着、クラスタイオンビーム蒸着のような物理蒸着法を用いてもよく、酸素等の反応性ガス中で金属等を蒸発させ、反応生成物を透明導電膜上に
堆積させる反応蒸着法を用いてもよい。あるいは、反応ガスの流れを制御したCVD等の化学蒸着法を用いることもできる。
堆積させる反応蒸着法を用いてもよい。あるいは、反応ガスの流れを制御したCVD等の化学蒸着法を用いることもできる。
次に、この酸化物半導体粒子からなる多孔体の第1の膜部分2aと反対側の面及び一側面を覆うとともに、溝9を充填する絶縁性の多孔体をセパレータ4の絶縁性の多孔体として形成させる。この絶縁性の多孔体は、例えば、シリカ粒子が分散した分散液(スラリー)を塗布し、これを乾燥及び焼結して形成させることができる。
続いて、上記絶縁性の多孔体の、酸化物半導体粒子からなる多孔体と反対側の面上に、上記本発明の透明電極からなる対極8を、第2の膜部分2bと電気的に接続される延出部8aが形成されるように形成させる。透明電極は、上述した透明電極形成用のペーストを、セパレータ4の多孔体上に塗布し、これを乾燥及び焼結して形成させることができる。この場合の乾燥及び焼結の条件としては、例えば、通常のIn2O3:Sn透明導電膜を形成させる際に一般に行われているのと同様の条件を採用することができる。
形成された酸化物半導体粒子からなる多孔体に、増感色素を付着(化学吸着、物理吸着または堆積など)させて、受光電極3を形成させる。付着は、例えば色素を含む溶液中に多孔体を浸漬する方法により行うことができる。この際、溶液を加熱し還流させるなどして増感色素の吸着、堆積を促進してもよい。なお、受光電極3内に混入している、光電変換反応を阻害する不純物を除去する表面酸化処理を、受光電極3に対して適宜施してもよい。
そして、受光電極3、セパレータ4及び対極8で構成された太陽電池セル40に、対極8側から電解質を充填し、シール層5を形成させて、色素増感型太陽電池100が得られる。あるいは、シール層5を形成させた後に電解質を含浸させてもよい。
図2は、本発明による色素増感型太陽電池を複数備える色素増感型太陽電池モジュールを示す断面図である。図2に示す色素増感型太陽電池モジュール200においては、透明基板1の一面上に透明導電膜2が形成されている。透明導電膜2にはレーザによるスクライブ等により溝20が形成されており、透明導電膜2は、この溝20を介して互いに離間している複数の膜部分を有している。透明導電膜2上には、色素増感型太陽電池100と同様の太陽電池セル40が複数設けられており、この複数の太陽電池セル40は、透明導電膜2を介して直列に電気的に接続されている。なお、太陽電池セルは、透明導電膜を介して並列に電気的に接続されていてもよい。
太陽電池セル40において、受光電極3は透明導電膜2のうち一の膜部分と接しており、対極8は透明導電膜2のうち他の膜部分と接しており、これにより、受光電極8及び対極8はそれぞれの膜部分に電気的に接続されている。
透明基板1の一方面上に形成された透明導電膜2は、透明導電性金属酸化物であるTiO2:Nb及び/又はTiO2:Taにより形成されており、当該透明導電膜を備える色素増感型太陽電池モジュール200はリーク電流の発生を抑制でき、十分なエネルギー変換効率を実現できる。
また、TiO2:Nb及びTiO2:Taは、In2O3:Sn(ITO)やZnO:Al(AZO)などの透明導電性金属酸化物と比較し、化学的耐久性に優れるため透明導電膜がTiO2:Nb及び/又はTiO2:Taにより形成されていると、透明導電膜の耐久性、ひいてはこれを備える色素増感型太陽電池の耐久性が向上する。従って、TiO2:Nb及び/又はTiO2:Taからなる透明導電性金属酸化物により形成された透明導電膜2を備える色素増感型太陽電池モジュール200は高い耐久性と高いエネルギー変換効率の両立が実現できる。
更に、2枚の透明支持基板11a,11bの間に透明な無機材料層12が挟まれた積層シート10が、加熱による接合が可能な樹脂からなるシール層5を挟んで、透明基板1と反対側から積層されている。
透明支持基板11a,11bとしては、PETフィルム等が用いられる。無機材料層12は、透明性を有し、かつ防湿性のある無機材料で形成される。例えば、シリカ(SiO2)、アルミナ(Al2O3)、チタニア(TiO2)、ジルコニア(ZnO2)、酸化亜鉛(ZnO)等の酸化物を単独又は複数種用いて、透明支持基板上に蒸着、スパッタ等で薄膜状に製膜して、形成される。
積層シート10は、例えば、加熱による接合が可能な樹脂フィルムを挟んで透明基板1
と反対側から積層シート10を貼り合わせた状態で加熱することによって、積層される。またこのとき、樹脂フィルムが太陽電池セル40を覆うように流動してこれを封止するとともに透明導電膜2と密着して、シール層5となる。シール層5を形成するために用いる樹脂としては、例えば、ポリイソブチレン等が挙げられる。
と反対側から積層シート10を貼り合わせた状態で加熱することによって、積層される。またこのとき、樹脂フィルムが太陽電池セル40を覆うように流動してこれを封止するとともに透明導電膜2と密着して、シール層5となる。シール層5を形成するために用いる樹脂としては、例えば、ポリイソブチレン等が挙げられる。
色素増感型太陽電池モジュール200は、太陽電池セル40を複数形成させる他は、色素増感型太陽電池100と同様にして製造することができる。各層の形成は、スクリーン印刷等の印刷法を利用して、一括して行うことができる。
なお、色素増感型太陽電池モジュールは、透明基板1の透明導電膜2と反対側の面上には反射防止層や紫外線カット層が設けられていてもよいし、各層間に所望の機能を有する層が設けられていてもよい。
図3は、本発明による色素増感型太陽電池の他の実施形態を示す断面図である。図3に示す色素増感型太陽電池150は、対向型と称されるものであり、全体として透明性を有している。図3に示す色素増感型太陽電池150は、一方面側(図中下側)に透明導電膜21が形成された透明基板1と、透明導電膜21に離間対向するにように透明導電膜(導電層)22が形成された透明基板(対向基板)6を備えており、透明導電膜21と透明導電膜22の間に配置される太陽電池セル45は、受光電極3、対極8、及び電解液(電解質)24からなっている。なお、電解液24は受光電極3と対極8との間の空間部分に充填されるとともに、両電極の空隙部分にも充填されている。そして、太陽電池セル45は、その外周面を覆うように設けられたシール層5によって封止されている。
この色素増感型太陽電池150においては、透明基板1の太陽電池セル45と反対側(図中上側)の面F1から入射した光が受光電極3に達したときに、受光電極3中の酸化物半導体に吸着されている増感色素が励起され、この増感色素から酸化物半導体へ電子が注入される。そして、酸化物半導体に注入された電子は、透明導電膜21に集められて外部に取り出される。取り出された電子は、外部に接続された負荷を経由した後、透明導電膜22を経て対極8に達し、更に、電解液中の酸化還元対によって受光電極3まで運ばれて、増感色素を還元する。このように電子を循環させることで、色素増感型太陽電池150は太陽電池として機能する。
透明基板1の一方面上に形成された透明導電膜21は、透明導電性金属酸化物であるTiO2:Nb及び/又はTiO2:Taにより形成されており、当該透明導電膜を備える色素増感型太陽電池150はリーク電流の発生を抑制でき、十分なエネルギー変換効率を実現できる。
また、TiO2:Nb及びTiO2:Taは、In2O3:Sn(ITO)やZnO:Al(AZO)などの透明導電性金属酸化物と比較し、化学的耐久性に優れるため透明導電膜がTiO2:Nb及び/又はTiO2:Taにより形成されていると、透明導電膜の耐久性、ひいてはこれを備える色素増感型太陽電池の耐久性が向上する。従って、TiO2:Nb及び/又はTiO2:Taからなる透明導電性金属酸化物により形成された透明導電膜21を備える色素増感型太陽電池150は高い耐久性と高いエネルギー変換効率の両立が実現できる。
一方、透明基板6の一方面に形成される透明導電膜22は、In2O3:Sn、SnO2:F、SnO2:Sb、ZnO:Al、ZnO:Ga、In2O3:Zn、TiO2:Nb及びTiO2:Ta等の透明導電性金属酸化物により好適に形成される。これらの中でも、高いエネルギー変換効率と耐久性を兼ね備えるという点から、TiO2:Nb及びTiO2:Taがより好ましい。
透明導電膜22の表面に形成される対極8は、上述した色素増感型太陽電池100と同様に、透明導電性金属粒子及び触媒粒子を含有するペーストを塗布、乾燥させることにより形成することができる。また、透明導電膜22の表面に、例えば、白金の微粒子若しくは薄膜を配置して対極8としてもよい。
以上のような構成を有する色素増感型太陽電池150は、例えば、以下のような方法により製造することができる。
まず、透明基板1の一方面に透明導電膜21、さらにその表面に受光電極3を形成し、一方、透明基板6の一方面に透明導電膜22、さらにその表面に対極8を形成する。そして、受光電極3と対極8とを離間対向させ、両電極の間の空間部分及び両電極における空隙部分に電解液24を充填し、シール層5を形成させる。あるいは、シール層5を形成させた後に電解液を含浸させてもよい。なお、各層の形成方法は上述した色素増感型太陽電池100で用いた方法と同様の方法を採用することができる。
なお、色素増感型太陽電池100及び色素増感型太陽電池150は全体として透明性を有しないものであってもよい。この場合、対極8として、塗布及び焼結による形成が可能であり、かつ、比較的良好な還元特性を有する炭素電極を用いてもよい。また、必ずしも対向基板として透明基板を使用しなくてもよく、不透明な蒸着膜やアルミニウムなどの金属箔を用いてもよい。
また、色素増感型太陽電池が全体として十分な透明性を有しないものであってもよい場合、太陽電池セルにおける光の吸収率を向上させることによって、エネルギー変換効率の向上を図ることができる。例えば、光の吸収率を向上させるためには、受光電極3及び/又はセパレータ4に粒径が大きい粒子を混在させればよい。粒径が大きい粒子は光散乱効果が大きいためである。具体的には、受光電極3として、粒径が小さい粒子と粒子が大きい粒子とが混在した酸化物半導体からなる多孔体を用いればよい。同様に、セパレータ4として、粒径が小さい粒子と粒子が大きい粒子とが混在した絶縁性材料からなる多孔体を用いればよい。
また、上記と同様、粒径が大きい粒子の光散乱効果を利用して光の吸収率を向上させる観点から、受光電極3及びセパレータ4をそれぞれ2層以上の多層構造としてもよく、例えば、受光電極3として、粒径が小さい粒子のみからなる第1層及び粒径が大きい粒子を含む第2層を備える多孔体を第1層が透明導電膜2に接するよう配置して用いてもよい。同様に、セパレータ4として、粒径が小さい粒子のみからなる第1層及び粒径が大きい粒子を含む第2層を備える多孔体を第2層が透明電極18に接するよう配置して用いてもよい。
以下、実施例及び比較例を挙げて、本発明についてより具体的に説明する。ただし、本発明は以下の実施例に限定されるものではない。
(実施例1)
図3に示す色素増感型太陽電池と同様の構成を有し、透光性を有する対向型の色素増感型太陽電池であって、アナターゼ型のTiO2:Nb(Nbドープ率:5.3%)からなる透明導電膜を光電極側に備えるものを以下のようにして作製した。
図3に示す色素増感型太陽電池と同様の構成を有し、透光性を有する対向型の色素増感型太陽電池であって、アナターゼ型のTiO2:Nb(Nbドープ率:5.3%)からなる透明導電膜を光電極側に備えるものを以下のようにして作製した。
即ち、まず透明基板としてのガラス基板上に、アナターゼ型のTiO2:Nbの透明導電膜(厚さ700nm)をスパッタリングにより形成した。次いで、この透明導電膜上に、アナターゼ型のTiO2粒子(平均粒径20nm)を焼結してTiO2の多孔体(厚さ6μm)を形成させた。
一方、対向基板としてのガラス基板上に、SnO2:F(Fドープ率:1.4%)の透明導電膜(厚さ700nm)をスプレーコート法により形成した。次いで、これを覆うように、塩化白金酸のアルコール溶液をスピンコートにて塗布し、500℃にて焼成することにより、Ptを担持させた。
このように各層が形成された透明基板と対向基板とを、受光電極であるTiO2の多孔体と対極としてのPtが担持されたSnO2:Fからなる膜とが、離間対向するように配置した。
次に、増感色素であるRuthenium 535bis−TBA(商品名(旧名「N719」)、Soloronix社製)を、TiO2の多孔体に吸着させた。増感色素の吸着は、全体を増感色素の0.3Mエタノール溶液に浸漬した状態で室温で48時間放置することによって行った。
更に、受光電極と対極との間の空間部分、及び、受光電極(TiO2の多孔体)の空隙部分に、ヨウ化ジメチルプロピルイミダゾリウム(0.6M)、ヨウ素(0.1M)、及び4−tert−ブチルピリジン(0.5M)をγ−ブチロラクトンに溶解させた液状の電解質を充填し、シール層をポリイソブチレンで形成させて、対向型の色素増感型太陽電池を得た。溶媒として用いたγ−ブチロラクトンの含有量は、電解質の全質量基準で82質量%であった。
(実施例2)
図1に示す色素増感型太陽電池と同様の構成を有し、3層型の色素増感型太陽電池であって、アナターゼ型のTiO2:Nb(Nbドープ率:5.3%)からなる透明導電膜を備えるものを以下のようにして作製した。
図1に示す色素増感型太陽電池と同様の構成を有し、3層型の色素増感型太陽電池であって、アナターゼ型のTiO2:Nb(Nbドープ率:5.3%)からなる透明導電膜を備えるものを以下のようにして作製した。
即ち、まず透明基板としてのガラス基板上に、アナターゼ型のTiO2:Nbの透明導電膜(厚さ700nm)をスパッタリングにより形成し、これをYAGレーザでスクライブして、第1の膜部分及び第2の膜部分に分割した。次いで、第1の膜部分上の所定の位置にアナターゼ型のTiO2粒子(平均粒径20nm)を焼結してTiO2の多孔体(厚さ3μm)を形成し、さらにこの上にアナターゼ型のTiO2粒子(平均粒径20nm)とアナターゼ型のTiO2粒子(平均粒径200nm)とを質量比30:70で含有するTiO2の多孔体(厚さ7μm)を形成して積層構造の受光電極を形成した。その後、TiO2の多孔体からなる受光電極の上に、シリカ粒子(平均粒径40nm)とルチル(平均粒径400nm)とを質量比35:65で含有する分散液を塗布及び焼結して絶縁性の多孔体(厚さ5μm)を形成した。
続いて、絶縁性の多孔体を覆うように、対極としての炭素電極を形成させた。炭素電極の形成においては、まず、カーボンブラック(平均粒径40nm)とグラファイト(平均粒径5μm)とSiO2粒子(平均粒径8nm)とを質量比20:100:15で含有する分散液を塗布及び焼結して多孔体(20μm)を形成し、さらにこの上にカーボンブラック(平均粒径40nm)と気相合成カーボンファイバー(平均直径150nm、平均長さ5μm)とSiO2粒子(平均粒径8nm)とを質量比20:100:15で含有する分散液を塗布及び焼結して多孔体(20μm)を形成して積層構造の対極を形成した。
なお、増感色素及び電解質については実施例1と同様のものを使用した。
(実施例3)
図1に示す色素増感型太陽電池と同様の構成を有し、3層型の色素増感型太陽電池であって、アナターゼ型のTiO2:Nb(Nbドープ率:5.3%)からなる透明導電膜を備えるものを以下のようにして作製した。
図1に示す色素増感型太陽電池と同様の構成を有し、3層型の色素増感型太陽電池であって、アナターゼ型のTiO2:Nb(Nbドープ率:5.3%)からなる透明導電膜を備えるものを以下のようにして作製した。
即ち、まず透明基板としてのガラス基板上に、アナターゼ型のTiO2:Nbの透明導電膜(厚さ700nm)をスパッタリングにより形成し、これをYAGレーザでスクライブして、第1の膜部分及び第2の膜部分に分割した。次いで、第1の膜部分上の所定の位置にアナターゼ型のTiO2粒子(平均粒径20nm)を焼結してTiO2の多孔体(厚さ6μm)を形成して単層構造の受光電極を形成した。その後、TiO2の多孔体からなる受光電極の上に、シリカ粒子(平均粒径40nm)の分散液を塗布及び焼結して絶縁性の多孔体(厚さ2μm)を形成した。
続いて、絶縁性の多孔体を覆うように、対極としての透明電極を形成させた。透明電極の形成においては、まず、In2O3:Sn(Snドープ率:17%)粒子(平均粒径50nm)及びPt粒子(平均粒径10nm)をそれぞれメタノールに分散させた分散液を、Pt粒子の割合がIn2O3:Sn粒子に対して0.1質量%となるような割合で混合し、これにターピネオールを加えてからメタノールを蒸発させて、In2O3:Sn粒子にPt粒子が担持された粒子混合物を調製した。そして、これにエチルセルロールを加えて調製したペーストを、セパレータ上にスクリーン印刷によって塗布し、150℃で10分間加熱して乾燥後、500℃で15分の加熱により焼結して、透明電極からなる対極(厚さ8μm)を形成させた。
なお、増感色素及び電解質については実施例1と同様のものを使用した。
(実施例4)
増感色素として「Ruthenium 535bis−TBA」の代わりに「Ruthenium 520−DN」(商品名(旧名「Z907」)、Soloronix社製)を使用したこと、並びに、低沸点溶媒を使用せずに電解質を調製し、低沸点溶媒を含有しない電解質を使用したことの他は、実施例1と同様にして、対向型の色素増感型太陽電池を作製した。なお、低沸点溶媒を含有しない電解質は、ヨウ素(0.1M)、及び4−tert−ブチルピリジン(0.5M)をヨウ化1−メチル3−プロピルイミダゾリウムに溶解させることにより得た。
増感色素として「Ruthenium 535bis−TBA」の代わりに「Ruthenium 520−DN」(商品名(旧名「Z907」)、Soloronix社製)を使用したこと、並びに、低沸点溶媒を使用せずに電解質を調製し、低沸点溶媒を含有しない電解質を使用したことの他は、実施例1と同様にして、対向型の色素増感型太陽電池を作製した。なお、低沸点溶媒を含有しない電解質は、ヨウ素(0.1M)、及び4−tert−ブチルピリジン(0.5M)をヨウ化1−メチル3−プロピルイミダゾリウムに溶解させることにより得た。
(実施例5)
増感色素として「Ruthenium 535bis−TBA」の代わりに「Ruthenium 520−DN」を使用したこと、並びに、低沸点溶媒を使用せずに電解質を調製し、低沸点溶媒を含有しない電解質を使用したことの他は、実施例2と同様にして、3層型の色素増感型太陽電池を作製した。なお、電解質は、実施例4と同様のものを使用した。
増感色素として「Ruthenium 535bis−TBA」の代わりに「Ruthenium 520−DN」を使用したこと、並びに、低沸点溶媒を使用せずに電解質を調製し、低沸点溶媒を含有しない電解質を使用したことの他は、実施例2と同様にして、3層型の色素増感型太陽電池を作製した。なお、電解質は、実施例4と同様のものを使用した。
(実施例6)
増感色素として「Ruthenium 535bis−TBA」の代わりに「Ruthenium 520−DN」を使用したこと、並びに、低沸点溶媒を使用せずに電解質を調製し、低沸点溶媒を含有しない電解質を使用したことの他は、実施例3と同様にして、3層型の色素増感型太陽電池を作製した。なお、電解質は、実施例4と同様のものを使用した。
増感色素として「Ruthenium 535bis−TBA」の代わりに「Ruthenium 520−DN」を使用したこと、並びに、低沸点溶媒を使用せずに電解質を調製し、低沸点溶媒を含有しない電解質を使用したことの他は、実施例3と同様にして、3層型の色素増感型太陽電池を作製した。なお、電解質は、実施例4と同様のものを使用した。
(実施例7)
In2O3:Snの代わりにアナターゼ型のTiO2:Nb(Nbドープ率:5.3%)粒子(平均粒径50nm)を用いて対極用のペーストを調製し、これを塗布、焼結させて対極を形成したことの他は、実施例3と同様にして、3層型の色素増感型太陽電池を作製した。
In2O3:Snの代わりにアナターゼ型のTiO2:Nb(Nbドープ率:5.3%)粒子(平均粒径50nm)を用いて対極用のペーストを調製し、これを塗布、焼結させて対極を形成したことの他は、実施例3と同様にして、3層型の色素増感型太陽電池を作製した。
(実施例8)
In2O3:Snの代わりにアナターゼ型のTiO2:Nb(Nbドープ率:5.3%)粒子(平均粒径50nm)を用いて対極用のペーストを調製し、これを塗布、乾燥させて対極を形成したことの他は、実施例6と同様にして、3層型の色素増感型太陽電池を作製した。
In2O3:Snの代わりにアナターゼ型のTiO2:Nb(Nbドープ率:5.3%)粒子(平均粒径50nm)を用いて対極用のペーストを調製し、これを塗布、乾燥させて対極を形成したことの他は、実施例6と同様にして、3層型の色素増感型太陽電池を作製した。
(比較例1)
アナターゼ型のTiO2:Nb(Nbドープ率:5.3%)からなる透明導電膜(光電極側)の代わりにSnO2:F(Fドープ率:1.4%)からなる透明導電膜(厚さ700nm)を備えることの他は、実施例1と同様にして、対向型の色素増感型太陽電池を作製した。
アナターゼ型のTiO2:Nb(Nbドープ率:5.3%)からなる透明導電膜(光電極側)の代わりにSnO2:F(Fドープ率:1.4%)からなる透明導電膜(厚さ700nm)を備えることの他は、実施例1と同様にして、対向型の色素増感型太陽電池を作製した。
(比較例2)
アナターゼ型のTiO2:Nb(Nbドープ率:5.3%)からなる透明導電膜(光電極側)の代わりにSnO2:F(Fドープ率:1.4%)からなる透明導電膜(厚さ700nm)を備えることの他は、実施例2と同様にして、3層型の色素増感型太陽電池を作製した。
アナターゼ型のTiO2:Nb(Nbドープ率:5.3%)からなる透明導電膜(光電極側)の代わりにSnO2:F(Fドープ率:1.4%)からなる透明導電膜(厚さ700nm)を備えることの他は、実施例2と同様にして、3層型の色素増感型太陽電池を作製した。
(比較例3)
アナターゼ型のTiO2:Nb(Nbドープ率:5.3%)からなる透明導電膜(光電極側)の代わりにSnO2:F(Fドープ率:1.4%)からなる透明導電膜(厚さ700nm)を備えることの他は、実施例3と同様にして、3層型の色素増感型太陽電池を作製した。
アナターゼ型のTiO2:Nb(Nbドープ率:5.3%)からなる透明導電膜(光電極側)の代わりにSnO2:F(Fドープ率:1.4%)からなる透明導電膜(厚さ700nm)を備えることの他は、実施例3と同様にして、3層型の色素増感型太陽電池を作製した。
(比較例4)
アナターゼ型のTiO2:Nb(Nbドープ率:5.3%)からなる透明導電膜(光電極側)の代わりにSnO2:F(Fドープ率:1.4%)からなる透明導電膜(厚さ700nm)を備えることの他は、実施例4と同様にして、対向型の色素増感型太陽電池を作製した。
アナターゼ型のTiO2:Nb(Nbドープ率:5.3%)からなる透明導電膜(光電極側)の代わりにSnO2:F(Fドープ率:1.4%)からなる透明導電膜(厚さ700nm)を備えることの他は、実施例4と同様にして、対向型の色素増感型太陽電池を作製した。
(比較例5)
アナターゼ型のTiO2:Nb(Nbドープ率:5.3%)からなる透明導電膜(光電極側)の代わりにSnO2:F(Fドープ率:1.4%)からなる透明導電膜(厚さ700nm)を備えることの他は、実施例5と同様にして、3層型の色素増感型太陽電池を作製した。
アナターゼ型のTiO2:Nb(Nbドープ率:5.3%)からなる透明導電膜(光電極側)の代わりにSnO2:F(Fドープ率:1.4%)からなる透明導電膜(厚さ700nm)を備えることの他は、実施例5と同様にして、3層型の色素増感型太陽電池を作製した。
(比較例6)
アナターゼ型のTiO2:Nb(Nbドープ率:5.3%)からなる透明導電膜(光電極側)の代わりにSnO2:F(Fドープ率:1.4%)からなる透明導電膜(厚さ700nm)を備えることの他は、実施例6と同様にして、3層型の色素増感型太陽電池を作製した。
アナターゼ型のTiO2:Nb(Nbドープ率:5.3%)からなる透明導電膜(光電極側)の代わりにSnO2:F(Fドープ率:1.4%)からなる透明導電膜(厚さ700nm)を備えることの他は、実施例6と同様にして、3層型の色素増感型太陽電池を作製した。
(色素増感型太陽電池の電流−電圧特性)
上記の実施例及び比較例で作製した色素増感型太陽電池について、ソーラーシミュレータ(ワコム製、商品名「WXS−85−H型」)を用いて、AMフィルター(AM1.5)を通したキセノンランプ光源からの疑似太陽光を照射(100mW/cm2)しながら、I−Vテスターを用いて室温にて電流−電圧特性を測定した。
上記の実施例及び比較例で作製した色素増感型太陽電池について、ソーラーシミュレータ(ワコム製、商品名「WXS−85−H型」)を用いて、AMフィルター(AM1.5)を通したキセノンランプ光源からの疑似太陽光を照射(100mW/cm2)しながら、I−Vテスターを用いて室温にて電流−電圧特性を測定した。
得られた電流−電圧特性から、短絡電流密度Jsc(mA・cm−2)、開放電圧Voc(V)、及び形状因子F.F.を求め、これらの値を用いて、下記式(1)によりエネルギー変換効率η[%]を求めた(表1)。ただし、式(1)中、P0は入射光強度(mW/cm2)を示す。
η=100×(Voc×Jsc×F.F.)/P0 ・・・(1)
η=100×(Voc×Jsc×F.F.)/P0 ・・・(1)
表1に示されるように、実施例1と比較例1の結果を比較すると、透明導電膜の材料としてアナターゼ型のTiO2:Nbを使用している実施例1の色素増感型太陽電池は、透明導電膜の材料としてSnO2:Fを使用している比較例1よりも、エネルギー変換効率が向上することが確認された。同様に、表1及び表2に示されるように、実施例2〜6の色素増感型太陽電池と、透明導電膜の材料のみが異なる比較例2〜6とをそれぞれ比較すると、透明導電膜の材料としてアナターゼ型のTiO2:Nbを使用することによりエネルギー変換効率が向上することが確認された。
上記のように実施例においてエネルギー変換効率が向上したのは、リーク電流の低減によるものであると考えられる。その理由は以下の通りである。
第1に、実施例1〜6では比較例1〜6に比べて短絡電流密度Jsc及び開放電圧Vocの両方について向上しているが、これら値の向上の要因としてはリーク電流の低減以外の要因が考えられないためである。
第2に、実施例1〜6及び比較例1〜6の色素増感型太陽電池について、光を照射しない状態で色素増感型太陽電池に流れる電流、いわゆる暗電流の値を測定したところ、その値が低減していることが確認されたためである。
なお、形状因子F.F.の値についても実施例1〜6の方が比較例1〜6よりも向上しているが、F.F.の値の向上は、リーク電流の低減以外の要因が考えられ、必ずしもF.F.の値の向上は、リーク電流の低減によるものであるとは言えない。
表2に示されるように、実施例4と比較例4の結果を比較すると、アナターゼ型のTiO2:Nbからなる透明導電膜を備える実施例4の色素増感型太陽電池の方が、SnO2:Fからなる透明導電膜を備える比較例4よりも、エネルギー変換効率が向上することは上述の通りであるが、比較例4のエネルギー変換効率の値は1.7であったのに対し、実施例4ではその値は2.8であり、1.4倍に向上したことが確認された。これにより、低沸点溶媒を含有しない電解質を用いる場合、アナターゼ型のTiO2:Nbからなる透明導電膜を用いることにより、色素増感型太陽電池のエネルギー変換効率を大幅に向上できることが確認された。このことは実施例5と比較例5の結果の比較、及び、実施例6と比較例6の結果の比較においても確認された。
また、実施例1及び実施例4の色素増感型太陽電池の高温における耐久性を以下のように評価した。すなわち、色素増感型太陽電池を温度85℃の暗所に放置し、所定時間後にそれぞれの色素増感型太陽電池のエネルギー変換効率を測定した。その結果、電解質中に低沸点溶媒を含有しない実施例4の色素増感型太陽電池は、電解質中に低沸点溶媒を含有する実施例1の色素増感型太陽電池と比較し、エネルギー変換効率の経時的な低下をより抑制できることが確認された。これにより、低沸点溶媒を含有しない電解質を用いる場合、高温における耐久性のさらなる向上が可能であることが確認された。このことは実施例2と実施例5の結果の比較、及び、実施例7と実施例8の結果の比較においても確認された。
1…透明基板、2,21…透明導電膜、2a…第1の膜部分、2b…第2の膜部分、3…受光電極、4…セパレータ、5…シール層、6…透明基板、8…対極(透明電極)、8a…延出部、10…積層シート、11a,11b…透明支持基板、12…透明な無機材料層、22…導電層、24…電解液(電解質)、32…フッ素ドープ酸化スズ膜(透明導電膜)、40,45…太陽電池セル、100,150…色素増感型太陽電池、200…色素増感型太陽電池モジュール。
Claims (3)
- 少なくとも一方の面に透明導電膜が形成された透明基板と、
前記透明導電膜に離間対向するように導電層が形成された対向基板と、
前記透明基板と前記対向基板との間に設けられる太陽電池セルとを備え、前記太陽電池セルが、増感色素及び酸化物半導体を含有し前記透明導電膜と電気的に接続される受光電極と、前記導電層と電気的に接続される対極と、前記透明導電膜と前記導電層との間に保持される電解質とからなる色素増感型太陽電池であって、
前記透明導電膜が、アナターゼ型TiO2:Nb及びアナターゼ型TiO2:Taからなる群より選ばれる少なくとも1種の透明導電性金属酸化物を含む、色素増感型太陽電池。 - 透明基板と、
前記透明基板上に形成され、互いに離隔している第1の膜部分および第2の膜部分を有する透明導電膜と、
前記透明導電膜のうち前記第1の膜部分上に形成され、増感色素及び酸化物半導体を含有し前記第1の膜部分と電気的に接続される受光電極と、
前記第2の膜部分と電気的に接続される対極と、
前記受光電極及び前記対極の間に設けられ、前記第1の膜部分と前記第2の膜部分とを電気的に絶縁し、電解質を保持するセパレータと、
を備える色素増感型太陽電池であって、
前記透明導電膜が、アナターゼ型TiO2:Nb及びアナターゼ型TiO2:Taからなる群より選ばれる少なくとも1種の透明導電性金属酸化物を含む、色素増感型太陽電池。 - 前記電解質に含まれる、1気圧における沸点が300℃以下の溶媒の含有量が当該電解質の全質量基準で50質量%以下である、請求項1又は2記載の色素増感型太陽電池。
Priority Applications (1)
| Application Number | Priority Date | Filing Date | Title |
|---|---|---|---|
| JP2005255547A JP2007073198A (ja) | 2005-09-02 | 2005-09-02 | 色素増感型太陽電池 |
Applications Claiming Priority (1)
| Application Number | Priority Date | Filing Date | Title |
|---|---|---|---|
| JP2005255547A JP2007073198A (ja) | 2005-09-02 | 2005-09-02 | 色素増感型太陽電池 |
Publications (1)
| Publication Number | Publication Date |
|---|---|
| JP2007073198A true JP2007073198A (ja) | 2007-03-22 |
Family
ID=37934507
Family Applications (1)
| Application Number | Title | Priority Date | Filing Date |
|---|---|---|---|
| JP2005255547A Pending JP2007073198A (ja) | 2005-09-02 | 2005-09-02 | 色素増感型太陽電池 |
Country Status (1)
| Country | Link |
|---|---|
| JP (1) | JP2007073198A (ja) |
Cited By (5)
| Publication number | Priority date | Publication date | Assignee | Title |
|---|---|---|---|---|
| JP2009016303A (ja) * | 2007-07-09 | 2009-01-22 | Sumitomo Osaka Cement Co Ltd | 導電性ペースト、色素増感型太陽電池用導電層、及び色素増感型太陽電池 |
| KR100928941B1 (ko) | 2007-11-07 | 2009-11-30 | 한국과학기술연구원 | 염료감응 태양전지와 이의 제조방법 |
| KR100987468B1 (ko) | 2008-03-25 | 2010-10-13 | 재단법인서울대학교산학협력재단 | 다층 투명 전도막, 이의 제조 방법, 이를 이용한 태양전지, 물분해장치, 광촉매 장치 및 저방사 유리 |
| US9029845B2 (en) | 2011-12-28 | 2015-05-12 | Panasonic Corporation | Electrode composite and photoelectric element equipped therewith |
| WO2015129611A1 (ja) * | 2014-02-26 | 2015-09-03 | 住友大阪セメント株式会社 | 多孔質半導体層、多孔質半導体層用ペースト、及び色素増感型太陽電池 |
Citations (2)
| Publication number | Priority date | Publication date | Assignee | Title |
|---|---|---|---|---|
| WO2006016608A1 (ja) * | 2004-08-13 | 2006-02-16 | Kanagawa Academy Of Science And Technology | 透明伝導体、透明電極、太陽電池、発光素子及びディスプレイパネル |
| JP2006310252A (ja) * | 2005-03-28 | 2006-11-09 | Toyota Central Res & Dev Lab Inc | 透明電極、並びにこれを備えた色素増感型太陽電池及び色素増感型太陽電池モジュール |
-
2005
- 2005-09-02 JP JP2005255547A patent/JP2007073198A/ja active Pending
Patent Citations (2)
| Publication number | Priority date | Publication date | Assignee | Title |
|---|---|---|---|---|
| WO2006016608A1 (ja) * | 2004-08-13 | 2006-02-16 | Kanagawa Academy Of Science And Technology | 透明伝導体、透明電極、太陽電池、発光素子及びディスプレイパネル |
| JP2006310252A (ja) * | 2005-03-28 | 2006-11-09 | Toyota Central Res & Dev Lab Inc | 透明電極、並びにこれを備えた色素増感型太陽電池及び色素増感型太陽電池モジュール |
Cited By (8)
| Publication number | Priority date | Publication date | Assignee | Title |
|---|---|---|---|---|
| JP2009016303A (ja) * | 2007-07-09 | 2009-01-22 | Sumitomo Osaka Cement Co Ltd | 導電性ペースト、色素増感型太陽電池用導電層、及び色素増感型太陽電池 |
| KR100928941B1 (ko) | 2007-11-07 | 2009-11-30 | 한국과학기술연구원 | 염료감응 태양전지와 이의 제조방법 |
| KR100987468B1 (ko) | 2008-03-25 | 2010-10-13 | 재단법인서울대학교산학협력재단 | 다층 투명 전도막, 이의 제조 방법, 이를 이용한 태양전지, 물분해장치, 광촉매 장치 및 저방사 유리 |
| US9029845B2 (en) | 2011-12-28 | 2015-05-12 | Panasonic Corporation | Electrode composite and photoelectric element equipped therewith |
| WO2015129611A1 (ja) * | 2014-02-26 | 2015-09-03 | 住友大阪セメント株式会社 | 多孔質半導体層、多孔質半導体層用ペースト、及び色素増感型太陽電池 |
| CN106030740A (zh) * | 2014-02-26 | 2016-10-12 | 住友大阪水泥株式会社 | 多孔半导体层、多孔半导体层用浆料及染料敏化太阳能电池 |
| JPWO2015129611A1 (ja) * | 2014-02-26 | 2017-03-30 | 住友大阪セメント株式会社 | 多孔質半導体層、多孔質半導体層用ペースト、及び色素増感型太陽電池 |
| JP2019054294A (ja) * | 2014-02-26 | 2019-04-04 | 住友大阪セメント株式会社 | 多孔質半導体層、多孔質半導体層用ペースト、及び色素増感型太陽電池 |
Similar Documents
| Publication | Publication Date | Title |
|---|---|---|
| CN101361218B (zh) | 染料敏化太阳能电池和染料敏化太阳能电池模块 | |
| EP2432069B1 (en) | Porous electrode, dye-sensitized solar cell, and dye-sensitized solar cell module | |
| JP3717506B2 (ja) | 色素増感型太陽電池モジュール | |
| JP5275346B2 (ja) | 色素増感太陽電池 | |
| KR20140003998A (ko) | 페로브스카이트 기반 메조다공 박막 태양전지 제조 기술 | |
| CN101930854B (zh) | 染料敏化太阳能电池及其制造方法 | |
| JPWO2010119775A1 (ja) | 色素増感太陽電池および色素増感太陽電池モジュール | |
| JP5274690B1 (ja) | 色素増感太陽電池 | |
| JP5493369B2 (ja) | 下地層形成用組成物、下地層の製造方法、光電極の製造方法及び太陽電池の製造方法 | |
| JP2004152613A (ja) | 色素増感型太陽電池 | |
| KR100854711B1 (ko) | 차단층을 포함하는 염료감응 태양전지용 광전극 및 이의제조방법 | |
| JP4863662B2 (ja) | 色素増感型太陽電池モジュールおよびその製造方法 | |
| JP5189870B2 (ja) | 電解液及び色素増感型太陽電池 | |
| JP4387652B2 (ja) | 炭素電極及びこれを備えた色素増感型太陽電池 | |
| JP4963165B2 (ja) | 色素増感型太陽電池及び色素増感型太陽電池モジュール | |
| JP4448478B2 (ja) | 色素増感型太陽電池モジュール | |
| Son et al. | Effect of ultraviolet radiation on the long-term stability of dye-sensitized solar cells | |
| CN102013324A (zh) | 染料敏化太阳能电池及其制造方法 | |
| JP4155431B2 (ja) | 光電変換素子 | |
| JP2007073198A (ja) | 色素増感型太陽電池 | |
| JP2013251059A (ja) | 色素増感太陽電池 | |
| JP2014022180A (ja) | 色素増感太陽電池およびその製造方法 | |
| JP5189869B2 (ja) | 電解液及び色素増感型太陽電池 | |
| JP5019749B2 (ja) | 光電変換装置及びその製造方法並びに光発電装置 | |
| JP4684572B2 (ja) | 炭素電極及びその製造方法、炭素電極製造用材料、並びに炭素電極を備えた色素増感型太陽電池 |
Legal Events
| Date | Code | Title | Description |
|---|---|---|---|
| A621 | Written request for application examination |
Free format text: JAPANESE INTERMEDIATE CODE: A621 Effective date: 20080725 |
|
| A131 | Notification of reasons for refusal |
Free format text: JAPANESE INTERMEDIATE CODE: A131 Effective date: 20111108 |
|
| A02 | Decision of refusal |
Free format text: JAPANESE INTERMEDIATE CODE: A02 Effective date: 20120417 |
