JP2005090489A - Valve lifter for internal combustion engine - Google Patents
Valve lifter for internal combustion engine Download PDFInfo
- Publication number
- JP2005090489A JP2005090489A JP2004190969A JP2004190969A JP2005090489A JP 2005090489 A JP2005090489 A JP 2005090489A JP 2004190969 A JP2004190969 A JP 2004190969A JP 2004190969 A JP2004190969 A JP 2004190969A JP 2005090489 A JP2005090489 A JP 2005090489A
- Authority
- JP
- Japan
- Prior art keywords
- group
- valve lifter
- internal combustion
- combustion engine
- lubricant
- Prior art date
- Legal status (The legal status is an assumption and is not a legal conclusion. Google has not performed a legal analysis and makes no representation as to the accuracy of the status listed.)
- Abandoned
Links
- 0 *P(*)(S[Zn]S[N+](CO)(O)[S-])=S Chemical compound *P(*)(S[Zn]S[N+](CO)(O)[S-])=S 0.000 description 1
Images
Classifications
-
- C—CHEMISTRY; METALLURGY
- C23—COATING METALLIC MATERIAL; COATING MATERIAL WITH METALLIC MATERIAL; CHEMICAL SURFACE TREATMENT; DIFFUSION TREATMENT OF METALLIC MATERIAL; COATING BY VACUUM EVAPORATION, BY SPUTTERING, BY ION IMPLANTATION OR BY CHEMICAL VAPOUR DEPOSITION, IN GENERAL; INHIBITING CORROSION OF METALLIC MATERIAL OR INCRUSTATION IN GENERAL
- C23C—COATING METALLIC MATERIAL; COATING MATERIAL WITH METALLIC MATERIAL; SURFACE TREATMENT OF METALLIC MATERIAL BY DIFFUSION INTO THE SURFACE, BY CHEMICAL CONVERSION OR SUBSTITUTION; COATING BY VACUUM EVAPORATION, BY SPUTTERING, BY ION IMPLANTATION OR BY CHEMICAL VAPOUR DEPOSITION, IN GENERAL
- C23C14/00—Coating by vacuum evaporation, by sputtering or by ion implantation of the coating forming material
- C23C14/06—Coating by vacuum evaporation, by sputtering or by ion implantation of the coating forming material characterised by the coating material
- C23C14/0605—Carbon
-
- F—MECHANICAL ENGINEERING; LIGHTING; HEATING; WEAPONS; BLASTING
- F01—MACHINES OR ENGINES IN GENERAL; ENGINE PLANTS IN GENERAL; STEAM ENGINES
- F01L—CYCLICALLY OPERATING VALVES FOR MACHINES OR ENGINES
- F01L1/00—Valve-gear or valve arrangements, e.g. lift-valve gear
- F01L1/12—Transmitting gear between valve drive and valve
- F01L1/14—Tappets; Push rods
- F01L1/16—Silencing impact; Reducing wear
-
- F—MECHANICAL ENGINEERING; LIGHTING; HEATING; WEAPONS; BLASTING
- F01—MACHINES OR ENGINES IN GENERAL; ENGINE PLANTS IN GENERAL; STEAM ENGINES
- F01L—CYCLICALLY OPERATING VALVES FOR MACHINES OR ENGINES
- F01L1/00—Valve-gear or valve arrangements, e.g. lift-valve gear
- F01L1/12—Transmitting gear between valve drive and valve
- F01L1/14—Tappets; Push rods
- F01L1/143—Tappets; Push rods for use with overhead camshafts
-
- F—MECHANICAL ENGINEERING; LIGHTING; HEATING; WEAPONS; BLASTING
- F01—MACHINES OR ENGINES IN GENERAL; ENGINE PLANTS IN GENERAL; STEAM ENGINES
- F01L—CYCLICALLY OPERATING VALVES FOR MACHINES OR ENGINES
- F01L2301/00—Using particular materials
-
- F—MECHANICAL ENGINEERING; LIGHTING; HEATING; WEAPONS; BLASTING
- F01—MACHINES OR ENGINES IN GENERAL; ENGINE PLANTS IN GENERAL; STEAM ENGINES
- F01M—LUBRICATING OF MACHINES OR ENGINES IN GENERAL; LUBRICATING INTERNAL COMBUSTION ENGINES; CRANKCASE VENTILATING
- F01M9/00—Lubrication means having pertinent characteristics not provided for in, or of interest apart from, groups F01M1/00 - F01M7/00
- F01M9/10—Lubrication of valve gear or auxiliaries
- F01M9/104—Lubrication of valve gear or auxiliaries of tappets
Landscapes
- Engineering & Computer Science (AREA)
- Chemical & Material Sciences (AREA)
- Mechanical Engineering (AREA)
- General Engineering & Computer Science (AREA)
- Chemical Kinetics & Catalysis (AREA)
- Materials Engineering (AREA)
- Metallurgy (AREA)
- Organic Chemistry (AREA)
- Lubricants (AREA)
- Valve-Gear Or Valve Arrangements (AREA)
- Lubrication Of Internal Combustion Engines (AREA)
Abstract
Description
本発明は、例えば自動車用のエンジンにおいて、カムシャフトのカムロブとバルブステムの間に介在して、カムシャフトの回転を吸排気バルブの開閉作動に変換するバルブリフターに係わり、特に鉄系合金あるいはアルミニウム合金を用いた低摩擦の内燃機関用バルブリフターに関するものである。 The present invention relates to a valve lifter that is interposed between a cam lobe and a valve stem of a camshaft and converts the rotation of the camshaft to an opening / closing operation of an intake / exhaust valve, for example, in an automobile engine. The present invention relates to a low-friction internal combustion engine valve lifter using an alloy.
自動車用エンジンに用いられる直動弁システムにおいては、従来、信頼性を考慮して鉄系材料から成るバルブリフターを採用してきた。また、カムシャフトと直接接するバルブリフターについては、耐摩耗性の確保、あるいはフリクションの低減のために、その冠面部分に窒化処理などの処理を施し、鏡面化を図るなどの工夫が行われてきた。
しかしながら、近年においては、燃費向上のために、シムレスのバルブリフターを採用して軽量化を図り、バルブスプリングの荷重を低減することが進められている。 さらには、バルブリフター自体を軽量化するために、アルミニウム合金製とすることも検討されている(例えば、特許文献1参照)。
However, in recent years, in order to improve fuel efficiency, it has been promoted to reduce the weight of the valve spring by adopting a shimless valve lifter to reduce the weight. Furthermore, in order to reduce the weight of the valve lifter itself, the use of an aluminum alloy is also being studied (for example, see Patent Document 1).
しかしながら、バルブリフター冠面とカムシャフトカムロブ間のフリクション、及びバルブリフター側面とシリンダヘッドのリフターボア間のフリクションについては、動弁フリクションの多くを占め、燃費向上の要求の高い昨今においては、これらを低減することが非常に重要ではあるものの、上記した従来の構造ではフリクション低減にも限界があった。 However, the friction between the valve lifter crown surface and the camshaft cam lobe and the friction between the valve lifter side surface and the cylinder head lifter turbo occupy most of the valve friction, and in recent years when there is a high demand for improved fuel consumption, these are reduced. Although it is very important to do so, the conventional structure described above has a limit in reducing friction.
本発明は、従来の鉄系合金あるいはアルミニウム合金製バルブリフターにおける上記課題に着目してなされたものであって、その目的とするところは、当該バルブリフターと相手部材の間、すなわちバルブリフター冠面−カムシャフトカムロブ間のフリクションと共に、バルブリフター側面−リフターボア間のフリクションを軽減することができ、内燃機関の性能及び耐久信頼性を向上させ、内燃機関の燃費を改善することができる内燃機関用バルブリフターを提供することにある。 The present invention has been made by paying attention to the above-mentioned problems in conventional iron alloy or aluminum alloy valve lifters, and the object thereof is between the valve lifter and the counterpart member, that is, the valve lifter crown surface. A valve for an internal combustion engine that can reduce the friction between the side of the valve lifter and the lift turboa as well as the friction between the camshaft and the cam lobe, improve the performance and durability reliability of the internal combustion engine, and improve the fuel consumption of the internal combustion engine To provide a lifter.
本発明者らは、上記課題を達成すべく、バルブリフターの素材や表面処理、さらには摺動面に介在する潤滑剤成分について鋭意検討を重ねた結果、バルブリフターの冠面及び側面に水素含有量の少ない硬質炭素被膜を形成することによって、バルブリフターとカムシャフトカムロブ及びシリンダヘッドのリフターボアの間の摩擦特性を大幅に向上させることができることを見出し、本発明を完成するに至った。 In order to achieve the above-mentioned problems, the present inventors have made extensive studies on the material and surface treatment of the valve lifter and the lubricant component intervening on the sliding surface. As a result, the crown and side surfaces of the valve lifter contain hydrogen. By forming a hard carbon film with a small amount, it was found that the friction characteristics between the valve lifter, the camshaft cam lobe, and the cylinder head lift turbocharger can be greatly improved, and the present invention has been completed.
本発明の内燃機関用バルブリフターは、上記知見に基づくものであって、鉄系合金あるいはアルミニウム合金から成り、潤滑剤を介して相手部材と摺接するその冠面及び側面に水素原子量が1原子%以下の硬質炭素被膜を備えていることを特徴としている。
また、本発明の内燃機関用バルブリフターの製造方法においては、鉄系合金あるいはアルミニウム合金から成るリフター基材の冠面及び側面に硬質炭素被膜を形成するに際して、PVD法を適用することによって硬質炭素被膜中の水素含有量を1原子%以下とすることを特徴としている。
The valve lifter for an internal combustion engine of the present invention is based on the above knowledge, and is made of an iron-based alloy or an aluminum alloy, and has a hydrogen atom amount of 1 atomic% on the crown surface and the side surface in sliding contact with the mating member via a lubricant. It is characterized by having the following hard carbon coating.
In the method for manufacturing a valve lifter for an internal combustion engine according to the present invention, the hard carbon film is formed by applying the PVD method when the hard carbon film is formed on the crown surface and the side surface of the lifter base material made of an iron-based alloy or an aluminum alloy. The hydrogen content in the film is 1 atomic% or less.
本発明によれば、相手部材との摺接面であるバルブリフターの冠面と側面に、水素含有量が1原子%以下の硬質炭素被膜を施すようにしたため、部材間の摩擦係数及び摩擦抵抗が減少し、摩耗量も大幅に低減することから、内燃機関の燃費性能向上、耐久信頼性向上に大きく貢献することができる。 According to the present invention, the hard carbon film having a hydrogen content of 1 atomic% or less is applied to the crown and side surfaces of the valve lifter, which is the sliding contact surface with the mating member. Since the amount of wear is reduced and the amount of wear is greatly reduced, it is possible to greatly contribute to improving the fuel efficiency and durability of the internal combustion engine.
以下、本発明について、更に詳細に説明する。なお、本明細書において「%」は、特記しない限り質量百分率を示すものとする。 Hereinafter, the present invention will be described in more detail. In the present specification, “%” indicates mass percentage unless otherwise specified.
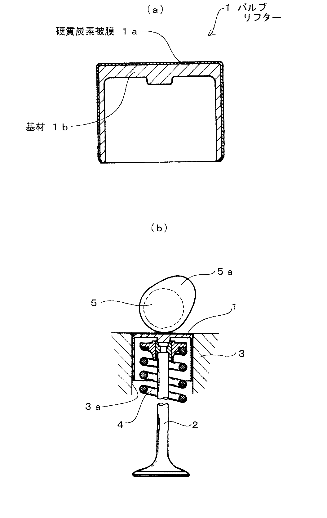
図1(a)は、本発明のバルブリフターの形状を示す概略図であって、当該バルブリフター1は、円筒形カップを伏せたような形状をなし、鉄系合金あるいはアルミニウム合金から成る基材1bの冠面(図中上面)と側面とに、水素含有量が1原子%以下である硬質炭素被膜1aが形成されている。 FIG. 1 (a) is a schematic view showing the shape of the valve lifter of the present invention. The valve lifter 1 is shaped like a cylindrical cup and is made of a base material made of an iron alloy or an aluminum alloy. A hard carbon coating 1a having a hydrogen content of 1 atomic% or less is formed on the crown surface (upper surface in the drawing) and side surfaces of 1b.
また、図1(b)は、本発明のバルブリフターを搭載した内燃機関の動弁機構を示すものであって、硬質炭素被膜1aを備えた上記バルブリフター1は、バルブステム2の上端部に取り付けられた状態でシリンダヘッド3のリフターボア3a内に装着されている。
バルブステム2は、バルブリフター1と共に、圧縮コイルスプリング4によって図中上方に付勢され、閉弁状態に保持されており、カムシャフト5が回転すると、そのカムロブ5aがコイルスプリング4の弾性力に抗してバルブリフター1と共にバルブステム2を押し下げ、カムシャフト5の回転速度に応じた周期でバルブの開閉が行われるようになっている。
FIG. 1 (b) shows a valve operating mechanism of an internal combustion engine equipped with the valve lifter of the present invention. The valve lifter 1 provided with the hard carbon coating 1a is provided at the upper end of the valve stem 2. The cylinder head 3 is mounted in the lift turbo a 3a in the attached state.
The valve stem 2 together with the valve lifter 1 is urged upward in the figure by the compression coil spring 4 and is held in a closed state. When the
本発明のバルブリフター1においては、上記カムシャフト5のカムロブ5aとの摺接面である冠面と、シリンダヘッド3のリフターボア3aとの摺接面である側面とに、1原子%以下の水素を含有する硬質炭素被膜1aが施してあることから、潤滑剤の介在状態における上記摺接面の摩擦係数が小さくなると共に、硬質炭素被膜は硬度が十分に高く、特に、アルミニウム合金基材の場合には、基材に対する耐凝着性に優れることから、耐スカッフ性、耐摩耗性を飛躍的に向上させることができ、内燃機関の性能、耐久信頼性が向上することになる。
In the valve lifter 1 of the present invention, 1 atomic% or less of hydrogen is applied to the crown surface, which is the sliding surface of the
上記硬質炭素被膜1aとしては、例えば炭素原子を主として構成されるDLC(ダイヤモンドライクカーボン)材料を用いることができる。
このDLC材料は、炭素同士の結合形態がダイヤモンド構造(SP3結合)とグラファイト結合(SP2結合)の両方から成る。具体的には、炭素元素だけから成るa−C(アモルファスカーボン)、及びチタン(Ti)やモリブデン(Mo)等の金属元素を一部に含むMeCなどを好適に用いることができる。
As the hard carbon film 1a, for example, a DLC (diamond-like carbon) material mainly composed of carbon atoms can be used.
In this DLC material, the bonding form between carbons consists of both a diamond structure (SP 3 bond) and a graphite bond (SP 2 bond). Specifically, aC (amorphous carbon) composed only of carbon elements, MeC partially containing metal elements such as titanium (Ti) and molybdenum (Mo), and the like can be suitably used.
硬質炭素被膜1a中の水素含有量については、1原子%以下とすることが必要となる。すなわち、硬質炭素被膜中の水素原子の含有量が増加すると摩擦係数が増加し、水素原子含有量が1原子%を超えると、摺動時の摩擦係数を十分に低下させることが難しくなることによる。 The hydrogen content in the hard carbon coating 1a needs to be 1 atomic% or less. That is, when the hydrogen atom content in the hard carbon film increases, the friction coefficient increases, and when the hydrogen atom content exceeds 1 atomic%, it is difficult to sufficiently reduce the friction coefficient during sliding. .
そして、このような水素含有量の低い硬質炭素薄膜は、例えばスパッタリング法やイオンプレーティング法など、水素や水素含有化合物を実質的に使用しないPVD法によって成膜することによって得られる。
この場合、成膜時に水素を含まないガスを用いるだけでなく、場合によっては反応容器や基材保持具のベーキングや、基材表面のクリーニングを十分に行ったうえで成膜することが被膜中の水素量を減らすために望ましい。
Such a hard carbon thin film having a low hydrogen content can be obtained by forming a film by a PVD method that substantially does not use hydrogen or a hydrogen-containing compound, such as a sputtering method or an ion plating method.
In this case, in addition to using a gas not containing hydrogen at the time of film formation, in some cases, the film may be formed after sufficiently baking the reaction vessel or the base material holder or cleaning the surface of the base material. It is desirable to reduce the amount of hydrogen.
次に、本発明に用いる潤滑剤の組成について詳細に説明する。
本発明に用いる潤滑剤としては、潤滑剤の基油、基剤に、脂肪酸エステル系無灰摩擦調整剤及び/又は脂肪族アミン系無灰摩擦調整剤を含有させたものを用いることが望ましく、このような潤滑剤をバルブリフター1の冠面と側面に形成した硬質炭素被膜1aとカムロブ5a及びリフターボア3aとの摺接面に介在させることによって、これら部材が極めて低摩擦で摺動し得るようになる。
Next, the composition of the lubricant used in the present invention will be described in detail.
As the lubricant used in the present invention, it is desirable to use a lubricant base oil, a base containing a fatty acid ester-based ashless friction modifier and / or an aliphatic amine-based ashless friction modifier, By interposing such a lubricant on the sliding contact surfaces of the hard carbon film 1a formed on the crown and side surfaces of the valve lifter 1, the cam lobe 5a and the lift turbo a 3a, these members can slide with extremely low friction. become.
ここで、上記潤滑剤の基油あるいは基材としては特に限定されるものではなく、鉱油、合成油、油脂及びこれらの混合物など、潤滑剤の基油、基剤として通常使用されるものであれば、種類を問わず使用することができる。
鉱油としては、具体的には、原油を常圧蒸留及び減圧蒸留して得られた潤滑剤留分を溶剤脱れき、溶剤抽出、水素化分解、溶剤脱ろう、水素化精製、硫酸洗浄、白土処理等の精製処理等を適宜組み合わせて精製したパラフィン系又はナフテン系等の油やノルマルパラフィン等が使用でき、溶剤精製、水素化精製処理したものが一般的であるが、芳香族分をより低減することが可能な高度水素化分解プロセスやGTL Wax(ガス・トウー・リキッド・ワックス)を異性化した手法で製造したものを用いることがより好ましい。
Here, the base oil or base material of the lubricant is not particularly limited, and may be those usually used as the base oil or base of the lubricant, such as mineral oil, synthetic oil, fats and mixtures thereof. Any type can be used.
Specifically, as mineral oil, the lubricant fraction obtained by atmospheric distillation and vacuum distillation of crude oil can be desolvated, solvent extraction, hydrocracking, solvent dewaxing, hydrorefining, sulfuric acid washing, clay Oils such as paraffinic or naphthenic oils or normal paraffins, etc., which are refined by appropriately combining purification treatments, etc., can be used. Solvent refining and hydrorefining treatments are generally used, but the aromatic content is further reduced. It is more preferable to use an advanced hydrocracking process that can be carried out or a GTL Wax (gas tow liquid wax) produced by isomerization.
合成油としては、具体的には、ポリ−α−オレフィン(例えば、1−オクテンオリゴマー、1−デセンオリゴマー、エチレン−プロピレンオリゴマー等)、ポリ−α−オレフィンの水素化物、イソブテンオリゴマー、イソブテンオリゴマーの水素化物、イソパラフィン、アルキルベンゼン、アルキルナフタレン、ジエステル(例えば、ジトリデシルグルタレート、ジオクチルアジペート、ジイソデシルアジペート、ジトリデシルアジペート、ジオクチルセバケート等)、ポリオールエステル(例えば、トリメチロールプロパンカプリレート、トリメチロールプロパンペラルゴネート、トリメチロールプロパンイソステアリネート等のトリメチロールプロパンエステル;ペンタエリスリトール2−エチルヘキサノエート、ペンタエリスリトールペラルゴネート等のペンタエリスリトールエステル)、ポリオキシアルキレングリコール、ジアルキルジフェニルエーテル、ポリフェニルエーテル等が挙げられる。中でも、1−オクテンオリゴマー、1−デセンオリゴマー等のポリ−α−オレフイン又はその水素化物が好ましい例として挙げられる。 Specific examples of synthetic oils include poly-α-olefins (eg, 1-octene oligomers, 1-decene oligomers, ethylene-propylene oligomers), poly-α-olefin hydrides, isobutene oligomers, and isobutene oligomers. Hydride, isoparaffin, alkylbenzene, alkylnaphthalene, diester (eg, ditridecyl glutarate, dioctyl adipate, diisodecyl adipate, ditridecyl adipate, dioctyl sebacate, etc.), polyol ester (eg, trimethylolpropane caprylate, trimethylolpropane pelargorgo) And trimethylolpropane esters such as trimethylolpropane isostearinate; pentaerythritol 2-ethylhexanoate, pentaerythritol Pentaerythritol esters such as largonate), polyoxyalkylene glycols, dialkyldiphenyl ethers, polyphenyl ethers and the like. Among them, preferred examples include poly-α-olefins such as 1-octene oligomers and 1-decene oligomers or hydrides thereof.
本発明に用いる潤滑剤の基油あるいは基剤は、鉱油系基油又は合成系基油を単独あるいは混合して用いる以外に、2種類以上の鉱油系基油、あるいは2種類以上の合成系基油の混合物であっても差し支えない。また、上記混合物における2種類以上の基油の混合比も特に限定されず任意に選ぶことができる。 The base oil or base of the lubricant used in the present invention may be a mineral base oil or a synthetic base oil used alone or in combination, or two or more mineral base oils or two or more synthetic bases. It can be a mixture of oils. Further, the mixing ratio of two or more kinds of base oils in the above mixture is not particularly limited and can be arbitrarily selected.
潤滑剤の基油あるいは基剤中の硫黄分について、特に制限はないが、基油全量基準で、0.2%以下であることが好ましく、より好ましくは0.1%以下、さらには0.05%以下であることが好ましい。特に、水素化精製鉱油や合成系基油の硫黄分は、0.005%以下、あるいは実質的に硫黄分を含有していない(5ppm以下)ことから、これらを基油として用いることが好ましい。 Although there is no restriction | limiting in particular about the base oil of a lubricant, or the sulfur content in a base, It is preferable that it is 0.2% or less on the basis of the total amount of base oil, More preferably, it is 0.1% or less, Furthermore, 0. It is preferable that it is 05% or less. In particular, since the sulfur content of hydrorefined mineral oil or synthetic base oil is 0.005% or less, or contains substantially no sulfur content (5 ppm or less), these are preferably used as the base oil.
また、潤滑剤の基油あるいは基剤中芳香族含有量についても、特に制限はないが、内燃機関用潤滑剤組成物として長期間低摩擦特性を維持するためには、全芳香族含有量が15%以下であることが好ましく、より好ましくは10%以下、さらには5%以下であることが好ましい。即ち、潤滑剤の基油あるいは基剤の全芳香族含有量が15%を超える場合には、酸化安定性が劣るため好ましくない。
なお、ここで言う全芳香族含有量とは、ASTM D2549に規定される方法に準拠して測定される芳香族留分(aromatics fraction)含有量を意味している。
Further, there is no particular limitation on the aromatic content in the base oil or base of the lubricant, but in order to maintain a low friction characteristic for a long period of time as a lubricant composition for an internal combustion engine, the total aromatic content is It is preferably 15% or less, more preferably 10% or less, and further preferably 5% or less. That is, when the base oil of the lubricant or the total aromatic content of the base exceeds 15%, the oxidation stability is inferior, which is not preferable.
In addition, the total aromatic content said here means the aromatic fraction content measured based on the method prescribed | regulated to ASTMD2549.
潤滑剤の基油あるいは基剤の動粘度にも、特に制限はないが、内燃機関用潤滑剤として使用する場合には、100℃における動粘度が2mm2/s以上であることが好ましく、より好ましくは3mm2/s以上である。一方、その動粘度は、20mm2/s以下であることが好ましく、10mm2/s以下、特に8mm2/s以下であることが好ましい。潤滑剤の基油あるいは基剤の100℃における動粘度が2mm2/s未満である場合には、十分な耐摩耗性が得られない上に蒸発特性が劣る可能性があるため好ましくない。一方、動粘度が20mm2/sを超える場合には低摩擦性能を発揮しにくく、低温性能が悪くなる可能性があるため好ましくない。本発明においては、上記基油、基剤の中から選ばれる2種以上の基油、基剤を任意に混合した混合物等が使用でき、100℃における動粘度が上記の好ましい範囲内に入る限りにおいては、基油、基剤単独の動粘度が上記以外のものであっても使用可能である。 The kinematic viscosity of the base oil or base of the lubricant is not particularly limited, but when used as a lubricant for an internal combustion engine, the kinematic viscosity at 100 ° C. is preferably 2 mm 2 / s or more. Preferably it is 3 mm < 2 > / s or more. On the other hand, the kinematic viscosity is preferably 20 mm 2 / s or less, preferably 10 mm 2 / s or less, and particularly preferably 8 mm 2 / s or less. If the base oil of the lubricant or the base material has a kinematic viscosity at 100 ° C. of less than 2 mm 2 / s, it is not preferable because sufficient abrasion resistance cannot be obtained and the evaporation characteristics may be inferior. On the other hand, when the kinematic viscosity exceeds 20 mm 2 / s, it is difficult to exhibit low friction performance, and low temperature performance may be deteriorated. In the present invention, two or more kinds of base oils selected from the above base oils and bases, a mixture in which the bases are arbitrarily mixed, and the like can be used, so long as the kinematic viscosity at 100 ° C. falls within the above preferred range. Can be used even when the kinematic viscosity of the base oil or the base alone is other than the above.
また、潤滑剤の基油あるいは基剤の粘度指数にも、特別な制限はないが、80以上であることが好ましく、100以上であることがさらに好ましく、特に内燃機関用潤滑剤として使用する場合には、120以上であることが好ましい。基油や基剤の粘度指数を高めることでよりオイル消費が少なく、低温粘度特性、省燃費性能に優れた内燃機関用潤滑剤を得ることができる。 Further, the base oil of the lubricant or the viscosity index of the base is not particularly limited, but is preferably 80 or more, more preferably 100 or more, particularly when used as a lubricant for an internal combustion engine. Is preferably 120 or more. By increasing the viscosity index of the base oil and the base, it is possible to obtain a lubricant for an internal combustion engine that consumes less oil and has excellent low-temperature viscosity characteristics and fuel saving performance.
上記脂肪酸エステル系無灰摩擦調整剤及び/又は脂肪族アミン系無灰摩擦調整剤としては、炭素数6〜30、好ましくは炭素数8〜24、特に好ましくは炭素数10〜20の直鎖状又は分枝状炭化水素基を有する脂肪酸エステル、脂肪酸アミン化合物、及びこれらの任意混合物を挙げることができる。炭素数が6〜30の範囲外のときは、摩擦低減効果が十分に得られない可能性がある。 The fatty acid ester ashless friction modifier and / or the aliphatic amine ashless friction modifier is a straight chain having 6 to 30 carbon atoms, preferably 8 to 24 carbon atoms, and particularly preferably 10 to 20 carbon atoms. Or the fatty acid ester which has a branched hydrocarbon group, a fatty-acid amine compound, and these arbitrary mixtures can be mentioned. When the carbon number is outside the range of 6 to 30, there is a possibility that the friction reducing effect cannot be obtained sufficiently.
炭素数6〜30の直鎖状又は分枝状炭化水素基としては、具体的には、へキシル基、ヘプチル基、オクチル基、ノニル基、デシル基、ウンデシル基、ドデシル基、トリデシル基、テトラデシル基、ペンタデシル基、ヘキサデシル基、ヘプタデシル基、オクタデシル基、ノナデシル基、イコシル基、ヘンイコシル基、ドコシル基、トリコシル基、テトラコシル基、ペンタコシル基、ヘキサコシル基、ヘプタコシル基、オクタコシル基、ノナコシル基、トリアコンチル基等のアルキル基、ヘキセニル基、ヘプテニル基、オクテニル基、ノネニル基、デセニル基、ウンデセニル基、ドデセニル基、トリデセニル基、テトラデセニル基、ペンタデセニル基、ヘキサデセニル基、ヘプタデセニル基、オクタデセニル基、ノナデセニル基、イコセニル基、ヘンイコセニル基、ドコセニル基、トリコセニル基、テトラコセニル基、ペンタコセニル基、ヘキサコセニル基、ヘプタコセニル基、オクタコセニル基、ノナコセニル基、トリアコンテニル基等のアルケニル基などを挙げることができる。
なお、上記アルキル基及びアルケニル基には、考えられる全ての直鎖状構造及び分枝状構造が含まれ、また、アルケニル基における二重結合の位置は任意である。
Specific examples of the straight chain or branched hydrocarbon group having 6 to 30 carbon atoms include hexyl group, heptyl group, octyl group, nonyl group, decyl group, undecyl group, dodecyl group, tridecyl group, tetradecyl group. Group, pentadecyl group, hexadecyl group, heptadecyl group, octadecyl group, nonadecyl group, icosyl group, heicosyl group, docosyl group, tricosyl group, tetracosyl group, pentacosyl group, hexacosyl group, heptacosyl group, octacosyl group, nonacosyl group, triaconyl group, etc. Alkyl group, hexenyl group, heptenyl group, octenyl group, nonenyl group, decenyl group, undecenyl group, dodecenyl group, tridecenyl group, tetradecenyl group, pentadecenyl group, hexadecenyl group, heptadecenyl group, octadecenyl group, nonadecenyl group, icosenyl group, N'ikoseniru group include docosenyl, tricosenyl group, tetracosenyl group, Pentakoseniru group, Hekisakoseniru group, Heputakoseniru group, Okutakoseniru group, Nonakoseniru group, an alkenyl group such as tri container group.
The alkyl group and alkenyl group include all possible linear structures and branched structures, and the position of the double bond in the alkenyl group is arbitrary.
また、上記脂肪酸エステルとしては、かかる炭素数6〜30の炭化水素基を有する脂肪酸と脂肪族1価アルコール又は脂肪族多価アルコールとのエステルなどを例示でき、具体的には、グリセリンモノオレート、グリセリンジオレート、ソルビタンモノオレート、ソルビタンジオレートなどを特に好ましい例として挙げることができる。
上記脂肪族アミン化合物としては、脂肪族モノアミン又はそのアルキレンオキシド付加物、脂肪族ポリアミン、イミダゾリン化合物等、及びこれらの誘導体等を例示できる。具体的には、ラウリルアミン、ラウリルジエチルアミン、ラウリルジエタノールアミン、ドデシルジプロパノールアミン、パルミチルアミン、ステアリルアミン、ステアリルテトラエチレンペンタミン、オレイルアミン、オレイルプロピレンジアミン、オレイルジエタノールアミン、N−ヒドロキシエチルオレイルイミダゾリン等の脂肪族アミン化合物や、これら脂肪族アミン化合物のN,N−ジポリオキシアルキレン−N−アルキル(又はアルケニル)(炭素数6〜28)等のアミンアルキレンオキシド付加物、これら脂肪族アミン化合物に炭素数2〜30のモノカルボン酸(脂肪酸等)や、シュウ酸、フタル酸、トリメリット酸、ピロメリット酸等の炭素数2〜30のポリカルボン酸を作用させて、残存するアミノ基及び/又はイミノ基の一部又は全部を中和したりアミド化した、いわゆる酸変性化合物等が挙げられる。好適な例としては、N,N−ジポリオキシエチレン−N−オレイルアミン等が挙げられる。
Moreover, as said fatty acid ester, the ester of the fatty acid which has this C6-C30 hydrocarbon group, and aliphatic monohydric alcohol or aliphatic polyhydric alcohol etc. can be illustrated, Specifically, glycerol monooleate, Particularly preferred examples include glycerine diolate, sorbitan monooleate, sorbitan diolate, and the like.
Examples of the aliphatic amine compound include aliphatic monoamines or their alkylene oxide adducts, aliphatic polyamines, imidazoline compounds, and derivatives thereof. Specifically, fats such as laurylamine, lauryldiethylamine, lauryldiethanolamine, dodecyldipropanolamine, palmitylamine, stearylamine, stearyltetraethylenepentamine, oleylamine, oleylpropylenediamine, oleyldiethanolamine, N-hydroxyethyloleylimidazoline, etc. Amine alkylene compounds, amine alkylene oxide adducts such as N, N-dipolyoxyalkylene-N-alkyl (or alkenyl) (carbon number 6 to 28) of these aliphatic amine compounds, carbon numbers in these aliphatic amine compounds Residual amino group and / or imino by reacting 2-30 monocarboxylic acid (fatty acid, etc.) or polycarboxylic acid having 2-30 carbon atoms such as oxalic acid, phthalic acid, trimellitic acid, pyromellitic acid, etc. Base Some or amidated or neutralize all, so-called acid-modified compounds, and the like. Preferable examples include N, N-dipolyoxyethylene-N-oleylamine.
また、本発明に用いる潤滑剤に含まれる脂肪酸エステル系無灰摩擦調整剤及び/又は脂肪族アミン系無灰摩擦調整剤の含有量は、特に制限はないが、組成物全量基準で、0.05〜3.0%であることが好ましく、更に好ましくは0.1〜2.0%、特に好ましくは0.5〜1.4%であることがよい。上記含有量が0.05%未満であると摩擦低減効果が小さくなり易く、3.0%を超えると潤滑油組成物への溶解性や貯蔵安定性が著しく悪化し、沈殿物が発生し易いので、好ましくない。 Further, the content of the fatty acid ester-based ashless friction modifier and / or the aliphatic amine-based ashless friction modifier contained in the lubricant used in the present invention is not particularly limited. The content is preferably 05 to 3.0%, more preferably 0.1 to 2.0%, and particularly preferably 0.5 to 1.4%. If the content is less than 0.05%, the friction reducing effect tends to be small, and if it exceeds 3.0%, the solubility and storage stability in the lubricating oil composition are remarkably deteriorated, and precipitates are easily generated. Therefore, it is not preferable.
一方、本発明に用いる潤滑油は、ポリブテニルコハク酸イミド及び/又はその誘導体を含有することが好適である。
上記ポリブテニルコハク酸イミドとしては、次の一般式(1)及び(2)
On the other hand, the lubricating oil used in the present invention preferably contains polybutenyl succinimide and / or a derivative thereof.
Examples of the polybutenyl succinimide include the following general formulas (1) and (2)
また、上記一般式におけるnは、清浄性に優れる点から1〜5の整数、より望ましくは2〜4の整数であることがよい。更に、上記ポリブテンは、製造過程の触媒に起因して残留する微量のフッ素分や塩素分を吸着法や十分な水洗等の適切な方法により、50ppm以下、より望ましくは10ppm以下、特に望ましくは1ppm以下まで除去してから用いることもよい。
Further, n in the above general formula is preferably an integer of 1 to 5, more preferably an integer of 2 to 4, from the viewpoint of excellent cleanability. Further, the polybutene is used to remove a trace amount of fluorine and chlorine remaining due to the catalyst in the production process by an appropriate method such as an adsorption method or sufficient water washing, and is preferably 50 ppm or less, more preferably 10 ppm or less, and particularly preferably 1 ppm. It is also possible to use after removing to the following.
さらに、上記ポリブテニルコハク酸イミドの製造方法としては、特に限定はないが、例えば、上記ポリブテンの塩素化物又は塩素やフッ素が充分除去されたポリブテンと無水マレイン酸とを100〜200℃で反応させて得られるポリブテニルコハク酸を、ジエチレントリアミン、トリエチレンテトラミン、テトラエチレンペンタミン、ペンタエチレンヘキサミン等のポリアミンと反応させることにより得ることができる。 Furthermore, the method for producing the polybutenyl succinimide is not particularly limited. For example, the polybutene chlorinated product or polybutene from which chlorine or fluorine is sufficiently removed and maleic anhydride are reacted at 100 to 200 ° C. The polybutenyl succinic acid thus obtained can be obtained by reacting with polyamines such as diethylenetriamine, triethylenetetramine, tetraethylenepentamine, pentaethylenehexamine and the like.
一方、上記ポリブテニルコハク酸イミドの誘導体としては、上記般式(1)又は(2)で表される化合物に、ホウ素化合物や含酸素有機化合物を作用させて、残存するアミノ基及び/又はイミノ基の一部又は全部を中和したり、アミド化した、いわゆるホウ素変性又は酸変性化合物を例示できる。その中でもホウ素含有ポリブテニルコハク酸イミド、特にホウ素含有ビスポリブテニルコハク酸イミドが最も好ましいものとして挙げられる。 On the other hand, as a derivative of the polybutenyl succinimide, a boron compound or an oxygen-containing organic compound is allowed to act on the compound represented by the general formula (1) or (2), thereby remaining amino groups and / or Examples thereof include so-called boron-modified or acid-modified compounds in which part or all of the imino group is neutralized or amidated. Among them, boron-containing polybutenyl succinimide, particularly boron-containing bispolybutenyl succinimide is most preferable.
上記ホウ素化合物としては、ホウ酸、ホウ酸塩、ホウ酸エステル等が挙げられる。具体的には、上記ホウ酸として、オルトホウ酸、メタホウ酸及びテトラホウ酸などが挙げられる。また、上記ホウ酸塩としては、アンモニウム塩等、具体的には、例えばメタホウ酸アンモニウム、四ホウ酸アンモニウム、五ホウ酸アンモニウム、八ホウ酸アンモニウム等のホウ酸アンモニウムが好適例として挙げられる。また、ホウ酸エステルとしては、ホウ酸と好ましくは炭素数1〜6のアルキルアルコールとのエステル、より具体的には例えば、ホウ酸モノメチル、ホウ酸ジメチル、ホウ酸トリメチル、ホウ酸モノエチル、ホウ酸ジエチル、ホウ酸トリエチル、ホウ酸モノプロピル、ホウ酸ジプロピル、ホウ酸トリププロピル、ホウ酸モノブチル、ホウ酸ジブチル、ホウ酸トリブチル等が好適例として挙げられる。なお、ホウ素含有ポリブテニルコハク酸イミドにおけるホウ素含有量Bと窒素含有量Nとの質量比「B/N」は、通常0.1〜3であり、好ましくは、0.2〜1である。
また、上記含酸素有機化合物としては、具体的には、例えばぎ酸、酢酸、グリコール酸、プロピオン酸、乳酸、酪酸、吉草酸、カプロン酸、エナント酸、カプリル酸、ペラルゴン酸、カプリン酸、ウンデシル酸、ラウリン酸、トリデカン酸、ミリスチン酸、ペンタデカン酸、パルミチン酸、マルガリン酸、ステアリン酸、オレイン酸、ノナデカン酸、エイコサン酸等の炭素数1〜30のモノカルボン酸や、シュウ酸、フタル酸、トリメリット酸、ピロメリット酸等の炭素数2〜30のポリカルポン酸並びにこれらの無水物、又はエステル化合物、炭素数2〜6のアルキレンオキサイド、ヒドロキシ(ポリ)オキシアルキレンカーボネート等が挙げられる
Examples of the boron compound include boric acid, borates, and borate esters. Specifically, examples of the boric acid include orthoboric acid, metaboric acid, and tetraboric acid. Moreover, as said borate, ammonium borate, such as ammonium salt etc., specifically, for example, ammonium metaborate, ammonium tetraborate, ammonium pentaborate, ammonium octaborate, etc. are mentioned as a suitable example. As the boric acid ester, an ester of boric acid and preferably an alkyl alcohol having 1 to 6 carbon atoms, more specifically, for example, monomethyl borate, dimethyl borate, trimethyl borate, monoethyl borate, boric acid Preferred examples include diethyl, triethyl borate, monopropyl borate, dipropyl borate, triplypropyl borate, monobutyl borate, dibutyl borate, tributyl borate and the like. In addition, the mass ratio “B / N” of the boron content B and the nitrogen content N in the boron-containing polybutenyl succinimide is usually 0.1 to 3, preferably 0.2 to 1. .
Specific examples of the oxygen-containing organic compound include formic acid, acetic acid, glycolic acid, propionic acid, lactic acid, butyric acid, valeric acid, caproic acid, enanthic acid, caprylic acid, pelargonic acid, capric acid, undecyl. C1-C30 monocarboxylic acids such as acid, lauric acid, tridecanoic acid, myristic acid, pentadecanoic acid, palmitic acid, margaric acid, stearic acid, oleic acid, nonadecanoic acid, eicosanoic acid, oxalic acid, phthalic acid, C2-C30 polycarponic acid such as trimellitic acid and pyromellitic acid and their anhydrides or ester compounds, C2-C6 alkylene oxide, hydroxy (poly) oxyalkylene carbonate, etc.
なお、本発明に用いる潤滑剤において、ポリブテニルコハク酸イミド及び/又はその誘導体の含有量は特に制限されないが、0.1〜15%が望ましく、より望ましくは1.0〜12%であることが好ましい。0.1%未満では清浄性効果に乏しくなることがあり、15%を超えると含有量に見合う清浄性効果が得られにくく、抗乳化性が悪化し易い。 In the lubricant used in the present invention, the content of polybutenyl succinimide and / or its derivative is not particularly limited, but is preferably 0.1 to 15%, and more preferably 1.0 to 12%. It is preferable. If it is less than 0.1%, the cleaning effect may be poor, and if it exceeds 15%, it is difficult to obtain a cleaning effect corresponding to the content, and the demulsibility tends to deteriorate.
更にまた、本発明に用いる潤滑油は、次の一般式(3) Furthermore, the lubricating oil used in the present invention has the following general formula (3):
上記式(3)中のR4、R5、R6及びR7は、それぞれ別個に炭素数1〜24の炭化水素基を示す。これら炭化水素基としては、炭素数1〜24の直鎖状又は分枝状のアルキル基、炭素数3〜24の直鎖状又は分枝状のアルケニル基、炭素数5〜13のシクロアルキル基又は直鎖状若しくは分枝状のアルキルシクロアルキル基、炭素数6〜18のアリール基又は直鎖状若しくは分枝状のアルキルアリール基、炭素数7〜19のアリールアルキル基等のいずれかであることが望ましい。また、アルキル基やアルケニル基は、第1級、第2級及び第3級のいずれであってもよい。
R 4 , R 5 , R 6 and R 7 in the above formula (3) each independently represent a hydrocarbon group having 1 to 24 carbon atoms. Examples of these hydrocarbon groups include linear or branched alkyl groups having 1 to 24 carbon atoms, linear or branched alkenyl groups having 3 to 24 carbon atoms, and cycloalkyl groups having 5 to 13 carbon atoms. Or a linear or branched alkylcycloalkyl group, an aryl group having 6 to 18 carbon atoms, a linear or branched alkylaryl group, an arylalkyl group having 7 to 19 carbon atoms, or the like. It is desirable. The alkyl group or alkenyl group may be any of primary, secondary, and tertiary.
上記R4、R5、R6及びR7としては、具体的には、メチル基、エチル基、プロピル基、ブチル基、ペンチル基、へキシル基、ヘプチル基、オクチル基、ノニル基、デシル基、ウンデシル基、ドデシル基、トリデシル基、テトラデシル基、ペンタデシル基、ヘキサデシル基、ヘプタデシル基、オクタデシル基、ノナデシル基、イコシル基、ヘンイコシル基、ドコシル基、トリコシル基、テトラコシル基等のアルキル基、プロペニル基、イソプロペニル基、ブテニル基、ブタジエニル基、ペンテニル基、ヘキセニル基、ヘプテニル基、オクテニル基、ノネニル基、デセニル基、ウンデセニル基、ドデセニル基、トリデセニル基、テトラデセニル基、ペンタデセニル基、ヘキサデセニル基、ヘプタデセニル基、オレイル基等のオクタデセニル基、ノナデセニル基、イコセニル基、ヘンイコセニル基、ドコセニル基、トリコセニル基、テトラコセニル基等のアルケニル基、シクロペンチル基、シクロへキシル基、シクロヘプチル基等のシクロアルキル基、メチルシクロペンチル基、ジメチルシクロペンチル基、エチルシクロペンチル基、プロピルシクロペンチル基、エチルメチルシクロペンチル基、トリメチルシクロペンチル基、ジエチルシクロペンチル基、エチルジメチルシクロペンチル基、プロピルメチルシクロペンチル基、プロピルエチルシクロペンチル基、ジ−プロピルシクロペンチル基、プロピルエチルメチルシクロペンチル基、メチルシクロへキシル基、ジメチルシクロへキシル基、エチルシクロへキシル基、プロピルシクロへキシル基、エチルメチルシクロへキシル基、トリメチルシクロへキシル基、ジエチルシクロヘキシル基、エチルジメチルシクロヘキシル基、プロピルメチルシクロヘキシル基、プロピルエチルシクロヘキシル基、ジ−プロピルシクロへキシル基、プロピルエチルメチルシクロヘキシル基、メチルシクロヘプチル基、ジメチルシクロヘプチル基、エチルシクロヘプチル基、プロピルシクロヘプチル基、エチルメチルシクロヘプチル基、トリメチルシクロヘプチル基、ジエチルシクロヘプチル基、エチルジメチルシクロヘプチル基、プロピルメチルシクロヘプチル基、プロピルエチルシクロヘプチル基、ジ−プロピルシクロヘプチル基、プロピルエチルメチルシクロヘプチル基等のアルキルシクロアルキル基、フェニル基、ナフチル基等のアリール基、トリル基、キシリル基、エチルフェニル基、プロピルフェニル基、エチルメチルフェニル基、トリメチルフェニル基、ブチルフェニル基、プロピルメチルフェニル基、ジエチルフェニル基、エチルジメチルフェニル基、テトラメチルフェニル基、ペンチルフェニル基、ヘキシルフェニル基、ヘプチルフェニル基、オクチルフェニル基、ノニルフェニル基、デシルフェニル基、ウンデシルフェニル基、ドデシルフェニル基等のアルキルアリール基、ベンジル基、メチルベンジル基、ジメチルベンジル基、フェネチル基、メチルフェネチル基、ジメチルフェネチル基等のアリールアルキル基、等が例示できる。
なお、R4、R5、R6及びR7がとり得る上記炭化水素基には、考えられる全ての直鎖状構造及び分枝状構造をが含まれ、また、アルケニル基の二重結合の位置、アルキル基のシクロアルキル基への結合位置、アルキル基のアリール基への結合位置、及びアリール基のアルキル基への結合位置は任意である。また、上記炭化水素基の中でも、その炭化水素基が、直鎖状又は分柱状の炭素数1〜18のアルキル基である場合若しくは炭素数6〜18のアリール基、又は直鎖状若しくは分枝状アルキルアリール基である場合が特に好ましい。
Specific examples of R 4 , R 5 , R 6 and R 7 include a methyl group, an ethyl group, a propyl group, a butyl group, a pentyl group, a hexyl group, a heptyl group, an octyl group, a nonyl group, and a decyl group. Undecyl group, dodecyl group, tridecyl group, tetradecyl group, pentadecyl group, hexadecyl group, heptadecyl group, octadecyl group, nonadecyl group, icosyl group, heicosyl group, docosyl group, tricosyl group, tetracosyl group, alkyl group, propenyl group, Isopropenyl group, butenyl group, butadienyl group, pentenyl group, hexenyl group, heptenyl group, octenyl group, nonenyl group, decenyl group, undecenyl group, dodecenyl group, tridecenyl group, tetradecenyl group, pentadecenyl group, hexadecenyl group, heptadecenyl group, oleyl Octadeseni Group, nonadecenyl group, icocenyl group, heicosenyl group, dococenyl group, tricocenyl group, tetracocenyl group and other alkenyl groups, cyclopentyl group, cyclohexyl group, cycloheptyl group and other cycloalkyl groups, methylcyclopentyl group, dimethylcyclopentyl group, ethyl Cyclopentyl group, propylcyclopentyl group, ethylmethylcyclopentyl group, trimethylcyclopentyl group, diethylcyclopentyl group, ethyldimethylcyclopentyl group, propylmethylcyclopentyl group, propylethylcyclopentyl group, di-propylcyclopentyl group, propylethylmethylcyclopentyl group, methylcyclohexyl Group, dimethylcyclohexyl group, ethylcyclohexyl group, propylcyclohexyl group, ethylmethylcyclohexyl , Trimethylcyclohexyl group, diethylcyclohexyl group, ethyldimethylcyclohexyl group, propylmethylcyclohexyl group, propylethylcyclohexyl group, di-propylcyclohexyl group, propylethylmethylcyclohexyl group, methylcycloheptyl group, dimethylcycloheptyl group, Ethylcycloheptyl group, propylcycloheptyl group, ethylmethylcycloheptyl group, trimethylcycloheptyl group, diethylcycloheptyl group, ethyldimethylcycloheptyl group, propylmethylcycloheptyl group, propylethylcycloheptyl group, di-propylcycloheptyl group Alkylcycloalkyl groups such as propylethylmethylcycloheptyl group, aryl groups such as phenyl group and naphthyl group, tolyl group, xylyl group, Nyl group, propylphenyl group, ethylmethylphenyl group, trimethylphenyl group, butylphenyl group, propylmethylphenyl group, diethylphenyl group, ethyldimethylphenyl group, tetramethylphenyl group, pentylphenyl group, hexylphenyl group, heptylphenyl group , Alkylaryl groups such as octylphenyl group, nonylphenyl group, decylphenyl group, undecylphenyl group, dodecylphenyl group, benzyl group, methylbenzyl group, dimethylbenzyl group, phenethyl group, methylphenethyl group, dimethylphenethyl group, etc. An arylalkyl group etc. can be illustrated.
The hydrocarbon groups that R 4 , R 5 , R 6, and R 7 can include all possible linear structures and branched structures, and also include double bonds of alkenyl groups. The position, the bonding position of the alkyl group to the cycloalkyl group, the bonding position of the alkyl group to the aryl group, and the bonding position of the aryl group to the alkyl group are arbitrary. Further, among the hydrocarbon groups, when the hydrocarbon group is a linear or branched alkyl group having 1 to 18 carbon atoms, an aryl group having 6 to 18 carbon atoms, or a linear or branched group Particularly preferred is a linear alkylaryl group.
上記ジチオリン酸亜鉛の好適な具体例としては、例えば、ジイソプロピルジチオリン酸亜鉛、ジイソブチルジチオリン酸亜鉛、ジ−sec−ブチルジチオリン酸亜鉛、ジ−sec−ペンチルジチオリン酸亜鉛、ジ−n−ヘキシルジチオリン酸亜鉛、ジ−sec−ヘキシルジチオリン酸亜鉛、ジ−オクチルジチオリン酸亜鉛、ジ−2−エチルヘキシルジチオリン酸亜鉛、ジ−n−デシルジチオリン酸亜鉛、ジ−n−ドデシルジチオリン酸亜鉛、ジイソトリデシルジチオリン酸亜鉛、及びこれらの任意の組合せに係る混合物等が挙げられる。 Preferred examples of the zinc dithiophosphate include, for example, zinc diisopropyldithiophosphate, zinc diisobutyldithiophosphate, zinc di-sec-butyldithiophosphate, zinc di-sec-pentyldithiophosphate, zinc di-n-hexyldithiophosphate. , Zinc di-sec-hexyldithiophosphate, zinc di-octyldithiophosphate, zinc di-2-ethylhexyldithiophosphate, zinc di-n-decyldithiophosphate, zinc di-n-dodecyldithiophosphate, zinc diisotridecyldithiophosphate , And mixtures of these arbitrary combinations.
また、上記ジチオリン酸亜鉛の含有量は、特に制限されないが、より高い摩擦低減効果を発揮させる観点から、潤滑剤全量基準且つリン元素換算量で、0.1%以下であることが好ましく、また0.06%以下であることがより好ましく、更にはジチオリン酸亜鉛が含有されないことが特に好ましい。ジチオリン酸亜鉛の含有量がリン元素換算量で0.1%を超えると、DLC部材と鉄基部材との摺動面における上記脂肪酸エステル系無灰摩擦調整剤や上記脂肪族アミン系無灰摩擦調整剤の優れた摩擦低減効果が阻害されるおそれがある。 The content of the zinc dithiophosphate is not particularly limited, but is preferably 0.1% or less in terms of the total amount of the lubricant and in terms of phosphorus element, from the viewpoint of exerting a higher friction reduction effect. It is more preferable that it is 0.06% or less, and it is particularly preferable that zinc dithiophosphate is not contained. When the zinc dithiophosphate content exceeds 0.1% in terms of phosphorus element, the fatty acid ester-based ashless friction modifier and the aliphatic amine-based ashless friction on the sliding surface between the DLC member and the iron base member There exists a possibility that the outstanding friction reduction effect of a regulator may be inhibited.
上記ジチオリン酸亜鉛の製造方法としては、従来方法を任意に採用することができ、特に制限されないが、具体的には、例えば、上記R4、R5、R6及びR7に対応する炭化水素基を持つアルコール又はフェノールを五二硫化りんと反応させてジチオリン酸とし、これを酸化亜鉛で中和させることにより合成することができる。なお、上記ジチオリン酸亜鉛の構造は、使用する原料アルコールによって異なることは言うまでもない。
本発明においては、上記一般式(3)に包含される2種以上のジチオリン酸亜鉛を任意の割合で混合して使用することもできる。
As a method for producing the zinc dithiophosphate, a conventional method can be arbitrarily adopted, and is not particularly limited. Specifically, for example, hydrocarbons corresponding to R 4 , R 5 , R 6 and R 7 are used. It can be synthesized by reacting a group-containing alcohol or phenol with phosphorus pentasulfide to dithiophosphoric acid and neutralizing it with zinc oxide. In addition, it cannot be overemphasized that the structure of the said zinc dithiophosphate changes with raw material alcohol to be used.
In the present invention, two or more kinds of zinc dithiophosphates included in the general formula (3) may be mixed and used at an arbitrary ratio.
上述のように、本発明に用いる潤滑剤は、DLCなどの硬質炭素被膜と金属材料との摺動面に用いた場合に、極めて優れた低摩擦特性を示すものであるが、特に内燃機関用潤滑剤として必要な性能を高める目的で、金属系清浄剤、酸化防止剤、粘度指数向上剤、他の無灰摩擦調整剤、他の無灰分散剤、磨耗防止剤若しくは極圧剤、防錆剤、非イオン系界面活性剤、抗乳化剤、金属不活性化剤、消泡剤等を単独で又は複数種を組合せて配合し、必要な性能を高めることができる。 As described above, the lubricant used in the present invention exhibits extremely excellent low friction characteristics when used on a sliding surface between a hard carbon film such as DLC and a metal material. For the purpose of enhancing the performance required as a lubricant, metallic detergents, antioxidants, viscosity index improvers, other ashless friction modifiers, other ashless dispersants, antiwear or extreme pressure agents, rust inhibitors A nonionic surfactant, a demulsifier, a metal deactivator, an antifoaming agent, etc. can be blended singly or in combination of a plurality of types to enhance the required performance.
上記金属系清浄剤としては、潤滑剤用の金属系清浄剤として通常用いられる任意の化合物が使用できる。例えば、アルカリ金属又はアルカリ土類金属のスルホネート、フェネート、サリシレート、ナフテネート等を単独で又は複数種を組合せて使用できる。ここで、上記アルカリ金属としてはナトリウム(Na)やカリウム(K)等、上記アルカリ土類金属としてはカルシウム(Ca)やマグネシウム(Mg)等が例示できる。また、具体的な好適例としては、Ca又はMgのスルフォネート、フェネート及びサリシレートが挙げられる。
なお、これら金属系清浄剤の全塩基価及び添加量は、要求される潤滑剤の性能に応じて任意に選択できる。通常、全塩基価は、過塩素酸法で0〜500mgKOH/g、望ましくは150〜400mgKOH/gであり、その添加量は潤滑油全量基準で、通常0.1〜10%である。
As said metal type detergent, the arbitrary compounds normally used as a metal type detergent for lubricants can be used. For example, alkali metal or alkaline earth metal sulfonates, phenates, salicylates, naphthenates, and the like can be used alone or in combination. Here, examples of the alkali metal include sodium (Na) and potassium (K), and examples of the alkaline earth metal include calcium (Ca) and magnesium (Mg). Specific preferred examples include Ca or Mg sulfonates, phenates and salicylates.
In addition, the total base number and addition amount of these metallic detergents can be arbitrarily selected according to the required performance of the lubricant. Usually, the total base number is 0 to 500 mgKOH / g, preferably 150 to 400 mgKOH / g by the perchloric acid method, and the addition amount is usually 0.1 to 10% based on the total amount of the lubricating oil.
また、上記酸化防止剤としては、潤滑油用の酸化防止剤として通常用いられる任意の化合物を使用できる。例えば、4,4’−メチレンビス(2,6−ジ−tert−ブチルフェノール)、オクタデシル−3−(3,5−ジ−tert−ブチル−4−ヒドロキシフェニル)プロピオネート等のフェノール系酸化防止剤、フェニル−α−ナフチルアミン、アルキルフェニル−α−ナフチルアミン、アルキルジフェニルアミン等のアミン系酸化防止剤、並びにこれらの任意の組合せに係る混合物等が挙げられる。また、かかる酸化防止剤の添加量は、潤滑剤全量基準で、通常0.01〜5%である。 Further, as the antioxidant, any compound usually used as an antioxidant for lubricating oil can be used. For example, phenolic antioxidants such as 4,4′-methylenebis (2,6-di-tert-butylphenol), octadecyl-3- (3,5-di-tert-butyl-4-hydroxyphenyl) propionate, phenyl Examples thereof include amine-based antioxidants such as -α-naphthylamine, alkylphenyl-α-naphthylamine, and alkyldiphenylamine, as well as mixtures according to any combination thereof. The amount of the antioxidant added is usually 0.01 to 5% based on the total amount of the lubricant.
さらに、上記粘度指数向上剤としては、具体的には、各種メタクリル酸エステルから選ばれる1種又は2種以上のモノマーの共重合体やその水添物等のいわゆる非分散型粘度指数向上剤、及び更に窒素化合物を含む各種メタクリル酸エステルを共重合させたいわゆる分散型粘度指数向上剤等が例示できる。また、他の粘度指数向上剤の具体例としては、非分散型又は分散型エチレン−α−オレフィン共重合体(α−オレフィンとしては、例えばプロピレン、1−ブテン、1−ペンテン等)及びその水素化物、ポリイソブチレン及びその水添物、スチレン−ジエン水素化共重合体、スチレン−無水マレイン酸エステル共重合体、並びにポリアルキルスチレン等も例示できる。
これら粘度指数向上剤の分子量は、せん断安定性を考慮して選定することが必要である。具体的には、粘度指数向上剤の数平均分子量は、例えば分散型及び非分散型ポリメタクリレートでは5000〜1000000、好ましくは100000〜800000がよく、ポリイソブチレン又はその水素化物では800〜5000、エチレン−α−オレフィン共重合体又はその水素化物では800〜300000、好ましくは10000〜200000がよい。また、かかる粘度指数向上剤は、単独で又は複数種を任意に組合せて含有させることができるが、通常その含有量は、潤滑剤基準で0.1〜40.0%であることが望ましい。
Furthermore, as the viscosity index improver, specifically, a so-called non-dispersion type viscosity index improver such as a copolymer of one or two or more monomers selected from various methacrylic acid esters and hydrogenated products thereof, Furthermore, a so-called dispersion type viscosity index improver obtained by copolymerizing various methacrylic acid esters containing a nitrogen compound can be exemplified. Specific examples of other viscosity index improvers include non-dispersed or dispersed ethylene-α-olefin copolymers (eg, α-olefins include propylene, 1-butene, 1-pentene, etc.) and hydrogen thereof. Examples thereof include a compound, polyisobutylene and a hydrogenated product thereof, a styrene-diene hydrogenated copolymer, a styrene-maleic anhydride ester copolymer, and a polyalkylstyrene.
The molecular weight of these viscosity index improvers needs to be selected in consideration of shear stability. Specifically, the number average molecular weight of the viscosity index improver is, for example, 5,000 to 1,000,000, preferably 100,000 to 800,000 for dispersed and non-dispersed polymethacrylates, 800 to 5,000 for polyisobutylene or a hydride thereof, ethylene- In the case of an α-olefin copolymer or a hydride thereof, 800 to 300,000, preferably 10,000 to 200,000 is preferable. Moreover, although this viscosity index improver can be contained individually or in combination of multiple types, it is desirable that the content is usually 0.1 to 40.0% based on the lubricant.
更にまた、他の無灰摩擦調整剤としては、ホウ酸エステル、高級アルコール、脂肪族エーテル等の無灰摩擦調整剤、ジチオリン酸モリブデン、ジチオカルバミン酸モリブデン、二硫化モリブデン等の金属系摩擦調整剤等が挙げられる。
また、他の無灰分散剤としては、数平均分子量が900〜3500のポリブテニル基を有するポリブテニルベンジルアミン、ポリブテニルアミン、数平均分子量が900未満のポリブテニル基を有するポリブテニルコハク酸イミド等及びそれらの誘導体等が挙げられる。
さらに、上記磨耗防止剤又は極圧剤としては、ジスルフィド、硫化油脂、硫化オレフィン、炭素数2〜20の炭化水素基を1〜3個含有するリン酸エステル、チオリン酸エステル、亜リン酸エステル、チオ亜リン酸エステル及びこれらのアミン塩等が挙げられる。
更にまた、上記防錆剤としては、アルキルベンゼンスルフォネート、ジノニルナフタレンスルフォネート、アルケニルコハク酸エステル、多価アルコールエステル等が挙げられる。
また、上記非イオン系界面活性剤及び抗乳化剤としては、ポリオキシエチレンアルキルエーテル、ポリオキシエチレンアルキルフェニルエーテル、ポリオキシエチレンアルキルナフチルエーテル等のポリアルキレングリコール系非イオン系界面活性剤等が挙げられる。
さらに、上記金属不活性化剤としては、イミダゾリン、ピリミジン誘導体、チアジアゾール、ベンゾトリアゾール、チアジアゾール等が挙げられる。
更にまた、上記消泡剤としては、シリコーン、フルオロシリコーン、フルオロアルキルエーテル等が挙げられる。
なお、これら添加剤を本発明に用いる潤滑剤に含有させる場合には、その含有量は、潤滑剤全量基準で、他の摩擦調整剤、他の無灰分散剤、磨耗防止剤又は極圧剤、防錆剤、及び抗乳化剤については0.01〜5%、金属不活性剤については0.005〜1%、消泡剤については0.0005〜1%の範囲から適宜選択できる。
Furthermore, other ashless friction modifiers include ashless friction modifiers such as boric acid esters, higher alcohols, aliphatic ethers, metal friction modifiers such as molybdenum dithiophosphate, molybdenum dithiocarbamate, and molybdenum disulfide. Is mentioned.
Other ashless dispersants include polybutenylbenzylamine and polybutenylamine having a polybutenyl group having a number average molecular weight of 900 to 3500, and polybutenyl succinimide having a polybutenyl group having a number average molecular weight of less than 900. And derivatives thereof.
Furthermore, as the antiwear agent or extreme pressure agent, disulfide, sulfurized fat and oil, sulfurized olefin, phosphate ester containing 1 to 3 hydrocarbon groups having 2 to 20 carbon atoms, thiophosphate ester, phosphite ester, Examples thereof include thiophosphite esters and amine salts thereof.
Furthermore, examples of the rust preventive include alkylbenzene sulfonate, dinonyl naphthalene sulfonate, alkenyl succinate, polyhydric alcohol ester and the like.
Examples of the nonionic surfactant and demulsifier include polyalkylene glycol nonionic surfactants such as polyoxyethylene alkyl ether, polyoxyethylene alkylphenyl ether, polyoxyethylene alkyl naphthyl ether, and the like. .
Furthermore, examples of the metal deactivator include imidazoline, pyrimidine derivatives, thiadiazole, benzotriazole, thiadiazole and the like.
Furthermore, examples of the antifoaming agent include silicone, fluorosilicone, and fluoroalkyl ether.
In addition, when these additives are contained in the lubricant used in the present invention, the content is based on the total amount of the lubricant, other friction modifiers, other ashless dispersants, antiwear agents or extreme pressure agents, The rust preventive and demulsifier can be appropriately selected from the range of 0.01 to 5%, the metal deactivator is 0.005 to 1%, and the antifoaming agent is 0.0005 to 1%.
また、水酸基含有化合物を主成分とする潤滑剤を、本発明における摺動部材と鉄基もしくはアルミニウム系材料との摺動面に供給することで、より一層の摩擦低減効果を得ることができる。
上記水酸基含有化合物としては、アルコール類、好ましくはグリセリン、もしくはエチレングリコールが挙げられる。
Further, by supplying a lubricant mainly composed of a hydroxyl group-containing compound to the sliding surface between the sliding member and the iron group or aluminum-based material in the present invention, a further friction reducing effect can be obtained.
Examples of the hydroxyl group-containing compound include alcohols, preferably glycerin or ethylene glycol.
以下、本発明を実施例と比較例によって、更に具体的に説明するが、本発明は、これら実施例のみに限定されるものではない。 EXAMPLES Hereinafter, although an Example and a comparative example demonstrate this invention further more concretely, this invention is not limited only to these Examples.
(実施例1)
アルミニウム合金製のバルブリフター基材から、R部(R=17mm)を有する8×12×40mmの蒲鉾状試験片を切り出し、当該試験片のR部表面に、PVDアーク式イオンプレーティング法によって、水素含有量が0.2原子%であって、ヌープ硬度Hk=2170kg/mm2、表面粗さ:Ry(=Rmax)=0.03μm、厚さ:0.5μmのDLC被膜を成膜して、本例の摺動側試験片とした。
一方、相手側試験片としては、シリンダーヘッド用のアルミニウム合金材として、JIS H5202に規定されるAC2A材(Al−Cu−Si系)から、40×60×7mmの板状試験片を切り出し、摺接面の表面粗さRaを0.1μmに仕上げ、T7熱処理を施し、エステル系添加剤を含まない、表1に示す潤滑油組成物No.8の潤滑油中で、後述する条件の摩擦摩耗試験を実施し、摩擦係数を求めた。
(Example 1)
An 8 × 12 × 40 mm bowl-shaped test piece having an R part (R = 17 mm) was cut out from an aluminum alloy valve lifter base material, and the PVD arc ion plating method was applied to the R part surface of the test piece. A DLC film having a hydrogen content of 0.2 atomic%, Knoop hardness Hk = 2170 kg / mm2, surface roughness: Ry (= Rmax) = 0.03 μm, and thickness: 0.5 μm was formed, The sliding side test piece of this example was used.
On the other hand, as the counterpart test piece, a plate test piece of 40 × 60 × 7 mm was cut out from an AC2A material (Al—Cu—Si system) defined in JIS H5202 as an aluminum alloy material for a cylinder head, and slid. The surface roughness Ra of the contact surface is finished to 0.1 μm, subjected to T7 heat treatment, and does not contain an ester-based additive. In the lubricating oil No. 8, a frictional wear test under the conditions described later was carried out to obtain a friction coefficient.
(実施例2)
上記実施例1と同様の試験片を組合せ、同様に表1に示す潤滑油組成物No.1の潤滑油中において、同様の摩擦摩耗試験を実施し、摩擦係数を求めた。
(Example 2)
The same test pieces as in Example 1 were combined, and the lubricating oil composition No. The same friction and wear test was conducted in the lubricating oil No. 1 to determine the friction coefficient.
(実施例3〜8)
上記実施例1と同様にして、表1に示す各々の潤滑油組成物の潤滑油中において、同様の摩擦摩耗試験を実施し、摩擦係数を求めた。
(Examples 3 to 8)
In the same manner as in Example 1, the same frictional wear test was carried out in the lubricating oils of the respective lubricating oil compositions shown in Table 1, and the friction coefficient was determined.
(実施例9)
上記実施例1と同様の試験片を組合せ、潤滑剤にグリセリンを適用し、同様の摩擦摩耗試験を実施して摩擦係数を求めた。
Example 9
The same test pieces as in Example 1 were combined, glycerin was applied to the lubricant, and the same frictional wear test was performed to determine the friction coefficient.
(比較例1)
実施例1と同様に、アルミニウム合金製のバルブリフター基材から、R部を有する8×12×40mmの蒲鉾状試験片を切り出し、当該試験片のR部表面に、Ni−Pの被膜処理を施して、本例の摺動側試験片とした。これを同様の相手側試験片と組合せ、実施例1と同様の条件によって摩擦摩耗試験を実施し、摩擦係数を求めた。
(Comparative Example 1)
Similarly to Example 1, an 8 × 12 × 40 mm bowl-shaped test piece having an R portion was cut out from an aluminum alloy valve lifter base material, and Ni-P coating treatment was applied to the R portion surface of the test piece. To give a sliding side test piece of this example. This was combined with a similar counterpart test piece, and a frictional wear test was performed under the same conditions as in Example 1 to obtain a friction coefficient.
(比較例2)
鉄系合金(SUS304)製のバルブリフター基材から、R部を有する8×12×40mmの蒲鉾状試験片を切り出し、該試験片のR部表面を研磨して、皮膜処理を施すことなく、本例の摺動側試験片とした。これを同様の相手側試験片と組合せ、実施例1と同様の条件によって摩擦摩耗試験を実施し、摩擦係数を求めた。
(Comparative Example 2)
From a valve lifter base material made of an iron-based alloy (SUS304), an 8 × 12 × 40 mm bowl-shaped test piece having an R portion was cut out, and the surface of the R portion of the test piece was polished and subjected to a film treatment, The sliding side test piece of this example was used. This was combined with a similar counterpart test piece, and a frictional wear test was performed under the same conditions as in Example 1 to obtain a friction coefficient.
(性能評価)
上記した各例のように、摺動側試験片及び相手側試験片を組合わせて、下記の条件により往復動試験を実施し、折り返し部における摩擦係数を測定した。得られた結果を表2に示す。
試験条件
摺動側試験片 : 8×12×40mm蒲鉾状試験片(Al合金)
相手側試験片 : 40×60×7mm板状試験片(AC2A材)
試験装置 : 往復動試験装置
回転数 : 600rpm
試験温度 : 25℃
荷重 : 10kgf
測定時間 : 60分後
(Performance evaluation)
As in each example described above, the sliding side test piece and the counterpart side test piece were combined, a reciprocating test was performed under the following conditions, and the coefficient of friction at the folded portion was measured. The obtained results are shown in Table 2.
Test conditions Sliding side test piece: 8 × 12 × 40mm bowl-shaped test piece (Al alloy)
Counter specimen: 40 x 60 x 7 mm plate specimen (AC2A material)
Test device: Reciprocating test device Number of revolutions: 600 rpm
Test temperature: 25 ° C
Load: 10kgf
Measurement time: 60 minutes later
表2に示す結果から明らかなように、摺動面にDLCのような硬質炭素被膜を形成することによって、さらにエステル系添加剤を含む潤滑剤を組合わせることによって、摩擦係数が大幅に低減することが確認され、耐スカッフ性、耐摩耗性向上が期待される。 As is clear from the results shown in Table 2, the friction coefficient is greatly reduced by forming a hard carbon film such as DLC on the sliding surface and further combining a lubricant containing an ester-based additive. It is confirmed that scuff resistance and wear resistance are improved.
1 バルブリフター
1a 硬質炭素被膜
1b リフター基材
1 Valve lifter 1a Hard carbon coating 1b Lifter base material
Claims (10)
Priority Applications (5)
| Application Number | Priority Date | Filing Date | Title |
|---|---|---|---|
| JP2004190969A JP2005090489A (en) | 2003-08-11 | 2004-06-29 | Valve lifter for internal combustion engine |
| DE602004004454T DE602004004454T2 (en) | 2003-08-11 | 2004-07-14 | Valve tappet for motor vehicle internal combustion engine |
| EP04016552A EP1508674B1 (en) | 2003-08-11 | 2004-07-14 | Tappet for internal combustion engine |
| US10/914,506 US20050098134A1 (en) | 2003-08-11 | 2004-08-10 | Valve lifter for internal combustion engine |
| CNB2004100565997A CN100362217C (en) | 2003-08-11 | 2004-08-11 | Tappet for internal combustion engine |
Applications Claiming Priority (2)
| Application Number | Priority Date | Filing Date | Title |
|---|---|---|---|
| JP2003207037 | 2003-08-11 | ||
| JP2004190969A JP2005090489A (en) | 2003-08-11 | 2004-06-29 | Valve lifter for internal combustion engine |
Publications (1)
| Publication Number | Publication Date |
|---|---|
| JP2005090489A true JP2005090489A (en) | 2005-04-07 |
Family
ID=34067367
Family Applications (1)
| Application Number | Title | Priority Date | Filing Date |
|---|---|---|---|
| JP2004190969A Abandoned JP2005090489A (en) | 2003-08-11 | 2004-06-29 | Valve lifter for internal combustion engine |
Country Status (5)
| Country | Link |
|---|---|
| US (1) | US20050098134A1 (en) |
| EP (1) | EP1508674B1 (en) |
| JP (1) | JP2005090489A (en) |
| CN (1) | CN100362217C (en) |
| DE (1) | DE602004004454T2 (en) |
Cited By (5)
| Publication number | Priority date | Publication date | Assignee | Title |
|---|---|---|---|---|
| JP2008510863A (en) * | 2004-08-26 | 2008-04-10 | シエツフレル コマンディートゲゼルシャフト | Abrasion resistant coating and process for producing the same |
| KR100887851B1 (en) | 2008-07-18 | 2009-03-09 | 현대자동차주식회사 | Valve lifter and surface treatment method |
| JP2013234353A (en) * | 2012-05-08 | 2013-11-21 | Honda Motor Co Ltd | Diamond-like carbon film coated member and method for manufacturing the same |
| KR101339504B1 (en) | 2007-12-27 | 2013-12-10 | 두산인프라코어 주식회사 | Rocker arm shaft having diamond-like carbon film and method for preparing the rocker arm shaft |
| WO2015107837A1 (en) * | 2014-01-15 | 2015-07-23 | 株式会社リケン | Valve lifter |
Families Citing this family (21)
| Publication number | Priority date | Publication date | Assignee | Title |
|---|---|---|---|---|
| JP3555844B2 (en) | 1999-04-09 | 2004-08-18 | 三宅 正二郎 | Sliding member and manufacturing method thereof |
| JP2004138128A (en) | 2002-10-16 | 2004-05-13 | Nissan Motor Co Ltd | Sliding members for automobile engines |
| US6969198B2 (en) | 2002-11-06 | 2005-11-29 | Nissan Motor Co., Ltd. | Low-friction sliding mechanism |
| JP3891433B2 (en) | 2003-04-15 | 2007-03-14 | 日産自動車株式会社 | Fuel injection valve |
| EP1479946B1 (en) | 2003-05-23 | 2012-12-19 | Nissan Motor Co., Ltd. | Piston for internal combustion engine |
| EP1482190B1 (en) | 2003-05-27 | 2012-12-05 | Nissan Motor Company Limited | Rolling element |
| JP2004360649A (en) | 2003-06-06 | 2004-12-24 | Nissan Motor Co Ltd | Engine piston pin |
| JP4863152B2 (en) | 2003-07-31 | 2012-01-25 | 日産自動車株式会社 | gear |
| WO2005014761A2 (en) | 2003-08-06 | 2005-02-17 | Nissan Motor Co., Ltd. | Low-friction sliding mechanism, low-friction agent composition and method of friction reduction |
| JP2005054617A (en) | 2003-08-08 | 2005-03-03 | Nissan Motor Co Ltd | Valve mechanism |
| JP4973971B2 (en) | 2003-08-08 | 2012-07-11 | 日産自動車株式会社 | Sliding member |
| JP4539205B2 (en) | 2003-08-21 | 2010-09-08 | 日産自動車株式会社 | Refrigerant compressor |
| US7771821B2 (en) | 2003-08-21 | 2010-08-10 | Nissan Motor Co., Ltd. | Low-friction sliding member and low-friction sliding mechanism using same |
| EP1508611B1 (en) | 2003-08-22 | 2019-04-17 | Nissan Motor Co., Ltd. | Transmission comprising low-friction sliding members and transmission oil therefor |
| DE102006004750A1 (en) * | 2005-04-11 | 2006-10-12 | Schaeffler Kg | Valve drive component (sic) for transfer of stroke by cam projections on gas change valve, internal combustion engines has protection layer of at least one metal-free amorphous hydrocarbon layer with sp2 and sp3 carbon |
| DE102006029415B4 (en) * | 2006-06-27 | 2023-07-06 | Schaeffler Technologies AG & Co. KG | Wear-resistant coating and manufacturing process therefor |
| JP5167140B2 (en) * | 2006-10-17 | 2013-03-21 | 出光興産株式会社 | Lubricating oil composition |
| JP2012219709A (en) * | 2011-04-08 | 2012-11-12 | Hitachi Automotive Systems Ltd | Valve lifter of internal combustion engine and method of manufacturing valve lifter |
| US8919312B2 (en) * | 2012-06-27 | 2014-12-30 | Ford Global Technologies, Llc | Impact dampening tappet |
| JP5780689B2 (en) * | 2013-03-22 | 2015-09-16 | 日鍛バルブ株式会社 | DLC coating film |
| NL2032156B1 (en) * | 2022-06-13 | 2023-12-20 | Daf Trucks Nv | A method of lubricating a DLC coated tappet pin |
Family Cites Families (31)
| Publication number | Priority date | Publication date | Assignee | Title |
|---|---|---|---|---|
| US3211653A (en) * | 1958-12-31 | 1965-10-12 | Exxon Research Engineering Co | Hypoid gear lubricants for slip-lock differentials |
| US4031023A (en) * | 1976-02-19 | 1977-06-21 | The Lubrizol Corporation | Lubricating compositions and methods utilizing hydroxy thioethers |
| US4554208A (en) * | 1983-12-27 | 1985-11-19 | General Motors Corporation | Metal bearing surface having an adherent score-resistant coating |
| EP0221531A3 (en) * | 1985-11-06 | 1992-02-19 | Kanegafuchi Kagaku Kogyo Kabushiki Kaisha | High heat conductive insulated substrate and method of manufacturing the same |
| JP2641424B2 (en) * | 1985-11-08 | 1997-08-13 | 株式会社日立製作所 | Method for manufacturing internal combustion engine valve train |
| US4755426A (en) * | 1986-01-18 | 1988-07-05 | Hitachi Maxell, Ltd. | Magnetic recording medium and production of the same |
| US6083570A (en) * | 1987-03-31 | 2000-07-04 | Lemelson; Jerome H. | Synthetic diamond coatings with intermediate amorphous metal bonding layers and methods of applying such coatings |
| US4960643A (en) * | 1987-03-31 | 1990-10-02 | Lemelson Jerome H | Composite synthetic materials |
| US5190824A (en) * | 1988-03-07 | 1993-03-02 | Semiconductor Energy Laboratory Co., Ltd. | Electrostatic-erasing abrasion-proof coating |
| DE3815457A1 (en) * | 1988-05-06 | 1989-11-16 | Sipra Patent Beteiligung | KNITTING MACHINE |
| US5202156A (en) * | 1988-08-16 | 1993-04-13 | Canon Kabushiki Kaisha | Method of making an optical element mold with a hard carbon film |
| AU631037B2 (en) * | 1989-12-28 | 1992-11-12 | Kabushiki Kaisha Toyota Chuo Kenkyusho | Hard and lubricant thin film of amorphous carbon-hydrogen-silicon, iron base metallic material coated therewith, and the process for producing the same |
| US5282990A (en) * | 1990-07-31 | 1994-02-01 | Exxon Chemical Patents Inc. | Synergistic blend of amine/amide and ester/alcohol friction modifying agents for improved fuel economy of an internal combustion engine |
| EP0484699B1 (en) * | 1990-11-05 | 1993-08-18 | Detlev Dr. Repenning | Friction pairing and its method of manufacture |
| US5352493A (en) * | 1991-05-03 | 1994-10-04 | Veniamin Dorfman | Method for forming diamond-like nanocomposite or doped-diamond-like nanocomposite films |
| US5309874A (en) * | 1993-01-08 | 1994-05-10 | Ford Motor Company | Powertrain component with adherent amorphous or nanocrystalline ceramic coating system |
| US5249554A (en) * | 1993-01-08 | 1993-10-05 | Ford Motor Company | Powertrain component with adherent film having a graded composition |
| US5237967A (en) * | 1993-01-08 | 1993-08-24 | Ford Motor Company | Powertrain component with amorphous hydrogenated carbon film |
| KR0134942B1 (en) * | 1993-06-11 | 1998-06-15 | 이다가끼 유끼오 | Amorphous hard carbon film and its manufacturing method |
| US6004910A (en) * | 1994-04-28 | 1999-12-21 | Exxon Chemical Patents Inc. | Crankcase lubricant for modern heavy duty diesel and gasoline fueled engines |
| US5458927A (en) * | 1995-03-08 | 1995-10-17 | General Motors Corporation | Process for the formation of wear- and scuff-resistant carbon coatings |
| DE19781069C2 (en) * | 1996-07-08 | 1999-12-16 | Citizen Watch Co Ltd | A guide bush and method of forming a hard carbon layer over a guide bushing |
| WO1999047810A1 (en) * | 1998-03-19 | 1999-09-23 | Sumitomo Electric Industries, Ltd. | Combination of shim and cam |
| JP3555844B2 (en) * | 1999-04-09 | 2004-08-18 | 三宅 正二郎 | Sliding member and manufacturing method thereof |
| JP3051404B1 (en) * | 1999-05-19 | 2000-06-12 | 川崎重工業株式会社 | Tappet |
| US6333298B1 (en) * | 1999-07-16 | 2001-12-25 | Infineum International Limited | Molybdenum-free low volatility lubricating oil composition |
| JP4007440B2 (en) * | 2000-04-28 | 2007-11-14 | 三宅 正二郎 | Hard carbon film sliding member |
| JP2003147508A (en) * | 2001-11-07 | 2003-05-21 | Sumitomo Electric Ind Ltd | Carbon film, method for forming carbon film, and carbon film-coated member |
| JP3555891B2 (en) * | 2002-02-22 | 2004-08-18 | 新日本石油株式会社 | Low friction sliding material and lubricating oil composition used therefor |
| JP2004138128A (en) * | 2002-10-16 | 2004-05-13 | Nissan Motor Co Ltd | Sliding members for automobile engines |
| US6969198B2 (en) * | 2002-11-06 | 2005-11-29 | Nissan Motor Co., Ltd. | Low-friction sliding mechanism |
-
2004
- 2004-06-29 JP JP2004190969A patent/JP2005090489A/en not_active Abandoned
- 2004-07-14 EP EP04016552A patent/EP1508674B1/en not_active Expired - Lifetime
- 2004-07-14 DE DE602004004454T patent/DE602004004454T2/en not_active Expired - Fee Related
- 2004-08-10 US US10/914,506 patent/US20050098134A1/en not_active Abandoned
- 2004-08-11 CN CNB2004100565997A patent/CN100362217C/en not_active Expired - Fee Related
Cited By (8)
| Publication number | Priority date | Publication date | Assignee | Title |
|---|---|---|---|---|
| JP2008510863A (en) * | 2004-08-26 | 2008-04-10 | シエツフレル コマンディートゲゼルシャフト | Abrasion resistant coating and process for producing the same |
| KR101339504B1 (en) | 2007-12-27 | 2013-12-10 | 두산인프라코어 주식회사 | Rocker arm shaft having diamond-like carbon film and method for preparing the rocker arm shaft |
| KR100887851B1 (en) | 2008-07-18 | 2009-03-09 | 현대자동차주식회사 | Valve lifter and surface treatment method |
| US8109248B2 (en) | 2008-07-18 | 2012-02-07 | Hyundai Motor Company | Valve lifter and surface treatment method thereof |
| CN101629497B (en) * | 2008-07-18 | 2012-06-13 | 现代自动车株式会社 | Valve lifter and surface treatment method thereof |
| JP2013234353A (en) * | 2012-05-08 | 2013-11-21 | Honda Motor Co Ltd | Diamond-like carbon film coated member and method for manufacturing the same |
| WO2015107837A1 (en) * | 2014-01-15 | 2015-07-23 | 株式会社リケン | Valve lifter |
| JPWO2015107837A1 (en) * | 2014-01-15 | 2017-03-23 | 株式会社リケン | Valve lifter |
Also Published As
| Publication number | Publication date |
|---|---|
| US20050098134A1 (en) | 2005-05-12 |
| CN1580503A (en) | 2005-02-16 |
| DE602004004454T2 (en) | 2007-05-31 |
| EP1508674A1 (en) | 2005-02-23 |
| CN100362217C (en) | 2008-01-16 |
| DE602004004454D1 (en) | 2007-03-15 |
| EP1508674B1 (en) | 2007-01-24 |
Similar Documents
| Publication | Publication Date | Title |
|---|---|---|
| JP3555891B2 (en) | Low friction sliding material and lubricating oil composition used therefor | |
| JP4973971B2 (en) | Sliding member | |
| JP5058331B2 (en) | Low friction sliding member | |
| JP2005090489A (en) | Valve lifter for internal combustion engine | |
| JP4117553B2 (en) | Chain drive | |
| JP2005054617A (en) | Valve mechanism | |
| JP2004360649A (en) | Engine piston pin | |
| JP3594190B2 (en) | Low friction sliding material and lubricating oil composition used therefor | |
| JP3965694B2 (en) | Low friction sliding cam / follower combination and lubricating oil composition used therefor | |
| JP3594193B1 (en) | Low friction sliding member and lubricating oil composition used for the same | |
| JP4212954B2 (en) | Hard carbon coating sliding member | |
| JP4915891B2 (en) | Low friction sliding member | |
| JP2006144100A (en) | Sliding members for automobile engines | |
| JP2004358495A (en) | Jig for cold drawing and lubricating oil composition used therefor | |
| JP2005002888A (en) | Piston ring for automobile engine and lubricating oil composition used therefor | |
| JP2005069249A (en) | Piston and crankshaft connection structure | |
| JP4006644B2 (en) | Valve mechanism for internal combustion engine | |
| JP3594194B1 (en) | Low friction sliding mechanism and lubricating oil composition used therefor | |
| JP2005003094A (en) | Automotive engine | |
| JP2005048801A (en) | Sealing device | |
| JP2005069008A (en) | Combination of cylinder and piston of internal combustion engine | |
| JP2005090738A (en) | Rolling bearing | |
| JP2005069004A (en) | Oil pump | |
| JP2005061241A (en) | Valve operating device for internal combustion engine | |
| JP2005061219A (en) | Valve for engine |
Legal Events
| Date | Code | Title | Description |
|---|---|---|---|
| A621 | Written request for application examination |
Free format text: JAPANESE INTERMEDIATE CODE: A621 Effective date: 20070528 |
|
| A762 | Written abandonment of application |
Free format text: JAPANESE INTERMEDIATE CODE: A762 Effective date: 20080319 |
