JP2005069008A - Combination of cylinder and piston of internal combustion engine - Google Patents
Combination of cylinder and piston of internal combustion engine Download PDFInfo
- Publication number
- JP2005069008A JP2005069008A JP2003208369A JP2003208369A JP2005069008A JP 2005069008 A JP2005069008 A JP 2005069008A JP 2003208369 A JP2003208369 A JP 2003208369A JP 2003208369 A JP2003208369 A JP 2003208369A JP 2005069008 A JP2005069008 A JP 2005069008A
- Authority
- JP
- Japan
- Prior art keywords
- group
- piston
- cylinder
- combination
- thin film
- Prior art date
- Legal status (The legal status is an assumption and is not a legal conclusion. Google has not performed a legal analysis and makes no representation as to the accuracy of the status listed.)
- Pending
Links
Images
Landscapes
- Cylinder Crankcases Of Internal Combustion Engines (AREA)
- Lubricants (AREA)
Abstract
【課題】極めて優れた低摩擦特性及び耐摩耗性を示し、安定的に低摩擦特性を発揮し、従来の鋼材料と有機モリブデン化合物との組合せよりも更に優れた省燃費効果を発揮し得る内燃機関のシリンダとピストンの組合せを提供すること。
【解決手段】潤滑油の存在下で摺動するシリンダとピストンリングを装着したピストンを備える内燃機関において、かかるシリンダのボア表面及びピストンの外周面の一方又は双方に微細な凹凸を有し、かかるシリンダのボア表面及びピストンの外周面の一方又は双方に硬質炭素薄膜を有するシリンダとピストンの組合せ。
【選択図】 なし[PROBLEMS] To provide an internal combustion engine that exhibits extremely low friction characteristics and wear resistance, stably exhibits low friction characteristics, and can exhibit a fuel saving effect even better than a combination of a conventional steel material and an organic molybdenum compound. To provide a combination of engine cylinder and piston.
In an internal combustion engine having a cylinder that slides in the presence of lubricating oil and a piston equipped with a piston ring, one or both of the bore surface of the cylinder and the outer peripheral surface of the piston have fine irregularities, and such A combination of a cylinder and a piston having a hard carbon thin film on one or both of the bore surface of the cylinder and the outer peripheral surface of the piston.
[Selection figure] None
Description
【0001】
【発明の属する技術分野】
本発明は、内燃機関のシリンダとピストンの組合せに係り、更に詳細には、微細な凹凸を有し、極めて優れた低摩擦性を示すダイヤモンドライクカーボン(DLC)薄膜等の硬質炭素薄膜を有したシリンダとピストンの組合せに関する。
【0002】
【従来の技術】
地球全体の温暖化、オゾン層の破壊など地球規模での環境問題が大きくクローズアップされ、とりわけ地球全体の温暖化に大きな影響があるといわれているCO2削減については各国でその規制値の決め方をめぐって大きな関心を呼んでいる。
CO2削減については、自動車の燃費の削減を図ることが大きな課題の1つであり、摺動材料と潤滑油が果たす役割は大きい。摺動材料の役割は、エンジンの摺動部位の中で摩擦摩耗環境が苛酷な部位に対して耐摩耗性に優れ且つ低い摩擦係数を発現することであり、最近では、種々の硬質薄膜材料の適用が進んできている。
一般にDLC材料は、空気中、潤滑油非存在下における摩擦係数が、窒化チタン(TiN)や窒化クロム(CrN)といった耐摩耗性の硬質被膜材料と比べて低いことから低摩擦摺動材料として期待されている。
【0003】
また、潤滑油における省燃費対策としては、▲1▼低粘度化による、流体潤滑領域における粘性抵抗及びエンジン内の撹拌抵抗の低減、▲2▼最適な摩擦調整剤と各種添加剤の配合による、混合及び境界潤滑領域下での摩擦損失の低減、が提言されており、摩擦調整剤としては、ジチオカルバミン酸モリブデン(MoDTC)やジチオリン酸モリブデン(MoDTP)といった有機モリブデン化合物を中心に多くの研究がなされており、従来の鋼材料から成る摺動面においては、使用開始初期に優れた低摩擦係数を示す有機モリブデン化合物を配合した潤滑油が適用され、効果を上げていた。このようなDLC材料の摩擦特性や、有機モリブデン化合物の摩擦調整剤としての性能について、いくつかの報告がされている(例えば、非特許文献1及び2参照。)。
更に、摺動部材間の摩擦を低減するために、摺動面に窪みや溝などの微細加工を施すことが従来から行われている。
【0004】
【非特許文献1】
加納、他,日本トライボロジー学会予稿集,1999年5月,p.11〜12
【非特許文献2】
加納、他(Kano et al.),ワールド・トライボロジー・コングレス(World Tribology Congress)2001.9,Vienna,Proceeding,p.342
【0005】
【発明が解決しようとする課題】
しかしながら、空気中において低摩擦性に優れる一般のDLC材料は、潤滑油存在下においては、その摩擦低減効果が必ずしも大きくなく、また、このような摺動部材料に有機モリブデン化合物を含有する潤滑油を適用したとしても摩擦低減効果が十分発揮されないことがあることも分かってきた。
また、ピストンとシリンダボアのような往復摺動の条件下で使用される部材においては、すべり速度が大きいストローク工程の中央部とすべり速度がゼロとなるストローク端の折り返し点とでは潤滑状態が異なり、ストローク端における油切れを生じさせず、且つストローク工程の中央部における摩擦損失を低減するなど、広範囲な潤滑状態に対しても、低摩擦という性能を発現しつつ、耐摩耗性及び耐焼付性などの耐久性の両立を図る必要がある。
更に、このような性能を発揮することができれば、エンジンライナーを取り外すことも可能となり、燃費の向上のみならず、エンジンの排気量増加などに貢献することも可能となる。
【0006】
本発明は、このような従来技術の有する課題に鑑みてなされたものであり、その目的とするところは、極めて優れた低摩擦特性及び耐摩耗性を示し、安定的に低摩擦特性を発揮し、従来の鋼材料と有機モリブデン化合物との組合せよりも更に優れた省燃費効果を発揮し得る内燃機関のシリンダとピストンの組合せを提供することにある。
【0007】
【課題を解決するための手段】
本発明者らは、目的を達成すべく鋭意検討を重ねた結果、摺動部位における摺動部材と該摺動部材の相手材の少なくとも一方の摺動面に微細凹凸を形成し、更に少なくとも一方の摺動面に硬質炭素薄膜を形成することなどにより、上記目的が達成されることを見出し、本発明を完成するに至った。
【0008】
即ち、本発明は、潤滑油の存在下で摺動するシリンダとピストンリングを装着したピストンを備える内燃機関において、かかるシリンダのボア表面及び/又はピストンの外周面に微細な凹凸を有し、かかるシリンダのボア表面及び/又はピストンの外周面に硬質炭素薄膜を有することを特徴とするシリンダとピストンの組合せである。
【0009】
【発明の実施の形態】
以下、本発明のシリンダとピストンの組合せについて、更に詳細に説明する。
なお、本明細書において「%」は、特記しない限り質量百分率を表すものとする。
【0010】
上述の如く、本発明のシリンダとピストンの組合せは、潤滑油の存在下で摺動するシリンダとピストンリングを装着したピストンを備える内燃機関において、かかるシリンダのボア表面及びピストンの外周面の一方又は双方に微細な凹凸を有し、更に、かかるシリンダのボア表面及びピストンの外周面の一方又は双方に硬質炭素薄膜を有することを特徴とするシリンダとピストンの組合せである。
ここで、上記硬質炭素薄膜は、炭素元素を主として構成された非晶質のものであり、炭素同士の結合形態がダイヤモンド構造(SP3結合)とグラファイト結合(SP2結合)の両方から成る。具体的には、炭素元素だけから成るアモルファスカーボン薄膜、水素を含有する水素アモルファスカーボン薄膜、及びチタン(Ti)やモリブデン(Mo)等の金属元素を一部に含む金属アモルファスカーボン薄膜が挙げられる。
【0011】
本発明において、シリンダのボア表面やピストンの外周面に微細な凹凸を形成し、硬質炭素薄膜を形成することにより、従来よりも優れた低摩擦性を示す。
本明細書においては、「ピストンの外周面」には、ピストンに装着されたピストンリングの外周面をも含むものである。
また、ボア表面に微細な凹凸を有し、且つ、ピストンのスカート部の外周面に条痕を有し、更にスカート部の摺動面に硬質炭素薄膜を有することが、従来よりも優れた低摩擦性を示すので特に望ましい。
更に、ボア表面に形成した微細凹凸の深さは、0.5〜30μmであることが好ましく、これにより耐久性の更なる向上が図れる。0.5μm未満では、凹凸の効果が十分には発現されず、十分な摩擦低減効果が得られず、30μmを超えると、耐摩耗性や耐焼付性が低下するという可能性がある。
更にまた、後述する潤滑油が形成する油膜厚さh(μm)とボア表面又はピストン表面の凹凸の深さt(μm)との比h/tが、0.2〜3であることが、耐摩耗性及び耐焼付性の面から好ましい。0.2未満では油膜を介さず直接接触が発生し、耐摩耗性や耐焼付性が低下する可能性がある。一方で、3を超えると凹凸の効果が十分に発現されず、十分な摩擦低減効果が得られない可能性がある。
また、ボア又はピストン表面に凹凸を形成することにより、耐焼付性が向上し、鋳鉄製ライナを取り外すことも考えられ、排気量を増加できるという効果も生まれるばかりでなく、シリンダブロック全体がアルミニウム合金となることで一段と軽量化が図れる。
【0012】
本発明において、部材に形成された硬質炭素薄膜は、大幅な摩擦低減効果の発現の面から、水素原子の量が少ないほど好ましく、水素を含まないアモルファスカーボンから成ることが好適であるが、硬質炭素薄膜に含まれる水素原子の量を10原子%以下とすることにより効果が十分に発現される。
このような水素原子の量が少ないDLC薄膜の製法としては、各種PVD法、具体的には、アーク式イオンプレーティング法により成膜することが有効である。
【0013】
また、形成された硬質炭素薄膜や硬質炭素薄膜が形成されていない基材における、それぞれの表面粗さはRaで0.1μm以下であることが摺動の安定性の面から好ましく、表面粗さがRaで0.1μmを超えると局部的にスカッフィングを形成し、摩擦係数が大幅に向上することがある。
更に、形成された硬質炭素薄膜は、表面硬さがマイクロビッカース硬さ(10g荷重)でHv1000〜3500、厚さが0.3〜2.0μmであることが好ましい。表面硬さ及び厚さがこの範囲から外れると、即ちHv1000未満、厚さ0.3μm未満では摩滅する可能性が高く、逆にHv3500、厚さ2.0μmを超えると剥離し易くなる。
一方、硬質炭素薄膜が形成されていない基材、例えば鉄基部材の場合には、表面硬さがロックウェル硬さ(Cスケール)でHRC45以上であることが好ましい。表面硬さがHRC45未満では高面圧下で座屈し剥離し易くなることがある。
【0014】
本発明のシリンダとピストンの組合せにおける形状や材料の特性は、2つの金属表面が接触する摺動部位であれば、シリンダとピストンの組合せに限定されるものではなく適用できるが、代表的には内燃機関の摺動部位のような摩擦摩耗環境の苛酷な部位に適用することが好ましく、特にシリンダとピストンの摺動部位のように摺動時の潤滑状態が広範囲にわたって変化するものへの適用が有効である。
【0015】
次に、本発明に用いる潤滑油について説明する。
本発明に用いる潤滑油は、上記本発明のシリンダとピストンの組合せと共に用いられる潤滑油であって、潤滑油基油に、脂肪酸エステル系無灰摩擦調整剤、脂肪族アミン系無灰摩擦調整剤、ポリブテニルコハク酸イミド、ポリブテニルコハク酸イミドの誘導体又はジチオリン酸亜鉛、及びこれらの任意の組合せに係る成分を含有させることが好ましい。
特に、脂肪酸エステル系無灰摩擦調整剤及び脂肪族アミン系無灰摩擦調整剤の一方又は双方を含有する潤滑油の存在下において、上述したような微細凹凸や硬質炭素薄膜を備えた部材が摺動する際には、極めて優れた低摩擦特性及び耐摩耗性、更には優れた低摩擦安定性が発揮される。
ここで、潤滑油基油としては特に限定されるものではなく、鉱油、合成油、油脂及びこれらの混合物など、潤滑油の基油として通常使用されるものであれば、種類を問わず使用することができる。
【0016】
鉱油としては、具体的には、原油を常圧蒸留及び減圧蒸留して得られた潤滑油留分を溶剤脱れき、溶剤抽出、水素化分解、溶剤脱ろう、水素化精製、硫酸洗浄、白土処理等の精製処理等を適宜組み合わせて精製したパラフィン系又はナフテン系等の油やノルマルパラフィン等が使用でき、溶剤精製、水素化精製処理したものが一般的であるが、芳香族分をより低減することが可能な高度水素化分解プロセスやGTL Wax(ガス・トウー・リキッド・ワックス)を異性化した手法で製造したものを用いることがより好ましい。
【0017】
合成油としては、具体的には、ポリ−α−オレフィン(例えば、1−オクテンオリゴマー、1−デセンオリゴマー、エチレン−プロピレンオリゴマー等)、ポリ−α−オレフィンの水素化物、イソブテンオリゴマー、イソブテンオリゴマーの水素化物、イソパラフィン、アルキルベンゼン、アルキルナフタレン、ジエステル(例えば、ジトリデシルグルタレート、ジオクチルアジペート、ジイソデシルアジペート、ジトリデシルアジペート、ジオクチルセバケート等)、ポリオールエステル(例えば、トリメチロールプロパンカプリレート、トリメチロールプロパンペラルゴネート、トリメチロールプロパンイソステアリネート等のトリメチロールプロパンエステル;ペンタエリスリトール2−エチルヘキサノエート、ペンタエリスリトールペラルゴネート等のペンタエリスリトールエステル)、ポリオキシアルキレングリコール、ジアルキルジフェニルエーテル及びポリフェニルエーテル等が挙げられる。中でも、1−オクテンオリゴマー、1−デセンオリゴマー等のポリ−α−オレフイン又はその水素化物が好ましい例として挙げられる。
【0018】
本発明に用いる潤滑油における基油は、鉱油系基油及び合成系基油を単独又は混合して用いる以外に、2種類以上の鉱油系基油又は2種類以上の合成系基油の混合物であっても差し支えない。また、上記混合物における2種類以上の基油の混合比も特に限定されず任意に選ぶことができる。
【0019】
潤滑油基油中の硫黄分について、特に制限はないが、基油全量基準で、0.2%以下であることが好ましく、より好ましくは0.1%以下、さらには0.05%以下であることが好ましい。特に、水素化精製鉱油や合成系基油の硫黄分は、0.005%以下、又は実質的に硫黄分を含有していない(5ppm以下)ことから、これらを基油として用いることが好ましい。
【0020】
また、潤滑油基油中の芳香族含有量についても、特に制限はないが、内燃機関用潤滑油として長期間低摩擦特性を維持するためには、全芳香族含有量が15%以下であることが好ましく、より好ましくは10%以下、さらには5%以下であることが好ましい。即ち、潤滑油基油の全芳香族含有量が15%を超える場合には、酸化安定性が劣るため好ましくない。
なお、ここで言う全芳香族含有量とは、ASTM、D2549に規定される方法に準拠して測定される芳香族留分(aromatics fraction)含有量を意味している。
【0021】
潤滑油基油の動粘度にも、特に制限はないが、内燃機関用潤滑油として使用する場合には、100℃における動粘度が2mm2/s以上であることが好ましく、より好ましくは3mm2/s以上である。一方、100℃における動粘度は、20mm2/s以下であることが好ましく、10mm2/s以下であることが更に好ましく、特に8mm2/s以下であることが好ましい。潤滑油基油の100℃における動粘度が2mm2/s未満である場合には、十分な耐摩耗性が得られない上に蒸発特性が劣る可能性があるため好ましくない。一方、動粘度が20mm2/sを超える場合には低摩擦性能を発揮しにくく、低温性能が悪くなる可能性があるため好ましくない。本発明においては、上記基油の中から選ばれる2種以上の基油を任意に混合した混合物等が使用でき、100℃における動粘度が上記の好ましい範囲内である限りにおいては、基油単独の動粘度が上記以外のものであっても使用可能である。
【0022】
また、潤滑油基油の粘度指数にも、特別な制限はないが、80以上であることが好ましく、100以上であることが更に好ましく、特に内燃機関用潤滑油として使用する場合には、120以上であることが好ましい。潤滑油基油の粘度指数を高めることで、よりオイル消費が少なく、低温粘度特性、省燃費性能に優れた内燃機関用潤滑油を得ることができる。
【0023】
使用する脂肪酸エステル系無灰摩擦調整剤及び脂肪族アミン系無灰摩擦調整剤の一方又は双方としては、炭素数6〜30、好ましくは炭素数8〜24、特に好ましくは炭素数10〜20の直鎖状又は分枝状炭化水素基を有する脂肪酸エステル、脂肪酸アミン化合物、及びこれらの任意の混合物を挙げることができる。炭素数が6〜30の範囲外のときは、摩擦低減効果が十分に得られない可能性がある。
【0024】
炭素数6〜30の直鎖状又は分枝状炭化水素基としては、具体的には、へキシル基、ヘプチル基、オクチル基、ノニル基、デシル基、ウンデシル基、ドデシル基、トリデシル基、テトラデシル基、ペンタデシル基、ヘキサデシル基、ヘプタデシル基、オクタデシル基、ノナデシル基、イコシル基、ヘンイコシル基、ドコシル基、トリコシル基、テトラコシル基、ペンタコシル基、ヘキサコシル基、ヘプタコシル基、オクタコシル基、ノナコシル基及びトリアコンチル基等のアルキル基や、ヘキセニル基、ヘプテニル基、オクテニル基、ノネニル基、デセニル基、ウンデセニル基、ドデセニル基、トリデセニル基、テトラデセニル基、ペンタデセニル基、ヘキサデセニル基、ヘプタデセニル基、オクタデセニル基、ノナデセニル基、イコセニル基、ヘンイコセニル基、ドコセニル基、トリコセニル基、テトラコセニル基、ペンタコセニル基、ヘキサコセニル基、ヘプタコセニル基、オクタコセニル基、ノナコセニル基及びトリアコンテニル基等のアルケニル基などを挙げることができる。
なお、上記アルキル基及びアルケニル基には、考えられる全ての直鎖状構造及び分枝状構造が含まれ、また、アルケニル基における二重結合の位置は任意である。
【0025】
また、上記脂肪酸エステルとしては、かかる炭素数6〜30の炭化水素基を有する脂肪酸と脂肪族1価アルコール又は脂肪族多価アルコールとのエステルなどを例示でき、具体的には、グリセリンモノオレート、グリセリンジオレート、ソルビタンモノオレート及びソルビタンジオレートなどを特に好ましい例として挙げることができる。
上記脂肪族アミン化合物としては、脂肪族モノアミン又はそのアルキレンオキシド付加物、脂肪族ポリアミン、イミダゾリン化合物等、及びこれらの誘導体等を例示できる。具体的には、ラウリルアミン、ラウリルジエチルアミン、ラウリルジエタノールアミン、ドデシルジプロパノールアミン、パルミチルアミン、ステアリルアミン、ステアリルテトラエチレンペンタミン、オレイルアミン、オレイルプロピレンジアミン、オレイルジエタノールアミン及びN−ヒドロキシエチルオレイルイミダゾリン等の脂肪族アミン化合物や、これら脂肪族アミン化合物のN,N−ジポリオキシアルキレン−N−アルキル(又はアルケニル)(炭素数6〜28)等のアミンアルキレンオキシド付加物、これら脂肪族アミン化合物に炭素数2〜30のモノカルボン酸(脂肪酸等)や、シュウ酸、フタル酸、トリメリット酸、ピロメリット酸等の炭素数2〜30のポリカルボン酸を作用させて、残存するアミノ基及びイミノ基の一方又は双方の一部又は全部を中和したりアミド化した、いわゆる酸変性化合物等が挙げられる。好適な例としては、N,N−ジポリオキシエチレン−N−オレイルアミン等が挙げられる。
【0026】
また、本発明に用いる潤滑油に含まれる脂肪酸エステル系無灰摩擦調整剤及び脂肪族アミン系無灰摩擦調整剤の一方又は双方の含有量は、特に制限はないが、潤滑油全量基準で、0.05〜3.0%であることが好ましく、更に好ましくは0.1〜2.0%、特に好ましくは0.5〜1.4%であることがよい。上記含有量が0.05%未満であると摩擦低減効果が小さくなり易く、3.0%を超えると潤滑油への溶解性や貯蔵安定性が著しく悪化し、沈殿物が発生し易いので、好ましくない。
【0027】
一方、上述したポリブテニルコハク酸イミドとしては、次の一般式(1)及び(2)
【0028】
【化1】
【0029】
【化2】
【0030】
で表される化合物が挙げられる。これら一般式におけるPIBは、ポリブテニル基を示し、高純度イソブテン又は1−ブテンとイソブテンの混合物をフッ化ホウ素系触媒又は塩化アルミニウム系触媒で重合させて得られる数平均分子量が900〜3500、望ましくは1000〜2000のポリブテンから得られる。上記数平均分子量が900未満の場合は清浄性効果が劣り易く、3500を超える場合は低温流動性に劣り易いため、望ましくない。
また、上記一般式におけるnは、清浄性に優れる点から1〜5の整数、より望ましくは2〜4の整数であることがよい。更に、上記ポリブテンは、製造過程の触媒に起因して残留する微量のフッ素分や塩素分を、吸着法や十分な水洗等の適切な方法により、50ppm以下、より望ましくは10ppm以下、特に望ましくは1ppm以下まで除去してから用いることもよい。
【0031】
かかるポリブテニルコハク酸イミドの製造方法としては、特に限定はないが、例えば、上記ポリブテンの塩素化物又は塩素やフッ素が充分除去されたポリブテンと無水マレイン酸とを100〜200℃で反応させて得られるポリブテニルコハク酸を、ジエチレントリアミン、トリエチレンテトラミン、テトラエチレンペンタミン及びペンタエチレンヘキサミン等のポリアミンと反応させることにより得ることができる。
【0032】
一方、上述したポリブテニルコハク酸イミドの誘導体としては、上記一般式(1)又は(2)で表される化合物に、ホウ素化合物や含酸素有機化合物を作用させて、残存するアミノ基及びイミノ基の一方又は双方の一部又は全部を中和したり、アミド化した、いわゆるホウ素変性又は酸変性化合物を例示できる。その中でもホウ素含有ポリブテニルコハク酸イミド、特にホウ素含有ビスポリブテニルコハク酸イミドが現時点では最も好ましいものとして挙げられる。
【0033】
上記ホウ素化合物としては、ホウ酸、ホウ酸塩、ホウ酸エステル等が挙げられる。具体的には、上記ホウ酸として、オルトホウ酸、メタホウ酸及びテトラホウ酸などが挙げられる。また、上記ホウ酸塩としては、アンモニウム塩等、具体的には、メタホウ酸アンモニウム、四ホウ酸アンモニウム、五ホウ酸アンモニウム及び八ホウ酸アンモニウム等のホウ酸アンモニウムが好適例として挙げられる。
また、ホウ酸エステルとしては、ホウ酸と好ましくは炭素数1〜6のアルキルアルコールとのエステル、より具体的には、ホウ酸モノメチル、ホウ酸ジメチル、ホウ酸トリメチル、ホウ酸モノエチル、ホウ酸ジエチル、ホウ酸トリエチル、ホウ酸モノプロピル、ホウ酸ジプロピル、ホウ酸トリププロピル、ホウ酸モノブチル、ホウ酸ジブチル及びホウ酸トリブチル等が好適例として挙げられる。なお、ホウ素含有ポリブテニルコハク酸イミドにおけるホウ素含有量Bと窒素含有量Nとの質量比「B/N」は、通常0.1〜3であり、好ましくは、0.2〜1である。
【0034】
また、上記含酸素有機化合物としては、具体的には、ぎ酸、酢酸、グリコール酸、プロピオン酸、乳酸、酪酸、吉草酸、カプロン酸、エナント酸、カプリル酸、ペラルゴン酸、カプリン酸、ウンデシル酸、ラウリン酸、トリデカン酸、ミリスチン酸、ペンタデカン酸、パルミチン酸、マルガリン酸、ステアリン酸、オレイン酸、ノナデカン酸及びエイコサン酸等の炭素数1〜30のモノカルボン酸、シュウ酸、フタル酸、トリメリット酸及びピロメリット酸等の炭素数2〜30のポリカルボン酸並びにこれらの無水物、又はエステル化合物、炭素数2〜6のアルキレンオキサイドやヒドロキシ(ポリ)オキシアルキレンカーボネート等が挙げられる。
【0035】
なお、本発明に用いる潤滑油では、ポリブテニルコハク酸イミド及びその誘導体の一方又は双方の含有量は特に制限されないが、潤滑油全量基準で0.1〜15%が好ましく、1.0〜12%であることが更に好ましい。0.1%未満では清浄性効果に乏しくなることがあり、15%を超えると含有量に見合う清浄性効果が得られにくく、抗乳化性が悪化し易い。
【0036】
更にまた、本発明に用いる潤滑油は、次の一般式(3)
【0037】
【化3】
【0038】
で表されるジチオリン酸亜鉛を含有することが好適である。
上記式(3)中のR4、R5、R6及びR7は、それぞれ別個に炭素数1〜24の炭化水素基を示す。これら炭化水素基としては、炭素数1〜24の直鎖状又は分枝状のアルキル基、炭素数3〜24の直鎖状又は分枝状のアルケニル基、炭素数5〜13のシクロアルキル基又は直鎖状若しくは分枝状のアルキルシクロアルキル基、炭素数6〜18のアリール基又は直鎖状若しくは分枝状のアルキルアリール基、炭素数7〜19のアリールアルキル基等のいずれかであることが望ましい。また、アルキル基やアルケニル基は、第1級、第2級及び第3級のいずれであってもよい。
【0039】
上記R4、R5、R6及びR7としては、具体的には、メチル基、エチル基、プロピル基、ブチル基、ペンチル基、へキシル基、ヘプチル基、オクチル基、ノニル基、デシル基、ウンデシル基、ドデシル基、トリデシル基、テトラデシル基、ペンタデシル基、ヘキサデシル基、ヘプタデシル基、オクタデシル基、ノナデシル基、イコシル基、ヘンイコシル基、ドコシル基、トリコシル基及びテトラコシル基等のアルキル基や、プロペニル基、イソプロペニル基、ブテニル基、ブタジエニル基、ペンテニル基、ヘキセニル基、ヘプテニル基、オクテニル基、ノネニル基、デセニル基、ウンデセニル基、ドデセニル基、トリデセニル基、テトラデセニル基、ペンタデセニル基、ヘキサデセニル基、ヘプタデセニル基及びオレイル基等のオクタデセニル基や、ノナデセニル基、イコセニル基、ヘンイコセニル基、ドコセニル基、トリコセニル基及びテトラコセニル基等のアルケニル基や、シクロペンチル基、シクロへキシル基及びシクロヘプチル基等のシクロアルキル基や、メチルシクロペンチル基、ジメチルシクロペンチル基、エチルシクロペンチル基、プロピルシクロペンチル基、エチルメチルシクロペンチル基、トリメチルシクロペンチル基、ジエチルシクロペンチル基、エチルジメチルシクロペンチル基、プロピルメチルシクロペンチル基、プロピルエチルシクロペンチル基、ジ−プロピルシクロペンチル基、プロピルエチルメチルシクロペンチル基、メチルシクロへキシル基、ジメチルシクロへキシル基、エチルシクロへキシル基、プロピルシクロへキシル基、エチルメチルシクロへキシル基、トリメチルシクロへキシル基、ジエチルシクロヘキシル基、エチルジメチルシクロヘキシル基、プロピルメチルシクロヘキシル基、プロピルエチルシクロヘキシル基、ジ−プロピルシクロへキシル基、プロピルエチルメチルシクロヘキシル基、メチルシクロヘプチル基、ジメチルシクロヘプチル基、エチルシクロヘプチル基、プロピルシクロヘプチル基、エチルメチルシクロヘプチル基、トリメチルシクロヘプチル基、ジエチルシクロヘプチル基、エチルジメチルシクロヘプチル基、プロピルメチルシクロヘプチル基、プロピルエチルシクロヘプチル基、ジ−プロピルシクロヘプチル基及びプロピルエチルメチルシクロヘプチル基等のアルキルシクロアルキル基や、フェニル基及びナフチル基等のアリール基や、トリル基、キシリル基、エチルフェニル基、プロピルフェニル基、エチルメチルフェニル基、トリメチルフェニル基、ブチルフェニル基、プロピルメチルフェニル基、ジエチルフェニル基、エチルジメチルフェニル基、テトラメチルフェニル基、ペンチルフェニル基、ヘキシルフェニル基、ヘプチルフェニル基、オクチルフェニル基、ノニルフェニル基、デシルフェニル基、ウンデシルフェニル基及びドデシルフェニル基等のアルキルアリール基や、ベンジル基、メチルベンジル基、ジメチルベンジル基、フェネチル基、メチルフェネチル基及びジメチルフェネチル基等のアリールアルキル基が例示できる。
なお、R4、R5、R6及びR7がとり得る上記炭化水素基には、考えられる全ての直鎖状構造及び分枝状構造が含まれ、また、アルケニル基の二重結合の位置、アルキル基のシクロアルキル基への結合位置、アルキル基のアリール基への結合位置、及びアリール基のアルキル基への結合位置は任意である。また、上記炭化水素基の中でも、その炭化水素基が、直鎖状又は分柱状の炭素数1〜18のアルキル基である場合若しくは炭素数6〜18のアリール基、又は直鎖状若しくは分枝状アルキルアリール基である場合が特に好ましい。
【0040】
上記ジチオリン酸亜鉛の好適な具体例としては、ジイソプロピルジチオリン酸亜鉛、ジイソブチルジチオリン酸亜鉛、ジ−sec−ブチルジチオリン酸亜鉛、ジ−sec−ペンチルジチオリン酸亜鉛、ジ−n−ヘキシルジチオリン酸亜鉛、ジ−sec−ヘキシルジチオリン酸亜鉛、ジ−オクチルジチオリン酸亜鉛、ジ−2−エチルヘキシルジチオリン酸亜鉛、ジ−n−デシルジチオリン酸亜鉛、ジ−n−ドデシルジチオリン酸亜鉛、ジイソトリデシルジチオリン酸亜鉛及びこれらの任意の組合せに係る混合物等が挙げられる。
【0041】
また、上記ジチオリン酸亜鉛の含有量は、特に制限されないが、より高い摩擦低減効果を発揮させる観点から、潤滑油全量基準且つリン元素換算量で、0.1%以下であることが好ましく、また0.06%以下であることが更に好ましく、ジチオリン酸亜鉛が含有されないことが特に好ましい。ジチオリン酸亜鉛の含有量が潤滑油全量基準且つリン元素換算量で0.1%を超えると、硬質炭素薄膜が被覆された部材と鉄基部材との摺動面における上記脂肪酸エステル系無灰摩擦調整剤や上記脂肪族アミン系無灰摩擦調整剤の優れた摩擦低減効果が阻害される可能性がある。
【0042】
かかるジチオリン酸亜鉛の製造方法としては、従来方法を任意に採用することができ、特に制限されないが、具体的には、上記R4、R5、R6及びR7に対応する炭化水素基を持つアルコール又はフェノールを五酸化二リン(P2O5)と反応させてジチオリン酸とし、これを酸化亜鉛で中和させることにより合成することができる。なお、上記ジチオリン酸亜鉛の構造は、使用する原料アルコールによって異なることは言うまでもない。
本発明においては、上記一般式(3)に包含される2種以上のジチオリン酸亜鉛を任意の割合で混合して使用することもできる。
【0043】
上述のように、本発明に用いる潤滑油は、硬質炭素薄膜が被覆された部材と鉄基部材との摺動面に用いた場合に、極めて優れた低摩擦特性を示すものであるが、特に内燃機関用潤滑油として必要な性能を高める目的で、金属系清浄剤、酸化防止剤、粘度指数向上剤、他の無灰摩擦調整剤、他の無灰分散剤、摩耗防止剤若しくは極圧剤、防錆剤、非イオン系界面活性剤、抗乳化剤、金属不活性化剤、消泡剤等を単独で又は複数種を組合せて配合し、必要な性能を高めることができる。
【0044】
上記金属系清浄剤としては、潤滑油用の金属系清浄剤として通常用いられる任意の化合物が使用できる。例えば、アルカリ金属又はアルカリ土類金属のスルホネート、フェネート、サリシレートナフテネート等を単独で又は複数種を組合せて使用できる。ここで、上記アルカリ金属としてはナトリウム(Na)やカリウム(K)等、上記アルカリ土類金属としてはカルシウム(Ca)やマグネシウム(Mg)等が例示できる。また、具体的な好適例としては、Ca又はMgのスルフォネート、フェネート及びサリシレートが挙げられる。
なお、これら金属系清浄剤の全塩基価及び添加量は、要求される潤滑油の性能に応じて任意に選択できる。通常、全塩基価は、過塩素酸法で0〜500mgKOH/g、望ましくは150〜400mgKOH/gであり、その添加量は潤滑油全量基準で、通常0.1〜10%である。
【0045】
また、上記酸化防止剤としては、潤滑油用の酸化防止剤として通常用いられる任意の化合物を使用できる。例えば、4,4’−メチレンビス(2,6−ジ−tert−ブチルフェノール)、オクタデシル−3−(3,5−ジ−tert−ブチル−4−ヒドロキシフェニル)プロピオネート等のフェノール系酸化防止剤、フェニル−α−ナフチルアミン、アルキルフェニル−α−ナフチルアミン、アルキルジフェニルアミン等のアミン系酸化防止剤、並びにこれらの任意の組合せに係る混合物等が挙げられる。また、かかる酸化防止剤の添加量は、潤滑油全量基準で、通常0.01〜5%である。
【0046】
更に、上記粘度指数向上剤としては、具体的には、各種メタクリル酸エステルから選ばれる1種又は2種以上のモノマーの共重合体やその水添物等のいわゆる非分散型粘度指数向上剤、及び更に窒素化合物を含む各種メタクリル酸エステルを共重合させたいわゆる分散型粘度指数向上剤等が例示できる。また、他の粘度指数向上剤の具体例としては、非分散型又は分散型エチレン−α−オレフィン共重合体(α−オレフィンとしては、例えばプロピレン、1−ブテン、1−ペンテン等)及びその水素化物、ポリイソブチレン及びその水添物、スチレン−ジエン水素化共重合体、スチレン−無水マレイン酸エステル共重合体、並びにポリアルキルスチレン等も例示できる。
これら粘度指数向上剤の分子量は、せん断安定性を考慮して選定することが必要である。具体的には、粘度指数向上剤の数平均分子量は、例えば分散型及び非分散型ポリメタクリレートでは5000〜1000000、好ましくは100000〜800000がよく、ポリイソブチレン又はその水素化物では800〜5000、エチレン−α−オレフィン共重合体又はその水素化物では800〜300000、好ましくは10000〜200000がよい。また、かかる粘度指数向上剤は、単独で又は複数種を任意に組合せて含有させることができるが、通常その含有量は、潤滑油全量基準で0.1〜40.0%であることが望ましい。
【0047】
更にまた、他の無灰摩擦調整剤としては、ホウ酸エステル、高級アルコール、脂肪族エーテル等の無灰摩擦調整剤、ジチオリン酸モリブデン、ジチオカルバミン酸モリブデン、二硫化モリブデン等の金属系摩擦調整剤等が挙げられる。
また、他の無灰分散剤としては、数平均分子量が900〜3500のポリブテニル基を有するポリブテニルベンジルアミン、ポリブテニルアミン、数平均分子量が900未満のポリブテニル基を有するポリブテニルコハク酸イミド等及びそれらの誘導体等が挙げられる。
更に、上記摩耗防止剤又は極圧剤としては、ジスルフィド、硫化油脂、硫化オレフィン、炭素数2〜20の炭化水素基を1〜3個含有するリン酸エステル、チオリン酸エステル、亜リン酸エステル、チオ亜リン酸エステル及びこれらのアミン塩等が挙げられる。
更にまた、上記防錆剤としては、アルキルベンゼンスルフォネート、ジノニルナフタレンスルフォネート、アルケニルコハク酸エステル及び多価アルコールエステル等が挙げられる。
また、上記非イオン系界面活性剤及び抗乳化剤としては、ポリオキシエチレンアルキルエーテル、ポリオキシエチレンアルキルフェニルエーテル及びポリオキシエチレンアルキルナフチルエーテル等のポリアルキレングリコール系非イオン系界面活性剤が挙げられる。
更に、上記金属不活性化剤としては、イミダゾリン、ピリミジン誘導体、チアジアゾール、ベンゾトリアゾール及びチアジアゾール等が挙げられる。
更にまた、上記消泡剤としては、シリコーン、フルオロシリコーン及びフルオロアルキルエーテル等が挙げられる。
なお、これら添加剤を本発明に用いる潤滑油に含有させる場合には、その含有量は、潤滑油全量基準で、他の摩擦調整剤、他の無灰分散剤、摩耗防止剤又は極圧剤、防錆剤、及び抗乳化剤については0.01〜5%、金属不活性剤については0.005〜1%、消泡剤については0.0005〜1%の範囲から適宜選択できる。
【0048】
【実施例】
以下、本発明を実施例及び比較例により更に詳細に説明するが、本発明はこれら実施例に限定されるものではない。
【0049】
(摺動部材試験片の作製)
エンジンボア材料として汎用されている鋳鉄材(平板であり、シリンダに相当)に、研磨加工、表面微細溝加工及びラップ仕上げ加工などを適宜施し、表1に示すような仕様の各例の摺動部材試験片を作製した。
上記微細溝加工においては、微細溝(溝状凹部)をマスクブラスト加工により形成した。マスクブラスト処理は、樹脂製マスクに微細形状を形成し、その樹脂製マスクを円筒表面に貼り付けた後、Hv2000程度のセラミック粒子を投射圧4kg/cm2で所望の深さになるまで投射し、微細形状を得た。その後、微細形状周辺に形成されたエッジ部の盛り上がりを粒径9μmのテープラップフィルムにより除去した。
なお、比較例4においては、表面粗さがRaで0.1μmとなるクロスハッチ状の加工痕を形成した。
【0050】
(相手部材試験片の作製)
焼入れ焼戻し処理をしたSUJ2(先端部にR30の曲率を有するU字状断面を有し、ピストンリングに相当)の上にクロムめっきを施し、必要に応じてクロムめっきの代わりにPVDアーク式イオンプレーティング法により、水素原子の量が0.5原子%以下のDLC薄膜を形成し、表1に示すような仕様の各例の相手部材試験片を作製した。
なお、参考例1においては、CVD法により、水素原子の量が30原子%以下のDLC薄膜を形成した。
【0051】
[性能評価]
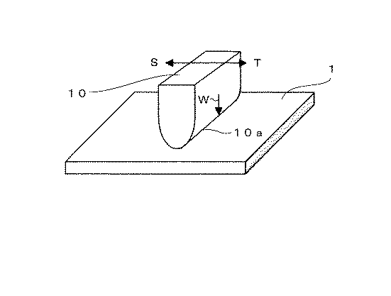
得られた各例の摺動部材試験片と相手部材試験片と表1に示すような仕様の油を組み合わせて、下記条件のもとに、接触部が線接触となるようにして摩擦試験を実施した、即ち図1に示すように、摺動部材試験片(平板)1上において、相手部材試験片10の断面がU字状の先端部10aを荷重Wで摺動部材試験片に押し付けつつ矢印S、T方向に往復動させて、1サイクル中の摩擦係数の平均値を算出した。得られた結果を表1に併記する。なお、表1中の「摩擦係数比」とは、比較例4の摩擦係数に対する各例の摩擦係数の比である(比較例4は基準であるので1.000である。)。また、「面積率」とは、単位表面積当たりに存在する凹部の面積のことである。
【0052】
(往復摺動摩擦試験条件)
*相手部材 :SUJ2 焼入れ焼戻し+クロムめっき又はDLC薄膜
*エンジンオイル :PAO、PAO+エステル、滴下給油
*供給オイル温度 :80℃
*負荷荷重 :10kg
*サイクル数 :600rpm
*往復ストローク :30mm
【0053】
【表1】
【0054】
表1に示した結果から明らかなように、本発明の範囲に属する実施例1〜8は、本発明外の比較例1〜4と比較して相対的に摩擦係数が小さい。また、比較例1のDLC薄膜が無い場合には、スカッフィング痕が生じた。
【0055】
【発明の効果】
以上説明してきたように、本発明によれば、摺動部位における摺動部材と該摺動部材の相手材の少なくとも一方の摺動面に微細凹凸を形成し、更に少なくとも一方の摺動面に硬質炭素薄膜を形成することなどとしたため、極めて優れた低摩擦特性及び耐摩耗性を示し、安定的に低摩擦特性を発揮し、従来の鋼材料と有機モリブデン化合物との組合せよりも更に優れた省燃費効果を発揮し得る内燃機関のシリンダとピストンの組合せを提供することができる。
【図面の簡単な説明】
【図1】往復摺動摩擦試験の要領を示す斜視説明図である。
【符号の説明】
1 摺動部材試験片
10 相手部材試験片
10a 先端部[0001]
BACKGROUND OF THE INVENTION
The present invention relates to a combination of a cylinder and a piston of an internal combustion engine. More specifically, the present invention has a hard carbon thin film such as a diamond-like carbon (DLC) thin film that has fine irregularities and exhibits extremely low friction. It relates to the combination of cylinder and piston.
[0002]
[Prior art]
Warming global environmental problems on a global scale, such as destruction of the ozone layer are largely closeup, especially how to determine the regulation value in each country for the CO 2 reduction that is said to have great influence on the global warming of the whole earth Has attracted a great deal of interest.
As for CO 2 reduction, reducing the fuel consumption of automobiles is one of the major issues, and the role played by sliding materials and lubricants is significant. The role of the sliding material is to exhibit excellent wear resistance and a low coefficient of friction for parts where the frictional wear environment is severe among the sliding parts of the engine. Application is progressing.
In general, DLC materials are expected to be low-friction sliding materials because their coefficient of friction in air and in the absence of lubricating oil is lower than hard-wearing materials such as titanium nitride (TiN) and chromium nitride (CrN). Has been.
[0003]
In addition, as a fuel-saving measure in lubricating oil, (1) reduction of viscosity resistance in the fluid lubrication region and agitation resistance in the engine by lowering viscosity, (2) blending of optimal friction modifier and various additives, Reduction of friction loss under the mixing and boundary lubrication region has been proposed, and as a friction modifier, many studies have been made mainly on organic molybdenum compounds such as molybdenum dithiocarbamate (MoDTC) and molybdenum dithiophosphate (MoDTP). On the sliding surfaces made of conventional steel materials, a lubricating oil blended with an organic molybdenum compound exhibiting an excellent low friction coefficient at the beginning of use has been applied, which has been effective. Several reports have been made on the friction characteristics of such DLC materials and the performance of organic molybdenum compounds as friction modifiers (see, for example, Non-Patent Documents 1 and 2).
Furthermore, in order to reduce the friction between the sliding members, it has been conventionally performed to perform microfabrication such as depressions and grooves on the sliding surface.
[0004]
[Non-Patent Document 1]
Kano et al., Proceedings of Japan Society of Tribology, May 1999, p. 11-12
[Non-Patent Document 2]
Kano et al., World Tribology Congress 2001.9, Vienna, Proceeding, p. 342
[0005]
[Problems to be solved by the invention]
However, a general DLC material that is excellent in low friction in the air does not necessarily have a large friction reducing effect in the presence of lubricating oil, and a lubricating oil containing an organomolybdenum compound in such a sliding part material. It has also been found that the friction reducing effect may not be sufficiently exerted even when applying.
In addition, in members used under reciprocating sliding conditions such as pistons and cylinder bores, the lubrication state is different at the center of the stroke process where the sliding speed is large and the turning point at the stroke end where the sliding speed is zero, Wear resistance and seizure resistance while exhibiting low friction performance even in a wide range of lubrication conditions, such as reducing oil loss at the stroke end and reducing friction loss at the center of the stroke process. It is necessary to achieve both durability.
Furthermore, if such performance can be exhibited, the engine liner can be removed, which can contribute not only to improvement in fuel consumption but also to an increase in engine displacement.
[0006]
The present invention has been made in view of such problems of the prior art, and the object of the present invention is to exhibit extremely low friction characteristics and wear resistance, and to stably exhibit low friction characteristics. Another object of the present invention is to provide a combination of a cylinder and a piston of an internal combustion engine that can exhibit a fuel saving effect even better than a combination of a conventional steel material and an organic molybdenum compound.
[0007]
[Means for Solving the Problems]
As a result of intensive studies to achieve the object, the present inventors have formed fine irregularities on at least one sliding surface of the sliding member and the mating member of the sliding member, and at least one of them. The present inventors have found that the above object can be achieved by forming a hard carbon thin film on the sliding surface, and have completed the present invention.
[0008]
That is, the present invention has a fine unevenness on the bore surface of the cylinder and / or the outer peripheral surface of the piston in an internal combustion engine including a cylinder that slides in the presence of lubricating oil and a piston equipped with a piston ring. A cylinder and piston combination characterized by having a hard carbon thin film on the bore surface of the cylinder and / or the outer peripheral surface of the piston.
[0009]
DETAILED DESCRIPTION OF THE INVENTION
Hereinafter, the combination of the cylinder and the piston of the present invention will be described in more detail.
In this specification, “%” represents a mass percentage unless otherwise specified.
[0010]
As described above, the combination of the cylinder and the piston according to the present invention is an internal combustion engine including a cylinder that slides in the presence of lubricating oil and a piston equipped with a piston ring. It is a combination of a cylinder and a piston, characterized by having fine irregularities on both sides, and further having a hard carbon thin film on one or both of the bore surface of the cylinder and the outer peripheral surface of the piston.
Here, the hard carbon thin film is an amorphous material mainly composed of a carbon element, and the bonding form between carbons consists of both a diamond structure (SP 3 bond) and a graphite bond (SP 2 bond). Specific examples include an amorphous carbon thin film made of only carbon elements, a hydrogen amorphous carbon thin film containing hydrogen, and a metal amorphous carbon thin film partially containing a metal element such as titanium (Ti) or molybdenum (Mo).
[0011]
In the present invention, fine frictionalities are formed on the bore surface of the cylinder and the outer peripheral surface of the piston to form a hard carbon thin film, thereby exhibiting a lower friction than that of the prior art.
In this specification, “the outer peripheral surface of the piston” includes the outer peripheral surface of the piston ring attached to the piston.
In addition, the surface of the bore has fine irregularities, the outer periphery of the piston skirt has striations, and the sliding surface of the skirt has a hard carbon thin film. It is particularly desirable because it exhibits friction.
Furthermore, the depth of the fine irregularities formed on the bore surface is preferably 0.5 to 30 μm, which can further improve the durability. If the thickness is less than 0.5 μm, the unevenness effect is not sufficiently exhibited, and a sufficient friction reducing effect cannot be obtained. If the thickness exceeds 30 μm, wear resistance and seizure resistance may be lowered.
Furthermore, the ratio h / t of the oil film thickness h (μm) formed by the lubricating oil described later and the depth t (μm) of the irregularities on the bore surface or the piston surface is 0.2 to 3. This is preferable from the viewpoint of wear resistance and seizure resistance. If it is less than 0.2, direct contact occurs without an oil film, and wear resistance and seizure resistance may be reduced. On the other hand, if it exceeds 3, the effect of unevenness may not be sufficiently exhibited, and a sufficient friction reducing effect may not be obtained.
Also, by forming irregularities on the bore or piston surface, seizure resistance is improved, and it is possible to remove the cast iron liner, which not only has the effect of increasing the displacement, but also the entire cylinder block is made of an aluminum alloy As a result, the weight can be further reduced.
[0012]
In the present invention, the hard carbon thin film formed on the member is preferable from the viewpoint of manifesting a significant friction reducing effect, and the amount of hydrogen atoms is preferably as small as possible, and is preferably composed of amorphous carbon not containing hydrogen. The effect is sufficiently exhibited when the amount of hydrogen atoms contained in the carbon thin film is 10 atomic% or less.
As a method for producing such a DLC thin film with a small amount of hydrogen atoms, it is effective to form a film by various PVD methods, specifically, an arc ion plating method.
[0013]
In addition, the surface roughness of the formed hard carbon thin film or the base material on which the hard carbon thin film is not formed is preferably 0.1 μm or less in terms of Ra in terms of sliding stability, and the surface roughness When Ra exceeds 0.1 μm, scuffing is locally formed, and the friction coefficient may be greatly improved.
Furthermore, the formed hard carbon thin film preferably has a surface hardness of microvickers hardness (10 g load) of Hv 1000 to 3500 and a thickness of 0.3 to 2.0 μm. When the surface hardness and thickness are out of this range, that is, when Hv is less than 1000 and the thickness is less than 0.3 μm, there is a high possibility of abrasion, and conversely, when Hv3500 and the thickness exceeds 2.0 μm, peeling tends to occur.
On the other hand, in the case of a base material on which a hard carbon thin film is not formed, for example, an iron-based member, the surface hardness is preferably HRC45 or higher in terms of Rockwell hardness (C scale). If the surface hardness is less than HRC45, it may be buckled and peeled easily under high surface pressure.
[0014]
The shape and material characteristics of the cylinder / piston combination of the present invention are not limited to the cylinder / piston combination as long as it is a sliding part where two metal surfaces come into contact. It is preferable to apply to a severe part of the friction and wear environment such as a sliding part of an internal combustion engine, and particularly to an application where the lubrication state during sliding changes over a wide range such as a sliding part of a cylinder and a piston. It is valid.
[0015]
Next, the lubricating oil used in the present invention will be described.
The lubricating oil used in the present invention is a lubricating oil used in combination with the cylinder and piston of the present invention, and includes a fatty acid ester-based ashless friction modifier and an aliphatic amine-based ashless friction modifier. It is preferable to contain a component of polybutenyl succinimide, a derivative of polybutenyl succinimide or zinc dithiophosphate, and any combination thereof.
In particular, in the presence of a lubricating oil containing one or both of a fatty acid ester-based ashless friction modifier and an aliphatic amine-based ashless friction modifier, a member having the above-described fine irregularities or a hard carbon thin film is slid. When moving, it exhibits extremely low friction properties and wear resistance, as well as excellent low friction stability.
Here, the lubricating base oil is not particularly limited, and any type of lubricating base oil can be used as long as it is normally used as a lubricating base oil, such as mineral oil, synthetic oil, fats and oils, and mixtures thereof. be able to.
[0016]
As mineral oil, specifically, a lubricating oil fraction obtained by subjecting crude oil to atmospheric distillation and vacuum distillation can be desolvated, solvent extraction, hydrocracking, solvent dewaxing, hydrorefining, sulfuric acid washing, clay Oils such as paraffinic or naphthenic oils or normal paraffins, etc., which are refined by appropriately combining purification treatments, etc., can be used. Solvent refining and hydrorefining treatments are generally used, but the aromatic content is further reduced. It is more preferable to use an advanced hydrocracking process that can be carried out or a GTL Wax (gas tow liquid wax) produced by isomerization.
[0017]
Specific examples of synthetic oils include poly-α-olefins (eg, 1-octene oligomers, 1-decene oligomers, ethylene-propylene oligomers), poly-α-olefin hydrides, isobutene oligomers, and isobutene oligomers. Hydride, isoparaffin, alkylbenzene, alkylnaphthalene, diester (eg, ditridecyl glutarate, dioctyl adipate, diisodecyl adipate, ditridecyl adipate, dioctyl sebacate, etc.), polyol ester (eg, trimethylolpropane caprylate, trimethylolpropane pelargol And trimethylolpropane esters such as trimethylolpropane isostearinate; pentaerythritol 2-ethylhexanoate, pentaerythritol Pentaerythritol esters such as largonate), polyoxyalkylene glycols, dialkyldiphenyl ethers and polyphenyl ethers. Among them, preferred examples include poly-α-olefins such as 1-octene oligomers and 1-decene oligomers or hydrides thereof.
[0018]
The base oil in the lubricating oil used in the present invention is a mixture of two or more kinds of mineral base oils or two or more kinds of synthetic base oils, in addition to using a mineral base oil and a synthetic base oil alone or in combination. There is no problem. Further, the mixing ratio of two or more kinds of base oils in the above mixture is not particularly limited and can be arbitrarily selected.
[0019]
The sulfur content in the lubricating base oil is not particularly limited, but is preferably 0.2% or less, more preferably 0.1% or less, and even more preferably 0.05% or less, based on the total amount of the base oil. Preferably there is. In particular, since the sulfur content of hydrorefined mineral oil or synthetic base oil is 0.005% or less, or contains substantially no sulfur content (5 ppm or less), it is preferable to use these as the base oil.
[0020]
Also, the aromatic content in the lubricating base oil is not particularly limited, but the total aromatic content is 15% or less in order to maintain a low friction characteristic for a long time as a lubricating oil for an internal combustion engine. It is preferably 10% or less, more preferably 5% or less. That is, when the total aromatic content of the lubricating base oil exceeds 15%, the oxidation stability is inferior, which is not preferable.
In addition, the total aromatic content mentioned here means the aromatic fraction content measured based on the method prescribed | regulated to ASTM, D2549.
[0021]
The kinematic viscosity of the lubricating base oil is not particularly limited, but when used as a lubricating oil for an internal combustion engine, the kinematic viscosity at 100 ° C. is preferably 2 mm 2 / s or more, more preferably 3 mm 2. / S or more. On the other hand, the kinematic viscosity at 100 ° C. is preferably 20 mm 2 / s or less, more preferably 10 mm 2 / s or less, and particularly preferably 8 mm 2 / s or less. When the kinematic viscosity at 100 ° C. of the lubricating base oil is less than 2 mm 2 / s, it is not preferable because sufficient abrasion resistance cannot be obtained and evaporation characteristics may be deteriorated. On the other hand, when the kinematic viscosity exceeds 20 mm 2 / s, it is difficult to exhibit low friction performance, and low temperature performance may be deteriorated. In the present invention, a mixture of any two or more base oils selected from the above base oils can be used, and as long as the kinematic viscosity at 100 ° C. is within the above preferred range, the base oil alone Even if the kinematic viscosity is other than the above, it can be used.
[0022]
Also, the viscosity index of the lubricating base oil is not particularly limited, but is preferably 80 or more, more preferably 100 or more, particularly when used as a lubricating oil for internal combustion engines. The above is preferable. By increasing the viscosity index of the lubricating base oil, it is possible to obtain a lubricating oil for an internal combustion engine that consumes less oil and has excellent low-temperature viscosity characteristics and fuel saving performance.
[0023]
One or both of the fatty acid ester-based ashless friction modifier and the aliphatic amine-based ashless friction modifier to be used has 6 to 30 carbon atoms, preferably 8 to 24 carbon atoms, and particularly preferably 10 to 20 carbon atoms. Mention may be made of fatty acid esters having a linear or branched hydrocarbon group, fatty acid amine compounds, and any mixtures thereof. When the carbon number is outside the range of 6 to 30, there is a possibility that the friction reducing effect cannot be obtained sufficiently.
[0024]
Specific examples of the straight chain or branched hydrocarbon group having 6 to 30 carbon atoms include hexyl group, heptyl group, octyl group, nonyl group, decyl group, undecyl group, dodecyl group, tridecyl group, tetradecyl group. Group, pentadecyl group, hexadecyl group, heptadecyl group, octadecyl group, nonadecyl group, icosyl group, heneicosyl group, docosyl group, tricosyl group, tetracosyl group, pentacosyl group, hexacosyl group, heptacosyl group, octacosyl group, nonacosyl group and triacontyl group, etc. Alkyl groups, hexenyl, heptenyl, octenyl, nonenyl, decenyl, undecenyl, dodecenyl, tridecenyl, tetradecenyl, pentadecenyl, hexadecenyl, heptadecenyl, octadecenyl, nonadecenyl, icosenyl , It can be exemplified henicosenyl group, docosenyl, tricosenyl group, tetracosenyl group, Pentakoseniru group, Hekisakoseniru group, Heputakoseniru group, Okutakoseniru group, an alkenyl group such as Nonakoseniru group and thoria container group.
The alkyl group and alkenyl group include all possible linear structures and branched structures, and the position of the double bond in the alkenyl group is arbitrary.
[0025]
Moreover, as said fatty acid ester, the ester of the fatty acid which has this C6-C30 hydrocarbon group, and aliphatic monohydric alcohol or aliphatic polyhydric alcohol etc. can be illustrated, Specifically, glycerol monooleate, Particularly preferred examples include glycerine diolate, sorbitan monooleate, and sorbitan diolate.
Examples of the aliphatic amine compound include aliphatic monoamines or their alkylene oxide adducts, aliphatic polyamines, imidazoline compounds, and derivatives thereof. Specifically, fats such as laurylamine, lauryldiethylamine, lauryldiethanolamine, dodecyldipropanolamine, palmitylamine, stearylamine, stearyltetraethylenepentamine, oleylamine, oleylpropylenediamine, oleyldiethanolamine and N-hydroxyethyloleylimidazoline Amine alkylene compounds, amine alkylene oxide adducts such as N, N-dipolyoxyalkylene-N-alkyl (or alkenyl) (carbon number 6 to 28) of these aliphatic amine compounds, carbon numbers in these aliphatic amine compounds 2 to 30 monocarboxylic acids (fatty acids, etc.) and carboxylic acids such as oxalic acid, phthalic acid, trimellitic acid, pyromellitic acid, etc. one Or amidated or neutralize part or all of both the so-called acid-modified compounds, and the like. Preferable examples include N, N-dipolyoxyethylene-N-oleylamine.
[0026]
Further, the content of one or both of the fatty acid ester-based ashless friction modifier and the aliphatic amine-based ashless friction modifier contained in the lubricating oil used in the present invention is not particularly limited, but based on the total amount of the lubricating oil, The content is preferably 0.05 to 3.0%, more preferably 0.1 to 2.0%, and particularly preferably 0.5 to 1.4%. If the content is less than 0.05%, the friction reducing effect tends to be small, and if it exceeds 3.0%, the solubility and storage stability in the lubricating oil are significantly deteriorated, and precipitates are likely to be generated. It is not preferable.
[0027]
On the other hand, as polybutenyl succinimide mentioned above, following general formula (1) and (2)
[0028]
[Chemical 1]
[0029]
[Chemical 2]
[0030]
The compound represented by these is mentioned. PIB in these general formulas represents a polybutenyl group, and the number average molecular weight obtained by polymerizing a high purity isobutene or a mixture of 1-butene and isobutene with a boron fluoride catalyst or an aluminum chloride catalyst is 900 to 3500, preferably Obtained from 1000-2000 polybutene. When the number average molecular weight is less than 900, the cleanability effect tends to be poor, and when it exceeds 3500, the low temperature fluidity tends to be poor.
Further, n in the above general formula is preferably an integer of 1 to 5, more preferably an integer of 2 to 4, from the viewpoint of excellent cleanability. Further, the polybutene is used to remove a trace amount of fluorine and chlorine remaining due to a catalyst in the production process by an appropriate method such as an adsorption method or sufficient water washing, more preferably 50 ppm or less, more preferably 10 ppm or less. It is also possible to use after removing to 1 ppm or less.
[0031]
The method for producing such polybutenyl succinimide is not particularly limited. For example, the polybutene chlorinated product or polybutene from which chlorine or fluorine has been sufficiently removed and maleic anhydride are reacted at 100 to 200 ° C. The polybutenyl succinic acid obtained can be obtained by reacting with polyamines such as diethylenetriamine, triethylenetetramine, tetraethylenepentamine and pentaethylenehexamine.
[0032]
On the other hand, as a derivative of the polybutenyl succinimide described above, a boron compound or an oxygen-containing organic compound is allowed to act on the compound represented by the general formula (1) or (2), thereby remaining amino groups and imino. Examples thereof include so-called boron-modified or acid-modified compounds in which part or all of one or both groups are neutralized or amidated. Among them, boron-containing polybutenyl succinimide, particularly boron-containing bispolybutenyl succinimide, is most preferred at the present time.
[0033]
Examples of the boron compound include boric acid, borates, and borate esters. Specifically, examples of the boric acid include orthoboric acid, metaboric acid, and tetraboric acid. Moreover, as said borate, ammonium borates, such as ammonium salt etc., specifically, ammonium metaborate, ammonium tetraborate, ammonium pentaborate, and ammonium octaborate, are mentioned as a suitable example.
The boric acid ester is an ester of boric acid and preferably an alkyl alcohol having 1 to 6 carbon atoms, more specifically, monomethyl borate, dimethyl borate, trimethyl borate, monoethyl borate, diethyl borate Preferable examples include triethyl borate, monopropyl borate, dipropyl borate, triplypropyl borate, monobutyl borate, dibutyl borate, and tributyl borate. In addition, the mass ratio “B / N” of the boron content B and the nitrogen content N in the boron-containing polybutenyl succinimide is usually 0.1 to 3, preferably 0.2 to 1. .
[0034]
Specific examples of the oxygen-containing organic compound include formic acid, acetic acid, glycolic acid, propionic acid, lactic acid, butyric acid, valeric acid, caproic acid, enanthic acid, caprylic acid, pelargonic acid, capric acid, and undecyl acid. , Lauric acid, tridecanoic acid, myristic acid, pentadecanoic acid, palmitic acid, margaric acid, stearic acid, oleic acid, nonadecanoic acid and eicosanoic acid, etc., monocarboxylic acid having 1 to 30 carbon atoms, oxalic acid, phthalic acid, trimellit Examples thereof include polycarboxylic acids having 2 to 30 carbon atoms such as acid and pyromellitic acid and anhydrides or ester compounds thereof, alkylene oxides having 2 to 6 carbon atoms, and hydroxy (poly) oxyalkylene carbonate.
[0035]
In the lubricating oil used in the present invention, the content of one or both of polybutenyl succinimide and derivatives thereof is not particularly limited, but is preferably 0.1 to 15% based on the total amount of the lubricating oil, and is 1.0 to More preferably, it is 12%. If it is less than 0.1%, the cleaning effect may be poor, and if it exceeds 15%, it is difficult to obtain a cleaning effect corresponding to the content, and the demulsibility tends to deteriorate.
[0036]
Furthermore, the lubricating oil used in the present invention has the following general formula (3):
[0037]
[Chemical 3]
[0038]
It is preferable to contain the zinc dithiophosphate represented by these.
R 4 , R 5 , R 6 and R 7 in the above formula (3) each independently represent a hydrocarbon group having 1 to 24 carbon atoms. Examples of these hydrocarbon groups include linear or branched alkyl groups having 1 to 24 carbon atoms, linear or branched alkenyl groups having 3 to 24 carbon atoms, and cycloalkyl groups having 5 to 13 carbon atoms. Or a linear or branched alkylcycloalkyl group, an aryl group having 6 to 18 carbon atoms, a linear or branched alkylaryl group, an arylalkyl group having 7 to 19 carbon atoms, or the like. It is desirable. The alkyl group or alkenyl group may be any of primary, secondary, and tertiary.
[0039]
Specific examples of R 4 , R 5 , R 6 and R 7 include a methyl group, an ethyl group, a propyl group, a butyl group, a pentyl group, a hexyl group, a heptyl group, an octyl group, a nonyl group, and a decyl group. Alkyl groups such as undecyl group, dodecyl group, tridecyl group, tetradecyl group, pentadecyl group, hexadecyl group, heptadecyl group, octadecyl group, nonadecyl group, icosyl group, heicosyl group, docosyl group, tricosyl group and tetracosyl group, and propenyl group , Isopropenyl group, butenyl group, butadienyl group, pentenyl group, hexenyl group, heptenyl group, octenyl group, nonenyl group, decenyl group, undecenyl group, dodecenyl group, tridecenyl group, tetradecenyl group, pentadecenyl group, hexadecenyl group, and heptadecenyl group Octyl such as oleyl group Cenyl group, alkenyl group such as nonadecenyl group, icocenyl group, heicosenyl group, dococenyl group, tricocenyl group and tetracocenyl group, cycloalkyl group such as cyclopentyl group, cyclohexyl group and cycloheptyl group, methylcyclopentyl group, dimethyl group Cyclopentyl group, ethylcyclopentyl group, propylcyclopentyl group, ethylmethylcyclopentyl group, trimethylcyclopentyl group, diethylcyclopentyl group, ethyldimethylcyclopentyl group, propylmethylcyclopentyl group, propylethylcyclopentyl group, di-propylcyclopentyl group, propylethylmethylcyclopentyl group , Methylcyclohexyl group, dimethylcyclohexyl group, ethylcyclohexyl group, propylcyclohexyl group, ethylmethyl Cyclohexyl group, trimethylcyclohexyl group, diethylcyclohexyl group, ethyldimethylcyclohexyl group, propylmethylcyclohexyl group, propylethylcyclohexyl group, di-propylcyclohexyl group, propylethylmethylcyclohexyl group, methylcycloheptyl group, dimethyl Cycloheptyl group, ethylcycloheptyl group, propylcycloheptyl group, ethylmethylcycloheptyl group, trimethylcycloheptyl group, diethylcycloheptyl group, ethyldimethylcycloheptyl group, propylmethylcycloheptyl group, propylethylcycloheptyl group, di- Alkyl cycloalkyl groups such as propylcycloheptyl group and propylethylmethylcycloheptyl group, aryl groups such as phenyl group and naphthyl group, and tolyl groups Xylyl group, ethylphenyl group, propylphenyl group, ethylmethylphenyl group, trimethylphenyl group, butylphenyl group, propylmethylphenyl group, diethylphenyl group, ethyldimethylphenyl group, tetramethylphenyl group, pentylphenyl group, hexylphenyl Group, heptylphenyl group, octylphenyl group, nonylphenyl group, decylphenyl group, undecylphenyl group, dodecylphenyl group and other alkylaryl groups, benzyl group, methylbenzyl group, dimethylbenzyl group, phenethyl group, methylphenethyl group And arylalkyl groups such as a dimethylphenethyl group.
The hydrocarbon group which R 4 , R 5 , R 6 and R 7 can take include all possible linear structures and branched structures, and the position of the double bond of the alkenyl group. The bonding position of the alkyl group to the cycloalkyl group, the bonding position of the alkyl group to the aryl group, and the bonding position of the aryl group to the alkyl group are arbitrary. Further, among the hydrocarbon groups, when the hydrocarbon group is a linear or branched alkyl group having 1 to 18 carbon atoms, an aryl group having 6 to 18 carbon atoms, or a linear or branched group Particularly preferred is a linear alkylaryl group.
[0040]
Preferred examples of the zinc dithiophosphate include zinc diisopropyldithiophosphate, zinc diisobutyldithiophosphate, zinc di-sec-butyldithiophosphate, zinc di-sec-pentyldithiophosphate, zinc di-n-hexyldithiophosphate, di- -Sec-hexyl dithiophosphate zinc, di-octyl dithiophosphate zinc, di-2-ethylhexyl dithiophosphate zinc, di-n-decyl dithiophosphate zinc, di-n-dodecyl dithiophosphate zinc, diisotridecyl dithiophosphate zinc and these The mixture etc. which concern on arbitrary combinations of these are mentioned.
[0041]
Further, the content of the zinc dithiophosphate is not particularly limited, but from the viewpoint of exerting a higher friction reduction effect, it is preferably 0.1% or less in terms of the total amount of lubricating oil and in terms of phosphorus element, It is more preferable that it is 0.06% or less, and it is particularly preferable that zinc dithiophosphate is not contained. When the zinc dithiophosphate content exceeds 0.1% in terms of the total amount of lubricating oil and in terms of phosphorus element, the above fatty acid ester-based ashless friction on the sliding surface between the member coated with the hard carbon thin film and the iron base member There is a possibility that the excellent friction reducing effect of the adjusting agent and the aliphatic amine-based ashless friction adjusting agent is inhibited.
[0042]
As a method for producing such zinc dithiophosphate, a conventional method can be arbitrarily adopted, and is not particularly limited. Specifically, hydrocarbon groups corresponding to the above R 4 , R 5 , R 6 and R 7 are used. It can be synthesized by reacting the alcohol or phenol possessed with diphosphorus pentoxide (P 2 O 5 ) to give dithiophosphoric acid and neutralizing it with zinc oxide. In addition, it cannot be overemphasized that the structure of the said zinc dithiophosphate changes with raw material alcohol to be used.
In the present invention, two or more kinds of zinc dithiophosphates included in the general formula (3) may be mixed and used at an arbitrary ratio.
[0043]
As described above, the lubricating oil used in the present invention exhibits extremely low friction characteristics when used on the sliding surface between the member coated with the hard carbon thin film and the iron base member. For the purpose of enhancing the performance required as a lubricating oil for internal combustion engines, metallic detergents, antioxidants, viscosity index improvers, other ashless friction modifiers, other ashless dispersants, antiwear or extreme pressure agents, Rust preventives, nonionic surfactants, demulsifiers, metal deactivators, antifoaming agents, and the like can be blended alone or in combination of a plurality of types to enhance the required performance.
[0044]
As said metallic detergent, the arbitrary compounds normally used as a metallic detergent for lubricating oil can be used. For example, alkali metal or alkaline earth metal sulfonates, phenates, salicylate naphthenates and the like can be used alone or in combination. Here, examples of the alkali metal include sodium (Na) and potassium (K), and examples of the alkaline earth metal include calcium (Ca) and magnesium (Mg). Specific preferred examples include Ca or Mg sulfonates, phenates and salicylates.
In addition, the total base number and addition amount of these metal detergents can be arbitrarily selected according to the required performance of the lubricating oil. Usually, the total base number is 0 to 500 mgKOH / g, preferably 150 to 400 mgKOH / g by the perchloric acid method, and the addition amount is usually 0.1 to 10% based on the total amount of the lubricating oil.
[0045]
Further, as the antioxidant, any compound usually used as an antioxidant for lubricating oil can be used. For example, phenolic antioxidants such as 4,4′-methylenebis (2,6-di-tert-butylphenol) and octadecyl-3- (3,5-di-tert-butyl-4-hydroxyphenyl) propionate, phenyl Examples thereof include amine-based antioxidants such as -α-naphthylamine, alkylphenyl-α-naphthylamine, and alkyldiphenylamine, as well as mixtures according to any combination thereof. Moreover, the addition amount of this antioxidant is 0.01 to 5% normally on the basis of the total amount of lubricating oil.
[0046]
Furthermore, as the above viscosity index improver, specifically, a so-called non-dispersion type viscosity index improver such as a copolymer of one or more monomers selected from various methacrylic acid esters and hydrogenated products thereof, Furthermore, a so-called dispersion type viscosity index improver obtained by copolymerizing various methacrylic acid esters containing a nitrogen compound can be exemplified. Specific examples of other viscosity index improvers include non-dispersed or dispersed ethylene-α-olefin copolymers (eg, α-olefins include propylene, 1-butene, 1-pentene, etc.) and hydrogen thereof. Examples thereof include a compound, polyisobutylene and a hydrogenated product thereof, a styrene-diene hydrogenated copolymer, a styrene-maleic anhydride ester copolymer, and a polyalkylstyrene.
The molecular weight of these viscosity index improvers needs to be selected in consideration of shear stability. Specifically, the number average molecular weight of the viscosity index improver is, for example, 5,000 to 1,000,000, preferably 100,000 to 800,000 for dispersed and non-dispersed polymethacrylates, 800 to 5,000 for polyisobutylene or a hydride thereof, ethylene- In the case of an α-olefin copolymer or a hydride thereof, 800 to 300,000, preferably 10,000 to 200,000 is preferable. In addition, the viscosity index improver can be contained alone or in any combination of plural kinds, but the content is usually preferably 0.1 to 40.0% based on the total amount of the lubricating oil. .
[0047]
Furthermore, other ashless friction modifiers include ashless friction modifiers such as boric acid esters, higher alcohols, aliphatic ethers, metal friction modifiers such as molybdenum dithiophosphate, molybdenum dithiocarbamate, and molybdenum disulfide. Is mentioned.
Other ashless dispersants include polybutenylbenzylamine and polybutenylamine having a polybutenyl group having a number average molecular weight of 900 to 3500, and polybutenyl succinimide having a polybutenyl group having a number average molecular weight of less than 900. And derivatives thereof.
Furthermore, as the antiwear agent or extreme pressure agent, disulfide, sulfurized fat and oil, sulfurized olefin, phosphate ester containing 1 to 3 hydrocarbon groups having 2 to 20 carbon atoms, thiophosphate ester, phosphite ester, Examples thereof include thiophosphite esters and amine salts thereof.
Furthermore, examples of the rust preventive include alkylbenzene sulfonate, dinonyl naphthalene sulfonate, alkenyl succinate and polyhydric alcohol ester.
Examples of the nonionic surfactant and the demulsifier include polyalkylene glycol nonionic surfactants such as polyoxyethylene alkyl ether, polyoxyethylene alkylphenyl ether, and polyoxyethylene alkyl naphthyl ether.
Furthermore, examples of the metal deactivator include imidazoline, pyrimidine derivatives, thiadiazole, benzotriazole, and thiadiazole.
Furthermore, examples of the antifoaming agent include silicone, fluorosilicone, and fluoroalkyl ether.
When these additives are contained in the lubricating oil used in the present invention, the content is based on the total amount of the lubricating oil, other friction modifiers, other ashless dispersants, antiwear agents or extreme pressure agents, The rust inhibitor and demulsifier can be appropriately selected from the range of 0.01 to 5%, the metal deactivator is 0.005 to 1%, and the antifoaming agent is 0.0005 to 1%.
[0048]
【Example】
EXAMPLES Hereinafter, although an Example and a comparative example demonstrate this invention further in detail, this invention is not limited to these Examples.
[0049]
(Preparation of sliding member test piece)
The cast iron material (flat plate, equivalent to a cylinder), which is widely used as an engine bore material, is appropriately subjected to polishing, surface micro-grooving, lapping, etc. A member test piece was prepared.
In the fine groove processing, fine grooves (groove-shaped concave portions) were formed by mask blast processing. In the mask blasting process, a fine shape is formed on a resin mask, the resin mask is pasted on a cylindrical surface, and then ceramic particles of about Hv2000 are projected to a desired depth at a projection pressure of 4 kg / cm 2. A fine shape was obtained. Thereafter, the bulge of the edge formed around the fine shape was removed with a tape wrap film having a particle size of 9 μm.
In Comparative Example 4, a cross-hatched processing trace having a surface roughness Ra of 0.1 μm was formed.
[0050]
(Preparation of mating member test piece)
Apply chrome plating on the quenched and tempered SUJ2 (having a U-shaped cross section with R30 curvature at the tip and corresponding to the piston ring), and PVD arc ion plate instead of chrome plating if necessary A DLC thin film having an amount of hydrogen atoms of 0.5 atomic% or less was formed by a ting method, and a mating member test piece of each example having specifications as shown in Table 1 was produced.
In Reference Example 1, a DLC thin film having a hydrogen atom amount of 30 atomic% or less was formed by CVD.
[0051]
[Performance evaluation]
A friction test was performed by combining the sliding member test piece and the mating member test piece obtained in each example and the oil having the specifications shown in Table 1 so that the contact portion was in line contact under the following conditions. As shown in FIG. 1, on the sliding member test piece (flat plate) 1, the opposite member test piece 10 is pressed against the sliding member test piece by the load W with the
[0052]
(Reciprocating sliding friction test conditions)
* Mating member: SUJ2 Quenching and tempering + Chrome plating or DLC thin film * Engine oil: PAO, PAO + ester, dripping lubrication * Supply oil temperature: 80 ° C
* Load: 10kg
* Number of cycles: 600 rpm
* Reciprocating stroke: 30mm
[0053]
[Table 1]
[0054]
As is clear from the results shown in Table 1, Examples 1 to 8 belonging to the scope of the present invention have a relatively small friction coefficient as compared with Comparative Examples 1 to 4 outside the present invention. Further, when there was no DLC thin film of Comparative Example 1, scuffing marks were generated.
[0055]
【The invention's effect】
As described above, according to the present invention, fine irregularities are formed on at least one sliding surface of the sliding member and the mating member of the sliding member at the sliding portion, and further on at least one sliding surface. Since it was decided to form a hard carbon thin film, etc., it showed extremely excellent low friction characteristics and wear resistance, stably exhibiting low friction characteristics, and even better than the combination of conventional steel materials and organic molybdenum compounds It is possible to provide a combination of a cylinder and a piston of an internal combustion engine that can exhibit a fuel saving effect.
[Brief description of the drawings]
FIG. 1 is a perspective explanatory view showing a point of a reciprocating sliding friction test.
[Explanation of symbols]
1 sliding member test piece 10 mating
Claims (8)
上記シリンダのボア表面及び/又はピストンの外周面に微細な凹凸を有し、上記シリンダのボア表面及び/又はピストンの外周面に硬質炭素薄膜を有することを特徴とするシリンダとピストンの組合せ。In an internal combustion engine having a cylinder that slides in the presence of lubricating oil and a piston that is equipped with a piston ring,
A cylinder and piston combination characterized by having fine irregularities on the bore surface of the cylinder and / or the outer peripheral surface of the piston, and a hard carbon thin film on the bore surface of the cylinder and / or the outer peripheral surface of the piston.
Priority Applications (1)
| Application Number | Priority Date | Filing Date | Title |
|---|---|---|---|
| JP2003208369A JP2005069008A (en) | 2003-08-22 | 2003-08-22 | Combination of cylinder and piston of internal combustion engine |
Applications Claiming Priority (1)
| Application Number | Priority Date | Filing Date | Title |
|---|---|---|---|
| JP2003208369A JP2005069008A (en) | 2003-08-22 | 2003-08-22 | Combination of cylinder and piston of internal combustion engine |
Publications (1)
| Publication Number | Publication Date |
|---|---|
| JP2005069008A true JP2005069008A (en) | 2005-03-17 |
Family
ID=34401681
Family Applications (1)
| Application Number | Title | Priority Date | Filing Date |
|---|---|---|---|
| JP2003208369A Pending JP2005069008A (en) | 2003-08-22 | 2003-08-22 | Combination of cylinder and piston of internal combustion engine |
Country Status (1)
| Country | Link |
|---|---|
| JP (1) | JP2005069008A (en) |
Cited By (6)
| Publication number | Priority date | Publication date | Assignee | Title |
|---|---|---|---|---|
| WO2010052787A1 (en) | 2008-11-07 | 2010-05-14 | トヨタ自動車株式会社 | Clutch support structure |
| JP2011220150A (en) * | 2010-04-06 | 2011-11-04 | Honda Motor Co Ltd | Cylinder bore and method for manufacturing the same |
| JP2015523487A (en) * | 2012-05-03 | 2015-08-13 | アッシュ・ウー・エフ | Internal combustion engine jacket |
| KR20180122337A (en) * | 2016-03-03 | 2018-11-12 | 토탈 마케팅 서비스 | Lubricant compositions based on neutralized amines and molybdenum |
| WO2019035163A1 (en) * | 2017-08-14 | 2019-02-21 | 日産自動車株式会社 | Heat shield parts |
| CN113343482A (en) * | 2021-06-28 | 2021-09-03 | 中国人民解放军陆军装甲兵学院 | Vehicle power system monitoring and management method based on digital twins |
-
2003
- 2003-08-22 JP JP2003208369A patent/JP2005069008A/en active Pending
Cited By (15)
| Publication number | Priority date | Publication date | Assignee | Title |
|---|---|---|---|---|
| WO2010052787A1 (en) | 2008-11-07 | 2010-05-14 | トヨタ自動車株式会社 | Clutch support structure |
| JP2011220150A (en) * | 2010-04-06 | 2011-11-04 | Honda Motor Co Ltd | Cylinder bore and method for manufacturing the same |
| DE102011006829A1 (en) | 2010-04-06 | 2011-11-24 | Honda Motor Co., Ltd. | Cylinder bore and method for its production |
| JP2015523487A (en) * | 2012-05-03 | 2015-08-13 | アッシュ・ウー・エフ | Internal combustion engine jacket |
| JP2019507230A (en) * | 2016-03-03 | 2019-03-14 | トタル マルケティン セルビスス | Lubricant composition based on neutralized amine and molybdenum |
| KR20180122337A (en) * | 2016-03-03 | 2018-11-12 | 토탈 마케팅 서비스 | Lubricant compositions based on neutralized amines and molybdenum |
| KR102329180B1 (en) | 2016-03-03 | 2021-11-19 | 토탈 마케팅 서비스 | Lubricant composition based on neutralized amine and molybdenum |
| WO2019035163A1 (en) * | 2017-08-14 | 2019-02-21 | 日産自動車株式会社 | Heat shield parts |
| CN111032341A (en) * | 2017-08-14 | 2020-04-17 | 日产自动车株式会社 | Heat insulation component |
| JPWO2019035163A1 (en) * | 2017-08-14 | 2020-10-08 | 日産自動車株式会社 | Heat shield parts |
| JP7036117B2 (en) | 2017-08-14 | 2022-03-15 | 日産自動車株式会社 | Heat shield parts |
| CN111032341B (en) * | 2017-08-14 | 2022-07-12 | 日产自动车株式会社 | Heat insulation component |
| US11433637B2 (en) | 2017-08-14 | 2022-09-06 | Nissan Motor Co., Ltd. | Heat shield component |
| CN113343482A (en) * | 2021-06-28 | 2021-09-03 | 中国人民解放军陆军装甲兵学院 | Vehicle power system monitoring and management method based on digital twins |
| CN113343482B (en) * | 2021-06-28 | 2024-05-31 | 中国人民解放军陆军装甲兵学院 | A vehicle powertrain health management method based on digital twins |
Similar Documents
| Publication | Publication Date | Title |
|---|---|---|
| JP4973971B2 (en) | Sliding member | |
| JP3555891B2 (en) | Low friction sliding material and lubricating oil composition used therefor | |
| JP5058331B2 (en) | Low friction sliding member | |
| US7406940B2 (en) | Piston for internal combustion engine | |
| JP2005054617A (en) | Valve mechanism | |
| JP2004360649A (en) | Engine piston pin | |
| JP2005090489A (en) | Valve lifter for internal combustion engine | |
| JP3594190B2 (en) | Low friction sliding material and lubricating oil composition used therefor | |
| JP3594193B1 (en) | Low friction sliding member and lubricating oil composition used for the same | |
| JP3965694B2 (en) | Low friction sliding cam / follower combination and lubricating oil composition used therefor | |
| JP4212954B2 (en) | Hard carbon coating sliding member | |
| JP4915891B2 (en) | Low friction sliding member | |
| JP2006144100A (en) | Sliding members for automobile engines | |
| JP2004358495A (en) | Jig for cold drawing and lubricating oil composition used therefor | |
| JP2005002888A (en) | Piston ring for automobile engine and lubricating oil composition used therefor | |
| JP2005069008A (en) | Combination of cylinder and piston of internal combustion engine | |
| JP3594194B1 (en) | Low friction sliding mechanism and lubricating oil composition used therefor | |
| JP2005069249A (en) | Piston and crankshaft connection structure | |
| JP2005003094A (en) | Automotive engine | |
| JP2005048801A (en) | Sealing device | |
| JP2005090738A (en) | Rolling bearing | |
| JP4600719B2 (en) | Differential unit | |
| JP4006644B2 (en) | Valve mechanism for internal combustion engine | |
| JP3753324B2 (en) | Cold drawing jig and lubricating oil composition used therefor | |
| JP4458228B2 (en) | Belt type continuously variable transmission |
Legal Events
| Date | Code | Title | Description |
|---|---|---|---|
| A131 | Notification of reasons for refusal |
Free format text: JAPANESE INTERMEDIATE CODE: A131 Effective date: 20070315 |
|
| A521 | Written amendment |
Free format text: JAPANESE INTERMEDIATE CODE: A523 Effective date: 20070514 |
|
| A131 | Notification of reasons for refusal |
Free format text: JAPANESE INTERMEDIATE CODE: A131 Effective date: 20070604 |
|
| A02 | Decision of refusal |
Free format text: JAPANESE INTERMEDIATE CODE: A02 Effective date: 20070828 |
