DE202010009148U1 - Suction device for wound treatment - Google Patents
Suction device for wound treatment Download PDFInfo
- Publication number
- DE202010009148U1 DE202010009148U1 DE202010009148U DE202010009148U DE202010009148U1 DE 202010009148 U1 DE202010009148 U1 DE 202010009148U1 DE 202010009148 U DE202010009148 U DE 202010009148U DE 202010009148 U DE202010009148 U DE 202010009148U DE 202010009148 U1 DE202010009148 U1 DE 202010009148U1
- Authority
- DE
- Germany
- Prior art keywords
- wound
- suction device
- suction
- labyrinth
- ventilation
- Prior art date
- Legal status (The legal status is an assumption and is not a legal conclusion. Google has not performed a legal analysis and makes no representation as to the accuracy of the status listed.)
- Expired - Lifetime
Links
- 206010052428 Wound Diseases 0.000 title claims abstract description 96
- 208000027418 Wounds and injury Diseases 0.000 title claims abstract description 96
- 238000009423 ventilation Methods 0.000 claims abstract description 16
- 230000028327 secretion Effects 0.000 claims abstract description 11
- 239000012790 adhesive layer Substances 0.000 claims abstract description 6
- 230000008878 coupling Effects 0.000 claims abstract description 3
- 238000010168 coupling process Methods 0.000 claims abstract description 3
- 238000005859 coupling reaction Methods 0.000 claims abstract description 3
- 239000010410 layer Substances 0.000 claims description 13
- 230000004888 barrier function Effects 0.000 claims description 8
- 206010048629 Wound secretion Diseases 0.000 claims description 4
- 239000006260 foam Substances 0.000 claims description 4
- XLYOFNOQVPJJNP-UHFFFAOYSA-N water Substances O XLYOFNOQVPJJNP-UHFFFAOYSA-N 0.000 claims description 4
- 241000894006 Bacteria Species 0.000 claims description 3
- 206010000496 acne Diseases 0.000 claims description 2
- 238000007789 sealing Methods 0.000 claims description 2
- 239000007788 liquid Substances 0.000 claims 1
- 239000007787 solid Substances 0.000 claims 1
- 210000000416 exudates and transudate Anatomy 0.000 abstract 1
- 239000010408 film Substances 0.000 description 18
- 238000000034 method Methods 0.000 description 6
- 239000011888 foil Substances 0.000 description 5
- 239000000463 material Substances 0.000 description 3
- 230000001681 protective effect Effects 0.000 description 3
- 206010053692 Wound complication Diseases 0.000 description 2
- 239000002313 adhesive film Substances 0.000 description 2
- 239000012530 fluid Substances 0.000 description 2
- 230000035876 healing Effects 0.000 description 2
- BUHVIAUBTBOHAG-FOYDDCNASA-N (2r,3r,4s,5r)-2-[6-[[2-(3,5-dimethoxyphenyl)-2-(2-methylphenyl)ethyl]amino]purin-9-yl]-5-(hydroxymethyl)oxolane-3,4-diol Chemical compound COC1=CC(OC)=CC(C(CNC=2C=3N=CN(C=3N=CN=2)[C@H]2[C@@H]([C@H](O)[C@@H](CO)O2)O)C=2C(=CC=CC=2)C)=C1 BUHVIAUBTBOHAG-FOYDDCNASA-N 0.000 description 1
- 241000219823 Medicago Species 0.000 description 1
- 239000000853 adhesive Substances 0.000 description 1
- 230000001070 adhesive effect Effects 0.000 description 1
- 239000002390 adhesive tape Substances 0.000 description 1
- 239000013039 cover film Substances 0.000 description 1
- 239000003814 drug Substances 0.000 description 1
- 238000000605 extraction Methods 0.000 description 1
- 238000009434 installation Methods 0.000 description 1
- 238000004519 manufacturing process Methods 0.000 description 1
- 239000011505 plaster Substances 0.000 description 1
- 230000001012 protector Effects 0.000 description 1
- 230000000638 stimulation Effects 0.000 description 1
- 238000009489 vacuum treatment Methods 0.000 description 1
Classifications
-
- A—HUMAN NECESSITIES
- A61—MEDICAL OR VETERINARY SCIENCE; HYGIENE
- A61F—FILTERS IMPLANTABLE INTO BLOOD VESSELS; PROSTHESES; DEVICES PROVIDING PATENCY TO, OR PREVENTING COLLAPSING OF, TUBULAR STRUCTURES OF THE BODY, e.g. STENTS; ORTHOPAEDIC, NURSING OR CONTRACEPTIVE DEVICES; FOMENTATION; TREATMENT OR PROTECTION OF EYES OR EARS; BANDAGES, DRESSINGS OR ABSORBENT PADS; FIRST-AID KITS
- A61F13/00—Bandages or dressings; Absorbent pads
- A61F13/05—Bandages or dressings; Absorbent pads specially adapted for use with sub-pressure or over-pressure therapy, wound drainage or wound irrigation, e.g. for use with negative-pressure wound therapy [NPWT]
-
- A—HUMAN NECESSITIES
- A61—MEDICAL OR VETERINARY SCIENCE; HYGIENE
- A61F—FILTERS IMPLANTABLE INTO BLOOD VESSELS; PROSTHESES; DEVICES PROVIDING PATENCY TO, OR PREVENTING COLLAPSING OF, TUBULAR STRUCTURES OF THE BODY, e.g. STENTS; ORTHOPAEDIC, NURSING OR CONTRACEPTIVE DEVICES; FOMENTATION; TREATMENT OR PROTECTION OF EYES OR EARS; BANDAGES, DRESSINGS OR ABSORBENT PADS; FIRST-AID KITS
- A61F13/00—Bandages or dressings; Absorbent pads
- A61F13/02—Adhesive bandages or dressings
-
- A—HUMAN NECESSITIES
- A61—MEDICAL OR VETERINARY SCIENCE; HYGIENE
- A61F—FILTERS IMPLANTABLE INTO BLOOD VESSELS; PROSTHESES; DEVICES PROVIDING PATENCY TO, OR PREVENTING COLLAPSING OF, TUBULAR STRUCTURES OF THE BODY, e.g. STENTS; ORTHOPAEDIC, NURSING OR CONTRACEPTIVE DEVICES; FOMENTATION; TREATMENT OR PROTECTION OF EYES OR EARS; BANDAGES, DRESSINGS OR ABSORBENT PADS; FIRST-AID KITS
- A61F13/00—Bandages or dressings; Absorbent pads
- A61F13/02—Adhesive bandages or dressings
- A61F13/0203—Adhesive bandages or dressings with fluid retention members
- A61F13/0226—Adhesive bandages or dressings with fluid retention members characterised by the support layer
-
- A—HUMAN NECESSITIES
- A61—MEDICAL OR VETERINARY SCIENCE; HYGIENE
- A61F—FILTERS IMPLANTABLE INTO BLOOD VESSELS; PROSTHESES; DEVICES PROVIDING PATENCY TO, OR PREVENTING COLLAPSING OF, TUBULAR STRUCTURES OF THE BODY, e.g. STENTS; ORTHOPAEDIC, NURSING OR CONTRACEPTIVE DEVICES; FOMENTATION; TREATMENT OR PROTECTION OF EYES OR EARS; BANDAGES, DRESSINGS OR ABSORBENT PADS; FIRST-AID KITS
- A61F13/00—Bandages or dressings; Absorbent pads
- A61F13/02—Adhesive bandages or dressings
- A61F13/0246—Adhesive bandages or dressings characterised by the skin-adhering layer
-
- A—HUMAN NECESSITIES
- A61—MEDICAL OR VETERINARY SCIENCE; HYGIENE
- A61M—DEVICES FOR INTRODUCING MEDIA INTO, OR ONTO, THE BODY; DEVICES FOR TRANSDUCING BODY MEDIA OR FOR TAKING MEDIA FROM THE BODY; DEVICES FOR PRODUCING OR ENDING SLEEP OR STUPOR
- A61M1/00—Suction or pumping devices for medical purposes; Devices for carrying-off, for treatment of, or for carrying-over, body-liquids; Drainage systems
- A61M1/71—Suction drainage systems
- A61M1/79—Filters for solid matter
-
- A—HUMAN NECESSITIES
- A61—MEDICAL OR VETERINARY SCIENCE; HYGIENE
- A61M—DEVICES FOR INTRODUCING MEDIA INTO, OR ONTO, THE BODY; DEVICES FOR TRANSDUCING BODY MEDIA OR FOR TAKING MEDIA FROM THE BODY; DEVICES FOR PRODUCING OR ENDING SLEEP OR STUPOR
- A61M1/00—Suction or pumping devices for medical purposes; Devices for carrying-off, for treatment of, or for carrying-over, body-liquids; Drainage systems
- A61M1/90—Negative pressure wound therapy devices, i.e. devices for applying suction to a wound to promote healing, e.g. including a vacuum dressing
- A61M1/91—Suction aspects of the dressing
- A61M1/915—Constructional details of the pressure distribution manifold
-
- A—HUMAN NECESSITIES
- A61—MEDICAL OR VETERINARY SCIENCE; HYGIENE
- A61M—DEVICES FOR INTRODUCING MEDIA INTO, OR ONTO, THE BODY; DEVICES FOR TRANSDUCING BODY MEDIA OR FOR TAKING MEDIA FROM THE BODY; DEVICES FOR PRODUCING OR ENDING SLEEP OR STUPOR
- A61M1/00—Suction or pumping devices for medical purposes; Devices for carrying-off, for treatment of, or for carrying-over, body-liquids; Drainage systems
- A61M1/90—Negative pressure wound therapy devices, i.e. devices for applying suction to a wound to promote healing, e.g. including a vacuum dressing
- A61M1/91—Suction aspects of the dressing
- A61M1/916—Suction aspects of the dressing specially adapted for deep wounds
-
- A—HUMAN NECESSITIES
- A61—MEDICAL OR VETERINARY SCIENCE; HYGIENE
- A61M—DEVICES FOR INTRODUCING MEDIA INTO, OR ONTO, THE BODY; DEVICES FOR TRANSDUCING BODY MEDIA OR FOR TAKING MEDIA FROM THE BODY; DEVICES FOR PRODUCING OR ENDING SLEEP OR STUPOR
- A61M27/00—Drainage appliance for wounds or the like, i.e. wound drains, implanted drains
-
- B—PERFORMING OPERATIONS; TRANSPORTING
- B65—CONVEYING; PACKING; STORING; HANDLING THIN OR FILAMENTARY MATERIAL
- B65D—CONTAINERS FOR STORAGE OR TRANSPORT OF ARTICLES OR MATERIALS, e.g. BAGS, BARRELS, BOTTLES, BOXES, CANS, CARTONS, CRATES, DRUMS, JARS, TANKS, HOPPERS, FORWARDING CONTAINERS; ACCESSORIES, CLOSURES, OR FITTINGS THEREFOR; PACKAGING ELEMENTS; PACKAGES
- B65D51/00—Closures not otherwise provided for
- B65D51/16—Closures not otherwise provided for with means for venting air or gas
- B65D51/1605—Closures not otherwise provided for with means for venting air or gas whereby the interior of the container is maintained in permanent gaseous communication with the exterior
- B65D51/1616—Closures not otherwise provided for with means for venting air or gas whereby the interior of the container is maintained in permanent gaseous communication with the exterior by means of a filter
-
- A—HUMAN NECESSITIES
- A61—MEDICAL OR VETERINARY SCIENCE; HYGIENE
- A61F—FILTERS IMPLANTABLE INTO BLOOD VESSELS; PROSTHESES; DEVICES PROVIDING PATENCY TO, OR PREVENTING COLLAPSING OF, TUBULAR STRUCTURES OF THE BODY, e.g. STENTS; ORTHOPAEDIC, NURSING OR CONTRACEPTIVE DEVICES; FOMENTATION; TREATMENT OR PROTECTION OF EYES OR EARS; BANDAGES, DRESSINGS OR ABSORBENT PADS; FIRST-AID KITS
- A61F13/00—Bandages or dressings; Absorbent pads
- A61F2013/00089—Wound bandages
- A61F2013/0017—Wound bandages possibility of applying fluid
- A61F2013/00174—Wound bandages possibility of applying fluid possibility of applying pressure
-
- A—HUMAN NECESSITIES
- A61—MEDICAL OR VETERINARY SCIENCE; HYGIENE
- A61F—FILTERS IMPLANTABLE INTO BLOOD VESSELS; PROSTHESES; DEVICES PROVIDING PATENCY TO, OR PREVENTING COLLAPSING OF, TUBULAR STRUCTURES OF THE BODY, e.g. STENTS; ORTHOPAEDIC, NURSING OR CONTRACEPTIVE DEVICES; FOMENTATION; TREATMENT OR PROTECTION OF EYES OR EARS; BANDAGES, DRESSINGS OR ABSORBENT PADS; FIRST-AID KITS
- A61F13/00—Bandages or dressings; Absorbent pads
- A61F2013/00089—Wound bandages
- A61F2013/00246—Wound bandages in a special way pervious to air or vapours
-
- A—HUMAN NECESSITIES
- A61—MEDICAL OR VETERINARY SCIENCE; HYGIENE
- A61F—FILTERS IMPLANTABLE INTO BLOOD VESSELS; PROSTHESES; DEVICES PROVIDING PATENCY TO, OR PREVENTING COLLAPSING OF, TUBULAR STRUCTURES OF THE BODY, e.g. STENTS; ORTHOPAEDIC, NURSING OR CONTRACEPTIVE DEVICES; FOMENTATION; TREATMENT OR PROTECTION OF EYES OR EARS; BANDAGES, DRESSINGS OR ABSORBENT PADS; FIRST-AID KITS
- A61F13/00—Bandages or dressings; Absorbent pads
- A61F2013/00089—Wound bandages
- A61F2013/00246—Wound bandages in a special way pervious to air or vapours
- A61F2013/00251—Wound bandages in a special way pervious to air or vapours with macroscopic openings
-
- A—HUMAN NECESSITIES
- A61—MEDICAL OR VETERINARY SCIENCE; HYGIENE
- A61F—FILTERS IMPLANTABLE INTO BLOOD VESSELS; PROSTHESES; DEVICES PROVIDING PATENCY TO, OR PREVENTING COLLAPSING OF, TUBULAR STRUCTURES OF THE BODY, e.g. STENTS; ORTHOPAEDIC, NURSING OR CONTRACEPTIVE DEVICES; FOMENTATION; TREATMENT OR PROTECTION OF EYES OR EARS; BANDAGES, DRESSINGS OR ABSORBENT PADS; FIRST-AID KITS
- A61F13/00—Bandages or dressings; Absorbent pads
- A61F2013/00089—Wound bandages
- A61F2013/00246—Wound bandages in a special way pervious to air or vapours
- A61F2013/00255—Wound bandages in a special way pervious to air or vapours with pores
-
- A—HUMAN NECESSITIES
- A61—MEDICAL OR VETERINARY SCIENCE; HYGIENE
- A61F—FILTERS IMPLANTABLE INTO BLOOD VESSELS; PROSTHESES; DEVICES PROVIDING PATENCY TO, OR PREVENTING COLLAPSING OF, TUBULAR STRUCTURES OF THE BODY, e.g. STENTS; ORTHOPAEDIC, NURSING OR CONTRACEPTIVE DEVICES; FOMENTATION; TREATMENT OR PROTECTION OF EYES OR EARS; BANDAGES, DRESSINGS OR ABSORBENT PADS; FIRST-AID KITS
- A61F13/00—Bandages or dressings; Absorbent pads
- A61F2013/00089—Wound bandages
- A61F2013/00246—Wound bandages in a special way pervious to air or vapours
- A61F2013/00259—Wound bandages in a special way pervious to air or vapours thin film
-
- A—HUMAN NECESSITIES
- A61—MEDICAL OR VETERINARY SCIENCE; HYGIENE
- A61F—FILTERS IMPLANTABLE INTO BLOOD VESSELS; PROSTHESES; DEVICES PROVIDING PATENCY TO, OR PREVENTING COLLAPSING OF, TUBULAR STRUCTURES OF THE BODY, e.g. STENTS; ORTHOPAEDIC, NURSING OR CONTRACEPTIVE DEVICES; FOMENTATION; TREATMENT OR PROTECTION OF EYES OR EARS; BANDAGES, DRESSINGS OR ABSORBENT PADS; FIRST-AID KITS
- A61F13/00—Bandages or dressings; Absorbent pads
- A61F2013/00361—Plasters
- A61F2013/00365—Plasters use
- A61F2013/00412—Plasters use for use with needles, tubes or catheters
-
- A—HUMAN NECESSITIES
- A61—MEDICAL OR VETERINARY SCIENCE; HYGIENE
- A61F—FILTERS IMPLANTABLE INTO BLOOD VESSELS; PROSTHESES; DEVICES PROVIDING PATENCY TO, OR PREVENTING COLLAPSING OF, TUBULAR STRUCTURES OF THE BODY, e.g. STENTS; ORTHOPAEDIC, NURSING OR CONTRACEPTIVE DEVICES; FOMENTATION; TREATMENT OR PROTECTION OF EYES OR EARS; BANDAGES, DRESSINGS OR ABSORBENT PADS; FIRST-AID KITS
- A61F13/00—Bandages or dressings; Absorbent pads
- A61F2013/00361—Plasters
- A61F2013/00365—Plasters use
- A61F2013/00536—Plasters use for draining or irrigating wounds
-
- A—HUMAN NECESSITIES
- A61—MEDICAL OR VETERINARY SCIENCE; HYGIENE
- A61F—FILTERS IMPLANTABLE INTO BLOOD VESSELS; PROSTHESES; DEVICES PROVIDING PATENCY TO, OR PREVENTING COLLAPSING OF, TUBULAR STRUCTURES OF THE BODY, e.g. STENTS; ORTHOPAEDIC, NURSING OR CONTRACEPTIVE DEVICES; FOMENTATION; TREATMENT OR PROTECTION OF EYES OR EARS; BANDAGES, DRESSINGS OR ABSORBENT PADS; FIRST-AID KITS
- A61F13/00—Bandages or dressings; Absorbent pads
- A61F2013/00361—Plasters
- A61F2013/00365—Plasters use
- A61F2013/0054—Plasters use for deep wounds
-
- A—HUMAN NECESSITIES
- A61—MEDICAL OR VETERINARY SCIENCE; HYGIENE
- A61F—FILTERS IMPLANTABLE INTO BLOOD VESSELS; PROSTHESES; DEVICES PROVIDING PATENCY TO, OR PREVENTING COLLAPSING OF, TUBULAR STRUCTURES OF THE BODY, e.g. STENTS; ORTHOPAEDIC, NURSING OR CONTRACEPTIVE DEVICES; FOMENTATION; TREATMENT OR PROTECTION OF EYES OR EARS; BANDAGES, DRESSINGS OR ABSORBENT PADS; FIRST-AID KITS
- A61F13/00—Bandages or dressings; Absorbent pads
- A61F2013/00361—Plasters
- A61F2013/00855—Plasters pervious to air or vapours
-
- A—HUMAN NECESSITIES
- A61—MEDICAL OR VETERINARY SCIENCE; HYGIENE
- A61F—FILTERS IMPLANTABLE INTO BLOOD VESSELS; PROSTHESES; DEVICES PROVIDING PATENCY TO, OR PREVENTING COLLAPSING OF, TUBULAR STRUCTURES OF THE BODY, e.g. STENTS; ORTHOPAEDIC, NURSING OR CONTRACEPTIVE DEVICES; FOMENTATION; TREATMENT OR PROTECTION OF EYES OR EARS; BANDAGES, DRESSINGS OR ABSORBENT PADS; FIRST-AID KITS
- A61F13/00—Bandages or dressings; Absorbent pads
- A61F2013/00361—Plasters
- A61F2013/00855—Plasters pervious to air or vapours
- A61F2013/00859—Plasters pervious to air or vapours with macroscopic openings
-
- A—HUMAN NECESSITIES
- A61—MEDICAL OR VETERINARY SCIENCE; HYGIENE
- A61F—FILTERS IMPLANTABLE INTO BLOOD VESSELS; PROSTHESES; DEVICES PROVIDING PATENCY TO, OR PREVENTING COLLAPSING OF, TUBULAR STRUCTURES OF THE BODY, e.g. STENTS; ORTHOPAEDIC, NURSING OR CONTRACEPTIVE DEVICES; FOMENTATION; TREATMENT OR PROTECTION OF EYES OR EARS; BANDAGES, DRESSINGS OR ABSORBENT PADS; FIRST-AID KITS
- A61F13/00—Bandages or dressings; Absorbent pads
- A61F2013/00361—Plasters
- A61F2013/00855—Plasters pervious to air or vapours
- A61F2013/00863—Plasters pervious to air or vapours with pores
-
- A—HUMAN NECESSITIES
- A61—MEDICAL OR VETERINARY SCIENCE; HYGIENE
- A61M—DEVICES FOR INTRODUCING MEDIA INTO, OR ONTO, THE BODY; DEVICES FOR TRANSDUCING BODY MEDIA OR FOR TAKING MEDIA FROM THE BODY; DEVICES FOR PRODUCING OR ENDING SLEEP OR STUPOR
- A61M1/00—Suction or pumping devices for medical purposes; Devices for carrying-off, for treatment of, or for carrying-over, body-liquids; Drainage systems
- A61M1/90—Negative pressure wound therapy devices, i.e. devices for applying suction to a wound to promote healing, e.g. including a vacuum dressing
- A61M1/96—Suction control thereof
- A61M1/964—Suction control thereof having venting means on or near the dressing
Landscapes
- Health & Medical Sciences (AREA)
- Heart & Thoracic Surgery (AREA)
- Engineering & Computer Science (AREA)
- Public Health (AREA)
- Biomedical Technology (AREA)
- Veterinary Medicine (AREA)
- Life Sciences & Earth Sciences (AREA)
- Animal Behavior & Ethology (AREA)
- General Health & Medical Sciences (AREA)
- Vascular Medicine (AREA)
- Anesthesiology (AREA)
- Hematology (AREA)
- Otolaryngology (AREA)
- Dermatology (AREA)
- Mechanical Engineering (AREA)
- External Artificial Organs (AREA)
- Media Introduction/Drainage Providing Device (AREA)
Abstract
Saugvorrichtung zur Wundbehandlung und zum Absaugen von Wundsekret (11) aus Wunden (15), in Anwendung einer Wundfolie (13) mit einem Wundfolienloch (20), dadurch gekennzeichnet, dass die Saugvorrichtung als ein flexibles, weiches, poröses Labyrinth (2), verbunden mit einem Absaugschlauch (3), ausgebildet ist, bei dem bei Kopplung des Saugloches (6) über dem Wundfolienloch (20) mit einer Klebschicht (7) das Sekret (11) mittels Vakuum (4) bei Wundbelüftung (31) abgesaugt werden kann.Suction device for wound treatment and suction of wound exudate (11) from wounds (15) using a wound film (13) with a wound film hole (20), characterized in that the suction device is connected as a flexible, soft, porous labyrinth (2) with a suction tube (3) is formed, in which when coupling the suction hole (6) over the wound film hole (20) with an adhesive layer (7) the secretion (11) by means of vacuum (4) in wound ventilation (31) can be sucked.
Description
Die Erfindung betrifft eine Saugvorrichtung, die für verschiedene Methoden der Wundbehandlung verwendet werden kann, insbesondere jedoch zur Vakuumwundbehandlung von großen und tiefen Oberflächenwunden.The The invention relates to a suction device suitable for various Methods of wound treatment can be used, in particular however, for the vacuum wound treatment of large and deep surface wounds.
Stand der TechnikState of the art
Es ist eine häufige Aufgabenstellung in der Medizin, Wundflüssigkeiten abzusaugen. Insbesondere ist bei tiefen, großen und dabei insbesondere von infizierten Oberflächenwunden die bislang übliche Praxis, in die Wunde eine Wundauflage, die nicht mit dem Gewebe verwächst, einzulegen. Auf diese Wundauflage bringt der Mediziner eine erste Lage Mull auf, in die dann von Hand ein Drainageschlauch, teilweise mehrfach gewunden, aufgelegt wird und dieser abermals mit einer zweiten Lage Mull abgedeckt und anschließend die gesamte Wundstelle mit einem Pflaster überklebt wird. Das Ende des Drainageschlauches wird dann mit einem Unterdruck beaufschlagt, wodurch die Wundflüssigkeit abgesaugt werden kann. Neben der langen Dauer, der zur Verlegung vorstehend beschriebener Mittel benötigten Zeit, erfordert diese Vorgehensweise auch ein erhebliches Geschick des die Wunde versorgenden Mediziners, weil während der Wundversorgung alle separat eingelegten Vorrichtungsbestandteile zu fixieren sind, was häufig nicht durch eine Person allein bewerkstelligt werden kann.It is a common task in medicine, wound fluids suck. In particular, it is deep, big and in the process in particular of infected surface wounds the hitherto customary Practice, in the wound a wound dressing that does not interfere with the tissue grows, insert. On this wound dressing brings the Medics a first layer of gauze, in which then by hand a drainage tube, partially wound several times, is hung up and this again with a covered second layer of gauze and then the entire The wound site is covered with a plaster. The end the drainage tube is then subjected to a negative pressure, whereby the wound fluid can be sucked off. Next the long duration necessary to relocate the funds described above required time, this procedure also requires considerable skill of the wounding medical practitioner, because during wound care, all separately inserted device components to fix, which is often not by a person alone can be accomplished.
Eine
andere Art von Wundauflagen, die insbesondere für die Vakuumwundbehandlung
entwickelt wurden, ist bspw. in
Vorstehend
skizzierte Behandlung derartiger Wunden unter Unterdruckbeaufschlagung
ist ein seit vielen Jahren praktiziertes Verfahren, das die Heilung
auch tiefer und großflächiger Wunden durch permanenten
Wundreiz positiv beeinflusst. Diese Art der Vakuumwundbehandlung
ist bspw. in
Darüber
hinaus existiert eine Vielzahl weiterer Lösungen, die hier
jedoch nur beispielhaft aufgeführt werden sollen, weil
sie weiter entfernt liegende technische Lösungen betreffen.
So ist aus
Weiterhin
ist in der
Aus
der
Aufgabenstellungtask
Vorliegender Erfindung liegt die Aufgabe zugrunde, eine Saugvorrichtung anzugeben, die mittels Labyrinth eine sichere Verbindung zu einem in der Wundabdeckfolie eingeschnittenen Loch garantiert, so dass das Sekret ungehindert durch die Saugvorrichtung in den Saugschlauch, bei Anlegen eines Vakuums, gelangen kann und bei kleinen Wundflächen die Wundbelüftung ermöglicht. Weiterhin soll das Labyrinthmaterial von einer weichen und flexiblen Struktur sein, damit bei Anlegen eines Vakuums durch harte Teile keine zusätzlichen Wundschmerzen entstehen.The present invention has for its object to provide a suction device that guarantees a secure connection to a cut in the wound cover film hole through labyrinth, so that the secretion unhindered by the suction device in the suction hose, when applying a vacuum, and can reach in small wound surfaces the Wound ventilation possible. Furthermore, the La of a soft and flexible structure, so that when applying a vacuum through hard parts no additional wound pain arise.
Gemäß Erfindung wird diese Aufgabe durch die kennzeichnenden Merkmale des ersten Patentanspruchs gelöst und durch vorteilhafte Ausgestaltung gemäß den Unteransprüchen ergänzt.According to the invention This task is characterized by the characterizing features of the first Claim solved and advantageous embodiment supplemented according to the subclaims.
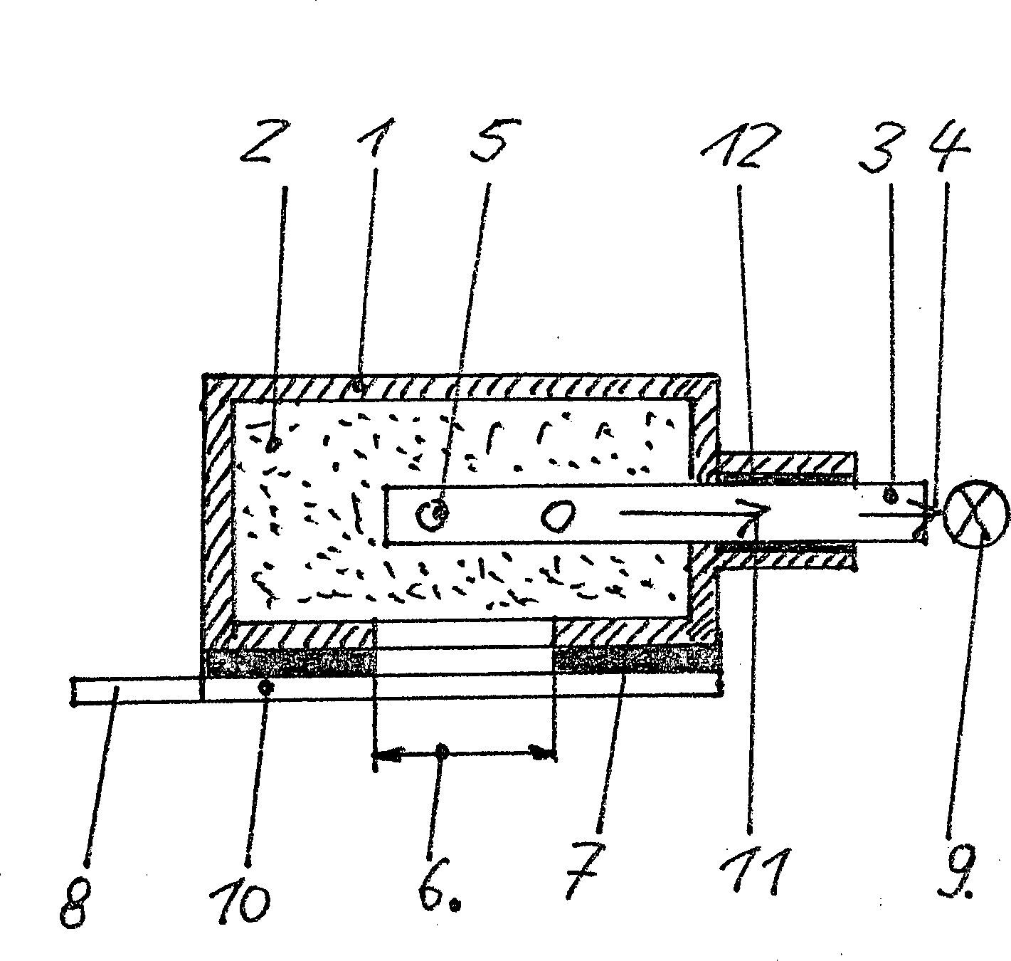
Das Wesen der Erfindung besteht darin, dass die Saugvorrichtung aus einem flexiblen, porösen, wie ein Labyrinth wirkenden Material besteht, in dem ein perforierter Absaugschlauch deponiert wird. Die Saugvorrichtung wird mit dem Saugschlauch mittels einer flexiblen, weichen Folie versiegelt, so dass keine Luft entweichen kann. Eine Sonderanwendung ist die Montage eines Drosselventils auf der Saugvorrichtung, das die Belüftung der Wunde bei Vakuum ermöglicht, Feuchtigkeit und Bakterien beim Eindringen in die Wunde behindert.The Essence of the invention is that the suction device a flexible, porous, labyrinth-like material exists, in which a perforated suction tube is deposited. The Suction device is connected to the suction hose by means of a flexible, soft film sealed so that no air can escape. A Special application is the installation of a throttle valve on the suction device, which allows the ventilation of the wound in a vacuum, Moisture and bacteria hindered when entering the wound.
Im Kontaktbereich mit der Wundfolie wird in der Siegelfolie ein großes Loch belassen. Das gewährleistet die uneingeschränkte Sekretzuführung durch das jeweilige flexible, poröse, weiche Labyrinth bis in den Saugschlauch. Die Kopplung – Wundfolie und Saugvorrichtung – wird nach Entfernen einer Schutzfolie von der Saugvorrichtung durch die dadurch freigelegte Klebeschicht erreicht.in the Contact area with the wound film becomes a large in the sealing film Leave hole. This ensures the unrestricted Secretion supply through the respective flexible, porous, soft maze into the suction hose. The coupling - wound film and Suction device - will after removing a protective film from the suction device by the adhesive layer thus exposed reached.
Die Erfindung wird nachstehend anhand schematischer Zeichnungen näher erläutert.The The invention will be described in greater detail below with reference to schematic drawings explained.
Es zeigen:It demonstrate:
- 11
- Sperrschichtjunction
- 22
- Labyrinthlabyrinth
- 33
- Absaugschlauchsuction hose
- 44
- Vakuumvacuum
- 55
- Perforationperforation
- 66
- Sauglochsuction hole
- 77
- Klebschichtadhesive layer
- 88th
- Abziehlaschepull tab
- 99
- Pumpepump
- 1010
- Schutzfolieprotector
- 1111
- Sekretsecretion
- 1212
- Verbindungconnection
- 1313
- Wundfoliewound film
- 1414
- Labyrinthlabyrinth
- 1515
- Wundewound
- 1616
- Wundfüllungwound fill
- 1717
- Hautskin
- 1818
- Schaumstofffoam
- 1919
- Klebefolieadhesive film
- 2020
- WundfolienlochWound foil shadow
- 2121
- Noppenburl
- 2222
- PerforationsschlitzPerforationsschlitz
- 2323
- Fixierungfixation
- 2424
- Verschlussshutter
- 2525
- Abdeckfoliecover
- 2626
- Luftlochair pocket
- 2727
- Filterscheibefilter disc
- 2828
- Drosselthrottle
- 2929
- Fixierfoliefixing film
- 3030
- Luftspaltair gap
- 3131
- Wundbelüftungwound ventilation
- 3232
- Luftkanalair duct
Die
Die
Anwendung der Saugvorrichtung wird in der
In
der
ZITATE ENTHALTEN IN DER BESCHREIBUNGQUOTES INCLUDE IN THE DESCRIPTION
Diese Liste der vom Anmelder aufgeführten Dokumente wurde automatisiert erzeugt und ist ausschließlich zur besseren Information des Lesers aufgenommen. Die Liste ist nicht Bestandteil der deutschen Patent- bzw. Gebrauchsmusteranmeldung. Das DPMA übernimmt keinerlei Haftung für etwaige Fehler oder Auslassungen.This list The documents listed by the applicant have been automated generated and is solely for better information recorded by the reader. The list is not part of the German Patent or utility model application. The DPMA takes over no liability for any errors or omissions.
Zitierte PatentliteraturCited patent literature
- - DE 60118546 T2 [0003] - DE 60118546 T2 [0003]
- - DE 69425881 T3 [0004] - DE 69425881 T3 [0004]
- - DE 69229940 T2 [0004] - DE 69229940 T2 [0004]
- - DE 69224847 T3 [0004] - DE 69224847 T3 [0004]
- - US 6695824 B2 [0005] - US 6695824 B2 [0005]
- - EP 1764127 A1 [0005] - EP 1764127 A1 [0005]
- - EP 2008/003251 [0006] - EP 2008/003251 [0006]
- - DE 69825767 T2 [0007] - DE 69825767 T2 [0007]
- - DE 69833579 T2 [0007] - DE 69833579 T2 [0007]
Claims (20)
Priority Applications (5)
| Application Number | Priority Date | Filing Date | Title |
|---|---|---|---|
| DE202010009148U DE202010009148U1 (en) | 2010-06-16 | 2010-06-16 | Suction device for wound treatment |
| US13/704,962 US9199013B2 (en) | 2010-06-16 | 2011-06-15 | Device for wound treatment and a wound covering bandage or dressing |
| EP11819159.2A EP2582337A2 (en) | 2010-06-16 | 2011-06-15 | Device for wound treatment and wound covering plaster |
| PCT/DE2011/001866 WO2012041296A2 (en) | 2010-06-16 | 2011-06-15 | Device for wound treatment and wound covering plaster |
| DE112011102047T DE112011102047A5 (en) | 2010-06-16 | 2011-06-15 | Device for wound treatment and wound dressing |
Applications Claiming Priority (1)
| Application Number | Priority Date | Filing Date | Title |
|---|---|---|---|
| DE202010009148U DE202010009148U1 (en) | 2010-06-16 | 2010-06-16 | Suction device for wound treatment |
Publications (1)
| Publication Number | Publication Date |
|---|---|
| DE202010009148U1 true DE202010009148U1 (en) | 2010-09-02 |
Family
ID=42675525
Family Applications (1)
| Application Number | Title | Priority Date | Filing Date |
|---|---|---|---|
| DE202010009148U Expired - Lifetime DE202010009148U1 (en) | 2010-06-16 | 2010-06-16 | Suction device for wound treatment |
Country Status (1)
| Country | Link |
|---|---|
| DE (1) | DE202010009148U1 (en) |
Cited By (20)
| Publication number | Priority date | Publication date | Assignee | Title |
|---|---|---|---|---|
| DE202010012324U1 (en) | 2010-09-08 | 2010-11-11 | Neubauer, Norbert | Suction device for wound treatment |
| DE202011003808U1 (en) | 2011-03-11 | 2011-05-19 | Neubauer, Norbert, 38820 | Drainage device for wound treatment |
| DE102011106540A1 (en) * | 2010-12-23 | 2012-06-28 | Alfons Erdmann | Gas-tight cover for pipe used in medical field, has sleeve portion designed as prism with three lateral surfaces that adjoin one another at acute angles in cross-section of prism |
| WO2012087376A1 (en) * | 2010-12-22 | 2012-06-28 | Smith & Nephew, Inc. | Apparatuses and methods for negative pressure wound therapy |
| DE202012005923U1 (en) | 2012-06-16 | 2012-07-11 | Norbert Neubauer | Wound dressing for the treatment of wounds |
| WO2012141999A1 (en) * | 2011-04-12 | 2012-10-18 | Kci Licensing, Inc. | Absorbent polymer dressings, systems, and methods employing evaporative devices |
| DE102011108726A1 (en) * | 2011-07-26 | 2013-01-31 | Paul Hartmann Ag | Connection device for use in the vacuum treatment of wounds |
| DE102011082347A1 (en) * | 2011-09-08 | 2013-03-14 | Paul Hartmann Ag | Wound dressing for use in the vacuum treatment of wounds |
| DE102014002204B3 (en) * | 2014-02-21 | 2015-01-08 | Alexander May | Device for negative pressure wound treatment |
| US9033942B2 (en) | 2008-03-07 | 2015-05-19 | Smith & Nephew, Inc. | Wound dressing port and associated wound dressing |
| EP2944298A1 (en) * | 2011-08-31 | 2015-11-18 | KCI Licensing Inc. | Inline storage pouches for use with body fluids |
| US9227000B2 (en) | 2006-09-28 | 2016-01-05 | Smith & Nephew, Inc. | Portable wound therapy system |
| DE202016000770U1 (en) | 2016-02-05 | 2016-03-17 | Norbert Neubauer | Balloon wound insert for suction of wound fluid |
| US9327065B2 (en) | 2009-12-22 | 2016-05-03 | Smith & Nephew, Inc. | Apparatuses and methods for negative pressure wound therapy |
| USD804014S1 (en) | 2010-12-22 | 2017-11-28 | Smith & Nephew, Inc. | Suction adapter |
| US10406036B2 (en) | 2009-06-18 | 2019-09-10 | Smith & Nephew, Inc. | Apparatus for vacuum bridging and/or exudate collection |
| USRE48117E1 (en) | 2010-05-07 | 2020-07-28 | Smith & Nephew, Inc. | Apparatuses and methods for negative pressure wound therapy |
| US11819386B2 (en) | 2018-07-12 | 2023-11-21 | T.J.Smith And Nephew, Limited | Apparatuses and methods for negative pressure wound therapy |
| US12016993B2 (en) | 2020-01-15 | 2024-06-25 | T.J.Smith And Nephew, Limited | Fluidic connectors for negative pressure wound therapy |
| US12036351B2 (en) | 2010-04-16 | 2024-07-16 | Solventum Intellectual Properties Company | Dressings and methods for treating a tissue site on a patient |
Citations (8)
| Publication number | Priority date | Publication date | Assignee | Title |
|---|---|---|---|---|
| DE69229940T2 (en) | 1991-11-27 | 2000-03-16 | Minnesota Mining And Mfg. Co. | Foams for wound treatment |
| US6695824B2 (en) | 2001-04-16 | 2004-02-24 | The United States Of America As Represented By The Secretary Of The Army | Wound dressing system |
| DE69825767T2 (en) | 1997-09-12 | 2005-09-01 | KCI Licensing, Inc., San Antonio | SUCTION HEAD FOR WOUND TREATMENT AND COMBINATION WITH A SURGICAL COVER |
| DE69425881T3 (en) | 1993-03-09 | 2005-11-03 | Wake Forest University | WOUND TREATMENT USING REDUCED PRESSURE |
| DE60118546T2 (en) | 2000-05-09 | 2006-08-24 | KCI Licensing, Inc., San Antonio | ABDOMINALE WUNDAUFLAGE |
| EP1764127A2 (en) | 2005-08-08 | 2007-03-21 | Smiths Medical ASD, Inc. | Needle guard clip with heel |
| DE69224847T3 (en) | 1991-11-14 | 2007-04-19 | Wake Forest University | DEVICE FOR TREATING WEB DAMAGE |
| WO2008131895A1 (en) | 2007-04-29 | 2008-11-06 | Iskia Gmbh & Co. Kg | Flat drainage system for wound treatment |
-
2010
- 2010-06-16 DE DE202010009148U patent/DE202010009148U1/en not_active Expired - Lifetime
Patent Citations (9)
| Publication number | Priority date | Publication date | Assignee | Title |
|---|---|---|---|---|
| DE69224847T3 (en) | 1991-11-14 | 2007-04-19 | Wake Forest University | DEVICE FOR TREATING WEB DAMAGE |
| DE69229940T2 (en) | 1991-11-27 | 2000-03-16 | Minnesota Mining And Mfg. Co. | Foams for wound treatment |
| DE69425881T3 (en) | 1993-03-09 | 2005-11-03 | Wake Forest University | WOUND TREATMENT USING REDUCED PRESSURE |
| DE69825767T2 (en) | 1997-09-12 | 2005-09-01 | KCI Licensing, Inc., San Antonio | SUCTION HEAD FOR WOUND TREATMENT AND COMBINATION WITH A SURGICAL COVER |
| DE69833579T2 (en) | 1997-09-12 | 2006-07-27 | KCI Licensing, Inc., San Antonio | Surgical drape |
| DE60118546T2 (en) | 2000-05-09 | 2006-08-24 | KCI Licensing, Inc., San Antonio | ABDOMINALE WUNDAUFLAGE |
| US6695824B2 (en) | 2001-04-16 | 2004-02-24 | The United States Of America As Represented By The Secretary Of The Army | Wound dressing system |
| EP1764127A2 (en) | 2005-08-08 | 2007-03-21 | Smiths Medical ASD, Inc. | Needle guard clip with heel |
| WO2008131895A1 (en) | 2007-04-29 | 2008-11-06 | Iskia Gmbh & Co. Kg | Flat drainage system for wound treatment |
Cited By (45)
| Publication number | Priority date | Publication date | Assignee | Title |
|---|---|---|---|---|
| US9227000B2 (en) | 2006-09-28 | 2016-01-05 | Smith & Nephew, Inc. | Portable wound therapy system |
| US12115302B2 (en) | 2006-09-28 | 2024-10-15 | Smith & Nephew, Inc. | Portable wound therapy system |
| US9642955B2 (en) | 2006-09-28 | 2017-05-09 | Smith & Nephew, Inc. | Portable wound therapy system |
| US11141325B2 (en) | 2006-09-28 | 2021-10-12 | Smith & Nephew, Inc. | Portable wound therapy system |
| US10130526B2 (en) | 2006-09-28 | 2018-11-20 | Smith & Nephew, Inc. | Portable wound therapy system |
| US9033942B2 (en) | 2008-03-07 | 2015-05-19 | Smith & Nephew, Inc. | Wound dressing port and associated wound dressing |
| US9956329B2 (en) | 2008-03-07 | 2018-05-01 | Smith & Nephew, Inc. | Wound dressing port and associated wound dressing |
| US10406036B2 (en) | 2009-06-18 | 2019-09-10 | Smith & Nephew, Inc. | Apparatus for vacuum bridging and/or exudate collection |
| US10406037B2 (en) | 2009-12-22 | 2019-09-10 | Smith & Nephew, Inc. | Apparatuses and methods for negative pressure wound therapy |
| US11058588B2 (en) | 2009-12-22 | 2021-07-13 | Smith & Nephew, Inc. | Apparatuses and methods for negative pressure wound therapy |
| US9999547B2 (en) | 2009-12-22 | 2018-06-19 | Smith & Nephew, Inc. | Apparatuses and methods for negative pressure wound therapy |
| US9974695B2 (en) | 2009-12-22 | 2018-05-22 | Smith & Nephew, Inc. | Apparatuses and methods for negative pressure wound therapy |
| US12082996B2 (en) | 2009-12-22 | 2024-09-10 | Smith & Nephew, Inc. | Apparatuses and methods for negative pressure wound therapy |
| US12458541B2 (en) | 2009-12-22 | 2025-11-04 | Smith & Nephew, Inc. | Apparatuses and methods for negative pressure wound therapy |
| US9642750B2 (en) | 2009-12-22 | 2017-05-09 | Smith & Nephew, Inc. | Apparatuses and methods for negative pressure wound therapy |
| US9327065B2 (en) | 2009-12-22 | 2016-05-03 | Smith & Nephew, Inc. | Apparatuses and methods for negative pressure wound therapy |
| US12036351B2 (en) | 2010-04-16 | 2024-07-16 | Solventum Intellectual Properties Company | Dressings and methods for treating a tissue site on a patient |
| USRE48117E1 (en) | 2010-05-07 | 2020-07-28 | Smith & Nephew, Inc. | Apparatuses and methods for negative pressure wound therapy |
| DE202010012324U1 (en) | 2010-09-08 | 2010-11-11 | Neubauer, Norbert | Suction device for wound treatment |
| US11247034B2 (en) | 2010-12-22 | 2022-02-15 | Smith & Nephew, Inc. | Apparatuses and methods for negative pressure wound therapy |
| US9956389B2 (en) | 2010-12-22 | 2018-05-01 | Smith & Nephew, Inc. | Apparatuses and methods for negative pressure wound therapy |
| CN103384538B (en) * | 2010-12-22 | 2017-03-22 | 史密夫和内修有限公司 | Devices and methods for negative pressure wound therapy |
| US9050398B2 (en) | 2010-12-22 | 2015-06-09 | Smith & Nephew, Inc. | Apparatuses and methods for negative pressure wound therapy |
| WO2012087376A1 (en) * | 2010-12-22 | 2012-06-28 | Smith & Nephew, Inc. | Apparatuses and methods for negative pressure wound therapy |
| USD804014S1 (en) | 2010-12-22 | 2017-11-28 | Smith & Nephew, Inc. | Suction adapter |
| DE102011106540A1 (en) * | 2010-12-23 | 2012-06-28 | Alfons Erdmann | Gas-tight cover for pipe used in medical field, has sleeve portion designed as prism with three lateral surfaces that adjoin one another at acute angles in cross-section of prism |
| DE202011003808U1 (en) | 2011-03-11 | 2011-05-19 | Neubauer, Norbert, 38820 | Drainage device for wound treatment |
| CN103635165A (en) * | 2011-04-12 | 2014-03-12 | 凯希特许有限公司 | Reduced-pressure dressings, systems, and methods with evaporative devices |
| WO2013022498A1 (en) * | 2011-04-12 | 2013-02-14 | Kci Licensing, Inc. | Reduced-pressure dressings, systems, and methods with evaporative devices |
| EP3628290A1 (en) * | 2011-04-12 | 2020-04-01 | KCI Licensing, Inc. | Reduced-pressure dressings, systems, and methods with evaporative devices |
| WO2012142001A1 (en) * | 2011-04-12 | 2012-10-18 | Kci Licensing, Inc. | Reduced-pressure interfaces, systems, and methods employing a coanda device |
| WO2012141999A1 (en) * | 2011-04-12 | 2012-10-18 | Kci Licensing, Inc. | Absorbent polymer dressings, systems, and methods employing evaporative devices |
| US9028459B2 (en) | 2011-04-12 | 2015-05-12 | Richard Daniel John Coulthard | Reduced-pressure dressings, systems, and methods with evaporative devices |
| DE102011108726A1 (en) * | 2011-07-26 | 2013-01-31 | Paul Hartmann Ag | Connection device for use in the vacuum treatment of wounds |
| EP2944298A1 (en) * | 2011-08-31 | 2015-11-18 | KCI Licensing Inc. | Inline storage pouches for use with body fluids |
| US8926593B2 (en) | 2011-09-08 | 2015-01-06 | Paul Hartmann Ag | Wound support for use in vacuum therapy of wounds |
| DE102011082347A1 (en) * | 2011-09-08 | 2013-03-14 | Paul Hartmann Ag | Wound dressing for use in the vacuum treatment of wounds |
| DE202012005923U1 (en) | 2012-06-16 | 2012-07-11 | Norbert Neubauer | Wound dressing for the treatment of wounds |
| DE102014002204B3 (en) * | 2014-02-21 | 2015-01-08 | Alexander May | Device for negative pressure wound treatment |
| WO2015124740A1 (en) * | 2014-02-21 | 2015-08-27 | Bsn Medical Gmbh | Negative-pressure wound treatment device |
| DE202016000770U1 (en) | 2016-02-05 | 2016-03-17 | Norbert Neubauer | Balloon wound insert for suction of wound fluid |
| US11819386B2 (en) | 2018-07-12 | 2023-11-21 | T.J.Smith And Nephew, Limited | Apparatuses and methods for negative pressure wound therapy |
| US12226290B2 (en) | 2018-07-12 | 2025-02-18 | T.J.Smith And Nephew, Limited | Apparatuses and methods for negative pressure wound therapy |
| US12016993B2 (en) | 2020-01-15 | 2024-06-25 | T.J.Smith And Nephew, Limited | Fluidic connectors for negative pressure wound therapy |
| US12533459B2 (en) | 2020-01-15 | 2026-01-27 | T.J.Smith And Nephew, Limited | Fluidic connectors for negative pressure wound therapy |
Similar Documents
| Publication | Publication Date | Title |
|---|---|---|
| DE202010009148U1 (en) | Suction device for wound treatment | |
| EP2582337A2 (en) | Device for wound treatment and wound covering plaster | |
| DE202010012324U1 (en) | Suction device for wound treatment | |
| DE202009017621U1 (en) | labyrinth drainage | |
| DE202014006781U1 (en) | Octopus drainage | |
| DE202011109057U1 (en) | Maze flat drain Bridge | |
| DE202016000770U1 (en) | Balloon wound insert for suction of wound fluid | |
| DE202018005558U1 (en) | Drainage drain output patch | |
| DE202014009858U1 (en) | drainage drain | |
| DE202011104473U1 (en) | Maze flat drain rail | |
| DE202017000638U1 (en) | Vacuum bag in the low-vacuum system for wound drainage | |
| DE202014006979U1 (en) | Absorbent port for wound exudate, for drainage agents protruding from wounds and body cavities | |
| DE202015006059U1 (en) | Softdrain for the suction of wound secretions | |
| DE202011003808U1 (en) | Drainage device for wound treatment | |
| DE202021000555U1 (en) | Drainage strip cord drainage | |
| DE202014005546U1 (en) | Maze flat drain | |
| DE102011114266A1 (en) | Wound water suction system has wound pad that is connected with vacuum source such as single-use redon bottle via hose system for wound water suction | |
| DE202012007741U1 (en) | Labyrinth drain bridge | |
| DE202012005923U1 (en) | Wound dressing for the treatment of wounds | |
| DE202019003393U1 (en) | Maze drainage | |
| DE202019003243U1 (en) | Optic patches | |
| DE202009016804U1 (en) | Labyrinth material for flat drainage for wound treatment | |
| DE202009013982U1 (en) | Flat drainage for wound treatment | |
| DE202017002761U1 (en) | Suction device for body fluids and wound secretions | |
| DE202014002375U1 (en) | labyrinth drainage |
Legal Events
| Date | Code | Title | Description |
|---|---|---|---|
| R207 | Utility model specification |
Effective date: 20101007 |
|
| R150 | Utility model maintained after payment of first maintenance fee after three years | ||
| R150 | Utility model maintained after payment of first maintenance fee after three years |
Effective date: 20131203 |
|
| R151 | Utility model maintained after payment of second maintenance fee after six years | ||
| R158 | Lapse of ip right after 8 years |
