DE202019003393U1 - Maze drainage - Google Patents
Maze drainage Download PDFInfo
- Publication number
- DE202019003393U1 DE202019003393U1 DE202019003393.9U DE202019003393U DE202019003393U1 DE 202019003393 U1 DE202019003393 U1 DE 202019003393U1 DE 202019003393 U DE202019003393 U DE 202019003393U DE 202019003393 U1 DE202019003393 U1 DE 202019003393U1
- Authority
- DE
- Germany
- Prior art keywords
- labyrinth
- drainage
- quiver
- labyrinth drainage
- shell
- Prior art date
- Legal status (The legal status is an assumption and is not a legal conclusion. Google has not performed a legal analysis and makes no representation as to the accuracy of the status listed.)
- Expired - Lifetime
Links
- 210000000416 exudates and transudate Anatomy 0.000 claims abstract description 6
- 210000001124 body fluid Anatomy 0.000 claims abstract 2
- 239000010839 body fluid Substances 0.000 claims abstract 2
- 239000007788 liquid Substances 0.000 claims description 4
- 239000007787 solid Substances 0.000 claims 2
- 229920002457 flexible plastic Polymers 0.000 claims 1
- 239000006260 foam Substances 0.000 claims 1
- 239000011888 foil Substances 0.000 claims 1
- 206010052428 Wound Diseases 0.000 description 47
- 208000027418 Wounds and injury Diseases 0.000 description 47
- 210000003027 ear inner Anatomy 0.000 description 35
- 238000000034 method Methods 0.000 description 4
- 239000012530 fluid Substances 0.000 description 2
- 230000035876 healing Effects 0.000 description 2
- 238000003780 insertion Methods 0.000 description 2
- 230000037431 insertion Effects 0.000 description 2
- 210000000056 organ Anatomy 0.000 description 2
- BUHVIAUBTBOHAG-FOYDDCNASA-N (2r,3r,4s,5r)-2-[6-[[2-(3,5-dimethoxyphenyl)-2-(2-methylphenyl)ethyl]amino]purin-9-yl]-5-(hydroxymethyl)oxolane-3,4-diol Chemical compound COC1=CC(OC)=CC(C(CNC=2C=3N=CN(C=3N=CN=2)[C@H]2[C@@H]([C@H](O)[C@@H](CO)O2)O)C=2C(=CC=CC=2)C)=C1 BUHVIAUBTBOHAG-FOYDDCNASA-N 0.000 description 1
- 241000208479 Anagallis arvensis Species 0.000 description 1
- 206010048629 Wound secretion Diseases 0.000 description 1
- 230000004888 barrier function Effects 0.000 description 1
- 230000001419 dependent effect Effects 0.000 description 1
- 239000003814 drug Substances 0.000 description 1
- 238000000605 extraction Methods 0.000 description 1
- 238000004519 manufacturing process Methods 0.000 description 1
- 239000000463 material Substances 0.000 description 1
- 239000011505 plaster Substances 0.000 description 1
- 230000028327 secretion Effects 0.000 description 1
- 230000000638 stimulation Effects 0.000 description 1
- 238000009489 vacuum treatment Methods 0.000 description 1
- 238000009736 wetting Methods 0.000 description 1
- 230000029663 wound healing Effects 0.000 description 1
Images
Classifications
-
- A—HUMAN NECESSITIES
- A61—MEDICAL OR VETERINARY SCIENCE; HYGIENE
- A61F—FILTERS IMPLANTABLE INTO BLOOD VESSELS; PROSTHESES; DEVICES PROVIDING PATENCY TO, OR PREVENTING COLLAPSING OF, TUBULAR STRUCTURES OF THE BODY, e.g. STENTS; ORTHOPAEDIC, NURSING OR CONTRACEPTIVE DEVICES; FOMENTATION; TREATMENT OR PROTECTION OF EYES OR EARS; BANDAGES, DRESSINGS OR ABSORBENT PADS; FIRST-AID KITS
- A61F13/00—Bandages or dressings; Absorbent pads
- A61F13/05—Bandages or dressings; Absorbent pads specially adapted for use with sub-pressure or over-pressure therapy, wound drainage or wound irrigation, e.g. for use with negative-pressure wound therapy [NPWT]
-
- A—HUMAN NECESSITIES
- A61—MEDICAL OR VETERINARY SCIENCE; HYGIENE
- A61M—DEVICES FOR INTRODUCING MEDIA INTO, OR ONTO, THE BODY; DEVICES FOR TRANSDUCING BODY MEDIA OR FOR TAKING MEDIA FROM THE BODY; DEVICES FOR PRODUCING OR ENDING SLEEP OR STUPOR
- A61M1/00—Suction or pumping devices for medical purposes; Devices for carrying-off, for treatment of, or for carrying-over, body-liquids; Drainage systems
- A61M1/90—Negative pressure wound therapy devices, i.e. devices for applying suction to a wound to promote healing, e.g. including a vacuum dressing
- A61M1/91—Suction aspects of the dressing
- A61M1/915—Constructional details of the pressure distribution manifold
Landscapes
- Health & Medical Sciences (AREA)
- Heart & Thoracic Surgery (AREA)
- General Health & Medical Sciences (AREA)
- Engineering & Computer Science (AREA)
- Biomedical Technology (AREA)
- Life Sciences & Earth Sciences (AREA)
- Animal Behavior & Ethology (AREA)
- Vascular Medicine (AREA)
- Public Health (AREA)
- Veterinary Medicine (AREA)
- Anesthesiology (AREA)
- Hematology (AREA)
- External Artificial Organs (AREA)
- Media Introduction/Drainage Providing Device (AREA)
Abstract
Labyrinth-Drainage zur Ableitung und Absaugung von Wundexsudat und Körperflüssigkeiten aus menschlichen oder tierischen Körpern, dadurch gekennzeichnet, dass ein Labyrinth (2) in einer perforierten, flexiblen Hülle (1), ausgebildet mit Klappe (3) und Öffnung (4), eingebettet ist und mittels eines Platzierungselementes als Stab (17) oder Spatel (21) durch Positionierung in einem Köcher (14) in einem Gewebekanal (22) bis zur Wundstelle (25) mittels Vorschubs (24) platziert werden kann. Labyrinth drainage for the discharge and suction of wound exudate and body fluids from human or animal bodies, characterized in that a labyrinth (2) in a perforated, flexible sheath (1) formed with flap (3) and opening (4) is embedded and by means of a placement element as a rod (17) or spatula (21) can be placed by positioning in a quiver (14) in a tissue channel (22) to the wound site (25) by means of feed (24).
Description
Die Erfindung beschreibt eine Labyrinth-Drainage, die mit Hilfe von Platzierungselementen, wie Stab oder Spatel in einem Köcher, durch Vorschub in einem Gewebekanal bis zur Wundstelle vorgeschoben wird, so dass Wundexsudat abgesaugt werden kann.
Die Besonderheit der Erfindung besteht darin, dass das Labyrinth-Material je nach Indikation zugeschnitten und in einer perforierten, flexiblen Hülle eingebettet wird, welche durch ihre Flexibilität eine Perforation von Organen mit dem jeweils eingebetteten Labyrinth vermeidet.The invention describes a labyrinth drainage, which is advanced by means of placement elements, such as a rod or spatula in a quiver, by advancing in a tissue channel to the wound site, so that wound exudate can be sucked.
The peculiarity of the invention is that the labyrinth material is tailored according to the indication and embedded in a perforated, flexible shell, which avoids a perforation of organs with the respective embedded labyrinth by their flexibility.
Es ist eine häufige Aufgabenstellung in der Medizin, Wundflüssigkeiten abzusaugen. Insbesondere ist bei tiefen, großen und dabei insbesondere von infizierten Oberflächenwunden die bislang übliche Praxis, in die Wunde eine Wundauflage, die nicht mit dem Gewebe verwächst, einzulegen. Auf diese Wundauflage bringt der Mediziner eine erste Lage Mull auf, in die dann von Hand ein Drainageschlauch, teilweise mehrfach gewunden, aufgelegt wird und dieser abermals mit einer zweiten Lage Mull abgedeckt und anschließend die gesamte Wundstelle mit einem Pflaster überklebt wird. Das Ende des Drainageschlauches wird dann mit einem Unterdruck beaufschlagt, wodurch die Wundflüssigkeit abgesaugt werden kann.
Neben der langen Dauer der zur Verlegung vorstehend beschriebener Mittel benötigten Zeit, erfordert diese Vorgehensweise auch ein erhebliches Geschick des die Wunde versorgenden Mediziners,, weil während der Wundversorgung alle separat eingelegten Vorrichtungsbestandteile zu fixieren sind, was häufig nicht durch eine Person allein bewerkstelligt werden kann.It is a common task in medicine to suck out wound fluids. In particular, in the case of deep, large and, in particular, infected surface wounds, the hitherto customary practice is to place a wound dressing which does not adhere to the tissue into the wound. On this wound dressing the physician brings a first layer of gauze, in which then by hand a drainage tube, partially wound several times, is applied and this covered again with a second layer of gauze and then the entire wound site is covered with a plaster. The end of the drainage tube is then subjected to a negative pressure, whereby the wound fluid can be sucked off.
In addition to the long time required to lay the above described means time, this approach also requires a considerable skill of the wound care physician, because during wound care all separately inserted device components are to be fixed, which often can not be accomplished by one person alone.
Eine andere Art von Wundauflagen, die insbesondere für die Vakuumwundbehandlung entwickelt wurden, ist bspw. in
Die dort beschriebene Wundauflage bedingt zum einen, einen relativ hohen Fertigungsaufwand und ist zum anderen nicht ohne weiteres an unterschiedliche Wundgrößen anpassbar. Um eine Vakuumbehandlung durchzuführen, bedarf diese Lösung zum anderen weiterer relativ kompliziert ausgeführter zusätzlicher Auflagen und in der Regel glockenartiger Abschlüsse an der Wunde, an die ein externer Vakuumanschluss angebracht wird.
Solche, die Hautoberfläche weit überragende Bauformen schränken die Bewegungsfreiheit des Patienten erheblich ein und erzeugen darüber hinaus unangenehme zusätzliche Druckbelastungen.Another type of wound dressings, which were developed in particular for the vacuum wound treatment, is, for example, in
The wound dressing described there requires, on the one hand, a relatively high manufacturing outlay and, on the other hand, is not readily adaptable to different wound sizes. In order to carry out a vacuum treatment, this solution requires, on the other hand, additional relatively complicated additional supports and, as a rule, bell-shaped seals on the wound, to which an external vacuum connection is attached.
Such, the skin surface far superior designs significantly restrict the freedom of movement of the patient and also generate unpleasant additional pressure loads.
Vorstehend skizzierte Behandlung derartiger Wunden unter Unterdruckbeaufschlagung ist ein seit vielen Jahren praktiziertes Verfahren, das die Heilung auch tiefer und großflächiger Wunden durch permanenten Wundreiz positiv beeinflusst. Diese Art der Vakuumwundbehandlung ist bspw. in
Darüber hinaus existiert eine Vielzahl weiterer Lösungen, die hier jedoch nur beispielhaft aufgeführt werden sollen, weil sie weiter entfernt liegende technische Lösungen betreffen.In addition, there are a variety of other solutions, which should be listed here only as an example, because they concern more distant technical solutions.
So ist aus
Zwischen den genannten Schichten sind mehrere schlauchartige Zuführleitungen vorgesehen, die eine Feuchtigkeitsversorgung der Wunde gewährleisten.That's how it is
Between the layers mentioned several hose-like supply lines are provided which ensure a moisture supply to the wound.
Für den Einsatz im Rahmen einer Wundbehandlung tiefer, schlecht heilender Wunden unter Zuhilfenahme der Technik der Vakuumwundbehandlung ist vorstehend genannte Wundverbandabdeckung jedoch nicht konzipiert und auch nicht geeignet, weil eine vakuumdichte Herausführung der teilweise mehrfach vorgesehenen Schläuche aus dem Wundbereich praktisch unmöglich ist.
Das Gleiche trifft auf vielfältige Vorrichtungen zur Absaugung von Wundsekreten aus Körperhöhlen zu, wie z.B. in
The same applies to a variety of devices for the extraction of wound secretions from body cavities, such as in
Weiterhin ist in der
Vorliegender Erfindung liegt die Aufgabe zugrunde, eine schonende, flexible, weiche Wundauflage zu schaffen, die Sekret durch ein Labyrinth mittels Vakuums aus einer Wunde absaugen kann, bei schwach exsudierenden Wunden durch Zuspritzen von Flüssigkeit eine Befeuchtung der Wunde sowie eine schnellere und effektive Wundheilung bewirkt.
Die Aufgabe der Erfindung wird durch die kennzeichnenden Merkmale des Patentanspruchs 1 gelöst.
Vorteilhafte Ausgestaltungen sind Gegenstand der nachgeordneten Ansprüche.The present invention is based on the object of providing a gentle, flexible, soft wound dressing which can suck secretions through a labyrinth by means of a vacuum from a wound, wetting the wound with weakly exuding wounds by injecting liquid, as well as faster and effective wound healing.
The object of the invention is solved by the characterizing features of
Advantageous embodiments are the subject of the dependent claims.
Das Wesen der Erfindung besteht darin, dass eine Labyrinth-Drainage in einer perforierten Hülle mittels Stab oder Spatel, durch Kontraststreifen in der Hülle, optimal auch in tiefen, schwer zugänglichen Wundbereichen platziert werden kann und nach Entfernen von Stab oder Spatel die Hülle im Wundbereich allein liegen bleibt.
Somit kann Wundexsudat durch die Perforation der Hülle und das Labyrinth abgesaugt werden.
Sämtliche Unteransprüche sind ebenfalls Bestandteil des Hauptanspruchs.
Die Erfindung wird in den anliegenden schematischen Zeichnungen näher dokumentiert.The essence of the invention is that a labyrinth drainage can be placed in a perforated shell by means of rod or spatula, by contrast strips in the shell, optimally in deep, difficult to reach wound areas and after removal of rod or spatula, the shell in the wound area alone remains lying.
Thus, wound exudate can be aspirated through the perforation of the sheath and the labyrinth.
All subclaims are also part of the main claim.
The invention is further documented in the attached schematic drawings.
Es zeigen:
-
1 : eine Hülle mit Labyrinth und Köcher -
2 : die Einbettung des Labyrinths in der Hülle mit Köcher -
3 : den Labyrinth-Zuschnitt -
4 : eine doppelte Hülle mit Labyrinth und Köcher -
5 : eine Hülle mit Labyrinth und Saugschlauch -
6 : eine Hülle mit Labyrinth, Köcher und Stab -
7 : eine Hülle mit Labyrinth, Köcher und Spatel -
8 : die Anwendung von Hülle, Labyrinth, Köcher und Stab -
9 : die Anwendung der Hülle mit Labyrinth und Köcher, platziert im Stab.
-
1 : a shell with labyrinth and quiver -
2 : the embedding of the labyrinth in the case with quiver -
3 : the maze cut -
4 : a double shell with labyrinth and quiver -
5 : a shell with labyrinth and suction hose -
6 : a shell with labyrinth, quiver and staff -
7 : a shell with labyrinth, quiver and spatula -
8th : the application of sheath, labyrinth, quiver and staff -
9 : the application of the shell with labyrinth and quiver, placed in the staff.
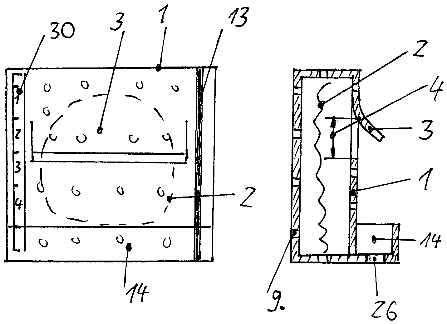
Die
Der Köcher (
Ein Kontrast-Lineal (
The quiver (
A contrast ruler (
In der
Die
Eine Sicherung gegen eventuell scharfe Kanten des Labyrinths (
Die
In der
Die
Mit Hilfe eines flachen Spatels (
With the help of a flat spatula (
Die Anwendung der Erfindung wird in der
Die Hülle (
Nach der Platzierung wird der Stab (
Wundexsudat (
Der im Köcher (
The case (
After placement, the staff (
Wound exudate (
The in quiver (
Die
Nach dem Einführen des Stabes (
After insertion of the rod (
BezugszeichenlisteLIST OF REFERENCE NUMBERS
- 1 =1 =
- Hülleshell
- 2 =2 =
- Labyrinthlabyrinth
- 3 =3 =
- Klappeflap
- 4 =4 =
- Öffnungopening
- 5 =5 =
- Einfädelungthreading
- 6 =6 =
- Zuschnittcut
- 7 =7 =
- Labyrinth-RohlingMaze blank
- 8 =8 =
- Doppelhülledouble hull
- 9 =9 =
- Perforationperforation
- 10 =10 =
- Absaugschlauchsuction hose
- 11 =11 =
- Schlauchklemmehose clamp
- 12 = 12 =
- Anschlussconnection
- 13 =13 =
- Kontraststreifencontrasting stripes
- 14 =14 =
- Köcherquiver
- 15 =15 =
- GriffHandle
- 16 =16 =
- KugelBullet
- 17 =17 =
- StabRod
- 18 =18 =
- Wundbereichwound area
- 19 =19 =
- Stranglängestrand length
- 20 =20 =
- Labyrinth-StrangLabyrinth strand
- 21 =21 =
- Spatelspatula
- 22 =22 =
- Gewebekanaltissue channel
- 23 =23 =
- Gewebetissue
- 24 =24 =
- Vorschubfeed
- 25 =25 =
- Wundstellewound site
- 26 =26 =
- Ablaufprocedure
- 27 =27 =
- Flüssigkeitliquid
- 28 =28 =
- Wundexsudatwound exudate
- 29 =29 =
- Randedge
- 30 =30 =
- Kontrast-LinealContrast Ruler
ZITATE ENTHALTEN IN DER BESCHREIBUNG QUOTES INCLUDE IN THE DESCRIPTION
Diese Liste der vom Anmelder aufgeführten Dokumente wurde automatisiert erzeugt und ist ausschließlich zur besseren Information des Lesers aufgenommen. Die Liste ist nicht Bestandteil der deutschen Patent- bzw. Gebrauchsmusteranmeldung. Das DPMA übernimmt keinerlei Haftung für etwaige Fehler oder Auslassungen.This list of the documents listed by the applicant has been generated automatically and is included solely for the better information of the reader. The list is not part of the German patent or utility model application. The DPMA assumes no liability for any errors or omissions.
Zitierte PatentliteraturCited patent literature
- DE 60118546 [0003]DE 60118546 [0003]
- DE 69425881 T3 [0004]DE 69425881 T3 [0004]
- DE 69229940 T2 [0004]DE 69229940 T2 [0004]
- DE 69224847 T3 [0004]DE 69224847 T3 [0004]
- US 6695824 B2 [0006]US 6695824 B2 [0006]
- EP 1764127 A1 [0007]EP 1764127 A1 [0007]
- EP 2008/003251 [0008]EP 2008/003251 [0008]
Claims (23)
Priority Applications (1)
| Application Number | Priority Date | Filing Date | Title |
|---|---|---|---|
| DE202019003393.9U DE202019003393U1 (en) | 2019-08-13 | 2019-08-13 | Maze drainage |
Applications Claiming Priority (1)
| Application Number | Priority Date | Filing Date | Title |
|---|---|---|---|
| DE202019003393.9U DE202019003393U1 (en) | 2019-08-13 | 2019-08-13 | Maze drainage |
Publications (1)
| Publication Number | Publication Date |
|---|---|
| DE202019003393U1 true DE202019003393U1 (en) | 2019-09-03 |
Family
ID=67992022
Family Applications (1)
| Application Number | Title | Priority Date | Filing Date |
|---|---|---|---|
| DE202019003393.9U Expired - Lifetime DE202019003393U1 (en) | 2019-08-13 | 2019-08-13 | Maze drainage |
Country Status (1)
| Country | Link |
|---|---|
| DE (1) | DE202019003393U1 (en) |
Citations (6)
| Publication number | Priority date | Publication date | Assignee | Title |
|---|---|---|---|---|
| DE69229940T2 (en) | 1991-11-27 | 2000-03-16 | Minnesota Mining And Mfg. Co. | Foams for wound treatment |
| US6695824B2 (en) | 2001-04-16 | 2004-02-24 | The United States Of America As Represented By The Secretary Of The Army | Wound dressing system |
| DE69425881T3 (en) | 1993-03-09 | 2005-11-03 | Wake Forest University | WOUND TREATMENT USING REDUCED PRESSURE |
| DE60118546T2 (en) | 2000-05-09 | 2006-08-24 | KCI Licensing, Inc., San Antonio | ABDOMINALE WUNDAUFLAGE |
| EP1764127A2 (en) | 2005-08-08 | 2007-03-21 | Smiths Medical ASD, Inc. | Needle guard clip with heel |
| DE69224847T3 (en) | 1991-11-14 | 2007-04-19 | Wake Forest University | DEVICE FOR TREATING WEB DAMAGE |
-
2019
- 2019-08-13 DE DE202019003393.9U patent/DE202019003393U1/en not_active Expired - Lifetime
Patent Citations (6)
| Publication number | Priority date | Publication date | Assignee | Title |
|---|---|---|---|---|
| DE69224847T3 (en) | 1991-11-14 | 2007-04-19 | Wake Forest University | DEVICE FOR TREATING WEB DAMAGE |
| DE69229940T2 (en) | 1991-11-27 | 2000-03-16 | Minnesota Mining And Mfg. Co. | Foams for wound treatment |
| DE69425881T3 (en) | 1993-03-09 | 2005-11-03 | Wake Forest University | WOUND TREATMENT USING REDUCED PRESSURE |
| DE60118546T2 (en) | 2000-05-09 | 2006-08-24 | KCI Licensing, Inc., San Antonio | ABDOMINALE WUNDAUFLAGE |
| US6695824B2 (en) | 2001-04-16 | 2004-02-24 | The United States Of America As Represented By The Secretary Of The Army | Wound dressing system |
| EP1764127A2 (en) | 2005-08-08 | 2007-03-21 | Smiths Medical ASD, Inc. | Needle guard clip with heel |
Similar Documents
| Publication | Publication Date | Title |
|---|---|---|
| DE202010009148U1 (en) | Suction device for wound treatment | |
| DE202011104078U1 (en) | Labyrinth - flat drain | |
| DE202009008788U1 (en) | Apparatus for the removal of wound secretions | |
| DE202010012324U1 (en) | Suction device for wound treatment | |
| DE202009017621U1 (en) | labyrinth drainage | |
| DE202019003393U1 (en) | Maze drainage | |
| DE202011109057U1 (en) | Maze flat drain Bridge | |
| DE202021000555U1 (en) | Drainage strip cord drainage | |
| DE202014006781U1 (en) | Octopus drainage | |
| DE202019003243U1 (en) | Optic patches | |
| DE202017000638U1 (en) | Vacuum bag in the low-vacuum system for wound drainage | |
| DE202012007741U1 (en) | Labyrinth drain bridge | |
| DE202020004857U1 (en) | Labyrinth strand drainage | |
| DE202011104473U1 (en) | Maze flat drain rail | |
| DE202015006059U1 (en) | Softdrain for the suction of wound secretions | |
| DE202019002255U1 (en) | Inzisionsdrainage cooling patch | |
| DE202009016804U1 (en) | Labyrinth material for flat drainage for wound treatment | |
| DE202019003989U1 (en) | labyrinth drainage | |
| DE202014005546U1 (en) | Maze flat drain | |
| DE202017002761U1 (en) | Suction device for body fluids and wound secretions | |
| DE202021002664U1 (en) | Wound cover with viewing window | |
| DE202015005922U1 (en) | Anti-pressure drainage for suction of wound secretions | |
| DE202014006979U1 (en) | Absorbent port for wound exudate, for drainage agents protruding from wounds and body cavities | |
| DE202015007032U1 (en) | Drain for suction of wound secretions | |
| DE3034835C2 (en) | Drainage tube |
Legal Events
| Date | Code | Title | Description |
|---|---|---|---|
| R207 | Utility model specification | ||
| R156 | Lapse of ip right after 3 years |
