[go: up one dir, main page]

US10398320B2 - Optical-based physiological monitoring system - Google Patents

Optical-based physiological monitoring system Download PDF

Info

Publication number
US10398320B2
US10398320B2 US15/802,172 US201715802172A US10398320B2 US 10398320 B2 US10398320 B2 US 10398320B2 US 201715802172 A US201715802172 A US 201715802172A US 10398320 B2 US10398320 B2 US 10398320B2
Authority
US
United States
Prior art keywords
patient
physiological
sensor
pain
monitoring method
Prior art date
Legal status (The legal status is an assumption and is not a legal conclusion. Google has not performed a legal analysis and makes no representation as to the accuracy of the status listed.)
Active
Application number
US15/802,172
Other versions
US20180214031A1 (en
Inventor
Massi Joe E. Kiani
Michael O'Reilly
Current Assignee (The listed assignees may be inaccurate. Google has not performed a legal analysis and makes no representation or warranty as to the accuracy of the list.)
Masimo Corp
Original Assignee
Masimo Corp
Priority date (The priority date is an assumption and is not a legal conclusion. Google has not performed a legal analysis and makes no representation as to the accuracy of the date listed.)
Filing date
Publication date
Application filed by Masimo Corp filed Critical Masimo Corp
Priority to US15/802,172 priority Critical patent/US10398320B2/en
Assigned to MASIMO CORPORATION reassignment MASIMO CORPORATION ASSIGNMENT OF ASSIGNORS INTEREST (SEE DOCUMENT FOR DETAILS). Assignors: KIANI, MASSI JOE E., O'REILLY, MICHAEL
Publication of US20180214031A1 publication Critical patent/US20180214031A1/en
Priority to US16/521,950 priority patent/US11103143B2/en
Application granted granted Critical
Publication of US10398320B2 publication Critical patent/US10398320B2/en
Priority to US17/444,254 priority patent/US11744471B2/en
Priority to US18/357,701 priority patent/US20230363650A1/en
Active legal-status Critical Current
Anticipated expiration legal-status Critical

Links

Images

Classifications

    • AHUMAN NECESSITIES
    • A61MEDICAL OR VETERINARY SCIENCE; HYGIENE
    • A61BDIAGNOSIS; SURGERY; IDENTIFICATION
    • A61B5/00Measuring for diagnostic purposes; Identification of persons
    • A61B5/02Detecting, measuring or recording for evaluating the cardiovascular system, e.g. pulse, heart rate, blood pressure or blood flow
    • A61B5/0205Simultaneously evaluating both cardiovascular conditions and different types of body conditions, e.g. heart and respiratory condition
    • A61B5/0402
    • A61B5/0476
    • AHUMAN NECESSITIES
    • A61MEDICAL OR VETERINARY SCIENCE; HYGIENE
    • A61BDIAGNOSIS; SURGERY; IDENTIFICATION
    • A61B5/00Measuring for diagnostic purposes; Identification of persons
    • A61B5/145Measuring characteristics of blood in vivo, e.g. gas concentration or pH-value ; Measuring characteristics of body fluids or tissues, e.g. interstitial fluid or cerebral tissue
    • A61B5/1455Measuring characteristics of blood in vivo, e.g. gas concentration or pH-value ; Measuring characteristics of body fluids or tissues, e.g. interstitial fluid or cerebral tissue using optical sensors, e.g. spectral photometrical oximeters
    • AHUMAN NECESSITIES
    • A61MEDICAL OR VETERINARY SCIENCE; HYGIENE
    • A61BDIAGNOSIS; SURGERY; IDENTIFICATION
    • A61B5/00Measuring for diagnostic purposes; Identification of persons
    • A61B5/24Detecting, measuring or recording bioelectric or biomagnetic signals of the body or parts thereof
    • A61B5/316Modalities, i.e. specific diagnostic methods
    • A61B5/318Heart-related electrical modalities, e.g. electrocardiography [ECG]
    • A61B5/33Heart-related electrical modalities, e.g. electrocardiography [ECG] specially adapted for cooperation with other devices
    • AHUMAN NECESSITIES
    • A61MEDICAL OR VETERINARY SCIENCE; HYGIENE
    • A61BDIAGNOSIS; SURGERY; IDENTIFICATION
    • A61B5/00Measuring for diagnostic purposes; Identification of persons
    • A61B5/24Detecting, measuring or recording bioelectric or biomagnetic signals of the body or parts thereof
    • A61B5/316Modalities, i.e. specific diagnostic methods
    • A61B5/369Electroencephalography [EEG]
    • AHUMAN NECESSITIES
    • A61MEDICAL OR VETERINARY SCIENCE; HYGIENE
    • A61BDIAGNOSIS; SURGERY; IDENTIFICATION
    • A61B5/00Measuring for diagnostic purposes; Identification of persons
    • A61B5/48Other medical applications
    • A61B5/4821Determining level or depth of anaesthesia
    • AHUMAN NECESSITIES
    • A61MEDICAL OR VETERINARY SCIENCE; HYGIENE
    • A61BDIAGNOSIS; SURGERY; IDENTIFICATION
    • A61B5/00Measuring for diagnostic purposes; Identification of persons
    • A61B5/48Other medical applications
    • A61B5/4836Diagnosis combined with treatment in closed-loop systems or methods
    • A61B5/4839Diagnosis combined with treatment in closed-loop systems or methods combined with drug delivery
    • AHUMAN NECESSITIES
    • A61MEDICAL OR VETERINARY SCIENCE; HYGIENE
    • A61BDIAGNOSIS; SURGERY; IDENTIFICATION
    • A61B5/00Measuring for diagnostic purposes; Identification of persons
    • A61B5/72Signal processing specially adapted for physiological signals or for diagnostic purposes
    • A61B5/7271Specific aspects of physiological measurement analysis
    • A61B5/7278Artificial waveform generation or derivation, e.g. synthesizing signals from measured signals
    • AHUMAN NECESSITIES
    • A61MEDICAL OR VETERINARY SCIENCE; HYGIENE
    • A61BDIAGNOSIS; SURGERY; IDENTIFICATION
    • A61B5/00Measuring for diagnostic purposes; Identification of persons
    • A61B5/72Signal processing specially adapted for physiological signals or for diagnostic purposes
    • A61B5/7271Specific aspects of physiological measurement analysis
    • A61B5/7282Event detection, e.g. detecting unique waveforms indicative of a medical condition
    • AHUMAN NECESSITIES
    • A61MEDICAL OR VETERINARY SCIENCE; HYGIENE
    • A61BDIAGNOSIS; SURGERY; IDENTIFICATION
    • A61B5/00Measuring for diagnostic purposes; Identification of persons
    • A61B5/74Details of notification to user or communication with user or patient; User input means
    • A61B5/742Details of notification to user or communication with user or patient; User input means using visual displays
    • A61B5/743Displaying an image simultaneously with additional graphical information, e.g. symbols, charts, function plots
    • AHUMAN NECESSITIES
    • A61MEDICAL OR VETERINARY SCIENCE; HYGIENE
    • A61BDIAGNOSIS; SURGERY; IDENTIFICATION
    • A61B5/00Measuring for diagnostic purposes; Identification of persons
    • A61B5/02Detecting, measuring or recording for evaluating the cardiovascular system, e.g. pulse, heart rate, blood pressure or blood flow
    • A61B5/021Measuring pressure in heart or blood vessels
    • AHUMAN NECESSITIES
    • A61MEDICAL OR VETERINARY SCIENCE; HYGIENE
    • A61BDIAGNOSIS; SURGERY; IDENTIFICATION
    • A61B5/00Measuring for diagnostic purposes; Identification of persons
    • A61B5/02Detecting, measuring or recording for evaluating the cardiovascular system, e.g. pulse, heart rate, blood pressure or blood flow
    • A61B5/024Measuring pulse rate or heart rate
    • AHUMAN NECESSITIES
    • A61MEDICAL OR VETERINARY SCIENCE; HYGIENE
    • A61BDIAGNOSIS; SURGERY; IDENTIFICATION
    • A61B5/00Measuring for diagnostic purposes; Identification of persons
    • A61B5/08Measuring devices for evaluating the respiratory organs
    • A61B5/0816Measuring devices for examining respiratory frequency
    • AHUMAN NECESSITIES
    • A61MEDICAL OR VETERINARY SCIENCE; HYGIENE
    • A61BDIAGNOSIS; SURGERY; IDENTIFICATION
    • A61B5/00Measuring for diagnostic purposes; Identification of persons
    • A61B5/08Measuring devices for evaluating the respiratory organs
    • A61B5/087Measuring breath flow

Definitions

  • EEG electroencephalogram
  • An EEG system consists of a bio-potential sensor and corresponding monitor to process, analyze and display an EEG signal and corresponding neurological parameters.
  • a bio-potential sensor responds to the electrical potential difference between at least two well-spaced electrodes, using a separate ground electrode.
  • the biopotential monitor typically displays the EEG waveform and a numerical index that reflects changes in the EEG bandwidth and power.
  • a photoplethysmograph can yield the oxygen saturation level of arterial blood, an indicator of a person's oxygen supply.
  • a pulse oximetry system consists of an optical sensor applied to a fleshy tissue site, such as a fingertip, and a corresponding pulse oximetry monitor (pulse oximeter). Using multiple wavelength light emitting diodes and a corresponding detector, the optical sensor measures the light absorption of the pulsatile blood at the tissue site. In particular, the optical sensor is responsive to the instantaneous blood volume as well as the blood constituency. Accordingly, the pulse oximeter typically displays a numerical readout of a person's oxygen saturation and pulse rate along with an audible indication of the person's pulse. The photoplethysmograph waveform may also be displayed.
  • Advanced pulse oximetry is described in at least U.S. Pat. Nos. 6,770,028; 6,658,276; 6,157,850; 6,002,952; 5,769,785 and 5,758,644, which are assigned to Masimo Corporation (“Masimo”) of Irvine, Calif. and are incorporated by reference herein.
  • Corresponding low noise optical sensors are disclosed in at least U.S. Pat. Nos. 6,985,764; 6,813,511; 6,792,300; 6,256,523; 6,088,607; 5,782,757 and 5,638,818, which are also assigned to Masimo and are also incorporated by reference herein.
  • Advanced pulse oximetry systems including Masimo SET® low noise optical sensors and read through motion pulse oximetry monitors for measuring SpO 2 , pulse rate (PR) and perfusion index (PI) are available from Masimo.
  • Optical sensors include any of Masimo LNOP®, LNCS®, SofTouchTM and BlueTM adhesive or reusable sensors.
  • Pulse oximetry monitors include any of Masimo Rad-8®, Rad-5®, Rad®-5v or SatShare® monitors.
  • Advanced blood parameter measurement systems include Masimo Rainbow® SET, which provides measurements in addition to SpO 2 , such as total hemoglobin (SpHbTM), oxygen content (SpOCTM) methemoglobin (SpMet®), carboxyhemoglobin (SpCO®) and PVI®.
  • Advanced blood parameter sensors include Masimo Rainbow® adhesive, ReSposableTM and reusable sensors.
  • Advanced blood parameter monitors include Masimo Radical-7TM, Rad-87TM and Rad-57TM monitors, all available from Masimo.
  • Such advanced pulse oximeters, low noise sensors and advanced blood parameter systems have gained rapid acceptance in a wide variety of medical applications, including surgical wards, intensive care and neonatal units, general wards, home care, physical training, and virtually all types of monitoring scenarios.
  • DOC Depth of consciousness
  • PI perfusion index
  • PVI plethysmograph variability index
  • HR heart rate
  • BP blood pressure
  • RR respiration rate
  • Level of pain is also an important physiological assessment during anesthesia and analgesia.
  • a LOP index is an advantageous quantization of pain that allows proper dosing of administered drugs.
  • a LOP index may also be derived from various cardiovascular system and respiratory system parameters, such as those cited above.
  • a pharmacological management system advantageously provides sensors and processors to measure and analyze both DOC and LOP. Accordingly, a pharmacological management system advantageously senses and analyzes both consciousness and pain related physiological signals so as to generate multidimensional parameters or indexes indicative of both physiological processes.
  • a pharmacological management system comprises sensors, a pharmacological status monitor and a drug administrator.
  • the sensors attach to the patient so as to generate corresponding sensor signals.
  • the pharmacological status monitor is responsive to the sensor signals so as to generate an output indicative of the drug-induced effects of the pharmacological agent on the patient. Further, the monitor output is fed-back to the drug administrator so as to regulate administration of the agent for a desired effect.
  • the monitor comprises a hematological processor responsive to an optical sensor signal and a neurological processor responsive to a bio-potential sensor.
  • the hematological processor has a photoplethysmograph input and provides a level of pain output to the pharmacological status monitor.
  • the neurological processor has an EEG input and provides a depth of consciousness output to the pharmacological status monitor.
  • the pharmacological status monitor generates a control output to a drug-infusion pump.
  • the level of pain output is a perfusion index.
  • the pharmacological status monitor generates a combined index related to both depth of consciousness and level of pain.
  • Another aspect of a pharmacological management system is inputting sensor signals derived from a patient and calculating physiological parameters accordingly.
  • the sensor signals provide measurements of physiological systems.
  • Physiological parameters are calculated from the sensor signals.
  • the parameters are operated on to generate monitor outputs, which are indicative of levels of both consciousness and pain.
  • a first sensor signal is utilized to generate a consciousness index and a second sensor signal is utilized to generate a perfusion index.
  • Cues are displayed to indicate a patient with a stable or unstable physiological condition. Outputs control drug-infusion equipment or medical gas ventilation equipment. Patient wellness is diagnosed.
  • a further aspect of a pharmacological management system measures physiological parameters derived from at least some of a patient's central nervous system, respiratory system and cardio-vascular system so as to assess level of pain and depth of consciousness during the administration of anesthetic and analgesic agents.
  • the pharmacological management system comprises sensors in communications with a patient so as to generate sensor signals and a monitor front-end in communications with the sensor signals so as to generate digitized sensor signals.
  • a signal processor is in communications with the front-end so as to generate physiological parameters.
  • the signal processor derives an electrical-based depth of consciousness (DOC) indicator from an electrical one of the sensors in communications with the patient's central nervous system and a pleth-based level of pain (LOP) indicator from an optical one of the sensors in communications with the patient's cardio-vascular system.
  • An instrument manager generates a monitor output in response to a combination of the DOC indicator and the LOP indicator.
  • a drug administrator administers a pharmacological agent to the patient and is responsive to the monitor output.
  • the LOP indicator is responsive to a perfusion index (PI) parameter or a plethysmograph variability index (PVI) parameter.
  • the monitor output comprises an electronic signal to the drug administrator that affects the dose of pharmacological agent.
  • the monitor output also comprises a combined display of LOP and DOC.
  • FIG. 1 is a general block diagram of pharmacological management system
  • FIG. 2 is a block diagram of a pharmacological management system embodiment responsive to electrical and optical sensors so as to measure consciousness and pain;
  • FIG. 3 illustrates a pharmacological management system configured for anesthesia applications
  • FIG. 4 illustrates a pharmacological management system configured for analgesia applications
  • FIGS. 5A-B are illustrations of combination sensor embodiments for measuring both consciousness and pain
  • FIG. 6 is a detailed block diagram of a pharmacological management system embodiment
  • FIGS. 7A-E are illustrations of a pharmacological status monitor embodiment responsive to various sensors.
  • FIG. 8 is an illustration of a multi-sensor embodiment for measuring level of pain and depth of consciousness.
  • FIG. 1 generally illustrates a pharmacological management system 100 having a drug administrator 110 that provides a pharmacological agent 114 to a patient 10 and a pharmacological status monitor 120 responsive to corresponding drug-induced effects 20 .
  • Pharmacological agents 114 may be, as examples, anesthesia or analgesia drugs.
  • the desired effect 20 may be general anesthesia or various levels of sedation.
  • the drug administrator 110 may vary from a healthcare provider manually administering drugs to an automatic or semi-automatic machine such as a drug infusion device or medical gas inhalation device.
  • the drug administrator may be responsive to external controls 112 , such as manual inputs or electronic signals.
  • drug-induced effects 20 in the patient 10 may include hypnosis 21 , analgesia 23 , amnesia 25 , paralysis 27 and reflex suppression 29 .
  • Hypnosis 21 produces unconsciousness; analgesia 23 blocks the conscious sensation of pain; amnesia 25 prevents memory formation; paralysis 27 prevents unwanted movement or muscle tone; and reflex suppression 29 prevents exaggerated autonomic reflexes.
  • some or all of these drug-induced effects 20 may be the goal.
  • the goal may be to achieve some effects 20 while suppressing others.
  • analgesia 23 is the goal along with minimization of other drug-induced effects 20 .
  • the pharmacological management system 100 advantageously assists healthcare providers to achieve the above-stated goals, among others.
  • Sensors (not shown) attached to the patient 10 provide biological signals 122 to the pharmacological status monitor 120 .
  • the monitor 120 processes these signals 122 and generates outputs 124 indicative of the effects 20 of administered pharmacological agents 114 .
  • the outputs 124 may be displays, alarms, controls or indicators, for example.
  • the outputs 124 may also provide manual or automatic feedback 126 to the drug administrator 110 so as to regulate administration of the agent 114 for the desired effects 20 .
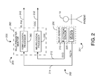
  • FIG. 2 illustrates a pharmacological management system 200 having sensors 201 in communications with a patient 10 .
  • the sensors 201 generate sensor waveforms 202 to corresponding monitors 203 .
  • the monitors 203 process the waveforms 202 so as to calculate parameters that alone or in combination are indicative of the pharmacological status of the patient 10 .
  • sensors 201 include an electrical (biopotential) sensor 210 placed proximate the head so as to generate an EEG waveform 212 and an optical sensor 220 placed on a fleshy tissue site so as to generate a photoplethysmograph 214 .
  • a neurological monitor 230 processes the EEG waveform 212 to generate a first parameter 232 related to depth of consciousness (DOC).
  • the first parameter 232 is a dimensionless index that reflects the level of activity of the cerebral cortex.
  • the first parameter 232 is a Bispectral IndexTM (BIS) proprietary to Aspect Medical Systems, Inc., Norwood, Mass. (“Aspect”)
  • the neurological processor 230 is a BIS module also proprietary to Aspect.
  • the first parameter 232 is a Patient State IndexTM (PSI) proprietary to Hospira, Inc., Lake Forest, Ill. (“Hospira”)
  • the neurological processor 230 is a SEDLine monitor or module, also proprietary to Hospira.
  • a hematological monitor 240 processes the photoplethysmograph (pleth) waveform 214 to generate at least one second parameter 242 .
  • the second parameter is a level of pain (LOP) index.
  • the second parameter is a pleth-based DOC index providing improved resolution and accuracy in determining DOC compared to only an EEG-based DOC index.
  • the second parameter 242 is a Perfusion Index (PI) or a Plethysmograph Variability Index (PVI) proprietary to Masimo Corporation, Irvine, Calif. (“Masimo”) or both, and the hematological processor 240 is any of various monitors or modules available from Masimo, such as described above.
  • PI may change dramatically in response to sympathetic changes in vasoconstriction or vasodilation of peripheral vessels reflective of consciousness or pain.
  • PI comprises a relative indication of pulse strength at a monitoring site.
  • PI may be defined as the ratio of a pleth AC value to its DC value, or the percentage of pulsatile signal to non-pulsatile signal.
  • PVI is described in U.S. patent application Ser. No. 11/952,940 filed Dec. 7, 2007 titled Plethysmograph Variability Index, assigned to Masimo and incorporated by reference herein.
  • the electrical sensor 210 is any of various EEG sensors having multiple biopotential electrodes for placement across various head sites for detection of electrical signals originating in the brain.
  • the optical sensor 220 is any of various blood parameter sensors having LED emitters and at least one photodiode detector for placement at various fleshy tissue sites for detection of pulsatile blood flow and in particular the measurement of optical properties thereof, such as absorption, reflection, transmission and transflectance to name a few.
  • the optical sensor 220 is any of various optical sensors available from Masimo, such as described above.
  • optical sensor may comprise a combination or multi-sensor 250 that provides both EEG and photoplethysmograph waveforms, such as described with respect to FIGS. 5 and 8 , below.
  • the hematological and neurological monitors may comprise a combination or multi-parameter monitor 260 having hematological and neurological processing plug-ins, modules or similar technology, such as described with respect to FIGS. 6 and 7 , below.
  • FIG. 3 illustrates a pharmacological management system 300 configured for anesthesia applications having a sensor 301 attached to a patient 10 , a pharmacological status monitor 303 and a sensor cable 302 providing sensor signal communications between the sensor 301 and the monitor 303 .
  • the sensor 301 provides multiple physiological signals to the monitor 303 , which derives at least two different measures of consciousness or at least a measurement of consciousness and a measurement of pain.
  • these physiological signals are EEG and photoplethysmograph signals.
  • the monitor 303 calculates both a DOC index and PI from the EEG and plethysmograph signals and displays these parameters on the monitor display 305 accordingly.
  • a DOC parameter is displayed numerically adjacent a LOP parameter displayed as a color.
  • the DOC parameter may be an index, such as BIS, displayed as a dimensionless number.
  • the LOP parameter may be, for example, PI, displayed as a green, yellow or red indicator depending on a preset range of high, medium and low PI values. The low PI value range being set so as to indicate the occurrence of significant vasoconstriction in response to pain or measurable vasodilation in response to increasing depth of consciousness.
  • DOC and LOP are displayed as proximately located numerical readouts, such as a DOC index and a perfusion index (PI).
  • DOC and LOP are separately indicated as trends, such as a DOC index trend and a PI trend.
  • the monitor may also calculate a combined index related to consciousness or pain or both.
  • Other individual or combined parameter displays include any of various readouts, graphs, charts or indicators in any of various single or multiple colors.
  • FIG. 4 illustrates a pharmacological management system 400 configured for analgesia applications, such as patient controlled analgesia (PCA).
  • the pharmacological management system 400 has a sensor 401 attached to a patient 10 , a pharmacological status monitor 403 and a sensor cable 402 providing sensor signal communications between the sensor 401 and the monitor 403 .
  • the monitor 403 generates control signals via a control cable 407 to the drug-infusion pump 420 .
  • the drug-infusion pump 420 administers drugs to the patient 10 via a tube 422 and an IV 424 .
  • a patient-actuated controller (not shown) generates drug administration requests to the drug-infusion pump 420 via cable or wireless communications.
  • the pump 420 responds to patient perceived pain levels.
  • the patient 10 actuates the controller, such as via a button press, so as to signal the drug-infusion pump 420 to administer a measured analgesia dose.
  • the pump 420 enables or pauses patient-controlled dosing according to monitor 403 signals transmitted via the control cable 407 . These control signals are responsive to monitor calculated DOC and LOP related parameters. Further, these parameters are displayed on a monitor screen 405 , such as described with respect to FIG. 3 , above.
  • the sensor 401 provides physiological signals to the monitor 403 related to depth of consciousness (DOC) or level of pain (LOP).
  • these physiological signals are EEG and photoplethysmograph signals.
  • the monitor 403 calculates DOC, LOP or a combination consciousness and pain parameters from the EEG and plethysmograph signals and processes those parameters to generate control outputs 407 to the drug-infusion pump 420 .
  • the administration of analgesia is controlled not only according to the patient's perceived pain level, but also according to a physiologically indicated pain level and to avoid consciousness impairment.
  • LOP is indicated by a perfusion index (PI), as described above, and PCA is paused or enabled according to a rising or falling PI, respectively, or according to a DOC index, or both.
  • PI perfusion index
  • FIGS. 5A-B illustrate combination sensors, which provide inputs to a pharmacological status monitor having both hematological and neurological signal processors, such as described with respect to FIG. 2 , above.
  • FIG. 5A illustrates a combination sensor 500 applied to the forehead and temple areas of a person.
  • the sensor 500 includes an electrical or more specifically a biopotential sensor 510 and an optical sensor 520 .
  • a patient cable 530 connects the sensor to one or more monitoring devices (not shown), such as described with respect to FIGS. 7A-E , below.
  • the biopotential sensor 510 may be an EEG sensor for depth of consciousness monitoring, as described above.
  • the optical sensor 520 may be a pulse oximetry reflectance sensor for consciousness or pain monitoring via perfusion index (PI) or other blood parameter, also as described above.
  • the patient cable 530 may connect near the person's temple, as shown, or as an alternative near the person's forehead.
  • the biopotential sensor 510 and optical sensor 520 may share a common connector 540 or each sensor may have a dedicated patient cable connector.
  • Combination EEG and pulse oximetry sensors are described in U.S. Pat. No. 6,934,570, issued Aug. 23, 2005, titled Physiological Sensor Combination and incorporated by reference herein.
  • FIG. 5B illustrates a combination sensor 501 applied to the forehead, temple and ear concha areas of a person.
  • the sensor 501 includes a biopotential sensor 511 , an optical sensor 521 and a cable 531 that connects the sensor 501 to one or more monitoring devices (not shown).
  • the biopotential sensor 511 may be an EEG sensor for depth of consciousness monitoring, as described above.
  • the optical sensor 521 may be a pulse oximetry transmissive sensor for level of pain monitoring via perfusion index (PI) or other blood parameter, also as described above.
  • the optical sensor 521 is a “Y”-clip ear sensor that flexes so as to slide over the ear periphery and onto either side of the concha.
  • An emitter and detector located at opposite clip ends can then transmit multiple wavelength light into the concha tissue and detect that light after attenuation by pulsatile blood flow within the concha tissue.
  • Optical ear sensors are described in U.S. Provisional Patent App. No. 61/152,964, filed Feb. 16, 2009, titled Ear Sensor and incorporated by reference herein.
  • FIG. 6 illustrates a pharmacological management system 600 embodiment having multiple sensors 610 in communication with a pharmacological status monitor 630 .
  • the sensors 610 are responsive to various physiological systems 601 so as to generate various sensor signals 603 .
  • a pharmacological status monitor 630 derives physiological parameters 605 from the sensor signals 603 and operates on the parameters 605 to generate monitor outputs 609 .
  • the measured physiological systems 601 include one or more of the central nervous system, including the brain; the respiratory system, including the lungs; and the cardio-vascular system, including the heart and arteries.
  • the sensors 610 may include electrical sensors 612 , 616 , such as bio-potential sensors that generate EEG 622 and ECG 626 signals in response to brain or heart activity, respectively.
  • the sensors 610 may also include mechanical, acoustical, temperature or humidity sensors 614 , to name a few, that directly or indirectly measure the inspired or expired air flow 624 from the lungs.
  • Sensors 610 include mechanical sensors 618 that measure arterial blood pressure 628 .
  • Sensors 610 further include optical sensors 619 that measure arterial blood flow or volume 629 , according to instantaneous light absorption.
  • parameters 605 are any derived measurements indicative of consciousness or pain or both.
  • Parameters 605 may include a consciousness index 652 derived from an EEG signal 622 , such as described with respect to FIG. 2 , above.
  • Parameters 605 may also include a perfusion index (PI) 659 indicative of pain and derived from a photoplethysmograph signal 629 , also described with respect to FIG. 2 , above.
  • PI perfusion index
  • Other pain indicative parameters may include respiration rate (RR) 654 derived from a respiratory air flow signal 624 ; heart rate (HR) 656 , 658 , 659 derived from an ECG 626 , cuff plethysmograph 628 or photoplethysmograph 629 ; and blood pressure (BP) 658 derived from a pressure plethysmograph 628 .
  • respiration rate RR
  • HR heart rate
  • BP blood pressure
  • FIG. 6 shows outputs 609 including displays 662 , alarms 664 , controls 666 and diagnostics 668 .
  • Alarms 664 may be, for example, audible or visual alerts warning of critical conditions that need immediate attention.
  • Controls 666 may be any of various electrical or electronic, wired or wireless or mechanical outputs, to name a few, capable of interfacing with and affecting another device.
  • controls 666 may interface with drug-infusion equipment or medical gas ventilation equipment, as described above.
  • Diagnostics including wellness indices, may be audible or visual cues indicating a patient with a stable or unstable physiological condition.
  • Visual cues may be any of various digital readouts, bar graphs, trend graphs, color indicators and the like.
  • Audible cues may be any of various sounds or tones, whether intermittent or continuous or constant or varying in volume.
  • the monitor 630 has a sensor front end 640 , one or more digital signal processors (DSP) 650 and one or more instrument managers 660 .
  • the sensor front end 640 may have one or more of various preamps, signal conditioning and analog-to-digital conversion (ADC) that amplify, filter and digitize the sensor signals 603 so as to output digital data channels 642 to a DSP 650 .
  • the DSP 650 comprises a processing device, such as one based on the Super Harvard ARChitecture (“SHARC”) commercially available from Analog Devices or any other of a wide variety of data and/or signal processors capable of executing programs for determining physiological parameters from input data.
  • the DSP 650 includes program instructions capable of receiving multiple channels of data 642 from the sensor front end 640 , each channel of which relates to one or more sensor signals 603 .
  • the instrument manager 660 may comprise one or more microcontrollers controlling system management, including, for example, translation and communications of calculated parameter data 605 to various outputs 609 .
  • the instrument manager 660 may also act as a watchdog circuit by, for example, monitoring and controlling the activity of the DSP 650 .
  • FIG. 7A-E illustrate a pharmacological status monitor 700 embodiment capable of inputting signals from a wide range of sensors and of deriving a wide range of physiological parameters therefrom including DOC and LOP parameters, such as BIS and PI described with respect to FIG. 2 , above, and others described with respect to FIG. 6 , above.
  • the pharmacological status monitor 700 has a docking station 710 including a display 712 , a removable shuttle 720 , a removable handheld 730 and a combination of plug-in modules 740 .
  • the docking station 710 has a shuttle port 714 that allows the shuttle station 720 to dock.
  • the shuttle station 720 has a handheld port 732 that allows the handheld monitor 730 to dock.
  • the modular patient monitor 700 has three-in-one functionality including a handheld 730 , a handheld 730 docked into a shuttle station 720 as a handheld/shuttle combination and a handheld/shuttle docked into a docking station 710 .
  • the three modules of handheld 730 , shuttle 720 and docking station 710 function as one unit.
  • the handheld 730 docked into the shuttle module 720 functions independently of the docking station 710 and expands the handheld parameter capability to the ability to measure all parameters available to the shuttle 720 .
  • the docking station 710 provides the shuttle 720 or handheld/shuttle combination with a large color display 712 and trim knob control 714 in addition to a power supply/communications module 750 having ports for wireless and hardwired communications, Internet access and printers.
  • the handheld monitor 730 incorporates blood parameter measurement technologies including SpO 2 , PI, HbCO, HbMet, and Hbt
  • the shuttle station 720 incorporates non-blood parameters, such as intelligent cuff inflation ( 101 ) for blood pressure measurements, acoustic respiration rate (ARR), ECG and EEG to name a few.
  • a multi-parameter monitor is described in U.S. patent Ser. No. 11/903,746, filed Sep. 24, 2007, titled Modular Patient Monitor and incorporated by reference herein.
  • FIG. 8 illustrates an integrated multi-sensor 800 advantageously configured to provide multiple physiological parameter measurements to a pharmacological status monitor 700 ( FIGS. 7A-E ) via a single connector and interconnected patient cable (not shown).
  • a connector 810 in communications with a trunk 820 , which fans out to multiple branches 830 , each of which terminates in a sensor 840 , 850 , 860 , 870 , 880 .
  • the multi-sensor allows measurement of perfusion index (PI) via a pulse oximetry sensor 880 placed on a finger; skin temperature via a thermistor 870 located under an arm; heart rate (HR) via an ECG sensor 860 placed on the chest area; respiration rate (RR) via an acoustic sensor 850 located on the neck to detect airway sounds; and a consciousness index via an EEG sensor 840 placed on the head area.
  • PI perfusion index
  • HR heart rate
  • RR respiration rate
  • acoustic sensor 850 located on the neck to detect airway sounds
  • a consciousness index via an EEG sensor 840 placed on the head area.
  • other multiple parameter sensors provide sensor inputs to a pharmacological status monitor.
  • a sensor providing both optical and acoustic inputs for blood parameters and acoustic parameters, such as discussed above, in addition to cerebral oximetry, oxygen supply and metabolism among other parameters is described in U.S. Provisional Patent App. No. 61/350,673 titled Opticoustic Sensor filed Jun. 2, 2010, assigned to Masimo and incorporated by reference herein.
  • the cerebral parameters measured by the opticoustic sensor disclosed therein may provide further indications of LOP and DOC.

Landscapes

  • Health & Medical Sciences (AREA)
  • Life Sciences & Earth Sciences (AREA)
  • Engineering & Computer Science (AREA)
  • Physics & Mathematics (AREA)
  • Animal Behavior & Ethology (AREA)
  • Veterinary Medicine (AREA)
  • Public Health (AREA)
  • General Health & Medical Sciences (AREA)
  • Surgery (AREA)
  • Biophysics (AREA)
  • Pathology (AREA)
  • Biomedical Technology (AREA)
  • Heart & Thoracic Surgery (AREA)
  • Medical Informatics (AREA)
  • Molecular Biology (AREA)
  • Physiology (AREA)
  • Cardiology (AREA)
  • Psychiatry (AREA)
  • Artificial Intelligence (AREA)
  • Signal Processing (AREA)
  • Computer Vision & Pattern Recognition (AREA)
  • Pulmonology (AREA)
  • Anesthesiology (AREA)
  • Psychology (AREA)
  • Spectroscopy & Molecular Physics (AREA)
  • Optics & Photonics (AREA)
  • Nuclear Medicine, Radiotherapy & Molecular Imaging (AREA)
  • Radiology & Medical Imaging (AREA)
  • Chemical & Material Sciences (AREA)
  • Bioinformatics & Cheminformatics (AREA)
  • Medicinal Chemistry (AREA)
  • Pharmacology & Pharmacy (AREA)
  • Measurement Of The Respiration, Hearing Ability, Form, And Blood Characteristics Of Living Organisms (AREA)

Abstract

A non-invasive, optical-based physiological monitoring system is disclosed. In an embodiment, the non-invasive, optical-based physiological monitoring system comprises an emitter configured to emit light into a tissue site of a living patient; a detector configured to detect the emitted light after attenuation by the tissue site and output a sensor signal responsive to the detected light; and a processor configured determine, based on the sensor signal, a first physiological parameter indicative of a level of pain of the patient.

Description

CROSS-REFERENCE TO RELATED APPLICATIONS
This application is a continuation of U.S. patent application Ser. No. 15/347,190, filed Nov. 9, 2016, and titled “Optical-Based Physiological Monitoring System,”, which is a continuation of U.S. patent application Ser. No. 14/479,083, filed Sep. 5, 2014, and titled “Optical-Based Physiological Monitoring System,” which is a continuation of U.S. patent application Ser. No. 12/885,430, filed Sep. 17, 2010, and titled “Pharmacological Management System,” which claims priority benefit under 35 U.S.C. § 119(e) to U.S. Provisional Patent Application No. 61/243,161, filed Sep. 17, 2009, and titled “Pharmacological Management System.” The entire disclosure of each of the above items is hereby made part of this specification as if set forth fully herein and incorporated by reference for all purposes, for all that it contains.
Any and all applications for which a foreign or domestic priority claim is identified in the Application Data Sheet as filed with the present application are hereby incorporated by reference under 37 CFR 1.57.
BACKGROUND
Generation and analysis of an electroencephalogram (EEG) is a widely accepted noninvasive procedure for diagnosing a person's neurological system. For example, an EEG can reflect changes in a brain's cellular function due to insufficient oxygen or drugs, to name a few. An EEG system consists of a bio-potential sensor and corresponding monitor to process, analyze and display an EEG signal and corresponding neurological parameters. A bio-potential sensor responds to the electrical potential difference between at least two well-spaced electrodes, using a separate ground electrode. The biopotential monitor typically displays the EEG waveform and a numerical index that reflects changes in the EEG bandwidth and power.
Generation and analysis of a photoplethysmograph is a widely accepted noninvasive procedure for diagnosing a person's cardiovascular system. For example, a photoplethysmograph can yield the oxygen saturation level of arterial blood, an indicator of a person's oxygen supply. A pulse oximetry system consists of an optical sensor applied to a fleshy tissue site, such as a fingertip, and a corresponding pulse oximetry monitor (pulse oximeter). Using multiple wavelength light emitting diodes and a corresponding detector, the optical sensor measures the light absorption of the pulsatile blood at the tissue site. In particular, the optical sensor is responsive to the instantaneous blood volume as well as the blood constituency. Accordingly, the pulse oximeter typically displays a numerical readout of a person's oxygen saturation and pulse rate along with an audible indication of the person's pulse. The photoplethysmograph waveform may also be displayed.
Conventional pulse oximetry assumes that arterial blood is the only pulsatile blood flow in the measurement site. During patient motion, venous blood also moves, which causes errors in conventional pulse oximetry. Advanced pulse oximetry processes the venous blood signal so as to report true arterial oxygen saturation and pulse rate under conditions of patient movement. Advanced pulse oximetry also functions under conditions of low perfusion (small signal amplitude), intense ambient light (artificial or sunlight) and electrosurgical instrument interference, which are scenarios where conventional pulse oximetry tends to fail.
Advanced pulse oximetry is described in at least U.S. Pat. Nos. 6,770,028; 6,658,276; 6,157,850; 6,002,952; 5,769,785 and 5,758,644, which are assigned to Masimo Corporation (“Masimo”) of Irvine, Calif. and are incorporated by reference herein. Corresponding low noise optical sensors are disclosed in at least U.S. Pat. Nos. 6,985,764; 6,813,511; 6,792,300; 6,256,523; 6,088,607; 5,782,757 and 5,638,818, which are also assigned to Masimo and are also incorporated by reference herein. Advanced pulse oximetry systems including Masimo SET® low noise optical sensors and read through motion pulse oximetry monitors for measuring SpO2, pulse rate (PR) and perfusion index (PI) are available from Masimo. Optical sensors include any of Masimo LNOP®, LNCS®, SofTouch™ and Blue™ adhesive or reusable sensors. Pulse oximetry monitors include any of Masimo Rad-8®, Rad-5®, Rad®-5v or SatShare® monitors.
Advanced blood parameter measurement systems are described in at least U.S. Pat. No. 7,647,083, filed Mar. 1, 2006, titled Multiple Wavelength Sensor Equalization; U.S. Pat. No. 7,729,733, filed Mar. 1, 2006, titled Configurable Physiological Measurement System; U.S. Pat. Pub. No. 2006/0211925, filed Mar. 1, 2006, titled Physiological Parameter Confidence Measure and U.S. Pat. Pub. No. 2006/0238358, filed Mar. 1, 2006, titled Noninvasive Multi-Parameter Patient Monitor, all assigned to Masimo Laboratories, Irvine, Calif. (Masimo Labs) and all incorporated by reference herein. Advanced blood parameter measurement systems include Masimo Rainbow® SET, which provides measurements in addition to SpO2, such as total hemoglobin (SpHb™), oxygen content (SpOC™) methemoglobin (SpMet®), carboxyhemoglobin (SpCO®) and PVI®. Advanced blood parameter sensors include Masimo Rainbow® adhesive, ReSposable™ and reusable sensors. Advanced blood parameter monitors include Masimo Radical-7™, Rad-87™ and Rad-57™ monitors, all available from Masimo. Such advanced pulse oximeters, low noise sensors and advanced blood parameter systems have gained rapid acceptance in a wide variety of medical applications, including surgical wards, intensive care and neonatal units, general wards, home care, physical training, and virtually all types of monitoring scenarios.
SUMMARY
Depth of consciousness (DOC) is an important physiological assessment during the administration of anesthesia and analgesia drugs. For example, an overdose of anesthesia risks physical impairment or death. An underdose of anesthesia risks “surgical awareness.” A DOC index is typically derived by an EEG sensor measurement of electrical activity in the cerebral cortex. Advantageously, the measurement of various cardio-vascular system and respiratory system responses can substitute for or supplement typical central nervous system measures of consciousness, providing improved resolution and accuracy. For example, cardiovascular system and respiratory system parameters responsive to consciousness may include perfusion index (PI), plethysmograph variability index (PVI), heart rate (HR), blood pressure (BP) and respiration rate (RR), to name a few.
Level of pain (LOP) is also an important physiological assessment during anesthesia and analgesia. A LOP index is an advantageous quantization of pain that allows proper dosing of administered drugs. Advantageously, a LOP index may also be derived from various cardiovascular system and respiratory system parameters, such as those cited above.
Although dissimilar physiological phenomena, there is an important relationship between consciousness and pain for anesthesia and analgesia applications. During anesthesia, it is desirable to ensure that pain is eliminated during apparent unconsciousness. During analgesia, it is desirable for pain to be diminished or eliminated without impinging on consciousness. Accordingly, parameters useful in conjunction with consciousness assessment may be useful in conjunction with pain assessment and vice-a-versa.
A pharmacological management system advantageously provides sensors and processors to measure and analyze both DOC and LOP. Accordingly, a pharmacological management system advantageously senses and analyzes both consciousness and pain related physiological signals so as to generate multidimensional parameters or indexes indicative of both physiological processes.
One aspect of a pharmacological management system comprises sensors, a pharmacological status monitor and a drug administrator. The sensors attach to the patient so as to generate corresponding sensor signals. The pharmacological status monitor is responsive to the sensor signals so as to generate an output indicative of the drug-induced effects of the pharmacological agent on the patient. Further, the monitor output is fed-back to the drug administrator so as to regulate administration of the agent for a desired effect.
In various embodiments, the monitor comprises a hematological processor responsive to an optical sensor signal and a neurological processor responsive to a bio-potential sensor. The hematological processor has a photoplethysmograph input and provides a level of pain output to the pharmacological status monitor. The neurological processor has an EEG input and provides a depth of consciousness output to the pharmacological status monitor. The pharmacological status monitor generates a control output to a drug-infusion pump. The level of pain output is a perfusion index. The pharmacological status monitor generates a combined index related to both depth of consciousness and level of pain.
Another aspect of a pharmacological management system is inputting sensor signals derived from a patient and calculating physiological parameters accordingly. The sensor signals provide measurements of physiological systems. Physiological parameters are calculated from the sensor signals. The parameters are operated on to generate monitor outputs, which are indicative of levels of both consciousness and pain.
In various embodiments, a first sensor signal is utilized to generate a consciousness index and a second sensor signal is utilized to generate a perfusion index. Cues are displayed to indicate a patient with a stable or unstable physiological condition. Outputs control drug-infusion equipment or medical gas ventilation equipment. Patient wellness is diagnosed.
A further aspect of a pharmacological management system measures physiological parameters derived from at least some of a patient's central nervous system, respiratory system and cardio-vascular system so as to assess level of pain and depth of consciousness during the administration of anesthetic and analgesic agents. The pharmacological management system comprises sensors in communications with a patient so as to generate sensor signals and a monitor front-end in communications with the sensor signals so as to generate digitized sensor signals. A signal processor is in communications with the front-end so as to generate physiological parameters. The signal processor derives an electrical-based depth of consciousness (DOC) indicator from an electrical one of the sensors in communications with the patient's central nervous system and a pleth-based level of pain (LOP) indicator from an optical one of the sensors in communications with the patient's cardio-vascular system. An instrument manager generates a monitor output in response to a combination of the DOC indicator and the LOP indicator.
In various embodiments, a drug administrator administers a pharmacological agent to the patient and is responsive to the monitor output. The LOP indicator is responsive to a perfusion index (PI) parameter or a plethysmograph variability index (PVI) parameter. The monitor output comprises an electronic signal to the drug administrator that affects the dose of pharmacological agent. The monitor output also comprises a combined display of LOP and DOC.
BRIEF DESCRIPTION OF THE DRAWINGS
FIG. 1 is a general block diagram of pharmacological management system;
FIG. 2 is a block diagram of a pharmacological management system embodiment responsive to electrical and optical sensors so as to measure consciousness and pain;
FIG. 3 illustrates a pharmacological management system configured for anesthesia applications;
FIG. 4 illustrates a pharmacological management system configured for analgesia applications;
FIGS. 5A-B are illustrations of combination sensor embodiments for measuring both consciousness and pain;
FIG. 6 is a detailed block diagram of a pharmacological management system embodiment;
FIGS. 7A-E are illustrations of a pharmacological status monitor embodiment responsive to various sensors; and
FIG. 8 is an illustration of a multi-sensor embodiment for measuring level of pain and depth of consciousness.
DETAILED DESCRIPTION
FIG. 1 generally illustrates a pharmacological management system 100 having a drug administrator 110 that provides a pharmacological agent 114 to a patient 10 and a pharmacological status monitor 120 responsive to corresponding drug-induced effects 20. Pharmacological agents 114 may be, as examples, anesthesia or analgesia drugs. For anesthesia applications, the desired effect 20 may be general anesthesia or various levels of sedation. The drug administrator 110 may vary from a healthcare provider manually administering drugs to an automatic or semi-automatic machine such as a drug infusion device or medical gas inhalation device. The drug administrator may be responsive to external controls 112, such as manual inputs or electronic signals.
As shown in FIG. 1, drug-induced effects 20 in the patient 10 may include hypnosis 21, analgesia 23, amnesia 25, paralysis 27 and reflex suppression 29. Hypnosis 21 produces unconsciousness; analgesia 23 blocks the conscious sensation of pain; amnesia 25 prevents memory formation; paralysis 27 prevents unwanted movement or muscle tone; and reflex suppression 29 prevents exaggerated autonomic reflexes. For general anesthesia, some or all of these drug-induced effects 20 may be the goal. For low-level sedation, the goal may be to achieve some effects 20 while suppressing others. For pain reduction, analgesia 23 is the goal along with minimization of other drug-induced effects 20.
Also shown in FIG. 1, the pharmacological management system 100 advantageously assists healthcare providers to achieve the above-stated goals, among others. Sensors (not shown) attached to the patient 10 provide biological signals 122 to the pharmacological status monitor 120. The monitor 120 processes these signals 122 and generates outputs 124 indicative of the effects 20 of administered pharmacological agents 114. The outputs 124 may be displays, alarms, controls or indicators, for example. The outputs 124 may also provide manual or automatic feedback 126 to the drug administrator 110 so as to regulate administration of the agent 114 for the desired effects 20.
FIG. 2 illustrates a pharmacological management system 200 having sensors 201 in communications with a patient 10. The sensors 201 generate sensor waveforms 202 to corresponding monitors 203. The monitors 203 process the waveforms 202 so as to calculate parameters that alone or in combination are indicative of the pharmacological status of the patient 10. In one embodiment, sensors 201 include an electrical (biopotential) sensor 210 placed proximate the head so as to generate an EEG waveform 212 and an optical sensor 220 placed on a fleshy tissue site so as to generate a photoplethysmograph 214.
A neurological monitor 230 processes the EEG waveform 212 to generate a first parameter 232 related to depth of consciousness (DOC). In an embodiment, the first parameter 232 is a dimensionless index that reflects the level of activity of the cerebral cortex. In a particular embodiment, the first parameter 232 is a Bispectral Index™ (BIS) proprietary to Aspect Medical Systems, Inc., Norwood, Mass. (“Aspect”), and the neurological processor 230 is a BIS module also proprietary to Aspect. In another particular embodiment, the first parameter 232 is a Patient State Index™ (PSI) proprietary to Hospira, Inc., Lake Forest, Ill. (“Hospira”), and the neurological processor 230 is a SEDLine monitor or module, also proprietary to Hospira.
A hematological monitor 240 processes the photoplethysmograph (pleth) waveform 214 to generate at least one second parameter 242. In an embodiment, the second parameter is a level of pain (LOP) index. In an embodiment, the second parameter is a pleth-based DOC index providing improved resolution and accuracy in determining DOC compared to only an EEG-based DOC index. In an embodiment, the second parameter 242 is a Perfusion Index (PI) or a Plethysmograph Variability Index (PVI) proprietary to Masimo Corporation, Irvine, Calif. (“Masimo”) or both, and the hematological processor 240 is any of various monitors or modules available from Masimo, such as described above. PI may change dramatically in response to sympathetic changes in vasoconstriction or vasodilation of peripheral vessels reflective of consciousness or pain. PI comprises a relative indication of pulse strength at a monitoring site. For example, PI may be defined as the ratio of a pleth AC value to its DC value, or the percentage of pulsatile signal to non-pulsatile signal. PVI is described in U.S. patent application Ser. No. 11/952,940 filed Dec. 7, 2007 titled Plethysmograph Variability Index, assigned to Masimo and incorporated by reference herein.
As shown in FIG. 2, in an embodiment the electrical sensor 210 is any of various EEG sensors having multiple biopotential electrodes for placement across various head sites for detection of electrical signals originating in the brain. In an embodiment, the optical sensor 220 is any of various blood parameter sensors having LED emitters and at least one photodiode detector for placement at various fleshy tissue sites for detection of pulsatile blood flow and in particular the measurement of optical properties thereof, such as absorption, reflection, transmission and transflectance to name a few. In an embodiment, the optical sensor 220 is any of various optical sensors available from Masimo, such as described above.
Further shown in FIG. 2, in an embodiment, and optical sensor may comprise a combination or multi-sensor 250 that provides both EEG and photoplethysmograph waveforms, such as described with respect to FIGS. 5 and 8, below. In an embodiment, the hematological and neurological monitors may comprise a combination or multi-parameter monitor 260 having hematological and neurological processing plug-ins, modules or similar technology, such as described with respect to FIGS. 6 and 7, below.
FIG. 3 illustrates a pharmacological management system 300 configured for anesthesia applications having a sensor 301 attached to a patient 10, a pharmacological status monitor 303 and a sensor cable 302 providing sensor signal communications between the sensor 301 and the monitor 303. In an embodiment, the sensor 301 provides multiple physiological signals to the monitor 303, which derives at least two different measures of consciousness or at least a measurement of consciousness and a measurement of pain. In an embodiment, these physiological signals are EEG and photoplethysmograph signals. In an embodiment, the monitor 303 calculates both a DOC index and PI from the EEG and plethysmograph signals and displays these parameters on the monitor display 305 accordingly.
As shown in FIG. 3, in a mixed display embodiment 310 a DOC parameter is displayed numerically adjacent a LOP parameter displayed as a color. For example, the DOC parameter may be an index, such as BIS, displayed as a dimensionless number. The LOP parameter may be, for example, PI, displayed as a green, yellow or red indicator depending on a preset range of high, medium and low PI values. The low PI value range being set so as to indicate the occurrence of significant vasoconstriction in response to pain or measurable vasodilation in response to increasing depth of consciousness. In a numerical display embodiment 320, DOC and LOP are displayed as proximately located numerical readouts, such as a DOC index and a perfusion index (PI). In a graphical display embodiment 330, DOC and LOP are separately indicated as trends, such as a DOC index trend and a PI trend. The monitor may also calculate a combined index related to consciousness or pain or both. Other individual or combined parameter displays include any of various readouts, graphs, charts or indicators in any of various single or multiple colors. The above monitoring and display embodiments advantageously assist an anesthesiologist or other administrator of drugs to titrate anesthesia based upon either multiple indicators of DOC or on indicators of DOC and LOP. This dual monitoring of pain and consciousness during administration of anesthesia drugs advantageously increases monitor responsivity to under or over dosing of anesthesia.
FIG. 4 illustrates a pharmacological management system 400 configured for analgesia applications, such as patient controlled analgesia (PCA). In particular, the pharmacological management system 400 has a sensor 401 attached to a patient 10, a pharmacological status monitor 403 and a sensor cable 402 providing sensor signal communications between the sensor 401 and the monitor 403. Further, the monitor 403 generates control signals via a control cable 407 to the drug-infusion pump 420. The drug-infusion pump 420 administers drugs to the patient 10 via a tube 422 and an IV 424. A patient-actuated controller (not shown) generates drug administration requests to the drug-infusion pump 420 via cable or wireless communications. In this manner, the pump 420 responds to patient perceived pain levels. In particular, the patient 10 actuates the controller, such as via a button press, so as to signal the drug-infusion pump 420 to administer a measured analgesia dose. The pump 420 enables or pauses patient-controlled dosing according to monitor 403 signals transmitted via the control cable 407. These control signals are responsive to monitor calculated DOC and LOP related parameters. Further, these parameters are displayed on a monitor screen 405, such as described with respect to FIG. 3, above.
The sensor 401 provides physiological signals to the monitor 403 related to depth of consciousness (DOC) or level of pain (LOP). In an embodiment, these physiological signals are EEG and photoplethysmograph signals. The monitor 403 calculates DOC, LOP or a combination consciousness and pain parameters from the EEG and plethysmograph signals and processes those parameters to generate control outputs 407 to the drug-infusion pump 420. In this manner, the administration of analgesia is controlled not only according to the patient's perceived pain level, but also according to a physiologically indicated pain level and to avoid consciousness impairment. In a particular embodiment, LOP is indicated by a perfusion index (PI), as described above, and PCA is paused or enabled according to a rising or falling PI, respectively, or according to a DOC index, or both.
FIGS. 5A-B illustrate combination sensors, which provide inputs to a pharmacological status monitor having both hematological and neurological signal processors, such as described with respect to FIG. 2, above. FIG. 5A illustrates a combination sensor 500 applied to the forehead and temple areas of a person. The sensor 500 includes an electrical or more specifically a biopotential sensor 510 and an optical sensor 520. A patient cable 530 connects the sensor to one or more monitoring devices (not shown), such as described with respect to FIGS. 7A-E, below. The biopotential sensor 510 may be an EEG sensor for depth of consciousness monitoring, as described above. The optical sensor 520 may be a pulse oximetry reflectance sensor for consciousness or pain monitoring via perfusion index (PI) or other blood parameter, also as described above. The patient cable 530 may connect near the person's temple, as shown, or as an alternative near the person's forehead. The biopotential sensor 510 and optical sensor 520 may share a common connector 540 or each sensor may have a dedicated patient cable connector. Combination EEG and pulse oximetry sensors are described in U.S. Pat. No. 6,934,570, issued Aug. 23, 2005, titled Physiological Sensor Combination and incorporated by reference herein.
FIG. 5B illustrates a combination sensor 501 applied to the forehead, temple and ear concha areas of a person. In one embodiment, the sensor 501 includes a biopotential sensor 511, an optical sensor 521 and a cable 531 that connects the sensor 501 to one or more monitoring devices (not shown). The biopotential sensor 511 may be an EEG sensor for depth of consciousness monitoring, as described above. The optical sensor 521 may be a pulse oximetry transmissive sensor for level of pain monitoring via perfusion index (PI) or other blood parameter, also as described above. In a particular embodiment, the optical sensor 521 is a “Y”-clip ear sensor that flexes so as to slide over the ear periphery and onto either side of the concha. An emitter and detector located at opposite clip ends can then transmit multiple wavelength light into the concha tissue and detect that light after attenuation by pulsatile blood flow within the concha tissue. Optical ear sensors are described in U.S. Provisional Patent App. No. 61/152,964, filed Feb. 16, 2009, titled Ear Sensor and incorporated by reference herein.
FIG. 6 illustrates a pharmacological management system 600 embodiment having multiple sensors 610 in communication with a pharmacological status monitor 630. The sensors 610 are responsive to various physiological systems 601 so as to generate various sensor signals 603. A pharmacological status monitor 630 derives physiological parameters 605 from the sensor signals 603 and operates on the parameters 605 to generate monitor outputs 609. The measured physiological systems 601 include one or more of the central nervous system, including the brain; the respiratory system, including the lungs; and the cardio-vascular system, including the heart and arteries. The sensors 610 may include electrical sensors 612, 616, such as bio-potential sensors that generate EEG 622 and ECG 626 signals in response to brain or heart activity, respectively. The sensors 610 may also include mechanical, acoustical, temperature or humidity sensors 614, to name a few, that directly or indirectly measure the inspired or expired air flow 624 from the lungs. Sensors 610 include mechanical sensors 618 that measure arterial blood pressure 628. Sensors 610 further include optical sensors 619 that measure arterial blood flow or volume 629, according to instantaneous light absorption.
Also shown in FIG. 6, parameters 605 are any derived measurements indicative of consciousness or pain or both. Parameters 605 may include a consciousness index 652 derived from an EEG signal 622, such as described with respect to FIG. 2, above. Parameters 605 may also include a perfusion index (PI) 659 indicative of pain and derived from a photoplethysmograph signal 629, also described with respect to FIG. 2, above. Other pain indicative parameters may include respiration rate (RR) 654 derived from a respiratory air flow signal 624; heart rate (HR) 656, 658, 659 derived from an ECG 626, cuff plethysmograph 628 or photoplethysmograph 629; and blood pressure (BP) 658 derived from a pressure plethysmograph 628.
In addition, FIG. 6 shows outputs 609 including displays 662, alarms 664, controls 666 and diagnostics 668. Alarms 664 may be, for example, audible or visual alerts warning of critical conditions that need immediate attention. Controls 666 may be any of various electrical or electronic, wired or wireless or mechanical outputs, to name a few, capable of interfacing with and affecting another device. As examples, controls 666 may interface with drug-infusion equipment or medical gas ventilation equipment, as described above. Diagnostics, including wellness indices, may be audible or visual cues indicating a patient with a stable or unstable physiological condition. Visual cues may be any of various digital readouts, bar graphs, trend graphs, color indicators and the like. Audible cues may be any of various sounds or tones, whether intermittent or continuous or constant or varying in volume.
As shown in FIG. 6, the monitor 630 has a sensor front end 640, one or more digital signal processors (DSP) 650 and one or more instrument managers 660. In an embodiment, the sensor front end 640 may have one or more of various preamps, signal conditioning and analog-to-digital conversion (ADC) that amplify, filter and digitize the sensor signals 603 so as to output digital data channels 642 to a DSP 650. In an embodiment, the DSP 650 comprises a processing device, such as one based on the Super Harvard ARChitecture (“SHARC”) commercially available from Analog Devices or any other of a wide variety of data and/or signal processors capable of executing programs for determining physiological parameters from input data. In particular, the DSP 650 includes program instructions capable of receiving multiple channels of data 642 from the sensor front end 640, each channel of which relates to one or more sensor signals 603.
Also shown in FIG. 6, the instrument manager 660 may comprise one or more microcontrollers controlling system management, including, for example, translation and communications of calculated parameter data 605 to various outputs 609. The instrument manager 660 may also act as a watchdog circuit by, for example, monitoring and controlling the activity of the DSP 650.
FIG. 7A-E illustrate a pharmacological status monitor 700 embodiment capable of inputting signals from a wide range of sensors and of deriving a wide range of physiological parameters therefrom including DOC and LOP parameters, such as BIS and PI described with respect to FIG. 2, above, and others described with respect to FIG. 6, above. The pharmacological status monitor 700 has a docking station 710 including a display 712, a removable shuttle 720, a removable handheld 730 and a combination of plug-in modules 740. The docking station 710 has a shuttle port 714 that allows the shuttle station 720 to dock. The shuttle station 720 has a handheld port 732 that allows the handheld monitor 730 to dock. Accordingly, the modular patient monitor 700 has three-in-one functionality including a handheld 730, a handheld 730 docked into a shuttle station 720 as a handheld/shuttle combination and a handheld/shuttle docked into a docking station 710. When docked, the three modules of handheld 730, shuttle 720 and docking station 710 function as one unit. The handheld 730 docked into the shuttle module 720 functions independently of the docking station 710 and expands the handheld parameter capability to the ability to measure all parameters available to the shuttle 720. The docking station 710, in turn, provides the shuttle 720 or handheld/shuttle combination with a large color display 712 and trim knob control 714 in addition to a power supply/communications module 750 having ports for wireless and hardwired communications, Internet access and printers. In an embodiment, the handheld monitor 730 incorporates blood parameter measurement technologies including SpO2, PI, HbCO, HbMet, and Hbt, and the shuttle station 720 incorporates non-blood parameters, such as intelligent cuff inflation (101) for blood pressure measurements, acoustic respiration rate (ARR), ECG and EEG to name a few. A multi-parameter monitor is described in U.S. patent Ser. No. 11/903,746, filed Sep. 24, 2007, titled Modular Patient Monitor and incorporated by reference herein.
FIG. 8 illustrates an integrated multi-sensor 800 advantageously configured to provide multiple physiological parameter measurements to a pharmacological status monitor 700 (FIGS. 7A-E) via a single connector and interconnected patient cable (not shown). This eliminates the difficulties of a large number of cables and cumbersome connectors when multiple sensors are placed on various areas of a person. In particular, the multi-sensor 800 has a connector 810 in communications with a trunk 820, which fans out to multiple branches 830, each of which terminates in a sensor 840, 850, 860, 870, 880. In an embodiment, the multi-sensor allows measurement of perfusion index (PI) via a pulse oximetry sensor 880 placed on a finger; skin temperature via a thermistor 870 located under an arm; heart rate (HR) via an ECG sensor 860 placed on the chest area; respiration rate (RR) via an acoustic sensor 850 located on the neck to detect airway sounds; and a consciousness index via an EEG sensor 840 placed on the head area.
In other embodiments, other multiple parameter sensors provide sensor inputs to a pharmacological status monitor. A sensor providing both optical and acoustic inputs for blood parameters and acoustic parameters, such as discussed above, in addition to cerebral oximetry, oxygen supply and metabolism among other parameters is described in U.S. Provisional Patent App. No. 61/350,673 titled Opticoustic Sensor filed Jun. 2, 2010, assigned to Masimo and incorporated by reference herein. In particular, the cerebral parameters measured by the opticoustic sensor disclosed therein may provide further indications of LOP and DOC.
A pharmacological management system has been disclosed in detail in connection with various embodiments. These embodiments are disclosed by way of examples only and are not to limit the scope of the claims that follow. One of ordinary skill in the art will appreciate many variations and modifications.

Claims (11)

What is claimed is:
1. A physiological monitoring method comprising:
receiving, from a non-invasive optical sensor, a first sensor signal responsive to physiological characteristics of a patient;
receiving, from a bio-potential sensor, a second sensor signal responsive to physiological characteristics of the patient;
receiving, from an additional sensor, at least a third sensor signal;
determining, by a processor and based on the first sensor signal, a first physiological parameter indicative of a level of pain of the patient;
determining, by the processor and based on the second sensor signal, a second physiological parameter indicative of a depth of consciousness of the patient;
determining, by the processor and based on at least one of the first sensor signal, the second sensor signal, or the third sensor signal, one or more additional physiological parameters indicative of at least one of the level of pain of the patient or the depth of consciousness of the patient, wherein the one or more additional physiological parameters include at least one of: an ECG, a respiration rate, a respiratory air flow, a heart rate, or a blood pressure; and
determining, by the processor and based on the first physiological parameter, the second physiological parameter, and the one or more additional physiological parameters, a combined index indicative of both the level of pain and the depth of consciousness of the patient.
2. The physiological monitoring method of claim 1, wherein the first physiological parameter comprises a perfusion index.
3. The physiological monitoring method of claim 2, wherein the second physiological parameter comprises an EEG.
4. The physiological monitoring method of claim 3, wherein the combined index is further determined based on an ECG of the patient.
5. The physiological monitoring method of claim 4, wherein the ECG is further indicative of the level of pain of the patient.
6. The physiological monitoring method of claim 5 further comprising:
determining, by the processor and based on the first physiological parameter and the ECG of the patient, a combined indication of the level of pain of the patient.
7. The physiological monitoring method of claim 1, wherein the non-invasive optical sensor, the bio-potential sensor, and the additional sensor are in communication with a monitor via a single cable.
8. The physiological monitoring method of claim 1 further comprising:
outputting feedback to a drug administrator configured to provide a pharmacological agent to the patient, wherein the feedback is outputted to the drug administrator so as to regulate administration of the pharmacological agent for a desired effect, wherein the feedback includes the combined index indicative of both the level of pain and the depth of consciousness of the patient.
9. The physiological monitoring method of claim 1 further comprising:
providing, by the processor, a control output to at least one of drug-infusion equipment or medical gas ventilation equipment based at least in part on the combined index indicative of both the level of pain and the depth of consciousness of the patient.
10. The physiological monitoring method of claim 1 further comprising:
generating, by the processor, a displayable output including a visual indication of the combined index indicative of both the level of pain and the depth of consciousness of the patient.
11. The physiological monitoring method of claim 10, wherein the visual indication comprises at least one of a number, a color, or a graph.
US15/802,172 2009-09-17 2017-11-02 Optical-based physiological monitoring system Active US10398320B2 (en)

Priority Applications (4)

Application Number Priority Date Filing Date Title
US15/802,172 US10398320B2 (en) 2009-09-17 2017-11-02 Optical-based physiological monitoring system
US16/521,950 US11103143B2 (en) 2009-09-17 2019-07-25 Optical-based physiological monitoring system
US17/444,254 US11744471B2 (en) 2009-09-17 2021-08-02 Optical-based physiological monitoring system
US18/357,701 US20230363650A1 (en) 2009-09-17 2023-07-24 Optical-based physiological monitoring system

Applications Claiming Priority (5)

Application Number Priority Date Filing Date Title
US24316109P 2009-09-17 2009-09-17
US12/885,430 US20110137297A1 (en) 2009-09-17 2010-09-17 Pharmacological management system
US14/479,083 US9517024B2 (en) 2009-09-17 2014-09-05 Optical-based physiological monitoring system
US15/347,190 US9833152B2 (en) 2009-09-17 2016-11-09 Optical-based physiological monitoring system
US15/802,172 US10398320B2 (en) 2009-09-17 2017-11-02 Optical-based physiological monitoring system

Related Parent Applications (1)

Application Number Title Priority Date Filing Date
US15/347,190 Continuation US9833152B2 (en) 2009-09-17 2016-11-09 Optical-based physiological monitoring system

Related Child Applications (1)

Application Number Title Priority Date Filing Date
US16/521,950 Continuation US11103143B2 (en) 2009-09-17 2019-07-25 Optical-based physiological monitoring system

Publications (2)

Publication Number Publication Date
US20180214031A1 US20180214031A1 (en) 2018-08-02
US10398320B2 true US10398320B2 (en) 2019-09-03

Family

ID=44082731

Family Applications (7)

Application Number Title Priority Date Filing Date
US12/885,430 Abandoned US20110137297A1 (en) 2009-09-17 2010-09-17 Pharmacological management system
US14/479,083 Active 2030-12-04 US9517024B2 (en) 2009-09-17 2014-09-05 Optical-based physiological monitoring system
US15/347,190 Active US9833152B2 (en) 2009-09-17 2016-11-09 Optical-based physiological monitoring system
US15/802,172 Active US10398320B2 (en) 2009-09-17 2017-11-02 Optical-based physiological monitoring system
US16/521,950 Active 2031-01-28 US11103143B2 (en) 2009-09-17 2019-07-25 Optical-based physiological monitoring system
US17/444,254 Active US11744471B2 (en) 2009-09-17 2021-08-02 Optical-based physiological monitoring system
US18/357,701 Pending US20230363650A1 (en) 2009-09-17 2023-07-24 Optical-based physiological monitoring system

Family Applications Before (3)

Application Number Title Priority Date Filing Date
US12/885,430 Abandoned US20110137297A1 (en) 2009-09-17 2010-09-17 Pharmacological management system
US14/479,083 Active 2030-12-04 US9517024B2 (en) 2009-09-17 2014-09-05 Optical-based physiological monitoring system
US15/347,190 Active US9833152B2 (en) 2009-09-17 2016-11-09 Optical-based physiological monitoring system

Family Applications After (3)

Application Number Title Priority Date Filing Date
US16/521,950 Active 2031-01-28 US11103143B2 (en) 2009-09-17 2019-07-25 Optical-based physiological monitoring system
US17/444,254 Active US11744471B2 (en) 2009-09-17 2021-08-02 Optical-based physiological monitoring system
US18/357,701 Pending US20230363650A1 (en) 2009-09-17 2023-07-24 Optical-based physiological monitoring system

Country Status (1)

Country Link
US (7) US20110137297A1 (en)

Cited By (58)

* Cited by examiner, † Cited by third party
Publication number Priority date Publication date Assignee Title
US10575779B2 (en) 2013-03-14 2020-03-03 Masimo Corporation Patient monitor placement indicator
USRE47882E1 (en) 2010-03-01 2020-03-03 Masimo Corporation Adaptive alarm system
US10582886B2 (en) 2008-07-03 2020-03-10 Masimo Corporation Multi-stream data collection system for noninvasive measurement of blood constituents
US10610139B2 (en) 2013-01-16 2020-04-07 Masimo Corporation Active-pulse blood analysis system
US10617302B2 (en) 2016-07-07 2020-04-14 Masimo Corporation Wearable pulse oximeter and respiration monitor
US10637181B2 (en) 2017-08-15 2020-04-28 Masimo Corporation Water resistant connector for noninvasive patient monitor
US10672260B2 (en) 2013-03-13 2020-06-02 Masimo Corporation Systems and methods for monitoring a patient health network
US10667762B2 (en) 2017-02-24 2020-06-02 Masimo Corporation Modular multi-parameter patient monitoring device
US10667764B2 (en) 2018-04-19 2020-06-02 Masimo Corporation Mobile patient alarm display
US10674948B2 (en) 2012-04-17 2020-06-09 Mastmo Corporation Hypersaturation index
USD890708S1 (en) 2017-08-15 2020-07-21 Masimo Corporation Connector
US10779098B2 (en) 2018-07-10 2020-09-15 Masimo Corporation Patient monitor alarm speaker analyzer
US10772542B2 (en) 2006-10-12 2020-09-15 Masimo Corporation Method and apparatus for calibration to reduce coupling between signals in a measurement system
US10784634B2 (en) 2015-02-06 2020-09-22 Masimo Corporation Pogo pin connector
US10825568B2 (en) 2013-10-11 2020-11-03 Masimo Corporation Alarm notification system
US10827961B1 (en) 2012-08-29 2020-11-10 Masimo Corporation Physiological measurement calibration
US10863938B2 (en) 2006-10-12 2020-12-15 Masimo Corporation System and method for monitoring the life of a physiological sensor
US10869602B2 (en) 2002-03-25 2020-12-22 Masimo Corporation Physiological measurement communications adapter
USD906970S1 (en) 2017-08-15 2021-01-05 Masimo Corporation Connector
US10912524B2 (en) 2006-09-22 2021-02-09 Masimo Corporation Modular patient monitor
US10925550B2 (en) 2011-10-13 2021-02-23 Masimo Corporation Medical monitoring hub
US10959652B2 (en) 2001-07-02 2021-03-30 Masimo Corporation Low power pulse oximeter
US10991135B2 (en) 2015-08-11 2021-04-27 Masimo Corporation Medical monitoring analysis and replay including indicia responsive to light attenuated by body tissue
US11076777B2 (en) 2016-10-13 2021-08-03 Masimo Corporation Systems and methods for monitoring orientation to reduce pressure ulcer formation
US11083397B2 (en) 2012-02-09 2021-08-10 Masimo Corporation Wireless patient monitoring device
US11089963B2 (en) 2015-08-31 2021-08-17 Masimo Corporation Systems and methods for patient fall detection
US11103143B2 (en) * 2009-09-17 2021-08-31 Masimo Corporation Optical-based physiological monitoring system
US11114188B2 (en) 2009-10-06 2021-09-07 Cercacor Laboratories, Inc. System for monitoring a physiological parameter of a user
US11133105B2 (en) 2009-03-04 2021-09-28 Masimo Corporation Medical monitoring system
US11145408B2 (en) 2009-03-04 2021-10-12 Masimo Corporation Medical communication protocol translator
US11178776B2 (en) 2015-02-06 2021-11-16 Masimo Corporation Fold flex circuit for LNOP
US11229408B2 (en) 2006-12-22 2022-01-25 Masimo Corporation Optical patient monitor
US11241199B2 (en) 2011-10-13 2022-02-08 Masimo Corporation System for displaying medical monitoring data
US11241530B1 (en) 2020-11-23 2022-02-08 Amf Medical Sa Insulin patch pump having photoplethysmography module
US11272852B2 (en) 2011-06-21 2022-03-15 Masimo Corporation Patient monitoring system
US11272839B2 (en) 2018-10-12 2022-03-15 Ma Simo Corporation System for transmission of sensor data using dual communication protocol
US11291061B2 (en) 2017-01-18 2022-03-29 Masimo Corporation Patient-worn wireless physiological sensor with pairing functionality
US11289199B2 (en) 2010-01-19 2022-03-29 Masimo Corporation Wellness analysis system
US11389093B2 (en) 2018-10-11 2022-07-19 Masimo Corporation Low noise oximetry cable
US11417426B2 (en) 2017-02-24 2022-08-16 Masimo Corporation System for displaying medical monitoring data
US11439329B2 (en) 2011-07-13 2022-09-13 Masimo Corporation Multiple measurement mode in a physiological sensor
US11445948B2 (en) 2018-10-11 2022-09-20 Masimo Corporation Patient connector assembly with vertical detents
US11464410B2 (en) 2018-10-12 2022-10-11 Masimo Corporation Medical systems and methods
US11529461B1 (en) 2021-06-01 2022-12-20 Amf Medical Sa Initialization for systems and methods for delivering microdoses of medication
US11529458B2 (en) 2017-12-08 2022-12-20 Amf Medical Sa Drug delivery device
US11559275B2 (en) 2008-12-30 2023-01-24 Masimo Corporation Acoustic sensor assembly
US11638532B2 (en) 2008-07-03 2023-05-02 Masimo Corporation User-worn device for noninvasively measuring a physiological parameter of a user
US11679579B2 (en) 2015-12-17 2023-06-20 Masimo Corporation Varnish-coated release liner
US11679199B2 (en) 2021-06-01 2023-06-20 Amf Medical Sa Systems and methods for delivering microdoses of medication
US11751780B2 (en) 2013-10-07 2023-09-12 Masimo Corporation Regional oximetry sensor
US11806502B2 (en) 2015-11-20 2023-11-07 Tandem Diabetes Care Switzerland Sarl Micropump
US11857757B2 (en) 2021-06-01 2024-01-02 Tandem Diabetes Care Switzerland Sàrl Systems and methods for delivering microdoses of medication
US11986289B2 (en) 2018-11-27 2024-05-21 Willow Laboratories, Inc. Assembly for medical monitoring device with multiple physiological sensors
US11992342B2 (en) 2013-01-02 2024-05-28 Masimo Corporation Acoustic respiratory monitoring sensor with probe-off detection
US12004869B2 (en) 2018-11-05 2024-06-11 Masimo Corporation System to monitor and manage patient hydration via plethysmograph variablity index in response to the passive leg raising
US12036014B2 (en) 2015-01-23 2024-07-16 Masimo Corporation Nasal/oral cannula system and manufacturing
US12178572B1 (en) 2013-06-11 2024-12-31 Masimo Corporation Blood glucose sensing system
US12495968B2 (en) 2018-10-12 2025-12-16 Masimo Corporation System for transmission of sensor data using dual communication protocol

Families Citing this family (238)

* Cited by examiner, † Cited by third party
Publication number Priority date Publication date Assignee Title
US6334065B1 (en) 1998-06-03 2001-12-25 Masimo Corporation Stereo pulse oximeter
US6684090B2 (en) 1999-01-07 2004-01-27 Masimo Corporation Pulse oximetry data confidence indicator
DE60139128D1 (en) 2000-08-18 2009-08-13 Masimo Corp PULSE OXIMETER WITH TWO OPERATING MODES
US6850787B2 (en) 2001-06-29 2005-02-01 Masimo Laboratories, Inc. Signal component processor
US7355512B1 (en) 2002-01-24 2008-04-08 Masimo Corporation Parallel alarm processor
US6920345B2 (en) 2003-01-24 2005-07-19 Masimo Corporation Optical sensor including disposable and reusable elements
US7003338B2 (en) 2003-07-08 2006-02-21 Masimo Corporation Method and apparatus for reducing coupling between signals
US7500950B2 (en) 2003-07-25 2009-03-10 Masimo Corporation Multipurpose sensor port
US7483729B2 (en) 2003-11-05 2009-01-27 Masimo Corporation Pulse oximeter access apparatus and method
EP1722676B1 (en) 2004-03-08 2012-12-19 Masimo Corporation Physiological parameter system
US7957780B2 (en) 2005-03-01 2011-06-07 Masimo Laboratories, Inc. Physiological parameter confidence measure
JP2008537903A (en) 2005-04-13 2008-10-02 グルコライト・コーポレーシヨン Data processing and calibration method for blood glucose monitor based on OCT
US12014328B2 (en) 2005-07-13 2024-06-18 Vccb Holdings, Inc. Medicine bottle cap with electronic embedded curved display
US7962188B2 (en) 2005-10-14 2011-06-14 Masimo Corporation Robust alarm system
US8182443B1 (en) 2006-01-17 2012-05-22 Masimo Corporation Drug administration controller
US8219172B2 (en) 2006-03-17 2012-07-10 Glt Acquisition Corp. System and method for creating a stable optical interface
US7941199B2 (en) 2006-05-15 2011-05-10 Masimo Laboratories, Inc. Sepsis monitor
US10188348B2 (en) 2006-06-05 2019-01-29 Masimo Corporation Parameter upgrade system
US8457707B2 (en) 2006-09-20 2013-06-04 Masimo Corporation Congenital heart disease monitor
US9192329B2 (en) 2006-10-12 2015-11-24 Masimo Corporation Variable mode pulse indicator
US8255026B1 (en) 2006-10-12 2012-08-28 Masimo Corporation, Inc. Patient monitor capable of monitoring the quality of attached probes and accessories
US8265723B1 (en) 2006-10-12 2012-09-11 Cercacor Laboratories, Inc. Oximeter probe off indicator defining probe off space
WO2008045538A2 (en) 2006-10-12 2008-04-17 Masimo Corporation Perfusion index smoother
US8600467B2 (en) 2006-11-29 2013-12-03 Cercacor Laboratories, Inc. Optical sensor including disposable and reusable elements
WO2008073855A2 (en) 2006-12-09 2008-06-19 Masimo Corporation Plethysmograph variability processor
US8652060B2 (en) 2007-01-20 2014-02-18 Masimo Corporation Perfusion trend indicator
US8374665B2 (en) 2007-04-21 2013-02-12 Cercacor Laboratories, Inc. Tissue profile wellness monitor
US8571617B2 (en) 2008-03-04 2013-10-29 Glt Acquisition Corp. Flowometry in optical coherence tomography for analyte level estimation
JP5575752B2 (en) 2008-05-02 2014-08-20 マシモ コーポレイション Monitor configuration system
JP2011519684A (en) 2008-05-05 2011-07-14 マシモ コーポレイション Pulse oximeter system with electrical disconnect circuit
US8203438B2 (en) 2008-07-29 2012-06-19 Masimo Corporation Alarm suspend system
SE532941C2 (en) 2008-09-15 2010-05-18 Phasein Ab Gas sampling line for breathing gases
US8588880B2 (en) 2009-02-16 2013-11-19 Masimo Corporation Ear sensor
US9323894B2 (en) 2011-08-19 2016-04-26 Masimo Corporation Health care sanitation monitoring system
US10007758B2 (en) 2009-03-04 2018-06-26 Masimo Corporation Medical monitoring system
US8388353B2 (en) 2009-03-11 2013-03-05 Cercacor Laboratories, Inc. Magnetic connector
US8989831B2 (en) 2009-05-19 2015-03-24 Masimo Corporation Disposable components for reusable physiological sensor
US8571619B2 (en) 2009-05-20 2013-10-29 Masimo Corporation Hemoglobin display and patient treatment
US20110208015A1 (en) 2009-07-20 2011-08-25 Masimo Corporation Wireless patient monitoring system
US8473020B2 (en) 2009-07-29 2013-06-25 Cercacor Laboratories, Inc. Non-invasive physiological sensor cover
US9579039B2 (en) 2011-01-10 2017-02-28 Masimo Corporation Non-invasive intravascular volume index monitor
WO2011047216A2 (en) 2009-10-15 2011-04-21 Masimo Corporation Physiological acoustic monitoring system
US8523781B2 (en) 2009-10-15 2013-09-03 Masimo Corporation Bidirectional physiological information display
US8430817B1 (en) 2009-10-15 2013-04-30 Masimo Corporation System for determining confidence in respiratory rate measurements
US8821415B2 (en) 2009-10-15 2014-09-02 Masimo Corporation Physiological acoustic monitoring system
US8690799B2 (en) 2009-10-15 2014-04-08 Masimo Corporation Acoustic respiratory monitoring sensor having multiple sensing elements
US9848800B1 (en) 2009-10-16 2017-12-26 Masimo Corporation Respiratory pause detector
US9839381B1 (en) 2009-11-24 2017-12-12 Cercacor Laboratories, Inc. Physiological measurement system with automatic wavelength adjustment
DE112010004682T5 (en) 2009-12-04 2013-03-28 Masimo Corporation Calibration for multi-level physiological monitors
US9153112B1 (en) 2009-12-21 2015-10-06 Masimo Corporation Modular patient monitor
CA2787471C (en) 2010-02-03 2016-02-02 Nellcor Puritan Bennett Llc Combined physiological sensor systems and methods
WO2011112524A1 (en) 2010-03-08 2011-09-15 Masimo Corporation Reprocessing of a physiological sensor
US9307928B1 (en) 2010-03-30 2016-04-12 Masimo Corporation Plethysmographic respiration processor
US9138180B1 (en) 2010-05-03 2015-09-22 Masimo Corporation Sensor adapter cable
US8666468B1 (en) 2010-05-06 2014-03-04 Masimo Corporation Patient monitor for determining microcirculation state
US9408542B1 (en) 2010-07-22 2016-08-09 Masimo Corporation Non-invasive blood pressure measurement system
CA2808379C (en) * 2010-08-17 2019-04-09 University Of Florida Research Foundation, Inc. Central site photoplethysmography, medication administration, and safety
US20130310422A1 (en) 2010-09-01 2013-11-21 The General Hospital Corporation Reversal of general anesthesia by administration of methylphenidate, amphetamine, modafinil, amantadine, and/or caffeine
US9775545B2 (en) 2010-09-28 2017-10-03 Masimo Corporation Magnetic electrical connector for patient monitors
EP2621333B1 (en) 2010-09-28 2015-07-29 Masimo Corporation Depth of consciousness monitor including oximeter
US12198790B1 (en) 2010-10-07 2025-01-14 Masimo Corporation Physiological monitor sensor systems and methods
US9211095B1 (en) 2010-10-13 2015-12-15 Masimo Corporation Physiological measurement logic engine
US20120226117A1 (en) 2010-12-01 2012-09-06 Lamego Marcelo M Handheld processing device including medical applications for minimally and non invasive glucose measurements
US9615781B2 (en) * 2011-02-03 2017-04-11 Covidien Lp Systems and methods for monitoring depth of consciousness
EP3567603A1 (en) 2011-02-13 2019-11-13 Masimo Corporation Medical risk characterization system
US9066666B2 (en) 2011-02-25 2015-06-30 Cercacor Laboratories, Inc. Patient monitor for monitoring microcirculation
US9986919B2 (en) 2011-06-21 2018-06-05 Masimo Corporation Patient monitoring system
US9782077B2 (en) 2011-08-17 2017-10-10 Masimo Corporation Modulated physiological sensor
EP2765909B1 (en) 2011-10-13 2019-06-26 Masimo Corporation Physiological acoustic monitoring system
US9808188B1 (en) 2011-10-13 2017-11-07 Masimo Corporation Robust fractional saturation determination
US9778079B1 (en) 2011-10-27 2017-10-03 Masimo Corporation Physiological monitor gauge panel
US20130123719A1 (en) * 2011-11-12 2013-05-16 Robert Bosch Gmbh Medication compliance patch and control unit
US11172890B2 (en) 2012-01-04 2021-11-16 Masimo Corporation Automated condition screening and detection
US9392945B2 (en) 2012-01-04 2016-07-19 Masimo Corporation Automated CCHD screening and detection
US12004881B2 (en) 2012-01-04 2024-06-11 Masimo Corporation Automated condition screening and detection
US9267572B2 (en) 2012-02-08 2016-02-23 Masimo Corporation Cable tether system
US9195385B2 (en) 2012-03-25 2015-11-24 Masimo Corporation Physiological monitor touchscreen interface
WO2013184965A1 (en) 2012-06-07 2013-12-12 Masimo Corporation Depth of consciousness monitor
US9697928B2 (en) 2012-08-01 2017-07-04 Masimo Corporation Automated assembly sensor cable
US9955937B2 (en) 2012-09-20 2018-05-01 Masimo Corporation Acoustic patient sensor coupler
US9877650B2 (en) 2012-09-20 2018-01-30 Masimo Corporation Physiological monitor with mobile computing device connectivity
US9749232B2 (en) 2012-09-20 2017-08-29 Masimo Corporation Intelligent medical network edge router
US9717458B2 (en) 2012-10-20 2017-08-01 Masimo Corporation Magnetic-flap optical sensor
US9560996B2 (en) 2012-10-30 2017-02-07 Masimo Corporation Universal medical system
US9787568B2 (en) 2012-11-05 2017-10-10 Cercacor Laboratories, Inc. Physiological test credit method
US9946844B2 (en) * 2013-02-22 2018-04-17 Cloud Dx, Inc. Systems and methods for monitoring patient medication adherence
US20140296655A1 (en) * 2013-03-11 2014-10-02 ROPAMedics LLC Real-time tracking of cerebral hemodynamic response (rtchr) of a subject based on hemodynamic parameters
US10441181B1 (en) 2013-03-13 2019-10-15 Masimo Corporation Acoustic pulse and respiration monitoring system
US10456038B2 (en) 2013-03-15 2019-10-29 Cercacor Laboratories, Inc. Cloud-based physiological monitoring system
ES2877551T3 (en) 2013-04-24 2021-11-17 Fresenius Kabi Deutschland Gmbh Operating procedure of a control device to control an infusion device
JP6660878B2 (en) 2013-06-27 2020-03-11 ザ ジェネラル ホスピタル コーポレイション System for tracking dynamic structures in physiological data and method of operating the system
US10383574B2 (en) 2013-06-28 2019-08-20 The General Hospital Corporation Systems and methods to infer brain state during burst suppression
US9891079B2 (en) 2013-07-17 2018-02-13 Masimo Corporation Pulser with double-bearing position encoder for non-invasive physiological monitoring
US10555678B2 (en) 2013-08-05 2020-02-11 Masimo Corporation Blood pressure monitor with valve-chamber assembly
US12367973B2 (en) 2013-09-12 2025-07-22 Willow Laboratories, Inc. Medical device calibration
WO2015038683A2 (en) 2013-09-12 2015-03-19 Cercacor Laboratories, Inc. Medical device management system
EP4166072A1 (en) 2013-09-13 2023-04-19 The General Hospital Corporation Systems and methods for improved brain monitoring during general anesthesia and sedation
US11147518B1 (en) 2013-10-07 2021-10-19 Masimo Corporation Regional oximetry signal processor
US10828007B1 (en) 2013-10-11 2020-11-10 Masimo Corporation Acoustic sensor with attachment portion
US10279247B2 (en) 2013-12-13 2019-05-07 Masimo Corporation Avatar-incentive healthcare therapy
US11259745B2 (en) 2014-01-28 2022-03-01 Masimo Corporation Autonomous drug delivery system
US10086138B1 (en) 2014-01-28 2018-10-02 Masimo Corporation Autonomous drug delivery system
US10123729B2 (en) 2014-06-13 2018-11-13 Nanthealth, Inc. Alarm fatigue management systems and methods
US10231670B2 (en) 2014-06-19 2019-03-19 Masimo Corporation Proximity sensor in pulse oximeter
US9782122B1 (en) * 2014-06-23 2017-10-10 Great Lakes Neurotechnologies Inc Pain quantification and management system and device, and method of using
US10111591B2 (en) 2014-08-26 2018-10-30 Nanthealth, Inc. Real-time monitoring systems and methods in a healthcare environment
WO2016036985A1 (en) 2014-09-04 2016-03-10 Masimo Corportion Total hemoglobin index system
US10383520B2 (en) 2014-09-18 2019-08-20 Masimo Semiconductor, Inc. Enhanced visible near-infrared photodiode and non-invasive physiological sensor
WO2016057553A1 (en) 2014-10-07 2016-04-14 Masimo Corporation Modular physiological sensors
US10568553B2 (en) 2015-02-06 2020-02-25 Masimo Corporation Soft boot pulse oximetry sensor
US10524738B2 (en) 2015-05-04 2020-01-07 Cercacor Laboratories, Inc. Noninvasive sensor system with visual infographic display
WO2016191307A1 (en) 2015-05-22 2016-12-01 Cercacor Laboratories, Inc. Non-invasive optical physiological differential pathlength sensor
US10448871B2 (en) 2015-07-02 2019-10-22 Masimo Corporation Advanced pulse oximetry sensor
US11504066B1 (en) 2015-09-04 2022-11-22 Cercacor Laboratories, Inc. Low-noise sensor system
US10646144B2 (en) 2015-12-07 2020-05-12 Marcelo Malini Lamego Wireless, disposable, extended use pulse oximeter apparatus and methods
US10471159B1 (en) 2016-02-12 2019-11-12 Masimo Corporation Diagnosis, removal, or mechanical damaging of tumor using plasmonic nanobubbles
US10537285B2 (en) 2016-03-04 2020-01-21 Masimo Corporation Nose sensor
US10993662B2 (en) 2016-03-04 2021-05-04 Masimo Corporation Nose sensor
US11191484B2 (en) 2016-04-29 2021-12-07 Masimo Corporation Optical sensor tape
WO2018009612A1 (en) 2016-07-06 2018-01-11 Patient Doctor Technologies, Inc. Secure and zero knowledge data sharing for cloud applications
WO2018102402A1 (en) 2016-11-29 2018-06-07 The General Hospital Corporation Systems and methods for analyzing electrophysiological data from patients undergoing medical treatments
GB2557199B (en) 2016-11-30 2020-11-04 Lidco Group Plc Haemodynamic monitor with improved filtering
US11504058B1 (en) 2016-12-02 2022-11-22 Masimo Corporation Multi-site noninvasive measurement of a physiological parameter
US10750984B2 (en) 2016-12-22 2020-08-25 Cercacor Laboratories, Inc. Methods and devices for detecting intensity of light with translucent detector
US10388120B2 (en) 2017-02-24 2019-08-20 Masimo Corporation Localized projection of audible noises in medical settings
US11086609B2 (en) 2017-02-24 2021-08-10 Masimo Corporation Medical monitoring hub
US11024064B2 (en) * 2017-02-24 2021-06-01 Masimo Corporation Augmented reality system for displaying patient data
WO2018156648A1 (en) 2017-02-24 2018-08-30 Masimo Corporation Managing dynamic licenses for physiological parameters in a patient monitoring environment
US10939867B2 (en) * 2017-03-10 2021-03-09 Robert S. Bray Paralysis monitoring system
US11185262B2 (en) 2017-03-10 2021-11-30 Masimo Corporation Pneumonia screener
WO2018194992A1 (en) 2017-04-18 2018-10-25 Masimo Corporation Nose sensor
US10918281B2 (en) 2017-04-26 2021-02-16 Masimo Corporation Medical monitoring device having multiple configurations
USD835283S1 (en) 2017-04-28 2018-12-04 Masimo Corporation Medical monitoring device
USD835282S1 (en) 2017-04-28 2018-12-04 Masimo Corporation Medical monitoring device
EP3614909B1 (en) 2017-04-28 2024-04-03 Masimo Corporation Spot check measurement system
USD835285S1 (en) 2017-04-28 2018-12-04 Masimo Corporation Medical monitoring device
USD835284S1 (en) 2017-04-28 2018-12-04 Masimo Corporation Medical monitoring device
WO2018208616A1 (en) 2017-05-08 2018-11-15 Masimo Corporation System for pairing a medical system to a network controller by use of a dongle
US11026604B2 (en) 2017-07-13 2021-06-08 Cercacor Laboratories, Inc. Medical monitoring device for harmonizing physiological measurements
USD880477S1 (en) 2017-08-15 2020-04-07 Masimo Corporation Connector
JP7747439B2 (en) 2017-10-19 2025-10-01 マシモ・コーポレイション Display configuration of medical monitoring system
USD925597S1 (en) 2017-10-31 2021-07-20 Masimo Corporation Display screen or portion thereof with graphical user interface
CN111372517B (en) 2017-10-31 2023-02-17 梅西莫股份有限公司 System for displaying oxygen status indication
US11766198B2 (en) 2018-02-02 2023-09-26 Cercacor Laboratories, Inc. Limb-worn patient monitoring device
US10659963B1 (en) 2018-02-12 2020-05-19 True Wearables, Inc. Single use medical device apparatus and methods
WO2019209915A1 (en) 2018-04-24 2019-10-31 Cercacor Laboratories, Inc. Easy insert finger sensor for transmission based spectroscopy sensor
US20250000396A1 (en) * 2018-06-06 2025-01-02 Masimo Corporation Opioid overdose monitoring
EP3801207B1 (en) 2018-06-06 2024-12-04 Masimo Corporation Opioid overdose monitoring
US12097043B2 (en) 2018-06-06 2024-09-24 Masimo Corporation Locating a locally stored medication
US11872156B2 (en) 2018-08-22 2024-01-16 Masimo Corporation Core body temperature measurement
CN112638242A (en) * 2018-08-24 2021-04-09 马塞洛·马利尼·拉梅戈 Monitoring device and system
USD998631S1 (en) 2018-10-11 2023-09-12 Masimo Corporation Display screen or portion thereof with a graphical user interface
USD916135S1 (en) 2018-10-11 2021-04-13 Masimo Corporation Display screen or portion thereof with a graphical user interface
USD998630S1 (en) 2018-10-11 2023-09-12 Masimo Corporation Display screen or portion thereof with a graphical user interface
US11406286B2 (en) 2018-10-11 2022-08-09 Masimo Corporation Patient monitoring device with improved user interface
USD999246S1 (en) 2018-10-11 2023-09-19 Masimo Corporation Display screen or portion thereof with a graphical user interface
USD917550S1 (en) 2018-10-11 2021-04-27 Masimo Corporation Display screen or portion thereof with a graphical user interface
USD917564S1 (en) 2018-10-11 2021-04-27 Masimo Corporation Display screen or portion thereof with graphical user interface
USD1041511S1 (en) 2018-10-11 2024-09-10 Masimo Corporation Display screen or portion thereof with a graphical user interface
USD897098S1 (en) 2018-10-12 2020-09-29 Masimo Corporation Card holder set
US20200253474A1 (en) 2018-12-18 2020-08-13 Masimo Corporation Modular wireless physiological parameter system
US11684296B2 (en) 2018-12-21 2023-06-27 Cercacor Laboratories, Inc. Noninvasive physiological sensor
US12066426B1 (en) 2019-01-16 2024-08-20 Masimo Corporation Pulsed micro-chip laser for malaria detection
US12076159B2 (en) 2019-02-07 2024-09-03 Masimo Corporation Combining multiple QEEG features to estimate drug-independent sedation level using machine learning
US12220207B2 (en) 2019-02-26 2025-02-11 Masimo Corporation Non-contact core body temperature measurement systems and methods
BR112021020780A2 (en) 2019-04-17 2021-12-14 Masimo Corp Electrocardiogram (ECG) device, blood pressure monitoring device, blood pressure monitor, blood pressure cuff, mounting for enabling a caregiver to attach a physiological monitoring device to a user's arm, charging station for providing power to a physiological monitoring device, non-invasive blood pressure monitor and method for a non-invasive blood pressure monitor
USD985498S1 (en) 2019-08-16 2023-05-09 Masimo Corporation Connector
USD917704S1 (en) 2019-08-16 2021-04-27 Masimo Corporation Patient monitor
USD919100S1 (en) 2019-08-16 2021-05-11 Masimo Corporation Holder for a patient monitor
USD921202S1 (en) 2019-08-16 2021-06-01 Masimo Corporation Holder for a blood pressure device
US12207901B1 (en) 2019-08-16 2025-01-28 Masimo Corporation Optical detection of transient vapor nanobubbles in a microfluidic device
USD919094S1 (en) 2019-08-16 2021-05-11 Masimo Corporation Blood pressure device
US11832940B2 (en) 2019-08-27 2023-12-05 Cercacor Laboratories, Inc. Non-invasive medical monitoring device for blood analyte measurements
CN110623643B (en) * 2019-09-29 2021-06-04 吉林大学 A device for monitoring the depth of anesthesia and cerebral blood oxygen saturation
US12131661B2 (en) 2019-10-03 2024-10-29 Willow Laboratories, Inc. Personalized health coaching system
JP7778689B2 (en) 2019-10-18 2025-12-02 マシモ・コーポレイション Display layouts and interactive objects for patient monitoring
USD927699S1 (en) 2019-10-18 2021-08-10 Masimo Corporation Electrode pad
KR20220115927A (en) 2019-10-25 2022-08-19 세르카코르 래버러토리즈, 인크. Indicator compounds, devices comprising indicator compounds, and methods of making and using the same
US12272445B1 (en) 2019-12-05 2025-04-08 Masimo Corporation Automated medical coding
CN115066203A (en) 2020-01-13 2022-09-16 梅西莫股份有限公司 Wearable device with physiological parameter monitoring
CN115361981A (en) 2020-01-30 2022-11-18 塞卡科实验室有限公司 Redundant interleaved glucose sensor disease management system
US11879960B2 (en) 2020-02-13 2024-01-23 Masimo Corporation System and method for monitoring clinical activities
WO2021163447A1 (en) 2020-02-13 2021-08-19 Masimo Corporation System and method for monitoring clinical activities
US12048534B2 (en) 2020-03-04 2024-07-30 Willow Laboratories, Inc. Systems and methods for securing a tissue site to a sensor
WO2021189007A1 (en) 2020-03-20 2021-09-23 Masimo Corporation Remote patient management and monitoring systems and methods
USD933232S1 (en) 2020-05-11 2021-10-12 Masimo Corporation Blood pressure monitor
US12127838B2 (en) 2020-04-22 2024-10-29 Willow Laboratories, Inc. Self-contained minimal action invasive blood constituent system
USD979516S1 (en) 2020-05-11 2023-02-28 Masimo Corporation Connector
US12029844B2 (en) 2020-06-25 2024-07-09 Willow Laboratories, Inc. Combination spirometer-inhaler
USD974193S1 (en) 2020-07-27 2023-01-03 Masimo Corporation Wearable temperature measurement device
USD980091S1 (en) 2020-07-27 2023-03-07 Masimo Corporation Wearable temperature measurement device
US12082926B2 (en) 2020-08-04 2024-09-10 Masimo Corporation Optical sensor with multiple detectors or multiple emitters
JP2023538378A (en) 2020-08-19 2023-09-07 マシモ・コーポレイション Straps for wearable devices
USD946596S1 (en) 2020-09-30 2022-03-22 Masimo Corporation Display screen or portion thereof with graphical user interface
USD946598S1 (en) 2020-09-30 2022-03-22 Masimo Corporation Display screen or portion thereof with graphical user interface
US12178852B2 (en) 2020-09-30 2024-12-31 Willow Laboratories, Inc. Insulin formulations and uses in infusion devices
USD946597S1 (en) 2020-09-30 2022-03-22 Masimo Corporation Display screen or portion thereof with graphical user interface
US12478293B1 (en) 2020-10-14 2025-11-25 Masimo Corporation Systems and methods for assessment of placement of a detector of a physiological monitoring device
USD1072836S1 (en) 2020-10-16 2025-04-29 Masimo Corporation Display screen or portion thereof with graphical user interface
USD1061585S1 (en) 2020-10-16 2025-02-11 Masimo Corporation Display screen or portion thereof with graphical user interface
USD1072837S1 (en) 2020-10-27 2025-04-29 Masimo Corporation Display screen or portion thereof with graphical user interface
US12478272B2 (en) 2020-12-23 2025-11-25 Masimo Corporation Patient monitoring systems, devices, and methods
JP7608179B2 (en) * 2021-01-12 2025-01-06 日本光電工業株式会社 Biometric information processing device, biological information processing method, program, and storage medium
USD1085102S1 (en) 2021-03-19 2025-07-22 Masimo Corporation Display screen or portion thereof with graphical user interface
WO2022240765A1 (en) 2021-05-11 2022-11-17 Masimo Corporation Optical physiological nose sensor
US12521506B2 (en) 2021-05-26 2026-01-13 Masimo Corporation Low deadspace airway adapter
USD997365S1 (en) 2021-06-24 2023-08-29 Masimo Corporation Physiological nose sensor
DE102021117940A1 (en) 2021-07-12 2023-01-12 Michael Becker infusion device
KR20240032835A (en) 2021-07-13 2024-03-12 마시모 코오퍼레이션 Wearable device that monitors physiological indicators
WO2023003980A1 (en) 2021-07-21 2023-01-26 Masimo Corporation Wearable band for health monitoring device
USD1036293S1 (en) 2021-08-17 2024-07-23 Masimo Corporation Straps for a wearable device
US12362596B2 (en) 2021-08-19 2025-07-15 Masimo Corporation Wearable physiological monitoring devices
US12126683B2 (en) 2021-08-31 2024-10-22 Masimo Corporation Privacy switch for mobile communications device
CN118510440A (en) 2021-09-22 2024-08-16 迈心诺公司 Wearable device for noninvasive body temperature measurement
USD1000975S1 (en) 2021-09-22 2023-10-10 Masimo Corporation Wearable temperature measurement device
USD1048571S1 (en) 2021-10-07 2024-10-22 Masimo Corporation Bite block
WO2023133165A1 (en) 2022-01-05 2023-07-13 Prolaio, Inc. System and method for monitoring and managing a cardiac health status
WO2023132952A1 (en) 2022-01-05 2023-07-13 Masimo Corporation Wrist and finger worn pulse oximetry system
US12236767B2 (en) 2022-01-11 2025-02-25 Masimo Corporation Machine learning based monitoring system
USD1063893S1 (en) 2022-03-11 2025-02-25 Masimo Corporation Electronic device
USD1057159S1 (en) 2022-03-29 2025-01-07 Masimo Corporation Electronic measurement device
USD1057160S1 (en) 2022-03-29 2025-01-07 Masimo Corporation Electronic measurement device
USD1095288S1 (en) 2022-07-20 2025-09-30 Masimo Corporation Set of straps for a wearable device
USD1083653S1 (en) 2022-09-09 2025-07-15 Masimo Corporation Band
USD1092244S1 (en) 2023-07-03 2025-09-09 Masimo Corporation Band for an electronic device
USD1095483S1 (en) 2022-09-23 2025-09-30 Masimo Corporation Caregiver notification device
USD1048908S1 (en) 2022-10-04 2024-10-29 Masimo Corporation Wearable sensor
USD1071195S1 (en) 2022-10-06 2025-04-15 Masimo Corporation Mounting device for a medical transducer
US12539046B2 (en) 2022-10-17 2026-02-03 Masimo Corporation Physiological monitoring soundbar
USD1042596S1 (en) 2022-12-12 2024-09-17 Masimo Corporation Monitoring camera
USD1078689S1 (en) 2022-12-12 2025-06-10 Masimo Corporation Electronic device
US12538084B1 (en) 2023-02-06 2026-01-27 Masimo Corporation Systems and methods for generating an equal-loudness contour response using an auricular device
USD1068656S1 (en) 2023-05-11 2025-04-01 Masimo Corporation Charger
USD1066244S1 (en) 2023-05-11 2025-03-11 Masimo Corporation Charger
USD1094735S1 (en) 2023-05-25 2025-09-23 Masimo Corporation Wearable device for physiological monitoring
USD1102622S1 (en) 2023-08-03 2025-11-18 Masimo Corporation Holder
USD1093406S1 (en) 2023-08-07 2025-09-16 Masimo Corporation Display screen or portion thereof with graphical user interface
USD1106466S1 (en) 2024-08-30 2025-12-16 Masimo Corporation Electrical stimulation device

Citations (385)

* Cited by examiner, † Cited by third party
Publication number Priority date Publication date Assignee Title
US4421122A (en) * 1981-05-15 1983-12-20 The Children's Medical Center Corporation Brain electrical activity mapping
US4960128A (en) 1988-11-14 1990-10-02 Paramed Technology Incorporated Method and apparatus for continuously and non-invasively measuring the blood pressure of a patient
US4964408A (en) 1988-04-29 1990-10-23 Thor Technology Corporation Oximeter sensor assembly with integral cable
US5041187A (en) 1988-04-29 1991-08-20 Thor Technology Corporation Oximeter sensor assembly with integral cable and method of forming the same
US5069213A (en) 1988-04-29 1991-12-03 Thor Technology Corporation Oximeter sensor assembly with integral cable and encoder
US5163438A (en) 1988-11-14 1992-11-17 Paramed Technology Incorporated Method and apparatus for continuously and noninvasively measuring the blood pressure of a patient
US5286252A (en) * 1988-02-19 1994-02-15 Gensia Pharmaceuticals, Inc. Diagnosis, evaluation and treatment of coronary artery disease by exercise simulation using closed loop drug delivery of an exercise simulating agent beta agonist
US5319355A (en) 1991-03-06 1994-06-07 Russek Linda G Alarm for patient monitor and life support equipment system
US5337744A (en) 1993-07-14 1994-08-16 Masimo Corporation Low noise finger cot probe
US5341805A (en) 1993-04-06 1994-08-30 Cedars-Sinai Medical Center Glucose fluorescence monitor and method
USD353196S (en) 1993-05-28 1994-12-06 Gary Savage Stethoscope head
USD353195S (en) 1993-05-28 1994-12-06 Gary Savage Electronic stethoscope housing
US5377676A (en) 1991-04-03 1995-01-03 Cedars-Sinai Medical Center Method for determining the biodistribution of substances using fluorescence spectroscopy
USD359546S (en) 1994-01-27 1995-06-20 The Ratechnologies Inc. Housing for a dental unit disinfecting device
US5431170A (en) 1990-05-26 1995-07-11 Mathews; Geoffrey R. Pulse responsive device
US5441528A (en) * 1992-09-25 1995-08-15 Symtonic, S.A. Method and system for applying low energy emission therapy
USD361840S (en) 1994-04-21 1995-08-29 Gary Savage Stethoscope head
USD362063S (en) 1994-04-21 1995-09-05 Gary Savage Stethoscope headset
US5452717A (en) 1993-07-14 1995-09-26 Masimo Corporation Finger-cot probe
US5456252A (en) 1993-09-30 1995-10-10 Cedars-Sinai Medical Center Induced fluorescence spectroscopy blood perfusion and pH monitor and method
USD363120S (en) 1994-04-21 1995-10-10 Gary Savage Stethoscope ear tip
US5479934A (en) 1991-11-08 1996-01-02 Physiometrix, Inc. EEG headpiece with disposable electrodes and apparatus and system and method for use therewith
US5482036A (en) 1991-03-07 1996-01-09 Masimo Corporation Signal processing apparatus and method
US5490505A (en) * 1991-03-07 1996-02-13 Masimo Corporation Signal processing apparatus
US5494043A (en) 1993-05-04 1996-02-27 Vital Insite, Inc. Arterial sensor
US5533511A (en) 1994-01-05 1996-07-09 Vital Insite, Incorporated Apparatus and method for noninvasive blood pressure measurement
US5544661A (en) * 1994-01-13 1996-08-13 Charles L. Davis Real time ambulatory patient monitor
US5561275A (en) 1994-04-28 1996-10-01 Delstar Services Informatiques (1993) Inc. Headset for electronic stethoscope
US5562002A (en) 1995-02-03 1996-10-08 Sensidyne Inc. Positive displacement piston flow meter with damping assembly
US5590649A (en) 1994-04-15 1997-01-07 Vital Insite, Inc. Apparatus and method for measuring an induced perturbation to determine blood pressure
US5602924A (en) 1992-12-07 1997-02-11 Theratechnologies Inc. Electronic stethescope
US5632272A (en) 1991-03-07 1997-05-27 Masimo Corporation Signal processing apparatus
US5638816A (en) 1995-06-07 1997-06-17 Masimo Corporation Active pulse blood constituent monitoring
US5638818A (en) 1991-03-21 1997-06-17 Masimo Corporation Low noise optical probe
US5645440A (en) 1995-10-16 1997-07-08 Masimo Corporation Patient cable connector
US5694939A (en) * 1995-10-03 1997-12-09 The United States Of America As Represented By The Administrator Of The National Aeronautics And Space Administration Autogenic-feedback training exercise (AFTE) method and system
US5743262A (en) 1995-06-07 1998-04-28 Masimo Corporation Blood glucose monitoring system
USD393830S (en) 1995-10-16 1998-04-28 Masimo Corporation Patient cable connector
US5760910A (en) 1995-06-07 1998-06-02 Masimo Corporation Optical filter for spectroscopic measurement and method of producing the optical filter
US5758644A (en) 1995-06-07 1998-06-02 Masimo Corporation Manual and automatic probe calibration
US5785659A (en) 1994-04-15 1998-07-28 Vital Insite, Inc. Automatically activated blood pressure measurement device
US5791347A (en) 1994-04-15 1998-08-11 Vital Insite, Inc. Motion insensitive pulse detector
US5810734A (en) 1994-04-15 1998-09-22 Vital Insite, Inc. Apparatus and method for measuring an induced perturbation to determine a physiological parameter
US5890929A (en) 1996-06-19 1999-04-06 Masimo Corporation Shielded medical connector
US5904654A (en) 1995-10-20 1999-05-18 Vital Insite, Inc. Exciter-detector unit for measuring physiological parameters
US5919134A (en) 1997-04-14 1999-07-06 Masimo Corp. Method and apparatus for demodulating signals in a pulse oximetry system
US5987343A (en) 1997-11-07 1999-11-16 Datascope Investment Corp. Method for storing pulse oximetry sensor characteristics
US5995855A (en) * 1998-02-11 1999-11-30 Masimo Corporation Pulse oximetry sensor adapter
US5997343A (en) 1998-03-19 1999-12-07 Masimo Corporation Patient cable sensor switch
US6002952A (en) 1997-04-14 1999-12-14 Masimo Corporation Signal processing apparatus and method
US6018682A (en) * 1998-04-30 2000-01-25 Medtronic, Inc. Implantable seizure warning system
US6027452A (en) 1996-06-26 2000-02-22 Vital Insite, Inc. Rapid non-invasive blood pressure measuring device
US6047203A (en) * 1997-03-17 2000-04-04 Nims, Inc. Physiologic signs feedback system
US6124597A (en) 1997-07-07 2000-09-26 Cedars-Sinai Medical Center Method and devices for laser induced fluorescence attenuation spectroscopy
US6128521A (en) 1998-07-10 2000-10-03 Physiometrix, Inc. Self adjusting headgear appliance using reservoir electrodes
US6129675A (en) 1998-09-11 2000-10-10 Jay; Gregory D. Device and method for measuring pulsus paradoxus
US6144868A (en) 1998-10-15 2000-11-07 Sensidyne, Inc. Reusable pulse oximeter probe and disposable bandage apparatus
US6152754A (en) 1999-12-21 2000-11-28 Masimo Corporation Circuit board based cable connector
US6165005A (en) 1998-03-19 2000-12-26 Masimo Corporation Patient cable sensor switch
US6184521B1 (en) 1998-01-06 2001-02-06 Masimo Corporation Photodiode detector with integrated noise shielding
US6229856B1 (en) 1997-04-14 2001-05-08 Masimo Corporation Method and apparatus for demodulating signals in a pulse oximetry system
US6232609B1 (en) 1995-12-01 2001-05-15 Cedars-Sinai Medical Center Glucose monitoring apparatus and method using laser-induced emission spectroscopy
US6241683B1 (en) 1998-02-20 2001-06-05 INSTITUT DE RECHERCHES CLINIQUES DE MONTRéAL (IRCM) Phonospirometry for non-invasive monitoring of respiration
US6253097B1 (en) 1996-03-06 2001-06-26 Datex-Ohmeda, Inc. Noninvasive medical monitoring instrument using surface emitting laser devices
US6285896B1 (en) 1998-07-13 2001-09-04 Masimo Corporation Fetal pulse oximetry sensor
US6301493B1 (en) 1999-07-10 2001-10-09 Physiometrix, Inc. Reservoir electrodes for electroencephalograph headgear appliance
US6308089B1 (en) 1999-04-14 2001-10-23 O.B. Scientific, Inc. Limited use medical probe
US6317627B1 (en) 1999-11-02 2001-11-13 Physiometrix, Inc. Anesthesia monitoring system based on electroencephalographic signals
US6321100B1 (en) 1999-07-13 2001-11-20 Sensidyne, Inc. Reusable pulse oximeter probe with disposable liner
US6334065B1 (en) 1998-06-03 2001-12-25 Masimo Corporation Stereo pulse oximeter
US6343224B1 (en) 1998-10-15 2002-01-29 Sensidyne, Inc. Reusable pulse oximeter probe and disposable bandage apparatus
US6360114B1 (en) 1999-03-25 2002-03-19 Masimo Corporation Pulse oximeter probe-off detector
US6368283B1 (en) 2000-09-08 2002-04-09 Institut De Recherches Cliniques De Montreal Method and apparatus for estimating systolic and mean pulmonary artery pressures of a patient
US6371921B1 (en) 1994-04-15 2002-04-16 Masimo Corporation System and method of determining whether to recalibrate a blood pressure monitor
US6377829B1 (en) 1999-12-09 2002-04-23 Masimo Corporation Resposable pulse oximetry sensor
US6388240B2 (en) 1999-08-26 2002-05-14 Masimo Corporation Shielded optical probe and method having a longevity indication
US20020099409A1 (en) * 2000-11-10 2002-07-25 Hui John C.K. High efficiency external counterpulsation apparatus and method for controlling same
US6430437B1 (en) 1999-10-27 2002-08-06 Physiometrix, Inc. Module for acquiring electroencephalograph signals from a patient
US6430525B1 (en) 2000-06-05 2002-08-06 Masimo Corporation Variable mode averager
US6463311B1 (en) 1998-12-30 2002-10-08 Masimo Corporation Plethysmograph pulse recognition processor
US6470199B1 (en) 2000-06-21 2002-10-22 Masimo Corporation Elastic sock for positioning an optical probe
US20020173729A1 (en) * 2001-05-18 2002-11-21 Hanna Viertio-Oja Closed loop drug administration method and apparatus using eeg complexity for control purposes
US6505059B1 (en) 1998-04-06 2003-01-07 The General Hospital Corporation Non-invasive tissue glucose level monitoring
US6515273B2 (en) 1999-08-26 2003-02-04 Masimo Corporation System for indicating the expiration of the useful operating life of a pulse oximetry sensor
US6519487B1 (en) 1998-10-15 2003-02-11 Sensidyne, Inc. Reusable pulse oximeter probe and disposable bandage apparatus
US6525386B1 (en) 1998-03-10 2003-02-25 Masimo Corporation Non-protruding optoelectronic lens
US6526300B1 (en) 1999-06-18 2003-02-25 Masimo Corporation Pulse oximeter probe-off detection system
US6542764B1 (en) 1999-12-01 2003-04-01 Masimo Corporation Pulse oximeter monitor for expressing the urgency of the patient's condition
US6541756B2 (en) 1991-03-21 2003-04-01 Masimo Corporation Shielded optical probe having an electrical connector
US6584336B1 (en) * 1999-01-25 2003-06-24 Masimo Corporation Universal/upgrading pulse oximeter
US6597932B2 (en) 2000-02-18 2003-07-22 Argose, Inc. Generation of spatially-averaged excitation-emission map in heterogeneous tissue
US6595316B2 (en) 2001-07-18 2003-07-22 Andromed, Inc. Tension-adjustable mechanism for stethoscope earpieces
US6606511B1 (en) 1999-01-07 2003-08-12 Masimo Corporation Pulse oximetry pulse indicator
US6640116B2 (en) 2000-08-18 2003-10-28 Masimo Corporation Optical spectroscopy pathlength measurement system
US6639668B1 (en) 1999-11-03 2003-10-28 Argose, Inc. Asynchronous fluorescence scan
US6650917B2 (en) 1991-03-07 2003-11-18 Masimo Corporation Signal processing apparatus
US6658276B2 (en) 1999-01-25 2003-12-02 Masimo Corporation Pulse oximeter user interface
US6661161B1 (en) 2002-06-27 2003-12-09 Andromed Inc. Piezoelectric biological sound monitor with printed circuit board
US6671531B2 (en) 1999-12-09 2003-12-30 Masimo Corporation Sensor wrap including foldable applicator
US20040010203A1 (en) * 2002-07-12 2004-01-15 Bionova Technologies Inc. Method and apparatus for the estimation of anesthetic depth using wavelet analysis of the electroencephalogram
US20040015091A1 (en) * 2002-04-01 2004-01-22 Aspect Medical Systems System and method of assessment of arousal, pain and stress during anesthesia and sedation
US6684091B2 (en) 1998-10-15 2004-01-27 Sensidyne, Inc. Reusable pulse oximeter probe and disposable bandage method
US6684090B2 (en) 1999-01-07 2004-01-27 Masimo Corporation Pulse oximetry data confidence indicator
US6697658B2 (en) 2001-07-02 2004-02-24 Masimo Corporation Low power pulse oximeter
US6697656B1 (en) 2000-06-27 2004-02-24 Masimo Corporation Pulse oximetry sensor compatible with multiple pulse oximetry systems
US6721582B2 (en) 1999-04-06 2004-04-13 Argose, Inc. Non-invasive tissue glucose level monitoring
US6721585B1 (en) 1998-10-15 2004-04-13 Sensidyne, Inc. Universal modular pulse oximeter probe for use with reusable and disposable patient attachment devices
US6728560B2 (en) 1998-04-06 2004-04-27 The General Hospital Corporation Non-invasive tissue glucose level monitoring
US20040092809A1 (en) * 2002-07-26 2004-05-13 Neurion Inc. Methods for measurement and analysis of brain activity
US20040116784A1 (en) * 2002-12-13 2004-06-17 Intercure Ltd. Apparatus and method for beneficial modification of biorhythmic activity
US6760607B2 (en) 2000-12-29 2004-07-06 Masimo Corporation Ribbon cable substrate pulse oximetry sensor
US6768920B2 (en) * 2000-07-06 2004-07-27 Algodyne, Ltd. System for delivering pain-reduction medication
US6770028B1 (en) * 1999-01-25 2004-08-03 Masimo Corporation Dual-mode pulse oximeter
US6822564B2 (en) 2002-01-24 2004-11-23 Masimo Corporation Parallel measurement alarm processor
US6850787B2 (en) 2001-06-29 2005-02-01 Masimo Laboratories, Inc. Signal component processor
US6850788B2 (en) 2002-03-25 2005-02-01 Masimo Corporation Physiological measurement communications adapter
US20050070823A1 (en) * 2003-09-29 2005-03-31 Donofrio William T. Response testing for conscious sedation involving hand grip dynamics
US20050113744A1 (en) * 2003-11-21 2005-05-26 Cyberkinetics, Inc. Agent delivery systems and related methods under control of biological electrical signals
US6920345B2 (en) 2003-01-24 2005-07-19 Masimo Corporation Optical sensor including disposable and reusable elements
US6931268B1 (en) 1995-06-07 2005-08-16 Masimo Laboratories, Inc. Active pulse blood constituent monitoring
US6934570B2 (en) * 2002-01-08 2005-08-23 Masimo Corporation Physiological sensor combination
US6943348B1 (en) 1999-10-19 2005-09-13 Masimo Corporation System for detecting injection holding material
US6950687B2 (en) 1999-12-09 2005-09-27 Masimo Corporation Isolation and communication element for a resposable pulse oximetry sensor
US6961598B2 (en) 2002-02-22 2005-11-01 Masimo Corporation Pulse and active pulse spectraphotometry
US6970792B1 (en) 2002-12-04 2005-11-29 Masimo Laboratories, Inc. Systems and methods for determining blood oxygen saturation values using complex number encoding
US6985764B2 (en) 2001-05-03 2006-01-10 Masimo Corporation Flex circuit shielded optical sensor
US7003338B2 (en) 2003-07-08 2006-02-21 Masimo Corporation Method and apparatus for reducing coupling between signals
US7015451B2 (en) 2002-01-25 2006-03-21 Masimo Corporation Power supply rail controller
US7027849B2 (en) 2002-11-22 2006-04-11 Masimo Laboratories, Inc. Blood parameter measurement system
US7089927B2 (en) * 2002-10-23 2006-08-15 New York University System and method for guidance of anesthesia, analgesia and amnesia
US7096052B2 (en) 2002-10-04 2006-08-22 Masimo Corporation Optical probe including predetermined emission wavelength based on patient type
US7096054B2 (en) 2002-08-01 2006-08-22 Masimo Corporation Low noise optical housing
US7142901B2 (en) 2002-09-25 2006-11-28 Masimo Corporation Parameter compensated physiological monitor
US7146211B2 (en) * 2002-10-15 2006-12-05 Medtronic, Inc. Signal quality monitoring and control for a medical device system
US20070010755A1 (en) * 2005-07-07 2007-01-11 Mika Sarkela Monitoring of the cerebral state of a subject
US20070021673A1 (en) * 2004-01-27 2007-01-25 Cardiometer Ltd. Method and system for cardiovascular system diagnosis
US7225006B2 (en) 2003-01-23 2007-05-29 Masimo Corporation Attachment and optical probe
US7239905B2 (en) 1995-06-07 2007-07-03 Masimo Laboratories, Inc. Active pulse blood constituent monitoring
US7245953B1 (en) 1999-04-12 2007-07-17 Masimo Corporation Reusable pulse oximeter probe and disposable bandage apparatii
US7254431B2 (en) 2003-08-28 2007-08-07 Masimo Corporation Physiological parameter tracking system
US7254434B2 (en) 2003-10-14 2007-08-07 Masimo Corporation Variable pressure reusable sensor
US7254429B2 (en) 2004-08-11 2007-08-07 Glucolight Corporation Method and apparatus for monitoring glucose levels in a biological tissue
US7274955B2 (en) 2002-09-25 2007-09-25 Masimo Corporation Parameter compensated pulse oximeter
US7277758B2 (en) * 1998-08-05 2007-10-02 Neurovista Corporation Methods and systems for predicting future symptomatology in a patient suffering from a neurological or psychiatric disorder
US7280858B2 (en) 2004-01-05 2007-10-09 Masimo Corporation Pulse oximetry sensor
USD554263S1 (en) 2005-02-18 2007-10-30 Masimo Corporation Portable patient monitor
US7289835B2 (en) 2000-02-18 2007-10-30 Masimo Laboratories, Inc. Multivariate analysis of green to ultraviolet spectra of cell and tissue samples
US7292883B2 (en) 2004-03-31 2007-11-06 Masimo Corporation Physiological assessment system
US7299088B1 (en) * 2002-06-02 2007-11-20 Nitish V Thakor Apparatus and methods for brain rhythm analysis
US20070282478A1 (en) 2006-06-05 2007-12-06 Ammar Al-Ali Parameter upgrade system
US20070287931A1 (en) * 2006-02-14 2007-12-13 Dilorenzo Daniel J Methods and systems for administering an appropriate pharmacological treatment to a patient for managing epilepsy and other neurological disorders
US20080033490A1 (en) * 2004-12-17 2008-02-07 Medtronic, Inc. System and method for regulating cardiopulmonary triggered therapy to the brain
US7343186B2 (en) 2004-07-07 2008-03-11 Masimo Laboratories, Inc. Multi-wavelength physiological monitor
US7341559B2 (en) 2002-09-14 2008-03-11 Masimo Corporation Pulse oximetry ear sensor
USD566282S1 (en) 2005-02-18 2008-04-08 Masimo Corporation Stand for a portable patient monitor
US7355512B1 (en) 2002-01-24 2008-04-08 Masimo Corporation Parallel alarm processor
US7356365B2 (en) 2003-07-09 2008-04-08 Glucolight Corporation Method and apparatus for tissue oximetry
US20080103375A1 (en) * 2006-09-22 2008-05-01 Kiani Massi E Patient monitor user interface
US7373193B2 (en) 2003-11-07 2008-05-13 Masimo Corporation Pulse oximetry data capture system
US7371981B2 (en) 2004-02-20 2008-05-13 Masimo Corporation Connector switch
US7376453B1 (en) 1993-10-06 2008-05-20 Masimo Corporation Signal processing apparatus
US7377794B2 (en) 2005-03-01 2008-05-27 Masimo Corporation Multiple wavelength sensor interconnect
US20080188760A1 (en) * 2006-12-09 2008-08-07 Ammar Al-Ali Plethysmograph variability processor
US7415297B2 (en) * 2004-03-08 2008-08-19 Masimo Corporation Physiological parameter system
US7428432B2 (en) * 1999-01-25 2008-09-23 Masimo Corporation Systems and methods for acquiring calibration data usable in a pulse oximeter
US7438683B2 (en) 2004-03-04 2008-10-21 Masimo Corporation Application identification sensor
US20080317672A1 (en) * 2007-06-20 2008-12-25 The General Electric Company Detection of anomalies in measurement of level of hypnosis
US7483729B2 (en) 2003-11-05 2009-01-27 Masimo Corporation Pulse oximeter access apparatus and method
USD587657S1 (en) 2007-10-12 2009-03-03 Masimo Corporation Connector assembly
US7500950B2 (en) 2003-07-25 2009-03-10 Masimo Corporation Multipurpose sensor port
US20090069642A1 (en) * 2007-09-11 2009-03-12 Aid Networks, Llc Wearable Wireless Electronic Patient Data Communications and Physiological Monitoring Device
US7509494B2 (en) 2002-03-01 2009-03-24 Masimo Corporation Interface cable
US7510849B2 (en) 2004-01-29 2009-03-31 Glucolight Corporation OCT based method for diagnosis and therapy
US20090099627A1 (en) * 2007-10-16 2009-04-16 Medtronic, Inc. Therapy control based on a patient movement state
US7530942B1 (en) 2005-10-18 2009-05-12 Masimo Corporation Remote sensing infant warmer
US20090247984A1 (en) 2007-10-24 2009-10-01 Masimo Laboratories, Inc. Use of microneedles for small molecule metabolite reporter delivery
US20090264789A1 (en) * 2007-09-26 2009-10-22 Medtronic, Inc. Therapy program selection
US20090275813A1 (en) 2008-05-02 2009-11-05 The Regents Of The Univeristy Of California External ear-placed non-invasive physiological sensor
US20090275844A1 (en) 2008-05-02 2009-11-05 Masimo Corporation Monitor configuration system
USD606659S1 (en) 2008-08-25 2009-12-22 Masimo Laboratories, Inc. Patient monitor
US20100004518A1 (en) 2008-07-03 2010-01-07 Masimo Laboratories, Inc. Heat sink for noninvasive medical sensor
USD609193S1 (en) 2007-10-12 2010-02-02 Masimo Corporation Connector assembly
US20100030089A1 (en) * 2008-04-24 2010-02-04 Searete Llc, A Limited Liability Corporation Of The State Of Delaware Methods and systems for monitoring and modifying a combination treatment
US20100030040A1 (en) 2008-08-04 2010-02-04 Masimo Laboratories, Inc. Multi-stream data collection system for noninvasive measurement of blood constituents
USD614305S1 (en) 2008-02-29 2010-04-20 Masimo Corporation Connector assembly
US20100100036A1 (en) * 2008-04-24 2010-04-22 Searete Llc, A Limited Liability Corporation Of The State Of Delaware Computational System and Method for Memory Modification
US7715919B2 (en) * 2002-10-15 2010-05-11 Medtronic, Inc. Control of treatment therapy during start-up and during operation of a medical device system
USD621516S1 (en) 2008-08-25 2010-08-10 Masimo Laboratories, Inc. Patient monitoring sensor
US7791155B2 (en) 2006-12-22 2010-09-07 Masimo Laboratories, Inc. Detector shield
US7811279B2 (en) * 2003-07-16 2010-10-12 Sasha John Programmable medical drug delivery systems and methods for delivery of multiple fluids and concentrations
US20100261979A1 (en) * 2006-09-22 2010-10-14 Masimo Corporation Modular patient monitor
US7822452B2 (en) 2004-08-11 2010-10-26 Glt Acquisition Corp. Method for data reduction and calibration of an OCT-based blood glucose monitor
USRE41912E1 (en) 1998-10-15 2010-11-02 Masimo Corporation Reusable pulse oximeter probe and disposable bandage apparatus
US7880626B2 (en) 2006-10-12 2011-02-01 Masimo Corporation System and method for monitoring the life of a physiological sensor
US7899518B2 (en) 1998-04-06 2011-03-01 Masimo Laboratories, Inc. Non-invasive tissue glucose level monitoring
US7909772B2 (en) 2004-04-16 2011-03-22 Masimo Corporation Non-invasive measurement of second heart sound components
US7919713B2 (en) 2007-04-16 2011-04-05 Masimo Corporation Low noise oximetry cable including conductive cords
US20110082711A1 (en) 2009-10-06 2011-04-07 Masimo Laboratories, Inc. Personal digital assistant or organizer for monitoring glucose levels
US20110087081A1 (en) * 2009-08-03 2011-04-14 Kiani Massi Joe E Personalized physiological monitor
US7937129B2 (en) 2005-03-21 2011-05-03 Masimo Corporation Variable aperture sensor
US7937128B2 (en) 2004-07-09 2011-05-03 Masimo Corporation Cyanotic infant sensor
US20110105854A1 (en) 2009-03-04 2011-05-05 Masimo Corporation Medical monitoring system
US7941199B2 (en) 2006-05-15 2011-05-10 Masimo Laboratories, Inc. Sepsis monitor
US20110125060A1 (en) 2009-10-15 2011-05-26 Telfort Valery G Acoustic respiratory monitoring systems and methods
US7962188B2 (en) 2005-10-14 2011-06-14 Masimo Corporation Robust alarm system
US7976472B2 (en) 2004-09-07 2011-07-12 Masimo Corporation Noninvasive hypovolemia monitor
US7990382B2 (en) 2006-01-03 2011-08-02 Masimo Corporation Virtual display
US20110208015A1 (en) 2009-07-20 2011-08-25 Masimo Corporation Wireless patient monitoring system
US8008088B2 (en) 2003-12-24 2011-08-30 Masimo Laboratories, Inc. SMMR (small molecule metabolite reporters) for use as in vivo glucose biosensors
US8019400B2 (en) 1994-10-07 2011-09-13 Masimo Corporation Signal processing apparatus
US20110230733A1 (en) 2010-01-19 2011-09-22 Masimo Corporation Wellness analysis system
US20110237969A1 (en) 2008-09-15 2011-09-29 Anders Eckerbom Gas sampling line
US8028701B2 (en) 2006-05-31 2011-10-04 Masimo Corporation Respiratory monitoring
US20110245633A1 (en) * 2010-03-04 2011-10-06 Neumitra LLC Devices and methods for treating psychological disorders
US8036727B2 (en) 2004-08-11 2011-10-11 Glt Acquisition Corp. Methods for noninvasively measuring analyte levels in a subject
US8048040B2 (en) 2007-09-13 2011-11-01 Masimo Corporation Fluid titration system
US8118620B2 (en) 2007-10-12 2012-02-21 Masimo Corporation Connector assembly with reduced unshielded area
US8182443B1 (en) * 2006-01-17 2012-05-22 Masimo Corporation Drug administration controller
US8187181B2 (en) * 2002-10-15 2012-05-29 Medtronic, Inc. Scoring of sensed neurological signals for use with a medical device system
US8203438B2 (en) 2008-07-29 2012-06-19 Masimo Corporation Alarm suspend system
US20120165629A1 (en) 2010-09-30 2012-06-28 Sean Merritt Systems and methods of monitoring a patient through frequency-domain photo migration spectroscopy
US8219172B2 (en) 2006-03-17 2012-07-10 Glt Acquisition Corp. System and method for creating a stable optical interface
US8233955B2 (en) 2005-11-29 2012-07-31 Cercacor Laboratories, Inc. Optical sensor including disposable and reusable elements
US20120209084A1 (en) 2011-01-21 2012-08-16 Masimo Corporation Respiratory event alert system
US20120209082A1 (en) 2011-02-13 2012-08-16 Masimo Corporation Medical characterization system
US8255026B1 (en) 2006-10-12 2012-08-28 Masimo Corporation, Inc. Patient monitor capable of monitoring the quality of attached probes and accessories
US8265723B1 (en) 2006-10-12 2012-09-11 Cercacor Laboratories, Inc. Oximeter probe off indicator defining probe off space
US8274360B2 (en) 2007-10-12 2012-09-25 Masimo Corporation Systems and methods for storing, analyzing, and retrieving medical data
US8280473B2 (en) 2006-10-12 2012-10-02 Masino Corporation, Inc. Perfusion index smoother
US20120283524A1 (en) 2011-04-18 2012-11-08 Cercacor Laboratories, Inc. Pediatric monitor sensor steady game
US8310336B2 (en) 2008-10-10 2012-11-13 Masimo Corporation Systems and methods for storing, analyzing, retrieving and displaying streaming medical data
US8315683B2 (en) 2006-09-20 2012-11-20 Masimo Corporation Duo connector patient cable
US8346330B2 (en) 2008-10-13 2013-01-01 Masimo Corporation Reflection-detector sensor position indicator
US8355766B2 (en) 2007-10-12 2013-01-15 Masimo Corporation Ceramic emitter substrate
US8353842B2 (en) 2005-02-18 2013-01-15 Masimo Corporation Portable patient monitor
US20130023775A1 (en) 2011-07-20 2013-01-24 Cercacor Laboratories, Inc. Magnetic Reusable Sensor
US8374665B2 (en) 2007-04-21 2013-02-12 Cercacor Laboratories, Inc. Tissue profile wellness monitor
US20130041591A1 (en) 2011-07-13 2013-02-14 Cercacor Laboratories, Inc. Multiple measurement mode in a physiological sensor
US8388353B2 (en) 2009-03-11 2013-03-05 Cercacor Laboratories, Inc. Magnetic connector
US20130060147A1 (en) 2011-08-04 2013-03-07 Masimo Corporation Occlusive non-inflatable blood pressure device
US8401602B2 (en) 2008-10-13 2013-03-19 Masimo Corporation Secondary-emitter sensor position indicator
US8418524B2 (en) 2009-06-12 2013-04-16 Masimo Corporation Non-invasive sensor calibration device
US20130096405A1 (en) 2011-08-12 2013-04-18 Masimo Corporation Fingertip pulse oximeter
US8428967B2 (en) 2009-09-14 2013-04-23 Cercacor Laboratories, Inc. Spot check monitor credit system
US8430817B1 (en) 2009-10-15 2013-04-30 Masimo Corporation System for determining confidence in respiratory rate measurements
US8455290B2 (en) 2010-09-04 2013-06-04 Masimo Semiconductor, Inc. Method of fabricating epitaxial structures
US8457707B2 (en) 2006-09-20 2013-06-04 Masimo Corporation Congenital heart disease monitor
US8471713B2 (en) 2009-07-24 2013-06-25 Cercacor Laboratories, Inc. Interference detector for patient monitor
US8473020B2 (en) 2009-07-29 2013-06-25 Cercacor Laboratories, Inc. Non-invasive physiological sensor cover
US8504128B2 (en) 2002-03-08 2013-08-06 Glt Acquisition Corp. Method and apparatus for coupling a channeled sample probe to tissue
US8509867B2 (en) 2002-11-12 2013-08-13 Cercacor Laboratories, Inc. Non-invasive measurement of analytes
US8523781B2 (en) 2009-10-15 2013-09-03 Masimo Corporation Bidirectional physiological information display
US8532727B2 (en) 1999-01-25 2013-09-10 Masimo Corporation Dual-mode pulse oximeter
US20130253334A1 (en) 2012-02-09 2013-09-26 Masimo Corporation Wireless patient monitoring device
US8560034B1 (en) 1993-10-06 2013-10-15 Masimo Corporation Signal processing apparatus
USD692145S1 (en) 2012-09-20 2013-10-22 Masimo Corporation Medical proximity detection token
US8571619B2 (en) 2009-05-20 2013-10-29 Masimo Corporation Hemoglobin display and patient treatment
US8571617B2 (en) 2008-03-04 2013-10-29 Glt Acquisition Corp. Flowometry in optical coherence tomography for analyte level estimation
US8571618B1 (en) 2009-09-28 2013-10-29 Cercacor Laboratories, Inc. Adaptive calibration system for spectrophotometric measurements
US20130296672A1 (en) 2012-05-02 2013-11-07 Masimo Corporation Noninvasive physiological sensor cover
US8588880B2 (en) 2009-02-16 2013-11-19 Masimo Corporation Ear sensor
US8584345B2 (en) 2010-03-08 2013-11-19 Masimo Corporation Reprocessing of a physiological sensor
US8600467B2 (en) 2006-11-29 2013-12-03 Cercacor Laboratories, Inc. Optical sensor including disposable and reusable elements
US20130331660A1 (en) 2012-06-07 2013-12-12 Masimo Corporation Depth of consciousness monitor
US8641631B2 (en) 2004-04-08 2014-02-04 Masimo Corporation Non-invasive monitoring of respiratory rate, heart rate and apnea
US8652060B2 (en) 2007-01-20 2014-02-18 Masimo Corporation Perfusion trend indicator
US8666468B1 (en) 2010-05-06 2014-03-04 Masimo Corporation Patient monitor for determining microcirculation state
US8670811B2 (en) 2009-06-30 2014-03-11 Masimo Corporation Pulse oximetry system for adjusting medical ventilation
US20140081100A1 (en) 2012-09-20 2014-03-20 Masimo Corporation Physiological monitor with mobile computing device connectivity
US20140081175A1 (en) 2012-09-20 2014-03-20 Masimo Corporation Acoustic patient sensor coupler
US8690799B2 (en) 2009-10-15 2014-04-08 Masimo Corporation Acoustic respiratory monitoring sensor having multiple sensing elements
US8712494B1 (en) 2010-05-03 2014-04-29 Masimo Corporation Reflective non-invasive sensor
US8718738B2 (en) 2002-03-08 2014-05-06 Glt Acquisition Corp. Method and apparatus for coupling a sample probe with a sample site
US8723677B1 (en) 2010-10-20 2014-05-13 Masimo Corporation Patient safety system with automatically adjusting bed
US20140135588A1 (en) 2009-03-04 2014-05-15 Masimo Corporation Medical monitoring system
US8740792B1 (en) 2010-07-12 2014-06-03 Masimo Corporation Patient monitor capable of accounting for environmental conditions
US20140163402A1 (en) 2011-06-21 2014-06-12 Cercacor Laboratories, Inc. Patient monitoring system
US8755872B1 (en) 2011-07-28 2014-06-17 Masimo Corporation Patient monitoring system for indicating an abnormal condition
US20140166076A1 (en) 2012-12-17 2014-06-19 Masimo Semiconductor, Inc Pool solar power generator
US20140180160A1 (en) 2012-10-12 2014-06-26 Emery N. Brown System and method for monitoring and controlling a state of a patient during and after administration of anesthetic compound
US8764671B2 (en) 2007-06-28 2014-07-01 Masimo Corporation Disposable active pulse sensor
US20140187973A1 (en) 2011-05-06 2014-07-03 Emery N. Brown System and method for tracking brain states during administration of anesthesia
US8771204B2 (en) 2008-12-30 2014-07-08 Masimo Corporation Acoustic sensor assembly
US8781544B2 (en) 2007-03-27 2014-07-15 Cercacor Laboratories, Inc. Multiple wavelength optical sensor
US8801613B2 (en) 2009-12-04 2014-08-12 Masimo Corporation Calibration for multi-stage physiological monitors
US8821397B2 (en) 2010-09-28 2014-09-02 Masimo Corporation Depth of consciousness monitor including oximeter
US8830449B1 (en) 2011-04-18 2014-09-09 Cercacor Laboratories, Inc. Blood analysis system
US20140266790A1 (en) 2013-03-13 2014-09-18 Masimo Corporation Systems and methods for monitoring a patient health network
US20140275872A1 (en) 2013-03-14 2014-09-18 Cercacor Laboratories, Inc. Systems and methods for testing patient monitors
US20140276115A1 (en) 2013-03-14 2014-09-18 Cercacar Laboratories, Inc. Heart sound simulator
US20140275808A1 (en) 2013-03-14 2014-09-18 Cercacor Laboratories, Inc. Patient monitor placement indicator
US20140275835A1 (en) 2013-03-15 2014-09-18 Cercacor Laboratories, Inc. Cloud-based physiological monitoring system
US20140275871A1 (en) 2013-03-14 2014-09-18 Cercacor Laboratories, Inc. Wireless optical communication between noninvasive physiological sensors and patient monitors
US8840549B2 (en) 2006-09-22 2014-09-23 Masimo Corporation Modular patient monitor
US8852094B2 (en) 2006-12-22 2014-10-07 Masimo Corporation Physiological parameter system
US8852994B2 (en) 2010-05-24 2014-10-07 Masimo Semiconductor, Inc. Method of fabricating bifacial tandem solar cells
US8868147B2 (en) 2004-04-28 2014-10-21 Glt Acquisition Corp. Method and apparatus for controlling positioning of a noninvasive analyzer sample probe
US20140316218A1 (en) 2013-04-23 2014-10-23 Patrick L. Purdon Systems and methods for monitoring brain metabolism and activity using electroencephalogram and optical imaging
US20140316217A1 (en) 2013-04-23 2014-10-23 Patrick L. Purdon System and method for monitoring anesthesia and sedation using measures of brain coherence and synchrony
US8870792B2 (en) 2009-10-15 2014-10-28 Masimo Corporation Physiological acoustic monitoring system
US20140323897A1 (en) 2013-04-24 2014-10-30 Emery N. Brown System and method for estimating high time-frequency resolution eeg spectrograms to monitor patient state
US20140323898A1 (en) 2013-04-24 2014-10-30 Patrick L. Purdon System and Method for Monitoring Level of Dexmedatomidine-Induced Sedation
US20140330098A1 (en) 2009-07-29 2014-11-06 Cercacor Laboratories, Inc. Reflectance calibration of fluorescence-based glucose measurements
US8897847B2 (en) 2009-03-23 2014-11-25 Masimo Corporation Digit gauge for noninvasive optical sensor
US8911377B2 (en) 2008-09-15 2014-12-16 Masimo Corporation Patient monitor including multi-parameter graphical display
US20140378784A1 (en) * 2009-09-17 2014-12-25 Masimo Corporation Optical-based physiological monitoring system
US20150005600A1 (en) 2013-03-13 2015-01-01 Cercacor Laboratories, Inc. Finger-placement sensor tape
US20150011907A1 (en) 2013-06-28 2015-01-08 Patrick L. Purdon Systems and Methods To Infer Brain State During Burst Suppression
US20150038859A1 (en) 2013-08-05 2015-02-05 Cercacor Laboratories, Inc Blood pressure monitor with valve-chamber assembly
US20150045637A1 (en) 2013-07-17 2015-02-12 Cercacor Laboratories, Inc. Double-bearing position encoder
US20150080754A1 (en) 2013-09-13 2015-03-19 Patrick L. Purdon Systems and Methods For Improved Brain Monitoring During General Anesthesia And Sedation
US8989831B2 (en) 2009-05-19 2015-03-24 Masimo Corporation Disposable components for reusable physiological sensor
US8998809B2 (en) 2006-05-15 2015-04-07 Cercacor Laboratories, Inc. Systems and methods for calibrating minimally invasive and non-invasive physiological sensor devices
US20150097701A1 (en) 2011-10-13 2015-04-09 Masimo Corporation System for displaying medical monitoring data
US20150099950A1 (en) 2013-10-07 2015-04-09 Masimo Corporation Regional oximetry sensor
US20150106121A1 (en) 2013-10-11 2015-04-16 Masimo Corporation Alarm notification system
US20150112151A1 (en) 2012-02-09 2015-04-23 Masimo Corporation Patient position detection system
US20150165312A1 (en) 2013-12-13 2015-06-18 Masimo Corporation Avatar-incentive healthcare therapy
US9066666B2 (en) 2011-02-25 2015-06-30 Cercacor Laboratories, Inc. Patient monitor for monitoring microcirculation
US20150196249A1 (en) 2010-09-01 2015-07-16 The General Hospital Corporation Reversal of General Anesthesia by Administration of Methylphenidate, Amphetamine, Modafinil, Amantadine, and/or Caffeine
US9095316B2 (en) 2011-04-20 2015-08-04 Masimo Corporation System for generating alarms based on alarm patterns
US9106038B2 (en) 2009-10-15 2015-08-11 Masimo Corporation Pulse oximetry system with low noise cable hub
US9107625B2 (en) 2008-05-05 2015-08-18 Masimo Corporation Pulse oximetry system with electrical decoupling circuitry
US20150238722A1 (en) 2014-02-21 2015-08-27 Masimo Corporation Assistive capnography device
US20150245773A1 (en) 2010-12-01 2015-09-03 Cercacor Laboratories, Inc. Handheld processing device including medical applications for minimally and non invasive glucose measurements
US9131881B2 (en) 2012-04-17 2015-09-15 Masimo Corporation Hypersaturation index
US20150257689A1 (en) 2006-05-15 2015-09-17 Cercacor Laboratories, Inc. Physiological monitor calibration system
US9138180B1 (en) 2010-05-03 2015-09-22 Masimo Corporation Sensor adapter cable
US9153112B1 (en) 2009-12-21 2015-10-06 Masimo Corporation Modular patient monitor
US9186102B2 (en) 2009-09-03 2015-11-17 Cercacor Laboratories, Inc. Emitter driver for noninvasive patient monitor
US9195385B2 (en) 2012-03-25 2015-11-24 Masimo Corporation Physiological monitor touchscreen interface
US9192329B2 (en) 2006-10-12 2015-11-24 Masimo Corporation Variable mode pulse indicator
US9192351B1 (en) 2011-07-22 2015-11-24 Masimo Corporation Acoustic respiratory monitoring sensor with probe-off detection
US9211095B1 (en) 2010-10-13 2015-12-15 Masimo Corporation Physiological measurement logic engine
US20150359489A1 (en) * 2013-01-25 2015-12-17 Vanderbilt University Smart mobile health monitoring system and related methods
US9218454B2 (en) 2009-03-04 2015-12-22 Masimo Corporation Medical monitoring system
US20150366507A1 (en) 2014-06-19 2015-12-24 Cercacor Laboratories, Inc. Proximity sensor in pulse oximeter
US9245668B1 (en) 2011-06-29 2016-01-26 Cercacor Laboratories, Inc. Low noise cable providing communication between electronic sensor components and patient monitor
US9267572B2 (en) 2012-02-08 2016-02-23 Masimo Corporation Cable tether system
US20160066824A1 (en) 2014-09-04 2016-03-10 Masimo Corporation Total hemoglobin screening sensor
US20160081552A1 (en) 2014-09-18 2016-03-24 Masimo Semiconductor, Inc. Enhanced visible near-infrared photodiode and non-invasive physiological sensor
US20160095548A1 (en) 2014-10-07 2016-04-07 Masimo Corporation Modular physiological sensors
US9307928B1 (en) 2010-03-30 2016-04-12 Masimo Corporation Plethysmographic respiration processor
US9323894B2 (en) 2011-08-19 2016-04-26 Masimo Corporation Health care sanitation monitoring system
USD755392S1 (en) 2015-02-06 2016-05-03 Masimo Corporation Pulse oximetry sensor
US9326712B1 (en) 2010-06-02 2016-05-03 Masimo Corporation Opticoustic sensor
US9341565B2 (en) 2004-07-07 2016-05-17 Masimo Corporation Multiple-wavelength physiological monitor
US20160196388A1 (en) 2013-09-12 2016-07-07 Cercacor Laboratories, Inc. Medical device management system
US9386961B2 (en) 2009-10-15 2016-07-12 Masimo Corporation Physiological acoustic monitoring system
US9392945B2 (en) 2012-01-04 2016-07-19 Masimo Corporation Automated CCHD screening and detection
US20160213281A1 (en) 2015-01-23 2016-07-28 Masimo Sweden Ab Nasal/oral cannula system and manufacturing
US9408542B1 (en) 2010-07-22 2016-08-09 Masimo Corporation Non-invasive blood pressure measurement system
US20160228043A1 (en) 2015-02-06 2016-08-11 Masimo Corporation Soft boot pulse oximetry sensor
US20160233632A1 (en) 2015-02-06 2016-08-11 Masimo Corporation Pogo pin connector
US20160234944A1 (en) 2015-02-06 2016-08-11 Masimo Corporation Fold flex circuit for lnop
US9436645B2 (en) 2011-10-13 2016-09-06 Masimo Corporation Medical monitoring hub
US9445759B1 (en) 2011-12-22 2016-09-20 Cercacor Laboratories, Inc. Blood glucose calibration system
US9474474B2 (en) 2013-03-14 2016-10-25 Masimo Corporation Patient monitor as a minimally invasive glucometer
US9480435B2 (en) 2012-02-09 2016-11-01 Masimo Corporation Configurable patient monitoring system
US20160324488A1 (en) 2015-05-04 2016-11-10 Cercacor Laboratories, Inc. Noninvasive sensor system with visual infographic display
US9510779B2 (en) 2009-09-17 2016-12-06 Masimo Corporation Analyte monitoring using one or more accelerometers
US20160367173A1 (en) 2015-05-22 2016-12-22 Cercacor Laboratories, Inc. Non-invasive optical physiological differential pathlength sensor
US9532722B2 (en) 2011-06-21 2017-01-03 Masimo Corporation Patient monitoring system
US20170000394A1 (en) 2015-07-02 2017-01-05 Masimo Corporation Advanced pulse oximetry sensor
US9560996B2 (en) 2012-10-30 2017-02-07 Masimo Corporation Universal medical system
US20170042488A1 (en) 2015-08-11 2017-02-16 Masimo Corporation Medical monitoring analysis and replay including indicia responsive to light attenuated by body tissue
US9579039B2 (en) 2011-01-10 2017-02-28 Masimo Corporation Non-invasive intravascular volume index monitor
US20170055882A1 (en) 2015-08-31 2017-03-02 Masimo Corporation Systems and methods for patient fall detection
US9622692B2 (en) 2011-05-16 2017-04-18 Masimo Corporation Personal health device
US9649054B2 (en) 2010-08-26 2017-05-16 Cercacor Laboratories, Inc. Blood pressure measurement method
US20170173632A1 (en) 2015-12-17 2017-06-22 Masimo Corporation Varnish-coated release liner
US9697928B2 (en) 2012-08-01 2017-07-04 Masimo Corporation Automated assembly sensor cable
US9717458B2 (en) 2012-10-20 2017-08-01 Masimo Corporation Magnetic-flap optical sensor
US9724025B1 (en) 2013-01-16 2017-08-08 Masimo Corporation Active-pulse blood analysis system
US9724024B2 (en) 2010-03-01 2017-08-08 Masimo Corporation Adaptive alarm system
US9724016B1 (en) 2009-10-16 2017-08-08 Masimo Corp. Respiration processor
US20170228516A1 (en) 2012-09-20 2017-08-10 Masimo Corporation Intelligent medical escalation process
US9750442B2 (en) 2013-03-09 2017-09-05 Masimo Corporation Physiological status monitor
US9750461B1 (en) 2013-01-02 2017-09-05 Masimo Corporation Acoustic respiratory monitoring sensor with probe-off detection
US20170251975A1 (en) 2016-03-04 2017-09-07 Masimo Corporation Nose sensor
US20170251974A1 (en) 2016-03-04 2017-09-07 Masimo Corporation Nose sensor
US9775545B2 (en) 2010-09-28 2017-10-03 Masimo Corporation Magnetic electrical connector for patient monitors
US9778079B1 (en) 2011-10-27 2017-10-03 Masimo Corporation Physiological monitor gauge panel
US9787568B2 (en) 2012-11-05 2017-10-10 Cercacor Laboratories, Inc. Physiological test credit method
US9782077B2 (en) 2011-08-17 2017-10-10 Masimo Corporation Modulated physiological sensor

Family Cites Families (190)

* Cited by examiner, † Cited by third party
Publication number Priority date Publication date Assignee Title
US5436499A (en) 1994-03-11 1995-07-25 Spire Corporation High performance GaAs devices and method
SG38866A1 (en) 1995-07-31 1997-04-17 Instrumentation Metrics Inc Liquid correlation spectrometry
US6010937A (en) 1995-09-05 2000-01-04 Spire Corporation Reduction of dislocations in a heteroepitaxial semiconductor structure
US5671914A (en) 1995-11-06 1997-09-30 Spire Corporation Multi-band spectroscopic photodetector array
US5726440A (en) 1995-11-06 1998-03-10 Spire Corporation Wavelength selective photodetector
US6040578A (en) 1996-02-02 2000-03-21 Instrumentation Metrics, Inc. Method and apparatus for multi-spectral analysis of organic blood analytes in noninvasive infrared spectroscopy
US5747806A (en) 1996-02-02 1998-05-05 Instrumentation Metrics, Inc Method and apparatus for multi-spectral analysis in noninvasive nir spectroscopy
US6066204A (en) 1997-01-08 2000-05-23 Bandwidth Semiconductor, Llc High pressure MOCVD reactor system
US6115673A (en) 1997-08-14 2000-09-05 Instrumentation Metrics, Inc. Method and apparatus for generating basis sets for use in spectroscopic analysis
US6415167B1 (en) 2000-05-02 2002-07-02 Instrumentation Metrics, Inc. Fiber optic probe placement guide
US6255708B1 (en) 1997-10-10 2001-07-03 Rengarajan Sudharsanan Semiconductor P-I-N detector
MXPA00011835A (en) * 1998-06-03 2002-10-17 Scott Lab Inc Apparatus and method for providing a conscious patient relief from pain and anxiety associated with medical or surgical procedures.
US6280381B1 (en) 1999-07-22 2001-08-28 Instrumentation Metrics, Inc. Intelligent system for noninvasive blood analyte prediction
US20030018243A1 (en) 1999-07-07 2003-01-23 Gerhardt Thomas J. Selectively plated sensor
USRE41333E1 (en) 1999-07-22 2010-05-11 Sensys Medical, Inc. Multi-tier method of developing localized calibration models for non-invasive blood analyte prediction
US6411373B1 (en) 1999-10-08 2002-06-25 Instrumentation Metrics, Inc. Fiber optic illumination and detection patterns, shapes, and locations for use in spectroscopic analysis
US7133710B2 (en) 2002-03-08 2006-11-07 Sensys Medical, Inc. Compact apparatus for noninvasive measurement of glucose through near-infrared spectroscopy
US6587196B1 (en) 2000-01-26 2003-07-01 Sensys Medical, Inc. Oscillating mechanism driven monochromator
US20010039483A1 (en) 2000-02-18 2001-11-08 Derek Brand Reduction of inter-subject variation via transfer standardization
US6587199B1 (en) 2000-02-25 2003-07-01 Sensys Medical, Inc. Embedded data acquisition and control system for non-invasive glucose prediction instrument
US6534012B1 (en) 2000-08-02 2003-03-18 Sensys Medical, Inc. Apparatus and method for reproducibly modifying localized absorption and scattering coefficients at a tissue measurement site during optical sampling
US7519406B2 (en) 2004-04-28 2009-04-14 Sensys Medical, Inc. Noninvasive analyzer sample probe interface method and apparatus
US7606608B2 (en) 2000-05-02 2009-10-20 Sensys Medical, Inc. Optical sampling interface system for in-vivo measurement of tissue
US20020010401A1 (en) 2000-05-18 2002-01-24 Andrew Bushmakin Pre- and post-processing of spectral data for calibration using mutivariate analysis techniques
US6487429B2 (en) 2000-05-30 2002-11-26 Sensys Medical, Inc. Use of targeted glycemic profiles in the calibration of a noninvasive blood glucose monitor
US7395158B2 (en) 2000-05-30 2008-07-01 Sensys Medical, Inc. Method of screening for disorders of glucose metabolism
AU2001275366A1 (en) 2000-06-15 2001-12-24 Instrumentation Metrics, Inc. Classification and screening of test subjects according to optical thickness of skin
US6816241B2 (en) 2000-09-26 2004-11-09 Sensys Medical, Inc. LED light source-based instrument for non-invasive blood analyte determination
US6640117B2 (en) 2000-09-26 2003-10-28 Sensys Medical, Inc. Method and apparatus for minimizing spectral effects attributable to tissue state variations during NIR-based non-invasive blood analyte determination
AU2002230429A1 (en) 2000-11-13 2002-05-21 Argose, Inc. Reduction of spectral site to site variation
NZ527164A (en) 2001-01-26 2005-07-29 Sensys Medical Inc Noninvasive measurement of glucose through the optical properties of tissue
AU2002251877A1 (en) 2001-02-06 2002-08-19 Argose, Inc. Layered calibration standard for tissue sampling
US20030013975A1 (en) 2001-07-12 2003-01-16 Kiani Massi E. Method of selling a continuous mode blood pressure monitor
US6876931B2 (en) 2001-08-03 2005-04-05 Sensys Medical Inc. Automatic process for sample selection during multivariate calibration
US6788965B2 (en) 2001-08-03 2004-09-07 Sensys Medical, Inc. Intelligent system for detecting errors and determining failure modes in noninvasive measurement of blood and tissue analytes
US6635559B2 (en) 2001-09-06 2003-10-21 Spire Corporation Formation of insulating aluminum oxide in semiconductor substrates
AU2002332915A1 (en) 2001-09-07 2003-03-24 Argose, Inc. Portable non-invasive glucose monitor
US20030212312A1 (en) 2002-01-07 2003-11-13 Coffin James P. Low noise patient cable
US20030156288A1 (en) 2002-02-20 2003-08-21 Barnum P. T. Sensor band for aligning an emitter and a detector
US7697966B2 (en) 2002-03-08 2010-04-13 Sensys Medical, Inc. Noninvasive targeting system method and apparatus
US6998247B2 (en) 2002-03-08 2006-02-14 Sensys Medical, Inc. Method and apparatus using alternative site glucose determinations to calibrate and maintain noninvasive and implantable analyzers
US20040106163A1 (en) 2002-11-12 2004-06-03 Workman Jerome James Non-invasive measurement of analytes
US6956649B2 (en) 2002-11-26 2005-10-18 Sensys Medical, Inc. Spectroscopic system and method using a ceramic optical reference
US7620674B2 (en) 2003-03-07 2009-11-17 Sensys Medical, Inc. Method and apparatus for enhanced estimation of an analyte property through multiple region transformation
US7640140B2 (en) 2003-03-07 2009-12-29 Sensys Medical, Inc. Method of processing noninvasive spectra
SE525095C2 (en) 2003-04-25 2004-11-30 Phasein Ab Window for IR gas analyzer and method for making such window
US20050055276A1 (en) 2003-06-26 2005-03-10 Kiani Massi E. Sensor incentive method
US7367949B2 (en) * 2003-07-07 2008-05-06 Instrumentarium Corp. Method and apparatus based on combination of physiological parameters for assessment of analgesia during anesthesia or sedation
WO2005089640A2 (en) 2004-03-19 2005-09-29 Masimo Corporation Low power and personal pulse oximetry systems
US20060073719A1 (en) 2004-09-29 2006-04-06 Kiani Massi E Multiple key position plug
USD526719S1 (en) 2004-11-19 2006-08-15 Sensys Medical, Inc. Noninvasive glucose analyzer
USD529616S1 (en) 2004-11-19 2006-10-03 Sensys Medical, Inc. Noninvasive glucose analyzer
US7514725B2 (en) 2004-11-30 2009-04-07 Spire Corporation Nanophotovoltaic devices
US8715193B2 (en) * 2005-03-24 2014-05-06 General Electric Company Determination of the clinical state of a subject
US7593230B2 (en) 2005-05-05 2009-09-22 Sensys Medical, Inc. Apparatus for absorbing and dissipating excess heat generated by a system
US7698105B2 (en) 2005-05-23 2010-04-13 Sensys Medical, Inc. Method and apparatus for improving performance of noninvasive analyte property estimation
US12014328B2 (en) 2005-07-13 2024-06-18 Vccb Holdings, Inc. Medicine bottle cap with electronic embedded curved display
US20070073116A1 (en) 2005-08-17 2007-03-29 Kiani Massi E Patient identification using physiological sensor
US20070180140A1 (en) 2005-12-03 2007-08-02 Welch James P Physiological alarm notification system
US20070244377A1 (en) 2006-03-14 2007-10-18 Cozad Jenny L Pulse oximeter sleeve
USD592507S1 (en) 2006-07-06 2009-05-19 Vitality, Inc. Top for medicine container
US20080064965A1 (en) 2006-09-08 2008-03-13 Jay Gregory D Devices and methods for measuring pulsus paradoxus
US20080094228A1 (en) 2006-10-12 2008-04-24 Welch James P Patient monitor using radio frequency identification tags
US9861305B1 (en) 2006-10-12 2018-01-09 Masimo Corporation Method and apparatus for calibration to reduce coupling between signals in a measurement system
US20090093687A1 (en) 2007-03-08 2009-04-09 Telfort Valery G Systems and methods for determining a physiological condition using an acoustic monitor
US20080221418A1 (en) 2007-03-09 2008-09-11 Masimo Corporation Noninvasive multi-parameter patient monitor
US20080242955A1 (en) * 2007-03-30 2008-10-02 Kimmo Uutela Reliability in determination of clinical state of a subject
US20090036759A1 (en) 2007-08-01 2009-02-05 Ault Timothy E Collapsible noninvasive analyzer method and apparatus
US20090095926A1 (en) 2007-10-12 2009-04-16 Macneish Iii William Jack Physiological parameter detector
US20100099964A1 (en) 2008-09-15 2010-04-22 Masimo Corporation Hemoglobin monitor
US20100234718A1 (en) 2009-03-12 2010-09-16 Anand Sampath Open architecture medical communication system
US20110040197A1 (en) 2009-07-20 2011-02-17 Masimo Corporation Wireless patient monitoring system
US20110028809A1 (en) 2009-07-29 2011-02-03 Masimo Corporation Patient monitor ambient display device
US20110118561A1 (en) 2009-11-13 2011-05-19 Masimo Corporation Remote control for a medical monitoring device
US9839381B1 (en) 2009-11-24 2017-12-12 Cercacor Laboratories, Inc. Physiological measurement system with automatic wavelength adjustment
US20120123231A1 (en) 2010-11-11 2012-05-17 O'reilly Michael Monitoring cardiac output and vessel fluid volume
US9808188B1 (en) 2011-10-13 2017-11-07 Masimo Corporation Robust fractional saturation determination
US20130345921A1 (en) 2012-06-22 2013-12-26 Masimo Corporation Physiological monitoring of moving vehicle operators
US10827961B1 (en) 2012-08-29 2020-11-10 Masimo Corporation Physiological measurement calibration
US10441181B1 (en) 2013-03-13 2019-10-15 Masimo Corporation Acoustic pulse and respiration monitoring system
US11147518B1 (en) 2013-10-07 2021-10-19 Masimo Corporation Regional oximetry signal processor
US10828007B1 (en) 2013-10-11 2020-11-10 Masimo Corporation Acoustic sensor with attachment portion
US11259745B2 (en) 2014-01-28 2022-03-01 Masimo Corporation Autonomous drug delivery system
US10086138B1 (en) 2014-01-28 2018-10-02 Masimo Corporation Autonomous drug delivery system
US9924897B1 (en) 2014-06-12 2018-03-27 Masimo Corporation Heated reprocessing of physiological sensors
US10123729B2 (en) 2014-06-13 2018-11-13 Nanthealth, Inc. Alarm fatigue management systems and methods
US10111591B2 (en) 2014-08-26 2018-10-30 Nanthealth, Inc. Real-time monitoring systems and methods in a healthcare environment
US20170024748A1 (en) 2015-07-22 2017-01-26 Patient Doctor Technologies, Inc. Guided discussion platform for multiple parties
US11504066B1 (en) 2015-09-04 2022-11-22 Cercacor Laboratories, Inc. Low-noise sensor system
US10471159B1 (en) 2016-02-12 2019-11-12 Masimo Corporation Diagnosis, removal, or mechanical damaging of tumor using plasmonic nanobubbles
US10993662B2 (en) 2016-03-04 2021-05-04 Masimo Corporation Nose sensor
US11191484B2 (en) 2016-04-29 2021-12-07 Masimo Corporation Optical sensor tape
WO2018009612A1 (en) 2016-07-06 2018-01-11 Patient Doctor Technologies, Inc. Secure and zero knowledge data sharing for cloud applications
US10617302B2 (en) 2016-07-07 2020-04-14 Masimo Corporation Wearable pulse oximeter and respiration monitor
EP3525661B1 (en) 2016-10-13 2025-07-23 Masimo Corporation Systems and methods for patient fall detection
US11504058B1 (en) 2016-12-02 2022-11-22 Masimo Corporation Multi-site noninvasive measurement of a physiological parameter
US10750984B2 (en) 2016-12-22 2020-08-25 Cercacor Laboratories, Inc. Methods and devices for detecting intensity of light with translucent detector
US10721785B2 (en) 2017-01-18 2020-07-21 Masimo Corporation Patient-worn wireless physiological sensor with pairing functionality
JP6762242B2 (en) 2017-01-30 2020-09-30 ジーコム コーポレイションGecom Corporation Vehicle door latch device
US10327713B2 (en) 2017-02-24 2019-06-25 Masimo Corporation Modular multi-parameter patient monitoring device
KR102567007B1 (en) 2017-02-24 2023-08-16 마시모 코오퍼레이션 Medical monitoring data display system
US11024064B2 (en) 2017-02-24 2021-06-01 Masimo Corporation Augmented reality system for displaying patient data
US11086609B2 (en) 2017-02-24 2021-08-10 Masimo Corporation Medical monitoring hub
WO2018156648A1 (en) 2017-02-24 2018-08-30 Masimo Corporation Managing dynamic licenses for physiological parameters in a patient monitoring environment
US10388120B2 (en) 2017-02-24 2019-08-20 Masimo Corporation Localized projection of audible noises in medical settings
US11185262B2 (en) 2017-03-10 2021-11-30 Masimo Corporation Pneumonia screener
WO2018194992A1 (en) 2017-04-18 2018-10-25 Masimo Corporation Nose sensor
USD822215S1 (en) 2017-04-26 2018-07-03 Masimo Corporation Medical monitoring device
US10918281B2 (en) 2017-04-26 2021-02-16 Masimo Corporation Medical monitoring device having multiple configurations
USD822216S1 (en) 2017-04-28 2018-07-03 Masimo Corporation Medical monitoring device
USD835282S1 (en) 2017-04-28 2018-12-04 Masimo Corporation Medical monitoring device
EP3614909B1 (en) 2017-04-28 2024-04-03 Masimo Corporation Spot check measurement system
USD835285S1 (en) 2017-04-28 2018-12-04 Masimo Corporation Medical monitoring device
USD835284S1 (en) 2017-04-28 2018-12-04 Masimo Corporation Medical monitoring device
USD835283S1 (en) 2017-04-28 2018-12-04 Masimo Corporation Medical monitoring device
WO2018208616A1 (en) 2017-05-08 2018-11-15 Masimo Corporation System for pairing a medical system to a network controller by use of a dongle
USD833624S1 (en) 2017-05-09 2018-11-13 Masimo Corporation Medical device
US11026604B2 (en) 2017-07-13 2021-06-08 Cercacor Laboratories, Inc. Medical monitoring device for harmonizing physiological measurements
USD880477S1 (en) 2017-08-15 2020-04-07 Masimo Corporation Connector
CN111031908B (en) 2017-08-15 2023-07-14 梅西莫股份有限公司 Waterproof Connectors for Noninvasive Patient Monitors
USD864120S1 (en) 2017-08-15 2019-10-22 Masimo Corporation Connector
USD906970S1 (en) 2017-08-15 2021-01-05 Masimo Corporation Connector
USD890708S1 (en) 2017-08-15 2020-07-21 Masimo Corporation Connector
JP7747439B2 (en) 2017-10-19 2025-10-01 マシモ・コーポレイション Display configuration of medical monitoring system
USD925597S1 (en) 2017-10-31 2021-07-20 Masimo Corporation Display screen or portion thereof with graphical user interface
CN111372517B (en) 2017-10-31 2023-02-17 梅西莫股份有限公司 System for displaying oxygen status indication
US11766198B2 (en) 2018-02-02 2023-09-26 Cercacor Laboratories, Inc. Limb-worn patient monitoring device
EP3782165A1 (en) 2018-04-19 2021-02-24 Masimo Corporation Mobile patient alarm display
WO2019209915A1 (en) 2018-04-24 2019-10-31 Cercacor Laboratories, Inc. Easy insert finger sensor for transmission based spectroscopy sensor
US20210161465A1 (en) 2018-06-06 2021-06-03 Masimo Corporation Kit for opioid overdose monitoring
US20220296161A1 (en) 2018-06-06 2022-09-22 Masimo Corporation Time-based critical opioid blood oxygen monitoring
EP3801207B1 (en) 2018-06-06 2024-12-04 Masimo Corporation Opioid overdose monitoring
US10779098B2 (en) 2018-07-10 2020-09-15 Masimo Corporation Patient monitor alarm speaker analyzer
US11872156B2 (en) 2018-08-22 2024-01-16 Masimo Corporation Core body temperature measurement
USD887549S1 (en) 2018-09-10 2020-06-16 Masino Corporation Cap for a flow alarm device
USD887548S1 (en) 2018-09-10 2020-06-16 Masimo Corporation Flow alarm device housing
US20200111552A1 (en) 2018-10-08 2020-04-09 Masimo Corporation Patient database analytics
JP7128960B2 (en) 2018-10-11 2022-08-31 マシモ・コーポレイション Patient connector assembly with vertical detent
USD917564S1 (en) 2018-10-11 2021-04-27 Masimo Corporation Display screen or portion thereof with graphical user interface
US11406286B2 (en) 2018-10-11 2022-08-09 Masimo Corporation Patient monitoring device with improved user interface
US11389093B2 (en) 2018-10-11 2022-07-19 Masimo Corporation Low noise oximetry cable
USD916135S1 (en) 2018-10-11 2021-04-13 Masimo Corporation Display screen or portion thereof with a graphical user interface
USD917550S1 (en) 2018-10-11 2021-04-27 Masimo Corporation Display screen or portion thereof with a graphical user interface
US11464410B2 (en) 2018-10-12 2022-10-11 Masimo Corporation Medical systems and methods
USD897098S1 (en) 2018-10-12 2020-09-29 Masimo Corporation Card holder set
USD957648S1 (en) 2018-10-12 2022-07-12 Masimo Corporation Dongle
AU2019357721B2 (en) 2018-10-12 2025-05-08 Masimo Corporation System for transmission of sensor data using dual communication protocol
US20200113520A1 (en) 2018-10-16 2020-04-16 Masimo Corporation Stretch band with indicators or limiters
US12004869B2 (en) 2018-11-05 2024-06-11 Masimo Corporation System to monitor and manage patient hydration via plethysmograph variablity index in response to the passive leg raising
US11986289B2 (en) 2018-11-27 2024-05-21 Willow Laboratories, Inc. Assembly for medical monitoring device with multiple physiological sensors
US20200253474A1 (en) 2018-12-18 2020-08-13 Masimo Corporation Modular wireless physiological parameter system
US11684296B2 (en) 2018-12-21 2023-06-27 Cercacor Laboratories, Inc. Noninvasive physiological sensor
US12076159B2 (en) 2019-02-07 2024-09-03 Masimo Corporation Combining multiple QEEG features to estimate drug-independent sedation level using machine learning
US20200288983A1 (en) 2019-02-26 2020-09-17 Masimo Corporation Respiratory core body temperature measurement systems and methods
US12220207B2 (en) 2019-02-26 2025-02-11 Masimo Corporation Non-contact core body temperature measurement systems and methods
BR112021020780A2 (en) 2019-04-17 2021-12-14 Masimo Corp Electrocardiogram (ECG) device, blood pressure monitoring device, blood pressure monitor, blood pressure cuff, mounting for enabling a caregiver to attach a physiological monitoring device to a user's arm, charging station for providing power to a physiological monitoring device, non-invasive blood pressure monitor and method for a non-invasive blood pressure monitor
USD917704S1 (en) 2019-08-16 2021-04-27 Masimo Corporation Patient monitor
USD919100S1 (en) 2019-08-16 2021-05-11 Masimo Corporation Holder for a patient monitor
USD919094S1 (en) 2019-08-16 2021-05-11 Masimo Corporation Blood pressure device
USD921202S1 (en) 2019-08-16 2021-06-01 Masimo Corporation Holder for a blood pressure device
US11832940B2 (en) 2019-08-27 2023-12-05 Cercacor Laboratories, Inc. Non-invasive medical monitoring device for blood analyte measurements
US12131661B2 (en) 2019-10-03 2024-10-29 Willow Laboratories, Inc. Personalized health coaching system
JP7778689B2 (en) 2019-10-18 2025-12-02 マシモ・コーポレイション Display layouts and interactive objects for patient monitoring
USD927699S1 (en) 2019-10-18 2021-08-10 Masimo Corporation Electrode pad
KR20220115927A (en) 2019-10-25 2022-08-19 세르카코르 래버러토리즈, 인크. Indicator compounds, devices comprising indicator compounds, and methods of making and using the same
CN115066203A (en) 2020-01-13 2022-09-16 梅西莫股份有限公司 Wearable device with physiological parameter monitoring
CN115361981A (en) 2020-01-30 2022-11-18 塞卡科实验室有限公司 Redundant interleaved glucose sensor disease management system
US11879960B2 (en) 2020-02-13 2024-01-23 Masimo Corporation System and method for monitoring clinical activities
WO2021163447A1 (en) 2020-02-13 2021-08-19 Masimo Corporation System and method for monitoring clinical activities
US12048534B2 (en) 2020-03-04 2024-07-30 Willow Laboratories, Inc. Systems and methods for securing a tissue site to a sensor
WO2021189007A1 (en) 2020-03-20 2021-09-23 Masimo Corporation Remote patient management and monitoring systems and methods
USD933232S1 (en) 2020-05-11 2021-10-12 Masimo Corporation Blood pressure monitor
US12127838B2 (en) 2020-04-22 2024-10-29 Willow Laboratories, Inc. Self-contained minimal action invasive blood constituent system
US20210386382A1 (en) 2020-06-11 2021-12-16 Cercacor Laboratories, Inc. Blood glucose disease management system
US12029844B2 (en) 2020-06-25 2024-07-09 Willow Laboratories, Inc. Combination spirometer-inhaler
US11692934B2 (en) 2020-07-23 2023-07-04 Masimo Corporation Solid-state spectrometer
US12082926B2 (en) 2020-08-04 2024-09-10 Masimo Corporation Optical sensor with multiple detectors or multiple emitters
JP2023538378A (en) 2020-08-19 2023-09-07 マシモ・コーポレイション Straps for wearable devices
US20220071562A1 (en) 2020-09-08 2022-03-10 Masimo Corporation Face mask with integrated physiological sensors
USD950599S1 (en) 2020-09-30 2022-05-03 Masimo Corporation Display screen or portion thereof with graphical user interface
USD946597S1 (en) 2020-09-30 2022-03-22 Masimo Corporation Display screen or portion thereof with graphical user interface
USD950580S1 (en) 2020-09-30 2022-05-03 Masimo Corporation Display screen or portion thereof with graphical user interface
USD946598S1 (en) 2020-09-30 2022-03-22 Masimo Corporation Display screen or portion thereof with graphical user interface
USD946617S1 (en) 2020-09-30 2022-03-22 Masimo Corporation Display screen or portion thereof with graphical user interface
USD946596S1 (en) 2020-09-30 2022-03-22 Masimo Corporation Display screen or portion thereof with graphical user interface
US12178852B2 (en) 2020-09-30 2024-12-31 Willow Laboratories, Inc. Insulin formulations and uses in infusion devices
US20220151521A1 (en) 2020-11-18 2022-05-19 Cercacor Laboratories, Inc. Glucose sensors and methods of manufacturing
US12478272B2 (en) 2020-12-23 2025-11-25 Masimo Corporation Patient monitoring systems, devices, and methods
US20220218244A1 (en) 2021-01-11 2022-07-14 Masimo Corporation Wearable pulse oximeter for tennis players
WO2022240765A1 (en) 2021-05-11 2022-11-17 Masimo Corporation Optical physiological nose sensor

Patent Citations (803)

* Cited by examiner, † Cited by third party
Publication number Priority date Publication date Assignee Title
US4421122A (en) * 1981-05-15 1983-12-20 The Children's Medical Center Corporation Brain electrical activity mapping
US5286252A (en) * 1988-02-19 1994-02-15 Gensia Pharmaceuticals, Inc. Diagnosis, evaluation and treatment of coronary artery disease by exercise simulation using closed loop drug delivery of an exercise simulating agent beta agonist
US4964408A (en) 1988-04-29 1990-10-23 Thor Technology Corporation Oximeter sensor assembly with integral cable
US5041187A (en) 1988-04-29 1991-08-20 Thor Technology Corporation Oximeter sensor assembly with integral cable and method of forming the same
US5069213A (en) 1988-04-29 1991-12-03 Thor Technology Corporation Oximeter sensor assembly with integral cable and encoder
US4960128A (en) 1988-11-14 1990-10-02 Paramed Technology Incorporated Method and apparatus for continuously and non-invasively measuring the blood pressure of a patient
US5163438A (en) 1988-11-14 1992-11-17 Paramed Technology Incorporated Method and apparatus for continuously and noninvasively measuring the blood pressure of a patient
US5431170A (en) 1990-05-26 1995-07-11 Mathews; Geoffrey R. Pulse responsive device
US5319355A (en) 1991-03-06 1994-06-07 Russek Linda G Alarm for patient monitor and life support equipment system
US5534851A (en) 1991-03-06 1996-07-09 Russek; Linda G. Alarm for patient monitor and life support equipment
US8046041B2 (en) 1991-03-07 2011-10-25 Masimo Corporation Signal processing apparatus
US7469157B2 (en) 1991-03-07 2008-12-23 Masimo Corporation Signal processing apparatus
US7215984B2 (en) 1991-03-07 2007-05-08 Masimo Corporation Signal processing apparatus
US8942777B2 (en) 1991-03-07 2015-01-27 Masimo Corporation Signal processing apparatus
US6263222B1 (en) 1991-03-07 2001-07-17 Masimo Corporation Signal processing apparatus
US8948834B2 (en) 1991-03-07 2015-02-03 Masimo Corporation Signal processing apparatus
US6236872B1 (en) 1991-03-07 2001-05-22 Masimo Corporation Signal processing apparatus
US6501975B2 (en) 1991-03-07 2002-12-31 Masimo Corporation Signal processing apparatus and method
US8364226B2 (en) 1991-03-07 2013-01-29 Masimo Corporation Signal processing apparatus
US6206830B1 (en) 1991-03-07 2001-03-27 Masimo Corporation Signal processing apparatus and method
US6157850A (en) * 1991-03-07 2000-12-05 Masimo Corporation Signal processing apparatus
US6650917B2 (en) 1991-03-07 2003-11-18 Masimo Corporation Signal processing apparatus
US5482036A (en) 1991-03-07 1996-01-09 Masimo Corporation Signal processing apparatus and method
US5490505A (en) * 1991-03-07 1996-02-13 Masimo Corporation Signal processing apparatus
US8128572B2 (en) 1991-03-07 2012-03-06 Masimo Corporation Signal processing apparatus
US8046042B2 (en) 1991-03-07 2011-10-25 Masimo Corporation Signal processing apparatus
US7496393B2 (en) 1991-03-07 2009-02-24 Masimo Corporation Signal processing apparatus
US6081735A (en) * 1991-03-07 2000-06-27 Masimo Corporation Signal processing apparatus
US8036728B2 (en) 1991-03-07 2011-10-11 Masimo Corporation Signal processing apparatus
USRE38476E1 (en) 1991-03-07 2004-03-30 Masimo Corporation Signal processing apparatus
US6036642A (en) 1991-03-07 2000-03-14 Masimo Corporation Signal processing apparatus and method
USRE38492E1 (en) 1991-03-07 2004-04-06 Masimo Corporation Signal processing apparatus and method
US5632272A (en) 1991-03-07 1997-05-27 Masimo Corporation Signal processing apparatus
US7215986B2 (en) 1991-03-07 2007-05-08 Masimo Corporation Signal processing apparatus
US6745060B2 (en) 1991-03-07 2004-06-01 Masimo Corporation Signal processing apparatus
US7254433B2 (en) 1991-03-07 2007-08-07 Masimo Corporation Signal processing apparatus
US5685299A (en) 1991-03-07 1997-11-11 Masimo Corporation Signal processing apparatus
US7962190B1 (en) 1991-03-07 2011-06-14 Masimo Corporation Signal processing apparatus
US7937130B2 (en) 1991-03-07 2011-05-03 Masimo Corporation Signal processing apparatus
US6826419B2 (en) 1991-03-07 2004-11-30 Masimo Corporation Signal processing apparatus and method
US7383070B2 (en) 1991-03-07 2008-06-03 Masimo Corporation Signal processing apparatus
US7454240B2 (en) 1991-03-07 2008-11-18 Masimo Corporation Signal processing apparatus
US5769785A (en) 1991-03-07 1998-06-23 Masimo Corporation Signal processing apparatus and method
US7530955B2 (en) 1991-03-07 2009-05-12 Masimo Corporation Signal processing apparatus
US7509154B2 (en) 1991-03-07 2009-03-24 Masimo Corporation Signal processing apparatus
US8670814B2 (en) 1991-03-21 2014-03-11 Masimo Corporation Low-noise optical probes for reducing ambient noise
US7483730B2 (en) 1991-03-21 2009-01-27 Masimo Corporation Low-noise optical probes for reducing ambient noise
US7132641B2 (en) 1991-03-21 2006-11-07 Masimo Corporation Shielded optical probe having an electrical connector
US6256523B1 (en) 1991-03-21 2001-07-03 Masimo Corporation Low-noise optical probes
US6792300B1 (en) 1991-03-21 2004-09-14 Masimo Corporation Low-noise optical probes for reducing light piping
US6541756B2 (en) 1991-03-21 2003-04-01 Masimo Corporation Shielded optical probe having an electrical connector
US8229533B2 (en) 1991-03-21 2012-07-24 Masimo Corporation Low-noise optical probes for reducing ambient noise
US6088607A (en) 1991-03-21 2000-07-11 Masimo Corporation Low noise optical probe
US5782757A (en) 1991-03-21 1998-07-21 Masimo Corporation Low-noise optical probes
US6813511B2 (en) 1991-03-21 2004-11-02 Masimo Corporation Low-noise optical probes for reducing ambient noise
US5638818A (en) 1991-03-21 1997-06-17 Masimo Corporation Low noise optical probe
US5377676A (en) 1991-04-03 1995-01-03 Cedars-Sinai Medical Center Method for determining the biodistribution of substances using fluorescence spectroscopy
US5479934A (en) 1991-11-08 1996-01-02 Physiometrix, Inc. EEG headpiece with disposable electrodes and apparatus and system and method for use therewith
US5441528A (en) * 1992-09-25 1995-08-15 Symtonic, S.A. Method and system for applying low energy emission therapy
US5602924A (en) 1992-12-07 1997-02-11 Theratechnologies Inc. Electronic stethescope
US5341805A (en) 1993-04-06 1994-08-30 Cedars-Sinai Medical Center Glucose fluorescence monitor and method
US5494043A (en) 1993-05-04 1996-02-27 Vital Insite, Inc. Arterial sensor
USD353196S (en) 1993-05-28 1994-12-06 Gary Savage Stethoscope head
USD353195S (en) 1993-05-28 1994-12-06 Gary Savage Electronic stethoscope housing
US5452717A (en) 1993-07-14 1995-09-26 Masimo Corporation Finger-cot probe
US5337744A (en) 1993-07-14 1994-08-16 Masimo Corporation Low noise finger cot probe
US5456252A (en) 1993-09-30 1995-10-10 Cedars-Sinai Medical Center Induced fluorescence spectroscopy blood perfusion and pH monitor and method
US7328053B1 (en) 1993-10-06 2008-02-05 Masimo Corporation Signal processing apparatus
US7376453B1 (en) 1993-10-06 2008-05-20 Masimo Corporation Signal processing apparatus
US8560034B1 (en) 1993-10-06 2013-10-15 Masimo Corporation Signal processing apparatus
US5533511A (en) 1994-01-05 1996-07-09 Vital Insite, Incorporated Apparatus and method for noninvasive blood pressure measurement
US5544661A (en) * 1994-01-13 1996-08-13 Charles L. Davis Real time ambulatory patient monitor
USD359546S (en) 1994-01-27 1995-06-20 The Ratechnologies Inc. Housing for a dental unit disinfecting device
US6852083B2 (en) 1994-04-15 2005-02-08 Masimo Corporation System and method of determining whether to recalibrate a blood pressure monitor
US5785659A (en) 1994-04-15 1998-07-28 Vital Insite, Inc. Automatically activated blood pressure measurement device
US5791347A (en) 1994-04-15 1998-08-11 Vital Insite, Inc. Motion insensitive pulse detector
US5833618A (en) 1994-04-15 1998-11-10 Vital Insite, Inc. Apparatus and method for measuring an induced perturbation to determine a physiological parameter
US5810734A (en) 1994-04-15 1998-09-22 Vital Insite, Inc. Apparatus and method for measuring an induced perturbation to determine a physiological parameter
US6371921B1 (en) 1994-04-15 2002-04-16 Masimo Corporation System and method of determining whether to recalibrate a blood pressure monitor
US6045509A (en) 1994-04-15 2000-04-04 Vital Insite, Inc. Apparatus and method for measuring an induced perturbation to determine a physiological parameter
US5590649A (en) 1994-04-15 1997-01-07 Vital Insite, Inc. Apparatus and method for measuring an induced perturbation to determine blood pressure
US5830131A (en) 1994-04-15 1998-11-03 Vital Insite, Inc. Apparatus and method for measuring an induced perturbation to determine a physical condition of the human arterial system
USD361840S (en) 1994-04-21 1995-08-29 Gary Savage Stethoscope head
USD362063S (en) 1994-04-21 1995-09-05 Gary Savage Stethoscope headset
USD363120S (en) 1994-04-21 1995-10-10 Gary Savage Stethoscope ear tip
US5561275A (en) 1994-04-28 1996-10-01 Delstar Services Informatiques (1993) Inc. Headset for electronic stethoscope
US8463349B2 (en) 1994-10-07 2013-06-11 Masimo Corporation Signal processing apparatus
US8019400B2 (en) 1994-10-07 2011-09-13 Masimo Corporation Signal processing apparatus
US8359080B2 (en) 1994-10-07 2013-01-22 Masimo Corporation Signal processing apparatus
US8126528B2 (en) 1994-10-07 2012-02-28 Masimo Corporation Signal processing apparatus
US8755856B2 (en) 1994-10-07 2014-06-17 Masimo Corporation Signal processing apparatus
US5562002A (en) 1995-02-03 1996-10-08 Sensidyne Inc. Positive displacement piston flow meter with damping assembly
US6397091B2 (en) 1995-06-07 2002-05-28 Masimo Corporation Manual and automatic probe calibration
US6151516A (en) 1995-06-07 2000-11-21 Masimo Laboratories Active pulse blood constituent monitoring
US5638816A (en) 1995-06-07 1997-06-17 Masimo Corporation Active pulse blood constituent monitoring
US6931268B1 (en) 1995-06-07 2005-08-16 Masimo Laboratories, Inc. Active pulse blood constituent monitoring
US6110522A (en) 1995-06-07 2000-08-29 Masimo Laboratories Blood glucose monitoring system
US5758644A (en) 1995-06-07 1998-06-02 Masimo Corporation Manual and automatic probe calibration
US7239905B2 (en) 1995-06-07 2007-07-03 Masimo Laboratories, Inc. Active pulse blood constituent monitoring
US8781543B2 (en) 1995-06-07 2014-07-15 Jpmorgan Chase Bank, National Association Manual and automatic probe calibration
USRE44875E1 (en) 1995-06-07 2014-04-29 Cercacor Laboratories, Inc. Active pulse blood constituent monitoring
US20140288400A1 (en) 1995-06-07 2014-09-25 Masimo Corporation Manual and automatic probe calibration
US8145287B2 (en) 1995-06-07 2012-03-27 Masimo Corporation Manual and automatic probe calibration
US6011986A (en) 1995-06-07 2000-01-04 Masimo Corporation Manual and automatic probe calibration
US5860919A (en) 1995-06-07 1999-01-19 Masimo Corporation Active pulse blood constituent monitoring method
US6278522B1 (en) 1995-06-07 2001-08-21 Masimo Laboratories Optical filter for spectroscopic measurement and method of producing the optical filter
US6678543B2 (en) 1995-06-07 2004-01-13 Masimo Corporation Optical probe and positioning wrap
US5760910A (en) 1995-06-07 1998-06-02 Masimo Corporation Optical filter for spectroscopic measurement and method of producing the optical filter
US5940182A (en) 1995-06-07 1999-08-17 Masimo Corporation Optical filter for spectroscopic measurement and method of producing the optical filter
US5743262A (en) 1995-06-07 1998-04-28 Masimo Corporation Blood glucose monitoring system
USRE42753E1 (en) 1995-06-07 2011-09-27 Masimo Laboratories, Inc. Active pulse blood constituent monitoring
US7526328B2 (en) 1995-06-07 2009-04-28 Masimo Corporation Manual and automatic probe calibration
US5823950A (en) 1995-06-07 1998-10-20 Masimo Corporation Manual and automatic probe calibration
US7496391B2 (en) 1995-06-07 2009-02-24 Masimo Corporation Manual and automatic probe calibration
US5694939A (en) * 1995-10-03 1997-12-09 The United States Of America As Represented By The Administrator Of The National Aeronautics And Space Administration Autogenic-feedback training exercise (AFTE) method and system
USD393830S (en) 1995-10-16 1998-04-28 Masimo Corporation Patient cable connector
US6280213B1 (en) 1995-10-16 2001-08-28 Masimo Corporation Patient cable connector
US5645440A (en) 1995-10-16 1997-07-08 Masimo Corporation Patient cable connector
US5934925A (en) 1995-10-16 1999-08-10 Masimo Corporation Patient cable connector
US5904654A (en) 1995-10-20 1999-05-18 Vital Insite, Inc. Exciter-detector unit for measuring physiological parameters
US6232609B1 (en) 1995-12-01 2001-05-15 Cedars-Sinai Medical Center Glucose monitoring apparatus and method using laser-induced emission spectroscopy
US6253097B1 (en) 1996-03-06 2001-06-26 Datex-Ohmeda, Inc. Noninvasive medical monitoring instrument using surface emitting laser devices
US5890929A (en) 1996-06-19 1999-04-06 Masimo Corporation Shielded medical connector
US7618375B2 (en) 1996-06-26 2009-11-17 Masimo Corporation Rapid non-invasive blood pressure measuring device
US6632181B2 (en) 1996-06-26 2003-10-14 Masimo Corporation Rapid non-invasive blood pressure measuring device
US6027452A (en) 1996-06-26 2000-02-22 Vital Insite, Inc. Rapid non-invasive blood pressure measuring device
US7041060B2 (en) 1996-06-26 2006-05-09 Masimo Corporation Rapid non-invasive blood pressure measuring device
US7951086B2 (en) 1996-06-26 2011-05-31 Masimo Corporation Rapid non-invasive blood pressure measuring device
US6939305B2 (en) 1996-06-26 2005-09-06 Masimo Corporation Rapid non-invasive blood pressure measuring device
US6047203A (en) * 1997-03-17 2000-04-04 Nims, Inc. Physiologic signs feedback system
US6643530B2 (en) 1997-04-14 2003-11-04 Masimo Corporation Method and apparatus for demodulating signals in a pulse oximetry system
US8718737B2 (en) 1997-04-14 2014-05-06 Masimo Corporation Method and apparatus for demodulating signals in a pulse oximetry system
US8180420B2 (en) 1997-04-14 2012-05-15 Masimo Corporation Signal processing apparatus and method
US7221971B2 (en) 1997-04-14 2007-05-22 Masimo Corporation Method and apparatus for demodulating signals in a pulse oximetry system
US8185180B2 (en) 1997-04-14 2012-05-22 Masimo Corporation Method and apparatus for demodulating signals in a pulse oximetry system
US7471971B2 (en) 1997-04-14 2008-12-30 Masimo Corporation Signal processing apparatus and method
US8190227B2 (en) 1997-04-14 2012-05-29 Masimo Corporation Signal processing apparatus and method
US7489958B2 (en) 1997-04-14 2009-02-10 Masimo Corporation Signal processing apparatus and method
US6229856B1 (en) 1997-04-14 2001-05-08 Masimo Corporation Method and apparatus for demodulating signals in a pulse oximetry system
US9351673B2 (en) 1997-04-14 2016-05-31 Masimo Corporation Method and apparatus for demodulating signals in a pulse oximetry system
US6067462A (en) 1997-04-14 2000-05-23 Masimo Corporation Signal processing apparatus and method
US6002952A (en) 1997-04-14 1999-12-14 Masimo Corporation Signal processing apparatus and method
US6699194B1 (en) 1997-04-14 2004-03-02 Masimo Corporation Signal processing apparatus and method
US8150487B2 (en) 1997-04-14 2012-04-03 Masimo Corporation Method and apparatus for demodulating signals in a pulse oximetry system
US5919134A (en) 1997-04-14 1999-07-06 Masimo Corp. Method and apparatus for demodulating signals in a pulse oximetry system
US9289167B2 (en) 1997-04-14 2016-03-22 Masimo Corporation Signal processing apparatus and method
US8888708B2 (en) 1997-04-14 2014-11-18 Masimo Corporation Signal processing apparatus and method
US7003339B2 (en) 1997-04-14 2006-02-21 Masimo Corporation Method and apparatus for demodulating signals in a pulse oximetry system
US20160270735A1 (en) 1997-04-14 2016-09-22 Masimo Corporation Method and apparatus for demodulating signals in a pulse oximetry system
US20170014083A1 (en) 1997-04-14 2017-01-19 Masimo Corporation Signal processing apparatus and method
US7499741B2 (en) 1997-04-14 2009-03-03 Masimo Corporation Signal processing apparatus and method
USRE39672E1 (en) 1997-07-07 2007-06-05 Cedars-Sinai Medical Center Method and devices for laser induced fluorescence attenuation spectroscopy
US6697657B1 (en) 1997-07-07 2004-02-24 Cedars-Sinai Medical Center Method and devices for laser induced fluorescence attenuation spectroscopy (LIFAS)
US6124597A (en) 1997-07-07 2000-09-26 Cedars-Sinai Medical Center Method and devices for laser induced fluorescence attenuation spectroscopy
US5987343A (en) 1997-11-07 1999-11-16 Datascope Investment Corp. Method for storing pulse oximetry sensor characteristics
US6184521B1 (en) 1998-01-06 2001-02-06 Masimo Corporation Photodiode detector with integrated noise shielding
US5995855A (en) * 1998-02-11 1999-11-30 Masimo Corporation Pulse oximetry sensor adapter
US6993371B2 (en) 1998-02-11 2006-01-31 Masimo Corporation Pulse oximetry sensor adaptor
US6349228B1 (en) * 1998-02-11 2002-02-19 Masimo Corporation Pulse oximetry sensor adapter
US6597933B2 (en) 1998-02-11 2003-07-22 Masimo Corporation Pulse oximetry sensor adapter
US7844313B2 (en) 1998-02-11 2010-11-30 Masimo Corporation Pulse oximetry sensor adapter
US6241683B1 (en) 1998-02-20 2001-06-05 INSTITUT DE RECHERCHES CLINIQUES DE MONTRéAL (IRCM) Phonospirometry for non-invasive monitoring of respiration
US7332784B2 (en) 1998-03-10 2008-02-19 Masimo Corporation Method of providing an optoelectronic element with a non-protruding lens
US6525386B1 (en) 1998-03-10 2003-02-25 Masimo Corporation Non-protruding optoelectronic lens
US6830711B2 (en) 1998-03-10 2004-12-14 Masimo Corporation Mold tool for an optoelectronic element
US7067893B2 (en) 1998-03-10 2006-06-27 Masimo Corporation Optoelectronic element with a non-protruding lens
US5997343A (en) 1998-03-19 1999-12-07 Masimo Corporation Patient cable sensor switch
US6165005A (en) 1998-03-19 2000-12-26 Masimo Corporation Patient cable sensor switch
US6728560B2 (en) 1998-04-06 2004-04-27 The General Hospital Corporation Non-invasive tissue glucose level monitoring
US7899518B2 (en) 1998-04-06 2011-03-01 Masimo Laboratories, Inc. Non-invasive tissue glucose level monitoring
US6505059B1 (en) 1998-04-06 2003-01-07 The General Hospital Corporation Non-invasive tissue glucose level monitoring
US6018682A (en) * 1998-04-30 2000-01-25 Medtronic, Inc. Implantable seizure warning system
US8721541B2 (en) 1998-06-03 2014-05-13 Masimo Corporation Physiological monitor
US8364223B2 (en) 1998-06-03 2013-01-29 Masimo Corporation Physiological monitor
US7894868B2 (en) 1998-06-03 2011-02-22 Masimo Corporation Physiological monitor
US6334065B1 (en) 1998-06-03 2001-12-25 Masimo Corporation Stereo pulse oximeter
US6898452B2 (en) 1998-06-03 2005-05-24 Masimo Corporation Stereo pulse oximeter
US20170188919A1 (en) 1998-06-03 2017-07-06 Masimo Corporation Physiological monitor
US7899507B2 (en) 1998-06-03 2011-03-01 Masimo Corporation Physiological monitor
US6714804B2 (en) 1998-06-03 2004-03-30 Masimo Corporation Stereo pulse oximeter
US9492110B2 (en) 1998-06-03 2016-11-15 Masimo Corporation Physiological monitor
US7761128B2 (en) 1998-06-03 2010-07-20 Masimo Corporation Physiological monitor
US8255028B2 (en) 1998-06-03 2012-08-28 Masimo Corporation, Inc. Physiological monitor
US7891355B2 (en) 1998-06-03 2011-02-22 Masimo Corporation Physiological monitor
US6128521A (en) 1998-07-10 2000-10-03 Physiometrix, Inc. Self adjusting headgear appliance using reservoir electrodes
US6285896B1 (en) 1998-07-13 2001-09-04 Masimo Corporation Fetal pulse oximetry sensor
US7277758B2 (en) * 1998-08-05 2007-10-02 Neurovista Corporation Methods and systems for predicting future symptomatology in a patient suffering from a neurological or psychiatric disorder
US6325761B1 (en) 1998-09-11 2001-12-04 Gregory D. Jay Device and method for measuring pulsus paradoxus
US6129675A (en) 1998-09-11 2000-10-10 Jay; Gregory D. Device and method for measuring pulsus paradoxus
US6684091B2 (en) 1998-10-15 2004-01-27 Sensidyne, Inc. Reusable pulse oximeter probe and disposable bandage method
US8706179B2 (en) 1998-10-15 2014-04-22 Masimo Corporation Reusable pulse oximeter probe and disposable bandage apparatii
US6144868A (en) 1998-10-15 2000-11-07 Sensidyne, Inc. Reusable pulse oximeter probe and disposable bandage apparatus
US6721585B1 (en) 1998-10-15 2004-04-13 Sensidyne, Inc. Universal modular pulse oximeter probe for use with reusable and disposable patient attachment devices
USRE41912E1 (en) 1998-10-15 2010-11-02 Masimo Corporation Reusable pulse oximeter probe and disposable bandage apparatus
USRE43860E1 (en) 1998-10-15 2012-12-11 Masimo Corporation Reusable pulse oximeter probe and disposable bandage apparatus
USRE44823E1 (en) 1998-10-15 2014-04-01 Masimo Corporation Universal modular pulse oximeter probe for use with reusable and disposable patient attachment devices
US6519487B1 (en) 1998-10-15 2003-02-11 Sensidyne, Inc. Reusable pulse oximeter probe and disposable bandage apparatus
US6735459B2 (en) 1998-10-15 2004-05-11 Sensidyne, Inc. Reusable pulse oximeter probe and disposable bandage apparatus
USRE41317E1 (en) 1998-10-15 2010-05-04 Masimo Corporation Universal modular pulse oximeter probe for use with reusable and disposable patient attachment devices
US6343224B1 (en) 1998-10-15 2002-01-29 Sensidyne, Inc. Reusable pulse oximeter probe and disposable bandage apparatus
USRE43169E1 (en) 1998-10-15 2012-02-07 Masimo Corporation Universal modular pulse oximeter probe for use with reusable and disposable patient attachment devices
US9675286B2 (en) 1998-12-30 2017-06-13 Masimo Corporation Plethysmograph pulse recognition processor
US6463311B1 (en) 1998-12-30 2002-10-08 Masimo Corporation Plethysmograph pulse recognition processor
US6816741B2 (en) 1998-12-30 2004-11-09 Masimo Corporation Plethysmograph pulse recognition processor
US7988637B2 (en) 1998-12-30 2011-08-02 Masimo Corporation Plethysmograph pulse recognition processor
US7044918B2 (en) 1998-12-30 2006-05-16 Masimo Corporation Plethysmograph pulse recognition processor
US6606511B1 (en) 1999-01-07 2003-08-12 Masimo Corporation Pulse oximetry pulse indicator
US6996427B2 (en) 1999-01-07 2006-02-07 Masimo Corporation Pulse oximetry data confidence indicator
US8046040B2 (en) 1999-01-07 2011-10-25 Masimo Corporation Pulse oximetry data confidence indicator
US6684090B2 (en) 1999-01-07 2004-01-27 Masimo Corporation Pulse oximetry data confidence indicator
US9636055B2 (en) 1999-01-07 2017-05-02 Masimo Corporation Pulse and confidence indicator displayed proximate plethysmograph
US7024233B2 (en) 1999-01-07 2006-04-04 Masimo Corporation Pulse oximetry data confidence indicator
US7428432B2 (en) * 1999-01-25 2008-09-23 Masimo Corporation Systems and methods for acquiring calibration data usable in a pulse oximeter
US7991446B2 (en) * 1999-01-25 2011-08-02 Masimo Corporation Systems and methods for acquiring calibration data usable in a pulse oximeter
US20140012100A1 (en) 1999-01-25 2014-01-09 Masimo Corporation Dual-mode patient monitor
US8532727B2 (en) 1999-01-25 2013-09-10 Masimo Corporation Dual-mode pulse oximeter
US9375185B2 (en) 1999-01-25 2016-06-28 Masimo Corporation Systems and methods for acquiring calibration data usable in a pulse oximeter
US6658276B2 (en) 1999-01-25 2003-12-02 Masimo Corporation Pulse oximeter user interface
US20140323825A1 (en) 1999-01-25 2014-10-30 Masimo Corporation Systems and methods for acquiring calibration data usable in a pulse oximeter
US8405608B2 (en) 1999-01-25 2013-03-26 Masimo Corporation System and method for altering a display mode
US7530949B2 (en) * 1999-01-25 2009-05-12 Masimo Corporation Dual-mode pulse oximeter
US6770028B1 (en) * 1999-01-25 2004-08-03 Masimo Corporation Dual-mode pulse oximeter
US6584336B1 (en) * 1999-01-25 2003-06-24 Masimo Corporation Universal/upgrading pulse oximeter
US8532728B2 (en) 1999-03-25 2013-09-10 Masimo Corporation Pulse oximeter probe-off detector
US6360114B1 (en) 1999-03-25 2002-03-19 Masimo Corporation Pulse oximeter probe-off detector
US9730640B2 (en) 1999-03-25 2017-08-15 Masimo Corporation Pulse oximeter probe-off detector
US7471969B2 (en) 1999-03-25 2008-12-30 Masimo Corporation Pulse oximeter probe-off detector
US6654624B2 (en) 1999-03-25 2003-11-25 Masimo Corporation Pulse oximeter probe-off detector
US6721582B2 (en) 1999-04-06 2004-04-13 Argose, Inc. Non-invasive tissue glucose level monitoring
US8175672B2 (en) 1999-04-12 2012-05-08 Masimo Corporation Reusable pulse oximeter probe and disposable bandage apparatii
US7245953B1 (en) 1999-04-12 2007-07-17 Masimo Corporation Reusable pulse oximeter probe and disposable bandage apparatii
US7048687B1 (en) 1999-04-14 2006-05-23 Ob Scientific, Inc. Limited use medical probe
US20060161054A1 (en) 1999-04-14 2006-07-20 Reuss James L Limited use medical probe
US6308089B1 (en) 1999-04-14 2001-10-23 O.B. Scientific, Inc. Limited use medical probe
US6526300B1 (en) 1999-06-18 2003-02-25 Masimo Corporation Pulse oximeter probe-off detection system
US6771994B2 (en) 1999-06-18 2004-08-03 Masimo Corporation Pulse oximeter probe-off detection system
US6301493B1 (en) 1999-07-10 2001-10-09 Physiometrix, Inc. Reservoir electrodes for electroencephalograph headgear appliance
US6321100B1 (en) 1999-07-13 2001-11-20 Sensidyne, Inc. Reusable pulse oximeter probe with disposable liner
US6515273B2 (en) 1999-08-26 2003-02-04 Masimo Corporation System for indicating the expiration of the useful operating life of a pulse oximetry sensor
US6861639B2 (en) 1999-08-26 2005-03-01 Masimo Corporation Systems and methods for indicating an amount of use of a sensor
US7186966B2 (en) 1999-08-26 2007-03-06 Masimo Corporation Amount of use tracking device and method for medical product
US6580086B1 (en) 1999-08-26 2003-06-17 Masimo Corporation Shielded optical probe and method
US6388240B2 (en) 1999-08-26 2002-05-14 Masimo Corporation Shielded optical probe and method having a longevity indication
US6979812B2 (en) 1999-08-26 2005-12-27 Masimo Corporation Systems and methods for indicating an amount of use of a sensor
US7910875B2 (en) 1999-08-26 2011-03-22 Masimo Corporation Systems and methods for indicating an amount of use of a sensor
US8399822B2 (en) 1999-08-26 2013-03-19 Masimo Corporation Systems and methods for indicating an amount of use of a sensor
US6943348B1 (en) 1999-10-19 2005-09-13 Masimo Corporation System for detecting injection holding material
US6430437B1 (en) 1999-10-27 2002-08-06 Physiometrix, Inc. Module for acquiring electroencephalograph signals from a patient
US6317627B1 (en) 1999-11-02 2001-11-13 Physiometrix, Inc. Anesthesia monitoring system based on electroencephalographic signals
US6639668B1 (en) 1999-11-03 2003-10-28 Argose, Inc. Asynchronous fluorescence scan
US6542764B1 (en) 1999-12-01 2003-04-01 Masimo Corporation Pulse oximeter monitor for expressing the urgency of the patient's condition
US6725075B2 (en) 1999-12-09 2004-04-20 Masimo Corporation Resposable pulse oximetry sensor
US6950687B2 (en) 1999-12-09 2005-09-27 Masimo Corporation Isolation and communication element for a resposable pulse oximetry sensor
US7039449B2 (en) 1999-12-09 2006-05-02 Masimo Corporation Resposable pulse oximetry sensor
US9386953B2 (en) 1999-12-09 2016-07-12 Masimo Corporation Method of sterilizing a reusable portion of a noninvasive optical probe
US6671531B2 (en) 1999-12-09 2003-12-30 Masimo Corporation Sensor wrap including foldable applicator
US8000761B2 (en) 1999-12-09 2011-08-16 Masimo Corporation Resposable pulse oximetry sensor
US7734320B2 (en) 1999-12-09 2010-06-08 Masimo Corporation Sensor isolation
US6377829B1 (en) 1999-12-09 2002-04-23 Masimo Corporation Resposable pulse oximetry sensor
US7272425B2 (en) 1999-12-09 2007-09-18 Masimo Corporation Pulse oximetry sensor including stored sensor data
US6152754A (en) 1999-12-21 2000-11-28 Masimo Corporation Circuit board based cable connector
US6597932B2 (en) 2000-02-18 2003-07-22 Argose, Inc. Generation of spatially-averaged excitation-emission map in heterogeneous tissue
US7289835B2 (en) 2000-02-18 2007-10-30 Masimo Laboratories, Inc. Multivariate analysis of green to ultraviolet spectra of cell and tissue samples
US6430525B1 (en) 2000-06-05 2002-08-06 Masimo Corporation Variable mode averager
US8260577B2 (en) 2000-06-05 2012-09-04 Masimo Corporation Variable indication estimator
US6999904B2 (en) 2000-06-05 2006-02-14 Masimo Corporation Variable indication estimator
US7499835B2 (en) 2000-06-05 2009-03-03 Masimo Corporation Variable indication estimator
US20150351697A1 (en) 2000-06-05 2015-12-10 Masimo Corporation Variable indication estimator
US8489364B2 (en) 2000-06-05 2013-07-16 Masimo Corporation Variable indication estimator
US7873497B2 (en) 2000-06-05 2011-01-18 Masimo Corporation Variable indication estimator
US9138192B2 (en) 2000-06-05 2015-09-22 Masimo Corporation Variable indication estimator
US6470199B1 (en) 2000-06-21 2002-10-22 Masimo Corporation Elastic sock for positioning an optical probe
US6697656B1 (en) 2000-06-27 2004-02-24 Masimo Corporation Pulse oximetry sensor compatible with multiple pulse oximetry systems
US6768920B2 (en) * 2000-07-06 2004-07-27 Algodyne, Ltd. System for delivering pain-reduction medication
US7149561B2 (en) 2000-08-18 2006-12-12 Masimo Corporation Optical spectroscopy pathlength measurement system
US7801581B2 (en) 2000-08-18 2010-09-21 Masimo Laboratories, Inc. Optical spectroscopy pathlength measurement system
US6640116B2 (en) 2000-08-18 2003-10-28 Masimo Corporation Optical spectroscopy pathlength measurement system
US6368283B1 (en) 2000-09-08 2002-04-09 Institut De Recherches Cliniques De Montreal Method and apparatus for estimating systolic and mean pulmonary artery pressures of a patient
US20020099409A1 (en) * 2000-11-10 2002-07-25 Hui John C.K. High efficiency external counterpulsation apparatus and method for controlling same
US6760607B2 (en) 2000-12-29 2004-07-06 Masimo Corporation Ribbon cable substrate pulse oximetry sensor
US6985764B2 (en) 2001-05-03 2006-01-10 Masimo Corporation Flex circuit shielded optical sensor
US7340287B2 (en) 2001-05-03 2008-03-04 Masimo Corporation Flex circuit shielded optical sensor
US6631291B2 (en) 2001-05-18 2003-10-07 Instrumentarium Corp. Closed loop drug administration method and apparatus using EEG complexity for control purposes
US20020173729A1 (en) * 2001-05-18 2002-11-21 Hanna Viertio-Oja Closed loop drug administration method and apparatus using eeg complexity for control purposes
US7904132B2 (en) 2001-06-29 2011-03-08 Masimo Corporation Sine saturation transform
US7373194B2 (en) 2001-06-29 2008-05-13 Masimo Corporation Signal component processor
US7467002B2 (en) 2001-06-29 2008-12-16 Masimo Corporation Sine saturation transform
US8498684B2 (en) 2001-06-29 2013-07-30 Masimo Corporation Sine saturation transform
US6850787B2 (en) 2001-06-29 2005-02-01 Masimo Laboratories, Inc. Signal component processor
US8892180B2 (en) 2001-06-29 2014-11-18 Masimo Corporation Sine saturation transform
US7377899B2 (en) 2001-06-29 2008-05-27 Masimo Corporation Sine saturation transform
US20150141781A1 (en) 2001-06-29 2015-05-21 Masimo Corporation Sine saturation transform
US8457703B2 (en) 2001-07-02 2013-06-04 Masimo Corporation Low power pulse oximeter
US20130267804A1 (en) 2001-07-02 2013-10-10 Masimo Corporation Low power pulse oximeter
US6697658B2 (en) 2001-07-02 2004-02-24 Masimo Corporation Low power pulse oximeter
US7295866B2 (en) 2001-07-02 2007-11-13 Masimo Corporation Low power pulse oximeter
US6595316B2 (en) 2001-07-18 2003-07-22 Andromed, Inc. Tension-adjustable mechanism for stethoscope earpieces
US20050277819A1 (en) * 2002-01-08 2005-12-15 Kiani Massi E Physiological sensor combination
US9364181B2 (en) 2002-01-08 2016-06-14 Masimo Corporation Physiological sensor combination
US6934570B2 (en) * 2002-01-08 2005-08-23 Masimo Corporation Physiological sensor combination
US9636056B2 (en) 2002-01-24 2017-05-02 Masimo Corporation Physiological trend monitor
US6822564B2 (en) 2002-01-24 2004-11-23 Masimo Corporation Parallel measurement alarm processor
US7190261B2 (en) 2002-01-24 2007-03-13 Masimo Corporation Arrhythmia alarm processor
US7880606B2 (en) 2002-01-24 2011-02-01 Masimo Corporation Physiological trend monitor
US7355512B1 (en) 2002-01-24 2008-04-08 Masimo Corporation Parallel alarm processor
US8228181B2 (en) 2002-01-24 2012-07-24 Masimo Corporation Physiological trend monitor
US7030749B2 (en) 2002-01-24 2006-04-18 Masimo Corporation Parallel measurement alarm processor
US9131883B2 (en) 2002-01-24 2015-09-15 Masimo Corporation Physiological trend monitor
US8570167B2 (en) 2002-01-24 2013-10-29 Masimo Corporation Physiological trend monitor
US7015451B2 (en) 2002-01-25 2006-03-21 Masimo Corporation Power supply rail controller
US20140171763A1 (en) 2002-02-22 2014-06-19 Cercacor Laboratories, Inc. Pulse and active pulse spectraphotometry
US8606342B2 (en) 2002-02-22 2013-12-10 Cercacor Laboratories, Inc. Pulse and active pulse spectraphotometry
US6961598B2 (en) 2002-02-22 2005-11-01 Masimo Corporation Pulse and active pulse spectraphotometry
US7509494B2 (en) 2002-03-01 2009-03-24 Masimo Corporation Interface cable
US20140316228A1 (en) 2002-03-08 2014-10-23 Glt Acquisition Corp. Method and apparatus for coupling a sample probe with a sample site
US8718738B2 (en) 2002-03-08 2014-05-06 Glt Acquisition Corp. Method and apparatus for coupling a sample probe with a sample site
US8504128B2 (en) 2002-03-08 2013-08-06 Glt Acquisition Corp. Method and apparatus for coupling a channeled sample probe to tissue
US20170224262A1 (en) 2002-03-25 2017-08-10 Masimo Corporation Arm mountable portable patient monitor
US9113832B2 (en) 2002-03-25 2015-08-25 Masimo Corporation Wrist-mounted physiological measurement device
US9795300B2 (en) 2002-03-25 2017-10-24 Masimo Corporation Wearable portable patient monitor
US20170224231A1 (en) 2002-03-25 2017-08-10 Masimo Corporation Arm mountable portable patient monitor
US20170224233A1 (en) 2002-03-25 2017-08-10 Masimo Corporation Body worn mobile medical patient monitor
US8548548B2 (en) 2002-03-25 2013-10-01 Masimo Corporation Physiological measurement communications adapter
US9788735B2 (en) 2002-03-25 2017-10-17 Masimo Corporation Body worn mobile medical patient monitor
US20160029932A1 (en) 2002-03-25 2016-02-04 Masimo Corporation Physiological measurement communications adapter
US6850788B2 (en) 2002-03-25 2005-02-01 Masimo Corporation Physiological measurement communications adapter
US7844314B2 (en) 2002-03-25 2010-11-30 Masimo Corporation Physiological measurement communications adapter
US7844315B2 (en) 2002-03-25 2010-11-30 Masimo Corporation Physiological measurement communications adapter
US9113831B2 (en) 2002-03-25 2015-08-25 Masimo Corporation Physiological measurement communications adapter
US20040015091A1 (en) * 2002-04-01 2004-01-22 Aspect Medical Systems System and method of assessment of arousal, pain and stress during anesthesia and sedation
US7299088B1 (en) * 2002-06-02 2007-11-20 Nitish V Thakor Apparatus and methods for brain rhythm analysis
US6661161B1 (en) 2002-06-27 2003-12-09 Andromed Inc. Piezoelectric biological sound monitor with printed circuit board
US20040010203A1 (en) * 2002-07-12 2004-01-15 Bionova Technologies Inc. Method and apparatus for the estimation of anesthetic depth using wavelet analysis of the electroencephalogram
US7373198B2 (en) * 2002-07-12 2008-05-13 Bionova Technologies Inc. Method and apparatus for the estimation of anesthetic depth using wavelet analysis of the electroencephalogram
US20040092809A1 (en) * 2002-07-26 2004-05-13 Neurion Inc. Methods for measurement and analysis of brain activity
US7096054B2 (en) 2002-08-01 2006-08-22 Masimo Corporation Low noise optical housing
US7341559B2 (en) 2002-09-14 2008-03-11 Masimo Corporation Pulse oximetry ear sensor
US7142901B2 (en) 2002-09-25 2006-11-28 Masimo Corporation Parameter compensated physiological monitor
US7274955B2 (en) 2002-09-25 2007-09-25 Masimo Corporation Parameter compensated pulse oximeter
US7096052B2 (en) 2002-10-04 2006-08-22 Masimo Corporation Optical probe including predetermined emission wavelength based on patient type
US7146211B2 (en) * 2002-10-15 2006-12-05 Medtronic, Inc. Signal quality monitoring and control for a medical device system
US8187181B2 (en) * 2002-10-15 2012-05-29 Medtronic, Inc. Scoring of sensed neurological signals for use with a medical device system
US7715919B2 (en) * 2002-10-15 2010-05-11 Medtronic, Inc. Control of treatment therapy during start-up and during operation of a medical device system
US7089927B2 (en) * 2002-10-23 2006-08-15 New York University System and method for guidance of anesthesia, analgesia and amnesia
US8509867B2 (en) 2002-11-12 2013-08-13 Cercacor Laboratories, Inc. Non-invasive measurement of analytes
US20140120564A1 (en) 2002-11-12 2014-05-01 Cercacor Laboratories, Inc. Non-invasive measurement of analytes
US7027849B2 (en) 2002-11-22 2006-04-11 Masimo Laboratories, Inc. Blood parameter measurement system
US6970792B1 (en) 2002-12-04 2005-11-29 Masimo Laboratories, Inc. Systems and methods for determining blood oxygen saturation values using complex number encoding
US7440787B2 (en) 2002-12-04 2008-10-21 Masimo Laboratories, Inc. Systems and methods for determining blood oxygen saturation values using complex number encoding
US8948835B2 (en) 2002-12-04 2015-02-03 Cercacor Laboratories, Inc. Systems and methods for determining blood oxygen saturation values using complex number encoding
US9622693B2 (en) 2002-12-04 2017-04-18 Masimo Corporation Systems and methods for determining blood oxygen saturation values using complex number encoding
US20040116784A1 (en) * 2002-12-13 2004-06-17 Intercure Ltd. Apparatus and method for beneficial modification of biorhythmic activity
US8921699B2 (en) 2002-12-19 2014-12-30 Masimo Corporation Low noise oximetry cable including conductive cords
US20150101844A1 (en) 2002-12-19 2015-04-16 Masimo Corporation Low noise oximetry cable including conductive cords
US7225006B2 (en) 2003-01-23 2007-05-29 Masimo Corporation Attachment and optical probe
US7225007B2 (en) 2003-01-24 2007-05-29 Masimo Corporation Optical sensor including disposable and reusable elements
US8781549B2 (en) 2003-01-24 2014-07-15 Cercacor Laboratories, Inc. Noninvasive oximetry optical sensor including disposable and reusable elements
US9693719B2 (en) 2003-01-24 2017-07-04 Masimo Corporation Noninvasive oximetry optical sensor including disposable and reusable elements
US6920345B2 (en) 2003-01-24 2005-07-19 Masimo Corporation Optical sensor including disposable and reusable elements
US8244325B2 (en) 2003-01-24 2012-08-14 Cercacor Laboratories, Inc. Noninvasive oximetry optical sensor including disposable and reusable elements
US9084569B2 (en) 2003-07-08 2015-07-21 Cercacor Laboratories, Inc. Method and apparatus for reducing coupling between signals in a measurement system
US8676286B2 (en) 2003-07-08 2014-03-18 Cercacor Laboratories, Inc. Method and apparatus for reducing coupling between signals in a measurement system
US7865222B2 (en) 2003-07-08 2011-01-04 Masimo Laboratories Method and apparatus for reducing coupling between signals in a measurement system
US20160007930A1 (en) 2003-07-08 2016-01-14 Cercacor Laboratories, Inc. Method and apparatus for reducing coupling between signals in a measurement system
US7003338B2 (en) 2003-07-08 2006-02-21 Masimo Corporation Method and apparatus for reducing coupling between signals
US7356365B2 (en) 2003-07-09 2008-04-08 Glucolight Corporation Method and apparatus for tissue oximetry
US7811279B2 (en) * 2003-07-16 2010-10-12 Sasha John Programmable medical drug delivery systems and methods for delivery of multiple fluids and concentrations
US8920317B2 (en) 2003-07-25 2014-12-30 Masimo Corporation Multipurpose sensor port
US20150116076A1 (en) 2003-07-25 2015-04-30 Masimo Corporation Multipurpose sensor port
US7500950B2 (en) 2003-07-25 2009-03-10 Masimo Corporation Multipurpose sensor port
US7254431B2 (en) 2003-08-28 2007-08-07 Masimo Corporation Physiological parameter tracking system
US9788768B2 (en) 2003-08-28 2017-10-17 Masimo Corporation Physiological parameter tracking system
US8385995B2 (en) 2003-08-28 2013-02-26 Masimo Corporation Physiological parameter tracking system
US20050070823A1 (en) * 2003-09-29 2005-03-31 Donofrio William T. Response testing for conscious sedation involving hand grip dynamics
US7254434B2 (en) 2003-10-14 2007-08-07 Masimo Corporation Variable pressure reusable sensor
US9072474B2 (en) 2003-11-05 2015-07-07 Masimo Corporation Pulse oximeter access apparatus and method
US7483729B2 (en) 2003-11-05 2009-01-27 Masimo Corporation Pulse oximeter access apparatus and method
US9743887B2 (en) 2003-11-05 2017-08-29 Masimo Corporation Pulse oximeter access apparatus and method
US7373193B2 (en) 2003-11-07 2008-05-13 Masimo Corporation Pulse oximetry data capture system
US20050113744A1 (en) * 2003-11-21 2005-05-26 Cyberkinetics, Inc. Agent delivery systems and related methods under control of biological electrical signals
US8466286B2 (en) 2003-12-24 2013-06-18 Cercacor Laboratories, Inc. SMMR (small molecule metabolite reporters) for use as in vivo glucose biosensors
US8029765B2 (en) 2003-12-24 2011-10-04 Masimo Laboratories, Inc. SMMR (small molecule metabolite reporters) for use as in vivo glucose biosensors
US20140127137A1 (en) 2003-12-24 2014-05-08 Cercacor Laboratories, Inc Smmr (small molecule metabolite reporters) for use as in vivo glucose biosensors
US8008088B2 (en) 2003-12-24 2011-08-30 Masimo Laboratories, Inc. SMMR (small molecule metabolite reporters) for use as in vivo glucose biosensors
US7280858B2 (en) 2004-01-05 2007-10-09 Masimo Corporation Pulse oximetry sensor
US20070021673A1 (en) * 2004-01-27 2007-01-25 Cardiometer Ltd. Method and system for cardiovascular system diagnosis
US7510849B2 (en) 2004-01-29 2009-03-31 Glucolight Corporation OCT based method for diagnosis and therapy
US7371981B2 (en) 2004-02-20 2008-05-13 Masimo Corporation Connector switch
US9161713B2 (en) 2004-03-04 2015-10-20 Masimo Corporation Multi-mode patient monitor configured to self-configure for a selected or determined mode of operation
US8337403B2 (en) 2004-03-04 2012-12-25 Masimo Corporation Patient monitor having context-based sensitivity adjustments
US7438683B2 (en) 2004-03-04 2008-10-21 Masimo Corporation Application identification sensor
US8721542B2 (en) 2004-03-08 2014-05-13 Masimo Corporation Physiological parameter system
US20080300471A1 (en) * 2004-03-08 2008-12-04 Masimo Corporation Physiological parameter system
US7415297B2 (en) * 2004-03-08 2008-08-19 Masimo Corporation Physiological parameter system
US20140330092A1 (en) 2004-03-08 2014-11-06 Masimo Corporation Physiological parameter system
US7292883B2 (en) 2004-03-31 2007-11-06 Masimo Corporation Physiological assessment system
US8641631B2 (en) 2004-04-08 2014-02-04 Masimo Corporation Non-invasive monitoring of respiratory rate, heart rate and apnea
US20140180154A1 (en) 2004-04-08 2014-06-26 Masimo Corporation Non-invasive monitoring of respiratory rate, heart rate and apnea
US7909772B2 (en) 2004-04-16 2011-03-22 Masimo Corporation Non-invasive measurement of second heart sound components
US8868147B2 (en) 2004-04-28 2014-10-21 Glt Acquisition Corp. Method and apparatus for controlling positioning of a noninvasive analyzer sample probe
US8423106B2 (en) 2004-07-07 2013-04-16 Cercacor Laboratories, Inc. Multi-wavelength physiological monitor
US9339220B2 (en) 2004-07-07 2016-05-17 Masimo Corporation Multi-wavelength physiological monitor
US7343186B2 (en) 2004-07-07 2008-03-11 Masimo Laboratories, Inc. Multi-wavelength physiological monitor
US9341565B2 (en) 2004-07-07 2016-05-17 Masimo Corporation Multiple-wavelength physiological monitor
US7937128B2 (en) 2004-07-09 2011-05-03 Masimo Corporation Cyanotic infant sensor
US8682407B2 (en) 2004-07-09 2014-03-25 Masimo Corporation Cyanotic infant sensor
US9480422B2 (en) 2004-07-09 2016-11-01 Masimo Corporation Cyanotic infant sensor
US7822452B2 (en) 2004-08-11 2010-10-26 Glt Acquisition Corp. Method for data reduction and calibration of an OCT-based blood glucose monitor
US8306596B2 (en) 2004-08-11 2012-11-06 Glt Acquisition Corp. Method for data reduction and calibration of an OCT-based physiological monitor
US8548549B2 (en) 2004-08-11 2013-10-01 Glt Acquisition Corp. Methods for noninvasively measuring analyte levels in a subject
US9668679B2 (en) 2004-08-11 2017-06-06 Masimo Corporation Method for data reduction and calibration of an OCT-based physiological monitor
US8204566B2 (en) 2004-08-11 2012-06-19 Glt Acquisition Corp. Method and apparatus for monitoring blood constituent levels in biological tissue
US9554737B2 (en) 2004-08-11 2017-01-31 Masimo Corporation Noninvasively measuring analyte levels in a subject
US9078560B2 (en) 2004-08-11 2015-07-14 Glt Acquisition Corp. Method for data reduction and calibration of an OCT-based physiological monitor
US8036727B2 (en) 2004-08-11 2011-10-11 Glt Acquisition Corp. Methods for noninvasively measuring analyte levels in a subject
US7254429B2 (en) 2004-08-11 2007-08-07 Glucolight Corporation Method and apparatus for monitoring glucose levels in a biological tissue
US8788003B2 (en) 2004-08-11 2014-07-22 Glt Acquisition Corp. Monitoring blood constituent levels in biological tissue
US7976472B2 (en) 2004-09-07 2011-07-12 Masimo Corporation Noninvasive hypovolemia monitor
US20080033490A1 (en) * 2004-12-17 2008-02-07 Medtronic, Inc. System and method for regulating cardiopulmonary triggered therapy to the brain
USD554263S1 (en) 2005-02-18 2007-10-30 Masimo Corporation Portable patient monitor
USD566282S1 (en) 2005-02-18 2008-04-08 Masimo Corporation Stand for a portable patient monitor
US8353842B2 (en) 2005-02-18 2013-01-15 Masimo Corporation Portable patient monitor
US20160166182A1 (en) 2005-03-01 2016-06-16 Cercacor Laboratories, Inc. Configurable physiological measurement system
US8385996B2 (en) 2005-03-01 2013-02-26 Cercacor Laboratories, Inc. Multiple wavelength sensor emitters
US8581732B2 (en) 2005-03-01 2013-11-12 Carcacor Laboratories, Inc. Noninvasive multi-parameter patient monitor
US8301217B2 (en) 2005-03-01 2012-10-30 Cercacor Laboratories, Inc. Multiple wavelength sensor emitters
US7957780B2 (en) 2005-03-01 2011-06-07 Masimo Laboratories, Inc. Physiological parameter confidence measure
US8634889B2 (en) 2005-03-01 2014-01-21 Cercacor Laboratories, Inc. Configurable physiological measurement system
US9241662B2 (en) 2005-03-01 2016-01-26 Cercacor Laboratories, Inc. Configurable physiological measurement system
US9131882B2 (en) 2005-03-01 2015-09-15 Cercacor Laboratories, Inc. Noninvasive multi-parameter patient monitor
US8050728B2 (en) 2005-03-01 2011-11-01 Masimo Laboratories, Inc. Multiple wavelength sensor drivers
US8718735B2 (en) 2005-03-01 2014-05-06 Cercacor Laboratories, Inc. Physiological parameter confidence measure
US8483787B2 (en) 2005-03-01 2013-07-09 Cercacor Laboratories, Inc. Multiple wavelength sensor drivers
US9167995B2 (en) 2005-03-01 2015-10-27 Cercacor Laboratories, Inc. Physiological parameter confidence measure
US8626255B2 (en) 2005-03-01 2014-01-07 Cercacor Laboratories, Inc. Noninvasive multi-parameter patient monitor
US8224411B2 (en) 2005-03-01 2012-07-17 Masimo Laboratories, Inc. Noninvasive multi-parameter patient monitor
US7764982B2 (en) 2005-03-01 2010-07-27 Masimo Laboratories, Inc. Multiple wavelength sensor emitters
US8849365B2 (en) 2005-03-01 2014-09-30 Cercacor Laboratories, Inc. Multiple wavelength sensor emitters
US8190223B2 (en) 2005-03-01 2012-05-29 Masimo Laboratories, Inc. Noninvasive multi-parameter patient monitor
US7761127B2 (en) 2005-03-01 2010-07-20 Masimo Laboratories, Inc. Multiple wavelength sensor substrate
US7729733B2 (en) 2005-03-01 2010-06-01 Masimo Laboratories, Inc. Configurable physiological measurement system
US9549696B2 (en) 2005-03-01 2017-01-24 Cercacor Laboratories, Inc. Physiological parameter confidence measure
US7377794B2 (en) 2005-03-01 2008-05-27 Masimo Corporation Multiple wavelength sensor interconnect
US7647083B2 (en) 2005-03-01 2010-01-12 Masimo Laboratories, Inc. Multiple wavelength sensor equalization
US9351675B2 (en) 2005-03-01 2016-05-31 Cercacor Laboratories, Inc. Noninvasive multi-parameter patient monitor
US20160310052A1 (en) 2005-03-01 2016-10-27 Cercacor Laboratories, Inc. Noninvasive multi-parameter patient monitor
US8929964B2 (en) 2005-03-01 2015-01-06 Cercacor Laboratories, Inc. Multiple wavelength sensor drivers
US7596398B2 (en) 2005-03-01 2009-09-29 Masimo Laboratories, Inc. Multiple wavelength sensor attachment
US7563110B2 (en) 2005-03-01 2009-07-21 Masimo Laboratories, Inc. Multiple wavelength sensor interconnect
US8560032B2 (en) 2005-03-01 2013-10-15 Cercacor Laboratories, Inc. Noninvasive multi-parameter patient monitor
US8912909B2 (en) 2005-03-01 2014-12-16 Cercacor Laboratories, Inc. Noninvasive multi-parameter patient monitor
US8255027B2 (en) 2005-03-01 2012-08-28 Cercacor Laboratories, Inc. Multiple wavelength sensor substrate
US8130105B2 (en) 2005-03-01 2012-03-06 Masimo Laboratories, Inc. Noninvasive multi-parameter patient monitor
US9750443B2 (en) 2005-03-01 2017-09-05 Cercacor Laboratories, Inc. Multiple wavelength sensor emitters
US7937129B2 (en) 2005-03-21 2011-05-03 Masimo Corporation Variable aperture sensor
US20070010755A1 (en) * 2005-07-07 2007-01-11 Mika Sarkela Monitoring of the cerebral state of a subject
US7783343B2 (en) * 2005-07-07 2010-08-24 The General Electric Company Monitoring of the cerebral state of a subject
US8996085B2 (en) 2005-10-14 2015-03-31 Masimo Corporation Robust alarm system
US20150272514A1 (en) 2005-10-14 2015-10-01 Masimo Corporation Robust alarm system
US7962188B2 (en) 2005-10-14 2011-06-14 Masimo Corporation Robust alarm system
US7530942B1 (en) 2005-10-18 2009-05-12 Masimo Corporation Remote sensing infant warmer
US8868150B2 (en) 2005-11-29 2014-10-21 Cercacor Laboratories, Inc. Optical sensor including disposable and reusable elements
US20150216459A1 (en) 2005-11-29 2015-08-06 Cercacor Laboratories, Inc. Optical sensor including disposable and reusable elements
US8548550B2 (en) 2005-11-29 2013-10-01 Cercacor Laboratories, Inc. Optical sensor including disposable and reusable elements
US8233955B2 (en) 2005-11-29 2012-07-31 Cercacor Laboratories, Inc. Optical sensor including disposable and reusable elements
US20170086723A1 (en) 2005-11-29 2017-03-30 Masimo Corporation Optical sensor including disposable and reusable elements
US7990382B2 (en) 2006-01-03 2011-08-02 Masimo Corporation Virtual display
US20160287786A1 (en) 2006-01-17 2016-10-06 Masimo Corporation Drug administration controller
US8182443B1 (en) * 2006-01-17 2012-05-22 Masimo Corporation Drug administration controller
US9333316B2 (en) 2006-01-17 2016-05-10 Masimo Corporation Drug administration controller
US20070287931A1 (en) * 2006-02-14 2007-12-13 Dilorenzo Daniel J Methods and systems for administering an appropriate pharmacological treatment to a patient for managing epilepsy and other neurological disorders
US8219172B2 (en) 2006-03-17 2012-07-10 Glt Acquisition Corp. System and method for creating a stable optical interface
US20150126830A1 (en) 2006-03-17 2015-05-07 Glt Acquisition Corp. Apparatus and method for creating a stable optical interface
US8831700B2 (en) 2006-03-17 2014-09-09 Glt Acquisition Corp. Apparatus and method for creating a stable optical interface
US8998809B2 (en) 2006-05-15 2015-04-07 Cercacor Laboratories, Inc. Systems and methods for calibrating minimally invasive and non-invasive physiological sensor devices
US8663107B2 (en) 2006-05-15 2014-03-04 Cercacor Laboratories, Inc. Sepsis monitor
US20140180038A1 (en) 2006-05-15 2014-06-26 Cercacor Laboratories, Inc. Sepsis monitor
US7941199B2 (en) 2006-05-15 2011-05-10 Masimo Laboratories, Inc. Sepsis monitor
US20110208018A1 (en) * 2006-05-15 2011-08-25 Kiani Massi E Sepsis monitor
US20150257689A1 (en) 2006-05-15 2015-09-17 Cercacor Laboratories, Inc. Physiological monitor calibration system
US9176141B2 (en) 2006-05-15 2015-11-03 Cercacor Laboratories, Inc. Physiological monitor calibration system
US8667967B2 (en) 2006-05-31 2014-03-11 Masimo Corporation Respiratory monitoring
US8028701B2 (en) 2006-05-31 2011-10-04 Masimo Corporation Respiratory monitoring
US9566019B2 (en) 2006-05-31 2017-02-14 Masimo Corporation Respiratory monitoring
US20070282478A1 (en) 2006-06-05 2007-12-06 Ammar Al-Ali Parameter upgrade system
US9397448B2 (en) 2006-09-20 2016-07-19 Masimo Corporation Shielded connector assembly
US8315683B2 (en) 2006-09-20 2012-11-20 Masimo Corporation Duo connector patient cable
US8457707B2 (en) 2006-09-20 2013-06-04 Masimo Corporation Congenital heart disease monitor
US9687160B2 (en) 2006-09-20 2017-06-27 Masimo Corporation Congenital heart disease monitor
US20130324808A1 (en) 2006-09-20 2013-12-05 Masimo Corporation Duo connector patient cable
US9161696B2 (en) 2006-09-22 2015-10-20 Masimo Corporation Modular patient monitor
US8840549B2 (en) 2006-09-22 2014-09-23 Masimo Corporation Modular patient monitor
US20080103375A1 (en) * 2006-09-22 2008-05-01 Kiani Massi E Patient monitor user interface
US20140357966A1 (en) 2006-09-22 2014-12-04 Masimo Corporation Modular patient monitor
US20100261979A1 (en) * 2006-09-22 2010-10-14 Masimo Corporation Modular patient monitor
US20120319816A1 (en) 2006-10-12 2012-12-20 Masimo Corporation Patient monitor capable of monitoring the quality of attached probes and accessories
US9107626B2 (en) 2006-10-12 2015-08-18 Masimo Corporation System and method for monitoring the life of a physiological sensor
US8265723B1 (en) 2006-10-12 2012-09-11 Cercacor Laboratories, Inc. Oximeter probe off indicator defining probe off space
US8922382B2 (en) 2006-10-12 2014-12-30 Masimo Corporation System and method for monitoring the life of a physiological sensor
US20150245794A1 (en) 2006-10-12 2015-09-03 Masimo Corporation Perfusion index smoother
US8280473B2 (en) 2006-10-12 2012-10-02 Masino Corporation, Inc. Perfusion index smoother
US9192329B2 (en) 2006-10-12 2015-11-24 Masimo Corporation Variable mode pulse indicator
US8255026B1 (en) 2006-10-12 2012-08-28 Masimo Corporation, Inc. Patient monitor capable of monitoring the quality of attached probes and accessories
US7880626B2 (en) 2006-10-12 2011-02-01 Masimo Corporation System and method for monitoring the life of a physiological sensor
US9370326B2 (en) 2006-10-12 2016-06-21 Masimo Corporation Oximeter probe off indicator defining probe off space
US9560998B2 (en) 2006-10-12 2017-02-07 Masimo Corporation System and method for monitoring the life of a physiological sensor
US20160143548A1 (en) 2006-10-12 2016-05-26 Masimo Corporation Variable mode pulse indicator
US8983564B2 (en) 2006-10-12 2015-03-17 Masimo Corporation Perfusion index smoother
US20170202490A1 (en) 2006-10-12 2017-07-20 Masimo Corporation System and method for monitoring the life of a physiological sensor
US20160296169A1 (en) 2006-10-12 2016-10-13 Masimo Corporation Oximeter probe off indicator defining probe off space
US8600467B2 (en) 2006-11-29 2013-12-03 Cercacor Laboratories, Inc. Optical sensor including disposable and reusable elements
US20160066823A1 (en) 2006-11-29 2016-03-10 Cercacor Laboratories, Inc. Optical sensor including disposable and reusable elements
US9138182B2 (en) 2006-11-29 2015-09-22 Cercacor Laboratories, Inc. Optical sensor including disposable and reusable elements
US20080188760A1 (en) * 2006-12-09 2008-08-07 Ammar Al-Ali Plethysmograph variability processor
US8414499B2 (en) 2006-12-09 2013-04-09 Masimo Corporation Plethysmograph variability processor
US20130296713A1 (en) 2006-12-09 2013-11-07 Masimo Corporation Plethysmograph variability processor
US8852094B2 (en) 2006-12-22 2014-10-07 Masimo Corporation Physiological parameter system
US7791155B2 (en) 2006-12-22 2010-09-07 Masimo Laboratories, Inc. Detector shield
US20150087936A1 (en) 2006-12-22 2015-03-26 Masimo Corporation Physiological parameter system
US20140163344A1 (en) 2007-01-20 2014-06-12 Masimo Corporation Perfusion trend indicator
US8652060B2 (en) 2007-01-20 2014-02-18 Masimo Corporation Perfusion trend indicator
US8781544B2 (en) 2007-03-27 2014-07-15 Cercacor Laboratories, Inc. Multiple wavelength optical sensor
US7919713B2 (en) 2007-04-16 2011-04-05 Masimo Corporation Low noise oximetry cable including conductive cords
US20150196237A1 (en) 2007-04-21 2015-07-16 Cercacor Laboratories, Inc. Tissue profile wellness monitor
US8374665B2 (en) 2007-04-21 2013-02-12 Cercacor Laboratories, Inc. Tissue profile wellness monitor
US8965471B2 (en) 2007-04-21 2015-02-24 Cercacor Laboratories, Inc. Tissue profile wellness monitor
US20080317672A1 (en) * 2007-06-20 2008-12-25 The General Electric Company Detection of anomalies in measurement of level of hypnosis
US8764671B2 (en) 2007-06-28 2014-07-01 Masimo Corporation Disposable active pulse sensor
US9211072B2 (en) 2007-06-28 2015-12-15 Masimo Corporation Disposable active pulse sensor
US20090069642A1 (en) * 2007-09-11 2009-03-12 Aid Networks, Llc Wearable Wireless Electronic Patient Data Communications and Physiological Monitoring Device
US20120046557A1 (en) 2007-09-13 2012-02-23 Kiani Massi E Fluid titration system
US8048040B2 (en) 2007-09-13 2011-11-01 Masimo Corporation Fluid titration system
US20090264789A1 (en) * 2007-09-26 2009-10-22 Medtronic, Inc. Therapy program selection
US8118620B2 (en) 2007-10-12 2012-02-21 Masimo Corporation Connector assembly with reduced unshielded area
US20130096936A1 (en) 2007-10-12 2013-04-18 Masimo Corporation Systems and methods for storing, analyzing, and retrieving medical data
US8355766B2 (en) 2007-10-12 2013-01-15 Masimo Corporation Ceramic emitter substrate
USD587657S1 (en) 2007-10-12 2009-03-03 Masimo Corporation Connector assembly
USD609193S1 (en) 2007-10-12 2010-02-02 Masimo Corporation Connector assembly
US8888539B2 (en) 2007-10-12 2014-11-18 Masimo Corporation Shielded connector assembly
US8529301B2 (en) 2007-10-12 2013-09-10 Masimo Corporation Shielded connector assembly
US8274360B2 (en) 2007-10-12 2012-09-25 Masimo Corporation Systems and methods for storing, analyzing, and retrieving medical data
US9142117B2 (en) 2007-10-12 2015-09-22 Masimo Corporation Systems and methods for storing, analyzing, retrieving and displaying streaming medical data
US20090099627A1 (en) * 2007-10-16 2009-04-16 Medtronic, Inc. Therapy control based on a patient movement state
US20090247984A1 (en) 2007-10-24 2009-10-01 Masimo Laboratories, Inc. Use of microneedles for small molecule metabolite reporter delivery
USD614305S1 (en) 2008-02-29 2010-04-20 Masimo Corporation Connector assembly
US9060721B2 (en) 2008-03-04 2015-06-23 Glt Acquisition Corp. Flowometry in optical coherence tomography for analyte level estimation
US8768423B2 (en) 2008-03-04 2014-07-01 Glt Acquisition Corp. Multispot monitoring for use in optical coherence tomography
US20160058347A1 (en) 2008-03-04 2016-03-03 Glt Acquisition Corp. Flowometry in optical coherence tomography for analyte level estimation
US20140336481A1 (en) 2008-03-04 2014-11-13 Glt Acquisition Corp. Multispot monitoring for use in optical coherence tomography
US8571617B2 (en) 2008-03-04 2013-10-29 Glt Acquisition Corp. Flowometry in optical coherence tomography for analyte level estimation
US20100030089A1 (en) * 2008-04-24 2010-02-04 Searete Llc, A Limited Liability Corporation Of The State Of Delaware Methods and systems for monitoring and modifying a combination treatment
US20100100036A1 (en) * 2008-04-24 2010-04-22 Searete Llc, A Limited Liability Corporation Of The State Of Delaware Computational System and Method for Memory Modification
US20090275813A1 (en) 2008-05-02 2009-11-05 The Regents Of The Univeristy Of California External ear-placed non-invasive physiological sensor
US20160331332A1 (en) 2008-05-02 2016-11-17 Masimo Corporation Monitor configuration system
US20090275844A1 (en) 2008-05-02 2009-11-05 Masimo Corporation Monitor configuration system
US20160095543A1 (en) 2008-05-05 2016-04-07 Masimo Corporation Pulse oximetry system with electrical decoupling circuitry
US9107625B2 (en) 2008-05-05 2015-08-18 Masimo Corporation Pulse oximetry system with electrical decoupling circuitry
US20100004518A1 (en) 2008-07-03 2010-01-07 Masimo Laboratories, Inc. Heat sink for noninvasive medical sensor
US8437825B2 (en) 2008-07-03 2013-05-07 Cercacor Laboratories, Inc. Contoured protrusion for improving spectroscopic measurement of blood constituents
US9717425B2 (en) 2008-07-03 2017-08-01 Masimo Corporation Noise shielding for a noninvaise device
US8577431B2 (en) 2008-07-03 2013-11-05 Cercacor Laboratories, Inc. Noise shielding for a noninvasive device
US9277880B2 (en) 2008-07-03 2016-03-08 Masimo Corporation Multi-stream data collection system for noninvasive measurement of blood constituents
US20160166183A1 (en) 2008-07-03 2016-06-16 Masimo Corporation Multi-stream data collection system for noninvasive measurement of blood constituents
US9591975B2 (en) 2008-07-03 2017-03-14 Masimo Corporation Contoured protrusion for improving spectroscopic measurement of blood constituents
US8203438B2 (en) 2008-07-29 2012-06-19 Masimo Corporation Alarm suspend system
US9153121B2 (en) 2008-07-29 2015-10-06 Masimo Corporation Alarm suspend system
US8847740B2 (en) 2008-07-29 2014-09-30 Masimo Corporation Alarm suspend system
US8547209B2 (en) 2008-07-29 2013-10-01 Masimo Corporation Alarm suspend system
US20100030040A1 (en) 2008-08-04 2010-02-04 Masimo Laboratories, Inc. Multi-stream data collection system for noninvasive measurement of blood constituents
US8630691B2 (en) 2008-08-04 2014-01-14 Cercacor Laboratories, Inc. Multi-stream sensor front ends for noninvasive measurement of blood constituents
US20140121482A1 (en) 2008-08-04 2014-05-01 Cercacor Laboratories, Inc. Multi-stream sensor for noninvasive measurement of blood constituents
US8203704B2 (en) 2008-08-04 2012-06-19 Cercacor Laboratories, Inc. Multi-stream sensor for noninvasive measurement of blood constituents
US8515509B2 (en) 2008-08-04 2013-08-20 Cercacor Laboratories, Inc. Multi-stream emitter for noninvasive measurement of blood constituents
US8909310B2 (en) 2008-08-04 2014-12-09 Cercacor Laboratories, Inc. Multi-stream sensor front ends for noninvasive measurement of blood constituents
US8570503B2 (en) 2008-08-04 2013-10-29 Cercacor Laboratories, Inc. Heat sink for noninvasive medical sensor
USD621516S1 (en) 2008-08-25 2010-08-10 Masimo Laboratories, Inc. Patient monitoring sensor
USD606659S1 (en) 2008-08-25 2009-12-22 Masimo Laboratories, Inc. Patient monitor
US20150094546A1 (en) 2008-09-15 2015-04-02 Masimo Corporation Patient monitor including multi-parameter graphical display
US8911377B2 (en) 2008-09-15 2014-12-16 Masimo Corporation Patient monitor including multi-parameter graphical display
US20110237969A1 (en) 2008-09-15 2011-09-29 Anders Eckerbom Gas sampling line
US8310336B2 (en) 2008-10-10 2012-11-13 Masimo Corporation Systems and methods for storing, analyzing, retrieving and displaying streaming medical data
US8346330B2 (en) 2008-10-13 2013-01-01 Masimo Corporation Reflection-detector sensor position indicator
US8761850B2 (en) 2008-10-13 2014-06-24 Masimo Corporation Reflection-detector sensor position indicator
US9119595B2 (en) 2008-10-13 2015-09-01 Masimo Corporation Reflection-detector sensor position indicator
US8700112B2 (en) 2008-10-13 2014-04-15 Masimo Corporation Secondary-emitter sensor position indicator
US8401602B2 (en) 2008-10-13 2013-03-19 Masimo Corporation Secondary-emitter sensor position indicator
US9028429B2 (en) 2008-12-30 2015-05-12 Masimo Corporation Acoustic sensor assembly
US8771204B2 (en) 2008-12-30 2014-07-08 Masimo Corporation Acoustic sensor assembly
US9795358B2 (en) 2008-12-30 2017-10-24 Masimo Corporation Acoustic sensor assembly
US9131917B2 (en) 2008-12-30 2015-09-15 Masimo Corporation Acoustic sensor assembly
US8588880B2 (en) 2009-02-16 2013-11-19 Masimo Corporation Ear sensor
US20140213864A1 (en) 2009-02-16 2014-07-31 Masimo Corporation Ear sensor
US20170258403A1 (en) 2009-02-16 2017-09-14 Masimo Corporation Ear sensor
US9259185B2 (en) 2009-02-16 2016-02-16 Masimo Corporation Ear sensor
US20160283665A1 (en) 2009-03-04 2016-09-29 Masimo Corporation Medical communication protocol translator
US20110105854A1 (en) 2009-03-04 2011-05-05 Masimo Corporation Medical monitoring system
US9218454B2 (en) 2009-03-04 2015-12-22 Masimo Corporation Medical monitoring system
US20140135588A1 (en) 2009-03-04 2014-05-15 Masimo Corporation Medical monitoring system
US9466919B2 (en) 2009-03-11 2016-10-11 Cercacor Laboratories, Inc. Magnetic connector
US20170187146A1 (en) 2009-03-11 2017-06-29 Masimo Corporation Magnetic connector
US8777634B2 (en) 2009-03-11 2014-07-15 Cercacor Laboratories, Inc. Magnetic connector
US8388353B2 (en) 2009-03-11 2013-03-05 Cercacor Laboratories, Inc. Magnetic connector
US8897847B2 (en) 2009-03-23 2014-11-25 Masimo Corporation Digit gauge for noninvasive optical sensor
US20150230755A1 (en) 2009-05-19 2015-08-20 Masimo Corporation Disposable components for reusable physiological sensor
US8989831B2 (en) 2009-05-19 2015-03-24 Masimo Corporation Disposable components for reusable physiological sensor
US9795739B2 (en) 2009-05-20 2017-10-24 Masimo Corporation Hemoglobin display and patient treatment
US8571619B2 (en) 2009-05-20 2013-10-29 Masimo Corporation Hemoglobin display and patient treatment
US9370325B2 (en) 2009-05-20 2016-06-21 Masimo Corporation Hemoglobin display and patient treatment
US9037207B2 (en) 2009-05-20 2015-05-19 Masimo Corporation Hemoglobin display and patient treatment
US8720249B2 (en) 2009-06-12 2014-05-13 Masimo Corporation Non-invasive sensor calibration device
US8418524B2 (en) 2009-06-12 2013-04-16 Masimo Corporation Non-invasive sensor calibration device
US8670811B2 (en) 2009-06-30 2014-03-11 Masimo Corporation Pulse oximetry system for adjusting medical ventilation
US20110208015A1 (en) 2009-07-20 2011-08-25 Masimo Corporation Wireless patient monitoring system
US20150012231A1 (en) 2009-07-24 2015-01-08 Cercacor Laboratories, Inc. Interference detector for patient monitor
US8754776B2 (en) 2009-07-24 2014-06-17 Cercacor Laboratories, Inc. Interference detector for patient monitor
US8471713B2 (en) 2009-07-24 2013-06-25 Cercacor Laboratories, Inc. Interference detector for patient monitor
US8473020B2 (en) 2009-07-29 2013-06-25 Cercacor Laboratories, Inc. Non-invasive physiological sensor cover
US20160192869A1 (en) 2009-07-29 2016-07-07 Masimo Corporation Non-invasive physiological sensor cover
US8886271B2 (en) 2009-07-29 2014-11-11 Cercacor Laboratories, Inc. Non-invasive physiological sensor cover
US9295421B2 (en) 2009-07-29 2016-03-29 Masimo Corporation Non-invasive physiological sensor cover
US20140330098A1 (en) 2009-07-29 2014-11-06 Cercacor Laboratories, Inc. Reflectance calibration of fluorescence-based glucose measurements
US20110087081A1 (en) * 2009-08-03 2011-04-14 Kiani Massi Joe E Personalized physiological monitor
US9186102B2 (en) 2009-09-03 2015-11-17 Cercacor Laboratories, Inc. Emitter driver for noninvasive patient monitor
US9668680B2 (en) 2009-09-03 2017-06-06 Masimo Corporation Emitter driver for noninvasive patient monitor
US8428967B2 (en) 2009-09-14 2013-04-23 Cercacor Laboratories, Inc. Spot check monitor credit system
US20170196464A1 (en) 2009-09-15 2017-07-13 Masimo Corporation Non-invasive intravascular volume index monitor
US20140378784A1 (en) * 2009-09-17 2014-12-25 Masimo Corporation Optical-based physiological monitoring system
US9833152B2 (en) * 2009-09-17 2017-12-05 Masimo Corporation Optical-based physiological monitoring system
US9517024B2 (en) * 2009-09-17 2016-12-13 Masimo Corporation Optical-based physiological monitoring system
US20170055847A1 (en) * 2009-09-17 2017-03-02 Masimo Corporation Optical-based physiological monitoring system
US9510779B2 (en) 2009-09-17 2016-12-06 Masimo Corporation Analyte monitoring using one or more accelerometers
US20140051953A1 (en) 2009-09-28 2014-02-20 Cercacor Laboratories, Inc. Adaptive calibration system for spectrophotometric measurements
US8571618B1 (en) 2009-09-28 2013-10-29 Cercacor Laboratories, Inc. Adaptive calibration system for spectrophotometric measurements
US20110082711A1 (en) 2009-10-06 2011-04-07 Masimo Laboratories, Inc. Personal digital assistant or organizer for monitoring glucose levels
US9668703B2 (en) 2009-10-15 2017-06-06 Masimo Corporation Bidirectional physiological information display
US8755535B2 (en) 2009-10-15 2014-06-17 Masimo Corporation Acoustic respiratory monitoring sensor having multiple sensing elements
US20160051205A1 (en) 2009-10-15 2016-02-25 Masimo Corporation System for determining confidence in respiratory rate measurements
US8690799B2 (en) 2009-10-15 2014-04-08 Masimo Corporation Acoustic respiratory monitoring sensor having multiple sensing elements
US8870792B2 (en) 2009-10-15 2014-10-28 Masimo Corporation Physiological acoustic monitoring system
US8715206B2 (en) 2009-10-15 2014-05-06 Masimo Corporation Acoustic patient sensor
US9370335B2 (en) 2009-10-15 2016-06-21 Masimo Corporation Physiological acoustic monitoring system
US8523781B2 (en) 2009-10-15 2013-09-03 Masimo Corporation Bidirectional physiological information display
US8790268B2 (en) 2009-10-15 2014-07-29 Masimo Corporation Bidirectional physiological information display
US20170079594A1 (en) 2009-10-15 2017-03-23 Masimo Corporation Acoustic respiratory monitoring sensor having multiple sensing elements
US8702627B2 (en) 2009-10-15 2014-04-22 Masimo Corporation Acoustic respiratory monitoring sensor having multiple sensing elements
US20110172561A1 (en) * 2009-10-15 2011-07-14 Kiani Massi Joe E Physiological acoustic monitoring system
US9106038B2 (en) 2009-10-15 2015-08-11 Masimo Corporation Pulse oximetry system with low noise cable hub
US20170007190A1 (en) 2009-10-15 2017-01-12 Masimo Corporation Physiological acoustic monitoring system
US9386961B2 (en) 2009-10-15 2016-07-12 Masimo Corporation Physiological acoustic monitoring system
US20170007198A1 (en) 2009-10-15 2017-01-12 Masimo Corporation Physiological acoustic monitoring system
US9538980B2 (en) 2009-10-15 2017-01-10 Masimo Corporation Acoustic respiratory monitoring sensor having multiple sensing elements
US8430817B1 (en) 2009-10-15 2013-04-30 Masimo Corporation System for determining confidence in respiratory rate measurements
US20110125060A1 (en) 2009-10-15 2011-05-26 Telfort Valery G Acoustic respiratory monitoring systems and methods
US8821415B2 (en) 2009-10-15 2014-09-02 Masimo Corporation Physiological acoustic monitoring system
US9066680B1 (en) 2009-10-15 2015-06-30 Masimo Corporation System for determining confidence in respiratory rate measurements
US9724016B1 (en) 2009-10-16 2017-08-08 Masimo Corp. Respiration processor
US20150032029A1 (en) 2009-12-04 2015-01-29 Masimo Corporation Calibration for multi-stage physiological monitors
US8801613B2 (en) 2009-12-04 2014-08-12 Masimo Corporation Calibration for multi-stage physiological monitors
US20150351704A1 (en) 2009-12-21 2015-12-10 Masimo Corporation Modular patient monitor
US9153112B1 (en) 2009-12-21 2015-10-06 Masimo Corporation Modular patient monitor
US20110230733A1 (en) 2010-01-19 2011-09-22 Masimo Corporation Wellness analysis system
US9724024B2 (en) 2010-03-01 2017-08-08 Masimo Corporation Adaptive alarm system
US9775570B2 (en) 2010-03-01 2017-10-03 Masimo Corporation Adaptive alarm system
US20110245633A1 (en) * 2010-03-04 2011-10-06 Neumitra LLC Devices and methods for treating psychological disorders
US9662052B2 (en) 2010-03-08 2017-05-30 Masimo Corporation Reprocessing of a physiological sensor
US20170245790A1 (en) 2010-03-08 2017-08-31 Masimo Corporation Reprocessing of a physiological sensor
US8584345B2 (en) 2010-03-08 2013-11-19 Masimo Corporation Reprocessing of a physiological sensor
US9307928B1 (en) 2010-03-30 2016-04-12 Masimo Corporation Plethysmographic respiration processor
US20160287090A1 (en) 2010-03-30 2016-10-06 Masimo Corporation Plethysmographic respiration processor
US9138180B1 (en) 2010-05-03 2015-09-22 Masimo Corporation Sensor adapter cable
US8712494B1 (en) 2010-05-03 2014-04-29 Masimo Corporation Reflective non-invasive sensor
US20150380875A1 (en) 2010-05-03 2015-12-31 Masimo Corporation Sensor adapter cable
US9795310B2 (en) 2010-05-06 2017-10-24 Masimo Corporation Patient monitor for determining microcirculation state
US8666468B1 (en) 2010-05-06 2014-03-04 Masimo Corporation Patient monitor for determining microcirculation state
US9192312B2 (en) 2010-05-06 2015-11-24 Masimo Corporation Patient monitor for determining microcirculation state
US9368671B2 (en) 2010-05-24 2016-06-14 Masimo Semiconductor, Inc. Bifacial tandem solar cells
US8852994B2 (en) 2010-05-24 2014-10-07 Masimo Semiconductor, Inc. Method of fabricating bifacial tandem solar cells
US9782110B2 (en) 2010-06-02 2017-10-10 Masimo Corporation Opticoustic sensor
US9326712B1 (en) 2010-06-02 2016-05-03 Masimo Corporation Opticoustic sensor
US8740792B1 (en) 2010-07-12 2014-06-03 Masimo Corporation Patient monitor capable of accounting for environmental conditions
US20170027456A1 (en) 2010-07-22 2017-02-02 Masimo Corporation Non-invasive blood pressure measurement system
US9408542B1 (en) 2010-07-22 2016-08-09 Masimo Corporation Non-invasive blood pressure measurement system
US9649054B2 (en) 2010-08-26 2017-05-16 Cercacor Laboratories, Inc. Blood pressure measurement method
US20150196249A1 (en) 2010-09-01 2015-07-16 The General Hospital Corporation Reversal of General Anesthesia by Administration of Methylphenidate, Amphetamine, Modafinil, Amantadine, and/or Caffeine
US8455290B2 (en) 2010-09-04 2013-06-04 Masimo Semiconductor, Inc. Method of fabricating epitaxial structures
US20130243021A1 (en) 2010-09-04 2013-09-19 Masimo Semiconductor, Inc. Epitaxial structures on sides of a substrate
US8821397B2 (en) 2010-09-28 2014-09-02 Masimo Corporation Depth of consciousness monitor including oximeter
US9775545B2 (en) 2010-09-28 2017-10-03 Masimo Corporation Magnetic electrical connector for patient monitors
US9538949B2 (en) 2010-09-28 2017-01-10 Masimo Corporation Depth of consciousness monitor including oximeter
US20170156620A1 (en) 2010-09-28 2017-06-08 Masimo Corporation Depth of consciousness monitor including oximeter
US20120165629A1 (en) 2010-09-30 2012-06-28 Sean Merritt Systems and methods of monitoring a patient through frequency-domain photo migration spectroscopy
US9693737B2 (en) 2010-10-13 2017-07-04 Masimo Corporation Physiological measurement logic engine
US9211095B1 (en) 2010-10-13 2015-12-15 Masimo Corporation Physiological measurement logic engine
US8723677B1 (en) 2010-10-20 2014-05-13 Masimo Corporation Patient safety system with automatically adjusting bed
US9226696B2 (en) 2010-10-20 2016-01-05 Masimo Corporation Patient safety system with automatically adjusting bed
US20150245773A1 (en) 2010-12-01 2015-09-03 Cercacor Laboratories, Inc. Handheld processing device including medical applications for minimally and non invasive glucose measurements
US9579039B2 (en) 2011-01-10 2017-02-28 Masimo Corporation Non-invasive intravascular volume index monitor
US20120209084A1 (en) 2011-01-21 2012-08-16 Masimo Corporation Respiratory event alert system
US20120209082A1 (en) 2011-02-13 2012-08-16 Masimo Corporation Medical characterization system
US20150366472A1 (en) 2011-02-25 2015-12-24 Cercacor Laboratories, Inc. Patient monitor for monitoring microcirculation
US9066666B2 (en) 2011-02-25 2015-06-30 Cercacor Laboratories, Inc. Patient monitor for monitoring microcirculation
US20120283524A1 (en) 2011-04-18 2012-11-08 Cercacor Laboratories, Inc. Pediatric monitor sensor steady game
US8830449B1 (en) 2011-04-18 2014-09-09 Cercacor Laboratories, Inc. Blood analysis system
US9095316B2 (en) 2011-04-20 2015-08-04 Masimo Corporation System for generating alarms based on alarm patterns
US20140187973A1 (en) 2011-05-06 2014-07-03 Emery N. Brown System and method for tracking brain states during administration of anesthesia
US9622692B2 (en) 2011-05-16 2017-04-18 Masimo Corporation Personal health device
US9532722B2 (en) 2011-06-21 2017-01-03 Masimo Corporation Patient monitoring system
US20170196470A1 (en) 2011-06-21 2017-07-13 Masimo Corporation Patient monitoring system
US20140163402A1 (en) 2011-06-21 2014-06-12 Cercacor Laboratories, Inc. Patient monitoring system
US9245668B1 (en) 2011-06-29 2016-01-26 Cercacor Laboratories, Inc. Low noise cable providing communication between electronic sensor components and patient monitor
US20130041591A1 (en) 2011-07-13 2013-02-14 Cercacor Laboratories, Inc. Multiple measurement mode in a physiological sensor
US20130023775A1 (en) 2011-07-20 2013-01-24 Cercacor Laboratories, Inc. Magnetic Reusable Sensor
US9192351B1 (en) 2011-07-22 2015-11-24 Masimo Corporation Acoustic respiratory monitoring sensor with probe-off detection
US8755872B1 (en) 2011-07-28 2014-06-17 Masimo Corporation Patient monitoring system for indicating an abnormal condition
US20130060147A1 (en) 2011-08-04 2013-03-07 Masimo Corporation Occlusive non-inflatable blood pressure device
US20130096405A1 (en) 2011-08-12 2013-04-18 Masimo Corporation Fingertip pulse oximeter
US9782077B2 (en) 2011-08-17 2017-10-10 Masimo Corporation Modulated physiological sensor
US20160314260A1 (en) 2011-08-19 2016-10-27 Masimo Corporation Health care sanitation monitoring system
US9323894B2 (en) 2011-08-19 2016-04-26 Masimo Corporation Health care sanitation monitoring system
US9436645B2 (en) 2011-10-13 2016-09-06 Masimo Corporation Medical monitoring hub
US20160324486A1 (en) 2011-10-13 2016-11-10 Masimo Corporation Medical monitoring hub
US20150097701A1 (en) 2011-10-13 2015-04-09 Masimo Corporation System for displaying medical monitoring data
US20160328528A1 (en) 2011-10-13 2016-11-10 Masimo Corporation Medical monitoring hub
US20160327984A1 (en) 2011-10-13 2016-11-10 Masimo Corporation Medical monitoring hub
US9778079B1 (en) 2011-10-27 2017-10-03 Masimo Corporation Physiological monitor gauge panel
US9445759B1 (en) 2011-12-22 2016-09-20 Cercacor Laboratories, Inc. Blood glucose calibration system
US20170007134A1 (en) 2012-01-04 2017-01-12 Masimo Corporation Automated cchd screening and detection
US20170014084A1 (en) 2012-01-04 2017-01-19 Masimo Corporation Automated cchd screening and detection
US9392945B2 (en) 2012-01-04 2016-07-19 Masimo Corporation Automated CCHD screening and detection
US9267572B2 (en) 2012-02-08 2016-02-23 Masimo Corporation Cable tether system
US20160197436A1 (en) 2012-02-08 2016-07-07 Masimo Corporation Cable tether system
US20150112151A1 (en) 2012-02-09 2015-04-23 Masimo Corporation Patient position detection system
US20170143281A1 (en) 2012-02-09 2017-05-25 Masimo Corporation Configurable patient monitoring system
US9480435B2 (en) 2012-02-09 2016-11-01 Masimo Corporation Configurable patient monitoring system
USD788312S1 (en) 2012-02-09 2017-05-30 Masimo Corporation Wireless patient monitoring device
US20150359429A1 (en) 2012-02-09 2015-12-17 Masimo Corporation Wireless patient monitoring device
US20130253334A1 (en) 2012-02-09 2013-09-26 Masimo Corporation Wireless patient monitoring device
US20160103598A1 (en) 2012-03-25 2016-04-14 Masimo Corporation Physiological monitor touchscreen interface
US9195385B2 (en) 2012-03-25 2015-11-24 Masimo Corporation Physiological monitor touchscreen interface
US9131881B2 (en) 2012-04-17 2015-09-15 Masimo Corporation Hypersaturation index
US9775546B2 (en) 2012-04-17 2017-10-03 Masimo Corporation Hypersaturation index
US20130296672A1 (en) 2012-05-02 2013-11-07 Masimo Corporation Noninvasive physiological sensor cover
US20130331660A1 (en) 2012-06-07 2013-12-12 Masimo Corporation Depth of consciousness monitor
US9697928B2 (en) 2012-08-01 2017-07-04 Masimo Corporation Automated assembly sensor cable
US20140081175A1 (en) 2012-09-20 2014-03-20 Masimo Corporation Acoustic patient sensor coupler
US20170228516A1 (en) 2012-09-20 2017-08-10 Masimo Corporation Intelligent medical escalation process
USD692145S1 (en) 2012-09-20 2013-10-22 Masimo Corporation Medical proximity detection token
US9749232B2 (en) 2012-09-20 2017-08-29 Masimo Corporation Intelligent medical network edge router
US20140081100A1 (en) 2012-09-20 2014-03-20 Masimo Corporation Physiological monitor with mobile computing device connectivity
US20140180160A1 (en) 2012-10-12 2014-06-26 Emery N. Brown System and method for monitoring and controlling a state of a patient during and after administration of anesthetic compound
US9717458B2 (en) 2012-10-20 2017-08-01 Masimo Corporation Magnetic-flap optical sensor
US20170147774A1 (en) 2012-10-30 2017-05-25 Masimo Corporation Universal medical system
US9560996B2 (en) 2012-10-30 2017-02-07 Masimo Corporation Universal medical system
US9787568B2 (en) 2012-11-05 2017-10-10 Cercacor Laboratories, Inc. Physiological test credit method
US20140166076A1 (en) 2012-12-17 2014-06-19 Masimo Semiconductor, Inc Pool solar power generator
US20160072429A1 (en) 2012-12-17 2016-03-10 Masimo Semiconductor, Inc. Pool solar power generator
US9750461B1 (en) 2013-01-02 2017-09-05 Masimo Corporation Acoustic respiratory monitoring sensor with probe-off detection
US9724025B1 (en) 2013-01-16 2017-08-08 Masimo Corporation Active-pulse blood analysis system
US20150359489A1 (en) * 2013-01-25 2015-12-17 Vanderbilt University Smart mobile health monitoring system and related methods
US9750442B2 (en) 2013-03-09 2017-09-05 Masimo Corporation Physiological status monitor
US20140266790A1 (en) 2013-03-13 2014-09-18 Masimo Corporation Systems and methods for monitoring a patient health network
US20150005600A1 (en) 2013-03-13 2015-01-01 Cercacor Laboratories, Inc. Finger-placement sensor tape
US20140276115A1 (en) 2013-03-14 2014-09-18 Cercacar Laboratories, Inc. Heart sound simulator
US20140275871A1 (en) 2013-03-14 2014-09-18 Cercacor Laboratories, Inc. Wireless optical communication between noninvasive physiological sensors and patient monitors
US9474474B2 (en) 2013-03-14 2016-10-25 Masimo Corporation Patient monitor as a minimally invasive glucometer
US20140275808A1 (en) 2013-03-14 2014-09-18 Cercacor Laboratories, Inc. Patient monitor placement indicator
US20140275872A1 (en) 2013-03-14 2014-09-18 Cercacor Laboratories, Inc. Systems and methods for testing patient monitors
US20140275835A1 (en) 2013-03-15 2014-09-18 Cercacor Laboratories, Inc. Cloud-based physiological monitoring system
US20140316217A1 (en) 2013-04-23 2014-10-23 Patrick L. Purdon System and method for monitoring anesthesia and sedation using measures of brain coherence and synchrony
US20140316218A1 (en) 2013-04-23 2014-10-23 Patrick L. Purdon Systems and methods for monitoring brain metabolism and activity using electroencephalogram and optical imaging
US20140323898A1 (en) 2013-04-24 2014-10-30 Patrick L. Purdon System and Method for Monitoring Level of Dexmedatomidine-Induced Sedation
US20140323897A1 (en) 2013-04-24 2014-10-30 Emery N. Brown System and method for estimating high time-frequency resolution eeg spectrograms to monitor patient state
US20150011907A1 (en) 2013-06-28 2015-01-08 Patrick L. Purdon Systems and Methods To Infer Brain State During Burst Suppression
US20150045637A1 (en) 2013-07-17 2015-02-12 Cercacor Laboratories, Inc. Double-bearing position encoder
US20150038859A1 (en) 2013-08-05 2015-02-05 Cercacor Laboratories, Inc Blood pressure monitor with valve-chamber assembly
US20160196388A1 (en) 2013-09-12 2016-07-07 Cercacor Laboratories, Inc. Medical device management system
US20150080754A1 (en) 2013-09-13 2015-03-19 Patrick L. Purdon Systems and Methods For Improved Brain Monitoring During General Anesthesia And Sedation
US20150099950A1 (en) 2013-10-07 2015-04-09 Masimo Corporation Regional oximetry sensor
US20150099951A1 (en) 2013-10-07 2015-04-09 Masimo Corporation Regional oximetry pod
US20150099955A1 (en) 2013-10-07 2015-04-09 Masimo Corporation Regional oximetry user interface
US20150106121A1 (en) 2013-10-11 2015-04-16 Masimo Corporation Alarm notification system
US20150165312A1 (en) 2013-12-13 2015-06-18 Masimo Corporation Avatar-incentive healthcare therapy
US20150238722A1 (en) 2014-02-21 2015-08-27 Masimo Corporation Assistive capnography device
US20150366507A1 (en) 2014-06-19 2015-12-24 Cercacor Laboratories, Inc. Proximity sensor in pulse oximeter
US20160066824A1 (en) 2014-09-04 2016-03-10 Masimo Corporation Total hemoglobin screening sensor
US20160081552A1 (en) 2014-09-18 2016-03-24 Masimo Semiconductor, Inc. Enhanced visible near-infrared photodiode and non-invasive physiological sensor
US20160095548A1 (en) 2014-10-07 2016-04-07 Masimo Corporation Modular physiological sensors
US20160213281A1 (en) 2015-01-23 2016-07-28 Masimo Sweden Ab Nasal/oral cannula system and manufacturing
US20160228043A1 (en) 2015-02-06 2016-08-11 Masimo Corporation Soft boot pulse oximetry sensor
US20160234944A1 (en) 2015-02-06 2016-08-11 Masimo Corporation Fold flex circuit for lnop
US20160233632A1 (en) 2015-02-06 2016-08-11 Masimo Corporation Pogo pin connector
USD755392S1 (en) 2015-02-06 2016-05-03 Masimo Corporation Pulse oximetry sensor
US20160324488A1 (en) 2015-05-04 2016-11-10 Cercacor Laboratories, Inc. Noninvasive sensor system with visual infographic display
US20160367173A1 (en) 2015-05-22 2016-12-22 Cercacor Laboratories, Inc. Non-invasive optical physiological differential pathlength sensor
US20170000394A1 (en) 2015-07-02 2017-01-05 Masimo Corporation Advanced pulse oximetry sensor
US20170042488A1 (en) 2015-08-11 2017-02-16 Masimo Corporation Medical monitoring analysis and replay including indicia responsive to light attenuated by body tissue
US20170055896A1 (en) 2015-08-31 2017-03-02 Masimo Corporation Systems and methods to monitor repositioning of a patient
US20170055882A1 (en) 2015-08-31 2017-03-02 Masimo Corporation Systems and methods for patient fall detection
US20170055851A1 (en) 2015-08-31 2017-03-02 Masimo Corporation Patient-worn wireless physiological sensor
US20170055887A1 (en) 2015-08-31 2017-03-02 Masimo Corporation Wireless patient monitoring systems and methods
US20170173632A1 (en) 2015-12-17 2017-06-22 Masimo Corporation Varnish-coated release liner
US20170251975A1 (en) 2016-03-04 2017-09-07 Masimo Corporation Nose sensor
US20170251974A1 (en) 2016-03-04 2017-09-07 Masimo Corporation Nose sensor

Non-Patent Citations (4)

* Cited by examiner, † Cited by third party
Title
Binnie, C. et al., Clinical Neurophysiology, vol. 2, 2003. Elvesier Science. p. 707-790.
Hager et al. The Perfusion Index Measured by a Pulse Oximeter Indicates Pain Stimuli in Anesthetized Volunteers, ASA Abstract 2003, Anesthesiology 2004; 101: A514.
Lopez-Silva et al. Transmittance Photoplethysmography and Pulse Oximetry with Near Infrared Laser Diodes, IMTC 2004—Instrumentation and Measurement, Technology Conference, May 2004.
Voss and Sleigh, Best Practice and Research Clinical Anaesthesiology, vol. 21, No. 3, pp. 313-325, 2007.

Cited By (157)

* Cited by examiner, † Cited by third party
Publication number Priority date Publication date Assignee Title
US11219391B2 (en) 2001-07-02 2022-01-11 Masimo Corporation Low power pulse oximeter
US10980455B2 (en) 2001-07-02 2021-04-20 Masimo Corporation Low power pulse oximeter
US10959652B2 (en) 2001-07-02 2021-03-30 Masimo Corporation Low power pulse oximeter
US10869602B2 (en) 2002-03-25 2020-12-22 Masimo Corporation Physiological measurement communications adapter
US10912524B2 (en) 2006-09-22 2021-02-09 Masimo Corporation Modular patient monitor
US12440171B2 (en) 2006-09-22 2025-10-14 Masimo Corporation Modular patient monitor
US12171552B2 (en) 2006-10-12 2024-12-24 Masimo Corporation Method and apparatus for calibration to reduce coupling between signals in a measurement system
US11672447B2 (en) 2006-10-12 2023-06-13 Masimo Corporation Method and apparatus for calibration to reduce coupling between signals in a measurement system
US10863938B2 (en) 2006-10-12 2020-12-15 Masimo Corporation System and method for monitoring the life of a physiological sensor
US11317837B2 (en) 2006-10-12 2022-05-03 Masimo Corporation System and method for monitoring the life of a physiological sensor
US11857319B2 (en) 2006-10-12 2024-01-02 Masimo Corporation System and method for monitoring the life of a physiological sensor
US10772542B2 (en) 2006-10-12 2020-09-15 Masimo Corporation Method and apparatus for calibration to reduce coupling between signals in a measurement system
US12127835B2 (en) 2006-10-12 2024-10-29 Masimo Corporation System and method for monitoring the life of a physiological sensor
US11229408B2 (en) 2006-12-22 2022-01-25 Masimo Corporation Optical patient monitor
US12089968B2 (en) 2006-12-22 2024-09-17 Masimo Corporation Optical patient monitor
US10912501B2 (en) 2008-07-03 2021-02-09 Masimo Corporation User-worn device for noninvasively measuring a physiological parameter of a user
US11647914B2 (en) 2008-07-03 2023-05-16 Masimo Corporation User-worn device for noninvasively measuring a physiological parameter of a user
US10702194B1 (en) 2008-07-03 2020-07-07 Masimo Corporation Multi-stream data collection system for noninvasive measurement of blood constituents
US10702195B1 (en) 2008-07-03 2020-07-07 Masimo Corporation Multi-stream data collection system for noninvasive measurement of blood constituents
US10709366B1 (en) 2008-07-03 2020-07-14 Masimo Corporation Multi-stream data collection system for noninvasive measurement of blood constituents
US11638532B2 (en) 2008-07-03 2023-05-02 Masimo Corporation User-worn device for noninvasively measuring a physiological parameter of a user
US10743803B2 (en) 2008-07-03 2020-08-18 Masimo Corporation Multi-stream data collection system for noninvasive measurement of blood constituents
US10758166B2 (en) 2008-07-03 2020-09-01 Masimo Corporation Multi-stream data collection system for noninvasive measurement of blood constituents
US11484229B2 (en) 2008-07-03 2022-11-01 Masimo Corporation User-worn device for noninvasively measuring a physiological parameter of a user
US10631765B1 (en) 2008-07-03 2020-04-28 Masimo Corporation Multi-stream data collection system for noninvasive measurement of blood constituents
US10624563B2 (en) 2008-07-03 2020-04-21 Masimo Corporation Multi-stream data collection system for noninvasive measurement of blood constituents
US11426103B2 (en) 2008-07-03 2022-08-30 Masimo Corporation Multi-stream data collection system for noninvasive measurement of blood constituents
US10624564B1 (en) 2008-07-03 2020-04-21 Masimo Corporation Multi-stream data collection system for noninvasive measurement of blood constituents
US11642037B2 (en) 2008-07-03 2023-05-09 Masimo Corporation User-worn device for noninvasively measuring a physiological parameter of a user
US10617338B2 (en) 2008-07-03 2020-04-14 Masimo Corporation Multi-stream data collection system for noninvasive measurement of blood constituents
US12036009B1 (en) 2008-07-03 2024-07-16 Masimo Corporation User-worn device for noninvasively measuring a physiological parameter of a user
US11484230B2 (en) 2008-07-03 2022-11-01 Masimo Corporation User-worn device for noninvasively measuring a physiological parameter of a user
US12023139B1 (en) 2008-07-03 2024-07-02 Masimo Corporation User-worn device for noninvasively measuring a physiological parameter of a user
US10912500B2 (en) 2008-07-03 2021-02-09 Masimo Corporation Multi-stream data collection system for noninvasive measurement of blood constituents
US10912502B2 (en) 2008-07-03 2021-02-09 Masimo Corporation User-worn device for noninvasively measuring a physiological parameter of a user
US10610138B2 (en) 2008-07-03 2020-04-07 Masimo Corporation Multi-stream data collection system for noninvasive measurement of blood constituents
US10582886B2 (en) 2008-07-03 2020-03-10 Masimo Corporation Multi-stream data collection system for noninvasive measurement of blood constituents
US10945648B2 (en) 2008-07-03 2021-03-16 Masimo Corporation User-worn device for noninvasively measuring a physiological parameter of a user
US11642036B2 (en) 2008-07-03 2023-05-09 Masimo Corporation User-worn device for noninvasively measuring a physiological parameter of a user
US10588554B2 (en) 2008-07-03 2020-03-17 Masimo Corporation Multi-stream data collection system for noninvasive measurement of blood constituents
US10588553B2 (en) 2008-07-03 2020-03-17 Masimo Corporation Multi-stream data collection system for noninvasive measurement of blood constituents
US11559275B2 (en) 2008-12-30 2023-01-24 Masimo Corporation Acoustic sensor assembly
US12232905B2 (en) 2008-12-30 2025-02-25 Masimo Corporation Acoustic sensor assembly
US11133105B2 (en) 2009-03-04 2021-09-28 Masimo Corporation Medical monitoring system
US11158421B2 (en) 2009-03-04 2021-10-26 Masimo Corporation Physiological parameter alarm delay
US11145408B2 (en) 2009-03-04 2021-10-12 Masimo Corporation Medical communication protocol translator
US12057222B2 (en) 2009-03-04 2024-08-06 Masimo Corporation Physiological alarm threshold determination
US11744471B2 (en) 2009-09-17 2023-09-05 Masimo Corporation Optical-based physiological monitoring system
US11103143B2 (en) * 2009-09-17 2021-08-31 Masimo Corporation Optical-based physiological monitoring system
US11114188B2 (en) 2009-10-06 2021-09-07 Cercacor Laboratories, Inc. System for monitoring a physiological parameter of a user
US11289199B2 (en) 2010-01-19 2022-03-29 Masimo Corporation Wellness analysis system
USRE47882E1 (en) 2010-03-01 2020-03-03 Masimo Corporation Adaptive alarm system
USRE49007E1 (en) 2010-03-01 2022-04-05 Masimo Corporation Adaptive alarm system
US12318175B2 (en) 2011-06-21 2025-06-03 Masimo Corporation Patient monitoring system
US11925445B2 (en) 2011-06-21 2024-03-12 Masimo Corporation Patient monitoring system
US11272852B2 (en) 2011-06-21 2022-03-15 Masimo Corporation Patient monitoring system
US11439329B2 (en) 2011-07-13 2022-09-13 Masimo Corporation Multiple measurement mode in a physiological sensor
US10925550B2 (en) 2011-10-13 2021-02-23 Masimo Corporation Medical monitoring hub
US11241199B2 (en) 2011-10-13 2022-02-08 Masimo Corporation System for displaying medical monitoring data
US12402843B2 (en) 2011-10-13 2025-09-02 Masimo Corporation System for displaying medical monitoring data
US11083397B2 (en) 2012-02-09 2021-08-10 Masimo Corporation Wireless patient monitoring device
US11071480B2 (en) 2012-04-17 2021-07-27 Masimo Corporation Hypersaturation index
US10674948B2 (en) 2012-04-17 2020-06-09 Mastmo Corporation Hypersaturation index
US12167913B2 (en) 2012-04-17 2024-12-17 Masimo Corporation Hypersaturation index
US12042285B1 (en) 2012-08-29 2024-07-23 Masimo Corporation Physiological measurement calibration
US10827961B1 (en) 2012-08-29 2020-11-10 Masimo Corporation Physiological measurement calibration
US11992342B2 (en) 2013-01-02 2024-05-28 Masimo Corporation Acoustic respiratory monitoring sensor with probe-off detection
US11839470B2 (en) 2013-01-16 2023-12-12 Masimo Corporation Active-pulse blood analysis system
US10610139B2 (en) 2013-01-16 2020-04-07 Masimo Corporation Active-pulse blood analysis system
US12193813B2 (en) 2013-01-16 2025-01-14 Masimo Corporation Active-pulse blood analysis system
US11224363B2 (en) 2013-01-16 2022-01-18 Masimo Corporation Active-pulse blood analysis system
US11645905B2 (en) 2013-03-13 2023-05-09 Masimo Corporation Systems and methods for monitoring a patient health network
US12142136B2 (en) 2013-03-13 2024-11-12 Masimo Corporation Systems and methods for monitoring a patient health network
US10672260B2 (en) 2013-03-13 2020-06-02 Masimo Corporation Systems and methods for monitoring a patient health network
US12042300B2 (en) 2013-03-14 2024-07-23 Masimo Corporation Patient monitor placement indicator
US10575779B2 (en) 2013-03-14 2020-03-03 Masimo Corporation Patient monitor placement indicator
US12514503B2 (en) 2013-03-14 2026-01-06 Masimo Corporation Patient monitor placement indicator
US11504062B2 (en) 2013-03-14 2022-11-22 Masimo Corporation Patient monitor placement indicator
US12178572B1 (en) 2013-06-11 2024-12-31 Masimo Corporation Blood glucose sensing system
US11751780B2 (en) 2013-10-07 2023-09-12 Masimo Corporation Regional oximetry sensor
US10825568B2 (en) 2013-10-11 2020-11-03 Masimo Corporation Alarm notification system
US11699526B2 (en) 2013-10-11 2023-07-11 Masimo Corporation Alarm notification system
US11488711B2 (en) 2013-10-11 2022-11-01 Masimo Corporation Alarm notification system
US12230396B2 (en) 2013-10-11 2025-02-18 Masimo Corporation Alarm notification system
US12009098B2 (en) 2013-10-11 2024-06-11 Masimo Corporation Alarm notification system
US10832818B2 (en) 2013-10-11 2020-11-10 Masimo Corporation Alarm notification system
US12036014B2 (en) 2015-01-23 2024-07-16 Masimo Corporation Nasal/oral cannula system and manufacturing
US12015226B2 (en) 2015-02-06 2024-06-18 Masimo Corporation Pogo pin connector
US11178776B2 (en) 2015-02-06 2021-11-16 Masimo Corporation Fold flex circuit for LNOP
US12374843B2 (en) 2015-02-06 2025-07-29 Masimo Corporation Pogo pin connector
US12207419B2 (en) 2015-02-06 2025-01-21 Masimo Corporation Fold flex circuit for LNOP
US10784634B2 (en) 2015-02-06 2020-09-22 Masimo Corporation Pogo pin connector
US11903140B2 (en) 2015-02-06 2024-02-13 Masimo Corporation Fold flex circuit for LNOP
US11437768B2 (en) 2015-02-06 2022-09-06 Masimo Corporation Pogo pin connector
US11894640B2 (en) 2015-02-06 2024-02-06 Masimo Corporation Pogo pin connector
US11605188B2 (en) 2015-08-11 2023-03-14 Masimo Corporation Medical monitoring analysis and replay including indicia responsive to light attenuated by body tissue
US11967009B2 (en) 2015-08-11 2024-04-23 Masimo Corporation Medical monitoring analysis and replay including indicia responsive to light attenuated by body tissue
US10991135B2 (en) 2015-08-11 2021-04-27 Masimo Corporation Medical monitoring analysis and replay including indicia responsive to light attenuated by body tissue
US12133717B2 (en) 2015-08-31 2024-11-05 Masimo Corporation Systems and methods for patient fall detection
US11089963B2 (en) 2015-08-31 2021-08-17 Masimo Corporation Systems and methods for patient fall detection
US12150739B2 (en) 2015-08-31 2024-11-26 Masimo Corporation Systems and methods for patient fall detection
US11806502B2 (en) 2015-11-20 2023-11-07 Tandem Diabetes Care Switzerland Sarl Micropump
US11679579B2 (en) 2015-12-17 2023-06-20 Masimo Corporation Varnish-coated release liner
US11202571B2 (en) 2016-07-07 2021-12-21 Masimo Corporation Wearable pulse oximeter and respiration monitor
US10617302B2 (en) 2016-07-07 2020-04-14 Masimo Corporation Wearable pulse oximeter and respiration monitor
US12070293B2 (en) 2016-07-07 2024-08-27 Masimo Corporation Wearable pulse oximeter and respiration monitor
US11076777B2 (en) 2016-10-13 2021-08-03 Masimo Corporation Systems and methods for monitoring orientation to reduce pressure ulcer formation
US12521039B2 (en) 2016-10-13 2026-01-13 Masimo Corporation Systems and methods for monitoring orientation to reduce pressure ulcer formation
US11291061B2 (en) 2017-01-18 2022-03-29 Masimo Corporation Patient-worn wireless physiological sensor with pairing functionality
US11825536B2 (en) 2017-01-18 2023-11-21 Masimo Corporation Patient-worn wireless physiological sensor with pairing functionality
US12302426B2 (en) 2017-01-18 2025-05-13 Masimo Corporation Patient-worn wireless physiological sensor with pairing functionality
US12318229B2 (en) 2017-02-24 2025-06-03 Masimo Corporation Modular multi-parameter patient monitoring device
US11901070B2 (en) 2017-02-24 2024-02-13 Masimo Corporation System for displaying medical monitoring data
US11969269B2 (en) 2017-02-24 2024-04-30 Masimo Corporation Modular multi-parameter patient monitoring device
US11596365B2 (en) 2017-02-24 2023-03-07 Masimo Corporation Modular multi-parameter patient monitoring device
US11417426B2 (en) 2017-02-24 2022-08-16 Masimo Corporation System for displaying medical monitoring data
US11096631B2 (en) 2017-02-24 2021-08-24 Masimo Corporation Modular multi-parameter patient monitoring device
US12211617B2 (en) 2017-02-24 2025-01-28 Masimo Corporation System for displaying medical monitoring data
US10667762B2 (en) 2017-02-24 2020-06-02 Masimo Corporation Modular multi-parameter patient monitoring device
USD890708S1 (en) 2017-08-15 2020-07-21 Masimo Corporation Connector
US10637181B2 (en) 2017-08-15 2020-04-28 Masimo Corporation Water resistant connector for noninvasive patient monitor
US12142875B2 (en) 2017-08-15 2024-11-12 Masimo Corporation Water resistant connector for noninvasive patient monitor
USD906970S1 (en) 2017-08-15 2021-01-05 Masimo Corporation Connector
US11095068B2 (en) 2017-08-15 2021-08-17 Masimo Corporation Water resistant connector for noninvasive patient monitor
US11705666B2 (en) 2017-08-15 2023-07-18 Masimo Corporation Water resistant connector for noninvasive patient monitor
US11529458B2 (en) 2017-12-08 2022-12-20 Amf Medical Sa Drug delivery device
US11813428B2 (en) 2017-12-08 2023-11-14 Tandem Diabetes Care Switzerland Sárl Patch pump device for drug delivery
US10667764B2 (en) 2018-04-19 2020-06-02 Masimo Corporation Mobile patient alarm display
US12193849B2 (en) 2018-04-19 2025-01-14 Masimo Corporation Mobile patient alarm display
US11109818B2 (en) 2018-04-19 2021-09-07 Masimo Corporation Mobile patient alarm display
US11844634B2 (en) 2018-04-19 2023-12-19 Masimo Corporation Mobile patient alarm display
US10779098B2 (en) 2018-07-10 2020-09-15 Masimo Corporation Patient monitor alarm speaker analyzer
US11082786B2 (en) 2018-07-10 2021-08-03 Masimo Corporation Patient monitor alarm speaker analyzer
US11812229B2 (en) 2018-07-10 2023-11-07 Masimo Corporation Patient monitor alarm speaker analyzer
US12238489B2 (en) 2018-07-10 2025-02-25 Masimo Corporation Patient monitor alarm speaker analyzer
US11445948B2 (en) 2018-10-11 2022-09-20 Masimo Corporation Patient connector assembly with vertical detents
US12156732B2 (en) 2018-10-11 2024-12-03 Masimo Corporation Patient connector assembly with vertical detents
US11389093B2 (en) 2018-10-11 2022-07-19 Masimo Corporation Low noise oximetry cable
US12053280B2 (en) 2018-10-11 2024-08-06 Masimo Corporation Low noise oximetry cable
US12257022B2 (en) 2018-10-12 2025-03-25 Masimo Corporation System for transmission of sensor data using dual communication protocol
US12495968B2 (en) 2018-10-12 2025-12-16 Masimo Corporation System for transmission of sensor data using dual communication protocol
US12042245B2 (en) 2018-10-12 2024-07-23 Masimo Corporation Medical systems and methods
US11272839B2 (en) 2018-10-12 2022-03-15 Ma Simo Corporation System for transmission of sensor data using dual communication protocol
US11464410B2 (en) 2018-10-12 2022-10-11 Masimo Corporation Medical systems and methods
US12484844B2 (en) 2018-11-05 2025-12-02 Masimo Corporation System to monitor and manage patient hydration via plethysmograph variability index in response to the passive leg raising
US12004869B2 (en) 2018-11-05 2024-06-11 Masimo Corporation System to monitor and manage patient hydration via plethysmograph variablity index in response to the passive leg raising
US11986289B2 (en) 2018-11-27 2024-05-21 Willow Laboratories, Inc. Assembly for medical monitoring device with multiple physiological sensors
US11241530B1 (en) 2020-11-23 2022-02-08 Amf Medical Sa Insulin patch pump having photoplethysmography module
US11529460B1 (en) 2021-06-01 2022-12-20 Amf Medical Sa Systems and methods for delivering microdoses of medication
US11529461B1 (en) 2021-06-01 2022-12-20 Amf Medical Sa Initialization for systems and methods for delivering microdoses of medication
US12397104B2 (en) 2021-06-01 2025-08-26 Tandem Diabetes Care, Inc. Systems and methods for delivering microdoses of medication
US11541169B2 (en) 2021-06-01 2023-01-03 Amf Medical Sa Applicators for systems and methods for delivering microdoses of medication
US11813382B2 (en) 2021-06-01 2023-11-14 Tandem Diabetes Care Switzerland Sàrl Cannulas for systems and methods for delivering microdoses of medication
US11679199B2 (en) 2021-06-01 2023-06-20 Amf Medical Sa Systems and methods for delivering microdoses of medication
US11712514B2 (en) 2021-06-01 2023-08-01 Tandem Diabetes Care Switzerland Sàrl Cannulas for systems and methods for delivering microdoses of medication
US11529464B1 (en) 2021-06-01 2022-12-20 Amf Medical Sa Systems and methods for monitoring delivery of microdoses of medication
US11857757B2 (en) 2021-06-01 2024-01-02 Tandem Diabetes Care Switzerland Sàrl Systems and methods for delivering microdoses of medication

Also Published As

Publication number Publication date
US20200037891A1 (en) 2020-02-06
US11103143B2 (en) 2021-08-31
US20140378784A1 (en) 2014-12-25
US20230363650A1 (en) 2023-11-16
US20170055847A1 (en) 2017-03-02
US20110137297A1 (en) 2011-06-09
US9517024B2 (en) 2016-12-13
US20180214031A1 (en) 2018-08-02
US20210361173A1 (en) 2021-11-25
US9833152B2 (en) 2017-12-05
US11744471B2 (en) 2023-09-05

Similar Documents

Publication Publication Date Title
US11744471B2 (en) Optical-based physiological monitoring system
US20230338657A1 (en) Drug administration controller
US20250090105A1 (en) Optical patient monitor
US20240269384A1 (en) Sepsis monitor
US12419588B2 (en) System and method for monitoring respiratory rate measurements
US20100099964A1 (en) Hemoglobin monitor
US20120209084A1 (en) Respiratory event alert system
WO2014176576A1 (en) Systems and methods for determining fluid responsiveness
US20160073965A1 (en) Methods and systems for determining fluid responsiveness
Singer et al. Pulse oximetry for early detection of hypoxemia

Legal Events

Date Code Title Description
FEPP Fee payment procedure

Free format text: ENTITY STATUS SET TO UNDISCOUNTED (ORIGINAL EVENT CODE: BIG.); ENTITY STATUS OF PATENT OWNER: LARGE ENTITY

AS Assignment

Owner name: MASIMO CORPORATION, CALIFORNIA

Free format text: ASSIGNMENT OF ASSIGNORS INTEREST;ASSIGNORS:KIANI, MASSI JOE E.;O'REILLY, MICHAEL;SIGNING DATES FROM 20110202 TO 20110207;REEL/FRAME:044527/0569

STPP Information on status: patent application and granting procedure in general

Free format text: RESPONSE TO NON-FINAL OFFICE ACTION ENTERED AND FORWARDED TO EXAMINER

STPP Information on status: patent application and granting procedure in general

Free format text: NOTICE OF ALLOWANCE MAILED -- APPLICATION RECEIVED IN OFFICE OF PUBLICATIONS

STPP Information on status: patent application and granting procedure in general

Free format text: PUBLICATIONS -- ISSUE FEE PAYMENT RECEIVED

STPP Information on status: patent application and granting procedure in general

Free format text: PUBLICATIONS -- ISSUE FEE PAYMENT VERIFIED

STCF Information on status: patent grant

Free format text: PATENTED CASE

CC Certificate of correction
MAFP Maintenance fee payment

Free format text: PAYMENT OF MAINTENANCE FEE, 4TH YEAR, LARGE ENTITY (ORIGINAL EVENT CODE: M1551); ENTITY STATUS OF PATENT OWNER: LARGE ENTITY

Year of fee payment: 4