[go: up one dir, main page]

KR20060066570A - 분산 환경에서 어플리케이션의 성능을 모니터링하는 방법및 시스템 - Google Patents

분산 환경에서 어플리케이션의 성능을 모니터링하는 방법및 시스템 Download PDF

Info

Publication number
KR20060066570A
KR20060066570A KR1020047021335A KR20047021335A KR20060066570A KR 20060066570 A KR20060066570 A KR 20060066570A KR 1020047021335 A KR1020047021335 A KR 1020047021335A KR 20047021335 A KR20047021335 A KR 20047021335A KR 20060066570 A KR20060066570 A KR 20060066570A
Authority
KR
South Korea
Prior art keywords
user
server
performance
request
information
Prior art date
Legal status (The legal status is an assumption and is not a legal conclusion. Google has not performed a legal analysis and makes no representation as to the accuracy of the status listed.)
Granted
Application number
KR1020047021335A
Other languages
English (en)
Other versions
KR100772999B1 (ko
Inventor
제임스 씨 총
조세프 엘 챈
튜사 엠 파텔
잭퀴스 헬러
치홍 소
아서 챵
로버트 에스 램
레이몬드 쵸
헨리 탱
제로미 디 뱅크스
크리스토퍼 엠 지코프스키
Original Assignee
인터내셔널 비지네스 머신즈 코포레이션
Priority date (The priority date is an assumption and is not a legal conclusion. Google has not performed a legal analysis and makes no representation as to the accuracy of the date listed.)
Filing date
Publication date
Application filed by 인터내셔널 비지네스 머신즈 코포레이션 filed Critical 인터내셔널 비지네스 머신즈 코포레이션
Publication of KR20060066570A publication Critical patent/KR20060066570A/ko
Application granted granted Critical
Publication of KR100772999B1 publication Critical patent/KR100772999B1/ko
Anticipated expiration legal-status Critical
Expired - Fee Related legal-status Critical Current

Links

Images

Classifications

    • GPHYSICS
    • G06COMPUTING OR CALCULATING; COUNTING
    • G06FELECTRIC DIGITAL DATA PROCESSING
    • G06F16/00Information retrieval; Database structures therefor; File system structures therefor
    • G06F16/10File systems; File servers
    • G06F16/11File system administration, e.g. details of archiving or snapshots
    • GPHYSICS
    • G06COMPUTING OR CALCULATING; COUNTING
    • G06FELECTRIC DIGITAL DATA PROCESSING
    • G06F11/00Error detection; Error correction; Monitoring
    • G06F11/30Monitoring
    • G06F11/3003Monitoring arrangements specially adapted to the computing system or computing system component being monitored
    • G06F11/3006Monitoring arrangements specially adapted to the computing system or computing system component being monitored where the computing system is distributed, e.g. networked systems, clusters, multiprocessor systems
    • GPHYSICS
    • G06COMPUTING OR CALCULATING; COUNTING
    • G06FELECTRIC DIGITAL DATA PROCESSING
    • G06F15/00Digital computers in general; Data processing equipment in general
    • G06F15/16Combinations of two or more digital computers each having at least an arithmetic unit, a program unit and a register, e.g. for a simultaneous processing of several programs
    • GPHYSICS
    • G06COMPUTING OR CALCULATING; COUNTING
    • G06FELECTRIC DIGITAL DATA PROCESSING
    • G06F11/00Error detection; Error correction; Monitoring
    • G06F11/30Monitoring
    • G06F11/3065Monitoring arrangements determined by the means or processing involved in reporting the monitored data
    • G06F11/3072Monitoring arrangements determined by the means or processing involved in reporting the monitored data where the reporting involves data filtering, e.g. pattern matching, time or event triggered, adaptive or policy-based reporting
    • GPHYSICS
    • G06COMPUTING OR CALCULATING; COUNTING
    • G06FELECTRIC DIGITAL DATA PROCESSING
    • G06F11/00Error detection; Error correction; Monitoring
    • G06F11/30Monitoring
    • G06F11/32Monitoring with visual or acoustical indication of the functioning of the machine
    • G06F11/324Display of status information
    • G06F11/328Computer systems status display
    • GPHYSICS
    • G06COMPUTING OR CALCULATING; COUNTING
    • G06FELECTRIC DIGITAL DATA PROCESSING
    • G06F11/00Error detection; Error correction; Monitoring
    • G06F11/30Monitoring
    • G06F11/34Recording or statistical evaluation of computer activity, e.g. of down time, of input/output operation ; Recording or statistical evaluation of user activity, e.g. usability assessment
    • GPHYSICS
    • G06COMPUTING OR CALCULATING; COUNTING
    • G06FELECTRIC DIGITAL DATA PROCESSING
    • G06F11/00Error detection; Error correction; Monitoring
    • G06F11/30Monitoring
    • G06F11/34Recording or statistical evaluation of computer activity, e.g. of down time, of input/output operation ; Recording or statistical evaluation of user activity, e.g. usability assessment
    • G06F11/3409Recording or statistical evaluation of computer activity, e.g. of down time, of input/output operation ; Recording or statistical evaluation of user activity, e.g. usability assessment for performance assessment
    • GPHYSICS
    • G06COMPUTING OR CALCULATING; COUNTING
    • G06FELECTRIC DIGITAL DATA PROCESSING
    • G06F11/00Error detection; Error correction; Monitoring
    • G06F11/30Monitoring
    • G06F11/34Recording or statistical evaluation of computer activity, e.g. of down time, of input/output operation ; Recording or statistical evaluation of user activity, e.g. usability assessment
    • G06F11/3466Performance evaluation by tracing or monitoring
    • G06F11/3476Data logging
    • GPHYSICS
    • G06COMPUTING OR CALCULATING; COUNTING
    • G06FELECTRIC DIGITAL DATA PROCESSING
    • G06F11/00Error detection; Error correction; Monitoring
    • G06F11/30Monitoring
    • G06F11/34Recording or statistical evaluation of computer activity, e.g. of down time, of input/output operation ; Recording or statistical evaluation of user activity, e.g. usability assessment
    • G06F11/3466Performance evaluation by tracing or monitoring
    • G06F11/3495Performance evaluation by tracing or monitoring for systems
    • GPHYSICS
    • G06COMPUTING OR CALCULATING; COUNTING
    • G06FELECTRIC DIGITAL DATA PROCESSING
    • G06F15/00Digital computers in general; Data processing equipment in general
    • GPHYSICS
    • G06COMPUTING OR CALCULATING; COUNTING
    • G06FELECTRIC DIGITAL DATA PROCESSING
    • G06F15/00Digital computers in general; Data processing equipment in general
    • G06F15/16Combinations of two or more digital computers each having at least an arithmetic unit, a program unit and a register, e.g. for a simultaneous processing of several programs
    • G06F15/163Interprocessor communication
    • G06F15/173Interprocessor communication using an interconnection network, e.g. matrix, shuffle, pyramid, star, snowflake
    • HELECTRICITY
    • H04ELECTRIC COMMUNICATION TECHNIQUE
    • H04LTRANSMISSION OF DIGITAL INFORMATION, e.g. TELEGRAPHIC COMMUNICATION
    • H04L43/00Arrangements for monitoring or testing data switching networks
    • H04L43/08Monitoring or testing based on specific metrics, e.g. QoS, energy consumption or environmental parameters
    • HELECTRICITY
    • H04ELECTRIC COMMUNICATION TECHNIQUE
    • H04LTRANSMISSION OF DIGITAL INFORMATION, e.g. TELEGRAPHIC COMMUNICATION
    • H04L67/00Network arrangements or protocols for supporting network services or applications
    • H04L67/01Protocols
    • H04L67/06Protocols specially adapted for file transfer, e.g. file transfer protocol [FTP]
    • HELECTRICITY
    • H04ELECTRIC COMMUNICATION TECHNIQUE
    • H04LTRANSMISSION OF DIGITAL INFORMATION, e.g. TELEGRAPHIC COMMUNICATION
    • H04L67/00Network arrangements or protocols for supporting network services or applications
    • H04L67/01Protocols
    • H04L67/10Protocols in which an application is distributed across nodes in the network
    • GPHYSICS
    • G06COMPUTING OR CALCULATING; COUNTING
    • G06FELECTRIC DIGITAL DATA PROCESSING
    • G06F2201/00Indexing scheme relating to error detection, to error correction, and to monitoring
    • G06F2201/81Threshold
    • GPHYSICS
    • G06COMPUTING OR CALCULATING; COUNTING
    • G06FELECTRIC DIGITAL DATA PROCESSING
    • G06F2201/00Indexing scheme relating to error detection, to error correction, and to monitoring
    • G06F2201/865Monitoring of software
    • GPHYSICS
    • G06COMPUTING OR CALCULATING; COUNTING
    • G06FELECTRIC DIGITAL DATA PROCESSING
    • G06F2201/00Indexing scheme relating to error detection, to error correction, and to monitoring
    • G06F2201/88Monitoring involving counting

Landscapes

  • Engineering & Computer Science (AREA)
  • Theoretical Computer Science (AREA)
  • General Engineering & Computer Science (AREA)
  • Physics & Mathematics (AREA)
  • General Physics & Mathematics (AREA)
  • Computer Hardware Design (AREA)
  • Quality & Reliability (AREA)
  • Computing Systems (AREA)
  • Signal Processing (AREA)
  • Computer Networks & Wireless Communication (AREA)
  • Environmental & Geological Engineering (AREA)
  • Mathematical Physics (AREA)
  • Computer Vision & Pattern Recognition (AREA)
  • Software Systems (AREA)
  • Data Mining & Analysis (AREA)
  • Databases & Information Systems (AREA)
  • Debugging And Monitoring (AREA)
  • Computer And Data Communications (AREA)

Abstract

컴퓨터 시스템 및 어플리케이션의 실행을 관리하는 방법은 사용자를 재촉하여 모니터링하는 정보를 선택하는 단계와, 서버에서 실행하는 어플리케이션의 실행을 모니터링하는 단계와, 데이터를 디스플레이하는 단계와, 사용자를 재촉하여 실행 조정을 입력하는 단계를 포함한다. 사용자는 재촉받아 서버 또는 서버 그룹, 리소스 및 통지를 위한 임계 및 조건을 선택하고, 시스템에 응답하여 임계 또는 조건의 파라미터 값 또는 질을 비교하고, 파라미터가 임계 또는 조건에 도달하는 경우, 사용자에게 통지한다. 방법은 사용자에게 실행 정보를 제공하는 단계와, 사용자로부터 더욱 구체적인 실행 정보에 대한 요청을 수신받는 단계와, 더욱 상세한 실행 정보를 제공하는 단계를 포함한다. 본 발명에 따른 방법은 사용자로부터 허가 서버로서의 서버 및 비교 서버로서의 다른 서버의 확인을 수신하는 단계와, 선택된 서버들 사이의 CPU 데이터, 서버 데이터 및 자바 데이터중의 하나 이상의 형태로 런타임 환경 데이터를 비교하고, 사용자에게 차이점을 디스플레이하는 단계를 포함한다. 본 발명의 방법은 사용자로부터 허가 서버로서의 서버 및 비교 서버로서의 다른 서버의 확인을 수신하는 단계와, 파일 이름을 매칭하고 다르게 하는 리스트를 제공하는 단계를 포함한다. 방법은 사용자로부터 파일의 선택을 수신하는 단계와, 파일의 비교를 실행하는 단계와, 사용자에게 결과를 제공하는 단계를 더 포함할 수 있다. 본 발명의 방법은 각각의 사용자에게 역할을 지정하는 단계와, 기능부로의 접근 및 접근 제어 리스트에 의한 각각의 사용자 역할의 사이에서 매핑하는 단계를 포함하고, 기능부로의 접근은 사용제에게 지정된 역할에 따라 제한된다.

Description

분산 환경에서 어플리케이션의 성능을 모니터링하는 방법 및 시스템{METHOD AND SYSTEM FOR MONITORING PERFORMANCE OF APPLICATIONS IN A DISTRIBUTED ENVIRONMENT}
분산 서버는 사업에 중요한 어플리케이션을 선 마이크로시스템 자바2 엔터프라이즈 에디션(J2EE) 기술을 사용하여 현재 호스트하고 있다. 그러한 어플리케이션은 브라우저 클라이언트를 성능하는 고객에게 직접 중요한 사업 수행을 제공하는 서버를 포함한다. 다양한 툴과 기술이, 데이터 베이스, 플랫폼 및 하드웨어를 포함하는 그러한 시스템의 다양한 콤포넌트의 성능을 모니터하는데 사용될 수 있다. 그러나, 고객에 의해 경험된 성능은 그러한 기저의 콤포넌트의 성능이 아니라, 어플리케이션의 성능이다. 발명자들은 종래 기술의 주요한 장애를 확인하여 어플리케이션의 성능에 관한 정보를 제공하였다. 어플리케이션의 성능을 측정하는 종래 기술의 제품이 그 무능력을 발휘하지 못한 결과로서, 하드웨어 및 소프트웨어의 선택에 대한 결정은 잘못될 수 있다. 예를 들어, 만일 어플리케이션이 느리게 응답하는 중이면, 관리자에게 이용가능한 하나의 옵션은 어플리케이션이 성능하는 추가적인 서버를 구매하거나 임대하는 것이다. 그러한 구입 비용은 고가이고, 새로운 하드웨어의 설치는 반드시 다른 임무로부터 벗어나야 하는 정보 기술 직원이 하게된다. 느리게 응답하는 어플리케이션에 대한 다른 응답은 다양한 하드웨어의 구성의 변경을 포함한다. 그러나, 어플리케이션 성능을 향상시키기 위하여 다양한 하드웨어 및 소프트웨어 구성의 수많은 다른 조합을 실시할 필요가 있을 수 있다.
분산 컴퓨팅 환경의 서버에서 성능되는 어플리케이션의 성능을 모니터하는 발명에 따른 방법은, 사용자를 재촉하여 모니터링하는 정보를 선택하고, 선택된 정보에 따라 어플리케이션 성능을 모니터하고, 사용자에게 유용한 모니터된 성능 정보를 만드는 단계를 포함한다.
발명에 따른 방법은 사용자를 재촉하여 서버 또는 서버군, 리소스 및 통지용 임계 또는 조건을 선택하고, 임계 또는 조건에 대한 파라미터 값 또는 질을 비교하고, 파라미터가 임계 또는 조건에 도달하는 경우 사용자에게 통지를 제공하는 단계를 포함한다.
본 발명에 따른 방법은 분산 컴퓨팅 환경의 서버에서 성능되는 어플리케이션에 관계하는 성능 정보를 사용자에게 제공하고, 더 많은 구체적인 성능 정보에 관한 요청을 사용자로부터 수신하고, 요청에 응답하여 더욱 상세한 성능 정보를 제공하는 단계를 포함한다.
본 발명에 따른 방법은 허가 서버로서의 서버, 비교 서버로서의 다른 서버의 신분 확인을 사용자로부터 입력받고, 선택된 서버 사이의 CPU 데이터, 서버 데이터 및 자바 데이터 중 하나 이상의 형태의 성능 시간 환경 데이터를 비교하고, 사용자에게 차이를 표시하는 단계를 포함한다.
본 발명의 방법은 허가 서버로서의 서버 및 비교 서버로서의 다른 서버의 신 분 확인을 사용자로부터 입력받고, 파일 이름을 매칭하고 다르게 하는 리스트를 제공하는 단계를 포함한다. 본 방법은 파일 중의 선택을 사용자로부터 수신하고, 파일 중의 비교를 수행하고, 결과를 사용자에게 제공하는 단계를 더 포함할 수 있다.
본 발명의 방법은 요청 스트링을 수신하고, 구별할 수 있는 요청 스트링 및 파괴할 수 있는 요청 스트링에 수신된 요청 스트링을 매핑하는 단계를 포함한다. 수신된 요청 스트링은 JSP, 서브렛 및 원격 엔터프라이즈 자바 빈 콜(Bean call)의 형태일 수 있다. 본 발명의 방법은 사용자를 재촉하여 구별할 수 있는 요청 스트링 및 파괴할 수 있는 요청 스트링에 수신된 요청 스트링의 매핑을 하는 규칙을 생성할 수 있다.
본 발명의 방법은 적어도 하나의 어플리케이션을 성능하는 시스템에서 모니터링 및 관리하는 다양한 콤포넌트를 갖는 관리 어플리케이션을 제공하고, 콤포넌트의 구성 및 콤포넌트 사이의 관계에 관한 정보를 실시간으로 사용자에게 모니터링하고 제공하는 단계를 포함한다.
본 발명의 방법은 각각의 사용자에게 기능을 지정하고, 기능에의 접근과 접근 제어 리스트에 의한 각각의 사용자 기능 사이에서 매핑하는 단계를 포함하고, 여기서 기능에 대한 접근은 사용자의 지정된 기능에 의존하면서 제한된다.
분산 컴퓨팅 환경의 서버에서 성능되는 어플리케이션의 성능을 모니터링하는 본 발명에 따른 시스템은 사용자를 재촉하여 모니터링하는 정보를 선택하는 컴퓨터 하드웨어 및 소프트웨어, 사용자로부터 수신된 선택된 정보에 따라 어플리케이션 성능을 모니터링하는 컴퓨터 하드웨어 및 소프트웨어와, 사용자에게 이용될 수 있 는 모니터된 성능 정보를 만드는 컴퓨터 하드웨어 및 소프트웨어를 포함한다.
본 발명에 따른 시스템은 사용자를 재촉하여 서버 또는 서버 그룹, 리소스 및 통지에 대한 임계 또는 조건을 선택하는 컴퓨터 하드웨어 및 소프트웨어, 임계 또는 조건에 대한 서버 또는 서버 그룹의 리소스의 모니터된 파라미터 값 또는 질을 비교하는 컴퓨터 소프트웨어 및 하드웨어, 파라미터가 임계 또는 조건에 도달하는 경우에 사용자에게 통지를 제공하는 컴퓨터 소프트웨어 및 하드웨어를 포함한다.
본 발명에 따른 시스템은 분산 컴퓨팅 환경의 서버에서 성능되는 하나 이상의 어플리케이션에 관계하는 성능 정보를 사용자에게 제공하는 컴퓨터 하드웨어 및 소프트웨어, 더 이상의 구체적인 성능 정보를 위한 요청을 사용자로부터 수신하는 컴퓨터 하드웨어 및 소프트웨어와, 요청에 응답하여 더 이상의 상세한 성능 정보를 제공하는 컴퓨터 하드웨어 및 소프트웨어를 포함한다.
본 발명에 따른 시스템은 허가 서버로서의 제1 서버 및 비교 서버로서의 제2 서버의 신분 확인을 사용자로부터 수신하는 컴퓨터 하드웨어 및 소프트웨어, 선택된 서버 사이의 하나 이상의 CPU 데이터, 서버 데이터 및 자바 데이터의 형태로 허가 서버 및 비교 서버로부터 성능시간 환경 데이터를 비교하는 컴퓨터 하드웨어 및 소프트웨어와, 사용자에게 선택된 서버 사이의 그러한 데이터의 차이를 표시하는 컴퓨터 하드웨어 및 소프트웨어를 포함한다.
본 발명에 따른 시스템은 허가 서버로서의 제1 서버 및 비교 서버로서의 제2 서버의 신분 확인을 사용자로부터 수신하는 컴퓨터 하드웨어 및 소프트웨어와, 파 일 이름을 매칭하고 다르게 하는 리스트를 제공하는 컴퓨터 하드웨어 및 소프트웨어를 포함한다. 시스템은 허가 서버 및 비교 서버의 둘다에 파일의 선택을 사용자로부터 수신하는 컴퓨터 하드웨어와, 파일 중의 비교를 성능하고 결과를 사용자에게 제공하는 컴퓨터 하드웨어 및 소프트웨어를 더 포함할 수 있다.
본 발명의 시스템은 요청 스트링을 수신하는 컴퓨터 하드웨어 및 소프트웨어와, 구별할 수 있는 요청 스트링 및 파괴할 수 있는 요청 스트링에 수신된 요청 스트링을 매핑하는 컴퓨터 하드웨어 및 소프트웨어를 포함한다. 수신된 요청 스트링은 JSP, 서브렛 및 원격 엔터프라이즈 자바 빈 콜의 형태일 수 있다. 본 발명의 시스템은 사용자를 재촉하여 구별할 수 있는 요청 스트링 및 파괴할 수 있는 요청 스트링에 수신된 요청 스트링을 매핑하는 규칙을 생성하는 컴퓨터 하드웨어 및 소프트웨어를 포함할 수 있다.
본 발명의 시스템은 적어도 하나의 어플리케이션을 성능하는 시스템에서, 모니터링 및 관리를 위한 다양한 콤포넌트를 갖는 관리 어플리케이션을 제공하고, 콤포넌트의 구성 및 콤포넌트 사이의 관계에 관한 정보를 실시간으로 사용자에게 제공하고 모니터링하는 컴퓨터 하드웨어 및 소프트웨어를 포함한다.
본 발명의 시스템은 각각의 사용자에게 기능을 지정하는 컴퓨터 하드웨어 및 소프트웨어와, 기능에 대한 접근과 접근 제어 리스트에 의한 각각의 사용자 기능 사이에서 매핑하는 컴퓨터 하드웨어 및 소프트웨어를 포함하고, 여기서 기능에 대한 접근은 사용자의 지정된 역할에 따라 제한된다.
분산 컴퓨팅 환경에서의 서버에서 성능하는 어플리케이션의 성능을 모니터링 하는 발명에 따른 컴퓨터 프로그램은 프로세서에서 성능되는 경우, 명령이 사용자를 재촉하여 모니터링을 위한 정보를 선택하고, 선택된 정보에 따라 어플리케이션 성능을 모니터링하고, 사용자에게 사용될 수 있는 모니터된 성능 정보를 만드는 단계를 프로세서가 성능하도록 하는 매체에 저장된 명령들로 구성된다.
본 발명에 따른 컴퓨터 프로그램은 프로세서에서 성능되는 경우, 명령이 사용자를 재촉하여 서버 또는 서버 그룹, 리소스와 통지를 위한 임계 및 조건을 선택하고, 임계 또는 조건에 대한 서버 또는 서버 그룹의 리소스의 검출된 값 또는 질을 비교하고, 파라미터가 임계 또는 조건에 도달하는 경우 사용자에게 통지를 제공하는 단계를 프로세서로 하여금 성능하도록 하는 매체에 저장된 명령들로 구성된다.
본 발명에 따른 컴퓨터 프로그램은 프로세서에서 성능되는 경우, 분산 컴퓨팅 환경의 서버에서 성능되는 어플리케이션에 관계한 성능 정보를 사용자에게 제공하고, 더 이상의 구체적인 성능 정보를 위한 요청을 사용자로부터 입력받고, 요청에 응답하여 더 상세한 성능 정보를 제공하는 단계를 명령이 프로세서로 하여금 성능하도록 하는 매체에 저장된 명령으로 구성된다.
본 발명에 따른 컴퓨터 프로그램은 프로세서에서 성능되는 경우, 명령이 프로세서로 하여금 허가 서버로서의 제1 서버 및 비교 서버로서의 제2 서버의 신분 확인을 사용자로부터 입력받고, 선택된 서버 사이의 하나 이상의 CPU 데이터, 서버 데이터 및 자바 데이터의 형태로 실시간 환경 데이터를 비교하고, 차이를 사용자에게 표시하는 단계를 성능하도록 하는 매체에 저장된 명령으로 구성된다.
본 발명에 따른 컴퓨터 프로그램은 프로세서에서 성능되는 경우, 명령이 허가 서버로서의 제1 서버 및 비교 서버로서의 제2 서버의 신분 확인을 사용자로부터 입력받고, 제1 및 제2 서버 사이의 파일 이름을 매칭하고 다르게하는 리스트를 제공하는 단계를 프로세서가 성능하도록 하는 매체에 저장된 명령으로 구성된다. 프로그램은 프로세서에서 성능되는 경우, 프로세서로 하여금 제1 및 제2 서버 둘 다에서 발견된 파일의 선택을 사용자로부터 수신받고, 파일의 비교를 수행하고, 결과를 사용자에게 제공하는 단계를 성능하도록 하는 명령을 더 포함할 수 있다.
본 발명의 컴퓨터 프로그램은 프로세서에서 성능되는 경우, 명령이 요청 스트링을 입력받고, 구별할 수 있는 요청 스트링 및 파괴할 수 있는 요청 스트링에 수신된 요청 스트링을 매핑하는 단계를 프로세서로 하여금 성능하도록 하는 매체에 저장된 명령으로 구성된다. 수신된 요청 스트링은 JSP, 서브렛 및 원격 엔터프라이즈 자바 빈 콜의 형태일 수 있다.
본 발명의 컴퓨터 프로그램은 프로세서에서 성능되는 경우, 명령이 프로세서로 하여금 적어도 하나의 어플리케이션을 성능하는 시스템에서, 모니터링 및 관리를 위한 다양한 콤포넌트를 갖는 관리 어플리케이션을 제공하고, 콤포넌트의 구성 및 콤포넌트 사이의 관계에 관한 정보를 실시간으로 사용자에게 모니터링하고 제공하는 단계를 성능하도록 하는 매체에 저장된 명령으로 구성된다.
본 발명의 컴퓨터 프로그램은 프로세서에서 성능되는 경우, 명령이 프로세서로 하여금 각각의 사용자에게 기능을 지정하고, 기능으로의 접근과 접근 제어 리스트에 의한 각각의 사용자 사이에서 매핑하는 단계를 성능하도록 하는 매체에 저장 된 명령으로 구성되고, 여기서 기능으로의 접근은 사용자의 지정된 기능에 따라 제한된다.
도 1은 본 발명에 따른 방법을 설명하는 흐름도이다.
도 2A 및 도 2B는 본 발명에 따른 방법을 설명하는 흐름도이다.
도 3은 본 발명에 따른 방법의 개략적 설명도이다.
도 4는 본 발명에 따른 방법을 설명하는 흐름도이다.
도 5는 본 발명에 따른 방법을 설명하는 흐름도이디.
도 6은 본 발명의 특징을 설명하는 개략도이다.
도 7은 본 발명의 특징을 설명하는 개략도이다.
도 8은 일례의 구조를 설명하는 개략도.
도 9는 일례의 구조의 특징을 설명하는 개략도.
도 10은 일례의 구조의 특징을 설명하는 도면.
도 11은 일례의 구조의 특징을 설명하는 개략도.
도 12는 일례의 구조의 특징을 설명하는 개략도.
도 13은 일례의 구조를 설명하는 흐름도.
본 발명은 컴퓨터 시스템, 컴퓨터 프로그램 및 본 발명에 따른 목적을 성취하기 위한 시스템의 형태의 성능에 관한 정보를 모니터링하고 제공하는 프로세스를 포함한다. 본 방법 및 시스템은 본 발며에 따른 목적을 성취하고 본 발명의 시스템 에서 사용하기 위한 컴퓨터 프로그램과 관령하여 설명된다. 본 발명의 컴퓨터 프로그램은 어플리케이션 서버에서 성능하는 어플리케이션에 특히 유용하다. 본 발명의 컴퓨터 프로그램은 사용자에게 다양한 정보 및 옵션을 제공하는 사용자 인터페이스를 포함한다. 어플리케이션 및 서버에 설치된 프로브(probe)는 어플리케이션의 동작에 관계된 정보를 획득하고, 분석 및 보고를 하기 위한 다른 프로그램 콤포넌트에 대한 정보를 사용자에게 제공한다.
[모니터링 레벨 및 스케줄]
본 발명에 따른 방법, 시스템 및 컴퓨터 프로그램에 있어서, 서버에서 성능되는 어플리케이션의 동작에 관해 상세히 선택된 레벨을 제공하는 능력이 제공된다. 사용자는 도 10의 105에 지시된 것처럼, 모니터링하는 정보를 확인하도록 재촉받는다. 사용자에게 모니터링하기 위한 상세 레벨에 관하여 적어도 2가지의 선택 사항이 바람직하게 제공된다. 모니터링의 상세 항목 레벨은 어플리케이션의 성능에 관하여 획득된 정보의 양 및 성질을 지칭한다. 모니터링 상세의 레벨은 또한 획득된 데이터 또는 정보의 양을 지칭할 수 있다. 상세의 레벨은 획득된 정보의 성질을 또한 참고할 수 있다. 예를 들어, 서버 이용 정보 같은 어떤 형태의 정보는 상대적으로 고 상세 레벨이다. 방법 트레이스(trace) 정보 같은 다른 형태의 정보는 상대적으로 저 상세 레벨이다.
사용자는 모니터링의 레벨을 선택하도록 재촉받을 수 있다. 사용자는 모니터에 특별한 특징을 선택할 수 있다. 이와 달리, 미리선택된 모니터링 레벨을 제공받을 수 있다. 각각의 미리선택된 모니터링 레벨은 모니터되고 보고되는 특별한 정보 와 관련이 있다. 도 1의 블럭(110)에 지시된 것처럼, 모니터링 레벨 또는 특별한 특징의 선택을 사용자로부터 수신하는 경우, 본 발명의 프로그램은 지시된 것처럼 어플리케이션 성능을 모니터하고, 사용자에게 유용한 모니터된 성능 정보를 만든다. 일례를 들자면, 도 1에 설명된 것처럼, 3가지 레벨의 모니터링이 제공될 수 있다. 사용자로부터 요청을 수령하는 경우, 시스템은 결정 블록(115)에 의해 지시된 것처럼, 모니터링 레벨을 결정한다. 레벨1 에서, 최고 레벨, 그러므로 최소 정보를 제공하는 레벨인 정보는 특성상 요청 레벨 데이터 및 서버 레벨 데이터일 수 있다. 예를 들어, 관련된 정보는 블록(120)에 지시된 것처럼, 이용 관리, 시스템 리소스, 분산 플랫폼 및 기본 요청 데이터일 수 있다. 이용 관리는 특별한 어플리케이션이 특별한 서버에서 성능하는 지에 관한 정보를 포함한다. 시스템 리소스는 사용할 수 있는 메모리의 양 같은 그러한 정보 및 사용가능한 접속수를 지시한다. 기본 요청 데이터는 만들어진 요청의 수, 완료된 요청의 수 등을 지시한다.
같은 예에서, 사용자는 레벨2 모니터링을 선택할 수 있다. 레벨2 모니터링 선택은 통상 블록(125)에 지시된 것처럼, 추가적인 정보를 가지고 레벨1 모니터링에 의해 제공되는 모든 정보를 포함한다. 추가적인 정보는 SQL 데이터, JMS 데이터 및 EJB 콜 데이터 같은 API 레벨 데이터일 수 있다. 그러한 데이터는 특별한 CPU의 처리량에 관한 데이터를 포함한다. 사용자로 하여금 소프트 요청 캔슬(cancel)을 제공하도록 허용하는 기능성은 제공될 수 있다. 아무런 방법 데이터 또는 SQL 데이터가 제공되지 않는다. 추가적인 데이터를 제공하기 위하여, JVMPI는 대응하는 JVM에서 인에블된다. 이 레벨은 문제 결정과 관련이 있고, 때때로 불안정하게 많은 양의 트랜젝션을 갖는 서버에 사용될 수 있다. 트랜젝션의 복잡함은 변화될 수 있다. JVMPI가 대응하는 JVM에 인에이블되기 때문에, 사용자는 이하 설명될 레벨3 같은 모니터링의 더욱 상세한 레벨로 동적으로 변화하는 옵션이 제공될 수 있다.
같은 예에서, 사용자는 레벨3 모니터링을의 선택할 수 있다. 레벨3 모니터링은 레벨2 모니터링과 연결되어 공급되는 정보, 플러스 방법 레벨 데이터를 제공한다. 레벨3은 진보된 문제 결정 및 예를 들어, 블록(130)에 의해 지시된 것처럼, 방법 및 SQL 레벨 데이터을 보고하고 포함하는 것을 포함할 수 있다. JVMPI는 대응하는 JVM에서 인에이블된다. JVMPI 기능 콜은 가능하고, 방법 엔트리 및 엑시트 이벤트가 선택된다. 이 레벨은 진단, 상세한 워크로드 특성 및 프로파일링에 선택되는 서버에 대표적으로 사용된다. 이 레벨이 상기 주석한 것처럼, JYMPI의 인에블링을 요구하기 때문에, 상기 설명한 예로 든 레벨2 와 같은 JVMPI가 인에블된 이 레벨 및 다른 레벨 사이에서 동적으로 변화하게 하는 것이 가능하다. 모든 경우에 있어서, 상기 주석한 것처럼, 블록(135)에 의해 지시된 것처럼, 모니터된 정보는 사용자에게 보여진다.
바람직한 실시예에 있어서, 사용자는 블록(140)에 의해 지시된 것처럼, 모니터링하는 스케줄을 정의하도록 재촉받는다. 스케줄은 블록(145)에 의해 지시된 것처럼, 사용자로부터 수신되고, 모니터링은 블록(150)에 의해 지시된 것처럼 스케줄에 따라 진행한다. 스케줄은 달력 날짜 및 시간, 모니터링 레벨과 서버 또는 서버의 그룹에 의해 바람직하게 정의된 적어도 시작 시간을 정의한다. 모니터링 레벨 보다는 오히려, 본 발명의 프로그램에 의해 사용자는 모니터링하는 개인적 데이터 항목을 선택할 수 있다. 스케줄은 변화하는 모니터링 레벨을 위한 시간을 정의할 수 있고, 달력 날짜 및 시간에 또한 관한 것일 수 있다. 스케줄은 각각의 월, 각각의 주 또는 각각의 일과 같은 적절한 바탕에 순환하도록 선택될 수 있다. 바람직한 실시예에서, 스케줄은 스케줄 레코드의 그룹으로 구성되고, 그 각각은 시작 날짜 및 시간과 모니터링 레벨의 조합이다. 본 발명의 프로그램에 의해 모니터링이 제1 스케줄 레코드와 함께 시작되고, 모니터링이 현재 시간이 다른 스케줄 레코드의 시작 시간 및 날짜일 경우 변화한다. 이 과정은 계속되는 스케줄 레코드를 통하여 계속된다. 디폴트 모니터링 레벨은 아무런 모니터링이 스케줄에 상술되지 않는 경우의 시간에 사용을 위하여 제공될 수 있다. 프로그램은 디폴트로 제공될 수 있고, 사용자에 의해 변경될 수 있다. 사용자는 하나 이상의 서버 또는 서버 그릅에 완성된 스케줄을 적용하도록 재촉받는다. 사용자는 존재하는 스케줄을 복사하는 옵션을 제공받을 수 있고, 그 다음 스케줄을 적용하는 서버 또는 서버 그룹을 위해 재촉받는다. 사용자는 스케줄의 필드를 수정하는 옵션을 제공받을 수 있다. 바람직하게, 만일 스케줄이 서버 또는 서버 그룹의 제거에 의해 수정되면, 사용자는 다른 스케줄을 그 서버 또는 서버 그룹에 적용하도록 재촉받을 것이다. 프로그램은 사용자가 주어진 서버로부터 모든 스케줄을 제거하는 겻을 방지하도록 구성될 수 있다. 또한, 주어진 서버 또는 그룹으로부터 모든 스케줄을 제거할 때, 영향받은 서버 또는 서버 그룹의 모니터링은 디폴트 모니터링 레벨로 복귀할 수 있다. 사용자는 스케줄을 제거하는 옵션을 제공받을 수 있고, 모니터링은 삭제된 스케줄에 대응하는 서버 또는 서버 그룹과 시간을 위한 디폴트 레벨에서 발생할 수 있다.
미리선택되도록 모니터되는 항목을 가지고, 프로그램된 모니터링 레벨이 사용될 수 있는 것에 비하여, 본 발명의 시스템에 의해 사용자는 적절한 권한을 갖고 모니터되는 항목을 수동으로 변경할 수 있다. 그러한 수동에 의한 변경은 일시적 으로만 바람직하게 이용되고, 특별한 서버 또는 서버 그룹에 제한될 수 있다.
만일 서버가 재시작되면, 시스템은 모니터링의 적절한 레벨을 결정하는 이력 프로브 경로를 따른다. 만일 스케줄러를 접촉하고, 일시적 오버라이드 그 다음 스케줄된 모니터링 레벨을 요청하는 것이 가능하다면, 그러면 시스템-와이드(wide) 모니터링 레벨이 사용된다. 스케줄러가 접촉될 수 없는 경우, 그러면 디폴트 모니터링 레벨이 사용된다.
[모니터링 트랩 및 경고]
본 발명에 따른 방법, 시스템 및 컴퓨터 프로그램에 있어서, 서버의 모니터링이 발생하고 있더라도, 경고가 사용자에게 제공된다. 경고는 선택된 매칭 조건 또는 조건에 대한 임계치에 도달하는 선택된 서버 또는 서버 그룹에 모니터된 리소스의 파라미터의 결과로서 제공된다. 여기서는 사용자에게 통지 또는 경고를 제공할 수 있는 소프트웨어를 소프트웨어 트랩이라고 한다. 사용자는 본 발명에 따른 프로그램의 메뉴로부터 소프트웨어를 생성 또는 수정하는 옵션을 선택할 수 있다.
사용자가 새로운 소프트웨어 트랩을 생성하기 위하여 만들도록 재촉받는 많은 선택들이 있다. 이 선택은 트랩이 적용될 서버 또는 서버 그룹, 측정되는 리소스 및 조건을 포함한다. 도 2의 보기에 지시된 것처럼, 제1 단계는 블록(205)에 지시된 것처럼, 서버 또는 서버 그룹을 선택하도록 사용자를 재촉할 수 있다. 선택은 블록(210)에 의해 지시된 것처럼 수신된다.
요구되는 정보는 트랩의 형태에 따라 다양하고, 사용자는 블록(215)에 지시된 것처럼 트랩의 형태에 재촉받는다.
트랩의 제1 형태에 대하여, 결정 블록(220) 및 블록(225)에 지시된 것처럼, 임계치의 형태의 리소스 및 조건은 선택되어야 한다. 리소스는 발생, CPU 시간, 거주 시간, 대기 시간 및 SQL 거주 시간을 포함한다. 임계치는 특별한 형태의 리소스에 의존한다. 리소스를 선택하는 경우, 230에서 처럼, 시스템은 임계치의 선택을 위하여 사용자에게 단위를 제공할 수 있다. 트랩은 임의의 요청, 구체적인 요청 이름 또는 구체적인 방법 이름에 적용될 수 있다. 그러면 트랩은 블록(235)에 의해 지시된 것처럼, 선택된 리소스를 모니터하도록 진행한다. 만일 임계치가 만족된다면, 그러면 시스템은 블록(236, 237)에 지시된 것처럼, 경고 조건이 트리거될 지를 평가한다. 만일 그렇지 않다면, 그러면 블록(238)에 지시된 것처럼, 이벤트는 기록될 수 있다. 만일 경고 조건이 만족된다면, 그러면 경고는 239에서 처럼, 사용자와 통신하고 기록된다.
소프트웨어 트랩의 제2 형태에 대하여, 블록(240, 242)에 지시된 것처럼, 많은 히트를 갖는 리소스 및 조건은 선택되어야 한다. 이 형태의 소프트웨어 트랩을 설정하기 위해, 사용자는 242에서 처럼, 리소스 및 조건을 상술하도록 재촉받는다. 리소스는 예를 들어, HTTP 요청 파라미터 또는 SQL 스테이츠먼트일 수 있다. HTTP 또는 SQL 요청에 대하여, 조건은 HTTP/SPL 요청에 내장된 구체적 스트링이다. 조건은 스트링에 적용된 불리안 표현의 형태가 또한 될 수 있다. 사용자가 요청된 리소 스 및 조건을 244에서 제공하는 경우, 소프트웨어 트랩은 도 2B의 246에서 처럼, 모니터링을 성능한다. 요청 또는 스테이트먼트가 조건 만족을 확인할 때마다, 히트 카운터는 도 2B의 블록(248, 250 및 252)에 의해 지시되는 것처럼, 증가된다. 만일 충분한 히트가 카운트된다면, 그러면 경고 조건은 도달되고, 경고는 254에서 처럼 통신하고 기록된다.
제3 형태의 트랩은 응용 서버의 리소스 소비의 조건에 적용한다. 사용자는 응용 서버 또는 그룹을 선택하도록 요구된다. 사용자는 도 2B의 블록(260, 262 및 264)에 지시된 것처럼, 리소스와 임계치, 리소스 및 임계에 대하여 상술하도록 재촉받는다. 리소스는 응용 서버 이용가능성, 데이터베이스 연결 풀 및 JVM 런타임 메모리에 관계한 정보를 포함할 수 있다. 서버 이용가능성은 단순한 포지티브 또는 네가티브로서 측정된다. 데이터베이스 연결 풀에 관하여, 많은 다른 임계가, 연결의 수에 할당된 연결의 수; 연결을 기다리는 줄의 평균 수; 클라이언트가 연결을 수여받도록 기다리는 평균 시간; 연결 풀 타임아웃의 수; 사용하는 풀의 평균 퍼센트를 포함하여 설정될 수 있다. JVM 런타임 메모리에 대하여, 리소스는 JVM 런타임에서의 프리 메모리의 양 및 JVM 런타임에서 사용되는 메모리의 양일 수 있다. 사용자는 수를 제공하고 수가 최대 또는 최소인지를 가리키도록 재촉받는다. 적절한 단위 예를 들어 프리 메모리 및 사용되는 메모리에 대해 Mbytes가 사용자에게 제공될 수 있다. 사용자는 경고 메세지가 생성되기 전에 조건이 충족되는 시간의 수를 선택하도록 또한 재촉받는다. 리소스는 266에 지시되는 것처럼, 모니터되고, 만일 경고 조건이 충족된다면, 경고는 268 및 270에 도시된 것처럼, 통신하고 기록된다.
어떤 환경 하에서 조작자가 트랩에 의해 확인된 데이터에 관하여 통지를 받는 지를 결정하는 경고 조건이 설명된다. 조작에 있어서, 소프트웨어 트랩에 설정된 임계 조건이 충족되는 경우, 사용자에 의해 설정된 조건에 따라, 경고가 보내지거나 또는 카운터가 증가된다. 만일 카운터가 증가된다면, 그러면 새로운 카운트는 임계에 대하여 체크된다. 경고 액션은 수개의 형태를 취할 수 있다. 경고는, 트랩 조건, 오펜딩(offending) 모니터된 리소스, 오펜딩 값 및 날짜/시간 스탬프를 포함하여, 회계 목적을 위해 바람직하게 기록된다. 오펜딩 요청의 국부 덤프, 방법 또는 쓰레드(thread)는 디스플레이에 접근할 수 있는 것처럼, 생산될 수 있다. 스택 트레이스 및 방법 트레이스는 제공될 수 있다. 하나 이상의 개인은 이메일 또는 SNMP 경고와 같은 다른 메세지에 의해서와 같이 통지될 수 있다. 경고의 점증은, 예를 들어 임계의 제3 발생 후에만 이메일을 보내는 것에 의해 포함될 수 있다. 다중 조건에 취해진 다중 액션의 다른 예는 쉽게 상상될 수 있다. 히트의 임계 수가 검출되는 경우, 카운터는 제로로 리셋된다. 만일 불리안 조건이 상술된다면, 조건은 경계가 충족되는 각각의 시간에 재평가된다. 만일 방법이 상술된다면, 조건은 방법이 검출된 후에 재평가된다.
트랩/경고 기록은 날짜/시간 스탬프에 의한 엔트리와 경고로부터 획득된 다른 정보를 확인하면서 유지된다. 사용자는 기록 및 카운터를 보면서 트랩을 모니터할 수 있다. 사용자는 액티브와 인액티브 상태 사이에서 트랩을 토글하는 능력을 제공받을 수 있다.
[응용 성능 분석]
본 발명의 방법, 시스템, 및 컴퓨터 프로그램에 있어서, 프로그램은 성능 분석을 획득하는 능력을 제공한다. 정보는 상대적으로 고 레벨에서 제공되고, 사용자는 더 이상의 상세한 정보를 요청하고 수신하는 옵션을 갖는다. 정보는 보고로서 참조될 포맷으로 제공된다. 일반적으로, 사용자는 도 3의 305에 지시되는 것처럼, 보고의 형태를 선택하도록 재촉받고, 고 레벨 보고 또는 경향 보고가 310에 지시된 것처럼 사용자에게 보여진다. 경향 보고로부터, 사용자는 다양한 더욱 상세한 보고를 선택하는 옵션을 제공받는다. 사용자는 연속적으로 더 상세한 보고를 획득하는 옵션을 받는다. 사용자는 이전 시간 주기로부터 베이스라인 데이터에 대한 보고의 성능 데이터를 비교하는 옵션을 갖는다. 보고는 어플리케이션의 전망으로부터 서버 이용가능성, 서버 리소스, 사업 수행, 어플리케이션 성능, 및 데이터베이스 성능과 같은 정보를 포함한다.
응용 프로그래머 인터페이스(API)와, 구체적인 응용 서버(예를 들어, 웹스피어(WebSphere)의 PMI) 및 데이터 컬렉터가 동작하는 사용자의 어플리케이션에 의해 제공되는 서비스로부터, 데이터는 획득된다. 획득된 데이터는 데이터의 작업 셋일 것이다. 선택된 형태의 보고인 경향 보고는 획득될 수 있다. 보고는 서버 그룹 레벨에 저장된다. 초기에, 데이터는 API와 서버와 사용자 어플리케이션과 같이 획득된다. 사용자는 캡쳐되는 응용 데이터의 양을 결정할 수 있다. 이 양은 저장되어야 하는 총 요청 샘플의 퍼센트로 표현될 수 있다. 사용자는 요청 샘플이 취해지는 응용 서버를 선택하도록 재촉받는다. 사용자는, 사용자가 데이터의 스냅샷을 시스템이 취하도록 원하는 분과 같은 시간 주기에 관하여, 주파수를 선택하도록 재촉받을 수 있다.
중복된 데이터의 사용은 제한되어야만 한다. 샘플링 레이트는 얼마나 많은 데이터가 성능 히스토리 데이터베이스에 기록되는 지를 결정하도록 정의된다. 사용자는 샘플링 레이티오를 설정하도록 지극받고, 그에 의해 데이터베이스에 저장을 위해 요구되는 데이터의 양을 제한한다. 도표 1은 매트릭, 각각의 매트릭의 설명, 및 데이터가 획득되는 리소스를 보인다.
매트릭 설명 리소스
응답 시간 과정을 완료하는데 전체 시스템에 의해 요구되는 분의 시간 총수 어플리케이션
CPU 타임 처리를 완료하는데 CPU에 의해 요구되는 초단위의 시간양 어플리케이션
처리량 요청의 수, 이것은 처리량 또는 요청의 수에 관해 표현될 수 있다. 어플리케이션
풀(Pool) 사이즈 데이터베이스 풀의 사용가능한 연결의 수 어플리케이션 서버
동시 웨이터 데이터베이스 연결을 기다리는 쓰레드의 수 어플리케이션 서버
평균 대기 시간 데이터베이스 억세스에 수여되도록 클라이언트가 기다리는 시간 어플리케이션 서버
폴트 연결 풀 타임 아웃의 수 어플리케이션 서버
퍼센트 풀 사용 사용중의 데이터베이스 풀의 수 어플리케이션 서버
물리적 연결 J2C 풀에서의 물리적 연결의 수 어플리케이션 서버
연결 핸들 어플리케이션 서버의 사용중인 연결 핸들의 수 어플리케이션 서버
JVM 프리 메모리 JVM에서의 프리 메모리 양 어플리케이션 서버
사용되는 JVM 메모리 JVM에서의 사용된 메모리의 양 어플리케이션 서버
사용가능성 커넬당 서버가 사용가능한 시간의 퍼센트. 매트릭이 서버 그룹에 대해 보고하는데, 이것은 사용가능한 그룹의 퍼센트가 될 것이다. 어플리케이션 서버
경향 및 단일 데이터 포인트에 대한 분해 보고 형태를 보여주는 보고 형태를 포함하여, 다양한 형태의 보고가 제공될 수 있다.
일실시예에 있어서, 도 3에 도시된 것처럼, 사용자는 305에 지시된 것처럼, 작업 세트를 위한 특정 데이터를 제공하도록 재촉받고, 그 다음 310에 도시된 것처럼, 그 데이터를 제공한다. 이 데이터는 어플리케이션 서버 또는 그룹, 분석 형태, 데이터 주기, 데이터 간격, 집합 주기, 즉 요청, 방법, SQL, 서버 사용가능성, 어플리케이션 서버 분석 및 베이스라인 같은 데이터가 그룹화되는 방법, 데이터 포인트를 선택하는 표준 필터링, 분석 형태를 포함한다. 그러면 사용자는 315에 도시된 것처럼, 분석 형태를 선택할 수 있다.
만일 요청 분석이 선택된다면, 320에 도시된 것처럼, 사용자는 매트릭을 선택하도록 재촉받는다. 매트릭의 예는 321에 도시된 것처럼, 처리량, 응답 시간, CPU 타임이다. 선택에 대한 응답에 있어서, 경향 분석은 322에 도시된 것처럼, 시간 간격 및 어플리케이션 서버를 지시하는 라벨로 제공된다. 사용자는 요청 형태 또는 요청 이름에 의해, 또는 만일 보고가 서버 그룹에 적용된다면 서버 이름에 의해 요청 경향 분석을 파괴할 수 있다. 앞서의 파괴는 323에 도시된 것처럼, 분해로 불릴 수 있다. 사용자는 분해의 어떠한 일부분을 파괴할 수 있다. 또한, 경향 보고로부터, 사용자는 어떠한 하나의 데이터 포인트에 대해 상세를 얻을 수 있다. 이 더이상의 파괴는 324에 도시된 것처럼, 상세 보고로 불릴 수 있다. 상세 보고는 상세 보고의 일기록에 대해, 325에 도시된 것처럼, 트레이스 보고로 더욱 파괴될 수 있다. 트레이스 보고는 선택된 매트릭에서와 같이 방법 엔트리 및 엑시트 정보를 제공한다. 따라서, 그것은 사용자가 상세의 더 이상의 레벨로 꿰뚫을 수 있다는 것을 보여줄 수 있다.
만일 방법 분석이 선택된다면, 330에서 처럼, 사용자는 331에 지시된 것처럼, 처리량, 응답 시간 및 CPU 타임 중의 하나일 수 있는 매트릭을 선택하도록 재촉받는다. 사용자는 구체적 요청 이름, 요철 형태, 또는 방법 이름 같은 항목에 보고를 제한하는 옵션을 제공받는다. 사용자로부터 선택을 입력받은 후에, 본 발명의 시스템은 332에 지시된 것처럼, 경향 분석으로 보고를 생성한다. 경향 보고로부터, 사용자는 요청 이름 또는 요청 형태에 의해 경향 분석의 파괴를 선택할 수 있다. 결과 보고는 333에 지시된 것처럼, 방법 분석을 위한 분해 보고로 불릴 것이다. 적용가능하다면, 사용자는 만일 보고가 서버 그룹을 커버한다면, 서버에 의해 경향 분석 보고를 분해할 수 있다. 사용자는 개개인의 기록에 의해 상세 및 뷰(view)로의 파괴를 위한 방법 분석에 대한 분해 보고의 어떠한 일부분을 선택할 수 있거나 또는 사용자는 기록으로의 경향 보고의 단일 데이터 포인트의 파괴를 선택할 수 있다. 결과 보고는 334에 지시된 것처럼, 상세 보고로 불린다.
만일 사용자가 340에서 처럼, SQL 분석 보고를 선택한다면, 사용자는 341에서 처럼, 처리량 및 응답 시간의 매트릭 중의 하나를 선택하도록 재촉받는다. 사용자는 구체적인 요청 이름 또는 요청 형태, 방법 이름, 표 이름, 또는 SQL 콜을 선택할 수 있다. 응답을 할 때, 시스템은 342에서 처럼, 경향 분석을 제공한다. 경향 분석은 343에서 처럼, 분해 보고를 제공하기 위하여 요청 이름, 요청 형태, 방법 이름 및/또는 표 이름에 의해 파괴될 수 있다. 보고는 총 퍼센티지로서 샘플의 수 를 포함할 수 있다. 사용자는 개개인의 기록에 의한 상세를 얻도록 분해 보고의 어떠한 일부분을 파괴할 수 있거나 또는 개개인의 기록을 획득하도록 단일 데이터 포인트에 의해 경향 보고를 파괴할 수 있다. 개개인 기록을 갖는 보고는 344에서 처럼, 상세 보고로 알려진다.
만일 사용자가 350에서 처럼, 서버 사용가능 분석 보고를 선택한다면, 경향 분석은 351에서 처럼, 제공된다. 아무런 매트릭도 선택되지 않는다. 사용가능성을 위한 경향 보고를 할 때, 시스템은 시간 간격의 연속에 걸쳐 그룹의 퍼센트 업 시간을 플롯할 수 잇다. 사용자는 352에서 처럼, 응용 서버에 의해, 그룹을 위한 경향 보고를 파괴할 수 있다.
어플리케이션 서버 분석 보고는 360에서 처럼 선택될 수 있다. 사용자는 361에서 처럼, 다음 매트릭 중의 하나: 풀 사이즈, 동시의 웨이터, 평균 대기 시간, 폴트, 퍼센티지 풀 사용법, 물리적 연결, JVM 프리 메모리 및 사용된 JVM 메모리를 제공하도록 재촉받을 수 있다. 경향 분석 보고는 362에서 처럼, 제공된다.
보고는 어떠한 적절한 방법에서 제공될 수 있다. 경향 보고는 각각의 데이터 포인트를 위한 모든 데이터의 터블러쳐(tablature) 뷰를 갖는 라인 그래프일 수 있다. 비교 베이스라인 디스플레이는 시간을 지난 선택된 시간에서 같은 데이터를 보여주며, 제공될 수 있다. 예를 들어, 베이스라인 데이터는 이전의 날에 같은 시간에 대한 같은 데이터를 보여줄 수 있다. 분해 보고를 위하여, 바(bar) 또는 파이(pie) 그래프는 형태 당 모든 데이터의 터블러쳐 뷰로 제공될 수 있다. 사용자는 상세 보고를 꿰뚫기 위해 분해 보고의 일부분을 바람직하게 선택할 수 있다. 베이 스라인 데이터는 비교용 상세 보고에 제공될 수 있다.
소프트웨어 일관성 체크
본 발명의 방법, 시스템 및 프로그램에 있어서, 다양한 서버에서의 어플리케이션의 동작 비교는 성능될 수 있다. 그러한 비교는 다른 서버의 가능한 구성 문제를 확인하는 데 값가 있다.
그러한 비교의 예는 n-way diff로 불린다. 각각의 서버에 관하여, 본 발명의 프로그램은 어떻게 시스템이 셋업되고 인스톨되는 지에 관해 런타임 환경 데이터를 획득한다. 이러한 환경은 시스템, 자바 및 어플리케이션 서버일 수 있다. 시스템을 위해, 환경 정보가 CPU 속도, CPU 온라인의 수, CPU 오프라인의 수, 메모리, 운영 체제 버전, 및 물리적 디스크 공간을 포함할 수 있다. 다른 정보가 포함될 수도 있다. 자바를 위해, 정보는 JDK 버전, 인스톨레이션 디렉토리, 자바 폴러시(policy), 운영 체제 정보, 클래스 경로, 및 라이브러리 경로를 포함할 수 있다. 어플리케이션 서버를 위해, 정보는 어플리케이션 서버, 스타트업 디렉토리, 리스닝 포트, SSL 리스닝 포트, 등록된 서브렛의 수, 등록된 EJB의 수, JDBC 연결 풀의 수, 및 EAR의 수를 포함할 수 있다. 프로그램은 사용자를 재촉하여 도 4의 405에 지시된 것처럼, 허가 서버로서의 서버를 선택할 수 있고, 410에 지시된 것처럼, 선택을 수신할 수 있고, 그 다음 사용자를 재촉하여 415에 지시된 것처럼, 비교를 위한 서버를 선택할 수 있다. 일단 사용자가 420에 지시된 것처럼, 비교를 위한 서버를 선택하면, 시스템은 425에지시된 것처럼, 비교결과를 획득하여 디스플레이한다. 비교 결과는 상기 설명한 런타임 환경 정보를 포함할 수 있다. 비교 결과는 디퍼링(differig) 데이터만을 포함할 수 있고, 그래프적으로 표현될 수 있다. 시스템은 430, 435에 지시된 것처럼, 각각의 어플리케이션 서버를 위한 모든 적절한 정보를 디스플레이하는 상세 스크린에 디스플레이된 결과로부터 사용자가 꿰뚫을 수 있도록 바람직하게 허용한다.
비교의 다른 형태에 있어서, 바이너리 파일과 매칭 파일 이름의 비교가 성능될 수 있다. 최고 레벨 분석에서, 사용자는 도 5의 505에 지시된 것처럼, 허가 서버로서의 그룹으로부터 하나의 서버를 선택하도록 재촉받는다. 사용자는 510에 지시된 것처럼, 선택을 제공한 다음, 515에 지시된 것처럼, 비교 서버로서의 하나 이상의 서버를 선택하도록 재촉받는다 비교 서버 선택의 입력을 할 때, 520에서, 사용자는 525에서처럼, 파일의 소스를 선택하도록 재촉받는다. 사용자는 EAR 폴더의 리스트 또는 허가 서버의 마스터 파일 리스트를 형성하도록 간주되는 CLASSPATH의 리스트로부터 선택할 수 있다. 사용자는 530에 처럼, 선택을 제공한다. 사용자는 또한 마스터 파일 리스트의 비교를 위해 파일 형태 중의 하나를 선택하도록 535에서 처럼 재촉받는다. 파일 형태는 540에서 수신된다. 응답할 때 시스템은 선택된 소스로부터의 마스터 파일 리스트 및 허가 서버로부터의 파일 형태를 준비하는 것을 시작한다. 시스템은 그 다음 545에 지시된 것처럼, 비교 서버의 마스터 파일 리스트에서 리스트된 파일을 찾는다. 각각의 비교에 대하여, 결과는 550에 디스플레이된다. 결과는 발견된 파일과 발견되지 않은 파일로 분할될 수 있다. 발견된 카테고리에 대하여, 리스트는 매치된 파일, 즉 폴더처럼, 매치된 파일 이름, 사이즈, 및 파일 시스템 타임 스탬프를 갖는 모든 파일, 즉 매치된 파일 이름 및 사이즈, 타임 스탬프가 아니라, 같지않은 폴더, 즉 매치된 파일 이름만을 갖는 파일 등의 매치된 파일을 포함한다. 발견되지 않은 파일에 대하여, 파일은 비교서버가 아니라 허가 서버의 파일 및 허가 서버가 아니라 비교 서버의 모든 파일로 분할된다. 이 파일의 리스트는 디스플레이된다. 이 디스플레이는 사용자로 하여금 허가하고 비교하는 서버의 파일을 쉽게 비교하도록 허용한다.
이 디스플레이로부터, 시스템은 사용자로 하여금 파일에 관한 추가적인 정보를 획득하도록 꿰뚫는 것을 허용한다. 사용자는 하나의 비교 서버를 선택할 수 있고, 555에 지시된 것처럼, 상세한 비교를 위하여 허가 파일로부터 하나의 파일을 선택할 수 있다. 시스템은 결과가 같거나 또는 다른 채로, 파일에 비교를 성능한다. 비교는 MD5 알고리즘과 같은 체크섬 계산을 사용할 수 있다. 일 실시예에 있어서, 비교가 성능될 수 있기 전에, 상부의 레벨이 JAR 파일에 요구되는 것이 주목되어야 한다. 처음에, 아카이브 파일은 추출되고, 그 다음 이름 매칭이 성능된다. 그 다음, 비교가 성능될 수 있다. 이 비교의 결과로서, 파일의 이름 및 파일의 내용의 양쪽 다 560에 지시된 것처럼, 서버 사이에서 비교된다.다양한 버전 및 커럽티드(currupted) 코드와 같은 문제는 쉽게 확인될 수 있다.
요청 재기록
본 발명의 방법, 시스템, 및 프로그램에 있어서, 방법, 시스템, 및 프로그램은 재기록 또는 어떤 요청을 매핑하는 데 제공될 수 있다. 특히, 요청 중 3개의 다른 형태는 본 발명의 시스템에 수신된다. 이것은 JSP, 서브렛, 및 리모트 엔터프라이즈 자바 빈 콜이다. 이 요구는 대표적으로 스트링의 형태를 띠고, 웹 서버 또는 다른 어플리케이션 서버와 같은 다른 어플리케이션으로부터 수신된다. 그러한 요청은 2개의 다른 목적을 위해 본 발명의 시스템에 사용된다. 요청은 확인 목적을 위해 사용될 수 있다. 요청은 비지니스 요청 또는 어플리케이션을 나타내는 데 또한 사용될 수 있다. 일반적으로, 요청 스트링의 임플리시트 듀얼 의미는 문제가 안된다. 그러나, 이 듀얼 의미가 충돌을 생성할 수 있는 상황이 있다. 예를 들어, 포털 사이트에 있어서, URL의 형태의 요청 스트링은 통상적으로 정확히 같게 보이고, 따라서 기억하기 위한 엔드 유저에게 편리한다. 그러나, 그것들은 요청 또는 세션 오브젝트와 같은 언더라잉 데이터 오브젝트를 사용하여 포털 엔진에 의해 다른 형태의 요청인 것으로 간주된다. 문제 결정하는 동안에, 조작자 또는 관리자는 그가 스트링 사이의 해결책이 없이 같은 스트링에 의해 표현되는 다른 기능을 위해 요청을 보듯이 혼란스러울 것이다. 한편, 단일 어플리케이션은 다중 및 다른 요청 스트링을 포함할 수 있고, 그 성공적인 성능 후에, 결과 성능 데이터는 하나의 어플리케이션 이른 또는 라벨에 대해서 분석되어야 한다. 여기서 다시 문제는 요청 스트링의 그룹은 서로 관계됨을 인식하도록 시스템을 위한 그룹 메카니즘의 부족이 있다는 것이다.
상기 문제를 극복하기 위해, 자바 베이스드 로직의 형태일 수 있는 모듈은 요청를 매핑하도록 제공될 수 있다. 도 6에 지시된 것처럼, 요청 600과 같은 각각의 요청은 2개의 개별의 스트링에 매핑된다.: 구별 가능한 요청 스트링(605) 및 컬랩스가능한 요청 스트링(610). 이 개별의 스트링은 뚜렷한 목적을 위해 사용된다. 이 스트링은 뚜렸한 URL 또는 라벨 스트링일 수 있다. 동작을 매핑하거나 또는 재 기록하는 것은 결정 및 성능 관리 기능의 양쪽 문제점이 동작을 이용할 수 있는 경우의 포인트에서 바람직하게 발생한다. 예를 들어, 성능 관리 기능은 컬랩스가능한 요청 스트링에서의 요청에 의하여 분해를 성능한다. 문제 결정에 사용되는 액티브 요청 서치는 구별 가능한 요청 스트링에서 수행된다.
보안
각각의 사용자가 사용자 기능에 지정됨을 제공함에 의해 보안은 바람직하게 유지된다. 각각의 사용자 기능은 본 발명의 소프트웨어의 특별한 기능에 매핑된다. 접근 제어 리스트는 생산 기능과 그에 관련된 사용자 기능의 사이에서 매핑이 제공될 수 있다. 관리자는 사용자 기능을 더할 수 있고 기능에 그들의 기능을 매핑할 수 있다. 도 7의 개략적인 설명을 참조하면, 관리자(700)는 모든 기능들 및 구성들에 접근을 판독 및 기록하고, 로그 파일에 접근한다. 예를 들어, 생성, 수정, 활성화, 불활성화 및 소프트웨어 트랩의 삭제, 및 모니터링 레벨의 변경은 관리자에게만을 위할 수 있다. 조작자(705)는 대부분의 기능에 디스플레이 접근, 및 어떤 기능 구성에 대한 접근을 갖는다. 사용자(710)는 어떠한 기능 구성에 대해서가 아니라 기능 및 보고에 대한 디스플레이 접근을 갖는다.
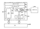
아키텍쳐
본 발명의 시스템은 아래 설명될 아키텍쳐를 가질 수 있다. 아키텍쳐는 중앙 제어를 제공하는 커널, 프로브 엔진으로부터의 데이터를 수신하는 퍼블리쉬 서버, 캐시로부터 데이터베이스로 데이터를 이동시키는 아카이브 에이전트, 데이터베이스, 모든 엔드 유저 어플리케이션를 제공하는 시각화 엔진, 및 어플리케이션 서버( 웹스피이어 같은)로부터의 어떤 어플리케이션 서버 구체화 데이터를 수집하는 어플리케이션 서버 에이전트를 포함하여, 각각의 어플리케이션 서버에서 동작하는 에이전트의 성질 및 전용 서버의 남겨진 콤포넌트일 수 있다. 보기의 아키텍쳐는 도 8에 설명된다. 프로브 및 퍼블리쉬 엔진(2511)은 어프리케이션 서버 에이전트(2510)의 주요한 콤포넌트가다. 남겨진 콤포넌트는 데디케이티드 서버(2520)에 인스톨될 수 있다. 커널(2530)은 중앙 제어를 제공한다. 퍼블리쉬 서버(2540)는 어플리케이션 서버 에이전트(2510)으로부터 데이터를 수신하고, 아카이브 에이전트(2550)으로 데이터를 이동시킨다. 아카이브 에이전트(2550)는 데이터베이스(2560)로 데이터를 이동시킨다. 시각화 엔진(2570)은 모든 엔드 유저 어플리케이션을 보증하고, 히스토리컬 정보를 이해 데이터베이스와 통신하고, 어플리케이션 서버 에이전트(2510)과 직접 통신하여 스냅숏 정보를 요청하고 수신하는다.
일실시예에 있어서, 상기 설명한 방법에서 사용자에게 제공된 데이터의 소스는 프로브 및 퍼블리쉬 엔진일 수 있다. 프로브 및 퍼블리쉬 엔진은 구체적 쓰레드에 속하는 모든 정보를 획득한다. 바람직한 실시예에서, 스탠다드 자바 프로파일링 인터페이스(JVMPI)는 프로브 에이전트로 사용될 수 있다.
도 9를 참조하면, 프로브 및 퍼블리쉬 엔진(2511)은 어플리케이션 서버(2615)와 마찬가지로, 그것과 통신하는 자바 버추얼 머쉰(2610)에 관계하여 도시된다. 프로브 및 퍼블리쉬 엔진(2610)은 5개의 컴포넌트를 바람직하게 구비한다. 프로브 제어기(2512), 커맨드 에이전트(2513), 이벤트 에이전트(2514), 이벤트핸들러(2515), 및 퍼블리쉬 엔진(2516). 프로브 제어기(2512)는 다른 콤포넌트의 라이프 사이클을 제어하는 제어기 쓰레드이다. 이벤트 에이전트(2514)는 흥미있는 JVMPI를 위한 이벤트 핸들러를 등록한다. 그러한 이벤트가 발생한 경우, 핸들러는 그러면 재촉받는다. 핸들러는 적절한 정보를 수집하고, 그것을 이벤트 큐에 더한다. 퍼블리쉬 엔진(2516)은 그러면 이벤트 큐로부터의 데이터를 확득하고 그것을 퍼블리쉬 서버(2540)에 보낸다. 에이전트는 자바 디벨로프 킷 1.2.2 또는 상기를 제공하는 스탠다드 자바 프로파일링 인터페이스를 사용하여 구성될 수 있다.
이 실시예에 있어서, JVMPI 라이브러리는 JVM으로 적재되고 JVM, 프로브 제어기, 이벤트 에이전트, 및 커맨드 에이전트와 통신한다. JNI 기능은 모든 이벤트 베이스드 데이터, 및 날짜/시간 스탬프, 월 클럭 및 CPU 클럭을 캡쳐하도록 사용될 수 있다. JVMPI 라이브러리, 이벤트 에이전트, 커맨드 에이전트, 퍼블리쉬 엔진, 및 프로브 제어기에 의해 등록된 이벤트는 표 2에 도시된다.
표 2
JNI/C 자바 쓰레드
JVMPI 라이브러리 아니오 아니오
이벤트 에이전트 아니오
커맨드 에이전트
퍼블리쉬 엔진 아니오 아니오
프로브 제어기
JVMPI 라이브러리로부터 획득된 정보는 큐에 저장되고, 이벤트 큐라고 불리고, 이벤트 에이전트는 큐로부터의 기록을 복구하고, 패킷에 그것들을 팩하고, 그것들을 퍼블리쉬 엔진을 거쳐 퍼블리쉬 서버로 보낸다. 이벤트 엔진에 의해 큐로부터 수집 된 데이터는 표 3에 도시된다.
표 3
서버 ID 콤포넌트 ID
웹스피어 Admin 노드 이름
웹스피어 어플리케이션 서버 이름
쓰레드 ID JVMPI JNI 환경
클래스 이름 JVMPI JVMPI 라이브러리의 클래스/방법 이름 리스트에 저장된
방법 이름 JVMPI 상기처럼
방법 사인 JVMPI 상기처럼
형태(빈/서브렛/JDBC) JVMPI 클래스가 특별한 클래스로부터 상속되는 지를 확인함에 의해
날짜 및 시간 스탬프 OS
모든 클럭 S
CPU 클럭 VMPI se JVMPI 기능 et 커런트 쓰레드 CPU 타임. IBM 디렐로프먼트 킷 1.3 nd AIX 5.1 업포트만
요청[URL] 또는 SQL 콜 JVMPI JVMPI 오브젝트 Id 를 JVMDI 오브젝트 레퍼런스로 변환하는 요청
커맨드 에이전트는 커널로 등록된 RMI 서비스이다. 커맨드 에이전트는 시각화 엔진 및 다른 외부 콤포넌트으로부터 커맨드를 입력받고 JVMPI 또는 JNI 콜을 사용하여 그것들을 만족시킨다. 커맨드의 보기 리스트와, 커맨드가 JVMPI 또는 JNI에 제공되는 지는 표 4에 도시된다.
표 4
스택 트레이스 JVMPI
세션 오브젝트 JVMPI
요청 오브젝트 JVMPI
서스펜드 쓰레드 JNI
하드 킬 쓰레드 JNI
소프트 킬 쓰레드 JVMPI
변경 쓰레드 프라이어리티 JNI
데이터소스 최대 연결 풀 JVMPI
ORB 풀 사이즈 JVMPI
웹 컨테이너 풀 사이즈 JVMPI
프로브 제어기는 또한 바람직하게 커널(2530)에 등록된 RMI 서비스이고, 다른 프로브 컴포넌트를 시작 및 중단하고, 검색 구성을 얻는다. 프로브의 새로운 구성은 커널(2530)으로부터 프로브 제어기로 보내진다. 프로브 제어기는 프로브가 시작되고 또는 중단되는 지 또는 필터가 새로운 구성을 입력받을 때 변경되는 지를 결정할 것이다. 프로브/퍼블리쉬 엔진에 대한 로직 다이어그램은 도 10에서 처럼 제공된다. 이 로직 다이어그램에 따라서, JVM이 로드되는 경우, 2702에 도시된 것처럼, 쓰레드 개시, 쓰레드 종료 및 JVM의 초기화의 완성을 확인하는 이벤트는 2704에 도시된 것처럼, 커널로 JVMPI를 통해 등록된다. JVM의 초기화가 완성된 경우, 2706에 지시된 것처럼, 시스템 프라퍼티는 설정되고 프로브를 개시하는 쓰레드는 2708에 지시된 것처럼, 생성된다. 그러면 스레드는 2710에 지시된 것처럼, 메소드 엔트리 및 클래스 로드 이벤트를 인에블하고, 2712에 도시된 것처럼, 어플리케이션 서버가 시작할 때까지 대기한다. 메소드 엔트리는 2714에서 JVM의 처리 흐름을 시작하고, 어플리케이션 서버가 2716에서 시작되는 지를 보는지 확인한다. 그것이 시작된다면, 처리 흐름은 IntiProbe Thread를 통과하고, 이것은 2718에서 방법 엔트리 및 클래스 로드 이벤트를 디스에이블하고, 2720에서 프로브 제어기 쓰레드를 생성한다. 프로브 제어기 쓰레드는 2722에서, 커널로부터 프로브 구성을 찾는 다. 만일 프로브 구성이 발견되지 않는다면, 2724와 2726에 지시된 것처럼, 흐름은 끝난다. 만일 구성이 발견된다면, 처리 흐름은 2729\8에서 프로브가 구성에 인에이블 되는 지를 판정하도록 진행한다. 만일 아니라면, 처리 흐름은 종료한다. 처리 흐름은 2730에 지시된 것처럼, 커널로부터 RMI 콜의 형태의 새로운 구성으로 또한 시작될 수 있다. 만일 프로브가 인에이블된다면, 처리 흐름은 이벤트 에이전트 및 커맨드 에이전트를 시작하도록 진행하고, 2732에 도시된 것처럼, 클래스 로드 이벤트 및 방법 엔트리 이벤트를 인에블한다. 방법 엔트리 이벤트의 인에이블링은 2750에 지시된 것처럼, JVM에서 처리 흐름을 시작한다. CPU 클럭, 월 클럭, 방법 확인, 쓰레드 확인, 및/또는 URL 및 SQL 과 같은 데이터는 2750에 지시된 것처럼, 획득되고, 이벤트 큐(2760)을 지난다. 클래스 로드 이벤트는 2754에 도시된 것처럼, JVM에서 처리 흐름을 시작한다. 2756에 도시된 것처럼, 클래스 이름, 방법 이름 및 사인의 기능이 시작되고, 이 정보가 클래스 해쉬 테이블(2762)을 지나간다. 이벤트 에이전트는 2780에 지시된 것처럼, 이벤트 큐(2760)으로부터 기록을 복구한다. 이벤트 에이전트는 2782에 지시된 것처럼, 퍼블리슁 주파수에 따라 대기할 것이다.
시각화 엔진(2750)은 본 발명의 방법 및 시스템에서 사용되는 프런트 엔드 유저 인터페이스 컴포넌트를 제공한다. 스탠다드 J2EE 기술은 시각화 엔진(2750)의 장착에 사용될 수 있다. 시각화 엔진(2750)의 프런트-엔드 프레임워크는 세션 관리 및 보안 같은 하우스키핑을 다룬다. 시각화 엔진(2750)은 프런트-엔드 어플리케이션 및 비지니스 로직 콤포넌트의 개발에 공헌하는 환경을 제공하기 위하여 가능한 많은 공통의 태스크를 바람직하게 다룬다. 시각화 엔진(2750)은 데이터베이스의 상 부에 존재하고, 그것은 사용자 요청에 응답하여 접근한다. 아키텍쳐는 도 28에 도시되고, 웹 서버(2815)와 통신하면서 브라우저(2810)을 사용하여 브라우저-베이스드이도록 도시되고, 데이터베이스 및 웹 서버 사이에서 인터페이스하며, IBM의 웹스피어와 같은 아파치 웹 서버 및 어플리케이션 서버(2820)일 수 있다. 서브렛은 핸들 요청 및 관리 어플리케이션 흐름에 사용될 수 있다. 서브렛은 폼 데이터-엔트리 유효화를 성능하고 JSP 페이지로 데이터를 포함하는 자바 빈 오브젝트를 보냄에 의해 프런트-엔드 동작을 제어하도록 또한 사용될 수 있다. JSP 페이지는 프런트-엔드 프리젠테이션 로직의 대부분을 다룰 수 있다. 비지니스 로직은 엔터프라이즈 자바 빈을 사용하여 장착될 수 있다. 일반적으로, 스테이트레스 세션 빈이 사용된다.
서브렛은 상기 언급한 것처럼, 폼-엔트리 데이터 유효화 및 어플리케이션 로직 흐름을 위해 사용될 수 있다. 베이스 서브렛은 모든 서브렛 어플리케이션이 확장되어야만 하도록 제공될 수 있다. 베이스 서브렛은 글로벌 변수를 셋업하고, 인증 및 권한을 다루고, 필요한 대로 로그인에 리디렉트(redirect) 및 접근-거절된 페이지를 성능한다. 리소스 번들, 로그 메세지 및 오딧(audit) 트레일 메세지 파일은 제공된다. JSP는 브라우저에서 디스플레이되도록 웹 페이지를 만드는 HTML 코드를 생성한다. 서브렛은 자바 빈 오브젝트를 사용하여 JSP로 바라는 데이터를 전달한다.
스테이트레스 세션 빈의 상층은 API를 구성한다. 데이터베이스로부터 데이터로의 접근을 다루는 상층의 아래에 엔터프라이즈 자바 빈 또는 자바 클래스의 층이 존재할 수 있다. 데이터베이스로부터의 데이터는 DBAccess 데이터 접근 프레임워크의 일부인 데이터베이스 접근 층을 통해 획득될 수 있다.
어플리케이션 액티비티 디스플레이 기능은 상기 언급한 것처럼, 데이터에 실시간 접근을 제공하고, 시각화 엔진 및 대응하는 퍼블리쉬 서버 사이에서 다이렉트 통신을 포함하고 프로브한다. 퍼블리쉬 서버 인터페이스 및 커맨드 에이전트 인터페이스는 이 다이렉트 통신에 제공된다. 이 인터페이스로의 스텁은 커널에 의해 유지되고, 룩업 에이전트 헬퍼(helper) 클라이언트를 사용하여 커널로부터 룩업을 성능함으로써 시각화 엔진에 의해 복구된다. 프로브가 성능되는 각각의 서버는 프로브를 위한 유일한 확인을 갖는다. 일단 프로브 확인이 획득되면, 커맨드 에이전트의 인터페이스 스텁은 커널로부터 획득된다. 프로브에 의해 사용되는 퍼블리쉬 서버의 확인은 그러면 프로브으로부터 획득된다. 퍼블리쉬 서버의 대응하는 인터페이스 스텁은 커널로부터 획득된다. 액티브 요청 및 관련 데이터의 리스트는 그러면 선택된 퍼블리쉬 서버로부터 직접 획득될 수 있다. 추가적인 요청 데이터는 직접 프로브으로부터 획득될 수 있다. 시각화 엔진, 커맨드 에이전트 및 프로브의 퍼블리쉬 서버 사이의 통신은 실시간이고 동기적이다.
시각화 엔진은 상기 설명된 보안 기능을 포함한다. 독점 API는 J2EE 스페시피케이션 보안 특징이 상기 설명된 보안 특징을 제공하는데 충분하지 않기 때문에 개발되었다. 보안 특징은 인증 및 권한 기능으로 구성된다. 인증은 제3 파티(party) 인증 시스템을 랩(wrap)하는 독점 자바 API를 거쳐 성능된다. 권한은 사용자 또는 그룹에 의해 접근 제어 리스트를 유지함으로써 성능된다. 사용자는 특별한 그룹과 관련되고, 그 그룹의 서버에 대한 데이터를 접근만 할 수 있다. 서버는 하나 이상의 그룹과 각각 관련된다.
커널은 지금 상세히 설명된다. 커널은 네트워크에 서로를 발견하도록 다양한 서버스를 인에블하고 동적이고 강한 방법으로 인터액트하는 서비스에 대한 방법을 제공한다. 아무런 사용자 간섭도 서비스가 온 또는 오프 라인을 가져온 경우에 요구되지 않는다. 커널과 결합하는 서비스는 다른 서비스 중의 어떠한 것이 온 또는 오프를 진행하는 경우 동적으로 적용할 수 있다. 서비스의 소비자는 서비스의 장착에 대한 선행 지식을 요구하지 않는다. 도면을 참조하면, 커널(2530, 2530')의 2개의 예가 도시된다. 커널의 아키텍쳐는 핵(2531), 리스 관리자(2532), RFS 서버(2533), 코드베이스 서버(2534), 등록 데이터베이스(2535), 사용가능성 서버(2536), 및 구성 서버(2537)을 특징으로 한다. 커널의 2개의 예는 개량된 사용가능성에 대한 개별 서버에서 바람직하게 성능된다.
커널 핵(2531)은 서비스로부터 모든 결합, 갱신, 리브(leave) 및 룩업 요청을 다룬다. 서비스는 프로브 에이전트, 사용가능성 서버(2536), 및 구성 서버(2537)이다. 결합 요청에 대하여, 서비스는 프락시 오브젝트 및 커널로의 그의 관련된 서비스 애트리뷰트를 경로한다. 커널은 등록 데이터베이스의 프락시 오브젝트 및 서비스 애트리뷰트를 저장함으로써 요청을 이행한다. 클라이언트가 태스크를 성취하는 어떤 형태의 서비스를 필요로 하는 경우, 그것은 서치(search) 템플레이트를 경로하고 커널로 룩업 요청을 내림에 의해 서비스를 찾는다. 서치 템플레이트에 근거하여, 커널은 클라이언트에 대응하는 프락시 오브젝트를 리턴할 것이다. 각각 의 서비스는 주기적으로 커널로 갱신된 요청을 내림에 의하여 그 리스를 갱신하는데 요구된다. 만일 커널이 요구되는 경우, 갱신 요청을 입력받지 않는다면, 커널은 등록 데이터베이스로부터 서비스의 프락시 오브젝트 및 서비스 애트리뷰트를 제거한다. 이 갱신된 요구는 사용할 수 없는 서비스로 보내지는 요청을 피한다. 프로브 및 퍼블리쉬 서버는 리스가 갱신되는 경우, 완성된 요청 및 CPU 사용의 크기외 같은 어플리케이션 및 시스템 정보를 바람직하게 묶는다. 따라서 리스 개념은 서버 및 고 레벨 통계 정보의 사용가능성을 보고하도록 기능한다. 서비스는 커널로 리브 요청을 또한 내릴 수 있다.
리스 관리자 콤포넌트(2532)은 등록 데이터베이스에 기록의 트레이스를 유지한다. 만일 어떠한 등록이 종료되거나, 또는 리브 요청이 입력되면, 리스 관리자(2532)는 대응하는 기록으로 하여금 제거되도록 하여 커널은 임의의 클라이언트에 대응하는 프락시 오브젝트를 경로하지 않을 것이다. RFS(request for stub) 서버(2533)는 연결을 위한 포트에 귀를 기울인다. 연결이 확인되는 경우, 커널의 연속된 스텁 오브젝트는 커널에 인터페이싱하는데 사용하는 서버 또는 클라이언트로 보내진다. 코드베이스 서버(2534)는 HTTP 서버와 유사하지만, 그러나 서비스의 클라이언트가 프락시 오브젝트의 클래스 정의를 다운로드하도록 허락하는 기능을 제공하고 그것은 커널로부터 획득한다. 등록 데이터베이스(2535)는 프락시 오브젝트를 위한 인(in)-메모리 저장 및 관련된 서비스 애트리뷰트를 제공한다. 서버 사용가능성 및 통계 정보는 등록 데이터베이스(2535)에 존재한다.
사용가능성 서버(2536)는 스냅숏을 취하고 시각화 엔진(2750)으로 서버의 사 용가능성 및 통계 데이터를 제공하도록 기능하기 위하여 등록 데이터베이스(2535)의 히스토리를 저장한다.
구성 서버(2537)는 모든 컴포넌트를 위하여 구성 데이터를 저장하도록하는 집중된 장소이다. 구성 데이터는 XML 형태이고 데이터베이스에 유지된다. 사용자는 시각화 엔진을 통해 구성을 변경할 수 있다. 이것이 완성된 경우, 구성 서버(2537)는 과거 구성에 적용된 프락시 오브젝트의 리스트를 커널로부터 복구한다. 구성 서버(2537)는 새로운 구성을 방송하는 프락시 오브젝트를 사용한다. 이 서버는 시각화 엔진에서 사용자 커맨드에 대응하여 프로브의 구성을 업데이트하도록 기능한다.
JoinManager라고 불리는 헬퍼 유틸리티는 커널의 스텁 오브젝트를 요청하고, 그 서비스 애트리뷰트 뿐만 아니라 프락시 오브젝트와 커널을 결합시킨다. 만일 스텁 오브젝트가 사용가능하지 않다면, 유틸리티는 그것이 성공할 때까지 재시도를 계속할 것이다. 이 유틸리티는 또한 리스를 유지하고 갱신한다. 룩업 매니저 유틸리티는 특별한 서비스를 찾는 클라이언트에 의해 사용될 수 있다.
퍼블리쉬 서버(2540)는 다양한 퍼블리쉬 엔진으로부터 수신된 데이터를 관리한다. 다중 퍼블리쉬 서버는 단일 인스톨레이션에 제공될 수 있다. 퍼블리쉬 서버는 시각화 엔진을 위한 커리(query) 능력을 제공한다. 퍼블리쉬 서버는 또한 성능 관리 관련 데이터 및 시스템 리소스 관련 데이터의 증가하는 복구를 관리한다. 퍼블리쉬 서버 아키텍쳐는 도 13에 도시된다.
퍼블리쉬 서버(2540)는 멀티쓰레드 처리로서 기능할 수 있다. 각각의 쓰레드는 특별한 퍼블리쉬 엔진에 연결되고, 그것으로부터 데이터를 수신하는다. 그것은 또한 스타트업, 셧다운 및 커널과의 통신을 처리하는 추가적인 쓰레드를 내장할 수 있다.
도 13을 참조하면, 퍼블리쉬 서버(2540)는 커널과 결합하는 쓰레드를 생산하고 3002에 도시된 것처럼, 그 컨트랙트를 규칙적으로 갱신한다. 퍼블리쉬 서버(2540)는 3004에 도시된 것처럼, 소켓 연결을 억셉트하는 쓰레드를 또한 생산한다. 결정 블록(3006)에 의해 지시된 것처럼, 다음 단계는 커리가 대응하는 퍼블리쉬 엔진으로부터 수신하는지에 달려있다. 만일, 커리라기 보다는, 데이터가 수신된다면, 일관된 소켓 연결은 3008에 지시된 것처럼, 달성된다. 데이터는 또한 요청과 관련된다. 그러면 데이터는 3010에 지시된 것처럼, 퍼블리쉬 엔진을 거쳐 프로브으로부터 획득된다. 만일 서버 재시작 신호가 수신된다면, 3012 및 3014에 지시된 것처럼, 퍼블리쉬 서버는 진행 전에 재시작된 서버를 위해 축적된 데이터를 리셋한다. 만일 데이터가 3016 및 3018에 지시된 것처럼, 새로운 프로브으로부터라면, 서버는 등록되어 서버의 성능 관리 관련 데이터 및 시스템 리소스 관련 데이터는 5분 마다와 같이 주기적으로 복구될 것이다. 그러면 처리 흐름은 3020에 지시된 것첨, 프로브으로부터 수신된 메소드 레벨 레코드, 클래스 로드 레코드 및 GC 레코드와 같은 레코드를 처리하도록 진행한다. 만일 요청이 완성되거나 또는 3022에 지시된 것처럼, 어떤 양의 시간을 위한 요청에 액티비티가 존재하지 않는다면, 요청은 3024에 지시된 것처럼, 액티브 요청 리스트로부터 제거된다. 그러면 처리 흐름은 3026으로부터 리딩(leading)을 라벨링함에 의해 지시된 것처럼, 프로브으로부터 더 이상의 데이터를 억셉트하도록 리턴한다.
만일 데이터가 커리인지 결정된다면, 프라퍼티는 적절한 형태의 정보를 결정하는데 사용될 수 있다. 커리는 3030, 3032, 및 3034에 설명된 것처럼, 다양한 정보를 요구할 수 있다. 그러면 결과는 연속되고 퍼블리쉬 엔진으로 다시 보내진다. 퍼블리쉬 서버는 또한 3036에 지시된 것처럼, 상태를 위한 것과 같이 그 클라이언트에 의해 만들어진 어떤 관리 요청을 입력받고, 3038에 지시된 것처럼, 서비스를 중단한다. 이 태스크는 관리자에 의해 불러 일으켜질 수 있다. 연결은 커리에 응답하는 정보가 제공되는 경우, 3040에 지시된 것처럼, 닫혀지고, 퍼블리쉬 서버는 소켓 연결을 다시 억셉트하는데 사용될 수 있다.
상기 아키텍쳐가 본 발명의 방법의 단계를 수행하는 수단을 갖는 하나의 시스템을 대표하는 것이 이해될 것이다. 시각화 엔진은 사용자에게 정보를 주는 수단, 사용자를 재촉하는 수단, 및 사용자로부터 요청을 수신하는 수단을 포함한다. 프로브 엔진은 분산 어플리케이션에 관한 정보를 획득하고, 분산 어플리케이션의 필터된 모니터링을 수행하는 수단을 포함한다. 퍼블리쉬 엔진, 아카이브, 데이터베이스 및 커널의 기능은 방법의 단계를 수행하는 하나의 수단을 제공하는 시각화 엔진 및 프로브 엔진과 협동하는 것이 이해될 것이다.
자기 진단
본 발명의 방법, 시스템, 및 컴퓨터 프로그램에 있어서, 방법 및 시스템은 아키텍쳐의 내부 콤포넌트의 분석을 성능하고, 조작자에게 분석의 결과를 보고하는데 제공될 수 있다. 예를 들어, 커널, 데이터 컬렉터 콤포넌트, 퍼블리쉬 서버 및 아카이브 에이전트의 뷰(view)가 제공된다.
커널 뷰는 본 발명의 소프트웨어 시스템의 커널 콤포넌트의 모든 성능 예를 지시한다. 각각의 예에 대하여, 커널 런타임 환경 상세 및 각각에 대한 콤포넌트 오버뷰가 제공된다. 커널 런타임 환경 상세에서 보기의 값은 플랫폼, IP 어드레스, 다양한 포트 수, 코드베이스 라이브러리 경로, 컨트랙트 갱신 인터벌, 시작 시간, 보안 정책이 존재하는 파일, 드라이버 이름, 및 그 대응하는 데이터베이스의 URL을 포함한다. 콤포넌트 오버뷰는 서비스 이름, 콤포넌트 확인, 플랫폼, IP 어드레스, 듣기 포트 수, 최초 연결 시간, 마지막 컨트랙트 갱신 시간을 포함할 수 있다. 콤포넌트 오버뷰 섹션에서의 각각의 콤포넌트 확인은 대응하는 뷰를 제공하는 링크일 수 있다. 예를 들어, 만일 사용자가 콤포넌트 ID X에 링크를 클릭하면, 그 서비스 이름은 데이터 컬렉터 제어기이고, 사용자는 데이터 컬렉터 콤포넌트 뷰를 제공받는다.
데이터 컬렉터 콤포넌트는 모든 업 및 성능 데이터 컬렉터 제어기에 속하는 데이터를 디스플레이한다. 이 뷰에 3개의 섹션이 존재할 수 있다: 데이터 컬렉터 제어기 런타임 환경 상세, 데이터 컬렉터 런타임 환경 상세, 및 퍼블리쉬 서버 관계. 처음 2개의 섹션은 데이터 컬렉터 제어기가 성능하는 구성 및 환경을 제공한다. 퍼블리쉬 서버 관계 섹션은 데이터 컬렉터가 연결중인 퍼블리쉬 서버의 아이덴티티(identity)를 표시한다. 데이터 컬렉터 제어기 런타임 환경 상세에 대하여, 아이덴티티는 콤포넌트 ID, admin 서버의 아이덴티티, 어플리케이션 서버의 아이덴티티, 플랫폼의 아이덴티티, IP 어드레스, 포트 수, 시작 시간, 커널 코드베이스 파일 위치, 연결된 커널, 구성 프로파일, 커널이 배치되었는지, 및 보안 정책 파일를 포함한다. 데이터 컬렉터 런타임 환경 상세에 대하여, 정보는 콤포넌트의 확인 번호, 포트 번호, 콤포넌트가 인에이블 되었는지이다.
퍼블리쉬 서버 뷰는 모든 업 및 퍼블리쉬 서버 콤포넌트의 성능 예에 관한 정보를 제공한다. 각각의 예를 들어, 4개의 섹션이 있을 수 있다: 퍼블리쉬 서버 런타임 환경 상세, 데이터 컬렉터 관계, PMI 에이전트 관계, 및 아카이브 에이전트 관계.
아카이브 에이전트 뷰는 모든 업 및 아카이브 에이전트의 성능 예를 도시하고, 아카이브 에이전트의 각각의 예를 들어, 2개의 정보 섹션이 있다: 아카이브 에이전트 런타임 환경 상세, 퍼블리쉬 서버 관계. 아카이브 에이전트 런타임 환경 상세는 아카이브 에이전트의 구성 및 환경을 리스트한다. 퍼블리쉬 서버 관계 정보는 아카이브 에이전트가 기능하는 퍼블리쉬 서버를 확인한다.
상기의 설명이 본 발명의 시스템의 실시간 모니터링을 제공하는 것이 이해될 것이어서, 성능은 모니터링될 수 있고 문제는 결정된다.
본 발명의 시스템은 모니터되는 서버, 본 발명의 나머지 소프트웨어를 위한 개별 서버에서 어떤 프로브 소프트웨어의 탑재를 통하여 설치될 수 있다. 이 구성은 본 발명의 시스템의 상대적으로 간단한 탑재를 제공한다.
본 발명은 그 방법을 성능하는 방법 및 장치의 형태로 구체화될 수 있다. 본 발명은 또한 플라피 디스켓, CD-ROM, 하드 드라이브, 또는 어떠한 다른 기계-판독가능한 저장 매체와 같은 유형의 매체로 구체화된 프로그램 코드의 형태로 구체화될 수 있고, 프로그램 코드가 컴퓨터 같은 기계에 의해 로드되고 성능되는 경우, 기계는 본 발명을 성능하는 장치가 된다. 본 발명은 또한 프로그램 코드, 예를 들어 저장 매체에 저장되거나, 기계로 로드되거나 및/또는 기계에 의해 성능되거나 또는 광 섬유 또는 전자기 복사를 통해 오버(over) 전기적 와이어링 또는 케이블링과 같은 어떤 전송 매체 상에서 전송되는지의 형태로 구체화될 수 있고, 프로그램 코드가 컴퓨터와 같은 기계에 로드되고 기계에 의해 성능되는 경우, 기계는 본 발명을 성능하는 장치가 된다. 일반 목적용 프로세서에 장착되는 경우, 프로그램 코드 세그먼트는 특별한 로직 회로에 유사하게 동작하는 독특한 장치를 제공하는 프로세서와 결합한다.
보기의 실시예는 자바 기술 및 구체적으로 J2EE 기술을 사용하여 엔터프라이즈 어플리케이션에 관하여 설명되어 왔지만, 본 발명의 방법은 다른 기술에 사용될 수 있다. 예를 들어, 본 발명의 방법은 다른 플랫폼-독립 기술에 사용될 수 있다. 본 발명의 방법은 또한 분산 엔터프라이즈 어플리케이션에 적용할 수 있는 다른 기술에 사용될 수 있다.
본 발명이 바람직한 실시에 관해 설명되어 왔지만, 본 발명은 바람직한 실시예에 제한되는 것으로 간주되어야 하는 것은 아니다.

Claims (80)

  1. 분산 컴퓨팅 환경의 복수의 서버에서 성능하는 어플리케이션의 성능을 모니터링하는 방법으로,
    사용자로부터 모니터링하기 위해 선택된 정보를 수신하는 단계와,
    상기 선택된 정보에 따라 어플리케이션 성능을 모니터링하는 단계와,
    상기 선택된 정보에 따라 사용자에게 사용가능한 모니터된 성능 정보를 만드는 단계를 포함하는 방법.
  2. 제1항에 있어서, 상기 사용자는 모니터되는 정보의 범위를 확인하도록 재촉받고, 어플리케이션 서버 성능은 상기 선택된 범위에 따라 모니터되는 것인 방법.
  3. 제2항에 있어서, 상기 선택된 범위는 제1 모니터링 레벨을 포함하고, 상기 선택된 정보는 요청 레벨 데이터 및 서버 레벨 데이터를 포함하는 것인 방법.
  4. 제3항에 있어서, 상기 선택된 범위는 제2 모니터링 레벨을 더 포함하고, 상기 선택된 정보는 API 레벨 데이터를 더 포함하는 것인 방법.
  5. 제4항에 있어서, 상기 선택된 범위는 제3 모니터링 레벨을 더 포함하고, 상기 선택된 정보는 방법 레벨 데이터를 더 포함하는 것인 방법.
  6. 제1항에 있어서, 상기 사용자는 정보를 모니터링하는 스케줄을 확인하도록 재촉받으며, 어플리케이션 서버 성능은 상기 확인된 스케줄에 따라 모니터되는 것인 방법.
  7. 분산 컴퓨팅 환경의 복수의 서버에서 성능하는 어플리케이션의 성능을 모니터링하는 방법으로,
    서버 또는 서버 그룹, 리소스, 및 통지를 위한 임계 또는 조건을 선택하도록 사용자에게 재촉하는 단계와,
    파라미터의 값 또는 질을 상기 임계 또는 조건과 비교하는 단계와,
    만일 상기 파라미터가 상기 임계 또는 조건에 도달하면, 상기 파라미터에 관한 정보를 로깅(logging)하는 단계를 포함하는 방법.
  8. 제7항에 있어서, 상기 파라미터를 사용자에게 통지하는 기준과 비교하는 단계와,
    만일 상기 기준이 충족된다면 사용자에게 통지하는 단계를 더 포함하는 것인방법.
  9. 제7항에 있어서, 상기 임계 및 조건은 리소스 값인 방법.
  10. 제9항에 있어서, 상기 리소스는 방법의 속성(property)인 것인 방법.
  11. 제10항에 있어서, 상기 리소스는 CPU 타임인 것인 방법.
  12. 제7항에 있어서, 상기 임계 및 조건은 히트의 수인 것인 방법.
  13. 제12항에 있어서, 상기 리소스는 요청이고, 상기 조건은 상기 요청에 포함된 스트링인 방법.
  14. 제7항에 있어서, 상기 리소스는 어플리케이션 서버 성능에 관련이 있고, 상기 조건은 CPU 타임의 퍼센티지인 방법.
  15. 분산 컴퓨터 시스템의 복수의 서버에서 성능하는 어플리케이션의 상기 성능을 모니터링하는 방법으로,
    상기 시용자에게 성능 정보를 제공하는 단계와,
    상기 사용자로부터 더 이상의 특별한 성능 정보를 위한 요청을 수신하는 단계와,
    더 상세한 성능 정보를 제공하는 단계를 포함하는 방법.
  16. 제15항에 있어서, 상기 사용자에게 요청 분석, 방법 분석, SQL 분석, 서버 사용가능성 분석, 및 어플리케이션 서버 분석의 선택을 제공하는 단계와,
    상기 사용자에의한 선택을 수신하는 단계를 더 포함하는 방법.
  17. 제16항에 있어서, 상기 수신된 선택에 따라 경향 분석을 제공하는 단계를 더 포함하는 것인 방법.
  18. 제17항에 있어서, 상기 경향 분석의 부분에 관한 분해 보고를 위한 요청을 수신하는 단계와,
    분해 보고를 제공하는 단계를 더 포함하는 방법.
  19. 제18항에 있어서, 상기 분해 보고의 부분에 관한 상세 보고를 위한 요청을 수신하는 단계와,
    상세 보고를 제공하는 단계를 더 포함하는 방법.
  20. 분산 컴퓨터 시스템의 복수의 서버에서 성능하는 어플리케이션의 성능을 모니터링하는 방법으로,
    상기 사용자로부터 허가 서버로서의 서버와, 비교 서버로서의 다른 서버의 확인을 수신하는 단계와,
    런타임 환경 데이터를 비교하는 단계와,
    비교를 디스플레이하는 단계를 포함하는 방법.
  21. 제20항에 있어서, 상기 런타임 환경 데이터는 상기 선택된 서버 사이의 CPU 데이터, 서버 데이터 및 자바 데이터 중의 하나 이상의 형태인 것인 방법.
  22. 제21항에 있어서, 상기 CPU 데이터는 CPU 속도, CPU 온라인의 수, CPU 오프라인의 수, 메모리, 운영체제 버전, 및 물리적 디스크 공간 중의 하나 이상을 포함하는 것인 방법.
  23. 제21항에 있어서, 상기 서버 데이터는 어플리케이션 서버, 스타트업 디렉토리, 리스닝(listening) 포트, SSL 리스닝 포트, 등록된 서브렛의 수, 등록된 EJB의 수, JDBC 연결 풀의 수, 및 EAR의 수 중의 하나 이상을 포함하는 것인 방법.
  24. 제21항에 있어서, 상기 자바 데이터는 JDK 버전, 인스톨레이션 디렉토리, 자바 폴러시(policy), 운영체제 정보, 클래스 경로 및 라이브러리 경로 중의 하나 이상을 포함하는 것인 방법.
  25. 분산 컴퓨터 시스템의 복수의 서버에서 성능하는 어플리케이션의 성능을 모니터링하는 방법으로,
    사용자로부터 허가 서버로서의 서버와, 비교 서버로서의 다른 서버의 확인을 수신하는 단계와,
    파일 이름을 매칭하고 디퍼링(differing)하는 리스트를 제공하는 단계를 포함하는 것인 방법.
  26. 제25항에 있어서, 파일 사이즈를 비교하는 단계를 더 포함하는 것인 방법.
  27. 제25항에 있어서, 파일 타임 스탬프를 비교하는 단계를 더 포함하는 것인 방법.
  28. 제25항에 있어서, 상기 사용자로부터 파일의 선택을 수신하는 단계와,
    상기 파일의 비교를 성능하는 단계와,
    상기 사용자에게 결과를 제공하는 단계를 더 포함하는 것인 방법.
  29. 제28항에 있어서, 상기 파일의 비교를 성능하는 단계는 MD5 체크섬 계산을 통해 상기 파일의 비교를 성능하는 단계를 더 포함하는 것인 방법.
  30. 분산 컴퓨터 시스템의 복수의 서버에서 성능하는 어플리케이션의 성능을 모니터링는 방법으로,
    각각의 사용자에게 역할을 지정하는 단계와,
    기능부으로의 접근과 접근 제어 리스트에 의한 각각의 사용자 역할 사이에서 매핑하는 단계를 포함함으로써,
    기능부으로의 접근이 상기 사용자의 상기 지정된 역할에 따라 제한되는 것인 방법.
  31. 제30항에 있어서, 상기 지정된 역할 중의 하나는 관리자이고, 상기 관리자는 상기 기능부의 각각에 대해 판독/기록 접근하는 것인 방법.
  32. 제30항에 있어서, 상기 지정된 역할 중의 하나는 사용자이고, 상기 사용자는 상기 기능부 중의 각각에만 디스플레이 접근되는 것인 방법.
  33. 요청을 처리하는 방법으로,
    요청 스트링을 수신하는 단계와,
    구별 가능한 요청 스트링 및 컬랩스가능한 요청 스트링으로 상기 수신된 요청 스트링을 매핑하는 단계를 포함하는 것인 방법.
  34. 제33항에 있어서, 상기 수신된 요청 스트링은 JSP, 서브렛, 및 리모트 엔터프라이즈 자바 빈 콜 중의 하나의 형태인 것인 방법.
  35. 제33항에 있어서, 사용자를 재촉하여 구별 가능한 요청 스트링 및 컬랩스가능한 요청 스트링으로 수신된 요청 스트링을 매핑하는 기능을 생성하는 단계와,
    상기 생성 단계에 응답하여 규칙을 수신하는 단계와,
    상기 수신된 규칙을 적용하는 단계를 더 포함하는 것을 특징으로 하는 방법.
  36. 분산 환경에서 어플리케이션의 성능을 모니터링하는 방법으로,
    적어도 하나의 어플리케이션을 성능하는 시스템에서, 모니터링하는 다양한 콤포넌트 및 관리를 갖는 관리 어플리케이션을 제공하는 단계와,
    상기 콤포넌트 사이의 관계 및 상기 콤포넌트 구성에 관한 정보를 실시간으로 사용자에게 모니터링하고 제공하는 단계를 포함하는 방법.
  37. 분산 컴퓨팅 환경의 복수의 서버에서 성능하는 어플리케이션의 성능을 모니터링하는 시스템으로,
    사용자로부터 수신된 선택 정보에 따라 어플리케이션 성능을 모니터링하는 수단과,
    상기 선택 정보에 따라 상기 사용자에게 사용가능한 모니터된 성능 정보를 만드는 수단을 포함하는 시스템.
  38. 제37항에 있어서, 사용자를 재촉하여 모니터되는 정보의 범위를 확인하는 수단과,
    상기 선택된 범위에 따라 어플리케이션 서버 성능을 모니터링하는 수단을 더 포함하는 시스템.
  39. 제38항에 있어서, 상기 범위는 제1 모니터링하는 레벨을 포함하고, 상기 선택된 정보는 요청 레벨 데이터 및 서버 레벨 데이터를 포함하는 시스템.
  40. 제39항에 있어서, 상기 범위는 제2 모니터링하는 레벨을 더 포함하고, 상기 선택된 정보는 API 레벨 데이터를 더 포함하는 시스템.
  41. 제40항에 있어서, 상기 범위는 제3 모니터링하는 레벨을 더 포함하고, 상기 선택된 정보는 방법 레벨 데이터를 더 포함하는 시스템.
  42. 제37항에 있어서, 사용자로부터 수신된 확인 스케줄에 따라 어플리케이션 서버 성능을 모니터링하는 수단을 더 포함하는 시스템.
  43. 분산 컴퓨팅 환경의 복수의 서버에서 성능하는 어플리케이션의 성능을 모니터링하는 시스템으로,
    사용자를 재촉하여 서버 또는 서버 그룹, 리소스, 및 통지를 위한 임계 또는 조건을 선택하는 수단과,
    상기 선택된 임계 또는 조건으로 상기 선택된 서버 또는 서버 그룹의 파라미터 값 또는 질을 비교하는 수단과,
    만일 상기 선택된 파라미터가 상기 선택된 임계 또는 조건에 도달하면 상기 선택된 파라미터에 관한 정보를 로깅하는 수단을 포함하는 시스템.
  44. 제43항에 있어서, 상기 파라미터를 사용자에게 통지하는 기준과 비교하는 수단과,
    만일 상기 기준이 충족된다면 사용자에게 통지하는 수단을 더 포함하는 시스템.
  45. 제43항에 있어서, 상기 임계 및 조건은 리소스의 값인 것인 시스템.
  46. 제45항에 있어서, 상기 리소스는 방법의 속성인 것인 시스템.
  47. 제46항에 있어서, 상기 리소스는 CPU 타임인 것인 시스템.
  48. 제43항에 있어서, 상기 임계 및 조건은 히트의 수인 것인 시스템.
  49. 제48항에 있어서, 상기 리소스는 요청이고, 상기 조건은 상기 요청에 포함된 스트링인 것인는 시스템.
  50. 제43항에 있어서, 상기 리소스는 어플리케이션 서버 성능과 관련이 있고, 상기 조건은 CPU 타임의 퍼센티지인 것인 시스템.
  51. 분산 컴퓨터 시스템의 복수의 서버에서 성능하는 어플리케이션의 성능을 모니터링하는 시스템으로,
    상기 사용자에게 성능 정보를 제공하는 수단과,
    보다 상세한 성능 정보를 위해 사용자 요청에 응답하여 보다 상세한 성능 정보를 제공하는 수단을 포함하는 시스템.
  52. 제51항에 있어서, 상기 사용자에게 요청 분석, 방법 분석, SQL 분석, 서버 사용가능성 분석, 및 어플리케이션 서버 분석의 선택을 제공하는 수단과,
    상기 사용자로부터 선택을 수신하는 수단을 더 포함하는 시스템.
  53. 제52항에 있어서, 상기 수신된 선택에 따라 경향 분석을 제공하는 수단을 더 포함하는 시스템.
  54. 제53항에 있어서, 상기 경향 분석의 부분에 관한 분해 보고를 위한 요청을 수신하는 수단과,
    분해 보고를 제공하는 수단을 더 포함하는 시스템.
  55. 제53항에 있어서, 상기 분해 보고의 부분에 관한 상세 보고를 위한 요청을 수신하는 수단과,
    상세 보고를 제공하는 수단을 더 포함하는 시스템.
  56. 분산 컴퓨터 시스템의 복수의 서버에서 성능하는 어플리케이션의 성능을 모니터링하는 시스템으로,
    상기 사용자로부터 허가 서버로서의 서버, 비교 서버로서의 다른 서버의 확인을 수신하는 수단과,
    런타임 환경 데이터를 비교하는 수단과,
    비교를 디스플레이하는 수단을 포함하는 시스템.
  57. 제56항에 있어서, 상기 런타임 환경 데이터는 상기 선택된 서버 사이의 CPU 데이터, 서버 데이터 및 자바 데이터 중의 하나 이상의 형태인 것인 시스템.
  58. 제57항에 있어서, 상기 CPU 데이터는 CPU 속도, CPU 온라인의 수, CPU 오프라인의 수, 메모리, 운영체제 버전, 및 물리적 디스크 공간중의 하나 이상을 포함하는 것인 시스템.
  59. 제57항에 있어서, 상기 서버 데이터는 어플리케이션 서버, 스타트업 디렉토리, 리스닝 포트, SSL 리스닝 포트, 등록된 서브렛의 수, 등록된 EJB의 수, JDBC 연결 풀의 수, 및 EAR의 수 중의 하나 이상을 포함하는 시스템.
  60. 제57항에 있어서, 상기 자바 데이터는 JDK 버전, 인스톨레이션 디렉토리, 자바 폴러시, 운영체제 정보, 클래스 경로 및 라이브러리 경로 중의 하나 이상을 포함하는 시스템.
  61. 분산 컴퓨터 시스템의 복수의 서버에서 실행하는 어플리케이션의 성능을 모니터링하는 시스템으로,
    허가 서버로서의 제1 서버 및 비교 서버로서의 제2 서버의 수신된 확인에 응답하여, 상기 권한 및 비교 서버의 파일 이름을 매칭하고 디퍼링하는 리스트를 제공하는 수단을 포함하는 시스템.
  62. 제61항에 있어서, 파일 사이즈를 비교하는 수단을 더 포함하는 시스템.
  63. 제61항에 있어서, 파일 타임 스탬프를 위한 수단을 더 포함하는 시스템.
  64. 제61항에 있어서, 사용자에 의해 선택된 파일의 비교를 성능하고, 결과를 상기 사용자에게 제공하는 수단을 더 포함하는 시스템.
  65. 제64항에 있어서, 비교를 성능하는 상기 수단은 MD5 체크섬 계산을 통해 파일의 비교를 성능하는 수단을 포함하는 시스템.
  66. 분산 컴퓨터 시스템의 복수의 서버에서 성능하는 어플리케이션의 성능을 모니터링하는 시스템으로,
    각각의 사용자에게 역할을 지정하는 수단과,
    기능부으로의 접근과 접근 제어 리스트에 의한 각각의 사용자 역할 사이에서 매핑하는 수단을 포함하고,
    기능부으로의 접근이 상기 사용자의 상기 지정된 역할에 따라 제한되는 시스템.
  67. 제66항에 있어서, 상기 지정된 역할 중의 하나는 관리자이고, 상기 관리자는 상기 기능부의 각각에 판독/기록 접근되는 것인 시스템.
  68. 제66항에 있어서, 상기 지정된 역할 중의 하나는 사용자이고, 상기 사용자는 상기 기능부의 각각에만 디스플레이 접근되는 것인 시스템.
  69. 요청을 다루는 시스템으로,
    요청 스트링을 수신하는 수단과,
    구별 가능한 요청 스트링 및 컬랩스가능한 요청 스트링으로 상기 수신된 요청 스트링을 매핑하는 수단을 포함하는 시스템.
  70. 제69항에 있어서, 상기 수신된 요청 스트링은 JSP, 서브렛, 및 리모트 엔터 프라이즈 자바 빈 콜 중의 하나의 형태인 것인 시스템.
  71. 제69항에 있어서, 사용자를 재촉하여 구별 가능한 요청 스트링 및 컬랩스가능한 요청 스트링으로 수신된 요청 스트링의 매핑을 하는 기능을 생성하는 수단과,
    사용자에 대한 재촉에 응답하여 수신된 기능을 적용하여 구별 가능한 요청 스트링 및 컬랩스가능한 요청 스트링으로 수신된 요청 스트링을 매핑하는 기능을 생성하도록 하는 수단을 더 포함하는 시스템.
  72. 분산 환경에서 어플리케이션의 성능을 모니터링는 시스템으로,
    적어도 하나의 어플리케이션을 성능하는 시스템에서, 모니터링하는 다양한 콤포넌트 및 관리를 갖는 관리 어플리케이션을 제공하는 수단과,
    상기 콤포넌트 사이의 관계 및 상기 콤포넌트 구성에 관한 정보를 실시간으로 사용자에게 모니터링하고 제공하는 수단을 포함하는 것을 특징으로 하는 시스템.
  73. 분산 컴퓨팅 환경의 복수의 서버에서 성능하는 어플리케이션의 성능을 모니터링하는 컴퓨터 프로그램으로,
    상기 프로그램은 매체에 저장된 명령으로 구성되고,
    상기 명령은, 프로세서에서 성능되는 경우,
    사용자로부터 모니터링하는 선택된 정보를 수신하는 단계와,
    상기 선택된 정보에 따라 어플리케이션 성능을 모니터링하는 단계와,
    상기 선택된 정보에 따라 상기 사용자에게 사용가능한 모니터된 성능 정보를 만드는 단계를 상기 프로세서로 하여금 성능하도록 하는 컴퓨터 프로그램.
  74. 분산 컴퓨팅 환경의 복수의 서버에서 성능하는 어플리케이션의 성능을 모니터링하는 컴퓨터 프로그램으로,
    상기 프로그램은 매체에 저장된 명령으로 구성되고,
    상기 명령은, 프로세서에서 성능되는 경우,
    사용자를 재촉하여 서버 또는 서버 그룹, 리소스, 및 통지를 위한 임계 또는 조건을 선택하는 단계와,
    파라미터 값 또는 질을 상기 임계 또는 조건에 비교하는 단계와,
    만일 상기 파라미터가 상기 임계 또는 조건에 도달한다면, 상기 파라미터에 관한 정보를 로깅하는 단계를 상기 프로세서로 하여금 실행하는 컴퓨터 프로그램.
  75. 분산 컴퓨팅 환경의 복수의 서버에서 성능하는 어플리케이션의 성능을 모니터링하는 컴퓨터 프로그램으로,
    상기 프로그램은 매체에 저장된 명령으로 구성되고,
    상기 명령은, 프로세서에서 성능되는 경우,
    상기 사용자에게 성능 정보를 제공하는 단계와,
    더 이상의 특별한 성능 정보를 위한 요청을 상기 사용자로부터 수신하는 단 계와,
    보다 상세한 성능 정보를 제공하는 단계를 상기 프로세서로 하여금 성능하도록 하는 컴퓨터 프로그램.
  76. 분산 컴퓨팅 환경의 복수의 서버에서 성능하는 어플리케이션의 성능을 모니터링하는 컴퓨터 프로그램으로,
    상기 프로그램은 매체에 저장된 명령으로 구성되고,
    상기 명령은, 프로세서에서 성능되는 경우,
    상기 사용자로부터 허가 서버로서의 제1 서버, 비교 서버로서의 제2 서버의 확인을 수신하는 단계와,
    상기 허가 및 비교 서버로부터 런타임 환경 데이터를 비교하는 단계와,
    비교를 디스플레이하는 단계를 상기 프로세서로 하여금 성능하도록 하는 컴퓨터 프로그램.
  77. 분산 컴퓨팅 환경의 복수의 서버에서 성능하는 어플리케이션의 성능을 모니터링하는 컴퓨터 프로그램으로,
    상기 프로그램은 매체에 저장된 명령으로 구성되고,
    상기 명령은, 프로세서에서 성능되는 경우,
    상기 사용자로부터 허가 서버로서의 제1 서버, 비교 서버로서의 제2 서버의 확인을 수신하는 단계와,
    상기 인증 및 비교 서버에서 파일 이름을 매칭하고 디퍼링하는 리스트를 제공하는 단계를 상기 프로세서로 하여금 성능하도록 하는 컴퓨터 프로그램.
  78. 분산 컴퓨팅 환경의 복수의 서버에서 성능하는 어플리케이션의 성능을 모니터링하는 컴퓨터 프로그램으로,
    상기 프로그램은 매체에 저장된 명령으로 구성되고,
    상기 명령은, 프로세서에서 성능되는 경우,
    각각의 사용자에게 역할을 지정하는 단계와,
    기능부로의 접근 및 접근 제어 리스트에 의한 각각의 사용자 역할 사이에서 매핑하는 단계를 상기 프로세서로 하여금 성능하도록 하고,
    기능부로의 접근은 상기 사용자의 상기 지정된 역할에 따라 제한되는 컴퓨터 프로그램.
  79. 요청을 처리하는 컴퓨터 프로그램으로,
    상기 프로그램은 매체에 저장된 명령으로 구성되고,
    상기 명령은, 프로세서에서 성능되는 경우,
    요청 스트링을 수신하는 단계와,
    상기 수신된 요청 스트링을 구별 가능한 요청 스트링 및 컬랩스가능한 요청 스트링으로 매핑하는 단계를 상기 프로세서로 하여금 성능하도록 하는 컴퓨터 프로그램
  80. 분산 환경에서 어플리케이션의 성능을 모니터링하는 컴퓨터 프로그램으로,
    적어도 하나의 어플리케이션을 성능하는 시스템에서, 모니터링하는 다양한 콤포넌트 및 관리를 갖는 관리 어플리케이션을 제공하는 단계와,
    상기 콤포넌트 사이의 관계 및 상기 콤포넌트의 구성에 관한 정보를 실시간으로 사용자에게 모니터링하고 제공하는 단계를 포함하는 컴퓨터 프로그램
KR1020047021335A 2002-06-25 2003-06-25 분산 환경에서 어플리케이션의 성능을 모니터링하는 방법및 시스템 Expired - Fee Related KR100772999B1 (ko)

Applications Claiming Priority (2)

Application Number Priority Date Filing Date Title
US39202202P 2002-06-25 2002-06-25
US60/392,022 2002-06-25

Publications (2)

Publication Number Publication Date
KR20060066570A true KR20060066570A (ko) 2006-06-16
KR100772999B1 KR100772999B1 (ko) 2007-11-05

Family

ID=30000796

Family Applications (1)

Application Number Title Priority Date Filing Date
KR1020047021335A Expired - Fee Related KR100772999B1 (ko) 2002-06-25 2003-06-25 분산 환경에서 어플리케이션의 성능을 모니터링하는 방법및 시스템

Country Status (7)

Country Link
US (5) US7870244B2 (ko)
EP (1) EP1527395A4 (ko)
JP (1) JP4528116B2 (ko)
KR (1) KR100772999B1 (ko)
CN (1) CN1662901A (ko)
AU (1) AU2003278862A1 (ko)
WO (1) WO2004001555A2 (ko)

Cited By (4)

* Cited by examiner, † Cited by third party
Publication number Priority date Publication date Assignee Title
KR101136087B1 (ko) * 2009-11-09 2012-04-17 서울대학교병원 병원 emr 어플리케이션의 성능 모니터링 방법 및 시스템
KR102072700B1 (ko) * 2019-07-31 2020-02-03 (주)소울시스템즈 전수 패킷 처리 기반의 실시간 애플리케이션 성능 모니터링 장치 및 방법
KR102368147B1 (ko) * 2021-10-19 2022-02-25 강동원 서버 모니터링 시스템 및 그 구동 방법
KR102785518B1 (ko) * 2024-08-07 2025-03-25 메타빌드 주식회사 인공지능 기반 소형 언어 모델과 검색 증강 생성 기술을 이용한 어플리케이션 관리 모듈 및 관리 방법

Families Citing this family (245)

* Cited by examiner, † Cited by third party
Publication number Priority date Publication date Assignee Title
EP1239385B1 (en) * 2001-02-28 2003-07-02 Sap Ag Computer system for business applications with alert notification and conditional enforcing
EP1495398A4 (en) 2002-04-08 2008-11-26 Ibm PROCESS AND SYSTEM FOR TROUBLESHOOTING IN DISTRIBUTED BUSINESS APPLICATIONS
US7577951B2 (en) * 2002-05-30 2009-08-18 Hewlett-Packard Development Company, L.P. Performance of computer programs while they are running
US7870244B2 (en) 2002-06-25 2011-01-11 International Business Machines Corporation Monitoring performance of applications in a distributed environment
US7440464B2 (en) * 2002-08-29 2008-10-21 Nokia Corporation Server control plane connections recovery in a server-gateway architecture based telecommunication network
US7650403B2 (en) * 2002-11-20 2010-01-19 Microsoft Corporation System and method for client side monitoring of client server communications
US7734637B2 (en) * 2002-12-05 2010-06-08 Borland Software Corporation Method and system for automatic detection of monitoring data sources
JP3862652B2 (ja) 2002-12-10 2006-12-27 キヤノン株式会社 印刷制御方法及び情報処理装置
US7529842B2 (en) * 2002-12-17 2009-05-05 International Business Machines Corporation Method, system and program product for detecting an operational risk of a node
US8443067B2 (en) * 2003-04-25 2013-05-14 Siemens Aktiengesellschaft Method and apparatus for identifying an order in a network
US20050033625A1 (en) * 2003-08-06 2005-02-10 International Business Machines Corporation Method, apparatus and program storage device for scheduling the performance of maintenance tasks to maintain a system environment
WO2005017715A2 (en) * 2003-08-15 2005-02-24 International Business Machines Corporation Method and system for monitoring performance of processes across multiple environments and servers
US20050076116A1 (en) * 2003-09-24 2005-04-07 Taiwan Semiconductor Manufacturing Co., Ltd. Information server performance alert system and method
US20050102429A1 (en) * 2003-11-06 2005-05-12 Sap Ag Portal cluster manager
GB2423851A (en) 2003-11-13 2006-09-06 Commvault Systems Inc System and method for performing an image level snapshot and for restoring partial volume data
US7822826B1 (en) 2003-12-30 2010-10-26 Sap Ag Deployment of a web service
US7756968B1 (en) * 2003-12-30 2010-07-13 Sap Ag Method and system for employing a hierarchical monitor tree for monitoring system resources in a data processing environment
US7941521B1 (en) 2003-12-30 2011-05-10 Sap Ag Multi-service management architecture employed within a clustered node configuration
US7725572B1 (en) 2003-12-30 2010-05-25 Sap Ag Notification architecture and method employed within a clustered node configuration
US20050172029A1 (en) * 2004-01-29 2005-08-04 International Business Machines Corporation Method and apparatus for managing a connection pool using heuristic information
US7721266B2 (en) * 2004-03-26 2010-05-18 Sap Ag Unified logging service with a logging formatter
US20050216510A1 (en) * 2004-03-26 2005-09-29 Reinhold Kautzleben System and method to provide a visual administrator in a network monitoring system
US7526550B2 (en) * 2004-03-26 2009-04-28 Sap Ag Unified logging service with a log viewer
US8234374B2 (en) * 2004-04-26 2012-07-31 Microsoft Corporation Privacy model that grants access rights and provides security to shared content
US8073819B2 (en) * 2004-05-11 2011-12-06 At&T Intellectual Property I, L.P. System and method for storing element information
US7665063B1 (en) 2004-05-26 2010-02-16 Pegasystems, Inc. Integration of declarative rule-based processing with procedural programming
US7685575B1 (en) * 2004-06-08 2010-03-23 Sun Microsystems, Inc. Method and apparatus for analyzing an application
US7596546B2 (en) * 2004-06-14 2009-09-29 Matchett Douglas K Method and apparatus for organizing, visualizing and using measured or modeled system statistics
US7340654B2 (en) 2004-06-17 2008-03-04 Platform Computing Corporation Autonomic monitoring in a grid environment
US7861246B2 (en) * 2004-06-17 2010-12-28 Platform Computing Corporation Job-centric scheduling in a grid environment
US7844969B2 (en) 2004-06-17 2010-11-30 Platform Computing Corporation Goal-oriented predictive scheduling in a grid environment
US7761556B2 (en) * 2004-11-22 2010-07-20 International Business Machines Corporation Performance monitoring within an enterprise software system
JP4711672B2 (ja) * 2004-12-24 2011-06-29 富士通株式会社 情報処理方法及びプログラム
US7788226B2 (en) * 2004-12-30 2010-08-31 Sap Ag Monitoring availability of applications
US7954062B2 (en) * 2005-01-03 2011-05-31 International Business Machines Corporation Application status board mitigation system and method
US7788497B2 (en) * 2005-01-13 2010-08-31 Bea Systems, Inc. Credential mapping of WebLogic and database user ids
US7769784B2 (en) * 2005-01-27 2010-08-03 International Business Machines Corporation System for autonomically improving performance of Enterprise Java Beans through dynamic workload management
US20060179428A1 (en) * 2005-02-10 2006-08-10 Kiyokuni Kawachiya Method and system for efficiently starting a JAVA application
US8856309B1 (en) * 2005-03-17 2014-10-07 Oracle America, Inc. Statistical tool for use in networked computer platforms
US7469362B2 (en) * 2005-04-15 2008-12-23 Microsoft Corporation Using a call stack hash to record the state of a process
US20060282832A1 (en) * 2005-06-10 2006-12-14 Klaus Nagel Calculating module runtimes on multiple platforms
GB0516554D0 (en) * 2005-08-11 2005-09-21 Ibm Method, apparatus and computer program for enabling monitoring of a resource
US7519024B2 (en) * 2005-08-17 2009-04-14 Sprint Communications Company Lp Resource selection in a communication network
US20070060367A1 (en) * 2005-09-14 2007-03-15 International Business Machines Corporation End-to-end transaction tracking in the enterprise
US20070064736A1 (en) * 2005-09-19 2007-03-22 Fujitsu Network Communications Zero suppressed performance management data interpretation and same value suppression and interpretation
US20070067369A1 (en) * 2005-09-22 2007-03-22 Minshall Robbie J Method and system for quantifying and comparing workload on an application server
KR100750834B1 (ko) 2005-10-06 2007-08-22 (주)아이피엠에스 자바 바이트 코드의 데이터 모니터링 시 모니터링된 데이터의 호출관계 규명 방법 및 이 방법을 이용한 알고리즘을 통해 자바 어플리케이션의 각종 성능 데이터를 추출하기 위한 컴퓨터 판독 가능한 기록 매체
US7784033B2 (en) * 2005-10-11 2010-08-24 Bea Systems, Inc. JDBC monitoring and diagnostics enhancements
US20070081464A1 (en) * 2005-10-11 2007-04-12 Fujitsu Network Communications, Inc. Real-time performance monitoring of ethernet data over sonet
US7823136B2 (en) * 2005-10-11 2010-10-26 Bea Systems, Inc. Callbacks for monitoring driver-level statistics
US7921084B2 (en) * 2005-10-11 2011-04-05 Oracle International Corporation Timer-driven diagnostic image inhibition for statement cache/connection pool
US20070083525A1 (en) * 2005-10-11 2007-04-12 Rahul Srivastava JDBC debugging enhancements
US20070083526A1 (en) * 2005-10-11 2007-04-12 Rahul Srivastava Monitoring statistics and profile information for JDBC resources
US7194386B1 (en) 2005-10-17 2007-03-20 Microsoft Corporation Automated collection of information
US8095641B2 (en) * 2005-10-27 2012-01-10 International Business Machines Corporation Method and system for virtualized health monitoring of resources
US8887241B2 (en) * 2006-02-22 2014-11-11 International Business Machines Corporation Virtual roles
US8924335B1 (en) 2006-03-30 2014-12-30 Pegasystems Inc. Rule-based user interface conformance methods
US20070266369A1 (en) * 2006-05-11 2007-11-15 Jiebo Guan Methods, systems and computer program products for retrieval of management information related to a computer network using an object-oriented model
US8166143B2 (en) * 2006-05-11 2012-04-24 Netiq Corporation Methods, systems and computer program products for invariant representation of computer network information technology (IT) managed resources
US20070294224A1 (en) * 2006-06-16 2007-12-20 Jean-Jacques Heler Tracking discrete elements of distributed transactions
US20070297337A1 (en) * 2006-06-21 2007-12-27 International Business Machines Corporation Apparatus and methods for determining availability and performance of entities providing services in a distributed system using filtered service consumer feedback
US7493302B2 (en) * 2006-06-26 2009-02-17 International Business Machines Corporation Federated transaction path and service level agreement monitoring across service oriented application partner domains
JP2008015648A (ja) * 2006-07-04 2008-01-24 Yokogawa Electric Corp アプリケーション管理フレームワーク
US8010849B2 (en) * 2006-09-05 2011-08-30 Arm Limited Diagnosing faults within programs being executed by virtual machines
US8601104B2 (en) 2006-09-19 2013-12-03 The Invention Science Fund I, Llc Using network access port linkages for data structure update decisions
US8281036B2 (en) 2006-09-19 2012-10-02 The Invention Science Fund I, Llc Using network access port linkages for data structure update decisions
US7752255B2 (en) * 2006-09-19 2010-07-06 The Invention Science Fund I, Inc Configuring software agent security remotely
US20080072032A1 (en) * 2006-09-19 2008-03-20 Searete Llc, A Limited Liability Corporation Of The State Of Delaware Configuring software agent security remotely
US8984579B2 (en) * 2006-09-19 2015-03-17 The Innovation Science Fund I, LLC Evaluation systems and methods for coordinating software agents
US8607336B2 (en) * 2006-09-19 2013-12-10 The Invention Science Fund I, Llc Evaluation systems and methods for coordinating software agents
US8601530B2 (en) * 2006-09-19 2013-12-03 The Invention Science Fund I, Llc Evaluation systems and methods for coordinating software agents
US8055797B2 (en) * 2006-09-19 2011-11-08 The Invention Science Fund I, Llc Transmitting aggregated information arising from appnet information
US8627402B2 (en) * 2006-09-19 2014-01-07 The Invention Science Fund I, Llc Evaluation systems and methods for coordinating software agents
US8224930B2 (en) * 2006-09-19 2012-07-17 The Invention Science Fund I, Llc Signaling partial service configuration changes in appnets
US9306975B2 (en) * 2006-09-19 2016-04-05 The Invention Science Fund I, Llc Transmitting aggregated information arising from appnet information
US20080168311A1 (en) * 2007-01-08 2008-07-10 Microsoft Corporation Configuration debugging comparison
US20080172671A1 (en) * 2007-01-11 2008-07-17 International Business Machines Corporation Method and system for efficient management of resource utilization data in on-demand computing
US8250525B2 (en) * 2007-03-02 2012-08-21 Pegasystems Inc. Proactive performance management for multi-user enterprise software systems
JP2010524128A (ja) * 2007-04-12 2010-07-15 トムソン ライセンシング ワークフローインターフェースのためのメッセージメカニズム
US9602340B2 (en) * 2007-04-20 2017-03-21 Sap Se Performance monitoring
US8898277B2 (en) * 2007-06-08 2014-11-25 Oracle International Corporation Performance monitoring infrastructure for distributed transaction service
WO2008153193A1 (ja) * 2007-06-15 2008-12-18 Nec Corporation アドレス変換装置及びアドレス変換方法
US8874721B1 (en) * 2007-06-27 2014-10-28 Sprint Communications Company L.P. Service layer selection and display in a service network monitoring system
US10417586B2 (en) * 2007-08-31 2019-09-17 Red Hat, Inc. Attaching ownership to data
US7840653B1 (en) * 2007-10-25 2010-11-23 United Services Automobile Association (Usaa) Enhanced throttle management system
JP2009187542A (ja) * 2008-01-10 2009-08-20 Nec Corp 要求処理システム、要求処理方法、および要求処理プログラム
US20090217259A1 (en) * 2008-02-26 2009-08-27 Microsoft Corporation Building Operating System Images Based on Applications
US7486196B1 (en) * 2008-04-14 2009-02-03 International Business Machines Corporation Using audio to detect changes to the performance of an application
JP2009294949A (ja) * 2008-06-05 2009-12-17 Hitachi Ltd ストレージ装置及びその性能測定方法
US20090319653A1 (en) * 2008-06-20 2009-12-24 International Business Machines Corporation Server configuration management method
US9477570B2 (en) * 2008-08-26 2016-10-25 Red Hat, Inc. Monitoring software provisioning
EP2350933A4 (en) * 2008-10-16 2012-05-23 Hewlett Packard Development Co APPLICATION PERFORMANCE ANALYSIS
US8744806B2 (en) 2008-10-29 2014-06-03 Sevone, Inc. Scalable performance management system
US9084937B2 (en) 2008-11-18 2015-07-21 Gtech Canada Ulc Faults and performance issue prediction
US8028196B2 (en) * 2008-11-18 2011-09-27 Gtech Corporation Predictive diagnostics and fault management
JP5111340B2 (ja) 2008-11-20 2013-01-09 株式会社日立製作所 情報処理システムを構成している装置の監視方法、情報処理装置、及び情報処理システム
US8131842B1 (en) * 2009-02-11 2012-03-06 Charles Schwab & Co., Inc. System and method for collecting and displaying information about many computer systems
US8843435B1 (en) 2009-03-12 2014-09-23 Pegasystems Inc. Techniques for dynamic data processing
US8893156B2 (en) * 2009-03-24 2014-11-18 Microsoft Corporation Monitoring of distributed applications
US8468492B1 (en) 2009-03-30 2013-06-18 Pegasystems, Inc. System and method for creation and modification of software applications
US10157117B2 (en) * 2009-10-08 2018-12-18 International Business Machines Corporation Processing transaction timestamps
US8316126B2 (en) 2009-10-08 2012-11-20 International Business Machines Corporation Stitching transactions
US9117013B2 (en) 2009-10-08 2015-08-25 International Business Machines Corporation Combining monitoring techniques
US8584123B2 (en) * 2009-10-08 2013-11-12 International Business Machines Corporation Linking transactions
US8286192B2 (en) * 2009-12-04 2012-10-09 Red Hat, Inc. Kernel subsystem for handling performance counters and events
US9665461B2 (en) 2009-12-04 2017-05-30 Red Hat, Inc. Obtaining application performance data for different performance events via a unified channel
US8171340B2 (en) * 2009-12-11 2012-05-01 Red Hat, Inc. Software performance counters
US8935703B2 (en) * 2009-12-11 2015-01-13 Red Hat, Inc. Performance counter inheritance
US8954996B2 (en) * 2009-12-11 2015-02-10 Red Hat, Inc. Profiling the system providing performance statistics in real time
US8930525B2 (en) * 2010-04-27 2015-01-06 Hewlett-Packard Development Company, L.P. Method and apparatus for measuring business transaction performance
EP2577451A4 (en) 2010-06-01 2014-06-18 Hewlett Packard Development Co METHODS, APPARATUS, AND ARTICLES OF MANUFACTURE FOR DEPLOYING SOFTWARE APPLICATIONS
CN101968758B (zh) * 2010-10-28 2012-10-10 西北工业大学 多数据点阈值检测方法
US9378111B2 (en) * 2010-11-11 2016-06-28 Sap Se Method and system for easy correlation between monitored metrics and alerts
US8842119B2 (en) * 2010-11-17 2014-09-23 Hewlett-Packard Development Company, L.P. Displaying system performance information
US9009185B2 (en) * 2010-12-28 2015-04-14 Sevone, Inc. Scalable performance management system
US9467507B2 (en) * 2011-01-03 2016-10-11 Verizon Patent And Licensing Inc. Wireless network cloud computing resource management
US8909761B2 (en) * 2011-02-08 2014-12-09 BlueStripe Software, Inc. Methods and computer program products for monitoring and reporting performance of network applications executing in operating-system-level virtualization containers
US8880487B1 (en) 2011-02-18 2014-11-04 Pegasystems Inc. Systems and methods for distributed rules processing
US10140320B2 (en) * 2011-02-28 2018-11-27 Sdl Inc. Systems, methods, and media for generating analytical data
US20120221319A1 (en) * 2011-02-28 2012-08-30 Andrew Trese Systems, Methods and Media for Translating Informational Content
EP2557503B1 (en) * 2011-07-28 2020-04-01 Tata Consultancy Services Ltd. Application performance measurement and reporting
RU2465635C1 (ru) * 2011-08-02 2012-10-27 Открытое акционерное общество "ОТИК-групп" Метод диагностирования программно-аппаратной среды для распределенных вычислений в многоядерных однокристальных системах при решении задач в реальном масштабе времени, с использованием адаптивных графов сети петри
US9984054B2 (en) 2011-08-24 2018-05-29 Sdl Inc. Web interface including the review and manipulation of a web document and utilizing permission based control
US20130073059A1 (en) * 2011-09-20 2013-03-21 Joseph Mark Brian User interface for determining resource consumption
US20130081001A1 (en) * 2011-09-23 2013-03-28 Microsoft Corporation Immediate delay tracker tool
US10270755B2 (en) 2011-10-03 2019-04-23 Verisign, Inc. Authenticated name resolution
US8874733B2 (en) 2011-12-14 2014-10-28 Microsoft Corporation Providing server performance decision support
US9195936B1 (en) 2011-12-30 2015-11-24 Pegasystems Inc. System and method for updating or modifying an application without manual coding
CN102567185B (zh) * 2011-12-31 2014-11-12 北京新媒传信科技有限公司 一种应用服务器的监控方法
US9413615B1 (en) * 2012-03-02 2016-08-09 Juniper Networks, Inc. Trap filtering within a device management protocol
US9298715B2 (en) 2012-03-07 2016-03-29 Commvault Systems, Inc. Data storage system utilizing proxy device for storage operations
US9471578B2 (en) 2012-03-07 2016-10-18 Commvault Systems, Inc. Data storage system utilizing proxy device for storage operations
EP2823883B1 (en) 2012-03-08 2018-09-19 Consejo Superior De Investigaciones Científicas (CSIC) Coating with photochromic properties, method for producing said coating and use thereof applicable to optical articles and glazed surfaces
US9471460B2 (en) 2012-03-29 2016-10-18 International Business Machines Corporation Characterization of real-time software base-station workloads at fine-grained time-scales
US9342537B2 (en) 2012-04-23 2016-05-17 Commvault Systems, Inc. Integrated snapshot interface for a data storage system
US20150120914A1 (en) * 2012-06-13 2015-04-30 Hitachi, Ltd. Service monitoring system and service monitoring method
US10382252B2 (en) * 2012-06-26 2019-08-13 Juniper Networks, Inc. Filtering within device management protocol queries
US9135135B2 (en) 2012-06-28 2015-09-15 Sap Se Method and system for auto-adjusting thresholds for efficient monitoring of system metrics
TW201405339A (zh) * 2012-07-24 2014-02-01 Chunghwa Telecom Co Ltd Web作業共用thread pool與jdbc pool下之作業關係鏈結模組
US9916306B2 (en) 2012-10-19 2018-03-13 Sdl Inc. Statistical linguistic analysis of source content
US9286185B2 (en) 2012-11-16 2016-03-15 Empire Technology Development Llc Monitoring a performance of a computing device
US9886346B2 (en) 2013-01-11 2018-02-06 Commvault Systems, Inc. Single snapshot for multiple agents
US9207969B2 (en) 2013-01-25 2015-12-08 Microsoft Technology Licensing, Llc Parallel tracing for performance and detail
US8954546B2 (en) 2013-01-25 2015-02-10 Concurix Corporation Tracing with a workload distributor
US9021262B2 (en) 2013-01-25 2015-04-28 Concurix Corporation Obfuscating trace data
US20140025572A1 (en) * 2013-01-25 2014-01-23 Concurix Corporation Tracing as a Service
US20130283281A1 (en) 2013-02-12 2013-10-24 Concurix Corporation Deploying Trace Objectives using Cost Analyses
US8924941B2 (en) 2013-02-12 2014-12-30 Concurix Corporation Optimization analysis using similar frequencies
US8997063B2 (en) 2013-02-12 2015-03-31 Concurix Corporation Periodicity optimization in an automated tracing system
US9436589B2 (en) 2013-03-15 2016-09-06 Microsoft Technology Licensing, Llc Increasing performance at runtime from trace data
US9223673B1 (en) 2013-04-08 2015-12-29 Amazon Technologies, Inc. Custom host errors definition service
US9575874B2 (en) 2013-04-20 2017-02-21 Microsoft Technology Licensing, Llc Error list and bug report analysis for configuring an application tracer
CN104142817B (zh) * 2013-05-10 2017-08-22 中国电信股份有限公司 在Java应用中测量用户资源使用量的方法与装置
US9584364B2 (en) 2013-05-21 2017-02-28 Amazon Technologies, Inc. Reporting performance capabilities of a computer resource service
CN104252391B (zh) * 2013-06-28 2017-09-12 国际商业机器公司 用于在分布式计算系统中管理多个作业的方法和装置
US10063450B2 (en) * 2013-07-26 2018-08-28 Opentv, Inc. Measuring response trends in a digital television network
CN111522652B (zh) * 2013-08-13 2024-02-13 英特尔公司 用于增加负荷密度和改进能效的功率平衡
US9292415B2 (en) 2013-09-04 2016-03-22 Microsoft Technology Licensing, Llc Module specific tracing in a shared module environment
US9503341B2 (en) * 2013-09-20 2016-11-22 Microsoft Technology Licensing, Llc Dynamic discovery of applications, external dependencies, and relationships
US20150095015A1 (en) * 2013-09-27 2015-04-02 Statistics Solutions, Llc Method and System for Presenting Statistical Data in a Natural Language Format
US9772927B2 (en) 2013-11-13 2017-09-26 Microsoft Technology Licensing, Llc User interface for selecting tracing origins for aggregating classes of trace data
US9495251B2 (en) 2014-01-24 2016-11-15 Commvault Systems, Inc. Snapshot readiness checking and reporting
US9632874B2 (en) 2014-01-24 2017-04-25 Commvault Systems, Inc. Database application backup in single snapshot for multiple applications
US9753812B2 (en) 2014-01-24 2017-09-05 Commvault Systems, Inc. Generating mapping information for single snapshot for multiple applications
US9639426B2 (en) 2014-01-24 2017-05-02 Commvault Systems, Inc. Single snapshot for multiple applications
US20170053222A1 (en) * 2014-02-19 2017-02-23 Hewlett Packard Enterprise Development Lp Role based assessment for an it management system
US9417970B2 (en) * 2014-02-27 2016-08-16 Halliburton Energy Services, Inc. Data file processing for a well job data archive
IN2014MU00819A (ko) 2014-03-11 2015-09-25 Tata Consultancy Services Ltd
US9280407B2 (en) 2014-04-16 2016-03-08 International Business Machines Corporation Program development in a distributed server environment
US9596164B1 (en) * 2014-06-26 2017-03-14 Juniper Networks, Inc. Application visibility in layer 3 networks
CN104156661A (zh) * 2014-07-26 2014-11-19 珠海市君天电子科技有限公司 一种防止账户密码被篡改的方法及装置
US9558093B2 (en) * 2014-07-30 2017-01-31 Microsoft Technology Licensing, Llc Visual tools for failure analysis in distributed systems
US9742690B2 (en) * 2014-08-20 2017-08-22 At&T Intellectual Property I, L.P. Load adaptation architecture framework for orchestrating and managing services in a cloud computing system
US9774672B2 (en) 2014-09-03 2017-09-26 Commvault Systems, Inc. Consolidated processing of storage-array commands by a snapshot-control media agent
CN104182540B (zh) * 2014-09-03 2017-10-27 北京国双科技有限公司 数据仓库中的索引统计信息处理方法及装置
US10042716B2 (en) 2014-09-03 2018-08-07 Commvault Systems, Inc. Consolidated processing of storage-array commands using a forwarder media agent in conjunction with a snapshot-control media agent
US10469396B2 (en) 2014-10-10 2019-11-05 Pegasystems, Inc. Event processing with enhanced throughput
US9648105B2 (en) 2014-11-14 2017-05-09 Commvault Systems, Inc. Unified snapshot storage management, using an enhanced storage manager and enhanced media agents
US9448731B2 (en) 2014-11-14 2016-09-20 Commvault Systems, Inc. Unified snapshot storage management
CN105988919B (zh) * 2015-03-02 2018-12-25 阿里巴巴集团控股有限公司 Java型web容器内存使用量检测方法及相关装置
US10110688B2 (en) * 2015-03-20 2018-10-23 Sony Interactive Entertainment LLC System and method for remote monitoring of API performance and user behavior associated with user interface
US11283697B1 (en) 2015-03-24 2022-03-22 Vmware, Inc. Scalable real time metrics management
US10255081B2 (en) * 2015-07-17 2019-04-09 Accenture Global Solutions Limited Method and system for intelligent cloud planning and decommissioning
CN105138571B (zh) * 2015-07-24 2019-12-24 四川长虹电器股份有限公司 分布式文件系统及其存储海量小文件的方法
US10313211B1 (en) * 2015-08-25 2019-06-04 Avi Networks Distributed network service risk monitoring and scoring
US10594562B1 (en) 2015-08-25 2020-03-17 Vmware, Inc. Intelligent autoscale of services
US10701136B1 (en) * 2015-08-26 2020-06-30 Amdocs Development Limited System, method, and computer program for monitoring application activity for a cluster of applications
US10044577B2 (en) * 2015-11-04 2018-08-07 International Business Machines Corporation Visualization of cyclical patterns in metric data
US10791085B2 (en) 2015-11-12 2020-09-29 Verisign, Inc. Techniques for directing a domain name service (DNS) resolution process
US9715721B2 (en) 2015-12-18 2017-07-25 Sony Corporation Focus detection
US11283900B2 (en) * 2016-02-08 2022-03-22 Microstrategy Incorporated Enterprise performance and capacity testing
US10440153B1 (en) 2016-02-08 2019-10-08 Microstrategy Incorporated Enterprise health score and data migration
US10212041B1 (en) 2016-03-04 2019-02-19 Avi Networks Traffic pattern detection and presentation in container-based cloud computing architecture
US10503753B2 (en) 2016-03-10 2019-12-10 Commvault Systems, Inc. Snapshot replication operations based on incremental block change tracking
US10931548B1 (en) 2016-03-28 2021-02-23 Vmware, Inc. Collecting health monitoring data pertaining to an application from a selected set of service engines
KR101955715B1 (ko) * 2016-04-01 2019-03-07 한국전자통신연구원 복수의 자가적응형 어플리케이션들을 포함하는 임베디드 시스템
US10698599B2 (en) 2016-06-03 2020-06-30 Pegasystems, Inc. Connecting graphical shapes using gestures
US10698647B2 (en) 2016-07-11 2020-06-30 Pegasystems Inc. Selective sharing for collaborative application usage
US10999240B1 (en) * 2016-08-31 2021-05-04 Verisign, Inc. Client controlled domain name service (DNS) resolution
US10574559B2 (en) * 2016-11-10 2020-02-25 Bank Of America Corporation System for defining and implementing performance monitoring requirements for applications and hosted computing environment infrastructure
US10362110B1 (en) * 2016-12-08 2019-07-23 Amazon Technologies, Inc. Deployment of client data compute kernels in cloud
FR3061571B1 (fr) * 2016-12-29 2019-04-19 Bull Sas Procede et systeme de surveillance de traitements par lots d'applications executees dans une infrastructure informatique
US10904211B2 (en) 2017-01-21 2021-01-26 Verisign, Inc. Systems, devices, and methods for generating a domain name using a user interface
US10348604B2 (en) 2017-02-01 2019-07-09 International Business Machines Corporation Monitoring a resource consumption of an application
CN107222331B (zh) * 2017-04-26 2019-12-06 东软集团股份有限公司 分布式应用系统性能的监控方法、装置、存储介质及设备
US10644962B2 (en) * 2017-11-15 2020-05-05 APImetrics Inc. Continuous monitoring for performance evaluation of service interfaces
US10732885B2 (en) 2018-02-14 2020-08-04 Commvault Systems, Inc. Block-level live browsing and private writable snapshots using an ISCSI server
US10999168B1 (en) 2018-05-30 2021-05-04 Vmware, Inc. User defined custom metrics
US11048488B2 (en) 2018-08-14 2021-06-29 Pegasystems, Inc. Software code optimizer and method
CN109359019A (zh) * 2018-08-15 2019-02-19 中国平安人寿保险股份有限公司 应用程序性能监控方法、装置、电子设备及存储介质
CN109298990B (zh) * 2018-10-17 2023-04-14 平安科技(深圳)有限公司 日志存储方法、装置、计算机设备及存储介质
WO2020086956A1 (en) 2018-10-26 2020-04-30 Vmware, Inc. Collecting samples hierarchically in a datacenter
DE102018127949A1 (de) 2018-11-08 2020-05-14 Samson Aktiengesellschaft Kontrolle von Zugriffsrechten in einem vernetzten System mit Datenverarbeitung
CN109726085A (zh) * 2018-12-29 2019-05-07 云智慧(北京)科技有限公司 性能问题追踪的方法及系统
US11263111B2 (en) 2019-02-11 2022-03-01 Microstrategy Incorporated Validating software functionality
CN110209495B (zh) * 2019-05-17 2023-08-18 上海新储集成电路有限公司 一种运行环境调整方法及系统
US11290358B2 (en) 2019-05-30 2022-03-29 Vmware, Inc. Partitioning health monitoring in a global server load balancing system
CN110245508A (zh) * 2019-06-18 2019-09-17 广东电网有限责任公司 数据库连接泄露的定位方法、装置、设备及可读存储介质
WO2020262932A1 (ko) * 2019-06-25 2020-12-30 세종대학교산학협력단 분산된 분류 모델을 이용하는 분류 방법
US11288053B2 (en) 2019-08-15 2022-03-29 Microstrategy Incorporated Conversion and restoration of computer environments to container-based implementations
CN110601875B (zh) * 2019-08-15 2022-08-19 平安普惠企业管理有限公司 信息输出方法、装置、管理设备及计算机可读存储介质
US11106455B2 (en) 2019-08-15 2021-08-31 Microstrategy Incorporated Integration of containers with external elements
US11637748B2 (en) 2019-08-28 2023-04-25 Microstrategy Incorporated Self-optimization of computing environments
US11507295B2 (en) 2019-08-30 2022-11-22 Microstrategy Incorporated Backup, restoration, and migration of computer systems
US11210189B2 (en) 2019-08-30 2021-12-28 Microstrategy Incorporated Monitoring performance of computing systems
US11354216B2 (en) 2019-09-18 2022-06-07 Microstrategy Incorporated Monitoring performance deviations
US11360881B2 (en) 2019-09-23 2022-06-14 Microstrategy Incorporated Customizing computer performance tests
US11438231B2 (en) 2019-09-25 2022-09-06 Microstrategy Incorporated Centralized platform management for computing environments
CN113055640B (zh) * 2019-12-28 2023-06-20 浙江宇视科技有限公司 一种监控系统内设备管理方法及装置
US11093239B1 (en) 2020-05-13 2021-08-17 International Business Machines Corporation Application driven configuration of service management tools
CA3122790A1 (en) * 2020-06-19 2021-12-19 Clariti Cloud Inc. Configurable government process automation on multi tenant platform systems
US11567945B1 (en) 2020-08-27 2023-01-31 Pegasystems Inc. Customized digital content generation systems and methods
US11729279B2 (en) * 2021-01-11 2023-08-15 Dell Products, L.P. System and method for remote assisted optimization of native services
US11531613B1 (en) * 2021-03-19 2022-12-20 Headspin, Inc. Systems for remote determination of data from test devices
CN113064762B (zh) * 2021-04-09 2024-02-23 上海新炬网络信息技术股份有限公司 基于多样探测的服务自恢复方法
US12069537B2 (en) * 2021-05-14 2024-08-20 Headspin, Inc. Systems for controlling acquisition of test data from devices
US11811861B2 (en) 2021-05-17 2023-11-07 Vmware, Inc. Dynamically updating load balancing criteria
US11799824B2 (en) 2021-06-14 2023-10-24 Vmware, Inc. Method and apparatus for enhanced client persistence in multi-site GSLB deployments
US12200008B2 (en) 2021-07-20 2025-01-14 VMware LLC Security aware load balancing for a global server load balancing system
US11954473B2 (en) 2021-09-20 2024-04-09 Microstrategy Incorporated Deployment architecture for multi-tenant cloud computing systems
CN114356693A (zh) * 2021-12-15 2022-04-15 绿盟科技集团股份有限公司 一种数据监控方法、装置、介质和设备
US20230222417A1 (en) * 2022-01-07 2023-07-13 Jawad Khan Automated electronic data interchange application
US11861342B2 (en) 2022-01-28 2024-01-02 Microstrategy Incorporated Enhanced cloud-computing environment deployment
US12107821B2 (en) 2022-07-14 2024-10-01 VMware LLC Two tier DNS
US12316601B2 (en) 2022-07-14 2025-05-27 VMware LLC Two tier DNS

Family Cites Families (74)

* Cited by examiner, † Cited by third party
Publication number Priority date Publication date Assignee Title
JP2626512B2 (ja) 1993-11-02 1997-07-02 日本電気株式会社 情報処理性能測定方法
US5941947A (en) 1995-08-18 1999-08-24 Microsoft Corporation System and method for controlling access to data entities in a computer network
US6119101A (en) 1996-01-17 2000-09-12 Personal Agents, Inc. Intelligent agents for electronic commerce
US5828833A (en) * 1996-08-15 1998-10-27 Electronic Data Systems Corporation Method and system for allowing remote procedure calls through a network firewall
US7146230B2 (en) 1996-08-23 2006-12-05 Fieldbus Foundation Integrated fieldbus data server architecture
US6438573B1 (en) 1996-10-09 2002-08-20 Iowa State University Research Foundation, Inc. Real-time programming method
US5870559A (en) 1996-10-15 1999-02-09 Mercury Interactive Software system and associated methods for facilitating the analysis and management of web sites
US6031528A (en) 1996-11-25 2000-02-29 Intel Corporation User based graphical computer network diagnostic tool
US6408336B1 (en) 1997-03-10 2002-06-18 David S. Schneider Distributed administration of access to information
US5958010A (en) 1997-03-20 1999-09-28 Firstsense Software, Inc. Systems and methods for monitoring distributed applications including an interface running in an operating system kernel
US6338150B1 (en) 1997-05-13 2002-01-08 Micron Technology, Inc. Diagnostic and managing distributed processor system
US6014760A (en) * 1997-09-22 2000-01-11 Hewlett-Packard Company Scheduling method and apparatus for a distributed automated testing system
US6167537A (en) * 1997-09-22 2000-12-26 Hewlett-Packard Company Communications protocol for an automated testing system
US6490620B1 (en) 1997-09-26 2002-12-03 Worldcom, Inc. Integrated proxy interface for web based broadband telecommunications management
JPH11120106A (ja) * 1997-10-17 1999-04-30 Fujitsu Ltd サーバ資源利用状況の表示方式およびそのための記録媒体
US6023696A (en) 1997-10-31 2000-02-08 Oracle Corporation Summary table query routing
US6321263B1 (en) * 1998-05-11 2001-11-20 International Business Machines Corporation Client-based application availability
US6070190A (en) 1998-05-11 2000-05-30 International Business Machines Corporation Client-based application availability and response monitoring and reporting for distributed computing environments
US6633908B1 (en) 1998-05-20 2003-10-14 International Business Machines Corporation Enabling application response measurement
US6054987A (en) * 1998-05-29 2000-04-25 Hewlett-Packard Company Method of dynamically creating nodal views of a managed network
ATE297088T1 (de) 1998-08-03 2005-06-15 Firstsense Software Inc Verfahren und programm zur überwachung verteilter anwendungen mit diagnoseinformationen
US6446028B1 (en) 1998-11-25 2002-09-03 Keynote Systems, Inc. Method and apparatus for measuring the performance of a network based application program
US6360214B1 (en) 1998-12-16 2002-03-19 Microsoft Corporation Automatic database statistics creation
JP3190902B2 (ja) 1999-02-02 2001-07-23 中部日本電気ソフトウェア株式会社 性能監視装置、性能監視方法および性能監視プログラムを記録した記録媒体
JP3265280B2 (ja) 1999-02-18 2002-03-11 エヌイーシーソフト株式会社 アプリケーション性能分析システム
JP2000250833A (ja) 1999-02-26 2000-09-14 Hitachi Information Systems Ltd 複数サーバ運用管理における稼働情報取得方法およびそのプログラムを記録した記録媒体
JP2000315198A (ja) * 1999-05-06 2000-11-14 Hitachi Ltd 分散処理システム及びその性能モニタリング方法
DE60026788T2 (de) 1999-05-13 2006-10-12 Canon K.K. Vorrichtung zum Suchen eines Gerätes in einem Netzwerk
US8862507B2 (en) 1999-06-14 2014-10-14 Integral Development Corporation System and method for conducting web-based financial transactions in capital markets
US7844594B1 (en) * 1999-06-18 2010-11-30 Surfwax, Inc. Information search, retrieval and distillation into knowledge objects
US6298451B1 (en) * 1999-11-02 2001-10-02 Idini Corporation Directory-based failure recovery and load balancing system
US6711739B1 (en) 1999-11-08 2004-03-23 Sun Microsystems, Inc. System and method for handling threads of execution
US6829639B1 (en) 1999-11-15 2004-12-07 Netvision, Inc. Method and system for intelligent global event notification and control within a distributed computing environment
US6909481B2 (en) * 2000-11-07 2005-06-21 Seiko Epson Corporation Liquid crystal display and electronic appliance
EP1117220A1 (en) 2000-01-14 2001-07-18 Sun Microsystems, Inc. Method and system for protocol conversion
US6701363B1 (en) * 2000-02-29 2004-03-02 International Business Machines Corporation Method, computer program product, and system for deriving web transaction performance metrics
US6453269B1 (en) * 2000-02-29 2002-09-17 Unisys Corporation Method of comparison for computer systems and apparatus therefor
US6691244B1 (en) 2000-03-14 2004-02-10 Sun Microsystems, Inc. System and method for comprehensive availability management in a high-availability computer system
CA2303739C (en) 2000-04-04 2009-06-30 Webhancer Corporation Method and system for managing performance of data transfers for a data access system
US7415537B1 (en) 2000-04-07 2008-08-19 International Business Machines Corporation Conversational portal for providing conversational browsing and multimedia broadcast on demand
US6892221B2 (en) * 2000-05-19 2005-05-10 Centerbeam Data backup
US7140022B2 (en) 2000-06-02 2006-11-21 Honeywell International Inc. Method and apparatus for slack stealing with dynamic threads
US7127743B1 (en) 2000-06-23 2006-10-24 Netforensics, Inc. Comprehensive security structure platform for network managers
US6658471B1 (en) * 2000-06-29 2003-12-02 International Business Machines Corporation Method and system for zero overhead software performance measurement instrumentation
JP2002041331A (ja) 2000-07-27 2002-02-08 Mitsubishi Electric Corp サーバ性能測定装置
JP2002082926A (ja) * 2000-09-06 2002-03-22 Nippon Telegr & Teleph Corp <Ntt> 分散アプリケーション試験・運用管理システム
AU2001289009A1 (en) * 2000-09-12 2002-03-26 Falcon Asset Acquisition Group Method and apparatus for flash load balancing
JP2002099448A (ja) 2000-09-21 2002-04-05 Ntt Data Corp 性能監視装置、及びその方法
AU2002214659A1 (en) * 2000-10-26 2002-05-06 James C. Flood Jr. Method and system for managing distributed content and related metadata
US7937470B2 (en) 2000-12-21 2011-05-03 Oracle International Corp. Methods of determining communications protocol latency
US7685224B2 (en) * 2001-01-11 2010-03-23 Truelocal Inc. Method for providing an attribute bounded network of computers
US20020165999A1 (en) 2001-03-07 2002-11-07 Ajile Systems, Inc. Apparatus and method for interfacing hardware events with software events
US6616049B1 (en) * 2001-04-10 2003-09-09 Symbol Technologies, Inc. Retail sales customer marketing system with electronic coupon processing
US7051339B2 (en) 2001-06-29 2006-05-23 Goldman, Sachs & Co. System and method to measure latency of transaction information flowing through a computer system
US6976193B2 (en) 2001-09-20 2005-12-13 Intel Corporation Method for running diagnostic utilities in a multi-threaded operating system environment
US20030065764A1 (en) 2001-09-26 2003-04-03 Karen Capers Integrated diagnostic center
US6941298B2 (en) 2002-01-18 2005-09-06 Bea Systems, Inc. System and method for providing result sets using EJB query language
US20030195875A1 (en) 2002-03-25 2003-10-16 Valk Jeffrey W. Information management structure
EP1495398A4 (en) 2002-04-08 2008-11-26 Ibm PROCESS AND SYSTEM FOR TROUBLESHOOTING IN DISTRIBUTED BUSINESS APPLICATIONS
US8234128B2 (en) * 2002-04-30 2012-07-31 Baxter International, Inc. System and method for verifying medical device operational parameters
US7870244B2 (en) * 2002-06-25 2011-01-11 International Business Machines Corporation Monitoring performance of applications in a distributed environment
US7945909B2 (en) 2003-05-09 2011-05-17 Sap Aktiengesellschaft Initiating recovery of an executing task using historical information and task information
WO2005017715A2 (en) 2003-08-15 2005-02-24 International Business Machines Corporation Method and system for monitoring performance of processes across multiple environments and servers
US7725529B2 (en) * 2003-11-19 2010-05-25 George Mason Intellectual Properties, Inc. Geographic information system
US20060167929A1 (en) 2005-01-25 2006-07-27 Amit Chakraborty Method for optimizing archival of XML documents
US7757214B1 (en) * 2005-11-10 2010-07-13 Symantec Operating Coporation Automated concurrency configuration of multi-threaded programs
US8856096B2 (en) 2005-11-16 2014-10-07 Vcvc Iii Llc Extending keyword searching to syntactically and semantically annotated data
US7650394B2 (en) * 2006-09-15 2010-01-19 Microsoft Corporation Synchronizing email recipient lists using block partition information
US7945804B2 (en) * 2007-10-17 2011-05-17 International Business Machines Corporation Methods and systems for digitally controlled multi-frequency clocking of multi-core processors
US8443056B2 (en) * 2010-01-22 2013-05-14 Netflix, Inc. Client-server signaling in content distribution networks
US8341650B1 (en) * 2010-02-02 2012-12-25 Cellco Partnership High thread count analyzer for web application server environment
JP5730518B2 (ja) * 2010-08-27 2015-06-10 株式会社日立国際電気 特定人物検知システムおよび特定人物検知方法
US20120324568A1 (en) * 2011-06-14 2012-12-20 Lookout, Inc., A California Corporation Mobile web protection
US8738765B2 (en) * 2011-06-14 2014-05-27 Lookout, Inc. Mobile device DNS optimization

Cited By (4)

* Cited by examiner, † Cited by third party
Publication number Priority date Publication date Assignee Title
KR101136087B1 (ko) * 2009-11-09 2012-04-17 서울대학교병원 병원 emr 어플리케이션의 성능 모니터링 방법 및 시스템
KR102072700B1 (ko) * 2019-07-31 2020-02-03 (주)소울시스템즈 전수 패킷 처리 기반의 실시간 애플리케이션 성능 모니터링 장치 및 방법
KR102368147B1 (ko) * 2021-10-19 2022-02-25 강동원 서버 모니터링 시스템 및 그 구동 방법
KR102785518B1 (ko) * 2024-08-07 2025-03-25 메타빌드 주식회사 인공지능 기반 소형 언어 모델과 검색 증강 생성 기술을 이용한 어플리케이션 관리 모듈 및 관리 방법

Also Published As

Publication number Publication date
CN1662901A (zh) 2005-08-31
EP1527395A2 (en) 2005-05-04
AU2003278862A1 (en) 2004-01-06
JP2005531070A (ja) 2005-10-13
KR100772999B1 (ko) 2007-11-05
AU2003278862A8 (en) 2004-01-06
JP4528116B2 (ja) 2010-08-18
US20090070462A1 (en) 2009-03-12
EP1527395A4 (en) 2006-03-01
US20090019441A1 (en) 2009-01-15
US8037205B2 (en) 2011-10-11
WO2004001555A3 (en) 2005-03-03
US20150234816A1 (en) 2015-08-20
US7870244B2 (en) 2011-01-11
US9053220B2 (en) 2015-06-09
US20110276594A1 (en) 2011-11-10
US20040064552A1 (en) 2004-04-01
US9678964B2 (en) 2017-06-13
WO2004001555A2 (en) 2003-12-31

Similar Documents

Publication Publication Date Title
KR100772999B1 (ko) 분산 환경에서 어플리케이션의 성능을 모니터링하는 방법및 시스템
JP4267462B2 (ja) 分散エンタープライズ・アプリケーションにおける問題判別の方法およびシステム
US6122664A (en) Process for monitoring a plurality of object types of a plurality of nodes from a management node in a data processing system by distributing configured agents
US7661135B2 (en) Apparatus, system, and method for gathering trace data indicative of resource activity
US9231963B2 (en) Detecting anomalous behavior patterns in an electronic environment
US20050066027A1 (en) Method of displaying events
US20110265064A1 (en) Detecting, using, and sharing it design patterns and anti-patterns
US9411969B2 (en) System and method of assessing data protection status of data protection resources
US20120158925A1 (en) Monitoring a model-based distributed application
EP1955235A2 (en) System and method of managing data protection resources
Shivakumar Web performance monitoring and infrastructure planning
Stefanovic et al. Monitoring and Data Protection
Malcher et al. Automation and Troubleshooting
Alapati et al. Analyzing Operating System Performance
Malcher et al. Database Troubleshooting
Perttu Implementing a Network Monitoring Tool in a Company IT Infrastructure
Strasser Long-term workload monitoring: workload management on distributed OS/2 server systems
Jamen et al. Oracle Fusion Middleware Performance and Tuning Guide 11g Release 1 (11.1. 1.7. 0) E10108-13

Legal Events

Date Code Title Description
PA0105 International application

St.27 status event code: A-0-1-A10-A15-nap-PA0105

A201 Request for examination
E13-X000 Pre-grant limitation requested

St.27 status event code: A-2-3-E10-E13-lim-X000

P11-X000 Amendment of application requested

St.27 status event code: A-2-2-P10-P11-nap-X000

P13-X000 Application amended

St.27 status event code: A-2-2-P10-P13-nap-X000

PA0201 Request for examination

St.27 status event code: A-1-2-D10-D11-exm-PA0201

R17-X000 Change to representative recorded

St.27 status event code: A-3-3-R10-R17-oth-X000

PG1501 Laying open of application

St.27 status event code: A-1-1-Q10-Q12-nap-PG1501

R18-X000 Changes to party contact information recorded

St.27 status event code: A-3-3-R10-R18-oth-X000

R18-X000 Changes to party contact information recorded

St.27 status event code: A-3-3-R10-R18-oth-X000

R17-X000 Change to representative recorded

St.27 status event code: A-3-3-R10-R17-oth-X000

E902 Notification of reason for refusal
PE0902 Notice of grounds for rejection

St.27 status event code: A-1-2-D10-D21-exm-PE0902

T11-X000 Administrative time limit extension requested

St.27 status event code: U-3-3-T10-T11-oth-X000

T11-X000 Administrative time limit extension requested

St.27 status event code: U-3-3-T10-T11-oth-X000

T11-X000 Administrative time limit extension requested

St.27 status event code: U-3-3-T10-T11-oth-X000

E13-X000 Pre-grant limitation requested

St.27 status event code: A-2-3-E10-E13-lim-X000

P11-X000 Amendment of application requested

St.27 status event code: A-2-2-P10-P11-nap-X000

P13-X000 Application amended

St.27 status event code: A-2-2-P10-P13-nap-X000

E701 Decision to grant or registration of patent right
PE0701 Decision of registration

St.27 status event code: A-1-2-D10-D22-exm-PE0701

GRNT Written decision to grant
PR0701 Registration of establishment

St.27 status event code: A-2-4-F10-F11-exm-PR0701

PR1002 Payment of registration fee

St.27 status event code: A-2-2-U10-U12-oth-PR1002

Fee payment year number: 1

PG1601 Publication of registration

St.27 status event code: A-4-4-Q10-Q13-nap-PG1601

R18-X000 Changes to party contact information recorded

St.27 status event code: A-5-5-R10-R18-oth-X000

R18-X000 Changes to party contact information recorded

St.27 status event code: A-5-5-R10-R18-oth-X000

FPAY Annual fee payment

Payment date: 20100824

Year of fee payment: 4

PR1001 Payment of annual fee

St.27 status event code: A-4-4-U10-U11-oth-PR1001

Fee payment year number: 4

LAPS Lapse due to unpaid annual fee
PC1903 Unpaid annual fee

St.27 status event code: A-4-4-U10-U13-oth-PC1903

Not in force date: 20111030

Payment event data comment text: Termination Category : DEFAULT_OF_REGISTRATION_FEE

PC1903 Unpaid annual fee

St.27 status event code: N-4-6-H10-H13-oth-PC1903

Ip right cessation event data comment text: Termination Category : DEFAULT_OF_REGISTRATION_FEE

Not in force date: 20111030