KR101968737B1 - Footwear having sensor system - Google Patents
Footwear having sensor system Download PDFInfo
- Publication number
- KR101968737B1 KR101968737B1 KR1020167029991A KR20167029991A KR101968737B1 KR 101968737 B1 KR101968737 B1 KR 101968737B1 KR 1020167029991 A KR1020167029991 A KR 1020167029991A KR 20167029991 A KR20167029991 A KR 20167029991A KR 101968737 B1 KR101968737 B1 KR 101968737B1
- Authority
- KR
- South Korea
- Prior art keywords
- sensor
- layers
- layer
- module
- contact
- Prior art date
- Legal status (The legal status is an assumption and is not a legal conclusion. Google has not performed a legal analysis and makes no representation as to the accuracy of the status listed.)
- Active
Links
- 238000003780 insertion Methods 0.000 claims abstract description 186
- 230000037431 insertion Effects 0.000 claims abstract description 186
- 239000000463 material Substances 0.000 claims description 77
- 238000004891 communication Methods 0.000 claims description 48
- 239000003351 stiffener Substances 0.000 claims description 43
- 125000006850 spacer group Chemical group 0.000 claims description 41
- 238000000034 method Methods 0.000 claims description 40
- 239000003989 dielectric material Substances 0.000 claims description 28
- 230000008859 change Effects 0.000 claims description 12
- 238000005452 bending Methods 0.000 claims description 10
- 230000002787 reinforcement Effects 0.000 claims description 9
- 230000036961 partial effect Effects 0.000 claims description 8
- 230000008878 coupling Effects 0.000 claims description 4
- 238000010168 coupling process Methods 0.000 claims description 4
- 238000005859 coupling reaction Methods 0.000 claims description 4
- 230000002708 enhancing effect Effects 0.000 claims 4
- 210000002683 foot Anatomy 0.000 description 46
- 239000006260 foam Substances 0.000 description 33
- 210000004744 fore-foot Anatomy 0.000 description 27
- 230000006870 function Effects 0.000 description 26
- 210000001872 metatarsal bone Anatomy 0.000 description 26
- 230000005540 biological transmission Effects 0.000 description 23
- 239000000976 ink Substances 0.000 description 18
- 230000033001 locomotion Effects 0.000 description 17
- 239000004606 Fillers/Extenders Substances 0.000 description 15
- 239000000853 adhesive Substances 0.000 description 15
- 230000001070 adhesive effect Effects 0.000 description 15
- 238000005259 measurement Methods 0.000 description 15
- 238000009826 distribution Methods 0.000 description 12
- 230000000694 effects Effects 0.000 description 12
- 238000012545 processing Methods 0.000 description 12
- 238000003860 storage Methods 0.000 description 12
- 230000004913 activation Effects 0.000 description 11
- 230000015654 memory Effects 0.000 description 11
- 230000008569 process Effects 0.000 description 11
- 230000007704 transition Effects 0.000 description 10
- 238000013461 design Methods 0.000 description 9
- 210000003371 toe Anatomy 0.000 description 8
- 238000003466 welding Methods 0.000 description 8
- 240000007320 Pinus strobus Species 0.000 description 7
- 230000009471 action Effects 0.000 description 7
- 230000006835 compression Effects 0.000 description 6
- 238000007906 compression Methods 0.000 description 6
- 238000004590 computer program Methods 0.000 description 6
- 239000004020 conductor Substances 0.000 description 6
- 239000007924 injection Substances 0.000 description 6
- 238000002347 injection Methods 0.000 description 6
- OKTJSMMVPCPJKN-UHFFFAOYSA-N Carbon Chemical compound [C] OKTJSMMVPCPJKN-UHFFFAOYSA-N 0.000 description 5
- BQCADISMDOOEFD-UHFFFAOYSA-N Silver Chemical compound [Ag] BQCADISMDOOEFD-UHFFFAOYSA-N 0.000 description 5
- 230000008901 benefit Effects 0.000 description 5
- 229910052799 carbon Inorganic materials 0.000 description 5
- 238000010276 construction Methods 0.000 description 5
- 238000010586 diagram Methods 0.000 description 5
- 238000001746 injection moulding Methods 0.000 description 5
- 238000004519 manufacturing process Methods 0.000 description 5
- 230000035515 penetration Effects 0.000 description 5
- 229920000139 polyethylene terephthalate Polymers 0.000 description 5
- 239000005020 polyethylene terephthalate Substances 0.000 description 5
- 229920000642 polymer Polymers 0.000 description 5
- 230000002829 reductive effect Effects 0.000 description 5
- 229910052709 silver Inorganic materials 0.000 description 5
- 239000004332 silver Substances 0.000 description 5
- 239000003575 carbonaceous material Substances 0.000 description 4
- 230000000295 complement effect Effects 0.000 description 4
- 238000005520 cutting process Methods 0.000 description 4
- 230000001965 increasing effect Effects 0.000 description 4
- 238000012544 monitoring process Methods 0.000 description 4
- 238000007639 printing Methods 0.000 description 4
- 230000003014 reinforcing effect Effects 0.000 description 4
- 238000010079 rubber tapping Methods 0.000 description 4
- 238000012546 transfer Methods 0.000 description 4
- RYGMFSIKBFXOCR-UHFFFAOYSA-N Copper Chemical compound [Cu] RYGMFSIKBFXOCR-UHFFFAOYSA-N 0.000 description 3
- 238000005299 abrasion Methods 0.000 description 3
- NIXOWILDQLNWCW-UHFFFAOYSA-N acrylic acid group Chemical group C(C=C)(=O)O NIXOWILDQLNWCW-UHFFFAOYSA-N 0.000 description 3
- 230000000386 athletic effect Effects 0.000 description 3
- 210000000988 bone and bone Anatomy 0.000 description 3
- 239000006229 carbon black Substances 0.000 description 3
- 229910052802 copper Inorganic materials 0.000 description 3
- 239000010949 copper Substances 0.000 description 3
- 239000002270 dispersing agent Substances 0.000 description 3
- 239000000835 fiber Substances 0.000 description 3
- 239000000945 filler Substances 0.000 description 3
- 230000001976 improved effect Effects 0.000 description 3
- 229910052751 metal Inorganic materials 0.000 description 3
- 239000002184 metal Substances 0.000 description 3
- 230000003287 optical effect Effects 0.000 description 3
- 230000002093 peripheral effect Effects 0.000 description 3
- 230000035945 sensitivity Effects 0.000 description 3
- 241000894007 species Species 0.000 description 3
- 238000012549 training Methods 0.000 description 3
- 238000013022 venting Methods 0.000 description 3
- 229920002799 BoPET Polymers 0.000 description 2
- ATJFFYVFTNAWJD-UHFFFAOYSA-N Tin Chemical compound [Sn] ATJFFYVFTNAWJD-UHFFFAOYSA-N 0.000 description 2
- 238000010521 absorption reaction Methods 0.000 description 2
- 230000009286 beneficial effect Effects 0.000 description 2
- 238000009530 blood pressure measurement Methods 0.000 description 2
- 230000003139 buffering effect Effects 0.000 description 2
- 239000003086 colorant Substances 0.000 description 2
- 230000007797 corrosion Effects 0.000 description 2
- 238000005260 corrosion Methods 0.000 description 2
- 230000000881 depressing effect Effects 0.000 description 2
- 238000001514 detection method Methods 0.000 description 2
- 229920001971 elastomer Polymers 0.000 description 2
- 238000007667 floating Methods 0.000 description 2
- 238000005187 foaming Methods 0.000 description 2
- 230000006872 improvement Effects 0.000 description 2
- 230000001939 inductive effect Effects 0.000 description 2
- 238000010030 laminating Methods 0.000 description 2
- 239000012528 membrane Substances 0.000 description 2
- 210000003789 metatarsus Anatomy 0.000 description 2
- 238000012986 modification Methods 0.000 description 2
- 230000004048 modification Effects 0.000 description 2
- 229920001343 polytetrafluoroethylene Polymers 0.000 description 2
- 239000004810 polytetrafluoroethylene Substances 0.000 description 2
- 230000005855 radiation Effects 0.000 description 2
- 238000007789 sealing Methods 0.000 description 2
- 238000000926 separation method Methods 0.000 description 2
- 238000005476 soldering Methods 0.000 description 2
- XLYOFNOQVPJJNP-UHFFFAOYSA-N water Substances O XLYOFNOQVPJJNP-UHFFFAOYSA-N 0.000 description 2
- 238000012935 Averaging Methods 0.000 description 1
- 239000004593 Epoxy Substances 0.000 description 1
- 239000004952 Polyamide Substances 0.000 description 1
- 230000003213 activating effect Effects 0.000 description 1
- 229910052782 aluminium Inorganic materials 0.000 description 1
- XAGFODPZIPBFFR-UHFFFAOYSA-N aluminium Chemical compound [Al] XAGFODPZIPBFFR-UHFFFAOYSA-N 0.000 description 1
- 210000003423 ankle Anatomy 0.000 description 1
- 230000015572 biosynthetic process Effects 0.000 description 1
- 230000036760 body temperature Effects 0.000 description 1
- 239000003990 capacitor Substances 0.000 description 1
- 239000003795 chemical substances by application Substances 0.000 description 1
- 239000011248 coating agent Substances 0.000 description 1
- 238000000576 coating method Methods 0.000 description 1
- 230000008602 contraction Effects 0.000 description 1
- 238000005336 cracking Methods 0.000 description 1
- 238000002788 crimping Methods 0.000 description 1
- 230000006378 damage Effects 0.000 description 1
- 238000013480 data collection Methods 0.000 description 1
- 230000007547 defect Effects 0.000 description 1
- 230000001419 dependent effect Effects 0.000 description 1
- 238000006073 displacement reaction Methods 0.000 description 1
- 239000000428 dust Substances 0.000 description 1
- BFMKFCLXZSUVPI-UHFFFAOYSA-N ethyl but-3-enoate Chemical compound CCOC(=O)CC=C BFMKFCLXZSUVPI-UHFFFAOYSA-N 0.000 description 1
- 239000012530 fluid Substances 0.000 description 1
- 229920002313 fluoropolymer Polymers 0.000 description 1
- 239000004811 fluoropolymer Substances 0.000 description 1
- 239000006261 foam material Substances 0.000 description 1
- 210000000245 forearm Anatomy 0.000 description 1
- 239000002783 friction material Substances 0.000 description 1
- 210000001255 hallux Anatomy 0.000 description 1
- 238000005286 illumination Methods 0.000 description 1
- 230000006698 induction Effects 0.000 description 1
- 208000000509 infertility Diseases 0.000 description 1
- 230000036512 infertility Effects 0.000 description 1
- 231100000535 infertility Toxicity 0.000 description 1
- 239000011810 insulating material Substances 0.000 description 1
- 230000003993 interaction Effects 0.000 description 1
- 230000001678 irradiating effect Effects 0.000 description 1
- 230000007794 irritation Effects 0.000 description 1
- 238000002955 isolation Methods 0.000 description 1
- 230000009191 jumping Effects 0.000 description 1
- 239000010985 leather Substances 0.000 description 1
- 239000002649 leather substitute Substances 0.000 description 1
- 230000007246 mechanism Effects 0.000 description 1
- 230000005055 memory storage Effects 0.000 description 1
- 239000007769 metal material Substances 0.000 description 1
- 230000004899 motility Effects 0.000 description 1
- 239000013307 optical fiber Substances 0.000 description 1
- 230000008520 organization Effects 0.000 description 1
- 239000003973 paint Substances 0.000 description 1
- 230000000149 penetrating effect Effects 0.000 description 1
- 229920002647 polyamide Polymers 0.000 description 1
- 150000003071 polychlorinated biphenyls Chemical class 0.000 description 1
- 229920000728 polyester Polymers 0.000 description 1
- -1 polyethylene terephthalate Polymers 0.000 description 1
- 229920006254 polymer film Polymers 0.000 description 1
- 229920001296 polysiloxane Polymers 0.000 description 1
- 229920002635 polyurethane Polymers 0.000 description 1
- 239000004814 polyurethane Substances 0.000 description 1
- 230000001902 propagating effect Effects 0.000 description 1
- 230000001681 protective effect Effects 0.000 description 1
- 238000004080 punching Methods 0.000 description 1
- 230000009467 reduction Effects 0.000 description 1
- 239000011347 resin Substances 0.000 description 1
- 229920005989 resin Polymers 0.000 description 1
- 230000004044 response Effects 0.000 description 1
- 230000000452 restraining effect Effects 0.000 description 1
- 230000000717 retained effect Effects 0.000 description 1
- 238000005096 rolling process Methods 0.000 description 1
- 230000035939 shock Effects 0.000 description 1
- 238000004088 simulation Methods 0.000 description 1
- 230000007480 spreading Effects 0.000 description 1
- 238000003892 spreading Methods 0.000 description 1
- 230000000638 stimulation Effects 0.000 description 1
- 229920002994 synthetic fiber Polymers 0.000 description 1
- 239000012209 synthetic fiber Substances 0.000 description 1
- 229920006303 teflon fiber Polymers 0.000 description 1
- 229920001187 thermosetting polymer Polymers 0.000 description 1
- 238000009423 ventilation Methods 0.000 description 1
- 235000012773 waffles Nutrition 0.000 description 1
Images
Classifications
-
- A—HUMAN NECESSITIES
- A43—FOOTWEAR
- A43B—CHARACTERISTIC FEATURES OF FOOTWEAR; PARTS OF FOOTWEAR
- A43B3/00—Footwear characterised by the shape or the use
- A43B3/34—Footwear characterised by the shape or the use with electrical or electronic arrangements
-
- A43B3/0005—
-
- A—HUMAN NECESSITIES
- A43—FOOTWEAR
- A43B—CHARACTERISTIC FEATURES OF FOOTWEAR; PARTS OF FOOTWEAR
- A43B13/00—Soles; Sole-and-heel integral units
- A43B13/02—Soles; Sole-and-heel integral units characterised by the material
- A43B13/12—Soles with several layers of different materials
-
- A—HUMAN NECESSITIES
- A43—FOOTWEAR
- A43B—CHARACTERISTIC FEATURES OF FOOTWEAR; PARTS OF FOOTWEAR
- A43B13/00—Soles; Sole-and-heel integral units
- A43B13/14—Soles; Sole-and-heel integral units characterised by the constructive form
-
- A—HUMAN NECESSITIES
- A43—FOOTWEAR
- A43B—CHARACTERISTIC FEATURES OF FOOTWEAR; PARTS OF FOOTWEAR
- A43B13/00—Soles; Sole-and-heel integral units
- A43B13/14—Soles; Sole-and-heel integral units characterised by the constructive form
- A43B13/18—Resilient soles
- A43B13/20—Pneumatic soles filled with a compressible fluid, e.g. air, gas
- A43B13/203—Pneumatic soles filled with a compressible fluid, e.g. air, gas provided with a pump or valve
-
- A—HUMAN NECESSITIES
- A43—FOOTWEAR
- A43B—CHARACTERISTIC FEATURES OF FOOTWEAR; PARTS OF FOOTWEAR
- A43B13/00—Soles; Sole-and-heel integral units
- A43B13/14—Soles; Sole-and-heel integral units characterised by the constructive form
- A43B13/18—Resilient soles
- A43B13/20—Pneumatic soles filled with a compressible fluid, e.g. air, gas
- A43B13/206—Pneumatic soles filled with a compressible fluid, e.g. air, gas provided with tubes or pipes or tubular shaped cushioning members
-
- A—HUMAN NECESSITIES
- A43—FOOTWEAR
- A43B—CHARACTERISTIC FEATURES OF FOOTWEAR; PARTS OF FOOTWEAR
- A43B13/00—Soles; Sole-and-heel integral units
- A43B13/38—Built-in insoles joined to uppers during the manufacturing process, e.g. structural insoles; Insoles glued to shoes during the manufacturing process
- A43B13/386—Built-in insoles joined to uppers during the manufacturing process, e.g. structural insoles; Insoles glued to shoes during the manufacturing process multilayered
-
- A—HUMAN NECESSITIES
- A43—FOOTWEAR
- A43B—CHARACTERISTIC FEATURES OF FOOTWEAR; PARTS OF FOOTWEAR
- A43B3/00—Footwear characterised by the shape or the use
- A43B3/34—Footwear characterised by the shape or the use with electrical or electronic arrangements
- A43B3/44—Footwear characterised by the shape or the use with electrical or electronic arrangements with sensors, e.g. for detecting contact or position
-
- A—HUMAN NECESSITIES
- A43—FOOTWEAR
- A43B—CHARACTERISTIC FEATURES OF FOOTWEAR; PARTS OF FOOTWEAR
- A43B7/00—Footwear with health or hygienic arrangements
- A43B7/06—Footwear with health or hygienic arrangements ventilated
-
- A—HUMAN NECESSITIES
- A43—FOOTWEAR
- A43B—CHARACTERISTIC FEATURES OF FOOTWEAR; PARTS OF FOOTWEAR
- A43B7/00—Footwear with health or hygienic arrangements
- A43B7/06—Footwear with health or hygienic arrangements ventilated
- A43B7/08—Footwear with health or hygienic arrangements ventilated with air-holes, with or without closures
- A43B7/084—Footwear with health or hygienic arrangements ventilated with air-holes, with or without closures characterised by the location of the holes
-
- A—HUMAN NECESSITIES
- A43—FOOTWEAR
- A43B—CHARACTERISTIC FEATURES OF FOOTWEAR; PARTS OF FOOTWEAR
- A43B7/00—Footwear with health or hygienic arrangements
- A43B7/06—Footwear with health or hygienic arrangements ventilated
- A43B7/08—Footwear with health or hygienic arrangements ventilated with air-holes, with or without closures
- A43B7/084—Footwear with health or hygienic arrangements ventilated with air-holes, with or without closures characterised by the location of the holes
- A43B7/088—Footwear with health or hygienic arrangements ventilated with air-holes, with or without closures characterised by the location of the holes in the side of the sole
-
- A—HUMAN NECESSITIES
- A43—FOOTWEAR
- A43B—CHARACTERISTIC FEATURES OF FOOTWEAR; PARTS OF FOOTWEAR
- A43B7/00—Footwear with health or hygienic arrangements
- A43B7/36—Footwear with health or hygienic arrangements with earthing or grounding means
Landscapes
- Engineering & Computer Science (AREA)
- Health & Medical Sciences (AREA)
- Epidemiology (AREA)
- General Health & Medical Sciences (AREA)
- Public Health (AREA)
- Microelectronics & Electronic Packaging (AREA)
- Chemical & Material Sciences (AREA)
- Materials Engineering (AREA)
- Footwear And Its Accessory, Manufacturing Method And Apparatuses (AREA)
- Force Measurement Appropriate To Specific Purposes (AREA)
Abstract
센서 시스템은 신발 제품에 사용되기에 적합화되어 있고, 제1 및 제2 층을 갖는 삽입 부재와, 삽입 부재에 연결되어 전자 모듈과 통신하도록 구성된 포트와, 삽입 부재 상의 복수의 하중 및/또는 압력 센서와, 센서를 포트에 연결하는 복수의 리드를 포함한다.The sensor system is adapted for use in a shoe product and comprises an insertion member having first and second layers, a port connected to the insertion member and configured to communicate with the electronic module, a plurality of loads and / A sensor, and a plurality of leads connecting the sensor to the port.
Description
관련 출원의 교차 참조Cross reference of related application
본 출원은 2012년 2월 22일자 출원된 미국 특허 출원 제13/401,914호, 2012년 2월 22일자 출원된 미국 특허 출원 제13/401,916호 및 2012년 2월 22일자 출원된 미국 특허 출원 제13/401,918호에 대한 우선권을 주장하며, 이들 모두는 명칭이 "센서 시스템을 갖는 신발"이며, 이들 모두는 그 전체가 참조로 여기에 통합된다.This application is related to U.S. Patent Application No. 13 / 401,914, filed February 22, 2012, U.S. Patent Application No. 13 / 401,916, filed February 22, 2012, and U.S. Patent Application No. 13 / 401,918, all of which are entitled " shoes with sensor system ", all of which are incorporated herein by reference in their entirety.
기술 분야Technical field
본 발명은 일반적으로 센서 시스템을 갖는 신발에 관한 것으로, 보다 상세하게는 신발 내에 위치된 통신 포트에 작동적으로 연결된 하중 및/또는 압력 센서 조립체를 갖는 신발에 관한 것이다.The present invention relates generally to shoes having a sensor system, and more particularly to shoes having a load and / or pressure sensor assembly operatively connected to a communication port located within the shoe.
여기 포함된 센서 시스템을 갖는 신발들은 공지된 것이다. 센서 시스템은 실행 데이터를 수집하는데, 그 데이터는 나중에 예컨대 분석 목적으로 사용하기 위해 액세스될 수 있다. 임의의 시스템의 경우, 센서 시스템이 복잡하거나 데이터가 임의의 운영 시스템으로만 액세스되거나 사용될 수 있다. 따라서, 수집된 데이터의 사용이 불필요하게 제한될 수 있다. 따라서, 센서 시스템을 갖는 임의의 신발이 수많은 유리한 특징을 제공하더라도, 이들 신발은 임의의 한계를 가진다. Footwear with the sensor system included here is known. The sensor system collects execution data, which may later be accessed for use, for example, for analytical purposes. For any system, the sensor system can be complex or the data can only be accessed or used with any operating system. Therefore, the use of the collected data may be unnecessarily limited. Thus, although any shoe having a sensor system may provide a number of advantageous features, these shoes have certain limitations.
본 발명은 이들 한계의 일정 부분과 종래 기술의 다른 결점을 극복하고 지금까지는 채용되지 않은 새로운 특징을 제공하는 것을 추구한다.The present invention seeks to overcome some of these limitations and other drawbacks of the prior art and to provide new features that have not hitherto been adopted.
본 발명은 일반적으로 센서 시스템을 갖는 신발에 관한 것이다. 본 발명의 여러 측면은 갑피 부재(upper member)와 솔 구조(sole structure)를 포함하고 솔 구조에 센서 시스템을 연결한 신발 제품에 관한 것이다. 센서 시스템은 사용자의 발이 센서에 인가한 하중 및/또는 압력을 감지하도록 구성된 복수의 센서를 포함한다.The present invention relates generally to shoes having a sensor system. Various aspects of the present invention relate to a shoe product comprising an upper member and a sole structure and a sensor system coupled to the sole structure. The sensor system includes a plurality of sensors configured to sense loads and / or pressures applied by the user's feet to the sensors.
본 발명의 여러 측면은 신발 제품에 사용되기에 적합화된 센서 시스템에 관한 것이다. 센서 시스템은 제1 층과 제2 층을 포함하여 신발 제품의 발-수용실 내로 삽입되도록 구성된 삽입 부재와, 상기 삽입 부재에 연결되고 전자 모듈과의 통신을 위해 구성된 포트와, 상기 삽입 부재상의 복수의 하중 및/또는 압력 센서와, 상기 센서들을 상기 포트에 연결하는 복수의 리드를 포함한다.Various aspects of the present invention relate to sensor systems adapted for use in shoe products. The sensor system includes an insertion member configured to be inserted into the foot-receiving chamber of the shoe product including a first layer and a second layer, a port connected to the insertion member and configured for communication with the electronic module, And / or a pressure sensor, and a plurality of leads connecting the sensors to the port.
상기 시스템은 상기 제1 층과 제2 층 사이에 전기 통신을 제공하는 경로를 포함할 수 있다. 상기 시스템은 상기 삽입 부재에 연결되고 상기 전자 모듈을 상기 포트와 통신되게 지원하도록 구성된 하우징을 더 포함할 수 있다. 상기 삽입 부재는 상기 센서 및/또는 경로의 결합을 허용하도록 상기 센서 및/또는 경로의 성분과 정렬된 구멍을 갖는 스페이서 층과 같은 적어도 하나의 추가의 층을 더 포함할 수 있다.The system may include a path for providing electrical communication between the first layer and the second layer. The system may further include a housing coupled to the insertion member and configured to support the electronic module to communicate with the port. The insertion member may further comprise at least one additional layer, such as a spacer layer having an aperture aligned with the sensor and / or components of the path, to permit coupling of the sensor and / or path.
일 측면에 따르면, 상기 센서 시스템은 상기 제1 층 상에 위치된 제1 저항기와 상기 제2 층 상에 위치된 제2 저항기를 포함하고, 상기 제1 및 제2 저항기 각각은 상기 리드 중 하나 이상에 연결된다. 상기 포트, 상기 경로, 상기 센서, 상기 리드 및 상기 제1 및 제2 저항기는 상기 삽입 부재 상에 회로를 형성하며, 상기 회로는 상기 포트에 위치된 그라운드와 제1 단자 사이에 전압을 인가하도록 구성된다. 상기 제1 및 제2 저항기는 상기 제1 단자와 그라운드 사이에 병렬 배열된다. 상기 저항기 각각은 제1 리드에 연결되는 내부 섹션과, 제2 리드에 연결되는 외부 섹션과, 상기 내부 섹션과 상기 외부 섹션 사이로 연장되고 상기 내부 섹션과 상기 외부 섹션 모두와 부분적으로 중첩되는 브릿지를 포함하고, 상기 저항기는 전자 신호가 상기 내부 섹션, 상기 브릿지 및 상기 외부 섹션을 통해 상기 제1 및 제2 리드 사이로 통과될 수 있도록 구성될 수 있다.According to one aspect, the sensor system includes a first resistor located on the first layer and a second resistor located on the second layer, wherein each of the first and second resistors is connected to one or more of the leads Lt; / RTI > Wherein the port, the path, the sensor, the lead, and the first and second resistors form a circuit on the insertion member, the circuit configured to apply a voltage between a ground and a first terminal located in the port, do. The first and second resistors are arranged in parallel between the first terminal and the ground. Each of the resistors includes an inner section coupled to the first lead, an outer section coupled to the second lead, and a bridge extending between the inner section and the outer section and partially overlapping both the inner section and the outer section And the resistor may be configured to allow electronic signals to pass between the first and second leads through the inner section, the bridge, and the outer section.
다른 측면에 따르면, 상기 경로는 해당 경로 주변에 상기 제1 및 제2 층 중 적어도 한 층에 위치된 실질적으로 환형인 보강재를 더 포함하며, 상기 보강재는 상기 경로에 비해 감소된 신축성을 가질 수 있다. 상기 경로는 상기 제1 층 상에 제1 전도부와 상기 제2 층 상에 제2 전도부를 추가로 또는 대안적으로 포함하며, 상기 제1 및 제2 전도부는 상기 구멍을 통해 서로 계속적인 접촉 상태로 존재하여 상기 제1 및 제2 층 사이에 전기적 통신을 제공하며, 상기 제1 및 제2 전도부는 각각 해당 전도부를 관통 연장되어 상기 제1 및 제2 전도부를 분리된 제1 및 제2 섹션으로 분할하는 갭을 가질 수 있다. 이 구성에서, 상기 갭은 제1 중족지골 센서(metatarsophalangeal sensor)의 전방 엣지와 제4 중족지골 센서의 후방 엣지 사이로 연장되는 가상선에 실질적으로 수직하게 연장되고 정렬될 수 있다. 이 구성에서 상기 경로는 상기 갭의 양측에 2개의 개별 경로를 구성할 수 있다.According to another aspect, the path further comprises a substantially annular stiffener located in at least one of the first and second layers around the path, wherein the stiffener may have reduced stretchability relative to the path . The path further comprises or alternatively includes a first conductive portion on the first layer and a second conductive portion on the second layer, wherein the first and second conductive portions are in continuous contact with each other through the hole And provides electrical communication between the first and second layers, wherein the first and second conductive portions each extend through the corresponding conductive portion to divide the first and second conductive portions into separate first and second sections Gt; gaps < / RTI > In this configuration, the gap can be extended and aligned substantially perpendicular to the imaginary line extending between the front edge of the first metatarsophalangeal sensor and the back edge of the fourth metacarpal sensor. In this configuration, the path can constitute two separate paths on either side of the gap.
다른 측면에 따르면, 상기 스페이서 층은 해당 스페이서 층을 통해 상기 센서의 제1 및 제2 접촉부 사이가 적어도 부분적으로 접촉되는 것을 허용하도록 상기 센서 중 하나와 정렬되는 제1 구멍을 포함할 수 있으며, 상기 구멍으로부터 상기 삽입 부재 내의 통기공까지 연장되는 채널을 더 포함할 수 있으며, 상기 채널은 제1 통기공을 통해 상기 센서로부터 상기 삽입 부재의 외부까지 상기 제1 및 제2 층 사이로 공기의 유동(flow)을 허용할 수 있다. 상기 통기공은 해당 통기공을 커버하도록 위치된 선택적으로 투과성인 폐쇄 부재를 가질 수 있다. 추가로, 상기 통기공은 추가의 채널을 통해 2개 이상의 센서에 연결될 수 있거나 및/또는 상기 삽입 부재가 유사한 구성으로 하나 이상의 센서에 연결된 제2 통기공을 포함할 수 있다. 삽입 부재를 합체하는 신발 제품은 통기구(vent) 아래에 적어도 부분적으로 위치된 신발의 솔 부재 내에 공동을 포함할 수 있다. 상기 공동은, 해당 공동이 상기 제1 통기공을 빠져나가는 공기가 상기 삽입 부재로부터 멀어지게 통과되는 것을 허용하도록 구성되게, 상기 통기공으로부터 상기 삽입 부재의 외주 경계 외부에 위치된 말단 단부까지 측방으로 연장된다. 또한, 상기 제1 및 제2 층 중 하나에 유전 재료의 패치가 연결될 수 있고, 상기 제1 및 제2 층 사이에 위치되도록 상기 채널에 걸쳐 연장됨으로써 상기 채널을 통한 제1 및 제2 층 간의 하나 이상의 전도 부재의 단락에 저항할 수 있다.According to another aspect, the spacer layer may include a first hole aligned with one of the sensors to allow at least partial contact between the first and second contacts of the sensor through the spacer layer, And a channel extending from the aperture to the vent hole in the insert member, the channel being configured to allow flow of air between the first and second layers from the sensor through the first vent hole to the exterior of the insert member, ). ≪ / RTI > The vent hole may have a selectively permeable closure member positioned to cover the vent hole. In addition, the vent holes may be connected to two or more sensors via additional channels and / or the insert member may include a second vent hole connected to the one or more sensors in a similar configuration. The shoe article incorporating the insertion member may include a cavity in the sole member of the shoe located at least partially below the vent. Wherein the cavity is configured to allow the air venting from the first vent hole to pass away from the insert member, the cavity communicating laterally from the vent hole to a distal end located outside the outer periphery of the insert member . A patch of dielectric material may also be coupled to one of the first and second layers, extending across the channel to be positioned between the first and second layers, thereby forming a channel between the first and second layers It is possible to resist short-circuiting of the conductive member.
추가의 측면에 따르면, 상기 삽입 부재는 오목부 내로 연장되어 리드의 단부를 강화함으로써 인터페이스를 형성하는 연장부를 포함할 수 있으며, 상기 연장부는 상기 리드의 단부에 걸쳐 연장되는 보강재 스트립을 가진다. 상기 연장부는 해당 연장부가 하우징의 외주 엣지에서 또는 그 근처에서 아래로 굽어진 만곡 영역과 해당 만곡 영역으로부터 오목부 내로 아래로 연장되는 돌출부(depending portion)를 포함한다. 이 구성에서, 상기 인터페이스는 상기 오목부 내에서 돌출부 상에 위치되며, 상기 스트립은 상기 만곡 영역에 걸쳐 횡방향으로 연장되어 만곡 영역에 보강 및 내마모성을 제공한다. 상기 시스템은 베이스 부재와 해당 베이스 부재에 의해 지지되는 복수의 전기적 커넥터를 포함하는 인터페이스 조립체를 포함할 수 있고, 해당 인터페이스 조립체에서는 돌출부의 적어도 일부가 베이스 부재 내에 수용되고 상기 리드의 단부가 상기 전기적 커넥터와 접촉되어 상기 인터페이스를 형성한다.According to a further aspect, the insertion member may include an extension extending into the recess to form an interface by reinforcing the end of the lid, the extension having a stiffener strip extending across the end of the lid. The extension includes a curved region that is bent down at or near the outer edge of the housing and a depending portion that extends downwardly into the recess from the curved region. In this configuration, the interface is positioned within the recesses on the protrusions, and the strips extend transversely across the curvature region to provide reinforcement and wear resistance to the curvature region. The system may include an interface assembly including a base member and a plurality of electrical connectors supported by the base member, wherein at least a portion of the protrusion is received within the base member and the end of the lead is connected to the electrical connector To form the interface.
또 다른 측면에 따르면, 상기 삽입 부재는 전족부와 중족부 사이의 경계 근처에, 상기 삽입 부재의 내측 엣지 상의 제1 컷-아웃부와 상기 삽입 부재의 측방 엣지 상의 제2 컷-아웃부를 포함한다. 내측 및 측방 엣지 사이에 형성된 삽입 부재의 폭은 중족부에서 상기 제1 및 제2 컷-아웃부 사이에서 측정된 폭과 발꿈치부에서 측정된 폭보다 크다. 상기 삽입 부재는 중족부에 상기 하우징을 수용하도록 구성된 구멍을 역시 포함할 수 있으며, 상기 구멍은 중족부의 폭의 절반 미만으로 형성될 수 있다. 상기 삽입 부재는 다른 컷-아웃부를 역시 포함할 수 있다.According to another aspect, the insertion member includes a first cut-out portion on the inner edge of the insertion member and a second cut-out portion on the lateral edge of the insertion member, near the border between the forefoot and the midsole. The width of the insertion member formed between the inner side edge and the lateral edge is larger than the width measured between the first and second cut-out portions and the width measured at the heel portion in the middle portion. The insert member may also include an aperture configured to receive the housing in the midsole, the aperture being formed less than half the width of the midsole. The insertion member may also include other cut-outs.
본 발명의 다른 측면은 전술한 특징들의 여러 가지 조합을 포함하는 센서 시스템에 관한 것이다.Another aspect of the present invention relates to a sensor system comprising various combinations of the above-described features.
본 발명의 추가의 여러 측면은 전자 모듈이 연결된 전술한 바와 같은 센서 시스템과 상기 전자 모듈과의 통신을 위해 구성된 외부 기기를 구비한 신발 제품을 포함하는 시스템에 관한 것이다. 상기 모듈은 상기 센서로부터 데이터를 받고 해당 데이터를 외부 기기로 보내도록 구성되며, 상기 외부 기기는 데이터의 추가 처리를 위해 구성된다.A further aspect of the invention relates to a system comprising a shoe product with an external device configured for communication with the electronic module and a sensor system as described above in which the electronic module is connected. The module is configured to receive data from the sensor and to send the data to an external device, and the external device is configured for further processing of data.
일 측면에 따르면, 시스템은 외부 기기에 연결되고 상기 전자 모듈과 상기 외부 기기 간의 통신을 가능케 하도록 구성된 부속 기기를 역시 포함할 수 있다. 상기 부속 기기는 전자 모듈과 제2 외부 기기 간의 통신을 가능케 하기 위해 상기 제2 외부 기기로의 연결을 위해 구성될 수도 있다.According to an aspect, the system may also include an accessory device connected to an external device and configured to enable communication between the electronic module and the external device. The accessory device may be configured for connection to the second external device to enable communication between the electronic module and the second external device.
본 발명의 또 다른 특징과 장점들은 다음의 도면을 공동으로 취한 다음의 설명으로부터 분명해질 것이다.Other features and advantages of the present invention will become apparent from the following description taken in conjunction with the following drawings.
도 1은 신발의 측면도이고;
도 2는 도 1의 신발의 반대 측면도이고;
도 3은 본 발명의 여러 측면에 따른 일 실시예의 센서 시스템을 합체한 신발(갑피를 제거하고 발-접촉 부재를 한쪽으로 접은 신발)의 솔의 상부 사시도이고;
도 4는 신발의 발-접촉 부재를 제거하고 전자 모듈을 제거한 도 3의 솔과 센서 시스템의 상부 사시도이고;
도 5는 신발의 발-접촉 부재를 제거하고 센서 시스템을 갖추진 않은 도 3의 솔의 상부 사시도이고;
도 6은 외부 전자 기기와 통신되게 센서 시스템에 사용 가능한 전자 모듈의 일 실시예의 개략적 다이어그램이고;
도 7은 사용자의 오른발용 신발 제품의 솔 구조 내에 위치되도록 적합화된 도 3의 센서 시스템의 삽입 부재의 상면도이고;
도 8은 도 7의 삽입 부재의 상부 사시도이고;
도 9는 도 7의 삽입 부재를 포함하는 도 3의 센서 시스템의 상면도이고;
도 10은 도 9의 센서 시스템의 상부 사시도이고;
도 11은 도 9의 센서 시스템의 일부의 확대 상면도이고;
도 12는 도 9의 센서 시스템과 그와 유사한 센서 시스템으로서 사용자의 왼발용 신발 제품의 솔 구조에 사용되기에 적합화된 센서 시스템의 상면도이고;
도 13은 4개의 다른 층을 보여주는 도 7의 삽입 부재의 전개 사시도이고;
도 14는 도 13의 삽입 부재의 제1 층의 상면도이고;
도 15는 도 14의 제1 층의 일부의 확대 상면도이고;
도 16은 도 13의 삽입 부재의 제2 층의 상면도이고;
도 17은 도 16의 제2 층의 일부의 확대 상면도이고;
도 18은 도 13의 삽입 부재의 스페이서 층의 상면도이고;
도 19는 도 13의 삽입 부재의 바닥 층의 상면도이고;
도 20은 도 9의 센서 시스템의 성분에 의해 형성된 회로의 일 실시예를 나타내는 개략적 회로도이고;
도 21은 도 11의 선 21-21에 의해 지시된 영역을 개략적으로 나타내는 확대 단면도이고;
도 22a는 도 9의 센서 시스템의 저면도이고;
도 22b는 센서 시스템의 통기공 위에 연결된 필터를 갖는 도 22a에 도시된 바와 같은 센서 시스템의 저면도이고;
도 22c는 본 발명의 여러 측면에 따른 센서 시스템용 삽입 부재의 다른 실시예의 스페이서 층의 상면도로서, 파선은 센서의 위치를 나타내고 있는 도면이고;
도 22d는 도 22c의 스페이서 층을 합체하고 있는 센서 시스템용 삽입 부재의 저면도로서, 파선은 삽입 부재에 연결된 필터의 위치를 나타내고 있는 도면이고;
도 23은 외부 게임 기기와 통신 가능한 상태의 도 6의 전자 모듈의 개략적 다이어그램이고;
도 24는 외부 기기와 메쉬(mesh) 통신 모드 상태인 센서 시스템을 각각 포함하는 한 쌍의 신발의 개략도이고;
도 25는 외부 기기와 "데이지 체인(daisy chain)" 통신 모드 상태인 센서 시스템을 각각 포함하는 한 쌍의 신발의 개략도이고;
도 26은 외부 기기와 독립 통신 모드 상태인 센서 시스템을 각각 포함하는 한 쌍의 신발의 개략도이고;
도 27은 본 발명의 여러 측면에 따른 센서의 일 실시예에 대한 압력 대 저항을 나타낸 도면이고;
도 28은 도 4의 솔 및 센서 시스템의 일부의 개략적 단면도이고;
도 29는 본 발명의 여러 측면에 따른 솔 및 센서 시스템의 다른 실시예의 일부의 개략적 단면도이고;
도 30은 작동 위치에 있는 발-접촉 부재를 갖는 도 3의 솔의 상면도이고;
도 31은 도 10의 31-31 선을 따라 취한 도면을 개략적으로 보여주는 단면도이고;
도 32는 도 10의 32-32 선을 따라 취한 도면을 개략적으로 보여주는 단면도이고;
도 33은 본 발명의 여러 측면에 따른 다른 실시예의 센서 시스템의 전개 사시도이고;
도 34는 본 발명의 여러 측면에 따른 다른 실시예의 센서 시스템의 전개 사시도이고;
도 35a 및 도 35b는 도 7의 센서 시스템의 센서의 개략적인 단면도이고;
도 36은 본 발명의 여러 측면에 따른 다른 실시예의 센서 시스템을 합체하고 있는 신발(갑피를 제거하고 발-접촉 부재를 한쪽으로 접은 신발)의 솔의 상부 사시도이고;
도 37은 신발의 발-접촉 부재를 제거하고 센서 시스템을 갖추지 않은 도 36의 신발의 상부 사시도이고;
도 38은 신발의 발-접촉 부재를 제거하고 전자 모듈을 제거한 도 36의 솔 및 센서 시스템의 상부 사시도이고;
도 39는 사용자의 오른발용 신발 제품의 솔 구조 내에 위치되도록 적합화된 도 36의 센서 시스템의 삽입 부재의 상면도이고;
도 40은 도 39의 삽입 부재의 제1 층의 상면도이고;
도 41은 도 39의 삽입 부재의 제2 층의 상면도이고;
도 42는 도 39의 삽입 부재의 스페이서 층의 상면도이고;
도 43은 도 39의 삽입 부재의 바닥 층의 상면도이고;
도 44는 4개의 다른 층을 보여주는 도 39의 삽입 부재의 전개 사시도이고;
도 45는 본 발명의 여러 측면에 따른 다른 실시예의 센서 시스템을 합체하고 있는 신발(갑피를 제거하고 발-접촉 부재를 한쪽으로 접은 신발)의 솔의 상부 사시도이고;
도 46은 신발의 발-접촉 부재를 제거하고 센서 시스템을 갖추지 않은 도 45의 솔의 상부 사시도이고;
도 47은 신발의 발-접촉 부재를 제거하고 전자 모듈을 제거한 도 45의 솔 및 센서 시스템의 상부 사시도이고;
도 48은 본 발명의 여러 측면에 따라 사용자의 오른발용 신발 제품의 솔 구조 내에 위치되도록 접합화된 일 실시예의 센서 시스템의 삽입 부재의 상면도이고;
도 49는 도 48의 삽입 부재의 제1 층의 상면도이고;
도 50은 도 48의 삽입 부재의 스페이서 층의 상면도이고;
도 51은 도 48의 삽입 부재의 제2 층의 상면도이고;
도 52는 본 발명의 여러 측면에 따른 센서 시스템의 다른 실시예의 삽입 부재의 상면도이고;
도 53은 도 52의 삽입 부재의 제1 층의 상면도이고;
도 54는 도 52의 삽입 부재의 스페이서 층의 상면도이고;
도 55는 도 52의 삽입 부재의 제2 층의 상면도이고;
도 56은 도 52의 56-56 선을 따라 취한 단면도이고;
도 57은 본 발명의 여러 측면에 따라 신발 제품의 솔 구조 내에 오목부를 형성하기 위한 일 실시예의 방법 및 장치를 예시하는 개략적 단면도이고;
도 58은 센서 시스템의 삽입 부재와 이에 연결된 발-접촉 부재를 갖는 도 57의 신발 제품의 솔 구조를 예시한 개략적 단면도이고;
도 59는 본 발명의 여러 측면에 따라 신발 제품의 솔 구조 내에 위치된 다른 실시예의 센서 시스템을 예시한 개략적 단면도이고;
도 59a는 본 발명의 여러 측면에 따라 신발 제품의 솔 구조 내에 위치된 다른 실시예의 센서 시스템을 예시한 개략적 단면도이고;
도 60은 본 발명의 여러 측면에 따른 센서 시스템에 사용되도록 구성된 일 실시예의 발-접촉 부재의 사시도이고;
도 61은 본 발명의 여러 측면에 따른 다른 실시예의 센서 시스템의 사시도이고;
도 62-64는 본 발명의 여러 측면에 따른 삽입 부재의 포트의 평면도 및 사시도이고;
도 65-67은 포트의 하우징의 성분을 나타내며;
도 68-71은 포트에 사용되는 인터페이스 조립체의 도면을 나타내며;
도 72-73은 삽입 부재에 작동적으로 연결되는 인터페이스 조립체의 도면을 나타내며;
도 74는 삽입 부재에 연결된 포트의 부분 확대 평면도로서 커버 부재를 제거한 도면이고;
도 75-76은 삽입 부재에 부착된 포트의 측면도이고;
도 77-78은 본 발명의 여러 측면에 따른 모듈의 추가 도면이고;
도 79-80은 본 발명의 여러 측면에 따른 접촉부와 모듈 캐리어의 사시도이고;
도 81-83은 모듈의 성분의 사시도이고;
도 84는 모듈의 인터페이스의 접촉부의 오버 몰딩을 보여주는 부분 단면도이고;
도 85-86은 본 발명의 여러 측면에 따른 광 조립체를 보여주는 모듈의 평면도이고;
도 87-90은 광 조립체의 성분을 보여주는 모듈의 내부 도면이고;
도 91-94는 본 발명의 여러 측면에 따른 모듈과 관련된 PCB 및 그라운드 평면 익스텐더의 도면이다.1 is a side view of a shoe;
Figure 2 is an opposite side view of the shoe of Figure 1;
3 is a top perspective view of a sole of shoes incorporating a sensor system of one embodiment according to various aspects of the present invention (shoes with the upper removed and the foot-contact members folded on one side);
Figure 4 is a top perspective view of the sole and sensor system of Figure 3 with the foot-contact member of the shoe removed and the electronic module removed;
Figure 5 is a top perspective view of the sole of Figure 3 without the foot-contact member of the shoe removed and propelled with a sensor system;
Figure 6 is a schematic diagram of one embodiment of an electronic module usable in a sensor system to communicate with an external electronic device;
Figure 7 is a top view of the insertion member of the sensor system of Figure 3 adapted to be positioned within the sol configuration of the user's right foot shoe;
Figure 8 is a top perspective view of the insertion member of Figure 7;
Figure 9 is a top view of the sensor system of Figure 3, including the insertion member of Figure 7;
Figure 10 is a top perspective view of the sensor system of Figure 9;
Figure 11 is an enlarged top view of a portion of the sensor system of Figure 9;
Figure 12 is a top view of a sensor system adapted to be used in the sole structure of a user's left foot shoe product as the sensor system of Figure 9 and similar sensor system;
Figure 13 is an exploded perspective view of the insertion member of Figure 7 showing four different layers;
Figure 14 is a top view of the first layer of the insertion member of Figure 13;
15 is an enlarged top view of a portion of the first layer of Fig. 14;
Figure 16 is a top view of the second layer of the insertion member of Figure 13;
17 is an enlarged top view of a portion of the second layer of Fig. 16;
Figure 18 is a top view of the spacer layer of the insertion member of Figure 13;
Figure 19 is a top view of the bottom layer of the insertion member of Figure 13;
20 is a schematic circuit diagram showing an embodiment of a circuit formed by the components of the sensor system of Fig. 9; Fig.
21 is an enlarged sectional view schematically showing the area indicated by the line 21-21 in Fig. 11;
Figure 22A is a bottom view of the sensor system of Figure 9;
22B is a bottom view of the sensor system as shown in Fig. 22A with a filter connected to the vent hole of the sensor system; Fig.
22C is a top view of a spacer layer of another embodiment of an insertion member for a sensor system according to various aspects of the present invention, wherein the dashed line is a view showing the position of the sensor;
Fig. 22D is a bottom view of the insertion member for the sensor system incorporating the spacer layer of Fig. 22C, and the broken line shows the position of the filter connected to the insertion member; Fig.
FIG. 23 is a schematic diagram of the electronic module of FIG. 6 in a state in which communication with an external game device is possible;
24 is a schematic view of a pair of shoes each including a sensor system in a mesh communication mode with an external device;
25 is a schematic view of a pair of shoes each including a sensor system in a " daisy chain " communication mode with an external device;
26 is a schematic view of a pair of shoes each including a sensor system in an independent communication mode with an external device;
Figure 27 is a plot of pressure versus resistance for an embodiment of a sensor according to various aspects of the present invention;
Figure 28 is a schematic cross-sectional view of a portion of the sol and sensor system of Figure 4;
29 is a schematic cross-sectional view of a portion of another embodiment of a brush and sensor system in accordance with various aspects of the present invention;
Figure 30 is a top view of the sole of Figure 3 with the foot-contact member in the operative position;
31 is a cross-sectional view schematically showing a view taken along line 31-31 of FIG. 10;
32 is a cross-sectional view schematically showing a taken along the line 32-32 of FIG. 10;
33 is an exploded perspective view of a sensor system of another embodiment according to various aspects of the present invention;
34 is an exploded perspective view of a sensor system of another embodiment according to various aspects of the present invention;
35A and 35B are schematic cross-sectional views of the sensor of the sensor system of FIG. 7;
36 is a top perspective view of a sole of a shoe incorporating a sensor system of another embodiment according to various aspects of the present invention (shoes with the upper removed and the foot-contact member folded on one side);
Figure 37 is a top perspective view of the shoe of Figure 36 without the foot-contact member of the shoe removed and without a sensor system;
38 is a top perspective view of the sole and sensor system of Fig. 36 with the foot-contact member of the shoe removed and the electronic module removed;
39 is a top view of the insertion member of the sensor system of Fig. 36 adapted to be positioned within the sol configuration of the user's right foot shoe;
40 is a top view of the first layer of the insertion member of FIG. 39;
41 is a top view of the second layer of the insertion member of Fig. 39;
42 is a top view of the spacer layer of the insertion member of Fig. 39;
Figure 43 is a top view of the bottom layer of the insertion member of Figure 39;
Figure 44 is an exploded perspective view of the insertion member of Figure 39 showing four different layers;
45 is an upper perspective view of a sole of a shoe incorporating a sensor system of another embodiment according to various aspects of the present invention (shoes with the upper removed and the foot-contact member folded to one side);
46 is a top perspective view of the sole of Fig. 45 without the foot-contact member of the shoe and without the sensor system;
Figure 47 is a top perspective view of the sol and sensor system of Figure 45 with the foot-contact member of the shoe removed and the electronic module removed;
48 is a top plan view of an insertion member of a sensor system of an embodiment joined to be positioned within a sol configuration of a user's right foot shoe according to various aspects of the present invention;
Figure 49 is a top view of the first layer of the insertion member of Figure 48;
Figure 50 is a top view of the spacer layer of the insertion member of Figure 48;
51 is a top view of the second layer of the insertion member of FIG. 48;
52 is a top view of an insertion member of another embodiment of a sensor system according to various aspects of the present invention;
Figure 53 is a top view of the first layer of the insertion member of Figure 52;
Figure 54 is a top view of the spacer layer of the insertion member of Figure 52;
Figure 55 is a top view of the second layer of the insertion member of Figure 52;
56 is a cross-sectional view taken along line 56-56 of Fig. 52; Fig.
57 is a schematic cross-sectional view illustrating a method and apparatus of an embodiment for forming recesses in a sole structure of a shoe product in accordance with various aspects of the present invention;
58 is a schematic cross-sectional view illustrating the sole structure of the shoe product of FIG. 57 having an insertion member of the sensor system and a foot-contact member connected thereto;
59 is a schematic cross-sectional view illustrating a sensor system of another embodiment positioned within the sole structure of a shoe product according to various aspects of the present invention;
59A is a schematic cross-sectional view illustrating a sensor system of another embodiment located within a sole structure of a shoe article according to various aspects of the present invention;
60 is a perspective view of a foot-contact member of an embodiment configured for use in a sensor system according to various aspects of the present invention;
61 is a perspective view of a sensor system of another embodiment according to various aspects of the present invention;
62-64 are a top view and perspective view of a port of an insertion member according to various aspects of the present invention;
65-67 show the components of the housing of the port;
68-71 show a view of an interface assembly used in a port;
72-73 illustrate a view of an interface assembly operatively connected to an insertion member;
74 is a partially enlarged plan view of the port connected to the insertion member with the cover member removed;
75-76 are side views of a port attached to an insertion member;
77-78 are further views of modules according to various aspects of the present invention;
79-80 are perspective views of a contact and a module carrier according to various aspects of the present invention;
81-83 are perspective views of components of the module;
84 is a partial cross-sectional view showing the overmolding of the contacts of the interface of the module;
85-86 are plan views of a module illustrating an optical assembly according to various aspects of the present invention;
87-90 are interior views of a module showing the components of the light assembly;
91-94 are views of a PCB and a ground plane extender associated with modules according to various aspects of the present invention.
본 발명은 여러 가지 다른 형태로 실시될 수 있지만, 본 개시물은 본 발명의 원리의 예시로서 간주되어야 하고 본 발명의 광범위한 측면들을 예시되고 설명된 실시예에 한정하고자 의도된 것이 아니라는 이해와 함께 바람직한 실시예가 도면에 예시되고 여기에 상세히 설명된다.While the present invention may be embodied in many different forms, it is to be understood that the present disclosure is to be considered as illustrative of the principles of the invention and is not intended to limit the broad scope of the invention to the illustrated and described embodiments Embodiments are illustrated in the drawings and are described in detail herein.
신발과 같은 신발류가 도 1-2에 예로써 보여지며, 일반적으로 참조 번호 100으로 지정된다. 신발(100)은 예컨대, 다양한 종류의 육상화를 포함하여 여러 가지 다른 형태를 가질 수 있다. 일례의 실시예에서, 신발(100)은 통상적으로, 유니버설 통신 포트(14)에 작동적으로 연결된 하중 및/또는 압력 센서 시스템(12)을 포함한다. 아래에 보다 상세히 설명되는 바와 같이, 센서 시스템(12)은 신발(100) 착용자에 관한 성과 데이터를 수집한다. 유니버설 통신 포트(14)에 연결되는 것을 통해, 다수의 다른 사용자들이 아래 상술되는 바와 같은 다양한 다른 용도로 성과 데이터에 접근할 수 있다.Footwear, such as shoes, is shown as an example in Figures 1-2 and is generally designated by
신발(100) 제품은 도 1-2에 갑피(120)와 솔 구조(130)를 포함하는 것으로 나타내고 있다. 이후의 설명에서 참조를 위해, 신발(100)은 도 1에 예시된 바와 같이 3개의 대략적인 영역: 즉 전족부(111), 중족부(112), 및 발꿈치부(113)로 구분될 수 있다. 상기 영역(111-113)은 신발(100)을 정확하게 영역의 경계를 정하려고 의도된 것이 아니다. 정확하게는, 상기 영역(111-113)은 다음의 논의 중에 기준 프레임을 제공하는 신발(100)의 대략적인 영역을 표현하고자 의도된 것이다. 상기 영역(111-113)은 대략적으로 신발(100)에 적용되고 있지만, 상기 영역(111-113)에 대한 언급은 구체적으로 갑피(120), 솔 구조(130) 또는 상기 갑피(120)나 솔 구조(130)의 일부에 포함되거나 및/또는 그 일부로서 형성된 개별 성분에 적용될 수 있다.The
도 1 및 도 2에 더 예시되어 있는 바와 같이, 갑피(120)는 솔 구조(130)에 고정되어 발을 수용하기 위한 빈 공간이나 챔버를 형성한다. 참고로, 갑피(120)는 외측면(121), 반대쪽 내측면(122) 및 발등부 영역(123)을 포함한다. 외측면(121)은 발의 외측(즉, 외부)을 따라 연장되도록 위치되며, 대체로 상기 영역(111-113) 각각을 통과한다. 유사하게, 내측면(122)은 발의 반대쪽 내측면(즉, 내부)을 따라 연장되도록 위치되며, 대체로 상기 영역(111-113) 각각을 통과한다. 발등부 영역(123)은 외측면(121)과 내측면(122) 사이에 위치되어 발의 상부면 또는 발등 영역에 대응한다. 발등부 영역(123)은 예시된 예의 경우, 스로트(throat)(124)를 포함하는데, 해당 스로트는 통상의 방식으로 활용되어 발에 대한 갑피(120)의 크기를 조절함으로써 신발(100)의 맞는 상태(fit)를 조정하는 신발끈(125) 또는 다른 바람직한 폐쇄 기구를 포함한다. 갑피(120)는 발이 갑피 내의 빈 공간으로 접근할 수 있게 하는 발목 개구(126)도 포함한다. 갑피(20)를 구성하기 위해 통상적으로 신발류 갑피에 활용되는 다양한 재료가 사용될 수 있다. 따라서, 갑피(120)는 예컨대, 가죽, 합성 가죽, 천연 및 합성 섬유, 폴리머 시트, 폴리머 발포재, 메쉬 섬유, 펠트, 부직포 폴리머, 또는 고무 재료 중 하나 이상의 부분으로 형성될 수 있다. 갑피(120)는 이들 재료 중 하나 이상의 재료로 형성될 수 있는데, 해당 재료 또는 그 일부는 예컨대 당업계에서 일반적으로 알려져서 사용되는 방식으로 함께 박음질되거나 접착 결합될 수 있다.As further illustrated in Figures 1 and 2, the upper 120 is secured to the
갑피(20)는 발꿈치 요소(도시 생략)와 발가락 요소(도시 생략)도 포함할 수 있다. 발꿈치 요소는, 구비된 경우, 상측으로 그리고 발꿈치부(113)에서 갑피(120)의 내부면을 따라 연장되어 신발(100)의 편안함을 향상시킬 수 있다. 발가락 요소는, 구비된 경우, 전족부(111) 내에 그리고 갑피(120)의 외부면 상에 위치되어 내마모성을 제공하고 착용자의 발가락을 보호하며 발의 배치에 도움을 줄 수 있다. 일부 실시예에서, 발꿈치 요소와 발가락 요소 중 하나 또는 양자가 배제되거나 또는 예컨대, 갑피(120)의 외부면 상에 발꿈치 요소를 배치할 수 있다. 전술한 갑피(120)의 구성이 신발(100)에 적합하더라도, 갑피(120)는 본 발명을 벗어나지 않고 통상적이거나 통상적이지 않은 임의의 바람직한 갑피 구조의 구성을 나타낼 수 있다.The upper 20 may also include a heel element (not shown) and a toe element (not shown). The heel elements, if provided, may extend upwardly and along the inner surface of the upper 120 at the
도 3에 도시된 바와 같이, 솔 구조(130)는 갑피(120)의 하부면에 고정되며, 대체로 일반적인 형태를 가질 수 있다. 솔 구조(130)는 예컨대, 중창(131), 겉창(132) 및 발-접촉 부재(133)를 포함하는 다중 구조를 포함할 수 있다. 발-접촉 부재(133)는 통상적으로 얇고 압축된 부재인데, 해당 부재는 갑피(120) 내의 빈 공간 내에 발바닥에 인접하게(또는 갑피(120)와 중창(131) 사이에) 위치되어 신발(100)의 편안함을 향상시킬 수 있다. 다양한 실시예에서, 발-접촉 부재(133)는 깔창, 스트로벨(strobel), 안창 부재, 부티(bootie) 부재, 양말 등일 수 있다. 도 3-5에 도시된 실시예에서, 발-접촉 부재(133)는 안창 부재 또는 깔창이다. 여기 사용되는 "발-접촉 부재"란 용어는 다른 요소가 직접 접촉될 수 있는 바와 같이 사용자의 발과 반드시 직접적으로 접촉되는 것을 의미하지 않는다. 정확하게, 발-접촉 부재는 신발 제품의 발-수용 챔버의 내부면의 일부를 형성할 수 있다. 예를 들면, 사용자는 직접 접촉되는 양말을 신고 있을 수 있다. 다른 예로서, 센서 시스템(12)은 신발 위로 미끄러지도록 설계된 신발 제품 또는 외부 부티 요소나 신발 커버와 같은 신발 제품에 합체될 수 있다. 이러한 제품에서, 솔 구조의 상부는 사용자의 발과 직접 접촉되지 않더라도 발-접촉 부재로 간주될 수 있다. 일부 구성에서, 안창 또는 깔창은 생략될 수 있으며, 다른 실시예에서, 신발(100)은 안창 또는 깔창 위에 위치된 발-접촉 부재를 가질 수 있다.As shown in FIG. 3, the
중창 부재(131)는 완충 부재이거나 완충 부재를 포함할 수 있으며, 일부 실시예에서 다중 부재 또는 요소들을 포함할 수 있다. 예를 들면, 중창 부재(131)는 압축을 통해 도보, 구보, 점핑 또는 다른 활동 중에 대지 또는 다른 접촉 표면의 작용력을 감쇠시키는 폴리우레탄, 에틸비닐아세테이트 또는 다른 재료(필론(phylon), 필라이트(phylite) 등) 등의 폴리머 발포재로 형성될 수 있다. 본 발명에 따른 일부의 예의 구조에서, 폴리머 발포재는 신발(100)의 편안함, 동작-조절, 안정성, 및/또는 대지 또는 다른 접촉 표면의 작용력 감쇠 특성을 향상시키는 유체 충전 주머니(bladder) 또는 완충재(moderator)와 같은 다양한 요소를 피복하거나 포함할 수 있다. 또 다른 예의 구조에서, 중창(131)은 압축을 통해 대지 또는 다른 접촉 표면의 작용력 완화하는 추가의 요소를 포함할 수 있다. 예를 들면, 중창(131)은 하중의 완충 또는 흡수를 돕는 칼럼형 요소를 포함할 수 있다.The
겉창(132)은 여기 예시된 신발 구조(100)에서 중창(131)의 하부면에 고정되며, 보행이나 다른 활동 중에 대지 또는 다른 표면에 접촉하는 고무 등의 내마모성 재료 또는 폴리우레탄 등의 신축 합성 재료로 형성된다. 겉창(132)을 형성하는 재료는 적절한 재료로 제조되거나 및/또는 질감이 부여되어 향상된 끌림과 미끄러짐의 저항을 제공할 수 있다. 도 1 및 도 2에 도시된 겉창(132)은, 본 발명과 관련하여 다양한 종류의 접지면, 형상 및 다른 구조를 갖는 여러 가지 다른 종류의 것을 사용할 수 있지만, 겉창(132)의 일측 또는 양측에 복수의 절개부 또는 홈부를 포함하는 것으로 예시되어 있다. 본 발명의 실시예들은 다른 종류의 신발류 및 신발 구조는 물론, 다른 종류 및 구성의 신발에 대해 적용될 수 있음을 알 수 있다.The
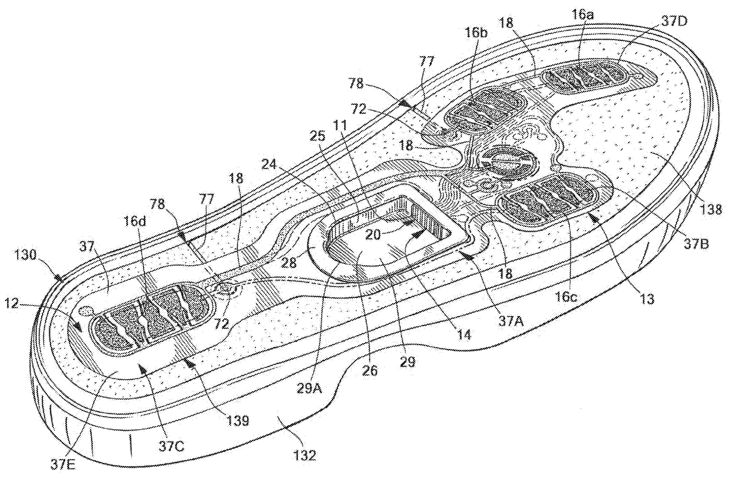
도 1-5는 본 발명에 다른 센서 시스템(12)을 합체하고 있는 신발(100)의 예시적인 실시예들을 나타내며, 도 3-22b는 센서 시스템(12)의 예시적인 실시예들을 나타낸다. 센서 시스템(12)은 하중 및/또는 압력 센서 조립체(13)가 결합된 삽입 부재(37)를 포함한다. 삽입 부재(37)는 신발(100)의 솔 구조(130)와 접촉되게 위치되도록 구성되며, 일 실시예에서, 삽입 부재(37)는 발-접촉 부재(133) 아래에 중창 부재(131) 위로 일반적인 대면 관계로 위치되도록 구성된다. 센서 조립체(13)는 복수의 센서(16)와 센서 조립체(13)와 통신 가능한(예, 전도체를 통해 전기적으로 연결된) 통신 또는 출력 포트(14)를 포함한다. 포트(14)는 센서(16)로부터 수신된 데이터를 예컨대 아래 기술되는 바와 같은 전자 모듈(전자 제어 유닛으로도 지칭됨)(22)로 통신하도록 구성된다. 포트(14) 및/또는 모듈(22)은 마찬가지로 하기에 설명되는 바와 같은 외부 장치와 통신하도록 구성될 수 있다. 도 3-5에 도시된 실시예에서, 시스템(12)은 4개의 센서(16), 즉 신발의 큰 발가락(제1 지골(phalange) 또는 엄지 발가락) 영역에 있는 제1 센서(16a), 제1 중족골 헤드 영역의 제2 센서(16b)와 제5 중족골 헤드 영역의 제3 센서(16c)을 포함하는, 신발의 전족부에 있는 2개의 센서, 그리고 발꿈치에 있는 제4 센서(16d)를 포함한다. 발에서 이들 영역은 통상적으로 이동 중에 최대의 압력을 경험한다. 각각의 센서(16)는 사용자의 발이 센서(16)에 가하는 압력을 감지하도록 구성된다. 센서들은 센서 리드(18)를 통해 포트(14)와 통신을 행하는데, 센서 리드는 와이어 리드 및/또는 다른 전기 전도체 또는 적절한 통신 매체일 수 있다. 예를 들면, 도 3-5의 실시예에서, 센서 리드(18)는 은-함유 잉크 또는 구리 및/또는 주석 계열의 잉크 등의 금속성 잉크와 같이 삽입 부재(37) 상에 인쇄되는 전기 전도성 매체일 수 있다. 리드(18)는 대안적으로 일 실시예에서 주석 와이어로서 제공될 수 있다. 다른 실시예에서, 리드(18)는 솔 구조의 발-접촉 부재(133), 중창 부재(131) 또는 다른 부재에 연결될 수 있다.1-5 illustrate exemplary embodiments of a
다른 실시예의 센서 시스템(12)은 다른 갯수 또는 구성의 센서(16)를 포함할 수 있으며, 대체로 적어도 하나의 센서(16)를 포함한다. 예를 들면, 일 실시예에서, 시스템(12)은 아주 많은 수의 센서를 포함하며, 다른 실시예에서, 시스템(12)은 2개의 센서, 즉 신발의 발꿈치부에 하나 그리고 전족부에 하나를 포함한다. 추가로, 센서(16)는 블루투스와 근거리 통신을 포함하는 임의의 공지된 종류의 유무선 통신을 포함하여 다른 방식으로 포트(14)와 통신할 수 있다. 한 쌍의 신발 중 각 신발에는 센서 시스템(12)이 구비되고, 쌍을 이룬 센서 시스템은 협동적으로 동작할 수 있거나 서로 독립적으로 동작할 수 있으며 각 신발 내의 센서 시스템은 서로 통신하거나 통신하지 않을 수 있는 것으로 이해된다. 센서 시스템(12)의 통신은 아래에 보다 상세하게 설명된다. 센서 시스템(12)은 데이터(예, 사용자의 발과 대지 또는 다른 접촉 표면 간의 상호 작용으로부터 유도되는 압력 데이터)의 수집 및 저장을 제어하는 컴퓨터 프로그램/알고리즘을 가질 수 있으며, 이들 프로그램/알고리즘은 센서(16), 모듈(22), 및/또는 외부 기기(10)에 저장되거나 및/또는 그것에 의해 실행될 수 있는 것으로 이해된다.The
센서 시스템(12)은 신발(100)의 솔(130) 내의 여러 구조에 위치될 수 있다. 도 3-5에 도시된 예에서, 포트(14), 센서(16) 및 리드(18)는 예컨대 삽입 부재(37)를 중창(131)과 발-접촉 부재(133) 사이에 위치시키는 것에 의해 중창(131)과 발-접촉 부재(133) 사이에 위치될 수 있다. 삽입 부재(37)는 일 실시예에서 중창(131)과 발-접촉 부재(133) 중 하나 또는 양자 모두에 연결될 수 있다. 아래 설명되는 바와 같이, 전자 모듈(22)의 수용을 위해 중창(131) 내에(도 5) 및/또는 발-접촉 부재(133) 내에는 공동 또는 오목부(135)가 위치될 수 있고, 일 실시예에ㅔ서 상기 오목부(135) 내로부터 포트(14)가 접근될 수 있다. 오목부(135)는 모듈(22)을 위한 하우징(24)이 더 내장될 수 있고, 하우징(24)은 예컨대, 포트(14)를 위한 물리적 공간을 제공하거나 및/또는 포트(14)와 모듈(22) 간의 상호 연결을 위한 하드웨어를 제공하는 것에 의해 포트(14)에 접속되도록 구성될 수 있다. 도 5에 도시된 실시예에서, 오목부(135)는 중창(131)의 상부 주요면 내의 공동에 의해 형성된다. 도 5에 도시된 바와 같이, 솔 구조(130)는 오목부(135)로의 접근을 제공하거나 및/또는 오목부(135)의 일부로 간주될 수 있는 하우징(24) 수용을 위한 구멍이 내부에 형성된 압축 가능한 솔 부재(138)를 포함할 수 있다. 삽입 부재(37)는 하우징(24)을 오목부(135) 내에 배치하기 위해 압축 가능한 솔 부재(138)의 상부에 배치될 수 있다. 압축 가능한 솔 부재(138)는 일 실시예에서 중창(131)과 마주할 수 있으며, 중창(131)에 직접 접촉될 수 있다. 압축 가능한 솔 부재(138)는 해당 솔 부재(138)와 중창(131) 사이에 스트로벨 부재와 같은 하나 이상의 추가 구조가 위치되도록 중창(131)과 마주할 수 있다. 도 3-5의 실시예에서, 압축 가능한 솔 부재(138)는 발-접촉 부재(133)와 중창(131) 사이에 위치된 발포 부재(138)(예, EVA 부재)의 형태로 존재하는데, 해당 발포 부재는 본 실시예에서 하부 안창/깔창으로 간주될 수 있다. 발포 부재(138)는 일 실시예에서 예컨대, 접착제를 사용하는 것으로 중창(131)의 스트로벨(133A)(도 58)에 결합될 수 있고, 스트로벨 상의 어떤 박음질 부분도 커버할 수 있어서 박음질에 의한 삽입 부재의 마모를 방지할 수 있다. 이 구성은 도 58에 개략적으로 예시된다. 도 3-5에 도시된 실시예에서, 하우징(24)은 측벽(25)과 베이스벽(26)을 포함하는 복수의 벽을 포함하며, 또한 측벽(25)의 상부로부터 외측으로 연장되어 삽입 부재(37)로 연결되도록 구성된 플랜지 또는 립(28)을 포함한다. 일 실시예에서, 플랜지(28)는 구멍(27)의 전방 단부에 위치된 삽입 부재(37) 내의 구멍(28B)에 관통 연결되는 핀(peg)(28A)을 통해 하우징(24)을 형성하는 통부(29)에 연결되는 개별 부재이다. 핀(28B)은 초음파 용접 또는 다른 기법을 통해 연결될 수 있으며, 일 실시예에서 수용부 내에 수용될 수 있다. 대안적인 실시예에서, 신발(100) 제품은 솔 구조(130)에 통부(29)가 형성되도록 제조될 수 있으며, 플랜지(28)는 선택적으로 포트의 다른 부분이 조립 완료된 후 예컨대, 스냅 연결에 의해 나중에 연결될 수 있다. 하우징(24)은 모듈(22)을 하우징(24) 내에 유지하기 위해 유지 구조를 포함할 수 있으며, 이러한 유지 구조는 탭/플랜지 및 슬롯 구성, 상보적 탭, 체결 부재, 마찰-끼움 부재 등과 같이 모듈(22) 상의 유지 구조와 상보적일 수 있다. 하우징(24)은 플랜지(28) 및/또는 통부(29) 내에 위치된 핑거 리세스(29A)도 포함하는데, 해당 핑거 리세스는 모듈(22)을 잡아서 모듈(22)을 하우징(24)으로부터 제거하기 위해 사용자의 손가락을 위한 공간을 제공한다. 플랜지(28)는 삽입 부재(37)의 상부를 구속하는 광폭 베이스를 제공하며, 해당 베이스는 플랜지(28)에 의해 삽입 부재(37) 및/또는 발-접촉 부재(133)에 가해지는 하중을 분산시킴으로써 이러한 성분이 크게 편향되거나 및/또는 손상될 가능성을 줄여준다. 플랜지(28) 상의 라운드된 코너도 역시 삽입 부재(37) 및/또는 발-접촉 부재(133)에 대한 손상을 방지하는데 도움이 된다. 플랜지(28)는 다른 실시예에서 상이한 형태 및/또는 외형을 가질 수 있으며, 상이한 형상 및/또는 외형에 유사한 기능성을 제공할 수 있다.The
발-접촉 부재(133)는 삽입 부재(37)를 덮기 위해 발포 부재(138)의 상부에 놓여지도록 구성되며, 도 3에 도시된 바와 같이 하부 주요면에 함몰부(134)를 포함함으로써 하우징(24)을 위한 공간을 제공한다. 발-접촉 부재(133)는 발포 부재(138)에 부착될 수 있으며, 도 3에 도시된 바와 같이 일 실시예에서 전족부에만 부착됨으로써 발-접촉 부재(133)가 위로 당겨져서 모듈(22)에 접근할 수 있게 할 수 있다. 추가로, 발-접촉 부재(133)는 저면의 적어도 일부에 위치되어 삽입 부재(37) 및/또는 발포 부재(138)에 대해 미끄럼 저항성을 가지는 실리콘 재료와 같은 접착성 또는 고-마찰성의 재료(도시 생략)를 포함할 수 있다. 예를 들면, 발-접촉 부재(133)가 전족부에 부착되고 발꿈치부에는 없는 일 실시예에서(예, 도 3), 발-접촉 부재(133)는 발꿈치부 상에 위치되는 접착성 재료를 가질 수 있다. 접착성 재료는 이물질이 센서 시스템 내로 침투되지 못하도록 강화된 밀봉성을 제공할 수 있다. 도 60에 도시된 바와 같은 다른 실시예에서, 발-접촉 부재(133)는 포트(14) 위에 위치되도록 구성되고 발-접촉 부재(133)를 통해 모듈(22)을 삽입 및/또는 제거할 수 있는 크기로 형성된 도어 또는 해치(137)를 포함할 수 있다. 도 60에 도시된 실시예의 발-접촉 부재(133)는 도 3, 도 36 또는 도 45의 발-접촉 부재(133) 대신에 사용되어 포트(14)와 모듈(22)에 대한 접근을 제공할 수 있다. 도 60에 도시된 실시예에서, 도어(137)는 도어(137)의 하나의 엣지를 따른 재료의 부착으로 형성되는 힌지(137A)를 구비함으로써 선회를 통해 도어(137)를 개폐할 수 있다. 추가로, 도어(137)는 본 실시예에서 발-접촉 부재(133)와 동일한 재료로 형성됨으로써 도어(137)의 개재에 의해 완충성은 그다지 크게 소실되지 않는다. 또한, 도어(137)는 사용자가 도어(137)를 잡거나 조작하는 것을 도와주는 탭(137B) 또는 다른 구조를 포함할 수 있다. 일 실시예에서, 센서 시스템(12)은 발-접촉 부재(133)의 저면 상에 위치될 수 있으며, 이러한 실시예에서 도어(137)는 포트(14)에 접근할 수 있다(도시 생략). 다른 실시예에서, 도어(137)는 다른 엣지 상에 힌지를 포함할 수 있거나, 예컨대 분리, 활주 등에 의해 다른 방식으로 개방될 수 있다. 일 실시예에서, 발-접촉 부재(133)는 아래 설명되는 바와 같이 그래픽 표시(92)를 상부에 포함할 수 있다.The foot-
도 3-5 및 도 7에 도시된 바와 같은 일 실시예에서, 발포 부재(138)는 내부에 삽입 부재(37)를 수용하기 위해 삽입 부재(133)와 동일한 외주 형상의 리세스(139)를 포함할 수 있으며, 삽입 부재(37)의 바닥 층(69)(도 13)은 삽입 부재(37)를 리세스(139) 내에 유지하기 위해 접착 배킹을 포함할 수 있다. 일 실시예에서, 순간 결합용의 아크릴 접착제와 같은 비교적 강력한 접착제가 이 목적으로 사용될 수 있다. 삽입 부재(37)는 하우징(24)을 위한 공간을 수용하고 제공하는 구멍 또는 공간(27)을 가지며, 본 실시예의 발포 부재(138)는 하우징(24)이 스트로벨 및/또는 중창(131)을 완전히 관통하거나 적어도 일부를 관통하도록 할 수 있다. 도 3-5에 도시된 실시예에서, 발-접촉 부재(133)는 통상적인 발-접촉 부재(133)(예, 깔창)에 비해 감소된 두께를 가질 수 있으며, 발포 부재(138)의 두께는 발-접촉 부재(133)의 두께 감소분과 실질적으로 동일하므로 동등한 완충성을 제공한다. 일 실시예에서, 발-접촉 부재(133)는 약 2-3 mm의 두께의 깔창일 수 있고, 발포 부재(138)는 약 2 mm의 두께를 가질 수 있으며, 리세스(139)의 깊이는 약 1 mm이다. 발포 부재(138)는 일 실시예에서 신발(100) 제품에 발포 부재(138)를 연결하기 전에 삽입 부재(37)에 접착 연결될 수 있다. 이 구성에 의해, 통상 발포 부재(138)를 휘게 하거나 만곡시키고 그렇지 않으면 박리를 야기하는 신발(100)의 스트로벨 또는 다른 부분에 발포 부재(138)를 부착하기 전에 발포 부재(138)와 삽입 부재(37) 사이의 접착제가 평평한 상태로 놓여질 수 있다. 삽입 부재(37)가 접착 부착된 발포 부재(138)는 본 구성에서는 일 실시예에서 신발(100) 제품 내로 삽입되는 단품으로서 제공될 수 있다. 도 3-5의 포트(14)의 배치는 사용자의 발에 대해 최소한의 접촉, 자극 또는 다른 간섭을 제공할 뿐만 아니라, 발-접촉 부재(133)를 단순히 들어올리는 것으로 쉬운 접근성을 제공한다.3-5 and 7, the
도 3-5의 실시예에서, 하우징(24)은 삽입 부재(37)와 발포 부재(138)를 완전히 관통하여 연장되고, 도 58에 개략적으로 도시된 바와 같이 오목부(135)도 스트로벨(133A)을 완전히 관통하고 신발(100)의 중창(131) 내로 부분적으로 연장되어 하우징(24)을 수용한다. 다른 실시예에서, 오목부(135)는 상이하게 구성될 수 있으며, 일 실시예에서 윈도우가 스트로벨(133A)을 관통하도록 완전히 스트로벨(133A) 아래에 위치되어 오목부(135) 내의 모듈(22)로 접근을 허용할 수 있다. 오목부(135)는 스트로벨(133A) 및또는 중창(131)으로부터 재료를 절단 또는 제거하거나 오목부(135)가 내부에 형성되도록 스트로벨(133A) 및/또는 중창(131)을 형성하는 것을 포함하는 여러 가지 방법 또는 다른 방법이나 이러한 방법의 조합을 이용하여 형성될 수 있다. 일 실시예에서, 도 57에 개략적으로 도시된 바와 같이, 스트로벨(133A)을 관통하여 중창(131) 내로 절단을 행하여 오목부(135)를 형성하는 재료의 편부(135A)를 제거하기 위해 핫 나이프(109)가 사용된다. 본 실시예에서, 핫 나이프(109)는 핫 나이프(109)의 외주 둘레로 연장되어 제거 대상의 편부(135A)를 수용하는 공동(109B)을 형성하는 벽부(109A)와 편부(135A)의 중간을 관통 연장되는 분기부(109C)를 포함한다. 벽부(109A)는 스트로벨(133A)과 중창(131) 내로 하강 절단을 행하여 제거 대상의 편부(135A)의 외부 경계를 절단한다. 분기부(109C)는 편부(135A)의 바닥측을 약화시켜 제거를 용이하게 하고 그리고 제거 중에 편부(135A)를 공동(109B) 내에 유지하는 것을 보조함으로써, 단순히 핫 나이프(109)를 솔 구조(130)로부터 멀어지게 들어올리는 것으로 편부(135A)를 제거할 수 있다. 일 실시예에서, 핫 나이프(109)는 250-260℃의 온도로 가열될 수 있다. 다른 실시예에서, 핫 나이프(109)(다른 구성일 수 있음)는 솔 구조(130) 내에 다른 형상 및/또는 외형의 오목부(135)를 형성하는데 사용될 수 있다. 도 58은 솔 구조(130)에 연결된 삽입 부재(37)와 형성된 후의 오목부(135) 내에 수용된 하우징(24)을 개략적으로 예시한다. 도 58에 도시된 바와 같이, 하우징(24)은 하우징(24)과 오목부(135) 간의 갭이 소재 결함의 원인일 수 있으므로 오목부(135)의 벽부와 밀착되게 끼워짐으로써 유리할 수 있다. 편부(135)의 제거 과정은 적절한 컴퓨터 제어 장치를 사용하여 자동화될 수 있다.3-5, the
오목부(135)는 추가의 실시예에서 다른 곳에 위치될 수 있다. 예를 들면, 오목부(135)는 발-접촉 부재(133)의 상부 주요면에 위치될 수 있고, 삽입 부재(37)는 발-접촉 부재(133)의 상부에 배치될 수 있다. 다른 예로서, 오목부(135)는 발-접촉 부재(133)의 하부 주요면에 위치될 수 있고, 삽입 부재(37)는 발-접촉 부재(133)와 중창(131) 사이에 위치될 수 있다. 추가의 예로서, 오목부(135)는 겉창(132)에 위치될 수 있고, 예컨대 솔(130)의 측면, 바닥 및 발꿈치 부분의 구멍을 통해 신발(100)의 외부로부터 접근할 수 있다. 도 3-5에 도시된 구성에서, 포트(14)는 아래 설명되는 바와 같이 전자 모듈(22)의 연결과 단절을 위해 쉽게 접근 가능하다. 도 59에 도시된 실시예에서, 발-접촉 부재(133)는 바닥면에 연결된 삽입 부재(37)를 구비하고, 포트(14)와 오목부(135)는 예컨대, 도 58에 도시되고 전술한 바와 동일한 구성으로 솔 구조(130)에 형성된다. 인터페이스(20)는 예컨대 모듈(22)의 상부를 통한 접촉을 위해 다른 곳에 위치될 수 있는 것으로 이해되지만, 다른 실시예와 관련하여 유사하게 도시된 바와 같이 하우징(24)의 측면 상에 위치된다. 모듈(22)은 이러한 변화를 수용하기 위해 변경될 수 있다. 본 실시예에서, 발-접촉 부재(133)는 모듈(22)로의 접근을 위해 구멍을 구비할 수 있거나(예, 도 60), 도 3에 도시된 바와 같이 위로 당겨서 모듈(22)에 접근할 수 있다. 도 59a에 도시된 실시예에서, 삽입 부재(37)는 발-접촉 부재(133)와 스트로벨(133A) 아래에 중창 부재(131)와 접촉되게 위치된다. 본 실시예에서, 스트로벨(133A) 및/또는 발-접촉 부재(133)는 모듈(22)로의 접근을 위한 구멍을 구비하거나 및/또는 도 3에 도시된 바와 같이 위로 당겨서 모듈(22)에 접근할 수 있다.The
다른 실시예에서, 센서 시스템(12)은 달리 위치될 수 있다. 예를 들면, 일 실시예에서, 삽입 부재(37)는 예컨대 양말, 깔창, 내부 신발 부티, 또는 다른 유사한 제품과 같이 안창 부재 위에 위치된 발-접촉 부재(133) 내에 위치될 수 있거나 발-접촉 부재(133)와 안창 부재 사이에 위치될 수 있다. 또 다른 구성도 가능하며, 다른 구성의 일부 예를 아래에 설명한다. 전술한 바와 같이, 센서 시스템(12)은 쌍으로 된 신발 각각에 포함될 수 있다.In another embodiment, the
도 3-22b에 예시된 실시예의 삽입 부재(37)는 적어도 제1 층(66)과 제2 층(68)을 포함하는 다층으로 형성된다. 제1 및 제2 층(66, 68)은 Mylar® 또는 다른 PET(폴리에틸렌 테레프탈레이트) 필름 등의 가요성 필름 재료, 또는 폴리아미드와 같은 다른 폴리머 필름으로 형성될 수 있다. 일 실시예에서, 제1 및 제2 층(66, 68)은 각각 125 ㎛의 두께와 같이 0.05-0.2 mm의 두께를 갖는 PET 필름일 수 있다. 추가로, 일 실시예에서, 제1 및 제2 필름(66, 68) 각각은 2 mm 이하의 최소 굽힘 반경을 가진다. 삽입 부재(37)는 제1 및 제2 층(66, 68) 사이에 위치된 스페이서 층(67)과 및/또는 제2 층(68) 아래로 삽입 부재(37)의 바닥에 위치된 바닥층(69)을 더 포함할 수 있으며, 이들 추가의 층은 도 3-22b에 예시된 실시예에 포함된다. 삽입 부재(37)의 층(66, 67, 68, 69)은 서로 상부에 서로 마주하는 관계로 적층되며, 일 실시예에서, 상기 층(66, 67, 68, 69)은 모두 유사하거나 동일한 외주 형태를 가지며, 서로 중첩되어 있다(도 13). 일 실시예에서, 스페이서 층(67)과 바닥층(69)은 각각 예컨대 100 ㎛와 같은 89-111 ㎛의 두께를 가질 수 있다. 삽입 부재(37)의 전체 두께는 일 실시예에서 약 450 ㎛, 다른 실시예에서 약 428-472 ㎛, 추가의 실시예에서 약 278-622 ㎛일 수 있다. 삽입 부재(37)는 100-225 ㎛ 두께의 추가의 접착제도 포함할 수 있고, 다른 실시예에서 추가의 PET 층과 같은 하나 이상의 선택적인 보강층을 더 포함할 수 있다. 추가로, 일 실시예에서, 전술한 전체 4개의 층의 삽입 부재는 5 mm이하의 최소 휨 반경을 가진다. 제1 및 제2 층(66, 68)의 배향은 예컨대, 제2 층(68)을 상부 층으로 그리고 제1 층(66)은 제2 층(68) 아래로 배치하는 것으로 역전될 수 있는 것으로 이해된다. 도 3-22b의 실시예에서, 제1 및 제2 층(66, 68)은 예컨대, 아래에 상세히 설명되는 센서(16), 리드(18), 저항기(53, 54), 경로(50), 유전체 패치(80) 및 다른 성분을 포함하여, 인쇄된 다양한 회로와 다른 성분들을 포함한다. 상기 성분들은 도 3-22b의 실시예에서 제1 층(66)의 저면과 제2 층(68)의 상부면에 인쇄되지만, 다른 실시예에서, 적어도 일부의 성분은 제1 및 제2 층(66, 68)의 양층에 인쇄될 수 있다. 제1 층(66) 및/또는 제2 층(68) 상에 위치된 성분은 다른 층으로 이동/이전될 수 있는 것으로 이해된다. 일 실시예에서, 상기 성분들은 필요한 프린터 단계의 총수를 제한하는 방식으로 인쇄될 수 있으며, 일 실시예에서, 개별 층(66, 68) 상의 모든 성분은 하나의 단계로 인쇄될 수 있다.The
상기 층(66, 67, 68, 69)은 일 실시예에서 접착제 또는 다른 결합 수단에 의해 함께 연결될 수 있다. 스페이서 층(67)은 제1 및 제2 층(66, 68)에 연결되도록 일 실시예에서, 일면 또는 양면에 접착제를 포함할 수 있다. 바닥층(69)도 마찬가지로 신발(100) 제품에는 물론 제2 층에 연결되도록 일면 또는 양면에 접착제를 포함할 수 있다. 이를 위해 제1 및 제2 층(66, 68)은 추가로 또는 대신에접촉면을 가질 수 있다. 다른 실시예에서 층(66, 67, 68, 69)의 연결을 위해 예컨대, 가열 밀봉, 스폿 용접 또는 다른 공지된 방법과 같이 다양한 다른 방법이 사용될 수 있다.The
센서 시스템(12)과 신발(100)의 삽입 부재(37), 발-접촉 부재(133) 및/또는 다른 구성요소는 상부에 그래픽 디자인 또는 다른 표시(도시 생략)를 포함할 수 있다. 그래픽 디자인은 예컨대 해당 그래픽 층을 제1 층(66) 상에 배치하는 것에 의해 삽입 부재(37)에 연결될 수 있는 하나 이상의 그래픽 층(도시 생략) 상에 제공될 수 있다. 그래픽 디자인은 층에 의해 지지되는 센서 조립체(13), 리드(18) 및 다른 여러 가지 성분에 대응할 수 있다. 예를 들면, 도 60의 실시예에서, 발-접촉 부재(133)는 해당 발-접촉 부재(133) 아래에 위치된 센서 시스템(12)의 삽입 부재(37)의 그래픽 표현을 형성하는 그래픽 표시(92)를 가진다. 다른 실시예에서 정보, 양식 및 다른 이러한 디자인을 포함하는 다른 그래픽 디자인이 사용될 수 있다.The
도 3-22b에 도시된 삽입 부재(37)는 다른 삽입 부재의 구성보다 재료 사용량이 적을 수 있고 공통의 응력 포인트에서 큰 파열 저항성을 제공할 수 있는 구성을 가진다. 본 실시예에서, 삽입 부재(37)는 예컨대 외측 전족부 또는 외측 및 내측 발꿈치부에서와 같이 불필요할 수 있는 삽입 부재(37)의 영역으로부터 잘려지는 여러 재료 부분을 가진다. 본 구성에서 삽입 부재(37)는 사용자의 발의 중족부에 의해 접촉되도록 구성된 중족부(37A)와 사용자의 발의 전족부(즉, 중족골)에 의해 접촉되도록 구성된 전족부(37B)를 가지며, 사용자의 발의 발꿈치부와 제1 지골부 각각에 의해 접촉되도록 구성된 발꿈치부(37C)와 제1 지골부(37D)가 각각 중족부(37A)로부터 후방으로 그리고 전족부로부터 전방으로 연장된다. 도 4, 도 8, 도 10 및 도 22A는 이들 특징부를 더 상세히 예시하고 있다. 사용자의 발의 형태에 따라 제1 지골부(37D)는 사용자의 제1 지골부에만 접촉될 수 있는 것으로 이해된다. 본 실시예에서, 제1 지골부(37D)와 발꿈치부(37C)가 더 넓은 중족부 및 전족부(37A-B)에 있는 베이스로부터 자유 단부로 길게 각각 전방 또는 후방으로 연장되는 반도형으로서 구성되도록, 전족부(37B)의 폭은 중족부(37A)의 폭보다 크고, 중족부와 전족부(37A-B) 모두는 제1 지골부(37D)와 발꿈치부(37C)의 폭보다 크다. 여기 언급된 바와 같이, 삽입 부재(37)의 일부의 폭은 내측-외측 방향으로 측정되고, 길이는 전방-후방 (발가락-발꿈치) 방향으로 측정된다. 도 3-22b의 실시예에서, 제1 지골부(37D)는 사용자의 제1 지골에 의해 접촉되도록 상부에 위치된 센서 중 하나(16a)를 가지며, 발꿈치부(37C)는 사용자의 발꿈치에 의해 접촉되도록 상부에 위치된 센서 중 다른 하나(16d)를 포함한다. 나머지 2개의 센서(16b, 16c)는 삽입 부재(37)의 전족부(37B) 상에, 구체적으로 사용자의 발의 제1 및 제5 중족골 헤드 영역에 의해 접촉되는 제1 및 제5 중족골 헤드 영역에 위치된다. 중족부(37A)는 하우징(24)과 모듈(22)을 수용하기 위한 구멍(27)을 포함하며, 해당 구멍(27)은 전족부(37B)와 발꿈치부(37C) 사이로 연장되고 이들을 연결하는 2개의 스트립(88)을 형성한다. 일 실시예에서, 스트립(88)은 8 mm의 최소 폭 또는 삽입 부재(37)의 전체 길이의 3-5%의 범위 내의 폭을 가진다. 이 용례에서, 삽입 부재(37)의 길이는 제1 지골부(37D)의 전족부측 첨단부로부터 발꿈치부(37C)의 발꿈치측 첨단부까지 측정된다. 이들 스트립(88)은 사용 중 높은 응력을 받으며, 이러한 폭은 사용 중 파괴되는 것을 방지하는데 도움이 된다. 다른 실시예에서, 스트립(88)은 추가의 구조에 의해 보강될 수 있다. 예를 들면, 일 실시예에서, 스트립(88) 및/또는 삽입 부재(133)의 다른 부분은 섬유 또는 유사한 구조에 의해 강화될 수 있다. 다른 예로서, 삽입 부재(37)는 일 실시예에서 예컨대, 하우징(24)을 완전히 둘러싸고 양자의 스트립(88)과 해당 스트립(88)과 삽입 부재(37)의 나머지 사이의 연접부 전체를 점유하는 추가의 구조층과 같이 삽입 부재(37)의 적어도 일부에 추가의 구조층을 포함할 수 있다.The
도 3-22b에 도시된 실시예에서, 삽입 부재(37)는 삽입 부재(37)의 외주를 형성하는 외주 엣지를 가지며, 해당 외주 엣지는 삽입 부재(37)의 내측을 따라 발꿈치부의 후방으로부터 제1 지골부(37D)의 전방 단부까지 연장되는 내측 엣지(85)와, 발꿈치부(37C)의 후방으로부터 전족부(37B)의 전방까지 연장되는 외측 엣지(86) 및 삽입 부재(37)의 제2, 제3, 제4 및 제5 중족골부를 따라 외측 엣지(86)로부터 제1 지골부(37D)까지 연장되는 전방 엣지(87)를 포함한다. 내측, 외측 및 전방 엣지들(85, 86, 87)은 각각 예컨대 도 8, 도 10 및 도 22a에 도시된 바와 같이 본 실시예에서 컷-아웃부를 가진다. 전방 엣지(87)를 따른 컷-아웃부(87A)는 외측 엣지(86)와 제1 지골부(즉, 반도형)(37D) 사이에 위치된다. 내측 및 외측 엣지(85, 86)를 따른 컷-아웃부(85A, 86A)는 전족부(37B)와 중족부(37A) 사이의 연결부 근처에 위치되며, 중족부(37A)에서 삽입 부재(37)의 폭(W1)(내측 및 외측 엣지(85, 86) 사이에 형성됨)과 전족부(37B)에서 폭(W2)은 제1 및 제2 컷-아웃부(85A, 86A) 사이에서 측정된 삽입 부재의 폭(W3)보다 크다. 이 구성은 중족부(37A)와 전족부(37B) 사이의 목부(89)가 중족부(37A) 또는 전족부(37B)보다 좁게 되도록 한다. 중족부(37A)와 전족부(37B)의 폭(W1, W2)도 발꿈치부(37C)에서 측정된 폭(W4)보다 크고, 전족부(37B)는 최대의 상대 폭(W2)을 가진다. 본 실시예에서 발꿈치부(37C)는 발꿈치부(37C)가 중족부(37A)로부터 삽입 부재(37)의 발꿈치 단부 측으로 폭이 증가하도록 발꿈치부(37C)에서의 더 전방부보다 폭이 넓은 확장된 후미부(37E)를 포함한다.3-22b, the
컷-아웃부(85A, 86A, 87A)는 각각 삽입 부재(37)의 본체 내로 내측으로 연장되고, 대체로 오목한 및/또는 함몰된 형태를 가진다. 도 3-22a에 도시된 실시예에서, 컷-아웃부(85A, 86A, 87A) 각각은 삽입 부재(37)의 발김(ripping), 파열 또는 균열의 전파를 막는 매끄럽고 오목한 내측 만곡면(곡선면)을 가진다. 본 실시예에서, 컷-아웃부(85A, 86A, 87A) 각각은 적어도 120°의 원호를 형성하는 오목한 곡선면 엣지에 의해 적어도 부분적으로 형성된다. 추가로, 일 실시예에서, 컷-아웃부(85A, 86A, 87A) 중 적어도 하나는 적어도 180°의 원호를 형성하는 오목한 곡선면 엣지에 의해 적어도 부분적으로 형성된다. 예컨대 도 8, 도 10 및 도 22a에 도시된 바와 같이, 적어도 내측 및 외측의 컷-아웃부(85A, 86A)가 각각 적어도 180°의 원호를 형성하는 오목한 곡선면 엣지에 의해 적어도 부분적으로 형성된다. 추가로, 본 실시예에서 컷-아웃부(85A, 86A, 87A) 각각은 그 양측면이 내측, 외측 및 전방 엣지(85, 86, 87)에서 삽입 부재의 외주 상에 위치된 부드럽게 만곡된 엣지에 의해 경계가 형성되고 있다. 본 실시예에서 컷-아웃부(85A, 86A, 87A) 각각의 경계를 이루는 만곡된 엣지 중 하나 또는 양자는 적어도 90°의 원호를 형성한다. 이들 위치 및 구성의 컷-아웃부(85A, 86A, 87A)의 사용은 예컨대, 전술한 바와 같이 삽입 부재(133)의 발김, 파열 또는 균열의 전파를 막는 것에 의해 삽입 부재(133)의 내구성 및 수명을 증가시킬 수 있다. 본 실시예에서, 컷-아웃부(85A, 86A, 87A)는 높은 응력 영역에 위치되며, 여기에서는 이러한 파손 저항성이 가장 유리하다. 도 3-22b에 도시된 바와 같이 구성된 삽입 부재(37)는 적어도 500,000 사이클에 걸쳐 20 MPa까지의 응력을 견디기에 충분한 피로 저항성을 가질 수 있다.The cut-out
추가의 실시예에서, 삽입 부재(37)는 다른 컷-아웃부를 가질 수 있거나 및/또는 동일 위치이지만 다른 형태의 컷-아웃부를 가질 수 있다. 예를 들면, 도 22c-22d에 도시된 삽입 부재(37')는 도 3-22b의 삽입 부재(37)에 비해 유사한 위치에 있지만 약간 다른 외주 형상을 갖는 컷-아웃부(85A, 86A, 87A)를 가진다. 본 실시예에서, 내측 컷-아웃부(85A)는 도 3-22b의 삽입 부재(37)의 내측 컷-아웃부(85A)에 비해 작은 원호를 형성한다. 본 실시예의 전방 컷-아웃부(87A)는 도 3-22b의 삽입 부재(37)의 전방 컷-아웃부(87A)에 비해 덜 대칭적이고 균일하게 만곡된 형태를 형성한다.In a further embodiment, the
도 36-47은 전술한 도 3-22b에 도시된 센서 시스템(12)과 삽입 부재(37)와 다른 형태 및 구성의 삽입 부재(437, 537)를 갖는 추가의 실시예의 센서 시스템(412, 512)을 예시한다. 도 36-47의 센서 시스템(412, 512)은 도 3-22b의 센서시스템(12)과 공통인 다수의 구조적 및 기능적 특징부를 포함한다. 예를 들면, 센서 시스템(412, 512)은 도 3-22b의 센서 시스템(12)과 거의 동일하게 구성 및 위치되고 유사한 방식으로 기능하는 센서(16)를 포함한다. 다른 예로서, 센서 시스템(412, 512)은 도 3-22b의 센서 시스템과 유사한 평행한 2개의 고정된 저항기(53, 54)와 층(66, 68) 사이의 경로(50)를 포함한다. 이들 및 다른 공통의 특징부는 간결성을 위해 여기에 다시 설명되지 않을 것이다.Figures 36-47 illustrate a further embodiment of the
도 36-44의 실시예에서, 삽입 부재(437)는 도 3-22b의 삽입 부재(37)에 대해 유사한 위치에 컷-아웃부(85A, 86A, 87A)를 구비하며, 해당 컷-아웃부(85A, 86A, 87A)는 약간 다른 외주 형태를 갖는다. 본 실시예에서, 내측 컷-아웃부(85A)는 도 3-22b의 삽입 부재(37)의 내측 컷-아웃부(85A)이 비해 작은 원호를 형성한다. 본 실시예의 전방 컷-아웃부(87A)는 도 3-22b의 삽입 부재(37)의 전방 컷-아웃부(87A)에 비해 더 깊고 큰 원호를 형성한다. 본 실시예의 외측 컷-아웃부(86A)는 얕고 도 3-22b의 삽입 부재(37)의 외측 컷-아웃부(86A)에 비해 작은 원호를 형성한다. 추가로, 도 36-44의 삽입 부재(437)는 거의 일정한 폭의 발꿈치부(37C)를 가지고, 확장된 후미부(37E)는 구비하지 않고 있다.In the embodiment of Figures 36-44,
도 45-47의 실시예에서, 삽입 부재(537)는 도 3-22b의 삽입 부재(37)에 대해 유사한 위치에 컷-아웃부(85A, 86A, 87A)를 구비하며, 해당 컷-아웃부(85A, 86A, 87A)는 약간 다른 외주 형태를 갖는다. 본 실시예에서, 내측 컷-아웃부(85A)는 도 3-22b의 삽입 부재(37)의 내측 컷-아웃부(85A)이 비해 작은 원호를 형성한다. 본 실시예의 외측 컷-아웃부(86A)는 얕고 도 3-22b의 삽입 부재(37)의 외측 컷-아웃부(86A)에 비해 작은 원호를 형성한다. 도 45-48의 삽입 부재(537)의 전방 엣지(87)는 제1 지골부(37D)로부터 제5 중족골 센서(16c) 측으로 점진적으로 각을 형성하며, 전방 컷-아웃부(87A) 내로 직접 연장되는 거의 직선형의 엣지를 형성한다. 결과적으로 얻어지는 전방 컷-아웃부(87A)는 도 3-22b의 삽입 부재(37)의 전방 컷-아웃부(87A)에 비해 작은 원호를 형성한다. 추가로, 도 45-48의 삽입 부재(537)는 거의 일정한 폭의 발꿈치부(37C)를 가지고, 확장된 후미부(37E)는 구비하지 않고 있다. 도 45-48의 센서 시스템(512)의 리드(18)와 다수의 많은 성분은 여기에 예시 및/또는 언급되지 않고 있으며, 이러한 성분들은 도 3-22b의 센서 시스템(12) 및/또는 도 36-44의 센서 시스템(412)의 대응하는 성분과 (구조적 및/또는 기능적으로) 유사하거나 동일하게 구성될 수 있는 것으로 이해된다.In the embodiment of Figures 45-47, the
삽입 부재(37, 37', 437, 537)는 임의의 갯수의 다른 구성, 형태 및 구조를 가질 수 있고, 상이한 갯수 및/또는 구성의 센서(16)와 다른 삽입 구조 또는 외주 형태를 포함할 수 있다. 예를 들면, 여기 설명되는 삽입 부재(37, 37', 437, 537) 중 임의의 것은 구조적 특징부 중 일부 또는 전부와, 컷-아웃부(85A, 86A, 87A)와 같이 다른 형태, 치수, 및 구성을 가지면서 전술한 이러한 구조적 특징부와 외주 형태에 있어 다른 특징부에 관련된 기능을 포함할 수 있다. 추가로, 여기 설명된 삽입 부재(37, 37', 437, 537) 중 임의의 것은 다른 형태 및/또는 기능성을 제공할 수 있는 추가의 또는 상이한 구조적 특징부를 포함할 수 있다.The
도 3-22b에 도시된 실시예에서, 센서(16)는 솔 구조(130)의 압력 및/또는 하중을 측정하기 위한 하중 및/또는 압력 센서이다. 센서(16)는 센서(16) 상의 압력이 증가할 때 감소되는 저항을 가짐으로써, 포트(14)를 통한 저항의 측정을 통해 센서(16) 상의 압력을 감지할 수 있다. 도 3-22b에 도시된 실시예의 센서(16)는 하나의 센서 크기가 여러 가지 다른 신발 크기에 활용될 수 있게 하는 타원형(elliptical 또는 obround) 형태이다. 본 실시예의 센서(16)는 각각 제1 층(66)상에 위치된 제1 접촉부(40)와 제2 층(68) 상에 위치된 제2 접촉부(42)를 포함하는 2개의 접촉부(40, 42)를 포함한다. 제1 층(66)을 나타내는 도면은 상면도이고, 전자 구조체(접촉부(40), 리드(18) 등을 포함)는 제1 층(66)의 바닥측에 위치되고 달리 구체적으로 지시되지 않으면 투명한 또는 반투명한 제1 층(66)을 통해 관찰되는 것으로 이해된다. 접촉부(40, 42)는 서로 반대로 위치되고 서로 중첩되는 관계로 존재함으로써 예컨대 사용자의 발에 의한 삽입 부재(37) 상의 압력은 접촉부(40, 42) 간의 접촉을 강하게 한다. 센서(16)의 저항은 접촉부(40, 42) 간의 접촉이 증가함에 따라 감소되고, 모듈(22)은 센서(16)의 저항의 변화를 기초로 압력을 감지하도록 구성된다. 일 실시예에서, 접촉부(40, 42)는 예컨대 도 3-22b의 실시예에서와 같이 제1 및 제2 층(66, 68) 상에 인쇄되는 전도성 패치에 의해 형성될 수 있으며, 2개의 접촉부(40, 42)는 동일하거나 상이한 재료로 형성될 수 있다. 추가로, 일 실시예에서, 리드(18)는 센서 접촉부(40, 42)의 재료(들)보다 높은 전도도와 낮은 저항률을 갖는 재료로 형성된다. 예를 들면, 패치는 카본 블랙 또는 다른 전도성 카본 재료로 형성될 수 있다. 또한, 일 실시예에서, 2개의 접촉부(40, 42)는 동일한 재료로 형성되거나 또는 서로 접촉된 재료의 경도가 다른 것에 기인한 마멸과 마모를 감소시킬 수 있는 유사한 경도를 갖는 2개의 재료로 형성될 수 있다. 본 실시예에서, 제1 접촉부(40)는 제1 층(66)의 저면에 인쇄되며 제2 접촉부(42)는 제2 층(68)의 상부측에 인쇄됨으로써 접촉부(40, 42) 간의 접촉을 허용한다. 도 3-22b에 도시된 실시예는 스페이서 층(67)을 포함하며, 해당 스페이서 층은 제1 및 제2 층(66, 68)의 다른 부분을 서로 절연시키면서 스페이서 층(67)을 통해 접촉부(40, 42)의 접촉을 허용하도록 각각의 센서(16)에 위치된 구멍(43)을 가진다. 일 실시예에서, 각각의 구멍(43)은 센서(16) 중 하나와 정렬되어 각각의 센서(16)의 접촉부(40, 42) 사이의 적어도 부분적인 접촉을 허용한다. 도 7-18에 도시된 실시예에서, 구멍(43)은 센서 접촉부(40, 42)보다 면적이 작기 때문에, 접촉부(40, 42)의 외부와 배전 리드(18A)를 서로 절연시키면서 접촉부(40, 42)의 중심부가 서로 접촉되게 한다(예, 도 13, 도 35a-35b 참조). 다른 실시예에서, 구멍(43)은 전체 표면에 걸쳐 접촉부(40, 42) 간에 접촉이 이루어지도록 크기가 형성될 수 있다. 센서(16)와 접촉부(40, 42)의 크기, 치수, 형태 및 구조는 다른 실시예에서 유사한 기능성을 유지하면서 변경될 수 있는 것으로 이해된다. 또한, 동일한 크기의 센서(16)는 다른 신발 크기의 경우에 다른 크기의 삽입 부재(37)에 활용될 수 있으며, 이 경우 삽입 부재(37)의 전체 치수에 대한 센서(16)의 치수는 상이한 삽입 부재(37)의 크기마다 다를 수 있는 것으로 이해된다.In the embodiment shown in Figures 3-22b, the
다른 실시예에서, 센서 시스템(12)은 도 3-22b의 실시예의 센서(16)와 다른 구성의 센서(16)를 포함할 수 있다. 예를 들면, 도 33-34는 도 3-22b의 센서 시스템(12)의 센서(16)와 다른 구성의 센서(16)를 갖는 추가의 실시예의 센서 시스템(212, 312)을 예시한다. 도 33-34에 도시된 실시P에서, 도 33-34의 센서(16)의 접촉부(40, 42)는 도 3-22b의 실시예의 센서(16)의 접촉부(40, 42)와 다른 구성을 갖는다. 센서 시스템(212, 312)의 다른 성분 및 특징부는 여기 설명되는 임의의 변경례 및 대체 실시예를 포함하여 도 3-22b의 센서 시스템(12)의 것과 유사하거나 동일하다. 다른 예로서, 도 48-51은 도 3-22b의 실시예의 센서(16)와 접촉부(40, 42)와 다른 구성의 접촉부(740, 742, 744)를 갖는 센서(16)를 포함하는 일 실시예의 센서 시스템(712)을 예시한다. 추가의 예에서, 센서(16)는 카본계 또는 유사 접촉부(40, 42)를 포함하지 않는 다른 구성을 채용하거나 및/또는 저항 센서(16)로서 기능하지 않을 수 있다. 이러한 센서의 예는 다른 예 중에서도 정전용량성 압력 센서 또는 변형률 측정 압력 센서를 포함한다.In another embodiment, the
도 3-22b에 더 예시된 바와 같이, 일 실시예에서, 삽입 부재(37)는 삽입 부재(37)의 압축 및/또는 휨 동작 중에 삽입 부재(37)를 통해 공기 유동이 허용되도록 구성된 내부 공기 유동 시스템(70)을 포함할 수 있다. 도 9, 도 11, 도 13, 도 18, 도 22a-22b, 및 도 28-30은 공기 유동 시스템(70)의 성분을 보다 상세히 예시한다. 공기 유동 시스템(70)은 센서(16)로부터 하나 이상의 통기구(72)로 이어져서 압축 중에 센서(16)로부터 제1 및 제2 층(66, 68) 사이로 그리고 통기구(들)(72)를 통해 외측으로 삽입 부재(37)의 외부로 공기의 유동을 허용하는 하나 이상의 공기 통로 또는 채널을 포함할 수 있다. 공기 유동 시스템(70)은 센서(16)의 압축 중에 과도한 압력 형성을 억제하고, 다양한 기압 및 고도에서 센서(16)의 접촉부(40, 42)가 항상 분리되도록 함으로써, 보다 일관적인 성능을 보장한다. 채널(71)은 제1 및 제2 층(66, 68) 사이에 형성될 수 있다. 도 18에 예시된 바와 같이, 스페이서 층(67)은 내부에 형성된 채널(71)을 포함하며, 공기는 이들 채널(71)을 통해 제1 및 제2 층(66, 68) 사이에서 적절한 통기구(들)(72)로 유동될 수 있다. 통기구(72)는 도 22b에 도시된 바와 같이 일 실시예에서 통기구를 덮는 필터(73)를 포함할 수 있다. 이들 필터(73)는 공기, 수분, 부스러기가 통기구(72)로부터 통과되도록 허용하고 수분 및 부스러기가 통기구(72) 내로 통과되는 것을 억제하도록 구성될 수 있다. 다른 실시예에서, 삽입 부재(37)는 스페이서 층(67)을 포함하지 않을 수 있고, 채널(71)은 예컨대, 비-밀봉성 재료의 도포에 의해 층(66, 68)을 측정 패턴으로 함께 밀봉하지 않는 것에 의해 형성될 수 있다. 따라서, 공기 유동 시스템(70)은 이러한 실시예에서 층(66,68)과 일체이거나 층에 의해 직접 형성되는 것으로 간주될 수 있다. 다른 실시예에서, 공기 유동 시스템(70)은 다른 갯수 또는 구성의 공기 채널(71), 통기구(72) 및/또는 다른 통로를 포함할 수 있다.As further illustrated in Figures 3-22b, in one embodiment, the
도 3-22b, 도 28 및 도 30에 도시된 실시예에서, 공기 유동 시스템(70)은 2개의 통기구(72)와 통기구(72) 중 하나에 4개의 센서(16)를 각각 연결하는 복수의 공기 채널(71)을 포함한다. 스페이서 층(67)은 본 실시예에서 각각의 센서에 구멍(43)을 포함하고, 채널(71)은 구멍(43)에 연결됨으로써 공기가 채널(71)을 통해 센서(16)로부터 떨어져 유동될 수 있다. 추가로, 본 실시예에서, 센서(16) 중 2개는 채널(71)을 통해 통기구(72) 각각에 연결된다. 예를 들면, 도 4 및 도 7-18에 도시된 바와 같이, 제1 중족골 센서(16b)는 삽입 부재(37)의 제1 중족골 영역을 약간 넘어서 통기구(72)로 연장되는 채널(71)을 가지며, 제1 지골 센서(16a)는 제1 중족골 센서(16b)를 통한 이동을 포함하는 통로를 통해 마찬가지로 동일한 통기구(72)로 연장되는 채널(71)을 포함한다. 다시 말해, 제1 지골 센서(16a)는 제1 지골 센서(16a)에 있는 구멍(43)으로부터 제1 중족골 센서(16b)에 있는 구멍(43)까지 연장되는 채널(71)을 구비하며, 다른 채널(71)은 제1 중족골 센서(16b)로부터 통기구(72)로 연장된다. 제5 중족골 센서(16c)와 발꿈치 센서(16d)는 삽입 부재(37)의 발꿈치부에 위치된 공통의 통기구(72)를 공유한다. 하나의 채널(71)은 제5 중족골 센서(16c)에 있는 구멍(43)으로부터 통기구(72)로 후방으로 연장되며, 다른 채널(71)은 발꿈치 센서(16d)에 있는 구멍(43)으로부터 통기구(72)로 전방으로 연장된다. 여러 센서 중에서 통기구를 공유하는 것은 특히 추가의 필터(73)에 대한 필요성을 방지하는 것에 의해 비용을 감소시킬 수 있다. 다른 실시예에서, 공기 유동 시스템(70)은 도 22c-22d에 도시되고 하기에 설명되는 구성과 같이 다른 구성을 가질 수 있다. 추가의 실시예에서, 각각의 센서(16)는 자체의 개별 통기구(72)를 가질 수 있으며, 그렇지 않은 경우, 3개 이상의 센서(16)가 동일한 통기구(72)를 공유할 수 있다.In the embodiment shown in Figures 3-22b, 28 and 30, the
각각의 통기구(72)는 제2 층(68)(즉, 제1 층(66)의 반대 층)의 바닥 측에 개구로서 형성되며, 해당 개구는 도 16-18 및 도 22a-22b에서 보여지는 바와 같이 공기 유동 시스템(70)으로부터 공기, 수분 및/또는 부스러기의 유출을 허용한다. 다른 실시예에서, 통기구(72)는 여러 개구를 포함할 수 있다. 추가의 실시예에서, 통기구(72)는 제1 층(66)의 개구에 의해 추가로 또는 대신 형성됨으로써 공기가 삽입 부재(37)로부터 위로 배출되게 할 수 있다. 추가의 실시예에서, 통기구(72)는 채널(71)이 엣지를 통해 삽입 부재(37)의 외부로 개방되도록 예컨대, 채널(71)을 엣지로 연장시키는 것에 의해 삽입 부재(37)의 측면 측(얇은 엣지)에 있을 수 있다. 도 3-22b, 도 28 및 도 30에 도시된 실시예에서와 같이 공기의 하향 배출은 부스러기가 통기구(72)로 들어가는 것을 더 어렵게 한다. 만일 존재한다면 바닥층(69)은 통기구(72)로부터 유동되는 공기가 바닥층(69)을 통과할 수 있도록 통기구(72) 아래에 위치된 구멍(74)을 포함한다. 구멍(74)은 아래 설명되는 바와 같이 필터(73)가 각각의 통기구(72)의 외주 둘레의 바닥층(69)을 통해 제2 층(68)에 접착 부착될 수 있도록 하기 위해 통기구(72)보다 휠씬 크다. 추가로, 본 실시예에서, 각각의 통기구(72)는 재료에 안정성과 강도를 부가하고 파괴/파열을 방지하기 위해 통기구(72) 주변에 위치된 보강 재료(75)를 포함한다. 예시된 실시예에서, 보강 재료(75)는 인쇄를 용이하게 하기 위해 리드(18)(예, 은 또는 다른 금속성 잉크)와 동일한 재료로 형성되지만, 센서 접촉부(40, 42) 또는 아래 논의되는 유전체 재료와 동일한 재료로 형성될 수도 있다.Each
도 3-22b, 도 28 및 도 30에 도시된 실시예에서 통기구(72)는 아래로 개방되고, 통기구(72)를 통과하는 공기는 아래로 중창(131) 측으로 그리고 존재하는 경우 발포 부재(138) 측으로 통과된다. 도 3-22b, 도 28, 및 도 30에 예시된 실시예에서, 발포 부재(138)는 통기구(72) 바로 아래에 위치된 공동(76)을 포함하고, 해당 공동은 통기구(72)를 빠져나가는 공기가 각각의 공동(76) 내로 통과되도록 구성된다. 도 3-5, 도 28 및 도 30에 도시된 실시예에서, 각각의 공동(76)은 발포 부재(138)를 완전히 관통 연장하는 슬롯으로서 형성되는데, 해당 슬롯은 펀칭, 절단 또는 다른 방법으로 형성될 수 있다. 다른 실시예에서, 공동(76)은 발포 부재(138)의 일부만을 통해 연장되는 리세스이거나, 예컨대 발포 부재(138) 아래의 구조(예, 스트로벨, 중창, 등)의 적어도 일부를 통해 발포 부재(138)보다 더 깊게 연장될 수 있다. 추가의 실시예에서, 솔 구조는 발포 부재(138)를 포함하지 않을 수 있고, 공동(76)은 스트로벨, 중창 등과 같이 다른 솔 부재 내의 구조와 같은 슬롯, 리세스 또는 다른 공동에 의해 적어도 부분적으로 형성될 수 있다. 도 5에 도시된 바와 같이, 공동(76)의 적어도 일부는 일 실시예에서 원형일 수 있고, 공기 배출을 위한 공간을 제공하기 위해 통기구(72)보다 넓게 연장될 수 있다. 이 구성은 발포 부재(138)로부터의 방해 없이 공기가 통기구(72)로부터 통과되게 할 수 있다. 다른 실시예에서, 삽입 부재(37)는 전술한 바와 같이 하나 이상의 공동(76)을 포함할 수 있는 다른 솔 부재(예, 중창(131)의 일부) 위에 위치될 수 있다. 추가의 실시예의 경우, 공동이 존재하지 않을 수 있으며, 공기는 발포 부재(138)로 또는 다른 솔 부재 내로 바로 아래로 배출될 수 있다. 공동(76) 중 하나 또는 양자는 추가로 공기를 공동(76)으로부터 통과시킬 수 있는 통로(77)를 형성하는 연장부를 가질 수 있다. 도 3-5, 도 28 및 도 30의 실시예에서, 공동(76) 각각은 공동(76)으로부터 외측으로 떨어져 그리고 삽입 부재(37)의 외주 경계 너머로 연장되는 채널부(77)를 포함한다. 다시 말해, 공동(76)의 채널부(77)는 통기구(72)로부터 외측으로 삽입 부재(37)의 외주 경계 외부에 위치된 말단 단부(78)까지 연장된다. 발포 부재(138)가 삽입 부재(37)를 수용하는 리세스(139)를 가지고 있으면, 공동(76)의 채널부(77)의 말단 단부(78)는 리세스(139)의 외주 경계 외부에 위치될 수 있는 것으로 이해된다. 도 3-5에 도시된 실시예에서, 말단 단부(78)는 발포 부재(138)의 엣지까지 연장된다. 이 구성은 외측으로 채널부(77)를 통해 발포 부재(138)로부터 떨어져 상측으로 및/또는 외측으로 통과시키는 것에 의해 공동(76) 내로 통과되는 공기가 솔 구조(130)를 통한 배출을 허용한다. 도 28은 본 구성의 개략적인 단면도를 보여주며, 화살표는 공기 유동을 나타낸다. 도 3-5, 도 28 및 도 30에 도시된 구성은 부스러기(예, 먼지, 섬유 등)의 이동을 억제하고 수분이 통기구(72)로 그리고 통기구로부터 이동되는 것을 억제하면서 통기구(72)로부터 그리고 가능하게는 다시 통기구(72) 내로 공기의 유동을 허용한다. 공기가 통기구(72)를 출입하도록 통과되어야 하는 조합된 하강, 외측 및 상향의 통로는 이러한 이동을 억제하도록 구성되며, 부스러기는 배관 적용 분야에서 드래인 트랩과 같은 공동(76)의 말단 단부(78) 근처에 포획될 것이다.In the embodiment shown in Figures 3-22b, 28 and 30, the
다른 실시예에서, 말단 단부(78)는 발포 부재(138) 내이고 여전히 삽입 부재(37)의 외주 경계 외부인 지점에서 정지할 수 있는데, 해당 지점은 공기가 말단 단부(78)에서 공동(76)으로부터 위로 배출될 수 있게 하여 동일하거나 유사한 기능성을 제공한다. 도 36-38 및 도 47은 이러한 구성의 예시적인 실시예를 나타낸다. 도 36-38 및 도 47의 실시예에서 발-접촉 부재(133)는 도 28 및 도 30에 도시된 통로(79)와 같이, 발-접촉 부재(133)를 통한 공기 통과를 허용하기 위해 공동(76)의 말단 단부(78) 주변에 위치된 통로를 포함할 수 있다. 추가의 실시예에서, 채널부(77)의 적어도 일부는 슬릿보다는 발포 부재(138) 내의 터널일 수 있다. 이러한 구성에서, 채널부(77)는 터널부와 터널을 통과하는 공기가 위로 배출되도록 허용하는 개구부를 포함하거나, 그렇지 않으면 터널부는 측면 통기를 허용하기 위해 발포 부재(138)의 엣지를 따라 완전히 연장될 수 있다. 도 29는 발포 부재(138)가 공동(76)을 구비하지만 채널부(77)를 갖지 않는 대체 실시예의 단면을 보여준다.The
추가로, 발-접촉 부재(133)는 도 3-5, 도 28 및 도 30의 실시예에서 공동(76)의 말단 단부(78)에 위치된 발-접촉 부재(133)를 통해 연장되는 하나 이상의 통로(79)를 포함한다. 도 28 및 도 30에 도시된 바와 같이, 통로(79)는 발-접촉 부재(133)를 통해 수직으로 연장되는 핀-홀 형의 통로(79)일 수 있다. 다른 실시예에서, 슬릿 또는 홈을 포함하는 다른 종류의 통로(79)가 사용될 수 있으며, 적어도 하나의 통로(79)가 발-접촉 부재(133)의 두께를 통해 위로 연장되기보다는 발-접촉 부재(133)의 측면으로 외측으로 연장될 수 있다. 통로(79)는 통기구(72)를 통해 그리고 공동(76)을 통해 외측으로 배기되는 공기가 발-접촉 부재(133)를 통해 솔 구조(130) 외측으로 통과되도록 한다. 다른 실시예에서, 발-접촉 부재(133)는 어떤 통로(들)(79)도 포함하지 않을 수 있다. 발-접촉 부재(133)는 예컨대, 발-접촉 부재(33)의 구성을 위해 통기성 발포재 또는 다른 통기성 재료를 이용하는 것에 의해 어떤 통로(들)(79)도 없는 구성으로 여전히 배기를 행할 수 있다.In addition, the foot-
전술한 바와 같이, 일 실시예에서, 삽입 부재(37)는 도 22b 및 도 28-29에서 볼 수 있는 바와 같이 통기구(들)를 적어도 부분적으로 커버하는 하나 이상의 필터(73)를 포함할 수 있다. 필터(73)는 통기구(72)를 커버하는 선택적 투과성의 덮개로서 간주될 수 있는데, 이러한 덮개는 통기구(72)로부터 적어도 공기의 통과를 허용하고 통기구 내로 어떤 원치 않는 물질이 통과되는 것을 방지한다. 예를 들면, 도 3-22b, 도 28 및 도 30의 실시예에서, 필터(73)는 수분 및/또는 입자의 내측 유동을 방지하면서 공기의 내외측 유동과 수분의 외측 유동을 허용하는 선택적 투과성의 덮개이다. 이 기능을 달성할 수 있는 필터((73)의 한 종류는 예컨대, PTFE(즉, 테플론) 섬유를 포함하는 다공성 막과 같은 불소 수지 다공성 막이다. 이러한 다공성 막은 일 실시예에서, 10-100 ㎛ 두께의 다공성 막일 수 있다. PTFE 섬유를 포함하는 필터(73)의 경우, PTFE의 높은 표면 에너지는 물이 침투되기보다는 필터(73)의 표면상에 둥글게 말아지도록 한다. 필터(73)는 필터(73)가 삽입 부재(37)에 연결될 수 있도록 일 측면상에 접착제를 포함할 수 있고, 다공성 막에 대해 전단 강도를 제공하기 위해 폴리에스터 재료와 같이 내측 및 외측 대향 측면에 연결되는 다른 재료를 추가로 포함할 수 있다. 도 3-22b, 도 28 및 도 30에 도시된 실시예에서, 필터(73)는 통기구(72)를 커버하기 위해 통기구(72)의 외주 둘레의 제2 층(68)의 바닥측에 접착 부착된다. 바닥층(69)은 도 3-22b, 도 28 및 도 30의 실시예에서 필터(73)가 제2 층(68)에 접착 부착되는 것을 허용하기 위해 통기구(72)보다 훨씬 큰 구멍(74)을 포함한다. 다른 실시예에서, 다른 종류의 필터(73)가 사용될 수 있거나 및/또는 필터(73)가 삽입 부재(37)에 다른 방식으로 연결될 수 있다. 추가의 실시예에서, 필터(73)가 사용되지 않을 수 있다.As discussed above, in one embodiment, the
도 36-44는 도 3-22b에 도시된 전술한 삽입 부재(37)와 다른 구성의 채널(71)과 통기구(72)를 갖는 공기 유동 시스템(70)을 포함하는 삽입 부재(437)를 갖춘 센서 시스템(412)을 예시한다. 도 22c-22d 및 도 45-47은 도 36-44의 삽입 부재(437)와 유사하게 구성된 채널(71) 및 통기구(72)를 갖는 공기 유동 시스템(70)을 포함하는 추가의 실시예의 삽입 부재(37', 537)를 예시한다. 도 22c-22d의 실시예에서 센서(16a-16d)의 위치는 대체로 도 3-22b, 도 28 및 도 30의 실시예에서와 동일하며, 도 22c에서 스페이서 층(67) 위에 여러 개의 파선으로 도시되어 있다. 이러한 구조적 특징부는 간결성을 위해 여기에 다시 설명되지 않는다. 도 36-44의 삽입 부재(437)의 실시예에서, 제1 지골 센서(16a)와 제1 중족골 센서(16b)는 전술한 구성과 거의 동일한 채널(71)에 의해 동일한 통기구(72)에 연결된다. 제5 중족골 센소(16c)와 발꿈치 센서(16d)도 공통의 통기구(72)에 연결되는데, 해당 통기구는 도 3-22b, 도 28 및 도 30의 실시예에서처럼 발꿈치부보다는 tq입 부재(437)의 제5 중족골부에 위치된다. 본 구성에서, 발꿈치 센서(16d)는 해당 발꿈치 센서(16d)에 있는 구멍(43)으로부터 제5 중족골 센서(16c)에 있는 구멍(43)까지 연장되는 채널(71)과 제5 중족골 센서(16c)로부터 통기구(72)까지 연장되는 다른 채널(71)을 포함한다. 도 36-44에 도시된 바와 같이, 통기구(72)의 위치는 전술한 실시예와는 다르기 때문에, 삽입 부재(437)는 구체적으로 해당 위치에 있는 통기구(72)에 대해 적용된 특징부를 포함하는 솔 구조(130)에 사용될 수 있다. 도 36-38은 솔 구조(130)와, 삽입 부재(437)의 통기구(72)와 협력하도록 위치된 공동(76)을 포함하는 발포 부재(138)를 예시한다. 이들 공동(76)은 여기 설명된 도 3-5에 도시된 실시예의 공동(76)과 유사하게 기능한다. 예를 들면, 발포 부재(138)는 삽입 부재(437)의 제5 중족골부에 있는 통기구(72)로부터 공기가 배기되도록 하기 위해 삽입 부재(437)의 외주 엣지 너머로 전방으로 연장되는 솔 구조(130)의 제5 중족골부에 공동(76)을 구비한다. 또한, 발포 부재(138)는 삽입 부재(437)의 제1 중족골부에 있는 통기구(72)로부터 공기가 배기되도록 하기 위해 삽입 부재(437)의 외주 엣지 너머로 후방으로 연장되는 솔 구조(130)의 제1 중족골부에 공동(76)을 구비한다. 도 22c-22d 및 도 45-47의 삽입 부재(37', 537)는 다양한 실시예에서 유사한 위치에 위치된 공동(76)을 갖는 발포 부재(138)를 활용할 수 있다. 다른 위치 및 구성의 공동(76)이 다른 실시예에 사용될 수 있는 것으로 이해된다. 추가의 실시예에서, 단일의 솔 구조(130)는 통기구(72)의 위치가 상이한 여러 가지 다른 종류의 삽입 부재(37, 37', 437, 537)에 사용되도록 배열된 다중의 공동(76)을 포함할 수 있다. 본 실시예에서, 공동(76)의 적어도 일부는 이하 참조되는 삽입 부재(37)의 구성에 따라 사용되지 않을 수 있다. 추가의 실시예에서, 여기 설명된 공기 유동 시스템(70)의 실시예의 특징부, 특징 등에서 임의의 것은 센서 시스템(12), 삽입 부재(37) 및/또는 신발(100)의 다른 실시예는 물론, 공기 유동 시스템(70)의 다른 실시예와 조합될 수 있다.Figures 36-44 illustrate the use of an
도 3-22b의 실시예에서, 전술한 바와 같이, 스페이서 층(67)은 예컨대, 경로(50)에서 그리고 센서(16)의 접촉부(40, 42) 사이와 같이 전기적 접촉이 요망되는 영역을 제외하고 제1 및 제2 층(66, 68) 상의 전도성 부재/성분을 서로로부터 절연시킨다. 스페이서 층(67)은 층(66, 68) 사이에 원하는 전기적 접촉의 영역을 형성하기 위해 구멍(38, 43)을 구비한다. 공기 유동 시스템(70)의 성분, 특히 채널(71)은 제1 및 제2 층(66, 68) 사이의 하나 이상의 전도성 부재에 의해 단락 또는 바람직하지 않은 다른 전기적 접촉을 위한 경로를 제공할 수 있다. 일 실시예에서, 센서 시스템(12)은 채널(71)과 같이 스페이서 층(67)의 개방 영역을 가로지른 하나 이상의 전도성 부재에 의한 바람직하지 않은 단락을 억제 또는 방지하기 위해 유전체 재료(80)의 하나 이상의 패치를 포함할 수 있다. 이러한 유전체 재료(80)는 아크릴 잉크나 기타 UV-경화성 잉크 또는 적용에 적합한 다른 절연 재료의 형태일 수 있다. 도 16-17에 도시된 실시예에서, 삽입 부재(37)는 센서 접촉부(40, 42) 주변에 위치된 배전 리드(18A)를 서로 절연시키기 위해 채널(71)에 걸쳐 연장되는 유전체 재료(80)의 여러 패치를 포함한다. 도 16-17에 도시된 바와 같이, 유전체 재료(80)는 제2 층(68)의 상측에 연결되어 배전 리드(18A)를 커버하고 있지만, 다른 실시예에서 유전체 재료(80)는 제1 층에 연결될 수 있거나 제1 및 제2 층 양자 모두가 유전체 재료(80)를 포함할 수 있다. 스페이서 층(67)은 추가의 실시예에서 채널(71) 위에 유전체 "브릿지"를 가질 수 있다. 추가로, 유전체 재료는 배전 리드(18A)의 일부를 완전히 커버하고 채널(71)의 폭보다 넓은데, 이는 스페이서 층(67)의 이동이나 변위 또는 제조 공차의 차이를 보상한다. 본 실시예에서, 삽입 부재(37)는 제1 지골 센서(16a)의 후방 측의 하나의 패치(80)와, 제1 종족골 센서(16b)의 전방 및 후방 단부 상의 2개의 패치(80)와, 제5 중족골 센서(16c)의 후방 측의 하나의 패치(80)와, 발꿈치 센서(16d)의 전방 측의 하나의 패치(80)를 포함하여, 채널(71) 중 하나와 배전 리드(18A)가 각각 교차되는 위치에 유전체 재료(80)의 패치를 포함한다. 다른 실시예에서, 삽입 부재(37)는 배전 리드(18A)의 다른 부분 또는 다른 전도성 부재를 층(66, 68) 사이에서 단락되지 않도록 절연시키기 위해 삽입 부재(37) 상의 다른 위치에 유전체 재료의 패치를 포함할 수 있다. 형태 및/또는 위치가 상이한 홀, 구멍, 개구 등의 다른 구성을 갖는 스페이서 층(67)은 절연을 위해 다른 위치에 유전체 재료(80)를 사용할 수 있는 것으로 이해된다. 여기 논의되는 바와 같이, 유전체 재료(80)는 보강 또는 강화 재료로서 다른 여러 곳에 사용될 수 있다.In the embodiment of Figures 3-22b, as described above, the
도 3-22b의 실시예에서, 포트(14), 센서(16) 및 리드(18)는 삽입 부재(37) 상에 회로(10)를 형성한다. 포트(14)는 복수의 단자(11)를 포함하는데, 그중 4개의 단자(11)는 각각 4개의 센서(16) 중 하나에 개별적으로 전용되며, 하나의 단자(11)는 회로(10)에 전압을 인가하기 위한 것이고, 하나의 단자(1)는 전압 측정을 위한 것이다. 본 실시예에서, 센서 시스템(120은 층(66, 68) 중 하나에 각각 위치된 한 쌍의 저항기(53, 54)와, 제1 층(66) 상의 회로와 제2 층(68) 상의 회로를 연결시키는 경로(50)를 포함한다. 저항기(53, 54)는 각 센서(16)의 저항을 측정하는 모듈(22)을 위한 기준점을 제공하고, 모듈(22)이 활성 센서(16)로부터의 가변 전류를 측정 가능한 전압으로 변환할 수 있게 해준다. 추가로, 저항기(53, 54)는 회로(10) 내에 병렬 배치되는데, 이는 회로(10)에서의 변화, 및/또는 리드(18) 및/또는 센서 접촉부(40, 42)의 인쇄에 사용되는 잉크의 전도성의 변화와 같이, 저항기(53, 54)를 형성하는데 이용되는 제조 공정에서의 변화를 보상한다. 일 실시예에서, 2개의 저항기(53, 54)의 등가 저항은 1500+/-500 ㏀이다. 다른 실시예에서, 단일 저항기(53, 54) 또는 직렬 연결된 2개의 저항기(53, 54)가 사용될 수 있다. 추가의 실시예에서, 저항기(53, 54)는 삽입 부재(37) 상의 다른 위치에 위치될 수 있거나 모듈(22)의 회로 내에 위치될 수 있다. 본 실시예의 회로(10)에 대한 보다 기술적인 표현은 아래에서 설명되고 도 20에 예시된다.3-22b, the
도 20은 본 발명의 실시예에 따라 압력을 감지 및 측정하는데 사용될 수 있는 회로(10)를 예시한다. 회로(10)는 회로(10)에 전압을 인가하기 위한 전력 단자(104a), 아래 설명되는 바와 같이 전압을 측정하기 위한 측정 단자(104b) 및 센서(16a-16d) 중 하나에 각각 개별적으로 전용이면서 본 실시예에서는 그라운드를 나타내는 4개의 센서 단자(104c-104f)를 포함하는 6개의 단자(104a-104f)를 포함한다. 단자(104a-104f)는 포트(14)이 단자(11)를 나타낸다. 도시된 실시예에서, 저항기(53, 54)를 나타내는 고정된 저항기(102a, 102b)는 병렬 연결된다. 고정 저항기(102a, 102b)는 분리된 층 상에 물리적으로 위치될 수 있다. 단자(104a, 104b) 간의 등가 저항은 널리 알려진 수학식 1에 의해 판정된다:Figure 20 illustrates a
여기서, =고정 저항기(102a)의 저항이고, =고정 저항기(102b)의 저항이고, =등가 저항이다.here, = Resistance of the fixed resistor 102a, = Resistance of the fixed resistor 102b, = Equivalent resistance.
고정 저항기(102a, 102b)를 전기적으로 병렬 연결하는 것은 고정 저항기(102a, 102b)의 형성에 이용되는 제조 공정의 변화를 보상한다. 예를 들면, 고정 저항기(102a)가 바람직한 저항에서 벗어난 저항을 가지는 경우, 수학식 1에 의해 판정되는 등가 저항의 편차는 고정 저항기(102b)의 평균화 효과에 의해 최소화된다. 당업자는 2개의 고정 저항기가 예시만의 목적으로 제공된 것임을 알 것이다. 추가의 고정 저항기가 병렬 연결될 수 있으며, 각각의 고정 저항기는 다른 층에 형성될 수 있다.The electrically parallel connection of the fixed resistors 102a and 102b compensates for changes in the manufacturing process used to form the fixed resistors 102a and 102b. For example, if the fixed resistor 102a has a resistance outside of the desired resistance, the deviation of the equivalent resistance as determined by equation (1) is minimized by the averaging effect of the fixed resistor 102b. Those skilled in the art will appreciate that the two fixed resistors are provided for illustrative purposes only. Additional fixed resistors can be connected in parallel, and each fixed resistor can be formed in a different layer.
도 20에 도시된 실시예에서, 고정 저항기(102a, 102b)는 센서(16a-16d)에 연결된다. 센서(16a-16d)는 전술한 바와 같이 압력 변화에 응답하여 저항을 변화시키는 가변 저항기에 의해 구현될 수 있다. 각각의 센서(16a-16d)는 다중 저항기로 구현될 수 있다. 일 실시예에서, 각각의 센서(16a-16d)는 물리적으로 다른 층에 위치되고 전기적으로 병렬 연결된 2개의 가변 저항기로 구현된다. 예를 들면, 일 실시예와 관련하여 전술한 바와 같이, 각각의 센서(16a-16d)는 인가된 압력이 증가됨에 따라 서로 강하게 접촉되는 2개의 접촉부(40, 42)를 포함할 수 있으며, 센서(16a-16d)의 저항은 접촉이 강해짐에 따라 감소될 수 있다. 전술한 바와 같이, 저항기의 병렬 연결은 제조 공정 중 생기는 편차를 최소화하는 등가 저항을 형성한다. 다른 실시예에서, 접촉부(40, 42)는 직렬 배열될 수 있다. 센서(16a-16d)는 스위치(108a-108d)를 통해 그라운드에 연결될 수 있다. 스위치(108a-108d)는 센서에 연결될 때 폐쇄되는 스위치일 수 있다. 일부 실시예에서, 스위치(108a-108d)는 트랜지스터 또는 집적 회로로 구현된다.In the embodiment shown in FIG. 20, fixed resistors 102a and 102b are connected to
동작시, 예컨대 3 볼트의 전압 레벨이 단자(104a)에 인가된다. 스위치(108a-108d)는 센서(16a-16d) 중 하나를 그라운드에 연결할 때 폐쇄되는 스위치이다. 그라운드에 접속시, 각각의 센서(16a-16d)는 고정 저항기(102a, 102b)가 조합된 분압기를 형성한다. 예를 들면, 스위치(108a)가 폐쇄되면, 단자(104a)와 그라운드 간의 전압은 고정 저항기(102a, 102b)의 조합과 센서(16a) 사이로 분할된다. 단자(104b)에서 측정된 전압은 센서(16a)의 저항이 변함에 따라 변한다. 결국, 센서(16a)에 인가된 압력은 단자(104b)에서의 전압 레벨로서 측정될 수 있다. 센서(16a)의 저항은 알고 있는 값을 갖는 결합된 고정 저항기(104a, 104b)와 직렬 연결된 센서(16a)에 인가된 전압을 이용하여 측정된다. 유사하게, 선택적 폐쇄 스위치(108b-108d)는 센서(16b-16d)에 인가된 압력에 관한 단자(104c-104f)에서의 전압 레벨을 형성할 것이다. 센서(16a-16d)와 단자(104c-104f) 간의 연결은 다른 실시예에서 상이할 수 있는 것으로 이해된다. 예를 들면, 센서(16a-16d)는 도 12에 도시된 바와 같이 우측 신발의 삽입 부재(37)에 비해 좌측 신발의 삽입 부재(37)의 인터페이스(20)의 다른 핀에 연결된다. 다른 실시예에서, 전압 레벨은 그라운드가 단자(104a)에 위치되고 전압이 단자(104c-104f)에 인가되도록 반대 방식으로 인가될 수 있다. 추가의 실시예에서, 다른 회로 구성을 사용하여 유사한 결과 및 기능성을 얻을 수 있다.In operation, a voltage level of, for example, 3 volts is applied to terminal 104a. The
2개의 저항기(53, 54)는 예시된 실시예에서는 유사하거나 동일한 구조를 가지지만, 상기 저항기는 다른 실시예에서 다른 구조를 가질 수 있는 것으로 이해된다. 각각의 저항기(53, 54)는 서로 이격된 2개의 섹션(55, 56)과 해당 섹션(55, 56) 사이에 위치되어 해당 섹션 간을 연결하는 브릿지(57)를 포함한다. 도 15 및 도 17은 저항기(53, 54)를 더 상세히 도시하고 있는데, 하나의 저항기(53)는 상부로부터 보여지고 나머지 저항기(54)는 하부로부터 보여진다. 상기 섹션(55, 56)은 하나의 리드(18)를 통해 저항기(53, 54)로 들어가는 전자 신호 또는 전류가 브릿지(57)를 가로질러 상기 섹션(55, 56) 사이로 진행한 후 나머지 리드(18)를 통해 빠져나가도록 서로 다른 리드(18)에 연결될 수 있다. 상기 섹션(55, 56)은 작은 면적 내에서 섹션(55, 56) 사이에 긴 전송 길이를 제공하도록 내부 섹션(55)과 해당 내부 섹션(55)을 실질적으로 둘러싸는 외부 섹션(56)으로서 형성될 수 있다. 본 실시예에서, 브릿지(57)도 역시 내부 섹션(55)을 실질적으로 둘러싸며 외부 섹션(56)에 의해 실질적으로 둘러싸인다. 도 15-17에서 보여지고 알 수 있는 바와 같이, 브릿지(57)는 해당 브릿지(57)를 통한 전송이 가능하도록 내부 섹션(55)과 외부 섹션(56) 모두와 부분적으로 중첩된다. 도 15 및 도 17의 실시예에서, 내부 섹션(55)은 원형 또는 거의 원형의 형상으로 형성된다. 외부 섹션(56)은 본 실시예에서 내부 섹션(55)을 적어도 부분적으로 둘러싸는 반-고리형 형상에 의해 적어도 부분적으로 형성되고, 상기 링의 내부 엣지 주변의 내부 섹션으로부터 이격되어 있다. 본 실시예의 브릿지(57)는 내부 및 외부 반원형 엣지를 갖는 반-고리형 형상으로 적어도 부분적으로 형성되며, 브릿지(57)는 적어도 부분적으로 내부 섹션(55)을 둘러싸고, 적어도 부분적으로 섹션(55, 56) 간의 공간을 충전한다. 도 17에 도시된 바와 같이, 브릿지(57)의 내부 엣지는 내부 섹션(55)을 덮고 브릿지(57)의 외부 엣지는 외부 섹션(56)을 덮는다. 추가로, 본 실시예에서, 외부 섹션(56)과 브릿지(57) 사이에는 리드(18)가 내부 섹션(55)에 연결되고 외부 섹션(56) 또는 브릿지(57)와 접촉되지 않고 내부 섹션(55)으로부터 멀어지게 통과될 수 있도록 갭(58)이 형성된다. 다시 말해, 반-고리형 링 형상의 외부 섹션(56)과 브릿지(57)는 그 사이에 갭(58)을 형성하는 단부를 갖는다. 섹션(55, 56)과 브릿지(57)의 상호 형태, 크기 및 배열은 다른 실시예에서 상이할 수 있는 것으로 이해된다.It is understood that the two
일 실시예에서, 브릿지(57)는 상기 섹션(55, 56)보다 더 저항성이 큰 재료로 형성될 수 있으며, 따라서 각 저항기(53, 54)의 저항의 대부분을 제공할 수 있다. 상기 섹션(55, 56)은 적어도 부분적으로 은 소재와 같은 높은 전도성의 재료로 형성될 수 있다. 도 3-22b의 실시예에서, 내부 및 외부 섹션(55, 56)은 인쇄된 은-계 또는 다른 금속계 잉크와 같이 리드(18)와 동일한 재료로 형성된다. 본 실시예에서, 브릿지(57)는 카본 블랙 또는 다른 전도성 카본 재료와 같이 센서 접촉부(40, 42)와 동일한 재료로 형성된다. 내부 및 외부 섹션(55, 56) 및/또는 브릿지(57)는 다른 실시예에서 상이한 재료로 형성될 수 있는 것으로 이해된다.In one embodiment, the
경로(50)는 전반적으로 연속적인 및/또는 중단되지 않는 전기적 통신을 허용하고 전자 신호를 제1 및 제2 층(66, 68) 사이로 통과시킨다. 도 3-22b의 실시예에서, 포트(14)는 제2 층(68)에 직접 연결되고, 경로(50)는 포트(14)와 제1 층(66,68) 상의 센서 접촉부(40, 42) 사이의 수직 경로로 기능할 수 있다. 본 실시예에서, 경로(50)는 제1 층(66) 및 제2 층(68) 상에 전도부(51)를 포함하는데, 전도부(51)는 서로 지속적으로 접촉 상태로 존재함으로써 제1 및 제2 층(66, 68) 사이에 연속적인 전기적 통신을 제공한다(예, 도 21 참조). 본 실시예에서 스페이서 층(67)은 경로(50)와 정렬되어 스페이서 층(67)을 통해 전도부(51) 간에 지속적인 접촉을 허용하는 구멍(38)을 포함한다. 추가로, 도 3-22b의 실시예에서, 전도부(51) 각각은 길이가 긴 갭(59)에 의해 분리된 2개의 섹션(52)으로 분할된다(도 15). 이들 전도 섹션(52)은 도 3-22b에 도시된 실시예에서 거의 반-원형의 형태를 가지며, 전도부(51)는 대략적인 원형인 형태를 가진다. 제1 층(66) 상의 섹션(52)은 제2 층(68) 상의 섹션(52)과 실질적으로 동일한 형태, 크기 및 위치를 가짐으로써, 각 층(66, 68)에서의 해당 섹션은 다른 층(66, 68)에서의 대응하는 섹션(52)과 접촉한다. 2개의 층(66, 68) 상의 갭(59)은 본 실시예에서 실질적으로 정렬된 상태에 있다. 다시 말해, 전도부(51)은 좌측 섹션(52)과 우측 섹션(52) 어느 것도 직접 접촉되지 않고 전도부(51)의 좌측 섹션(52)이 서로 결합되고 전도부(51)의 우측 섹션(52)이 서로 결합되도록 배열될 수 있다. 이 구성은 제1 및 제2 층(66, 68) 사이에 2개의 분리된 나란한 경로를 형성하는 것으로 대안적으로 기술될 수 있고, 각각의 섹션(52)은 각각의 경로를 형성하는 분리된 전도부인 것으로 간주될 수 있다. 경로(50)의 전도부(51)는 전도성 재료로 형성되며, 일 실시예에서, 전도부(51)는 은-계 잉크 또는 다른 금속성 잉크와 같이 리드(18)와 동일한 재료로 형성될 수 있다. 다른 실시예에서, 경로(50)와 여기 설명된 그 성분은 다른 크기, 형태, 구성 또는 위치를 가질 수 있고, 상이한 재료로 형성될 수 있다.
경로(50)는 구조적 지지 및/또는 효과를 제공하기 위해 일 실시예에서 보강 구조(60)에 의해 적어도 부분적으로 둘러싸이거나 해당 보강 구조에 의해 경계가 이루어질 수 있다. 도 7-17 및 도 21에 도시된 바와 같이, 전도부(51)는 실질적으로 고리형의 보강재(60)에 의해 둘러싸여 있다. 본 실시예에서 보강재(60)는 갭(59)이 보강재(60)를 통해 연장되므로 완전히 고리형이 아니며, 보강재(60)는 다른 실시예에서 리드(18)가 통과되어 전도부(51)에 연결되는 추가의 갭을 포함할 수 있다. 본 실시예에서 보강재(60)는 전도부(51) 간에 최대의 접촉을 달성하기 위해 전도부(51) 간의 접촉을 지원하도록 기능한다. 도 21은 이러한 구성을 보다 상세히 나타낸다. 도 21은 사실상 적어도 부분적인 도면이고 도 21에 도시된 성분의 상대 크기는 효과와 이해를 위해 과장될 수 있는 것으로 이해된다. 추가로, 도 21은 다른 층(66, 68)을 나타냄에 있어 간결성을 위해 바닥층(69)을 도시하지 않는다. 통상, 스페이서 층(67)은 전도부(51)가 서로 접촉되도록 하기 위해 층(66, 68)이 경로(50)에서 서로를 향해 편향되도록 전도부(51) 사이를 분리시킨다.The
도 21에 도시된 실시예에서, 스페이서 층(67)의 구멍(38)은 전도부(51)가 서로를 향해 편향되어 서로 접촉되도록 한다. 제1 및 제2 층(66, 68)은 예컨대, 과잉의 공기를 제거하기 위해 경로(50)의 위치에서 조립된 삽입 부재(37) 위로 롤러를 통과시키는 것에 의해 이러한 접촉을 달성하기 위해 진공화되거나 그렇지 않으면 함께 압착될 수 있다. 서로를 향한 층(66, 68)의 편향은 구멍(38)의 림 근처의 층(66, 68) 중 하나 또는 양자 모두에 고리형의 전이 영역(61)을 형성하며, 해당 영역에서 층 또는 층들(66, 68)은 서로를 향해 편향된다. 본 실시예에서 전이 영역(61)은 외부 및 내부 고리형 파단선(61a, 61b)에 의해 형성되어, 전이 영역(61)은 파단선(61a, 61b) 사이에 그리고 전도부(51)는 내부 파단선(61b) 내에 존재한다. 이 구성에서, 제1 및 제2 층(66, 68)은 대체로 외부 파단선(61a) 외측으로 그리고 내부 파단선(61b) 내에서 수평하고, 제1 및 제2 층(66, 68)은 전이 영역(61)에서 서로를 향해 경사짐으로써 전도부(51) 사이가 접촉되도록 한다. 구멍(38)은 보강재(60)가 구멍(38)의 엣지에 인접하게 위치되도록 보강재(60)보다 치수가 크다. 이 구성에서, 보강재(60)의 증가된 강성은 층(66, 68)이 보강재(60)의 위치에서 수평으로부터 적어도 부분적으로 수직으로 급격하게 전이되도록 하는 경향이 있으며, 따라서 보강재(60)는 전이 영역(61)을 형성하는 경향이 있다.In the embodiment shown in Fig. 21, the
도 21에 보여지는 바와 같이, 보강재(60)에서 전이 영역(61)의 위치는 전이 영역(61)에 의해 경계가 형성된 영역(62) 내부에서 전도부(51) 간에 최대의 접촉을 허용한다. 일 실시예에서, 전도부(51)의 대부분은 전이 영역(61)에 의해 경계진 영역(62) 내부의 구멍(38)을 통해 서로 연속적으로 접촉되는 상태에 있다. 다른 실시예에서, 전도부(51)는 전이 영역(61)에 의해 경계진 영역(62)의 전체 또는 거의 전체에 걸쳐 구멍(38)을 통해 서로 연속적으로 접촉된 상태에 있다. 이러한 연속적인 접촉은 경로(50)와 회로(10)가 중단되지 않고 적절히 기능하는 것을 보장하는데 도움이 된다. 경로(50)에서 층(66, 68) 간의 접촉을 강화하기 위해 경로(50)에 또는 그 근처에 접착제를 사용할 수 있다. 보강재(60)는 적절한 강성을 가지는 임의의 재료로 형성될 수 있으며, 일 실시예에서 전도부(51)의 재료보다 더 큰 강성의 재료로 형성될 수 있다. 이러한 재료의 일례로는 카본 블랙 또는 다른 카본계 재료가 있지만, 다른 실시예에서, 다른 종류의 인쇄 가능한 물질을 포함하여 다른 재료가 사용될 수 있다.21, the position of the
보강재(60)는 다른 방식으로 전도부(51) 간의 연속적인 접촉을 달성하는데 도움을 줄 수 있다. 도 3-22b의 실시예에서, 보강재(60)는 반사적인 경향을 나타낼 수 있는 전도부(51)의 금속계 잉크에 비해 여러 파장의 광을 더 잘 흡수할 수 있는 카본계 잉크에 의해 형성된다. 층(66, 68) 상의 잉크는 적외선 조사를 이용하여 경화될 수 있고, 본 실시예에서 보강재(60)는 전도부(51)보다 더 많은 양의 적외선 조사를 흡수할 수 있다. 이러한 흡수는 보강재(60)의 바로 아래의 층(66, 68)의 영역을 가열하는 경향이 있어서 층(66, 68)의 두께를 따라 온도 기울기를 야기함으로써 층(66, 68)은 보강재(60)가 인쇄된 표면이 더 따뜻하고 그 반대 표면이 더 차게 된다. 이러한 온도 기울기는 다시 보강재(60) 근처의 층(66, 68)의 대향면에 차별적인 팽창/수축을 야기할 수 있어서, 보강재(60)에서 따뜻한 표면이 보강재(60)의 대향면에 비해 수축됨으로써 보강재(60) 내부의 각각의 층(66, 68)의 영역(즉, 전도부(51)에서)이 위로 살짝 돌출되거나 오목하게 될 수 있다. 층(66, 68)의 이러한 돌출은 층(66, 68) 위의 전도부(51)를 서로 근접되게 연장시킴으로써 전도부(51) 사이의 접촉이 강화되어 보강재(60) 내에서 전도부(51)의 연속적인 접촉 또는 거의 연속적인 접촉을 달성하는 것을 지원할 수 있다. 층(66, 68)의 돌출은 돌출 효과 또는 함몰 효과를 내기 위한 기계적 스탬핑 또는 다른 예비-변형 동작에 의해 추가로 또는 대안적으로 강화될 수 있다. 초음파 스폿 용접 또는 다른 스폿 용접과 같은 접합 방법을 추가로 또는 대안적으로 이용하여 전도부(51) 간의 접촉을 강화할 수 있다. 일 실시예에서, 전도부(51)를 서로 결합 상태로 유지하기 위해 전도부(51) 사이에 와플 패턴으로 초음파 스폿 용접을 행할 수 있다.The
경로(50) 내의 갭(59)은 여러 기능을 수행할 수 있다. 갭(59)에 의해 행해질 수 있는 하나의 기능은 층(66, 68) 간에 별도의 연결을 형성하기 위해 경로(50)의 섹션(52) 사이를 전기적으로 분리하는 것이다. 갭(59)에 의해 행해질 수 있는 다른 기능은 삽입 부재(37)가 휘어지는 중에 경로(50)의 내구성을 향상시키는 것이다. 대체로, 사용자의 발은 제5 종족골부(제5 종족골 헤드부 또는 제5 중족 지골부로도 지칭됨)로부터 제1 종족골부(제1 종족골 헤드부 또는 제1 종족 지골부로도 지칭됨)까지 "롤링되는(roll)" 경향이 있다. 도 3-22b의 실시예에서, 경로(50)는 삽입 부재(37)의 제2 및/또는 제3 종족골부 근처에 위치되므로, 사용자의 발의 롤(roll)은 경로(50) 바로 위로 통과된다. 이러한 특성의 반복적인 롤링은 전도부(51)를 휘게 할 수 있으며, 이는 다시 마멸, 균열, 분리 등을 야기할 수 있다. 갭(59)은 적절히 정렬된 경우 전도부(51)가 휘는 것을 최소화하는 절곡점으로서 기능할 수 있다. 도 3-22b의 실시예에서, 갭(59)은 대략적으로 사용자의 발의 전형적인 롤의 방향으로 수직으로, 즉 삽입 부재(37)의 제5 중족골부와 제1 중족골부 사이로 연장되는 라인에 수직하게 정렬된다. 일 실시예에서, 제1 종족골부의 센서(16b)와 제5 중족골부의 센서(16c) 사이로 가상 라인(L: 도 10 참조)이 그려질 수 있으며, 갭(59)은 이 라인(L)에 수직으로 또는 라인(L)에 수직한 상태에서 +/-45°이내로 정렬될 수 있다. 도 10에 도시된 라인(L)은 제1 중족골 센서(16b)의 전방 엣지(예, 전방 중심)와 제5 중족골 센서(16c)의 후방 엣지(후방 중심) 사이로 그려진다. 일 실시예에서, 갭(59)(존재하는 경우)은 특히 경로(50)가 삽입 부재(37)의 다른 영역에 위치되는 경우, 달리 위치될 수 있다.The
도 52-56은 도 3-22b의 센서 시스템(12)과 삽입 부재(37)와 유사한, 삽입 부재(37)를 포함하는 다른 실시예의 센서 시스템(612)을 예시한다. 도 52-56의 실시예에서, 경로(50)는 도 3-22b의 실시예에서와 같은 보강재(60)를 포함하지 않는다. 추가로, 본 실시예에서 경로(50)의 전도부(51)는 확장되어, 도 3-22b의 실시예의 보강재(60)에 의해 커버되는 영역을 커버한다. 다시 말해, 본 실시예에서, 전도부(51)는 거의 경로(50)와 정렬된 구멍(38)의 엣지까지 연장되며, 전도부(51)의 일부는 도 56에 도시된 바와 같이 전이 영역(61) 내에 위치된다. 도 52-56의 실시예에서 전도부(51)의 확장된 크기는 전도부(51) 사이의 잠재적인 접촉을 위해 더 큰 표면적을 제공함으로써 보다 더 지속적이고 끊임없는 경로(50)의 기능을 제공할 수 있다. 다른 측면에서, 경로(50)는 도 3-22b에 도시되고 다른 부분에서 설명된 경로(50)의 실시예와 구조적 및 기능적 특징부를 공유한다. 이러한 유사한 구조 및 기능은 간결성을 위해 다시 언급되지 않는다. 일 실시예에서, 기계적 스탬핑 또는 다른 예비-변형 동작을 이용하여 증(66, 68)의 돌출 효과 또는 함몰 효과를 제공함으로써 전술한 바와 같이 전도부(51) 간의 접촉을 강화시킬 수 있다. 초음파 스폿 용접과 같은 접합 방법을 추가로 또는 대안적으로 이용하여 전술한 바와 같이 전도부(51) 간의 접촉을 강화시킬 수 있다.Figures 52-56 illustrate a
다른 실시예에서, 경로(50)는 다른 위치에 위치되거나 다른 구성을 가질 수 있다. 예를 들면, 일 실시예에서, 경로(50)는 예컨대, 제1 층(66) 상의 2-핀 연결부(도시 생략)를 사용하여 2-핀 연결부를 예컨대 크림핑 연결에 의해 인터페이스(20)의 제5 및 제6 단자(11)에 연결하는 것에 의해 단자(11)에 또는 그 근처에 형성될 수 있다. 추가의 실시예에서 경로(50)를 형성하는 다른 구조를 활용할 수 있다.In other embodiments, the
도 48-51은 여기 설명된 센서 시스템(12, 412, 512, 612)와 달리 구성되고 여기 설명된 센서 시스템(12, 412, 512, 612)와 다른 동작 모드를 갖는 다른 실시예의 센서 시스템(712)을 예시한다. 도 48-51의 센서 시스템(712)은 전술되고 도 3-22b에 에시된 센서 시스템(12)과 공통인 많은 구조적 및 기능적 특징부를 포함한다. 예를 들면, 도 48-51의 실시예에서 삽입 부재(37)의 외형, 센서(16)의 대체적인 위치 및 공기 유동 시스템(70)의 구성은 도 3-22b에서 삽입 부재(37)의 형태, 센서(16)의 대체적인 위치, 및 공기 유동 시스템(70)의 구성과 유사하거나 동일하다. 이들 및 다른 이러한 공통의 특징부는 간결성을 위해 여기에 다시 언급되지 않을 것이다.Figures 48-51 illustrate
도 48-51의 실시예에서, 센서 시스템(712)은 제2 층(68) 위에 위치된 2개의 접촉부 또는 전극(740, 742)과 제1 층(66) 위에 위치된 제3 접촉부(744)를 포함하는 센서(16)를 포함한다. 본 실시예에서, 모든 접촉부(740, 742, 744)는 각 접촉부(740, 742, 744)의 엣지에 하나 이상의 배전 리드(18A)를 갖는 전술한 바와 같은 카본계 잉크로 형성된다. 제2 층(68) 상의 접촉부(740, 742)는 제1 층(66) 상의 접촉부(744)와 다른 전도성을 가질 수 있고, 보다 높은 전도성을 얻기 위해 도핑된 카본계 잉크로 형성될 수 있다. 제2 층(68) 상의 접촉부(740, 742)는 서로 전기적으로 분리되어 있으며, 각각 리드(18)에 의해 포트(14)에 연결된다. 단일의 전력 또는 그라운드 리드(18B)는 모든 센서(16)의 제1 접촉부(740)에 연결되고, 개별 센서(16)의 제2 접촉부(742)는 개별 리드(18)에 의해 포트(14)에 연결된다.In the embodiment of Figures 48-51 the
도 48-51의 센서 시스템(712)에서 센서(16)의 구조는 도 3-22b의 실시예의 센서(16)와 유사하다. 본 실시예에서, 조합된 제1 및 제2 접촉부(740, 742)는, 제1 및 제2 접촉부(740, 742)가 서로 전기적으로 분리되어 있고 제3 접촉부(744)가 도 3-22b의 실시예의 제1 층(66) 상의 접촉부(40)와 구조적으로 유사하다는 점을 제외하고, 도 3-22b의 실시예의 제2 층(68) 상의 접촉부(42)와 구조적으로 유사한다. 다른 실시예에서, 센서(16) 및/또는 접촉부(740, 742, 744)는 다른 구성을 가질 수 있다. 예를 들면, 일 실시예에서, 제1 층(66) 상의 접촉부(744)는 카본계 잉크의 단일 패치일 수 있다.The structure of the
도 48-51의 센서 시스템(712)의 실시예에서, 제1 및 제2 접촉부(740, 742)는 서로 전기적으로 분리되어 있고, 제3 접촉부(744)는 제1 및 제2 접촉부(740, 742)와 마주하는 관계로 존재하되, 제3 접촉부(744)는 센서(16)에 수직 압력이 인가될 때 제1 및 제2 접촉부(740, 742)와 접촉이 이루어지도록 구성된다. 본 구성에서, 포트(14)로부터의 신호는 제1 층(66) 상의 센서(16)의 전극(744)을 통과하는 것에 의해 제2 층(68) 상의 각각의 센서(16)의 2개의 전극(740, 742) 사이에서 전달된다. 따라서, 센서(16)의 저항률은 제2 층(68) 상의 접촉부(740, 742)와 제1 층(66) 상의 전극(744) 간의 접촉에 의해 결정되고, 센서(16)에 인가되는 압력과 센서(16)의 저항 간의 관계는 여기 설명된 도 3-22b의 실시예의 센서(16)의 관계와 유사하고 도 27에 예시된다. 도 48-51의 센서(16)의 감도 범위, 작동 압력, 및 다른 기능적 특성은 도 3-22b의 센서 시스템(12)의 센서(16)의 특성과 유사할 수 있다.In the embodiment of the
도 49-51의 센서 시스템(712)에서 포트(14)에서의 연결은 전력 단자(104a), 측정 단자(104b) 및 4개의 센서 단자(104c-104f)를 포함하여 도 3-22b의 실시예에서와 유사하며,도 20에 개략적으로 예시된다. 저항률/저항의 측정은 전술한 바와 같이 동일하거나 유사한 방식으로 완료될 수 있다. 도 48-51의 실시예의 회로는 도 20에 도시된 것과 유사하지만, 본 실시예는 도 3-22b의 실시예에서처럼 2개의 병렬 고정 저항기(53, 54) 대신에 하나의 고정 저항기(53)만을 포함한다. 추가로, 도 3-22b의 실시예의 각 센서(16)는 평행한 5개의 저항기인 것으로 간주될 수 있는 한편, 도 49-51의 센서 시스템(712)의 각 센서(16)는 3개의 추가의 병렬 저항기(접촉부(740))와 직렬 배열된 2개의 병렬 저항기(접촉부(742))인 것으로 간주될 수 있다. 다른 실시예에서, 도 48-51의 센서 시스템(712)은 2개의 고정 병렬 저항기 또는 여기 설명되는 임의의 다른 저항기 구성을 갖도록 결선될 수 있다. 포트(14)에 연결된 리드(18)가 제2 층(68)에만 존재하기 때문에 본 실시예에서는 층(66, 68) 사이에 경로(50)가 필요하지 않은 것으로 이해된다. 따라서, 도 48-51의 센서 시스템(712)에서 스페이서 층(67)은 도 3-22b의 스페이서 층(67)에서와 같이 구멍(38)을 포함하지 않을 수 있다.The connection at the
삽입 부재(37)는 고분자(예, PET) 필름 상에 여러 가지 성분을 적층하는 것에 의해 구성될 수 있다. 일 실시예에서, 삽입 부재(37)는 배전 리드(18A), 경로(50)의 전도부(51), 저항기(53, 54)의 내부 및 외부 섹션(55, 56) 등을 포함하여, 예컨대, 리드(18)를 트레이스 패턴(traced pattrn)으로 인쇄하는 것에 의해 각각의 층(66, 68) 상에 전도성 금속성 재료를 1차로 적층하는 것에 의해 구성된다. 이후, 예컨대 인쇄에 의해 각 층(66, 68) 상에 추가의 카본 재료를 적층하여 접촉부(40, 42), 경로(60)의 보강재(60), 저항기(53, 54)의 브릿지(57) 등을 형성할 수 있다. 이후 임의의 유전체부와 같은 임의의 추가 성분을 적층할 수 있다. 층(66, 68)은 일 실시예에서 PET 시트 상에 인쇄되고, 인쇄 후에 절단되어 외주 형태를 형성할 수 있다.The
포트(14)는 센서(16)에 의해 수집된 데이터를 하나 이상의 공지된 방식으로 외부 소스에 전달하도록 구성된다. 일 실시예에서, 포트(14)는 범용적으로 판독 가능한 포맷으로 데이터의 통신을 행하도록 구성된 유니버설 통신 포트이다. 도 3-22b에 도시된 실시예에서, 포트(14)는 도 3의 포트(14)와 관련하여 예시된 전자 모듈(22)로의 연결을 위한 인터페이스(20)를 포함한다. 추가로, 본 실시예에서, 포트(14)는 중창(131)의 중간 아크 또는 중족 영역의 오목부(135)에 위치된 전자 모듈(22)의 삽입을 위해 하우징(24)과 협력한다. 도 7-16에 도시된 바와 같이, 센서 리드(18)는 함께 만나서 단자(11)에 통합 인터페이스(20)를 형성함으로써 포트(14)에 연결된다. 일 실시예에서, 통합 인터페이스는 예컨대 복수의 전기 접촉부를 통해 센서 리드(18)를 포트 인터페이스(20)에 연결하는 개별 연결부를 포함할 수 있다. 다른 실시예에서, 센서 리드(18)는 통합되어 예컨대 플러그형 인터페이스 또는 다른 구성의 외부 인터페이스를 형성할 수 있고, 추가의 실시예에서 센서 리드(18)는 비-통합형의 인터페이스를 형성할 수 있는데, 여기서 각각의 리드(18)는 자체의 개별 단자(11)를 가진다. 아래에도 설명되는 바와 같이, 모듈(22)은 포트 인터페이스(20) 및/또는 센서 리드(18)로의 연결을 위한 인터페이스(23)를 포함할 수 있다.The
도 3-22b의 실시예에서, 인터페이스(20)는 전기적 접촉부 또는 단자(11)의 형태를 취한다. 일 실시예에서, 단자(11)는 층(66, 68) 중 하나로부터 하우징(24)을 위해 제공된 구멍(27) 내로 연장되는 설부 또는 연장부(21) 상에 형성된다. 연장부는 리드(18)의 단부를 단일 영역으로 통합하여 인터페이스(20)를 형성한다. 도 3-22b의 실시예에서, 연장부(21)는 제2 층(68)으로부터 구멍(27) 내로 연장된 후 하우징(24) 내에서 아래로 절곡됨으로써 단자(11)를 하우징(24) 내에 배치하고 인터페이스(20)가 하우징(24) 내에 접근할 수 있도록 한다. 연장부(21)의 길이를 증가시키고 연장부(21)가 하방으로 절곡되도록 하고 하우징(24) 내로 하방 연장되도록 하기 위해 제2 층(68)은 본 실시예에서 연장부(21)의 양면에 슬릿(83)을 추가로 구비한다. 슬릿(83)의 라운드 단부는 연장부(21) 근처의 제2 층(68)의 재료에서 균열 및 파열이 형성 및/또는 전파되는 것을 방지할 수 있다. 연장부(21)는 하우징(24) 내로 연장되도록 하기 위해 하우징(24)의 플랜지(28) 아래로 그리고 슬롯 또는 립(28) 아래의 다른 공간을 통과할 수 있다. 플랜지(28)가 도 31-32에 도시된 실시예에서와 같이 별개의 부분이면, 연장부(21)는 플랜지(28)가 통부(29)에 연결되기 전에 플랜지(28)와 통부(29) 사이에 삽입될 수 있다. 도 3-22b에 도시된 실시예에서, 연장부(21)는 제2 층(68)과 동일한 고분자 필름 재료로 형성되고, 제2 층(68)과 일체로 되어 있다(예, 단일품으로 형성됨). 다른 실시예에서, 연장부(21)는 제1 층(66)으로부터 연장될 수 있고, 양자의 층(66, 68)에 연결된 부분을 포함할 수 있거나, 및/또는 하나의 층 또는 양자의 층에 연결된 개별 편부로 형성될 수 있다.In the embodiment of Figures 3-22b, the
도 3-22b 및 도 32에 도시된 바와 같은 연장부(21)는 연장부(21)의 일부를 보강하기 위해 연장부에 연결된 보강재(81)를 포함한다. 이 보강재(81)는 강도, 경도, 내마모성, 및 다른 보강을 제공하는 다수의 상이한 재료로부터 선택될 수 있다. 예를 들면, 보강재(81)는 아크릴 잉크 또는 다른 UV-경화성 잉크와 같이, 채널(71)에서 층(66, 68) 사이를 절연시키는데 사용되는 유전체 재료(80)와 동일한 재료로 형성될 수 있다. 도 3-22b 및 도 32에 도시된 실시예에서, 보강재(81)는 연장부(21)의 길이를 따라 중간에 연장부(21)의 전체 폭에 걸쳐 연장되는 긴 스트립의 형태이다. 본 실시예에서 연장부(21)는 제2 층(68)으로부터 구멍(27) 내로 연장되고, 보강재(81)는 연장부(21)의 상측에 적층되어 리드(18)의 단부 위를 가로질러 연장된다. 보강재(81)는 일 실시예에서 리드(18)의 재료의 강도보다 큰 강도를 가질 수 있으며, 다른 실시예에서 층을 형성하는 필름 재료보다 더 큰 강도를 가질 수 있다.The
도 3-22b 및 도 32에 예시된 구성에서, 연장부(21)는 전술한 바와 같이 오목부(135) 내로 그리고 하우징(24) 내로 아래로 휘어짐으로써 단자(11)를 하우징(24) 내에 배치하고 하우징(24) 내에 인터페이스(20)를 형성한다. 도 32에 도시된 바와 같이, 연장부(21)는 연장부(21)가 하우징(24)의 외주 엣지에서 아래로 절곡되는 절곡 영역(84)을 포함함으로써 하우징(24)의 측벽(25)을 따라 아래로 연장된다. 절곡 영역(84)은 대체로 선형이며 연장부(21)에 걸쳐 횡방향으로 연장된다. 도시된 실시예에서, 보강재(81)는 보강재(81)의 스트립이 절곡 영역(84)에서 연장부(21)에 걸쳐 횡방향으로 대체로 절곡 영역(84)에 평행하게 연장되도록 연장부(21) 상에 위치된다. 일 실시예에서, 보강재(81)는 긴 직사각형 스트립으로서 형성되며, 보강재(81)가 전체 절곡 영역(84)을 커버하기에 충분한 폭을 가진다. 이 위치에서, 보강재(81)는 여러 가지 기능을 수행한다. 이러한 하나의 기능은 리드(18) 및/또는 연장부(21)의 필름이 연장부(21)의 절곡에 기인하여 손상되는 것을 방지하는 것이다. 다른 이러한 기능은 리드(18) 및/도는 연장부(21)의 필름이 절곡 영역(84)에서 예컨대, 해당 위치에서 하우징(24)에 대해 벗겨지는 것을 방지하는 것과 같이, 마모 및 마멸되는 것을 방지하는 것이다. 추가의 이러한 기능은 연장부(21)에 강성 및/또는 강도를 제공하는 것이다. 보강재(81)의 다른 잇점은 당업자에게 분명할 것이다. 다른 실시예에서, 보강재(81)는 위치, 형태 또는 구성을 달리하거나 또는 보강재(81)를 추가로 또는 대안적으로 다른 위치에 사용하여 센서 조립체(12)의 다른 성분에 강도, 강성, 내마모성 등을 부여할 수 있는 것으로 이해된다. 추가의 실시예에서, 보강재(81)를 사용하지 않거나 보강재(81)가 연장부(21)의 대부분을 커버할 수 있다.In the configuration illustrated in Figures 3-22b and 32, the
하우징(24)은 인터페이스(20)와 모듈(22) 간에 연결을 확립하기 위해 커넥터 핀 또는 스프링(도시 생략)과 같은 연결 구조를 포함할 수 있다. 일 실시예에서, 포트(14)는 전술되고 도 32에 예시된 바와 같이 개별적으로 단자(11)에 부착되는 접촉부를 포함할 수 있는 인터페이스(20)를 형성하는 전기 커넥터(82)를 포함한다. 커넥터(82)는 크림핑 연결을 통해 연장부(21)와 단자(11)에 연결될 수 있다. 본 실시예의 인터페이스(20)는 7개의 단자를 포함하는데: 4개의 단자(11)는 각각 개별적으로 센서(16) 중 하나에 연결되고, 하나의 단자(11)는 측정 단자(도 20에서 104b)로서 기능하고, 하나의 단자는 회로(10)에 전압을 인가하는 전력 단자(도 10의 104a)로서 기능한다. 전술한 바와 같이, 전력 단자는 대신에 다른 실시예에서 그라운드 단자로서 구성될 수 있는데, 여기서 센서 단자(도 20의 104c-104f)는 전력 단자로서 구성된다. 도 12에 도시된 바와 같이, 센서 시스템(12)의 센서(16), 리드(18) 및 다른 성분의 구성은 좌우측의 발 삽입 부재(37) 사이에서 상이할 수 있으며, 센서(16)는 우측 삽입 부재(37)에 비해 좌측 삽입 부재(37)에서 다른 단자(11)에 연결될 수 있다. 본 실시예에서, 처음 4개의 단자(11)는 센서(16)로의 연결을 위해(비록 잠재적으로 다른 순서로) 여전히 보유되며, 이때 제5, 제6 및 제7 단자(11)는 좌측 및 우측 삽입 부재(37) 모두에 동일한 기능을 보유한다. 이 구성은 다른 실시예에서 상이할 수 있다. 다른 실시예에서, 모듈(22)은 구체적으로 좌측 또는 우측 신발(100)과 삽입 부재(37)에 사용되도록 구성될 수 있다. 제7 단자는 고유의 식별 칩과 같은 부속 기기의 전력 공급을 위해 사용될 수 있다. 일 실시예에서, 제6 및 제7 단자(11)는 연장부(21)의 단부로부터 연장되는 후미부(21A) 상에서 연장된다. 부속 기기는 후미부(21A) 상의 2개의 단자(11)에 걸쳐 연결됨으로써 전력이 공급될 수 있다. 부속 기기는 이방성 접촉부 형성을 통해 후미부(21A)에 부착되는 메모리 칩을 갖는 작은 인쇄 회로 기판(PCB)을 포함할 수 있다. 일 실시예에서, 부속 칩은 신발(100)이 우측 신발인지 좌측 신발인지 여부, 남성 또는 여성의 신발, 특정 종류의 신발(예, 러닝화, 테니스화, 농구화 등), 및 다른 종류의 정보와 같은 실질적인 정보는 물론, 시리얼 번호와 같은 신발(100) 제품을 고유하게 식별하는 정보를 포함할 수 있다. 이 정보는 모듈(22)에 의해 판독되고, 이후 센서로부터 얻어진 데이터의 분석, 프리젠테이션, 및/또는 체계화에 사용될 수 있다. 부속 기기는 예컨대 에폭시 또는 다른 재료를 통해 하우징(24) 내에 밀봉될 수 있다.The
포트(14)는 여러 가지 상이한 전자 모듈(22)에 연결되도록 적합화되어 있으며, 해당 전자 모듈은 메모리 성분(예, 플래시 드라이브)처럼 간단하거나, 보다 복잡한 특징부를 포함할 수 있다. 모듈(22)은 개인용 컴퓨터, 휴대용 장치, 서버 등과 같이 복잡한 성분일 수 있는 것으로 이해된다. 포트(14)는 센서(16)에 의해 수집된 데이터를 저장, 전송 및/또는 처리를 위해 모듈(22)로 전송하도록 구성된다. 일부 실시예에서, 포트(14), 센서(16) 및/또는 센서 시스템(12)의 다른 성분은 데이터의 처리를 위해 구성될 수 있다. 포트(14), 센서(16) 및 센서 시스템(12)의 다른 성분은 추가로 또는 대안적으로 외부 장치(110) 또는 복수의 모듈(22) 및/또는 외부 장치(110)에 직접 데이터를 전송하기 위해 구성될 수 있다. 포트(14), 센서(16) 및/또는 센서 시스템(12)의 다른 성분은 이들 목적을 위해 적절한 하드웨어, 소프트웨어 등을 포함할 수 있다. 신발 제품 내의 하우징 및 전자 모듈의 예가 여기에 참조로 포함되어 일부를 이루는, 미국 특허 출원 공개 제2007/0260421호로서 공개된 미국 특허 출원 제11/416,458에 예시된다. 포트(14)는 다른 실시예에서 모듈(22)로의 연결을 위한 인터페이스(20)를 형성하는 전자 단자(11)를 구비한 것으로 예시되어 있지만, 포트(14)는 하나 이상의 추가적인 또는 대체적인 통신 인터페이스를 포함할 수 있다. 예를 들면, 포트(14)는 USB 포트, 방화벽 포트, 16-핀 포트, 또는 다른 종류의 물리적 접촉형 접속부를 포함하거나, WiFi, 블루투스, 근거리 통신, RFID, 블루투스 Low Energy, Zigbee 또는 다른 무선 통신 기법용 인터페이스 또는 적외선 또는 다른 광학 통신 기법용 인터페이스와 같은 무선 또는 비접촉식 통신 인터페이스를 포함할 수 있다. 다른 실시예에서, 센서 시스템(12)은 하나 이상의 모듈(22) 또는 외부 장치(110)와의 통신을 위해 구성된 2개 이상의 포트(14)를 포함할 수 있다. 이 구성은 대안적으로 단일의 분배 포트(14)인 것으로 간주될 수 있다. 예를 들면, 센서(16) 각각은 도 61에 도시된 센서 시스템(812)의 실시예에서와 같이 하나 이상의 전자 모듈(22)과의 통신을 위해 개별 포트(14)를 가질 수 있다. 개별 포트(14)는 전술한 바와 같이 무선 또는 비접촉식 통신을 이용한 무선 통신을 위해 구성될 수 있다. 일 실시예에서, 각각의 포트(14)는 안테나를 포함하는 RFID 칩을 포함하며, 다른 실시예에서 포트(들)(14)는 전송 시스템으로서 사용자의 신체를 활용함으로써 정보를 사용자의 발로부터 사용자의 신체 상의 다른 곳에 위치된 모듈(22)로 전송할 수 있다. 본 실시예에서 포트(14)는 리드(18)에 의해 센서(16)에 연결되며, 도 61의 파단 라인의 리드(18)는 삽입 부재(37)의 하부 층 위의 리드(18)를 나타내는 것으로 이해된다. 포트(14)는 여러 실시예에서 삽입 부재(37)의 층 사이에, 삽입 부재(37)의 구멍 내에 또는 삽입 부재(37)의 위 또는 아래에 위치될 수 있다. 다중의 또는 분배 포트(들)(14)는 2개 이상의 센서의 조합이 단일 포트(14)에 연결되도록 사용될 수 있는 것으로 이해된다. 추가의 실시예에서, 센서 시스템(12)은 여기 언급된 2개 이상의 구성으 조합을 포함할 수 있는 다른 구성을 갖는 하나 이상의 포트(14)를 포함할 수 있다.The
모듈(22)은 아래 설명되고 또는 도 6 및 도 23에 도시된 바와 같이 처리를 목적으로 데이터를 전송하기 위해 외부 장치(110)로의 연결을 위한 하나 또는 다수의 통신 인터페이스를 추가로 포함할 수 있다. 이러한 인터페이스는 전술한 접촉식 또는 비접촉식 인터페이스 중 임의의 것을 포함할 수 있다. 일례로, 모듈(22)은 컴퓨터 연결용 및/또는 모듈(22)의 전지 충전용의 접이식 USB 연결부를 최소한 포함한다. 다른 예로, 모듈(22)은 시계, 휴대폰, 휴대용 음악 플레이어 등과 같은 모바일 기기에 접촉식 또는 비접촉식으로 연결되도록 구성될 수 있다. 모듈(22)은 외부 장치(110)와 무선 통신되도록 구성될 수 있는데, 이를 통해 모듈(22)은 신발(100)에 유지될 수 있다. 그러니, 다른 실시예에서, 모듈(22)은 예컨대, 전술한 접이식 USB 연결에 의한 데이터 전송을 위해 외부 장치(110)에 직접 연결되도록 신발(100)로부터 제거되도록 구성될 수 있다. 무선 방식의 실시예에서, 모듈(22)은 무선 통신을 위해 안테나에 연결될 수 있다. 안테나는 선택된 무선 통신 방법에 대해 적절한 전송 주파수에서 사용되도록 하는 형상, 크기 및 위치를 가질 수 있다. 추가로, 안테나는 내부적으로 모듈(22) 내에 또는 모듈 외부에 위치될 수 있다. 일례로, 센서 시스템(12) 자체(예, 리드(18)와 센서(16)의 전도부)가 안테나를 형성하도록 사용될 수 있다. 모듈(22)은 추가로 안테나 수용성을 향상시키기 위해 배치, 위치 및/또는 구성될 수 있으며, 일 실시예에서, 사용자의 신체의 일부를 안테나로서 사용할 수 있다. 일 실시예에서, 모듈(22)은 신발(100) 내에 영구적으로 장착될 수 있거나, 대안적으로, 사용자의 옵션으로 제거 가능하고 원하는 경우 신발(100)에 남겨질 수 있다. 추가로, 아래에 더 설명되는 바와 같이, 모듈(22)은 제거된 후, 다른 방식으로 센서(16)로부터 데이터를 수집 및/또는 활용하도록 프로그래밍되거나 및/또는 구성된 다른 모듈(22)로 교체될 수 있다. 모듈(22)이 신발(100) 내에 영구적으로 장착되면, 센서 시스템(12)은 USB 또는 방화벽 포트와 같이 데이터 전송 및/또는 전지 충전을 허용하는 외부 포트(도시 생략)를 더 포함할 수 있다. 모듈(22)은 접촉식 및 비접촉식의 양자의 통신을 위해 구성될 수 있는 것으로 이해된다.
포트(14)는 본 발명을 벗어나지 않고 다양한 위치에 위치될 수 있지만, 일 실시예에서 포트(14)는 예컨대 육상 활동 중 착용자가 신발(100) 제품 내에 발을 딛거나 및/또는 그렇지 않으면 신발 제품을 사용할 때 착용자의 발과의 접촉 및/또는 착용자의 발의 자극을 방지 또는 최소화하도록 정해진 위치 및 배향으로 제공되거나 및/또는 그렇지 않으면 구성된다. 도 3-4에서 포트(14)의 배치는 하나의 이러한 예를 예시한다. 다른 실시예에서, 포트(14)는 신발(100)의 발꿈치 또는 발등 부분 근처에 위치된다. 신발(100) 구조의 다른 특징은 착용자의 발과 포트(14)(또는 포트(14)에 연결된 요소) 사이의 접촉을 줄이는 것을 돕거나 방지하여 신발(100) 구조의 전반적인 편안함을 향상시킬 수 있다. 예를 들면, 전술되고 도 3-5에 예시된 바와 같이, 발-접촉 부재(133)는 포트(14) 위로 제공되어 적어도 부분적으로 포트(14)를 커버함으로써 착용자의 발과 포트(14) 사이에 패딩 층을 제공할 수 있다. 착용자의 발과 포트 간의 접촉을 감소시키고 착용자의 발에서 포트의 어떤 불쾌한 느낌을 조절하기 위한 추가의 특징부를 사용할 수 있다. 원하는 경우, 포트(14)로의 개방은 본 발명을 벗어나지 않고 발-접촉 부재(133)의 상부면을 통해 제공될 수 있다. 이러한 구성은 예컨대, 하우징(24), 전자 모듈(22) 및 포트(14)의 다른 특징부가 사용자의 발에서의 느낌을 조절하기 위한 구조를 포함하거나 및/또는 그러한 재료로 형성될 때, 추가적인 편안함 및 느낌 조절 요소가 제공될 때 등등의 경우에 사용될 수 있다. 착용자의 발과 하우징(또는 하우징 내에 수용된 요소) 사이의 접촉을 줄이는 것을 돕거나 방지하여 신발 구조의 전반적인 편안함을 향상시키는 전술한 다양한 특징부 중 임의의 특징부가 본 발명을 벗어나지 않고 제공될 수 있는데, 해당 특징부는 다른 공지된 방법 및 기법은 물론, 첨부된 도면과 협력하여 전술된 다양한 특징부를 포함한다.
도 62-76은 삽입 부재(37)와 함께 사용되도록 구성된 일 실시예의 포트(14)의 다른 도면을 개시하한다. 전술된 유사한 구조는 동일하거나 유사한 참조 번호로 지시될 것이다. 본 실시예와 실시예의 변형을 아래에 상세히 설명한다. 여기 논의되고 개시된 바와 같이, 포트(14)는 모듈(22)과의 작동 가능한 연결을 위한 인터페이스(20)를 형성 또는 지원한다. 모듈(22)도 아래에 더 상세히 설명된다. 포트(14)와 모듈(22) 간의 작동 가능한 연결을 통해, 센서 조립체(12)에 의해 감지된 데이터는 추가의 사용 및 분석을 위해 획득, 저장 및/또는 처리될 수 있다.Figs. 62-76 disclose another view of the
도 62-64로부터 알 수 있는 바와 같이, 포트(14)는 대체로 삽입 조립체(37)의 중간부에 지지된다. 포트(14)는 인터페이스 조립체(156)를 지지하는 하우징(24)을 포함한다. 아래 더 상세히 설명되는 바와 같이, 인터페이스 조립체(156)는 삽입 부재(37)에서 리드(18)를 상부에 구비한 연장부(21)에 작동적으로 연결된다. 이러한 연결에 의해, 모듈(22)의 인터페이스(23)와의 추가의 작동적 연결을 위해 인터페이스(20)가 구축된다.As can be seen from Figures 62-64, the
*도 65-67에 추가로 예시된 바와 같이, 본 실시예의 하우징(24)은 베이스 부재(140)와 커버 부재(142)를 포함한다. 베이스 부재(140)는 측벽(25)과 베이스 벽(26)을 형성하는 전술한 바와 같은 통부(29)에 대응할 수 있다. 베이스 부재(140)의 제1 단부는 삽입 부재(37)의 연장부(21)를 수용하는 대체로 장방형의 구성을 가진다. 베이스 부재(140)의 제2 단부는 라운드된 구성을 가진다. 베이스 부재(140)는 제1 섹션(144)과 제2 섹션(146)을 형성한다. 제1 섹션(144)은 모듈(22)의 형상에 대응하고 모듈을 수용하는 크기로 형성되며, 제2 섹션(146)은 인터페이스 조립체(156)를 수용 및 지지하는 크기로 형성된다. 제2 섹션(146)은 서로 연통되는 제1 및 제2 외측 슬롯(148, 150)을 더 포함한다. 제1 외측 슬롯(148)은 제2 외측 슬롯(150)보다 더 넓게 연장되고 더 크다. 하우징(24)은 하우징(24) 내에 모듈(22)을 유지하기 위해 제2 단부에 돌출부(151)를 더 형성한다. 돌출부(151)에 인접하게 핑거 리세스(29A)가 위치된다. 베이스 부재(140)는 커버 부재(142)와 협력하는 한 쌍의 수용부(152)를 더 포함한다.As further illustrated in Figures 65-67, the
도 66-67에 추가로 예시된 바와 같이, 커버 부재(142)는 모듈(22)을 수용하는 크기로 형성된 중심 구멍(153)을 포함한다. 커버 부재(142)는 제1 단부에 빔 부재(154)를 더 포함하며, 커버 부재(142)의 제2 단부는 라운드된 구성을 포함한다. 빔 부재(154)는 설명되는 바와 같이 베이스 부재(140)에 연결시 제1 섹션(144의 일부 위로 돌출된다. 커버 부재(142)의 하면은 설명되는 바와 같이 베이스 부재(140) 상의 수용부(152)와 협력하는 한 쌍의 돌출 포스트(155)를 포함한다. 커버 부재(142)의 외주는 립 또는 플랜지(28)를 형성한다. 예시적인 실시예에서, 커버 부재(142)는 하우징(24)의 측벽(25)을 공조하여 형성하는 돌출 벽을 포함할 수 있다. 이러한 구성에서, 베이스 부재(140)는 커버 부재(142) 상의 돌출 벽을 수용하기 위해 측벽 상에 지지부(ledge)를 형성한다.As further illustrated in Figures 66-67, the
도 68-71은 인터페이스 조립체(156)의 성분을 추가로 보여준다. 인터페이스 조립체(156)는 도 32를 참조로 개략적으로 설명된 바와 같은 전기 커넥터(82)를 지지하는 캐리어(157)를 구비한다. 전기 커넥터(82)는 각각 모듈(22) 상의 대응하는 접촉부와 협력하여 작동하도록 캐리어(157)에 의해 탄성 지지되는 접촉부를 형성하는 말단부를 가진다. 전기 커넥터(82)는 캐리어(157) 주변에 절곡부를 가지며, 상부에 복수의 핑거(158)를 가지는 근접단을 구비한다. 일 실시예에서, 4개의 핑거(158)가 각각의 커넥터(82)와 관련되며, 핑거(158)는 화판(flower petal) 구성으로 배열될 수 있다. 아래 더 상세히 설명되는 바와 같이, 인터페이스 조립체(156)는 충전 재료 또는 사출 성분(159)을 더 포함할 수 있다. 커넥터의 단부(82A)는 도 69에 도시된 바와 같이 삽입 부재(37)의 연장부(21)와의 연결 전에 예정된 위치에서 스냅 오프(snap off) 동작되는 것으로 이해된다.Figures 68-71 further illustrate the components of the
도 72-73에 도시된 바와 같이, 인터페이스 조립체(156)는 삽입 부재(37)에서 상부에 리드(11)를 구비하는 연장부(21)에 작동적으로 연결된다. 이를 위해, 핑거(158)는 연장부(21)에 연결되며, 여기에서 리드(11)와 커넥터(82) 간 접촉이 이루어진다. 이러한 결합은 도 72로부터 볼 수 있고 알 수 있으며, 또한 도 32로부터 이해될 수 있다. 예시적인 실시예에서, 핑거(158)는 연장부(21)를 통해 돌출되며, 복수의 핑거(158) 각각은 연장부(21)를 통해 연장되어 주변을 둘러싸는 방식으로 연장부를 결합한다. 도 72에 추가로 예시된 바와 같이, 후미부(21A)는 연장부(21)의 후면에 인접하게 위치되도록 더 접힐 수 있는 것으로 이해된다. 논의된 바와 같이, 제6 및 제7 커넥터를 갖는 후미부(21A)는 후미부에 연결되어 전술한 바와 같이 기능하는 PCB 부재(90)를 가질 수 있는데, 해당 PCB 부재는 고유의 식별 칩일 수 있다. 연장부(21)와 캐리어(157)는 삽입 부재(37)의 상부 평면으로부터 돌출되도록 위치되는 것으로 이해된다. 도 74에 추가로 예시된 바와 같이, 캐리어(157)는 하우징(24)의 베이스 부재(140)의 제1 외측 슬롯(148)에 위치된다. 캐리어(157)는 제1 외측 슬롯(148) 내에 꼭 맞게 유지되도록 하는 크기로 형성된다. 커넥터(82)는 하우징(24)에 의해 형성된 제1 섹션(144) 내로 향한다. 도 75-76으로부터 알 수 있는 바와 같이, 충전 재료 또는 사출 성분(159)은 개구(150A)(도 65)를 통해 제2 외측 슬롯(150) 내로 사출될 수 있는 것으로 이해된다. 사출 성분(159)은 예시적인 실시예에서 열경화성 플라스틱일 수 있고, 일종 이상의 다른 재료일 수 있다. 사출 성분(159)은 제2 외측 슬롯(150)을 채우고, 연장부(21)가 캐리어(157)에 의해 유지된 커넥터(82)에 연결되는 영역 주변으로 연장됨으로써 방호성 연결을 제공한다. 일 실시예에서, 사출 성분(159)은 연장부(21)와 포트(14) 간의 연결을 강화시키기 위해 바람직한 정도의 신축성을 유지한다. 사출 성분(159)은 수분의 침입과 부식 작용제를 억제하면서 충격 및 진동에 저항할 수 있다. 베이스 부재(140)는 삽입 부재(37)에 위치되고 수용부(152)는 삽입 부재(37)를 통한 대응하는 개구(28B)와 정렬되는 것으로 이해된다. 커버 부재(142)는 삽입 부재(37)이 상부면 상에 위치되고, 돌출 포스트(155)는 수용부(152) 내에 끼워진다(도 62-67). 커버 부재(142)를 베이스 부재(140)에 연결하기 위해 초음파 용접 동작을 행한다. 이러한 연결은 도 31에 도시된 바와 같은 핀(28A)의 연결과 유사하다. 스냅 연결 또는 다른 기계적 연결을 포함하여, 커버 부재(142)를 베이스 부재(140)에 연결하기 위한 다른 연결 기법이 다른 실시예에서 사용될 수 있다. 빔 부재(154)는 인터페이스(20) 위로 연장되며, 커넥터(82)는 하우징(24) 내에서 돌출되는 것으로 이해된다. 이 구성은 포트(14)를 삽입 부재(37)에 확실하게 연결하도록 하고 또한 여기 설명된 바와 같이 모듈(22)과의 작동적 연결을 제공한다.72-73, the
도 77-90은 모듈(22)의 일 실시예의 추가적인 도면 및 특징부를 개시하며, 아래에 더 상세히 설명한다. 이전에 논의된 바와 같이, 모듈(22)은 센서 시스템(12)으로부터 수신된 데이터의 수집, 저장 및/또는 처리를 위해 포트(14)에 의해 수용되고 포트에 작동적으로 연결된다. 모듈(22)은 한정되는 것은 아니지만 인쇄 회로 기판, 전원, 조명 부재, 인터페이스 및 다른 종류의 센서(다축 가속도계, 자이로스코프 및/또는 지력계를 포함)를 포함하는, 이러한 목적을 위한 다양한 성분을 내장하는 것으로 이해된다.Figures 77-90 disclose additional drawings and features of one embodiment of
모듈(22)은 하우징(170)을 포함하고, 해당 하우징은 포트(14)의 인터페이스(20)와 협력하는 접촉부를 형성하는 전기 커넥터가 구비된 인터페이스(23)를 지지한다. 아래 더 상세히 설명되는 바와 같이, 모듈(22)의 인터페이스(23)와 관련된 접촉부는 밀봉된 구성으로 존재하여 수분의 침투를 막을 수 있도록 형성된다. 모듈(22)은 조명시에만 시각적으로 인식 가능한 비노출형 LED 광 표시기를 추가로 구비한다. 마지막으로, 모듈(22)은 모듈(22)의 작동을 증강시키는 특유의 그라운드 평면 익스텐더(extender)를 사용한다.The
도 79-83에 도시된 바와 같이, 모듈(22)의 하우징(170)은 인터페이스 조립체(171)를 지지한다. 인터페이스 조립체(171)는 복수의 커넥터(172)와 모듈 캐리어(173)를 포함한다. 커넥터(172)는 각각 모듈(22)의 인터페이스(23)를 전체로서 형성하는 접촉부를 형성하는 말단 단부를 가진다. 커넥터(172)는 커넥터(172) 주변에 재료가 형성되어 모듈 캐리어(173)를 형성하도록 삽입 성형되는 것으로 이해된다. 커넥터(172)의 일부(172A)(도 79)는 추가의 작동 가능한 연결을 위해 커넥터(172)를 적절한 길이로 배치하기 위해 미리 정해진 위치에서 스냅 오프 동작되는 것으로 이해된다. 하우징(170)은 통상적으로 외부 및 내부 베이스 부재(175, 176)를 갖는 모듈 베이스 부재(174)를 포함한다. 하우징(170)은 외부 및 내부 상부 부재(178, 179)를 갖는 모듈 상부 부재(177)를 더 구비한다. 모듈 베이스 부재(175, 176), 모듈 상부 부재(178, 179) 및 인터페이스 조립체(171)는 협력하여 커넥터(172) 주변에 밀봉된 구성을 제공한다. 커넥터(172)는 오버몰딩 구성을 갖는 것으로 간주될 수 있다. 이들 성분은 또한 내부 공동을 형성하며, 하우징(170)은 커넥터(172)에 작동적으로 연결되는 인쇄 회로 기판을 포함하는 내부 성분을 지지한다.79-83, the
논의된 바와 같이, 커넥터(172)는 삽입 성형되고, 모듈 캐리어(173)는 커넥터(172) 주변에 형성된다. 외부 베이스 부재(175)는 예컨대 사출 성형 공정으로 형성되어 단부 개구를 형성하는 것으로 이해된다. 이러한 공정에서, 커넥터(172)는 사출 성형 공정과 관련된 압력을 견디기 위해 몰드 내에 충분히 지지될 수 있다. 인터페이스 조립체(171)와 외부 베이스 부재(175)는 몰드 내에 배치되며, 여기서 인터페이스 조립체(171)는 단부 개구에 위치되고 외부 베이스 부재(175)에 의해 지지된다. 추가의 사출 성형 공정에서, 몰드 내로 추가의 재료를 사출하여 내부 베이스 부재(176)를 형성한다. 내부 베이스 부재(176)는 커넥터(172)의 모듈 캐리어(173)와 말단 단부 주변에 그리고 외부 베이스 부재(175)의 표면에 대해 형성된다. 내부 베이스 부재(176)에 의해 내부 공동이 형성되는데, 해당 공동 내에는 공지된 바와 같이 인쇄 회로 기판(180)이 지지된다. 커넥터(172)는 인쇄 회로 기판(180)에 작동적으로 연결되는 것으로 이해된다. 또한, 내부 공동 내에 모듈(22)의 다른 성분이 지지되는 것으로 이해된다. 아래에 더 상세히 설명되는 바와 같이, 커넥터(172)는 오버 몰딩 공정으로부터 밀봉된 형태로 구성된다.As discussed, the
내부 및 외부 상부 부재(179, 178)를 포함하는, 도 85-86 및 도 89-90에 도시된 바와 같은 모듈 상부 부재(177)도 역시 일 실시예에서 사출 성형 방법을 이용하여 형성될 수 있다. 도 88에 도시된 바와 같이, 내부 상부 부재(179)는 관통 구멍(181)을 구비한다. 외부 상부 부재(178)는 대체로 평면형의 부재이다. 내부 상부 부재(179)는 베이스 부재(174) 위에 위치되고, 외부 상부 부재(178)는 내부 상부 부재(179) 위에 위치된다. 상부 부재(177)는 모듈(22)의 내부 성분을 피복하기 위해 베이스 부재(175)에 연결된다.A
이러한 구조적 구성에 의해, 커넥터(172)는 밀봉되어 잠재적인 수분의 침투를 방지한다. 도 84에 도시된 바와 같이, 캐리어(173)는 커넥터(172)와 대체로 커넥터(172)의 내부면에서 표면 대 표면 접촉 상태에 있다. 추가로, 내부 베이스 부재(176)는 대체로 커넥터(172)의 외부면에서 커넥터(172) 주변에 위치된다. 내부 베이스 부재(176)는 외부 베이스 부재(175)에 의해 형성되는 접촉면(183)에 접촉되고 결합되는 접촉면(182)을 더 포함한다. 도 84에 추가로 예시된 바와 같이, 이러한 구성으로써, 가상선(L)으로 표시된 복잡한 경로가 형성된다. 이러한 복잡한 경로(L)는 수분의 침투 가능성을 최소화한다. 예를 들면, 사용자는 사용 중 물 웅덩이로 들어가서 잠재적으로 포트(14)와 모듈(22)을 수분에 노출시킬 수 있다. 예시적인 실시예에서, 커넥터(172)는 5 ATM으로 밀봉되는 것으로 간주된다. 복잡한 경로(L)에 인접한 모듈 캐리어(173)와 내부 베이스 부재(176) 사이에, 예컨대 도 84에서 하나 또는 양자의 P 지점에 접합 재료(예, 접착제)를 사용할 수 있다.With this structural arrangement, the
모듈(22)은 포트(14) 내에 수용되는 것으로 이해된다. 모듈(22)의 전방 단부는 중심 구멍(153)을 통해 제1 섹션(144) 내로 삽입된다. 모듈(22)의 크기는 대략적으로 제1 섹션(144)의 크기에 대응하고 억지 끼움 방식으로 형성된다. 이러한 구성에서, 모듈(22) 상의 인터페이스(23)는 포트(14) 상의 인터페이스(20)와 작동적으로 결합되며, 여기서 인터페이스(20, 23)의 각각의 접촉부는 표면 대 표면 간 접촉 상태에 있다. 따라서, 모듈(22)의 인터페이스(23)는 포트(14)의 인터페이스(20) 측으로 가압되도록 구성된다. 모듈(22)은 후방면에 리세스(184)를 포함할 수 있으며, 해당 리세스는 스냅 연결을 통해 모듈(22)을 포트(14)에 유지하는 것을 보조하도록 하우징(24)의 돌출부(151)를 수용한다. 사용자는 핑거 리세스(29A)의 도움으로 모듈(22)에 접근하는 것에 의해 모듈(22)을 포트로부터 쉽게 제거할 수 있다. 따라서, 모듈(22)은 예컨대 충전 또는 데이터 전송을 위해 필요한 경우, 또는 소정 용도의 일종의 모듈(22)을 다른 용도의 상이한 종류의 모듈로 교체하거나 방전된 모듈(22)을 새로이 충전된 모듈(22)로 교체하는 경우 용이하게 포트(14) 내로 삽입 가능하고 포트(14)로부터 제거 가능하다.
도 85-90에 도시된 바와 같이, 모듈(22)은 발광된 표시를 사용자에게 제공하기 위해 광 조립체(185)를 구비한다. 광 조립체(185)는 인쇄 회로 기판(180)에 작동적으로 연결된다. 광 조립체(185)는 광 부재(186)와 광 가이드(187)를 포함한다. 광 부재(186)는 다른 광 부재가 사용될 수 있지만 예시적인 실시예에 따른 LED 광 부재이다. 광 부재(186)는 아치형 섹션(188)을 포함하고, 예시적인 실시예에서 수평 방향일 수 있는, 예컨대 화살표(A1)로 나타낸, 제1 방향으로 광을 조사하도록 구성된다. 광 부재(186)는 측면 발광 LED인 것으로 간주될 수 있다. 광 가이드(187)는 제1 방향으로 구성된 제1 통로(190)를 형성하는 제1 섹션(189)을 포함한다. 제1 섹션(189)은 대략적으로 광 부재(186)의 아치형 섹션(188)에 대응하면서 아치형 섹션을 수용함으로써 광 부재(186)로부터 가능한 많은 양의 광을 획득하는 오목한 영역을 포함한다. 따라서, 제1 섹션(189)은 광 부재(186)의 아치형 섹션(188)에 대면하는 관계로 존재하여 부분적으로 광 부재(186)를 둘러싼다. 도면에 도시된 바와 같이, 광 가이드(187)는 광을 넓은 영역으로 분산시키는 것을 보조하여 광을 아크를 따라 분산시키는 형상을 가진다. 광 가이드(187)는 제2 방향으로 구성된 제2 통로(192)를 형성하는 제2 섹션(191)을 더 포함한다. 제2 통로(192)는 위로 정해진 각도로 연장되므로 제1 방향과는 다르다. 하나의 예시적인 실시예에서, 제2 섹션(191)은 광의 반사를 향상시키도록 결정된 약 45도의 각도의 경사를 갖는다. 제2 통로(192)는 내부 상부 부재(179)에 있는 구멍(181) 근처에 위치된 말단 단부를 포함한다. 광 가이드(187)는 광 가이드의 사출 성형 전에 예컨대 수지에 분산제를 첨가하는 것에 의해 분산제로 처리될 수 있다. 광 부재(186)와 광 가이드(187)는 대면하는 관계로 구성되므로, 성분들은 최소의 점유 면적을 달성하게 되는데, 이는 모듈(22)에 형성된 한정된 면적에 기인하여 도움이 된다. 작동시, 광 부재(186)는 인쇄 회로 기판(180)을 통해 원하는 대로 활성화된다. 광은 화살표(A1)로 나타낸 방향으로 조사된다. 또한, 광은 광 가이드(187)의 형태를 기초로 아치형 구성에서 조사된다. 광은 이들 방향을 따라 제1 통로(190) 내로 조사된다. 광 가이드(187)는 광을 화살표(A2) 방향으로 위로 제2 통로(192) 내로 유도한다. 광이 측면 발광 LED로부터 처음 조사될 때, 광은 A1 방향으로부터 제2 통로(192) 측으로 기울어진 방향으로 전이된다. 이후, 광은 A2 방향으로 구멍(181)을 통과하여 외부 상부 부재(178)를 통해 발광된다. 광 가이드(187)의 형상은 도시된 바와 같이 광을 매우 짧은 경로 길이로 균일하게 분산시키도록 맞춰진다. 광 가이드(187)에 사용되는 분산제는 광을 매우 균일하게 확산시키는 것을 보조함으로써 광 부재(186)로부터 나오는 광의 집중을 최소화한다. 관련된 짧은 경로 길이 때문에, LED 광 부재(186)는 소정 영역에 더 집중된 밝기를 갖는 광을 조사할 수 있다. 본 설계에 따라, 광은 구멍(181)을 통한 광의 기울기가 제한된 경우 보다 균일하게 분산 및 반사가 이루어진다. 구멍(181) 위에 위치된 외부 상부 부재(178)는 원하는 반투명성을 제공하기 위해 재료의 두께와 착색제 추가량에 대해 구조화가 이루어진다. 따라서, 도 90 및 도 91로부터 알 수 있는 바와 같이, 광 부재(186)가 발광하지 않는 경우, 사용자는 LED가 모듈(22) 내에서 출사되는 것을 감지할 수 없어서 블랙 또는 "비노출(dead -front) 상태의" 외관이 제공된다. 일단 광 부재(186)가 활성화되면, 도 91에서 LT 표시로 나타낸 바와 같이 광은 화살표(A1)를 따르고 화살표(A2)를 따라 위로 구멍(181)과 외부 상부 부재(178)를 통해 유도된다. 광 가이드(187)와 상부 부재의 형상 및 처리에 따라, 광은 보다 향상된 방식으로 반사가 이루어져서 상부 부재를 통해 발광되는 광의 전체 영역에 걸쳐 균일하게 분산된 광을 제공한다. 보다 향상된 방식으로 광을 반사하기 위해 추가적인 구조가 역시 추가될 수 있다. 예를 들면, 광 가이드(187)는 광 반사를 향상시키는 표면 조직을 가질 수 있다. 광 가이드(187)의 경사 벽 또는 다른 표면은 도료가 도포되거나 스티커가 부착됨으로써 원하는 광 반사 변화를 얻을 수 있다. 광 부재(186)는 다중 컬러로 광을 조사할 수 있는 것으로 이해된다. 광 부재(186)는 모듈(22)의 전지 수명을 포함하는 다양한 파라미터를 나타내기 위한 표시를 제공한다.As shown in FIGS. 85-90, the
여기 설명되는 포트(14)와 모듈(22)의 구성은 꼭 끼어 맞춤형의 구성을 제공한다. 해당 구성은 방수성을 제공하여 수분의 침투를 억제한다. 이들 특성은 포트(14)와 모듈(22) 간에 작동적인 연결을 제공하면서 얻어진다. 인터페이스 조립체 상의 핑거(158)도 역시 삽입 부재(37)의 연장부(21)와 견고한 연결을 제공하는데, 이는 핑거와 연장부 간의 결합 위치가 최대화되기 때문이다. 충전 재료(159)는 충분한 신축성과 내식성을 제공하기 위해 원하는 경도를 갖도록 선택된다. 하나의 예시적인 실시예에서, 충전 재료(159)는 쇼어 경도계의 타입 A 경도치가 30이하일 수 있다. 충전 재료(159)는 연장부(21)와 인터페이스 조립체(156) 간의 연결부 주변을 보호한다. 하우징과 삽입 부재(37)의 수용부/포스트 연결은 삽입 부재(37)에 추가로 응력 완화를 제공함으로써 삽입 부재(37)가 사용 중 파열될 수 있는 가능성을 최소화한다.The configuration of
도 91-94는 모듈(22)과 관련된 그라운드 평면 익스텐더에 관한 추가의 특징부를 개시한다. 특히, 추가의 측면은 예컨대 모듈(22)과 같은 하나 이상의 전자 장치에서 PCB 층의 표면적을 최대화하는 것에 관한 것이다. 임의의 측면은 PCB의 그라운드 평면층의 표면적을 증가시키는 것에 관한 것이다. 도 91은 한정되는 것은 아니지만 프로세서, 캐패시터, 다이오드, 저항기 및/또는 이들의 조합을 포함하여, 하나 이상의 전기 통신 성분을 포함할 수 있는 일례의 PCB(1002)의 상부 사시도를 보여준다. PCB(1002)는 수평축("x" 축)을 따라 평면형인 것으로 예시되지만, 당업자는 PCB(1002)(또는 작동적으로 통신하는 복수의 개별 PCB들)가 비-평면형 구조를 형성하도록 구성될 수 있음을 알 것이다. PCB(1002)는 예컨대 구리와 같은 전도성 재료로 형성된 그라운드 평면층(1004 참조)을 더 포함한다. 도 91에 도시된 바와 같이, 그라운드 평면층(1004)의 투시 가능 부분은 PCB(1002)의 외주 주변에 위치되지만, 해당 층(1004)의 해당 부분은 PCB(1002)의 다른 부분에 배치 및/또는 연결될 수 있다.91-94 disclose additional features relating to the ground plane extender associated with
임의의 실시예에서, PCB(1002)는 예컨대 전지(도 91-93에는 보이지 않지만 도 94에 도시됨) 등의 적어도 하나의 성분이 휴대용 전원과 작동적으로 통신 가능하도록 구성될 수 있다. PCB(1002)는 전지 또는 다른 형태의 휴대용 전원에 대해 제한된 크기를 갖는 휴대용 장치 내에 배치되도록 구성될 수 있다. 전술한 휴대용 장치의 크기 제한에 기인하여, 전지는 소형화될 수 있으므로 충전 간의 서비스 시간에 제한이 있고 방전 속도에 제한이 있을 수 있다. 일 실시예에 따르면, PCB(1002)는 전지용 공간(1006)과 같은 공간을 포함할 수 있다. 도 91에 도시된 바와 같이, 전지 공간(1006)은 전원을 PCB(1002)에 인접하게 배치할 수 있도록 PCB(1002)의 x-z 평면을 따른 영역을 포함한다. PCB(1002)는 전지 공간(1006)을 형성하는 크기로 제조되거나 하나 이상의 전지 공간을 형성하도록 변경될 수 있게(예, 스냅 영역 및/또는 교번하는 두께 영역을 통해) 구성될 수 있다. 이와 관련하여, 예시된 공간은 전지용 공간이지만, 당업자는 본 발명이 전지만을 내장 또는 배치하기 위해 구성된 영역 및/또는 공간에 한정되지 않음을 알 것이다.In certain embodiments, the
PCB(1002)의 전지용 공간(1006)은 PCB(1002)의 일부에 의해 3개의 측면상에 배치된 슬롯 구성으로서 예시되고 있지만, 당업자는 PCB(1002)의 형태, 크기 및/또는 구성은 단지 예시적인 것으로 본 발명의 범위 내에서 다른 형태가 존재함을 쉽게 알 것이다. 전지용 공간(1006)의 정확한 형태 및 크기는 의도된 용도에 의해 좌우될 수 있으므로 본 개시에 의해 한정되지 않는다. 따라서, 전지용 공간(1006)의 유일한 요건은 수평면을 따라 PCB(1002)에 인접하게 전원을 배치할 수 있도록 하기 위해 PCB(1002)의 수평면(예, x-축을 따른 평면)을 따른 영역의 개재에 있다. PCB(1002)의 측면도를 보여주는 도 94에 도시된 바와 같이, 1008과 같은 전지는 PCB(1002)의 수평면(x-축)을 따라 위치될 수 있다. 전지(1008)는 전지용 공간(1006) 내의 영역을 점유하므로, PCB(1002)의 표면적은 전지용 공간(1008)과 같은 공간을 갖지 않는 PCB에 비해 최소화되지만, 대신에 동일한 지점에 위치되는 더 큰 면적의 그라운드 평면층을 포함한다.Although the
임의의 실시예에 따르면, PCB(1002)의 그라운드 평면층(1004)에는 그라운드 평면 익스텐더(예, 1010 참조)가 전기적으로 연결될 수 있다. 도 92는 일 실시예에 따른 일례의 그라운드 평면 익스텐더(1010)를 보여준다. 그라운드 평면 익스텐더(1010)는 그라운드 평면층(1004)의 표면적을 효과적으로 증가시키는 임의의 재료로 형성될 수 있다. 일 실시예에서, 그라운드 평면 익스텐더는 구리 및/또는 알루미늄으로 이루어질 수 있지만, 추가의 실시예에서 그라운드 평면 익스텐더(1010)는 적어도 일부가 임의의 전도성 재료로 이루어질 수 있다. 전도성 접착제, 솔더링, 솔더링을 통한 단계, 용접, 스냅 인 동작(snapping in) 및 이들의 조합에 의해 익스텐더(1010)와 그라운드 평면층(1004) 간에 접촉(및/또는 정렬)이 이루어지도록 하나 이상의 커넥터(1012)를 사용할 수 있다. 도 92에 가장 잘 나타낸 바와 같이, 익스텐더(1010)는 전지(1008)의 일측(예, 상부)에 인접하게 배치될 수 있고, 수평(x) 축을 따라 PCB(1002)에 실질적으로 평행하여 PCB와 평면을 이루는 상부 영역(예, 1014)과 같은 부분을 포함할 수 있다. 예를 들면, 익스텐더(1010)는 PCB(1002)에 작동적으로 연결되고 PCB(1002)로부터 상부 영역(1016)까지 연장되는 수직 릿지(1016)를 포함할 수 있다. 상부 영역(1016)은 전지(1008)를 포함하는 주변 성분으로부터 열교환을 허용할 수 있는 하나 이상의 구멍(1018)을 포함할 수 있다.According to an optional embodiment, a
도 94에서 볼 수 있는 바와 같이, 익스텐더(1010)는 전지(1008)의 제1 측면(예, 상측)에 인접하고 PCB(1002)와 전기적으로 연결되는 것으로 도시되어 있으며, 안테나(1020)는 전지(1008)의 반대측(예, 바닥)에 인접하게 위치된다. 도 94의 예시적인 실시예에서, 그라운드 평면 익스텐더(1010)와 안테나(1020)는 PCB(1002)와 서로에 대해 평행한 구성을 가진다. 따라서, 적어도 일 실시예에서, 휴대용 장치는 3개의 층, 즉, 1010과 같은 그라운드 평면 익스텐더를 포함하는 제1 층과, 적어도 전지의 일부가 그라운드 평면 익스텐더에 작동적으로 연결된 PCB와 동일한 평면을 따라 존재하도록 위치된 전지를 포함하는 제2 층과, 1020과 같은 안테나를 포함하는 제3 층을 포함한다. 예시된 실시예에서, 상기 층들은 수직으로 배열되지만, 본 발명의 범위 내에서 다른 배열이 존재한다. 이 점에서, 각 층이 달리 언급이 없으면 인접하는 층의 인접 표면과 직접 물리적으로 접촉된다는 요건은 존재하지 않는다. 예를 들면, 안테나(1020)가 전지(1008)의 인접 표면과 직접 물리적으로 접촉된다는 요건은 존재하지 않는다.94, the
도 6은 본 발명의 적어도 일부의 예에 따라 사용될 수 있는 데이터 전송/수신 시스템(107)을 통한 데이터 전송/수신 능력을 포함하는 예시적인 전자 모듈(22)의 개략적인 도면을 보여준다. 도 6의 예시적인 구조는 전자 모듈 구조(22)에 통합된 데이터 전송/수신 시스템(TX-RX)(107)를 예시하고 있지만, 당업자는 신발(100) 구조 또는 데이터 전송/수신 목적의 다른 구조의 일부로서 개별 성분이 포함될 수 있거나 및/또는 데이터 전송/수신 시스템(107)이 본 발명의 모든 예에서 하나의 하우징 또는 하나의 패키지 내에 완전히 포함될 필요가 없음을 알 것이다. 정확하게는, 원하는 경우, 데이터 전송/수신 시스템(107)의 여러 가지 성분 또는 요소는 본 발명의 범위를 벗어나지 않고 다양한 다른 방법으로 다른 하우징 내에서 다른 보드 상에서 서로 분리될 수 있거나 및/또는 신발(100) 제품이나 다른 장치와 별도로 결합될 수 있다. 다양한 예의 다른 가능한 장착 구조를 아래에 더 상세하게 설명한다.FIG. 6 shows a schematic diagram of an exemplary
도 6의 예에서, 전자 성분(22)은 데이터를 하나 이상의 원격 시스템으로 전송하거나 및/또는 해당 시스템으로부터 데이터를 수신하기 위한 데이터 전송/수신 요소(107)를 포함할 수 있다. 일 실시예에서, 전송/수신 요소(107)는 예컨대 전술한 접촉식 또는 비접촉식 인터페이스에 의해, 포트(14)를 통해 통신을 행하도록 구성된다. 도 6에 도시된 실시예에서, 모듈(22)은 포트(14) 및/또는 센서(16)에 대한 연결을 위해 구성된 인터페이스(23)를 포함한다. 도 6에 도시된 모듈(22)에서, 인터페이스(23)는 포트(14)와의 연결을 위해 포트(14)의 인터페이스(20)의 단자(11)와 상보적인 접촉부를 가진다. 다른 실시예에서, 전술한 바와 같이, 포트(14)와 모듈(22)은 접촉식이거나 무선일 수 있는 다른 종류의 인터페이스(20, 23)를 포함할 수 있다. 일부 실시예에서, 모듈(22)은 TX-RX 요소(107)를 통해 포트(14) 및/또는 센서(16)와 인터페이스 연결될 수 있다. 따라서, 일 실시예에서, 모듈(22)은 신발(100)의 외부에 있을 수 있고, 포트(14)는 모듈(22)과의 통신을 위해 무선 송신기 인터페이스를 포함할 수 있다. 본 실시예의 전자 성분(22)은 처리 시스템(예, 하나 이상의 마이크로프로세서), 메모리 시스템(204), 및 전원(206)(예, 전지 또는 다른 전원)을 더 포함한다. 일 실시예에서, 전원(206)은 예컨대 코일 또는 다른 유도 부재를 포함하는 것으로 유도 충전을 행하도록 구성될 수 있다. 본 구성에서, 모듈(22)은 신발(100) 제품을 유도 패드 또는 다른 유도 충전기 상에 배치함으로써 포트(14)로부터 모듈(220을 제거하지 않고 충전을 허용하는 것으로 충전될 수 있다. 다른 실시예에서, 전원(206)은 추가로 또는 대안적으로 에너지-생산 기술을 이용하여 충전을 행하도록 구성될 수 있고, 예컨대, 사용자의 동작에 기인한 운동 에너지의 흡수를 통해 전원(206)을 충전시키는 충전기와 같은 에너지 생산 장치를 포함할 수 있다.In the example of Figure 6, the
하나 이상의 센서에 대한 연결은 도 6에 도시된 바와 같이 달성될 수 있지만, 신발(100) 제품의 사용 또는 사용자에 관한 물리적 또는 생리적 데이터와 같은 다양한 다른 종류의 파라미터에 관한 데이터 또는 정보를 감지 또는 제공하도록 추가의 센서(도시 생략)가 제공될 수 있다. 상기 물리적 또는 생리적 데이터는 보수계(pedometer) 타입의 속도 및/또는 거리 정보, 다른 속도 및/또는 거리 데이터 센서 정보, 온도, 고도, 기압, 습도, GPS 데이터, 가속도계 출력 또는 데이터, 심박수, 맥박수, 혈압, 체온, EKG 데이터, EEG 데이터, 각도 배향 및 각도 배향의 변화에 관한 데이터(예, 자이로스코프-계 센서) 등을 포함한다. 이 데이터는 메모리(204)에 저장되거나 및/또는 예컨대 전송/수신 시스템(107)에 의한 일부의 원격 위치 또는 시스템으로의 전송을 위해 사용될 수 있다. 존재하는 경우 추가의 센서(들)는 (예, 보수계 타입이 속도 및/또는 거리 정보를 위해 보행 중 방향 변경을 감지하거나 점프 높이를 감지하기 위해 등등) 가속도계를 포함할 수 있다. 일 실시예에서, 모듈(22)은 가속도계와 같은 추가의 센서(208)를 포함할 수 있고, 센서(16)로부터의 데이터는 모듈(22) 또는 외부 장치(110)에 의해 가속도계(208)로부터의 데이터와 합쳐질 수 있다.The connection to one or more sensors may be accomplished as shown in FIG. 6, but it may be possible to sense or provide data or information regarding various other types of parameters, such as physical or physiological data about the user or use of the
추가의 예로서, 전자 모듈, 시스템 및 전술한 여러 종류의 방법을 사용하여 신발 제품을 자동으로 완충 제어할 수 있다. 이러한 시스템 및 방법은 예컨대, 신발 제품의 완충 특성을 능동 및/또는 동적 제어하기 위한 시스템 및 방법을 기술하고 있는 미국 특허 제6,430,843호, 미국 특허 출원 공개 제2003/0009913호 및 미국 특허 출원 공개 제2004/0177531호에 기술된 것과 같이 동작한다(미국 특허 제6,430,843호, 미국 특허 출원 공개 제2003/0009913호 및 미국 특허 출원 공개 제2004/0177531호는 각각 참조로 여기에 그 전체가 포함되어 본 명세서의 일부를 이룬다). 속도 및/또는 거리형 정보를 제공하기 위해 사용되는 경우, 미국 특허 제5,724,265호, 제5,955,667호, 제6,018,705호, 제6,052,654호, 제6,876,947호, 및 제6,882,955호에 기술된 종류의 감지 유닛, 알고리즘, 및/또는 시스템을 사용할 수 있다. 이들 특허는 각각 그 전체가 여기에 참조로 포함된다. 신발 제품과 솔 구조 및 이를 활용하는 부재는 물론, 센서 및 센서 시스템의 추가적인 실시예는 그 전체가 여기에 참조로 포함되어 본 명세서의 일부를 형성하는 미국 특허 출원 공개 제2010/0063778호 및 제2010/0063779호에 기술된다.As a further example, an electronic module, system and various kinds of methods as described above can be used to automatically control the shoe product. Such systems and methods are described, for example, in U.S. Patent No. 6,430,843, U.S. Patent Application Publication No. 2003/0009913, and U.S. Patent Application Publication 2004 / 0177531 (U.S. Patent No. 6,430,843, U.S. Patent Application Publication No. 2003/0009913 and U.S. Patent Application Publication No. 2004/0177531, each of which is incorporated herein by reference in its entirety, Part of it). When used to provide speed and / or distance type information, a sensing unit of the kind described in U.S. Patent Nos. 5,724,265, 5,955,667, 6,018,705, 6,052,654, 6,876,947, and 6,882,955, , And / or a system. Each of which is incorporated herein by reference in its entirety. Additional embodiments of sensor and sensor systems, as well as shoe products and sol structures and members utilizing the same, are described in U.S. Patent Application Publication Nos. 2010/0063778 and 2010, which are incorporated herein by reference in their entirety and form part of this disclosure. / 0063779.
전자 모듈(22)은 활성화 시스템(도시 생략)을 또한 포함할 수 있다. 활성화 시스템 또는 그 일부는 모듈(22)과 또는, 전자 모듈(22)의 다른 부분과 함께 또는 따로, 신발(100) 제품(또는 다른 장치)과 결합될 수 있다. 활성화 시스템은 전자 모듈(22) 및/또는 전자 모듈(22)의 적어도 일부의 기능(예, 데이터 전송/수신 기능 등)을 선택적으로 활성화하기 위해 사용될 수 있다. 본 발명을 벗어나지 않고 다양한 다른 활성화 시스템이 사용될 수 있으며, 이러한 다양한 시스템은 첨부된 여러 도면과 관련하여 아래에 더 상세하게 설명될 것이다. 일례로, 센서 시스템(12)은 연속하는 또는 교번하는 발가락/발꿈치 탭과 같은 특정 패턴으로 센서(16)를 활성화하는 것에 의해 활성화 및/또는 정지될 수 있다. 다른 예로, 센서 시스템(12)은 다른 위치는 물론, 해당 센서 시스템(12)과 연결되어 모듈(22) 상에, 신발(100) 상에 또는 외부 장치 상에 위치될 수 있는 버튼 또는 스위치에 의해 활성화될 수 있다. 이들 중 임의의 실시예에서, 센서 시스템(12)은 설정된 휴지 기간 후 시스템(12)을 정지시킬 수 있는 "슬립" 모드를 포함할 수 있다. 대안적인 실시예에서, 센서 시스템(12)은 활성화 또는 정지하지 않는 저전력 장치로서 작동할 수 있다.The
모듈(22)은 도 23에 도시된 바와 같이 외부 컴퓨터 또는 컴퓨터 시스템, 모바일 기기, 게임 시스템, 또는 다른 종류의 전자 기기일 수 있는 외부 장치(110)와 통신하도록 구성될 수 있다. 도 23에 도시된 예시적인 외부 장치(100)는 프로세서(302), 메모리(304), 전원(306), 디스플레이(308), 사용자 입력부(310) 및 데이터 전송/수신 시스템(108)을 포함한다. 데이터 전송/수신 시스템(108)은 전술되거나 다른 부분에 언급된 접촉식 및 비접촉식 통신 방법을 포함하는 임의의 종류의 공지된 통신 방식으로 모듈(22)의 전송/수신 시스템(107)을 통해 모듈(22)과 통신을 행하도록 구성된다. 모듈(22) 및/또는 포트(14)는 다양한 다른 종류 및 구성의 전자 장치를 포함하고 또한 정보를 다른 외부 장치로 보내는 기능을 가지며 이러한 데이터를 추가로 처리하거나 하지 않을 수 있는 중간 장치를 포함하는 복수의 외부 장치와 통신하도록 구성될 수 있는 것으로 이해된다. 추가로, 모듈(22)의 전송/수신 시스템(107)은 복수의 다른 종류의 전자 통신을 위해 구성될 수 있다. 신발(100)은 전지, 압전 소자, 태양 에너지 전원, 또는 다른 전원과 같이, 필요한 경우 센서를 동작시키는 별개의 전원을 포함할 수 있다. 도 3-22b의 실시예에서, 센서(16)는 모듈(22)에 대한 연결을 통해 전력을 얻는다.The
아래에 설명되는 바와 같이, 이러한 센서 조립체는 전자 모듈(22) 및/또는 외부 장치(110)를 위한 특정 소프트웨어에 사용되도록 주문 제작될 수 있다. 제3 자는 주문 제작된 센서 조립체를 갖는 솔 삽입 부재와 함께 이러한 소프트웨어를 패키지로서 제공할 수 있다. 모듈(22) 및/또는 전체 센서 시스템(12)은 모듈(22), 외부 장치(110) 또는 다른 성분에 저장되거나 및/또는 그에 의해 실행되는 알고리즘을 포함하는, 센서(16)로부터 얻어진 데이터의 분석을 위한 하나 이상의 알고리즘과 함께 사용될 수 있다.As described below, such a sensor assembly may be customized for use with specific software for the
동작시, 센서(16)는 자체 기능 및 설계에 따라 데이터를 수집하고, 해당 데이터를 포트(14)로 보낸다. 포트(14)는 전자 모듈(22)이 센서(16)와 인터페이스 연결되도록 하고 추후의 사용 및/또는 처리를 위해 데이터를 수집하도록 한다. 일 실시예에서, 데이터는 범용적으로 판독 가능한 포맷으로 수집, 저장 및 전송되며, 따라서, 데이터는 다양한 다른 목적의 용도로 다양한 다른 용례로 복수의 사용자에 의해 액세스되거나 및/또는 다운로드될 수 있다. 일례로, 데이터는 XML 포맷으로 수집, 저장 및 전송된다. 일 실시예에서, 모듈(22)은 현재 스위칭된 특정 센서(16)의 저항의 변화를 반영하는 측정 단자(104b)에서의 전압 강하를 측정하는 것에 의해 도 20에 도시된 바와 같은 회로(10)를 활용하여 센서(16)에서 압력 변화를 감지한다. 도 27은 센서에 대한 압력-저항 곡선의 예를 예시하는데, 파선은 삽입 부재(37)의 휨과 같은 요인에 기인한 곡선의 잠재적인 이동을 나타낸다. 모듈(22)은 활성화 저항(RA)을 가질 수 있으며, 활성화 저항은 모듈(22)이 센서 상의 압력을 인식하는데 필요한 감지된 저항이다. 이러한 저항을 형성하는 대응하는 압력은 활성화 압력(PA)으로서 알려져 있다. 활성화 저항(RA)은 모듈(22)이 데이터를 기록하는 것이 바람직한 특정의 활성화 압력(PA)에 대응하도록 선택된다. 일 실시예에서, 활성화 압력(PA)은 약 0.15 bar, 약 0.2 bar, 또는 약 0.25 bar일 수 있고, 대응하는 활성화 저항(RA)은 약 100 ㏀일 수 있다. 추가로, 일 실시예에서, 최대 감도 범위는 150-1500 mbar일 수 있다. 일 실시예에서, 도 3-22b에 도시된 바와 같이 구성된 센서 시스템(12)은 0.1-7.0 bar(또는 약 0.1-7.0 기압)의 압력을 검출할 수 있고, 다른 실시예에서, 센서 시스템(12)은 이 범위를 넘는 압력을 높은 감도로 검출할 수 있다.In operation, the
다른 실시예에서, 센서 시스템(12)은 다른 종류의 데이터를 수집하도록 구성될 수 있다. (전술한) 일 실시예에서, 센서(들)(16)는 압축의 횟수, 순서, 및/또는 빈도에 관한 데이터를 수집할 수 있다. 예를 들면, 시스템(12)은 접촉 시간과 떠있는 시간과 같은 다른 파라미터는 물론, 신발(100)을 착용하고 있는 동안 생기는 스텝, 점프, 커트(cut), 차기(kick) 또는 다른 압축력의 횟수 또는 빈도를 기록할 수 있다. 정량적 센서와 2단 온/오프형 센서 모두 이러한 데이터를 모을 수 있다. 다른 예로, 시스템은 신발에 의해 생기는 압축력의 순서를 기록할 수 있는데, 해당 순서는 발의 회내(pronation) 또는 외전(supination), 중량 이동, 발의 스트라이크 패턴 또는 다른 이러한 사용을 결정하는 것과 같은 목적으로 사용될 수 있다. (전술한) 다른 실시예에서, 센서(들)(16)는 신발(100)의 인접 부분 상의 압축력을 정량적으로 측정할 수 있고, 얻어지는 데이터는 정량적 압축력 및/또는 충격값을 포함할 수 있다. 신발(100)의 다른 부분에 대한 하중의 상대적인 차이는 신발(100)의 하중 분배와 "압력 중심"을 결정하는데 활용될 수 있다. 하중 분배 및/또는 압력 중심은 신발(100) 한쪽 또는 양쪽에 대해 독립적으로 계산될 수 있거나, 예컨대, 사람의 전신에 대해 압력 중심 또는 하중 분배의 중심을 찾기 위해 양측 신발에 대해 계산될 수 있다. 추가의 실시예에서, 센서(들)(16)는 압축력의 변동률, 접촉 시간, 떠있는 시간 또는 충격 간 시간(예, 점핑 또는 구보의 경우) 및/또는 다른 시간-의존성 파라미터를 측정할 수 있다. 임의의 실시예에서, 센서(16)는 전술한 바와 같이 하중/충격의 기록 전의 임의의 임계 하중 또는 충격을 필요로 할 수 있다.In another embodiment, the
전술한 바와 같이, 데이터는 유니버설 포트(14)를 통해 범용적으로 판독 가능한 포맷으로 모듈(22)에 제공되므로, 데이터를 사용할 수 있는 어플리케이션, 사용자 및 프로그램의 수는 거의 제한이 없다. 따라서, 포트(14)와 모듈(22)은 사용자가 원하는 대로 구성 및/또는 프로그래밍되며, 포트(14)와 모듈(22)은 센서 시스템(12)으로부터 입력 데이터를 수신하는데, 해당 데이터는 다른 어플리케이션에서 요구되는 임의의 방식으로 사용될 수 있다. 모듈(22)은 예컨대, 여기 설명되는 고유 식별 칩(92)의 사용을 통해 수신 데이터가 좌측 또는 우측 신발에 관련되는지를 인식할 수 있다. 모듈(22)은 좌/우측 신발의 인식에 따라 데이터를 달리 처리할 수 있고, 데이터가 좌/우측 신발로부터 온 것에 대한 식별을 통해 해당 데이터를 외부 장치(110)로 전송할 수 있다. 외부 장치(110)는 좌/우측 신발의 식별을 기초로 데이터를 유사하게 처리하거나 그렇지 않으면 데이터를 달리 취급할 수 있다. 일례로, 단자(11)와 인터페이스(20)에 대한 센서(16)의 연결은 도 12에 도시되고 전술한 바와 같이 좌측 및 우측 삽입 부재(37) 사이에서 다를 수 있다. 이 구성에 따르면, 좌측 삽입 부재(37)로부터의 데이터는 우측 삽입 부재(37)로부터의 데이터와는 다른 것으로 해석될 수 있다. 모듈(22) 및/또는 전자 장치(110)는 고유의 식별 칩(92)에 포함된 다른 식별 정보에 대해 유사한 동작을 수행할 수 있다. 많은 어플리케이션에서, 데이터는 사용 전에 모듈(22) 및/또는 외부 장치(110)에 의해 추가로 처리된다. 외부 장치(110)가 데이터를 추가로 처리하는 경우의 구성에서, 모듈(22)은 데이터를 외부 장치(110)로 전송할 수 있다. 이러한 전송 데이터는 범용적으로 판독 가능한 동일한 포맷으로 전송될 수 있거나 또는 다른 포맷으로 전송될 수 있으며, 모듈(22)은 데이터의 포맷을 변경하도록 구성될 수 있다. 추가로, 모듈(22)은 하나 이상의 특정 어플리케이션에 대해 센서(16)로부터의 데이터를 수집, 활용 및/또는 처리하도록 구성 및/또는 프로그래밍될 수 있다. 일 실시예에서, 모듈(22)은 복수의 어플리케이션에 사용되도록 데이터를 수집, 활용 및/또는 처리하도록 구성된다. 이러한 사용 및 어플리케이션의 예가 아래에 제시된다. 여기 사용되는 "어플리케이션"이란 용어는 대체로 특별한 사용을 말하는 것으로, 컴퓨터 분야에서 사용되는 것처럼 반드시 컴퓨터 프로그램 어플리케이션에 사용되는 것을 말하는 것은 아니다. 그럼에도, 특정 어플리케이션은 완전히 또는 부분적으로 컴퓨터 프로그램 어플리케이션으로 구현될 수 있다.As described above, since the data is provided to the
또한, 일 실시예에서, 모듈(22)은 신발(100)에서 제거된 후, 제1 모듈(22)과 달리 동작하도록 구성된 제2 모듈(22)로 교체될 수 있다. 예를 들면, 발-접촉 부재(133)를 들어올리고, 제1 모듈(22)을 포트(14)로부터 분리한 후 제1 모듈(22)을 하우징(24)으로부터 제거하고, 제2 모듈(22)을 하우징(24) 내로 삽입한 후 제2 모듈(22)을 포트(14)에 연결하고, 마지막으로 발-접촉 부재(133)를 다시 제 위치로 배치하는 것에 의해 교체를 행한다. 제2 모듈(22)은 제1 모듈(22)과 달리 프로그래밍 및/또는 구성될 수 있다. 일 실시예에서, 제1 모듈(22)은 하나 이상의 특정 어플리케이션에 사용되도록 구성될 수 있고, 제2 모듈(22)은 하나 이상의 다른 어플리케이션에 사용되도록 구성될 수 있다. 예를 들면, 제1 모듈(22)은 하나 이상의 게임 어플리케이션에 사용되도록 구성될 수 있고, 제2 모듈(22)은 하나 이상의 운동 성과 모니터링 어플리케이션에 사용되도록 구성될 수 있다. 다른 예로서, 모듈(22)은 동일한 게임 또는 성과 모니터링 어플리케이션 내에서 달리 사용되도록 구성될 수 있다. 다른 실시예에서, 제1 모듈(22)은 어떤 종류의 데이터를 수집하도록 구성될 수 있고, 제 모듈(22)은 다른 종류의 데이터를 수집하도록 구성될 수 있다. 이러한 종류의 데이터의 예가 여기에 설명되는데, 해당 데이터는 정량적 하중 및/또는 압력 측정치, 상대적 하중 및/또는 압력 측정치(즉, 서로에 상대적인 센서(16)), 하중 이동, 충격 순서(예, 발 스트라이크 패턴), 하중 및/또는 압력 변동률 등을 포함한다. 추가의 실시예에서, 제1 모듈(22)은 제2 모듈(22)과 다른 방식으로 센서(16)로부터의 데이터를 활용 또는 처리하도록 구성될 수 있다. 예를 들면, 모듈(22)은 데이터의 수집, 저장 및/또는 전송만을 위해 구성될 수 있거나, 예컨대, 데이터의 체계화, 데이터의 형태 변경, 데이터를 사용한 계산의 수행 등과 같이 임의의 방식으로 데이터를 추가로 처리하도록 구성될 수 있다. 또 다른 실시예에서, 모듈(22)은 예컨대, 다른 통신 인터페이스를 구비하거나 다른 외부 장치(110)와 통신하도록 구성되는 것으로, 다른 방식으로 통신을 행하도록 구성될 수 있다. 모듈(22)은 예컨대, 다른 전원을 사용하는 것처럼 구조적 및 기능적 양자의 측면을 포함하거나, 예컨대 전술한 바와 같은 추가의 센서(GPS, 가속도계 등)와 같이 추가적인 또는 상이한 하드웨어 성분을 포함하는 여러 가지 다른 측면에서도 달리 기능할 수 있다.Also, in one embodiment, the
시스템(12)에 의해 수집된 데이터에 대해 고려할 수 있는 하나의 사용은 예컨대, 골프 스윙, 야구/소프트볼 스윙, 하키 스윙(아이스하키 또는 필드 하키), 테니스 스윙, 볼 스로잉/피칭 등과 같은 많은 운동 활동에 중요한 하중 이동의 측정에 있다. 시스템(12)에 의해 수집된 압력 데이터는 임의의 적용 가능한 운동 종목에서 기술을 향상시키는데 사용되는 균형 및 안정성에 관한 가치있는 피드백을 제공할 수 있다. 다소 고가이면서 복잡한 센서 시스템(12)은 그에 의해 수집되는 데이터의 의도된 쓰임새에 기초하여 지정될 수 있는 것으로 이해된다.One use that may be taken into account for the data collected by the
시스템(12)에 의해 수집된 데이터는 다양한 다른 운동 성과 특성의 측정에 사용될 수 있다. 데이터는 달리기/조깅 또는 다른 운동 활동에서 기술을 향상시키는데 사용될 수 있는 발 회내/외전의 정도 및/또는 속도, 발 스트라이크 패턴, 균형, 및 다른 이러한 파라미터의 측정에 사용될 수 있다. 회내/외전과 관련하여, 데이터의 분석은 회내/외전의 예측 변수로서도 사용될 수 있다. 속도 및 거리 모니터링이 수행될 수 있는데, 해당 모니터링은 예컨대, 접촉 측정치 또는 로프트(loft) 시간 측정치와 같은 보수계-기초 측정치를 포함할 수 있다. 예컨대, 접촉 또는 로프트 시간 측정치를 이용하는 것으로 점프 높이를 측정할 수 있다. 커팅 중 신발(100)의 다른 부분에 인가되는 차별적 하중을 포함하는 외측 절단력을 측정할 수 있다. 센서(16)는 신발(100) 내에서 외측으로 슬립되는 발과 같은 전단력을 측정하도록 위치될 수 있다. 일례로서, 측면부에 대한 하중을 감지하기 위해 신발(100)의 갑피(120)의 측면에 추가의 센서가 합체될 수 있다.The data collected by the
데이터 또는 그로부터 유도된 측정치는, 속도, 파워, 순발력, 계속성, 기술 등을 향상시키는 것을 포함하여 운동 훈련의 목적으로 유용할 수 있다. 포트(14), 모듈(22), 및/또는 외부 장치(110)는 사용자에게 유효한 실시간 피드백을 제공하도록 구성될 수 있다. 일례로, 포트(14) 및/또는 모듈(22)은 결과치를 실시간으로 보내기 위해 컴퓨터, 모바일 기기 등과 통신되는 상태로 배치될 수 있다. 다른 예에서, 하나 이상의 진동 요소를 신발(100)에 포함할 수 있는데, 이는 예컨대, 여기에 참조로 포함되어 본 명세서의 일부를 형성하는 미국 특허 제6,978,684호에 개시된 특징부와 같이, 신발의 일부를 진동시켜 동작의 조절에 도움을 주는 것으로 사용자에게 피드백을 제공할 수 있다. 추가로, 데이터는 예컨대 임의의 동작과 사용자의 이전 동작을 비교하여 일치성, 개선점 또는 그것들의 결여를 보여주거나, 사용자의 동작을 예컨대, 프로 골프 선수의 스윙과 같은 다른 동일한 동작과 비교하는 것으로 운동 동작을 비교하는데 사용될 수 있다. 또한, 시스템(12)은 소정 운동의 "특징적" 운동 동작에 대해 생체 역학적 데이터를 기록하는데 사용될 수 있다. 이 데이터는 예컨대, 게임 어플리케이션 또는 사용자의 유사한 동작 위에 임의의 동작을 덮어씌우는 그림자 어플리케이션에 사용되는 것처럼, 소정 동작의 복제 또는 시뮬레이션에 사용되도록 다른 곳에 제공될 수 있다.Data or measurements derived therefrom may be useful for exercise training, including improving speed, power, immediacy, continuity, skill, and the like. The
시스템(12)은 하루 코스에 걸쳐 사용자가 행하는 다양한 활동을 기록하기 위해 "전일 활동(all day activity)" 추적을 위해 구성될 수도 있다. 시스템(12)은 예컨대, 모듈(22), 외부 장치(110) 및/또는 센서(16)에, 이러한 목적을 위한 특별한 알고리즘을 포함할 수 있다.
시스템(12)은 데이터 수집 및 처리 어플리케이션보다는 제어 어플리케이션에 사용될 수 있다. 다시 말해, 시스템(12)은 센서(16)에 의해 감지되는 사용자 동작을 기초로 예컨대, 컴퓨터, 텔레비전, 비디오 게임 등의 외부 장치(110)를 제어하는데 사용되도록 신발 또는 신체 접촉이 이루어지는 다른 제품 내에 합체될 수 있다. 실제로, 센서(16)가 합체되고 리드(18)가 유니버설 포트(14)로 연장되는 신발은 입력 시스템으로서 동작할 수 있게 되며, 전자 모듈(22)은 센서(16)로부터의 입력을 허용하고 해당 입력 데이터를, 예컨대 원격 시스템에 대한 제어 입력으로서 임의의 원하는 방식으로 사용하도록 구성, 프로그래밍 및 적합화될 수 있다. 예를 들면, 센서 제어부를 구비한 신발은 임의의 발 동작, 제스처 등(예, 풋 태핑(foot tapping), 더블 풋 태핑, 힐(heel) 태핑, 더블 힐 태핑, 좌우 발 이동, 풋-포인트(foot-point), 풋-플렉스(foot-flex) 등)이 컴퓨터 상의 미리 지정된 동작(예, 페이지 다운, 페이지 업, 언두(undo), 카피, 컷(cut), 페이스트(paste), 저장(save), 닫기(close) 등)을 제어할 수 있는 마우스와 유사한, 컴퓨터용 또는 컴퓨터에 의해 실행되는 프로그램용의 제어 또는 입력 장치로서 사용될 수 있다. 소프트웨어는 이 목적으로 발 제스처를 다른 컴퓨터 기능 제어에 할당하도록 제공될 수 있다. 운영 시스템은 센서 시스템(12)으로부터 제어 입력을 수신 및 인식하도록 구성될 수 있는 것으로 생각된다. 텔레비전 또는 다른 외부 전자 장치는 이 방식으로 제어될 수 있다. 시스템(12)을 포함하는 신발(100)은 특정 동작이 소정 기능으로 할당되거나 및/또는 디스플레이 화면 상에 사용자의 동작의 가상 표현을 형성하는데 사용될 수 있는 닌텐도 Wii 제어기와 유사한 게임 어플리케이션 또는 게임 프로그램에 사용될 수 있다. 일례로서, 압력 중심 데이터와 다른 하중 분포 데이터는 균형, 하중 이동 및 다른 실행 활동의 가상 표현을 포함할 수 있는 게임 어플리케이션에 사용될 수 있다. 시스템(12)은 게임 또는 다른 컴퓨터 시스템의 전용 제어기로서 또는 대체 제어기로서 사용될 수 있다. 외부 장치를 위한 제어부와 이러한 제어부를 위한 발 제스처부(표시부)로서 신발 제품용의 센서 시스템을 사용하는 구성 및 방법의 예는 그 전체가 여기에 참조로 포함되는 미국 가출원 제61/138,048호에 예시되고 기술된다.
추가로, 시스템(12)은 외부 장치(110) 및/또는 해당 외부 장치에 대한 제어기와 직접 통신하도록 구성될 수 있다. 전술한 바와 같이, 도 6은 전자 모듈(22)과 외부 장치 간의 통신을 위한 하나의 실시예를 예시한다. 도 23에 도시된 다른 실시예에서, 시스템(12)은 외부 게임 장치(110A)와 통신되도록 구성될 수 있다. 외부 게임 장치(110A)는 도 6에 도시된 예시적인 외부 장치(110)와 유사한 성분을 포함한다. 또한, 외부 게임 장치(110A)는 게임 프로그램을 포함하는 적어도 하나의 게임 매체(307)(예, 카트리지, CD, DVD, 블루레이 또는 다른 저장 장치)와, 전송/수신 요소(108)를 통해 유선 및/또는 무선 접속되는 것에 의해 통신을 행하도록 구성된 적어도 하나의 원격 제어기(305)를 포함한다. 도시된 실시예에서, 제어기(305)는 사용자 입력부(310)를 보완하지만, 일 실시예에서 제어기(305)는 유일한 사용자 입력부로서 기능할 수 있다. 본 실시예에서, 시스템(12)은 모듈(22)과의 통신을 가능하게 하기 위해 외부 장치(110) 및/또는 제어기(305)에 연결되도록 구성된 USB 플러그-인을 갖춘 무선 전송/수신기와 같은 부속 장치(303)를 구비한다. 일 실시예에서, 부속 장치(303)는 제어기(305)와 외부 장치(110)와 동일하거나 및/또는 상이한 종류의 하나 이상의 추가적인 제어기 및/또는 외부 장치에 연결되도록 구성될 수 있다. 시스템(12)이 전술된 다른 종류의 센서(예, 가속도계)를 포함하는 경우, 그러한 추가적인 센서는 외부 장치 상의 게임 또는 다른 프로그램의 제어를 위해 포함될 수 있는 것으로 이해된다.Additionally, the
컴퓨터/게임 시스템과 같은 외부 장치(110)는 시스템(12)과 상호 작용하도록 다른 종류의 프로그램을 포함할 수 있다. 예를 들면, 게임 프로그램은 사용자에 의한 연습 또는 활발한 활동을 조장할 수 있는 사용자의 실생활 활동에 기초하여 게임 내 캐릭터의 속성을 변경하도록 구성될 수 있다. 다른 예에서, 프로그램은 신발의 감지 시스템에 의해 수집된 사용자 활동에 관련되거나 그것에 응답하여 동작하는 사용자의 아바타를 표시하도록 구성될 수 있다. 이러한 구성에서, 아바타는 사용자가 활동적이었으면 예컨대, 활기차고 활발하게 보일 수 있고, 사용자가 비활동적이였으면, 예컨대, 생기없고 게으르게 보일 수 있다. 센서 시스템(12)은 게임 시스템이나 모델링 시스템에서처럼 다양한 목적으로 활용될 수 있는, 운동의 "특징적 이동"을 기술하는 데이터를 기록하기 위해 보다 정교하게 감지가 이루어지도록 구성될 수 있다.An
여기 설명되는 바와 같은 센서 시스템(12)을 포함하는 단일 제품의 신발(100)은 단독으로, 또는 도 24-26에 도시된 바와 같은 한 쌍의 신발(100, 100')과 같이, 자체의 센서 시스템(12')을 갖는 제2 제품의 신발(100')과 조합으로 사용될 수 있다. 제2 신발(100')의 센서 시스템(12')은 통상 센서 리드(18')에 의해 전자 모듈(22')과 통신 가능한 상태의 포트(14')에 연결되는 하나 이상의 센서(16')를 포함한다. 도 24-26에 도시된 제2 신발(100')의 제2 센서 시스템(12')은 제1 신발(100)의 센서 시스템(12)과 동일한 구성을 가진다. 그러나, 다른 실시예에서, 신발(100, 100')은 다른 구성을 갖는 센서 시스템(12, 12')을 포함할 수 있다. 2개의 신발(100, 100')은 모두 외부 장치(110)와 통신하도록 구성되며, 예시된 실시예에서, 각각의 신발(100, 100')은 외부 장치(110)와 통신하도록 구성된 전자 모듈(22, 22')을 포함한다. 다른 실시예에서, 양자의 신발(100, 100')은 동일한 전자 모듈(22)과 통신하도록 구성된 포트(14, 14')를 포함할 수 있다. 본 실시예에서, 적어도 하나의 신발(100, 100')은 모듈(22)과 무선 통신하도록 구성될 수 있다. 도 24-26은 모듈(22, 22') 간의 다양한 통신 모드를 나타낸다.A
도 24는 모듈(22, 22')이 서로 통신하도록 구성되고 또한 외부 장치(110)와는 독립적으로 통신하도록 구성된 "메쉬(mesh)" 통신 모드를 나타낸다. 도 25는 하나의 모듈(22')이 다른 모듈(22)을 통해 외부 장치(110)와 통신을 행하는 "데이지 체인" 통신 모드를 나타낸다. 다시 말해, 제2 모듈(22')은 제1 모듈(22)로 신호(데이터를 포함할 수 있다)를 보내도록 구성되고, 제1 모듈(22)은 양자의 모듈(22, 22')로부터 외부 장치(110)로 신호를 보내도록 구성된다. 유사하게, 외부 장치는 제2 모듈(22')로 신호를 보내는 제1 모듈(22)에 신호를 보내는 것에 의해 제1 모듈(22)을 통해 제2 모듈(22')과 통신을 행한다. 일 실시예에서, 모듈(22, 22')은 외부 장치(110)에 대한 신호의 송수신 이외의 목적으로 서로 통신할 수도 있다. 도 26은 각각의 모듈(22, 22')이 외부 장치(110)와 독립적으로 통신을 행하도록 구성되고 모듈(22, 22')이 서로 통신하도록 구성되지 않은 "독립" 통신 모드를 나타낸다. 다른 실시예에서, 센서 시스템(12, 12')은 다른 방식으로 서로에 대해 및/또는 외부 장치(110)와 통신을 행하도록 구성될 수 있다.24 illustrates a " mesh " communication mode in which the
본 개시물의 판독을 통해 당업자가 알 수 있는 바와 같이, 여기 설명된 다양한 측면들은 방법, 데이터 프로세싱 시스템, 또는 컴퓨터 프로그램 제품으로서 구현될 수 있을 것이다. 따라서, 그러한 양태들이 완전한 하드웨어의 실시예, 완전히 소프트웨어의 실시예, 또는 하드웨어 및 소프트웨어 양태들을 조합한 실시예의 형태를 취할 수 있을 것이다. 또한, 그러한 양태들이, 저장 매체 내에 또는 저장 매체 상에 구현된, 컴퓨터-판독가능 프로그램 코드, 또는 지시어들을 가지는 하나 이상의 유형적인(tangible) 컴퓨터-판독가능 저장 매체 또는 저장 장치들에 의해서 저장된 컴퓨터 프로그램 제품의 형태를 취할 수 있을 것이다. 하드 디스크들, CDROMs, 광학 저장 장치들, 자기 저장 장치들 및/또는 이들의 임의 조합을 포함하는, 임의의 적합한 유형적인 컴퓨터 판독가능 저장 매체가 이용될 수 있을 것이다. 또한, 본원에서 설명된 바와 같은 데이터 또는 이벤트들을 나타내는 여러 가지 무형적인 신호들이, 금속 와이어들, 광섬유들, 및/또는 무선 송신 매체(예를 들어, 공기 및/또는 공간(air and/or space))와 같은 신호-전도 매체를 통해서 이동하는 전자기 파동들 형태로 공급원과 목적지 사이에서 전달될 수 있을 것이다.As will be appreciated by those skilled in the art from reading this disclosure, various aspects described herein may be implemented as a method, data processing system, or computer program product. Accordingly, such aspects may take the form of a complete hardware embodiment, an entirely software embodiment, or an embodiment combining hardware and software aspects. It is also contemplated that such aspects may be embodied in computer-readable program code embodied in or on the storage medium, or in a computer program (e.g., a computer program) stored by one or more tangible computer-readable storage media or storage devices having directives It can take the form of a product. Any suitable type of computer readable storage medium may be used, including hard disks, CDROMs, optical storage devices, magnetic storage devices, and / or any combination thereof. Also, various intangible signals representing data or events as described herein may be transmitted over metal wires, optical fibers, and / or wireless transmission media (e.g., air and / or space) ) In the form of electromagnetic waves traveling through a signal-conducting medium, such as a waveguide (e.g.
전술한 바와 같이, 본원 발명의 양태들이, 컴퓨터 및/또는 컴퓨터의 프로세서에 의해서 실행되는, 프로그램 모듈들과 같은, 컴퓨터-실행가능 지시어들의 일반적인 컨텍스트(context)에 기술될 수 있을 것이다. 일반적으로, 프로그램 모듈들은, 특별한 과제들을 실시하거나 특별한 추상 데이터 타입들을 구현하는, 루틴들, 프로그램들, 옵젝트들(objects), 구성요소들, 데이터 구조들 등을 포함한다. 그러한 프로그램 모듈은 전술한 바와 같은 유형적인 컴퓨터-판독가능 매체에 포함될 수 있을 것이다. 또한, 본원 발명의 양태들이 분산된 컴퓨팅 환경들에서 실행될 수 있을 것이고, 이때 과제들이 통신 네트워크를 통해서 연결된 원격 프로세싱 장치들에 의해서 실시된다. 프로그램 모듈들이, 모듈(22)의 메모리(204) 또는 외부 장치(110)의 메모리(304)와 같은 메모리 내에, 또는 메모리 저장 장치들을 포함하는 근거리 및 원거리의 컴퓨터 저장 매체 모두를 포함할 수 있는, 게임 매체(307)와 같은 외부 매체 내에 위치될 수 있을 것이다. 모듈(22), 외부 장치(110), 및/또는 외부 매체가, 특별한 적용예에서와 같이, 함께 사용하기 위한 보완적인 프로그램 모듈들을 포함할 수 있을 것이다. 또한, 간결함을 위해서, 단일 프로세서(202, 302) 및 단일 메모리(204, 304)가 모듈(22) 및 외부 장치(110) 내에서 도시되고 설명되었다는 것, 그리고 프로세서(202, 302) 및 메모리(204, 304)가 복수의 프로세서들 및/또는 메모리들을 각각 포함할 수 있고 프로세서들 및/또는 메모리들로 이루어진 시스템을 포함할 수 있다는 것이 이해된다.As noted above, aspects of the present invention may be described in the general context of computer-executable instructions, such as program modules, being executed by a computer and / or a processor of a computer. Generally, program modules include routines, programs, objects, components, data structures, etc., that perform particular tasks or implement particular abstract data types. Such program modules may be included in tangible computer-readable media as described above. Aspects of the present invention will also be able to be implemented in distributed computing environments, where tasks are performed by remote processing devices connected through a communications network. Program modules may be stored in memory such as the
여기 설명된 센서 시스템은 피트니스 트레이닝에서와 같은 일반적인 운동 성과 모니터링 또는 농구와 같은 스포츠 특정 활동을 포함하는 다양한 다른 어플리케이션 및 구성으로 활용될 수 있다. 추가의 센서는 신발 상의 다른 위치에 위치될 수 있는 것으로 이해된다. 센서 시스템 내의 센서는 특정 외측 동작과 운동 커팅 동작을 감지하도록 구성될 수 있다. 여기서 논의된 바와 같이, 센서 시스템에 의해 수집된 데이터는 전자 모듈, 모바일 장치 또는 원격지에서 관련 알고리즘에 의해 처리될 수 있다. 이러한 데이터 처리는 사용자가 언제 새로운 쌍의 신발이 필요한지에 대해 조언을 받도록 사용자에게 마모에 관해 조언하도록 사용될 수 있는 것을 고려할 수 있다. 이러한 데이터는 특정 사용자에게 유리할 수 있는 특정 종류의 신발 설계를 사용자에게 조언할 수 있도록 처리 및 활동될 수 있다. 결국, 데이터는 신발의 주문 설계를 보조하도록 처리될 수 있다. 센서 시스템은 신발에 있는 것으로 예시되어 있지만, 해당 시스템은 다른 종류의 의류에 사용될 수 있다.The sensor system described herein can be utilized in a variety of different applications and configurations, including general mobility monitoring, such as in fitness training, or sports specific activities such as basketball. It is understood that additional sensors may be located at different locations on the shoe. Sensors in the sensor system may be configured to sense certain outer motion and motion cutting motion. As discussed herein, the data collected by the sensor system may be processed by an associated algorithm in an electronic module, mobile device or remotely. This data processing may be considered to be able to be used to advise the wearer about the wearer to be advised as to when a new pair of shoes is needed. Such data may be processed and acted upon to advise the user of a particular type of shoe design that may be beneficial to a particular user. Eventually, the data can be processed to assist the custom design of the shoe. The sensor system is illustrated as being in shoes, but the system can be used for other types of apparel.
여기에서 설명된 센서 시스템의 여러 실시예들뿐만 아니라 신발류 물품들, 발 접촉 부재들, 삽입체들 및 센서 시스템을 포함하는 다른 구조들이 기존 기술 보다 우수한 장점들 및 이점들을 제공한다. 예를 들어, 여기에서 설명된 많은 센서 실시예들이 센서 시스템들에 대한 비교적 저비용의 그리고 내구성이 우수한 선택사항들을 제공하며, 그에 따라 센서 시스템이 적은 추가 비용 및 양호한 신뢰성으로 신발류 물품으로 통합될 수 있다. 결과적으로, 소비자가 최종적으로 센서 시스템들을 사용하고자 하는지의 여부와 관계없이, 비용에 큰 영향을 미치지 않고, 일체형 센서 시스템들을 가지는 신발류를 제조할 수 있을 것이다. 추가적으로, 소프트웨어 비용에 큰 영향을 미치지 않고, 맞춤형 센서 시스템들을 가지는 밑창 삽입체들이 센서 시스템들을 이용하도록 디자인된 소프트웨어와 함께 저렴하게 제조 및 배포될 수 있다. 다른 예로서, 센서 시스템이, 게임, 피트니스, 운동 훈련 및 개선, 컴퓨터들 및 다른 장치들의 실질적인 제어들, 및 여기에서 설명되고 당업자가 인지할 수 있는 많은 다른 것들을 포함하는, 매우 다양한 적용예들에 대해서 넓은 범위의 기능성을 제공한다. 하나의 실시예에서, 제3 자 소프트웨어 개발자들이, 게임들 및 다른 프로그램들을 포함하는, 센서 시스템들로부터의 입력을 이용하여 동작되도록 구성되는 소프트웨어를 개발할 수 있다. 범용적으로 판독가능한 포맷의 데이터를 제공할 수 있는 센서 시스템의 능력은, 센서 시스템이 이용될 수 있는 제 3 자 소프트웨어 및 다른 적용예들의 범위를 크게 확장시킨다. 추가적으로, 하나의 실시예에서, 인가된 힘들의 정확한 검출을 가능하게 하는 신호들 및 데이터를 센서 시스템이 생성할 수 있고, 이는 보다 큰 유용성 및 다용성을 제공한다. 추가적인 예로서, 라이너들, 안창들, 및 다른 요소들을 포함하는, 센서 시스템들을 포함하는 여러 가지 밑창 삽입체들은, 다른 적용예들 위한 센서 시스템의 교환가능성 및 맞춤(customization)을 가능하게 한다. 당업자는 다른 장점들을 인지할 수 있을 것이다.Other structures, including footwear articles, foot contact members, inserts and sensor systems, as well as various embodiments of the sensor system described herein provide advantages and advantages over the prior art. For example, many of the sensor embodiments described herein provide relatively low cost and durable options for sensor systems, such that the sensor system can be integrated into the footwear article with little additional cost and good reliability . As a result, regardless of whether or not the consumer ultimately wants to use the sensor systems, footwear with integral sensor systems can be manufactured without significantly affecting cost. Additionally, sole inserts with customized sensor systems can be manufactured and distributed inexpensively with software designed to utilize the sensor systems, without significantly affecting software costs. As another example, the sensor system may be used in a wide variety of applications, including games, fitness, athletic training and improvement, substantial controls of computers and other devices, and many others that will be appreciated by those skilled in the art To provide a wide range of functionality. In one embodiment, third party software developers can develop software that is configured to operate using inputs from sensor systems, including games and other programs. The ability of a sensor system to provide data in a universally readable format greatly expands the scope of third party software and other applications in which sensor systems may be used. Additionally, in one embodiment, the sensor system can generate signals and data that enable accurate detection of applied forces, which provides greater usability and versatility. As a further example, various sole inserts, including sensor systems, including liners, inners, and other elements, enable interchangeability and customization of the sensor system for other applications. Those skilled in the art will recognize other advantages.
여기에서, 몇몇 대안적인 실시예들 및 예들이 설명되었고 도시되었다. 당업자는, 개별적인 실시예들, 및 구성 요소들의 가능한 조합들 및 변경들의 특징들을 이해할 수 있을 것이다. 당업자는, 실시예들 중 임의의 실시예가 본원에 개시된 다른 실시예들과의 임의 조합으로 제공될 수 있다는 것을 추가적으로 이해할 수 있을 것이다. 본원 발명의 사상 또는 주요 특성들로부터 벗어나지 않고도, 본원 발명이 다른 특정 형태들로 구현될 수 있는 것으로 이해된다. 그에 따라, 이러한 예들 및 실시예들이, 모든 양태들에서, 예시적인 것이고 비제한적인 것으로 간주되어야 하고, 본원 발명은 여기에 기재된 세부사항들로 제한되지 않는다. 여기에서 사용된 "제 1", "제 2", "상부", "하부" 등의 용어들은 예시만의 목적으로 의도된 것이고 따라서 실시예들을 어떠한 방식으로도 제한하지 않는다. 추가적으로, 여기에서 사용된 "복수"라는 용어는, 필요에 따라, 양자택일적으로(disjunctively) 또는 집합적으로(conjunctively) 하나 초과로부터 무한까지 수 중의 임의의 수를 나타낸다. 또한, 여기에서 사용된 바와 같은, 물품 또는 장치의 "제공"은, 추후의 동작들이 물품 상에서 실시될 수 있도록, 물품을 이용가능하게 하는 것 또는 물품에 접근 가능하게 하는 것을 지칭하며, 그리고 물품을 제공하는 당사자가 그 물품을 제조, 생산, 또는 공급한다는 것 또는 물품을 제공하는 당사자가 소유권을 가지거나 물품을 제어한다는 것을 암시하는 것이 아니다. 따라서, 특정 실시예들이 도시되고 설명되었지만, 본원 발명의 사상으로부터 벗어나지 않고 수많은 수정들이 안출될 수 있을 것이고, 본원 발명의 범위는 첨부된 청구항들의 범위에 의해서만 제한된다.Here, several alternative embodiments and examples have been described and shown. Skilled artisans will appreciate the particular embodiments and possible combinations of components and variations thereof. Those skilled in the art will further understand that any of the embodiments may be provided in any combination with the other embodiments disclosed herein. It is to be understood that the present invention may be embodied in other specific forms without departing from the spirit or essential characteristics thereof. Accordingly, these examples and embodiments are to be considered in all respects only as illustrative and not restrictive, and the invention is not to be limited to the details described herein. The terms " first ", " second ", " upper ", " lower ", etc. used herein are intended for illustrative purposes only and are not intended to limit the embodiments in any way. Additionally, the term " plurality " as used herein refers to any number in the number, as needed, either disjunctively or conjunctively, but from over to infinity. Also, " provision " of an article or apparatus, as used herein, refers to enabling or making the article accessible, such that further operations may be performed on the article, It does not imply that the supplying party manufactures, produces, or supplies the goods or that the party providing the goods owns or controls the goods. Thus, although specific embodiments have been shown and described, numerous modifications could be made without departing from the spirit of the invention, and the scope of the invention is limited only by the scope of the appended claims.
Claims (22)
신발 제품의 발-수용실 내로 삽입되도록 구성되고, 제1 층, 제2 층, 및 상기 제1 층과 제2 층 사이에 위치된 스페이서 층을 포함하는 삽입 부재와,
상기 삽입 부재에 연결되고 전자 모듈과 통신하도록 구성된 포트와,
상기 삽입 부재 상에 형성된 센서로서, 상기 센서는 상기 제1 층 상에 위치된 제1 접촉부와 상기 제2 층 상에 위치된 제2 접촉부를 포함하고, 상기 제2 접촉부는 상기 제1 접촉부와 정렬되고, 상기 센서는 상기 삽입 부재 상의 압력이 상기 제1 및 제2 접촉부 간의 결합을 강화시켜 상기 센서의 저항을 변화시키도록 구성되며, 상기 스페이서 층은 상기 스페이서 층을 통해 상기 센서의 상기 제1 및 제2 접촉부 간에 적어도 부분적인 결합을 허용하도록 상기 센서와 정렬되는 구멍을 포함하는 것인, 센서와,
상기 제1 층 및 제2 층 상에 위치되고, 상기 제1 및 제2 접촉부를 상기 포트에 연결하는 하나 이상의 리드와,
상기 제1 및 제2 층 사이에서 상기 센서로부터 떨어져 공기 유동(air flow)을 허용하도록 상기 스페이서 층에 의해 규정되고 상기 구멍으로부터 연장되는 채널과,
상기 제1 및 제2 층 중 하나에 연결되고, 상기 채널에 걸쳐 연장되고, 상기 제1 및 제2 층 사이에 위치되어 상기 채널을 통해 상기 제1 및 제2 층 사이에서 하나 이상의 전도성 부재가 단락되는 것을 방지하는 유전체 재료의 패치를 포함하는 센서 시스템.As a sensor system,
An insertion member configured to be inserted into the foot-receiving chamber of the shoe product and including a first layer, a second layer, and a spacer layer positioned between the first layer and the second layer;
A port coupled to the insertion member and configured to communicate with the electronic module,
Wherein the sensor comprises a first contact portion located on the first layer and a second contact portion located on the second layer, the second contact portion being in alignment with the first contact portion, Wherein the sensor is configured such that a pressure on the inserting member changes a resistance of the sensor by enhancing engagement between the first and second contacts, the spacer layer being disposed between the first and second contacts of the sensor through the spacer layer, And a hole aligned with the sensor to permit at least partial engagement between the second contacts,
At least one lead positioned on the first and second layers and connecting the first and second contacts to the port,
A channel defined by said spacer layer and extending from said aperture to allow air flow away from said sensor between said first and second layers,
Wherein the first and second layers are connected to one of the first and second layers and extend over the channel and are positioned between the first and second layers such that one or more conductive members between the first and second layers, Wherein the dielectric material comprises a dielectric material.
상기 삽입 부재 상에 형성된 제2 센서로서, 상기 제2 센서는 상기 제1 층 상에 위치된 제3 접촉부와 상기 제2 층 상에 위치된 제4 접촉부를 포함하고, 상기 제4 접촉부는 상기 제3 접촉부와 정렬되고, 상기 제2 센서는 상기 삽입 부재 상의 압력이 상기 제3 및 제4 접촉부 간의 결합을 강화시켜 상기 제2 센서의 저항을 변화시키도록 구성되며, 상기 스페이서 층은 상기 스페이서 층을 통해 상기 제2 센서의 상기 제1 및 제2 접촉부 간에 적어도 부분적인 결합을 허용하도록 상기 센서와 정렬되는 제2 구멍을 포함하고, 상기 하나 이상의 리드는 상기 제3 및 제4 접촉부를 상기 포트에 연결시키는 것인, 제2 센서와,
상기 제1 및 제2 층 사이에서 상기 제2 센서로부터 떨어져 공기 유동을 허용하도록 상기 스페이서 층에 의해 규정되고 상기 제2 구멍으로부터 연장되는 제2 채널과,
상기 제1 및 제2 층 중 하나에 연결되고, 상기 채널에 걸쳐 연장되고, 상기 제1 및 제2 층 사이에 위치되어 상기 채널을 통해 상기 제1 및 제2 층 사이에서 하나 이상의 추가의 전도성 부재가 단락되는 것을 방지하는 유전체 재료의 제2 패치를 더 포함하는 센서 시스템.The method of claim 3,
A second sensor formed on the insertion member, wherein the second sensor includes a third contact portion positioned on the first layer and a fourth contact portion positioned on the second layer, 3 contact and the second sensor is configured such that the pressure on the inserting member changes the resistance of the second sensor by enhancing engagement between the third and fourth contacts, And a second hole aligned with the sensor to permit at least partial engagement between the first and second contacts of the second sensor, wherein the one or more leads connect the third and fourth contacts to the port A second sensor,
A second channel defined by said spacer layer and extending from said second aperture to allow air flow away from said second sensor between said first and second layers,
And a second layer connected to one of the first and second layers and extending across the channel and positioned between the first and second layers to provide at least one additional conductive member between the first and second layers through the channel, Further comprising a second patch of dielectric material that prevents shorting of the dielectric material.
상기 삽입 부재 상에 형성되고 상기 센서를 포함하는 복수의 센서로서, 상기 복수의 센서 각각은 상기 센서에 인가되는 압력을 감지하도록 구성되는 것인, 복수의 센서와,
상기 삽입 부재 상에 위치되고 상기 센서를 상기 포트에 연결하는 복수의 리드로서, 상기 복수의 리드는 상기 하나 이상의 리드를 포함하고, 상기 포트에서 통합되어 인터페이스를 형성하는 단부를 가지는 것인, 복수의 리드와,
상기 삽입 부재에 연결되고, 상기 전자 모듈을 내부에 수용하도록 구성된 오목부(well)를 규정하는 하우징
을 더 포함하고,
상기 삽입 부재는, 상기 오목부 내로 연장되고 상기 복수의 리드의 단부를 통합하여 상기 인터페이스를 형성하는 연장부를 포함하고, 상기 연장부는 상기 리드의 단부에 걸쳐 연장되는 보강재의 스트립을 가지며,
상기 연장부는, 상기 연장부가 상기 하우징의 외주 엣지에서 아래로 절곡되는 절곡 영역과, 상기 절곡 영역으로부터 아래로 상기 오목부 내로 연장되는 돌출부(depending portion)를 포함하며, 상기 인터페이스는 상기 오목부 내에서 상기 돌출부 상에 위치되며, 상기 스트립은 상기 절곡 영역에 걸쳐 횡방향으로 연장되는 것인 센서 시스템.The method according to claim 1,
A plurality of sensors formed on the insertion member and including the sensor, wherein each of the plurality of sensors is configured to sense a pressure applied to the sensor;
A plurality of leads positioned on said insertion member and connecting said sensor to said port, said plurality of leads having said end comprising said one or more leads and integral with said port to form an interface; The lead,
A housing coupled to the insertion member and defining a well configured to receive the electronic module therein;
Further comprising:
Wherein the insertion member includes an extension extending into the recess and incorporating an end of the plurality of leads to form the interface, the extension having a strip of reinforcement extending across the end of the lead,
Wherein the extension comprises a bend region in which the extension portion is bent downward at the outer circumferential edge of the housing and a depending portion extending downwardly from the bend region into the recess, Wherein the strip is positioned on the protrusion, the strip extending transversely across the bend region.
상기 제1 층과 상기 제2 층 사이에 전기적 연결(communication)을 제공하는 경로를 더 포함하고,
상기 센서는 각각, 상기 제1 층 상에 위치된 제1 접촉부와 상기 제2 층 상에 위치된 제2 접촉부를 포함하고, 상기 제2 접촉부는 상기 제1 접촉부와 정렬되고, 상기 센서는 각각 상기 삽입 부재 상의 압력이 상기 제1 및 제2 접촉부 간의 결합을 강화시켜 상기 센서의 저항을 변화시키도록 구성되며,
상기 스페이서 층은 복수의 구멍을 포함하며, 상기 구멍 각각은 상기 복수의 센서 중 하나와 정렬되며, 상기 구멍은 상기 스페이서 층을 통해 상기 제1 및 제2 접촉부 간의 결합을 허용하도록 구성되며,
상기 복수의 리드는 상기 제1 접촉부, 상기 제2 접촉부, 상기 경로, 및 상기 포트를 연결시키며,
상기 제2 층은 신발 제품의 솔(sole) 구조와 마주하는 관계로 배치되도록 구성되며, 상기 연장부는 상기 제2 층에 연결되는 것인 센서 시스템.8. The method of claim 7,
Further comprising a path for providing electrical communication between the first layer and the second layer,
Wherein each of the sensors includes a first contact positioned on the first layer and a second contact positioned on the second layer, the second contact is aligned with the first contact, Wherein pressure on the insertion member is configured to enhance the coupling between the first and second contacts to change the resistance of the sensor,
Wherein the spacer layer comprises a plurality of holes, each of the holes being aligned with one of the plurality of sensors, the holes being configured to allow coupling between the first and second contacts through the spacer layer,
The plurality of leads connecting the first contact portion, the second contact portion, the path, and the port,
Wherein the second layer is configured to be disposed in opposition to a sole structure of a shoe product, the extension being connected to the second layer.
사용자의 발을 지지하도록 구성되는 솔 구조와,
발-수용실을 규정하도록 상기 솔 구조에 연결되는 갑피와,
센서 시스템을 포함하며,
상기 센서 시스템은,
상기 신발 제품의 솔 구조와 결합되고, 제1 층, 제2 층, 및 상기 제1 층과 제2 층 사이에 위치된 스페이서 층을 포함하는 삽입 부재와,
상기 삽입 부재에 연결되고 전자 모듈과 통신하도록 구성된 포트와,
상기 삽입 부재 상에 형성된 센서로서, 상기 센서는 상기 제1 층 상에 위치된 제1 접촉부와 상기 제2 층 상에 위치된 제2 접촉부를 포함하고, 상기 제2 접촉부는 상기 제1 접촉부와 정렬되고, 상기 센서는 상기 삽입 부재 상의 압력이 상기 제1 및 제2 접촉부 간의 결합을 강화시켜 상기 센서의 저항을 변화시키도록 구성되며, 상기 스페이서 층은 상기 스페이서 층을 통해 상기 센서의 상기 제1 및 제2 접촉부 간에 적어도 부분적인 결합을 허용하도록 상기 센서와 정렬되는 구멍을 포함하는 것인, 센서와,
상기 제1 층 및 제2 층 상에 위치되고, 상기 제1 및 제2 접촉부를 상기 포트에 연결하는 하나 이상의 리드와,
상기 제1 및 제2 층 사이에서 상기 센서로부터 떨어져 공기 유동을 허용하도록 상기 스페이서 층에 의해 규정되고 상기 구멍으로부터 연장되는 채널과,
상기 제1 및 제2 층 중 하나에 연결되고, 상기 채널에 걸쳐 연장되고, 상기 제1 및 제2 층 사이에 위치되어 상기 채널을 통해 상기 제1 및 제2 층 사이에서 하나 이상의 전도성 부재가 단락되는 것을 방지하는 유전체 재료의 패치를 포함하는 것인 신발 제품.As a shoe product,
A sole structure configured to support a user's foot,
A top connected to the brush structure to define a foot-receiving chamber,
Sensor system,
The sensor system comprises:
An insertion member coupled to the sole structure of the shoe product and including a first layer, a second layer, and a spacer layer positioned between the first and second layers;
A port coupled to the insertion member and configured to communicate with the electronic module,
Wherein the sensor comprises a first contact portion located on the first layer and a second contact portion located on the second layer, the second contact portion being in alignment with the first contact portion, Wherein the sensor is configured such that a pressure on the inserting member changes a resistance of the sensor by enhancing engagement between the first and second contacts, the spacer layer being disposed between the first and second contacts of the sensor through the spacer layer, And a hole aligned with the sensor to permit at least partial engagement between the second contacts,
At least one lead positioned on the first and second layers and connecting the first and second contacts to the port,
A channel defined by said spacer layer and extending from said aperture to allow air flow away from said sensor between said first and second layers,
Wherein the first and second layers are connected to one of the first and second layers and extend over the channel and are positioned between the first and second layers such that one or more conductive members between the first and second layers, Wherein the patch comprises a patch of dielectric material that prevents the dielectric material from being damaged.
상기 삽입 부재 상에 형성된 제2 센서로서, 상기 제2 센서는 상기 제1 층 상에 위치된 제3 접촉부와 상기 제2 층 상에 위치된 제4 접촉부를 포함하고, 상기 제4 접촉부는 상기 제3 접촉부와 정렬되고, 상기 제2 센서는 상기 삽입 부재 상의 압력이 상기 제3 및 제4 접촉부 간의 결합을 강화시켜 상기 제2 센서의 저항을 변화시키도록 구성되며, 상기 스페이서 층은 상기 스페이서 층을 통해 상기 제2 센서의 상기 제1 및 제2 접촉부 간에 적어도 부분적인 결합을 허용하도록 상기 센서와 정렬되는 제2 구멍을 포함하고, 상기 하나 이상의 리드는 상기 제3 및 제4 접촉부를 상기 포트에 연결시키는 것인, 제2 센서와,
상기 제1 및 제2 층 사이에서 상기 제2 센서로부터 떨어져 공기 유동을 허용하도록 상기 스페이서 층에 의해 규정되고 상기 제2 구멍으로부터 연장되는 제2 채널과,
상기 제1 및 제2 층 중 하나에 연결되고, 상기 채널에 걸쳐 연장되고, 상기 제1 및 제2 층 사이에 위치되어 상기 채널을 통해 상기 제1 및 제2 층 사이에서 하나 이상의 추가의 전도성 부재가 단락되는 것을 방지하는 유전체 재료의 제2 패치를 더 포함하는 신발 제품.19. The method of claim 18,
A second sensor formed on the insertion member, wherein the second sensor includes a third contact portion positioned on the first layer and a fourth contact portion positioned on the second layer, 3 contact and the second sensor is configured such that the pressure on the inserting member changes the resistance of the second sensor by enhancing engagement between the third and fourth contacts, And a second hole aligned with the sensor to permit at least partial engagement between the first and second contacts of the second sensor, wherein the one or more leads connect the third and fourth contacts to the port A second sensor,
A second channel defined by said spacer layer and extending from said second aperture to allow air flow away from said second sensor between said first and second layers,
And a second layer connected to one of the first and second layers and extending across the channel and positioned between the first and second layers to provide at least one additional conductive member between the first and second layers through the channel, Further comprising a second patch of dielectric material that prevents shorting of the dielectric material.
Applications Claiming Priority (7)
| Application Number | Priority Date | Filing Date | Title |
|---|---|---|---|
| US13/401,914 | 2012-02-22 | ||
| US13/401,918 US20130213147A1 (en) | 2012-02-22 | 2012-02-22 | Footwear Having Sensor System |
| US13/401,918 | 2012-02-22 | ||
| US13/401,914 US8739639B2 (en) | 2012-02-22 | 2012-02-22 | Footwear having sensor system |
| US13/401,916 | 2012-02-22 | ||
| US13/401,916 US20130213146A1 (en) | 2012-02-22 | 2012-02-22 | Footwear Having Sensor System |
| PCT/US2013/027397 WO2013126751A1 (en) | 2012-02-22 | 2013-02-22 | Footwear having sensor system |
Related Parent Applications (1)
| Application Number | Title | Priority Date | Filing Date |
|---|---|---|---|
| KR1020147026306A Division KR101671439B1 (en) | 2012-02-22 | 2013-02-22 | Footwear having sensor system |
Related Child Applications (1)
| Application Number | Title | Priority Date | Filing Date |
|---|---|---|---|
| KR1020197010068A Division KR102022224B1 (en) | 2012-02-22 | 2013-02-22 | Footwear having sensor system |
Publications (2)
| Publication Number | Publication Date |
|---|---|
| KR20160129096A KR20160129096A (en) | 2016-11-08 |
| KR101968737B1 true KR101968737B1 (en) | 2019-04-12 |
Family
ID=47891956
Family Applications (3)
| Application Number | Title | Priority Date | Filing Date |
|---|---|---|---|
| KR1020197010068A Active KR102022224B1 (en) | 2012-02-22 | 2013-02-22 | Footwear having sensor system |
| KR1020167029991A Active KR101968737B1 (en) | 2012-02-22 | 2013-02-22 | Footwear having sensor system |
| KR1020147026306A Active KR101671439B1 (en) | 2012-02-22 | 2013-02-22 | Footwear having sensor system |
Family Applications Before (1)
| Application Number | Title | Priority Date | Filing Date |
|---|---|---|---|
| KR1020197010068A Active KR102022224B1 (en) | 2012-02-22 | 2013-02-22 | Footwear having sensor system |
Family Applications After (1)
| Application Number | Title | Priority Date | Filing Date |
|---|---|---|---|
| KR1020147026306A Active KR101671439B1 (en) | 2012-02-22 | 2013-02-22 | Footwear having sensor system |
Country Status (6)
| Country | Link |
|---|---|
| EP (2) | EP3549471B1 (en) |
| JP (3) | JP6114760B2 (en) |
| KR (3) | KR102022224B1 (en) |
| CN (2) | CN104244756B (en) |
| CA (1) | CA2865257C (en) |
| WO (1) | WO2013126751A1 (en) |
Cited By (1)
| Publication number | Priority date | Publication date | Assignee | Title |
|---|---|---|---|---|
| KR20230021965A (en) | 2021-08-06 | 2023-02-14 | 동의대학교 산학협력단 | System and method for shoe sole wear condition guidance based on data analysis-algorithm |
Families Citing this family (32)
| Publication number | Priority date | Publication date | Assignee | Title |
|---|---|---|---|---|
| EP3549471B1 (en) * | 2012-02-22 | 2025-05-07 | NIKE Innovate C.V. | Footwear having sensor system |
| US10926133B2 (en) | 2013-02-01 | 2021-02-23 | Nike, Inc. | System and method for analyzing athletic activity |
| US11006690B2 (en) | 2013-02-01 | 2021-05-18 | Nike, Inc. | System and method for analyzing athletic activity |
| US10024740B2 (en) | 2013-03-15 | 2018-07-17 | Nike, Inc. | System and method for analyzing athletic activity |
| SG11201705224VA (en) | 2014-01-06 | 2017-07-28 | Interaxon Inc | Wearable apparatus for brain sensors |
| TWI563975B (en) * | 2014-06-03 | 2017-01-01 | 國立成功大學 | Pace detection system and application thereof |
| JP2016154722A (en) * | 2015-02-25 | 2016-09-01 | 株式会社アシックス | Shoes with solar cells |
| US10470711B2 (en) * | 2015-07-31 | 2019-11-12 | Wiivv Wearables Inc. | Electronic sensor system for use with footwear |
| KR102436635B1 (en) * | 2015-11-09 | 2022-08-26 | 엘지이노텍 주식회사 | Insol of sensing pressure |
| KR101997533B1 (en) * | 2015-12-17 | 2019-07-09 | 솔티드벤처 주식회사 | Shoes |
| WO2017104957A1 (en) * | 2015-12-17 | 2017-06-22 | 솔티드벤처 주식회사 | Shoe |
| US10188169B2 (en) | 2016-03-15 | 2019-01-29 | Nike, Inc. | Sensor for an article of footwear |
| JP2017167051A (en) * | 2016-03-17 | 2017-09-21 | 北川工業株式会社 | Measurement information output system and program |
| GB2550411B (en) * | 2016-05-20 | 2019-04-03 | Hp1 Tech Ltd | Device for detecting a force |
| JP6734588B2 (en) * | 2016-06-30 | 2020-08-05 | 株式会社レイマック | Load measuring shoes |
| CN107736877A (en) * | 2017-09-12 | 2018-02-27 | 奇瑞汽车股份有限公司 | A kind of automobile-used human foot's temperature testing device |
| JP7175098B2 (en) * | 2018-03-30 | 2022-11-18 | アキレス株式会社 | Pressure measurement device, pressure measurement system, and pressure measurement method |
| JP2021521451A (en) | 2018-04-16 | 2021-08-26 | オーピクス メディカル テクノロジーズ インコーポレイテッド | High resistance sensor and how to use it |
| CN108871200A (en) * | 2018-06-01 | 2018-11-23 | 广东工业大学 | A kind of probe-type micro-displacement sensing system based on nano surface axial direction photon structure Echo Wall microcavity |
| KR102514691B1 (en) * | 2018-08-27 | 2023-03-28 | 삼성전자주식회사 | Shoes |
| KR102514651B1 (en) * | 2018-08-27 | 2023-03-28 | 삼성전자주식회사 | Insole and shoes comprising the same |
| CN114145532A (en) * | 2018-08-31 | 2022-03-08 | 耐克创新有限合伙公司 | Shoes with automatic lacing |
| JP6572360B1 (en) * | 2018-10-12 | 2019-09-11 | 株式会社バンダイ | Shoes and electronics |
| CN109222325A (en) * | 2018-10-17 | 2019-01-18 | 哈尔滨工业大学 | Sole type device of walking aid |
| US12130190B2 (en) | 2019-01-24 | 2024-10-29 | Ecco Sko A/S | Load sensing device for articles of footwear |
| KR102589950B1 (en) * | 2019-03-05 | 2023-10-16 | 삼성전자주식회사 | Insole and shoes comprising the same |
| JP7232937B2 (en) * | 2019-05-06 | 2023-03-03 | センモーション ゲーエムベーハー | Sensor element, sensor arrangement, sensor system and method for detecting force between foot and supporting surface |
| IT201900015980A1 (en) * | 2019-09-10 | 2021-03-10 | Yuri Berti | Stimulator device for plantar application |
| CN114159771A (en) * | 2021-12-03 | 2022-03-11 | 江西智诚健康科技有限公司 | Game shoe-pad is felt to agent |
| JP7522166B2 (en) * | 2022-10-04 | 2024-07-24 | 株式会社バンダイ | Sensor device, footwear, and footwear set |
| KR102796377B1 (en) * | 2023-03-03 | 2025-04-18 | 주식회사 오투랩 | Smart insoles |
| KR102796380B1 (en) * | 2023-09-19 | 2025-04-18 | 주식회사 오투랩 | Smart insole provides correction information |
Citations (4)
| Publication number | Priority date | Publication date | Assignee | Title |
|---|---|---|---|---|
| US20060248749A1 (en) | 2004-11-22 | 2006-11-09 | Ellis Frampton E | Devices with internal flexibility sipes, including siped chambers for footwear |
| US20080060220A1 (en) | 2000-03-10 | 2008-03-13 | Lyden Robert M | Custom article of footwear, method of making the same, and method of conducting retail and internet business |
| WO2009152456A2 (en) | 2008-06-13 | 2009-12-17 | Nike, Inc. | Footwear having sensor system |
| WO2012112934A2 (en) * | 2011-02-17 | 2012-08-23 | Nike International Ltd. | Footwear having sensor system |
Family Cites Families (20)
| Publication number | Priority date | Publication date | Assignee | Title |
|---|---|---|---|---|
| US4745930A (en) * | 1986-10-16 | 1988-05-24 | Chattanooga Corporation | Force sensing insole for electro-goniometer |
| CN2057062U (en) * | 1989-11-22 | 1990-05-16 | 黑龙江省体育科学研究所 | Shoe-pad with pressure sensitive sensor |
| JPH0641505U (en) * | 1992-11-13 | 1994-06-03 | 行雄 平田 | Insole and insole |
| US5724265A (en) | 1995-12-12 | 1998-03-03 | Hutchings; Lawrence J. | System and method for measuring movement of objects |
| CA2218242C (en) | 1996-10-11 | 2005-12-06 | Kenneth R. Fyfe | Motion analysis system |
| US6018705A (en) | 1997-10-02 | 2000-01-25 | Personal Electronic Devices, Inc. | Measuring foot contact time and foot loft time of a person in locomotion |
| US6876947B1 (en) | 1997-10-02 | 2005-04-05 | Fitsense Technology, Inc. | Monitoring activity of a user in locomotion on foot |
| US6882955B1 (en) | 1997-10-02 | 2005-04-19 | Fitsense Technology, Inc. | Monitoring activity of a user in locomotion on foot |
| US6430843B1 (en) | 2000-04-18 | 2002-08-13 | Nike, Inc. | Dynamically-controlled cushioning system for an article of footwear |
| US20030009308A1 (en) * | 2000-06-24 | 2003-01-09 | Chris Kirtley | Instrumented insole |
| US7188439B2 (en) | 2003-03-10 | 2007-03-13 | Adidas International Marketing B.V. | Intelligent footwear systems |
| US6978684B2 (en) | 2003-11-10 | 2005-12-27 | Nike, Inc. | Apparel that dynamically, consciously, and/or reflexively affects subject performance |
| JP2007134473A (en) * | 2005-11-10 | 2007-05-31 | Matsushita Electric Ind Co Ltd | Flexible wiring board and manufacturing method thereof |
| US7607243B2 (en) * | 2006-05-03 | 2009-10-27 | Nike, Inc. | Athletic or other performance sensing systems |
| CN200994779Y (en) * | 2006-12-06 | 2007-12-26 | 国家体育总局体育科学研究所 | Human-body gait motor measuring shoes and its energy consumption realtime monitor |
| JP5520012B2 (en) * | 2009-11-17 | 2014-06-11 | 株式会社フジクラ | Seating sensor |
| EP2675355B1 (en) * | 2011-02-17 | 2020-01-01 | NIKE Innovate C.V. | Footwear having sensor system |
| EP3167738B1 (en) * | 2011-02-17 | 2019-11-06 | NIKE Innovate C.V. | Footwear having sensor system |
| LU91810B1 (en) * | 2011-04-22 | 2012-10-23 | Iee Sarl | Footwear article with pressure sensor |
| EP3549471B1 (en) * | 2012-02-22 | 2025-05-07 | NIKE Innovate C.V. | Footwear having sensor system |
-
2013
- 2013-02-22 EP EP18209688.3A patent/EP3549471B1/en active Active
- 2013-02-22 JP JP2014558886A patent/JP6114760B2/en active Active
- 2013-02-22 EP EP13710150.7A patent/EP2816918B1/en active Active
- 2013-02-22 CA CA2865257A patent/CA2865257C/en active Active
- 2013-02-22 CN CN201380020102.3A patent/CN104244756B/en active Active
- 2013-02-22 KR KR1020197010068A patent/KR102022224B1/en active Active
- 2013-02-22 KR KR1020167029991A patent/KR101968737B1/en active Active
- 2013-02-22 KR KR1020147026306A patent/KR101671439B1/en active Active
- 2013-02-22 CN CN201710084578.3A patent/CN106963022B/en active Active
- 2013-02-22 WO PCT/US2013/027397 patent/WO2013126751A1/en not_active Ceased
-
2017
- 2017-03-17 JP JP2017053122A patent/JP6329290B2/en active Active
-
2018
- 2018-04-19 JP JP2018080850A patent/JP6626922B2/en active Active
Patent Citations (4)
| Publication number | Priority date | Publication date | Assignee | Title |
|---|---|---|---|---|
| US20080060220A1 (en) | 2000-03-10 | 2008-03-13 | Lyden Robert M | Custom article of footwear, method of making the same, and method of conducting retail and internet business |
| US20060248749A1 (en) | 2004-11-22 | 2006-11-09 | Ellis Frampton E | Devices with internal flexibility sipes, including siped chambers for footwear |
| WO2009152456A2 (en) | 2008-06-13 | 2009-12-17 | Nike, Inc. | Footwear having sensor system |
| WO2012112934A2 (en) * | 2011-02-17 | 2012-08-23 | Nike International Ltd. | Footwear having sensor system |
Cited By (1)
| Publication number | Priority date | Publication date | Assignee | Title |
|---|---|---|---|---|
| KR20230021965A (en) | 2021-08-06 | 2023-02-14 | 동의대학교 산학협력단 | System and method for shoe sole wear condition guidance based on data analysis-algorithm |
Also Published As
| Publication number | Publication date |
|---|---|
| JP6114760B2 (en) | 2017-04-12 |
| JP6626922B2 (en) | 2019-12-25 |
| KR20190040097A (en) | 2019-04-16 |
| KR20140128440A (en) | 2014-11-05 |
| EP2816918A1 (en) | 2014-12-31 |
| JP2017124222A (en) | 2017-07-20 |
| CA2865257C (en) | 2017-12-05 |
| EP3549471A1 (en) | 2019-10-09 |
| CN104244756A (en) | 2014-12-24 |
| CN106963022A (en) | 2017-07-21 |
| JP2015512674A (en) | 2015-04-30 |
| KR102022224B1 (en) | 2019-09-17 |
| CA2865257A1 (en) | 2013-08-29 |
| CN104244756B (en) | 2017-03-22 |
| KR101671439B1 (en) | 2016-11-02 |
| EP2816918B1 (en) | 2019-03-27 |
| JP6329290B2 (en) | 2018-05-23 |
| CN106963022B (en) | 2019-12-31 |
| JP2018126584A (en) | 2018-08-16 |
| WO2013126751A1 (en) | 2013-08-29 |
| KR20160129096A (en) | 2016-11-08 |
| EP3549471B1 (en) | 2025-05-07 |
Similar Documents
| Publication | Publication Date | Title |
|---|---|---|
| KR101968737B1 (en) | Footwear having sensor system | |
| KR101671602B1 (en) | Footwear having sensor system | |
| US12514326B2 (en) | Footwear having sensor system | |
| US9763489B2 (en) | Footwear having sensor system | |
| US8739639B2 (en) | Footwear having sensor system | |
| KR102550495B1 (en) | Footwear with motorized lacing and gesture control |
Legal Events
| Date | Code | Title | Description |
|---|---|---|---|
| A107 | Divisional application of patent | ||
| PA0104 | Divisional application for international application |
Comment text: Divisional Application for International Patent Patent event code: PA01041R01D Patent event date: 20161026 Application number text: 1020147026306 Filing date: 20140919 |
|
| PG1501 | Laying open of application | ||
| A201 | Request for examination | ||
| PA0201 | Request for examination |
Patent event code: PA02012R01D Patent event date: 20180221 Comment text: Request for Examination of Application |
|
| E902 | Notification of reason for refusal | ||
| PE0902 | Notice of grounds for rejection |
Comment text: Notification of reason for refusal Patent event date: 20180508 Patent event code: PE09021S01D |
|
| E701 | Decision to grant or registration of patent right | ||
| PE0701 | Decision of registration |
Patent event code: PE07011S01D Comment text: Decision to Grant Registration Patent event date: 20190107 |
|
| A107 | Divisional application of patent | ||
| GRNT | Written decision to grant | ||
| PA0104 | Divisional application for international application |
Comment text: Divisional Application for International Patent Patent event code: PA01041R01D Patent event date: 20190408 Application number text: 1020147026306 Filing date: 20140919 |
|
| PR0701 | Registration of establishment |
Comment text: Registration of Establishment Patent event date: 20190408 Patent event code: PR07011E01D |
|
| PR1002 | Payment of registration fee |
Payment date: 20190409 End annual number: 3 Start annual number: 1 |
|
| PG1601 | Publication of registration | ||
| PR1001 | Payment of annual fee |
Payment date: 20220323 Start annual number: 4 End annual number: 4 |
|
| PR1001 | Payment of annual fee |
Payment date: 20240304 Start annual number: 6 End annual number: 6 |
|
| PR1001 | Payment of annual fee |
Payment date: 20250227 Start annual number: 7 End annual number: 7 |

