KR101403978B1 - Apparatus for relaying communication signal to protecting building - Google Patents
Apparatus for relaying communication signal to protecting building Download PDFInfo
- Publication number
- KR101403978B1 KR101403978B1 KR1020120072094A KR20120072094A KR101403978B1 KR 101403978 B1 KR101403978 B1 KR 101403978B1 KR 1020120072094 A KR1020120072094 A KR 1020120072094A KR 20120072094 A KR20120072094 A KR 20120072094A KR 101403978 B1 KR101403978 B1 KR 101403978B1
- Authority
- KR
- South Korea
- Prior art keywords
- wall
- antenna
- signal
- building
- module
- Prior art date
- Legal status (The legal status is an assumption and is not a legal conclusion. Google has not performed a legal analysis and makes no representation as to the accuracy of the status listed.)
- Expired - Fee Related
Links
Images
Classifications
-
- H—ELECTRICITY
- H04—ELECTRIC COMMUNICATION TECHNIQUE
- H04B—TRANSMISSION
- H04B7/00—Radio transmission systems, i.e. using radiation field
- H04B7/14—Relay systems
- H04B7/15—Active relay systems
-
- H—ELECTRICITY
- H04—ELECTRIC COMMUNICATION TECHNIQUE
- H04B—TRANSMISSION
- H04B7/00—Radio transmission systems, i.e. using radiation field
- H04B7/14—Relay systems
Landscapes
- Engineering & Computer Science (AREA)
- Computer Networks & Wireless Communication (AREA)
- Signal Processing (AREA)
- Radio Relay Systems (AREA)
- Mobile Radio Communication Systems (AREA)
- Near-Field Transmission Systems (AREA)
Abstract
본 발명은 건물 보호를 위한 통신 신호 중계 장치에 관한 것으로, 이러한 본 발명은, 건물 내부에 위치하며 건물 내부에 위치하는 단말기와의 무선 연결을 위한 서비스 안테나와, 상기 서비스 안테나와 동축 케이블로 연결되는 중계기 본체와, 상기 중계기 본체와 동축 케이블로 연결되며 상기 건물의 벽 내부 면에 설치되는 내벽 모듈과, 상기 내벽 모듈이 설치된 영역에 대응하는 영역의 상기 건물의 벽의 외부 면에 설치되어, 상기 건물 벽을 사이에 두고 상기 내벽 모듈과 무선으로 무선 통신 신호를 송수신하는 외벽 모듈과, 상기 외벽 모듈과 동축 케이블로 연결되는 링크 모듈과, 상기 링크 모듈과 동축 케이블로 연결되며, 기지국과의 무선 연결을 위한 링크 안테나를 포함하는 것을 특징으로 하는 통신 신호 중계 장치를 제공한다. The present invention relates to a communication signal relaying apparatus for protecting a building, which comprises a service antenna for wireless connection with a terminal located inside a building and connected to the service antenna by a coaxial cable, An inner wall module connected to the main body of the repeater by a coaxial cable and installed on an inner wall surface of the building, and an outer wall module installed on an outer surface of a wall of the building in an area corresponding to an area where the inner wall module is installed, An outer wall module for transmitting and receiving a wireless communication signal wirelessly with the inner wall module through a wall, a link module connected to the outer wall module through a coaxial cable, and a wireless module connected to the link module through a coaxial cable, And a link antenna for transmitting the communication signal.
Description
본 발명은 통신 신호 중계 기술에 관한 것으로, 보다 상세하게는, 건물 내부 및 외부에 걸쳐 설치되는 통신 장치의 설치 시, 건물을 손상시키지 않고 보호하기 위한 통신 신호 중계 장치에 관한 것이다. BACKGROUND OF THE
일반적으로, 주택이나 사무실 또는 지하 공간 등의 건물 내부에 발생하는 무선통신 음영지역을 해소하기 위해서 무선통신 중계기를 설치한다. 일반적으로 건물 외부에 기지국과의 연결을 위한 안테나(이하, "링크 안테나"라 함)를, 건물 내부에는 단말기와의 연결을 위한 안테나(이하 "서비스 안테나"라 함)를 설치하고 중계기는 링크 안테나 및 서비스 안테나를 동축 케이블을 통해 연결하고 양방향 신호를 증폭하게 된다. 기지국에서 단말기 방향으로 송신되는 신호(이하 "순방향 신호"이라 함)는 링크 안테나로 수신된 후, 동축 케이블을 거쳐 중계기 본체에 전달된다. 이 신호는 중계기 본체에서 증폭되어 동축 케이블을 통해서 서비스 안테나로 보내지고, 서비스 안테나에서 방사되어 단말기로 전달된다. 반대로 단말기에서 기지국 방향으로 송신되는 신호(이하 "역방향 신호"이라 함)는 서비스 안테나로 수신된 후 동축 케이블을 거쳐 중계기 본체에 전달된다. 이 신호는 중계기 본체에서 증폭되어 동축 케이블을 통해서 링크 안테나로 보내지고, 링크 안테나에서 방사되어 기지국으로 전달된다. Generally, a wireless communication repeater is installed to solve a wireless communication shadow area occurring in a building such as a house, an office, or an underground space. In general, an antenna (hereinafter referred to as a "link antenna") for connection to a base station is installed outside the building, and an antenna (hereinafter referred to as a "service antenna" And the service antenna through a coaxial cable and amplify the bi-directional signal. A signal transmitted from the base station to the terminal (hereinafter referred to as "forward signal") is received by the link antenna, and then transmitted to the repeater main body via the coaxial cable. This signal is amplified in the main body of the repeater and sent to the service antenna through the coaxial cable, radiated from the service antenna and transmitted to the terminal. On the other hand, a signal transmitted from the terminal to the base station (hereinafter referred to as "reverse signal") is received by the service antenna and then transmitted to the repeater main body through the coaxial cable. This signal is amplified in the repeater main body and sent to the link antenna through the coaxial cable, radiated from the link antenna and transmitted to the base station.
이와 같이, 건물 외부와 내부를 연결하기 위하여 동축 케이블이 필요하며 일반적으로 건물 외부와 내부를 통과해서 설치한다. 이러한 동축 케이블의 설치는 다음과 같은 문제를 야기한다. 첫 번째, 동축 케이블이 통과할 공간이 없는 경우에는 건물의 일부에 구멍을 뚫어야 한다. 건물의 벽이나 창문에 구멍을 내는 것은 공사비용의 상승 및 건물에 손상을 입히게 된다. 특히나 건물의 임차인의 경우에는 건물주의 동의 없이는 중계기 설치가 불가능하게 되거나 건물 손상에 대한 사후 금전적 배상을 하여야 만 한다. 또한 구멍을 뚫을 때 발생하는 소음 등으로 인해서 많은 불편함을 초래한다. 두 번째, 다행히도 통과가 가능한 공간이 있을 경우(예컨대, 에어컨 실외기 배선 등)에도 그 공간이 중계기 설치에 적합하지 않을 수가 있고 크기의 제약이 있을 수도 있다. 그러므로 중계기는 그러한 제약을 줄이기 위해서 가능하면 케이블 굵기가 얇고 허용 길이가 최대한 길게 설계되어야 한다. 동축 케이블로 RF 신호를 전송할 때, 동축 케이블의 굵기가 얇고 긴 경우, 가장 감쇄가 크기 때문에 이러한 불리함을 상쇄하기 위해서는 중계기의 설계가 보다 어려워진다. 즉, 가격이 상승하는 것이다. 그러므로 상술한 동축 케이블 설치 시, 건물 내부와 외부를 관통해야 하기 때문에 발생하는 문제를 해결할 수 있는 연구가 필요하다. Thus, a coaxial cable is required to connect the exterior and the interior of the building, and it is generally installed through the exterior and interior of the building. The installation of such a coaxial cable causes the following problems. First, if there is no room for the coaxial cable to pass through, a hole should be drilled in a part of the building. Pitting holes in a building's walls or windows can result in higher construction costs and damage to buildings. In particular, in the case of a tenant in a building, it is impossible to install a repeater without the consent of the landlord, or after the monetary compensation for the building damage. It also causes many inconveniences due to the noise generated when drilling the hole. Secondly, fortunately, if there is a space that can pass through (for example, an air conditioner outdoor unit wiring, etc.), the space may not be suitable for installing a repeater, and there may be a size limitation. Therefore, the repeater should be designed so that the cable thickness is thin and the allowable length is as long as possible in order to reduce such restriction. When RF signals are transmitted over coaxial cable, if the thickness of the coaxial cable is long and thin, the attenuation is greatest. Therefore, the design of the repeater becomes more difficult to offset this disadvantage. That is, the price rises. Therefore, it is necessary to study to solve the problems caused by penetrating the inside and outside of the building when installing the above-mentioned coaxial cable.
상술한 바와 같은 점을 감안한 본 발명의 목적은 무선통신 중계기 등의 통신 장비를 설치함에 있어, 동축 케이블의 건물 외부와 내부 사이에 연결 시, 벽 등의 건물 손상 없이 건물 내부와 외부를 연결할 수 있는 기술을 적용한 통신 신호 중계 장치를 제공함에 있다. SUMMARY OF THE INVENTION The present invention has been made in view of the above circumstances and has an object of providing a communication equipment such as a wireless communication repeater and the like which can connect the inside and the outside of a building without damaging buildings such as walls, And to provide a communication signal relay device to which the technology is applied.
상술한 바와 같은 목적을 달성하기 위한 본 발명의 바람직한 실시예에 따른 통신 신호 중계 장치는, 건물 내부에 위치하며 건물 내부에 위치하는 단말기와의 무선 연결을 위한 서비스 안테나; 상기 서비스 안테나와 동축 케이블로 연결되는 중계기 본체; 상기 중계기 본체와 동축 케이블로 연결되며 상기 건물의 벽의 내부 면에 설치되는 내벽 안테나; 상기 내벽 안테나가 부착된 영역에 대응하는 영역의 상기 건물의 벽의 외부 면에 설치되며, 상기 건물 벽을 사이에 두고 상기 내벽 안테나와 무선으로 연결하는 외벽 안테나; 및 상기 외벽 안테나와 동축 케이블로 연결되며, 기지국과의 무선 연결을 위한 링크 안테나;를 포함한다. According to another aspect of the present invention, there is provided a communication signal relay device including: a service antenna for wireless connection with a terminal located inside a building; A repeater main body connected to the service antenna through a coaxial cable; An inner wall antenna connected to the main body of the repeater by a coaxial cable and installed on the inner surface of the wall of the building; An outer wall antenna installed on an outer surface of a wall of the building in an area corresponding to an area where the inner wall antenna is attached and wirelessly connecting with the inner wall antenna through the building wall; And a link antenna connected to the outer wall antenna through a coaxial cable for wireless connection with the base station.
상기 기지국으로부터의 순방향 신호가 수신되면, 상기 링크 안테나, 상기 외벽 안테나, 상기 내벽 안테나, 상기 중계기 본체 및 상기 서비스 안테나는 순차로 상기 순방향 신호를 중계하여 상기 단말기에 전달하는 것을 특징으로 한다. When the forward signal from the base station is received, the link antenna, the outer wall antenna, the inner wall antenna, the repeater main body, and the service antenna sequentially transmit the forward signal to the terminal.
상기 단말기로부터 역방향 신호가 수신되면, 상기 서비스 안테나, 상기 중계기 본체, 상기 내벽 안테나, 상기 외벽 안테나 및 상기 링크 안테나는 순차로 상기 역방향 신호를 중계하여 상기 기지국으로 전달하는 것을 특징으로 한다. When the reverse signal is received from the terminal, the service antenna, the repeater main body, the inner wall antenna, the outer wall antenna, and the link antenna sequentially transmit the reverse signal to the base station.
상기 링크 안테나는 상기 기지국으로부터의 순방향 신호를 수신하여, 외벽 안테나로 전달하며, 상기 외벽 안테나는 상기 순방향 신호를 방사하고, 상기 내벽 안테나는 방사된 순방향 신호를 수신하여, 상기 중계기 본체로 수신된 순방향 신호를 전달하며, 상기 중계기 본체는 전달된 순방향 신호를 증폭하고, 상기 서비스 안테나에 증폭된 순방향 신호를 제공하고, 상기 서비스 안테나는 상기 제공된 순방향 신호를 상기 단말에 전송하는 하는 것을 특징으로 한다. The link antenna receives a forward signal from the base station and transmits the forward signal to the outer wall antenna. The outer wall antenna radiates the forward signal. The inner wall antenna receives the forward signal, The repeater body amplifies the forward signal transmitted thereto, and provides the amplified forward signal to the service antenna, and the service antenna transmits the provided forward signal to the terminal.
상기 서비스 안테나는 상기 단말로부터 역방향 신호를 수신하여, 중계기 본체로 전달하며, 상기 중계기 본체는 상기 역방향 신호를 증폭하여, 상기 내벽 안테나에 증폭된 역방향 신호를 제공하고, 상기 내벽 안테나는 제공된 역방향 신호를 방사하고, 상기 외벽 안테나는 방사된 역방향 신호를 수신하여 수신된 역방향 신호를 링크 안테나로 전달하고, 상기 링크 안테나는 전달된 역방향 신호를 기지국으로 전송하는 것을 특징으로 한다. The service antenna receives a reverse signal from the terminal and transmits the reverse signal to the repeater main body. The repeater main unit amplifies the reverse signal to provide an amplified reverse signal to the inner wall antenna, The outer wall antenna receives the radiated reverse signal and transmits the received reverse signal to the link antenna, and the link antenna transmits the transmitted reverse signal to the base station.
상술한 바와 같은 목적을 달성하기 위한 본 발명의 바람직한 실시예에 따른 통신 신호 중계 장치는 건물 내부에 위치하며 건물 내부에 위치하는 단말기와의 무선 연결을 위한 서비스 안테나; 상기 서비스 안테나와 동축 케이블로 연결되는 중계기 본체; 상기 중계기 본체와 동축 케이블로 연결되며 상기 건물의 벽 내부 면에 설치되는 내벽 모듈; 상기 내벽 모듈이 설치된 영역에 대응하는 영역의 상기 건물의 벽의 외부 면에 설치되어, 상기 건물 벽을 사이에 두고 상기 내벽 모듈과 무선으로 무선 통신 신호를 송수신하는 외벽 모듈; 상기 외벽 모듈과 동축 케이블로 연결되는 링크 모듈; 및 상기 링크 모듈과 동축 케이블로 연결되며, 기지국과의 무선 연결을 위한 링크 안테나;를 포함한다. According to another aspect of the present invention, there is provided a communication signal relay apparatus including: a service antenna for wireless connection with a terminal located inside a building; A repeater main body connected to the service antenna through a coaxial cable; An inner wall module connected to the main body of the repeater by a coaxial cable and installed on a wall inner surface of the building; An outer wall module installed on an outer surface of a wall of the building in an area corresponding to an area where the inner wall module is installed and transmitting and receiving wireless communication signals wirelessly with the inner wall module via the building wall; A link module connected to the outer wall module by a coaxial cable; And a link antenna connected to the link module through a coaxial cable for wireless connection with the base station.
상기 내벽 모듈은, 상기 무선 통신 신호를 송수신하는 내벽 안테나, 상기 중계기 본체로부터 동축 케이블을 통해 DC 전압이 인가되면, 인가된 DC 전압을 무선전력 신호로 변환하는 무선 전력 송신기, 및 상기 무선전력 신호를 방사하는 무선 전력 송신 안테나를 포함하는 것을 특징으로 한다. Wherein the inner wall module comprises: an inner wall antenna for transmitting and receiving the wireless communication signal; a wireless power transmitter for converting an applied DC voltage into a wireless power signal when a DC voltage is applied through the coaxial cable from the repeater main body; And a wireless power transmission antenna for radiating a radio signal.
상기 외벽 모듈은 상기 무선통신 신호를 송수신하는 외벽 안테나, 상기 방사된 무선전력 신호를 수신하는 무선전력 수신 안테나, 및 상기 수신된 무선전력 신호를 DC 전압으로 변환하여 동축 케이블을 통해 상기 링크 모듈에 인가하는 무선전력 수신기를 포함하는 것을 특징으로 한다. Wherein the outer wall module comprises an outer wall antenna for transmitting and receiving the wireless communication signal, a wireless power receiving antenna for receiving the radiated wireless power signal, and a controller for converting the received wireless power signal to a DC voltage, And a wireless power receiver.
상기 기지국으로부터의 순방향 신호가 수신되면, 상기 링크 안테나, 상기 링크 모듈, 상기 외벽 모듈의 외벽 안테나, 상기 내벽 모듈의 내벽 안테나, 상기 중계기 본체 및 상기 서비스 안테나는 순차로 상기 순방향 신호를 중계하여 상기 단말기에 전달하는 것을 특징으로 한다. Wherein the link antenna, the link module, the outer wall antenna of the outer wall module, the inner wall antenna of the inner wall module, the repeater main body, and the service antenna sequentially relay the forward signal, To the display device.
상기 단말기로부터 역방향 신호가 수신되면, 상기 서비스 안테나, 상기 중계기 본체, 상기 내벽 모듈의 내벽 안테나, 상기 외벽 모듈의 외벽 안테나 및 상기 링크 안테나는 순차로 상기 역방향 신호를 중계하여 상기 기지국으로 전달하는 것을 특징으로 한다. Wherein the service antenna, the main body of the repeater, the inner wall antenna of the inner wall module, the outer wall antenna of the outer wall module, and the link antenna repeatedly transmit the reverse signal to the base station when the reverse signal is received from the terminal .
상기 링크 안테나는 상기 기지국으로부터의 순방향 신호를 수신하면, 수신된 순방향 신호를 상기 링크 모듈로 전달하며, 상기 링크 모듈은 전달된 순방향 신호를 증폭한 후, 증폭된 순방향 신호를 상기 외벽 모듈의 외벽 안테나로 전송하며, 상기 외벽 안테나는 상기 전송된 순방향 신호를 방사하고, 상기 내벽 모듈의 내벽 안테나는 방사된 순방향 신호를 상기 중계기 본체로 제공하며, 상기 중계기 본체는 제공된 순방향 신호를 증폭하고, 상기 서비스 안테나에 증폭된 순방향 신호를 전송하며, 상기 서비스 안테나는 전송된 순방향 신호를 상기 단말에 전송하는 하는 것을 특징으로 한다. The link module, when receiving the forward signal from the base station, transmits the forward signal to the link module. The link module amplifies the forward signal and transmits the amplified forward signal to the outer wall antenna The inner wall antenna of the inner wall module provides a radiated forward signal to the repeater body, the repeater body amplifies the provided forward signal, and the service antenna And the service antenna transmits the forward signal to the mobile station.
상기 서비스 안테나는 상기 단말로부터 역방향 신호를 수신하여, 중계기 본체로 전달하며, 상기 중계기 본체는 상기 역방향 신호를 증폭하여, 상기 내벽 모듈의 내벽 안테나에 제공하고, 상기 내벽 안테나는 상기 역방향 신호를 방사하고, 상기 외벽 모듈의 외벽 안테나는 상기 역방향 신호를 수신하여 상기 링크 모듈로 전달하고, 상기 링크 모듈은 상기 역방향 신호를 링크 안테나로 전달하고, 상기 링크 안테나는 상기 역방향 신호를 상기 기지국에 전달하는 것을 특징으로 한다. The service antenna receives the reverse signal from the terminal and transmits the reverse signal to the repeater main body. The repeater main body amplifies the reverse signal and provides it to the inner wall antenna of the inner wall module. The inner wall antenna radiates the reverse signal , The outer wall antenna of the outer wall module receives the uplink signal and transmits the uplink signal to the link module, the link module transmits the uplink signal to the link antenna, and the link antenna transmits the uplink signal to the base station .
상술한 바와 같은 목적을 달성하기 위한 본 발명의 바람직한 실시예에 따른 통신 신호 중계 장치는, 건물 외부에 위치하는 카메라; 상기 카메라와 UTP(unshielded twisted pair) 케이블로 연결되며 상기 건물의 벽 외부 면에 설치되는 외벽 모듈; 상기 외벽 모듈이 설치된 영역에 대응하는 영역의 상기 건물의 벽의 내부면 에 설치되어, 상기 건물 벽을 사이에 두고 상기 외벽 모듈과 무선으로 무선랜 신호를 송수신하는 내벽 모듈; 및 상기 건물 내부에 위치하여 상기 내벽 모듈과 UTP 케이블로 연결되는 화면 수신기;를 포함한다. According to an aspect of the present invention, there is provided a communication signal relay device including: a camera located outside a building; An outer wall module connected to the camera by an unshielded twisted pair (UTP) cable and installed on a wall outer surface of the building; An inner wall module installed on an inner surface of a wall of the building in an area corresponding to an area where the outer wall module is installed and transmitting and receiving a wireless LAN signal wirelessly with the outer wall module via the building wall; And a screen receiver located inside the building and connected to the inner wall module by a UTP cable.
상기 외벽 모듈은 상기 카메라로부터 상기 카메라가 촬영한 화면 데이터를 포함하는 이더넷 신호를 수신하면, 수신된 이더넷 신호를 무선랜 신호로 변환하는 외벽 액세스 포인트와, 상기 무선랜 신호를 방사하는 외벽 안테나를 포함하며, 상기 내벽 모듈은 상기 무선랜 신호를 수신하는 내벽 안테나와, 상기 수신된 무선랜 신호를 이더넷 신호로 변환하여 상기 화면 수신기에 전달하는 내벽 액세스 포인트를 포함한다. The external wall module includes an external wall access point for receiving the Ethernet signal including the screen data photographed by the camera and converting the received Ethernet signal into a wireless LAN signal, and an external wall antenna radiating the wireless LAN signal The inner wall module includes an inner wall antenna for receiving the wireless LAN signal, and an inner wall access point for converting the received wireless LAN signal into an Ethernet signal and transmitting the Ethernet signal to the screen receiver.
상기 내벽 액세스 포인트는 상기 화면 수신기로부터 UTP 케이블을 통해 전력을 수신하는 것을 특징으로 한다. 여기서, 상기 내벽 모듈은 상기 내벽 액세스 포인트로부터 전력을 수신하는 파워 장치; 상기 파워 장치로부터 전력을 수신하여 무선전력 신호로 변환하는 무선 전력 송신기; 상기 무선전력 신호를 방사하는 무선 전력 송신 안테나;를 포함한다. And the inner wall access point receives power from the screen receiver through a UTP cable. Wherein the inner wall module comprises: a power device for receiving power from the inner wall access point; A wireless power transmitter for receiving power from the power device and converting the power into a wireless power signal; And a wireless power transmission antenna for radiating the wireless power signal.
그리고 상기 외벽 모듈은 상기 무선전력 신호를 수신하는 무선 전력 수신 안테나; 무선 전력 수신 안테나로부터 상기 무선전력 신호를 수신하여, 상기 외벽 액세스 포인트가 구동되도록 상기 외벽 액세스 포인트에 전력을 공급하며, PSE에 전력을 공급하는 무선 전력 수신기; 및 상기 카메라가 구동될 수 있도록 되도록 상기 외벽 액세스 포인트에 전력을 공급에 전력을 공급하도는 상기 PSE;를 포함한다. 이에 따라, 상기 외벽 액세스 포인트는 상기 PSE로부터 수신된 전력을 상기 카메라에 공급하는 것을 특징으로 한다. And the outer wall module includes a wireless power receiving antenna for receiving the wireless power signal; A wireless power receiver that receives the wireless power signal from a wireless power receive antenna to power the outer wall access point to drive the outer wall access point and to power the PSE; And the PSE that powers the power supply to the outer wall access point so that the camera can be driven. Accordingly, the outer wall access point supplies power received from the PSE to the camera.
본 발명에 따르면, 건물에 동축 케이블 연결을 위한 구멍을 뚫지 않고, 통신 신호 중계 장치를 설치할 수 있음으로, 건물을 보호할 수 있는 이점이 있다. 또한, 원하는 경로로 배선을 연결할 수 있어, 비용을 절감할 수 있다. According to the present invention, there is an advantage that a communication signal relay device can be installed without drilling a hole for a coaxial cable connection to a building, thereby protecting the building. In addition, the wiring can be connected to a desired path, thereby reducing the cost.
도 1은 본 발명의 제1 실시예에 따른 통신 신호 중계 장치의 구조를 설명하기 위한 블록도이다.
도 2는 경로 손실에 대해 설명하기 위한 도면이다.
도 3 및 도 4는 본 발명의 제2 실시예에 따른 통신 신호 중계 장치의 구조를 설명하기 위한 도면이다.
도 5 및 도 6은 본 발명의 제3 실시예에 따른 통신 신호 중계 장치를 설명하기 위한 도면이다. 1 is a block diagram illustrating a structure of a communication signal relay apparatus according to a first embodiment of the present invention.
2 is a diagram for explaining path loss.
3 and 4 are views for explaining a structure of a communication signal relay device according to a second embodiment of the present invention.
5 and 6 are views for explaining a communication signal relay apparatus according to a third embodiment of the present invention.
본 발명의 상세한 설명에 앞서, 이하에서 설명되는 본 명세서 및 청구범위에 사용된 용어나 단어는 통상적이거나 사전적인 의미로 한정해서 해석되어서는 아니 되며, 발명자는 그 자신의 발명을 가장 최선의 방법으로 설명하기 위해 용어의 개념으로 적절하게 정의할 수 있다는 원칙에 입각하여 본 발명의 기술적 사상에 부합하는 의미와 개념으로 해석되어야만 한다. 따라서 본 명세서에 기재된 실시예와 도면에 도시된 구성은 본 발명의 가장 바람직한 실시예에 불과할 뿐, 본 발명의 기술적 사상을 모두 대변하는 것은 아니므로, 본 출원시점에 있어서 이들을 대체할 수 있는 다양한 균등물과 변형 예들이 있을 수 있음을 이해하여야 한다. Prior to the detailed description of the present invention, the terms or words used in the present specification and claims should not be construed as limited to ordinary or preliminary meaning, and the inventor may designate his own invention in the best way It should be construed in accordance with the technical idea of the present invention based on the principle that it can be appropriately defined as a concept of a term to describe it. Therefore, the embodiments described in the present specification and the configurations shown in the drawings are merely the most preferred embodiments of the present invention, and are not intended to represent all of the technical ideas of the present invention. Therefore, various equivalents It should be understood that water and variations may be present.
이하, 첨부된 도면을 참조하여 본 발명의 바람직한 실시예들을 상세히 설명한다. 이때, 첨부된 도면에서 동일한 구성 요소는 가능한 동일한 부호로 나타내고 있음을 유의해야 한다. 또한, 본 발명의 요지를 흐리게 할 수 있는 공지 기능 및 구성에 대한 상세한 설명은 생략할 것이다. 마찬가지의 이유로 첨부 도면에 있어서 일부 구성요소는 과장되거나 생략되거나 또는 개략적으로 도시되었으며, 각 구성요소의 크기는 실제 크기를 전적으로 반영하는 것이 아니다. Hereinafter, preferred embodiments of the present invention will be described in detail with reference to the accompanying drawings. Note that, in the drawings, the same components are denoted by the same reference symbols as possible. Further, the detailed description of known functions and configurations that may obscure the gist of the present invention will be omitted. For the same reason, some of the elements in the accompanying drawings are exaggerated, omitted, or schematically shown, and the size of each element does not entirely reflect the actual size.
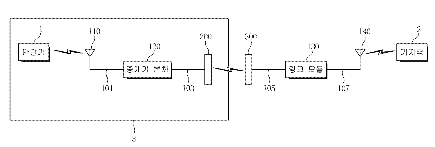
도 1은 본 발명의 제1 실시예에 따른 중계기의 구조를 설명하기 위한 블록도이다. 1 is a block diagram illustrating a structure of a repeater according to a first embodiment of the present invention.
도 1을 참조하면, 본 발명의 실시예에 따른 중계기(100)는 건물 내에 단말(1)과 기지국(2)간의 무선통신 신호를 중계하기 위한 것이다. 이러한 중계기(100)는 건물 내부에 설치되는, 서비스 안테나(110), 중계기 본체(120) 및 내벽 안테나(180)와, 건물 외부에 설치되는, 링크 안테나(140) 및 외벽 안테나(190)를 포함한다. 내벽 안테나(180)와 외벽 안테나(190) 간의 무선 연결을 제외하고, 나머지 구성 요소간의 연결은 동축 케이블(101, 103, 105)을 통해 이루어진다. Referring to FIG. 1, a repeater 100 according to an embodiment of the present invention relays a wireless communication signal between a
링크 안테나(140)는 건물 외부에 위치하며, 기지국(2)과의 무선 연결을 위한 안테나이다. 서비스 안테나(110)는 건물 내부에 위치하며, 단말기(1)와의 무선 연결을 위한 안테나이다. 중계기 본체(130)는 링크 안테나(140) 및 서비스 안테나(110) 사이에서 링크 안테나(140) 및 서비스 안테나(110)와 각각 연결되어, 기지국(2)에서 단말기(1) 방향으로 송신되는 순방향 신호와, 단말기(1)에서 기지국(2) 방향으로 송신되는 역방향 신호를 증폭시킨다. 이러한 링크 안테나(140) 및 서비스 안테나(110) 각각과의 중계기 본체(130) 사이에서 연결은, 동축 케이블(101, 103, 105) 및 내벽 안테나(180)와 외벽 안테나(190)를 통해 이루어진다. The
중계기(100)의 각 구성들 간의 연결에 대해서 설명하면 다음과 같다. 서비스 안테나(110)는 동축 케이블(101)을 통해 중계기 본체(120)와 연결되며, 중계기 본체(120)는 동축 케이블(103)을 통해 내벽 안테나(180)와 연결된다. 여기서, 내벽 안테나(180)는 벽(3)의 내부 면에 설치된다. 또한, 내벽 안테나(180)가 설치된 영역과 대응하는 영역의 벽(3)의 외부 면에 외벽 안테나(190)가 설치된다. 내벽 안테나(180) 및 외벽 안테나(190) 사이의 연결은 벽(3)을 사이에 두고 무선을 통해 연결된다. 또한, 외벽 안테나(190)는 링크 안테나(140)와 동축 케이블(105)을 통해 연결된다. The connection between the respective components of the repeater 100 will now be described. The
상술한 바와 같은 구조에 따라, 기지국(2)이 단말(1)로 전송하는 순방향 신호는, 기지국(2)이 순방향 신호를 전송하면, 링크 안테나(140), 외벽 안테나(190), 내벽 안테나(180), 중계기 본체(120), 서비스 안테나(110)를 거쳐, 단말(1)에 전달된다. 이러한 순방향 신호 중계 과정에 대해서 보다 상세히 설명하면 다음과 같다. The forward signal transmitted from the
기지국(2)이 순방향 신호를 송신하면, 링크 안테나(140)는 이를 수신하고, 수신된 순방향 신호는 동축 케이블(18)을 거쳐 외벽 안테나(190)에 전달된다. 이 순방향 신호는 다시 외벽 안테나(190)에 의해 내벽 안테나(19)로 방사되며, 방사된 순방향 신호는 내벽 안테나(19)에 의해 수신된다. 내벽 안테나(19)에서 수신된 신호는 중계기 본체(130)에 전달되고, 중계기 본체(130)에서 증폭되어 동축 케이블(17)을 통해서 서비스 안테나(110)로 전달되며, 서비스 안테나(110)는 이 순방향 신호를 방사하며, 이 방사된 순방향 신호는 단말기(1)에 전달된다. When the
상술한 바와 같은 구조에 따라, 단말(1)이 기지국(2)으로 전송하는 역방향 신호는, 단말(1)이 역방향 신호를 전송하면, 서비스 안테나(110), 중계기 본체(120), 내벽 안테나(180), 외벽 안테나(190), 및 링크 안테나(140)를 거쳐 기지국(2)에 전달된다. 이러한 역방향 신호 중계 과정에 대해서 보다 상세히 설명하면 다음과 같다. The reverse signal transmitted from the
단말기(1)가 역방향 신호를 송신하면, 서비스 안테나(110)는 이를 수신한 후, 동축 케이블(17)을 통해 중계기 본체(130)로 전달하고, 중계기 본체(130)는 이를 증폭한 후, 동축 케이블(13)을 통해서 내벽 안테나(19)로 전달한다. 내벽 안테나(19)는 이 역방향 신호를 방사한다. 그러면, 외벽 안테나(190)는 이 방사된 역방향 신호를 수신하고, 수신된 역방향 신호는 동축 케이블(18)을 통해서 링크 안테나(140)로 보내진다. 링크 안테나(140)는 이 역방향 신호를 방사하고, 방사된 역방향 신호는 기지국(2)으로 전달된다. When the
상술한 바와 같이, 건물 외벽과 내벽의 안과 밖에 안테나를 부착 설치하여 순방향 및 역방향 신호를 전달하면, 동축 케이블만을 이용하여 신호를 전달하는 경우에 발생하는 문제점을 해결할 수 있다. 즉, 건물에 손상이 없으므로 최적의 위치에 아무런 제약 없이 중계기를 설치할 수 있게 된다. As described above, when an antenna is attached to the inside and outside of the building outer wall and the inner wall to transmit forward and backward signals, it is possible to solve a problem that occurs when a signal is transmitted using only a coaxial cable. That is, since there is no damage to the building, the repeater can be installed in an optimum position without restriction.
한편, 상술한 방법은 내벽 안테나(180)와 외벽 안테나(190)간의 경로 손실(path loss)이 발생할 수 있다. 따라서, 내벽 안테나(180)와 외벽 안테나(190)는 벽면에 밀착되어있으므로 두 안테나(180, 190)간의 경로 손실은 벽면의 재질과 두께에 따라서 결정될 수 있다. 예컨대, 유리와 같은 소재보다 콘크리트가 경로 손실이 크고 같은 재질이더라도 두께가 두꺼울수록 경로 손실이 클 수 있다. 따라서, 경로 손실이 성능에 문제가 발생할 정도로 큰 경우(예컨대, 두꺼운 콘크리트 벽체일 경우)에는 링크 안테나(140)와 중계기 본체(120) 사이의 경로 손실로 인해 중계기(100)의 성능이 열화될 수 있다. Meanwhile, in the above-described method, a path loss may occur between the
도 2는 경로 손실에 대해 설명하기 위한 도면이다. 2 is a diagram for explaining path loss.
도 2에서는, 안테나를 통해서 건물 외벽을 통과하는 본 발명의 제1 실시예의 경우(B)에 경로 손실이 중계기 성능에 영향을 미치는 것을 알아보기 위해서 기존 방식(A)과 비교하여 설명한다. In FIG. 2, a comparison is made with the conventional method (A) in order to find out that the path loss affects the performance of the repeater in the case (B) of the first embodiment of the present invention passing through the outer wall of the building through the antenna.
기존 방식(A)의 전체 이득(Gs), 순방향 출력(D out_pwr)은 다음의 <수학식 1>과 같다. The total gain Gs and the forward output D out_pwr of the conventional method A are expressed by Equation (1) below.
[수학식 1][Equation 1]
전체 이득(Gs) = 중계기 본체 이득(Gr) - 링크 안테나 케이블 손실(L_loss) - 서비스 안테나 케이블 손실(S_loss)Total antenna gain (Gs) = Repeater body gain (Gr) - Link antenna cable loss (L_loss) - Service antenna cable loss (S_loss)
순방향 출력(D out_pwr) = 전체 이득(Gs) + 링크 안테나 입력(Din_pwr) = 중계기 본체 이득(Gr) - 링크 안테나 케이블 손실(L_loss) - 서비스 안테나 케이블 손실(S_loss) + 링크 안테나 입력(Din_pwr)Link Antenna Input (Din_pwr) = Link Gain (Gr) - Link Antenna Cable Loss (L_loss) - Service Antenna Cable Loss (S_loss) + Link Antenna Input (Din_pwr) - Forward Output (D out_pwr) = Total Gain
역방향 출력(Uout_pwr) = 전체 이득(Gs) + 서비스 안테나 입력(Uin_pwr) = 중계기 본체 이득(Gr) - 링크 안테나 케이블 손실(L_loss) - 서비스 안테나 케이블 손실(S_loss) + 서비스 안테나 입력(Uin_pwr)(Uin_pwr) = Total antenna gain (Uin_pwr) = Link antenna gain (Gr) - Link antenna cable loss (L_loss) - Service antenna cable loss (S_loss) + Service antenna input (Uin_pwr)
본 발명의 제1 실시예(B)의 전체 이득(Gs), 순방향 출력(D out_pwr)은 다음의 <수학식 2>와 같다. The total gain Gs and the forward output D out_pwr of the first embodiment B of the present invention are expressed by Equation (2) below.
[수학식 2]&Quot; (2) "
전체 이득(Gs) = 중계기 본체 이득(Gr) - 링크 안테나 케이블 손실(L_loss) - 서비스 안테나 케이블 손실(S_loss) - 벽 통과 손실(W_loss)Total antenna gain (Gs) = Repeater body gain (Gr) - Link antenna cable loss (L_loss) - Service antenna cable loss (S_loss) - Wall passing loss (W_loss)
순방향 출력(D out_pwr) = 전체 이득(Gs) + 링크 안테나 입력(Din_pwr) = 중계기 본체 이득(Gr) - 링크 안테나 케이블 손실(L_loss) - 서비스 안테나 케이블 손실(S_loss) + 링크 안테나 입력(Din_pwr) - 벽 통과 손실(W_loss)Link antenna input (Din_pwr) - Link antenna gain (Gr) - Link antenna cable loss (L_loss) - Service antenna cable loss (S_loss) + Link antenna input (Din_pwr) - Forward output (D out_pwr) = Total gain Wall passing loss (W_loss)
역방향 출력(Uout_pwr) = 전체 이득(Gs) + 서비스 안테나 입력(Uin_pwr) = 중계기 본체 이득(Gr) - 링크 안테나 케이블 손실(L_loss) - 서비스 안테나 케이블 손실(S_loss) + 서비스 안테나 입력(Uin_pwr) - 벽 통과 손실(W_loss)(Uin_pwr) = Link antenna gain (Gr) - Link antenna cable loss (L_loss) - Service antenna cable loss (S_loss) + Service antenna input (Uin_pwr) - Wall Pass loss (W_loss)
도시된 바와 같이, 안테나와 중계기의 특성이 동일하고 설치 위치와 케이블 길이가 동일할 경우, 기존 방식과의 차이는 내벽 안테나(180)와 외벽 안테나(190)를 통과할 때의 경로 손실(W_loss, 이하, "벽 통과 손실"로 칭함)이다. As shown in the figure, when the characteristics of the antenna and the repeater are the same and the installation position and the cable length are the same, the difference from the conventional method is the path loss (W_loss) when passing through the
내벽 안테나(180) 및 외벽 안테나(190)를 통해 벽을 통과할 경우 전체 이득과 양방향 출력이 각각 감소한다. 만약 벽 통과 손실이 크지 않을 경우에는 문제가 없지만 많을 경우에는 전체 성능이 크게 열화될 수 있다. 1cm 정도 두께의 유리를 통과할 경우에는 손실이 수 dB에 불과하지만, 5cm 이상 두께의 합판 재질 벽을 통과하는 경우 수십 dB 이상의 손실이 발생할 수 있다. 벽 통과 손실이 수십 dB 이상 발생하면 전체 성능이 심각하게 나빠져서 중계기 사용이 불가능할 경우까지 발생할 수 있다. When passing through the wall through the
상술한 문제를 해결하기 위해 본 발명의 제2 실시예에 따르면, 링크 안테나(140) 쪽에 손실 보상용 증폭기(링크 모듈)를 추가하여 벽 통과 손실을 보상한다. 즉, 링크 안테나(140) 쪽에 손실 보상용 증폭기를 설치하면 이 손실 보상용 증폭기의 이득이 벽 통과 손실을 상쇄하기 때문에 전체 이득과 양방향 출력이 감소하지 않는다. 또한, 손실 보상용 증폭기는 동축 케이블의 손실까지도 보상해 주기 때문에 케이블의 길이가 긴 경우에도 이득과 출력 손실이 없어진다. According to the second embodiment of the present invention, a loss compensation amplifier (link module) is added to the
한편, 이렇게 손실 보상용 증폭기를 추가할 경우 손실 보상용 증폭기에 공급할 전원이 필요하다. 이러한 경우 건물 내부에서 전력선을 끌어와야 하는데, 이것은 처음에 제기했던 동축 케이블의 관통 문제와 동일한 문제(벽 손상, 등)가 발생할 수 있다. 그러므로, 전원도 무선통신 신호와 마찬가지로 벽을 통과하여야 하는데 본 발명의 제2 실시예에서는 무선전력 전송 기술을 이용하여 전원도 벽에 구멍을 뚫지 않고 통과하는 방안을 안출하였다. 즉, 무선전력 송신기를 건물 내부에 설치하고, 건물 외부에 무선전력 수신기를 설치하여, 중계기 본체로부터 전원을 공급 받아, 무선전력 송신기를 통해 무선전력 수신기에 전달한다. 이와 같이, 무선으로 벽을 통과하여 전력을 공급하도록 한다. 그러면, 이러한 본 발명의 제2 실시예에 대해서 설명하기로 한다. On the other hand, when the amplifier for loss compensation is added, a power source for supplying the loss compensation amplifier is required. In this case, power lines must be pulled from inside the building, which can lead to the same problems (wall damage, etc.) as the initial penetration of the coaxial cable. Therefore, the power source must pass through the wall in the same manner as the wireless communication signal. In the second embodiment of the present invention, the power source passes through the wall without puncturing the wall. That is, a wireless power transmitter is installed inside a building, a wireless power receiver is installed outside the building, power is supplied from the repeater main body, and the wireless power transmitter is transmitted to the wireless power receiver through the wireless power transmitter. In this manner, power is supplied through the wall by radio. The second embodiment of the present invention will now be described.
도 3 및 도 4는 본 발명의 제2 실시예에 따른 중계기 구조를 설명하기 위한 도면이다. 3 and 4 are views for explaining the structure of a repeater according to a second embodiment of the present invention.
도 3 및 도 4를 참조하면, 본 발명의 실시예에 따른 중계기(100)는 건물 내에 단말(1)과 기지국(2)간의 무선통신 신호를 중계하기 위한 것이다. 이러한 중계기(100)는 건물 내부에 설치되는 서비스 안테나(110), 중계기 본체(120), 및 내벽 모듈(200)과, 건물 외부에 설치되는 외벽 모듈(300), 링크 모듈(130) 및 링크 안테나(140)를 포함한다. 내벽 모듈(200)과 외벽 모듈(300)의 무선 연결을 제외하고, 각 구성간의 연결은 동축 케이블(101, 103, 105, 107)로 이루어진다. 특히, 내벽 모듈(200)은 내벽 안테나(202), 무선 전력 송신기(203) 및 무선 전력 송신 안테나(204)를 포함한다. 그리고, 외벽 모듈(300)은 외벽 안테나(302), 무선 전력 수신기(303) 및 무선 전력 수신 안테나(304)를 포함한다. 3 and 4, a repeater 100 according to an embodiment of the present invention relays wireless communication signals between a terminal 1 and a
서비스 안테나(110)는 건물 내에 위치하여, 건물 내에 위치한 단말기(1)와 무선 연결을 이룬다. 중계기 본체(120)는 동축 케이블(101)을 통해 서비스 안테나(110)와 연결된다. 그리고, 중계기 본체(120)는 동축 케이블(103)을 통해 내벽 모듈(200)과 연결된다. The
도시된 바와 같이, 내벽 모듈(200)은 건물 벽(3) 내부 면에 설치된다. 외벽 모듈(300)은 내벽 모듈(200)이 설치된 영역에 대응하여, 건물 벽(3) 외부 면에 설치된다. 내벽 모듈(200)과 외벽 모듈(300)은 무선으로 연결되어 통신하며, 내벽 모듈(200)은 중계기 본체(120)로부터 전력을 공급 받으며, 공급 받은 전력을 무선 전력 송신 기법을 이용하여 외벽 모듈(300)에 제공한다. As shown, the
외벽 모듈(300)은 동축 케이블(105)로 링크 모듈(130)과 연결되며, 링크 모듈(130)은 동축 케이블(107)로 링크 안테나(140)와 연결된다. 그리고 링크 안테나(140)는 기지국(2)과 무선 연결된다. The
기지국(2)에서 송신된 순방향 신호는 링크 안테나(140)로 수신된 후 동축 케이블(107)을 거쳐 링크 모듈(130)에 전달된다. 링크 모듈(130)은 순방향 신호를 증폭하며, 증폭된 순방향 신호는 다시 외벽 모듈(300)에 전달된다. 외벽 모듈(300)의 외벽 안테나(302)에서 내벽 안테나(202)로 방사되고 내벽 모듈(200)의 내벽 안테나(202)에 전달된다. 내벽 안테나(202)에서 수신된 순방향 신호는 중계기 본체(120)에 전달되고, 그 순방향 신호는 중계기 본체(120)에서 증폭되어 동축 케이블(101)을 통해서 서비스 안테나(110)로 전달된다. 그러면, 그 순방향 신호는 서비스 안테나(110)에서 방사되어 단말기(1)로 전달된다. The forward signal transmitted from the
역으로, 단말기(1)에서 송신된 역방향 신호는 서비스 안테나(110)로 수신된 후 동축 케이블(101)을 통해 중계기 본체(120)에 전달되고 중계기 본체(120)에서 증폭되어 동축 케이블(103)을 통해서 내벽 모듈(200)의 내벽 안테나(203)에 전달된다. 이 역방향 신호는 다시 내벽 안테나(202)에서 외벽 안테나(302)로 방사되어, 외벽 안테나(302)에서 수신된다. 외벽 안테나(302)에서 수신된 역방향 신호는 동축 케이블(105)을 통해서 링크 모듈(130)로 보내지고, 링크 모듈(130)은 이 역방향 신호를 증폭한다. 증폭된 역방향 신호는 다시 링크 안테나(140)로 보내지고, 보내진 역방향 신호는 링크 안테나(140)에서 방사되어 기지국(2)으로 전달된다. Conversely, the reverse signal transmitted from the
상술한 바와 같이, 본 발명에 따르면, 링크 모듈(130)을 통해 순방향 신호 및 역방향 신호를 증폭함으로써, 경로 손실을 보상할 수 있어, 원활한 통신이 가능할 수 있다. As described above, according to the present invention, the path loss can be compensated for by amplifying the forward and reverse signals through the
한편, 이러한 링크 모듈(130)이 역방향 및 순방향 신호를 증폭하기 위해서는, 링크 모듈(130)에 전원이 공급되어야 한다. 이를 위한 본 발명의 실시예에 따른 전원 공급 방법에 대해서 설명한다. 중계기 본체(120)에서 DC 전압이 내벽 모듈(200)로 연결된 동축 케이블(103)에 인가되고 내벽 모듈(200)에서 내부의 무선 전력 송신기(203)로 연결된다. DC 전압은 무선 전력 송신기(203)에서 무선전력 신호로 변형되어 무선 전력 송신기(203)의 무선 전력 송신 안테나(204)에서 외벽 모듈(300)의 무선 전력 수신 안테나(303)로 방사된다. 외벽 모듈(300)의 무선전력 수신기 안테나(303)에서 수신된 무선전력 신호는 무선전력 수신기(303)에 입력되고 다시 DC 전압으로 변경된다. 이 DC 전압은 다시 링크 모듈에 연결된 동축 케이블(105)에 인가되어, 링크 모듈(130)에 공급된다. On the other hand, in order for the
한편, 상술한 바와 같이 본 발명을 구성하는 요소를 각 기능을 수행하는 모듈별로 분리하여 동축 케이블을 통해서 연결하였으나 설치 및 사용 편리성을 위하여 인접한 모듈을 일체화할 수도 있다. 예를 들어, 중계기 본체(120)에 서비스 안테나(110)를 내장하거나 링크 모듈(130)에 링크 안테나(140)를 내장할 수 있다. 또한, 링크 모듈(130)과 외벽 모듈(300)을 일체화하거나, 중계기 본체(120)와 내벽 모듈(200)을 일체화 할 수도 있다. 또한, 실시예에서는 하나의 벽에 대해서만 설명하였지만, 복수의 벽으로 이루어진 건물의 경우, 복수의 벽 각각에 내부 모듈(200) 및 외부 모듈(300) 쌍을 설치할 수 있다. Meanwhile, as described above, the elements constituting the present invention are separated by modules for performing respective functions and connected through coaxial cables, but adjacent modules may be integrated for convenience of installation and use. For example, the
본 발명은 상기와 같이 벽을 통과하여 설치하여야하는 중계기의 동축 케이블을 벽에 구멍을 뚫지 않고 통과하게 하기 위해, 무선으로 신호와 전력을 전송하는 기술을 사용함으로써 중계기 설치에 따르는 시공상의 여러 문제를 해결할 수 있다. The present invention uses a technique of wirelessly transmitting signals and electric power in order to allow a coaxial cable of a repeater to pass through a wall without passing through a hole in the wall as described above, Can be solved.
도 5 및 도 6은 본 발명의 제3 실시예에 따른 통신 신호 중계 장치를 설명하기 위한 도면이다. 5 and 6 are views for explaining a communication signal relay apparatus according to a third embodiment of the present invention.
도 5를 참조하면, 본 발명의 제3 실시예에 따르면, CCTV(closed circuit television)용 카메라(520)를 건물 외부에 설치하고, CCTV용 화면 수신기(510)를 건물 내부에 설치하는 경우를 상정한다. 종래 기술에 따르면, 카메라(520)와 화면 수신기(510)는 UTP(unshielded twisted pair) 케이블을 이용하여 화상 데이터를 포함하는 이더넷(Ethernet) 신호를 통해 송수신할 때, 건물의 벽에 구멍을 내야한다. 하지만, 본 발명에 제3 실시예에 따르면, 벽을 사이에 두고, 설치되는 내벽 모듈(1200) 및 외벽 모듈(1300) 간에 무선 통신을 통해 이더넷 신호를 주고받기 때문에 벽에 구멍을 낼 필요가 없다. Referring to FIG. 5, according to the third embodiment of the present invention, it is assumed that a
그러면, 내벽 모듈 및 외벽 모듈에 대해 더 상세하게 설명하기로 한다. The inner wall module and the outer wall module will now be described in more detail.
도 6을 참조하면, 본 발명의 제3 실시예에 따른 통신 장치는 건물의 벽(1400)을 사이에 두고, 건물 벽(1400) 내부 면에 설치되는 내벽 모듈(1200)과 내벽 모듈(1200)이 설치된 영역의 건물 벽(1400) 외부 면에 설치되는 외벽 모듈(1300)을 포함한다. 내벽 모듈(1200)은 UTP 케이블(1201)을 통해 CCTV용 화면 수신기(510)와 연결된다. 외벽 모듈(1300)은 UTP 케이블(1301)을 통해 카메라(520)와 연결된다. 6, the communication device according to the third embodiment of the present invention includes an
내벽 모듈(1200)은 내벽 안테나(1202), 내벽 액세스 포인트(Access Point 또는 WiFi Access Point)(1203), PoE(Power over Ethernet)의 PD(Powered Device)(1204), 무선 전력 송신기(1205) 및 무선 전력 송신 안테나(1206)를 포함한다. The
외벽 모듈(1300)은 외벽 안테나(1302), 외벽 액세스 포인트(1303), PSE(Power sourcing equipment)(1304), 무선 전력 수신기(1305) 및 무선 전력 수신 안테나(1306)를 포함한다. The
카메라(520)의 화상 데이터를 포함하는 이더넷 신호는 UTP 케이블(1301)을 통해 외벽 액세스 포인트(1303)에 전달된다. 그러면, 외벽 액세스 포인트(1303)는 화상 데이터를 무선랜(WLAN 또는 WiFi) 신호로 변환한다. 한편, 선택적으로, 경로 손실을 미리 고려하여, 외벽 액세스 포인트(1303)는 무선랜 신호를 증폭하는 선처리 과정을 수행할 수 있다. 다음으로, 외벽 액세스 포인트(1303)는 무선랜 신호를 외벽 안테나(1302)로 전달하며, 외벽 안테나(1302)는 이를 방사한다. The Ethernet signal including the image data of the
방사된 무선랜 신호는 내벽 안테나(1202)가 수신하여, 내벽 액세스 포인트(1202)에 전달한다. 그러면, 내벽 액세스 포인트(1202)는 무선랜 신호를 다시 이더넷 신호로 변환한다. 이때, 선택적으로, 내벽 액세스 포인트(1202)는 경로 손실을 고려하여, 변환된 이더넷 신호를 증폭하여, 경로 손실을 보상하는 후처리 과정을 수행할 수 있다. 다음으로, 내벽 액세스 포인트(1202)는 UTP 케이블(1201)을 통해 화면 수신기(510)에 이더넷 신호를 전달한다. 그러면, 화면 수신기(510)는 이더넷 신호로부터 화상 데이터를 추출하여, 추출된 화상 데이터를 출력한다. The radiated wireless LAN signal is received by the
한편, 본 발명의 제3 실시예에 따르면, 내벽 외부에 설치되는 장비(외벽 액세스 포인트(1303), 카메라(520))를 구동시키기 위해, 전력(구동 전원)을 공급하기 위하여 UTP 케이블을 통해서 전원을 공급하는 POE(Power over ethernet)을 구현한다. According to the third embodiment of the present invention, in order to drive the equipment (external
먼저, 화면 수신기(510)로부터 UTP 케이블(1201)로 전송된 POE 전원은 내벽 액세스 포인트(1203)에서 분기되어 PD(1204)에 연결된다. 그러면, PD(1204)는 내벽 액세스 포인트(1203)와 무선 전력 송신기(1205)에 전력을 공급한다. The POE power transmitted from the
무선 전력 송신기(1205)는 공급받은 전력을 무선전력 신호로 변환하고, 변환된 무선전력 신호를 무선 전력 송신 안테나(1206)에 제공한다. 그러면, 무선 전력 송신 안테나(1206)는 무선 전력 신호를 방사한다. The
그러면, 무선 전력 수신 안테나(1306)는 무선 전력 신호를 수신하여, 무선 전력 수신기(1305)에 전달한다. 그러면, 무선 전력 수신기(1305)는 외벽 액세스 포인트(1303)가 구동되도록 전력을 공급한다. 이와 함께, 무선 전력 수신기(1305)는 PSE(1304)에 전력을 공급한다. The wireless power receiving antenna 1306 then receives the wireless power signal and delivers it to the
PSE(1304)는 또한 외부 장비(즉, 카메라(520))에 전력을 공급하기 위해, 외벽 액세스 포인트에 전력을 제공한다. 그러면, 외벽 액세스 포인트(1303)는 UTP 케이블을 통해 카메라(520)에 전력을 공급하여, 구동되도록 한다. 이에 따라, 카메라(520)는 전력을 수신하여, 동작할 수 있다. 이와 같이, 본 발명의 제3 실시예에 따른 이더넷 신호를 전송하기 위한 내벽 모듈(1200)과 외벽 모듈(1300)의 한 쌍으로 구성된 중계 장치는 외부 장비(즉, 카메라(520))에 POE 전원을 공급할 수 있다.
상술한 바와 같이 본 발명의 제3 실시예에 따르면, CCTV 용 IP 카메라에 응용하는 예를 들었지만, 이 기술분야에서 통상의 지식을 가진 자라면, 본 발명의 사상을 벗어남이 없이, 필요한 수정을 가하여, 다양한 이더넷 신호 전송 장비에 활용이 가능할 것이다. 또한, 외벽 모듈(1300)과 외벽 모듈(1300)에 연결된 외부 장치(카메라(520))가 각각의 구성으로 분리된 것과 같이 설명하였지만, 하나의 장치로 구현될 수도 있다. As described above, according to the third embodiment of the present invention, an application to an IP camera for CCTV has been described. However, those skilled in the art will appreciate that, without departing from the spirit of the present invention, , It can be applied to various Ethernet signal transmission equipment. Although the
이상 본 발명을 몇 가지 바람직한 실시예를 사용하여 설명하였으나, 이들 실시예는 예시적인 것이며 한정적인 것이 아니다. 이와 같이, 본 발명이 속하는 기술분야에서 통상의 지식을 지닌 자라면 본 발명의 사상과 첨부된 특허청구범위에 제시된 권리범위에서 벗어나지 않으면서 균등론에 따라 다양한 변화와 수정을 가할 수 있음을 이해할 것이다. While the present invention has been described with reference to several preferred embodiments, these embodiments are illustrative and not restrictive. It will be understood by those skilled in the art that various changes and modifications may be made without departing from the spirit of the invention and the scope of the appended claims.
1: 단말 2: 기지국
3: 건물 벽 100: 중계기
101, 103, 105, 107: 동축 케이블
110: 서비스 안테나 120: 중계기 본체
130: 링크 모듈 140: 링크 안테나
180: 내벽 안테나 190: 외벽 안테나
200: 내벽 모듈 202: 내벽 안테나
203: 무선 전력 송신기 204: 무선 전력 송신 안테나
300: 외벽 모듈 302: 외벽 안테나
303: 무선 전력 수신기 304: 무선 전력 수신 안테나
510: 화면 수신기 520: 카메라
1200: 내벽 모듈 1202: 내벽 안테나
1203: 내벽 액세스 포인트 1204: PD(Powered Device)
1205: 무선 전력 송신기 1206: 무선 전력 송신 안테나
1300: 외벽 모듈 1302: 외벽 안테나
1303: 외벽 액세스 포인트 1304: PSE(Power sourcing equipment)
1305: 무선 전력 수신기 1306: 무선 전력 수신 안테나1: terminal 2: base station
3: building wall 100: repeater
101, 103, 105 and 107: coaxial cables
110: service antenna 120: repeater main body
130: Link module 140: Link antenna
180: inner wall antenna 190: outer wall antenna
200: inner wall module 202: inner wall antenna
203: wireless power transmitter 204: wireless power transmission antenna
300: outer wall module 302: outer wall antenna
303: Wireless power receiver 304: Wireless power receiving antenna
510: screen receiver 520: camera
1200: inner wall module 1202: inner wall antenna
1203: inner access point 1204: PD (Powered Device)
1205: wireless power transmitter 1206: wireless power transmission antenna
1300: outer wall module 1302: outer wall antenna
1303: Outer access point 1304: Power sourcing equipment (PSE)
1305: Wireless power receiver 1306: Wireless power receiving antenna
Claims (15)
건물의 벽 외부 면에 설치되는 외벽 모듈; 및
상기 외벽 모듈이 설치된 영역에 대응하는 영역의 상기 건물의 벽의 내부면 에 설치되어, 상기 건물의 벽을 사이에 두고 상기 외벽 모듈과 무선으로 무선랜 신호를 송수신하는 내벽 모듈;을 포함하며,
상기 외벽 모듈은, 이더넷 신호를 무선랜 신호로 변환하는 외벽 액세스 포인트와, 상기 무선랜 신호를 방사하는 외벽 안테나를 포함하고,
상기 내벽 모듈은, 상기 무선랜 신호를 수신하는 내벽 안테나와, 상기 내벽 안테나가 수신한 상기 무선랜 신호를 이더넷 신호로 변환하는 내벽 액세스 포인트, 파워 장치(PD), 상기 파워 장치로부터 전력을 수신하여 무선전력 신호로 변환하는 무선 전력 송신기, 및 상기 무선전력 신호를 방사하는 무선 전력 송신 안테나를 포함하며,
상기 외벽 모듈은, 상기 무선전력 신호를 수신하는 무선전력 수신 안테나, 상기 외벽 액세스 포인트에 전력을 공급하는 PSE(Power sourcing equipment), 상기 무선 전력 수신 안테나로부터 상기 무선전력 신호를 수신하여, 상기 외벽 액세스 포인트와 상기 PSE(Power sourcing equipment)에게 전력을 공급하는 무선 전력 수신기를 더 포함하는 것인, 통신 신호 중계 장치.A communication signal relay device comprising:
An outer wall module installed on the outer surface of the wall of the building; And
And an inner wall module installed on an inner surface of a wall of the building in an area corresponding to an area where the outer wall module is installed and transmitting and receiving a wireless LAN signal wirelessly with the outer wall module via a wall of the building,
Wherein the outer wall module comprises an outer wall access point for converting an Ethernet signal into a wireless LAN signal and an outer wall antenna radiating the wireless LAN signal,
The inner wall module includes an inner wall antenna for receiving the wireless LAN signal, an inner wall access point for converting the wireless LAN signal received by the inner wall antenna into an Ethernet signal, a power device (PD) A wireless power transmitter for converting the wireless power signal into a wireless power signal, and a wireless power transmission antenna for emitting the wireless power signal,
Wherein the outer wall module comprises: a wireless power receiving antenna for receiving the wireless power signal; a power sourcing equipment (PSE) for supplying power to the outer wall access point; a wireless power receiving module for receiving the wireless power signal from the wireless power receiving antenna, Point and a wireless power receiver for supplying power to the PSE (Power Sourcing Equipment).
상기 건물의 외부에 위치하는 외부 장비;를 더 포함하며,
상기 외벽 액세스 포인트는 상기 외부 장비와 케이블로 연결되며,
상기 외벽 액세스 포인트는 상기 외부 장비로부터 이더넷 신호를 수신하면, 수신한 상기 이더넷 신호를 무선랜 신호로 변환하는 것을 특징으로 하는 통신 신호 중계 장치.The method according to claim 6,
And external equipment located outside the building,
The external access point is connected to the external equipment by a cable,
Wherein the external access point converts the received Ethernet signal into a wireless LAN signal upon receiving an Ethernet signal from the external equipment.
상기 PSE(Power sourcing equipment)는 상기 케이블을 통해서 상기 외부 장비에게 공급하는 것을 특징으로 하는 통신 신호 중계 장치.8. The method of claim 7,
And the PSE (Power Sourcing Equipment) is supplied to the external equipment through the cable.
상기 외벽 액세스 포인트는 상기 외부 장비로부터 수신한 이더넷 신호로부터 변환한 무선랜 신호를 증폭한 후에 방사하는 것을 특징으로 하는 통신 신호 중계 장치.8. The method of claim 7,
Wherein the outer wall access point amplifies the wireless LAN signal converted from the Ethernet signal received from the external equipment, and then radiates the amplified wireless LAN signal.
상기 건물의 내부에 위치하는 장비;를 더 포함하며,
상기 내벽 액세스 포인트는 상기 건물의 내부에 위치하는 장비와 케이블로 연결되는 것을 특징으로 하는 통신 신호 중계 장치.The method according to claim 6,
And equipment located within the building,
Wherein the inner wall access point is connected to equipment located inside the building by a cable.
상기 내벽 액세스 포인트는 상기 건물의 내부에 위치하는 장비로부터 상기 케이블을 통해 전력을 수신하는 것을 특징으로 하는 통신 신호 중계 장치.11. The method of claim 10,
Wherein the inner wall access point receives power from the equipment located inside the building through the cable.
상기 내벽 액세스 포인트는, 상기 내벽 안테나가 수신한 상기 무선랜 신호로부터 변환한 이더넷 신호를 증폭하여 상기 건물의 내부에 위치하는 장비에게 전달하는 것을 특징으로 하는 통신 신호 중계 장치.11. The method of claim 10,
Wherein the inner wall access point amplifies the Ethernet signal converted from the wireless LAN signal received by the inner wall antenna and transmits the amplified Ethernet signal to equipment located inside the building.
상기 파워 장치(PD)는, 또한, 상기 내부 액세스 포인트에게 전력을 공급하는 것을 특징으로 하는 통신 신호 중계 장치.The method according to claim 6,
Wherein the power device (PD) further supplies power to the internal access point.
Priority Applications (3)
| Application Number | Priority Date | Filing Date | Title |
|---|---|---|---|
| KR1020120072094A KR101403978B1 (en) | 2012-07-03 | 2012-07-03 | Apparatus for relaying communication signal to protecting building |
| JP2015520019A JP2015522221A (en) | 2012-07-03 | 2013-06-27 | Communication signal relay system for building protection |
| PCT/KR2013/005711 WO2014007487A1 (en) | 2012-07-03 | 2013-06-27 | Communication signal repeater system for protecting building |
Applications Claiming Priority (1)
| Application Number | Priority Date | Filing Date | Title |
|---|---|---|---|
| KR1020120072094A KR101403978B1 (en) | 2012-07-03 | 2012-07-03 | Apparatus for relaying communication signal to protecting building |
Publications (2)
| Publication Number | Publication Date |
|---|---|
| KR20140004455A KR20140004455A (en) | 2014-01-13 |
| KR101403978B1 true KR101403978B1 (en) | 2014-06-17 |
Family
ID=49882203
Family Applications (1)
| Application Number | Title | Priority Date | Filing Date |
|---|---|---|---|
| KR1020120072094A Expired - Fee Related KR101403978B1 (en) | 2012-07-03 | 2012-07-03 | Apparatus for relaying communication signal to protecting building |
Country Status (3)
| Country | Link |
|---|---|
| JP (1) | JP2015522221A (en) |
| KR (1) | KR101403978B1 (en) |
| WO (1) | WO2014007487A1 (en) |
Cited By (4)
| Publication number | Priority date | Publication date | Assignee | Title |
|---|---|---|---|---|
| US9787400B2 (en) | 2015-04-08 | 2017-10-10 | Corning Optical Communications LLC | Fiber-wireless system and methods for simplified and flexible FTTX deployment and installation |
| US10530479B2 (en) | 2012-03-02 | 2020-01-07 | Corning Optical Communications LLC | Systems with optical network units (ONUs) for high bandwidth connectivity, and related components and methods |
| US10735838B2 (en) | 2016-11-14 | 2020-08-04 | Corning Optical Communications LLC | Transparent wireless bridges for optical fiber-wireless networks and related methods and systems |
| KR20210021722A (en) | 2019-08-19 | 2021-03-02 | 김종식 | Hinge for glasse |
Families Citing this family (14)
| Publication number | Priority date | Publication date | Assignee | Title |
|---|---|---|---|---|
| US10374710B2 (en) | 2014-04-04 | 2019-08-06 | Nxgen Partners Ip, Llc | Re-generation and re-transmission of millimeter waves for building penetration |
| US10027173B2 (en) | 2014-07-17 | 2018-07-17 | Flir Systems, Inc. | Powered security camera tool-free installation |
| US10673121B2 (en) * | 2014-11-25 | 2020-06-02 | View, Inc. | Window antennas |
| US11114742B2 (en) | 2014-11-25 | 2021-09-07 | View, Inc. | Window antennas |
| US12235560B2 (en) | 2014-11-25 | 2025-02-25 | View, Inc. | Faster switching electrochromic devices |
| CN109478900B (en) * | 2016-04-04 | 2021-11-09 | 尼克根合伙Ip有限责任公司 | Regeneration and retransmission of millimeter waves for building penetration |
| WO2018175615A1 (en) * | 2017-03-22 | 2018-09-27 | Nxgen Partner Ip, Llc | Re-generation and re-transmission of millimeter waves for building penetration |
| GB2569981A (en) | 2018-01-05 | 2019-07-10 | Airspan Networks Inc | An apparatus and method for facilitating communication between a telecommunications network and a user device within a building |
| JP7076677B2 (en) * | 2018-04-23 | 2022-05-30 | 株式会社アサヒ | Wireless communication system over shields and wireless communication equipment over shields |
| DE102018120779B3 (en) | 2018-08-24 | 2019-12-12 | Phoenix Contact Gmbh & Co. Kg | Contactless PoE connection system |
| JP7644501B2 (en) | 2019-05-09 | 2025-03-12 | ビュー オペレーティング コーポレーション | Antenna systems for controlled coverage within buildings |
| CA3142270A1 (en) | 2019-05-31 | 2020-12-03 | View, Inc. | Building antenna |
| JP7383934B2 (en) * | 2019-08-22 | 2023-11-21 | ヤマハ株式会社 | Signal transmission device and signal transmission method |
| US11394429B2 (en) * | 2020-12-02 | 2022-07-19 | Dupont Electronics, Inc. | Panel having integrated antennas for enhancing range of telecommunication signal transmissions inside buildings |
Citations (2)
| Publication number | Priority date | Publication date | Assignee | Title |
|---|---|---|---|---|
| JP2005012422A (en) * | 2003-06-18 | 2005-01-13 | Victor Co Of Japan Ltd | Intercom system |
| KR20090117196A (en) * | 2008-05-09 | 2009-11-12 | 알파웨이브(주) | Home wireless relay system |
Family Cites Families (7)
| Publication number | Priority date | Publication date | Assignee | Title |
|---|---|---|---|---|
| JPH08297793A (en) * | 1995-04-25 | 1996-11-12 | Mutsuo Tanaka | Monitoring device |
| JP2004153469A (en) * | 2002-10-29 | 2004-05-27 | Doro Tsushin Engineer Kk | Image transmission system using outdoor lighting with camera |
| JP2006134023A (en) * | 2004-11-05 | 2006-05-25 | Sogo Keibi Hosho Co Ltd | Security device and monitoring system |
| KR100731185B1 (en) * | 2005-05-25 | 2007-06-27 | 카시와야마 토요히테 | Surveillance Wireless Camera Unit |
| JP2007209067A (en) * | 2006-01-31 | 2007-08-16 | Panahome Corp | Structure for attaching electrical apparatus to finished tile surface |
| EP1986339A1 (en) * | 2007-04-25 | 2008-10-29 | Alcatel Lucent | Radiofrequency signal repeater device using electromagnetic coupling |
| KR101074470B1 (en) * | 2008-10-22 | 2011-10-17 | 삼성물산 주식회사 | System for finding the location using the call alarm |
-
2012
- 2012-07-03 KR KR1020120072094A patent/KR101403978B1/en not_active Expired - Fee Related
-
2013
- 2013-06-27 WO PCT/KR2013/005711 patent/WO2014007487A1/en not_active Ceased
- 2013-06-27 JP JP2015520019A patent/JP2015522221A/en active Pending
Patent Citations (2)
| Publication number | Priority date | Publication date | Assignee | Title |
|---|---|---|---|---|
| JP2005012422A (en) * | 2003-06-18 | 2005-01-13 | Victor Co Of Japan Ltd | Intercom system |
| KR20090117196A (en) * | 2008-05-09 | 2009-11-12 | 알파웨이브(주) | Home wireless relay system |
Cited By (4)
| Publication number | Priority date | Publication date | Assignee | Title |
|---|---|---|---|---|
| US10530479B2 (en) | 2012-03-02 | 2020-01-07 | Corning Optical Communications LLC | Systems with optical network units (ONUs) for high bandwidth connectivity, and related components and methods |
| US9787400B2 (en) | 2015-04-08 | 2017-10-10 | Corning Optical Communications LLC | Fiber-wireless system and methods for simplified and flexible FTTX deployment and installation |
| US10735838B2 (en) | 2016-11-14 | 2020-08-04 | Corning Optical Communications LLC | Transparent wireless bridges for optical fiber-wireless networks and related methods and systems |
| KR20210021722A (en) | 2019-08-19 | 2021-03-02 | 김종식 | Hinge for glasse |
Also Published As
| Publication number | Publication date |
|---|---|
| KR20140004455A (en) | 2014-01-13 |
| WO2014007487A1 (en) | 2014-01-09 |
| JP2015522221A (en) | 2015-08-03 |
Similar Documents
| Publication | Publication Date | Title |
|---|---|---|
| KR101403978B1 (en) | Apparatus for relaying communication signal to protecting building | |
| US20230120342A1 (en) | Multi-Amplifier Repeater System for Wireless Communication | |
| US20140192849A1 (en) | System, a device and a method for adjusting output power in a distributed amplifier system | |
| US20080267112A1 (en) | Device for repeating rf signals through electromagnetic coupling | |
| US20160241313A1 (en) | Mimo coverage over bi-directional leaky cables | |
| KR101488743B1 (en) | RF Repeater using Wireless Power Transmission | |
| US11011820B2 (en) | Antenna system providing coverage for multiple-input multiple-output, MIMO, communication, a method and system | |
| US6996369B2 (en) | Repeater for a satellite phone | |
| CN103078654B (en) | Wireless signal dual-mode antenna system, coupling amplification device and signal processing method | |
| KR101442594B1 (en) | Wireless transmission system using air-conditioning duct | |
| CN106714194A (en) | Indoor coverage system | |
| SE9901085L (en) | Procedure and device at transmitter and receiver unit in a mobile telephone system | |
| KR102172299B1 (en) | Antenna module and wireless control system comprising the same | |
| CN113676916B (en) | Wireless communication system and method for improving signal coverage | |
| JP2002152107A (en) | Wireless subscriber station equipment | |
| CN106941370A (en) | Indoor millimeter-wave signal enhancing method and system | |
| KR100637551B1 (en) | Attached Repeater for In-Building Services | |
| CN114268354A (en) | Wireless communication device and wireless communication system | |
| JP2004166072A (en) | Wireless communication system | |
| US20050232178A1 (en) | Satellite repeater having multi-handset capability | |
| AU2020101259A4 (en) | The lift car cellular repeater coverage solution. I was designed to to provide cellular mobile coverage into the lift car system. The solution is based on employing an active bi-directional repeater modules to receive off-air cellular signals, amplify them and transmit the signal/s into the lift car. The system provides an innovative step by employing approved cellular repeaters designed to operate in a mobile environment to re-relay signals from a server antenna in the lift shaft into the lift car. | |
| Shirokov | Extending of cell phone communication link | |
| JP3039833B2 (en) | Satellite base station equipment | |
| KR101469884B1 (en) | Wireless repeater | |
| AU2016101764A4 (en) | Cel-Fi Enhancer |
Legal Events
| Date | Code | Title | Description |
|---|---|---|---|
| A201 | Request for examination | ||
| PA0109 | Patent application |
St.27 status event code: A-0-1-A10-A12-nap-PA0109 |
|
| PA0201 | Request for examination |
St.27 status event code: A-1-2-D10-D11-exm-PA0201 |
|
| D13-X000 | Search requested |
St.27 status event code: A-1-2-D10-D13-srh-X000 |
|
| R17-X000 | Change to representative recorded |
St.27 status event code: A-3-3-R10-R17-oth-X000 |
|
| D14-X000 | Search report completed |
St.27 status event code: A-1-2-D10-D14-srh-X000 |
|
| E902 | Notification of reason for refusal | ||
| PE0902 | Notice of grounds for rejection |
St.27 status event code: A-1-2-D10-D21-exm-PE0902 |
|
| T11-X000 | Administrative time limit extension requested |
St.27 status event code: U-3-3-T10-T11-oth-X000 |
|
| T11-X000 | Administrative time limit extension requested |
St.27 status event code: U-3-3-T10-T11-oth-X000 |
|
| T11-X000 | Administrative time limit extension requested |
St.27 status event code: U-3-3-T10-T11-oth-X000 |
|
| PG1501 | Laying open of application |
St.27 status event code: A-1-1-Q10-Q12-nap-PG1501 |
|
| T11-X000 | Administrative time limit extension requested |
St.27 status event code: U-3-3-T10-T11-oth-X000 |
|
| E13-X000 | Pre-grant limitation requested |
St.27 status event code: A-2-3-E10-E13-lim-X000 |
|
| P11-X000 | Amendment of application requested |
St.27 status event code: A-2-2-P10-P11-nap-X000 |
|
| P13-X000 | Application amended |
St.27 status event code: A-2-2-P10-P13-nap-X000 |
|
| E701 | Decision to grant or registration of patent right | ||
| PE0701 | Decision of registration |
St.27 status event code: A-1-2-D10-D22-exm-PE0701 |
|
| GRNT | Written decision to grant | ||
| PR0701 | Registration of establishment |
St.27 status event code: A-2-4-F10-F11-exm-PR0701 |
|
| PR1002 | Payment of registration fee |
St.27 status event code: A-2-2-U10-U11-oth-PR1002 Fee payment year number: 1 |
|
| PG1601 | Publication of registration |
St.27 status event code: A-4-4-Q10-Q13-nap-PG1601 |
|
| FPAY | Annual fee payment |
Payment date: 20170530 Year of fee payment: 4 |
|
| PR1001 | Payment of annual fee |
St.27 status event code: A-4-4-U10-U11-oth-PR1001 Fee payment year number: 4 |
|
| PR1001 | Payment of annual fee |
St.27 status event code: A-4-4-U10-U11-oth-PR1001 Fee payment year number: 5 |
|
| FPAY | Annual fee payment |
Payment date: 20190528 Year of fee payment: 6 |
|
| PR1001 | Payment of annual fee |
St.27 status event code: A-4-4-U10-U11-oth-PR1001 Fee payment year number: 6 |
|
| PR1001 | Payment of annual fee |
St.27 status event code: A-4-4-U10-U11-oth-PR1001 Fee payment year number: 7 |
|
| PC1903 | Unpaid annual fee |
St.27 status event code: A-4-4-U10-U13-oth-PC1903 Not in force date: 20210530 Payment event data comment text: Termination Category : DEFAULT_OF_REGISTRATION_FEE |
|
| PC1903 | Unpaid annual fee |
St.27 status event code: N-4-6-H10-H13-oth-PC1903 Ip right cessation event data comment text: Termination Category : DEFAULT_OF_REGISTRATION_FEE Not in force date: 20210530 |
