KR101019766B1 - Plasma enhanced chemical vapor deposition apparatus, plasma enhanced chemical vapor deposition chamber and gas distribution showerhead assembly - Google Patents
Plasma enhanced chemical vapor deposition apparatus, plasma enhanced chemical vapor deposition chamber and gas distribution showerhead assembly Download PDFInfo
- Publication number
- KR101019766B1 KR101019766B1 KR1020050087454A KR20050087454A KR101019766B1 KR 101019766 B1 KR101019766 B1 KR 101019766B1 KR 1020050087454 A KR1020050087454 A KR 1020050087454A KR 20050087454 A KR20050087454 A KR 20050087454A KR 101019766 B1 KR101019766 B1 KR 101019766B1
- Authority
- KR
- South Korea
- Prior art keywords
- diffuser
- support
- gas distribution
- gas
- distribution showerhead
- Prior art date
- Legal status (The legal status is an assumption and is not a legal conclusion. Google has not performed a legal analysis and makes no representation as to the accuracy of the status listed.)
- Expired - Lifetime
Links
Images
Classifications
-
- H—ELECTRICITY
- H01—ELECTRIC ELEMENTS
- H01J—ELECTRIC DISCHARGE TUBES OR DISCHARGE LAMPS
- H01J37/00—Discharge tubes with provision for introducing objects or material to be exposed to the discharge, e.g. for the purpose of examination or processing thereof
- H01J37/32—Gas-filled discharge tubes
- H01J37/32431—Constructional details of the reactor
- H01J37/3244—Gas supply means
-
- C—CHEMISTRY; METALLURGY
- C23—COATING METALLIC MATERIAL; COATING MATERIAL WITH METALLIC MATERIAL; CHEMICAL SURFACE TREATMENT; DIFFUSION TREATMENT OF METALLIC MATERIAL; COATING BY VACUUM EVAPORATION, BY SPUTTERING, BY ION IMPLANTATION OR BY CHEMICAL VAPOUR DEPOSITION, IN GENERAL; INHIBITING CORROSION OF METALLIC MATERIAL OR INCRUSTATION IN GENERAL
- C23C—COATING METALLIC MATERIAL; COATING MATERIAL WITH METALLIC MATERIAL; SURFACE TREATMENT OF METALLIC MATERIAL BY DIFFUSION INTO THE SURFACE, BY CHEMICAL CONVERSION OR SUBSTITUTION; COATING BY VACUUM EVAPORATION, BY SPUTTERING, BY ION IMPLANTATION OR BY CHEMICAL VAPOUR DEPOSITION, IN GENERAL
- C23C16/00—Chemical coating by decomposition of gaseous compounds, without leaving reaction products of surface material in the coating, i.e. chemical vapour deposition [CVD] processes
- C23C16/44—Chemical coating by decomposition of gaseous compounds, without leaving reaction products of surface material in the coating, i.e. chemical vapour deposition [CVD] processes characterised by the method of coating
- C23C16/455—Chemical coating by decomposition of gaseous compounds, without leaving reaction products of surface material in the coating, i.e. chemical vapour deposition [CVD] processes characterised by the method of coating characterised by the method used for introducing gases into reaction chamber or for modifying gas flows in reaction chamber
- C23C16/45563—Gas nozzles
- C23C16/45565—Shower nozzles
-
- C—CHEMISTRY; METALLURGY
- C23—COATING METALLIC MATERIAL; COATING MATERIAL WITH METALLIC MATERIAL; CHEMICAL SURFACE TREATMENT; DIFFUSION TREATMENT OF METALLIC MATERIAL; COATING BY VACUUM EVAPORATION, BY SPUTTERING, BY ION IMPLANTATION OR BY CHEMICAL VAPOUR DEPOSITION, IN GENERAL; INHIBITING CORROSION OF METALLIC MATERIAL OR INCRUSTATION IN GENERAL
- C23C—COATING METALLIC MATERIAL; COATING MATERIAL WITH METALLIC MATERIAL; SURFACE TREATMENT OF METALLIC MATERIAL BY DIFFUSION INTO THE SURFACE, BY CHEMICAL CONVERSION OR SUBSTITUTION; COATING BY VACUUM EVAPORATION, BY SPUTTERING, BY ION IMPLANTATION OR BY CHEMICAL VAPOUR DEPOSITION, IN GENERAL
- C23C16/00—Chemical coating by decomposition of gaseous compounds, without leaving reaction products of surface material in the coating, i.e. chemical vapour deposition [CVD] processes
- C23C16/44—Chemical coating by decomposition of gaseous compounds, without leaving reaction products of surface material in the coating, i.e. chemical vapour deposition [CVD] processes characterised by the method of coating
- C23C16/50—Chemical coating by decomposition of gaseous compounds, without leaving reaction products of surface material in the coating, i.e. chemical vapour deposition [CVD] processes characterised by the method of coating using electric discharges
-
- H—ELECTRICITY
- H01—ELECTRIC ELEMENTS
- H01J—ELECTRIC DISCHARGE TUBES OR DISCHARGE LAMPS
- H01J37/00—Discharge tubes with provision for introducing objects or material to be exposed to the discharge, e.g. for the purpose of examination or processing thereof
- H01J37/32—Gas-filled discharge tubes
- H01J37/32431—Constructional details of the reactor
- H01J37/32458—Vessel
-
- H—ELECTRICITY
- H01—ELECTRIC ELEMENTS
- H01J—ELECTRIC DISCHARGE TUBES OR DISCHARGE LAMPS
- H01J2237/00—Discharge tubes exposing object to beam, e.g. for analysis treatment, etching, imaging
- H01J2237/32—Processing objects by plasma generation
- H01J2237/33—Processing objects by plasma generation characterised by the type of processing
- H01J2237/332—Coating
- H01J2237/3321—CVD [Chemical Vapor Deposition]
Landscapes
- Chemical & Material Sciences (AREA)
- Engineering & Computer Science (AREA)
- Metallurgy (AREA)
- Chemical Kinetics & Catalysis (AREA)
- Materials Engineering (AREA)
- Mechanical Engineering (AREA)
- General Chemical & Material Sciences (AREA)
- Organic Chemistry (AREA)
- Physics & Mathematics (AREA)
- Plasma & Fusion (AREA)
- Analytical Chemistry (AREA)
- Chemical Vapour Deposition (AREA)
- Plasma Technology (AREA)
- Feeding, Discharge, Calcimining, Fusing, And Gas-Generation Devices (AREA)
- Container, Conveyance, Adherence, Positioning, Of Wafer (AREA)
Abstract
가스 분배 플레이트의 실질적인 중앙 부분을 지지하기 위한 장치 및 방법이 기재되어 있다. 하나 이상의 지지 부재가 확산기를 통하는 가스 또는 가스들의 유동을 방해하지 않고 확산기를 메이팅 연결부에 연결 및 연결을 해제할 수 있으며 주변 구역에서 지지되는 확산기에 수직 서스펜션을 제공하도록 설계되며, 또는 주변 지지부 없이 확산기를 지지할 수 있도록 설계된다. 일 측면에서, 하나 이상의 지지 부재는 가스 전달 도관의 일부이며 다른 실시예에서는 가스 전달 도관으로부터 분리되는 복수의 지지 부재이다. 하나 이상의 지지 부재는 수직 리프트, 또는 확산기의 중앙 구역의 수직 압축을 변형시킬 수 있다. 가스 전달 도관으로부터 가스 분배 플레이트로의 가스 유동을 제어하기 위한 방법 및 장치가 또한 기재되어 있다.
Apparatus and methods are described for supporting a substantially central portion of a gas distribution plate. One or more support members can connect and disconnect the diffuser to the mating connection without disrupting the flow of gas or gases through the diffuser and are designed to provide vertical suspension to the diffuser supported in the peripheral zone, or without a diffuser It is designed to support it. In one aspect, the at least one support member is part of a gas delivery conduit and in another embodiment a plurality of support members separated from the gas delivery conduit. One or more support members may modify the vertical lift, or vertical compression of the central region of the diffuser. Also described are methods and apparatus for controlling gas flow from a gas delivery conduit to a gas distribution plate.
Description
도 1은 플라즈마 챔버의 측면도.1 is a side view of a plasma chamber.
도 2는 챔버 커버의 일 실시예의 평면도.2 is a plan view of one embodiment of a chamber cover.
도 3은 챔버 커버의 다른 실시예의 평면도.3 is a plan view of another embodiment of a chamber cover.
도 4는 확산기 중력 지지부의 일 실시예의 상세도.4 is a detailed view of one embodiment of a diffuser gravity support.
도 5는 도 4의 확산기 중력 지지부의 다른 실시예의 분해도.5 is an exploded view of another embodiment of the diffuser gravity support of FIG.
도 6a는 결합 기구(mating mechanism)의 일 실시예 및 가스 블록 조절기의 상세 측면도.FIG. 6A is a detailed side view of an embodiment of a mating mechanism and a gas block regulator; FIG.
도 6b는 결합 기구의 일 측면의 상세도.6B is a detailed view of one side of the coupling mechanism.
도 6c는 결합 기구의 다른 측면의 상세도.6C is a detailed view of another side of the coupling mechanism.
도 7은 확산기 중력 지지부의 다른 실시예의 개략도.7 is a schematic representation of another embodiment of a diffuser gravity support.
도 8은 확산기 중력 지지부의 다른 실시예의 부분적 개략도.8 is a partial schematic view of another embodiment of a diffuser gravity support.
도 9a는 오리피스 링의 평면도.9A is a plan view of an orifice ring.
도 9b는 오리피스 링의 측면도.9B is a side view of the orifice ring.
도 10a는 오리피스 링을 구체화하는 확산기 중력 지지부의 다른 실시예의 부분적 개략도.10A is a partial schematic view of another embodiment of a diffuser gravity support embodying an orifice ring.
도 10b는 오리피스 링을 구체화하는 확산기 중력 지지부의 다른 실시예의 부 분적 개략도.10B is a partial schematic view of another embodiment of a diffuser gravity support embodying an orifice ring.
도 11a는 백킹 플레이트의 일 실시예의 평면도.11A is a plan view of one embodiment of a backing plate.
도 11b는 백킹 프레이트의 다른 실시예의 평면도.11B is a plan view of another embodiment of a backing plate.
도 12는 확산기 중력 지지부의 다른 실시예의 부분적 개략도.12 is a partial schematic view of another embodiment of a diffuser gravity support.
도 13은 피봇 지지부의 일시예의 도면.13 is a view of a temporary example of a pivot support.
도 14는 피봇 지지부에 연결되는 확산기의 상세도.14 is a detailed view of the diffuser connected to the pivot support.
도 15는 백킹 플레이트에 연결되는 피봇 지지부의 상세도.15 is a detailed view of a pivot support connected to a backing plate.
도 16은 확산기에 연결되는 피봇 지지부(1300)의 상세도.16 is a detailed view of
도 17a는 백킹 플레이트에 연결되는 복수의 피봇 지지부를 구비한 백킹 플레이트의 일 실시예의 평면도.17A is a plan view of one embodiment of a backing plate having a plurality of pivot supports connected to the backing plate.
도 17b는 복수의 피봇 지지부를 구비한 백킹 플레이트의 다른 실시예의 평면도.17B is a plan view of another embodiment of a backing plate with a plurality of pivot supports.
도 17c는 복수의 피봇 지지부 및 복수의 나사식 지지부를 구비한 백킹 플레이트의 다른 실시예의 평면도.17C is a top view of another embodiment of a backing plate having a plurality of pivot supports and a plurality of threaded supports.
도 18a는 오목한 수평 프로파일을 구비한 확산기의 단면도.18A is a cross sectional view of the diffuser with a concave horizontal profile.
도 18b는 볼록한 수평 프로파일을 구비한 확산기의 단면도.18B is a cross-sectional view of the diffuser with a convex horizontal profile.
※ 도면의 주요 부분에 대한 도면 부호의 설명 ※※ Explanation of reference numerals about the main parts of the drawing ※
5: 가스 소오스 6: 포트 5: gas source 6: port
10: 측벽 11: 바닥10: sidewall 11: bottom
12: 기판 지지부 14: 기판12: substrate support 14: substrate
15: 확산기 지지부 17: 가스 블록15: diffuser support 17: gas block
19: 길이방향의 보어 19a: 각을 이루는 보어19:
20: 확산기 21: 큰 플레넘20: diffuser 21: large plenum
22: 오리피스 23: 작은 플레넘22: Orifice 23: Small Plenum
24: 플라스마 소오스 25: 접지24: plasma source 25: grounding
28: 백킹 플레이트 29: 진공 펌프28: backing plate 29: vacuum pump
34, 37, 41: 유전체 스페이서 45, 46: O-링34, 37, 41:
50: 지지 블록 51: 지지 시트50: support block 51: support sheet
57: 가요성 서스펜션 80: 프로세싱 영역57: flexible suspension 80: processing area
100: 챔버100: chamber
본 발명의 실시예는 일반적으로, 플라즈마 챔버에 가스 또는 가스들을 공급하는 것에 관한 것이다. 보다 구체적으로, 본 발명은 챔버 내의 가스 분배 플레이트를 제공하는 것에 관한 것이다.Embodiments of the present invention generally relate to supplying a gas or gases to a plasma chamber. More specifically, the present invention relates to providing a gas distribution plate in a chamber.
평판 디스플레이는 텔레비전 모니터, 개인 휴대 단말기(PDA), 및 컴퓨터 스크린과 같은 다양한 장치에 이용되는 평면 스크린을 제조하도록 절연체, 반도체, 및 박 막 트랜지스터(TFT)와 같은 액티브 매트릭스(active matrix)의 전자 장치를 사용한다. 일반적으로, 이러한 평판 디스플레이는 유리, 중합체 재료, 또는 다른적합한 기판 재료의 두개의 얇은 패널로 형성된다. 액정 재료 또는 금속 접점(콘택)의 매트릭스의 층들, 반도체 활성 층, 및 유전체 층은 순차적인 단계를 통해 증착되며 하나 이상의 평판 디스플레이를 갖는 넓은 면적의 기판을 형성하도록 서로 연결되는 두 개의 얇은 패널 사이에 끼워진다. 하나 이상의 패널은 액정 재료의 방향을 변경시켜 스크린 표면 상에 패턴화된 디스플레이를 생성시키며 파워 서플라이에 연결되는 전도성 필름을 포함한다.Flat panel displays are electronic devices of active matrix, such as insulators, semiconductors, and thin film transistors (TFTs), to make flat screens used in a variety of devices such as television monitors, personal digital assistants (PDAs), and computer screens. Use Generally, such flat panel displays are formed of two thin panels of glass, polymeric material, or other suitable substrate material. The layers of the matrix of liquid crystal material or metal contacts (contacts), the semiconductor active layer, and the dielectric layer are deposited through sequential steps and between two thin panels connected to each other to form a large area substrate having one or more flat panel displays. Is fitted. One or more panels include a conductive film that changes the orientation of the liquid crystal material to produce a patterned display on the screen surface and is connected to the power supply.
이러한 프로세스는 통상적으로, 기판 상에 활성 매트릭스 재료를 증착하는 복수의 순차적인 프로세스 단계를 거치는 넓은 면적 기판을 필요로 한다. 화학 기상 증착(CVD) 및 플라즈마 강화 화학 기상 증착(PECVD)은 이러한 증착을 위해 잘 공지된 프로세스의 일부이다. 이러한 공지된 프로세스는 약 300 ℃ 내지 400 ℃ 또는 그보다 높은 온도의 영향을 받으며 증착되는 층들의 균일성을 확보하기 위해서 증착 중에, 가스 분배 플레이트, 또는 확산기에 대해 일정한 위치에 유지되는 넓은 면적의 기판을 필요로 한다. 확산기는 일반적으로, 기판의 면적보다 크거나 동일한 면적으로 형성된다. 확산기가 증착 중에, 어쨌든 휘어진다면, 프로세스는 균일한 증착을 초래하지 못할 것이며, 쓸모없는 평판 디스플레이를 야기할 수 있다.Such processes typically require a large area substrate that goes through a plurality of sequential process steps for depositing an active matrix material on the substrate. Chemical vapor deposition (CVD) and plasma enhanced chemical vapor deposition (PECVD) are part of the well known processes for such deposition. Such known processes are subjected to a large area substrate that is held in a constant position relative to the gas distribution plate, or diffuser, during deposition to ensure uniformity of the deposited layers, subject to temperatures between about 300 ° C. and 400 ° C. or higher. in need. The diffuser is generally formed with an area greater than or equal to the area of the substrate. If the diffuser is bent anyway during deposition, the process will not result in uniform deposition and may cause useless flat panel displays.
평판 디스플레이는 기술의 수용을 거래하기 때문에 최근 몇 년 동안 크기면에서 극적으로 증가해 왔다. 이전 세대의 넓은 면적 기판은 약 500 mm × 650 mm의 크기였으나, 현재 세대의 기판은 약 1800 mm ×2000 mm 또는 그보다 큰 크기로 증가했다. 이러한 기판 크기의 증가는 기판이 완전히 프로세싱될 수 있게 하기 위한 확산기 크기의 증가를 초래했다. 보다 큰 크기의 확산기는 증착 중에 고온에 노출될 때 늘어짐에 저항할 수 있는 확산기를 필요로 하게 되었다.Flat panel displays have increased dramatically in size in recent years because they trade in acceptance of technology. Previous generation large area substrates were about 500 mm by 650 mm, while current generation substrates increased by about 1800 mm by 2000 mm or larger. This increase in substrate size has resulted in an increase in diffuser size to allow the substrate to be fully processed. Larger diffusers have required diffusers that can resist sagging when exposed to high temperatures during deposition.
확산기는 일반적으로, 프로세스 가스 또는 가스들을 분배하는 복수의 개구를갖춘, 넓은 면적 기판 위로부터 이격되게 지지되는 플레이트이며, 통상적으로, 프로세싱될 기판과 같은 동일한 면적을 갖는다. 확산기는 일반적으로, 알루미늄으로 형성되며 CVD 또는 PECVD 프로세스를 견디면서 팽창 및 수축되며, 일반적으로, 확산기와 기판 사이의 공간을 제어하도록 에지 주변 구역에서 지지된다. 그러나, 이러한 에지 지지부 설계는 중앙 부분을 위한 임의의 지지부를 제공하지 않으며, CVD 또는 PECVD 프로세스 중에 고온의 프로세싱에 의해 심해지는 중력 때문에 장기간의 사용으로 늘어지거나 크리프(creep)가 생길 수 있다.A diffuser is generally a plate that is spaced apart from above a large area substrate with a plurality of openings for distributing the process gas or gases and typically has the same area as the substrate to be processed. The diffuser is generally formed of aluminum and expands and contracts while withstanding a CVD or PECVD process and is generally supported in the region around the edge to control the space between the diffuser and the substrate. However, this edge support design does not provide any support for the central portion, and may slack or creep with prolonged use due to gravity exacerbated by high temperature processing during the CVD or PECVD process.
따라서, 플라즈마 챔버 내의 가스 분배 플레이트, 또는 확산기를 지지하기 위한 개선된 방법 및 장치가 필요하다.Accordingly, what is needed is an improved method and apparatus for supporting a gas distribution plate, or diffuser, in a plasma chamber.
본 발명은 일반적으로, 플라즈마 챔버 내의 가스 분배 플레이트, 또는 확산기를 지지하기 위한 방법 및 장치에 관한 것이다. 일 실시예에서, 확산기는 가스 분배 플레이트 및 챔버의 벽에 연결되는 하나 이상의, 내부 또는 중앙에 위치되는 지지 부재에 의해 매달려 있다. 본 발명은 플라즈마 강화 화학 기상 증착 중에 생성되는 고온을 견디면서 확산기에 작용하는 중력, 및 열 또는 압력 유도력에 응하여 확산기의 변형을 방지하는데 있어서 유리하다. 하나 이상의 지지 부재는 챔버 내의 백킹 플레이트(backing plate)와 확산기 사이에 연결되어 있으며 확산기의 평면 방향을 조절할 수 있다. 하나 이상의 지지 부재는 챔버의 배기 이전에 또는 이후에 확산기 프로파일을 조절하도록 형성된다. 다른 실시예에서, 하나 이상의 지지 부재는 하나 이상의 지지 부재에 연결되는 복수의 나사의 조절에 의해서 확산기 프로파일의 조절을 용이하게 한다. 지지부는 확산기를 통해서 가스 또는 가스들의 절충 유동 없이 확산기에 부착될 수 있다.The present invention generally relates to a method and apparatus for supporting a gas distribution plate, or diffuser, in a plasma chamber. In one embodiment, the diffuser is suspended by at least one, internal or centrally located support member connected to the gas distribution plate and the wall of the chamber. The present invention is advantageous in preventing deformation of the diffuser in response to gravity acting on the diffuser while resisting the high temperatures generated during plasma enhanced chemical vapor deposition, and heat or pressure induced forces. One or more support members are connected between the backing plate and the diffuser in the chamber and can adjust the planar direction of the diffuser. One or more support members are configured to adjust the diffuser profile before or after evacuation of the chamber. In another embodiment, the one or more support members facilitate adjustment of the diffuser profile by adjustment of a plurality of screws connected to the one or more support members. The support can be attached to the diffuser without a compromise flow of gas or gases through the diffuser.
일 실시예에서, 하나 이상의 지지부는 중력 지지부이다. 지지부는 가스 입구를 포함하며 확산기에 수직 지지부를 또한 제공하면서 가스 유동을 가스 입구로부터 확산기 플레이트 내의 복수의 오리피스로 제공한다. 지지부는 또한, 결합 기구를 통해서 확산기로부터 이탈할 수 있다. 다른 실시예에서, 오리피스 링은 지지부에 연결되도록 형성되며 확산기에 가스 유동 조절장치를 제공한다.In one embodiment, the one or more supports are gravity supports. The support includes a gas inlet and provides a gas flow from the gas inlet to the plurality of orifices in the diffuser plate while also providing a vertical support to the diffuser. The support can also be disengaged from the diffuser via the coupling mechanism. In another embodiment, the orifice ring is formed to be connected to the support and provides a gas flow regulator to the diffuser.
다른 실시예에서, 가스 분배 플레이트는 챔버 내의 제 1 플레이트에 의해 챔버 내에서 지지되며, 제 1 플레이트는 제 1 플레이트를 통해 형성되는 하나 이상의 개구를 갖는 중앙 구역을 갖는다. 가스 분배 플레이트와 같은, 제 1 플레이트 아래의 제 2 플레이트는 제 1 플레이트 내의 하나 이상의 개구가 수직으로 정렬되는 하나 이상의 결합 부분을 갖는다. 하나 이상의 나사식 지지부는 하나 이상의 결합 부분과 결합하여, 가스 분배 플레이트의 중앙 구역으로부터 가스 분배 플레이트를 지지한다. 하나 이상의 나사산 지지부는 확산기와 백킹 플레이트 사이에 연결된다. 백킹 플레이트는 확산기보다 단면적에 있어서 상대적으로 두꺼워서, 실질적으로 고정된 지지부를 제공한다. 확산기는 확산기 내의 구멍 및 상대적인 두께 때문 에 백킹 플레이트에 비해 보다 가단성 있으며, 하나 이상이 나사산 지지부의 조절에 의해서 확산기 프로파일의 조절을 허용한다.In another embodiment, the gas distribution plate is supported in the chamber by a first plate in the chamber, the first plate having a central zone with one or more openings formed through the first plate. The second plate below the first plate, such as the gas distribution plate, has one or more joining portions in which one or more openings in the first plate are vertically aligned. One or more threaded supports engage with one or more engaging portions to support the gas distribution plate from the central region of the gas distribution plate. One or more threaded supports are connected between the diffuser and the backing plate. The backing plate is relatively thicker in cross-sectional area than the diffuser, providing a substantially fixed support. The diffuser is more malleable than the backing plate because of the holes and the relative thickness in the diffuser, and one or more allows adjustment of the diffuser profile by adjustment of the thread support.
다른 실시예에서, 플라즈마 챔버 내의 확산기의 수평 프로파일을 변경하는 방법이 기재되어 있다. 상기 방법은 확산기의 중앙 구역 내의 결합 기구를 구비한 확산기를 지지하는 단계, 결합 부분에 지지 부재를 결합시키는 단계, 및 확산기의 평면을 변경하도록 지지 부재를 조절하는 단계를 포함한다. 일 측면에서, 상기 방법은 진공이 챔버에 가해지기 전에 또는 후에 조절이 되게 한다. 일 실시예에서, 조절 단계는 하나 이상의 평면의 수평 프로파일, 오목한 수평 프로파일, 또는 볼록한 수평 프로파일 중 하나 이상을 갖도록 확산기의 수평 프로파일을 변경하는 단계를 포함한다.In another embodiment, a method of changing the horizontal profile of a diffuser in a plasma chamber is described. The method includes supporting a diffuser with a coupling mechanism in the central region of the diffuser, engaging the support member to the engaging portion, and adjusting the support member to change the plane of the diffuser. In one aspect, the method allows adjustment before or after the vacuum is applied to the chamber. In one embodiment, the adjusting step includes changing the horizontal profile of the diffuser to have one or more of a horizontal profile, a concave horizontal profile, or a convex horizontal profile of one or more planes.
다른 실시예에서, 하나 이상의 지지부는 피봇 지지부이다. 피봇 지지부는 상부 피봇 부재에 분리될 수 있게 연결되는 볼 스터드를 포함한다. 상부 피봇 부재는 챔버 내의 백킹 플레이트에 연결되며 볼 스터드는 확산기에 분리될 수 있게 연결된다. 볼 스터드는 상부 피봇 부재를 통해 연장하는 나사 부분을 가지며 나사 부분에 연결되는 하나 이상의 너트에 의해서 확산기의 수평 프로파일 조절하게 한다.In another embodiment, the one or more supports are pivot supports. The pivot support includes a ball stud removably connected to the upper pivot member. The upper pivot member is connected to the backing plate in the chamber and the ball stud is detachably connected to the diffuser. The ball stud has a threaded portion extending through the upper pivot member and allows for horizontal profile adjustment of the diffuser by one or more nuts connected to the threaded portion.
다른 실시예에서, 기판 상에 박막을 증착하는 방법이 기재되어 있다. 상기 방법은 조절될 수 있는 수평 프로파일을 갖는 가스 분배 플레이트 아래의 프로세스 챔버 내의 기판 지지부 상에 기판을 위치시키는 단계, 가스 분배 플레이트 내에 배치되는 복수의 개구를 통해서 프로세스 가스를 유동시키는 단계, 가스 분배 플레이 트와 기판 사이에 플라즈마를 형성시키는 단계, 및 기판 상에 박막을 증착시키는 단계를 포함한다. 이러한 방법은 약 350 ℃ 내지 약 450 ℃의 온도에서 프로세스 챔버를 가열시키는 단계를 더 포함한다. 일 실시예에서, 가스 분배 플레이트의 수평 프로파일은 오목한 형상을 나타낸다. 다른 실시예에서, 박막은 비결정 실리콘이다. 다른 실시예에서, 수평 프로파일은 하나 이상의 지지 부재를 이용하여 조절되며 다른 실시예에서, 복수의 지지 부재는 수평 프로파일을 조절하도록 이용된다.In another embodiment, a method of depositing a thin film on a substrate is described. The method includes positioning a substrate on a substrate support in a process chamber below a gas distribution plate having an adjustable horizontal profile, flowing a process gas through a plurality of openings disposed in the gas distribution plate, gas distribution play Forming a plasma between the substrate and the substrate, and depositing a thin film on the substrate. The method further includes heating the process chamber at a temperature of about 350 ° C to about 450 ° C. In one embodiment, the horizontal profile of the gas distribution plate exhibits a concave shape. In another embodiment, the thin film is amorphous silicon. In other embodiments, the horizontal profile is adjusted using one or more support members and in other embodiments, the plurality of support members is used to adjust the horizontal profile.
다른 실시예에서, 가스 분배 플레이트의 수평 프로파일을 조절하는 방법은 평면의 주변 구역 및 중앙 구역을 갖는 가스 분배 플레이트를 제공하는 단계, 중앙 구역에 연결되는 하나 이상의 지지 부재를 조절하는 단계, 평면의 주변 구역에 비해서 평면의, 오목한, 또는 볼록한 프로파일 중 하나인, 중앙 구역 내의 수평 프로파일을 형성하는 단계를 포함하여 기재되어 있다. 일 실시예에서, 조절 단계는 진공 상태하에서 수행된다.In another embodiment, a method of adjusting the horizontal profile of a gas distribution plate comprises providing a gas distribution plate having a peripheral zone and a central zone of the plane, adjusting one or more support members connected to the central zone, the perimeter of the plane It includes the step of forming a horizontal profile in the central zone, which is one of a planar, concave, or convex profile relative to the zone. In one embodiment, the adjusting step is performed under vacuum.
다른 실시예에서 가스 분배 플레이트의 수평 프로파일을 조절하는 방법은 백킹 플레이트와 프로세스 챔버 사이의 가스 분배 플레이트를 구비한 프로세스 챔버를 제공하는 단계, 기판 지지부와 가스 분배 플레이트 사이에 거리를 측정하는 단계, 가스 분배 플레이트 및 백킹 플레이트에 연결되는 하나 이상의 지지 부재를 조절하는 단계, 및 기판 지지부에 비해 평면의, 오목한, 또는 볼록한 프로파일 중 하나인, 가스 분배 플레이트의 수평 프로파일을 형성하는 단계를 포함하여 기재되어 있다. 일 실시예에서, 조절 단계는 하나 이상의 지지 부재를 회전시키는 단계를 포함한다. 다른 실시예에서, 조절은 프로세스 챔버가 진공하에 있으면서 수행될 수 있다. 다른 실시예에서, 하나 이상의 지지 부재는 프로세스 가스를 가스 분배 플레이트에 제공한다.In another embodiment, a method of adjusting a horizontal profile of a gas distribution plate includes providing a process chamber having a gas distribution plate between a backing plate and a process chamber, measuring a distance between the substrate support and the gas distribution plate, gas Adjusting one or more support members connected to the distribution plate and the backing plate, and forming a horizontal profile of the gas distribution plate, which is one of a planar, concave, or convex profile relative to the substrate support. . In one embodiment, the adjusting step includes rotating one or more support members. In another embodiment, the adjustment may be performed while the process chamber is under vacuum. In another embodiment, the one or more support members provide a process gas to the gas distribution plate.
본 발명의 전술된 특징들을 보다 잘 이해하기 위해서, 몇몇의 예가 첨부 도면에 도시되어 있는 실시예를 참조하여 간단하게 요약된 본 발명을 보다 구체적을 설명한다. 그러나, 첨부 도면은 본 발명의 전형적인 실시예만을 설명하며 따라서 본 발명의 범위를 제한하는 것은 아니며, 본 발명이 다른 동일한 효과의 실시예를 허용할 수 있다는 것을 주목해야 한다.BRIEF DESCRIPTION OF DRAWINGS To better understand the above-described features of the present invention, some examples are described in more detail with reference to the embodiments briefly summarized with reference to the embodiments shown in the accompanying drawings. It is to be noted, however, that the appended drawings illustrate only typical embodiments of the invention and, therefore, do not limit the scope of the invention, but that the invention may permit embodiments of other equal effects.
일반적으로, 본 발명의 실시예는 프로세싱 챔버 내의 가스 분배 플레이트를 지지하기 위한 장치 및 방법을 제공한다. 일 실시예에서, 하나 이상의 지지 부재가 가스 분배 플레이트를 지지하도록 형성되며 중력 및 높은 프로세싱 온도에 의해 야기되는 중앙 늘어짐 또는 휨에 대한 저항을 용이하게 하여, 가스 분배 플레이트 내의 바람직한 수평 프로파일을 유지하게 한다. 바람직한 수평 프로파일은 같은 높이의 수평 프로파일, 볼록한 수평 프로파일, 또는 오목한 수평 프로파일 중 적어도 하나 이상일 수 있다. 본원에 이용된 바와 같은 수평 프로파일, 또는 가스 분배 플레이트 또는 확산기의 배열은 적용가능한 도들로 도시된 바와 같이 가스 분배 플레이트의 단면적에 관한 것이다. 모든 실시예에서, 가스 분배 플레이트는 가스 분배 플레이트의 중앙 구역에 연결되는 하나 이상의 지지 부재를 가지며, 하나 이상의 지지 부재를 조절함으로써, 중앙 구역이 평면의, 오목한, 또는 볼록한 프로파일 중 하나 이상인 수평의 프로파일로 가스 분배 플레이트를 나타내도록 조절될 수 있다. 혼동을 방지하기 위해서, 도면의 유사한 부품을 언급하는 공통의 참조 번호 가 가능할 수 있는 도면에서 중복된다.In general, embodiments of the present invention provide an apparatus and method for supporting a gas distribution plate in a processing chamber. In one embodiment, one or more support members are formed to support the gas distribution plate and facilitate resistance to central sag or warpage caused by gravity and high processing temperatures to maintain a desirable horizontal profile in the gas distribution plate. . The preferred horizontal profile may be at least one of the same height horizontal profile, convex horizontal profile, or concave horizontal profile. The horizontal profile as used herein, or the arrangement of the gas distribution plate or diffuser, relates to the cross-sectional area of the gas distribution plate as shown in the applicable figures. In all embodiments, the gas distribution plate has one or more support members connected to the central region of the gas distribution plate, and by adjusting the one or more support members, a horizontal profile in which the central region is one or more of a planar, concave, or convex profile. Furnace to adjust the gas distribution plate. To avoid confusion, common reference numerals refer to similar parts in the drawings, which may be duplicated in the drawings.
도 1은 넓은 면적의 유리, 폴리머, 또는 다른 적합한 기판 상에 평판 디스플레이의 회로를 제조하기 위한 화학 기상 증착(CVD) 또는 플라즈마 화학 기상 증착(PECVD) 프로세스에 적합할 수 있는 챔버(100)의 측면도이다. 챔버(100)는 액정 디스플레이(LCD) 또는 평판 디스플레이, 또는 태양 전지 어레이용 광전지의 제조에 이용하기 위한 넓은 면적의 기판 상에 소자 및 구조물을 형성하도록 형성된다. 구조물은 복수의 순차적인 증착 및 마스킹 단계를 포함할 수 있는 복수의 백 채널 에칭된 역 스태거(staggered)된(바닥 게이트) 박막 트랜지스터일 수 있다. 다른 구조물은 광전지용 다이오드를 형성하도록 p-n 접합을 포함할 수 있다.1 is a side view of a
챔버(100)는 전도체 재료(예를 들어, ITO, ZnO2, W, Al, Cu, Ag, Au, Ru 또는 이들의 합금), 유전체 재료(예를 들어, SiO2, SiOxNy, HfO2, HfSiO4, ZrO2, ZrSiO4, TiO2, Ta2O5, Al2O3, 이들의 유도체 또는 이들의 조합물), 반도체 재료(예를 들어, Si, Ge, SiGe, 이들의 도펀트 또는 이들의 유도체), 배리어 재료(예들 들어, SiNx, SiOxNy, Ti, TiNx, TiSixNy, Ta, TaNx, TaSixNy 또는 이들의 유도체) 및 부착/시드(seed) 재료(예를 들어, Cu, Al, W, Ti, Ta, Ag, Au, Ru, 이들의 합금 및 이들의 조합물)을 포함하는 넓은 면적의 기판 상에 다양한 재료를 증착시키도록 형성된다. 챔버(100)에 의해서 증착될 수 있는 금속-함유 화합물은 금속, 금속 산화물, 금속 질화물, 금속 규화물, 또는 이들의 조합물을 포함한다. 예들 들어, 금속-함유 화합물은 텅스텐, 구리, 알루미늄, 은, 금, 크롬, 카드뮴, 텔루르, 몰리브덴, 인듐, 주석, 아연, 탄탈, 티타늄, 하프늄, 루테늄, 이들의 합금, 또는 이들의 조합물을 포함한다. 게이트 전극 및 다른 전도성 층과 같은, 넓은 면적 기판 상에 챔버(100)에 의해서 형성되거나 증착되는 구체적 예의 전도성 금속-함유 화합물은 인듐 주석 산화물, 아연 산화물, 텅스텐, 구리, 알루미늄, 은, 이들의 유도체 또는 이들의 조합물을 포함한다. 챔버(100)는 또한, 다결정, 비결정 또는 에피택셜 상태인 유전체 재료 및 반도체 재료를 증착시키도록 형성된다. 예를 들어, 유전체 재료 및 반도체 재료는 실리콘, 게르마늄, 탄소, 이들의 산화물, 이들의 질화물, 이들의 도펀트 또는 이들의 조합물을 포함할 수 있다. 넓은 면적 기판 상에서 챔버(100)에 의해 형성되거나 증착되는 유전체 재료 및 반도체 재료의 구체적인 예들은 에피택셜 실리콘, 다결정 실리콘, 비결정 실리콘, 실리콘 게르마늄, 게르마늄, 실리콘 이산화물, 실리콘 산소질화물, 실리콘 질화물, 이들이 도펀트(예를 들어, B, P 또는 As), 이들의 유도체 또는 이들의 조합물을 포함할 수 있다. 챔버(100)는 또한, 퍼지 가스 또는 캐리어 가스(예를 들어, Ar, H2, N2, He, 이들의 유도체 또는 이들의 조합물)로서 이용하기 위한, 아르곤, 수소, 질소, 헬륨, 또는 이들의 조합물과 같은 가스를 수용하도록 형성된다. 챔버(100)를 이용하여 넓은 면적의 기판 상에 비결정 실리콘 박막 필름을 증착하는 일 예는 수소 캐리어 가스 내의 전구체 가스로서 실란을 이용함으로써 성취될 수 있다.
챔버(100)를 이용하여 넓은 면적 기판 상에 박막 필름을 증착하는 다양한 장치 및 방법의 예들은 본 명세서와 모순되지 않는 한도 내에서 참조되는 "가스 확산 곡률에 의한 플라즈마 균일성 제어(Plasma Uniformity Control By Gas Diffuser Curvature)" 명칭으로 2005년 7월 1일 출원된 미국 특허 출원 제 11/173,210 호에서 찾을 수 있다. 챔버(100)를 이용하여 형성될 수 있는 다양한 장치의 다른 예들은 "필름 형성 전구체를 제어함으로써 실리콘 질화물의 특성 및 균일성을 제어하는 방법(Controlling the Properties and Uniformity of Silicon Nitride Film by Controlling the Film Forming Precursor)"의 명칭으로 2004년 4월 20일 출원된 미국 특허 제 10/829,016호 및 "가스 확산 홀 디자인에 의한 플라즈마 균일성 제어(Plasma Uniformity Control By Gas Diffuser Hole Design)"의 명칭으로 2004년 7월 12 출원된 미국 특허 제 10/889,683호에서 찾을 수 있으며 두 개의 출원 모두는 본 명세서와 모순되지 않는 한도 내에서 참조된다.Examples of various apparatuses and methods for depositing thin films on large area
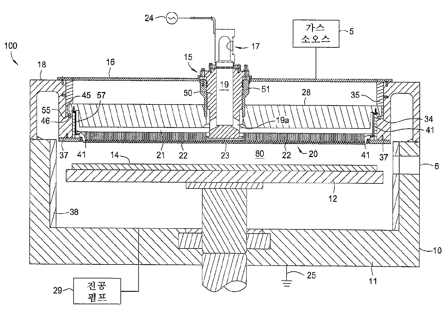
챔버(100)는 챔버 측벽(10), 바닥(11), 넓은 면적 기판(14)을 지지하는 서셉터(susceptor)와 같은 기판 지지부(12)로 구성된다. 챔버(100)는 또한 실트 밸브와 같은 포트(6)를 가지며, 상기 포트는 선택적으로 개방 및 밀폐시킴으로써 넓은 면적 기판의 전달을 용이하게 한다. 챔버(100)는 또한, 커버 플레이트(16), 백킹 플레이트(28)와 같은 제 1 플레이트, 및 가스 분배 프레이트와 같은 제 2 플레이트로 구성된 가스 입구 매니폴드, 예를 들어 확산기(20)를 둘러싸는 배기 채널(18)을 구비한 리드를 포함한다. 확산기(20)는 챔버(100)에 연결되는 가스 소오스(5)로부터 프로세스 가스 또는 가스들를 위한 복수의 통로를 제공하는 임의의 실질적인 평판형 고형체일 수 있다. 확산기(20)는 기판 위에 위치되며 하나 이상의 지지 부재에 의해 수직으로 매달려 있으며, 상기 지지 부재는 실시예에서 확산기 지지부(15)이다. 실시예에서, 확산기(20)는 또한, 가요성 서스펜션(57)에 의해서 배기 채널(18)의 상부 립(55)으로부터 지지된다. 가요성 서스펜션은 "가요성있게 매달린 플라즈마 챔버용 가스 분배 매니폴드(Flexibly Suspended Gas Distribution Manifold for A Plasma Chamber)"의 명칭으로 2002년 11월 12일 출원된 미국 특허 제 6,477,980호에 상세히 기재되어 있으며 본 명세서와 모순되지 않는 한도 내에서 참조된다. 가요성 서스펜션(57)은 확산기의 에지로부터 확산기(20)를 지지하며 확산기를 팽창 및 수축하게 한다. 확산기(20)의 다른 에지 서스펜션이 확산기 지지부(15)와 이용될 수 있으며, 확산기 지지부(15)는 에지 서스펜션 없이 이용될 수도 있다. 예를 들어, 확산기(20)는 가요성 없는 지지부를 갖추어 확산기의 주변 구역에서 지지될 수 있으며, 또는 에지에서 지지되지 않을 수도 있다. 확산기 지지부(15)는 지지부(15) 상에 장착되는 가스 블록(17)에 프로세스 가스를 공급하는 가스 소오스(5)에 연결될 수 있다. 가스 블록(17)은 지지부(15) 내의 길이 방향 보어(19)를 통해서 확산기(20)와 연결되어 있으며, 확산기(20) 내의 복수의 오리피스(22)에 프로세스 가스를 공급한다. 챔버(100) 내에서 이용될 수 있는 확산기의 예는 본원에 전체가 참조되며, "가스 확산 곡률에 의한 플라즈마 균일성 제어(Plasma Uniformity Control By Gas Diffuser Curvature)" 명칭으로 2005년 7월 1일 출원된 미국 특허 출원 제 11/173,210 호에 기재되어 있다.The
확산기 지지부(15)는 실질적으로, 백킹 플레이트(28)에 연결되는 대칭적인 바디이다. 백킹 플레이트(28)는 실질적으로, 확산기 지지부(15)를 수용하기 위한 중앙 구역을 통하는 적합한 보어를 구비한 평면의 플레이트이며, 배출 채널(18)에 의해 상기 채널의 주변 구역 위에서 지지된다. 백킹 플레이트(28)는 백킹 플레이트(28)와 배출 채널(18)이 결합하는 지점에서 적합한 O-링(45, 46)에 의해 그 둘레가 밀폐되며, 이로써 주변 환경으로부터 챔버(100)의 내부를 보호하고 프로세스 가스의 누출을 방지할 수 있다. 확산기 지지부(15)는 커버 플레이트(16) 내의 적합한 보어를 통해서, 백킹 플레이트(28)로부터 상향으로 연장한다. 이러한 실시예에서, 확산기(20)가 부착된 지지부(15)는 기판 지지부(12)가 전달 및 프로세싱 위치로부터 그리고 그 위치에서 기판(14)을 상승 및 하강시키는 동안 넓은 면적 기판(14) 및 기판 지지부(12) 위의 위치에서 실질적으로 고정된 상태로 유지된다.The
작동 중에, 프로세스 가스는 챔버(100)가 진공 펌프(29)에 의해 적합한 압력으로 펌핑 다운되면서 가스 소오스(5)로부터 유동 된다. 하나 이상의 프로세스 가스는 가스 블록(17), 길이 방향 보어(19), 각을 이루는 보어(19a)를 통해 이동하며, 백킹 플레이트(28)와 확산기(20) 사이에서 생성되는 큰 플레넘(21), 확산기(20) 내의 작은 플레넘(23) 내에 증착된다. 하나 이상의 프로세스 가스는 그 후, 확산기(20) 아래 범위 내의 프로세싱 영역(80)을 생성시키도록 확산기(20) 내의 복수의 오리피스(22)를 통해서 큰 플레넘(21) 및 작은 플레넘(23)으로부터 이동한다. 작동 중에, 넓은 면적 기판(14)은 프로세싱 영역(80)으로 상승하며 플라즈마 여기 가스(plasma excited gas) 또는 가스들은 넓은 면적 기판(14) 위에서 구조물을 형성하도록 기판 위에 증착된다. 플라즈마는 챔버(100)에 연결되는 플라즈마 소오스(24)에 의해 프로세싱 영역(80) 내에 형성될 수 있다. 플라즈마 소오스(24)는 직류 전력 소오스, 무선 주파수(RF) 전력 소오스, 또는 원거리 플라즈마 소오스일 수 있다. RF 전력 소오스는 유도적으로 또는 용량적으로 챔버(100)에 결합할 수 있다. 플라즈마는 열 유도 플라즈마와 같은 다른 수단에 의해 챔버(100) 내에 형성될 수도 있다. 플라즈마 소오스(24)가 지지부(15)에 연결됨을 나타내지만, 플라즈마 소오스(24)는 챔버(100)의 다른 부분에 연결될 수 있다.During operation, process gas flows from the
확산기(20)는 전기 전도성 재료로 코팅되거나 형성될 수 있고 플라즈마 소오스(24)에 연결되어 챔버(100) 내의 전극으로서의 기능을 할 수 있으며 기판 지지부(12)는 접지(25)에 연결될 수 있으며 마찬가지로 챔버(100) 내의 전극으로서의 기능을 할 수 있다. 확산기(20)를 위해 선택되는 재료는 스틸, 티타늄, 알루미늄, 또는 이들의 조합물을 포함할 수 있으며 표면은 연마되거나 양극 처리될 수 있다. 기판 지지부(12)는 또한, 기판 지지부(12) 내에 배치되거나 연결되는 가열 코일 또는 저항 히터와 같은 일체형의 히터에 의해 가열될 수 있다. 확산기(20)는 하나 이상의 함께 연결되는 부품으로 형성될 수 있으며 프로세스 가스를 전달할 수 있으며 유전체 스페이서(34, 35, 37, 38, 및 41)에 의해 챔버 배출 채널(18) 및 벽(10)으로부터 전기 절연된다.The
도 2는 커버 플레이트(16)의 중앙 구역에 위치되는, 확산기 지지부(15)의 상대적인 배치를 도시하는 커버 플레이트(16)의 평면도이다. 중앙 구역(210)은 확산기(20)를 위한 지지점을 제공할 수 있거나, 확산기(20)의 수평 프로파일을 변경할 수 있는 확산기(20), 백킹 플레이트(28), 및 커버 플레이트(16)의 주변 구역 내의 임의의 위치로서 형성된다. 또한 환형 칼라(53)에 의해 둘러싸이며, 가스 블록(17)을 통하는 길이 방향 보어(19)가 도시된다. 확산기 지지부(15)는 커버 플레이트(16)의 중앙 구역 내의 확산기 지지부로서 단독으로 이용될 수도 있으며 가스 또는 가스들은 챔버(100)의 다른 위치에서 확산기(20)로 공급될 수 있다. 도면에 도시되지 않은, 확산기(20) 및 백킹 플레이트(28)는 통상적으로 커버 플레이트(16) 아래에 위치된다. 확산기(20) 및 백킹 플레이트(28)는 실질적으로, 커버 플레이트(16)의 넓이와 동일한 넓이를 갖는다. 확산기(20) 및 백킹 플레이트(28)는 도 2에 도시된 임의의 부품이 확산기(20)와 백킹 플레이트(28)가 결합하게 할 수 있는 그에 상응하는 중앙 구역(210)을 갖는다. 부가적으로, 도 2에 도시되는 부품은 백킹 플레이트(28)를 통해서 연장하거나 백킹 플레이트와 결합할 수 있다.2 is a plan view of the
도 3은 중앙 구역(210) 내의 확산기 지지부(15)의 대안적인 위치를 도시하는 커버 플레이트(16)의 다른 실시예의 평면도이다. 도 2에서처럼, 확산기(20) 및 백킹 플레이트(28)는 이번 도에서 도시되지 않지만, 통상적으로, 커버 플레이트(16) 아래에 위치된다. 확산기(20) 및 백킹 플레이트(28)는 실질적으로, 커버 플레이트(16)의 넓이와 동일한 넓이를 갖는다. 확산기(20) 및 백킹 플레이트(28)는 도 3에 도시되는 임의의 부품이 확산기(20)와 백킹 플레이트(28)가 결합하게 할 수 있는 그에 상응하는 중앙 구역(210)을 갖는다. 부가적으로, 도 3에 도시되는 부품들은 백킹 플레이트(28)를 통해 연장하거나 백킹 플레이트와 결합할 수 있다. 확산기 지지부(15)는 커버 플레이트(16) 내에서 오프-센터(off-center)로 도시되지만 여전히 중앙 구역(210)내에 있다. 중앙 구역(210)은 확산기(20)의 지지점으로서 결정되는, 커버 플레이트(16)의 임의의 중앙 위치 구역 (및 백킹 플레이트 및 확산기 내의 그에 상응하는 위치)일 수 있다. 가스 통로(300)는 확산기 지지부(15)에 의해 확산기에 제공되는 프로세스 가스에 대한 대안으로서 커버 플레이트(16) 위에 도시된다.3 is a top view of another embodiment of
도 4는 백킹 플레이트(28)에 적합하게 연결되며, 대칭적인 지지 시트(51)에 의해 둘러싸이며, 길이 방향 지지 블록(50)을 포함하는, 확산기 지지부(15)에 의해 지지되는 확산기(20)를 도시하는 확산기 지지부의 상세도이다. 길이 방향 지지 블록(50)은 화학 작용을 처리하는데 있어서 상기 블록의 강도 및 저항성을 위해 선택되는 재료로 형성되며 대칭적인 지지 시트(51)에 의해 결합되어 상기 시트에 지지된다. 길이 방향 지지 블록(50)을 위한 재료는 스틸, 티타늄, 알루미늄, 또는 이들의 조합물을 포함한다.4 is a
도 5는 대칭적인 지지 시트(51) 내에 배치되는 길이 방향 지지 블록(50)을 구비한 확산기 지지부(15)의 분해도이다. 시트(51)는 백킹 플레이트(28) 내의 적합한 보어를 통해 배치되며 용접점(52) 또는 당업계에 공지된 다른 방법으로 연결된다. 지지 블록(50)은 지지 시트(51)의 내부 벽에 대하여 배치되는 적합한 O-링들(4, 8)에 의해 밀폐된다. 지지 블록(50)의 상부(56)의 외경은 상부 구역 표면(66)의 내경과 동일하거나 그보다 작다. O-링들(4, 8)을 배치하기에 적합한 홈이 상부(56)의 외경 내에 배치된다. 이러한 O-링들(4, 8)은 챔버(100)를 밀폐시킴으로써, 주위 대기가 챔버(100) 내부로 들어오는 것을 방지하도록 형성되며, 프로세스 가스가 챔버(100)로부터 누출되는 것을 방지하도록 형성된다. 길이 방향 블록(50)은 도 2 및 도 3에 도시된 바와 같이, 커버 플레이트(16) 내의 적합한 보어를 통해 상향으로 연장한다. 커버 플레이트(16)는 커버 플레이트(16)와 대칭적인 지지 시트(51)와 밀폐식으로 연결되어 환형 칼라(53)를 지지한다. 복수의 나사(1, 3)는 지지 블록(50)과 지지 시트(51)를 결합시키며, 아래에 상세히 기재될 것이다.5 is an exploded view of the
도 5 및 6a에 있어서, 복수의 나사(1, 3)는 길이 방향 블록(50)의 평면도에 도시되어 있으며, 확산기(20)에 연결되는 지지 블록(50)을 지지 시트(51)에 지지 및 결합시키는 작용을 한다. 길이 방향 지지 블록(50)은 지지 블록(50)의 중앙 부분(58)보다 큰 직경을 갖는 대칭적인 플렌지 부분(57)을 갖는다. 플렌지 부분(57)은 접점이 플렌지(57)와 지지 시트(51) 사이에서 형성될 때 수직 이동을 방지함으로써 지지부(15)를 위한 중지부 및 제한부로서 작동한다. 플렌지 부분(57)은 플렌지(57)의 선택 위치 내의 적합한 암형 나사절삭기(threading)를 통해 복수의 재킹(jacking) 나사를 위한 결합 연결부를 제공함으로써 조절 기구로서 작용도 한다. 플렌지(57)내의 복수의 적합하게 이격된 분리 보어는 시트(51)의 상부 구역(66) 내에 배치되는 나사식 홀과 적합하게 기계적 연결되는 복수의 로킹 나사(3)를 위한 기계적 연결을 제공한다. 네 개의 재킹 나사(1), 및 네 개의 로킹 나사(3)가 도시되지만, 본 발명은 이들 나사의 수를 제한하지 않으며 바람직한 조절을 제공하도록 그리고 확산기(20)를 지지하도록 임의의 수의 나사를 이용할 수 있다. 지지부(15)는 확산기(20)와 백킹 플레이트(28) 사이에 연결된다. 백킹 플레이트(28)는 단면적에 있어서, 확산기(20)보다 상대적으로 두꺼우며, 따라서, 실질적으로 고정된 지지점을 제공한다. 확산기(20)는 통상적으로, 상대적인 두께 및 확산기(20) 내의 구멍 때문에 백킹 플레이트(28)에 비해서 더 큰 가단성을 갖는다. 이러한 상대적인 가단성으로 인해서 지지부(15)의 플렌지 부분(57)을 조절함으로써 확산기 프로파일을 조절할 수 있다.5 and 6a, the plurality of
작동 중에, 길이 방향 블록(50)은 대칭적인 지지 시트(51)로 삽입되며, 확산기(20)는 아래에 상세히 기재될 결합 연결부(60)를 통해 지지 블록(50)에 연결된다. 이때, 확산기는 확산기 (도 1에 도시된)지지부(15), 및 가요성 서스펜션(57)에 의해 매달려있다. 확산기 지지부(15)는 복수의 재킹 나사(1)를 통해 수직으로 조절되어, 확산기(20)를 평면의, 오목한, 또는 볼록한 프로파일 중 하나 이상일 수 있는 바람직한 수평 프로파일을 나타내도록 조절되게 한다. 일 실시예에서, 확산기(20)의 바람직한 수평 프로파일은 기판 지지부(12)의 수평 프로파일과는 다르다. 다른 실시예에서, 바람직한 수평 프로파일은 기판 지지부(12)의 수평 프로파일과 유사하다. 기판 지지부(12)가 주변 구역보다 중앙에서 휘어지거나 어느 정도 높다면(또는 중앙보다 주변에서 휘어지거나 어느 정도 높다면), 확산기(20)는 기판 지지부(12)의 수평 프로파일을 실질적으로 조화시키도록 조절되어 실질적으로 임의의 점에서도 동일한, 기판(14)과 확산기(20) 사이의 프로세싱 영역(80)을 제공할 수 있게 된다. 대안적으로, 확산기(20)는 기판 지지부(12)의 수평 프로파일과 상이한, 프로세스 또는 사용자에 의해서 결정되는 수평 프로파일로 조절될 수 있으며 확산기(20)와 기판(14) 사이의 프로세싱 영역(80)은 임의의 점에서 동일하지 않게 된다. 대안적으로, 확산기(20)의 수평 프로파일은 기판 지지부(12)의 수평 프로파일에 관계없이 선택될 수 있다.In operation, the
중앙 구역의 임의의 점에서의 확산기(20)가 늘어지며 평면의 수평 프로파일이 확산기(20)의 프로파일로 바람직하다면, 지지 시트(51)의 상부 구역(61)과 연결되는 재킹 나사(1)는 따라서, 확산기(20)의 중앙 부분을 상승시키도록 조절될 수 있어서, 중력과 진공에 의해 야기되는 임의의 중앙 늘어짐을 완화시킬 수 있다. 확산기(20)의 바람직한 수평 프로파일이 볼록한 수평 프로파일이라면, 확산기(20)는 필요한 만큼, 확산기(20)의 중앙 부분을 상승시키기 위해서, 재킹 나사(1)에 의해서 적합하게 조절될 수 있다. 확산기(20)의 바람직한 수평 프로파일이 오목한 수평 프로파일이라면, 재킹 나사(1)는 적합한 회전에 의해서 상승할 수 있으며, 지지 시트(51) 내의 나사식 홀과 적합하게 배치되는 복수의 로킹 나사(3)는 확산기(20)에 압축 효과를 변형시키도록 플렌지(57)에 대해서 적합하게 회전하며, 확산기(20)의 중앙 부분이 낮은 위치로 가게 힘을 가하거나 낮은 위치로 가게 할 수 있어서, 확산기(20)의 오목한 수평 프로파일을 초래할 수 있다. 대안적으로, 확산기(20)는 수직 조절이 필요 없을 수 있으며 로킹 나사(3)는 이 위치에서 확산기를 고정시키도록 조절될 수 있다.If the
확산기(20)의 바람직한 방향이 조절되며 확산기(20)가 바람직한 수평 프로파일로 존재한다면, 로킹 또는 잼(jam) 너트(2)는 재킹 나사(1)를 로킹시키도록 적합하게 회전하며, 따라서, 확산기(20)를 이동시킬 수 있는 재킹 나사(1)의 후속적인 이동을 방지한다. 복수의 로킹 나사(3)는 지지부(15)와 관련된 임의의 부분의 임의의 후속적인 이동을 방지하도록 적합하게 죄어진다. 오목한 방향이 확산기(20)에 바람직하다면 전술된 바와 같이, 재킹 나사(1)는 죄이도록 회전될 수 있으며, 그리고 잼 너트(2)는 지지부(15)와 관련된 임의의 부분의 임의의 후속적인 이동을 방지하도록 사용된다. 다시 말해, 확산기(20)의 오목한 방향이 바람직하다면, 로킹 나사(3)는 재킹 나사(1)와 각각의 잼 너트(2)가 로킹 기구로서 작동하는 동안 조절장치로서 작용한다.If the preferred orientation of the
전술된 프로세스가 주변 환경에서 수행되는 반면에, 전술된 프로세스를 통해서 확산기(20)의 수평 프로파일에 대해 가해지는 조절은, 기판 지지부(12), 백킹 플레이트(28), 또는 확산기(20)의 임의의 압력 유도 변형을 상쇄시키기 위해서 확산기(20)를 조절시키도록 챔버(100)에 적용되는 진공처리 후에 수행될 수 있다. 임의의 압력 유도 변형이 결정될 수 있으며 확산기(20)의 바람직한 수평 프로파일이 생성될 수 있다. 진공 목적을 위해 이용되지 않는 챔버(100) 내의 모든 개구는 프로세스 중에 밀폐될 수 있으며 O-링(4, 8)은 길이 방향 지지 블록(50)을 이동하게 하면서 적합한 씰(seal)을 제공한다. 대기 환경이든지 진공하에서, 기판 지지부(12)와 확산기(20) 사이의 상대적인 거리 및 조절 매개 변수는 확산기의 수평 프로파일을 조절할 때 하나 이상의 게이지와 같은 측정 장치에 의해서 결정될 수 있다.While the process described above is performed in an ambient environment, the adjustments made to the horizontal profile of the
도 5 및 6b 내지 6c는 결합 연결부(60)의 일 실시예를 도시하며, 슬롯 및 키의 구성으로서 도시된다. 길이 방향 지지 블록(50)은 결합 연결부(60)에 의해 백킹 플레이트(28) 아래 및 주변 위치에서 확산기(20)에 연결된다. 일 실시예에서, 확산기(20)는 복수의 대칭적인 슬롯과 같은 암형 커넥터(31)를 포함하도록 제조되거나 변경될 수 있으며, 반면에, 지지 블록(50)은 복수의 대칭적인 키와 같은 수형 커넥터(32)를 포함하도록 제조된다. 암형 커넥터(31)는 확산기(20) 내에 포함되어 있으며 수형 커넥터(32)는 지지 블록(50)에 통합되어 있다. 네 개의 암형 커넥터(31) 및 네 개의 수형 커넥터(32)가 예시적인 도면에 도시되지만 더 많거나 적은 개수가 이용될 수 있다는 점을 숙고해야 한다. 대안적으로, 수형 커넥터(32)는 확산기(20) 내의 암형 나사산과 결합하기에 적합한 나사식 부재일 수 있어서, 나사 결합을 통해서 결합 연결부(60)를 생성시킨다.5 and 6B-6C show one embodiment of the mating connection 60 and are shown as a configuration of slots and keys. The
도 6b는 도 5의 b-b를 도시하는 결합 연결부(60)의 평면도이다. 길이 방향 지지 블록(50)의 하단부(59)에서, 각을 이루는 보어(19a)들 사이의 구역 내의 복수의 수형 커넥터(32)를 갖춘, 길이 방향 보어(19) 및 각을 이루는 보어(19a)를 상세하게 도시한다. 확산기(20)는 오리피스(22), 수형 커넥터(32)를 지지하기에 적합한 복수의 연장된 부분(61), 및 수형 커넥터(32)가 통과하도록 형성되는 컷-아웃 섹션(cut-out section)(62)으로 도시된다.FIG. 6B is a plan view of the coupling connection 60 showing b-b of FIG. 5. At the
도 5에 있어서, 직경 방향으로 측정되는 수형 커넥터(32)는 플렌지(57)의 외경보다 작은 외경을 가지며, 지지 시트(51)의 숄더 구역(65)의 내경보다 작은 또는 동일한 외경을 갖는다. 지지 시트(51)의 상부 구역 표면(66)은 숄더 구역(65)의 내경보다 큰 내경을 갖는다. 지지 블록(50)의 하단부(59)는 수형 커넥터(32)의 외경보다 작은 외경을 가지며 중앙 부분(58)보다 작은 외경을 가진다. 지지 블록(50)의 상단부(56)는 플렌지(57)보다 작은 외경을 가지며 중앙 부분(58)보다 큰 외경을 가진다. 직경 체계는 지지 블록(50)이 두 개의 기계적 정지부; 즉 지지 시트(51)의 숄더 구역(65)에서 하나, 플렌지(57) 및 지지 시트(51)의 상부 구역(66)에서 다른 하나를 제공하게 한다.In FIG. 5, the
도 6b에 도시된 결합 연결부(60)는 각을 이루는 보어(19a)의 상대적인 위치를 나타내도록 로킹 해제된 위치로 도시된다. 이전에 상세한 로킹 다운 절차 및 조절에 앞서, 지지 블록(50)은 지지 시트(51)에 삽입되며, 수형 커넥터(32)는 확산기(20)의 일부인, 연장되는 부분(61)들 사이의 구역에서 컷-아웃 섹션(62)으로 삽입된다. 지지 블록(50)은 도 6c에 도시된 바와 같이, 로킹되는 위치로 45°회전한다. 컷-아웃 섹션(62)은 확산기(20) 내에서 유지되며, 반면에, 수형 커넥터(32)는 연장되는 위치(61) 바로 밑에 배치된다. 컷-아웃 섹션(62)은 길이 방향 보어(19)로부터 가스들의 실질적으로 층을 이루는 유동으로 큰 플레넘(21) 및 작은 플레넘(23)으로 제공할 수 있는, 각을 이루는 보어(19a)와 실질적으로 일직선으로 정렬되는 채널(501)과 같은 보이드를 생성시킨다. 프로세스 가스는 프로세싱 중에 확산기(20) 내의 복수의 오리피스(22)를 통해 분산된다. 지지부(15)에 의해 점유되는 확산기(20) 내의 영역에 오리피스(22)가 연속되어 있음으로써 확산기(20)를 통해 가스 또는 가스들의 강경한 유동을 제공하는 것을 주목해야 한다.The engagement connection 60 shown in FIG. 6B is shown in an unlocked position to indicate the relative position of the
도 7은 확산기 지지부(15)의 다른 실시예의 개략도이다. 작은 플레넘(23)과 연결되는, 길이 방향 보어(19)로부터 연장되는 보어(19b)와 길이 방향 지지 블록(50)이 도시되어 있다. 연장되는 보어(19b)는 작은 플레넘(23)에 프로세스 가스의 보다 큰 부피를 제공하도록 선택적으로 부가될 수 있어서, 길이 방향 지지 블록(50) 아래의 복수의 오리피스(22)를 통해서 프로세싱 영역(80)에 프로세스 가스의 유동 및 부피를 증가시킨다.7 is a schematic diagram of another embodiment of a
도 8은 확산기 지지부(15)의 다른 실시예이다. 실시예에서, 길이 방향 지지 블록(50)은 횡단 보어(19c)와 교차하는 길이 방향 보어(19)를 갖는다. 길이 방향 지지 블록(50)은 확산기(20) 내의 작은 플레넘(23)의 구역을 넓히도록 하단부(59) 내에 환형 보이드(33)를 갖는다. 큰 플레넘(21)의 표면적을 증가시키도록 백킹 플레이트의 하단부 상의 주변의 챔버(27)를 구비한 백킹 플레이트(28)가 또한 도시된다.8 is another embodiment of a
도 9a는 오리피스 링(800)의 평면도이다. 실시예에서, 오리피스 링(800)은 제 1 곡선형 부재(810) 및 제 2 곡선형 부재(820)와 같은 적어도 두 개의 부품으로 구성된다. 제 1 곡선형 부재는 나사(830)의 축을 수용하도록 하나 이상의 캐비티(840)를 갖는다. 나사(830)는 제 2 곡선형 부재(820) 내의 나사식 캐비티(850)에 의해서 수용될 수 있는 나사 부분을 가질 수 있다. 다른 실시예로서 챔버 내에서 적합하게 결합하거나 설치되는 두 개 이상의 부품이나 하나의 부품으로 된 오리피스 링(800)을 고려할 수 있다.9A is a top view of
도 9b는 도 9a에 도시되는 오리피스 링(800)의 측면도이다. 오리피스 링(800)은 외경(804), 제 1 내경(806), 및 제 2 내경(808)을 갖는다. 제 1 내경(806)은 길이 방향 지지 블록(50)의 하단부(59)의 외경을 둘러싸도록 형성된다. 제 2 내경(808)은 제 1 내경(806) 보다 클 수 있으며, 각각의 내경은 환형 베벨(870)에 의해 분리될 수 있다. 환형 베벨(870) 아래의 오리피스 링(800)의 주변 둘레에 복수의 오리피스 링 홀(860)이 또한 도시되어 있다.FIG. 9B is a side view of the
도 10a는 도 8에 도시된 실시예와 유사한, 오리피스 링(800)이 통합된 확산기 지지부(15)의 상세도이다. 오리피스 링(800)은 길이 방향 지지 블록(50)의 하단부(59)를 둘러싸는 제 1 곡선형 부재(810) 및 제 2 곡선형 부재(820)를 갖는다. 각각의 곡선형 부재는 일 실시예서, 복수의 횡단 보어(19c)와 실질적으로 일직선으로 정렬되는, 외경 주변에 복수의 오리피스 링 홀(860)을 갖는다. 오리피스 링(800)은 길이 방향 보어(19)로부터 프로세싱 영역(80)으로 프로세스 가스 또는 가스들의 유동에 대한 비율 조절(tuning aspect)을 제공한다. 홀(860)의 직경을 변경시킴으로써, 가스 유동이 홀(860) 직경에 있어서 제한될 수 있다. 부가적으로 또는 대안적으로, 가스 유동은 홀(860) 및 횡단 보어(19c)의 정렬을 변경시킴으로써 제한될 수 있다.FIG. 10A is a detailed view of the
예를 들어, 가스가 확산기 지지부(15)를 통해 흘러가기 때문에, 가스는 길이 방향 보어(19)를 통해 사실상 제한되지 않은 복수의 횡단 보어(19c)로 이동할 수 있다. 복수의 오리피스 홀(860)은 복수의 횡단 보어(19c)의 직경보다 작은 직경을 가질 수 있다. 횡단 보어(19c)로부터 가스 흐름은 오리피스 링 홀(860)에 의해 제한될 수 있으며 가스의 일부분은 틈새 공간(interstitial space)(910)으로 흐르도록 야기될 수 있다. 틈새 공간(910) 내의 가스는 채널(501)을 통해 하향으로 이동할 수 있으며 환형 보이드(33)로 이동할 수 있어서, 작은 플레넘(23)으로부터 오리피스 홀(22)을 통해 가스 유동을 보충한다. 오리피스 링(800)에 의해 차단되지 않는 임의의 유동은 오리피스 링 홀(860)을 통해 큰 플레넘(21)으로 이동할 수 있다. 오리피스 링(800)은 오리피스 링 홀(860)을 통해서 가스 유동의 일부분이 주변의 챔퍼(27)에 영향을 미칠 수 있는 위치에 위치될 수 있어서, 가스 또는 가스들 일부분의 방향을 하향으로 바꾼다. 본원발명에서는 오리피스 링(800)이 틈새 공간(910)을 형성하지 않으며, 예를 들어, 오리피스 링이 단 하나의 내경으로 제조될 수 있다는 점도 고려할 수 있다. 대안적으로, 또는 부가적으로, 길이 방향 지지 블록(50)의 하단부(59)는 작은 플레넘(23)으로 가스 또는 가스들을 위한 유동로를 제공하도록 연장되는 보어(19b)를 포함할 수 있다. 전술된 바와 같이, 오리피스 링(800)은 이용자에 의해 결정되는 가스 유동률 및 부피에 따라서 제조, 위치, 및 조절될 수 있다.For example, as the gas flows through the
도 10b는 도 4에 도시되는 실시예와 유사한 확산기 지지부(15)의 상세도이며, 오리피스 링(800)을 구체화한다. 오리피스 링(800)은 길이 방향 지지 블록(50)의 하단부(59)를 둘러싸는 제 1 곡선형 부재(810) 및 제 2 곡선형 부재(820)를 갖는다. 각각의 곡선형 부재는 일 실시예에서, 복수의 횡단 보어(19c)와 실질적으로, 일직선으로 정렬되도록 외경 둘레에 복수의 오리피스 링 홀(860)을 갖는다. 다른 실시예로서, 오리피스 링 홀(860)은 횡단 보어(19c)와 완전히 일직선으로 정렬되지 않을 수 있다. 이러한 실시예에서, 오리피스 링(800)은 횡단 보어(19c)로부터 큰 플레넘(21)으로 가스 유동을 더 제한하도록 회전될 수 있다.FIG. 10B is a detailed view of the
도 11a는 챔버 내의 가스 분배 플레이트를 지지하기 위한 지지 부재의 다른 실시예의 평면도이다. 백킹 플레이트(28)는 중앙 구역(1010)을 통해서 형성되는 복수의 보어(1063)를 구비하여 도시된다. 각각의 복수의 보어(1063)는 볼트와 같은, 나사식 지지부(1020)를 수용하게 되며 확산기(20) 내에서 그에 상응하는 결합 부분과 결합하도록 형성된다. 이 도면에 도시되는 않은, 확산기(20)는 통상적으로, 백킹 플레이트(28) 아래에 위치된다. 확산기(20)는 백킹 플레이트의 넓이와 실질적으로 동일한 넓이를 갖는다. 확산기(20)는 도 11a에 도시되는 임의의 부품이 확산기(20)와 결합하도록 형성되는 그에 상응하는 중앙 구역(1010)을 갖는다. 대칭적인 패턴의 열두 개의 보어가 이번 실시예에 도시되지만, 복수의 보어(1063)는 백킹 플레이트(28) 내의 임의의 패턴, 수, 및 크기로 형성될 수 있다. 프로세스 가스 또는 가스들을 확산기(20)로 공급하기 위해서 가스 전달 시스템(1050)을 수용하도록 백킹 플레이트(28) 내의 개구(1048)가 또한 도시된다. 확산기는 가스 전달 시스템(1050)을 수용하도록 형성되는 적합한 결합점을 가질 수도 있다.11A is a plan view of another embodiment of a support member for supporting a gas distribution plate in a chamber. The
도 11b는 챔버 내의 가스 분배 플레이트를 지지하기 위한 확산기 지지부의 다른 실시예의 평면도이다. 이 실시예는 나사식 지지부(1020) 패턴 및 개구(1048)의 오프-센터(off-center) 배치를 제외하고 도 11a에 도시된 실시예와 유사하다. 도 11a에서와 마찬가지로, 확산기(20)는 도시되지 않지만, 통상적으로, 백킹 플레이트(28) 아래 위치한다. 확산기(20)는 백킹 플레이트(28))의 넓이와 실질적으로 동일한 넓이를 갖는다. 확산기(20)는 도 11b에 도시된 임의의 부품들이 확산기(20)와 결합하게 할 수 있는 그에 상응하는 중앙 구역(1010)을 갖는다.11B is a top view of another embodiment of a diffuser support for supporting a gas distribution plate in the chamber. This embodiment is similar to the embodiment shown in FIG. 11A except for the threaded
도 12는 챔버(100) 내의 확산기(20)의 부분적인 개략적 측면도이다. 챔버는 가스 전달 조립체(1050)를 수용하도록 중앙 구역 내에 하나 이상의 개구(1048)를 갖춘 커버 플레이트(16)를 가지고 있다. 가스 전달 조립체(1050)는 가스 소오스(5)로부터 프로세스 가스 또는 가스들을 수용하도록 형성되며 프로세스 가스를 보어(1019)를 통해 큰 플레넘(21)으로 전달하도록 형성된다. 프로세스 가스는 그 후, 확산기(20) 내의 복수의 오리피스(22)를 통해서 프로세싱 영역(80)으로 이동할 수 있다. 다른 실시예에서, 확산기(20)는 프로세싱 영역(80) 내의 플라즈마를 플라즈마 소오스(24)에 연결시키도록 구성된다.12 is a partial schematic side view of the
챔버(100)는 백킹 플레이트(28)와 같은 제 1 플레이트를 통해 연장하며, 확산기(20)와 같은 제 2 플레이트로 연장하는 볼트와 같은 복수의 나사식 지지부(1020)를 갖는다. 가스 전달 조립체(1050)는 백킹 플레이트(28)와 일체형일 수도 있으며, 또는 백킹 플레이트(28)가 백킹 플레이트(28) 내의 관통 구멍(bore-through)(1070)을 통해 가스 전달 조립체(1050)를 수용할 수 있다. 나사식 지지부(1020)는 고장력을 나타내는 재료로 제조될 수 있으며 스테인레스 스틸, 티타늄, 알루미늄, 또는 이들의 조합물과 같은 프로세스 화학 작용에 내성이 있다. 나사식 지지부(1020)는 전술된 임의의 재료로 형성될 수 있으며, 알루미늄과 같은 프로세스 저항 코팅으로 더 코팅될 수 있다. 백킹 플레이트(28)는 중앙 구역을 통해 형성되는 복수의 개구(1030)를 갖는다. 각각의 나사식 지지부(1020)는 나사식이며 나사산의 일부분은 백킹 플레이트(28) 내의 복수의 개구(1030)와 일치하는, 확산기(20) 내의 암형 나사산(1040)과 같은, 결합 부분에 의해서 수용될 수 있다. 암형 나사산은 확산기 플레이트(20) 내의 복수의 오리피스(22)를 방해하지 않는 적합한 보어 내에 배치된다. 관형 격벽(1063) 및 각각의 관형 격벽(1063)을 덮는 캡 플레이트(1065)가 또한 도시되어 있다. 캡 플레이트(1065)는 나사식 지지부(1020)에 접근할 수 있으며 관형 격벽(1063)과 함께 주위 환경으로부터 씰(seal)을 제공한다. 캡 플레이트(1065)는 캡 플레이트(1065)를 덮는 클램프 링(1066)과 같은 공지된 임의의 방법에 의해 밀폐될 수 있으며, 나사(1068)에 의해서 커버 플레이트(16)에 이들 사이의 O 링(1062)으로 고정될 수 있다. 이러한 실시예의 가스 전달 조립체(1050)가 챔버(100) 내의 위치에서 고정될 것이며, 임의의 공지된 방법에 의해 주위 대기로부터 밀폐됨을 주목해야 한다.
작동 중에, 나사식 지지부(1020)는 개구(1030)를 통해, 관형 격벽(1063) 내에 삽입되며, 확산기(20) 내의 각각의 암형 나사산(1040)과 맞물리게 된다. 나사식 지지부(1020)는 확산기(20)의 평면 방향으로 조절되도록 회전한다. 실시예에서, 확산기(20)의 중앙 구역은 백킹 플레이트(28)에 의해서 수직 이동 내에서 제한되며, 중력, 진공, 및 열과 같은 힘에 보다 큰 내성을 나타내도록 설계된다. 백킹 플레이트(28)는 이러한 힘을 야기할 수 있지만, 확산기(20)에 의해 생길 수 있는 정도는 아니다. 이러한 방식에서, 확산기(20)는 전술된 힘에 의해 야기될 수 있는 변형을 나타낼 수 있지만, 상기 변형은 백킹 플레이트(28)에 의해 방해될 수 있다. 힘 매개변수는 이미 결정될 수 있으며 백킹 플레이트(28) 내의 임의의 공지된 변형 및 확산기(20)는 나사식 지지부(1020)의 조절에 의해서 방해될 수 있음을 또한 주목해야 한다. 확산기(20)는 부분적 변형을 허용하도록 조절될 수 있지만, 허용되는 변형은 나사산 지지부(1020)가 이번 예에서 와셔(1052)인 정지부와 접촉하는 것과 같이, 기계적 제한부에 도달할 때 허용되는 지점에서 정지된다. 나사식 지지부(1020)는 확산기(20)와 백킹 플레이트(28) 사이에 연결된다. 백킹 플레이트(28)는 상대적으로, 확산기(20)보다 단면적에 있어서 두꺼워서, 실질적으로 고정된 지지점을 제공한다. 확산기(20)는 나사식 지지부(1020)의 길이를 조절함으로써 확산기 프로파일의 조절을 허용하는 확산기(20) 내의 구멍 및 상대적인 두께 때문에 백킹 플레이트(28)에 비해 가단성이 더 크다.In operation, the threaded
다른 측면에서, 스페이서와 같은 하나 이상의 조절 부재(1032)는 확산기(20)와 백킹 플레이트(28) 사이의 고정된 거리를 유지하도록 이용될 수 있어서, 제자리에 조절 부재(1032)를 로킹시키도록 나사식 지지부(1020)를 이용한다. 이러한 실시예에서, 확산기(20)는 하나 이상의 조절 부재(1032)의 두께를 변경시킴으로써 바람직한 수평 프로파일을 나타내도록 형성될 수 있다. 하나 이상의 조절 부재(1032)는 설치될 때 확산기(20)의 중앙 부분에서 볼록한 수평 프로파일 형성하도록 두꺼울 수도 있으며, 또는 오목한 수평 프로파일을 형성하도록 얇을 수도 있다. 나사산 지지부(1020)는 제 위치에 조절 부재(1032)를 로킹시키도록 암형 나사산(1040)으로 회전될 수 있다. 단 하나의 조절 부재(1032)가 도시되었지만, 본 발명은 이에 제한되지 않으며 임의의 수의 조절 부재(1032)가 이용될 수 있는, 예를 들어, 각각의 나사산 지지부(1020)가 나사산 지지부에 연결되는 조절 부재를 갖는다. 조절 부재(1032)가 이용될 때, 확산기(20)의 수직 이동은 열, 압력, 및 중력과 같은 힘에 반응할 때 백킹 플레이트(28)의 임의의 이동에 제한되지 않는다.In another aspect, one or
도 13은 가스 분배 플레이트를 지지하기 위한 지지 부재가 피봇 지지부(1300)인 다른 실시예이다. 피봇 지지부(1300)는 단독으로 이용될 수 있거나, 확산기 지지부(15)와 공동으로 이용될 수 있다. 피봇 지지부(1300)는 단독으로 이용될 수 있거나, 또는 나사산 지지부(1020)와 공동으로 이용될 수 있다. 이번 실시예에서 피봇 지지부(1300)는 확산기 지지부(15)로부터 외측에 위치되며 확산기(20) 및 백킹 플레이트(28)에 연결된다. 피봇 지지부(1300)는 확산기(20)에 연결되는 볼 스터드 하우징(1304) 및 백킹 플레이트(28)에 연결되는 상부 피봇 부재(1306)와 연결되도록 볼 스터드(1302)를 포함한다. 볼 스터드(1302)는 하부 피봇 부재(1308)의 한 단부 상에 연결되는 긴 부재이며 대향 단부 상에 나사 부분(1310)을 갖는다. 볼 스터드(1302)는 하부 피봇 부재(1308)와 하나의 부품으로서 기계가공될 수 있거나, 하부 피봇 부재(1308)에 나사 연결되거나 이와는 다른 방식으로 연결되는 볼트 또는 나사일 수 있다. 상부 피봇 부재(1306)는 백킹 플레이트(28)의 상부면 내에 형성되는 지지 시트(1332)와 맞물리게 된다. 밀폐 블록(1324)은 상부 피봇 부재(1306)의 상부 부분을 수용하도록 그리고 주위 환경으로부터 챔버 내부 밀폐를 용이하게 하도록 백킹 플레이트(28)의 상부면 내에서 연결된다. 커버 컵(1326)은 피봇 지지부(1300)의 노출되는 부분을 덮도록 백킹 플레이트(28)의 상부면에 연결되어, 챔버 내부를 더 밀폐시킨다. 피봇 지지부(1300)를 수용하기 위해서, 백킹 플레이트(28)는 지지 시트(1322) 아래의 제 1 보어(1328) 및 볼 스터드(1302) 및 볼 스터드 하우징(1304)의 이동을 가로막지 않도록 형성되는 연장되는 보어(1330)를 갖는다.13 is another embodiment in which the support member for supporting the gas distribution plate is a
하부 피봇 부재(1308)는 일반적으로, 구형의 고형체(solid)이며 상부 피봇 부재는 또한, 볼 스터드(1302)를 수용하도록 중심 보어(1320)를 구비한 구형의 형태이다. 하부 피봇 부재(1308) 및 상부 피봇 부재(1306)는 프로세스 화학 작용에 최소의 반응성을 갖는 기계적 강도를 나타내는 재료로 형성된다. 볼 스터드(1302)는 하부 피봇 부재(1308) 및 상부 피봇 부재(1306)용 재료와 동일한 재료로 형성될 수 있다. 볼 스터드(1302), 상부 피봇 부재(1306), 또는 하부 피봇 부재(1308)용 재료는 스테인레스 스틸, 티타늄, 또는 알루미늄, 및 이들의 조합물을 포함한다. 볼 스터드(1302)의 긴 부분이 프로세스 화학 작용에 몇몇의 반응을 나타내는 재료로 형성된다면, 관형 실드(1332)는 볼 스터드(1302)에 연결될 수 있는 알루미늄으로 형성될 수 있다.The
하부 피봇 부재(1308)는 볼 스터드 하우징(1304)에 연결되며 볼 스터드 하우징(1304)은 연결 기구(1312)에 의해서 확산기(20)에 연결된다. 볼 스터드 하우징(1304)은 시트 하우징(1316)에 연결되는 하부 시트(1314)를 가짐으로써, 하부 피봇 부재(1308)를 수용한다. 이번 실시예의 연결 기구(1312)는 비율에 따라 줄어든 것을 제외하고 도 5 및 도 6b 내지 도 6c에 도시된 결합 연결부(60)와 설계면과 기능면에서 유사하다. 시트 하우징(1316)은 확산기(20) 내에 형성되는 (도시되지 않은)복수의 슬롯과 선택적으로 맞물리는 복수의 수형 커넥터(1318)를 갖는다. 확산기(20)는 큰 플레넘(21)으로부터 프로세싱 영역(80)으로 피봇 지지부(1300) 아래에 형성되는 복수의 오리피스(22)를 통해서 프로세스 가스 유동을 용이하게 하는 플레넘(1323)을 갖는다.The
도 14는 피봇 지지부(1300)에 연결되는 확산기(20)의 상세도이다. 도시된 바와 같이, 확산기(20)의 연결 이전에, 작업자는 백킹 플레이트(28) 및 확산기(20)로부터 떨어져 볼 스터드 하우징(1304)을 조립할 수 있다. 조립을 용이하게 하기 위해서, 확산기(20) 및 백킹 플레이트(28)는 챔버로부터 제거될 수 있으며 조립체를 위해서 위치될 수 있다. 볼 스터드(1302)는 시트 하우징(1316) 내에 형성되는 원뿔형 개구(1408)로 볼 스터드(1302)의 긴 부분을 삽입함으로써 시트 하우징(1316)에 연결될 수 있다. 하부 피봇 부재(1308)를 수용하기 위해서, 하부 시트(1314)는 시트 하우징(1316)의 하부면 내에 형성되는 통로(1404)를 통해 삽입된다. 하부 시트(1314) 및 시트 하우징(1316)은 나사식 연결부(1402)에 의해 결합하도록 형성된다. 시트 하우징(316)은 암형 나사산을 가질 수 있으며 하부 시트(1314)는 수형 나사산을 가질 수 있다. 통로(1404)는 하부 시트(1314)가 통로를 통과하도록 그리고 나사산이 결합하도록 치수가 정해진다. 하부 시트(1314)는 하부 시트의 상부 부분이 시트 하우징(1316) 내에 형성되는 숄더(1406)와 접촉할 때까지 적합하게 회전될 수 있다. 시트 하우징(1316) 및 하부 시트(1314) 각각은 볼 스터드(1302)의 피봇 이동을 용이하게 하면서 하부 피봇 부재(1308)를 수용 및 배치하도록 형성되는 내부 표면을 갖는다.14 is a detailed view of
숄더(1406)가 하부 시트(1314)에 의해서 접촉할 때, 핀(1410)은 하부 시트가 숄더(1406)에서 떨어지는 것을 방지하도록 이용될 수 있다. 모든 볼 스터드(1302)가 볼 스터드 하우징(1304)에 연결될 때, 각각의 볼 스터드 하우징(1304)은 수형 커넥터(1318)와 결합하도록 확산기(20) 내에 형성되는 슬롯으로 삽입될 수 있다. 볼 스터드 하우징(1304)은 45°회전하며 시트 하우징(1316) 내에 형성되는 채널(1414)로 삽입되는 세트 나사(1412)에 의해서 고정될 수 있다. 채널(1414)은 나사식인 하단부를 가지며 세트 나사(1412) 상에서 나사산과 결합한다. 세트 나사(1412)는 채널(1414) 내에 형성되는 숄더와 접촉하도록 적합하게 회전한다. 세트 나사(1412)는 나사 부분의 채널(1414)을 넘어서 연장되도록 형성되며 연장되는 부분은 확산기(20) 내에 형성되는 리세스(1416)와 결합하여, 볼 스터드 하우징(1304)의 회전 또한 방지한다. 모든 볼 스터드 하우징(1304)이 확산기(20)에 연결되며 세트 나사(1412)에 의해 로킹될 때, 확산기(20)는 조립체를 위해 또한 다뤄질 수 있으며 볼 스터드 하우징(1304)은 그대로 유지될 수 있다.When the
도 15는 백킹 플레이트(28)에 연결되는 피봇 지지부(1300)의 상세도이다. 볼 스터드(1302)를 구비한 볼 스터드 하우징(1304)의 설치 후에, 확산기(20)는 백킹 플레이트(28)에 연결될 수 있다. 이번 예에서, 백킹 플레이트(28)는 챔버 외측에 거꾸로 위치되며, 여기에 연결되는 하나 이상의 볼 스터드(1302)를 갖는 확산기(20)는 백킹 플레이트(28) 위에 거꾸로 위치된다. 이러한 위치 내의 확산기(20)는 볼 스터드(1302)의 나사 부분(1310)을 하향으로 매달리도록 하며 작업자가 나사 부분(1310)이 노출될 때까지 연장되는 보어(1330) 및 제 1 보어(1328)로 볼 스터드(1302)를 삽입할 수 있게 하며, 백킹 플레이트(28) 내에 형성되는 지지부 시트(1332)를 통해서 돌출한다. 상부 피봇 부재(1306)는 중심 보어(130)를 통해 나사 부분(1310)을 안내함으로써 설치될 수 있다. 나사 부분(1310)이 중심 보어(1320)를 통해 돌출할 때, 너트(1516)는 나사 부분(1310)에 연결될 수 있어서, 상부 피봇 부재(1306)를 볼 스터드(1302)에 고정한다. 다른 실시예에서, 상부 피봇 부재(1306)의 중심 보어(1320)는 암형 나사산을 포함할 수 있으며 볼 스터드(1302)의 나사 부분(1310)은 나사식 연결부에 의해 상부 피봇 부재에 연결될 수 있다.15 is a detailed view of the
일 실시예에서, 볼 스터드(1302)의 상부 부분(1506)은 감소된 직경 부분(1504)을 갖는다. 상부 피봇 부재(1306)의 중심 보어(1320)는 상부 부분이 상부 피봇 부재(1306) 내에 형성되는 숄더 구역(1508)과 접촉할 때까지 중심 보어(1320) 내의 수직 이동을 용이하게 하는 감소한 직경 부분(1504)과 상부 부분(1506)을 수용하는 부분을 갖는다. 숄더 구역(1508)은 볼 스터드(1302)를 위한 수직 제한부로서 기능을 함으로써, 상부 부분(1506)이 숄더 구역(1508)과 접촉할 때 조절 중에 볼 스터드(1302)의 임의의 수직 이동을 멈추게 한다. 상부 피봇 부재(1306)는 볼 스터드(1302)와 상부 피봇 부재(1306) 사이의 진공 기밀 씰을 형성하며 챔버로부터 프로세스 가스의 누출을 방지하도록 상부 피봇 부재(1306) 내에 형성되는 리세스 내에 배치되는 하나 이상의 O-링(1510)을 또한 포함한다. 피봇 지지부(1300)는 백킹 플레이트(28) 내에 형성되는 리세스 내에 배치되는 O-링(1512)을 또한 포함하며 상부 피봇 부재(1306)와 백킹 플레이트(28) 사이의 진공 실링 및 프로세스 가스 손실의 방지를 용이하게 한다. O-링(1510, 1512)은 프로세스 상태를 견디도록 중합물질 또는 고무재료와 같은 적합한 재료로 형성될 수 있다.In one embodiment, the
너트(1516)에 의해서 각각의 볼 스터드(1302)에 연결되는 복수의 상부 피봇 부재(1306)를 갖추어, 확산기(20) 및 백킹 플레이트(28)는 복수의 피봇 지지부(1300)에 의해 서로 연결된다. 확산기(20) 및 백킹 플레이트(28)는 챔버 내로 설치될 때 취해질 수 있는 확산기 및 백킹 플레이트 위치에서 오른쪽 위에 위치될 수 있다. 이 시점에서, 확산기 지지부(15)는 (도 5)지지 시트(51) 내로 확산기(20)에 연결되도록 삽입될 수 있으며 적합하게 회전될 수 있다. 대안적으로, 확산기(20)는 가스 전달 조립체(1050)를 사용할 수 있으며 (도 12)복수의 나사산 지지부(1020)는 확산기에 연결될 수 있다.With a plurality of
피봇 지지부(1300)는 나사 부분(1310) 및 볼 스터드(1302)의 너트(1516)를 수용하도록 중앙 개구(1502)를 갖는 밀폐 블록(1324)을 또한 포함한다. 밀폐 블록(1324)은 상부 피봇 부재(1306)가 제한 없이 이동하도록 형성되는 상부 피봇 부재(1306)를 위한 상부 지지 시트(1526)를 제공한다. 중앙 개구(1502)는 밀폐 블록(1324)과 접촉하는 선택적인 와셔(1526) 또는 너트(1516 없이 볼 스터드(1302) 및 상부 피봇 부재(1306)가 이동하도록 형성된다. 밀폐 블록(1324)은 백킹 플레이트(28)와 주위 환경 사이의 씰을 더 제공하는 하나 이상의 O-링(1514)을 포함하며, 볼트와 같은 복수의 패스너(fastener)에 의해 백킹 플레이트에 연결된다. 밀폐 블록은 또한 상부면 내에 형성되는 O-링 홈(1522)을 갖는다.The
도 16은 확산기(20)에 연결되는 피봇 지지부(1300)의 다른 실시예의 상세도이다. 커버 컵(1326)은 복수의 커버 볼트(1602)에 의해 밀폐 블록(1324)의 상부면에 연결되어 도시된다. 커버 볼트는 밀폐 블록(1324) 내에 형성되는 이에 상응하는 홀에 나사산 연결될 수 있으며, 또는 복수의 커버 볼트(1602)가 복수의 패스너(1524)가 밀폐 블록(1324)에 연결되는데 이용된다기보다는 백킹 플레이트 내의 상이한 홀 패턴을 이용하는 경우에, 백킹 플레이트 내에 나사식 홀이 적합하게 형성되도록 밀폐 블록(1324)를 통해 연장할 수 있다. 폴리머 또는 고무로 형성되는 커버 O-링(1604)은 챔버 내에 피봇 지지부(1300)의 밀폐를 더 제공하도록 O-링 홈(1522) 내에 배치될 수 있다. 커버 컵(1326)은 나사 부분(1310) 및 너트(1516)의 제한 없이 이동하도록 커버 컵(1326) 내부 내에서 커버 구역(1606)을 또한 제공한다.16 is a detailed view of another embodiment of a
도 17a는 백킹 플레이트에 연결되는 복수의 피봇 지지부(1300)를 구비한 백킹 플레이트(28)의 일 실시예의 평면도이다. 복수의 피봇 지지부(1300) 및 확산기 지지부(15)는 중앙 구역(1010) 내의 백킹 플레이트(28)에 연결되어 도시된다. 이번 도면에 도시되지 않은 확산기(20)는 통상적으로, 백킹 플레이트(28) 아래에 위치된다. 확산기(20)는 백킹 플레이트(28)의 넓이와 실질적으로 동일한 넓이를 갖는다. 확산기(20)는 도 17a에 도시된 임의의 부품이 확산기(20)와 결합하게 할 수 있는 이에 상응하는 중앙 구역(1010)을 갖는다. 대칭적인 패턴의 여덟 개의 피봇 지지부(1300)가 이번 실시예에 도시되지만, 피봇 지지부(1300)는 백킹 플레이트(28)내의 임의의 패턴, 수, 크기로 형성될 수 있다.17A is a top view of one embodiment of a
도 17b는 가스 전달 시스템(1050)을 위한 하나 이상의 개구(1080) 및 복수의 피봇 지지부(1300)를 구비한 백킹 플레이트(28)의 다른 실시예의 평면도이다. 모든 부품은 중앙 구역(1010) 내에 위치될 수 있으며, 또는 대안적으로, 가스 전달 시스템(1050a)을 수용하도록 형성되는 대안적인 개구(1048a)는 중앙 영역(1010)의 외측의 백킹 플레이트(28)에 연결될 수 있다. 도 17b에 도시되지 않은 확산기(20)는 통상적으로, 백킹 플레이트(28) 아래에 위치된다. 확산기(20)는 백킹 플레이트(28)의 넓이와 실질적으로 동일한 넓이를 갖는다. 확산기(20)는 도 17b에 도시된 중앙 구역(1010) 내의 임의의 부품이 확산기(20)와 결합하게 할 수 있는 이에 상응하는 중앙 구역(1010)을 갖는다. 대안적인 가스 전달 시스템(1050a)이 이용된다면, 확산기는 대안적인 전달 시스템을 수용하도록 확산기 내에 형성되는 이에 상응하는 임의의 결합점을 가질 것이다. 대칭적인 패턴의 여덟 개의 피봇 지지부(1300)가 이번 실시예에 도시되어 있지만, 피봇 지지부(1300)는 백킹 플레이트(28) 내의 임의의 패턴 수, 및 크기로 형성될 수 있다.FIG. 17B is a top view of another embodiment of a
도 17c는 중앙 구역(1010) 내의 복수의 나사식 지지부(1020)를 부가하는 것을 제외하고 도 17b에 도시된 실시예와 유사한 백킹 플레이트(28)의 다른 실시예의 평면도이다. 도 17c에 도시되지 않은 확산기(20)는 통상적으로, 백킹 플레이트(28)의 아래에 위치한다. 확산기(20)는 백킹 플레이트(28)의 넓이와 실질적으로 유사한 넓이를 갖는다. 확산기(20)는 도 17c에 도시된 임의의 부품이 확산기(20)와 결합하게 할 수 있는 이에 상응하는 중앙 구역(1010)을 갖는다. 열 두개의 나사산 지지부(1020) 및 여덟 개의 피봇 지지부(1300)가 이번 실시예에 대칭적인 패턴으로 도시되었지만, 복수의 나사식 지지부(1020) 및 피봇 지지부(1300)는 백킹 플레이트(28) 내에 임의의 패턴, 수, 및 크기로 형성될 수 있다. 프로세스 가스 또는 가스들을 확산기(20)로 공급하도록 가스 전달 시스템(1050)를 수용하는 백킹 플레이트(28) 내의 개구(1048)가 도시되어 있다. 이 실시예에서, 확산기는 가스 전달 시스템(1050)을 수용하도록 확산기 내에 형성되는 적합한 결합점을 가질 수도 있을 것이다. 대안적인 가스 통로(300)가 또한 도시되며 프로세스 가스를 확산기(20)에 단독으로 이용될 수 있거나 개구(1048)와 함께 공동으로 이용될 수 있다.FIG. 17C is a top view of another embodiment of a
확산기(20)는 확산기의 재료에 좌우되는, 약 350℃ 내지 450℃의 프로세싱 온도에서 수행되며, 확산기의 부분은 프로세스 사이클 중에 팽창 및 수축을 나타낼 수 있다. 피봇 지지부(1300)의 다양한 부분 및 백킹 플레이트(28)의 이에 상응하는 부분은 확산기(20)의 측면 이동을 허용함으로써 팽창 또는 수축하게 한다. 제 1 보어(1328), 원뿔형 개구(1408) 및 커버 구역(1606)은 볼 스터드(1302)의 이동을 위한 틈을 허용하며 반면에 연장되는 보어(1330)는 볼 스터드 하우징(1304)의 이동 을 위한 틈을 허용한다. 따라서, 확산기(20)의 부분의 측면 이동은 확산기(20)에 의해 충돌되는 임의의 팽창 또는 수축에 응하여 허용된다. 일 실시예에서, 피봇 지지부(1300)는 약 .25 인치 내지 약 .5 인치 사이에서 확산기(20)의 부분의 이동을 허용한다.
확산기(20)는 하향의 수직 방향 내에서 변형되는 특정 구역 내에서 늘어지는 경향이 있을 수 있지만, 확산기(20)의 부분이 팽창 또는 수축 때문에 수평으로 이동한다면, 확산기(20)의 동일한 또는 다른 부분이 피봇 지지부(1300)의 설계면에서 본래의 방사상 경로 때문에 수직으로 이동할 수 있다. 임의의 상승방향 수직 이동은 볼 스터드 하우징(1304)이 상부면(1610)과 접촉할 때 정지부로서 작용할 수 있는 연장되는 보어(1330)의 상부면(1610)에 의해 손해를 입을 수 있다. 대안적으로 또는 부가적으로, 나사식 상부 피봇 부재(1306)는 볼 스터드(1302)에 연결될 수 있다.The
다른 실시예에서, 피봇 지지부(1300)는 피봇 지지부(1300)에 의해서 용이해질 수 있는 임의의 수직 이동 및 측면 이동을 예기하는 확산기(20)의 특정 구역의 공지된 변형으로 조절될 수 있다. 이러한 실시예는 복수의 지지 부재를 이용하여 챔버 내부의 확산기를 지지하는 방법을 기재하고 있다. 확산기(20)가 (도 1)기판 지지부(12) 위의 특정 높이 또는 거리에서 선택적인 가용성 서스펜션(57) 및 백킹 플레이트로부터 매달려있다면, 확산기 지지부(15)는 소정의 높이로 조절될 수 있으며 도 5 및 도 6a의 도면에 도시된 바와 같은 위치에서 로킹된다. 기판 지지부와 피봇 지지부(1300) 밑에 있는 확산기(20)의 부분 사이의 실제의 또는 바람직한 거리를 근거로 하여, 도 14 및 도 15의 도면에 도시된 바와 같이 이미 설치된, 피봇 지지부(1300)는 볼 스터드(1302)의 나사 부분(1310) 상에 너트(1516)를 회전시킴으로써 상향 또는 하향으로 조절될 필요가 있을 수 있다. 각각의 피봇 지지부(1300) 밑에 있는 확산기(20)의 각각의 부분이 기판 지지부(12)에 비해 바람직한 거리에서 결정될 때 각각의 나사 부분(1310) 상의 너트(1516)는 잼 너트(1518)에 의해 조여지며 로킹될 수 있다.In other embodiments, the
기판 지지부와 확산기 사이의 거리는 확산기와 기판 지지부 사이의 다중 구역을 설정 및 측정하도록 게이지 또는 게이지들을 이용하여 작업자에 의해 설정될 수 있다. 이러한 측정이 완성되며 기판 지지부 위의 확산기 높이가 볼 스터드(1302)의 나사 부분(1310)에 연결되는 너트(1516) 및 확산기 지지부(15)를 충분히 조절함으로써 결정될 때, 너트(1516)는 적합한 회전에 의해서 느슨해질 수 있다. 너트(1516)의 이러한 느슨함은 각각의 피봇 지지부(1300)에 의해 매달린 부분을 낙하시킬 수 있어서, 영향을 받는 지점에서 확산기와 기판 지지부 사이의 거리를 줄인다. 너트(1516)가 소정의 양으로 느슨해지면, 잼 너트(1518)는 너트(1516)를 제 위치에 로킹시키도록 너트(1516)에 대해서 적합하게 조여질 수 있다. 너트(1516)의 느슨함 및 확산기의 그 후의 낙하는 확산기의 부분의 공지된 팽창성의 또는 수축성의 변형을 하도록 의도될 수 있다. 프로세싱 상태에 영향을 받을 때, 이러한 부분들은 너트(1516)와 상부 피봇 부재(1306) 사이의 접촉에 의해 하향으로의 변형에 있어서 제한적일 수 있다. 전술된 바와 같이 작업자에 의해 이미 조절되는 복수의 피봇 지지부(1300)는 프로세싱 중에 기판 지지부에 대해 임의의 점에서 임의의 바람직한 거리인 확산기의 수평 프로파일을 초래할 수 있다. 대안적으로, 확산기(20)는 기판 지지부(12)의 수평 프로파일과 관련 없거나 관련된 임의의 다른 방법에 의해 조절될 수 있다.The distance between the substrate support and the diffuser can be set by the operator using a gauge or gauges to set and measure multiple zones between the diffuser and the substrate support. When this measurement is complete and the height of the diffuser above the substrate support is determined by fully adjusting the
대안적으로, 나사 부분(1310)에 연결되는 특정 너트(1516)의 느슨함은 확산기(20) 내의 낙하를 야기하지 않을 수 있으며, 너트(1516)는 상부 피봇 부재(1306)와 접촉하지 않을 것이다. 너트(1516)가 소정의 양으로 느슨해진다면, 잼 너트(1518)는 너트(1516)를 제 위치에 로킹시키도록 너트(1516)에 대해서 적합하게 조여질 수 있다. 확산기(20)는 너트(1516)가 느슨해지기 전에 동일한 높이에 있을 수 있다. 너트(1516)의 느슨함은 확산기의 부분의 공지된 팽창성 또는 수축성 변형을 하도록 의도될 수 있다. 프로세싱 상태에 영향을 받을 때, 이러한 부분들은 그 후, 각각의 너트(1516)가 상부 피봇 부재(1306)와 접촉할 때까지 수직 하향으로 변형하게 할 수 있다. 전술된 바와 같이 작업자에 의해 이미 조절되는 복수의 피봇 지지부(1300)는 프로세싱 중에 기판 지지부에 대해 임의의 점에서 임의의 바람직한 거리인 확산기의 수평 프로파일을 초래할 수 있다.Alternatively, the looseness of the
확산기 프로파일을 조절하는 전술된 모든 방법은 확산기의 수평 프로파일을 조절하기 위해서 필요없는 임의의 입구 또는 출구를 덮음으로써 진공 상태 하에서 수행될 수 있으며, 측정될 수 있으며, 그리고 조절될 수 있다. 예를 들어, 피봇 지지부(1300)를 사용하는 실시예에서, (도 1)가스 블록(17), 가스 통로(300), 또는 개구(1048)는 밀폐될 수 있으며, 밀폐 블록(1324)은 백킹 플레이트(28)에 연결될 수 있다. 임의의 다른 사용되지 않은 개구는 밀폐될 수도 있으며 챔버는 백킹 플레이트(28) 또는 확산기(20)의 부분을 늘어지게 할 수 있는 적합한 압력에서 펌핑 다운될 수 있다. 일 실시예에서, 게이지 또는 게이지들은 다중 점에서 기판 지지부에 대해서 확산기의 높이를 측정 및 조절하도록 작업자에 의해 이용될 수 있다. 다른 실시예에서, 확산기 프로파일은 기판 지지부의 수평 방향과 관련 없이 임의의 방법에 의해 조절될 수 있다. 임의의 조절은 확산기 지지부(15), 나사식 지지부(1020), 및 피봇 지지부(1300) 위의 너트(1516)와 같이 확산기에 연결되는 조절 부재를 회전시킴으로써 수행될 수 있다.All of the aforementioned methods of adjusting the diffuser profile can be performed under vacuum conditions, measured, and adjusted by covering any inlet or outlet that is not necessary to adjust the horizontal profile of the diffuser. For example, in an embodiment using the
모든 조절이 진공 또는 주위 환경에서 이루어질 때, 그리고 확산기가 바람직한 수평 프로파일 또는 챔버에 연결될 수 있는, 커버 플레이트(16) 및 커버 컵(1326)과 같은 각각의 커버, 공지된 변형을 예기하도록 임의의 수평 프로파일에서 존재한다. 조절 중에 챔버 내의 음압을 용이하게 하도록 제 위치에 있는 캡 및 씰은 제거될 수 있으며 챔버는 프로세싱을 위해 준비될 수 있다.When all adjustments are made in a vacuum or ambient environment, and each cover, such as
확산기의 단면 곡률 또는 수평 프로파일을 조절하기 위한 장치 및 방법이 기재되어 있다. 확산기는 도 1에 도시된 평면의 프로파일, 도 18a에 도시된 볼록한 프로파일, 도 18b에 도시된 오목한 프로파일 중 하나인 수평 프로파일을 나타내도록 조절될 수 있다. 확산기의 수평 프로파일은 챔버 내의 기판 지지부에 대해서 조절될 수 있다. 본 발명은 이론에 의해 제한되지 않으며, 기판 지지부가 평면의 수평 프로파일로 존재하며 확산기가 이와 유사한 수평 프로파일로 존재한다면 프로세싱 영역에 공급되는 실란 및 수소와 같은 프로세스 가스가 기판의 중앙 구역 내의 증착에 대해 기판의 에지 상에 보다 큰 부분에서의 비결정 실리콘을 증착시킬 것을 믿는다. 일 실시예에서, 기판 지지부는 평면의 방향으로 존재할 수 있으며 확산기의 수평 프로파일은 기판 위에서 보다 큰 부피의 프로세스 가스가 유입되게 하는 확산기의 중앙 구역 아래의 프로세싱 영역에서 초래되도록 평면의 기판 지지부에 대해 오목하게 조절될 것이다. 프로세스 가스의 보다 큰 부피를 갖는 프로세싱 영역이 넓은 면적 기판에 걸쳐서 보다 균일한 증착을 촉진할 것임이 믿어진다.An apparatus and method for adjusting the cross-sectional curvature or horizontal profile of a diffuser are described. The diffuser can be adjusted to exhibit a horizontal profile, one of the planar profile shown in FIG. 1, the convex profile shown in FIG. 18A, and the concave profile shown in FIG. 18B. The horizontal profile of the diffuser can be adjusted relative to the substrate support in the chamber. The present invention is not limited by theory, and if the substrate support is in a horizontal horizontal profile and the diffuser is in a similar horizontal profile, process gases such as silane and hydrogen supplied to the processing region are for deposition in the central region of the substrate. It is believed to deposit amorphous silicon in larger portions on the edge of the substrate. In one embodiment, the substrate support may be in the direction of the plane and the horizontal profile of the diffuser is concave relative to the planar substrate support such that it results in a processing region below the central region of the diffuser that allows a greater volume of process gas to flow over the substrate. Will be adjusted. It is believed that a processing region with a larger volume of process gas will promote more uniform deposition over a large area substrate.
본 발명의 전술된 내용은 본 발명의 실시예에 관한 것이지만, 본 발명의 기본 사상에서 벗어나지 않을 본 발명의 다른 그리고 또 다른 실시예들이 있을 수 있으며, 이러한 본 발명의 사상은 아래의 청구 범위에 의해 결정된다.While the foregoing is directed to embodiments of the invention, there may be other and further embodiments of the invention that will not depart from the spirit thereof, and the spirit of the invention is defined by the following claims Is determined.
플라즈마 챔버 내의 가스 분배 플레이트, 또는 확산기를 지지하여, 고온의 CVD 또는 PECVD 프로세스 중에 가중되는 중력으로 인한 가스 분배 플레이트 또는 확산기의 늘어짐 또는 크리프 경향을 제거한다.The gas distribution plate, or diffuser, in the plasma chamber is supported to eliminate sagging or creep tendencies of the gas distribution plate or diffuser due to gravity being weighted during the hot CVD or PECVD process.
Claims (46)
Applications Claiming Priority (6)
| Application Number | Priority Date | Filing Date | Title |
|---|---|---|---|
| US61151204P | 2004-09-20 | 2004-09-20 | |
| US60/611,512 | 2004-09-20 | ||
| US65361705P | 2005-02-16 | 2005-02-16 | |
| US60/653,617 | 2005-02-16 | ||
| US11/188,922 US7429410B2 (en) | 2004-09-20 | 2005-07-25 | Diffuser gravity support |
| US11/188,922 | 2005-07-25 |
Related Child Applications (1)
| Application Number | Title | Priority Date | Filing Date |
|---|---|---|---|
| KR1020100060846A Division KR101019845B1 (en) | 2004-09-20 | 2010-06-25 | Diffuser gravity support and method for depositing a thin film using the same |
Publications (2)
| Publication Number | Publication Date |
|---|---|
| KR20060092886A KR20060092886A (en) | 2006-08-23 |
| KR101019766B1 true KR101019766B1 (en) | 2011-03-08 |
Family
ID=36072566
Family Applications (2)
| Application Number | Title | Priority Date | Filing Date |
|---|---|---|---|
| KR1020050087454A Expired - Lifetime KR101019766B1 (en) | 2004-09-20 | 2005-09-20 | Plasma enhanced chemical vapor deposition apparatus, plasma enhanced chemical vapor deposition chamber and gas distribution showerhead assembly |
| KR1020100060846A Expired - Lifetime KR101019845B1 (en) | 2004-09-20 | 2010-06-25 | Diffuser gravity support and method for depositing a thin film using the same |
Family Applications After (1)
| Application Number | Title | Priority Date | Filing Date |
|---|---|---|---|
| KR1020100060846A Expired - Lifetime KR101019845B1 (en) | 2004-09-20 | 2010-06-25 | Diffuser gravity support and method for depositing a thin film using the same |
Country Status (4)
| Country | Link |
|---|---|
| JP (2) | JP4662144B2 (en) |
| KR (2) | KR101019766B1 (en) |
| CN (1) | CN1758826B (en) |
| TW (1) | TWI287279B (en) |
Cited By (2)
| Publication number | Priority date | Publication date | Assignee | Title |
|---|---|---|---|---|
| KR101365075B1 (en) * | 2011-11-02 | 2014-02-20 | 주식회사 에스에프에이 | Chemical Vapor Deposition Apparatus for Flat Display |
| KR101489354B1 (en) | 2012-12-28 | 2015-02-03 | 주식회사 에스에프에이 | Gas distribution assembly |
Families Citing this family (34)
| Publication number | Priority date | Publication date | Assignee | Title |
|---|---|---|---|---|
| AU2003245592A1 (en) | 2002-06-21 | 2004-01-06 | Applied Materials, Inc. | Transfer chamber for vacuum processing system |
| US8083853B2 (en) | 2004-05-12 | 2011-12-27 | Applied Materials, Inc. | Plasma uniformity control by gas diffuser hole design |
| US8328939B2 (en) | 2004-05-12 | 2012-12-11 | Applied Materials, Inc. | Diffuser plate with slit valve compensation |
| US8074599B2 (en) | 2004-05-12 | 2011-12-13 | Applied Materials, Inc. | Plasma uniformity control by gas diffuser curvature |
| US7429410B2 (en) | 2004-09-20 | 2008-09-30 | Applied Materials, Inc. | Diffuser gravity support |
| US7743731B2 (en) * | 2006-03-30 | 2010-06-29 | Tokyo Electron Limited | Reduced contaminant gas injection system and method of using |
| US20080087641A1 (en) * | 2006-10-16 | 2008-04-17 | Lam Research Corporation | Components for a plasma processing apparatus |
| US8733279B2 (en) * | 2007-02-27 | 2014-05-27 | Applied Materials, Inc. | PECVD process chamber backing plate reinforcement |
| US20080317973A1 (en) * | 2007-06-22 | 2008-12-25 | White John M | Diffuser support |
| US8187414B2 (en) * | 2007-10-12 | 2012-05-29 | Lam Research Corporation | Anchoring inserts, electrode assemblies, and plasma processing chambers |
| KR101444873B1 (en) * | 2007-12-26 | 2014-09-26 | 주성엔지니어링(주) | System for treatmenting substrate |
| US20100184290A1 (en) * | 2009-01-16 | 2010-07-22 | Applied Materials, Inc. | Substrate support with gas introduction openings |
| JP5578865B2 (en) * | 2009-03-25 | 2014-08-27 | 東京エレクトロン株式会社 | Cover fixing tool and cover fixing device for inductively coupled plasma processing apparatus |
| CN102598876B (en) * | 2009-11-17 | 2018-05-04 | 应用材料公司 | With the matched large area plasma processing chamber housings of RF at electrode |
| TWI485799B (en) * | 2009-12-10 | 2015-05-21 | 沃博提克Lt太陽公司 | Automatic sorting linear processing device |
| US9850576B2 (en) * | 2010-02-15 | 2017-12-26 | Applied Materials, Inc. | Anti-arc zero field plate |
| US8721791B2 (en) * | 2010-07-28 | 2014-05-13 | Applied Materials, Inc. | Showerhead support structure for improved gas flow |
| KR101138210B1 (en) * | 2010-08-12 | 2012-05-10 | 주식회사 동원파츠 | Gas Distributor Plate and method for manufacturing the same |
| US20120312234A1 (en) * | 2011-06-11 | 2012-12-13 | Tokyo Electron Limited | Process gas diffuser assembly for vapor deposition system |
| KR101352925B1 (en) * | 2011-09-16 | 2014-01-22 | 주식회사 에스에프에이 | Chemical Vapor Deposition Apparatus for Flat Display |
| KR101935881B1 (en) * | 2012-04-26 | 2019-01-08 | 주성엔지니어링(주) | Treatment apparatus for large area substrate, Gas supplying apparatus for large area substrate and Showerhead support unit |
| KR101488878B1 (en) * | 2012-12-28 | 2015-02-04 | 주식회사 에스에프에이 | Gas distribution assembly |
| EP2937890B1 (en) * | 2014-04-22 | 2020-06-03 | Europlasma nv | Plasma coating apparatus with a plasma diffuser and method preventing discolouration of a substrate |
| US10465288B2 (en) * | 2014-08-15 | 2019-11-05 | Applied Materials, Inc. | Nozzle for uniform plasma processing |
| KR101490450B1 (en) * | 2014-08-29 | 2015-02-09 | 주성엔지니어링(주) | coupling unit for gas distribution plate fixation |
| JP2018528616A (en) * | 2015-09-22 | 2018-09-27 | アプライド マテリアルズ インコーポレイテッドApplied Materials,Incorporated | Shower head support structure |
| JP6662998B2 (en) * | 2016-03-03 | 2020-03-11 | コアテクノロジー株式会社 | Plasma processing equipment |
| JP6822270B2 (en) * | 2017-03-29 | 2021-01-27 | トヨタ自動車株式会社 | Film deposition equipment |
| JP7121121B2 (en) * | 2018-06-20 | 2022-08-17 | 株式会社アルバック | Vacuum processing equipment, support shaft |
| US10927461B2 (en) * | 2018-08-31 | 2021-02-23 | Applied Materials, Inc. | Gas diffuser support structure for reduced particle generation |
| JP7132359B2 (en) * | 2019-01-07 | 2022-09-06 | 株式会社アルバック | Vacuum processing device, cleaning method for vacuum processing device |
| KR20220032608A (en) * | 2019-07-15 | 2022-03-15 | 어플라이드 머티어리얼스, 인코포레이티드 | Large Area High Density Plasma Processing Chamber for Flat Panel Displays |
| JP2023117775A (en) * | 2022-02-14 | 2023-08-24 | 東京エレクトロン株式会社 | Substrate processing equipment |
| WO2024137347A1 (en) * | 2022-12-21 | 2024-06-27 | Applied Materials, Inc. | Tunable hardware to control radial flow distribution in a processing chamber |
Citations (2)
| Publication number | Priority date | Publication date | Assignee | Title |
|---|---|---|---|---|
| JPH03122281A (en) * | 1989-10-06 | 1991-05-24 | Anelva Corp | Cvd device |
| KR0144503B1 (en) * | 1994-08-16 | 1998-07-15 | 세끼사와 다다시 | Apparatus and method for a vapor phase process |
Family Cites Families (13)
| Publication number | Priority date | Publication date | Assignee | Title |
|---|---|---|---|---|
| US5000113A (en) * | 1986-12-19 | 1991-03-19 | Applied Materials, Inc. | Thermal CVD/PECVD reactor and use for thermal chemical vapor deposition of silicon dioxide and in-situ multi-step planarized process |
| US6342135B1 (en) * | 1995-11-02 | 2002-01-29 | Taiwan Semiconductor Manufacturing Company | Sputter etching chamber with improved uniformity |
| JPH10134997A (en) * | 1996-10-24 | 1998-05-22 | Samsung Electron Co Ltd | Plasma processing apparatus that eliminates discharge due to secondary potential |
| JP3595853B2 (en) * | 1999-03-18 | 2004-12-02 | 日本エー・エス・エム株式会社 | Plasma CVD film forming equipment |
| JP4547125B2 (en) * | 1999-05-13 | 2010-09-22 | 東京エレクトロン株式会社 | Inductively coupled plasma processing equipment |
| US6477980B1 (en) * | 2000-01-20 | 2002-11-12 | Applied Materials, Inc. | Flexibly suspended gas distribution manifold for plasma chamber |
| US6772827B2 (en) * | 2000-01-20 | 2004-08-10 | Applied Materials, Inc. | Suspended gas distribution manifold for plasma chamber |
| WO2001083852A1 (en) * | 2000-04-28 | 2001-11-08 | Tokyo Electron Limited | Method and apparatus for distributing gas within high density plasma process chamber to ensure uniform plasma |
| KR100332314B1 (en) * | 2000-06-24 | 2002-04-12 | 서성기 | Reactor for depositing thin film on wafer |
| JP3935401B2 (en) * | 2002-07-22 | 2007-06-20 | 東京エレクトロン株式会社 | Inductively coupled plasma processing equipment |
| CN1230044C (en) * | 2002-11-14 | 2005-11-30 | 友达光电股份有限公司 | Plasma processing apparatus |
| US20040221959A1 (en) * | 2003-05-09 | 2004-11-11 | Applied Materials, Inc. | Anodized substrate support |
| KR100592682B1 (en) * | 2004-02-23 | 2006-06-28 | 주성엔지니어링(주) | Substrate manufacturing equipment for display device and gas injection device |
-
2005
- 2005-09-06 TW TW094130602A patent/TWI287279B/en not_active IP Right Cessation
- 2005-09-19 CN CN200510106396.9A patent/CN1758826B/en not_active Expired - Lifetime
- 2005-09-20 KR KR1020050087454A patent/KR101019766B1/en not_active Expired - Lifetime
- 2005-09-20 JP JP2005272673A patent/JP4662144B2/en not_active Expired - Fee Related
-
2009
- 2009-08-24 JP JP2009193343A patent/JP5105335B2/en not_active Expired - Lifetime
-
2010
- 2010-06-25 KR KR1020100060846A patent/KR101019845B1/en not_active Expired - Lifetime
Patent Citations (2)
| Publication number | Priority date | Publication date | Assignee | Title |
|---|---|---|---|---|
| JPH03122281A (en) * | 1989-10-06 | 1991-05-24 | Anelva Corp | Cvd device |
| KR0144503B1 (en) * | 1994-08-16 | 1998-07-15 | 세끼사와 다다시 | Apparatus and method for a vapor phase process |
Cited By (2)
| Publication number | Priority date | Publication date | Assignee | Title |
|---|---|---|---|---|
| KR101365075B1 (en) * | 2011-11-02 | 2014-02-20 | 주식회사 에스에프에이 | Chemical Vapor Deposition Apparatus for Flat Display |
| KR101489354B1 (en) | 2012-12-28 | 2015-02-03 | 주식회사 에스에프에이 | Gas distribution assembly |
Also Published As
| Publication number | Publication date |
|---|---|
| TW200611386A (en) | 2006-04-01 |
| CN1758826B (en) | 2010-05-05 |
| JP5105335B2 (en) | 2012-12-26 |
| KR101019845B1 (en) | 2011-03-04 |
| CN101921997A (en) | 2010-12-22 |
| JP2006121057A (en) | 2006-05-11 |
| TWI287279B (en) | 2007-09-21 |
| CN1758826A (en) | 2006-04-12 |
| KR20100082334A (en) | 2010-07-16 |
| KR20060092886A (en) | 2006-08-23 |
| JP2010013733A (en) | 2010-01-21 |
| JP4662144B2 (en) | 2011-03-30 |
Similar Documents
| Publication | Publication Date | Title |
|---|---|---|
| KR101019845B1 (en) | Diffuser gravity support and method for depositing a thin film using the same | |
| US7429410B2 (en) | Diffuser gravity support | |
| US12431334B2 (en) | Gas distribution assembly | |
| US8381677B2 (en) | Prevention of film deposition on PECVD process chamber wall | |
| US10087524B2 (en) | Showerhead support structure for improved gas flow | |
| CN201436515U (en) | Substrate Support Assembly | |
| JP3217798B2 (en) | Versatile process chamber for chemical vapor deposition processes | |
| US5441768A (en) | Multi-step chemical vapor deposition method for thin film transistors | |
| US20060228490A1 (en) | Gas distribution uniformity improvement by baffle plate with multi-size holes for large size PECVD systems | |
| US20070044714A1 (en) | Method and apparatus for maintaining a cross sectional shape of a diffuser during processing | |
| US20100037823A1 (en) | Showerhead and shadow frame | |
| US20220238306A1 (en) | Chemical vapor deposition apparatus and method of manufacturing display apparatus using the same | |
| US6339023B1 (en) | Method of reducing stress in blanket tungsten film formed by chemical vapor deposition process | |
| WO2008079742A2 (en) | Prevention of film deposition on pecvd process chamber wall | |
| KR20070036844A (en) | Plasma Chemical Vapor Deposition Chamber for Semiconductor and Liquid Crystal Display | |
| CN101921997B (en) | Diffuser gravity support | |
| US7589031B2 (en) | Method of avoiding haze formation on surfaces of silicon-containing PECVD-deposited thin films | |
| TWI386968B (en) | Plasma chemical reactor | |
| US20100203243A1 (en) | Method for forming a polysilicon film | |
| WO2025072397A1 (en) | Cyclic peald/pecvd thin film encapsulation barrier |
Legal Events
| Date | Code | Title | Description |
|---|---|---|---|
| A201 | Request for examination | ||
| PA0109 | Patent application |
Patent event code: PA01091R01D Comment text: Patent Application Patent event date: 20050920 |
|
| PA0201 | Request for examination | ||
| PG1501 | Laying open of application | ||
| E902 | Notification of reason for refusal | ||
| PE0902 | Notice of grounds for rejection |
Comment text: Notification of reason for refusal Patent event date: 20061031 Patent event code: PE09021S01D |
|
| E902 | Notification of reason for refusal | ||
| PE0902 | Notice of grounds for rejection |
Comment text: Notification of reason for refusal Patent event date: 20070525 Patent event code: PE09021S01D |
|
| A107 | Divisional application of patent | ||
| PA0107 | Divisional application |
Comment text: Divisional Application of Patent Patent event date: 20100625 Patent event code: PA01071R01D |
|
| E90F | Notification of reason for final refusal | ||
| PE0902 | Notice of grounds for rejection |
Comment text: Final Notice of Reason for Refusal Patent event date: 20100913 Patent event code: PE09021S02D |
|
| E701 | Decision to grant or registration of patent right | ||
| PE0701 | Decision of registration |
Patent event code: PE07011S01D Comment text: Decision to Grant Registration Patent event date: 20101130 |
|
| GRNT | Written decision to grant | ||
| PR0701 | Registration of establishment |
Comment text: Registration of Establishment Patent event date: 20110225 Patent event code: PR07011E01D |
|
| PR1002 | Payment of registration fee |
Payment date: 20110225 End annual number: 3 Start annual number: 1 |
|
| PG1601 | Publication of registration | ||
| FPAY | Annual fee payment |
Payment date: 20140129 Year of fee payment: 4 |
|
| PR1001 | Payment of annual fee |
Payment date: 20140129 Start annual number: 4 End annual number: 4 |
|
| FPAY | Annual fee payment |
Payment date: 20150129 Year of fee payment: 5 |
|
| PR1001 | Payment of annual fee |
Payment date: 20150129 Start annual number: 5 End annual number: 5 |
|
| FPAY | Annual fee payment |
Payment date: 20151230 Year of fee payment: 6 |
|
| PR1001 | Payment of annual fee |
Payment date: 20151230 Start annual number: 6 End annual number: 6 |
|
| FPAY | Annual fee payment |
Payment date: 20161229 Year of fee payment: 7 |
|
| PR1001 | Payment of annual fee |
Payment date: 20161229 Start annual number: 7 End annual number: 7 |
|
| FPAY | Annual fee payment |
Payment date: 20180212 Year of fee payment: 8 |
|
| PR1001 | Payment of annual fee |
Payment date: 20180212 Start annual number: 8 End annual number: 8 |
|
| PR1001 | Payment of annual fee |
Payment date: 20210202 Start annual number: 11 End annual number: 11 |
|
| PR1001 | Payment of annual fee |
Payment date: 20220125 Start annual number: 12 End annual number: 12 |
|
| PR1001 | Payment of annual fee |
Payment date: 20240215 Start annual number: 14 End annual number: 14 |
|
| PR1001 | Payment of annual fee |
Payment date: 20250210 Start annual number: 15 End annual number: 15 |
