KR100826240B1 - PCMCIA / IEE1394 Repeater of Set Top Box for Satellite Broadcasting - Google Patents
PCMCIA / IEE1394 Repeater of Set Top Box for Satellite Broadcasting Download PDFInfo
- Publication number
- KR100826240B1 KR100826240B1 KR1020020023577A KR20020023577A KR100826240B1 KR 100826240 B1 KR100826240 B1 KR 100826240B1 KR 1020020023577 A KR1020020023577 A KR 1020020023577A KR 20020023577 A KR20020023577 A KR 20020023577A KR 100826240 B1 KR100826240 B1 KR 100826240B1
- Authority
- KR
- South Korea
- Prior art keywords
- pin
- pcmcia
- signal
- top box
- receiving
- Prior art date
- Legal status (The legal status is an assumption and is not a legal conclusion. Google has not performed a legal analysis and makes no representation as to the accuracy of the status listed.)
- Expired - Fee Related
Links
Images
Classifications
-
- H—ELECTRICITY
- H04—ELECTRIC COMMUNICATION TECHNIQUE
- H04N—PICTORIAL COMMUNICATION, e.g. TELEVISION
- H04N21/00—Selective content distribution, e.g. interactive television or video on demand [VOD]
- H04N21/40—Client devices specifically adapted for the reception of or interaction with content, e.g. set-top-box [STB]; Operations thereof
- H04N21/43—Processing of content or additional data, e.g. demultiplexing additional data from a digital video stream; Elementary client operations, e.g. monitoring of home network or synchronising decoder's clock; Client middleware
- H04N21/436—Interfacing a local distribution network, e.g. communicating with another STB or one or more peripheral devices inside the home
- H04N21/4363—Adapting the video stream to a specific local network, e.g. a Bluetooth® network
- H04N21/43632—Adapting the video stream to a specific local network, e.g. a Bluetooth® network involving a wired protocol, e.g. IEEE 1394
-
- H—ELECTRICITY
- H04—ELECTRIC COMMUNICATION TECHNIQUE
- H04H—BROADCAST COMMUNICATION
- H04H40/00—Arrangements specially adapted for receiving broadcast information
- H04H40/18—Arrangements characterised by circuits or components specially adapted for receiving
- H04H40/27—Arrangements characterised by circuits or components specially adapted for receiving specially adapted for broadcast systems covered by groups H04H20/53 - H04H20/95
- H04H40/90—Arrangements characterised by circuits or components specially adapted for receiving specially adapted for broadcast systems covered by groups H04H20/53 - H04H20/95 specially adapted for satellite broadcast receiving
-
- H—ELECTRICITY
- H04—ELECTRIC COMMUNICATION TECHNIQUE
- H04N—PICTORIAL COMMUNICATION, e.g. TELEVISION
- H04N21/00—Selective content distribution, e.g. interactive television or video on demand [VOD]
- H04N21/60—Network structure or processes for video distribution between server and client or between remote clients; Control signalling between clients, server and network components; Transmission of management data between server and client, e.g. sending from server to client commands for recording incoming content stream; Communication details between server and client
- H04N21/61—Network physical structure; Signal processing
- H04N21/6106—Network physical structure; Signal processing specially adapted to the downstream path of the transmission network
- H04N21/6143—Network physical structure; Signal processing specially adapted to the downstream path of the transmission network involving transmission via a satellite
-
- H—ELECTRICITY
- H04—ELECTRIC COMMUNICATION TECHNIQUE
- H04N—PICTORIAL COMMUNICATION, e.g. TELEVISION
- H04N7/00—Television systems
- H04N7/20—Adaptations for transmission via a GHz frequency band, e.g. via satellite
Landscapes
- Engineering & Computer Science (AREA)
- Signal Processing (AREA)
- Physics & Mathematics (AREA)
- Astronomy & Astrophysics (AREA)
- General Physics & Mathematics (AREA)
- Multimedia (AREA)
- Computer Networks & Wireless Communication (AREA)
- Two-Way Televisions, Distribution Of Moving Picture Or The Like (AREA)
- Radio Relay Systems (AREA)
Abstract
위성방송 수신용 셋톱박스의 PCMCIA/IEEE1394 중계장치가 개시된다. PCMCIA/IEEE1394 중계장치는, 위성방송 수신용 셋톱박스의 메인보드와 연결된 PCMCIA슬롯에 연결되고 셋톱박스에서 변환된 TS신호의 방송데이터를 PCMCIA슬롯을 통해 수신하는 PCMCIA포트, 외부기기에 연결된 IEEE1394포트가 연결되고 PCMCIA포트에 입력된 TS신호의 방송데이터를 IEEE1394포트를 통해 외부기기에 전송하는 IEEE1394인터페이스, 및 PCMCIA포트 및 IEEE1394인터페이스에 마련되어 설정된 전송라인에 따라 상호 연결되고 PCMCIA포트에 입력된 TS신호의 방송데이터를 PCMCIA포트에 입력되는 제어명령을 기초로 전송라인을 통해 IEEE1394인터페이스로 전송하는 스위칭부를 갖는다. TS신호의 방송데이터를 PCMCIA규격으로 컨버팅할 필요가 없고 보다 고속의 방송데이터 전송이 가능하다.
셋톱박스, 위성방송, PCMCIA, IEEE1394, TS
A PCMCIA / IEEE1394 relay apparatus for a set top box for receiving satellite broadcasting is disclosed. The PCMCIA / IEEE1394 relay device has a PCMCIA port connected to the PCMCIA slot connected to the main board of the set-top box for receiving satellite broadcasting and receiving broadcast data of the TS signal converted from the set-top box through the PCMCIA slot, and an IEEE1394 port connected to an external device. Broadcasting of TS signal input to PCMCIA port connected to each other according to the IEEE1394 interface which transmits broadcast data of TS signal inputted to PCMCIA port to external device through IEEE1394 port and the transmission line provided at PCMCIA port and IEEE1394 interface. The switching unit transmits data to the IEEE 1394 interface through a transmission line based on a control command input to the PCMCIA port. It is not necessary to convert broadcast data of TS signal to PCMCIA standard, and it is possible to transmit broadcast data at higher speed.
Set Top Box, Satellite Broadcasting, PCMCIA, IEEE1394, TS
Description
도 1은 본 발명에 적용되는 위성방송 수신용 셋톱박스의 PCMCIA/IEEE1394 중계장치를 개략적으로 도시한 사시도, 1 is a perspective view schematically showing a PCMCIA / IEEE1394 relay apparatus of a set-top box for satellite broadcasting reception according to the present invention;
도 2는 도 1의 PCMCIA포트의 핀 구조를 상세히 도시한 전면도, 2 is a front view showing in detail the pin structure of the PCMCIA port of FIG.
도 3은 도 2의 PCMCIA포트의 각 핀을 통해 전송되는 신호의 종류를 상세히 도시한 도표, 그리고3 is a diagram showing in detail the types of signals transmitted through each pin of the PCMCIA port of FIG.
도 4는 도 1이 적용된 위성방송시스템의 일 예를 도시한 블록도이다. 4 is a block diagram illustrating an example of a satellite broadcasting system to which FIG. 1 is applied.
* 도면의 주요 부분에 대한 부호의 설명 *Explanation of symbols on the main parts of the drawings
10 : IEEE1394포트 100 : PCMCIA/IEEE1394 중계장치 10: IEEE1394 port 100: PCMCIA / IEEE1394 relay device
120 : PCMCIA포트 140 : 스위칭부 120: PCMCIA port 140: switching unit
160 : IEEE1394 인터페이스 200 : 위성방송 수신용 셋톱박스160: IEEE1394 interface 200: Set top box for satellite broadcasting
300 : 수신안테나 400 : 컴퓨터 300: antenna 400: computer
500 : 텔레비전 600 : 프로그램 제공시스템 500: TV 600: program providing system
700 : 위성송출국 800 : 인공위성 700: satellite station 800: satellite
본 발명은 위성방송 수신용 셋톱박스의 PCMCIA/IEEE1394 중계장치에 관한 것으로서, 보다 상세하게는, PCMCIA슬롯을 갖는 위성방송 수신용 셋톱박스와 IEEE1394포트에 연결된 외부기기를 상호 연결하기 위한 위성방송 수신용 셋톱박스의 PCMCIA/IEEE1394 중계장치에 관한 것이다. The present invention relates to a PCMCIA / IEEE1394 relay device of a set-top box for receiving a satellite broadcast, and more particularly, for receiving a satellite broadcast for interconnecting a set-top box for receiving a satellite broadcast with a PCMCIA slot and an external device connected to the IEEE1394 port. A PCMCIA / IEEE1394 relay device for a set top box.
일반적으로, 셋톱박스(Set-Top Box : STB)는 디지털방송을 일반 가정에서 TV로 시청할 수 있도록 수신되는 방송신호를 컨버팅하는 일종의 방송용 모뎀이다. 현재, 개발된 셋톱박스의 형태로는, 지상파방송 수신용 셋톱박스, 위성방송 수신용 셋톱박스, 및 케이블방송 수신용 셋톱박스 등이 있다. 이 중에서 위성방송 수신용 셋톱박스는 프로그램제공자(Program Provider : PP)로부터 송출되고 인공위성을 통해 전송되어 수신안테나를 통해 수신된 위성방송신호를 외부 표시장치를 통해 시청 가능한 형태로 컨버팅하는 장치이다. 즉, 위성방송 수신용 셋톱박스는 수신안테나에 수신된 고주파(RF)의 방송신호를 외부 표시장치에 재 전송하기 위해 복조, 채널 디코딩, 및 오류정정을 수행하고, 방송신호를 MPEG-TS(SMPTE 310M)로 변환하여 외부 표시장치에 전송한다. In general, a set-top box (STB) is a kind of broadcasting modem for converting a broadcast signal received so that a digital broadcast can be viewed on a TV in a general home. At present, the developed set-top box includes a set-top box for terrestrial broadcasting, a set-top box for receiving satellite broadcasting, and a set-top box for receiving cable broadcasting. Among them, a set-top box for receiving a satellite broadcast is a device that converts the satellite broadcast signal received from a program provider (PP) and transmitted through a satellite to be viewed through an external display device. That is, the set-top box for receiving a satellite broadcast performs demodulation, channel decoding, and error correction for retransmitting a high frequency (RF) broadcast signal received at a reception antenna to an external display device, and converts the broadcast signal to MPEG-TS (SMPTE). 310M) and transmits the data to an external display device.
위성방송신호를 수신하는 수신안테나의 종류는 파라볼라 안테나 및 이동형 위성안테나가 주로 이용된다. 현재 출시된 위성방송 수신용 셋톱박스는 세 가지 제품이 있다. 첫째 특정방송사업자가 제공하는 유료방송을 수신할 수 있도록 수신을 제한하는 장비인 CAS(Conditional Access System), 둘째 무료방송을 수신할 수 있는 FTA(Free-To-Air), 및 셋째 CAS카드를 장착해 특정유료방송을 시청할 수 있는 개방형 시스템인 CI(Common Interface) 등이다. Receiving antennas for receiving satellite broadcast signals are mainly used parabolic antenna and mobile satellite antenna. The set-top box for satellite broadcasting currently available has three products. First, it is equipped with CAS (Conditional Access System), which restricts the reception to receive paid broadcasting provided by a specific broadcasting company, secondly, FTA (Free-To-Air) that can receive free broadcasting, and thirdly a CAS card. It is the CI (Common Interface), an open system that can watch specific paid broadcasting.
한편, 위성방송 수신용 셋톱박스는 수신된 방송데이터를 외부 저장매체에 저장하기 위해 방송데이터를 외부 저장매체에 전송 및 외부 저장매체에 저장된 방송데이터를 외부 표시장치에 표시하기 위해 방송데이터를 외부 저장매체로부터 수신하기 위한 인터페이스를 갖는다. 이러한, 위성방송 수신용 셋톱박스의 인터페이스는 MPEG 및 디지털 오디오/비디오 형태의 방송데이터를 외부 저장매체와 같은 외부 표시장치에 전송하기 위해서는 TS(transport stream)의 방송데이터 및 제어신호를 송수신하기 위한 수 십 개의 전송 라인이 필요하다. 일반적으로 위성방송 수신용 셋톱박스의 인터페이스로는 PCMCIA(Personal Computer Memory Card International Association) 형태의 규격을 사용한다. Meanwhile, the set-top box for receiving a satellite broadcast stores the broadcast data externally to transmit the broadcast data to an external storage medium for storing the received broadcast data on an external storage medium and to display the broadcast data stored on the external storage medium on an external display device. Has an interface for receiving from the medium. In order to transmit broadcast data in the form of MPEG and digital audio / video to an external display device such as an external storage medium, an interface of a set-top box for receiving a satellite broadcast may be used to transmit and receive broadcast data (TS) and control signals. Ten transmission lines are required. In general, a PCMCIA (Personal Computer Memory Card International Association) type of interface is used.
한편, PCMCIA슬롯이 마련된 위성방송 수신용 셋톱박스와 외부기기 간의 데이터 전송 버스는 고속의 버스를 구현하는 고성능 직렬버스를 이용한다. 이러한 고성능 직렬버스는 IEEE1394 디지털 직렬버스로서, 노드(node), 모듈(module) 및 유니트(unit)로 정의된다. 여기서, 노드는 어드레싱 가능한 엔티티(entity)로서, 리셋(reset) 및 인식이 독립적으로 이루어질 수 있다. 하나의 모듈은 하나 이상의 노드들로 이루어지는데, 모듈이 물리적으로 하나의 패키지를 이루는 것임에 반해 노드는 논리적인 어드레싱 개념이다. 또한, 노드는 고유의 어드레스를 갖는 논리적인 엔티티로서, ID 롬(IDentification ROM)과 일련의 표준화된 제어 레지스터를 가지며 독립적으로 리셋될 수 있다. 노드에 의하여 제공되는 어드레스 공간은 하 나 또는 그 이상의 유니트로 맵핑될 수 있다. 유니트는 디스크 컨트롤러와 같은 논리적인 객체로서 고유의 I/O 드라이버 소프트웨어에 해당한다. 한편, PC는 PCI(Programmable Communication Interface) 방식의 애드-온 카드(add-on card)를 이용하여 IEEE P1394 방식의 A/V 기기와 연결된다. Meanwhile, the data transmission bus between the set-top box for receiving satellite broadcasting and the external device provided with the PCMCIA slot uses a high-performance serial bus that implements a high-speed bus. This high performance serial bus is an IEEE 1394 digital serial bus, which is defined as a node, a module, and a unit. Here, the node is an addressable entity, and reset and recognition may be performed independently. A module consists of one or more nodes. A node is a logical addressing concept, whereas a module is a physical package. In addition, a node is a logical entity with a unique address, which can be independently reset with an ID ROM and a series of standardized control registers. The address space provided by a node can be mapped to one or more units. A unit is a logical object, such as a disk controller, that corresponds to its own I / O driver software. On the other hand, the PC is connected to the IEEE P1394 type A / V device by using an add-on card of the PCI (Programmable Communication Interface) method.
PCMCIA 즉, 국제 개인용 컴퓨터 메모리 카드 협회는 노트북 컴퓨터에 사용할 수 있도록 신용카드 크기의 메모리나 입출력장치에 대한 표준을 촉진하기 위해 1989년에 조직된 산업단체이다. 1993년에 발표된 PCMCIA 2.1 표준은 휴대용 컴퓨터에 연결된 어떠한 주변장치도 표준 부착물로 간주할 수 있도록 하고 있다. 이러한 PCMCIA는 휴대형 컴퓨터에서 사용할 수 있는 최적의 주변장치로 카드형태로 삽입해 기능을 확장시키는 국제 메모리카드 규격의 새로운 시스템이다. PCMCIA는 데스크톱 컴퓨터의 확장슬롯이 노트북 컴퓨터에서 쓰일 수 있도록 변형한 것이다. PCMCIA는 노트북 컴퓨터의 대표적인 특성인 "휴대성"을 살리도록 조그만 수첩이나 카드모양을 하고 있어서 가지고 다니기도 쉽고 설치도 용이하고, 확장슬롯의 "확장성"을 그대로 간직하고 있는 점이 특징이다. 예를 들어 PCMCIA용 모뎀을 사용하면 간단하게 PCMCIA슬롯에 모뎀카드를 꽂아주는 것만으로 모뎀을 사용할 수 있다. 현재, PCMCIA 규격이 허용하고 있는 주변장치는 메모리, 하드디스크 드라이브(HDD), 팩스모뎀, LAN카드, 음악카드, FDDI, 데이터모뎀, 에뮬레이터, 컨트롤러, 무선모뎀 등 대부분의 컴퓨터 주변기기가 포함되 있다. The PCMCIA, or the International Personal Computer Memory Card Association, is an industry organization organized in 1989 to promote standards for credit card sized memory and input / output devices for use in notebook computers. The PCMCIA 2.1 standard, published in 1993, allows any peripheral connected to a portable computer to be considered a standard attachment. The PCMCIA is a new system of the international memory card standard that expands the function by inserting it in the form of a card as an optimum peripheral device that can be used in a portable computer. PCMCIA is a modification of the expansion slots for desktop computers to be used on notebook computers. PCMCIA is a small notebook or card shape that makes use of the "portability" that is typical of notebook computers. It is easy to carry, easy to install, and retains the "scalability" of expansion slots. For example, if you use a modem for PCMCIA, you can use the modem simply by plugging the modem card into the PCMCIA slot. Currently, peripherals allowed by the PCMCIA standard include memory, hard disk drives (HDDs), fax modems, LAN cards, music cards, FDDIs, data modems, emulators, controllers, and wireless modems.
PCMCIA 규격은 16비트 버스의 데이터라인, 64메가의 어드레스라인, 십 수개의 제어라인, 및 복수 개의 전원라인을 갖는다. 그런데, 위성방송 수신용 셋톱박 스에 의해 컨버팅된 TS의 방송데이터는 8비트 버스의 데이터라인, 및 동기, 유효, 에러 및 클럭에 해당하는 제어라인의 구조를 갖는다. 따라서, 위성방송 수신용 셋톱박스의 인터페이스로서 PCMCIA 규격을 사용하기 위해서는 TS의 방송데이터를 PCMCIA규격의 방송데이터로 변환하기 위한 컨버터를 구비한 PCMCIA/IEEE1394 중계장치가 필요하다. 또한, 종래의 PCMCIA/IEEE1394 중계장치는 PCMCIA슬롯에 장착되어 외부 디바이스에 방송데이터를 전송하는 인터페이스모듈에는 PCMCIA규격으로 변환된 방송데이터를 TS의 방송데이터로 변환하기 위한 컨버팅 기능을 포함하고 있다. The PCMCIA standard has a 16-bit bus data line, 64 mega address lines, dozens of control lines, and a plurality of power lines. However, the broadcast data of the TS converted by the set-top box for receiving a satellite broadcast has a structure of data lines of an 8-bit bus and control lines corresponding to synchronization, validity, error, and clock. Accordingly, in order to use the PCMCIA standard as an interface of a set-top box for receiving a satellite broadcast, a PCMCIA / IEEE1394 relay device having a converter for converting TS data into PCMCIA standard broadcast data is required. In addition, the conventional PCMCIA / IEEE1394 relay device includes a converting function for converting broadcast data converted to PCMCIA standard into broadcast data of TS in an interface module mounted in the PCMCIA slot and transmitting broadcast data to an external device.
이러한, 종래의 PCMCIA/IEEE1394 중계장치는 방송데이터를 TS 및 PCMCIA규격으로 상호 변환하기 위한 컨버팅 기능을 구비해야 하는 문제점이 있다. 이는, PCMCIA/IEEE1394 중계장치를 생산시 제품의 생산 원가가 상승하는 문제점이 있다. 또한, PCMCIA/IEEE1394 중계장치는 방송데이터를 TS 및/또는 PCMCIA규격으로 변환함에 따라 원 신호에 대한 데이터 손실이 발생할 문제점이 있다. Such a conventional PCMCIA / IEEE1394 relay device has a problem in that a converting function for converting broadcast data into TS and PCMCIA standards must be provided. This is a problem that the production cost of the product increases when producing the PCMCIA / IEEE1394 relay device. In addition, the PCMCIA / IEEE1394 relay device has a problem that data loss with respect to the original signal occurs as the broadcast data is converted into TS and / or PCMCIA standards.
상기와 같은 문제점을 해결하기 위한 본 발명의 목적은, 위성방송 수신용 셋톱박스를 통해 복원된 방송데이터 및 외부기기로부터 전송된 방송데이터를 IEEE1394버스를 통해 상호 송수신할 때 데이터의 형태를 변환하는 번거로움을 해결할 수 있는 위성방송 수신용 셋톱박스의 PCMCIA/IEEE1394 중계장치를 제공하는데 있다. An object of the present invention for solving the above problems is a hassle for converting the form of data when transmitting and receiving broadcast data restored through a set-top box for receiving satellite broadcast and broadcast data transmitted from an external device through the IEEE1394 bus. It is to provide a PCMCIA / IEEE1394 relay device of a set top box for satellite broadcasting that can solve the problem.
본 발명의 다른 목적은, 위성방송 수신용 셋톱박스를 통해 복원된 방송데이 터를 외부기기에 전송 및 외부기기로부터 전송된 방송데이터를 수신할 때 방송데이터의 형태를 TS 및/또는 PCMCIA규격으로 변환함에 따라 발생하는 데이터의 손실을 줄일 수 있는 위성방송 수신용 셋톱박스의 PCMCIA/IEEE1394 중계장치를 제공하는데 있다. Another object of the present invention is to convert the form of broadcast data into TS and / or PCMCIA standard when transmitting broadcast data restored through a set-top box for satellite broadcast reception to an external device and receiving broadcast data transmitted from an external device. It is to provide a PCMCIA / IEEE1394 relay device of a set-top box for receiving a satellite broadcast that can reduce the loss of data.
상기와 같은 목적은 본 발명에 따라, 위성방송 수신용 셋톱박스의 메인보드와 연결된 PCMCIA슬롯에 연결되고 셋톱박스에서 변환된 TS신호의 방송데이터를 PCMCIA슬롯을 통해 수신하는 PCMCIA포트, 외부기기에 연결된 IEEE1394포트가 연결되고 PCMCIA포트에 입력된 TS신호의 방송데이터를 IEEE1394포트를 통해 외부기기에 전송하는 IEEE1394인터페이스, 및 PCMCIA포트 및 IEEE1394인터페이스에 마련되어 설정된 전송라인에 따라 상호 연결되고 PCMCIA포트에 입력된 TS신호의 방송데이터를 PCMCIA포트에 입력되는 제어명령을 기초로 전송라인을 통해 IEEE1394인터페이스로 전송하는 스위칭부를 포함하는 위성방송 수신용 셋톱박스의 PCMCIA/IEEE1394 중계장치에 의해 달성된다. The object as described above is connected to the PCMCIA slot connected to the main board of the set-top box for receiving satellite broadcasting and connected to the PCMCIA port, an external device for receiving the broadcast data of the TS signal converted in the set-top box through the PCMCIA slot The IEEE1394 interface connects the IEEE1394 port and transmits the broadcasting data of TS signal input to the PCMCIA port to an external device through the IEEE1394 port, and the TSs connected to the PCMCIA port and interconnected according to the transmission line established at the PCMCIA port and the IEEE1394 interface. It is achieved by the PCMCIA / IEEE1394 repeater of the set-top box for satellite broadcast reception including a switching unit for transmitting the broadcast data of the signal to the IEEE1394 interface via a transmission line based on a control command input to the PCMCIA port.
바람직하게는, PCMCIA포트는, PCMCIA슬롯을 통해 TS신호의 방송데이터를 수신하는 입력핀 및 외부기기로부터 전송되어 IEEE1394인터페이스를 통해 수신된 TS신호의 방송데이터를 PCMCIA슬롯으로 출력하는 출력핀을 갖는 방송데이터전송핀, 위성방송 수신용 셋톱박스의 마이콤 및 스위칭부에 마련된 제어부간의 제어명령을 전송하는 제어전송핀, 및 위성방송 수신용 셋톱박스로부터 제공된 소정의 전원을 수신하는 전원핀을 포함한다. Preferably, the PCMCIA port has an input pin for receiving broadcast data of a TS signal through a PCMCIA slot, and a broadcast pin having an output pin transmitted from an external device and outputting broadcast data of a TS signal received through an IEEE1394 interface to a PCMCIA slot. It includes a data transmission pin, a control transmission pin for transmitting a control command between the control unit provided in the microcomputer and the switching unit of the set-top box for receiving the satellite broadcast, and a power pin for receiving a predetermined power provided from the set-top box for receiving the satellite broadcast.
입력핀은, PCMCIA슬롯을 통해 TS신호의 방송데이터를 수신하는 TS입력핀, PCMCIA슬롯으로부터 TS신호의 방송데이터의 입력에 대한 클럭신호를 수신하는 입력클럭핀, 입력되는 TS신호의 방송데이터에 대한 에러체크신호를 수신하는 입력에러핀, TS신호의 방송데이터의 수신에 대한 시작을 알리는 정보를 수신하는 입력시작핀, 및 입력되는 TS신호의 방송데이터의 유효성 유무에 대한 정보를 수신하는 입력유효핀을 갖는다. 여기서, TS입력핀은 8개이다. The input pin is a TS input pin for receiving broadcast data of a TS signal through a PCMCIA slot, an input clock pin for receiving a clock signal for input of broadcast data of a TS signal from a PCMCIA slot, and a broadcast signal of an input TS signal. An input error pin for receiving an error check signal, an input start pin for receiving information indicating the start of the reception of broadcast data of the TS signal, and an input valid pin for receiving information on the validity of the broadcast data of the input TS signal Has Here, there are eight TS input pins.
출력핀은, 외부기기로부터 입력된 TS신호의 방송데이터를 PCMCIA슬롯을 통해 위성방송 수신용 셋톱박스로 출력하는 TS출력핀, TS신호의 방송데이터를 위성방송 수신용 셋톱박스로의 출력에 대한 클럭신호를 출력하는 출력클럭핀, 위성방송 수신용 셋톱박스로 출력되는 TS신호의 방송데이터의 에러체크신호를 출력하는 출력에러핀, TS신호의 방송데이터의 출력에 대한 시작을 알리는 정보를 출력하는 출력시작핀, 및 출력되는 TS신호의 방송데이터의 유효성 유무에 대한 정보를 출력하는 출력유효핀을 갖는다. 여기서, TS출력핀은 8개이다. The output pin is a TS output pin for outputting the broadcasting data of the TS signal input from an external device to the set-top box for satellite broadcasting reception through the PCMCIA slot, and a clock for outputting the broadcasting data of the TS signal to the set-top box for satellite broadcasting reception. An output clock pin for outputting a signal, an output error pin for outputting an error check signal of the broadcast data of the TS signal output to the set-top box for receiving a satellite broadcast, and an output for outputting information indicating the start of the output of the broadcast data of the TS signal And a start pin, and an output valid pin for outputting information on whether broadcast data of the output TS signal is valid. Here, there are eight TS output pins.
제어전송핀은, 위성방송 수신용 셋톱박스의 마이콤 및 스위칭부에 마련된 제어부간에 TS신호의 방송데이터의 입출력에 필요한 제어명령을 전송하는 제1제어핀, 제어부의 동작에 필요한 제어명령을 전송하는 제2제어핀, 마이콤으로부터 출력된 스위칭부에 마련된 모듈의 주소정보를 전송하는 주소핀 및 주소정보에 대응되는 모듈의 동작명령을 전송하는 모듈제어핀을 구비한 제 3제어핀, 및 마이콤에 PCMCIA슬롯에 연결되는 카드의 종류에 대한 정보인 카드인식정보를 전송하는 카드인식핀을 갖는다. 여기서, 주소핀은 8개이고, 모듈제어핀은 10개이다. The control transmission pin is a first control pin for transmitting a control command for input and output of the broadcast data of the TS signal between the control unit provided in the microcomputer and the switching unit of the set-top box for receiving a satellite broadcast, the first control pin for transmitting the control command necessary for the operation of the control unit A third control pin having a control pin, an address pin for transmitting address information of the module provided in the switching unit output from the microcomputer, and a module control pin for transmitting an operation command of the module corresponding to the address information; and a PCMCIA slot in the microcomputer. It has a card recognition pin for transmitting card recognition information that is information on the type of card connected to. Here, there are eight address pins and ten module control pins.
바람직하게는, 제1제어핀은, 마이콤 및 제어부간에 제어명령의 전송을 위한 동기신호를 전송하는 동기핀, 및 마이콤과 제어부 간의 제어명령을 전송하는 제어데이터핀을 갖는다. 제2제어핀은, 스위칭부에 마련된 모듈에 대한 제어신호를 레지스팅하는데 필요한 신호를 전송하는 레지스팅핀, TS신호의 방송데이터의 기록명령을 전송하는 기록명령핀, TS신호의 방송데이터의 읽기명령을 전송하는 읽기명령핀, 모듈에 대한 선택명령을 전송하는 선택명령핀, 및 마이콤과 제어부 간에 필요한 설정을 재 설정하는 리셋핀을 갖는다. Preferably, the first control pin has a synchronization pin for transmitting a synchronization signal for transmitting a control command between the microcomputer and the control unit, and a control data pin for transmitting a control command between the microcomputer and the control unit. The second control pin may include: a register pin for transmitting a signal required to register a control signal for a module provided in the switching unit, a write command pin for transmitting a write command of a broadcast data of a TS signal, and a read of broadcast data of a TS signal. It has a read command pin for sending a command, a selection command pin for sending a selection command for the module, and a reset pin for resetting necessary settings between the microcomputer and the control unit.
한편, 전원핀은, 위성방송 수신용 셋톱박스로부터 제공되는 이종의 DC전원을 수신하여 스위칭부에 마련된 해당 모듈에 공급하는 전원공급핀, 및 위성방송 수신용 셋톱박스로부터 제공되는 전원에 대해 접지인 복수의 접지핀을 갖는다. 여기서, 이종의 DC전원 중 하나는 3.3볼트이고, 다른 하나는 5볼트이다. On the other hand, the power pin, the power supply pin for receiving the heterogeneous DC power provided from the set-top box for receiving the satellite broadcasting and supplying it to the module provided in the switching unit, and grounding to the power provided from the set-top box for receiving the satellite broadcasting It has a plurality of ground pins. Here, one of the heterogeneous DC power supplies is 3.3 volts, and the other is 5 volts.
본 발명에 따르면, 본 실시예에 따라 설정된 PCMCIA포트의 핀 설정에 따라 TS신호의 방송데이터를 PCMCIA규격으로 변환하지 않고 IEEE1394인터페이스를 통해 외부기기와 TS신호의 방송데이터를 상호 송수신 함으로써, TS신호의 방송데이터를 PCMCIA규격으로 컨버팅할 필요가 없고 보다 고속의 방송데이터 전송이 가능하다. 또한, TS신호의 방송데이터의 형태를 변환하지 않고 PCMCIA포트를 통해 상호 TS신호의 방송데이터를 송수신 함으로써, TS신호의 방송데이터의 전송에 따른 데이터 손실을 줄일 수 있다. According to the present invention, according to the pin setting of the PCMCIA port set in accordance with the present embodiment, by transmitting and receiving the broadcast signal of the TS signal to and from the external device through the IEEE1394 interface without converting the broadcast data of the TS signal to the PCMCIA standard. It is not necessary to convert broadcast data to PCMCIA standard, and high speed broadcast data transmission is possible. In addition, by transmitting and receiving the broadcast data of the TS signal through the PCMCIA port without changing the form of the broadcast data of the TS signal, it is possible to reduce the data loss due to the transmission of the broadcast data of the TS signal.
이하, 도면을 참조하여 본 발명을 상세히 설명한다. Hereinafter, the present invention will be described in detail with reference to the drawings.
도 1은 본 발명에 적용되는 위성방송 수신용 셋톱박스의 PCMCIA/IEEE1394 중 계장치를 개략적으로 도시한 사시도이다. 도면의 PCMCIA/IEEE1394 중계장치(100)는 위성방송 수신용 셋톱박스에 연결되어 방송데이터를 상호 송수신하는 PCMCIA포트(120), 외부기기와 연결된 IEEE1394포트(10)에 연결되어 방송데이터를 상호 송수신하는 IEEE1394인터페이스(160), 및 PCMCIA포트(120)와 IEEE1394인터페이스(160) 간에 방송데이터가 상호 송수신되도록 하는 소자 및 버스가 형성된 스위칭부(140)를 갖는다. 1 is a perspective view schematically illustrating a PCMCIA / IEEE1394 relay device of a set-top box for satellite broadcasting reception according to the present invention. The PCMCIA /
PCMCIA포트(120)는 위성방송 수신용 셋톱박스의 메인보드(미도시)와 연결된 PCMCIA슬롯(미도시)에 장착되어 메인보드로부터 출력된 방송데이터를 스위칭부(140)에 전송한다. 또한, PCMCIA포트(120)는 스위칭부(140)로부터 출력된 방송데이터를 PCMCIA슬롯을 거쳐 메인보드로 전송한다. IEEE1394인터페이스(160)는 개인용 컴퓨터 등과 같은 저장매체가 있는 외부기기와 연결된 IEEE1394포트(10)와 연결되어 스위칭부(140)로부터 출력된 방송데이터를 IEEE1394포트(10)를 통해 외부기기에 전송한다. 스위칭부(140)는 PCMCIA포트(120)에 입력된 방송데이터가 IEEE1394인터페이스(160)로 고속 출력되도록 한다. 한편, 위성방송수신용 셋톱박스에는 PCMCIA/IEEE1394 중계장치(100)의 메인보드와 연결된 PCMCIA슬롯에 슬라이딩 장착되도록 가이드(미도시)가 마련된다. The
본 실시예에서 위성방송 수신용 셋톱박스와 외부기기 간의 방송데이터 송수신을 위해 IEEE1394버스를 사용하는 것은 디지털방송을 위한 방송데이터의 고속 전송이 가능하기 때문이다. 일반적으로, IEEE1394는 컴퓨터 주변 장치뿐만 아니라 비디오 카메라, 오디오 제품, 텔레비전, 비디오카세트 녹화기(VCR) 등의 가전 기기 를 개인용 컴퓨터에 접속하는 인터페이스로서 사용된다. 현재 규정된 IEEE1394의 데이터 전송 속도는 초당 100MB, 200MB, 400MB의 3종류가 있다. 또한, IEEE1394는 개인용 컴퓨터가 작동 중 일 때 동시에 접속할 수 있는 핫 플러그 인(hot plug-in)을 지원한다. IEEE1394의 데이터 전송은 동시(synchronous) 전송과 비동기(asynchronous) 전송의 2가지 방식을 제공한다. 동시 전송은 실시간 전송이기 때문에 동영상 또는 음성 등 동시성이 요구되는 멀티미디어 정보를 전달하는 인터페이스로 적합하다. 비동기 전송은 데이터를 분할하여 전송하는 방식으로써, 개인용 컴퓨터와 하드디스크나 인쇄기 등의 주변 장치 사이의 데이터 전달에 사용될 수 있다. In this embodiment, the use of the IEEE 1394 bus for transmitting and receiving broadcast data between the set-top box for receiving a satellite broadcast and an external device is because high-speed transmission of broadcast data for digital broadcasting is possible. In general, IEEE 1394 is used as an interface for connecting home appliances such as video cameras, audio products, televisions, video cassette recorders (VCRs) as well as computer peripheral devices to personal computers. Currently, IEEE1394 has three data transfer rates: 100MB, 200MB, and 400MB. In addition, IEEE1394 supports hot plug-ins that can be connected simultaneously when a personal computer is running. The data transmission of IEEE1394 provides two methods, synchronous transmission and asynchronous transmission. Since simultaneous transmission is a real time transmission, it is suitable as an interface for delivering multimedia information such as video or voice. Asynchronous transmission is a method of dividing and transmitting data, which can be used for data transmission between a personal computer and a peripheral device such as a hard disk or a printing press.
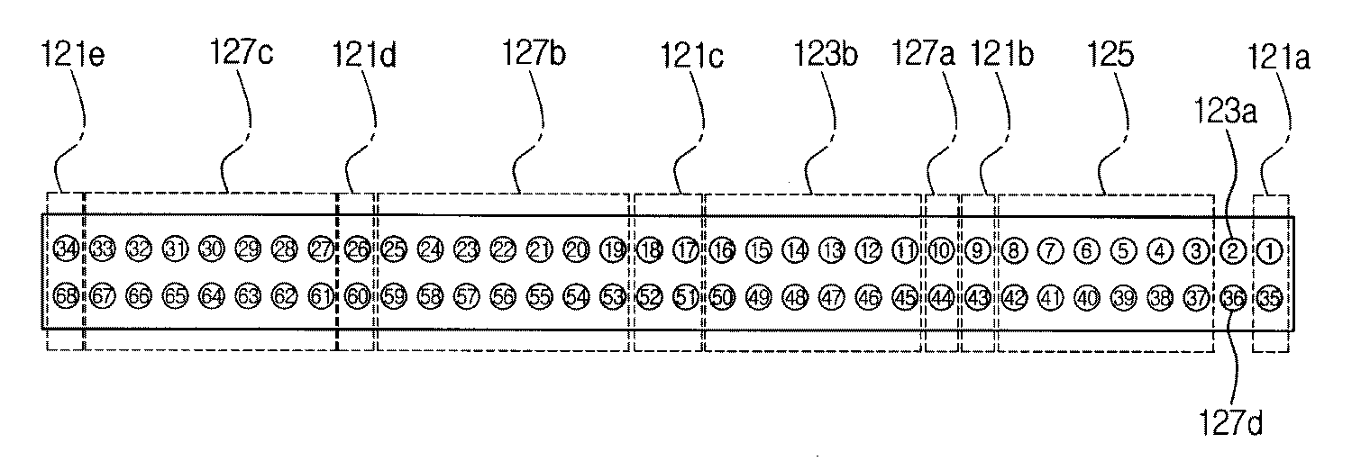
도 2는 도 1의 PCMCIA포트(120)의 핀 구조를 상세히 도시한 전면도이다. 도시된 바와 같이, PCMCIA포트(120)는 일반적인 PCMCIA포트의 구조와 동일한 형태이고, 핀의 숫자는 총 68핀을 갖는다. PCMCIA포트(120)는 PCMCIA슬롯으로부터 TS신호의 방송데이터를 입력받는 입력핀, 스위칭부(140)로부터 출력된 TS신호의 방송데이터를 PCMCIA슬롯으로 출력하는 출력핀, PCMCIA슬롯을 통해 전원을 공급받는 전원핀, 위성방송 수신용 셋톱박스의 마이콤(미도시)과의 제어신호를 송수신하는 제어핀으로 구분된다. 2 is a front view illustrating in detail the pin structure of the
본 실시예에 따른 입력핀은 2번 핀(123a)과 11번 내지 16번 및 45번 내지 50번 핀(123b)이다. 출력핀은 3번 내지 8번 및 37번 내지 42번 핀(125)이다. 전원핀은 1번 및 35번 핀(121a), 9번 및 43번 핀(121b), 17번과 18번 및 51번과 52번 핀(121c), 26번 및 60번 핀(121d), 및 34번과 68번 핀(121e)이다. 제어핀은 10번 과 44번 핀(127a), 19번과 25번 및 53번과 59번 핀(127b), 27번과 33번 및 61번과 67번 핀(127c), 및 36번 핀(127d)이다. The input pins according to the present embodiment are
따라서, 본 실시예에 따른 PCMCIA포트(120)의 핀 규격에 따라 TS신호의 방송데이터를 PCMCIA규격으로의 변환 없이 IEEE1394인터페이스(160)를 통해 외부기기에 전송함으로써, TS신호의 방송데이터를 PCMCIA규격으로 컨버팅할 필요가 없고 보다 고속의 방송데이터 전송이 가능하다. Accordingly, according to the pin specification of the
도 3은 도 2의 PCMCIA포트(120)의 각 핀을 통해 전송되는 신호의 종류를 도시한 도표이다. 도면의 설명은 도 2를 기초로 설명한다. 입력핀 중에서 2번 핀(123a)은 TS신호의 방송데이터의 입력에 대한 클럭(CLOCK)을 PCMCIA슬롯으로부터 입력받는다. 11번 내지 14번 및 45번 내지 48번 핀은 TS신호의 방송데이터를 입력받는다. 15번 핀은 입력되는 TS신호의 방송데이터에 대한 에러 체크신호를 입력받는다. 16번 핀은 입력되는 TS신호의 방송데이터에 대한 유효 여부에 대한 신호를 입력받는다. 49번 핀은 TS신호의 방송데이터의 입력의 시작을 알리는 입력시작신호를 입력받는다. 50번 핀은 사용하지 않는다. 3 is a diagram illustrating the types of signals transmitted through each pin of the
한편, 출력핀 중에서 3번 내지 6번 및 37번 내지 40번 핀은 IEEE1394인터페이스(160)를 통해 외부기기로부터 입력된 TS신호의 방송데이터를 PCMCIA슬롯에 출력한다. 7번 핀은 출력되는 TS신호의 방송데이터에 대한 에러체크신호를 출력한다. 8번은 TS신호의 방송데이터의 출력 유효 여부에 대한 정보를 출력한다. 41번 핀은 TS신호의 방송데이터의 출력의 시작을 알리는 출력시작신호를 출력한다. 42번 핀은 TS신호의 방송데이터의 출력에 대한 클럭(CLOCK)을 출력한다.
On the other hand, pins 3 to 6 and pins 37 to 40 of the output pins output the broadcast data of the TS signal input from the external device through the IEEE 1394
또한, 전원핀 중 1번, 9번, 26번, 34번, 35번, 43번, 60번, 및 68번 핀은 접지(GROUND)핀이다. 17번 및 51번 핀은 VCC전원을 PCMCIA슬롯을 통해 위성방송 수신용 셋톱박스로부터 입력받는다. 이때, 입력되는 VCC전원은 3.3볼트(V)이다. 18번 및 52번 핀은 VPP전원을 위성방송 수신용 셋톱박스로부터 입력받는다. 이때, 입력되는 VPP전원은 5볼트이다. In addition, pins 1, 9, 26, 34, 35, 43, 60, and 68 of the power pins are ground pins.
제어핀 중에서 10번 핀은 위성방송 수신용 셋톱박스의 마이콤과 PCMCIA/IEEE1394 중계장치(100)의 제어부(미도시) 간에 TS신호의 방송데이터에 대한 입출력을 위한 클럭을 전송한다. 44번 핀은 위성방송 수신용 셋톱박스의 마이콤과 PCMCIA/IEEE1394 중계장치(100)의 제어부 간의 제어를 위한 제어데이터를 전송한다. 19번 핀은 PCMCIA/IEEE1394 중계장치(100)의 각 모듈에 대한 제어신호를 레지스팅하기 위한 신호를 전송한다. 20번 핀은 위성방송 수신용 셋톱박스의 마이콤으로부터의 TS신호의 방송데이터에 대한 기록(Write)명령을 전송한다. 21번 핀은 사용하지 않는다. 53번 핀은 위성방송 수신용 셋톱박스의 마이콤으로부터의 TS신호의 방송데이터에 대한 읽기(Read)명령을 전송한다. 54번 핀은 위성방송 수신용 셋톱박스의 마이콤으로부터 PCMCIA/IEEE1394 중계장치(100)의 모듈 중 해당 모듈의 선택명령을 전송한다. 55번 핀은 위성방송 수신용 셋톱박스와 PCMCIA/IEEE1394 중계장치(100) 간의 재설정을 위한 신호를 전송한다. 22번 내지 25번과 56번 내지 59번 핀은 위성방송 수신용 셋톱박스의 마이콤과 PCMCIA/IEEE1394 중계장치(100)의 제어부 간의 제어데이터를 전송한다.
27번 핀은 위성방송 수신용 셋톱박스의 마이콤으로부터 출력된 동작지연신호 를 전송한다. 61번 핀은 위성방송 수신용 셋톱박스의 마이콤으로부터 출력된 간섭신호를 전송한다. 28번 내지 32번 및 62번 내지 66번 핀은 위성방송 수신용 셋톱박스의 마이콤으로부터 출력된 제어명령에 대한 주소정보를 전송한다. 33번 핀은 사용하지 않는다. 67번 및 36번 핀은 PCMCIA/IEEE1394 중계장치(100)를 위성방송 수신용 셋톱박스의 마이콤이 인식할 수 있는 인식신호를 전송한다.
도 4는 도 1이 적용된 위성방송시스템의 일 예를 도시한 블록도이다. 방송국 등과 같은 프로그램제공시스템(600)은 위성방송이 가능한 방송프로그램을 위성송출국(700)에 제공한다. 위성송출국(700)은 프로그램제공시스템(600)으로부터 제공된 방송프로그램을 송출안테나(미도시)를 통해 인공위성(800)으로 송출한다. 인공위성(800)은 위성송출국(700)으로부터 송출된 방송프로그램을 지상으로 재 송출한다. 4 is a block diagram illustrating an example of a satellite broadcasting system to which FIG. 1 is applied. The
이에 따라, 수신안테나(300)는 인공위성(800)으로부터 송출된 고주파의 방송프로그램을 수신하고, 수신된 방송프로그램을 위성방송 수신용 셋톱박스(200)로 출력한다. 위성방송 수신용 셋톱박스(200)는 수신된 방송프로그램을 MPEG2 형식의 TS신호의 방송데이터로 변환한다. 또한, 위성방송 수신용 셋톱박스(200)는 TS신호의 방송데이터를 PCMCIA슬롯(미도시)에 연결된 PCMCIA/IEEE1394중계장치(100)를 통해 컴퓨터(400)로 전송한다. 이때, 컴퓨터(400)는 입력신호에 따라 수신되는 TS신호의 방송데이터를 하드디스크와 같은 저장매체에 저장 및/또는 화면에 디스플레이한다. 또한, PCMCIA/IEEE1394중계장치(100)는 TS신호의 방송데이터를 텔레비전(500)에 전송한다. 바람직하게는, PCMCIA/IEEE1394중계장치(100)는 TS신 호의 방송데이터를 텔레비전(500)에서 디스플레이 가능한 형태로 변환하여 텔레비전(500)으로 출력한다. Accordingly, the receiving
본 발명에 따르면, 본 실시예에 따라 설정된 PCMCIA포트의 핀 설정에 따라 TS신호의 방송데이터를 PCMCIA규격으로 변환하지 않고 IEEE1394인터페이스를 통해 외부기기와 TS신호의 방송데이터를 상호 송수신 함으로써, TS신호의 방송데이터를 PCMCIA규격으로 컨버팅할 필요가 없고 보다 고속의 방송데이터 전송이 가능하다. 또한, TS신호의 방송데이터의 형태를 변환하지 않고 PCMCIA포트를 통해 상호 TS신호의 방송데이터를 송수신 함으로써, TS신호의 방송데이터의 전송에 따른 데이터 손실을 줄일 수 있다. According to the present invention, according to the pin setting of the PCMCIA port set in accordance with the present embodiment, by transmitting and receiving the broadcast signal of the TS signal to and from the external device through the IEEE1394 interface without converting the broadcast data of the TS signal to the PCMCIA standard. It is not necessary to convert broadcast data to PCMCIA standard, and high speed broadcast data transmission is possible. In addition, by transmitting and receiving the broadcast data of the TS signal through the PCMCIA port without changing the form of the broadcast data of the TS signal, it is possible to reduce the data loss due to the transmission of the broadcast data of the TS signal.
이상에서는 본 발명의 바람직한 실시예에 대해 도시하고 설명하였으나, 본 발명은 상술한 특정의 바람직한 실시예에 한정되지 아니하며, 청구범위에서 청구하는 본 발명의 요지를 벗어남이 없이 당해 발명이 속하는 기술분야에서 통상의 지식을 가진 자라면 누구든지 다양한 변형 실시가 가능한 것은 물론이고, 그와 같은 변경은 청구범위 기재의 범위 내에 있게 된다.In the above described and illustrated with respect to the preferred embodiment of the present invention, the present invention is not limited to the specific preferred embodiment described above, without departing from the gist of the invention claimed in the claims in the art Various modifications can be made by those skilled in the art, and such changes are within the scope of the claims.
Claims (14)
Priority Applications (1)
| Application Number | Priority Date | Filing Date | Title |
|---|---|---|---|
| KR1020020023577A KR100826240B1 (en) | 2002-04-30 | 2002-04-30 | PCMCIA / IEE1394 Repeater of Set Top Box for Satellite Broadcasting |
Applications Claiming Priority (1)
| Application Number | Priority Date | Filing Date | Title |
|---|---|---|---|
| KR1020020023577A KR100826240B1 (en) | 2002-04-30 | 2002-04-30 | PCMCIA / IEE1394 Repeater of Set Top Box for Satellite Broadcasting |
Publications (2)
| Publication Number | Publication Date |
|---|---|
| KR20030085669A KR20030085669A (en) | 2003-11-07 |
| KR100826240B1 true KR100826240B1 (en) | 2008-04-29 |
Family
ID=32380894
Family Applications (1)
| Application Number | Title | Priority Date | Filing Date |
|---|---|---|---|
| KR1020020023577A Expired - Fee Related KR100826240B1 (en) | 2002-04-30 | 2002-04-30 | PCMCIA / IEE1394 Repeater of Set Top Box for Satellite Broadcasting |
Country Status (1)
| Country | Link |
|---|---|
| KR (1) | KR100826240B1 (en) |
Families Citing this family (1)
| Publication number | Priority date | Publication date | Assignee | Title |
|---|---|---|---|---|
| KR101263680B1 (en) | 2006-05-04 | 2013-05-22 | 삼성전자주식회사 | Connecting apparatus, electronic apparatus and control methods thereof |
Citations (4)
| Publication number | Priority date | Publication date | Assignee | Title |
|---|---|---|---|---|
| KR20000033737A (en) * | 1998-11-25 | 2000-06-15 | 전주범 | Interface device of digital satellite broadcasting receiver |
| KR20000034444A (en) * | 1998-11-30 | 2000-06-26 | 전주범 | PCMCIA / IEEE P133.4 Transmitter |
| KR20020012417A (en) * | 2000-08-07 | 2002-02-16 | 이홍순 | Apparatus for Digital Device Connection |
| KR200264312Y1 (en) * | 2001-10-19 | 2002-02-19 | 캐리 컴퓨터 이엔지. 컴퍼니 리미티드 | Multifactorial transmission-exchange device for storing media |
-
2002
- 2002-04-30 KR KR1020020023577A patent/KR100826240B1/en not_active Expired - Fee Related
Patent Citations (4)
| Publication number | Priority date | Publication date | Assignee | Title |
|---|---|---|---|---|
| KR20000033737A (en) * | 1998-11-25 | 2000-06-15 | 전주범 | Interface device of digital satellite broadcasting receiver |
| KR20000034444A (en) * | 1998-11-30 | 2000-06-26 | 전주범 | PCMCIA / IEEE P133.4 Transmitter |
| KR20020012417A (en) * | 2000-08-07 | 2002-02-16 | 이홍순 | Apparatus for Digital Device Connection |
| KR200264312Y1 (en) * | 2001-10-19 | 2002-02-19 | 캐리 컴퓨터 이엔지. 컴퍼니 리미티드 | Multifactorial transmission-exchange device for storing media |
Also Published As
| Publication number | Publication date |
|---|---|
| KR20030085669A (en) | 2003-11-07 |
Similar Documents
| Publication | Publication Date | Title |
|---|---|---|
| US6779059B2 (en) | Reconfigurable flash media reader system | |
| CN101489059B (en) | A TV that can realize function expansion | |
| US20050089065A1 (en) | Clustered networked devices | |
| GB2381709A (en) | Programmable set-top box and home gateway | |
| JP2007511960A (en) | Interchangeable media input cartridge for home entertainment | |
| KR100892794B1 (en) | Tuner module utilizing device-specific controller | |
| CN1248493C (en) | Circuit for processing one band of digital television channels | |
| KR100826240B1 (en) | PCMCIA / IEE1394 Repeater of Set Top Box for Satellite Broadcasting | |
| CN105264882B (en) | Function extension of display device and control method thereof | |
| CN102572583A (en) | Multimedia play system and play method | |
| CN105187899B (en) | Data transmission system | |
| WO2010139136A1 (en) | Signal source and television with the signal source | |
| US6618781B1 (en) | Computer add-on card capable of outputting different type of digital TV signals | |
| CN1307812C (en) | Electronic device | |
| CN202488620U (en) | Digital TV host, conditional access module and digital TV | |
| KR20040103340A (en) | Network system and electronic device | |
| CN207926812U (en) | a kind of digital network set-top box and network transmission system | |
| CN112054818B (en) | SDI and ASI signal acquisition and transmission equipment | |
| JPH1188459A (en) | Serial bus connection system | |
| EP0932104B1 (en) | Method and apparatus for transferring bi-directionally data between an IEEE 1394 bus and a device | |
| CN100534156C (en) | A realization method of a multi-channel compatible digital TV device | |
| KR100498281B1 (en) | Network Interface Circuit | |
| KR100320210B1 (en) | Bus structure for digital television system | |
| JPH1188380A (en) | Serial bus connection module | |
| KR20010076452A (en) | An OpenCable Settop Box for reproducing a different kind of data format |
Legal Events
| Date | Code | Title | Description |
|---|---|---|---|
| PA0109 | Patent application |
St.27 status event code: A-0-1-A10-A12-nap-PA0109 |
|
| R18-X000 | Changes to party contact information recorded |
St.27 status event code: A-3-3-R10-R18-oth-X000 |
|
| R18-X000 | Changes to party contact information recorded |
St.27 status event code: A-3-3-R10-R18-oth-X000 |
|
| PG1501 | Laying open of application |
St.27 status event code: A-1-1-Q10-Q12-nap-PG1501 |
|
| R18-X000 | Changes to party contact information recorded |
St.27 status event code: A-3-3-R10-R18-oth-X000 |
|
| PN2301 | Change of applicant |
St.27 status event code: A-3-3-R10-R13-asn-PN2301 St.27 status event code: A-3-3-R10-R11-asn-PN2301 |
|
| PN2301 | Change of applicant |
St.27 status event code: A-3-3-R10-R13-asn-PN2301 St.27 status event code: A-3-3-R10-R11-asn-PN2301 |
|
| A201 | Request for examination | ||
| PA0201 | Request for examination |
St.27 status event code: A-1-2-D10-D11-exm-PA0201 |
|
| D13-X000 | Search requested |
St.27 status event code: A-1-2-D10-D13-srh-X000 |
|
| D14-X000 | Search report completed |
St.27 status event code: A-1-2-D10-D14-srh-X000 |
|
| E902 | Notification of reason for refusal | ||
| PE0902 | Notice of grounds for rejection |
St.27 status event code: A-1-2-D10-D21-exm-PE0902 |
|
| P11-X000 | Amendment of application requested |
St.27 status event code: A-2-2-P10-P11-nap-X000 |
|
| P13-X000 | Application amended |
St.27 status event code: A-2-2-P10-P13-nap-X000 |
|
| E701 | Decision to grant or registration of patent right | ||
| PE0701 | Decision of registration |
St.27 status event code: A-1-2-D10-D22-exm-PE0701 |
|
| GRNT | Written decision to grant | ||
| PR0701 | Registration of establishment |
St.27 status event code: A-2-4-F10-F11-exm-PR0701 |
|
| PR1002 | Payment of registration fee |
St.27 status event code: A-2-2-U10-U11-oth-PR1002 Fee payment year number: 1 |
|
| PG1601 | Publication of registration |
St.27 status event code: A-4-4-Q10-Q13-nap-PG1601 |
|
| PR1001 | Payment of annual fee |
St.27 status event code: A-4-4-U10-U11-oth-PR1001 Fee payment year number: 4 |
|
| FPAY | Annual fee payment | ||
| PR1001 | Payment of annual fee |
St.27 status event code: A-4-4-U10-U11-oth-PR1001 Fee payment year number: 5 |
|
| R18-X000 | Changes to party contact information recorded |
St.27 status event code: A-5-5-R10-R18-oth-X000 |
|
| FPAY | Annual fee payment | ||
| PR1001 | Payment of annual fee |
St.27 status event code: A-4-4-U10-U11-oth-PR1001 Fee payment year number: 6 |
|
| PR1001 | Payment of annual fee |
St.27 status event code: A-4-4-U10-U11-oth-PR1001 Fee payment year number: 7 |
|
| PR1001 | Payment of annual fee |
St.27 status event code: A-4-4-U10-U11-oth-PR1001 Fee payment year number: 8 |
|
| FPAY | Annual fee payment |
Payment date: 20160330 Year of fee payment: 9 |
|
| PR1001 | Payment of annual fee |
St.27 status event code: A-4-4-U10-U11-oth-PR1001 Fee payment year number: 9 |
|
| LAPS | Lapse due to unpaid annual fee | ||
| PC1903 | Unpaid annual fee |
St.27 status event code: A-4-4-U10-U13-oth-PC1903 Not in force date: 20170424 Payment event data comment text: Termination Category : DEFAULT_OF_REGISTRATION_FEE |
|
| PC1903 | Unpaid annual fee |
St.27 status event code: N-4-6-H10-H13-oth-PC1903 Ip right cessation event data comment text: Termination Category : DEFAULT_OF_REGISTRATION_FEE Not in force date: 20170424 |
|
| P22-X000 | Classification modified |
St.27 status event code: A-4-4-P10-P22-nap-X000 |
