[go: up one dir, main page]

JP6941266B2 - 発泡ブロー成形体、発泡ブロー成形装置、及び発泡ブロー成形方法 - Google Patents

発泡ブロー成形体、発泡ブロー成形装置、及び発泡ブロー成形方法 Download PDF

Info

Publication number
JP6941266B2
JP6941266B2 JP2017192628A JP2017192628A JP6941266B2 JP 6941266 B2 JP6941266 B2 JP 6941266B2 JP 2017192628 A JP2017192628 A JP 2017192628A JP 2017192628 A JP2017192628 A JP 2017192628A JP 6941266 B2 JP6941266 B2 JP 6941266B2
Authority
JP
Japan
Prior art keywords
foam
resin
layer
foam blow
parison
Prior art date
Legal status (The legal status is an assumption and is not a legal conclusion. Google has not performed a legal analysis and makes no representation as to the accuracy of the status listed.)
Active
Application number
JP2017192628A
Other languages
English (en)
Other versions
JP2019064173A (ja
Inventor
慶詞 大野
慶詞 大野
優 五十嵐
優 五十嵐
Current Assignee (The listed assignees may be inaccurate. Google has not performed a legal analysis and makes no representation or warranty as to the accuracy of the list.)
Kyoraku Co Ltd
Original Assignee
Kyoraku Co Ltd
Priority date (The priority date is an assumption and is not a legal conclusion. Google has not performed a legal analysis and makes no representation as to the accuracy of the date listed.)
Filing date
Publication date
Application filed by Kyoraku Co Ltd filed Critical Kyoraku Co Ltd
Priority to JP2017192628A priority Critical patent/JP6941266B2/ja
Publication of JP2019064173A publication Critical patent/JP2019064173A/ja
Application granted granted Critical
Publication of JP6941266B2 publication Critical patent/JP6941266B2/ja
Active legal-status Critical Current
Anticipated expiration legal-status Critical

Links

Images

Landscapes

  • Blow-Moulding Or Thermoforming Of Plastics Or The Like (AREA)

Description

本発明は、自動車の空調用ダクト等に用いられる発泡ブロー成形体に関するものであり、特に、補強等を目的として部分的にソリッド層を形成した新規な発泡ブロー成形体に関する。さらに、発泡ブロー成形装置、発泡ブロー成形方法に関する。
例えばエアコンからの空気を通風させるための自動車用ダクトの製造方法としては、発泡溶融樹脂を分割金型で型締めして成形する発泡ブロー成形が広く採用されている。発泡ブロー成形では、種々の形態のダクトを簡単に成形することができ、軽量で複雑な形状のダクトを量産することが可能である。
また、前述の発泡ブロー成形においては、機能性と美観等を目的として、機能の異なる樹脂を重ねた多層パリソンから中空成形品をブロー成形することも行われている(例えば、特許文献1や特許文献2等を参照)。
特許文献1には、表皮と発泡層を含む多層発泡ブロー成形方法が開示されており、表皮と発泡層を含む成形体が、基材となる内層、外層の表皮、その中間の発泡層から構成されることが記載されている。
特許文献2には、中空成形法によつてアームレストを製造する方法が開示されており、パリソンの一部を、パリソン基体層と該基体層と異質又は異色の外層とからなる多層とすることが記載されている。
特開平6−28596438322号公報 特公平3−59814号公報
しかしながら、特許文献1に記載されるように、内側に発泡樹脂を用い、外側全体を覆って表皮層として別の樹脂層(非発泡のソリッド層)を設けると、金型内で外層である表皮層に挟まれた状態の発泡樹脂層にブロー圧が加わり、気泡が破泡して成形品の重量が上昇するという問題がある。表皮と発泡層を含む成形体において、発泡層における気泡の破泡は、軽量化の他、断熱性、防音性等においても好ましいものではない。
特許文献2に記載される方法では、基体層が非発泡層で外層が発泡層であるため、このような問題が生ずることはないが、成形体の主体となる基体層が非発泡層であるため軽量化等の点で不利である。また、仮に基体層が発泡層で外層が非発泡層であるとしても、成形性の点で問題が起こる可能性がある。例えば、特許文献2に記載される方法では、外層はパリソンの周方向においては部分的に形成されているが、パリソンの長手方向(押し出し方向)においては連続しており、基体層をこの方向において拘束することになる。これにより、成形性に不都合をきたすおそれがある。
本発明は、このような従来の実情に鑑みて提案されたものであり、発泡層の破泡や拘束による成形不良が発生することがなく、必要な部分に機能が異なる層を付与することが可能な発泡ブロー成形体を提供することを目的とし、さらには、発泡ブロー成形装置、発泡ブロー成形方法を提供することを目的とする。
前述の目的を達成するために、本発明の発泡ブロー成形装置は、溶融樹脂からなるパリソンを供給するアキュームレータと、パリソンを挟み込んで賦形する一対の金型とを備え、 前記アキュームレータは、溶融発泡樹脂からなるパリソンを供給する主アキュームレータと、前記溶融発泡樹脂からなるパリソンに対して間欠的に溶融樹脂を供給し、溶融した非発泡の樹脂からなる層を島状に付与するサイドアキュームレータとから構成されることを特徴とする。
さらに、本発明の発泡ブロー成形方法は、溶融樹脂からなるパリソンを供給し、当該パリソンを一対の金型で挟み込んで賦形する発泡ブロー成形方法であって、溶融発泡樹脂からなるパリソンを供給するとともに、前記溶融発泡樹脂からなるパリソンに対して間欠的に溶融樹脂を供給し、溶融した非発泡の樹脂からなる層を島状に付与することを特徴とする。
島状のソリッド層は、成形体(パリソン)の長手方向、周方向のいずれにおいても連続して延設されておらず、成形時に円筒状の発泡パリソン(溶融発泡樹脂からなるパリソン)を何ら拘束することがない。したがって、発泡樹脂層におけるブロー圧による破泡や、成形不良等が生ずることがない。また、島状のソリッド層の付与により必要箇所を確実に補強することができる。
本発明によれば、発泡層の破泡や拘束による成形不良が発生することがなく、必要な部分に機能が異なる層(例えば補強層)を付与することが可能である。その結果、軽量で必要な部分に十分な機能を付加した高品質な発泡ブロー成形体を提供することが可能である。
発泡ブロー成形体の一例を示す概略斜視図である。 図1に示す発泡ブロー成形体の断面図であり、(A)は図1のX−X線における断面図、(B)は図1のY−Y線における断面図である。 空調ダクトに適用した一例を示す概略斜視図である。 空調ダクトの補強リブ形成部近傍を拡大して示す図であり、(A)は要部概略斜視図、(B)はA1−A1線における断面図、(C)はA2−A2線における断面図である。 空調ダクトのフランジ部近傍を拡大して示す図であり、(A)は要部概略斜視図、(B)はB1−B1線における断面図、(C)はB2−B線における断面図である。 オイルフィラーパイプに適用した一例を示す要部概略斜視図である。 図6に示すオイルフィラーパイプの概略断面図である。 発泡ブロー成形装置の一例を模式的に示す図である。 アキュムレータの構成例を示す図である。 パリソンへのソリッド層の付与状態を模式的に示す図である。
以下、本発明を適用した発泡ブロー成形体、発泡ブロー成形装置、発泡ブロー成形方法の実施形態について、図面を参照しながら詳細に説明する。
図1及び図2は、本発明を適用した発泡ブロー成形体の一例を示すものである。本実施形態の発泡ブロー成形体1は、筒状の発泡成形体本体11を主体とするものであり、その表面に、島状のソリッド層12が形成されてなるものである。
ここで、発泡成形体本体11は、例えば発泡剤を混合させた熱可塑性樹脂をブロー成形することで成形される。使用する熱可塑性樹脂としては、任意であるが、例えばポリプロピレン系樹脂等を挙げることができ、1〜20質量%のポリオレフィン系重合体や5〜40質量%の水素添加スチレン系熱可塑性エラストマーを混合させたブレンド樹脂等を用いることもできる。特に、発泡性を良くするためには、樹脂材料として長鎖分岐構造のポリオレフィンを加えるのが望ましい。長鎖分岐構造のポリオレフィンの具体例としては、例えば、成分Aと、成分Bと、成分Cを含有し、前記成分Aは、長鎖分岐ホモポリプロピレンであり、前記成分Bは、ブロックポリプロピレン(長鎖分岐構造を有してもよいが、その限りではない)であり、前記成分Cは、ポリエチレン系エラストマーである、発泡成形用樹脂等である。好ましくは、前記成分A〜Cの合計を100質量部としたとき、前記成分Aの含有量が20〜70質量部であり、前記成分Bの含有量が20〜70質量部であり、前記成分Cの含有量が1〜20質量部である。また、高密度ポリエチレンと、長鎖分岐構造を有する低密度ポリエチレンを混合した樹脂を用いてもよい。
発泡剤としては、物理発泡剤、化学発泡剤及びその混合物が挙げられる。物理発泡剤としては、空気、炭酸ガス、窒素ガス、水等の無機系物理発泡剤、及び、ブタン、ペンタン、ヘキサン、ジクロロメタン、ジクロロエタン等の有機系物理発泡剤、更には、それらの超臨界流体を適用することができる。超臨界流体としては、二酸化炭素、窒素等を用いて作ることが好ましく、窒素であれば臨界温度−149.1℃、臨界圧力3.4MPa以上、二酸化炭素であれば臨界温度31℃、臨界圧力7.4MPa以上とすることで作ることができる。
ブロー成形により形成される発泡成形体本体11の発泡倍率は任意であり、複数の気泡セルを有する独立気泡構造(独立気泡率が例えば70%以上)により構成される。厚み方向における気泡セルの平均気泡径は例えば300μm未満、好ましくは100μm未満である。
前記発泡成形体本体11に用いられる発泡樹脂の長所は、比重及び熱伝導が低いことである。これら長所を活かし、軽量化や高断熱効果を狙って様々な成形品で採用されている。反面、発泡樹脂は機械的強度が低く、負荷が加わる部位には使用することはできない。
そこで、本実施形態の発泡ブロー成形体1では、前記発泡成形体本体11において、強度が必要な部分にソリッド層12を設けている。ソリッド層12は、非発泡の樹脂からなる樹脂層であり、発泡樹脂に比べて十分な機械的強度を有する。
ソリッド層12に用いる樹脂材料は任意であるが、発泡成形体本体11のように長鎖分岐構造のポリオレフィンを加える必要は無く、製造コストの関係上、より安価な長鎖分岐構造を有しないポリオレフィンを用いるのが望ましい。
発泡成形体本体11とソリッド層12は、同系統の材料で形成することが好ましい。例えば、発泡成形体本体11を長鎖分岐ポリプロピレンで形成した場合には、ソリッド層12をポリプロピレンとすることが望ましい。あるいは、発泡成形体本体11を長鎖分岐ポリエチレンで形成した場合には、ソリッド層12をポリエチレンとすることが望ましい。発泡成形体本体11とソリッド層12に同系統の材料を使用することで、発泡成形体本体11とソリッド層12との接着性が向上し、また、樹脂の融点が同等になるため、成形時における樹脂加熱温度の調整が容易になるとともに、溶融した樹脂が金型で冷却されて固化するタイミングも合わせることができるため、成形品の変形などが抑制される。
ただし、ソリッド層12を発泡成形体本体11の表面に連続的に設けると、ソリッド層12が発泡成形体本体11を拘束して、発泡を妨げたり、破泡が起こったり、成形性に悪影響を与えるおそれがある。そこで、本実施形態の発泡ブロー成形体1では、ソリッド層12を島状(ここでは、矩形状)とし、このような問題が起こらないようにしている。なお、ここで島状とは、発泡成形体本体11の長手方向、周方向のいずれにおいても連続して延設されていない状態を言う。図2(A)及び(B)に示すように、ソリッド層12は、発泡成形体本体11の周方向、長手方向のいずれにおいても所定の寸法で形成されており、連続して延設されていない。
このような構成の発泡ブロー成形体1は、その大部分(発泡成形体本体2)が発泡樹脂層単層で構成されるため、軽量効果が維持される。また、必要な箇所にソリッド層12が付与されて部分多層構造とされているが、ソリッド層12が形成されている箇所では、周囲と比べて大幅に機械的強度を向上させることができる。
図3は、本発明を適用したダクト2の一例を示すものである。ダクト2は、図3に示すように、エアーの流路となる管状の成形体21を主体とするものであり、他のダクト等と連結するための開口部や、吹き出し口となる開口部等の開口部22を有する。ダクト2の主体となる成形体21は、軽量化や防音等のために発泡樹脂で形成されるが、外力の影響を受ける部位では強度が不足する。そこで、当該部位にソリッド層を島状に形成し、この部分の強度を高めている。
具体的には、前記ダクト2おいては、強度を向上するためのリブ23が形成されるとともに、外部取付け用のフランジ部24が形成されており。これらリブ23やフランジ部24が形成される部位は、ダクト2において特に強度が必要な部分である。そこで、本実施形態では、これらリブ23やフランジ部24の近傍にソリッド層25を形成している。
図4は、ダクト2に形成されたリブ23の近傍を示すものである。リブ23は、管状の成形体21の上面を窪ませることで形成され、その先端面が反対側の内壁面に当接することで、機械的強度の向上が図られている。図4(A)〜(C)に示すように、ソリッド層25は、リブ23の表面、及びその周辺に積層する形で形成されている。
また、図5は、ダクト2に形成されたフランジ部24を示すものである。フランジ部24は、図5(A)に示すように、成形体21を成形する際に発泡樹脂をコンプレッションすることで成形体21から突出形成されるものであり、これを取り付け固定することでダクト2が固定される。したがって、このフランジ部24も機械的強度が要求される。そこで、図5(A)〜(C)に示すように、フランジ部24の表面を覆う形でソリッド層25を形成している。
前記ダクト2では、外力の影響を受ける部位の補強としてソリッド層25を設けたが、例えばオイルフィラーパイプが有するスクリューキャップ部にソリッド層を設け部分多層構成とすることで、キャップの回転トルクの向上や、螺子部の形状転写性の向上等を実現することもできる。
図6及び図7は、オイルフィラーパイプ26のスクリューキャップ部近傍を示すものである。オイルフィラーパイプ26は、パイプ本体27と、その先端に形成されたスクリューキャップ部28とから構成される。スクリューキャップ部28には、螺子山が形成されており、前記の通り、キャップの回転トルクの向上や、螺子部の形状転写性の向上等が要求される。そこで、本実施形態のオイルフィラーパイプ26では、スクリューキャップ部28の表面にソリッド層29を設け、部分多層化している。なお、本形態において、ソリッド層29はスクリューキャップ部28の周方向に連続しているが、成形体全体(オイルフィラーパイプ26全体)で見たときには、島状に形成されていることになる。
その他、フットダクトのように局所的に荷重が掛かる製品においても、ソリッド層を島状に形成することが有用である。
次に、前述の構成を有する発泡ブロー成形体の成形装置及び成形方法について説明する。
ブロー成形等の押し出し樹脂の発泡成形では、樹脂周囲の圧力が急激に低下した瞬間に気泡が成長するため、溶融樹脂の射出直前まで樹脂流路内の圧力を保つ必要がある。そのため、発泡押出成形では、多層化が難しいとされている。
また、シートによる多層発泡成形体が既に多くの分野で採用されているが、当該製法においては、金型のキャビティ外でシートを保持する必要があるため、成形品には必ずシートを横断する外層が設けられることになり、軽量化の効果が十分に得られない。外層配置箇所のバラツキも大きくなる。さらに、シート成形はその製法上、工程内でのリサイクルはできない。
あるいは、例えば、ウレタンをブロー成形体に貼り付ける手法も採られているが、リサイクル時に除去、分別が必要であり、部材や製造タクトの損失に繋がっている。
本発明の発泡ブロー成形体の成形装置及び成形方法では、リングアキュームレータと第2の押出機を併用することにより、部分的にソリッド層を形成する成形を実現した。
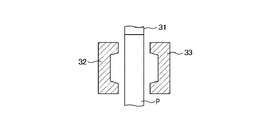
図8は、発泡ブロー成形装置の概略構成を示すものであり、基本的には、押出機(アキュームレータ)31と、これを賦形する一対の金型32,33とから構成される。成形に際しては、押出機31から押し出された溶融樹脂からなるパリソンPを一対の金型32,33で挟み込んで賦形し、これを金型32,33から取り出すことで発泡ブロー成形体を得る。
ここで、押出機31には、図9に示すように、溶融発泡樹脂を供給する主アキュームレータ40と、側面からソリッド層を形成するための溶融樹脂をパリソンPに付加するサイドアキュームレータ50とを備える。
主アキュームレータ40は、円環状のダイ41と、その中央に配されるコア42とを有して構成され、これらダイ41とコア42の間の環状スリット43を溶融樹脂が通過することにより、円環状のパリソンPが押し出される。ここで、ダイ41とコア42の間の環状スリット43の間隔を調整することで、パリソンの肉厚を調整することができる。
サイドアキュームレータ50は、ソリッド層を形成するための溶融樹脂を供給するための押出機51を備え、その投入口52から投入された樹脂がスクリューを備えたシリンダ53内で溶融混練され、サイドアキュームレータ50に供給される。サイドアキュームレータ50では、ソリッド層形成用の溶融樹脂を間欠的にパリソンPの表面に付与する。
図10は、パリソンPへのソリッド層形成用樹脂Sの付与状態を模式的に示すものである。サイドアキュームレータ50から間欠的にソリッド層形成用樹脂Sを供給することで、パリソンPの周方向、押し出し方向(長手方向)のいずれにおいても連続していない状態で、パリソンP表面にソリッド層形成用樹脂Sを島状に付与することができる。このように表面に島状のソリッド層形成用樹脂Sが付与されたパリソンPを金型32,33で成形することにより、島状のソリッド層が形成された発泡ブロー成形体を成形することができる。
前述の発泡ブロー成形体の成形装置及び成形方法では、機能を付与したい部分のみをピンポイントで多層化することができ、基材である発泡樹脂における破泡や発泡不良等を抑えることができる。また、全体が多層化された成形体に比べ、重量も削減することが可能である。さらに、機能を付与したい部分だけ多層とすることで、全体あるいは周方向や長手方向に連続して多層とした成形体に比べ、製造コストを抑えることができる。
さらにまた、本発明の発泡ブロー成形体の成形装置及び成形方法では、製造工程におけるリサイクルが可能であり、分別が不要といった長所も有している。
以上、本発明を適用した実施形態についてを説明してきたが、本発明が前述の実施形態に限られるものでないことは言うまでもなく、本発明の要旨を逸脱しない範囲において、種々の変更を加えることが可能である。
1 発泡ブロー成形体
11 発泡成形体本体
12 ソリッド層
2 ダクト
21 成形体
22 開口部
23 リブ
24 フランジ部
25 ソリッド層
26 オイルフィラーパイプ
27 パイプ本体
28 スクリューキャップ部
29 ソリッド層
31 押出機
40 主アキュームレータ
41 ダイ
42 コア
43 環状スリット
50 サイドアキュームレータ
51 押出機
52 投入口
53 シリンダ
P パリソン
S ソリッド層形成用樹脂

Claims (2)

  1. 溶融樹脂からなるパリソンを供給するアキュームレータと、パリソンを挟み込んで賦形する一対の金型とを備え、
    前記アキュームレータは、溶融発泡樹脂からなるパリソンを供給する主アキュームレータと、前記溶融発泡樹脂からなるパリソンに対して間欠的に溶融樹脂を供給し、溶融した非発泡の樹脂からなる層を島状に付与するサイドアキュームレータとから構成されることを特徴とする発泡ブロー成形装置。
  2. 溶融樹脂からなるパリソンを供給し、当該パリソンを一対の金型で挟み込んで賦形する発泡ブロー成形方法であって、
    溶融発泡樹脂からなるパリソンを供給するとともに、前記溶融発泡樹脂からなるパリソンに対して間欠的に溶融樹脂を供給し、溶融した非発泡の樹脂からなる層を島状に付与することを特徴とする発泡ブロー成形方法。
JP2017192628A 2017-10-02 2017-10-02 発泡ブロー成形体、発泡ブロー成形装置、及び発泡ブロー成形方法 Active JP6941266B2 (ja)

Priority Applications (1)

Application Number Priority Date Filing Date Title
JP2017192628A JP6941266B2 (ja) 2017-10-02 2017-10-02 発泡ブロー成形体、発泡ブロー成形装置、及び発泡ブロー成形方法

Applications Claiming Priority (1)

Application Number Priority Date Filing Date Title
JP2017192628A JP6941266B2 (ja) 2017-10-02 2017-10-02 発泡ブロー成形体、発泡ブロー成形装置、及び発泡ブロー成形方法

Publications (2)

Publication Number Publication Date
JP2019064173A JP2019064173A (ja) 2019-04-25
JP6941266B2 true JP6941266B2 (ja) 2021-09-29

Family

ID=66337167

Family Applications (1)

Application Number Title Priority Date Filing Date
JP2017192628A Active JP6941266B2 (ja) 2017-10-02 2017-10-02 発泡ブロー成形体、発泡ブロー成形装置、及び発泡ブロー成形方法

Country Status (1)

Country Link
JP (1) JP6941266B2 (ja)

Family Cites Families (1)

* Cited by examiner, † Cited by third party
Publication number Priority date Publication date Assignee Title
JP4071373B2 (ja) * 1998-09-12 2008-04-02 株式会社イノアックコーポレーション 車両用ダクトおよびその製造方法

Also Published As

Publication number Publication date
JP2019064173A (ja) 2019-04-25

Similar Documents

Publication Publication Date Title
JP5025549B2 (ja) 発泡ブロー成形品およびその製造方法
US11608420B2 (en) Molded foam
EP2628990B1 (en) Molded foam
JP5565133B2 (ja) 中空発泡成形体の製造方法及び中空発泡成形体
EP2646238B1 (en) Hollow article of variable wall structure density
JP6941266B2 (ja) 発泡ブロー成形体、発泡ブロー成形装置、及び発泡ブロー成形方法
JP2018058352A (ja) 発泡成形体の製造方法
JP5552833B2 (ja) 空調ダクト及び輸送機
JP2015074154A (ja) 発泡押出機、発泡押出方法、発泡ブロー成形品の製造方法
US20180290515A1 (en) Multi-layer blow molded extrusion
US11701860B2 (en) Structure, structure for vehicles, and air conditioning duct for vehicles
JP6741967B2 (ja) ダクト
US11161285B2 (en) Sub-ambient pressure morphology control process for use in molding extruded polymer foams, and parts produced therefrom
JP6688968B2 (ja) 成形方法及び成形体
JP7485941B2 (ja) 成形体の製造方法及び成形体
CN106457647B (zh) 发泡成形体
JP2020001322A (ja) 成形体及びその製造方法
JPH072391B2 (ja) 熱可塑性樹脂製中空体とその製造方法
KR20220115631A (ko) 에어링 터널을 구비한 발포시트 제조장치
TR201606115A2 (tr) Köpük katmanli, i̇çi̇ boş olan, üflemeyle kaliplanmiş araç parçalari
JPH10166433A (ja) 多層パリソンの製造方法、この多層パリソンを使用するブロー成形方法及びその装置

Legal Events

Date Code Title Description
A621 Written request for application examination

Free format text: JAPANESE INTERMEDIATE CODE: A621

Effective date: 20200802

A977 Report on retrieval

Free format text: JAPANESE INTERMEDIATE CODE: A971007

Effective date: 20210331

A131 Notification of reasons for refusal

Free format text: JAPANESE INTERMEDIATE CODE: A131

Effective date: 20210407

A521 Request for written amendment filed

Free format text: JAPANESE INTERMEDIATE CODE: A523

Effective date: 20210604

TRDD Decision of grant or rejection written
A01 Written decision to grant a patent or to grant a registration (utility model)

Free format text: JAPANESE INTERMEDIATE CODE: A01

Effective date: 20210804

A61 First payment of annual fees (during grant procedure)

Free format text: JAPANESE INTERMEDIATE CODE: A61

Effective date: 20210817

R150 Certificate of patent or registration of utility model

Ref document number: 6941266

Country of ref document: JP

Free format text: JAPANESE INTERMEDIATE CODE: R150

R250 Receipt of annual fees

Free format text: JAPANESE INTERMEDIATE CODE: R250

R250 Receipt of annual fees

Free format text: JAPANESE INTERMEDIATE CODE: R250