[go: up one dir, main page]

JP6760665B2 - Portable beverage bottle - Google Patents

Portable beverage bottle Download PDF

Info

Publication number
JP6760665B2
JP6760665B2 JP2018215558A JP2018215558A JP6760665B2 JP 6760665 B2 JP6760665 B2 JP 6760665B2 JP 2018215558 A JP2018215558 A JP 2018215558A JP 2018215558 A JP2018215558 A JP 2018215558A JP 6760665 B2 JP6760665 B2 JP 6760665B2
Authority
JP
Japan
Prior art keywords
lock
lock member
locking
cap
lid
Prior art date
Legal status (The legal status is an assumption and is not a legal conclusion. Google has not performed a legal analysis and makes no representation as to the accuracy of the status listed.)
Expired - Fee Related
Application number
JP2018215558A
Other languages
Japanese (ja)
Other versions
JP2020083331A (en
Inventor
俊介 福村
俊介 福村
Original Assignee
タケヤ化学工業株式会社
Priority date (The priority date is an assumption and is not a legal conclusion. Google has not performed a legal analysis and makes no representation as to the accuracy of the date listed.)
Filing date
Publication date
Application filed by タケヤ化学工業株式会社 filed Critical タケヤ化学工業株式会社
Priority to JP2018215558A priority Critical patent/JP6760665B2/en
Publication of JP2020083331A publication Critical patent/JP2020083331A/en
Application granted granted Critical
Publication of JP6760665B2 publication Critical patent/JP6760665B2/en
Expired - Fee Related legal-status Critical Current
Anticipated expiration legal-status Critical

Links

Images

Landscapes

  • Closures For Containers (AREA)

Description

本発明は、携帯用飲料ボトルに関する。 The present invention relates to a portable beverage bottle.

従来の携帯用飲料ボトルは、ボトル本体の開口部に取着する蓋部材と、蓋部材に揺動自在に枢着されると共に蓋部材の口部を施蓋するためのキャップ部材と、を備え、さらに、蓋部材に枢着されキャップ部材を閉状態に保持する第1のロックを行う第1ロック部材と、第1ロック部材にて閉状態に保持されたキャップ部材を起立状姿勢で係止して第2のロックを行う門型の第2ロック部材と、を備えた携帯用飲料ボトルが公知である(例えば、特許文献1参照)。 A conventional portable beverage bottle includes a lid member that is attached to the opening of the bottle body, and a cap member that is swingably pivotally attached to the lid member and that covers the mouth of the lid member. Further, the first lock member that is pivotally attached to the lid member and holds the cap member in the closed state and the cap member that is held in the closed state by the first lock member are locked in an upright posture. A portable beverage bottle provided with a gate-shaped second locking member for performing the second locking is known (see, for example, Patent Document 1).

特開2010−23854号公報Japanese Unexamined Patent Publication No. 2010-23854

しかし、第1ロック部材と第2ロック部材とで二重ロックされているキャップ部材を開状態にする際に、先ず、第2ロック部材を、起立状姿勢から垂下状姿勢に揺動操作して、第2のロック(第2ロック部材とキャップ部材との係合)を解除し、次に、第1ロック部材の下部を、使用者の指で押圧して、第1のロック(第1ロック部材とキャップ部材との係合)を解除するため、操作が煩わしいといった問題があった。 However, when opening the cap member that is double-locked by the first lock member and the second lock member, first, the second lock member is swung from an upright position to a hanging position. , The second lock (engagement between the second lock member and the cap member) is released, and then the lower part of the first lock member is pressed with the user's finger to press the first lock (first lock). There is a problem that the operation is troublesome because the engagement between the member and the cap member) is released.

そこで、本発明は、第1のロックと第2のロックを行える二重ロック構造でありながら、キャップ部材を容易に素早く開くことが可能な使い勝手の良い携帯用飲料ボトルの提供を目的とする。 Therefore, an object of the present invention is to provide an easy-to-use portable beverage bottle that can open the cap member easily and quickly while having a double lock structure capable of performing the first lock and the second lock.

本発明の携帯用飲料ボトルは、ボトル本体を施蓋するキャップ部材を閉状態に保持して第1のロックを行う第1ロック部材と、上記第1ロック部材にて閉状態に保持された上記キャップ部材を起立状姿勢で係止して第2のロックを行う門型の第2ロック部材と、を備えた携帯用飲料ボトルに於て、上記第2ロック部材を上記起立状姿勢から下方へ揺動して第2のロックを解除すると共に、下方へ揺動して垂下状姿勢となった上記第2ロック部材にて上記第1ロック部材を押圧して第1のロックを解除するように構成したものである。 In the portable beverage bottle of the present invention, the first lock member that holds the cap member that covers the bottle body in the closed state to perform the first lock, and the first lock member that is held in the closed state by the first lock member. In a portable beverage bottle provided with a gate-shaped second lock member that locks the cap member in an upright position to perform a second lock, the second lock member is moved downward from the upright position. The first lock member is pressed by the second lock member which swings downward to release the second lock and the second lock member swings downward to release the first lock. It is configured.

また、有底筒状のボトル本体と、該ボトル本体に施蓋状に取着されると共に飲料吐出用の口部を有する蓋部材と、上記蓋部材に揺動自在に枢着されると共に上記口部を施蓋するためのキャップ部材と、上記蓋部材にシーソー状に揺動自在に枢着され上記キャップ部材を閉状態に保持して第1のロックを行う第1係止部を上部に有すると共に下部に押圧操作される被押圧部を有する第1ロック部材と、上記蓋部材に起立状姿勢と垂下状姿勢とに揺動切換自在に枢着され上記第1ロック部材にて閉状態に保持された上記キャップ部材を起立状姿勢で係止して第2のロックを行う門型の第2ロック部材と、を備えた携帯用飲料ボトルであって、上記第2ロック部材は、上記第1ロック部材の両側に配設される一対の柱部の先端部を連結する連結部に、上記起立状姿勢で閉状態の上記キャップ部材に係止する第2係止部を有すると共に、上記垂下状姿勢で上記第1ロック部材の上記被押圧部を押圧する押圧部を有し、上記第2ロック部材を上記起立状姿勢から下方へ揺動して第2のロックを解除すると共に、下方へ揺動して垂下状姿勢となった上記第2ロック部材の上記押圧部にて上記第1ロック部材の上記被押圧部を押圧して第1のロックを解除するように構成したものである。 Further, a bottomed tubular bottle body, a lid member which is attached to the bottle body like a lid and has a mouth portion for discharging a beverage, and a lid member which is swingably pivotally attached to the lid member and described above. A cap member for covering the mouth portion and a first locking portion that is swingably pivotally attached to the lid member in a seesaw shape to hold the cap member in a closed state and perform a first lock are on the upper part. A first lock member having a pressed portion that is held and pressed at the bottom, and a lid member that is pivotally attached to the lid member in an upright position and a hanging position so as to be swingably switchable, and closed by the first lock member. A portable beverage bottle comprising a gate-shaped second lock member that locks the held cap member in an upright position to perform a second lock, wherein the second lock member is the first lock member. 1 The connecting portion connecting the tip portions of the pair of pillar portions arranged on both sides of the locking member has a second locking portion for locking to the cap member in the closed state in the upright posture, and the hanging portion. It has a pressing portion that presses the pressed portion of the first locking member in a state posture, and swings the second locking member downward from the standing posture to release the second lock and downward. The first lock is released by pressing the pressed portion of the first lock member with the pressing portion of the second lock member that swings and becomes a hanging posture.

また、ゴム製の滑り止め用のリング部材を上記蓋部材に外嵌状に取着し、上記第1ロック部材の下部を前方へ常時弾発付勢するための戻し用弾発付勢部を、上記リング部材の一部をもって構成したものである。
また、上記第1ロック部材は、上下中間部が水平状の第1枢着軸心廻りに揺動自在に枢着され、上記第2ロック部材は、水平状の第2枢着軸心廻りに揺動自在に枢着され、上記第2枢着軸心を、上記第1枢着軸心よりも上位置に配設したものである。
Further, a rubber anti-slip ring member is attached to the lid member in an outer fit shape, and a return bullet urging portion for constantly urging the lower portion of the first lock member forward is provided. , It is composed of a part of the above ring member.
Further, the first lock member is pivotally attached to the upper and lower intermediate portions around the horizontal first pivot axis center, and the second lock member is pivotally attached around the horizontal second pivot axis center. It is oscillatingly pivotally attached, and the second pivotal axis is arranged at a position higher than the first pivotal axis.

本発明によれば、第2ロック部材とキャップ部材との係合を解除する操作から連続的に(流れるように)、第1ロック部材とキャップ部材との係合を解除でき、キャップ部材を素早く開くことができる。第1のロックと第2のロックを行える2重ロック構造でありながら直観的に、かつ、容易に開操作できて、使い勝手が良い。 According to the present invention, the engagement between the first lock member and the cap member can be disengaged continuously (flowing) from the operation of disengaging the cap member with the second lock member, and the cap member can be quickly disengaged. Can be opened. Although it has a double lock structure that can perform the first lock and the second lock, it can be opened intuitively and easily, and is easy to use.

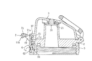
本発明の実施の一形態を示す斜視図である。It is a perspective view which shows one Embodiment of this invention. 要部正面図である。It is a front view of a main part. 要部断面側面図である。It is a cross-sectional side view of a main part. 第2ロック解除状態の要部断面側面図であるIt is a cross-sectional side view of the main part in the second unlocked state. 第1ロック解除状態の要部断面側面図である。It is a cross-sectional side view of the main part in the 1st unlocked state. 蓋部材の一例を示す全体図であって、(A)は正面図であり、(B)は側面図であり、(C)は斜視図である。It is an overall view which shows an example of a lid member, (A) is a front view, (B) is a side view, and (C) is a perspective view. リング部材の全体図であって、(A)は平面図であり、(B)正面図であり、(C)は斜視図である。It is an overall view of a ring member, (A) is a plan view, (B) is a front view, and (C) is a perspective view. 実施例と比較例の比較説明図である。It is a comparative explanatory diagram of an Example and a comparative example. 実施例と他の比較例の比較説明図である。It is a comparative explanatory diagram of an Example and another comparative example.

以下、図示の実施形態に基づき本発明を詳説する。
本発明に係る携帯用飲料ボトルは、図1乃至図3に示すように、有底筒状のボトル本体1と、ボトル本体1の開口部に取着される蓋部材2を介してボトル本体1を施蓋するキャップ部材3と、キャップ部材3を閉状態に保持して第1のロックを行う第1ロック部材6と、第1ロック部材6にて閉状態に保持されたキャップ部材3を起立状姿勢で係止して第2のロックを行う門型の第2ロック部材7と、を備えた二重ロック構造の携帯用飲料ボトルである。
Hereinafter, the present invention will be described in detail based on the illustrated embodiment.
As shown in FIGS. 1 to 3, the portable beverage bottle according to the present invention has a bottomed tubular bottle body 1 and a bottle body 1 via a lid member 2 attached to an opening of the bottle body 1. The cap member 3 for covering the lid, the first lock member 6 for holding the cap member 3 in the closed state and performing the first lock, and the cap member 3 held in the closed state by the first lock member 6 stand up. It is a portable beverage bottle having a double lock structure, comprising a gate-shaped second lock member 7 that locks in a shape and performs a second lock.

ボトル本体1は、金属製であって、二重筒状の断熱構造を有し、上方開口状の口部と、口部の上部外周面に形成された雄ネジ部と、を有している。
蓋部材2は、樹脂製であって、ボトル本体1に施蓋状に取着されると共に、飲料突出用の口部21を有している。
The bottle body 1 is made of metal, has a double-cylindrical heat insulating structure, and has an upper opening-shaped mouth portion and a male screw portion formed on the upper outer peripheral surface of the mouth portion. ..
The lid member 2 is made of resin and is attached to the bottle body 1 in a lid-like manner and has a mouth portion 21 for protruding a beverage.

キャップ部材3は、外周壁部35と天井壁部34を有する有蓋円筒状の樹脂製のキャップ本体30と、キャップ本体30の天井壁部34に取着されキャップ閉状態で蓋部材2の口部21を密封状に施蓋する傘状のゴム製のシール部材39と、を有している。 The cap member 3 is attached to a covered cylindrical resin cap main body 30 having an outer peripheral wall portion 35 and a ceiling wall portion 34, and a ceiling wall portion 34 of the cap main body 30, and the mouth portion of the lid member 2 in a closed state. It has an umbrella-shaped rubber sealing member 39 that covers 21 in a sealed shape.

キャップ本体30は、外周壁部35の後部に蓋部材2に枢着するキャップ枢着部33を後方突出状に有し、水平状軸心L廻りに開閉揺動自在に蓋部材2に枢着している。
キャップ本体30は、外周壁部35の前部に、第1ロック部材6が係脱可能(自在)な第1キャップ係止部36と、第1キャップ係止部36よりも上位置で起立状姿勢の第2ロック部材7が係合可能な第2キャップ係止部37と、を有している。
また、キャップ本体30は、蓋部材2とキャップ本体30の間に介装した図示省略の弾発付勢部材によって、開揺動方向へ常時弾発付勢されている。
Cap body 30 is pivotally cap hinged portion 33 that pivotally mounted on the cover member 2 at the rear of the outer peripheral wall portion 35 has a rearwardly projecting shape, openably swing horizontally axis L 3 around the lid member 2 I'm wearing it.
The cap body 30 stands on the front portion of the outer peripheral wall portion 35 at a position above the first cap locking portion 36 and the first cap locking portion 36 in which the first locking member 6 can be engaged and detached (freely). It has a second cap locking portion 37 with which the second locking member 7 in the posture can be engaged.
Further, the cap body 30 is constantly urged in the open swing direction by a bullet urging member (not shown) interposed between the lid member 2 and the cap body 30.

第1ロック部材6は、樹脂製(樹脂成型品)であって、上下中間部が蓋部材2に枢着され、水平状の第1枢着軸心L廻りにシーソー状に前後揺動自在である。
第1ロック部材6は、上部(第1枢着軸心L6 よりも上位置)に、第1キャップ係止部36に係止してキャップ部材3を閉状態に保持するための爪型(フック型)の第1係止部61を有している。さらに、第1ロック部材6は、下部(第1枢着軸心Lよりも下位置)に押圧操作される被押圧部62を前方突出状に有している。
The first locking member 6 is made of a resin (resin molding), upper and lower intermediate portion is pivotally mounted on the cover member 2, freely back and forth swing like a seesaw in a horizontal form of the first pivot axis L 6 around Is.
The first lock member 6 is a claw type (position above the first pivot center L 6 ) for locking the first cap locking portion 36 to hold the cap member 3 in the closed state. It has a first locking portion 61 (hook type). Further, the first lock member 6 has a pressed portion 62 that is pressed downward (position below the first pivot center L 6 ) so as to project forward.

そして、第1ロック部材6の下部と、蓋部材2の周壁部23の間に介装したゴム製の戻し用弾発付勢部56によって、第1ロック部材6の被押圧部62は、前方へ常時弾発付勢されている。
第1ロック部材6は、被押圧部62が後方へ押圧操作された後、押圧操作力が解除されると、戻し用弾発付勢部56からの弾発付勢力(弾性的復元力)を受けて、押圧操作される前の所定の基準姿勢(所定の基準位置)に戻るように構成している。
Then, the pressed portion 62 of the first lock member 6 is moved forward by the rubber return elastic urging portion 56 interposed between the lower portion of the first lock member 6 and the peripheral wall portion 23 of the lid member 2. It is constantly being urged to fire.
When the pressing operation force is released after the pressed portion 62 is pressed backward, the first lock member 6 applies the elastic urging force (elastic restoring force) from the returning elastic urging portion 56. It is configured to receive and return to a predetermined reference posture (predetermined reference position) before the pressing operation.

第2ロック部材7は、門型の樹脂製(樹脂成形品)であって、第1ロック部材6の左右両側に配設された左右一対の柱部72,72と、一対の柱部72,72の先端部を左右方向に連結する連結部71と、を有している。
第2ロック部材7は、柱部72の基端部が蓋部材2に枢着され、水平状の第2枢着軸心L廻りに揺動自在であって、連結部71が第2枢着軸心Lよりも上位置となる起立状姿勢と、連結部71が第2枢着軸心Lよりも下位置となる垂下状姿勢とに揺動切換自在である。
The second lock member 7 is made of a gate-shaped resin (resin molded product), and is a pair of left and right pillar portions 72, 72 and a pair of pillar portions 72, arranged on both the left and right sides of the first lock member 6. It has a connecting portion 71 that connects the tip portions of the 72 in the left-right direction.
The second locking member 7, the proximal end portion of the pillar portion 72 is pivotally mounted on the cover member 2, a swingable horizontal shaped second pivot axis L 7 around the connecting portion 71 and the second pivot and upright shape and orientation as the upper position than Chakujikukokoro L 7, connecting part 71 is pivotable switching on and hanging shape and orientation as the lower position than the second pivot axis L 7.

第2ロック部材7の連結部71は、第1ロック部材6にて閉状態に保持されたキャップ部材3の第2キャップ係止部37に起立状姿勢で係止する第2係止部71aを有している。
第2係止部71aは、連結部71の一部をもって形成され、起立状姿勢で下方を向く小凸状に設けている。小凸状の第2係止部71aは、第2キャップ係止部37に凹設した小窪部に係脱自在である。
或いは、第2係止部71aを小窪状とし、第2キャップ係止部37に小凸部を設けて、係脱自在とするも良い。なお、第2係止部71aは、小凸状や小窪状に限らず、第2キャップ係止部37に係止可能であれば平坦状とするも良く、形状は自由である。
The connecting portion 71 of the second locking member 7 has a second locking portion 71a that locks to the second cap locking portion 37 of the cap member 3 held in the closed state by the first locking member 6 in an upright posture. Have.
The second locking portion 71a is formed by a part of the connecting portion 71, and is provided in a small convex shape facing downward in an upright posture. The small convex second locking portion 71a can be engaged with and detached from the small recess recessed in the second cap locking portion 37.
Alternatively, the second locking portion 71a may be shaped like a small depression, and the second cap locking portion 37 may be provided with a small convex portion so that the second locking portion 71a can be engaged and disengaged. The second locking portion 71a is not limited to a small convex shape or a small hollow shape, and may be flat as long as it can be locked to the second cap locking portion 37, and the shape is free.

さらに、第2ロック部材7は、キャップ部材3を閉状態に保持している第1ロック部材6の被押圧部62を、垂下状姿勢で押圧する押圧部71bを有している。
押圧部71bは、連結部71の一部をもって形成され、垂下状姿勢で後方突出状に形成されている。なお、押圧部71bは第1ロック部材6の被押圧部62を押圧可能な形状であれば、形状は自由である。また、連結部71は、第2ロック部材7を揺動操作する際に、使用者の指を当接させて操作する揺動操作部(指操作部)でもある。
Further, the second lock member 7 has a pressing portion 71b that presses the pressed portion 62 of the first locking member 6 that holds the cap member 3 in the closed state in a hanging posture.
The pressing portion 71b is formed by a part of the connecting portion 71, and is formed in a hanging posture and a rearward protrusion. The pressing portion 71b can have any shape as long as it can press the pressed portion 62 of the first lock member 6. Further, the connecting portion 71 is also a swinging operation unit (finger operating unit) that is operated by bringing the user's finger into contact with the second lock member 7 when swinging the second lock member 7.

そして、図1乃至図3に示すように、第1ロック部材6の第1係止部61が、閉状態のキャップ部材3の第1キャップ係止部36に係止して閉状態に保持する第1ロックを行い、かつ、起立状姿勢の第2ロック部材7の連結部71の第2係止部71aが、第1ロック部材6にて閉状態に保持されたキャップ部材3の第2キャップ係止部37に係止して第2ロックを行っている二重ロック状態とできる。 Then, as shown in FIGS. 1 to 3, the first locking portion 61 of the first locking member 6 is locked to the first cap locking portion 36 of the closed cap member 3 and held in the closed state. The second cap of the cap member 3 in which the second locking portion 71a of the connecting portion 71 of the second locking member 7 in the upright posture is held in the closed state by the first locking member 6 while performing the first locking. It can be in a double-locked state in which the second lock is performed by locking the locking portion 37.

さらに、図4に示すように、第2ロック部材7を起立状姿勢から前下方揺動させると、連結部71の第2係止部71aが第2キャップ係止部37から離脱して、先ず、第2のロックが解除される。そして、第2ロック部材7の連結部71を、さらに、前下方揺動させ、水平状姿勢を介して、垂下状姿勢にまで揺動操作すると、図5に示すように、第2ロック部材7の連結部71の押圧部71bが、第1ロック部材6の被押圧部62を後方へ押圧し、第1ロック部材6の第1係止部61が前方へ揺動して第1キャップ係止部36から離脱して、第1ロックが解除され、キャップ部材3が図示省略の弾発付勢部材の弾発力にて開揺動を開始して、キャップ部材3が後方へ揺動したキャップ開状態(二重ロック解除状態)となる。 Further, as shown in FIG. 4, when the second locking member 7 is swung forward and downward from the upright posture, the second locking portion 71a of the connecting portion 71 is separated from the second cap locking portion 37, and first , The second lock is released. Then, when the connecting portion 71 of the second lock member 7 is further swung forward and downward and swung to the hanging posture via the horizontal posture, as shown in FIG. 5, the second lock member 7 is swung. The pressing portion 71b of the connecting portion 71 of the first locking member 6 presses the pressed portion 62 of the first locking member 6 backward, and the first locking portion 61 of the first locking member 6 swings forward to lock the first cap. The cap member 3 is released from the portion 36, the first lock is released, the cap member 3 starts to open and swing by the elastic force of the elastic urging member (not shown), and the cap member 3 swings backward. It will be in the open state (double unlock state).

即ち、使用者は、第2ロック部材7を、起立状姿勢から水平状姿勢を介して垂下状姿勢にする下方への揺動操作にて、第1のロックと第2のロックを解除することが可能である。
つまり、1つの部材を用いて、ワンモーション行うだけで、2つのロックを解除できる。
That is, the user releases the first lock and the second lock by swinging the second lock member 7 downward from the standing posture to the hanging posture via the horizontal posture. Is possible.
That is, two locks can be released only by performing one motion using one member.

また、第2枢着軸心Lを、第1枢着軸心Lよりも上位置に配設することで、被押圧部62を強い力で押圧しないと後方へ揺動しないように(第1のロックが解除されないように)構成している。 Further, by arranging the second pivot center L 7 at a position higher than the first pivot center L 6 , the pressed portion 62 is not swung backward unless it is pressed with a strong force ( (To prevent the first lock from being released).

例えば、図8に於て実線で示す第2ロック部材7を実施例と呼び、二点鎖線で示す第2ロック部材7´を比較例と呼ぶ。実施例の第2ロック部材7は第2枢着軸心Lで枢着している。比較例の第2ロック部材7´は第1枢着軸心Lで枢着している(第1ロック部材6と同軸心状に設けている)。
実施例の第2ロック部材7の押圧部71bに比べて、比較例の第2ロック部材7´の押圧部71b´は、垂下状姿勢で、下位置に配設されることになる。
つまり、実施例は比較例と比べて、第1ロック部材6の被押圧部62を第1枢着軸心Lに接近させて配設させることができ、被押圧部62を強い力で押圧しないと後方へ揺動しない(第1のロックが解除されない)構成とすることができる。
For example, the second lock member 7 shown by the solid line in FIG. 8 is referred to as an embodiment, and the second lock member 7'shown by the alternate long and short dash line is referred to as a comparative example. The second lock member 7 of the embodiment is pivotally attached at the second pivot center L 7 . The second lock member 7'of the comparative example is pivotally attached at the first pivot center L 6 (provided coaxially with the first lock member 6).
Compared with the pressing portion 71b of the second lock member 7 of the embodiment, the pressing portion 71b'of the second lock member 7'of the comparative example is arranged in a hanging posture at a lower position.
That is, in the embodiment, as compared with the comparative example, the pressed portion 62 of the first lock member 6 can be arranged closer to the first pivot center L 6, and the pressed portion 62 is pressed with a strong force. Otherwise, it can be configured so that it does not swing backward (the first lock is not released).

また、第2枢着軸心Lを、第1枢着軸心Lよりも上位置に配設することで、第2ロック部材7の連結部(揺動操作部)71を、第2ロック部材7を揺動させる際に大きな操作力を付与しやすい配置に構成している。 Further, by disposing the second pivot center L 7 at a position higher than the first pivot center L 6 , the connecting portion (swing operation portion) 71 of the second lock member 7 can be seconded. It is configured so that a large operating force can be easily applied when the lock member 7 is swung.

例えば、図9に於て実線で示す第2ロック部材7を実施例と呼び、二点鎖線で示す第2ロック部材7″を他の比較例と呼ぶ。実施例の第2ロック部材7は第2枢着軸心Lで枢着している。他の比較例の第2ロック部材7″は第1枢着軸心Lで枢着している(第1ロック部材6と同軸心状に設けている)。そして、実施例の押圧部71b及び他の比較例の押圧部71b″は、垂下状姿勢で、第1ロック部材6の被押圧部62を、押圧するように設けている。 For example, the second lock member 7 shown by the solid line in FIG. 9 is referred to as an embodiment, and the second lock member 7 ″ shown by the alternate long and short dash line is referred to as another comparative example. 2 It is pivotally attached at the pivot center L 7. The second lock member 7 ″ of another comparative example is pivotally attached at the first pivot center L 6 (coaxial core shape with the first lock member 6). It is provided in). The pressing portion 71b of the embodiment and the pressing portion 71b ″ of another comparative example are provided so as to press the pressed portion 62 of the first lock member 6 in a hanging posture.

実施例の第2ロック部材7の連結部71は、他の比較例の第2ロック部材7″の連結部71″に比べて、上位置に配設されることになる。
つまり、実施例の第2ロック部材7の連結部71の先端から自らの枢着点(第2枢着軸心L)までの実施揺動半径Rと呼び、他の比較例の第2ロック部材7″の連結部71″の先端から自らの枢着点(第1枢着軸心L)までの距離を比較揺動半径R″と呼ぶと、実施揺動半径Rは、比較揺動半径R″よりも大きくなる。
即ち、実施例は他の比較例に比べて、指等で揺動させやすく、大周りして被押圧部62に接近させることができ、大きな操作力を付与しやすい構成としている。
The connecting portion 71 of the second lock member 7 of the embodiment is arranged at an upper position as compared with the connecting portion 71 ″ of the second lock member 7 ″ of another comparative example.
That is, it is called the implementation swing radius R from the tip of the connecting portion 71 of the second lock member 7 of the embodiment to its own pivot point (second pivot center L 7 ), and the second lock of another comparative example. its pivot point from the tip of the "connecting portion 71 of the" member 7 when referred to as a (first pivot axis L 6) up to a distance comparison swing radius R of the "implementation swing radius R, the comparison swing It is larger than the radius R ″.
That is, as compared with other comparative examples, the embodiment is configured to be easily swung with a finger or the like, to be able to make a large turn and approach the pressed portion 62, and to easily apply a large operating force.

さらに、図1乃至図5に示すように、蓋部材2に、シリコーンゴム等のゴム製の滑り止め用のリング部材5を、外嵌状に取着している。 Further, as shown in FIGS. 1 to 5, a non-slip ring member 5 made of rubber such as silicone rubber is attached to the lid member 2 in an outer fit shape.

図6に示すように、蓋部材2は、樹脂製(樹脂成形品)であって、口部21を有する煙突状部が突設された上壁部22と、ボトル本体1の雄ネジ部に螺合する雌ネジ部が内周面に形成された周壁部23と、キャップ部材3が枢着する後方突出状の枢着部24を有している。
さらに、周壁部23は、ラジアル内方へ凹設された外周溝23dを有している。
As shown in FIG. 6, the lid member 2 is made of resin (resin molded product), and is formed on an upper wall portion 22 having a chimney-shaped portion having a mouth portion 21 and a male screw portion of the bottle body 1. It has a peripheral wall portion 23 in which a female screw portion to be screwed is formed on the inner peripheral surface, and a rearwardly projecting pivot portion 24 to which the cap member 3 is pivotally attached.
Further, the peripheral wall portion 23 has an outer peripheral groove 23d recessed inward in the radial direction.

そして、図7に示すように、滑り止め用のリング部材5は、蓋部材2の外周溝23dに弾性的復元力によって外嵌状に取着する環状部(ゴムバンド部)51と、環状部51の前側の外周面から前方突出状に設けた戻し用弾発付勢部56と、を有している。つまり、リング部材5の一部(前部)をもって戻し用弾発付勢部56を構成している。 Then, as shown in FIG. 7, the non-slip ring member 5 has an annular portion (rubber band portion) 51 that is externally fitted to the outer peripheral groove 23d of the lid member 2 by an elastic restoring force, and an annular portion. It has a return elastic urging portion 56 provided so as to project forward from the outer peripheral surface on the front side of the 51. That is, a part (front portion) of the ring member 5 constitutes the return bullet urging portion 56.

さらに、リング部材5は、図1乃至図5に示すように、組立状態で第1ロック部材6の下部が上方から差込み状に配設され被押圧部62の前面を露出させる前方開口状の窓部52aを前壁部52eに有する上方開口箱形状の保護カバー部52を有している。 Further, as shown in FIGS. 1 to 5, the ring member 5 is a front opening-shaped window in which the lower portion of the first lock member 6 is inserted from above in the assembled state to expose the front surface of the pressed portion 62. It has an upper opening box-shaped protective cover portion 52 having a portion 52a on the front wall portion 52e.

第1ロック部材6は、キャップ部材3と係合している起立状姿勢(基準姿勢)において、被押圧部62が保護カバー部52の前壁部52eよりも前方へ突出しないように設けている。
即ち、被押圧部62の上下左右は、保護カバー部52の前壁部52e(の窓枠部)に包囲され、人の指や物等によって押圧されにくい。
The first lock member 6 is provided so that the pressed portion 62 does not protrude forward from the front wall portion 52e of the protective cover portion 52 in the upright posture (reference posture) engaged with the cap member 3. ..
That is, the upper, lower, left and right sides of the pressed portion 62 are surrounded by the front wall portion 52e (window frame portion) of the protective cover portion 52, and are not easily pressed by a human finger or an object.

このように、リング部材5は、環状部51と、戻し用弾発付勢部56と、保護カバー部52と、を一体に有する(設けた)、ゴム製の一体成形品としているので、(別体に設けた場合と比べて)、部品点数の削減や小さな部品の紛失を防止して、組立作業が容易に行えると共に、部品管理を容易にしている。また、リング部材5を取外すことで、第1ロック部材6と蓋部材2の間を容易に洗浄(水洗い)でき衛生的である。 As described above, the ring member 5 is an integrally molded rubber product having (provided) the annular portion 51, the return elastic urging portion 56, and the protective cover portion 52 integrally. Compared to the case where it is installed separately), the number of parts is reduced and small parts are prevented from being lost, so that assembly work can be performed easily and parts management is facilitated. Further, by removing the ring member 5, the space between the first lock member 6 and the lid member 2 can be easily washed (washed with water), which is hygienic.

また、第1ロック部材6は、戻し用弾発付勢部56の弾性的復元力(弾発付勢力)を受けて基準位置になると、その基準位置を越えて揺動しないように蓋部材2又はリング部材5に当接して、揺動が阻止される当り部(図示省略)を有している。
言い換えると、蓋部材2又はリング部材5は、第1ロック部材6が戻し用弾発付勢部56からの弾発付勢力を受けて基準位置を越えて揺動しないように阻止するストッパ部(図示省略)を有している。
Further, when the first lock member 6 receives the elastic restoring force (repulsive urging force) of the return elastic urging portion 56 and reaches the reference position, the lid member 2 is prevented from swinging beyond the reference position. Alternatively, it has a contact portion (not shown) that comes into contact with the ring member 5 to prevent swinging.
In other words, the lid member 2 or the ring member 5 is a stopper portion (a stopper portion) that prevents the first lock member 6 from swinging beyond the reference position by receiving the impact urging force from the return impact urging portion 56. (Not shown).

また、図1乃至図5に示すように、蓋部材2とキャップ部材3との枢着部に、樹脂製の門型形状の持ち手部材4を、水平状軸心L廻りに揺動自在に枢着している。つまり、蓋部材2の枢着部24には、キャップ部材3と持ち手部材4とが同軸心状に枢着している。
また、蓋部材2とボトル本体1の間をシール(水密)するゴム製の環状シール部材を備えている。
Further, as shown in FIGS. 1 to 5, the pivotally mounted portion of the lid member 2 and the cap member 3, the handle member 4 of the plastic of the portal shaped swingable horizontally axis L 3 around Is pivoted to. That is, the cap member 3 and the handle member 4 are pivotally attached to the pivot portion 24 of the lid member 2 in a coaxial center shape.
Further, a rubber annular seal member for sealing (watertight) between the lid member 2 and the bottle body 1 is provided.

なお、本発明の説明を容易にするために、水平状軸心Lとボトル軸心La(図3参照)の両者に直交する方向を前後方向と呼び、キャップ部材3と蓋部材2との枢着部側を後方と呼んでいる。また、水平状軸心Lに沿った方向を左右方向と呼ぶ。したがって、方向を基に、使用状態の姿勢を限定するものではない。水平状軸心Lと第1枢着軸心Lと第2枢着軸心Lは、相互に左右方向に平行状に配設される。 In order to facilitate describing the present invention, referred to a direction perpendicular to both the horizontally axis L 3 and the bottle axis La (see FIG. 3) and the front-rear direction, of the cap member 3 and the lid member 2 The pivotal side is called the posterior. Further, referred to the direction along the horizontally axis L 3 and the left-right direction. Therefore, the posture in the used state is not limited based on the direction. Horizontally axis L 3 and the first pivot axis L 6 and the second pivot axis L 7 is disposed parallel shape in the lateral direction to each other.

なお、本発明は、設計変更可能であって、蓋部材2とボトル本体1の取着は、ネジ構造に限らず、係合構造等自由である。リング部材5の環状部51の外周面は、ブランド名やメーカー名や商品面を凹凸成形や塗装等にて表示させる表示部とするも良い。 In the present invention, the design can be changed, and the lid member 2 and the bottle body 1 can be freely attached not only to the screw structure but also to the engaging structure and the like. The outer peripheral surface of the annular portion 51 of the ring member 5 may be a display portion for displaying the brand name, the manufacturer name, or the product surface by uneven molding, painting, or the like.

以上のように、本発明の携帯用飲料ボトルは、ボトル本体1を施蓋するキャップ部材3を閉状態に保持して第1のロックを行う第1ロック部材6と、上記第1ロック部材6にて閉状態に保持された上記キャップ部材3を起立状姿勢で係止して第2のロックを行う門型の第2ロック部材7と、を備えた携帯用飲料ボトルに於て、上記第2ロック部材7を上記起立状姿勢から下方へ揺動して第2のロックを解除すると共に、下方へ揺動して垂下状姿勢となった上記第2ロック部材7にて上記第1ロック部材6を押圧して第1のロックを解除するように構成したので、第2ロック部材7とキャップ部材3との係合を解除する操作から連続的に(流れるように)、第1ロック部材6とキャップ部材3との係合を解除でき、キャップ部材3を素早く開くことができる。二重ロック構造でありながらも、直観的に、かつ、容易に開操作できて、使い勝手が良い。 As described above, in the portable beverage bottle of the present invention, the first lock member 6 that holds the cap member 3 that covers the bottle body 1 in the closed state and performs the first lock, and the first lock member 6 described above. In a portable beverage bottle provided with a gate-shaped second lock member 7 that locks the cap member 3 held in the closed state in an upright position to perform a second lock. 2 The first lock member 7 is the second lock member 7 which swings downward from the upright posture to release the second lock and swings downward to the hanging posture. Since the first lock member 6 is pressed to release the first lock member 6, the first lock member 6 is continuously (flowed) from the operation of releasing the engagement between the second lock member 7 and the cap member 3. And the cap member 3 can be disengaged, and the cap member 3 can be opened quickly. Although it has a double lock structure, it is intuitive and easy to open, and it is easy to use.

また、有底筒状のボトル本体1と、該ボトル本体1に施蓋状に取着されると共に飲料吐出用の口部21を有する蓋部材2と、上記蓋部材2に揺動自在に枢着されると共に上記口部21を施蓋するためのキャップ部材3と、上記蓋部材2にシーソー状に揺動自在に枢着され上記キャップ部材3を閉状態に保持して第1のロックを行う第1係止部61を上部に有すると共に下部に押圧操作される被押圧部62を有する第1ロック部材6と、上記蓋部材2に起立状姿勢と垂下状姿勢とに揺動切換自在に枢着され上記第1ロック部材6にて閉状態に保持された上記キャップ部材3を起立状姿勢で係止して第2のロックを行う門型の第2ロック部材7と、を備えた携帯用飲料ボトルであって、上記第2ロック部材7は、上記第1ロック部材6の両側に配設される一対の柱部72,72の先端部を連結する連結部71に、上記起立状姿勢で閉状態の上記キャップ部材3に係止する第2係止部71aを有すると共に、上記垂下状姿勢で上記第1ロック部材6の上記被押圧部62を押圧する押圧部71bを有し、上記第2ロック部材7を上記起立状姿勢から下方へ揺動して第2のロックを解除すると共に、下方へ揺動して垂下状姿勢となった上記第2ロック部材7の上記押圧部71bにて上記第1ロック部材6の上記被押圧部62を押圧して第1のロックを解除するように構成したので、第2ロック部材7とキャップ部材3との係合を解除する操作から連続的に(ワンモーションで)、第1ロック部材6とキャップ部材3との係合を解除でき、キャップ部材3を素早く開くことができる。二重ロック構造でありながらも、直観的に、かつ、容易に開操作できて、使い勝手が良い。 Further, the bottomed tubular bottle body 1, the lid member 2 which is attached to the bottle body 1 like a lid and has a mouth portion 21 for discharging a beverage, and the lid member 2 swingably pivotally. A cap member 3 for covering the mouth portion 21 as well as being worn, and a cap member 3 swingably pivotally attached to the lid member 2 in a seesaw shape to hold the cap member 3 in a closed state and lock the first lock. The first lock member 6 having the first locking portion 61 at the upper part and the pressed portion 62 to be pressed at the lower part, and the lid member 2 can swing and switch between an upright posture and a hanging posture. A portable device including a gate-shaped second lock member 7 that locks the cap member 3 pivotally attached and held in a closed state by the first lock member 6 in an upright position to perform a second lock. The second lock member 7 is a beverage bottle, and the second lock member 7 is in an upright position with a connecting portion 71 connecting the tips of a pair of pillar portions 72, 72 arranged on both sides of the first lock member 6. It has a second locking portion 71a that locks to the cap member 3 in the closed state, and also has a pressing portion 71b that presses the pressed portion 62 of the first locking member 6 in the hanging posture. The second lock member 7 swings downward from the upright posture to release the second lock, and at the same time, swings downward to the pressing portion 71b of the second lock member 7 in a hanging posture. Since the first lock is released by pressing the pressed portion 62 of the first lock member 6, the operation of releasing the engagement between the second lock member 7 and the cap member 3 is continuous. In addition (in one motion), the engagement between the first lock member 6 and the cap member 3 can be disengaged, and the cap member 3 can be opened quickly. Although it has a double lock structure, it is intuitive and easy to open, and it is easy to use.

また、ゴム製の滑り止め用のリング部材5を上記蓋部材2に外嵌状に取着し、上記第1ロック部材6の下部を前方へ常時弾発付勢するための戻し用弾発付勢部56を、上記リング部材5の一部をもって構成したので、小さなバネ部材を用いる必要がなく、組立や、洗浄時の取外しを容易に行うことができる。部品点数の削減や小さな部品の紛失を防止して、組立作業が容易に行えると共に、部品管理を容易にしている。また、分解洗浄(水洗い)が容易にでき、衛生的である。 Further, a rubber non-slip ring member 5 is attached to the lid member 2 in an outer fit shape, and a return bullet is attached to constantly urge the lower portion of the first lock member 6 forward. Since the force portion 56 is composed of a part of the ring member 5, it is not necessary to use a small spring member, and it can be easily assembled and removed at the time of cleaning. By reducing the number of parts and preventing the loss of small parts, assembly work can be performed easily and parts management is facilitated. In addition, it can be easily disassembled and washed (washed with water) and is hygienic.

また、上記第1ロック部材6は、上下中間部が水平状の第1枢着軸心L廻りに揺動自在に枢着され、上記第2ロック部材7は、水平状の第2枢着軸心L廻りに揺動自在に枢着され、上記第2枢着軸心Lを、上記第1枢着軸心Lよりも上位置に配設したので、被押圧部62を強い力で押圧しないと後方へ揺動しないように(第1のロックが解除されないように)構成でき、かつ、第2ロック部材7を揺動させる際に大きな操作力を付与しやすい構成とできる。即ち、意図せずに、第2ロック部材7による第2のロックが解除されている状態であっても、第1ロック部材6の被押圧部62に、不意に物や指が触れただけでは、第1のロックは解除されず、安全に持ち運びできる。 Further, the first lock member 6 is swingably pivotally attached around the first pivot center L 6 whose upper and lower intermediate portions are horizontal, and the second lock member 7 is horizontally second pivoted. swingably pivoted on axis L 7 around, the second pivot axis L 7, since the disposed above position than the first pivot axis L 6, strong the pressed portion 62 It can be configured so that it does not swing backward unless it is pressed by a force (so that the first lock is not released), and it is possible to easily apply a large operating force when swinging the second lock member 7. That is, even if the second lock by the second lock member 7 is unintentionally released, if an object or a finger suddenly touches the pressed portion 62 of the first lock member 6. , The first lock is not released and can be safely carried.

1 ボトル本体
2 蓋部材
3 キャップ部材
5 リング部材
6 第1ロック部材
7 第2ロック部材
21 口部
56 戻し用弾発付勢部
61 第1係止部
62 被押圧部
71 連結部
71a 第2係止部
71b 押圧部
72 柱部
第1枢着軸心
第2枢着軸心
1 Bottle body 2 Lid member 3 Cap member 5 Ring member 6 1st lock member 7 2nd lock member
21 mouth
56 Return bullet firing part
61 First locking part
62 Pressed part
71 Connection
71a 2nd locking part
71b Pressing part
72 Pillar part L 6 1st pivot center L 7 2nd pivot center

Claims (4)

ボトル本体(1)を施蓋するキャップ部材(3)を閉状態に保持して第1のロックを行う第1ロック部材(6)と、上記第1ロック部材(6)にて閉状態に保持された上記キャップ部材(3)を起立状姿勢で係止して第2のロックを行う門型の第2ロック部材(7)と、を備えた携帯用飲料ボトルに於て、
上記第2ロック部材(7)を上記起立状姿勢から下方へ揺動して第2のロックを解除すると共に、下方へ揺動して垂下状姿勢となった上記第2ロック部材(7)にて上記第1ロック部材(6)を押圧して第1のロックを解除するように構成したことを特徴とする携帯用飲料ボトル。
The cap member (3) that covers the bottle body (1) is held in the closed state by the first lock member (6) that performs the first lock and the first lock member (6) that holds the bottle body (1) in the closed state. In a portable beverage bottle provided with a gate-shaped second lock member (7) that locks the cap member (3) in an upright position to perform a second lock.
The second lock member (7) is swung downward from the upright posture to release the second lock, and is swung downward to the second lock member (7) in a hanging posture. A portable beverage bottle configured to release the first lock by pressing the first lock member (6).
有底筒状のボトル本体(1)と、該ボトル本体(1)に施蓋状に取着されると共に飲料吐出用の口部(21)を有する蓋部材(2)と、上記蓋部材(2)に揺動自在に枢着されると共に上記口部(21)を施蓋するためのキャップ部材(3)と、上記蓋部材(2)にシーソー状に揺動自在に枢着され上記キャップ部材(3)を閉状態に保持して第1のロックを行う第1係止部(61)を上部に有すると共に下部に押圧操作される被押圧部(62)を有する第1ロック部材(6)と、上記蓋部材(2)に起立状姿勢と垂下状姿勢とに揺動切換自在に枢着され上記第1ロック部材(6)にて閉状態に保持された上記キャップ部材(3)を起立状姿勢で係止して第2のロックを行う門型の第2ロック部材(7)と、を備えた携帯用飲料ボトルであって、
上記第2ロック部材(7)は、上記第1ロック部材(6)の両側に配設される一対の柱部(72)(72)の先端部を連結する連結部(71)に、上記起立状姿勢で閉状態の上記キャップ部材(3)に係止する第2係止部(71a)を有すると共に、上記垂下状姿勢で上記第1ロック部材(6)の上記被押圧部(62)を押圧する押圧部(71b)を有し、
上記第2ロック部材(7)を上記起立状姿勢から下方へ揺動して第2のロックを解除すると共に、下方へ揺動して垂下状姿勢となった上記第2ロック部材(7)の上記押圧部(71b)にて上記第1ロック部材(6)の上記被押圧部(62)を押圧して第1のロックを解除するように構成したことを特徴とする携帯用飲料ボトル。
A bottomed tubular bottle body (1), a lid member (2) that is attached to the bottle body (1) like a lid and has a mouth portion (21) for discharging a beverage, and the lid member ( The cap member (3) for swingably pivoting to the 2) and covering the mouth portion (21) and the cap member (2) swingably pivotally attached to the lid member (2) in a seesaw shape. A first lock member (6) having a first locking portion (61) for holding the member (3) in the closed state and performing the first locking at the upper portion and a pressed portion (62) to be pressed at the lower portion. ) And the cap member (3), which is pivotally attached to the lid member (2) in an upright position and a hanging position so as to be swingable and held in a closed state by the first lock member (6). A portable beverage bottle provided with a gate-shaped second locking member (7) that locks in an upright position to perform a second locking.
The second lock member (7) stands on a connecting portion (71) connecting the tip portions of a pair of pillar portions (72) (72) arranged on both sides of the first lock member (6). It has a second locking portion (71a) that locks to the cap member (3) in a closed state in a shaped posture, and also has a pressed portion (62) of the first locking member (6) in a hanging posture. It has a pressing part (71b) to press
The second lock member (7) swings downward from the upright posture to release the second lock, and swings downward to take a hanging posture. A portable beverage bottle characterized in that the pressing portion (71b) is configured to press the pressed portion (62) of the first locking member (6) to release the first lock.
ゴム製の滑り止め用のリング部材(5)を上記蓋部材(2)に外嵌状に取着し、
上記第1ロック部材(6)の下部を前方へ常時弾発付勢するための戻し用弾発付勢部(56)を、上記リング部材(5)の一部をもって構成した請求項2記載の携帯用飲料ボトル。
A rubber non-slip ring member (5) is attached to the lid member (2) in an outer fit manner.
The second aspect of claim 2, wherein the return elastic urging portion (56) for constantly urging the lower portion of the first lock member (6) forward is formed by a part of the ring member (5). Portable beverage bottle.
上記第1ロック部材(6)は、上下中間部が水平状の第1枢着軸心(L)廻りに揺動自在に枢着され、
上記第2ロック部材(7)は、水平状の第2枢着軸心(L)廻りに揺動自在に枢着され、
上記第2枢着軸心(L)を、上記第1枢着軸心(L)よりも上位置に配設した請求項1,2又は3記載の携帯用飲料ボトル。
The first lock member (6) is swingably pivotally attached around the first pivot center (L 6 ) whose upper and lower intermediate portions are horizontal.
The second lock member (7) is swingably pivotally attached around the horizontal second pivot center (L 7 ).
The portable beverage bottle according to claim 1, 2, or 3, wherein the second pivot center (L 7 ) is arranged above the first pivot center (L 6 ).
JP2018215558A 2018-11-16 2018-11-16 Portable beverage bottle Expired - Fee Related JP6760665B2 (en)

Priority Applications (1)

Application Number Priority Date Filing Date Title
JP2018215558A JP6760665B2 (en) 2018-11-16 2018-11-16 Portable beverage bottle

Applications Claiming Priority (1)

Application Number Priority Date Filing Date Title
JP2018215558A JP6760665B2 (en) 2018-11-16 2018-11-16 Portable beverage bottle

Publications (2)

Publication Number Publication Date
JP2020083331A JP2020083331A (en) 2020-06-04
JP6760665B2 true JP6760665B2 (en) 2020-09-23

Family

ID=70906070

Family Applications (1)

Application Number Title Priority Date Filing Date
JP2018215558A Expired - Fee Related JP6760665B2 (en) 2018-11-16 2018-11-16 Portable beverage bottle

Country Status (1)

Country Link
JP (1) JP6760665B2 (en)

Cited By (1)

* Cited by examiner, † Cited by third party
Publication number Priority date Publication date Assignee Title
EP4529805A1 (en) 2023-09-27 2025-04-02 Thermos L.L.C. Cap unit and capped container

Families Citing this family (4)

* Cited by examiner, † Cited by third party
Publication number Priority date Publication date Assignee Title
CN115724069A (en) 2021-08-25 2023-03-03 膳魔师(中国)家庭制品有限公司 Cap unit and beverage container
KR20240028937A (en) 2022-08-25 2024-03-05 서어모스 케이.케이. Cap unit and beverage container
CN117622696A (en) 2022-08-25 2024-03-01 膳魔师(中国)家庭制品有限公司 Cap unit and beverage container
JP2025042092A (en) * 2023-09-14 2025-03-27 サーモス株式会社 Cap unit and container with cap

Family Cites Families (6)

* Cited by examiner, † Cited by third party
Publication number Priority date Publication date Assignee Title
JP4798553B2 (en) * 2008-07-16 2011-10-19 サーモス株式会社 Beverage container
JP3150119U (en) * 2009-02-13 2009-04-30 株式会社ドウシシャ Beverage container stopper and beverage container having the same
JP5257503B2 (en) * 2011-11-21 2013-08-07 サーモス株式会社 Beverage container closure with lock
JP6190676B2 (en) * 2013-09-18 2017-08-30 レック株式会社 Infant beverage container
JP6228957B2 (en) * 2015-08-07 2017-11-08 三菱製鋼株式会社 Beverage container closure with lock
JP6152158B2 (en) * 2015-11-17 2017-06-21 タケヤ化学工業株式会社 Portable beverage bottle

Cited By (2)

* Cited by examiner, † Cited by third party
Publication number Priority date Publication date Assignee Title
EP4529805A1 (en) 2023-09-27 2025-04-02 Thermos L.L.C. Cap unit and capped container
KR20250047149A (en) 2023-09-27 2025-04-03 서어모스 케이.케이. Cap unit and cap-equipped container

Also Published As

Publication number Publication date
JP2020083331A (en) 2020-06-04

Similar Documents

Publication Publication Date Title
JP6760665B2 (en) Portable beverage bottle
US9038928B2 (en) Spray gun
KR101472714B1 (en) Cap of drink container
JP5498613B1 (en) Beverage container
JP6839748B2 (en) Cap unit and beverage container
US5084918A (en) Integral safety helmet
JP2011093544A (en) Double lock structure for beverage container
JP2015013673A (en) Beverage container hinge structure
JP3179418U (en) Portable beverage container
JP3134856U (en) A pinching mechanism that can quickly pinch spray cans
JP5333812B2 (en) Container with trigger pump
US20220191670A1 (en) Transferrable personal electronic assembly
JP6856473B2 (en) Hinge cap
BR112019016921A2 (en) vehicle door lock device
JP6830349B2 (en) Aerosol container
JP6621163B1 (en) Beverage container locking mechanism
CN209150403U (en) The mechanical lock buckle structure of charging gun
JP4293355B2 (en) cap
JP2015066360A (en) Open / close dual-use wiping body gripping tool and cleaning tool
JP6152158B2 (en) Portable beverage bottle
CN206651474U (en) Handles, trolleys and trolley cases
CN218127981U (en) Cup cover and cup
JP3178720U (en) Portable beverage container
JP4333874B2 (en) cap
JP6815190B2 (en) Aerosol container

Legal Events

Date Code Title Description
A621 Written request for application examination

Free format text: JAPANESE INTERMEDIATE CODE: A621

Effective date: 20190624

TRDD Decision of grant or rejection written
A01 Written decision to grant a patent or to grant a registration (utility model)

Free format text: JAPANESE INTERMEDIATE CODE: A01

Effective date: 20200817

A61 First payment of annual fees (during grant procedure)

Free format text: JAPANESE INTERMEDIATE CODE: A61

Effective date: 20200831

R150 Certificate of patent or registration of utility model

Ref document number: 6760665

Country of ref document: JP

Free format text: JAPANESE INTERMEDIATE CODE: R150

LAPS Cancellation because of no payment of annual fees