JP5575353B2 - Method for manufacturing organic electroluminescence device - Google Patents
Method for manufacturing organic electroluminescence device Download PDFInfo
- Publication number
- JP5575353B2 JP5575353B2 JP2005345469A JP2005345469A JP5575353B2 JP 5575353 B2 JP5575353 B2 JP 5575353B2 JP 2005345469 A JP2005345469 A JP 2005345469A JP 2005345469 A JP2005345469 A JP 2005345469A JP 5575353 B2 JP5575353 B2 JP 5575353B2
- Authority
- JP
- Japan
- Prior art keywords
- layer
- organic
- electrode
- light emitting
- light
- Prior art date
- Legal status (The legal status is an assumption and is not a legal conclusion. Google has not performed a legal analysis and makes no representation as to the accuracy of the status listed.)
- Expired - Fee Related
Links
- 238000000034 method Methods 0.000 title claims description 98
- 238000004519 manufacturing process Methods 0.000 title claims description 43
- 238000005401 electroluminescence Methods 0.000 title claims description 8
- 239000010410 layer Substances 0.000 claims description 342
- 239000000463 material Substances 0.000 claims description 75
- 239000002346 layers by function Substances 0.000 claims description 59
- 238000007789 sealing Methods 0.000 claims description 48
- 239000000758 substrate Substances 0.000 claims description 37
- 230000008569 process Effects 0.000 claims description 35
- 239000011261 inert gas Substances 0.000 claims description 30
- 230000015572 biosynthetic process Effects 0.000 claims description 29
- 239000012298 atmosphere Substances 0.000 claims description 25
- QVGXLLKOCUKJST-UHFFFAOYSA-N atomic oxygen Chemical compound [O] QVGXLLKOCUKJST-UHFFFAOYSA-N 0.000 claims description 25
- 239000001301 oxygen Substances 0.000 claims description 25
- 229910052760 oxygen Inorganic materials 0.000 claims description 25
- XLYOFNOQVPJJNP-UHFFFAOYSA-N water Substances O XLYOFNOQVPJJNP-UHFFFAOYSA-N 0.000 claims description 10
- 238000010030 laminating Methods 0.000 claims description 2
- 230000005525 hole transport Effects 0.000 description 52
- 239000010408 film Substances 0.000 description 49
- 150000001875 compounds Chemical class 0.000 description 46
- 238000000576 coating method Methods 0.000 description 41
- 238000002347 injection Methods 0.000 description 38
- 239000007924 injection Substances 0.000 description 38
- 239000011248 coating agent Substances 0.000 description 34
- 238000011084 recovery Methods 0.000 description 30
- XKRFYHLGVUSROY-UHFFFAOYSA-N Argon Chemical compound [Ar] XKRFYHLGVUSROY-UHFFFAOYSA-N 0.000 description 28
- 239000002585 base Substances 0.000 description 22
- -1 polyethylene terephthalate Polymers 0.000 description 21
- 238000003860 storage Methods 0.000 description 19
- 238000001035 drying Methods 0.000 description 18
- 229910052751 metal Inorganic materials 0.000 description 18
- 239000002184 metal Substances 0.000 description 18
- 239000000243 solution Substances 0.000 description 17
- 230000004888 barrier function Effects 0.000 description 16
- 239000000872 buffer Substances 0.000 description 15
- 229910052786 argon Inorganic materials 0.000 description 14
- 239000000203 mixture Substances 0.000 description 14
- 238000004140 cleaning Methods 0.000 description 13
- 229910052757 nitrogen Inorganic materials 0.000 description 13
- 239000012044 organic layer Substances 0.000 description 12
- 229910052782 aluminium Inorganic materials 0.000 description 11
- 238000000605 extraction Methods 0.000 description 11
- 239000007789 gas Substances 0.000 description 11
- XAGFODPZIPBFFR-UHFFFAOYSA-N aluminium Chemical compound [Al] XAGFODPZIPBFFR-UHFFFAOYSA-N 0.000 description 10
- 238000011156 evaluation Methods 0.000 description 10
- 238000012545 processing Methods 0.000 description 10
- 238000010438 heat treatment Methods 0.000 description 9
- 229910052749 magnesium Inorganic materials 0.000 description 9
- 239000011777 magnesium Substances 0.000 description 9
- 229920005989 resin Polymers 0.000 description 9
- 239000011347 resin Substances 0.000 description 9
- 238000007740 vapor deposition Methods 0.000 description 9
- 238000004804 winding Methods 0.000 description 9
- FYYHWMGAXLPEAU-UHFFFAOYSA-N Magnesium Chemical compound [Mg] FYYHWMGAXLPEAU-UHFFFAOYSA-N 0.000 description 8
- VYPSYNLAJGMNEJ-UHFFFAOYSA-N Silicium dioxide Chemical compound O=[Si]=O VYPSYNLAJGMNEJ-UHFFFAOYSA-N 0.000 description 8
- 239000007772 electrode material Substances 0.000 description 8
- 239000007788 liquid Substances 0.000 description 8
- 238000006862 quantum yield reaction Methods 0.000 description 8
- AMGQUBHHOARCQH-UHFFFAOYSA-N indium;oxotin Chemical compound [In].[Sn]=O AMGQUBHHOARCQH-UHFFFAOYSA-N 0.000 description 7
- 230000004048 modification Effects 0.000 description 7
- 238000012986 modification Methods 0.000 description 7
- 230000035699 permeability Effects 0.000 description 7
- 229920000139 polyethylene terephthalate Polymers 0.000 description 7
- 239000005020 polyethylene terephthalate Substances 0.000 description 7
- 238000005096 rolling process Methods 0.000 description 7
- 239000002904 solvent Substances 0.000 description 7
- 230000003068 static effect Effects 0.000 description 7
- PQXKHYXIUOZZFA-UHFFFAOYSA-M lithium fluoride Chemical compound [Li+].[F-] PQXKHYXIUOZZFA-UHFFFAOYSA-M 0.000 description 6
- 230000003647 oxidation Effects 0.000 description 6
- 238000007254 oxidation reaction Methods 0.000 description 6
- 229920000642 polymer Polymers 0.000 description 6
- 238000002360 preparation method Methods 0.000 description 6
- 239000000853 adhesive Substances 0.000 description 5
- 230000001070 adhesive effect Effects 0.000 description 5
- 230000000903 blocking effect Effects 0.000 description 5
- 239000003795 chemical substances by application Substances 0.000 description 5
- 230000000694 effects Effects 0.000 description 5
- 229910052738 indium Inorganic materials 0.000 description 5
- 238000004544 sputter deposition Methods 0.000 description 5
- 239000010409 thin film Substances 0.000 description 5
- WHXSMMKQMYFTQS-UHFFFAOYSA-N Lithium Chemical compound [Li] WHXSMMKQMYFTQS-UHFFFAOYSA-N 0.000 description 4
- 230000015556 catabolic process Effects 0.000 description 4
- 229910052802 copper Inorganic materials 0.000 description 4
- 239000010949 copper Substances 0.000 description 4
- 238000009826 distribution Methods 0.000 description 4
- 229910052744 lithium Inorganic materials 0.000 description 4
- QSHDDOUJBYECFT-UHFFFAOYSA-N mercury Chemical compound [Hg] QSHDDOUJBYECFT-UHFFFAOYSA-N 0.000 description 4
- 229910052753 mercury Inorganic materials 0.000 description 4
- 238000006116 polymerization reaction Methods 0.000 description 4
- 239000000126 substance Substances 0.000 description 4
- 229910018072 Al 2 O 3 Inorganic materials 0.000 description 3
- OKKJLVBELUTLKV-UHFFFAOYSA-N Methanol Chemical compound OC OKKJLVBELUTLKV-UHFFFAOYSA-N 0.000 description 3
- 239000004677 Nylon Substances 0.000 description 3
- 239000000956 alloy Substances 0.000 description 3
- 239000000969 carrier Substances 0.000 description 3
- 238000006731 degradation reaction Methods 0.000 description 3
- 230000006866 deterioration Effects 0.000 description 3
- 230000008030 elimination Effects 0.000 description 3
- 238000003379 elimination reaction Methods 0.000 description 3
- 230000005281 excited state Effects 0.000 description 3
- APFVFJFRJDLVQX-UHFFFAOYSA-N indium atom Chemical compound [In] APFVFJFRJDLVQX-UHFFFAOYSA-N 0.000 description 3
- 150000002500 ions Chemical class 0.000 description 3
- 150000002739 metals Chemical class 0.000 description 3
- PXHVJJICTQNCMI-UHFFFAOYSA-N nickel Substances [Ni] PXHVJJICTQNCMI-UHFFFAOYSA-N 0.000 description 3
- 229920001778 nylon Polymers 0.000 description 3
- 150000004866 oxadiazoles Chemical class 0.000 description 3
- TWNQGVIAIRXVLR-UHFFFAOYSA-N oxo(oxoalumanyloxy)alumane Chemical compound O=[Al]O[Al]=O TWNQGVIAIRXVLR-UHFFFAOYSA-N 0.000 description 3
- 230000000737 periodic effect Effects 0.000 description 3
- 230000006798 recombination Effects 0.000 description 3
- 238000005215 recombination Methods 0.000 description 3
- 239000000377 silicon dioxide Substances 0.000 description 3
- 229910052709 silver Inorganic materials 0.000 description 3
- 239000002356 single layer Substances 0.000 description 3
- 238000010998 test method Methods 0.000 description 3
- 238000012546 transfer Methods 0.000 description 3
- OGGKVJMNFFSDEV-UHFFFAOYSA-N 3-methyl-n-[4-[4-(n-(3-methylphenyl)anilino)phenyl]phenyl]-n-phenylaniline Chemical compound CC1=CC=CC(N(C=2C=CC=CC=2)C=2C=CC(=CC=2)C=2C=CC(=CC=2)N(C=2C=CC=CC=2)C=2C=C(C)C=CC=2)=C1 OGGKVJMNFFSDEV-UHFFFAOYSA-N 0.000 description 2
- IJGRMHOSHXDMSA-UHFFFAOYSA-N Atomic nitrogen Chemical compound N#N IJGRMHOSHXDMSA-UHFFFAOYSA-N 0.000 description 2
- ODINCKMPIJJUCX-UHFFFAOYSA-N Calcium oxide Chemical compound [Ca]=O ODINCKMPIJJUCX-UHFFFAOYSA-N 0.000 description 2
- CURLTUGMZLYLDI-UHFFFAOYSA-N Carbon dioxide Chemical compound O=C=O CURLTUGMZLYLDI-UHFFFAOYSA-N 0.000 description 2
- 229920008347 Cellulose acetate propionate Polymers 0.000 description 2
- RYGMFSIKBFXOCR-UHFFFAOYSA-N Copper Chemical compound [Cu] RYGMFSIKBFXOCR-UHFFFAOYSA-N 0.000 description 2
- CPLXHLVBOLITMK-UHFFFAOYSA-N Magnesium oxide Chemical compound [Mg]=O CPLXHLVBOLITMK-UHFFFAOYSA-N 0.000 description 2
- 229920001609 Poly(3,4-ethylenedioxythiophene) Polymers 0.000 description 2
- 239000004698 Polyethylene Substances 0.000 description 2
- BQCADISMDOOEFD-UHFFFAOYSA-N Silver Chemical compound [Ag] BQCADISMDOOEFD-UHFFFAOYSA-N 0.000 description 2
- YTPLMLYBLZKORZ-UHFFFAOYSA-N Thiophene Chemical compound C=1C=CSC=1 YTPLMLYBLZKORZ-UHFFFAOYSA-N 0.000 description 2
- 238000004220 aggregation Methods 0.000 description 2
- 230000002776 aggregation Effects 0.000 description 2
- 229910045601 alloy Inorganic materials 0.000 description 2
- 238000006243 chemical reaction Methods 0.000 description 2
- 239000003086 colorant Substances 0.000 description 2
- 229920001940 conductive polymer Polymers 0.000 description 2
- 238000001816 cooling Methods 0.000 description 2
- 238000002425 crystallisation Methods 0.000 description 2
- 230000008025 crystallization Effects 0.000 description 2
- 238000000151 deposition Methods 0.000 description 2
- 238000010586 diagram Methods 0.000 description 2
- 238000009792 diffusion process Methods 0.000 description 2
- 239000002019 doping agent Substances 0.000 description 2
- 238000001704 evaporation Methods 0.000 description 2
- 230000008020 evaporation Effects 0.000 description 2
- 239000000284 extract Substances 0.000 description 2
- 238000001125 extrusion Methods 0.000 description 2
- 230000002349 favourable effect Effects 0.000 description 2
- 239000011888 foil Substances 0.000 description 2
- 239000011521 glass Substances 0.000 description 2
- 238000005286 illumination Methods 0.000 description 2
- 230000006872 improvement Effects 0.000 description 2
- 239000012535 impurity Substances 0.000 description 2
- 238000007733 ion plating Methods 0.000 description 2
- 238000010884 ion-beam technique Methods 0.000 description 2
- 150000002504 iridium compounds Chemical class 0.000 description 2
- 238000001182 laser chemical vapour deposition Methods 0.000 description 2
- 229910052745 lead Inorganic materials 0.000 description 2
- 239000004973 liquid crystal related substance Substances 0.000 description 2
- ORUIBWPALBXDOA-UHFFFAOYSA-L magnesium fluoride Chemical compound [F-].[F-].[Mg+2] ORUIBWPALBXDOA-UHFFFAOYSA-L 0.000 description 2
- 229910001635 magnesium fluoride Inorganic materials 0.000 description 2
- VNWKTOKETHGBQD-UHFFFAOYSA-N methane Chemical compound C VNWKTOKETHGBQD-UHFFFAOYSA-N 0.000 description 2
- 238000001451 molecular beam epitaxy Methods 0.000 description 2
- 229910052759 nickel Inorganic materials 0.000 description 2
- 239000011368 organic material Substances 0.000 description 2
- 238000000059 patterning Methods 0.000 description 2
- IEQIEDJGQAUEQZ-UHFFFAOYSA-N phthalocyanine Chemical compound N1C(N=C2C3=CC=CC=C3C(N=C3C4=CC=CC=C4C(=N4)N3)=N2)=C(C=CC=C2)C2=C1N=C1C2=CC=CC=C2C4=N1 IEQIEDJGQAUEQZ-UHFFFAOYSA-N 0.000 description 2
- 238000005268 plasma chemical vapour deposition Methods 0.000 description 2
- 239000002985 plastic film Substances 0.000 description 2
- 229920006255 plastic film Polymers 0.000 description 2
- BASFCYQUMIYNBI-UHFFFAOYSA-N platinum Chemical compound [Pt] BASFCYQUMIYNBI-UHFFFAOYSA-N 0.000 description 2
- 229920003227 poly(N-vinyl carbazole) Polymers 0.000 description 2
- 229920001643 poly(ether ketone) Polymers 0.000 description 2
- 229920001467 poly(styrenesulfonates) Polymers 0.000 description 2
- 229920000573 polyethylene Polymers 0.000 description 2
- 239000011112 polyethylene naphthalate Substances 0.000 description 2
- 239000002861 polymer material Substances 0.000 description 2
- 125000001567 quinoxalinyl group Chemical class N1=C(C=NC2=CC=CC=C12)* 0.000 description 2
- 229910052761 rare earth metal Inorganic materials 0.000 description 2
- 150000002910 rare earth metals Chemical class 0.000 description 2
- 238000005546 reactive sputtering Methods 0.000 description 2
- 229910052710 silicon Inorganic materials 0.000 description 2
- LIVNPJMFVYWSIS-UHFFFAOYSA-N silicon monoxide Chemical compound [Si-]#[O+] LIVNPJMFVYWSIS-UHFFFAOYSA-N 0.000 description 2
- 229910052814 silicon oxide Inorganic materials 0.000 description 2
- 239000004332 silver Substances 0.000 description 2
- PJANXHGTPQOBST-UHFFFAOYSA-N stilbene Chemical class C=1C=CC=CC=1C=CC1=CC=CC=C1 PJANXHGTPQOBST-UHFFFAOYSA-N 0.000 description 2
- 238000002230 thermal chemical vapour deposition Methods 0.000 description 2
- 229910052718 tin Inorganic materials 0.000 description 2
- 239000012780 transparent material Substances 0.000 description 2
- 238000001771 vacuum deposition Methods 0.000 description 2
- UWRZIZXBOLBCON-VOTSOKGWSA-N (e)-2-phenylethenamine Chemical class N\C=C\C1=CC=CC=C1 UWRZIZXBOLBCON-VOTSOKGWSA-N 0.000 description 1
- WSLDOOZREJYCGB-UHFFFAOYSA-N 1,2-Dichloroethane Chemical compound ClCCCl WSLDOOZREJYCGB-UHFFFAOYSA-N 0.000 description 1
- VERMWGQSKPXSPZ-BUHFOSPRSA-N 1-[(e)-2-phenylethenyl]anthracene Chemical class C=1C=CC2=CC3=CC=CC=C3C=C2C=1\C=C\C1=CC=CC=C1 VERMWGQSKPXSPZ-BUHFOSPRSA-N 0.000 description 1
- SULWTXOWAFVWOY-PHEQNACWSA-N 2,3-bis[(E)-2-phenylethenyl]pyrazine Chemical class C=1C=CC=CC=1/C=C/C1=NC=CN=C1\C=C\C1=CC=CC=C1 SULWTXOWAFVWOY-PHEQNACWSA-N 0.000 description 1
- MVWPVABZQQJTPL-UHFFFAOYSA-N 2,3-diphenylcyclohexa-2,5-diene-1,4-dione Chemical class O=C1C=CC(=O)C(C=2C=CC=CC=2)=C1C1=CC=CC=C1 MVWPVABZQQJTPL-UHFFFAOYSA-N 0.000 description 1
- HONWGFNQCPRRFM-UHFFFAOYSA-N 2-n-(3-methylphenyl)-1-n,1-n,2-n-triphenylbenzene-1,2-diamine Chemical compound CC1=CC=CC(N(C=2C=CC=CC=2)C=2C(=CC=CC=2)N(C=2C=CC=CC=2)C=2C=CC=CC=2)=C1 HONWGFNQCPRRFM-UHFFFAOYSA-N 0.000 description 1
- ZJSMHFNBMMAKRI-UHFFFAOYSA-N 4-[4-(4-methoxyanilino)phenyl]aniline Chemical group COC1=CC=C(C=C1)NC1=CC=C(C=C1)C1=CC=C(C=C1)N ZJSMHFNBMMAKRI-UHFFFAOYSA-N 0.000 description 1
- AHDTYXOIJHCGKH-UHFFFAOYSA-N 4-[[4-(dimethylamino)-2-methylphenyl]-phenylmethyl]-n,n,3-trimethylaniline Chemical compound CC1=CC(N(C)C)=CC=C1C(C=1C(=CC(=CC=1)N(C)C)C)C1=CC=CC=C1 AHDTYXOIJHCGKH-UHFFFAOYSA-N 0.000 description 1
- ZOKIJILZFXPFTO-UHFFFAOYSA-N 4-methyl-n-[4-[1-[4-(4-methyl-n-(4-methylphenyl)anilino)phenyl]cyclohexyl]phenyl]-n-(4-methylphenyl)aniline Chemical compound C1=CC(C)=CC=C1N(C=1C=CC(=CC=1)C1(CCCCC1)C=1C=CC(=CC=1)N(C=1C=CC(C)=CC=1)C=1C=CC(C)=CC=1)C1=CC=C(C)C=C1 ZOKIJILZFXPFTO-UHFFFAOYSA-N 0.000 description 1
- DUSWRTUHJVJVRY-UHFFFAOYSA-N 4-methyl-n-[4-[2-[4-(4-methyl-n-(4-methylphenyl)anilino)phenyl]propan-2-yl]phenyl]-n-(4-methylphenyl)aniline Chemical compound C1=CC(C)=CC=C1N(C=1C=CC(=CC=1)C(C)(C)C=1C=CC(=CC=1)N(C=1C=CC(C)=CC=1)C=1C=CC(C)=CC=1)C1=CC=C(C)C=C1 DUSWRTUHJVJVRY-UHFFFAOYSA-N 0.000 description 1
- MVIXNQZIMMIGEL-UHFFFAOYSA-N 4-methyl-n-[4-[4-(4-methyl-n-(4-methylphenyl)anilino)phenyl]phenyl]-n-(4-methylphenyl)aniline Chemical group C1=CC(C)=CC=C1N(C=1C=CC(=CC=1)C=1C=CC(=CC=1)N(C=1C=CC(C)=CC=1)C=1C=CC(C)=CC=1)C1=CC=C(C)C=C1 MVIXNQZIMMIGEL-UHFFFAOYSA-N 0.000 description 1
- XIQGFRHAIQHZBD-UHFFFAOYSA-N 4-methyl-n-[4-[[4-(4-methyl-n-(4-methylphenyl)anilino)phenyl]-phenylmethyl]phenyl]-n-(4-methylphenyl)aniline Chemical compound C1=CC(C)=CC=C1N(C=1C=CC(=CC=1)C(C=1C=CC=CC=1)C=1C=CC(=CC=1)N(C=1C=CC(C)=CC=1)C=1C=CC(C)=CC=1)C1=CC=C(C)C=C1 XIQGFRHAIQHZBD-UHFFFAOYSA-N 0.000 description 1
- ZYASLTYCYTYKFC-UHFFFAOYSA-N 9-methylidenefluorene Chemical class C1=CC=C2C(=C)C3=CC=CC=C3C2=C1 ZYASLTYCYTYKFC-UHFFFAOYSA-N 0.000 description 1
- VIJYEGDOKCKUOL-UHFFFAOYSA-N 9-phenylcarbazole Chemical compound C1=CC=CC=C1N1C2=CC=CC=C2C2=CC=CC=C21 VIJYEGDOKCKUOL-UHFFFAOYSA-N 0.000 description 1
- 229910000838 Al alloy Inorganic materials 0.000 description 1
- 238000006677 Appel reaction Methods 0.000 description 1
- 229920000298 Cellophane Polymers 0.000 description 1
- 229920000623 Cellulose acetate phthalate Polymers 0.000 description 1
- 229920001747 Cellulose diacetate Polymers 0.000 description 1
- 229920002284 Cellulose triacetate Polymers 0.000 description 1
- 241000284156 Clerodendrum quadriloculare Species 0.000 description 1
- IMROMDMJAWUWLK-UHFFFAOYSA-N Ethenol Chemical compound OC=C IMROMDMJAWUWLK-UHFFFAOYSA-N 0.000 description 1
- YCKRFDGAMUMZLT-UHFFFAOYSA-N Fluorine atom Chemical compound [F] YCKRFDGAMUMZLT-UHFFFAOYSA-N 0.000 description 1
- DGAQECJNVWCQMB-PUAWFVPOSA-M Ilexoside XXIX Chemical compound C[C@@H]1CC[C@@]2(CC[C@@]3(C(=CC[C@H]4[C@]3(CC[C@@H]5[C@@]4(CC[C@@H](C5(C)C)OS(=O)(=O)[O-])C)C)[C@@H]2[C@]1(C)O)C)C(=O)O[C@H]6[C@@H]([C@H]([C@@H]([C@H](O6)CO)O)O)O.[Na+] DGAQECJNVWCQMB-PUAWFVPOSA-M 0.000 description 1
- 229910000799 K alloy Inorganic materials 0.000 description 1
- PAYRUJLWNCNPSJ-UHFFFAOYSA-N N-phenyl amine Natural products NC1=CC=CC=C1 PAYRUJLWNCNPSJ-UHFFFAOYSA-N 0.000 description 1
- 239000000020 Nitrocellulose Substances 0.000 description 1
- 229920000144 PEDOT:PSS Polymers 0.000 description 1
- OAICVXFJPJFONN-UHFFFAOYSA-N Phosphorus Chemical compound [P] OAICVXFJPJFONN-UHFFFAOYSA-N 0.000 description 1
- 229920012266 Poly(ether sulfone) PES Polymers 0.000 description 1
- 239000004952 Polyamide Substances 0.000 description 1
- 239000004697 Polyetherimide Substances 0.000 description 1
- 239000004642 Polyimide Substances 0.000 description 1
- 239000004734 Polyphenylene sulfide Substances 0.000 description 1
- 239000004743 Polypropylene Substances 0.000 description 1
- 239000004372 Polyvinyl alcohol Substances 0.000 description 1
- 229920001328 Polyvinylidene chloride Polymers 0.000 description 1
- 229910052581 Si3N4 Inorganic materials 0.000 description 1
- 229910004298 SiO 2 Inorganic materials 0.000 description 1
- 229910006404 SnO 2 Inorganic materials 0.000 description 1
- PJANXHGTPQOBST-VAWYXSNFSA-N Stilbene Natural products C=1C=CC=CC=1/C=C/C1=CC=CC=C1 PJANXHGTPQOBST-VAWYXSNFSA-N 0.000 description 1
- 229920010524 Syndiotactic polystyrene Polymers 0.000 description 1
- 229910010413 TiO 2 Inorganic materials 0.000 description 1
- 239000007983 Tris buffer Substances 0.000 description 1
- NNLVGZFZQQXQNW-ADJNRHBOSA-N [(2r,3r,4s,5r,6s)-4,5-diacetyloxy-3-[(2s,3r,4s,5r,6r)-3,4,5-triacetyloxy-6-(acetyloxymethyl)oxan-2-yl]oxy-6-[(2r,3r,4s,5r,6s)-4,5,6-triacetyloxy-2-(acetyloxymethyl)oxan-3-yl]oxyoxan-2-yl]methyl acetate Chemical compound O([C@@H]1O[C@@H]([C@H]([C@H](OC(C)=O)[C@H]1OC(C)=O)O[C@H]1[C@@H]([C@@H](OC(C)=O)[C@H](OC(C)=O)[C@@H](COC(C)=O)O1)OC(C)=O)COC(=O)C)[C@@H]1[C@@H](COC(C)=O)O[C@@H](OC(C)=O)[C@H](OC(C)=O)[C@H]1OC(C)=O NNLVGZFZQQXQNW-ADJNRHBOSA-N 0.000 description 1
- FJWGYAHXMCUOOM-QHOUIDNNSA-N [(2s,3r,4s,5r,6r)-2-[(2r,3r,4s,5r,6s)-4,5-dinitrooxy-2-(nitrooxymethyl)-6-[(2r,3r,4s,5r,6s)-4,5,6-trinitrooxy-2-(nitrooxymethyl)oxan-3-yl]oxyoxan-3-yl]oxy-3,5-dinitrooxy-6-(nitrooxymethyl)oxan-4-yl] nitrate Chemical compound O([C@@H]1O[C@@H]([C@H]([C@H](O[N+]([O-])=O)[C@H]1O[N+]([O-])=O)O[C@H]1[C@@H]([C@@H](O[N+]([O-])=O)[C@H](O[N+]([O-])=O)[C@@H](CO[N+]([O-])=O)O1)O[N+]([O-])=O)CO[N+](=O)[O-])[C@@H]1[C@@H](CO[N+]([O-])=O)O[C@@H](O[N+]([O-])=O)[C@H](O[N+]([O-])=O)[C@H]1O[N+]([O-])=O FJWGYAHXMCUOOM-QHOUIDNNSA-N 0.000 description 1
- XHCLAFWTIXFWPH-UHFFFAOYSA-N [O-2].[O-2].[O-2].[O-2].[O-2].[V+5].[V+5] Chemical compound [O-2].[O-2].[O-2].[O-2].[O-2].[V+5].[V+5] XHCLAFWTIXFWPH-UHFFFAOYSA-N 0.000 description 1
- NIXOWILDQLNWCW-UHFFFAOYSA-N acrylic acid group Chemical group C(C=C)(=O)O NIXOWILDQLNWCW-UHFFFAOYSA-N 0.000 description 1
- 239000000654 additive Substances 0.000 description 1
- 230000000996 additive effect Effects 0.000 description 1
- 239000012790 adhesive layer Substances 0.000 description 1
- 239000004840 adhesive resin Substances 0.000 description 1
- 229920006223 adhesive resin Polymers 0.000 description 1
- 239000004964 aerogel Substances 0.000 description 1
- 150000001339 alkali metal compounds Chemical class 0.000 description 1
- 150000001341 alkaline earth metal compounds Chemical class 0.000 description 1
- 125000000217 alkyl group Chemical group 0.000 description 1
- 229910003481 amorphous carbon Inorganic materials 0.000 description 1
- 150000008425 anthrones Chemical class 0.000 description 1
- 150000004982 aromatic amines Chemical class 0.000 description 1
- 238000003491 array Methods 0.000 description 1
- 125000003118 aryl group Chemical group 0.000 description 1
- QVQLCTNNEUAWMS-UHFFFAOYSA-N barium oxide Inorganic materials [Ba]=O QVQLCTNNEUAWMS-UHFFFAOYSA-N 0.000 description 1
- 230000008901 benefit Effects 0.000 description 1
- 229910052791 calcium Inorganic materials 0.000 description 1
- 150000001718 carbodiimides Chemical class 0.000 description 1
- 239000001569 carbon dioxide Substances 0.000 description 1
- 229910002092 carbon dioxide Inorganic materials 0.000 description 1
- 229920002678 cellulose Polymers 0.000 description 1
- HKQOBOMRSSHSTC-UHFFFAOYSA-N cellulose acetate Chemical compound OC1C(O)C(O)C(CO)OC1OC1C(CO)OC(O)C(O)C1O.CC(=O)OCC1OC(OC(C)=O)C(OC(C)=O)C(OC(C)=O)C1OC1C(OC(C)=O)C(OC(C)=O)C(OC(C)=O)C(COC(C)=O)O1.CCC(=O)OCC1OC(OC(=O)CC)C(OC(=O)CC)C(OC(=O)CC)C1OC1C(OC(=O)CC)C(OC(=O)CC)C(OC(=O)CC)C(COC(=O)CC)O1 HKQOBOMRSSHSTC-UHFFFAOYSA-N 0.000 description 1
- 229920006217 cellulose acetate butyrate Polymers 0.000 description 1
- 229940081734 cellulose acetate phthalate Drugs 0.000 description 1
- 230000008859 change Effects 0.000 description 1
- 230000003749 cleanliness Effects 0.000 description 1
- 230000000052 comparative effect Effects 0.000 description 1
- 229920001577 copolymer Polymers 0.000 description 1
- 238000005520 cutting process Methods 0.000 description 1
- 150000001925 cycloalkenes Chemical class 0.000 description 1
- 238000007865 diluting Methods 0.000 description 1
- 239000000428 dust Substances 0.000 description 1
- 230000005611 electricity Effects 0.000 description 1
- 125000006575 electron-withdrawing group Chemical group 0.000 description 1
- 229920000775 emeraldine polymer Polymers 0.000 description 1
- 239000012467 final product Substances 0.000 description 1
- 150000008376 fluorenones Chemical class 0.000 description 1
- 229910052731 fluorine Inorganic materials 0.000 description 1
- 239000011737 fluorine Substances 0.000 description 1
- 229910052733 gallium Inorganic materials 0.000 description 1
- PVADDRMAFCOOPC-UHFFFAOYSA-N germanium monoxide Inorganic materials [Ge]=O PVADDRMAFCOOPC-UHFFFAOYSA-N 0.000 description 1
- 230000009477 glass transition Effects 0.000 description 1
- 229910052737 gold Inorganic materials 0.000 description 1
- RBTKNAXYKSUFRK-UHFFFAOYSA-N heliogen blue Chemical compound [Cu].[N-]1C2=C(C=CC=C3)C3=C1N=C([N-]1)C3=CC=CC=C3C1=NC([N-]1)=C(C=CC=C3)C3=C1N=C([N-]1)C3=CC=CC=C3C1=N2 RBTKNAXYKSUFRK-UHFFFAOYSA-N 0.000 description 1
- 239000001307 helium Substances 0.000 description 1
- 229910052734 helium Inorganic materials 0.000 description 1
- SWQJXJOGLNCZEY-UHFFFAOYSA-N helium atom Chemical compound [He] SWQJXJOGLNCZEY-UHFFFAOYSA-N 0.000 description 1
- 229940083761 high-ceiling diuretics pyrazolone derivative Drugs 0.000 description 1
- 150000007857 hydrazones Chemical class 0.000 description 1
- 150000002460 imidazoles Chemical class 0.000 description 1
- 150000003949 imides Chemical class 0.000 description 1
- 150000002484 inorganic compounds Chemical class 0.000 description 1
- 229910010272 inorganic material Inorganic materials 0.000 description 1
- 238000009434 installation Methods 0.000 description 1
- 229940079865 intestinal antiinfectives imidazole derivative Drugs 0.000 description 1
- 230000001678 irradiating effect Effects 0.000 description 1
- 229910052743 krypton Inorganic materials 0.000 description 1
- DNNSSWSSYDEUBZ-UHFFFAOYSA-N krypton atom Chemical compound [Kr] DNNSSWSSYDEUBZ-UHFFFAOYSA-N 0.000 description 1
- 238000003475 lamination Methods 0.000 description 1
- 238000012423 maintenance Methods 0.000 description 1
- 239000007769 metal material Substances 0.000 description 1
- 229910044991 metal oxide Inorganic materials 0.000 description 1
- 150000004706 metal oxides Chemical class 0.000 description 1
- IBHBKWKFFTZAHE-UHFFFAOYSA-N n-[4-[4-(n-naphthalen-1-ylanilino)phenyl]phenyl]-n-phenylnaphthalen-1-amine Chemical group C1=CC=CC=C1N(C=1C2=CC=CC=C2C=CC=1)C1=CC=C(C=2C=CC(=CC=2)N(C=2C=CC=CC=2)C=2C3=CC=CC=C3C=CC=2)C=C1 IBHBKWKFFTZAHE-UHFFFAOYSA-N 0.000 description 1
- 229910052754 neon Inorganic materials 0.000 description 1
- GKAOGPIIYCISHV-UHFFFAOYSA-N neon atom Chemical compound [Ne] GKAOGPIIYCISHV-UHFFFAOYSA-N 0.000 description 1
- GNRSAWUEBMWBQH-UHFFFAOYSA-N nickel(II) oxide Inorganic materials [Ni]=O GNRSAWUEBMWBQH-UHFFFAOYSA-N 0.000 description 1
- 229920001220 nitrocellulos Polymers 0.000 description 1
- JFNLZVQOOSMTJK-KNVOCYPGSA-N norbornene Chemical compound C1[C@@H]2CC[C@H]1C=C2 JFNLZVQOOSMTJK-KNVOCYPGSA-N 0.000 description 1
- 150000002908 osmium compounds Chemical class 0.000 description 1
- WCPAKWJPBJAGKN-UHFFFAOYSA-N oxadiazole Chemical group C1=CON=N1 WCPAKWJPBJAGKN-UHFFFAOYSA-N 0.000 description 1
- 150000007978 oxazole derivatives Chemical class 0.000 description 1
- 125000004430 oxygen atom Chemical group O* 0.000 description 1
- GPRIERYVMZVKTC-UHFFFAOYSA-N p-quaterphenyl Chemical group C1=CC=CC=C1C1=CC=C(C=2C=CC(=CC=2)C=2C=CC=CC=2)C=C1 GPRIERYVMZVKTC-UHFFFAOYSA-N 0.000 description 1
- 150000004986 phenylenediamines Chemical class 0.000 description 1
- 238000000206 photolithography Methods 0.000 description 1
- 238000005424 photoluminescence Methods 0.000 description 1
- 238000005240 physical vapour deposition Methods 0.000 description 1
- 239000000049 pigment Substances 0.000 description 1
- 229910052697 platinum Inorganic materials 0.000 description 1
- 150000003058 platinum compounds Chemical class 0.000 description 1
- 229920003207 poly(ethylene-2,6-naphthalate) Polymers 0.000 description 1
- 229920003229 poly(methyl methacrylate) Polymers 0.000 description 1
- 229920002492 poly(sulfone) Polymers 0.000 description 1
- 229920002647 polyamide Polymers 0.000 description 1
- 229920000767 polyaniline Polymers 0.000 description 1
- 229920001230 polyarylate Polymers 0.000 description 1
- 239000004417 polycarbonate Substances 0.000 description 1
- 229920000515 polycarbonate Polymers 0.000 description 1
- 229920000728 polyester Polymers 0.000 description 1
- 229920001601 polyetherimide Polymers 0.000 description 1
- 229920001721 polyimide Polymers 0.000 description 1
- 239000004926 polymethyl methacrylate Substances 0.000 description 1
- 229920000306 polymethylpentene Polymers 0.000 description 1
- 239000011116 polymethylpentene Substances 0.000 description 1
- 229920000069 polyphenylene sulfide Polymers 0.000 description 1
- 229920001155 polypropylene Polymers 0.000 description 1
- 229960002796 polystyrene sulfonate Drugs 0.000 description 1
- 239000011970 polystyrene sulfonate Substances 0.000 description 1
- 229920000123 polythiophene Polymers 0.000 description 1
- 229920002451 polyvinyl alcohol Polymers 0.000 description 1
- 239000005033 polyvinylidene chloride Substances 0.000 description 1
- BITYAPCSNKJESK-UHFFFAOYSA-N potassiosodium Chemical compound [Na].[K] BITYAPCSNKJESK-UHFFFAOYSA-N 0.000 description 1
- 230000002265 prevention Effects 0.000 description 1
- 238000007639 printing Methods 0.000 description 1
- 239000000047 product Substances 0.000 description 1
- JEXVQSWXXUJEMA-UHFFFAOYSA-N pyrazol-3-one Chemical class O=C1C=CN=N1 JEXVQSWXXUJEMA-UHFFFAOYSA-N 0.000 description 1
- 150000003219 pyrazolines Chemical class 0.000 description 1
- MCJGNVYPOGVAJF-UHFFFAOYSA-N quinolin-8-ol Chemical class C1=CN=C2C(O)=CC=CC2=C1 MCJGNVYPOGVAJF-UHFFFAOYSA-N 0.000 description 1
- DLJHXMRDIWMMGO-UHFFFAOYSA-N quinolin-8-ol;zinc Chemical compound [Zn].C1=CN=C2C(O)=CC=CC2=C1.C1=CN=C2C(O)=CC=CC2=C1 DLJHXMRDIWMMGO-UHFFFAOYSA-N 0.000 description 1
- 229910052704 radon Inorganic materials 0.000 description 1
- SYUHGPGVQRZVTB-UHFFFAOYSA-N radon atom Chemical compound [Rn] SYUHGPGVQRZVTB-UHFFFAOYSA-N 0.000 description 1
- 238000012827 research and development Methods 0.000 description 1
- 239000000565 sealant Substances 0.000 description 1
- 239000004065 semiconductor Substances 0.000 description 1
- 235000012239 silicon dioxide Nutrition 0.000 description 1
- HQVNEWCFYHHQES-UHFFFAOYSA-N silicon nitride Chemical compound N12[Si]34N5[Si]62N3[Si]51N64 HQVNEWCFYHHQES-UHFFFAOYSA-N 0.000 description 1
- 229910052708 sodium Inorganic materials 0.000 description 1
- 239000011734 sodium Substances 0.000 description 1
- 239000007787 solid Substances 0.000 description 1
- 238000004528 spin coating Methods 0.000 description 1
- 238000003892 spreading Methods 0.000 description 1
- 230000007480 spreading Effects 0.000 description 1
- 239000010935 stainless steel Substances 0.000 description 1
- 229910001220 stainless steel Inorganic materials 0.000 description 1
- 235000021286 stilbenes Nutrition 0.000 description 1
- 229910052712 strontium Inorganic materials 0.000 description 1
- CIOAGBVUUVVLOB-UHFFFAOYSA-N strontium atom Chemical compound [Sr] CIOAGBVUUVVLOB-UHFFFAOYSA-N 0.000 description 1
- 125000005504 styryl group Chemical group 0.000 description 1
- 125000000542 sulfonic acid group Chemical group 0.000 description 1
- 229910052717 sulfur Inorganic materials 0.000 description 1
- 125000004434 sulfur atom Chemical group 0.000 description 1
- 229940042055 systemic antimycotics triazole derivative Drugs 0.000 description 1
- 238000012360 testing method Methods 0.000 description 1
- 229920001169 thermoplastic Polymers 0.000 description 1
- 239000004416 thermosoftening plastic Substances 0.000 description 1
- 150000004867 thiadiazoles Chemical class 0.000 description 1
- 229930192474 thiophene Natural products 0.000 description 1
- IBBLKSWSCDAPIF-UHFFFAOYSA-N thiopyran Chemical compound S1C=CC=C=C1 IBBLKSWSCDAPIF-UHFFFAOYSA-N 0.000 description 1
- 229910052719 titanium Inorganic materials 0.000 description 1
- 238000002834 transmittance Methods 0.000 description 1
- 125000006617 triphenylamine group Chemical group 0.000 description 1
- 229910001935 vanadium oxide Inorganic materials 0.000 description 1
- 229910052724 xenon Inorganic materials 0.000 description 1
- FHNFHKCVQCLJFQ-UHFFFAOYSA-N xenon atom Chemical compound [Xe] FHNFHKCVQCLJFQ-UHFFFAOYSA-N 0.000 description 1
Images
Landscapes
- Electroluminescent Light Sources (AREA)
- Devices For Indicating Variable Information By Combining Individual Elements (AREA)
Description
本発明は、有機エレクトロルミネッセンス素子の製造方法に関する。更に詳しくは、多層構造を有する有機エレクトロルミネッセンス素子を帯状可撓性支持体を使用しロールツーロール方式で製造する有機エレクトロルミネッセンス素子の製造方法に関する。 The present invention relates to a method for manufacturing an organic electroluminescence element. More specifically, the present invention relates to a method for manufacturing an organic electroluminescence element, in which an organic electroluminescence element having a multilayer structure is manufactured by a roll-to-roll method using a strip-like flexible support.
近年、有機物質を使用した有機EL素子は、固体発光型の安価な大面積フルカラー表示素子や書き込み光源アレイとしての用途が有望視されており、活発な研究開発が進められている。有機EL素子は、基材上に形成された第1電極(陽極又は陰極)と、その上に積層された発光層を含む有機機能層を有する有機EL層と、この発光層上に積層された第2電極(陰極又は陽極)とを有する薄膜型の素子である。この様な有機EL素子に電圧を印加すると、有機化EL層に陰極から電子が注入され陽極から正孔が注入される。この電子と正孔が発光層において再結合し、エネルギー準位が伝導帯から価電子帯に戻る際にエネルギーを光として放出することにより発光が得られることが知られている。 In recent years, organic EL elements using organic substances have been promising for use as solid light-emitting inexpensive, large-area full-color display elements and writing light source arrays, and active research and development have been promoted. The organic EL element includes a first electrode formed on the substrate (anode or cathode), and an organic EL layer having an organic functional layer including a light emitting layer laminated thereon was laminated to the light-emitting layer It is a thin film type element having a second electrode (cathode or anode). When a voltage is applied to such an organic EL element, electrons are injected from the cathode and holes are injected from the anode into the organic EL layer. It is known that light is obtained by releasing energy as light when the electrons and holes recombine in the light emitting layer and the energy level returns from the conduction band to the valence band.
この様に、有機EL素子は薄膜型の素子であるため、1個又は複数個の有機EL素子を基材上に形成した有機ELパネルをバックライト等の面光源として利用した場合には、面光源を備えた装置を容易に薄型にすることが出来る。又、画素としての有機EL素子を基材上に所定個数形成した有機ELパネルをディスプレイパネルとして用いて表示装置を構成した場合には視認性が高い、視野角依存性がないなど、液晶表示装置では得られない利点がある。 As described above, since the organic EL element is a thin film type element, when an organic EL panel in which one or a plurality of organic EL elements are formed on a substrate is used as a surface light source such as a backlight, A device provided with a light source can be easily made thin. In addition, when a display device is configured using an organic EL panel in which a predetermined number of organic EL elements as pixels are formed on a base material as a display panel, the liquid crystal display device has high visibility and no viewing angle dependency. There are advantages that cannot be obtained.
一方、有機EL素子の有機EL層を形成する際には、特開平9−102393号公報、特開2002−170676号公報に記載されている様に、蒸着法、スパッタ法、CVD、PVD、溶剤を用いた塗布法等の様々な方法が使用出来るが、これらの方法の中で、製造工程の簡略化、製造コストの低減、加工性の改善、バックライトや照明光源等のフレキシブルな大面積素子への応用等の観点からは塗布法等の湿式製膜法が有利であることが知られている。例えば、特開2002−170676号公報に枚葉のガラス基材上にスピンコート法により有機機能層を形成する方法が記載されている。特開2003−142260号公報に枚葉の基材上にインクジェット方式で順次有機機能層を形成する方法が記載されている。これらの方式は何れも基材として枚葉基材を使用しているため生産効率を上げるのに限度がある。これらの状況から生産効率が挙げられる可能性が高いロール状の基材を使用し基材上に有機EL素子を構成する各種層を形成した後、巻き取りロール状とする有機EL素子の製造方法(ロールツーロール方式)が検討されている。 On the other hand, when forming the organic EL layer of the organic EL element, as described in JP-A-9-102393 and JP-A-2002-170676, vapor deposition, sputtering, CVD, PVD, solvent Various methods, such as coating methods using a glass, can be used. Among these methods, manufacturing processes are simplified, manufacturing costs are reduced, workability is improved, flexible large-area elements such as backlights and illumination light sources, etc. It is known that a wet film-forming method such as a coating method is advantageous from the viewpoint of application to a film. For example, Japanese Patent Application Laid-Open No. 2002-170676 describes a method of forming an organic functional layer on a single glass substrate by spin coating. Japanese Patent Application Laid-Open No. 2003-142260 describes a method of sequentially forming an organic functional layer on a single-wafer substrate by an ink jet method. These schemes is limited to raise the production efficiency due to the use of any single wafer substrate as a base material. After forming the various layers constituting the organic EL element on a substrate using a production efficiency can be mentioned property is high roll-shaped substrate from these situations, the production of organic EL element according to the winding roll form A method (roll-to-roll method) is being studied.
例えば、ロール状の長尺のフィルムを供給し、搬送しながらフィルム上に発光層を、湿式塗布法により形成した後、巻き芯に巻き取りロール状とする方法が知られている(例えば、特許文献1を参照。)。透光性基材としてプラスチックフィルムを使用し、このプラスチックフィルム上に陰極と、有機物質からなる一つ又は複数の発光層と、陽極層を設けた有機ELディスプレイを製造する方法として、有機物質からなる一つ又は複数の発光層のパターニング及び陰極のパターニングを真空下で蒸着方式でロールツーロール方式により作製する方法が知られている(例えば、特許文献2を参照。)。 For example, a method is known in which a long film in a roll shape is supplied and a light emitting layer is formed on the film while being conveyed by a wet coating method, and then wound into a winding roll shape (for example, a patent) See reference 1.) As a method of manufacturing an organic EL display in which a plastic film is used as a translucent substrate and a cathode, one or a plurality of light emitting layers made of an organic material, and an anode layer are provided on the plastic film, There is known a method in which the patterning of one or a plurality of light-emitting layers and the patterning of the cathode are produced by a roll-to-roll method using a vapor deposition method under vacuum (see, for example, Patent Document 2).
特許文献1及び特許文献2に記載のロールツーロール方式により有機EL素子を製造する方法は生産効率を高める方法としては優れているが次の欠点を有している。有機EL素子の性能向上と実用化の鍵は発光効率の改善であり、発光効率が高まれば高輝度、低消費電力、長寿命が同時に実現することになる。発光効率を高くするためには、電極から注入された電子、正孔が効率よく発光層に注入されて励起子(エキシトン)を形成し、発光層で効率よくエキシトンの再結合が行われる様にする必要があることが知られており、発光層の上下に正孔注入層、正孔輸送層、電子輸送層、電子注入層等を設けた多層構造化が進められている。又、発光層の輝度安定性、白色素子の製造の面から多層化の検討が進められている。この様な、多層化に対して特許文献1及び特許文献2に記載のロールツーロール方式は陽極層〜発光層〜陰極層の形成を連続して行うため、工程が長く大きくなり設置場所を取るため、多層化対応が困難になっている。 Although the method of manufacturing an organic EL element by the roll-to-roll method described in Patent Document 1 and Patent Document 2 is an excellent method for increasing production efficiency, it has the following drawbacks. The key to practical use and performance improvement of the organic EL element is improved in luminous efficiency, if the light emitting efficiency is Takamare high brightness, so that low power consumption, long life is realized at the same time. In order to increase luminous efficiency, electrons and holes injected from the electrode are efficiently injected into the light emitting layer to form excitons (excitons), and excitons are recombined efficiently in the light emitting layer. It is known that a multilayer structure in which a hole injection layer, a hole transport layer, an electron transport layer, an electron injection layer, and the like are provided above and below a light emitting layer is being promoted. Further, studies on multilayering are underway from the viewpoint of luminance stability of the light emitting layer and production of white elements. For such multi-layering, the roll-to-roll method described in Patent Document 1 and Patent Document 2 continuously forms the anode layer, the light emitting layer, and the cathode layer, so that the process becomes long and takes an installation place. For this reason, it is difficult to handle multiple layers.
これらの状況より、製造工程を長くすることなく、生産性が高く、高品質で多層化対応が取れた有機EL素子の製造方法の開発が望まれている。
本発明は上記状況に鑑み成されたものであり、その目的は、製造工程を長くすることなく、生産性が高く、高品質で多層化対応が取れた有機EL素子の製造方法を提供することである。 The present invention has been made in view of the above circumstances, and an object thereof is to provide a method for manufacturing an organic EL element that has high productivity, high quality, and can be multilayered without lengthening the manufacturing process. It is.
本発明の上記目的は、下記の構成により達成された。 The above object of the present invention has been achieved by the following constitution.
1.帯状可撓性基材上に少なくとも第1電極(陽極層)と、第1有機機能層と、第2有機機能層と、第2電極(陰極層)と、封止層とを順次積層した少なくとも一つの有機エレクトロルミネッセンス素子を、少なくとも帯状可撓性基材供給工程と、第1電極(陽極層)形成工程と、第1有機機能層形成工程と、第2有機機能層形成工程と、第2電極(陰極層)形成工程と、封止層形成工程とを有する製造工程を使用し製造する有機エレクトロルミネッセンス素子の製造方法において、前記第1電極(陽極層)形成工程の後、前記第2有機機能層形成工程の後及び前記第2電極(陰極層)形成工程の後において、各層を積層した前記基材をロール状に巻き取り回収し、不活性ガス雰囲気にて保管し、前記不活性ガス雰囲気の酸素濃度が1〜1000ppmであり、前記不活性ガス雰囲気の水分濃度が1〜1000ppmであることを特徴とする有機エレクトロルミネッセンス素子の製造方法。 1. At least a first electrode (anode layer), a first organic functional layer, a second organic functional layer, a second electrode (cathode layer), and a sealing layer are sequentially laminated on the belt-shaped flexible substrate. One organic electroluminescent element is formed by adding at least a strip-shaped flexible base material supplying step, a first electrode (anode layer) forming step, a first organic functional layer forming step, a second organic functional layer forming step, and a second electrode and (cathode layer) formation process, in the manufacturing method of the organic electroluminescence element produced using the production process and a sealing layer forming process, after the previous SL first electrode (anode layer) formation step, the second After the organic functional layer forming step and after the second electrode (cathode layer) forming step, the base material on which each layer is laminated is wound up and collected in a roll shape, stored in an inert gas atmosphere , and the inert material. The oxygen concentration in the gas atmosphere is 1-1000 a pm, a manufacturing method of an organic electroluminescence element water concentration of the inert gas atmosphere, characterized in 1~1000ppm der Rukoto.
製造工程を長くすることなく、生産性が高く、高品質で多層化対応が取れた有機EL素子の製造方法を提供することが出来、安定生産が可能となった。 Without prolonging the manufacturing process, it is possible to provide a method of manufacturing an organic EL element that is highly productive, has high quality, and can handle multiple layers, thereby enabling stable production.
本発明の実施の形態を図1、図2を参照しながら説明するが、本発明はこれに限定されるものではない。 Embodiments of the present invention will be described with reference to FIGS. 1 and 2, but the present invention is not limited thereto.
図1は多層構造を有する有機EL素子の層構成の一例を示す概略断面図である。 FIG. 1 is a schematic cross-sectional view showing an example of the layer structure of an organic EL element having a multilayer structure.
図中、1は有機EL素子を示す。有機EL素子1は、基材101上に、陽極(第1電極)102と、正孔輸送層(正孔注入層)103と、発光層104と、電子注入層105と、陰極(第2電極)106と、接着剤層107と、可撓性封止部材108とをこの順番に有している。本図では、正孔輸送層(正孔注入層)103を第1有機機能層とし、発光層104を第2有機機能層とする。
In the figure, 1 indicates an organic EL element. The organic EL element 1 includes an anode (first electrode) 102, a hole transport layer (hole injection layer) 103, a
本図に示される有機EL素子において、陽極102と正孔輸送層103の間に正孔注入層(不図示)を設けてもよい。又、陰極106と有機機能層(発光層)104と電子注入層105との間に電子輸送層(不図示)を設けてもよい。有機EL素子1では、陽極102と基材101との間にガスバリア膜(不図示)を設けても構わない。
In the organic EL element shown in this figure, a hole injection layer (not shown) may be provided between the
本図に示す有機EL素子の層構成は一例を示したものであるが、他の代表的な多層構造を有する有機EL素子の層構成としては次の構成が挙げられる。 The layer structure of the organic EL element shown in this figure is an example, but the following structure can be given as a layer structure of an organic EL element having another typical multilayer structure.
(1)基材/陽極/発光層/電子輸送層/陰極/封止層
(2)基材/陽極/正孔輸送層/発光層/正孔阻止層/電子輸送層/陰極/封止層
(3)基材/陽極/正孔輸送層(正孔注入層)/発光層/正孔阻止層/電子輸送層/陰極バッファー層(電子注入層)/陰極/封止層
(4)基材/陽極/陽極バッファー層(正孔注入層)/正孔輸送層/発光層/正孔阻止層/電子輸送層/陰極バッファー層(電子注入層)/陰極/封止層
(5)基材/陽極/正孔輸送層/青色発光層/橙色発光層/電子輸送層/陰極/封止層
(6)基材/陽極/正孔輸送層/青色発光層/緑色発光層/赤色発光層/青色発光層/陰極/封止層
(7)基材/陽極/正孔輸送層/青色発光層/緑色発光層/赤色発光層/青色発光層/緑色発光層/陰極/封止層
(8)基材/陽極/正孔輸送層/青色発光層/緑色発光層/赤色発光層/青色発光層/緑色発光層/赤色発光層/陰極/封止層
本発明は、本図に示す多層構造を有する有機EL素子を含め、上記(1)〜(5)に示される多層構造を有する有機EL素子をロールツーロール方式により製造する有機EL素子の製造方法に関するものである。
(1) Base material / anode / light emitting layer / electron transport layer / cathode / sealing layer (2) Base material / anode / hole transport layer / light emitting layer / hole blocking layer / electron transport layer / cathode / sealing layer (3) substrate / anode / hole transport layer (hole injection layer) / light emitting layer / hole blocking layer / electron transport layer / cathode buffer layer (electron injection layer) / cathode / sealing layer (4) substrate / Anode / anode buffer layer (hole injection layer) / hole transport layer / light emitting layer / hole blocking layer / electron transport layer / cathode buffer layer (electron injection layer) / cathode / sealing layer (5) substrate / Anode / hole transport layer / blue light emitting layer / orange light emitting layer / electron transport layer / cathode / sealing layer (6) substrate / anode / hole transport layer / blue light emitting layer / green light emitting layer / red light emitting layer / blue Light emitting layer / cathode / sealing layer (7) Base material / anode / hole transport layer / blue light emitting layer / green light emitting layer / red light emitting layer / blue light emitting layer / green light emitting layer / cathode / sealing layer (8) group Material / Anode / hole transport layer / blue light emitting layer / green light emitting layer / red light emitting layer / blue light emitting layer / green light emitting layer / red light emitting layer / cathode / sealing layer The present invention is an organic having a multilayer structure shown in the figure. The present invention relates to a method for manufacturing an organic EL element including an EL element and manufacturing an organic EL element having a multilayer structure shown in the above (1) to (5) by a roll-to-roll method.
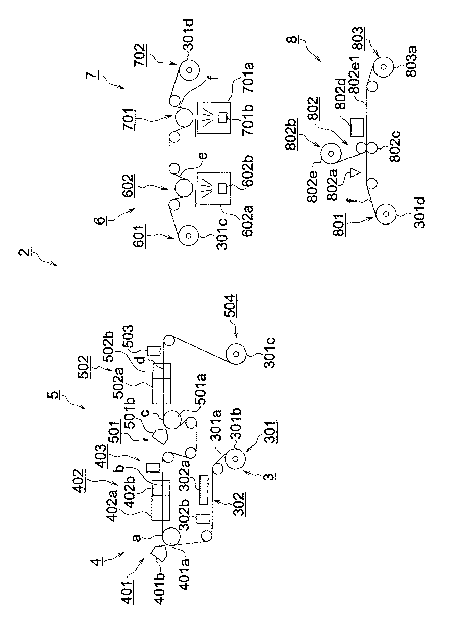
図2は図1に示す多層構造を有する有機EL素子をロールツーロール方式により製造する製造工程の一例を示す模式図である。 FIG. 2 is a schematic diagram showing an example of a manufacturing process for manufacturing the organic EL element having the multilayer structure shown in FIG. 1 by a roll-to-roll method.
図中、2は有機EL素子の製造工程を示す。製造工程2は、帯状可撓性支持体供給工程3と、第1有機機能層形成工程4と、第2有機機能層形成工程5と、電子注入層形成工程6と、第2電極形成工程7と、封止層形成工程8とを有している。 In the figure, reference numeral 2 denotes a manufacturing process of the organic EL element. The manufacturing process 2 includes a strip-shaped flexible support supplying process 3, a first organic functional layer forming process 4, a second organic functional layer forming process 5, an electron injection layer forming process 6, and a second electrode forming process 7. And a sealing layer forming step 8.
帯状可撓性支持体供給工程3は、繰り出し工程301と、清掃工程302とを有している。繰り出し工程301では、第1電極(陽極層)が既に形成され、巻き芯に巻き取られロール状可撓性支持体301bから帯状可撓性支持体301aとして繰り出される様になっている。尚、ロール状帯状可撓性支持体301bは不活性ガス雰囲気にて保管されていたものを使用する。不活性ガス雰囲気にて保管することで、第1電極の酸素による酸化を防止することが出来、第1電極の性能が維持される。支持体の水分含有率が0.2%を越えると、第1電極の上に形成される有機層の凝集や結晶化が進行し素子が劣化し発光性能(輝度、効率、寿命等)劣化、又、酸素による有機層の酸化によりダークスポット(発光しない部位)の発生等を考慮し、不活性ガス雰囲気中の酸素濃度は、1〜1000ppmであることが好ましく、又、水分濃度は1〜1000ppmであることが好ましい。次工程である第1有機機能層形成工程4で処理するまで、不活性ガス雰囲気での保管する期間は、第1電極(陽極層)の性能、工程の在庫量等を考慮し3ヶ月以内が好ましい。尚、ロール状可撓性支持体301bに形成された第1電極の下にはバリア層を設けてあってもよい。
The strip-shaped flexible support supply process 3 includes a
清掃工程302は、有機機能層形成用塗布液を塗布する前に帯状可撓性支持体供給工程3から送られてきた帯状可撓性支持体301aの第1電極(陽極層)(不図示)表面を洗浄改質する洗浄表面改質処理工程302aと、第1除電処理工程302bとを有している。洗浄表面改質処理工程302aには、低圧水銀ランプ、エキシマランプ、プラズマ洗浄装置等が設けられている。低圧水銀ランプによる洗浄表面改質処理の条件としては、例えば、波長184.2nmの低圧水銀ランプを、照射強度5〜20mW/cm2で、距離5〜15mmで照射し洗浄表面改質処理を行う条件が挙げられる。プラズマ洗浄装置による洗浄表面改質処理の条件としては、例えば、大気圧プラズマが好適に使用される。洗浄条件としてはアルゴンガスに酸素1〜5体積%含有ガスを用い、周波数100KHz〜150MHz、電圧10V〜10KV、照射距離5〜20mmで洗浄表面改質処理を行う条件が挙げられる。
In the
第1除電処理工程302bには、光照射方式とコロナ放電式等の除電処理手段が設けられており、これらの中から必要に応じて適宜選択使用することが可能である。光照射式は微弱X線、コロナ放電式はコロナ放電により空気イオンを生成する。この空気イオンは、帯電物体に引き寄せられて反対極性の電荷を補い、静電気を中和する。コロナ放電による除電器、軟X線による除電器が利用可能である。第1除電処理手段により、帯状可撓性支持体301aの帯電除去が図られるため、ゴミの付着や絶縁破壊が防止されるため、素子の歩留まりの向上が図られる。
The first charge
第1有機機能層形成工程4は、第1塗布工程401と第1乾燥工程402と第2除電処理工程403とを有している。第1塗布工程401は、帯状可撓性支持体301aを保持するバックアップロール401aと、バックアップロール401aに保持された帯状可撓性支持体301aに第1有機機能層形成用塗布液を塗布する第1湿式塗布機401bとを有している。尚、本図では第1有機機能層とは正孔輸送層を示し、第1有機機能層形成用塗布液は正孔輸送層形成用塗布液を示す。
The first organic functional layer forming step 4 includes a
第1乾燥工程402は、帯状可撓性支持体301a上の第1電極(陽極層)(不図示)上に形成された第1有機機能層形成用塗膜(正孔輸送層形成用塗膜)aの溶媒を除去する第1乾燥装置402aを有している。第1乾燥装置402aは加熱処理部402bを有していることが好ましい。
The
第2除電処理工程403は、形成された第1有機機能層bの除電を行う第2除電処理手段を有し、第1除電処理手段と同じ除電処理手段となっている。
The second charge
第2有機機能層形成工程5は、第2塗布工程501と第2乾燥工程502と第2除電処理工程503と、第1回収工程504とを有している。第2塗布工程501は、第1有機機能層bまでを形成した帯状可撓性支持体301aを保持するバックアップロール501aと、バックアップロール501aに保持された帯状可撓性支持体301a上に形成された第1有機機能層b上に第2有機機能層形成用塗布液を塗布する第2湿式塗布機501bとを有している。尚、本図では第2有機機能層とは発光層を示し、第2有機機能層形成用塗布液は発光層形成用塗布液を示す。
The second organic functional layer formation step 5 includes a
第2乾燥工程502は、第1有機機能層b上に形成された第2有機機能層形成用塗膜(発光層形成用塗膜)cの溶媒を除去する第2乾燥装置502aを有している。第2乾燥装置502aは加熱処理部502bを有していることが好ましい。
The
第2除電処理工程503は、形成された第2有機機能層(発光層)dの除電を行う第2除電処理手段を有し、第1除電処理手段と同じ除電処理手段となっている。
The second charge
第1回収工程504は、巻き取り装置(不図示)を有し、第2有機機能層(発光層)dが形成された帯状可撓性支持体301aを巻き芯に巻き取り、ロール状帯状可撓性支持体301cとして回収する。回収されたロール状帯状可撓性支持体301cは不活性ガス雰囲気にて保管される。不活性ガス雰囲気にて保管することで、酸素により、第1電極(陽極層)、有機層の酸化を防止しすることが可能となり、第1電極(陽極層)、有機層の性能が維持される。水分及び酸素により有機層の凝集や結晶化が進行し素子が劣化し発光性能(輝度、効率、寿命等)劣化、有機層の酸化によりダークスポット(発光しない部位)の発生等を考慮し、不活性ガス雰囲気中の酸素濃度は、1〜1000ppmであることが好ましく、又、水分濃度は1〜1000ppmであることが好ましい。次工程である電子注入層形成工程6で処理するまで、不活性ガス雰囲気での保管する期間は、第1電極(陽極層)、有機層の性能維持、工程の在庫量等を考慮し3ヶ月以内が好ましい。
The
第1有機機能層形成工程4及び第2有機機能層形成工程5における塗布及び乾燥は何れも大気圧中で行うことが可能となっている。本図では、有機機能層形成工程として第1有機機能層形成工程4と、第2有機機能層形成工程5との2工程の場合を示しているが、必要に応じて増加することが可能となっている。例えば、発光層が多層化(例えば、青色発光層/橙色発光層)される場合は、本図に示される第2有機機能層形成工程5と同じ工程を追加して対応することが可能となっている。 Application and drying in the first organic functional layer forming step 4 and the second organic functional layer forming step 5 can both be performed at atmospheric pressure. This figure shows the case of two steps of the first organic functional layer forming step 4 and the second organic functional layer forming step 5 as the organic functional layer forming step, but it can be increased as necessary. It has become. For example, when the light emitting layer is multilayered (for example, blue light emitting layer / orange light emitting layer), the same process as the second organic functional layer forming process 5 shown in FIG. ing.
電子注入層形成工程6は、材料の供給工程601と、電子注入層形成装置602とを有している。供給工程601では、第1回収工程で回収されたロール状帯状可撓性支持体301c(帯状可撓性支持体上に、第1電極と、第1有機機能層(正孔輸送層)と、第2有機機能層(発光層)とが形成されている)が供給される。電子注入層形成装置602では、供給工程601から巻き出された第1電極と、第1有機機能層(正孔輸送層)と、第2有機機能層(発光層)とが形成されている帯状可撓性支持体の第2有機機能層(発光層)d上に電子注入層eが形成される。602aは蒸着装置を示し、602bは蒸発源容器を示す。
The electron injection layer forming step 6 includes a
第2電極形成工程7は第2電極形成装置701と第2回収工程702とを有している。第2電極形成装置701では、電子注入層形成工程6で形成された電子注入層eの上に第2電極fが形成される。701aは蒸着装置を示し、701bは蒸発源容器を示す。第2電極fが形成された後、第2回収工程702で巻き芯に巻き取られロール状帯状可撓性支持体301dとして回収される。回収されたロール状帯状可撓性支持体301dは不活性ガス雰囲気にて保管される。不活性ガス雰囲気にて保管することで、形成された各層が酸素による影響を受けることがなくなり性能が維持される。水分及び酸素により有機層の凝集や結晶化が進行し素子が劣化し発光性能(輝度、効率、寿命等)劣化、第1電極(陽極層)、第2電極、電子注入層、有機層の酸化によりダークスポット(発光しない部位)の発生等を考慮し、不活性ガス雰囲気中の酸素濃度は、1〜1000ppmであることが好ましく、又、水分濃度は1〜1000ppmであることが好ましい。次工程である封止層形成工程8で処理するまで、不活性ガス雰囲気での保管する期間は、形成された各層の性能維持、工程の在庫量等を考慮し3ヶ月以内が好ましい。
The second electrode formation step 7 includes a second
電子注入層形成工程6と第2電極形成工程7とは、何れも減圧条件となっている。本図では、電子注入層及び第2電極が蒸着装置を使用した場合を示したが、電子注入層及び第2電極の形成方法については、特に限定はなく、例えばスパッタリング法、反応性スパッタリング法、分子線エピタキシー法、クラスタ−イオンビーム法、イオンプレーティング法、プラズマ重合法、大気圧プラズマ重合法、プラズマCVD法、レーザーCVD法、熱CVD法、コーティング法などを用いることが出来る。 The electron injection layer forming step 6 and the second electrode forming step 7 are all under reduced pressure conditions. In this figure, the case where the electron injection layer and the second electrode use a vapor deposition apparatus is shown. However, the method for forming the electron injection layer and the second electrode is not particularly limited. For example, a sputtering method, a reactive sputtering method, A molecular beam epitaxy method, a cluster ion beam method, an ion plating method, a plasma polymerization method, an atmospheric pressure plasma polymerization method, a plasma CVD method, a laser CVD method, a thermal CVD method, a coating method, or the like can be used.
封止層形成工程8は、材料の供給工程801と、貼着工程802と、第3回収工程803とを有しており、供給工程801から第3回収工程803迄が大気圧条件下で連続的に行われる様になっている。供給工程801では、第2回収工程で回収されたロール状帯状可撓性支持体301dが供給される。
The sealing layer forming step 8 includes a
貼着工程802は、供給工程801から繰り出された帯状可撓性支持体上に形成されている第2電極上に接着剤を塗工する塗工装置802aと、封止フィルム供給部802bと、圧着ロール802cと、硬化処理部802dとを有している。802eは巻き芯に巻き取られたロール状の封止フィルムを示す。
The adhering
供給工程801から繰り出された帯状可撓性支持体301aは、塗工装置802aで帯状可撓性支持体301a上に形成されている第1電極、第2電極の外部取り出し電極を形成する端部を除き、第1電極、第2電極の周囲に接着剤が連続的に塗工される。この後、封止フィルムが連続的に貼合され圧着ロール802cを通過することで陰極層上に封止フィルムが接着剤を介して連続的に貼着される。封止フィルム802e1が接着剤を介して貼着された後、封止フィルムの貼着の硬化処理が行われる。接着剤の硬化処理が終了した段階で封止フィルム802e1で保護された有機EL素子が作製され、第3回収工程803で巻き芯に巻き取りロール状有機EL素子803aとして回収される。回収した後は、必要に応じて断裁してシート状有機EL素子にして使用することが可能となっている。回収されたロール状有機EL素子803aは封止フィルムが貼合されているため、外気の影響を受けないため空気での保管が可能となっている。
The strip-shaped
本発明において、不活性ガスとは、チッソ、二酸化炭素、ヘリウム、ネオン、アルゴン、クリプトン、キセノン、ラドンを言う。 In the present invention, the inert gas refers to nitrogen, carbon dioxide, helium, neon, argon, krypton, xenon, and radon.
本図に示す様に、ロール状可撓性基材上に第1電極(陽極層)、第1有機機能層、第1有機機能層、第2電極(陰極層)、封止層とを順次積層した有機EL素子を、封止層までを連続して積層し製造することなく、第1電極(陽極層)形成工程、第2有機機能層形成工程及び第2電極(陰極層)形成工程の各々の工程が終了した後、ロール状として回収し、回収したものを、次に使用するまで不活性ガス雰囲気で保管する製造方法とすることで次の効果が得られた。
1)製造工程を長くすることなく高発光効率対応の多層有機EL素子への対応が可能となった。
2)半成品の有機EL素子を在庫として保有することが可能となり、生産管理が容易になった。
3)最終製品の有機EL素子をロール状として保有することが可能となり、市場の要求に合わせた大きさのシート状有機EL素子を提供することが可能となった。
As shown in this figure, a first electrode (anode layer), a first organic functional layer, a first organic functional layer, a second electrode (cathode layer), and a sealing layer are sequentially formed on a roll-shaped flexible substrate. The laminated organic EL elements are continuously laminated and manufactured up to the sealing layer, without the first electrode (anode layer) forming step, the second organic functional layer forming step, and the second electrode (cathode layer) forming step. after each step is completed, and collected as a roll, a material obtained by collecting the following effects were obtained by following the manufacturing method stored in an inert gas atmosphere until use.
1) corresponds to high luminous efficiency corresponding multilayer organic EL element is enabled without increasing the manufacturing steps.
2) Semi-finished organic EL elements can be kept in stock, making production management easier.
3) It became possible to hold the organic EL element of the final product as a roll, and it became possible to provide a sheet-like organic EL element having a size that meets the market requirements.
以下、本発明に係わる有機EL素子を構成している基材、ガスバリア層、第1電極、正孔輸送層、発光層、電子輸送層、第2電極、封止層等に付き説明する。 Hereinafter, the substrate, gas barrier layer, first electrode, hole transport layer, light emitting layer, electron transport layer, second electrode, sealing layer and the like constituting the organic EL device according to the present invention will be described.
本発明に係わるガスバリア層と第1電極が既に形成された帯状可撓性基材としては、透明樹脂フィルムが挙げられる。樹脂フィルムとしては、例えば、ポリエチレンテレフタレート(PET)、ポリエチレンナフタレート(PEN)等のポリエステル、ポリエチレン、ポリプロピレン、セロファン、セルロースジアセテート、セルローストリアセテート、セルロースアセテートブチレート、セルロースアセテートプロピオネート(CAP)、セルロースアセテートフタレート(TAC)、セルロースナイトレート等のセルロースエステル類又はそれらの誘導体、ポリ塩化ビニリデン、ポリビニルアルコール、ポリエチレンビニルアルコール、シンジオタクティックポリスチレン、ポリカーボネート、ノルボルネン樹脂、ポリメチルペンテン、ポリエーテルケトン、ポリイミド、ポリエーテルスルホン(PES)、ポリフェニレンスルフィド、ポリスルホン類、ポリエーテルイミド、ポリエーテルケトンイミド、ポリアミド、フッ素樹脂、ナイロン、ポリメチルメタクリレート、アクリル或いはポリアリレート類、アートン(商品名JSR社製)或いはアペル(商品名三井化学社製)といったシクロオレフィン系樹脂等が挙げられる。 A transparent resin film is mentioned as a strip | belt-shaped flexible base material with which the gas barrier layer concerning this invention and the 1st electrode were already formed. Examples of the resin film include polyesters such as polyethylene terephthalate (PET) and polyethylene naphthalate (PEN), polyethylene, polypropylene, cellophane, cellulose diacetate, cellulose triacetate, cellulose acetate butyrate, cellulose acetate propionate (CAP), Cellulose esters such as cellulose acetate phthalate (TAC), cellulose nitrate or derivatives thereof, polyvinylidene chloride, polyvinyl alcohol, polyethylene vinyl alcohol, syndiotactic polystyrene, polycarbonate, norbornene resin, polymethylpentene, polyether ketone, polyimide , Polyethersulfone (PES), polyphenylene sulfide, polysulfones, Cycloolefin resins such as polyether imide, polyether ketone imide, polyamide, fluororesin, nylon, polymethyl methacrylate, acrylic or polyarylate, Arton (trade name, manufactured by JSR) or Appel (trade name, manufactured by Mitsui Chemicals) Is mentioned.
帯状可撓性基材の厚さは特に限定されないが、取り扱い性、搬送性等を考慮し、0.05〜1mmの範囲が好ましい。帯状可撓性基材の幅は特に限定はなく、使用するエレクトロルミネッセンス表示装置の画面サイズに応じて適宜に選択することが可能である。 Although the thickness of a strip | belt-shaped flexible base material is not specifically limited, Considering handleability, a conveyance property, etc., the range of 0.05-1 mm is preferable. The width of the strip-shaped flexible substrate is not particularly limited, and can be appropriately selected according to the screen size of the electroluminescent display device to be used.
帯状可撓性基材には、添加剤等が含有されていてもよく、例えば電磁波遮蔽透明板がプラズマディスプレイパネルの前面に装着される場合には、パネルの前面から発生する近赤外線を吸収させるための近赤外線吸収剤を含有させもよいし、ディスプレイの見やすさを向上させるために、染料、顔料等の着色剤により着色されていてもよい。 The band-shaped flexible base material may contain an additive or the like. For example, when an electromagnetic wave shielding transparent plate is attached to the front surface of the plasma display panel, the near infrared ray generated from the front surface of the panel is absorbed. In order to improve the visibility of the display, it may be colored with a colorant such as a dye or a pigment.
帯状可撓性基材として使用する樹脂フィルムの表面にはガスバリア膜が必要に応じて形成されることが好ましい。ガスバリア膜としては無機物、有機物の被膜又はその両者のハイブリッド被膜が挙げられる。ガスバリア膜の特性としては、水蒸気透過度が0.01g/m2・day・atm以下であることが好ましい。更には、酸素透過度10-3ml/m2/day以下、水蒸気透過度10-5g/m2/day以下の高バリア性フィルムであることが好ましい。 It is preferable that a gas barrier film is formed on the surface of the resin film used as the strip-shaped flexible substrate, if necessary. Examples of the gas barrier film include an inorganic film, an organic film, or a hybrid film of both. As a characteristic of the gas barrier film, the water vapor permeability is preferably 0.01 g / m 2 · day · atm or less. Furthermore, a high barrier film having an oxygen permeability of 10 −3 ml / m 2 / day or less and a water vapor permeability of 10 −5 g / m 2 / day or less is preferable.
ガスバリア膜を形成する材料としては、水分や酸素等素子の劣化をもたらすものの浸入を抑制する機能を有する材料であればよく、例えば、酸化珪素、二酸化珪素、窒化珪素等を用いることが出来る。更に該膜の脆弱性を改良するためにこれら無機層と有機材料からなる層の積層構造を持たせることがより好ましい。無機層と有機層の積層順については特に制限はないが、両者を交互に複数回積層させることが好ましい。バリア膜の形成方法については、特に限定はなく、例えば真空蒸着法、スパッタリング法、反応性スパッタリング法、分子線エピタキシー法、クラスタ−イオンビーム法、イオンプレーティング法、プラズマ重合法、大気圧プラズマ重合法、プラズマCVD法、レーザCVD法、熱CVD法、コーティング法等を用いることが出来るが、特開2004−68143号に記載されているような大気圧プラズマ重合法によるものが特に好ましい。 As a material for forming the gas barrier film, any material may be used as long as it has a function of suppressing intrusion of elements that cause deterioration of elements such as moisture and oxygen. For example, silicon oxide, silicon dioxide, silicon nitride, or the like can be used. Further, in order to improve the brittleness of the film, it is more preferable to have a laminated structure of these inorganic layers and layers made of organic materials. Although there is no restriction | limiting in particular about the lamination | stacking order of an inorganic layer and an organic layer, It is preferable to laminate | stack both alternately several times. The method for forming the barrier film is not particularly limited. For example, the vacuum deposition method, the sputtering method, the reactive sputtering method, the molecular beam epitaxy method, the cluster ion beam method, the ion plating method, the plasma polymerization method, the atmospheric pressure plasma weighting. A combination method, a plasma CVD method, a laser CVD method, a thermal CVD method, a coating method, and the like can be used, but an atmospheric pressure plasma polymerization method as described in JP-A-2004-68143 is particularly preferable.
第1電極としては、仕事関数の大きい(4eV以上)金属、合金、電気伝導性化合物及びこれらの混合物を電極物質とするものが好ましく用いられる。この様な電極物質の具体例としてはAu等の金属、CuI、インジウムチンオキシド(ITO)、SnO2、ZnO等の導電性透明材料が挙げられる。又、IDIXO(In2O3・ZnO)等非晶質で透明導電膜を作製可能な材料を用いてもよい。陽極はこれらの電極物質を蒸着やスパッタリング等の方法により、薄膜を形成させ、フォトリソグラフィー法で所望の形状のパターンを形成してもよく、或いはパターン精度をあまり必要としない場合は(100μm以上程度)、上記電極物質の蒸着やスパッタリング時に所望の形状のマスクを介してパターンを形成してもよい。或いは、有機導電性化合物のように塗布可能な物質を用いる場合には、印刷方式、コーティング方式等湿式成膜法を用いることも出来る。この陽極より発光を取り出す場合には、透過率を10%より大きくすることが望ましく、又、陽極としてのシート抵抗は数百Ω/□以下が好ましい。更に膜厚は材料にもよるが、通常10〜1000nm、好ましくは10〜200nmの範囲で選ばれる。 As the first electrode, an electrode material made of a metal, an alloy, an electrically conductive compound, or a mixture thereof having a high work function (4 eV or more) is preferably used. Specific examples of such an electrode substance include metals such as Au, and conductive transparent materials such as CuI, indium tin oxide (ITO), SnO 2 , and ZnO. Alternatively, an amorphous material such as IDIXO (In 2 O 3 .ZnO) capable of forming a transparent conductive film may be used. For the anode, these electrode materials may be formed into a thin film by a method such as vapor deposition or sputtering, and a pattern having a desired shape may be formed by a photolithography method, or when the pattern accuracy is not required (about 100 μm or more) ), A pattern may be formed through a mask having a desired shape when the electrode material is deposited or sputtered. Or when using the substance which can be apply | coated like an organic electroconductivity compound, wet film-forming methods, such as a printing system and a coating system, can also be used. When light emission is extracted from the anode, the transmittance is desirably greater than 10%, and the sheet resistance as the anode is preferably several hundred Ω / □ or less. Further, although the film thickness depends on the material, it is usually selected in the range of 10 to 1000 nm, preferably 10 to 200 nm.
第1電極と発光層又は正孔輸送層の間に、正孔注入層(陽極バッファー層)を存在させてもよい。正孔注入層とは、駆動電圧低下や発光輝度向上のために電極と有機層間に設けられる層のことで、「有機EL素子とその工業化最前線(1998年11月30日エヌ・ティー・エス社発行)」の第2編第2章「電極材料」(123−166頁)に詳細に記載されている。陽極バッファー層(正孔注入層)は、特開平9−45479号公報、同9−260062号公報、同8−288069号公報等にもその詳細が記載されており、具体例として、銅フタロシアニンに代表されるフタロシアニンバッファー層、酸化バナジウムに代表される酸化物バッファー層、アモルファスカーボンバッファー層、ポリアニリン(エメラルディン)やポリチオフェン等の導電性高分子を用いた高分子バッファー層等が挙げられる。 A hole injection layer (anode buffer layer) may be present between the first electrode and the light emitting layer or the hole transport layer. The hole injection layer is a layer provided between the electrode and the organic layer in order to lower the driving voltage and improve the luminance of light emission. “The organic EL element and the forefront of industrialization (November 30, 1998, NTS) The details are described in the second volume, Chapter 2, “Electrode Materials” (pages 123 to 166) of “The Company”. The details of the anode buffer layer (hole injection layer) are described in JP-A-9-45479, JP-A-9-260062, JP-A-8-288069 and the like. As a specific example, copper phthalocyanine is used. Examples thereof include a phthalocyanine buffer layer represented by an oxide, an oxide buffer layer represented by vanadium oxide, an amorphous carbon buffer layer, and a polymer buffer layer using a conductive polymer such as polyaniline (emeraldine) or polythiophene.
正孔輸送層とは、正孔を輸送する機能を有する正孔輸送材料からなり、広い意味で正孔注入層、電子阻止層も正孔輸送層に含まれる。正孔輸送層は単層又は複数層設けることが出来る。正孔輸送材料としては、正孔の注入又は輸送、電子の障壁性の何れかを有するものであり、有機物、無機物の何れであってもよい。例えば、トリアゾール誘導体、オキサジアゾール誘導体、イミダゾール誘導体、ポリアリールアルカン誘導体、ピラゾリン誘導体及びピラゾロン誘導体、フェニレンジアミン誘導体、アリールアミン誘導体、アミノ置換カルコン誘導体、オキサゾール誘導体、スチリルアントラセン誘導体、フルオレノン誘導体、ヒドラゾン誘導体、スチルベン誘導体、シラザン誘導体、アニリン系共重合体、又導電性高分子オリゴマー、特にチオフェンオリゴマー等が挙げられる。 The hole transport layer is made of a hole transport material having a function of transporting holes, and in a broad sense, a hole injection layer and an electron blocking layer are also included in the hole transport layer. The hole transport layer can be provided as a single layer or a plurality of layers. The hole transport material has any one of hole injection or transport and electron barrier properties, and may be either organic or inorganic. For example, triazole derivatives, oxadiazole derivatives, imidazole derivatives, polyarylalkane derivatives, pyrazoline derivatives and pyrazolone derivatives, phenylenediamine derivatives, arylamine derivatives, amino-substituted chalcone derivatives, oxazole derivatives, styrylanthracene derivatives, fluorenone derivatives, hydrazone derivatives, Examples include stilbene derivatives, silazane derivatives, aniline copolymers, and conductive polymer oligomers, particularly thiophene oligomers.
正孔輸送材料としては上記のものを使用することが出来るが、ポルフィリン化合物、芳香族第3級アミン化合物及びスチリルアミン化合物、特に芳香族第3級アミン化合物を用いることが好ましい。芳香族第3級アミン化合物及びスチリルアミン化合物の代表例としては、N,N,N′,N′−テトラフェニル−4,4′−ジアミノフェニル;N,N′−ジフェニル−N,N′−ビス(3−メチルフェニル)−〔1,1′−ビフェニル〕−4,4′−ジアミン(TPD);2,2−ビス(4−ジ−p−トリルアミノフェニル)プロパン;1,1−ビス(4−ジ−p−トリルアミノフェニル)シクロヘキサン;N,N,N′,N′−テトラ−p−トリル−4,4′−ジアミノビフェニル;1,1−ビス(4−ジ−p−トリルアミノフェニル)−4−フェニルシクロヘキサン;ビス(4−ジメチルアミノ−2−メチルフェニル)フェニルメタン;ビス(4−ジ−p−トリルアミノフェニル)フェニルメタン;N,N′−ジフェニル−N,N′−ジ(4−メトキシフェニル)−4,4′−ジアミノビフェニル;N,N,N′,N′−テトラフェニル−4,4′−ジアミノジフェニルエーテル;4,4′−ビス(ジフェニルアミノ)クオードリフェニル;N,N,N−トリ(p−トリル)アミン;4−(ジ−p−トリルアミノ)−4′−〔4−(ジ−p−トリルアミノ)スチリル〕スチルベン;4−N,N−ジフェニルアミノ−(2−ジフェニルビニル)ベンゼン;3−メトキシ−4′−N,N−ジフェニルアミノスチルベンゼン;N−フェニルカルバゾール、更には米国特許第5,061,569号明細書に記載されている2個の縮合芳香族環を分子内に有するもの、例えば、4,4′−ビス〔N−(1−ナフチル)−N−フェニルアミノ〕ビフェニル(NPD)、特開平4−308688号公報に記載されているトリフェニルアミンユニットが3つスターバースト型に連結された4,4′,4″−トリス〔N−(3−メチルフェニル)−N−フェニルアミノ〕トリフェニルアミン(MTDATA)等が挙げられる。 The above-mentioned materials can be used as the hole transport material, but it is preferable to use a porphyrin compound, an aromatic tertiary amine compound and a styrylamine compound, particularly an aromatic tertiary amine compound. Representative examples of aromatic tertiary amine compounds and styrylamine compounds include N, N, N ', N'-tetraphenyl-4,4'-diaminophenyl; N, N'-diphenyl-N, N'- Bis (3-methylphenyl)-[1,1′-biphenyl] -4,4′-diamine (TPD); 2,2-bis (4-di-p-tolylaminophenyl) propane; 1,1-bis (4-di-p-tolylaminophenyl) cyclohexane; N, N, N ′, N′-tetra-p-tolyl-4,4′-diaminobiphenyl; 1,1-bis (4-di-p-tolyl) Aminophenyl) -4-phenylcyclohexane; bis (4-dimethylamino-2-methylphenyl) phenylmethane; bis (4-di-p-tolylaminophenyl) phenylmethane; N, N'-diphenyl-N, N ' − (4-methoxyphenyl) -4,4'-diaminobiphenyl; N, N, N ', N'-tetraphenyl-4,4'-diaminodiphenyl ether; 4,4'-bis (diphenylamino) quadriphenyl; N, N, N-tri (p-tolyl) amine; 4- (di-p-tolylamino) -4 '-[4- (di-p-tolylamino) styryl] stilbene; 4-N, N-diphenylamino- (2-diphenylvinyl) benzene; 3-methoxy-4′-N, N-diphenylaminostilbenzene; N-phenylcarbazole, and also two of those described in US Pat. No. 5,061,569. Having a condensed aromatic ring in the molecule, for example, 4,4'-bis [N- (1-naphthyl) -N-phenylamino] biphenyl (NPD), JP-A-4-3086 4,4 ', 4 "-tris [N- (3-methylphenyl) -N-phenylamino] triphenylamine in which three triphenylamine units described in Japanese Patent No. 8 are linked in a starburst type ( MTDATA) and the like.
更にこれらの材料を高分子鎖に導入した、又はこれらの材料を高分子の主鎖とした高分子材料を用いることも出来る。又、p型−Si、p型−SiC等の無機化合物も正孔注入材料、正孔輸送材料として使用することが出来る。 Furthermore, a polymer material in which these materials are introduced into a polymer chain or these materials are used as a polymer main chain can also be used. In addition, inorganic compounds such as p-type-Si and p-type-SiC can also be used as the hole injection material and the hole transport material.
又、特開平11−251067号公報、J.Huang et.al.著文献(Applied Physics Letters 80(2002),p.139)に記載されているような所謂p型正孔輸送材料を用いることも出来る。本発明においては、より高効率の発光素子が得られることから、これらの材料を用いることが好ましい。 JP-A-11-251067, J. Org. Huang et. al. A so-called p-type hole transport material described in a book (Applied Physics Letters 80 (2002), p. 139) can also be used. In the present invention, it is preferable to use these materials because a light-emitting element with higher efficiency can be obtained.
正孔輸送層の膜厚については特に制限はないが、通常は5nm〜5μm程度、好ましくは5〜200nmである。この正孔輸送層は上記材料の1種又は2種以上からなる一層構造であってもよい。又、不純物をドープしたp性の高い正孔輸送層を用いることも出来る。その例としては、特開平4−297076号、特開2000−196140号、特開2001−102175号、J.Appl.Phys.,95,5773(2004)等に記載されたものが挙げられる。この様なp性の高い正孔輸送層を用いることが、より低消費電力の有機EL素子を作製することが出来るため好ましい。 Although there is no restriction | limiting in particular about the film thickness of a positive hole transport layer, Usually, 5 nm-about 5 micrometers, Preferably it is 5-200 nm. This hole transport layer may have a single layer structure composed of one or more of the above materials. A hole transport layer having a high p property doped with impurities can also be used. Examples thereof include JP-A-4-297076, JP-A-2000-196140, JP-A-2001-102175, J.A. Appl. Phys. 95, 5773 (2004), and the like. It is preferable to use such a hole transport layer having a high p property because an organic EL element with lower power consumption can be produced.
本発明に係わる発光層に使用する材料は特に限定はなく、例えば、株式会社 東レリサーチセンター フラットパネルディスプレイの最新動向 ELディスプレイの現状と最新技術動向 228〜332頁に記載されている如き各種材料が挙げられる。本発明に係わる発光層には、発光層の発光効率を高くするために公知のホスト化合物と、公知のリン光性化合物(リン光発光性化合物とも言う)を含有することが好ましい。ホスト化合物とは、発光層に含有される化合物の内で、その層中での質量比が20%以上であり、且つ室温(25℃)においてリン光発光のリン光量子収率が、0.1未満の化合物と定義される。好ましくはリン光量子収率が0.01未満である。ホスト化合物を複数種併用して用いてもよい。ホスト化合物を複数種用いることで、電荷の移動を調整することが可能であり、有機EL素子を高効率化することが出来る。又、リン光性化合物を複数種用いることで、異なる発光を混ぜることが可能となり、これにより任意の発光色を得ることが出来る。リン光性化合物の種類、ドープ量を調整することで白色発光が可能であり、照明、バックライトへの応用も出来る。 The material used for the light emitting layer according to the present invention is not particularly limited. For example, Toray Research Center, Inc. The latest trend of flat panel displays The current state of EL displays and the latest technological trends Various materials as described on pages 228 to 332 Can be mentioned. The light emitting layer according to the present invention preferably contains a known host compound and a known phosphorescent compound (also referred to as a phosphorescent compound) in order to increase the light emission efficiency of the light emitting layer. The host compound is a compound contained in the light-emitting layer, the mass ratio in the layer is 20% or more, and the phosphorescence quantum yield of phosphorescence emission is 0.1 at room temperature (25 ° C.). Is defined as less than a compound. The phosphorescence quantum yield is preferably less than 0.01. A plurality of host compounds may be used in combination. By using a plurality of types of host compounds, it is possible to adjust the movement of charges, and the organic EL element can be made highly efficient. In addition, by using a plurality of phosphorescent compounds, it is possible to mix different light emission, thereby obtaining an arbitrary emission color. White light emission is possible by adjusting the kind of phosphorescent compound and the amount of doping, and can also be applied to illumination and backlight.
これらのホスト化合物としては、正孔輸送能、電子輸送能を有しつつ、且つ発光の長波長化を防ぎ、尚且つ高Tg(ガラス転移温度)である化合物が好ましい。公知のホスト化合物としては、例えば、特開2001−257076号公報、同2002−308855号公報、同2001−313179号公報、同2002−319491号公報、同2001−357977号公報、同2002−334786号公報、同2002−8860号公報、同2002−334787号公報、同2002−15871号公報、同2002−334788号公報、同2002−43056号公報、同2002−334789号公報、同2002−75645号公報、同2002−338579号公報、同2002−105445号公報、同2002−343568号公報、同2002−141173号公報、同2002−352957号公報、同2002−203683号公報、同2002−363227号公報、同2002−231453号公報、同2003−3165号公報、同2002−234888号公報、同2003−27048号公報、同2002−255934号公報、同2002−260861号公報、同2002−280183号公報、同2002−299060号公報、同2002−302516号公報、同2002−305083号公報、同2002−305084号公報、同2002−308837号公報等に記載の化合物が挙げられる。 As these host compounds, compounds having a hole transporting ability and an electron transporting ability, preventing emission light from being increased in wavelength, and having a high Tg (glass transition temperature) are preferable. Known host compounds include, for example, JP-A Nos. 2001-257076, 2002-308855, 2001-313179, 2002-319491, 2001-357777, and 2002-334786. Gazette, 2002-8860, 2002-334787, 2002-15871, 2002-334788, 2002-43056, 2002-334789, 2002-75645 2002-338579, 2002-105445, 2002-343568, 2002-141173, 2002-352957, 2002-203683, 2002-363227 2002-231453, 2003-3165, 2002-234888, 2003-27048, 2002-255934, 2002-260861, 2002-280183, Examples thereof include compounds described in 2002-299060, 2002-302516, 2002-305083, 2002-305084, 2002-308837 and the like.
複数の発光層を有する場合、これら各層のホスト化合物の50質量%以上が同一の化合物であることが、有機機能層全体に渡って均質な膜性状を得やすいことから好ましく、更にはホスト化合物のリン光発光エネルギーが2.9eV以上であることが、ドーパントからのエネルギー移動を効率的に抑制し、高輝度を得る上で有利となることからより好ましい。リン光発光エネルギーとは、ホスト化合物を基材に100nmの蒸着膜のフォトルミネッセンスを測定し、そのリン光発光の0−0バンドのピークエネルギーを言う。 In the case of having a plurality of light-emitting layers, it is preferable that 50% by mass or more of the host compound in each layer is the same compound because it is easy to obtain a uniform film property over the entire organic functional layer. It is more preferable that the phosphorescence emission energy is 2.9 eV or more because it is advantageous in efficiently suppressing energy transfer from the dopant and obtaining high luminance. Phosphorescence emission energy means the peak energy of the 0-0 band of the phosphorescence emission measured by measuring the photoluminescence of a deposited film of 100 nm using a host compound as a base material .
ホスト化合物は、有機EL素子の経時での劣化(輝度低下、膜性状の劣化)、光源としての市場ニーズ等を考慮し、リン光発光エネルギーが2.9eV以上且つTgが90℃以上のものであることが好ましい。すなわち、輝度と耐久性の両方を満足するためには、リン光発光エネルギーが2.9eV以上且つTgが90℃以上のものであることが好ましい。Tgは、更に好ましくは100℃以上である。 The host compound has a phosphorescence emission energy of 2.9 eV or more and a Tg of 90 ° C. or more in consideration of deterioration of the organic EL device over time (decrease in luminance and film properties), market needs as a light source, and the like. Preferably there is. That is, in order to satisfy both luminance and durability, it is preferable that phosphorescence emission energy is 2.9 eV or more and Tg is 90 ° C. or more. Tg is more preferably 100 ° C. or higher.
リン光性化合物(リン光発光性化合物)とは、励起三重項からの発光が観測される化合物であり、室温(25℃)にてリン光発光する化合物であり、リン光量子収率が、25℃において0.01以上の化合物である。先に説明したホスト化合物と合わせ使用することで、より発光効率の高い有機EL素子とすることが出来る。 A phosphorescent compound (phosphorescent compound) is a compound in which light emission from an excited triplet is observed, is a compound that emits phosphorescence at room temperature (25 ° C.), and has a phosphorescence quantum yield of 25. The compound is 0.01 or more at ° C. When used in combination with the host compound described above, an organic EL device with higher luminous efficiency can be obtained.
本発明に係るリン光性化合物は、リン光量子収率は好ましくは0.1以上である。上記リン光量子収率は、第4版実験化学講座7の分光IIの398頁(1992年版、丸善)に記載の方法により測定出来る。溶液中でのリン光量子収率は種々の溶媒を用いて測定出来るが、本発明に用いられるリン光性化合物は、任意の溶媒の何れかにおいて上記リン光量子収率が達成されればよい。 The phosphorescent compound according to the present invention preferably has a phosphorescence quantum yield of 0.1 or more. The phosphorescent quantum yield can be measured by the method described in Spectroscopic II, page 398 (1992 version, Maruzen) of Experimental Chemistry Course 4 of the 4th edition. Although the phosphorescence quantum yield in a solution can be measured using various solvents, the phosphorescence quantum yield used in the present invention only needs to achieve the phosphorescence quantum yield in any solvent.
リン光性化合物の発光は原理としては2種挙げられ、1つはキャリアが輸送されるホスト化合物上出来ャリアの再結合が起こってホスト化合物の励起状態が生成し、このエネルギーをリン光性化合物に移動させることでリン光性化合物からの発光を得るというエネルギー移動型、もう一つはリン光性化合物がキャリアトラップとなり、リン光性化合物上出来ャリアの再結合が起こりリン光性化合物からの発光が得られるというキャリアトラップ型であるが、何れの場合においても、リン光性化合物の励起状態のエネルギーはホスト化合物の励起状態のエネルギーよりも低いことが条件である。 There are two types of light emission of the phosphorescent compound in principle. One is the recombination of the carriers on the host compound to which carriers are transported, and an excited state of the host compound is generated, and this energy is converted into the phosphorescent compound. The energy transfer type, in which light emission from the phosphorescent compound is obtained by moving to the phosphorescent compound, and the other is that the phosphorescent compound becomes a carrier trap, resulting in recombination of the carriers on the phosphorescent compound and from the phosphorescent compound. Although it is a carrier trap type in which light emission can be obtained, in any case, it is a condition that the excited state energy of the phosphorescent compound is lower than the excited state energy of the host compound.
リン光性化合物は、有機EL素子の発光層に使用される公知のものの中から適宜選択して用いることが出来る。リン光性化合物としては、好ましくは元素の周期表で8族−10族の金属を含有する錯体系化合物であり、更に好ましくはイリジウム化合物、オスミウム化合物、又は白金化合物(白金錯体系化合物)、希土類錯体であり、中でも最も好ましいのはイリジウム化合物である。 The phosphorescent compound can be appropriately selected from known compounds used for the light emitting layer of the organic EL device. The phosphorescent compound is preferably a complex compound containing a group 8-10 metal in the periodic table of elements, more preferably an iridium compound, an osmium compound, or a platinum compound (platinum complex compound), rare earth Of these, iridium compounds are the most preferred.
本発明に係わる有機EL素子や、化合物の発光する色は、「新編色彩科学ハンドブック」(日本色彩学会編、東京大学出版会、1985)の108頁の図4.16において、分光放射輝度計CS−1000(コニカミノルタセンシング社製)で測定した結果をCIE色度座標に当て嵌めた時の色で決定される。又、白色素子とは、2℃視野角正面輝度を上記方法により測定した際に、1000cd/m2でのCIE1931表色系における色度がX=0.33±0.07、Y=0.33±0.07の領域内にあることを言う。
The organic EL device according to the present invention and the color emitted by the compound are shown in FIG. 4.16 on
本発明に係わる有機EL素子の発光の室温における外部取り出し効率は1%以上であることが好ましく、より好ましくは5%以上である。ここに、外部取り出し量子効率(%)=有機EL素子外部に発光した光子数/有機EL素子に流した電子数×100である。 The external extraction efficiency at room temperature of light emission of the organic EL device according to the present invention is preferably 1% or more, more preferably 5% or more. Here, the external extraction quantum efficiency (%) = the number of photons emitted to the outside of the organic EL element / the number of electrons sent to the organic EL element × 100.
又、カラーフィルター等の色相改良フィルター等を併用しても、有機EL素子からの発光色を蛍光体を用いて多色へ変換する色変換フィルターを併用してもよい。色変換フィルターを用いる場合においては、有機EL素子の発光のλmaxは480nm以下が好ましい。 In addition, a hue improvement filter such as a color filter may be used in combination, or a color conversion filter that converts the emission color from the organic EL element into multiple colors using a phosphor may be used in combination. In the case of using a color conversion filter, the λmax of light emission of the organic EL element is preferably 480 nm or less.
乾燥することで形成された発光層は、電極又は電子注入層、正孔輸送層から注入されてくる電子及び正孔が再結合して発光する層であり、発光する部分は発光層の層内であっても発光層と隣接層との界面であってもよい。 The light emitting layer formed by drying is a layer that emits light by recombination of electrons and holes injected from the electrode or electron injection layer and hole transport layer, and the light emitting part is within the layer of the light emitting layer. Even the interface between the light emitting layer and the adjacent layer may be used.
電子注入層とは、電子を輸送する機能を有する材料からなり広い意味で電子輸送層に含まれる。電子注入層とは、駆動電圧低下や発光輝度向上のために電極と有機層間に設けられる層のことで、「有機EL素子とその工業化最前線(1998年11月30日エヌ・ティー・エス社発行)」の第2編第2章「電極材料」(123〜166頁)に詳細に記載されている。電子注入層(陰極バッファー層)は、特開平6−325871号公報、同9−17574号公報、同10−74586号公報等にもその詳細が記載されており、具体的にはストロンチウムやアルミニウム等に代表される金属バッファー層、フッ化リチウムに代表されるアルカリ金属化合物バッファー層、フッ化マグネシウムに代表されるアルカリ土類金属化合物バッファー層、酸化アルミニウムに代表される酸化物バッファー層等が挙げられる。上記バッファー層(注入層)はごく薄い膜であることが望ましく、素材にもよるがその膜厚は0.1nm〜5μmの範囲が好ましい。 The electron injection layer is made of a material having a function of transporting electrons and is included in the electron transport layer in a broad sense. The electron injection layer is a layer provided between the electrode and the organic layer for lowering the driving voltage and improving the luminance of the light emission. “Organic EL element and its forefront of industrialization (NST 30, November 30, 1998) Issue) ”, Chapter 2, Chapter 2,“ Electrode Materials ”(pages 123-166). The details of the electron injection layer (cathode buffer layer) are also described in JP-A-6-325871, JP-A-9-17574, JP-A-10-74586, and the like. Specifically, strontium, aluminum, etc. Metal buffer layer typified by lithium, alkali metal compound buffer layer typified by lithium fluoride, alkaline earth metal compound buffer layer typified by magnesium fluoride, oxide buffer layer typified by aluminum oxide, etc. . The buffer layer (injection layer) is preferably a very thin film, and the film thickness is preferably in the range of 0.1 nm to 5 μm although it depends on the material.
他に発光層側に隣接する電子輸送層に用いられる電子輸送材料(正孔阻止材料を兼ねる)としては、陰極より注入された電子を発光層に伝達する機能を有していればよく、その材料としては従来公知の化合物の中から任意のものを選択して用いることが出来、例えば、ニトロ置換フルオレン誘導体、ジフェニルキノン誘導体、チオピランジオキシド誘導体、カルボジイミド、フレオレニリデンメタン誘導体、アントラキノジメタン及びアントロン誘導体、オキサジアゾール誘導体等が挙げられる。更に、上記オキサジアゾール誘導体において、オキサジアゾール環の酸素原子を硫黄原子に置換したチアジアゾール誘導体、電子吸引基として知られているキノキサリン環を有するキノキサリン誘導体も、電子輸送材料として用いることが出来る。更にこれらの材料を高分子鎖に導入した、又はこれらの材料を高分子の主鎖とした高分子材料を用いることも出来る。 In addition, as an electron transport material (also serving as a hole blocking material) used for the electron transport layer adjacent to the light emitting layer side, it is sufficient if it has a function of transmitting electrons injected from the cathode to the light emitting layer. As a material, any one of conventionally known compounds can be selected and used. For example, nitro-substituted fluorene derivatives, diphenylquinone derivatives, thiopyran dioxide derivatives, carbodiimides, fluorenylidenemethane derivatives, anthraquinodisides. Examples include methane and anthrone derivatives, oxadiazole derivatives and the like. Furthermore, in the above oxadiazole derivatives, thiadiazole derivatives in which the oxygen atom of the oxadiazole ring is substituted with a sulfur atom, and quinoxaline derivatives having a quinoxaline ring known as an electron-withdrawing group can also be used as the electron transport material. Furthermore, a polymer material in which these materials are introduced into a polymer chain or these materials are used as a polymer main chain can also be used.
又、8−キノリノール誘導体の金属錯体、例えば、トリス(8−キノリノール)アルミニウム(Alq)、トリス(5,7−ジクロロ−8−キノリノール)アルミニウム、トリス(5,7−ジブロモ−8−キノリノール)アルミニウム、トリス(2−メチル−8−キノリノール)アルミニウム、トリス(5−メチル−8−キノリノール)アルミニウム、ビス(8−キノリノール)亜鉛(Znq)等、及びこれらの金属錯体の中心金属がIn、Mg、Cu、Ca、Sn、Ga又はPbに置き替わった金属錯体も、電子輸送材料として用いることが出来る。その他、メタルフリーもしくはメタルフタロシアニン、又はそれらの末端がアルキル基やスルホン酸基等で置換されているものも、電子輸送材料として好ましく用いることが出来る。又、ジスチリルピラジン誘導体も、電子輸送材料として用いることが出来るし、正孔注入層、正孔輸送層と同様に、n型−Si、n型−SiC等の無機半導体も電子輸送材料として用いることが出来る。電子輸送層の膜厚については特に制限はないが、通常は5nm〜5μm程度、好ましくは5〜200nmである。電子輸送層は上記材料の1種又は2種以上からなる一層構造であってもよい。 Also, metal complexes of 8-quinolinol derivatives such as tris (8-quinolinol) aluminum (Alq), tris (5,7-dichloro-8-quinolinol) aluminum, tris (5,7-dibromo-8-quinolinol) aluminum Tris (2-methyl-8-quinolinol) aluminum, tris (5-methyl-8-quinolinol) aluminum, bis (8-quinolinol) zinc (Znq), and the like, and the central metals of these metal complexes are In, Mg, Metal complexes replaced with Cu, Ca, Sn, Ga or Pb can also be used as the electron transport material. In addition, metal-free or metal phthalocyanine, or those having terminal ends substituted with an alkyl group or a sulfonic acid group can be preferably used as the electron transporting material. Distyrylpyrazine derivatives can also be used as electron transport materials, and inorganic semiconductors such as n-type-Si and n-type-SiC are also used as electron transport materials in the same manner as the hole injection layer and hole transport layer. I can do it. Although there is no restriction | limiting in particular about the film thickness of an electron carrying layer, Usually, 5 nm-about 5 micrometers, Preferably it is 5-200 nm. The electron transport layer may have a single layer structure composed of one or more of the above materials.
又、不純物をドープしたn性の高い電子輸送層を用いることも出来る。その例としては、特開平4−297076号公報、特開平10−270172号公報、特開2000−196140号公報、特開2001−102175号公報、J.Appl.Phys.,95,5773(2004)等に記載されたものが挙げられる。この様なn性の高い電子輸送層を用いることがより低消費電力の素子を作製することが出来るため好ましい。電子輸送層は上記電子輸送材料を、例えば、湿式塗布、真空蒸着法等の公知の方法により、薄膜化することにより形成することも出来る。 An electron transport layer having a high n property doped with impurities can also be used. Examples thereof include JP-A-4-297076, JP-A-10-270172, JP-A-2000-196140, JP-A-2001-102175, J. Pat. Appl. Phys. 95, 5773 (2004), and the like. It is preferable to use such an electron transport layer having a high n property because an element with lower power consumption can be manufactured. The electron transport layer can also be formed by thinning the electron transport material by a known method such as wet coating or vacuum deposition.
本発明に係わる有機EL素子は、発光層で発生した光を効率よく取り出すために以下に示す方法を併用することが好ましい。有機EL素子は、空気よりも屈折率の高い(屈折率が1.7〜2.1程度)層の内部で発光し、発光層で発生した光の内15%から20%程度の光しか取り出せないことが一般的に言われている。これは、臨界角以上の角度θで界面(透明基材と空気との界面)に入射する光は、全反射を起こし素子外部に取り出すことが出来ないことや、透明電極ないし発光層と透明基材との間で光が全反射を起こし、光が透明電極ないし発光層を導波し、結果として、光が素子側面方向に逃げるためである。 The organic EL device according to the present invention is preferably used in combination with the following method in order to efficiently extract light generated in the light emitting layer. The organic EL element emits light inside a layer having a refractive index higher than that of air (refractive index is about 1.7 to 2.1), and only about 15% to 20% of the light generated in the light emitting layer can be extracted. It is generally said that there is no. This is because the light incident on the interface (the interface between the transparent substrate and air) at the critical angle or more angle θ is and can not be extracted outside the device undergoes total reflection, the transparent electrode or the light emitting layer and the transparent base This is because light undergoes total reflection with the material, and the light is guided through the transparent electrode or the light emitting layer, and as a result, the light escapes in the side surface direction of the element.
この光の取り出しの効率を向上させる手法としては、例えば、透明基材表面に凹凸を形成し、透明基材と空気界面での全反射を防ぐ方法(米国特許第4,774,435)。基材に集光性を持たせることにより効率を向上させる方法(特開昭63−314795号公報)。素子の側面等に反射面を形成する方法(特開平1−220394号公報)。基材と発光体の間に中間の屈折率を持つ平坦層を導入し、反射防止膜を形成する方法(特開昭62−172691号公報)。基材と発光体の間に基材よりも低屈折率を持つ平坦層を導入する方法(特開2001−202827号公報)。基材、透明電極層や発光層の何れかの層間(含む、基材と外界間)に回折格子を形成する方法(特開平11−283751号公報)等がある。 As a technique for improving the light extraction efficiency, for example, a method of forming irregularities on the surface of the transparent substrate to prevent total reflection at the interface between the transparent substrate and the air (US Pat. No. 4,774,435). A method for improving efficiency by imparting a light collecting property to a substrate (Japanese Patent Laid-Open No. 63-134795). A method of forming a reflective surface on the side surface of an element (Japanese Patent Laid-Open No. 1-220394). A method of forming an antireflection film by introducing a flat layer having an intermediate refractive index between a substrate and a light emitter (Japanese Patent Laid-Open No. 62-172691). A method of introducing a flat layer having a lower refractive index than the base material between the base material and the light emitter (Japanese Patent Laid-Open No. 2001-202827). There is a method of forming a diffraction grating between any one of the substrate , the transparent electrode layer, and the light emitting layer (including between the substrate and the outside) (Japanese Patent Laid-Open No. 11-283951).
本発明においては、これらの方法を有機EL素子と組み合わせて用いることが出来るが、基材と発光体の間に基材よりも低屈折率を持つ平坦層を導入する方法、或いは基材、透明電極層や発光層の何れかの層間(含む、基材と外界間)に回折格子を形成す方法を好適に用いることが出来、これらの手段を組み合わせることにより、更に高輝度或いは耐久性に優れた素子を得ることが可能である。 In the present invention, these methods can be used in combination with an organic EL element. However, a method of introducing a flat layer having a lower refractive index than the base material between the base material and the light emitter, or a base material, transparent A method of forming a diffraction grating between any one of the electrode layer and the light emitting layer (including between the substrate and the outside) can be suitably used, and by combining these means, it is further excellent in high luminance or durability. Can be obtained.
透明電極と透明基材の間に低屈折率の媒質を光の波長よりも長い厚みで形成すると、透明電極から出てきた光は、媒質の屈折率が低いほど、外部への取り出し効率が高くなる。低屈折率層としては、例えば、エアロゲル、多孔質シリカ、フッ化マグネシウム、フッ素系ポリマー等が挙げられる。透明基材の屈折率は一般に1.5〜1.7程度であるので、低屈折率層は、屈折率がおよそ1.5以下であることが好ましい。又、更に1.35以下であることが好ましい。低屈折率媒質の厚みは、媒質中の波長の2倍以上となるのが望ましい。これは、低屈折率媒質の厚みが、光の波長程度になってエバネッセントで染み出した電磁波が基材内に入り込む膜厚になると、低屈折率層の効果が薄れるからである。全反射を起こす界面もしくは何れかの媒質中に回折格子を導入する方法は、光取り出し効率の向上効果が高いという特徴がある。この方法は、回折格子が1次の回折や、2次の回折といった所謂ブラッグ回折により、光の向きを屈折とは異なる特定の向きに変えることが出来る性質を利用して、発光層から発生した光の内、層間での全反射等により外に出ることが出来ない光を、何れかの層間もしくは、媒質中(透明基材内や透明電極内)に回折格子を導入することで光を回折させ、光を外に取り出そうとするものである。導入する回折格子は、二次元的な周期屈折率を持っていることが望ましい。これは、発光層で発光する光はあらゆる方向にランダムに発生するので、ある方向にのみ周期的な屈折率分布を持っている一般的な1次元回折格子では、特定の方向に進む光しか回折されず、光の取り出し効率がさほど上がらない。しかしながら、屈折率分布を二次元的な分布にすることにより、あらゆる方向に進む光が回折され、光の取り出し効率が上がる。 When a medium with a low refractive index is formed between the transparent electrode and the transparent substrate with a thickness longer than the wavelength of the light, the light extracted from the transparent electrode has a higher extraction efficiency to the outside as the refractive index of the medium is lower. Become. Examples of the low refractive index layer include aerogel, porous silica, magnesium fluoride, and a fluorine-based polymer. Since the refractive index of the transparent substrate is generally about 1.5 to 1.7, the low refractive index layer preferably has a refractive index of about 1.5 or less. Further, it is preferably 1.35 or less. The thickness of the low refractive index medium is preferably at least twice the wavelength in the medium. This thickness of the low refractive index medium is that electromagnetic waves oozed via evanescent turned about the wavelength of light becomes a film thickness enter into the substrate, effects of the low refractive index layer fades. The method of introducing a diffraction grating into an interface or any medium that causes total reflection is characterized by a high effect of improving light extraction efficiency. This method is generated from the light emitting layer by utilizing the property that the diffraction grating can change the direction of light to a specific direction different from refraction by so-called Bragg diffraction such as first-order diffraction and second-order diffraction. Of the light, the light that cannot go out due to total reflection between layers, etc. is diffracted by introducing a diffraction grating in any layer or medium (inside transparent substrate or transparent electrode) And trying to extract light outside. The introduced diffraction grating desirably has a two-dimensional periodic refractive index. This is because light emitted from the light-emitting layer is randomly generated in all directions, so in a general one-dimensional diffraction grating having a periodic refractive index distribution only in a certain direction, only light traveling in a specific direction is diffracted. The light extraction efficiency does not increase so much. However, by making the refractive index distribution a two-dimensional distribution, light traveling in all directions is diffracted, and light extraction efficiency is increased.
回折格子を導入する位置としては前述の通り、何れかの層間もしくは、媒質中(透明基材内や透明電極内)でもよいが、光が発生する場所である有機発光層の近傍が望ましい。この時、回折格子の周期は、媒質中の光の波長の約1/2〜3倍程度が好ましい。回折格子の配列は、正方形のラチス状、三角形のラチス状、ハニカムラチス状等、2次元的に配列が繰り返されることが好ましい。 As described above, the position where the diffraction grating is introduced may be in any one of the layers or in the medium (in the transparent substrate or the transparent electrode), but is preferably in the vicinity of the organic light emitting layer where light is generated. At this time, the period of the diffraction grating is preferably about 1/2 to 3 times the wavelength of light in the medium. The arrangement of the diffraction grating is preferably two-dimensionally repeated, such as a square lattice, a triangular lattice, or a honeycomb lattice.
更に、本発明に係わる有機EL素子は、発光層で発生した光を効率よく取り出すために、基材の光取り出し側に、例えばマイクロレンズアレイ上の構造を設けるように加工したり、或いは、所謂集光シートと組み合わせることにより、特定方向、例えば素子発光面に対し正面方向に集光することにより、特定方向上の輝度を高めることが出来る。マイクロレンズアレイの例としては、基材の光取り出し側に一辺が30μmでその頂角が90度となるような四角錐を2次元に配列する。一辺は10μm〜100μmが好ましい。これより小さくなると回折の効果が発生して色付く、大き過ぎると厚みが厚くなり好ましくない。 Furthermore, the organic EL device according to the present invention can be processed so as to provide, for example, a structure on the microlens array on the light extraction side of the substrate in order to efficiently extract the light generated in the light emitting layer, or so-called By combining with a condensing sheet, the brightness in a specific direction can be increased by condensing light in a specific direction, for example, the front direction with respect to the element light emitting surface. As an example of the microlens array, quadrangular pyramids having a side of 30 μm and an apex angle of 90 degrees are two-dimensionally arranged on the light extraction side of the substrate . One side is preferably 10 μm to 100 μm. If it becomes smaller than this, the effect of diffraction will generate | occur | produce and color, and if too large, thickness will become thick and is not preferable.
集光シートとしては、例えば液晶表示装置のLEDバックライトで実用化されているものを用いることが可能である。この様なシートとして例えば、住友スリーエム社製輝度上昇フィルム(BEF)等を用いることが出来る。プリズムシートの形状としては、例えば基材に頂角90度、ピッチ50μmの△状のストライプが形成されたものであってもよいし、頂角が丸みを帯びた形状、ピッチをランダムに変化させた形状、その他の形状であってもよい。又、発光素子からの光放射角を制御するために光拡散板・フィルムを、集光シートと併用してもよい。例えば、(株)きもと製拡散フィルム(ライトアップ)等を用いることが可能である。 As the condensing sheet, for example, a sheet that is put into practical use in an LED backlight of a liquid crystal display device can be used. As such a sheet, for example, a brightness enhancement film (BEF) manufactured by Sumitomo 3M Limited can be used. As the shape of the prism sheet, for example, a substrate may be formed with a Δ-shaped stripe having an apex angle of 90 degrees and a pitch of 50 μm, or the apex angle is rounded and the pitch is changed randomly. Other shapes may be used. Moreover, in order to control the light emission angle from a light emitting element, you may use a light-diffusion plate and a film together with a condensing sheet. For example, a diffusion film (light-up) manufactured by Kimoto Co., Ltd. can be used.
第2電極としては、仕事関数の小さい(4eV以下)金属(電子注入性金属と称する)、合金、電気伝導性化合物及びこれらの混合物を電極物質とするものが用いられる。この様な電極物質の具体例としては、ナトリウム、ナトリウム−カリウム合金、マグネシウム、リチウム、マグネシウム/銅混合物、マグネシウム/銀混合物、マグネシウム/アルミニウム混合物、マグネシウム/インジウム混合物、アルミニウム/酸化アルミニウム(Al2O3)混合物、インジウム、リチウム/アルミニウム混合物、希土類金属等が挙げられる。これらの中で、電子注入性及び酸化等に対する耐久性の点から、電子注入性金属とこれより仕事関数の値が大きく安定な金属である第二金属との混合物、例えば、マグネシウム/銀混合物、マグネシウム/アルミニウム混合物、マグネシウム/インジウム混合物、アルミニウム/酸化アルミニウム(Al2O3)混合物、リチウム/アルミニウム混合物、アルミニウム等が好適である。陰極はこれらの電極物質を蒸着やスパッタリング等の方法により薄膜を形成させることにより、作製することが出来る。又、陰極としてのシート抵抗は数百Ω/□以下が好ましく、膜厚は通常10nm〜5μm、好ましくは50〜200nmの範囲で選ばれる。尚、発光した光を透過させるため、有機EL素子の第1電極(陽極)又は第2電極(陰極)の何れか一方が、透明又は半透明であれば発光輝度が向上し好都合である。 As the second electrode, a material having a work function (4 eV or less) metal (referred to as an electron injecting metal), an alloy, an electrically conductive compound, and a mixture thereof as an electrode material is used. Specific examples of such electrode materials include sodium, sodium-potassium alloy, magnesium, lithium, magnesium / copper mixture, magnesium / silver mixture, magnesium / aluminum mixture, magnesium / indium mixture, aluminum / aluminum oxide (Al 2 O 3 ) Mixtures, indium, lithium / aluminum mixtures, rare earth metals and the like. Among these, from the point of durability against electron injection and oxidation, etc., a mixture of an electron injecting metal and a second metal which is a stable metal having a larger work function than this, for example, a magnesium / silver mixture, Suitable are a magnesium / aluminum mixture, a magnesium / indium mixture, an aluminum / aluminum oxide (Al 2 O 3 ) mixture, a lithium / aluminum mixture, aluminum and the like. The cathode can be produced by forming a thin film of these electrode materials by a method such as vapor deposition or sputtering. The sheet resistance as the cathode is preferably several hundred Ω / □ or less, and the film thickness is usually selected in the range of 10 nm to 5 μm, preferably 50 to 200 nm. In order to transmit the emitted light, if either one of the first electrode (anode) or the second electrode (cathode) of the organic EL element is transparent or translucent, the emission luminance is advantageously improved.
又、第2電極に上記金属を1〜20nmの膜厚で作製した後に、第1電極の説明で挙げた導電性透明材料をその上に作製することで、透明又は半透明の第2電極(陰極)を作製することが出来、これを応用することで第1電極(陽極)と第2電極(陰極)の両方が透過性を有する素子を作製することが出来る。 Moreover, after producing the metal with a thickness of 1 to 20 nm on the second electrode, the conductive transparent material mentioned in the description of the first electrode is produced thereon, so that a transparent or translucent second electrode ( A cathode) can be manufactured, and by applying this, an element in which both the first electrode (anode) and the second electrode (cathode) are transmissive can be manufactured.
本発明に係わる封止層は、SiOxを蒸着で設けてもよいし、又、可撓性封止部材としてはポリエチレンテレフタレート、ナイロンなどの可撓性樹脂フィルムからなる支持体へ蒸着法やコーティング法でバリア層を形成した材料又はバリア層として金属箔を用いた可撓性封止部材を用いることが可能である。バリア層としては例えばIn、Sn、Pb、Au、Cu、Ag、Al、Ti、Ni等の金属、MgO、SiO、SiO2、Al2O3、GeO、NiO、CaO、BaO、Fe2O3、Y2O3、TiO2等の金属酸化物を蒸着した材料が挙げられる。又、金属箔の材料としては、例えばアルミニウム、銅、ニッケルなどの金属材料や、ステンレス、アルミニウム合金などの合金材料を用いることが出来るが、加工性やコストの面でアルミニウムが好ましい。膜厚は、1〜100μm程度、好ましくは10μm〜50μm程度が望ましい。又、製造時の取り扱いを容易にするために、ポリエチレンテレフタレート、ナイロンなどのフィルムを予めラミネートしておいてもよい。可撓性封止部材に樹脂フィルムを使用する場合、液状シール剤と接触する側に熱可塑性接着性樹脂層を有することが好ましい。 The sealing layer according to the present invention may be provided by depositing SiOx, or as a flexible sealing member, a deposition method or a coating method on a support made of a flexible resin film such as polyethylene terephthalate or nylon. It is possible to use a flexible sealing member using a metal foil as a material for forming a barrier layer or a barrier layer. Examples of the barrier layer include metals such as In, Sn, Pb, Au, Cu, Ag, Al, Ti, and Ni, MgO, SiO, SiO 2 , Al 2 O 3 , GeO, NiO, CaO, BaO, and Fe 2 O 3. , Y 2 O 3 , TiO 2, and other metal oxide vapor deposited materials. Moreover, as a material of the metal foil, for example, a metal material such as aluminum, copper, or nickel, or an alloy material such as stainless steel or an aluminum alloy can be used, but aluminum is preferable in terms of workability and cost. The film thickness is about 1 to 100 μm, preferably about 10 to 50 μm. In order to facilitate handling during production, a film such as polyethylene terephthalate or nylon may be laminated in advance. When a resin film is used for the flexible sealing member, it is preferable to have a thermoplastic adhesive resin layer on the side in contact with the liquid sealing agent.
本発明に使用する可撓性封止部材の水蒸気透過度は、0.01g/m2・day以下であることが好ましく、且つ酸素透過度は、0.01ml/m2・day・atm以下であることが好ましい。水分透過度はJIS K7129B法(1992年)に準拠した方法で主としてMOCON法により測定した値であり、酸素透過度はJIS K7126B法(1987年)に準拠した方法で主としてMOCON法により測定した値である。可撓性封止部材のヤング率は、可撓性封止部材と第1圧着部材、第2圧着部材との密着性やシール剤の塗れ広がり防止等を考慮し、1×10-3GPa〜80GPaであり、厚みが10μm〜500μmであることが好ましい。 The water vapor permeability of the flexible sealing member used in the present invention is preferably 0.01 g / m 2 · day or less, and the oxygen permeability is 0.01 ml / m 2 · day · atm or less. Preferably there is. The moisture permeability is a value measured mainly by the MOCON method by a method based on the JIS K7129B method (1992), and the oxygen permeability is a value measured mainly by the MOCON method by a method based on the JIS K7126B method (1987). is there. The Young's modulus of the flexible sealing member is 1 × 10 −3 GPa in consideration of adhesion between the flexible sealing member, the first pressure-bonding member, and the second pressure-bonding member and prevention of spreading of the sealing agent. It is 80 GPa and the thickness is preferably 10 μm to 500 μm.
以下、実施例を挙げて本発明の具体的な効果を示すが、本発明の態様はこれに限定されるものではない。 Hereinafter, although an example is given and the concrete effect of the present invention is shown, the mode of the present invention is not limited to this.
実施例1
(帯状可撓性支持体の準備)
ITO(インジウムチンオキシド)を使用した第1電極(陽極層)が形成された厚さ1.1mm、幅100mm、長さ500mのPETを準備した。
Example 1
(Preparation of strip-shaped flexible support)
A PET having a thickness of 1.1 mm, a width of 100 mm, and a length of 500 m on which a first electrode (anode layer) using ITO (indium tin oxide) was formed was prepared.
(有機EL素子の作製)
図2に示す製造プロセスを使用し、表1に示す条件で保管され、準備した帯状可撓性支持体を使用し、第1電極(陽極層)上に、第1有機機能層(正孔輸送層)と、第2有機機能層(発光層)と、電子輸送層と、第2電極(陰極層)とを順次積層した後、可撓性封止部材を貼合しロール状有機EL素子を作製し試料No.101〜116とした。各試料No.101〜116を作製するに当たり、第1回収工程の保管条件は、不活性ガス(アルゴン)中の酸素濃度を100ppm、水分濃度100ppmの不活性ガス(アルゴン)雰囲気中に3日間保管とし、第2回収工程の保管条件は、不活性ガス(アルゴン)中の酸素濃度を100ppm、水分濃度100ppmの不活性ガス(アルゴン)雰囲気中に3日間保管した。
(Production of organic EL element)
Using the manufacturing process shown in Figure 2, it is coercive tube under the conditions shown in Table 1, using a band-shaped flexible support having prepare, on the first electrode (anode layer), the first organic function layers (positive a hole transport layer), the second organic function layer (light emitting layer), an electron transport layer, after the second electrode (cathode layer) and the sequential product layer, the flexible sealing member laminated with a roll An organic EL element was fabricated and sample No. 101-116. Each sample No. In producing 101 to 116, the storage condition of the first recovery step is that the oxygen concentration in the inert gas (argon) is 100 ppm and the moisture concentration is 100 ppm in an inert gas (argon) atmosphere for 3 days. The storage conditions in the recovery process were three days in an inert gas (argon) atmosphere having an oxygen concentration of 100 ppm and a water concentration of 100 ppm in the inert gas (argon).
尚、第1電極(陽極層)が形成されたロール状可撓性支持体を湿度70%、温度30℃で4日間保存した以外は全て同じ条件で有機EL素子を作製し、比較試料No.117とした。又、第1回収工程、第2回収工程での保管は全て空気中で行い、保管日数は同じとした以外は全て同じ条件で有機EL素子を作製し、比較試料No.118とした。 An organic EL device was prepared under the same conditions except that the roll-shaped flexible support on which the first electrode (anode layer) was formed was stored at 70% humidity and 30 ° C. for 4 days. 117. Further, all the storage in the first recovery step and the second recovery step is performed in the air, and the organic EL elements are manufactured under the same conditions except that the storage days are the same. 118.
〈正孔輸送層及び発光層の形成〉
図2に示す第1有機機能層形成工程で準備した帯状可撓性支持体の第1電極層の上に正孔輸送層形成塗膜を形成し、加熱処理し正孔輸送層を形成した後、除電処理し、室温と同じ温度になるまで冷却した後、引き続き第2有機機能層形成工程で形成された正孔輸送層上に発光層形成塗膜を形成し、加熱処理し発光層を形成した後、除電処理し、室温と同じ温度になるまで冷却した後、芯に巻き取りロール状とし回収し保管した。尚、清浄度はJISB 9920に準拠し測定し、クラス5で行った。
<Formation of hole transport layer and light emitting layer>
After forming the hole transport layer-forming coating film on the first electrode layer of the belt-like flexible support prepared in the first organic functional layer forming step shown in FIG. After removing the charge and cooling to the same temperature as the room temperature, a light emitting layer forming coating film is subsequently formed on the hole transport layer formed in the second organic functional layer forming step, and heat treatment is performed to form the light emitting layer. Then, after performing static elimination treatment and cooling to the same temperature as room temperature, it was collected in the form of a winding roll on the core and stored. The cleanliness was measured in accordance with JISB 9920, and was measured in class 5.
尚、正孔輸送層は以下に示す正孔輸送層形成用塗布液をエクストルージョン塗布機を使用した湿式塗布方式により塗布した後、乾燥、後加熱処理を行い形成した。発光層は以下に示す発光層形成用塗布液をエクストルージョン塗布機を使用し塗布した後、乾燥し、後加熱処理を行い形成した。 The hole transport layer was formed by applying the following hole transport layer forming coating solution by a wet coating method using an extrusion coater, followed by drying and post-heating treatment. The light emitting layer was formed by applying the following light emitting layer forming coating solution using an extrusion coater, followed by drying and post-heating treatment.
正孔輸送層形成用塗布液を塗布する前に、帯状可撓性支持体の洗浄表面改質処理を、波長184.9nmの低圧水銀ランプを使用し、照射強度15mW/cm2、距離10mmで実施した。帯電除去処理は、微弱X線による除電器を使用し行った。 Before applying the coating liquid for forming the hole transport layer, the surface of the belt-like flexible support is subjected to a cleaning surface modification treatment using a low-pressure mercury lamp with a wavelength of 184.9 nm at an irradiation intensity of 15 mW / cm 2 and a distance of 10 mm. Carried out. The charge removal treatment was performed using a static eliminator with weak X-rays.
正孔輸送層形成用塗布液は乾燥後の厚みが50nmになるように塗布した。発光層形成用塗布液は乾燥後の厚みが100nmになるように塗布した。 The coating liquid for forming the hole transport layer was applied so that the thickness after drying was 50 nm. The light emitting layer forming coating solution was applied so that the thickness after drying was 100 nm.
(塗布条件)
正孔輸送層形成用塗布液、発光層形成用塗布液の塗布温度を25℃とし、乾燥装置及び加熱処理装置は除き他の環境温度は25℃で大気圧条件で行った。
(Application conditions)
The coating temperature for the hole transport layer forming coating solution and the light emitting layer forming coating solution was 25 ° C., and the ambient temperature was 25 ° C. under atmospheric pressure conditions except for the drying device and the heat treatment device.
(乾燥及び加熱処理条件)
正孔輸送層形成用塗布液を塗布した後、乾燥部ではスリットノズル形式の吐出口から製膜面に向け高さ100mm、吐出風速1m/s、幅手の風速分布5%、温度100℃で溶媒を除去した後、引き続き、加熱処理装置で温度200℃で裏面伝熱方式の熱処理を行い正孔輸送層を形成した。
(Drying and heat treatment conditions)
After applying the hole transport layer forming coating solution, the height of the drying part from the slit nozzle type discharge port to the film forming surface is 100 mm, discharge air velocity is 1 m / s, width air velocity distribution is 5%, and temperature is 100 ° C. After removing the solvent, the back surface heat transfer type heat treatment was subsequently performed at a temperature of 200 ° C. with a heat treatment apparatus to form a hole transport layer.
発光層形成用塗布液を塗布した後、乾燥部ではスリットノズル形式の吐出口から製膜面に向け高さ100mm、温度60℃で溶媒を除去した後、引き続き、加熱処理部で温度220℃で加熱処理を行い発光層を形成した。 After applying the light emitting layer forming coating solution, the drying unit removes the solvent from the slit nozzle type discharge port toward the film forming surface at a height of 100 mm and at a temperature of 60 ° C., and then at the heat treatment unit at a temperature of 220 ° C. Heat treatment was performed to form a light emitting layer.
(正孔輸送層形成用塗布液の準備)
ポリエチレンジオキシチオフェン・ポリスチレンスルホネート(PEDOT/PSS、Bayer社製 Bytron P AI 4083)を純水で65%、メタノール5%で希釈した溶液を正孔輸送層形成用塗布液として準備した。
(Preparation of coating solution for hole transport layer formation)
A solution prepared by diluting polyethylene dioxythiophene / polystyrene sulfonate (PEDOT / PSS, Baytron P AI 4083 manufactured by Bayer) with pure water at 65% and methanol at 5% was prepared as a coating solution for forming a hole transport layer.
(発光層形成用塗布液の準備)
青色発光層形成用塗布液の準備
ホスト材のポリビニルカルバゾール(PVK)にドーパント材Fir(pic)3を5質量%を1,2−ジクロロエタン中に溶解し1%溶液とし有機機能層形成用塗布液として準備した。
(Preparation of light emitting layer forming coating solution)
Preparation of coating solution for forming blue light emitting layer Coating material for forming organic functional layer by dissolving 5% by mass of dopant material Fir (pic) 3 in 1,2-dichloroethane in polyvinylcarbazole (PVK) as a host material. Prepared as.
(電子輸送層の形成)
図2に示す電子輸送層形成工程で、発光層までが形成された帯状可撓性支持体を使用し、発光層を含め正孔輸送層が形成された領域に、電子輸送層形成用材料としてLiFを使用し、5×10-4Paの真空下にて電子輸送層形成気相堆積装置でLiFを蒸着した。
(Formation of electron transport layer)
In the electron transport layer forming step shown in FIG. 2, a band-shaped flexible support formed up to the light emitting layer is used, and the electron transport layer forming material is formed in the region where the hole transport layer including the light emitting layer is formed. LiF was vapor-deposited with an electron transport layer forming vapor deposition apparatus under a vacuum of 5 × 10 −4 Pa using LiF.
(第2電極の形成)
図2に示す第2電極形成工程で電子輸送層までが形成された帯状可撓性支持体を使用し、電子輸送層の上に第1電極と直交する方向で、第2電極形成用材料としてAlを使用し、5×10-4Paの真空下にて第2電極形成気相堆積装置でAlを蒸着した。
(Formation of second electrode)
As a second electrode forming material, a belt-like flexible support having the electron transport layer formed in the second electrode formation step shown in FIG. 2 is used, and the second electrode formation material is formed on the electron transport layer in a direction perpendicular to the first electrode. Al was vapor-deposited with a second electrode forming vapor deposition apparatus under a vacuum of 5 × 10 −4 Pa using Al.
(封止層の形成)
図2に示す封止層形成工程で、シール剤として紫外線硬化型の液状シール剤(ThreeBond3124C(株)スリーボンド製)を使用し、第1電極と第2電極の外部取り出し電極を形成する端部を除いて第1電極と第2電極の周囲に液状シール剤を塗設した。シール剤は300μm、幅500μmになるように塗設した。この後、樹脂基材としてPEN、バリア層としてシリカを使用した2層構成とした可撓性封止部材(樹脂基材の厚さ100μm、バリア層の厚さ300nm)を貼合し封止層を形成した。
(Formation of sealing layer)
In the sealing layer forming step shown in FIG. 2, an ultraviolet curable liquid sealing agent (manufactured by ThreeBond 3124C, manufactured by Three Bond Co., Ltd.) is used as the sealing agent, and the end portions for forming the external extraction electrodes of the first electrode and the second electrode are formed. Except for this, a liquid sealant was applied around the first electrode and the second electrode. The sealing agent was applied so as to have a thickness of 300 μm and a width of 500 μm. Thereafter, a flexible sealing member (resin base material thickness: 100 μm, barrier layer thickness: 300 nm) having a two-layer structure using PEN as the resin base material and silica as the barrier layer is bonded to the sealing layer. Formed.
(評価)
作製した各試料No.101〜118を断裁しシート状とし、発光ムラを以下に示す試験方法により試験し、以下に示す評価ランクに従って評価した結果を表1に示す。
(Evaluation)
Each prepared sample No. Tables 1 to 118 are cut to form a sheet, and light emission unevenness was tested by the test method shown below. The results of evaluation according to the evaluation rank shown below are shown in Table 1.
発光ムラの試験方法
KEITHLEY製ソースメジャーユニット2400型を用いて、直流電圧を有機EL素子に印加し発光させた。200cdで発光させた発光素子について、50倍の顕微鏡で発光ムラを観察した。
Method for testing light emission unevenness Using a KEITHLEY source measure unit type 2400, a direct current voltage was applied to the organic EL element to emit light. With respect to the light-emitting element that emitted light at 200 cd, light emission unevenness was observed with a 50 × microscope.
発光ムラの評価ランク
◎:9割以上が均一に発光している
○:8割以上が均一に発光している
△:7割以上が均一に発光している
×:5割以上、7割未満しか均一に発光していない
××:5割未満しか均一に発光していない
Evaluation rank of light emission unevenness ◎: 90% or more emit light uniformly ○: 80% or more emit light uniformly △: 70% or more emit light uniformly ×: 50% or more, less than 70% Only uniformly emits light XX: Less than 50% emits uniformly
試料No.101は発光ムラは良好な結果を示したが、酸素濃度の維持に多少の問題がある。試料No.109は発光ムラは良好な結果を示したが、水分濃度の維持に多少の問題がある。本発明の有効性が確認された。 Sample No. No. 101 showed a good result of uneven light emission, but there were some problems in maintaining the oxygen concentration. Sample No. No. 109 showed a good result of uneven light emission, but there were some problems in maintaining the moisture concentration. The effectiveness of the present invention was confirmed.
実施例2
(帯状可撓性支持体の準備)
実施例1と同じITO(インジウムチンオキシド)を使用した第1電極(陽極層)が形成された厚さ1.1mm、幅100mm、長さ500mのPETを準備した。
Example 2
(Preparation of strip-shaped flexible support)
A PET having a thickness of 1.1 mm, a width of 100 mm, and a length of 500 m on which a first electrode (anode layer) using the same ITO (indium tin oxide) as in Example 1 was formed was prepared.
(有機EL素子の作製)
図2に示す製造プロセスを使用し、以下に示す条件で準備した帯状可撓性支持体を使用し、第1電極(陽極層)上に第1有機機能層(正孔輸送層)と、第2有機機能層(発光層)と、電子輸送層と、第2電極(陰極層)と、封止層とを順次積層し有機EL素子を製造する過程で、図2に示す第1回収工程(発光層が形成された状態で回収)でロール状で回収した発光層までが形成されたロール状帯状可撓性基材の保管条件を表2に示す如く変えて保管した後、電子輸送層形成工程と、第2電極(陰極層)形成工程と、封止層形成工程とを経て有機EL素子を作製し図2に示す第3回収工程でロール状有機EL素子として回収し、試料No.201〜216とした。各試料No.201〜216を作製するに当たり、第2回収工程の保管条件は、不活性ガス(アルゴン)中の酸素濃度を100ppm、水分濃度100ppmの不活性ガス(アルゴン)雰囲気中に3日間保管した。ITO(インジウムチンオキシド)を使用した第1電極(陽極層)が形成された帯状可撓性支持体は不活性ガス(アルゴン)中の酸素濃度を100ppm、水分濃度100ppmの不活性ガス(アルゴン)雰囲気中に10日間保管した。
(Production of organic EL element)
Using the manufacturing process shown in FIG. 2 and using a strip-like flexible support prepared under the following conditions, a first organic functional layer (hole transport layer) on the first electrode (anode layer), 2 in the process of sequentially laminating an organic functional layer (light emitting layer), an electron transport layer, a second electrode (cathode layer), and a sealing layer to produce an organic EL device (first recovery step shown in FIG. After the storage conditions of the roll-shaped strip-like flexible base material formed up to the light-emitting layer collected in the form of a roll in the state where the light-emitting layer is formed are changed as shown in Table 2, the electron transport layer is formed. The organic EL element is manufactured through the process, the second electrode (cathode layer) forming process, and the sealing layer forming process, and is recovered as a roll-shaped organic EL element in the third recovery process shown in FIG. 201-216. Each sample No. In producing 201 to 216, the storage conditions of the second recovery step were three days in an inert gas (argon) atmosphere having an oxygen concentration of 100 ppm and a water concentration of 100 ppm in the inert gas (argon). The band-like flexible support on which the first electrode (anode layer) using ITO (indium tin oxide) is formed is an inert gas (argon) having an oxygen concentration of 100 ppm and a moisture concentration of 100 ppm in the inert gas (argon). Stored in atmosphere for 10 days.
尚、第1回収工程での保管を空気中で行い、保管日数は同じとした以外は全て同じ条件で有機EL素子を作製し、比較試料No.217とした。又、第1回収工程、第2回収工程での保管を空気中で行い保管日数は同じとした以外は全て同じ条件で有機EL素子を作製し、比較試料No.218とした。 The organic EL elements were produced under the same conditions except that the storage in the first recovery step was performed in air and the storage days were the same. 217. In addition, except that the storage in the first recovery step and the second recovery step was performed in the air and the storage days were the same, the organic EL elements were manufactured under the same conditions. 218.
〈正孔輸送層及び発光層の形成〉
実施例1と同じ材料を使用し、同じ条件で正孔輸送層及び発光層を形成した。
<Formation of hole transport layer and light emitting layer>
The same material as in Example 1 was used, and the hole transport layer and the light emitting layer were formed under the same conditions.
(電子輸送層の形成)
実施例1と同じ材料を使用し、同じ条件で電子輸送層を形成した。
(Formation of electron transport layer)
The same material as in Example 1 was used, and an electron transport layer was formed under the same conditions.
(第2電極の形成)
実施例1と同じ材料を使用し、同じ条件で第2電極を形成した。
(Formation of second electrode)
The same material as in Example 1 was used, and the second electrode was formed under the same conditions.
(評価)
作製した各試料No.201〜218を断裁しシート状とし、発光ムラを実施例1と同じ試験方法により試験し、実施例1と同じ評価ランクに従って評価した結果を表2に示す。
(Evaluation)
Each prepared sample No. 201 to 218 are cut into sheets, and the light emission unevenness is tested by the same test method as in Example 1. Table 2 shows the results of evaluation according to the same evaluation rank as in Example 1.
試料No.201は発光ムラは良好な結果を示したが、酸素濃度の維持に多少の問題がある。試料No.209は発光ムラは良好な結果を示したが、水分濃度の維持に多少の問題がある。本発明の有効性が確認された。 Sample No. No. 201 shows a favorable result of uneven emission, but there are some problems in maintaining the oxygen concentration. Sample No. No. 209 showed a good result of uneven light emission, but there were some problems in maintaining the moisture concentration. The effectiveness of the present invention was confirmed.
実施例3
(帯状可撓性支持体の準備)
実施例1と同じITO(インジウムチンオキシド)を使用した第1電極(陽極層)が形成された厚さ1.1mm、幅100mm、長さ500mのPETを準備した。
Example 3
(Preparation of strip-shaped flexible support)
A PET having a thickness of 1.1 mm, a width of 100 mm, and a length of 500 m on which a first electrode (anode layer) using the same ITO (indium tin oxide) as in Example 1 was formed was prepared.
(有機EL素子の作製)
図2に示す製造プロセスを使用し、以下に示す条件で準備した帯状可撓性支持体を使用し、第1電極(陽極層)上に第1有機機能層(正孔輸送層)と、第2有機機能層(発光層)と、電子輸送層と、第2電極(陰極層)と、封止層とを順次積層し有機EL素子を製造する過程で、図2に示す第2回収工程(第2電極が形成された状態で回収)でロール状で回収した第2電極までが形成されたロール状帯状可撓性基材の保管条件を表3に示す如く変えて保管した後、封止層形成工程を経て有機EL素子を作製し図2に示す第3回収工程でロール状有機EL素子として回収し、試料No.301〜316とした。各試料No.301〜316を作製するに当たり、第1回収工程の保管条件は、不活性ガス(アルゴン)中の酸素濃度を100ppm、水分濃度100ppmの不活性ガス(アルゴン)雰囲気中に3日間保管した。ITO(インジウムチンオキシド)を使用した第1電極(陽極層)が形成された帯状可撓性支持体は不活性ガス(アルゴン)中の酸素濃度を100ppm、水分濃度100ppmの不活性ガス(アルゴン)雰囲気中に10日間保管した。
(Production of organic EL element)
Using the manufacturing process shown in FIG. 2 and using a strip-like flexible support prepared under the following conditions, a first organic functional layer (hole transport layer) on the first electrode (anode layer), 2 in the process of sequentially stacking an organic functional layer (light emitting layer), an electron transport layer, a second electrode (cathode layer), and a sealing layer to produce an organic EL device (second recovery step shown in FIG. (Recovered in the state where the second electrode is formed) The storage conditions of the roll-shaped strip-shaped flexible base material formed up to the second electrode recovered in the form of a roll are changed and stored as shown in Table 3, and then sealed. An organic EL element is manufactured through a layer forming process, and is recovered as a roll-shaped organic EL element in the third recovery process shown in FIG. 301 to 316. Each sample No. In producing 301 to 316, the storage conditions of the first recovery step were 3 days in an inert gas (argon) atmosphere having an oxygen concentration of 100 ppm and a water concentration of 100 ppm in the inert gas (argon). The band-like flexible support on which the first electrode (anode layer) using ITO (indium tin oxide) is formed is an inert gas (argon) having an oxygen concentration of 100 ppm and a moisture concentration of 100 ppm in the inert gas (argon). Stored in atmosphere for 10 days.
尚、第2回収工程の保管を空気中で行い、保管日数は同じとした以外は全て同じ条件で有機EL素子を作製し、比較試料No.317とした。第1回収工程、第2回収工程の保管を空気中で行い、保管日数は同じとした以外は全て同じ条件で有機EL素子を作製し、比較試料No.318とした。ITO(インジウムチンオキシド)を使用した第1電極(陽極層)が形成された帯状可撓性支持体の保管、第1回収工程、第2回収工程の保管を空気中で行い、保管日数は同じとした以外は全て同じ条件で有機EL素子を作製し、比較試料No.319とした。 The organic EL elements were produced under the same conditions except that the second recovery process was stored in air and the storage days were the same. 317. The organic EL elements were manufactured under the same conditions except that the first recovery process and the second recovery process were stored in air and the storage days were the same. 318. Storage of the strip-shaped flexible support on which the first electrode (anode layer) using ITO (indium tin oxide) is formed, the first recovery step, and the second recovery step are performed in the air, and the storage days are the same. An organic EL element was produced under the same conditions except that the comparative sample No. 319.
〈正孔輸送層及び発光層の形成〉
実施例1と同じ材料を使用し、同じ条件で正孔輸送層及び発光層を形成した。
<Formation of hole transport layer and light emitting layer>
The same material as in Example 1 was used, and the hole transport layer and the light emitting layer were formed under the same conditions.
(電子輸送層の形成)
実施例1と同じ材料を使用し、同じ条件で電子輸送層を形成した。
(Formation of electron transport layer)
The same material as in Example 1 was used, and an electron transport layer was formed under the same conditions.
(第2電極の形成)
実施例1と同じ材料を使用し、同じ条件で第2電極を形成した。
(Formation of second electrode)
The same material as in Example 1 was used, and the second electrode was formed under the same conditions.
(評価)
作製した各試料No.301〜319を断裁しシート状とし、発光ムラを実施例1と同じ試験方法により試験し、実施例1と同じ評価ランクに従って評価した結果を表3に示す。
(Evaluation)
Each prepared sample No. Tables 3 to 319 are cut into sheets, and the light emission unevenness is tested by the same test method as in Example 1. Table 3 shows the results of evaluation according to the same evaluation rank as in Example 1.
試料No.301は発光ムラは良好な結果を示したが、酸素濃度の維持に多少の問題がある。試料No.309は発光ムラは良好な結果を示したが、水分濃度の維持に多少の問題がある。本発明の有効性が確認された。
Sample No. Although the
1 有機EL素子
101 基材
102 陽極(第1電極)
103 正孔輸送層(正孔注入層)
104 発光層
105 電子注入層
106 陰極(第2電極)
2 製造工程
3 帯状可撓性支持体供給工程
301b〜301d ロール状可撓性支持体
4 第1有機機能層形成工程
5 第2有機機能層形成工程
504 第1回収工程
6 電子注入層形成工程6
7 第2電極形成工程
702 第2回収工程
8 封止層形成工程
803 第3回収工程
803a ロール状有機EL素子
DESCRIPTION OF SYMBOLS 1
103 Hole transport layer (hole injection layer)
104
2 Manufacturing Process 3 Band-shaped Flexible
7 Second
Claims (1)
前記第1電極(陽極層)形成工程の後、前記第2有機機能層形成工程の後及び前記第2電極(陰極層)形成工程の後において、各層を積層した前記基材をロール状に巻き取り回収し、不活性ガス雰囲気にて保管し、
前記不活性ガス雰囲気の酸素濃度が1〜1000ppmであり、
前記不活性ガス雰囲気の水分濃度が1〜1000ppmであることを特徴とする有機エレクトロルミネッセンス素子の製造方法。 At least a first electrode (anode layer), a first organic functional layer, a second organic functional layer, a second electrode (cathode layer), and a sealing layer are sequentially laminated on the belt-shaped flexible substrate. One organic electroluminescent element is formed by adding at least a strip-shaped flexible base material supplying step, a first electrode (anode layer) forming step, a first organic functional layer forming step, a second organic functional layer forming step, and a second In the manufacturing method of an organic electroluminescence element manufactured using a manufacturing process having an electrode (cathode layer) forming process and a sealing layer forming process,
After pre-Symbol first electrode (anode layer) formation step, after the after and the second electrode of the second organic functional layer forming step (cathode layer) formation step, the substrate obtained by laminating each layer in a roll Rewind and collect, store in inert gas atmosphere ,
The oxygen concentration of the inert gas atmosphere is 1-1000 ppm;
Method of manufacturing an organic electroluminescence element water concentration of the inert gas atmosphere, characterized in 1~1000ppm der Rukoto.
Priority Applications (1)
| Application Number | Priority Date | Filing Date | Title |
|---|---|---|---|
| JP2005345469A JP5575353B2 (en) | 2005-11-30 | 2005-11-30 | Method for manufacturing organic electroluminescence device |
Applications Claiming Priority (1)
| Application Number | Priority Date | Filing Date | Title |
|---|---|---|---|
| JP2005345469A JP5575353B2 (en) | 2005-11-30 | 2005-11-30 | Method for manufacturing organic electroluminescence device |
Publications (2)
| Publication Number | Publication Date |
|---|---|
| JP2007149589A JP2007149589A (en) | 2007-06-14 |
| JP5575353B2 true JP5575353B2 (en) | 2014-08-20 |
Family
ID=38210740
Family Applications (1)
| Application Number | Title | Priority Date | Filing Date |
|---|---|---|---|
| JP2005345469A Expired - Fee Related JP5575353B2 (en) | 2005-11-30 | 2005-11-30 | Method for manufacturing organic electroluminescence device |
Country Status (1)
| Country | Link |
|---|---|
| JP (1) | JP5575353B2 (en) |
Families Citing this family (9)
| Publication number | Priority date | Publication date | Assignee | Title |
|---|---|---|---|---|
| JP2009266814A (en) * | 2008-04-02 | 2009-11-12 | Mitsubishi Chemicals Corp | Method of manufacturing organic electroluminescent device, organic electroluminescent device, organic el display, and organic el illumination |
| JP2010055864A (en) * | 2008-08-27 | 2010-03-11 | Sumitomo Chemical Co Ltd | Organic electroluminescent device and its manufacturing method |
| JP2011181257A (en) * | 2010-02-26 | 2011-09-15 | Toppan Printing Co Ltd | Method of manufacturing organic el light emitting element |
| US9276237B2 (en) | 2010-07-21 | 2016-03-01 | Sumitomo Chemical Company, Limited | Method for producing organic EL element |
| CN103120021B (en) | 2010-07-21 | 2016-02-17 | 住友化学株式会社 | Manufacturing method of organic light-emitting device and organic light-emitting device |
| CN103119744B (en) | 2010-07-21 | 2016-01-06 | 住友化学株式会社 | Organic el element |
| JP5836974B2 (en) * | 2010-12-07 | 2015-12-24 | 東京エレクトロン株式会社 | Display device manufacturing apparatus and display device manufacturing method |
| JP2014209493A (en) * | 2014-06-27 | 2014-11-06 | 日東電工株式会社 | Method of manufacturing organic el device, and organic el device |
| JP6744720B2 (en) * | 2016-01-05 | 2020-08-19 | 住友化学株式会社 | Organic device manufacturing method and roll |
Family Cites Families (4)
| Publication number | Priority date | Publication date | Assignee | Title |
|---|---|---|---|---|
| US6579422B1 (en) * | 1999-07-07 | 2003-06-17 | Sony Corporation | Method and apparatus for manufacturing flexible organic EL display |
| JP2003280548A (en) * | 2002-03-25 | 2003-10-02 | Toshiba Corp | Flexible display panel |
| JP2003338369A (en) * | 2002-05-17 | 2003-11-28 | Fuji Photo Film Co Ltd | Manufacturing method for organic electric field light emitting element and transfer material used in the same and organic electric field light emitting element |
| JP4213616B2 (en) * | 2004-03-31 | 2009-01-21 | 大日本印刷株式会社 | Base film for liquid crystal panel, functional film for liquid crystal panel, method for producing functional film, and apparatus for producing functional film |
-
2005
- 2005-11-30 JP JP2005345469A patent/JP5575353B2/en not_active Expired - Fee Related
Also Published As
| Publication number | Publication date |
|---|---|
| JP2007149589A (en) | 2007-06-14 |
Similar Documents
| Publication | Publication Date | Title |
|---|---|---|
| JP5157440B2 (en) | Manufacturing method of organic EL element | |
| JP5545301B2 (en) | Organic electroluminescent panel manufacturing method, organic electroluminescent panel | |
| US8080277B2 (en) | Method of forming organic compound layer, method of manufacturing organic EL element and organic EL element | |
| JPWO2007034647A1 (en) | Method for manufacturing organic electroluminescence element, organic electroluminescence display device | |
| JP5055711B2 (en) | Method for manufacturing organic EL element, organic EL element | |
| JP5125503B2 (en) | Manufacturing method of organic EL element | |
| JP5652405B2 (en) | Manufacturing method of organic EL element | |
| JP5104849B2 (en) | Method for manufacturing organic electroluminescent element, organic electroluminescent element | |
| JP5104301B2 (en) | Method for manufacturing organic electroluminescence panel | |
| JP5575353B2 (en) | Method for manufacturing organic electroluminescence device | |
| JP5018317B2 (en) | Method for manufacturing organic electroluminescence device | |
| JPWO2008102867A1 (en) | ORGANIC ELECTROLUMINESCENT ELEMENT AND METHOD FOR PRODUCING ORGANIC ELECTROLUMINESCENT ELEMENT | |
| JP5092756B2 (en) | Organic electroluminescent panel manufacturing method, organic electroluminescent lighting device, and organic electroluminescent panel manufacturing device | |
| JPWO2009025186A1 (en) | Organic electroluminescent panel manufacturing method, organic electroluminescent panel | |
| JP2007073332A (en) | Organic electroluminescent panel and method of manufacturing the same | |
| JP2007207469A (en) | Method of manufacturing laminate, laminate, method of manufacturing organic electroluminescent element, organic electroluminescent element, and organic electroluminescent display device | |
| JP4957643B2 (en) | Application method of coating solution for organic compound layer formation | |
| JPWO2014104102A1 (en) | Organic electroluminescence device manufacturing method and organic electroluminescence device | |
| JP5862439B2 (en) | Organic semiconductor device and manufacturing method thereof | |
| JP5170102B2 (en) | Method for manufacturing organic electronics element | |
| JP2011049084A (en) | Method of manufacturing organic electroluminescence panel | |
| JP2010092710A (en) | Method for manufacturing organic electronic element, organic electronic element, and organic electroluminescent element | |
| JP2008117689A (en) | Method of forming functional laminated film, laminate thin film device, and organic electroluminescent display device | |
| JPWO2007029474A1 (en) | Method for manufacturing organic electroluminescence panel | |
| JP2013143346A (en) | Method for manufacturing organic el element |
Legal Events
| Date | Code | Title | Description |
|---|---|---|---|
| A621 | Written request for application examination |
Free format text: JAPANESE INTERMEDIATE CODE: A621 Effective date: 20081121 |
|
| A977 | Report on retrieval |
Free format text: JAPANESE INTERMEDIATE CODE: A971007 Effective date: 20101116 |
|
| A131 | Notification of reasons for refusal |
Free format text: JAPANESE INTERMEDIATE CODE: A131 Effective date: 20101130 |
|
| A521 | Request for written amendment filed |
Free format text: JAPANESE INTERMEDIATE CODE: A523 Effective date: 20110126 |
|
| RD03 | Notification of appointment of power of attorney |
Free format text: JAPANESE INTERMEDIATE CODE: A7423 Effective date: 20110825 |
|
| A131 | Notification of reasons for refusal |
Free format text: JAPANESE INTERMEDIATE CODE: A131 Effective date: 20110913 |
|
| A131 | Notification of reasons for refusal |
Free format text: JAPANESE INTERMEDIATE CODE: A131 Effective date: 20120703 |
|
| A521 | Request for written amendment filed |
Free format text: JAPANESE INTERMEDIATE CODE: A523 Effective date: 20120903 |
|
| A02 | Decision of refusal |
Free format text: JAPANESE INTERMEDIATE CODE: A02 Effective date: 20130402 |
|
| A521 | Request for written amendment filed |
Free format text: JAPANESE INTERMEDIATE CODE: A523 Effective date: 20140501 |
|
| A61 | First payment of annual fees (during grant procedure) |
Free format text: JAPANESE INTERMEDIATE CODE: A61 Effective date: 20140702 |
|
| R150 | Certificate of patent or registration of utility model |
Ref document number: 5575353 Country of ref document: JP Free format text: JAPANESE INTERMEDIATE CODE: R150 |
|
| LAPS | Cancellation because of no payment of annual fees |
