[go: up one dir, main page]

JP5518979B2 - 光コネクタレセプタクル、レセプタクルハウジング、光コネクタアダプタ、アダプタハウジング - Google Patents

光コネクタレセプタクル、レセプタクルハウジング、光コネクタアダプタ、アダプタハウジング Download PDF

Info

Publication number
JP5518979B2
JP5518979B2 JP2012247698A JP2012247698A JP5518979B2 JP 5518979 B2 JP5518979 B2 JP 5518979B2 JP 2012247698 A JP2012247698 A JP 2012247698A JP 2012247698 A JP2012247698 A JP 2012247698A JP 5518979 B2 JP5518979 B2 JP 5518979B2
Authority
JP
Japan
Prior art keywords
receptacle
flange
housing
optical connector
adapter
Prior art date
Legal status (The legal status is an assumption and is not a legal conclusion. Google has not performed a legal analysis and makes no representation as to the accuracy of the status listed.)
Active
Application number
JP2012247698A
Other languages
English (en)
Other versions
JP2014095834A (ja
Inventor
誠司 加藤
Current Assignee (The listed assignees may be inaccurate. Google has not performed a legal analysis and makes no representation or warranty as to the accuracy of the list.)
Fujikura Ltd
Original Assignee
Fujikura Ltd
Priority date (The priority date is an assumption and is not a legal conclusion. Google has not performed a legal analysis and makes no representation as to the accuracy of the date listed.)
Filing date
Publication date
Application filed by Fujikura Ltd filed Critical Fujikura Ltd
Priority to JP2012247698A priority Critical patent/JP5518979B2/ja
Priority to US14/075,546 priority patent/US9459412B2/en
Priority to CN201310556605.4A priority patent/CN103809249B/zh
Publication of JP2014095834A publication Critical patent/JP2014095834A/ja
Application granted granted Critical
Publication of JP5518979B2 publication Critical patent/JP5518979B2/ja
Active legal-status Critical Current
Anticipated expiration legal-status Critical

Links

Images

Classifications

    • GPHYSICS
    • G02OPTICS
    • G02BOPTICAL ELEMENTS, SYSTEMS OR APPARATUS
    • G02B6/00Light guides; Structural details of arrangements comprising light guides and other optical elements, e.g. couplings
    • G02B6/24Coupling light guides
    • G02B6/36Mechanical coupling means
    • G02B6/38Mechanical coupling means having fibre to fibre mating means
    • G02B6/3807Dismountable connectors, i.e. comprising plugs
    • G02B6/381Dismountable connectors, i.e. comprising plugs of the ferrule type, e.g. fibre ends embedded in ferrules, connecting a pair of fibres
    • G02B6/3818Dismountable connectors, i.e. comprising plugs of the ferrule type, e.g. fibre ends embedded in ferrules, connecting a pair of fibres of a low-reflection-loss type
    • G02B6/3821Dismountable connectors, i.e. comprising plugs of the ferrule type, e.g. fibre ends embedded in ferrules, connecting a pair of fibres of a low-reflection-loss type with axial spring biasing or loading means
    • GPHYSICS
    • G02OPTICS
    • G02BOPTICAL ELEMENTS, SYSTEMS OR APPARATUS
    • G02B6/00Light guides; Structural details of arrangements comprising light guides and other optical elements, e.g. couplings
    • G02B6/24Coupling light guides
    • G02B6/36Mechanical coupling means
    • G02B6/38Mechanical coupling means having fibre to fibre mating means
    • G02B6/3807Dismountable connectors, i.e. comprising plugs
    • G02B6/3873Connectors using guide surfaces for aligning ferrule ends, e.g. tubes, sleeves, V-grooves, rods, pins, balls
    • G02B6/3885Multicore or multichannel optical connectors, i.e. one single ferrule containing more than one fibre, e.g. ribbon type
    • GPHYSICS
    • G02OPTICS
    • G02BOPTICAL ELEMENTS, SYSTEMS OR APPARATUS
    • G02B6/00Light guides; Structural details of arrangements comprising light guides and other optical elements, e.g. couplings
    • G02B6/24Coupling light guides
    • G02B6/36Mechanical coupling means
    • G02B6/38Mechanical coupling means having fibre to fibre mating means
    • G02B6/3807Dismountable connectors, i.e. comprising plugs
    • G02B6/389Dismountable connectors, i.e. comprising plugs characterised by the method of fastening connecting plugs and sockets, e.g. screw- or nut-lock, snap-in, bayonet type
    • G02B6/3893Push-pull type, e.g. snap-in, push-on

Landscapes

  • Physics & Mathematics (AREA)
  • General Physics & Mathematics (AREA)
  • Optics & Photonics (AREA)
  • Mechanical Coupling Of Light Guides (AREA)

Description

本発明は、筐体やパネル等の取付穴に取り付け可能な光コネクタレセプタクル、レセプタクルハウジング、光コネクタアダプタ、アダプタハウジングに関する。
従来、パネル等の取付穴に取り付け可能な光コネクタとして、アダプタ、レセプタクル等があり、光モジュール、光トレイ、バックプレーンコネクタ等に用いられている。
特許文献1には、一方のフェルールを軸線方向移動自在に保持する筒状の第1のホルダと、この先端に一体化されるアダプタと、他方のフェルールを第2のホルダの先端に固定的に備え、アダプタの挿入口に対して挿抜自在とされた光コネクタプラグと、光コネクタプラグを抜け止め係止する弾性係止片と、一方のフェルールを付勢し他方のフェルールの接続端面に突き合わせる付勢手段と、第2のホルダに外嵌され、アダプタと嵌まり合うことで、弾性係止片を撓み不能にロックするカップリングとを備えている光コネクタが記載されている。
特許文献2には、外部光ファイバの先端に設けられた光コネクタプラグが挿入によって嵌合されるハウジングと、基板側光ファイバの先端に設けられたフェルールと、フェルールをその後端側から付勢するコイルスプリングとを具備し、コイルスプリングがテーパスプリングである光コネクタレセプタクルが記載されている。
特許文献3には、外側中央部に設けた取付フランジと、互いに平行な外側面に固定された一対の板ばねとの間に取付パネルを挟んで取り付けられるアダプタの取外用治具であって、一対の板ばねを撓ませその自由端を取付パネルを挟まない位置へ移動させる一対の対向片を有するアダプタ取外用治具が記載されている。
特許文献4には、連結板部の両端から屈曲されて延びた1対の対向する側板部に、外周枠部と弾性係止爪とを有し、外周枠部のうちのパネルの貫通孔の内面に対面する対面部分に、貫通孔の内面の少なくとも一部に弾性的に係合する湾曲状係合部を形成した光アダプタ取付け用金具が記載されている。
特許文献5には、相手側光コネクタとの嵌合離脱方向にハウジングヘ挿入することによりシャッターをハウジングに保持するための一対の係止部と、嵌合離脱方向において係止部とは反対側に形成され、シャッターをハウジングに挿入する際に押圧するための一対の押圧部を備え、一対の係止部と一対の押圧部は遮光部の幅方向外側に形成されているシャッターが記載されている。
特許文献6には、アダプタ本体を取付孔に挿通したうえ、アダプタ本体の周縁に張設した取付鍔部を取付孔の孔縁に当接して、取付鍔部を取付孔とアダプタ本体との間に形成された間隙に嵌脱自在とした係止具に設けた支腕部と取付パネルとの間に挟持したアダプタ取付構造が記載されている。
特開平10−170760号公報 特開2007−78740号公報 特開2005−345589号公報 実用新案登録第3111711号公報 特許第4090067号公報 特開2009−109730号公報
本発明は、上記事情に鑑みてなされたものであり、ハウジングを取付穴に取り付けるために必要な部品点数の削減や、サイズの小型化が可能な光コネクタレセプタクル、レセプタクルハウジング、光コネクタアダプタ、アダプタハウジングを提供することを課題とする。
前記課題を解決するため、本発明は、光ファイバを内挿固定するフェルールと、前記フェルールを保持するレセプタクルハウジングと、前記レセプタクルハウジングの外面から突出するフランジと、前記レセプタクルハウジングの前記外面に沿って、前記フランジから延在する弾性変形部と、前記弾性変形部から前記レセプタクルハウジングの外面とは反対側に突出する係止用突起部と、を備え、前記フランジ、弾性変形部、及び係止用突起部が、前記レセプタクルハウジングと一体に成形され、前記フランジと前記係止用突起部の間に取付壁部の取付穴の周縁部を挟持することにより前記取付壁部に取り付け可能であり、前記弾性変形部を前記レセプタクルハウジングの前記外面に向けて弾性変形させることにより前記取付壁部の取付穴の周縁部から前記係止用突起部の係止を解除可能である、光コネクタレセプタクルを提供する。
前記弾性変形部が、前記フランジから片持ち状に延在する、構成も採用可能である。
前記係止用突起部は、前記フランジに対して、他のコネクタが挿入されるコネクタ挿入部の側に形成した、構成も採用可能である。
前記係止用突起部が、前記係止用突起部を押圧する治具の押圧面から突出する突起を挿入するための凹部を有する、構成も採用可能である。
前記光ファイバが多心のテープ化された部分を有する、構成も採用可能である。
前記レセプタクルハウジングは、前記フェルールを付勢するスプリングと、前記スプリングを受けるスプリング押しが収容される内部機構収容部を備える、構成も採用可能である。
前記レセプタクルハウジングは、他のコネクタが挿入されるコネクタ挿入部とは反対の側における前記内部機構収容部の端部に開口部を有し、前記スプリング押しは、前記開口部を塞ぐ基板部と、前記基板部の端部から前記内部機構収容部の内面に沿って屈曲した屈曲部と、前記屈曲部から突出した係止爪を有し、前記レセプタクルハウジングは、前記内部機構収容部における側面に、前記係止爪と係合する係合部を有する、構成も採用可能である。
前記スプリング押しは、前記光ファイバが通される通し穴を有し、前記通し穴の周縁部に前記スプリングを受けるスプリング装着部を有する、構成も採用可能である。
また、本発明は、光ファイバを内挿固定するフェルールを保持するフェルール保持部と、レセプタクルハウジングの外面から突出するフランジと、前記外面に沿って、前記フランジから延在する弾性変形部と、前記弾性変形部から前記外面とは反対側に突出する係止用突起部と、を備え、前記フランジ、弾性変形部、及び係止用突起部が、前記フェルール保持部と一体に成形され、前記フランジと前記係止用突起部の間に取付壁部の取付穴の周縁部を挟持することにより前記取付壁部に取り付け可能であり、前記弾性変形部を前記外面に向けて弾性変形させることにより前記取付壁部の取付穴の周縁部から前記係止用突起部の係止を解除可能である、レセプタクルハウジングを提供する。
前記弾性変形部が、前記フランジから片持ち状に延在する、構成も採用可能である。
前記係止用突起部は、前記フランジに対して、他のコネクタが挿入されるコネクタ挿入部の側に形成した、構成も採用可能である。
前記係止用突起部が、前記係止用突起部を押圧する治具の押圧面から突出する突起を挿入するための凹部を有する、構成も採用可能である。
前記レセプタクルハウジングは、前記フェルールを付勢するスプリングと、前記スプリングを受けるスプリング押しが収容される内部機構収容部を備える、構成も採用可能である。
また、本発明は、両端にそれぞれ他のコネクタが挿入される一対のコネクタ挿入部を有するアダプタハウジングと、前記アダプタハウジングの外面から突出するフランジと、前記アダプタハウジングの前記外面に沿って、前記フランジから延在する弾性変形部と、前記弾性変形部から前記アダプタハウジングの外面とは反対側に突出する係止用突起部と、備え、前記フランジ、弾性変形部、及び係止用突起部が、前記アダプタハウジングと一体に成形され、前記フランジと前記係止用突起部の間に取付壁部の取付穴の周縁部を挟持することにより前記取付壁部に取り付け可能であり、前記弾性変形部を前記アダプタハウジングの前記外面に向けて弾性変形させることにより前記取付壁部の取付穴の周縁部から前記係止用突起部の係止を解除可能である、光コネクタアダプタを提供する。
前記弾性変形部が、前記フランジから片持ち状に延在する、構成も採用可能である。
前記係止用突起部が、前記係止用突起部を押圧する治具の押圧面から突出する突起を挿入するための凹部を有する、構成も採用可能である。
また、本発明は、両端にそれぞれ他のコネクタが挿入される一対のコネクタ挿入部と、アダプタハウジングの外面から突出するフランジと、前記外面に沿って、前記フランジから延在する弾性変形部と、前記弾性変形部から前記外面とは反対側に突出する係止用突起部と、を備え、前記フランジ、弾性変形部、及び係止用突起部が、前記一対のコネクタ挿入部と一体に成形され、前記フランジと前記係止用突起部の間に取付壁部の取付穴の周縁部を挟持することにより前記取付壁部に取り付け可能であり、前記弾性変形部を前記外面に向けて弾性変形させることにより前記取付壁部の取付穴の周縁部から前記係止用突起部の係止を解除可能である、アダプタハウジングを提供する。
前記弾性変形部が、前記フランジから片持ち状に延在する、構成も採用可能である。
前記係止用突起部が、前記係止用突起部を押圧する治具の押圧面から突出する突起を挿入するための凹部を有する、構成も採用可能である。
本発明によれば、ハウジングを取付穴に取り付けるために必要な部品点数の削減や、サイズの小型化が可能になる。
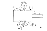
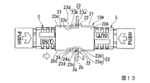
(a)は本発明の光コネクタレセプタクルの一例を示す斜視図、(b)はこの光コネクタレセプタクルを取付穴に取り付けた状態の一例を示す斜視図である。 図1の光コネクタレセプタクルの分解斜視図である。 図1の光コネクタレセプタクルの内部機構の分解斜視図である。 取付穴に取り付けた光コネクタレセプタクルに他のコネクタを挿入した状態の一例を示す平面図である。 取付穴から光コネクタレセプタクルを取り外す状態の一例を示す平面図である。 フェルール等の構成が異なる光コネクタレセプタクルの改変例を示す斜視図である。 図6の光コネクタレセプタクルの内部機構の斜視図である。 (a)、(b)、(c)は、それぞれコネクタ挿入部の正面図である。 ラッチを治具で挟む構成の改変例を示す正面図である。 ラッチを治具で挟む構成の改変例を示す斜視図である。 ラッチの先端側をハウジング前部に連結した改変例を示す平面図である。 光ファイバの先端部の一例を示す斜視図である。 本発明の光コネクタアダプタの一例を示す平面図である。 スプリング押しを内部機構収容部に装着する様子を示す斜視図である。
以下、好適な実施の形態に基づき、図面を参照して本発明を説明する。
図1に示すように、光コネクタレセプタクル10は、光ファイバ1の先端部(図12参照)を内挿固定するフェルール11を含む内部機構17(図2参照)を収容するレセプタクルハウジング20を備える。
図1に示す光コネクタレセプタクル10の場合、光ファイバ1は、図12に示すように、テープ化された部分1bを含む、光ファイバコード等である。光ファイバ1の先端部では、周囲の被覆が除去されて、裸光ファイバ1aが露出されている。光ファイバとしては、石英系等のガラスファイバが好適に用いられる。被覆としては、例えば1層又は2層以上の樹脂被覆が挙げられる。チューブ1c内に単心の光ファイバ心線1d(樹脂被覆を有する光ファイバ)を複数収容し、チューブ1c外には多心のテープ化された部分1bにより複数の光ファイバを一括の樹脂被覆でまとめておくと、フェルール11への裸光ファイバ1aの挿入も容易であり、チューブ1cの径もテープ化された部分1bの幅以下と細くすることができる。
単心の光ファイバ心線1dと多心のテープ心線又はテープ化された部分1bを有するこの光ファイバを作製する方法としては、(1)単心の光ファイバ心線1dを複数用意し、その一部を樹脂等で一括被覆を形成することによりテープ化する方法、(2)多心のテープ心線を用意し、テープ化された部分1bではテープ心線の一括被覆を残し、その他の部分では適宜、一括被覆を除去して複数の単心の光ファイバ心線1dに分離する方法が挙げられる。
なお、本発明に用いられる光ファイバは、光ファイバ心線、光ファイバコード、光ファイバケーブルなど特に限定されることなく、採用可能である。チューブ1cには、エラストマーのような柔軟な材質が好ましい。
図1(a)及び図2に示すように、レセプタクルハウジング20は、平坦な上面20a及び下面20bと、これらに略垂直な一対の側面20cを備えた略直方体状の外形を有する。レセプタクルハウジング20の一端(第1の端部)側には、他のコネクタ5(図4参照)が挿入されるコネクタ挿入穴21aを有するコネクタ挿入部21が形成されている。また、レセプタクルハウジング20の他端(第2の端部)側には、光コネクタレセプタクル10の内部機構17を内部に収容した内部機構収容部25を有する。レセプタクルハウジング20は、樹脂や金属等の各種材料の一体成形品としても構成可能である。
また、レセプタクルハウジング20は、フェルール11を保持するフェルール保持部21c(図8(a)参照)を有する。
コネクタ挿入部21は、コネクタ挿入穴21a内で他のコネクタ5を保持する一対のロック用弾性爪21b,21bを有する。また、レセプタクルハウジング20は、フェルール11を保持するフェルール保持部21cを有し、フェルール保持部21cは、接合端面11a(図3参照)が内部機構収容部25からコネクタ挿入穴21a内に突出するようにフェルール11が挿入されるフェルール挿入穴21d(図8(a)参照)を有する。ロック用弾性爪21bは、コネクタ挿入穴21aの奥から開口側に向けて突設されている。
フェルール11は、フェルール挿入穴21dよりも面積が大きくされたフランジ11dを後端面11c側に有する。フランジ11dをフェルール挿入穴21dの周縁部にあるフェルール保持部21cに接触させることにより、フェルール11がレセプタクルハウジング20に保持される。
コネクタ挿入部21に他のコネクタ5を挿入すると、光コネクタレセプタクル10のフェルール11に内挿固定された光ファイバが、他のコネクタ5のフェルール(図示略)に内挿固定された光ファイバと光結合される。
図1(a)及び図2に示すように、レセプタクルハウジング20のコネクタ挿入部21と内部機構収容部25の間の中間部には、レセプタクルハウジング20の側面20cから突出するフランジ22と、フランジ22からレセプタクルハウジング20の側面20cに沿って形成されたラッチ23を有する。フランジ22とラッチ23(弾性変形部23a、及び係止用突起部23b)が、レセプタクルハウジング20と一体に成形されている場合、光コネクタレセプタクルの小型化が容易であり、好ましい。
図示例では、レセプタクルハウジング20の側面20cには、ラッチ23が収容される凹部(ラッチ形成部24)が形成され、ラッチ23はラッチ形成部24の外面24aから離間している。ラッチ23は、フランジ22から延在する弾性変形部23aと、弾性変形部23aの先端部から、ラッチ形成部24の外面24aとは反対側に突出する係止用突起部23bを備える。係止用突起部23bは、フランジ22に対して、コネクタ挿入部21の側に形成されている。フランジ22は、ラッチ形成部24の外面24aから突出していればよく、内部機構収容部25の外面(レセプタクルハウジング20の側面20c)と同一面として、ラッチ形成部24と内部機構収容部25の間の段差部により構成することも可能である。
図1(b)及び図4に示すように、光コネクタレセプタクル10は、コネクタ挿入部21を先頭にして筐体3等の取付壁部2に設けられた取付穴2aに挿入すると、ラッチ23が取付穴2aの周縁部2bに形成して固定される。詳しくは、図4に示すように、フランジ22と係止用突起部23bの距離が取付壁部2の厚さと同程度とされ、フランジ22と係止用突起部23bの間に取付壁部2を挟持することにより、光コネクタレセプタクル10が取付壁部2に取り付け可能である。コネクタ挿入部21の幅(レセプタクルハウジング20の両側面20c、20c間の距離)が取付穴2aの開口幅より狭く、かつ、各ラッチ23の係止用突起部23bの外面23c,23c間の距離は取付穴2aの開口幅より広い。
また、係止用突起部23bの外面23cより前側には、前側ほど幅が狭くなるような斜面23dが形成されている。これにより、光コネクタレセプタクル10を取付穴2aに挿入するとき、弾性変形部23aを変形させなくてもラッチ23の先端部が取付穴2a内に収まり、斜面23dが取付穴2aの周縁部2bから接触することによりラッチ23の弾性変形部23aが内側(ラッチ形成部24の外面24aに近づく側)に変形するので、ラッチ23を別に操作しなくても、係止用突起部23bを取付穴2aの向こう側に押し込むことができる。係止用突起部23bが取付穴2aの向こう側に達して外面23cが取付穴2aの周縁部2bから離れると、弾性変形部23aの形状が復元して係止用突起部23bが広がり、取付穴2aから抜けないように保持される。
図1、図8(a)及び図14に示すように、フランジ22とラッチ23(係止用突起部23b)がレセプタクルハウジング20の高さ(上面20aと下面20bの距離)と同じ程度の範囲に広がっているので、光コネクタレセプタクル10が筐体3等の底部3aからの高さを低くしても、取付穴2aの周縁部2bに対して十分な長さの接触部が得られ、取付の確実性が向上する。なお、図1(b)では、筐体3等が取付穴2aの下に底部3aや外縁部3bを有しているが、これらは取付に不可欠な構成ではなく、底部3aや外縁部3bがなくても光コネクタレセプタクル10を取付可能である。
ラッチ23がフランジ22から片持ち状に設けられ、係止用突起部23bがレセプタクルハウジング20の側面20cから分離されている。この場合、ラッチ23において、係止用突起部23bの片側のみに弾性変形部23aを設ければよい。
光コネクタレセプタクル10を取付壁部2から取り外すときは、図5に示すように、ラッチ23の係止用突起部23bを押圧すると、弾性変形部23aがレセプタクルハウジング20の外面24aに向けて弾性変形し、取付穴2aの周縁部2bから係止用突起部23bの係止を解除することができる。さらに光コネクタレセプタクル10を後側に向けて押し込むと、光コネクタレセプタクル10を取付穴2aから押し出して、取付壁部2から取り外すことができる。
この光コネクタレセプタクル10によれば、光コネクタレセプタクル10を取付壁部2から取り外す際、ラッチ23の操作と、光コネクタレセプタクル10の押し込みを、いずれも取付壁部2に対して同じ側(コネクタ挿入部21のある側)から行うことができるので、作業性に優れる。係止用突起部23bの押圧は、作業者の手指でも治具でも可能である。
光コネクタレセプタクル10の内部機構17は、図2及び図3に示すように、フェルール11と、フェルール11の後側に設けられるフェルール用ブーツ14と、嵌合ピン12の抜け止めをするピンクランプ13と、ピンクランプ13を介してフェルール11を後側から前側に付勢するスプリング15と、スプリング15の後側への移動を規制するスプリング押し16を備える。
フェルール11は、前側の接合端面11aに開口する、1又は複数の光ファイバ孔11bを有する。光ファイバ孔11bには、上述した光ファイバ1の先端の裸光ファイバ1a(図12参照)が接着剤等で固定される。フェルール11の接合端面11aには、1又は複数の嵌合ピン12が突出している。この種のピン嵌合式のフェルール(例えば、JIS C 5964−7「光ファイバコネクタかん合標準−第7部:MPOコネクタ類(F13)」参照)では、一方のフェルールに嵌合ピンを突出させ、他方のフェルールに嵌合ピンを受け入れる穴(ピン挿入穴)を設けている。
1対のフェルールを対向させ、その接合端面同士を突き合わせ接続する際、嵌合ピンをピン挿入穴に挿入することにより、それぞれの光ファイバ孔に保持された光ファイバが精密に位置決めされる。ピン挿入穴は、両方のフェルールとも、接合端面11aから後端面11cまで貫通する貫通穴とすることができる。フェルールに対する嵌合ピンの取り付けは、嵌合ピン12を設けるフェルールでは、フェルール11の後端面11cから挿入した嵌合ピン12の先端部を接合端面11aから突出させ、嵌合ピン12の後端部をピンクランプ13のピン固定部13aにクランプ保持する方法が挙げられる。その他、嵌合ピンをフェルールに接着する方法、フェルールの成形時に嵌合ピンを埋め込む方法等も採用可能である。
フェルール11の後側には、フェルール11の後側に露出される光ファイバ1(裸光ファイバ1aやテープ化された部分1b)を保護するため、フェルール用ブーツ14が設けられている。ブーツ14の先端側はフェルール11内に挿入され、ブーツ14の後端側はピンクランプ13のブーツ収容部13bに収容される。
ピンクランプ13とスプリング押し16との間には、フェルール11を付勢するスプリング15が設けられている。スプリング15は、例えば圧縮コイルバネからなる。スプリング15の先端部はピンクランプ13の後端側のスプリング装着部13cに装着され、スプリング15の後端部はスプリング押し16のスプリング装着部16aに装着されている。コネクタ同士が結合したとき、スプリング15が圧縮されることによりフェルール11を前側に付勢し、フェルール11の接合端面11aに押圧力を付与する。
図2及び図14に示すように、レセプタクルハウジング20は、他のコネクタが挿入されるコネクタ挿入部21とは反対の側における内部機構収容部25の端部に開口部25aを有する。また、スプリング押し16は、光ファイバ1が挿通される通し穴16bを有する基板部16cと、基板部16cの左右両側に前側に屈曲した屈曲部16eを有する。スプリング押し16のスプリング装着部16aは、基板部16cに光ファイバ1が通される通し穴16bの周縁部に設けられ、光ファイバ1をスプリング15の内部に通すことができる。
屈曲部16eは内部機構収容部25の内面25bに沿って屈曲し、屈曲部16eの外面に突出した係止爪16dが、レセプタクルハウジング20(詳しくは内部機構収容部25)の両側面20cにそれぞれ形成された係合部25dに係合することで、基板部16cがレセプタクルハウジング20の開口部25aを塞ぎ、スプリング押し16がレセプタクルハウジング20に対して固定される。係合部25dは、ここでは側面20cに開口した窓状であるが、レセプタクルハウジング20の内面に形成された有底の凹部でもよい。
以上、本発明を好適な実施の形態に基づいて説明してきたが、本発明は上述の形態例に限定されるものではなく、本発明の要旨を逸脱しない範囲で種々の改変が可能である。
図6及び図7に示す光コネクタレセプタクル10Mの場合、フェルール11Mの接合端面11aに開口している光ファイバ孔11bが、接合端面11a上で複数の列を成すように縦横に配置されている。図6では、フェルール11Mが見えるように、レセプタクルハウジング20Mからコネクタ挿入部(図2の符号21参照)を仮想的に除去し、切断面に斜線を付している。図示例のフェルール11Mでは12個×4列の光ファイバ孔11bが形成されている。一列当たりの光ファイバ孔の数や、列の数は、適宜変更が可能である。レセプタクルハウジング20Mの構造は、図1及び図2のレセプタクルハウジング20と比べると、フェルール11Mが長くなっている分、レセプタクルハウジング20Mの長さも長くなっているが、その他は特に変更することなく構成可能である。光コネクタレセプタクル10Mの内部機構17Mも、フェルール11M以外の部品は、図2及び図3と同様でよい。
図7に示すフェルール11Mでは、その長さLが一般的なMTコネクタのフェルール(JIS C 5981参照)と同じく8mmとしているが、図3に示すように、長さLがより短いフェルール11を採用することもできる。フェルールの長さが短いと、コネクタハウジングも同様に短くする(例えば3.5mm等)ことができ、図1(b)に示すように、光コネクタレセプタクルが筐体3内に配置されるスペースを小さくすることができる。
図1に示す光コネクタレセプタクル10では、コネクタ挿入部21において、レセプタクルハウジング20の両側面20c,20cにそれぞれ開口部21s,21sが形成されている。開口部21sは、図8(a)に示すように、ロック用弾性爪21bの近傍に形成され、側壁の厚さを確保する必要がないことから、図8(b)に示すようにロック用弾性爪21bの近傍にも壁を設ける場合に比べて、コネクタ挿入部21の幅(レセプタクルハウジング20の両側面20c、20c間の距離)をより小さくすることができる。
図8(c)に示す場合は、レセプタクルハウジング20の上面20a及び下面20bにも開口部21t,21tが形成されている。この場合、コネクタ挿入部21の高さ(レセプタクルハウジング20の上面20aと下面20bの間の距離)をより小さくすることができる。
なお、図8では、コネクタ挿入部21の断面に斜線を入れている。
図9及び図10に示す光コネクタレセプタクルでは、ラッチ23(詳しくは係止用突起部23b)に溝部や切欠部等の凹部23eを有する。この凹部23eは、光コネクタレセプタクル10を取付壁部2から取り外す際(図5参照)に、係止用突起部23bを押圧する治具7は一対の押圧部7cを有し、その押圧面7aから突出させた突起7bを挿入することにより、より確実に係止用突起部23bを押圧することができる。図示例では、各ラッチ23において係止用突起部23bが二股のフォーク状に分割されるように厚みを貫通した凹部23eが形成されている。
なお、図9では、コネクタ挿入部21と治具7の押圧部7cの断面に斜線を入れ、取付壁部2は省略している。また、図10の治具7の図示は、模式的である。治具7は、フランジ22の段差などを利用して押圧部7cを位置決めする構造等を有してもよい。
図11に示す光コネクタレセプタクルでは、ラッチ23(詳しくは係止用突起部23b)の先端が、連結部23fによりレセプタクルハウジング20と連結されている。ラッチ形成部24は、外面24aとラッチ23の間に、平面視でスリット上の間隙を有する。この場合、フランジ側の弾性変形部23aとともに、先端側の連結部23fも弾性変形させることにより、係止用突起部23bをレセプタクルハウジング20の外面24aに近づき、図5と同様にラッチ23が取付穴2aに係止しない状態とすることができる。
図13に示す光コネクタアダプタ10Aは、アダプタハウジング20Aの両端にそれぞれ他のコネクタ5,5が挿入される一対のコネクタ挿入部21,21を有する。また、このアダプタハウジング20Aは、図1(a)に示すレセプタクルハウジング20等と同様に、アダプタハウジング20Aの側面20cから突出するフランジ22と、フランジ22からアダプタハウジング20Aの側面20cに沿って形成されたラッチ23を有する。フランジ22とラッチ23(弾性変形部23a、及び係止用突起部23b)が、アダプタハウジング20Aと一体に成形されている場合、光コネクタアダプタの小型化が容易であり、好ましい。
アダプタにおける一対のコネクタ挿入部21,21の構造は、他のコネクタ5の構造等に応じて適宜設計することができ、特に限定されるものではないが、例えば図1(a)に示すレセプタクルと同様に、コネクタ挿入穴21aやロック用弾性爪21b等を有してもよい。図8の各構成と同様に、コネクタ挿入部21の側面に開口部21s,21tを設けたり、側面を塞いだりしてもよい。また、図示例では、図1(a)に示すレセプタクルハウジング20等と同様に、アダプタハウジング20Aの側面20cには、ラッチ23が収容される凹部(ラッチ形成部24)が形成され、ラッチ23はラッチ形成部24の外面24aから離間している。アダプタの内部には、各光コネクタのフェルール同士を案内するスリーブ等(図示せず)を設けてもよい。
本発明をアダプタに適用した場合も、レセプタクルの場合と同様に、取付穴(図1(b)の符号2a参照)に対する着脱が容易で、かつ、光コネクタアダプタの小型化が容易な構成とすることができる。
ラッチ23の構成は、光コネクタアダプタにおいても光コネクタレセプタクルと同様な改変が可能である。例えば、図9及び図10に示すように、係止用突起部23bを押圧する治具7の押圧面7aから突出する突起7bを挿入するための凹部23eを設けたり、図11に示すように、ラッチ23の先端を連結部23fによりアダプタハウジングと連結した構成とすることもできる。
本発明の光コネクタレセプタクル、レセプタクルハウジング、光コネクタアダプタ、アダプタハウジングが取り付けられる取付壁部としては、光モジュールや配線トレイ等の光通信用機器、電気機器、電子機器等の各種機器の筐体、バックプレーンコネクタのバックプレーン等が挙げられる。
1…光ファイバ、1b…テープ化された部分、2…取付壁部、2a…取付穴、2b…周縁部、5…他のコネクタ、7…治具、7a…押圧面、7b…突起、10,10M…光コネクタレセプタクル、10A…光コネクタアダプタ、11,11M…フェルール、15…スプリング、16…スプリング押し、16a…スプリング装着部、16b…通し穴、16c…基板部、16d…係止爪、16e…屈曲部、20,20M…レセプタクルハウジング、20A…アダプタハウジング、21…コネクタ挿入部、21c…フェルール保持部、22…フランジ、23…ラッチ(取付手段)、23a…弾性変形部、23b…係止用突起部、25…内部機構収容部、25a…開口部、25d…係合部。

Claims (19)

  1. 光ファイバを内挿固定するフェルールと、
    前記フェルールを保持するレセプタクルハウジングと、
    前記レセプタクルハウジングの外面から突出するフランジと、
    前記レセプタクルハウジングの前記外面に沿って、前記レセプタクルハウジングの前記外面から離間して前記フランジから延在する弾性変形部と、
    前記弾性変形部から前記レセプタクルハウジングの外面とは反対側に突出する係止用突起部と、
    を備え、
    前記フランジ、弾性変形部、及び係止用突起部が、前記レセプタクルハウジングと一体に成形され、
    前記フランジと前記係止用突起部の間に取付壁部の取付穴の周縁部を挟持することにより前記取付壁部に取り付け可能であり、前記弾性変形部を前記レセプタクルハウジングの前記外面に向けて弾性変形させることにより前記取付壁部の取付穴の周縁部から前記係止用突起部の係止を解除可能である、光コネクタレセプタクル。
  2. 前記弾性変形部が、前記フランジから片持ち状に延在する、請求項1に記載の光コネクタレセプタクル。
  3. 前記係止用突起部は、前記フランジに対して、他のコネクタが挿入されるコネクタ挿入部の側に形成した、請求項1に記載の光コネクタレセプタクル。
  4. 前記係止用突起部が、前記係止用突起部を押圧する治具の押圧面から突出する突起を挿入するための凹部を有する、請求項1に記載の光コネクタレセプタクル。
  5. 前記光ファイバが多心のテープ化された部分を有する、請求項1に記載の光コネクタレセプタクル。
  6. 前記レセプタクルハウジングは、前記フェルールを付勢するスプリングと、前記スプリングを受けるスプリング押しが収容される内部機構収容部を備える、請求項1に記載の光コネクタレセプタクル。
  7. 前記レセプタクルハウジングは、他のコネクタが挿入されるコネクタ挿入部とは反対の側における前記内部機構収容部の端部に開口部を有し、
    前記スプリング押しは、前記開口部を塞ぐ基板部と、前記基板部の端部から前記内部機構収容部の内面に沿って屈曲した屈曲部と、前記屈曲部から突出した係止爪を有し、
    前記レセプタクルハウジングは、前記内部機構収容部における側面に、前記係止爪と係合する係合部を有する、
    請求項6に記載の光コネクタレセプタクル。
  8. 前記スプリング押しは、前記光ファイバが通される通し穴を有し、前記通し穴の周縁部に前記スプリングを受けるスプリング装着部を有する、
    請求項6に記載の光コネクタレセプタクル。
  9. 光ファイバを内挿固定するフェルールを保持するレセプタクルハウジングと、
    前記レセプタクルハウジングの外面から突出するフランジと、
    前記レセプタクルハウジングの前記外面に沿って、前記レセプタクルハウジングの前記外面から離間して前記フランジから延在する弾性変形部と、
    前記弾性変形部から前記外面とは反対側に突出する係止用突起部と、
    を備え、
    前記フランジ、弾性変形部、及び係止用突起部が、前記レセプタクルハウジングと一体に成形され、
    前記フランジと前記係止用突起部の間に取付壁部の取付穴の周縁部を挟持することにより前記取付壁部に取り付け可能であり、前記弾性変形部を前記外面に向けて弾性変形させることにより前記取付壁部の取付穴の周縁部から前記係止用突起部の係止を解除可能である、光コネクタレセプタクル部材
  10. 前記弾性変形部が、前記フランジから片持ち状に延在する、請求項9に記載の光コネクタレセプタクル部材
  11. 前記係止用突起部は、前記フランジに対して、他のコネクタが挿入されるコネクタ挿入部の側に形成した、請求項9に記載の光コネクタレセプタクル部材
  12. 前記係止用突起部が、前記係止用突起部を押圧する治具の押圧面から突出する突起を挿入するための凹部を有する、請求項9に記載の光コネクタレセプタクル部材
  13. 前記レセプタクルハウジング部材は、前記フェルールを付勢するスプリングと、前記スプリングを受けるスプリング押しが収容される内部機構収容部を備える、請求項9に記載の光コネクタレセプタクル部材
  14. 両端にそれぞれ他のコネクタが挿入される一対のコネクタ挿入部を有するアダプタハウジングと、
    前記アダプタハウジングの外面から突出するフランジと、
    前記アダプタハウジングの前記外面に沿って、前記アダプタハウジングの前記外面から離間して前記フランジから延在する弾性変形部と、
    前記弾性変形部から前記アダプタハウジングの外面とは反対側に突出する係止用突起部と、
    を備え、
    前記フランジ、弾性変形部、及び係止用突起部が、前記アダプタハウジングと一体に成形され、
    前記フランジと前記係止用突起部の間に取付壁部の取付穴の周縁部を挟持することにより前記取付壁部に取り付け可能であり、前記弾性変形部を前記アダプタハウジングの前記
    外面に向けて弾性変形させることにより前記取付壁部の取付穴の周縁部から前記係止用突起部の係止を解除可能である、光コネクタアダプタ。
  15. 前記弾性変形部が、前記フランジから片持ち状に延在する、請求項14に記載の光コネクタアダプタ。
  16. 前記係止用突起部が、前記係止用突起部を押圧する治具の押圧面から突出する突起を挿入するための凹部を有する、請求項14に記載の光コネクタアダプタ。
  17. 両端にそれぞれ他のコネクタが挿入される一対のコネクタ挿入部を有するアダプタハウジングと、
    前記アダプタハウジングの外面から突出するフランジと、
    前記アダプタハウジングの前記外面に沿って、前記アダプタハウジングの前記外面から離間して前記フランジから延在する弾性変形部と、
    前記弾性変形部から前記外面とは反対側に突出する係止用突起部と、
    を備え、
    前記フランジ、弾性変形部、及び係止用突起部が、前記アダプタハウジングと一体に成形され、
    前記フランジと前記係止用突起部の間に取付壁部の取付穴の周縁部を挟持することにより前記取付壁部に取り付け可能であり、前記弾性変形部を前記外面に向けて弾性変形させることにより前記取付壁部の取付穴の周縁部から前記係止用突起部の係止を解除可能である、光コネクタアダプタ部材
  18. 前記弾性変形部が、前記フランジから片持ち状に延在する、請求項17に記載の光コネクタアダプタ部材
  19. 前記係止用突起部が、前記係止用突起部を押圧する治具の押圧面から突出する突起を挿入するための凹部を有する、請求項17に記載の光コネクタアダプタ部材
JP2012247698A 2012-11-09 2012-11-09 光コネクタレセプタクル、レセプタクルハウジング、光コネクタアダプタ、アダプタハウジング Active JP5518979B2 (ja)

Priority Applications (3)

Application Number Priority Date Filing Date Title
JP2012247698A JP5518979B2 (ja) 2012-11-09 2012-11-09 光コネクタレセプタクル、レセプタクルハウジング、光コネクタアダプタ、アダプタハウジング
US14/075,546 US9459412B2 (en) 2012-11-09 2013-11-08 Optical connector receptacle, receptacle housing, optical connector adapter, and adapter housing
CN201310556605.4A CN103809249B (zh) 2012-11-09 2013-11-11 光连接器插座、插座壳体、光连接器适配器、适配器壳体

Applications Claiming Priority (1)

Application Number Priority Date Filing Date Title
JP2012247698A JP5518979B2 (ja) 2012-11-09 2012-11-09 光コネクタレセプタクル、レセプタクルハウジング、光コネクタアダプタ、アダプタハウジング

Publications (2)

Publication Number Publication Date
JP2014095834A JP2014095834A (ja) 2014-05-22
JP5518979B2 true JP5518979B2 (ja) 2014-06-11

Family

ID=50681774

Family Applications (1)

Application Number Title Priority Date Filing Date
JP2012247698A Active JP5518979B2 (ja) 2012-11-09 2012-11-09 光コネクタレセプタクル、レセプタクルハウジング、光コネクタアダプタ、アダプタハウジング

Country Status (3)

Country Link
US (1) US9459412B2 (ja)
JP (1) JP5518979B2 (ja)
CN (1) CN103809249B (ja)

Families Citing this family (46)

* Cited by examiner, † Cited by third party
Publication number Priority date Publication date Assignee Title
USD245870S (en) * 1976-07-29 1977-09-20 Dougherty Duayne D Fence post top
USD759594S1 (en) * 2013-11-15 2016-06-21 Fujikura Ltd. Optical receptacle housing
JP6318008B2 (ja) * 2014-05-30 2018-04-25 株式会社フジクラ 光コネクタ
US9235013B1 (en) 2014-07-16 2016-01-12 Avago Technologies General Ip (Singapore) Pte. Ltd. Low-profile optical transceiver connector receptacle
JP5805344B1 (ja) * 2014-09-02 2015-11-04 株式会社精工技研 光コネクタアセンブリおよびシャッタ付き光コネクタアダプタ
HUE046928T2 (hu) * 2014-12-05 2020-03-30 CommScope Connectivity Belgium BVBA Bõvíthetõ dugaszoló kapcsolótábla
JP1567656S (ja) * 2016-06-17 2017-01-23
JP1567654S (ja) * 2016-06-17 2017-01-23
US9726830B1 (en) * 2016-06-28 2017-08-08 Senko Advanced Components, Inc. Connector and adapter system for two-fiber mechanical transfer type ferrule
JP6788794B2 (ja) * 2016-11-22 2020-11-25 株式会社オートネットワーク技術研究所 配線モジュール
TWI608262B (zh) * 2016-11-30 2017-12-11 林雨晴 光纖連接器
CN206479676U (zh) * 2017-02-16 2017-09-08 光联通讯有限公司 光纤插座、光纤连接装置及光纤插座模块
US11300746B2 (en) 2017-06-28 2022-04-12 Corning Research & Development Corporation Fiber optic port module inserts, assemblies and methods of making the same
US11668890B2 (en) 2017-06-28 2023-06-06 Corning Research & Development Corporation Multiports and other devices having optical connection ports with securing features and methods of making the same
US11187859B2 (en) 2017-06-28 2021-11-30 Corning Research & Development Corporation Fiber optic connectors and methods of making the same
US12271040B2 (en) 2017-06-28 2025-04-08 Corning Research & Development Corporation Fiber optic extender ports, assemblies and methods of making the same
US10359577B2 (en) 2017-06-28 2019-07-23 Corning Research & Development Corporation Multiports and optical connectors with rotationally discrete locking and keying features
WO2019005192A1 (en) 2017-06-28 2019-01-03 Corning Research & Development Corporation COMPACT MULTIPLE CONNECTING FIBER OPTICAL FIBER CONNECTORS, AND CABLE ASSEMBLIES AND METHODS OF MAKING SAME
US10684436B2 (en) * 2018-07-30 2020-06-16 Te Connectivity Corporation Communication system having a panel mount connector assembly
CN110618496B (zh) * 2018-09-30 2021-07-30 中航光电科技股份有限公司 光纤连接器
US10641967B1 (en) 2018-11-16 2020-05-05 Corning Research & Development Corporation Multiport assemblies including a modular adapter support array
US10768382B2 (en) 2018-11-29 2020-09-08 Corning Research & Development Corporation Multiport assemblies including access apertures and a release tool
WO2020112354A1 (en) 2018-11-29 2020-06-04 Corning Research & Development Corporation Multiports having connection ports with rotating actuators and method for making the same
PL3903136T3 (pl) 2018-12-28 2025-03-03 Corning Research & Development Corporation Zespoły wieloportowe zawierające elementy montażowe lub zatyczki przeciwpyłowe
US12038613B2 (en) * 2019-03-28 2024-07-16 Senko Advanced Components, Inc. Behind-the-wall optical connector and assembly of the same
US10700479B1 (en) 2019-04-30 2020-06-30 Paul Wesley Smith Cable adapter panel retention clip
WO2020242847A1 (en) 2019-05-31 2020-12-03 Corning Research & Development Corporation Multiports and other devices having optical connection ports with sliding actuators and methods of making the same
US11294133B2 (en) 2019-07-31 2022-04-05 Corning Research & Development Corporation Fiber optic networks using multiports and cable assemblies with cable-to-connector orientation
US11487073B2 (en) 2019-09-30 2022-11-01 Corning Research & Development Corporation Cable input devices having an integrated locking feature and assemblies using the cable input devices
EP3805827B1 (en) 2019-10-07 2025-07-30 Corning Research & Development Corporation Fiber optic terminals and fiber optic networks having variable ratio couplers
USD892053S1 (en) * 2019-10-16 2020-08-04 Qingdao Baobin Electronics Technology Co., Ltd. Electric cable socket
EP4045957B1 (en) 2019-10-18 2023-12-13 Corning Research & Development Corporation Terminals having optical connection ports with securing features providing stable retention forces
US11650388B2 (en) 2019-11-14 2023-05-16 Corning Research & Development Corporation Fiber optic networks having a self-supporting optical terminal and methods of installing the optical terminal
US11536921B2 (en) 2020-02-11 2022-12-27 Corning Research & Development Corporation Fiber optic terminals having one or more loopback assemblies
JP6812037B1 (ja) * 2020-03-05 2021-01-13 株式会社精工技研 コネクタプラグ用治具、コネクタプラグ、コネクタプラグ付きケーブル
EP4172671B1 (en) 2020-06-29 2026-01-21 Corning Research & Development Corporation Terminals having a multi-fiber optical connection port that inhibits damage from single-fiber connectors
JP2022046220A (ja) * 2020-09-10 2022-03-23 住友電気工業株式会社 アダプタ及び光接続構造
US11604320B2 (en) 2020-09-30 2023-03-14 Corning Research & Development Corporation Connector assemblies for telecommunication enclosures
CA3197116A1 (en) 2020-10-30 2022-05-05 Stephen Paul CAPPANNARI Female fiber optic connectors having a rocker latch arm and methods of making the same
US11686913B2 (en) 2020-11-30 2023-06-27 Corning Research & Development Corporation Fiber optic cable assemblies and connector assemblies having a crimp ring and crimp body and methods of fabricating the same
US11880076B2 (en) 2020-11-30 2024-01-23 Corning Research & Development Corporation Fiber optic adapter assemblies including a conversion housing and a release housing
US11927810B2 (en) 2020-11-30 2024-03-12 Corning Research & Development Corporation Fiber optic adapter assemblies including a conversion housing and a release member
US11994722B2 (en) 2020-11-30 2024-05-28 Corning Research & Development Corporation Fiber optic adapter assemblies including an adapter housing and a locking housing
CN112835148A (zh) * 2021-01-04 2021-05-25 武汉光迅科技股份有限公司 一种光纤连接器
US11947167B2 (en) 2021-05-26 2024-04-02 Corning Research & Development Corporation Fiber optic terminals and tools and methods for adjusting a split ratio of a fiber optic terminal
WO2023060385A1 (zh) * 2021-10-11 2023-04-20 华为技术有限公司 光纤适配器及光通信装置

Family Cites Families (12)

* Cited by examiner, † Cited by third party
Publication number Priority date Publication date Assignee Title
US5101463A (en) * 1991-05-03 1992-03-31 Minnesota Mining And Manufacturing Company Push-pull optical fiber connector
JPH10170760A (ja) * 1996-12-06 1998-06-26 Fujikura Ltd 光コネクタ
US6283640B1 (en) 1999-04-01 2001-09-04 Lucent Technologies Inc. Tunable optical fiber buildout
US6572275B2 (en) * 2000-11-28 2003-06-03 The Furukawa Electric Co., Ltd. Optical connector
JP2005345589A (ja) * 2004-06-01 2005-12-15 Yazaki Corp 光アダプタ取外用冶具
JP4246138B2 (ja) 2004-11-02 2009-04-02 ホシデン株式会社 シャッター付き光コネクタ
JP3111711U (ja) * 2005-04-20 2005-07-28 サンコール株式会社 光アダプタ取付け用金具及び光アダプタ
JP4818666B2 (ja) * 2005-09-09 2011-11-16 株式会社フジクラ 光コネクタレセプタクル、光コネクタレセプタクル付き基板
JP4090067B2 (ja) * 2005-10-27 2008-05-28 日本航空電子工業株式会社 光アダプター用シャッターとそれを用いた光コネクタ
JP4566932B2 (ja) 2006-03-08 2010-10-20 株式会社フジクラ 光コネクタ
JP5078083B2 (ja) * 2007-10-30 2012-11-21 日東工業株式会社 アダプタ取付構造
JP2012042719A (ja) 2010-08-19 2012-03-01 Nec Corp 光トランシーバ

Also Published As

Publication number Publication date
US20140133807A1 (en) 2014-05-15
CN103809249B (zh) 2016-04-06
US9459412B2 (en) 2016-10-04
JP2014095834A (ja) 2014-05-22
CN103809249A (zh) 2014-05-21

Similar Documents

Publication Publication Date Title
JP5518979B2 (ja) 光コネクタレセプタクル、レセプタクルハウジング、光コネクタアダプタ、アダプタハウジング
JP6122291B2 (ja) 光コネクタ及び光コネクタの組立方法
US8376628B2 (en) Optical connector plug
CN102099720B (zh) 光适配器
JP4942327B2 (ja) 光コネクタ
US9400357B2 (en) Optical connector
US10088635B2 (en) Connector assemblies for hybrid fiber/wire connections
CN100443937C (zh) 多芯光学连接器组件
TWI826055B (zh) 光連接器及插頭
US11294125B2 (en) Optical connector
CN108072942A (zh) 光收发器
EP3855225B1 (en) Optical connector system
JP4800136B2 (ja) 光レセプタクルハウジング、光コネクタレセプタクル及び光機器
US10338324B2 (en) Optical connector
JP2002082256A (ja) 光ケーブル用アダプタ又はコネクタ
JPH1138278A (ja) 多心光コネクタ
JP5269746B2 (ja) 光コネクタ
JP4446782B2 (ja) 光学接続構造及びその作製方法
US20250147243A1 (en) Optical connection structure, first connection body, first optical connector, second connection body, second optical connector, and method for manufacturing optical connection structure
TW202526406A (zh) 光連接器及光連接構造
JP3129432U (ja) 光コネクタモジュール
JP4822368B2 (ja) 光コンセント
JP2007114314A (ja) 光コンセント
JP2002214479A (ja) 光コネクタ装置

Legal Events

Date Code Title Description
A521 Request for written amendment filed

Free format text: JAPANESE INTERMEDIATE CODE: A523

Effective date: 20140207

TRDD Decision of grant or rejection written
A01 Written decision to grant a patent or to grant a registration (utility model)

Free format text: JAPANESE INTERMEDIATE CODE: A01

Effective date: 20140304

A61 First payment of annual fees (during grant procedure)

Free format text: JAPANESE INTERMEDIATE CODE: A61

Effective date: 20140402

R151 Written notification of patent or utility model registration

Ref document number: 5518979

Country of ref document: JP

Free format text: JAPANESE INTERMEDIATE CODE: R151

R250 Receipt of annual fees

Free format text: JAPANESE INTERMEDIATE CODE: R250

R250 Receipt of annual fees

Free format text: JAPANESE INTERMEDIATE CODE: R250

R250 Receipt of annual fees

Free format text: JAPANESE INTERMEDIATE CODE: R250

R250 Receipt of annual fees

Free format text: JAPANESE INTERMEDIATE CODE: R250

R250 Receipt of annual fees

Free format text: JAPANESE INTERMEDIATE CODE: R250

R250 Receipt of annual fees

Free format text: JAPANESE INTERMEDIATE CODE: R250

R250 Receipt of annual fees

Free format text: JAPANESE INTERMEDIATE CODE: R250

R250 Receipt of annual fees

Free format text: JAPANESE INTERMEDIATE CODE: R250

R250 Receipt of annual fees

Free format text: JAPANESE INTERMEDIATE CODE: R250