JP5426062B2 - Foam ignition materials used in automotive airbag inflator devices - Google Patents
Foam ignition materials used in automotive airbag inflator devices Download PDFInfo
- Publication number
- JP5426062B2 JP5426062B2 JP2004348524A JP2004348524A JP5426062B2 JP 5426062 B2 JP5426062 B2 JP 5426062B2 JP 2004348524 A JP2004348524 A JP 2004348524A JP 2004348524 A JP2004348524 A JP 2004348524A JP 5426062 B2 JP5426062 B2 JP 5426062B2
- Authority
- JP
- Japan
- Prior art keywords
- ignition
- foamable
- composition
- igniter
- foam
- Prior art date
- Legal status (The legal status is an assumption and is not a legal conclusion. Google has not performed a legal analysis and makes no representation as to the accuracy of the status listed.)
- Expired - Fee Related
Links
- 239000000463 material Substances 0.000 title claims description 126
- 239000006260 foam Substances 0.000 title claims description 37
- 239000000203 mixture Substances 0.000 claims description 140
- 239000007800 oxidant agent Substances 0.000 claims description 38
- 229920002313 fluoropolymer Polymers 0.000 claims description 34
- 239000004811 fluoropolymer Substances 0.000 claims description 34
- 230000001590 oxidative effect Effects 0.000 claims description 32
- 229910052751 metal Inorganic materials 0.000 claims description 25
- 239000002184 metal Substances 0.000 claims description 25
- 239000004604 Blowing Agent Substances 0.000 claims description 22
- 239000003431 cross linking reagent Substances 0.000 claims description 18
- 239000000446 fuel Substances 0.000 claims description 18
- 238000010438 heat treatment Methods 0.000 claims description 17
- 239000004014 plasticizer Substances 0.000 claims description 16
- 239000004971 Cross linker Substances 0.000 claims description 14
- CSCPPACGZOOCGX-UHFFFAOYSA-N Acetone Chemical compound CC(C)=O CSCPPACGZOOCGX-UHFFFAOYSA-N 0.000 claims description 10
- 238000000034 method Methods 0.000 claims description 10
- -1 polytrifluorochloroethylene Polymers 0.000 claims description 9
- 238000003860 storage Methods 0.000 claims description 9
- 230000001588 bifunctional effect Effects 0.000 claims description 8
- BQCIDUSAKPWEOX-UHFFFAOYSA-N 1,1-Difluoroethene Chemical compound FC(F)=C BQCIDUSAKPWEOX-UHFFFAOYSA-N 0.000 claims description 7
- FYYHWMGAXLPEAU-UHFFFAOYSA-N Magnesium Chemical compound [Mg] FYYHWMGAXLPEAU-UHFFFAOYSA-N 0.000 claims description 7
- 229910052782 aluminium Inorganic materials 0.000 claims description 7
- XAGFODPZIPBFFR-UHFFFAOYSA-N aluminium Chemical compound [Al] XAGFODPZIPBFFR-UHFFFAOYSA-N 0.000 claims description 7
- 238000000354 decomposition reaction Methods 0.000 claims description 7
- HCDGVLDPFQMKDK-UHFFFAOYSA-N hexafluoropropylene Chemical compound FC(F)=C(F)C(F)(F)F HCDGVLDPFQMKDK-UHFFFAOYSA-N 0.000 claims description 7
- 229910052749 magnesium Inorganic materials 0.000 claims description 7
- 239000011777 magnesium Substances 0.000 claims description 7
- XEKOWRVHYACXOJ-UHFFFAOYSA-N Ethyl acetate Chemical compound CCOC(C)=O XEKOWRVHYACXOJ-UHFFFAOYSA-N 0.000 claims description 6
- 238000011049 filling Methods 0.000 claims description 6
- 238000004519 manufacturing process Methods 0.000 claims description 6
- 150000002978 peroxides Chemical class 0.000 claims description 6
- 229920001971 elastomer Polymers 0.000 claims description 5
- 239000000806 elastomer Substances 0.000 claims description 5
- VRFNYSYURHAPFL-UHFFFAOYSA-N [(4-methylphenyl)sulfonylamino]urea Chemical compound CC1=CC=C(S(=O)(=O)NNC(N)=O)C=C1 VRFNYSYURHAPFL-UHFFFAOYSA-N 0.000 claims description 4
- 239000004342 Benzoyl peroxide Substances 0.000 claims description 3
- OMPJBNCRMGITSC-UHFFFAOYSA-N Benzoylperoxide Chemical group C=1C=CC=CC=1C(=O)OOC(=O)C1=CC=CC=C1 OMPJBNCRMGITSC-UHFFFAOYSA-N 0.000 claims description 3
- OKKRPWIIYQTPQF-UHFFFAOYSA-N Trimethylolpropane trimethacrylate Chemical group CC(=C)C(=O)OCC(CC)(COC(=O)C(C)=C)COC(=O)C(C)=C OKKRPWIIYQTPQF-UHFFFAOYSA-N 0.000 claims description 3
- 239000000956 alloy Substances 0.000 claims description 3
- 229910045601 alloy Inorganic materials 0.000 claims description 3
- 235000019400 benzoyl peroxide Nutrition 0.000 claims description 3
- OTXHZHQQWQTQMW-UHFFFAOYSA-N (diaminomethylideneamino)azanium;hydrogen carbonate Chemical compound OC([O-])=O.N[NH2+]C(N)=N OTXHZHQQWQTQMW-UHFFFAOYSA-N 0.000 claims description 2
- DKPFZGUDAPQIHT-UHFFFAOYSA-N Butyl acetate Natural products CCCCOC(C)=O DKPFZGUDAPQIHT-UHFFFAOYSA-N 0.000 claims description 2
- VBIXEXWLHSRNKB-UHFFFAOYSA-N ammonium oxalate Chemical compound [NH4+].[NH4+].[O-]C(=O)C([O-])=O VBIXEXWLHSRNKB-UHFFFAOYSA-N 0.000 claims description 2
- 229940072049 amyl acetate Drugs 0.000 claims description 2
- PGMYKACGEOXYJE-UHFFFAOYSA-N anhydrous amyl acetate Natural products CCCCCOC(C)=O PGMYKACGEOXYJE-UHFFFAOYSA-N 0.000 claims description 2
- 238000004132 cross linking Methods 0.000 claims description 2
- USIUVYZYUHIAEV-UHFFFAOYSA-N diphenyl ether Chemical compound C=1C=CC=CC=1OC1=CC=CC=C1 USIUVYZYUHIAEV-UHFFFAOYSA-N 0.000 claims description 2
- NBVXSUQYWXRMNV-UHFFFAOYSA-N fluoromethane Chemical compound FC NBVXSUQYWXRMNV-UHFFFAOYSA-N 0.000 claims description 2
- MNWFXJYAOYHMED-UHFFFAOYSA-M heptanoate Chemical compound CCCCCCC([O-])=O MNWFXJYAOYHMED-UHFFFAOYSA-M 0.000 claims description 2
- FUZZWVXGSFPDMH-UHFFFAOYSA-N hexanoic acid Chemical compound CCCCCC(O)=O FUZZWVXGSFPDMH-UHFFFAOYSA-N 0.000 claims description 2
- 229920001897 terpolymer Polymers 0.000 claims description 2
- BFKJFAAPBSQJPD-UHFFFAOYSA-N tetrafluoroethene Chemical compound FC(F)=C(F)F BFKJFAAPBSQJPD-UHFFFAOYSA-N 0.000 claims description 2
- 238000003825 pressing Methods 0.000 claims 1
- 239000007789 gas Substances 0.000 description 80
- 235000012431 wafers Nutrition 0.000 description 24
- 239000002245 particle Substances 0.000 description 12
- 239000002243 precursor Substances 0.000 description 11
- 239000000843 powder Substances 0.000 description 8
- 239000011248 coating agent Substances 0.000 description 7
- 238000000576 coating method Methods 0.000 description 7
- 239000000047 product Substances 0.000 description 7
- 239000002585 base Substances 0.000 description 5
- 238000002485 combustion reaction Methods 0.000 description 5
- 238000009792 diffusion process Methods 0.000 description 5
- 239000007787 solid Substances 0.000 description 5
- 239000002904 solvent Substances 0.000 description 5
- GQPLMRYTRLFLPF-UHFFFAOYSA-N Nitrous Oxide Chemical compound [O-][N+]#N GQPLMRYTRLFLPF-UHFFFAOYSA-N 0.000 description 4
- 238000006243 chemical reaction Methods 0.000 description 4
- 239000004088 foaming agent Substances 0.000 description 4
- 150000002739 metals Chemical class 0.000 description 3
- 238000002156 mixing Methods 0.000 description 3
- 150000002823 nitrates Chemical class 0.000 description 3
- 150000007524 organic acids Chemical class 0.000 description 3
- 235000005985 organic acids Nutrition 0.000 description 3
- VLTRZXGMWDSKGL-UHFFFAOYSA-N perchloric acid Chemical class OCl(=O)(=O)=O VLTRZXGMWDSKGL-UHFFFAOYSA-N 0.000 description 3
- 230000035939 shock Effects 0.000 description 3
- 125000006850 spacer group Chemical group 0.000 description 3
- ATRRKUHOCOJYRX-UHFFFAOYSA-N Ammonium bicarbonate Chemical compound [NH4+].OC([O-])=O ATRRKUHOCOJYRX-UHFFFAOYSA-N 0.000 description 2
- XKRFYHLGVUSROY-UHFFFAOYSA-N Argon Chemical compound [Ar] XKRFYHLGVUSROY-UHFFFAOYSA-N 0.000 description 2
- IJGRMHOSHXDMSA-UHFFFAOYSA-N Atomic nitrogen Chemical compound N#N IJGRMHOSHXDMSA-UHFFFAOYSA-N 0.000 description 2
- 229920002449 FKM Polymers 0.000 description 2
- PXIPVTKHYLBLMZ-UHFFFAOYSA-N Sodium azide Chemical compound [Na+].[N-]=[N+]=[N-] PXIPVTKHYLBLMZ-UHFFFAOYSA-N 0.000 description 2
- 229910052783 alkali metal Inorganic materials 0.000 description 2
- 150000001340 alkali metals Chemical class 0.000 description 2
- 229910052784 alkaline earth metal Inorganic materials 0.000 description 2
- 239000001099 ammonium carbonate Substances 0.000 description 2
- 239000011230 binding agent Substances 0.000 description 2
- 229940116318 copper carbonate Drugs 0.000 description 2
- 230000006378 damage Effects 0.000 description 2
- 230000007423 decrease Effects 0.000 description 2
- 230000001934 delay Effects 0.000 description 2
- 239000011888 foil Substances 0.000 description 2
- 239000011261 inert gas Substances 0.000 description 2
- 238000000465 moulding Methods 0.000 description 2
- 239000001272 nitrous oxide Substances 0.000 description 2
- 238000004806 packaging method and process Methods 0.000 description 2
- 239000011236 particulate material Substances 0.000 description 2
- 229920000642 polymer Polymers 0.000 description 2
- 238000005096 rolling process Methods 0.000 description 2
- 238000005507 spraying Methods 0.000 description 2
- 229910052723 transition metal Inorganic materials 0.000 description 2
- 150000003624 transition metals Chemical class 0.000 description 2
- 238000003466 welding Methods 0.000 description 2
- PAWQVTBBRAZDMG-UHFFFAOYSA-N 2-(3-bromo-2-fluorophenyl)acetic acid Chemical compound OC(=O)CC1=CC=CC(Br)=C1F PAWQVTBBRAZDMG-UHFFFAOYSA-N 0.000 description 1
- GDDNTTHUKVNJRA-UHFFFAOYSA-N 3-bromo-3,3-difluoroprop-1-ene Chemical compound FC(F)(Br)C=C GDDNTTHUKVNJRA-UHFFFAOYSA-N 0.000 description 1
- 229910000013 Ammonium bicarbonate Inorganic materials 0.000 description 1
- 239000004156 Azodicarbonamide Substances 0.000 description 1
- BVKZGUZCCUSVTD-UHFFFAOYSA-M Bicarbonate Chemical class OC([O-])=O BVKZGUZCCUSVTD-UHFFFAOYSA-M 0.000 description 1
- ZOXJGFHDIHLPTG-UHFFFAOYSA-N Boron Chemical compound [B] ZOXJGFHDIHLPTG-UHFFFAOYSA-N 0.000 description 1
- OYPRJOBELJOOCE-UHFFFAOYSA-N Calcium Chemical compound [Ca] OYPRJOBELJOOCE-UHFFFAOYSA-N 0.000 description 1
- OKTJSMMVPCPJKN-UHFFFAOYSA-N Carbon Chemical compound [C] OKTJSMMVPCPJKN-UHFFFAOYSA-N 0.000 description 1
- XTEGARKTQYYJKE-UHFFFAOYSA-M Chlorate Chemical class [O-]Cl(=O)=O XTEGARKTQYYJKE-UHFFFAOYSA-M 0.000 description 1
- RYGMFSIKBFXOCR-UHFFFAOYSA-N Copper Chemical compound [Cu] RYGMFSIKBFXOCR-UHFFFAOYSA-N 0.000 description 1
- UFHFLCQGNIYNRP-UHFFFAOYSA-N Hydrogen Chemical compound [H][H] UFHFLCQGNIYNRP-UHFFFAOYSA-N 0.000 description 1
- DGAQECJNVWCQMB-PUAWFVPOSA-M Ilexoside XXIX Chemical compound C[C@@H]1CC[C@@]2(CC[C@@]3(C(=CC[C@H]4[C@]3(CC[C@@H]5[C@@]4(CC[C@@H](C5(C)C)OS(=O)(=O)[O-])C)C)[C@@H]2[C@]1(C)O)C)C(=O)O[C@H]6[C@@H]([C@H]([C@@H]([C@H](O6)CO)O)O)O.[Na+] DGAQECJNVWCQMB-PUAWFVPOSA-M 0.000 description 1
- WHXSMMKQMYFTQS-UHFFFAOYSA-N Lithium Chemical compound [Li] WHXSMMKQMYFTQS-UHFFFAOYSA-N 0.000 description 1
- MUBZPKHOEPUJKR-UHFFFAOYSA-N Oxalic acid Chemical compound OC(=O)C(O)=O MUBZPKHOEPUJKR-UHFFFAOYSA-N 0.000 description 1
- 229910000831 Steel Inorganic materials 0.000 description 1
- RTAQQCXQSZGOHL-UHFFFAOYSA-N Titanium Chemical compound [Ti] RTAQQCXQSZGOHL-UHFFFAOYSA-N 0.000 description 1
- QCWXUUIWCKQGHC-UHFFFAOYSA-N Zirconium Chemical compound [Zr] QCWXUUIWCKQGHC-UHFFFAOYSA-N 0.000 description 1
- 230000004913 activation Effects 0.000 description 1
- 230000001070 adhesive effect Effects 0.000 description 1
- 230000002411 adverse Effects 0.000 description 1
- 235000012538 ammonium bicarbonate Nutrition 0.000 description 1
- BVCZEBOGSOYJJT-UHFFFAOYSA-N ammonium carbamate Chemical compound [NH4+].NC([O-])=O BVCZEBOGSOYJJT-UHFFFAOYSA-N 0.000 description 1
- 235000012501 ammonium carbonate Nutrition 0.000 description 1
- 229910052786 argon Inorganic materials 0.000 description 1
- QVGXLLKOCUKJST-UHFFFAOYSA-N atomic oxygen Chemical compound [O] QVGXLLKOCUKJST-UHFFFAOYSA-N 0.000 description 1
- XOZUGNYVDXMRKW-AATRIKPKSA-N azodicarbonamide Chemical compound NC(=O)\N=N\C(N)=O XOZUGNYVDXMRKW-AATRIKPKSA-N 0.000 description 1
- 235000019399 azodicarbonamide Nutrition 0.000 description 1
- 229910052788 barium Inorganic materials 0.000 description 1
- DSAJWYNOEDNPEQ-UHFFFAOYSA-N barium atom Chemical compound [Ba] DSAJWYNOEDNPEQ-UHFFFAOYSA-N 0.000 description 1
- 238000005452 bending Methods 0.000 description 1
- 229910052790 beryllium Inorganic materials 0.000 description 1
- ATBAMAFKBVZNFJ-UHFFFAOYSA-N beryllium atom Chemical compound [Be] ATBAMAFKBVZNFJ-UHFFFAOYSA-N 0.000 description 1
- 229910052796 boron Inorganic materials 0.000 description 1
- 230000001680 brushing effect Effects 0.000 description 1
- 229910052791 calcium Inorganic materials 0.000 description 1
- 239000011575 calcium Substances 0.000 description 1
- 229910052799 carbon Inorganic materials 0.000 description 1
- 150000004649 carbonic acid derivatives Chemical class 0.000 description 1
- KXDHJXZQYSOELW-UHFFFAOYSA-N carbonic acid monoamide Natural products NC(O)=O KXDHJXZQYSOELW-UHFFFAOYSA-N 0.000 description 1
- 239000007795 chemical reaction product Substances 0.000 description 1
- 239000003795 chemical substances by application Substances 0.000 description 1
- 239000000356 contaminant Substances 0.000 description 1
- 229910052802 copper Inorganic materials 0.000 description 1
- 239000010949 copper Substances 0.000 description 1
- GEZOTWYUIKXWOA-UHFFFAOYSA-L copper;carbonate Chemical compound [Cu+2].[O-]C([O-])=O GEZOTWYUIKXWOA-UHFFFAOYSA-L 0.000 description 1
- 238000004200 deflagration Methods 0.000 description 1
- 230000001627 detrimental effect Effects 0.000 description 1
- 150000004985 diamines Chemical class 0.000 description 1
- 238000007598 dipping method Methods 0.000 description 1
- 235000012489 doughnuts Nutrition 0.000 description 1
- 238000001125 extrusion Methods 0.000 description 1
- 238000005187 foaming Methods 0.000 description 1
- 239000008187 granular material Substances 0.000 description 1
- 239000001307 helium Substances 0.000 description 1
- 229910052734 helium Inorganic materials 0.000 description 1
- SWQJXJOGLNCZEY-UHFFFAOYSA-N helium atom Chemical compound [He] SWQJXJOGLNCZEY-UHFFFAOYSA-N 0.000 description 1
- 239000001257 hydrogen Substances 0.000 description 1
- 229910052739 hydrogen Inorganic materials 0.000 description 1
- 150000004679 hydroxides Chemical class 0.000 description 1
- 230000000977 initiatory effect Effects 0.000 description 1
- 239000007788 liquid Substances 0.000 description 1
- 229910052744 lithium Inorganic materials 0.000 description 1
- ORUIBWPALBXDOA-UHFFFAOYSA-L magnesium fluoride Chemical compound [F-].[F-].[Mg+2] ORUIBWPALBXDOA-UHFFFAOYSA-L 0.000 description 1
- 229910001635 magnesium fluoride Inorganic materials 0.000 description 1
- 229910001512 metal fluoride Inorganic materials 0.000 description 1
- 150000002826 nitrites Chemical class 0.000 description 1
- 229910052757 nitrogen Inorganic materials 0.000 description 1
- 239000003921 oil Substances 0.000 description 1
- 239000001301 oxygen Substances 0.000 description 1
- 229910052760 oxygen Inorganic materials 0.000 description 1
- 238000005192 partition Methods 0.000 description 1
- 238000003908 quality control method Methods 0.000 description 1
- 230000003763 resistance to breakage Effects 0.000 description 1
- 230000000717 retained effect Effects 0.000 description 1
- 150000003839 salts Chemical class 0.000 description 1
- 238000007789 sealing Methods 0.000 description 1
- 229910052708 sodium Inorganic materials 0.000 description 1
- 239000011734 sodium Substances 0.000 description 1
- 239000011343 solid material Substances 0.000 description 1
- 239000007921 spray Substances 0.000 description 1
- 230000000087 stabilizing effect Effects 0.000 description 1
- 239000007858 starting material Substances 0.000 description 1
- 239000010959 steel Substances 0.000 description 1
- 229910052712 strontium Inorganic materials 0.000 description 1
- CIOAGBVUUVVLOB-UHFFFAOYSA-N strontium atom Chemical compound [Sr] CIOAGBVUUVVLOB-UHFFFAOYSA-N 0.000 description 1
- 239000000126 substance Substances 0.000 description 1
- 239000010936 titanium Substances 0.000 description 1
- 229910052719 titanium Inorganic materials 0.000 description 1
- 229910052726 zirconium Inorganic materials 0.000 description 1
Images
Classifications
-
- C—CHEMISTRY; METALLURGY
- C06—EXPLOSIVES; MATCHES
- C06B—EXPLOSIVES OR THERMIC COMPOSITIONS; MANUFACTURE THEREOF; USE OF SINGLE SUBSTANCES AS EXPLOSIVES
- C06B45/00—Compositions or products which are defined by structure or arrangement of component of product
-
- C—CHEMISTRY; METALLURGY
- C06—EXPLOSIVES; MATCHES
- C06B—EXPLOSIVES OR THERMIC COMPOSITIONS; MANUFACTURE THEREOF; USE OF SINGLE SUBSTANCES AS EXPLOSIVES
- C06B27/00—Compositions containing a metal, boron, silicon, selenium or tellurium or mixtures, intercompounds or hydrides thereof, and hydrocarbons or halogenated hydrocarbons
-
- C—CHEMISTRY; METALLURGY
- C06—EXPLOSIVES; MATCHES
- C06C—DETONATING OR PRIMING DEVICES; FUSES; CHEMICAL LIGHTERS; PYROPHORIC COMPOSITIONS
- C06C9/00—Chemical contact igniters; Chemical lighters
Landscapes
- Chemical & Material Sciences (AREA)
- Organic Chemistry (AREA)
- Crystallography & Structural Chemistry (AREA)
- Chemical Kinetics & Catalysis (AREA)
- General Chemical & Material Sciences (AREA)
- Air Bags (AREA)
- Feeding, Discharge, Calcimining, Fusing, And Gas-Generation Devices (AREA)
Description
本発明は、一般的に、膨脹可能な拘束システムのためのインフレータ装置で使用される点火組成物に関する。さらに詳細には、本発明は、所定の温度まで加熱されたときに発泡点火物質を形成する発泡可能な点火組成物に関する。 The present invention relates generally to ignition compositions for use in inflator devices for inflatable restraint systems. More particularly, the present invention relates to a foamable ignition composition that forms a foam ignition material when heated to a predetermined temperature.
衝突などで自動車が突然に減速したとき、ガスで膨脹するクッションまたはバッグ、例えば“エアバッグ・クッション”を用いて乗員を保護することはよく知られている。このようなエアバッグ拘束システムは、通常、占有スペースを最少にするために膨脹しておらず畳まれた状態で収容されている1つ以上のエアバッグ・クッションと、自動車のフレームまたはボディに取り付けられていてその自動車が突然に減速したことを検出する1つ以上の衝突センサーと、衝突センサーによって電子的に始動する始動システムと、ガスを生成または供給してエアバッグ・クッションを膨らませるインフレータ装置とを備えている。自動車が突然に減速したとき、衝突センサーが始動システムを始動させ、この始動システムが今度はインフレータ装置を始動させ、数ミリ秒のうちにエアバッグ・クッションを膨らませ始める。 It is well known to protect an occupant with a gas inflated cushion or bag, such as an “airbag cushion” when the vehicle suddenly decelerates, such as in a collision. Such airbag restraint systems are typically attached to one or more airbag cushions that are stored in an uninflated and collapsed state to minimize the footprint and to the vehicle frame or body. One or more crash sensors that detect when the car is suddenly decelerated, a starter system that is electronically started by the crash sensor, and an inflator device that generates or supplies gas to inflate the airbag cushion And. When the car suddenly decelerates, the crash sensor starts the starting system, which in turn starts the inflator device and begins to inflate the airbag cushion within a few milliseconds.
膨脹可能な拘束システムの1つ以上のエアバッグ・クッションを膨らませるのに用いる多くのタイプのインフレータ装置が従来技術において知られている。従来のインフレータ装置は、固体形態のガス生成材料を含んでおり、それが燃焼することによりガスが生成または形成され、付随するエアバッグ・クッションの膨脹に用いられる。 Many types of inflator devices are known in the prior art for use in inflating one or more airbag cushions of an inflatable restraint system. Conventional inflator devices include a solid form of a gas generating material that, when burned, generates or forms gas that is used to inflate the associated airbag cushion.
このようなインフレータ装置では、その中に収容されている材料(例えば火工品)に一連の反応を起こさせて膨脹媒体、例えば膨脹ガスを生成または発生させ、エアバッグ・クッションを広げることが一般的である。例えばこのような装置では、一般に、衝突を感知したときに電子的に点火する点火装置または起爆装置が利用されている。点火装置からの放電により、一般にその点火装置の近くに配置された点火材料が点火する。点火材料は、比較的迅速に燃えて大量の熱を出すことが望ましく、ガス生成材料を均一に点火させることが望ましい。するとガス生成材料が燃焼してガスの生成または形成が起こり、付随するエアバッグ・クッションに送られてそのエアバッグ・クッションを膨らませる。一般に、ガス生成材料の衝撃特性は、そのガス生成材料の形状(通常はタブレットまたはウエハ)と燃焼速度によって決まる。 In such an inflator device, it is common to cause a series of reactions to the material (for example, pyrotechnics) contained therein to generate or generate an expansion medium, for example, an expansion gas, and to expand the airbag cushion. Is. For example, such devices typically use an ignition device or detonator that ignites electronically when a collision is detected. The discharge from the igniter generally ignites igniter material located near the igniter. It is desirable for the ignition material to burn relatively quickly to produce a large amount of heat and to ignite the gas generant material uniformly. The gas generating material then burns to generate or form gas and is sent to the associated airbag cushion to inflate the airbag cushion. In general, the impact properties of a gas generant material are determined by the shape of the gas generant material (usually a tablet or wafer) and the burning rate.
認められるように、ガス生成材料が迅速に点火されることと反復してガス生成材料に点火できることは、自動車に乗っている人の受動的拘束システムに付随するエアバッグ・クッションをごく短時間のうちに信頼性よく広げられるインフレータ装置を提供する上で極めて重要である。例えばインフレータの設計者は、一般に、システムが作動してから3ミリ秒以内にガスがインフレータから放出されるようにすることを要求される。 As will be appreciated, the ability of the gas generant to ignite quickly and repeatedly can ignite the air bag cushion associated with the passive restraint system of the person riding the vehicle in a very short time. It is extremely important to provide an inflator device that can be spread reliably. For example, inflator designers are generally required to ensure that gas is released from the inflator within 3 milliseconds of operating the system.
インフレータの設計は、点火粉末をガス生成タブレット、ウエハまたはそれ以外の形態のガス生成粒子と単純にブレンドまたは混合することによって、組み込むことを試みた場合、たいていはうまくいかないことがわかっている。特に、このような設計のインフレータでは、時間が経過すると点火粉末が点火装置とガス生成粒子から抜け出す傾向がある。その結果、このような設計のインフレータでは、許容できない遅れが生じ、乗員の保護が最適にはなされない可能性がある。 Inflator designs have been found to be mostly unsuccessful when attempting to incorporate spark powder simply by blending or mixing gas generating tablets, wafers or other forms of gas generating particles. In particular, in the inflator having such a design, the ignition powder tends to escape from the ignition device and the gas generating particles as time passes. As a result, an inflator with such a design may cause unacceptable delays and occupant protection may not be optimal.
以上のことを考慮し、従来のインフレータ装置では、点火材料がインフレータ装置内で適切に配置されていて付随するガス生成材料の点火と反応が望み通りに起こるようにするため、点火材料を何らかの形でパッケージングすることが一般的である。さらに詳しく説明するならば、インフレータ装置は、点火装置とガス生成粒子の近くにある独立した容器の中にパッケージされた粉末点火材料を収容していることが一般的である。このような構成だと、点火装置は点火粉末を迅速に点火させることができ、その結果としてガス生成材料が迅速に点火する。 In view of the above, conventional inflator devices have some form of ignition material so that the ignition material is properly positioned within the inflator device so that the ignition and reaction of the accompanying gas generant material occurs as desired. It is common to package with. More particularly, inflator devices typically contain powdered igniter material packaged in separate containers near the igniter and gas generant particles. With such a configuration, the ignition device can quickly ignite the ignition powder, and as a result, the gas generating material ignites quickly.
実際には、このような点火材料のパッケージングを比較的簡単かつ単純にする場合には、例えば点火材料をドーナツ形の運転者用インフレータ装置の中心にある小さなキャニスター、例えばアルミニウム製キャニスターに入れ、パッケージングを比較的複雑にする場合には、例えば点火材料をチューブ状装置の中に入れ、そのチューブ状装置を、一般に円筒形になった乗員用インフレータ装置に含まれるガス生成ウエハ積層体の内部に挿入する。どのような設計であるかに関係なく、粉末点火材料をインフレータ装置に収容するには一般に余分な部品を組み込む必要があるため、重量が大きくなるだけでなく、組立と製造のコストも上昇する。 In practice, if the packaging of such igniting material is relatively easy and simple, for example, the igniting material is placed in a small canister, such as an aluminum canister, at the center of a donut driver inflator device When packaging is relatively complicated, for example, the ignition material is placed in a tubular device, and the tubular device is placed inside a gas generating wafer stack included in a passenger inflator device that is generally cylindrical. Insert into. Regardless of the design, it is generally necessary to incorporate extra parts to accommodate the powder igniter material in the inflator device, which not only increases weight but also increases assembly and manufacturing costs.
別のアプローチ方法として、点火組成物をガス生成材料の表面に付着させること、あるいは点火組成物でガス生成材料の表面をコーティングすることが可能である。例えば点火組成物をウエハまたはタブレットの形態になったガス生成材料の外面に付着させるには、点火組成物をそのウエハまたはタブレットにスプレーしたり、そのウエハまたはタブレットを点火組成物を入れた浴に浸したりするとよい。ガス生成材料をコーティングすると、塗布方法に関係なく、一般に製造コストが上昇し、ウエハまたはタブレットが点火組成物で均一かつ十分にコーティングされていることを確認する品質制御が必要になる。 As another approach, the ignition composition can be applied to the surface of the gas generant material, or the surface of the gas generant material can be coated with the ignition composition. For example, to deposit the ignition composition on the outer surface of the gas generant material in the form of a wafer or tablet, spray the ignition composition onto the wafer or tablet, or place the wafer or tablet into a bath containing the ignition composition. It is good to soak. Coating the gas generant material, regardless of the application method, generally increases manufacturing costs and requires quality control to ensure that the wafer or tablet is uniformly and well coated with the ignition composition.
もう1つのアプローチ方法は、点火材料を圧縮することでガス生成材料と同程度のサイズの粒子にし、その点火粒子を、点火装置の近くにあるガス生成材料の塊の中に意図的に入れるというものである。この方法の具体例としては、点火装置に隣接するガス生成ウエハ積層体の末端部に位置する点火材料ウエハ、あるいはガス生成ウエハ積層体の長さ方向に沿って周期的に配置した点火材料ウエハ、側方衝撃インフレータの中で、ガス生成タブレット床からなる点火装置の末端部に位置する点火材料タブレット、ガス生成ウエハ積層体の中に配置した点火材料タブレット、ドーナツ形の運転者用インフレータ装置の中で、ガス生成タブレット床の中心に位置する点火材料タブレット、これら以外で同じ考え方のものが挙げられる。残念なことに、圧縮した点火粒子は、一般に、同じ質量の点火粉末と比べて表面積がはるかに小さくなっている。認められるように、点火材料の表面積が小さくなると、燃焼中のエネルギー放出速度が一般に小さくなり、エアバッグ・インフレータ装置において望ましくない点火の遅れが生じる可能性がある。さらに、このように圧縮した点火粒子は脆くなる可能性があるため、衝撃、および/または振動、および/または熱変化に曝されると、時間経過とともに破損したり分解したりしやすい。このように破損したり分解したりすると、点火材料が点火装置および/またはガス生成材料から出て行き、点火時間の望ましくない遅れが生じる可能性がある。 Another approach is to compress the igniter material into particles of the same size as the gas generant material, and intentionally place the igniter particles in a mass of gas generant material near the igniter. Is. Specific examples of this method include an ignition material wafer located at the end of the gas generation wafer stack adjacent to the ignition device, or an ignition material wafer periodically disposed along the length direction of the gas generation wafer stack, Among the side impact inflators, the ignition material tablet located at the end of the ignition device consisting of the gas generation tablet floor, the ignition material tablet placed in the gas generation wafer laminate, and the donut-shaped driver inflator device The ignition material tablet located at the center of the gas generating tablet floor, and the same idea other than these are mentioned. Unfortunately, compressed ignited particles generally have a much smaller surface area compared to the same mass of ignited powder. As will be appreciated, as the surface area of the igniter material decreases, the rate of energy release during combustion generally decreases, which can cause undesirable ignition delays in the airbag inflator device. In addition, the ignited particles compressed in this way can become brittle, and thus are subject to breakage or decomposition over time when exposed to shock and / or vibration and / or thermal changes. Such breakage or decomposition can cause the ignition material to exit the igniter and / or gas generating material, resulting in an undesirable delay in ignition time.
上記のことから、破損に対する抵抗力があり、ガス生成粒子と同程度のサイズを持ち、粉末点火材料と同程度の表面積になる弾力性を持った点火物質が必要とされ、要求されている。 In view of the above, there is a need and demand for an ignition material that is resistant to breakage, has the same size as the gas generant particles, and has the same surface area as the powder ignition material.
本発明の1つの一般的な目的は、改良された点火物質と、それに関連してそのような点火物質の製造方法を提供することである。 One general object of the present invention is to provide an improved igniter material and a method for producing such an igniter material in connection therewith.
本発明のより具体的な1つの目的は、上記の問題点の1つ以上を解決することである。 One more specific object of the present invention is to solve one or more of the above problems.
本発明の一般的な上記の目的は、少なくとも一部について、発泡点火物質を形成するのに有効な発泡可能な点火組成物であって、フルオロポリマー結合酸化剤と、フルオロポリマー結合酸化剤を柔軟にするのに有効な可塑剤と、フルオロポリマー結合酸化剤と反応する金属燃料と、上記発泡可能な点火組成物を多孔性にするのに有効な発泡剤と、発泡点火物質を構造的に安定化させるのに有効な架橋剤とを含み、所定の温度まで加熱されたとき、上記発泡可能な点火組成物が上記発泡点火物質を形成することを特徴とする、発泡可能な点火組成物によって実現される。 The general above objective of the present invention is, at least in part, a foamable igniter composition effective to form a foamed igniter material comprising a fluoropolymer bound oxidant and a flexible fluoropolymer bound oxidant. A plasticizer effective to form a metal fuel that reacts with a fluoropolymer-bound oxidant, a foaming agent effective to make the foamable ignition composition porous, and a structurally stable foam ignition material Realized by a foamable ignition composition, characterized in that the foamable ignition composition forms the foamed ignition material when heated to a predetermined temperature. Is done.
従来技術では、一般に、ガス生成粒子と同程度のサイズであるが、使用時には表面積が粉末点火材料と同程度になる発泡点火物質が実現されていない。従来技術では、一般に、押し出しまたは型成形が可能で、所定の温度まで加熱されたときに所定の形状を有する発泡点火物質を形成することのできる発泡可能な点火物質も実現されていない。さらに、従来技術では、一般に、表面に適用可能であり、所定の温度まで加熱されたときに弾性と衝撃耐性が改善された発泡点火コーティングを形成する発泡可能な点火組成物も実現されていない。 In the prior art, a foamed ignition material that is generally the same size as the gas generating particles but has a surface area similar to that of the powder ignition material in use has not been realized. The prior art generally does not provide a foamable ignition material that can be extruded or molded and that can form a foamed ignition material having a predetermined shape when heated to a predetermined temperature. Further, the prior art has not realized a foamable ignition composition that is generally applicable to surfaces and forms a foamed ignition coating with improved elasticity and impact resistance when heated to a predetermined temperature.
本発明には、発泡点火物質の製造方法であって、フルオロポリマー結合酸化剤と、フルオロポリマー結合酸化剤を柔軟にするのに有効な可塑剤と、フルオロポリマー結合酸化剤と反応する金属燃料と、上記発泡可能な点火組成物を多孔性にするのに有効な発泡剤と、発泡点火物質を構造的に安定化させるのに有効な架橋剤とを含む発泡可能な点火組成物を、発泡剤を少なくとも部分的に分解するのに有効な温度まで加熱してこの点火組成物を発泡させ、得られた発泡点火組成物を架橋させて発泡点火物質を形成することを含む方法も包含される。 The present invention provides a method for producing a foamed ignition material, comprising a fluoropolymer-bound oxidant, a plasticizer effective to soften the fluoropolymer-bound oxidant, and a metal fuel that reacts with the fluoropolymer-bound oxidant. A foamable ignition composition comprising: a foaming agent effective to make the foamable ignition composition porous; and a crosslinking agent effective to structurally stabilize the foamed ignition material. Also included is a method comprising heating to a temperature effective to at least partially decompose the igniter to foam the ignition composition and crosslinking the resulting foamed igniter composition to form a foamed igniter material.
本発明にはさらに、発泡点火物質を形成するのに有効な発泡可能な点火組成物であって、
その組成物の約10〜約60重量%のフルオロポリマー結合酸化剤と、
上記フルオロポリマー結合酸化剤を柔軟にするのに有効な約1〜約40重量%の可塑剤と、
上記フルオロポリマー結合酸化剤と反応する約10〜約50重量%の金属燃料と、
上記発泡可能な点火組成物を多孔性にするのに有効な約0.1〜約30重量%の発泡剤と、
上記発泡点火物質を構造的に安定化させるのに有効な約0.5〜約5重量%の架橋剤とを含み、かつ所定の温度まで加熱されたとき、上記発泡可能な点火組成物が上記発泡点火物質を形成することを特徴とする発泡可能な点火組成物も包含される。
The present invention further includes a foamable ignition composition effective to form a foamed ignition material comprising:
From about 10 to about 60% by weight of the composition of a fluoropolymer bound oxidant;
About 1 to about 40% by weight of a plasticizer effective to soften the fluoropolymer bound oxidant;
About 10 to about 50% by weight of a metal fuel that reacts with the fluoropolymer-bound oxidant;
From about 0.1 to about 30% by weight blowing agent effective to make the foamable ignition composition porous;
About 0.5 to about 5 weight percent of a crosslinker effective to structurally stabilize the foam ignition material and when heated to a predetermined temperature, the foamable ignition composition forms the foam ignition Also included are foamable ignition compositions characterized in that they form a material.
本発明は、その好ましい一実施態様によれば、発泡可能な点火組成物で形成されている、自動車のエアバッグ・インフレータ装置で使用されるダンパ・パッド・クッションをさらに包含する。本発明は、その別の好ましい一実施態様によれば、容器の内面に接着した発泡点火物質を含んでいるハイブリッドガス貯蔵容器をさらに包含する。本発明は、そのさらに別の好ましい一実施態様によれば、押し出し成形された発泡可能な点火組成物から形成された所定の形状、例えば円筒形またはスティック形の発泡点火物質を包含する。 The present invention, according to one preferred embodiment thereof, further includes a damper pad cushion for use in an automotive airbag inflator device formed of a foamable ignition composition. The present invention, according to another preferred embodiment thereof, further includes a hybrid gas storage container including a foamed ignition material adhered to the inner surface of the container. The present invention, according to yet another preferred embodiment thereof, includes a foamed ignition material of a predetermined shape, such as a cylindrical or stick shape, formed from an extruded foamable ignition composition.
上記した以外の目的および利点は、添付の請求項と図面を参照した以下の詳細な説明から当業者に明らかとなるであろう。 Objects and advantages other than those described above will become apparent to those skilled in the art from the following detailed description, taken in conjunction with the accompanying claims and drawings.
本発明は、膨脹可能な拘束システムのインフレータ装置で使用する発泡可能な点火組成物を提供する。さらに詳しくは、本発明は、所定の温度まで加熱されたときに発泡点火物質を形成する発泡可能な点火組成物を提供する。 The present invention provides a foamable ignition composition for use in an inflator device of an inflatable restraint system. More particularly, the present invention provides a foamable ignition composition that forms a foam ignition material when heated to a predetermined temperature.
本発明によれば、発泡可能な点火組成物は、フルオロポリマー結合酸化剤と、フルオロポリマー結合酸化剤を柔軟にするのに有効な可塑剤と、フルオロポリマー結合酸化剤と反応する金属燃料と、発泡可能な点火組成物を多孔性にするのに有効な発泡剤と、発泡点火物質を構造的に安定化させるのに有効な架橋剤とを包含する。一般に、発泡可能な点火組成物は、所定の温度まで加熱されたとき、発泡して架橋することにより発泡点火物質を形成する。発泡可能な点火組成物は、所定の温度まで加熱されたとき、発泡して架橋することにより、弾性のある発泡点火物質を形成することが好ましい。この発泡点火物質は、破損または分解に対する抵抗力があるために望ましい形状と表面積を保持しており、付随するガス生成材料を効果的に点火させる。 In accordance with the present invention, a foamable ignition composition includes a fluoropolymer-bound oxidant, a plasticizer effective to soften the fluoropolymer-bound oxidant, a metal fuel that reacts with the fluoropolymer-bound oxidant, Includes a blowing agent effective to make the foamable igniter composition porous and a crosslinking agent effective to structurally stabilize the foamed igniter material. Generally, a foamable ignition composition foams and crosslinks to form a foamed ignition material when heated to a predetermined temperature. The foamable ignition composition preferably foams and crosslinks when heated to a predetermined temperature to form an elastic foam ignition material. The foam ignition material retains the desired shape and surface area due to its resistance to breakage or decomposition, and effectively ignites the accompanying gas generant material.
一般に、フルオロポリマー結合酸化剤が金属燃料と十分に反応し、本発明の発泡可能な点火組成物から形成された発泡点火物質を十分に燃焼させることが望ましい。さらに、フルオロポリマー結合酸化剤が架橋し、本発明の発泡可能な点火組成物から形成された発泡点火物質を構造的に十分に安定化させることが望ましい。フルオロポリマー結合酸化剤は、発泡可能な点火組成物に接着特性を与え、本発明の発泡可能な点火組成物から形成された発泡点火物質を所定の表面に効果的に接着させることが望ましい。 In general, it is desirable for the fluoropolymer-bound oxidant to react sufficiently with the metal fuel to sufficiently burn the foamed igniter material formed from the foamable ignition composition of the present invention. In addition, it is desirable that the fluoropolymer bound oxidant be crosslinked to structurally sufficiently stabilize the foamed igniter material formed from the foamable igniter composition of the present invention. It is desirable that the fluoropolymer-bonded oxidant provides adhesive properties to the foamable ignition composition and effectively adheres the foamed ignition material formed from the foamable ignition composition of the present invention to a given surface.
本発明の発泡可能な点火組成物における酸化剤として使用するのに適したさまざまなフルオロポリマー結合材料が判明した。そのようなフルオロポリマー結合材料の1つとして、例えばデュポン・ダウ・エラストマーズL.L.C.社からVITONの登録商標で入手できるフルオロポリマー・エラストマー材料が挙げられる。さらに具体的に説明すると、発泡可能な点火組成物で使用するのに適したフルオロポリマー結合酸化剤としては、フッ化ビニリデンとヘキサフルオロプロペンのジポリマー、フッ化ビニリデンとヘキサフルオロプロペンとテトラフルオロエテンのターポリマー、ならびにこれらの組み合わせが挙げられる。特定の好ましい実施態様では、発泡可能な点火組成物は、ヘキサフルオロプロペンとフッ化ビニリデンのジポリマーを含んでいる。 Various fluoropolymer binders have been found that are suitable for use as oxidants in the foamable ignition compositions of the present invention. One such fluoropolymer binder material is, for example, a fluoropolymer elastomer material available from DuPont Dow Elastomers L.L.C. under the registered trademark VITON. More specifically, suitable fluoropolymer bound oxidizers for use in foamable ignition compositions include dipolymers of vinylidene fluoride and hexafluoropropene, vinylidene fluoride, hexafluoropropene and tetrafluoroethene. Examples include terpolymers, and combinations thereof. In certain preferred embodiments, the foamable igniter composition comprises a dipolymer of hexafluoropropene and vinylidene fluoride.
一般に、発泡可能な点火組成物は、この組成物を完全に燃焼させるのに十分な量のフルオロポリマー結合酸化剤を含んでいる。発泡可能な点火組成物は、約10〜約60重量%のフルオロポリマー結合酸化剤を含んでいることが好ましい。 In general, foamable igniter compositions contain a sufficient amount of a fluoropolymer-bound oxidant to completely burn the composition. The foamable igniter composition preferably comprises from about 10 to about 60% by weight of a fluoropolymer bound oxidant.
本発明では、フルオロポリマー結合酸化剤を柔軟にするのに有効なさまざまな可塑剤を使用できる。適切な可塑剤としては、フルオロカーボン油が挙げられる。特に適した可塑剤は、ポリトリフルオロクロロエチレンである。 In the present invention, a variety of plasticizers that are effective to soften the fluoropolymer bound oxidant can be used. Suitable plasticizers include fluorocarbon oils. A particularly suitable plasticizer is polytrifluorochloroethylene.
一般に、発泡可能な点火組成物は、フルオロポリマー結合酸化剤を柔軟にするのに十分な量の可塑剤を含んでいる。一般に、発泡可能な点火組成物は、その組成物の約1〜約40重量%の可塑剤を含んでいる。 Generally, the foamable igniter composition includes a sufficient amount of plasticizer to soften the fluoropolymer bound oxidant. In general, foamable ignition compositions contain from about 1 to about 40% by weight of the plasticizer of the composition.
発泡可能な点火組成物は、フルオロポリマー結合酸化剤と反応する金属燃料も含んでいる。一般に、ある種の金属がフルオロポリマー材料と反応して金属フッ化物を形成し、比較的大量の熱を放出することが見いだされた。フルオロポリマーと反応する金属としては、アルミニウム、バリウム、ベリリウム、ホウ素、カルシウム、リチウム、ナトリウム、ストロンチウム、チタン、ジルコニウム、ならびにこれらの金属の混合物または合金が挙げられるが、これだけに限られるわけではない。本発明を実施する際にフルオロポリマーと反応する適切な金属燃料としては、アルミニウム、マグネシウム、アルミニウムとマグネシウムの合金、ならびにこれらの組み合わせが挙げられる。特定の好ましい実施態様では、フルオロポリマーと反応する金属燃料は金属マグネシウムである。 The foamable igniter composition also includes a metal fuel that reacts with the fluoropolymer bound oxidant. In general, it has been found that certain metals react with fluoropolymer materials to form metal fluorides, releasing a relatively large amount of heat. Metals that react with the fluoropolymer include, but are not limited to, aluminum, barium, beryllium, boron, calcium, lithium, sodium, strontium, titanium, zirconium, and mixtures or alloys of these metals. Suitable metal fuels that will react with the fluoropolymer in the practice of this invention include aluminum, magnesium, alloys of aluminum and magnesium, and combinations thereof. In certain preferred embodiments, the metallic fuel that reacts with the fluoropolymer is metallic magnesium.
一般に、本発明の発泡可能な点火組成物は、フルオロポリマーと反応する金属燃料を、組み合わさったガス生成材料を効果的に点火させるのに十分な量含んでいる。より具体的には、本発明の発泡可能な点火組成物は、フルオロポリマー結合酸化剤と反応する金属燃料を約10〜約50重量%含んでいる。 In general, the foamable ignition composition of the present invention includes an amount of metal fuel that reacts with the fluoropolymer sufficient to effectively ignite the combined gas generant material. More specifically, the foamable igniter composition of the present invention comprises from about 10 to about 50 weight percent of a metal fuel that reacts with a fluoropolymer bound oxidant.
本発明の発泡可能な点火組成物は、この組成物を多孔性にするのに有効な発泡剤も含んでいることが好ましい。発泡剤は、粒子、固体、液体いずれかの形態で提供できることが好ましい。本発明を実施するのに適切な発泡剤としては、一般に、加熱したときにガス種に分解する発泡剤が挙げられる。実際には、少なくとも一部が熱によって分解し、それが組み合わさった点火組成物の自己点火温度よりも低温のガスになる発泡剤が好ましい。一般に、そのような分解温度は350℃未満であるため、発泡点火物質は350℃未満の温度まで加熱するだけでよい。少なくとも一部が100℃〜300℃で分解する発泡剤が、本発明を実施して発泡可能な点火組成物を多孔性にするのに最も有用かつ望ましいと考えられる。 The foamable igniter composition of the present invention preferably also includes a blowing agent effective to render the composition porous. It is preferable that the foaming agent can be provided in the form of particles, solid, or liquid. Suitable blowing agents for practicing the present invention generally include blowing agents that decompose into gas species when heated. In practice, a blowing agent that is at least partially decomposed by heat and becomes a gas at a temperature lower than the autoignition temperature of the combined ignition composition is preferred. In general, since such decomposition temperatures are below 350 ° C, the foamed ignition material need only be heated to a temperature below 350 ° C. A blowing agent that decomposes at least in part at 100 ° C. to 300 ° C. is believed to be most useful and desirable for practicing the present invention to make the foamable ignition composition porous.
さらに、すべてをガス種に分解する発泡剤を使用するほうが一般に好ましいとはいえ、得られる固体分解生成物が発泡可能な点火組成物の燃焼を実質的に阻害しない、あるいは発泡可能な点火組成物の燃焼にとって有害でない限り、本発明のより広い実施範囲が狭く限定される必要はない。一般にガス状生成物を生成させる有用な発泡剤の具体例としては、炭酸水素アミノグアニジン、蓚酸アンモニウム、アゾジカルボンアミド、炭酸アンモニウム、カルバミン酸アンモニウム、炭酸水素アンモニウム、4,4'-オキシジベンゼンヒドラジド、p-トルエンスルホニルセミカルバジド、有機酸などが挙げられる。一般に分解してガス状生成物だけになる他の有用な発泡剤としては、アセトン、酢酸エチル、酢酸ブチル、酢酸アミルなどの溶媒が挙げられるが、これだけに限られるわけではない。一般に分解していくらかの固体が残る他の有用な発泡剤としては、アルカリ金属およびアルカリ土類金属の炭酸塩または炭酸水素塩、例えば塩基性炭酸銅、金属アミンの炭酸塩、例えば炭酸銅ジアミン、有機酸の金属アミン塩、例えば蓚酸銅ジアミン、有機酸の金属塩などが挙げられる。特定の好ましい実施態様では、発泡可能な点火組成物に含まれる発泡剤はp-トルエンスルホニルセミカルバジドである。 Furthermore, although it is generally preferred to use a blowing agent that decomposes all into gas species, the resulting solid decomposition product does not substantially inhibit the combustion of the foamable ignition composition or is a foamable ignition composition. The broader scope of the present invention need not be narrowly limited unless it is detrimental to combustion. Examples of useful blowing agents that generally produce gaseous products include aminoguanidine bicarbonate, ammonium oxalate, azodicarbonamide, ammonium carbonate, ammonium carbamate, ammonium bicarbonate, 4,4'-oxydibenzene hydrazide , P-toluenesulfonyl semicarbazide, organic acids and the like. Other useful blowing agents that generally decompose to only gaseous products include, but are not limited to, solvents such as acetone, ethyl acetate, butyl acetate, amyl acetate, and the like. Other useful blowing agents that generally decompose and leave some solids include alkali metal and alkaline earth metal carbonates or bicarbonates such as basic copper carbonate, metal amine carbonates such as copper carbonate diamine, Examples include metal amine salts of organic acids such as copper diamine oxalate and metal salts of organic acids. In certain preferred embodiments, the blowing agent included in the foamable igniter composition is p-toluenesulfonyl semicarbazide.
一般に、本発明を実施する際には発泡可能な点火組成物がその組成物の約0.1〜約30重量%の発泡剤を含んでいることが望ましい。 In general, it is desirable in the practice of the present invention that the foamable igniter composition includes from about 0.1 to about 30% by weight of the composition of the blowing agent.
発泡可能な点火組成物は、さらに架橋剤を含んでいる。架橋剤は、発泡点火物質を構造的に安定化させるのに有効であり、発泡剤が分解したときに形成される多孔構造が発泡点火物質の中に保持されることが望ましい。より具体的には、架橋剤は、フルオロポリマー結合酸化剤と反応して化学結合または架橋を形成することで、加熱によって発泡した発泡可能な点火組成物を硬化させて多孔性発泡点火物質にすることが望ましい。このような結合または架橋は、組み合わさったインフレータ装置内に保管している間に発生する突然の衝撃または振動が原因の破損または破壊に対する抵抗力がある一方で、発泡点火材料が燃焼したときに比較的容易に破損することで発泡点火物質の表面積がさらに増大するようになっていることが望ましい。 The foamable igniter composition further includes a crosslinker. The cross-linking agent is effective in structurally stabilizing the foamed ignition material, and it is desirable that the porous structure formed when the foaming agent is decomposed is retained in the foamed ignition material. More specifically, the cross-linking agent reacts with the fluoropolymer bond oxidant to form a chemical bond or cross-link to cure the foamable igniter composition foamed by heating to a porous foam igniter. It is desirable. Such bonds or crosslinks are resistant to breakage or destruction due to sudden shocks or vibrations that occur during storage in the combined inflator device, while the foam igniter material burns. It is desirable that the surface area of the foamed ignition material be further increased by being relatively easily broken.
一般に、発泡点火物質の望ましい性能に悪影響を与えることなく発泡点火物質を構造的に安定化させることのできる架橋剤が、本発明で使用するのに適している。しかし特定の好ましい実施態様では、架橋剤は、少なくとも1種類の二官能架橋剤と、少なくとも1種類の過酸化物架橋剤を含んでいる。例えば架橋剤は、二官能架橋剤であるトリメタクリル酸トリメチロールプロパンを単独で、あるいは過酸化物架橋剤、例えば過酸化ベンゾイルと組み合わせて含むことができる。 In general, crosslinkers that can structurally stabilize the foam igniter without adversely affecting the desired performance of the foam igniter are suitable for use in the present invention. However, in certain preferred embodiments, the crosslinker comprises at least one bifunctional crosslinker and at least one peroxide crosslinker. For example, the cross-linking agent can include the bifunctional cross-linking agent trimethylol propane trimethacrylate alone or in combination with a peroxide cross-linking agent such as benzoyl peroxide.
実際には、発泡可能な点火組成物は、適切な架橋剤を約0.5〜約5重量%含むことができる。より具体的には、発泡可能な点火組成物は、約0.5〜約5.0重量%の二官能架橋剤と、約0.5〜約5.0重量%の過酸化物架橋剤を含むことができる。 In practice, the foamable igniter composition can include from about 0.5 to about 5 weight percent of a suitable crosslinker. More specifically, the foamable igniter composition can include about 0.5 to about 5.0% by weight of a bifunctional crosslinker and about 0.5 to about 5.0% by weight of a peroxide crosslinker.
発泡可能な点火組成物はさらに、補助の酸化剤を約65重量%まで含んでいてもよい。本発明の特定の好ましい実施態様による適切な補助の酸化剤としては、アルカリ金属およびアルカリ土類金属の亜硝酸塩、硝酸塩、塩素酸塩および過塩素酸塩、硝酸アンモニウム、過塩素酸アンモニウム;遷移金属の酸化物、水酸化物、炭酸塩、硝酸塩および過塩素酸塩、遷移金属錯体の硝酸塩、亜硝酸塩および過塩素酸塩などの1種類もしくはそれ以上が挙げられる。 The foamable igniter composition may further comprise up to about 65% by weight of an auxiliary oxidant. Suitable auxiliary oxidants according to certain preferred embodiments of the invention include alkali metal and alkaline earth metal nitrites, nitrates, chlorates and perchlorates, ammonium nitrate, ammonium perchlorate; transition metal One or more of oxides, hydroxides, carbonates, nitrates and perchlorates, transition metal complex nitrates, nitrites and perchlorates, and the like.
本発明には、上記の発泡可能な点火組成物を含む発泡点火物質の調製方法も含まれる。特に、特定の好ましい実施態様によれば、発泡点火物質は、本発明の発泡可能な点火組成物を所定の温度まで加熱することにより発泡剤の少なくとも一部を分解して点火組成物を発泡させた後、その発泡した組成物を架橋させて発泡点火物質を形成することによって得られる。一般に、発泡可能な点火組成物は、約160℃から約200℃の間の所定の温度に加熱することで発泡剤が少なくとも部分的に分解し、多孔性になる。 The present invention also includes a method for preparing a foamed ignition material comprising the foamable ignition composition described above. In particular, according to certain preferred embodiments, the foamed ignition material causes the ignition composition to foam by heating at least a portion of the blowing agent by heating the foamable ignition composition of the present invention to a predetermined temperature. And then foaming the foamed composition to form a foam ignition material. In general, foamable igniter compositions become porous by at least partially decomposing the blowing agent upon heating to a predetermined temperature between about 160 ° C and about 200 ° C.
所望の最終用途に応じ、加熱前に、発泡可能な点火組成物を、発泡点火物質でコーティングされることになる表面に付着させること、押し出し加工して所定の形状にすること、あるいは所望の形状の鋳型に充填し、加熱中に圧力を加えることができる。 Depending on the desired end use, before heating, the foamable igniter composition can be applied to the surface to be coated with the foamed igniter material, extruded to the desired shape, or the desired shape The mold can be filled and pressure can be applied during heating.
実際には、本発明の発泡可能な点火組成物は、フルオロポリマー結合酸化剤と、可塑剤と、少なくとも1種類の架橋剤、例えば二官能架橋剤とを含む前駆体溶液を、フルオロポリマー結合酸化剤と反応する金属燃料と、発泡剤とを含む前駆体ブレンドと混合することによって調製できる。前駆体溶液は、フルオロポリマー結合酸化剤と、可塑剤と、架橋剤を、溶媒、例えばアセトンと溶媒和することによって調製できる。その後、前駆体ブレンドを前駆体溶液に添加して撹拌することによってその前駆体ブレンドを前駆体溶液の中に分散させ、発泡可能な点火組成物を形成することができる。 In practice, the foamable ignition composition of the present invention comprises a precursor solution comprising a fluoropolymer-bonded oxidizer, a plasticizer, and at least one crosslinker, such as a bifunctional crosslinker. It can be prepared by mixing with a precursor blend comprising a metal fuel that reacts with the agent and a blowing agent. The precursor solution can be prepared by solvating a fluoropolymer bound oxidant, a plasticizer, and a crosslinker with a solvent, such as acetone. Thereafter, the precursor blend can be added to the precursor solution and stirred to disperse the precursor blend in the precursor solution to form a foamable ignition composition.
発泡可能な点火組成物の所望の最終用途に応じ、溶媒の一部または実質的に全部を発泡可能な点火組成物から除去することができる。そのためには、例えば加熱に先がけて、混合物を空気流とともに散布することによって所望のコンシステンシーを達成する。 Depending on the desired end use of the foamable ignition composition, some or substantially all of the solvent can be removed from the foamable ignition composition. For this purpose, the desired consistency is achieved, for example, by sprinkling the mixture with a stream of air prior to heating.
例えば、好ましい一実施態様によれば、本発明の発泡可能な点火組成物は、例えば実質的にすべての溶媒が除去されるまでその組成物を空気流とともに散布することによって粒状材料にすることができる。この粒状材料は、成形して望む形状にすることができる。そのためには、例えばその粒状材料を鋳型に充填し、加熱中に圧力を加える。発泡可能なこの点火組成物は、例えばインフレータ装置内で使用される発泡ダンパ・パッド・クッションを形成するのに使用し、組み合わさったガス生成材料が振動エネルギーや物理的衝撃を受けることによって劣化したり破損したりするのを防ぐとよい。 For example, according to one preferred embodiment, the foamable ignition composition of the present invention can be made into a particulate material by, for example, spraying the composition with an air stream until substantially all of the solvent is removed. it can. This particulate material can be molded into the desired shape. For this purpose, for example, the granular material is filled in a mold and pressure is applied during heating. This foamable ignition composition is used, for example, to form foam damper pads, cushions used in inflator devices, and the combined gas generant material deteriorates when subjected to vibrational energy or physical shock. It is good to prevent it from being damaged.
別の一実施態様によれば、本発明の発泡可能な点火組成物は、所望の量の溶媒が除去されるまでその組成物を空気流とともに散布することによりコンシステンシーがパテ状材料またはペースト材料と同程度となるようにすることができる。得られた発泡可能な点火組成物は、押し出し加工して所定の形状、例えば円筒形またはスティック形にすることができる。 According to another embodiment, the foamable ignition composition of the present invention has a consistency putty-like material or paste material by sprinkling the composition with a stream of air until the desired amount of solvent is removed. It can be made to be comparable. The resulting foamable igniter composition can be extruded into a predetermined shape, such as a cylinder or a stick.
さらに別の一実施態様によれば、本発明の発泡可能な点火組成物は、スプレー、浸漬、圧延、ブラッシングなどの方法で表面に付着させることができる。その後、発泡可能なこの点火組成物を所定の温度まで加熱して発泡点火物質からなるコーティングを形成することができる。 According to yet another embodiment, the foamable ignition composition of the present invention can be applied to the surface by methods such as spraying, dipping, rolling, brushing and the like. The foamable ignition composition can then be heated to a predetermined temperature to form a coating of foamed ignition material.
当業者であればわかるように、本発明の発泡可能な点火組成物は、さまざまなインフレータ装置においてさまざまな方法で利用することができる。例えば上記の発泡可能な点火組成物を一段式インフレータ装置で使用し、振動または衝撃によってガス生成材料が破損したり分解したりしないようにすることができる。 As will be appreciated by those skilled in the art, the foamable ignition composition of the present invention can be utilized in a variety of ways in a variety of inflator devices. For example, the foamable ignition composition described above can be used in a single stage inflator device to prevent the gas generant material from being damaged or decomposed by vibration or impact.
図1を参照すると、一段式インフレータ装置110は、一般に円筒形の外部輪郭を持っており、ハウジング112を備えている。ハウジング112は、例えば2つの構造部材、すなわち下方シェルまたは基部114と、上方シェルまたは拡散キャップ部116とで形成されている。これらの部材は、適切な方法で互いに接合または封止できることが望ましい。
Referring to FIG. 1, a single
ハウジング112は、一般に円筒形のチェンバーを規定する構造になっており、ここではそのチェンバーを参照番号118で表わす。チェンバー118には、所望の選択形状になったガス生成材料120、例えば従来技術で知られている火工品が収容されている。フィルタ群122がガス生成材料120を取り囲んでいる。
The
インフレータ装置110は、保持具124と、拡散ダンパ・パッド・クッション126と、基部ダンパ・パッド・クッション128を備えており、これらの部材が、インフレータ装置110の内部でガス生成材料120が不必要に音を立てたり接触したりすることを防止している。実際には、すでに説明したように、拡散ダンパ・パッド・クッション126および/または基部ダンパ・パッド・クッション128は、発泡可能な点火組成物を成形して加圧下で所定の温度まで加熱することにより発泡点火物質にしたもので構成することができる。
The
インフレータ装置110はさらに、全体を参照番号130で示した点火組立体を備えている。点火組立体130は、例えば、点火装置132と、点火装置のアダプタまたはホルダ134からなる。点火装置132は、取り付け用開口部136を通じてハウジング112に取り付けられ、あるいは嵌め込まれ、チェンバー118内の位置に来る。
The
点火装置132を作動させると、拡散ダンパ・パッド・クッション126および/または基部ダンパ・パッド・クッション128の発泡点火物質に点火する。この点火によって得られる生成物は、チェンバー118に収容されているガス生成材料120と所定の構成を通じて直接接触し、例えばそのガス生成材料120が点火して反応を開始する。この反応によって生成したガスは、インフレータ装置110から出て、組み合わさったエアバッグ・クッション(図示せず)に入る。
Activation of the
インフレータ装置110には、点火カップや点火管などの部品が不要であることがわかるであろう。このように不要な部品があることで、実際には、インフレータ装置の重量および/またはサイズを小さくできるほか、性能の信頼性を向上させることができるため、インフレータ装置の製造、および/または取り付け、および/または操作に関わるコストを大きく変化させること、すなわち低下させることができる。
It will be appreciated that the
特定の好ましい実施態様では、上記した発泡可能な点火組成物を用い、インフレータ装置の内面に付着させる発泡点火物質を形成することができる。例えば図2を参照して、その全体を参照番号210で表わすハイブリッド・インフレータ装置は、その少なくとも1つの内面に付着させる発泡可能な点火組成物を含んでいる。 In certain preferred embodiments, the foamable ignition composition described above can be used to form a foamed ignition material that adheres to the inner surface of the inflator device. For example, referring to FIG. 2, a hybrid inflator device, generally designated 210, includes a foamable igniter composition that is applied to at least one inner surface thereof.
ハイブリッド・インフレータ装置210は、貯蔵チェンバー214を有する圧力容器212を備えている。貯蔵チェンバー214には、一般に約2000psi〜約4000psiに加圧された不活性ガス、例えばアルゴン、ヘリウム、窒素、あるいは反応性ガス、例えば亜酸化窒素が充填されている。このハイブリッド・インフレータ装置210は、ディフューザ216と点火組立体218も備えている。これらの部材は、適切な方法で互いに接合または封止できることが望ましい。ディフューザ216は、破裂板(バースト・ディスク)240を備えている。この破裂板240は、貯蔵チェンバー214に収容されているガスを密封してディフューザ216から切り離す役割を持っている。
The
ハイブリッド・インフレータ装置210はさらに、ガスの加圧に用いる充填ポート220を備えている。この充填ポート220は圧力容器212と一体化しており、加圧後、ボール溶接222などによって適切に封止される。
The
ハイブリッド・インフレータ装置210はさらに、圧力容器212の内面の少なくとも一部と接触する発泡点火物質コーティング224を備えている。実際には、すでに説明したように、本発明の発泡可能な点火組成物を圧力容器212の選択した内面の少なくとも一部に付着させた後、所定の温度まで加熱して発泡点火物質コーティング224を形成することが望ましい。
The
点火組立体218は、点火装置226と、点火装置のアダプタまたはホルダ228を備えている。点火装置のアダプタ228は、取り付け用開口部230を通じて点火組立体218に取り付けられ、あるいは嵌め込まれていることが適当である。点火組立体218は、オリフィス236に隣接する容器234に収容された火工品充填物232も備えている。オリフィス236は、点火組立体218に取り付けられた破裂板238によって封止されている。
The
作動時、点火装置226は、容器234に収容された火工品充填物232を点火させる。火工品充填物232は、熱い炎とガスを十分な量含む反応生成物を生成させるため、容器234と破裂板238を突き破る。放出されたガスと熱い炎はオリフィス236を通過し、発泡点火物質コーティング224を点火させる。この点火によって得られる生成物は、チェンバー214に収容されているガスと所定の構成を通じて直接接触する。そのガスが加熱されると貯蔵チェンバー214内の圧力が十分なレベルまで上昇し、破裂板240を突き破る。そのため加熱されたガスはディフューザ216の中に放出され、ハイブリッド・インフレータ装置210を通り抜けて付随するエアバッグ・クッション(図示せず)に入る。
In operation, the
当業者によって本願明細書の記載から認められるように、ハイブリッド・インフレータ装置210には、ガス・ヒーター組立体の部品、例えばガス生成カップや付随するハードウエアが不要である。このように不要な部品があることで、実際には、インフレータ装置の重量および/またはサイズを小さくできるほか、性能の信頼性を向上させることができるため、インフレータ装置の製造、および/または取り付け、および/または操作に関わるコストを大きく変化させること、すなわち低下させることができる。
As will be appreciated by those skilled in the art from the description herein, the
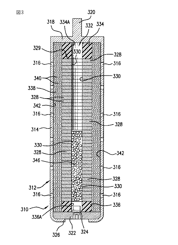
別の好ましい一実施態様では、上述の発泡可能な点火組成物を利用し、所定の形状、例えば円筒形またはスティック形を有する発泡点火物質を形成することができる。例えば図3に示したエアバッグ・インフレータ装置310は、細長くて一般に円筒形になったハウジング312を備えている。このハウジング312は鋼鉄やアルミニウムなどの金属でできており、円筒形の側壁314を備えている。側壁314の周囲には、インフレータ装置310が作動したときに付随するエアバッグ(図示せず)を膨脹させるためのガスを放出するガス・ポートまたはガス穴316が適切な間隔で複数個設けられている。
In another preferred embodiment, the foamable igniter composition described above can be utilized to form a foamed igniter material having a predetermined shape, such as a cylindrical or stick shape. For example, the
ハウジング312は、そのハウジングと一体化した円形の端部壁318となってその一端で閉じられている。端部壁318の中央には外側に突起した取り付けピン320があり、インフレータ装置310を選択した適切な位置、例えば自動車の計器板やダッシュボードの裏側に固定するのに使用される。ハウジング312の反対側の端部は、環状端部壁322によって閉じられている。環状端部壁322は中央部に開口部を持っており、ガス生成プロセスを開始させて付随するエアバッグ・クッションを膨脹させるための点火装置324がその中に差し込まれる。環状端部壁322は、インフレータ装置310の内部に収容されるすべての部品を所定の位置に配置した後、所定の位置に保持された状態で、金属の折り曲げ、圧延、慣性溶接のいずれかによって形成された環状の変形した末端フランジ326によってハウジング312を封止している。
The
ハウジング312の内部には、ワッシャー状の複数の環状ガス生成ウエハ328が細長い円筒形積層体329として収容されていて両方の端部壁318と322の間に延びている。膨脹ガスは、そのワッシャー状の複数の環状ガス生成ウエハ328が点火し燃焼することによって急速に生成する。ウエハ328は、アジ化ナトリウムやそれ以外のタイプのガス生成材料からなる固体材料で形成されており、ウエハが点火したときに比較的不活性なガスを大量に生成する。それぞれのウエハ328は、中央開口部330またはコア通路を備えている。中央開口部330は、ハウジング312内で両方の端部壁318と322の間に延びているウエハ積層体329全体を貫通する細長い中央通路332の短い1つの区画を形成している。積層体329の両端部にあるウエハ328は、それぞれ環状スペーサ334または336によって隣接するハウジングの末端壁318または322と離れた状態にされている。スペーサ334には中央コアまたは中央通路334aが、スペーサ336には中央コアまたは中央通路336aが形成されており、複数のウエハ328によって形成された細長い中央通路332の両端部の区画を形成している。
Inside the
複数の固体状ガス生成ウエハ328からなる円筒形積層体329は、細長い中空のチューブ状フィルタ338で囲まれている。フィルタ338は、ガス生成ウエハ328が反応したときに発生する熱いガスを冷却し、熱い粒子を濾過して除くことで、そうでない場合に熱い粒子がガス放出ポート316から出て膨脹しているエアバッグとその直近の環境にダメージを与えることを防いでいる。フィルタ338は、金属スクリーン材料またはそれ以外のタイプのフィルタ媒体からなるいくつかの層340にすることができる。ハウジングの側壁314の内面に薄い金属ホイル342を接着させて封止した状態にすることでガス・ポート316を封止し、ハウジング312の内部に外から汚染物質が入らないようにする。ガス生成ウエハ328が点火したとき、金属ホイル342はハウジング312内のガス圧によって容易に破れるため、生成したガスがガス排出ポート316から自由に流出して付随するエアバッグ・クッションが膨らむ。
A
本発明によれば、発泡点火物質346は、細長い中央通路332の中に配置される。発泡点火物質346は、所定の形状(例えば円筒形、スティック形)を持っており、点火装置324に隣接する細長い中央通路332の中に配置するとよい。例えばいくつかの好ましい実施態様では、発泡点火物質346を、点火装置324に隣接して接触する状態で細長い中央通路332の中に配置することができる。別の好ましい一実施態様では、図3に示したように、発泡点火物質346を、点火装置324に隣接するが点火装置324とは適度な距離離した状態で細長い中央コア通路332の中に配置することができる。
In accordance with the present invention, the
点火装置324が作動すると、発泡点火物質346が点火してガス生成ウエハを点火させ、膨脹ガスの生成を開始させる。この点火によって生成した膨脹ガスは、インフレータ装置を通過して付随するエアバッグ・クッション(図示せず)の中に入る。
When the
認められるように、インフレータ装置310には、点火チューブ、急速爆燃索すなわちRDC索などの部品が不要である。このように不要な部品があることで、実際には、インフレータ装置の重量および/またはサイズを小さくできるほか、性能の信頼性を向上させることができるため、インフレータ装置の製造、および/または取り付け、および/または操作に関わるコストを大きく変化させること、すなわち低下させることができる。
As can be appreciated, the
次いで、下記の実施例を参照して本発明をさらに詳しく説明する。下記の実施例には、本発明の実施に関係するさまざまな特徴を示してある。本発明の精神に含まれるあらゆる変更は保護され、したがって本発明がこの実施例に限定されることはないものとする。 The invention will now be described in more detail with reference to the following examples. The following examples illustrate various features related to the practice of the present invention. Any changes within the spirit of the invention are to be protected and therefore the invention is not to be limited to this example.
下記の第1表に示した本発明による発泡可能な点火組成物を調製した。フルオロポリマー結合酸化剤(フッ化ビニリデンとヘキサフルオロプロペンのジポリマーで、デュポン・ダウ・エラストマーズL.L.C.社からVITON Aの登録商標で入手可能なもの)と、ポリトリフルオロクロロエチレンを含む可塑剤とを同じ重量のアセトンで溶媒和して溶液を形成した。次に、トリメタクリル酸トリメチロールプロパンを含む二官能架橋剤をその溶液に添加し、前駆体ポリマー溶液を形成した。金属燃料であるマグネシウム、発泡剤であるp-トルエンスルホニルセミカバジド、架橋剤である過酸化ベンゾイルを含む乾燥成分を混合し、前駆体ブレンドを形成した。この前駆体ブレンドを前駆体ポリマー溶液の中に完全に混合し、発泡可能な点火組成物を形成した。 Foamable ignition compositions according to the present invention as shown in Table 1 below were prepared. A fluoropolymer binding oxidizer (a dipolymer of vinylidene fluoride and hexafluoropropene, available under the VITON A trademark from DuPont Dow Elastomers LLC) and a plasticizer containing polytrifluorochloroethylene Solvated with the same weight of acetone to form a solution. Next, a bifunctional crosslinker containing trimethylolpropane trimethacrylate was added to the solution to form a precursor polymer solution. A dry blend containing magnesium as the metal fuel, p-toluenesulfonyl semicabazide as the blowing agent, and benzoyl peroxide as the cross-linking agent was mixed to form a precursor blend. This precursor blend was thoroughly mixed into the precursor polymer solution to form a foamable ignition composition.
上記のようにして調製した発泡可能な点火組成物は、下記の第2表に示した特性または特徴を有していた。 The foamable ignition composition prepared as described above had the properties or characteristics shown in Table 2 below.
上述の発泡可能な点火組成物が点火することによって生成する主要な燃焼生成物としては、炭素、フッ化マグネシウム、水素が挙げられる。このような燃焼生成物は燃料成分を豊富に含んでいるため、本発明の発泡点火物質をハイブリッド・インフレータ装置の中で燃料成分の少ないガス生成材料または追加の酸化剤、例えば酸素、亜酸化窒素と組み合わせ、エネルギー出力を増大させることが望ましい。 The main combustion products produced by ignition of the foamable ignition composition described above include carbon, magnesium fluoride, and hydrogen. Since such combustion products are rich in fuel components, the foamed ignition material of the present invention is used in a hybrid inflator device as a gas generating material having a low fuel component or an additional oxidant such as oxygen, nitrous oxide. It is desirable to increase energy output in combination with.
したがって本発明により、所定の温度まで加熱することによって発泡点火物質を形成することのできる発泡可能な点火組成物が提供される。得られた発泡点火物質は、膨脹可能な拘束装置のインフレータ装置で使用することができる。より具体的には、本発明により、所定の温度まで加熱することによって、組み合わさったガス生成材料とサイズが同程度であり、表面積が粉末点火材料と同程度である多孔性発泡点火物質を形成することのできる発泡可能な点火組成物が提供される。さらに、本発明により、押し出し加工または型成形によって所定の形状、例えばダンパ・パッド・クッションの形状、を有する発泡点火物質を形成することのできる発泡可能な点火組成物が提供される。本発明により、表面に付着させることによって発泡点火物質コーティングを形成することのできる発泡可能な点火組成物も提供される。 Accordingly, the present invention provides a foamable ignition composition that can form a foam ignition material by heating to a predetermined temperature. The resulting foamed ignition material can be used in an inflatable restraint device inflator device. More specifically, according to the present invention, heating to a predetermined temperature forms a porous foam igniter material that is similar in size to a combined gas generating material and has a surface area similar to that of a powder igniter material. A foamable ignition composition is provided. Furthermore, the present invention provides a foamable ignition composition capable of forming a foamed ignition material having a predetermined shape, such as a damper pad cushion shape, by extrusion or molding. The present invention also provides a foamable ignition composition that can be formed on a surface to form a foam ignition material coating.
本願明細書において、本発明は説明目的で記載されているので、この明細書に具体的に開示していない要素、部分、ステップ、部品、成分がなくとも適宜本発明を実施することができる。 In the present specification, the present invention is described for the purpose of explanation. Therefore, the present invention can be appropriately implemented even without elements, portions, steps, parts, and components not specifically disclosed in the present specification.
また、上記した詳細な説明では本発明をいくつかの好ましい実施態様と関連させて記述し、説明のために多くの詳細な事柄を提示してきたが、当業者であるならば、本発明には別の実施態様もあること、またこの明細書で記述した詳細な事柄の一部は、本発明の基本原理から逸脱することなく大きく変更しうることが明らかであろう。 Moreover, while the foregoing detailed description has described the invention in connection with certain preferred embodiments and has presented many details for purposes of illustration, those skilled in the art will recognize that the invention It will be apparent that there are other embodiments, and that some of the details described in this specification may be changed significantly without departing from the basic principles of the invention.
110 一段式インフレータ装置
112 ハウジング
114 基部
116 拡散キャップ部
118 チェンバー
120 ガス生成材料
130 点火組立体
DESCRIPTION OF
Claims (23)
フルオロポリマー・エラストマー材料を結合材料として含む酸化剤と、
上記酸化剤を柔軟にするのに有効な可塑剤と、
上記酸化剤と反応する金属燃料と、
分解により上記発泡可能な点火組成物を多孔性にするのに有効な熱分解可能な発泡剤と、
上記発泡点火物質を構造的に安定化させるのに有効な架橋剤とを含み、かつ所定の温度まで加熱されたとき、上記発泡可能な点火組成物が上記発泡点火物質を形成することを特徴とする、発泡可能な点火組成物。 A foamable ignition composition effective to form a foam ignition material,
An oxidant comprising a fluoropolymer elastomer material as a binding material;
A plasticizer effective to soften the oxidizing agent;
A metal fuel that reacts with the oxidant;
A thermally decomposable blowing agent effective to render the foamable ignition composition porous by decomposition;
And a cross-linking agent effective to structurally stabilize the foam ignition material, and the foamable ignition composition forms the foam ignition material when heated to a predetermined temperature. A foamable ignition composition.
該ハイブリッドガス貯蔵容器の内面に付着させる請求項1に記載の発泡可能な点火組成物を含んでおり、
所定の温度まで加熱されたとき、上記発泡可能な点火組成物が発泡点火物質を形成して上記ハイブリッドガス貯蔵容器の内面に接着することを特徴とするハイブリッドガス貯蔵容器。 A hybrid gas storage container used in a car safety restraint system,
The foamable ignition composition of claim 1 attached to the inner surface of the hybrid gas storage container,
When heated to a predetermined temperature, the foamable ignition composition forms a foamed ignition material and adheres to the inner surface of the hybrid gas storage container.
請求項1に記載の発泡可能な点火組成物を含んでおり、
上記発泡可能な点火組成物が、該点火組成物を押し出し可能にするのに有効なコンシステンシーを持っており、所定の温度まで加熱されたとき、上記発泡可能な点火組成物が、所定の形状を有する発泡点火物質を形成することを特徴とする発泡点火物質。 A foam ignition material having a predetermined shape,
Comprising the foamable ignition composition of claim 1;
The foamable ignition composition has an effective consistency to allow the ignition composition to be extruded, and when heated to a predetermined temperature, the foamable ignition composition has a predetermined shape. A foam ignition material characterized by forming a foam ignition material having
発泡剤を少なくとも部分的に分解するのに有効な温度まで請求項1に記載の発泡可能な点火組成物を加熱して上記点火組成物を発泡させ、
得られた発泡点火組成物を架橋させて発泡点火物質を形成することを含むことを特徴とする製造方法。 A method for producing a foam ignition material, comprising:
Heating the foamable ignition composition of claim 1 to a temperature effective to at least partially decompose the blowing agent to foam the ignition composition;
A manufacturing method comprising cross-linking the obtained foam ignition composition to form a foam ignition material.
組成物の10〜60重量%の、フルオロポリマー・エラストマー材料を結合材料として含む酸化剤と、
上記酸化剤を柔軟にするのに有効な1〜40重量%の可塑剤と、
上記酸化剤と反応する10〜50重量%の金属燃料と、
分解により上記発泡可能な点火組成物を多孔性にするのに有効な0.1〜30重量%の熱分解可能な発泡剤と、
上記発泡点火物質を構造的に安定化させるのに有効な0.5〜5重量%の架橋剤とを含み、かつ所定の温度まで加熱されたとき、上記発泡可能な点火組成物が上記発泡点火物質を形成することを特徴とする発泡可能な点火組成物。 A foamable ignition composition effective to form a foam ignition material,
10 to 60% by weight of the composition of an oxidant comprising a fluoropolymer elastomer material as a binding material;
1 to 40% by weight plasticizer effective to soften the oxidant;
10-50% by weight of a metal fuel that reacts with the oxidant,
0.1-30% by weight of a thermally decomposable blowing agent effective to render the foamable ignition composition porous by decomposition;
And 0.5-5% by weight of a cross-linking agent effective to structurally stabilize the foamed ignition material, and the foamable ignition composition comprises the foamed ignition material when heated to a predetermined temperature. A foamable ignition composition characterized in that it is formed.
Applications Claiming Priority (2)
| Application Number | Priority Date | Filing Date | Title |
|---|---|---|---|
| US10/725,747 US20050115650A1 (en) | 2003-12-02 | 2003-12-02 | Foamed igniter for use in automotive airbag inflators |
| US10/725747 | 2003-12-02 |
Publications (3)
| Publication Number | Publication Date |
|---|---|
| JP2005162608A JP2005162608A (en) | 2005-06-23 |
| JP2005162608A5 JP2005162608A5 (en) | 2007-12-27 |
| JP5426062B2 true JP5426062B2 (en) | 2014-02-26 |
Family
ID=34620338
Family Applications (1)
| Application Number | Title | Priority Date | Filing Date |
|---|---|---|---|
| JP2004348524A Expired - Fee Related JP5426062B2 (en) | 2003-12-02 | 2004-12-01 | Foam ignition materials used in automotive airbag inflator devices |
Country Status (2)
| Country | Link |
|---|---|
| US (1) | US20050115650A1 (en) |
| JP (1) | JP5426062B2 (en) |
Families Citing this family (9)
| Publication number | Priority date | Publication date | Assignee | Title |
|---|---|---|---|---|
| JP4994787B2 (en) * | 2006-10-27 | 2012-08-08 | 株式会社ダイセル | Gas generator |
| US8370904B2 (en) * | 2007-06-12 | 2013-02-05 | International Business Machines Corporation | Node authentication |
| KR101142286B1 (en) | 2010-08-31 | 2012-05-07 | 성균관대학교산학협력단 | Gas generating apparatus and gas generating method using the same |
| JP2012254728A (en) * | 2011-06-09 | 2012-12-27 | Nippon Kayaku Co Ltd | Gas generator and cushion material for the same |
| GB201308559D0 (en) * | 2013-05-13 | 2013-06-19 | Colorant Chromatics Ag | Thermoplastic Polymers |
| WO2015127317A1 (en) * | 2014-02-20 | 2015-08-27 | Tk Holdings Inc. | Airbag inflator pad |
| CN103922873B (en) * | 2014-03-15 | 2016-04-20 | 南京理工大学 | A kind of bulking agent and its application in light weight modification of barium nitrate |
| WO2016058618A1 (en) * | 2014-10-14 | 2016-04-21 | Ali Mohamed Abd Elmaksod Abas | A metal fuel engine |
| JP7238302B2 (en) * | 2018-09-07 | 2023-03-14 | 株式会社ダイセル | gas generator |
Family Cites Families (25)
| Publication number | Priority date | Publication date | Assignee | Title |
|---|---|---|---|---|
| US2748098A (en) * | 1952-03-29 | 1956-05-29 | Kellogg M W Co | Plasticization of perhalocarbon polymers |
| US3697455A (en) * | 1959-06-22 | 1972-10-10 | Exxon Research Engineering Co | Method for making cellular rubbery polymer |
| US3198677A (en) * | 1962-07-27 | 1965-08-03 | Atlantic Res Corp | Foamed polyurethane gas-generating compositions containing inorganic oxidizer |
| DE1646283C3 (en) * | 1967-09-13 | 1974-02-14 | Dynamit Nobel Ag, 5210 Troisdorf | Process for the production of high-strength explosive bodies with a selectable, defined detonation speed |
| US3663323A (en) * | 1970-04-30 | 1972-05-16 | Us Army | Energetic propellant composition containing a difluoramino binder |
| US3770662A (en) * | 1971-05-10 | 1973-11-06 | Rubber Electronic Ind | Foamed elastomeric product and method of making the same |
| US4107102A (en) * | 1976-01-05 | 1978-08-15 | Bayer Aktiengesellschaft | Highly elastic polyurethane foams and process for making them |
| JPS54151108A (en) * | 1978-05-17 | 1979-11-28 | Daicel Ltd | Propellant producing method |
| US4777188A (en) * | 1986-12-31 | 1988-10-11 | Uniroyal Chemical Company, Inc. | Process for producing foamed elastomeric compositions |
| US4758287A (en) * | 1987-06-15 | 1988-07-19 | Talley Industries, Inc. | Porous propellant grain and method of making same |
| US4806180A (en) * | 1987-12-10 | 1989-02-21 | Trw Vehicle Safety Systems Inc. | Gas generating material |
| US5051143A (en) * | 1990-06-28 | 1991-09-24 | Trw Vehicle Safety Systems Inc. | Water based coating for gas generating material and method |
| US5109772A (en) * | 1991-01-22 | 1992-05-05 | Morton International, Inc. | Flash ignition system |
| ES2088094T3 (en) * | 1991-02-18 | 1996-08-01 | Ici Plc | GAS GENERATOR. |
| US5898126A (en) * | 1992-07-13 | 1999-04-27 | Daicel Chemical Industries, Ltd. | Air bag gas generating composition |
| GB9216517D0 (en) * | 1992-08-04 | 1992-09-23 | Ici Plc | Pyrotechnic sheet material |
| GB9216720D0 (en) * | 1992-08-06 | 1992-09-23 | Ici Plc | Pyrotechnic sheet material |
| CA2166748A1 (en) * | 1995-01-14 | 1996-07-15 | Sek Kwan Chan | Pyrotechnic ignition device |
| DE19505568A1 (en) * | 1995-02-18 | 1996-08-22 | Dynamit Nobel Ag | Gas generating mixtures |
| US6288013B1 (en) * | 1997-12-03 | 2001-09-11 | The Lubrizol Corporation | Nitrogen containing dispersant-viscosity improvers |
| US5911904A (en) * | 1997-12-16 | 1999-06-15 | International Paper Company | Foamable insulating barrier coating |
| US6340175B1 (en) * | 1998-10-14 | 2002-01-22 | Alliant Techsystems, Inc. | Air bag assemblies with foamed energetic igniters |
| US6077372A (en) * | 1999-02-02 | 2000-06-20 | Autoliv Development Ab | Ignition enhanced gas generant and method |
| US6527297B1 (en) * | 2000-08-30 | 2003-03-04 | Autoliv Asp, Inc. | Inflator device ignition of gas generant |
| US6444622B1 (en) * | 2000-09-19 | 2002-09-03 | Ethyl Corporation | Friction modified lubricants |
-
2003
- 2003-12-02 US US10/725,747 patent/US20050115650A1/en not_active Abandoned
-
2004
- 2004-12-01 JP JP2004348524A patent/JP5426062B2/en not_active Expired - Fee Related
Also Published As
| Publication number | Publication date |
|---|---|
| US20050115650A1 (en) | 2005-06-02 |
| JP2005162608A (en) | 2005-06-23 |
Similar Documents
| Publication | Publication Date | Title |
|---|---|---|
| EP1262381B1 (en) | Airbag gas generator | |
| JP4823907B2 (en) | Gunpowder storage gas inflator | |
| US6666476B2 (en) | Expandable fluid inflator device with pyrotechnic coating | |
| US5551725A (en) | Vehicle airbag inflator and related method | |
| JP3817233B2 (en) | Low-strength two-stage hybrid inflator | |
| US6170867B1 (en) | Airbag inflation gas generation via a decomposing material with a linear ignition source | |
| EP0867347B1 (en) | Gas generating pellets and gas generator | |
| JP4167284B2 (en) | Multistage inflator | |
| EP1042143A1 (en) | Airbag inflator | |
| JP5426062B2 (en) | Foam ignition materials used in automotive airbag inflator devices | |
| WO2000032447A9 (en) | Pyrotechnic inflator for a vehicle | |
| KR100500808B1 (en) | Autoignition for gas generators | |
| US7162958B2 (en) | Distributed charge inflator system | |
| US20090140510A1 (en) | Porous igniter coating for use in automotive airbag inflators | |
| US6289814B1 (en) | Heat source for airbag inflation gas generation via a dissociating material | |
| JPH11348711A (en) | Gas generator for air bag and air bag device | |
| WO1996026912A1 (en) | Airbag gas-generating agent and airbag gas generator using the same | |
| JPH1059115A (en) | Gas generator for airbag | |
| JP4994787B2 (en) | Gas generator | |
| WO2002062629A1 (en) | Gas generator | |
| KR100390076B1 (en) | Hybrid inflator with rapid pressurization based flow initiation assembly | |
| JP2006168669A (en) | Gas generator for airbag | |
| JP2001500835A (en) | Use of gas mixtures in hybrid air bag inflation devices | |
| JPH10139579A (en) | Gas generating composition and inflator structure using the same | |
| JP2001219811A (en) | Gas generator for air bag and air bag device |
Legal Events
| Date | Code | Title | Description |
|---|---|---|---|
| A521 | Written amendment |
Free format text: JAPANESE INTERMEDIATE CODE: A523 Effective date: 20071113 |
|
| A621 | Written request for application examination |
Free format text: JAPANESE INTERMEDIATE CODE: A621 Effective date: 20071113 |
|
| A131 | Notification of reasons for refusal |
Free format text: JAPANESE INTERMEDIATE CODE: A131 Effective date: 20110125 |
|
| A521 | Written amendment |
Free format text: JAPANESE INTERMEDIATE CODE: A523 Effective date: 20110420 |
|
| A131 | Notification of reasons for refusal |
Free format text: JAPANESE INTERMEDIATE CODE: A131 Effective date: 20111011 |
|
| A601 | Written request for extension of time |
Free format text: JAPANESE INTERMEDIATE CODE: A601 Effective date: 20120110 |
|
| A602 | Written permission of extension of time |
Free format text: JAPANESE INTERMEDIATE CODE: A602 Effective date: 20120113 |
|
| A131 | Notification of reasons for refusal |
Free format text: JAPANESE INTERMEDIATE CODE: A131 Effective date: 20130115 |
|
| A521 | Written amendment |
Free format text: JAPANESE INTERMEDIATE CODE: A523 Effective date: 20130410 |
|
| TRDD | Decision of grant or rejection written | ||
| A01 | Written decision to grant a patent or to grant a registration (utility model) |
Free format text: JAPANESE INTERMEDIATE CODE: A01 Effective date: 20131029 |
|
| A61 | First payment of annual fees (during grant procedure) |
Free format text: JAPANESE INTERMEDIATE CODE: A61 Effective date: 20131128 |
|
| R150 | Certificate of patent or registration of utility model |
Free format text: JAPANESE INTERMEDIATE CODE: R150 |
|
| LAPS | Cancellation because of no payment of annual fees |
