JP4116144B2 - 硬質炭素被膜部材の製造方法 - Google Patents
硬質炭素被膜部材の製造方法 Download PDFInfo
- Publication number
- JP4116144B2 JP4116144B2 JP11514598A JP11514598A JP4116144B2 JP 4116144 B2 JP4116144 B2 JP 4116144B2 JP 11514598 A JP11514598 A JP 11514598A JP 11514598 A JP11514598 A JP 11514598A JP 4116144 B2 JP4116144 B2 JP 4116144B2
- Authority
- JP
- Japan
- Prior art keywords
- hard carbon
- carbon film
- gas
- sliding
- carbon coating
- Prior art date
- Legal status (The legal status is an assumption and is not a legal conclusion. Google has not performed a legal analysis and makes no representation as to the accuracy of the status listed.)
- Expired - Fee Related
Links
Images
Landscapes
- Chemical Vapour Deposition (AREA)
- ing And Chemical Polishing (AREA)
Description
【発明の属する技術分野】
この発明は、表面に硬質炭素被膜を有する硬質炭素被膜部材の製造方法に関する。
【0002】
【従来の技術】
硬質炭素被膜は、アモルファス状の炭素膜又は水素化炭素膜であり、a−C、a−C:H、i−C、ダイヤモンドライクカーボン(DLC)等とも称されている。この硬質炭素被膜を形成する方法としては、炭化水素ガスをプラズマ分解して成膜するプラズマCVD法、炭素又は炭化水素イオンを用いるイオンビーム蒸着法等、各種の気相合成法が挙げられる。
【0003】
この硬質炭素被膜は、高硬度で平面平滑性に優れ、摩擦係数が低く、赤外線に対して高透過性を有する等の特徴を有する。これらの特徴を生かし、各種の分野の応用が期待されている。例えば、摺動性の改良を目的に、VCR等の電子機器や湯水混合栓の摺動部、アルミ材の製罐工具や、はんだメッキされた電子部品の曲げ加工等の軟質金属用塑性加工工具等の表面への応用等である。これらの用途では、優れた摺動特性に加えて使用初期から安定した低摩擦係数が必要となる。
【0004】
具体的には、上記軟質金属の塑性加工工具に生じる溶着や凝着、いわゆるビルドアップ現象を防止するため、ダイヤモンド結晶からなる非常に微細な粒子及びグラファイト構造かならる微粒子を含んだ平滑性に優れた硬質炭素膜を、プラズマCVD法で成膜することが知られている(特開平9−314253号公報参照)。
【0005】
また、半導体リードフレーム曲げ加工に用いられる金型に、プラズマCVD法等によってダイヤモンド状カーボンを被覆することにより、金型へのはんだの付着を低減することが知られている(特開平6−262275号公報参照)。
【0006】
【発明が解決しようとする課題】
しかしながら、上記に記載の方法によって得られる硬質炭素被膜は、いずれも、軟質金属と長時間にわたって摺動させたとき、軟質金属が硬質炭素被膜に凝着し、安定した摺動特性が長時間得られない問題を有する。
【0007】
通常、硬質炭素被膜、特に、炭化水素系ガスを用いたプラズマ気相合成法で成膜した硬質炭素被膜は、図1に示すように、摺動当初の摩擦係数は0.25〜0.8と通常より高い値を示し、摺動の進行に伴って、一般的に硬質炭素被膜が示す摩擦係数である0.03〜0.2に落ちつく。これは、摺動当初においては、硬質炭素被膜の表面に、C−HX 結合(x=1、2、3)が多く、摺動の進行につれ、硬質炭素被膜の表面上の上記結合が減少することから、上記結合が摺動当初の摩擦係数を高くする原因の1つと考えることができる。
【0008】
このため、摺動当初の高摩擦係数を示す時点で、軟質金属の微細な焼き付けが起こり、これが起点となって以後急激に凝着を生じさせることとなり、安定した摺動特性が長時間得られなくなる。
【0009】
そこで、この発明は、使用の当初の摩擦係数を低下させることにより、安定した摺動特性を長時間有する硬質炭素被膜を形成しようとするものである。
【0010】
【課題を解決するための手段】
この発明は、炭化水素系ガスを用いたプラズマ気相合成法によって硬質炭素被膜を形成した基材に、ガスプラズマによるボンバード処理によって表面処理を行うことにより、上記の課題を解決したものである。
【0011】
硬質炭素被膜の表面をボンバード処理によって表面処理を行うので、得られる硬質炭素被膜部材の摺動当初の軟質金属の微細な焼き付けが防止され、以後の軟質金属の凝着が抑制されるので、安定した摺動特性が長時間にわたって得られる。
【0012】
また、上記のボンバード処理の代わりに、真空中又は所定のガス雰囲気中で、100〜400℃で熱処理することによって表面処理を行ったり、硬質炭素被膜の表面を鏡面研磨することによって表面処理を行うことによっても、得られる硬質炭素被膜部材の摺動当初の軟質金属の微細な焼き付けが防止され、以後の軟質金属の凝着が抑制されるので、安定した摺動特性が長時間にわたって得られる。
【0013】
以上の製造方法により製造された硬質炭素被膜の表面粗さが、Rmax表示で0.2μm以下のものは、初期の摩擦係数の低減に効果がある。
【0014】
【発明の実施の形態】
以下、この発明の実施形態を説明する。
この発明にかかる硬質炭素被膜部材は、炭化水素系ガスを用いたプラズマ気相合成法によって硬質炭素被膜を形成した基材に、表面処理を行うことによって得られる部材である。
【0015】
上記プラズマ気相合成法としては、高周波、ホロカソード、アーク、マイクロ波、直流等の各種公知の励起源を適用したプラズマCVD法やイオンビーム蒸着法等の方法を採用することができる。上記炭化水素ガスとは、上記プラズマ気相合成法によって形成される硬質炭素被膜の原料となるもので、例として、メタンガス、エタンガス、プロパンガス等が挙げられる。
【0016】
この方法によって上記基材の表面に形成される硬質炭素被膜は、上記基材の表面に形成される。その膜厚は、特に限定されないが、0.2〜5μmが好ましい。膜厚が0.2μm未満の場合は、下記のボンバード処理によって、この膜厚がより薄くなり、硬度を保ちにくくなる場合が生じることがある。また、5μmより厚くても構わないが、製造コストを考慮した場合、5μm以下としたほうが好ましい。
【0017】
上記の硬質炭素被膜を形成させる基材は、特に限定されるものではなく、各種の金属、合金、超硬合金、セラミック等を使用することができる。具体的には、超硬合金、サーメット、鋼、窒化ケイ素、アルミナ、ジルコニア、炭化ケイ素を少なくとも1つ含む基材があげられる。上記の鋼としては、工具鋼、高速度鋼、軸受鋼、ステンレス鋼、炭素鋼、Mn鋼、Mn−Cr鋼、Cr鋼、Cr−Mo鋼、Ni−Cr鋼、Ni−Cr−Mo鋼、窒化鋼等の鋼があげられる。
【0018】
上記の表面処理法としては、ガスプラズマによるボンバード処理法、熱処理法、及び、鏡面研磨による方法があげられる。
【0019】
上記ガスプラズマによるボンバード処理とは、アルゴン等の不活性ガス、窒素、酸素、二酸化炭素等の反応ガス等の少なくとも1種類のガスをプラズマによってイオン化させ、このガスイオンを上記硬質炭素被膜に衝突させ、この硬質炭素被膜から中性の構成原子を飛び出させる処理である。これにより、上記硬質炭素被膜の表面から構成原子たる炭素が飛び出るため、上記硬質炭素被膜の表面の所定の厚みを除去することが可能となる。これにより、摺動当初における摩擦係数を0.03〜0.2に低減させることができる。
【0020】
これは、上記のガスプラズマによるボンバード処理によって、硬質炭素被膜の表面のC−HX 結合(x=1、2、3)が減少し、摺動の当初において摩擦係数が低減させるものと考えられるからである。このことは、上記のガスの代わりに水素ガスを用いてプラズマボンバード処理を行った場合、摺動当初の摩擦係数に変化が生じないことからも類推できる。
【0021】
上記のガスプラズマによるボンバード処理によって、除去される上記硬質炭素被膜の表面の厚みは、特に限定されるものではなく、除去後の摺動当初の摩擦係数が0.03〜0.2となる厚みであればよい。その中でも表面から0.01〜0.1μmの厚みを除去するのが好ましい。0.1μmより多く除去しても構わないが、表面改質に要する製造コストアップに見合うだけの摩擦係数の改善が見られないことから、0.1μmまでで十分である。
【0022】
上記熱処理法は、上記硬質炭素被膜を真空中又は所定のガス雰囲気中で、100〜400℃で熱処理する方法である。これによっても、上記の硬質炭素被膜の表面のC−HX 結合(xは、上記の通り)が減少し、摺動の当初において、摩擦係数が低減するものと考えられる。
【0023】
上記鏡面研磨による方法は、上記硬質炭素被膜の表面を、アルミナ、炭化ケイ素、ダイヤモンドのペーパーやペースト等を用いて鏡面研磨する方法である。これによっても、上記の硬質炭素被膜の表面のC−HX 結合(xは、上記の通り)が減少し、摺動の当初において、摩擦係数が低減するものと考えられる。
【0024】
上記の方法で得られる硬質炭素被膜部材は、その硬質炭素被膜の表面粗さがRmax表示で0.2μm以下となる。表面粗さがRmax表示で0.2μm以下となると、初期の摩擦係数が小さくなり、表面粗さ(Rmax)が0.1μm以下の場合は、特に小さい摩擦係数を示す。具体的には、表面粗さ(Rmax)が、0.2μm以下のときの摩擦係数は、摺動当初において、0.03〜0.2の範囲を示す。
【0025】
上記の摺動当初とは、この硬質炭素被膜部材の表面を最初に摺動させたときの、摺動開始0秒から約10秒までの時間をいう。この時間の摩擦係数を0.03〜0.2とするので、この硬質炭素被膜部材に軟質金属を摺動させても、摺動当初の軟質金属の微細な焼き付けを防止できる。摺動開始から約10秒以降の摩擦係数は、一般の硬質炭素被膜と同様の0.03〜0.2を示すので、軟質金属の凝着を生じさせず、長期間にわたって安定した摺動特性を示す。
【0026】
上記硬質炭素被膜部材は、上記のように良好な摺動特性を示すのに加え、硬質炭素被膜自体の有する耐摩耗性を示し、良好な耐摩耗性を有する摺動部材となる。この摺動部材は、各種の塑性加工用部品、成型・成形部品、耐摩耗性部品、摺動部品、赤外線光学部品、電気・電子部品等として有用に用いることができ、長期間にわたりこれらの部品の寿命を維持することができる。
【0027】
【実施例】
以下に、この発明の硬質炭素被膜部材の効果について、実施例により具体的に説明する。
【0028】
〔実施例1〕
基材として、平板状(20mm×20mm×2mm)の合金工具鋼(JIS規格:SKD11、以下「SKD11」と称する。)及び超硬合金(JIS規格:K10、以下「K10」と称する。)を用意し、その表面に下記のように公知の容量結合式の平行平板型電極を用いた高周波プラズマCVDで硬質炭素被膜を形成した。
【0029】
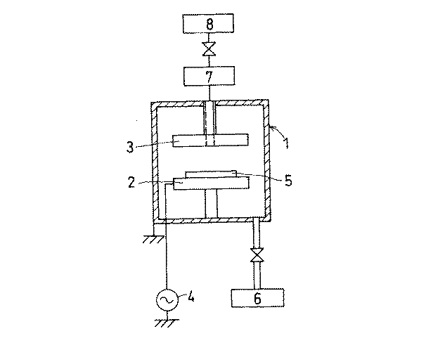
すなわち、図2に示すように、真空装置1に平板電極2及び3を設置し、一方の電極2に高周波(13.5MHz)電源4により高周波電力を印加し、他方の電極3を接地する。上記の基材5は、高周波電力印加側の電極2に装着する。まず、排気装置6によって真空装置1内の圧力を10-3Torrとし、次いで、アルゴンガスを導入して0.2Torrの雰囲気に保持しながら電極2に高周波電力を300W印加して、基材5の表面を10分間クリーニングする。その後、アルゴンガスを排気する。
【0030】
次に、真空装置1内に反応ガスであるメタンガス8をマスフローコントローラー7を介して導入し、0.2Torrとなるように制御しながら電極2に高周波電力を120分間、300W印加して基材5上に硬質炭素被膜を形成した。得られた硬質炭素被膜の膜厚は0.4μmであった。
【0031】
その後、真空装置内から基材5を取り出すことなく、引き続いて、排気装置6によって真空装置1内の圧力を10-3Torrとした後、表1に示すガス(アルゴン、窒素、酸素又は二酸化炭素(「CO2 」と略する。)を導入して0.2Torrの雰囲気に保持した。そして、この状態を保ちながら、電極2に高周波電力を300W印加して、基材5の硬質炭素被膜表面を表1に示す時間だけ、ガスプラズマボンバード処理をし、硬質炭素被膜表面の最表面層を除去した。その除去された厚みを表1に示す。
【0032】
続いて、得られた基材5の硬質炭素被膜の表面について、下記のピンオンディスク試験をおこない、摩擦係数及び軟質金属の凝着状況を評価した。すなわち、摩擦係数の評価には、ピン11としてアルミナピンを用いて摩擦係数の時間変化を測定し、また、軟質金属の凝着状況を評価するため、ピン11として純アルミニウムピンを用いて、表面に付着するアルミニウムの凝着高さを測定した。さらに、表面粗さ(Rmax)についても測定した。これらの結果を表1に示す。なお、表1において、摩擦係数の初期値とは、摺動当初に示す摩擦係数の最高値をいい、終了値とは、所定時間摺動後、摩擦係数が安定したところで摺動を終了させたときの値をいう。
【0033】
ピンオンディスク試験
CSEM社製のピンオンディスク試験機を用いて調べた。この試験は、図3に示すように、一定荷重でピン11を押さえつけながら測定対象である基材5を一定速度で回転させ、その時の摩擦係数及び摩耗量を評価するものである。この時の摺動条件は、常温、大気圧中で、測定荷重(P)10N、摺動速度(ω)1041mm/sec、摺動距離125mであった。
【0034】
〔比較例1〕
使用した基材、並びに、ガスプラズマボンバード処理におけるガス種及び処理時間の条件以外は、実施例1の試料1と同様にして基材5の硬質炭素被膜の表面処理を行い、除去された硬質炭素被膜表面の厚みの測定、摩擦係数及び軟質金属の凝着状況、及び表面粗さ(Rmax)を測定した。これらの結果を表2に示す。
【0035】
【表1】
【0036】
【表2】
【0037】
結果
実施例1の各試料、及び、比較例1の各比較試料から明らかなように、ガスプラズマボンバード処理を行ったものは、表面粗さ及び使用初期の摩擦係数が低く、また、アルミニウムの凝着も全くなかった。
【0038】
〔参考例1〕
基材として平板状(20mm×20mm×2mm)のアルミナを用い、実施例1と同様にして、厚さ0.4μmの硬質炭素被膜を成膜した。
【0039】
次いで、真空中(5×10-5Torr以下)、アルゴンガス雰囲気中(0.8Torr)、又は窒素ガス雰囲気中(0.8Torr)において、100〜400℃で30分間、熱処理を行った。その後、徐冷し、上記と同様にして、除去された硬質炭素被膜表面の厚みの測定、摩擦係数、軟質金属の凝着状況、及び、表面粗さ(Rmax)を測定した。これらの結果を表3に示す。
【0040】
〔参考比較例1〕
熱処理におけるガス種及び処理時間の条件以外は、参考例1の試料1と同様にしてアルミナ基材の硬質炭素被膜の表面処理を行い、摩擦係数、軟質金属の凝着状況、及び、表面粗さ(Rmax)を測定した。これらの結果を表4に示す。
【0041】
【表3】
【0042】
【表4】
【0043】
結果
参考例1の各試料、及び、参考比較例1の各比較試料から明らかなように、熱処理を行ったものは、表面粗さ及び使用初期の摩擦係数が低く、また、アルミニウムの凝着も全くなかった。
【0044】
〔参考例2〕
基材として参考例1に記載の基材を用い、実施例1と同様にして、厚さ0.4μmの硬質炭素被膜を成膜した。
【0045】
次いで、上記硬質炭素被膜を成膜した基材を酸化アルミニウムラッピングフィルム(住友スリーエム社製、粒度0.3μm)をラップし、その外側から、上記硬質炭素被膜を300gfの荷重をかけながら表面を鏡面研磨し、その表面から表5に示す厚みの表面層を除去した。その後、上記と同様にして、除去された硬質炭素被膜表面の厚みの測定、摩擦係数、軟質金属の凝着状況、及び、表面粗さ(Rmax)を測定した。これらの結果を表5に示す。
【0046】
〔参考比較例2〕
参考例2で用いた硬質炭素被膜を成膜した基材について、ラッピング及び研磨処理をせず、そのまま、摩擦係数、軟質金属の凝着状況、及び、表面粗さ(Rmax)を測定した。これらの結果を表5に示す。
【0047】
【表5】
【0048】
結果
参考例2の各試料、及び、参考比較例2から明らかなように、ラッピング及び研磨処理を行ったものは、表面粗さ及び使用初期の摩擦係数が低く、また、アルミニウムの凝着も全くなかった。
【0049】
〔実施例2〕
まず、超硬製の半導体のリードフレーム曲げ成型加工用金型に上記実施例1の場合と同様な方法で硬質炭素被膜を0.4μm形成し、その後、実施例1の場合と同様な方法で、アルゴンガスを用いてプラズマボンバード処理を行い、硬質炭素被膜の最表面を0.05μm除去した。続いて、この金型を用いて、実際に半導体のリードフレーム曲げ成形加工を10万回行い、その後の金型表面のはんだメッキ付着の状況を調べた。また、この金型を用い、さらに曲げ成形加工を継続し、20万回、30万回、40万回、及び50万回における金型表面のはんだメッキ付着の状況を調べた。その結果を表6に示す。
【0050】
〔比較例2〕
上記実施例2において、アルゴンガスを用いてプラズマボンバード処理を行わなかった金型を用いて、実施例2と同様の実験を行った。その結果を表6に示す。
【0051】
【表6】
【0052】
結果
実施例2及び比較例2から明らかなように、ガスプラズマボンバード処理を行ったものは、曲げ成形加工を行ってもはんだメッキ付着は生じなかった。
【0053】
【発明の効果】
この発明によれば、表面粗さ及び摺動当初の摩擦係数を低く抑えることができ、安定した低摩擦係数を得ることができるので、摺動初期に発生し、その後進行する溶着や凝着を防止し、長期間にわたり部品の寿命を維持することができる。
【0054】
また、このため、塑性加工用部品、成型・成形部品、耐摩耗性部品、摺動部品、赤外線光学部品、電気・電子部品等の加工コストを大幅に低減することができる。
【図面の簡単な説明】
【図1】炭化水素系ガスを用いたプラズマ気相合成法で成膜した硬質炭素被膜の摩擦係数の変化を示すグラフ
【図2】硬質炭素被膜の形成装置の例を示す概略図
【図3】ピンオンディスク試験の概略図
【符号の説明】
1 真空装置
2 電極
3 電極
4 高周波電源
5 基材
6 排気装置
7 マスフローコントローラ
8 ガス供給部
11 ピン
Claims (1)
- 基材の表面に、炭化水素系ガスを用いたプラズマ気相合成法を用いて、アモルファス状の炭素膜又は水素化炭素膜からなり、その膜の表面にC−Hx結合(x=1,2,3)を有する硬質炭素被膜を形成し、
次いで、アルゴン、窒素、酸素、二酸化炭素のうち少なくとも1種類のガスをプラズマによってイオン化させ、このガスイオンを上記硬質炭素被膜に衝突させ、この硬質炭素被膜から中性の構成原子を飛び出させることにより、上記硬質炭素被膜の表面のC−Hx結合(x=1,2,3)を減少させる処理を行う硬質炭素被膜部材の製造方法。
Priority Applications (1)
| Application Number | Priority Date | Filing Date | Title |
|---|---|---|---|
| JP11514598A JP4116144B2 (ja) | 1998-04-24 | 1998-04-24 | 硬質炭素被膜部材の製造方法 |
Applications Claiming Priority (1)
| Application Number | Priority Date | Filing Date | Title |
|---|---|---|---|
| JP11514598A JP4116144B2 (ja) | 1998-04-24 | 1998-04-24 | 硬質炭素被膜部材の製造方法 |
Related Child Applications (2)
| Application Number | Title | Priority Date | Filing Date |
|---|---|---|---|
| JP2007311003A Division JP2008144273A (ja) | 2007-11-30 | 2007-11-30 | 硬質炭素被膜部材の製造方法 |
| JP2007311021A Division JP2008081847A (ja) | 2007-11-30 | 2007-11-30 | 硬質炭素被膜部材の製造方法 |
Publications (2)
| Publication Number | Publication Date |
|---|---|
| JPH11302846A JPH11302846A (ja) | 1999-11-02 |
| JP4116144B2 true JP4116144B2 (ja) | 2008-07-09 |
Family
ID=14655428
Family Applications (1)
| Application Number | Title | Priority Date | Filing Date |
|---|---|---|---|
| JP11514598A Expired - Fee Related JP4116144B2 (ja) | 1998-04-24 | 1998-04-24 | 硬質炭素被膜部材の製造方法 |
Country Status (1)
| Country | Link |
|---|---|
| JP (1) | JP4116144B2 (ja) |
Families Citing this family (4)
| Publication number | Priority date | Publication date | Assignee | Title |
|---|---|---|---|---|
| JP2006199836A (ja) * | 2005-01-21 | 2006-08-03 | Nissan Motor Co Ltd | 低摩擦摺動機構 |
| JP4840635B2 (ja) * | 2005-02-01 | 2011-12-21 | 日産自動車株式会社 | 低摩擦含油摺動機構 |
| JP5810462B2 (ja) * | 2011-07-21 | 2015-11-11 | 地方独立行政法人山口県産業技術センター | プラズマ処理装置及び基材の表面処理方法 |
| CN119085338B (zh) * | 2024-11-06 | 2025-01-21 | 合肥工业大学 | 基于钠离子电池硬碳制备窑炉的自动化进料出料方法及系统 |
-
1998
- 1998-04-24 JP JP11514598A patent/JP4116144B2/ja not_active Expired - Fee Related
Also Published As
| Publication number | Publication date |
|---|---|
| JPH11302846A (ja) | 1999-11-02 |
Similar Documents
| Publication | Publication Date | Title |
|---|---|---|
| JP2572438B2 (ja) | ガラスプレス成形型の製造方法 | |
| EP1598441B1 (en) | Amorphous carbon film and process for producing the same | |
| JPS63153275A (ja) | ダイヤモンド被覆アルミナ | |
| JP4294140B2 (ja) | ダイヤモンド薄膜の改質方法及びダイヤモンド薄膜の改質及び薄膜形成方法並びにダイヤモンド薄膜の加工方法 | |
| JP4449187B2 (ja) | 薄膜形成方法 | |
| JP4116144B2 (ja) | 硬質炭素被膜部材の製造方法 | |
| JPH1192934A (ja) | 硬質炭素厚膜及びその製造方法 | |
| JPH07268607A (ja) | ダイヤモンドライクカーボン薄膜を有する物品およびその製造方法 | |
| JPH0222471A (ja) | ダイアモンド被覆超硬合金および超硬合金のダイアモンド被覆方法 | |
| JP3187487B2 (ja) | ダイヤモンド様薄膜の保護膜付き物品 | |
| JP2008144273A (ja) | 硬質炭素被膜部材の製造方法 | |
| JP3971336B2 (ja) | α型結晶構造主体のアルミナ皮膜の製造方法およびα型結晶構造主体のアルミナ皮膜で被覆された部材の製造方法 | |
| JP3034241B1 (ja) | 高硬度高密着性dlc膜の成膜方法 | |
| CN113621926A (zh) | 一种低应力类金刚石耐磨涂层及其制备方法 | |
| JP3871529B2 (ja) | 硬質炭素膜成膜方法 | |
| JP2008081847A (ja) | 硬質炭素被膜部材の製造方法 | |
| JP2000177046A (ja) | ダイヤモンド状炭素膜を被覆した部材 | |
| JP2024084254A (ja) | 窒化チタン膜及び道具 | |
| JP3787872B2 (ja) | 硬質部材およびその製造方法 | |
| JP2675218B2 (ja) | 多結晶ダイヤモンド工具及びその製造方法 | |
| JPH0987847A (ja) | 硬質炭素被膜の形成方法と耐摩耗性部品 | |
| JP3260156B2 (ja) | ダイヤモンド類被覆部材の製造方法 | |
| JP2003013200A (ja) | 硬質炭素膜およびその製造方法 | |
| JPH05124825A (ja) | ダイヤモンド様薄膜保護膜を有する金型 | |
| JPH04341558A (ja) | ダイヤモンド様炭素保護膜を有する物品とその製造方法 |
Legal Events
| Date | Code | Title | Description |
|---|---|---|---|
| A621 | Written request for application examination |
Free format text: JAPANESE INTERMEDIATE CODE: A621 Effective date: 20050419 |
|
| A977 | Report on retrieval |
Free format text: JAPANESE INTERMEDIATE CODE: A971007 Effective date: 20070928 |
|
| A131 | Notification of reasons for refusal |
Free format text: JAPANESE INTERMEDIATE CODE: A131 Effective date: 20071002 |
|
| A521 | Written amendment |
Free format text: JAPANESE INTERMEDIATE CODE: A523 Effective date: 20071130 |
|
| A131 | Notification of reasons for refusal |
Free format text: JAPANESE INTERMEDIATE CODE: A131 Effective date: 20071225 |
|
| A521 | Written amendment |
Free format text: JAPANESE INTERMEDIATE CODE: A523 Effective date: 20080221 |
|
| TRDD | Decision of grant or rejection written | ||
| A01 | Written decision to grant a patent or to grant a registration (utility model) |
Free format text: JAPANESE INTERMEDIATE CODE: A01 Effective date: 20080401 |
|
| A61 | First payment of annual fees (during grant procedure) |
Free format text: JAPANESE INTERMEDIATE CODE: A61 Effective date: 20080417 |
|
| FPAY | Renewal fee payment (event date is renewal date of database) |
Free format text: PAYMENT UNTIL: 20110425 Year of fee payment: 3 |
|
| R150 | Certificate of patent or registration of utility model |
Free format text: JAPANESE INTERMEDIATE CODE: R150 |
|
| FPAY | Renewal fee payment (event date is renewal date of database) |
Free format text: PAYMENT UNTIL: 20110425 Year of fee payment: 3 |
|
| LAPS | Cancellation because of no payment of annual fees |
