JP3894540B2 - 導電接続部を有するインターポーザ - Google Patents
導電接続部を有するインターポーザ Download PDFInfo
- Publication number
- JP3894540B2 JP3894540B2 JP2001367504A JP2001367504A JP3894540B2 JP 3894540 B2 JP3894540 B2 JP 3894540B2 JP 2001367504 A JP2001367504 A JP 2001367504A JP 2001367504 A JP2001367504 A JP 2001367504A JP 3894540 B2 JP3894540 B2 JP 3894540B2
- Authority
- JP
- Japan
- Prior art keywords
- conductive
- chip
- conductive connection
- adhesive
- interposer
- Prior art date
- Legal status (The legal status is an assumption and is not a legal conclusion. Google has not performed a legal analysis and makes no representation as to the accuracy of the status listed.)
- Expired - Fee Related
Links
Images
Classifications
-
- H—ELECTRICITY
- H01—ELECTRIC ELEMENTS
- H01L—SEMICONDUCTOR DEVICES NOT COVERED BY CLASS H10
- H01L2924/00—Indexing scheme for arrangements or methods for connecting or disconnecting semiconductor or solid-state bodies as covered by H01L24/00
- H01L2924/0001—Technical content checked by a classifier
- H01L2924/0002—Not covered by any one of groups H01L24/00, H01L24/00 and H01L2224/00
Landscapes
- Credit Cards Or The Like (AREA)
Description
【発明の属する技術分野】
本発明は、導電接続部を有するインターポーザに関するものであり、さらに詳しくは非接触ICタグなどの薄形の情報送受信型記録メディアなどのRF−ID(RadioFrequency IDentification)メデイア、ペーパーコンピュータ、使い捨て電気製品などに適用される導電接続部を有するインターポーザに関するものである。
【0002】
【従来の技術】
本発明者は先に導電接続部同士をパターン状に形成した接着剤部を介して対接させて接続する方法を提案した(特願2001−260009号明細書)。
次に、図6〜8によりアンテナ回路体がICチップ実装インターポーザとアンテナ所持体とに構成が区分けされていて、このICチップ実装インターポーザとアンテナ所持体とが予め形成され、これらを用いてアンテナ回路体(電気回路)を形成する場合の導電接続部同士の接続方法について説明する。
【0003】
図6は一方のICチップ実装インターポーザの形成過程を示していて、まず後述するアンテナ所持体の端子部分に亘るように所定の大きさとした基材1を用意し(イ)、この基材1にICチップ実装用導電部2と導電接続部3とが連続している一対の導電パターン4を設ける(ロ)。この後、前記ICチップ実装用導電部2に跨るようにしてICチップ5を実装してICチップ実装インターポーザAを形成し、フェノール樹脂、ポリエステル樹脂、エポキシ樹脂などの熱硬化型絶縁ペーストなどからなる封止剤20を用いてICチップ5を封止し(ハ)、少なくともICチップ5が実装されている導電接続部3(接合予定部位)の上に接着剤をパターン状に塗布して接着剤部6を形成する(ニ)。
【0004】
図7は他方のアンテナ所持体Bの形成過程を示していて、所定の大きさとした基材7を用意し(イ)、この基材7にアンテナ導電部8とこのアンテナ導電部8の端部に位置して端子部分である導電接続部9(接合予定部位)とからなる導電パターン10を設け(ロ)、これによってアンテナ所持体Bが形成される。前記導電接続部9は上記ICチップ実装インターポーザAの導電接続部3と対応するように設けられている。11は絶縁部である。
【0005】
そして、ICチップ実装インターポーザAとアンテナ所持体Bとをそれぞれの導電接続部3、9がパターン状に形成された接着剤部6を介して相対するように重ね合わせて、導電接続部3、9をパターン状に形成された接着剤部6を介して接着するとともに電気的導通を図り、ICチップ実装インターポーザAとアンテナ所持体Bとを接合することで、図8に示すRF−IDメデイアCが得られるというものである。
【0006】
【発明が解決しようとする課題】
しかし、この方法によると、塗布する接着剤のパターンを工夫したり、塗布する接着剤の塗工量を精度よくコントロールする必要があり、適性な接着剤のパターンや接着剤の適性塗工量を採用しないと、導電接続部同士の接着はよいが、導電接続部同士の導通が不十分であったり、逆に、導電接続部同士の導通はよいが、導電接続部同士の接着が不十分であったりする問題があり、また、封止剤20と基材1との接触面積が小さいため封止剤20と基材1との接着力が小さくICチップ5の封止が充分でないという問題があった。
本発明の目的は、従来の問題を解決し、塗布する接着剤のパターンを工夫したり、塗布する接着剤の塗工量を精度よくコントロールしなくても、導電接続部同士の良好な接着および導通が得られ、また、封止剤によるICチップの強力な封止ができるインターポーザを提供することである。
【0007】
【課題を解決するための手段】
本発明者は前記課題を解決すべく鋭意研究を重ねた結果、前記導電接続部として、特定の形状を有する導電接続部を用いることにより、導電接続部同士の良好な接着および導通が得られることを見出し、また、基材のICチップの封止面に多数の凸部を形成することにより封止剤によるICチップの強力な封止ができることを見出し、本発明を完成するに至った。
【0008】
すなわち、本発明の請求項1記載の導電接続部を有するインターポーザは、基材上に形成されたICチップを実装した導電接続部を有するインターポーザであって、前記導電接続部のICチップ実装用導電部の封止面に多数の凸部が形成されているとともに、基材のICチップの封止面に多数の凸部が形成されており、封止剤により前記ICチップ導電部の凸部と前記基材の凸部の両方の凸部に対して、その少なくとも一部を含めて前記ICチップ実装用導電部に実装されたICチップが封止されていることを特徴とする。
【0011】
本発明においては、導電部と非導電部が混在しているような、例えば櫛型や格子型などの凹凸形状を有する導電接続部を用いる。
例えばICチップが実装された基板と他の電気回路の導電接続部をそれぞれ櫛型や格子型などの凹凸形状を有する導電接続部とし、両方の導電接続部が接着剤を介して相対するように重ね合わせて、押圧・加熱するなどすると、凸部に介在していた接着剤は流れて凹部に移行する。その結果、凸部同士は接着剤を介さずに直接接触して良好な電気的導通が得られるとともに、凹部には移行してきた接着剤を含めて多量の接着剤が介在するようになるので良好な接着が得られる。
【0012】
そして、基材のICチップの封止面に多数の凸部を形成しておき、その上に封止剤を適用してITチップを封止すれば、多数の凸部が存在するため封止剤と基材との接触面積が大きくなり、その結果、封止剤によるICチップの強力な封止ができる。
【0013】
【発明の実施の形態】
以下、図面を用いて本発明の実施の一形態を説明する。
図1〜3によりアンテナ回路体(電気回路)がICチップ実装インターポーザとアンテナ所持体とに構成が区分けされていて、このICチップ実装インターポーザとアンテナ所持体とが予め形成され、これらを用いてアンテナ回路体(電気回路)を形成する場合の導電接続部同士の接続方法について説明する。
【0014】
図1は一方のICチップ実装インターポーザの形成過程を示していて、まず後述するアンテナ所持体の端子部分に亘るように所定の大きさとした基材1を用意し(イ)、この基材1にICチップ実装用導電部2と櫛型の形状を有する導電接続部3Aとが連続している一対の導電パターン4を設ける(ロ)。この後、前記ICチップ実装用導電部2に跨るようにしてICチップ5を実装してICチップ実装インターポーザAを形成し、フェノール樹脂、ポリエステル樹脂、エポキシ樹脂などの熱硬化型絶縁ペーストなどからなる封止剤20を用いてICチップ5を封止し(ハ)、そして少なくともICチップ5が実装されている導電接続部3(接合予定部位)の上に接着剤を塗布して接着剤部6Aを形成する(ニ)。
導電接続部3Aは、複数の導電部12と、導電部12の間に複数の非導電部13が混在している。導電部12は基材上に導電性ペーストを用いて印刷法により形成されたり、金属箔をエッチングするなどして形成され凸部となっている。一方、非導電部13は導電部12が形成されていない箇所であり、凹部となっている。
【0015】
図2は他方のアンテナ所持体Bの形成過程を示していて、所定の大きさとした基材7を用意し(イ)、この基材7にアンテナ導電部8とこのアンテナ導電部8の端部に位置して端子部分である、導電接続部3Aと類似の櫛型の形状を有する導電接続部9A(接合予定部位)とからなる導電パターン10を設け(ロ)、これによってアンテナ所持体Bが形成される。前記導電接続部9Aは上記ICチップ実装インターポーザAの導電接続部3Aと櫛形が直交して対応するように設けられている。11は絶縁部である。
【0016】
そして、ICチップ実装インターポーザAとアンテナ所持体Bとをそれぞれの導電接続部3A、9Aが接着剤部6Aを介して相対するように重ね合わせて、導電接続部3A、9Aを接着するとともに電気的導通を図り、ICチップ実装インターポーザAとアンテナ所持体Bとを接合することで、図3に示すRF−IDメデイアCが得られる。
すなわち、ICチップ実装インターポーザAとアンテナ所持体Bとの導電接続部3A、9Aが接着剤部6Aを介して相対するように重ね合わせて、押圧・加熱するなどすると、導電部12(凸部)に介在していた接着剤は流れて非導電部13(凹部)に移行する。その結果、導電部12(凸部)同士は接着剤を介さずに多数の接点が直接接触して良好な電気的導通が得られるとともに、多数の非導電部13(凹部)には移行してきた接着剤を含めて多量の接着剤が介在するようになるので良好な接着が得られる。
【0017】
上記の実施形態においては、導電接続部3A、9Aのいずれも櫛型の形状を有する導電接続部の例を示したが、格子型、網型などでもよく、両者は同じ形状を有する導電接続部でもよいが、異なる形状の導電接続部であってもよく、本発明のインターポーザAの導電接続部3Aが導電部と非導電部が混在している形状を有する導電接続部であれば、他方は本発明の形状を有する導電接続部でなく従来の形状の導電接続部であっても差し支えない。
【0018】
ICチップ実装インターポーザとアンテナ所持体の導電接続部の相対する導電接続部を導電接続する方法は特に限定されず、例えば導電接続部同志を位置合わせしておいてから、熱圧着、プレスによる圧着などの公知の方法で行うことができ、また光、電磁波、電子線などを用いる方法やこれらの組み合わせた方法、超音波溶接具で挟みつけて超音波により導電接続する方法などいずれでもよい。
【0019】
前記実施形態では接着剤部6AをICチップ実装インターポーザAの導電接続部3Aに形成した例を示したが、接着部層6Aはアンテナ所持体B側の対応する箇所(接合予定部位)に形成してもよく、あるいはICチップ実装インターポーザA側とアンテナ所持体B側の両方に形成してもよい。
【0020】
また、接着剤部6AはICチップ実装インターポーザA側の全面に形成してもよく、またアンテナ所持体B側の全面に形成してもよい。
また、接着剤部6Aは、線、点、格子状、櫛状などのパターン状に形成されていてもよい。
【0021】
紙基材上に形成した長さ20mm×5本、線間距離0.6mmの導電部12の線幅を0.05mm〜0.30mmまで変化させたものを、銅箔(エッチング前)とを接着剤(ケミタイトTNP0300、東芝ケミカル社製、厚さ20μm)で貼り合わせ(0.4MPa、150℃、10分)、線パターンと銅箔にテスターを当てて直流電気抵抗を測定した。線幅(mm)と直流電気抵抗(Ω)との関係を表1に示す。
【0022】
【表1】
【0023】
表1から導電部12の線幅は0.05mm以上あれば直流電気抵抗(Ω)が低く、実用性があることが判る。
【0024】
そこで導電部12の線幅を0.1mmに固定し、長さ20mm×線幅10mmに敷き詰めた導電部12の線幅を線間距離(非導電部13の幅)を0.005mm〜0.60mmまで変化させたものを、銅箔(エッチング前)と接着剤(ケミタイトTNP0300、東芝ケミカル社製、厚さ20μm)で貼り合わせ(0.4MPa、200℃、10秒)、Tピールにより接着強度を測定した(ピール条件 幅10mm、速度300mm/分)。線間距離(mm)と接着強度g/cmとの関係を表2に示す。
【0025】
【表2】
【0026】
表2から線間距離は0.05mm以上あれば接着強度が大きく、実用性があることが判る。
【0027】
図4(イ)〜(ロ)は、本発明の他の形状の導電接続部を模式的に示す説明図である。
図4(イ)は、格子型の形状を有する導電接続部を示す。導電接続部14は、複数の導電部15と、導電部15の間に複数の非導電部16が混在している形状を有する。
図4(ロ)は、他の格子型の形状を有する導電接続部を示す。導電接続部17は、複数の導電部15と、導電部15の間に複数の非導電部16が混在している形状を有する。
【0028】
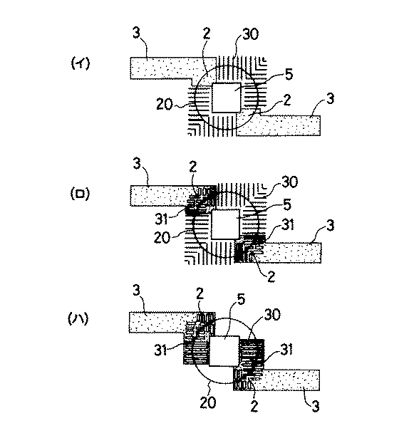
図5(イ)〜(ハ)は、基材のICチップの封止面に形成された多数の凸部を説明する説明図である。
図5(イ)の例では、基材に導電インクを用いてICチップ実装用導電部2と導電接続部3とが連続している一対の導電パターンを設けるとともに、導電インクを用いて基材のICチップ5の封止面に多数の凸部30が設けてあり、前記ICチップ実装用導電部2に跨るようにしてICチップ5を実装し、フェノール樹脂、ポリエステル樹脂、エポキシ樹脂などの熱硬化型絶縁ペーストなどからなる封止剤20を用いてICチップ5を封止してICチップ実装インターポーザAが形成されている。
基材のICチップ5の封止面に多数の凸部30が存在するため封止剤20と基材との接触面積が大きくなり、その結果、封止剤20によるICチップ5の強力な封止が達成できる。
【0029】
図5(ロ)の例では、基材に導電インクを用いて互いに導通している多数の凸部31から形成されるICチップ実装用導電部2と導電接続部3とが連続している一対の導電パターンを設けるとともに、導電インクを用いて基材のICチップ5の封止面に多数の凸部30が設けてあり、前記ICチップ実装用導電部2に跨るようにしてICチップ5を実装し、フェノール樹脂、ポリエステル樹脂、エポキシ樹脂などの熱硬化型絶縁ペーストなどからなる封止剤20を用いてICチップ5を封止してICチップ実装インターポーザAが形成されている。
基材のICチップ5の封止面に多数の凸部30が存在するため封止剤20と基材および凸部30との接触面積が大きくなり、その結果、封止剤20によるICチップ5の強力な封止が達成できるとともに、封止剤20と基材および凸部31との接触面積が大きくなり前記ICチップ実装用導電部2が強力に接着され、かつ導通が確実になり剥がれたりせず、信頼性が向上する。
【0030】
図5(ハ)の例では、基材に導電インクを用いて互いに導通している多数の凸部31から形成されるICチップ実装用導電部2と導電接続部3とが連続している一対の導電パターンを設けるとともに、導電インクを用いて基材のICチップ5の封止面の一部に多数の凸部30が設けてあり、前記ICチップ実装用導電部2に跨るようにしてICチップ5を実装し、フェノール樹脂、ポリエステル樹脂、エポキシ樹脂などの熱硬化型絶縁ペーストなどからなる封止剤20を用いてICチップ5を封止してICチップ実装インターポーザAが形成されている。
基材のICチップ5の封止面の一部に多数の凸部30が存在するため封止剤20と基材および凸部30との接触面積が大きくなり、その結果、封止剤20によるICチップ5の強力な封止が達成できるとともに、封止剤20と基材および凸部31との接触面積が大きくなり前記ICチップ実装用導電部2が強力に接着され、かつ導通が確実になり剥がれたりせず、信頼性が向上する。
【0031】
上記の例では、凸部30、31は細線の例を示したが、形状は細線に限定されず、丸、四角、放射状、同心円などの形状であってもよい。
【0032】
紙基材上に銅の細線エッチングパターン(線の幅0.05〜0.5mm)を設けたもの同士を封止剤(CRP−X4322、住友ベークライト社製、厚み200μm)を用いて貼り合わせ(0.4MPa、200℃、10秒)、Tピールにより接着強度を測定した(ピール条件 幅1cm、速度300mm/分)。線間距離(mm)と接着強度g/cmとの関係を表3に示す。
【0033】
【表3】
【0034】
表3から線間距離は0.3mm以下が好ましいことが判る。
【0035】
本発明で用いる基材1あるいは基材7の素材としては、ガラス繊維、アルミナ繊維、ポリエステル繊維、ポリアミド繊維などの無機または有機繊維からなる織布、不織布、マット、紙あるいはこれらを組み合わせたもの、あるいはこれらに樹脂ワニスを含浸させて成形した複合基材、ポリアミド系樹脂基材、ポリエステル系樹脂基材、ポリオレフィン系樹脂基材、ポリイミド系樹脂基材、エチレン・ビニルアルコール共重合体基材、ポリビニルアルコール系樹脂基材、ポリ塩化ビニル系樹脂基材、ポリ塩化ビニリデン系樹脂基材、ポリスチレン系樹脂基材、ポリカーボネート系樹脂基材、アクリロニトリルブタジエンスチレン共重合系樹脂基材、ポリエーテルスルホン系樹脂基材などのプラスチック基材、あるいはこれらにコロナ放電処理、プラズマ処理、紫外線照射処理、電子線照射処理、フレームプラズマ処理およびオゾン処理などの表面処理を施したもの、などの公知のものから選択して用いることができる。
【0036】
ICチップ実装インターポーザとアンテナ所持体とは同じ素材からなる基材を用いて形成してもよいし、異なる基材でもよい。またICチップ実装インターポーザ、アンテナ所持体それぞれに関する形成は1個ずつでなくともよく、それぞれ複数個(しかも同種でも異種でもよい)でも構わない。
【0037】
上記ICチップ実装インターポーザでの導電パターン4の形成、アンテナ所持体での導電パターン10の形成、凸部30、31の形成は、それぞれ公知の方法で行うことができる。例えば、導電ペーストをスクリーン印刷やインクジェット方式印刷により印刷して乾燥固定化する方法、被覆あるいは非被覆金属線の貼り付け、エッチング、デイスペンス、金属箔貼り付け、金属の直接蒸着、金属蒸着膜転写、導電高分子層形成などが挙げられるがこの限りでない。
【0038】
またアンテナ所持体において、導電パターン10は必ずしも片面に限られることはなく、裏面にも、さらに最終的にアンテナとして働く接続が保証されるならば内層に形成されてもよい。またそれらを多重に複合させたアンテナでもよい。さらに必要に応じてジャンパー線によって他の線を跨いだパターンでもよい。形成したアンテナを保護するためにコーティングしてもよい。
【0039】
ICチップ実装インターポーザを形成するプロセスでのICチップの実装は、ワイヤーボンデイング(WB)を始めとして、異方性導電フィルム(ACF)、導電ペースト(ACP)、絶縁樹脂(NCP)、絶縁フィルム(NCF)、クリーム半田ボールを用いたものなど、公知の方法で接続できる。
必要であれば、公知のアンダーフィル材あるいはポッティング材による接続部の保護・補強を行ってもよい。
【0040】
本発明で用いる接着剤は特に限定されるものではなく、具体的には、例えば、ホットメルト接着剤、粘着剤、熱可塑性樹脂接着剤あるいは熱硬化性樹脂接着剤あるいは紫外線、電子線などにより硬化する接着剤、天然ゴム系接着剤、合成ゴム系接着剤など、あるいはこれらの組み合わせからなる接着剤などを挙げることができる。またこれらの接着剤に、粉体状の金、ニッケル、銀、アルミニウムといった導電性物質を配合して導電性を付与した導電性接着剤も使用できる。
粘着剤としては天然ゴムや合成ゴムに粘着付与剤(ロジンおよびロジン誘導体、ポリテルベン樹脂、テルペンフェノール樹脂、石油樹脂)、軟化剤(液状ポリブテン、鉱油、液状ポリイソブチレン、液状ポリアクリル酸エステル)、老化防止剤などの公知の添加剤を混合したゴム系、ガラス転移温度の異なる複数のアクリル酸エステルと他種官能性単量体とを共重合したアクリル系、シリコーンゴムと樹脂からなるシリコーン系、ポリエーテルやポリウレタン系粘着剤などは好ましく使用できる。
これらの接着剤や粘着剤は、溶液に溶かした溶液型のほか、水系エマルジョン型、加熱溶融塗布後冷却で固化するホットメルト型、液状オリゴマーや単量体などを塗布後、加熱や紫外線、電子線などの放射線の照射により硬化するものなどがあるが、いずれも使用できる。
【0041】
本発明で用いる接着剤に、必要に応じて、シリカ、アルミナ、ガラス、タルク、各種ゴムなどの絶縁性粉末、あるいは離型剤、表面処理剤、充填剤、顔料、染料などの公知の添加剤を添加したりすることができる。
【0042】
上記ICチップ実装インターポーザ、アンテナ所持体、ICチップ実装用などの導電接続部は、設計上製造加工し易い任意の方法でつくればよく、ICチップ実装用導電部ほどの精密さが必要ない加工許容度の高い構造でよい。
【0043】
上記実施形態では非接触ICタグなどの薄形の情報送受信型記録メディアなどに用いられるRF−IDメデイアの導電接続部同士の接続について説明したが、他の導電接続部同士の接続にも適用することができ、具体的には、例えば、ペーパーコンピュータ、使い捨て電気製品などの導電接続部同士の接続などにも適用して接着剤部を介して接着するとともに電気的導通を図ることができる。
【0044】
なお、上記実施形態の説明は、本発明を説明するためのものであって、特許請求の範囲に記載の発明を限定し、或は範囲を減縮するものではない。又、本発明の各部構成は上記実施形態に限らず、特許請求の範囲に記載の技術的範囲内で種々の変形が可能である。
【0045】
以下参考例によって、本発明をさらに詳細に説明する。
(参考例1)
剥離紙(SP−8Kアオ、リンテック社製)に対して、導電インク(LS415C−K、アサヒ化学研究所製)を用いて、アンテナ部を印刷し、150℃、30分の加熱後、タック紙(コピータック、トッパン・フォームズ社製)をゴムローラを用いて貼り合わせ(2kg/cm2、40℃)、タック紙側にアンテナ部を転写して紙基材上にアンテナを作製し、図2に示すアンテナ所持体を作った。導電接続部の形状は線間距離0.3mm、線幅0.3mmの櫛形の形状を有するものとした。
一方、NIP(ノンインパクトプリンター)対応紙に印刷したICチップ実装用導電部(ランド部)にICを実装し(230℃、0.4MPa、2秒)、導電接続部に接着剤を塗布して、図1に示すICチップ実装インターポーザを作製した。このようにして作製したアンテナ所持体とICチップ実装インターポーザをそれぞれの導電接続部が接着剤部を介して相対するように重ね合わせて、接着するとともに電気的導通を図り、ICチップ実装インターポーザとアンテナ所持体とを接合することで、図3に示すRF−IDメデイアCを作製した。これをNIPに貼り合わせた状態で85℃、85%RHの環境に放置したが、通信状態に変化はなく、良好な状態が維持された。
また、銅箔エッチング法で図1に示すICチップ実装インターポーザを作製したものを使用し図3に示すRF−IDメデイアCを作製しても、同様に良好な状態が維持された。
【0046】
(参考例2)
剥離ポリアミドフィルムに対して、導電インク(N−5845−1、昭栄化学工業社製)を用いて、アンテナ部を印刷し、180℃、30分の加熱後、両面テープ(No.500、日東電工社製)をゴムローラを用いて貼り合わせ(2kg/cm2、40℃)、両面テープ側にアンテナ部を転写して紙基材上にアンテナを作製し、図2に示すアンテナ所持体を作った。導電接続部の形状は線間距離0.3mm、線幅0.3mmの櫛形の形状を有するものとした。
一方、NIP(ノンインパクトプリンター)対応紙に印刷したICチップ実装用導電部(ランド部)にICを実装し(230℃、0.4MPa、2秒)、導電接続部に接着剤を塗布して、図1に示すICチップ実装インターポーザを作製した。このようにして作製したアンテナ所持体とICチップ実装インターポーザをそれぞれの導電接続部が接着剤部を介して相対するように重ね合わせて、接着するとともに電気的導通を図り、ICチップ実装インターポーザとアンテナ所持体とを接合することで、図3に示すRF−IDメデイアCを作製した。これをNIPに貼り合わせた状態で85℃、85%RHの環境に放置したが、通信状態に変化はなく、良好な状態が維持された。
【0047】
【発明の効果】
本発明の請求項1記載の導電接続部を有するインターポーザは、基材上に形成されたICチップを実装した導電接続部を有するインターポーザであって、前記導電接続部のICチップ実装用導電部の封止面に多数の凸部が形成されているとともに、基材のICチップの封止面に多数の凸部が形成されており、封止剤により前記ICチップ導電部の凸部と前記基材の凸部の両方の凸部に対して、その少なくとも一部を含めて前記ICチップ実装用導電部に実装されたICチップが封止されているので、例えば、本発明のICチップ実装インターポーザAと前記アンテナ所持体Bとをそれぞれの櫛型や格子型などの凹凸形状を有する導電接続部が接着剤を介して相対するように重ね合わせて、押圧・加熱するなどすると、多数の凸部に介在していた接着剤は流れて多数の凹部に移行し、その結果、塗布する接着剤のパターンを工夫したり、塗布する接着剤の塗工量を精度よくコントロールしなくても、凸部同士は多数の接触部において接着剤を介さずに直接接触して良好な電気的導通が得られるとともに、多数の凹部には移行してきた接着剤を含めて多量の接着剤が介在するようになるので良好な接着が得られ導電接続部に外力が集中しても電気的接続が途切れず、また、封止剤と基材との接触面積が大きくなり、その結果、封止剤によるICチップの強力な封止ができ、信頼性が向上するという顕著な効果を奏する。
【図面の簡単な説明】
【図1】 (イ)〜(ニ)は導電接続部を備えたICチップ実装インターポーザの形成過程を示す説明図である。
【図2】 (イ)〜(ロ)はアンテナ所持体の形成過程を示す説明図である。
【図3】 RF−IDメデイアを示す説明図である。
【図4】 他の導電接続部の形状を示す説明図である。
【図5】 (イ)〜(ハ)は基材のICチップの封止面に形成された多数の凸部および本発明の他の導電接続部であるICチップの実装用導電部を示す説明図である。
【図6】 (イ)〜(ニ)は従来の導電接続部を備えたICチップ実装インターポーザの形成過程を示す説明図である。
【図7】 (イ)〜(ロ)は従来の導電接続部を備えたアンテナ所持体の形成過程を示す説明図である。
【図8】 従来のRF−IDメデイアを示す説明図である。
【符号の説明】
1 基材
2 ICチップ実装用導電部
3、3A 導電接続部
4 導電パターン
5 ICチップ
6、6A 接着剤部
7 基材
8 アンテナ導電部
9、9A 導電接続部
10 導電パターン
11 絶縁部
12、15 導電部
13、16 非導電部
20 封止剤
30、31 凸部
A ICチップ実装インターポーザ
B アンテナ所持体
C RF−IDメデイア
Claims (1)
- 基材上に形成されたICチップを実装した導電接続部を有するインターポーザであって、前記導電接続部のICチップ実装用導電部の封止面に多数の凸部が形成されているとともに、基材のICチップの封止面に多数の凸部が形成されており、封止剤により前記ICチップ導電部の凸部と前記基材の凸部の両方の凸部に対して、その少なくとも一部を含めて前記ICチップ実装用導電部に実装されたICチップが封止されていることを特徴とする導電接続部を有するインターポーザ。
Priority Applications (1)
| Application Number | Priority Date | Filing Date | Title |
|---|---|---|---|
| JP2001367504A JP3894540B2 (ja) | 2001-11-30 | 2001-11-30 | 導電接続部を有するインターポーザ |
Applications Claiming Priority (1)
| Application Number | Priority Date | Filing Date | Title |
|---|---|---|---|
| JP2001367504A JP3894540B2 (ja) | 2001-11-30 | 2001-11-30 | 導電接続部を有するインターポーザ |
Publications (2)
| Publication Number | Publication Date |
|---|---|
| JP2003168760A JP2003168760A (ja) | 2003-06-13 |
| JP3894540B2 true JP3894540B2 (ja) | 2007-03-22 |
Family
ID=19177241
Family Applications (1)
| Application Number | Title | Priority Date | Filing Date |
|---|---|---|---|
| JP2001367504A Expired - Fee Related JP3894540B2 (ja) | 2001-11-30 | 2001-11-30 | 導電接続部を有するインターポーザ |
Country Status (1)
| Country | Link |
|---|---|
| JP (1) | JP3894540B2 (ja) |
Families Citing this family (75)
| Publication number | Priority date | Publication date | Assignee | Title |
|---|---|---|---|---|
| US7519328B2 (en) | 2006-01-19 | 2009-04-14 | Murata Manufacturing Co., Ltd. | Wireless IC device and component for wireless IC device |
| US9064198B2 (en) | 2006-04-26 | 2015-06-23 | Murata Manufacturing Co., Ltd. | Electromagnetic-coupling-module-attached article |
| JP4281850B2 (ja) | 2006-06-30 | 2009-06-17 | 株式会社村田製作所 | 光ディスク |
| DE112007002024B4 (de) | 2006-09-26 | 2010-06-10 | Murata Mfg. Co., Ltd., Nagaokakyo-shi | Induktiv gekoppeltes Modul und Element mit induktiv gekoppeltem Modul |
| US8235299B2 (en) | 2007-07-04 | 2012-08-07 | Murata Manufacturing Co., Ltd. | Wireless IC device and component for wireless IC device |
| CN102982366B (zh) | 2007-04-26 | 2016-04-13 | 株式会社村田制作所 | 无线ic器件 |
| EP2148449B1 (en) | 2007-05-11 | 2012-12-12 | Murata Manufacturing Co., Ltd. | Wireless ic device |
| CN101542831B (zh) | 2007-07-09 | 2014-06-25 | 株式会社村田制作所 | 无线ic器件 |
| KR101037035B1 (ko) | 2007-07-17 | 2011-05-25 | 가부시키가이샤 무라타 세이사쿠쇼 | 무선 ic 디바이스 및 전자기기 |
| US20090021352A1 (en) | 2007-07-18 | 2009-01-22 | Murata Manufacturing Co., Ltd. | Radio frequency ic device and electronic apparatus |
| CN101682113B (zh) | 2007-07-18 | 2013-02-13 | 株式会社村田制作所 | 无线ic器件 |
| JP5094280B2 (ja) * | 2007-08-28 | 2012-12-12 | トッパン・フォームズ株式会社 | Icカードの製造方法 |
| KR101047189B1 (ko) | 2007-12-20 | 2011-07-06 | 가부시키가이샤 무라타 세이사쿠쇼 | 무선 ic 디바이스 |
| CN101601169B (zh) | 2007-12-26 | 2013-08-14 | 株式会社村田制作所 | 天线装置及无线ic器件 |
| JP5267463B2 (ja) | 2008-03-03 | 2013-08-21 | 株式会社村田製作所 | 無線icデバイス及び無線通信システム |
| EP2256861B1 (en) | 2008-03-26 | 2018-12-05 | Murata Manufacturing Co., Ltd. | Radio ic device |
| WO2009128437A1 (ja) | 2008-04-14 | 2009-10-22 | 株式会社村田製作所 | 無線icデバイス、電子機器及び無線icデバイスの共振周波数の調整方法 |
| EP2284949B1 (en) | 2008-05-21 | 2016-08-03 | Murata Manufacturing Co. Ltd. | Wireless ic device |
| WO2009142068A1 (ja) | 2008-05-22 | 2009-11-26 | 株式会社村田製作所 | 無線icデバイス及びその製造方法 |
| CN104077622B (zh) | 2008-05-26 | 2016-07-06 | 株式会社村田制作所 | 无线ic器件系统及无线ic器件的真伪判定方法 |
| EP3509162A1 (en) | 2008-05-28 | 2019-07-10 | Murata Manufacturing Co., Ltd. | Wireless ic device and component for a wireless ic device |
| JP4557186B2 (ja) | 2008-06-25 | 2010-10-06 | 株式会社村田製作所 | 無線icデバイスとその製造方法 |
| CN102084543B (zh) | 2008-07-04 | 2014-01-29 | 株式会社村田制作所 | 无线ic器件 |
| WO2010021217A1 (ja) | 2008-08-19 | 2010-02-25 | 株式会社村田製作所 | 無線icデバイス及びその製造方法 |
| WO2010047214A1 (ja) | 2008-10-24 | 2010-04-29 | 株式会社村田製作所 | 無線icデバイス |
| JP4525869B2 (ja) | 2008-10-29 | 2010-08-18 | 株式会社村田製作所 | 無線icデバイス |
| WO2010055945A1 (ja) | 2008-11-17 | 2010-05-20 | 株式会社村田製作所 | アンテナ及び無線icデバイス |
| CN102273012B (zh) | 2009-01-09 | 2013-11-20 | 株式会社村田制作所 | 无线ic器件及无线ic模块 |
| DE112009003613B4 (de) | 2009-01-16 | 2020-12-17 | Murata Manufacturing Co., Ltd. | Ic-bauelement |
| CN102301528B (zh) | 2009-01-30 | 2015-01-28 | 株式会社村田制作所 | 天线及无线ic器件 |
| WO2010119854A1 (ja) | 2009-04-14 | 2010-10-21 | 株式会社村田製作所 | 無線icデバイス用部品及び無線icデバイス |
| WO2010122685A1 (ja) | 2009-04-21 | 2010-10-28 | 株式会社村田製作所 | アンテナ装置及びその共振周波数設定方法 |
| JP5447515B2 (ja) | 2009-06-03 | 2014-03-19 | 株式会社村田製作所 | 無線icデバイス及びその製造方法 |
| JP5516580B2 (ja) | 2009-06-19 | 2014-06-11 | 株式会社村田製作所 | 無線icデバイス及び給電回路と放射板との結合方法 |
| CN102474009B (zh) | 2009-07-03 | 2015-01-07 | 株式会社村田制作所 | 天线及天线模块 |
| WO2011037234A1 (ja) | 2009-09-28 | 2011-03-31 | 株式会社村田製作所 | 無線icデバイスおよびそれを用いた環境状態検出方法 |
| WO2011040393A1 (ja) | 2009-09-30 | 2011-04-07 | 株式会社村田製作所 | 回路基板及びその製造方法 |
| JP5304580B2 (ja) | 2009-10-02 | 2013-10-02 | 株式会社村田製作所 | 無線icデバイス |
| WO2011045970A1 (ja) | 2009-10-16 | 2011-04-21 | 株式会社村田製作所 | アンテナ及び無線icデバイス |
| JP5418600B2 (ja) | 2009-10-27 | 2014-02-19 | 株式会社村田製作所 | 送受信装置及び無線タグ読み取り装置 |
| JP5299518B2 (ja) | 2009-11-04 | 2013-09-25 | 株式会社村田製作所 | 情報処理システム |
| GB2487315B (en) | 2009-11-04 | 2014-09-24 | Murata Manufacturing Co | Communication terminal and information processing system |
| WO2011055703A1 (ja) | 2009-11-04 | 2011-05-12 | 株式会社村田製作所 | 通信端末及び情報処理システム |
| CN102576929B (zh) | 2009-11-20 | 2015-01-28 | 株式会社村田制作所 | 天线装置以及移动通信终端 |
| JP4978756B2 (ja) | 2009-12-24 | 2012-07-18 | 株式会社村田製作所 | 通信端末 |
| JP5403146B2 (ja) | 2010-03-03 | 2014-01-29 | 株式会社村田製作所 | 無線通信デバイス及び無線通信端末 |
| WO2011108340A1 (ja) | 2010-03-03 | 2011-09-09 | 株式会社村田製作所 | 無線通信モジュール及び無線通信デバイス |
| JP5477459B2 (ja) | 2010-03-12 | 2014-04-23 | 株式会社村田製作所 | 無線通信デバイス及び金属製物品 |
| JP5370581B2 (ja) | 2010-03-24 | 2013-12-18 | 株式会社村田製作所 | Rfidシステム |
| JP5630499B2 (ja) | 2010-03-31 | 2014-11-26 | 株式会社村田製作所 | アンテナ装置及び無線通信デバイス |
| JP5299351B2 (ja) | 2010-05-14 | 2013-09-25 | 株式会社村田製作所 | 無線icデバイス |
| JP5170156B2 (ja) | 2010-05-14 | 2013-03-27 | 株式会社村田製作所 | 無線icデバイス |
| WO2012005278A1 (ja) | 2010-07-08 | 2012-01-12 | 株式会社村田製作所 | アンテナ及びrfidデバイス |
| GB2537773A (en) | 2010-07-28 | 2016-10-26 | Murata Manufacturing Co | Antenna apparatus and communication terminal instrument |
| WO2012020748A1 (ja) | 2010-08-10 | 2012-02-16 | 株式会社村田製作所 | プリント配線板及び無線通信システム |
| JP5234071B2 (ja) | 2010-09-03 | 2013-07-10 | 株式会社村田製作所 | Rficモジュール |
| WO2012043432A1 (ja) | 2010-09-30 | 2012-04-05 | 株式会社村田製作所 | 無線icデバイス |
| JP5758909B2 (ja) | 2010-10-12 | 2015-08-05 | 株式会社村田製作所 | 通信端末装置 |
| CN102971909B (zh) | 2010-10-21 | 2014-10-15 | 株式会社村田制作所 | 通信终端装置 |
| CN103119785B (zh) | 2011-01-05 | 2016-08-03 | 株式会社村田制作所 | 无线通信器件 |
| CN103299325B (zh) | 2011-01-14 | 2016-03-02 | 株式会社村田制作所 | Rfid芯片封装以及rfid标签 |
| CN103119786B (zh) | 2011-02-28 | 2015-07-22 | 株式会社村田制作所 | 无线通信器件 |
| WO2012121185A1 (ja) | 2011-03-08 | 2012-09-13 | 株式会社村田製作所 | アンテナ装置及び通信端末機器 |
| WO2012137717A1 (ja) | 2011-04-05 | 2012-10-11 | 株式会社村田製作所 | 無線通信デバイス |
| WO2012141070A1 (ja) | 2011-04-13 | 2012-10-18 | 株式会社村田製作所 | 無線icデバイス及び無線通信端末 |
| JP5569648B2 (ja) | 2011-05-16 | 2014-08-13 | 株式会社村田製作所 | 無線icデバイス |
| WO2013008874A1 (ja) | 2011-07-14 | 2013-01-17 | 株式会社村田製作所 | 無線通信デバイス |
| CN103370886B (zh) | 2011-07-15 | 2015-05-20 | 株式会社村田制作所 | 无线通信器件 |
| WO2013011865A1 (ja) | 2011-07-19 | 2013-01-24 | 株式会社村田製作所 | アンテナモジュール、アンテナ装置、rfidタグおよび通信端末装置 |
| WO2013035821A1 (ja) | 2011-09-09 | 2013-03-14 | 株式会社村田製作所 | アンテナ装置および無線デバイス |
| CN103380432B (zh) | 2011-12-01 | 2016-10-19 | 株式会社村田制作所 | 无线ic器件及其制造方法 |
| EP2688145A1 (en) | 2012-01-30 | 2014-01-22 | Murata Manufacturing Co., Ltd. | Wireless ic device |
| WO2013125610A1 (ja) | 2012-02-24 | 2013-08-29 | 株式会社村田製作所 | アンテナ装置および無線通信装置 |
| WO2013153697A1 (ja) | 2012-04-13 | 2013-10-17 | 株式会社村田製作所 | Rfidタグの検査方法及び検査装置 |
| JP7426693B2 (ja) * | 2019-12-13 | 2024-02-02 | 日本パッケージ・システム株式会社 | Rfidインレイ |
-
2001
- 2001-11-30 JP JP2001367504A patent/JP3894540B2/ja not_active Expired - Fee Related
Also Published As
| Publication number | Publication date |
|---|---|
| JP2003168760A (ja) | 2003-06-13 |
Similar Documents
| Publication | Publication Date | Title |
|---|---|---|
| JP3894540B2 (ja) | 導電接続部を有するインターポーザ | |
| US5804882A (en) | Semiconductor device having a semiconductor chip electrically connected to a wiring substrate | |
| CN105358642B (zh) | 导电性粘接膜的制造方法、导电性粘接膜、连接体的制造方法 | |
| JP4342771B2 (ja) | Icタグ | |
| KR20070004450A (ko) | Rfid 태그 및 그 제조 방법 | |
| JP4180206B2 (ja) | 半導体装置の製造方法 | |
| JPH03131089A (ja) | 回路基板の接続方法 | |
| EP2053647A2 (en) | Semiconductor chip mounting method, semiconductor mounting wiring board producing method and semiconductor mounting wiring board | |
| JP2003283121A (ja) | 導電接続部同士の接続方法 | |
| JP2003283120A (ja) | 導電接続部同士の接続方法 | |
| JP2002141731A (ja) | Ic実装体及び共振周波数調整方法 | |
| JP2007042087A (ja) | Rfidタグ及びその製造方法 | |
| JP2003006594A (ja) | 両面テープを用いたrf−idメディアの形成方法 | |
| US7332798B2 (en) | Non-contact ID card and manufacturing method thereof | |
| JP3894541B2 (ja) | Icチップ実装インターポーザの製法およびそれを用いたicチップ実装メデイアの製法 | |
| JP2003044809A (ja) | インターポーザ方式セキュリテイicラベル | |
| JP2003006600A (ja) | 導電性ステープルを用いたrf−idメディアの形成方法 | |
| US20250114982A1 (en) | Method for manufacturing a connection film | |
| JP2003168097A (ja) | 導電接続部 | |
| JP3969635B2 (ja) | Icメディアの作成方法 | |
| JP4350093B2 (ja) | フリップチップ実装用基板 | |
| JP2003163432A (ja) | 粘着シート上に形成された導電接続部 | |
| JP2003249745A (ja) | 導電回路の導電接続部 | |
| JP2003069216A (ja) | 導電接続部同士の接続方法 | |
| JP4138508B2 (ja) | 非接触型データ受送信体およびそのアンテナのキャパシタンス調整方法 |
Legal Events
| Date | Code | Title | Description |
|---|---|---|---|
| A621 | Written request for application examination |
Free format text: JAPANESE INTERMEDIATE CODE: A621 Effective date: 20041029 |
|
| A977 | Report on retrieval |
Free format text: JAPANESE INTERMEDIATE CODE: A971007 Effective date: 20060630 |
|
| A131 | Notification of reasons for refusal |
Free format text: JAPANESE INTERMEDIATE CODE: A131 Effective date: 20060704 |
|
| A521 | Request for written amendment filed |
Free format text: JAPANESE INTERMEDIATE CODE: A523 Effective date: 20060828 |
|
| A131 | Notification of reasons for refusal |
Free format text: JAPANESE INTERMEDIATE CODE: A131 Effective date: 20061003 |
|
| A521 | Request for written amendment filed |
Free format text: JAPANESE INTERMEDIATE CODE: A523 Effective date: 20061031 |
|
| TRDD | Decision of grant or rejection written | ||
| A01 | Written decision to grant a patent or to grant a registration (utility model) |
Free format text: JAPANESE INTERMEDIATE CODE: A01 Effective date: 20061121 |
|
| A61 | First payment of annual fees (during grant procedure) |
Free format text: JAPANESE INTERMEDIATE CODE: A61 Effective date: 20061211 |
|
| R150 | Certificate of patent or registration of utility model |
Free format text: JAPANESE INTERMEDIATE CODE: R150 |
|
| FPAY | Renewal fee payment (event date is renewal date of database) |
Free format text: PAYMENT UNTIL: 20091222 Year of fee payment: 3 |
|
| FPAY | Renewal fee payment (event date is renewal date of database) |
Free format text: PAYMENT UNTIL: 20101222 Year of fee payment: 4 |
|
| FPAY | Renewal fee payment (event date is renewal date of database) |
Free format text: PAYMENT UNTIL: 20111222 Year of fee payment: 5 |
|
| FPAY | Renewal fee payment (event date is renewal date of database) |
Free format text: PAYMENT UNTIL: 20111222 Year of fee payment: 5 |
|
| FPAY | Renewal fee payment (event date is renewal date of database) |
Free format text: PAYMENT UNTIL: 20121222 Year of fee payment: 6 |
|
| R250 | Receipt of annual fees |
Free format text: JAPANESE INTERMEDIATE CODE: R250 |
|
| R250 | Receipt of annual fees |
Free format text: JAPANESE INTERMEDIATE CODE: R250 |
|
| R250 | Receipt of annual fees |
Free format text: JAPANESE INTERMEDIATE CODE: R250 |
|
| LAPS | Cancellation because of no payment of annual fees |
