JP3766926B2 - Display device driving method, display device using the same, and portable device - Google Patents
Display device driving method, display device using the same, and portable device Download PDFInfo
- Publication number
- JP3766926B2 JP3766926B2 JP2000131251A JP2000131251A JP3766926B2 JP 3766926 B2 JP3766926 B2 JP 3766926B2 JP 2000131251 A JP2000131251 A JP 2000131251A JP 2000131251 A JP2000131251 A JP 2000131251A JP 3766926 B2 JP3766926 B2 JP 3766926B2
- Authority
- JP
- Japan
- Prior art keywords
- display device
- period
- liquid crystal
- scanning
- data signal
- Prior art date
- Legal status (The legal status is an assumption and is not a legal conclusion. Google has not performed a legal analysis and makes no representation as to the accuracy of the status listed.)
- Expired - Fee Related
Links
Images
Landscapes
- Liquid Crystal (AREA)
- Liquid Crystal Display Device Control (AREA)
- Control Of Indicators Other Than Cathode Ray Tubes (AREA)
Description
【0001】
【発明の属する技術分野】
本発明は、マトリクス型の表示装置の低消費電力化に関するものである。
【0002】
【従来の技術】
近年、ワードプロセッサ、ラップトップ型パーソナルコンピュータ、ポケットテレビなどへの液晶表示装置の応用が急速に進展している。特に、液晶表示装置の中でも外部から入射した光を反射させて表示を行う反射型液晶表示装置は、バックライトが不要であるため消費電力が少なく薄型であって、軽量化が可能であることから注目されている。
【0003】
従来の反射型液晶表示装置は、時計などに用いられている単純な数字や絵文字のみを表示することのできるセグメント表示方式、さらにパーソナルコンピュータや携帯情報端末などの複雑な表示に対応することのできるものとして、単純マルチプレックス駆動方式と、TFT(Thin Film Transistor)などのアクティブ素子を使用したアクティブマトリクス駆動方式とに大別される。各方式とも消費電力を低減することが望ましい。
【0004】
セグメント表示方式の消費電力を削減する方法として特開平5−232447号公報には、スタンバイ時、すなわち全面白表示もしくは全面黒表示となる画像非表示時に、コモン電極とセグメント電極とを同電位として安定した白べた表示もしくは黒べた表示を行うことが開示されている。また、特開平2−210492号公報には、スタンバイ時に液晶を直接駆動するMOS型トランジスタをハイインピーダンス状態とすることにより、駆動回路の消費電力を削減する方法が開示されている。これらの技術はいずれもセグメント表示の液晶表示装置を対象としているため、その表意性能は単純な数字や絵文字を表示することに限られており、パーソナルコンピュータや携帯情報端末などのように複雑な情報を表示する機器に適用することは不可能である。
【0005】
またこのような駆動方法をマトリクス型液晶表示装置に用いることは困難である。詳しくは、例えば図16に示すような4×4のマトリクス型液晶表示装置の場合、走査信号線G(0)〜G(3)のそれぞれに供給する走査信号は図17に示すようなものとなり、走査信号線G(0)〜G(3)に選択電圧が順次印加される。このように選択された各ラインに対し、走査信号と同期させてデータ信号線S(0)〜S(3)にデータ信号を供給することにより各画素にデータに対応した電荷を書き込む。そして最終ラインを走査した後は、図18に示すように僅かな時間の垂直帰線期間を経て再び1ライン目から走査を開始する。この垂直帰線期間はもともとCRTの内部にある電子銃からの電子ビームが元の位置に戻るために設けられた時間であるため、液晶表示装置には全く必要がない。しかし、通常のテレビジョン映像などを液晶表示装置において再生するためには、NTSCなどのテレビジョン映像の信号と互換性を保つために設けられている。
【0006】
以上のように、マトリクス型液晶表示装置の場合、データ信号線が画面の縦方向に配列した複数の画素を順次駆動しなければならず、上記セグメント表示方式のセグメント出力に相当するような1つの画素だけを駆動するためのデータ信号出力というものがない。このため、1画面の最下段のラインの画素に電荷を書き込んだ後、セグメント表示方式の駆動方法を応用してデータ信号線と画素の対向電極とをハイインピーダンス状態に保ったとしても、最下段以外の画素にとっては書き込まれた電荷を保持していることにはならず、安定した表示を得ることができない。
【0007】
マトリクス型液晶表示装置のうち単純マルチプレックス駆動方式のものでは、2型程度の大きさで消費電力が10mW〜15mW程度と十分に小さいものの、明るさおよびコントラストが低く、応答速度が小さいなど基本的な表示品位に問題がある。一方、TFTなどを使用したアクティブ駆動方式では、明るさおよびコントラストが高く、応答速度も大きく基本的な表示品位は十分であるものの、消費電力は2型程度の大きさでも100mW〜150mW程度であり、十分に満足できるものではなかった。
【0008】
これに対して、これまでも十分な低消費電力化と良好な表示品位とのための研究開発が精力的に行われており、例えば実開昭60−50573号公報や特開平10−10489号公報に消費電力を低減する方法が開示されている。これらの公報の方法はテレビジョン信号の送信方法に着目したものであり、垂直帰線期間にデータが存在しないことを利用し、垂直帰線期間に周辺駆動回路の動作を停止させることによって消費電力の低減を図るものである。
【0009】
また、別の方法として特開平9−107563号公報に開示されたものがある。これは、左右両眼に対応した2つの液晶パネルを有するフィールド順次立体画像表示用ヘッドマウント型ディスプレイの低消費電力化に関するものであり、1フィールド期間は片方の液晶パネルのみを駆動して他方の液晶パネルは停止させ、フィールド期間ごとに駆動を交互に切り換えて表示を行う方法である。
【0010】
さらに別の方法として、SID '95 予稿集p249〜p252および特開平3−271795にマルチフィールド駆動法が提案されている。これは、一画面の走査を走査信号線の1本おきもしくは複数本おきとして複数回に分割して行い、1回の走査中はデータ信号線の電圧の極性反転を行わないことにより、データ信号線ドライバの消費電力の低減を行うものである。また、各ラインで発生する明るさの変化、すなわちチラツキを、隣接する反対極性のラインのチラツキで相殺することにより全体としてチラツキのない表示を実現することも目的としている。
【0011】
さらに、例えば特開平6−342148号公報に開示されている方式のように、液晶パネルに強誘電性液晶を用いてメモリ性を持たせ、駆動周波数(リフレッシュレート)を小さくして消費電力を削減する方法もある。
【0012】
【発明が解決しようとする課題】
しかしながら、垂直帰線期間に周辺駆動回路の動作を停止させる方法では、実開昭60−50573号公報にも記載されているように、垂直帰線期間が全体の8%程度の時間でしかなく、この期間に削減することのできる消費電力は5%程度に過ぎない。
【0013】
また、特開平9−107563号公報の方法は、全てのフィールド期間にいずれかの液晶パネルを駆動していることとなり、消費電力は増加しないだけで決して削減することはできない。さらに、左右両眼ヘッドマウント型ディスプレイとすることで、片方のディスプレイに対しては必ずリフレッシュが行われており、このためチラツキの少ない画像を得ている。しかし、一般に、液晶表示装置では30Hz、特に45Hz程度以上で駆動したときにチラツキのない表示が得られるので、この方法を1つの液晶パネルを直視する方式に適用すると、チラツキは知覚されやすくなる。
【0014】
さらに、マルチフィールド駆動を行ってもラインごとにチラツキは発生しており、隣接するラインで相殺しても実際にはチラツキが知覚され、視認性が著しく低下する。また、駆動周波数の低減は僅かであって低消費電力化も十分とは言えない。さらに、マルチフィールド駆動方式では一画面を複数枚のサブフィールドに分割し、走査を走査信号線の1本おきもしくは複数本おきに行うために、一旦画像をフレームメモリに蓄積した後、駆動する走査信号線に対応する信号を読み出す必要があり、回路構成が複雑化することは避けられない。従って、周辺回路が大型化してコストアップにつながるという欠点を有している。
【0015】
さらに、特開平6−342148号公報に開示されている方法では、強誘電性液晶が基本的に2値(白黒)表示であるために階調表示ができず、自然画の表示ができない。さらに、強誘電性液晶をパネル化するには高度なパネル作成技術が要求されるため、実現が困難であり、今日に至るまで実用化に至っていない。
【0016】
このように、従来のマトリクス型液晶表示装置の駆動方法では、明るさ、コントラスト、応答速度、階調性などの基本的な表示品位を満たした状態で、容易に十分な低消費電力化を図ることができなかった。さらに、上記従来のマトリクス型液晶表示装置の駆動方法では、十分な低消費電力化とチラツキない高表示品位とを両立させることができなかった。これらの問題点は液晶表示装置に限らず、マトリクス型の表示装置一般について言えることでもある。
【0017】
本発明は、上記従来の問題点に鑑みなされたものであり、その目的は、明るさ、コントラスト、応答速度、階調性などの基本的な表示品位を満たした状態で、容易に十分な低消費電力化を図ることのできるマトリクス型の表示装置の駆動方法、およびそれを用いた表示装置、ならびに携帯機器を提供することにある。また、本発明の他の目的は、十分な低消費電力化とチラツキが十分に抑制された高表示品位とを両立させることのできるマトリクス型の表示装置の駆動方法、およびそれを用いた表示装置、ならびに携帯機器を提供することにある。
【0018】
【課題を解決するための手段】
本発明の表示装置の駆動方法は、上記課題を解決するために、画素がマトリクス状に配置されてなる画面の各ラインを複数の走査信号線により線順次に選択して走査し、選択されたラインの画素にデータ信号線からデータ信号を供給して表示を行う表示装置の駆動方法において、上記画面を1回走査する走査期間よりも長い非走査期間であって、全走査信号線を非走査状態とする休止期間を設け、上記走査期間と上記休止期間との和を1垂直期間とすることを特徴としている。
【0019】
上記の発明によれば、走査期間と、走査期間よりも長く全走査信号線を非走査状態とする休止期間とを垂直期間ごとに繰り返す。例えば走査期間を通常の60Hz相当の時間に設定すると、それよりも長い休止期間が存在するために、垂直周波数が30Hzより低い周波数となる。この走査期間と休止期間とは、静止画や動画など表示したい画像における動きの程度に応じて適宜設定すればよい。休止期間には全走査信号線を非走査状態とするのでデータ信号の供給周波数を減少させることができる。従って、アクティブマトリクス型の液晶表示装置など、明るさ、コントラスト、応答速度、階調性などの基本的な表示品位を確保することのできるマトリクス型の表示装置においては、データ信号の供給周波数に正比例して増加するデータ信号線ドライバの消費電力を上記表示品位を犠牲にすることなく容易にかつ大幅に削減することができる。
【0020】
以上により、明るさ、コントラスト、応答速度、階調性などの基本的な表示品位を満たした状態で、容易に十分な低消費電力化を図ることのできるマトリクス型の表示装置の駆動方法を提供することができる。
【0021】
さらに本発明の表示装置の駆動方法は、上記課題を解決するために、上記休止期間を含めた非走査期間を複数種類の中から設定することを特徴としている。
【0022】
上記の発明によれば、休止期間を含めた非走査期間を複数種類に切り換えるので、静止画や動画など表示画像の種類に応じて画面を書き換える周期を変化させることができる。これにより、表示画像の種類ごとに最適な低消費電力化を図ることができる。
【0023】
さらに本発明の表示装置の駆動方法は、上記課題を解決するために、上記走査期間をT1、複数の上記非走査期間のうちで最短のものをT01、T01以外の任意のものをT02としたとき、
(T1+T02)=(T1+T01)×N(Nは2以上の整数)
の関係とすることを特徴としている。
【0024】
上記の発明によれば、複数の非走査期間のそれぞれを用いたフレーム期間を、最短の非走査期間を用いたフレーム期間の整数倍とする。例えば、通常の60Hzで駆動を行う場合、T1は16.7msec以下である。T01を垂直帰線期間とし、T02を上式の関係に設定すれば、60Hzで転送されてくる画面のデータ信号に対して整数回に1回サンプリングを行えばよい。従って、基準同期信号を非走査期間のそれぞれに共通化して利用することができ、簡単な回路を付加するだけで低周波数駆動が可能となって、新たに発生する消費電力を非常に小さくすることができる。
【0025】
さらに本発明の表示装置の駆動方法は、上記課題を解決するために、上記表示装置が上記データ信号の基となる画像データを蓄積する画像データ蓄積手段を有している場合に、上記休止期間に上記画像データ蓄積手段からの上記画像データの転送を停止させることを特徴としている。
【0026】
上記の発明によれば、休止期間に画像データ蓄積手段からの画像データの転送を停止させるので、休止期間において画像データ転送のための消費電力を削減することができる。これにより、表示装置全体の消費電力をさらに低減することができる。
【0027】
さらに本発明の表示装置の駆動方法は、上記課題を解決するために、上記データ信号の基となる画像データを上記表示装置に供給する画像データ供給手段がある場合に、上記休止期間に上記画像データ供給手段からの上記画像データの供給を受け付ける動作を上記表示装置に停止させることを特徴としている。
【0028】
上記の発明によれば、休止期間に画像データ供給手段からの画像データの供給を受け付ける動作を表示装置に停止させるので、休止期間において画像データ供給を受け付けるための消費電力を削減することができる。これにより、表示装置全体の消費電力をさらに低減することができる。
【0029】
さらに本発明の表示装置の駆動方法は、上記課題を解決するために、上記休止期間に、表示とは無関係なアナログ回路の動作を停止させることを特徴としている。
【0030】
上記の発明によれば、データ信号線ドライバやその制御回路などに含まれるアナログ回路のうち、休止期間における表示とは無関係なアナログ回路の動作を停止させる。従って、定常的に電力を消費している回路の消費電力を削減することができ、表示装置全体の消費電力をさらに低減することができる。
【0031】
さらに本発明の表示装置の駆動方法は、上記課題を解決するために、上記休止期間に、少なくとも上記データ信号線のドライバのアナログ回路の動作を停止させることを特徴としている。
【0032】
上記の発明によれば、休止期間に少なくとも最も消費電力の大きいアナログ回路の動作を停止させるので、表示装置全体の消費電力を効率よく低減することができる。
【0033】
さらに本発明の表示装置の駆動方法は、上記課題を解決するために、上記休止期間に、全データ信号線を駆動するデータ信号ドライバに対して上記全データ信号線をハイインピーダンス状態とすることを特徴としている。
【0034】
上記の発明によれば、休止期間に全データ信号線をデータ信号ドライバから切り離すなどして、データ信号ドライバに対してハイインピーダンス状態とするので、休止期間において各データ信号線の電位を一定に保持することができる。従って、データ信号線と接続される画素電極を有するような液晶表示装置において生じる、データ信号線と画素電極との容量結合に起因した画素電極の電位変動などのように、データ信号線の電位変動によって生じる各画素のデータ保持状態の変化が抑制され、画面のチラツキが十分に抑制される。これにより、十分な低消費電力化とチラツキが十分に抑制された高表示品位とを両立させることのできるマトリクス型の表示装置の駆動方法を提供することができる。
【0035】
さらに本発明の表示装置の駆動方法は、上記課題を解決するために、上記休止期間に、上記全データ信号線をハイインピーダンス状態とした後に、表示とは無関係なアナログ回路の動作を停止させることを特徴としている。
【0036】
上記の発明によれば、全データ信号線をハイインピーダンス状態とした後に、休止期間の表示とは無関係なアナログ回路の動作を停止させるので、休止期間にアナログ回路を介してデータ信号線がグランド電位となることを避けることができる。従って、アナログ回路の消費電力の削減を行いながら、画素のデータ保持状態の変化を抑制し、よりチラツキが抑制された高表示品位を達成することができる。
【0037】
さらに本発明の表示装置の駆動方法は、上記課題を解決するために、上記休止期間に、少なくとも上記データ信号線のドライバのアナログ回路の動作を停止させることを特徴としている。
【0038】
上記の発明によれば、休止期間に少なくとも最も消費電力の大きいアナログ回路の動作を停止させるので、表示装置全体の消費電力を効率よく低減することができる。
【0039】
さらに本発明の表示装置の駆動方法は、上記課題を解決するために、上記全データ信号線をハイインピーダンス状態とする前に、上記全データ信号線を、全画素のデータ保持状態の変化が平均して最小となる電位とすることを特徴としている。
【0040】
上記の発明によれば、全データ信号線を、全画素のデータ保持状態の変化が平均して最小となる電位としてからハイインピーダンス状態とする。例えば、データ信号線と接続される画素電極と、その対向電極との間に液晶が介在する液晶表示装置では、全データ信号線を、対向電極に交流電圧を印加する場合に該交流電圧の振幅中心の電位とし、対向電極に直流電圧を印加する場合に対向電極と同電位とする。この場合、交流駆動で正極性電位の画素と負極性電位の画素電極とが混在しても、データ信号線と画素電極との容量結合による全画素の電荷保持状態の変化、すなわちデータ保持状態の変化が平均して最小となる。これにより、ラインごとに画素のデータ保持状態が異なる場合でも、画面全体としてデータ保持状態の変化が略最小となり、よりチラツキが抑制された高表示品位を達成することができる。
【0041】
また、本発明の表示装置は、上記課題を解決するために、前記所定の発明に記載の表示装置の駆動方法を実行する制御手段を有していることを特徴としている。
【0042】
上記の発明によれば、明るさ、コントラスト、応答速度、階調性などの基本的な表示品位を満たした状態で、容易に十分な低消費電力化を図ることのできるマトリクス型の表示装置を提供することができる。
【0043】
また、本発明の表示装置は、上記課題を解決するために、前記所定の発明に記載の表示装置の駆動方法を実行する制御手段を有していることを特徴としている。
【0044】
上記の発明によれば、十分な低消費電力化とチラツキが十分に抑制された高表示品位とを両立させることのできるマトリクス型の表示装置を提供することができる。
【0045】
さらに本発明の表示装置の駆動方法は、上記課題を解決するために、上記表示装置が、画素電極と対向電極との間に液晶が介在して形成される電気容量に、走査信号線から供給される走査信号によって選択状態となったアクティブ素子を介し、データ信号線から供給されるデータ信号に基づいた電荷が周期的に書き込まれる画素がマトリクス状に配置された液晶表示素子を有する液晶表示装置であることを特徴としている。
【0046】
上記の発明によれば、明るさ、コントラスト、応答速度、階調性などの基本的な表示品位を満たした状態で、容易に十分な低消費電力化を図ることのできるアクティブマトリクス型の液晶表示装置の駆動方法を提供することができる。
【0047】
さらに本発明の表示装置の駆動方法は、上記課題を解決するために、上記表示装置が、画素電極と対向電極との間に液晶が介在して形成される電気容量に、走査信号線から供給される走査信号によって選択状態となったアクティブ素子を介し、データ信号線から供給されるデータ信号に基づいた電荷が周期的に書き込まれる画素がマトリクス状に配置された液晶表示素子を有する液晶表示装置であることを特徴としている。
【0048】
上記の発明によれば、十分な低消費電力化とチラツキが十分に抑制された高表示品位とを両立させることのできるアクティブマトリクス型の表示装置の駆動方法を提供することができる。
【0049】
さらに本発明の表示装置の駆動方法は、上記課題を解決するために、上記休止期間に上記対向電極を、上記対向電極に上記走査期間に直流電圧を印加する場合には上記走査期間の上記対向電極と同電位とし、上記対向電極に上記走査期間に交流電圧を印加する場合には上記交流電圧の振幅中心の電位とすることを特徴としている。
【0050】
上記の発明によれば、休止期間に対向電極の電位を上記のように設定することにより、各画素と対向電極との容量結合に起因した画素電極の電位変動が抑制される。従って、画素のデータ保持状態の変化が抑制され、チラツキが抑制された高表示品位を達成することができる。
【0051】
さらに本発明の表示装置の駆動方法は、上記課題を解決するために、上記休止期間に、上記アクティブ素子のOFF抵抗値を最大とする非選択電圧を全走査信号線に印加することを特徴としている。
【0052】
上記の発明によれば、全走査信号線が非走査状態となる休止期間において、アクティブ素子のOFF抵抗値を最大に保つため、データ信号線への漏れ電流による画素電極の電位変動が抑制される。これにより、走査ラインごとに画素の電位が異なる場合でも、画素のデータ保持状態の変化が抑制され、チラツキが抑制された高表示品位を達成することができる。
【0053】
さらに本発明の表示装置の駆動方法は、上記課題を解決するために、上記休止期間を16.7msec以上2sec以下とすることを特徴としている。
【0054】
上記の発明によれば、休止期間を60Hzの走査期間以上に相当する16.7msec以上としてデータ信号線ドライバの消費電力を削減する。そして、休止期間を2sec以下とすることにより、液晶およびアクティブ素子からの漏れ電流によって画素電極の電位が変動することによるチラツキが抑制され、高表示品位を達成することができる。
【0055】
さらに本発明の表示装置の駆動方法は、上記課題を解決するために、上記休止期間を50msec以上1sec以下とすることを特徴としている。
【0056】
上記の発明によれば、休止期間を50msec以上としてデータ信号線ドライバの消費電力を大幅に削減する。そして、休止期間を1sec以下とすることにより、液晶およびアクティブ素子からの漏れ電流によって画素電極の電位が変動することによるチラツキが大きく抑制され、より高表示品位を達成することができる。
【0057】
さらに本発明の表示装置は、上記課題を解決するために、前記所定の発明に表示装置の駆動方法を実行する制御手段を有していることを特徴としている。
【0058】
上記の発明によれば、明るさ、コントラスト、応答速度、階調性などの基本的な表示品位を満たした状態で、容易に十分な低消費電力化を図ることのできるアクティブマトリクス型の液晶表示装置を提供することができる。
【0059】
さらに本発明の表示装置は、上記課題を解決するために、前記所定の発明に記載の表示装置の駆動方法を実行する制御手段を有していることを特徴としている。
【0060】
上記の発明によれば、十分な低消費電力化とチラツキが十分に抑制された高表示品位とを両立させることのできるアクティブマトリクス型の液晶表示装置を提供することができる。
【0061】
さらに本発明の表示装置は、上記課題を解決するために、上記液晶表示素子には、上記画素電極との間で上記画素の補助容量を形成する補助容量電極が上記走査信号線の位置を避けて設けられていることを特徴としている。
【0062】
上記の発明によれば、画素の補助容量を形成する補助容量電極を走査信号線の位置を避けて設けるので、走査信号線と画素電極との電気容量結合を無視することができる。従って、この状態で制御手段により休止期間を設定して液晶表示素子の駆動を行えば、Csオンゲート構造で補助容量を形成していた場合と異なり、1ライン上の走査信号線の電位変動による画素電極の電位変動は生じなくなる。これにより、長い休止期間を設定してもチラツキが抑制された高表示品位を得ることができる。
【0063】
さらに本発明の表示装置は、上記課題を解決するために、上記液晶表示素子の画素電圧保持率を、上記画素電極と上記対向電極との間の電気容量をCLC、上記補助容量をCCS、上記アクティブ素子の非選択期間をT、上記書き換え周波数における非選択期間T3後の液晶電圧保持率をHr(T)、書き込み直後の上記画素電極と上記対向電極との電位差をV、上記アクティブ素子の非選択時の抵抗値をR、V1 =V−{V・(1−Hr(T))×CLC/(CLC+CCS)}として、
P=V1 ・exp[−T/{(CLC+CCS)・R}]/V
と表したときに、P≧0.9であることを特徴としている。
【0064】
上記の発明によれば、走査信号線数をn、走査期間をT1、非走査期間をT0とすれば、非選択期間T=(T1+T0)−T1/nと表されるので、非走査期間T0を休止期間に設定しても、選択期間中にデータ信号線から印加された画素の電圧が、非選択期間Tを通して90%以上の電圧保持率で保持される。従って、非選択期間Tにおいて画素電極の電位変動がほとんど生じない。これにより、長い休止期間を設定してもよりチラツキのない安定した表示品位が得られる。
【0065】
さらに本発明の表示装置は、上記課題を解決するために、上記液晶表示素子は周囲光を用いて反射型表示を行う反射部材を有していることを特徴としている。
【0066】
上記の発明によれば、バックライトを必要としない反射型液晶表示装置とするので、休止期間を設定した駆動による低消費電力化の割合が大きくなる。
【0067】
さらに本発明の液晶表示装置は、上記の課題を解決するために、上記反射部材は上記画素電極の少なくとも一部であることを特徴としている。
【0068】
上記の発明によれば、反射部材が画素電極の少なくとも一部である、すなわち、画素電極の少なくとも一部が反射型液晶表示装置の反射電極となるので、別途反射部材は必要なく、装置を構成する部材の種類を減らすことが可能である。
【0069】
さらに本発明の表示装置は、上記課題を解決するために、上記反射部材に光透過用の穴が設けられている、または上記反射部材が半透明であることを特徴としている。
【0070】
上記の発明によれば、反射透過両用型の液晶表示装置とするので、周囲光が多いときには反射型として、周囲光が少ないときにはバックライトを点灯するなど透過型と併用して利用することができる。
【0071】
また、本発明の携帯機器は、上記課題を解決するために、前記所定の発明に記載の表示装置が搭載されていることを特徴としている。
【0072】
上記の発明によれば、明るさ、コントラスト、応答速度、階調性などの基本的な表示品位を満たした状態で、容易に十分な低消費電力化を図ることのできる携帯機器を提供することができ、バッテリーによる長時間駆動が容易になる。
【0073】
また、本発明の携帯機器は、上記課題を解決するために、前記所定の発明に記載のの表示装置が搭載されていることを特徴としている。
【0074】
上記の発明によれば、十分な低消費電力化とチラツキが十分に抑制された高表示品位とを両立させることのできる携帯機器を提供することができ、バッテリーによる長時間駆動が容易になる。
【0075】
【発明の実施の形態】
本発明の表示装置の駆動方法、およびそれを用いた表示装置、ならびに携帯機器を具現する一実施の形態について図1ないし図15に基づいて説明すれば、以下の通りである。
【0076】
図2に、本実施の形態に係る表示装置としての液晶表示装置1のシステムブロック図を示す。液晶表示装置1は、液晶パネル2、ゲートドライバ3、ソースドライバ4、コントロールIC5、および画像メモリ6を備えている。液晶パネル2は、マトリクス状に配置された画素からなる画面と、上記画面を線順次に選択して走査する複数の走査信号線と、選択されたラインの画素にデータ信号を供給する複数のデータ信号線とを備えている。走査信号線とデータ信号線とは直交している。ゲートドライバ3は走査信号線ドライバであり、液晶パネル2の各走査信号線に、選択期間と非選択期間とのそれぞれに応じた電圧を出力する。ソースドライバ4はデータ信号線ドライバであり、液晶パネル2の各データ信号線にデータ信号を出力し、選択されている走査信号線上にある画素のそれぞれに画像データを供給する。
【0077】
コントロールIC5は、コンピュータなどの内部にある画像メモリ6に蓄えられている画像データを受け取り、ゲートドライバ3にゲートスタートパルス信号GSPおよびゲートクロック信号GCKを配信し、ソースドライバ4にRGBの階調データ、ソーススタートパルス信号SP、ソースラッチストローブ信号SLS、およびソースクロック信号SCKを配信する。これら全ての信号は同期しており、各信号の周波数を信号名の前にfを付して表すと、これら周波数の関係は一般的には、
fGSP<fGCK=fSP<fSCK
となっている。なお、いわゆる擬似倍速駆動の場合はfGCK>fSPとなる。画像データ蓄積手段としての画像メモリ6に蓄積されている画像データは、データ信号の基になるデータである。また、コントロールIC5は後述する本実施の形態に係る表示装置の駆動方法を実行する制御手段としての機能を有している。
【0078】
ゲートドライバ3は、コントロールIC5から受け取ったゲートスタートパルス信号GSPを合図に液晶パネル2の走査を開始し、ゲートクロック信号GCKに従って各走査信号線に順次選択電圧を印加していく。ソースドライバ4、コントロールIC5から受け取ったソーススタートパルス信号SPを基に、送られてきた各画素の階調データをソースクロック信号SCKに従ってレジスタに蓄え、次のソースラッチストローブ信号SLSに従って液晶パネル2の各データ信号線に階調データを書き込む。
【0079】
また、コントロールIC5の内部には、ゲートスタートパルス信号GSPのパルス間隔の設定を行うGSP変換回路7が備えられている。ゲートスタートパルス信号GSPのパルス間隔は、表示のフレーム周波数が通常の60Hzである場合は約16.7msecである。GSP変換回路7は、例えばこのゲートスタートパルス信号GSPのパルス間隔を167msecと長くすることができる。1画面の走査期間T1が通常のままであるとすると、上記のパルス間隔のうち約9/10は全走査信号線を非走査状態とする期間となる。このように、GSP変換回路7では、走査期間T1が終了した後に再びゲートスタートパルス信号GSPがゲートドライバ3に入力されるまでの非走査期間が、走査期間T1より長くなるように設定することができる。この走査期間T1より長い非走査期間を休止期間T2と呼ぶことにする。非走査期間として休止期間T2を設定した場合の、走査信号線G1 〜Gn に供給する走査信号の波形を図1に示す。同図においてn=4としたとき、従来の図17に示す走査信号の波形と比較して、非走査期間が垂直帰線期間に代わって走査期間T1より長い休止期間T2に設定され、フレームやフィールドを表す垂直周期が長くなっていることが分かる。
【0080】
GSP変換回路7で非走査期間として休止期間T2を設定すると、1垂直期間は走査期間T1と休止期間T2との和になる。例えば走査期間T1を通常の60Hz相当の時間に設定すると、それよりも長い休止期間T2が存在するために、垂直周波数が30Hzより低い周波数となる。走査期間T1と非走査期間とは、静止画や動画など表示したい画像における動きの程度に応じて適宜設定すればよく、GSP変換回路7では画像の内容に応じて複数の非走査期間を設定することができるようになっている。そして、非走査期間の少なくとも1つは休止期間T2となっている。同図では、GSP変換回路7が外部から入力される非走査期間設定信号M1・M2に応じて非走査期間の設定を変えるようになっている。非走査期間設定信号の数は任意でよいが、例えばこの2種類の非走査期間設定信号M1・M2が論理信号であれば、非走査期間を4通りに設定することができる。
【0081】
休止期間T2を設けることにより、画面を書き換える回数、すなわちソースドライバ4から出力するデータ信号の供給周波数を減少させることができるので、画素を充電する電力を削減することができる。従って、液晶表示装置1が明るさ、コントラスト、応答速度、階調性などの基本的な表示品位を確保することのできるアクティブマトリクス型の液晶表示装置である場合に、非走査期間として休止期間T2を設定すれば、データ信号の供給周波数に正比例して増加するデータ信号線ドライバの消費電力を、上記表示品位を犠牲にすることなく容易にかつ十分に削減することができる。
【0082】
このような理由から、静止画のように画像に動きのない表示や、動画でも画像に動きの少ない表示などに対しては、非走査期間を長い休止期間T2に設定すればよい。また、動きの多い動画に対しては、非走査期間として短い休止期間T2や、休止期間T2よりも短い非走査期間に設定すればよい。例えば16.7msecという走査期間に対して十分短い非走査期間に設定すると、駆動周波数は通常の60Hz相当となるので、十分に速い動画表示が可能になる。これに対し、非走査期間を3333msecという長い休止期間T2に設定すると、静止画や動きの少ない動画に対して、画面を書き換えることによる消費電力を基本的な表示品位を保ったまま削減することができる。すなわち、液晶パネル2を動画ディスプレイと低消費電力ディスプレイとに切り換えて使用することができる。このように、静止画や動画など表示画像の種類に応じて画面を書き換える周期を変化させることができるので、表示画像の種類ごとに最適な低消費電力化を図ることができる。
【0083】
また、複数の非走査期間のうちで最短のものをT01、T01以外の任意のものをT02としたとき、
(T1+T02)=(T1+T01)×N(Nは2以上の整数) (1)
の関係とする、すなわち、複数の非走査期間のそれぞれを用いたフレーム期間を、最短の非走査期間T01を用いたフレーム期間の整数倍とするのが好ましい。例えば、通常の60Hzで駆動を行う場合、T1は16.7msec以下である。T01を垂直帰線期間とし、T02を式(1)の関係に設定すれば、60Hzで転送されてくる画面のデータ信号に対して整数回に1回サンプリングを行えばよい。従って、基準同期信号を非走査期間のそれぞれに共通化して利用することができ、簡単な回路を付加するだけで低周波数駆動が可能となって、新たに発生する消費電力を非常に小さくすることができる。
【0084】
なお、非走査期間の設定では、この例のようにGSP変換回路7に複数の非走査期間設定信号が入力されるようになっていてもよいし、GSP変換回路7に非走査期間調整用のボリュームや選択用のスイッチなどが備えられていてもよい。もちろん使用者が設定しやすいように液晶表示装置1の筐体外周面に非走査期間調整用のボリュームや選択用のスイッチなどが備えられていてもよい。GSP変換回路7は少なくとも外部からの指示に応じて非走査期間を所望の設定に変えることのできる構成であればよい。また、図2ではGSP変換回路7がコントロールIC5の内部に組み込まれている構成であるが、これに限らず、コントロールIC5から独立して設けられていてもよい。
【0085】
次に、休止期間T2を設定した場合に、さらに消費電力を低減する方法について説明する。
【0086】
ゲートドライバ3およびソースドライバ4の内部にはロジック回路があり、それぞれが内部のトランジスタを動作させるために電力を消費する。このため、これらの消費電力はトランジスタが動作する回数に比例し、クロック周波数に比例することとなる。休止期間T2には全走査信号線を非走査状態とするので、ゲートクロック信号GCK、ソーススタートパルス信号SP、ソースクロック信号SCKなどのゲートスタートパルス信号GSP以外の信号を、ゲートドライバ3およびソースドライバ4に入力しないことにより、ゲートドライバ3およびソースドライバ4の内部にあるロジック回路を動作させる必要がなくなるためそれだけ消費電力を削減することができる。
【0087】
一方、ソースドライバ4がデジタルのデータ信号を扱うデジタルドライバである場合には、図3に示すように階調発生回路8が設けられており、コントロールIC5から送られてきた階調信号に基づき、分圧抵抗8aとスイッチング素子8bとを用いた抵抗分割法により電源電圧VDDから階調電圧を選択する。その後バッファ9によって電流増幅を行って各データ信号線に出力する。このように、ソースドライバ4の内部には階調発生回路8やバッファ9などの定常的に電流が流れるアナログ回路が存在する。また、ソースドライバ4がアナログのデータ信号を扱うアナログドライバである場合には、アナログ回路としてサンプリングホールド回路とバッファとが存在する。さらに、コントロールIC5の内部にアナログ回路が存在している場合もある。
【0088】
アナログ回路の消費電力は駆動周波数に依存しないので、ゲートドライバ3およびソースドライバ4の内部にあるロジック回路の動作を停止させただけでは上記消費電力は削減することができない。そこで、休止期間T2中にこれらのアナログ回路を停止させ、アナログ回路を電源から切り離すようにすれば、アナログ回路の消費電力を削減し、液晶表示装置1全体の消費電力をさらに低減することができる。なお、液晶表示装置1がアクティブマトリクス型液晶表示装置である場合には、休止期間T2中にゲートドライバ3から画素に非選択電圧を印加するため、停止させるアナログ回路を最低限ゲートドライバ3と関連しないもの、すなわち休止期間T2における表示とは無関係なものとすればよい。少なくともソースドライバ4のアナログ回路を停止させることにより、最も消費電力の大きいアナログ回路の動作を停止させることになるので、液晶表示装置1全体の消費電力を効率よく低減することができる。
【0089】
また、休止期間T2では画素にデータを書き込まないので、休止期間T2に画像メモリ6からの画像データの転送を停止させることにより、休止期間T2において画像データ転送のための消費電力を削減することができる。画像データの転送の停止に当たっては、例えば前述の非走査期間設定信号M1・M2に基づいてコントロールIC5から画像メモリ6に画像データの転送の停止を要求する。これにより、転送停止の制御が容易ながら液晶表示装置1全体の消費電力をさらに低減することができる。
【0090】
また、画像データを液晶表示装置1に外部から供給する画像データ供給手段が備えられている場合もある。この場合、液晶表示装置1内部に画像メモリ6が設けられていることもあれば、設けられていないこともある。このような条件では、休止期間T2に画像データ供給手段からの画像データの供給を受け付ける動作を液晶表示装置1に停止させることができる。例えば、非走査期間設定信号M1・M2に基づいてコントロールIC5の入力部を、画像データの供給側に対してハイインピーダンスとする。これにより、上記入力部での消費電力を削減することができる。このように、休止期間T2に画像データ供給手段からの画像データの供給を受け付ける動作を液晶表示装置1に停止させることにより、休止期間T2において画像データ供給を受け付けるための消費電力を削減することができる。従って、液晶表示装置1全体の消費電力をさらに低減することができる。
【0091】
次に、休止期間T2を設定した場合に、画面のチラツキが十分に抑制された高表示品位を達成する方法について説明する。
【0092】
まず、休止期間T2に全データ信号線をソースドライバ4から切り離すなどして、ソースドライバ4に対してハイインピーダンス状態とする。このようにすると、休止期間T2において各データ信号線の電位を一定に保持することができる。従って、液晶表示装置1がデータ信号線と接続される画素電極を有するような場合において生じる、データ信号線と画素電極との容量結合に起因した画素電極の電位変動などのように、データ信号線の電位変動によって生じる各画素のデータ保持状態の変化が抑制され、チラツキが十分に抑制される。これにより、十分な低消費電力化とチラツキが十分に抑制された高表示品位とを両立させることができる。
【0093】
また、前述のように、消費電力を削減するためにソースドライバ4のバッファ9内部のアナログ回路の動作を停止させる際、バッファ9がグランド電位になる。すると、バッファ9と接続されているデータ信号線も同時にグランド電位になってしまい、液晶表示装置1がデータ信号線と接続される画素電極を有するような場合に、容量結合に起因した画素電極の電位変動が生じる。従って、全データ信号線をハイインピーダンス状態とした後に、休止期間T2の表示とは無関係なアナログ回路の動作を停止させるようにする。従って、アナログ回路の消費電力の削減を行いながら、画素のデータ保持状態の変化を抑制し、よりチラツキが抑制された高表示品位を達成することができる。
【0094】
さらに、全データ信号線を、全画素のデータ保持状態の変化が平均して最小となる電位としてからハイインピーダンス状態とすればなお好ましい。例えば、液晶表示装置1がデータ信号線と接続される画素電極と、その対向電極との間に液晶が介在する構成であれば、全データ信号線を、対向電極に交流電圧を印加する場合に該交流電圧の振幅中心の電位とし、対向電極に直流電圧を印加する場合に対向電極と同電位とする。この場合、交流駆動で正極性電位の画素と負極性電位の画素電極とが混在しても、データ信号線と画素電極との容量結合による全画素の電荷保持状態の変化、すなわちデータ保持状態の変化が平均して最小となる。これにより、ラインごとに画素のデータ保持状態が異なる場合でも、画面全体としてデータ保持状態の変化が略最小となり、よりチラツキが抑制された高表示品位を達成することができる。
【0095】
次に、上記液晶表示装置1の液晶パネル2の具体的な構成例について説明する。
【0096】
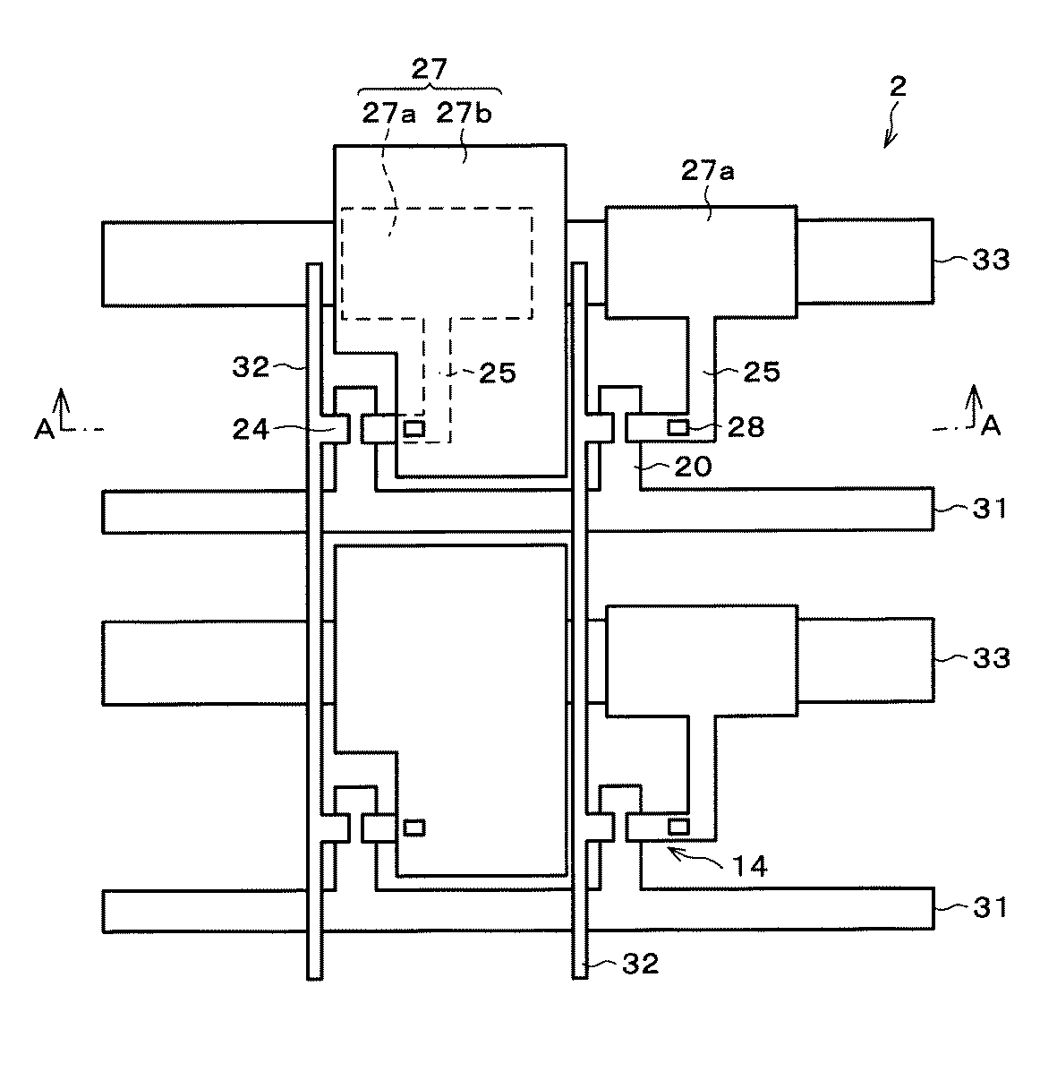
図4に液晶パネル2の断面構成を示す。同図は後述する図5のA−A断面図に相当する。液晶パネル2は反射型のアクティブマトリクス型液晶パネルであり、2枚のガラス基板11・12にネマチック液晶などの液晶層13が挟持され、ガラス基板12上にアクティブ素子としてのTFT14…が形成された基本構成を有している。なお、本実施の形態ではアクティブ素子としてTFTを用いるが、MIM(Metal Insulator Metal) やTFT以外のFETを用いることもできる。ガラス基板11の上面には、入射光の状態を制御するための位相差板15、偏光板16、および反射防止膜17がこの順で設けられている。ガラス基板11の下面には、RGBのカラーフィルタ18、および対向電極としての透明共通電極19がこの順で設けられている。カラーフィルタ18によりカラー表示が可能となっている。
【0097】
各TFT14においては、ガラス基板12上に設けられた走査信号線の一部をゲート電極20とし、その上にゲート絶縁膜21が形成されている。ゲート絶縁膜21を挟んでゲート電極20と対向する位置にi型アモルファスシリコン層22が設けられ、i型アモルファスシリコン層22のチャネル領域を挟むようにn+ 型アモルファスシリコン層23が2箇所形成されている。一方のn+ 型アモルファスシリコン層23の上面にはデータ信号線の一部をなすデータ電極24が形成され、他方のn+ 型アモルファスシリコン層23の上面からゲート絶縁膜21の平坦部上面にわたってドレイン電極25が引き出されて形成されている。ドレイン電極25の引き出し開始箇所と反対側の一端は、後述する図5に示すように補助容量配線33と対向する矩形の補助容量用電極パッド27aと接続されている。TFT14…の上面には層間絶縁膜26が形成されており、層間絶縁膜26の上面には反射電極27b…が設けられている。反射電極27b…は周囲光を用いて反射型表示を行うための反射部材である。反射電極27b…による反射光の方向を制御するために、層間絶縁膜26の表面には微細な凹凸が形成されている。
【0098】
さらに、各反射電極27bは、層間絶縁膜26に設けたコンタクトホール28を通じてドレイン電極25と導通している。すなわち、データ電極24から印加されてTFT14により制御される電圧は、ドレイン電極25からコンタクトホール28を介して反射電極27bに印加され、反射電極27bと透明共通電極19との間の電圧によって液晶層13が駆動される。すなわち、補助容量用電極パッド27aと反射電極27bとは互いに導通し、また反射電極27bと共通透明電極19との間に液晶が介在している。このように、補助容量用電極パッド27aと反射電極27bとは画素電極27を構成している。透過型の液晶表示装置の場合は、上記各電極に相当するように配置された透明電極が画素電極となる。
【0099】
さらに液晶パネル2には、図4のうち液晶層13より下方の部分を上方から見た図5に示すように、TFT14のゲート電極20に走査信号を供給する走査信号線31…と、TFT14のデータ電極24にデータ信号を供給するデータ信号線32…とがガラス基板12上に直交するように設けられている。そして、補助容量用電極パッド27a…のそれぞれとの間に画素の補助容量を形成する補助容量電極としての補助容量配線33…が設けられている。補助容量配線33…は走査信号線31…以外の位置で、一部がゲート絶縁膜21を挟んで補助容量用電極パッド27a…と対をなすようにガラス基板12上に走査信号線31…と平行に設けられている。この場合に限らず、補助容量配線33…は走査信号線31…の位置を避けて設けられていればよい。なお、同図では補助容量用電極パッド27a…と補助容量配線33…との位置関係が明確になるように反射電極27b…の図示を一部省略してある。また、図4における層間絶縁膜26の表面の凹凸は図5では図示していない。
【0100】
上記の構成の液晶パネル2における、1画素についての等価回路を図6(a)・(b)に示す。同図(a)は、透明共通電極19と反射電極27bとで液晶層13を挟持することにより形成した液晶容量CLCと、補助容量用電極パッド27aと補助容量配線33とでゲート絶縁膜21を挟持することにより形成した補助容量CCSとをTFT14に接続し、透明共通電極19および補助容量配線33を一定の直流電位とした等価回路である。同図(b)は、上記液晶容量CLCの透明共通電極19にバッファを介して交流電圧Vaを印加し、上記補助容量CCSの補助容量配線33にバッファを介して交流電圧Vbを印加するようにした等価回路である。交流電圧Vaと交流電圧Vbとは電圧振幅が等しく、位相が揃っている。従って、この場合は透明共通電極19の電位と補助容量配線33の電位とは互いに同位相で振動する。また、同図(a)のように液晶容量CLCと補助容量CCSとが並列に接続されている構成で、一定の直流電位に代えてバッファを介した共通の交流電圧を印加する場合もある。
【0101】
以上のような構成の液晶パネル2について、休止期間T2を設けた場合の駆動方法を次に説明する。
【0102】
図6(a)・(b)の等価回路において、走査信号線31に選択電圧を印加してTFT14をON状態とし、データ信号線32から液晶容量CLCと補助容量CCSとにデータ信号をを印加する。次に、走査信号線31に非選択電圧を印加してTFT14をOFF状態とすることにより、液晶容量CLCと補助容量CCSとに書き込まれた電荷を保持する。ここで、前述したように画素の補助容量CCSを形成する補助容量配線33を走査信号線31の位置を避けて設けているので、これらの等価回路においては、走査信号線31と補助容量用電極パッド27aとの容量結合を無視することができる。従って、この状態でコントロールIC5により休止期間T2を設定して液晶パネル2の駆動を行えば、Csオンゲート構造で補助容量を形成する場合と異なり、前段の走査信号線の電位変動による画素電極27の電位変動は生じなくなる。
【0103】
休止期間T2を設定して低周波数駆動とすることによって、データ信号の極性反転周波数が減少し、データ信号ドライバ、この場合はソースドライバ4の消費電力が十分に削減される。また、画素電極27の電位変動が抑制されることによって、長い休止期間T2を設定してもチラツキが抑制された高表示品位を得ることができる。
【0104】
また、図6(a)のように透明共通電極19に走査期間T1に直流電圧を印加する場合には、休止期間T2に透明共通電極19を走査期間T1の透明共通電極19と同電位とする。あるいは同図(b)のように透明共通電極19に走査期間T1に交流電圧を印加する場合には、休止期間T2に透明共通電極19を上記交流電圧の振幅中心の電位とする。このように、休止期間T2に透明共通電極19の電位を上記のように設定することにより、各画素と対向電極との容量結合に起因した画素電極27の電位変動が抑制される。従って、画素のデータ保持状態の変化が抑制され、チラツキが抑制された高表示品位を達成することができる。
【0105】
次に、サイズを対角0.1m、走査信号線31を240本、データ信号線320×3本とした液晶パネル2の特性の解析結果に基づく駆動方法について説明する。図7は、前記液晶層13に用いた液晶(メルク社製ZLI-4792)について、液晶電圧保持率Hrの非走査期間依存性を測定した結果である。同図から分かるように、液晶電圧保持率Hrは非走査期間が2secのときに92%、3secのときに80%と次第に大きく低下する。非走査期間が3secのときには、後述する画素電圧保持率Pは88%となり、画素電圧保持率Pは90%以上が好ましいため、非走査期間は2sec以下が好ましい。非走査期間を16.7msec以上とすると、60Hzの走査期間16.7msecに対してはこの非走査期間は休止期間T2となる。
【0106】
従って、休止期間T2を16.7msec以上とすることにより、ソースドライバ4の消費電力を60Hz駆動の場合よりも削減することができるとともに、2sec以下とすることにより、液晶およびTFT14からの漏れ電流によって画素電極27の電位が変動することによるチラツキが抑制され、高表示品位を達成することができる。さらに好ましくは、休止期間T2を50msec以上1sec以下とする。休止期間T2を50msec以上とすることにより、ソースドライバ4の消費電力を大幅に削減することができるとともに、休止期間T2を1sec以下とすることにより、液晶およびTFT14からの漏れ電流によって画素電極27の電位が変動することによるチラツキが大きく抑制され、より高表示品位を達成することができる。
【0107】
また、図8は、TFT14のOFF抵抗値と、TFT14のゲート電極20の電位、すなわち走査信号線31の電位との関係を測定した結果である。TFT14のOFF電圧は通常−10V程度であり、これが僅かでも変動して液晶電圧保持率HrおよびTFT14のOFF抵抗値が十分でなくなると、液晶容量CLCと補助容量CCSとに書き込まれた電荷がTFT14の非選択期間に顕著に漏れてしまい、図9に示すように画素電極27の電位が変動して、反射電極27bからの反射光強度が変動する。すなわちチラツキが発生する。
【0108】
そこで、休止期間T2には、TFT14のOFF抵抗値を最大とする非選択電圧を全走査信号線31…に印加することとする。この非選択電圧は図8では−8V前後である。全走査信号線31…が非走査状態となる休止期間T2において、TFT14のOFF抵抗値を最大に保つため、データ信号線32への漏れ電流による画素電極27の電位変動が抑制される。これにより、走査ラインごとに画素の電位が異なる場合でも、画素のデータ保持状態の変化が抑制され、チラツキが抑制された高表示品位を達成することができる。
【0109】
また、このように全走査信号線31…に非選択電圧を印加することにより、前述とは異なって休止期間T2中にゲートスタートパルス信号GSP以外の信号をそのままゲートドライバ3およびソースドライバ4に配信して、ソースドライバ4が液晶パネル2のデータ信号線にデータ信号を出力する場合でも、画素電極27の電位が保持され、表示は変化しない。
【0110】
次に、画素電極27の電位、および反射電極27bからの反射光強度が関係する画素電圧保持率Pは、
P=V1 ・exp[−T/{(CLC+CCS)・R}]/V (2)
で表される。ただし、
V1 =V−{V・(1−Hr(T))×CLC/(CLC+CCS)}
T:TFT14の非選択期間
Hr(T):図7において、非選択期間T後の液晶電圧保持率
V:書き込み直後の画素電極27と透明共通電極19との電位差
R:図8におけるTFT14のOFF抵抗値
である。V1 ・exp[−T/{(CLC+CCS)・R}]は、書き込んでから時間T後の画素電極27と透明共通電極19との電位差である。また、走査信号線数をn、走査期間をT1、非走査期間をT0とすれば、非選択期間T=(T1+T0)−T1/nと表される。
【0111】
例えばT=180msecとしたときの液晶電圧保持率Hr(T)、TFT14の非選択時の抵抗値すなわちOFF抵抗値R、液晶容量CLC、および補助容量CCSを表1のように設定して画素電圧保持率Pを式(2)から計算すると、99.7%となる。
【0112】
【表1】
【0113】
そこで、画素電圧保持率Pとチラツキの知覚限界について詳細な検討を行った。図10(a)に示すように、内側に透明電極43を形成したガラス基板42を2枚向かい合わせ、さらに透明電極43・43の間に液晶層44を挟持したチラツキ評価用セル41を作製した。そして、このチラツキ評価用セル41の2つの透明電極43・43間に、信号発生装置45から電圧を印加した。信号発生装置45から出力される電圧波形を同図(b)に示す。同図においてVsを3V、非選択期間Tを167msecとし、Veを変化させる。チラツキ評価用セル41は初めVsの電圧に充電されるが、徐々に電圧が低下してVeとなる。次に、−Vsの電圧を印加するとチラツキ評価用セル41の明るさが変化するが、このときの明るさの変化、すなわちチラツキを目視で確認する。
【0114】
ここで、Ve/Vsが実際の液晶表示装置1における画素電圧保持率Pに相当する。画素電圧保持率Pとチラツキの発生状況について詳細に観察したところ、表2に示すような結果が得られた。
【0115】
【表2】
【0116】
である。
【0117】
これにより、休止期間T2を設けてもチラツキがない液晶パネル2を得るためには、画素電圧保持率P≧0.9とすればよいことが分かる。
【0118】
以上の構成の液晶表示装置1で低周波数駆動を行った場合の走査信号波形、データ信号波形、画素電極27の電位、および反射電極27bからの反射光強度を図11(a)ないし(e)に示す。なお、走査期間T1を16.7msec、休止期間T2を167msecとした。また、奇数回目の画像の書き込みでは奇数番目の走査信号線(G1 ,G3 ,…)を走査する場合にデータ信号線32…を正極性、偶数番目の走査信号線(G2 ,G4 ,…)を走査する場合にデータ信号線32…を負極性とし、偶数回目の画像の書き込みではその逆とした。こうすることにより、走査ライン方向に極性を反転させることができ、各画素には毎回極性反転した交流信号が入力される。
【0119】
同図(a)は、注目している画素の走査信号線31の前段の走査信号線31に出力される走査信号波形を、同図(b)は注目している画素(自段)の走査信号線31に出力される走査信号波形を、同図(c)は注目している画素のデータ信号線32に出力されるデータ信号波形を、同図(d)は注目している画素の画素電極27の電位を示す。同図(a)および(d)から分かるように、前段の走査信号線31に選択電圧が印加されているときに、画素電極27の電位は安定している。このとき反射電極27bからの反射光強度を測定したところ、同図(e)に示すように反射光強度の変化はほとんど確認されなかった。また、目視による評価の結果でも、チラツキがなく均一で良好な表示品位が得られることが確認された。
【0120】
これに対し、図12に示すように前段の走査信号線31’…に補助容量用電極パッド27a’…を対向させて補助容量を形成する従来のCsオンゲート構造では、図13(a)ないし(e)の結果が得られた。同図(a)および(d)から分かるように、1ライン上の走査信号線31’に選択電圧が印加されているときに、画素電極27’の電位が大きく変動している。この結果、同図(e)に示すように反射電極27b’からの反射光強度も変動してしまい、目視による評価の結果でもチラツキが知覚された。
【0121】
また、液晶表示装置1の消費電力を測定したところ、休止期間T2を設けずに駆動を行った場合には160mWであったのに対し、休止期間T2を設けて駆動を行った場合には40mWとなり、大きく低減することが確認された。さらに、非走査期間を垂直帰線期間とし、16.7msecで繰り返し画像を書き換えるように切り換えたところ、画像が刻々と変化する通常の動画を表示させることができた。
【0122】
以上に述べたように、液晶表示装置1によれば、アクティブ素子を有する構成において、良好な表示品位を保ったまま低消費電力化を達成することができる。また、液晶表示装置1が反射電極27b…を備え、バックライトを必要としない反射型液晶表示装置であることから、30Hz以下の駆動による低消費電力化の割合が大きい液晶表示装置となる。これは液晶パネルの裏面に反射部材が設けられている反射型液晶表示装置についても同様である。
【0123】
次に、液晶表示装置として、図4および図5を用いて説明した液晶表示装置1における液晶パネル2を、図14および図15に示す液晶パネル51で置き換えた構成であり、透過反射両用型の液晶表示装置である。図15のB−B断面図である図14に示すように、液晶パネル51は、液晶パネル2の反射防止膜17およびカラーフィルタ18が省略されるとともに、ガラス基板12の下面に位相差板15および偏光板16がこの順で設けられた構成である。また、さらにその下方にバックライト52が設けられている。また、補助容量用電極パッド54aはITOなどの透明電極で形成されており、層間絶縁膜26および反射電極54bに微細な凹凸はない。
【0124】
さらに、補助容量用電極パッド54aの上方にある反射電極54b…の一部には、層間絶縁膜26を貫通する光透過穴53が設けられている。この光透過穴53がバックライト52からの光の透過領域となっている。反射電極27b…によって光が反射される反射領域と、上記透過領域とはコンタクトホール28を介して導通していて同電位であり、液晶層13を駆動することが可能である。この液晶パネル51で偏光モードで表示を行う場合、反射領域と透過領域との位相差の整合性を図る必要があることから、透過領域の液晶層13の厚みdT 、および反射領域の液晶層13の厚みdR とはdT ≒2dR とするのが望ましい。
【0125】
また、図15に図14の液晶層13より下方の部分を上方から見た図を示す。補助容量用電極パッド54aと反射電極54bとを合わせて画素電極54としている。各補助容量用電極パッド54aは補助容量配線33と補助容量CCSを形成しながらTFT14の周囲に広範囲に形成されている。そして、矩形の光透過穴53が、反射電極54bおよび層間絶縁膜26のうち、補助容量用電極パッド54aの上方で、かつ走査信号線31と補助容量配線33との上方を避けた位置に設けられている。
【0126】
上記の構成の液晶パネル51とすれば、前述の液晶表示装置1で得られる効果に加えて、周囲光が多いときには反射型として、周囲光が少ないときにはバックライト52を点灯して透過型と併用して利用することができるようになる。なお、液晶パネル2において、反射板を半透明としても同様の効果が得られる。
【0127】
以上、本実施の形態に係る表示装置の駆動方法とそれを用いた表示装置について述べてきたが、表示装置としてはアクティブマトリクス液晶表示装置に限らず、単純マルチプレックス液晶表示装置、EL(Electro Luminescence) 表示装置、PDP(Plasma Display Panel)、giriconなどでもよい。また、上記の表示装置は、携帯電話、ポケットゲーム機、PDA(Personal Digital Assistants) 、携帯TV、リモートコントロール、ノート型パーソナルコンピュータ、その他の携帯端末などに搭載可能である。これらの携帯機器はバッテリー駆動されることが多く、良好な表示品位を保ったままの低消費電力化が図れる表示装置を搭載していることにより、長時間駆動が容易になる。
【0128】
【発明の効果】
本発明の表示装置の駆動方法は、以上のように、画面を1回走査する走査期間よりも長い非走査期間であって、全走査信号線を非走査状態とする休止期間を設け、上記走査期間と上記休止期間との和を1垂直期間とする構成である。
【0129】
それゆえ、走査期間よりも長い休止期間が存在するために、垂直周波数が低い周波数となる。従って、明るさ、コントラスト、応答速度、階調性などの基本的な表示品位を確保することのできるマトリクス型の表示装置においては、データ信号の供給周波数に正比例して増加するデータ信号線ドライバの消費電力を上記表示品位を犠牲にすることなく容易にかつ大幅に削減することができる。
【0130】
以上により、明るさ、コントラスト、応答速度、階調性などの基本的な表示品位を満たした状態で、容易に十分な低消費電力化を図ることのできるマトリクス型の表示装置の駆動方法を提供することができるという効果を奏する。
【0131】
さらに本発明の表示装置の駆動方法は、以上のように、上記休止期間を含めた非走査期間を複数種類の中から設定する構成である。
【0132】
それゆえ、静止画や動画など表示画像の種類に応じて画面を書き換える周期を変化させることができる。これにより、表示画像の種類ごとに最適な低消費電力化を図ることができるという効果を奏する。
【0133】
さらに本発明の表示装置の駆動方法は、以上のように、上記走査期間をT1、複数の上記非走査期間のうちで最短のものをT01、T01以外の任意のものをT02としたとき、
(T1+T02)=(T1+T01)×N(Nは2以上の整数)
の関係とする構成である。
【0134】
それゆえ、基準同期信号を非走査期間のそれぞれに共通化して利用することができ、簡単な回路を付加するだけで低周波数駆動が可能となって、新たに発生する消費電力を非常に小さくすることができるという効果を奏する。
【0135】
さらに本発明の表示装置の駆動方法は、以上のように、上記表示装置が上記データ信号の基となる画像データを蓄積する画像データ蓄積手段を有している場合に、上記休止期間に上記画像データ蓄積手段からの上記画像データの転送を停止させる構成である。
【0136】
それゆえ、休止期間において画像データ転送のための消費電力を削減することができる。これにより、表示装置全体の消費電力をさらに低減することができるという効果を奏する。
【0137】
さらに本発明の表示装置の駆動方法は、以上のように、上記データ信号の基となる画像データを上記表示装置に供給する画像データ供給手段がある場合に、上記休止期間に上記画像データ供給手段からの上記画像データの供給を受け付ける動作を上記表示装置に停止させる構成である。
【0138】
それゆえ、休止期間に画像データ供給手段からの画像データの供給を受け付ける動作を表示装置に停止させるので、休止期間において画像データ供給を受け付けるための消費電力を削減することができる。これにより、表示装置全体の消費電力をさらに低減することができるという効果を奏する。
【0139】
さらに本発明の表示装置の駆動方法は、以上のように、上記休止期間に、表示とは無関係なアナログ回路の動作を停止させる構成である。
【0140】
それゆえ、定常的に電力を消費している回路の消費電力を削減することができ、表示装置全体の消費電力をさらに低減することができるという効果を奏する。
【0141】
さらに本発明の表示装置の駆動方法は、以上のように、上記休止期間に、少なくとも上記データ信号線のドライバのアナログ回路の動作を停止させることを特徴としている。
【0142】
それゆえ、休止期間に少なくとも最も消費電力の大きいアナログ回路の動作を停止させるので、表示装置全体の消費電力を効率よく低減することができるという効果を奏する。
【0143】
さらに本発明の表示装置の駆動方法は、以上のように、上記休止期間に、全データ信号線を駆動するデータ信号ドライバに対して上記全データ信号線をハイインピーダンス状態とする構成である。
【0144】
それゆえ、休止期間において各データ信号線の電位を一定に保持することができる。従って、データ信号線と接続される画素電極を有するような液晶表示装置においてデータ信号線の電位変動によって生じる各画素のデータ保持状態の変化が抑制され、画面のチラツキが十分に抑制される。これにより、十分な低消費電力化とチラツキが十分に抑制された高表示品位とを両立させることのできるマトリクス型の表示装置の駆動方法を提供することができるという効果を奏する。
【0145】
さらに本発明の表示装置の駆動方法は、以上のように、上記休止期間に、上記全データ信号線をハイインピーダンス状態とした後に、表示とは無関係なアナログ回路の動作を停止させる構成である。
【0146】
それゆえ、休止期間にアナログ回路を介してデータ信号線がグランド電位となることを避けることができる。従って、アナログ回路の消費電力の削減を行いながら、画素のデータ保持状態の変化を抑制し、よりチラツキが抑制された高表示品位を達成することができるという効果を奏する。
【0147】
さらに本発明の表示装置の駆動方法は、以上のように、上記休止期間に、少なくとも上記データ信号線のドライバのアナログ回路の動作を停止させる構成である。
【0148】
それゆえ、休止期間に少なくとも最も消費電力の大きいアナログ回路の動作を停止させるので、表示装置全体の消費電力を効率よく低減することができるという効果を奏する。
【0149】
さらに本発明の表示装置の駆動方法は、以上のように、上記全データ信号線をハイインピーダンス状態とする前に、上記全データ信号線を、全画素のデータ保持状態の変化が平均して最小となる電位とする構成である。
【0150】
それゆえ、ラインごとに画素のデータ保持状態が異なる場合でも、画面全体としてデータ保持状態の変化が略最小となり、よりチラツキが抑制された高表示品位を達成することができるという効果を奏する。
【0151】
また、本発明の表示装置は、以上のように、前記所定の発明に記載の表示装置の駆動方法を実行する制御手段を有している構成である。
【0152】
それゆえ、明るさ、コントラスト、応答速度、階調性などの基本的な表示品位を満たした状態で、容易に十分な低消費電力化を図ることのできるマトリクス型の表示装置を提供することができるという効果を奏する。
【0153】
また、本発明の表示装置は、以上のように、前記所定の発明に記載の表示装置の駆動方法を実行する制御手段を有している構成である。
【0154】
それゆえ、十分な低消費電力化とチラツキが十分に抑制された高表示品位とを両立させることのできるマトリクス型の表示装置を提供することができるという効果を奏する。
【0155】
さらに本発明の表示装置の駆動方法は、以上のように、上記表示装置が、画素電極と対向電極との間に液晶が介在して形成される電気容量に、走査信号線から供給される走査信号によって選択状態となったアクティブ素子を介し、データ信号線から供給されるデータ信号に基づいた電荷が周期的に書き込まれる画素がマトリクス状に配置された液晶表示素子を有する液晶表示装置である構成である。
【0156】
それゆえ、明るさ、コントラスト、応答速度、階調性などの基本的な表示品位を満たした状態で、容易に十分な低消費電力化を図ることのできるアクティブマトリクス型の液晶表示装置の駆動方法を提供することができるという効果を奏する。
【0157】
さらに本発明の表示装置の駆動方法は、以上のように、上記表示装置が、画素電極と対向電極との間に液晶が介在して形成される電気容量に、走査信号線から供給される走査信号によって選択状態となったアクティブ素子を介し、データ信号線から供給されるデータ信号に基づいた電荷が周期的に書き込まれる画素がマトリクス状に配置された液晶表示素子を有する液晶表示装置である構成である。
【0158】
それゆえ、十分な低消費電力化とチラツキが十分に抑制された高表示品位とを両立させることのできるアクティブマトリクス型の表示装置の駆動方法を提供することができるという効果を奏する。
【0159】
さらに本発明の表示装置の駆動方法は、以上のように、上記休止期間に上記対向電極を、上記対向電極に上記走査期間に直流電圧を印加する場合には上記走査期間の上記対向電極と同電位とし、上記対向電極に上記走査期間に交流電圧を印加する場合には上記交流電圧の振幅中心の電位とする構成である。
【0160】
それゆえ、休止期間に各画素と対向電極との容量結合に起因した画素電極の電位変動が抑制される。従って、画素のデータ保持状態の変化が抑制され、チラツキが抑制された高表示品位を達成することができるという効果を奏する。
【0161】
さらに本発明の表示装置の駆動方法は、以上のように、上記休止期間に、上記アクティブ素子のOFF抵抗値を最大とする非選択電圧を全走査信号線に印加する構成である。
【0162】
それゆえ、休止期間において、データ信号線への漏れ電流による画素電極の電位変動が抑制される。これにより、走査ラインごとに画素の電位が異なる場合でも、画素のデータ保持状態の変化が抑制され、チラツキが抑制された高表示品位を達成することができるという効果を奏する。
【0163】
さらに本発明の表示装置の駆動方法は、以上のように、上記休止期間を16.7msec以上2sec以下とする構成である。
【0164】
それゆえ、休止期間を60Hzの走査期間以上に相当する16.7msec以上としてデータ信号線ドライバの消費電力を削減することができるとともに、休止期間を2sec以下とすることにより、液晶およびアクティブ素子からの漏れ電流によって画素電極の電位が変動することによるチラツキが抑制され、高表示品位を達成することができるという効果を奏する。
【0165】
さらに本発明の表示装置の駆動方法は、以上のように、上記休止期間を50msec以上1sec以下とする構成である。
【0166】
それゆえ、休止期間を50msec以上としてデータ信号線ドライバの消費電力を大幅に削減することができるとともに、休止期間を1sec以下とすることにより、液晶およびアクティブ素子からの漏れ電流によって画素電極の電位が変動することによるチラツキが大きく抑制され、より高表示品位を達成することができるという効果を奏する。
【0167】
さらに本発明の表示装置は、以上のように、前記所定の発明に表示装置の駆動方法を実行する制御手段を有している構成である。
【0168】
それゆえ、明るさ、コントラスト、応答速度、階調性などの基本的な表示品位を満たした状態で、容易に十分な低消費電力化を図ることのできるアクティブマトリクス型の液晶表示装置を提供することができるという効果を奏する。
【0169】
さらに本発明の表示装置は、以上のように、前記所定の発明に記載の表示装置の駆動方法を実行する制御手段を有している構成である。
【0170】
それゆえ、十分な低消費電力化とチラツキが十分に抑制された高表示品位とを両立させることのできるアクティブマトリクス型の液晶表示装置を提供することができるという効果を奏する。
【0171】
さらに本発明の表示装置は、以上のように、上記液晶表示素子には、上記画素電極との間で上記画素の補助容量を形成する補助容量電極が上記走査信号線の位置を避けて設けられている構成である。
【0172】
それゆえ、走査信号線と画素電極との電気容量結合を無視することができ、この状態で制御手段により休止期間を設定して液晶表示素子の駆動を行えば、Csオンゲート構造で補助容量を形成していた場合と異なり、1ライン上の走査信号線の電位変動による画素電極の電位変動は生じなくなる。これにより、長い休止期間を設定してもチラツキが抑制された高表示品位を得ることができるという効果を奏する。
【0173】
さらに本発明の表示装置は、以上のように、上記液晶表示素子の画素電圧保持率を、上記画素電極と上記対向電極との間の電気容量をCLC、上記補助容量をCCS、上記アクティブ素子の非選択期間をT、上記書き換え周波数における非選択期間T3後の液晶電圧保持率をHr(T)、書き込み直後の上記画素電極と上記対向電極との電位差をV、上記アクティブ素子の非選択時の抵抗値をR、V1 =V−{V・(1−Hr(T))×CLC/(CLC+CCS)}として、
P=V1 ・exp[−T/{(CLC+CCS)・R}]/V
と表したときに、P≧0.9である構成である。
【0174】
それゆえ、走査信号線数をn、走査期間をT1、非走査期間をT0とすれば、非選択期間T=(T1+T0)−T1/nと表されるので、非走査期間T0を休止期間に設定しても、選択期間中にデータ信号線から印加された画素の電圧が、非選択期間Tを通して90%以上の電圧保持率で保持される。従って、非選択期間Tにおいて画素電極の電位変動がほとんど生じない。これにより、長い休止期間を設定してもよりチラツキのない安定した表示品位が得られるという効果を奏する。
【0175】
さらに本発明の表示装置は、以上のように、上記液晶表示素子は周囲光を用いて反射型表示を行う反射部材を有している構成である。
【0176】
それゆえ、バックライトを必要としない反射型液晶表示装置とするので、休止期間を設定した駆動による低消費電力化の割合が大きくなるという効果を奏する。
【0177】
さらに本発明の液晶表示装置は、以上のように、上記反射部材は上記画素電極の少なくとも一部である構成である。
【0178】
それゆえ、画素電極の少なくとも一部が反射型液晶表示装置の反射電極となるので、別途反射部材は必要なく、装置を構成する部材の種類を減らすことが可能であるという効果を奏する。
【0179】
さらに本発明の表示装置は、以上のように、上記反射部材に光透過用の穴が設けられている、または上記反射部材が半透明である構成である。
【0180】
それゆえ、反射透過両用型の液晶表示装置とするので、周囲光が多いときには反射型として、周囲光が少ないときにはバックライトを点灯するなど透過型と併用して利用することができるという効果を奏する。
【0181】
また、本発明の携帯機器は、以上のように、前記所定の発明に記載の表示装置が搭載されている構成である。
【0182】
それゆえ、明るさ、コントラスト、応答速度、階調性などの基本的な表示品位を満たした状態で、容易に十分な低消費電力化を図ることのできる携帯機器を提供することができ、バッテリーによる長時間駆動が容易になるという効果を奏する。
【0183】
また、本発明の携帯機器は、以上のように、前記所定の発明に記載の表示装置が搭載されている構成である。
【0184】
それゆえ、十分な低消費電力化とチラツキが十分に抑制された高表示品位とを両立させることのできる携帯機器を提供することができ、バッテリーによる長時間駆動が容易になるという効果を奏する。
【図面の簡単な説明】
【図1】本発明の一実施の形態における表示装置の駆動方法を説明するタイミングチャートである。
【図2】図1の表示装置の駆動方法が適用される表示装置の構成を示すシステムブロック図である。
【図3】図2の表示装置のデータ信号ドライバの内部構成を示す回路図である。
【図4】図2の表示装置の液晶パネルの構成を示す断面図である。
【図5】図2の表示装置の液晶パネルの構成を示す平面透視図である。
【図6】(a)および(b)は、図5の等価回路を示す回路図である。
【図7】液晶の特性を示すグラフである。
【図8】TFTのOFF抵抗の特性を示すグラフである。
【図9】電荷を十分に保持することができない場合の画素電極電位の変化と反射光強度の変化とを説明する説明図である。
【図10】(a)および(b)は、液晶パネルの特性を評価する方法を説明する説明図である。
【図11】(a)ないし(e)は、図5の液晶パネルの信号および特性を示すタイミングチャートである。
【図12】図5の液晶パネルの比較例の構成を示す平面透視図である。
【図13】(a)ないし(e)は、図12の液晶パネルの信号および特性を示すタイミングチャートである。
【図14】図4の液晶パネルの変形例の構成を示す断面図である。
【図15】図4の液晶パネルの変形例の構成を示す平面透視図である。
【図16】マトリクス型表示装置の構成を示すブロック図である。
【図17】従来の表示装置の駆動方法を説明するタイミングチャートである。
【図18】垂直帰線期間を説明する説明図である。
【符号の説明】
1 液晶表示装置(表示装置)
2 液晶パネル(液晶表示素子)
3 ゲートドライバ
4 ソースドライバ(データ信号線のドライバ)
5 コントロールIC(制御手段)
6 画像メモリ(画像データ蓄積手段)
7 GSP変換回路
13 液晶層(液晶)
14 TFT(アクティブ素子)
19 透明共通電極(対向電極)
27 画素電極
27a 補助容量用電極パッド
27b 反射電極
31 走査信号線
32 データ信号線
33 補助容量配線(補助容量電極)
51 液晶パネル(液晶表示素子)
53 光透過穴(光透過用の穴)
54 画素電極
54a 補助容量用電極パッド
54b 反射電極
CCL 液晶容量(電気容量)
CCS 補助容量
T 非選択期間
T1 走査期間
T2 休止期間[0001]
BACKGROUND OF THE INVENTION
The present invention relates to low power consumption of a matrix display device.
[0002]
[Prior art]
In recent years, application of liquid crystal display devices to word processors, laptop personal computers, pocket televisions, and the like is rapidly progressing. In particular, a reflective liquid crystal display device that displays light by reflecting light incident from the outside among liquid crystal display devices does not require a backlight, so it consumes less power, is thin, and can be reduced in weight. Attention has been paid.
[0003]
Conventional reflective liquid crystal display devices can be used for segment display systems that can display only simple numbers and pictograms used in watches and the like, as well as complex displays such as personal computers and portable information terminals. These are roughly divided into a simple multiplex driving method and an active matrix driving method using active elements such as TFT (Thin Film Transistor). It is desirable to reduce power consumption in each method.
[0004]
As a method for reducing the power consumption of the segment display method, Japanese Patent Application Laid-Open No. 5-232447 discloses that the common electrode and the segment electrode are stable at the same potential during standby, that is, when no image is displayed in which the entire white display or the entire black display is performed. It is disclosed that a solid white display or a black solid display is performed. Japanese Patent Laid-Open No. 2-10492 discloses a method for reducing the power consumption of a driving circuit by setting a MOS transistor that directly drives a liquid crystal during standby to a high impedance state. All of these technologies are aimed at segment-display liquid crystal display devices, so their ideographic performance is limited to displaying simple numbers and pictograms, and complex information such as personal computers and personal digital assistants. It is impossible to apply to devices that display
[0005]
In addition, it is difficult to use such a driving method for a matrix type liquid crystal display device. Specifically, for example, in the case of a 4 × 4 matrix type liquid crystal display device as shown in FIG. 16, the scanning signals supplied to the scanning signal lines G (0) to G (3) are as shown in FIG. The selection voltage is sequentially applied to the scanning signal lines G (0) to G (3). Electric charges corresponding to the data are written in the respective pixels by supplying data signals to the data signal lines S (0) to S (3) in synchronization with the scanning signals for the respective lines thus selected. Then, after scanning the last line, as shown in FIG. 18, the scanning is started again from the first line after a short time blanking period. Since this vertical blanking period is a period of time originally provided for returning the electron beam from the electron gun inside the CRT to the original position, there is no need for the liquid crystal display device. However, in order to reproduce a normal television image or the like on a liquid crystal display device, it is provided to maintain compatibility with a television image signal such as NTSC.
[0006]
As described above, in the case of a matrix type liquid crystal display device, a plurality of pixels whose data signal lines are arranged in the vertical direction of the screen must be sequentially driven, and one pixel corresponding to the segment output of the segment display system is used. There is no data signal output for driving only the pixels. For this reason, even if charges are written in the pixels on the bottom line of one screen and the data display line and the counter electrode of the pixel are kept in a high impedance state by applying the segment display driving method, For other pixels, the written charge is not held, and a stable display cannot be obtained.
[0007]
Among the matrix type liquid crystal display devices, those of the simple multiplex drive type are basically 2 sized and have a sufficiently low power consumption of about 10 mW to 15 mW, but are basically low in brightness and contrast and low in response speed. There is a problem with the display quality. On the other hand, the active drive method using TFTs, etc. has high brightness and contrast, high response speed and sufficient basic display quality, but the power consumption is about 100mW to 150mW even with a size of about 2 type. It was not satisfactory enough.
[0008]
On the other hand, research and development for sufficiently low power consumption and good display quality has been energetically performed so far, for example, Japanese Utility Model Laid-Open No. 60-50573 and Japanese Patent Laid-Open No. 10-10489. A method for reducing power consumption is disclosed in the publication. The methods of these publications focus on the transmission method of television signals, and use the fact that there is no data in the vertical blanking period and stop the operation of the peripheral drive circuit during the vertical blanking period. Is to be reduced.
[0009]
Another method is disclosed in JP-A-9-107563. This relates to a reduction in power consumption of a field-sequential stereoscopic image display head-mounted display having two liquid crystal panels corresponding to left and right eyes. In one field period, only one liquid crystal panel is driven and the other liquid crystal panel is driven. The liquid crystal panel is stopped, and the display is performed by alternately switching the driving for each field period.
[0010]
As yet another method, a multi-field driving method has been proposed in SID '95 Proceedings p249 to p252 and JP-A-3-271795. This is because the scanning of one screen is divided into a plurality of times every other scanning signal line or every other scanning signal line, and the polarity of the voltage of the data signal line is not reversed during one scanning. The power consumption of the line driver is reduced. Another object of the present invention is to realize a display without flickering as a whole by offsetting the change in brightness, i.e. flickering, generated in each line with the flickering of adjacent lines of opposite polarity.
[0011]
Further, as in the method disclosed in Japanese Patent Laid-Open No. 6-342148, for example, a ferroelectric liquid crystal is used for the liquid crystal panel to provide a memory property, and the drive frequency (refresh rate) is reduced to reduce power consumption. There is also a way to do it.
[0012]
[Problems to be solved by the invention]
However, in the method of stopping the operation of the peripheral drive circuit during the vertical blanking period, the vertical blanking period is only about 8% of the total time as described in Japanese Utility Model Laid-Open No. 60-50573. The power consumption that can be reduced during this period is only about 5%.
[0013]
In the method disclosed in Japanese Patent Laid-Open No. 9-107563, one of the liquid crystal panels is driven during all field periods, and power consumption does not increase and cannot be reduced. Further, by using a left and right binocular head mounted display, refreshing is always performed on one of the displays, and thus an image with less flicker is obtained. However, in general, a liquid crystal display device can provide a flicker-free display when driven at 30 Hz, particularly about 45 Hz or more. Therefore, when this method is applied to a method of directly viewing one liquid crystal panel, flicker is easily perceived.
[0014]
Further, even if multi-field driving is performed, flickering is generated for each line, and flickering is actually perceived even if offset by adjacent lines, and the visibility is remarkably lowered. In addition, the drive frequency is only slightly reduced, and the reduction in power consumption is not sufficient. Further, in the multi-field driving method, since one screen is divided into a plurality of subfields and scanning is performed every other line or every other scanning signal line, an image is temporarily stored in a frame memory and then driven to scan. It is necessary to read a signal corresponding to the signal line, and the circuit configuration is inevitably complicated. Therefore, there is a drawback that the peripheral circuit is enlarged and the cost is increased.
[0015]
Further, in the method disclosed in Japanese Patent Application Laid-Open No. 6-342148, since the ferroelectric liquid crystal is basically a binary (monochrome) display, gradation display cannot be performed and a natural image cannot be displayed. Furthermore, since a high-level panel manufacturing technique is required to make a ferroelectric liquid crystal into a panel, it is difficult to realize it and has not been put into practical use until today.
[0016]
As described above, in the driving method of the conventional matrix type liquid crystal display device, sufficient power consumption can be easily reduced while satisfying basic display quality such as brightness, contrast, response speed, and gradation. I couldn't. Furthermore, the conventional driving method of the matrix type liquid crystal display device cannot achieve both a sufficiently low power consumption and a high display quality without flickering. These problems are not limited to liquid crystal display devices, but can also be said for matrix display devices in general.
[0017]
The present invention has been made in view of the above-described conventional problems, and its purpose is to easily achieve a sufficiently low level while satisfying basic display quality such as brightness, contrast, response speed, and gradation. It is an object to provide a method for driving a matrix display device capable of reducing power consumption, a display device using the method, and a portable device. Another object of the present invention is to provide a driving method for a matrix type display device capable of achieving both a sufficiently low power consumption and a high display quality in which flicker is sufficiently suppressed, and a display device using the same. As well as providing portable devices.
[0018]
[Means for Solving the Problems]
In order to solve the above problems, the display device driving method of the present invention selects and scans each line of the screen in which pixels are arranged in a matrix by using a plurality of scanning signal lines. In a driving method of a display device in which a data signal is supplied from a data signal line to a pixel of a line for display, the scanning signal line is non-scanned in a non-scanning period longer than a scanning period for scanning the screen once. It is characterized in that there is a pause period to be in a state, and the sum of the scanning period and the pause period is one vertical period.
[0019]
According to the above invention, the scanning period and the pause period in which all the scanning signal lines are in the non-scanning state longer than the scanning period are repeated every vertical period. For example, if the scanning period is set to a time equivalent to a normal 60 Hz, there is a pause period longer than that, so that the vertical frequency is lower than 30 Hz. The scanning period and the pause period may be appropriately set according to the degree of movement in an image to be displayed such as a still image or a moving image. Since all the scanning signal lines are in a non-scanning state during the idle period, the data signal supply frequency can be reduced. Therefore, in an active matrix type liquid crystal display device, such as a matrix type display device that can ensure basic display quality such as brightness, contrast, response speed, and gradation, it is directly proportional to the data signal supply frequency. Thus, the increased power consumption of the data signal line driver can be easily and significantly reduced without sacrificing the display quality.
[0020]
As described above, a driving method of a matrix type display device that can easily achieve sufficient power consumption while satisfying basic display quality such as brightness, contrast, response speed, and gradation is provided. can do.
[0021]
Further, the display device driving method of the present invention is characterized in that the non-scanning period including the pause period is set from a plurality of types in order to solve the above-mentioned problem.
[0022]
According to the above invention, since the non-scanning period including the pause period is switched to a plurality of types, the cycle of rewriting the screen can be changed according to the type of display image such as a still image or a moving image. As a result, it is possible to achieve optimum power consumption reduction for each type of display image.
[0023]
Further, in order to solve the above problems, the driving method of the display device of the present invention sets the scanning period to T1, the shortest of the plurality of non-scanning periods to T01, and any other than T01 to T02. When
(T1 + T02) = (T1 + T01) × N (N is an integer of 2 or more)
It is characterized by the relationship.
[0024]
According to the above invention, the frame period using each of the plurality of non-scanning periods is an integral multiple of the frame period using the shortest non-scanning period. For example, when driving at normal 60 Hz, T1 is 16.7 msec or less. If T01 is a vertical blanking period and T02 is set to the relationship of the above equation, the screen data signal transferred at 60 Hz may be sampled once every integer. Therefore, the reference synchronization signal can be used in common for each non-scanning period, and low frequency driving can be achieved by simply adding a simple circuit, so that newly generated power consumption can be greatly reduced. Can do.
[0025]
Furthermore, in order to solve the above-described problem, the display device driving method of the present invention includes the pause period when the display device has image data storage means for storing image data as a basis of the data signal. The transfer of the image data from the image data storage means is stopped.
[0026]
According to the above invention, since the transfer of the image data from the image data storage means is stopped during the pause period, it is possible to reduce the power consumption for the image data transfer during the pause period. Thereby, the power consumption of the entire display device can be further reduced.
[0027]
Furthermore, in order to solve the above-described problem, the display device driving method of the present invention includes the image data supply unit that supplies the display device with image data serving as a basis of the data signal. The display device stops the operation of accepting the supply of the image data from the data supply means.
[0028]
According to the above invention, since the display device stops the operation of accepting the supply of image data from the image data supply means during the suspension period, the power consumption for accepting the supply of image data during the suspension period can be reduced. Thereby, the power consumption of the entire display device can be further reduced.
[0029]
Furthermore, in order to solve the above-described problem, the display device driving method of the present invention is characterized in that the operation of an analog circuit unrelated to display is stopped during the pause period.
[0030]
According to the above-described invention, the operation of the analog circuit that is irrelevant to the display in the idle period is stopped among the analog circuits included in the data signal line driver and its control circuit. Therefore, it is possible to reduce power consumption of a circuit that constantly consumes power, and further reduce power consumption of the entire display device.
[0031]
Further, the display device driving method of the present invention is characterized in that the operation of at least the analog circuit of the driver of the data signal line is stopped during the pause period in order to solve the above-described problem.
[0032]
According to the above invention, since the operation of the analog circuit with the largest power consumption is stopped at least during the idle period, the power consumption of the entire display device can be efficiently reduced.
[0033]
Furthermore, in order to solve the above-described problem, the display device driving method of the present invention sets all the data signal lines to a high impedance state with respect to the data signal driver that drives all the data signal lines during the pause period. It is a feature.
[0034]
According to the above invention, all the data signal lines are disconnected from the data signal driver during the idle period so that the data signal driver is in a high impedance state, so that the potential of each data signal line is kept constant during the idle period. can do. Therefore, the potential fluctuation of the data signal line, such as the potential fluctuation of the pixel electrode due to capacitive coupling between the data signal line and the pixel electrode, which occurs in a liquid crystal display device having a pixel electrode connected to the data signal line. The change in the data holding state of each pixel caused by the above is suppressed, and the flickering of the screen is sufficiently suppressed. As a result, it is possible to provide a method for driving a matrix display device that can achieve both low power consumption and high display quality in which flicker is sufficiently suppressed.
[0035]
Furthermore, in order to solve the above-described problem, the display device driving method of the present invention stops the operation of the analog circuit unrelated to display after setting all the data signal lines to a high impedance state during the pause period. It is characterized by.
[0036]
According to the above invention, after all the data signal lines are set to the high impedance state, the operation of the analog circuit unrelated to the display of the pause period is stopped, so that the data signal line is grounded via the analog circuit during the pause period. Can be avoided. Therefore, it is possible to suppress the change in the data holding state of the pixel while reducing the power consumption of the analog circuit, and to achieve high display quality in which flicker is further suppressed.
[0037]
Further, the display device driving method of the present invention is characterized in that the operation of at least the analog circuit of the driver of the data signal line is stopped during the pause period in order to solve the above-described problem.
[0038]
According to the above invention, since the operation of the analog circuit with the largest power consumption is stopped at least during the idle period, the power consumption of the entire display device can be efficiently reduced.
[0039]
Furthermore, in order to solve the above-described problem, the display device driving method of the present invention provides an average change in the data holding state of all the pixels before setting all the data signal lines to the high impedance state. do it minimum It is characterized by having a potential that becomes
[0040]
According to the above invention, all the data signal lines are averaged by the change in the data holding state of all the pixels. minimum A high impedance state is obtained after the potential becomes. For example, in a liquid crystal display device in which liquid crystal is interposed between a pixel electrode connected to a data signal line and the counter electrode, the amplitude of the AC voltage is applied to all the data signal lines when an AC voltage is applied to the counter electrode. The center potential is set to the same potential as the counter electrode when a DC voltage is applied to the counter electrode. In this case, even if a pixel having a positive potential and a pixel electrode having a negative potential are mixed in AC driving, the change in the charge retention state of all the pixels due to capacitive coupling between the data signal line and the pixel electrode, that is, the data retention state On average change minimum It becomes. As a result, even when the pixel data retention state differs from line to line, the change in the data retention state of the entire screen is substantially minimized, and a high display quality in which flicker is further suppressed can be achieved.
[0041]
In order to solve the above-mentioned problems, the display device of the present invention is characterized by having a control means for executing the display device driving method described in the predetermined invention.
[0042]
According to the above invention, a matrix type display device that can easily achieve sufficiently low power consumption while satisfying basic display quality such as brightness, contrast, response speed, and gradation is provided. Can be provided.
[0043]
In order to solve the above-mentioned problems, the display device of the present invention is characterized by having a control means for executing the display device driving method described in the predetermined invention.
[0044]
According to the above invention, it is possible to provide a matrix type display device that can achieve both low power consumption and high display quality in which flicker is sufficiently suppressed.
[0045]
Furthermore, in order to solve the above problem, the display device driving method according to the present invention supplies, from the scanning signal line, the electric capacity formed by the display device with a liquid crystal interposed between the pixel electrode and the counter electrode. Liquid crystal display device having a liquid crystal display element in which pixels are periodically written with charges based on a data signal supplied from a data signal line through an active element selected by a scanning signal It is characterized by being.
[0046]
According to the above invention, an active matrix type liquid crystal display that can easily achieve sufficiently low power consumption while satisfying basic display quality such as brightness, contrast, response speed, and gradation. A method for driving the apparatus can be provided.
[0047]
Furthermore, in order to solve the above problem, the display device driving method according to the present invention supplies, from the scanning signal line, the electric capacity formed by the display device with a liquid crystal interposed between the pixel electrode and the counter electrode. Liquid crystal display device having a liquid crystal display element in which pixels are periodically written with charges based on a data signal supplied from a data signal line through an active element selected by a scanning signal It is characterized by being.
[0048]
According to the above-described invention, it is possible to provide a driving method of an active matrix display device that can achieve both low power consumption and high display quality in which flicker is sufficiently suppressed.
[0049]
Further, in order to solve the above-described problem, the display device driving method of the present invention is configured so that the counter electrode is applied during the pause period, and the counter electrode during the scan period when a DC voltage is applied to the counter electrode during the scan period. When the AC voltage is applied to the counter electrode during the scanning period, the potential is set to the potential at the amplitude center of the AC voltage.
[0050]
According to the above invention, by setting the potential of the counter electrode in the rest period as described above, fluctuations in the potential of the pixel electrode due to capacitive coupling between each pixel and the counter electrode are suppressed. Therefore, it is possible to achieve high display quality in which changes in the data holding state of the pixels are suppressed and flickering is suppressed.
[0051]
Furthermore, in order to solve the above-described problem, the display device driving method of the present invention sets the OFF resistance value of the active element during the pause period. maximum The non-selection voltage is applied to all scanning signal lines.
[0052]
According to the above invention, the OFF resistance value of the active element is set in the rest period in which all the scanning signal lines are in the non-scanning state. maximum Therefore, the potential fluctuation of the pixel electrode due to the leakage current to the data signal line is suppressed. As a result, even when the pixel potential differs for each scanning line, a change in the data holding state of the pixel is suppressed, and high display quality with reduced flickering can be achieved.
[0053]
Furthermore, in order to solve the above-described problem, the display device driving method of the present invention is characterized in that the pause period is set to 16.7 msec or more and 2 sec or less.
[0054]
According to the above invention, the power consumption of the data signal line driver is reduced by setting the pause period to 16.7 msec or more corresponding to the 60 Hz scanning period or more. By setting the rest period to 2 sec or less, flickering due to fluctuations in the potential of the pixel electrode due to leakage current from the liquid crystal and the active element is suppressed, and high display quality can be achieved.
[0055]
Furthermore, in order to solve the above problem, the display device driving method of the present invention is characterized in that the pause period is set to 50 msec or more and 1 sec or less.
[0056]
According to the above invention, the power consumption of the data signal line driver is greatly reduced by setting the pause period to 50 msec or more. By setting the rest period to 1 sec or less, flicker due to fluctuations in the potential of the pixel electrode due to leakage current from the liquid crystal and the active element is greatly suppressed, and higher display quality can be achieved.
[0057]
Furthermore, in order to solve the above-mentioned problems, the display device of the present invention is characterized in that the predetermined invention has a control means for executing a method for driving the display device.
[0058]
According to the above invention, an active matrix type liquid crystal display that can easily achieve sufficiently low power consumption while satisfying basic display quality such as brightness, contrast, response speed, and gradation. An apparatus can be provided.
[0059]
Further, in order to solve the above-mentioned problems, the display device of the present invention is characterized by having a control means for executing the display device driving method described in the predetermined invention.
[0060]
According to the above invention, it is possible to provide an active matrix liquid crystal display device that can achieve both low power consumption and high display quality with sufficiently reduced flickering.
[0061]
Further, in order to solve the above problems, the display device of the present invention avoids the position of the scanning signal line in the liquid crystal display element by using an auxiliary capacitance electrode that forms an auxiliary capacitance of the pixel with the pixel electrode. It is characterized by being provided.
[0062]
According to the above invention, since the auxiliary capacitance electrode forming the auxiliary capacitance of the pixel is provided avoiding the position of the scanning signal line, the capacitive coupling between the scanning signal line and the pixel electrode can be ignored. Therefore, in this state, if the liquid crystal display element is driven by setting a pause period by the control means, unlike the case where the auxiliary capacitor is formed with the Cs on-gate structure, the pixel due to the potential fluctuation of the scanning signal line on one line. The potential fluctuation of the electrode does not occur. Thereby, even if a long rest period is set, high display quality in which flickering is suppressed can be obtained.
[0063]
Further, in order to solve the above problems, the display device of the present invention has a pixel voltage holding ratio of the liquid crystal display element, and an electric capacity between the pixel electrode and the counter electrode. LC , The auxiliary capacity is C CS T is the non-selection period of the active element, Hr (T) is the liquid crystal voltage holding ratio after the non-selection period T3 at the rewrite frequency, V is the potential difference between the pixel electrode and the counter electrode immediately after writing, and the active element The resistance value when R is not selected is R, V 1 = V- {V · (1-Hr (T)) × C LC / (C LC + C CS )}
P = V 1 Exp [-T / {(C LC + C CS ) ・ R}] / V
It is characterized by P ≧ 0.9.
[0064]
According to the above invention, when the number of scanning signal lines is n, the scanning period is T1, and the non-scanning period is T0, the non-selection period T = (T1 + T0) −T1 / n is expressed. Is set to the rest period, the voltage of the pixel applied from the data signal line during the selection period is held at a voltage holding ratio of 90% or more throughout the non-selection period T. Therefore, the potential fluctuation of the pixel electrode hardly occurs in the non-selection period T. As a result, a stable display quality without flickering can be obtained even when a long pause period is set.
[0065]
Furthermore, in order to solve the above-described problems, the display device of the present invention is characterized in that the liquid crystal display element has a reflective member that performs a reflective display using ambient light.
[0066]
According to the above invention, since the reflective liquid crystal display device does not require a backlight, the ratio of low power consumption by driving with a pause period is increased.
[0067]
Furthermore, in order to solve the above problems, the liquid crystal display device of the present invention is characterized in that the reflecting member is at least a part of the pixel electrode.
[0068]
According to the above invention, since the reflective member is at least a part of the pixel electrode, that is, at least a part of the pixel electrode becomes a reflective electrode of the reflective liquid crystal display device, no additional reflective member is required, and the device is configured. It is possible to reduce the types of members to be performed.
[0069]
Furthermore, in order to solve the above-mentioned problems, the display device of the present invention is characterized in that a hole for transmitting light is provided in the reflecting member, or the reflecting member is translucent.
[0070]
According to the above invention, since the liquid crystal display device of both reflection and transmission is used, it can be used as a reflection type when there is a lot of ambient light and in combination with a transmission type such as turning on a backlight when there is little ambient light. .
[0071]
Further, in order to solve the above problems, the mobile device of the present invention is characterized in that the display device described in the predetermined invention is mounted.
[0072]
According to the above invention, it is possible to provide a portable device that can easily achieve sufficient power consumption while satisfying basic display quality such as brightness, contrast, response speed, and gradation. And can be driven for a long time by a battery.
[0073]
Moreover, in order to solve the above-mentioned problems, the mobile device of the present invention is characterized in that the display device described in the predetermined invention is mounted.
[0074]
According to the above invention, it is possible to provide a portable device that can achieve both a sufficiently low power consumption and a high display quality in which flickering is sufficiently suppressed, and the battery can be easily driven for a long time.
[0075]
DETAILED DESCRIPTION OF THE INVENTION
A driving method of a display device of the present invention, a display device using the same, and an embodiment that embodies a portable device will be described below with reference to FIGS.
[0076]
FIG. 2 shows a system block diagram of a liquid
[0077]
The
fGSP <fGCK = fSP <fSCK
It has become. In the case of so-called pseudo double speed drive, fGCK> fSP. The image data stored in the image memory 6 as the image data storage means is data that is the basis of the data signal. In addition, the
[0078]
The
[0079]
The
[0080]
When the
[0081]
By providing the pause period T2, the number of times the screen is rewritten, that is, the supply frequency of the data signal output from the
[0082]
For this reason, the non-scanning period may be set to the long pause period T2 for a display with no movement such as a still image or a display with little movement even with a moving image. For a moving image with a lot of movement, the non-scanning period may be set to a short pause period T2 or a non-scanning period shorter than the pause period T2. For example, if a non-scanning period that is sufficiently short with respect to a scanning period of 16.7 msec is set, the drive frequency is equivalent to a normal 60 Hz, so that a sufficiently fast moving image can be displayed. On the other hand, if the non-scanning period is set to a long pause period T2 of 3333 msec, it is possible to reduce the power consumption by rewriting the screen while maintaining the basic display quality for still images and moving images with little movement. it can. That is, the
[0083]
In addition, when the shortest of the plurality of non-scanning periods is T01 and any other than T01 is T02,
(T1 + T02) = (T1 + T01) × N (N is an integer of 2 or more) (1)
In other words, the frame period using each of the plurality of non-scanning periods is preferably an integer multiple of the frame period using the shortest non-scanning period T01. For example, when driving at normal 60 Hz, T1 is 16.7 msec or less. If T01 is set as the vertical blanking period and T02 is set in the relationship of the expression (1), the screen data signal transferred at 60 Hz may be sampled once every integer. Therefore, the reference synchronization signal can be used in common for each non-scanning period, and low frequency driving can be achieved by simply adding a simple circuit, so that newly generated power consumption can be greatly reduced. Can do.
[0084]
In setting the non-scanning period, a plurality of non-scanning period setting signals may be input to the
[0085]
Next, a method for further reducing power consumption when the pause period T2 is set will be described.
[0086]
There are logic circuits inside the
[0087]
On the other hand, when the
[0088]
Since the power consumption of the analog circuit does not depend on the driving frequency, the power consumption cannot be reduced only by stopping the operation of the logic circuit in the
[0089]
In addition, since no data is written to the pixels in the pause period T2, power consumption for image data transfer in the pause period T2 can be reduced by stopping the transfer of the image data from the image memory 6 in the pause period T2. it can. For stopping the transfer of the image data, for example, the
[0090]
In some cases, image data supply means for supplying image data to the liquid
[0091]
Next, a method for achieving high display quality in which flickering of the screen is sufficiently suppressed when the pause period T2 is set will be described.
[0092]
First, all the data signal lines are disconnected from the
[0093]
Further, as described above, when the operation of the analog circuit in the buffer 9 of the
[0094]
Furthermore, all the data signal lines are averaged by the change in the data holding state of all the pixels. minimum It is more preferable that the high impedance state is obtained after the potential becomes. For example, if the liquid
[0095]
Next, a specific configuration example of the
[0096]
FIG. 4 shows a cross-sectional configuration of the
[0097]
In each
[0098]
Further, each
[0099]
Further, the
[0100]
An equivalent circuit for one pixel in the
[0101]
Next, a driving method in the case where the suspension period T2 is provided for the
[0102]
6 (a) and 6 (b), a selection voltage is applied to the
[0103]
By setting the pause period T2 to drive at a low frequency, the polarity inversion frequency of the data signal is reduced, and the power consumption of the data signal driver, in this case, the
[0104]
6A, when a DC voltage is applied to the transparent
[0105]
Next, a driving method based on the analysis result of the characteristics of the
[0106]
Therefore, by setting the pause period T2 to 16.7 msec or more, the power consumption of the
[0107]
FIG. 8 shows the result of measuring the relationship between the OFF resistance value of the
[0108]
Therefore, during the rest period T2, the OFF resistance value of the
[0109]
In addition, by applying a non-selection voltage to all the
[0110]
Next, the pixel voltage holding ratio P related to the potential of the
P = V 1 Exp [-T / {(C LC + C CS R}] / V (2)
It is represented by However,
V 1 = V- {V · (1-Hr (T)) × C LC / (C LC + C CS )}
T: Non-selection period of TFT14
Hr (T): Liquid crystal voltage holding ratio after non-selection period T in FIG.
V: Potential difference between the
R: OFF resistance value of
It is. V 1 Exp [-T / {(C LC + C CS ) · R}] is the potential difference between the
[0111]
For example, the liquid crystal voltage holding ratio Hr (T) when T = 180 msec, the resistance value when the
[0112]
[Table 1]
[0113]
Therefore, a detailed study was performed on the pixel voltage holding ratio P and the flicker perception limit. As shown in FIG. 10 (a), a
[0114]
Here, Ve / Vs corresponds to the pixel voltage holding ratio P in the actual liquid
[0115]
[Table 2]
[0116]
It is.
[0117]
Thus, it can be seen that the pixel voltage holding ratio P ≧ 0.9 may be obtained in order to obtain the
[0118]
11A to 11E show the scanning signal waveform, the data signal waveform, the potential of the
[0119]
FIG. 4A shows the scanning signal waveform output to the
[0120]
On the other hand, as shown in FIG. 12, in the conventional Cs on-gate structure in which the auxiliary
[0121]
Further, when the power consumption of the liquid
[0122]
As described above, according to the liquid
[0123]
Next, as a liquid crystal display device, the
[0124]
Further, a
[0125]
FIG. 15 shows a view of the portion below the
[0126]
In the
[0127]
The display device driving method and the display device using the display device according to the present embodiment have been described above. However, the display device is not limited to an active matrix liquid crystal display device, and a simple multiplex liquid crystal display device, EL (Electro Luminescence), or the like. ) A display device, PDP (Plasma Display Panel), giricon, etc. may be used. The display device can be mounted on a mobile phone, a pocket game machine, a PDA (Personal Digital Assistants), a mobile TV, a remote control, a notebook personal computer, and other mobile terminals. These portable devices are often driven by a battery, and are equipped with a display device capable of reducing power consumption while maintaining good display quality, thereby facilitating long-time driving.
[0128]
【The invention's effect】
As described above, the driving method of the display device of the present invention is a non-scanning period longer than the scanning period for scanning the screen once, and provides a pause period in which all scanning signal lines are in a non-scanning state. The sum of the period and the pause period is one vertical period.
[0129]
Therefore, since there is a pause period longer than the scanning period, the vertical frequency becomes a low frequency. Therefore, in a matrix type display device that can ensure basic display quality such as brightness, contrast, response speed, and gradation, a data signal line driver that increases in direct proportion to the data signal supply frequency. The power consumption can be easily and significantly reduced without sacrificing the display quality.
[0130]
As described above, a driving method of a matrix type display device that can easily achieve sufficient power consumption while satisfying basic display quality such as brightness, contrast, response speed, and gradation is provided. There is an effect that can be done.
[0131]
Furthermore, the display device driving method of the present invention is configured to set the non-scanning period including the pause period from a plurality of types as described above.
[0132]
Therefore, the cycle of rewriting the screen can be changed according to the type of display image such as a still image or a moving image. As a result, there is an effect that it is possible to achieve optimum power consumption reduction for each type of display image.
[0133]
Furthermore, as described above, the driving method of the display device of the present invention is such that when the scanning period is T1, the shortest of the plurality of non-scanning periods is T01, and any one other than T01 is T02.
(T1 + T02) = (T1 + T01) × N (N is an integer of 2 or more)
It is the structure made into this relationship.
[0134]
Therefore, the reference synchronization signal can be used in common for each non-scanning period, and a low frequency drive can be achieved by adding a simple circuit, and the newly generated power consumption is extremely reduced. There is an effect that can be.
[0135]
Furthermore, as described above, the display device driving method according to the present invention is configured such that, when the display device has image data storage means for storing image data as a basis of the data signal, the image is displayed during the pause period. In this configuration, the transfer of the image data from the data storage means is stopped.
[0136]
Therefore, it is possible to reduce power consumption for image data transfer during the suspension period. As a result, the power consumption of the entire display device can be further reduced.
[0137]
Further, the display device driving method according to the present invention provides the image data supply means in the pause period when there is image data supply means for supplying the display device with the image data as the basis of the data signal as described above. The display device is configured to stop the operation of accepting the supply of the image data from the display device.
[0138]
Therefore, since the display device stops the operation of accepting the supply of image data from the image data supply means during the suspension period, it is possible to reduce the power consumption for accepting the supply of image data during the suspension period. As a result, the power consumption of the entire display device can be further reduced.
[0139]
Further, as described above, the display device driving method of the present invention is configured to stop the operation of the analog circuit unrelated to display during the pause period.
[0140]
Therefore, it is possible to reduce the power consumption of the circuit that constantly consumes the power, and it is possible to further reduce the power consumption of the entire display device.
[0141]
Further, as described above, the driving method of the display device of the present invention is characterized in that the operation of at least the analog circuit of the driver of the data signal line is stopped during the pause period.
[0142]
Therefore, since the operation of the analog circuit with the largest power consumption is stopped at least during the suspension period, the power consumption of the entire display device can be efficiently reduced.
[0143]
Furthermore, as described above, the driving method of the display device of the present invention is configured such that all the data signal lines are in a high impedance state with respect to the data signal driver that drives all the data signal lines during the pause period.
[0144]
Therefore, the potential of each data signal line can be kept constant during the pause period. Accordingly, in a liquid crystal display device having a pixel electrode connected to the data signal line, a change in the data holding state of each pixel caused by a fluctuation in the potential of the data signal line is suppressed, and flickering of the screen is sufficiently suppressed. As a result, there is an effect that it is possible to provide a driving method for a matrix type display device capable of achieving both a sufficiently low power consumption and a high display quality in which flicker is sufficiently suppressed.
[0145]
Furthermore, as described above, the driving method of the display device of the present invention is configured to stop the operation of the analog circuit unrelated to display after all the data signal lines are set in a high impedance state during the pause period.
[0146]
Therefore, it can be avoided that the data signal line becomes the ground potential through the analog circuit during the idle period. Therefore, while reducing the power consumption of the analog circuit, it is possible to suppress a change in the data holding state of the pixel and achieve a high display quality in which flicker is further suppressed.
[0147]
Further, as described above, the driving method of the display device of the present invention is configured to stop the operation of at least the analog circuit of the driver of the data signal line during the pause period.
[0148]
Therefore, since the operation of the analog circuit with the largest power consumption is stopped at least during the suspension period, the power consumption of the entire display device can be efficiently reduced.
[0149]
Furthermore, as described above, the driving method of the display device according to the present invention averages all the data signal lines with the change in the data holding state of all the pixels before setting all the data signal lines to the high impedance state. minimum The potential is such that
[0150]
Therefore, even when the pixel data retention state differs from line to line, the change in the data retention state of the entire screen is substantially minimized, and a high display quality with further reduced flickering can be achieved.
[0151]
In addition, as described above, the display device of the present invention has a control unit that executes the method for driving the display device according to the predetermined invention.
[0152]
Therefore, it is possible to provide a matrix display device that can easily achieve sufficient power consumption while satisfying basic display quality such as brightness, contrast, response speed, and gradation. There is an effect that can be done.
[0153]
In addition, as described above, the display device of the present invention has a control unit that executes the method for driving the display device according to the predetermined invention.
[0154]
Therefore, there is an effect that it is possible to provide a matrix type display device that can achieve both a sufficiently low power consumption and a high display quality in which flicker is sufficiently suppressed.
[0155]
Furthermore, in the display device driving method of the present invention, as described above, the display device is supplied with a scanning signal line from a scanning signal line to a capacitance formed by interposing a liquid crystal between a pixel electrode and a counter electrode. A liquid crystal display device having a liquid crystal display element in which pixels in which charges based on a data signal supplied from a data signal line are periodically written via an active element selected by a signal are arranged in a matrix It is.
[0156]
Therefore, a driving method of an active matrix type liquid crystal display device which can easily achieve sufficiently low power consumption while satisfying basic display quality such as brightness, contrast, response speed, and gradation. There is an effect that can be provided.
[0157]
Furthermore, in the display device driving method of the present invention, as described above, the display device is supplied with a scanning signal line from a scanning signal line to a capacitance formed by interposing a liquid crystal between a pixel electrode and a counter electrode. A liquid crystal display device having a liquid crystal display element in which pixels in which charges based on a data signal supplied from a data signal line are periodically written via an active element selected by a signal are arranged in a matrix It is.
[0158]
Therefore, there is an effect that it is possible to provide a driving method of an active matrix display device that can achieve both low power consumption and high display quality with sufficiently reduced flickering.
[0159]
Further, as described above, the driving method of the display device according to the present invention is the same as that of the counter electrode in the scanning period when the counter electrode is applied during the pause period and a DC voltage is applied to the counter electrode during the scanning period. In the case where an AC voltage is applied to the counter electrode during the scanning period, a potential at the amplitude center of the AC voltage is used.
[0160]
Therefore, the potential fluctuation of the pixel electrode due to capacitive coupling between each pixel and the counter electrode is suppressed during the pause period. Therefore, it is possible to achieve a high display quality in which changes in the data holding state of the pixels are suppressed and flickering is suppressed.
[0161]
Furthermore, in the display device driving method of the present invention, as described above, the OFF resistance value of the active element is set during the idle period. maximum The non-selection voltage is applied to all scanning signal lines.
[0162]
Therefore, the potential fluctuation of the pixel electrode due to the leakage current to the data signal line is suppressed during the pause period. Thereby, even when the potential of the pixel is different for each scanning line, the change in the data holding state of the pixel is suppressed, and an effect of achieving high display quality in which flickering is suppressed can be achieved.
[0163]
Furthermore, the driving method of the display device of the present invention has a configuration in which the pause period is 16.7 msec or more and 2 sec or less as described above.
[0164]
Therefore, the power consumption of the data signal line driver can be reduced by setting the pause period to 16.7 msec or more, which corresponds to the 60 Hz scanning period or more, and by setting the pause period to 2 sec or less, Flickering due to fluctuations in the potential of the pixel electrode due to leakage current is suppressed, and an effect is achieved that high display quality can be achieved.
[0165]
Furthermore, the display device driving method of the present invention has a configuration in which the pause period is set to 50 msec to 1 sec as described above.
[0166]
Therefore, the power consumption of the data signal line driver can be significantly reduced by setting the pause period to 50 msec or more, and by setting the pause period to 1 sec or less, the potential of the pixel electrode is reduced by the leakage current from the liquid crystal and the active element. Flickering due to fluctuation is greatly suppressed, and an effect is achieved that higher display quality can be achieved.
[0167]
Furthermore, as described above, the display device of the present invention is configured to have a control means for executing the method for driving the display device according to the predetermined invention.
[0168]
Therefore, an active matrix liquid crystal display device that can easily achieve sufficient power consumption while satisfying basic display quality such as brightness, contrast, response speed, and gradation is provided. There is an effect that can be.
[0169]
Furthermore, as described above, the display device of the present invention has a control unit that executes the method for driving the display device according to the predetermined invention.
[0170]
Therefore, it is possible to provide an active matrix type liquid crystal display device capable of achieving both a sufficiently low power consumption and a high display quality in which flicker is sufficiently suppressed.
[0171]
Further, as described above, in the display device of the present invention, the liquid crystal display element is provided with the auxiliary capacitance electrode that forms the auxiliary capacitance of the pixel with the pixel electrode, avoiding the position of the scanning signal line. It is the composition which is.
[0172]
Therefore, the capacitive coupling between the scanning signal line and the pixel electrode can be ignored. In this state, if the liquid crystal display element is driven by setting the pause period by the control means, the auxiliary capacitance is formed with the Cs on-gate structure. Unlike the above case, the potential fluctuation of the pixel electrode due to the potential fluctuation of the scanning signal line on one line does not occur. Thereby, there is an effect that it is possible to obtain a high display quality in which flickering is suppressed even when a long rest period is set.
[0173]
Furthermore, as described above, the display device according to the present invention has a pixel voltage holding ratio of the liquid crystal display element, and an electric capacity between the pixel electrode and the counter electrode. LC , The auxiliary capacity is C CS T is the non-selection period of the active element, Hr (T) is the liquid crystal voltage holding ratio after the non-selection period T3 at the rewrite frequency, V is the potential difference between the pixel electrode and the counter electrode immediately after writing, and the active element The resistance value when R is not selected is R, V 1 = V- {V · (1-Hr (T)) × C LC / (C LC + C CS )}
P = V 1 Exp [-T / {(C LC + C CS ) ・ R}] / V
This is a configuration in which P ≧ 0.9.
[0174]
Therefore, if the number of scanning signal lines is n, the scanning period is T1, and the non-scanning period is T0, the non-selection period T = (T1 + T0) −T1 / n is obtained. Even if it is set, the voltage of the pixel applied from the data signal line during the selection period is held at a voltage holding ratio of 90% or more throughout the non-selection period T. Therefore, the potential fluctuation of the pixel electrode hardly occurs in the non-selection period T. Thereby, there is an effect that a stable display quality without flickering can be obtained even if a long rest period is set.
[0175]
Furthermore, as described above, the display device of the present invention has a configuration in which the liquid crystal display element includes a reflective member that performs reflective display using ambient light.
[0176]
Therefore, since the reflective liquid crystal display device does not require a backlight, there is an effect that the ratio of power consumption reduction by driving with a set rest period is increased.
[0177]
Furthermore, as described above, the liquid crystal display device of the present invention has a configuration in which the reflecting member is at least a part of the pixel electrode.
[0178]
Therefore, since at least a part of the pixel electrode serves as a reflective electrode of the reflective liquid crystal display device, there is no need for a separate reflective member, and there is an effect that the types of members constituting the device can be reduced.
[0179]
Furthermore, as described above, the display device of the present invention has a configuration in which a hole for light transmission is provided in the reflection member, or the reflection member is translucent.
[0180]
Therefore, the reflection / transmission liquid crystal display device can be used as a reflection type when there is a lot of ambient light, and can be used in combination with a transmission type such as turning on a backlight when there is little ambient light. .
[0181]
Further, as described above, the portable device of the present invention has a configuration in which the display device according to the predetermined invention is mounted.
[0182]
Therefore, it is possible to provide a portable device that can easily achieve sufficient power consumption while satisfying basic display quality such as brightness, contrast, response speed, and gradation, and a battery. There is an effect that it is easy to drive for a long time.
[0183]
Further, as described above, the portable device of the present invention has a configuration in which the display device according to the predetermined invention is mounted.
[0184]
Therefore, it is possible to provide a portable device that can achieve both a sufficiently low power consumption and a high display quality in which flicker is sufficiently suppressed, and an effect of facilitating long-time driving by a battery is achieved.
[Brief description of the drawings]
FIG. 1 is a timing chart illustrating a method for driving a display device according to an embodiment of the present invention.
2 is a system block diagram illustrating a configuration of a display device to which the display device driving method of FIG. 1 is applied. FIG.
3 is a circuit diagram showing an internal configuration of a data signal driver of the display device of FIG. 2;
4 is a cross-sectional view showing a configuration of a liquid crystal panel of the display device of FIG.
5 is a perspective plan view showing a configuration of a liquid crystal panel of the display device of FIG. 2. FIG.
6A and 6B are circuit diagrams showing an equivalent circuit of FIG.
FIG. 7 is a graph showing characteristics of liquid crystal.
FIG. 8 is a graph showing characteristics of TFT OFF resistance.
FIG. 9 is an explanatory diagram for explaining a change in pixel electrode potential and a change in reflected light intensity when a sufficient charge cannot be held.
FIGS. 10A and 10B are explanatory diagrams illustrating a method for evaluating the characteristics of a liquid crystal panel. FIGS.
11A to 11E are timing charts showing signals and characteristics of the liquid crystal panel of FIG.
12 is a plan perspective view showing a configuration of a comparative example of the liquid crystal panel of FIG. 5. FIG.
FIGS. 13A to 13E are timing charts showing signals and characteristics of the liquid crystal panel of FIG.
14 is a cross-sectional view showing a configuration of a modified example of the liquid crystal panel of FIG.
FIG. 15 is a plan perspective view showing a configuration of a modification of the liquid crystal panel of FIG. 4;
FIG. 16 is a block diagram illustrating a configuration of a matrix display device.
FIG. 17 is a timing chart illustrating a method for driving a conventional display device.
FIG. 18 is an explanatory diagram for explaining a vertical blanking period.
[Explanation of symbols]
1 Liquid crystal display device (display device)
2 Liquid crystal panel (liquid crystal display element)
3 Gate driver
4 Source driver (data signal line driver)
5 Control IC (control means)
6 Image memory (image data storage means)
7 GSP conversion circuit
13 Liquid crystal layer (liquid crystal)
14 TFT (active element)
19 Transparent common electrode (counter electrode)
27 Pixel electrode
27a Auxiliary capacitor electrode pad
27b Reflective electrode
31 Scanning signal line
32 Data signal line
33 Auxiliary capacitance wiring (auxiliary capacitance electrode)
51 Liquid crystal panel (Liquid crystal display element)
53 Light transmission hole (hole for light transmission)
54 Pixel electrode
54a Auxiliary Capacitor Electrode Pad
54b Reflective electrode
C CL Liquid crystal capacity (electric capacity)
C CS Auxiliary capacity
T non-selection period
T1 scanning period
T2 suspension period
Claims (20)
上記画面を1回走査する走査期間よりも長い非走査期間であって、全走査信号線を非走査状態とする休止期間を設け、上記走査期間と上記休止期間との和を1垂直期間とし、
上記休止期間に、全データ信号線を駆動するデータ信号ドライバに対して上記全データ信号線をハイインピーダンス状態とし、
上記全データ信号線をハイインピーダンス状態とする前に、上記全データ信号線を、全画素のデータ保持状態の変化が平均して最小となる電位とすることを特徴とする表示装置の駆動方法。A display in which each line of a screen in which pixels are arranged in a matrix is selected and scanned sequentially by a plurality of scanning signal lines, and data signals are supplied from the data signal lines to the pixels of the selected lines for display. In the driving method of the apparatus,
A non-scanning period longer than a scanning period for scanning the screen once, and a pause period in which all scanning signal lines are in a non-scanning state is provided, and a sum of the scanning period and the pause period is defined as one vertical period,
In the pause period, all the data signal lines are set to a high impedance state with respect to the data signal driver that drives all the data signal lines ,
A driving method of a display device, characterized in that, before setting all data signal lines to a high impedance state, all the data signal lines are set to a potential at which a change in a data holding state of all pixels is averaged to be a minimum .
(T1+T02)=(T1+T01)×N(Nは2以上の整数)
の関係とすることを特徴とする請求項2に記載の表示装置の駆動方法。When the scanning period is T1, the shortest of the plurality of non-scanning periods is T01, and any one other than T01 is T02,
(T1 + T02) = (T1 + T01) × N (N is an integer of 2 or more)
The display device driving method according to claim 2, wherein:
P=V1 ・exp[−T/{(CLC+CCS)・R}]/V
と表したときに、P≧0.9であることを特徴とする請求項15に記載の表示装置。The pixel voltage holding ratio of the liquid crystal display element is defined as follows: the capacitance between the pixel electrode and the counter electrode is CLC, the auxiliary capacitance is CCS, the non-selection period of the active element is T, and the non-selection period at the rewrite frequency The liquid crystal voltage holding ratio after completion of T is Hr (T), the potential difference between the pixel electrode and the counter electrode immediately after writing is V, the resistance value when the active element is not selected is R, and V 1 = V− {V・ (1-Hr (T)) × C LC / (C LC + C CS )}
P = V 1 · exp [−T / {(C LC + C CS ) · R}] / V
The display device according to claim 15 , wherein P ≧ 0.9.
Priority Applications (8)
| Application Number | Priority Date | Filing Date | Title |
|---|---|---|---|
| JP2000131251A JP3766926B2 (en) | 2000-04-28 | 2000-04-28 | Display device driving method, display device using the same, and portable device |
| PCT/JP2001/003543 WO2001084226A1 (en) | 2000-04-28 | 2001-04-24 | Display unit, drive method for display unit, electronic apparatus mounting display unit thereon |
| CN01812023.7A CN1220098C (en) | 2000-04-28 | 2001-04-24 | Display device, display device driving method, and electronic equipment incorporating display device |
| US09/856,926 US7321353B2 (en) | 2000-04-28 | 2001-04-24 | Display device method of driving same and electronic device mounting same |
| EP01922071.4A EP1296174B1 (en) | 2000-04-28 | 2001-04-24 | Display unit, drive method for display unit, electronic apparatus mounting display unit thereon |
| TW90110174A TW573167B (en) | 2000-04-28 | 2001-04-27 | Display device, method of driving same and electronic equipment mounting same |
| US10/846,180 US7286108B2 (en) | 2000-04-28 | 2004-05-14 | Display device, method of driving same and electronic device mounting same |
| US11/900,497 US7924276B2 (en) | 2000-04-28 | 2007-09-11 | Display device, method of driving same and electronic device mounting same |
Applications Claiming Priority (1)
| Application Number | Priority Date | Filing Date | Title |
|---|---|---|---|
| JP2000131251A JP3766926B2 (en) | 2000-04-28 | 2000-04-28 | Display device driving method, display device using the same, and portable device |
Publications (2)
| Publication Number | Publication Date |
|---|---|
| JP2001312253A JP2001312253A (en) | 2001-11-09 |
| JP3766926B2 true JP3766926B2 (en) | 2006-04-19 |
Family
ID=18640178
Family Applications (1)
| Application Number | Title | Priority Date | Filing Date |
|---|---|---|---|
| JP2000131251A Expired - Fee Related JP3766926B2 (en) | 2000-04-28 | 2000-04-28 | Display device driving method, display device using the same, and portable device |
Country Status (1)
| Country | Link |
|---|---|
| JP (1) | JP3766926B2 (en) |
Cited By (5)
| Publication number | Priority date | Publication date | Assignee | Title |
|---|---|---|---|---|
| US8817009B2 (en) | 2010-01-20 | 2014-08-26 | Semiconductor Energy Laboratory Co., Ltd. | Method for driving display device and liquid crystal display device |
| US9153196B2 (en) | 2012-12-12 | 2015-10-06 | Samsung Display Co., Ltd. | Display device and driving method thereof |
| KR20180031807A (en) * | 2009-10-16 | 2018-03-28 | 가부시키가이샤 한도오따이 에네루기 켄큐쇼 | Liquid crystal display device and electronic apparatus having the same |
| KR20180137048A (en) * | 2009-11-13 | 2018-12-26 | 가부시키가이샤 한도오따이 에네루기 켄큐쇼 | Display device and electronic device including the same |
| US10211230B2 (en) | 2010-01-24 | 2019-02-19 | Semiconductor Energy Laboratory Co., Ltd. | Display device |
Families Citing this family (91)
| Publication number | Priority date | Publication date | Assignee | Title |
|---|---|---|---|---|
| JP2008233925A (en) * | 2000-10-05 | 2008-10-02 | Sharp Corp | Display device drive method, display device using the same, and portable device equipped with the display device |
| JP2002244610A (en) * | 2001-02-15 | 2002-08-30 | Nec Mitsubishi Denki Visual Systems Kk | Display device |
| KR100396359B1 (en) * | 2001-05-04 | 2003-09-02 | (주)네오디스 | Controlling Apparatus of Personal Digital Assistant and Method Thereof |
| KR100429880B1 (en) * | 2001-09-25 | 2004-05-03 | 삼성전자주식회사 | Circuit and method for controlling LCD frame ratio and LCD system having the same |
| TWI296062B (en) * | 2001-12-28 | 2008-04-21 | Sanyo Electric Co | Liquid crystal display device |
| JP2003302947A (en) * | 2002-04-10 | 2003-10-24 | Seiko Epson Corp | Electro-optical device and driving method thereof |
| JP4638117B2 (en) | 2002-08-22 | 2011-02-23 | シャープ株式会社 | Display device and driving method thereof |
| JP4487024B2 (en) * | 2002-12-10 | 2010-06-23 | 株式会社日立製作所 | Method for driving liquid crystal display device and liquid crystal display device |
| JP4108623B2 (en) * | 2004-02-18 | 2008-06-25 | シャープ株式会社 | Liquid crystal display device and driving method thereof |
| JP4963154B2 (en) * | 2004-03-12 | 2012-06-27 | シャープ株式会社 | Display device and driving method thereof |
| JP4753618B2 (en) * | 2004-05-21 | 2011-08-24 | 三洋電機株式会社 | Display device |
| JP4761828B2 (en) * | 2004-05-21 | 2011-08-31 | 三洋電機株式会社 | Display device |
| JP4510530B2 (en) * | 2004-06-16 | 2010-07-28 | 株式会社 日立ディスプレイズ | Liquid crystal display device and driving method thereof |
| JP4529582B2 (en) * | 2004-08-12 | 2010-08-25 | セイコーエプソン株式会社 | Electro-optical device and electronic apparatus, and driving method and inspection method for electro-optical device |
| TW200629210A (en) * | 2004-11-26 | 2006-08-16 | Hitachi Displays Ltd | Liquid-crystal display device and method of driving liquid-crystal display device |
| KR101962603B1 (en) * | 2009-10-16 | 2019-03-28 | 가부시키가이샤 한도오따이 에네루기 켄큐쇼 | Liquid crystal display device and electronic device including the liquid crystal display device |
| KR101761957B1 (en) | 2009-12-18 | 2017-07-26 | 가부시키가이샤 한도오따이 에네루기 켄큐쇼 | Method for driving liquid crystal display device |
| KR101998737B1 (en) * | 2009-12-18 | 2019-07-10 | 가부시키가이샤 한도오따이 에네루기 켄큐쇼 | Liquid crystal display device and electronic device |
| KR101763660B1 (en) * | 2009-12-18 | 2017-08-01 | 가부시키가이샤 한도오따이 에네루기 켄큐쇼 | Liquid crystal display device and driving method thereof |
| WO2011081041A1 (en) | 2009-12-28 | 2011-07-07 | Semiconductor Energy Laboratory Co., Ltd. | Semiconductor device and method for manufacturing the semiconductor device |
| WO2011081008A1 (en) * | 2009-12-28 | 2011-07-07 | Semiconductor Energy Laboratory Co., Ltd. | Liquid crystal display device and electronic device |
| CN102844806B (en) * | 2009-12-28 | 2016-01-20 | 株式会社半导体能源研究所 | Liquid crystal display device and electronic equipment |
| CN102714029B (en) * | 2010-01-20 | 2016-03-23 | 株式会社半导体能源研究所 | The display packing of display device |
| KR102217907B1 (en) | 2010-01-20 | 2021-02-19 | 가부시키가이샤 한도오따이 에네루기 켄큐쇼 | Display device |
| KR101747421B1 (en) * | 2010-01-20 | 2017-06-14 | 가부시키가이샤 한도오따이 에네루기 켄큐쇼 | Driving method of liquid crystal display device |
| KR101842860B1 (en) * | 2010-01-20 | 2018-03-28 | 가부시키가이샤 한도오따이 에네루기 켄큐쇼 | Method for driving display device |
| KR101805378B1 (en) | 2010-01-24 | 2017-12-06 | 가부시키가이샤 한도오따이 에네루기 켄큐쇼 | Display device and manufacturing method thereof |
| TWI525377B (en) | 2010-01-24 | 2016-03-11 | 半導體能源研究所股份有限公司 | Display device |
| WO2011102248A1 (en) * | 2010-02-19 | 2011-08-25 | Semiconductor Energy Laboratory Co., Ltd. | Liquid crystal display device and electronic device |
| EP2544169A4 (en) | 2010-03-03 | 2015-04-22 | Sharp Kk | Display device, method for driving same, and liquid crystal display device |
| WO2011132555A1 (en) * | 2010-04-23 | 2011-10-27 | Semiconductor Energy Laboratory Co., Ltd. | Display device and driving method thereof |
| SG184809A1 (en) * | 2010-04-28 | 2012-11-29 | Semiconductor Energy Lab | Semiconductor display device and driving method the same |
| US9349325B2 (en) | 2010-04-28 | 2016-05-24 | Semiconductor Energy Laboratory Co., Ltd. | Liquid crystal display device and electronic device |
| WO2011136018A1 (en) | 2010-04-28 | 2011-11-03 | Semiconductor Energy Laboratory Co., Ltd. | Liquid crystal display device and electronic appliance |
| US9697788B2 (en) * | 2010-04-28 | 2017-07-04 | Semiconductor Energy Laboratory Co., Ltd. | Liquid crystal display device |
| EP2573752A4 (en) * | 2010-05-21 | 2013-11-13 | Sharp Kk | Display device and method of driving the same, and display system |
| TWI541782B (en) * | 2010-07-02 | 2016-07-11 | 半導體能源研究所股份有限公司 | Liquid crystal display device |
| JP5677902B2 (en) | 2010-10-22 | 2015-02-25 | 富士フイルム株式会社 | Stereoscopic image recognition device |
| JP5542611B2 (en) * | 2010-10-25 | 2014-07-09 | シャープ株式会社 | Display device and driving method thereof |
| JP5373209B2 (en) | 2011-02-10 | 2013-12-18 | シャープ株式会社 | Display device and driving method |
| JP2012173380A (en) * | 2011-02-18 | 2012-09-10 | Kyocera Display Corp | Liquid crystal display device with touch panel |
| US9424795B2 (en) | 2011-04-07 | 2016-08-23 | Sharp Kabushiki Kaisha | Display device, and driving method |
| WO2012137790A1 (en) | 2011-04-07 | 2012-10-11 | シャープ株式会社 | Electronic apparatus, and method for controlling electronic apparatus |
| JP5290481B2 (en) * | 2011-04-07 | 2013-09-18 | シャープ株式会社 | Display device, driving method thereof, and electronic apparatus |
| US9293103B2 (en) | 2011-04-07 | 2016-03-22 | Sharp Kabushiki Kaisha | Display device, and method for driving same |
| WO2012137800A1 (en) | 2011-04-08 | 2012-10-11 | シャープ株式会社 | Display device, method for driving same, and electronic apparatus |
| KR101531125B1 (en) | 2011-04-08 | 2015-07-06 | 샤프 가부시키가이샤 | Display device, electronic apparatus, method for controlling display device, and method for controlling electronic apparatus |
| WO2012137817A1 (en) | 2011-04-08 | 2012-10-11 | シャープ株式会社 | Display device, and method for driving display device |
| JP5280596B2 (en) | 2011-04-15 | 2013-09-04 | シャープ株式会社 | Display device, display device driving method, and electronic apparatus |
| US9423637B2 (en) | 2011-04-28 | 2016-08-23 | Sharp Kabushiki Kaisha | Display device including data signal line drive circuit |
| KR101552420B1 (en) | 2011-05-23 | 2015-09-10 | 샤프 가부시키가이샤 | Scanning signal line driving circuit, display device provided therewith, and scanning signal line driving method |
| JPWO2012165302A1 (en) * | 2011-05-27 | 2015-02-23 | シャープ株式会社 | Display control apparatus, control method therefor, and display system |
| JP2013026727A (en) | 2011-07-19 | 2013-02-04 | Sony Corp | Display device and display method |
| SG11201400740TA (en) | 2011-08-02 | 2014-08-28 | Sharp Kk | Liquid crystal display device and method for driving auxiliary capacitance lines |
| CN103843056B (en) * | 2011-08-02 | 2017-02-15 | 夏普株式会社 | Display device and driving method thereof |
| US8698726B2 (en) | 2011-08-02 | 2014-04-15 | Sharp Kabushiki Kaisha | Display device and method for powering same |
| US9165518B2 (en) | 2011-08-08 | 2015-10-20 | Samsung Display Co., Ltd. | Display device and driving method thereof |
| JP5805770B2 (en) | 2011-08-12 | 2015-11-10 | シャープ株式会社 | Display device |
| WO2013024776A1 (en) * | 2011-08-16 | 2013-02-21 | シャープ株式会社 | Display device and drive method for same |
| US9378694B2 (en) | 2012-01-30 | 2016-06-28 | Sharp Kabushiki Kaisha | Drive control device, display device including the same, and drive control method |
| US9613585B2 (en) | 2012-02-02 | 2017-04-04 | Sharp Kabushiki Kaisha | Display device and method for driving the same |
| WO2013125406A1 (en) * | 2012-02-20 | 2013-08-29 | シャープ株式会社 | Drive device and display device |
| WO2013125458A1 (en) | 2012-02-24 | 2013-08-29 | シャープ株式会社 | Display device, electronic device comprising same, and drive method for display device |
| WO2013125459A1 (en) * | 2012-02-24 | 2013-08-29 | シャープ株式会社 | Display device, electronic device comprising same, and drive method for display device |
| JP6030115B2 (en) * | 2012-02-24 | 2016-11-24 | シャープ株式会社 | Display device and control method |
| JP6100559B2 (en) | 2012-03-05 | 2017-03-22 | 株式会社半導体エネルギー研究所 | Semiconductor memory device |
| WO2013140980A1 (en) | 2012-03-19 | 2013-09-26 | シャープ株式会社 | Display device and method for driving same |
| JP2013235083A (en) * | 2012-05-08 | 2013-11-21 | Sharp Corp | Display device |
| JP2013238693A (en) * | 2012-05-14 | 2013-11-28 | Sharp Corp | Image display apparatus, image display method, and program |
| WO2013190912A1 (en) * | 2012-06-18 | 2013-12-27 | シャープ株式会社 | Liquid crystal display device, electronic apparatus provided therewith, and method for driving liquid crystal display device |
| CN104641409A (en) | 2012-09-26 | 2015-05-20 | 夏普株式会社 | Display device and method for driving same |
| WO2014080810A1 (en) * | 2012-11-20 | 2014-05-30 | シャープ株式会社 | Liquid crystal display device and method for driving same |
| WO2014103914A1 (en) | 2012-12-28 | 2014-07-03 | シャープ株式会社 | Liquid-crystal display device and method for driving same |
| JP5594498B2 (en) * | 2013-02-26 | 2014-09-24 | Nltテクノロジー株式会社 | Liquid crystal display device and electronic display device |
| CN105027189B (en) | 2013-03-08 | 2017-07-11 | 夏普株式会社 | Liquid crystal display device and its driving method |
| US9685129B2 (en) | 2013-04-23 | 2017-06-20 | Sharp Kabushiki Kaisha | Liquid crystal display device |
| JP6033414B2 (en) | 2013-04-23 | 2016-11-30 | シャープ株式会社 | Liquid crystal display |
| JP2014238498A (en) * | 2013-06-07 | 2014-12-18 | 株式会社ジャパンディスプレイ | Liquid crystal display device and driving method |
| WO2014208130A1 (en) | 2013-06-27 | 2014-12-31 | シャープ株式会社 | Liquid crystal display device |
| JP6177606B2 (en) * | 2013-07-05 | 2017-08-09 | シナプティクス・ジャパン合同会社 | Display system and program |
| CN105474297B (en) * | 2013-08-23 | 2018-04-06 | 夏普株式会社 | Liquid crystal display device |
| US9911390B2 (en) | 2013-09-05 | 2018-03-06 | Sharp Kabushiki Kaisha | Liquid crystal display device |
| JP6294629B2 (en) | 2013-10-11 | 2018-03-14 | 株式会社ジャパンディスプレイ | Liquid crystal display |
| JP6462207B2 (en) | 2013-11-21 | 2019-01-30 | ラピスセミコンダクタ株式会社 | Drive device for display device |
| US9959821B2 (en) | 2013-12-11 | 2018-05-01 | Sharp Kabushiki Kaisha | Liquid crystal display device and method for driving same |
| JP6491821B2 (en) | 2014-04-07 | 2019-03-27 | 株式会社ジャパンディスプレイ | Display device |
| JP6639348B2 (en) * | 2016-07-20 | 2020-02-05 | シナプティクス・ジャパン合同会社 | Display control device and display panel module |
| CN110121743B (en) | 2016-12-21 | 2021-05-14 | 夏普株式会社 | display device |
| US11482185B2 (en) | 2017-08-01 | 2022-10-25 | Sharp Kabushiki Kaisha | Method for driving display device, and display device |
| CN115188306B (en) * | 2021-04-02 | 2025-07-22 | 格科微电子(上海)有限公司 | Pixel refreshing method and device, storage medium and display |
| JP2025025063A (en) | 2023-08-08 | 2025-02-21 | シャープディスプレイテクノロジー株式会社 | Display device |
Family Cites Families (8)
| Publication number | Priority date | Publication date | Assignee | Title |
|---|---|---|---|---|
| JP2816403B2 (en) * | 1988-11-11 | 1998-10-27 | 株式会社 半導体エネルギー研究所 | Driving method of liquid crystal display device and liquid crystal display device |
| JPH02210492A (en) * | 1989-02-10 | 1990-08-21 | Matsushita Electric Ind Co Ltd | LCD display driver |
| US5070409A (en) * | 1989-06-13 | 1991-12-03 | Asahi Kogaku Kogyo Kabushiki Kaisha | Liquid crystal display device with display holding device |
| JP3281159B2 (en) * | 1993-12-28 | 2002-05-13 | 株式会社東芝 | Liquid crystal display |
| JPH07306397A (en) * | 1994-03-16 | 1995-11-21 | Toshiba Corp | Display device and liquid crystal display device |
| JP3630489B2 (en) * | 1995-02-16 | 2005-03-16 | 株式会社東芝 | Liquid crystal display |
| JPH09243996A (en) * | 1996-03-11 | 1997-09-19 | Matsushita Electric Ind Co Ltd | Liquid crystal display device, liquid crystal display system and computer system |
| JPH113063A (en) * | 1997-06-10 | 1999-01-06 | Toshiba Corp | Information processing apparatus and display control method |
-
2000
- 2000-04-28 JP JP2000131251A patent/JP3766926B2/en not_active Expired - Fee Related
Cited By (14)
| Publication number | Priority date | Publication date | Assignee | Title |
|---|---|---|---|---|
| KR20190000382A (en) * | 2009-10-16 | 2019-01-02 | 가부시키가이샤 한도오따이 에네루기 켄큐쇼 | Liquid crystal display device and electronic apparatus having the same |
| KR20200021554A (en) * | 2009-10-16 | 2020-02-28 | 가부시키가이샤 한도오따이 에네루기 켄큐쇼 | Liquid crystal display device and electronic apparatus having the same |
| KR20180031807A (en) * | 2009-10-16 | 2018-03-28 | 가부시키가이샤 한도오따이 에네루기 켄큐쇼 | Liquid crystal display device and electronic apparatus having the same |
| KR101844080B1 (en) * | 2009-10-16 | 2018-03-30 | 가부시키가이샤 한도오따이 에네루기 켄큐쇼 | Liquid crystal display device and electronic apparatus having the same |
| US10061172B2 (en) | 2009-10-16 | 2018-08-28 | Semiconductor Energy Laboratory Co., Ltd. | Liquid crystal display device and electronic apparatus having the same |
| KR102143040B1 (en) | 2009-10-16 | 2020-08-11 | 가부시키가이샤 한도오따이 에네루기 켄큐쇼 | Liquid crystal display device and electronic apparatus having the same |
| US10310348B2 (en) | 2009-10-16 | 2019-06-04 | Semiconductor Energy Laboratory Co., Ltd. | Liquid crystal display device and electronic apparatus having the same |
| KR101988819B1 (en) | 2009-10-16 | 2019-06-12 | 가부시키가이샤 한도오따이 에네루기 켄큐쇼 | Liquid crystal display device and electronic apparatus having the same |
| KR101987790B1 (en) | 2009-11-13 | 2019-06-11 | 가부시키가이샤 한도오따이 에네루기 켄큐쇼 | Display device and electronic device including the same |
| US10332912B2 (en) | 2009-11-13 | 2019-06-25 | Semiconductor Energy Laboratory Co., Ltd. | Display device and electronic device including the same |
| KR20180137048A (en) * | 2009-11-13 | 2018-12-26 | 가부시키가이샤 한도오따이 에네루기 켄큐쇼 | Display device and electronic device including the same |
| US8817009B2 (en) | 2010-01-20 | 2014-08-26 | Semiconductor Energy Laboratory Co., Ltd. | Method for driving display device and liquid crystal display device |
| US10211230B2 (en) | 2010-01-24 | 2019-02-19 | Semiconductor Energy Laboratory Co., Ltd. | Display device |
| US9153196B2 (en) | 2012-12-12 | 2015-10-06 | Samsung Display Co., Ltd. | Display device and driving method thereof |
Also Published As
| Publication number | Publication date |
|---|---|
| JP2001312253A (en) | 2001-11-09 |
Similar Documents
| Publication | Publication Date | Title |
|---|---|---|
| JP3766926B2 (en) | Display device driving method, display device using the same, and portable device | |
| JP3730159B2 (en) | Display device driving method and display device | |
| JP4137394B2 (en) | Display device drive method, display device using the same, and portable device equipped with the display device | |
| US7286108B2 (en) | Display device, method of driving same and electronic device mounting same | |
| CN100481194C (en) | Active matrix display device and driving method of same | |
| US8456400B2 (en) | Liquid crystal device and electronic apparatus | |
| JP3862994B2 (en) | Display device driving method and display device using the same | |
| JP4631917B2 (en) | Electro-optical device, driving method, and electronic apparatus | |
| JP2008233925A (en) | Display device drive method, display device using the same, and portable device equipped with the display device | |
| KR101082286B1 (en) | Liquid Crystal Display Device and Driving Method Thereof | |
| JP3305931B2 (en) | Liquid crystal display | |
| TWI277944B (en) | Liquid crystal display driving methodology with improved power consumption | |
| CN101251990B (en) | Liquid crystal display device | |
| JPH09243995A (en) | Active matrix array, liquid crystal display device and driving method thereof | |
| JP3460989B2 (en) | Display device | |
| US8736591B2 (en) | Display device using pixel memory circuit to reduce flicker with reduced power consumption | |
| KR101604481B1 (en) | Liquid crystal display | |
| KR100498121B1 (en) | Display unit, drive method for display unit, electronic apparatus mounting display unit thereon | |
| JP2004046180A (en) | Display device and electronic device having the same | |
| JP2008158385A (en) | Electro-optical device, driving method thereof, and electronic apparatus | |
| JP4147025B2 (en) | Reflective display device and electronic apparatus including the same |
Legal Events
| Date | Code | Title | Description |
|---|---|---|---|
| A131 | Notification of reasons for refusal |
Free format text: JAPANESE INTERMEDIATE CODE: A131 Effective date: 20050712 |
|
| A521 | Written amendment |
Free format text: JAPANESE INTERMEDIATE CODE: A523 Effective date: 20050908 |
|
| RD02 | Notification of acceptance of power of attorney |
Free format text: JAPANESE INTERMEDIATE CODE: A7422 Effective date: 20050908 |
|
| A131 | Notification of reasons for refusal |
Free format text: JAPANESE INTERMEDIATE CODE: A131 Effective date: 20051018 |
|
| A521 | Written amendment |
Free format text: JAPANESE INTERMEDIATE CODE: A523 Effective date: 20051216 |
|
| TRDD | Decision of grant or rejection written | ||
| A01 | Written decision to grant a patent or to grant a registration (utility model) |
Free format text: JAPANESE INTERMEDIATE CODE: A01 Effective date: 20060117 |
|
| A61 | First payment of annual fees (during grant procedure) |
Free format text: JAPANESE INTERMEDIATE CODE: A61 Effective date: 20060118 |
|
| R150 | Certificate of patent or registration of utility model |
Ref document number: 3766926 Country of ref document: JP Free format text: JAPANESE INTERMEDIATE CODE: R150 Free format text: JAPANESE INTERMEDIATE CODE: R150 |
|
| FPAY | Renewal fee payment (event date is renewal date of database) |
Free format text: PAYMENT UNTIL: 20100210 Year of fee payment: 4 |
|
| FPAY | Renewal fee payment (event date is renewal date of database) |
Free format text: PAYMENT UNTIL: 20100210 Year of fee payment: 4 |
|
| FPAY | Renewal fee payment (event date is renewal date of database) |
Free format text: PAYMENT UNTIL: 20110210 Year of fee payment: 5 |
|
| FPAY | Renewal fee payment (event date is renewal date of database) |
Free format text: PAYMENT UNTIL: 20120210 Year of fee payment: 6 |
|
| FPAY | Renewal fee payment (event date is renewal date of database) |
Free format text: PAYMENT UNTIL: 20120210 Year of fee payment: 6 |
|
| FPAY | Renewal fee payment (event date is renewal date of database) |
Free format text: PAYMENT UNTIL: 20130210 Year of fee payment: 7 |
|
| FPAY | Renewal fee payment (event date is renewal date of database) |
Free format text: PAYMENT UNTIL: 20130210 Year of fee payment: 7 |
|
| FPAY | Renewal fee payment (event date is renewal date of database) |
Free format text: PAYMENT UNTIL: 20140210 Year of fee payment: 8 |
|
| LAPS | Cancellation because of no payment of annual fees |
