JP2023027400A - Bonding device, bonding system, bonding method, program and computer storage media - Google Patents
Bonding device, bonding system, bonding method, program and computer storage media Download PDFInfo
- Publication number
- JP2023027400A JP2023027400A JP2022209554A JP2022209554A JP2023027400A JP 2023027400 A JP2023027400 A JP 2023027400A JP 2022209554 A JP2022209554 A JP 2022209554A JP 2022209554 A JP2022209554 A JP 2022209554A JP 2023027400 A JP2023027400 A JP 2023027400A
- Authority
- JP
- Japan
- Prior art keywords
- substrate
- bonding
- wafer
- suction
- chuck
- Prior art date
- Legal status (The legal status is an assumption and is not a legal conclusion. Google has not performed a legal analysis and makes no representation as to the accuracy of the status listed.)
- Granted
Links
Images
Landscapes
- Container, Conveyance, Adherence, Positioning, Of Wafer (AREA)
Abstract
【課題】基板の接合処理の状態を検査し、当該接合処理を適切に行う。
【解決手段】上ウェハWUと下ウェハWLを接合する接合装置は、下面に上ウェハWUを真空引きして吸着保持する上チャック140と、上チャック140の下方に設けられ、上面に下ウェハWLを真空引きして吸着保持する下チャック141と、上チャック140に設けられ、上ウェハWUの中心部を押圧する押動部材190と、上チャック140に設けられ、上ウェハWUと下ウェハWLの当接状態を検出するセンサ175と、を有する。センサ175は、上ウェハWUを真空引きするための吸引管を流れる気体の流量又は圧力を測定する。
【選択図】図6
An object of the present invention is to inspect the state of bonding processing of substrates and perform the bonding processing appropriately.
A bonding apparatus for bonding an upper wafer (WU) and a lower wafer (WL) is provided with an upper chuck (140) for sucking and holding the upper wafer (WU) on its lower surface by drawing a vacuum, and below the upper chuck (140). , a pressing member 190 provided on the upper chuck 140 for pressing the center of the upper wafer WU, and a pressing member 190 provided on the upper chuck 140 for separating the upper wafer WU and the lower wafer WL. and a sensor 175 that detects a contact state. The sensor 175 measures the flow rate or pressure of gas flowing through a suction pipe for vacuuming the upper wafer WU.
[Selection drawing] Fig. 6
Description
本発明は、基板同士を接合する接合装置、当該接合装置を備えた接合システム、当該接合装置を用いた接合方法、プログラム及びコンピュータ記憶媒体に関する。 The present invention relates to a bonding apparatus for bonding substrates together, a bonding system including the bonding apparatus, a bonding method using the bonding apparatus, a program, and a computer storage medium.
近年、半導体デバイスの高集積化が進んでいる。高集積化した複数の半導体デバイスを水平面内で配置し、これら半導体デバイスを配線で接続して製品化する場合、配線長が増大し、それにより配線の抵抗が大きくなること、また配線遅延が大きくなることが懸念される。 In recent years, semiconductor devices have been highly integrated. When a plurality of highly integrated semiconductor devices are arranged in a horizontal plane and these semiconductor devices are connected by wiring to produce a product, the wiring length increases, resulting in an increase in wiring resistance and a large wiring delay. It is feared that
そこで、半導体デバイスを3次元に積層する3次元集積技術を用いることが提案されている。この3次元集積技術においては、例えば特許文献1に記載の接合システムを用いて、2枚の半導体ウェハ(以下、「ウェハ」という。)の接合が行われる。例えば接合システムは、ウェハの接合される表面を改質する表面改質装置と、当該表面改質装置で改質されたウェハの表面を親水化する表面親水化装置と、当該表面親水化装置で表面が親水化されたウェハ同士を接合する接合装置と、を有している。この接合システムでは、表面改質装置においてウェハの表面に対してプラズマ処理を行い当該表面を改質し、さらに表面親水化装置においてウェハの表面に純水を供給して当該表面を親水化した後、接合装置においてウェハ同士をファンデルワールス力及び水素結合(分子間力)によって接合する。
Therefore, it has been proposed to use a three-dimensional integration technology for three-dimensionally stacking semiconductor devices. In this three-dimensional integration technique, two semiconductor wafers (hereinafter referred to as "wafers") are bonded using, for example, the bonding system described in
上記接合装置は、下面に一のウェハ(以下、「上ウェハ」という。)を保持する上チャックと、上チャックの下方に設けられ、上面に他のウェハ(以下、「下ウェハ」という。)を保持する下チャックと、上チャックに設けられ、上ウェハの中心部を押圧する押動部材と、を有している。かかる接合装置では、上チャックに保持された上ウェハと下チャックに保持された下ウェハを対向配置した状態で、押動部材によって上ウェハの中心部と下ウェハの中心部を押圧して当接させ、当該中心部同士が接合して接合領域が形成される。その後、ウェハの中心部から外周部に向けて、接合領域が拡大していく、いわゆるボンディングウェーブが発生する。そして、上ウェハと下ウェハが接合される。 The bonding apparatus includes an upper chuck that holds one wafer (hereinafter referred to as "upper wafer") on its lower surface, and an upper chuck that is provided below the upper chuck and holds another wafer (hereinafter referred to as "lower wafer") on its upper surface. and a pressing member provided on the upper chuck to press the center of the upper wafer. In such a bonding apparatus, the upper wafer held by the upper chuck and the lower wafer held by the lower chuck are arranged to face each other, and the pressing member presses the central portion of the upper wafer and the central portion of the lower wafer to bring them into contact with each other. Then, the center portions are joined together to form a joining region. After that, a so-called bonding wave is generated in which the bonding area expands from the center of the wafer toward the outer periphery. Then, the upper wafer and the lower wafer are bonded.
接合後の重合ウェハの歪みを抑えるためには、ボンディングウェーブが、ウェハの中心部から外周部に向けて均等にすなわち同心円状に拡大していくことが好ましい。しかしながら、上述した特許文献1に記載された接合装置では、ボンディングウェーブをモニタリングすることは行われておらず、ボンディングウェーブが不均一に拡大しても把握することはできない。したがって、従来のウェハの接合処理には改善の余地があった。
In order to suppress the distortion of the superposed wafer after bonding, it is preferable that the bonding wave expands evenly, that is, concentrically, from the center of the wafer toward the outer periphery. However, the bonding apparatus described in
本発明は、かかる点に鑑みてなされたものであり、基板の接合処理の状態を検査し、当該接合処理を適切に行うことを目的とする。 SUMMARY OF THE INVENTION It is an object of the present invention to inspect the state of bonding processing of substrates and perform the bonding processing appropriately.
前記の目的を達成するため、本発明は、基板同士を接合する接合装置であって、第1の基板を下面で吸着保持する第1の保持部と、前記第1の保持部の下方に設けられ、第2の基板を上面で吸着保持する第2の保持部と、前記第1の保持部に設けられ、前記第1の基板の中心部を押圧する押動部材と、前記第1の保持部に設けられ、前記第1の基板と前記第2の基板の当接状態を検出する基板検出部と、前記基板検出部は、前記第1の基板を真空引きするための吸引管を流れる気体の流量又は圧力を測定することを特徴としている。 In order to achieve the above object, the present invention provides a bonding apparatus for bonding substrates together, comprising: a first holding portion for sucking and holding a first substrate on its lower surface; a second holding portion that sucks and holds the second substrate on the upper surface; a pushing member that is provided in the first holding portion and presses the center portion of the first substrate; a substrate detection unit provided in the unit for detecting a state of contact between the first substrate and the second substrate; It is characterized by measuring the flow rate or pressure of
本発明によれば、基板検出部によって、第1の保持部に保持された第1の基板が、当該第1の保持部から離脱するのを検出することができる。この第1の基板の離脱が生じると、第1の基板は第2の基板に落下して当接し、第1の基板と第2の基板が分子間力によって接合する。したがって、第1の基板の離脱を検出することにより、ボンディングウェーブを把握することができ、ウェハの接合処理の状態を検査することができる。そして、例えばボンディングウェーブが均一である場合(接合処理の状態が正常である場合)、そのままの処理条件で接合処理を継続すれば良い。一方、例えばボンディングウェーブが不均一である場合(接合処理の状態が異常である場合)、処理条件を補正して接合処理を行えば良い。したがって、本発明によれば、基板の接合処理を適切に行うことができる。 According to the present invention, the board detecting section can detect that the first board held by the first holding section is separated from the first holding section. When this separation of the first substrate occurs, the first substrate drops and contacts the second substrate, and the first substrate and the second substrate are bonded by intermolecular force. Therefore, by detecting the detachment of the first substrate, the bonding wave can be grasped, and the state of the wafer bonding process can be inspected. Then, for example, when the bonding wave is uniform (when the state of the bonding process is normal), the bonding process may be continued under the same processing conditions. On the other hand, for example, when the bonding wave is uneven (when the state of the bonding process is abnormal), the bonding process may be performed after correcting the processing conditions. Therefore, according to the present invention, the substrate bonding process can be performed appropriately.
前記接合装置において、前記基板検出部は、前記第1の保持部から前記第1の基板が離脱した場合の前記吸引管内の気流の変化を測定し、前記第1の基板と前記第2の基板の当接状態を検出してもよい。また、前記第1の保持部は、前記第1の基板を真空引きして吸着する吸引部を有し、前記基板検出部は、前記吸引部に接続された吸引管に設けられていてもよい。 In the bonding apparatus, the substrate detection unit measures a change in airflow in the suction pipe when the first substrate is separated from the first holding unit, and detects the difference between the first substrate and the second substrate. may be detected. Further, the first holding unit may have a suction unit that vacuums and sucks the first substrate, and the substrate detection unit may be provided in a suction pipe connected to the suction unit. .
前記接合装置において、前記基板検出部は、前記第1の保持部と同心円周上に複数設けられていてもよい。また、前記基板検出部は、複数の円周上に設けられていてもよい。 In the bonding apparatus, a plurality of substrate detection units may be provided on a circle concentric with the first holding unit. Further, the substrate detection section may be provided on a plurality of circumferences.
前記接合装置において、前記基板検出部は、前記第1の基板のヤング率又はポアソン比の異方性に基づいて配置されてもよい。 In the bonding apparatus, the substrate detector may be arranged based on the anisotropy of Young's modulus or Poisson's ratio of the first substrate.
別な観点による本発明は、前記接合装置を備えた接合システムであって、前記接合装置を備えた処理ステーションと、前記第1の基板、前記第2の基板又は前記第1の基板と前記第2の基板が接合された重合基板をそれぞれ複数保有し、且つ前記処理ステーションに対して前記第1の基板、前記第2の基板又は前記重合基板を搬入出する搬入出ステーションと、を備え、前記処理ステーションは、前記第1の基板又は前記第2の基板の接合される表面を改質する表面改質装置と、前記表面改質装置で改質された前記第1の基板又は前記第2の基板の表面を親水化する表面親水化装置と、前記表面改質装置、前記表面親水化装置及び前記接合装置に対して、前記第1の基板、前記第2の基板又は前記重合基板を搬送するための搬送装置と、を有し、前記接合装置では、前記表面親水化装置で表面が親水化された前記第1の基板と前記第2の基板を接合することを特徴としている。 According to another aspect of the present invention, there is provided a bonding system including the bonding apparatus, a processing station including the bonding apparatus, the first substrate, the second substrate, or the first substrate and the second substrate. a loading/unloading station holding a plurality of superimposed substrates each having two substrates bonded thereto, and loading/unloading the first substrate, the second substrate, or the superimposed substrate with respect to the processing station; The processing station comprises a surface modification device for modifying the surfaces to be bonded of the first substrate or the second substrate, and a surface of the first substrate or the second substrate modified by the surface modification device. The first substrate, the second substrate, or the polymerized substrate is conveyed to a surface hydrophilization device for hydrophilizing the surface of the substrate, the surface modification device, the surface hydrophilization device, and the bonding device. and a conveying device for bonding, wherein the bonding device bonds the first substrate and the second substrate, the surfaces of which are hydrophilized by the surface hydrophilization device.
また別な観点による本発明は、基板同士を接合する接合方法であって、第1の保持部の下面に保持された第1の基板と第2の保持部の上面に保持された第2の基板とを対向配置する配置工程と、その後、前記第1の保持部に設けられ、前記第1の基板の中心部を押圧する押動部材を下降させ、当該押動部材によって前記第1の基板の中心部と前記第2の基板の中心部を押圧して当接させる押圧工程と、その後、前記第1の基板の中心部と前記第2の基板の中心部が当接した状態で、前記第1の基板の中心部から外周部に向けて、前記第1の基板と前記第2の基板を順次接合する接合工程と、を有し、前記接合工程において、前記第1の保持部に設けられた前記第1の基板を真空引きするための吸引管を流れる気体の流量又は圧力を測定する基板検出部によって、前記第1の基板と前記第2の基板の当接状態を検出することを特徴としている。 According to another aspect of the present invention, there is provided a bonding method for bonding substrates, in which a first substrate held on the lower surface of a first holding portion and a second substrate held on the upper surface of a second holding portion are bonded together. an arrangement step of arranging the substrate so as to face the substrate; thereafter, a pressing member provided in the first holding portion and pressing the center portion of the first substrate is lowered, and the pressing member moves the first substrate; and a pressing step of pressing and contacting the central portion of the second substrate with the central portion of the first substrate and the central portion of the second substrate being in contact with each other. a bonding step of sequentially bonding the first substrate and the second substrate from the center of the first substrate toward the outer periphery thereof; detecting the state of contact between the first substrate and the second substrate by a substrate detection unit that measures the flow rate or pressure of gas flowing through a suction pipe for vacuuming the first substrate. Characterized by
前記接合工程において、前記基板検出部によって、前記第1の保持部から前記第1の基板が離脱した場合の前記吸引管内の気流の変化を測定し、前記第1の基板と前記第2の基板の当接状態を検出してもよい。また、前記接合方法において、前記第1の保持部は、前記第1の基板を真空引きして吸着する吸引部を有し、前記基板検出部は、前記吸引部に接続された吸引管に設けられていてもよい。 In the bonding step, the substrate detection unit measures a change in airflow in the suction pipe when the first substrate is separated from the first holding unit, and the first substrate and the second substrate are measured. may be detected. Further, in the bonding method, the first holding unit has a suction unit that vacuums and sucks the first substrate, and the substrate detection unit is provided in a suction pipe connected to the suction unit. may have been
前記接合方法において、前記基板検出部は、前記第1の保持部と同心円周上に複数設けられていてもよい。また、前記基板検出部は、複数の円周上に設けられていてもよい。 In the bonding method, a plurality of the substrate detection portions may be provided on a circumference concentric with the first holding portion. Further, the substrate detection section may be provided on a plurality of circumferences.
前記接合方法において、前記基板検出部は、前記第1の基板のヤング率又はポアソン比の異方性に基づいて配置されてもよい。 In the bonding method, the substrate detector may be arranged based on the anisotropy of Young's modulus or Poisson's ratio of the first substrate.
また別な観点による本発明によれば、前記接合方法を接合装置によって実行させるように、当該接合装置を制御する制御部のコンピュータ上で動作するプログラムが提供される。 According to another aspect of the present invention, there is provided a program that runs on a computer of a control unit that controls a welding apparatus so as to cause the welding apparatus to execute the welding method.
さらに別な観点による本発明によれば、前記プログラムを格納した読み取り可能なコンピュータ記憶媒体が提供される。 According to still another aspect of the present invention, there is provided a readable computer storage medium storing the program.
本発明によれば、基板の接合処理の状態を検査し、当該接合処理を適切に行うことができる。 ADVANTAGE OF THE INVENTION According to this invention, the state of the bonding process of a board|substrate can be inspected and the said bonding process can be performed appropriately.
以下、添付図面を参照して、本発明の実施の形態について説明する。なお、以下に示す実施の形態によりこの発明が限定されるものではない。 BEST MODE FOR CARRYING OUT THE INVENTION Hereinafter, embodiments of the present invention will be described with reference to the accompanying drawings. In addition, this invention is not limited by the embodiment shown below.
<1.接合システムの構成>
先ず、本実施の形態にかかる接合システムの構成について説明する。図1は、接合システム1の構成の概略を示す平面図である。図2は、接合システム1の内部構成の概略を示す側面図である。
<1. Configuration of Joining System>
First, the configuration of the joining system according to this embodiment will be described. FIG. 1 is a plan view showing an outline of the configuration of a joining
接合システム1では、図3に示すように例えば2枚の基板としてのウェハWU、WLを接合する。以下、上側に配置されるウェハを、第1の基板としての「上ウェハWU」といい、下側に配置されるウェハを、第2の基板としての「下ウェハWL」という。また、上ウェハWUが接合される接合面を「表面WU1」といい、当該表面WU1と反対側の面を「裏面WU2」という。同様に、下ウェハWLが接合される接合面を「表面WL1」といい、当該表面WL1と反対側の面を「裏面WL2」という。そして、接合システム1では、上ウェハWUと下ウェハWLを接合して、重合基板としての重合ウェハWTを形成する。
In the
接合システム1は、図1に示すように例えば外部との間で複数のウェハWU、WL、複数の重合ウェハWTをそれぞれ収容可能なカセットCU、CL、CTが搬入出される搬入出ステーション2と、ウェハWU、WL、重合ウェハWTに対して所定の処理を施す各種処理装置を備えた処理ステーション3とを一体に接続した構成を有している。
As shown in FIG. 1, the
搬入出ステーション2には、カセット載置台10が設けられている。カセット載置台10には、複数、例えば4つのカセット載置板11が設けられている。カセット載置板11は、水平方向のX方向(図1中の上下方向)に一列に並べて配置されている。これらのカセット載置板11には、接合システム1の外部に対してカセットCU、CL、CTを搬入出する際に、カセットCU、CL、CTを載置することができる。このように、搬入出ステーション2は、複数の上ウェハWU、複数の下ウェハWL、複数の重合ウェハWTを保有可能に構成されている。なお、カセット載置板11の個数は、本実施の形態に限定されず、任意に設定することができる。また、カセットの1つを異常ウェハの回収用として用いてもよい。すなわち、種々の要因で上ウェハWUと下ウェハWLとの接合に異常が生じたウェハを、他の正常な重合ウェハWTと分離することができるカセットである。本実施の形態においては、複数のカセットCTのうち、1つのカセットCTを異常ウェハの回収用として用い、他のカセットCTを正常な重合ウェハWTの収容用として用いている。
The loading/
搬入出ステーション2には、カセット載置台10に隣接してウェハ搬送部20が設けられている。ウェハ搬送部20には、X方向に延伸する搬送路21上を移動自在なウェハ搬送装置22が設けられている。ウェハ搬送装置22は、鉛直方向及び鉛直軸周り(θ方向)にも移動自在であり、各カセット載置板11上のカセットCU、CL、CTと、後述する処理ステーション3の第3の処理ブロックG3のトランジション装置50、51との間でウェハWU、WL、重合ウェハWTを搬送できる。
The loading/
処理ステーション3には、各種装置を備えた複数例えば3つの処理ブロックG1、G2、G3が設けられている。例えば処理ステーション3の正面側(図1のX方向負方向側)には、第1の処理ブロックG1が設けられ、処理ステーション3の背面側(図1のX方向正方向側)には、第2の処理ブロックG2が設けられている。また、処理ステーション3の搬入出ステーション2側(図1のY方向負方向側)には、第3の処理ブロックG3が設けられている。
The
例えば第1の処理ブロックG1には、ウェハWU、WLの表面WU1、WL1を改質する表面改質装置30が配置されている。表面改質装置30では、例えば減圧雰囲気下において、処理ガスである酸素ガス又は窒素ガスが励起されてプラズマ化され、イオン化される。この酸素イオン又は窒素イオンが表面WU1、WL1に照射されて、表面WU1、WL1がプラズマ処理され、改質される。
For example, the first processing block G1 is provided with a
例えば第2の処理ブロックG2には、例えば純水によってウェハWU、WLの表面WU1、WL1を親水化すると共に当該表面WU1、WL1を洗浄する表面親水化装置40、ウェハWU、WLを接合する接合装置41が、搬入出ステーション2側からこの順で水平方向のY方向に並べて配置されている。なお、接合装置41の構成については後述する。
For example, the second processing block G2 includes a
表面親水化装置40では、例えばスピンチャックに保持されたウェハWU、WLを回転させながら、当該ウェハWU、WL上に純水を供給する。そうすると、供給された純水はウェハWU、WLの表面WU1、WL1上を拡散し、表面WU1、WL1が親水化される。
The
例えば第3の処理ブロックG3には、図2に示すようにウェハWU、WL、重合ウェハWTのトランジション装置50、51が下から順に2段に設けられている。
For example, in the third processing block G3, as shown in FIG. 2,
図1に示すように第1の処理ブロックG1~第3の処理ブロックG3に囲まれた領域には、ウェハ搬送領域60が形成されている。ウェハ搬送領域60には、例えばウェハ搬送装置61が配置されている。
As shown in FIG. 1, a
ウェハ搬送装置61は、例えば鉛直方向、水平方向(Y方向、X方向)及び鉛直軸周りに移動自在な搬送アームを有している。ウェハ搬送装置61は、ウェハ搬送領域60内を移動し、周囲の第1の処理ブロックG1、第2の処理ブロックG2及び第3の処理ブロックG3内の所定の装置にウェハWU、WL、重合ウェハWTを搬送できる。
The
以上の接合システム1には、図1に示すように制御部70が設けられている。制御部70は、例えばコンピュータであり、プログラム格納部(図示せず)を有している。プログラム格納部には、接合システム1におけるウェハWU、WL、重合ウェハWTの処理を制御するプログラムが格納されている。また、プログラム格納部には、上述の各種処理装置や搬送装置などの駆動系の動作を制御して、接合システム1における後述のウェハ接合処理を実現させるためのプログラムも格納されている。なお、前記プログラムは、例えばコンピュータ読み取り可能なハードディスク(HD)、フレキシブルディスク(FD)、コンパクトディスク(CD)、マグネットオプティカルデスク(MO)、メモリーカードなどのコンピュータに読み取り可能な記憶媒体Hに記録されていたものであって、その記憶媒体Hから制御部70にインストールされたものであってもよい。
The joining
<2.接合装置の構成>
次に、上述した接合装置41の構成について説明する。
<2. Configuration of Bonding Apparatus>
Next, the structure of the joining
<2-1.接合装置の全体構成>
接合装置41は、図4及び図5に示すように内部を密閉可能な処理容器100を有している。処理容器100のウェハ搬送領域60側の側面には、ウェハWU、WL、重合ウェハWTの搬入出口101が形成され、当該搬入出口101には開閉シャッタ102が設けられている。
<2-1. Overall Configuration of Bonding Apparatus>
The
処理容器100の内部は、内壁103によって、搬送領域T1と処理領域T2に区画されている。上述した搬入出口101は、搬送領域T1における処理容器100の側面に形成されている。また、内壁103にも、ウェハWU、WL、重合ウェハWTの搬入出口104が形成されている。
The interior of the
搬送領域T1のY方向正方向側には、ウェハWU、WL、重合ウェハWTを一時的に載置するためのトランジション110が設けられている。トランジション110は、例えば2段に形成され、ウェハWU、WL、重合ウェハWTのいずれか2つを同時に載置することができる。
A
搬送領域T1には、ウェハ搬送機構111が設けられている。ウェハ搬送機構111は、例えば鉛直方向、水平方向(X方向、Y方向)及び鉛直軸周りに移動自在な搬送アームを有している。そして、ウェハ搬送機構111は、搬送領域T1内、又は搬送領域T1と処理領域T2との間でウェハWU、WL、重合ウェハWTを搬送できる。
A
搬送領域T1のY方向負方向側には、ウェハWU、WLの水平方向の向きを調節する位置調節機構120が設けられている。位置調節機構120は、ウェハWU、WLを保持して回転させる保持部(図示せず)を備えた基台121と、ウェハWU、WLのノッチ部の位置を検出する検出部122と、を有している。そして、位置調節機構120では、基台121に保持されたウェハWU、WLを回転させながら検出部122でウェハWU、WLのノッチ部の位置を検出することで、当該ノッチ部の位置を調節してウェハWU、WLの水平方向の向きを調節している。なお、基台121においてウェハWU、WLを保持する構造は特に限定されるものではなく、例えばピンチャック構造やスピンチャック構造など、種々の構造が用いられる。
A
また、搬送領域T1には、上ウェハWUの表裏面を反転させる反転機構130が設けられている。反転機構130は、上ウェハWUを保持する保持アーム131を有している。保持アーム131は、水平方向(X方向)に延伸している。また保持アーム131には、上ウェハWUを保持する保持部材132が例えば4箇所に設けられている。
A reversing
保持アーム131は、例えばモータなどを備えた駆動部133に支持されている。この駆動部133によって、保持アーム131は水平軸周りに回動自在である。また保持アーム131は、駆動部133を中心に回動自在であると共に、水平方向(X方向)に移動自在である。駆動部133の下方には、例えばモータなどを備えた他の駆動部(図示せず)が設けられている。この他の駆動部によって、駆動部133は鉛直方向に延伸する支持柱134に沿って鉛直方向に移動できる。このように駆動部133によって、保持部材132に保持された上ウェハWUは、水平軸周りに回動できると共に鉛直方向及び水平方向に移動できる。また、保持部材132に保持された上ウェハWUは、駆動部133を中心に回動して、位置調節機構120から後述する上チャック140との間を移動できる。
The holding
処理領域T2には、上ウェハWUを下面で吸着保持する第1の保持部としての上チャック140と、下ウェハWLを上面で載置して吸着保持する第2の保持部としての下チャック141とが設けられている。下チャック141は、上チャック140の下方に設けられ、上チャック140と対向配置可能に構成されている。すなわち、上チャック140に保持された上ウェハWUと下チャック141に保持された下ウェハWLは対向して配置可能となっている。
In the processing area T2, an
上チャック140は、当該上チャック140の上方に設けられた上チャック保持部150に保持されている。上チャック保持部150は、処理容器100の天井面に設けられている。すなわち、上チャック140は、上チャック保持部150を介して処理容器100に固定されて設けられている。
The
上チャック保持部150には、下チャック141に保持された下ウェハWLの表面WL1を撮像する上部撮像部151が設けられている。すなわち、上部撮像部151は上チャック140に隣接して設けられている。上部撮像部151には、例えばCCDカメラが用いられる。
The upper
下チャック141は、当該下チャック141の下方に設けられた下チャックステージ160に支持されている。下チャックステージ160には、上チャック140に保持された上ウェハWUの表面WU1を撮像する下部撮像部161が設けられている。すなわち、下部撮像部161は下チャック141に隣接して設けられている。下部撮像部161には、例えばCCDカメラが用いられる。
The
下チャックステージ160は、当該下チャックステージ160の下方に設けられた第1の下チャック移動部162に支持され、さらに第1の下チャック移動部162は、支持台163に支持されている。第1の下チャック移動部162は、後述するように下チャック141を水平方向(X方向)に移動させるように構成されている。また、第1の下チャック移動部162は、下チャック141を鉛直方向に移動自在、且つ鉛直軸回りに回転可能に構成されている。
The
支持台163は、当該支持台163の下面側に設けられ、水平方向(X方向)に延伸する一対のレール164、164に取り付けられている。そして、支持台163は、第1の下チャック移動部162によりレール164に沿って移動自在に構成されている。なお、第1の下チャック移動部162は、例えばレール164に沿って設けられたリニアモータ(図示せず)によって移動する。
The
一対のレール164、164は、第2の下チャック移動部165に配設されている。第2の下チャック移動部165は、当該第2の下チャック移動部165の下面側に設けられ、水平方向(Y方向)に延伸する一対のレール166、166に取り付けられている。そして、第2の下チャック移動部165は、レール166に沿って移動自在に構成され、すなわち下チャック141を水平方向(Y方向)に移動させるように構成されている。第2の下チャック移動部165は、例えばレール166に沿って設けられたリニアモータ(図示せず)によって移動する。一対のレール166、166は、処理容器100の底面に設けられた載置台167上に配設されている。
A pair of
<2-2.上チャックの構成>
次に、接合装置41の上チャック140の詳細な構成について説明する。
<2-2. Configuration of Upper Chuck>
Next, a detailed configuration of the
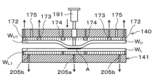
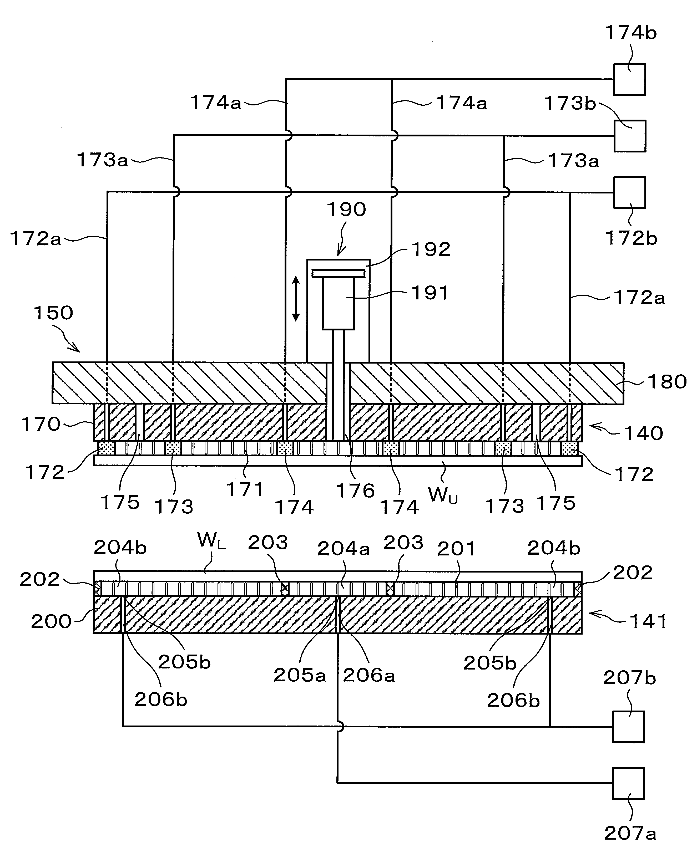
上チャック140には、図6及び図7に示すようにピンチャック方式が採用されている。上チャック140は、平面視において上ウェハWUの径以上の径を有する本体部170を有している。本体部170の下面には、上ウェハWUの裏面WU2に接触する複数のピン171が設けられている。なお、図7においては、ピン171の図示を省略している。
As shown in FIGS. 6 and 7, the
また、本体部170の下面には、上ウェハWUを真空引きして吸着する複数の吸引部172~174が設けられている。吸引部172~174は、それぞれピン171と同じ高さを有し、上ウェハWUの裏面WU2に接触する。
Further, a plurality of
第1の吸引部172は、平面視において円弧形状を有している。第1の吸引部172は、本体部170の外周部において、当該本体部170と同心円周上に複数、例えば8つ、周方向に並べて所定の間隔をあけて配置されている。
The
これら8つの第1の吸引部172には、それぞれ第1の吸引管172aを介して、第1の真空ポンプ172bが接続されている。第1の真空ポンプ172bによる真空引きによって、8つの第1の吸引部172は個別に上ウェハWUを吸着することができる。
A
第2の吸引部173は、第1の吸引部172と同様に、平面視において円弧形状を有している。第2の吸引部173は、第1の吸引部172よりも本体部170の内周側において、当該本体部170と同心円周上に複数、例えば8つ、周方向に並べて所定の間隔をあけて配置されている。なお、第1の吸引部172の中心部と第2の吸引部173の中心部は、本体部170の中心線上に配置されている。
Like the
これら8つの第2の吸引部173には、それぞれ第2の吸引管173aを介して、第2の真空ポンプ173bが接続されている。第2の真空ポンプ173bによる真空引きによって、8つの第2の吸引部173は個別に上ウェハWUを吸着することができる。
A
第3の吸引部174は、平面視において円環形状を有している。第3の吸引部174は、第2の吸引部173よりも本体部170の内周側において、当該本体部170と同心円周上に配置されている。第3の吸引部174には、第3の吸引管174aを介して、第3の真空ポンプ174bが接続されている。第3の真空ポンプ174bによる真空引きによって、第3の吸引部174は上ウェハWUを吸着することができる。
The
本体部170には、当該本体部170からの上ウェハWUの離脱を検出する基板検出部としてのセンサ175が設けられている。センサ175は、第1の吸引部172と第2の吸引部173の間において、本体部170と同心円周上に複数、例えば8つ、周方向に並べて所定の間隔をあけて配置されている。すなわち、センサ175、第1の吸引部172の中心部及び第2の吸引部173の中心部は、本体部170の同一中心線上に配置されている。なお、これらセンサ175の種類や配置等の詳細については後述する。
The
本体部170の中心部には、当該本体部170を厚み方向に貫通する貫通孔176が形成されている。この本体部170の中心部は、上チャック140に吸着保持される上ウェハWUの中心部に対応している。そして貫通孔176には、後述する押動部材190におけるアクチュエータ部191の先端部が挿通するようになっている。
A through
<2-3.上チャックのセンサの詳細>
次に、上述したセンサ175の詳細、及び当該センサ175の検査結果を用いた吸引部172~174の制御方法について説明する。
<2-3. Details of upper chuck sensor>
Next, details of the
後述するように上ウェハWUと下ウェハWLを接合する際には、先ず、上ウェハWUの中心部を押し下げて下ウェハWLの中心部に接触させ、上ウェハWUの中心部と下ウェハWLの中心部とが分子間力により接合されることによって両ウェハの中心部に接合領域が形成される。その後、接合領域が両ウェハWU、WLの中心部から外周部に向かって拡大するボンディングウェーブが発生して、上ウェハWU及び下ウェハWLの表面WU1、WL1同士が全面で接合される。 When bonding the upper wafer WU and the lower wafer WL as will be described later, first, the central portion of the upper wafer WU is pushed down to contact the central portion of the lower wafer WL, thereby separating the central portion of the upper wafer WU and the lower wafer WL. A bonding region is formed in the central portions of both wafers by bonding the central portions to each other by intermolecular force. After that, a bonding wave is generated in which the bonding area expands from the center to the outer periphery of both wafers WU and WL, and the surfaces WU1 and WL1 of the upper wafer WU and the lower wafer WL are bonded over the entire surface.
センサ175は、このボンディングウェーブを把握するために、本体部170に設けられている。
A
センサ175には、種々のセンサを用いることができる。例えばセンサ175には、反射式のファイバセンサを用いてもよい。かかる場合、センサ175から上ウェハWUに向けて光を発し、さらにセンサ175においてその反射光を受光して受光量を測定する。そして、この反射光の受光量を測定することにより、光軸と上ウェハWUとの直交度を把握することができる。すなわち、反射光量が小さい場合、光軸と上ウェハWUとの直交度が大きく(上ウェハWUの傾きが大きく)、上ウェハWUは上チャック140から離脱しているものの、下ウェハWLと当接していない状態を意味している。一方、反射光量が大きい場合、光軸と上ウェハWUとの直交度が小さく(上ウェハWUの傾きが小さく)、上ウェハWUが上チャック140から離脱し、下ウェハWLに当接している状態を意味している。したがって、センサ175で反射光量を測定することで、当該センサ175における上ウェハWUと下ウェハWLの当接状態(換言すれば、上チャック140からの上ウェハWUの離脱状態)を検出することができ、ボンディングウェーブを把握することができる。
Various sensors can be used for the
また、例えばセンサ175には、静電容量センサ又は距離測長センサを用いてもよい。静電容量センサを用いる場合、上ウェハWUとの静電容量を測定することで、上チャック140と上ウェハWUとの距離を測定することができる。また、距離測長センサを用いる場合、センサ175から上ウェハWUにレーザ光を発し、センサ175においてその反射光を受光することで、上チャック140と上ウェハWUとの距離を測定することができる。このように上チャック140と上ウェハWUとの距離を測定することで、当該センサ175における上ウェハWUと下ウェハWLの当接状態(換言すれば、上チャック140からの上ウェハWUの離脱状態)を検出することができ、ボンディングウェーブを把握することができる。
Further, for example, the
また、例えばセンサ175には、流体センサを用いてもよい。かかる場合、本体部170には吸着パッド(図示せず)が設けられ、すなわち図6及び図7に示す符号「175」の位置には吸着パッドが設けられ、センサ175はこの吸着パッドに接続される吸引管(図示せず)に設けられている。なお、吸着パッドは、上ウェハWUを吸着して保持することを目的とするものではなく、ボンディングウェーブに影響しない程度の微小な圧力、例えば-10kPa程度で上ウェハWUを真空引きする。そして、センサ175は、各吸引管を流れる気体の流量又は圧力を測定する。例えば上チャック140から上ウェハWUが離脱した場合、吸引管内の気体の流れが変わり、その気体の流量及び圧力が変化する。センサ175は、この吸引管内の気流の変化を測定し、上チャック140からの上ウェハWUの離脱(換言すれば、上ウェハWUと下ウェハWLの当接状態)を検出することができ、ボンディングウェーブを把握することができる。なお、センサ175は、第1の吸引部172の第1の吸引管172a及び第2の吸引部173の第2の吸引管173aにそれぞれ設けられていてもよい。
Also, for example, the
かかるセンサ175は、上述したように第1の吸引部172と第2の吸引部173の間において、本体部170と同心円周上に周方向に並べて所定の間隔をあけて配置されている。次に、このセンサ175の配置について説明する。
As described above, the
センサ175の配置は、上ウェハWUの物性、例えばヤング率やポアソン比等の異方性に応じて決定される。図8は、従来におけるウェハ間の接合領域の拡大の様子を示す説明図である。本発明者らは、図8に示すように、接合処理を行う際、接合領域Aが同心円状ではなく、不均一に拡大することを知見した。なお、図8は、上チャック140に保持された上ウェハWUを下方から見た平面図である。
The arrangement of the
上ウェハWUは、表面WU1と垂直な方向における結晶方向が[100]である単結晶シリコンウェハである。上ウェハWUのノッチ部Nは、上ウェハWUの[011]結晶方向の外縁に形成される。そして、接合領域Aは、上ウェハWUの中心部から上ウェハWUの表面WU1に対して平行な[0-11]結晶方向に向かう方向を基準とする90°周期の方向(図8に示す0°、90°、180°、270°の方向であって、以下、90°方向という場合がある。)と比較し、上ウェハWUの中心部から上ウェハWUの表面WU1に対して平行な[010]結晶方向に向かう方向を基準とする45°周期の方向(図8に示す45°、135°、225°、315°の方向、以下、45°方向という場合がある。)に速く拡大する。この結果、接合開始時(中心部接合時)に円形状であった接合領域Aの形状は、拡大するにつれて45°方向を頂点とする四角形に近づいていくこととなる。 The upper wafer WU is a single crystal silicon wafer whose crystal orientation in the direction perpendicular to the surface WU1 is [100]. The notch portion N of the upper wafer WU is formed at the outer edge of the upper wafer WU in the [011] crystal direction. The bonding region A is formed in a 90° cycle direction (0-11 direction shown in FIG. [ 010] Rapidly expands in directions of 45° cycles (directions of 45°, 135°, 225°, and 315° shown in FIG. 8, hereinafter sometimes referred to as 45° directions) with reference to the direction toward the crystal direction. . As a result, the shape of the joining area A, which was circular at the start of joining (at the time of joining at the central portion), becomes closer to a quadrangle having a vertex in the 45° direction as it expands.
本実施の形態では、センサ175が本体部170と同心円周上に8つ設けられ、すなわち90°方向と45°方向に設けられている。したがって、これらセンサ175を用いて上チャック140からの上ウェハWUの離脱を検出し、図8に示した接合領域Aを検出することで、ボンディングウェーブを把握することができる。
In this embodiment, eight
かかるセンサ175の検出結果は、制御部70に出力される。制御部70では、センサ175の検出結果に基づいて、吸引部172~174の動作を制御する。
A detection result of the
図9は、センサ175の出力結果の一例を示すグラフである。図9の横軸は、接合処理の経過時間を示し、縦軸は、センサ175の出力結果、すなわち上チャック140に対する上ウェハWUの位置を示している。センサ175の出力結果がP1(上チャック140に対して上ウェハWUが近い)の場合、当該センサ175の位置において上ウェハWUは上チャック140に当接しており、接合領域Aが到達していないことを示している。センサ175の検出結果がP2(上チャック140に対して上ウェハWUが遠い)の場合、当該センサ175の位置において上ウェハWUは上チャック140から離れ、下ウェハWLと当接しており、接合領域Aが到達したことを示している。
FIG. 9 is a graph showing an example of the output result of the
図9(a)は、図8に示したように接合領域Aが不均一、すなわち略四角形状に拡大する場合を示している。上述したように接合領域Aは、90°方向と比較して45°方向において速く拡大する。このため、45°方向において接合領域Aが到達するタイミングと、90°方向において接合領域Aが到達するタイミングの時間差ΔTは大きくなる。 FIG. 9(a) shows the case where the joint region A is non-uniform, that is, expands into a substantially square shape as shown in FIG. As described above, the bonding area A expands faster in the 45° direction than in the 90° direction. Therefore, the time difference ΔT between the arrival timing of the bonding region A in the 45° direction and the arrival timing of the bonding region A in the 90° direction becomes large.
そこで、制御部70では、接合領域Aの拡大を均一にするため、図9(b)に示すように時間差ΔTが所定の閾値内に収まるように制御する。ここで、時間差ΔTと接合後の重合ウェハWTの歪みとの間には相関がある。上記ΔTの所定の閾値は、この重合ウェハWTの歪みの許容範囲から設定される。
Therefore, the
制御部70における制御は、具体的に45°方向における第2の吸引部173が上ウェハWUを離すタイミングを遅くし、90°方向における第2の吸引部173が上ウェハWUを離すタイミングを早くする。これにより、8つのセンサ175の位置において、接合領域Aが到達するタイミングをほぼ同じにすることができる。したがって、接合領域Aの拡大を均一にして、ボンディングウェーブを均一(同心円状に近い形状)にすることができる。
Specifically, the control by the
なお、本実施の形態では、センサ175の検出結果に基づいて第2の吸引部173の吸着タイミングを制御する場合について説明したが、さらに第2の吸引部173の吸着力を制御してもよい。また、センサ175の検出結果に基づいて、他の吸引部172、174を制御してもよい。
In this embodiment, the case where the adsorption timing of the
<2-4.上チャック保持部の構成>
次に、接合装置41の上チャック保持部150の詳細な構成について説明する。
<2-4. Configuration of Upper Chuck Holding Portion>
Next, a detailed configuration of the
上チャック保持部150は、図5に示すように上チャック140の本体部170の上面に設けられた上チャックステージ180を有している。上チャックステージ180は、平面視において少なくとも本体部170の上面を覆うように設けられ、且つ本体部170に対して例えばネジ止めによって固定されている。上チャックステージ180は、処理容器100の天井面に設けられた複数の支持部材181に支持されている。
The upper
上チャックステージ180の上面には、図6に示すように上ウェハWUの中心部を押圧する押動部材190がさらに設けられている。押動部材190は、アクチュエータ部191とシリンダ部192とを有している。
A
アクチュエータ部191は、電空レギュレータ(図示せず)から供給される空気により一定方向に一定の圧力を発生させるもので、圧力の作用点の位置によらず当該圧力を一定に発生させることができる。そして、電空レギュレータからの空気によって、アクチュエータ部191は、上ウェハWUの中心部と当接して当該上ウェハWUの中心部にかかる押圧荷重を制御することができる。また、アクチュエータ部191の先端部は、電空レギュレータからの空気によって、貫通孔176を挿通して鉛直方向に昇降自在になっている。
The
アクチュエータ部191は、シリンダ部192に支持されている。シリンダ部192は、例えばモータを内蔵した駆動部によってアクチュエータ部191を鉛直方向に移動させることができる。
The
以上のように押動部材190は、アクチュエータ部191によって押圧荷重の制御をし、シリンダ部192によってアクチュエータ部191の移動の制御をしている。そして、押動部材190は、後述するウェハWU、WLの接合時に、上ウェハWUの中心部と下ウェハWLの中心部とを当接させて押圧することができる。
As described above, the pressing
<2-5.下チャックの構成>
次に、接合装置41の下チャック141の詳細な構成について説明する。
<2-5. Configuration of Lower Chuck>
Next, a detailed configuration of the
下チャック141には、図6に示すように上チャック140と同様にピンチャック方式が採用されている。下チャック141は、平面視において下ウェハWLの径以上の径を有する本体部200を有している。本体部200の上面には、下ウェハWLの裏面WL2に接触する複数のピン201が設けられている。また、本体部200の上面の外周部には、ピン201と同じ高さを有し、下ウェハWLの裏面WL2の外周部を支持する外側リブ202が設けられている。外側リブ202は、複数のピン201の外側に環状に設けられている。
Similar to the
また、本体部200の上面には、外側リブ202の内側において、ピン201と同じ高さを有し、下ウェハWLの裏面WL2を支持する内側リブ203が設けられている。内側リブ203は、外側リブ202と同心円状に環状に設けられている。そして、外側リブ202の内側の領域204(以下、吸引領域204という場合がある。)は、内側リブ203の内側の第1の吸引領域204aと、内側リブ203の外側の第2の吸引領域204bとに区画されている。
Further, on the upper surface of the
本体部200の上面には、第1の吸引領域204aにおいて、下ウェハWLを真空引きするための第1の吸引口205aが形成されている。第1の吸引口205aは、例えば第1の吸引領域204aにおいて1箇所に形成されている。第1の吸引口205aには、本体部200の内部に設けられた第1の吸引管206aが接続されている。さらに第1の吸引管206aには、第1の真空ポンプ207aが接続されている。
A
また、本体部200の上面には、第2の吸引領域204bにおいて、下ウェハWLを真空引きするための第2の吸引口205bが形成されている。第2の吸引口205bは、例えば第2の吸引領域204bにおいて2箇所に形成されている。第2の吸引口205bには、本体部200の内部に設けられた第2の吸引管206bが接続されている。さらに第2の吸引管206bには、第2の真空ポンプ207bが接続されている。
A
そして、下ウェハWL、本体部200及び外側リブ202に囲まれて形成された吸引領域204a、204bをそれぞれ吸引口205a、205bから真空引きし、吸引領域204a、204bを減圧する。このとき、吸引領域204a、204bの外部の雰囲気が大気圧であるため、下ウェハWLは減圧された分だけ大気圧によって吸引領域204a、204b側に押され、下チャック141に下ウェハWLが吸着保持される。また、下チャック141は、第1の吸引領域204aと第2の吸引領域204b毎に下ウェハWLを真空引き可能に構成されている。
Then,
下チャック141において、本体部200の中心部付近には、当該本体部200を厚み方向に貫通する貫通孔(図示せず)が例えば3箇所に形成されている。そして貫通孔には、第1の下チャック移動部162の下方に設けられた昇降ピンが挿通するようになっている。
In the
本体部200の外周部には、ウェハWU、WL、重合ウェハWTが下チャック141から飛び出したり、滑落するのを防止するガイド部材(図示せず)が設けられている。ガイド部材は、本体部200の外周部に複数個所、例えば4箇所に等間隔に設けられている。
A guide member (not shown) is provided on the outer periphery of the
なお、接合装置41における各部の動作は、上述した制御部70によって制御される。
The operation of each section in the
<3.接合処理方法>
次に、以上のように構成された接合システム1を用いて行われるウェハWU、WLの接合処理方法について説明する。図10は、かかるウェハ接合処理の主な工程の例を示すフローチャートである。
<3. Joining processing method>
Next, a method of bonding the wafers WU and WL using the
先ず、複数枚の上ウェハWUを収容したカセットCU、複数枚の下ウェハWLを収容したカセットCL、及び空のカセットCTが、搬入出ステーション2の所定のカセット載置板11に載置される。その後、ウェハ搬送装置22によりカセットCU内の上ウェハWUが取り出され、処理ステーション3の第3の処理ブロックG3のトランジション装置50に搬送される。
First, a cassette CU containing a plurality of upper wafers WU, a cassette CL containing a plurality of lower wafers WL, and an empty cassette CT are placed on a predetermined
次に上ウェハWUは、ウェハ搬送装置61によって第1の処理ブロックG1の表面改質装置30に搬送される。表面改質装置30では、所定の減圧雰囲気下において、処理ガスである酸素ガス又は窒素ガスが励起されてプラズマ化され、イオン化される。この酸素イオン又は窒素イオンが上ウェハWUの表面WU1に照射されて、当該表面WU1がプラズマ処理される。そして、上ウェハWUの表面WU1が改質される(図10の工程S1)。
Next, the upper wafer WU is transferred by the
次に上ウェハWUは、ウェハ搬送装置61によって第2の処理ブロックG2の表面親水化装置40に搬送される。表面親水化装置40では、スピンチャックに保持された上ウェハWUを回転させながら、当該上ウェハWU上に純水を供給する。そうすると、供給された純水は上ウェハWUの表面WU1上を拡散し、表面改質装置30において改質された上ウェハWUの表面WU1に水酸基(シラノール基)が付着して当該表面WU1が親水化される。また、当該純水によって、上ウェハWUの表面WU1が洗浄される(図10の工程S2)。
Next, the upper wafer WU is transferred by the
次に上ウェハWUは、ウェハ搬送装置61によって第2の処理ブロックG2の接合装置41に搬送される。接合装置41に搬入された上ウェハWUは、トランジション110を介してウェハ搬送機構111により位置調節機構120に搬送される。そして位置調節機構120によって、上ウェハWUの水平方向の向きが調節される(図10の工程S3)。
Next, the upper wafer WU is transferred by the
その後、位置調節機構120から反転機構130の保持アーム131に上ウェハWUが受け渡される。続いて搬送領域T1において、保持アーム131を反転させることにより、上ウェハWUの表裏面が反転される(図10の工程S4)。すなわち、上ウェハWUの表面WU1が下方に向けられる。
After that, the upper wafer WU is transferred from the
その後、反転機構130の保持アーム131が、駆動部133を中心に回動して上チャック140の下方に移動する。そして、反転機構130から上チャック140に上ウェハWUが受け渡される。上ウェハWUは、上チャック140にその裏面WU2が吸着保持される(図10の工程S5)。具体的には、真空ポンプ172b、173b、174bを作動させ、吸引部172、173、174で上ウェハWUを真空引きし、上ウェハWUが上チャック140に吸着保持される。
After that, the holding
上ウェハWUに上述した工程S1~S5の処理が行われている間、当該上ウェハWUに続いて下ウェハWLの処理が行われる。先ず、ウェハ搬送装置22によりカセットCL内の下ウェハWLが取り出され、処理ステーション3のトランジション装置50に搬送される。
While the upper wafer WU is being processed in steps S1 to S5, the lower wafer WL is processed following the upper wafer WU. First, the lower wafer WL in the cassette CL is taken out by the
次に下ウェハWLは、ウェハ搬送装置61によって表面改質装置30に搬送され、下ウェハWLの表面WL1が改質される(図10の工程S6)。なお、工程S6における下ウェハWLの表面WL1の改質は、上述した工程S1と同様である。
Next, the lower wafer WL is transferred to the
その後、下ウェハWLは、ウェハ搬送装置61によって表面親水化装置40に搬送され、下ウェハWLの表面WL1が親水化される共に当該表面WL1が洗浄される(図10の工程S7)。なお、工程S7における下ウェハWLの表面WL1の親水化及び洗浄は、上述した工程S2と同様である。
Thereafter, the lower wafer WL is transferred to the
その後、下ウェハWLは、ウェハ搬送装置61によって接合装置41に搬送される。接合装置41に搬入された下ウェハWLは、トランジション110を介してウェハ搬送機構111により位置調節機構120に搬送される。そして位置調節機構120によって、下ウェハWLの水平方向の向きが調節される(図10の工程S8)。
After that, the lower wafer WL is transferred to the
その後、下ウェハWLは、ウェハ搬送機構111によって下チャック141に搬送され、下チャック141にその裏面WL2が吸着保持される(図10の工程S9)。具体的には、真空ポンプ207a、207bを作動させ、吸引領域204a、204bにおいて吸引口205a、205bを介して下ウェハWLを真空引きし、下ウェハWLが下チャック141に吸着保持される。
After that, the lower wafer WL is transferred to the
次に、上チャック140に保持された上ウェハWUと下チャック141に保持された下ウェハWLとの水平方向の位置調節を行う。具体的には、第1の下チャック移動部162と第2の下チャック移動部165によって下チャック141を水平方向(X方向及びY方向)に移動させ、上部撮像部151を用いて、下ウェハWLの表面WL1上の予め定められた基準点を順次撮像する。同時に、下部撮像部161を用いて、上ウェハWUの表面WU1上の予め定められた基準点を順次撮像する。撮像された画像は、制御部70に出力される。制御部70では、上部撮像部151で撮像された画像と下部撮像部161で撮像された画像に基づいて、上ウェハWUの基準点と下ウェハWLの基準点がそれぞれ合致するような位置に、第1の下チャック移動部162と第2の下チャック移動部165によって下チャック141を移動させる。こうして上ウェハWUと下ウェハWLの水平方向位置が調節される(図10の工程S10)。
Next, horizontal position adjustment of the upper wafer WU held by the
なお、工程S10では、上述のように下チャック141を水平方向に移動させると共に、第1の下チャック移動部162によって下チャック141を回転させて、当該下チャック141の回転方向位置(下チャック141の向き)も調節される。
In step S10, the
その後、第1の下チャック移動部162によって下チャック141を鉛直上方に移動させて、上チャック140と下チャック141の鉛直方向位置の調節を行い、当該上チャック140に保持された上ウェハWUと下チャック141に保持された下ウェハWLとの鉛直方向位置の調節を行う(図10の工程S11)。なお、下ウェハWUの表面WU1と上ウェハWUの表面WU1との間隔は所定の距離、例えば50μm~200μmに調節される。そして、図11に示すように上ウェハWUと下ウェハWLが所定の位置に対向配置される。
After that, the
次に、上チャック140に保持された上ウェハWUと下チャック141に保持された下ウェハWLの接合処理が行われる。
Next, bonding processing of the upper wafer WU held by the
なお、本実施の形態では、上述したようにボンディングウェーブが均一になるように、予め第2の吸引部173の吸着タイミングが設定されている場合について説明する。すなわち、例えば前ロットの上ウェハWUに対してセンサ175により接合領域Aの拡大を検出し、その検出結果に基づいて、今回ロットの上ウェハWUに対する、第2の吸引部173の吸着タイミングが設定されている。
In this embodiment, the case where the suction timing of the
先ず、図12に示すように押動部材190のシリンダ部192によってアクチュエータ部191を下降させる。そうすると、このアクチュエータ部191の下降に伴い、上ウェハWUの中心部が押圧されて下降する。このとき、電空レギュレータから供給される空気によって、アクチュエータ部191には、所定の押圧荷重がかけられる。そして、押動部材190によって、上ウェハWUの中心部と下ウェハWLの中心部を当接させて押圧する(図10の工程S13)。
First, as shown in FIG. 12, the
工程S13では、第1の真空ポンプ172bの動作を停止して、第1の吸引部172からの上ウェハWUの真空引きを停止すると共に、第2の真空ポンプ173b及び第3の真空ポンプ174bは作動させたままにし、第2の吸引部173及び第3の吸引部174で上ウェハWUを真空引きする。
In step S13, the operation of the
上ウェハWUの中心部と下ウェハWLの中心部を当接させて押圧すると、当該中心部の間で接合が開始する。すなわち、上ウェハWUの表面WU1と下ウェハWLの表面WL1はそれぞれ工程S1、S6において改質されているため、先ず、表面WU1、WL1間にファンデルワールス力(分子間力)が生じ、当該表面WU1、WL1同士が接合される。さらに、上ウェハWUの表面WU1と下ウェハWLの表面WL1はそれぞれ工程S2、S7において親水化されているため、表面WU1、WL1間の親水基が水素結合し(分子間力)、表面WU1、WL1同士が強固に接合される。このようにして、接合領域Aが形成される。 When the central portion of the upper wafer WU and the central portion of the lower wafer WL are brought into contact with each other and pressed, bonding is started between the central portions. That is, since the surface WU1 of the upper wafer WU and the surface WL1 of the lower wafer WL have been modified in steps S1 and S6, respectively, van der Waals forces (intermolecular forces) are first generated between the surfaces WU1 and WL1. The surfaces WU1 and WL1 are joined together. Furthermore, since the surface WU1 of the upper wafer WU and the surface WL1 of the lower wafer WL are hydrophilized in steps S2 and S7, respectively, the hydrophilic groups between the surfaces WU1 and WL1 are hydrogen-bonded (intermolecular force), and the surface WU1, WL1 are strongly joined together. In this manner, a junction region A is formed.
その後、上ウェハWUと下ウェハWUとの間では、上ウェハWU及び下ウェハWUの中心部から外周部に向けて接合領域Aが拡大していくボンディングウェーブが発生する。 After that, between the upper wafer WU and the lower wafer WU, a bonding wave is generated in which the bonding area A expands from the central portion of the upper wafer WU and the lower wafer WU toward the outer peripheral portion.
図13に示すように押動部材190によって上ウェハWUの中心部と下ウェハWLの中心部を押圧した状態で第2の真空ポンプ173bの作動を停止して、第2の吸引部173からの上ウェハWUの真空引きを停止する。この際、上述したように8つの第2の吸引部173の吸着タイミングを異ならしめる。すなわち、45°方向における第2の吸引部173が上ウェハWUを離すタイミングを遅くし、90°方向における第2の吸引部173が上ウェハWUを離すタイミングを早くする。これにより8つのセンサ175の位置において、接合領域Aが到達するタイミングをほぼ同じにすることができ、ボンディングウェーブを均一にすることができる。
As shown in FIG. 13, the
さらに図14に示すように、第3の真空ポンプ174bの作動を停止して、第3の吸引部174からの上ウェハWUの真空引きを停止する。そして、上ウェハWUが下ウェハWL上に順次落下して当接し、上述した表面WU1、WL1間のファンデルワールス力と水素結合による接合が順次拡がる。こうして、上ウェハWUの表面WU1と下ウェハWLの表面WL1が全面で当接し、上ウェハWUと下ウェハWLが接合される(図10の工程S14)。この際、ボンディングウェーブが均一になっているので、接合された重合ウェハWTの歪み(ディストーション)を抑制することができる。
Furthermore, as shown in FIG. 14, the operation of the
なお、工程S14では、8つのセンサ175を用いて接合領域Aを検出して、ボンディングウェーブをモニタリングし、上ウェハWUと下ウェハWLの接合状態を検査する。上述したように本実施の形態では、予めボンディングウェーブを均一になるように第2の吸引部173の吸着タイミングが設定されているが、種々の外乱によりボンディングウェーブが不均一になる場合がある。かかる場合には、警告を発することで、製品の歩留まりを向上させることができる。また、このようにボンディングウェーブが不均一になる場合、センサ175の検出結果に基づいて、後続の上ウェハWUと下ウェハWLを接合する際の、第2の吸引部173の吸着タイミングを補正する。
In step S14, the eight
その後、図15に示すように押動部材190のアクチュエータ部191を上チャック140まで上昇させる。また、真空ポンプ207a、207bの作動を停止し、吸引領域204における下ウェハWLの真空引きを停止して、下チャック141による下ウェハWLの吸着保持を停止する。
After that, as shown in FIG. 15, the
上ウェハWUと下ウェハWLが接合された重合ウェハWTは、ウェハ搬送装置61によってトランジション装置51に搬送され、その後搬入出ステーション2のウェハ搬送装置22によって所定のカセット載置板11のカセットCTに搬送される。こうして、一連のウェハWU、WLの接合処理が終了する。
The superposed wafer WT in which the upper wafer WU and the lower wafer WL are joined is transferred to the
以上の実施の形態によれば、センサ175によって、上チャック140に保持された上ウェハWUが、当該上チャック140から離脱するのを検出することができ、ボンディングウェーブを把握することができる。そして、制御部70では、センサ175の検出結果に基づいて、第2の吸引部173の吸着タイミングを制御する。これにより、ボンディングウェーブを均一にすることができ、重合ウェハWTの歪みを抑制することができる。
According to the above embodiment, the
また、本実施の形態の接合システム1は、表面改質装置30、表面親水化装置40、及び接合装置41を備えているので、一のシステム内でウェハWU、WLの接合を効率よく行うことができる。したがって、ウェハ接合処理のスループットを向上させることができる。
Moreover, since the
<4.他の実施の形態>
次に、本発明の他の実施の形態について説明する。
<4. Other Embodiments>
Next, another embodiment of the present invention will be described.
以上の実施の形態の上チャック140において、センサ175は第1の吸引部172と第2の吸引部173の間において、本体部170と同心円周上に周方向に並べて所定の間隔をあけて配置されていたが、センサ175の配置はこれに限定されない。
In the
図16に示すようにセンサ175は、第1の吸引部172と第2の吸引部173の間に加えて、さらに第2の吸引部173よりも本体部170の内周側において、本体部170と同心円周上に複数、例えば8つ、周方向に並べて所定の間隔をあけて配置されていてもよい。すなわち、2つのセンサ175、第1の吸引部172の中心部及び第2の吸引部173の中心部は、本体部170の同一中心線上に配置されている。なお、以下においては、第1の吸引部172と第2の吸引部173の間のセンサ175をセンサ175aといい、第2の吸引部173の内周側のセンサ175をセンサ175bという。
As shown in FIG. 16 , the
かかる場合、センサ175bの検出結果に基づいて、当該センサ175bと同一中心線上にある第2の吸引部173の吸着タイミングを制御することができる。したがって、第2の吸引部173をリアルタイムにフィードフォワード制御することができ、ボンディングウェーブをより確実に均一にすることができる。
In such a case, based on the detection result of the
なお、センサ175aを省略して、センサ175bのみを設けてもよい。但し、センサ175aは、本体部170の中心部から離れて配置されているため、センサ175bに比べて接合領域Aの不均一拡散を顕著に把握することができる。具体的には、例えば上ウェハWUの径が300mmである場合、センサ175aは、本体部170の中心部から径240mmより外側に配置されているのが好ましい。
Note that the
また、図8に示したように、従来における接合領域Aは略四角形状に拡大する。この接合領域Aの拡大の対象性を考慮すると、センサ175の数を少なくすることも可能である。
Further, as shown in FIG. 8, the conventional bonding area A expands into a substantially rectangular shape. Considering the symmetry of the expansion of the joint area A, it is possible to reduce the number of
例えば図17(a)~(b)に示すように2つのセンサ175を本体部170の同一円周上に配置してもよい。すなわち、少なくとも45°方向と90°方向にそれぞれ1つのセンサ175が配置されていればよい。かかる場合、45°方向のセンサ175を用いて、他の45°方向の接合領域Aの拡大を推測することができ、また90°方向のセンサ175を用いて、他の90°方向の接合領域Aの拡大を推測することができる。
For example, two
但し、図7に示したようにセンサ175を本体部170の円周上の全周に亘って設けた場合、上ウェハWUと下ウェハWLの間の間隔の大小まで把握することができる。ここで、上ウェハWUと下ウェハWLは厳密には平行ではなく、微小な距離、例えば数μm傾いている場合がある。かかる場合、上ウェハWUと下ウェハWLの間隔が大きい方が空気が外部に抜けやすいため、接合領域Aが早く拡大する。このように接合領域Aの拡大に差があっても、センサ175が本体部170の全周に設けられていると、ボンディングウェーブを適切に把握することができる。
However, when the
以上の実施の形態では、センサ175を用いて上ウェハWUと下ウェハWLの当接状態を検出し、ボンディングウェーブを把握していたが、さらにアクチュエータ部191の変位を測定して、ボンディングウェーブを把握してもよい。図19に示すように押動部材190には、レーザ変位計300が設けられている。レーザ変位計300は、アクチュエータ部191に設けられたターゲット301の変位を測定して、当該アクチュエータ部191の変位を測定する。
In the above embodiment, the
かかる場合、上記実施の形態の工程S13(図12)において、押動部材190のアクチュエータ部191を下降させる際、レーザ変位計300によってアクチュエータ部191の変位を測定する。そして、このレーザ変位計300で測定された変位が所定の閾値に達した際に、上ウェハWUの中心部と下ウェハWLの中心部を当接したことを検出する。
In such a case, in step S13 (FIG. 12) of the above embodiment, when the
このようにレーザ変位計300による測定結果に基づいて、接合領域Aの開始を把握することができるので、ボンディングウェーブをより適切に把握することができる。また、レーザ変位計300による測定結果に基づいて、吸引部172~174の吸着タイミングを制御することも可能となる。
Since the start of the bonding region A can be grasped based on the measurement result of the
なお、押動部材190に設けられる変位計は、レーザ変位計300に限定されず、アクチュエータ部191の変位を測定できるものであれば任意に選択することができる。
Note that the displacement gauge provided on the
以上の実施の形態の上チャック140において、8つの第2の吸引部173には個別の第2の真空ポンプ173bが接続されていたが、1つの第2の真空ポンプ173bが複数の第2の吸引部173の動作を纏めて制御してもよい。例えば4つの45°方向にある第2の吸引部173を、1つの第2の真空ポンプ173bで制御してもよい。また、4つの90°方向にある第2の吸引部173を、1つの第2の真空ポンプ173bで制御してもよい。
In the
同様に、8つの第1の吸引部172についても、1つの第1の真空ポンプ172bが複数の第1の吸引部172の動作を纏めて制御してもよい。
Similarly, for the eight
また、吸引部172~174の数や配置は、図7に示した例に限定されない。本体部170において同一円周上の吸引部の数は、8つ以外であってもよい。また、本体部170において、吸引部は3重以上に設けられていてもよい。
Also, the number and arrangement of the
以上の実施の形態の接合装置41では、下チャック141が水平方向に移動可能に構成されていたが、上チャック140を水平方向に移動可能に構成してもよいし、あるいは上チャック140と下チャック141の両方を水平方向に移動可能に構成してもよい。
In the
また、以上の実施の形態の接合装置41では、下チャック141が鉛直方向に移動可能に構成されていたが、上チャック140を鉛直方向に移動可能に構成してもよいし、あるいは上チャック140と下チャック141の両方を鉛直方向に移動可能に構成してもよい。
Also, in the
さらに、以上の実施の形態の接合装置41では、下チャック141が回転可能に構成されていたが、上チャック140を回転可能に構成してもよいし、あるいは上チャック140と下チャック141の両方を回転可能に構成してもよい。
Furthermore, in the
以上の実施の形態の接合システム1において、接合装置41でウェハWU、WLを接合した後、さらに接合された重合ウェハWTを所定の温度で加熱(アニール処理)してもよい。重合ウェハWTにかかる加熱処理を行うことで、接合界面をより強固に結合させることができる。
In the
以上、添付図面を参照しながら本発明の好適な実施の形態について説明したが、本発明はかかる例に限定されない。当業者であれば、特許請求の範囲に記載された思想の範疇内において、各種の変更例または修正例に想到し得ることは明らかであり、それらについても当然に本発明の技術的範囲に属するものと了解される。本発明はこの例に限らず種々の態様を採りうるものである。本発明は、基板がウェハ以外のFPD(フラットパネルディスプレイ)、フォトマスク用のマスクレチクルなどの他の基板である場合にも適用できる。 Although the preferred embodiments of the present invention have been described above with reference to the accompanying drawings, the present invention is not limited to such examples. It is obvious that a person skilled in the art can conceive various modifications or modifications within the scope of the idea described in the claims, and these naturally belong to the technical scope of the present invention. understood as a thing. The present invention is not limited to this example and can take various forms. The present invention can also be applied to substrates other than wafers, such as FPDs (flat panel displays) and mask reticles for photomasks.
1 接合システム
2 搬入出ステーション
3 処理ステーション
30 表面改質装置
40 表面親水化装置
41 接合装置
61 ウェハ搬送装置
70 制御部
140 上チャック
141 下チャック
172 第1の吸引部
173 第2の吸引部
174 第3の吸引部
175 センサ
190 押動部材
300 レーザ変位計
WU 上ウェハ
WL 下ウェハ
WT 重合ウェハ
REFERENCE SIGNS
Claims (15)
第1の基板を下面で吸着保持する第1の保持部と、
前記第1の保持部の下方に設けられ、第2の基板を上面で吸着保持する第2の保持部と、
前記第1の保持部に設けられ、前記第1の基板の中心部を押圧する押動部材と、
前記第1の保持部に設けられ、前記第1の基板と前記第2の基板の当接状態を検出する基板検出部と、
前記基板検出部は、前記第1の基板を真空引きするための吸引管を流れる気体の流量又は圧力を測定することを特徴とする、接合装置。 A bonding apparatus for bonding substrates,
a first holding part that sucks and holds the first substrate on its lower surface;
a second holding part provided below the first holding part for sucking and holding the second substrate on its upper surface;
a pressing member that is provided in the first holding portion and presses the central portion of the first substrate;
a substrate detection unit provided in the first holding unit and configured to detect a state of contact between the first substrate and the second substrate;
The bonding apparatus according to claim 1, wherein the substrate detector measures the flow rate or pressure of gas flowing through a suction pipe for vacuuming the first substrate.
前記基板検出部は、前記吸引部に接続された吸引管に設けられていることを特徴とする、請求項1又は2に記載の接合装置。 The first holding unit has a suction unit that vacuums and sucks the first substrate,
3. The bonding apparatus according to claim 1, wherein said substrate detection section is provided in a suction tube connected to said suction section.
前記接合装置を備えた処理ステーションと、
前記第1の基板、前記第2の基板又は前記第1の基板と前記第2の基板が接合された重合基板をそれぞれ複数保有し、且つ前記処理ステーションに対して前記第1の基板、前記第2の基板又は前記重合基板を搬入出する搬入出ステーションと、を備え、
前記処理ステーションは、
前記第1の基板又は前記第2の基板の接合される表面を改質する表面改質装置と、
前記表面改質装置で改質された前記第1の基板又は前記第2の基板の表面を親水化する表面親水化装置と、
前記表面改質装置、前記表面親水化装置及び前記接合装置に対して、前記第1の基板、前記第2の基板又は前記重合基板を搬送するための搬送装置と、を有し、
前記接合装置では、前記表面親水化装置で表面が親水化された前記第1の基板と前記第2の基板を接合することを特徴とする、接合システム。 A joining system comprising the joining apparatus according to any one of claims 1 to 6,
a processing station comprising the bonding apparatus;
holding a plurality of the first substrates, the second substrates, or a plurality of superimposed substrates in which the first substrates and the second substrates are bonded together; a loading and unloading station for loading and unloading two substrates or the superimposed substrate;
The processing station comprises:
a surface modification device that modifies the bonding surface of the first substrate or the second substrate;
a surface hydrophilization device for hydrophilizing the surface of the first substrate or the second substrate modified by the surface modification device;
a transport device for transporting the first substrate, the second substrate, or the polymerized substrate to the surface modification device, the surface hydrophilization device, and the bonding device;
The bonding system, wherein the bonding apparatus bonds the first substrate and the second substrate, the surfaces of which are hydrophilized by the surface hydrophilization device.
第1の保持部の下面に保持された第1の基板と第2の保持部の上面に保持された第2の基板とを対向配置する配置工程と、
その後、前記第1の保持部に設けられ、前記第1の基板の中心部を押圧する押動部材を下降させ、当該押動部材によって前記第1の基板の中心部と前記第2の基板の中心部を押圧して当接させる押圧工程と、
その後、前記第1の基板の中心部と前記第2の基板の中心部が当接した状態で、前記第1の基板の中心部から外周部に向けて、前記第1の基板と前記第2の基板を順次接合する接合工程と、を有し、
前記接合工程において、前記第1の保持部に設けられた前記第1の基板を真空引きするための吸引管を流れる気体の流量又は圧力を測定する基板検出部によって、前記第1の基板と前記第2の基板の当接状態を検出することを特徴とする、接合方法。 A bonding method for bonding substrates,
an arrangement step of arranging the first substrate held on the lower surface of the first holding portion and the second substrate held on the upper surface of the second holding portion so as to face each other;
After that, the pressing member provided in the first holding portion for pressing the center portion of the first substrate is lowered, and the pressing member pushes the center portion of the first substrate and the second substrate apart. A pressing step of pressing the central portion to bring it into contact;
After that, in a state in which the central portion of the first substrate and the central portion of the second substrate are in contact with each other, the first substrate and the second substrate are separated from the central portion of the first substrate toward the outer peripheral portion. and a bonding step of sequentially bonding the substrates of
In the bonding step, a substrate detection unit that measures the flow rate or pressure of a gas flowing through a suction pipe for evacuating the first substrate provided in the first holding unit detects the pressure between the first substrate and the first substrate. A bonding method, comprising detecting a contact state of the second substrate.
前記基板検出部は、前記吸引部に接続された吸引管に設けられていることを特徴とする、請求項8又は9に記載の接合方法。 The first holding unit has a suction unit that vacuums and sucks the first substrate,
10. The joining method according to claim 8, wherein the substrate detection section is provided in a suction tube connected to the suction section.
Priority Applications (2)
| Application Number | Priority Date | Filing Date | Title |
|---|---|---|---|
| JP2022209554A JP7568704B2 (en) | 2020-09-18 | 2022-12-27 | Bonding device, bonding system, bonding method, program, and computer storage medium |
| JP2024174136A JP7813851B2 (en) | 2024-10-03 | Bonding device, bonding system, bonding method, program, and computer storage medium |
Applications Claiming Priority (3)
| Application Number | Priority Date | Filing Date | Title |
|---|---|---|---|
| JP2020156949A JP6929427B2 (en) | 2016-12-01 | 2020-09-18 | Joining equipment, joining systems, joining methods, programs and computer storage media |
| JP2021130822A JP7203918B2 (en) | 2020-09-18 | 2021-08-10 | Joining device, joining system, joining method and computer storage medium |
| JP2022209554A JP7568704B2 (en) | 2020-09-18 | 2022-12-27 | Bonding device, bonding system, bonding method, program, and computer storage medium |
Related Parent Applications (1)
| Application Number | Title | Priority Date | Filing Date |
|---|---|---|---|
| JP2021130822A Division JP7203918B2 (en) | 2020-09-18 | 2021-08-10 | Joining device, joining system, joining method and computer storage medium |
Related Child Applications (1)
| Application Number | Title | Priority Date | Filing Date |
|---|---|---|---|
| JP2024174136A Division JP7813851B2 (en) | 2024-10-03 | Bonding device, bonding system, bonding method, program, and computer storage medium |
Publications (2)
| Publication Number | Publication Date |
|---|---|
| JP2023027400A true JP2023027400A (en) | 2023-03-01 |
| JP7568704B2 JP7568704B2 (en) | 2024-10-16 |
Family
ID=78510454
Family Applications (2)
| Application Number | Title | Priority Date | Filing Date |
|---|---|---|---|
| JP2021130822A Active JP7203918B2 (en) | 2020-09-18 | 2021-08-10 | Joining device, joining system, joining method and computer storage medium |
| JP2022209554A Active JP7568704B2 (en) | 2020-09-18 | 2022-12-27 | Bonding device, bonding system, bonding method, program, and computer storage medium |
Family Applications Before (1)
| Application Number | Title | Priority Date | Filing Date |
|---|---|---|---|
| JP2021130822A Active JP7203918B2 (en) | 2020-09-18 | 2021-08-10 | Joining device, joining system, joining method and computer storage medium |
Country Status (1)
| Country | Link |
|---|---|
| JP (2) | JP7203918B2 (en) |
Cited By (1)
| Publication number | Priority date | Publication date | Assignee | Title |
|---|---|---|---|---|
| WO2025225404A1 (en) * | 2024-04-23 | 2025-10-30 | 東京エレクトロン株式会社 | Bonding device and bonding method |
Families Citing this family (1)
| Publication number | Priority date | Publication date | Assignee | Title |
|---|---|---|---|---|
| CN119069408B (en) * | 2024-11-01 | 2025-04-01 | 鸿舸半导体设备(上海)有限公司 | Wafer positioning system, method and device applied to semiconductor manufacturing process |
Citations (5)
| Publication number | Priority date | Publication date | Assignee | Title |
|---|---|---|---|---|
| JP2012186243A (en) * | 2011-03-04 | 2012-09-27 | Tokyo Electron Ltd | Joining method, program, computer storage medium, joining device, and joining system |
| JP2012191037A (en) * | 2011-03-11 | 2012-10-04 | Shibaura Mechatronics Corp | Substrate bonding apparatus and substrate bonding method |
| WO2016068050A1 (en) * | 2014-10-29 | 2016-05-06 | 旭硝子株式会社 | Substrate suction device, substrate bonding device, substrate bonding method, and electronic device manufacturing method |
| JP2016105458A (en) * | 2014-11-25 | 2016-06-09 | 東京エレクトロン株式会社 | Bonding method, program, computer storage medium, bonding device and bonding system |
| WO2016093284A1 (en) * | 2014-12-10 | 2016-06-16 | 株式会社ニコン | Substrate stacking device and substrate stacking method |
Family Cites Families (1)
| Publication number | Priority date | Publication date | Assignee | Title |
|---|---|---|---|---|
| KR102609698B1 (en) | 2016-03-22 | 2023-12-04 | 에베 그룹 에. 탈너 게엠베하 | Device and method for bonding substrates |
-
2021
- 2021-08-10 JP JP2021130822A patent/JP7203918B2/en active Active
-
2022
- 2022-12-27 JP JP2022209554A patent/JP7568704B2/en active Active
Patent Citations (5)
| Publication number | Priority date | Publication date | Assignee | Title |
|---|---|---|---|---|
| JP2012186243A (en) * | 2011-03-04 | 2012-09-27 | Tokyo Electron Ltd | Joining method, program, computer storage medium, joining device, and joining system |
| JP2012191037A (en) * | 2011-03-11 | 2012-10-04 | Shibaura Mechatronics Corp | Substrate bonding apparatus and substrate bonding method |
| WO2016068050A1 (en) * | 2014-10-29 | 2016-05-06 | 旭硝子株式会社 | Substrate suction device, substrate bonding device, substrate bonding method, and electronic device manufacturing method |
| JP2016105458A (en) * | 2014-11-25 | 2016-06-09 | 東京エレクトロン株式会社 | Bonding method, program, computer storage medium, bonding device and bonding system |
| WO2016093284A1 (en) * | 2014-12-10 | 2016-06-16 | 株式会社ニコン | Substrate stacking device and substrate stacking method |
Cited By (1)
| Publication number | Priority date | Publication date | Assignee | Title |
|---|---|---|---|---|
| WO2025225404A1 (en) * | 2024-04-23 | 2025-10-30 | 東京エレクトロン株式会社 | Bonding device and bonding method |
Also Published As
| Publication number | Publication date |
|---|---|
| JP7568704B2 (en) | 2024-10-16 |
| JP7203918B2 (en) | 2023-01-13 |
| JP2024177380A (en) | 2024-12-19 |
| JP2021180337A (en) | 2021-11-18 |
Similar Documents
| Publication | Publication Date | Title |
|---|---|---|
| KR102651554B1 (en) | Bonding apparatus, bonding system, bonding method and computer storage medium | |
| JP7153773B2 (en) | Joining device, joining system, joining method and computer storage medium | |
| TWI595593B (en) | Engagement device and joint system | |
| JP6407803B2 (en) | Joining apparatus, joining system, joining method, program, and computer storage medium | |
| JP2015018920A (en) | Joining apparatus, joining system, joining method, program, and computer storage medium | |
| KR102434123B1 (en) | Joining method, program, computer recording medium, joining apparatus and joining system | |
| JP6883690B2 (en) | Joining device, joining system, joining method and computer storage medium | |
| JP2015018919A (en) | Joining apparatus, joining system, joining method, program, and computer storage medium | |
| JP2023027400A (en) | Bonding device, bonding system, bonding method, program and computer storage media | |
| JP6929427B2 (en) | Joining equipment, joining systems, joining methods, programs and computer storage media | |
| JP7813851B2 (en) | Bonding device, bonding system, bonding method, program, and computer storage medium | |
| WO2025225404A1 (en) | Bonding device and bonding method | |
| CN120998805A (en) | Substrate holding device and bonding system | |
| JP2016201462A (en) | Joining apparatus and joining system |
Legal Events
| Date | Code | Title | Description |
|---|---|---|---|
| A621 | Written request for application examination |
Free format text: JAPANESE INTERMEDIATE CODE: A621 Effective date: 20221227 |
|
| A977 | Report on retrieval |
Free format text: JAPANESE INTERMEDIATE CODE: A971007 Effective date: 20231017 |
|
| A131 | Notification of reasons for refusal |
Free format text: JAPANESE INTERMEDIATE CODE: A131 Effective date: 20231128 |
|
| A521 | Request for written amendment filed |
Free format text: JAPANESE INTERMEDIATE CODE: A523 Effective date: 20240118 |
|
| A131 | Notification of reasons for refusal |
Free format text: JAPANESE INTERMEDIATE CODE: A131 Effective date: 20240507 |
|
| A521 | Request for written amendment filed |
Free format text: JAPANESE INTERMEDIATE CODE: A523 Effective date: 20240705 |
|
| TRDD | Decision of grant or rejection written | ||
| A01 | Written decision to grant a patent or to grant a registration (utility model) |
Free format text: JAPANESE INTERMEDIATE CODE: A01 Effective date: 20240903 |
|
| A61 | First payment of annual fees (during grant procedure) |
Free format text: JAPANESE INTERMEDIATE CODE: A61 Effective date: 20241003 |
|
| R150 | Certificate of patent or registration of utility model |
Ref document number: 7568704 Country of ref document: JP Free format text: JAPANESE INTERMEDIATE CODE: R150 |
