JP2018132194A - Diaphragm valve, fluid control device, semiconductor control apparatus, and semiconductor control method - Google Patents
Diaphragm valve, fluid control device, semiconductor control apparatus, and semiconductor control method Download PDFInfo
- Publication number
- JP2018132194A JP2018132194A JP2018088319A JP2018088319A JP2018132194A JP 2018132194 A JP2018132194 A JP 2018132194A JP 2018088319 A JP2018088319 A JP 2018088319A JP 2018088319 A JP2018088319 A JP 2018088319A JP 2018132194 A JP2018132194 A JP 2018132194A
- Authority
- JP
- Japan
- Prior art keywords
- diaphragm
- fluid
- recess
- valve
- semiconductor manufacturing
- Prior art date
- Legal status (The legal status is an assumption and is not a legal conclusion. Google has not performed a legal analysis and makes no representation as to the accuracy of the status listed.)
- Pending
Links
Images
Landscapes
- Physical Vapour Deposition (AREA)
- Chemical Vapour Deposition (AREA)
- Drying Of Semiconductors (AREA)
Abstract
Description
この発明は、ダイヤフラム弁、流体制御装置、半導体製造装置および半導体製造方法に関し、特に、半導体製造装置のガス供給部での使用に適し、必要流量を維持しながら装置全体の小型化に寄与するため小型化されたダイヤフラム弁、このようなダイヤフラム弁を備えた流体制御装置、この流体制御装置を備えた半導体製造装置およびこの半導体製造装置を使用した半導体製造方法に関する。 The present invention relates to a diaphragm valve, a fluid control device, a semiconductor manufacturing device, and a semiconductor manufacturing method, and is particularly suitable for use in a gas supply unit of a semiconductor manufacturing device and contributes to downsizing of the entire device while maintaining a necessary flow rate. The present invention relates to a miniaturized diaphragm valve, a fluid control apparatus including such a diaphragm valve, a semiconductor manufacturing apparatus including the fluid control apparatus, and a semiconductor manufacturing method using the semiconductor manufacturing apparatus.
半導体製造装置(CVD、エッチング装置など)におけるガス供給部(流体制御装置)として、従来、例えば図7に示したものが知られている(特許文献1)。 As a gas supply unit (fluid control device) in a semiconductor manufacturing apparatus (CVD, etching apparatus, etc.), for example, the one shown in FIG. 7 is conventionally known (Patent Document 1).
図7において、流体制御装置の1つのライン(C)は、複数の上段部材および複数の下段部材からなり、上段部材として、逆止弁(21)、プレッシャレギュレータ(22)、圧力センサ(23)、逆V字状通路ブロック(24)、遮断開放器(25)、マスフローコントローラ(26)、開閉弁(27)、逆V字状通路ブロック(28)およびフィルタ(29)が配置されるとともに、下段部材として、左から順に、逆止弁(21)に接続されかつ入口継手(31)が取り付けられたL字状通路ブロック継手(32)と、逆止弁(21)とプレッシャレギュレータ(22)とを連通するV字状通路ブロック継手(33)と、プレッシャレギュレータ(22)と圧力センサ(23)とを連通するV字状通路ブロック継手(33)と、圧力センサ(23)と逆V字状通路ブロック(24)とを連通するV字状通路ブロック継手(33)と、逆V字状通路ブロック(24)と遮断開放器(25)とを連通するV字状通路ブロック継手(33)と、遮断開放器(25)とマスフローコントローラ(26)とを連通するV字状通路ブロック継手(33)と、マスフローコントローラ(26)と開閉弁(27)とを連通するV字状通路ブロック継手(33)と、開閉弁(27)と逆V字状通路ブロック(28)とを連通するV字状通路ブロック継手(33)と、逆V字状通路ブロック(28)とフィルタ(29)とを連通するV字状通路ブロック継手(33)と、フィルタ(29)に接続されかつ出口継手(34)が取り付けられたL字状通路第ブロック継手(32)とが配置されている。 In FIG. 7, one line (C) of the fluid control device is composed of a plurality of upper members and a plurality of lower members. The upper members include a check valve (21), a pressure regulator (22), and a pressure sensor (23). An inverted V-shaped passage block (24), a circuit breaker (25), a mass flow controller (26), an on-off valve (27), an inverted V-shaped passage block (28), and a filter (29), As a lower member, in order from the left, an L-shaped passage block joint (32) connected to the check valve (21) and fitted with an inlet joint (31), a check valve (21) and a pressure regulator (22) V-shaped passage block joint (33) that communicates with the pressure regulator, V-shaped passage block joint (33) that communicates the pressure regulator (22) and the pressure sensor (23), and the reverse V-shape with the pressure sensor (23). V-shaped passage block joint (33) communicating with the V-shaped passage block (24) and reverse V-shaped passage block (24) A V-shaped passage block joint (33) communicating with the release device (25), a V-shaped passage block joint (33) communicating with the circuit breaker (25) and the mass flow controller (26), and a mass flow controller ( 26) and a V-shaped passage block joint (33) communicating with the on-off valve (27), and a V-shaped passage block joint (33) communicating between the on-off valve (27) and the inverted V-shaped passage block (28). ), A V-shaped passage block joint (33) communicating the inverted V-shaped passage block (28) and the filter (29), and an L connected to the filter (29) and attached to the outlet joint (34). A character-shaped passage first block joint (32) is arranged.
そして、下段部材としての各種継手部材(31)(32)(33)(34)が1つの細長い副基板(40)上に載せられるとともに、これらの下段部材(31)(32)(33)(34)にまたがって上段部材としての各種流体制御機器(21)(22)(23)(24)(25)(26)(27)(28)(29)が取り付けられることで1つのライン(C)が形成され、このライン(C)と類似の構成とされた複数のラインが主基板(20)上に並列に配置されるとともに、各ライン(C)の遮断開放器(25)同士が、3つのI字状通路ブロック継手(51)およびI字状通路ブロック継手(51)同士を接続するチューブ(52)からなる通路接続手段(50)により接続されることにより、流体制御装置が形成される。 Various joint members (31) (32) (33) (34) as lower members are placed on one elongated sub-board (40), and these lower members (31) (32) (33) ( 34) Various fluid control devices (21), (22), (23), (24), (25), (26), (27), (28), and (29) as upper members are attached to one line (C ) Is formed, and a plurality of lines having a configuration similar to this line (C) are arranged in parallel on the main board (20), and the circuit breakers (25) of each line (C) are The fluid control device is formed by connecting by three passage connecting means (50) comprising three I-shaped passage block joints (51) and a tube (52) connecting the I-shaped passage block joints (51). The
半導体製造プロセスは、パーティクル介在によるパターン欠陥を防ぐため、クリーンルーム内で行われる。クリーンルームの容積増加に比例して、建設時のイニシャル費、及びランニングコストが増加する。ランニングコスト等の増加は製造コストの増加につながる。従って、クリーンルーム内で常設使用される半導体製造装置では、装置全体の小型化が課題となっており、そのため、半導体製造装置で使用される流体制御装置においても、小型化が大きな課題となっている。 The semiconductor manufacturing process is performed in a clean room in order to prevent pattern defects due to particle intervention. The initial cost and the running cost at the time of construction increase in proportion to the increase in the volume of the clean room. An increase in running cost or the like leads to an increase in manufacturing cost. Therefore, in a semiconductor manufacturing apparatus that is permanently used in a clean room, downsizing of the entire apparatus is an issue, and therefore downsizing is also a major issue in a fluid control device used in a semiconductor manufacturing apparatus. .
小型化されたダイヤフラム弁として、特許文献2には、流体流入通路、流体流出通路および上向きに開口した凹所が設けられたボディと、ボディに形成された流体流入通路の周縁に配置されたシートと、シートに押圧・離間されることで流体流入通路の開閉を行う弾性変形可能な球殻状ダイヤフラムと、ダイヤフラムの外周縁部をボディの凹所底面との間で保持する押さえアダプタと、ダイヤフラムの中央部を押圧するダイヤフラム押さえと、ダイヤフラム押さえを上下移動させる上下移動手段とを備えているものが開示されている。
As a miniaturized diaphragm valve,
ダイヤフラム弁では、ダイヤフラムは、開閉操作が行われるごとに、大きく変形することから、その耐久性を向上することが重要なものとなっている。 In the diaphragm valve, since the diaphragm is greatly deformed each time the opening / closing operation is performed, it is important to improve its durability.
ダイヤフラム弁を小型化する際には、ダイヤフラムも小型化され、これに伴い、シートとダイヤフラムとの間の空間幅が狭まることで、流量が低下する。当該流量低下を防ぐため、シートとダイヤフラムとの間の空間幅を拡大すると、ダイヤフラムのストロークが大きくなり、結果として、ダイヤフラムの耐久性が低下するという問題がある。 When the diaphragm valve is miniaturized, the diaphragm is also miniaturized. Accordingly, the space width between the seat and the diaphragm is narrowed, so that the flow rate is reduced. If the space width between the sheet and the diaphragm is increased in order to prevent the flow rate from decreasing, the stroke of the diaphragm increases, resulting in a problem that the durability of the diaphragm decreases.
そこで、特許文献2のものでは、押さえアダプタは、その下面全体が所定の傾斜角度とされたテーパ状とされており、ボディの凹所底面は、円形の平坦部と、平坦部の外周に連なり平坦部に対して凹まされている凹部とを有しており、ダイヤフラムは、流体通路が開となっている状態において、外周縁部の上面が押さえアダプタのテーパ状下面と面接触し、外周縁部の下面がボディの凹所底面の平坦部の外周と線接触するようになされているとともに、押さえアダプタの下面のテーパ角度をボディの凹所底面の平坦部に対して15.5〜16.5°とし、ダイヤフラム押さえのダイヤフラムに当接している面の曲率半径を10.5〜12.5mmとすることで耐久性の向上が図られている。
Therefore, in the one of
上記のように、各種半導体製造装置においては、小型化が課題となっており、そのため、そのガス供給部で使用されるダイヤフラム弁についても、小型化が求められている。 As described above, in various semiconductor manufacturing apparatuses, downsizing is an issue. Therefore, downsizing of diaphragm valves used in the gas supply unit is also required.
ダイヤフラム弁の小型化に際しては、耐久性向上が課題になり、耐久性を向上させようとすると、流量向上の課題が発生する。特許文献2の小型ダイヤフラム弁によると、耐久性の向上が図られているものの、流量の低下が大きく、流量を多くするという課題がある。
When the diaphragm valve is downsized, the improvement of durability becomes a problem, and when it is attempted to improve the durability, a problem of improving the flow rate occurs. According to the small diaphragm valve of
この発明の目的は、小型化されたダイヤフラム弁の耐久性の低下を招かずに流量を多くすることができるダイヤフラム弁を提供することにある。 An object of the present invention is to provide a diaphragm valve capable of increasing the flow rate without causing a decrease in the durability of a miniaturized diaphragm valve.
また、この発明の目的は、このようなダイヤフラム弁を備えた流体制御装置、この流体制御装置を備えた半導体製造装置およびこの半導体製造装置を使用した半導体製造方法を提供することにある。 Another object of the present invention is to provide a fluid control device provided with such a diaphragm valve, a semiconductor manufacturing device provided with the fluid control device, and a semiconductor manufacturing method using the semiconductor manufacturing device.
この発明によるダイヤフラム弁は、流体流入通路、流体流出通路および上向きに開口した凹所が設けられたボディと、ボディに形成された流体流入通路の周縁に配置されたシートと、シートに押圧・離間されることで流体流入通路の開閉を行う弾性変形可能な球殻状ダイヤフラムと、ダイヤフラムの外周縁部をボディの凹所底面との間で保持する押さえアダプタと、ダイヤフラムの中央部を押圧するダイヤフラム押さえと、ダイヤフラム押さえを上下移動させる上下移動手段とを備えているダイヤフラム弁において、ボディ凹所底面の平坦部に、流体流出通路の凹所の底面に開口している部分を含むように、溝が設けられていることを特徴とするものである。 A diaphragm valve according to the present invention includes a fluid inflow passage, a fluid outflow passage, a body provided with an upwardly opened recess, a seat disposed at the periphery of the fluid inflow passage formed in the body, and a pressing / separation to the seat. Elastically deformable spherical shell diaphragm that opens and closes the fluid inflow passage, a holding adapter that holds the outer peripheral edge of the diaphragm between the bottom surface of the recessed portion of the body, and a diaphragm that presses the center of the diaphragm In the diaphragm valve having a presser and a vertically moving means for moving the diaphragm presser up and down, the flat part of the bottom surface of the body recess includes a groove opening so as to include a portion opened to the bottom surface of the recess of the fluid outflow passage. Is provided.
流体流入通路から流入した流体は、ボディの凹所の底面とダイヤフラムとによって囲まれた空間内に流入し、流体流出通路を経て外部へと流出する。 The fluid flowing in from the fluid inflow passage flows into a space surrounded by the bottom surface of the recess of the body and the diaphragm, and flows out to the outside through the fluid outflow passage.
押さえアダプタは、その下面全体が所定の傾斜角度とされたテーパ状とされており、ボディの凹所底面は、円形の平坦部と、平坦部の外周に連なり平坦部に対して凹まされている凹部とを有しており、ダイヤフラムは、流体通路が開となっている状態において、外周縁部の上面が押さえアダプタのテーパ状下面と面接触し、外周縁部の下面がボディの凹所底面の平坦部の外周と線接触するようになされていることが好ましい。 The holding adapter has a tapered shape whose entire lower surface has a predetermined inclination angle, and the bottom surface of the recessed portion of the body is continuous with the circular flat part and the outer periphery of the flat part and is recessed with respect to the flat part. The diaphragm has a recess, and the diaphragm has an upper surface of the outer peripheral edge that is in surface contact with the tapered lower surface of the holding adapter and a lower surface of the outer peripheral edge is the bottom surface of the recess of the body when the fluid passage is open. It is preferable to be in line contact with the outer periphery of the flat portion.
このようにすると、ダイヤフラムは、流体通路が開となっている状態(通常、上に凸の球殻状の状態)において、ダイヤフラムの外周縁部の上面が押さえアダプタの下面と面接触していることで、自然状態である球殻状からの変形が小さく抑えられる。そして、ダイヤフラムの外周縁部の下面がボディの凹所底面の平坦部の外周と線接触するようになされていることで、ダイヤフラムは、押さえアダプタとボディとによって保持された状態においても、自然状態である球殻状からの変形が小さく抑えられた状態が維持される。すなわち、弾性変形する球殻状のダイヤフラムの外周縁部に変形不可能でかつ球殻状部分に対して屈曲する平坦状部分が存在しないことから、部分的に応力が集中することが回避されて、ダイヤフラムの変形が最適化され、ダイヤフラムの耐久性が向上する。 In this way, in the diaphragm, the upper surface of the outer peripheral edge of the diaphragm is in surface contact with the lower surface of the pressing adapter in a state where the fluid passage is open (usually in a spherical shell shape convex upward). Thus, the deformation from the spherical shell shape, which is a natural state, can be suppressed to be small. And since the lower surface of the outer peripheral edge of the diaphragm is in line contact with the outer periphery of the flat portion of the bottom surface of the recess of the body, the diaphragm is in a natural state even when held by the holding adapter and the body. The state where the deformation from the spherical shell shape is suppressed to be small is maintained. That is, since there is no flat part that cannot be deformed and bends against the spherical shell part at the outer peripheral edge of the spherical shell diaphragm that is elastically deformed, it is avoided that stress is partially concentrated. The deformation of the diaphragm is optimized, and the durability of the diaphragm is improved.
ここで、ダイヤフラムの耐久性を向上させるには、ダイヤフラムの高さ(ストローク)を抑えることが好ましいが、ストロークを減少させると、流量が減少することから、ダイヤフラムの形状を変更することなく、流量を増加させることが望まれている。 Here, in order to improve the durability of the diaphragm, it is preferable to suppress the height (stroke) of the diaphragm. However, if the stroke is reduced, the flow rate is reduced, so that the flow rate is not changed without changing the shape of the diaphragm. Is desired to increase.
そこで、この発明のダイヤフラム弁では、ボディ凹所底面の平坦部に、流体流出通路の凹所の底面に開口している部分を含むように、溝が設けられているものとされている。これにより、流体流出通路の入口面積を大きくすることができ、ダイヤフラムの形状を変更することなく、流量の増加が図られている。 Therefore, in the diaphragm valve of the present invention, the flat portion of the bottom surface of the body recess is provided with a groove so as to include a portion opened to the bottom surface of the recess of the fluid outflow passage. Thereby, the inlet area of the fluid outflow passage can be increased, and the flow rate can be increased without changing the shape of the diaphragm.
溝は、ダイヤフラムの外周縁部を支持するための平坦部外周を残すように設けられる。溝の内周は、シートにかからないようにしてもよく(溝は環状溝となる)、シートを保持している部分を含むようにしてもよい(溝はいわゆる「ざぐり」となる)。環状溝の場合、シートを保持している部分の高さは、ダイヤフラムの外周縁部を支持するための平坦部外周の高さと同じとされ、ざぐりの場合には、シートを保持している部分の高さは、ざぐりの分だけ低くなる。 The groove is provided so as to leave a flat portion outer periphery for supporting the outer peripheral edge of the diaphragm. The inner circumference of the groove may not cover the sheet (the groove becomes an annular groove) or may include a portion holding the sheet (the groove becomes a so-called “spot”). In the case of an annular groove, the height of the part holding the sheet is the same as the height of the outer periphery of the flat part for supporting the outer peripheral edge of the diaphragm, and in the case of a spot, the part holding the sheet The height is reduced by the amount of counterbore.
流体流出通路の断面形状は、通常、円形孔とされ、流体流入通路の径、シートとダイヤフラムとの間の空間幅などに応じて、その径が設定される。 The cross-sectional shape of the fluid outflow passage is usually a circular hole, and the diameter is set according to the diameter of the fluid inflow passage, the space width between the seat and the diaphragm, and the like.
流体流出通路の断面形状は、円形ではなく、長孔とされているようにしてもよい。例えば、断面積を大きくする場合に、長孔とすることで、円形のものでは得られない断面積を得ることができる。 The cross-sectional shape of the fluid outflow passage may be a long hole instead of a circle. For example, when the cross-sectional area is increased, a cross-sectional area that cannot be obtained with a circular one can be obtained by using a long hole.
ダイヤフラム弁は、上下移動手段が開閉ハンドルなどの手動弁であってもよく、上下移動手段が適宜なアクチュエータとされた自動弁であってもよく、自動弁の場合のアクチュエータは、流体(空気)圧によるものでもよく、電磁力によるものでもよい。 The diaphragm valve may be a manual valve such as an open / close handle as the vertical movement means, or an automatic valve in which the vertical movement means is an appropriate actuator. In the case of the automatic valve, the actuator is a fluid (air) It may be by pressure or by electromagnetic force.
なお、この明細書において、ダイヤフラム弁のステムの移動方向を上下方向というものとするが、この方向は、便宜的なものであり、実際の取付けでは、上下方向が鉛直方向とされるだけでなく、水平方向とされることもある。 In this specification, the moving direction of the stem of the diaphragm valve is referred to as the vertical direction, but this direction is convenient, and in actual mounting, the vertical direction is not only the vertical direction. , Sometimes horizontal.
この発明による流体制御装置は、流体制御機器として、開閉弁を備えている流体制御装置であって、該開閉弁が上記のダイヤフラム弁とされていることを特徴とするものである。 The fluid control device according to the present invention is a fluid control device including an on-off valve as a fluid control device, and the on-off valve is the above-described diaphragm valve.
上記のダイヤフラム弁は、必要流量を維持しながら小型化が可能であり、これを流体制御装置の開閉弁として使用することで、小型化された流体制御装置を得ることができる。 The above diaphragm valve can be downsized while maintaining the required flow rate, and by using this as an on-off valve of the fluid control device, a downsized fluid control device can be obtained.
このような流体制御装置は、半導体製造装置で使用されることで、半導体製造装置の小型化に寄与できる。 Such a fluid control device can contribute to miniaturization of a semiconductor manufacturing apparatus by being used in a semiconductor manufacturing apparatus.
また、この発明による半導体製造装置は、ガス供給部として上記の流体制御装置を備えたことを特徴とするものである。 The semiconductor manufacturing apparatus according to the present invention is characterized in that the fluid control apparatus is provided as a gas supply unit.
上記の流体制御装置は、上記のダイヤフラム弁を使用していることで、小型化されており、このような流体制御装置をガス供給部として備えた半導体製造装置は、小型化されたものとなる。 The fluid control device is miniaturized by using the diaphragm valve, and a semiconductor manufacturing apparatus equipped with such a fluid control device as a gas supply unit is miniaturized. .
半導体製造装置は、CVD装置、スパッタリング装置またはエッチング装置のいずれであってもよい。 The semiconductor manufacturing apparatus may be a CVD apparatus, a sputtering apparatus, or an etching apparatus.
また、この発明による半導体製造方法は、上記の半導体製造装置を使用して半導体を製造することを特徴とするものである。 A semiconductor manufacturing method according to the present invention is characterized in that a semiconductor is manufactured using the semiconductor manufacturing apparatus described above.
小型化された半導体製造装置を使用することにより、クリーンルーム内の設置面積が小さくなり、クリーンルームのランニングコスト(製造コスト)を低減させ、より安価な製造方法で得られた半導体を得ることができる。 By using a miniaturized semiconductor manufacturing apparatus, the installation area in the clean room is reduced, the running cost (manufacturing cost) of the clean room is reduced, and a semiconductor obtained by a cheaper manufacturing method can be obtained.
この発明のダイヤフラム弁によると、ボディ凹所底面の平坦部に、流体流出通路の凹所の底面に開口している部分を含むように、溝が設けられていることで、小型化されたダイヤフラム弁の耐久性の低下を招かずに流量を多くすることができる。 According to the diaphragm valve of the present invention, since the groove is provided in the flat portion of the bottom surface of the body recess so as to include the portion opened to the bottom surface of the recess of the fluid outflow passage, the diaphragm can be downsized. The flow rate can be increased without reducing the durability of the valve.
この発明の実施の形態を、以下図面を参照して説明する。以下の説明において、上下および左右は、図5の上下および左右をいうものとする。 Embodiments of the present invention will be described below with reference to the drawings. In the following description, the top and bottom and the left and right refer to the top and bottom and the left and right in FIG.
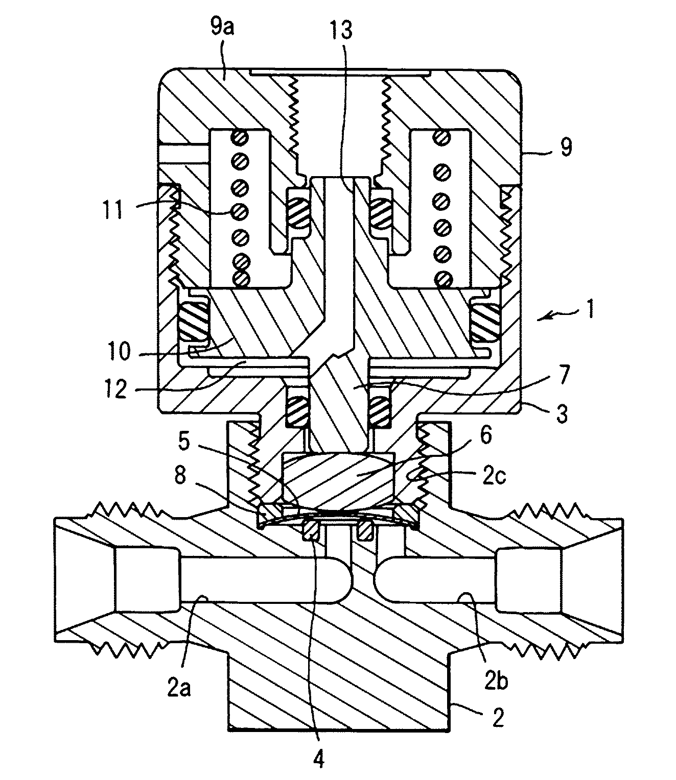
図5は、この発明によるダイヤフラム弁(1)の基本形状を示しており、ダイヤフラム弁(1)は、流体流入通路(2a)、流体流出通路(2b)および上方に向かって開口した凹所(2c)を有しているブロック状ボディ(2)と、ボディ(2)の凹所(2c)上部に下端部がねじ合わされて上方にのびる円筒状ボンネット(3)と、流体流入通路(2a)の周縁に設けられた環状のシート(4)と、シート(4)に押圧または離間されて流体流入通路(2a)を開閉するダイヤフラム(5)と、ダイヤフラム(5)の中央部を押さえるダイヤフラム押さえ(6)と、ボンネット(3)内に上下移動自在に挿入されてダイヤフラム押さえ(6)を介してダイヤフラム(5)をシート(4)に押圧・離間させるステム(7)と、ボンネット(3)下端面とボディ(2)の凹所(2c)底面との間に配置されてダイヤフラム(5)の外周縁部をボディ(2)の凹所(2c)底面との間で保持する押さえアダプタ(8)と、頂壁(9a)を有しボンネット(3)にねじ合わされたケーシング(9)と、ステム(7)に一体化されたピストン(10)と、ピストン(10)を下方に付勢する圧縮コイルばね(付勢部材)(11)と、ピストン(10)下面に設けられた操作エア導入室(12)と、操作エア導入室(12)内に操作エアを導入する操作エア導入通路(13)とを備えている。 FIG. 5 shows the basic shape of the diaphragm valve (1) according to the present invention. The diaphragm valve (1) has a fluid inflow passage (2a), a fluid outflow passage (2b), and a recess ( 2c), a block-shaped body (2), a cylindrical bonnet (3) whose lower end is screwed onto the upper part of the recess (2c) of the body (2), and a fluid inflow passage (2a) An annular sheet (4) provided on the periphery of the diaphragm, a diaphragm (5) that opens or closes the fluid inflow passage (2a) by being pressed or separated by the sheet (4), and a diaphragm holder that presses the center of the diaphragm (5) (6), a stem (7) which is inserted into the bonnet (3) so as to be movable up and down and presses and separates the diaphragm (5) against the seat (4) via the diaphragm presser (6), and the bonnet (3) The outer peripheral edge of the diaphragm (5) is placed between the lower end surface and the bottom of the recess (2c) of the body (2), and the bottom of the recess (2c) of the body (2) Holding adapter (8) that holds between, casing (9) having a top wall (9a) and screwed to the bonnet (3), piston (10) integrated to the stem (7), A compression coil spring (biasing member) (11) for urging the piston (10) downward, an operation air introduction chamber (12) provided on the lower surface of the piston (10), and an operation air introduction chamber (12) An operation air introduction passage (13) for introducing operation air is provided.
図1に示す通路開の状態においては、流体流入通路(2a)から流入した流体は、ボディ(2)の凹所(2c)の底面とダイヤフラム(5)とによって囲まれた空間内に流入し、流体流出通路(2b)を経て外部へと流出する。 In the open state shown in FIG. 1, the fluid flowing in from the fluid inflow passage (2a) flows into the space surrounded by the bottom surface of the recess (2c) of the body (2) and the diaphragm (5). Then, it flows out through the fluid outflow passage (2b).
ダイヤフラム(5)は、球殻状とされており、上に凸の円弧状が自然状態となっている。ダイヤフラム(5)は、例えば、ニッケル合金薄板からなるものとされ、円形に切り抜き、中央部を上方へ膨出させた球殻状に形成される。ダイヤフラム(5)は、ステンレス鋼薄板からなるものや、ステンレス鋼薄板とニッケル・コバルト合金薄板との積層体よりなるものとされることがある。 The diaphragm (5) has a spherical shell shape, and an upwardly convex arc shape is in a natural state. The diaphragm (5) is made of, for example, a nickel alloy thin plate, and is formed in a spherical shell shape that is cut out in a circular shape and has a central portion bulged upward. The diaphragm (5) may be made of a stainless steel sheet or a laminate of a stainless steel sheet and a nickel / cobalt alloy sheet.
図6は、この発明によるダイヤフラム弁が従来技術としている小型ダイヤフラム弁の主要部を示している。図6において、押さえアダプタ(8)は、その下面(8a)全体が所定の傾斜角度とされたテーパ状とされている。また、ボディ(2)の凹所(2c)の底面(14)は、円形の平坦部(14a)と、平坦部(14a)の外周に連なり平坦部(14a)に対して凹まされている環状の凹部(14b)とを有している。 FIG. 6 shows a main part of a small diaphragm valve in which the diaphragm valve according to the present invention is a prior art. In FIG. 6, the holding adapter (8) has a tapered shape in which the entire lower surface (8a) has a predetermined inclination angle. The bottom surface (14) of the recess (2c) of the body (2) has a circular flat portion (14a) and an annular shape that is continuous with the outer periphery of the flat portion (14a) and is recessed with respect to the flat portion (14a). And a recess (14b).
押さえアダプタ(8)は、ボンネット(3)がボディ(2)にねじ合わされることで、ダイヤフラム(5)の外周縁部に上面から当接した状態で固定される。この際、押さえアダプタ(8)の下面(8a)全体がテーパ状とされていることにより、ダイヤフラム(5)は、球殻状(上に凸の円弧状)からほとんど変形することなく、その外周縁部の上面が押さえアダプタ(8)のテーパ状下面(8a)と面接触(広い範囲で接触)した状態で、押さえアダプタ(8)とボディ(2)の凹所(2c)の底面(14)との間に保持される。また、ボディ(2)の凹所(2c)の底面(14)の外周縁部に凹部(14b)が設けられていることにより、ダイヤフラム(5)の外周縁部は、凹部(14b)内に収容される。したがって、ダイヤフラム(5)の外周縁部は、ボディ(2)の凹所(2c)の底面(14)に沿うような変形を受けることはなく、その下面が凹所(2c)の底面(14)の平坦部(14a)の外周(ダイヤフラム支持部)(14c)と線接触する。 The holding adapter (8) is fixed in a state in which the bonnet (3) is screwed onto the body (2) and is in contact with the outer peripheral edge of the diaphragm (5) from above. At this time, the entire bottom surface (8a) of the holding adapter (8) is tapered, so that the diaphragm (5) is not deformed from the spherical shell shape (upwardly convex arc shape) and the outer surface of the diaphragm adapter (8) is almost completely deformed. With the upper surface of the peripheral edge in surface contact with the tapered lower surface (8a) of the retainer adapter (8) (in a wide range), the bottom surface of the recess (2c) in the retainer adapter (8) and the body (2) (14 ). Further, since the recess (14b) is provided on the outer peripheral edge of the bottom surface (14) of the recess (2c) of the body (2), the outer peripheral edge of the diaphragm (5) is placed in the recess (14b). Be contained. Therefore, the outer peripheral edge of the diaphragm (5) is not deformed along the bottom surface (14) of the recess (2c) of the body (2), and the bottom surface thereof is the bottom surface (14) of the recess (2c). ) Is in line contact with the outer periphery (diaphragm support portion) (14c) of the flat portion (14a).
各部材の具体的な数値として、図6(a)に示すように、ダイヤフラム(5)の径(L)は、φ8で、ダイヤフラム(5)の高さ(H)は、0.65mmで、その曲率半径(SR1)はSR13.5とされている。そして、図6(b)に示すように、押さえアダプタ(8)の下面(8a)のテーパ角度(θ)は、ボディ(2)の凹所(2c)の底面(14)の平坦部(14a)に対して16°とされている。また、ダイヤフラム押さえ(6)のダイヤフラム(5)に当接している面(6a)の曲率半径(SR2)は、SR12とされている。また、凹所(2c)の底面(14)の平坦部(基準面)(14a)からのシート(4)の高さ(D)は、D=0.2mmとされている。 As specific numerical values of each member, as shown in FIG. 6A, the diameter (L) of the diaphragm (5) is φ8, and the height (H) of the diaphragm (5) is 0.65 mm. The curvature radius (SR1) is SR13.5. Then, as shown in FIG. 6B, the taper angle (θ) of the lower surface (8a) of the holding adapter (8) is the flat portion (14a) of the bottom surface (14) of the recess (2c) of the body (2). ) To 16 °. The curvature radius (SR2) of the surface (6a) of the diaphragm presser (6) that is in contact with the diaphragm (5) is SR12. The height (D) of the sheet (4) from the flat part (reference surface) (14a) of the bottom surface (14) of the recess (2c) is D = 0.2 mm.
図1および図2は、この発明によるダイヤフラム弁(1)の第1実施形態の主要部を示している。 1 and 2 show the main part of a first embodiment of a diaphragm valve (1) according to the present invention.
この実施形態のものでは、従来のものと相違している構成として、図1に示すように、ボディ(2)の凹所(2c)の底面(14)の平坦部(基準面)(14a)に、流体流出通路(2b)の凹所(2c)の底面(14)に開口している部分を含むようにざぐり(15)が設けられている。 In this embodiment, as shown in FIG. 1, as a configuration different from the conventional one, the flat portion (reference surface) (14a) of the bottom surface (14) of the recess (2c) of the body (2) is provided. In addition, a counterbore (15) is provided so as to include a portion opened in the bottom surface (14) of the recess (2c) of the fluid outflow passage (2b).
ざぐり(15)は、ダイヤフラム(5)の外周縁部を支持するための平坦部(14a)の外周(14c)を残すように設けられている。ざぐり(15)が設けられていることにより、ボディ(2)の凹所(2c)の底面(14)に形成された流体流出通路(2b)の入口面積が大きくなっている。また、流体流出通路(2b)の凹所(2c)の底面(14)におけるシート(4)を保持している部分の高さがざぐり(15)の分だけ低くなっている。 The counterbore (15) is provided so as to leave the outer periphery (14c) of the flat portion (14a) for supporting the outer peripheral edge of the diaphragm (5). By providing the counterbore (15), the inlet area of the fluid outflow passage (2b) formed in the bottom surface (14) of the recess (2c) of the body (2) is increased. Further, the height of the portion holding the sheet (4) in the bottom surface (14) of the recess (2c) of the fluid outflow passage (2b) is lowered by the counterbore (15).
この実施形態のものでは、従来のものと相違している構成として、図2(a)に示すように、さらに、ダイヤフラム(5)の高さ(H)は、0.4mmとされ、その曲率半径(SR1)は、SR23とされている。ダイヤフラム(5)の径(L)は、φ8で、従来と同じとされている。そして、図2(b)に示すように、ダイヤフラム押さえ(6)のダイヤフラム(5)に当接している面(6a)の曲率半径(SR2)は、SR42とされ、また、押さえアダプタ(8)の下面(8a)のテーパ角度(θ)は、9°とされている。また、弁開時における凹所(2c)の底面(14)の平坦部(14a)の外周(ダイヤフラム(5)の外周縁部と圧接密着しているダイヤフラム支持部)(14c)からダイヤフラム(5)の頂点までの距離Cは、0.35mmとされている。 In this embodiment, as shown in FIG. 2 (a), the height (H) of the diaphragm (5) is 0.4 mm, and the curvature thereof is different from the conventional one. The radius (SR1) is SR23. The diameter (L) of the diaphragm (5) is φ8, which is the same as the conventional one. As shown in FIG. 2 (b), the curvature radius (SR2) of the surface (6a) of the diaphragm presser (6) that is in contact with the diaphragm (5) is SR42, and the presser adapter (8) The lower surface (8a) has a taper angle (θ) of 9 °. Further, when the valve is opened, the outer periphery of the flat portion (14a) of the bottom surface (14) of the recess (2c) (the diaphragm support portion in pressure contact with the outer peripheral edge of the diaphragm (5)) (14c) to the diaphragm (5 The distance C to the apex of) is 0.35 mm.
すなわち、ダイヤフラム押さえ(6)のダイヤフラム(5)に当接している面(6a)の曲率半径(SR2)が大きくなされることで、ダイヤフラム押さえ(6)とダイヤフラム(5)との接触面積の増加が図られ、これにより、ダイヤフラム(5)中心における負荷が低減されている。また、押さえアダプタ(8)の下面(8a)のテーパ角度(θ)がダイヤフラム(5)に沿う角度に設定され、さらに、ダイヤフラム押さえ(6)との干渉を防止するために、押さえアダプタ(8)の内径が大きくなされている。 That is, by increasing the curvature radius (SR2) of the surface (6a) of the diaphragm holder (6) that is in contact with the diaphragm (5), the contact area between the diaphragm holder (6) and the diaphragm (5) is increased. As a result, the load at the center of the diaphragm (5) is reduced. In addition, the taper angle (θ) of the lower surface (8a) of the holding adapter (8) is set to an angle along the diaphragm (5), and in order to prevent interference with the diaphragm holding (6), the holding adapter (8 ) Has a large inner diameter.
シート(4)の高さは、従来がD=0.2mmに対して、第1実施形態では、このDが0.05mm(図面上では0)とされている。これは、ダイヤフラム(5)の形状に合わせて調整されたもので、これに伴って、ダイヤフラム(5)のリフト量は、0.27mmとなり、従来の0.37mmから0.1mm小さくなっている。 The height of the sheet (4) is D = 0.2 mm in the prior art, whereas in the first embodiment, this D is 0.05 mm (0 in the drawing). This is adjusted according to the shape of the diaphragm (5). Accordingly, the lift amount of the diaphragm (5) is 0.27 mm, which is 0.1 mm smaller than the conventional 0.37 mm. .
なお、ダイヤフラム(5)は、厚さが0.05mmのダイヤフラムを2枚積層したものとされている。これは、従来と実施形態とで同じとなっている。 The diaphragm (5) is a laminate of two diaphragms having a thickness of 0.05 mm. This is the same between the prior art and the embodiment.
ダイヤフラム(5)の頂点は、最下層(接液側)のダイヤフラムの上面の頂点と定義する。上記定義は、耐久性を考える上で、ダイヤフラム1層にスポットを当てて、そのダイヤフラムの固定部(支点=ボディ(2)のダイヤフラム支持部(14c))と押部(力点=ダイヤフラム押さえ(6)との接触部=ダイヤフラム(5)球蓋の頂点)の距離が耐久性を決める大きな要因になるという評価結果に基づいている。 The vertex of the diaphragm (5) is defined as the vertex of the upper surface of the lowermost diaphragm (wetted side). In the above definition, in consideration of durability, a spot is applied to one diaphragm layer, and the fixed portion of the diaphragm (fulcrum = diaphragm support portion (14c) of the body (2)) and the pressing portion (force point = diaphragm retainer (6 ) = Contact portion of the diaphragm = diaphragm (5) apex of the ball lid) is based on the evaluation result that it is a major factor determining the durability.
なお、ダイヤフラムが1枚の場合は、ダイヤフラム(5)の頂点は、そのダイヤフラム(5)の上面の頂点となり、ダイヤフラムが複数の場合の頂点も、定義の通り、最下層(接液側)のダイヤフラムの上面の頂点となる。 When there is only one diaphragm, the vertex of the diaphragm (5) is the vertex of the upper surface of the diaphragm (5), and the vertex when there are multiple diaphragms is the lowest layer (wetted side) as defined. It becomes the apex of the upper surface of the diaphragm.
図1および図2に示す第1実施形態のもの(小型ダイヤフラム弁)と図6に示す従来の小型ダイヤフラム弁とについての比較結果を表1および表2に示す。 Tables 1 and 2 show the results of comparison between the first embodiment (small diaphragm valve) shown in FIGS. 1 and 2 and the conventional small diaphragm valve shown in FIG.
表1には、第1実施形態のものと図6に示す従来の小型ダイヤフラム弁との相違点を示し、表2には、既存の一般的な大きさのダイヤフラム弁(標準品)と比較して、その仕様および性能を示している。 Table 1 shows the differences between the first embodiment and the conventional small diaphragm valve shown in FIG. 6, and Table 2 shows a comparison with existing diaphragm valves of standard size (standard products). The specifications and performance are shown.
表2から、実施形態のものは、小型でありながら、標準的な大きさのものと同等という、極めて優れた耐久性を有しており、また、同じ小型の従来品に比べると、耐久性だけでなく、Cv値についても、増加していることが分かる。Cv値は、バルブの容量係数であり、流体がある前後差圧においてバルブを流れるときの流量を表す値である。 From Table 2, the embodiment has extremely excellent durability, which is the same as that of the standard size, while being small, and more durable than the same small conventional product. It can be seen that not only the Cv value is increased. The Cv value is a capacity coefficient of the valve, and represents a flow rate when the fluid flows through the valve at a certain differential pressure.
小型品同士の耐久性に関し、実施形態のものの耐久性が大幅に向上したことについては、実施形態のものでは、ダイヤフラム押さえ(6)の形状(SR)がSR42とされるとともに、押さえアダプタ(8)のテーパ角度(θ)が9°とされていることによるものである。耐久回数の指標を従来品と同等である「400万回」と設定した場合、耐久回数が400万回以上ということで、耐久性に余裕があることを考慮すると、ダイヤフラム押さえ(6)のダイヤフラム(5)に当接している面の曲率半径(SR)は、30mm以上とされ、押さえアダプタ(8)の下面のテーパ角度(θ)は、ボディ(2)の凹所(2c)の底面(14)の平坦部(14a)に対して10°以下とされていることが耐久回数約400万回確保のための条件と設定することが妥当である。 Regarding the durability between the small products, the fact that the durability of the embodiment is greatly improved is that the shape (SR) of the diaphragm retainer (6) is SR42 and the retainer adapter (8 ) Is set to 9 °. When the index of durability is set to “4 million times”, which is equivalent to that of the conventional product, the diaphragm holder (6) diaphragm is considered considering that the durability is 4 million times or more and there is a margin in durability. The curvature radius (SR) of the surface in contact with (5) is 30 mm or more, and the taper angle (θ) of the lower surface of the holding adapter (8) is the bottom surface of the recess (2c) of the body (2) ( It is reasonable to set a condition for ensuring about 4 million times that the flat portion (14a) of 14) is 10 ° or less.
また、弁開時における凹所(2c)の底面(14)の平坦部(14a)の外周(ダイヤフラム(5)の外周縁部と圧接密着しているダイヤフラム支持部)(14c)からダイヤフラム(5)の頂点までの距離Cが0.35mmであることから、次のことが言える。 弁開時、ダイヤフラム(5)の直径Lと、ダイヤフラム(5)と圧接密着しているボディ(2)の凹所(2c)の底面(14)のダイヤフラム支持部(14c)からダイヤフラム(5)の頂点までの距離Cの比が18:1〜30:1であることが好ましい。 Further, when the valve is opened, the outer periphery of the flat portion (14a) of the bottom surface (14) of the recess (2c) (the diaphragm support portion in pressure contact with the outer peripheral edge of the diaphragm (5)) (14c) to the diaphragm (5 ) Is 0.35 mm, the following can be said. Diaphragm (5) from diaphragm support (14c) of bottom surface (14) of recess (2c) of body (2) which is in pressure contact with diaphragm (5) when valve is opened It is preferable that the ratio of the distance C to the top is 18: 1 to 30: 1.
上記において、Lは、φ8であるので、Lがφ8である場合のCの好ましい範囲は、0.27mm〜0.44mm(約0.25mm〜0.45mm)となる。 In the above, since L is φ8, a preferable range of C when L is φ8 is 0.27 mm to 0.44 mm (about 0.25 mm to 0.45 mm).
ダイヤフラム(5)の直径とダイヤフラム(5)と圧接密着しているボディ(2)の凹所(2c)底面(14)からダイヤフラム頂点までの距離(ダイヤフラム(5)の頂点高さ)の比が18:1未満の(Cが0.45mmを超えた)場合、耐久性が著しく低下し、30:1を超えた(Cが0.25mm未満の)場合、流量が著しく不足する。上記比を18:1〜30:1とすることで、耐久性に優れた小型ダイヤフラム弁であって、しかも、流量確保の点でも優れたダイヤフラム弁を得ることができる。 The ratio of the diameter of the diaphragm (5) and the distance from the recess (2c) bottom surface (14) of the body (2) in pressure contact with the diaphragm (5) to the top of the diaphragm (the height of the top of the diaphragm (5)) When it is less than 18: 1 (C exceeds 0.45 mm), the durability is remarkably reduced, and when it exceeds 30: 1 (C is less than 0.25 mm), the flow rate is remarkably insufficient. By setting the above ratio to 18: 1 to 30: 1, it is possible to obtain a diaphragm valve that is excellent in durability and that is excellent in securing a flow rate.
また、小型品同士の比較で、実施形態のもののCv値が従来のものに比べて、2倍になっている点については、ボディ(2)の凹所(2c)の底面(14)の平坦部(14a)に、流体流出通路(2b)の凹所(2c)の底面(14)に開口している部分を含むようにざぐり(15)が設けられている点が寄与している。すなわち、ざぐり(15)を設けて、流体流出通路(2b)の入口面積を大きくしたことで、結果として、Cv値が従来比で2倍になっている。 In addition, in comparison between small products, the Cv value of the embodiment is twice that of the conventional one. The bottom surface (14) of the recess (2c) of the body (2) is flat. The point (14a) is provided with a counterbore (15) so as to include a portion opened to the bottom surface (14) of the recess (2c) of the fluid outflow passage (2b). That is, by providing the counterbore (15) and increasing the inlet area of the fluid outflow passage (2b), the Cv value is doubled compared to the conventional case.
通常、ダイヤフラム(5)の曲率半径を大きくして、SR13.5からSR23にした場合、Cv値は、小さくなる。すなわち、この実施形態によると、ダイヤフラム(5)の形状変化に伴う流量の減少を補うだけでなく、流量を大幅に増加させることができている。 Normally, when the radius of curvature of the diaphragm (5) is increased from SR13.5 to SR23, the Cv value decreases. That is, according to this embodiment, not only the decrease in the flow rate accompanying the shape change of the diaphragm (5) can be compensated, but also the flow rate can be greatly increased.
こうして、この実施形態のものでは、相反する性能であるCv値とダイヤフラムの耐久性とが高いレベルで両立させられている。 Thus, in this embodiment, the Cv value, which is a contradictory performance, and the durability of the diaphragm are compatible at a high level.
Cv値を増加させるには、ざぐり(15)(凹所(2c)の底面(14)の平坦部(14a)のほぼ全面を削る)に代えて、図3に示すように、流体流出通路(2b)の凹所(2c)の底面(14)に開口している部分を含む環状溝(16)を設けるようにしてもよい。 In order to increase the Cv value, instead of the counterbore (15) (scraping almost the entire flat portion (14a) of the bottom surface (14) of the recess (2c)), as shown in FIG. An annular groove (16) including a portion opened to the bottom surface (14) of the recess (2c) of 2b) may be provided.
環状溝(16)の深さは、ざぐり(15)の深さに比べて、大きいものとされる。環状溝(16)の場合、シート(4)を保持している部分は、従来と同じ形状となる。 The depth of the annular groove (16) is larger than the depth of the counterbore (15). In the case of the annular groove (16), the portion holding the sheet (4) has the same shape as the conventional one.
環状溝(16)とした場合、シート(4)のかしめが、シート(4)の外径側および内径側の両方から行うことができ、シート(4)の固定が強いものとなる。 In the case of the annular groove (16), the sheet (4) can be caulked from both the outer diameter side and the inner diameter side of the sheet (4), and the sheet (4) is strongly fixed.
ざぐり(15)とした場合、シート(4)のかしめは、シート(4)の内径側のみから行われる。ざぐり(15)とすることで、環状溝(16)に比べて流体流出通路(2b)の入口面積を大きくとることができ、Cv値が大きくなる。 In the case of the counterbore (15), the sheet (4) is caulked only from the inner diameter side of the sheet (4). By using the counterbore (15), the inlet area of the fluid outflow passage (2b) can be made larger than that of the annular groove (16), and the Cv value becomes larger.
Cv値をさらに増加するために、図4に示すように、ざぐり(15)が設けられているとともに、流体流出通路(2b)の断面形状が長孔(17)とされているようにしてもよい。 In order to further increase the Cv value, a counterbore (15) is provided as shown in FIG. 4, and the cross-sectional shape of the fluid outflow passage (2b) is a long hole (17). Good.
長孔(17)の断面形状は、図に示すように、方形部分の両端部に半円形部分を付加したものでもよく、楕円形でもよく、また、ざぐり(15)に沿うような三日月状でもよい。 As shown in the figure, the cross-sectional shape of the elongated hole (17) may be a semi-circular portion added to both ends of the rectangular portion, may be elliptical, or may be a crescent shape along the counterbore (15). Good.
長孔(17)は、図3に示した環状溝(16)と組み合わせることもできる。すなわち、図3において、円形とされている流体流出通路(2b)の断面形状を図4に示す長孔(17)としてもよい。 The long hole (17) can be combined with the annular groove (16) shown in FIG. That is, the cross-sectional shape of the fluid outflow passage (2b) that is circular in FIG. 3 may be the long hole (17) shown in FIG.
なお、上記のダイヤフラム弁において、ステム(7)、ピストン(10)、圧縮コイルばね(付勢部材)(11)、操作エア導入室(12)、操作エア導入通路(13)などは、ダイヤフラム押さえ(6)を上下移動させる上下移動手段を構成しているが、上下移動手段の構成は、図1に示したものに限定されるものではない。 In the above diaphragm valve, the stem (7), piston (10), compression coil spring (biasing member) (11), operation air introduction chamber (12), operation air introduction passage (13), etc. Although the vertical movement means for moving up and down (6) is configured, the configuration of the vertical movement means is not limited to that shown in FIG.
上記ダイヤフラム弁は、例えば図7に示した流体制御装置で開閉弁として使用することができる。そして、上記ダイヤフラム弁が小型化されて、しかも、耐久性にも優れているので、これを使用した流体制御装置は、小型化が課題となっている半導体製造装置におけるガス供給部として使用するのに適している。 The diaphragm valve can be used as an on-off valve in the fluid control device shown in FIG. 7, for example. And since the said diaphragm valve is reduced in size and is excellent also in durability, the fluid control apparatus using this is used as a gas supply part in the semiconductor manufacturing apparatus in which size reduction is an issue. Suitable for
半導体製造装置としては、CVD装置、スパッタリング装置、エッチング装置などがある。 Examples of semiconductor manufacturing apparatuses include CVD apparatuses, sputtering apparatuses, and etching apparatuses.
CVD装置は、エネルギー供給手段、真空チャンバー、ガス供給手段(流体制御装置)、排気手段から構成され、ウェハ上に不動態膜(酸化膜)を形成する装置である。 The CVD apparatus includes an energy supply unit, a vacuum chamber, a gas supply unit (fluid control device), and an exhaust unit, and forms a passive film (oxide film) on a wafer.
エッチング装置(ドライエッチング装置)は、エネルギー供給手段、処理室、ガス供給手段(流体制御装置)、排気手段から構成され、反応性の気体による腐食作用によって、材料表面等を加工する装置である。 An etching apparatus (dry etching apparatus) is an apparatus that includes an energy supply unit, a processing chamber, a gas supply unit (fluid control unit), and an exhaust unit, and processes a material surface and the like by a corrosive action by a reactive gas.
スパッタリング装置は、ターゲット、エネルギー供給手段、真空チャンバー、ガス供給手段(流体制御装置)、排気手段から構成され、材料表面を成膜する装置である。 The sputtering apparatus is an apparatus for forming a film on a material surface, which includes a target, an energy supply means, a vacuum chamber, a gas supply means (fluid control device), and an exhaust means.
CVD装置、スパッタリング装置およびエッチング装置のいずれの半導体製造装置においても、ガス供給手段(流体制御装置)は、必須の構成であり、これを小型化することで、半導体製造装置を小型化することができる。 In any semiconductor manufacturing apparatus such as a CVD apparatus, a sputtering apparatus, and an etching apparatus, the gas supply means (fluid control apparatus) is an indispensable configuration, and the semiconductor manufacturing apparatus can be downsized by reducing the size thereof. it can.
なお、流体制御装置は、図7に示したものに限定されるものではなく、また、半導体製造装置についても、全く限定されない。 The fluid control device is not limited to the one shown in FIG. 7, and the semiconductor manufacturing device is not limited at all.
(1):ダイヤフラム弁、(2):ボディ、(2a):流体流入通路、(2b):流体流出通路、(2c):凹所、(4):シート、(5):ダイヤフラム、(6):ダイヤフラム押さえ、(7):ステム、(8):押さえアダプタ、(14):底面、(14a):平坦部、(14b):凹部、(14c):外周、(15):ざぐり(溝)、(16):環状溝、(17):長孔
(1): Diaphragm valve, (2): Body, (2a): Fluid inflow passage, (2b): Fluid outflow passage, (2c): Recess, (4): Seat, (5): Diaphragm, (6 ): Diaphragm presser, (7): Stem, (8): Presser adapter, (14): Bottom, (14a): Flat part, (14b): Recessed part, (14c): Outer periphery, (15): Counterbore (groove) ), (16): annular groove, (17): long hole
(1):ダイヤフラム弁、(2):ボディ、(2a):流体流入通路、(2b):流体流出通路、(2c):凹所、(4):シート、(5):ダイヤフラム、(6):ダイヤフラム押さえ、(7):ステム、(8):押さえアダプタ、(14):底面、(14a):平坦部、(14b):凹部、(14c):外周、14(d):シート外周側の平坦部、14(e):流体流入通路の周縁の平坦面、(15):ざぐり(溝)、(16):環状溝、(17):長孔
(1): Diaphragm valve, (2): Body, (2a): Fluid inflow passage, (2b): Fluid outflow passage, (2c): Recess, (4): Seat, (5): Diaphragm, (6 ): Diaphragm presser, (7): Stem, (8): Presser adapter, (14): Bottom, (14a): Flat part, (14b): Recessed part, (14c): Outer periphery, 14 (d): Outer seat Side flat part, 14 (e): Flat surface on the periphery of the fluid inflow passage, (15): Counterbore (groove), (16): Circular groove, (17): Long hole
Claims (10)
ボディ凹所底面の平坦部に、流体流出通路の凹所の底面に開口している部分を含むように、ざぐり部が設けられていることを特徴とするダイヤフラム弁。 A body provided with a fluid inflow passage, a fluid outflow passage, and a recess opened upward, an annular sheet disposed at the periphery of the fluid inflow passage formed in the body, and a fluid by being pressed and separated by the sheet An elastically deformable spherical shell-shaped diaphragm that opens and closes the inflow passage, a holding adapter that holds the outer peripheral edge of the diaphragm between the bottom surface of the body recess, and a diaphragm presser that presses the center of the diaphragm And a diaphragm valve comprising a vertically moving means for vertically moving the diaphragm presser,
A diaphragm valve, wherein a counterbore portion is provided in a flat portion of the bottom surface of the body recess so as to include a portion opened to the bottom surface of the recess of the fluid outflow passage.
A semiconductor manufacturing method, wherein a semiconductor is manufactured using the semiconductor manufacturing apparatus according to claim 9.
Priority Applications (1)
| Application Number | Priority Date | Filing Date | Title |
|---|---|---|---|
| JP2018088319A JP2018132194A (en) | 2018-05-01 | 2018-05-01 | Diaphragm valve, fluid control device, semiconductor control apparatus, and semiconductor control method |
Applications Claiming Priority (1)
| Application Number | Priority Date | Filing Date | Title |
|---|---|---|---|
| JP2018088319A JP2018132194A (en) | 2018-05-01 | 2018-05-01 | Diaphragm valve, fluid control device, semiconductor control apparatus, and semiconductor control method |
Related Parent Applications (1)
| Application Number | Title | Priority Date | Filing Date |
|---|---|---|---|
| JP2014134979A Division JP6336345B2 (en) | 2014-06-30 | 2014-06-30 | Diaphragm valve, fluid control apparatus, semiconductor manufacturing apparatus, and semiconductor manufacturing method |
Publications (1)
| Publication Number | Publication Date |
|---|---|
| JP2018132194A true JP2018132194A (en) | 2018-08-23 |
Family
ID=63248281
Family Applications (1)
| Application Number | Title | Priority Date | Filing Date |
|---|---|---|---|
| JP2018088319A Pending JP2018132194A (en) | 2018-05-01 | 2018-05-01 | Diaphragm valve, fluid control device, semiconductor control apparatus, and semiconductor control method |
Country Status (1)
| Country | Link |
|---|---|
| JP (1) | JP2018132194A (en) |
Citations (15)
| Publication number | Priority date | Publication date | Assignee | Title |
|---|---|---|---|---|
| US4867201A (en) * | 1989-03-06 | 1989-09-19 | Harsco Corporation | Parallel-motion dual-diaphragm valve |
| JPH0594584U (en) * | 1992-05-22 | 1993-12-24 | 株式会社ベンカン | Metal diaphragm valve |
| US5829472A (en) * | 1997-08-04 | 1998-11-03 | Carten Controls Inc. | Dual contained purge connection for dual containment valves |
| JP2002513457A (en) * | 1997-02-03 | 2002-05-08 | スウエイジロク・カンパニー | Diaphragm valve |
| JP2002147623A (en) * | 2000-11-16 | 2002-05-22 | Fujikin Inc | Metal diaphragm valve |
| JP2005188672A (en) * | 2003-12-26 | 2005-07-14 | Neriki:Kk | Valve device |
| JP2006090386A (en) * | 2004-09-22 | 2006-04-06 | Kitz Sct:Kk | Diaphragm valve |
| JP2007064333A (en) * | 2005-08-30 | 2007-03-15 | Fujikin Inc | Direct-touch type metallic diaphragm valve |
| US20080210312A1 (en) * | 2005-01-31 | 2008-09-04 | Swagelok Company | Flow control device |
| JP2008286361A (en) * | 2007-05-21 | 2008-11-27 | Ckd Corp | Fluid control valve |
| WO2010061731A1 (en) * | 2008-11-28 | 2010-06-03 | 株式会社ハムレット・モトヤマ・ジャパン | Diaphragm valve |
| JP2010159790A (en) * | 2009-01-07 | 2010-07-22 | Fujikin Inc | Diaphragm presser for diaphragm valve and diaphragm valve equipped with the same |
| JP2013534996A (en) * | 2010-06-22 | 2013-09-09 | スウエイジロク・カンパニー | Clamping ring for welded diaphragm |
| JP2014009765A (en) * | 2012-06-29 | 2014-01-20 | Fujikin Inc | Diaphragm valve |
| US20140103240A1 (en) * | 2012-10-17 | 2014-04-17 | Swagelok Company | Actuator with dual drive |
-
2018
- 2018-05-01 JP JP2018088319A patent/JP2018132194A/en active Pending
Patent Citations (15)
| Publication number | Priority date | Publication date | Assignee | Title |
|---|---|---|---|---|
| US4867201A (en) * | 1989-03-06 | 1989-09-19 | Harsco Corporation | Parallel-motion dual-diaphragm valve |
| JPH0594584U (en) * | 1992-05-22 | 1993-12-24 | 株式会社ベンカン | Metal diaphragm valve |
| JP2002513457A (en) * | 1997-02-03 | 2002-05-08 | スウエイジロク・カンパニー | Diaphragm valve |
| US5829472A (en) * | 1997-08-04 | 1998-11-03 | Carten Controls Inc. | Dual contained purge connection for dual containment valves |
| JP2002147623A (en) * | 2000-11-16 | 2002-05-22 | Fujikin Inc | Metal diaphragm valve |
| JP2005188672A (en) * | 2003-12-26 | 2005-07-14 | Neriki:Kk | Valve device |
| JP2006090386A (en) * | 2004-09-22 | 2006-04-06 | Kitz Sct:Kk | Diaphragm valve |
| US20080210312A1 (en) * | 2005-01-31 | 2008-09-04 | Swagelok Company | Flow control device |
| JP2007064333A (en) * | 2005-08-30 | 2007-03-15 | Fujikin Inc | Direct-touch type metallic diaphragm valve |
| JP2008286361A (en) * | 2007-05-21 | 2008-11-27 | Ckd Corp | Fluid control valve |
| WO2010061731A1 (en) * | 2008-11-28 | 2010-06-03 | 株式会社ハムレット・モトヤマ・ジャパン | Diaphragm valve |
| JP2010159790A (en) * | 2009-01-07 | 2010-07-22 | Fujikin Inc | Diaphragm presser for diaphragm valve and diaphragm valve equipped with the same |
| JP2013534996A (en) * | 2010-06-22 | 2013-09-09 | スウエイジロク・カンパニー | Clamping ring for welded diaphragm |
| JP2014009765A (en) * | 2012-06-29 | 2014-01-20 | Fujikin Inc | Diaphragm valve |
| US20140103240A1 (en) * | 2012-10-17 | 2014-04-17 | Swagelok Company | Actuator with dual drive |
Similar Documents
| Publication | Publication Date | Title |
|---|---|---|
| JP6336345B2 (en) | Diaphragm valve, fluid control apparatus, semiconductor manufacturing apparatus, and semiconductor manufacturing method | |
| JP6335685B2 (en) | Diaphragm valve, fluid control apparatus, semiconductor manufacturing apparatus, and semiconductor manufacturing method | |
| CN101233350B (en) | Direct contact type metal diaphragm valve | |
| CN109899555B (en) | Fluid control valve and method of assembling fluid control valve | |
| JP5933370B2 (en) | Diaphragm valve | |
| CN107407430B (en) | Diaphragm valve | |
| JP2016161022A (en) | Fluid controller | |
| JPWO2020066584A1 (en) | valve | |
| JP2018132194A (en) | Diaphragm valve, fluid control device, semiconductor control apparatus, and semiconductor control method | |
| CN104295780B (en) | Pressure-operated valve | |
| JP5779559B2 (en) | Diaphragm valve | |
| JP7262559B2 (en) | Actuator for valve and diaphragm valve with same | |
| CN111577907B (en) | Valve device | |
| CN112585386A (en) | Valve disc for use with fluid valve | |
| JP2791546B2 (en) | Control valve with metal diaphragm | |
| US6076798A (en) | Fluid actuating valve | |
| JPH06294471A (en) | Diaphragm type fluid controller | |
| CN110199143A (en) | Diaphragm valve | |
| JP2609400B2 (en) | Diaphragm of diaphragm valve | |
| JP2023148578A (en) | diaphragm valve | |
| KR20220002430A (en) | Diaphragms, valves, and methods of manufacturing diaphragms | |
| JPS6263276A (en) | Pressure reducing valve |
Legal Events
| Date | Code | Title | Description |
|---|---|---|---|
| A521 | Request for written amendment filed |
Free format text: JAPANESE INTERMEDIATE CODE: A523 Effective date: 20180518 |
|
| A621 | Written request for application examination |
Free format text: JAPANESE INTERMEDIATE CODE: A621 Effective date: 20180518 |
|
| A871 | Explanation of circumstances concerning accelerated examination |
Free format text: JAPANESE INTERMEDIATE CODE: A871 Effective date: 20181029 |
|
| A975 | Report on accelerated examination |
Free format text: JAPANESE INTERMEDIATE CODE: A971005 Effective date: 20181105 |
|
| A131 | Notification of reasons for refusal |
Free format text: JAPANESE INTERMEDIATE CODE: A131 Effective date: 20181218 |
|
| A601 | Written request for extension of time |
Free format text: JAPANESE INTERMEDIATE CODE: A601 Effective date: 20190201 |
|
| A521 | Request for written amendment filed |
Free format text: JAPANESE INTERMEDIATE CODE: A523 Effective date: 20190411 |
|
| A131 | Notification of reasons for refusal |
Free format text: JAPANESE INTERMEDIATE CODE: A131 Effective date: 20190507 |
|
| A521 | Request for written amendment filed |
Free format text: JAPANESE INTERMEDIATE CODE: A523 Effective date: 20190618 |
|
| A02 | Decision of refusal |
Free format text: JAPANESE INTERMEDIATE CODE: A02 Effective date: 20190716 |
