JP2014209629A - 半導体ウエハ加工用粘着シート - Google Patents
半導体ウエハ加工用粘着シート Download PDFInfo
- Publication number
- JP2014209629A JP2014209629A JP2014098433A JP2014098433A JP2014209629A JP 2014209629 A JP2014209629 A JP 2014209629A JP 2014098433 A JP2014098433 A JP 2014098433A JP 2014098433 A JP2014098433 A JP 2014098433A JP 2014209629 A JP2014209629 A JP 2014209629A
- Authority
- JP
- Japan
- Prior art keywords
- adhesive layer
- pressure
- sensitive adhesive
- semiconductor wafer
- radiation
- Prior art date
- Legal status (The legal status is an assumption and is not a legal conclusion. Google has not performed a legal analysis and makes no representation as to the accuracy of the status listed.)
- Pending
Links
Images
Classifications
-
- C—CHEMISTRY; METALLURGY
- C09—DYES; PAINTS; POLISHES; NATURAL RESINS; ADHESIVES; COMPOSITIONS NOT OTHERWISE PROVIDED FOR; APPLICATIONS OF MATERIALS NOT OTHERWISE PROVIDED FOR
- C09J—ADHESIVES; NON-MECHANICAL ASPECTS OF ADHESIVE PROCESSES IN GENERAL; ADHESIVE PROCESSES NOT PROVIDED FOR ELSEWHERE; USE OF MATERIALS AS ADHESIVES
- C09J11/00—Features of adhesives not provided for in group C09J9/00, e.g. additives
- C09J11/02—Non-macromolecular additives
- C09J11/06—Non-macromolecular additives organic
-
- C09J7/02—
-
- H—ELECTRICITY
- H01—ELECTRIC ELEMENTS
- H01L—SEMICONDUCTOR DEVICES NOT COVERED BY CLASS H10
- H01L21/00—Processes or apparatus adapted for the manufacture or treatment of semiconductor or solid state devices or of parts thereof
- H01L21/70—Manufacture or treatment of devices consisting of a plurality of solid state components formed in or on a common substrate or of parts thereof; Manufacture of integrated circuit devices or of parts thereof
- H01L21/77—Manufacture or treatment of devices consisting of a plurality of solid state components or integrated circuits formed in, or on, a common substrate
- H01L21/78—Manufacture or treatment of devices consisting of a plurality of solid state components or integrated circuits formed in, or on, a common substrate with subsequent division of the substrate into plural individual devices
Landscapes
- Engineering & Computer Science (AREA)
- Microelectronics & Electronic Packaging (AREA)
- Condensed Matter Physics & Semiconductors (AREA)
- General Physics & Mathematics (AREA)
- Manufacturing & Machinery (AREA)
- Computer Hardware Design (AREA)
- Physics & Mathematics (AREA)
- Power Engineering (AREA)
- Chemical & Material Sciences (AREA)
- Organic Chemistry (AREA)
- Adhesive Tapes (AREA)
- Adhesives Or Adhesive Processes (AREA)
- Dicing (AREA)
Abstract
【課題】ウエハ裏面研削直後にダイシングシートを貼合させる装置において、ダイシング工程終了後容易に剥離でき、汚染物質の付着を著しく少なくできる半導体ウエハ加工用粘着シートを提供する。【解決手段】放射線透過性の基材樹脂フィルム1と、基材樹脂フィルム上に粘着剤層2が設けられた半導体ウエハ加工用粘着シート20であって、粘着剤層が主鎖の繰り返し単位に対して放射線硬化性炭素−炭素二重結合含有基を有する(メタ)アクリル系単量体部を有する残基を結合した重合体(a)を主成分とするベース樹脂100質量部に対し、光重合開始剤(b)としてオリゴ{2−ヒドロキシ−2−メチル−1−〔4−(1−メチルビニル)フェニル〕プロパノン}(繰り返し数n=2〜3)0.1〜10質量部を含有する放射線硬化性樹脂組成物を用いた層で構成されている半導体ウエハ加工用粘着シート。【選択図】図2
Description
本発明は、薄型半導体ウエハを加工する際に使用される、放射線硬化型の粘着剤層を有する半導体ウエハ加工用粘着シートに関する。
従来から、ダイパッド上に所定の回路パターンが形成された半導体チップを接着剤で固定することにより、半導体集積回路は製造されている。このとき使用される半導体チップは、例えば以下の方法により製造されている。
(1)高純度シリコン単結晶をスライスして半導体ウエハとした後、該ウエハ表面にICなどの所定の回路パターンを形成する。
(2)半導体ウエハ回路面を保護する表面保護テープを貼合して、形成された回路面を保護した上で、該ウエハ裏面を研削機により研削して、ウエハの厚さを100〜600μm程度まで薄くし、その後表面保護テープを回路面から剥離する。
(3)半導体ウエハの直径よりもやや大きな中空部分を有する輪状のダイシングフレームにダイシングシートを貼合し、該フレームの中空部分に露出した粘着剤層に前記研削機で研削されたウエハ裏面を貼合する。
(4)ダイシングシートが貼合された面とは反対側(すなわち、回路が形成された側)からダイシングして半導体チップとし、紫外線などの放射線を照射してダイシングシートの粘着剤層の粘着力を低下させて、該チップをダイシングシートの基材フィルム側からニードルで突き上げてピックアップを行う。
(1)高純度シリコン単結晶をスライスして半導体ウエハとした後、該ウエハ表面にICなどの所定の回路パターンを形成する。
(2)半導体ウエハ回路面を保護する表面保護テープを貼合して、形成された回路面を保護した上で、該ウエハ裏面を研削機により研削して、ウエハの厚さを100〜600μm程度まで薄くし、その後表面保護テープを回路面から剥離する。
(3)半導体ウエハの直径よりもやや大きな中空部分を有する輪状のダイシングフレームにダイシングシートを貼合し、該フレームの中空部分に露出した粘着剤層に前記研削機で研削されたウエハ裏面を貼合する。
(4)ダイシングシートが貼合された面とは反対側(すなわち、回路が形成された側)からダイシングして半導体チップとし、紫外線などの放射線を照射してダイシングシートの粘着剤層の粘着力を低下させて、該チップをダイシングシートの基材フィルム側からニードルで突き上げてピックアップを行う。
この工程に使用されるダイシングシートは、ダイシング加工中に剥離しない程度の粘着力が必要である一方で、ダイシング後のピックアップ時には、半導体チップを容易に剥離できる程度の低い粘着力でダイシングシートから剥離でき、チップ裏面に粘着剤をはじめとする汚染物質が付着しないことが必要とされる。
一方、近年、直径300mmの大口径のウエハから厚さ100μm以下の薄型の半導体チップを得ることが主流となっている。そこでこの薄型ウエハからいかに問題なく半導体チップを得ることが重要な課題である。
一方、近年、直径300mmの大口径のウエハから厚さ100μm以下の薄型の半導体チップを得ることが主流となっている。そこでこの薄型ウエハからいかに問題なく半導体チップを得ることが重要な課題である。
これに対する解決方法の1つとして、上記の(1)〜(3)までを連続装置内で行う、いわゆるインライン製造装置や(2)と(3)の工程を速やかに行う製造方法などが提案されている(例えば、特許文献1、2参照)。例えばインライン製造装置では、(2)のウエハ裏面の研削工程と(3)のウエハ裏面へのダイシングシートの貼合工程が連続で行われる。このため、インライン製造装置内では半導体ウエハや半導体チップの破損を少なくすることができる。この装置では、ウエハ裏面の酸化被膜が生成する前に、ダイシングシートを貼合させる。しかし、従来の粘着剤層を有するダイシングシートでは、ウエハ裏面に酸化被膜が生成した後に貼合されていたので、この場合にはうまく剥離できたものでも、同様にインライン製造装置で使用してもうまく剥離できないという問題が生じることとなった。
また他の解決方法の1つとして、ダイパッド上に半導体チップを固定する際に使用される接着剤をフィルム状に成形したものを、予めダイシングテープの粘着剤層に積層した、いわゆるダイシングダイボンドシートが提案されている。このダイシングダイボンドシートを使用する際には、通常のダイシングシートと同様にウエハ裏面に貼合されるが、粘着剤層とともに接着剤層もダイシングされる。このシートには接着剤層が貼合されているため、テープ全体の強度が増し、シート自体が薄型ウエハの強度を補強する効果を有する。このため薄型ウエハのダイシングをうまく行うことができる。しかし、ダイシング終了後に接着剤層は半導体チップ裏面に残して、接着剤層と粘着剤層間で剥さなければならない。そこで粘着剤層として特定の放射線硬化型のものを用いたシートが使われている。最近、ダイシング工程後の放射線照射量を上げ、半導体チップの製造工程のスピードアップが行われている。しかし放射線照射量が多いと発熱量が多く、ダイシング工程後の放射線照射工程で発生した熱により接着剤層と粘着剤層との剥離が困難になるという問題が生じている。
本発明は、ウエハ裏面直後にダイシングシートを貼合させる装置においても、ダイシング工程終了後容易に剥離でき、汚染物質の付着を低減できる半導体ウエハ加工用粘着シートを提供することを課題とする。
本発明者らは、上記課題について鋭意検討した結果、基材樹脂フィルム上に、特定の放射線硬化性のベース樹脂と特定の分子量の光重合開始剤を含有する放射線硬化性樹脂組成物を用いて、粘着剤層を形成した半導体ウエハ加工用粘着シートが、上記課題を解決できることを見出した。本発明はその知見に基づきなされたものである。
すなわち、本発明は、
<1>放射線透過性の基材樹脂フィルムと、該基材樹脂フィルム上に粘着剤層が設けられた半導体ウエハ加工用粘着シートであって、
該粘着剤層が主鎖の繰り返し単位に対して放射線硬化性炭素−炭素二重結合含有基を有する(メタ)アクリル系単量体部を有する残基を結合した重合体(a)を主成分とするベース樹脂100質量部に対し、光重合開始剤(b)0.1〜10質量部を含有する放射線硬化性樹脂組成物を用いた層で構成されており、
前記光重合開始剤(b)が、オリゴ{2−ヒドロキシ−2−メチル−1−〔4−(1−メチルビニル)フェニル〕プロパノン}(繰り返し数n=2〜3)である、
ことを特徴とする半導体ウエハ加工用粘着シート、
<2>前記粘着剤層の重合体(a)が、ブチルアクリレート、2−ヒドロキシエチルアクリレート及びアクリル酸からなるアクリル系共重合体と、2−メタクリロイルオキシエチルイソシアネートとを反応させてなる重合体であることを特徴とする<1>に記載の半導体ウエハ加工用粘着シート、及び
<3>前記主鎖の繰り返し単位に対して放射線重合性炭素−炭素二重結合含有基を有するアクリル系単量体を構成単位として含む重合体(a)のヨウ素価が1〜50であることを特徴とする<1>または<2>に記載の半導体ウエハ加工用粘着シート
を提供するものである。
すなわち、本発明は、
<1>放射線透過性の基材樹脂フィルムと、該基材樹脂フィルム上に粘着剤層が設けられた半導体ウエハ加工用粘着シートであって、
該粘着剤層が主鎖の繰り返し単位に対して放射線硬化性炭素−炭素二重結合含有基を有する(メタ)アクリル系単量体部を有する残基を結合した重合体(a)を主成分とするベース樹脂100質量部に対し、光重合開始剤(b)0.1〜10質量部を含有する放射線硬化性樹脂組成物を用いた層で構成されており、
前記光重合開始剤(b)が、オリゴ{2−ヒドロキシ−2−メチル−1−〔4−(1−メチルビニル)フェニル〕プロパノン}(繰り返し数n=2〜3)である、
ことを特徴とする半導体ウエハ加工用粘着シート、
<2>前記粘着剤層の重合体(a)が、ブチルアクリレート、2−ヒドロキシエチルアクリレート及びアクリル酸からなるアクリル系共重合体と、2−メタクリロイルオキシエチルイソシアネートとを反応させてなる重合体であることを特徴とする<1>に記載の半導体ウエハ加工用粘着シート、及び
<3>前記主鎖の繰り返し単位に対して放射線重合性炭素−炭素二重結合含有基を有するアクリル系単量体を構成単位として含む重合体(a)のヨウ素価が1〜50であることを特徴とする<1>または<2>に記載の半導体ウエハ加工用粘着シート
を提供するものである。
本発明の半導体ウエハ加工用粘着シートにより、ウエハ裏面直後にダイシングシートを貼合させる装置に使用する際に、ダイシング工程終了後容易に剥離でき、汚染物質の付着を著しく少なくできる。
図面を参照して本発明の好ましい半導体ウエハ加工用粘着シートについて説明する。
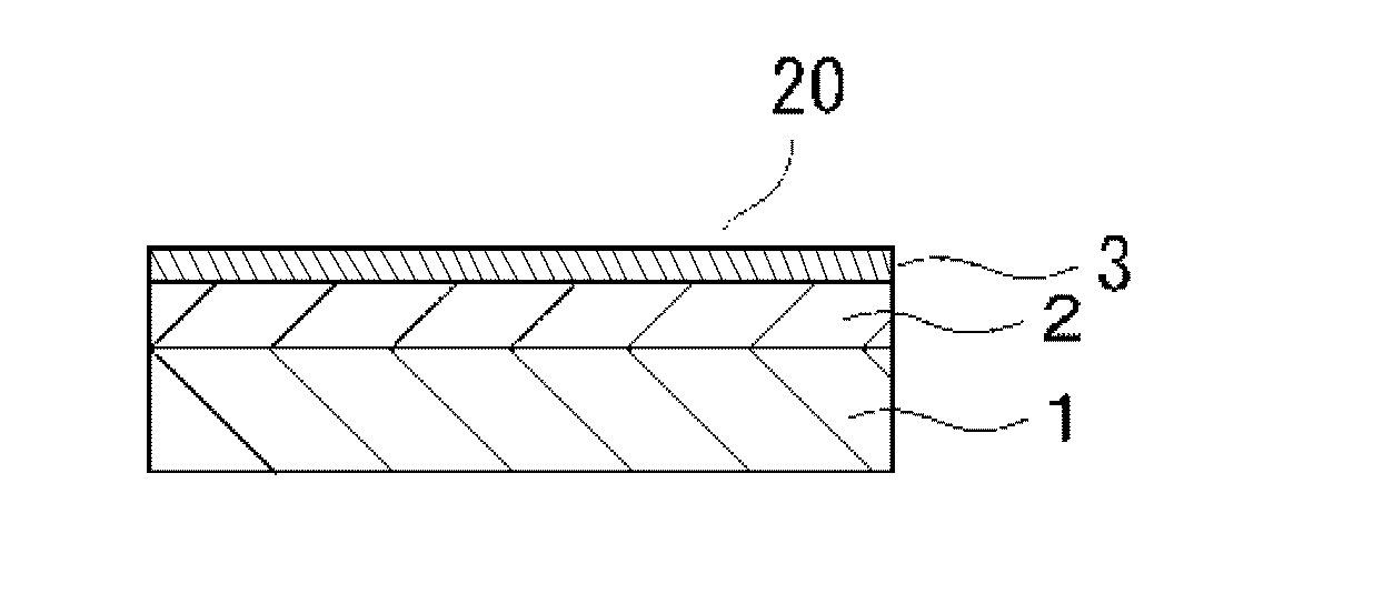
図1は本発明の半導体ウエハ加工用粘着シートの好ましい実施形態を示す概略断面図であり、基材樹脂フィルム1と、基材樹脂フィルム1上に粘着剤層2が形成されている。また図2は半導体ウエハ加工用粘着シートの一つの形態を示す概略断面図である。図2においては、基材樹脂フィルム1と、基材樹脂フィルム1上に粘着剤層2が形成され、さらに接着剤層3が形成されている。
図1は本発明の半導体ウエハ加工用粘着シートの好ましい実施形態を示す概略断面図であり、基材樹脂フィルム1と、基材樹脂フィルム1上に粘着剤層2が形成されている。また図2は半導体ウエハ加工用粘着シートの一つの形態を示す概略断面図である。図2においては、基材樹脂フィルム1と、基材樹脂フィルム1上に粘着剤層2が形成され、さらに接着剤層3が形成されている。
本発明における粘着剤層は、ベース樹脂に特定の配合量の放射線重合性化合物とともに特定の光重合開始剤が特定の配合量で含有された放射線硬化性樹脂組成物で構成されている。本発明の半導体ウエハ加工用粘着シートを用いて、ダイシング加工終了後、後述の放射線透過性の基材樹脂フィルム側から放射線を照射して、粘着剤層の粘着力を低減させる。これにより、問題なく半導体チップのピックアップを可能にする。図2に示すように、粘着剤層上に接着剤層が形成された半導体ウエハ加工用粘着シートでも同様に、後述の放射線透過性の基材樹脂フィルム側から放射線を照射して、粘着剤層の粘着力を低減させる。この場合は接着剤層と粘着剤層との界面で剥離することにより、接着剤層付きの半導体チップを得て、そのままダイパッド上に固定することができる。
図1に示す、本発明の半導体ウエハ加工用粘着シートは、半導体ウエハの裏面研削終了後速やかに該裏面に貼合した場合でも、放射線照射後のピックアップ工程で問題なく剥離することができる。研削終了直後の半導体ウエハ表面は、自然酸化膜が全面的に形成されておらず、未酸化状態の活性な原子が存在する活性面となっている。この場合でも本発明の半導体ウエハ加工用粘着シートは、放射線照射後、問題なく剥離することができ、粘着剤成分に起因する汚染物の付着を著しく少なくすることができる。
また図2に示す、粘着剤層上にさらに接着剤層が設けられた半導体ウエハ加工用粘着シートは、ダイシング工程終了後の放射線照射で発生した熱により、粘着剤層と接着剤層との剥離に問題が生じるということがない。
また図2に示す、粘着剤層上にさらに接着剤層が設けられた半導体ウエハ加工用粘着シートは、ダイシング工程終了後の放射線照射で発生した熱により、粘着剤層と接着剤層との剥離に問題が生じるということがない。
本発明の半導体ウエハ加工用シートでは、粘着剤層は、後述の基材樹脂フィルム上に、放射線硬化性の樹脂組成物を用いた層が形成されている。該放射線硬化性の樹脂組成物のベース樹脂は、主鎖の繰り返し単位に対して放射線硬化性炭素−炭素二重結合含有基を有する(メタ)アクリル系単量体部を有する残基を結合した重合体(a)を主成分とするものである。本発明において、重合体(a)を主成分とするとは、ベース樹脂中の含有割合が50〜100質量%のものをいう。また本発明においては、(メタ)アクリル系単量体は、アクリル系単量体とメタクリル系単量体の両者を含むものとする。
前記重合体(a)はどのようにして製造されたものでもよい。例えば、前記重合体(a)としては、主鎖の繰り返し単位に対して放射線硬化性炭素−炭素二重結合を有し、かつ官能基を有するアクリル系共重合体及び/又はメタクリル系共重合体(a1)と、該官能基と反応し得る官能基をもつ化合物(a2)とを反応させて得たものを挙げることができる。また、官能基を有するアクリル系共重合体及び/又はメタクリル系共重合体を(a1’)とし、放射線硬化性炭素−炭素二重結合を有するとともに(a1’)の官能基と反応し得る官能基を有する化合物を(a2’)とし、これらを反応させて、重合体(a)とすることもできる。
前記の主鎖の繰り返し単位に対して放射線硬化性炭素−炭素二重結合を有し、かつ官能基を有するアクリル系共重合体及び/又はメタクリル系共重合体(a1)は、例えば、放射線硬化性炭素−炭素二重結合を有するアクリル酸アルキルエステル及び/又はメタクリル酸アルキルエステルなどの単量体(a1−1)と、官能基を有する単量体(a1−2)とを共重合させて得ることができる。
前記重合体(a)はどのようにして製造されたものでもよい。例えば、前記重合体(a)としては、主鎖の繰り返し単位に対して放射線硬化性炭素−炭素二重結合を有し、かつ官能基を有するアクリル系共重合体及び/又はメタクリル系共重合体(a1)と、該官能基と反応し得る官能基をもつ化合物(a2)とを反応させて得たものを挙げることができる。また、官能基を有するアクリル系共重合体及び/又はメタクリル系共重合体を(a1’)とし、放射線硬化性炭素−炭素二重結合を有するとともに(a1’)の官能基と反応し得る官能基を有する化合物を(a2’)とし、これらを反応させて、重合体(a)とすることもできる。
前記の主鎖の繰り返し単位に対して放射線硬化性炭素−炭素二重結合を有し、かつ官能基を有するアクリル系共重合体及び/又はメタクリル系共重合体(a1)は、例えば、放射線硬化性炭素−炭素二重結合を有するアクリル酸アルキルエステル及び/又はメタクリル酸アルキルエステルなどの単量体(a1−1)と、官能基を有する単量体(a1−2)とを共重合させて得ることができる。
単量体(a1−1)としては、例えば、アルキルエステルのアルキル基の炭素数が6〜12の(メタ)アクリル酸アルキルエステル(例えば、ヘキシルアクリレート、n−オクチルアクリレート、イソオクチルアクリレート、2−エチルヘキシルアクリレート、ドデシルアクリレート、デシルアクリレート)を挙げることができる。また、アルキルエステルのアルキル基の炭素数が5以下の(メタ)アクリル酸アルキルエステル(例えば、ペンチルアクリレート、n−ブチルアクリレート、イソブチルアクリレート、エチルアクリレート、メチルアクリレート、またはこれらと同様のメタクリレートなど)を挙げることができる。
単量体(a1−1)として、アルキルエステルのアルキル基の炭素数が大きな(メタ)アクリル酸アルキルエステルを使用するほどガラス転移点は低くなる傾向にある。したがって、単量体(a1−1)のアルキルエステルのアルキル基の炭素数を適宜選択することにより、所望のガラス転移点を有する重合体(a)を得ることができる。
また、ガラス転移点の他、他の成分との相溶性や各種性能を上げる目的で酢酸ビニル、スチレン、アクリロニトリルなどの炭素−炭素二重結合をもつ低分子化合物を(a1−1)に加えて重合体(a)を得ることができる。これらの低分子化合物の配合量は、単量体(a1−1)の5質量%以下とすることが好ましい。
また、ガラス転移点の他、他の成分との相溶性や各種性能を上げる目的で酢酸ビニル、スチレン、アクリロニトリルなどの炭素−炭素二重結合をもつ低分子化合物を(a1−1)に加えて重合体(a)を得ることができる。これらの低分子化合物の配合量は、単量体(a1−1)の5質量%以下とすることが好ましい。
単量体(a1−2)が有する官能基としては、カルボキシル基、水酸基、アミノ基、環状酸無水基、エポキシ基、イソシアネート基などを挙げることができる。単量体(a1−−2)の具体例としては、例えば、アクリル酸、メタクリル酸、けい皮酸、イタコン酸、フマル酸、フタル酸、2−ヒドロキシアルキルアクリレート類、2−ヒドロキシアルキルメタクリレート類、グリコールモノアクリレート類、グリコールモノメタクリレート類、N−メチロールアクリルアミド、N−メチロールメタクリルアミド、アリルアルコール、N−アルキルアミノエチルアクリレート類、N−アルキルアミノエチルメタクリレート類、アクリルアミド類、メタクリルアミド類、無水マレイン酸、無水イタコン酸、無水フマル酸、無水フタル酸、グリシジルアクリレート、グリシジルメタクリレート、アリルグリシジルエーテル、ポリイソシアネート化合物のイソシアネート基の一部を水酸基またはカルボキシル基および放射線硬化性炭素−炭素二重結合を有する単量体でウレタン化したものなどを列挙することができる。
前記(a2)の官能基がカルボキシル基や環状酸無水基の場合は、(a1)の有する官能基としては、例えば、水酸基、エポキシ基、イソシアネート基などを挙げることができる。また(a2)の官能基が水酸基の場合は、(a1)の有する官能基としては、例えば、環状酸無水基、イソシアネート基などを挙げることができる。(a2)の官能基がアミノ基の場合は、(a1)の有する官能基としては、エポキシ基、イソシアネート基などを挙げることができる。(a2)の官能基がエポキシ基である場合には、(a1)の有する官能基としては、例えば、カルボキシル基、環状酸無水基、アミノ基などを挙げることができる。
具体例としては、単量体(a1−2)の具体例で列挙したものと同様のものを列挙することができる。
具体例としては、単量体(a1−2)の具体例で列挙したものと同様のものを列挙することができる。
(a1)と(a2)の反応において、未反応の官能基を残すことにより、酸価または水酸基価などを好ましくは、後述の通りの範囲に適宜設定することができる。
主鎖の繰り返し単位に対して放射線硬化性炭素−炭素二重結合含有基を有する(メタ)アクリル系単量体を構成単位として含む重合体(a)は、各種の溶剤中で溶液重合することにより得ることができる。溶液重合で行う場合の有機溶剤としては、ケトン系、エステル系、アルコール系、芳香族系のものを使用することができる。一般にアクリル系重合体の良溶媒で、沸点60〜120℃の溶剤を使用することが好ましい。例えば、トルエン、酢酸エチル、イソプロピルアルコール、ベンゼン、メチルセロソルブ、エチルセロソルブ、アセトン、メチルエチルケトンなどを使用することができる。重合開始剤としては、α,α’−アゾビスイソブチルニトリルなどのアゾビス系、ベンゾイルペルオキシドなどの有機過酸化物系などのラジカル発生剤を用いることができる。この際、必要に応じて触媒、重合禁止剤を併用することができ、重合温度および重合時間を調節することにより、所望の分子量の重合体(a)を得ることができる。また、分子量を調節することに関しては、メルカプタン、四塩化炭素系の溶剤を用いることが好ましい。なお、重合体(a)の合成は、溶液重合に限定されるものではなく、塊状重合、懸濁重合など別の方法でもさしつかえない。
主鎖の繰り返し単位に対して放射線硬化性炭素−炭素二重結合含有基を有する(メタ)アクリル系単量体を構成単位として含む重合体(a)は、各種の溶剤中で溶液重合することにより得ることができる。溶液重合で行う場合の有機溶剤としては、ケトン系、エステル系、アルコール系、芳香族系のものを使用することができる。一般にアクリル系重合体の良溶媒で、沸点60〜120℃の溶剤を使用することが好ましい。例えば、トルエン、酢酸エチル、イソプロピルアルコール、ベンゼン、メチルセロソルブ、エチルセロソルブ、アセトン、メチルエチルケトンなどを使用することができる。重合開始剤としては、α,α’−アゾビスイソブチルニトリルなどのアゾビス系、ベンゾイルペルオキシドなどの有機過酸化物系などのラジカル発生剤を用いることができる。この際、必要に応じて触媒、重合禁止剤を併用することができ、重合温度および重合時間を調節することにより、所望の分子量の重合体(a)を得ることができる。また、分子量を調節することに関しては、メルカプタン、四塩化炭素系の溶剤を用いることが好ましい。なお、重合体(a)の合成は、溶液重合に限定されるものではなく、塊状重合、懸濁重合など別の方法でもさしつかえない。
本発明において、主鎖の繰り返し単位に対して放射線硬化性炭素−炭素二重結合含有基を有する(メタ)アクリル系単量体部を有する残基を結合した重合体(a)の重量平均分子量は、30万〜100万程度が好ましい。30万未満では、放射線照射による凝集力が小さくなって、ウエハをダイシングする時に、素子のずれが生じやすくなり、画像認識が困難となることがある。この素子のずれを、極力防止するためには、分子量が、40万以上である方が好ましい。また、分子量が100万を越えると、合成時および塗工時にゲル化する可能性がある。本発明における重合体(a)の重量平均分子量は、例えば以下の方法で、ポリスチレン換算の重量平均分子量として求めることができる。
(重量平均分子量の測定条件)
GPC装置:HLC−8120GPC(商品名、東ソー社製)
カラム:TSK gel SuperHM−H/H4000/H3000/H2000、(商品名、東ソー社製)
流量:0.6ml/min、
濃度:0.3質量%、
注入量:20μl、
カラム温度:40℃
展開溶媒:クロロホルム
(重量平均分子量の測定条件)
GPC装置:HLC−8120GPC(商品名、東ソー社製)
カラム:TSK gel SuperHM−H/H4000/H3000/H2000、(商品名、東ソー社製)
流量:0.6ml/min、
濃度:0.3質量%、
注入量:20μl、
カラム温度:40℃
展開溶媒:クロロホルム
本発明において、主鎖に対して放射線重合性炭素−炭素二重結合含有基を有するアクリル系単量体を構成単位として含む重合体(a)のヨウ素価が1〜50であることが好ましい。さらに好ましくは2〜30である、1未満だと放射線照射後の架橋度が少なく剥離力が下がりきらないため、チップのピックアップが十分にできない。50を超えると放射線照射後の架橋度が多く硬化収縮が発生し、チップのピックアップ性が低下する。
前記重合体(a)の水酸基価が5〜100の場合は、放射線照射後の粘着力を減少することによりピックアップミスの危険性をさらに低減することができるので好ましい。また、重合体(a)の酸価は0.5〜30となることが好ましい。
ここで水酸基価は及び酸価はJIS K 0070により測定された値をいうものとする。重合体(a)の水酸基価を適切な範囲内とすることにより、放射線照射後の粘着剤層の流動性を適切な範囲内とすることができ、放射線照射後の粘着力を十分に低下させることができる。重合体(a)の酸価を適切な範囲内とすることにより、放射線照射後の粘着剤層の流動性を適切な範囲内とすることができ、テープ復元性を満足させることができる。
ここで水酸基価は及び酸価はJIS K 0070により測定された値をいうものとする。重合体(a)の水酸基価を適切な範囲内とすることにより、放射線照射後の粘着剤層の流動性を適切な範囲内とすることができ、放射線照射後の粘着力を十分に低下させることができる。重合体(a)の酸価を適切な範囲内とすることにより、放射線照射後の粘着剤層の流動性を適切な範囲内とすることができ、テープ復元性を満足させることができる。
本発明の粘着剤層を構成する放射線硬化性樹脂組成物に使用されるベース樹脂には、本発明の趣旨を損なわない範囲内で、従来のものを配合してもよい。例えば、天然ゴム、各種の合成ゴムなどのゴム系ポリマー、あるいはポリ(メタ)アクリル酸アルキルエステル、(メタ)アクリル酸アルキルエステル、(メタ)アクリル酸アルキルエステルとこれと共重合可能な他の不飽和単量体との共重合物などのアクリル系共重合体を使用することができる。
上記の粘着剤層を構成する放射線硬化性樹脂組成物中に、ポリイソシアネート化合物、アルキルエーテル化メラミン化合物、エポキシ系化合物、シランカップリング剤などの従来から使用されている硬化剤を含ませることができる。硬化剤を配合した樹脂組成物とすることにより、初期の粘着力を任意の値に設定することができる。硬化剤の中でもイソシアネート系硬化剤を使用することが好ましい。
イソシアネート系硬化剤としては、具体的には多価イソシアネート化合物、例えば、2,4−トリレンジイソシアネート、2,6−トリレンジイソシアネート、1,3−キシリレンジイソシアネート、1,4−キシレンジイソシアネート、ジフェニルメタン−4,4’−ジイソシアネート、ジフェニルメタン−2,4’−ジイソシアネート、3−メチルジフェニルメタンジイソシアネート、ヘキサメチレンジイソシアネート、イソホロンジイソシアネート、ジシクロヘキシルメタン−4,4’−ジイソシアネート、ジシクロヘキシルメタン−2,4’−ジイソシアネート、リジンイソシアネートなどが用いられる。
イソシアネート系硬化剤としては、具体的には多価イソシアネート化合物、例えば、2,4−トリレンジイソシアネート、2,6−トリレンジイソシアネート、1,3−キシリレンジイソシアネート、1,4−キシレンジイソシアネート、ジフェニルメタン−4,4’−ジイソシアネート、ジフェニルメタン−2,4’−ジイソシアネート、3−メチルジフェニルメタンジイソシアネート、ヘキサメチレンジイソシアネート、イソホロンジイソシアネート、ジシクロヘキシルメタン−4,4’−ジイソシアネート、ジシクロヘキシルメタン−2,4’−ジイソシアネート、リジンイソシアネートなどが用いられる。
光重合開始剤としては、ゲル透過クロマトグラフィ(以下、「GPC」という)法によって、ポリスチレンを標準物質として換算された重量平均分子量が1000未満のものを用いる。その測定条件は以下の通りである。
(重量平均分子量の測定条件)
GPC装置:島津製作所製 LCVPシリーズ
カラム:OligoPore 300×7.5(商品名)(商品名、PolymerLaboratories製)
流量:1ml/min、
濃度:1mg/ml
注入量:50μl、
カラム温度:40℃
展開溶媒:クロロホルム
(重量平均分子量の測定条件)
GPC装置:島津製作所製 LCVPシリーズ
カラム:OligoPore 300×7.5(商品名)(商品名、PolymerLaboratories製)
流量:1ml/min、
濃度:1mg/ml
注入量:50μl、
カラム温度:40℃
展開溶媒:クロロホルム
光重合開始剤は、光や紫外線などの放射線を照射することにより、ラジカルを発生する。これにより、粘着剤層中に含まれる主鎖の繰り返し単位に対して放射線硬化性炭素−炭素二重結合含有基を有する(メタ)アクリル系単量体を構成単位として含む重合体(a)の硬化反応を促す。光重合開始剤のポリスチレン換算でのGPCによる重量平均分子量が大きすぎると粘着剤層中での光重合開始剤の分散に問題が生じ、発生したラジカルの移動が速やかに行われにくくなり、効率のよい硬化反応を進行させることができなくなる。この場合、必要以上に高照度の放射線を照射する必要が生じ、発熱により、粘着剤層と被着体との密着性を効果的に低下させることが困難になる。
その場合の現象について、図面を参照して説明すると、図1に示すように、基材樹脂フィルム1に粘着剤層2が形成された半導体ウエハ加工用粘着シート10の場合には、半導体チップのピックアップに支障が生じる。また図2に示すように、基材樹脂フィルム1に粘着剤層2が設けられ、さらに接着剤層3が形成された半導体ウエハ加工用粘着シート20の場合には、接着剤層3と粘着剤層2との剥離を円滑に行うことが困難となる。
光重合開始剤のポリスチレン換算でのGPCによる重量平均分子量の上限は好ましくは800、さらに好ましくは600である。
その場合の現象について、図面を参照して説明すると、図1に示すように、基材樹脂フィルム1に粘着剤層2が形成された半導体ウエハ加工用粘着シート10の場合には、半導体チップのピックアップに支障が生じる。また図2に示すように、基材樹脂フィルム1に粘着剤層2が設けられ、さらに接着剤層3が形成された半導体ウエハ加工用粘着シート20の場合には、接着剤層3と粘着剤層2との剥離を円滑に行うことが困難となる。
光重合開始剤のポリスチレン換算でのGPCによる重量平均分子量の上限は好ましくは800、さらに好ましくは600である。
光重合開始剤のポリスチレン換算でのGPCによる重量平均分子量の下限については特に制限はないが、200以上であることが好ましい。分子量が小さいと、昇華しやすくなり、粘着剤層から非着体層への移行が顕著になることでウエハを汚染しやすくなる。また粘着剤層の耐熱性が悪くなり、製造時の基材塗工後の乾燥工程において分解しやすくなる。そのため安定した硬化反応を示さなくなることがある。
光重合開始剤としては、例えば、ベンゾフェノン、4,4−ビス(ジエチルアミノ)ベンゾフェノン、2,4,6−トリメチルベンゾフェン、4−フェニルベンゾフェノン、t−ブチルアントラキノン、2−エチルアントラキノン、ジエトキシアセトフェノン、2−ヒドロキシ−2−メチル−1−フェニルプロパン−1−オン、2,2−ジメトキシ−1,2−ジフェニルエタン−1−オン、1−ヒドロキシシクロヘキシル−フェニルケトン、ベンゾインメチルエーテル、ベンゾインエチルエーテル、ベンゾインイソプロピルエーテル、ベンゾインイソブチルエーテル、2−メチル−1−[4−(メチルチオ)フェニル]−2−モルフォリノプロパン−1−オン、2−ベンジル−2−ジメチルアミノ−1−(4−モルホリノフェニル)−ブタノン−1、ジエチルチオキサントン、イソプロピルチオキサントン、2,4,6−トリメチルベンゾイルジフェニルホスフィンオキサイド、ビス(2,4,6−トリメチルベンゾイル)−フェニルホスフィンオキサイド、2−ヒドロキシ−1−{4−[4−(2−ヒドロキシ−2−メチルプロピオニル)ベンジル]フェニル}−2−メチルプロパン−1−オン、2−(ジメチルアミノ)−2−[(4−メチルフェニル)メチル]−1−[4−(4−モルホリニル)フェニル]−1−ブタノン、オリゴ{2−ヒドロキシ−2−メチル−1−〔4−(1−メチルビニル)フェニル〕プロパノン}(繰り返し数n=2〜3)、
下記一般式(1)で表されるオリゴマーを挙げることができ、本発明では、光重合開始剤としてオリゴ{2−ヒドロキシ−2−メチル−1−〔4−(1−メチルビニル)フェニル〕プロパノン}(繰り返し数n=2〜3)を用いる。
一般式(1)
(Rはアルキル基を表す。nは2〜4の整数である。)
下記一般式(1)で表されるオリゴマーを挙げることができ、本発明では、光重合開始剤としてオリゴ{2−ヒドロキシ−2−メチル−1−〔4−(1−メチルビニル)フェニル〕プロパノン}(繰り返し数n=2〜3)を用いる。
(Rはアルキル基を表す。nは2〜4の整数である。)
前記一般式(1)のオリゴマーは、重合度n=2〜4(分子量400〜700)のものであり、重合度n=2〜3の(分子量400〜500)ものが好ましい。
光重合開始剤は、主鎖の繰り返し単位に対して放射線硬化性炭素−炭素二重結合含有基を有する(メタ)アクリル系単量体部を有する残基を結合した重合体(a)を主成分とするベース樹脂100質量部に対し、0.1〜10質量部配合する。好ましくはベース樹脂100質量部に対して、1〜10質量部配合するのが好ましく、さらに好ましくは、2〜7質量部である。光重合開始剤が少なすぎると粘着剤層の放射線の照射による三次元網状化が不十分となり、うまく接着剤層と剥離できなかったり、半導体チップを汚染する原因となる。また、光重合開始剤が多すぎると、それに見合った効果が得られないばかりか、ウエハにこの光重合開始剤が残留するおそれがある。
必要により、上記の光重合開始剤を併用してもよい。併用される光重合開始剤のGPCによる重量平均分子量が1000未満であればよい。またトリエチルアミン、テトラエチルペンタアミン、ジメチルアミノエタノ―ルなどのアミン化合物やチオキサントン系の光重合開始剤を光重合促進剤として併用することもできる。
必要により、上記の光重合開始剤を併用してもよい。併用される光重合開始剤のGPCによる重量平均分子量が1000未満であればよい。またトリエチルアミン、テトラエチルペンタアミン、ジメチルアミノエタノ―ルなどのアミン化合物やチオキサントン系の光重合開始剤を光重合促進剤として併用することもできる。
放射線硬化性樹脂組成物には、必要に応じ、半導体ウエハに対する粘着力を調整するため、粘着付与剤、粘着調整剤、界面活性剤、その他の改質剤や慣用成分を含ませることもできる。ただし、界面活性剤や界面活性を示す化合物などは、半導体ウエハを汚染することもあるので、使用する場合はなるべく少ない方が好ましい。
本発明においては、基材樹脂フィルム上に、上記の重合体(a)を主成分とするベース樹脂、特定の光重合開始剤、必要により架橋剤およびその他の配合剤成分を含有する放射線重合性樹脂組成物を、直接塗布し加熱乾燥するか、又は剥離紙上に一旦塗布し乾燥させた後に基材樹脂フィルム上に転写することにより、粘着剤層が放射線重合性樹脂組成物を用いた層で構成された半導体ウエハ加工用粘着シートを製造することができる。
粘着剤層の厚さに特に制限はない。通常、粘着剤層の厚さが通常5〜100μmとするように、粘着剤層を形成して、シート状、テープ状などの半導体ウエハ加工用粘着シートとする。
放射線としては、アルファ線、ガンマ線、電子線、紫外線等が使用でき、粘着剤層を硬化させることにより、粘着力を低下させることができるものであれば特に限定するものではない。電子線、紫外線が好ましく、光重合開始剤を使用したときは紫外線がさらに好ましい。
粘着剤層の厚さに特に制限はない。通常、粘着剤層の厚さが通常5〜100μmとするように、粘着剤層を形成して、シート状、テープ状などの半導体ウエハ加工用粘着シートとする。
放射線としては、アルファ線、ガンマ線、電子線、紫外線等が使用でき、粘着剤層を硬化させることにより、粘着力を低下させることができるものであれば特に限定するものではない。電子線、紫外線が好ましく、光重合開始剤を使用したときは紫外線がさらに好ましい。
半導体ウエハ加工用粘着シートとして、図2に示すように、基材樹脂フィルム1に粘着剤層2を設け、さらにその上に接着剤層3を形成してもよい。基材樹脂フィルム上に粘着剤層、次いで接着剤層を形成する方法は特に限定されず、従来の方法に従って、基材樹脂フィルム上に粘着剤層を積層し、さらに粘着剤層上に接着剤層を積層すればよい。
この場合は、半導体ウエハ加工用粘着シートを研削後の半導体ウエハ裏面に貼合し、その後半導体ウエハの回路形成面側から、粘着剤と接着剤が同時にダイシング加工で切り込まれる。そして接着剤層付きの半導体チップを得ることができる。接着剤層3に使用される接着剤としては、従来のものを使用することができる。
この場合は、半導体ウエハ加工用粘着シートを研削後の半導体ウエハ裏面に貼合し、その後半導体ウエハの回路形成面側から、粘着剤と接着剤が同時にダイシング加工で切り込まれる。そして接着剤層付きの半導体チップを得ることができる。接着剤層3に使用される接着剤としては、従来のものを使用することができる。
接着剤層としては、接着剤を予めフィルム化したものを使用することができる。例えば、接着剤に使用される従来のポリイミド樹脂、ポリアミド樹脂、ポリエーテルイミド樹脂、ポリアミドイミド樹脂、ポリエステル樹脂、ポリエステルイミド樹脂、フェノキシ樹脂、ポリスルホン樹脂、ポリエーテルスルホン樹脂、ポリフェニレンサルファイド樹脂、ポリエーテルケトン樹脂、塩素化ポリプロピレン樹脂、アクリル樹脂、ポリウレタン樹脂、エポキシ樹脂、ポリアクリルアミド樹脂、メラミン樹脂などやこれらの混合物を使用することができる。
この中でも、硬化後の耐熱性が良い点で特にエポキシ樹脂を用いることが好ましい。エポキシ樹脂は硬化して接着作用を呈するものであればよい。ガラス転移温度(Tg)を高くして接着剤層の耐熱性を確保するために、多官能エポキシ樹脂を加えてもよい。多官能エポキシ樹脂としてはフェノールノボラック型エポキシ樹脂、クレゾールノボラック型エポキシ樹脂などを例示することができる。エポキシ樹脂の硬化剤は、通常、硬化剤として用いられているものであれば特に限定するものではなく、アミン系化合物、ポリアミド、酸無水物、ポリスルフィド、三弗化硼素、フェノール性水酸基を1分子中に2個以上有する化合物であるビスフェノールA、ビスフェノールF、及びビスフェノールSなどが挙げられる。
特に吸湿時の耐電食性に優れるためフェノール樹脂であるフェノールノボラック樹脂やビスフェノールノボラック樹脂等を用いるのが好ましい。また、硬化剤とともに硬化促進剤を用いることが、硬化のための熱処理の時間を短縮できる点で好ましい。この硬化促進剤としてのイミダゾール化合物の例としては、例えば、2−メチルイミダゾール、2−エチル−4−メチルイミダゾール、1−シアノエチル−2−フェニルイミダゾール、1−シアノエチル−2−フェニルイミダゾリウムトリメリテートといった各種イミダゾール類等の塩基が挙げられる。
この中でも、硬化後の耐熱性が良い点で特にエポキシ樹脂を用いることが好ましい。エポキシ樹脂は硬化して接着作用を呈するものであればよい。ガラス転移温度(Tg)を高くして接着剤層の耐熱性を確保するために、多官能エポキシ樹脂を加えてもよい。多官能エポキシ樹脂としてはフェノールノボラック型エポキシ樹脂、クレゾールノボラック型エポキシ樹脂などを例示することができる。エポキシ樹脂の硬化剤は、通常、硬化剤として用いられているものであれば特に限定するものではなく、アミン系化合物、ポリアミド、酸無水物、ポリスルフィド、三弗化硼素、フェノール性水酸基を1分子中に2個以上有する化合物であるビスフェノールA、ビスフェノールF、及びビスフェノールSなどが挙げられる。
特に吸湿時の耐電食性に優れるためフェノール樹脂であるフェノールノボラック樹脂やビスフェノールノボラック樹脂等を用いるのが好ましい。また、硬化剤とともに硬化促進剤を用いることが、硬化のための熱処理の時間を短縮できる点で好ましい。この硬化促進剤としてのイミダゾール化合物の例としては、例えば、2−メチルイミダゾール、2−エチル−4−メチルイミダゾール、1−シアノエチル−2−フェニルイミダゾール、1−シアノエチル−2−フェニルイミダゾリウムトリメリテートといった各種イミダゾール類等の塩基が挙げられる。
また、半導体チップやリードフレームに対する接着力を強化するために、シランカップリング剤やチタンカップリング剤を添加剤として前記樹脂やその混合物に加えることが望ましい。また、耐熱性の向上や流動性の調節を目的にフィラーを添加してもよい。このようなフィラーとしては、例えば、シリカ、アルミナ、及びアンチモンの酸化物などを使用することができる。これらのフィラーは、最大粒子径が接着剤層の厚さよりも小さいものであれば任意の割合で配合して使用することができる。
接着剤層の厚さは特に制限されるものではないが、通常、5〜100μm程度が好ましい。また、接着剤層は粘着フィルムの粘着剤層の全面に積層してもよい。また予め貼り合わされる半導体ウエハに応じた形状に切断された(プリカットされた)接着剤層を粘着剤層の一部に積層してもよい。この場合、半導体ウエハが貼り合わされる部分には接着剤層があり、ダイシング用のリングフレームが貼り合わされる部分には接着剤層がなく粘着フィルムの粘着剤層のみが存在する形状となる。この形状とすることで、リングフレームには粘着剤層が貼合され、通常、被着体と剥離しにくい接着剤層は貼合されないので、本発明の半導体ウエハ加工用粘着シートは、使用後、リングフレームから容易に剥離することができる。
本発明の半導体ウエハ加工用粘着シートは、剥離時に基材樹脂フィルム側から放射線を照射し、粘着剤層を硬化させるため、基材樹脂フィルムが放射線透過性であることが必要である。またウエハ加工時には切削刃などにより衝撃を受け、洗浄水などによる圧力受ける。このため、基材樹脂フィルムはこれらに耐え得る強度を有し、これらに適する材料と厚さが選択される。基材樹脂フィルムの粘着剤層形成面には、粘着剤層が基材樹脂フィルムから剥離しにくくするため、コロナ処理をはじめとする各種の表面処理を施しておくのが好ましい。
基材樹脂フィルムに使用される材料として、ポリエチレン、ポリプロピレン、エチレン−プロピレン共重合体、ポリ塩化ビニル、ポリエチレンテレフタレ―ト、ポリブチレンテレフタレ―ト、エチレン−酢酸ビニル共重合体、ポリブテン−1、ポリ−4−メチルペンテン−1、エチレン−アクリル酸エチル共重合体、エチレン−アクリル酸メチル共重合体、エチレン−アクリル酸共重合体、ポリウレタン、ポリメチルペンテン、ポリブタジエンなどのフィルムを挙げることができる。
基材樹脂フィルムの厚さは、30〜500μm、好ましくは40〜300μm、さらに好ましくは50〜200μmである。この厚さが薄すぎると強度が弱くなるため、半導体ウエハ加工中の破断等による不具合が生じることがある。
一方、基材樹脂フィルムが厚すぎると、ダイシング工程終了後の半導体チップのピックアップ工程において、半導体ウエハ加工用粘着シートが硬すぎて、ニードルによる突き上げに支障を生じる。また、ダイシング工程が終了し、ピックアップ工程前のエキスパンド工程において、半導体ウエハ加工用粘着シートを十分延伸することが困難になる。そのため、半導体チップの間隙が小さく、画像によるチップ認識性が不十分となり、半導体チップのピックアップ不良が生じる。
基材樹脂フィルムの厚さは、30〜500μm、好ましくは40〜300μm、さらに好ましくは50〜200μmである。この厚さが薄すぎると強度が弱くなるため、半導体ウエハ加工中の破断等による不具合が生じることがある。
一方、基材樹脂フィルムが厚すぎると、ダイシング工程終了後の半導体チップのピックアップ工程において、半導体ウエハ加工用粘着シートが硬すぎて、ニードルによる突き上げに支障を生じる。また、ダイシング工程が終了し、ピックアップ工程前のエキスパンド工程において、半導体ウエハ加工用粘着シートを十分延伸することが困難になる。そのため、半導体チップの間隙が小さく、画像によるチップ認識性が不十分となり、半導体チップのピックアップ不良が生じる。
以下、本発明を実施例に基づきさらに詳細に説明するが、本発明はこれら実施例に限定されるものではない。
1.放射線硬化性樹脂組成物の調製
(1)主鎖の繰り返し単位に対して放射線硬化性炭素−炭素二重結合含有基を有する(メタ)アクリル系単量体部を有する残基を結合した重合体の調製
ブチルアクリレート(59mol%)、2−ヒドロキシエチルアクリレート(25mol%)及びアクリル酸(16mol%)を用いてアクリル系共重合体を製造した。このアクリル系共重合体の2−ヒドロキシエチルアクリレート側鎖末端OH基と、2−メタクリロイルオキシエチルイソシアネートのNCO基を反応させて、主鎖の繰り返し単位に対して放射線硬化性炭素−炭素二重結合含有基を有する(メタ)アクリル系単量体部を有する残基を結合した重合体を得た。このとき、2−イソシアネートエチルメタクリレートの滴下量を適宜変更して、二重結合量の異なる重合体((a1)〜(a4))を得た。得られた重合体((a1)〜(a4))は、いずれも、重量平均分子量が70万、ガラス転移温度が−60℃であった。表1〜4において、参考例1〜7、11、実施例1〜2、及び比較例1〜4、7で使用した重合体(a1)のヨウ素価は20であった。また参考例8で使用した重合体(a2)のヨウ素価は50、参考例9で使用した重合体(a3)のヨウ素価は0.5、参考例10で使用した重合体(a4)のヨウ素価は55であった。
以下の説明において、重合体((a1)〜(a4))を重合体(a)として説明する。
(i)重量平均分子量
重合体(a)について、下記条件のGPCで重量平均分子量を測定した。
GPC装置:HLC−8120GPC(商品名、東ソー社製)
カラム:TSK gel SuperHM−H/H4000/H3000/H2000、(商品名、東ソー社製)
流量:0.6ml/min、
濃度:0.3質量%、
注入量:20μl、
カラム温度:40℃
展開溶媒:クロロホルム
(ii)ガラス転移温度
示差走査熱量分析計(DSC)(DSC7020(商品名)、セイコーインスツルメンツ(株)社製)の示差走査熱量分析計(DSC)を用いて、昇温速度5℃/分で測定した。
(iii)二重結合量
JIS K 0070により、ヨウ素価を求めた。
1.放射線硬化性樹脂組成物の調製
(1)主鎖の繰り返し単位に対して放射線硬化性炭素−炭素二重結合含有基を有する(メタ)アクリル系単量体部を有する残基を結合した重合体の調製
ブチルアクリレート(59mol%)、2−ヒドロキシエチルアクリレート(25mol%)及びアクリル酸(16mol%)を用いてアクリル系共重合体を製造した。このアクリル系共重合体の2−ヒドロキシエチルアクリレート側鎖末端OH基と、2−メタクリロイルオキシエチルイソシアネートのNCO基を反応させて、主鎖の繰り返し単位に対して放射線硬化性炭素−炭素二重結合含有基を有する(メタ)アクリル系単量体部を有する残基を結合した重合体を得た。このとき、2−イソシアネートエチルメタクリレートの滴下量を適宜変更して、二重結合量の異なる重合体((a1)〜(a4))を得た。得られた重合体((a1)〜(a4))は、いずれも、重量平均分子量が70万、ガラス転移温度が−60℃であった。表1〜4において、参考例1〜7、11、実施例1〜2、及び比較例1〜4、7で使用した重合体(a1)のヨウ素価は20であった。また参考例8で使用した重合体(a2)のヨウ素価は50、参考例9で使用した重合体(a3)のヨウ素価は0.5、参考例10で使用した重合体(a4)のヨウ素価は55であった。
以下の説明において、重合体((a1)〜(a4))を重合体(a)として説明する。
(i)重量平均分子量
重合体(a)について、下記条件のGPCで重量平均分子量を測定した。
GPC装置:HLC−8120GPC(商品名、東ソー社製)
カラム:TSK gel SuperHM−H/H4000/H3000/H2000、(商品名、東ソー社製)
流量:0.6ml/min、
濃度:0.3質量%、
注入量:20μl、
カラム温度:40℃
展開溶媒:クロロホルム
(ii)ガラス転移温度
示差走査熱量分析計(DSC)(DSC7020(商品名)、セイコーインスツルメンツ(株)社製)の示差走査熱量分析計(DSC)を用いて、昇温速度5℃/分で測定した。
(iii)二重結合量
JIS K 0070により、ヨウ素価を求めた。
(2)放射線硬化性樹脂組成物の調製
(1)で得られた重合体(a)100質量部に、表1〜表4記載の部数で、光開始剤を配合し、さらに硬化剤としてポリイソシアネート化合物(日本ポリウレタン社製、商品名コロネートL)3質量部を配合して、表1〜表3の実施例、参考例及び比較例記載の放射線硬化性樹脂組成物を調製した。比較例1で使用した光開始剤の、ポリエチレングリコールユニット含有高分子アゾ重合開始剤としては、VPE−0201(商品名、和光純薬工業社製)を用いた。
光開始剤の重量平均分子量は、GPC法により測定を行い、ポリスチレンを標準物質として、重量平均分子量を算出した。その結果を表1〜3に併せて示した。ゲル透過クロマトグラフィとしては、PolymerLaboratories製のOligoPore 300×7.5(商品名)を使用した。展開溶媒はクロロホルムを用い、40℃で測定を行った。
(1)で得られた重合体(a)100質量部に、表1〜表4記載の部数で、光開始剤を配合し、さらに硬化剤としてポリイソシアネート化合物(日本ポリウレタン社製、商品名コロネートL)3質量部を配合して、表1〜表3の実施例、参考例及び比較例記載の放射線硬化性樹脂組成物を調製した。比較例1で使用した光開始剤の、ポリエチレングリコールユニット含有高分子アゾ重合開始剤としては、VPE−0201(商品名、和光純薬工業社製)を用いた。
光開始剤の重量平均分子量は、GPC法により測定を行い、ポリスチレンを標準物質として、重量平均分子量を算出した。その結果を表1〜3に併せて示した。ゲル透過クロマトグラフィとしては、PolymerLaboratories製のOligoPore 300×7.5(商品名)を使用した。展開溶媒はクロロホルムを用い、40℃で測定を行った。
2.半導体ウエハ加工用粘着シートの作製(I)
EMMA樹脂(住友化学社製商品名、商品名:アクリフトWD201)を用いて、Tダイ法により、厚さ100μmの基材樹脂フィルムを作製した。この基材樹脂フィルムに、実施例1〜2、参考例1〜10、比較例1〜4に示された放射線硬化性樹脂組成物を塗工して適宜養生した。これにより、乾燥後の膜厚が10μmの粘着剤層を有する、図1に示す構成の半導体ウエハ加工用粘着シートを得た。
EMMA樹脂(住友化学社製商品名、商品名:アクリフトWD201)を用いて、Tダイ法により、厚さ100μmの基材樹脂フィルムを作製した。この基材樹脂フィルムに、実施例1〜2、参考例1〜10、比較例1〜4に示された放射線硬化性樹脂組成物を塗工して適宜養生した。これにより、乾燥後の膜厚が10μmの粘着剤層を有する、図1に示す構成の半導体ウエハ加工用粘着シートを得た。
3.半導体ウエハ加工用粘着シートの作製(II)
(a)接着層を構成する接着剤組成物の調整
エポキシ樹脂としてクレゾールノボラック型エポキシ樹脂50質量部、フェノール樹脂50重量部に対し、シランカップリング剤としてγ−メルカプトプロピルトリメトキシシラン3質量部及びγ−ウレイドプロピルトリエトキシシラン5質量部、並びにフィラーとして球状シリカ30重量部からなる組成物に、シクロヘキサノンを加えて攪拌混合し、更にビーズミルを用いて90分混練した。
上記の組成物にアクリルゴム(重量平均分子量15万)を300量部、及び硬化促進剤として1−シアノエチル−2−フェニルイミダゾール1質量部を加え、攪拌混合し、真空脱気し、接着剤組成物を得た。
(a)接着層を構成する接着剤組成物の調整
エポキシ樹脂としてクレゾールノボラック型エポキシ樹脂50質量部、フェノール樹脂50重量部に対し、シランカップリング剤としてγ−メルカプトプロピルトリメトキシシラン3質量部及びγ−ウレイドプロピルトリエトキシシラン5質量部、並びにフィラーとして球状シリカ30重量部からなる組成物に、シクロヘキサノンを加えて攪拌混合し、更にビーズミルを用いて90分混練した。
上記の組成物にアクリルゴム(重量平均分子量15万)を300量部、及び硬化促進剤として1−シアノエチル−2−フェニルイミダゾール1質量部を加え、攪拌混合し、真空脱気し、接着剤組成物を得た。
(b)半導体ウエハ加工用粘着シートの作製
(a)で得られた接着剤組成物を厚さ35μmの離型処理したポリエチレンテレフタレートフィルム(離型フィルム)上に塗布し、140℃で5分間加熱乾燥して、膜厚が20μmのBステージ状態の離型フィルム上に接着剤層が形成された接着剤シートを得た。
次に、前記2.半導体ウエハ加工用粘着シートの作製(I)に記載された方法と同様の方法で、基材樹脂フィルム上に、表4の参考例11及び比較例7記載の放射線重合性樹脂組成物を用いて粘着剤層が形成された図1に示す構造の半導体ウエハ加工用粘着シートを得た。この粘着剤層と、上記の方法で作製した接着剤シートの接着剤層を突き合わせて積層し、図2に示す構成の半導体ウエハ加工用粘着シートに離型フィルムが積層された粘着シート(参考例11及び比較例7)を得た。以下の試験では、離型フィルムを剥して半導体ウエハに貼合し、評価を行った。
(a)で得られた接着剤組成物を厚さ35μmの離型処理したポリエチレンテレフタレートフィルム(離型フィルム)上に塗布し、140℃で5分間加熱乾燥して、膜厚が20μmのBステージ状態の離型フィルム上に接着剤層が形成された接着剤シートを得た。
次に、前記2.半導体ウエハ加工用粘着シートの作製(I)に記載された方法と同様の方法で、基材樹脂フィルム上に、表4の参考例11及び比較例7記載の放射線重合性樹脂組成物を用いて粘着剤層が形成された図1に示す構造の半導体ウエハ加工用粘着シートを得た。この粘着剤層と、上記の方法で作製した接着剤シートの接着剤層を突き合わせて積層し、図2に示す構成の半導体ウエハ加工用粘着シートに離型フィルムが積層された粘着シート(参考例11及び比較例7)を得た。以下の試験では、離型フィルムを剥して半導体ウエハに貼合し、評価を行った。
4.性能試験
以下の条件でダイシングを行い、その後、ピックアップ性とチップ汚染性の評価を行った。
(ダイシング条件)
(1)図1の構成の半導体ウエハ加工用粘着シート
実施例1〜2、参考例1〜10と比較例1〜4に関しては、DISCO社製の「DFD−840」を用いて、シリコンウエハの裏面を2軸で30μm研削後、シリコンウエハの最終厚みが100μmとなるように研削した。そのときの研削条件は以下の通りとした。
1軸:350砥石(回転数:4800rpm、ダウンスピード:P1:3.0μm/sec、P2:2.0μm/sec)
2軸:♯2000砥石(回転数:5500rpm、ダウンスピード:P1:0.8μm/sec、P2:0.6μm/sec)
以下の条件でダイシングを行い、その後、ピックアップ性とチップ汚染性の評価を行った。
(ダイシング条件)
(1)図1の構成の半導体ウエハ加工用粘着シート
実施例1〜2、参考例1〜10と比較例1〜4に関しては、DISCO社製の「DFD−840」を用いて、シリコンウエハの裏面を2軸で30μm研削後、シリコンウエハの最終厚みが100μmとなるように研削した。そのときの研削条件は以下の通りとした。
1軸:350砥石(回転数:4800rpm、ダウンスピード:P1:3.0μm/sec、P2:2.0μm/sec)
2軸:♯2000砥石(回転数:5500rpm、ダウンスピード:P1:0.8μm/sec、P2:0.6μm/sec)
裏面研削後5分以内に、図1の構成の半導体ウエハ加工用粘着シートを8インチ用リングフレームに貼着固定し、その貼着固定された状態で半導体ウエハ加工用粘着シートに100μm厚の8インチシリコンウエハを貼合し、DISCO社製ダイシング装置DAD340(商品名)を用いて、5mm×5mmのチップサイズにフルカットダイシングした。この際の半導体ウエハ加工用粘着シート面からのブレードの切削深さは、図1に示す構成の粘着シートの場合は30μmとした。
(2)図2の構成の半導体ウエハ加工用粘着シート
参考例11と比較例7に関しては、100μm厚の8インチシリコンウエハに、図2の構成の半導体ウエハ加工用粘着シートを70℃、20秒で貼合した後、Disco社製 DFD6340を用いて以下の条件でダイシングした。
ダイシングブレード(薄型回転砥石):1回目 Disco社製27HEEE、2回目 Disco社製27HEDD
ブレード回転数:35000rpm
ブレード送り速度:50mm/s
チップサイズ:5mm×5mm
切削深さ:
1回目 シリコンウエハへ50μm
2回目 半導体ウエハ加工用粘着シートへ40μm(基材樹脂フィルムの厚さ100μm、粘着剤層の厚さ10μm、接着剤層の厚さ20μm)
参考例11と比較例7に関しては、100μm厚の8インチシリコンウエハに、図2の構成の半導体ウエハ加工用粘着シートを70℃、20秒で貼合した後、Disco社製 DFD6340を用いて以下の条件でダイシングした。
ダイシングブレード(薄型回転砥石):1回目 Disco社製27HEEE、2回目 Disco社製27HEDD
ブレード回転数:35000rpm
ブレード送り速度:50mm/s
チップサイズ:5mm×5mm
切削深さ:
1回目 シリコンウエハへ50μm
2回目 半導体ウエハ加工用粘着シートへ40μm(基材樹脂フィルムの厚さ100μm、粘着剤層の厚さ10μm、接着剤層の厚さ20μm)
4−1.ピックアップ試験
実施例1〜2、参考例1〜10及び比較例1〜4の半導体ウエハ加工用粘着シートについて、上記の4.(1)に示した条件でダイシングを行った後、高圧水銀灯ランプの紫外線照射機を用いて、半導体ウエハ加工用粘着シートの基材樹脂フィルム面側から照射量が200mJ/cm2となるように紫外線照射を行い、その後、CANONマシナリー製CPS−6820(商品名)を用いてエキスパンドストローク5mmにてエキスパンドし、その状態でピックアップを行った。ピックアップは先端径でR250の突き上げピンを用いて行った。評価項目は以下の項目について実施した。
実施例1〜2、参考例1〜10及び比較例1〜4の半導体ウエハ加工用粘着シートについて、上記の4.(1)に示した条件でダイシングを行った後、高圧水銀灯ランプの紫外線照射機を用いて、半導体ウエハ加工用粘着シートの基材樹脂フィルム面側から照射量が200mJ/cm2となるように紫外線照射を行い、その後、CANONマシナリー製CPS−6820(商品名)を用いてエキスパンドストローク5mmにてエキスパンドし、その状態でピックアップを行った。ピックアップは先端径でR250の突き上げピンを用いて行った。評価項目は以下の項目について実施した。
(1)ピックアップ性
チップを実際にピックアップし、a.チップが問題なく突き上げ、b.円形コレットで吸着、及びc.リードフレーム上に設置のいずれも問題なくできるか評価した。評価は、8インチウエハの中から200チップをピックアップし、そのうちどれ位のチップ数がピックアップできたかにより評価した。200チップ中180チップ以上ピックアップできたものを合格とし、表1〜4にピックアップ成功チップ数を示した。
チップを実際にピックアップし、a.チップが問題なく突き上げ、b.円形コレットで吸着、及びc.リードフレーム上に設置のいずれも問題なくできるか評価した。評価は、8インチウエハの中から200チップをピックアップし、そのうちどれ位のチップ数がピックアップできたかにより評価した。200チップ中180チップ以上ピックアップできたものを合格とし、表1〜4にピックアップ成功チップ数を示した。
(2)チップ汚染性
チップ汚染性は図1の構成の半導体ウエハ加工用粘着シート(実施例1〜2、参考例1〜10、比較例1〜4)については、以下の方法で評価した。
(2)−1 目視試験
上記チッピング性を評価した際、チップを剥がして、目視で確認した。ウエハ裏面に粘着剤の貼着もしくは汚染物の付着による虹色の光沢がない場合を合格とし、表1〜3に合格の場合は○、若干光沢が発生するが実用上問題ないレベルを△、粘着剤が貼着する場合を不合格とし、×で表示した。
(2)−2 異物試験
表面を洗浄した鏡面仕上げのシリコンウエハ(6インチ)に、半導体ウエハ加工用粘着シートを貼合し、24時間放置後、該シートを剥離した。該シートが貼合されていたウエハ表面に残留している異物の数をレーザー表面検査装置(サーフスキャン6420(商品名、KLA・Tencor(株)製)によって測定した。得られた結果を、次に示す評価基準で判定した。このうち、◎及び○を合格とし、△を実用上問題ないレベルであるとし、×を不合格とした。この結果を表1〜3に表示した。
◎:20個未満、○:20個以上90個未満、△:90個以上200個未満、×:200個以上
チップ汚染性は図1の構成の半導体ウエハ加工用粘着シート(実施例1〜2、参考例1〜10、比較例1〜4)については、以下の方法で評価した。
(2)−1 目視試験
上記チッピング性を評価した際、チップを剥がして、目視で確認した。ウエハ裏面に粘着剤の貼着もしくは汚染物の付着による虹色の光沢がない場合を合格とし、表1〜3に合格の場合は○、若干光沢が発生するが実用上問題ないレベルを△、粘着剤が貼着する場合を不合格とし、×で表示した。
(2)−2 異物試験
表面を洗浄した鏡面仕上げのシリコンウエハ(6インチ)に、半導体ウエハ加工用粘着シートを貼合し、24時間放置後、該シートを剥離した。該シートが貼合されていたウエハ表面に残留している異物の数をレーザー表面検査装置(サーフスキャン6420(商品名、KLA・Tencor(株)製)によって測定した。得られた結果を、次に示す評価基準で判定した。このうち、◎及び○を合格とし、△を実用上問題ないレベルであるとし、×を不合格とした。この結果を表1〜3に表示した。
◎:20個未満、○:20個以上90個未満、△:90個以上200個未満、×:200個以上
(3)粘着剤層と接着剤層との剥離性
参考例11と比較例7に関しては、80℃に加熱されたホットプレート上に直径5インチのシリコンウエハを載せ、該シリコンウエハの表面温度が80℃になったのを確認した後に、およそ10秒間で半導体ウエハ加工用粘着シートを貼合した。その後、ホットプレートを取り去り、半導体ウエハ加工用粘着シートが貼合されたシリコンウエハの表面温度を室温まで下げた。
その後、高圧水銀灯ランプの紫外線照射機を用いて、半導体ウエハ加工用粘着シートの基材樹脂フィルム面側から照射量が200mJ/cm2となるように紫外線照射を行った。その後JIS−0237に準拠し、紫外線照射後の半導体ウエハ加工用粘着シートのシリコンウエハに対する剥離力を測定した。測定条件は、90°剥離で、剥離速度50mm/分)とした。その剥離力が0.5N/25mm以下の場合を合格とし、○とした。
参考例11と比較例7に関しては、80℃に加熱されたホットプレート上に直径5インチのシリコンウエハを載せ、該シリコンウエハの表面温度が80℃になったのを確認した後に、およそ10秒間で半導体ウエハ加工用粘着シートを貼合した。その後、ホットプレートを取り去り、半導体ウエハ加工用粘着シートが貼合されたシリコンウエハの表面温度を室温まで下げた。
その後、高圧水銀灯ランプの紫外線照射機を用いて、半導体ウエハ加工用粘着シートの基材樹脂フィルム面側から照射量が200mJ/cm2となるように紫外線照射を行った。その後JIS−0237に準拠し、紫外線照射後の半導体ウエハ加工用粘着シートのシリコンウエハに対する剥離力を測定した。測定条件は、90°剥離で、剥離速度50mm/分)とした。その剥離力が0.5N/25mm以下の場合を合格とし、○とした。
表1〜3からわかるように、図1に示す構成の半導体ウエハ加工用粘着シートについて評価した実施例1〜2、参考例1〜3、5〜8では、200チップ中、すべての半導体チップをピックアップでき、チップ汚染や異物残りが少なく、うまくピックアップすることができた。参考例4、9、10はチップ汚染性や残留異数がややみられたが、実用上問題はないレベルだった。
またベース樹脂としてヨウ素価が0.5の重合体(a)を用いた粘着剤層で構成された半導体ウエハ加工用粘着シートの場合は、200チップ中、180の半導体チップをピックアップでき、合格レベルの特性を示した。
これに対し、光重合開始剤としてポリエチレングリコールユニット含有高分子アゾ重合開始剤を用いたところ(比較例1)、光開始剤が十分均一に溶解できず、発生したラジカルの移動が十分円滑に行えない結果、200チップ中半分しかピックアップできなかった。
また、光重合開始剤の量を0.1質量部より少なくした場合(比較例2、3)、開始剤によるラジカル供給不足により、ピックアップ性に問題が生じ、10質量部より多くした場合(比較例4)、未反応物による昇華によりチップ汚染を生じた。
またベース樹脂としてヨウ素価が0.5の重合体(a)を用いた粘着剤層で構成された半導体ウエハ加工用粘着シートの場合は、200チップ中、180の半導体チップをピックアップでき、合格レベルの特性を示した。
これに対し、光重合開始剤としてポリエチレングリコールユニット含有高分子アゾ重合開始剤を用いたところ(比較例1)、光開始剤が十分均一に溶解できず、発生したラジカルの移動が十分円滑に行えない結果、200チップ中半分しかピックアップできなかった。
また、光重合開始剤の量を0.1質量部より少なくした場合(比較例2、3)、開始剤によるラジカル供給不足により、ピックアップ性に問題が生じ、10質量部より多くした場合(比較例4)、未反応物による昇華によりチップ汚染を生じた。
また表4からわかるように、図2に示す構成の半導体ウエハ加工用粘着シートについて評価した参考例11では、粘着剤層と接着剤層との間でうまく界面剥離することができ、200チップ中、すべての半導体チップをピックアップすることができた。
これに対し、比較例7では、粘着剤層と接着剤層との間でうまく界面剥離することができず、200チップ中、100の半導体チップしかピックアップすることができなかった。
これに対し、比較例7では、粘着剤層と接着剤層との間でうまく界面剥離することができず、200チップ中、100の半導体チップしかピックアップすることができなかった。
1 基材樹脂フィルム
2 粘着剤層
3 接着剤層
10、20 半導体ウエハ加工用粘着シート
2 粘着剤層
3 接着剤層
10、20 半導体ウエハ加工用粘着シート
Claims (3)
- 放射線透過性の基材樹脂フィルムと、該基材樹脂フィルム上に粘着剤層が設けられた半導体ウエハ加工用粘着シートであって、
該粘着剤層が主鎖の繰り返し単位に対して放射線硬化性炭素−炭素二重結合含有基を有する(メタ)アクリル系単量体部を有する残基を結合した重合体(a)を主成分とするベース樹脂100質量部に対し、光重合開始剤(b)0.1〜10質量部を含有する放射線硬化性樹脂組成物を用いた層で構成されており、
前記光重合開始剤(b)が、オリゴ{2−ヒドロキシ−2−メチル−1−〔4−(1−メチルビニル)フェニル〕プロパノン}(繰り返し数n=2〜3)である、
ことを特徴とする半導体ウエハ加工用粘着シート。 - 前記粘着剤層の重合体(a)が、ブチルアクリレート、2−ヒドロキシエチルアクリレート及びアクリル酸からなるアクリル系共重合体と、2−メタクリロイルオキシエチルイソシアネートとを反応させてなる重合体であることを特徴とする請求項1に記載の半導体ウエハ加工用粘着シート。
- 前記主鎖の繰り返し単位に対して放射線重合性炭素−炭素二重結合含有基を有するアクリル系単量体を構成単位として含む重合体(a)のヨウ素価が1〜50であることを特徴とする請求項1または2に記載の半導体ウエハ加工用粘着シート。
Priority Applications (1)
| Application Number | Priority Date | Filing Date | Title |
|---|---|---|---|
| JP2014098433A JP2014209629A (ja) | 2014-05-12 | 2014-05-12 | 半導体ウエハ加工用粘着シート |
Applications Claiming Priority (1)
| Application Number | Priority Date | Filing Date | Title |
|---|---|---|---|
| JP2014098433A JP2014209629A (ja) | 2014-05-12 | 2014-05-12 | 半導体ウエハ加工用粘着シート |
Related Parent Applications (1)
| Application Number | Title | Priority Date | Filing Date |
|---|---|---|---|
| JP2010084531A Division JP2011213922A (ja) | 2010-03-31 | 2010-03-31 | 半導体ウエハ加工用粘着シート |
Publications (1)
| Publication Number | Publication Date |
|---|---|
| JP2014209629A true JP2014209629A (ja) | 2014-11-06 |
Family
ID=51903620
Family Applications (1)
| Application Number | Title | Priority Date | Filing Date |
|---|---|---|---|
| JP2014098433A Pending JP2014209629A (ja) | 2014-05-12 | 2014-05-12 | 半導体ウエハ加工用粘着シート |
Country Status (1)
| Country | Link |
|---|---|
| JP (1) | JP2014209629A (ja) |
Cited By (2)
| Publication number | Priority date | Publication date | Assignee | Title |
|---|---|---|---|---|
| CN114958226A (zh) * | 2021-02-25 | 2022-08-30 | 日东电工株式会社 | 光半导体元件密封用片 |
| KR20230172230A (ko) * | 2022-06-15 | 2023-12-22 | 주식회사 제이비랩 | 광감응성 점착제 제조용 조성물, 이를 이용하여 제조된 광감응성 점착제 및 상기 점착제를 포함하는 점착필름 |
Citations (6)
| Publication number | Priority date | Publication date | Assignee | Title |
|---|---|---|---|---|
| JPH10279894A (ja) * | 1997-04-01 | 1998-10-20 | Nitto Denko Corp | 半導体ウエハ加工用粘着シ―ト類と加工方法 |
| JP2000167999A (ja) * | 1998-12-04 | 2000-06-20 | Nippon Kayaku Co Ltd | 放射線硬化型樹脂組成物の硬化被膜層を有するフィルム |
| JP2002020411A (ja) * | 2000-07-07 | 2002-01-23 | The Inctec Inc | 紫外線硬化性組成物 |
| JP2007019151A (ja) * | 2005-07-06 | 2007-01-25 | Furukawa Electric Co Ltd:The | ウエハ加工用テープおよびそれを用いたチップの製造方法 |
| JP2007109862A (ja) * | 2005-10-13 | 2007-04-26 | Sekisui Chem Co Ltd | 粘着テープの剥離方法 |
| JP2009245989A (ja) * | 2008-03-28 | 2009-10-22 | Lintec Corp | 半導体ウエハ加工用粘着シートおよびその使用方法 |
-
2014
- 2014-05-12 JP JP2014098433A patent/JP2014209629A/ja active Pending
Patent Citations (6)
| Publication number | Priority date | Publication date | Assignee | Title |
|---|---|---|---|---|
| JPH10279894A (ja) * | 1997-04-01 | 1998-10-20 | Nitto Denko Corp | 半導体ウエハ加工用粘着シ―ト類と加工方法 |
| JP2000167999A (ja) * | 1998-12-04 | 2000-06-20 | Nippon Kayaku Co Ltd | 放射線硬化型樹脂組成物の硬化被膜層を有するフィルム |
| JP2002020411A (ja) * | 2000-07-07 | 2002-01-23 | The Inctec Inc | 紫外線硬化性組成物 |
| JP2007019151A (ja) * | 2005-07-06 | 2007-01-25 | Furukawa Electric Co Ltd:The | ウエハ加工用テープおよびそれを用いたチップの製造方法 |
| JP2007109862A (ja) * | 2005-10-13 | 2007-04-26 | Sekisui Chem Co Ltd | 粘着テープの剥離方法 |
| JP2009245989A (ja) * | 2008-03-28 | 2009-10-22 | Lintec Corp | 半導体ウエハ加工用粘着シートおよびその使用方法 |
Cited By (4)
| Publication number | Priority date | Publication date | Assignee | Title |
|---|---|---|---|---|
| CN114958226A (zh) * | 2021-02-25 | 2022-08-30 | 日东电工株式会社 | 光半导体元件密封用片 |
| CN114958226B (zh) * | 2021-02-25 | 2025-02-07 | 日东电工株式会社 | 光半导体元件密封用片 |
| KR20230172230A (ko) * | 2022-06-15 | 2023-12-22 | 주식회사 제이비랩 | 광감응성 점착제 제조용 조성물, 이를 이용하여 제조된 광감응성 점착제 및 상기 점착제를 포함하는 점착필름 |
| KR102741631B1 (ko) * | 2022-06-15 | 2024-12-16 | 주식회사 제이비랩 | 광감응성 점착제 제조용 조성물, 이를 이용하여 제조된 광감응성 점착제 및 상기 점착제를 포함하는 점착필름 |
Similar Documents
| Publication | Publication Date | Title |
|---|---|---|
| JP7207778B2 (ja) | 半導体加工用粘着テープ、及び半導体装置の製造方法 | |
| JP4851613B2 (ja) | 半導体ウエハ表面保護用粘着テープ | |
| KR101840179B1 (ko) | 반도체 웨이퍼 표면 보호용 점착 테이프 및 반도체 웨이퍼의 가공 방법 | |
| CN1173000C (zh) | 用于粘合晶片的压敏粘合剂片 | |
| CN1912038B (zh) | 粘合片及其制造方法、以及制品的加工方法 | |
| CN1255522A (zh) | 用于半导体晶片加工的压敏粘合片 | |
| CN107112222A (zh) | 晶片固定带、半导体晶片的处理方法和半导体芯片 | |
| TWI507502B (zh) | Semiconductor wafer processing adhesive sheet | |
| JP2004256793A (ja) | ウエハ貼着用粘着テープ | |
| JPWO2019181403A1 (ja) | 粘着テープおよび半導体装置の製造方法 | |
| JPWO2019181401A1 (ja) | 粘着テープおよび半導体装置の製造方法 | |
| JPWO2012157615A1 (ja) | 粘着シートおよび電子部品の製造方法 | |
| JP5583080B2 (ja) | ウエハ加工用テープおよびそれを用いた半導体加工方法 | |
| JP5307069B2 (ja) | 放射線硬化性半導体ウエハ表面保護用粘着テープ | |
| JP2014209629A (ja) | 半導体ウエハ加工用粘着シート | |
| JP7069116B2 (ja) | バックグラインドテープ用基材 | |
| JP2011213922A (ja) | 半導体ウエハ加工用粘着シート | |
| JP7626648B2 (ja) | ワーク加工用粘着テープ | |
| JP6324573B1 (ja) | 粘着剤組成物、それを用いた半導体ウエハ表面保護テープの製造方法及び半導体ウエハ表面保護テープ | |
| JP5727811B2 (ja) | 半導体チップのピックアップ方法および半導体装置の製造方法 | |
| CN115141568A (zh) | 支撑片、树脂膜形成用复合片、套件、及带树脂膜的芯片的制造方法 | |
| JP2011216734A (ja) | 半導体ウエハ加工用粘着シート | |
| JP7626647B2 (ja) | ワーク加工用粘着テープ | |
| JP2015008323A (ja) | ダイシングシート | |
| WO2024176579A1 (ja) | ワーク加工用シートおよびその使用方法 |
Legal Events
| Date | Code | Title | Description |
|---|---|---|---|
| A977 | Report on retrieval |
Free format text: JAPANESE INTERMEDIATE CODE: A971007 Effective date: 20150422 |
|
| A131 | Notification of reasons for refusal |
Free format text: JAPANESE INTERMEDIATE CODE: A131 Effective date: 20150512 |
|
| A02 | Decision of refusal |
Free format text: JAPANESE INTERMEDIATE CODE: A02 Effective date: 20160202 |
