JP2013159743A - 粘着剤積層物の剥離方法およびそれに用いる粘着剤層 - Google Patents
粘着剤積層物の剥離方法およびそれに用いる粘着剤層 Download PDFInfo
- Publication number
- JP2013159743A JP2013159743A JP2012024433A JP2012024433A JP2013159743A JP 2013159743 A JP2013159743 A JP 2013159743A JP 2012024433 A JP2012024433 A JP 2012024433A JP 2012024433 A JP2012024433 A JP 2012024433A JP 2013159743 A JP2013159743 A JP 2013159743A
- Authority
- JP
- Japan
- Prior art keywords
- pressure
- sensitive adhesive
- adhesive layer
- weight
- adherend
- Prior art date
- Legal status (The legal status is an assumption and is not a legal conclusion. Google has not performed a legal analysis and makes no representation as to the accuracy of the status listed.)
- Pending
Links
Images
Classifications
-
- B—PERFORMING OPERATIONS; TRANSPORTING
- B32—LAYERED PRODUCTS
- B32B—LAYERED PRODUCTS, i.e. PRODUCTS BUILT-UP OF STRATA OF FLAT OR NON-FLAT, e.g. CELLULAR OR HONEYCOMB, FORM
- B32B43/00—Operations specially adapted for layered products and not otherwise provided for, e.g. repairing; Apparatus therefor
- B32B43/006—Delaminating
-
- B—PERFORMING OPERATIONS; TRANSPORTING
- B65—CONVEYING; PACKING; STORING; HANDLING THIN OR FILAMENTARY MATERIAL
- B65H—HANDLING THIN OR FILAMENTARY MATERIAL, e.g. SHEETS, WEBS, CABLES
- B65H41/00—Machines for separating superposed webs
-
- C—CHEMISTRY; METALLURGY
- C09—DYES; PAINTS; POLISHES; NATURAL RESINS; ADHESIVES; COMPOSITIONS NOT OTHERWISE PROVIDED FOR; APPLICATIONS OF MATERIALS NOT OTHERWISE PROVIDED FOR
- C09J—ADHESIVES; NON-MECHANICAL ASPECTS OF ADHESIVE PROCESSES IN GENERAL; ADHESIVE PROCESSES NOT PROVIDED FOR ELSEWHERE; USE OF MATERIALS AS ADHESIVES
- C09J5/00—Adhesive processes in general; Adhesive processes not provided for elsewhere, e.g. relating to primers
- C09J5/06—Adhesive processes in general; Adhesive processes not provided for elsewhere, e.g. relating to primers involving heating of the applied adhesive
-
- C—CHEMISTRY; METALLURGY
- C09—DYES; PAINTS; POLISHES; NATURAL RESINS; ADHESIVES; COMPOSITIONS NOT OTHERWISE PROVIDED FOR; APPLICATIONS OF MATERIALS NOT OTHERWISE PROVIDED FOR
- C09J—ADHESIVES; NON-MECHANICAL ASPECTS OF ADHESIVE PROCESSES IN GENERAL; ADHESIVE PROCESSES NOT PROVIDED FOR ELSEWHERE; USE OF MATERIALS AS ADHESIVES
- C09J7/00—Adhesives in the form of films or foils
- C09J7/20—Adhesives in the form of films or foils characterised by their carriers
- C09J7/22—Plastics; Metallised plastics
-
- C—CHEMISTRY; METALLURGY
- C09—DYES; PAINTS; POLISHES; NATURAL RESINS; ADHESIVES; COMPOSITIONS NOT OTHERWISE PROVIDED FOR; APPLICATIONS OF MATERIALS NOT OTHERWISE PROVIDED FOR
- C09J—ADHESIVES; NON-MECHANICAL ASPECTS OF ADHESIVE PROCESSES IN GENERAL; ADHESIVE PROCESSES NOT PROVIDED FOR ELSEWHERE; USE OF MATERIALS AS ADHESIVES
- C09J7/00—Adhesives in the form of films or foils
- C09J7/30—Adhesives in the form of films or foils characterised by the adhesive composition
- C09J7/38—Pressure-sensitive adhesives [PSA]
-
- C—CHEMISTRY; METALLURGY
- C09—DYES; PAINTS; POLISHES; NATURAL RESINS; ADHESIVES; COMPOSITIONS NOT OTHERWISE PROVIDED FOR; APPLICATIONS OF MATERIALS NOT OTHERWISE PROVIDED FOR
- C09J—ADHESIVES; NON-MECHANICAL ASPECTS OF ADHESIVE PROCESSES IN GENERAL; ADHESIVE PROCESSES NOT PROVIDED FOR ELSEWHERE; USE OF MATERIALS AS ADHESIVES
- C09J7/00—Adhesives in the form of films or foils
- C09J7/40—Adhesives in the form of films or foils characterised by release liners
-
- C—CHEMISTRY; METALLURGY
- C08—ORGANIC MACROMOLECULAR COMPOUNDS; THEIR PREPARATION OR CHEMICAL WORKING-UP; COMPOSITIONS BASED THEREON
- C08K—Use of inorganic or non-macromolecular organic substances as compounding ingredients
- C08K5/00—Use of organic ingredients
- C08K5/0008—Organic ingredients according to more than one of the "one dot" groups of C08K5/01 - C08K5/59
- C08K5/0041—Optical brightening agents, organic pigments
-
- C—CHEMISTRY; METALLURGY
- C09—DYES; PAINTS; POLISHES; NATURAL RESINS; ADHESIVES; COMPOSITIONS NOT OTHERWISE PROVIDED FOR; APPLICATIONS OF MATERIALS NOT OTHERWISE PROVIDED FOR
- C09J—ADHESIVES; NON-MECHANICAL ASPECTS OF ADHESIVE PROCESSES IN GENERAL; ADHESIVE PROCESSES NOT PROVIDED FOR ELSEWHERE; USE OF MATERIALS AS ADHESIVES
- C09J2301/00—Additional features of adhesives in the form of films or foils
- C09J2301/30—Additional features of adhesives in the form of films or foils characterized by the chemical, physicochemical or physical properties of the adhesive or the carrier
- C09J2301/302—Additional features of adhesives in the form of films or foils characterized by the chemical, physicochemical or physical properties of the adhesive or the carrier the adhesive being pressure-sensitive, i.e. tacky at temperatures inferior to 30°C
-
- C—CHEMISTRY; METALLURGY
- C09—DYES; PAINTS; POLISHES; NATURAL RESINS; ADHESIVES; COMPOSITIONS NOT OTHERWISE PROVIDED FOR; APPLICATIONS OF MATERIALS NOT OTHERWISE PROVIDED FOR
- C09J—ADHESIVES; NON-MECHANICAL ASPECTS OF ADHESIVE PROCESSES IN GENERAL; ADHESIVE PROCESSES NOT PROVIDED FOR ELSEWHERE; USE OF MATERIALS AS ADHESIVES
- C09J2301/00—Additional features of adhesives in the form of films or foils
- C09J2301/30—Additional features of adhesives in the form of films or foils characterized by the chemical, physicochemical or physical properties of the adhesive or the carrier
- C09J2301/308—Additional features of adhesives in the form of films or foils characterized by the chemical, physicochemical or physical properties of the adhesive or the carrier the adhesive tape or sheet losing adhesive strength when being stretched, e.g. stretch adhesive
-
- C—CHEMISTRY; METALLURGY
- C09—DYES; PAINTS; POLISHES; NATURAL RESINS; ADHESIVES; COMPOSITIONS NOT OTHERWISE PROVIDED FOR; APPLICATIONS OF MATERIALS NOT OTHERWISE PROVIDED FOR
- C09J—ADHESIVES; NON-MECHANICAL ASPECTS OF ADHESIVE PROCESSES IN GENERAL; ADHESIVE PROCESSES NOT PROVIDED FOR ELSEWHERE; USE OF MATERIALS AS ADHESIVES
- C09J2301/00—Additional features of adhesives in the form of films or foils
- C09J2301/40—Additional features of adhesives in the form of films or foils characterized by the presence of essential components
- C09J2301/408—Additional features of adhesives in the form of films or foils characterized by the presence of essential components additives as essential feature of the adhesive layer
-
- C—CHEMISTRY; METALLURGY
- C09—DYES; PAINTS; POLISHES; NATURAL RESINS; ADHESIVES; COMPOSITIONS NOT OTHERWISE PROVIDED FOR; APPLICATIONS OF MATERIALS NOT OTHERWISE PROVIDED FOR
- C09J—ADHESIVES; NON-MECHANICAL ASPECTS OF ADHESIVE PROCESSES IN GENERAL; ADHESIVE PROCESSES NOT PROVIDED FOR ELSEWHERE; USE OF MATERIALS AS ADHESIVES
- C09J2301/00—Additional features of adhesives in the form of films or foils
- C09J2301/40—Additional features of adhesives in the form of films or foils characterized by the presence of essential components
- C09J2301/412—Additional features of adhesives in the form of films or foils characterized by the presence of essential components presence of microspheres
-
- C—CHEMISTRY; METALLURGY
- C09—DYES; PAINTS; POLISHES; NATURAL RESINS; ADHESIVES; COMPOSITIONS NOT OTHERWISE PROVIDED FOR; APPLICATIONS OF MATERIALS NOT OTHERWISE PROVIDED FOR
- C09J—ADHESIVES; NON-MECHANICAL ASPECTS OF ADHESIVE PROCESSES IN GENERAL; ADHESIVE PROCESSES NOT PROVIDED FOR ELSEWHERE; USE OF MATERIALS AS ADHESIVES
- C09J2301/00—Additional features of adhesives in the form of films or foils
- C09J2301/40—Additional features of adhesives in the form of films or foils characterized by the presence of essential components
- C09J2301/416—Additional features of adhesives in the form of films or foils characterized by the presence of essential components use of irradiation
-
- C—CHEMISTRY; METALLURGY
- C09—DYES; PAINTS; POLISHES; NATURAL RESINS; ADHESIVES; COMPOSITIONS NOT OTHERWISE PROVIDED FOR; APPLICATIONS OF MATERIALS NOT OTHERWISE PROVIDED FOR
- C09J—ADHESIVES; NON-MECHANICAL ASPECTS OF ADHESIVE PROCESSES IN GENERAL; ADHESIVE PROCESSES NOT PROVIDED FOR ELSEWHERE; USE OF MATERIALS AS ADHESIVES
- C09J2301/00—Additional features of adhesives in the form of films or foils
- C09J2301/50—Additional features of adhesives in the form of films or foils characterized by process specific features
- C09J2301/502—Additional features of adhesives in the form of films or foils characterized by process specific features process for debonding adherents
-
- C—CHEMISTRY; METALLURGY
- C09—DYES; PAINTS; POLISHES; NATURAL RESINS; ADHESIVES; COMPOSITIONS NOT OTHERWISE PROVIDED FOR; APPLICATIONS OF MATERIALS NOT OTHERWISE PROVIDED FOR
- C09J—ADHESIVES; NON-MECHANICAL ASPECTS OF ADHESIVE PROCESSES IN GENERAL; ADHESIVE PROCESSES NOT PROVIDED FOR ELSEWHERE; USE OF MATERIALS AS ADHESIVES
- C09J2433/00—Presence of (meth)acrylic polymer
-
- Y—GENERAL TAGGING OF NEW TECHNOLOGICAL DEVELOPMENTS; GENERAL TAGGING OF CROSS-SECTIONAL TECHNOLOGIES SPANNING OVER SEVERAL SECTIONS OF THE IPC; TECHNICAL SUBJECTS COVERED BY FORMER USPC CROSS-REFERENCE ART COLLECTIONS [XRACs] AND DIGESTS
- Y10—TECHNICAL SUBJECTS COVERED BY FORMER USPC
- Y10T—TECHNICAL SUBJECTS COVERED BY FORMER US CLASSIFICATION
- Y10T156/00—Adhesive bonding and miscellaneous chemical manufacture
- Y10T156/11—Methods of delaminating, per se; i.e., separating at bonding face
- Y10T156/1153—Temperature change for delamination [e.g., heating during delaminating, etc.]
- Y10T156/1158—Electromagnetic radiation applied to work for delamination [e.g., microwave, uv, ir, etc.]
Landscapes
- Chemical & Material Sciences (AREA)
- Organic Chemistry (AREA)
- Adhesives Or Adhesive Processes (AREA)
- Adhesive Tapes (AREA)
Abstract
【解決手段】本発明の粘着剤積層物の剥離方法は、
熱膨張性微粒子を含有する粘着剤層を少なくとも有する粘着体と、被着体とが積層された粘着剤積層物の剥離方法であって、
前記粘着剤積層物が色素成分を含有し、
前記色素成分の吸収波長と一致する波長のレーザー光線を前記色素成分に対して照射し、これにより発生した熱により前記熱膨張性微粒子を膨張させ、前記粘着体と前記被着体とを剥離することを特徴とする。
【選択図】なし
Description
さらに、本発明の他の目的は、本剥離方法に用いることのできる粘着剤層を提供することにある。
熱膨張性微粒子を含有する粘着剤層を少なくとも有する粘着体と、被着体とが積層された粘着剤積層物の剥離方法であって、
前記粘着剤積層物が色素成分を含有し、
前記色素成分の吸収波長と一致する波長のレーザー光線を前記色素成分に対して照射し、これにより発生した熱により前記熱膨張性微粒子を膨張させ、前記粘着体と前記被着体とを剥離する、粘着剤積層物の剥離方法を提供する。
前記粘着剤積層物の剥離方法に用いる粘着剤層であって、
前記粘着剤層がさらにアクリル系ポリマーを含有し、
前記粘着剤層が、前記アクリル系ポリマー100重量部に対して、熱発泡性微粒子を10〜200重量部含有する、粘着剤層を提供する。
前記粘着剤層は、さらに、アクリル系ポリマーを含有し、
前記アクリル系ポリマー100重量部に対し、色素成分を0.01〜5重量部含有することが好ましい。
(a1):ホモポリマーとした時のガラス転移温度が0℃未満である、炭素数4〜12のアルキル基を有するアルキル(メタ)アクリレートモノマー
(a2):分子内に少なくとも1の窒素原子と1のエチレン性不飽和結合とを有するモノマー
(a3):ホモポリマーとした時のガラス転移温度が0℃以上である、分子内に1のエチレン性不飽和結合を有するモノマー(前記(a2)は除く)
また本発明の粘着剤層は、本発明の剥離方法を利用するため、被着体が特別なものでなくとも効率よく剥離することが可能な粘着剤積層物を構成することが可能となる。
本発明の粘着剤積層物の剥離方法(以下、単に「本発明の剥離方法」と称する場合がある。)は、
熱膨張性微粒子を含有する粘着剤層を少なくとも有する粘着体と、被着体とが積層された粘着剤積層物の剥離方法であって、
前記粘着剤積層物が色素成分を含有し、
前記色素成分の吸収波長と一致する波長のレーザー光線を前記色素成分に対して照射し、これにより発生した熱により前記熱膨張性微粒子を膨張させ、前記粘着体と前記被着体とを剥離する、粘着剤積層物の剥離方法であれば良く、その他の点では、特に制限されない。
(1)前記粘着剤層が前記色素成分を含有する剥離方法
(2)前記被着体が前記色素成分を含有する剥離方法
(3)前記粘着体が粘着剤層と支持体を有し、前記支持体が前記色素成分を含有する剥離方法
以下、順に、(1)〜(3)について詳細を説明する。
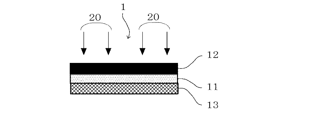
上記(1)の態様としては、例えば、図1に示すようなものが挙げられる。図1において、基材13、前記熱膨張性微粒子及び前記色素成分を含有する粘着剤層11、及び被着体12をこの順に積層して粘着剤積層物1を形成し、粘着剤積層物1に対して、図1中に矢印で示すようにレーザー光線20を照射して熱を発生させることにより、前記熱膨張性微粒子を膨張させ、この場合の粘着体である粘着剤層11と被着体12とを剥離するものである。この場合は、粘着剤層11が前記色素成分を含有することで、粘着剤層11自体が発熱し、前記熱膨張性微粒子が膨張して剥離するものと考えられる。
また、上記の「界面近傍に前記色素成分が存在している」とは、具体的には、前記色素成分の30%以上が存在していることを意味する。
上記(2)の態様としては、例えば、図3に示すようなものが挙げられる。図3において、基材13、粘着剤層11、及び被着体12がこの順に積層して粘着剤積層物1を形成し、被着体12が前記色素成分を含有する粘着剤積層物1に対して、図3中に矢印で示すようにレーザー光線を照射して熱を発生させることにより、前記熱膨張性微粒子を膨張させ、この場合の粘着体である粘着剤層11と被着体12とを剥離するものである。この場合は、被着体12が前記色素成分を含有し、被着体12が発熱することで、粘着剤層11中の熱膨張性微粒子が膨張して剥離するものと考えられる。
上記態様の具体例としては、例えば、前記粘着体が、被着体の界面から見て、粘着剤層/支持体、又は粘着剤層/支持体/粘着剤層といった構成を有している場合が挙げられる。本態様の場合、前記支持体が前記色素成分を含有することで、前記支持体が発熱し、熱膨張性微粒子が膨張して剥離するものと考えられる。
前記レーザー光としては、半導体レーザー、Nd−YAGレーザー、ファイバーレーザー、ArFエキシマレーザー、KrFエキシマレーザー、XeClエキシマレーザー、YAGレーザー等の第3高調波若しくは第4高調波、YLF若しくはYVO4等の固体レーザーの第3高調波若しくは第4高調波、Ti:Sレーザー、半導体レーザー、ファイバーレーザー又は炭酸ガスレーザー等の種々の発振手段によって得られるものを採用することができ、その発振方法も限定されるものではなく、連続的にレーザー光が照射される、いわゆる、CWレーザー(Continuous Wave Laser)と呼ばれるものや、フェムト秒レーザー等のパルスレーザーを採用することができる。なかでも、半導体レーザー、Nd−YAGレーザー、ファイバーレーザー等の赤外線レーザーが発熱性に優れ好適である。
色素成分は、用いるレーザー光線の波長と吸収波長が一致するものであればよく、特に制限されない。レーザー光線の波長と吸収波長が一致することにより、前記色素成分はレーザー光を吸収し、効率よく発熱する。また、所望の位置に色素成分を含有させることにより、特定の場所のみ加熱することができる。例えば、波長940nmのNd−YAGレーザーを用いる場合、目視で黒色や濃青色に見える色素や染料、顔料(例えば、黒色着色剤、青色乃至緑色着色剤等が挙げられ、好ましくは下記の黒色着色剤、青色乃至緑色着色剤等、また、例えば、黒色着色剤等が挙げられ、好ましくは下記の黒色着色剤等)を含むもの(被着体や支持体であってもよい)は、加熱することが可能である。
前記被着体が色素成分を含有する場合、前記被着体100重量部に対する前記色素成分の含有量は、例えば、0.01〜10重量部であり、好ましくは0.05〜5重量部である。
前記支持体が色素成分を含有する場合、前記支持体100重量部に対する前記色素成分の含有量は、例えば、0.01〜10重量部であり、好ましくは0.05〜5重量部である。
本発明の粘着剤積層物の剥離方法に用いる粘着剤層としては、熱膨張性微粒子を含有していれば良く、特に制限されないが、必要に応じて前記色素成分を含有していても良い。
前記粘着剤層がさらにアクリル系ポリマーを含有し、
前記粘着剤層が、前記アクリル系ポリマー100重量部に対して、熱発泡性微粒子の含有量が10〜200重量部であることが好ましく、15〜100重量部であることがより好ましく、20〜80重量部であることがさらに好ましい。熱膨張性微粒子の含有量が10重量部未満であると、粘着剤組成物により形成される粘着剤層において、加熱処理による粘着剤層と被着体との接触面積の減少が不十分になりやすい。また、200重量部を超えると、粘着剤組成物により形成される粘着剤層の凝集破壊が生じやすくなる。
(a1):ホモポリマーとした時のガラス転移温度が0℃未満である、炭素数4〜12のアルキル基を有するアルキル(メタ)アクリレートモノマー
(a2):分子内に少なくとも1の窒素原子と1のエチレン性不飽和結合とを有するモノマー
(a3):ホモポリマーとした時のガラス転移温度が0℃以上である、分子内に1のエチレン性不飽和結合を有するモノマー(前記(a2)は除く)
得られた「乾燥前の部分重合物の重量」及び「重量減少量」から、下記式より、部分重合物の重合率(重量%)を求める。
部分重合物の重合率(重量%)=[1−(重量減少量)/(乾燥前の部分重合物の重量)]×100
体積膨張率=(加熱後の熱膨張性微小球の体積)/(加熱前の熱膨張性微小球の体積)
粘着剤層を約1g採取し、これを試料とする。該試料を精秤し、その重量を求めて、「浸漬前の粘着剤層の重量」とする。次に、試料を酢酸エチル40gに7日間浸漬した後、酢酸エチルに不溶解な成分(不溶解部分)を全て回収し、回収した全不溶解部分を130℃で2時間乾燥させてから、その重量を求めて、「不溶解部分の乾燥重量」とする。そして、得られた数値を以下の式に代入して算出する。
粘着剤層の溶剤不溶分(重量%)=[(不溶解部分の乾燥重量)/(浸漬前の粘着剤層の重量)]×100
前記粘着剤層を少なくとも有する粘着シート(感圧接着シート)は、前記粘着剤層を有するので、接合時には高い初期接着力と接着信頼性(特に耐反撥性)を維持しつつ、被着体から剥がす際には容易に剥離して、容易に接合部を分離・解体することができ、被着体が特別なものでなくとも効率よく剥離することを可能とする。また、前記粘着剤層が、前記アクリル系ポリマーを含有する場合には、被着体に対する接合時には、高い初期接着力と接着信頼性(特に耐反撥性)を維持しつつ、剥離時には、接着力(接着強度、接着強さ)が低下する特性を有し、また、接着特性に優れるという効果を奏する。
(1)予め、気泡を形成するガス成分(「気泡形成ガス」と称する場合がある)が混合された微粒子含有粘着剤組成物(「気泡混合微粒子含有重合性組成物」と称する場合がある)を用いて微粒子含有粘弾性器材を形成することにより、気泡が形成された形態、
(2)発泡剤を含有する微粒子含有粘着剤組成物を用いて微粒子含有粘弾性基材を形成することにより、気泡が形成された形態、等が挙げられる。
本発明では、気泡が混合された微粒子含有粘弾性基材(「気泡混合微粒子含有粘弾性基材」と称する場合がある)は、上記(1)の形態で気泡が形成されることが好ましい。
(収縮率の測定方法)
任意のサイズ(例えば、20mm×20mm程度)の正方形状に切り取った熱収縮フィルムを熱風乾燥機の中に投入し、所定の温度で4分間加熱処理し、加熱処理前後のフィルムのサイズを測定し、以下に示す式で収縮率を算出する。
[(収縮前の寸法−収縮後の寸法)/収縮前の寸法]×100
最初に、粘着シートの測定面(上記粘着剤層(熱発泡性微粒子含有粘着剤層)により提供される面)と反対側の面をアルミニウム板に貼り合わせて、アルミニウム板及び粘着シートの積層体を得る。なお、粘着シートの測定面と反対側の面をアルミニウム板に貼り合わせる際には、必要に応じて、固定用の強接着性の両面粘着シートを用いてもよい。得られるアルミニウム板及び粘着シートの積層体を耐反撥性試験用サンプルとする。
次に、耐反撥性試験用サンプルについて、測定面側(粘着シート側)を外側にして、R50の曲率で湾曲させる。つまり、半径:20mmの円の円周に沿うように湾曲させる。
湾曲後の耐反撥性試験用サンプルを、アクリル板(商品名「アクリライト」、三菱レイヨン社製)に、測定面が接する形態で、すなわち、粘着シートが接する形態で、浮きのないように圧着して貼り合わせる。
アクリル板に貼り合わせた耐反撥性試験用サンプルを室温(23℃)で7時間放置して、耐反撥性試験用サンプルの両端(長さ方向の両端)におけるアクリル板からの浮き距離(浮き上がった距離)を測定し、その平均値を求める。そして、該平均値を「浮き距離」とする。
粘着シートを、測定面(上記粘着剤層(熱発泡性微粒子含有粘着剤層)により提供される面)が接する形態で、清浄なステンレス304BA鋼板(SUS304BA板)に、23℃の雰囲気下、2kgローラー、1往復の条件で圧着し貼り合わせて、23℃で30分間エージングし、評価用サンプル(粘着シート及びステンレス304BA鋼板の積層構成を有する構造体)とする。
次に、粘着シートがステンレス304BA鋼板に貼着した状態を維持しつつ、評価用サンプルを熱風乾燥機に投入し、130℃で10分間加熱処理する。
加熱処理終了後の評価用サンプルの状態を確認し、下記基準により、粘着シートの加熱解体性を評価する。
良好(○):粘着シートがステンレス304BA鋼板から剥離している場合、又は、粘着シートをステンレス304BA鋼板から容易に剥離できる場合
不良(×):粘着シートをステンレス304BA鋼板から容易に剥離できない場合
粘着シートを、測定面(熱発泡性微粒子含有粘着剤層により提供される面)が接する形態で、清浄なステンレス304BA鋼板(SUS304BA板)に、23℃の雰囲気下、2kgローラー、1往復の条件で圧着し貼り合わせて、85℃で1週間エージングし、エージング終了後23℃で24時間放置して、評価用サンプル(粘着シート及びステンレス304BA鋼板の積層構成を有する構造体)とする。
次に、粘着シートがステンレス304BA鋼板に貼着した状態を維持しつつ、評価用サンプルを熱風乾燥機に投入し、130℃で10分間加熱処理する。
加熱処理終了後の評価用サンプルの状態を確認し、下記基準により、粘着シートの加熱解体性を評価する。
良好(○):粘着シートがステンレス304BA鋼板から剥離している場合、又は、粘着シートをステンレス304BA鋼板から容易に剥離できる場合
不良(×):粘着シートをステンレス304BA鋼板から容易に剥離できない場合
前記粘着シートが用いられる被着体としては、特に限定されないが、例えば、プラスチック系被着体、金属系被着体、繊維系被着体、紙系被着体、無機材料系被着体、複合材料系被着体(プラスチック(樹脂)、金属、繊維、紙、無機材料等の様々な素材のうち少なくとも2つの素材から構成される被着体)等が挙げられる。前記被着体が前記色素成分を含有する場合は、前記被着体として、プラスチック系被着体、金属系被着体、プラスチック(樹脂)及び金属から構成される複合材料系被着体等が好ましく挙げられ、前記粘着剤層が前記色素成分を含有しない場合は、前記被着体として、活性エネルギー線の透過性の観点から、内部に金属フィラー等を含まないプラスチック系被着体(例えば、ポリカーボネート、ポリエチレンテレフタレート等)、ガラス等が好ましく挙げられる。
本発明の粘着剤積層物の剥離方法は、自動車、機械部品、電化製品、建材等の各種分野の接合を剥離する用途(例えば、部品と部品との接合を剥離する用途、部品と筐体との接合を剥離する用途等)に好適に用いられる、なかでも、本発明の粘着剤積層物の剥離方法は、リサイクルやリワークが求められる接合を剥離する用途で特に好適に用いられ、高価な電子部品、例えば、液晶パネル、プラズマパネル、又は有機ELパネルとその枠との接合を剥離する用途に特に好適に用いられる。なお、本発明の粘着剤積層物の剥離方法は、用途が上記用途に限定されるわけではない。
(モノマーシロップAの作製)
2−エチルヘキシルアクリレート(2EHA)、N−ビニルカプロラクタム(NVC)、及びイソボルニルアクリレート(IBXA)よりなるモノマー混合物100重量部、光重合開始剤としての1−ヒドロキシ−シクロヘキシル−フェニル−ケトン(商品名「イルガキュア184」、BASFジャパン社製)、及び、光重合開始剤としての2,2−ジメトキシ−1,2−ジフェニルエタン−1−オン(商品名「イルガキュア651」、BASFジャパン社製)を、以下の割合で4つ口フラスコに投入し、混合した。
モノマー混合物
2−エチルヘキシルアクリレート:70重量部
N−ビニルカプロラクタム:20重量部
イソボルニルアクリレート:10重量部
光重合開始剤
1−ヒドロキシ−シクロヘキシル−フェニル−ケトン:0.05重量部
2,2−ジメトキシ−1,2−ジフェニルエタン−1−オン:0.05重量部
部分重合モノマーシロップA100重量部に、下記量の熱膨張性微粒子、及び、多官能(メタ)アクリレートとしての1,6−ヘキサンジオールジアクリレート(HDDA)0.04重量部を添加し、必要に応じ下記量の色素成分を均一に混合して、色素熱膨張性微粒子含有粘着剤組成物を得た。
熱膨張性微粒子としてEXPANCEL 051DU40(エクスパンセル社製)、色素成分としてフタロシアニン系色素を以下の割合で用いて、色素熱膨張性微粒子含有粘着剤組成物を得た。
EXPANCEL 051DU40: 30重量部
1,6−ヘキサンジオールジアクリレート:0.04重量部
フタロシアニン系色素: 0.1重量部
熱膨張性微粒子としてF−80SD(松本油脂社製)、色素成分としてカーボンブラック系顔料を以下の割合で用いて、色素熱膨張性微粒子含有粘着剤組成物を得た。
F−80SD: 30重量部
1,6−ヘキサンジオールジアクリレート:0.04重量部
カーボンブラック系顔料: 0.1重量部
熱膨張性微粒子としてF−80SD(松本油脂社製)を以下の割合で用いたが、色素成分は用いずに、熱膨張性微粒子含有粘着剤組成物を得た。
F−80SD: 30重量部
1,6−ヘキサンジオールジアクリレート:0.04重量部
色素成分:無し
熱膨張性微粒子としてF−36D(松本油脂社製)を以下の割合で用いたが、色素成分は用いずに、熱膨張性微粒子含有粘着剤組成物を得た。
F−36D: 30重量部
1,6−ヘキサンジオールジアクリレート:0.04重量部
色素成分:無し
熱膨張性微粒子としてF−80SD(松本油脂社製)、色素成分としてカーボンブラック系顔料を以下の割合で用いて、色素熱膨張性微粒子含有粘着剤組成物を得た。
F−80SD: 30重量部
1,6−ヘキサンジオールジアクリレート:0.04重量部
カーボンブラック系顔料: 0.5重量部
(色素熱膨張性微粒子含有粘着剤組成物層シートの作製)
前記色素熱膨張性微粒子含有粘着剤組成物又は前記熱膨張性微粒子含有粘着剤組成物を、剥離処理したポリエチレンテレフタラートフィルム(PETフィルム、商品名「ルミラー♯50」、東レ社製)面上に厚みが200μmとなるように塗布して、色素熱膨張性微粒子含有粘着剤組成物層又は熱膨張性微粒子含有粘着剤組成物層を形成し、前記色素熱膨張性微粒子含有粘着剤組成物層又は前記熱膨張性微粒子含有粘着剤組成物層上に剥離フィルム(商品名「ダイヤホイルMRN−38」、三菱化学ポリエステルフィルム社製)の剥離処理された面を被せて、2枚の剥離フィルム間に前記色素熱膨張性微粒子含有粘着剤組成物層又は前記熱膨張性微粒子含有粘着剤組成物層を有するシート(色素熱膨張性微粒子含有粘着剤組成物層シート)を得た。
該色素熱膨張性微粒子含有粘着剤組成物層シートに、照度:4mW/cm2、光量:1200mJ/cm2の条件にて紫外線照射を行い、色素熱膨張性微粒子含有粘着剤組成物層を光硬化させ、粘着剤層を作製した。
<実施例1、2、6>
上記製法により作製した、色素熱膨張性微粒子含有粘着剤組成物層(熱膨張性微粒子および色素成分を含む粘着剤層)を20×20mmのサイズに切断し評価用サンプルを作成した。評価サンプルから剥離フィルムを剥がし、ポリカーボネート板(サイズ:縦40mm×横40mm×厚さ2mm)(品番:PC1600、タキロン社製)(以下、PC板と称することがある。)の中央部分に貼り付け、PETフィルムを剥離した後、ガラス板(サイズ:縦100mm×横100mm×厚さ1.3mm)(松浪硝子社製)で挟み込むようにしてPC板/色素成分含有の粘着剤層/ガラス板の粘着剤積層物を作成した。
上記同様にしてPC板に粘着剤層(色素成分を含んでいない)を貼り付け、黒色印刷ガラス(市販の携帯電話を購入、分解して得た表面ガラス)(実施例3)、又は印刷付きガラス(市販のタブレットPCを分解して得た印刷付きの表面ガラス)(実施例4)で挟み込み、前記黒色印刷ガラス及び前記印刷付きガラスの印刷面が前記粘着剤層に接するようにしてPC板/粘着剤層/色素成分含有のガラス板の粘着剤積層物を作成した。
上記色素成分を含有しない粘着剤層の表面に、溶剤による希釈し、スプレーという方法で色素成分(品名クリアウェルド(品番;LD120C)、crysta-lyn chemical社製)0.02重量部を塗布した。これを実施例1,2と同様の方法で、色素面がガラス板に接するよう、PC板/粘着剤層/ガラス板の粘着剤積層物を作成した。
冷却管、窒素導入管、温度計、滴下ロート、攪拌装置を備えた反応容器に、重合開始剤として2,2´−アゾビスイソブチロニトリル:0.2重量部、溶媒として酢酸エチル:245重量部、下記組成のモノマー混合物101重量部を入れ、窒素環流を室温にて1時間行った。その後、反応容器内の単量体成分を含む組成物の温度を60℃に昇温し、窒素気流中で、5.5時間重合を行い、その後70℃で2時間反応させ、アクリル系ポリマーの溶液を得た。
モノマー混合物
2−エチルヘキシルアクリレート:70重量部
N−ビニルカプロラクタム:20重量部
イソボルニルアクリレート:10重量部
ヒドロキシエチルアクリレート: 1重量部
色素成分を含まない粘着剤層(実施例3)を用い、実施例1,2と同様の方法で粘着剤積層物を作成した。すなわちPC板/色素成分を含有しない粘着剤層/ガラス板、の粘着剤積層物を作成した。
実施例及び比較例について、加熱解体性を以下の評価方法により評価した。
レーザー照射装置(Nd−YAGレーザー、連続波のCWレーザー、波長は940nm、出力は24W)に設置し、スポット系が5mmφとなるように集光を調整し、パワー密度122.7W/cm2、積算エネルギー76.7J/cm2が20mm×20mmの貼り付け面積にかかるように、走査速度25mm/secでガラス面から照射し、剥離の状況を確認した。粘着剤積層物が極々軽くはく離出来た場合◎、粘着力の軽減が確認できれば○、剥離出来ない場合には×とし、表3の「加熱解体性(剥離側)」の欄に結果を示す。
1b 作製例1の第二工程
1c 作製例1の第三工程
1d 作製例1により得られる粘着シート
1 粘着剤積層物
10 粘着剤組成物層
11 粘着剤層
111 粘着剤層の色素成分含有層111
112 粘着剤層の色素成分非含有層
12 被着体
121 被着体の色素成分含有層
122 被着体の色素成分非含有層
13 基材
14 剥離フィルム
15 粘着シート
20 活性エネルギー線
Claims (10)
- 熱膨張性微粒子を含有する粘着剤層を少なくとも有する粘着体と、被着体とが積層された粘着剤積層物の剥離方法であって、
前記粘着剤積層物が色素成分を含有し、
前記色素成分の吸収波長と一致する波長のレーザー光線を前記色素成分に対して照射し、これにより発生した熱により前記熱膨張性微粒子を膨張させ、前記粘着体と前記被着体とを剥離する、粘着剤積層物の剥離方法。 - 前記粘着剤層が前記色素成分を含有する、請求項1記載の粘着剤積層物の剥離方法。
- 前記被着体が前記色素成分を含有する、請求項1又は2に記載の粘着剤積層物の剥離方法。
- 前記粘着体が粘着剤層と支持体を有し、
前記支持体が前記色素成分を含有する、請求項1〜3のいずれか1項に記載の粘着剤積層物の剥離方法。 - 前記粘着剤層と前記被着体との界面近傍に前記色素成分が存在している、請求項2又は3に記載の粘着剤積層物の剥離方法。
- 前記粘着体が、前記粘着剤層の前記被着体側の表面に前記色素成分を含有する色素成分含有層を有するか、又は、
前記被着体が、前記粘着剤層側の表面に前記色素成分を含有する色素成分含有層を有する、請求項5に記載の粘着剤積層物の剥離方法。 - 請求項1〜6のいずれか一項に記載の粘着剤積層物の剥離方法に用いる粘着剤層であって、
前記粘着剤層がさらにアクリル系ポリマーを含有し、
前記粘着剤層が、前記アクリル系ポリマー100重量部に対して、熱発泡性微粒子を10〜200重量部含有する、粘着剤層。 - 請求項2に記載の粘着剤積層物の剥離方法に用いる粘着剤層であって、
さらに、アクリル系ポリマーを含有し、
前記アクリル系ポリマー100重量部に対し、色素成分を0.01〜5重量部含有する、粘着剤層。 - 前記アクリル系ポリマーは、下記モノマー混合物(a1)、(a2)及び(a3)を構成成分とする、請求項7又は8に記載の粘着剤層。
(a1):ホモポリマーとした時のガラス転移温度が0℃未満である、炭素数4〜12のアルキル基を有するアルキル(メタ)アクリレートモノマー
(a2):分子内に少なくとも1の窒素原子と1のエチレン性不飽和結合とを有するモノマー
(a3):ホモポリマーとした時のガラス転移温度が0℃以上である、分子内に1のエチレン性不飽和結合を有するモノマー(前記(a2)は除く) - 前記モノマー混合物において、(a1)、(a2)及び(a3)の合計量(100重量%)中の(a1)の含有量が50〜80重量%であり、(a2)の含有量が5〜40重量%であり、(a3)の含有量が5〜40重量%である請求項9記載の粘着剤層。
Priority Applications (6)
| Application Number | Priority Date | Filing Date | Title |
|---|---|---|---|
| JP2012024433A JP2013159743A (ja) | 2012-02-07 | 2012-02-07 | 粘着剤積層物の剥離方法およびそれに用いる粘着剤層 |
| KR1020130008444A KR20130091262A (ko) | 2012-02-07 | 2013-01-25 | 점착제 적층물의 박리 방법 및 그에 이용하는 점착제층 |
| TW102103196A TW201335304A (zh) | 2012-02-07 | 2013-01-28 | 黏著劑積層物之剝離方法及用於其之黏著劑層 |
| CN2013100487588A CN103242752A (zh) | 2012-02-07 | 2013-02-06 | 粘合剂层叠物的剥离方法以及使用其的粘合剂层 |
| US13/760,807 US20130199732A1 (en) | 2012-02-07 | 2013-02-06 | Method of stripping multiple plies of a pressure-sensitive adhesive layer, and a pressure-sensitive adhesive layer used therein |
| EP13154403.3A EP2626395A2 (en) | 2012-02-07 | 2013-02-07 | Method of stripping multiple plies of a pressure-sensitive adhesive layer, and a pressure-sensitive adhesive layer used therein |
Applications Claiming Priority (1)
| Application Number | Priority Date | Filing Date | Title |
|---|---|---|---|
| JP2012024433A JP2013159743A (ja) | 2012-02-07 | 2012-02-07 | 粘着剤積層物の剥離方法およびそれに用いる粘着剤層 |
Publications (1)
| Publication Number | Publication Date |
|---|---|
| JP2013159743A true JP2013159743A (ja) | 2013-08-19 |
Family
ID=47666024
Family Applications (1)
| Application Number | Title | Priority Date | Filing Date |
|---|---|---|---|
| JP2012024433A Pending JP2013159743A (ja) | 2012-02-07 | 2012-02-07 | 粘着剤積層物の剥離方法およびそれに用いる粘着剤層 |
Country Status (6)
| Country | Link |
|---|---|
| US (1) | US20130199732A1 (ja) |
| EP (1) | EP2626395A2 (ja) |
| JP (1) | JP2013159743A (ja) |
| KR (1) | KR20130091262A (ja) |
| CN (1) | CN103242752A (ja) |
| TW (1) | TW201335304A (ja) |
Cited By (11)
| Publication number | Priority date | Publication date | Assignee | Title |
|---|---|---|---|---|
| CN104385770A (zh) * | 2014-12-05 | 2015-03-04 | 四川科伦药业股份有限公司 | 一种基于药用包装的三层复合膜的剥离方法 |
| JP2017186456A (ja) * | 2016-04-06 | 2017-10-12 | Dic株式会社 | 粘着テープ及び物品の解体方法 |
| JP2018087335A (ja) * | 2015-07-21 | 2018-06-07 | ソニー株式会社 | 両面粘着テープ、当該両面粘着テープを備える電子機器、前記両面粘着テープを備えた解体構造、接着構造 |
| JPWO2020196756A1 (ja) * | 2019-03-28 | 2020-10-01 | ||
| JPWO2020196757A1 (ja) * | 2019-03-28 | 2020-10-01 | ||
| WO2020196755A1 (ja) * | 2019-03-28 | 2020-10-01 | リンテック株式会社 | 粘着シート、粘着シートの製造方法及び半導体装置の製造方法 |
| WO2020196758A1 (ja) * | 2019-03-28 | 2020-10-01 | リンテック株式会社 | 粘着シート、粘着シートの製造方法及び半導体装置の製造方法 |
| WO2022085546A1 (ja) * | 2020-10-19 | 2022-04-28 | 日東電工株式会社 | 剥離方法 |
| US11443985B2 (en) | 2018-03-29 | 2022-09-13 | Lintec Corporation | Discrete piece forming device and discrete piece forming method |
| JP2023049530A (ja) * | 2021-09-29 | 2023-04-10 | 日東電工株式会社 | 電子部品仮固定用粘着シートおよび電子部品の処理方法 |
| JP2023049529A (ja) * | 2021-09-29 | 2023-04-10 | 日東電工株式会社 | 電子部品仮固定用粘着シートおよび電子部品の処理方法 |
Families Citing this family (24)
| Publication number | Priority date | Publication date | Assignee | Title |
|---|---|---|---|---|
| US7633033B2 (en) | 2004-01-09 | 2009-12-15 | General Lasertronics Corporation | Color sensing for laser decoating |
| US8536483B2 (en) | 2007-03-22 | 2013-09-17 | General Lasertronics Corporation | Methods for stripping and modifying surfaces with laser-induced ablation |
| US8039817B2 (en) | 2008-05-05 | 2011-10-18 | Illumina, Inc. | Compensator for multiple surface imaging |
| US10112257B1 (en) | 2010-07-09 | 2018-10-30 | General Lasertronics Corporation | Coating ablating apparatus with coating removal detection |
| JP5977532B2 (ja) * | 2012-02-20 | 2016-08-24 | 東京応化工業株式会社 | 支持体分離方法及び支持体分離装置 |
| US9895771B2 (en) | 2012-02-28 | 2018-02-20 | General Lasertronics Corporation | Laser ablation for the environmentally beneficial removal of surface coatings |
| US9352315B2 (en) | 2013-09-27 | 2016-05-31 | Taiwan Semiconductor Manufacturing Company, Ltd. | Method to produce chemical pattern in micro-fluidic structure |
| US10086597B2 (en) * | 2014-01-21 | 2018-10-02 | General Lasertronics Corporation | Laser film debonding method |
| US8899318B1 (en) | 2014-04-24 | 2014-12-02 | Ronald C. Parsons | Applying an aggregate to expandable tubular |
| JP6572812B2 (ja) * | 2016-03-23 | 2019-09-11 | 横浜ゴム株式会社 | 音響透過性部材 |
| US10340251B2 (en) * | 2017-04-26 | 2019-07-02 | Nxp Usa, Inc. | Method for making an electronic component package |
| CN110509624A (zh) * | 2017-12-28 | 2019-11-29 | 日东电工株式会社 | 层叠体的制造方法 |
| WO2019176078A1 (ja) * | 2018-03-16 | 2019-09-19 | 株式会社 東芝 | 透明電極の製造方法および製造装置 |
| NL2021377B1 (en) | 2018-07-03 | 2020-01-08 | Illumina Inc | Interposer with first and second adhesive layers |
| JP6897642B2 (ja) * | 2018-08-31 | 2021-07-07 | カシオ計算機株式会社 | 熱膨張性シート、熱膨張性シートの製造方法、造形物及び造形物の製造方法 |
| KR102178626B1 (ko) * | 2018-10-30 | 2020-11-16 | 에이피시스템 주식회사 | 적층구조물 박리 방법, 유기발광소자 수리 방법 및 적층구조물 박리장치 |
| CN113165343A (zh) * | 2018-11-19 | 2021-07-23 | 日产化学株式会社 | 光照射剥离用粘接剂组合物、层叠体、层叠体的制造方法以及剥离方法 |
| JP2021024991A (ja) * | 2019-08-08 | 2021-02-22 | 日東電工株式会社 | 被着体の剥離方法および粘着剤組成物 |
| CN114846098B (zh) * | 2019-12-20 | 2025-08-05 | 日东电工株式会社 | 粘合片 |
| CN114829525B (zh) * | 2019-12-20 | 2025-08-05 | 日东电工株式会社 | 粘合片 |
| CN114591697A (zh) * | 2020-12-07 | 2022-06-07 | 德莎欧洲股份公司 | 一种激光辅助粘合胶带及包含所述胶带的密封结构 |
| CN113046010A (zh) * | 2021-03-19 | 2021-06-29 | 立铠精密科技(盐城)有限公司 | 一种保护胶体及其使用方法 |
| TWI854276B (zh) * | 2022-08-12 | 2024-09-01 | 梭特科技股份有限公司 | 利用熱對流作用防止微粒附著於基板的固晶方法 |
| CN117123925A (zh) * | 2023-08-25 | 2023-11-28 | 广东工业大学 | 一种复合材料多层粘接件激光脱粘方法及装置 |
Citations (11)
| Publication number | Priority date | Publication date | Assignee | Title |
|---|---|---|---|---|
| JPH11302610A (ja) * | 1998-04-23 | 1999-11-02 | Nitto Denko Corp | 加熱剥離型粘着シート |
| JP2003286471A (ja) * | 2002-03-28 | 2003-10-10 | Mitsui Chemicals Inc | 易剥離性水性接着剤組成物 |
| US6855760B1 (en) * | 1999-05-26 | 2005-02-15 | Henkel Kommanditgesellschaft Auf Aktien | Detachable adhesive compounds |
| JP2006522197A (ja) * | 2003-04-01 | 2006-09-28 | ディ‐ボンディング・リミテッド | 接着界面の接合および剥離のための方法および装置 |
| JP2007109799A (ja) * | 2005-10-12 | 2007-04-26 | Shibuya Kogyo Co Ltd | 板状物品のピックアップ方法およびその装置 |
| JP2009120807A (ja) * | 2007-10-22 | 2009-06-04 | Nitto Denko Corp | 加熱発泡型再剥離性アクリル系粘着テープ又はシート |
| JP2010077301A (ja) * | 2008-09-26 | 2010-04-08 | Sekisui Chem Co Ltd | 研磨布固定用両面粘着テープ |
| JP2010134466A (ja) * | 2001-07-16 | 2010-06-17 | Semiconductor Energy Lab Co Ltd | 発光装置の作製方法及び液晶表示装置の作製方法 |
| JP2010138220A (ja) * | 2008-12-09 | 2010-06-24 | Nitto Denko Corp | 発泡シート製造方法及び発泡シート |
| JP2011246725A (ja) * | 2010-03-24 | 2011-12-08 | Sekisui Chem Co Ltd | 接着剤組成物及び接着テープ |
| JP2012007047A (ja) * | 2010-06-23 | 2012-01-12 | Nitto Denko Corp | 再剥離粘着テープおよびその製造方法 |
Family Cites Families (2)
| Publication number | Priority date | Publication date | Assignee | Title |
|---|---|---|---|---|
| JP4730800B2 (ja) | 2001-06-27 | 2011-07-20 | 日東電工株式会社 | 感圧性接着シートの製造方法および感圧性接着シート |
| JP5404174B2 (ja) | 2009-05-14 | 2014-01-29 | 日東電工株式会社 | 熱剥離性感圧接着テープ又はシート |
-
2012
- 2012-02-07 JP JP2012024433A patent/JP2013159743A/ja active Pending
-
2013
- 2013-01-25 KR KR1020130008444A patent/KR20130091262A/ko not_active Withdrawn
- 2013-01-28 TW TW102103196A patent/TW201335304A/zh unknown
- 2013-02-06 US US13/760,807 patent/US20130199732A1/en not_active Abandoned
- 2013-02-06 CN CN2013100487588A patent/CN103242752A/zh active Pending
- 2013-02-07 EP EP13154403.3A patent/EP2626395A2/en not_active Withdrawn
Patent Citations (11)
| Publication number | Priority date | Publication date | Assignee | Title |
|---|---|---|---|---|
| JPH11302610A (ja) * | 1998-04-23 | 1999-11-02 | Nitto Denko Corp | 加熱剥離型粘着シート |
| US6855760B1 (en) * | 1999-05-26 | 2005-02-15 | Henkel Kommanditgesellschaft Auf Aktien | Detachable adhesive compounds |
| JP2010134466A (ja) * | 2001-07-16 | 2010-06-17 | Semiconductor Energy Lab Co Ltd | 発光装置の作製方法及び液晶表示装置の作製方法 |
| JP2003286471A (ja) * | 2002-03-28 | 2003-10-10 | Mitsui Chemicals Inc | 易剥離性水性接着剤組成物 |
| JP2006522197A (ja) * | 2003-04-01 | 2006-09-28 | ディ‐ボンディング・リミテッド | 接着界面の接合および剥離のための方法および装置 |
| JP2007109799A (ja) * | 2005-10-12 | 2007-04-26 | Shibuya Kogyo Co Ltd | 板状物品のピックアップ方法およびその装置 |
| JP2009120807A (ja) * | 2007-10-22 | 2009-06-04 | Nitto Denko Corp | 加熱発泡型再剥離性アクリル系粘着テープ又はシート |
| JP2010077301A (ja) * | 2008-09-26 | 2010-04-08 | Sekisui Chem Co Ltd | 研磨布固定用両面粘着テープ |
| JP2010138220A (ja) * | 2008-12-09 | 2010-06-24 | Nitto Denko Corp | 発泡シート製造方法及び発泡シート |
| JP2011246725A (ja) * | 2010-03-24 | 2011-12-08 | Sekisui Chem Co Ltd | 接着剤組成物及び接着テープ |
| JP2012007047A (ja) * | 2010-06-23 | 2012-01-12 | Nitto Denko Corp | 再剥離粘着テープおよびその製造方法 |
Cited By (20)
| Publication number | Priority date | Publication date | Assignee | Title |
|---|---|---|---|---|
| CN104385770A (zh) * | 2014-12-05 | 2015-03-04 | 四川科伦药业股份有限公司 | 一种基于药用包装的三层复合膜的剥离方法 |
| JP2018087335A (ja) * | 2015-07-21 | 2018-06-07 | ソニー株式会社 | 両面粘着テープ、当該両面粘着テープを備える電子機器、前記両面粘着テープを備えた解体構造、接着構造 |
| US11306223B2 (en) | 2015-07-21 | 2022-04-19 | Sony Corporation | Double-sided adhesive tape, electronic instrument provided with double-sided adhesive tape, disassembly structure provided with double-sided adhesive tape, and adhered structure |
| JP2017186456A (ja) * | 2016-04-06 | 2017-10-12 | Dic株式会社 | 粘着テープ及び物品の解体方法 |
| US11443985B2 (en) | 2018-03-29 | 2022-09-13 | Lintec Corporation | Discrete piece forming device and discrete piece forming method |
| WO2020196756A1 (ja) * | 2019-03-28 | 2020-10-01 | リンテック株式会社 | 粘着シートの製造方法、半導体装置の製造方法及び粘着シート |
| WO2020196755A1 (ja) * | 2019-03-28 | 2020-10-01 | リンテック株式会社 | 粘着シート、粘着シートの製造方法及び半導体装置の製造方法 |
| JPWO2020196755A1 (ja) * | 2019-03-28 | 2020-10-01 | ||
| WO2020196757A1 (ja) * | 2019-03-28 | 2020-10-01 | リンテック株式会社 | 粘着シート、粘着シートの製造方法及び半導体装置の製造方法 |
| WO2020196758A1 (ja) * | 2019-03-28 | 2020-10-01 | リンテック株式会社 | 粘着シート、粘着シートの製造方法及び半導体装置の製造方法 |
| JPWO2020196757A1 (ja) * | 2019-03-28 | 2020-10-01 | ||
| JPWO2020196756A1 (ja) * | 2019-03-28 | 2020-10-01 | ||
| JPWO2022085546A1 (ja) * | 2020-10-19 | 2022-04-28 | ||
| WO2022085546A1 (ja) * | 2020-10-19 | 2022-04-28 | 日東電工株式会社 | 剥離方法 |
| US12258499B2 (en) | 2020-10-19 | 2025-03-25 | Nitto Denko Corporation | Peeling method |
| JP7726904B2 (ja) | 2020-10-19 | 2025-08-20 | 日東電工株式会社 | 剥離方法 |
| JP2023049530A (ja) * | 2021-09-29 | 2023-04-10 | 日東電工株式会社 | 電子部品仮固定用粘着シートおよび電子部品の処理方法 |
| JP2023049529A (ja) * | 2021-09-29 | 2023-04-10 | 日東電工株式会社 | 電子部品仮固定用粘着シートおよび電子部品の処理方法 |
| JP7764180B2 (ja) | 2021-09-29 | 2025-11-05 | 日東電工株式会社 | 電子部品仮固定用粘着シートおよび電子部品の処理方法 |
| JP7766445B2 (ja) | 2021-09-29 | 2025-11-10 | 日東電工株式会社 | 電子部品仮固定用粘着シートおよび電子部品の処理方法 |
Also Published As
| Publication number | Publication date |
|---|---|
| CN103242752A (zh) | 2013-08-14 |
| EP2626395A2 (en) | 2013-08-14 |
| TW201335304A (zh) | 2013-09-01 |
| KR20130091262A (ko) | 2013-08-16 |
| US20130199732A1 (en) | 2013-08-08 |
Similar Documents
| Publication | Publication Date | Title |
|---|---|---|
| JP2013159743A (ja) | 粘着剤積層物の剥離方法およびそれに用いる粘着剤層 | |
| JP5483835B2 (ja) | 加熱発泡型再剥離性アクリル系粘着テープ又はシート | |
| JP2013047321A (ja) | 粘着シート | |
| EP2080793B1 (en) | Thermally foamable repeelable acrylic pressure-sensitive adhesive tape or sheet | |
| CN109628026B (zh) | 丙烯酸类粘合剂组合物及粘合片 | |
| JP2012117040A (ja) | 粘着テープ又はシート | |
| WO2010122942A1 (ja) | 加熱膨張型再剥離性アクリル系粘着テープ又はシート | |
| US20130081764A1 (en) | Heat-expandable removable pressure-sensitive adhesive tape or sheet, and method of removing the same | |
| JP2012117041A (ja) | 粘着剤組成物、粘着剤層、及び、粘着テープ又はシート | |
| JP2013133464A (ja) | ガラス板用粘着シート | |
| WO2016021373A1 (ja) | 粘着シート | |
| JP2019070103A (ja) | 粘着シート | |
| JP2013253239A (ja) | 金属面保護用粘着シート | |
| JP2015034265A (ja) | 易解体型両面粘着シート、及びその貼付方法 | |
| JP2019099635A (ja) | 粘着シート | |
| WO2015118960A1 (ja) | 粘着シート | |
| JP7437151B2 (ja) | 粘着テープ | |
| JP2019094501A (ja) | 粘着シート |
Legal Events
| Date | Code | Title | Description |
|---|---|---|---|
| A621 | Written request for application examination |
Free format text: JAPANESE INTERMEDIATE CODE: A621 Effective date: 20141105 |
|
| A977 | Report on retrieval |
Free format text: JAPANESE INTERMEDIATE CODE: A971007 Effective date: 20150624 |
|
| A131 | Notification of reasons for refusal |
Free format text: JAPANESE INTERMEDIATE CODE: A131 Effective date: 20150707 |
|
| A521 | Request for written amendment filed |
Free format text: JAPANESE INTERMEDIATE CODE: A523 Effective date: 20150903 |
|
| A02 | Decision of refusal |
Free format text: JAPANESE INTERMEDIATE CODE: A02 Effective date: 20151110 |
