[go: up one dir, main page]

JP2011050428A - Rotary cleaning body and suction port body - Google Patents

Rotary cleaning body and suction port body Download PDF

Info

Publication number
JP2011050428A
JP2011050428A JP2009199743A JP2009199743A JP2011050428A JP 2011050428 A JP2011050428 A JP 2011050428A JP 2009199743 A JP2009199743 A JP 2009199743A JP 2009199743 A JP2009199743 A JP 2009199743A JP 2011050428 A JP2011050428 A JP 2011050428A
Authority
JP
Japan
Prior art keywords
rotary cleaning
end cap
hair
bearing
suction port
Prior art date
Legal status (The legal status is an assumption and is not a legal conclusion. Google has not performed a legal analysis and makes no representation as to the accuracy of the status listed.)
Granted
Application number
JP2009199743A
Other languages
Japanese (ja)
Other versions
JP5366719B2 (en
Inventor
Hitoshi Suzuki
仁 鈴木
Current Assignee (The listed assignees may be inaccurate. Google has not performed a legal analysis and makes no representation or warranty as to the accuracy of the list.)
Toshiba Corp
Toshiba Lifestyle Products and Services Corp
Original Assignee
Toshiba Corp
Toshiba Consumer Electronics Holdings Corp
Toshiba Home Appliances Corp
Priority date (The priority date is an assumption and is not a legal conclusion. Google has not performed a legal analysis and makes no representation as to the accuracy of the date listed.)
Filing date
Publication date
Application filed by Toshiba Corp, Toshiba Consumer Electronics Holdings Corp, Toshiba Home Appliances Corp filed Critical Toshiba Corp
Priority to JP2009199743A priority Critical patent/JP5366719B2/en
Publication of JP2011050428A publication Critical patent/JP2011050428A/en
Application granted granted Critical
Publication of JP5366719B2 publication Critical patent/JP5366719B2/en
Expired - Fee Related legal-status Critical Current
Anticipated expiration legal-status Critical

Links

Images

Landscapes

  • Nozzles For Electric Vacuum Cleaners (AREA)

Abstract

【課題】回転清掃体の軸受部へ髪の毛などが進入するのを防止するとともに、ハサミなどを用いずに、軸部に絡んだ毛を容易に除去できる回転清掃体を提供する。また、軸部に絡んだ毛を容易に除去できる吸込口体を提供する。
【解決手段】本回転清掃体は、回転駆動される回転清掃部材と、この回転清掃部材を連結シャフトにより軸支する軸受と、回転清掃部材の端部に設けられたエンドキャップと、このエンドキャップと軸受間に、エンドキャップと分離可能に設けられた円板体と、連結シャフトに外嵌され、かつ円板体とエンドキャップ間に設けられ、円板体およびエンドキャップの直径よりも小さな外径を有する回転部材とを備え、エンドキャップと軸受間に分離可能な毛溜部が形成され、円板体とエンドキャップが分割された状態で、回転部材の少なくとも一端部が開放される。また、本回転清掃体を用いた吸込口体。
【選択図】 図5
Provided is a rotary cleaning body capable of preventing hair from entering a bearing portion of the rotary cleaning body and easily removing hair entangled with a shaft portion without using scissors or the like. Moreover, the suction inlet body which can remove easily the hair entangled in the axial part is provided.
The rotary cleaning body includes a rotary cleaning member that is rotationally driven, a bearing that supports the rotary cleaning member by a connecting shaft, an end cap that is provided at an end of the rotary cleaning member, and the end cap. A disc body that is separable from the end cap and between the bearing and the bearing, and is externally fitted to the connecting shaft and provided between the disc body and the end cap, and is smaller than the diameter of the disc body and the end cap. A rotary member having a diameter is provided, a separable hair portion is formed between the end cap and the bearing, and at least one end of the rotary member is opened in a state where the disc body and the end cap are divided. Moreover, the suction inlet body using this rotary cleaning body.
[Selection] Figure 5

Description

本発明は回転清掃体、吸込口体に係り、特に回転清掃体の軸受部に巻き付いた髪の毛などを容易に取り除ける回転清掃体およびこれを備えた吸込口体に関する。   The present invention relates to a rotary cleaning body and a suction port body, and more particularly to a rotary cleaning body that can easily remove hair wound around a bearing portion of the rotary cleaning body and a suction port body including the rotary cleaning body.

一般に電気掃除機は、掃除機本体に集塵室と、この集塵室に吸込負圧を作用させる電動送風機とを設け、集塵室に集塵ホースを連結し、さらに、この集塵ホースの先端に回転清掃体を備えた吸込口体を設けている。   Generally, a vacuum cleaner is provided with a dust collecting chamber and an electric blower that applies a suction negative pressure to the dust collecting chamber, and a dust collecting hose is connected to the dust collecting chamber. A suction port body provided with a rotary cleaning body is provided at the tip.

そして、回転清掃体に設けた回転清掃部材を回転させながら、吸込口体を被清掃面に当接して移動させ、吸込口体から含塵空気を集塵ホースを介して集塵室に吸込み、除塵している。   Then, while rotating the rotary cleaning member provided in the rotary cleaning body, the suction port body is moved in contact with the surface to be cleaned, and dust-containing air is sucked into the dust collection chamber from the suction port body via the dust collection hose, Dust is removed.

従来、回転清掃部材に複数取り付けられた清掃部材の外周に巻き付いた糸ごみ,綿ごみ等の塵埃は、清掃部材に巻き付いた後、ガイドリブに当たると糸ごみ,綿ごみ等の塵埃に分力が働きガイドリブの傾斜に沿いながら複数個のガイドリブを移動し、吸気口まで移動した後、この吸気口から集塵室に捕集される。   Conventionally, dust, cotton dust, etc., wrapped around the outer periphery of a cleaning member attached to a rotary cleaning member, wraps around the cleaning member and then hits the guide ribs, so that component forces act on the dust, cotton dust, etc. A plurality of guide ribs are moved along the inclination of the guide ribs, moved to the intake port, and then collected in the dust collecting chamber from the intake port.

しかし、清掃部材を毛からなるブラシで構成した場合、糸や髪の毛といった塵埃を吸い込むと、糸や髪の毛がブラシの毛の間に入り込んでブラシの毛の根元まで達し、糸や髪の毛が回転清掃部材に絡み付く。   However, when the cleaning member is composed of a brush made of hair, if dust such as thread or hair is sucked in, the thread or hair enters between the brush hairs and reaches the root of the brush hair, and the thread or hair becomes a rotating cleaning member. Entangled in.

また、従来は、回転清掃部材の芯体の外周に帯状の清掃部材を設け、この清掃部材の根元部を帯状の塩化ビニルで構成し、先端部を帯状のフェルトで構成した場合、清掃部材を帯状の塩化ビニル及び帯状のフェルトで構成することにより、髪の毛や糸くずが清掃部材に入り込むのを防止し、回転清掃部材への巻き付きを防止している。   Further, conventionally, when a belt-like cleaning member is provided on the outer periphery of the core of the rotary cleaning member, the base part of the cleaning member is made of a belt-like vinyl chloride, and the tip part is made of a belt-like felt, the cleaning member is By comprising the belt-like vinyl chloride and the belt-like felt, hair and lint are prevented from entering the cleaning member, and winding around the rotary cleaning member is prevented.

しかし、回転清掃部材の清掃部材として刷毛を用いた場合、絨毯等の掃除面から掻き出された糸屑や髪の毛が、回転清掃部材の刷毛の毛と毛の間に入り込んでしまい、回転清掃部材に巻き付いてしまうといった欠点があった。   However, when a brush is used as the cleaning member of the rotary cleaning member, the lint and the hair scraped from the cleaning surface of the carpet or the like enter between the brush hairs of the rotary cleaning member, and the rotary cleaning member There was a drawback of being wound around.

そのため、回転清掃部材に巻き付いた糸屑や髪の毛を取り除くためには、使用者がカッターやハサミを使って取り除く必要があり、煩わしいものであった。   Therefore, in order to remove the lint and hair wound around the rotary cleaning member, it is necessary for the user to remove it with a cutter or scissors, which is troublesome.

このため、吸込口体内に、回転清掃部材の回転方向に対して前方側が吸込口側に向かって傾斜したリブを設け、このリブは回転清掃部材の回転時、この回転清掃部材の外周に設けた清掃部材と接する吸込口体が提案されている(例えば、特許文献1参照)。   For this reason, a rib whose front side is inclined toward the suction port side with respect to the rotation direction of the rotary cleaning member is provided in the suction port body, and this rib is provided on the outer periphery of the rotary cleaning member when the rotary cleaning member rotates. A suction port that comes into contact with the cleaning member has been proposed (see, for example, Patent Document 1).

しかしながら、特許文献1に記載の吸込口体は、軸受部への髪の毛などの進入は防止されるが、ハサミなどを用いずに、軸部に絡んだ毛を容易に除去できる構造にはなっていない。   However, although the suction inlet body described in Patent Document 1 prevents hair from entering the bearing portion, it has a structure that can easily remove hair entangled with the shaft portion without using scissors or the like. Absent.

特開2008−382号公報JP 2008-382 A

回転清掃体の軸受部へ髪の毛などが進入するのを防止するとともに、ハサミなどを用いずに、軸部に絡んだ毛を容易に除去できる回転清掃体およびこの回転清掃体を備えた吸込口体を提供することを目的とする。   A rotary cleaning body that prevents hair from entering the bearing portion of the rotary cleaning body and that can easily remove hair entangled with the shaft without using scissors or the like, and a suction port body equipped with the rotary cleaning body The purpose is to provide.

上述した目的を達成するため、本発明に係る回転清掃体は、回転駆動される回転清掃部材と、この回転清掃部材を連結シャフトにより軸支する軸受と、前記回転清掃部材の端部に設けられたエンドキャップと、このエンドキャップと前記軸受間に、前記エンドキャップと分離可能に設けられた円板体と、前記連結シャフトに外嵌され、かつ前記円板体と前記エンドキャップ間に設けられ、前記円板体および前記エンドキャップの直径よりも小さな外径を有する回転部材とを備え、前記エンドキャップと前記軸受間に分離可能な毛溜部が形成され、前記円板体と前記エンドキャップが分割された状態で、前記回転部材の少なくとも一端部が開放されることを特徴とする。   In order to achieve the above-described object, a rotary cleaning body according to the present invention is provided at a rotary cleaning member that is rotationally driven, a bearing that pivotally supports the rotary cleaning member by a connecting shaft, and an end of the rotary cleaning member. An end cap, a disc body provided between the end cap and the bearing so as to be separable from the end cap, and externally fitted to the connecting shaft, and provided between the disc body and the end cap. And a rotating member having an outer diameter smaller than the diameter of the disc body and the end cap, and a separable hair portion is formed between the end cap and the bearing, and the disc body and the end cap. At least one end portion of the rotating member is opened in a state where is divided.

本発明によれば、回転清掃体の軸受部へ髪の毛などが進入するのを防止するとともに、ハサミなどを用いずに、軸部に絡んだ毛を容易に除去できる回転清掃体を提供することができる。   According to the present invention, it is possible to provide a rotary cleaning body that can prevent hairs and the like from entering the bearing portion of the rotary cleaning body and can easily remove hair entangled with the shaft portion without using scissors or the like. it can.

また、本発明によれば、回転清掃体の軸受部へ髪の毛などが進入するのを防止するとともに、ハサミなどを用いずに、軸部に絡んだ毛を容易に除去できる回転清掃体を備えた吸込口体を提供することができる。   In addition, according to the present invention, the rotary cleaning body is provided that prevents hair from entering the bearing portion of the rotary cleaning body and can easily remove hair entangled with the shaft portion without using scissors or the like. A suction port can be provided.

本発明の一実施形態に係る回転清掃体および吸込口体を用いた電気掃除機の概念図。The conceptual diagram of the vacuum cleaner using the rotary cleaning body and suction inlet which concern on one Embodiment of this invention. 本発明の一実施形態に係る吸込口体を分解して示す斜視図。The perspective view which decomposes | disassembles and shows the suction inlet which concerns on one Embodiment of this invention. 本発明の一実施形態に係る吸込口体から本発明の第1実施形態に係る回転清掃体を取り外した状態を示す斜視図。The perspective view which shows the state which removed the rotary cleaning body which concerns on 1st Embodiment of this invention from the suction inlet which concerns on one Embodiment of this invention. 本発明の第1実施形態に用いる回転清掃部材を分解して示す斜視図。The perspective view which decomposes | disassembles and shows the rotary cleaning member used for 1st Embodiment of this invention. 本発明の第1実施形態に係る回転清掃体の正面図。The front view of the rotary cleaning body which concerns on 1st Embodiment of this invention. 本発明の第1実施形態に係る回転清掃体の縦断面図。The longitudinal cross-sectional view of the rotary cleaning body which concerns on 1st Embodiment of this invention. 本発明の第1実施形態に係る回転清掃体を分解して示す斜視図。The perspective view which decomposes | disassembles and shows the rotary cleaning body which concerns on 1st Embodiment of this invention. 本発明の第1実施形態に係る回転清掃体の駆動側軸部近傍を示す正面図。The front view which shows the drive side axial part vicinity of the rotary cleaning body which concerns on 1st Embodiment of this invention. 本発明の第1実施形態に係る回転清掃体の駆動側軸部の分離状態を示す正面図。The front view which shows the isolation | separation state of the drive side axial part of the rotary cleaning body which concerns on 1st Embodiment of this invention. 本発明の第1実施形態に係る回転清掃体の駆動側軸部と軸受の分離状態を示す斜視図。The perspective view which shows the isolation | separation state of the drive side axial part and bearing of the rotary cleaning body which concerns on 1st Embodiment of this invention. 本発明の第1実施形態に係る回転清掃体の非駆動側軸部近傍を示す正面図。The front view which shows the non-driving side axial part vicinity of the rotary cleaning body which concerns on 1st Embodiment of this invention. 本発明の第1実施形態に係る回転清掃体の非駆動側軸部の分離状態を示す正面図。The front view which shows the isolation | separation state of the non-drive side axial part of the rotary cleaning body which concerns on 1st Embodiment of this invention. 本発明の第1実施形態に係る回転清掃体の非駆動側軸部と軸受の分離状態を示す斜視図。The perspective view which shows the isolation | separation state of the non-drive side axial part and bearing of the rotary cleaning body which concerns on 1st Embodiment of this invention. 本発明の第1実施形態に係る回転清掃体の吸込口体を裏面から見た非駆動側軸部近傍の斜視図。The perspective view of the non-driving side axial part vicinity which looked at the suction inlet of the rotary cleaning body which concerns on 1st Embodiment of this invention from the back surface. 本発明の第1実施形態に係る回転清掃体の吸込口体を裏面から見た駆動側軸部近傍の斜視図。The perspective view of the drive side axial part vicinity which looked at the suction inlet of the rotary cleaning body which concerns on 1st Embodiment of this invention from the back surface. 本発明の第1実施形態に係る回転清掃体の軸部に絡み付いた髪の毛などの状態を示す概念図。The conceptual diagram which shows states, such as the hair entangled in the axial part of the rotary cleaning body which concerns on 1st Embodiment of this invention. 本発明の第2実施形態に係る回転清掃体の非駆動側軸部近傍を示す断面図。Sectional drawing which shows the non-driving side axial part vicinity of the rotary cleaning body which concerns on 2nd Embodiment of this invention. 本発明の第2実施形態に係る回転清掃体の非駆動側軸部の分離状態を示す正面図。The front view which shows the isolation | separation state of the non-drive side axial part of the rotary cleaning body which concerns on 2nd Embodiment of this invention. 本発明の第2実施形態に係る回転清掃体の非駆動側軸部近傍を示す断面図。Sectional drawing which shows the non-driving side axial part vicinity of the rotary cleaning body which concerns on 2nd Embodiment of this invention. 本発明の第2実施形態に係る回転清掃体の非駆動側軸部の分離状態を示す正面図。The front view which shows the isolation | separation state of the non-drive side axial part of the rotary cleaning body which concerns on 2nd Embodiment of this invention. 本発明の第3実施形態に係る回転清掃体の非駆動側軸部近傍を示す断面図。Sectional drawing which shows the non-driving side axial part vicinity of the rotary cleaning body which concerns on 3rd Embodiment of this invention. 本発明の第3実施形態に係る回転清掃体の非駆動側軸部の分離状態を示す正面図。The front view which shows the isolation | separation state of the non-drive side axial part of the rotary cleaning body which concerns on 3rd Embodiment of this invention.

本発明の第1実施形態に係る回転清掃体およびこれを用いた吸込口体の一実施形態について図面を参照して説明する。   An embodiment of a rotary cleaning body and a suction port body using the same according to a first embodiment of the present invention will be described with reference to the drawings.

図1に示すように、本第1実施形態の吸込口体50は、電気掃除機100に用いられる。   As shown in FIG. 1, the suction port body 50 of the first embodiment is used in a vacuum cleaner 100.

そして、電気掃除機100は、掃除機本体101と、この掃除機本体101の前部に形成されたホース接続口101aに一端が着脱可能に接続された集塵ホース102と、この集塵ホース102の他端に接続され、設定ボタン103aおよび把手部103bを備えた手元操作パイプ103と、この手元操作パイプ103に着脱自在に接続された延長管104と、この延長管104の先端に着脱自在に接続された床ブラシである本吸込口体50とを備える。   The vacuum cleaner 100 includes a vacuum cleaner main body 101, a dust collection hose 102 having one end detachably connected to a hose connection port 101a formed at the front of the vacuum cleaner main body 101, and the dust collection hose 102. A hand operation pipe 103 having a setting button 103a and a handle portion 103b, an extension pipe 104 detachably connected to the hand operation pipe 103, and a tip of the extension pipe 104. And a main suction port body 50 which is a connected floor brush.

掃除機本体101の内部には、集塵ホース102に連通し、いずれも図示しない、高速で流れる空気中に含まれる塵埃を重力差で分離する方式を採用した第1の塵埃除去手段と、プリーツフィルタからなる第2の塵埃除去手段とから構成される集塵ユニットを備えた集塵室105と、両塵埃除去手段で集塵された塵埃を一時的に溜める集塵容器(図示せず)、集塵室105に吸込負圧を作用させる電動送風機106とが設けられる。   Inside the vacuum cleaner main body 101, there is a first dust removing means that communicates with the dust collecting hose 102 and that employs a method of separating dust contained in the air flowing at high speed by a difference in gravity, both not shown. A dust collecting chamber 105 having a dust collecting unit composed of a second dust removing means comprising a filter, and a dust collecting container (not shown) for temporarily storing the dust collected by both dust removing means, An electric blower 106 that applies suction negative pressure to the dust collection chamber 105 is provided.

図2および図3に示すように、本吸込口体50は、吸込口体本体としての横長のケース体51と、このケース体51の後部に設けられた接続管52とを備える。   As shown in FIGS. 2 and 3, the suction port body 50 includes a horizontally long case body 51 as a suction port body main body and a connecting pipe 52 provided at the rear portion of the case body 51.

本第1実施形態の回転清掃体1が、ケース体51に脱着自在に収容され、このケース体51は、上側が開放されケース体51の下部をなす下ケース53と、この下ケース53の上部の後側を覆い、下ケース53との間で回転管54を回転自在に挟持する上ケース55と、この上ケース55の前部に取り付けられた蓋部としての前カバー56とを備える。   The rotary cleaning body 1 according to the first embodiment is detachably accommodated in a case body 51. The case body 51 includes a lower case 53 that is open on the upper side and forms a lower portion of the case body 51, and an upper portion of the lower case 53. An upper case 55 that covers the rear side and rotatably holds the rotary tube 54 between the lower case 53 and a front cover 56 as a lid attached to the front portion of the upper case 55 are provided.

下ケース53には、吸込口57が設けられ、この吸込口57は主吸込口57Aと前側吸込口57Bからなり、主吸込口57Aは下ケース53の前端部に、回転清掃体1の主部をなす回転清掃部材(回転ブラシ)2を収容するように形成された横長四角形状空間の底面に形成され、さらに、下ケース53の前側すなわち横長四角形状空間の前面に形成される。   The lower case 53 is provided with a suction port 57. The suction port 57 is composed of a main suction port 57A and a front suction port 57B. The main suction port 57A is located at the front end of the lower case 53 and the main part of the rotary cleaning body 1. Is formed on the bottom surface of the horizontally long rectangular space formed so as to accommodate the rotating cleaning member (rotating brush) 2, and is formed on the front side of the lower case 53, that is, on the front surface of the horizontally long rectangular space.

従って、回転清掃部材2が主吸込口57Aおよび前側吸込口57Bに対向して収容される。両吸込口57A、57Bは連通路58、回転管54によって、接続管52に連通される。   Therefore, the rotary cleaning member 2 is accommodated facing the main suction port 57A and the front suction port 57B. Both suction ports 57 </ b> A and 57 </ b> B are communicated with the connection pipe 52 through the communication path 58 and the rotary pipe 54.

さらに、ケース体51には、回転清掃体1に取り付けた回転清掃体ギア18、駆動ベルト59を介して、回転清掃部材2を回転駆動する駆動手段としてのモータ60、回転清掃部材2の安全スイッチとなる安全装置61と、回路基板62がそれぞれ設けられる。   Further, the case body 51 includes a rotary cleaning body gear 18 attached to the rotary cleaning body 1, a motor 60 as driving means for rotationally driving the rotary cleaning member 2 via a drive belt 59, and a safety switch for the rotary cleaning member 2. A safety device 61 and a circuit board 62 are provided.

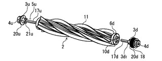
図4〜図7に示すように、本回転清掃体1は、モータ60(図3)により回転駆動される回転清掃部材2と、この回転清掃部材2に動力を伝達する駆動側の軸部3d、非駆動側の軸部3uを介して支持する駆動側の軸受4d、非駆動側の軸受4uと、軸部3d、3uに各々設けた駆動側の毛溜部(毛溜溝)5d、非駆動側の毛溜部5uを備える。   As shown in FIGS. 4 to 7, the rotary cleaning body 1 includes a rotary cleaning member 2 that is rotationally driven by a motor 60 (FIG. 3), and a driving-side shaft portion 3 d that transmits power to the rotary cleaning member 2. , A drive-side bearing 4d supported via a non-drive-side shaft portion 3u, a non-drive-side bearing 4u, and a drive-side hair reservoir portion (hair groove) 5d provided on each of the shaft portions 3d and 3u, non- A drive side hair reservoir 5u is provided.

ここで、軸部3dおよび軸部3uは、本実施形態における回転部材をなし、この回転部材に毛溜部5d、毛溜部5uが設けられる。   Here, the shaft portion 3d and the shaft portion 3u constitute a rotating member in the present embodiment, and the hair reservoir 5d and the hair reservoir 5u are provided on the rotating member.

回転清掃部材2の一側(図中右側)には、駆動側のエンドキャップ6dが取り付けられる。   A drive-side end cap 6d is attached to one side (right side in the figure) of the rotary cleaning member 2.

このエンドキャップ6dには軸孔7dが設けられ、さらに、駆動側の軸部3dより大きな直径を有する円板形状をなし、その一側(内側)で、毛ブラシ群8を保持し毛ブラシ台9の一端に取り付けられ、他側(外側)には、凹凸結合するように、分割面に歯車状に形成された駆動側の係合部10dが設けられる。   The end cap 6d is provided with a shaft hole 7d, and further has a disk shape having a diameter larger than that of the shaft portion 3d on the drive side. A driving-side engaging portion 10d formed in a gear shape on the dividing surface is provided on the other side (outside) so as to be connected to the other side (outside).

毛ブラシ台9は略円筒状をなし、外表面に毛ブラシ11の基端側を保持する溝部12が周方向に略均等に螺旋状に形成され、中心軸上に連結孔13が貫通して設けられる。   The bristle brush base 9 has a substantially cylindrical shape, and a groove portion 12 that holds the proximal end side of the bristle brush 11 is formed on the outer surface substantially in a spiral shape in the circumferential direction, and the connecting hole 13 passes through the central axis. Provided.

毛ブラシ11は基端側が毛ブラシ台9の溝部12にそれぞれ保持されることにより、回転清掃部材2の外周面に対して、この回転清掃部材2の軸方向に沿う螺旋壁状で、かつ、回転清掃部材2の径方向に先端側が突出している。   The bristle brush 11 is held in the groove portion 12 of the bristle brush base 9 on the base end side, so that the bristle brush 11 has a spiral wall shape along the axial direction of the rotary cleaning member 2 with respect to the outer peripheral surface of the rotary cleaning member 2, and The tip side protrudes in the radial direction of the rotary cleaning member 2.

回転清掃部材2の一側と同様に、回転清掃部材2の他側(図中左側)には、非駆動側のエンドキャップ6uが取り付けられる。   Similarly to one side of the rotary cleaning member 2, a non-driving side end cap 6 u is attached to the other side (left side in the drawing) of the rotary cleaning member 2.

このエンドキャップ6uには軸孔7uが設けられ、さらに、非駆動側の軸部3uより大きな直径を有する円板形状をなし、その一側(内側)で、毛ブラシ台9に取り付けられ、他側(外側)の分割面には、係合部10dに着脱自在に係合する歯車状の係合部10uが設けられる。   The end cap 6u is provided with a shaft hole 7u, and further has a disk shape having a larger diameter than the shaft portion 3u on the non-driving side, and is attached to the bristle brush base 9 on one side (inner side), A gear-like engagement portion 10u that is detachably engaged with the engagement portion 10d is provided on the side (outer) dividing surface.

さらに、図8〜図10に示すように、駆動側のエンドキャップ6dには、連結シャフト17dおよびこの連結シャフト17dが外嵌する軸部3dを介して、円板体20dの外周に取り付けられた回転清掃体ギア18および角取りした略正方形の軸受4dが着脱自在に取り付けられる。   Further, as shown in FIGS. 8 to 10, the drive-side end cap 6d is attached to the outer periphery of the disc body 20d via a connecting shaft 17d and a shaft portion 3d on which the connecting shaft 17d is fitted. The rotary cleaning body gear 18 and the rounded substantially square bearing 4d are detachably attached.

軸部3dは、円板体20dと一体に形成され、この円板体20dの外周に一体的に金属製の回転清掃体ギア18が強固に設けられる。   The shaft portion 3d is formed integrally with the disc body 20d, and a metal rotary cleaning body gear 18 is firmly provided integrally on the outer periphery of the disc body 20d.

回転清掃体ギア18を設けた円板体20dおよび軸部3dは連結シャフト17dと共廻りするように連結シャフト17dに強固に嵌合され、軸受4dは連結シャフト17dを回転自在に軸支する。   The disc body 20d provided with the rotary cleaning body gear 18 and the shaft portion 3d are firmly fitted to the connecting shaft 17d so as to rotate together with the connecting shaft 17d, and the bearing 4d rotatably supports the connecting shaft 17d.

また、軸部3dの一端側に軸部側の歯車状の係合部21dが設けられ、この係合部21dが駆動側の係合部10dと係脱し、さらに、連結シャフト17dが軸孔7d(図6)、連結孔13に嵌挿されることで、軸部3d、回転清掃体ギア18を設けた円板体20d、および軸受4dがエンドキャップ6dに着脱自在に取り付けられる。   A shaft-like gear-like engaging portion 21d is provided on one end side of the shaft portion 3d. The engaging portion 21d is engaged with and disengaged from the driving-side engaging portion 10d, and the connecting shaft 17d is connected to the shaft hole 7d. (FIG. 6) The shaft part 3d, the disk body 20d provided with the rotary cleaning body gear 18, and the bearing 4d are detachably attached to the end cap 6d by being inserted into the connecting hole 13.

円板体20dは軸部3dの直径よりも大きく形成されており、すなわち、軸部3dの直径は、円板体20dおよびエンドキャップ6dの直径よりも小さく、軸部3d上のエンドキャップ6dと円板体20d間には、中空リング状の駆動側の分離可能な毛溜部(毛溜溝)5dが形成される。   The disc body 20d is formed larger than the diameter of the shaft portion 3d, that is, the diameter of the shaft portion 3d is smaller than the diameters of the disc body 20d and the end cap 6d, and the end cap 6d on the shaft portion 3d A hollow ring-shaped separable hair portion (hair groove) 5d is formed between the disc bodies 20d.

さらに、軸部3dは図7に示すように、2分割され、この分割された軸部3dの少なくとも一端部3d1は、エンドキャップ6dおよび円板体20dの直径よりも小さくなっている。   Further, as shown in FIG. 7, the shaft portion 3d is divided into two parts, and at least one end portion 3d1 of the divided shaft portion 3d is smaller than the diameters of the end cap 6d and the disk body 20d.

駆動側のエンドキャップ6dと同様に、図11〜図13に示すように、非駆動側のエンドキャップ6uには、軸部3uが外嵌される連結シャフト17uを介して、軸部3uと一体に設けられた円板体20uおよび軸受4uが着脱自在に取り付けられる。   Similarly to the drive-side end cap 6d, as shown in FIGS. 11 to 13, the non-drive-side end cap 6u is integrated with the shaft portion 3u via a connecting shaft 17u on which the shaft portion 3u is fitted. The disc body 20u and the bearing 4u provided in the are detachably attached.

回転清掃部材2の一側(内側)に着脱自在に接続される軸部3uは、この軸部3uの一端側に軸部側の係合部21uが設けられ、この係合部21uが非駆動側の係合部10uと係脱し、さらに、連結シャフト17uが連結孔13(図4)に嵌挿されることで、円板体20uおよび軸受4uがエンドキャップ6uに着脱自在に取り付けられる。   The shaft portion 3u that is detachably connected to one side (inside) of the rotary cleaning member 2 is provided with an engaging portion 21u on the shaft portion side on one end side of the shaft portion 3u, and this engaging portion 21u is not driven. The disc body 20u and the bearing 4u are detachably attached to the end cap 6u by engaging with and disengaging from the engaging portion 10u on the side, and further by inserting the connecting shaft 17u into the connecting hole 13 (FIG. 4).

円板体20uおよび軸部3uは、連結シャフト17uと共廻りするように連結シャフト17uに強固に嵌合され、軸受4uは連結シャフト17uを回転自在に軸支する。   The disc body 20u and the shaft portion 3u are firmly fitted to the connecting shaft 17u so as to rotate together with the connecting shaft 17u, and the bearing 4u rotatably supports the connecting shaft 17u.

軸部3uの直径は、円板体20uおよびエンドキャップ6uの直径よりも小さく、軸部3u上の円板体20uとエンドキャップ6u間には、中空リング状の非駆動側の分離可能な毛溜部(毛溜溝)5uが形成される。   The diameter of the shaft portion 3u is smaller than the diameters of the disc body 20u and the end cap 6u, and a hollow ring-shaped non-drive side separable hair is provided between the disc body 20u and the end cap 6u on the shaft portion 3u. A reservoir (hair reservoir groove) 5u is formed.

軸部3uは2分割され、この分割された軸部3uの少なくとも一端部3u1は、エンドキャップ6uおよび円板体20uの直径よりも小さくなっている。   The shaft portion 3u is divided into two, and at least one end portion 3u1 of the divided shaft portion 3u is smaller than the diameters of the end cap 6u and the disc body 20u.

図14および図15は、吸込口体を裏面から見て、回転清掃体を取り外した状態における毛溜部近傍の構造を示す。   14 and 15 show the structure in the vicinity of the hair reservoir in a state where the rotary cleaning body is removed when the suction port body is viewed from the back surface.

図14に示すように、駆動側の回転清掃体ギア18は、下ケース53に設けたギア収納溝63dに収納され、軸受4dは軸受保持溝64dに収納、支持され、さらに、回転清掃体ギア18および軸受4dは、ネジ(図示せず)によって、下ケース53に着脱自在に螺着されるカバーによって所定の位置に保持される。   As shown in FIG. 14, the rotary cleaning body gear 18 on the driving side is housed in a gear housing groove 63d provided in the lower case 53, the bearing 4d is housed and supported in a bearing holding groove 64d, and the rotational cleaning body gear. 18 and the bearing 4d are held at predetermined positions by a cover that is detachably screwed to the lower case 53 by screws (not shown).

図15に示すように、非駆動側の円板体20dは、下ケース53に設けた円板体収納溝63uに収納され、軸受4uは軸受保持溝64uに収納、支持され、さらに、円板体20dおよび軸受4uは、ネジ(図示せず)によって、下ケース53に着脱自在に螺着されるカバーによって所定の位置に保持される。   As shown in FIG. 15, the non-driving side disk body 20d is housed in a disk body housing groove 63u provided in the lower case 53, and the bearing 4u is housed and supported in a bearing holding groove 64u. The body 20d and the bearing 4u are held at predetermined positions by a cover that is detachably screwed to the lower case 53 by screws (not shown).

なお、本第1実施形態では、回転清掃体を回転駆動する駆動手段としてのモータを用いる例で説明したが、駆動手段として電動送風機によって生じる負圧を利用するようにしてもよい。また、本第1実施形態では、回転清掃体の両端に軸部を細径にした毛溜部を設けているが、回転清掃体ギアおよび駆動ベルトを回転清掃部材に隣接して設ける場合には、駆動側に毛溜部を設けず、非駆動側の1箇所に毛溜部を設ければよい。   In the first embodiment, an example in which a motor is used as a driving unit that rotationally drives the rotary cleaning body has been described. However, a negative pressure generated by an electric blower may be used as the driving unit. Further, in the first embodiment, a hair reservoir having a thin shaft portion is provided at both ends of the rotary cleaning body. However, when the rotary cleaning body gear and the drive belt are provided adjacent to the rotary cleaning member, It is sufficient that the hair reservoir is not provided on the driving side and the hair reservoir is provided at one position on the non-driving side.

次に、本第1実施形態に係る回転清掃体および吸込口体の作用について説明する。   Next, the operation of the rotary cleaning body and the suction port according to the first embodiment will be described.

掃除の際、作業者は、まず、掃除機本体101のホース接続口101aに、集塵ホース102、手元操作パイプ103、延長管104および吸込口体50を順次連通接続する。   At the time of cleaning, the worker first connects the dust collection hose 102, the hand operation pipe 103, the extension pipe 104, and the suction port body 50 sequentially to the hose connection port 101 a of the cleaner body 101.

さらに、作業者が、掃除機本体101から電源コードを引き出して図示しないコンセントに接続した後、設定ボタン103aを操作すると、この設定ボタン103aにより設定された動作モードに応じて電動送風機57が駆動される。   Further, when the operator pulls out the power cord from the cleaner body 101 and connects it to an outlet (not shown) and then operates the setting button 103a, the electric blower 57 is driven according to the operation mode set by the setting button 103a. The

そして、作業者は、把手部103bを把持して床面上で吸込口体50を走行させる。   Then, the operator holds the handle portion 103b and causes the suction port body 50 to travel on the floor surface.

吸込負圧と回転清掃部材2の作用により、吸込口体50の走行に伴って、吸込口57から被清掃面に溜まった塵埃を連続的に空気とともに延長管104、手元操作パイプ103および集塵ホース102を介して、掃除機本体101に吸い込む。   Due to the suction negative pressure and the action of the rotary cleaning member 2, the dust accumulated on the surface to be cleaned from the suction port 57 along with the travel of the suction port body 50 continuously with the air, the extension pipe 104, the hand operation pipe 103, and the dust collection The vacuum cleaner body 101 is sucked through the hose 102.

掃除機本体101に吸い込まれた含塵空気は、第1および第2の塵埃除去手段で除塵され、掃除機本体101外に排出される。   The dust-containing air sucked into the cleaner body 101 is removed by the first and second dust removing means, and is discharged out of the cleaner body 101.

一方、両塵埃除去手段により除塵された塵埃は、集塵容器に一時的に溜められる。   On the other hand, the dust removed by the both dust removing means is temporarily stored in the dust collecting container.

このような掃除を継続すると、被清掃面に溜まった塵埃に髪の毛などが含まれる場合、回転清掃部材2および駆動側の軸部3dおよび非駆動側の軸部3uに絡み付き、毛溜部5dおよび毛溜部5uに溜まる。図16に示すように、軸部3uには、髪の毛などはリング状に密集する。   If such cleaning is continued, if the dust collected on the surface to be cleaned contains hair or the like, the rotary cleaning member 2, the drive side shaft portion 3d and the non-drive side shaft portion 3u are entangled, and the hair pool portion 5d and It collects in the hair reservoir 5u. As shown in FIG. 16, hairs and the like are concentrated in a ring shape on the shaft portion 3u.

なお、この絡み付き現象は、非駆動側の軸部3uと同様に駆動側の軸部3dにも発生するので、非駆動側の軸部3u側を例にとり説明する。   This entanglement phenomenon also occurs in the drive-side shaft portion 3d as well as the non-drive-side shaft portion 3u. Therefore, the non-drive-side shaft portion 3u side will be described as an example.

そこで、図11に示すように、エンドキャップ6u側の係合部10uと円板体20u側の係合部21uの係合を外し、軸部3uを分割して、軸部3uの一端部3u1および連結シャフト17uの一端部を開放する。分割された軸部3uの一端部3u1がエンドキャップ6uおよび円板体20uの直径よりも小さく形成されているので、軸部3uにリング状に密集して絡み付いた髪の毛などを軸部3uの一端部3u1から容易に取り除くことができる。   Therefore, as shown in FIG. 11, the engagement portion 10u on the end cap 6u side and the engagement portion 21u on the disc body 20u side are disengaged to divide the shaft portion 3u, and one end portion 3u1 of the shaft portion 3u. And the one end part of the connection shaft 17u is open | released. Since one end portion 3u1 of the divided shaft portion 3u is formed to be smaller than the diameter of the end cap 6u and the disc body 20u, hair or the like closely entangled in a ring shape with the shaft portion 3u is connected to one end of the shaft portion 3u. It can be easily removed from the part 3u1.

また、図12に示すように、軸部3uに設けた係合部10u、21uが歯車状に形成
された凹凸結合であり、分離面が平面状でないので、分割面に髪の毛などが侵入することがなく、軸部3uから除去し易い。
In addition, as shown in FIG. 12, the engaging portions 10u and 21u provided on the shaft portion 3u are concavo-convex coupling formed in a gear shape, and the separation surface is not flat, so that hair or the like enters the division surface. It is easy to remove from the shaft portion 3u.

また、図11に示すように、軸部3uはその端部に円板体20dを設けているので、軸受4uあるいは軸受保持溝64u(図15)に髪の毛などが達することがなく、軸受4uあるいは軸受保持溝64uへの髪の毛などの絡み付を防止することができる。   Further, as shown in FIG. 11, since the shaft portion 3u is provided with the disc body 20d at the end thereof, the hair does not reach the bearing 4u or the bearing holding groove 64u (FIG. 15), and the bearing 4u or It is possible to prevent tangling of hair or the like to the bearing holding groove 64u.

次に第2実施形態の回転清掃体について説明する。   Next, the rotary cleaning body of 2nd Embodiment is demonstrated.

本第2実施形態は、第1実施形態が回転部材(軸部)の分割面に歯車状の係合部が設けられるのに対して、回転部材の分割面が平板状である。   In the second embodiment, the first embodiment is provided with a gear-like engaging portion on the dividing surface of the rotating member (shaft portion), whereas the dividing surface of the rotating member is flat.

例えば、非駆動側の回転部材について説明すると、図17および図18に示すように、第2実施形態の回転清掃体1Aは、非駆動側の回転部材3Auがエンドキャップ6uと円板体20u間に設けられ、エンドキャップ6uおよび円板体20uの直径よりも小さな外径を有する毛溜部5uが設けられ、回転部材3uは中間部で平面状に分割される。回転部材が平面状に分割されると、動力伝達が行われないので、連結シャフト7Auの断面形状を非円形例えば正方形にする。   For example, the non-driving side rotating member will be described. As shown in FIGS. 17 and 18, in the rotary cleaning body 1A of the second embodiment, the non-driving side rotating member 3Au is between the end cap 6u and the disk body 20u. The hair reservoir 5u having an outer diameter smaller than the diameters of the end cap 6u and the disk body 20u is provided, and the rotating member 3u is divided into a planar shape at the intermediate portion. When the rotating member is divided into a planar shape, power transmission is not performed, so that the cross-sectional shape of the connecting shaft 7Au is non-circular, for example, a square.

これにより、回転部材3uにリング状に密集して絡み付いた髪の毛などを回転部材3Auの一端部から容易に取り除くことができる。また、回転部材の分割面は平面状であり、製造が容易になる。   As a result, hair or the like densely entangled with the rotating member 3u in a ring shape can be easily removed from one end of the rotating member 3Au. In addition, the dividing surface of the rotating member is planar, which facilitates manufacturing.

なお、他の構成は図11、図12に示す回転清掃体と異ならないので、同一符号を付して説明は省略する。   In addition, since another structure is not different from the rotary cleaning body shown in FIG. 11, FIG. 12, the same code | symbol is attached | subjected and description is abbreviate | omitted.

また、第3実施形態の回転清掃体について説明する。   Moreover, the rotary cleaning body of 3rd Embodiment is demonstrated.

本第3実施形態は、第2実施形態の分割面が軸部の中間に設けられるのに対して、軸部の端部でエンドキャップ内に設けられる。   In the third embodiment, the split surface of the second embodiment is provided in the middle of the shaft portion, whereas the end surface of the shaft portion is provided in the end cap.

例えば、非駆動側の軸部について説明すると、図19および図20に示すように、第3実施形態の回転清掃体1Bは、平面状の分割面dが軸部3Buの端部でエンドキャップ6Bu内に設けられる。   For example, the shaft portion on the non-driving side will be described. As shown in FIGS. 19 and 20, the rotary cleaning body 1B of the third embodiment has a planar dividing surface d at the end of the shaft portion 3Bu and the end cap 6Bu. It is provided inside.

これにより、軸部3Buにリング状に密集して絡み付いた髪の毛などを軸部3Buの一端部から容易に取り除くことができる。また、分離面がエンドキャップ6Bu内に設けられるので、分割面に髪の毛などが侵入することがなく、軸部3Buから除去し易い。さらに、分割面は平面状であり、製造が容易になる。   Thereby, the hair etc. which were densely entangled with the shaft portion 3Bu in a ring shape can be easily removed from one end portion of the shaft portion 3Bu. In addition, since the separation surface is provided in the end cap 6Bu, hair or the like does not enter the division surface and is easily removed from the shaft portion 3Bu. Further, the dividing surface is planar, and manufacturing is easy.

また、第4実施形態の回転清掃体について説明する。   Moreover, the rotary cleaning body of 4th Embodiment is demonstrated.

本第4実施形態は、第1実施形態の分割面に歯車状の係合部に、スラスト抜け止め手段を設ける。   In the fourth embodiment, a thrust retaining means is provided in a gear-like engagement portion on the dividing surface of the first embodiment.

例えば、図21および図22に示すように、第4実施形態の回転清掃体1Cは、スラスト抜け止め手段として、係合部10Cuに係合凸部10Cu1を設け、係合部21Cuに係合凹部21Cu1を設け、係合凸部10Cu1を係合凹部20Cu1に係合させる。   For example, as shown in FIGS. 21 and 22, the rotary cleaning body 1 </ b> C according to the fourth embodiment is provided with an engaging convex portion 10 </ b> Cu <b> 1 on the engaging portion 10 </ b> Cu and a concave engaging portion on the engaging portion 21 </ b> Cu. 21Cu1 is provided, and the engaging convex portion 10Cu1 is engaged with the engaging concave portion 20Cu1.

この係合強度は、絡み付いた髪の毛などよりエンドキャップ6uが外方に押されても、係合が外れず、作業者が強い力でエンドキャップ6uを引っ張ると外れる程度にする。   The engagement strength is such that even if the end cap 6u is pushed outward by entangled hair or the like, the engagement does not come off, and the operator can remove it when the end cap 6u is pulled with a strong force.

これにより、軸部3uにリング状に絡み付いた髪の毛などにより、円板体20uが外方に押され、係合部10Cuと係合部21Cuの係合が外れるのが防止される。   This prevents the disc body 20u from being pushed outward by the hair tangled around the shaft 3u in a ring shape, and the engagement between the engagement portion 10Cu and the engagement portion 21Cu is prevented from being disengaged.

上記各実施形態に係る回転清掃体を備えた吸込口体によれば、回転清掃体の軸受部へ髪の毛などが進入するのを防止するとともに、ハサミなどを用いずに、軸部に絡んだ毛を容易に除去できる吸込口体が実現される。   According to the suction port body provided with the rotary cleaning body according to each of the embodiments described above, while preventing hair from entering the bearing part of the rotary cleaning body, the hair entangled with the shaft part without using scissors or the like A suction port body that can be easily removed is realized.

なお、各実施形態では、本回転清掃体および本吸込口体をキャニスタ型電気掃除機に用いる例で説明したが、アップライト型電気掃除機にも適用できる。   In addition, although each embodiment demonstrated in the example which uses this rotary cleaning body and this suction inlet for a canister type vacuum cleaner, it is applicable also to an upright type vacuum cleaner.

1 回転清掃体
2 回転清掃部材(回転ブラシ)
3d 回転部材をなす軸部
3d1 一端部
3d2 一端部
3u 回転部材をなす軸部
4d,4u 軸受
5d 毛溜部(毛溜溝)
5u 毛溜部
6d エンドキャップ
6u エンドキャップ
7d,7u 軸孔
8 毛ブラシ群
9 毛ブラシ台
10d 係合部
10u 係合部
11 毛ブラシ
12 溝部
13 連結孔
17d,17u 連結シャフト
18 回転清掃体ギア
20d 円板体
20u 円板体
21d,21u 係合部
50 吸込口体
51 ケース体
52 接続管
53 下ケース
54 回転管
55 上ケース
56 前カバー
57 吸込口
57A 主吸込口
57B 前側吸込口
58 連通路
59 駆動ベルト
60 モータ
61 安全装置
62 回路基板
63d ギア収納溝
63u 円板体収納溝
64d,64u 軸受保持溝
100 電気掃除機
101 掃除機本体
101a ホース接続口
102 集塵ホース
103 手元操作パイプ
103a 設定ボタン
103b 把手部
104 延長管
105 集塵室
106 電動送風機
1 Rotating cleaning body 2 Rotating cleaning member (rotating brush)
3d Shaft portion 3d1 that forms a rotating member One end portion 3d2 One end portion 3u Shaft portion 4d that forms a rotating member, 4u Bearing 5d Hair storage (hair storage groove)
5u Hair reservoir 6d End cap 6u End cap 7d, 7u Shaft hole 8 Bristle brush group 9 Bristle brush base 10d Engagement part 10u Engagement part 11 Bristle brush 12 Groove part 13 Connection hole 17d, 17u Connection shaft 18 Rotating cleaning body gear 20d Disc body 20u Disc bodies 21d, 21u Engaging portion 50 Suction port 51 Case body 52 Connection tube 53 Lower case 54 Rotating tube 55 Upper case 56 Front cover 57 Suction port 57A Main suction port 57B Front suction port 58 Communication path 59 Drive belt 60 Motor 61 Safety device 62 Circuit board 63d Gear housing groove 63u Disk body housing grooves 64d, 64u Bearing holding groove 100 Vacuum cleaner 101 Vacuum cleaner body 101a Hose connection port 102 Dust collection hose 103 Hand operation pipe 103a Setting button 103b Handle 104 Extension tube 105 Dust collection chamber 106 Electric blower

Claims (4)

回転駆動される回転清掃部材と、
この回転清掃部材を連結シャフトにより軸支する軸受と、
前記回転清掃部材の端部に設けられたエンドキャップと、
このエンドキャップと前記軸受間に、前記エンドキャップと分離可能に設けられた円板体と、
前記連結シャフトに外嵌され、かつ前記円板体と前記エンドキャップ間に設けられ、前記円板体および前記エンドキャップの直径よりも小さな外径を有する回転部材とを備え、
前記エンドキャップと前記軸受間に分離可能な毛溜部が形成され、
前記円板体と前記エンドキャップが分割された状態で、前記回転部材の少なくとも一端部が開放される
ことを特徴とする回転清掃体。
A rotary cleaning member that is driven to rotate;
A bearing for supporting the rotary cleaning member by a connecting shaft;
An end cap provided at an end of the rotary cleaning member;
A disc body provided between the end cap and the bearing so as to be separable from the end cap;
A rotating member that is externally fitted to the connecting shaft and provided between the disk body and the end cap, and has an outer diameter smaller than the diameter of the disk body and the end cap;
A separable hair reservoir is formed between the end cap and the bearing,
At least one end portion of the rotating member is opened in a state where the disc body and the end cap are divided.
前記毛溜部は、前記エンドキャップ内に挿入される前記毛溜部の端部と、前記エンドキャップ間で分割されることを特徴とする請求項1に記載の回転清掃体。 The rotary cleaning body according to claim 1, wherein the hair reservoir is divided between an end of the hair reservoir inserted into the end cap and the end cap. 前記毛溜部は、前記毛溜部の一側と他側が分離可能な凹凸結合により結合されることを特徴とする請求項1に記載の回転清掃体。 2. The rotary cleaning body according to claim 1, wherein the hair pool part is coupled by a concave-convex joint in which one side and the other side of the hair pool part are separable. ケース体と、このケース体に開口形成された吸込口と、この吸込口に設けられた請求項1ないし3のいずれか1項に記載の回転清掃体を備えた吸込口体。 A suction port body comprising the case body, a suction port formed in the case body, and the rotary cleaning body according to any one of claims 1 to 3 provided in the suction port.
JP2009199743A 2009-08-31 2009-08-31 Rotary cleaning body, suction port body Expired - Fee Related JP5366719B2 (en)

Priority Applications (1)

Application Number Priority Date Filing Date Title
JP2009199743A JP5366719B2 (en) 2009-08-31 2009-08-31 Rotary cleaning body, suction port body

Applications Claiming Priority (1)

Application Number Priority Date Filing Date Title
JP2009199743A JP5366719B2 (en) 2009-08-31 2009-08-31 Rotary cleaning body, suction port body

Publications (2)

Publication Number Publication Date
JP2011050428A true JP2011050428A (en) 2011-03-17
JP5366719B2 JP5366719B2 (en) 2013-12-11

Family

ID=43940089

Family Applications (1)

Application Number Title Priority Date Filing Date
JP2009199743A Expired - Fee Related JP5366719B2 (en) 2009-08-31 2009-08-31 Rotary cleaning body, suction port body

Country Status (1)

Country Link
JP (1) JP5366719B2 (en)

Cited By (34)

* Cited by examiner, † Cited by third party
Publication number Priority date Publication date Assignee Title
JP2013146303A (en) * 2012-01-17 2013-08-01 Sharp Corp Self-propelled vacuum cleaner
US8800107B2 (en) 2010-02-16 2014-08-12 Irobot Corporation Vacuum brush
US8881339B2 (en) 2011-04-29 2014-11-11 Irobot Corporation Robotic vacuum
GB2524343A (en) * 2014-03-19 2015-09-23 Dyson Technology Ltd Cleaner head
JP2016013474A (en) * 2015-09-24 2016-01-28 シャープ株式会社 Self-propelled vacuum cleaner
JP2016026855A (en) * 2015-11-17 2016-02-18 シャープ株式会社 Self-propelled vacuum cleaner
JP2016026857A (en) * 2015-11-17 2016-02-18 シャープ株式会社 Self-propelled vacuum cleaner
JP2016026854A (en) * 2015-11-17 2016-02-18 シャープ株式会社 Self-propelled vacuum cleaner
JP2016026856A (en) * 2015-11-17 2016-02-18 シャープ株式会社 Self-propelled cleaner
EP2992801A1 (en) * 2014-09-02 2016-03-09 Dyson Technology Limited Cleaner head
JP2016039994A (en) * 2015-11-17 2016-03-24 シャープ株式会社 Self-propelled vacuum cleaner
JP2016039993A (en) * 2015-11-17 2016-03-24 シャープ株式会社 Self-propelled vacuum cleaner
US9456723B2 (en) 2015-01-30 2016-10-04 Sharkninja Operating Llc Surface cleaning head including openable agitator chamber and a removable rotatable agitator
US9655486B2 (en) 2015-01-30 2017-05-23 Sharkninja Operating Llc Surface cleaning head including removable rotatable driven agitator
US9955832B2 (en) 2015-01-30 2018-05-01 Sharkninja Operating Llc Surface cleaning head with removable non-driven agitator having cleaning pad
US10076183B2 (en) 2015-08-14 2018-09-18 Sharkninja Operating Llc Surface cleaning head
CN108937719A (en) * 2017-05-18 2018-12-07 戴森技术有限公司 cleaning head
JP2019025062A (en) * 2017-07-31 2019-02-21 シャープ株式会社 Rotating brush of vacuum cleaner and vacuum cleaner having the same
JP2019076379A (en) * 2017-10-24 2019-05-23 三菱電機株式会社 Suction tool and vacuum cleaner
JP2019111309A (en) * 2017-12-20 2019-07-11 ダイソン・テクノロジー・リミテッド Dust separator and vacuum cleaner
JP2019217207A (en) * 2018-06-22 2019-12-26 東芝ライフスタイル株式会社 Suction port body and vacuum cleaner
US10702108B2 (en) 2015-09-28 2020-07-07 Sharkninja Operating Llc Surface cleaning head for vacuum cleaner
WO2021024738A1 (en) * 2019-08-08 2021-02-11 パナソニックIpマネジメント株式会社 Suction tool
US10925447B2 (en) 2017-03-10 2021-02-23 Sharkninja Operating Llc Agitator with debrider and hair removal
CN112587037A (en) * 2020-12-24 2021-04-02 珠海格力电器股份有限公司 Round brush subassembly and robot of sweeping floor
US11109727B2 (en) 2019-02-28 2021-09-07 Irobot Corporation Cleaning rollers for cleaning robots
US11202542B2 (en) 2017-05-25 2021-12-21 Sharkninja Operating Llc Robotic cleaner with dual cleaning rollers
US11278171B2 (en) 2015-10-21 2022-03-22 Sharkninja Operating Llc Surface cleaning head with dual rotating agitators
USD955115S1 (en) 2018-08-10 2022-06-21 Sharkninja Operating Llc Brush roll
US11471020B2 (en) 2011-04-29 2022-10-18 Irobot Corporation Robotic vacuum cleaning system
US11602251B2 (en) 2015-01-30 2023-03-14 Sharkninja Operating Llc Removable rotatable driven agitator for surface cleaning head
US11647881B2 (en) 2015-10-21 2023-05-16 Sharkninja Operating Llc Cleaning apparatus with combing unit for removing debris from cleaning roller
US11759069B2 (en) 2018-10-19 2023-09-19 Sharkninja Operating Llc Agitator for a surface treatment apparatus and a surface treatment apparatus having the same
US11992172B2 (en) 2018-10-19 2024-05-28 Sharkninja Operating Llc Agitator for a surface treatment apparatus and a surface treatment apparatus having the same

Citations (2)

* Cited by examiner, † Cited by third party
Publication number Priority date Publication date Assignee Title
JPH03212248A (en) * 1990-01-18 1991-09-17 Matsushita Electric Ind Co Ltd Vacuum cleaner
JP2009045503A (en) * 2008-12-05 2009-03-05 Hitachi Appliances Inc Electric vacuum cleaner

Patent Citations (2)

* Cited by examiner, † Cited by third party
Publication number Priority date Publication date Assignee Title
JPH03212248A (en) * 1990-01-18 1991-09-17 Matsushita Electric Ind Co Ltd Vacuum cleaner
JP2009045503A (en) * 2008-12-05 2009-03-05 Hitachi Appliances Inc Electric vacuum cleaner

Cited By (67)

* Cited by examiner, † Cited by third party
Publication number Priority date Publication date Assignee Title
US11058271B2 (en) 2010-02-16 2021-07-13 Irobot Corporation Vacuum brush
US8800107B2 (en) 2010-02-16 2014-08-12 Irobot Corporation Vacuum brush
US10314449B2 (en) 2010-02-16 2019-06-11 Irobot Corporation Vacuum brush
US8955192B2 (en) 2011-04-29 2015-02-17 Irobot Corporation Robotic vacuum cleaning system
US12220096B2 (en) 2011-04-29 2025-02-11 Irobot Corporation Robotic vacuum cleaning system
US11471020B2 (en) 2011-04-29 2022-10-18 Irobot Corporation Robotic vacuum cleaning system
US8910342B2 (en) 2011-04-29 2014-12-16 Irobot Corporation Robotic vacuum cleaning system
US10433696B2 (en) 2011-04-29 2019-10-08 Irobot Corporation Robotic vacuum cleaning system
US8881339B2 (en) 2011-04-29 2014-11-11 Irobot Corporation Robotic vacuum
US9320400B2 (en) 2011-04-29 2016-04-26 Irobot Corporation Robotic vacuum cleaning system
JP2013146303A (en) * 2012-01-17 2013-08-01 Sharp Corp Self-propelled vacuum cleaner
GB2524343B (en) * 2014-03-19 2016-05-11 Dyson Technology Ltd Cleaner head
GB2524343A (en) * 2014-03-19 2015-09-23 Dyson Technology Ltd Cleaner head
EP2992801A1 (en) * 2014-09-02 2016-03-09 Dyson Technology Limited Cleaner head
US10092150B2 (en) 2014-09-02 2018-10-09 Dyson Technology Limited Cleaner head
JP2016052510A (en) * 2014-09-02 2016-04-14 ダイソン・テクノロジー・リミテッド Cleaner head
US11607095B2 (en) 2015-01-30 2023-03-21 Sharkninja Operating Llc Removable rotatable driven agitator for surface cleaning head
US12520977B2 (en) 2015-01-30 2026-01-13 Sharkninja Operating Llc Removable rotatable driven agitator for surface cleaning head
US9526389B2 (en) 2015-01-30 2016-12-27 Sharkninja Operating Llc Surface cleaning head including openable agitator chamber and a removable rotatable agitator
US9655486B2 (en) 2015-01-30 2017-05-23 Sharkninja Operating Llc Surface cleaning head including removable rotatable driven agitator
US9955832B2 (en) 2015-01-30 2018-05-01 Sharkninja Operating Llc Surface cleaning head with removable non-driven agitator having cleaning pad
US11602251B2 (en) 2015-01-30 2023-03-14 Sharkninja Operating Llc Removable rotatable driven agitator for surface cleaning head
US11759068B2 (en) 2015-01-30 2023-09-19 Sharkninja Operating Llc Removable rotatable driven agitator for surface cleaning head
US9456723B2 (en) 2015-01-30 2016-10-04 Sharkninja Operating Llc Surface cleaning head including openable agitator chamber and a removable rotatable agitator
US10226157B2 (en) 2015-01-30 2019-03-12 Sharkninja Operating Llc Removable rotatable driven agitator for surface cleaning head
US10076183B2 (en) 2015-08-14 2018-09-18 Sharkninja Operating Llc Surface cleaning head
JP2016013474A (en) * 2015-09-24 2016-01-28 シャープ株式会社 Self-propelled vacuum cleaner
US12070177B2 (en) 2015-09-28 2024-08-27 Sharkninja Operating Llc Surface cleaning head for vacuum cleaner
US10702108B2 (en) 2015-09-28 2020-07-07 Sharkninja Operating Llc Surface cleaning head for vacuum cleaner
US12390064B2 (en) 2015-10-21 2025-08-19 Sharkninja Operating Llc Cleaning apparatus with combing unit for removing debris from cleaning roller
US11278171B2 (en) 2015-10-21 2022-03-22 Sharkninja Operating Llc Surface cleaning head with dual rotating agitators
US12048410B2 (en) 2015-10-21 2024-07-30 Sharkninja Operating Llc Surface cleaning head with dual rotating agitators
US11712139B2 (en) 2015-10-21 2023-08-01 Sharkninja Operating Llc Surface cleaning head with leading roller
US11647881B2 (en) 2015-10-21 2023-05-16 Sharkninja Operating Llc Cleaning apparatus with combing unit for removing debris from cleaning roller
JP2016039994A (en) * 2015-11-17 2016-03-24 シャープ株式会社 Self-propelled vacuum cleaner
JP2016026854A (en) * 2015-11-17 2016-02-18 シャープ株式会社 Self-propelled vacuum cleaner
JP2016026855A (en) * 2015-11-17 2016-02-18 シャープ株式会社 Self-propelled vacuum cleaner
JP2016039993A (en) * 2015-11-17 2016-03-24 シャープ株式会社 Self-propelled vacuum cleaner
JP2016026857A (en) * 2015-11-17 2016-02-18 シャープ株式会社 Self-propelled vacuum cleaner
JP2016026856A (en) * 2015-11-17 2016-02-18 シャープ株式会社 Self-propelled cleaner
US10925447B2 (en) 2017-03-10 2021-02-23 Sharkninja Operating Llc Agitator with debrider and hair removal
US12376720B2 (en) 2017-03-10 2025-08-05 Sharkninja Operating Llc Agitator with debrider and hair removal
US11925303B2 (en) 2017-03-10 2024-03-12 Sharkninja Operating Llc Agitator with debrider and hair removal
CN108937719B (en) * 2017-05-18 2021-05-04 戴森技术有限公司 cleaning head
CN108937719A (en) * 2017-05-18 2018-12-07 戴森技术有限公司 cleaning head
US12342979B2 (en) 2017-05-25 2025-07-01 Sharkninja Operating Llc Robotic cleaner with dual cleaning rollers
US11839346B2 (en) 2017-05-25 2023-12-12 Sharkninja Operating Llc Robotic cleaner with dual cleaning rollers
US11202542B2 (en) 2017-05-25 2021-12-21 Sharkninja Operating Llc Robotic cleaner with dual cleaning rollers
JP2019025062A (en) * 2017-07-31 2019-02-21 シャープ株式会社 Rotating brush of vacuum cleaner and vacuum cleaner having the same
JP7035446B2 (en) 2017-10-24 2022-03-15 三菱電機株式会社 Suction tool and vacuum cleaner
JP2019076379A (en) * 2017-10-24 2019-05-23 三菱電機株式会社 Suction tool and vacuum cleaner
JP2019111309A (en) * 2017-12-20 2019-07-11 ダイソン・テクノロジー・リミテッド Dust separator and vacuum cleaner
JP7068066B2 (en) 2018-06-22 2022-05-16 東芝ライフスタイル株式会社 Suction port and vacuum cleaner
JP2019217207A (en) * 2018-06-22 2019-12-26 東芝ライフスタイル株式会社 Suction port body and vacuum cleaner
USD1005690S1 (en) * 2018-08-10 2023-11-28 Sharkninja Operating Llc Brush roll
USD955115S1 (en) 2018-08-10 2022-06-21 Sharkninja Operating Llc Brush roll
US11759069B2 (en) 2018-10-19 2023-09-19 Sharkninja Operating Llc Agitator for a surface treatment apparatus and a surface treatment apparatus having the same
US11992172B2 (en) 2018-10-19 2024-05-28 Sharkninja Operating Llc Agitator for a surface treatment apparatus and a surface treatment apparatus having the same
US12239279B2 (en) 2019-02-28 2025-03-04 Irobot Corporation Cleaning rollers for cleaning robots
US11871888B2 (en) 2019-02-28 2024-01-16 Irobot Corporation Cleaning rollers for cleaning robots
US11109727B2 (en) 2019-02-28 2021-09-07 Irobot Corporation Cleaning rollers for cleaning robots
JP2021098039A (en) * 2019-08-08 2021-07-01 パナソニックIpマネジメント株式会社 Suction tool
WO2021024738A1 (en) * 2019-08-08 2021-02-11 パナソニックIpマネジメント株式会社 Suction tool
JP2021023709A (en) * 2019-08-08 2021-02-22 パナソニックIpマネジメント株式会社 Suction tool
CN114173627A (en) * 2019-08-08 2022-03-11 松下知识产权经营株式会社 Inhalation device
CN112587037B (en) * 2020-12-24 2025-08-08 珠海格力电器股份有限公司 Roller brush assembly and sweeping robot
CN112587037A (en) * 2020-12-24 2021-04-02 珠海格力电器股份有限公司 Round brush subassembly and robot of sweeping floor

Also Published As

Publication number Publication date
JP5366719B2 (en) 2013-12-11

Similar Documents

Publication Publication Date Title
JP5366719B2 (en) Rotary cleaning body, suction port body
CN106108780B (en) Cleaning head for vacuum cleaner
JP5052686B2 (en) Agitator with internal twin motor drive system
EP3563741B1 (en) Vacuum cleaner
JP6075466B2 (en) Floor suction tool and electric vacuum cleaner provided with the floor suction tool
JP5237410B2 (en) Robot vacuum cleaner
US20050172447A1 (en) Floor cleaning apparatus with twin agitators having different diameters
JP2011188951A (en) Suction opening body and vacuum cleaner
JP5515608B2 (en) Electric vacuum cleaner
JP5284197B2 (en) Cleaning tool and electric vacuum cleaner provided with the same
CN116723784A (en) vacuum cleaner
JP2019025062A (en) Rotating brush of vacuum cleaner and vacuum cleaner having the same
JP5696611B2 (en) Floor suction tool and electric vacuum cleaner using the floor suction tool
KR101792504B1 (en) Vacuum cleaner
JP7035446B2 (en) Suction tool and vacuum cleaner
CN217447558U (en) Vacuum cleaner
JP2006149455A (en) Suction port and vacuum cleaner
KR200336735Y1 (en) steam dustcloth combined use vacuum cleaner
JP2009504235A (en) Vacuum cleaner filter mounting structure
JP2024011448A (en) Cleaning tools and vacuum cleaners
CN119233780A (en) Vacuum cleaner head for a vacuum cleaner
JP2013111375A (en) Vacuum cleaner
JP2024011449A (en) Cleaning tools and vacuum cleaners
JP2021531897A (en) Battery-powered vacuum cleaner
JP2026000658A (en) Suction port, suction port body and vacuum cleaner

Legal Events

Date Code Title Description
RD01 Notification of change of attorney

Free format text: JAPANESE INTERMEDIATE CODE: A7421

Effective date: 20111128

A621 Written request for application examination

Free format text: JAPANESE INTERMEDIATE CODE: A621

Effective date: 20120322

A977 Report on retrieval

Free format text: JAPANESE INTERMEDIATE CODE: A971007

Effective date: 20130415

A131 Notification of reasons for refusal

Free format text: JAPANESE INTERMEDIATE CODE: A131

Effective date: 20130430

A521 Written amendment

Free format text: JAPANESE INTERMEDIATE CODE: A523

Effective date: 20130626

TRDD Decision of grant or rejection written
A01 Written decision to grant a patent or to grant a registration (utility model)

Free format text: JAPANESE INTERMEDIATE CODE: A01

Effective date: 20130820

A61 First payment of annual fees (during grant procedure)

Free format text: JAPANESE INTERMEDIATE CODE: A61

Effective date: 20130910

R150 Certificate of patent or registration of utility model

Ref document number: 5366719

Country of ref document: JP

Free format text: JAPANESE INTERMEDIATE CODE: R150

Free format text: JAPANESE INTERMEDIATE CODE: R150

S111 Request for change of ownership or part of ownership

Free format text: JAPANESE INTERMEDIATE CODE: R313117

Free format text: JAPANESE INTERMEDIATE CODE: R313115

S531 Written request for registration of change of domicile

Free format text: JAPANESE INTERMEDIATE CODE: R313531

S533 Written request for registration of change of name

Free format text: JAPANESE INTERMEDIATE CODE: R313533

R350 Written notification of registration of transfer

Free format text: JAPANESE INTERMEDIATE CODE: R350

LAPS Cancellation because of no payment of annual fees