[go: up one dir, main page]

JP2010182884A - Semiconductor light-emitting device and wiring substrate for light-emitting chip mounting - Google Patents

Semiconductor light-emitting device and wiring substrate for light-emitting chip mounting Download PDF

Info

Publication number
JP2010182884A
JP2010182884A JP2009025284A JP2009025284A JP2010182884A JP 2010182884 A JP2010182884 A JP 2010182884A JP 2009025284 A JP2009025284 A JP 2009025284A JP 2009025284 A JP2009025284 A JP 2009025284A JP 2010182884 A JP2010182884 A JP 2010182884A
Authority
JP
Japan
Prior art keywords
semiconductor light
light emitting
emitting device
resin film
chip
Prior art date
Legal status (The legal status is an assumption and is not a legal conclusion. Google has not performed a legal analysis and makes no representation as to the accuracy of the status listed.)
Pending
Application number
JP2009025284A
Other languages
Japanese (ja)
Inventor
Hisayuki Taniya
久幸 谷屋
Keito Ikeuchi
啓人 池内
Yasuhiro Yamamoto
泰弘 山本
Kenji Tsuboi
健二 坪井
Current Assignee (The listed assignees may be inaccurate. Google has not performed a legal analysis and makes no representation or warranty as to the accuracy of the list.)
Sun S Co Ltd
International Business Machines Corp
Original Assignee
Sun S Co Ltd
International Business Machines Corp
Priority date (The priority date is an assumption and is not a legal conclusion. Google has not performed a legal analysis and makes no representation as to the accuracy of the date listed.)
Filing date
Publication date
Application filed by Sun S Co Ltd, International Business Machines Corp filed Critical Sun S Co Ltd
Priority to JP2009025284A priority Critical patent/JP2010182884A/en
Publication of JP2010182884A publication Critical patent/JP2010182884A/en
Pending legal-status Critical Current

Links

Images

Classifications

    • HELECTRICITY
    • H01ELECTRIC ELEMENTS
    • H01LSEMICONDUCTOR DEVICES NOT COVERED BY CLASS H10
    • H01L2224/00Indexing scheme for arrangements for connecting or disconnecting semiconductor or solid-state bodies and methods related thereto as covered by H01L24/00
    • H01L2224/01Means for bonding being attached to, or being formed on, the surface to be connected, e.g. chip-to-package, die-attach, "first-level" interconnects; Manufacturing methods related thereto
    • H01L2224/42Wire connectors; Manufacturing methods related thereto
    • H01L2224/47Structure, shape, material or disposition of the wire connectors after the connecting process
    • H01L2224/48Structure, shape, material or disposition of the wire connectors after the connecting process of an individual wire connector
    • H01L2224/4805Shape
    • H01L2224/4809Loop shape
    • H01L2224/48091Arched

Landscapes

  • Led Device Packages (AREA)
  • Led Devices (AREA)

Abstract

【課題】実質的な輝度および光取り出し効率を向上させた半導体発光装置、およびこの半導体発光装置に適用される発光チップ搭載用配線基板を提供する。
【解決手段】半導体発光装置1は、半導体発光素子チップ2が載置された絶縁性基板10を備え、半導体発光素子チップ2が配置されたチップ配置領域Acと、チップ配置領域Acを囲む外周領域Afとを絶縁性基板10の表面10sに備え、外周領域Afに積層して形成されルチル型酸化チタン微粒子を分散させて含有する第1樹脂膜21を備える。
【選択図】図1
A semiconductor light-emitting device with improved substantial luminance and light extraction efficiency, and a light-emitting chip mounting wiring substrate applied to the semiconductor light-emitting device are provided.
A semiconductor light emitting device includes an insulating substrate on which a semiconductor light emitting element chip is mounted, a chip arrangement area Ac in which the semiconductor light emitting element chip is arranged, and an outer peripheral area surrounding the chip arrangement area Ac. Af is provided on the surface 10s of the insulating substrate 10, and a first resin film 21 is formed which is formed by laminating the outer peripheral region Af and contains rutile-type titanium oxide fine particles dispersed therein.
[Selection] Figure 1

Description

本発明は、半導体発光素子チップが載置された絶縁性基板を備える半導体発光装置、および、このような半導体発光装置に適用される発光チップ搭載用配線基板に関する。   The present invention relates to a semiconductor light emitting device including an insulating substrate on which a semiconductor light emitting element chip is placed, and a light emitting chip mounting wiring substrate applied to such a semiconductor light emitting device.

半導体発光素子による発光効率の向上、発光波長領域の拡大などにより、低消費電力での動作が可能な半導体発光装置が光源、信号源として多用されるようになってきた。しかし、更なる特性の向上などを目指して半導体発光素子チップのみならず、実装技術、パッケージ技術を含めた改良提案がなされている。   Semiconductor light emitting devices capable of operating with low power consumption have been widely used as light sources and signal sources due to improvements in light emission efficiency and expansion of the light emission wavelength region due to semiconductor light emitting elements. However, improvement proposals including not only semiconductor light emitting device chips but also mounting techniques and package techniques have been made with the aim of further improving the characteristics.

例えば、基板に半導体発光素子チップを搭載し、周囲に壁部を設けて反射光を発生させて特性を向上させる技術が提案されている(例えば、特許文献1参照。)。   For example, a technique has been proposed in which a semiconductor light emitting element chip is mounted on a substrate and a wall is provided around the substrate to generate reflected light to improve characteristics (see, for example, Patent Document 1).

この従来技術によれば、壁部を形成するのに、大型の金型が必要となるトランスファーモールドを適用するとしている。また、壁部に反射のための傾斜を持たせる必要があるとしている。   According to this prior art, a transfer mold that requires a large mold is applied to form the wall portion. In addition, the wall portion needs to have an inclination for reflection.

したがって、設備が大掛かりとなり、コストの上昇を招く恐れがある。また、壁部を反射面として反射効率を向上させていることから、壁部の光学設計が必要で構造が複雑化し、また、壁部の傾斜面を構成するために大きな面積を必要とするなど多くの課題を抱えている。さらに、可視光反射率は70%(実態としては85%が上限である)と十分な反射率(光取り出し効率)を実現することができなかった。   Therefore, the facility becomes large and there is a risk of increasing the cost. In addition, since the reflection efficiency is improved by using the wall as a reflection surface, the optical design of the wall is required, the structure is complicated, and a large area is required to configure the inclined surface of the wall, etc. There are many challenges. Further, the visible light reflectance is 70% (the actual upper limit is 85%), and a sufficient reflectance (light extraction efficiency) could not be realized.

特開2007−329249号公報JP 2007-329249 A

本発明はこのような状況に鑑みてなされたものであり、半導体発光素子チップの外周にルチル型酸化チタン微粒子を分散させて含有する第1樹脂膜を備えるという簡単な構成によって、反射効率を向上させて、半導体発光装置全体としての実質的な輝度および光取り出し効率を向上させた半導体発光装置を提供することを目的とする。   The present invention has been made in view of such a situation, and the reflection efficiency is improved by a simple configuration including a first resin film containing dispersed rutile-type titanium oxide fine particles on the outer periphery of a semiconductor light emitting element chip. Thus, an object of the present invention is to provide a semiconductor light emitting device in which substantial luminance and light extraction efficiency as a whole semiconductor light emitting device are improved.

また、本発明は、半導体発光素子チップが載置されるチップ配置領域を囲む外周領域に積層して形成されルチル型酸化チタン微粒子を分散させて含有する第1樹脂膜を備えるという簡単な構成によって、反射効率を向上させて、半導体発光装置全体としての実質的な輝度および光取り出し効率を向上させることが可能な発光チップ搭載用配線基板を提供することを他の目的とする。   Further, the present invention has a simple configuration including a first resin film formed by laminating and containing rutile-type titanium oxide fine particles formed by laminating on an outer peripheral region surrounding a chip arrangement region on which a semiconductor light emitting element chip is placed. Another object of the present invention is to provide a wiring board for mounting a light-emitting chip that can improve the reflection efficiency and improve the substantial luminance and light extraction efficiency of the entire semiconductor light-emitting device.

本発明に係る半導体発光装置は、半導体発光素子チップが載置された絶縁性基板を備える半導体発光装置であって、前記半導体発光素子チップが配置されたチップ配置領域と、該チップ配置領域を囲む外周領域とを前記絶縁性基板の表面に備え、前記外周領域に積層して形成されルチル型酸化チタン微粒子を分散させて含有する第1樹脂膜を備えることを特徴とする。   A semiconductor light-emitting device according to the present invention is a semiconductor light-emitting device including an insulating substrate on which a semiconductor light-emitting element chip is placed, and surrounds the chip placement area where the semiconductor light-emitting element chip is placed, and the chip placement area And a first resin film which is formed by laminating the outer peripheral region on the surface of the insulating substrate and containing rutile-type titanium oxide fine particles dispersed therein.

この構成により、半導体発光素子チップから放射された光を第1樹脂膜の表面(発光チップ搭載用配線基板の表面側)で前方方向へ確実に反射させることが可能となるので、反射効率を向上させて、半導体発光装置全体としての実質的な輝度および光取り出し効率を向上させることができる。   With this configuration, the light emitted from the semiconductor light emitting element chip can be reliably reflected in the forward direction on the surface of the first resin film (the surface side of the light emitting chip mounting wiring board), thus improving the reflection efficiency. Thus, the substantial luminance and light extraction efficiency of the semiconductor light emitting device as a whole can be improved.

本発明に係る半導体発光装置では、前記半導体発光素子チップの表面の高さは、前記第1樹脂膜の表面の高さより低いことを特徴とする。   In the semiconductor light emitting device according to the present invention, the height of the surface of the semiconductor light emitting element chip is lower than the height of the surface of the first resin film.

この構成により、半導体発光素子からの光を確実に効率よく前方方向へ反射させることができる。   With this configuration, it is possible to reliably and efficiently reflect the light from the semiconductor light emitting element in the forward direction.

本発明に係る半導体発光装置では、前記チップ配置領域に積層して形成されルチル型酸化チタン微粒子を分散させて含有する第2樹脂膜を備えることを特徴とする。   The semiconductor light emitting device according to the present invention includes a second resin film that is formed by laminating in the chip arrangement region and contains rutile-type titanium oxide fine particles dispersed therein.

この構成により、半導体発光素子チップの裏面側へ放射される光を第2樹脂層の表面で前方方向へ有効に反射させて、さらに輝度および光取り出し効率を向上させることができる。   With this configuration, the light emitted to the back surface side of the semiconductor light emitting element chip can be effectively reflected in the front direction on the surface of the second resin layer, and the luminance and light extraction efficiency can be further improved.

本発明に係る半導体発光装置では、前記半導体発光素子チップは、前記第2樹脂膜に載置され、前記半導体発光素子チップの表面の高さは、前記第1樹脂膜の表面の高さより低いことを特徴とする。   In the semiconductor light emitting device according to the present invention, the semiconductor light emitting element chip is placed on the second resin film, and the height of the surface of the semiconductor light emitting element chip is lower than the height of the surface of the first resin film. It is characterized by.

この構成により、半導体発光素子からの光を確実に効率よく前方方向へ反射させることができる。   With this configuration, it is possible to reliably and efficiently reflect the light from the semiconductor light emitting element in the forward direction.

本発明に係る半導体発光装置では、前記チップ配置領域に充填された透光性樹脂で形成され前記第1樹脂膜の表面に対して面一とされた表面を有する樹脂封止部と、前記第1樹脂膜および前記樹脂封止部を被覆する光学薄膜層とを備えることを特徴とする。   In the semiconductor light emitting device according to the present invention, a resin sealing portion formed of a translucent resin filled in the chip arrangement region and having a surface flush with the surface of the first resin film; 1 resin film and the optical thin film layer which coat | covers the said resin sealing part, It is characterized by the above-mentioned.

この構成により、表面での輝度を均一化することが可能となり、表示品質を向上させた半導体発光装置とすることができる。   With this configuration, the luminance on the surface can be made uniform, and a semiconductor light emitting device with improved display quality can be obtained.

本発明に係る半導体発光装置では、前記外周領域に形成され前記絶縁性基板を貫通する貫通孔と、該貫通孔に充填されて前記第1樹脂膜に接合されルチル型酸化チタン微粒子を分散させて含有する充填樹脂部と、前記充填樹脂部に接合させて前記絶縁性基板の裏面に積層して形成されルチル型酸化チタン微粒子を分散させて含有する第3樹脂膜とを備えることを特徴とする。   In the semiconductor light emitting device according to the present invention, a through-hole formed in the outer peripheral region and penetrating the insulating substrate, and filled in the through-hole and bonded to the first resin film are dispersed with the rutile titanium oxide fine particles. And a third resin film which is formed by laminating rutile titanium oxide fine particles formed by laminating on the back surface of the insulating substrate bonded to the filled resin portion. .

この構成により、第1樹脂膜、充填樹脂部、第3樹脂膜を介して放熱経路を構成することが可能となり、半導体発光素子チップからの熱を効率よく裏面の側へ放熱して、発光効率および放熱性、信頼性を向上させることができる。   With this configuration, it is possible to configure a heat dissipation path through the first resin film, the filling resin portion, and the third resin film, and heat from the semiconductor light emitting element chip is efficiently radiated to the back surface side, thereby improving the light emission efficiency. In addition, heat dissipation and reliability can be improved.

本発明に係る半導体発光装置では、前記第3樹脂膜に当接されたヒートシンクを備えることを特徴とする。   The semiconductor light emitting device according to the present invention includes a heat sink in contact with the third resin film.

この構成により、半導体発光素子チップからの熱を効率よく放熱して、発光効率および放熱性、信頼性を向上させることができる。   With this configuration, it is possible to efficiently dissipate heat from the semiconductor light emitting element chip, and to improve light emission efficiency, heat dissipation, and reliability.

本発明に係る半導体発光装置では、前記第1樹脂膜は、前記絶縁性基板の垂直方向での可視光反射率を90%以上とされていることを特徴とする。   In the semiconductor light emitting device according to the present invention, the first resin film has a visible light reflectance of 90% or more in a vertical direction of the insulating substrate.

この構成により、半導体発光素子チップからの光を前方(絶縁性基板の表面の垂直方向)へ確実に反射することが可能となるので、輝度および光取り出し率を確実に向上させることができる。   With this configuration, the light from the semiconductor light emitting element chip can be reliably reflected forward (in the direction perpendicular to the surface of the insulating substrate), so that the luminance and the light extraction rate can be reliably improved.

本発明に係る半導体発光装置では、前記第1樹脂膜は、厚さを60μm以上とされていることを特徴とする。   In the semiconductor light emitting device according to the present invention, the first resin film has a thickness of 60 μm or more.

この構成により、可視光反射率を向上させて半導体発光素子チップからの光を確実に反射することが可能となるので、輝度および光取り出し率を確実に向上させることができる。   With this configuration, it is possible to improve the visible light reflectance and reliably reflect the light from the semiconductor light emitting element chip, and thus it is possible to reliably improve the luminance and the light extraction rate.

本発明に係る半導体発光装置では、前記第1樹脂膜は、ルチル型酸化チタン微粒子分散ペーストを塗布した後、熱硬化させて形成されたことを特徴とする。   In the semiconductor light-emitting device according to the present invention, the first resin film is formed by applying a rutile-type titanium oxide fine particle-dispersed paste and then thermally curing it.

この構成により、容易かつ確実に第1樹脂膜を形成することができる。   With this configuration, the first resin film can be easily and reliably formed.

本発明に係る半導体発光装置では、前記第2樹脂膜は、前記絶縁性基板の垂直方向での可視光反射率を90%以上とされていることを特徴とする。   In the semiconductor light emitting device according to the present invention, the second resin film has a visible light reflectance of 90% or more in a vertical direction of the insulating substrate.

この構成により、半導体発光素子チップからの光を確実に前方(絶縁性基板の表面の垂直方向)へ反射することが可能となるので、輝度および光取り出し率を確実に向上させることができる。   With this configuration, it is possible to reliably reflect light from the semiconductor light emitting element chip forward (perpendicular to the surface of the insulating substrate), so that the luminance and the light extraction rate can be reliably improved.

本発明に係る半導体発光装置では、前記第2樹脂膜は、厚さを60μm以上とされていることを特徴とする。   In the semiconductor light emitting device according to the present invention, the second resin film has a thickness of 60 μm or more.

この構成により、可視光反射率を向上させて半導体発光素子チップからの光を確実に反射することが可能となるので、輝度および光取り出し率を確実に向上させることができる。   With this configuration, it is possible to improve the visible light reflectance and reliably reflect the light from the semiconductor light emitting element chip, and thus it is possible to reliably improve the luminance and the light extraction rate.

本発明に係る半導体発光装置では、前記第2樹脂膜は、ルチル型酸化チタン微粒子分散ペーストを塗布した後、熱硬化させて形成されたことを特徴とする。   In the semiconductor light-emitting device according to the present invention, the second resin film is formed by applying a rutile-type titanium oxide fine particle-dispersed paste and then thermally curing it.

この構成により、容易かつ確実に第2樹脂膜を形成することができる。   With this configuration, the second resin film can be easily and reliably formed.

本発明に係る半導体発光装置では、前記充填樹脂部および前記第3樹脂膜は、ルチル型酸化チタン微粒子分散ペーストを塗布した後、熱硬化させて形成されたことを特徴とする。   In the semiconductor light emitting device according to the present invention, the filling resin portion and the third resin film are formed by applying a rutile-type titanium oxide fine particle dispersed paste and then thermosetting.

この構成により、容易かつ確実に充填樹脂部および第3樹脂膜を形成することができる。   With this configuration, the filled resin portion and the third resin film can be formed easily and reliably.

本発明に係る半導体発光装置では、前記ルチル型酸化チタン微粒子分散ペーストは、ルチル型酸化チタン微粒子を分散させた溶質としてのポリマーと、溶媒としてのポリマー溶解剤とを含むことを特徴とする。   In the semiconductor light emitting device according to the present invention, the rutile-type titanium oxide fine particle-dispersed paste includes a polymer as a solute in which the rutile-type titanium oxide fine particles are dispersed and a polymer dissolving agent as a solvent.

この構成により、第1樹脂膜、第2樹脂膜、充填樹脂部、第3樹脂膜を容易かつ精度良く形成することができる。   With this configuration, the first resin film, the second resin film, the filling resin portion, and the third resin film can be easily and accurately formed.

本発明に係る発光チップ搭載用配線基板は、半導体発光素子チップが載置される絶縁性基板を備える発光チップ搭載用配線基板であって、前記半導体発光素子チップが配置されるチップ配置領域と、該チップ配置領域を囲む外周領域とを前記絶縁性基板の表面に備え、前記外周領域に積層して形成されルチル型酸化チタン微粒子を分散させて含有する第1樹脂膜を備えることを特徴とする。   A light emitting chip mounting wiring board according to the present invention is a light emitting chip mounting wiring board including an insulating substrate on which a semiconductor light emitting element chip is mounted, and a chip arrangement region in which the semiconductor light emitting element chip is disposed; An outer peripheral region surrounding the chip placement region is provided on the surface of the insulating substrate, and the first resin film is formed by laminating rutile-type titanium oxide fine particles formed by being laminated on the outer peripheral region. .

この構成により、載置した半導体発光素子チップから放射される光を第1樹脂膜の表面(発光チップ搭載用配線基板の表面)で前方方向へ確実に反射させることが可能となるので、反射効率を向上させて、半導体発光装置全体としての実質的な輝度および光取り出し効率を向上させることが可能な発光チップ搭載用配線基板とすることができる。   With this configuration, it is possible to reliably reflect light emitted from the mounted semiconductor light emitting element chip in the forward direction on the surface of the first resin film (surface of the light emitting chip mounting wiring board). As a result, it is possible to obtain a light emitting chip mounting wiring board capable of improving the substantial luminance and light extraction efficiency of the entire semiconductor light emitting device.

本発明に係る半導体発光装置によれば、半導体発光素子チップが載置された絶縁性基板を備える半導体発光装置であって、半導体発光素子チップが配置されたチップ配置領域と、チップ配置領域を囲む外周領域とを絶縁性基板の表面に備え、外周領域に積層して形成されルチル型酸化チタン微粒子を分散させて含有する第1樹脂膜を備えることから、半導体発光素子チップから放射された光を第1樹脂膜の表面(発光チップ搭載用配線基板の表面側)で前方方向へ確実に反射させることが可能となるので、反射効率を向上させて、半導体発光装置全体としての実質的な輝度および光取り出し効率を向上させることができるという効果を奏する。   The semiconductor light-emitting device according to the present invention is a semiconductor light-emitting device including an insulating substrate on which a semiconductor light-emitting element chip is placed, and surrounds the chip placement area where the semiconductor light-emitting element chip is placed and the chip placement area Since the outer peripheral region is provided on the surface of the insulating substrate, and the first resin film is formed by laminating the outer peripheral region and containing the rutile-type titanium oxide fine particles dispersed therein, the light emitted from the semiconductor light emitting element chip can be obtained. Since the light can be reliably reflected in the forward direction on the surface of the first resin film (the surface side of the light emitting chip mounting wiring board), the reflection efficiency is improved, and the substantial luminance and the entire semiconductor light emitting device can be improved. There is an effect that the light extraction efficiency can be improved.

本発明に係る発光チップ搭載用配線基板によれば、半導体発光素子チップが載置される絶縁性基板を備える発光チップ搭載用配線基板であって、半導体発光素子チップが配置されるチップ配置領域と、チップ配置領域を囲む外周領域とを絶縁性基板の表面に備え、外周領域に積層して形成されルチル型酸化チタン微粒子を分散させて含有する第1樹脂膜を備えることから、載置した半導体発光素子チップから放射される光を第1樹脂膜の表面(発光チップ搭載用配線基板の表面側)で前方方向へ確実に反射させることが可能となるので、反射効率を向上させて、半導体発光装置全体としての実質的な輝度および光取り出し効率を向上させることが可能な発光チップ搭載用配線基板とすることができるという効果を奏する。   According to the light emitting chip mounting wiring substrate according to the present invention, the light emitting chip mounting wiring substrate includes an insulating substrate on which the semiconductor light emitting element chip is mounted, and a chip arrangement region in which the semiconductor light emitting element chip is disposed; Since the semiconductor substrate is provided with a first resin film which is provided on the surface of the insulating substrate with an outer peripheral region surrounding the chip arrangement region, and is formed by laminating the outer peripheral region and containing the dispersed rutile titanium oxide fine particles. The light emitted from the light emitting element chip can be reliably reflected in the forward direction on the surface of the first resin film (the surface side of the light emitting chip mounting wiring board), so that the reflection efficiency is improved and the semiconductor light emission The light emitting chip mounting wiring board capable of improving the substantial luminance and light extraction efficiency of the entire device can be obtained.

本発明の実施の形態1に係る半導体発光装置および発光チップ搭載用配線基板の構成を示す説明図であり、(A)は(B)の矢符A−Aでの断面の端面図、(B)は平面図である。BRIEF DESCRIPTION OF THE DRAWINGS It is explanatory drawing which shows the structure of the semiconductor light-emitting device which concerns on Embodiment 1 of this invention, and the wiring board for light emitting chip mounting, (A) is an end elevation of the cross section by arrow AA of (B), (B ) Is a plan view. 本発明の実施の形態1に係る半導体発光装置および発光チップ搭載用配線基板の製造工程を示す工程説明図であり、絶縁性基板を準備した状態を示す断面の端面図である。It is process explanatory drawing which shows the manufacturing process of the semiconductor light-emitting device which concerns on Embodiment 1 of this invention, and the wiring board for light emitting chip mounting, and is the end elevation of the cross section which shows the state which prepared the insulating board | substrate. 本発明の実施の形態1に係る半導体発光装置および発光チップ搭載用配線基板の製造工程を示す工程説明図であり、第1樹脂膜を形成した状態を示す断面の端面図である。It is process explanatory drawing which shows the manufacturing process of the semiconductor light-emitting device and light emitting chip mounting wiring board which concern on Embodiment 1 of this invention, and is the end elevation of the cross section which shows the state which formed the 1st resin film. 本発明の実施の形態1に係る半導体発光装置および発光チップ搭載用配線基板の製造工程を示す工程説明図であり、半導体発光素子チップを配置して接続した状態を示す断面の端面図である。It is process explanatory drawing which shows the manufacturing process of the semiconductor light-emitting device and light emitting chip mounting wiring board which concern on Embodiment 1 of this invention, and is an end elevation of the cross section which shows the state which has arrange | positioned and connected the semiconductor light-emitting device chip | tip. 本発明の実施の形態1に係る半導体発光装置および発光チップ搭載用配線基板の製造工程を示す工程説明図であり、樹脂封止部を形成した状態を示す断面の端面図である。It is process explanatory drawing which shows the manufacturing process of the semiconductor light-emitting device and light emitting chip mounting wiring board which concern on Embodiment 1 of this invention, and is the end elevation of the cross section which shows the state in which the resin sealing part was formed. 本発明の実施の形態1に係る半導体発光装置および発光チップ搭載用配線基板の製造工程を示す工程説明図であり、光学薄膜層を形成した状態を示す断面の端面図である。It is process explanatory drawing which shows the manufacturing process of the semiconductor light-emitting device and light emitting chip mounting wiring board which concern on Embodiment 1 of this invention, and is an end elevation of the cross section which shows the state in which the optical thin film layer was formed. 本発明の実施の形態1に係る半導体発光装置の変形例を示す断面の端面図である。It is an end elevation of a section showing a modification of a semiconductor light emitting device concerning Embodiment 1 of the present invention. 本発明の実施の形態2に係る半導体発光装置および発光チップ搭載用配線基板の構成を示す断面の端面図である。It is an end elevation of the section showing the composition of the semiconductor light emitting device and light emitting chip mounting wiring board concerning Embodiment 2 of the present invention. 本発明の実施の形態2に係る半導体発光装置の変形例を示す断面の端面図である。It is an end elevation of a section showing a modification of a semiconductor light emitting device concerning Embodiment 2 of the present invention. 本発明の実施の形態3に係る半導体発光装置および発光チップ搭載用配線基板の構成を示す断面の端面図である。It is an end view of the cross section which shows the structure of the semiconductor light-emitting device which concerns on Embodiment 3 of this invention, and the wiring board for light emitting chip mounting. 本発明の実施の形態3に係る半導体発光装置および発光チップ搭載用配線基板の製造工程を示す工程説明図であり、絶縁性基板に貫通孔を形成した状態を示す断面の端面図である。It is process explanatory drawing which shows the manufacturing process of the semiconductor light-emitting device which concerns on Embodiment 3 of this invention, and the wiring board for light emitting chip mounting, and is an end elevation of the cross section which shows the state which formed the through-hole in the insulating substrate. 本発明の実施の形態3に係る半導体発光装置および発光チップ搭載用配線基板の製造工程を示す工程説明図であり、第1樹脂膜を形成した状態を示す断面の端面図である。It is process explanatory drawing which shows the manufacturing process of the semiconductor light-emitting device and light-emitting chip mounting wiring board concerning Embodiment 3 of this invention, and is an end elevation of the cross section which shows the state which formed the 1st resin film. 本発明の実施の形態3に係る半導体発光装置および発光チップ搭載用配線基板の製造工程を示す工程説明図であり、充填樹脂部および第3樹脂膜を形成した状態を示す断面の端面図である。It is process explanatory drawing which shows the manufacturing process of the semiconductor light-emitting device and light emitting chip mounting wiring board which concern on Embodiment 3 of this invention, and is an end elevation of the cross section which shows the state which formed the filling resin part and the 3rd resin film. . 本発明の実施の形態3に係る半導体発光装置および発光チップ搭載用配線基板の製造工程を示す工程説明図であり、半導体発光素子チップを配置して接続した状態を示す断面の端面図である。It is process explanatory drawing which shows the manufacturing process of the semiconductor light-emitting device which concerns on Embodiment 3 of this invention, and the wiring board for light-emitting chip mounting, and is an end elevation of the cross section which shows the state which has arrange | positioned and connected the semiconductor light-emitting element chip. 本発明の実施の形態3に係る半導体発光装置および発光チップ搭載用配線基板の製造工程を示す工程説明図であり、樹脂封止部を形成した状態を示す断面の端面図である。It is process explanatory drawing which shows the manufacturing process of the semiconductor light-emitting device which concerns on Embodiment 3 of this invention, and the wiring board for light emitting chip mounting, and is an end elevation of the cross section which shows the state in which the resin sealing part was formed. 本発明の実施の形態3に係る半導体発光装置および発光チップ搭載用配線基板の製造工程を示す工程説明図であり、光学薄膜層を形成した状態を示す断面の端面図である。It is process explanatory drawing which shows the manufacturing process of the semiconductor light-emitting device and light emitting chip mounting wiring board which concern on Embodiment 3 of this invention, and is an end elevation of the cross section which shows the state in which the optical thin film layer was formed. 本発明の実施の形態3に係る半導体発光装置の変形例を示す断面の端面図である。It is an end elevation of a section showing a modification of a semiconductor light emitting device concerning Embodiment 3 of the present invention. 本発明の実施の形態4に係る半導体発光装置および発光チップ搭載用配線基板の構成を示す断面の端面図である。It is an end elevation of the section which shows the composition of the semiconductor light emitting device concerning Embodiment 4 of the present invention, and the wiring board for light emitting chip loading. 本発明の実施の形態4に係る半導体発光装置の変形例を示す断面の端面図である。It is an end elevation of a section showing a modification of a semiconductor light emitting device concerning Embodiment 4 of the present invention.

以下、本発明の実施の形態を図面に基づいて説明する。   Hereinafter, embodiments of the present invention will be described with reference to the drawings.

<実施の形態1>
図1ないし図3に基づいて、本実施の形態に係る半導体発光装置、発光チップ搭載用配線基板について説明する。なお、図2Aないし図2Eでは、半導体発光装置、発光チップ搭載用配線基板の製造工程(製造方法)について説明する。図3では、変形例について説明する。
<Embodiment 1>
A semiconductor light emitting device and a light emitting chip mounting wiring board according to the present embodiment will be described with reference to FIGS. 2A to 2E, a manufacturing process (manufacturing method) of the semiconductor light emitting device and the light emitting chip mounting wiring board will be described. FIG. 3 illustrates a modification.

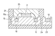
図1は、本発明の実施の形態1に係る半導体発光装置および発光チップ搭載用配線基板の構成を示す説明図であり、(A)は(B)の矢符A−Aでの断面の端面図、(B)は平面図である。   FIG. 1 is an explanatory view showing a configuration of a semiconductor light emitting device and a light emitting chip mounting wiring board according to Embodiment 1 of the present invention, and (A) is an end face of a cross section taken along arrows AA in (B). FIG. 4B is a plan view.

本実施の形態に係る半導体発光装置1は、半導体発光素子チップ2が載置された絶縁性
基板10を備え、半導体発光素子チップ2が配置されたチップ配置領域Acと、チップ配置領域Acを囲む外周領域Afとを絶縁性基板10の表面10sに備え、外周領域Afに積層して形成されルチル型酸化チタン微粒子を分散させて含有する第1樹脂膜21を備える。
A semiconductor light emitting device 1 according to the present embodiment includes an insulating substrate 10 on which a semiconductor light emitting element chip 2 is placed, and surrounds a chip placement area Ac on which the semiconductor light emitting element chip 2 is placed, and the chip placement area Ac. The outer peripheral region Af is provided on the surface 10 s of the insulating substrate 10, and the first resin film 21 that is formed by laminating the outer peripheral region Af and contains rutile-type titanium oxide fine particles is provided.

したがって、半導体発光素子チップ2から放射された光を第1樹脂膜21の表面(発光チップ搭載用配線基板1pbの表面10s側)で前方方向へ確実に反射させることが可能となるので、反射効率を向上させて、半導体発光装置1全体としての実質的な輝度および光取り出し効率を向上させることができる。   Therefore, the light emitted from the semiconductor light-emitting element chip 2 can be reliably reflected in the forward direction on the surface of the first resin film 21 (the surface 10s side of the light-emitting chip mounting wiring board 1pb). Thus, the substantial luminance and light extraction efficiency of the semiconductor light emitting device 1 as a whole can be improved.

なお、絶縁性基板10には、半導体発光素子チップ2の電極が接続ワイヤ11wを介して接続される電極接続端子11が形成され、電極接続端子11は、配線パターン13を介して外部端子12へ接続されている。したがって、外部から外部端子12へ電力(電流)を供給することによって、半導体発光素子チップ2へ電流を供給して発光させることができる。   The insulating substrate 10 is provided with electrode connection terminals 11 to which the electrodes of the semiconductor light emitting element chip 2 are connected via connection wires 11 w. The electrode connection terminals 11 are connected to the external terminals 12 via the wiring patterns 13. It is connected. Therefore, by supplying electric power (current) from the outside to the external terminal 12, current can be supplied to the semiconductor light emitting element chip 2 to emit light.

半導体発光素子チップ2の表面の高さHc(表面10sからの高さ)は、第1樹脂膜21の表面の高さHf(表面10sからの高さ)より低い。したがって、半導体発光素子チップ2からの光を確実に効率よく前方方向へ反射させることができる。   The surface height Hc (height from the surface 10s) of the semiconductor light emitting element chip 2 is lower than the surface height Hf (height from the surface 10s) of the first resin film 21. Therefore, the light from the semiconductor light emitting element chip 2 can be reliably and efficiently reflected in the forward direction.

また、第1樹脂膜21は、絶縁性基板10の垂直方向での可視光反射率を90%以上とされている。したがって、半導体発光素子チップ2からの光を前方(絶縁性基板10の表面10sの垂直方向)へ確実に反射することが可能となるので、輝度および光取り出し率を確実に向上させることができる。なお、可視光反射率は、95%以上であることが好ましい。また、可視光反射率を測定したときの可視光の波長領域は、450nmから650nmまでである。   The first resin film 21 has a visible light reflectance of 90% or more in the vertical direction of the insulating substrate 10. Therefore, the light from the semiconductor light emitting element chip 2 can be reliably reflected forward (perpendicular to the surface 10s of the insulating substrate 10), so that the luminance and the light extraction rate can be reliably improved. The visible light reflectance is preferably 95% or more. Further, the visible light wavelength region when the visible light reflectance is measured is from 450 nm to 650 nm.

第1樹脂膜21は、厚さを60μm以上とされている。したがって、可視光反射率を向上させて半導体発光素子チップ2からの光を確実に反射することが可能となるので、輝度および光取り出し率を確実に向上させることができる。   The first resin film 21 has a thickness of 60 μm or more. Therefore, the visible light reflectance can be improved and the light from the semiconductor light emitting element chip 2 can be reliably reflected, so that the luminance and the light extraction rate can be reliably improved.

第1樹脂膜21は、ルチル型酸化チタン微粒子分散ペーストを熱硬化させて形成されている。したがって、容易かつ確実に第1樹脂膜21を形成することができる。なお、第1樹脂膜21の積層、形成方法については、図2Bで詳細を説明する。   The first resin film 21 is formed by thermosetting a rutile type titanium oxide fine particle dispersed paste. Therefore, the first resin film 21 can be formed easily and reliably. In addition, the lamination | stacking and formation method of the 1st resin film 21 are demonstrated in detail with FIG. 2B.

半導体発光装置1は、チップ配置領域Acに充填された透光性樹脂で形成され第1樹脂膜21の表面に対して面一とされた表面を有する樹脂封止部25と、第1樹脂膜21および樹脂封止部25を被覆する光学薄膜層31とを備える。したがって、表面での輝度を均一化することが可能となり、表示品質を向上させた半導体発光装置1とすることができる。   The semiconductor light emitting device 1 includes a resin sealing portion 25 having a surface formed of a translucent resin filled in the chip arrangement region Ac and having a surface flush with the surface of the first resin film 21, and a first resin film 21 and an optical thin film layer 31 that covers the resin sealing portion 25. Therefore, the luminance on the surface can be made uniform, and the semiconductor light emitting device 1 with improved display quality can be obtained.

本実施の形態に係る発光チップ搭載用配線基板1pbは、半導体発光素子チップ2が載置される絶縁性基板10を備えてあり、半導体発光素子チップ2が配置されるチップ配置領域Acと、チップ配置領域Acを囲む外周領域Afとを絶縁性基板10の表面10sに備え、外周領域Afに積層して形成されルチル型酸化チタン微粒子を分散させて含有する第1樹脂膜21を備える。   The light-emitting chip mounting wiring board 1pb according to the present embodiment includes an insulating substrate 10 on which the semiconductor light-emitting element chip 2 is placed, and a chip placement area Ac on which the semiconductor light-emitting element chip 2 is placed, and a chip An outer peripheral region Af surrounding the arrangement region Ac is provided on the surface 10s of the insulating substrate 10, and a first resin film 21 is formed which is formed by laminating the outer peripheral region Af and contains rutile titanium oxide fine particles dispersed therein.

したがって、載置した半導体発光素子チップ2から放射される光を第1樹脂膜21の表面(発光チップ搭載用配線基板1pbの表面10s側)で前方方向へ確実に反射させることが可能となるので、反射効率を向上させて、半導体発光装置1全体としての実質的な輝度および光取り出し効率を向上させることが可能な発光チップ搭載用配線基板1pbとすることができる。   Therefore, the light emitted from the mounted semiconductor light emitting element chip 2 can be reliably reflected in the forward direction on the surface of the first resin film 21 (the surface 10s side of the light emitting chip mounting wiring board 1pb). Thus, it is possible to obtain a light emitting chip mounting wiring substrate 1pb that can improve the reflection efficiency and improve the substantial luminance and light extraction efficiency of the semiconductor light emitting device 1 as a whole.

図2Aは、本発明の実施の形態1に係る半導体発光装置および発光チップ搭載用配線基板の製造工程を示す工程説明図であり、絶縁性基板を準備した状態を示す断面の端面図である。   FIG. 2A is a process explanatory view showing the manufacturing process of the semiconductor light emitting device and the light emitting chip mounting wiring board according to the first embodiment of the present invention, and is an end view of a cross section showing a state in which an insulating substrate is prepared.

先ず、絶縁性基板10を準備する。絶縁性基板10は、電極接続端子11、外部端子12、配線パターン13(図2A〜図2Eでは、不図示。)を備える。絶縁性基板10は、例えばガラスエポキシ基板で構成してある。また、電極接続端子11、外部端子12は、銅箔を貼り付け、適宜パターニングすることによって形成されている。ガラスエポキシ基
板は、適宜の顔料が含まれるが、緑色、黒色、白色いずれであっても適用することが可能である。
First, the insulating substrate 10 is prepared. The insulating substrate 10 includes electrode connection terminals 11, external terminals 12, and wiring patterns 13 (not shown in FIGS. 2A to 2E). The insulating substrate 10 is made of, for example, a glass epoxy substrate. The electrode connection terminal 11 and the external terminal 12 are formed by attaching a copper foil and appropriately patterning it. The glass epoxy substrate contains an appropriate pigment, but any of green, black, and white can be applied.

図2Bは、本発明の実施の形態1に係る半導体発光装置および発光チップ搭載用配線基板の製造工程を示す工程説明図であり、第1樹脂膜を形成した状態を示す断面の端面図である。   FIG. 2B is a process explanatory view showing the manufacturing process of the semiconductor light emitting device and the light emitting chip mounting wiring board according to Embodiment 1 of the present invention, and is an end view of a cross section showing a state in which the first resin film is formed. .

外周領域Afに第1樹脂膜21を形成する。第1樹脂膜21は、ルチル型酸化チタン微粒子分散ペーストを塗布した後、熱硬化させて形成される。したがって、容易かつ確実に第1樹脂膜21を形成することができる。なお、第1樹脂膜21を成膜する前に、絶縁性基板10の表面に適宜の表面処理(粗化処理、洗浄処理)を施し、表面10sに対するルチル型酸化チタン微粒子分散ペーストの密着性を向上させておく。   The first resin film 21 is formed in the outer peripheral area Af. The first resin film 21 is formed by applying a rutile-type titanium oxide fine particle dispersed paste and then thermally curing it. Therefore, the first resin film 21 can be formed easily and reliably. Before the first resin film 21 is formed, the surface of the insulating substrate 10 is subjected to appropriate surface treatment (roughening treatment, cleaning treatment) to improve the adhesion of the rutile-type titanium oxide fine particle dispersed paste to the surface 10s. Keep improving.

ルチル型酸化チタン微粒子分散ペーストの塗布方法としては、例えば、スクリーン印刷技術を適用することが可能である。また、形成したい膜厚に対応した板厚を有する板枠をマスクとしてチップ配置領域Acに配置し、板枠の窓部内側にルチル型酸化チタン微粒子分散ペーストを充填して成膜することが可能である。   As a method for applying the rutile-type titanium oxide fine particle-dispersed paste, for example, a screen printing technique can be applied. In addition, it is possible to form a film by placing a plate frame having a thickness corresponding to the film thickness to be formed in the chip arrangement area Ac as a mask and filling the inside of the window portion of the plate frame with a rutile type titanium oxide fine particle dispersion paste. It is.

ペースト塗布後、例えば、100℃未満の温度で10分程度乾燥し、さらに、オーブンで150℃、1時間程度の加熱処理を施して熱硬化させることによって第1樹脂膜21を形成することができる。   After applying the paste, for example, the first resin film 21 can be formed by drying for about 10 minutes at a temperature of less than 100 ° C., and further performing heat treatment at 150 ° C. for about 1 hour in an oven for thermosetting. .

ルチル型酸化チタン微粒子分散ペーストは、ルチル型酸化チタン微粒子を分散させた溶質としてのポリマーと、溶媒としてのポリマー溶解剤とを含む。したがって、第1樹脂膜21を容易かつ精度良く形成することができる。   The rutile-type titanium oxide fine particle-dispersed paste contains a polymer as a solute in which rutile-type titanium oxide fine particles are dispersed and a polymer dissolving agent as a solvent. Therefore, the first resin film 21 can be easily and accurately formed.

ルチル型酸化チタン微粒子分散ペーストは、例えば、次の成分で構成することが可能である。なお、光硬化型の場合は、光透過性が悪い(反射が強い)ことから、膜厚を稼ぐことが困難であるので、熱重合型(熱硬化型)とすることが好ましい。   The rutile-type titanium oxide fine particle dispersed paste can be composed of, for example, the following components. In the case of the photo-curing type, it is difficult to increase the film thickness because of poor light transmission (strong reflection), and therefore it is preferable to use a heat polymerization type (thermo-curing type).

つまり、溶質として、ルチル型酸化チタン微粒子、ポリマー(例えば、可視光吸収が少ない、アクリル、オレフィン、シリコン系ポリマーなどを適用することが可能であり、ルチル型酸化チタン微粒子を分散させることが可能であれば良い。)、および、ポリマー架橋のためのエポキシ基を有する化合物を含み、溶媒となるポリマー溶解剤として均一性の良い乾燥塗膜を得られるように適宜調整された混合溶媒を含むペーストを適用する。   That is, as the solute, rutile type titanium oxide fine particles and polymers (for example, acrylic, olefin, silicon-based polymer having little visible light absorption, etc. can be applied, and rutile type titanium oxide fine particles can be dispersed. And a paste containing a mixed solvent that is appropriately adjusted so as to obtain a dry coating film having good uniformity as a polymer solubilizing agent that contains a compound having an epoxy group for polymer crosslinking and serves as a solvent. Apply.

また、ルチル型酸化チタン微粒子分散ペーストには、必要に応じて、微粒子分散材、樹脂酸化防止剤、樹脂劣化防止剤、熱重合開始剤、帯電防止剤などを混合することができる。   The rutile-type titanium oxide fine particle dispersion paste can be mixed with a fine particle dispersion material, a resin antioxidant, a resin deterioration inhibitor, a thermal polymerization initiator, an antistatic agent, and the like, if necessary.

また、第1樹脂膜21は、厚さを60μm以上とされている。したがって、可視光反射率を向上させて半導体発光素子チップ2からの光を確実に反射することが可能となるので、輝度および光取り出し率を確実に向上させることができる。   The first resin film 21 has a thickness of 60 μm or more. Therefore, the visible light reflectance can be improved and the light from the semiconductor light emitting element chip 2 can be reliably reflected, so that the luminance and the light extraction rate can be reliably improved.

なお、第1樹脂膜21の厚さと可視光反射率(波長領域=450nm〜650nm)との関係を精査した結果、厚さ25μmでは、可視光反射率はほぼ90%、厚さ40μmでは、可視光反射率はほぼ90%〜95%、厚さ60μmでは、可視光反射率はほぼ95%となった。   As a result of examining the relationship between the thickness of the first resin film 21 and the visible light reflectance (wavelength region = 450 nm to 650 nm), the visible light reflectance is approximately 90% at a thickness of 25 μm, and visible at a thickness of 40 μm. When the light reflectance was approximately 90% to 95% and the thickness was 60 μm, the visible light reflectance was approximately 95%.

したがって、成膜時の厚さのバラツキを考慮したとき、第1樹脂膜21の厚さを60μm以上とすることによって、可視光反射率90%(より好ましくは95%)以上を確実に達成することが可能である。   Therefore, when the variation in thickness at the time of film formation is taken into consideration, by setting the thickness of the first resin film 21 to 60 μm or more, a visible light reflectance of 90% (more preferably 95%) or more is reliably achieved. It is possible.

第1樹脂膜21を容易かつ精度良く形成するため、ルチル型酸化チタン微粒子分散ペーストの塗布を複数回繰り返して積層することによって所望の膜厚とすることが可能である。なお、ルチル型酸化チタン微粒子分散ペーストを適用することによって、従来のソルダーレジストなどでは困難であった比較的薄い膜(厚さ60μm以上)で、高い可視光反射率90%(好ましくは95%)を実現することが可能となった。   In order to form the first resin film 21 easily and accurately, it is possible to obtain a desired film thickness by repeatedly applying the rutile-type titanium oxide fine particle dispersed paste a plurality of times. By applying a rutile type titanium oxide fine particle dispersion paste, a high visible light reflectance of 90% (preferably 95%) is achieved with a relatively thin film (thickness of 60 μm or more) which is difficult with a conventional solder resist or the like. It became possible to realize.

図2Cは、本発明の実施の形態1に係る半導体発光装置および発光チップ搭載用配線基板の製造工程を示す工程説明図であり、半導体発光素子チップを配置して接続した状態を示す断面の端面図である。   FIG. 2C is a process explanatory view showing the manufacturing process of the semiconductor light emitting device and the light emitting chip mounting wiring board according to Embodiment 1 of the present invention, and is an end face of a cross section showing a state in which the semiconductor light emitting element chips are arranged and connected FIG.

チップ配置領域Acへ半導体発光素子チップ2を載置(ダイボンディング)する。適宜
の接着部材を介挿することによって、容易に接着させることが可能である。接着部材としては、銀ペーストなどの導電性接着剤、あるいは導電性接着テープなどを適用することが可能である。
The semiconductor light emitting element chip 2 is mounted (die bonding) on the chip arrangement area Ac. By inserting an appropriate adhesive member, it can be easily adhered. As the adhesive member, it is possible to apply a conductive adhesive such as a silver paste or a conductive adhesive tape.

半導体発光素子チップ2を載置した後、接続ワイヤ11wを介して半導体発光素子チップ2の電極を電極接続端子11へ接続する。   After placing the semiconductor light emitting element chip 2, the electrode of the semiconductor light emitting element chip 2 is connected to the electrode connection terminal 11 via the connection wire 11 w.

なお、半導体発光素子チップ2の表面の高さHcは、第1樹脂膜21の表面の高さHfより低い状態となっている。つまり、予め第1樹脂膜21の表面の高さHf(第1樹脂膜21の膜厚)を、半導体発光素子チップ2のチップ厚より厚く形成しておく。したがって、半導体発光素子チップ2からの光が側面方向へ放出されることがなく、半導体発光素子チップ2からの光を確実に効率よく前方方向へ反射させることができる。   Note that the surface height Hc of the semiconductor light emitting element chip 2 is lower than the surface height Hf of the first resin film 21. That is, the height Hf of the surface of the first resin film 21 (the film thickness of the first resin film 21) is previously formed thicker than the chip thickness of the semiconductor light emitting element chip 2. Therefore, the light from the semiconductor light emitting element chip 2 is not emitted in the lateral direction, and the light from the semiconductor light emitting element chip 2 can be reliably and efficiently reflected in the forward direction.

図2Dは、本発明の実施の形態1に係る半導体発光装置および発光チップ搭載用配線基板の製造工程を示す工程説明図であり、樹脂封止部を形成した状態を示す断面の端面図である。   FIG. 2D is a process explanatory view showing the manufacturing process of the semiconductor light emitting device and the light emitting chip mounting wiring board according to the first embodiment of the present invention, and is an end view of a cross section showing a state in which a resin sealing portion is formed. .

第1樹脂膜21で囲まれたチップ配置領域Acへ透光性樹脂を充填して第1樹脂膜21の表面と面一の表面を有する樹脂封止部25を形成する。通常の透光性樹脂を適用することが可能である。   The chip placement region Ac surrounded by the first resin film 21 is filled with a translucent resin to form a resin sealing portion 25 having a surface flush with the surface of the first resin film 21. A normal translucent resin can be applied.

透光性樹脂としては、例えば、エポキシ樹脂、シリコーン樹脂などを適用することが可能である。また、第1樹脂膜21と樹脂封止部25とを面一の表面とするために表面を多少研磨することも可能である。   As the translucent resin, for example, an epoxy resin, a silicone resin, or the like can be applied. In order to make the first resin film 21 and the resin sealing portion 25 flush with each other, the surface can be somewhat polished.

なお、熱硬化性のエポキシ樹脂、シリコーン樹脂ではなく、UV(紫外線)照射によって硬化するUV硬化樹脂を適用することによって加熱工程を不要とすることが可能である。   Note that it is possible to eliminate the heating step by applying a UV curable resin that is cured by UV (ultraviolet) irradiation instead of a thermosetting epoxy resin or silicone resin.

図2Eは、本発明の実施の形態1に係る半導体発光装置および発光チップ搭載用配線基板の製造工程を示す工程説明図であり、光学薄膜層を形成した状態を示す断面の端面図である。   FIG. 2E is a process explanatory view showing the manufacturing process of the semiconductor light emitting device and the light emitting chip mounting wiring board according to the first embodiment of the present invention, and is an end view of a cross section showing a state in which an optical thin film layer is formed.

第1樹脂膜21および樹脂封止部25の表面に、光学薄膜層31を形成する。光学薄膜層31は、光の放射性を改善すること、表面の傷を防止することなどを目的とし、例えば、ハードコート層、反射防止層、防汚コート層で構成される。適宜の湿式法で塗布形成することが可能である。   An optical thin film layer 31 is formed on the surfaces of the first resin film 21 and the resin sealing portion 25. The optical thin film layer 31 is formed of, for example, a hard coat layer, an antireflection layer, and an antifouling coat layer for the purpose of improving light radiation and preventing scratches on the surface. The coating can be formed by an appropriate wet method.

図3は、本発明の実施の形態1に係る半導体発光装置の変形例を示す断面の端面図である。   FIG. 3 is an end view of a cross section showing a modification of the semiconductor light emitting device according to the first embodiment of the present invention.

本変形例に係る半導体発光装置1は、第1樹脂膜21および樹脂封止部25と光学薄膜層33との間にレンズ部32を配置したものである。レンズ部32は、例えば予めレンズ状に形成され、光学薄膜層33を予め被覆された半球状ガラスを第1樹脂膜21および樹脂封止部25に載置することによって形成することが可能である。   In the semiconductor light emitting device 1 according to this modification, a lens portion 32 is disposed between the first resin film 21 and the resin sealing portion 25 and the optical thin film layer 33. The lens part 32 can be formed, for example, by placing hemispherical glass previously formed in a lens shape and pre-coated with the optical thin film layer 33 on the first resin film 21 and the resin sealing part 25. .

<実施の形態2>
図4および図5に基づいて、本実施の形態に係る半導体発光装置、発光チップ搭載用配線基板について説明する。図5では、変形例について説明する。
<Embodiment 2>
The semiconductor light emitting device and the light emitting chip mounting wiring board according to the present embodiment will be described with reference to FIGS. FIG. 5 illustrates a modification.

なお、基本的な構成は、実施の形態1の半導体発光装置1、発光チップ搭載用配線基板1pbと同様であるので、符号を援用し、主に異なる事項について説明する。   The basic configuration is the same as that of the semiconductor light-emitting device 1 and the light-emitting chip mounting wiring board 1pb of the first embodiment, and therefore, different items are mainly described with reference to symbols.

図4は、本発明の実施の形態2に係る半導体発光装置および発光チップ搭載用配線基板の構成を示す断面の端面図である。   FIG. 4 is an end view in cross section showing the configuration of the semiconductor light emitting device and the light emitting chip mounting wiring board according to the second embodiment of the present invention.

本実施の形態に係る半導体発光装置1は、半導体発光素子チップ2が載置された絶縁性基板10を備えてあり、半導体発光素子チップ2が配置されたチップ配置領域Acと、チップ配置領域Acを囲む外周領域Afとを絶縁性基板10の表面10sに備え、外周領域Afに積層して形成されルチル型酸化チタン微粒子を分散させて含有する第1樹脂膜21と、チップ配置領域Acに形成されルチル型酸化チタン微粒子を分散させて含有する第2樹脂膜22とを備える。したがって、半導体発光素子チップ2の裏面側へ放射される光を第2樹脂膜22の表面で有効に前方方向へ反射させて、さらに輝度および光取り出し効率を向上させることができる。   A semiconductor light emitting device 1 according to the present embodiment includes an insulating substrate 10 on which a semiconductor light emitting element chip 2 is placed. A chip placement area Ac on which the semiconductor light emitting element chip 2 is placed, and a chip placement area Ac. Is formed on the surface 10 s of the insulating substrate 10, and is formed in the chip placement region Ac, and the first resin film 21 formed by being laminated on the outer periphery region Af and containing the dispersed rutile titanium oxide fine particles. And a second resin film 22 containing dispersed rutile titanium oxide fine particles. Therefore, the light radiated to the back surface side of the semiconductor light emitting element chip 2 can be effectively reflected forward by the surface of the second resin film 22 to further improve the luminance and light extraction efficiency.

なお、第1樹脂膜21および第2樹脂膜22は、同一の素材で同様に形成することが可能である。したがって、第1段階で、第2樹脂膜22および第1樹脂膜21の1層目として第1樹脂膜21fを塗布して形成し、第2段階で第1樹脂膜21の残り部分を塗布して形成することが可能である。第1樹脂膜21と第2樹脂膜22をそれぞれ個別に形成することも可能である。   In addition, the 1st resin film 21 and the 2nd resin film 22 can be similarly formed with the same raw material. Accordingly, the first resin film 21f is applied and formed as the first layer of the second resin film 22 and the first resin film 21 in the first stage, and the remaining portion of the first resin film 21 is applied in the second stage. Can be formed. It is also possible to form the first resin film 21 and the second resin film 22 individually.

また、半導体発光素子チップ2は、第2樹脂膜22に載置され、半導体発光素子チップ2の表面の高さHcは、第1樹脂膜21の表面の高さHfより低い。したがって、半導体発光素子チップ2からの光を確実に効率よく前方方向へ反射させることができる。なお、第2樹脂膜22は、適宜の硬度に硬化させてあることから、半導体発光素子チップ2を第2樹脂膜22の表面へ容易かつ精度良く接着部材を介挿させて載置することが可能である。接着部材は、実施の形態1の場合と同様のものを適用することが可能である。   The semiconductor light emitting element chip 2 is placed on the second resin film 22, and the surface height Hc of the semiconductor light emitting element chip 2 is lower than the surface height Hf of the first resin film 21. Therefore, the light from the semiconductor light emitting element chip 2 can be reliably and efficiently reflected in the forward direction. Since the second resin film 22 is cured to an appropriate hardness, the semiconductor light emitting element chip 2 can be easily and accurately placed on the surface of the second resin film 22 with an adhesive member interposed therebetween. Is possible. The same adhesive member as that in Embodiment 1 can be applied.

第2樹脂膜22は、絶縁性基板10の垂直方向での可視光反射率を90%以上とされている。したがって、半導体発光素子チップ2からの光を確実に前方(絶縁性基板10の表面10sの垂直方向)へ反射することが可能となるので、輝度および光取り出し率を確実に向上させることができる。   The second resin film 22 has a visible light reflectance of 90% or more in the vertical direction of the insulating substrate 10. Therefore, the light from the semiconductor light emitting element chip 2 can be reliably reflected forward (perpendicular to the surface 10s of the insulating substrate 10), so that the luminance and the light extraction rate can be reliably improved.

第2樹脂膜22は、厚さを60μm以上とされている。したがって、可視光反射率を向上させて半導体発光素子チップ2からの光を確実に反射することが可能となるので、輝度および光取り出し率を確実に向上させることができる。   The second resin film 22 has a thickness of 60 μm or more. Therefore, the visible light reflectance can be improved and the light from the semiconductor light emitting element chip 2 can be reliably reflected, so that the luminance and the light extraction rate can be reliably improved.

第2樹脂膜22は、ルチル型酸化チタン微粒子分散ペーストを塗布した後、熱硬化させて形成されている。したがって、容易かつ確実に第2樹脂膜22を形成することができる。   The second resin film 22 is formed by applying a rutile type titanium oxide fine particle dispersed paste and then thermally curing it. Therefore, the second resin film 22 can be formed easily and reliably.

本実施の形態に係る発光チップ搭載用配線基板1pbは、半導体発光素子チップ2が載置される絶縁性基板10を備えてあり、半導体発光素子チップ2が配置されるチップ配置領域Acと、チップ配置領域Acを囲む外周領域Afとを絶縁性基板10の表面10sに備え、外周領域Afに形成されルチル型酸化チタン微粒子を分散させて含有する第1樹脂膜21と、チップ配置領域Acに形成されルチル型酸化チタン微粒子を分散させて含有する第2樹脂膜22とを備える。   The light-emitting chip mounting wiring board 1pb according to the present embodiment includes an insulating substrate 10 on which the semiconductor light-emitting element chip 2 is placed, and a chip placement area Ac on which the semiconductor light-emitting element chip 2 is placed, and a chip An outer peripheral region Af surrounding the arrangement region Ac is provided on the surface 10s of the insulating substrate 10, and formed in the outer peripheral region Af and dispersed in the first resin film 21 containing the rutile-type titanium oxide fine particles and formed in the chip arrangement region Ac. And a second resin film 22 containing dispersed rutile titanium oxide fine particles.

したがって、載置した半導体発光素子チップ2から放射される光を第1樹脂膜21の表面(発光チップ搭載用配線基板1pbの表面10s側)で前方方向へ確実に反射させ、また、半導体発光素子チップの裏面側へ放射される光を第2樹脂膜22の表面(発光チップ搭載用配線基板1pbの表面10s)で有効に反射させることが可能となるので、反射効率を向上させて、半導体発光装置1全体としての実質的な輝度および光取り出し効率を向上させることが可能な発光チップ搭載用配線基板1pbとすることができる。   Therefore, the light emitted from the mounted semiconductor light emitting element chip 2 is reliably reflected forward by the surface of the first resin film 21 (the surface 10s side of the light emitting chip mounting wiring board 1pb), and the semiconductor light emitting element Light emitted to the back side of the chip can be effectively reflected on the surface of the second resin film 22 (surface 10s of the light emitting chip mounting wiring board 1pb), so that the reflection efficiency is improved and the semiconductor light emission The light emitting chip mounting wiring substrate 1pb can improve the substantial luminance and light extraction efficiency of the entire device 1.

図5は、本発明の実施の形態2に係る半導体発光装置の変形例を示す断面の端面図である。   FIG. 5 is a sectional end view showing a modification of the semiconductor light emitting device according to the second embodiment of the present invention.

本変形例に係る半導体発光装置1は、実施の形態1の図3で示した、レンズ部32、光学薄膜層33を備える点で、図3の場合と同様であるので詳細な説明を省略する。   The semiconductor light emitting device 1 according to this modification is the same as the case of FIG. 3 in that the lens unit 32 and the optical thin film layer 33 shown in FIG. .

<実施の形態3>
図6ないし図8に基づいて、本実施の形態に係る半導体発光装置、発光チップ搭載用配線基板について説明する。なお、図7Aないし図7Fでは、半導体発光装置、発光チップ搭載用配線基板の製造工程(製造方法)について説明する。図8では、変形例について説明する。
<Embodiment 3>
The semiconductor light emitting device and the light emitting chip mounting wiring board according to the present embodiment will be described with reference to FIGS. 7A to 7F, a manufacturing process (manufacturing method) of the semiconductor light emitting device and the light emitting chip mounting wiring board will be described. In FIG. 8, a modified example will be described.

なお、基本的な構成は、実施の形態1の半導体発光装置1、発光チップ搭載用配線基板1pbと同様であるので、符号を援用し、主に異なる事項について説明する。   The basic configuration is the same as that of the semiconductor light-emitting device 1 and the light-emitting chip mounting wiring board 1pb of the first embodiment, and therefore, different items are mainly described with reference to symbols.

図6は、本発明の実施の形態3に係る半導体発光装置および発光チップ搭載用配線基板の構成を示す断面の端面図である。   FIG. 6 is an end view of a cross section showing the configuration of the semiconductor light emitting device and the light emitting chip mounting wiring board according to the third embodiment of the present invention.

本実施の形態に係る半導体発光装置1は、半導体発光素子チップ2が載置された絶縁性基板10を備えてあり、半導体発光素子チップ2が配置されたチップ配置領域Acと、チップ配置領域Acを囲む外周領域Afとを絶縁性基板10の表面10sに備え、外周領域Afに積層して形成されルチル型酸化チタン微粒子を分散させて含有する第1樹脂膜21
と、外周領域Afに形成され絶縁性基板10を貫通する貫通孔15と、貫通孔15に充填されて第1樹脂膜21に接合されルチル型酸化チタン微粒子を分散させて含有する充填樹脂部24と、充填樹脂部24に接合させて絶縁性基板10の裏面10rに積層して形成されルチル型酸化チタン微粒子を分散させて含有する第3樹脂膜23とを備える。
A semiconductor light emitting device 1 according to the present embodiment includes an insulating substrate 10 on which a semiconductor light emitting element chip 2 is placed. A chip placement area Ac on which the semiconductor light emitting element chip 2 is placed, and a chip placement area Ac. The first resin film 21 is provided on the surface 10s of the insulating substrate 10 with the outer peripheral region Af surrounding the outer peripheral region A, and is formed by being laminated on the outer peripheral region Af and containing the dispersed rutile-type titanium oxide fine particles.
A through hole 15 formed in the outer peripheral region Af and penetrating the insulating substrate 10; and a filled resin portion 24 filled with the through hole 15 and bonded to the first resin film 21 and containing the dispersed rutile titanium oxide particles. And a third resin film 23 which is formed by being bonded to the filling resin portion 24 and laminated on the back surface 10r of the insulating substrate 10 and containing dispersed rutile titanium oxide fine particles.

したがって、第1樹脂膜21、充填樹脂部24、第3樹脂膜23を介して放熱経路を構成することが可能となり、半導体発光素子チップ2からの熱を効率よく裏面10rの側へ放熱して、発光効率および放熱性、信頼性を向上させることができる。   Therefore, a heat dissipation path can be configured through the first resin film 21, the filling resin portion 24, and the third resin film 23, and heat from the semiconductor light emitting element chip 2 can be efficiently dissipated to the back surface 10r side. , Luminous efficiency, heat dissipation, and reliability can be improved.

充填樹脂部24および第3樹脂膜23は、ルチル型酸化チタン微粒子分散ペーストを塗布した後、熱硬化させて形成されている。したがって、容易かつ確実に充填樹脂部24および第3樹脂膜23を形成することができる。なお、第3樹脂膜23および充填樹脂部24は、第1樹脂膜21と同様にして形成することができる。   The filled resin portion 24 and the third resin film 23 are formed by applying a rutile-type titanium oxide fine particle dispersed paste and then thermosetting. Therefore, the filled resin portion 24 and the third resin film 23 can be formed easily and reliably. The third resin film 23 and the filling resin portion 24 can be formed in the same manner as the first resin film 21.

また、半導体発光装置1は、チップ配置領域Acに充填された透光性樹脂で形成され第1樹脂膜21の表面に対して面一とされた表面を有する樹脂封止部25と、第1樹脂膜21および樹脂封止部25を被覆する光学薄膜層31とを備える。   In addition, the semiconductor light emitting device 1 includes a resin sealing portion 25 that is formed of a translucent resin filled in the chip arrangement region Ac and has a surface that is flush with the surface of the first resin film 21; And an optical thin film layer 31 that covers the resin film 21 and the resin sealing portion 25.

本実施の形態に係る発光チップ搭載用配線基板1pbは、半導体発光素子チップ2が載置される絶縁性基板10を備えてあり、半導体発光素子チップ2が配置されるチップ配置領域Acと、チップ配置領域Acを囲む外周領域Afとを絶縁性基板10の表面10sに備え、外周領域Afに形成されルチル型酸化チタン微粒子を分散させて含有する第1樹脂膜21と、外周領域Afに形成され絶縁性基板10を貫通する貫通孔15と、貫通孔15に充填されて第1樹脂膜21に接合されルチル型酸化チタン微粒子を分散させて含有する充填樹脂部24と、充填樹脂部24に接合させて絶縁性基板10の裏面10rに積層して形成されルチル型酸化チタン微粒子を分散させて含有する第3樹脂膜23とを備える。   The light-emitting chip mounting wiring board 1pb according to the present embodiment includes an insulating substrate 10 on which the semiconductor light-emitting element chip 2 is placed, and a chip placement area Ac on which the semiconductor light-emitting element chip 2 is placed, and a chip An outer peripheral region Af surrounding the arrangement region Ac is provided on the surface 10s of the insulating substrate 10, and is formed in the outer peripheral region Af, a first resin film 21 formed in the outer peripheral region Af and containing dispersed rutile-type titanium oxide fine particles. Bonded to the through-hole 15 penetrating the insulating substrate 10, the filled resin portion 24 filled in the through-hole 15 and bonded to the first resin film 21 and containing dispersed rutile titanium oxide fine particles, and the filled resin portion 24 And a third resin film 23 which is formed by laminating on the back surface 10r of the insulating substrate 10 and containing dispersed rutile titanium oxide fine particles.

したがって、載置した半導体発光素子チップ2から放射される光を第1樹脂膜21の表面(発光チップ搭載用配線基板1pbの表面10s側)で前方方向へ確実に反射させ、半導体発光素子チップの裏面側へ放射される光を表面で有効に反射させ、また、第1樹脂膜21、充填樹脂部24、第3樹脂膜23を介して放熱経路を構成することが可能となるので、半導体発光装置1全体としての実質的な輝度、光取り出し効率、放熱性、信頼性を向上させることが可能な発光チップ搭載用配線基板1pbとすることができる。   Therefore, the light emitted from the mounted semiconductor light emitting element chip 2 is reliably reflected forward by the surface of the first resin film 21 (the surface 10s side of the light emitting chip mounting wiring board 1pb), and the semiconductor light emitting element chip Light emitted to the back side can be effectively reflected on the front surface, and a heat radiation path can be formed through the first resin film 21, the filling resin portion 24, and the third resin film 23. The light emitting chip mounting wiring board 1pb can improve the substantial luminance, light extraction efficiency, heat dissipation, and reliability of the entire device 1.

また、本実施の形態に係る半導体発光装置1は、第3樹脂膜23に当接されたヒートシンク36を備える。したがって、半導体発光素子チップ2からの熱を効率よく放熱して、発光効率および放熱性、信頼性を向上させることができる。なお、第3樹脂膜23に対するヒートシンク36の密着性を向上させるために適宜の熱伝導部材35を介挿させることが可能である。   In addition, the semiconductor light emitting device 1 according to the present embodiment includes a heat sink 36 in contact with the third resin film 23. Therefore, it is possible to efficiently dissipate heat from the semiconductor light emitting element chip 2 and improve the light emission efficiency, heat dissipation, and reliability. In addition, in order to improve the adhesiveness of the heat sink 36 with respect to the 3rd resin film 23, it is possible to insert the suitable heat conductive member 35. FIG.

熱伝導部材35としては、熱伝導ペースト、熱伝導シートなどを適用することができる。   As the heat conductive member 35, a heat conductive paste, a heat conductive sheet, or the like can be applied.

図7Aは、本発明の実施の形態3に係る半導体発光装置および発光チップ搭載用配線基板の製造工程を示す工程説明図であり、絶縁性基板に貫通孔を形成した状態を示す断面の端面図である。   FIG. 7A is a process explanatory view showing the manufacturing process of the semiconductor light emitting device and the light emitting chip mounting wiring board according to the third embodiment of the present invention, and is an end view of a cross section showing a state where through holes are formed in the insulating substrate. It is.

先ず、絶縁性基板10を準備する。絶縁性基板10には、外周領域Afに対応させて基板を貫通する貫通孔15が形成されている。   First, the insulating substrate 10 is prepared. The insulating substrate 10 is formed with a through hole 15 penetrating the substrate so as to correspond to the outer peripheral region Af.

図7Bは、本発明の実施の形態3に係る半導体発光装置および発光チップ搭載用配線基板の製造工程を示す工程説明図であり、第1樹脂膜を形成した状態を示す断面の端面図である。   FIG. 7B is a process explanatory view showing the manufacturing process of the semiconductor light emitting device and the light emitting chip mounting wiring board according to the third embodiment of the present invention, and is an end view of a cross section showing a state in which the first resin film is formed. .

先ず、外周領域Afに第1樹脂膜21を形成する。   First, the first resin film 21 is formed in the outer peripheral area Af.

図7Cは、本発明の実施の形態3に係る半導体発光装置および発光チップ搭載用配線基板の製造工程を示す工程説明図であり、充填樹脂部および第3樹脂膜を形成した状態を示す断面の端面図である。   FIG. 7C is a process explanatory view showing the manufacturing process of the semiconductor light emitting device and the light emitting chip mounting wiring board according to the third embodiment of the present invention, and is a cross-sectional view showing a state in which the filling resin portion and the third resin film are formed. It is an end view.

ルチル型酸化チタン微粒子分散ペーストを貫通孔15に塗布(充填)し、続けて裏面10rにルチル型酸化チタン微粒子分散ペーストを塗布することによって、充填樹脂部24、第3樹脂膜23を形成する。なお、第1樹脂膜21と充填樹脂部24を先に生成し、後
に第3樹脂膜23を形成することも可能である。あるいは、充填樹脂部24を先に生成し、その後、第1樹脂膜21と第3樹脂膜23を順次形成することも可能である。
The rutile type titanium oxide fine particle dispersed paste is applied (filled) to the through-holes 15 and then the rutile type titanium oxide fine particle dispersed paste is applied to the back surface 10r, thereby forming the filled resin portion 24 and the third resin film 23. It is also possible to generate the first resin film 21 and the filling resin portion 24 first and form the third resin film 23 later. Alternatively, the filling resin portion 24 can be generated first, and then the first resin film 21 and the third resin film 23 can be sequentially formed.

図7Dは、本発明の実施の形態3に係る半導体発光装置および発光チップ搭載用配線基板の製造工程を示す工程説明図であり、半導体発光素子チップを配置して接続した状態を示す断面の端面図である。   FIG. 7D is a process explanatory view showing the manufacturing process of the semiconductor light emitting device and the light emitting chip mounting wiring board according to Embodiment 3 of the present invention, and shows an end face of a cross section showing a state in which the semiconductor light emitting element chips are arranged and connected FIG.

半導体発光素子チップ2を搭載する。なお、実施の形態1、実施の形態2と同様、半導体発光素子チップ2の表面の高さHcは、第1樹脂膜21の表面の高さHfより低くしてある。   The semiconductor light emitting element chip 2 is mounted. As in the first and second embodiments, the surface height Hc of the semiconductor light emitting element chip 2 is lower than the surface height Hf of the first resin film 21.

図7Eは、本発明の実施の形態3に係る半導体発光装置および発光チップ搭載用配線基板の製造工程を示す工程説明図であり、樹脂封止部を形成した状態を示す断面の端面図である。   FIG. 7E is a process explanatory view showing the manufacturing process of the semiconductor light emitting device and the light emitting chip mounting wiring board according to the third embodiment of the present invention, and is an end view of a cross section showing a state where a resin sealing portion is formed. .

樹脂封止部25を形成する。実施の形態1、実施の形態2の場合と同様であるので詳細な説明は省略する。   A resin sealing portion 25 is formed. Since it is the same as the case of Embodiment 1 and Embodiment 2, detailed description is abbreviate | omitted.

図7Fは、本発明の実施の形態3に係る半導体発光装置および発光チップ搭載用配線基板の製造工程を示す工程説明図であり、光学薄膜層を形成した状態を示す断面の端面図である。   FIG. 7F is a process explanatory view showing the manufacturing process of the semiconductor light emitting device and the light emitting chip mounting wiring board according to the third embodiment of the present invention, and is an end view of a cross section showing a state in which an optical thin film layer is formed.

光学薄膜層31を形成する。実施の形態1、実施の形態2の場合と同様であるので詳細な説明は省略する。   The optical thin film layer 31 is formed. Since it is the same as the case of Embodiment 1 and Embodiment 2, detailed description is abbreviate | omitted.

この工程の後、第3樹脂膜23に、熱伝導部材35、ヒートシンク36を装着して、半導体発光装置1を完成(図6参照)する。   After this step, the heat conducting member 35 and the heat sink 36 are attached to the third resin film 23 to complete the semiconductor light emitting device 1 (see FIG. 6).

図8は、本発明の実施の形態3に係る半導体発光装置の変形例を示す断面の端面図である。   FIG. 8 is an end view of a cross section showing a modification of the semiconductor light emitting device according to Embodiment 3 of the present invention.

本変形例に係る半導体発光装置1は、実施の形態1の図3で示したレンズ部32、光学薄膜層33を備える点で、図3の場合と同様であるので詳細な説明を省略する。   The semiconductor light emitting device 1 according to this modification is the same as the case of FIG. 3 in that the lens unit 32 and the optical thin film layer 33 shown in FIG.

<実施の形態4>
図9および図10に基づいて、本実施の形態に係る半導体発光装置、発光チップ搭載用配線基板について説明する。図10では、変形例について説明する。
<Embodiment 4>
Based on FIG. 9 and FIG. 10, the semiconductor light emitting device and the light emitting chip mounting wiring board according to the present embodiment will be described. FIG. 10 illustrates a modification.

なお、基本的な構成は、実施の形態2および実施の形態3の半導体発光装置1、発光チップ搭載用配線基板1pbと同様であるので、符号を援用し、主に異なる事項について説明する。   The basic configuration is the same as that of the semiconductor light-emitting device 1 and the light-emitting chip mounting wiring board 1pb of the second and third embodiments, and therefore, different items will be mainly described with reference to symbols.

図9は、本発明の実施の形態4に係る半導体発光装置および発光チップ搭載用配線基板の構成を示す断面の端面図である。   FIG. 9 is an end view in cross section showing the configuration of the semiconductor light emitting device and the light emitting chip mounting wiring board according to the fourth embodiment of the present invention.

本実施の形態に係る半導体発光装置1、実施の形態2に係る半導体発光装置1と実施の形態3に係る半導体発光装置1とを組み合わせたものである。つまり、第2樹脂膜22を有する点では、実施の形態2に対応し、充填樹脂部24、第3樹脂膜23を有する点では、実施の形態3に対応する。それぞれの内容については、上述したとおりであるので、詳細な説明は省略する。   The semiconductor light emitting device 1 according to the present embodiment, the semiconductor light emitting device 1 according to the second embodiment, and the semiconductor light emitting device 1 according to the third embodiment are combined. That is, the point having the second resin film 22 corresponds to the second embodiment, and the point having the filling resin portion 24 and the third resin film 23 corresponds to the third embodiment. Since each content is as described above, detailed description is omitted.

つまり、本実施の形態に係る半導体発光装置1は、半導体発光素子チップ2が載置された絶縁性基板10を備えてあり、半導体発光素子チップ2が配置されたチップ配置領域Acと、チップ配置領域Acを囲む外周領域Afとを絶縁性基板10の表面10sに備え、外周領域Afに積層して形成されルチル型酸化チタン微粒子を分散させて含有する第1樹脂膜21と、チップ配置領域Acに形成されルチル型酸化チタン微粒子を分散させて含有する第2樹脂膜22と、外周領域Afに形成され絶縁性基板10を貫通する貫通孔15と、貫通孔15に充填されて第1樹脂膜21に接合されルチル型酸化チタン微粒子を分散させて含有する充填樹脂部24と、充填樹脂部24に接合させて絶縁性基板10の裏面10rに積層して形成されルチル型酸化チタン微粒子を分散させて含有する第3樹脂膜23とを備える。   That is, the semiconductor light emitting device 1 according to the present embodiment includes the insulating substrate 10 on which the semiconductor light emitting element chip 2 is placed, the chip placement region Ac on which the semiconductor light emitting element chip 2 is placed, and the chip placement. A first resin film 21 provided on the surface 10s of the insulating substrate 10 with an outer peripheral region Af surrounding the region Ac and laminated and formed on the outer peripheral region Af and containing rutile-type titanium oxide fine particles dispersed therein, and a chip arrangement region Ac The second resin film 22 containing the dispersed rutile-type titanium oxide fine particles, the through hole 15 formed in the outer peripheral region Af and penetrating the insulating substrate 10, and the first resin film filled in the through hole 15 21, a filled resin part 24 dispersed and containing rutile-type titanium oxide fine particles, and a rutile type laminated on the back surface 10 r of the insulating substrate 10 bonded to the filled resin part 24. Dispersing the titanium particles and a third resin film 23 containing it.

また、半導体発光装置1は、チップ配置領域Acに充填された透光性樹脂で形成され第1樹脂膜21の表面に対して面一とされた表面を有する樹脂封止部25と、第1樹脂膜21および樹脂封止部25を被覆する光学薄膜層31とを備える。   In addition, the semiconductor light emitting device 1 includes a resin sealing portion 25 that is formed of a translucent resin filled in the chip arrangement region Ac and has a surface that is flush with the surface of the first resin film 21; And an optical thin film layer 31 that covers the resin film 21 and the resin sealing portion 25.

また、本実施の形態に係る発光チップ搭載用配線基板1pbは、半導体発光素子チップ2が載置される絶縁性基板10を備えてあり、半導体発光素子チップ2が配置されるチップ配置領域Acと、チップ配置領域Acを囲む外周領域Afとを絶縁性基板10の表面10sに備え、外周領域Afに形成されルチル型酸化チタン微粒子を分散させて含有する第1樹脂膜21と、チップ配置領域Acに形成されルチル型酸化チタン微粒子を分散させて含有する第2樹脂膜22と、外周領域Afに形成され絶縁性基板10を貫通する貫通孔15と、貫通孔15に充填されて第1樹脂膜21に接合されルチル型酸化チタン微粒子を分散させて含有する充填樹脂部24と、充填樹脂部24に接合させて絶縁性基板10の裏面10rに積層して形成されルチル型酸化チタン微粒子を分散させて含有する第3樹脂膜23とを備える。   The light emitting chip mounting wiring board 1pb according to the present embodiment includes an insulating substrate 10 on which the semiconductor light emitting element chip 2 is placed, and a chip placement area Ac on which the semiconductor light emitting element chip 2 is placed; A first resin film 21 that is provided on the surface 10s of the insulating substrate 10 with an outer peripheral area Af surrounding the chip arrangement area Ac, dispersed in and containing rutile-type titanium oxide fine particles, and the chip arrangement area Ac. The second resin film 22 containing the dispersed rutile-type titanium oxide fine particles, the through hole 15 formed in the outer peripheral region Af and penetrating the insulating substrate 10, and the first resin film filled in the through hole 15 21 filled with rutile-type titanium oxide fine particles dispersed therein, and laminated on the back surface 10r of the insulating substrate 10 bonded to the filled resin portion 24. Dispersed type titanium oxide fine particles and a third resin film 23 containing it.

図10は、本発明の実施の形態4に係る半導体発光装置の変形例を示す断面の端面図である。   FIG. 10 is an end view of a cross section showing a modification of the semiconductor light emitting device according to Embodiment 4 of the present invention.

本変形例に係る半導体発光装置1は、実施の形態1の図3で示したレンズ部32、光学薄膜層33を備える点で、図3の場合と同様であるので詳細な説明を省略する。   The semiconductor light emitting device 1 according to this modification is the same as the case of FIG. 3 in that the lens unit 32 and the optical thin film layer 33 shown in FIG.

1 半導体発光装置
1pb 発光チップ搭載用配線基板
2 半導体発光素子チップ
10 絶縁性基板
10s 表面
10r 裏面
11 電極接続端子
12 外部端子
15 貫通孔
21 第1樹脂膜
21f 第1樹脂膜
22 第2樹脂膜
23 第3樹脂膜
24 充填樹脂部
25 樹脂封止部
31 光学薄膜層
32 レンズ部
33 光学薄膜層
35 熱伝導部材
36 ヒートシンク
Ac チップ配置領域
Af 外周領域
Hc 半導体発光素子チップの表面の高さ
Hf 第1樹脂膜の表面の高さ
DESCRIPTION OF SYMBOLS 1 Semiconductor light-emitting device 1pb Light-emitting chip mounting wiring board 2 Semiconductor light-emitting element chip 10 Insulating substrate 10s Front surface 10r Back surface 11 Electrode connection terminal 12 External terminal 15 Through-hole 21 First resin film 21f First resin film 22 Second resin film 23 Third resin film 24 Filled resin portion 25 Resin sealing portion 31 Optical thin film layer 32 Lens portion 33 Optical thin film layer 35 Heat conducting member 36 Heat sink Ac Chip placement region Af Outer peripheral region Hc Height of surface of semiconductor light emitting device chip Hf First Resin film surface height

Claims (16)

半導体発光素子チップが載置された絶縁性基板を備える半導体発光装置であって、
前記半導体発光素子チップが配置されたチップ配置領域と、該チップ配置領域を囲む外周領域とを前記絶縁性基板の表面に備え、
前記外周領域に積層して形成されルチル型酸化チタン微粒子を分散させて含有する第1樹脂膜を備えること
を特徴とする半導体発光装置。
A semiconductor light emitting device comprising an insulating substrate on which a semiconductor light emitting element chip is placed,
Provided on the surface of the insulating substrate a chip arrangement region where the semiconductor light emitting element chip is arranged, and an outer peripheral region surrounding the chip arrangement region,
A semiconductor light emitting device comprising: a first resin film formed by laminating rutile titanium oxide fine particles, which is laminated on the outer peripheral region.
請求項1に記載の半導体発光装置であって、
前記半導体発光素子チップの表面の高さは、前記第1樹脂膜の表面の高さより低いこと
を特徴とする半導体発光装置。
The semiconductor light emitting device according to claim 1,
The semiconductor light emitting device, wherein a height of a surface of the semiconductor light emitting element chip is lower than a height of a surface of the first resin film.
請求項1に記載の半導体発光装置であって、
前記チップ配置領域に積層して形成されルチル型酸化チタン微粒子を分散させて含有する第2樹脂膜を備えること
を特徴とする半導体発光装置。
The semiconductor light emitting device according to claim 1,
A semiconductor light emitting device comprising: a second resin film formed by laminating rutile-type titanium oxide fine particles, which is laminated on the chip arrangement region.
請求項3に記載の半導体発光装置であって、
前記半導体発光素子チップは、前記第2樹脂膜に載置され、前記半導体発光素子チップの表面の高さは、前記第1樹脂膜の表面の高さより低いこと
を特徴とする半導体発光装置。
The semiconductor light emitting device according to claim 3,
The semiconductor light emitting device chip is mounted on the second resin film, and the height of the surface of the semiconductor light emitting device chip is lower than the height of the surface of the first resin film.
請求項1ないし請求項4に記載の半導体発光装置であって、
前記チップ配置領域に充填された透光性樹脂で形成され前記第1樹脂膜の表面に対して面一とされた表面を有する樹脂封止部と、前記第1樹脂膜および前記樹脂封止部を被覆する光学薄膜層とを備えること
を特徴とする半導体発光装置。
The semiconductor light emitting device according to claim 1, wherein:
A resin sealing portion formed of a translucent resin filled in the chip placement region and having a surface flush with the surface of the first resin film; the first resin film; and the resin sealing portion An optical thin film layer for covering the semiconductor light emitting device.
請求項1ないし請求項5に記載の半導体発光装置であって、
前記外周領域に形成され前記絶縁性基板を貫通する貫通孔と、該貫通孔に充填されて前記第1樹脂膜に接合されルチル型酸化チタン微粒子を分散させて含有する充填樹脂部と、前記充填樹脂部に接合させて前記絶縁性基板の裏面に積層して形成されルチル型酸化チタン微粒子を分散させて含有する第3樹脂膜とを備えること
を特徴とする半導体発光装置。
The semiconductor light emitting device according to claim 1, wherein
A through-hole formed in the outer peripheral region and penetrating the insulating substrate; a filled resin portion filled in the through-hole and joined to the first resin film and containing dispersed rutile titanium oxide fine particles; and the filling A semiconductor light emitting device comprising: a third resin film bonded to a resin portion and laminated on the back surface of the insulating substrate and containing dispersed rutile titanium oxide fine particles.
請求項6に記載の半導体発光装置であって、
前記第3樹脂膜に当接されたヒートシンクを備えること
を特徴とする半導体発光装置。
The semiconductor light emitting device according to claim 6,
A semiconductor light emitting device comprising a heat sink in contact with the third resin film.
請求項1ないし請求項7のいずれか一つに記載の半導体発光装置であって、
前記第1樹脂膜は、前記絶縁性基板の垂直方向での可視光反射率を90%以上とされていること
を特徴とする半導体発光装置。
A semiconductor light emitting device according to any one of claims 1 to 7,
The first resin film has a visible light reflectance in the vertical direction of the insulating substrate of 90% or more.
請求項8に記載の半導体発光装置であって、
前記第1樹脂膜は、厚さを60μm以上とされていること
を特徴とする半導体発光装置。
The semiconductor light emitting device according to claim 8,
The semiconductor resin light-emitting device, wherein the first resin film has a thickness of 60 μm or more.
請求項8または請求項9に記載の半導体発光装置であって、
前記第1樹脂膜は、ルチル型酸化チタン微粒子分散ペーストを塗布した後、熱硬化させて形成されたこと
を特徴とする半導体発光装置。
The semiconductor light-emitting device according to claim 8 or 9, wherein
The first resin film is formed by applying a rutile-type titanium oxide fine particle dispersed paste and then thermally curing the first resin film.
請求項3ないし請求項10のいずれか一つに記載の半導体発光装置であって、
前記第2樹脂膜は、前記絶縁性基板の垂直方向での可視光反射率を90%以上とされていること
を特徴とする半導体発光装置。
A semiconductor light emitting device according to any one of claims 3 to 10,
The semiconductor resin light emitting device, wherein the second resin film has a visible light reflectance of 90% or more in a vertical direction of the insulating substrate.
請求項11に記載の半導体発光装置であって、
前記第2樹脂膜は、厚さを60μm以上とされていること
を特徴とする半導体発光装置。
The semiconductor light-emitting device according to claim 11,
The semiconductor resin light-emitting device, wherein the second resin film has a thickness of 60 μm or more.
請求項11または請求項12に記載の半導体発光装置であって、
前記第2樹脂膜は、ルチル型酸化チタン微粒子分散ペーストを塗布した後、熱硬化させて形成されたこと
を特徴とする半導体発光装置。
The semiconductor light-emitting device according to claim 11 or 12,
The second resin film is formed by applying a rutile-type titanium oxide fine particle-dispersed paste and then thermally curing the second resin film.
請求項6ないし請求項13に記載の半導体発光装置であって、
前記充填樹脂部および前記第3樹脂膜は、ルチル型酸化チタン微粒子分散ペーストを塗布した後、熱硬化させて形成されたこと
を特徴とする半導体発光装置。
The semiconductor light emitting device according to claim 6, wherein:
The filled resin portion and the third resin film are formed by applying a rutile-type titanium oxide fine particle-dispersed paste and then thermally curing the semiconductor light-emitting device.
請求項10、請求項13、請求項14のいずれか一つに記載の半導体発光装置であって、
前記ルチル型酸化チタン微粒子分散ペーストは、ルチル型酸化チタン微粒子を分散させた溶質としてのポリマーと、溶媒としてのポリマー溶解剤とを含むこと
を特徴とする半導体発光装置。
A semiconductor light-emitting device according to any one of claims 10, 13, and 14,
The rutile-type titanium oxide fine particle-dispersed paste contains a polymer as a solute in which rutile-type titanium oxide fine particles are dispersed and a polymer solvent as a solvent.
半導体発光素子チップが載置される絶縁性基板を備える発光チップ搭載用配線基板であって、
前記半導体発光素子チップが配置されるチップ配置領域と、該チップ配置領域を囲む外周領域とを前記絶縁性基板の表面に備え、
前記外周領域に積層して形成されルチル型酸化チタン微粒子を分散させて含有する第1樹脂膜を備えること
を特徴とする発光チップ搭載用配線基板。
A light emitting chip mounting wiring board comprising an insulating substrate on which a semiconductor light emitting element chip is placed,
Provided on the surface of the insulating substrate a chip arrangement area where the semiconductor light emitting element chip is arranged, and an outer peripheral area surrounding the chip arrangement area,
A wiring board for mounting a light-emitting chip, comprising: a first resin film formed by laminating rutile titanium oxide fine particles, which is laminated on the outer peripheral region.
JP2009025284A 2009-02-05 2009-02-05 Semiconductor light-emitting device and wiring substrate for light-emitting chip mounting Pending JP2010182884A (en)

Priority Applications (1)

Application Number Priority Date Filing Date Title
JP2009025284A JP2010182884A (en) 2009-02-05 2009-02-05 Semiconductor light-emitting device and wiring substrate for light-emitting chip mounting

Applications Claiming Priority (1)

Application Number Priority Date Filing Date Title
JP2009025284A JP2010182884A (en) 2009-02-05 2009-02-05 Semiconductor light-emitting device and wiring substrate for light-emitting chip mounting

Publications (1)

Publication Number Publication Date
JP2010182884A true JP2010182884A (en) 2010-08-19

Family

ID=42764219

Family Applications (1)

Application Number Title Priority Date Filing Date
JP2009025284A Pending JP2010182884A (en) 2009-02-05 2009-02-05 Semiconductor light-emitting device and wiring substrate for light-emitting chip mounting

Country Status (1)

Country Link
JP (1) JP2010182884A (en)

Cited By (2)

* Cited by examiner, † Cited by third party
Publication number Priority date Publication date Assignee Title
JP2015028241A (en) * 2013-07-30 2015-02-12 株式会社大林組 Weedproof sheet and solar power generation facility
JP2018505560A (en) * 2014-10-27 2018-02-22 ヘンケル・アクチェンゲゼルシャフト・ウント・コムパニー・コマンディットゲゼルシャフト・アウフ・アクチェンHenkel AG & Co. KGaA Optical semiconductor device manufacturing method and silicone resin composition therefor

Citations (14)

* Cited by examiner, † Cited by third party
Publication number Priority date Publication date Assignee Title
JPH0677540A (en) * 1992-08-24 1994-03-18 Sanyo Electric Co Ltd Optical semiconductor device
JP2000188358A (en) * 1998-12-22 2000-07-04 Rohm Co Ltd Semiconductor device
JP2002033011A (en) * 2000-07-17 2002-01-31 Mitsubishi Cable Ind Ltd Light emitting device
JP2002324917A (en) * 2001-04-26 2002-11-08 Citizen Electronics Co Ltd Surface mount light emitting diode and method of manufacturing the same
JP2004055632A (en) * 2002-07-17 2004-02-19 Toshiba Corp Semiconductor light emitting device
JP2005507178A (en) * 2001-10-31 2005-03-10 オスラム オプト セミコンダクターズ ゲゼルシャフト ミット ベシュレンクテル ハフツング Optoelectronic devices
JP2006287132A (en) * 2005-04-04 2006-10-19 Kyoritsu Elex Co Ltd Light emitting diode package and light emitting diode
JP2006324486A (en) * 2005-05-19 2006-11-30 Mitsubishi Electric Corp Semiconductor light emitting device
WO2007037355A1 (en) * 2005-09-30 2007-04-05 Nichia Corporation Light emitting device and backlight unit using the same
JP2007138016A (en) * 2005-11-18 2007-06-07 Kyocera Chemical Corp Insulating white substrate and optical semiconductor device
JP2007271834A (en) * 2006-03-31 2007-10-18 Mitsui Chemicals Inc Resin composition for reflection plate and reflection plate
JP2007329249A (en) * 2006-06-07 2007-12-20 Nichia Chem Ind Ltd Surface mount type light emitting device and manufacturing method thereof
JP2009004592A (en) * 2007-06-22 2009-01-08 Idemitsu Kosan Co Ltd Reflector for polystyrene-based light emitting diodes
JP2010534257A (en) * 2007-07-23 2010-11-04 ディーエスエム アイピー アセッツ ビー.ブイ. Plastic components for lighting equipment

Patent Citations (14)

* Cited by examiner, † Cited by third party
Publication number Priority date Publication date Assignee Title
JPH0677540A (en) * 1992-08-24 1994-03-18 Sanyo Electric Co Ltd Optical semiconductor device
JP2000188358A (en) * 1998-12-22 2000-07-04 Rohm Co Ltd Semiconductor device
JP2002033011A (en) * 2000-07-17 2002-01-31 Mitsubishi Cable Ind Ltd Light emitting device
JP2002324917A (en) * 2001-04-26 2002-11-08 Citizen Electronics Co Ltd Surface mount light emitting diode and method of manufacturing the same
JP2005507178A (en) * 2001-10-31 2005-03-10 オスラム オプト セミコンダクターズ ゲゼルシャフト ミット ベシュレンクテル ハフツング Optoelectronic devices
JP2004055632A (en) * 2002-07-17 2004-02-19 Toshiba Corp Semiconductor light emitting device
JP2006287132A (en) * 2005-04-04 2006-10-19 Kyoritsu Elex Co Ltd Light emitting diode package and light emitting diode
JP2006324486A (en) * 2005-05-19 2006-11-30 Mitsubishi Electric Corp Semiconductor light emitting device
WO2007037355A1 (en) * 2005-09-30 2007-04-05 Nichia Corporation Light emitting device and backlight unit using the same
JP2007138016A (en) * 2005-11-18 2007-06-07 Kyocera Chemical Corp Insulating white substrate and optical semiconductor device
JP2007271834A (en) * 2006-03-31 2007-10-18 Mitsui Chemicals Inc Resin composition for reflection plate and reflection plate
JP2007329249A (en) * 2006-06-07 2007-12-20 Nichia Chem Ind Ltd Surface mount type light emitting device and manufacturing method thereof
JP2009004592A (en) * 2007-06-22 2009-01-08 Idemitsu Kosan Co Ltd Reflector for polystyrene-based light emitting diodes
JP2010534257A (en) * 2007-07-23 2010-11-04 ディーエスエム アイピー アセッツ ビー.ブイ. Plastic components for lighting equipment

Cited By (2)

* Cited by examiner, † Cited by third party
Publication number Priority date Publication date Assignee Title
JP2015028241A (en) * 2013-07-30 2015-02-12 株式会社大林組 Weedproof sheet and solar power generation facility
JP2018505560A (en) * 2014-10-27 2018-02-22 ヘンケル・アクチェンゲゼルシャフト・ウント・コムパニー・コマンディットゲゼルシャフト・アウフ・アクチェンHenkel AG & Co. KGaA Optical semiconductor device manufacturing method and silicone resin composition therefor

Similar Documents

Publication Publication Date Title
JP4951018B2 (en) Manufacturing method of semiconductor device
JP5260049B2 (en) Power light emitting die package with reflective lens
EP1803164B1 (en) Luminescent light source, method for manufacturing the same, and light-emitting apparatus
CN103227275B (en) The method of circuit board, luminescent device and manufacture circuit board
JP4044078B2 (en) High power light emitting diode package and manufacturing method
JP5596901B2 (en) Power light emitting die package having a reflective lens and method of manufacturing the same
CN102176504B (en) Light emitting device package and method of manufacturing same
KR20120002916A (en) LED module, LED package and wiring board and manufacturing method thereof
TW201442294A (en) Light-emitting diode module with sealed wavelength conversion material
JP2012039071A (en) Light-emitting diode and manufacturing method of the same
CN103608921A (en) LED array having embedded LED and method therefor
CN101604722A (en) semiconductor light-emitting apparatus
CN104051604A (en) Flexible lighting device including a heat-spreading layer
WO2017209149A1 (en) Light-emitting device
JP2018107285A (en) Light-emitting device and method for manufacturing the same
JP2010093066A (en) Light-emitting device
WO2006132147A1 (en) Porcelain enameled substrate for light-emitting device mounting, method for producing same, light-emitting device module, illuminating device, display and traffic signal device
CN104051595A (en) Flexible lighting device
CN104051594B (en) Flexible light device including protecting conformal coating
JP5248449B2 (en) Light emitting device
JP2023010799A (en) Light-emitting module and method for manufacturing light-emitting module
JP2010182884A (en) Semiconductor light-emitting device and wiring substrate for light-emitting chip mounting
JP2009117124A (en) Light source unit
JP6173794B2 (en) Semiconductor light emitting device and lighting device using the same
JP2007287751A (en) Light emitting device

Legal Events

Date Code Title Description
A621 Written request for application examination

Free format text: JAPANESE INTERMEDIATE CODE: A621

Effective date: 20120111

A977 Report on retrieval

Free format text: JAPANESE INTERMEDIATE CODE: A971007

Effective date: 20121114

A131 Notification of reasons for refusal

Free format text: JAPANESE INTERMEDIATE CODE: A131

Effective date: 20121204

A02 Decision of refusal

Free format text: JAPANESE INTERMEDIATE CODE: A02

Effective date: 20130423