JP2010029380A - Iron golf club head - Google Patents
Iron golf club head Download PDFInfo
- Publication number
- JP2010029380A JP2010029380A JP2008193806A JP2008193806A JP2010029380A JP 2010029380 A JP2010029380 A JP 2010029380A JP 2008193806 A JP2008193806 A JP 2008193806A JP 2008193806 A JP2008193806 A JP 2008193806A JP 2010029380 A JP2010029380 A JP 2010029380A
- Authority
- JP
- Japan
- Prior art keywords
- opening
- head
- face
- weight member
- welded
- Prior art date
- Legal status (The legal status is an assumption and is not a legal conclusion. Google has not performed a legal analysis and makes no representation as to the accuracy of the status listed.)
- Granted
Links
- XEEYBQQBJWHFJM-UHFFFAOYSA-N Iron Chemical compound [Fe] XEEYBQQBJWHFJM-UHFFFAOYSA-N 0.000 title claims abstract description 44
- 229910052742 iron Inorganic materials 0.000 title claims abstract description 22
- 239000007769 metal material Substances 0.000 claims abstract description 13
- 230000005484 gravity Effects 0.000 claims description 29
- 230000000630 rising effect Effects 0.000 claims description 2
- 238000013461 design Methods 0.000 abstract description 5
- 238000009826 distribution Methods 0.000 abstract description 5
- 230000000694 effects Effects 0.000 description 11
- 239000000463 material Substances 0.000 description 8
- 238000003466 welding Methods 0.000 description 8
- 230000002093 peripheral effect Effects 0.000 description 7
- PXHVJJICTQNCMI-UHFFFAOYSA-N Nickel Chemical compound [Ni] PXHVJJICTQNCMI-UHFFFAOYSA-N 0.000 description 6
- 238000010521 absorption reaction Methods 0.000 description 6
- 239000011358 absorbing material Substances 0.000 description 5
- 235000009508 confectionery Nutrition 0.000 description 5
- 229910001080 W alloy Inorganic materials 0.000 description 4
- 238000000034 method Methods 0.000 description 4
- 229910000831 Steel Inorganic materials 0.000 description 3
- 229910052759 nickel Inorganic materials 0.000 description 3
- 239000010959 steel Substances 0.000 description 3
- 229910045601 alloy Inorganic materials 0.000 description 2
- 239000000956 alloy Substances 0.000 description 2
- 230000002238 attenuated effect Effects 0.000 description 2
- 229910052799 carbon Inorganic materials 0.000 description 2
- 238000005266 casting Methods 0.000 description 2
- 230000000052 comparative effect Effects 0.000 description 2
- 239000011347 resin Substances 0.000 description 2
- 229920005989 resin Polymers 0.000 description 2
- 239000010935 stainless steel Substances 0.000 description 2
- 229910001220 stainless steel Inorganic materials 0.000 description 2
- 238000012360 testing method Methods 0.000 description 2
- 229910052721 tungsten Inorganic materials 0.000 description 2
- 239000011800 void material Substances 0.000 description 2
- 229910000838 Al alloy Inorganic materials 0.000 description 1
- OKTJSMMVPCPJKN-UHFFFAOYSA-N Carbon Chemical compound [C] OKTJSMMVPCPJKN-UHFFFAOYSA-N 0.000 description 1
- 229910000975 Carbon steel Inorganic materials 0.000 description 1
- 229910001030 Iron–nickel alloy Inorganic materials 0.000 description 1
- 229910000861 Mg alloy Inorganic materials 0.000 description 1
- 229910018657 Mn—Al Inorganic materials 0.000 description 1
- 229910001069 Ti alloy Inorganic materials 0.000 description 1
- 229910000883 Ti6Al4V Inorganic materials 0.000 description 1
- 239000000853 adhesive Substances 0.000 description 1
- 230000001070 adhesive effect Effects 0.000 description 1
- 238000005219 brazing Methods 0.000 description 1
- 239000010962 carbon steel Substances 0.000 description 1
- 229910052804 chromium Inorganic materials 0.000 description 1
- 238000004891 communication Methods 0.000 description 1
- 230000007797 corrosion Effects 0.000 description 1
- 238000005260 corrosion Methods 0.000 description 1
- 238000005520 cutting process Methods 0.000 description 1
- 230000003247 decreasing effect Effects 0.000 description 1
- 230000006866 deterioration Effects 0.000 description 1
- 238000002474 experimental method Methods 0.000 description 1
- 238000005242 forging Methods 0.000 description 1
- 230000001771 impaired effect Effects 0.000 description 1
- 238000003780 insertion Methods 0.000 description 1
- 230000037431 insertion Effects 0.000 description 1
- JEIPFZHSYJVQDO-UHFFFAOYSA-N iron(III) oxide Inorganic materials O=[Fe]O[Fe]=O JEIPFZHSYJVQDO-UHFFFAOYSA-N 0.000 description 1
- 229910052748 manganese Inorganic materials 0.000 description 1
- 239000000203 mixture Substances 0.000 description 1
- 238000000465 moulding Methods 0.000 description 1
- 229910052757 nitrogen Inorganic materials 0.000 description 1
- 230000000149 penetrating effect Effects 0.000 description 1
- 230000035515 penetration Effects 0.000 description 1
- 230000002265 prevention Effects 0.000 description 1
- 102220342298 rs777367316 Human genes 0.000 description 1
- 102220061996 rs786203944 Human genes 0.000 description 1
- 230000035807 sensation Effects 0.000 description 1
- 229910052710 silicon Inorganic materials 0.000 description 1
- 238000005245 sintering Methods 0.000 description 1
- 239000000126 substance Substances 0.000 description 1
- WFKWXMTUELFFGS-UHFFFAOYSA-N tungsten Chemical compound [W] WFKWXMTUELFFGS-UHFFFAOYSA-N 0.000 description 1
- 239000010937 tungsten Substances 0.000 description 1
- XLYOFNOQVPJJNP-UHFFFAOYSA-N water Substances O XLYOFNOQVPJJNP-UHFFFAOYSA-N 0.000 description 1
- 239000002023 wood Substances 0.000 description 1
Images
Landscapes
- Golf Clubs (AREA)
Abstract
【課題】打球感を向上しつつ重量配分設計に優れたアイアン型ゴルフクラブヘッドを提供する。
【解決手段】ボールを打撃するフェース2を有しかつ金属材料からなるヘッド本体1Aと、該ヘッド本体1Aに固着された錘部材1Bとを含むアイアン型ゴルフクラブヘッド1である。ヘッド本体1Aには、錘部材取付用の凹部13が設けられる。凹部13は、ヘッド外面の一方の面E1で開口する第1の開口e1と、一方の面E1とは異なる他方の面で第1の開口e1とは離間して開口する第2の開口e2とがヘッド内部で連通した貫通孔からなる。錘部材1Bは、少なくとも第1の開口e1と第2の開口e2との間をのびるとともに、第1の開口e1と溶接された溶接部22と、第2の開口e2とは溶接されていない非溶接部23とを具える。
【選択図】図3An iron-type golf club head having an improved weight distribution design while improving the feel at impact is provided.
An iron type golf club head 1 includes a head body 1A having a face 2 for hitting a ball and made of a metal material, and a weight member 1B fixed to the head body 1A. The head main body 1A is provided with a concave portion 13 for attaching a weight member. The recess 13 includes a first opening e1 that opens on one surface E1 of the outer surface of the head, and a second opening e2 that opens apart from the first opening e1 on the other surface different from the one surface E1. Consists of a through hole communicating with the inside of the head. The weight member 1B extends at least between the first opening e1 and the second opening e2, and the welded portion 22 welded to the first opening e1 and the second opening e2 are not welded. And a welded portion 23.
[Selection] Figure 3
Description
本発明は、打球感を向上しつつ重量配分設計に優れたアイアン型ゴルフクラブヘッドに関する。 The present invention relates to an iron type golf club head having an improved weight distribution design while improving the feel at impact.
近年、ヘッド本体の適所に比重が大きい錘部材を固着することにより、慣性モーメントの増大化やヘッド重心位置の改善を図ったアイアン型ゴルフクラブヘッドが種々提案されている。 In recent years, various iron-type golf club heads have been proposed in which a weight member having a large specific gravity is fixed to an appropriate position of the head body to increase the moment of inertia and improve the position of the center of gravity of the head.
一方、アイアン型ゴルフクラブでは、ウッド型のクラブに比べて、ミスショット時にゴルファの手に伝えられる振動が大きいので、優れた振動吸収性能を有することが望まれる。 On the other hand, in an iron type golf club, since vibration transmitted to the golfer's hand at the time of a miss shot is larger than that in a wood type club, it is desired to have excellent vibration absorption performance.
従来、振動吸収性能を向上させるために、アイアン型ゴルフクラブヘッドの内部に、樹脂やゴム等の振動吸収材を配置する技術が提案されている(下記特許文献1参照)。
Conventionally, in order to improve vibration absorption performance, a technique has been proposed in which a vibration absorbing material such as resin or rubber is disposed inside an iron type golf club head (see
ところで、振動吸収性能を十分に高めるためには、比較的大きな体積の振動吸収材を用いる必要がある。しかしながら、そのような大きな体積の振動吸収材は、錘部材を配置するための場所や位置の自由度を損ねるので、慣性モーメントやヘッド重心の改善を十分に図ることができないという問題があった。 By the way, in order to sufficiently improve the vibration absorbing performance, it is necessary to use a vibration absorbing material having a relatively large volume. However, such a large volume vibration absorbing material has a problem in that the moment of inertia and the center of gravity of the head cannot be sufficiently improved because the degree of freedom of the location and position for disposing the weight member is impaired.
本発明は、以上のような実情に鑑み案出なされたもので、錘部材を、ヘッド本体に設けられた貫通孔からなる凹部に配するとともに、該錘部材に、凹部の開口と溶接されていない振動しない非溶接部を設けることを基本として、錘部材に振動吸収効果と重量効果とを与え、重量配分設計の自由度をより一層向上しうるアイアン型ゴルフクラブヘッドを提供することを主たる目的としている。 The present invention has been devised in view of the above circumstances, and the weight member is arranged in a recess made of a through hole provided in the head body, and the opening of the recess is welded to the weight member. The main object is to provide an iron-type golf club head capable of further improving the degree of freedom in weight distribution design by providing a weight member with a vibration absorbing effect and a weight effect on the basis of providing non-vibrating non-welded portions. It is said.
本発明のうち請求項1記載の発明は、ボールを打撃するフェースを有しかつ金属材料からなるヘッド本体と、該ヘッド本体に固着されかつ前記ヘッド本体よりも比重が大きい金属材料からなる錘部材とを含むアイアン型ゴルフクラブヘッドであって、前記ヘッド本体には、錘部材取付用の凹部が設けられ、かつ前記凹部は、ヘッド外面の一方の面で開口する第1の開口と、前記一方の面とは異なる他方の面で前記第1の開口とは離間して開口する第2の開口とがヘッド内部で連通した貫通孔からなり、かつ前記錘部材は、少なくとも第1の開口と第2の開口との間をのびるとともに、第1の開口と溶接された溶接部と、第2の開口とは溶接されていない非溶接部とを具えることを特徴とする。 According to the first aspect of the present invention, a head main body having a face for hitting a ball and made of a metal material, and a weight member made of a metal material fixed to the head main body and having a larger specific gravity than the head main body. A concave portion for attaching a weight member to the head body, and the concave portion has a first opening that opens on one surface of the head outer surface, and the one The second surface, which is different from the first surface, is formed of a through hole communicating with the second opening spaced apart from the first opening inside the head, and the weight member includes at least the first opening and the first opening. And a welded portion welded to the first opening and a non-welded portion not welded to the second opening.
また請求項2記載の発明は、前記非溶接部の深さL1は、前記溶接部の溶接深さL2よりも大きい請求項1記載のアイアン型ゴルフクラブヘッドである。
The invention according to
また請求項3記載の発明は、前記比(L1/L2)が1.5〜10.0である請求項2記載のアイアン型ゴルフクラブヘッドである。
The invention according to
また請求項4記載の発明は、前記ヘッド本体は、前面が前記フェースをなすフェース部と、このフェース部の下端部からヘッド後方にのびるソール壁部と、このソール壁部の後端部から上方に立ち上がることにより、前記フェース部の背面との間にアンダーカットキャビティを形成する背壁部とを含み、前記第1の開口の少なくとも一部は前記背壁部の背面側をのびるとともに、前記第2の開口の少なくとも一部は前記背壁部の前面側をのびる請求項1乃至3のいずれかに記載のアイアン型ゴルフクラブヘッドである。
According to a fourth aspect of the present invention, the head body includes a face portion whose front surface forms the face, a sole wall portion extending from the lower end portion of the face portion to the rear of the head, and an upper portion from the rear end portion of the sole wall portion. And a back wall portion that forms an undercut cavity with the back surface of the face portion, and at least part of the first opening extends on the back surface side of the back wall portion, and 4. The iron type golf club head according to
また請求項5記載の発明は、前記第1の開口は一つであり、かつ前記第2の開口は、規定のライ角及びロフト角で水平面に載置した基準状態において、ヘッド重心を通りかつフェースと直角な垂直面の両側に設けられたトウ側開口部とヒール側開口部とからなる請求項4記載のアイアン型ゴルフクラブヘッドである。
According to a fifth aspect of the present invention, there is one first opening, and the second opening passes through the center of gravity of the head in a reference state placed on a horizontal plane at a specified lie angle and loft angle. 5. The iron type golf club head according to
本発明のアイアン型ゴルフクラブヘッドは、ヘッド本体に、錘部材取付用の凹部が設けられ、かつ凹部は、ヘッド外面の一方の面で開口する第1の開口と、前記一方の面とは異なる他方の面で第1の開口とは離間して開口する第2の開口とがヘッド内部で連通する貫通孔からなる。また、錘部材は、少なくとも第1の開口と第2の開口との間をのびるとともに、第1の開口と溶接された溶接部と、第2の開口とは溶接されていない非溶接部とを具える。 In the iron type golf club head of the present invention, a concave portion for attaching a weight member is provided in the head main body, and the concave portion is different from the first surface opened on one surface of the head outer surface and the one surface. A second opening that is spaced apart from the first opening on the other surface is a through hole that communicates within the head. The weight member extends at least between the first opening and the second opening, and includes a welded portion welded to the first opening and a non-welded portion not welded to the second opening. Have.
ヘッド本体の凹部の開口と溶接されていない錘部材の非溶接部は、ボール打撃時の衝撃エネルギーによって自由振動し、ヘッドの振動エネルギーを早期に減衰させる。従って、ゴルファの手に伝えられる振動が低減する。このように、本発明のクラブヘッドは、従来のゴム等からなる振動吸収材を別途設けることなく錘部材を用いて振動吸収性能を発揮できる。従って、錘部材の配置場所や配置位置などを自由に設定でき、重量配分設計の自由度を高め得る。 The opening of the concave portion of the head body and the non-welded portion of the weight member that is not welded freely vibrate by the impact energy at the time of hitting the ball, and the vibration energy of the head is quickly attenuated. Accordingly, vibration transmitted to the golfer's hand is reduced. Thus, the club head of the present invention can exhibit vibration absorbing performance using the weight member without separately providing a vibration absorbing material made of conventional rubber or the like. Accordingly, it is possible to freely set the placement location and placement position of the weight member, and to increase the degree of freedom of weight distribution design.
以下、本発明の実施の一形態が図面に基づき説明される。
図1は、本実施形態のアイアン型ゴルフクラブヘッド(以下、単に「ヘッド」又は「クラブヘッド」ということがある。)1の基準状態の正面図、図2はその背面図、図3ないし5はそれぞれ図2のX−X、Y−Y及びZ−Z線の拡大端面図である。
Hereinafter, an embodiment of the present invention will be described with reference to the drawings.
FIG. 1 is a front view of a reference state of an iron type golf club head (hereinafter, simply referred to as “head” or “club head”) 1 of the present embodiment, FIG. 2 is a rear view thereof, and FIGS. FIG. 3 is an enlarged end view taken along lines XX, YY and ZZ in FIG. 2, respectively.
ここで、前記クラブヘッド1の基準状態とは、ヘッド1をそのライ角α及びロフト角β(図4に示す)に保持して水平面HPに接地させた状態とする。特に言及されていない場合、クラブヘッド1は、この基準状態に置かれているものとする。
Here, the reference state of the
前記クラブヘッド1は、ボールを打撃するフェース2と、このフェース2の上縁に連なりかつヘッド上部を形成するトップ面3と、フェース2の下縁に連なりヘッド底面を形成するソール面4と、前記トップ面3と前記ソール面4との間を滑らかに湾曲して継ぐトウ面5と、前記フェース2と反対側の面をなすバックフェース面6と、図示しないシャフトが装着されるシャフト差込孔7aを有するホーゼル部7とを有する。なお、クラブシャフトが装着されていない場合、ヘッド1のライ角αは、前記シャフト差込孔7aの中心線CLを基準とすることができる。
The
また、本実施形態のクラブヘッド1は、図2ないし5に示されるように、前記フェース2を有しかつ金属材料からなるヘッド本体1Aと、そのソール面4側に固着されかつヘッド本体1Aよりも比重が大きい金属材料からなる錘部材1Bとで構成される。
Further, as shown in FIGS. 2 to 5, the
本実施形態において、前記ヘッド本体1Aは、図3〜図5に示されるように、板状のフェース部材1A1と、該フェース部材1A1とは異なる金属材料からなりかつフェース部材1A1を前面に装着する受け枠部1A2とから構成される。ただし、ヘッド本体1Aは、単一の材料で一体成形されたものでも良い。
In the present embodiment, as shown in FIGS. 3 to 5, the head
好ましい態様として、フェース部材1A1には、受け枠部1A2よりも比重が小さい金属材料が用いられる。例えば、フェース部材1A1には、アルミニウム合金、チタン合金又はマグネシウム合金が好適に用いられる一方、受け枠部1A2には、SUS630、SUS304又はSUS410などのステンレス鋼、S20C又はS25Cなどの炭素鋼又はFe−Mn−Al合金などFeをベースとした鋼材料が好適に用いられる。これにより、フェース2の周辺部により多くの重量が配分され、ひいては慣性モーメントやスイートエリアが大きい打球の方向性に優れたヘッド1が提供される。
As a preferred embodiment, a metal material having a specific gravity smaller than that of the receiving frame portion 1A2 is used for the face member 1A1. For example, an aluminum alloy, a titanium alloy or a magnesium alloy is preferably used for the face member 1A1, while a stainless steel such as SUS630, SUS304 or SUS410, a carbon steel such as S20C or S25C, or Fe— is used for the receiving frame portion 1A2. A steel material based on Fe, such as a Mn-Al alloy, is preferably used. As a result, a large weight is distributed to the peripheral portion of the
本実施形態において、フェース部材1A1はフェースラインFL等のインパクトエリアマーキングを除いてほぼ一定の厚さtを有する板状で構成される。ただし、フェース部材1A1は、例えば、その中央部に向かって段階的又は連続的に厚さを減少させても良いし、逆に増加させることもできる。また、フェース部材1A1の輪郭形状は、例えばフェース2の輪郭に合わせてヒール側からトウ側に向かって高さが徐々に大となるのが好ましい。これにより、フェース2のより広い範囲を低比重のフェース部材1A1で構成できる。
In the present embodiment, the face member 1A1 is formed in a plate shape having a substantially constant thickness t except for impact area marking such as the face line FL. However, the thickness of the face member 1A1 may be decreased stepwise or continuously toward the center of the face member 1A1, or may be increased. Further, it is preferable that the contour shape of the face member 1A1 gradually increases in height from the heel side to the toe side in accordance with the contour of the
前記フェース部材1A1の厚さtは、特に限定されないが、小さすぎると耐久性の悪化傾向があり、逆に大きすぎるとヘッド1の反発性能の低下傾向がある。このため、前記厚さtは、好ましくは1.5mm以上、より好ましくは1.8mm以上、さらに好ましくは2.0mm以上が望ましく、上限については、好ましくは4.0mm以下、より好ましくは3.5mm以下、さらに好ましくは3.0mm以下が望ましい。
The thickness t of the face member 1A1 is not particularly limited, but if it is too small, the durability tends to deteriorate, whereas if it is too large, the resilience performance of the
前記受け枠部1A2は、図6及び図7に示されるように、フェース部材1A1が装着されるフェース取付部8が設けられた外周枠9と、該外周枠9にネック部10を介して連設された前記ホーゼル部7とから構成される。
As shown in FIGS. 6 and 7, the
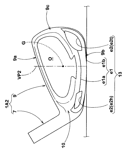
前記外周枠9は、ヘッド上部をトウ側からヒール側に向かって斜め下方にのびるトップ部枠9aと、ヘッド底部をトウ、ヒール方向にのびるソール部枠9bと、トウ側でこれらの間を継ぐトウ部枠9cと、前記トップ部枠9a、トウ部枠9c、ソール部枠9b及びネック部10の内縁で囲まれかつヘッド前後方向に貫通する透孔部Oとを有する。
The outer
図7に示されるように、前記透孔部Oの周りには、前記フェース取付部8が設けられる。該フェース取付部8は、フェース部材1A1の裏面11の周縁部を支える環状の受け面8Aと、この受け面8Aの外周縁から前側にのびかつフェース部材1A1の外周面12を保持しうる内周面8Bとを含む略ステップ状で形成される。そして、受け枠部1A2のフェース取付部8に、フェース部材1A1を装着し、例えばヘッド本体1Aの一部を塑性変形させてフェース部材1A1を保持するようにかしめることにより、両部材を一体に固着できる。なお、両部材の固着には、かしめの他、溶接やろう付け又は接着剤など種々の方法が採用され得る。
As shown in FIG. 7, the
また、図4に示されるように、ソール部枠9bには、フェース2を前面に有するフェース部Fの下端部からヘッド後方にのびるソール壁部16と、このソール壁部16の後端部から上方に立ち上がることにより、前記フェース部Fの背面との間にアンダーカットキャビティCを形成する背壁部17とを含む。このようなキャビティ構造は、ヘッド重心Gをより後方に位置させるのに役立つ。
As shown in FIG. 4, the
また、本実施形態では、ヘッド本体1Aの底部側に、ヘッド外面から凹む錘部材取付用の凹部13が設けられる。なお、ヘッド外面とは、完成されたクラブヘッドの外面を意味する。
In the present embodiment, the weight
本実施形態の凹部13は、一方の面E1で開口する第1の開口e1と、この一方の面E1とは異なる他方の面E2で第1の開口e1とは離間した第2の開口e2と、これらの第1及び第2の開口e1、e2間をヘッド内部で連通させる空所iとを有する貫通孔からなる。具体的に述べると、本実施形態の凹部13は、一方の面E1が背壁部17の背面及びソール面4を含み、他方の面E2が背壁部17の前面である。
The
前記第1の開口e1は、図3、図6に示されるように、例えば背壁部17をのびる上の開口縁e1aと、ソール面4をのびる下の開口縁e1bとからなる。また、第1の開口e1は、トウ側及びヒール側にそれぞれ横長状にのびるとともに、両端部がそれぞれ上に向かって滑らかに湾曲してのびる略弓形状で形成される。
As shown in FIGS. 3 and 6, the first opening e <b> 1 includes, for example, an upper opening edge e <b> 1 a extending over the
他方、前記第2の開口e2は、図6、図7に示されるように、基準状態において、ヘッド重心Gを通りかつフェース2と直角な垂直面VP2の両側に設けられたトウ側開口部e2tとヒール側開口部e2hとからなる。
On the other hand, as shown in FIGS. 6 and 7, the second opening e2 has a toe side opening e2t provided on both sides of a vertical plane VP2 that passes through the center of gravity G of the head and is perpendicular to the
前記空所iは、図3、図4に示されるように、下の開口縁e1bからフェース2とほぼ平行な単一の平面からなる第1の凹面15aと、上の開口縁e1aからフェース2とほぼ直角にのびる第2の凹面15bと、第2の開口e2t、e2hからヘッド後方にのびるトウ側孔部15ct及びヒール側孔部15chとで区画される。
As shown in FIGS. 3 and 4, the void i includes a first
また、本実施形態の凹部13は、図4及び図6に示されるように、スイートスポットSSよりも低い位置に設けられる。これは、ヘッド本体1Aのより低い位置に錘部材1Bを取り付けることを可能とし、低重心化に役立つ。なお、上記スイートスポットSSは、図4に示されるように、ヘッド重心Gからフェース2に立てた法線Nとフェース2との交点とする。
Moreover, the recessed
本実施形態の錘部材1Bは、図8に示されるように、凹部13の空所iの形状にほぼ一致する。具体的には、錘部材1Bは、トウ、ヒール方向に横長状にのびるとともに、両端部がそれぞれ上に向かって滑らかに湾曲してのびる略弓形状で形成される。より具体的に述べると、本実施形態の錘部材1Bは、トウ側孔部15ct内をのびるトウ側凸部18と、ヒール側開口部15ch内をのびるヒール側凸部19と、これらを連結するとともに第1の凹面15a及び第2の凹面15bに向き合う連結部20とから構成される。連結部20は、凹部13の第1の凹面15aに向き合う第1の面20aと、第2の凹面15bに向き合う第2の面20bと、ヘッド外面に露出する第3の面20cとを含む。
As shown in FIG. 8, the
以上のような錘部材1Bは、第1の開口e1側から凹部13に装着される。これにより、錘部材1Bは、第1の開口e1と第2の開口e2との間をのび、前記空所iを実質的に埋める。なお、図9には、受け枠部1A2に錘部材1Bを嵌め込んだ状態が示される。
The
これにより、錘部材1Bのトウ側凸部18及びヒール側凸部19は、それぞれトウ側孔部15ct及びヒール側孔部15hに嵌め込まれる。また、錘部材1Bの連結部20は、その第1の面20a及び第2の面20bが、それぞれ第1の凹面15a及び第2の凹面15bに実質的に接して配される。さらに、錘部材1Bの第3の面20cは、ソール面4の一部及び背壁部6の背面(ヘッド外面)の一部をそれぞれ構成するとともに、第1の開口e1と小隙間を介して連なる。
Thereby, the toe side
また、本実施形態において、トウ側凸部18及びヒール側凸部19は、図3及び図5に示されるように、いずれも各開口e2からフェース2側にはみ出すが、フェース部Fの背面とは接触しない長さを有する。つまり、フェース部Fの背面と各凸部18、19との間には、隙間が設けられる。この隙間は、ボール打撃時でもフェース部Fと接触しないような大きさで形成される。これにより、ボール打撃時のフェース部Fの自由な撓みが保証され、飛距離の低下を防止しうる。
Further, in the present embodiment, the toe side
また、錘部材1Bは、ヘッド本体1Aよりも比重が大きい金属材料で構成される。本実施形態の場合、錘部材1Bは、フェース部材1A1及び受け枠部1A2よりも比重が大きい金属材料で構成される。このような高比重材料からなる錘部材1Bをヘッド本体1Aに固着することにより、ヘッド1の重心を所望の位置に調整できる。
The
本実施形態の錘部材1Bは、トウ・ヒール方向に横長状にのびることにより、ヘッド重心Gをより後方かつ低所に広く配分するのに役立つ。また、錘部材1Bは、そのトウ側及びヒール側に連結部20よりも前後方向の長さが大きい凸部18及び19を具えるので、フェースのトウ及びヒールの両側にさらに多くの重量を配分できる。これは、クラブヘッド1の慣性モーメントを増大させ、打球の方向性を安定させるのに役立つ。
The
また、錘部材1Bは、受け枠部1A2と溶接可能な金属材料で形成される。このような金属材料は、受け枠部1A2との組み合わせによって決まるため特に限定されるものではない。一例として、受け枠部1A2がステンレス鋼や軟鉄といった鋼材料からなる場合、錘部材1Bには、タングステン合金、とりわけタングステンに鉄及びニッケルを配合したW−Fe−Ni合金が好ましい。
Further, the
前記タングステン合金としては、好ましくはWを15〜50wt%、Feを12〜30wt%、Niを30〜69wt%含むことが望ましい。Wが15wt%未満の場合、比重を大きくすることができず、逆に50wt%を超えると湯流れが悪くなるので、例えば鋳造による成形性が悪化するおそれがある。またFeが12wt%未満の場合、鋼製の受け枠部1A2への溶接が困難になるおそれがあり、逆に30wt%を超える場合、防錆性が低下するおそれがある。さらに、Niが30wt%未満の場合、耐食性が低下するおそれがあり、逆に69wt%を超える場合、強度が低下する他、比重が小さくなるおそれがある。 The tungsten alloy preferably contains 15 to 50 wt% W, 12 to 30 wt% Fe, and 30 to 69 wt% Ni. When W is less than 15 wt%, the specific gravity cannot be increased. Conversely, when W exceeds 50 wt%, the hot water flow becomes worse, and thus, for example, moldability by casting may be deteriorated. If Fe is less than 12 wt%, welding to the steel receiving frame 1A2 may be difficult. Conversely, if it exceeds 30 wt%, the rust prevention property may be reduced. Furthermore, when Ni is less than 30 wt%, the corrosion resistance may be reduced. Conversely, when Ni is more than 69 wt%, the strength may be reduced and the specific gravity may be reduced.
錘部材1Bの比重は、ヘッド重心Gの位置を効果的に調節するために、好ましくは8.5以上、より好ましくは9.0以上が望ましい。他方、錘部材1Bの比重が大きすぎると、材料コストが上昇するおそれがあるので、好ましくは13.0以下、より好ましくは12.5以下が望ましい。なお、錘部材1Bは、鋳造、鍛造、切削又は焼結等種々の方法で製造でき、とりわけ精密成形が可能な鋳造品が望ましい。
In order to effectively adjust the position of the center of gravity G of the head, the specific gravity of the
錘部材1Bの重量は、特に限定されるものではないが、小さすぎると重心調整効果が十分に得られないおそれがあり、逆に錘部材1Bの重量が大きすぎると、受け枠部1A2に使用可能な重量が制限され、クラブヘッド1の小型化を余儀なくされるおそれがある。このような観点より、錘部材1Bの重量は、好ましくは30g以上、より好ましくは40g以上、さらに好ましくは45g以上が望ましく、また上限に関しては、好ましくは100g以下、より好ましくは90g以下、さらに好ましくは80g以下が望ましい。
The weight of the
また、本実施形態において、錘部材1Bとヘッド本体1Aの凹部13とは溶接にて固着されるが、該溶接は一方の面E1からのみ行われ、他方の面E2側では行われない。これにより、錘部材1Bは、第1の開口e1と溶接された溶接部22を具える一方、第2の開口e2とは溶接されていない非溶接部23を具える。
In the present embodiment, the
このように、錘部材1Bの凸部18、19に、ヘッド本体1Bと溶接されていない自由振動可能な非溶接部23を設けることにより、ボール打撃時の衝撃エネルギーは、錘部材1Bの非溶接部23に集中しかつこの部分を振動させることで素早く消費される。従って、本実施形態のクラブヘッド1は、ボール打撃時のヘッド本体1Aの振動が早期に減衰し、ゴルファの手に伝えられる不快な振動が効果的に抑制される。とりわけ、錘部材1Bが背壁部17からはみ出すはみ出し長さKを1.0mm以上とした場合、より一層、非溶接部23を自由振動させて振動吸収効果が発揮される。
In this way, by providing the
なお、図4に示されるように、錘部材1Bの連結部20も、凹部13の奥側ではヘッド本体1Aと溶接されていない非溶接部23を有する。しかし、発明者らの種々の実験の結果、この部分は、第1、第2の凹面15a、15bで拘束され、実質的な自由振動をなし得ない。従って、このような非溶接部23では、振動吸収効果を殆ど発揮できない。
As shown in FIG. 4, the connecting
また、本実施形態のクラブヘッド1は、上述のように、振動吸収効果を錘部材1Bの配置ないし取付構造の改善で行うことができる。従って、従来のゴムや樹脂等からなる振動吸収材を別途設ける必要がなく、錘部材1Bの配置スペースや配置位置などを自由に設定できる。これは、重量配分設計の自由度をより一層向上するのに役立つ。
In addition, as described above, the
ここで、図3に示されるように、前記非溶接部23の開口部14に沿った深さL1は、特に限定されるものではないが、小さすぎると上述の振動吸収効果が低下するおそれがある。このような観点より、非溶接部23の深さL1は、好ましくは3mm以上、より好ましくは5mm以上、さらに好ましくは6mm以上が望ましい。この深さL1は、本実施形態では、フェース2と直角な垂直断面において測定され、かつ、第2の開口e2から凹部13の表面に沿って測定される実長さとする。即ち、図3の凹部13の上側の面のように、凹部13の内面が真っ直ぐな場合にはその直線距離とするが、下側の面のように、屈曲している場合にはその屈曲に合わせて測定された各距離L1a及びL1bの和とする。
Here, as shown in FIG. 3, the depth L1 along the
また、前記溶接部22の溶接深さL2も特に限定されるものではないが、小さすぎると錘部材1Bとヘッド本体1Aとの接合強度が低下するおそれがあるので、好ましくは1mm以上、より好ましくは2mm以上が望ましい。逆に、溶接部22の溶接深さL2が大きすぎると、非溶接部23の深さL1が相対的に小さくなり、上述の振動吸収効果が低下するおそれがあるので、好ましくは10mm以下、より好ましくは5mm以下、さらに好ましくは4mm以下が望ましい。
Also, the welding depth L2 of the welded
上記各深さL1、L2に関する数値限定の規定は、複数箇所で測定された各長さの平均値が満たしていれば良いが、好ましくは各測定値がいずれも上記規定を満たすことが望ましい。 The numerical limitation regarding the depths L1 and L2 may be as long as the average value of the lengths measured at a plurality of locations is satisfied.
また、非溶接部23の深さL1は、溶接部22の溶接深さL2よりも大きいことが望ましい。これによって、より一層振動吸収効果を発揮できる。
Moreover, it is desirable that the depth L1 of the
とりわけ、振動吸収効果と接合強度とをバランス良く向上させるために、非溶接部23の深さL1と、溶接部22の溶接深さL2との比(L1/L2)は、好ましくは1.5以上、より好ましくは2.0以上が望ましく、また、好ましくは10.0以下、より好ましくは7.0以下、さらに好ましくは5.0以下が望ましい。
In particular, in order to improve the vibration absorption effect and the joint strength in a well-balanced manner, the ratio (L1 / L2) between the depth L1 of the
また、本実施形態の錘部材1Bは、スイートスポットSSの両側にトウ側凸部18とヒール側凸部19とを有し、かつ、これらにそれぞれ非溶接部23が設けられている。このため、フェース2のスイートスポットSSよりもトウ側又はヒール側でボールを打撃したミスショット時の大きな振動は、これらの各凸部18、19の自由振動によってより効果的に吸収される点で望ましい。
Further, the
前記非溶接部23において、凹部13と、錘部材1Bの凸部18、19との間には隙間が設けられるのが望ましい。これにより、非溶接部23をより効果的に振動させることができる。ただし、上記隙間が大きくなると、錘部材1Bが外れやすくなったり、錘部材1Bの体積が小さくなって重量調整効果が小さくなるおそれがある。このような観点より、前記隙間は、0mmよりも大であるが、好ましくは0.05mm以上であり、また好ましくは0.5mm以下、より好ましくは0.3mm以下、さらに好ましくは0.2mm以下、特に好ましくは0.1mm以下が望ましい。
In the
上記隙間に関し、勿論、部分的に上記数値範囲を超える部分があっても良い。しかしながら、上記数値範囲は、好ましくは、第2の開口e2から凹部13内に少なくとも5mmの範囲、より好ましくは非溶接部23の全範囲で満たされることが望ましい。
Of course, there may be a portion that partially exceeds the numerical range regarding the gap. However, the above numerical range is preferably satisfied in the range of at least 5 mm, more preferably the entire range of the
なお、ヘッド外面の一方の面E1では、錘部材1Bと凹部13との間が溶接されることにより、隙間を無くして見映えを高め、かつこれらの界面からの異物の侵入などを効果的に防止できる。また、他方の面E2である背壁部17の前面では、錘部材1Bと凹部13との間に隙間が生じる。しかし、この部分はアンダーカットキャビティとなるため、外部からは見え難い。従って、美感の悪化がなく、かつ異物も侵入し難いので問題にはなるものではない。
On one surface E1 of the outer surface of the head, the
錘部材1B及び凹部13の形状は、上述の態様に限定されるものではなく、種々の形状に変形して実施できる。例えば図10に示されるように、凹部13の第2の開口e2は、トウ・ヒール方向に連続する一つのものでも良い。図11(a)ないし(c)には、図10のX−X、Y−Y及びZ−Z線に相当する拡大端面図を示す。
The shapes of the
以上、本発明の実施形態について説明したが、本発明は種々の態様で実施することができる。 As mentioned above, although embodiment of this invention was described, this invention can be implemented in a various aspect.
表1及び図12〜13の仕様に基づいてアイアン型ゴルフクラブヘッドが試作され、それらについて性能がテストされた。各例とも、別々にフェース部材、受け枠部及び錘部材が準備された。そして、ヘッド本体と錘部材とを先ず嵌め合わせて仮組みし、かつヘッド背面及び底面において錘部材と第1の開口との境界がプラズマ溶接にて溶接された。その後、比較例のみ、図13に示されるように、背壁部の前面において、錘部材と第2の開口との境界が溶接された。そして、その後、フェース部材がかしめによってヘッド本体に固着された。溶接部の溶け込み深さは約3mmである。また、実施例においては、凸部と開口部との間の隙間は0〜0.3mmであった。 Iron type golf club heads were prototyped based on the specifications in Table 1 and FIGS. In each example, a face member, a receiving frame portion, and a weight member were prepared separately. Then, the head body and the weight member were first fitted and temporarily assembled, and the boundary between the weight member and the first opening was welded by plasma welding on the back surface and the bottom surface of the head. Thereafter, only in the comparative example, as shown in FIG. 13, the boundary between the weight member and the second opening was welded on the front surface of the back wall portion. After that, the face member was fixed to the head body by caulking. The penetration depth of the weld is about 3 mm. Moreover, in the Example, the clearance gap between a convex part and an opening part was 0-0.3 mm.
また、表1に記載の部分以外の共通仕様等は以下の通りである。
ロフト角24度
受け枠部の材料:SUS630の鋳造品
受け枠部の比重:7.8
フェース部材の材料:Ti−6Al−4Vのプレス成形品
フェース部材の比重:4.42
錘部材の材料:タングステン合金の鋳造品
タングステン合金の組成;W:20wt%、Fe:15wt%、Ni:60wt%、Cr:3wt%及び残部(C、Si、Mn、N等)
錘部材の比重:9.5
ヘッド総重量:249g
Further, common specifications other than those described in Table 1 are as follows.
Loft angle 24 degrees Material of receiving frame: SUS630 cast product Specific gravity of receiving frame: 7.8
Material of face member: Press-formed product of Ti-6Al-4V Specific gravity of face member: 4.42
Material of weight member: cast tungsten alloy composition of tungsten alloy; W: 20 wt%, Fe: 15 wt%, Ni: 60 wt%, Cr: 3 wt% and the balance (C, Si, Mn, N, etc.)
Specific gravity of weight member: 9.5
Total head weight: 249g
次に、各クラブヘッドについて、重心高さGH(図4)、左右の慣性モーメント(ヘッド重心を通る垂直軸回りの慣性モーメント)が測定された。また、各クラブヘッドにSRIスポーツ社製のカーボンシャフト(MP400、フレックスS)を固着してアイアン型ゴルフクラブが製造され、これらについて打球感がテストされた。 Next, the center-of-gravity height GH (FIG. 4) and the left and right moments of inertia (the moment of inertia about the vertical axis passing through the head center of gravity) were measured for each club head. Further, an iron type golf club was manufactured by fixing a carbon shaft (MP400, Flex S) manufactured by SRI Sports Co. to each club head, and the shot feeling was tested.
打球感は、ハンディキャップ5〜25のゴルファー20名が、各テストクラブで市販の3ピースゴルフボールを打撃し、不快な振動の有無を各ゴルファーの官能により5点法で評価された。数値が大きいほど打球感が良いことを示す。
Twenty golfers with
テストの結果を表1に示す。実施例のクラブヘッドは、重心が低くかつ打球感にすぐれることが確認できた。 The test results are shown in Table 1. It was confirmed that the club head of the example had a low center of gravity and an excellent shot feeling.
1 ゴルフクラブヘッド
1A ヘッド本体
1A1 フェース部材
1A2 受け枠部
1B 錘部材
2 フェース
3 トップ面
4 ソール面
5 トウ面
6 バックフェース面
13 凹部
18 トウ側凸部
19 ヒール側凸部
20 連結部
22 溶接部
23 非溶接部
E1 一方の面
E2 他方の面
e1 第1の開口
e2 第2の開口
DESCRIPTION OF
Claims (5)
前記ヘッド本体には、錘部材取付用の凹部が設けられ、かつ
前記凹部は、ヘッド外面の一方の面で開口する第1の開口と、前記一方の面とは異なる他方の面で前記第1の開口とは離間して開口する第2の開口とがヘッド内部で連通した貫通孔からなり、かつ
前記錘部材は、少なくとも第1の開口と第2の開口との間をのびるとともに、第1の開口と溶接された溶接部と、第2の開口とは溶接されていない非溶接部とを具えることを特徴とするアイアン型ゴルフクラブヘッド。 An iron type golf club head including a head body made of a metal material having a face for hitting a ball, and a weight member made of a metal material fixed to the head body and having a specific gravity larger than that of the head body,
The head main body is provided with a concave portion for attaching a weight member, and the concave portion has a first opening that opens on one surface of the head outer surface and the first surface on the other surface different from the one surface. A second opening that is spaced apart from the first opening and a second opening that communicates within the head, and the weight member extends at least between the first opening and the second opening, and the first opening An iron-type golf club head comprising: a welded portion welded to the second opening and a non-welded portion not welded to the second opening.
前記第1の開口の少なくとも一部は前記背壁部の背面側をのびるとともに、前記第2の開口の少なくとも一部は前記背壁部の前面側をのびる請求項1乃至3のいずれかに記載のアイアン型ゴルフクラブヘッド。 The head body has a face portion whose front face forms the face, a sole wall portion extending from the lower end portion of the face portion to the rear of the head, and rising upward from a rear end portion of the sole wall portion, thereby A back wall that forms an undercut cavity between the back and
The at least part of said 1st opening extends in the back side of the said back wall part, and at least one part of the said 2nd opening extends in the front side of the said back wall part. Iron type golf club head.
前記第2の開口は、規定のライ角及びロフト角で水平面に載置した基準状態において、ヘッド重心を通りかつフェースと直角な垂直面の両側に設けられたトウ側開口部とヒール側開口部とからなる請求項4記載のアイアン型ゴルフクラブヘッド。 The first opening is one, and the second opening is on both sides of a vertical plane passing through the center of gravity of the head and perpendicular to the face in a reference state placed on a horizontal plane at a specified lie angle and loft angle. 5. The iron type golf club head according to claim 4, comprising a toe side opening and a heel side opening provided.
Priority Applications (1)
| Application Number | Priority Date | Filing Date | Title |
|---|---|---|---|
| JP2008193806A JP4996560B2 (en) | 2008-07-28 | 2008-07-28 | Iron type golf club head |
Applications Claiming Priority (1)
| Application Number | Priority Date | Filing Date | Title |
|---|---|---|---|
| JP2008193806A JP4996560B2 (en) | 2008-07-28 | 2008-07-28 | Iron type golf club head |
Publications (2)
| Publication Number | Publication Date |
|---|---|
| JP2010029380A true JP2010029380A (en) | 2010-02-12 |
| JP4996560B2 JP4996560B2 (en) | 2012-08-08 |
Family
ID=41734587
Family Applications (1)
| Application Number | Title | Priority Date | Filing Date |
|---|---|---|---|
| JP2008193806A Active JP4996560B2 (en) | 2008-07-28 | 2008-07-28 | Iron type golf club head |
Country Status (1)
| Country | Link |
|---|---|
| JP (1) | JP4996560B2 (en) |
Cited By (8)
| Publication number | Priority date | Publication date | Assignee | Title |
|---|---|---|---|---|
| CN102527006A (en) * | 2010-11-17 | 2012-07-04 | 住胶体育用品株式会社 | Iron-type golf club head |
| JP5572249B1 (en) * | 2013-07-30 | 2014-08-13 | ダンロップスポーツ株式会社 | Iron type golf club head |
| JP5824591B1 (en) * | 2015-05-29 | 2015-11-25 | ダンロップスポーツ株式会社 | Iron type golf club head manufacturing method |
| JP5824572B1 (en) * | 2014-12-25 | 2015-11-25 | ダンロップスポーツ株式会社 | Iron type golf club head |
| JP2016221181A (en) * | 2015-06-04 | 2016-12-28 | ダンロップスポーツ株式会社 | Iron type golf club head |
| JP2018000471A (en) * | 2016-06-30 | 2018-01-11 | ダンロップスポーツ株式会社 | Iron type golf club head |
| JP2020062228A (en) * | 2018-10-17 | 2020-04-23 | 住友ゴム工業株式会社 | Golf club head |
| US10881926B1 (en) | 2019-07-29 | 2021-01-05 | Taylor Made Golf Company, Inc. | Iron golf club head |
Citations (1)
| Publication number | Priority date | Publication date | Assignee | Title |
|---|---|---|---|---|
| JP2002253712A (en) * | 2001-03-02 | 2002-09-10 | Endo Mfg Co Ltd | Golf club |
-
2008
- 2008-07-28 JP JP2008193806A patent/JP4996560B2/en active Active
Patent Citations (1)
| Publication number | Priority date | Publication date | Assignee | Title |
|---|---|---|---|---|
| JP2002253712A (en) * | 2001-03-02 | 2002-09-10 | Endo Mfg Co Ltd | Golf club |
Cited By (13)
| Publication number | Priority date | Publication date | Assignee | Title |
|---|---|---|---|---|
| CN102527006A (en) * | 2010-11-17 | 2012-07-04 | 住胶体育用品株式会社 | Iron-type golf club head |
| US8740721B2 (en) | 2010-11-17 | 2014-06-03 | Sri Sports Limited | Iron-type golf club head |
| CN102527006B (en) * | 2010-11-17 | 2016-04-13 | 住胶体育用品株式会社 | Iron-type golf club head |
| JP5572249B1 (en) * | 2013-07-30 | 2014-08-13 | ダンロップスポーツ株式会社 | Iron type golf club head |
| JP5824572B1 (en) * | 2014-12-25 | 2015-11-25 | ダンロップスポーツ株式会社 | Iron type golf club head |
| JP5824591B1 (en) * | 2015-05-29 | 2015-11-25 | ダンロップスポーツ株式会社 | Iron type golf club head manufacturing method |
| JP2016221181A (en) * | 2015-06-04 | 2016-12-28 | ダンロップスポーツ株式会社 | Iron type golf club head |
| JP2018000471A (en) * | 2016-06-30 | 2018-01-11 | ダンロップスポーツ株式会社 | Iron type golf club head |
| JP2020062228A (en) * | 2018-10-17 | 2020-04-23 | 住友ゴム工業株式会社 | Golf club head |
| US10912969B2 (en) | 2018-10-17 | 2021-02-09 | Sumitomo Rubber Industries, Ltd. | Golf club head |
| US10881926B1 (en) | 2019-07-29 | 2021-01-05 | Taylor Made Golf Company, Inc. | Iron golf club head |
| US11497972B2 (en) | 2019-07-29 | 2022-11-15 | Taylor Made Golf Company, Inc. | Iron golf club head |
| US12186634B2 (en) | 2019-07-29 | 2025-01-07 | Taylor Made Golf Company, Inc. | Iron golf club head |
Also Published As
| Publication number | Publication date |
|---|---|
| JP4996560B2 (en) | 2012-08-08 |
Similar Documents
| Publication | Publication Date | Title |
|---|---|---|
| US10518142B2 (en) | Set of golf clubs | |
| JP4996560B2 (en) | Iron type golf club head | |
| US7691008B2 (en) | Golf club head | |
| US7247103B2 (en) | Golf club head providing enhanced acoustics | |
| JP5989509B2 (en) | Golf club head and golf club | |
| JP5378806B2 (en) | Golf club head having structure response correction function | |
| KR102081048B1 (en) | Golf club head | |
| JP5576971B1 (en) | Golf club head | |
| JP5714793B2 (en) | Golf club head | |
| US8663028B2 (en) | Golf club head | |
| JP2008284155A (en) | Iron type golf club head | |
| JP2013255779A (en) | Iron type golf club head | |
| JP2008080095A (en) | Golf club head | |
| US10092806B2 (en) | Iron type golf club head | |
| JP2001054596A (en) | Golf club | |
| JP5525570B2 (en) | Iron type golf club head | |
| JP6931188B2 (en) | Iron type golf club head | |
| JP5162039B2 (en) | Iron type golf club head | |
| JP4444794B2 (en) | Golf putter head and golf putter having the same | |
| JP5075047B2 (en) | Iron type golf club head | |
| JP5156994B2 (en) | Iron golf club head and iron golf club | |
| JP5396056B2 (en) | Golf club | |
| US11701554B2 (en) | Golf club head | |
| JP2005278757A (en) | Golf club head | |
| JP2011072662A (en) | Golf club |
Legal Events
| Date | Code | Title | Description |
|---|---|---|---|
| A621 | Written request for application examination |
Free format text: JAPANESE INTERMEDIATE CODE: A621 Effective date: 20100819 |
|
| TRDD | Decision of grant or rejection written | ||
| A01 | Written decision to grant a patent or to grant a registration (utility model) |
Free format text: JAPANESE INTERMEDIATE CODE: A01 Effective date: 20120424 |
|
| A01 | Written decision to grant a patent or to grant a registration (utility model) |
Free format text: JAPANESE INTERMEDIATE CODE: A01 |
|
| A977 | Report on retrieval |
Free format text: JAPANESE INTERMEDIATE CODE: A971007 Effective date: 20120427 |
|
| A61 | First payment of annual fees (during grant procedure) |
Free format text: JAPANESE INTERMEDIATE CODE: A61 Effective date: 20120511 |
|
| FPAY | Renewal fee payment (event date is renewal date of database) |
Free format text: PAYMENT UNTIL: 20150518 Year of fee payment: 3 |
|
| R150 | Certificate of patent or registration of utility model |
Free format text: JAPANESE INTERMEDIATE CODE: R150 Ref document number: 4996560 Country of ref document: JP Free format text: JAPANESE INTERMEDIATE CODE: R150 |
|
| R250 | Receipt of annual fees |
Free format text: JAPANESE INTERMEDIATE CODE: R250 |
|
| R250 | Receipt of annual fees |
Free format text: JAPANESE INTERMEDIATE CODE: R250 |
|
| R250 | Receipt of annual fees |
Free format text: JAPANESE INTERMEDIATE CODE: R250 |
|
| R250 | Receipt of annual fees |
Free format text: JAPANESE INTERMEDIATE CODE: R250 |
|
| R250 | Receipt of annual fees |
Free format text: JAPANESE INTERMEDIATE CODE: R250 |
|
| R250 | Receipt of annual fees |
Free format text: JAPANESE INTERMEDIATE CODE: R250 |
|
| R250 | Receipt of annual fees |
Free format text: JAPANESE INTERMEDIATE CODE: R250 |
|
| R250 | Receipt of annual fees |
Free format text: JAPANESE INTERMEDIATE CODE: R250 |
|
| R250 | Receipt of annual fees |
Free format text: JAPANESE INTERMEDIATE CODE: R250 |
|
| R250 | Receipt of annual fees |
Free format text: JAPANESE INTERMEDIATE CODE: R250 |
|
| R250 | Receipt of annual fees |
Free format text: JAPANESE INTERMEDIATE CODE: R250 |
