[go: up one dir, main page]

JP2009170723A - 発光装置 - Google Patents

発光装置 Download PDF

Info

Publication number
JP2009170723A
JP2009170723A JP2008008396A JP2008008396A JP2009170723A JP 2009170723 A JP2009170723 A JP 2009170723A JP 2008008396 A JP2008008396 A JP 2008008396A JP 2008008396 A JP2008008396 A JP 2008008396A JP 2009170723 A JP2009170723 A JP 2009170723A
Authority
JP
Japan
Prior art keywords
light
semiconductor laser
laser element
emitting device
wavelength conversion
Prior art date
Legal status (The legal status is an assumption and is not a legal conclusion. Google has not performed a legal analysis and makes no representation as to the accuracy of the status listed.)
Granted
Application number
JP2008008396A
Other languages
English (en)
Other versions
JP5076916B2 (ja
Inventor
Yukihiro Hayashi
幸宏 林
敦智 ▲濱▼
Atsutomo Hama
Current Assignee (The listed assignees may be inaccurate. Google has not performed a legal analysis and makes no representation or warranty as to the accuracy of the list.)
Nichia Corp
Original Assignee
Nichia Corp
Priority date (The priority date is an assumption and is not a legal conclusion. Google has not performed a legal analysis and makes no representation as to the accuracy of the date listed.)
Filing date
Publication date
Application filed by Nichia Corp filed Critical Nichia Corp
Priority to JP2008008396A priority Critical patent/JP5076916B2/ja
Publication of JP2009170723A publication Critical patent/JP2009170723A/ja
Application granted granted Critical
Publication of JP5076916B2 publication Critical patent/JP5076916B2/ja
Active legal-status Critical Current
Anticipated expiration legal-status Critical

Links

Images

Landscapes

  • Semiconductor Lasers (AREA)
  • Led Devices (AREA)

Abstract

【課題】危険性の低い光を出射可能な構成を有する発光装置を提供するとともに、長寿命の発光装置を提供することを目的とする。
【解決手段】本発明に係る発光装置は、底面と内壁を持つ凹部を有する基台と、凹部内に設けられる半導体レーザ素子と、凹部内に設けられ、半導体レーザ素子の光を拡散する拡散部材と、半導体レーザ素子の光を吸収して異なる波長の光に変換する波長変換部材と、を具備し、半導体レーザ素子は、光軸が凹部の内壁に向くように配置され、拡散部材は、半導体レーザ素子の光軸上に配置され、波長変換部材は、凹部の開口方向に配置される。
【選択図】 図2

Description

本発明は、発光素子と波長変換部材とを備えた発光装置に関するものである。
従来、発光装置の光源としては、蛍光ランプ、メタルハライドランプ、キセノンランプなどが用いられていた。近年、それらの光源に代わるものとして、発光ダイオードやレーザダイオードなどの発光素子を用いることが検討されている。
従来の発光装置の模式断面図を図20に示す。例えば、図20のように、青色レーザダイオード220を光源とし、蛍光体組成物240を用いて波長を変換させて白色光を発光させる発光デバイス200が提案されている(例えば、特許文献1参照)。
特開2005−20010号公報
しかしながら、上記の発光装置においては、以下の点について配慮がなされていなかった。
特許文献1の発光デバイスは、レーザダイオード220のレーザ光の出射方向と蛍光体組成物240からの光の放出方向とが略同一である。このため、レーザダイオード220からの光が蛍光体組成物240を透過して外部に放出される可能性があるため、紫外線、レーザ光等が人体に直接照射されるなどの危険がある。また、特許文献1の発光デバイスは、レーザダイオード220からの光が直接入射する位置に蛍光体組成物240が配置されているため、蛍光体組成物240が光に起因する熱により劣化してしまい、所望の光を外部に放出できなくなったり、場合によっては蛍光体組成物240が変色してしまい発光装置として使用できなくなったりする等の問題があった。
本発明は、上記のような課題を解決するためになされたものであり、危険性の低い光を出射可能な構成を有する発光装置を提供するとともに、長寿命の発光装置を提供することを目的とする。
本発明に係る発光装置は、底面と内壁を持つ凹部を有する基台と、凹部内に設けられる半導体レーザ素子と、凹部内に設けられ、半導体レーザ素子の光を拡散する拡散部材と、半導体レーザ素子の光を吸収して異なる波長の光に変換する波長変換部材と、を具備し、半導体レーザ素子は、光軸が凹部の内壁に向くように配置され、拡散部材は、半導体レーザ素子の光軸上に配置され、波長変換部材は、凹部の開口方向に配置される。
かかる構成によれば、レーザ光が直接外部に放出されることを抑制することができる。また、半導体レーザ素子からの光による波長変換部材の劣化を抑制することができる。
また、波長変換部材には、拡散部材からの光及び/又は内壁からの反射光が照射されることが好ましい。かかる構成によれば、半導体レーザ素子からの光による波長変換部材の劣化を抑制することができる。
また、波長変換部材は、凹部を覆うように凹部開口の外周面に固定されていてもよい。かかる構成によれば、レーザ光が外部に漏れることを抑制して危険性の低い光を出射することができる。
また、凹部を覆うように固定され、凹部の開口方向に貫通孔を有するリフレクタを有し、貫通孔を塞ぐように波長変換部材が配置されていてもよい。かかる構成によれば、レーザ光が外部に漏れることを抑制して危険性の低い光を出射することができる。
また、波長変換部材は、拡散部材の一部に接していてもよい。かかる構成によれば、半導体レーザ素子からの光による波長変換部材の劣化を抑制することができる。
また、凹部の開口方向に、第2の拡散部材を備えていてもよい。かかる構成によれば、レーザ光が外部に漏れることを抑制して危険性の低い光を出射することができる。
また、本発明に係る発光装置は、台座と、台座の上に固定される半導体レーザ素子と、台座の上に固定され、半導体レーザ素子の光を拡散する拡散部材と、半導体レーザ素子及び拡散部材を覆うように台座に固定され、一部に開口部を有するキャップと、半導体レーザ素子の光を吸収して異なる波長の光に変換する波長変換部材と、を具備し、半導体レーザ素子は、光軸がキャップの内面に向くように配置され、拡散部材は、半導体レーザ素子の光軸上に配置され、波長変換部材は、キャップの開口方向に配置され、拡散部材からの光とキャップの内面からの反射光とが波長変換部材に照射される。かかる構成によれば、レーザ光が直接外部に放出されることを抑制することができる。また、半導体レーザ素子からの光による波長変換部材の劣化を抑制することができる。
また、拡散部材は、ガラス又は樹脂にフィラーが含有されていてもよい。かかる構成によれば、半導体レーザ素子からの光による波長変換部材の劣化を抑制することができる。
また、拡散部材は、半導体レーザ素子からの光を反射する材料により形成されており、半導体レーザ素子の光軸に対して傾斜あるいは湾曲した傾斜面を有していてもよい。かかる構成によれば、半導体レーザ素子からの光による波長変換部材の劣化を抑制することができる。
また、傾斜面は、凹凸を有していてもよい。かかる構成によれば、半導体レーザ素子からの光による波長変換部材の劣化を抑制することができる。
本発明によれば、安全性に優れた構造を有し、かつ長寿命の発光装置を提供することができる。
以下、本発明の発光装置を図面に基づいて説明する。ただし、以下に示す発光装置は、本発明の技術思想を具体化するためのものであって、本発明を以下のものに特定しない。また、特定的な記載がない限りは、構成部材の寸法、材質、形状、その相対的配置等は、本発明の範囲をそれのみに限定する趣旨ではなく、単なる説明例にすぎない。なお、各図面が示す部材の大きさや位置関係等は、説明を明確にするため誇張していることがある。さらに、本発明を構成する各要素は、複数の要素を一の部材で構成することもできるし、逆に、一の要素を複数の部材で構成することもできる。
<実施の形態1>
図1は本発明の実施の形態1に係る発光装置を模式的に示す平面図である。また、図2は、図1のII−II’線における模式的な断面図である。
本実施の形態に係る発光装置は、基台110と、半導体レーザ素子120と、拡散部材130と、波長変換部材140とから主として構成されている。
基台110は、平面(上面)が略正方形である薄型の直方体であり、中央部より外周方向へ片寄った位置に底面112と内壁113とを持つ凹部111を有している。基台110の凹部111内には、半導体レーザ素子120及び拡散部材130が設けられる。
半導体レーザ素子120及び拡散部材130は、具体的には、凹部111の底面112に固定される。半導体レーザ素子120は、光軸が凹部111の内壁113に向くように配置される。また、拡散部材130は、半導体レーザ素子120の光軸上に位置するように配置される。
波長変換部材140は、基台110の凹部111の開口方向に配置される。波長変換部材140としては、透光性部材に、波長変換材料の一種である蛍光体粒子を分散させたものが挙げられる。
本実施の形態に係る発光装置においては、基台110の凹部111を覆うようにリフレクタ150が固定されている。リフレクタ150は、凹部111の開口方向に貫通する貫通孔155を有している。そして、上述した波長変換部材140は、この貫通孔155を塞ぐように配置される。なお、本発明において、貫通孔155を波長変換部材140で塞ぐ形態としては、リフレクタ150の上面または下面から貫通孔155を波長変換部材140で覆う形態や、貫通孔155に波長変換部材140を嵌め込む形態にすることができる。
上記のような構成とすることで、半導体レーザ素子120から発せられた光が、直接外部に放出されることを抑制することができるとともに、波長変換部材の劣化を抑制することができる。すなわち、本実施の形態においては、半導体レーザ素子120の光軸が凹部111の内壁113に向くように配置されているため、半導体レーザ素子120からの光は直接外部に放出されることなく、内壁113によって反射される。また、半導体レーザ素子120の光軸上に拡散部材130が配置されることにより、半導体レーザ素子120から出射された光の少なくとも一部は、拡散部材130によって拡散されて進行方向が変わる。したがって、波長変換部材140には、半導体レーザ素子120からの光が直接照射されることなく、拡散部材130からの光及び/又は凹部111の内壁113からの反射光が照射される。
以下、本発明の発光装置を構成する個々の部材について説明する。
(基台)
基台110は、半導体レーザ素子120が載置可能で、半導体レーザ素子120が接続されるリード電極を固定保持する支持体として働き、半導体レーザ素子120を外部環境から保護する機能も有する。
本実施の形態において、基台110の材質としては、銅、鉄、コバルト、ニッケル、金、アルミニウム、真鍮、タングステン、モリブデン、コバール、ステンレス、CuW、CuMo等の金属又は合金を用いて形成することが好ましい。また、Al、SiC、AlN、ダイヤモンドなどのセラミックを用いて形成してもよい。
また、基台110の表面には、Ag、Al等からなる反射膜を形成してもよい。これにより、光取り出し効率を向上させることができる。
基台110の形状は特に限定されるものではなく、例えば、円柱、楕円柱、球、卵形、多角柱又はこれらに近似する形状等どのような形状でもよいが、半導体レーザ素子120及び拡散部材130を配置するために、その一面、すなわち表面側に凹部111を備えているものが好ましい。この凹部111の形状は、特に限定されるものではないが、底面112と内壁113とを有し、凹部111内の領域が、円柱、楕円柱、多角柱、逆円錐台、逆楕円錐台、逆多角形錐台形状等をなすものが好ましい。凹部111の大きさは、半導体レーザ素子120と拡散部材130との合計の占有面積よりも大きいことが適している。
本実施の形態に係る発光装置において、波長変換部材140は、凹部111の開口方向に配置されるため、凹部111の大きさは、少なくとも半導体レーザ素子120及び拡散部材130を配置できる程度の大きさであればよい。そのため、波長変換部材140に照射される光の密度を十分に低減できるように波長変換部材140を半導体レーザ素子120の光軸方向に間隔を取って配置する場合と比較して、発光装置の小型化が可能である。
なお、凹部111の内壁113の角度は特に限定されず、用いる半導体レーザ素子120と拡散部材130の性能、得ようとする発光装置の特性等によって適宜調整することができる。
(半導体レーザ素子)
半導体レーザ素子120は、基台110の凹部111内に配置される。凹部111内において半導体レーザ素子120を固定する位置は、特に限定されるものではなく、例えば、凹部111の底面112や内壁113、あるいは後述するリフレクタの底面に固定することができる。また、半導体レーザ素子120は、光軸が凹部111の内壁113あるいは底面112に向くように配置される。
半導体レーザ素子120は、基板上にGaAlN、ZnS、ZnSe、SiC、GaP、GaAlAs、AlN、InN、AlInGaP、InGaN、GaN、AlInGaN等の半導体を発光層として形成させたものが用いられる。半導体の構造としては、MIS接合、PIN接合やPN接合を有したホモ構造、ヘテロ構造あるいはダブルへテロ構造のものが挙げられる。半導体層の材料やその混晶度によって発光波長を紫外光から赤外光まで種々選択することができる。発光層は、量子効果が生ずる薄膜とした単一量子井戸構造や多重量子井戸構造としても良い。
屋外などでの使用を考慮する場合、高輝度な発光素子を形成可能な半導体材料として窒化ガリウム系化合物半導体を用いることが好ましく、また、赤色ではガリウム・アルミニウム・砒素系の半導体やアルミニウム・インジュウム・ガリウム・燐系の半導体を用いることが好ましいが、用途によって種々利用することもできる。
窒化ガリウム系化合物半導体を使用した場合、半導体基板にはサファイヤ、スピネル、SiC、Si、ZnOやGaN単結晶等の材料が用いられる。結晶性の良い窒化ガリウムを量産性良く形成させるためにはGaN単結晶基板を用いることが好ましい。
半導体レーザ素子120は、300nm〜500nmに発光ピーク波長を持つものを使用できるが、400nm〜470nmに発光ピーク波長を持つものが好ましい。例えば445nm付近に発光ピーク波長を持つものを使用することができる。
半導体レーザ素子は発光ダイオード等と比較して光密度が高いので、半導体レーザ素子を用いると発光装置としての輝度は容易に向上するものの、光密度が高いゆえに波長変換部材140が局所的に発熱し、劣化、変色しやすい。本願発明は、熱による波長変換部材140や周辺部材への悪影響を大幅に軽減することができるので、光源として半導体レーザ素子を用いる場合に特に効果的である。
(拡散部材)
拡散部材130は、半導体レーザ素子120からの光を拡散させるものであれば、特に限定されるものではない。また、拡散だけでなく、反射させるものであれば特に限定されない。
拡散部材130は、少なくとも、基台110の凹部111内であって、半導体レーザ素子120からの光軸上に位置するように配置される。例えば、基台110の凹部111の底面112や内壁113、あるいは後述するリフレクタの底面に配置することができる。本実施の形態に係る発光装置では、拡散部材130は、基台110の凹部111の底面112に固定される。
このような拡散部材130を設けることで、半導体レーザ素子120からの光は、拡散部材130を介して波長変換部材140へ入射する。これにより、波長変換部材140への光の集中を軽減することができ、波長変換部材140の劣化を軽減することができる。また、拡散部材130の光拡散作用により、発光装置の色度ばらつきを抑制することができる。
拡散部材130としては、透光性の有機材料や無機材料を母材に、光拡散物質を分散させたものが一例として挙げられる。有機材料としては、エポキシ樹脂、シリコーン樹脂が好ましく、無機材料としては、ガラスが好ましい。なお、耐熱性の観点からは、無機材料が好ましい。光拡散物質としては、炭化珪素、二酸化珪素、硫酸バリウム、または、ジルコニア、酸化アルミニウム、酸化チタン等の金属酸化物、または、気泡、内部が真空のガラス(中空フィラー)等が好ましい。拡散部材130の形状としては、柱体、錐体、錐台、半円球、平凸形状等が一例として挙げられる。
光拡散物質の形状は、六方晶形等の立方形、紡錘形、破砕形、針状もしくは柱状等の棒状等、種々の構造のものを用いることができる。光拡散物質の粒径は、半導体レーザ素子120の発光波長よりも大きいことが好ましい。その反面、光拡散物質の粒径が小さいほど、拡散効果を高くすることができるため、波長変換部材140へ均一に照射される光、色ムラを抑制することができる。なお、光拡散物質の形状、大きさ、含有量等は、用いる母材や半導体レーザ素子120の性能、得ようとする発光装置の特性等によって適宜調節することができる。例えば、色度ばらつきを低減するために、半導体レーザ素子120から遠ざかるにつれて光拡散物質の含有量を高くすることも可能である。
また、拡散部材130としては、上述したような透光性の母材に光拡散物質を分散させたものの他に、導光板なども用いることができる。
(反射部材)
拡散部材130には、反射部材190を設けることができる。図3は、反射部材190の配置例を模式的に示す平面図である。また、図4は、反射部材190の配置例を模式的に示す断面図である。
反射部材190は、拡散部材130から出射される光を反射させるものである。反射部材190は、拡散部材130の側面において、半導体レーザ素子120との対向面である受光側以外の少なくとも一部に設けることが好ましい。これにより、拡散部材130から内壁113方向に出射される光を効率よく反射させることができる。
拡散部材130としては、金属薄膜または誘電体多層膜等を挙げることができる。
金属薄膜は、半導体レーザ素子120から出射される光、および波長変換部材140から発する光を反射する部材(たとえば、350nm〜800nmの範囲に波長が有る光を反射する部材)が好ましい。また、これら各波長の光の反射量が略一定となるような部材が好ましい。具体的には、Ag、Au、Al、Ni、In、Pd等の金属、In−Ag、Au−Ag等の合金等が好ましい。
誘電体多層膜は、誘電体の多層膜等で構成されるものである。例えば、半導体レーザ素子120からの出射光は透過可能であるが、波長変換部材140により変換された波長の光は透過不可とする、いわゆる波長選択性の膜である。誘電体多層膜としては、例えば、AlN、SiO、TiO、Ta、SiO、Al、Ti、Ti、TiO、Nb、CeO、ZnS、MgF等から構成される多層膜が挙げられる。このような膜は、半導体レーザ素子120との対向面である受光側にも設けることができる。これにより、波長変換部材140により波長が変換されると共に拡散部材130側へ戻ってきた光が、半導体レーザ素子120に進行するのを抑止できる。
(波長変換部材)
波長変換部材140は、半導体レーザ素子120からの光の一部を吸収して、それとは異なる波長の光を発することで、所望の色調の発光を得るものである。つまり、半導体レーザ素子120の光と、波長変換部材140で波長変換された光との混色光を外部に取り出すことができる。波長変換部材140の一例としては、透明樹脂や無機部材などの透光性部材を母材とし、そこに波長変換材料である蛍光体を分散させたものが挙げられる。
本実施の形態において、波長変換部材140は基台110の凹部111の開口方向に配置される。半導体レーザ素子120から出射される光は、その光軸と一致する領域の強度が最も大きい。従って、半導体レーザ素子120の光軸上とは異なる位置に波長変換部材140を設けることが好ましい。これにより、半導体レーザ素子120からの光による波長変換部材140の劣化を抑制することができる。
波長変換部材140は、必要に応じたものを選択することで、所望の波長を得ることができる。また、複数種類の波長変換部材140が存在してもよい。
例えば、透光性部材に含有させる波長変換材料として蛍光体を用いることで、白色光は次のようにして得られる。第1の方法は、半導体レーザ素子120から発光される、可視光の短波長側領域の青色光で、黄色発光の蛍光体を励起させる。これにより一部波長変換された黄色光と、変換されない青色光が混色し、補色の関係にある2色により白色光として放出される。第2の方法は、半導体レーザ素子120から放出される、紫外から可視光の短波長側領域の光により、R・G・B蛍光体を励起させる。波長変換された3色光が混色し、白色光として放出される。
上記の機能を実現できる代表的な蛍光体としては、銅で付括された硫化カドミウム亜鉛やセリウムで付括されたYAG系蛍光体及びLAG系蛍光体が挙げられる。特に、高輝度且つ長時間の使用時においては(Re1−xSm(Al1−yGa12:Ce(0≦x<1、0≦y≦1、但し、Reは、Y、Gd、La、Luからなる群より選択される少なくとも一種の元素である。)等が好ましい。またYAG、LAG、BAM、BAM:Mn、CCA、SCA、(Ca,Sr)Si:Eu及びCaAlSiN:Euからなる群から選択される少なくとも1種を含む蛍光体が使用できる。光源からの励起光と、この励起光における波長変換効率の良好な蛍光物質と、を組み合わせることによって、発光出力の高い発光装置を得ることができるとともに、種々の色味の光を得て、演色性の高い出射光を得ることができる。
また、透光性部材は、少なくとも光の一部を透過する機能を有するものであって、透明色に限定しない。透光性部材は、半導体レーザ素子120から出射された光の吸収率が低い材料が好ましい。具体的には、石英ガラス、硼珪酸ガラス、低融点ガラス、シリコーン樹脂、エポキシ樹脂等が挙げられる。
波長変換部材140の形状としては、円盤形状、半球形状、ボール形状、レンズ形状、円錐形状、円錐台形状など任意の形状とできる。例えば、その両端間において、一貫した大きさの径を有する環状、あるいは光進行方向につれて径が大きくなる逆テーパ形状、あるいは光進行方向につれて径の拡大率が小さくなる半円球形状や平凸形状としてもよい。また、波長変換部材140において、光出射側での空気との界面にて生じる屈折率差を考慮し、波長変換部材140の光出射側の形状を適宜選択・加工することにより、集光・拡散等の波面制御が可能となる。
本発明における波長変換部材140には、波長変換材料の他、粘度増量剤、光拡散物質、顔料等、使用用途に応じて適切な部材を添加することができる。光拡散物質として例えば、チタン酸バリウム、酸化チタン、酸化アルミニウム、炭化珪素、二酸化珪素、重質炭酸カルシウム、軽質炭酸カルシウム、銀、および、これらを少なくとも一種以上含む混合物等を挙げることができる。これによって良好な指向特性を有する発光装置が得られる。同様に外来光や半導体レーザ素子120からの不要な波長をカットするフィルター効果を持たせたフィルター材として各種着色剤を添加させることもできる。
光拡散物質と、蛍光体等の波長変換材料を併用することで、半導体レーザ素子120及び蛍光体からの光を良好に乱反射させ、大きな粒径の蛍光体を用いることによって生じやすい色ムラを抑制することができるので、好適に使用できる。
また、波長変換部材140とは別に、上記のような光拡散物質を含む層を、第2の拡散部材として凹部111の開口方向に設けてもよい。これにより、発光装置の色度ばらつきを抑制することができる。このような層は、波長変換部材140と接するように設けることが好ましい。
(リフレクタ)
リフレクタ150は、基台110の上面に設けられる。具体的には、リフレクタ150は基台110の凹部111を覆うように、凹部開口の外周面に固定される。
また、リフレクタ150の略中央には、基台110の凹部111の開口方向に貫通する貫通孔155が形成されている。また、貫通孔155の両端口の内、半導体レーザ素子120からの出射光が入光する側を入光部156とし、他端側を出光部157とする。基台110の凹部111の開口方向へ進む光は、入光部156より貫通孔155内に進行する。貫通孔155内に進行した光は、直進または、貫通孔155の内面に1回或いは複数回反射されながら導波され、出光部157から出射される。
本実施の形態においては、波長変換部材140が、このリフレクタ150の貫通孔155を塞ぐように配置されており、リフレクタ150の貫通孔155内を進行した光は、波長変換部材140へ入射する。ここで、「塞ぐように配置」とは、貫通孔155内に配置すること、貫通孔155を覆うようにリフレクタ150の上面側に配置すること等を含む。
リフレクタ150に設けられる貫通孔155の開口形状は、円形、楕円形、長方形、正方形、菱形、多角形又はこれらの形状に近似する形状とすることができる。
リフレクタ150の貫通孔155は、半導体レーザ素子120からの光の入射側から出射側に向かって広口となるように傾斜あるいは湾曲した側面を有していてもよい。
図5は、リフレクタの貫通孔の一例を示す概略断面図である。リフレクタ150の貫通孔155の形状としては、例えば、貫通孔155内の領域が略逆円錐台形状をなすもの、つまり、入光部156側から出光部157側に向かって内径が大きくなるものが挙げられる。
このような形状の貫通孔155を備えることで、波長変換部材から貫通孔155の入光部156の方向へ逆戻りする光を、貫通孔155の側面によって反射させることができる。これにより、光取り出し効率を向上させることができるとともに、半導体レーザ素子の劣化を抑制することができる。
また、基台110の凹部111の開口方向に貫通孔155が設けられているので、基台110の凹部111がリフレクタ150によって塞がれることによる光出力の低下を防止することができる。
リフレクタ150における貫通孔155の設計は、光の取り出し効率や配光を考慮して決定すればよい。上記以外の貫通孔155の形状としては、入光部156近傍では開口径の拡大率が大きく、出光部157近傍ではその拡大率が小さいものでもよい。例えば、図6に示すように、貫通孔155内の領域がドーム形状をなすように、内面が曲面状のものが挙げられる。曲面状の傾斜部は、傾斜部で反射された光を、出光部157の中心方向へと屈折させることが可能になる。したがって、貫通孔155内での光の反射回数を低減でき、光の損失を低減することができる。この他、出射光の集光を考慮したレンズ状の傾斜部が挙げられる。
リフレクタ150の材質としては、銅、鉄、コバルト、ニッケル、金、アルミニウム、真鍮、タングステン、モリブデン、コバール、ステンレス、CuW、CuMo等の金属又は合金、あるいは、Al、SiC、AlN、ダイヤモンドなどのセラミックが挙げられる。また、リフレクタ150および基台110は、異部材とは限らず、両者は同一部材とすることも可能であり、これにより製品の部品点数を削減することができる。また、リフレクタの表面には、Ag、Al等からなる金属膜を形成してもよい。
<実施の形態1の変形例>
図7は、実施の形態1の変形例に係る発光装置の一例を模式的に示す平面図である。また、図8は、図7のVIII−VIII’線における模式的な断面図である。
この変形例の発光装置は、前述した実施の形態1の発光装置において、複数の半導体レーザ素子120を備え、それぞれの出射光が拡散部材130に入射するように変更したものである。
基台110は、平面が略正方形からなる薄型の直方体であり、略中央に凹部111を有している。凹部111の底面112は略正方形であり、その中心に拡散部材130が設けられている。複数の半導体レーザ素子120は、拡散部材130を包囲するような環状に設けられ、それぞれの光軸は拡散部材130に向けられている。
複数の半導体レーザ素子120を使用する場合、発光装置としての輝度は容易に向上するものの、凹部111の中央部において光密度が高くなる。本変形例の発光装置においては、この凹部111の中央部に拡散部材130が配置されるため、波長変換部材140への悪影響を大幅に軽減することができる。
<実施の形態2>
図9は、本発明の実施の形態2に係る発光装置を模式的に示す平面図である。また、図10は、図9のX−X’における模式的な断面図である。
本発明の実施の形態に係る発光装置は、前述した実施の形態1の発光装置と比べて、主に基台110の構成と波長変換部材140の配置が異なる。
本実施の形態において、基台110は、平面が略長方形の直方体である。基台110の中央に、逆角錐台形状の第1の凹部114が設けられており、第1の凹部底面の中央に、底面が略長方形からなる直方体である第2の凹部117が設けられている。この第2の凹部117の底面に半導体レーザ素子120及び拡散部材130が配置されている。第1の凹部114の内壁は、上端側ほど広口となるように傾斜しており、リフレクタとしての機能を有している。半導体レーザ素子120及び拡散部材130は、略長方形の第2の凹部117の底面において、互いに離間して長手方向に並列するように配置される。半導体レーザ素子120の光軸は、第2の凹部117の底面の長手方向と略平行である。波長変換部材140は、第2の凹部117の一部を覆うように、第1の凹部114の底面に固定される。
本実施の形態の発光装置は、第1の凹部114を覆うように光透過体160が基台110の上面に設けられている。これにより、光透過体160、第1の凹部114及び第2の凹部117によって構成される空間が形成され、この空間内に半導体レーザ素子120、拡散部材130及び波長変換部材140が配置されることになる。したがって、これらの部材を外部から保護することができる。
上記の光透過体160は、少なくとも光の一部を透過するものであればよい。光透過体160は、半導体レーザ素子120及び波長変換部材140から出射された光の吸収率が低い材料が好ましい。具体的には、石英ガラス、硼珪酸ガラス、低融点ガラス、シリコーン樹脂、エポキシ樹脂等が挙げられる。
波長変換部材140の形状は、円盤形状、半球形状、ボール形状、レンズ形状、円錐形状、円錐台形状、角錐形状、角錐台形状、角柱形状など任意の形状とすることができる。波長変換部材140の形状は、第2の凹部117の一部または全部を覆うように、第1の凹部114の底面に固定することができる形状であれば特に限定されない。
図11は、本実施の形態に係る波長変換部材の変形例を示した平面図である。また、図12は、図11のXII−XII’線における模式的な断面図である。波長変換部材140は、その形状を第2の凹部117よりも大きい楕円盤形状として、第2の凹部117の全部を覆うように配置してもよい。このようにすることで、波長変換部材140を介して出射される光のみを外部へ取り出すことができる。
また、第1の凹部114の内壁116は、リフレクタとしての機能を有する。従って、第1の凹部114の内壁116は、その上面が波長変換部材140よりも上に位置する程度の高さであることが好ましい。
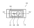
<実施の形態3>
図13は、本発明の実施の形態3に係る発光装置を模式的に示す平面図である。また、図14は、図13のXIV−XIV’線における模式的な断面図である。
本発明の実施の形態に係る発光装置は、前述した実施の形態2の発光装置と比べて、主に基台の構成が異なる。
本実施の形態において、基台110は平面が略長方形の直方体であり、基台110の中央には、底面112が略長方形からなる凹部111が設けられている。
基台110の凹部111は、底面112の形状及び上端側の開口形状が略長方形からなる角錐台形状をなしており、その内壁113は、底面112から離れるほど広口となるように傾斜している。従って、凹部111の内壁113方向に進行する光を、開口方向へ効率よく反射させることができる。
半導体レーザ素子120及び拡散部材130は、略長方形の基台110の凹部111の底面112において、互いに離間して長手方向に並列するように配置される。また、半導体レーザ素子120の光軸は、凹部111の底面112の長手方向と略平行である。
本実施の形態において、拡散部材130は、上面及び下面を有する円柱形状または角柱形状である。この拡散部材130の上面に、波長変換部材140が固定される。
波長変換部材140は、拡散部材130の上面と接する面を有する形状であれば特に限定するものではない。具体的には、柱体、錐体、錐台、半円球、平凸形状等が一例として挙げられるが、円柱形状にすれば発光装置の色度ばらつきを低減することができるので好ましい。
また、波長変換部材140と拡散部材130は、略同一の平面形状であることが好ましい。
さらに、本実施の形態の発光装置は、基台110の凹部111を覆うように光透過体160が設けられている。これにより、光透過体160及び基台110の凹部111によって構成される空間が形成され、この空間内に半導体レーザ素子120、拡散部材130及び波長変換部材140が配置されることになる。したがって、これらの部材を外部から保護することができる。
また、本実施の形態の発光装置において、波長変換部材140は、図15に示すように、拡散部材130の側面のうち、半導体レーザ素子120と対向する領域以外の側面に延在するように設けてもよい。これにより、拡散部材130の側面から出射する光が波長変換部材140に入射する。
<実施の形態3の変形例>
図16は、本発明の実施の形態3の変形例に係る発光装置を模式的に示す断面図である。
この変形例の発光装置は、主に、台座170と、半導体レーザ素子120と、拡散部材130と、波長変換部材140と、キャップ180と、を備える。
円盤形状の台座170の上には、半導体レーザ素子120及び拡散部材130が固定される。また、半導体レーザ素子120及び拡散部材130を覆うように、キャップ180が、台座170の上面の縁周近傍に抵抗溶接等により溶接されている。キャップの内部において、半導体レーザ素子120は、光軸がキャップの内面に向くように配置され、拡散部材130は、半導体レーザ素子120の光軸上に配置される。キャップ180は一部に開口部を有している。波長変換部材140は、キャップ180の開口方向に配置される。これにより、拡散部材130からの光とキャップ180の内面からの反射光とが波長変換部材140に照射される。
台座170の材質は、銅、鉄、コバルト、ニッケル、金、アルミニウム、真鍮、タングステン、モリブデン、コバール、ステンレス、CuMo、CuW等の金属もしくは合金、または、Al、SiC、AlN、ダイヤモンド等が挙げられる。キャップ180の材質は、ニッケル、コバルト、鉄、真鍮、ステンレス、ニッケルと鉄との合金、鉄−ニッケル−コバルト合金(コバール)等が挙げられる。台座170及びキャップ180は、例えば抵抗溶接によって接合されることより、抵抗溶接の溶接性を良好にする材料が好ましい。
実施の形態3の変形例において、キャップ180は、例えば、円筒形状のキャップ側部182と、キャップ側部182の上端を覆う環状のキャップ上部181とから構成される。半導体レーザ素子120の光軸は、キャップ側部182の内面に向けられている。また、キャップ上部181の中央部に、キャップ上部181の厚さ方向において、キャップ180の内外と貫通する開口部185が形成されている。また、キャップ上部181の開口部185を塞ぐように光透過体160が配置される。光透過体160は、シリコーン樹脂、セラミック、低融点ガラス、半田等の接着部材により固着されており、これにより、キャップ180内部が封止された状態となる。
以下に、波長変換部材をキャップ180の開口方向に配置する形態の例について説明する。
図16に示す発光装置は、波長変換部材140を拡散部材130の上に固着している。この場合、波長変換部材140は、拡散部材130の上面と接する面を有する形状であれば特に限定するものではない。具体的には、柱体、錐体、錐台、半円球、平凸形状等が一例として挙げられるが、円柱形状にすれば発光装置の色度ばらつきを低減することができるので好ましい。また、波長変換部材140と拡散部材130は、略同一の平面形状であることが好ましい。
また、図17に示す発光装置は、光透過体160の代わりに、波長変換部材140をキャップの開口部185を塞ぐように配置している。これにより、台座170、キャップ180及びキャップ180の開口部185を塞ぐように配置された波長変換部材140によって構成される空間が形成され、この空間内を進む光のうち、開口部185に配置された波長変換部材140を通過する光のみ外部に取り出すことができる。
<実施の形態4>
図18は、本発明の実施の形態4に係る発光装置を示す模式的に示す断面図である。
本発明の実施の形態に係る発光装置は、前述した実施の形態1及び2の発光装置と比べて、拡散部材の構成が異なる。
本実施の形態において、拡散部材130は、金属により形成され、半導体レーザ素子120との対向面である受光側に、半導体レーザ素子120の光軸に対して傾斜あるいは湾曲した傾斜面132を有している。傾斜面132の形状は、光学特性を考慮して適宜選択することができる。
このような拡散部材130を用いることにより、半導体レーザ素子120からの光が波長変換部材140に直接入射されるのではなく、一旦拡散部材130の傾斜面132により反射されてから波長変換部材140へ入射するので、波長変換部材140への光の集中を軽減することができ、波長変換部材140の劣化を軽減することができる。
本実施の形態における拡散部材130は、半導体レーザ素子120から出射される光、および波長変換部材140から発する光を反射する部材(たとえば、350nm〜800nmの範囲に波長が有る光を反射する部材)により形成されることが好ましい。具体的な材料としては、Ag、Au、Al、Ni、In、Pd等の金属、In−Ag、Au−Ag等の合金等を挙げることができる。また、アルミナ(Al)、ジルコニア(ZrO)等のセラミック、硫酸バリウム(BaSO)等を用いてもよい。本実施の形態における拡散部材130は、少なくとも傾斜面132がこのような材料により構成されていればよい。
また、拡散部材130の傾斜面132には、凹凸を有する面とすることができる。傾斜面132に設ける凹凸としては、少なくとも半導体レーザ素子120からの光を反射することができる程度の高低差が規則的又は不規則的に形成されているものが挙げられる。このような凹凸を設けることで、半導体レーザ素子120から出射された光の密度をより低減させることができ、高いコヒーレンス性を有した状態で反射されてしまうことを防止することができる。また、傾斜面132にこのような凹凸を設けることにより、発光装置の色度ばらつきを抑制することができる。このような凹凸面は、拡散部材130の傾斜面132だけに限らず、基台110の凹部111の内壁113にも施すことができる。
<実施の形態5>
図19は、本発明の実施の形態5に係る発光装置を示す概略断面図である。
本発明の実施の形態に係る発光装置は、前述した実施の形態4の発光装置と比べて、拡散部材130及び基台110を、同一部材を用いて一体部品として形成している点が異なる。
すなわち、本実施の形態に係る発光装置は、基台110の凹部111の内壁113に、半導体レーザ素子120の光軸に対して傾斜あるいは湾曲した傾斜面132が形成されている。この傾斜面132は、半導体レーザ素子120からの光を反射又は拡散することが可能である。
本実施の形態の発光装置においては、実施の形態4の発光装置と同等の効果を得ることができるとともに、製品の部品点数を削減することができる。また、本実施の形態においても、傾斜面132に凹凸を設けてもよい。
また、凹部111の内壁113に形成された傾斜面132に、別部材として光拡散物質等を設けてもよい。これにより、半導体レーザ素子120からの光を、コヒーレンス性のより低い状態として反射することができる。
本発明の発光装置は、照明器具、車両搭載用照明、ディスプレイ、インジケータ等に利用することができる。
本発明の実施の形態1に係る発光装置を模式的に示す平面図である。 図1のII−II’線における模式的な断面図である。 反射部材190の配置例を模式的に示す平面図である。 反射部材190の配置例を模式的に示す断面図である。 本発明の発光装置におけるリフレクタの貫通孔の一例を示す概略断面図である。 本発明の発光装置におけるリフレクタの貫通孔の一例を示す概略断面図である。 本発明の実施の形態1の変形例に係る発光装置の一例を模式的に示す平面図である。 図7のVIII−VIII’線における模式的な断面図である。 本発明の実施の形態2に係る発光装置を模式的に示す平面図である。 図9のX−X’線における模式的な断面図である。 本発明の発光装置における波長変換部材の変形例を示した平面図である。 図11のXII−XII’線における模式的な断面図である。 本発明の実施の形態3に係る発光装置を模式的に示す平面図である。 図13のXIV−XIV’線における模式的な断面図である。 本発明の発光装置における波長変換部材の変形例を示した平面図である。 本発明の実施の形態3の変形例に係る発光装置を模式的に示す断面図である。 本発明の実施の形態3の変形例における波長変換部材の配置例を模式的に示す断面図である。 本発明の実施の形態4に係る発光装置を示す模式的に示す断面図である。 本発明の実施の形態5に係る発光装置を示す概略断面図である。 従来の発光装置を示す概略断面図である。
符号の説明
100 発光装置
110 基台
111 凹部
112 底面
113 内壁
114 第1の凹部
117 第2の凹部
120 半導体レーザ素子
130 拡散部材
132 傾斜面
140 波長変換部材
150 リフレクタ
155 貫通孔
156 入光部
157 出光部
160 光透過体
170 台座
180 キャップ
190 反射部材
200 発光デバイス
210 サブマウントヒートシンク
220 半導体レーザ素子
240 蛍光体組成物
260 透明キャップ
270 基部
280 ケーシング壁部
298 ドームレンズ

Claims (10)

  1. 底面と内壁を持つ凹部を有する基台と、
    前記凹部内に設けられる半導体レーザ素子と、
    前記凹部内に設けられ、前記半導体レーザ素子の光を拡散する拡散部材と、
    前記半導体レーザ素子の光を吸収して異なる波長の光に変換する波長変換部材と、
    を具備し、
    前記半導体レーザ素子は、光軸が前記凹部の内壁に向くように配置され、
    前記拡散部材は、前記半導体レーザ素子の光軸上に配置され、
    前記波長変換部材は、前記凹部の開口方向に配置されることを特徴とする発光装置。
  2. 前記波長変換部材には、前記拡散部材からの光及び/又は前記内壁からの反射光が照射されることを特徴とする請求項1に記載の発光装置。
  3. 前記波長変換部材は、前記凹部を覆うように前記凹部の外周面に固定されていることを特徴とする請求項1又は2に記載の発光装置。
  4. 前記凹部を覆うように固定され、前記凹部の開口方向に貫通孔を有するリフレクタを有し、
    前記貫通孔を塞ぐように前記波長変換部材が配置されることを特徴とする請求項1又は2に記載の発光装置。
  5. 前記波長変換部材は、前記拡散部材の一部に接していることを特徴とする請求項1又は2に記載の発光装置。
  6. 前記凹部の開口方向に、第2の拡散部材を備えることを特徴とする請求項1乃至5のいずれか1項に記載の発光装置。
  7. 台座と、
    前記台座の上に固定される半導体レーザ素子と、
    前記台座の上に固定され、前記半導体レーザ素子の光を拡散する拡散部材と、
    前記半導体レーザ素子及び前記拡散部材を覆うように前記台座に固定され、一部に開口部を有するキャップと、
    前記半導体レーザ素子の光を吸収して異なる波長の光に変換する波長変換部材と、
    を具備し、
    前記半導体レーザ素子は、光軸が前記キャップの内面に向くように配置され、
    前記拡散部材は、前記半導体レーザ素子の光軸上に配置され、
    前記波長変換部材は、前記キャップの開口方向に配置され、前記拡散部材からの光と前記キャップの内面からの反射光とが前記波長変換部材に照射されることを特徴とする発光装置。
  8. 前記拡散部材は、ガラス又は樹脂にフィラーが含有されていることを特徴とする請求項1乃至7のいずれか1項に記載の発光装置。
  9. 前記拡散部材は、前記半導体レーザ素子からの光を反射する材料により形成されており、前記半導体レーザ素子の光軸に対して傾斜あるいは湾曲した傾斜面を有することを特徴とする請求項1乃至7のいずれか1項に記載の発光装置。
  10. 前記傾斜面は、凹凸を有していることを特徴とする請求項9に記載の発光装置。
JP2008008396A 2008-01-17 2008-01-17 発光装置 Active JP5076916B2 (ja)

Priority Applications (1)

Application Number Priority Date Filing Date Title
JP2008008396A JP5076916B2 (ja) 2008-01-17 2008-01-17 発光装置

Applications Claiming Priority (1)

Application Number Priority Date Filing Date Title
JP2008008396A JP5076916B2 (ja) 2008-01-17 2008-01-17 発光装置

Publications (2)

Publication Number Publication Date
JP2009170723A true JP2009170723A (ja) 2009-07-30
JP5076916B2 JP5076916B2 (ja) 2012-11-21

Family

ID=40971566

Family Applications (1)

Application Number Title Priority Date Filing Date
JP2008008396A Active JP5076916B2 (ja) 2008-01-17 2008-01-17 発光装置

Country Status (1)

Country Link
JP (1) JP5076916B2 (ja)

Cited By (17)

* Cited by examiner, † Cited by third party
Publication number Priority date Publication date Assignee Title
JP2012064597A (ja) * 2009-12-28 2012-03-29 Sharp Corp 照明装置
JP2012098442A (ja) * 2010-11-01 2012-05-24 Seiko Epson Corp 波長変換素子、光源装置、及びプロジェクター
JP2012098438A (ja) * 2010-11-01 2012-05-24 Seiko Epson Corp 波長変換素子、光源装置及びプロジェクター
EP2472294A1 (en) 2010-12-21 2012-07-04 Shinko Electric Industries Co., Ltd. Frame-attached anti-reflection glass and method of manufacturing the same
JP2013504890A (ja) * 2009-09-16 2013-02-07 コーニンクレッカ フィリップス エレクトロニクス エヌ ヴィ 所定の角度色点分布を有する光エミッタ
EP2713410A1 (en) * 2012-09-27 2014-04-02 Stanley Electric Co., Ltd. Light emitting device
US20140254128A1 (en) * 2013-03-06 2014-09-11 Toshiba Lighting & Technology Corporation Solid State Lighting Device
US9086511B2 (en) 2013-07-19 2015-07-21 Samsung Display Co., Ltd. Light source assembly, backlight assembly having the same and display apparatus having the same
US9366414B2 (en) 2009-12-28 2016-06-14 Sharp Kabushiki Kaisha Illumination device for exciting a fluorescent substance
US9651853B2 (en) 2014-01-20 2017-05-16 Seiko Epson Corporation Light source device and projector
JP2017085036A (ja) * 2015-10-30 2017-05-18 日亜化学工業株式会社 発光装置
JP2017201688A (ja) * 2016-04-28 2017-11-09 日亜化学工業株式会社 発光装置
JP2018037472A (ja) * 2016-08-30 2018-03-08 日亜化学工業株式会社 発光装置
JP2019067842A (ja) * 2017-09-29 2019-04-25 日亜化学工業株式会社 光源装置
JP2019161128A (ja) * 2018-03-15 2019-09-19 豊田合成株式会社 発光装置
US10527235B2 (en) 2016-09-26 2020-01-07 Nichia Corporation Light emitting device
JP2024544844A (ja) * 2022-01-12 2024-12-05 深▲せん▼市繹立鋭光科技開発有限公司 レーザ光源装置及び照明システム

Citations (10)

* Cited by examiner, † Cited by third party
Publication number Priority date Publication date Assignee Title
JPH08202247A (ja) * 1995-01-24 1996-08-09 Sony Corp 半導体レーザ装置および半導体レーザ装置に用いるホログラム板の製造方法
JP2000124504A (ja) * 1998-10-13 2000-04-28 Eeshikku Kk フルカラーledランプ
JP2000188002A (ja) * 1998-12-24 2000-07-04 Toyoda Gosei Co Ltd スポットライト及びその集合体
JP2005020010A (ja) * 2003-06-27 2005-01-20 Agilent Technol Inc 白色発光デバイス
JP2006032885A (ja) * 2003-11-18 2006-02-02 Sharp Corp 光源装置およびそれを用いた光通信装置
JP2006210887A (ja) * 2004-12-28 2006-08-10 Sharp Corp 発光デバイスならびにそれを用いた照明機器および表示機器
JP2007005483A (ja) * 2005-06-22 2007-01-11 Toshiba Corp 半導体発光装置
JP2007180415A (ja) * 2005-12-28 2007-07-12 Sharp Corp 発光装置
WO2007105647A1 (ja) * 2006-03-10 2007-09-20 Nichia Corporation 発光装置
JP2007335798A (ja) * 2006-06-19 2007-12-27 Toyoda Gosei Co Ltd 発光装置

Patent Citations (10)

* Cited by examiner, † Cited by third party
Publication number Priority date Publication date Assignee Title
JPH08202247A (ja) * 1995-01-24 1996-08-09 Sony Corp 半導体レーザ装置および半導体レーザ装置に用いるホログラム板の製造方法
JP2000124504A (ja) * 1998-10-13 2000-04-28 Eeshikku Kk フルカラーledランプ
JP2000188002A (ja) * 1998-12-24 2000-07-04 Toyoda Gosei Co Ltd スポットライト及びその集合体
JP2005020010A (ja) * 2003-06-27 2005-01-20 Agilent Technol Inc 白色発光デバイス
JP2006032885A (ja) * 2003-11-18 2006-02-02 Sharp Corp 光源装置およびそれを用いた光通信装置
JP2006210887A (ja) * 2004-12-28 2006-08-10 Sharp Corp 発光デバイスならびにそれを用いた照明機器および表示機器
JP2007005483A (ja) * 2005-06-22 2007-01-11 Toshiba Corp 半導体発光装置
JP2007180415A (ja) * 2005-12-28 2007-07-12 Sharp Corp 発光装置
WO2007105647A1 (ja) * 2006-03-10 2007-09-20 Nichia Corporation 発光装置
JP2007335798A (ja) * 2006-06-19 2007-12-27 Toyoda Gosei Co Ltd 発光装置

Cited By (26)

* Cited by examiner, † Cited by third party
Publication number Priority date Publication date Assignee Title
JP2013504890A (ja) * 2009-09-16 2013-02-07 コーニンクレッカ フィリップス エレクトロニクス エヌ ヴィ 所定の角度色点分布を有する光エミッタ
JP2012064597A (ja) * 2009-12-28 2012-03-29 Sharp Corp 照明装置
JP2015008155A (ja) * 2009-12-28 2015-01-15 シャープ株式会社 照明装置
US9366414B2 (en) 2009-12-28 2016-06-14 Sharp Kabushiki Kaisha Illumination device for exciting a fluorescent substance
JP2012098442A (ja) * 2010-11-01 2012-05-24 Seiko Epson Corp 波長変換素子、光源装置、及びプロジェクター
JP2012098438A (ja) * 2010-11-01 2012-05-24 Seiko Epson Corp 波長変換素子、光源装置及びプロジェクター
EP2472294A1 (en) 2010-12-21 2012-07-04 Shinko Electric Industries Co., Ltd. Frame-attached anti-reflection glass and method of manufacturing the same
US8622556B2 (en) 2010-12-21 2014-01-07 Shinko Electric Industries Co., Ltd. Frame-attached anti-reflection glass and method of manufacturing the same
EP2713410A1 (en) * 2012-09-27 2014-04-02 Stanley Electric Co., Ltd. Light emitting device
JP2014067961A (ja) * 2012-09-27 2014-04-17 Stanley Electric Co Ltd 発光装置
US20140254128A1 (en) * 2013-03-06 2014-09-11 Toshiba Lighting & Technology Corporation Solid State Lighting Device
US9086511B2 (en) 2013-07-19 2015-07-21 Samsung Display Co., Ltd. Light source assembly, backlight assembly having the same and display apparatus having the same
US9651853B2 (en) 2014-01-20 2017-05-16 Seiko Epson Corporation Light source device and projector
US9835297B2 (en) 2015-10-30 2017-12-05 Nichia Corporation Light emitting device having a wavelength converter fixed to the mounting surface
JP2017085036A (ja) * 2015-10-30 2017-05-18 日亜化学工業株式会社 発光装置
JP2017201688A (ja) * 2016-04-28 2017-11-09 日亜化学工業株式会社 発光装置
US10263387B2 (en) 2016-04-28 2019-04-16 Nichia Corporation Light emitting device
JP2018037472A (ja) * 2016-08-30 2018-03-08 日亜化学工業株式会社 発光装置
US10527235B2 (en) 2016-09-26 2020-01-07 Nichia Corporation Light emitting device
JP2019067842A (ja) * 2017-09-29 2019-04-25 日亜化学工業株式会社 光源装置
JP7071616B2 (ja) 2017-09-29 2022-05-19 日亜化学工業株式会社 光源装置
JP2019161128A (ja) * 2018-03-15 2019-09-19 豊田合成株式会社 発光装置
US10690319B2 (en) 2018-03-15 2020-06-23 Toyoda Gosei Co., Ltd. Light emitting device
JP7043002B2 (ja) 2018-03-15 2022-03-29 豊田合成株式会社 発光装置
CN110277729A (zh) * 2018-03-15 2019-09-24 丰田合成株式会社 发光装置
JP2024544844A (ja) * 2022-01-12 2024-12-05 深▲せん▼市繹立鋭光科技開発有限公司 レーザ光源装置及び照明システム

Also Published As

Publication number Publication date
JP5076916B2 (ja) 2012-11-21

Similar Documents

Publication Publication Date Title
JP5076916B2 (ja) 発光装置
JP5228412B2 (ja) 半導体発光装置
JP5083205B2 (ja) 発光装置
JP4761848B2 (ja) 半導体発光装置
US8106414B2 (en) Semiconductor light emitting device
US8356913B2 (en) Light-emitting apparatus
JP5515992B2 (ja) 発光装置
JP5233172B2 (ja) 半導体発光装置
JP5223447B2 (ja) 半導体発光装置
JP5228434B2 (ja) 発光装置
JP5435854B2 (ja) 半導体発光装置
JP2009289976A (ja) 発光装置
JP2011014587A (ja) 発光装置
JP2011138815A (ja) 発光装置
JP2019024071A (ja) 発光装置、集積型発光装置および発光モジュール
JP4930162B2 (ja) 半導体発光装置
JP2009260053A (ja) 発光装置
JP5786278B2 (ja) 発光装置
JP5748007B2 (ja) 発光装置
JP5678462B2 (ja) 発光装置
JP2008282984A (ja) 半導体発光装置
JP6024685B2 (ja) 発光装置

Legal Events

Date Code Title Description
A621 Written request for application examination

Free format text: JAPANESE INTERMEDIATE CODE: A621

Effective date: 20101217

A977 Report on retrieval

Free format text: JAPANESE INTERMEDIATE CODE: A971007

Effective date: 20120608

A131 Notification of reasons for refusal

Free format text: JAPANESE INTERMEDIATE CODE: A131

Effective date: 20120612

A521 Request for written amendment filed

Free format text: JAPANESE INTERMEDIATE CODE: A523

Effective date: 20120703

TRDD Decision of grant or rejection written
A01 Written decision to grant a patent or to grant a registration (utility model)

Free format text: JAPANESE INTERMEDIATE CODE: A01

Effective date: 20120731

A01 Written decision to grant a patent or to grant a registration (utility model)

Free format text: JAPANESE INTERMEDIATE CODE: A01

A61 First payment of annual fees (during grant procedure)

Free format text: JAPANESE INTERMEDIATE CODE: A61

Effective date: 20120813

FPAY Renewal fee payment (event date is renewal date of database)

Free format text: PAYMENT UNTIL: 20150907

Year of fee payment: 3

R150 Certificate of patent or registration of utility model

Ref document number: 5076916

Country of ref document: JP

Free format text: JAPANESE INTERMEDIATE CODE: R150

Free format text: JAPANESE INTERMEDIATE CODE: R150

FPAY Renewal fee payment (event date is renewal date of database)

Free format text: PAYMENT UNTIL: 20150907

Year of fee payment: 3

R250 Receipt of annual fees

Free format text: JAPANESE INTERMEDIATE CODE: R250

R250 Receipt of annual fees

Free format text: JAPANESE INTERMEDIATE CODE: R250

R250 Receipt of annual fees

Free format text: JAPANESE INTERMEDIATE CODE: R250

R250 Receipt of annual fees

Free format text: JAPANESE INTERMEDIATE CODE: R250

R250 Receipt of annual fees

Free format text: JAPANESE INTERMEDIATE CODE: R250

R250 Receipt of annual fees

Free format text: JAPANESE INTERMEDIATE CODE: R250

R250 Receipt of annual fees

Free format text: JAPANESE INTERMEDIATE CODE: R250

R250 Receipt of annual fees

Free format text: JAPANESE INTERMEDIATE CODE: R250

R250 Receipt of annual fees

Free format text: JAPANESE INTERMEDIATE CODE: R250

R250 Receipt of annual fees

Free format text: JAPANESE INTERMEDIATE CODE: R250