JP2008045016A - 二軸延伸ナイロンフィルム、ラミネート包材及び二軸延伸ナイロンフィルムの製造方法 - Google Patents
二軸延伸ナイロンフィルム、ラミネート包材及び二軸延伸ナイロンフィルムの製造方法 Download PDFInfo
- Publication number
- JP2008045016A JP2008045016A JP2006221053A JP2006221053A JP2008045016A JP 2008045016 A JP2008045016 A JP 2008045016A JP 2006221053 A JP2006221053 A JP 2006221053A JP 2006221053 A JP2006221053 A JP 2006221053A JP 2008045016 A JP2008045016 A JP 2008045016A
- Authority
- JP
- Japan
- Prior art keywords
- film
- biaxially stretched
- stretched nylon
- stress
- tensile
- Prior art date
- Legal status (The legal status is an assumption and is not a legal conclusion. Google has not performed a legal analysis and makes no representation as to the accuracy of the status listed.)
- Granted
Links
- 229920006284 nylon film Polymers 0.000 title claims abstract description 33
- 239000005022 packaging material Substances 0.000 title claims abstract description 32
- 238000004519 manufacturing process Methods 0.000 title claims abstract description 15
- 238000009864 tensile test Methods 0.000 claims abstract description 20
- 239000002994 raw material Substances 0.000 claims abstract description 10
- 238000010438 heat treatment Methods 0.000 claims description 11
- 229920002292 Nylon 6 Polymers 0.000 claims description 4
- 239000000463 material Substances 0.000 abstract description 12
- 238000000034 method Methods 0.000 abstract description 12
- 239000000758 substrate Substances 0.000 abstract description 2
- 239000010410 layer Substances 0.000 description 35
- 230000000052 comparative effect Effects 0.000 description 19
- XAGFODPZIPBFFR-UHFFFAOYSA-N aluminium Chemical compound [Al] XAGFODPZIPBFFR-UHFFFAOYSA-N 0.000 description 16
- 229910052782 aluminium Inorganic materials 0.000 description 16
- 239000011347 resin Substances 0.000 description 16
- 229920005989 resin Polymers 0.000 description 16
- 238000000465 moulding Methods 0.000 description 11
- 239000004677 Nylon Substances 0.000 description 10
- 229920001778 nylon Polymers 0.000 description 10
- 239000000047 product Substances 0.000 description 9
- XLYOFNOQVPJJNP-UHFFFAOYSA-N water Substances O XLYOFNOQVPJJNP-UHFFFAOYSA-N 0.000 description 9
- 238000011156 evaluation Methods 0.000 description 4
- 238000012545 processing Methods 0.000 description 4
- 239000002344 surface layer Substances 0.000 description 4
- QVGXLLKOCUKJST-UHFFFAOYSA-N atomic oxygen Chemical group [O] QVGXLLKOCUKJST-UHFFFAOYSA-N 0.000 description 3
- 239000002131 composite material Substances 0.000 description 3
- 230000000694 effects Effects 0.000 description 3
- 239000011888 foil Substances 0.000 description 3
- 238000010030 laminating Methods 0.000 description 3
- 239000002346 layers by function Substances 0.000 description 3
- 239000001301 oxygen Substances 0.000 description 3
- 229910052760 oxygen Inorganic materials 0.000 description 3
- 239000000126 substance Substances 0.000 description 3
- 239000000654 additive Substances 0.000 description 2
- 230000004888 barrier function Effects 0.000 description 2
- 238000010622 cold drawing Methods 0.000 description 2
- 230000007547 defect Effects 0.000 description 2
- 238000009820 dry lamination Methods 0.000 description 2
- 239000007789 gas Substances 0.000 description 2
- 238000004898 kneading Methods 0.000 description 2
- 239000000155 melt Substances 0.000 description 2
- 238000004806 packaging method and process Methods 0.000 description 2
- 239000008188 pellet Substances 0.000 description 2
- 239000012466 permeate Substances 0.000 description 2
- 238000003825 pressing Methods 0.000 description 2
- 239000000565 sealant Substances 0.000 description 2
- 238000012360 testing method Methods 0.000 description 2
- RTTZISZSHSCFRH-UHFFFAOYSA-N 1,3-bis(isocyanatomethyl)benzene Chemical compound O=C=NCC1=CC=CC(CN=C=O)=C1 RTTZISZSHSCFRH-UHFFFAOYSA-N 0.000 description 1
- FPVVYTCTZKCSOJ-UHFFFAOYSA-N Ethylene glycol distearate Chemical class CCCCCCCCCCCCCCCCCC(=O)OCCOC(=O)CCCCCCCCCCCCCCCCC FPVVYTCTZKCSOJ-UHFFFAOYSA-N 0.000 description 1
- 229910000640 Fe alloy Inorganic materials 0.000 description 1
- 239000004743 Polypropylene Substances 0.000 description 1
- 239000004793 Polystyrene Substances 0.000 description 1
- 239000006087 Silane Coupling Agent Substances 0.000 description 1
- RTAQQCXQSZGOHL-UHFFFAOYSA-N Titanium Chemical compound [Ti] RTAQQCXQSZGOHL-UHFFFAOYSA-N 0.000 description 1
- 238000005299 abrasion Methods 0.000 description 1
- 239000000853 adhesive Substances 0.000 description 1
- 230000001070 adhesive effect Effects 0.000 description 1
- CYUOWZRAOZFACA-UHFFFAOYSA-N aluminum iron Chemical compound [Al].[Fe] CYUOWZRAOZFACA-UHFFFAOYSA-N 0.000 description 1
- 239000012298 atmosphere Substances 0.000 description 1
- 238000005452 bending Methods 0.000 description 1
- 239000002981 blocking agent Substances 0.000 description 1
- CJZGTCYPCWQAJB-UHFFFAOYSA-L calcium stearate Chemical compound [Ca+2].CCCCCCCCCCCCCCCCCC([O-])=O.CCCCCCCCCCCCCCCCCC([O-])=O CJZGTCYPCWQAJB-UHFFFAOYSA-L 0.000 description 1
- 239000008116 calcium stearate Substances 0.000 description 1
- 235000013539 calcium stearate Nutrition 0.000 description 1
- 238000003851 corona treatment Methods 0.000 description 1
- 239000007822 coupling agent Substances 0.000 description 1
- 230000009477 glass transition Effects 0.000 description 1
- 230000006872 improvement Effects 0.000 description 1
- 239000011256 inorganic filler Substances 0.000 description 1
- 229910003475 inorganic filler Inorganic materials 0.000 description 1
- 239000002648 laminated material Substances 0.000 description 1
- 238000012886 linear function Methods 0.000 description 1
- 229920001684 low density polyethylene Polymers 0.000 description 1
- 239000004702 low-density polyethylene Substances 0.000 description 1
- 239000000314 lubricant Substances 0.000 description 1
- 230000014759 maintenance of location Effects 0.000 description 1
- 238000005259 measurement Methods 0.000 description 1
- 239000000203 mixture Substances 0.000 description 1
- 238000012986 modification Methods 0.000 description 1
- 230000004048 modification Effects 0.000 description 1
- 230000000704 physical effect Effects 0.000 description 1
- 239000004033 plastic Substances 0.000 description 1
- 229920003023 plastic Polymers 0.000 description 1
- 229920013716 polyethylene resin Polymers 0.000 description 1
- -1 polypropylene Polymers 0.000 description 1
- 229920001155 polypropylene Polymers 0.000 description 1
- 229920002223 polystyrene Polymers 0.000 description 1
- 238000007639 printing Methods 0.000 description 1
- 238000004080 punching Methods 0.000 description 1
- 230000003014 reinforcing effect Effects 0.000 description 1
- 239000005871 repellent Substances 0.000 description 1
- 230000002940 repellent Effects 0.000 description 1
- 238000007493 shaping process Methods 0.000 description 1
- 238000010008 shearing Methods 0.000 description 1
- 239000007779 soft material Substances 0.000 description 1
- 239000010936 titanium Substances 0.000 description 1
- 229910052719 titanium Inorganic materials 0.000 description 1
Images
Landscapes
- Manufacture Of Macromolecular Shaped Articles (AREA)
- Shaping By String And By Release Of Stress In Plastics And The Like (AREA)
Abstract
【解決手段】Ny6を原料として含む二軸延伸ナイロンフィルムであって、当該フィルムの結晶化度が20〜38%であり、当該フィルムの引張試験(試料幅15mm、標点間距離50mm、引張速度100mm/min)における4方向(MD方向、TD方向、45°方向、135°方向)の破断までの伸び率が70%以上であり、かつ、当該フィルムの前記引張試験における応力−ひずみ曲線において、伸び率が50%となった際の引張応力σ1と、降伏点における引張応力σ2との比である応力比A(σ1/σ2)が、前記4方向についていずれも2以上であることを特徴とする。
【選択図】図1
Description
具体的に、特許文献1には、ポリスチレン系樹脂を含有する基材層と、この基材層の両面又は一方の片面に1又は2層以上積層されている機能層とを有する冷間成形用樹脂シートが示されている。そして、上記機能層として、ナイロン樹脂を含有する耐磨耗層を、冷間成形用樹脂シートの表層に設ける構成が示されている。
このような冷間成形用樹脂シートによれば、耐衝撃性に優れかつ保形性を有する冷間成形加工品を得ることが可能となる。そして、ナイロン樹脂を含有する耐磨耗層を表層に設けることで、冷間成形時にシートの表層が損傷することを防止可能としている。
なお、特許文献1にも記載されているように、冷間成形は、熱間成形に比して、加熱装置を不要とし装置の小型化が図れると共に、高速連続成形が可能である点で優れている。
このような深絞り成形用複合シートによれば、中間層にナイロン樹脂層を設けることで、複合シートに機械的強度を付与できる。これにより、150℃程度での深絞り成形時にピンホールが発生することを防止可能としている。
(1) ナイロン6(以後、Ny6ともいう)を原料として含む二軸延伸ナイロンフィルムであって、当該フィルムの結晶化度が20〜38%であり、当該フィルムの引張試験(試料幅15mm、標点間距離50mm、引張速度100mm/min)における4方向(MD方向、TD方向、45°方向、135°方向)の破断までの伸び率が70%以上であり、かつ、当該フィルムの前記引張試験における応力−ひずみ曲線において、伸び率が50%となった際の引張応力σ1と、降伏点における引張応力σ2との比である応力比A(σ1/σ2)が、前記4方向についていずれも2以上であることを特徴とする二軸延伸ナイロンフィルム。
(2) 上記(1)に記載の二軸延伸ナイロンフィルムにおいて、前記4方向におけるそれぞれの前記応力比Aのうち、最大となる応力比Amaxと最小となる応力比Aminとの比(Amax/Amin)が、2以下であることを特徴とする二軸延伸ナイロンフィルム。
(3) 上記(1)または(2)に記載の二軸延伸ナイロンフィルムにおいて、当該フィルムの前記引張試験における前記4方向の引張破断強度が、いずれも180MPa以上であることを特徴とする二軸延伸ナイロンフィルム。
(4) 上記(1)ないし(3)のいずれかに記載の二軸延伸ナイロンフィルムを含むことを特徴とするラミネート包材。
(5) Ny6を原料として含む二軸延伸ナイロンフィルムの製造方法であって、前記原料で構成された未延伸原反フィルムに対して、MD方向(フィルムの移動方向)およびTD方向(フィルムの幅方向)のそれぞれの延伸倍率が2.8倍以上となる条件で二軸延伸した後、160〜200℃で熱処理を行い、当該フィルムの結晶化度が20〜38%であり、当該フィルムの引張試験(試料幅15mm、標点間距離50mm、引張速度100mm/min)における4方向(MD方向、TD方向、45°方向、135°方向)の破断までの伸び率が70%以上であり、かつ、当該フィルムの前記引張試験における応力−ひずみ曲線において、伸び率が50%となった際の引張応力σ1と、降伏点における引張応力σ2との比である応力比A(σ1/σ2)が、前記4方向についていずれも2以上である二軸延伸ナイロンフィルムを形成することを特徴とする二軸延伸ナイロンフィルムの製造方法。
〔二軸延伸ナイロンフィルムの構成〕
本実施形態に係る二軸延伸ナイロンフィルム(ONyフィルム)は、Ny6を原料として含む未延伸原反フィルムを二軸延伸し、所定の温度で熱処理して形成したものである。このように未延伸原反フィルムを二軸延伸することで、耐衝撃性に優れたONyフィルムが得られる。
ここで、前記Ny6の化学式を下記の化1に示す。
ここで、上記引張試験により得られる応力−ひずみ曲線としては、例えば図1に示すものが挙げられる。
図1において、縦軸はONyフィルムの引張応力σ(MPa)を示し、横軸はONyフィルムのひずみε(ε=Δl/l、l:フィルムの初期長さ、Δl:フィルムの増加長)を示す。ONyフィルムの引張試験を実施すると、ひずみεの増加に伴い、引張応力σが略一次関数的に増加し、所定のひずみε1において引張応力σの増加傾向が大きく変化する。本発明ではこの点(ε1、σ2)を降伏点として定義している。そして、ひずみεが更に増加すると、これに伴い引張応力σも増加し、所定のひずみε2に至ると、フィルムが破断する。このような応力−ひずみ曲線を、1つのONyフィルムにつき4方向(MD方向、TD方向、45°方向、135°方向)取得する。
この際、これらの4方向の伸び率のうち最大伸び率を最小伸び率で除算した値が2.0以下であればより好ましい。これにより、ONyフィルムがさらにバランス良く伸びるようになる。
また、ONyフィルムの4方向の伸び率が75%以上で、かつ、これら4方向の伸び率のうち最大伸び率を最小伸び率で除算した値が2.0以下であれば、より一層優れた成形性が得られるため望ましい。
この際、これら4方向におけるそれぞれの応力比Aのうち、最大となる応力比Amaxと最小となる応力比Aminとの比(Amax/Amin)が、2.0以下より好ましくは1.8以下であることが望ましい。これにより、冷間成形時にフィルムがバランス良く伸び、均一な厚みの成形品を製造できる。なお、Amax/Aminが2.0を超えると偏肉が悪く局所的に薄くなり、フィルムが破断する場合がある。
さらに、ONyフィルムの4方向における引張破断強度が200MPa以上であり、かつ、4方向での引張破断強度のうち最大強度を最小強度で除算した値が1.8以下であれば、よりバランスに優れた加工強度を得ることができるため好ましい。
以上のようなONyフィルムは、上述したNy6を含んだ原料からなる未延伸原反フィルムに対して、MD方向およびTD方向のそれぞれの延伸倍率が2.8倍以上となる条件で二軸延伸した後、160〜200℃で熱処理することで得られる。
二軸延伸方法としては、例えばチューブラー方式やテンター方式による同時二軸延伸あるいは逐次二軸延伸を採用できるが、縦横の強度バランスの点で、チューブラー法による同時二軸延伸により行うことが好ましい。
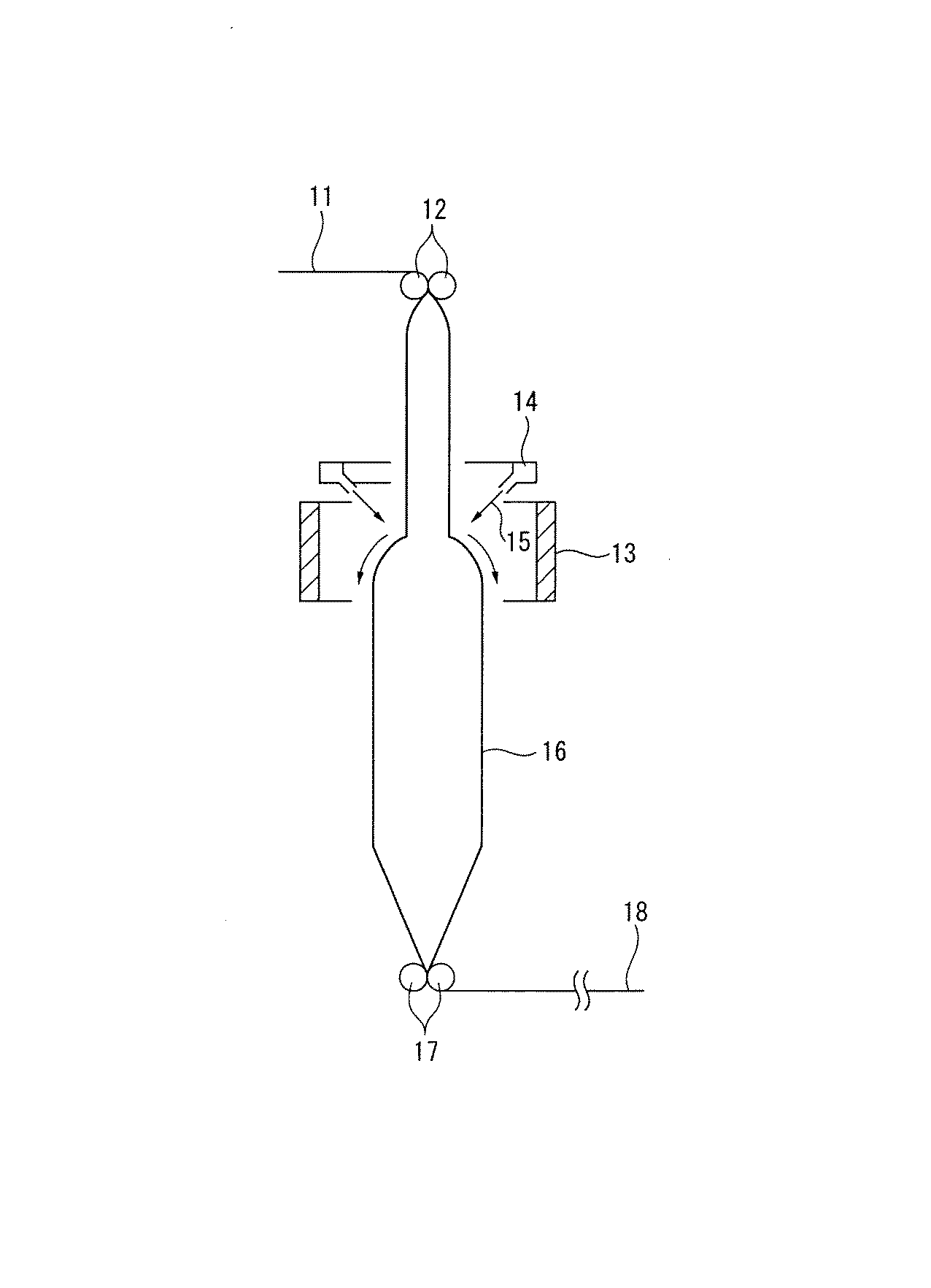
まず、Ny6ペレットを押出機中、270℃で溶融混練した後、溶融物をダイスから円筒状のフィルムとして押出し、引き続き水で急冷して原反フィルムを作製する。
次に、例えば図2に示すように、この原反フィルム11を一対のニップロール12間に挿通した後、中に気体を圧入しながらヒータ13で加熱すると共に、延伸開始点にエアーリング14よりエアー15を吹き付けてバブル16に膨張させ、下流側の一対のニップロール17で引き取ることにより、チューブラー法によるMD方向及びTD方向の同時二軸延伸を行った。この際、MD方向およびTD方向のそれぞれの延伸倍率が2.8倍以上である必要がある。延伸倍率が2.8倍未満である場合、衝撃強度が低下して実用性に問題が生ずる。
この後、この延伸フィルムをテンター式熱処理炉(図示せず)に入れ、160〜200℃で熱固定を施すことにより、本実施形態のONyフィルム18を得ることができる。
本実施形態のラミネート包材は、上記したONyフィルムの少なくともいずれか一方の面に、1層あるいは2層以上の他のラミネート基材を積層して構成されている。具体的に、他のラミネート基材としては、例えばアルミニウム層やアルミニウム層を含むフィルム等が挙げられる。
一般に、アルミニウム層を含むラミネート包材は、冷間成形の際にアルミニウム層においてネッキングによる破断が生じ易いため冷間成形に適していない。この点、本実施形態のラミネート包材によれば、上記したONyフィルムが優れた成形性、耐衝撃性および耐ピンホール性を有するため、冷間での張出し成形や深絞り成形等の際に、アルミニウム層の破断を抑制でき、包材におけるピンホールの発生を抑制できる。したがって、包材総厚が薄い場合でも、シャープな形状かつ高強度の成形品が得られる。
このようなアルミニウム層の厚さは20〜100μmであることが好ましい。これにより、成形品の形状を良好に保持することが可能となり、また、酸素や水分等が包材中を透過することを防止できる。
なお、アルミニウム層の厚さが20μm未満である場合、ラミネート包材の冷間成形時にアルミニウム層の破断が生じ易く、また、破断しない場合でもピンホール等が発生し易くなる。このため、包材中を酸素や水分等が透過してしまうおそれがある。一方、アルミニウム層の厚さが100μmを超える場合、冷間成形時の破断の改善効果もピンホール発生防止効果も特に改善されるわけではなく、単に包材総厚が厚くなるだけであるため好ましくない。
したがって、上記に開示した材質、層構成などを限定した記載は、本発明の理解を容易にするために例示的に記載したものであり、本発明を限定するものではないから、それらの材質などの限定の一部若しくは全部の限定を外した名称での記載は、本発明に含まれるものである。
また、ONyフィルムには、必要な添加剤を適宜添加することができる。このような添加剤として、例えばアンチブロッキング剤(無機フィラー等)、はっ水剤(エチレンビスステアリン酸エステル等)、滑剤(ステアリン酸カルシウム等)を挙げることができる。
さらに、上記実施形態では、ONyフィルムにアルミニウム層等を積層したラミネート包材を例示したが、これに限定されず、本発明のラミネート包材としては、さらにシーラント層や帯電防止層や印刷層、バリア層、強度補強層などの種々の機能層を積層したものも挙げられる。
(延伸フィルムの製造)
Ny6ペレットを押出機中、270℃で溶融混練した後、溶融物をダイスから円筒状のフィルムとして押出し、引き続き水で急冷して原反フィルムを作製した。Ny6として使用したものは、宇部興産(株)製ナイロン6〔UBEナイロン 1023FD(商品名)、相対粘度 ηr=3.6〕である。
次に、図2に示すように、この原反フィルム11を一対のニップロール12間に挿通した後、中に気体を圧入しながらヒータ13で加熱すると共に、延伸開始点にエアーリング14よりエアー15を吹き付けてバブル16に膨張させ、下流側の一対のニップロール17で引き取ることにより、チューブラー法によるMD方向及びTD方向の同時二軸延伸を行った。この延伸の際の倍率は、MD方向では3.0倍、TD方向では3.2倍であった。
次に、この延伸フィルムをテンター式熱処理炉(図示せず)に入れ、195℃で熱固定を施して、本実施例1に係るONyフィルム18(以後、ONyフィルム18ともいう)を得た。この実施例1の結晶化度は33%で、フィルム厚さは15μmであった。
実施例2に係るONyフィルム18は、以上の実施例1の製造動作のうち、延伸フィルムをテンター式熱処理炉により160℃で熱固定した点以外は、同様の条件で製造している。この実施例2の結晶化度は21%で、フィルム厚さは15μmであった。
実施例3に係るONyフィルム18は、以上の実施例1の製造動作と略同様の条件で製造したものであって、フィルム厚さが25μmで結晶化度が33%のものである。
(引張試験)
ONyフィルム18の引張試験は、インストロン社製5564型を使用し、試料幅15mm、チャック間50mm、100mm/minの引張速度で実施した。ONyフィルム18のMD方向/TD方向/45°方向/135°方向のそれぞれについて測定を行った。各方向について得られた応力−ひずみ曲線に基づいて、各方向での破断伸び率(%)と、これら破断伸び率のうちの最大値と最小値との比率と、各方向での応力比A(A=σ1/σ2、σ1:伸び率50%での引張応力、σ2:降伏点での引張応力)と、これら応力比Aのうちの最大値Amaxと最小値Aminとの比率とを求めた。
ONyフィルム18を含むラミネート包材の絞り成形性を評価した。
具体的には、まず、実施例1,2に係るONyフィルム18を表基材フィルムとし、L−LDPEフィルム〔ユニラックス LS−711C(商品名)、出光ユニテック(株)製、厚さ120μm〕をシーラントフィルムとして、両者をドライラミネートすることによりラミネート包材を得た。なお、ドライラミネート用の接着剤としては、三井タケダケミカル製のタケラックA−615/タケネートA−65の配合品(配合比16/1)を用いた。また、ドライラミネート後のラミネート包材は、40℃で3日間エージングを行った。
このようにして作製した各ラミネート包材について、平面視長方形(5mm×10mm)の金型を用いて、冷間(常温)で深絞り成形を実施した。この深絞り成形を各ラミネート包材のそれぞれについて10回ずつ実施し、ピンホールやクラックなどの欠陥の発生数を調べた。欠陥の発生数が10回中0回である場合は◎、1〜2回である場合は○、3〜5回である場合は△、6回以上である場合は×として評価した。
突刺強度の測定は、ONyフィルム18に対して、1mmφの針を200mm/minの突刺速度で突刺して、針がフィルムを貫通するのに要した強度(N)を測定することにより行った。
衝撃強度の測定は、東洋精機(株)製のフィルム・インパクト・テスターを使用し、23℃、−10℃および−30℃の各温度において、固定されたリング状のONyフィルム18に半円球状の振り子(直径1/2インチ)を打ち付けて、フィルムの打ち抜きに要した衝撃強度(kg/cm)を測定することにより行った。なお、衝撃強度は絶対値で表され、その値が大きい程、耐衝撃性に優れていると評価できる。
上記の実施例1の製造動作のうち、延伸フィルムをテンター式熱処理炉により210℃で熱固定した点以外は同様にして、比較例1に係るONyフィルム18を製造した。この比較例1の結晶化度は41%で、フィルム厚さは15μmであった。
上記の実施例1の製造動作のうち、延伸フィルムをテンター式熱処理炉により210℃で熱固定した点以外は同様にして、比較例2に係るONyフィルム18を製造した。この比較例2の結晶化度は40%で、フィルム厚さは15μmであった。
上記の実施例3の製造動作のうち、延伸フィルムをテンター式熱処理炉により210℃で熱固定した点以外は同様にして、比較例3に係るONyフィルム18を製造した。この比較例3の結晶化度は41%で、フィルム厚さは25μmであった。
表1に、実施例1〜3および比較例1〜3についての熱処理温度、結晶化度、熱水収縮率(95℃の熱水中で30分間保持した場合における、当該フィルムのMD方向およびTD方向の熱水収縮率)およびフィルム厚さをそれぞれ示す。表2に、実施例1〜3および比較例1〜3のそれぞれについての引張試験結果を示す。表3に、実施例1〜3および比較例1〜3のそれぞれについての絞り成形性、突刺強度および衝撃強度(23℃、−10℃、−30℃)の評価結果を示す。
表1に示すように、実施例1〜3に係るONyフィルム18は、比較例1〜3と比較して、絞り成形性、突刺強度および衝撃強度のいずれについても優れている。
一方、比較例は、上述の条件を満たしていないため、いずれも、ONyフィルム18の物性に問題がある。
具体的には、比較例1は、結晶化度が20%未満、135°方向での応力比Aが2未満、応力比Aの比率(Amax/Amin)が2を超えており、135°方向での破断強度も180MPaを下回っているため、絞り成形性が悪く、突刺強度が比較的低く、かつ衝撃強度にも劣る。
比較例2は、結晶化度が20%未満であるため、絞り成形性に劣る。
比較例3は、135℃方向での破断伸び率が70%未満、4方向の破断伸び率のうち最大伸び率を最小伸び率で除算した値が2を超えており、45°方向での応力比Aが2未満であり、応力比Aの比率(Amax/Amin)も2を超えているため、絞り成形性が悪い。
16 バブル
18 延伸フィルム
Claims (5)
- ナイロン6を原料として含む二軸延伸ナイロンフィルムであって、
当該フィルムの結晶化度が20〜38%であり、
当該フィルムの引張試験(試料幅15mm、標点間距離50mm、引張速度100mm/min)における4方向(MD方向、TD方向、45°方向、135°方向)の破断までの伸び率が70%以上であり、かつ、
当該フィルムの前記引張試験における応力−ひずみ曲線において、伸び率が50%となった際の引張応力σ1と、降伏点における引張応力σ2との比である応力比A(σ1/σ2)が、前記4方向についていずれも2以上である
ことを特徴とする二軸延伸ナイロンフィルム。 - 請求項1に記載の二軸延伸ナイロンフィルムにおいて、
前記4方向におけるそれぞれの前記応力比Aのうち、最大となる応力比Amaxと最小となる応力比Aminとの比(Amax/Amin)が、2以下である
ことを特徴とする二軸延伸ナイロンフィルム。 - 請求項1または請求項2に記載の二軸延伸ナイロンフィルムにおいて、
当該フィルムの前記引張試験における前記4方向の引張破断強度が、いずれも180MPa以上である
ことを特徴とする二軸延伸ナイロンフィルム。 - 請求項1ないし請求項3のいずれかに記載の二軸延伸ナイロンフィルムを含むことを特徴とするラミネート包材。
- ナイロン6を原料として含む二軸延伸ナイロンフィルムの製造方法であって、
前記原料で構成された未延伸原反フィルムに対して、MD方向(フィルムの移動方向)およびTD方向(フィルムの幅方向)のそれぞれの延伸倍率が2.8倍以上となる条件で二軸延伸した後、160〜200℃で熱処理を行い、
当該フィルムの結晶化度が20〜38%であり、
当該フィルムの引張試験(試料幅15mm、標点間距離50mm、引張速度100mm/min)における4方向(MD方向、TD方向、45°方向、135°方向)の破断までの伸び率が70%以上であり、かつ、
当該フィルムの前記引張試験における応力−ひずみ曲線において、伸び率が50%となった際の引張応力σ1と、降伏点における引張応力σ2との比である応力比A(σ1/σ2)が、前記4方向についていずれも2以上である二軸延伸ナイロンフィルムを形成する
ことを特徴とする二軸延伸ナイロンフィルムの製造方法。
Priority Applications (13)
| Application Number | Priority Date | Filing Date | Title |
|---|---|---|---|
| JP2006221053A JP5226942B2 (ja) | 2006-08-14 | 2006-08-14 | 冷間成形用二軸延伸ナイロンフィルム、ラミネート包材及び冷間成形用二軸延伸ナイロンフィルムの製造方法 |
| US12/377,421 US8518321B2 (en) | 2006-08-14 | 2007-08-10 | Biaxially oriented nylon film, laminate wrapping material and process for production of biaxially oriented nylon film |
| EP07792345A EP2058106B1 (en) | 2006-08-14 | 2007-08-10 | Biaxially oriented nylon film, laminate wrapping material and process for production of biaxially oriented nylon film |
| CN2007800299308A CN101528441B (zh) | 2006-08-14 | 2007-08-10 | 双轴拉伸尼龙薄膜、层压包装材料及双轴拉伸尼龙薄膜的制造方法 |
| PCT/JP2007/065700 WO2008020569A1 (en) | 2006-08-14 | 2007-08-10 | Biaxially oriented nylon film, laminate wrapping material and process for production of biaxially oriented nylon film |
| KR1020137008207A KR101292901B1 (ko) | 2006-08-14 | 2007-08-10 | 2 축 연신 나일론 필름, 라미네이트 포장재 및 2 축 연신 나일론 필름의 제조 방법 |
| EP12154809.3A EP2455209B1 (en) | 2006-08-14 | 2007-08-10 | Biaxially oriented nylon film and laminate wrapping material |
| KR1020137008206A KR101295427B1 (ko) | 2006-08-14 | 2007-08-10 | 2 축 연신 나일론 필름, 라미네이트 포장재, 2 축 연신 나일론 필름의 제조 방법 및 라미네이트 포장재의 제조 방법 |
| KR1020097002778A KR101288668B1 (ko) | 2006-08-14 | 2007-08-10 | 2 축 연신 나일론 필름, 라미네이트 포장재 및 2 축 연신 나일론 필름의 제조 방법 |
| TW096129876A TWI393624B (zh) | 2006-08-14 | 2007-08-13 | 二軸延伸尼龍薄膜、積層包裝材及二軸延伸尼龍薄膜之製造方法 |
| TW101150665A TWI508845B (zh) | 2006-08-14 | 2007-08-13 | 二軸延伸尼龍薄膜、積層包裝材及二軸延伸尼龍薄膜之製造方法 |
| TW101150664A TWI508844B (zh) | 2006-08-14 | 2007-08-13 | 二軸延伸尼龍薄膜、積層包裝材及二軸延伸尼龍薄膜之製造方法 |
| US13/339,031 US8445626B2 (en) | 2006-08-14 | 2011-12-28 | Biaxially oriented nylon film and process for production of biaxially oriented nylon film |
Applications Claiming Priority (1)
| Application Number | Priority Date | Filing Date | Title |
|---|---|---|---|
| JP2006221053A JP5226942B2 (ja) | 2006-08-14 | 2006-08-14 | 冷間成形用二軸延伸ナイロンフィルム、ラミネート包材及び冷間成形用二軸延伸ナイロンフィルムの製造方法 |
Publications (2)
| Publication Number | Publication Date |
|---|---|
| JP2008045016A true JP2008045016A (ja) | 2008-02-28 |
| JP5226942B2 JP5226942B2 (ja) | 2013-07-03 |
Family
ID=39179065
Family Applications (1)
| Application Number | Title | Priority Date | Filing Date |
|---|---|---|---|
| JP2006221053A Active JP5226942B2 (ja) | 2006-08-14 | 2006-08-14 | 冷間成形用二軸延伸ナイロンフィルム、ラミネート包材及び冷間成形用二軸延伸ナイロンフィルムの製造方法 |
Country Status (1)
| Country | Link |
|---|---|
| JP (1) | JP5226942B2 (ja) |
Cited By (11)
| Publication number | Priority date | Publication date | Assignee | Title |
|---|---|---|---|---|
| US8445626B2 (en) | 2006-08-14 | 2013-05-21 | Idemitsu Unitech Co., Ltd. | Biaxially oriented nylon film and process for production of biaxially oriented nylon film |
| WO2013137395A1 (ja) * | 2012-03-16 | 2013-09-19 | 出光ユニテック株式会社 | 二軸延伸ナイロンフィルム、ラミネートフィルム、ラミネート包材及び二軸延伸ナイロンフィルムの製造方法 |
| WO2013137153A1 (ja) * | 2012-03-16 | 2013-09-19 | 出光ユニテック株式会社 | 二軸延伸ナイロンフィルム、ラミネートフィルム、ラミネート包材および二軸延伸ナイロンフィルムの製造方法 |
| WO2013141135A1 (ja) * | 2012-03-19 | 2013-09-26 | 出光ユニテック株式会社 | 二軸延伸ナイロンフィルム、ラミネートフィルム、ラミネート包材および二軸延伸ナイロンフィルムの製造方法 |
| WO2013146455A1 (ja) * | 2012-03-28 | 2013-10-03 | 出光ユニテック株式会社 | 二軸延伸ナイロンフィルム、ラミネートフィルム、ラミネート包材および二軸延伸ナイロンフィルムの製造方法 |
| WO2014021425A1 (ja) * | 2012-08-02 | 2014-02-06 | 出光ユニテック株式会社 | 二軸延伸ナイロンフィルム、ラミネートフィルム、ラミネート包材、電池および二軸延伸ナイロンフィルムの製造方法 |
| JP2014108528A (ja) * | 2012-11-30 | 2014-06-12 | Gunze Ltd | 冷間成形用多層延伸フィルム、冷間成形用多層フィルム、及び冷間成形体 |
| KR20140118369A (ko) | 2013-03-29 | 2014-10-08 | 코오롱인더스트리 주식회사 | 나일론필름 및 이의 제조방법 |
| WO2014208710A1 (ja) * | 2013-06-28 | 2014-12-31 | ユニチカ株式会社 | 積層体およびその製造方法 |
| JP2016532764A (ja) * | 2013-09-16 | 2016-10-20 | コーロン インダストリーズ インク | ナイロンフィルム |
| JP2020107608A (ja) * | 2014-02-18 | 2020-07-09 | 大日本印刷株式会社 | 電池用包装材料 |
Families Citing this family (1)
| Publication number | Priority date | Publication date | Assignee | Title |
|---|---|---|---|---|
| US20180264711A1 (en) | 2014-12-17 | 2018-09-20 | Unitika Ltd. | Polyamide film and method for producing same |
Citations (8)
| Publication number | Priority date | Publication date | Assignee | Title |
|---|---|---|---|---|
| JPH03126523A (ja) * | 1989-10-11 | 1991-05-29 | Idemitsu Petrochem Co Ltd | 二軸延伸フィルムの製造方法 |
| JPH0623862A (ja) * | 1992-07-07 | 1994-02-01 | Shin Etsu Polymer Co Ltd | ポリブチレンテレフタレート系樹脂容器の製造方法 |
| JPH06106619A (ja) * | 1992-09-24 | 1994-04-19 | Idemitsu Petrochem Co Ltd | 易裂性フィルムの製造方法 |
| JP2000123800A (ja) * | 1998-10-15 | 2000-04-28 | Showa Alum Corp | 電池ケース用包材 |
| JP2001064415A (ja) * | 1999-08-27 | 2001-03-13 | Kohjin Co Ltd | 滑り性の改良されたポリアミドフィルム及びその製造方法 |
| JP2001260215A (ja) * | 2000-03-14 | 2001-09-25 | Toyobo Co Ltd | 結晶性ポリエステルシートよりなる容器の製造方法 |
| JP2004122767A (ja) * | 2002-09-11 | 2004-04-22 | Toray Ind Inc | 容器成形用二軸配向ポリエステルフィルムおよび容器ならびに容器の成形方法 |
| JP2005203294A (ja) * | 2004-01-19 | 2005-07-28 | Toppan Printing Co Ltd | リチウムイオン電池用外装材 |
-
2006
- 2006-08-14 JP JP2006221053A patent/JP5226942B2/ja active Active
Patent Citations (8)
| Publication number | Priority date | Publication date | Assignee | Title |
|---|---|---|---|---|
| JPH03126523A (ja) * | 1989-10-11 | 1991-05-29 | Idemitsu Petrochem Co Ltd | 二軸延伸フィルムの製造方法 |
| JPH0623862A (ja) * | 1992-07-07 | 1994-02-01 | Shin Etsu Polymer Co Ltd | ポリブチレンテレフタレート系樹脂容器の製造方法 |
| JPH06106619A (ja) * | 1992-09-24 | 1994-04-19 | Idemitsu Petrochem Co Ltd | 易裂性フィルムの製造方法 |
| JP2000123800A (ja) * | 1998-10-15 | 2000-04-28 | Showa Alum Corp | 電池ケース用包材 |
| JP2001064415A (ja) * | 1999-08-27 | 2001-03-13 | Kohjin Co Ltd | 滑り性の改良されたポリアミドフィルム及びその製造方法 |
| JP2001260215A (ja) * | 2000-03-14 | 2001-09-25 | Toyobo Co Ltd | 結晶性ポリエステルシートよりなる容器の製造方法 |
| JP2004122767A (ja) * | 2002-09-11 | 2004-04-22 | Toray Ind Inc | 容器成形用二軸配向ポリエステルフィルムおよび容器ならびに容器の成形方法 |
| JP2005203294A (ja) * | 2004-01-19 | 2005-07-28 | Toppan Printing Co Ltd | リチウムイオン電池用外装材 |
Cited By (14)
| Publication number | Priority date | Publication date | Assignee | Title |
|---|---|---|---|---|
| US8445626B2 (en) | 2006-08-14 | 2013-05-21 | Idemitsu Unitech Co., Ltd. | Biaxially oriented nylon film and process for production of biaxially oriented nylon film |
| US8518321B2 (en) | 2006-08-14 | 2013-08-27 | Idemitsu Unitech Co., Ltd. | Biaxially oriented nylon film, laminate wrapping material and process for production of biaxially oriented nylon film |
| WO2013137395A1 (ja) * | 2012-03-16 | 2013-09-19 | 出光ユニテック株式会社 | 二軸延伸ナイロンフィルム、ラミネートフィルム、ラミネート包材及び二軸延伸ナイロンフィルムの製造方法 |
| WO2013137153A1 (ja) * | 2012-03-16 | 2013-09-19 | 出光ユニテック株式会社 | 二軸延伸ナイロンフィルム、ラミネートフィルム、ラミネート包材および二軸延伸ナイロンフィルムの製造方法 |
| WO2013141135A1 (ja) * | 2012-03-19 | 2013-09-26 | 出光ユニテック株式会社 | 二軸延伸ナイロンフィルム、ラミネートフィルム、ラミネート包材および二軸延伸ナイロンフィルムの製造方法 |
| WO2013146455A1 (ja) * | 2012-03-28 | 2013-10-03 | 出光ユニテック株式会社 | 二軸延伸ナイロンフィルム、ラミネートフィルム、ラミネート包材および二軸延伸ナイロンフィルムの製造方法 |
| WO2014021425A1 (ja) * | 2012-08-02 | 2014-02-06 | 出光ユニテック株式会社 | 二軸延伸ナイロンフィルム、ラミネートフィルム、ラミネート包材、電池および二軸延伸ナイロンフィルムの製造方法 |
| JP2014108528A (ja) * | 2012-11-30 | 2014-06-12 | Gunze Ltd | 冷間成形用多層延伸フィルム、冷間成形用多層フィルム、及び冷間成形体 |
| KR20140118369A (ko) | 2013-03-29 | 2014-10-08 | 코오롱인더스트리 주식회사 | 나일론필름 및 이의 제조방법 |
| WO2014208710A1 (ja) * | 2013-06-28 | 2014-12-31 | ユニチカ株式会社 | 積層体およびその製造方法 |
| JPWO2014208710A1 (ja) * | 2013-06-28 | 2017-02-23 | ユニチカ株式会社 | 積層体およびその製造方法 |
| TWI621532B (zh) * | 2013-06-28 | 2018-04-21 | 由尼帝佳股份有限公司 | 積層體及其製造方法 |
| JP2016532764A (ja) * | 2013-09-16 | 2016-10-20 | コーロン インダストリーズ インク | ナイロンフィルム |
| JP2020107608A (ja) * | 2014-02-18 | 2020-07-09 | 大日本印刷株式会社 | 電池用包装材料 |
Also Published As
| Publication number | Publication date |
|---|---|
| JP5226942B2 (ja) | 2013-07-03 |
Similar Documents
| Publication | Publication Date | Title |
|---|---|---|
| KR101295427B1 (ko) | 2 축 연신 나일론 필름, 라미네이트 포장재, 2 축 연신 나일론 필름의 제조 방법 및 라미네이트 포장재의 제조 방법 | |
| CN101528441B (zh) | 双轴拉伸尼龙薄膜、层压包装材料及双轴拉伸尼龙薄膜的制造方法 | |
| JP5956115B2 (ja) | 二軸延伸ポリブチレンテレフタレート系フィルムを含むレトルト用包材 | |
| JP6218582B2 (ja) | 延伸ナイロンフィルムの製造方法、多層フィルムの製造方法、包装材の製造方法、および電池の製造方法 | |
| JP2013022773A (ja) | 冷間成形用二軸延伸ナイロンフィルム、ラミネートフィルム、および成形体 | |
| JP2015107583A (ja) | 多層フィルム、包装材および電池 | |
| JP5226942B2 (ja) | 冷間成形用二軸延伸ナイロンフィルム、ラミネート包材及び冷間成形用二軸延伸ナイロンフィルムの製造方法 | |
| JP2015107585A (ja) | 多層フィルム、多層フィルム包材、絞り成型品、および電池 | |
| JP2015107581A (ja) | 多層フィルム、多層フィルム包材、絞り成型品、および、電池 | |
| JP6050574B2 (ja) | 二軸延伸ポリブチレンテレフタレート系フィルムを含む冷間成形用プレススルーパック包材 | |
| JP4970872B2 (ja) | 二軸延伸ナイロンフィルム、ラミネート包材及び二軸延伸ナイロンフィルムの製造方法並びにラミネート包材の製造方法 | |
| TW201325874A (zh) | 二軸延伸尼龍薄膜、二軸延伸尼龍薄膜之製造方法及積層包裝材 | |
| JP2015107582A (ja) | 多層フィルム、多層フィルム包材、絞り成型品、および、医薬用包装材 | |
| JP2013028660A (ja) | 易裂性二軸延伸ナイロンフィルムの製造方法、および易裂性二軸延伸ナイロンフィルム | |
| TW201347957A (zh) | 雙軸延伸尼龍膜、積層膜、積層包裝材及雙軸延伸尼龍膜之製造方法 | |
| TW201441015A (zh) | 雙軸延伸膜之製造方法、雙軸延伸膜、及積層膜 | |
| TW201412501A (zh) | 雙軸延伸尼龍膜、積層膜、積層包裝材、電池及雙軸延伸尼龍膜之製造方法 | |
| JP2014151566A (ja) | 二軸延伸フィルムの製造方法、二軸延伸フィルム、および、ラミネートフィルム | |
| JP2014113790A (ja) | 多層延伸フィルムの製造方法および多層延伸フィルム |
Legal Events
| Date | Code | Title | Description |
|---|---|---|---|
| A621 | Written request for application examination |
Free format text: JAPANESE INTERMEDIATE CODE: A621 Effective date: 20090319 |
|
| A131 | Notification of reasons for refusal |
Free format text: JAPANESE INTERMEDIATE CODE: A131 Effective date: 20110426 |
|
| A521 | Written amendment |
Free format text: JAPANESE INTERMEDIATE CODE: A523 Effective date: 20110623 |
|
| A131 | Notification of reasons for refusal |
Free format text: JAPANESE INTERMEDIATE CODE: A131 Effective date: 20120327 |
|
| A521 | Written amendment |
Free format text: JAPANESE INTERMEDIATE CODE: A523 Effective date: 20120525 |
|
| TRDD | Decision of grant or rejection written | ||
| A01 | Written decision to grant a patent or to grant a registration (utility model) |
Free format text: JAPANESE INTERMEDIATE CODE: A01 Effective date: 20130312 |
|
| A61 | First payment of annual fees (during grant procedure) |
Free format text: JAPANESE INTERMEDIATE CODE: A61 Effective date: 20130315 |
|
| R150 | Certificate of patent or registration of utility model |
Ref document number: 5226942 Country of ref document: JP Free format text: JAPANESE INTERMEDIATE CODE: R150 Free format text: JAPANESE INTERMEDIATE CODE: R150 |
|
| FPAY | Renewal fee payment (event date is renewal date of database) |
Free format text: PAYMENT UNTIL: 20160322 Year of fee payment: 3 |
