[go: up one dir, main page]

JP2008026112A - 包埋カセット - Google Patents

包埋カセット Download PDF

Info

Publication number
JP2008026112A
JP2008026112A JP2006198090A JP2006198090A JP2008026112A JP 2008026112 A JP2008026112 A JP 2008026112A JP 2006198090 A JP2006198090 A JP 2006198090A JP 2006198090 A JP2006198090 A JP 2006198090A JP 2008026112 A JP2008026112 A JP 2008026112A
Authority
JP
Japan
Prior art keywords
embedding
cassette
thin film
film layer
identification code
Prior art date
Legal status (The legal status is an assumption and is not a legal conclusion. Google has not performed a legal analysis and makes no representation as to the accuracy of the status listed.)
Withdrawn
Application number
JP2006198090A
Other languages
English (en)
Other versions
JP2008026112A5 (ja
Inventor
Koji Fujimoto
幸司 藤本
Tetsumasa Itou
哲雅 伊藤
Tatsuya Miyatani
竜也 宮谷
Current Assignee (The listed assignees may be inaccurate. Google has not performed a legal analysis and makes no representation or warranty as to the accuracy of the list.)
Seiko Instruments Inc
Original Assignee
Seiko Instruments Inc
Priority date (The priority date is an assumption and is not a legal conclusion. Google has not performed a legal analysis and makes no representation as to the accuracy of the date listed.)
Filing date
Publication date
Application filed by Seiko Instruments Inc filed Critical Seiko Instruments Inc
Priority to JP2006198090A priority Critical patent/JP2008026112A/ja
Priority to US11/880,388 priority patent/US20080044315A1/en
Priority to EP07252880A priority patent/EP1884285A1/en
Publication of JP2008026112A publication Critical patent/JP2008026112A/ja
Publication of JP2008026112A5 publication Critical patent/JP2008026112A5/ja
Withdrawn legal-status Critical Current

Links

Images

Classifications

    • GPHYSICS
    • G01MEASURING; TESTING
    • G01NINVESTIGATING OR ANALYSING MATERIALS BY DETERMINING THEIR CHEMICAL OR PHYSICAL PROPERTIES
    • G01N1/00Sampling; Preparing specimens for investigation
    • G01N1/28Preparing specimens for investigation including physical details of (bio-)chemical methods covered elsewhere, e.g. G01N33/50, C12Q
    • G01N1/36Embedding or analogous mounting of samples
    • BPERFORMING OPERATIONS; TRANSPORTING
    • B01PHYSICAL OR CHEMICAL PROCESSES OR APPARATUS IN GENERAL
    • B01LCHEMICAL OR PHYSICAL LABORATORY APPARATUS FOR GENERAL USE
    • B01L3/00Containers or dishes for laboratory use, e.g. laboratory glassware; Droppers
    • B01L3/54Labware with identification means
    • B01L3/545Labware with identification means for laboratory containers
    • BPERFORMING OPERATIONS; TRANSPORTING
    • B01PHYSICAL OR CHEMICAL PROCESSES OR APPARATUS IN GENERAL
    • B01LCHEMICAL OR PHYSICAL LABORATORY APPARATUS FOR GENERAL USE
    • B01L2300/00Additional constructional details
    • B01L2300/02Identification, exchange or storage of information
    • GPHYSICS
    • G01MEASURING; TESTING
    • G01NINVESTIGATING OR ANALYSING MATERIALS BY DETERMINING THEIR CHEMICAL OR PHYSICAL PROPERTIES
    • G01N1/00Sampling; Preparing specimens for investigation
    • G01N1/28Preparing specimens for investigation including physical details of (bio-)chemical methods covered elsewhere, e.g. G01N33/50, C12Q
    • G01N1/30Staining; Impregnating ; Fixation; Dehydration; Multistep processes for preparing samples of tissue, cell or nucleic acid material and the like for analysis
    • G01N1/31Apparatus therefor
    • G01N2001/315Basket-type carriers for tissues
    • GPHYSICS
    • G01MEASURING; TESTING
    • G01NINVESTIGATING OR ANALYSING MATERIALS BY DETERMINING THEIR CHEMICAL OR PHYSICAL PROPERTIES
    • G01N1/00Sampling; Preparing specimens for investigation
    • G01N1/28Preparing specimens for investigation including physical details of (bio-)chemical methods covered elsewhere, e.g. G01N33/50, C12Q
    • G01N1/36Embedding or analogous mounting of samples
    • G01N2001/366Moulds; Demoulding

Landscapes

  • Chemical & Material Sciences (AREA)
  • Health & Medical Sciences (AREA)
  • Analytical Chemistry (AREA)
  • General Health & Medical Sciences (AREA)
  • Life Sciences & Earth Sciences (AREA)
  • Biochemistry (AREA)
  • Physics & Mathematics (AREA)
  • General Physics & Mathematics (AREA)
  • Immunology (AREA)
  • Pathology (AREA)
  • Clinical Laboratory Science (AREA)
  • Chemical Kinetics & Catalysis (AREA)
  • Sampling And Sample Adjustment (AREA)
  • Investigating Or Analysing Biological Materials (AREA)

Abstract

【課題】レーザ光を利用して識別コードを刻印することができ、剥がれ落ちを防止しながら、パラフィンの影響を受けることなく鮮明な識別コードの表示を行うこと。
【解決手段】生体試料を収容する収容凹部10が開口して形成され、表面の一部分に平坦面2bが形成されたカセット本体2と、該カセット本体に対して着脱自在に固定され、収容凹部を閉塞する蓋部3と、カセット本体の色に対して少なくとも明度が異なる色で平坦面上に設けられた薄膜層15とを備え、該薄膜層が、照射されたレーザ光に沿って削られることで識別コードを表示する包埋カセット1を提供する。
【選択図】図3

Description

本発明は、人体や実験動物等から取り出した試料を収容し置換処理する容器として使用されると共に、置換処理された試料が包埋された包埋ブロックの固定台として使用される包埋カセットに関するものである。
従来から、理化学実験や顕微鏡観察に用いられる薄切片標本を作製する装置として、ミクロトームが一般的に知られている。この薄切片標本は、厚さが数μm(例えば、3μm〜5μm)の薄切片をスライドガラス等の基板上に固定させたものである。薄切片は、包埋剤によって生体試料を包埋した包埋ブロックを上述した厚さで極薄に薄切して作製されたものである。また、包埋ブロックは、人体や実験動物等から取り出されてホルマリン固定された生体試料をパラフィン置換した後、さらに周囲をパラフィンで固めてブロック状に作製されたものである。この包埋ブロックの作製には、一般的に専用の容器である包埋カセットが使用されている。
この包埋カセットは、耐キシレン性、耐アルコール性を有する材料により形成され、カセット本体と該カセット本体に着脱自在に固定可能な蓋部とで箱状に構成されているものである。また、カセット本体及び蓋部は、それぞれメッシュ状になっている。そのため、包埋カセットは、内部と外部とが連通するようになっている。
ここで、包埋カセットを利用した包埋ブロックの作製方法について、簡単に説明する。
まず、実験動物の臓器等の生体試料をホルマリン固定した後、適当なサイズに切断して包埋カセット内に収容する。つまり、カセット本体内に収容した後、蓋部をカセット本体に装着して生体試料を内部に閉じ込める。次いで、薬剤としてアルコールが満たされたパレット内に包埋カセットを浸漬する。これにより、包埋カセット内に収容されている生体試料は、アルコールに浸漬され、生体試料内の水分や脂質がアルコールで置換、即ち、脱水、脱脂処理される。次いで、パレット内の薬剤をキシレンに入れ換えて、先ほど置換したアルコールをキシレンに置換する。次いで、パレット内の薬剤を液状のパラフィンに入れ換えて、先ほど置換したキシレンをパラフィンに置換する。これにより、水分や脂質がパラフィン置換された生体試料を作製することができる。
次いで、パラフィン置換された生体試料を包埋カセットから取り出し、液状のパラフィンが満たされた別の容器内に移す。そして、空になったカセット本体でこの容器に蓋をする。この状態で、容器内のパラフィンを冷却固化させる。これにより、パラフィン内に生体試料が包埋された包埋ブロックを作製することができる。この際、包埋ブロックは、カセット本体の底面にくっ付いて繋がった状態となっている。そして最後に、底面に包埋ブロックが繋がったカセット本体を容器から取り外して裏返しにする。その結果、カセット本体の底面上に固定された包埋ブロックを得ることができる。
上述したように、包埋ブロックを作製するにあたり、包埋カセットを、生体試料に脱水、脱脂処理及び置換処理を施す際の容器として使用すると共に、包埋ブロックの固定台としても使用している。このように、包埋カセットを2つの場面で使用するのは、多数の生体試料を一度に処理する際に、生体試料同士の混同を防止するためである。特に、正確な実験や観察を行うためには、包埋ブロックの品質管理が重要であり、混同等に関しては特に注意が払われている。
また、品質管理を正確に行うために、包埋カセットには、包埋ブロック内に包埋されている生体試料の種類等を認識するための識別コードが記録されるようになっている。この識別コードを記録する方法は、各種の方法があるが、その1つとしてインクジェットプリンタによって印字する方法が知られている(例えば、特許文献1参照)。この方法によれば、包埋カセットに対して任意のサイズの識別コードを明瞭且つ効率良く印字することができる。また、このときのインクとしては、包埋カセットが各種の薬剤にさらされることを考慮して、通常耐有機溶媒性のインクが用いられている。
特開2002−365184号公報
しかしながら、上記従来の方法では、まだ以下の課題が残されていた。
即ち、包埋カセットに識別コードを印字する方法は、任意の大きさの文字等を簡単且つ明瞭に印字できる点では好ましいが、その反面、印字部分が強く擦れるとインクが剥がれてしまう恐れがあった。特に、耐有機溶媒性のインクを使用した場合には、インクが剥がれ易い。仮にインクが剥がれてしまうと、包埋ブロックの品質管理を正確に行うことができないので、致命的な問題となってしまうものであった。
また、従来の方法は、単に印字するだけであるので、包埋ブロックを作製中に印字面にパラフィンが付着してしまうと、印字された識別コードが見え難くなってしまう不都合があった。また、そのためにパラフィンを手作業で剥す手間が必要であった。更には、このパラフィンを剥す際に、識別コードが一緒に剥がれてしまう不都合もあった。
本発明は、このような事情に考慮してなされたもので、その目的は、レーザ光を利用して識別コードを刻印することができ、剥がれ落ちを防止しながら、パラフィンの影響を受けることなく鮮明な識別コードの表示を行うことができる包埋カセットを提供することである。
本発明は、前記課題を解決するために以下の手段を提供する。
本発明の包埋カセットは、生体試料のパラフィン置換処理を行うための容器として使用されると共に、パラフィン置換処理された前記生体試料が包埋剤に包埋された包埋ブロックを載置して、該包埋ブロックの載置台として使用される包埋カセットであって、前記生体試料を収容する収容凹部が開口して形成され、表面上に平坦面が形成されたカセット本体と、該カセット本体に対して着脱自在に固定され、前記収容凹部を閉塞する蓋部と、前記カセット本体の色に対して少なくとも明度が異なる色で前記平坦面上に設けられた薄膜層とを備え、該薄膜層が、照射されたレーザ光に沿って削られることで識別コードを表示することを特徴とするものである。
この発明に係る包埋カセットにおいては、生体試料をパラフィン置換処理する際の容器として使用されると共に、パラフィン置換処理された生体試料を包埋剤に包埋して包埋ブロックを作製する際の該包埋ブロックの載置台として使用される。ここで、カセット本体表面上に形成された平坦面には、レーザ光の照射によって削られる薄膜層が成膜や塗布等により設けられている。そのため、作業者は、包埋ブロックを作製する際に、予め薄膜層にレーザマーカ装置等によりレーザ光を照射して、生体試料に関する必要な情報(例えば、実験動物の種類、臓器の種類等)を識別コードとして刻印することができる。
特に、従来のような単に識別コードを印字するだけの方法とは異なり、レーザ光を利用して薄膜層を削り、識別コードを刻印することができるので、包埋ブロックを作製する作業中に識別コードが擦れ等によって剥がれてしまうことがない。そのため、包埋ブロックの品質管理を正確に行うことができる。また、レーザ光を利用して識別コードを刻印できるので、短時間の作業で済む。そのため、作業効率を向上することができる。また、非接触で識別コードを刻印できるので、薄膜層の表面粗さに影響を受けることなく識別コードを表示することができる。またこれに加えて、印字される面とレーザマーカ装置の印字ヘッド面とが厳密に一致していなくても印字不良が生じない。そのため、過度の注意を払わずにカセット本体をセットし、印字できる。
また、薄膜層の色は、カセット本体の色に対して少なくとも明度が異なる色となっている。そのため、薄膜層を削って刻印した識別コードを、背景色でもある薄膜層とは異なる明度で表示することができる。よって、識別コードと背景色との明るさを変えることができ、明度差を利用して識別コードを表示することができる。例えば、黒に近い濃い緑色の背景色の中に、白に近い淡い緑色で識別コードを表示することができる。従って、コントラストをつけることができ、明瞭な視認性を確保することができる。
また、包埋ブロックを作製した途中でパラフィンが薄膜層上に多少残っていたとしても、上述したように識別コードと背景色との明度差を利用して高い視認性が確保されているので、従来のものに比較して識別コードを鮮明に見ることができる。そのため、パラフィンを手作業で削り落とす手間を省くこともでき、作業性を向上することができる。
上述したように本発明に係る包埋カセットによれば、レーザ光を利用して識別コードを刻印することができ、剥がれ落ちを防止しながら、パラフィンの影響を受けることなく鮮明な識別コードの表示を行うことができる。
また、本発明の包埋カセットは、上記本発明の包埋カセットにおいて、前記薄膜層の色が、前記カセット本体の色よりも低い明度であることを特徴とするものである。
この発明に係る包埋カセットにおいては、薄膜層の色が、カセット本体の色よりも低い明度、即ち黒に近い暗色となっている。そのため、暗色とされた背景色の中に、該背景色よりも明るい色で識別コードを表示することができる。よって、背景色と識別コードとの明度差を明確につけることができ、視認性をより向上することができる。
また、薄膜層の色をカセット本体の色よりも暗色にできるので、刻印により表示された識別コード上に、仮に白色のパラフィンが付着してしまったとしても、該識別コードがより明るい淡色となりコントラストがつき易い。従って、視認性に何ら影響を与えることはない。
また、本発明の包埋カセットは、上記本発明の包埋カセットにおいて、前記薄膜層が、JIS−Z8102で規定される明度(V)が6.0以下の色であり、前記カセット本体が、JIS−Z8102で規定される明度(V)が6.5以上の色であることを特徴とするものである。
この発明に係る包埋カセットにおいては、薄膜層がJIS−Z8102で規定される明度(V)が6.0以下の色、例えば紅色、深緑、紺藍、紫紺、黒等の暗色となっている。また、カセット本体が、明度(V)が6.5以上の色、例えば桜色、肌色、緑、空色、白等の淡色となっている。このように、背景色をより暗い色で表示し、識別コードをより明るい色で表示できるので、明度対比の効果により識別コードの視認性をさらに高めることができる。特に、薄膜層の色を明度(V)が1.5の黒とし、カセット本体の色を明度(V)が9.5の白とすることが好ましい。
また、本発明の包埋カセットは、上記本発明のいずれかの包埋カセットにおいて、前記カセット本体及び前記薄膜層が、耐キシレン性及び耐アルコール性を有する材料によりそれぞれ形成されていることを特徴とするものである。
この発明に係る包埋カセットにおいては、カセット本体及び薄膜層が、耐キシレン性及び耐アルコール性を有する材料(例えば、ポリアセタール樹脂やフッ素樹脂)により形成されているので、生体試料をパラフィン置換する前段階でキシレンやアルコールを使用したとしても、これらの影響を受けることはない。よって、耐久性を向上することができると共に、鮮明な識別コードの表示を維持することができる。
また、本発明の包埋カセットは、上記本発明のいずれかの包埋カセットにおいて、前記薄膜層が、色素を含む熱硬化性樹脂が塗布されたものであることを特徴とするものである。
この発明に係る包埋カセットにおいては、カセット本体の平坦面上に色素を含む熱硬化性樹脂を塗布するだけで薄膜層を設けることができるので、安価で効率良く包埋カセットを製造することができる。
また、本発明の包埋カセットは、上記本発明のいずれかの包埋カセットにおいて、前記薄膜層が、5μm以上、500μm以下の膜厚であることを特徴とするものである。
この発明に係る包埋カセットにおいては、薄膜層の膜厚が5μm以上であるので、薄膜層として十分な強度を確保することができ、識別コードをレーザ光で刻印する最中、或いは、識別コードを刻印した後に、薄膜層が剥がれてしまったり、欠けたりする恐れがない。よって、製品の信頼性を向上することができる。
また、薄膜層の膜厚が、500μm以下であるので、市販されているレーザマーカ装置(例えば、炭酸ガスレーザマーカー装置)によるレーザ光で、容易且つ確実に薄膜層を削って識別コードを刻印することができる。また、仮に膜厚がこれより厚い場合には、薄膜層を貫通するために印字幅が太くなり、刻印した際に字が潰れたり不鮮明になったりしてしまう。
また、本発明の包埋カセットは、上記本発明のいずれかの包埋カセットにおいて、前記薄膜層が、表面が鏡面処理されていることを特徴とするものである。
この発明に係る包埋カセットにおいては、薄膜層の表面がシボ加工や艶だし処理等によって鏡面処理されているので、包埋ブロックを作製する最中に、表面にパラフィンが付着し難くなると共に、仮にパラフィンが付着したとしても容易にパラフィンを剥すことができる。
また、本発明の包埋カセットは、生体試料のパラフィン置換処理を行うための容器として使用されると共に、パラフィン置換処理された前記生体試料が包埋剤に包埋された包埋ブロックを載置して、該包埋ブロックの載置台として使用される包埋カセットであって、
前記生体試料を収容する収容凹部が開口して形成され、表面上に平坦面が形成されたカセット本体と、該カセット本体に対して着脱自在に固定され、前記収容凹部を閉塞する蓋部とを備え、前記カセット本体が、明度の異なるポリアセタール樹脂を2色成形して作製されたものであり、前記平坦面上に照射されたレーザ光に沿って削られることで識別コードを表示することを特徴とするものである。
この発明に係る包埋カセットにおいては、生体試料をパラフィン置換処理する際の容器として使用されると共に、パラフィン置換処理された生体試料を包埋剤に包埋して包埋ブロックを作製する際の該包埋ブロックの載置台として使用される。ここで、カセット本体は、それぞれ明度の異なる2色のポリアセタール樹脂を、2層に積層して成形されたものである。しかもこれらポリアセタール樹脂は、レーザ光の照射によって削られるものである。そのため作業者は、包埋ブロックを作製する際に、予め1層目のポリアセタール樹脂にレーザマーカ装置等によりレーザ光を照射して、生体試料に関する必要な情報(例えば、実験動物の種類、臓器の種類等)を識別コードとして刻印することができる。
特に、従来のような単に識別コードを印字するだけの方法とは異なり、レーザ光を利用して1層目のポリアセタール樹脂を削り、識別コードを刻印することができるので、包埋ブロックを作製する作業中に識別コードが擦れ等によって剥がれてしまうことがない。そのため、包埋ブロックの品質管理を正確に行うことができる。また、レーザ光を利用して識別コードを刻印できるので、短時間の作業で済む。そのため、作業効率を向上することができる。また、非接触で識別コードを刻印できるので、ポリアセタール樹脂の表面粗さに影響を受けることなく識別コードを表示することができる。またこれに加えて、印字される面とレーザマーカ装置の印字ヘッド面とが厳密に一致していなくても印字不良が生じない。そのため、過度の注意を払わずにカセット本体をセットし、印字できる。
また、積層されたポリアセタール樹脂の色は、明度が異なる色となっている。そのため、1層目のポリアセタール樹脂を削って刻印した識別コード(2層目のポリアセタール樹脂の色となっている)を、背景色でもある1層目のポリアセタール樹脂とは異なる明度で表示することができる。よって、識別コードと背景色との明るさを変えることができ、明度差を利用して識別コードを表示することができる。例えば、黒に近い濃い緑色の背景色の中に、白に近い淡い緑色で識別コードを表示することができる。従って、コントラストをつけることができ、明瞭な視認性を確保することができる。
また、包埋ブロックを作製した途中でパラフィンがカセット本体上に多少残っていたとしても、上述したように識別コードと背景色との明度差を利用して高い視認性が確保されているので、従来のものに比較して識別コードを鮮明に見ることができる。そのため、パラフィンを手作業で削り落とす手間を省くこともでき、作業性を向上することができる。
上述したように本発明に係る包埋カセットによれば、レーザ光を利用して識別コードを刻印することができ、剥がれ落ちを防止しながら、パラフィンの影響を受けることなく鮮明な識別コードの表示を行うことができる。
本発明に係る包埋カセットによれば、レーザ光を利用して識別コードを刻印することができ、剥がれ落ちを防止しながら、パラフィンの影響を受けることなく鮮明な識別コードの表示を行うことができる。
以下本発明に係る包埋カセットの一実施形態を、図1から図13を参照して説明する。
初めに、生体試料Sを検査、観察する方法の1つとして、図1に示すように、包埋剤であるパラフィンPによって生体試料Sを包埋した包埋ブロックBを、厚さ3μmから5μmの極薄に薄切して薄切片を作製し、該薄切片をスライドガラス等の基板上に固定した薄切片標本を利用する方法が知られている。
本発明に係る包埋カセット1は、この包埋ブロックBを作製するにあたり、生体試料Sのパラフィン置換処理を行うための容器として使用されると共に、包埋ブロックBを載置する載置台として使用されるものである。以下、包埋カセット1の詳細及び該包埋カセット1を使用した包埋ブロックBの作製手順について説明する。
なお、生体試料Sとしては、例えば、人体や実験動物等から取り出した臓器等の組織であり、医療分野、製薬分野、食品分野、生物分野等で適時選択させるものである。また、脱水及び脱脂処理した後、パラフィン置換処理されたものが使用される。
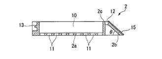
本実施形態の包埋カセット1は、図2及び図3に示すように、生体試料Sを収容する収容凹部10が開口して形成されたカセット本体2と、該カセット本体2に対して着脱自在に固定され、収容凹部10を閉塞する蓋部3とを備えている。これらカセット本体2及び蓋部3は、耐キシレン性、耐アルコール性に優れたポリアセタールやフッ素樹脂等から形成されている。
カセット本体2は、図4及び図5に示すように、上面視矩形状に形成されており、上面部分が収容凹部10の開口となっている。また、底面2aには、複数の貫通孔11がアレイ状に形成されており、該貫通孔11を介して収容凹部10の内部と外部とが連通するようになっている。また、本実施形態のカセット本体2の一端側には、表面が平らに形成された平坦面2bが形成されている。なお、この平坦面2bは、カセット本体2の底面2aに対して所定の角度θが付いた斜面となっている。
また、収容凹部10を囲む側壁部2cのうち、平坦面2bに隣接する部分には後述する蓋部3の係合片21が挿入される挿入孔12が形成されている。また、側壁部2cのうち、収容凹部10を間に挟んで挿入孔12に対向する側には、後述する蓋部3の係合爪22が係合する突起部13が形成されている。
また、上述した平坦面2b上には、薄膜層15が設けられている。本実施形態の薄膜層15は、カセット本体2及び蓋部3と同様に、耐キシレン性及び耐アルコール性を有するフッ素樹脂やポリアセタール樹脂等の樹脂が成膜されたものである。この際、薄膜層15は、膜厚が5μm以上、500μm以下の範囲内に収まるように膜厚調整されている。また、この薄膜層15は、図示しないレーザマーカ装置等から照射されたレーザ光Lに沿って削られることで、識別コードCを表示するようになっている。これについては、後に詳細に説明する。
また、薄膜層15は、カセット本体2の色に対して少なくとも明度が異なる色とされている。本実施形態では、薄膜層15の色の方が、カセット本体2の色よりも低い明度になっている。具体的には、薄膜層15が、JIS-Z8102で規定される明度(V)が6.0以下の色である深緑(V=3.0)であり、カセット本体2及び蓋部3が、JIS-Z8102で規定される明度(V)が6.5以上の色である緑(V=6.5)となっている。
上記蓋部3は、図6及び図7に示すように、上面視矩形状に形成された板状の部材であり、カセット本体2の収容凹部10の側壁部2cを完全に覆うサイズに形成されている。また、蓋部3の下面には、矩形状に囲まれた段部3aが形成されている。この段部3aは、カセット本体2の側壁部2cに当接しながら収容凹部10内に入り込むサイズに形成されたものである。これにより、蓋部3をカセット本体2に重ねたときに、段部3aが収容凹部10内に入り込むので、蓋部3が水平方向に位置ずれしないようになっている。
また、この段部3aに囲まれた領域内には、カセット本体2と同様に複数の貫通孔20がアレイ状に形成されている。これにより、蓋部3をカセット本体2に重ねたときに、蓋部3側の貫通孔20を介して収容凹部10の内部と外部とが連通するようになっている。
また、蓋部3の下面には、上述したカセット本体2の挿入孔12内に挿入される係合片21と、カセット本体2の突起部13に係合する係合爪22とが形成されている。係合片21は、カセット本体2の底面2aと平坦面2bとのなす角度θと略同じ角度で一端側から突出するように形成されており、挿入孔12内に挿入された後、平坦面2bの裏面側に面接触して蓋部3を位置決めするようになっている。また、係合爪22は、蓋部3の下面に対して略直交する方向に突出するように形成され、先端が鉤状になって突起部13に引っ掛かって係合するようになっている。
このように蓋部3は、段部3a及び係合片21によってカセット本体2に対して所定の位置に重ね合わされると共に、係合爪22を突起部13に係合することによって、カセット本体2に対して装着されるようになっている。
次に、上述した包埋カセット1を利用して包埋ブロックBを作製する場合について、説明する。
始めに作業者は、ホルマリン固定された生体試料Sを準備すると共に、該生体試料Sを収容するための図2及び図3に示す包埋カセット1を準備する。次に、作業者は、生体試料Sに関する必要な情報、例えば、実験動物の種類、臓器の種類等を予め識別コードCとして包埋カセット1に表示する作業を行う。具体的には、図8に示すように、市販されているレーザマーカ装置等を利用して、レーザ光Lを薄膜層15に照射する。すると、薄膜層15は、このレーザ光Lに沿って削り取られる。これにより、図9に示すように、包埋カセット1に対して、必要な情報を識別コードC(ABC20060423−A1201)として刻印することができる。
包埋カセット1に識別コードCを刻印した後、カセット本体2から蓋部3を取り外す。次いで、刻印した識別コードCに該当する生体試料Sを適当な大きさに切断した後、カセット本体2の収容凹部10内に生体試料Sを収容する。そして収容した後、蓋部3をカセット本体2に装着して生体試料Sを内部に閉じ込める。つまり、蓋部3の係合片21をカセット本体2の挿入孔12に入れた状態で、蓋部3をカセット本体2に徐々に重ね合わせる。すると、係合片21側から徐々に蓋部3の段部3aがカセット本体2の収容凹部10内に入り込み始める。これにより、蓋部3が位置決めされるので、カセット本体2に対して蓋部3を正確に重ね合わせることができる。そして、最後に蓋部3の係合爪22をカセット本体2の突起部13に嵌め込むことで、蓋部3をカセット本体2に対して確実に装着することができ、収容凹部10の開口を閉塞することができる。
生体試料Sを閉じ込めた後、生体試料Sのパラフィン置換処理を行う。まず、図10に示すように、薬剤Wとしてアルコールw1が満たされたパレット30内に、包埋カセット1を浸漬する。この際、収容凹部10の内部は、カセット本体2及び蓋部3にそれぞれ形成されている貫通孔11、20を介して外部に連通しているので、アルコールw1が収容凹部10内に流入する。そのため、生体試料Sは、内部の水分や脂質がアルコールw1で置換、即ち、脱水処理、脱脂処理される。
次いで、パレット30内の薬剤Wをキシレンw2に入れ替える。これにより、先ほど置換したアルコールw1を、キシレンw2に置換する。そして、最後にパレット30内の薬剤Wを液状のパラフィンPに入れ換えて、先ほど置換したキシレンw2を、パラフィンPに置換する。これにより、水分や脂質がパラフィン置換処理された生体試料Sを作製することができる。
このパラフィン置換処理作業が終了した後、図11に示すように、カセット本体2から蓋部3を取り外しておく。また、液状のパラフィンPが満たされた段部31aを有する包埋皿31を用意しておく。そして、カセット本体2の収容凹部10内から生体試料Sを取り出すと共に、取り出した生体試料Sを包埋皿31内に収容してパラフィンPに浸漬させる。また、これと同時に図12に示すように、空になったカセット本体2を包埋皿31の段部31aに載置して包埋皿31に蓋をする。この際、カセット本体2の収容凹部10内にもパラフィンPが入り込むように、パラフィンPの量が調整されている。この状態で、包埋皿31を冷却してパラフィンPを冷却固化させる。
これにより、生体試料Sが包埋された包埋ブロックBを作製することができる。この際、包埋ブロックBは、カセット本体2の底面2aにくっ付いて繋がった状態となっている。そして、最後に図13に示すように、底面2aに包埋ブロックBが繋がったカセット本体2を包埋皿31から取り外して裏返しにする。その結果、カセット本体2の底面2a上に固体された包埋ブロックBを得ることができる。
上述したように、包埋ブロックBを作製するにあたり、包埋カセット1を、生体試料Sのパラフィン置換処理を行うための容器として使用すると共に、包埋ブロックBの載置台として使用している。このように包埋カセット1を2つの場面で使用しているので、多数の生体試料Sを一度に処理したとしても、生体試料S同士の混同を防止することができる。しかも、カセット本体2には、図9に示すように、生体試料Sに関する識別コードCが表示されているので、品質管理を正確に行うことができる。
特に、従来のような単に識別コードCを印字するだけの方法とは異なり、レーザ光Lを利用して薄膜層15を削り、識別コードCを刻印することができるので、包埋ブロックBを作製する作業中に識別コードCが擦れ等によって剥がれてしまうことがない。そのため、包埋ブロックBの品質管理を常に正確に行うことができる。
また、レーザ光Lを利用して識別コードCを刻印できるので、短時間の作業で済む。そのため、作業効率を向上することができる。また、非接触で識別コードCを刻印できるので、薄膜層15の表面粗さに影響を受けることなく識別コードCを表示することができる。またこれに加えて、印字される面とレーザマーカ装置の印字ヘッド面とが厳密に一致していなくても印字不良が生じない。そのため、過度の注意を払わずに薄膜層15を平坦面2b上に成膜することができる。
また、薄膜層15の色は、カセット本体2の色に対して少なくとも明度が異なるので、薄膜層15を削って刻印した識別コードCを、背景色でもある薄膜層15の色とは異なる明度で表示することができる。そのため、識別コードCと背景色との明るさを変えることができ、明度差を利用して識別コードCを表示することができる。従って、コントラストを付けることができ、明瞭な視認性を確保することができる。
特に、本実施形態の場合には、薄膜層15の色が深緑であり、カセット本体2の色が緑である。つまり、薄膜層15の色の方が、カセット本体2の色よりも黒に近い暗色となっている。そのため、暗色とされた背景色の中に、該背景色よりも明るい色で識別コードCを表示することができる。よって、背景色と識別コードCとの明度差を明確につけることができ、視認性をより向上することができる。しかも、深緑は明度(V)が3.0であり、緑は明度(V)が6.5であるので、明度対比の効果によりコントラストがよりはっきりしている。よって、識別コードCをより鮮明に表示することができ見易い。
また、包埋ブロックBを作製した途中でパラフィンPが薄膜層15上に多少残っていたとしても、上述したように識別コードCの色と背景色の色との明度差を利用して高い視認性が確保されているので、従来のものに比較して識別コードCを鮮明に見ることができる。そのため、パラフィンPを手作業で削り落とす作業を省くこともでき、作業性を向上することができる。また仮にパラフィンPを削り落としたとしても、刻印によって識別コードCが表示されているので、従来のように識別コードCが剥がれてしまうことがない。
更に、刻印により表示されている識別コードCに、仮に白色のパラフィンPが付着してしまったとしても、該識別コードCがより明るい淡色となるので、コントラストがさらにつき易い。そのため、視認性に何ら影響を与えることがない。
また、本実施形態の薄膜層15及びカセット本体2は、共に耐キシレン性、耐アルコール性を有する材料により形成されているので、パラフィン置換処理する際に使用したキシレンやアルコールの影響を何ら受けることがない。よって、耐久性を向上することができると共に、鮮明な識別コードCの表示を維持することができる。
また、本実施形態の薄膜層15は、膜厚が5μm以上であるので、薄膜層として十分な強度を確保することができ、識別コードCをレーザ光Lで刻印する最中、或いは、識別コードCを刻印した後に、薄膜層15が剥がれてしまったり、欠けたりする恐れがない。よって、製品の信頼性を向上することができる。更に、薄膜層15は、膜厚が500μm以下であるので、市販されているレーザマーカ装置(例えば、炭酸ガスレーザマーカ装置)によるレーザ光Lで、容易且つ確実に薄膜層15を削って識別コードCを刻印することができる。また、仮に膜厚がこれより厚い場合には、幅が太くなり、刻印した際に字が潰れたり不鮮明になったりしてしまう。
上述したように本実施形態の包埋カセット1によれば、レーザ光Lを利用して識別コードCを刻印することができ、剥がれ落ちを防止しながら、パラフィンPの影響を受けることなく識別コードCの表示を行うことができる。
なお、本発明の技術範囲は上記実施の形態に限定されるものではなく、本発明の趣旨を逸脱しない範囲において種々の変更を加えることが可能である。
例えば、上記実施形態において、薄膜層15を成膜した後に、表面をシボ加工や艶だし処理等によって鏡面処理しても構わない。こうすることで、薄膜層15の表面にパラフィンPが付着し難くなると共に、仮にパラフィンPが付着したとしても容易にパラフィンPを剥すことができる。
また、上記実施形態では、平坦面2b上に薄膜層15を成膜した場合を例に挙げて説明したが、成膜に限定されるものではない。例えば、平坦面2b上に、色素を含む熱硬化性樹脂を塗布することで薄膜層15を設けても構わない。こうすることで、より安価で効率良く包埋カセット1を製造することができる。特に、一液型エポキシ樹脂接着剤に無機系顔料を添加して色をつけた熱硬化性樹脂を用いることが好ましい。この熱硬化性樹脂を用いることで、確実にキシレンに耐えることができる。
また、上記実施形態では、薄膜層15を深緑とし、カセット本体2を緑としたが、この色の組み合わせに限定されるものではない。少なくとも明度が異なる色であれば、自由に選択して構わない。但し、好ましくは、JIS−Z8102で規定される明度(V)が6.0以下の色を薄膜層15に選択し、明度(V)が6.5以上の色をカセット本体2の色に選択すると良い。その中でも、より好ましくは、薄膜層15の色を明度(V)が1.5の黒とし、カセット本体2の色を明度(V)が9.5の白とすることが好ましい。
また、上記実施形態では、平坦面2bが斜面となっていたが、この場合に限られず、カセット本体2の表面上に形成されていれば斜面でなくても構わないし、どの位置であっても構わない。
更に、上記実施形態では、カセット本体2上に薄膜層15を設け、該薄膜層15をレーザ光Lで削ることで識別コードCを表示する構成としたが、薄膜層15をなくし、カセット本体2及び蓋部3だけで包埋カセット1を構成しても構わない。
即ち、この場合には、カセット本体2を明度の異なるポリアセタール樹脂を2色成形して作製すれば良い。具体的には、それぞれ明度の異なる2色のポリアセタール樹脂を2層に積層してカセット本体2を成形する。しかもこれらポリアセタール樹脂は、レーザ光Lの照射によって削られるものである。そのため作業者は、包埋ブロックBを作製する際に、予め1層目のポリアセタール樹脂にレーザ光Lを照射して、識別コードCを刻印することができる。
この際、積層されたポリアセタール樹脂の色は、それぞれ明度が異なる色となっている。そのため、1層目のポリアセタール樹脂を削って刻印した識別コードC(2層目のポリアセタール樹脂の色となっている)を、背景色でもある1層目のポリアセタール樹脂とは異なる明度で表示することができる。よって、薄膜層15の場合と同様に、明度差を利用して識別コードCを表示することができ、明瞭な視認性を確保することができる。
本発明に係る包埋カセットを利用して作製させる包埋ブロックの斜視図である。 本発明に係る包埋カセットの一実施例を示す上面図である。 図2に示す包埋カセットの断面図である。 図2に示す包埋カセットを構成するカセット本体の上面図である。 図4に示すカセット本体のD−D断面図である。 図2に示す包埋カセットを構成する蓋部の上面図である。 図6に示す蓋部のE−E断面図である。 図2に示す包埋カセットの薄膜層にレーザ光を照射して削り、識別コードを刻印している状態を示す図である。 刻印された識別コードの一例を示した図である。 図2に示す包埋カセットを利用して包埋ブロックを作製する際の一工程図であって、包埋カセット内に生体試料を収容した後、該包埋カセットを薬剤が満たされたパレット内に収容した状態である。 図2に示す包埋カセットを利用して包埋ブロックを作製する際の一工程図であって、図10に示す状態の後、パラフィン置換処理された生体試料をカセット本体から取り出して、液状のパラフィンが満たされた包埋皿の中に移し変えている状態を示す図である。 図2に示す包埋カセットを利用して包埋ブロックを作製する際の一工程図であって、図11に示す状態の後、空になったカセット本体を包埋皿の段部上に載置した状態を示す図である。 図2に示す包埋カセットを利用して包埋ブロックを作製する際の一工程図であって、図12に示す状態の後、パラフィンを固化させて包埋ブロックを作製し、その後、カセット本体を包埋皿から取り出した状態を示す図である。
符号の説明
B 包埋ブロック
C 識別コード
L レーザ光
P パラフィン(包埋剤)
S 生体試料
1 包埋カセット
2 カセット本体
2a カセット本体の底面
2b カセット本体の平坦面
3 蓋部
10 収容凹部
15 薄膜層






Claims (8)

  1. 生体試料のパラフィン置換処理を行うための容器として使用されると共に、パラフィン置換処理された前記生体試料が包埋剤に包埋された包埋ブロックを載置して、該包埋ブロックの載置台として使用される包埋カセットであって、
    前記生体試料を収容する収容凹部が開口して形成され、表面上に平坦面が形成されたカセット本体と、
    該カセット本体に対して着脱自在に固定され、前記収容凹部を閉塞する蓋部と、
    前記カセット本体の色に対して少なくとも明度が異なる色で前記平坦面上に設けられた薄膜層とを備え、
    該薄膜層は、照射されたレーザ光に沿って削られることで識別コードを表示することを特徴とする包埋カセット。
  2. 請求項1に記載の包埋カセットにおいて、
    前記薄膜層の色は、前記カセット本体の色よりも低い明度であることを特徴とする包埋カセット。
  3. 請求項2に記載の包埋カセットにおいて、
    前記薄膜層は、JIS−Z8102で規定される明度(V)が6.0以下の色であり、
    前記カセット本体は、JIS−Z8102で規定される明度(V)が6.5以上の色であることを特徴とする包埋カセット。
  4. 請求項1から3のいずれか1項に記載の包埋カセットにおいて、
    前記カセット本体及び前記薄膜層は、耐キシレン性及び耐アルコール性を有する材料によりそれぞれ形成されていることを特徴とする包埋カセット。
  5. 請求項1から4のいずれか1項に記載の包埋カセットにおいて、
    前記薄膜層は、色素を含む熱硬化性樹脂が塗布されたものであることを特徴とする包埋カセット。
  6. 請求項1から5のいずれか1項に記載の包埋カセットにおいて、
    前記薄膜層は、5μm以上、500μm以下の膜厚であることを特徴とする包埋カセット。
  7. 請求項1から6のいずれか1項に記載の包埋カセットにおいて、
    前記薄膜層は、表面が鏡面処理されていることを特徴とする包埋カセット。
  8. 生体試料のパラフィン置換処理を行うための容器として使用されると共に、パラフィン置換処理された前記生体試料が包埋剤に包埋された包埋ブロックを載置して、該包埋ブロックの載置台として使用される包埋カセットであって、
    前記生体試料を収容する収容凹部が開口して形成され、表面上に平坦面が形成されたカセット本体と、
    該カセット本体に対して着脱自在に固定され、前記収容凹部を閉塞する蓋部とを備え、
    前記カセット本体は、明度の異なるポリアセタール樹脂を2色成形して作製されたものであり、前記平坦面上に照射されたレーザ光に沿って削られることで識別コードを表示することを特徴とする包埋カセット。

JP2006198090A 2006-07-20 2006-07-20 包埋カセット Withdrawn JP2008026112A (ja)

Priority Applications (3)

Application Number Priority Date Filing Date Title
JP2006198090A JP2008026112A (ja) 2006-07-20 2006-07-20 包埋カセット
US11/880,388 US20080044315A1 (en) 2006-07-20 2007-07-19 Embedding cassette
EP07252880A EP1884285A1 (en) 2006-07-20 2007-07-20 Embedding cassette with laser marking

Applications Claiming Priority (1)

Application Number Priority Date Filing Date Title
JP2006198090A JP2008026112A (ja) 2006-07-20 2006-07-20 包埋カセット

Publications (2)

Publication Number Publication Date
JP2008026112A true JP2008026112A (ja) 2008-02-07
JP2008026112A5 JP2008026112A5 (ja) 2009-05-28

Family

ID=38805729

Family Applications (1)

Application Number Title Priority Date Filing Date
JP2006198090A Withdrawn JP2008026112A (ja) 2006-07-20 2006-07-20 包埋カセット

Country Status (3)

Country Link
US (1) US20080044315A1 (ja)
EP (1) EP1884285A1 (ja)
JP (1) JP2008026112A (ja)

Cited By (7)

* Cited by examiner, † Cited by third party
Publication number Priority date Publication date Assignee Title
WO2010023898A1 (ja) * 2008-08-29 2010-03-04 セイコーインスツル株式会社 包埋カセット
WO2011149100A1 (ja) * 2010-05-24 2011-12-01 竹崎 岳志 病理・生検試料処理用ユニットシステム
JP2011247640A (ja) * 2010-05-24 2011-12-08 Tanizaki Teiji 生物試料の固定・移送・薬液処理ができて包埋枠状基体とユニット連結嵌合できる生物試料処理用独立籠と該生物試料用ユニット連結嵌合構成体カセットと該ユニット構成体器具であるバリ無し包埋皿とから構成される生物試料用包埋ブロック作製用ユニット構成体器具。
JP2011247647A (ja) * 2010-05-24 2011-12-08 Tanizaki Teiji 2種類の形状・機能が異なるポリマーを用いた、試料の固定移送用台紙と試料包埋定着支持剤とその使用方法
JP2014523343A (ja) * 2011-05-26 2014-09-11 マリオ・チンティ 組織包埋カセットのマーキング装置
JP2018069295A (ja) * 2016-10-31 2018-05-10 有限会社品川通信計装サービス マーキングスライドガラス及びマーキング包埋カセットにマーキングするマーキング装置及びこの装置を用いたマーキング方法
JP2022053641A (ja) * 2020-09-25 2022-04-06 株式会社ライズ・アップ 手動操作式商品搬出機構を備えた自動販売機

Families Citing this family (2)

* Cited by examiner, † Cited by third party
Publication number Priority date Publication date Assignee Title
JP2010054480A (ja) * 2008-08-29 2010-03-11 Seiko Instruments Inc 包埋カセット印字装置
KR102846474B1 (ko) * 2023-12-27 2025-08-14 충남대학교병원 디지털 슬라이드 스캐너용 조직 카세트

Citations (10)

* Cited by examiner, † Cited by third party
Publication number Priority date Publication date Assignee Title
JPH01238983A (ja) * 1988-03-18 1989-09-25 Fujitsu Ltd バーコードマーキング方法
JPH0473843A (ja) * 1990-07-12 1992-03-09 Matsushita Electric Ind Co Ltd 偏向ヨーク
JPH07266695A (ja) * 1994-03-30 1995-10-17 Rohm Co Ltd 電子部品及びそのマ−キング方法
JPH08285856A (ja) * 1995-04-13 1996-11-01 Daiichi Kigyo:Kk 検索手段を備えたプレパラート
JPH11132923A (ja) * 1997-10-27 1999-05-21 Chiyoda Mfg Co Ltd 情報記録装置付スライドガラス及び包埋カセット
JP2001324428A (ja) * 2000-05-15 2001-11-22 Murazumi Kogyo Kk 医療検査用カセット
JP2002005800A (ja) * 2000-06-23 2002-01-09 Murazumi Kogyo Kk 医療検査用カセット
JP2002082120A (ja) * 2000-09-06 2002-03-22 Itochu Fine Chemical Corp 情報自動読取り可能な生物・生体試料容器と情報自動読取りシステム
US6518542B1 (en) * 2001-10-11 2003-02-11 Infosight Corporation Colored patch laser marking
JP2005103423A (ja) * 2003-09-30 2005-04-21 Fuji Kagaku Kk マイクロ化学デバイス

Family Cites Families (9)

* Cited by examiner, † Cited by third party
Publication number Priority date Publication date Assignee Title
JPH0540449Y2 (ja) * 1987-10-14 1993-10-14
JP3104307B2 (ja) * 1991-06-28 2000-10-30 ソニー株式会社 グラビア印刷用版材
US5428857A (en) * 1992-07-20 1995-07-04 Milliken Research Corporation Identifiable rubber backed product
US5532168A (en) * 1994-08-18 1996-07-02 Marantz; Calvin Tissue biopsy specimen strainer and method
US6007929A (en) * 1997-02-20 1999-12-28 Infosight Corporation Dual paint coat laser-marking labeling system, method and product
DE10154843A1 (de) * 2001-11-08 2003-05-28 Microm Int Gmbh Verfahren und Vorrichtung zur Kennzeichnung von Objektträgern für mikrotomierte Gewebeproben und deren Bearbeitung
DE10342264C5 (de) * 2003-09-12 2012-10-31 Leica Biosystems Nussloch Gmbh System zum eindeutigen Zuordnen von histologischen Kassetten und Objektträgern
US7123280B2 (en) * 2003-09-29 2006-10-17 Konica Minolta Photo Imaging, Inc. Thermal transfer image receiving sheet and image forming method using the same
DE202004018921U1 (de) * 2004-12-06 2005-02-17 Eppendorf Ag Mikrotiterplatte

Patent Citations (10)

* Cited by examiner, † Cited by third party
Publication number Priority date Publication date Assignee Title
JPH01238983A (ja) * 1988-03-18 1989-09-25 Fujitsu Ltd バーコードマーキング方法
JPH0473843A (ja) * 1990-07-12 1992-03-09 Matsushita Electric Ind Co Ltd 偏向ヨーク
JPH07266695A (ja) * 1994-03-30 1995-10-17 Rohm Co Ltd 電子部品及びそのマ−キング方法
JPH08285856A (ja) * 1995-04-13 1996-11-01 Daiichi Kigyo:Kk 検索手段を備えたプレパラート
JPH11132923A (ja) * 1997-10-27 1999-05-21 Chiyoda Mfg Co Ltd 情報記録装置付スライドガラス及び包埋カセット
JP2001324428A (ja) * 2000-05-15 2001-11-22 Murazumi Kogyo Kk 医療検査用カセット
JP2002005800A (ja) * 2000-06-23 2002-01-09 Murazumi Kogyo Kk 医療検査用カセット
JP2002082120A (ja) * 2000-09-06 2002-03-22 Itochu Fine Chemical Corp 情報自動読取り可能な生物・生体試料容器と情報自動読取りシステム
US6518542B1 (en) * 2001-10-11 2003-02-11 Infosight Corporation Colored patch laser marking
JP2005103423A (ja) * 2003-09-30 2005-04-21 Fuji Kagaku Kk マイクロ化学デバイス

Cited By (8)

* Cited by examiner, † Cited by third party
Publication number Priority date Publication date Assignee Title
WO2010023898A1 (ja) * 2008-08-29 2010-03-04 セイコーインスツル株式会社 包埋カセット
CN102138065A (zh) * 2008-08-29 2011-07-27 精工电子有限公司 包埋盒
WO2011149100A1 (ja) * 2010-05-24 2011-12-01 竹崎 岳志 病理・生検試料処理用ユニットシステム
JP2011247640A (ja) * 2010-05-24 2011-12-08 Tanizaki Teiji 生物試料の固定・移送・薬液処理ができて包埋枠状基体とユニット連結嵌合できる生物試料処理用独立籠と該生物試料用ユニット連結嵌合構成体カセットと該ユニット構成体器具であるバリ無し包埋皿とから構成される生物試料用包埋ブロック作製用ユニット構成体器具。
JP2011247647A (ja) * 2010-05-24 2011-12-08 Tanizaki Teiji 2種類の形状・機能が異なるポリマーを用いた、試料の固定移送用台紙と試料包埋定着支持剤とその使用方法
JP2014523343A (ja) * 2011-05-26 2014-09-11 マリオ・チンティ 組織包埋カセットのマーキング装置
JP2018069295A (ja) * 2016-10-31 2018-05-10 有限会社品川通信計装サービス マーキングスライドガラス及びマーキング包埋カセットにマーキングするマーキング装置及びこの装置を用いたマーキング方法
JP2022053641A (ja) * 2020-09-25 2022-04-06 株式会社ライズ・アップ 手動操作式商品搬出機構を備えた自動販売機

Also Published As

Publication number Publication date
EP1884285A1 (en) 2008-02-06
US20080044315A1 (en) 2008-02-21

Similar Documents

Publication Publication Date Title
EP1884285A1 (en) Embedding cassette with laser marking
AU578714B2 (en) Method and apparatus for identification of histology samples
US20060008790A1 (en) Methods and apparatuses for the automated production, collection, handling, and imaging of large numbers of serial tissue sections
WO2010023898A1 (ja) 包埋カセット
JP2019511736A (ja) 切断されていない組織検体を撮像するための方法及び装置
US20100073766A1 (en) Microscope slide testing and identification assembly
US9594087B2 (en) Cassette
US20140022631A1 (en) Microscope slide for specimen tracking and verification, and method of making same
JP2002125656A (ja) 細胞培養容器
US20080044649A1 (en) Identification code labeling tape
JP2002303568A (ja) 病理組織試料用カセットとそれを用いた包埋ブロックの成形方法
US20260008058A1 (en) Methods for processing a pathology specimen
US20060239867A1 (en) Radio frequency identification (RFID) in laboratories
US20100072272A1 (en) Microscope slide coverslip and uses thereof
JP2002005800A (ja) 医療検査用カセット
US20240077712A1 (en) Microscope Slide and Method for Selecting the Same
JP2025505368A (ja) 実験室での使用のためのプラスチック製対象物にマーキングする方法、および実験室での使用のためのプラスチック製対象物であって、マークを含む対象物
JP2008026112A5 (ja)
JP2020079759A (ja) 医療検査用カセットを収容するためのトレイおよびそれを用いた医療検査用カセットへの検査情報の印刷方法
JP6473314B2 (ja) パラフィンブロック作成具
JP2002214093A (ja) 医療検査用カセット
JP2016099547A (ja) 表示部材、培養容器、及び培養容器キット
JP4642498B2 (ja) 医療検査用カセット及び該カセットを用いたカセットブロックの製造方法
US20240246079A1 (en) Cassette Assembly
IT201800008000A1 (it) Stampante laser per vetrini istologici e citologici.

Legal Events

Date Code Title Description
A521 Written amendment

Free format text: JAPANESE INTERMEDIATE CODE: A523

Effective date: 20090409

A621 Written request for application examination

Free format text: JAPANESE INTERMEDIATE CODE: A621

Effective date: 20090409

A977 Report on retrieval

Free format text: JAPANESE INTERMEDIATE CODE: A971007

Effective date: 20110525

A131 Notification of reasons for refusal

Free format text: JAPANESE INTERMEDIATE CODE: A131

Effective date: 20110531

A761 Written withdrawal of application

Free format text: JAPANESE INTERMEDIATE CODE: A761

Effective date: 20110705