[go: up one dir, main page]

JP2007081294A - Nonvolatile semiconductor memory device and manufacturing method thereof - Google Patents

Nonvolatile semiconductor memory device and manufacturing method thereof Download PDF

Info

Publication number
JP2007081294A
JP2007081294A JP2005270108A JP2005270108A JP2007081294A JP 2007081294 A JP2007081294 A JP 2007081294A JP 2005270108 A JP2005270108 A JP 2005270108A JP 2005270108 A JP2005270108 A JP 2005270108A JP 2007081294 A JP2007081294 A JP 2007081294A
Authority
JP
Japan
Prior art keywords
insulating film
element isolation
memory device
charge holding
semiconductor memory
Prior art date
Legal status (The legal status is an assumption and is not a legal conclusion. Google has not performed a legal analysis and makes no representation as to the accuracy of the status listed.)
Pending
Application number
JP2005270108A
Other languages
Japanese (ja)
Inventor
Fumiyoshi Yoshioka
史善 吉岡
Current Assignee (The listed assignees may be inaccurate. Google has not performed a legal analysis and makes no representation or warranty as to the accuracy of the list.)
Sharp Corp
Original Assignee
Sharp Corp
Priority date (The priority date is an assumption and is not a legal conclusion. Google has not performed a legal analysis and makes no representation as to the accuracy of the date listed.)
Filing date
Publication date
Application filed by Sharp Corp filed Critical Sharp Corp
Priority to JP2005270108A priority Critical patent/JP2007081294A/en
Publication of JP2007081294A publication Critical patent/JP2007081294A/en
Pending legal-status Critical Current

Links

Images

Landscapes

  • Element Separation (AREA)
  • Semiconductor Memories (AREA)
  • Non-Volatile Memory (AREA)

Abstract

<P>PROBLEM TO BE SOLVED: To provide a nonvolatile semiconductor memory device which is improved in memory holding properties. <P>SOLUTION: In the nonvolatile semiconductor memory device, a charge holding part 13 is not located on an element isolation insulating film 11, so that charges injected into the charge holding part 13 on an active region hardly moves to the element isolation insulating region 11, and charge stored in the charge holding part 13 on a channel region 19 never decreases in charge density, Therefore, the semiconductor memory device of this design can be improved in memory holding properties. <P>COPYRIGHT: (C)2007,JPO&INPIT

Description

この発明は、不揮発性半導体記憶装置およびその製造方法に関する。   The present invention relates to a nonvolatile semiconductor memory device and a manufacturing method thereof.

現在、電気的に書き換え可能な不揮発性半導体記憶装置として、フラッシュメモリが広く知られている。このフラッシュメモリはフローティングゲートと呼ばれる導電性の電荷蓄積領域に電荷を蓄積することによって情報を記憶している。   Currently, flash memories are widely known as electrically rewritable nonvolatile semiconductor memory devices. This flash memory stores information by accumulating charges in a conductive charge accumulation region called a floating gate.

また、電荷蓄積領域として、例えば、酸化膜/窒化膜/酸化膜などの絶縁性の膜を用いたタイプのものも提案されている。電荷蓄積領域として絶縁性の膜を用いると、ソース側、およびドレイン側に、それぞれ独立に電荷を蓄積することができ、1つの素子で2ビットの情報を記憶することが可能となる。   As a charge storage region, for example, a type using an insulating film such as an oxide film / nitride film / oxide film has been proposed. When an insulating film is used as the charge storage region, charges can be stored independently on the source side and the drain side, so that one element can store 2-bit information.

図7A〜図7Cに、第1の従来例として、電荷蓄積領域として絶縁膜を用いるタイプの不揮発性半導体記憶装置を示す。図7Aはこの従来例の平面図であり、図7Bは図7AにおけるB−B’断面図であり、図7Cは図7AにおけるA−A’断面図である。この従来例は、電荷蓄積領域としてゲート電極下に配置された酸化膜/窒化膜/酸化膜の積層構造を持った、いわゆるMONOS(Metal/Oxide/Nitride/Oxide/Silicon)タイプの不揮発性半導体記憶装置を示す(例えば、特許文献1(特開2004−221448号公報)参照)。   7A to 7C show a nonvolatile semiconductor memory device of a type using an insulating film as a charge storage region as a first conventional example. 7A is a plan view of this conventional example, FIG. 7B is a cross-sectional view along B-B ′ in FIG. 7A, and FIG. 7C is a cross-sectional view along A-A ′ in FIG. 7A. This conventional example is a so-called MONOS (Metal / Oxide / Nitride / Oxide / Silicon) type non-volatile semiconductor memory having a stacked structure of oxide film / nitride film / oxide film disposed under a gate electrode as a charge storage region. An apparatus is shown (for example, refer to Patent Document 1 (Japanese Patent Laid-Open No. 2004-221448)).

図7A〜図7Cにおいて、710は半導体基板、711は素子分離絶縁膜、712は下部絶縁膜、713は電荷保持領域となる窒化膜、714は上部絶縁膜、715はゲート電極、716はソース領域、717はドレイン領域である。   7A to 7C, reference numeral 710 denotes a semiconductor substrate, 711 denotes an element isolation insulating film, 712 denotes a lower insulating film, 713 denotes a nitride film serving as a charge holding region, 714 denotes an upper insulating film, 715 denotes a gate electrode, and 716 denotes a source region. , 717 are drain regions.

データの書き込みは、電子を注入し、窒化膜713にトラップさせることにより、この不揮発性半導体記憶装置(メモリセルトランジスタ)のしきい値を増大させることにより行う。具体的には、ゲート電極715に8(V)、ドレイン領域717に5(V)、ソース領域716と半導体基板710に0(V)を印加することによって、ドレイン領域717近傍で発生したホットエレクトロンを窒化膜713のドレイン側に注入しトラップさせることにより書き込みを行う。ここで、この書込み時のソース領域716とドレイン領域717への電圧印加条件を逆にすることによって、図7Bにおける窒化膜713のソース側のみに電子をトラップさせることも可能となる。つまり、1つの素子で2ビットを記憶させることが可能となる。   Data is written by injecting electrons and trapping them in the nitride film 713 to increase the threshold value of the nonvolatile semiconductor memory device (memory cell transistor). Specifically, by applying 8 (V) to the gate electrode 715, 5 (V) to the drain region 717, and 0 (V) to the source region 716 and the semiconductor substrate 710, hot electrons generated near the drain region 717 are applied. Is written to the drain side of the nitride film 713 and trapped. Here, by reversing the voltage application conditions to the source region 716 and the drain region 717 at the time of writing, it becomes possible to trap electrons only on the source side of the nitride film 713 in FIG. 7B. That is, 2 bits can be stored in one element.

一方、データの消去は、ホールをシリコン窒化膜713に注入することによって、上記トラップされた電子を中和させ、メモリセルトランジスタのしきい値を下げることにより行う。具体的には、ゲート電極715に−6(V)、ソース領域716およびドレイン領域717に5(V)を印加し、バンド間トンネリングにより発生したホットホールをシリコン窒化膜713に注入することによって消去を行う。   On the other hand, data is erased by injecting holes into the silicon nitride film 713 to neutralize the trapped electrons and lower the threshold value of the memory cell transistor. Specifically, -6 (V) is applied to the gate electrode 715, 5 (V) is applied to the source region 716 and the drain region 717, and hot holes generated by band-to-band tunneling are injected into the silicon nitride film 713, thereby erasing. I do.

次に、図8A〜図8Cに、第2の従来例として、上記第1の従来例のMONOSタイプの不揮発性半導体記憶装置に比べて、2ビットの記憶部分の分離を改善した不揮発性半導体記憶装置を示す(例えば、特許文献2(特開2004−56095号公報)参照)。図8Aはこの従来例の平面図であり、図8Bは図8AにおけるB−B’断面図であり、図8Cは図8AにおけるA−A’断面図である。   Next, as a second conventional example, FIG. 8A to FIG. 8C show a nonvolatile semiconductor memory in which the separation of the storage portion of 2 bits is improved as compared with the MONOS type nonvolatile semiconductor memory device of the first conventional example. An apparatus is shown (for example, refer to Patent Document 2 (Japanese Patent Laid-Open No. 2004-56095)). FIG. 8A is a plan view of this conventional example, FIG. 8B is a B-B ′ sectional view in FIG. 8A, and FIG. 8C is an A-A ′ sectional view in FIG. 8A.

図8A〜図8Cにおいて、810は半導体基板、811は素子分離絶縁膜、812は下部絶縁膜、813は電荷保持領域となる窒化膜、814は上部絶縁膜、815はゲート電極、816はソース領域、817はドレイン領域である。   8A to 8C, reference numeral 810 denotes a semiconductor substrate, 811 denotes an element isolation insulating film, 812 denotes a lower insulating film, 813 denotes a nitride film serving as a charge holding region, 814 denotes an upper insulating film, 815 denotes a gate electrode, and 816 denotes a source region. , 817 are drain regions.

この第2従来例が、前述のMONOSタイプの第1従来例と異なる点は電荷保持領域813がゲート電極815の側壁に対向していることである。図8Bでは、電荷保持領域813がゲート電極815により分離されているので、前述の第1従来例に比べて、2ビットの記憶部分の分離を改善することに成功している。   The second conventional example is different from the first conventional example of the MONOS type in that the charge holding region 813 is opposed to the side wall of the gate electrode 815. In FIG. 8B, since the charge holding region 813 is separated by the gate electrode 815, the separation of the storage portion of 2 bits has been successfully improved as compared with the first conventional example.

ところで、上述の第1,第2の従来例の不揮発性半導体記憶装置では、電荷保持領域713,813が素子分離絶縁膜711,811上まで延在している。   Incidentally, in the above-described nonvolatile semiconductor memory devices of the first and second conventional examples, the charge holding regions 713 and 813 extend to the element isolation insulating films 711 and 811.

これについての説明をするために、まず、図7A〜図7Cに示す第1従来例の不揮発性半導体記憶装置の製造方法を説明する。まず、素子分離絶縁膜711を形成した半導体基板710上に下部絶縁膜712、電荷保持領域となる窒化膜713、上部絶縁膜714を順次積層し、続いてポリシリコンを堆積する。その後、レジストを用いてパターニングした後、ポリシリコンをエッチングしゲート電極715を作製する。ここで、上記レジストパターンで上部絶縁膜714、窒化膜713、下部絶縁膜712も同時にエッチングを行う。その後、ソース領域716およびドレイン領域717を形成することによって、図7A〜図7Cに示す第1従来例の不揮発性半導体記憶装置が完成する。   In order to explain this, first, a method of manufacturing the nonvolatile semiconductor memory device of the first conventional example shown in FIGS. 7A to 7C will be described. First, a lower insulating film 712, a nitride film 713 serving as a charge holding region, and an upper insulating film 714 are sequentially stacked on a semiconductor substrate 710 on which an element isolation insulating film 711 is formed, and then polysilicon is deposited. Then, after patterning using a resist, the polysilicon is etched to form the gate electrode 715. Here, the upper insulating film 714, the nitride film 713, and the lower insulating film 712 are simultaneously etched with the resist pattern. Thereafter, a source region 716 and a drain region 717 are formed, whereby the first conventional nonvolatile semiconductor memory device shown in FIGS. 7A to 7C is completed.

このように、第1従来例の不揮発性半導体記憶装置では、ゲート電極715を形成する時に、同時に電荷保持領域である窒化膜713も形成されるので、素子分離絶縁膜711上の領域を含むゲート電極715の下方の領域のすべてに電荷蓄積領域713が形成されてしまう。   As described above, in the nonvolatile semiconductor memory device of the first conventional example, when the gate electrode 715 is formed, the nitride film 713 which is a charge holding region is also formed at the same time, so the gate including the region on the element isolation insulating film 711 is formed. The charge accumulation region 713 is formed in the entire region below the electrode 715.

ここで、ゲート電極715が素子分離絶縁膜711上まで延在している理由は、ゲート電極715とコンタクトを取る際には、ある程度大きなゲート面積が必要であり、通常そのコンタクト部は素子分離領域上にあるためである。また、図7A〜図7Cに示す不揮発性半導体記憶装置を多数並べてセルアレイ化する際には、ゲート電極715がワードラインとして機能し、1本のゲート電極が複数の素子のゲート電極を兼ねるため、ゲート電極は必然的に素子分離上に延在することとなるためである。   Here, the reason why the gate electrode 715 extends to the element isolation insulating film 711 is that a large gate area is required to make contact with the gate electrode 715, and the contact portion usually has an element isolation region. Because it is above. Further, when a large number of nonvolatile semiconductor memory devices illustrated in FIGS. 7A to 7C are arranged to form a cell array, the gate electrode 715 functions as a word line, and one gate electrode serves as the gate electrode of a plurality of elements. This is because the gate electrode inevitably extends over the element isolation.

次に、図8A〜図8Cに示す第2従来例の不揮発性半導体記憶装置の製造方法を説明する。まず、素子分離絶縁膜811を形成した半導体基板810上にゲート絶縁膜818を介してゲート電極815を形成する。その後、下部絶縁膜812、窒化膜813を順次積層した後、エッチバックする。その後、上部絶縁膜814を堆積し、ソース領域816およびドレイン領域817を形成することによって、図8A〜図8Cに示す第2従来例の不揮発性半導体記憶装置が完成する。   Next, a method for manufacturing the nonvolatile semiconductor memory device of the second conventional example shown in FIGS. 8A to 8C will be described. First, a gate electrode 815 is formed over a semiconductor substrate 810 over which an element isolation insulating film 811 is formed with a gate insulating film 818 interposed therebetween. Thereafter, the lower insulating film 812 and the nitride film 813 are sequentially stacked and then etched back. Thereafter, an upper insulating film 814 is deposited, and a source region 816 and a drain region 817 are formed, whereby the nonvolatile semiconductor memory device of the second conventional example shown in FIGS. 8A to 8C is completed.

このように、第2従来例の不揮発性半導体記憶装置では、電荷蓄積領域である窒化膜813をエッチバックすることによって作製するので、素子分離絶縁膜811の上方の領域を含むゲート電極815の周りの領域のすべてに電荷蓄積領域813が形成されてしまう。   As described above, since the nonvolatile semiconductor memory device of the second conventional example is manufactured by etching back the nitride film 813 which is the charge storage region, the periphery of the gate electrode 815 including the region above the element isolation insulating film 811 is formed. The charge accumulation region 813 is formed in all the regions.

上述の如く、第1,第2の従来例の不揮発性半導体記憶装置では、電荷保持領域713,813が、素子分離絶縁膜711,811上に延在して存在していた。   As described above, in the nonvolatile semiconductor memory devices of the first and second conventional examples, the charge holding regions 713 and 813 exist on the element isolation insulating films 711 and 811.

書込みの際、電子が注入されるのは、ゲート幅方向において、電荷保持領域713,813のうちの、素子分離絶縁膜711,811で挟まれたチャネル領域上の領域のみである。つまり、電荷保持領域713,813のうちの、素子分離領域711,811上の領域には電子は注入されない。窒化膜からなる電荷保持領域713,813中に注入された電子は、図7Cおよび図8Cに矢印で示したとおり、時間と共に徐々に絶縁膜711,811上の電荷保持領域713,813に移動する。ここで、メモリセルトランジスタのしきい値は、チャネル上の電荷保持領域713,813中に蓄えられている電荷の密度によって決まるので、上記のように素子分離絶縁膜711,811上の電荷保持領域713,813に電荷が移動すると、記憶保持特性が劣化する。なお、図7A〜図7Cに示すMONOSタイプの第1従来例の場合、電荷保持領域713でチャネル方向にも電荷は移動するが、チャネル幅が小さい現在、素子分離絶縁膜711,811上への電荷移動の方が影響が大きい。
特開2004−221448号公報 特開2004−56095号公報
At the time of writing, electrons are injected only into the region on the channel region sandwiched between the element isolation insulating films 711 and 811 in the charge holding regions 713 and 813 in the gate width direction. That is, electrons are not injected into the regions above the element isolation regions 711 and 811 in the charge holding regions 713 and 813. Electrons injected into the charge holding regions 713 and 813 made of the nitride film gradually move to the charge holding regions 713 and 813 on the insulating films 711 and 811 with time as indicated by arrows in FIGS. 7C and 8C. . Here, since the threshold value of the memory cell transistor is determined by the density of charges stored in the charge holding regions 713 and 813 on the channel, the charge holding regions on the element isolation insulating films 711 and 811 as described above. When charges move to 713 and 813, the memory retention characteristics deteriorate. In the case of the first conventional example of the MONOS type shown in FIGS. 7A to 7C, although the charge moves in the channel direction in the charge holding region 713, the channel width is small, and the current on the element isolation insulating films 711 and 811 Charge transfer has a greater effect.
JP 2004-221448 A JP 2004-56095 A

そこで、この発明の課題は、記憶保持特性を改善できる不揮発性半導体記憶装置およびその製造方法を提供することにある。   SUMMARY OF THE INVENTION An object of the present invention is to provide a nonvolatile semiconductor memory device that can improve memory retention characteristics and a method for manufacturing the same.

上記課題を解決するため、この発明の不揮発性半導体記憶装置は、半導体基板と、上記半導体基板に埋め込まれた素子分離部と、上記半導体基板内に形成されると共に上記素子分離部によって分離される活性領域と、上記半導体基板上にゲート絶縁膜を介して形成されたゲート電極と、上記半導体基板中に形成されると共に上記ゲート絶縁膜の少なくとも両側に位置するソース領域およびドレイン領域と、上記半導体基板上に形成されると共に上記ゲート電極により電圧が印加される誘電体材料からなる電荷保持部と、を備え、上記電荷保持部は、上記活性領域上に存在するが上記素子分離部上に存在しないことを特徴としている。   In order to solve the above problems, a nonvolatile semiconductor memory device of the present invention includes a semiconductor substrate, an element isolation portion embedded in the semiconductor substrate, and formed in the semiconductor substrate and separated by the element isolation portion. An active region; a gate electrode formed on the semiconductor substrate via a gate insulating film; a source region and a drain region formed in the semiconductor substrate and located on at least both sides of the gate insulating film; and the semiconductor And a charge holding portion formed of a dielectric material to which a voltage is applied by the gate electrode. The charge holding portion exists on the active region but on the element isolation portion. It is characterized by not.

この発明の不揮発性半導体記憶装置では、素子分離部上には電荷保持部が存在しないので、活性領域上の電荷保持部に注入された電荷は、素子分離部上に移動することがなく、チャネル上の電荷保持部に蓄える電荷密度が低下することがない。よって、記憶保持特性が改善する。   In the nonvolatile semiconductor memory device of the present invention, since the charge holding portion does not exist on the element isolation portion, the charge injected into the charge holding portion on the active region does not move onto the element isolation portion, and the channel The charge density stored in the upper charge holding portion does not decrease. Therefore, the memory retention characteristic is improved.

また、一実施形態の不揮発性半導体記憶装置では、上記電荷保持部は、上記ゲート電極とゲート絶縁膜との間に形成されている。   Further, in the nonvolatile semiconductor memory device of one embodiment, the charge holding portion is formed between the gate electrode and the gate insulating film.

この実施形態では、ゲート電極とゲート絶縁膜との間に形成されている電荷保持部のソース側とドレイン側にそれぞれ独立に電荷を保持して、1つの素子で2ビットの情報を記憶することができる。   In this embodiment, charge is independently held on the source side and the drain side of the charge holding portion formed between the gate electrode and the gate insulating film, and 2-bit information is stored in one element. Can do.

また、一実施形態の不揮発性半導体記憶装置は、上記電荷保持部は、すくなくとも一部が上記素子分離部の上端面よりも下方に存在している。   In the nonvolatile semiconductor memory device according to one embodiment, at least a part of the charge holding unit exists below the upper end surface of the element isolation unit.

この実施形態では、素子分離絶縁膜上に電荷保持部が存在しないように作製することが容易になる。   In this embodiment, it is easy to manufacture so that no charge holding portion exists on the element isolation insulating film.

また、一実施形態の不揮発性半導体記憶装置は、上記電荷保持部は、上記ゲート電極の側壁に絶縁膜を介して対向するように配置されている。   In the nonvolatile semiconductor memory device according to one embodiment, the charge holding portion is disposed so as to face the side wall of the gate electrode with an insulating film interposed therebetween.

この実施形態によれば、ゲート電極の側壁を挟む両側に電荷保持部を配置することで、2ビットの記憶部分の分離を確実にできる。   According to this embodiment, by disposing the charge holding portions on both sides of the side wall of the gate electrode, it is possible to reliably separate the 2-bit storage portion.

また、一実施形態の不揮発性半導体記憶装置では、上記電荷保持部は、第1の絶縁膜と第2の絶縁膜とで挟まれている。   In the nonvolatile semiconductor memory device of one embodiment, the charge holding unit is sandwiched between the first insulating film and the second insulating film.

この実施形態によれば、電荷保持部を挟む第1,第2の絶縁膜によって、電荷保持部から電荷が洩れるのを抑制でき、良好な記憶保持特性を得ることができる。   According to this embodiment, the first and second insulating films sandwiching the charge holding portion can suppress the leakage of charges from the charge holding portion, and can obtain good memory holding characteristics.

また、一実施形態の不揮発性半導体記憶装置の製造方法では、半導体基板に素子分離用の溝を形成する工程と、
上記溝を素子分離絶縁膜で埋め込む工程と、
上記半導体基板上に絶縁膜を介して電荷保持部を形成する工程と、
上記電荷保持部のうち、上記素子分離絶縁膜上に存在する部分を除去する工程と、
上記電荷保持部上にゲート電極を形成する工程と、
上記ゲート電極をマスクとして上記半導体基板中に不純物を注入し、ソース領域およびドレイン領域を形成する工程とを備える。
In one embodiment of the method for manufacturing a nonvolatile semiconductor memory device, the step of forming a groove for element isolation in a semiconductor substrate;
Filling the trench with an element isolation insulating film;
Forming a charge holding portion on the semiconductor substrate via an insulating film;
Removing the portion of the charge holding portion existing on the element isolation insulating film;
Forming a gate electrode on the charge holding portion;
A step of implanting impurities into the semiconductor substrate using the gate electrode as a mask to form a source region and a drain region.

この実施形態の製造方法によれば、上記の工程を経ることによって、素子分離絶縁膜上に電荷保持部が存在しない不揮発性半導体記憶装置を良好に作製することが可能となる。   According to the manufacturing method of this embodiment, it is possible to satisfactorily manufacture a nonvolatile semiconductor memory device having no charge holding portion on the element isolation insulating film through the above-described steps.

また、一実施形態の不揮発性半導体記憶装置の製造方法は、半導体基板上に絶縁膜を介して電荷保持部となる誘電体膜を形成する工程と、
上記誘電体膜を貫通して上記半導体基板に素子分離用の溝を形成する工程と、
上記溝を素子分離絶縁膜で埋め込む工程と、
上記電荷保持部上にゲート電極を形成する工程と、
上記ゲート電極をマスクとして上記半導体基板中に不純物を注入し、ソース領域およびドレイン領域を形成する工程とを備える。
According to one embodiment, a method for manufacturing a nonvolatile semiconductor memory device includes a step of forming a dielectric film serving as a charge holding portion on a semiconductor substrate via an insulating film;
Forming a groove for element isolation in the semiconductor substrate through the dielectric film;
Filling the trench with an element isolation insulating film;
Forming a gate electrode on the charge holding portion;
A step of implanting impurities into the semiconductor substrate using the gate electrode as a mask to form a source region and a drain region.

この実施形態の製造方法によれば、上記の工程を経ることによって、素子分離絶縁膜上に電荷保持部が存在しない不揮発性半導体記憶装置を良好に作製することが可能となる。   According to the manufacturing method of this embodiment, it is possible to satisfactorily manufacture a nonvolatile semiconductor memory device having no charge holding portion on the element isolation insulating film through the above-described steps.

また、一実施形態の不揮発性半導体記憶装置の製造方法は、半導体基板に素子分離用の溝を形成する工程と、
上記溝を素子分離絶縁膜で埋め込む工程と、
上記半導体基板上にゲート絶縁膜を形成する工程と、
上記ゲート絶縁膜上にゲート電極を形成する工程と、
上記ゲート電極の側壁に絶縁膜を介して対向するように電荷保持部を形成する工程と、
上記電荷保持部のうち、上記素子分離絶縁膜上の部分を除去する工程と、
上記ゲート電極および上記電荷保持部をマスクとして上記半導体基板中に不純物を注入し、ソース領域およびドレイン領域を形成する工程とを備える。
According to one embodiment, a method for manufacturing a nonvolatile semiconductor memory device includes a step of forming a groove for element isolation in a semiconductor substrate,
Filling the trench with an element isolation insulating film;
Forming a gate insulating film on the semiconductor substrate;
Forming a gate electrode on the gate insulating film;
Forming a charge holding portion so as to face the side wall of the gate electrode through an insulating film;
Removing the portion of the charge retention portion on the element isolation insulating film;
A step of implanting impurities into the semiconductor substrate using the gate electrode and the charge holding portion as a mask to form a source region and a drain region.

この実施形態の製造方法によれば、上記の工程を経ることによって、素子分離絶縁膜上に電荷保持部が存在しない不揮発性半導体記憶装置を良好に作製することが可能となる。   According to the manufacturing method of this embodiment, it is possible to satisfactorily manufacture a nonvolatile semiconductor memory device having no charge holding portion on the element isolation insulating film through the above-described steps.

また、一実施形態の携帯電子機器は、上記不揮発性半導体記憶装置を備える。   Moreover, the portable electronic device of one Embodiment is provided with the said non-volatile semiconductor memory device.

この実施形態によれば、上記不揮発性半導体記憶装置を備えることによって、記憶保持特性の優れた携帯電子機器を実現することが可能となる。   According to this embodiment, by providing the nonvolatile semiconductor memory device, a portable electronic device having excellent memory retention characteristics can be realized.

この発明の不揮発性半導体記憶装置よれば、素子分離部上には電荷保持部が存在しないので、活性領域上の電荷保持部に注入された電荷は、素子分離部上に移動することがなく、チャネル上の電荷保持部に蓄える電荷密度が低下することがない。よって、記憶保持特性が改善する。   According to the nonvolatile semiconductor memory device of the present invention, since the charge holding portion does not exist on the element isolation portion, the charge injected into the charge holding portion on the active region does not move onto the element isolation portion, The charge density stored in the charge holding portion on the channel does not decrease. Therefore, the memory retention characteristic is improved.

以下、この発明を図示の実施の形態により詳細に説明する。   Hereinafter, the present invention will be described in detail with reference to the illustrated embodiments.

(第1の実施の形態)
図1A〜図1Cに、この発明の不揮発性半導体記憶装置の第1実施形態を示す。図1Aは第1実施形態の平面図であり、図1Bは図1AにおけるB−B’断面図であり、図1Cは図1AにおけるA−A’断面図である。
(First embodiment)
1A to 1C show a nonvolatile semiconductor memory device according to a first embodiment of the present invention. 1A is a plan view of the first embodiment, FIG. 1B is a BB ′ sectional view in FIG. 1A, and FIG. 1C is an AA ′ sectional view in FIG. 1A.

図1Cに示すように、この第1実施形態は、半導体基板10と、この半導体基板10に埋め込まれた素子分離部としての素子分離絶縁膜11と、素子分離絶縁膜11間に形成された第2の絶縁膜としての下部絶縁膜12を有する。また、素子分離絶縁膜11間の下部絶縁膜12上にシリコン窒化膜で作製された電荷保持部13が形成されている。この電荷保持部13上には第1の絶縁膜としての上部絶縁膜14が形成され、この上部絶縁膜14上にはゲート電極15が形成されている。   As shown in FIG. 1C, the first embodiment includes a semiconductor substrate 10, an element isolation insulating film 11 as an element isolation portion embedded in the semiconductor substrate 10, and a first portion formed between the element isolation insulating films 11. 2 has a lower insulating film 12 as an insulating film. In addition, a charge holding portion 13 made of a silicon nitride film is formed on the lower insulating film 12 between the element isolation insulating films 11. An upper insulating film 14 as a first insulating film is formed on the charge holding portion 13, and a gate electrode 15 is formed on the upper insulating film 14.

図1A,図1Bに示すように、上記半導体基板10にはソース領域16とドレイン領域17が形成されている。このソース領域16とドレイン領域17の間はチャネル領域19となる。ソース領域16とドレイン領域17とチャネル領域19が活性領域を構成している。ここで、電荷保持部13は、上記活性領域上に存在するが素子分離部としての素子分離絶縁膜11上に存在していない。   As shown in FIGS. 1A and 1B, a source region 16 and a drain region 17 are formed in the semiconductor substrate 10. A channel region 19 is formed between the source region 16 and the drain region 17. The source region 16, the drain region 17, and the channel region 19 constitute an active region. Here, the charge holding portion 13 exists on the active region, but does not exist on the element isolation insulating film 11 as the element isolation portion.

したがって、ゲート電極15下の電荷保持部13のソース側とドレイン側にそれぞれ独立に電荷を保持して、1つの素子で2ビットの情報を記憶するに際し、活性領域上の電荷保持部13に注入された電荷は、素子分離部としての素子分離絶縁膜11上に移動することがない。よって、チャネル領域19上の電荷保持部13に蓄える電荷密度が低下することがないので、記憶保持特性を改善できる。   Therefore, when storing charges independently on the source side and the drain side of the charge holding unit 13 below the gate electrode 15 and storing 2-bit information in one element, it is injected into the charge holding unit 13 on the active region. The charged charges do not move onto the element isolation insulating film 11 as the element isolation part. Therefore, since the charge density stored in the charge holding portion 13 on the channel region 19 does not decrease, the memory holding characteristics can be improved.

半導体基板10は、例えば、P型シリコン基板、SOI(シリコン・オン・インシュレータ)基板などを用いることができる。また、素子分離絶縁膜11は、STI(シャロウ・トレンチ・アイソレーション)により形成されたシリコン酸化膜、またはLOCOS(ローカル・オキシデーション・オブ・シリコン)法により形成されたシリコン酸化膜などにより形成されている。   As the semiconductor substrate 10, for example, a P-type silicon substrate, an SOI (silicon on insulator) substrate, or the like can be used. The element isolation insulating film 11 is formed of a silicon oxide film formed by STI (shallow trench isolation) or a silicon oxide film formed by a LOCOS (local oxidation of silicon) method. ing.

また、素子分離部としての素子分離絶縁膜11の上端11Aは電荷保持部13の上端13Aよりも上方に位置している。もしくは、素子分離絶縁膜11の上端11Aは、電荷保持部13の上端13Aと略同じ高さに位置している。このことにより、活性領域上に存在するが素子分離絶縁膜11上に存在していない電荷保持部13を有する不揮発性半導体記憶装置を良好に製造することが可能となる。   Further, the upper end 11 </ b> A of the element isolation insulating film 11 as the element isolation part is located above the upper end 13 </ b> A of the charge holding part 13. Alternatively, the upper end 11 </ b> A of the element isolation insulating film 11 is positioned at substantially the same height as the upper end 13 </ b> A of the charge holding unit 13. This makes it possible to satisfactorily manufacture a nonvolatile semiconductor memory device having the charge holding portion 13 that exists on the active region but does not exist on the element isolation insulating film 11.

また、下部絶縁膜12は、例えば、膜厚1nm〜10nm程度のシリコン酸化膜などから形成されていて、ポテンシャルバリアとして機能する。電荷保持部13は、その内部に電荷を保持するためのトラップ準位などを有し、電荷を保持する領域として機能する。この電荷保持部13は、例えば、膜厚1nm〜15nm程度の窒化膜などにより形成されている。また、上部絶縁膜14は、例えば、膜厚1nm〜20nm程度のシリコン酸化膜などから形成されていて、ポテンシャルバリアとして機能する。したがって、この第1実施形態では、電荷保持部13を挟む上部絶縁膜14と下部絶縁膜12によって、電荷保持部13から電荷が洩れるのを抑制でき、良好な記憶保持特性を得ることができる。   The lower insulating film 12 is formed of, for example, a silicon oxide film having a thickness of about 1 nm to 10 nm and functions as a potential barrier. The charge holding portion 13 has a trap level for holding charges therein and functions as a region for holding charges. The charge holding unit 13 is formed of, for example, a nitride film having a thickness of about 1 nm to 15 nm. The upper insulating film 14 is formed of, for example, a silicon oxide film having a film thickness of about 1 nm to 20 nm and functions as a potential barrier. Therefore, in the first embodiment, the upper insulating film 14 and the lower insulating film 12 sandwiching the charge holding unit 13 can suppress the leakage of charges from the charge holding unit 13 and obtain a good memory holding characteristic.

また、ゲート電極15は、例えば、N型にドープされた多結晶シリコンなどを用いることができる。また、ソース領域16およびドレイン領域17は、例えば、高濃度にN型不純物がドープされた領域より形成されている。   The gate electrode 15 can be made of, for example, N-type doped polycrystalline silicon. The source region 16 and the drain region 17 are formed from a region doped with an N-type impurity at a high concentration, for example.

上述の如く、この第1実施形態は、従来の不揮発性半導体記憶装置と異なり、素子分離絶縁膜11上に電荷保持部13が存在していない。素子分離絶縁膜11上に電荷保持部13が存在しないことによって、書込み動作によってチャネル領域19の上方の電荷保持領域13に注入された電子が素子分離絶縁膜11上に移動することはない。したがって、この第1実施形態では、従来の記憶保持特性劣化の原因である素子分離絶縁膜上の電荷保持領域への電荷移動を防止できるので、記憶保持特性を改善できる。   As described above, in the first embodiment, unlike the conventional nonvolatile semiconductor memory device, the charge holding portion 13 does not exist on the element isolation insulating film 11. Since the charge holding portion 13 does not exist on the element isolation insulating film 11, electrons injected into the charge holding region 13 above the channel region 19 by the write operation do not move onto the element isolation insulating film 11. Therefore, in the first embodiment, since the charge transfer to the charge holding region on the element isolation insulating film, which is the cause of the conventional deterioration of the memory holding characteristic, can be prevented, the memory holding characteristic can be improved.

(製造方法)
次に、図2A〜図2Dを参照して、上記第1実施形態の不揮発性半導体記憶装置の製造方法を説明する。なお、図2A〜図2Dは、ゲート幅方向の断面図である。
(Production method)
Next, with reference to FIGS. 2A to 2D, a method for manufacturing the nonvolatile semiconductor memory device of the first embodiment will be described. 2A to 2D are cross-sectional views in the gate width direction.

まず、図2Aに示すように、P型の不純物がドープされたシリコン基板である半導体基板10上に熱酸化によって、下部絶縁膜12となる膜厚1nm〜10nmのシリコン酸化膜112を形成した後、CVD(化学気相成長)法によって、電荷保持部13となる膜厚1nm〜15nmのシリコン窒化膜113を形成する。   First, as shown in FIG. 2A, after a silicon oxide film 112 having a thickness of 1 nm to 10 nm to be the lower insulating film 12 is formed on the semiconductor substrate 10 which is a silicon substrate doped with a P-type impurity by thermal oxidation. Then, a silicon nitride film 113 having a film thickness of 1 nm to 15 nm to be the charge holding portion 13 is formed by a CVD (chemical vapor deposition) method.

次に、図2Bに示すように、レジスト(図示せず)を用いて、堆積膜(シリコン酸化膜112と窒化膜113)を活性領域の形状にパターニングし、RIE(反応性イオンエッチング)を行うことにより、堆積膜(シリコン酸化膜112とシリコン窒化膜113)を順次エッチングする。これにより、下部絶縁膜12と電荷保持部13を形成する。   Next, as shown in FIG. 2B, using a resist (not shown), the deposited films (silicon oxide film 112 and nitride film 113) are patterned into the shape of the active region, and RIE (reactive ion etching) is performed. As a result, the deposited films (silicon oxide film 112 and silicon nitride film 113) are sequentially etched. Thereby, the lower insulating film 12 and the charge holding portion 13 are formed.

続いて、同一パターンのレジストでシリコン基板10をエッチングし、シリコン基板である半導体基板10に素子分離用の溝117を形成する。その後、CVD法によって、上記溝117を埋め込むように、素子分離絶縁膜11となる膜厚200nmのシリコン酸化膜119を堆積させる。   Subsequently, the silicon substrate 10 is etched with the resist having the same pattern, and an element isolation groove 117 is formed in the semiconductor substrate 10 which is a silicon substrate. Thereafter, a 200 nm-thickness silicon oxide film 119 to be the element isolation insulating film 11 is deposited so as to fill the trench 117 by CVD.

次に、図2Cに示すように、CMP(化学的機械的研磨)プロセスによって、素子分離絶縁膜11となるシリコン絶縁膜119を平坦化し、電荷保持部13の上端13A付近まで研磨を行う。その後、フッ酸により電荷保持領域13上のシリコン絶縁膜119を除去し、素子分離絶縁膜11を形成する。ここで、シリコン基板である半導体基板10の表面部の素子分離絶縁膜11で挟まれる領域がチャネル領域19となる。   Next, as shown in FIG. 2C, the silicon insulating film 119 to be the element isolation insulating film 11 is flattened by CMP (Chemical Mechanical Polishing) process and polished to the vicinity of the upper end 13 </ b> A of the charge holding portion 13. Thereafter, the silicon insulating film 119 on the charge holding region 13 is removed with hydrofluoric acid, and the element isolation insulating film 11 is formed. Here, a region sandwiched between the element isolation insulating films 11 on the surface portion of the semiconductor substrate 10 which is a silicon substrate is a channel region 19.

次に、図2Dに示すように、CVD法により、上部絶縁膜14となる膜厚1nm〜20nmのシリコン酸化膜と、N型にドープされた多結晶シリコンを順次堆積し、レジストを用いてパターニングしたのち、RIEにより上記多結晶シリコンをエッチングし、上部絶縁膜14とゲート電極15を形成する。その後、上記ゲート電極15をマスクとして、シリコン基板である半導体基板10に例えば砒素イオンを注入し、ソース領域16およびドレイン領域17を形成する。これにより、図1A〜図1Cに示す不揮発性半導体記憶装置が完成する。   Next, as shown in FIG. 2D, a silicon oxide film having a film thickness of 1 nm to 20 nm to be the upper insulating film 14 and polycrystalline silicon doped in N-type are sequentially deposited by CVD, and patterned using a resist. After that, the polycrystalline silicon is etched by RIE to form the upper insulating film 14 and the gate electrode 15. Thereafter, for example, arsenic ions are implanted into the semiconductor substrate 10 which is a silicon substrate using the gate electrode 15 as a mask to form a source region 16 and a drain region 17. Thereby, the nonvolatile semiconductor memory device shown in FIGS. 1A to 1C is completed.

図2Bを参照して説明したように、電荷保持部13となる窒化膜113を形成した後、素子分離のための溝117を形成するレジストパターンで、上記窒化膜113をエッチングして、電荷保持部13を形成する。これにより、素子分離絶縁膜11上には電荷保持部13が延在しない。よって、電荷保持部13の電荷が素子分離領域上へ移動するという記憶保持特性の劣化の原因となる現象を回避でき、記憶保持特性の向上を図ることができる。   As described with reference to FIG. 2B, after forming the nitride film 113 to be the charge holding portion 13, the nitride film 113 is etched with a resist pattern that forms the groove 117 for element isolation, thereby holding the charge. Part 13 is formed. Thereby, the charge holding portion 13 does not extend on the element isolation insulating film 11. Therefore, it is possible to avoid the phenomenon that causes the deterioration of the memory retention characteristic that the charge of the charge retention unit 13 moves to the element isolation region, and the memory retention characteristic can be improved.

(第2の実施の形態)
次に、図3A〜図3Dを順に参照して、この発明の第2実施形態としての不揮発性半導体記憶装置の製造方法を説明する。なお、図3A〜図3Dは、図1におけるA−A’断面図である図1Cと同様に、ゲート幅方向の断面図である。
(Second embodiment)
Next, with reference to FIGS. 3A to 3D in order, a method for manufacturing the nonvolatile semiconductor memory device according to the second embodiment of the invention will be described. 3A to 3D are cross-sectional views in the gate width direction, similar to FIG. 1C, which is a cross-sectional view along AA ′ in FIG.

この第2実施形態の製造方法では、まず、図3Aに示すように、P型の不純物がドープされたシリコン基板30上に熱酸化によって膜厚10nm程度の酸化膜39を形成した後、CVD(化学気相成長)法によって、CMP(化学的機械的研磨)ストッパとなる膜厚100nm程度の窒化膜40を形成する。その後、レジスト(図示せず)を用いて、上記窒化膜40をパターニングし、RIE(反応性イオンエッチング)により上記窒化膜40をエッチングする。続いて、上記窒化膜40をマスクとして、シリコン基板30をエッチングし、シリコン基板30中に素子分離領域となる溝131を形成する。その後、CVD法によって、溝131を埋め込むようにシリコン酸化膜を膜厚200nmの厚さで堆積させる。その後、上記窒化膜40をストッパとして、CMPプロセスによって、上記シリコン酸化膜の不要部分を除去し、素子分離絶縁膜31を形成する。   In the manufacturing method of the second embodiment, as shown in FIG. 3A, first, an oxide film 39 having a thickness of about 10 nm is formed on a silicon substrate 30 doped with a P-type impurity by thermal oxidation, and then CVD ( A nitride film 40 having a thickness of about 100 nm serving as a CMP (chemical mechanical polishing) stopper is formed by a chemical vapor deposition method. Thereafter, the nitride film 40 is patterned using a resist (not shown), and the nitride film 40 is etched by RIE (reactive ion etching). Subsequently, using the nitride film 40 as a mask, the silicon substrate 30 is etched to form a trench 131 serving as an element isolation region in the silicon substrate 30. Thereafter, a silicon oxide film is deposited to a thickness of 200 nm so as to fill the trench 131 by CVD. Thereafter, an unnecessary portion of the silicon oxide film is removed by a CMP process using the nitride film 40 as a stopper, and an element isolation insulating film 31 is formed.

ここで、この素子分離絶縁膜31の上端31Aを、シリコン基板30の上端面30Aよりも3nm〜100nmだけ上方に延在させて、この上端31Aを後に形成する電荷保持部33の主要部33Aよりも上方に存在させるようにする。ここで、シリコン基板30の表面の素子分離部である素子分離絶縁膜31で挟まれる領域がチャネル領域39となる。   Here, the upper end 31A of the element isolation insulating film 31 extends 3 nm to 100 nm above the upper end surface 30A of the silicon substrate 30, and the upper end 31A is formed from a main portion 33A of the charge holding portion 33 to be formed later. Also be present above. Here, a region sandwiched between the element isolation insulating films 31 which are element isolation portions on the surface of the silicon substrate 30 is a channel region 39.

次に、図3Bに示すように、リン酸液を用いて窒化膜40を除去し、熱酸化により下部絶縁膜12となる膜厚1nm〜10nmのシリコン酸化膜132を形成する。その後、CVDにより電荷保持部34となる膜厚1nm〜15nmのシリコン窒化膜133を形成する。その後、CVDにより上部絶縁膜34となるシリコン酸化膜134を膜厚200nm程度堆積させる。   Next, as shown in FIG. 3B, the nitride film 40 is removed using a phosphoric acid solution, and a silicon oxide film 132 having a thickness of 1 nm to 10 nm to be the lower insulating film 12 is formed by thermal oxidation. Thereafter, a silicon nitride film 133 having a film thickness of 1 nm to 15 nm to be the charge holding portion 34 is formed by CVD. Thereafter, a silicon oxide film 134 to be the upper insulating film 34 is deposited by CVD to a thickness of about 200 nm.

次に、図3Cに示すように、CMPプロセスによって、素子分離絶縁膜31上のシリコン酸化膜132とシリコン窒化膜133を除去すると共に、シリコン酸化膜134の膜厚が1nm〜20nmになるまで研磨を行い、上部絶縁膜34を形成する。ここで、チャネル領域39上のシリコン窒化膜133は、素子分離絶縁膜31上の窒化膜133よりも下方に形成されているので、上記CMPプロセスでは、チャネル領域39上の電荷保持部33となるシリコン窒化膜133は研磨されない。   Next, as shown in FIG. 3C, the silicon oxide film 132 and the silicon nitride film 133 on the element isolation insulating film 31 are removed by a CMP process, and the silicon oxide film 134 is polished until the film thickness becomes 1 nm to 20 nm. The upper insulating film 34 is formed. Here, since the silicon nitride film 133 on the channel region 39 is formed below the nitride film 133 on the element isolation insulating film 31, it becomes the charge holding portion 33 on the channel region 39 in the CMP process. The silicon nitride film 133 is not polished.

また、ここで、上記CMPプロセスでは、上部絶縁膜34の膜厚を制御し難い場合は、CMPプロセスにより、素子分離部である素子分離絶縁膜31上のシリコン窒化膜133を除去した後、シリコン酸化膜132を一端フッ酸で除去した後、CVDにより窒化膜133上に上部絶縁膜34となるシリコン酸化膜を堆積させてもよい。   Here, if it is difficult to control the film thickness of the upper insulating film 34 in the CMP process, the silicon nitride film 133 on the element isolation insulating film 31 serving as the element isolation portion is removed by the CMP process, and then the silicon After removing the oxide film 132 with hydrofluoric acid, a silicon oxide film to be the upper insulating film 34 may be deposited on the nitride film 133 by CVD.

次に、図3Dに示すように、CVDによりN型にドープされた多結晶シリコンを堆積し、レジストを用いてパターニングしたのち、RIEにより上記多結晶シリコンをエッチングし、ゲート電極35を形成する。その後、上記ゲート電極35をマスクとして、例えば、砒素イオンを注入し、ソース領域(図示せず)およびドレイン領域(図示せず)を形成することによって、不揮発性半導体記憶装置が完成する。   Next, as shown in FIG. 3D, N-type doped polycrystalline silicon is deposited by CVD, patterned using a resist, and then etched by RIE to form a gate electrode 35. Thereafter, using the gate electrode 35 as a mask, for example, arsenic ions are implanted to form a source region (not shown) and a drain region (not shown), thereby completing the nonvolatile semiconductor memory device.

この第2実施形態の製造方法で作製した不揮発性半導体記憶装置によれば、図3Cを参照して説明したように、CMPプロセスによって素子分離絶縁膜31上のシリコン窒化膜133を除去している。よって、素子分離絶縁膜31上に電荷保持部33が残らないので、従来のように、素子分離絶縁膜上の電荷保持部へ電荷が移動するという記憶保持特性の劣化の原因となる現象を回避でき、記憶保持特性の向上を図れる。   According to the nonvolatile semiconductor memory device manufactured by the manufacturing method of the second embodiment, as described with reference to FIG. 3C, the silicon nitride film 133 on the element isolation insulating film 31 is removed by the CMP process. . Therefore, since the charge holding portion 33 does not remain on the element isolation insulating film 31, a phenomenon that causes the deterioration of the memory holding characteristic that the charge moves to the charge holding portion on the element isolation insulating film as in the conventional case is avoided. And memory retention characteristics can be improved.

(第3の実施の形態)
次に、図4A〜図4Cを参照して、この発明の第3実施形態としての不揮発性半導体記憶装置を説明する。なお、図4Aは第3実施形態の平面図であり、図4Bは図4AにおけるB−B’断面図であり、図4Cは図4AにおけるA−A’断面図である。
(Third embodiment)
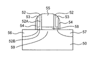
Next, with reference to FIGS. 4A to 4C, a non-volatile semiconductor memory device as a third embodiment of the present invention will be described. 4A is a plan view of the third embodiment, FIG. 4B is a BB ′ sectional view in FIG. 4A, and FIG. 4C is an AA ′ sectional view in FIG. 4A.

図4Bに示すように、この第3実施形態は、半導体基板50と、半導体基板50に形成されたソース領域56およびドレイン領域57と、半導体基板50上に形成されたゲート電極55を有する。ソース領域56とドレイン領域57との間はチャネル領域59となっており、チャネル領域59とゲート電極55との間にはシリコン酸化膜で作製されたゲート絶縁膜58が形成されている。ゲート絶縁膜58およびゲート電極55の両側壁を挟むように第2の絶縁膜52が形成されている。また、この第2の絶縁膜52の外側で、ゲート絶縁膜58の両側壁を挟むように、シリコン窒化膜で作製された電荷保持部53が形成されている。また、上記第2の絶縁膜52とで電荷保持部53を挟むように、第1の絶縁膜54が形成されている。なお、第2の絶縁膜52は、ゲート電極55の側壁に沿って延在している第1部分52Aと、ゲート絶縁膜58と第1の絶縁膜54との間に延在している第2部分52Bとを有する。   As shown in FIG. 4B, the third embodiment includes a semiconductor substrate 50, a source region 56 and a drain region 57 formed on the semiconductor substrate 50, and a gate electrode 55 formed on the semiconductor substrate 50. A channel region 59 is formed between the source region 56 and the drain region 57, and a gate insulating film 58 made of a silicon oxide film is formed between the channel region 59 and the gate electrode 55. A second insulating film 52 is formed so as to sandwich both side walls of the gate insulating film 58 and the gate electrode 55. In addition, a charge holding portion 53 made of a silicon nitride film is formed outside the second insulating film 52 so as to sandwich both side walls of the gate insulating film 58. A first insulating film 54 is formed so as to sandwich the charge holding portion 53 with the second insulating film 52. Note that the second insulating film 52 extends between the first portion 52A extending along the side wall of the gate electrode 55 and the gate insulating film 58 and the first insulating film 54. Two portions 52B.

また、図4Cに示すように、この第3実施形態は、第2の絶縁膜52の両側で半導体基板50に埋め込まれた素子分離部としての素子分離絶縁膜51を有する。また、この第3実施形態は、図4Bに示すように、半導体基板50上にシリコン酸化膜で作製されたゲート絶縁膜58を有し、このゲート絶縁膜58上にゲート電極55が形成されている。   As shown in FIG. 4C, the third embodiment has element isolation insulating films 51 as element isolation parts embedded in the semiconductor substrate 50 on both sides of the second insulating film 52. Further, as shown in FIG. 4B, the third embodiment has a gate insulating film 58 made of a silicon oxide film on a semiconductor substrate 50, and a gate electrode 55 is formed on the gate insulating film 58. Yes.

半導体基板50としては、例えば、P型シリコン基板、SOI(シリコン・オン・インシュレータ)基板などを用いることができる。また、素子分離絶縁膜51は、STI(シャロウ・トレンチ・アイソレーション)により形成されたシリコン酸化膜、またはLOCOS(ローカル・オキシデーション・オブ・シリコン)により形成されたシリコン酸化膜などにより形成されている。また、ゲート絶縁膜58は、一例として、膜厚1nm〜10nmのシリコン酸化膜から形成されている。また、第2の絶縁膜52は、例えば、膜厚1nm〜10nm程度のシリコン酸化膜などから形成され、ポテンシャルバリアとして機能する。   As the semiconductor substrate 50, for example, a P-type silicon substrate, an SOI (silicon-on-insulator) substrate, or the like can be used. The element isolation insulating film 51 is formed of a silicon oxide film formed by STI (shallow trench isolation) or a silicon oxide film formed by LOCOS (local oxidation of silicon). Yes. The gate insulating film 58 is formed from a silicon oxide film having a thickness of 1 nm to 10 nm as an example. The second insulating film 52 is formed of, for example, a silicon oxide film having a thickness of about 1 nm to 10 nm and functions as a potential barrier.

また、電荷保持部53は、その内部に電荷を保持するためのトラップ準位などを有し、例えば膜厚1nm〜15nm程度のシリコン窒化膜などにより形成され、電荷を保持する領域として機能する。また、第1の絶縁膜54は、例えば、膜厚1nm〜20nm程度のシリコン酸化膜などから形成され、ポテンシャルバリアとして機能する。また、ゲート電極55としては、例えば、N型にドープされた多結晶シリコンなどを用いることができる。また、上述の如く、第2の絶縁膜52、電荷保持部53、第1の絶縁膜54は、ゲート電極55の側壁に形成されている。また、ソース領域56およびドレイン領域57は、例えば、高濃度にN型不純物がドープされた領域で形成されている。   The charge holding unit 53 has a trap level for holding charges therein, and is formed of, for example, a silicon nitride film having a thickness of about 1 nm to 15 nm and functions as a region for holding charges. The first insulating film 54 is formed of, for example, a silicon oxide film having a film thickness of about 1 nm to 20 nm and functions as a potential barrier. Further, as the gate electrode 55, for example, N-type doped polycrystalline silicon can be used. Further, as described above, the second insulating film 52, the charge holding portion 53, and the first insulating film 54 are formed on the side wall of the gate electrode 55. Further, the source region 56 and the drain region 57 are formed, for example, as regions doped with N-type impurities at a high concentration.

この第3実施形態の不揮発性半導体記憶装置が、従来の不揮発性半導体記憶装置と異なる点は、素子分離部である素子分離絶縁膜51上に電荷保持部53が存在しない点である。この第3実施形態では、素子分離絶縁膜51上に電荷保持部53が存在しないので、書込み動作によってチャネル領域59の上方の電荷保持部53に注入された電子は、チャネル領域59の上方に存在するが素子分離絶縁膜51上には存在しない。つまり、この第3実施形態によれば、従来例で記憶保持特性劣化の原因となっていた素子分離絶縁膜上の電荷保持領域への電荷移動を防止できるので、記憶保持特性を改善できる。   The non-volatile semiconductor memory device of the third embodiment is different from the conventional non-volatile semiconductor memory device in that the charge holding portion 53 does not exist on the element isolation insulating film 51 which is an element isolation portion. In the third embodiment, since the charge holding portion 53 does not exist on the element isolation insulating film 51, the electrons injected into the charge holding portion 53 above the channel region 59 by the write operation exist above the channel region 59. However, it does not exist on the element isolation insulating film 51. That is, according to the third embodiment, since the charge transfer to the charge holding region on the element isolation insulating film, which has been a cause of deterioration of the memory holding characteristic in the conventional example, can be prevented, the memory holding characteristic can be improved.

次に、図5A〜図5D,図6A〜図6Dを順に参照して、上記第3実施形態の不揮発性半導体記憶装置の製造方法を説明する。なお、図5A〜図5Dは平面図であり、図6A〜図6Dはそれぞれ図5A〜図5DのA−A’断面図である。   Next, with reference to FIGS. 5A to 5D and FIGS. 6A to 6D in order, a method for manufacturing the nonvolatile semiconductor memory device according to the third embodiment will be described. 5A to 5D are plan views, and FIGS. 6A to 6D are A-A ′ cross-sectional views of FIGS. 5A to 5D, respectively.

まず、図5A,図6Aに示すように、P型の不純物がドープされたシリコン基板50上に熱酸化によって膜厚10nm程度のシリコン酸化膜69を形成した後、CVD法によって、CMPストッパとなる膜厚100nm程度の窒化膜70を形成する。その後、レジスト(図示せず)を用いてシリコン窒化膜70をパターニングし、さらに、RIE(反応性イオンエッチング)により上記シリコン窒化膜70をエッチングする。   First, as shown in FIGS. 5A and 6A, a silicon oxide film 69 having a thickness of about 10 nm is formed on a silicon substrate 50 doped with P-type impurities by thermal oxidation, and then a CMP stopper is formed by CVD. A nitride film 70 having a thickness of about 100 nm is formed. Thereafter, the silicon nitride film 70 is patterned using a resist (not shown), and further, the silicon nitride film 70 is etched by RIE (reactive ion etching).

続いて、上記シリコン窒化膜70をマスクとして、シリコン基板50をエッチングし、シリコン基板50中に素子分離領域となる溝151を形成する。その後、CVDによって、上記溝151を埋め込むようにシリコン酸化膜(図示せず)を膜厚200nmの厚さで堆積させる。その後、上記窒化膜70をストッパとして、CMPプロセスによって、上記シリコン酸化膜の不要部分を除去し、素子分離絶縁膜51を形成する。ここで、シリコン基板50表面部の素子分離絶縁膜51で挟まれる領域がチャネル領域59となる。   Subsequently, using the silicon nitride film 70 as a mask, the silicon substrate 50 is etched to form a trench 151 serving as an element isolation region in the silicon substrate 50. Thereafter, a silicon oxide film (not shown) is deposited to a thickness of 200 nm so as to fill the trench 151 by CVD. Thereafter, using the nitride film 70 as a stopper, an unnecessary portion of the silicon oxide film is removed by a CMP process, and an element isolation insulating film 51 is formed. Here, a region sandwiched between the element isolation insulating films 51 on the surface portion of the silicon substrate 50 is a channel region 59.

次に、図5B,図6Bに示すように、リン酸液を用いて窒化膜70を除去し、次に、フッ酸により酸化膜69を除去する。その後、熱酸化によりゲート絶縁膜58となる膜厚1nm〜10nmのシリコン酸化膜(図示せず)を形成する。次に、CVDによりN型にドープされた多結晶シリコンを堆積し、レジストを用いてパターニングしたのち、RIEにより上記多結晶シリコンをエッチングし、ゲート電極55を形成する。その後、熱酸化あるいはCVDにより第2の絶縁膜52となる膜厚1nm〜10nmのシリコン酸化膜152を堆積する。その後、第2絶縁膜52となるシリコン酸化膜152上にCVDにより電荷保持部53となるシリコン窒化膜153を膜厚1nm〜15nm程度堆積する。   Next, as shown in FIGS. 5B and 6B, the nitride film 70 is removed using a phosphoric acid solution, and then the oxide film 69 is removed using hydrofluoric acid. Thereafter, a silicon oxide film (not shown) having a thickness of 1 nm to 10 nm is formed by thermal oxidation to become the gate insulating film 58. Next, polycrystalline silicon doped N-type by CVD is deposited and patterned using a resist, and then the polycrystalline silicon is etched by RIE to form a gate electrode 55. Thereafter, a silicon oxide film 152 having a thickness of 1 nm to 10 nm to be the second insulating film 52 is deposited by thermal oxidation or CVD. Thereafter, a silicon nitride film 153 to be the charge holding portion 53 is deposited on the silicon oxide film 152 to be the second insulating film 52 by CVD to a thickness of about 1 nm to 15 nm.

その後、RIEにより電荷保持部53となるシリコン窒化膜153、および第2絶縁膜52となるシリコン酸化膜152をエッチバックすることによって、ゲート電極55の側壁に電荷保持部53となるシリコン窒化膜153が形成される。続いて、全面にCVDにより第1の絶縁膜54となる膜厚1nm〜20nmのシリコン酸化膜154を堆積する。その後、上記ゲート電極55および第2絶縁膜52となるシリコン酸化膜152、電荷保持部53となるシリコン窒化膜153、第1絶縁膜54となるシリコン酸化膜154をマスクとして、例えば砒素イオンを注入し、ソース領域56およびドレイン領域57を形成する。その後、エッチバックすることによって、ゲート電極55の側壁に第1絶縁膜54となるシリコン酸化膜154を形成する。   After that, the silicon nitride film 153 that becomes the charge holding portion 53 and the silicon oxide film 152 that becomes the second insulating film 52 are etched back by RIE, so that the silicon nitride film 153 that becomes the charge holding portion 53 is formed on the side wall of the gate electrode 55. Is formed. Subsequently, a silicon oxide film 154 having a thickness of 1 nm to 20 nm, which becomes the first insulating film 54, is deposited on the entire surface by CVD. Thereafter, for example, arsenic ions are implanted using the silicon oxide film 152 serving as the gate electrode 55 and the second insulating film 52, the silicon nitride film 153 serving as the charge holding portion 53, and the silicon oxide film 154 serving as the first insulating film 54 as a mask. Then, the source region 56 and the drain region 57 are formed. Thereafter, by etching back, a silicon oxide film 154 to be the first insulating film 54 is formed on the side wall of the gate electrode 55.

次に、図5C,図6Cに示すように、チャネル部分をレジスト71でパターニングした後、素子分離絶縁膜51上の第2絶縁膜52となるシリコン酸化膜152、電荷保持部53となるシリコン窒化膜153、第1絶縁膜54となるシリコン酸化膜154をエッチングする。ここで、レジストパターン71をパターニングする際、アライメントずれを考慮して、素子分離部である素子分離絶縁膜51の端からアライメントずれ分だけ、活性領域上の電荷保持部53となるシリコン窒化膜153がエッチングされるようにレジストパターン71をパターニングしてもよい。   Next, as shown in FIGS. 5C and 6C, after the channel portion is patterned with a resist 71, the silicon oxide film 152 that becomes the second insulating film 52 on the element isolation insulating film 51 and the silicon nitride that becomes the charge holding portion 53 are formed. The silicon oxide film 154 to be the film 153 and the first insulating film 54 is etched. Here, when the resist pattern 71 is patterned, in consideration of misalignment, the silicon nitride film 153 that becomes the charge holding portion 53 on the active region by an amount of misalignment from the end of the element isolation insulating film 51 that is an element isolation portion. The resist pattern 71 may be patterned so that is etched.

このようにすると、アライメントずれが発生した場合においても、電荷保持部53が素子分離絶縁膜51上まで延在することを防止できる。また、チャネル領域59上の端部において電荷保持部53となるシリコン窒化膜153を除去した場合、除去した部分の下のチャネル領域59の電流量は、書込み消去によって変化させることはできなくなるが、書き込み状態および消去状態における読み出し時に一定の電流が加算されるだけなので、動作上の問題は特に生じない。   By doing so, it is possible to prevent the charge holding portion 53 from extending to the element isolation insulating film 51 even when misalignment occurs. Further, when the silicon nitride film 153 serving as the charge holding portion 53 is removed at the end portion on the channel region 59, the amount of current in the channel region 59 below the removed portion cannot be changed by write / erase, Since only a constant current is added at the time of reading in the writing state and the erasing state, there is no particular problem in operation.

次に、上記エッチングの後、図5D,図6Dに示すように、レジストパターン71を除去することによって、図4A〜図4Cに示した第3実施形態の不揮発性半導体記憶装置が完成する。   Next, after the etching, as shown in FIGS. 5D and 6D, the resist pattern 71 is removed, thereby completing the nonvolatile semiconductor memory device of the third embodiment shown in FIGS. 4A to 4C.

上記で説明したとおり、素子分離絶縁膜51上の電荷保持部53をレジスト71でパターニングしたあと、エッチングにより除去することによって、素子分離絶縁膜51上に電荷保持部53が存在しなくなる。よって、この第3実施形態によれば、従来例で記憶保持特性の劣化の原因となっていた素子分離部上の電荷保持部への電荷の移動を回避でき、記憶保持特性を向上できる。   As described above, the charge holding portion 53 on the element isolation insulating film 51 is patterned by the resist 71 and then removed by etching, whereby the charge holding portion 53 does not exist on the element isolation insulating film 51. Therefore, according to the third embodiment, it is possible to avoid the movement of charges to the charge holding unit on the element isolation unit, which has been a cause of deterioration of the memory holding characteristic in the conventional example, and to improve the memory holding characteristic.

尚、上述の実施形態では、電荷保持部をシリコン窒化膜で作製したが、電荷保持部はシリコン窒化膜以外の他の窒化膜で作製してもよく、他の誘電体材料(例えば、シリコン酸化膜、シリコン酸窒化膜、ポリイミド系有機膜など)で作製してもよい。また、上述の実施形態の不揮発性半導体記憶装置を備える携帯電子機器によれば、記憶保持特性の優れた携帯電子機器を実現できる。   In the above-described embodiment, the charge holding portion is made of a silicon nitride film. However, the charge holding portion may be made of a nitride film other than the silicon nitride film, and other dielectric materials (for example, silicon oxide Film, silicon oxynitride film, polyimide organic film, etc.). Further, according to the portable electronic device including the nonvolatile semiconductor memory device of the above-described embodiment, a portable electronic device having excellent memory retention characteristics can be realized.

この発明の第1実施形態としての不揮発性半導体記憶装置の平面図である。1 is a plan view of a nonvolatile semiconductor memory device as a first embodiment of the present invention. 図1AのB−B’断面図である。It is B-B 'sectional drawing of FIG. 1A. 図1AのA−A’断面図である。It is A-A 'sectional drawing of FIG. 1A. 上記第1実施形態の不揮発性半導体記憶装置の製造方法の一工程を説明する断面図である。It is sectional drawing explaining 1 process of the manufacturing method of the non-volatile semiconductor memory device of the said 1st Embodiment. 上記第1実施形態の不揮発性半導体記憶装置の製造方法の一工程を説明する断面図である。It is sectional drawing explaining 1 process of the manufacturing method of the non-volatile semiconductor memory device of the said 1st Embodiment. 上記第1実施形態の不揮発性半導体記憶装置の製造方法の一工程を説明する断面図である。It is sectional drawing explaining 1 process of the manufacturing method of the non-volatile semiconductor memory device of the said 1st Embodiment. 上記第1実施形態の不揮発性半導体記憶装置の製造方法の一工程を説明する断面図である。It is sectional drawing explaining 1 process of the manufacturing method of the non-volatile semiconductor memory device of the said 1st Embodiment. この発明の第2実施形態としての不揮発性半導体記憶装置の製造方法の一工程を説明する断面図である。It is sectional drawing explaining 1 process of the manufacturing method of the non-volatile semiconductor memory device as 2nd Embodiment of this invention. 上記第2実施形態の一工程を説明する断面図である。It is sectional drawing explaining 1 process of the said 2nd Embodiment. 上記第2実施形態の一工程を説明する断面図である。It is sectional drawing explaining 1 process of the said 2nd Embodiment. 上記第2実施形態の一工程を説明する断面図である。It is sectional drawing explaining 1 process of the said 2nd Embodiment. この発明の第3実施形態としての不揮発性半導体記憶装置の平面図である。It is a top view of the non-volatile semiconductor memory device as 3rd Embodiment of this invention. 図4AのB−B’断面図である。It is B-B 'sectional drawing of FIG. 4A. 図4AのA−A’断面図である。It is A-A 'sectional drawing of FIG. 4A. 上記第3実施形態の製造方法の一工程を示す平面図である。It is a top view which shows 1 process of the manufacturing method of the said 3rd Embodiment. 上記第3実施形態の製造方法の一工程を示す平面図である。It is a top view which shows 1 process of the manufacturing method of the said 3rd Embodiment. 上記第3実施形態の製造方法の一工程を示す平面図である。It is a top view which shows 1 process of the manufacturing method of the said 3rd Embodiment. 上記第3実施形態の製造方法の一工程を示す平面図である。It is a top view which shows 1 process of the manufacturing method of the said 3rd Embodiment. 図5AのA−A’断面図である。It is A-A 'sectional drawing of FIG. 5A. 図5BのA−A’断面図である。It is A-A 'sectional drawing of FIG. 5B. 図5CのA−A’断面図である。It is A-A 'sectional drawing of FIG. 5C. 図5DのA−A’断面図である。It is A-A 'sectional drawing of FIG. 5D. 第1従来例の不揮発性半導体記憶装置の平面図である。It is a top view of the nonvolatile semiconductor memory device of the first conventional example. 図7AのB−B’断面図である。It is B-B 'sectional drawing of FIG. 7A. 図7AのA−A’断面図である。It is A-A 'sectional drawing of FIG. 7A. 第2従来例の不揮発性半導体記憶装置の平面図である。It is a top view of the non-volatile semiconductor memory device of the 2nd prior art example. 図8AのB−B’断面図である。It is B-B 'sectional drawing of FIG. 8A. 図8AのA−A’断面図である。It is A-A 'sectional drawing of FIG. 8A.

符号の説明Explanation of symbols

10,30…半導体基板
11,31…素子分離絶縁膜
12,32…下部絶縁膜
13,33…電荷保持部
14,34…上部絶縁膜
15,35…ゲート電極
16…ソース領域
17…ドレイン領域
19,39…チャネル領域
50…半導体基板
51…素子分離絶縁膜
52…第2の絶縁膜
53…電荷保持部
54…第1の絶縁膜
55…ゲート電極
59…チャネル領域
71…レジスト

DESCRIPTION OF SYMBOLS 10,30 ... Semiconductor substrate 11,31 ... Element isolation insulating film 12,32 ... Lower insulating film 13,33 ... Charge holding part 14,34 ... Upper insulating film 15,35 ... Gate electrode 16 ... Source region 17 ... Drain region 19 39 ... Channel region 50 ... Semiconductor substrate 51 ... Element isolation insulating film 52 ... Second insulating film 53 ... Charge holding part 54 ... First insulating film 55 ... Gate electrode 59 ... Channel region 71 ... Resist

Claims (9)

半導体基板と、
上記半導体基板に埋め込まれた素子分離部と、
上記半導体基板内に形成されると共に上記素子分離部によって分離される活性領域と、
上記半導体基板上にゲート絶縁膜を介して形成されたゲート電極と、
上記半導体基板中に形成されると共に上記ゲート絶縁膜の少なくとも両側に位置するソース領域およびドレイン領域と、
上記半導体基板上に形成されると共に上記ゲート電極により電圧が印加される誘電体材料からなる電荷保持部と、
を備え、
上記電荷保持部は、
上記活性領域上に存在するが上記素子分離部上に存在しないことを特徴とする不揮発性半導体記憶装置。
A semiconductor substrate;
An element isolation portion embedded in the semiconductor substrate;
An active region formed in the semiconductor substrate and separated by the element isolation part;
A gate electrode formed on the semiconductor substrate via a gate insulating film;
A source region and a drain region formed in the semiconductor substrate and located on at least both sides of the gate insulating film;
A charge holding portion made of a dielectric material formed on the semiconductor substrate and applied with a voltage by the gate electrode;
With
The charge holding portion is
A non-volatile semiconductor memory device that exists on the active region but does not exist on the element isolation portion.
請求項1に記載の不揮発性半導体記憶装置において、
上記電荷保持部は、上記ゲート電極とゲート絶縁膜との間に形成されていることを特徴とする不揮発性半導体記憶装置。
The nonvolatile semiconductor memory device according to claim 1,
The non-volatile semiconductor memory device, wherein the charge holding portion is formed between the gate electrode and a gate insulating film.
請求項2に記載の不揮発性半導体記憶装置において、
上記電荷保持部は、すくなくとも一部が上記素子分離部の上端面よりも下方に存在していることを特徴とする不揮発性半導体記憶装置。
The nonvolatile semiconductor memory device according to claim 2,
The nonvolatile semiconductor memory device according to claim 1, wherein at least a part of the charge holding portion is present below the upper end surface of the element isolation portion.
請求項1に記載の不揮発性半導体記憶装置において、
上記電荷保持部は、
上記ゲート電極の側壁に絶縁膜を介して対向するように配置されていることを特徴とする不揮発性半導体記憶装置。
The nonvolatile semiconductor memory device according to claim 1,
The charge holding portion is
A non-volatile semiconductor memory device, wherein the non-volatile semiconductor memory device is disposed so as to face a side wall of the gate electrode with an insulating film interposed therebetween.
請求項1乃至4のいずれか1つに記載の不揮発性半導体記憶装置において、
上記電荷保持部は、第1の絶縁膜と第2の絶縁膜とで挟まれていることを特徴とする不揮発性半導体記憶装置。
The nonvolatile semiconductor memory device according to claim 1,
The nonvolatile semiconductor memory device, wherein the charge holding portion is sandwiched between a first insulating film and a second insulating film.
請求項1に記載の不揮発性半導体記憶装置を製造する方法であって、
半導体基板に素子分離用の溝を形成する工程と、
上記溝を素子分離絶縁膜で埋め込む工程と、
上記半導体基板上に絶縁膜を介して電荷保持部を形成する工程と、
上記電荷保持部のうち、上記素子分離絶縁膜上に存在する部分を除去する工程と、
上記電荷保持部上にゲート電極を形成する工程と、
上記ゲート電極をマスクとして上記半導体基板中に不純物を注入し、ソース領域およびドレイン領域を形成する工程と、
を備えることを特徴とする不揮発性半導体記憶装置の製造方法。
A method for manufacturing the nonvolatile semiconductor memory device according to claim 1, comprising:
Forming a groove for element isolation in a semiconductor substrate;
Filling the trench with an element isolation insulating film;
Forming a charge holding portion on the semiconductor substrate via an insulating film;
Removing the portion of the charge holding portion existing on the element isolation insulating film;
Forming a gate electrode on the charge holding portion;
Implanting impurities into the semiconductor substrate using the gate electrode as a mask to form a source region and a drain region;
A method for manufacturing a nonvolatile semiconductor memory device.
請求項1に記載の不揮発性半導体記憶装置を製造する方法であって、
半導体基板上に絶縁膜を介して電荷保持部となる誘電体膜を形成する工程と、
上記誘電体膜を貫通して上記半導体基板に素子分離用の溝を形成する工程と、
上記溝を素子分離絶縁膜で埋め込む工程と、
上記電荷保持部上にゲート電極を形成する工程と、
上記ゲート電極をマスクとして上記半導体基板中に不純物を注入し、ソース領域およびドレイン領域を形成する工程と、
を備えることを特徴とする不揮発性半導体記憶装置の製造方法。
A method for manufacturing the nonvolatile semiconductor memory device according to claim 1, comprising:
Forming a dielectric film serving as a charge holding portion on a semiconductor substrate via an insulating film;
Forming a groove for element isolation in the semiconductor substrate through the dielectric film;
Filling the trench with an element isolation insulating film;
Forming a gate electrode on the charge holding portion;
Implanting impurities into the semiconductor substrate using the gate electrode as a mask to form a source region and a drain region;
A method for manufacturing a nonvolatile semiconductor memory device.
請求項4に記載の不揮発性半導体記憶装置を製造する方法であって、
半導体基板に素子分離用の溝を形成する工程と、
上記溝を素子分離絶縁膜で埋め込む工程と、
上記半導体基板上にゲート絶縁膜を形成する工程と、
上記ゲート絶縁膜上にゲート電極を形成する工程と、
上記ゲート電極の側壁に絶縁膜を介して対向するように電荷保持部を形成する工程と、
上記電荷保持部のうち、上記素子分離絶縁膜上の部分を除去する工程と、
上記ゲート電極および上記電荷保持部をマスクとして上記半導体基板中に不純物を注入し、ソース領域およびドレイン領域を形成する工程とを備えることを特徴とする不揮発性半導体記憶装置の製造方法。
A method for manufacturing the nonvolatile semiconductor memory device according to claim 4, comprising:
Forming a groove for element isolation in a semiconductor substrate;
Filling the trench with an element isolation insulating film;
Forming a gate insulating film on the semiconductor substrate;
Forming a gate electrode on the gate insulating film;
Forming a charge holding portion so as to face the side wall of the gate electrode through an insulating film;
Removing the portion of the charge retention portion on the element isolation insulating film;
And a step of injecting impurities into the semiconductor substrate using the gate electrode and the charge holding portion as a mask to form a source region and a drain region.
請求項1乃至5のいずれか1つに記載の不揮発性半導体記憶装置を備える携帯電子機器。
A portable electronic device comprising the nonvolatile semiconductor memory device according to claim 1.
JP2005270108A 2005-09-16 2005-09-16 Nonvolatile semiconductor memory device and manufacturing method thereof Pending JP2007081294A (en)

Priority Applications (1)

Application Number Priority Date Filing Date Title
JP2005270108A JP2007081294A (en) 2005-09-16 2005-09-16 Nonvolatile semiconductor memory device and manufacturing method thereof

Applications Claiming Priority (1)

Application Number Priority Date Filing Date Title
JP2005270108A JP2007081294A (en) 2005-09-16 2005-09-16 Nonvolatile semiconductor memory device and manufacturing method thereof

Publications (1)

Publication Number Publication Date
JP2007081294A true JP2007081294A (en) 2007-03-29

Family

ID=37941241

Family Applications (1)

Application Number Title Priority Date Filing Date
JP2005270108A Pending JP2007081294A (en) 2005-09-16 2005-09-16 Nonvolatile semiconductor memory device and manufacturing method thereof

Country Status (1)

Country Link
JP (1) JP2007081294A (en)

Cited By (1)

* Cited by examiner, † Cited by third party
Publication number Priority date Publication date Assignee Title
JP2009290019A (en) * 2008-05-29 2009-12-10 Toshiba Corp Semiconductor memory device and manufacturing method thereof

Citations (7)

* Cited by examiner, † Cited by third party
Publication number Priority date Publication date Assignee Title
JPH11312795A (en) * 1998-04-28 1999-11-09 Toshiba Corp Nonvolatile semiconductor memory device
JP2002100686A (en) * 2000-09-21 2002-04-05 Toshiba Corp Nonvolatile semiconductor memory device and method of manufacturing the same
JP2002203917A (en) * 2000-10-26 2002-07-19 Sony Corp Nonvolatile semiconductor memory device and method of manufacturing the same
JP2002280467A (en) * 2001-03-17 2002-09-27 Samsung Electronics Co Ltd SONOS flash memory device and method of forming the same
JP2004104009A (en) * 2002-09-12 2004-04-02 Fujitsu Ltd Semiconductor device and manufacturing method thereof
JP2004327812A (en) * 2003-04-25 2004-11-18 Sony Corp Semiconductor device and manufacturing method thereof
JP2004349353A (en) * 2003-05-20 2004-12-09 Sharp Corp Semiconductor storage device, operation method thereof, and portable electronic device

Patent Citations (7)

* Cited by examiner, † Cited by third party
Publication number Priority date Publication date Assignee Title
JPH11312795A (en) * 1998-04-28 1999-11-09 Toshiba Corp Nonvolatile semiconductor memory device
JP2002100686A (en) * 2000-09-21 2002-04-05 Toshiba Corp Nonvolatile semiconductor memory device and method of manufacturing the same
JP2002203917A (en) * 2000-10-26 2002-07-19 Sony Corp Nonvolatile semiconductor memory device and method of manufacturing the same
JP2002280467A (en) * 2001-03-17 2002-09-27 Samsung Electronics Co Ltd SONOS flash memory device and method of forming the same
JP2004104009A (en) * 2002-09-12 2004-04-02 Fujitsu Ltd Semiconductor device and manufacturing method thereof
JP2004327812A (en) * 2003-04-25 2004-11-18 Sony Corp Semiconductor device and manufacturing method thereof
JP2004349353A (en) * 2003-05-20 2004-12-09 Sharp Corp Semiconductor storage device, operation method thereof, and portable electronic device

Cited By (1)

* Cited by examiner, † Cited by third party
Publication number Priority date Publication date Assignee Title
JP2009290019A (en) * 2008-05-29 2009-12-10 Toshiba Corp Semiconductor memory device and manufacturing method thereof

Similar Documents

Publication Publication Date Title
US8680588B2 (en) Field effect transistor with buried gate pattern
JP4758625B2 (en) Semiconductor device
US20070155087A1 (en) Method of manufacturing split gate flash memory
US7049189B2 (en) Method of fabricating non-volatile memory cell adapted for integration of devices and for multiple read/write operations
JP2009212398A (en) Nonvolatile semiconductor storage device and manufacturing method thereof
KR100674958B1 (en) Split type flash memory device having self-aligned control gate and manufacturing method thereof
KR101604199B1 (en) Flash memory semiconductor device and method thereof
JP2018195718A (en) Semiconductor device and method of manufacturing the same
JP4093965B2 (en) Method for manufacturing a memory cell
JP2008135715A (en) Nonvolatile memory device and manufacturing method thereof
CN109994542B (en) Semiconductor device and method for manufacturing the same
KR100654559B1 (en) NOR flash memory cell array and manufacturing method thereof
KR100654560B1 (en) Flash memory device and manufacturing method thereof
JP5438300B2 (en) Method for manufacturing nonvolatile semiconductor memory device
US20080042191A1 (en) Non-volatile memory device and method of fabricating the same
JP5358121B2 (en) Nonvolatile semiconductor memory device and manufacturing method thereof
CN101009288A (en) Semiconductor device
JP2007281506A (en) Semiconductor device
JP2007081294A (en) Nonvolatile semiconductor memory device and manufacturing method thereof
JP2022055951A (en) Method for manufacturing semiconductor device
JP4427431B2 (en) Semiconductor memory device, semiconductor memory device manufacturing method, and semiconductor memory device operating method
US7358559B2 (en) Bi-directional read/program non-volatile floating gate memory array, and method of formation
JP2011151072A (en) Nonvolatile semiconductor memory device
JP2009135214A (en) Semiconductor memory device and manufacturing method thereof
KR100220942B1 (en) Flash memory device and manufacturing method thereof

Legal Events

Date Code Title Description
A621 Written request for application examination

Free format text: JAPANESE INTERMEDIATE CODE: A621

Effective date: 20070822

A977 Report on retrieval

Free format text: JAPANESE INTERMEDIATE CODE: A971007

Effective date: 20100121

A131 Notification of reasons for refusal

Free format text: JAPANESE INTERMEDIATE CODE: A131

Effective date: 20100126

A02 Decision of refusal

Free format text: JAPANESE INTERMEDIATE CODE: A02

Effective date: 20100615