[go: up one dir, main page]

JP2007064557A - Cooling system - Google Patents

Cooling system Download PDF

Info

Publication number
JP2007064557A
JP2007064557A JP2005251626A JP2005251626A JP2007064557A JP 2007064557 A JP2007064557 A JP 2007064557A JP 2005251626 A JP2005251626 A JP 2005251626A JP 2005251626 A JP2005251626 A JP 2005251626A JP 2007064557 A JP2007064557 A JP 2007064557A
Authority
JP
Japan
Prior art keywords
cooled
cooling element
magnetic field
coil
cooling
Prior art date
Legal status (The legal status is an assumption and is not a legal conclusion. Google has not performed a legal analysis and makes no representation as to the accuracy of the status listed.)
Granted
Application number
JP2005251626A
Other languages
Japanese (ja)
Other versions
JP4744242B2 (en
Inventor
Yoji Imahori
洋二 今堀
Tokio Hotta
時雄 堀田
Masashi Toyoshima
昌志 豊嶋
Current Assignee (The listed assignees may be inaccurate. Google has not performed a legal analysis and makes no representation or warranty as to the accuracy of the list.)
Sanyo Electric Co Ltd
Original Assignee
Sanyo Electric Co Ltd
Priority date (The priority date is an assumption and is not a legal conclusion. Google has not performed a legal analysis and makes no representation as to the accuracy of the date listed.)
Filing date
Publication date
Application filed by Sanyo Electric Co Ltd filed Critical Sanyo Electric Co Ltd
Priority to JP2005251626A priority Critical patent/JP4744242B2/en
Publication of JP2007064557A publication Critical patent/JP2007064557A/en
Application granted granted Critical
Publication of JP4744242B2 publication Critical patent/JP4744242B2/en
Anticipated expiration legal-status Critical
Expired - Fee Related legal-status Critical Current

Links

Images

Landscapes

  • Induction Heating Cooking Devices (AREA)
  • Devices That Are Associated With Refrigeration Equipment (AREA)

Abstract

<P>PROBLEM TO BE SOLVED: To provide a cooling apparatus that does not require a power supply cord. <P>SOLUTION: The cooling apparatus uses an electronic heating/cooling element such as a Peltier element for cooling the subject of cooling, and uses an electromagnetic induction heating device in a kitchen or dining as the power supply thereof. The cooling apparatus has a driven coil which generates induced electric power when installed in the magnetic field of a high-frequency induction field generating coil, and an electronic cooling element which is operated by a direct current produced from a current generated by the driven coil. The subject of cooling is cooled by the heat absorbing part of the electronic cooling element. <P>COPYRIGHT: (C)2007,JPO&INPIT

Description

本発明は、電子冷却装置によって容器部の被冷却物を冷却する冷却装置に関し、特に、電磁誘導機能を併用した冷却装置に関する。   The present invention relates to a cooling device that cools an object to be cooled by an electronic cooling device, and more particularly to a cooling device that uses an electromagnetic induction function.

食卓等で飲料物を適温で飲めるようにするために、筒状部を内筒と外筒とで構成し内筒を上下スライドできるようにし、筒状部の下部に配置したペルチェ素子等の電子温冷素子からに熱(冷熱又は温熱)が飲料物に全面から伝導するようにした温冷装置がある(特許文献1参照)。
特開2001−151278号公報
In order to be able to drink beverages at a suitable temperature on a dining table, etc., the cylindrical part is composed of an inner cylinder and an outer cylinder, the inner cylinder can be slid up and down, and an electronic device such as a Peltier element arranged at the lower part of the cylindrical part There is a heating / cooling device in which heat (cooling or heating) is conducted from the entire surface to the beverage from the heating / cooling element (see Patent Document 1).
JP 2001-151278 A

この特許文献1のものは、ペルチェ素子へ流れる電流の向きを正方向と逆方向とに切り替えることによって、吸熱面と放熱面の位置を入れ替えて、飲料物を加温したり冷却したりするものである。この温冷装置は、容器に入れた飲料を筒状部に入れて、加温したり冷却したりするものであるが、この電子冷却部へ給電するためには電源コードが必要であり、温冷装置そのものの持ち運びに際しては、コンセントに対して電源コードの着脱が必要であり、面倒であり、この電源コードが邪魔である。   The thing of this patent document 1 is changing the direction of the electric current which flows into a Peltier device to a normal direction and a reverse direction, and swaps the position of a heat absorption surface and a heat dissipation surface, and heats or cools a beverage. It is. In this heating / cooling device, a beverage placed in a container is placed in a cylindrical portion to heat or cool the beverage, but a power cord is required to supply power to the electronic cooling portion. When carrying the cooling device itself, it is necessary to attach / detach the power cord to / from the outlet, which is troublesome, and this power cord is an obstacle.

本発明は、このような点に鑑みて、電源コードを必要としない冷却装置を提供するために、飲料物等の被冷却物の冷却には、ペルチェ素子等の電子冷温素子を利用し、この電源としては、キッチンやダイニングなどの設備として普及している電磁誘導加熱装置を利用できる簡易型冷却装置を提供する。   In view of the above, the present invention uses an electronic cooling / heating element such as a Peltier element for cooling an object to be cooled such as a beverage in order to provide a cooling device that does not require a power cord. As a power source, a simple cooling device that can use an electromagnetic induction heating device that is widely used as a facility for kitchens and dining rooms is provided.

第1発明の冷却装置は、高周波誘導磁界発生コイルの磁界中に設置されたとき誘起電力を発生する受動側コイルを備え、この受動側コイルによって発生する電流から作られた直流によって作動する電子冷却素子を備え、この電子冷却素子の吸熱部によって被冷却物を冷却することを特徴とする。   A cooling device according to a first aspect of the present invention includes a passive side coil that generates an induced electric power when installed in a magnetic field of a high frequency induction magnetic field generating coil, and is operated by a direct current generated from a current generated by the passive side coil. An element is provided, and an object to be cooled is cooled by a heat absorption part of the electronic cooling element.

第2発明の冷却装置は、高周波誘導磁界発生コイルを備えた台座に着脱自在に載置される本体を備え、この本体は下部に作動部を備えその上部に被冷却物を収容する容器部を備え、前記作動部は、前記高周波誘導磁界発生コイルの磁界によって誘起電力を発生する受動側コイルと、この受動側コイルによって発生する電流に基づく直流によって作動する電子冷却素子を備え、この電子冷却素子の吸熱部によって前記容器部に収納した被冷却物を冷却することを特徴とする。   A cooling device according to a second aspect of the present invention includes a main body that is detachably mounted on a pedestal having a high-frequency induction magnetic field generating coil, and the main body includes an operating portion at a lower portion and a container portion for accommodating an object to be cooled at the upper portion. The actuating unit includes a passive side coil that generates an induced power by a magnetic field of the high-frequency induction magnetic field generating coil, and an electronic cooling element that operates by direct current based on a current generated by the passive side coil. The object to be cooled stored in the container part is cooled by the heat absorbing part.

第3発明の冷却装置は、高周波誘導磁界発生コイルを備えた台座に着脱自在に載置される本体を備え、この本体は下部に作動部を備えその上部に被冷却物を収容する容器部が着脱自在に載置され、前記作動部は、前記高周波誘導磁界発生コイルの磁界によって誘起電力を発生する受動側コイルと、この受動側コイルによって発生する電流に基づく直流によって作動する電子冷却素子を備え、この電子冷却素子の吸熱部によって前記容器部に収納した被冷却物を冷却することを特徴とする。   A cooling device according to a third aspect of the present invention includes a main body that is detachably mounted on a pedestal having a high-frequency induction magnetic field generating coil, and the main body includes an operating portion at a lower portion and a container portion for accommodating an object to be cooled at the upper portion. The actuating unit is detachably mounted, and the operating unit includes a passive side coil that generates an induced power by a magnetic field of the high-frequency induction magnetic field generating coil, and an electronic cooling element that is operated by a direct current based on a current generated by the passive side coil. The object to be cooled stored in the container portion is cooled by the heat absorbing portion of the electronic cooling element.

第4発明の冷却装置は、第2発明または第3発明において、前記作動部は、前記電子冷却素子の吸熱側を上面として前記容器部の底壁を冷却する位置に前記電子冷却素子を配置し、前記電子冷却素子の下面放熱側に熱良導体のヒートシンクを備え、このヒートシンクの下方に放熱用送風機が配置され、この放熱用送風機の下方には前記受動側コイルが配置され、前記放熱用送風機は前記直流によって作動することを特徴とする。   According to a fourth aspect of the present invention, there is provided the cooling device according to the second or third aspect of the invention, wherein the operating part is arranged with the electronic cooling element at a position for cooling the bottom wall of the container part with the heat absorption side of the electronic cooling element as an upper surface. The heat sink of the good heat conductor is provided on the heat radiation side of the lower surface of the electronic cooling element, the heat dissipation fan is disposed below the heat sink, the passive side coil is disposed below the heat dissipation fan, and the heat dissipation fan is It operates by the direct current.

第5発明の冷却装置は、第3発明又は第4発明のいずれかにおいて、前記作動部は、前記容器部の底部が着脱自在にセットされる上面開口の受け入れ部を備え、この受け入れ部の底部には前記電子冷却素子が吸熱側を上面として配置され、前記受け入れ部にセットされた前記容器部の底壁を冷却する位置に前記電子冷却素子を配置したことを特徴とする。   The cooling device according to a fifth aspect of the present invention is the cooling device of the third aspect or the fourth aspect, wherein the actuating portion includes a receiving portion having an upper surface opening in which a bottom portion of the container portion is detachably set, and a bottom portion of the receiving portion. The electronic cooling element is arranged with the heat absorption side as an upper surface, and the electronic cooling element is arranged at a position for cooling the bottom wall of the container part set in the receiving part.

第6発明の冷却装置は、第2発明乃至第5発明のいずれかにおいて、前記本体の周囲外面には、前記容器部に収納した被冷却物の温度表示部と作動中を点灯表示する表示部の少なくとも一方を備えたことを特徴とする。   A cooling device according to a sixth aspect of the present invention is the cooling device according to any one of the second to fifth aspects of the present invention, on the outer peripheral surface of the main body, a temperature display portion of the object to be cooled housed in the container portion and a display portion that lights and displays the operation It is characterized by having at least one of these.

第7発明の梱包装置は、第2発明乃至第6発明のいずれかにおいて、前記本体は、片手で持ち運び可能なコップ状をなすことを特徴とする。   According to a seventh aspect of the present invention, in any one of the second to sixth aspects, the main body has a cup shape that can be carried with one hand.

第1発明では、高周波誘導磁界発生コイルの磁界中に置いたとき発生する誘起電力によって、ペルチェ素子等の電子冷却素子が作動して、容器部の飲料物等の被冷却物の冷却が行われるため、電源コードを必要としない。このため、冷却装置の持ち運びが便利であると共に、キッチンやダイニングなどの設備として普及している電磁誘導加熱装置の利用範囲が拡大する。   In the first invention, an electronic cooling element such as a Peltier element is actuated by the induced power generated when placed in the magnetic field of the high frequency induction magnetic field generating coil, and the object to be cooled such as the beverage in the container portion is cooled. Therefore, no power cord is required. For this reason, it is convenient to carry the cooling device, and the range of use of the electromagnetic induction heating device that is widely used as facilities such as kitchens and dining areas is expanded.

第2発明は、第1発明の効果に加えて、高周波誘導磁界発生コイルを備えた台座に着脱自在に載置される本体が、下部の作動部と上部の被冷却物収容の容器部を備えることによって、冷却装置の重心が下がって安定した設置ができるものとなる。   In the second invention, in addition to the effects of the first invention, the main body detachably mounted on the pedestal having the high frequency induction magnetic field generating coil includes a lower operation part and an upper container part for receiving an object to be cooled. As a result, the center of gravity of the cooling device is lowered and stable installation can be achieved.

第3発明では、第1発明の効果に加えて、高周波誘導磁界発生コイルを備えた台座に着脱自在に載置される本体は、下部の作動部の上に被冷却物収容の容器部が着脱自在に載置される構成であるため、容器部を取り外して飲料等を容器部に入れたり、冷却された飲料等を他の容器に移したり等の作業がし易くなる。また、容器部を取り外して水洗いできるため、その場合、下部の作動部へ水が掛かることもなく安全である。   In the third invention, in addition to the effect of the first invention, the main body detachably mounted on the pedestal provided with the high frequency induction magnetic field generating coil has the container part for receiving the object to be cooled on the lower working part. Since it is configured to be freely placed, it is easy to perform operations such as removing the container part and putting a beverage or the like into the container part, or transferring the cooled beverage or the like to another container. Moreover, since the container part can be removed and washed with water, in this case, it is safe without water splashing on the lower working part.

第4発明では、第2発明または第3発明の効果に加えて、放熱用送風機への電力は、電子冷却素子への電力と同じ直流が利用されるため、本体を高周波誘導磁界発生コイルを備えた台座に載置することによって、電子冷却素子への給電と同時に給電できることとなり、放熱用送風機への電力供給の電源コードも不要であり、また、スイッチによるON−OFF制御も必要なく、使い勝手も便利なものとなる。   In the fourth invention, in addition to the effects of the second or third invention, since the same direct current as the power to the electronic cooling element is used as the power to the heat radiating fan, the main body is provided with a high frequency induction magnetic field generating coil. By mounting on the pedestal, power can be supplied at the same time as the power supply to the electronic cooling element, no power cord is required for power supply to the heat-dissipating blower, and there is no need for ON / OFF control by a switch. It will be convenient.

第5発明では、第3発明又は第4発明の効果に加えて、作動部は、容器部の底部が着脱自在にセットされる上面開口の受け入れ部を備えるため、容器部の着脱がし易く、使い勝手がよい。   In the fifth aspect of the invention, in addition to the effects of the third or fourth aspect of the invention, the actuating part is provided with a receiving part having an upper surface opening in which the bottom part of the container part is detachably set. Is good.

第6発明では、第2発明乃至第5発明の効果に加えて、容器部に収納した被冷却物が適温かの否かの見極めや、冷却装置が作動かを確認し易くなり便利である。また、表示部にLEDを採用すれば、電子冷却素子への電力と同じ直流を利用できるため、給電回路も簡素化される。   In the sixth aspect of the invention, in addition to the effects of the second to fifth aspects of the invention, it is easy to determine whether or not the object to be cooled stored in the container is at an appropriate temperature and to confirm whether the cooling device is operating. In addition, if an LED is used for the display unit, the same direct current as the electric power to the electronic cooling element can be used, so that the power feeding circuit is also simplified.

第7発明では、第2発明乃至第6発明の効果に加えて、本体が片手で持ち運び可能なコップ状であるため、持ち運びが便利であり、利用し易くなる。   In the seventh invention, in addition to the effects of the second to sixth inventions, since the main body is in a cup shape that can be carried with one hand, it is convenient to carry and easy to use.

本発明に係る冷却装置は、高周波誘導磁界発生コイルの磁界中に設置されたとき誘起電力を発生する受動側コイルを備え、この受動側コイルによって発生する電流から作られた直流によって作動する電子冷却素子を備え、この電子冷却素子の吸熱部によって被冷却物を冷却するものであり、本発明の実施例を以下に記載する。   The cooling device according to the present invention includes a passive-side coil that generates an induced power when installed in a magnetic field of a high-frequency induction magnetic field generating coil, and is operated by a direct current generated from a current generated by the passive-side coil. An element is provided, and an object to be cooled is cooled by a heat absorption part of the electronic cooling element. Examples of the present invention will be described below.

本発明の実施の形態について説明する。図1は冷却装置の縦断側面図、図2は電子冷却素子部分の拡大断面図、図3は電子冷却素子等への給電回路図である。   Embodiments of the present invention will be described. FIG. 1 is a longitudinal side view of a cooling device, FIG. 2 is an enlarged sectional view of an electronic cooling element portion, and FIG. 3 is a power supply circuit diagram for the electronic cooling element and the like.

図1において、本発明の冷却装置1は、電磁誘導加熱装置2を裏側に備えたキッチンの天板やダイニングテーブル板などを示す台座3に着脱自在に載置されるものであり、電磁誘導加熱装置2の高周波誘導磁界発生コイル2Aの磁界中に設置されたとき誘起電力を発生する受動側コイル4を備え、この受動側コイル4によって発生する電流から作られた直流によって作動する電子冷却素子5を備え、この電子冷却素子5の吸熱部5Aによって飲料等の被冷却物を冷却する。   In FIG. 1, a cooling device 1 of the present invention is detachably mounted on a pedestal 3 showing a kitchen top plate, a dining table plate or the like equipped with an electromagnetic induction heating device 2 on the back side. An electronic cooling element 5 having a passive side coil 4 that generates an induced power when installed in the magnetic field of the high frequency induction magnetic field generating coil 2A of the apparatus 2 and operated by a direct current generated from a current generated by the passive side coil 4. And an object to be cooled such as a beverage is cooled by the heat absorbing portion 5A of the electronic cooling element 5.

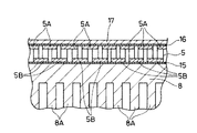
これを具体的に説明する。図1において、冷却装置1は、高周波誘導磁界発生コイル2Aを備えた台座3に着脱自在に載置される本体10を備え、この本体10は、下部に作動部11を備え、その上部に飲料などの被冷却物Hを収容する上面開口の容器部12を備える。作動部11は、高周波誘導磁界発生コイル2Aの磁界によって誘起電力を発生する受動側コイル4と、この受動側コイル4によって発生する電流に基づく直流によって作動する電子冷却素子5を備え、この電子冷却素子5の吸熱部5Aによって容器部12に収納した被冷却物Hを冷却する。本体10は、上面開口の容器形状をなした被磁性体で形成され、図示の形態は全体として片手で持ち運び可能な大きさで上面開口のコップ形状をなす。本体10の周囲外面には、容器部12に収納した被冷却物Hの温度表示部18と、冷却装置1の作動中を点灯表示するLEDの表示部19を備えており、図では容器部12の周囲外面にこれらを設けた構成である。容器部12の上面開口には取り外し自在な蓋12Aを備えている。容器部12は、収納した被冷却物Hの温度保持のために断熱層12Bを備えた構成である。   This will be specifically described. In FIG. 1, a cooling device 1 includes a main body 10 that is detachably mounted on a pedestal 3 including a high-frequency induction magnetic field generating coil 2A. The main body 10 includes an operating portion 11 at a lower portion and a beverage at an upper portion thereof. The container part 12 of the upper surface opening which accommodates the to-be-cooled objects H, such as is provided. The operating unit 11 includes a passive side coil 4 that generates an induced power by the magnetic field of the high frequency induction magnetic field generating coil 2A, and an electronic cooling element 5 that operates by direct current based on a current generated by the passive side coil 4. The to-be-cooled object H accommodated in the container part 12 is cooled by the heat absorbing part 5A of the element 5. The main body 10 is formed of a magnetic material having a container shape with an upper surface opening, and the illustrated form has a cup shape with an upper surface opening with a size that can be carried with one hand as a whole. The outer peripheral surface of the main body 10 is provided with a temperature display unit 18 for the object to be cooled H stored in the container unit 12 and an LED display unit 19 for lighting and displaying the operation of the cooling device 1. It is the structure which provided these in the surrounding outer surface of. A detachable lid 12 </ b> A is provided in the upper surface opening of the container portion 12. The container part 12 is the structure provided with the heat insulation layer 12B in order to hold | maintain the temperature of the to-be-cooled material H accommodated.

図1に示すように、作動部11の内部には、下部から上方に向けて、受動側コイル4、支持部材13に支持した回路基板6、支持部材13に支持した放熱用送風機7、電子冷却素子5の放熱用ヒートシンク8、電子冷却素子5を順次配置した構成である。そして、受動側コイル4に対応した周囲面には、空気の取り入れ口9Aを形成し、放熱用ヒートシンク8に対応した周囲面には、空気の吐出口9Bを形成している。図2に示すように、電子冷却素子5の放熱部5Bは薄い電気絶縁材15を介して放熱用ヒートシンク8が組み合わされ、また、電子冷却素子5の吸熱部5Aは薄い電気絶縁材16を介して熱良導板17が組み合わされている。熱良導板17は容器部12の底板を形成するため、熱良導板17の周囲は、容器部12に収納した飲料等の被冷却物Hが漏れないように十分なシール構造になっている。   As shown in FIG. 1, inside the working unit 11, from the bottom to the top, the passive side coil 4, the circuit board 6 supported by the support member 13, the heat dissipation fan 7 supported by the support member 13, and electronic cooling The heat sink 8 for heat dissipation of the element 5 and the electronic cooling element 5 are sequentially arranged. An air intake port 9 A is formed on the peripheral surface corresponding to the passive coil 4, and an air discharge port 9 B is formed on the peripheral surface corresponding to the heat sink 8 for heat dissipation. As shown in FIG. 2, the heat sink 5B of the electronic cooling element 5 is combined with the heat sink 8 for heat dissipation via a thin electric insulator 15, and the heat absorber 5A of the electronic cooling element 5 is interposed via a thin electric insulator 16. A heat conducting plate 17 is combined. Since the heat good guide plate 17 forms the bottom plate of the container portion 12, the periphery of the heat good guide plate 17 has a sufficient sealing structure so that the cooled object H such as a beverage stored in the container portion 12 does not leak. Yes.

図2に示すように、電子冷却素子5は、横方向にN型半導体とP型半導体が交互配列された状態で、隣り合うN型半導体とP型半導体の一端側が熱良導板で連結されて吸熱部5Aを構成し、他端側が熱良導板で連結されて放熱部5Bを構成する関係によって、全体としてN型半導体とP型半導体が直列状態に接続された周知の構成である。また、放熱用ヒートシンク8は、アルミニウム等のような熱良導体でもって多数の放熱フィン8Aを形成している。このような構成によって、電子冷却素子5の放熱部5Bの熱は、電気絶縁材15を介して放熱用ヒートシンク8によって放熱され、電子冷却素子5の吸熱部5Aは薄い電気絶縁材16を介して熱良導板17を冷却する。そして、熱良導板17の冷却によって、容器部12に収納した飲料等の被冷却物Hが冷却される。作動部11の内部の熱は、放熱用送風機7の運転によって、空気の取り入れ口9Aから吸い込んだ空気によって熱交換されて、空気の吐出口9Bから放出される。   As shown in FIG. 2, the electronic cooling element 5 has N-type semiconductors and P-type semiconductors arranged alternately in the lateral direction, and one end side of the adjacent N-type semiconductor and P-type semiconductor is connected by a heat conducting plate. This is a well-known configuration in which an N-type semiconductor and a P-type semiconductor are connected in series as a whole by configuring the heat absorbing portion 5A and connecting the other end with a heat conducting plate to configure the heat radiating portion 5B. Further, the heat sink 8 for heat radiation forms a large number of heat radiation fins 8A with a good heat conductor such as aluminum. With such a configuration, the heat of the heat radiating portion 5B of the electronic cooling element 5 is radiated by the heat sink 8 for heat dissipation through the electric insulating material 15, and the heat absorbing portion 5A of the electronic cooling element 5 is radiated through the thin electric insulating material 16. The heat conducting plate 17 is cooled. And the to-be-cooled object H, such as a drink accommodated in the container part 12, is cooled by the cooling of the heat conducting plate 17. The heat inside the operating portion 11 is exchanged by the air sucked from the air intake port 9A by the operation of the heat radiating blower 7, and is released from the air discharge port 9B.

図3には電子冷却素子5等への給電回路図を示しており、これにおいて、交流電源20に接続された高周波誘導磁界発生コイル2Aと対峙する受動側コイル4に誘起される電力は、整流素子21Aで構成した整流回路21によって整流され、これが平滑コンデンサ22A、22Bによって平滑されて(+)(−)で示す直流となる。この直流によって電子冷却素子5、放熱用送風機7の直流電動機7A、及び表示部19のLEDが動作する。   FIG. 3 shows a power supply circuit diagram for the electronic cooling element 5 and the like, in which the power induced in the passive side coil 4 facing the high frequency induction magnetic field generating coil 2A connected to the AC power source 20 is rectified. The current is rectified by the rectifier circuit 21 configured by the element 21A, and is smoothed by the smoothing capacitors 22A and 22B to become a direct current indicated by (+) and (−). The electronic cooling element 5, the DC motor 7 </ b> A of the heat radiating fan 7, and the LED of the display unit 19 are operated by this direct current.

このような構成であるため、受動側コイル4が高周波誘導磁界発生コイル2Aと対峙する位置に冷却装置1を載置して、電磁誘導加熱装置2の電源をONすることによって、交流電源20から高周波誘導磁界発生コイル2Aに電力が供給されて受動側コイル4に電力が誘起され、表示部19のLEDが点灯して動作中であることを表示する。これと共に、電子冷却素子5が動作して容器部12に収納した飲料等の被冷却物Hを冷却し、直流電動機7Aが始動して放熱用送風機7が運転される。このような動作によって、容器部12に収納した飲料等の被冷却物Hが冷却されるため、温度表示部18の温度を確認して、又は運転開始から適切な時間経過の後に、冷却装置1を取り上げれば、表示部19のLEDが消灯すると共に、電子冷却素子5と直流電動機7Aが運転停止状態となるため、その中の被冷却物Hをそのまま飲むことができるし、また他の容器に移し替えることができる。冷却装置1によって被冷却物Hを冷却しない場合は、電磁誘導加熱装置2の電源をOFFする。   Due to such a configuration, the cooling device 1 is placed at a position where the passive side coil 4 faces the high-frequency induction magnetic field generating coil 2A, and the electromagnetic induction heating device 2 is turned on, so that the AC power source 20 Electric power is supplied to the high-frequency induction magnetic field generating coil 2A and electric power is induced in the passive coil 4, and the LED of the display unit 19 is lit to indicate that it is operating. At the same time, the electronic cooling element 5 operates to cool the object H to be cooled such as a beverage stored in the container portion 12, the DC motor 7A is started, and the heat radiating fan 7 is operated. By such an operation, the object to be cooled H such as a beverage stored in the container unit 12 is cooled. Therefore, the temperature of the temperature display unit 18 is confirmed, or after an appropriate time has elapsed from the start of operation, the cooling device 1 , The LED of the display unit 19 is turned off, and the electronic cooling element 5 and the DC motor 7A are in an operation stop state, so that the object H to be cooled can be drunk as it is, or in another container. It can be transferred. When the object to be cooled H is not cooled by the cooling device 1, the power source of the electromagnetic induction heating device 2 is turned off.

図4には本発明の実施例2の形態の冷却装置の縦断側面図を示している。実施例1と同様に部分は同一符号を付しており、上記の説明を援用するものとする。実施例1の形態と異なる部分は、本体10は、作動部11と容器部12が分離可能な構成であり、容器部12が作動部11の上部に着脱自在に載置された構成である。このため、作動部11は、高周波誘導磁界発生コイル2Aの磁界によって誘起電力を発生する受動側コイル4と、この受動側コイル4によって発生する電力に基づく直流によって作動する電子冷却素子5を備え、電子冷却素子5の吸熱部5Aの上面には、図2に示す構成と同様に薄い電気絶縁材16を介して熱良導板17を接合している。そして、作動部11は、容器部12の底部を受け入れるように、若干外方に広がった上面開口の受け口23を形成し、この受け口23の底面を熱良導板17が形成する構成である。また、容器部12の底面壁24は熱良導板で構成されている。電子冷却素子5等への給電回路図は図3と同様である。   FIG. 4 shows a longitudinal side view of the cooling device according to the second embodiment of the present invention. The parts are denoted by the same reference numerals as in the first embodiment, and the above description is incorporated. A different part from the form of Example 1 is that the main body 10 has a configuration in which the operating part 11 and the container part 12 can be separated, and the container part 12 is detachably mounted on the upper part of the operating part 11. For this reason, the operating unit 11 includes a passive side coil 4 that generates induced power by the magnetic field of the high frequency induction magnetic field generating coil 2A, and an electronic cooling element 5 that operates by direct current based on the power generated by the passive side coil 4, A heat conducting plate 17 is joined to the upper surface of the heat absorbing portion 5A of the electronic cooling element 5 through a thin electric insulating material 16 in the same manner as in the configuration shown in FIG. And the action | operation part 11 is the structure which forms the receiving opening 23 of the upper surface opening extended a little outward so that the bottom part of the container part 12 may be received, and the heat conducting plate 17 forms the bottom face of this receiving opening 23. Moreover, the bottom wall 24 of the container part 12 is comprised with the heat conducting plate. The power supply circuit diagram for the electronic cooling element 5 and the like is the same as FIG.

この構成によって、容器部12の底面壁24が熱良導板17に当接するように、容器部12の底部を受け口23に嵌め合わせて載置すれば、実施例1に記載したことと同様に、電子冷却素子5への通電に基づき、吸熱部5Aによって熱良導板17が冷却され、それによって容器部12の底面壁24が冷却され、容器部12に収納した被冷却物Hが冷却される。このため、容器部12を取り外して飲料等を容器部12に入れたり、冷却された飲料等を他の容器に移したり等の作業がし易くなる。また、容器部12を取り外して水洗いできるため、その場合、下部の作動部11へ水が掛かることもなく安全な冷却装置1となる。   With this configuration, if the bottom portion of the container portion 12 is fitted and placed in the receiving port 23 so that the bottom wall 24 of the container portion 12 abuts against the heat conducting plate 17, it is the same as described in the first embodiment. Based on energization to the electronic cooling element 5, the heat conducting plate 17 is cooled by the heat absorbing portion 5A, whereby the bottom wall 24 of the container portion 12 is cooled, and the object to be cooled H stored in the container portion 12 is cooled. The For this reason, it becomes easy to perform operations such as removing the container part 12 and putting a beverage or the like into the container part 12 or transferring the cooled beverage or the like to another container. Moreover, since the container part 12 can be removed and it can wash with water, in that case, it will become the safe cooling device 1 without water splashing on the action | operation part 11 of the lower part.

図5には実施例3の冷却装置の斜視図を示し、図6には図5の冷却装置の縦断側面図を示している。これらにおいて、実施例1と同様の機能部分は同一符号を付しており、上記の説明を援用するものとする。実施例1の形態と異なる部分は、本体10の形態が上面開口の矩形状等の箱型であり、実施例1と同様に、この本体10は、下部に作動部11を備え、その上部に飲料などの被冷却物Hを収容する上面開口の容器部12を備えるが、この作動部11内に取り付けられる受動側コイル4、電子冷却素子5、回路基板6、放熱用送風機7、放熱用ヒートシンク8の配置が若干異なり、放熱用送風機7によって、一側面に形成した空気の取り入れ口9Aから吸い込んだ空気は、他側面に形成した空気の吐出口9Bから放出される間に、受動側コイル4、電子冷却素子5、回路基板6を冷却する構成である。電子冷却素子5等への給電回路図は図3と同様である。   FIG. 5 shows a perspective view of the cooling device of Example 3, and FIG. 6 shows a longitudinal side view of the cooling device of FIG. In these, the same functional parts as those in the first embodiment are denoted by the same reference numerals, and the above description is incorporated. The part different from the form of the first embodiment is that the form of the main body 10 is a box shape such as a rectangular shape with an opening on the upper surface. Like the first embodiment, the main body 10 is provided with an operating part 11 at the lower part, and at the upper part. A container portion 12 having an upper surface opening for containing an object H to be cooled such as a beverage is provided. 8 is slightly different, and the air sucked from the air intake 9A formed on one side by the heat radiating blower 7 is discharged from the air discharge 9B formed on the other side while the passive coil 4 The electronic cooling element 5 and the circuit board 6 are cooled. The power supply circuit diagram for the electronic cooling element 5 and the like is the same as FIG.

そして、実施例1同様に、電子冷却素子5の吸熱部5Aは薄い電気絶縁材16を介して熱良導板17が組み合わされており、容器部12は、その中に入れた水を熱良導板17によって冷却することによって、この水によってビン、缶、ペットボトル等の容器に入れた飲料の被冷却物Hを冷却するのに適する。また、容器部12によって、飲料以外の被冷却物Hの冷却を行うことも可能であり、その場合は、熱良導板17の上に被冷却物Hを載置すればよい。   As in the first embodiment, the heat absorbing portion 5A of the electronic cooling element 5 is combined with a heat conducting plate 17 through a thin electrical insulating material 16, and the container portion 12 heats the water contained therein. By cooling with the guide plate 17, the water is suitable for cooling an object to be cooled H of a beverage placed in a container such as a bottle, a can, or a plastic bottle. Moreover, it is also possible to cool the to-be-cooled object H other than a drink with the container part 12, and what is necessary is just to mount the to-be-cooled object H on the heat conducting plate 17 in that case.

本発明は、高周波誘導磁界発生コイル2Aの磁界中に置いたとき発生する誘起電力によって、ペルチェ素子等の電子冷却素子が作動して、容器部の飲料物等の被冷却物の冷却が行われる冷却装置であるため、本体10の形態や内部構成は上記に限定されず、本発明の技術範囲において種々の構成に適用できる。   In the present invention, an electronic cooling element such as a Peltier element is actuated by induced electric power generated when placed in the magnetic field of the high-frequency induction magnetic field generating coil 2A, thereby cooling an object to be cooled such as a beverage in a container portion. Since it is a cooling device, the form and internal structure of the main body 10 are not limited to the above, and can be applied to various structures within the technical scope of the present invention.

なお、上記冷却装置1の外面に露出するように、切り替えスイッチを設け、このスイッチによって、ペルチェ素子の電子冷却素子5に掛かる直流の(+)(−)の極性を逆にして印加するようにすれば、電子冷却素子5の上記吸熱部5Aが放熱部となり、上記放熱部5Bが吸熱部となるように切り替わる。このように切り替えれば、上記冷却装置1は加温装置となり、容器部12に収容した物品Hの加温が可能となるため、簡易型冷温装置を構成できる。   A changeover switch is provided so as to be exposed on the outer surface of the cooling device 1, and this switch is applied so that the polarity of the direct current (+) (−) applied to the electronic cooling element 5 of the Peltier element is reversed. If it carries out, it will switch so that the said heat absorption part 5A of the electronic cooling element 5 may turn into a thermal radiation part, and the said heat radiation part 5B may become a thermal absorption part. If it switches in this way, since the said cooling device 1 will become a heating apparatus and the article H accommodated in the container part 12 will be able to be heated, a simple type cooling / heating apparatus can be comprised.

本発明に係る冷却装置の縦断側面図である。(実施例1)It is a vertical side view of the cooling device concerning the present invention. Example 1 本発明に係る電子冷却素子部分の部分拡大断面図である。(実施例1)It is a partial expanded sectional view of the electronic cooling element part which concerns on this invention. Example 1 本発明に係る電子冷却素子等への給電回路図である。(実施例1)It is a power supply circuit diagram to the electronic cooling element etc. which concern on this invention. Example 1 本発明に係る冷却装置の縦断側面図である。(実施例2)It is a vertical side view of the cooling device concerning the present invention. (Example 2) 本発明に係る冷却装置の斜視図である。(実施例3)It is a perspective view of the cooling device concerning the present invention. (Example 3) 図5の冷却装置の縦断側面図である。(実施例3)It is a vertical side view of the cooling device of FIG. (Example 3)

符号の説明Explanation of symbols

1・・・・・冷却装置
2・・・・・電磁誘導加熱装置
2A・・・・高周波誘導磁界発生コイル
3・・・・・台座
4・・・・・受動側コイル
5・・・・・電子冷却素子
5A・・・・吸熱部
5B・・・・放熱部
6・・・・・回路基板
7・・・・・放熱用送風機
8・・・・・放熱用ヒートシンク
10・・・・本体
11・・・・作動部
12・・・・容器部
15・・・・電気絶縁材
16・・・・電気絶縁材
17・・・・熱良導板
18・・・・温度表示部
19・・・・動作表示部
20・・・・交流電源
21・・・・整流部
23・・・・上面開口の受け口
24・・・・容器部の熱良導板の底面壁
DESCRIPTION OF SYMBOLS 1 ... Cooling device 2 ... Electromagnetic induction heating device 2A ... High frequency induction magnetic field generating coil 3 ... Base 4 ... Passive coil 5 ... Electronic cooling element 5A ... Heat absorption part 5B ... Heat dissipation part 6 ... Circuit board 7 ... Heat dissipation fan 8 ... Heat dissipation heat sink 10 ... Body 11 · · · · · · · · · · · · · · · · · · · · · · · · · · · · · · · · · · · · · · · · · · · · · · · · · · · · · · · · · · · · · · · · · · · · · · · · · · · · · · · · · · · · · · · · · · · · · · · · · · · · · · · · · · · · · Only 17・ Operation display unit 20... AC power supply 21... Rectification unit 23.

Claims (7)

高周波誘導磁界発生コイルの磁界中に設置されたとき誘起電力を発生する受動側コイルを備え、この受動側コイルによって発生する電流から作られた直流によって作動する電子冷却素子を備え、この電子冷却素子の吸熱部によって被冷却物を冷却することを特徴とする冷却装置。   A passive coil that generates an induced power when installed in the magnetic field of a high frequency induction magnetic field generating coil, and an electronic cooling element that is operated by a direct current generated from a current generated by the passive coil, the electronic cooling element A cooling device characterized in that the object to be cooled is cooled by the heat absorption part. 高周波誘導磁界発生コイルを備えた台座に着脱自在に載置される本体を備え、この本体は下部に作動部を備えその上部に被冷却物を収容する容器部を備え、前記作動部は、前記高周波誘導磁界発生コイルの磁界によって誘起電力を発生する受動側コイルと、この受動側コイルによって発生する電流に基づく直流によって作動する電子冷却素子を備え、この電子冷却素子の吸熱部によって前記容器部に収納した被冷却物を冷却することを特徴とする冷却装置。   A main body detachably mounted on a pedestal having a high-frequency induction magnetic field generating coil, the main body includes an operation portion at a lower portion, and a container portion for accommodating an object to be cooled at an upper portion thereof. A passive-side coil that generates induced power by the magnetic field of the high-frequency induction magnetic field generating coil, and an electronic cooling element that operates by direct current based on a current generated by the passive-side coil are provided in the container part by the heat absorption part of the electronic cooling element. A cooling device for cooling an object to be cooled. 高周波誘導磁界発生コイルを備えた台座に着脱自在に載置される本体を備え、この本体は下部に作動部を備えその上部に被冷却物を収容する容器部が着脱自在に載置され、前記作動部は、前記高周波誘導磁界発生コイルの磁界によって誘起電力を発生する受動側コイルと、この受動側コイルによって発生する電流に基づく直流によって作動する電子冷却素子を備え、この電子冷却素子の吸熱部によって前記容器部に収納した被冷却物を冷却することを特徴とする冷却装置。   The main body includes a main body that is detachably mounted on a pedestal including a high frequency induction magnetic field generating coil, and the main body includes an operating portion at a lower portion, and a container portion that accommodates an object to be cooled is detachably mounted on the upper portion. The operating unit includes a passive side coil that generates an induced power by the magnetic field of the high-frequency induction magnetic field generating coil, and an electronic cooling element that is operated by a direct current based on a current generated by the passive side coil. The cooling apparatus characterized by cooling the to-be-cooled object accommodated in the said container part by. 前記作動部は、前記電子冷却素子の吸熱側を上面として前記容器部の底壁を冷却する位置に前記電子冷却素子を配置し、前記電子冷却素子の下面放熱側に熱良導体のヒートシンクを備え、このヒートシンクの下方に放熱用送風機が配置され、この放熱用送風機の下方には前記受動側コイルが配置され、前記放熱用送風機は前記直流によって作動することを特徴とする請求項2又は3に記載の冷却装置。   The actuating portion includes the electronic cooling element disposed at a position where the bottom wall of the container portion is cooled with the heat absorption side of the electronic cooling element as an upper surface, and a heat sink of a good thermal conductor is provided on the lower surface radiation side of the electronic cooling element, 4. The heat dissipating blower is disposed below the heat sink, the passive coil is disposed below the heat dissipating fan, and the heat dissipating fan is operated by the direct current. Cooling system. 前記作動部は、前記容器部の底部が着脱自在にセットされる上面開口の受け入れ部を備え、この受け入れ部の底部には前記電子冷却素子が吸熱側を上面として配置され、前記受け入れ部にセットされた前記容器部の底壁を冷却する位置に前記電子冷却素子を配置したことを特徴とする請求項3又は4に記載の冷却装置。   The actuating portion includes a receiving portion having an upper surface opening in which a bottom portion of the container portion is detachably set. The thermoelectric cooling element is disposed on the bottom portion of the receiving portion with the heat absorption side as an upper surface, and is set in the receiving portion. The cooling device according to claim 3 or 4, wherein the electronic cooling element is arranged at a position for cooling the bottom wall of the container portion. 前記本体の周囲外面には、前記容器部に収納した被冷却物の温度表示部と作動中を点灯表示する表示部の少なくとも一方を備えたことを特徴とする請求項2乃至5のいずれかに記載の冷却装置。   6. The outer peripheral surface of the main body is provided with at least one of a temperature display part of an object to be cooled stored in the container part and a display part that lights and displays the operation. The cooling device as described. 前記本体は、片手で持ち運び可能なコップ状をなすことを特徴とする請求項2乃至6のいずれかに記載の冷却装置。   The cooling device according to claim 2, wherein the main body has a cup shape that can be carried with one hand.
JP2005251626A 2005-08-31 2005-08-31 Cooling system Expired - Fee Related JP4744242B2 (en)

Priority Applications (1)

Application Number Priority Date Filing Date Title
JP2005251626A JP4744242B2 (en) 2005-08-31 2005-08-31 Cooling system

Applications Claiming Priority (1)

Application Number Priority Date Filing Date Title
JP2005251626A JP4744242B2 (en) 2005-08-31 2005-08-31 Cooling system

Publications (2)

Publication Number Publication Date
JP2007064557A true JP2007064557A (en) 2007-03-15
JP4744242B2 JP4744242B2 (en) 2011-08-10

Family

ID=37926954

Family Applications (1)

Application Number Title Priority Date Filing Date
JP2005251626A Expired - Fee Related JP4744242B2 (en) 2005-08-31 2005-08-31 Cooling system

Country Status (1)

Country Link
JP (1) JP4744242B2 (en)

Cited By (30)

* Cited by examiner, † Cited by third party
Publication number Priority date Publication date Assignee Title
WO2008068850A1 (en) * 2006-12-05 2008-06-12 Kyushu Electric Power Co., Inc. Cooling device for electromagnetic induction heating cooker
WO2009037783A1 (en) 2007-09-21 2009-03-26 Kyushu Electric Power Co., Inc. Cooling apparatus for electromagnetic induction heating cooker
KR101014978B1 (en) * 2008-09-23 2011-02-16 이진영 Electric Supply Separation Thermoelectric Cooling System
WO2011003754A3 (en) * 2009-07-08 2011-03-10 BSH Bosch und Siemens Hausgeräte GmbH Refrigeration device
JP2012210118A (en) * 2011-03-30 2012-10-25 Equos Research Co Ltd Antenna
JP2013504740A (en) * 2009-09-10 2013-02-07 クアルコム,インコーポレイテッド Wireless power for heating or cooling
JP2014504167A (en) * 2010-11-02 2014-02-20 ピアット テクノロジーズ、 インク. Tableware and beverage dishes that can be heated or cooled safely in a dishwasher
CN103925768A (en) * 2014-03-27 2014-07-16 陈永秘 Beverage thermoelectric cooling device
JPWO2013051150A1 (en) * 2011-10-07 2015-03-30 トヨタ自動車株式会社 Power receiving device, vehicle including the same, and power transmission system
JP2015220992A (en) * 2014-05-14 2015-12-07 瀚率テクニクス株式會社 Exothermic container
JP2017045675A (en) * 2015-08-28 2017-03-02 株式会社Lixil Temperature control system
US9782036B2 (en) 2015-02-24 2017-10-10 Ember Technologies, Inc. Heated or cooled portable drinkware
US9801482B1 (en) 2016-05-12 2017-10-31 Ember Technologies, Inc. Drinkware and plateware and active temperature control module for same
US9814331B2 (en) 2010-11-02 2017-11-14 Ember Technologies, Inc. Heated or cooled dishware and drinkware
WO2017208339A1 (en) * 2016-05-31 2017-12-07 三菱電機株式会社 Cold storage device
JP2017537288A (en) * 2014-09-16 2017-12-14 フェローテック(ユーエスエー)コーポレイション Integrated fluid heat exchanger and fluid heat exchange method
US9863695B2 (en) 2016-05-02 2018-01-09 Ember Technologies, Inc. Heated or cooled drinkware
US10010213B2 (en) 2010-11-02 2018-07-03 Ember Technologies, Inc. Heated or cooled dishware and drinkware and food containers
US10383476B2 (en) 2016-09-29 2019-08-20 Ember Technologies, Inc. Heated or cooled drinkware
CN110300536A (en) * 2017-02-28 2019-10-01 雀巢产品有限公司 For in the cooling equipment of beverage for preparing cooling beverage with clock synchronization with beverage preparation machine
US10433672B2 (en) 2018-01-31 2019-10-08 Ember Technologies, Inc. Actively heated or cooled infant bottle system
US10670323B2 (en) 2018-04-19 2020-06-02 Ember Technologies, Inc. Portable cooler with active temperature control
WO2020240740A1 (en) * 2019-05-29 2020-12-03 三菱電機株式会社 Cooling device and cooking system
US10989466B2 (en) 2019-01-11 2021-04-27 Ember Technologies, Inc. Portable cooler with active temperature control
US11118827B2 (en) 2019-06-25 2021-09-14 Ember Technologies, Inc. Portable cooler
US11162716B2 (en) 2019-06-25 2021-11-02 Ember Technologies, Inc. Portable cooler
KR20230023946A (en) * 2021-08-11 2023-02-20 주식회사 델타써모 A Subminiature Separate Air Conditioner Without Outdoor Unit
US11668508B2 (en) 2019-06-25 2023-06-06 Ember Technologies, Inc. Portable cooler
US11950726B2 (en) 2010-11-02 2024-04-09 Ember Technologies, Inc. Drinkware container with active temperature control
US12013157B2 (en) 2020-04-03 2024-06-18 Ember Lifesciences, Inc. Portable cooler with active temperature control

Families Citing this family (1)

* Cited by examiner, † Cited by third party
Publication number Priority date Publication date Assignee Title
JP2013100950A (en) * 2011-11-09 2013-05-23 Panasonic Corp Cooling device

Citations (12)

* Cited by examiner, † Cited by third party
Publication number Priority date Publication date Assignee Title
JPH04341790A (en) * 1991-05-17 1992-11-27 Mitsubishi Electric Home Appliance Co Ltd High frequency induction heating cooker
JPH07269897A (en) * 1994-03-31 1995-10-20 Matsushita Electric Works Ltd Cold air apparatus
JPH08838A (en) * 1994-06-20 1996-01-09 Taiyo Kogyo Kk Vehicle toy of electromagnetic induction charging system
JPH1120535A (en) * 1997-06-30 1999-01-26 S I Electron:Kk Cooling or warming device for automobile
JPH11270122A (en) * 1998-03-24 1999-10-05 Toyota Autom Loom Works Ltd Storing device
JP2000301138A (en) * 1999-04-21 2000-10-31 Mitsubishi Rayon Co Ltd Water purifier with cooling function
JP2001151278A (en) * 1999-11-26 2001-06-05 Sanyo Electric Co Ltd Heating and cooling device
JP2001307302A (en) * 2000-04-21 2001-11-02 Fujitsu Ltd Optical head for magneto-optical recording
JP2003086748A (en) * 2001-09-13 2003-03-20 Funai Electric Co Ltd Radiator for cooling semiconductor device
JP2003287316A (en) * 2002-03-28 2003-10-10 Matsushita Refrig Co Ltd Water feeder
JP2004079560A (en) * 2002-08-09 2004-03-11 Komatsu Electronics Inc Methods of driving and controlling thermoelectric conversion element module
JP2005117987A (en) * 2003-10-17 2005-05-12 Thermogen Kk Device for amplifying dna

Patent Citations (12)

* Cited by examiner, † Cited by third party
Publication number Priority date Publication date Assignee Title
JPH04341790A (en) * 1991-05-17 1992-11-27 Mitsubishi Electric Home Appliance Co Ltd High frequency induction heating cooker
JPH07269897A (en) * 1994-03-31 1995-10-20 Matsushita Electric Works Ltd Cold air apparatus
JPH08838A (en) * 1994-06-20 1996-01-09 Taiyo Kogyo Kk Vehicle toy of electromagnetic induction charging system
JPH1120535A (en) * 1997-06-30 1999-01-26 S I Electron:Kk Cooling or warming device for automobile
JPH11270122A (en) * 1998-03-24 1999-10-05 Toyota Autom Loom Works Ltd Storing device
JP2000301138A (en) * 1999-04-21 2000-10-31 Mitsubishi Rayon Co Ltd Water purifier with cooling function
JP2001151278A (en) * 1999-11-26 2001-06-05 Sanyo Electric Co Ltd Heating and cooling device
JP2001307302A (en) * 2000-04-21 2001-11-02 Fujitsu Ltd Optical head for magneto-optical recording
JP2003086748A (en) * 2001-09-13 2003-03-20 Funai Electric Co Ltd Radiator for cooling semiconductor device
JP2003287316A (en) * 2002-03-28 2003-10-10 Matsushita Refrig Co Ltd Water feeder
JP2004079560A (en) * 2002-08-09 2004-03-11 Komatsu Electronics Inc Methods of driving and controlling thermoelectric conversion element module
JP2005117987A (en) * 2003-10-17 2005-05-12 Thermogen Kk Device for amplifying dna

Cited By (73)

* Cited by examiner, † Cited by third party
Publication number Priority date Publication date Assignee Title
JPWO2008068850A1 (en) * 2006-12-05 2010-03-11 九州電力株式会社 Cooling device for electromagnetic induction heating cooker
JP5030971B2 (en) * 2006-12-05 2012-09-19 九州電力株式会社 Cooling device for electromagnetic induction heating cooker
WO2008068850A1 (en) * 2006-12-05 2008-06-12 Kyushu Electric Power Co., Inc. Cooling device for electromagnetic induction heating cooker
WO2009037783A1 (en) 2007-09-21 2009-03-26 Kyushu Electric Power Co., Inc. Cooling apparatus for electromagnetic induction heating cooker
KR101014978B1 (en) * 2008-09-23 2011-02-16 이진영 Electric Supply Separation Thermoelectric Cooling System
WO2011003754A3 (en) * 2009-07-08 2011-03-10 BSH Bosch und Siemens Hausgeräte GmbH Refrigeration device
JP2014224674A (en) * 2009-09-10 2014-12-04 クアルコム,インコーポレイテッド Wireless power for heating or cooling
JP2013504740A (en) * 2009-09-10 2013-02-07 クアルコム,インコーポレイテッド Wireless power for heating or cooling
US10743708B2 (en) 2010-11-02 2020-08-18 Ember Technologies, Inc. Portable cooler container with active temperature control
US10188229B2 (en) 2010-11-02 2019-01-29 Ember Technologies, Inc. Heated or cooled dishware and drinkware
JP2014504167A (en) * 2010-11-02 2014-02-20 ピアット テクノロジーズ、 インク. Tableware and beverage dishes that can be heated or cooled safely in a dishwasher
US11771260B2 (en) 2010-11-02 2023-10-03 Ember Technologies, Inc. Drinkware container with active temperature control
US11089891B2 (en) 2010-11-02 2021-08-17 Ember Technologies, Inc. Portable cooler container with active temperature control
US11083332B2 (en) 2010-11-02 2021-08-10 Ember Technologies, Inc. Portable cooler container with active temperature control
US11771261B2 (en) 2010-11-02 2023-10-03 Ember Technologies, Inc. Drinkware container with active temperature control
US11950726B2 (en) 2010-11-02 2024-04-09 Ember Technologies, Inc. Drinkware container with active temperature control
US12035843B2 (en) 2010-11-02 2024-07-16 Ember Technologies, Inc. Dishware or serverware with active temperature control
US12185870B2 (en) 2010-11-02 2025-01-07 Ember Technologies, Inc. Drinkware with active temperature control
US9814331B2 (en) 2010-11-02 2017-11-14 Ember Technologies, Inc. Heated or cooled dishware and drinkware
US10010213B2 (en) 2010-11-02 2018-07-03 Ember Technologies, Inc. Heated or cooled dishware and drinkware and food containers
US9974401B2 (en) 2010-11-02 2018-05-22 Ember Technologies, Inc. Heated or cooled dishware and drinkware
JP2012210118A (en) * 2011-03-30 2012-10-25 Equos Research Co Ltd Antenna
JPWO2013051150A1 (en) * 2011-10-07 2015-03-30 トヨタ自動車株式会社 Power receiving device, vehicle including the same, and power transmission system
US9721722B2 (en) 2011-10-07 2017-08-01 Toyota Jidosha Kabushiki Kaisha Power reception device, vehicle including power reception device, and power transfer system
US10876771B2 (en) 2013-04-19 2020-12-29 Ferrotec (USA) America Integrated thermoelectric-powered fluid heat exchanger
CN103925768A (en) * 2014-03-27 2014-07-16 陈永秘 Beverage thermoelectric cooling device
JP2015220992A (en) * 2014-05-14 2015-12-07 瀚率テクニクス株式會社 Exothermic container
JP2017537288A (en) * 2014-09-16 2017-12-14 フェローテック(ユーエスエー)コーポレイション Integrated fluid heat exchanger and fluid heat exchange method
US9782036B2 (en) 2015-02-24 2017-10-10 Ember Technologies, Inc. Heated or cooled portable drinkware
US10098498B2 (en) 2015-02-24 2018-10-16 Ember Technologies, Inc. Heated or cooled portable drinkware
US10413119B2 (en) 2015-02-24 2019-09-17 Ember Technologies, Inc. Heated or cooled portable drinkware
JP2017045675A (en) * 2015-08-28 2017-03-02 株式会社Lixil Temperature control system
WO2017038153A1 (en) * 2015-08-28 2017-03-09 株式会社Lixil Temperature control system
US10995979B2 (en) 2016-05-02 2021-05-04 Ember Technologies, Inc. Heated or cooled drinkware
US9863695B2 (en) 2016-05-02 2018-01-09 Ember Technologies, Inc. Heated or cooled drinkware
US10182674B2 (en) 2016-05-12 2019-01-22 Ember Technologies, Inc. Drinkware with active temperature control
US9801482B1 (en) 2016-05-12 2017-10-31 Ember Technologies, Inc. Drinkware and plateware and active temperature control module for same
US11871860B2 (en) 2016-05-12 2024-01-16 Ember Technologies, Inc. Drinkware with active temperature control
WO2017208339A1 (en) * 2016-05-31 2017-12-07 三菱電機株式会社 Cold storage device
JPWO2017208339A1 (en) * 2016-05-31 2018-08-09 三菱電機株式会社 Cooler
US10383476B2 (en) 2016-09-29 2019-08-20 Ember Technologies, Inc. Heated or cooled drinkware
CN110300536A (en) * 2017-02-28 2019-10-01 雀巢产品有限公司 For in the cooling equipment of beverage for preparing cooling beverage with clock synchronization with beverage preparation machine
US11529020B2 (en) 2017-02-28 2022-12-20 Societe Des Produits Nestle S.A. Beverage cooling device for preparing cooled beverage when paired with a beverage preparation machine
CN110300536B (en) * 2017-02-28 2021-12-28 雀巢产品有限公司 Beverage cooling device for preparing a cooled beverage when mated with a beverage preparation machine
US11395559B2 (en) 2018-01-31 2022-07-26 Ember Technologies, Inc. Infant bottle system
US10433672B2 (en) 2018-01-31 2019-10-08 Ember Technologies, Inc. Actively heated or cooled infant bottle system
US11517145B2 (en) 2018-01-31 2022-12-06 Ember Technologies, Inc. Infant bottle system
US10941972B2 (en) 2018-04-19 2021-03-09 Ember Technologies, Inc. Portable cooler with active temperature control
US11067327B2 (en) 2018-04-19 2021-07-20 Ember Technologies, Inc. Portable cooler with active temperature control
US12410964B2 (en) 2018-04-19 2025-09-09 Yeti Coolers, Llc Portable cooler with active temperature control
US10670323B2 (en) 2018-04-19 2020-06-02 Ember Technologies, Inc. Portable cooler with active temperature control
US10852047B2 (en) 2018-04-19 2020-12-01 Ember Technologies, Inc. Portable cooler with active temperature control
US11927382B2 (en) 2018-04-19 2024-03-12 Ember Technologies, Inc. Portable cooler with active temperature control
US10989466B2 (en) 2019-01-11 2021-04-27 Ember Technologies, Inc. Portable cooler with active temperature control
JP7112036B2 (en) 2019-05-29 2022-08-03 三菱電機株式会社 Cooling system and cooking system
JPWO2020240740A1 (en) * 2019-05-29 2021-11-04 三菱電機株式会社 Cooling device and cooking system
WO2020240740A1 (en) * 2019-05-29 2020-12-03 三菱電機株式会社 Cooling device and cooking system
US11668508B2 (en) 2019-06-25 2023-06-06 Ember Technologies, Inc. Portable cooler
US12146706B1 (en) 2019-06-25 2024-11-19 Ember Technologies, Inc. Portable cooler
US11719480B2 (en) 2019-06-25 2023-08-08 Ember Technologies, Inc. Portable container
US11466919B2 (en) 2019-06-25 2022-10-11 Ember Technologies, Inc. Portable cooler
US11365926B2 (en) 2019-06-25 2022-06-21 Ember Technologies, Inc. Portable cooler
US12379145B2 (en) 2019-06-25 2025-08-05 Yeti Coolers, Llc Portable container
US12372288B2 (en) 2019-06-25 2025-07-29 Yeti Coolers, Llc Portable cooler
US11118827B2 (en) 2019-06-25 2021-09-14 Ember Technologies, Inc. Portable cooler
US11162716B2 (en) 2019-06-25 2021-11-02 Ember Technologies, Inc. Portable cooler
US12320584B2 (en) 2019-06-25 2025-06-03 Yeti Coolers, Llc Portable cooler
US12331991B2 (en) 2019-06-25 2025-06-17 Yeti Coolers, Llc Portable cooler
US12352493B2 (en) 2019-06-25 2025-07-08 Yeti Coolers, Llc Portable container
US12366399B2 (en) 2019-06-25 2025-07-22 Yeti Coolers, Llc Portable container
US12013157B2 (en) 2020-04-03 2024-06-18 Ember Lifesciences, Inc. Portable cooler with active temperature control
KR20230023946A (en) * 2021-08-11 2023-02-20 주식회사 델타써모 A Subminiature Separate Air Conditioner Without Outdoor Unit
KR102548781B1 (en) * 2021-08-11 2023-06-28 성순아 A Subminiature Separate Air Conditioner Without Outdoor Unit

Also Published As

Publication number Publication date
JP4744242B2 (en) 2011-08-10

Similar Documents

Publication Publication Date Title
JP4744242B2 (en) Cooling system
JP6403314B2 (en) ELECTRIC INSULATION AND COOLING CONTAINER USING WIRELESS POWER TRANSFER, ELECTRIC INSULATION AND COOLING DEVICE USING THE SAME
ES2560256T3 (en) Induction heating cooker
RU2012115333A (en) MULTI-FUNCTION TOUCH COOLING HOLDER-HOLDER
KR20120006993U (en) cup having heating and cooling function
JPWO2020008557A1 (en) Table type cooking device
JP6564281B2 (en) Temperature control system
JP2014211247A (en) Cooling device
JP2009011574A (en) Cooling device and body storage device using the same
US11166595B2 (en) Food processor
JP2013100950A (en) Cooling device
KR102908234B1 (en) Home appliance
JP2012023045A (en) Cooker
JP2014134339A (en) Cooling device
JP2005063777A (en) Electromagnetic induction heating cooker
JP6490233B2 (en) Portable cooling system
CN207744983U (en) A kind of automatic Washing cup of ultrasonic wave of wireless charging refrigeration
KR101237861B1 (en) Portable apparatus for supplying cool and hot drink
CN207940766U (en) A kind of soy bean milk making machine
KR20220161032A (en) Home appliance and heat sinks installed therein
JP3928601B2 (en) Induction heating cooker
KR20100121092A (en) Table type cooling apparatus of using thermoelectric module
JP2007335735A (en) Semiconductor device
TWI607156B (en) Ceiling fan controller cooling structure
CN223261810U (en) Magnetic radiator

Legal Events

Date Code Title Description
A621 Written request for application examination

Free format text: JAPANESE INTERMEDIATE CODE: A621

Effective date: 20071122

A977 Report on retrieval

Free format text: JAPANESE INTERMEDIATE CODE: A971007

Effective date: 20091214

A131 Notification of reasons for refusal

Free format text: JAPANESE INTERMEDIATE CODE: A131

Effective date: 20100105

A521 Request for written amendment filed

Free format text: JAPANESE INTERMEDIATE CODE: A523

Effective date: 20100119

A131 Notification of reasons for refusal

Free format text: JAPANESE INTERMEDIATE CODE: A131

Effective date: 20100914

A521 Request for written amendment filed

Free format text: JAPANESE INTERMEDIATE CODE: A523

Effective date: 20101101

TRDD Decision of grant or rejection written
A01 Written decision to grant a patent or to grant a registration (utility model)

Free format text: JAPANESE INTERMEDIATE CODE: A01

Effective date: 20110412

A61 First payment of annual fees (during grant procedure)

Free format text: JAPANESE INTERMEDIATE CODE: A61

Effective date: 20110510

FPAY Renewal fee payment (event date is renewal date of database)

Free format text: PAYMENT UNTIL: 20140520

Year of fee payment: 3

R151 Written notification of patent or utility model registration

Ref document number: 4744242

Country of ref document: JP

Free format text: JAPANESE INTERMEDIATE CODE: R151

FPAY Renewal fee payment (event date is renewal date of database)

Free format text: PAYMENT UNTIL: 20140520

Year of fee payment: 3

S111 Request for change of ownership or part of ownership

Free format text: JAPANESE INTERMEDIATE CODE: R313113

FPAY Renewal fee payment (event date is renewal date of database)

Free format text: PAYMENT UNTIL: 20140520

Year of fee payment: 3

R350 Written notification of registration of transfer

Free format text: JAPANESE INTERMEDIATE CODE: R350

R250 Receipt of annual fees

Free format text: JAPANESE INTERMEDIATE CODE: R250

S531 Written request for registration of change of domicile

Free format text: JAPANESE INTERMEDIATE CODE: R313531

S533 Written request for registration of change of name

Free format text: JAPANESE INTERMEDIATE CODE: R313533

R350 Written notification of registration of transfer

Free format text: JAPANESE INTERMEDIATE CODE: R350

R250 Receipt of annual fees

Free format text: JAPANESE INTERMEDIATE CODE: R250

R250 Receipt of annual fees

Free format text: JAPANESE INTERMEDIATE CODE: R250

S533 Written request for registration of change of name

Free format text: JAPANESE INTERMEDIATE CODE: R313533

R250 Receipt of annual fees

Free format text: JAPANESE INTERMEDIATE CODE: R250

R371 Transfer withdrawn

Free format text: JAPANESE INTERMEDIATE CODE: R371

R250 Receipt of annual fees

Free format text: JAPANESE INTERMEDIATE CODE: R250

R250 Receipt of annual fees

Free format text: JAPANESE INTERMEDIATE CODE: R250

S531 Written request for registration of change of domicile

Free format text: JAPANESE INTERMEDIATE CODE: R313531

S533 Written request for registration of change of name

Free format text: JAPANESE INTERMEDIATE CODE: R313533

R350 Written notification of registration of transfer

Free format text: JAPANESE INTERMEDIATE CODE: R350

R250 Receipt of annual fees

Free format text: JAPANESE INTERMEDIATE CODE: R250

R250 Receipt of annual fees

Free format text: JAPANESE INTERMEDIATE CODE: R250

R250 Receipt of annual fees

Free format text: JAPANESE INTERMEDIATE CODE: R250

R250 Receipt of annual fees

Free format text: JAPANESE INTERMEDIATE CODE: R250

LAPS Cancellation because of no payment of annual fees