JP2006187891A - LAMINATE, MANUFACTURING METHOD THEREOF AND APPLICATION THEREOF - Google Patents
LAMINATE, MANUFACTURING METHOD THEREOF AND APPLICATION THEREOF Download PDFInfo
- Publication number
- JP2006187891A JP2006187891A JP2004382998A JP2004382998A JP2006187891A JP 2006187891 A JP2006187891 A JP 2006187891A JP 2004382998 A JP2004382998 A JP 2004382998A JP 2004382998 A JP2004382998 A JP 2004382998A JP 2006187891 A JP2006187891 A JP 2006187891A
- Authority
- JP
- Japan
- Prior art keywords
- plastic
- layer
- laminate
- base material
- thermally expandable
- Prior art date
- Legal status (The legal status is an assumption and is not a legal conclusion. Google has not performed a legal analysis and makes no representation as to the accuracy of the status listed.)
- Granted
Links
Images
Classifications
-
- Y—GENERAL TAGGING OF NEW TECHNOLOGICAL DEVELOPMENTS; GENERAL TAGGING OF CROSS-SECTIONAL TECHNOLOGIES SPANNING OVER SEVERAL SECTIONS OF THE IPC; TECHNICAL SUBJECTS COVERED BY FORMER USPC CROSS-REFERENCE ART COLLECTIONS [XRACs] AND DIGESTS
- Y02—TECHNOLOGIES OR APPLICATIONS FOR MITIGATION OR ADAPTATION AGAINST CLIMATE CHANGE
- Y02E—REDUCTION OF GREENHOUSE GAS [GHG] EMISSIONS, RELATED TO ENERGY GENERATION, TRANSMISSION OR DISTRIBUTION
- Y02E60/00—Enabling technologies; Technologies with a potential or indirect contribution to GHG emissions mitigation
- Y02E60/10—Energy storage using batteries
Landscapes
- Laminated Bodies (AREA)
- Cell Separators (AREA)
Abstract
【課題】 シャットダウン機能及び強度に優れた積層体並びにその製造方法及びそれを用いた二次電池を提供すること。
【解決手段】 基材層と、当該基材層の少なくとも1つの面に積層された閉塞層とを有する積層体であって、前記基材層は、多数の貫通孔を有するとともに、プラスチックAを含有し、前記閉塞層は、多数の貫通孔を有するとともに、プラスチックBと発泡剤とを含有し、さらに、前記プラスチックBは、前記プラスチックAより低い軟化温度を有し、かつ、前記発泡剤は、所定温度以上で膨張することを特徴とする。
【選択図】 図1PROBLEM TO BE SOLVED: To provide a laminate having excellent shutdown function and strength, a method for producing the same, and a secondary battery using the same.
SOLUTION: A laminated body having a base material layer and a blocking layer laminated on at least one surface of the base material layer, wherein the base material layer has a large number of through holes and a plastic A. And the closure layer has a number of through-holes, and contains plastic B and a foaming agent. Further, the plastic B has a softening temperature lower than that of the plastic A, and the foaming agent is It is characterized by expanding at a predetermined temperature or higher.
[Selection] Figure 1
Description
本発明は、積層体並びにその製造方法及びそれを用いた二次電池に関する。 The present invention relates to a laminate, a manufacturing method thereof, and a secondary battery using the same.
近年、高容量、高電圧、高エネルギー密度の達成が可能である電池として、種々の有機電解液二次電池が開発されている。この有機電解液二次電池(例えば、リチウムイオン電池)において、対向配置される正極と負極との間に、電解液とともにイオンの流通が可能である多孔性フィルムがセパレータとして設けられている。 In recent years, various organic electrolyte secondary batteries have been developed as batteries capable of achieving high capacity, high voltage, and high energy density. In this organic electrolyte secondary battery (for example, a lithium ion battery), a porous film capable of circulating ions along with the electrolyte is provided as a separator between a positive electrode and a negative electrode that are arranged to face each other.
そして、有機電解液二次電池には、短絡による温度上昇により引火等が生じる危険性があるために、電池内部の温度がリチウム等の融点又は有機電解液の引火点になる前に、発熱の原因となる電池反応を停止させる必要がある。 In addition, since there is a risk that the organic electrolyte secondary battery may ignite due to a temperature increase due to a short circuit, the heat generated before the temperature inside the battery reaches the melting point of lithium or the flash point of the organic electrolyte. It is necessary to stop the battery reaction that causes it.
そこで、正極と負極との間のセパレータに種々の工夫を加えることが試みられている。例えば、熱溶融性材料含有のセパレータによるシャットダウン機能付与等が行われている(例えば、特許文献1、2及び3参照)。 Thus, various attempts have been made to add various devices to the separator between the positive electrode and the negative electrode. For example, a shutdown function is imparted by a separator containing a heat-meltable material (for example, see
ここで、「熱溶融性材料含有のセパレータによるシャットダウン機能付与」とは、短絡によるジュール熱で電池が発熱して急激に温度上昇したときに、セパレータ、すなわち熱溶融性材料がある一定の温度以上で変形しセパレータの孔が塞がることにより、イオンの流通が妨げられて電池反応を停止させる機能を持たせることをいう。したがって、「熱溶融性材料含有のセパレータによるシャットダウン機能付与」により、電池内部の温度がリチウム等の融点又は有機電解液の引火点に至らずに、発火事故等を未然に防げることになる。 Here, “shutdown function imparted by a separator containing a heat-meltable material” means that when the battery is heated due to Joule heat due to a short circuit and the temperature rises rapidly, the separator, that is, the heat-meltable material is above a certain temperature By deforming and closing the pores of the separator, the flow of ions is hindered and the battery reaction is stopped. Therefore, by “providing the shutdown function by the separator containing the heat-meltable material”, the temperature inside the battery does not reach the melting point of lithium or the flash point of the organic electrolyte, and an ignition accident or the like can be prevented.
しかしながら、温度上昇でシャットダウン機能が働いても温度上昇はすぐには止まらない。そのため、膜自体が溶融して隔離が損なわれることがあった。
さらに、セパレータの強度が不充分であるために、電池組立時や使用時にセパレータが破損して短絡が起こることがあった。However, even if the shutdown function is activated due to the temperature rise, the temperature rise does not stop immediately. For this reason, the film itself may melt and the isolation may be impaired.
Furthermore, since the strength of the separator is insufficient, the separator may be damaged during battery assembly or use, resulting in a short circuit.
このような問題点の改善策としてシャットダウン機能が働く温度の範囲を広げること及び強度を向上させることが提案されている(例えば、特許文献4、5及び6参照)。これらは多孔質膜や不織布基材に熱溶融性材料を積層する技術である。しかしながら、これらの技術では、シャットダウン機能が不充分な場合があった。さらに、短絡によるジュール熱で電池が発熱して急激に温度上昇したときにも、溶解による孔の閉塞を待っていたのでは、シャットダウン機能は迅速には働かなかった。
本発明はこのような従来技術の問題点を解決するものであり、本発明の目的は、シャットダウン機能及び強度に優れた積層体を提供すること、並びに、その製造方法及びそれを用いた二次電池を提供することである。 The present invention solves such problems of the prior art, and an object of the present invention is to provide a laminate having an excellent shutdown function and strength, as well as a manufacturing method thereof and a secondary using the same. It is to provide a battery.
すなわち、基材層と、当該基材層の少なくとも1つの面に積層された閉塞層とを有する積層体であって、前記基材層は、多数の貫通孔を有するとともに、プラスチックAを含有し、前記閉塞層は、多数の貫通孔を有するとともに、プラスチックBと発泡剤とを含有し、さらに、前記プラスチックBは、前記プラスチックAより低い軟化温度を有し、かつ、前記発泡剤は、所定温度以上で膨張することを特徴とする。 That is, a laminated body having a base material layer and a blocking layer laminated on at least one surface of the base material layer, wherein the base material layer has a large number of through holes and contains plastic A. The closing layer has a large number of through-holes and contains plastic B and a foaming agent. Further, the plastic B has a softening temperature lower than that of the plastic A, and the foaming agent has a predetermined value. It expands above the temperature.
本発明の積層体によれば、基材層により強度が保持されるので、組立時や使用時に破損させることがなく、かつ、積層体自体が溶融して損なわれることもない。 According to the laminate of the present invention, since the strength is maintained by the base material layer, the laminate is not damaged during assembly or use, and the laminate itself is not melted and damaged.
さらに、閉塞層にプラスチックBと発泡剤とを含有する閉塞層を積層させたことにより、プラスチックBがある一定の温度以上で溶融するとともに、発泡剤がある一定の温度以上で膨張するので、閉塞層を薄く形成できイオン等の流通を妨げることもなく、さらにある一定の温度以上になると迅速かつ充分なシャットダウン機能を得ることができる。 Furthermore, since the plugging layer containing the plastic B and the foaming agent is laminated on the plugging layer, the plastic B melts at a certain temperature or more and expands at a certain temperature or more. A layer can be formed thinly, without disturbing the flow of ions and the like, and when the temperature exceeds a certain temperature, a quick and sufficient shutdown function can be obtained.
なお、本明細書において、「シャットダウン機能」とは、イオンの流通を妨ぐだけでなく、その他のものの流通を妨ぐために、貫通孔を塞ぐ又は小さくする等の調整を行うことができる機能を意味してもよい。 In this specification, the “shutdown function” means a function that not only prevents the flow of ions but also allows adjustments such as closing or reducing the through-hole in order to prevent the flow of other things. May be.
また、本発明の積層体は、前記発泡剤は、熱膨張性マイクロカプセルであることが好ましい。 In the laminate of the present invention, the foaming agent is preferably a thermally expandable microcapsule.
このように基材層にプラスチックBと熱膨張性マイクロカプセルとを含有する閉塞層を積層させたことにより、プラスチックBがある一定の温度以上で溶融するとともに、熱膨張性マイクロカプセルがある一定の範囲の温度で膨張するので、一定の範囲の温度で充分かつ迅速な優れたシャットダウン機能を得ることができる。 Thus, by laminating the sealing layer containing the plastic B and the thermally expandable microcapsule on the base material layer, the plastic B melts at a certain temperature or higher, and the thermally expandable microcapsule has a certain temperature. Since it expands at a range of temperatures, it is possible to obtain an excellent shutdown function that is sufficient and quick at a range of temperatures.
また、本発明の積層体は、前記熱膨張性マイクロカプセルの殻成分は、アクリロニトリルを主成分として重合させた熱可塑性樹脂からなり、かつ、前記熱膨張性マイクロカプセルの内部成分は、ノルマルブタン、ノルマルペンタン及びノルマルヘキサンからなる群から選択される少なくとも1つからなることが好ましい。 In the laminate of the present invention, the shell component of the thermally expandable microcapsule is made of a thermoplastic resin polymerized mainly with acrylonitrile, and the internal component of the thermally expandable microcapsule is normal butane, It is preferably composed of at least one selected from the group consisting of normal pentane and normal hexane.
このように熱膨張性マイクロカプセルの殻成分にアクリロニトリルを主成分として重合させた熱可塑性樹脂を用いることにより、優れた耐熱性及び耐薬品性を有する熱膨張性マイクロカプセルを用いることができる。 Thus, by using a thermoplastic resin obtained by polymerizing acrylonitrile as a main component as the shell component of the thermally expandable microcapsule, a thermally expandable microcapsule having excellent heat resistance and chemical resistance can be used.
また、本発明の積層体は、前記プラスチックBは、ポリエチレンを含有することが好ましい。 In the laminate of the present invention, the plastic B preferably contains polyethylene.
また、本発明の積層体は、前記プラスチックAは、ポリプロピレンを含有することが好ましい。 In the laminate of the present invention, it is preferable that the plastic A contains polypropylene.
また、本発明の積層体は、前記熱膨張性マイクロカプセルの膨張開始温度は、50℃以上200℃以下であることが好ましい。 In the laminate of the present invention, the expansion start temperature of the thermally expandable microcapsule is preferably 50 ° C. or higher and 200 ° C. or lower.
熱膨張性マイクロカプセルの膨張開始温度が、50℃未満であると、低い温度でシャットダウン機能が発現するおそれがあり、一方、200℃を超えると、高い温度でもシャットダウン機能が発現しないおそれがある。 If the expansion start temperature of the thermally expandable microcapsule is less than 50 ° C., the shutdown function may be exhibited at a low temperature, while if it exceeds 200 ° C., the shutdown function may not be exhibited even at a high temperature.
また、本発明の積層体は、前記プラスチックBの軟化温度は、50℃以上200℃以下であることが好ましい。 In the laminate of the present invention, the plastic B preferably has a softening temperature of 50 ° C. or higher and 200 ° C. or lower.
プラスチックBの軟化温度が、50℃未満であると、低い温度でシャットダウン機能が発現するおそれがあり、一方、200℃を超えると、高い温度でもシャットダウン機能が発現しないおそれがある。 If the softening temperature of the plastic B is less than 50 ° C., the shutdown function may be exhibited at a low temperature, while if it exceeds 200 ° C., the shutdown function may not be exhibited even at a high temperature.
また、本発明の積層体は、前記閉塞層の厚さは、5μm以上200μm以下であることが好ましい。 Moreover, it is preferable that the thickness of the said obstruction | occlusion layer is 5 to 200 micrometers in the laminated body of this invention.
閉塞層の厚さが、5μm未満であると、シャットダウン機能が不充分となるおそれがあり、一方、200μmを超えると、イオン等の流通が不充分となり、また経済的にも不利となるおそれがある。 When the thickness of the blocking layer is less than 5 μm, the shutdown function may be insufficient. On the other hand, when the thickness exceeds 200 μm, the circulation of ions or the like may be insufficient, which may be economically disadvantageous. is there.
また、本発明の積層体は、前記閉塞層は、熱膨張性マイクロカプセルをプラスチックB100重量部に対して5重量部以上80重量部以下で含有することが好ましい。 In the laminate of the present invention, it is preferable that the closing layer contains 5 parts by weight or more and 80 parts by weight or less of thermally expandable microcapsules with respect to 100 parts by weight of plastic B.
熱膨張性マイクロカプセルが、プラスチックB100重量部に対して5重量部未満であると、シャットダウン機能が不充分となるおそれがあり、一方、80重量部を超えると、イオン等の流通が不充分となり、また経済的にも不利となるおそれがある。 If the thermally expandable microcapsule is less than 5 parts by weight relative to 100 parts by weight of the plastic B, the shutdown function may be insufficient. On the other hand, if it exceeds 80 parts by weight, the circulation of ions and the like becomes insufficient. Moreover, there is a risk that it will be economically disadvantageous.
また、本発明の積層体は、前記熱膨張性マイクロカプセルの平均粒子径は、1μm以上20μm以下であることが好ましい。 Moreover, it is preferable that the laminated body of this invention is 1 micrometer or more and 20 micrometers or less in the average particle diameter of the said thermally expansible microcapsule.
熱膨張性マイクロカプセルの平均粒子径が、1μm未満であると、シャットダウン機能が不充分となるおそれがあり、一方、20μmを超えると、イオン等の流通が不充分となるおそれがある。 If the average particle size of the thermally expandable microcapsule is less than 1 μm, the shutdown function may be insufficient, while if it exceeds 20 μm, the circulation of ions or the like may be insufficient.
なお、本明細書において、「平均粒子径」とは、粒子の最も長い直径と最も短い直径とを平均した値のことをいう。 In the present specification, the “average particle diameter” means a value obtained by averaging the longest diameter and the shortest diameter of the particles.
そして、本発明の積層体の製造方法は、多数の貫通孔を有するとともにプラスチックAを含有する基材層と、閉塞層とを有する積層体の製造方法であって、前記基材層の少なくとも1つの面に、前記プラスチックAより低い軟化温度を有するプラスチックBと、所定温度以上で膨張する発泡剤と、水溶性物質とを含有する樹脂組成液を塗布して樹脂層を形成する形成工程と、前記樹脂層から水溶性物質を溶解させることにより除去して閉塞層を形成する除去工程とを含むことを特徴とする。 And the manufacturing method of the laminated body of this invention is a manufacturing method of the laminated body which has a base material layer which has many through-holes and contains the plastic A, and an obstruction | occlusion layer, Comprising: At least 1 of the said base material layer Forming a resin layer on one surface by applying a resin composition liquid containing a plastic B having a softening temperature lower than that of the plastic A, a foaming agent that expands above a predetermined temperature, and a water-soluble substance; And a removing step of forming a blocking layer by dissolving the water-soluble substance from the resin layer.
本発明の積層体の製造方法によれば、樹脂層から水溶性物質を溶解させることにより除去することにより、閉塞層に多数の貫通孔を形成することができるので、延伸により多数の貫通孔を形成した場合と比較して、優れた強度を得ることができる。 According to the method for producing a laminate of the present invention, by removing the water-soluble substance from the resin layer by dissolving it, a large number of through holes can be formed in the blocking layer. Compared with the case where it forms, the outstanding intensity | strength can be obtained.
さらに、本発明は、本発明の積層体がセパレータとして用いられた二次電池である。 Furthermore, the present invention is a secondary battery in which the laminate of the present invention is used as a separator.
本発明の二次電池によれば、基材層により強度が保持されるので、電池組立時や使用時に破損させることがなく、かつ、積層体自体が高い温度で溶融して損なわれることもない。 According to the secondary battery of the present invention, since the strength is maintained by the base material layer, it is not damaged when the battery is assembled or used, and the laminate itself is not melted and damaged at a high temperature. .
さらに、基材層にプラスチックBと発泡剤とを含有する閉塞層を積層させたことにより、プラスチックBがある一定の温度以上で溶融するとともに、発泡剤がある一定の温度以上で膨張するので、閉塞層を薄く形成できイオンの流通を妨げることもなく、さらにある一定の温度以上になると迅速かつ充分なシャットダウン機能を得ることができる。 Furthermore, by laminating the blocking layer containing the plastic B and the foaming agent on the base material layer, the plastic B melts at a certain temperature or higher and expands at a certain temperature or higher. A blocking layer can be formed thinly, without impeding the flow of ions, and a rapid and sufficient shutdown function can be obtained at a certain temperature or higher.
したがって、電池内部の温度がリチウム等の融点又は有機電解液の引火点に至らずに、発火事故等を未然に防ぐことができる。 Accordingly, the temperature inside the battery does not reach the melting point of lithium or the flash point of the organic electrolyte, and an ignition accident or the like can be prevented.
そして、本発明は、産業資材材料であり、例えば、熱時熱風遮断衣料、熱時熱又は煙遮断建材、工業濾過材料として用いられる。 And this invention is industrial material material, for example, it is used as hot-time hot-air blockage clothing, hot-time heat or smoke blockage building material, and industrial filtration material.
本発明の積層体によれば、基材層により強度が保持されるので、組立時や使用時に破損させることがなく、かつ、積層体自体が溶融して損なわれることもない。 According to the laminate of the present invention, since the strength is maintained by the base material layer, the laminate is not damaged during assembly or use, and the laminate itself is not melted and damaged.
さらに、基材層にプラスチックBと発泡剤とを含有する閉塞層を積層させたことにより、プラスチックBがある一定の温度以上で溶融するとともに、発泡剤がある一定の温度以上で膨張するので、閉塞層を薄く形成できイオン等の流通を妨げることもなく、さらにある一定の温度以上になると迅速かつ充分なシャットダウン機能を得ることができる。 Furthermore, by laminating the blocking layer containing the plastic B and the foaming agent on the base material layer, the plastic B melts at a certain temperature or higher and expands at a certain temperature or higher. A blocking layer can be formed thinly, without disturbing the flow of ions and the like, and when the temperature exceeds a certain temperature, a quick and sufficient shutdown function can be obtained.
以下、本発明の実施形態を図面を用いて説明する。 Hereinafter, embodiments of the present invention will be described with reference to the drawings.
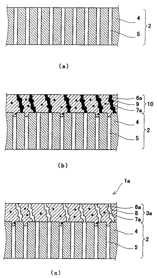
図1は、ある一定の温度未満時の本発明の積層体の実施形態の一例を示す断面図であり、図2は、ある一定の温度以上時の図1に示す積層体を示す断面図である。 FIG. 1 is a cross-sectional view showing an example of an embodiment of the laminate of the present invention at a temperature lower than a certain temperature, and FIG. 2 is a cross-sectional view showing the laminate shown in FIG. is there.
積層体1aは、多数の貫通孔5を有する基材層2と多数の貫通孔8を有する閉塞層3aとを有する。 The laminated body 1 a includes a
基材層2は、プラスチックA4からなる。プラスチックA4は、強度に優れるものであり、かつ、高い温度でも溶融して変形しないものである。 The
閉塞層3aは、プラスチックB6aと発泡剤7aとからなる。プラスチックB6aは、プラスチックA4より低い軟化温度を有し、ある一定の温度以上で溶融するものであり、発泡剤7aはある一定の温度以上で膨張するものである。 The
したがって、積層体1aは、基材層2により強度が保持されるとともに、閉塞層3aの厚さが薄くてイオン等の流通を妨げることもなく、イオン等の流通が可能である貫通孔を有するものとなっている。 Therefore, the laminate 1a has a through-hole in which the strength can be maintained by the
一方、積層体1bは、多数の貫通孔5を有する基材層2と閉塞層3bとを有する。閉塞層3bは、溶融したプラスチックB6bと膨張した発泡剤7bとからなる。したがって、積層体1bは、基材層2により高い温度でも強度が保持されるとともに、充分な厚さがある閉塞層3bを形成したことにより優れたシャットダウン機能を有することになる。 On the other hand, the
なお、積層体1aにおいて、貫通孔5に入った発泡剤7aがあれば、積層体1bにおいて、発泡剤7bは貫通孔5中で膨張して貫通孔5を塞ぐことになってもよい。さらに、積層体1bにおいて、溶融したプラスチックB6bは貫通孔5中に流れ込んで貫通孔5を塞ぐことになってもよい。 In addition, in the laminated body 1a, if there exists the
上記基材層の厚さは、5μm以上であることが好ましい。 The thickness of the base material layer is preferably 5 μm or more.
上記閉塞層の厚さは、5μm以上200μm以下であることが好ましく、5μm以上50μm以下であることがより好ましい。ある一定の温度以上時の閉塞層の厚さは、7μm以上1000μm以下であることが好ましく、7μm以上500μm以下であることがより好ましい。 The thickness of the blocking layer is preferably 5 μm or more and 200 μm or less, and more preferably 5 μm or more and 50 μm or less. The thickness of the blocking layer at a certain temperature or higher is preferably 7 μm or more and 1000 μm or less, and more preferably 7 μm or more and 500 μm or less.
上記発泡剤の平均粒子径は、1μm以上20μm以下であることが好ましく、膨張時の発泡剤の平均粒子径は、2μm以上300μm以下であることが好ましい。 The average particle diameter of the foaming agent is preferably 1 μm or more and 20 μm or less, and the average particle diameter of the foaming agent during expansion is preferably 2 μm or more and 300 μm or less.
上記閉塞層は、発泡剤をプラスチックB100重量部に対して5重量部以上80重量部以下で含有することが好ましい。 The blocking layer preferably contains a foaming agent in an amount of 5 parts by weight to 80 parts by weight with respect to 100 parts by weight of the plastic B.
上記発泡剤の膨張開始温度は、50℃以上200℃以下であることが好ましく、70℃以上170℃以下であることがより好ましい。
上記プラスチックBの軟化温度は、50℃以上200℃以下であることが好ましく、70℃以上150℃以下であることが好ましい。The expansion start temperature of the foaming agent is preferably 50 ° C. or higher and 200 ° C. or lower, and more preferably 70 ° C. or higher and 170 ° C. or lower.
The softening temperature of the plastic B is preferably 50 ° C. or higher and 200 ° C. or lower, and more preferably 70 ° C. or higher and 150 ° C. or lower.
なお、上記プラスチックBの軟化温度は、上記発泡剤の膨張開始温度以上であってもよく、上記発泡剤の膨張開始温度以下であってもよく、上記発泡剤の膨張開始温度付近であってもよい。 The softening temperature of the plastic B may be equal to or higher than the expansion start temperature of the foaming agent, may be equal to or lower than the expansion start temperature of the foaming agent, or may be near the expansion start temperature of the foaming agent. Good.
上記積層体の空孔率は、30%以上80%以下であることが好ましく、40%以上70%以下であることがより好ましい。空孔率が30%未満であると、イオン等の流通が悪くなるおそれがあり、一方、80%を越えると、強度が低くなるおそれがある。 The porosity of the laminate is preferably 30% or more and 80% or less, and more preferably 40% or more and 70% or less. If the porosity is less than 30%, the circulation of ions and the like may be deteriorated. On the other hand, if it exceeds 80%, the strength may be lowered.
上記積層体の通気度(イオンの流通の尺度)としては、限定しないが、JIS P8117に準拠した方法(ガーレー試験機法)により測定した値が、1sec/100ccAir以上800sec/100ccAir以下であることが好ましい。通気度が1sec/100ccAircc未満であると強度が低くなるおそれがあり、一方、800sec/100ccAirを越えるとイオン等の流通が悪くなるおそれがある。ある一定の温度以上時の積層体の通気度としては、800sec/100ccAir以上であることが好ましい。 The air permeability (measurement of ion circulation) of the laminate is not limited, but the value measured by a method (Gurley tester method) based on JIS P8117 is 1 sec / 100 cc Air or more and 800 sec / 100 cc Air or less. preferable. If the air permeability is less than 1 sec / 100 cc Aircc, the strength may be lowered. On the other hand, if the air permeability exceeds 800 sec / 100 cc Air, the circulation of ions and the like may be deteriorated. The air permeability of the laminate when the temperature is above a certain temperature is preferably 800 sec / 100 cc Air or more.
上記プラスチックA及び/又はプラスチックBとしては、例えば、ポリエチレンやプロピレン等のオレフィン系樹脂、アセタール、アクリル、メチルメタクリレート、アセチルセルロース、ニトロセルロース、エチレン・アクリル、フッ素樹脂、ポリアクリルニトリル、ナイロン等のポリアミド、ポリブタジエン・アクリルニトリル、ポリブタジエン・スチレン、ポリカーボネート、ポリエチレンテレフタレート等の飽和ポリエステル、ポリヒドロキシエーテル、ポリイミド、ポリフェニレンオキサイド、ポリスチレン、ポリサルホン、ポリ酢酸ビニル、エチレン・酢酸ビニル共重合体、ポリビニルアルコール、ポリビニルアルキルエーテル、ポリビニルブチラール、ポリ塩化ビニル、ポリビニルメチルエーテル、ポリウレタン、アルキッド、カゼイン、シアノアクリレート、ジアリルフタレート、エポキシ及びその変性物、フラン、メラミンホルムアルデヒド、フェノールホルムアルデヒド、フェノール・フルフラール、不飽和ポリエステル、ポリサルファイド、レゾルシノール・フェノールホルムアルデヒド、シリコーン、ユリアホルムアルデヒド等の熱硬化性樹脂、エポキシ−ノボラック、エポキシ−フェノリック、エポキシ−ポリサルファイド、エポキシ−シリコーン、フェノリック−ブチラール、フェノリック−ニトリル、フェノリック−ポリアミド、ポリアミド−エポキシ、ポリイミド−エポキシ、シリコーン−ビニルフェノリック、シリコーン−フェノリック、ビニルホルマール−フェノリック、ビニルブチラール−フェノリック等のアロイ等を挙げることができるが、好ましくはオレフィン系樹脂を挙げることができる。より好ましくはプラスチックAとして、ポリプロピレンを挙げることができ、プラスチックBとして、ポリエチレンを挙げることができる。 Examples of the plastic A and / or plastic B include olefin resins such as polyethylene and propylene, acetals, acrylics, methyl methacrylate, acetylcellulose, nitrocellulose, ethylene / acrylic, fluororesins, polyacrylonitrile, polyamides such as nylon, and the like. , Polybutadiene / acrylonitrile, polybutadiene / styrene, polycarbonate, saturated polyester such as polyethylene terephthalate, polyhydroxy ether, polyimide, polyphenylene oxide, polystyrene, polysulfone, polyvinyl acetate, ethylene / vinyl acetate copolymer, polyvinyl alcohol, polyvinyl alkyl ether , Polyvinyl butyral, polyvinyl chloride, polyvinyl methyl ether, polyurethane, alkyd Casein, cyanoacrylate, diallyl phthalate, epoxy and modified products thereof, furan, melamine formaldehyde, phenol formaldehyde, phenol furfural, unsaturated polyester, polysulfide, resorcinol / phenol formaldehyde, silicone, urea formaldehyde and other thermosetting resins, epoxy Novolak, epoxy-phenolic, epoxy-polysulfide, epoxy-silicone, phenolic-butyral, phenolic-nitrile, phenolic-polyamide, polyamide-epoxy, polyimide-epoxy, silicone-vinylphenolic, silicone-phenolic, vinyl formal-phenolic, vinyl butyral -Alloys such as phenolic can be mentioned , Preferably may be mentioned olefin-based resin. More preferably, examples of the plastic A include polypropylene, and examples of the plastic B include polyethylene.
上記発泡剤としては、例えば、重炭酸ソーダ、重炭酸ソーダとクエン酸等の有機酸との混合物、アゾジカルボンアミド、アゾジカルボン酸バリウム等のアゾ系発泡剤、N,N’−ジニトロソペンタメチレンテトラミン、N,N’−ジメチル−N,N’−ジニトロソテレフタルアミド等のニトロソ系発泡剤、p,p’−オキシビスベンゼンスルホニルヒドラジド、p−トルエンスルホニルセミカルバジド等のスルホヒドラジド系発泡剤、トリヒドラジノトリアジン等を挙げることができる。これらは単独で用いられてもよく、2種以上で併用されてもよい。 Examples of the foaming agent include sodium bicarbonate, a mixture of sodium bicarbonate and an organic acid such as citric acid, azo foaming agents such as azodicarbonamide and barium azodicarboxylate, N, N′-dinitrosopentamethylenetetramine, N, Nitroso-based blowing agents such as N′-dimethyl-N, N′-dinitrosotephthalamide, sulfohydrazide-based blowing agents such as p, p′-oxybisbenzenesulfonylhydrazide, p-toluenesulfonyl semicarbazide, trihydrazinotriazine, etc. Can be mentioned. These may be used alone or in combination of two or more.
上述した積層体においては、熱膨張性マイクロカプセルを含有する閉塞層を用いることとしてもよい。 In the above-described laminate, a blocking layer containing thermally expandable microcapsules may be used.
図3は、ある一定の温度未満時の本発明の積層体の実施形態の他の一例を示す断面図である。なお、図3においては、発泡剤を熱膨張性マイクロカプセルに変更した以外は、図1の積層体と同様の構成であるので、熱膨張性マイクロカプセルに関する部分のみを説明する。 FIG. 3 is a cross-sectional view showing another example of the embodiment of the laminated body of the present invention at a temperature lower than a certain temperature. In FIG. 3, the configuration is the same as that of the laminate of FIG. 1 except that the foaming agent is changed to a thermally expandable microcapsule. Therefore, only the portion related to the thermally expandable microcapsule will be described.
閉塞層13は、プラスチックB16と熱膨張性マイクロカプセル17とからなる。さらに、熱膨張性マイクロカプセル17は、内部成分17aと殻成分17bとからなる。殻成分17bはある一定の温度以上で溶融するものであり、内部成分17aはある一定の範囲の温度で膨張するものである。 The
このような熱膨張性マイクロカプセル17を含有する閉塞層13を用いた場合には、殻成分17bがある一定の温度以上で溶融するとともに、内部成分17aがある一定の範囲の温度で膨張することにより、熱膨張性マイクロカプセル17がある一定の範囲の温度で膨張するので、一定の範囲の温度で充分かつ迅速な優れたシャットダウン機能を得ることができる。 When the
上記熱膨張性マイクロカプセルの平均粒子径は、1μm以上20μm以下であることが好ましく、1μm以上10μm以下であることがより好ましい。また、膨張時の熱膨張性マイクロカプセルの平均粒子径は、2μm以上300μm以下であることが好ましく、2μm以上50μm以下であることがより好ましい。
上記閉塞層は、熱膨張性マイクロカプセルをプラスチックB100重量部に対して5重量部以上80重量部以下で含有することが好ましく、10重量部以上30重量部以下で含有することがより好ましい。The average particle diameter of the thermally expandable microcapsule is preferably 1 μm or more and 20 μm or less, and more preferably 1 μm or more and 10 μm or less. The average particle size of the thermally expandable microcapsule during expansion is preferably 2 μm or more and 300 μm or less, and more preferably 2 μm or more and 50 μm or less.
The closing layer preferably contains 5 to 80 parts by weight of heat-expandable microcapsules with respect to 100 parts by weight of plastic B, and more preferably 10 to 30 parts by weight.
上記熱膨張性マイクロカプセルの膨張開始温度は、50℃以上200℃以下であることがより好ましく、70℃以上170℃以下であることが特に好ましい。
また、上記熱膨張性マイクロカプセルは、殻成分として熱可塑性樹脂を用い、この熱可塑性樹脂の軟化温度以下でガス状になる低沸点炭化水素をマイクロカプセル化したものであることが好ましい。The expansion start temperature of the thermally expandable microcapsule is more preferably 50 ° C. or higher and 200 ° C. or lower, and particularly preferably 70 ° C. or higher and 170 ° C. or lower.
The thermally expandable microcapsules are preferably those obtained by microcapsulating low-boiling hydrocarbons that use a thermoplastic resin as a shell component and become gaseous at or below the softening temperature of the thermoplastic resin.
上記熱膨張性マイクロカプセルの殻成分としては、アクリロニトリル、メタクリロニトリル、アクリルアミド、メタクリル酸又はその塩等を重合させた熱可塑性樹脂等を挙げることができるが、好ましくはアクリロニトリルを主成分として重合させた熱可塑性樹脂を挙げることができる。 Examples of the shell component of the thermally expandable microcapsule include a thermoplastic resin obtained by polymerizing acrylonitrile, methacrylonitrile, acrylamide, methacrylic acid or a salt thereof, and the like. And thermoplastic resins.
上記熱膨張性マイクロカプセルの内部成分としては、低沸点炭化水素を使用することができ、具体例として、イソブタン、ノルマルブタン、ノルマルペンタン、イソペンタン、ノルマルヘキサン、シクロヘキサン、ノルマルヘプタン、石油エーテル、ネオペンタン、プロパン、プロピレン、ブテン、メタンのハロゲン化物(塩化メチル、メチレンクロリド等)、テトラアルキルシラン等を挙げることができるが、好ましくはノルマルブタン、ノルマルペンタン、ノルマルヘキサンを挙げることができる。これらは単独で用いられてもよく、2種以上で併用されてもよい。 As an internal component of the thermally expandable microcapsule, a low boiling point hydrocarbon can be used. Specific examples include isobutane, normal butane, normal pentane, isopentane, normal hexane, cyclohexane, normal heptane, petroleum ether, neopentane, Propane, propylene, butene, methane halides (methyl chloride, methylene chloride, etc.), tetraalkylsilane, and the like can be mentioned, and normal butane, normal pentane, and normal hexane are preferred. These may be used alone or in combination of two or more.
さらに、上記熱膨張性マイクロカプセルは、低沸点炭化水素を10重量%以上20重量%以下で含むことが好ましい。 Furthermore, the thermally expandable microcapsule preferably contains 10 to 20% by weight of low-boiling hydrocarbons.
そして、上記積層体としては、上述したように基材層/閉塞層の2層、閉塞層/基材層/閉塞層の3層、さらに3層より多層の積層構成であってもよい。さらに、これら以外の層が積層されてもよく、具体的には、帯電防止層、マット層、ハードコート層、易滑コート層、易接着層、粘着層等が挙げられる。 And as above-mentioned laminated body, two layers of base material layer / occlusion layer, 3 layers of obstruction | occlusion layer / base material layer / occlusion layer, and also the laminated structure of a multilayer from 3 layers may be sufficient as mentioned above. Furthermore, layers other than these may be laminated, and specific examples include an antistatic layer, a mat layer, a hard coat layer, a slippery coat layer, an easy adhesion layer, and an adhesive layer.
さらに、基材層及び/又は閉塞層は、滑剤、酸化防止剤、紫外線吸収剤、可塑剤、成形助剤等を含有してもよい。 Furthermore, the base material layer and / or the blocking layer may contain a lubricant, an antioxidant, an ultraviolet absorber, a plasticizer, a molding aid and the like.
次に、本発明の積層体の製造方法の一例について説明する(図4参照)。
本発明の積層体1aの製造方法は、多数の貫通孔5を有するとともにプラスチックA4を含有する基材層2と、閉塞層3aとを有する積層体1aの製造方法であって、形成工程と、除去工程とを含むことを特徴とする。Next, an example of the manufacturing method of the laminated body of this invention is demonstrated (refer FIG. 4).
The method for producing a laminate 1a of the present invention is a method for producing a laminate 1a having a
(1)形成工程
基材層2として、多数の貫通孔5を有するとともにプラスチックA4を含有するものを用いる(図4a参照)。一方、樹脂組成液として、プラスチックA4より低い軟化温度を有するプラスチックB6aと所定温度以上で膨張する発泡剤7aと水溶性物質9とを含有するものを作製する。例えば、プラスチックB6a、発泡剤7a及び水溶性物質9を、水等の溶媒に投入して、スーパーミキサー、リボンブレンダー、V−ブレンダー等の混合機により充分攪拌し均一に分散させて樹脂組成液を調製する。そして、上記樹脂組成液を、基材層2の少なくとも1つの面に塗布して樹脂層10を形成する(図4b参照)。樹脂組成液の塗布の方法としては、例えば、ロールコータ、フローコータ、スプレー、ディッピング、刷毛塗り等が挙げられる。なお、樹脂層10を、プラスチックB6aの軟化温度以上発泡剤7aの膨張開始温度以下の温度で加熱してもよい。(1) Formation process As the
(2)除去工程
回分法、向流多段法等の一般的な抽出法により、樹脂層10から水溶性物質9を、20℃以上50℃以下の水等を用いて洗浄して除去する(図4c参照)。すなわち、水溶性物質9を溶解させることにより除去することにより、多数の貫通孔8を有するとともにプラスチックB6aと発泡剤7aとを含有する閉塞層3aを形成する。なお、水以外にも、樹脂層10形成後に水溶性物質9を溶解し得るものであり、かつ、樹脂層10形成後にプラスチックB6aを溶解しないものを用いてもよい。(2) Removal process The water-
上記樹脂組成液中のプラスチックBは、水分散性ポリマー及び/又は水溶性ポリマーであることが好ましい。なお、「水分散性ポリマー」とは、乳化剤等を用いて水系溶媒中に分散するポリマーを意味し、一方、「水溶性ポリマー」とは、乳化剤等を用いることなく、水系溶媒中に自己分散するポリマーを意味する。これらの中でも、水分散性ポリマーであることがより好ましい。乳化剤等を用いて分散するので、水等の溶解性が低く、樹脂層形成後の除去工程で溶解することがないからである。 The plastic B in the resin composition liquid is preferably a water-dispersible polymer and / or a water-soluble polymer. The “water-dispersible polymer” means a polymer that is dispersed in an aqueous solvent using an emulsifier or the like, while the “water-soluble polymer” is self-dispersed in an aqueous solvent without using an emulsifier or the like. Means a polymer. Among these, a water dispersible polymer is more preferable. This is because it is dispersed using an emulsifier or the like, so that the solubility of water or the like is low, and it does not dissolve in the removing step after the resin layer is formed.
上記水溶性物質としては、例えば、ポリビニルアルコール、カルボキシ変性ポリビニルアルコール、カルボキシメチルセルロース、ヒドロキシエチルセルロース、セルロースサルフェート、ポリエチレンオキサイド、ゼラチン、カチオン化澱粉、カゼイン、ポリアクリル酸ナトリウム、スチレン−無水マレイン酸共重合体ナトリウム塩、ポリスチレンスルホン酸ナトリウム、界面活性剤等を挙げることができるが、好ましくはポリビニルアルコール、ゼラチン、カチオン化澱粉、界面活性剤を挙げることができる。これらは単独で用いられてもよく、2種以上で併用されてもよい。 Examples of the water-soluble substance include polyvinyl alcohol, carboxy-modified polyvinyl alcohol, carboxymethyl cellulose, hydroxyethyl cellulose, cellulose sulfate, polyethylene oxide, gelatin, cationized starch, casein, sodium polyacrylate, and styrene-maleic anhydride copolymer. Sodium salts, sodium polystyrene sulfonate, surfactants and the like can be mentioned, and polyvinyl alcohol, gelatin, cationized starch and surfactants can be preferably mentioned. These may be used alone or in combination of two or more.
さらに、上記樹脂組成液中に、増粘剤(アクリル酸系アルカリ増粘剤)等を含有させてもよい。 Furthermore, you may make the said resin composition liquid contain a thickener (acrylic-acid type alkali thickener) etc.
また、上記樹脂組成液中の水溶性物質の濃度は、1重量%以上30重量%以下であることが好ましい。 The concentration of the water-soluble substance in the resin composition liquid is preferably 1% by weight or more and 30% by weight or less.
上記樹脂組成液中の溶媒の濃度は、30重量%以上80重量%以下であることが好ましい。 The concentration of the solvent in the resin composition liquid is preferably 30% by weight or more and 80% by weight or less.
次に、本発明の二次電池の一例について説明する。 Next, an example of the secondary battery of the present invention will be described.
本発明の二次電池は、本発明の積層体がセパレータとして用いられること以外は、通常の構成である。 The secondary battery of the present invention has a normal configuration except that the laminate of the present invention is used as a separator.
すなわち、正極活物質としてリチウムを含有する材料を用い、負極活物質としてリチウムをイオンとして吸蔵、放出可能である材料を用い、電解液としてリチウムとフッ素とを含有する化合物からなる電解質と有機溶剤とを含有する有機電解液を用いることができる。 That is, using a material containing lithium as a positive electrode active material, using a material capable of occluding and releasing lithium as ions as a negative electrode active material, and an electrolyte and an organic solvent made of a compound containing lithium and fluorine as an electrolytic solution An organic electrolytic solution containing can be used.
上記正極活物質として、例えば、コバルト酸リチウムやマンガン酸リチウム等のリチウム金属酸化物等を挙げることができる。そして、正極活物質と、導電剤として活性炭、各種コークス、カーボンブラック、結着剤、溶剤等とを配合して、アルミニウム等の集電体に塗布、乾燥したものを正極とすることができる。 Examples of the positive electrode active material include lithium metal oxides such as lithium cobaltate and lithium manganate. Then, a positive electrode active material and activated carbon, various cokes, carbon black, a binder, a solvent, and the like as a conductive agent are blended and applied to a current collector such as aluminum and dried to be a positive electrode.
上記負極活物質として、例えば、コークス、グラファイト、非晶質カーボン等を挙げることができる。そして、負極活物質と、結着剤、有機溶剤等とを配合して、銅箔等の集電体に塗布、乾燥したものを負極とすることができる。 Examples of the negative electrode active material include coke, graphite, and amorphous carbon. And what mix | blended the negative electrode active material, the binder, the organic solvent, etc., apply | coated and dried to collectors, such as copper foil, can be used as a negative electrode.
上記電解質として、例えば、LiClO4、LiASF6、LiPF4、LiBF4、LiBr、LiCF3SO3等を挙げることができ、上記有機溶剤として、例えば、プロピレンカーボネート、エチレンカーボネート、γ−ブチロラクトン、ジメチルカーボネート、エチルメチルカーボネート、1,2−ジメトキシエタン、1,2−ジエトキシエタン、テトラヒドロフラン等を挙げることができる。Examples of the electrolyte include LiClO 4 , LiA S F 6 , LiPF 4 , LiBF 4 , LiBr, LiCF 3 SO 3, and the like. Examples of the organic solvent include propylene carbonate, ethylene carbonate, γ-butyrolactone, Examples include dimethyl carbonate, ethyl methyl carbonate, 1,2-dimethoxyethane, 1,2-diethoxyethane, and tetrahydrofuran.
上記二次電池の構造として、例えば、正極、負極、セパレータを単層あるいは複層としたペーパー型電池や積層型電池、正極、負極、セパレータをロール状に巻いた円筒状電池等を挙げることができる。 Examples of the structure of the secondary battery include, for example, a paper-type battery or a laminated battery having a positive electrode, a negative electrode, and a separator as a single layer or a multilayer, a positive electrode, a negative electrode, and a cylindrical battery in which a separator is wound in a roll shape. it can.
そして、二次電池にセパレータとして用いる本発明の積層体は、基材層と、当該基材層の少なくとも1つの面に積層された閉塞層とを有する積層体であって、上記基材層は、多数の貫通孔を有するとともに、ポリプロピレンを含有し、上記閉塞層は、多数の貫通孔を有するとともに、ポリエチレンと熱膨張性マイクロカプセルとを含有し、さらに、上記ポリエチレンは、上記ポリプロピレンより低い軟化温度を有することが好ましい。
このような本発明の二次電池によれば、ポリプロピレンを含有する基材層により強度が保持されるので、電池組立時や使用時に破損させることがなく、かつ、積層体自体が溶融して損なわれることもない。And the laminated body of this invention used as a separator for a secondary battery is a laminated body which has a base material layer and the obstruction | occlusion layer laminated | stacked on the at least 1 surface of the said base material layer, Comprising: In addition to having a large number of through-holes and containing polypropylene, the blocking layer has a number of through-holes and containing polyethylene and thermally expandable microcapsules, and the polyethylene is softer than the polypropylene. It is preferable to have a temperature.
According to such a secondary battery of the present invention, the strength is maintained by the base material layer containing polypropylene, so that it is not damaged during battery assembly or use, and the laminate itself is melted and damaged. It will never happen.
さらに、基材層にポリエチレンと熱膨張性マイクロカプセルとを含有する閉塞層を積層させたことにより、ポリエチレンがある一定の温度以上で溶融するとともに、熱膨張性マイクロカプセルがある一定の範囲の温度で膨張するので、閉塞層を薄く形成できイオンの流通を妨げることもなく、さらにある一定の温度以上になると迅速かつ充分なシャットダウン機能を得ることができる。 Furthermore, by laminating a blocking layer containing polyethylene and thermally expandable microcapsules on the base material layer, the polyethylene melts at a certain temperature or higher, and the thermally expandable microcapsules have a certain range of temperatures. Therefore, the blocking layer can be formed thinly, without disturbing the flow of ions, and when the temperature exceeds a certain temperature, a quick and sufficient shutdown function can be obtained.
したがって、電池内部の温度がリチウム等の融点又は有機電解液の引火点に至らずに、発火事故等を未然に防ぐことができる。 Accordingly, the temperature inside the battery does not reach the melting point of lithium or the flash point of the organic electrolyte, and an ignition accident or the like can be prevented.
以下に実施例を挙げて本発明をさらに詳細に説明するが、本発明はこれらの実施例のみに限定されるものではない。 The present invention will be described in more detail with reference to the following examples, but the present invention is not limited to these examples.
(実施例1)
(1)形成工程
多数の貫通孔を有するとともにポリプロピレンからなる基材層(商品名:NFシート、トクヤマ(株)製;厚さ100μm、空孔率60%)を用いた。一方、水分散型低密度ポリエチレン(商品名:ケミパールM200、三井化学(株)製;固形分40重量%、軟化温度75℃)100gと熱膨張性マイクロカプセル(商品名:マツモトマイクロスフェアーF−80VS、松本油脂製薬(株)製;膨張開始温度150〜160℃、平均粒子径5〜8μm)20gとポリオキシエチレン系アルキルエーテル型界面活性剤(商品名:ノイゲンEA197、第一工業製薬(株)製;固形分50重量%)5gとアクリル酸系アルカリ増粘剤(商品名:ボンコート3750、大日本インキ化学工業(株)製)3gと苛性ソーダ(固形分5重量%)0.3gとをプロペラ式混合機により充分攪拌し均一に分散させて樹脂組成液とした。そして、樹脂組成液を、基材層の1つの面にバーコーターによりWet18g/cm2で塗布して樹脂層を形成した。次に、樹脂層を、5分間130℃で加熱した。
(2)除去工程
樹脂層からポリオキシエチレン系アルキルエーテル型界面活性剤等を、60分間50℃の水に浸浸して除去した。次に、5分間100〜120℃で乾燥し、実施例1に係る積層体を得た。Example 1
(1) Formation process A base material layer (trade name: NF sheet, manufactured by Tokuyama Corporation; thickness: 100 μm, porosity: 60%) having a large number of through holes and made of polypropylene was used. On the other hand, water-dispersible low-density polyethylene (trade name: Chemipearl M200, manufactured by Mitsui Chemicals, Inc .; solid content 40 wt%, softening temperature 75 ° C.) 100 g and thermally expandable microcapsules (trade name: Matsumoto Microsphere F-) 80VS, manufactured by Matsumoto Yushi Seiyaku Co., Ltd .; expansion start temperature 150-160 ° C., average particle size 5-8 μm 20 g and polyoxyethylene alkyl ether surfactant (trade name: Neugen EA197, Daiichi Kogyo Seiyaku Co., Ltd.) ); Solid content 50 wt%) 5 g, acrylic acid alkali thickener (trade name: Boncoat 3750, manufactured by Dainippon Ink & Chemicals, Inc.) 3 g and caustic soda (
(2) Removal step The polyoxyethylene alkyl ether surfactant and the like were removed from the resin layer by immersing in 50 ° C. water for 60 minutes. Next, it was dried at 100 to 120 ° C. for 5 minutes to obtain a laminate according to Example 1.
(実施例2)
(1)形成工程
多数の貫通孔を有するとともにポリプロピレンからなる基材層(商品名:NFシート)を用いた。一方、加熱溶融したポリエチレン(重量平均分子量Mw300000)100gとポリオキシエチレンノニルフェノールエーテル10gとをプロペラ式混合機により混合し、さらに水(温度80℃)100gとを混合し、次いで高圧式乳化装置に通し、固形分50〜53重量%の水分散型ポリエチレン(乳化剤使用型)を得た。さらに、水分散型ポリエチレン(乳化剤使用型)100gと炭酸水素ソーダ5gとポリオキシエチレン系アルキルエーテル型界面活性剤(商品名:ノイゲンEA197)5gとアクリル酸系アルカリ増粘剤(商品名:ボンコート3750)3gと苛性ソーダ(固形分5重量%)0.3gとをプロペラ式混合機により充分攪拌し均一に分散させて樹脂組成液とした。そして、樹脂組成液を、基材層の1つの面にバーコーターによりWet18g/cm2で塗布して樹脂層を形成した。次に、樹脂層を、5分間120℃で加熱した。
(2)除去工程
樹脂層からポリオキシエチレン系アルキルエーテル型界面活性剤、ポリオキシエチレンノニルフェノールエーテル等を、60分間50℃の水に浸浸して除去した。次に、5分間100〜120℃で乾燥し、実施例2に係る積層体を得た。(Example 2)
(1) Formation process The base material layer (brand name: NF sheet) which has many through-holes and consists of polypropylene was used. On the other hand, 100 g of heated and melted polyethylene (weight average molecular weight Mw 300000) and 10 g of polyoxyethylene nonylphenol ether are mixed with a propeller mixer, and further mixed with 100 g of water (temperature 80 ° C.), and then passed through a high-pressure emulsifier. Water-dispersed polyethylene (with emulsifier) having a solid content of 50 to 53% by weight was obtained. Further, 100 g of water-dispersed polyethylene (type using emulsifier), 5 g of sodium bicarbonate, 5 g of a polyoxyethylene alkyl ether type surfactant (trade name: Neugen EA197) and an alkali thickener based on acrylic acid (trade name: Boncoat 3750) ) 3 g and caustic soda (
(2) Removal step The polyoxyethylene alkyl ether surfactant, polyoxyethylene nonylphenol ether, and the like were removed from the resin layer by immersing in 50 ° C. water for 60 minutes. Next, it was dried at 100 to 120 ° C. for 5 minutes to obtain a laminate according to Example 2.
(比較例1)
熱膨張性マイクロカプセル20gに代えて、水分散型低密度ポリエチレン50gを使用した以外は、実施例1と同様に行って、比較例1に係る積層体を得た。
<積層体の評価>
(1)厚さ
積層体の厚さをダイアルゲージ(ピーコック(株)製)で測定した。その結果を表1に示す。
(2)空孔率
下記式によって空孔率を算出した。その結果を表1に示す。
空孔率=(1−100X/0.95Y)×100[%]
X:積層体の重さ[g/dm2]
Y:積層体の厚さ[μm]
(3)強度
JIS−K7127に規定された方法にしたがって、引張試験機((株)島津製作所製)を用いて、25℃、65%RHにて測定した。試料片は測定方向に長さ15cm、幅1.5cm、厚さ0.01cmの短冊状に切り出し、初期引張チャック間距離は10cmとし、引張速度は200mm/分とした。その結果を表1に示す。
(4)通気度
JIS P8117に準拠して測定した。測定装置としてB型ガーレーデンソメーター(東洋精機社製)を使用した。空気100ccが通過する時間を測定し通気度(ガーレー値)とした。(Comparative Example 1)
A laminated body according to Comparative Example 1 was obtained in the same manner as in Example 1 except that 50 g of water-dispersed low-density polyethylene was used instead of 20 g of thermally expandable microcapsules.
<Evaluation of laminate>
(1) Thickness The thickness of the laminate was measured with a dial gauge (Peacock Co., Ltd.). The results are shown in Table 1.
(2) Porosity The porosity was calculated by the following formula. The results are shown in Table 1.
Porosity = (1-100X / 0.95Y) × 100 [%]
X: Weight of the laminate [g / dm 2 ]
Y: Thickness of the laminate [μm]
(3) Strength According to the method defined in JIS-K7127, the tensile strength was measured at 25 ° C. and 65% RH using a tensile tester (manufactured by Shimadzu Corporation). The sample piece was cut into a strip shape having a length of 15 cm, a width of 1.5 cm, and a thickness of 0.01 cm in the measurement direction, an initial tensile chuck distance was 10 cm, and a tensile speed was 200 mm / min. The results are shown in Table 1.
(4) Air permeability Measured according to JIS P8117. A B-type Gurley Densometer (manufactured by Toyo Seiki Co., Ltd.) was used as a measuring device. The time required for 100 cc of air to pass through was measured and used as the air permeability (Gurley value).
さらに、6kg/600cm2の荷重を載せて、1分間、2分間及び5分間150℃で保持した後の通気度を測定した。その結果を表1に示す。Further, the air permeability was measured after applying a load of 6 kg / 600 cm 2 and holding at 150 ° C. for 1 minute, 2 minutes and 5 minutes. The results are shown in Table 1.
表1の結果から、実施例1に係る積層体は、初期の通気度が低く、かつ、150℃1分後の通気度が1200sec/100ccAir以上であり、充分かつ迅速な優れたシャットダウン機能を有するものであった。また、実施例2に係る積層体は、初期の通気度が低く、かつ、150℃2分後の通気度が900sec/100ccAirであり、充分かつ迅速な優れたシャットダウン機能を有するものであった。 From the results shown in Table 1, the laminate according to Example 1 has a low initial air permeability and an air permeability after 1 minute of 150 ° C. of 1200 sec / 100 cc Air or more, and has a sufficient and quick excellent shutdown function. It was a thing. Further, the laminate according to Example 2 had a low initial air permeability and an air permeability of 900 sec / 100 cc Air after 150 minutes at 150 ° C., and had a sufficient and quick excellent shutdown function.
これに対して、比較例1に係る積層体は、150℃5分後の通気度も500sec/100ccAirであり、満足し得るものではなかった。 On the other hand, the laminated body according to Comparative Example 1 was not satisfactory because the air permeability after 5 minutes at 150 ° C. was 500 sec / 100 cc Air.
1 積層体
2 基材層
3、13 閉塞層
4、6、16 プラスチック
5、8 貫通孔
7 発泡剤
9 水溶性物質
10 樹脂層
17 熱膨張性マイクロカプセルDESCRIPTION OF SYMBOLS 1
Claims (12)
前記基材層は、多数の貫通孔を有するとともに、プラスチックAを含有し、
前記閉塞層は、多数の貫通孔を有するとともに、プラスチックBと発泡剤とを含有し、
さらに、前記プラスチックBは、前記プラスチックAより低い軟化温度を有し、かつ、前記発泡剤は、所定温度以上で膨張することを特徴とする積層体。A laminate having a base material layer and a blocking layer laminated on at least one surface of the base material layer,
The base material layer has a large number of through holes and contains plastic A,
The blocking layer has a large number of through holes, and contains plastic B and a foaming agent,
Furthermore, the plastic B has a softening temperature lower than that of the plastic A, and the foaming agent expands at a predetermined temperature or higher.
前記基材層の少なくとも1つの面に、前記プラスチックAより低い軟化温度を有するプラスチックBと、所定温度以上で膨張する発泡剤と、水溶性物質とを含有する樹脂組成液を塗布して樹脂層を形成する形成工程と、
前記樹脂層から水溶性物質を溶解させることにより除去して閉塞層を形成する除去工程とを含むことを特徴とする積層体の製造方法。A method for producing a laminate having a substrate layer having a large number of through holes and containing plastic A, and a blocking layer,
A resin layer is applied by applying a resin composition liquid containing plastic B having a softening temperature lower than that of plastic A, a foaming agent that expands above a predetermined temperature, and a water-soluble substance to at least one surface of the base material layer. Forming step of forming,
And a removing step of forming a blocking layer by dissolving the water-soluble substance from the resin layer.
Priority Applications (1)
| Application Number | Priority Date | Filing Date | Title |
|---|---|---|---|
| JP2004382998A JP4686182B2 (en) | 2004-12-29 | 2004-12-29 | Battery separator, manufacturing method, and secondary battery |
Applications Claiming Priority (1)
| Application Number | Priority Date | Filing Date | Title |
|---|---|---|---|
| JP2004382998A JP4686182B2 (en) | 2004-12-29 | 2004-12-29 | Battery separator, manufacturing method, and secondary battery |
Publications (2)
| Publication Number | Publication Date |
|---|---|
| JP2006187891A true JP2006187891A (en) | 2006-07-20 |
| JP4686182B2 JP4686182B2 (en) | 2011-05-18 |
Family
ID=36795520
Family Applications (1)
| Application Number | Title | Priority Date | Filing Date |
|---|---|---|---|
| JP2004382998A Expired - Fee Related JP4686182B2 (en) | 2004-12-29 | 2004-12-29 | Battery separator, manufacturing method, and secondary battery |
Country Status (1)
| Country | Link |
|---|---|
| JP (1) | JP4686182B2 (en) |
Cited By (19)
| Publication number | Priority date | Publication date | Assignee | Title |
|---|---|---|---|---|
| JP2007220841A (en) * | 2006-02-16 | 2007-08-30 | Mitsubishi Electric Corp | Electric double layer capacitor |
| CN102437304A (en) * | 2011-12-13 | 2012-05-02 | 北京好风光储能技术有限公司 | Diaphragm and method for preparing composite electrode couple by utilizing diaphragm |
| WO2012134202A3 (en) * | 2011-03-30 | 2013-01-03 | 전자부품연구원 | Microcapsule with fire extinguishing composition built therein, and lithium secondary battery having same |
| KR101355407B1 (en) * | 2011-03-30 | 2014-01-29 | 전자부품연구원 | Micro capsule containing fire extinguishing compositions and lithium secondary battery with the same |
| JP2014225389A (en) * | 2013-05-16 | 2014-12-04 | 株式会社巴川製紙所 | Electric insulation paper, electric insulator obtained by heating the paper and electric motor or transformer having electric insulation space |
| EP2750220A4 (en) * | 2011-08-25 | 2015-04-01 | Lg Chemical Ltd | SEPARATOR COMPRISING A MICROCAPSULE AND ELECTROCHEMICAL DEVICE CONTAINING SAME |
| JP2015111530A (en) * | 2013-12-06 | 2015-06-18 | 三星エスディアイ株式会社Samsung SDI Co.,Ltd. | Microcapsule for nonaqueous electrolyte secondary batteries, separator for nonaqueous electrolyte secondary batteries, electrode for nonaqueous electrolyte secondary batteries, electrode active material layer for nonaqueous electrolyte secondary batteries, and nonaqueous electrolyte secondary battery |
| KR20170103192A (en) * | 2016-03-03 | 2017-09-13 | 에스케이이노베이션 주식회사 | Secondary battery having vent portion |
| JP2018174068A (en) * | 2017-03-31 | 2018-11-08 | トヨタ自動車株式会社 | Nonaqueous electrolyte secondary battery |
| CN109148789A (en) * | 2017-06-16 | 2019-01-04 | 宁德时代新能源科技股份有限公司 | Diaphragm, preparation method thereof and lithium ion battery using diaphragm |
| CN109817867A (en) * | 2018-12-20 | 2019-05-28 | 广州鹏辉能源科技股份有限公司 | A kind of heat sensitive coatings material, thermal sensitivity diaphragm and the preparation method and application thereof |
| JP2019536253A (en) * | 2016-11-14 | 2019-12-12 | 上海頂皓新材料科技有限公司Shanghai Dinho New Material Technology Co., Ltd. | Multi-functional multilayer separator for lithium-ion battery |
| CN111697184A (en) * | 2019-03-15 | 2020-09-22 | 华为技术有限公司 | Lithium ion battery diaphragm, preparation method thereof and lithium ion battery |
| CN111916661A (en) * | 2019-05-09 | 2020-11-10 | 比亚迪股份有限公司 | Lithium ion battery flame-retardant material and preparation method thereof, lithium ion battery anode, lithium ion battery cathode, lithium ion battery diaphragm, lithium ion battery and battery module |
| JPWO2021085487A1 (en) * | 2019-10-30 | 2021-05-06 | ||
| CN113544904A (en) * | 2019-01-04 | 2021-10-22 | 赛尔格有限责任公司 | Battery separators including microporous membranes and coatings |
| WO2021233838A1 (en) | 2020-05-19 | 2021-11-25 | Basf Se | Metal polymer laminate structure |
| WO2023276738A1 (en) * | 2021-06-30 | 2023-01-05 | 日本ゼオン株式会社 | Slurry composition for non-aqueous secondary battery functional layers, separator for non-aqueous secondary batteries, and non-aqueous secondary battery |
| WO2023127476A1 (en) * | 2021-12-28 | 2023-07-06 | 日本ゼオン株式会社 | Slurry composition for non-aqueous secondary battery functional layer and method for producing same |
Citations (3)
| Publication number | Priority date | Publication date | Assignee | Title |
|---|---|---|---|---|
| JPH0277108A (en) * | 1987-07-04 | 1990-03-16 | Toray Ind Inc | Electrolyte separator |
| JPH08250097A (en) * | 1995-03-15 | 1996-09-27 | Kureha Chem Ind Co Ltd | Interpole separator for electrochemical device |
| JP2003031208A (en) * | 2001-07-10 | 2003-01-31 | Denso Corp | Non-aqueous electrolyte secondary battery |
-
2004
- 2004-12-29 JP JP2004382998A patent/JP4686182B2/en not_active Expired - Fee Related
Patent Citations (3)
| Publication number | Priority date | Publication date | Assignee | Title |
|---|---|---|---|---|
| JPH0277108A (en) * | 1987-07-04 | 1990-03-16 | Toray Ind Inc | Electrolyte separator |
| JPH08250097A (en) * | 1995-03-15 | 1996-09-27 | Kureha Chem Ind Co Ltd | Interpole separator for electrochemical device |
| JP2003031208A (en) * | 2001-07-10 | 2003-01-31 | Denso Corp | Non-aqueous electrolyte secondary battery |
Cited By (26)
| Publication number | Priority date | Publication date | Assignee | Title |
|---|---|---|---|---|
| JP2007220841A (en) * | 2006-02-16 | 2007-08-30 | Mitsubishi Electric Corp | Electric double layer capacitor |
| WO2012134202A3 (en) * | 2011-03-30 | 2013-01-03 | 전자부품연구원 | Microcapsule with fire extinguishing composition built therein, and lithium secondary battery having same |
| KR101355407B1 (en) * | 2011-03-30 | 2014-01-29 | 전자부품연구원 | Micro capsule containing fire extinguishing compositions and lithium secondary battery with the same |
| EP2750220A4 (en) * | 2011-08-25 | 2015-04-01 | Lg Chemical Ltd | SEPARATOR COMPRISING A MICROCAPSULE AND ELECTROCHEMICAL DEVICE CONTAINING SAME |
| US9083036B2 (en) | 2011-08-25 | 2015-07-14 | Lg Chem, Ltd. | Separator comprising microcapsules and electrochemical device having the same |
| CN102437304A (en) * | 2011-12-13 | 2012-05-02 | 北京好风光储能技术有限公司 | Diaphragm and method for preparing composite electrode couple by utilizing diaphragm |
| JP2014225389A (en) * | 2013-05-16 | 2014-12-04 | 株式会社巴川製紙所 | Electric insulation paper, electric insulator obtained by heating the paper and electric motor or transformer having electric insulation space |
| JP2015111530A (en) * | 2013-12-06 | 2015-06-18 | 三星エスディアイ株式会社Samsung SDI Co.,Ltd. | Microcapsule for nonaqueous electrolyte secondary batteries, separator for nonaqueous electrolyte secondary batteries, electrode for nonaqueous electrolyte secondary batteries, electrode active material layer for nonaqueous electrolyte secondary batteries, and nonaqueous electrolyte secondary battery |
| KR20170103192A (en) * | 2016-03-03 | 2017-09-13 | 에스케이이노베이션 주식회사 | Secondary battery having vent portion |
| KR102518866B1 (en) | 2016-03-03 | 2023-04-06 | 에스케이온 주식회사 | Secondary battery having vent portion |
| JP2019536253A (en) * | 2016-11-14 | 2019-12-12 | 上海頂皓新材料科技有限公司Shanghai Dinho New Material Technology Co., Ltd. | Multi-functional multilayer separator for lithium-ion battery |
| JP2018174068A (en) * | 2017-03-31 | 2018-11-08 | トヨタ自動車株式会社 | Nonaqueous electrolyte secondary battery |
| CN109148789B (en) * | 2017-06-16 | 2022-05-03 | 宁德时代新能源科技股份有限公司 | Separator, preparation method thereof, and lithium ion battery using the separator |
| CN109148789A (en) * | 2017-06-16 | 2019-01-04 | 宁德时代新能源科技股份有限公司 | Diaphragm, preparation method thereof and lithium ion battery using diaphragm |
| CN109817867A (en) * | 2018-12-20 | 2019-05-28 | 广州鹏辉能源科技股份有限公司 | A kind of heat sensitive coatings material, thermal sensitivity diaphragm and the preparation method and application thereof |
| CN113544904A (en) * | 2019-01-04 | 2021-10-22 | 赛尔格有限责任公司 | Battery separators including microporous membranes and coatings |
| CN111697184A (en) * | 2019-03-15 | 2020-09-22 | 华为技术有限公司 | Lithium ion battery diaphragm, preparation method thereof and lithium ion battery |
| CN111916661A (en) * | 2019-05-09 | 2020-11-10 | 比亚迪股份有限公司 | Lithium ion battery flame-retardant material and preparation method thereof, lithium ion battery anode, lithium ion battery cathode, lithium ion battery diaphragm, lithium ion battery and battery module |
| JPWO2021085487A1 (en) * | 2019-10-30 | 2021-05-06 | ||
| JP7314296B2 (en) | 2019-10-30 | 2023-07-25 | 富士フイルム株式会社 | Non-aqueous electrolyte secondary battery, separator used therein, and method for manufacturing non-aqueous electrolyte secondary battery |
| JP2023134622A (en) * | 2019-10-30 | 2023-09-27 | 富士フイルム株式会社 | Non-aqueous electrolyte secondary battery, separator used therein, and method for manufacturing a non-aqueous electrolyte secondary battery |
| JP7609933B2 (en) | 2019-10-30 | 2025-01-07 | 富士フイルム株式会社 | Nonaqueous electrolyte secondary battery, separator used therein, and method for manufacturing the nonaqueous electrolyte secondary battery |
| US12463290B2 (en) | 2019-10-30 | 2025-11-04 | Fujifilm Corporation | Non-aqueous electrolytic solution secondary battery, separator formed of non-aqueous electrolytic solution secondary battery, and method of manufacturing non-aqueous electrolytic solution secondary battery |
| WO2021233838A1 (en) | 2020-05-19 | 2021-11-25 | Basf Se | Metal polymer laminate structure |
| WO2023276738A1 (en) * | 2021-06-30 | 2023-01-05 | 日本ゼオン株式会社 | Slurry composition for non-aqueous secondary battery functional layers, separator for non-aqueous secondary batteries, and non-aqueous secondary battery |
| WO2023127476A1 (en) * | 2021-12-28 | 2023-07-06 | 日本ゼオン株式会社 | Slurry composition for non-aqueous secondary battery functional layer and method for producing same |
Also Published As
| Publication number | Publication date |
|---|---|
| JP4686182B2 (en) | 2011-05-18 |
Similar Documents
| Publication | Publication Date | Title |
|---|---|---|
| JP4686182B2 (en) | Battery separator, manufacturing method, and secondary battery | |
| KR101166091B1 (en) | Separator for electrochemical device | |
| JP4184404B2 (en) | Electrochemical element separator and electrochemical element | |
| JP5969159B2 (en) | Electrochemical element with improved heat resistance | |
| CN100511769C (en) | Separator for electrochemical device, and electrochemical device | |
| JP5213158B2 (en) | Multilayer porous membrane production method, lithium ion battery separator and lithium ion battery | |
| JP6576358B2 (en) | Separator manufacturing method, separator formed by the method, and electrochemical device including the same | |
| JP2018527700A (en) | Separator and electrochemical device including the same | |
| JP5148360B2 (en) | Porous substrate for separator, separator for electrochemical element, electrode and electrochemical element | |
| JP2003031208A (en) | Non-aqueous electrolyte secondary battery | |
| EP2808924B1 (en) | Manufacturing method for separator film for electrochemical device | |
| CN116231228B (en) | Flame-retardant lithium battery coating diaphragm, preparation method thereof and lithium ion battery | |
| TW201351766A (en) | Collector, electrode structure, nonaqueous electrolyte battery and power storage component, and method for producing collector | |
| EP4190550A1 (en) | Separator for non-aqueous secondary battery, and non-aqueous secondary battery | |
| JP2023174884A (en) | Composite separation membrane for electrochemical devices and electrochemical devices containing the same | |
| JP2008027839A (en) | Porous membrane with liner, method for producing porous membrane, and method for producing lithium secondary battery | |
| JPWO2012005152A1 (en) | Nonaqueous battery separator and nonaqueous battery | |
| JP2008004442A (en) | Lithium secondary battery separator and lithium secondary battery | |
| CN112599926A (en) | Self-partition functional battery diaphragm, lithium ion battery and preparation method of self-partition functional battery diaphragm | |
| JP2008004441A (en) | Lithium secondary battery, lithium secondary battery separator, lithium secondary battery electrode, non-aqueous electrolyte for lithium secondary battery, and outer package for lithium secondary battery | |
| JPH10321220A (en) | Manufacture of rolled electrode body for secondary battery | |
| JP2006156229A (en) | Nonaqueous electrolyte secondary battery | |
| CN118633190A (en) | Expandable microspheres and preparation thereof, and pole piece and secondary battery containing expandable microspheres |
Legal Events
| Date | Code | Title | Description |
|---|---|---|---|
| A621 | Written request for application examination |
Free format text: JAPANESE INTERMEDIATE CODE: A621 Effective date: 20071214 |
|
| A977 | Report on retrieval |
Free format text: JAPANESE INTERMEDIATE CODE: A971007 Effective date: 20100707 |
|
| A131 | Notification of reasons for refusal |
Free format text: JAPANESE INTERMEDIATE CODE: A131 Effective date: 20101005 |
|
| RD13 | Notification of appointment of power of sub attorney |
Free format text: JAPANESE INTERMEDIATE CODE: A7433 Effective date: 20101021 |
|
| A521 | Request for written amendment filed |
Free format text: JAPANESE INTERMEDIATE CODE: A821 Effective date: 20101021 |
|
| A521 | Request for written amendment filed |
Free format text: JAPANESE INTERMEDIATE CODE: A523 Effective date: 20101206 |
|
| TRDD | Decision of grant or rejection written | ||
| A01 | Written decision to grant a patent or to grant a registration (utility model) |
Free format text: JAPANESE INTERMEDIATE CODE: A01 Effective date: 20110208 |
|
| A01 | Written decision to grant a patent or to grant a registration (utility model) |
Free format text: JAPANESE INTERMEDIATE CODE: A01 |
|
| A61 | First payment of annual fees (during grant procedure) |
Free format text: JAPANESE INTERMEDIATE CODE: A61 Effective date: 20110214 |
|
| FPAY | Renewal fee payment (event date is renewal date of database) |
Free format text: PAYMENT UNTIL: 20140218 Year of fee payment: 3 |
|
| R150 | Certificate of patent or registration of utility model |
Free format text: JAPANESE INTERMEDIATE CODE: R150 |
|
| R250 | Receipt of annual fees |
Free format text: JAPANESE INTERMEDIATE CODE: R250 |
|
| LAPS | Cancellation because of no payment of annual fees |
