JP2006154702A - Variable power optical system, imaging lens device and digital apparatus - Google Patents
Variable power optical system, imaging lens device and digital apparatus Download PDFInfo
- Publication number
- JP2006154702A JP2006154702A JP2005038391A JP2005038391A JP2006154702A JP 2006154702 A JP2006154702 A JP 2006154702A JP 2005038391 A JP2005038391 A JP 2005038391A JP 2005038391 A JP2005038391 A JP 2005038391A JP 2006154702 A JP2006154702 A JP 2006154702A
- Authority
- JP
- Japan
- Prior art keywords
- optical system
- reflecting
- optical
- prism
- lens
- Prior art date
- Legal status (The legal status is an assumption and is not a legal conclusion. Google has not performed a legal analysis and makes no representation as to the accuracy of the status listed.)
- Pending
Links
Images
Classifications
-
- G—PHYSICS
- G02—OPTICS
- G02B—OPTICAL ELEMENTS, SYSTEMS OR APPARATUS
- G02B17/00—Systems with reflecting surfaces, with or without refracting elements
- G02B17/08—Catadioptric systems
- G02B17/0856—Catadioptric systems comprising a refractive element with a reflective surface, the reflection taking place inside the element, e.g. Mangin mirrors
- G02B17/086—Catadioptric systems comprising a refractive element with a reflective surface, the reflection taking place inside the element, e.g. Mangin mirrors wherein the system is made of a single block of optical material, e.g. solid catadioptric systems
-
- G—PHYSICS
- G02—OPTICS
- G02B—OPTICAL ELEMENTS, SYSTEMS OR APPARATUS
- G02B13/00—Optical objectives specially designed for the purposes specified below
- G02B13/001—Miniaturised objectives for electronic devices, e.g. portable telephones, webcams, PDAs, small digital cameras
- G02B13/0015—Miniaturised objectives for electronic devices, e.g. portable telephones, webcams, PDAs, small digital cameras characterised by the lens design
- G02B13/002—Miniaturised objectives for electronic devices, e.g. portable telephones, webcams, PDAs, small digital cameras characterised by the lens design having at least one aspherical surface
- G02B13/003—Miniaturised objectives for electronic devices, e.g. portable telephones, webcams, PDAs, small digital cameras characterised by the lens design having at least one aspherical surface having two lenses
-
- G—PHYSICS
- G02—OPTICS
- G02B—OPTICAL ELEMENTS, SYSTEMS OR APPARATUS
- G02B13/00—Optical objectives specially designed for the purposes specified below
- G02B13/001—Miniaturised objectives for electronic devices, e.g. portable telephones, webcams, PDAs, small digital cameras
- G02B13/0015—Miniaturised objectives for electronic devices, e.g. portable telephones, webcams, PDAs, small digital cameras characterised by the lens design
- G02B13/002—Miniaturised objectives for electronic devices, e.g. portable telephones, webcams, PDAs, small digital cameras characterised by the lens design having at least one aspherical surface
- G02B13/0035—Miniaturised objectives for electronic devices, e.g. portable telephones, webcams, PDAs, small digital cameras characterised by the lens design having at least one aspherical surface having three lenses
-
- G—PHYSICS
- G02—OPTICS
- G02B—OPTICAL ELEMENTS, SYSTEMS OR APPARATUS
- G02B13/00—Optical objectives specially designed for the purposes specified below
- G02B13/001—Miniaturised objectives for electronic devices, e.g. portable telephones, webcams, PDAs, small digital cameras
- G02B13/0015—Miniaturised objectives for electronic devices, e.g. portable telephones, webcams, PDAs, small digital cameras characterised by the lens design
- G02B13/002—Miniaturised objectives for electronic devices, e.g. portable telephones, webcams, PDAs, small digital cameras characterised by the lens design having at least one aspherical surface
- G02B13/004—Miniaturised objectives for electronic devices, e.g. portable telephones, webcams, PDAs, small digital cameras characterised by the lens design having at least one aspherical surface having four lenses
-
- G—PHYSICS
- G02—OPTICS
- G02B—OPTICAL ELEMENTS, SYSTEMS OR APPARATUS
- G02B13/00—Optical objectives specially designed for the purposes specified below
- G02B13/001—Miniaturised objectives for electronic devices, e.g. portable telephones, webcams, PDAs, small digital cameras
- G02B13/0055—Miniaturised objectives for electronic devices, e.g. portable telephones, webcams, PDAs, small digital cameras employing a special optical element
- G02B13/006—Miniaturised objectives for electronic devices, e.g. portable telephones, webcams, PDAs, small digital cameras employing a special optical element at least one element being a compound optical element, e.g. cemented elements
-
- G—PHYSICS
- G02—OPTICS
- G02B—OPTICAL ELEMENTS, SYSTEMS OR APPARATUS
- G02B13/00—Optical objectives specially designed for the purposes specified below
- G02B13/001—Miniaturised objectives for electronic devices, e.g. portable telephones, webcams, PDAs, small digital cameras
- G02B13/0055—Miniaturised objectives for electronic devices, e.g. portable telephones, webcams, PDAs, small digital cameras employing a special optical element
- G02B13/0065—Miniaturised objectives for electronic devices, e.g. portable telephones, webcams, PDAs, small digital cameras employing a special optical element having a beam-folding prism or mirror
-
- G—PHYSICS
- G02—OPTICS
- G02B—OPTICAL ELEMENTS, SYSTEMS OR APPARATUS
- G02B13/00—Optical objectives specially designed for the purposes specified below
- G02B13/001—Miniaturised objectives for electronic devices, e.g. portable telephones, webcams, PDAs, small digital cameras
- G02B13/0055—Miniaturised objectives for electronic devices, e.g. portable telephones, webcams, PDAs, small digital cameras employing a special optical element
- G02B13/0065—Miniaturised objectives for electronic devices, e.g. portable telephones, webcams, PDAs, small digital cameras employing a special optical element having a beam-folding prism or mirror
- G02B13/007—Miniaturised objectives for electronic devices, e.g. portable telephones, webcams, PDAs, small digital cameras employing a special optical element having a beam-folding prism or mirror the beam folding prism having at least one curved surface
-
- G—PHYSICS
- G02—OPTICS
- G02B—OPTICAL ELEMENTS, SYSTEMS OR APPARATUS
- G02B13/00—Optical objectives specially designed for the purposes specified below
- G02B13/001—Miniaturised objectives for electronic devices, e.g. portable telephones, webcams, PDAs, small digital cameras
- G02B13/009—Miniaturised objectives for electronic devices, e.g. portable telephones, webcams, PDAs, small digital cameras having zoom function
-
- G—PHYSICS
- G02—OPTICS
- G02B—OPTICAL ELEMENTS, SYSTEMS OR APPARATUS
- G02B15/00—Optical objectives with means for varying the magnification
- G02B15/14—Optical objectives with means for varying the magnification by axial movement of one or more lenses or groups of lenses relative to the image plane for continuously varying the equivalent focal length of the objective
-
- G—PHYSICS
- G02—OPTICS
- G02B—OPTICAL ELEMENTS, SYSTEMS OR APPARATUS
- G02B15/00—Optical objectives with means for varying the magnification
- G02B15/14—Optical objectives with means for varying the magnification by axial movement of one or more lenses or groups of lenses relative to the image plane for continuously varying the equivalent focal length of the objective
- G02B15/144—Optical objectives with means for varying the magnification by axial movement of one or more lenses or groups of lenses relative to the image plane for continuously varying the equivalent focal length of the objective having four groups only
- G02B15/1445—Optical objectives with means for varying the magnification by axial movement of one or more lenses or groups of lenses relative to the image plane for continuously varying the equivalent focal length of the objective having four groups only the first group being negative
- G02B15/144513—Optical objectives with means for varying the magnification by axial movement of one or more lenses or groups of lenses relative to the image plane for continuously varying the equivalent focal length of the objective having four groups only the first group being negative arranged --++
-
- G—PHYSICS
- G02—OPTICS
- G02B—OPTICAL ELEMENTS, SYSTEMS OR APPARATUS
- G02B15/00—Optical objectives with means for varying the magnification
- G02B15/14—Optical objectives with means for varying the magnification by axial movement of one or more lenses or groups of lenses relative to the image plane for continuously varying the equivalent focal length of the objective
- G02B15/16—Optical objectives with means for varying the magnification by axial movement of one or more lenses or groups of lenses relative to the image plane for continuously varying the equivalent focal length of the objective with interdependent non-linearly related movements between one lens or lens group, and another lens or lens group
- G02B15/177—Optical objectives with means for varying the magnification by axial movement of one or more lenses or groups of lenses relative to the image plane for continuously varying the equivalent focal length of the objective with interdependent non-linearly related movements between one lens or lens group, and another lens or lens group having a negative front lens or group of lenses
Landscapes
- Physics & Mathematics (AREA)
- General Physics & Mathematics (AREA)
- Optics & Photonics (AREA)
- Nonlinear Science (AREA)
- Lenses (AREA)
- Studio Devices (AREA)
- Cameras In General (AREA)
Abstract
Description
本発明は、薄型の変倍光学系と、その変倍光学系を備える撮像レンズ装置及びその撮像レンズ装置を搭載したデジタル機器に関する。 The present invention relates to a thin variable magnification optical system, an imaging lens device including the variable magnification optical system, and a digital apparatus equipped with the imaging lens device.
近年、デジタルスチルカメラ、デジタルビデオカメラあるいは、カメラ付き携帯電話機や携帯情報端末(PDA:Personal Digital Assistant)等のデジタル機器の普及が目覚しく、これらに搭載される撮像素子の高画素化・高機能化が急速に進んでいる。このため、高画素化等がなされた撮像素子の性能を十分に活かすため、該撮像素子に被写体を結像させる変倍光学系にも高い光学性能が要求されている。 In recent years, digital devices such as digital still cameras, digital video cameras, camera-equipped mobile phones and personal digital assistants (PDAs) have become widespread, and image sensors mounted on these devices have higher pixels and higher functions. Is progressing rapidly. For this reason, in order to make full use of the performance of an image sensor with a high number of pixels, a variable power optical system that forms an image of a subject on the image sensor is also required to have high optical performance.
また、一般向けのデジタル機器においても、画像の変倍、特に画像劣化の少ない光学変倍が望まれており、その一方で携帯性を良くするための小型化が望まれている。当該デジタル機器の小型化の一手段として変倍光学系の薄型化が考えられる。従来では、変倍光学系の薄型化の手段として、例えば変倍光学系の沈胴構造が採用されている。 In general-purpose digital devices, image scaling, particularly optical scaling with little image degradation is desired, and on the other hand, miniaturization for improving portability is desired. As a means for reducing the size of the digital device, it is conceivable to reduce the thickness of the variable magnification optical system. Conventionally, as a means for reducing the thickness of the variable magnification optical system, for example, a retractable structure of the variable magnification optical system is employed.
しかしながら、沈胴構造の変倍光学系にあっては、鏡胴の構成が複雑化し、コストアップを招来することとなる。また、機器の電源投入後にレンズを繰り出すようにした場合には、撮影準備が完了するまでに所定の時間を要するため、その間に撮像したい対象があっても、シャッターチャンスを逃すという問題もある。 However, in a variable magnification optical system with a retractable structure, the structure of the lens barrel becomes complicated, leading to an increase in cost. In addition, when the lens is extended after the device is turned on, a predetermined time is required until the preparation for photographing is completed. Therefore, there is a problem in that a photo opportunity is missed even if there is an object to be photographed during that time.
変倍光学系の薄型化を図る他の手段として、変倍光学系の光路上に反射面を設ける技術が知られており、この種の変倍光学系につき、例えば下記特許文献1〜4において種々の提案がなされている。特許文献1には、最も物体(被写体)側のレンズ群に固定の三角プリズムを配することで光軸を90度折り曲げ、当該三角プリズムにおける光線の入射面を凹面の非球面とした変倍光学系が開示されている。特許文献2には、光軸を90度折り曲げる2つの反射面を有し、折り曲げる方向を空間的にねじれの方向にすることで、変倍光学系の小型化を実現する技術が開示されている。特許文献3には、単焦点光学系内に、光軸を90度折り曲げる2つの反射要素(鏡)を配置して、光学系の小型化を実現する技術が開示されている。特許文献4には、光軸を90度折り曲げる2つの反射要素(三角プリズム又は鏡)を配置して、光学系の小型化を実現する技術が開示されている。
特許文献1の変倍光学系においては、光線の入射面が凹面の非球面である三角プリズムを用いることで、光学系の厚み方向を圧縮し、薄型でコンパクトな変倍光学系を実現している。しかしながら、光軸を折り曲げる回数が1回であるために、変倍光学系を備えたカメラの厚みを決めているのは撮像素子の大きさである。一般に、撮像素子の受光面の周辺には配線や回路、パッケージ等が配置されており、これらの面積は受光面のそれよりもかなり大きいため、さらなる薄型化が望まれる構成である。
In the variable magnification optical system disclosed in
特許文献2の変倍光学系においては、光軸を90度折り曲げる反射面を2つ配置しているが、折り曲げる方向が空間的なねじれの方向である。そのため、カメラの厚みを決めているのは、特許文献1同様に撮像素子の大きさであり、さらなる薄型化が望まれる。
In the variable magnification optical system of
特許文献3の光学系においては、光軸を90度折り曲げる反射面を2つ配置し、物体面と撮像面とが平行になる構成であるため、カメラの厚みを決めているのは、光学系の厚みである。しかしながら、実現している光学系が単焦点光学系であるために、変倍光学系の提供ができないという問題点がある。さらに、反射鏡を用いて光軸を折り曲げているために、プリズムを用いた場合に比較して必要な光路が長くなり、その結果、光軸を折り曲げる部分の厚みが厚くなってしまう。
In the optical system disclosed in
特許文献4の光学系においては、光軸を折り曲げる際にプリズムを用いてはいるが、それは単純な三角プリズムであり、さらにプリズムの外部の物体側にレンズを設けている構成なので、さらなる薄型化が望まれる。また、当該レンズは撮影窓として用いられているのみであり、そのレンズ効果を有効に利用しようという思想は開示されていない。このように、特許文献1〜4に開示されている光学系では、高性能の変倍光学系の提供が困難である点や、コンパクト化が十分ではないという問題がある。
In the optical system of
本発明は上記事情に鑑みてなされたものであり、コストアップを抑制しつつ、高い光学性能を有し、かつ携帯電話機や携帯情報端末への搭載が可能な薄型で、コンパクトな変倍光学系、撮像レンズ装置及びその撮像レンズ装置を搭載したデジタル機器を提供することを目的とする。 The present invention has been made in view of the above circumstances, has a thin and compact variable power optical system that has high optical performance and can be mounted on a mobile phone or a portable information terminal while suppressing an increase in cost. An object of the present invention is to provide an imaging lens device and a digital device equipped with the imaging lens device.
請求項1にかかる変倍光学系は、入射光をそれぞれ所定の角度だけ屈曲して反射する2つの反射プリズムと、前記2つの反射プリズムの間に1枚以上のレンズを含む少なくとも1つのレンズ群とを有する変倍光学系であって、前記2つの反射プリズムは、光路上被写体側に配置された反射プリズムの入射面と他方の反射プリズムの射出面とが略平行となるように配置されてなり、さらに少なくとも一方の反射プリズムの入射面又は射出面が光学的パワーを有し、前記レンズ群は、当該レンズ群の光軸と前記2つの反射プリズム間の光路の中心線とが一致するように備えられ、前記レンズ群は変倍動作のために当該レンズ群の光軸方向へ移動可能とされていることを特徴とする。
The variable power optical system according to
請求項2にかかる変倍光学系は、請求項1に記載の変倍光学系であって、前記反射プリズムによる入射光の屈曲角は、略90度であることを特徴とする。 A variable power optical system according to a second aspect is the variable power optical system according to the first aspect, wherein a bending angle of incident light by the reflecting prism is approximately 90 degrees.
請求項3にかかる変倍光学系は、請求項1又は2に記載の変倍光学系であって、前記2つの反射プリズムは、それぞれの入射面及び射出面の少なくとも一面が光学的パワーを有することを特徴とする。 A variable magnification optical system according to a third aspect is the variable magnification optical system according to the first or second aspect, wherein at least one of the incident surface and the emission surface of the two reflecting prisms has optical power. It is characterized by that.
請求項4にかかる変倍光学系は、請求項1又は2に記載の変倍光学系であって、前記2つの反射プリズムは、それぞれの入射面及び射出面のいずれの面も光学的パワーを有することを特徴とする。 A variable power optical system according to a fourth aspect of the present invention is the variable power optical system according to the first or second aspect, wherein each of the two reflecting prisms has an optical power on each of the entrance surface and the exit surface. It is characterized by having.
請求項5にかかる変倍光学系は、請求項1乃至4のいずれかに記載の変倍光学系であって、光路上の被写体側に配置された反射プリズムの射出面側に光学絞りが備えられている場合において、少なくとも前記光路上の被写体側に配置された反射プリズムの入射面が、負の光学的パワーを有するものであることを特徴とする。 A variable magnification optical system according to a fifth aspect is the variable magnification optical system according to any one of the first to fourth aspects, wherein an optical stop is provided on an exit surface side of a reflecting prism disposed on a subject side on an optical path. In this case, at least an incident surface of the reflecting prism disposed on the subject side on the optical path has a negative optical power.
請求項6にかかる変倍光学系は、請求項1乃至5のいずれかに記載の変倍光学系であって、前記2つの反射プリズムの間には、それぞれ1枚以上のレンズを含む少なくとも2つのレンズ群が備えられていることを特徴とする。 A variable magnification optical system according to a sixth aspect is the variable magnification optical system according to any one of the first to fifth aspects, and includes at least two lenses each including one or more lenses between the two reflecting prisms. One lens group is provided.
請求項7にかかる変倍光学系は、請求項6記載の変倍光学系であって、少なくとも2つのレンズ群を当該レンズ群の光軸方向に移動させることで変倍を行うことを特徴とする。 A variable magnification optical system according to a seventh aspect is the variable magnification optical system according to the sixth aspect, wherein the variable magnification is performed by moving at least two lens groups in the optical axis direction of the lens groups. To do.
請求項8にかかる変倍光学系は、請求項1乃至7のいずれかに記載の変倍光学系であって、少なくとも1つのレンズ群を当該レンズ群の光軸方向に移動させることでフォーカシングを行うことを特徴とする。 A variable magnification optical system according to an eighth aspect is the variable magnification optical system according to any one of the first to seventh aspects, wherein focusing is performed by moving at least one lens group in an optical axis direction of the lens group. It is characterized by performing.
請求項9にかかる変倍光学系は、請求項1乃至8のいずれかに記載の変倍光学系であって、前記2つの反射プリズムのうちの少なくとも1つは、樹脂により構成されていることを特徴とする。 A variable magnification optical system according to a ninth aspect is the variable magnification optical system according to any one of the first to eighth aspects, wherein at least one of the two reflecting prisms is made of a resin. It is characterized by.
請求項10にかかる変倍光学系は、請求項9記載の変倍光学系であって、前記反射プリズムを構成する樹脂材料の吸水率が、0.01%以下であることを特徴とする。 A variable magnification optical system according to a tenth aspect is the variable magnification optical system according to the ninth aspect, wherein the water absorption of the resin material constituting the reflecting prism is 0.01% or less.
請求項11にかかる変倍光学系は、請求項1乃至8のいずれかに記載の変倍光学系であって、前記反射プリズムは、ガラスモールド法により作製されたものであることを特徴とする。 A variable power optical system according to an eleventh aspect is the variable power optical system according to any one of the first to eighth aspects, wherein the reflecting prism is manufactured by a glass mold method. .
請求項12にかかる変倍光学系は、請求項1乃至11のいずれかに記載の変倍光学系であって、前記反射プリズムの反射面は平面であり、当該反射面以外の入射面及び射出面は光軸を中心に軸対称であることを特徴とする。 A variable power optical system according to a twelfth aspect is the variable power optical system according to any one of the first to eleventh aspects, wherein a reflecting surface of the reflecting prism is a flat surface, and an incident surface and an exit surface other than the reflecting surface. The plane is characterized by being axisymmetric about the optical axis.
請求項13にかかる変倍光学系は、請求項1乃至12のいずれかに記載の変倍光学系であって、光路上の被写体側に配置された反射プリズムの入射面と他方の反射プリズムの射出面との間の光路上にのみ、前記反射プリズムを含む光学的パワーを有する光学素子が備えられていることを特徴とする。 A variable magnification optical system according to a thirteenth aspect is the variable magnification optical system according to any one of the first to twelfth aspects, wherein the incident surface of the reflecting prism disposed on the object side on the optical path and the other reflecting prism are arranged. An optical element having optical power including the reflecting prism is provided only on the optical path between the light exit surface and the light exit surface.
請求項14にかかる変倍光学系は、請求項1乃至13のいずれかに記載の変倍光学系であって、前記他方の反射プリズムに、入射光に含まれる赤外線成分を減少させる赤外線カット機能を具備させたことを特徴とする。 A variable power optical system according to a fourteenth aspect is the variable power optical system according to any one of the first to thirteenth aspects, wherein the other reflecting prism reduces an infrared component contained in incident light. It is characterized by comprising.
請求項15にかかる撮像レンズ装置は、請求項1乃至14のいずれかに記載の変倍光学系を備え、前記変倍光学系が所定の結像面上に被写体の光学像を形成可能な構成とされていることを特徴とする。 An imaging lens device according to a fifteenth aspect includes the variable magnification optical system according to any one of the first to fourteenth aspects, and the variable magnification optical system is capable of forming an optical image of a subject on a predetermined imaging surface. It is said that it is said.
請求項16にかかるデジタル機器は、請求項15に記載の撮像レンズ装置と、撮像素子と、被写体の静止画撮影及び動画撮影の少なくとも一方の撮影を前記撮像レンズ装置及び撮像素子に実行させる機能部とを具備することを特徴とする。 A digital device according to a sixteenth aspect includes an imaging lens device according to the fifteenth aspect, an imaging element, and a functional unit that causes the imaging lens apparatus and the imaging element to perform at least one of a still image shooting and a moving image shooting of a subject. It is characterized by comprising.
請求項17にかかるデジタル機器は、請求項16記載のデジタル機器に備えられたディスプレイの表示面と、前記撮像素子の受光面とが平行であり、かつ前記表示面及び受光面の長辺が互いに平行であることを特徴とする。 According to a seventeenth aspect of the present invention, there is provided a digital device according to the sixteenth aspect, wherein the display surface of the display provided in the digital device is parallel to the light receiving surface of the imaging device, and the long sides of the display surface and the light receiving surface are mutually parallel. It is characterized by being parallel.
請求項1記載の発明によれば、2つの反射プリズムの間に配置されたレンズ群を当該レンズ群の光軸方向に移動させることで変倍を行うので、変倍光学系全体を駆動する構成に比して、変倍のための駆動部に要求される駆動力を小さくすることができる結果、駆動部をコンパクト化することができる。また、2つの反射プリズムの間に配置されたレンズにより球面収差や像面湾曲等の補正を行うことができるので、変倍光学系の光学性能を向上させることができる。さらに、変倍に際して光学系の厚みを変化させることがないので、高い光学性能を有し、かつ携帯電話機や携帯情報端末への搭載が可能な薄型で、コンパクトな変倍光学系が実現できる。 According to the first aspect of the present invention, zooming is performed by moving the lens group disposed between the two reflecting prisms in the optical axis direction of the lens group, so that the entire zooming optical system is driven. As a result, the driving force required for the driving unit for zooming can be reduced, and the driving unit can be made compact. Further, since it is possible to correct spherical aberration, curvature of field, and the like with a lens disposed between the two reflecting prisms, the optical performance of the variable magnification optical system can be improved. Further, since the thickness of the optical system is not changed during zooming, a thin and compact zooming optical system that has high optical performance and can be mounted on a mobile phone or a portable information terminal can be realized.
請求項2記載の発明によれば、反射プリズムによる入射光の屈曲角を略90度としたので、コンパクトな変倍光学系を実現することができる。 According to the second aspect of the invention, since the bending angle of the incident light by the reflecting prism is set to about 90 degrees, a compact variable power optical system can be realized.
請求項3記載の発明によれば、反射プリズムの入射面及び射出面のいずれか一面が光学的パワーを有するものとし、反射プリズムに反射の機能のみならずレンズの機能をも具備させているために、これらの機能を別個の光学素子で実現する構成に比して、部品点数を低減することができ、変倍光学系をよりコンパクト化することができる。 According to the third aspect of the present invention, any one of the incident surface and the exit surface of the reflecting prism has optical power, and the reflecting prism has not only a reflecting function but also a lens function. In addition, the number of parts can be reduced and the variable magnification optical system can be made more compact than a configuration in which these functions are realized by separate optical elements.
請求項4記載の発明によれば、反射プリズムの入射面及び射出面のいずれの面も光学的パワーを有するものとし、反射プリズムに反射の機能のみならずレンズの機能をも具備させているために、これらの機能を別個の光学素子で実現する構成に比して、部品点数を低減することができ、変倍光学系をより一層コンパクト化することができる。 According to the fourth aspect of the present invention, both the incident surface and the exit surface of the reflecting prism have optical power, and the reflecting prism has not only a reflecting function but also a lens function. In addition, the number of parts can be reduced and the zoom optical system can be made more compact as compared with a configuration in which these functions are realized by separate optical elements.
請求項5記載の発明によれば、反射プリズム自体の小型化を図ることができる。すなわち、反射プリズムの小型化を図るには、プリズム内の最周辺部位を通過する光線が光軸と平行に近いことが望ましいが、光学絞りが光路上の被写体側に配置された反射プリズムの射出面側に配置されている場合は、前記反射プリズムの入射面に負の光学的パワーを具備させることで前記光軸との平行性を担保し易くなる。これにより、反射プリズムのサイズを小さくすることが可能となり、ひいては変倍光学系の小型化を図ることができる。
According to the invention described in
請求項6記載の発明によれば、2つの反射プリズムの間に、それぞれ1枚以上のレンズを含む少なくとも2つのレンズ群が備えられているので、それらに変倍に必要なバリエータとコンペンセータの機能を担わせることが可能となる。これにより、高画質な変倍光学系を実現できる。
According to the invention described in
請求項7記載の発明によれば、少なくとも2つのレンズ群に変倍に必要なバリエータとコンペンセータの機能を担わせることが可能となるので、高画質な変倍光学系を実現できる。さらに、少なくとも2つのレンズ群を当該レンズ群の光軸方向に移動させることで変倍を行う構成であるので、1つのレンズ群を移動させる構成に比べ、各レンズ群の移動距離を抑えることが可能となり、光学系をコンパクト化することができる。 According to the seventh aspect of the present invention, since it is possible to make the functions of a variator and a compensator necessary for zooming at least two lens groups, it is possible to realize a zooming optical system with high image quality. Furthermore, since the zooming is performed by moving at least two lens groups in the direction of the optical axis of the lens group, the movement distance of each lens group can be suppressed compared to a configuration in which one lens group is moved. This makes it possible to make the optical system compact.
請求項8記載の発明によれば、2つの反射プリズムの間に配置された少なくとも1つのレンズ群を当該レンズ群の光軸方向に移動させることでフォーカシングを行うので、変倍光学系全体を駆動する構成に比して、フォーカシングのための駆動部に要求される駆動力を小さくすることができる結果、駆動部をコンパクト化することができる。また、反射プリズムを駆動しないので、光軸のずれが発生するなどの不具合を抑制でき、反射プリズムの位置精度を確保することができる。さらに、フォーカシングに際して、光学系の厚みを変化させることがないので、変倍時の薄さを保つことが可能となる。 According to the eighth aspect of the invention, since focusing is performed by moving at least one lens group disposed between the two reflecting prisms in the optical axis direction of the lens group, the entire variable power optical system is driven. Compared with the structure to perform, as a result of being able to make small the driving force requested | required of the drive part for focusing, a drive part can be compactized. Further, since the reflecting prism is not driven, it is possible to suppress problems such as the occurrence of optical axis misalignment and to secure the positional accuracy of the reflecting prism. Furthermore, since the thickness of the optical system is not changed during focusing, it is possible to maintain the thinness at the time of zooming.
請求項9記載の発明によれば、少なくとも1つの反射プリズムを樹脂で構成したので、ガラス製に比べて軽量で安価であり、さらに量産性に優れた光学系を提供することができる。 According to the ninth aspect of the present invention, since at least one reflecting prism is made of a resin, it is possible to provide an optical system that is lighter and less expensive than glass and has excellent mass productivity.
請求項10に記載の発明によれば、反射プリズムを樹脂で構成する場合において、吸水率が0.01%以下の樹脂材料を用いるので、当該反射プリズムについて吸湿に伴う光学特性(屈折率等)の影響を受けない変倍光学系を実現できるようになる。 According to the tenth aspect of the present invention, when the reflecting prism is made of resin, a resin material having a water absorption of 0.01% or less is used. Therefore, optical characteristics (refractive index, etc.) associated with moisture absorption for the reflecting prism. It is possible to realize a variable magnification optical system that is not affected by the above.
請求項11に記載の発明によれば、高精度で高屈折率な反射プリズムを比較的容易に得ることができるガラスモールド法により作製された反射プリズムを用いるので、光路長の短縮や屈折面での収差の発生を低減し易い変倍光学系を提供できる。 According to the eleventh aspect of the present invention, since the reflecting prism manufactured by the glass mold method capable of relatively easily obtaining a highly accurate and high refractive index reflecting prism is used, the optical path length can be shortened and the refractive surface can be reduced. Therefore, it is possible to provide a variable magnification optical system that can easily reduce the occurrence of this aberration.
請求項12記載の発明によれば、光軸を中心に軸対称な光学系であるために製造難易度は高くなく、かつ組み込み時の評価や、調整の難易度も、軸非対称な光学系に比べ低くて済むので、製造コストを抑えることができる。 According to the twelfth aspect of the present invention, since the optical system is axisymmetric with respect to the optical axis, the manufacturing difficulty level is not high, and the evaluation at the time of incorporation and the adjustment difficulty level are also reduced to an axially asymmetric optical system. The manufacturing cost can be reduced because the cost is lower.
請求項13記載の発明によれば、光路上の被写体側に配置された反射プリズムの入射面と他方の反射プリズムの射出面との間の光路上にのみ、反射プリズムを含む光学的パワーを有する光学素子を備えるようにしたので、光路上被写体側に配置された反射プリズムの入射面より光路上被写体側又は他方の反射プリズムの射出面より光路上像側に光学素子を配置する場合に比して、光学系全体を薄型化することができる。 According to the thirteenth aspect of the present invention, the optical power including the reflecting prism is provided only on the optical path between the incident surface of the reflecting prism disposed on the subject side on the optical path and the exit surface of the other reflecting prism. Since an optical element is provided, the optical element is arranged closer to the subject side on the optical path than the incident surface of the reflecting prism arranged on the subject side on the optical path or closer to the image side on the optical path than the exit surface of the other reflecting prism. Thus, the entire optical system can be reduced in thickness.
請求項14に記載の発明によれば、当該変倍光学系を経た入射光の光像を撮像素子で撮像するような場合に、画像劣化要因となる赤外線成分を、反射プリズムの付随機構を用いて減少させるので、赤外線をカットするための光学部品の使用を省くことができるようになる。これにより、変倍光学系の構成を簡素化でき、さらには変倍光学系の小型化を図ることが可能となる。 According to the fourteenth aspect of the present invention, when an optical image of incident light that has passed through the variable magnification optical system is picked up by an image pickup device, an infrared component that causes image deterioration is used by using an accompanying mechanism of a reflecting prism. Therefore, the use of optical components for cutting infrared rays can be omitted. As a result, the configuration of the variable magnification optical system can be simplified, and further the size reduction of the variable magnification optical system can be achieved.
請求項15記載の発明によれば、携帯電話機や携帯情報端末等に搭載可能な、コンパクトかつ高精細な撮像レンズ装置が実現できる。 According to the fifteenth aspect of the present invention, a compact and high-definition imaging lens device that can be mounted on a cellular phone, a portable information terminal, or the like can be realized.
請求項16記載の発明によれば、高精細を保ったままで、被写体の静止画撮影又は動画撮影における変倍(ズーミング)が可能な、携帯電話機や携帯情報端末等のデジタル機器が実現できる。 According to the sixteenth aspect of the present invention, it is possible to realize a digital device such as a mobile phone or a portable information terminal capable of zooming in still image shooting or moving image shooting of a subject while maintaining high definition.
請求項17記載の発明によれば、デジタル機器に備えられたディスプレイの表示面と撮像素子の受光面とが平行であり、かつ表示面及び受光面の長辺が互いに平行であるために、撮像された光学像は周辺光量落ちが少なくなるため、有効に撮像素子上に結像され、さらにはディスプレイに有効に表示される。したがって、ディスプレイの面積を最大に生かした表示が可能となり、撮影時の構図の確認等が有効に行える。 According to the seventeenth aspect of the present invention, the display surface of the display provided in the digital device and the light receiving surface of the image sensor are parallel, and the long sides of the display surface and the light receiving surface are parallel to each other. The optical image thus formed is reduced in the amount of peripheral light, so that it is effectively formed on the image sensor and further displayed effectively on the display. Accordingly, it is possible to perform display that makes the most of the area of the display, and it is possible to effectively confirm the composition at the time of photographing.
以下、図面に基づいて、本発明の実施形態につき説明する。
<変倍光学系の構成の説明>
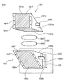
図1は、本発明にかかる変倍光学系100の構成を模式的に示す図である。この変倍光学系100は、光学像を電気的な信号に変換する撮像素子105の受光面上に被写体Hの光学像を形成するものであって、入射光をそれぞれ所定の角度(略90度)だけ屈曲して反射する2個の反射プリズム、すなわち光路上被写体H側に配置された第1反射プリズム101(ここでの説明において「入射側プリズム101」という)と、光路上撮像素子105側に配置された第2反射プリズム102(ここでの説明において「像面側プリズム102」という)とが備えられている。なお、入射側プリズム101と像面側プリズム102との間には、変倍動作並びにフォーカシング動作を行うためのレンズ群103、光学絞り104が配置されている。前記レンズ群103は、それぞれ図中の矢印B1,B2方向へ移動自在とされた変倍レンズ1031、1032から構成されている。
Hereinafter, embodiments of the present invention will be described with reference to the drawings.
<Description of configuration of variable magnification optical system>
FIG. 1 is a diagram schematically showing a configuration of a variable magnification
そして、前記入射側プリズム101の入射面101aと、像面側プリズム102の射出面102bとが、略平行となるように配置されている。つまり、被写体Hから撮像素子105までの光軸AXは、入射側プリズム101及び像面側プリズム102の反射面101c、102cによりそれぞれ90度折り曲げられたものとされている。このような変倍光学系100は、各種デジタル機器(例えば携帯電話等)の筐体BD内に収容される。
The
このように構成された変倍光学系100において、入射側プリズム101及び像面側プリズム102の少なくとも一方の入射面101a、102a又は射出面101b、102bが、光学的パワーを有する構成とされる。例えば、入射側プリズム101の入射面101a又は射出面101bのいずれか、及び/又は像面側プリズム102の入射面102a又は射出面102bのいずれかに、光学的パワーを具備させる構成とすることができる。或いは、入射側プリズム101及び像面側プリズム102の入射面101a、102a又は射出面101b、102bのいずれもが、光学的パワーを具備する構成とすることもできる。これらの構成によれば、前記入射面101a、102a又は射出面101b、102bのうちの少なくとも一面がレンズ機能面として活用されるので、その分だけ別個の光学素子の使用を省くことができ、変倍光学系100のコンパクト化を図ることができるようになる。
In the variable magnification
前記撮像素子105は、当該変倍光学系100により結像された被写体Hの光像の光量に応じて、R、G、B各成分の画像信号に光電変換して所定の画像処理回路へ出力するものである。例えば撮像素子105としては、CCD(Charge Coupled Device)が2次元状に配置されたエリアセンサの各CCDの表面に、R(赤)、G(緑)、B(青)のカラーフィルタが市松模様状に貼り付けられた、いわゆるベイヤー方式と呼ばれる単板式カラーエリアセンサで構成されたものを用いることができる。このようなCCDイメージセンサの他、CMOSイメージセンサ、VMISイメージセンサ等も用いることができる。
The
ここで、光学絞り104が入射側プリズム101の射出面101b側に位置している場合において、入射側プリズム101の入射面101aが、負の光学的パワーを有する構成とすれば、次のような利点がある。図2は、入射側プリズム101(101’)と光線との関係を示す光路図である。いま、入射側プリズム101(101’)から所定の光線幅BTを射出させる場合、プリズム自体を小型化するためには、プリズム内の最も周辺側を通過する光線opについて、その射出光線op−outが光軸AXと平行に近いことが望ましい。
Here, when the
すなわち、図2(a)の入射側プリズム101’のように、入射面101a’が平面である場合、この入射面101a’へ入射する光線のうち最も周辺側の角度θ1を持った入射光線op−inの光線角度を、光軸AXに対して小さくすることができず、結果として出射光線op−outは光軸AXに対して傾き角を持った状態で射出される。従って、所定の光線幅BTを得るためには、前記傾き角を考慮して、入射面101a’及び射出面101b’を大きくする必要があり、このためプリズムのサイズを大きくせねばならない。
That is, when the
一方、図2(b)の入射側プリズム101のように、入射面101aが負の光学的パワー(凹面)とされている場合、この入射面101aへ入射する光線のうち最も周辺側の角度θ1を持った入射光線op−inの光線角度は、光軸AXに対して小さくなり、結果として出射光線op−outは光軸AXに対して平行に近い状態で射出される。従って、所定の光線幅BTを得るためのプリズムのサイズを、図2(a)の場合に比べて大幅に小さくすることができ、ひいては変倍光学系100もコンパクト化できるようになる。
On the other hand, when the
なお、前述のような入射側プリズム101及び像面側プリズム102を備える代わりに、反射鏡を備えた変倍光学系100とすることも考えられるが、この場合、反射鏡を保持する部材等を別途備える必要があり、変倍光学系100のコストアップや大型化を招来することとなるので、前記のような2個の反射プリズムを採用することが望ましい。
In addition, instead of including the
また、反射面による入射光の屈曲角は90度に限られないが、屈曲角が90度から離れるほど変倍光学系100のサイズが、図1の矢印A方向に大きくなるため、前記屈曲角を90度に設定することが、変倍光学系100のコンパクト化を達成する上で最も望ましい。
Further, the bending angle of incident light by the reflecting surface is not limited to 90 degrees, but the size of the variable magnification
ここで、撮像素子105が長辺と短辺とを有する矩形状のものである場合、その屈曲方向としては、撮像素子105の短辺方向(図1に矢印aを付している幅方向が短辺方向)に光線を屈曲させるようにすることが好ましい。撮像素子105の長辺方向に光線を屈曲することでも相応に変倍光学系100の薄型化を達成することができるが、撮像素子105の短辺方向に光線を屈曲する方がより変倍光学系100の薄型化を達成することができる。
Here, when the
図1に示す変倍光学系100のように、入射側プリズム101の入射面101aより光路上被写体H側や、像面側プリズム102の射出面102bより光路上像側(撮像素子105側)には、屈折力(光学的パワー)を有する光学素子を配置せず、入射側プリズム101の入射面101aと像面側プリズム102の射出面102bとの間の光路上にのみ屈折力を有する光学素子を配置する構成とすることが望ましい。これにより、入射側プリズム101の入射面101aより光路上被写体H側等に屈折力を有する光学素子を配置する場合に比して、変倍光学系100の厚み(矢印A方向のサイズ)を薄くすることができ、変倍光学系100の大型化を抑制することができる。
As in the variable power
また、前記変倍光学系100において、入射側プリズム101及び像面側プリズム102の間に、1枚以上のレンズを含むレンズ群を配置することが望ましい。これは、該レンズにより球面収差や像面湾曲等の補正を行うことができ、変倍光学系100の光学性能を向上することができるからである。なお、前記のようなレンズ等を配置する場合に、このレンズとして反射プリズムより矢印Aの方向に小さいレンズを採用することで、該レンズの搭載による矢印Aの方向の大型化の問題は発生しない。
In the variable magnification
あるいは、矢印Aの方向の大型化の問題を防ぐために、レンズの形状を工夫してもよい。例えば、レンズ周縁部の不使用部分を削除して、光軸(AX)を縦断した断面をアルファベットのD字型形状や小判形状などとすることで、矢印Aの方向に不必要に大きくなることを防ぐことができる。 Or in order to prevent the problem of the enlargement of the direction of the arrow A, you may devise the shape of a lens. For example, the unused portion of the lens peripheral portion is deleted, and the cross section obtained by vertically cutting the optical axis (AX) is changed to an alphabetic D shape or an oval shape, so that it becomes unnecessarily large in the direction of arrow A. Can be prevented.
そして、1枚以上のレンズを含むレンズ群を、当該レンズ群の光軸方向(入射側プリズム101の入射面101aと略平行な方向)に駆動してズーミング(変倍)を行うことが望ましい。これは、反射プリズムを含む変倍光学系全体を光軸方向に駆動するように構成した場合、光学系全体の厚みが変化することになり薄型化に課題が出たり、駆動対象物の重量増加により駆動用モータの大型化を招来したりするからである。さらに、前記駆動による光軸のずれが発生したり、変倍光学系の各光学素子の保持機構が複雑になったりする課題もある。2つの反射プリズムの間にレンズ群を配置し、このレンズ群を光軸方向に駆動するようにすることで、反射プリズムや光学絞りを固定できるとともに、駆動用モータの大型化、光軸のずれの発生、前記保持機構の複雑化の問題を解消することができる。
It is desirable to perform zooming (magnification) by driving a lens group including one or more lenses in the optical axis direction of the lens group (a direction substantially parallel to the
一般にズーミングには、バリエータとコンペンセータとの2つのレンズ群の移動が必要である。したがって、良好な変倍を行うためには、2つのプリズム間に少なくとも2つのレンズ群が必要で、さらに2つとも光軸方向に移動することが望ましい。光軸方向に移動させることで、変倍に際して光学系の厚みを変化させないので、携帯電話機や携帯情報端末への搭載が可能な薄型で、コンパクトな変倍光学系が実現できる。また2つのレンズ群を移動させることにより、1つのレンズ群を移動させる構成に比べ各レンズ群の移動距離を抑えることが可能となり、光学系をコンパクト化することができる。しかし、光学式ズーム光学系のようにズーム解を適切に調整すれば、変倍時に移動するレンズ群を1つにすることも可能である。 In general, zooming requires movement of two lens groups, a variator and a compensator. Therefore, in order to perform good zooming, at least two lens groups are required between the two prisms, and it is desirable that both of them move in the optical axis direction. By moving the optical system in the optical axis direction, the thickness of the optical system is not changed at the time of zooming. Therefore, a thin and compact zooming optical system that can be mounted on a mobile phone or a portable information terminal can be realized. Further, by moving the two lens groups, it is possible to suppress the moving distance of each lens group as compared with the configuration in which one lens group is moved, and the optical system can be made compact. However, if the zoom solution is appropriately adjusted as in the optical zoom optical system, it is possible to have one lens group that moves during zooming.
図1に示す変倍光学系100においては、上述のような要請を満たすため、入射側プリズム101及び像面側プリズム102の間に変倍レンズ1031、1032が配置されているものである。すなわち、これら変倍レンズ1031、1032が、入射側プリズム101の入射面101aと平行な方向(図中の矢印B1,B2方向)にそれぞれ移動されることで、ズーミングが行われる構成とされている。
In the variable power
同様に、1枚以上のレンズを含むレンズ群(変倍レンズ1031、1032)を、当該レンズ群の光軸方向(上記実施形態においては、入射側プリズム101と像面側プリズム102との間の、光路の中心線と平行方向)に駆動してフォーカシングを行うように構成するのが望ましい。理由は変倍時の駆動と同様である。
Similarly, a lens group including one or more lenses (
なお、前記変倍光学系100において、入射側プリズム101及び像面側プリズム102や変倍レンズ1031、1032の製造の容易性の点から、変倍光学系100の各光学面は、光軸AXを中心に軸対称な面(回転対称面)とするのが望ましい。軸非対称な光学系は、製造難易度を上げるばかりでなく、組み込み時の評価や、調整に対しても難易度を押し上げるために、コストが高くなるために望ましくない。逆に、コストが高くなることを許容するならば、軸非対称な面を反射面に用いることも可能である。
In the zoom
次に、像面側プリズム102の射出面102bと撮像素子105との望ましい配置関係について説明する。変倍光学系100自体の矢印A方向のサイズは、上述のような光学構成とすることで薄型化が可能であるが、像面側プリズム102の射出面102bに撮像素子105を対向配置し、これを筐体BD内に収容する場合、前記筐体BDの薄型化を図るには、像面側プリズム102の射出面102bと撮像素子105との距離も可及的に短縮することが望ましい。
Next, a desirable arrangement relationship between the
いま、像面側プリズム102の射出面102bと撮像素子105の受光面との距離をdとし(両者間に光学部品が介在されている場合も含む物理距離とする)、当該変倍光学系100の光路折り曲げ面内(図1における紙面が相当する)における撮像素子105の受光面の高さをa(例えば撮像素子105の短辺方向)と定義するとき、次の(1)式の関係を満たすよう、像面側プリズム102の射出面102bと撮像素子105との配置関係を設定することが、筐体BDの薄型化を図る観点からは望ましい。
0.0≦d/a<0.8 ・・・(1)
Now, the distance between the
0.0 ≦ d / a <0.8 (1)
上記(1)式において、d/aが0.8以上となると、像面側プリズム102の射出面102bと撮像素子105との距離dが大きくなりすぎて、筐体BDの薄型化には不向きとなる。すなわち、距離dが大きいということは、そのような環境において撮像素子105の受光面に結像させるには像面側プリズム102のサイズも大きなものとなることから、全体として変倍光学系100が大型化(厚肉化)することとなる。
In the above equation (1), if d / a is 0.8 or more, the distance d between the
一方、d/a=0として、像面側プリズム102の射出面102bと撮像素子105の受光面とを密着させる態様は、矢印A方向のサイズの極小化を図り得る態様であり、薄型化という観点からは望ましい態様である。しかし、前記射出面102bと撮像素子105の受光面とが接触することから組み付けの困難性が招来され、また射出面102bと撮像素子105の受光面との間における面間反射によるゴーストの発生が懸念される。このような不都合を解消するため、d/aの下限値は0.1以上とすることが望ましい。
On the other hand, when d / a = 0, the mode in which the
以上のように像面側プリズム102の射出面102bと撮像素子105との配置関係を設定するだけでなく、前記像面側プリズム102の大きさ(長さ)を最適化することで、一層薄型化を図ることが可能となる。いま、図3に示すように、像面側プリズム102の屈折率をn、像面側プリズム102内を通過する光軸AX上の主光線の距離(プリズムを展開したときの厚み)をt、射出瞳距離をpとすると、次の(2)式の関係を満たすようにすることが望ましい。
−1.5<(t*n)/p<1.0 ・・・(2)
As described above, not only the positional relationship between the
-1.5 <(t * n) / p <1.0 (2)
上記(2)式において、(t*n)/pが1.0以上となると、プリズムの大きさに対して射出瞳距離pが長くなることから、その光学系はテレセントリックに近づくことになる。従って、プリズム内での光線幅が大きくなってしまい、そのような光線幅のものを折り返すためにはプリズムのサイズを大きく(長く)する必要が生じることから、結果的に変倍光学系100のコンパクト化を図れなくなる傾向が顕著になる。 In the above equation (2), when (t * n) / p is 1.0 or more, the exit pupil distance p becomes longer with respect to the size of the prism, so that the optical system approaches telecentricity. Therefore, the light beam width in the prism becomes large, and it is necessary to increase (longen) the size of the prism in order to turn back the light beam having such a light beam width. The tendency to be unable to achieve compactness becomes prominent.
一方、(t*n)/pが−1.5以下になると、プリズムの大きさに対して射出瞳距離pが短くなることから、テレセントリックとは反対に、その光学系は光軸に対する傾きが大きい光線が多く含まれるようになる。一般に、撮像素子105の受光面には、集光効率を高くするために、画素毎にマイクロレンズが配置されている。テレセントリックな光学系の場合、前記マイクロレンズを各画素の略直上に配置すれば良く、比較的マイクロレンズの配置は容易である。しかし、射出瞳距離pが短く光線の傾きがある場合、この傾き角を考慮してマイクロレンズを各画素に対して所定量ずらした状態で配置せねばならない。ここで、(2)式の下限値以下のように光線の傾き角が大きくなる場合、所定の集光量を担保できるようマイクロレンズを配置することが困難となり、結果として集光効率が悪化して周辺光量が低下する傾向が顕著となる。
On the other hand, when (t * n) / p is −1.5 or less, the exit pupil distance p becomes shorter than the size of the prism. Therefore, contrary to telecentric, the optical system has an inclination with respect to the optical axis. Many large rays are included. In general, a microlens is disposed on the light receiving surface of the
さらに、射出瞳距離pが短いということは、光学絞り104と像面(撮像素子105の受光面)との距離が短くなるということに帰着するが、像面側プリズム102の入射面102aより像面側には光学絞り104を配置できない(プリズム内に絞りを設けることはできない)ことから、(2)式の下限値以下の場合、光学絞り104の適切な配置が出来にくくなるという傾向も顕著となる。
Furthermore, a short exit pupil distance p results in a short distance between the
ところで、撮像素子105として、CCDイメージセンサやCMOSイメージセンサを用いる場合、赤外線成分がノイズとなり出力画像を劣化させる場合がある。このため、赤外線成分を撮像素子105に入射させないよう、従来から赤外線カットフィルタ等を変倍光学系の適宜な箇所に配置する対策が講じられている。しかし、このような赤外線カット機能を有する光学部品が別途必要となることから、変倍光学系のコンパクト化、部品点数の抑制の阻害要因となっていた。
By the way, when a CCD image sensor or a CMOS image sensor is used as the
そこで、像面側プリズム102自体に、入射光に含まれる赤外線成分を減少乃至は除去する赤外線カット機能を具備させることが望ましい。図4は、赤外線カット機能を具備させた像面側プリズム102の例を示す断面図である。図4(a)は、像面側プリズム102の射出面102bに、赤外線反射膜102dを一体的に設けた例を示している。これにより、入射光に含まれる赤外線成分は赤外線反射膜102dにて反射され、撮像素子105に入射されないようになる。このような赤外線反射膜102dとしては、例えば赤外波長の光を反射させる誘電体多層膜のコーティング層が好適である。なお、このような赤外線反射膜102dを、像面側プリズム102の入射面102aに設けるようにしても良い。
Therefore, it is desirable to provide the image
また図4(b)は、像面側プリズム102の反射面102cに、赤外線吸収膜102eを一体的に設けた例を示している。これにより、入射光に含まれる赤外線成分は赤外線吸収膜102eにて吸収され、撮像素子105に入射されないようになる。このような赤外線吸収膜102eとしては、例えば赤外波長の光を吸収させる誘電体多層膜のコーティング層が好適である。なお、このような赤外線吸収膜102eに代えて、赤外線透過膜を反射面102cに設け、赤外線成分のみを像面側プリズム102から放射させるようにしても良い。
FIG. 4B shows an example in which an
続いて、入射側プリズム101及び像面側プリズム102の材質並びに製法について説明する。これらプリズムの材質については特に制限はなく、所定の光透過率や屈折率などを備えている光学材料であれば良く、各種ガラス材料や樹脂(プラスチック)材料を用いることができる。しかし、樹脂材料を用いれば、軽量で、且つインジェクションモールド等により大量生産が可能であることから、ガラス材料で作製する場合に比して、コストの抑制や変倍光学系100の軽量化の面で有利である。さらに、上述のように入射面及び/又は射出面に屈折力を具備する反射プリズムを作成する場合、ガラス材料によれば研磨工程を経て作製する必要があるが、樹脂材料の場合は型枠等を用いて容易に作製することができるという利点もある。
Next, materials and manufacturing methods of the
但し、インジェクションモールドによると、成型後に若干の熱収縮が避けられないため、高い精度が要求される光学部品の場合は、かえって製造難易度が高くなる場合がある。ところで、高い精度を要求される度合いは、像面側プリズム102よりも入射側プリズム101の方が高い。これは、像面側プリズム102の方が撮像素子105に近く、比較的誤差感度が小さいからである。従って、少なくとも像面側プリズム102を樹脂材料で構成し、要求される精度に応じて入射側プリズム101を樹脂材料とするか或いはガラス材料とするかの選択を行うことが望ましい。
However, according to the injection mold, since some heat shrinkage is inevitable after molding, in the case of an optical component that requires high accuracy, the manufacturing difficulty may be increased. By the way, the degree to which high accuracy is required is higher for the incident-
ここで、入射側プリズム101及び/又は像面側プリズム102を樹脂材料で構成する場合、その樹脂材料として、例えばポリカーボネートやPMMA等の各種光学樹脂材料を用いることができる。この中でも、吸水率が0.01%以下の樹脂材料を選択することが望ましい。樹脂材料には、空気中の水分と結合する吸湿作用があり、このような吸湿が生じると、設計値通りにプリズムを製作しても吸湿により屈折率等の光学特性が変化する場合がある。従って、吸水率が0.01%以下の樹脂材料を用いることで、吸湿の影響を受けない変倍光学系100を構築できるようになる。このような樹脂材料としては、例えばZEONEX(日本ゼオン株式会社商品名)を用いることができる。
Here, when the
次に、入射面及び/又は射出面に光学的パワーを有するプリズムを製造する方法としては、例えば所定のプリズムに光学的パワーを有するレンズを接合する方法、プリズムを曲面研磨する方法、インジェクションモールド或いはガラスモールドによる方法などを例示することができる。但し、プリズムにレンズを接合する方法やプリズムを曲面研磨する方法は、反射面と前記レンズ又は曲面との位置関係や傾きなどを調整するために手間のかかる調芯を行う必要があり、製造難易度が比較的高くなってしまう。これに比べ、樹脂材料を用いたインジェクションモールドは、前述の通り量産性に優れるため、好ましい製造方法の一つである。 Next, as a method of manufacturing a prism having optical power on the entrance surface and / or exit surface, for example, a method of bonding a lens having optical power to a predetermined prism, a method of polishing a curved surface of the prism, an injection mold, Examples thereof include a method using a glass mold. However, the method of bonding the lens to the prism and the method of polishing the curved surface of the prism require time-consuming alignment in order to adjust the positional relationship and inclination between the reflecting surface and the lens or the curved surface, which is difficult to manufacture. The degree will be relatively high. In contrast, an injection mold using a resin material is one of the preferable manufacturing methods because it is excellent in mass productivity as described above.
上記インジェクションモールドにて製造されたプリズムを採用する場合、次の点に留意することが望ましい。インジェクションモールドを行う場合、樹脂を金型に注入するためのゲートが必要となる。そのようなゲートはプリズムのどの面に対向させても良いが、プリズムにおいて光の入射、出射及び反射が行われない面に配置することが望ましい。これは、一般にゲート付近は樹脂流の痕跡が残留するなどして複屈折が発生し易く、光学特性に影響を与える可能性があることから、仮に複屈折が発生してもその影響を低減できるからである。 When adopting the prism manufactured by the above injection mold, it is desirable to pay attention to the following points. When performing injection molding, a gate for injecting resin into the mold is required. Such a gate may be opposed to any surface of the prism, but is preferably disposed on a surface where light is not incident, emitted, or reflected on the prism. In general, birefringence is likely to occur due to resin flow traces remaining in the vicinity of the gate, which may affect the optical characteristics. Therefore, even if birefringence occurs, the influence can be reduced. Because.
図5は、図1に示した変倍光学系100を立体的に描いた斜視図である。図5に基づいて、上記の望ましい構成を説明すると、入射側プリズム101をインジェクションモールドで形成する場合においては、金型注入用のゲートを、入射面101a、射出面101b及び反射面101cには配置せず、これらの面の側面である不使用面101mに配置する。この場合、通常ゲートは断面長方形の角柱状を呈していることから、そのような角柱状のゲート痕Ge1(入射面101aと広幅面が平行なゲート痕Ge1)が前記不使用面101mに残存するようになる(このゲート痕Ge1は誇張して描いている)。このようにゲートを配置すると、当該ゲート近傍で複屈折が発生したとしても、入射側プリズム101の有効使用領域pw1(図中のハッチング部位;光線が通過可能な領域)に与える影響を低減することができる。
FIG. 5 is a perspective view depicting the variable magnification
像面側プリズム102も同様に、金型注入用のゲートを、入射面102a、射出面102b及び反射面102cには配置せず、これらの面の側面である不使用面102mに配置する。この場合、角柱状のゲート痕Ge2(反射面102cと広幅面が平行なゲート痕Ge2)が前記不使用面102mに残存するようになるが、同様に当該ゲート近傍で複屈折が発生したとしても、像面側プリズム102の有効使用領域pw2(図中のハッチング部位)に与える影響を低減することができる。
Similarly, in the image
インジェクションモールドを行った後、その成型品(この場合はプリズム)を金型から取り出すときに、イジェクトピンで当該成型品を押圧する手法が汎用されている。このようなイジェクトピンの当接部位には、やはり痕跡が残り、この部分においても光学特性が乱れる場合がある。そこで図5に示す例では、入射側プリズム101については、その入射面101aにおける不使用領域に対応する部位にイジェクトピンを配置し、前記不使用領域にピン痕跡ep1が現れるようにしている。また像面側プリズム102については、その反射面102cにおける不使用領域に対応する部位にイジェクトピンを配置し、前記不使用領域にピン痕跡ep2が現れるようにしている。なお、前記ピン痕跡ep1、ep2が、それぞれ不使用面101m、102mと対向する反対側の不使用面101n、102nに現れるよう、イジェクトピンを配置するようにしても勿論良い。
After injection molding, a method of pressing the molded product with an eject pin when removing the molded product (in this case, a prism) from a mold is widely used. Traces still remain at the contact portion of such an eject pin, and the optical characteristics may be disturbed also in this portion. Therefore, in the example shown in FIG. 5, with respect to the
さらに、この変倍光学系100のように、光学絞り104が入射側プリズム101と像面側プリズム102との間に配置されている場合において(図1参照)、組み付け時において、図5に示すように、入射側プリズム101及び像面側プリズム102のゲート痕Ge1、Ge2が同じ方向に存在するように、ゲート方向を調整することが望ましい。この点を、図6に基づいて説明する。
Further, when the
図6は、図5に示した変倍光学系100についての、模式的な光路図である。図示するように、入射側プリズム101及び像面側プリズム102についてのゲート痕Ge1、Ge2は、同方向に存在するそれぞれの不使用面101m、102mに形成されている。なお、この不使用面101m、102mに対向するもう一方の不使用面101n、102nは、ゲート痕Ge1、Ge2が存在しないフラット面(形状的に安定した面)でもあることから、入射側プリズム101及び像面側プリズム102共通のプリズム保持部材106(筐体BDのフレーム部材等に相当)に固定されている。これにより、プリズムの高精度な組み付けが行えるようになる。
FIG. 6 is a schematic optical path diagram for the variable magnification
ゲート痕Ge1、Ge2をそれぞれの不使用面101m、102mに設けることで、複屈折等の影響を低減できるとはいえ、完全にその影響を取り除くことは難しい。このような、ゲート痕Ge1、Ge2近傍の光学特性に影響を与えるような領域を、図6においてそれぞれゲート影響領域Ge1m、Ge2mとして示している(図中のハッチング部位が相当する)。 Although the gate traces Ge1 and Ge2 are provided on the non-use surfaces 101m and 102m, the influence of birefringence and the like can be reduced, but it is difficult to completely remove the influence. Such regions that affect the optical characteristics in the vicinity of the gate traces Ge1 and Ge2 are shown as gate-affected regions Ge1m and Ge2m in FIG. 6 (corresponding to hatched portions in the figure).
ところで、光学絞り104が入射側プリズム101と像面側プリズム102との間に配置されている場合、該光学絞り104の前後で光像が反転するようになる。いま、入射側プリズム101の入射面101aのゲート痕Ge1側から入射する光線opの光路を考える。入射側プリズム101内において、光線opはゲート影響領域Ge1mを通過することから複屈折率等の影響を受けてしまう。しかし、光学絞り104を通過すると光線opはゲート痕Ge1側から離間する方向に屈折する。そして、像面側プリズム102に入射すると、ゲート影響領域Ge2mから離れた領域を通過するようになる。従って、光線opは、入射側プリズム101及び像面側プリズム102のゲート影響領域Ge1m、Ge2mを重畳的に通過するようなことはなく、残存複屈折の影響は分散され、画面の片側だけ複屈折等の影響が偏在するような不具合は発生しなくなる。
By the way, when the
上述したような樹脂材料を用いたインジェクションモールド法は、量産化に適し、また反射プリズムの入射面や射出面に高精度な凹面等を形成できるという利点があるが、樹脂材料を用いる関係上、高い屈折率を有する反射プリズムを製作することはできない。そこで、高精度で高屈折率のプリズムが求められる場合は、高屈折率のガラス素材をプリズム形状の金型を用いて加熱加圧するガラスモールド法により製作することが望ましい。高屈折率のプリズムを適用すると、光路長の短縮化や屈折面における収差の発生の低減化を図ることができ、これにより変倍光学系100の小型化、レンズ枚数の削減が可能となり、コンパクト化に有利となる。
The injection molding method using the resin material as described above is suitable for mass production and has an advantage that a highly accurate concave surface can be formed on the entrance surface and the exit surface of the reflecting prism. A reflecting prism having a high refractive index cannot be manufactured. Therefore, when a high-precision and high-refractive-index prism is required, it is desirable to manufacture a high-refractive-index glass material by a glass mold method in which heat is applied using a prism-shaped mold. When a high refractive index prism is applied, the optical path length can be shortened and the occurrence of aberrations on the refracting surface can be reduced. As a result, the variable magnification
<変倍光学系を組み込んだデジタル機器の説明>
次に、以上説明したような変倍光学系100が組み込まれたデジタル機器について説明する。図7は、本発明に係るデジタル機器の一実施形態を示す、カメラ付携帯電話機200の外観構成図である。なお、本発明において、デジタル機器としては、デジタルスチルカメラ、ビデオカメラ、デジタルビデオユニット、携帯情報端末(PDA:Personal Digital Assistant)、パーソナルコンピュータ、モバイルコンピュータ、又はこれらの周辺機器(マウス、スキャナ、プリンタ等)を含むものとする。デジタルスチルカメラ、デジタルビデオカメラは、被写体の映像を光学的に取り込んだ後、その映像につき半導体素子を使って電気信号に変換し、デジタルデータとしてフラッシュメモリ等の記憶媒体に記憶する撮像レンズ装置である。更に本発明では、被写体の静止又は動きのある映像を光学的に取り込む、コンパクトな撮像レンズ装置を内蔵する仕様を備えた携帯電話機、携帯情報端末、パーソナルコンピュータ、モバイルコンピュータ、又はこれらの周辺機器も含んでいる。
<Description of digital equipment incorporating variable magnification optical system>
Next, a digital apparatus incorporating the variable magnification
図7(a)は、携帯電話機200の操作面を、図7(b)は、操作面の裏面、つまり背面を表している。携帯電話機200には、上部にアンテナ201、操作面には、図の上下方向に長辺Lt1を有する長方形のディスプレイ202、画像撮影モードの起動及び静止画と動画撮影の切り替えを行う画像切替ボタン203、シャッターボタン204、ダイヤルボタン205及び変倍(ズーミング)を制御する変倍ボタン210が備えられている。変倍ボタン210は、その上端部分に望遠を表す「T」の印字が、下端部分に広角を表す「W」の印字がされ、印字位置が押下されることで、それぞれの変倍動作が指示可能な2接点式のスイッチ等で構成されている。
FIG. 7A shows the operation surface of the
携帯電話機200には、本発明に係る変倍光学系100によって構成された撮像レンズ装置(カメラ)206及びCCD等の撮像素子105が内装され、その撮像レンズ装置206の被写体光が入射される撮影レンズ207が背面に露出している。なお、該撮影レンズ207の裏面には、入射側プリズム101の入射面101aが配置されている。つまり、撮像レンズ装置206の被写体光入射面とディスプレイ202とは、携帯電話機200の表裏面(背面と操作面)にそれぞれ配置されている。これにより、撮像レンズ装置206により取得される画像をディスプレイ202で表示させながら撮像を行うことができるようになる。
The
ここで、撮像素子105は、撮像エリアの縦横比が例えば4:3の長方形を呈するものが用いられている。汎用型の撮像素子は、一般的にこのような長方形であるが、このような撮像素子105を備える撮像レンズ装置206の携帯電話機200への組み込み形態は、前記長方形のディスプレイ202との関係において、図7に示すような態様とすることが望ましい。
Here, the
すなわち、ディスプレイ202が図7(a)の上下方向に長辺Lt1を有している場合、撮像素子105もまた、図7(b)の上下方向にその長辺Lt2を有する組み込み構成とすることが望ましい。換言すると、ディスプレイ202の長辺Lt1と撮像素子105の長辺Lt2とが平行方向(同一方向)になるように組み付けられることが望ましい。これにより、撮影時に、撮影レンズ207から入射され長方形の撮像エリアを持つ撮像素子105上に結像された被写体光像は、長方形のディスプレイ202上に有効に表示されるようになる。
That is, when the
つまり、ディスプレイ202の長辺Lt1と撮像素子105の長辺Lt2とが平行方向に配置されていると、撮像素子105により取得された画像の長辺方向と、表示画像の長辺方向とが一致することから、ディスプレイ202の表示エリアを有効に活用した表示が行え、画像を大きく表示させることができる。すなわち、ディスプレイ202の面積を最大に生かした表示が可能となり、撮影時の構図の確認等に有利である。
That is, when the long side Lt1 of the
上記撮像レンズ装置206は、被写体の光学像を形成する変倍光学系100以外に光学的ローパスフィルタ等に相当する平行平面板を備えていてもよい。光学的ローパスフィルタとして、例えば所定の結晶軸方向が調整された水晶等を材料とする複屈折型ローパスフィルタや、必要とされる光学的な遮断周波数特性を回折効果により実現する位相型ローパスフィルタ等が適用可能である。
The
なお、光学的ローパスフィルタは必ずしも備える必要はなく、また、光学的ローパスフィルタに代えて、撮像素子105の画像信号に含まれるノイズを低減するために赤外線カットフィルタを搭載する(この場合、上述のように反射プリズムに赤外線カット機能を具備させることが望ましい)ようにしてもよい。さらに、光学的ローパスフィルタの表面に赤外線反射コートを施して、両方のフィルター機能を一つで実現してもよい。 Note that the optical low-pass filter is not necessarily provided, and instead of the optical low-pass filter, an infrared cut filter is mounted in order to reduce noise included in the image signal of the image sensor 105 (in this case, the above-described case). As described above, it is desirable to provide the reflecting prism with an infrared cut function. Further, an infrared reflection coating may be applied to the surface of the optical low-pass filter, so that both filter functions can be realized by one.
以上の通り構成された携帯電話機200の撮像動作について説明する。静止画を撮影するときは、まず、画像切替ボタン203を押すことで、画像撮影モードを起動される。ここでは、画像切替ボタン203を一度押すことで静止画撮影モードが起動し、その状態でもう一度画像切替ボタン203を押すことで動画撮影モードに切り替わるものとする。つまり、画像切替ボタン203からの指示を受けた携帯電話機200の制御部(図略)は、物体側の被写体の静止画撮影及び動画撮影の少なくとも一方の撮影を撮像レンズ装置206及び撮像素子105に実行させる機能を有する。
An imaging operation of the
静止画撮影モードが起動されると、撮像レンズ装置206を通して被写体の像がCCD等の撮像素子105で周期的にくり返し撮像され、表示用メモリに転送された後に、ディスプレイ202に導かれる。ディスプレイ202を覗くことで、主被写体をその画面中の所望の位置に収まるように調整することができる。この状態でシャッターボタン204を押すことで、静止画像を得ることができる、すなわち、静止画用のメモリに画像データが格納される。
When the still image shooting mode is activated, an image of a subject is periodically and repeatedly imaged by the
このとき、被写体が撮影者から離れた位置にある、あるいは近くの被写体を拡大したいためズーム撮影を行うときには、変倍ボタン210の上端「T」の印字部分を押すと、その状態が検出され、押している時間に応じて変倍のためのレンズ駆動が実行されて、連続的にズーミングが行われる。また、ズーミングし過ぎた場合など、被写体の拡大率を下げたい場合には、変倍ボタン210の下端「W」の印字部分を押すことで、その状態が検出され、押している時間に応じて連続的に変倍が行われる。このようにして、撮影者から離れた被写体であっても、変倍ボタン210を用いてその拡大率を調節することができる。そして、通常の等倍撮影と同様、主被写体がその画面中の所望の位置に収まるように調整し、シャッターボタン204を押すことで、拡大された静止画像を得ることができる。
At this time, when zoom shooting is performed because the subject is at a position away from the photographer or a close subject is to be enlarged, the state is detected by pressing the print portion of the upper end “T” of the
また、動画撮影を行う場合には、画像切替ボタン203を一度押すことで静止画撮影モードを起動した後、もう一度画像切替ボタン203を押して動画撮影モードに切り替える。後は静止画撮影のときと同様にして、ディスプレイ202を覗き、撮像レンズ装置206を通して得た被写体の像が、その画面中の所望の位置に収まるように調整する。このとき、変倍ボタン210を用いて被写体像の拡大率を調節することができる。この状態でシャッターボタン204を押すことで、動画撮影が開始される。この撮影中、変倍ボタン210により、被写体の拡大率を随時変えることも可能である。ここで、もう一度シャッターボタン204を押すことで、動画撮影は終了する。動画像は、ディスプレイ202のための表示メモリに導かれると共に、動画像用のメモリに導かれて格納される。
In addition, when performing moving image shooting, the still image shooting mode is activated by pressing the
本発明に係る変倍ボタン210はこの実施形態に限られることなく、既設のダイヤルボタン205を利用するようにしてもよいし、また、ダイヤルボタン設置面に回転軸を持つような回転式のダイヤル等、拡大と縮小の2方向の変倍を可能とする機能を備える態様としたものでもよい。
The
上記実施形態においては、ディスプレイ202の長辺Lt1と撮像素子105の長辺Lt2とが、図7の上下方向に揃って平行であるとしたが、それに限られることなく、例えば図7の左右方向など、ある一方向に揃って平行であることが望ましい。この場合にも、ディスプレイ202の面積を最大に生かした表示が可能となるので、撮影時の構図の確認等が有効に行える。
In the above-described embodiment, the long side Lt1 of the
このことは、上記のような携帯電話機200のほか、同様に表示素子としてのディスプレイを備える各種デジタル機器においても同様であり、例えば折り畳み式の携帯電話機や、デジタルスチルカメラ、デジタルビデオカメラ、携帯情報端末、パーソナルコンピュータ、モバイルコンピュータ、又はこれらの周辺機器においても同様である。
This is the same in various digital devices having a display as a display element in addition to the
図8は、折り畳み式の携帯電話機300の外観構成図であり、図8(a)は、携帯電話機300の操作面を、図8(b)は、操作面の裏面、つまり背面を示している。この携帯電話機300は、第1の筐体310と第2の筐体320とがヒンジ330によって連結された折り畳み可能な構造であって、第1の筐体110の操作面には上下方向に長いディスプレイ311が備えられている。また第2の筐体320には、操作部としてのキー入力部321が設けられている。
FIG. 8 is an external configuration diagram of the foldable
このような携帯電話機300において、第1の筐体310には、上述の変倍光学系100によって構成された撮像レンズ装置206及び撮像素子105が内装され、その撮像レンズ装置206の撮影レンズ207が背面に露出している。つまり、撮像レンズ装置206の被写体光入射面とディスプレイ311とは、第1の筐体310の表裏面(背面と操作面)にそれぞれ配置されている。これにより、撮像レンズ装置206により取得される画像をディスプレイ311で表示させながら撮像を行うことができるようになる。そして、ディスプレイ311の長辺Lt1と撮像素子105の長辺Lt2とが平行方向(同一方向)になるように組み付けられている。このような構成によっても、撮影時に、撮影レンズ207から入射され長方形の撮像エリアを持つ撮像素子105上に結像された被写体光像を、長方形のディスプレイ311上に有効に表示させることができる。
In such a
また図9は、携帯情報端末機400の外観構成図であり、図9(a)は、携帯情報端末機400の操作面を、図9(b)は背面を示している。この携帯情報端末機400の操作面には、左右方向に長いディスプレイ401と、操作部としてのキー入力部402とが設けられている。
9 is an external configuration diagram of the
このような携帯情報端末機400において、上述の変倍光学系100によって構成された撮像レンズ装置206及び撮像素子105が内装され、その撮像レンズ装置206の撮影レンズ207が背面に露出している。つまり、撮像レンズ装置206の被写体光入射面とディスプレイ401とは、当該携帯情報端末機400の表裏面(背面と操作面)にそれぞれ配置されている。これにより、撮像レンズ装置206により取得される画像をディスプレイ401で表示させながら撮像を行うことができるようになる。そして、ディスプレイ401の長辺Lt1と撮像素子105の長辺Lt2とが平行方向(この場合水平方向)になるように組み付けられている。このような構成によっても、撮影時に、撮影レンズ207から入射され長方形の撮像エリアを持つ撮像素子105上に結像された被写体光像を、長方形のディスプレイ401上に有効に表示させることができる。
In such a
以下本明細書においては、レンズについて、「凹」、「凸」又は「メニスカス」という術語を用いるが、これらは光軸近傍(レンズの中心付近)でのレンズ形状を表しているものであり、レンズ全体又はレンズの端付近の形状を表しているのではない。このことは、球面レンズでは問題にならないが、非球面レンズでは一般に、レンズの中心付近と端付近での形状が異なるので注意が必要である。非球面レンズとは、放物面、楕円面、双曲面、4次曲面等の面を有するレンズである。 Hereinafter, in this specification, the terms “concave”, “convex” or “meniscus” are used for the lens, and these represent the lens shape in the vicinity of the optical axis (near the center of the lens), It does not represent the shape of the entire lens or near the end of the lens. This is not a problem with a spherical lens, but with an aspherical lens, it should be noted that generally the shape near the center and the end of the lens is different. An aspheric lens is a lens having a paraboloidal surface, an elliptical surface, a hyperboloid, a quartic surface, or the like.
また、本明細書を通じて、単レンズ及び接合レンズを構成している各単レンズの光学的パワーは、単レンズのレンズ面の両側が空気との界面を備えている、つまりその単レンズが単独で存在しているときのパワーを指すものとする。 In addition, throughout this specification, the optical power of each single lens constituting the single lens and the cemented lens is such that both sides of the lens surface of the single lens have an interface with air, that is, the single lens is independent. It refers to the power when present.
以下、図1に示したような撮像光学系100、すなわち図7〜図9に示したようなカメラ付携帯電話機200、300或いは携帯情報端末機400に搭載される撮像レンズ装置206を構成する変倍光学系100の具体的構成を、図面を参照しつつ説明する。
Hereinafter, the image forming
[実施形態1]
図10は、実施形態1の変倍光学系51におけるレンズ群の配列を示す、光軸(AX)を縦断した断面図である。この図10は、無限遠に合焦させた状態における光学素子の配置を示している。また、この図10(及び図11〜図16)には、物体側から入射した光の進む経路(光路)の概略も示してあり、その光路の中心線が光軸(AX)である。
[Embodiment 1]
FIG. 10 is a cross-sectional view of the lens group in the variable magnification
本実施形態の変倍光学系51は、光路上物体側から順に、全体として負の光学的パワーを有する第1反射プリズム(PR1;図1における入射側プリズム101が相当)から成る第1レンズ群(Gr1)、両凹の負レンズ(L1)(負の光学的パワーを有するレンズ)と両凸の正レンズ(正の光学的パワーを有するレンズ)(L2)との接合レンズから成り、全体として負の光学的パワーを有する第2レンズ群(Gr2)、光学絞り(ST)を備え、全体として正の光学的パワーを有し、物体側に凸の負メニスカスレンズ(L3)と両凸の正レンズである第4レンズ(L4)との接合レンズ、及び物体側に凸の正メニスカスレンズ(L5)から構成される第3レンズ群(Gr3)、そして正の光学的パワーを有する第2反射プリズム(PR2;図1における像面側プリズム102が相当)から成る第4レンズ群(Gr4)を有して構成される。ここで、第2及び第3レンズ群(Gr2,Gr3)の光軸は、前記2つの反射プリズム(PR1,PR2)間の光路の中心線(AX)と一致するように備えられている。さらに、第2反射プリズム(PR2)の像側には、平行平面板(PL)及び撮像素子(SR)が配置されている。この撮像素子(SR)は、縦横比が例えば3:4の撮像素子である。
The variable magnification
また、第1反射プリズム(PR1)は、入射面(S1)が負の光学的パワーを、射出面(S3)が正の光学的パワーを有しており、入射面(S1)と射出面(S3)との間の光路上に平面状の反射面(S2)を備えている。また、第2反射プリズム(PR2)は、入射面(S4)が正の光学的パワーを、射出面(S6)が負の光学的パワーを有しており、入射面(S4)と射出面(S6)との間の光路上に平面状の反射面(S5)を備えている。第1反射プリズム(PR1)及び第2反射プリズム(PR2)に設けられた反射面(S2,S5)は、本実施形態では、入射光を略90度に屈曲して、それぞれ第2レンズ群(Gr2)又は平行平面板(PL)に向かって反射させるものである。 The first reflecting prism (PR1) has a negative optical power on the incident surface (S1) and a positive optical power on the emission surface (S3), and the incident surface (S1) and the emission surface (S1). A planar reflection surface (S2) is provided on the optical path between the S3) and S3). In addition, the second reflecting prism (PR2) has an incident surface (S4) having a positive optical power and an exit surface (S6) having a negative optical power. The entrance surface (S4) and the exit surface ( A flat reflecting surface (S5) is provided on the optical path between S6) and S6). In the present embodiment, the reflecting surfaces (S2, S5) provided on the first reflecting prism (PR1) and the second reflecting prism (PR2) bend the incident light at approximately 90 degrees, respectively. Gr2) or a parallel flat plate (PL).
図10に示す変倍光学系51は、撮像素子(SR)の短辺方向に光線を屈曲した変倍光学系を示すものである。つまり、図10における左右(横)方向が、撮像素子(SR)の短辺方向である。また、矢印Aの方向は、図7に示した携帯電話機200の表裏方向に対応する。
A variable magnification
図11は、図10における第1反射プリズム(PR1)及び第2反射プリズム(PR2)を、それぞれ当該反射プリズムと略等価な機能を有するレンズ(LP1及びLP2)に置換して構成した変倍光学系51の構成を示す図である。また、図11に示した番号ri(i=1,2,3,・・・)は、物体側から数えたときのi番目のレンズ面であり、riに*が付された面は非球面である。ここで、矢印Dの方向は、撮像素子(SR)の対角方向に相当する。
FIG. 11 shows a variable power optical system configured by replacing the first reflecting prism (PR1) and the second reflecting prism (PR2) in FIG. 10 with lenses (LP1 and LP2) having functions substantially equivalent to the reflecting prism, respectively. FIG. 2 is a diagram showing a configuration of a
ここで、接合レンズにおけるレンズ枚数は、接合レンズ全体で1枚ではなく、接合レンズを構成する単レンズの枚数で表すこととする。例えば、3枚の単レンズで構成される接合レンズのレンズ枚数は、1枚ではなく3枚と数える。 Here, the number of lenses in the cemented lens is not represented by one for the entire cemented lens, but by the number of single lenses constituting the cemented lens. For example, the number of lenses of a cemented lens composed of three single lenses is counted as three instead of one.
このような構成の下で、図10の物体側(被写体側)から入射した光線は、第1反射プリズム(PR1)の入射面(S1)に入射し、続いて反射面(S2)で略90度に屈曲された後、射出面(S3)から射出され、第2レンズ群(Gr2)及び第3レンズ群(Gr3)を通過し、第2反射プリズム(PR2)の入射面(S4)に入射する。そして、この入射光は、反射面(S5)で略90度に屈曲された後、射出面(S6)から射出され、そこで物体の光学像を形成する。この光学像は、第2反射プリズム(PR2)に隣り合って配置された平行平面板(PL)を通過する。このとき、光学像は、撮像素子(SR)において電気的な信号に変換される際に発生する、いわゆる折り返しノイズが最小化されるように修正される。この平行平面板(PL)は、光学的ローパスフィルタ、赤外カットフィルタ、撮像素子のカバーガラス等に相当するものである。 Under such a configuration, a light beam incident from the object side (subject side) in FIG. 10 is incident on the incident surface (S1) of the first reflecting prism (PR1), and subsequently approximately 90 on the reflecting surface (S2). After being bent each time, it is emitted from the exit surface (S3), passes through the second lens group (Gr2) and the third lens group (Gr3), and enters the entrance surface (S4) of the second reflecting prism (PR2). To do. The incident light is bent at approximately 90 degrees on the reflecting surface (S5) and then exits from the exit surface (S6), where an optical image of the object is formed. This optical image passes through a plane parallel plate (PL) disposed adjacent to the second reflecting prism (PR2). At this time, the optical image is corrected so as to minimize so-called aliasing noise that occurs when the image is converted into an electrical signal in the imaging element (SR). The plane parallel plate (PL) corresponds to an optical low-pass filter, an infrared cut filter, a cover glass of an image sensor, or the like.
最後に、撮像素子(SR)において、平行平面板(PL)において修正された光学像が電気的な信号に変換される。この電気信号は、必要に応じて所定のデジタル画像処理や画像圧縮処理等が施されて、デジタル映像信号として図7〜図9に示すような携帯電話機200、300や携帯情報端末機400等のメモリに記録されたり、有線あるいは無線により他のデジタル機器に伝送されたりする。
Finally, in the image sensor (SR), the optical image corrected in the plane parallel plate (PL) is converted into an electrical signal. This electric signal is subjected to predetermined digital image processing, image compression processing, and the like as necessary, so that the
以下、焦点距離が最も短い、すなわち画角が最も大きい広角端(W)と、焦点距離が最も長い、すなわち画角が最も小さい望遠端(T)との真中を中間点(M)という。 Hereinafter, the middle between the wide-angle end (W) having the shortest focal length, that is, the largest angle of view, and the telephoto end (T) having the longest focal length, that is, the smallest angle of view is referred to as an intermediate point (M).
図10のようなレンズ構成の実施形態1では、図11に示したように広角端(W)から望遠端(T)への変倍時に、第1及び第2反射プリズム(PR1,PR2)は固定されている。そして、第2レンズ群(Gr2)は像側に凸のUターン形状を描くように移動し、中間点(M)付近で最も像側に近づく。また、第3レンズ群(Gr3)は物体側に略直線的に移動する。このとき、第2レンズ群(Gr2)及び第3レンズ群(Gr3)は共に、当該レンズ群の光軸方向へ移動し、変倍動作を行う。ただし、以下の実施形態も含め、これらレンズ群の移動の向きや移動量等は、当該レンズ群の光学的パワー等に依存して変わり得るものである。
In
また、無限遠合焦状態から近接距離合焦状態にフォーカシングを行うときは、第1及び第2反射プリズム(PR1,PR2)は固定されており、少なくとも第2レンズ群(Gr2)及び第3レンズ群(Gr3)のいずれか一方のレンズ群を光軸と平行(図10の矢印B)の方向に移動すると、全体の厚み(図10の矢印Aの方向)を変化させずに合焦できるので望ましい。 When focusing from an infinite focus state to a close distance focus state, the first and second reflecting prisms (PR1, PR2) are fixed, and at least the second lens group (Gr2) and the third lens are fixed. If one lens group of the group (Gr3) is moved in the direction parallel to the optical axis (arrow B in FIG. 10), focusing can be performed without changing the overall thickness (direction of arrow A in FIG. 10). desirable.
以下、図面を参照しながら、実施形態1と同様にして、実施形態2及び実施形態3のレンズ構成を順に説明していく。このとき、図12及び図14の符号の意味は図10と同様であり、図13及び図15の符号の意味は図11と同様である。ただし、同じ符号が付けられているものは同質であるというだけであり、全く同一のものであるという意味ではない。例えば、図10,図12及び図14における第1反射プリズムには同じ符号(PR1)が付けられているが、これらが同一であるという意味ではない。
Hereinafter, the lens configurations of
[実施形態2]
図12は、実施形態2の変倍光学系52におけるレンズ群の配列を示す、光軸(AX)を縦断した断面図である。この図12は、無限遠に合焦させた状態における光学素子の配置を示している。
[Embodiment 2]
FIG. 12 is a cross-sectional view of the arrangement of lens groups in the variable magnification
本実施形態の変倍光学系52は、光路上物体側から順に、負の光学的パワーを有する第1反射プリズム(PR1)、及び全体として負の光学的パワーを有する両凹の負レンズ(L1)と両凸の正レンズ(L2)との接合レンズから成る第1レンズ群(Gr1)、光学絞り(ST)を備え、物体側に凸の負メニスカスレンズ(L3)と両凸の正レンズ(L4)との接合レンズから成り、全体として負の光学的パワーを有する第2レンズ群(Gr2)、物体側に凸の正メニスカスレンズ(L5)から構成される第3レンズ群(Gr3)、そして正の光学的パワーを有する第2反射プリズム(PR2)から成る第4レンズ群(Gr4)を有して構成される。ここで、第2及び第3レンズ群(Gr2,Gr3)の光軸は、前記2つの反射プリズム(PR1,PR2)間の光路の中心線(AX)と一致するように備えられている。さらに、第2反射プリズム(PR2)の像側には、平行平面板(PL)及び撮像素子(SR)が配置されている。
The variable magnification
また、第1反射プリズム(PR1)は、入射面(S1)が負の光学的パワーを、射出面(S3)が正の光学的パワーを有しており、入射面(S1)と射出面(S3)との間の光路上に平面状の反射面(S2)を備えている。また、第2反射プリズム(PR2)は、入射面(S4)と射出面(S6)とが共に正の光学的パワーを有しており、入射面(S4)と射出面(S6)との間の光路上に平面状の反射面(S5)を備えている。第1反射プリズム(PR1)及び第2反射プリズム(PR2)に設けられた反射面(S2,S5)は、本実施形態では、入射光を略90度に屈曲して、それぞれ第2レンズ群(Gr2)又は平行平面板(PL)に向かって反射するものである。 The first reflecting prism (PR1) has a negative optical power on the incident surface (S1) and a positive optical power on the emission surface (S3), and the incident surface (S1) and the emission surface (S1). A planar reflection surface (S2) is provided on the optical path between the S3) and S3). The second reflecting prism (PR2) has a positive optical power at both the incident surface (S4) and the exit surface (S6), and is between the entrance surface (S4) and the exit surface (S6). Is provided with a planar reflecting surface (S5). In the present embodiment, the reflecting surfaces (S2, S5) provided on the first reflecting prism (PR1) and the second reflecting prism (PR2) bend the incident light at approximately 90 degrees, respectively. Gr2) or parallel plane plate (PL).
図12に示す変倍光学系52は、図10と同様、撮像素子(SR)の短辺方向に光線を屈曲した変倍光学系を示すものである。また、矢印Aの方向は、図7に示した携帯電話機200の表裏方向に対応する。
A variable magnification
図13は、図12における第1反射プリズム(PR1)及び第2反射プリズム(PR2)を、それぞれ当該反射プリズムと略等価な機能を有するレンズに置換して構成した変倍光学系52の構成を示す図である。ここで、矢印Dの方向は、撮像素子(SR)の対角方向に相当する。
FIG. 13 shows a configuration of a variable magnification
このような構成の下で、図12の物体側から入射した光線は、第1反射プリズム(PR1)の反射面(S2)で略90度に屈曲された後、第2レンズ群(Gr2)及び第3レンズ群(Gr3)を通過し、第2反射プリズム(PR2)の反射面(S5)で略90度に屈曲され、撮像素子(SR)の受光面に被写体の光学像を形成する。 Under such a configuration, a light beam incident from the object side in FIG. 12 is bent at approximately 90 degrees by the reflecting surface (S2) of the first reflecting prism (PR1), and then the second lens group (Gr2) and It passes through the third lens group (Gr3), is bent at approximately 90 degrees by the reflecting surface (S5) of the second reflecting prism (PR2), and forms an optical image of the subject on the light receiving surface of the image sensor (SR).
図12のようなレンズ構成の実施形態2では、図13に示したように広角端(W)から望遠端(T)への変倍時に、第1及び第2反射プリズム(PR1,PR2)は固定されている。そして、第2レンズ群(Gr2)は物体側に略直線的に移動し、第3レンズ群(Gr3)も第2レンズ群(Gr2)との間隔を変化させながら物体側に移動する。このとき、第2レンズ群(Gr2)及び第3レンズ群(Gr3)は共に、当該レンズ群の光軸方向へ移動し、変倍動作を行う。
In
また、無限遠合焦状態から近接距離合焦状態にフォーカシングを行うときは、第1及び第2反射プリズム(PR1,PR2)は固定されており、少なくとも第2レンズ群(Gr2)及び第3レンズ群(Gr3)のいずれか一方のレンズ群を光軸と平行(図12の矢印B)の方向に移動すると、全体の厚み(図12の矢印Aの方向)を変化させずに合焦できるので望ましい。 When focusing from an infinite focus state to a close distance focus state, the first and second reflecting prisms (PR1, PR2) are fixed, and at least the second lens group (Gr2) and the third lens are fixed. If any one of the lens groups (Gr3) is moved in the direction parallel to the optical axis (arrow B in FIG. 12), focusing can be performed without changing the overall thickness (direction of arrow A in FIG. 12). desirable.
[実施形態3]
図14は、実施形態3の変倍光学系53におけるレンズ群の配列を示す、光軸(AX)を縦断した断面図である。この図14は、無限遠に合焦させた状態における光学素子の配置を示している。
[Embodiment 3]
FIG. 14 is a cross-sectional view of the lens group in the variable magnification
本実施形態の変倍光学系53は、光路上物体側から順に、全体として負の光学的パワーを有し、第1反射プリズム(PR1)と両凹の負レンズ(L1)と両凸の正レンズ(L2)との接合レンズから成る第1レンズ群(Gr1)、光学絞り(ST)を備え、物体側に凸の負メニスカスレンズ(L3)と両凸の正レンズ(L4)との接合レンズから成り、全体として正の光学的パワーを有する第2レンズ群(Gr2)、物体側に凸の正メニスカスレンズ(L5)から構成される第3レンズ群(Gr3)、そして負の光学的パワーを有する第2反射プリズム(PR2)から成る第4レンズ群(Gr4)を有して構成される。ここで、第2及び第3レンズ群(Gr2,Gr3)の光軸は、前記2つの反射プリズム(PR1,PR2)間の光路の中心線(AX)と一致するように備えられている。さらに、第2反射プリズム(PR2)の像側には、平行平面板(PL)及び撮像素子(SR)が配置されている。
The variable magnification
また、第1反射プリズム(PR1)は、入射面(S1)が負の光学的パワーを、射出面(S3)が正の光学的パワーを有しており、入射面(S1)と射出面(S3)との間の光路上に平面状の反射面(S2)を備えている。また、第2反射プリズム(PR2)は、入射面(S4)が正の光学的パワーを、射出面(S6)が負の光学的パワーを有しており、入射面(S4)と射出面(S6)との間の光路上に平面状の反射面(S5)を備えている。第1反射プリズム(PR1)及び第2反射プリズム(PR2)に設けられた反射面(S2,S5)は、本実施形態では、入射光を略90度に屈曲して、それぞれ第2レンズ群(Gr2)又は平行平面板(PL)に向かって反射する。 The first reflecting prism (PR1) has a negative optical power on the incident surface (S1) and a positive optical power on the emission surface (S3), and the incident surface (S1) and the emission surface (S1). A planar reflection surface (S2) is provided on the optical path between the S3) and S3). In addition, the second reflecting prism (PR2) has an incident surface (S4) having a positive optical power and an exit surface (S6) having a negative optical power. The entrance surface (S4) and the exit surface ( A flat reflecting surface (S5) is provided on the optical path between S6) and S6). In the present embodiment, the reflecting surfaces (S2, S5) provided on the first reflecting prism (PR1) and the second reflecting prism (PR2) bend the incident light at approximately 90 degrees, respectively. Gr2) or reflected toward a plane parallel plate (PL).
図14に示す変倍光学系は、図10及び図12と同様、撮像素子(SR)の短辺方向に光線を屈曲した変倍光学系を示すものである。また、矢印Aの方向は、図7に示した携帯電話機200の表裏方向に対応する。
The variable power optical system shown in FIG. 14 is a variable power optical system in which a light beam is bent in the short-side direction of the image sensor (SR), as in FIGS. 10 and 12. Further, the direction of the arrow A corresponds to the front and back direction of the
図15は、図14における第1反射プリズム(PR1)及び第2反射プリズム(PR2)を、それぞれ当該反射プリズムと略等価な機能を有するレンズに置換して構成した変倍光学系の構成を示す図である。ここで、矢印Dの方向は、撮像素子(SR)の対角方向に相当する。 FIG. 15 shows a configuration of a variable magnification optical system in which the first reflecting prism (PR1) and the second reflecting prism (PR2) in FIG. 14 are replaced with lenses having functions substantially equivalent to the reflecting prism. FIG. Here, the direction of the arrow D corresponds to the diagonal direction of the image sensor (SR).
このような構成の下で、図14の物体側から入射した光線は、第1反射プリズム(PR1)の反射面(S2)で略90度に屈曲された後、第2レンズ群(Gr2)及び第3レンズ群(Gr3)を通過し、第2反射プリズム(PR2)の反射面(S5)で略90度に屈曲され、撮像素子(SR)の受光面に被写体の光学像を形成する。 Under such a configuration, the light beam incident from the object side in FIG. 14 is bent at approximately 90 degrees by the reflecting surface (S2) of the first reflecting prism (PR1), and then the second lens group (Gr2) and It passes through the third lens group (Gr3), is bent at approximately 90 degrees by the reflecting surface (S5) of the second reflecting prism (PR2), and forms an optical image of the subject on the light receiving surface of the image sensor (SR).
図14のようなレンズ構成の実施形態3では、図15に示したように広角端(W)から望遠端(T)への変倍時に、第1及び第2反射プリズム(PR1,PR2)は固定されている。そして、第2レンズ群(Gr2)は物体側に移動し、第3レンズ群(Gr3)も第2レンズ群(Gr2)との間隔を変化させながら物体側に移動する。このとき、第2レンズ群(Gr2)及び第3レンズ群(Gr3)は共に、当該レンズ群の光軸方向へ移動し、変倍動作を行う。
In
また、無限遠合焦状態から近接距離合焦状態にフォーカシングを行うときは、第1及び第2反射プリズム(PR1,PR2)は固定されており、少なくとも第2レンズ群(Gr2)及び第3レンズ群(Gr3)のいずれか一方のレンズ群を光軸と平行(図14の矢印B)の方向に移動すると、全体の厚み(図14の矢印Aの方向)を変化させずに合焦できるので望ましい。 When focusing from an infinite focus state to a close distance focus state, the first and second reflecting prisms (PR1, PR2) are fixed, and at least the second lens group (Gr2) and the third lens are fixed. If one lens group in the group (Gr3) is moved in the direction parallel to the optical axis (arrow B in FIG. 14), focusing can be performed without changing the overall thickness (direction of arrow A in FIG. 14). desirable.
以上説明した実施形態1〜3においては、変倍光学系、特に第1反射プリズム(PR1)の汚損を防止するため、第1反射プリズムの入射面より被写体側の位置にカバーガラスを設けてもよい。カバーガラスは通常薄いので、全体の厚みを極端に大きくすることはない。 In the first to third embodiments described above, a cover glass may be provided at a position closer to the subject side than the incident surface of the first reflecting prism in order to prevent the variable magnification optical system, particularly the first reflecting prism (PR1) from being soiled. Good. Since the cover glass is usually thin, the overall thickness is not extremely increased.
以上説明した前記各実施形態にかかる変倍光学系51、52、53のように、入射光をそれぞれ略90度折り曲げて反射する2個の反射プリズムを、光路上被写体側に配置された反射プリズムの入射面と他方の反射プリズムの射出面とが略平行となるように配置している。これにより、変倍光学系のコンパクト化を図ることができる。
As in the variable power
すなわち、例えば図11に示すように、反射プリズムを備えずに(入射光をそれぞれ略90度折り曲げて反射する反射面を1つも設けずに)、図10に示す変倍光学系51と略等価な変倍光学系501を構成し、携帯電話機200等に搭載する場合、矢印Bに示す方向と携帯電話機200の厚み方向(図7の表裏方向)とが対応するから、携帯電話機200の厚みは変倍光学系の光学全長以上となる。この構成にあっては、携帯電話機200は非常に厚みが厚くなり、大型となる。
That is, for example, as shown in FIG. 11, it is substantially equivalent to the variable magnification
そこで、図16に示すように、反射面を1つ設けた変倍光学系(図11に示すレンズ(LP1)に代えて反射プリズム(PR1)を備えた変倍光学系)を構成すると、変倍光学系における矢印Aの方向を携帯電話機200の厚み方向に対応させることができ、図11に示す場合に比して、携帯電話機200を薄型化することができる。
Therefore, as shown in FIG. 16, when a variable power optical system (a variable power optical system provided with a reflecting prism (PR1) instead of the lens (LP1) shown in FIG. 11) having one reflecting surface is configured, the variable power is changed. The direction of the arrow A in the double optical system can correspond to the thickness direction of the
しかしながら、撮像素子(SR)は、パッケージや電気配線を備えて構成されており、これらの存在によって受光面と平行な面方向に大きな構造を有している。そのため、携帯電話機200の厚みは、撮像素子(SR)の前記面方向の長さ以上(図16に示す長さL以上)となり、携帯電話機200の薄型化は十分でない。
However, the imaging element (SR) is configured to include a package and electrical wiring, and has a large structure in a plane direction parallel to the light receiving surface due to the presence of these. Therefore, the thickness of the
そこで、本実施形態では、図10に示すように、前記反射面を2つ備えた変倍光学系51(図11に示すレンズ(LP1,LP2)に代えて第1、第2反射プリズム(PR1,PR2)を備えた変倍光学系)を構成することにより、変倍光学系の厚みが、第1反射プリズム(PR1)の幅方向(矢印A方向)L’(<L)に相当することとなり、携帯電話機200の更なる薄型化(コンパクト化)を達成することができる。
Therefore, in this embodiment, as shown in FIG. 10, the first and second reflecting prisms (PR1) are replaced with the variable power optical system 51 (lenses (LP1, LP2) shown in FIG. 11) having two reflecting surfaces. , PR2), the thickness of the variable power optical system corresponds to the width direction (arrow A direction) L ′ (<L) of the first reflecting prism (PR1). Thus, the
以下、本発明に係る変倍光学系の実施例を、コンストラクション(構成)データ、収差図等を挙げて、さらに具体的に説明する。 Hereinafter, examples of the variable magnification optical system according to the present invention will be described in more detail with reference to construction data, aberration diagrams, and the like.
実施形態1(実施例1)の変倍光学系51における、各レンズのコンストラクションデータを表1及び表2に示す。
The construction data of each lens in the variable magnification
表1に示したものは、左から順に、各レンズ面の番号、各面の曲率半径(単位はmm)、広角端(W)、中間点(M)及び望遠端(T)における、無限遠合焦状態での光軸上の各レンズ面の間隔(軸上面間隔)(単位はmm)、各レンズの屈折率、そしてアッべ数である。軸上面間隔M、Tの空欄は、左のW欄の値と同じであることを表している。また、軸上面間隔は、対向する一対の面(光学面、撮像面を含む)間の領域に存在する媒質が空気であるとして換算した距離である。ここで、各レンズ面の番号ri(i=1,2,3,・・・)は、図11にも示したように、物体側から数えてi番目のレンズ面であり、riに*が付された面は非球面(非球面形状の屈折光学面または非球面と等価な屈折作用を有する面)である。 Table 1 shows, in order from the left, the number of each lens surface, the radius of curvature of each surface (unit: mm), the wide angle end (W), the midpoint (M), and the telephoto end (T) at infinity. The distance between the lens surfaces on the optical axis in the in-focus state (axis upper surface distance) (unit: mm), the refractive index of each lens, and the Abbe number. The blanks for the axial top surface spacings M and T indicate that they are the same as the values in the left W column. Further, the axial upper surface interval is a distance converted assuming that the medium existing in the region between a pair of opposing surfaces (including the optical surface and the imaging surface) is air. Here, the number ri (i = 1, 2, 3,...) Of each lens surface is the i-th lens surface counted from the object side, as shown in FIG. The attached surface is an aspherical surface (aspherical refractive optical surface or a surface having a refractive action equivalent to an aspherical surface).
この表1からわかるように、この実施例1では、最も物体側のレンズ(LP1)の両面、第5レンズ(L5)の両面、及び最も像側のレンズ(LP2)の両面が非球面である。また、光学絞り(ST)、平行平面板(PL)の両面、そして撮像素子(SR)の受光面の各面は平面であるために、それらの曲率半径は無限大(∞)である。尚、本実施例においては、第1反射プリズム(PR1)がプラスチック製であり、それ以外の光学素子はガラス製である。 As can be seen from Table 1, in Example 1, both surfaces of the most object side lens (LP1), both surfaces of the fifth lens (L5), and both surfaces of the most image side lens (LP2) are aspherical surfaces. . Further, since each surface of the optical diaphragm (ST), both surfaces of the plane parallel plate (PL), and the light receiving surface of the image sensor (SR) is a flat surface, the curvature radius thereof is infinite (∞). In this embodiment, the first reflecting prism (PR1) is made of plastic, and the other optical elements are made of glass.
光学素子の非球面形状は、面頂点を原点とし、物体から撮像素子に向かう向きをz軸の正の向きとするローカルな直交座標系(x,y,z)を用いた以下の式で定義する。 The aspherical shape of the optical element is defined by the following equation using a local orthogonal coordinate system (x, y, z) in which the surface vertex is the origin and the direction from the object toward the imaging element is the positive direction of the z axis. To do.
ただし、
z:高さhの位置でのz軸方向の変位量(面頂点基準)
h:z軸に対して垂直な方向の高さ(h2=x2+y2)
c:近軸曲率(=1/曲率半径)
A,B,C,D,E:それぞれ4,6,8,10,12次の非球面係数
k:円錐係数
である。表2に、円錐係数kと非球面係数A,B,C,D,Eの値を示す。また、上記(3)式から分かるように、表1に示した非球面レンズに対する曲率半径は、レンズの面頂点付近の値を示している。
However,
z: Amount of displacement in the z-axis direction at the position of height h (based on the surface vertex)
h: height in a direction perpendicular to the z-axis (h 2 = x 2 + y 2 )
c: Paraxial curvature (= 1 / radius of curvature)
A, B, C, D, E: 4th, 6th, 8th, 10th, and 12th-order aspherical coefficients k: Conic coefficients. Table 2 shows the values of the cone coefficient k and the aspheric coefficients A, B, C, D, and E. Further, as can be seen from the above equation (3), the radius of curvature for the aspheric lens shown in Table 1 shows a value near the surface vertex of the lens.
以上のようなレンズ配置、構成のもとでの、本実施例1の全光学系(第1、第2、第3及び第4レンズ群を合わせたもの)の、無限遠合焦状態における球面収差(LONGITUDINAL SPHERICAL ABERRATION)、非点収差(ASTIGMATISM)そして歪曲収差(DISTORTION)を、図17の左側から順に示す。この図において、上段は広角端(W)、中段は中間点(M)、下段は望遠端(T)における各収差を表している。また、球面収差と非点収差の横軸は焦点位置のずれをmm単位で表しており、歪曲収差の横軸は歪量を全体に対する%で表している。球面収差の縦軸は、入射高で規格化した値で示してあるが、非点収差と歪曲収差の縦軸は像の高さ(像高、単位mm)で表してある。 The spherical surface in the infinite focus state of the entire optical system of Example 1 (a combination of the first, second, third and fourth lens groups) under the lens arrangement and configuration as described above. Aberration (LONGITUDINAL SPHERICAL ABERRATION), astigmatism (ASTIGMATISM), and distortion (DISTORTION) are shown in order from the left side of FIG. In this figure, the upper part represents the aberration at the wide-angle end (W), the middle part represents the aberration at the intermediate point (M), and the lower part represents the aberration at the telephoto end (T). Further, the horizontal axis of spherical aberration and astigmatism represents the shift of the focal position in mm, and the horizontal axis of distortion aberration represents the amount of distortion as a percentage of the whole. The vertical axis of spherical aberration is indicated by a value normalized by the incident height, while the vertical axis of astigmatism and distortion is indicated by the height of the image (image height, unit mm).
さらに球面収差の図には、一点鎖線で赤色(波長656.27nm)、実線で黄色(いわゆるd線;波長587.56nm)、そして破線で青色(波長435.83nm)と、波長の異なる3つの光を用いた場合の収差がそれぞれ示してある。また、非点収差の図中、符号SとTはそれぞれサジタル(ラディアル)面、タンジェンシャル(メリディオナル)面における結果を表している。さらに、非点収差及び歪曲収差の図は、上記黄線(d線)を用いた場合の結果である。 Further, the spherical aberration diagram shows three different wavelengths: red (wavelength 656.27 nm) with a dashed line, yellow (so-called d line; wavelength 587.56 nm) with a solid line, and blue (wavelength 435.83 nm) with a broken line. The aberrations when using light are shown respectively. In the figure of astigmatism, symbols S and T represent results on the sagittal (radial) plane and the tangential (meridional) plane, respectively. Further, the diagrams of astigmatism and distortion are the results when the yellow line (d line) is used.
この図17からわかるように、本実施例1のレンズ群は、広角端(W)、中間点(M)及び望遠端(T)のいずれにおいても、球面収差、非点収差及び歪曲収差が十分に抑えられており、優れた光学特性を示している。また、この実施例1における広角端(W)、中間点(M)及び望遠端(T)における焦点距離(mm)及びF値を、表7及び表8にそれぞれ示す。これらの表から、本発明では、短焦点で明るい光学系が実現できていることがわかる。 As can be seen from FIG. 17, the lens group of Example 1 has sufficient spherical aberration, astigmatism and distortion at any of the wide-angle end (W), intermediate point (M) and telephoto end (T). Therefore, it exhibits excellent optical properties. In addition, Table 7 and Table 8 show the focal length (mm) and the F value at the wide angle end (W), the intermediate point (M), and the telephoto end (T) in Example 1, respectively. From these tables, it can be seen that in the present invention, a bright optical system with a short focus can be realized.
次に、実施形態2(実施例2)の変倍光学系52における、各レンズのコンストラクションデータを表3及び表4に示す。これらの表からわかるように、この実施例2では、最も物体側のレンズ(LP1)の両面、第2レンズ(L2)の像側の面、第3レンズ(L3)の物体側の面、第5レンズ(L5)の両面、及び最も像側のレンズ(LP2)の両面が非球面である。なお、本実施例においては、第1反射プリズム(PR1)がプラスチック製であり、それ以外の光学素子はガラス製である。
Next, construction data of each lens in the variable magnification
実施形態3(実施例3)の変倍光学系53における、各レンズのコンストラクションデータを表5及び表6に示す。これらの表からわかるように、この実施例3では、最も物体側のレンズ(LP1)の物体側の面、第2レンズ(L2)の像側の面、第3レンズ(L3)の物体側の面、第5レンズ(L5)の物体側の面、及び最も像側のレンズ(LP2)の両面が非球面である。なお、本実施例においては、第1反射プリズム(PR1)がプラスチック製であり、それ以外の光学素子はガラス製である。
Tables 5 and 6 show construction data of each lens in the variable magnification
以上のようなレンズ配置、構成のもとでの、本実施例2及び3の全光学系の球面収差、非点収差、そして歪曲収差を図18、並びに図19及び図20にそれぞれ示す。図18及び図19は、無限遠合焦状態における各収差であり、図20は実施例3の近接距離合焦状態における各収差である。いずれの実施例におけるレンズ群も、広角端(W)、中間点(M)及び望遠端(T)のいずれにおいても、球面収差、非点収差及び歪曲収差が十分に抑えられており、優れた光学特性を示している。 The spherical aberration, astigmatism, and distortion of the entire optical system of Examples 2 and 3 under the lens arrangement and configuration as described above are shown in FIGS. 18, 19 and 20, respectively. 18 and 19 show aberrations in the infinite focus state, and FIG. 20 shows aberrations in the close focus state state of the third embodiment. The lens group in any of the embodiments is excellent in that spherical aberration, astigmatism, and distortion are sufficiently suppressed at any of the wide angle end (W), the intermediate point (M), and the telephoto end (T). Optical characteristics are shown.
また、この実施例2及び3における広角端(W)、中間点(M)及び望遠端(T)における焦点距離(mm)及びF値を、表7及び表8にそれぞれ示す。これらの表から、実施例1同様、明るい光学系が実現できていることがわかる。 Tables 7 and 8 show the focal lengths (mm) and F values at the wide-angle end (W), the intermediate point (M), and the telephoto end (T) in Examples 2 and 3, respectively. From these tables, it can be seen that a bright optical system can be realized as in Example 1.
上記実施例1〜3においては、変倍光学系のコンパクト化を図るために、第2反射プリズム(PR2)と撮像素子(SR)との配置関係を、次の表9の通りに設定した。すなわち、撮像素子(SR)の光路折り曲げ面(図10、図12、図14における紙面)内における受光面高さa、第2反射プリズム(PR2)の射出面(S6)と撮像素子(SR)の受光面との距離d(いずれも単位はmm)、及び上記(1)式による値を表9の通りにそれぞれ設定した。 In Examples 1 to 3, the arrangement relationship between the second reflecting prism (PR2) and the image sensor (SR) was set as shown in Table 9 below in order to make the variable magnification optical system compact. That is, the light receiving surface height a in the optical path bending surface of the image sensor (SR) (the paper surface in FIGS. 10, 12, and 14), the exit surface (S6) of the second reflecting prism (PR2), and the image sensor (SR). The distance d from the light receiving surface (both in mm) and the value according to the above equation (1) were set as shown in Table 9.
さらに、第2反射プリズム(PR2)の大きさ(長さ)を最適化するために、上記実施例1〜3において各々表10に示すようなパラメータの第2反射プリズム(PR2)を採用した。すなわち、第2反射プリズム(PR2)の屈折率n、主光線の距離t、射出瞳距離p(いずれも単位はmm)、及び上記(2)式による値を表10の通りにそれぞれ設定した。 Furthermore, in order to optimize the size (length) of the second reflecting prism (PR2), the second reflecting prism (PR2) having the parameters shown in Table 10 in each of the first to third embodiments was employed. That is, the refractive index n of the second reflecting prism (PR2), the principal ray distance t, the exit pupil distance p (all in mm), and the values according to the above equation (2) were set as shown in Table 10.
表9及び表10に示すパラメータを採用することで、実施形態1〜3にかかる変倍光学系51〜53は、その厚さ方向(図10の矢印L’の方向)のサイズが抑制され、十分な薄型化が図られている。
By adopting the parameters shown in Table 9 and Table 10, the variable magnification
以上説明した実施例においては、第1反射プリズム(PR1)のみをプラスチック製とし、それ以外の光学素子はガラス製としている。しかしながら、本発明の実施例はこれに限定されることなく、例えば第1及び第2反射プリズム(PR1,PR2)を共にプラスチック製とすることも可能であり、さらには第1及び第2反射プリズム(PR1,PR2)間のレンズも含めた光学素子の一部又は全部をプラスチック製とすることも可能である。例えば、変倍を担うレンズをプラスチック製とすることで、レンズ駆動装置の負荷を低減することができる。その結果、レンズ群及びレンズ駆動装置を含めた撮像レンズ装置全体のさらなるコンパクト化が実現できる。さらに、プラスチックレンズは、ガラスレンズに比べコストや生産性の点で優れている。 In the embodiment described above, only the first reflecting prism (PR1) is made of plastic, and the other optical elements are made of glass. However, the embodiment of the present invention is not limited to this. For example, both the first and second reflecting prisms (PR1, PR2) can be made of plastic, and further, the first and second reflecting prisms can be used. Part or all of the optical elements including the lens between (PR1, PR2) can be made of plastic. For example, the load of the lens driving device can be reduced by making the lens responsible for zooming made of plastic. As a result, further downsizing of the entire imaging lens device including the lens group and the lens driving device can be realized. Furthermore, plastic lenses are superior in terms of cost and productivity compared to glass lenses.
以上説明したように、本発明に係る変倍光学系は、小型・軽量であるため、デジタル機器、とりわけ携帯電話機200等の携帯機器に搭載するのに好適である。さらに、本発明に係る変倍光学系は、高画素の撮像素子(200万画素クラス以上の撮像素子)にも対応可能な高い光学性能を有しているので、補間を必要とする電子ズーム方式に対しても高い優位性を保っている。
As described above, since the variable magnification optical system according to the present invention is small and light, it is suitable to be mounted on a digital device, particularly a mobile device such as the
なお、本発明は、前記実施形態に加えて、あるいは前記実施形態に代えて以下の形態も採用可能である。
(1)前記各実施形態の変倍光学系は、各レンズ群や絞り、あるいはシャッターの駆動にあたり、カムやステッピングモータを用いてもよいし、あるいは、移動量が少ない場合や駆動対象のレンズ群が比較的軽量である場合には、超小型の圧電アクチュエータを用いてもよい。これにより、駆動部のサイズや電力消費の増加を抑えつつ、各レンズ群を独立に駆動させることも可能となり、装置の更なるコンパクト化を図ることができる。
The present invention can employ the following embodiments in addition to or in place of the above embodiments.
(1) The variable magnification optical system of each of the above embodiments may use a cam or a stepping motor for driving each lens group, diaphragm, or shutter, or the lens group to be driven when the movement amount is small. May be a relatively lightweight, an ultra-small piezoelectric actuator may be used. Accordingly, it is possible to drive each lens group independently while suppressing an increase in the size of the drive unit and power consumption, and the device can be further downsized.
(2)前記実施形態では、変倍光学系をコンパクトにするために、第1反射プリズムの被写体側の面と第2反射プリズムの像側の面とを、矢印Aの方向に最も離間するように配置したが、これに限らず、前記2つの面が矢印Aの方向に最も近接する(第1反射プリズム及び第2反射プリズムに対して同じ側方領域)ように配置してもよい。 (2) In the above-described embodiment, in order to make the variable magnification optical system compact, the object side surface of the first reflecting prism and the image side surface of the second reflecting prism are separated most in the direction of the arrow A. However, the present invention is not limited to this, and the two surfaces may be disposed closest to each other in the direction of arrow A (the same side region with respect to the first reflecting prism and the second reflecting prism).
101 入射側プリズム
101a 入射側プリズムの入射面
101b 入射側プリズムの射出面
102 像面側プリズム
102a 像面側プリズムの入射面
102b 像面側プリズムの射出面
103 レンズ群(変倍動作用のレンズ)
104、ST 光学絞り
105、SR 撮像素子
200 携帯電話機
206 撮像レンズ装置(カメラ)
210 変倍ボタン
300 折り畳み式携帯電話機
400 携帯情報端末機
Gr1 第1レンズ群
Gr2 第2レンズ群
Gr3 第3レンズ群
Gr4 第4レンズ群
PR1 第1反射プリズム
PR2 第2反射プリズム
PL 平行平面板
AX 光軸
H 被写体
101 Incident-
104, ST
210
Claims (17)
前記2つの反射プリズムは、光路上被写体側に配置された反射プリズムの入射面と他方の反射プリズムの射出面とが略平行となるように配置されてなり、さらに少なくとも一方の反射プリズムの入射面又は射出面が光学的パワーを有し、
前記レンズ群は、当該レンズ群の光軸と前記2つの反射プリズム間の光路の中心線とが一致するように備えられ、前記レンズ群は変倍動作のために当該レンズ群の光軸方向へ移動可能とされていることを特徴とする変倍光学系。 A variable power optical system having two reflecting prisms that each bend and reflect incident light by a predetermined angle and at least one lens group including one or more lenses between the two reflecting prisms,
The two reflecting prisms are arranged such that the incident surface of the reflecting prism arranged on the subject side in the optical path and the exit surface of the other reflecting prism are substantially parallel, and further, the incident surface of at least one of the reflecting prisms Or the exit surface has optical power,
The lens group is provided so that the optical axis of the lens group coincides with the center line of the optical path between the two reflecting prisms, and the lens group moves in the optical axis direction of the lens group for zooming operation. A variable magnification optical system characterized by being movable.
少なくとも前記光路上の被写体側に配置された反射プリズムの入射面が、負の光学的パワーを有するものであることを特徴とする請求項1乃至4のいずれかに記載の変倍光学系。 In the case where an optical aperture is provided on the exit surface side of the reflecting prism arranged on the subject side on the optical path,
5. The variable power optical system according to claim 1, wherein at least an incident surface of a reflecting prism disposed on a subject side on the optical path has a negative optical power.
Priority Applications (2)
| Application Number | Priority Date | Filing Date | Title |
|---|---|---|---|
| JP2005038391A JP2006154702A (en) | 2004-10-29 | 2005-02-15 | Variable power optical system, imaging lens device and digital apparatus |
| US11/257,879 US7382546B2 (en) | 2004-10-29 | 2005-10-25 | Zoom optical system, imaging lens device, and digital apparatus |
Applications Claiming Priority (2)
| Application Number | Priority Date | Filing Date | Title |
|---|---|---|---|
| JP2004315771 | 2004-10-29 | ||
| JP2005038391A JP2006154702A (en) | 2004-10-29 | 2005-02-15 | Variable power optical system, imaging lens device and digital apparatus |
Publications (1)
| Publication Number | Publication Date |
|---|---|
| JP2006154702A true JP2006154702A (en) | 2006-06-15 |
Family
ID=36261485
Family Applications (1)
| Application Number | Title | Priority Date | Filing Date |
|---|---|---|---|
| JP2005038391A Pending JP2006154702A (en) | 2004-10-29 | 2005-02-15 | Variable power optical system, imaging lens device and digital apparatus |
Country Status (2)
| Country | Link |
|---|---|
| US (1) | US7382546B2 (en) |
| JP (1) | JP2006154702A (en) |
Cited By (10)
| Publication number | Priority date | Publication date | Assignee | Title |
|---|---|---|---|---|
| JP2007072291A (en) * | 2005-09-08 | 2007-03-22 | Canon Inc | Zoom lens and imaging apparatus having the same |
| JP2007183333A (en) * | 2006-01-05 | 2007-07-19 | Fujinon Sano Kk | Imaging apparatus |
| JP2010032936A (en) * | 2008-07-31 | 2010-02-12 | Optical Logic Inc | Zoom lens |
| JP2012068510A (en) * | 2010-09-24 | 2012-04-05 | Hoya Corp | Photographic optical system and photographic device |
| JP2012123165A (en) * | 2010-12-08 | 2012-06-28 | Hoya Corp | Zoom lens system |
| US8395854B2 (en) | 2010-09-24 | 2013-03-12 | Hoya Corporation | Imaging optical system and imaging apparatus |
| JP2021529334A (en) * | 2018-03-15 | 2021-10-28 | フォトニック センサーズ アンド アルゴリズムス,エセ.エレ. | Prenoptic camera for mobile devices |
| KR20220048525A (en) * | 2020-10-12 | 2022-04-20 | 삼성전기주식회사 | Camera Module |
| JP2023525415A (en) * | 2021-04-21 | 2023-06-16 | 北京小米移動軟件有限公司 | ZOOM LENS AND IMAGING DEVICE WITH ZOOM LENS |
| JP2023133348A (en) * | 2019-09-05 | 2023-09-22 | ソニーグループ株式会社 | Photography program, information processing device, and method |
Families Citing this family (64)
| Publication number | Priority date | Publication date | Assignee | Title |
|---|---|---|---|---|
| US20060017834A1 (en) * | 2004-07-23 | 2006-01-26 | Konica Minolta Opto, Inc. | Imaging optical system and imaging lens device |
| JP4788953B2 (en) * | 2005-11-16 | 2011-10-05 | ソニー株式会社 | Imaging device and zoom lens |
| US8107004B2 (en) * | 2007-02-26 | 2012-01-31 | Hoya Corporation | Imaging device |
| JP4917060B2 (en) | 2007-02-26 | 2012-04-18 | Hoya株式会社 | Imaging unit and portable electronic device |
| JP5013078B2 (en) * | 2007-04-24 | 2012-08-29 | コニカミノルタアドバンストレイヤー株式会社 | Lens barrel and imaging device |
| KR101506479B1 (en) * | 2007-09-12 | 2015-03-30 | 삼성전자주식회사 | System and method for optical path correction by driving a bending prism composed of a refracting surface |
| FR2924235B1 (en) * | 2007-11-27 | 2010-08-20 | Commissariat Energie Atomique | VISIBLE IMAGING DEVICE WITH COLOR FILTER |
| US7616393B2 (en) * | 2007-12-20 | 2009-11-10 | Eastman Kodak Company | Compact folded thin lens |
| US7605989B1 (en) * | 2008-07-22 | 2009-10-20 | Angstrom, Inc. | Compact auto-focus image taking lens system with a micromirror array lens and a lens-surfaced prism |
| EP2443511A4 (en) * | 2009-06-16 | 2012-10-24 | Intel Corp | CAMERA APPLICATIONS IN A HAND-HELD DEVICE |
| TWI433008B (en) * | 2010-04-21 | 2014-04-01 | Pixart Imaging Inc | Optical touch apparatus and light sensing module thereof |
| US20120075518A1 (en) * | 2010-09-29 | 2012-03-29 | Hoya Corporation | Imaging unit |
| JP2012093730A (en) * | 2010-09-30 | 2012-05-17 | Hoya Corp | Image pickup apparatus |
| US9172856B2 (en) * | 2011-03-29 | 2015-10-27 | Microsoft Technology Licensing, Llc | Folded imaging path camera |
| US9274320B2 (en) | 2011-10-07 | 2016-03-01 | National University Of Singapore | MEMS-based zoom lens system |
| JP5985353B2 (en) * | 2011-11-08 | 2016-09-06 | Hoya株式会社 | Imaging unit |
| US9726862B2 (en) * | 2012-11-08 | 2017-08-08 | DynaOptics LTD, A Public Limited CO. | Lens assemblies and actuators for optical systems and methods therefor |
| JP2014179736A (en) * | 2013-03-14 | 2014-09-25 | Toshiba Corp | Camera module |
| CN109040552B (en) | 2013-06-13 | 2021-06-22 | 核心光电有限公司 | Dual Aperture Zoom Digital Camera |
| WO2015001440A1 (en) | 2013-07-04 | 2015-01-08 | Corephotonics Ltd. | Miniature telephoto lens assembly |
| US9857568B2 (en) | 2013-07-04 | 2018-01-02 | Corephotonics Ltd. | Miniature telephoto lens assembly |
| US9110272B2 (en) * | 2013-07-19 | 2015-08-18 | Kangmin Hsia | Optical zooming apparatus for miniature imaging system |
| CN104297893B (en) * | 2013-07-19 | 2017-06-13 | 夏康民 | The optical zoom apparatus of miniature imaging system |
| JP6207963B2 (en) * | 2013-10-15 | 2017-10-04 | Hoya株式会社 | Bending imaging optical system |
| CN103955049A (en) * | 2014-05-21 | 2014-07-30 | 中山联合光电科技有限公司 | An optical fixed focus system |
| CN103984190A (en) * | 2014-06-04 | 2014-08-13 | 成都凯裕电子电器有限公司 | Optical module installed on mobile terminal |
| US9392188B2 (en) | 2014-08-10 | 2016-07-12 | Corephotonics Ltd. | Zoom dual-aperture camera with folded lens |
| CN104184930A (en) * | 2014-09-04 | 2014-12-03 | 成都凯裕电子电器有限公司 | Optical module installed on mobile terminal and preventing overexposure |
| WO2016051431A1 (en) * | 2014-09-30 | 2016-04-07 | 株式会社ブリリアントサービス | Input/output device, input/output program, and input/output method |
| WO2016108093A1 (en) | 2015-01-03 | 2016-07-07 | Corephotonics Ltd. | Miniature telephoto lens module and a camera utilizing such a lens module |
| US9753255B2 (en) * | 2015-11-03 | 2017-09-05 | Himax Technologies Limited | Array lens system |
| KR102375095B1 (en) * | 2015-11-09 | 2022-03-16 | 삼성전자주식회사 | Deflecting imaging apparatus and Mobile device having the same |
| KR102211704B1 (en) * | 2017-02-23 | 2021-02-03 | 코어포토닉스 리미티드 | Folded camera lens designs |
| CN106772908A (en) * | 2017-03-31 | 2017-05-31 | 北京小米移动软件有限公司 | Camera module and terminal |
| US10969652B2 (en) | 2018-01-10 | 2021-04-06 | Apple Inc. | Camera with folded optics having moveable lens |
| KR102504158B1 (en) | 2018-01-26 | 2023-03-02 | 애플 인크. | Folded camera with actuator for moving optics |
| US11061213B2 (en) * | 2018-02-07 | 2021-07-13 | Apple Inc. | Folded camera |
| US11314147B1 (en) | 2018-05-31 | 2022-04-26 | Apple Inc. | Folded camera with actuator for moving optics |
| TWI672538B (en) * | 2018-09-12 | 2019-09-21 | 大陽科技股份有限公司 | Camera module and electronic device |
| WO2020052771A1 (en) * | 2018-09-13 | 2020-03-19 | Huawei Technologies Co., Ltd. | Light ray path folding structure for an imaging system, and electronic device comprising said imaging system |
| JP7252247B2 (en) | 2019-01-03 | 2023-04-04 | コアフォトニクス リミテッド | Multi-aperture camera comprising at least one camera with two zoom states |
| CN114578520A (en) | 2019-08-21 | 2022-06-03 | 核心光电有限公司 | Lens assembly |
| US12316941B2 (en) * | 2019-09-18 | 2025-05-27 | Ningbo Sunny Opotech Co., Ltd | Periscopic camera module and electronic device |
| US12072609B2 (en) | 2019-09-24 | 2024-08-27 | Corephotonics Ltd. | Slim pop-out cameras and lenses for such cameras |
| US11656538B2 (en) | 2019-11-25 | 2023-05-23 | Corephotonics Ltd. | Folded zoom camera module with adaptive aperture |
| KR102617779B1 (en) | 2020-05-30 | 2023-12-22 | 코어포토닉스 리미티드 | System and method for obtaining super macro images |
| JP7663591B2 (en) | 2020-07-22 | 2025-04-16 | コアフォトニクス リミテッド | Flex camera lens design |
| EP4425256A3 (en) | 2020-07-31 | 2024-12-04 | Corephotonics Ltd. | Folded macro-tele camera lens designs |
| US11966147B2 (en) | 2020-09-18 | 2024-04-23 | Corephotonics Ltd. | Pop-out zoom camera |
| US11762174B2 (en) * | 2020-09-24 | 2023-09-19 | Apple Inc. | Optical system including lenses and prism for telephoto cameras |
| CN112099291A (en) * | 2020-09-24 | 2020-12-18 | Oppo(重庆)智能科技有限公司 | Periscope camera module, lens group and mobile terminal |
| CN114326015B (en) * | 2020-09-30 | 2024-07-16 | 信泰光学(深圳)有限公司 | Lens device |
| KR102544194B1 (en) | 2020-11-02 | 2023-06-15 | 삼성전기주식회사 | Optical Imaging System |
| KR102809802B1 (en) | 2020-11-05 | 2025-05-16 | 코어포토닉스 리미티드 | Scanning tele camera based on two optical path folding element field-of-view scanning |
| KR102534057B1 (en) * | 2020-11-30 | 2023-05-18 | 삼성전기주식회사 | Optical imaging system |
| KR20250008791A (en) | 2020-12-01 | 2025-01-15 | 코어포토닉스 리미티드 | Folded camera with continuously adaptive zoom factor |
| CN115516357B (en) | 2021-01-25 | 2023-12-19 | 核心光电有限公司 | Thin pop-up wide camera lens |
| KR102712773B1 (en) | 2021-03-22 | 2024-09-30 | 코어포토닉스 리미티드 | Folded cameras with continuously adaptive zoom factor |
| EP4425233A3 (en) | 2021-06-23 | 2024-11-13 | Corephotonics Ltd. | Compact folded tele cameras |
| WO2023047202A1 (en) | 2021-09-23 | 2023-03-30 | Corephotonics Ltd. | Large aperture continuous zoom folded tele cameras |
| CN120315168A (en) | 2021-12-14 | 2025-07-15 | 核心光电有限公司 | Large aperture compact scan telephoto camera |
| WO2023148559A1 (en) | 2022-02-01 | 2023-08-10 | Corephotonics Ltd. | Slim pop-out tele camera lenses |
| EP4489418A4 (en) | 2022-05-27 | 2025-06-18 | Samsung Electronics Co., Ltd | CAMERA MODULE COMPRISING A REFRACTIVE ELEMENT AND ELECTRONIC DEVICE COMPRISING A REFRACTIVE ELEMENT |
| KR102785049B1 (en) | 2022-08-05 | 2025-03-21 | 코어포토닉스 리미티드 | System and method for a zoom digital camera having an automatically adjustable zoom field of view |
Citations (2)
| Publication number | Priority date | Publication date | Assignee | Title |
|---|---|---|---|---|
| JP2004245982A (en) * | 2003-02-13 | 2004-09-02 | Minolta Co Ltd | Imaging lens device and electronic equipment equipped with the same |
| JP2004247887A (en) * | 2003-02-13 | 2004-09-02 | Nidec Copal Corp | Camera unit and portable information terminal |
Family Cites Families (22)
| Publication number | Priority date | Publication date | Assignee | Title |
|---|---|---|---|---|
| JPS569712A (en) * | 1979-07-06 | 1981-01-31 | Olympus Optical Co Ltd | Visual field direction changing optical system for slender image transmission system |
| JP3497607B2 (en) * | 1995-05-26 | 2004-02-16 | オリンパス株式会社 | Eyepiece optical system and image display device using the same |
| JPH09211330A (en) * | 1996-01-29 | 1997-08-15 | Canon Inc | Reflective optical system |
| JPH09211331A (en) * | 1996-01-29 | 1997-08-15 | Canon Inc | Reflective optical system |
| JP2000515255A (en) | 1996-06-18 | 2000-11-14 | シェーリング・ヘアマン | Optical image recording device and related processing device |
| US6850279B1 (en) * | 1996-06-18 | 2005-02-01 | Sony Corporation | Optical image recording system, and associated processing system |
| JP4054094B2 (en) * | 1996-12-27 | 2008-02-27 | オリンパス株式会社 | Electronic endoscope |
| JP3929153B2 (en) * | 1998-01-07 | 2007-06-13 | オリンパス株式会社 | Imaging optics |
| JP4274602B2 (en) * | 1998-09-11 | 2009-06-10 | オリンパス株式会社 | Objective optical system |
| JP2000241706A (en) | 1999-02-23 | 2000-09-08 | Olympus Optical Co Ltd | Prism optical system |
| GB2354836B (en) * | 1999-09-28 | 2003-06-04 | Keymed | Improvements relating to borescopes and endoscopes with variable direction of view |
| JP4943580B2 (en) * | 2000-12-25 | 2012-05-30 | オリンパス株式会社 | Imaging optics |
| JP4395691B2 (en) * | 2001-03-26 | 2010-01-13 | コニカミノルタビジネステクノロジーズ株式会社 | Laser scanner |
| JP2003107355A (en) * | 2001-09-27 | 2003-04-09 | Olympus Optical Co Ltd | Imaging optical system |
| US7142242B2 (en) * | 2001-10-16 | 2006-11-28 | Victor Company Of Japan, Ltd. | Prismatic image forming optical device adapted for miniaturization |
| US6822571B2 (en) * | 2001-11-15 | 2004-11-23 | Stryker Corporation | Patient movement detection system for a bed including a load cell mounting assembly |
| JP4281307B2 (en) | 2002-08-09 | 2009-06-17 | コニカミノルタオプト株式会社 | Zoom lens system and imaging lens device |
| JP2004170707A (en) * | 2002-11-20 | 2004-06-17 | Minolta Co Ltd | Imaging lens device and digital camera equipped with imaging lens device |
| JP4088517B2 (en) * | 2002-12-10 | 2008-05-21 | コニカミノルタオプト株式会社 | Digital camera |
| JP4508525B2 (en) * | 2002-12-25 | 2010-07-21 | オリンパス株式会社 | Optical path bending zoom optical system |
| US20060017834A1 (en) * | 2004-07-23 | 2006-01-26 | Konica Minolta Opto, Inc. | Imaging optical system and imaging lens device |
| JP5364965B2 (en) * | 2005-07-26 | 2013-12-11 | コニカミノルタ株式会社 | Imaging optical system, imaging lens device, and digital device |
-
2005
- 2005-02-15 JP JP2005038391A patent/JP2006154702A/en active Pending
- 2005-10-25 US US11/257,879 patent/US7382546B2/en active Active
Patent Citations (2)
| Publication number | Priority date | Publication date | Assignee | Title |
|---|---|---|---|---|
| JP2004245982A (en) * | 2003-02-13 | 2004-09-02 | Minolta Co Ltd | Imaging lens device and electronic equipment equipped with the same |
| JP2004247887A (en) * | 2003-02-13 | 2004-09-02 | Nidec Copal Corp | Camera unit and portable information terminal |
Cited By (16)
| Publication number | Priority date | Publication date | Assignee | Title |
|---|---|---|---|---|
| JP2007072291A (en) * | 2005-09-08 | 2007-03-22 | Canon Inc | Zoom lens and imaging apparatus having the same |
| JP2007183333A (en) * | 2006-01-05 | 2007-07-19 | Fujinon Sano Kk | Imaging apparatus |
| JP2010032936A (en) * | 2008-07-31 | 2010-02-12 | Optical Logic Inc | Zoom lens |
| JP2012068510A (en) * | 2010-09-24 | 2012-04-05 | Hoya Corp | Photographic optical system and photographic device |
| US8395854B2 (en) | 2010-09-24 | 2013-03-12 | Hoya Corporation | Imaging optical system and imaging apparatus |
| US8570668B2 (en) | 2010-09-24 | 2013-10-29 | Hoya Corporation | Imaging optical system and imaging apparatus |
| JP2012123165A (en) * | 2010-12-08 | 2012-06-28 | Hoya Corp | Zoom lens system |
| US8514495B2 (en) | 2010-12-08 | 2013-08-20 | Hoya Corporation | Zoom lens system |
| JP2021529334A (en) * | 2018-03-15 | 2021-10-28 | フォトニック センサーズ アンド アルゴリズムス,エセ.エレ. | Prenoptic camera for mobile devices |
| JP2023030021A (en) * | 2018-03-15 | 2023-03-07 | フォトニック センサーズ アンド アルゴリズムス,エセ.エレ. | Plenoptic camera for mobile devices |
| JP2023133348A (en) * | 2019-09-05 | 2023-09-22 | ソニーグループ株式会社 | Photography program, information processing device, and method |
| JP7613510B2 (en) | 2019-09-05 | 2025-01-15 | ソニーグループ株式会社 | PROGRAM, INFORMATION PROCESSING APPARATUS, AND METHOD |
| KR20220048525A (en) * | 2020-10-12 | 2022-04-20 | 삼성전기주식회사 | Camera Module |
| KR102867025B1 (en) * | 2020-10-12 | 2025-10-02 | 삼성전기주식회사 | Camera Module |
| JP2023525415A (en) * | 2021-04-21 | 2023-06-16 | 北京小米移動軟件有限公司 | ZOOM LENS AND IMAGING DEVICE WITH ZOOM LENS |
| JP7592595B2 (en) | 2021-04-21 | 2024-12-02 | 北京小米移動軟件有限公司 | Zoom lens and imaging device equipped with zoom lens |
Also Published As
| Publication number | Publication date |
|---|---|
| US7382546B2 (en) | 2008-06-03 |
| US20060092524A1 (en) | 2006-05-04 |
Similar Documents
| Publication | Publication Date | Title |
|---|---|---|
| JP5364965B2 (en) | Imaging optical system, imaging lens device, and digital device | |
| JP2006154702A (en) | Variable power optical system, imaging lens device and digital apparatus | |
| JP4857529B2 (en) | Magnification optical system, imaging lens device, and digital device | |
| JP6237106B2 (en) | Zoom lens and imaging device | |
| JP3896988B2 (en) | Imaging lens device | |
| JP2007133096A (en) | Imaging optical system, imaging lens device, and digital equipment | |
| US20060017834A1 (en) | Imaging optical system and imaging lens device | |
| JP5062173B2 (en) | Imaging optical system, imaging lens device, and digital device | |
| JP4661085B2 (en) | Magnification optical system, imaging lens device, and digital device | |
| JP2005338143A (en) | Imaging lens device | |
| CN101164004A (en) | Variable magnification optical system and imaging lens device, and digital equipment | |
| JPWO2008072466A1 (en) | Variable-magnification optical system, imaging device, and digital device | |
| JPWO2008075539A1 (en) | Variable-magnification optical system, imaging device, and digital device | |
| JP4802658B2 (en) | Magnification optical system, imaging lens device, and digital device | |
| JP2006163075A (en) | Variable power optical system, imaging lens device, and digital equipment | |
| JP4569155B2 (en) | Magnification optical system, imaging lens device, and digital device | |
| JP5316579B2 (en) | Magnification optical system, imaging lens device, and digital device | |
| JP4844012B2 (en) | Variable magnification optical system and imaging apparatus | |
| JP2006154481A (en) | Variable power optical system, imaging lens device and digital equipment | |
| JP2006058840A (en) | Imaging optical system, imaging lens device and digital equipment | |
| JP2006119319A (en) | Variable power optical system, imaging lens device and digital equipment | |
| JP2006039063A (en) | Magnification optical system, imaging lens device, and digital device | |
| JP2006317478A (en) | Variable magnification optical system | |
| JP2006154705A (en) | Imaging optical system, imaging lens device and digital apparatus | |
| JP2014238469A (en) | Zoom lens and imaging apparatus |
Legal Events
| Date | Code | Title | Description |
|---|---|---|---|
| A621 | Written request for application examination |
Free format text: JAPANESE INTERMEDIATE CODE: A621 Effective date: 20070921 |
|
| A977 | Report on retrieval |
Free format text: JAPANESE INTERMEDIATE CODE: A971007 Effective date: 20100729 |
|
| A131 | Notification of reasons for refusal |
Free format text: JAPANESE INTERMEDIATE CODE: A131 Effective date: 20101005 |
|
| A02 | Decision of refusal |
Free format text: JAPANESE INTERMEDIATE CODE: A02 Effective date: 20110301 |
