[go: up one dir, main page]

JP2005024789A - Tension member fixture - Google Patents

Tension member fixture Download PDF

Info

Publication number
JP2005024789A
JP2005024789A JP2003188818A JP2003188818A JP2005024789A JP 2005024789 A JP2005024789 A JP 2005024789A JP 2003188818 A JP2003188818 A JP 2003188818A JP 2003188818 A JP2003188818 A JP 2003188818A JP 2005024789 A JP2005024789 A JP 2005024789A
Authority
JP
Japan
Prior art keywords
tension member
movable piece
lever body
base
pivotally supported
Prior art date
Legal status (The legal status is an assumption and is not a legal conclusion. Google has not performed a legal analysis and makes no representation as to the accuracy of the status listed.)
Pending
Application number
JP2003188818A
Other languages
Japanese (ja)
Inventor
Hiroaki Saito
浩昭 斉藤
Current Assignee (The listed assignees may be inaccurate. Google has not performed a legal analysis and makes no representation or warranty as to the accuracy of the list.)
NEC Engineering Ltd
Original Assignee
NEC Engineering Ltd
Priority date (The priority date is an assumption and is not a legal conclusion. Google has not performed a legal analysis and makes no representation as to the accuracy of the date listed.)
Filing date
Publication date
Application filed by NEC Engineering Ltd filed Critical NEC Engineering Ltd
Priority to JP2003188818A priority Critical patent/JP2005024789A/en
Publication of JP2005024789A publication Critical patent/JP2005024789A/en
Pending legal-status Critical Current

Links

Images

Abstract

<P>PROBLEM TO BE SOLVED: To solve the problems that the work for tightening/loosening screws arises at the time of fixing and unfixing a tension member and necessitates equipment and materials and substantial man hours for tightening and that the tip of the tension member is exposed within the equipment and there is a possibility of the occurrence of breakage and shorting. <P>SOLUTION: A movable piece 10 is held in-between by pivotal supporting pieces 2 and is turnably movably and pivotally supported at one end. The interior of the movable piece 10 is formed to a hollow semi-cylindrical shape. A slit 13 is formed at its front end and a large open hole is formed at its rear. An upper tooth section 13 of an I-shape in section is formed on the inner wall of the movable piece 10 and a locking lever body 20 of a U shape in section is put in a saddle form on another one end of the movable piece 10 and is turnably movably and pivotally supported by a shaft 12. A knob section is formed at the open end of the locking lever body 20 and a U-shape hook 21 is pivotally supported turnably movably relative to the locking lever body 20 near the shaft 12. <P>COPYRIGHT: (C)2005,JPO&NCIPI

Description

【0001】
【発明の属する技術分野】
本発明は、屋外または屋内の電子通信機器に配線する光ファイバケーブルの接続固定具に関し、特に光ファイバケーブル線材のテンションメンバーを把持固定するテンションメンバー固定具に関する。
【0002】
【従来の技術】
心線とテンションメンバーを有する光ファイバケーブルの接続に際しては、テンションメンバーを把持固定することが不可欠である。このため従来では、光ファイバケーブル接続用収納ケースにねじ穴を形成し、このねじ穴に螺合するねじ部材にテンションメンバーの端部を巻き付けた後、工具を用いて固定する処理が一般的であった。
【0003】
しかしながら、従来の光ファイバケーブルの端部処理のためにはケーブル被膜の剥離やねじに巻き付けるための曲げ加工などが必要となる。そこで心線を取り出す際には、この加工分を見越して光ファイバケーブルを長めに切断し、固定処理の際にはテンションメンバーを心線から裂いて先端部の被覆を剥がし、露出したテンションメンバー端部をねじに巻き付け固定する作業が行われていたが、各ケーブルに対してこのような作業を行うことは工数面で多大な負担を作業者に強いるものであった。
【0004】
また、ねじ部材は時間経過に伴い緩みを生じやすく、固定されたテンションメンバーが外れるおそれがあるという問題もあった。
【0005】
このような問題を解消するため、例えば特開平9−311229号公報「光ケーブル固定具」に記載された技術に代表される、固定処理が簡易でかつ外れにくいテンションメンバー固定具も提供されている。以下この先行技術について図6を用いて内容を簡単に説明する。
【0006】
連結棒上に立設状態に固着された固定部101に、回転プレート102が軸支ねじ103によって、テンションメンバー30に対して垂直の軸線をもって回転可能に軸支されている。この回転プレート102は概略長方形の高い剛性を有する板材であり、長手方向の一端に軸支ねじ103の貫通する軸穴104が、また長手方向の他端には片側の長辺から凹字状に切り欠かれた抜き穴105がそれぞれ形成されている。この抜き穴105は、固定部101に対して軸支ねじ103と同様に螺合された係合ねじ106の径よりわずかに広い幅で、回転プレート102を回転させた際、係合ねじ106とわずかな緩みをもって嵌合するような位置に形成されている。テンションメンバー30の把持固定時は、回転プレート102を回転させて係合ねじ106に係合させた後、軸支ねじ103および係合ねじ106を締め付けて、回転プレート102の回転を規制する。この回転プレート102と固定部101の間隙にテンションメンバー30を挟み込み、軸支ねじ103および係合ねじ106を更に締め付けることによってテンションメンバー30が固定される。
【0007】
【発明が解決しようとする課題】
しかしながら、上述した従来のテンションメンバー固定具では、端部をねじに直接巻き付ける構成は採っていないものの、テンションメンバー固定の手段としてはねじが使用されているため、固定および固定解除時にはねじの締め付け/緩め作業が発生していた。この作業については締結用の工具が必要とされ、またある程度の工数が割かれることは避けがたかった。
【0008】
また多数のねじの締め付けを行わなければならない場合、作業効率を考えれば全てのねじを同種のもので揃えることが望ましいが、これは反面、ねじの締め忘れという事態を引き起こし易くする一つの要因となっていた。
【0009】
さらに、テンションメンバーの端部自体は挟み込むことで押さえられるが、装置内においてテンションメンバーの先端が剥き出しとなっており、この先端が工具等と接触して傷ついたり、ショートを引き起こしたりするケースが皆無とは言えず、光ファイバケーブル保護の面で一抹の不安を残すものであった。
【0010】
本発明は、このような課題を解消し、工具を必要とせず簡易に固定作業が実現され、しかも固定作業がそのままテンションメンバー端部の保護作業に繋がる構造をもつテンションメンバー固定具を提供することを目的としている。
【0011】
【課題を解決するための手段】
以上の課題を鑑み、本発明のテンションメンバー固定具は、装置本体に固定され、テンションメンバーを載置する下歯部が形成されたベースと、前記ベースの一端の両脇部分に垂直に屹立して形成される一対の軸支持片と、前記一対の軸支持片に挟み込まれるように前記ベースの前後方向に回動可能に軸支され、内壁の前記下歯部と対応する位置に上歯部が形成された中空半筒状の可動体と、前記可動体の自由端側に載置され、該可動体に対して揺動可能に一端部を軸支された鞍型形状のロックレバー体と、前記ロックレバー体を両脇から挟みこんで枢着されたリング状のフックとにより構成され、前記テンションメンバーを前記ベース及び前記可動体の間に挿入し、前記フックを前記ベースに架け渡して前記ロックレバー体を押し倒すことにより、該テンションメンバーを前記上歯部と前記下歯部で挟持固定することを特徴としている。
【0012】
また、本発明の第二の構成例としては、上述の構成に加えて前記ベースの、前記軸支持片が形成されていない側にテンションメンバー端保護壁が垂直に屹立して形成されていることを特徴としている。
【0013】
さらに、本発明の第三の構成例としては、第一あるいは第二の構成例に加えて、前記可動体に前記テンションメンバーをガイドするスリットを形成してなることを特徴としている。
【0014】
【特許文献1】
特開平9−311229号公報
【0015】
【発明の実施の形態】
以下、本発明の実施形態について、図面を参照して詳細に説明する。
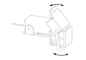
図1は本発明のテンションメンバー固定具の構成を示す斜視図である。細長い板状の鋼材により、固定部1が形成されている。固定部1の片側は鉤状に屈曲し、先端部分は保護壁4として、段状となっている部分の高い方の段の水平面を若干越えるよう垂直方向に屹立している。
【0016】
固定部1の水平部分の高い方の段には、固定用のネジ穴6が長手方向に並んで2つ穿設されており、このネジ穴の間に断面L字形状の下歯部5が設けられている。また、固定部1の高い段の両脇には、軸支片2が形成されている。そして水平部分の低い段には、蒲鉾型に屈曲された凹溝3が形成されている。
【0017】
固定部1の両軸支片2により挟み込まれ、可動片10の一端が軸11によって回動可能に軸支されている。可動片10は内部が中空の半円筒状に形成されており、その先端部(図中右側)にはスリット13が、そして後部(図中左側)には大きな開放孔が形成されている。また、可動片10の内壁には、図3に示すように、可動片10が固定部1に対して覆い被さる状態まで回動したとき、上下方向には固定部1に形成された下歯部5との間にわずかな間隙を残し、固定部1の長手方向には若干ずれつつ噛み合うような位置関係で、断面I字形状の上歯部13が形成されている。
【0018】
可動片10のもう一端には、断面コ字形状のロックレバー体20が鞍状に被せられ、軸12によって回動可能に軸支されている。ロックレバー体20の開放端にはツマミ部が形成され、また軸12の近傍には、ロックレバー体20に対して回動可能に、U字状のフック21が軸支されている。
【0019】
続いて本発明のテンションメンバー固定具の固定動作について、図面を参照して説明する。
【0020】
固定部1を、装置本体(図示せず)に対し、ネジ等の締結手段により固定する。この状態から図4に示すように、可動片10を開放側(図中における反時計回り)に回動させ、光ファイバケーブル30を、後端部分の開放孔から、固定部1に形成された下歯部5の上を通過し、さらにスリット14を通して先端のテンションメンバーが保護壁4に突き当たる状態になるまで挿入する。スリット14はテンションメンバーの径よりわずかに広い幅を有しており、またスリット14は保護壁4先端部分の水平面よりわずかに低い位置にまで切り込みが入れられている。
【0021】
光ファイバケーブル30を挿入した後、可動片10を時計回りに回動させると、挿入された光ファイバケーブル30が可動片10内壁の上歯部13と下歯部5とによって挟持される。これにより光ファイバケーブル30の抜けが防止される。このときロックレバー体20を、図5に示すように、時計回り方向へわずかな傾きをもって回動させ、保護壁4をフック21にくぐらせる。さらにロックレバー体21を時計回りに回動させると、フック21は固定部1の水平下段部分に形成された凹溝3と嵌合する。
【0022】
この状態から、ロックレバー体20を反時計回りに回動させると、フック21の先端は固定部1の凹溝3と嵌合したまま、ロックレバー体20のみが回動し、最終的には図2に示すように、可動片10が連結されたロックレバー体20と固定部1とで挟み込まれて固定される。この際、テンションメンバーの先端部分は保護壁によって保護され、またスリットによってテンションメンバー自体の不要なばたつき動作も規制されており、工具等と接触して傷ついたり、ショートを起こしたりすることが防止される。
【0023】
この固定状態を解除する際には、ロックレバー体20に形成されたつまみ部を持ち、図5における時計回り方向に回動させてフック21と凹溝3の嵌合を解除し、しかる後にフック21を反時計回りに回動させ、固定部1との連結状態を解除する。これによって可動片10が反時計回りに回転可能となり、上歯部13と下歯部5による光ファイバケーブル30の挟持状態が解除される。
【0024】
なお、本実施形態においては固定部1、可動片10およびロックレバー体20が鋼材によって形成されている例について説明してきたが、この素材についてはプラスティック等の、従来の固定具の構成材料として既知であり、かつ本固定具に必要とされる弾性や加工性の条件を満たし得る素材を適宜選択可能することが可能である。
【0025】
また、本実施形態においては垂直に屹立した保護壁の例について説明してきたが、テンションメンバー先端に対して庇状になるよう、さらに内側に折り曲げる構成としてもよい。さらに、本実施形態においてはフックと凹溝の嵌合によりロックレバー体と固定部の連結を実現しているが、フックに凸状のピン、固定部にこのピン径よりわずかに径の広い位置決め用の穴を形成するなど、この種の締結機構で用いられる既知の嵌合手段を適宜選択可能なことについても言うまでもない。
【0026】
【発明の効果】
以上説明してきたとおり、本発明のテンションメンバー固定具によれば、固定部とロックレバーの連結で可動片を挟み込み、この可動片と固定部の間でテンションメンバーを固定するという構造、及び固定作業がそのままテンションメンバー端部の保護作業に繋がるという構造を採っているため、テンションメンバーの固定/解除動作及び保護動作を、なんらの工具を必要とせず、ロックレバーの操作のみで行い得るという効果を奏する。
【0027】
また、上歯部と下歯部の間隙や配置、可動片及びロックレバーに形成する軸穴の配置等の要素によって、同一の固定具であればロックレバーの操作のみで一様なテンションでの固定が行えるという効果も奏する。これらのことにより、作業効率を大幅に向上させることが可能となる。
【図面の簡単な説明】
【図1】本発明のテンションメンバー固定具の実施形態における外観斜視図である。
【図2】本発明の実施形態における正面図である。
【図3】図1におけるA−A’断面図である。
【図4】テンションメンバー固定具による、テンションメンバーのロック解除状態を示す斜視図である。
【図5】テンションメンバーのロック動作を示す斜視図である。
【図6】従来のテンションメンバー固定具の構成を示す図である。
【符号の説明】
1 固定部
2 軸支片
3 凹溝
4 保護壁
5 下歯部
6 ネジ穴
10 可動片
11 軸
12 軸
13 上歯部
14 スリット
20 ロックレバー体
21 フック
30 光ファイバケーブル
[0001]
BACKGROUND OF THE INVENTION
The present invention relates to an optical fiber cable connection fixture that is wired to an outdoor or indoor electronic communication device, and more particularly to a tension member fixture that holds and fixes a tension member of an optical fiber cable wire.
[0002]
[Prior art]
When connecting an optical fiber cable having a core and a tension member, it is essential to grip and fix the tension member. For this reason, conventionally, it is common to form a screw hole in the optical fiber cable connection storage case, wind the end of the tension member around the screw member to be screwed into the screw hole, and then fix it using a tool. there were.
[0003]
However, in order to process the end portion of the conventional optical fiber cable, it is necessary to peel off the cable coating or to bend the wire around a screw. Therefore, when taking out the core wire, the optical fiber cable is cut long in anticipation of this processing, and during the fixing process, the tension member is torn off from the core wire and the coating on the tip is peeled off, and the exposed end of the tension member Although the work which winds and fixes a part around a screw was performed, performing such work on each cable imposed a great burden on the worker in terms of man-hours.
[0004]
Further, the screw member is likely to loosen with time, and there is a problem that the fixed tension member may come off.
[0005]
In order to solve such a problem, there is also provided a tension member fixing tool represented by, for example, a technique described in “Optical cable fixing tool” of Japanese Patent Application Laid-Open No. 9-311229, which is easy to fix and difficult to come off. The contents of this prior art will be briefly described below with reference to FIG.
[0006]
A rotating plate 102 is pivotally supported on a fixed portion 101 fixed in a standing state on a connecting rod by a shaft support screw 103 so as to be rotatable with respect to a tension member 30 with a vertical axis. The rotating plate 102 is a substantially rectangular plate having high rigidity, and has a shaft hole 104 through which the shaft support screw 103 passes at one end in the longitudinal direction, and a concave shape from the long side on one side at the other end in the longitudinal direction. Cutout holes 105 are formed respectively. The punched hole 105 is slightly wider than the diameter of the engaging screw 106 screwed into the fixing portion 101 in the same manner as the shaft support screw 103, and when the rotating plate 102 is rotated, It is formed at a position where it can be fitted with slight looseness. When the tension member 30 is held and fixed, the rotation plate 102 is rotated and engaged with the engagement screw 106, and then the shaft support screw 103 and the engagement screw 106 are tightened to restrict the rotation of the rotation plate 102. The tension member 30 is fixed by sandwiching the tension member 30 in the gap between the rotating plate 102 and the fixing portion 101 and further tightening the shaft support screw 103 and the engagement screw 106.
[0007]
[Problems to be solved by the invention]
However, although the conventional tension member fixture described above does not employ a configuration in which the end portion is directly wound around the screw, a screw is used as a means for fixing the tension member. Loosening work occurred. For this operation, a fastening tool is required, and it is difficult to avoid a certain amount of man-hours.
[0008]
In addition, when a large number of screws must be tightened, it is desirable to align all screws with the same type in consideration of work efficiency. However, this is one factor that makes it easy to cause a situation where a screw is forgotten to be tightened. It was.
[0009]
In addition, the end of the tension member itself can be held down, but the tip of the tension member is exposed in the device, and there is no case where the tip contacts with a tool or the like, or causes a short circuit. That said, there was some concern about the protection of optical fiber cables.
[0010]
The present invention solves such problems, and provides a tension member fixture having a structure in which a fixing operation is easily realized without using a tool, and the fixing operation directly leads to a protection operation of the end of the tension member. It is an object.
[0011]
[Means for Solving the Problems]
In view of the above-described problems, the tension member fixture of the present invention is vertically fixed to a base on which a lower tooth portion on which a tension member is placed is formed, and to both sides of one end of the base. A pair of shaft support pieces formed on the base wall and pivotally supported in the front-rear direction of the base so as to be sandwiched between the pair of shaft support pieces, and an upper tooth portion at a position corresponding to the lower tooth portion of the inner wall A hollow semi-cylindrical movable body formed on the movable body, and a saddle-shaped lock lever body mounted on the free end side of the movable body and pivotally supported at one end so as to be swingable with respect to the movable body; And a ring-shaped hook that is pivotally mounted by sandwiching the lock lever body from both sides, the tension member is inserted between the base and the movable body, and the hook is bridged over the base. Push down the lock lever body More, it is characterized in that for clamping fix the tension member at the lower teeth with the upper teeth.
[0012]
Further, as a second configuration example of the present invention, in addition to the above-described configuration, a tension member end protective wall is vertically formed on the side of the base where the shaft support piece is not formed. It is characterized by.
[0013]
Further, as a third configuration example of the present invention, in addition to the first or second configuration example, a slit for guiding the tension member is formed in the movable body.
[0014]
[Patent Document 1]
Japanese Patent Laid-Open No. 9-311229
DETAILED DESCRIPTION OF THE INVENTION
Hereinafter, embodiments of the present invention will be described in detail with reference to the drawings.
FIG. 1 is a perspective view showing a configuration of a tension member fixture according to the present invention. The fixed portion 1 is formed of an elongated plate-shaped steel material. One side of the fixing portion 1 is bent in a hook shape, and the tip portion is standing as a protective wall 4 in a vertical direction so as to slightly exceed the horizontal plane of the higher step of the stepped portion.
[0016]
Two screw holes 6 for fixing are formed along the longitudinal direction at the higher level of the horizontal portion of the fixing portion 1, and the lower tooth portion 5 having an L-shaped cross section is formed between the screw holes. Is provided. Further, shaft support pieces 2 are formed on both sides of the high step of the fixing portion 1. A concave groove 3 bent in a bowl shape is formed in the lower step of the horizontal portion.
[0017]
One end of the movable piece 10 is pivotally supported by a shaft 11 so as to be sandwiched between both shaft support pieces 2 of the fixed portion 1. The movable piece 10 is formed in a semi-cylindrical shape having a hollow inside, and a slit 13 is formed at the front end (right side in the figure), and a large open hole is formed at the rear part (left side in the figure). Further, on the inner wall of the movable piece 10, as shown in FIG. 3, when the movable piece 10 is rotated to the state where it covers the fixed portion 1, the lower tooth portion formed on the fixed portion 1 in the vertical direction. An upper tooth portion 13 having an I-shaped cross section is formed in such a positional relationship that a slight gap is left between the first portion 5 and the fixed portion 1 while being slightly shifted in the longitudinal direction.
[0018]
The other end of the movable piece 10 is covered with a lock lever body 20 having a U-shaped cross section in a bowl shape and is pivotally supported by a shaft 12. A knob portion is formed at the open end of the lock lever body 20, and a U-shaped hook 21 is pivotally supported in the vicinity of the shaft 12 so as to be rotatable with respect to the lock lever body 20.
[0019]
Next, the fixing operation of the tension member fixture according to the present invention will be described with reference to the drawings.
[0020]
The fixing part 1 is fixed to a device main body (not shown) by fastening means such as screws. From this state, as shown in FIG. 4, the movable piece 10 is rotated to the open side (counterclockwise in the figure), and the optical fiber cable 30 is formed in the fixed portion 1 from the open hole in the rear end portion. It passes over the lower teeth 5 and is further inserted through the slit 14 until the tip tension member abuts against the protective wall 4. The slit 14 has a width slightly wider than the diameter of the tension member, and the slit 14 is cut to a position slightly lower than the horizontal surface of the front end portion of the protective wall 4.
[0021]
When the movable piece 10 is rotated clockwise after the optical fiber cable 30 is inserted, the inserted optical fiber cable 30 is sandwiched between the upper teeth 13 and the lower teeth 5 of the inner wall of the movable piece 10. This prevents the optical fiber cable 30 from coming off. At this time, as shown in FIG. 5, the lock lever body 20 is rotated with a slight inclination in the clockwise direction, and the protective wall 4 is passed through the hook 21. When the lock lever body 21 is further rotated clockwise, the hook 21 is fitted into the concave groove 3 formed in the lower horizontal portion of the fixed portion 1.
[0022]
From this state, when the lock lever body 20 is rotated counterclockwise, only the lock lever body 20 is rotated while the tip of the hook 21 is fitted in the concave groove 3 of the fixing portion 1. As shown in FIG. 2, the movable lever 10 is sandwiched and fixed between the lock lever body 20 to which the movable piece 10 is connected and the fixed portion 1. At this time, the tip end portion of the tension member is protected by a protective wall, and the unnecessary fluttering operation of the tension member itself is restricted by the slit, so that it is prevented from being damaged by contact with a tool or causing a short circuit. The
[0023]
When releasing this fixed state, it has a knob portion formed on the lock lever body 20 and rotates it in the clockwise direction in FIG. 21 is rotated counterclockwise to release the connection with the fixed portion 1. As a result, the movable piece 10 can rotate counterclockwise, and the holding state of the optical fiber cable 30 by the upper tooth portion 13 and the lower tooth portion 5 is released.
[0024]
In the present embodiment, the example in which the fixed portion 1, the movable piece 10, and the lock lever body 20 are formed of steel has been described. However, this material is known as a constituent material of a conventional fixture such as plastic. In addition, it is possible to appropriately select a material that can satisfy the conditions of elasticity and workability required for the present fixture.
[0025]
In the present embodiment, an example of the protective wall vertically upright has been described. However, a configuration may be adopted in which the protective wall is further bent inward so as to have a hook shape with respect to the tip of the tension member. Furthermore, in this embodiment, the lock lever body and the fixed portion are connected by fitting the hook and the concave groove. However, the hook has a convex pin and the fixed portion has a slightly larger diameter than the pin diameter. It goes without saying that known fitting means used in this type of fastening mechanism can be appropriately selected, such as forming a hole for use.
[0026]
【The invention's effect】
As described above, according to the tension member fixture of the present invention, a structure in which a movable piece is sandwiched by connecting a fixed portion and a lock lever, and a tension member is fixed between the movable piece and the fixed portion, and a fixing operation. Has a structure that leads to the protection work of the tension member end as it is, so that the tension member fixing / releasing operation and protection operation can be performed only by operating the lock lever without requiring any tools. Play.
[0027]
In addition, depending on factors such as the gap between the upper teeth and lower teeth and the arrangement, the arrangement of the shaft holes formed in the movable piece and the lock lever, etc. There is also an effect that it can be fixed. By these things, it becomes possible to improve work efficiency significantly.
[Brief description of the drawings]
FIG. 1 is an external perspective view of an embodiment of a tension member fixture according to the present invention.
FIG. 2 is a front view of the embodiment of the present invention.
FIG. 3 is a cross-sectional view taken along the line AA ′ in FIG.
FIG. 4 is a perspective view showing a tension member unlocking state by a tension member fixing tool;
FIG. 5 is a perspective view showing a locking operation of a tension member.
FIG. 6 is a diagram showing a configuration of a conventional tension member fixture.
[Explanation of symbols]
DESCRIPTION OF SYMBOLS 1 Fixed part 2 Shaft support piece 3 Concave groove 4 Protective wall 5 Lower tooth part 6 Screw hole 10 Movable piece 11 Shaft 12 Shaft 13 Upper tooth part 14 Slit 20 Lock lever body 21 Hook 30 Optical fiber cable

Claims (3)

装置本体に固定され、テンションメンバーを載置する下歯部が形成されたベースと、
前記ベースの一端の両脇部分に垂直に屹立して形成される一対の軸支持片と、
前記一対の軸支持片に挟み込まれるように前記ベースの前後方向に回動可能に軸支され、内壁の前記下歯部と対応する位置に上歯部が形成された中空半筒状の可動体と、
前記可動体の自由端側に載置され、該可動体に対して揺動可能に一端部を軸支された鞍型形状のロックレバー体と、
前記ロックレバー体を両脇から挟みこんで枢着されたリング状のフックとにより構成され、
前記テンションメンバーを前記ベース及び前記可動体の間に挿入し、前記フックを前記ベースに架け渡して前記ロックレバー体を押し倒すことにより、該テンションメンバーを前記上歯部と前記下歯部で挟持固定することを特徴とするテンションメンバー固定具。
A base fixed to the apparatus main body and having a lower tooth portion on which a tension member is placed;
A pair of shaft support pieces formed vertically standing on both sides of one end of the base;
A hollow semi-cylindrical movable body that is pivotally supported in the longitudinal direction of the base so as to be sandwiched between the pair of shaft support pieces and has an upper tooth portion formed at a position corresponding to the lower tooth portion of the inner wall. When,
A hook-shaped lock lever body placed on the free end side of the movable body and pivotally supported at one end so as to be swingable relative to the movable body;
It is composed of a ring-shaped hook pivotally attached by sandwiching the lock lever body from both sides,
The tension member is inserted between the base and the movable body, and the tension member is sandwiched and fixed between the upper tooth portion and the lower tooth portion by spanning the hook over the base and pushing down the lock lever body. The tension member fixture characterized by doing.
前記ベースの、前記軸支持片が形成されていない側に、
テンションメンバー端保護壁が垂直に屹立して形成されていることを特徴とする、請求項1記載のテンションメンバー固定具。
On the side of the base where the shaft support piece is not formed,
The tension member fixture according to claim 1, wherein the tension member end protection wall is vertically formed upright.
前記可動体に前記テンションメンバーをガイドするスリットを形成してなることを特徴とする、請求項1もしくは請求項2記載のテンションメンバー固定具。The tension member fixture according to claim 1 or 2, wherein a slit for guiding the tension member is formed in the movable body.
JP2003188818A 2003-06-30 2003-06-30 Tension member fixture Pending JP2005024789A (en)

Priority Applications (1)

Application Number Priority Date Filing Date Title
JP2003188818A JP2005024789A (en) 2003-06-30 2003-06-30 Tension member fixture

Applications Claiming Priority (1)

Application Number Priority Date Filing Date Title
JP2003188818A JP2005024789A (en) 2003-06-30 2003-06-30 Tension member fixture

Publications (1)

Publication Number Publication Date
JP2005024789A true JP2005024789A (en) 2005-01-27

Family

ID=34187230

Family Applications (1)

Application Number Title Priority Date Filing Date
JP2003188818A Pending JP2005024789A (en) 2003-06-30 2003-06-30 Tension member fixture

Country Status (1)

Country Link
JP (1) JP2005024789A (en)

Cited By (20)

* Cited by examiner, † Cited by third party
Publication number Priority date Publication date Assignee Title
US7467896B2 (en) 2000-05-26 2008-12-23 Corning Cable Systems Llc Fiber optic drop cables and preconnectorized assemblies
US7785015B2 (en) 2000-05-26 2010-08-31 Corning Cable Systems Llc Fiber optic drop cables and preconnectorized assemblies
US9239441B2 (en) 2000-05-26 2016-01-19 Corning Cable Systems Llc Fiber optic drop cables and preconnectorized assemblies having toning portions
US10359577B2 (en) 2017-06-28 2019-07-23 Corning Research & Development Corporation Multiports and optical connectors with rotationally discrete locking and keying features
US10379298B2 (en) 2017-06-28 2019-08-13 Corning Research & Development Corporation Fiber optic connectors and multiport assemblies including retention features
EP3537198A1 (en) * 2018-03-05 2019-09-11 Corning Research & Development Corporation Fibre-optic cable fanout
US11187859B2 (en) 2017-06-28 2021-11-30 Corning Research & Development Corporation Fiber optic connectors and methods of making the same
US11294133B2 (en) 2019-07-31 2022-04-05 Corning Research & Development Corporation Fiber optic networks using multiports and cable assemblies with cable-to-connector orientation
US11536921B2 (en) 2020-02-11 2022-12-27 Corning Research & Development Corporation Fiber optic terminals having one or more loopback assemblies
US11604320B2 (en) 2020-09-30 2023-03-14 Corning Research & Development Corporation Connector assemblies for telecommunication enclosures
US11686913B2 (en) 2020-11-30 2023-06-27 Corning Research & Development Corporation Fiber optic cable assemblies and connector assemblies having a crimp ring and crimp body and methods of fabricating the same
US11880076B2 (en) 2020-11-30 2024-01-23 Corning Research & Development Corporation Fiber optic adapter assemblies including a conversion housing and a release housing
US11927810B2 (en) 2020-11-30 2024-03-12 Corning Research & Development Corporation Fiber optic adapter assemblies including a conversion housing and a release member
US11994722B2 (en) 2020-11-30 2024-05-28 Corning Research & Development Corporation Fiber optic adapter assemblies including an adapter housing and a locking housing
US12019279B2 (en) 2019-05-31 2024-06-25 Corning Research & Development Corporation Multiports and other devices having optical connection ports with sliding actuators and methods of making the same
US12271040B2 (en) 2017-06-28 2025-04-08 Corning Research & Development Corporation Fiber optic extender ports, assemblies and methods of making the same
US12372727B2 (en) 2020-10-30 2025-07-29 Corning Research & Development Corporation Female fiber optic connectors having a rocker latch arm and methods of making the same
US12487423B2 (en) 2018-11-29 2025-12-02 Corning Research & Development Corporation Multiports and other devices having optical connection ports with rotating actuators and methods of making the same
US12517306B2 (en) 2020-06-29 2026-01-06 Corning Research & Development Corporation Terminals having a multi-fiber optical connection port that inhibits damage from single-fiber connectors
US12523824B2 (en) 2019-10-18 2026-01-13 Corning Research & Development Corporation Terminals having optical connection ports with securing features providing stable retention forces and methods of making the same

Cited By (60)

* Cited by examiner, † Cited by third party
Publication number Priority date Publication date Assignee Title
US7467896B2 (en) 2000-05-26 2008-12-23 Corning Cable Systems Llc Fiber optic drop cables and preconnectorized assemblies
US7785015B2 (en) 2000-05-26 2010-08-31 Corning Cable Systems Llc Fiber optic drop cables and preconnectorized assemblies
US7881576B2 (en) 2000-05-26 2011-02-01 Corning Cable Systems Llc Fiber optic drop cables and preconnectorized assemblies
US7918609B2 (en) 2000-05-26 2011-04-05 Corning Cable Systems Llc Fiber optic drop cables and preconnectorized assemblies
US9239441B2 (en) 2000-05-26 2016-01-19 Corning Cable Systems Llc Fiber optic drop cables and preconnectorized assemblies having toning portions
US10114176B2 (en) 2000-05-26 2018-10-30 Corning Optical Communications LLC Fiber optic drop cables and preconnectorized assemblies
US12174432B2 (en) 2017-06-28 2024-12-24 Corning Research & Development Corporation Fiber optic connectors and connectorization employing adhesive admitting adapters
US12379552B2 (en) 2017-06-28 2025-08-05 Corning Research & Development Corporation Compact fiber optic connectors, cable assemblies and methods of making the same
US10386584B2 (en) 2017-06-28 2019-08-20 Corning Research & Development Corporation Optical connectors with locking and keying features for interfacing with multiports
US12429655B2 (en) 2017-06-28 2025-09-30 Corning Optical Communications LLC Multiports having connection ports with associated securing features and methods of making the same
US10429593B2 (en) 2017-06-28 2019-10-01 Corning Research & Development Corporation Fiber optic connectors and connectorization employing adapter extensions and/or flexures
US10605998B2 (en) 2017-06-28 2020-03-31 Corning Research & Development Corporation Fiber optic connectors and connectorization employing adhesive admitting adapters
US10802228B2 (en) 2017-06-28 2020-10-13 Corning Research & Development Corporation Fiber optic connectors and multiport assemblies including retention features
US10809463B2 (en) 2017-06-28 2020-10-20 Corning Research & Development Corporation Multiports and optical connectors with rotationally discrete locking and keying features
US11187859B2 (en) 2017-06-28 2021-11-30 Corning Research & Development Corporation Fiber optic connectors and methods of making the same
US11886017B2 (en) 2017-06-28 2024-01-30 Corning Research & Development Corporation Multiports and other devices having connection ports with securing features and methods of making the same
US11262509B2 (en) 2017-06-28 2022-03-01 Corning Research & Development Corporation Compact fiber optic connectors having multiple connector footprints, along with cable assemblies and methods of making the same
US11287582B2 (en) 2017-06-28 2022-03-29 Corning Research & Development Corporation Compact fiber optic connectors, cable assemblies and methods of making the same
US11287581B2 (en) 2017-06-28 2022-03-29 Corning Research & Development Corporation Compact fiber optic connectors, cable assemblies and methods of making the same
US12379551B2 (en) 2017-06-28 2025-08-05 Corning Optical Communications LLC Multiports having connection ports formed in the shell and associated securing features
US11300735B2 (en) 2017-06-28 2022-04-12 Corning Research & Development Corporation Compact fiber optic connectors having multiple connector footprints, along with cable assemblies and methods of making the same
US11307364B2 (en) 2017-06-28 2022-04-19 Corning Research & Development Corporation Compact fiber optic connectors having multiple connector footprints, along with cable assemblies and methods of making the same
US11460646B2 (en) 2017-06-28 2022-10-04 Corning Research & Development Corporation Fiber optic connectors and multiport assemblies including retention features
US11493700B2 (en) 2017-06-28 2022-11-08 Corning Research & Development Corporation Compact fiber optic connectors, cable assemblies and methods of making the same
US11493699B2 (en) 2017-06-28 2022-11-08 Corning Research & Development Corporation Multifiber fiber optic connectors, cable assemblies and methods of making the same
US11531168B2 (en) 2017-06-28 2022-12-20 Corning Research & Development Corporation Fiber optic connectors having a keying structure and methods of making the same
US12353025B2 (en) 2017-06-28 2025-07-08 Corning Optical Communications LLC Multiports having a connection port insert and methods of making the same
US11536913B2 (en) 2017-06-28 2022-12-27 Corning Research & Development Corporation Fiber optic connectors and connectorization employing adhesive admitting adapters
US11543600B2 (en) 2017-06-28 2023-01-03 Corning Research & Development Corporation Compact fiber optic connectors having multiple connector footprints, along with cable assemblies and methods of making the same
US11579377B2 (en) 2017-06-28 2023-02-14 Corning Research & Development Corporation Compact fiber optic connectors, cable assemblies and methods of making the same with alignment elements
US12353024B2 (en) 2017-06-28 2025-07-08 Corning Research & Development Corporation Multiports and optical connectors with rotationally discrete locking and keying features
US12298568B2 (en) 2017-06-28 2025-05-13 Corning Research & Development Corporation Fiber optic connectors and multiport assemblies including retention features
US10379298B2 (en) 2017-06-28 2019-08-13 Corning Research & Development Corporation Fiber optic connectors and multiport assemblies including retention features
US11703646B2 (en) 2017-06-28 2023-07-18 Corning Research & Development Corporation Multiports and optical connectors with rotationally discrete locking and keying features
US11215768B2 (en) 2017-06-28 2022-01-04 Corning Research & Development Corporation Fiber optic connectors and connectorization employing adhesive admitting adapters
US11906792B2 (en) 2017-06-28 2024-02-20 Corning Research & Development Corporation Compact fiber optic connectors having multiple connector footprints, along with cable assemblies and methods of making the same
US11914197B2 (en) 2017-06-28 2024-02-27 Corning Research & Development Corporation Compact fiber optic connectors having multiple connector footprints, along with cable assemblies and methods of making the same
US11914198B2 (en) 2017-06-28 2024-02-27 Corning Research & Development Corporation Compact fiber optic connectors having multiple connector footprints, along with cable assemblies and methods of making the same
US12276846B2 (en) 2017-06-28 2025-04-15 Corning Research & Development Corporation Compact fiber optic connectors, cable assemblies and methods of making the same
US11940656B2 (en) 2017-06-28 2024-03-26 Corning Research & Development Corporation Compact fiber optic connectors, cable assemblies and methods of making the same
US11966089B2 (en) 2017-06-28 2024-04-23 Corning Optical Communications, Llc Multiports having connection ports formed in the shell and associated securing features
US12271040B2 (en) 2017-06-28 2025-04-08 Corning Research & Development Corporation Fiber optic extender ports, assemblies and methods of making the same
US12013578B2 (en) 2017-06-28 2024-06-18 Corning Research & Development Corporation Multifiber fiber optic connectors, cable assemblies and methods of making the same
US10359577B2 (en) 2017-06-28 2019-07-23 Corning Research & Development Corporation Multiports and optical connectors with rotationally discrete locking and keying features
US12092878B2 (en) 2017-06-28 2024-09-17 Corning Research & Development Corporation Fiber optic connectors having a keying structure and methods of making the same
EP3537198A1 (en) * 2018-03-05 2019-09-11 Corning Research & Development Corporation Fibre-optic cable fanout
US12487423B2 (en) 2018-11-29 2025-12-02 Corning Research & Development Corporation Multiports and other devices having optical connection ports with rotating actuators and methods of making the same
US12019279B2 (en) 2019-05-31 2024-06-25 Corning Research & Development Corporation Multiports and other devices having optical connection ports with sliding actuators and methods of making the same
US11294133B2 (en) 2019-07-31 2022-04-05 Corning Research & Development Corporation Fiber optic networks using multiports and cable assemblies with cable-to-connector orientation
US12523824B2 (en) 2019-10-18 2026-01-13 Corning Research & Development Corporation Terminals having optical connection ports with securing features providing stable retention forces and methods of making the same
US11536921B2 (en) 2020-02-11 2022-12-27 Corning Research & Development Corporation Fiber optic terminals having one or more loopback assemblies
US12517306B2 (en) 2020-06-29 2026-01-06 Corning Research & Development Corporation Terminals having a multi-fiber optical connection port that inhibits damage from single-fiber connectors
US12019285B2 (en) 2020-09-30 2024-06-25 Corning Research & Development Corporation Connector assemblies for telecommunication enclosures
US11604320B2 (en) 2020-09-30 2023-03-14 Corning Research & Development Corporation Connector assemblies for telecommunication enclosures
US12372727B2 (en) 2020-10-30 2025-07-29 Corning Research & Development Corporation Female fiber optic connectors having a rocker latch arm and methods of making the same
US11927810B2 (en) 2020-11-30 2024-03-12 Corning Research & Development Corporation Fiber optic adapter assemblies including a conversion housing and a release member
US11880076B2 (en) 2020-11-30 2024-01-23 Corning Research & Development Corporation Fiber optic adapter assemblies including a conversion housing and a release housing
US11686913B2 (en) 2020-11-30 2023-06-27 Corning Research & Development Corporation Fiber optic cable assemblies and connector assemblies having a crimp ring and crimp body and methods of fabricating the same
US12345927B2 (en) 2020-11-30 2025-07-01 Corning Research & Development Corporation Fiber optic adapter assemblies including a conversion housing and a release housing
US11994722B2 (en) 2020-11-30 2024-05-28 Corning Research & Development Corporation Fiber optic adapter assemblies including an adapter housing and a locking housing

Similar Documents

Publication Publication Date Title
JP2005024789A (en) Tension member fixture
JP5268536B2 (en) Electric wire support and hot wire cutting tool
JP3597923B2 (en) Insulator mounting device
KR101508352B1 (en) A Fixing Structure of Wiring Harness
JP2015050781A (en) Indirect hot-line operation tool
KR101790071B1 (en) Cable rack
JP2007202288A (en) Cable interval holding tool
JP3476105B2 (en) Live Tool Fixture
KR20110047083A (en) Wire taping device
JP2011205890A (en) Electric wire fitting
JPH09322332A (en) Distribution board
JP4600976B2 (en) Mounting bracket for pole
JP5377034B2 (en) Nest protection device
JP3340630B2 (en) Electronic equipment with slide unit
JP3115358U (en) End support device for drop support line
JP2004357407A (en) Stringer
JP3946029B2 (en) Filter unit
JP2010280501A (en) Plane-setting assembling type portable electric wire reel capable of freely taking out from outside/inside
JPH0514554Y2 (en)
JP3765877B2 (en) Optical cable fixture
JP4440605B2 (en) Plate mounting auxiliary device
JP2005046381A (en) Mounting structure of game board in pachinko game machine, and engagement member of game board
JP2001292521A (en) Cable junction box support device
JPH1066233A (en) Anchor tool for communication cable
JPH10238107A (en) Clamp

Legal Events

Date Code Title Description
RD01 Notification of change of attorney

Free format text: JAPANESE INTERMEDIATE CODE: A7421

Effective date: 20050401

RD01 Notification of change of attorney

Free format text: JAPANESE INTERMEDIATE CODE: A7421

Effective date: 20050414

A621 Written request for application examination

Free format text: JAPANESE INTERMEDIATE CODE: A621

Effective date: 20060518

RD01 Notification of change of attorney

Free format text: JAPANESE INTERMEDIATE CODE: A7421

Effective date: 20070125

A977 Report on retrieval

Free format text: JAPANESE INTERMEDIATE CODE: A971007

Effective date: 20070710

A131 Notification of reasons for refusal

Free format text: JAPANESE INTERMEDIATE CODE: A131

Effective date: 20070731

A02 Decision of refusal

Free format text: JAPANESE INTERMEDIATE CODE: A02

Effective date: 20071204