JP2004213582A - RFID tag and reader / writer and RFID system provided with the tag - Google Patents
RFID tag and reader / writer and RFID system provided with the tag Download PDFInfo
- Publication number
- JP2004213582A JP2004213582A JP2003002781A JP2003002781A JP2004213582A JP 2004213582 A JP2004213582 A JP 2004213582A JP 2003002781 A JP2003002781 A JP 2003002781A JP 2003002781 A JP2003002781 A JP 2003002781A JP 2004213582 A JP2004213582 A JP 2004213582A
- Authority
- JP
- Japan
- Prior art keywords
- tag
- antennas
- reader
- antenna
- writer
- Prior art date
- Legal status (The legal status is an assumption and is not a legal conclusion. Google has not performed a legal analysis and makes no representation as to the accuracy of the status listed.)
- Pending
Links
Images
Landscapes
- Details Of Aerials (AREA)
- Credit Cards Or The Like (AREA)
Abstract
【課題】複数の規格に対応することができるタグ及び該タグと交信するリーダ/ライタ並びに該タグを備えたRFIDシステムの提供。
【解決手段】1つのタグ2内に複数のアンテナを配置し、それぞれのアンテナに異なる規格で動作するICを接続したものであり、複数のアンテナを、大きな渦巻き状のアンテナの内側に小さいアンテナを配置したり、2つの渦巻き状のアンテナを並設したり、2つの渦巻き状アンテナを軟磁性材と導電材とを含むシールを介して対向させたり、渦巻き状のアンテナと平板状の磁芯に導線を巻回したアンテナとを組み合わせたり、平板状の磁芯に互いに直交するように導線を巻回したり、平板状の磁芯を2つ設け、各々に導線を巻回したアンテナを並設又は重ね合わせることにより、2つのアンテナの相互干渉を抑制し、近接型と近傍型等の異なる形態で使用できるRFIDシステムを構築できる。
【選択図】図8A tag capable of complying with a plurality of standards, a reader / writer for communicating with the tag, and an RFID system provided with the tag.
A plurality of antennas are arranged in one tag, and ICs operating according to different standards are connected to the respective antennas. A plurality of antennas are arranged inside a large spiral antenna and a small antenna is arranged inside the tag. It may be arranged, two spiral antennas may be arranged side by side, two spiral antennas may be opposed to each other via a seal containing a soft magnetic material and a conductive material, or the spiral antenna may be attached to a flat magnetic core. Combine with a wire-wound antenna, wind a wire so as to be orthogonal to a plate-shaped magnetic core, or provide two plate-shaped magnetic cores, and install antennas with wire-wound wires side by side or By superimposing, it is possible to suppress mutual interference between the two antennas and construct an RFID system that can be used in different forms such as a proximity type and a proximity type.
[Selection diagram] FIG.
Description
【0001】
【発明の属する技術分野】
本発明は、実装されたICチップに対して非接触でデータの読み書きを行うことを特徴とするRFID(Radio Frequency Identification)システムに関し、特に、ISO(International Organization for Standard)/IEC(International Electrotechnical Commission)の規定に準拠した複数の規格に対応することができるタグ及び該タグと交信するリーダ又はリーダ/ライタ並びに該タグを備えたRFIDシステムに関する。
【0002】
【従来の技術】
近年、ICチップを備えたタグとリーダ/ライタ(又はリーダ)との間でデータの交信を行うRFIDシステムが普及している。このRFIDシステムは、タグ及びリーダ/ライタの各々に備えたアンテナを用いてデータの交信を行うため、タグをリーダ/ライタから数cm乃至数十cm離しても通信可能であり、また、汚れや静電気等に強いという長所から、工場の生産管理、物流の管理、入退室管理等の様々な分野に利用されるようになってきている。
【0003】
このRFIDシステムで用いられるタグは、アンテナコイルとコンデンサとからなる共振回路と情報を記憶するICとを備えており、RFIDシステムに求められる性能(例えば、作動距離やデータの通信速度等)に応じてタグやリーダ/ライタが設計される。
【0004】
具体的には、RFIDシステムを機能で分類すると、ID認識用入退室・物の管理に用いられる近傍型(ISO15693)や、認証・精算用、電子乗車券用に用いられる近接型(ISO14443)等があり、近接型では通信速度は速い(106kbps)が作動距離は短く(10cm程度)、一方、近傍型では、通信速度(6.67kbps)は近接型に比べて遅いがタグの送信能力を上げて長距離通信(50cm〜70cm)を可能としており、各々の規格に合わせてタグのアンテナコイルの形状や使用するIC、リーダ/ライタの信号処理回路等が設計されている(例えば特開平14−183688号公報等)。
【0005】
【特許文献1】
特開平14−183688号公報(第2頁)
【0006】
【発明が解決しようとする課題】
このようにRFIDシステムでは利用形態に合わせて作動距離や通信速度が規定されているため、近接型(又は近傍型)の規格で製造したタグを近傍型(又は近接型)として使用することはできず、複数の形態でRFIDシステムを利用する場合は、各々の規格に対応できるように製造されたタグ及びリーダ/ライタのセットを複数用意しなければならない。
【0007】
このRFIDシステムは非接触でデータの交信が可能であることから、近年、様々な用途に利用されるようになってきており、今後も用途が拡大することが予想されるが、複数の用途にRFIDシステムを適用する場合、利用者は用途の数だけタグを用意しなければならならず不便であり、また、製造者にとっても用途毎にタグやリーダ/ライタを作らなければならず、効率的ではない。
【0008】
本発明は、上記問題点に鑑みてなされたものであって、その主たる目的は、複数の規格に対応することができるタグ及び該タグと交信するリーダ/ライタ並びに該タグを備えたRFIDシステムを提供することにある。
【0009】
【課題を解決するための手段】
ISO15693とISO14443は通信の方式が異なるため基本的には混信しない。しかし一つのタグに複数の共振回路であるアンテナを配置すれば2つの共振回路が近接するため相互に干渉し作動距離が短くなる。この相互の干渉は共振周波数の変化とQ値の著しい低下である。共振周波数の変化は干渉した状態で所定の周波数となるようコンデンサの容量を変える等の対応は不可能ではないが、対応自体がまた干渉の程度を変化させるため実施は極めて困難であり、Q値の著しい低下の防止はできない。この発明はコイルの相互の干渉を許容可能な範囲に納める下記の方法を提案している。
【0010】
本発明のタグは、非接触でリーダ又はリーダ/ライタとデータの交信を行うタグであって、1つの前記タグ内に、複数のアンテナと、該複数のアンテナに接続される、異なる規格に準拠した複数のICとを備えるものである。
【0011】
また、本発明のタグは、非接触でリーダ又はリーダ/ライタとデータの交信を行うタグであって、1つの前記タグ内に、渦巻き状の導線からなる2つのアンテナが同一平面状に配置され、前記2つのアンテナの各々には、異なる規格に準拠したICが接続されているものであり、前記2つのアンテナの内の一方のアンテナが、他方のアンテナの内側に配置されている構成、又は、前記2つのアンテナが、所定の間隔をあけて並べて配置されている構成とすることができる。
【0012】
また、本発明のタグは、非接触でリーダ又はリーダ/ライタとデータの通信を行うタグであって、1つの前記タグ内に、渦巻き状の導線からなる2つのアンテナを備え、各々の前記アンテナは、導電材を軟磁性材で挟み込んだ3層構造の分離層を介して対向するように配置され、前記2つのアンテナの各々には、異なる規格に準拠したICが接続されているものであり、前記2つのアンテナは、アンテナ面に直交する方向から見て、該2つのアンテナの一部が相重なるように前記アンテナ面方向にずらして配置され、少なくとも前記相重なる領域に前記分離層又は平板状の軟磁性材が配設されている構成、又は、前記アンテナ面に直交する方向から見て、前記2つのアンテナに囲まれた領域の略中央部に、前記導電材が配設されていない孔が形成されている構成とすることができる。
【0013】
本発明においては、前記導電材は、アルミの板又は箔、或いは、銅の板又は箔からなり、前記導電材の厚さが、略5μm〜300μm、好ましくは略8μm〜20μmに設定されている構成とすることもできる。
【0014】
また、本発明のタグは、非接触でリーダ又はリーダ/ライタとデータの通信を行うタグであって、1つの前記タグ内に、渦巻き状の導線からなる第1のアンテナと、平板状の軟磁性材からなる磁芯に導線を巻回した第2のアンテナとを備え、前記2つのアンテナの各々には、異なる規格に準拠したICが接続されているものであり、前記第2のアンテナは、前記第1のアンテナの内側、かつ、前記平板状の磁芯の平面が前記第1のアンテナのアンテナ面に略平行になるように配置されている構成とすることができる。
【0015】
また、本発明のタグは、非接触でリーダ又はリーダ/ライタとデータの通信を行うタグであって、1つの前記タグ内に、平板状の軟磁性材からなる磁芯に異なる方向に導線を巻回した2つのアンテナを備え、前記2つのアンテナの各々には、異なる規格に準拠したICが接続されているものである。
【0016】
また、本発明のタグは、非接触でリーダ又はリーダ/ライタとデータの通信を行うタグであって、1つの前記タグ内に、平板状の軟磁性材からなる2つの磁芯の各々に導線を巻回した2つのアンテナを備え、前記2つのアンテナの各々には、異なる規格に準拠したICが接続されているものであり、前記2つのアンテナは、各々のアンテナ軸が略平行又は略直交するように前記導線が巻回されていることが好ましい。
【0017】
本発明においては、前記軟磁性材を、軟磁性フレークまたは軟磁性粉末とプラスチックまたはゴムの複合材とすることが好ましく、前記ICは、ISO15693に準拠したICとISO14443に準拠したICとを含むことが好ましい。
【0018】
また、本発明のリーダ又はリーダ/ライタは、上記記載のタグと交信するリーダ又はリーダ/ライタであって、前記異なる規格に準拠したICの各々とデータの交信を可能とする複数の信号処理部を備えるものである。
【0019】
また、本発明のRFIDシステムは、上記記載のタグと、リーダ又はリーダ/ライタとを備えるRFIDシステムであって、1つの前記タグ内に形成された複数のアンテナ及び異なる規格に準拠した複数のICの各々により構成される複数の通信部を用い、作動距離又はデータの通信速度の異なる複数の形態でデータの交信を行うものである。
【0020】
このように、本発明では、1つのタグの中に、複数の規格(例えば、ISO15693とISO14443の規定に準拠した規格)の各々に対応するように設計されたアンテナ及びICの組を複数備え、各々のアンテナが相互干渉を抑制できるように配置されているため、1つのタグを複数の形態で利用することが可能となる。
【0021】
また、リーダ/ライタに、複数の規格で動作するタグとデータの交信が可能な複数の信号処理部を設けることにより、1つのリーダ/ライタで複数のRFIDシステムを構築することができ、システムの汎用性、柔軟性を高めることができる。また、各々異なる形態で動作するリーダ/ライタが設置されている環境であっても、1つのタグを用いて複数のリーダ/ライタとデータ交信ができるため、各々の形態に適したタグを複数保持する必要がなくなり、利用者の利便性を高めることができる。
【0022】
【発明の実施の形態】
本発明に係るRFIDタグは、その好ましい一実施の形態において、1つのタグ内に複数のアンテナを配置し、それぞれのアンテナにISO15693準拠のICやISO14443準拠のIC等の異なる規格に準拠したICを接続したものであり、複数のアンテナを、大きな渦巻き状のアンテナコイルの内側に小さい渦巻き状のアンテナコイルを配置した構造(図2)、2つの渦巻き状のアンテナコイルを重ねることなく所定の間隔をあけて並設した構造(図3)、2つの渦巻き状アンテナコイルを軟磁性材と導電材と軟磁性材とからなるシールを介して対向させて重ね合わせた構造(図4)、2つの渦巻き状アンテナコイルの一部を軟磁性材又は導電材と軟磁性材よりなる上記シールを介してずらして重ね合わせた構造(図8)、渦巻き状のアンテナコイルと平板状の磁芯に導線を巻回したアンテナコイルとを組み合わせた構造(図9)、平板状の磁芯に互いに直交するように導線を巻回した構造(図10)、平板状の磁芯を2つ設け、各々に導線を巻回したアンテナを互いのアンテナ軸が平行又は直交するように並設又は重ね合わせた構造(図11乃至図14)等とすることによって、2つのアンテナの相互干渉を抑制し、近接型と近傍型等の異なる形態で使用できるRFIDシステムを構築することができる。
【0023】
【実施例】
上記した本発明の実施の形態についてさらに詳細に説明すべく、本発明の実施例について説明する。
【0024】
[実施例1]
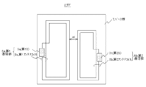
まず、本発明の第1の実施例に係るタグ及びリーダ/ライタ並びにRFIDシステムについて、図1及び図2を参照して説明する。図1は、本発明のRFIDシステムの構成を模式的に示す図であり、図2は、第1の実施例に係るタグのアンテナコイルの構造を示す図である。
【0025】
図1に示すように、本発明のRFIDシステム1は、リーダ/ライタ用アンテナ4を用いてデータの交信を行うリーダ/ライタ3(又はリーダ、以下、リーダ/ライタとして記述する。)と、カード型、ラベル型、シート型、スティック型等の様々な形状のタグ2とからなり、リーダ/ライタ3には、複数の形態(例えば、ISO15693に準拠した規格で動作する近接型とISO14443に準拠した規格で動作する近傍型等)で使用するために、送受信信号を変換するための通信回路や送受信信号をデコードするための演算処理回路等の信号処理回路を複数(図では第1信号処理部5a及び第2信号処理部5bの2組)備えている。なお、図では1つのリーダ/ライタに複数の信号処理部を設けているが、リーダ/ライタを形態毎に複数設ける構成としてもよい。
【0026】
また、図2に示すように、本実施例のタグ2は、絶縁性のフィルム、基板等からなるベース板7上に2種類の渦巻き状のアンテナコイルと2種類のICと(説明を簡略化するためにコンデンサ等の他の構成要素は省略する。以下の実施例も同様)を備えており、寸法の大きな渦巻き状の第1アンテナコイル8aの内側に、寸法の小さな渦巻き状の第2アンテナコイル8bが配置されており、例えば、第1アンテナコイル8aにはISO15693に準拠した第1IC9aが接続されて第1通信部6aを構成し、第2アンテナコイル8bにはISO14443に準拠した第2IC9bが接続されて第2通信部6bを構成し、1つのタグ2を用いて近傍型、近接型の2つの形態で動作可能としている。
【0027】
なお、図では、渦巻き状の巻き線を2回巻回した構成としているが、アンテナコイルの構造は図の構成に限定されず、ベース板7上に各々の巻き線が交差しないように形成されていればよく、そのサイズ、形状、巻き数、線幅等はRFIDシステム1に要求される性能、規格等を勘案して適宜設定することができる。このアンテナコイルを形成する方法としては、表面が絶縁層に被覆された導電材をベース板7に貼り付けた構造や、絶縁フィルム等にアルミニウム箔や銅箔等の金属膜を形成し、エッチングや打ち抜き法等によって渦巻き状のアンテナコイルを形成する等、任意の手法を用いることができる。
【0028】
上記構造のタグ2の性能を確認するために、第1のアンテナコイル8aと第2のアンテナコイル8bの寸法(長さ及び幅)、巻数を変化させた場合の単独での作動距離と同時に動作させた場合の作動距離とを測定した。その結果を表1に示す。
【0029】
【表1】
【0030】
表1より、第1アンテナコイル8aと第2アンテナコイル8bの寸法を同じにした場合(共に長さ75mm、幅45mm)、双方のアンテナが干渉して共に作動距離が極端に短くなっている。これに対して、第2アンテナコイル8bの寸法を小さくし、第1アンテナコイル8aの内側に配置した場合は、単独で動作させた場合に比べて作動距離は小さいが、第1通信部6a(ISO15693)に関しては55〜70mm、第2通信部6b(ISO14443)に関しては4〜8mmの作動距離を確保することができ、1つのタグ2の中に複数のアンテナを共存させることが可能であることがわかる。
【0031】
このように上記構造では、2つの共振回路の干渉は許容できる程度に止めることはできるが、ISO15693の作動距離を大きくするとISO14443の作動距離は短くなり、それぞれの最適条件でも作動距離は単独の場合に較べ短いという欠点はあるが、構造が簡単で製造が容易であり、2つのアンテナの領域を重ねることができるためタグ2を小さくできるという特徴がある。また、作動距離がもっとも長くなる方向が現在広く使用されている空芯コイルのタグと同じであるため、IDカード等として使用する場合、使用者の習熟が容易である。
【0032】
[実施例2]
次に、本発明の第2の実施例に係るRFIDタグについて、図3を参照して説明する。図3は、第2の実施例に係るタグのアンテナコイルの構造を示す図である。
【0033】
第1の実施例では、第1アンテナコイル8aの内側に第2アンテナコイル8bを設置したが、アンテナの相互干渉を抑制するため巻線は重ならない方が好ましい。そこで本実施例では、図3に示すように、ベース板7上に第1アンテナコイル8aと第1IC9aとを含む第1通信部6aと、第2アンテナコイル8bと第2IC9bとを含む第2通信部6bとを所定の間隔(W)だけ離して並べて設置している。
【0034】
なお、図では2つのアンテナコイルを略等しいサイズで対称となるように形成しているが、各々のアンテナコイルの構造は図の構成に限定されず、ベース板7上に各々の巻き線が交差しないように形成されていればよく、第1の実施例と同様に、そのサイズ、形状、巻き数、線幅、配置位置、製法等はRFIDシステムに要求される性能、規格等を勘案して適宜設定することができる。
【0035】
上記構造のタグの性能を確認するために、長さ75mm×幅45mm、巻数2回の第1のアンテナコイル8aと、長さ45mm×幅27mm、巻数4回の第2のアンテナコイル8bの巻き線が最も近づく部分の間隔(W)を変化させた場合の単独での作動距離と同時に動作させた場合の作動距離とを測定した。その結果を表2に示す。
【0036】
【表2】
【0037】
表2より、第1アンテナコイル8aと第2アンテナコイル8bの間隔が0mmの場合は双方のアンテナが干渉して共に作動距離が極端に短くなっているが、間隔が増加するに従って作動距離が大きくなっていることがわかる。特に、間隔40mmでは単独で動作させる場合とほぼ同様の作動距離が得られており、第1の実施例よりもアンテナの相互干渉が抑制されていることが分かる。
【0038】
この構造では、アンテナコイルを所定の間隔をあけて並べるためにアンテナの占有面積が大きくなり、タグ2の大きさが決まっている場合はアンテナコイルを小さくしなければならず、作動距離は多少小さくなるが、サイズの制限が厳しくない場合は良好な作動距離を得ることができ、また、既存のアンテナコイルの形状や構造を変更せずに使用できるため、タグ2のコストを低減できるという特徴がある。
【0039】
[実施例3]
次に、本発明の第3の実施例に係るRFIDタグについて、図4乃至図7を参照して説明する。図4は、第3の実施例に係るタグのアンテナコイルの構造を示す図であり、図5は、本実施例の効果を説明するための図である。また、図6は、本実施例のタグに用いるシールの他の構造を示す図であり、図7は、本実施例で使用する軟磁性材の構造を模式的に示す図である。なお、本実施例は2つのアンテナコイルの干渉を抑制するために軟磁性材と導電材とを備えるシールを設けたことを特徴とするものである。
【0040】
図4に示すように、本実施例のタグ2は、2枚のベース板7a、7bの各々に、第1アンテナコイル8aと第1IC9aとを含む第1通信部6aと、第2アンテナコイル8bと第2IC9bとを含む第2通信部6b(図示せず)とを設け、導電材12を軟磁性材11a及び11bで挟み込んで形成したシール10を介して2枚のベース板7a、7bを対向配置したものである。なお、本実施例においても各々のアンテナコイルの構造は図の構成に限定されず、そのサイズ、形状、巻き数、線幅、配置位置、製法等は任意に設定することができる。
【0041】
ここで、シール10を介在させることなく2枚のベース板7a、7bを対向するように配置した場合、図5(b)に示すように第1アンテナコイル8aの磁束13aと第2アンテナコイル8bの磁束13bとが鎖交し干渉を起こしてしまうが、軟磁性材11a/導電材12/軟磁性材11bからなるシール10を介在させることにより、図5(a)に示すように、各々のアンテナコイルの磁束13は軟磁性材11aまたは11b中を通り、その端面から略平行に抜けていくため、両アンテナコイルの磁束の鎖交を防止することができ、アンテナの相互干渉を抑制することができる。
【0042】
ここでシール10を介在させる構造の場合、アンテナコイルを重ね合わせることができるため、第2の実施例に比べてアンテナコイルの寸法を大きくすることができるが、一方、導電材12がリーダ/ライタ3からの電波を遮蔽するために作動距離はやや小さくなる。その場合には、例えば、図6に示すように導電材12の中央部(アンテナコイルの略中央部)に孔14を設ける構造としたり、導電材12の厚さを薄くする等の方法によりリーダ/ライタ3からの電波の遮蔽を緩和すれば作動距離を改善することができる。なお、軟磁性材11a、11bの中央部に孔を設けても作動距離は変わらない。このため軟磁性材11a、11bの節約のため中央部に孔を形成してもよく、また軟磁性材11a、11bと導電材12とを積層した後、積層した材料を打ち抜き等の方法を用いて孔14を設けても良い。
【0043】
この導電材12は300μmを超えると電波は全く通過しないため、導電材12を回り込んだリーダ/ライタ3の電波のみがアンテナコイルに達することになるため作動距離は小さくなる。また、導電材12がスパッタリング等により形成された極めて薄い膜(例えば0.1μm程度の膜)の場合はその抵抗の損失によりアンテナコイルの損失が増加する。上記の遮蔽効果と抵抗の損失及び材料の入手の容易さ等を勘案すると、導電材12としては5μm〜300μm、好ましくはアルミ箔として広範囲に使用されている8μm〜20μm程度の厚さが適当である。
【0044】
また、軟磁性材は、アモルファス合金、パーマロイ、電磁鋼、珪素鉄、センダスト合金、Fe−Al合金又は軟磁性フェライトの急冷凝固材、鋳造材、圧延材、鍛造材又は焼結材や、アモルファス箔又はアモルファス箔の積層材や、金属粉、カーボニル鉄粉、還元鉄粉、アトマイズ粉(純鉄、Si、Cr、Al等を含む鉄、パーマロイ、Co−Fe等)、アモルファス粉(B、P、Si、Cr等を含む鉄、Co、Niを水アトマイズして製造したもの)等の粒状の粉体若しくはフレークとプラスチック、ゴム等の有機物との複合材、又は上記粉体若しくはフレークを含む塗料の塗膜であっても良い。
【0045】
上記複合材を製造する方法としては、射出成形、塗布、圧縮成形、圧延等を用いることができる。射出成形又は圧縮成形により形成された軟磁性材はフェライトにより形成されたものと比較して、強靭であるため薄くしても割れ難いという特徴がある。塗布の場合は、例えば、粒状粉体をアトラター、ボールミル、スタンプミル等で扁平化してフレークとした後、フレーク又は粒状粉体を含む塗料をフィルム上に塗布/乾燥を繰り返して形成することができ、その際、塗布中に磁場を印加することによりフレークを一定の方向に配向させることができ、特性を向上させることができる。
【0046】
また、複合材におけるプラスチックとしては加工性の良い熱可塑性のプラスチックを用いたり、或いは耐熱性の良い熱硬化性のプラスチックを用いたりすることができ、また、絶縁性を有するアクリル、ポリエステル、ポリ塩化ビニル、ポリエチレン、ポリスチレン、エポキシ等の樹脂を用いることもできる。
【0047】
上記各種材料、製法は、タグ2に求められる性能に応じて、適宜選択することができる。例えば、複合材の場合は、図7(a)に示すような構造となり、プラスチック、ゴム等の樹脂バインダー16中に粉体、フレーク15が分散され、その粉体若しくはフレーク15が相互に絶縁されているため、軟磁性材全体としては導電性を有せず、高周波の電波を受けても渦電流損失を減少させることができ、本発明の構造に用いる材料として望ましい。また、アモルファス箔の積層材の場合は、図7(b)に示すようにアモルファス箔17と絶縁層18とが交互に積層された構造となり、製造が容易であるがアモルファス箔17での損失が大きいという問題がある。
【0048】
上記構造のタグの性能を確認するために、導電材12の厚さを変化させた場合及び孔14を設けた場合の単独での作動距離と同時に動作させた場合の作動距離とを測定した。また、シール10の効果を確認するためにシール10無しのタグについても同様に測定した。その結果を表3に示す。なお、本実験では軟磁性材としてはフレークを含む複合材を使用し、圧延で厚さ0.5mmに加工したものを用い、導電材12にはアルミを用い、試料(A)及び(B)は厚さ0.1mm、試料(C)は厚さ0.013mmとした。また、試料(B)及び(C)に設ける孔14の寸法は55mm×25mmとした。
【0049】
【表3】
【0050】
表3より、シール10無しの試料では双方のアンテナとも作動距離は極端に短くなっているが、シール10を介在させることにより作動距離が大幅に向上していることが分かる。また、導電材12を全面に設けた試料(A)に比べて、試料(A)の導電材12の略中心部に55mm×25mmの孔14を設けた試料(B)では動作距離が大きくなっており、更に、試料(B)の導電材12の厚さを薄くした試料(C)では更に作動距離が大きくなっていることが分かる。
【0051】
以上より、本実施例の構造では、タグ2が小さくても作動距離を比較的大きくすることができ、特に導電材12に孔14を設ければ作動距離は更に大きくすることができる。
【0052】
[実施例4]
次に、本発明の第4の実施例に係るRFIDタグについて、図8を参照して説明する。図8は、第4の実施例に係るタグのアンテナコイルの構造を示す図である。
【0053】
図8に示すように、本実施例のタグ2は、2枚のベース板7a、7bの各々に、第1アンテナコイル8aと第1IC9aとを含む第1通信部6aと、第2アンテナコイル8bと第2IC9bとを含む第2通信部6bとを設け、各々のアンテナコイルをずらして配置し、かつ、アンテナコイルが重なる領域にのみ平板状の軟磁性材11を配置したものである。なお、本実施例においても各々のアンテナコイルの構造は図の構成に限定されず、そのサイズ、形状、巻き数、線幅、配置位置、製法等は任意に設定することができる。また、第3の実施例と同等に、アンテナコイルが重なる領域に導電材12を軟磁性材11a及び11bで挟み込んで形成したシール10を配置する構成としてもよい。
【0054】
上記構成では、磁束が鎖交する部分にのみ軟磁性材11を設けているため、リーダ/ライタ3からの電波の遮蔽を抑制することができる。上記構造のタグの性能を確認するために、第1ベース板7aに長さ45mm×幅45mm、巻数4回の第1アンテナコイル7aを形成してISO15693に準拠した第1IC9aを接続し、第2ベース板7bに長さ45mm×幅45mm、巻数3回の第2アンテナコイル7bを形成してISO14443に準拠した第2IC9bを接続し、各々のアンテナコイルをずらして対向させ、その間に15mm×50mmの軟磁性材11を配置した試料を作成し、その作動距離を測定した。その結果を表4に示す。なお、軟磁性材11としてはFe−Cr−Si系のフレークとプラスチックからなる複合材を使用し、50μmのPETに厚さ100μmの複合材を塗布した塗布材を用いた。
【0055】
【表4】
【0056】
表4より、第1通信部6aの作動距離は250mm、第2通信部6bの作動距離は23mmであり、アンテナコイルの全面にシール10を配置した第3の実施例に比べて、作動距離が更に改善されていることが分かる。
【0057】
以上より、本実施例の構造では、第1乃至第3の実施例よりも作動距離を長くすることができ、タグ2をそれぞれの単独で動作させた場合と同等、即ちそれぞれのICが空芯の渦巻き状アンテナに接続されたタグと同じ作動距離を持つことから最適の方法であると言える。また、作動距離がもっとも長くなる方向が現在広く使用されている空芯コイルのタグと同じであるため、IDカード等として使用する場合、使用者の習熟が容易であるという特徴もあり、また、2つのICの作動距離が最大となる方向が同じであるため、どちらのICを作動させるかを意識すること無く使用することができる。
【0058】
[実施例5]
次に、本発明の第5の実施例に係るRFIDタグについて、図9を参照して説明する。図9は、第5の実施例に係るタグのアンテナコイルの構造を示す図である。なお、本実施例はベース板に渦巻き状に形成したアンテナコイルと磁芯に導線を巻回して形成したアンテナコイルとを混在させたことを特徴とするものである。
【0059】
図9に示すように、本実施例のタグ2は、ベース板7上に、渦巻き状の第1アンテナコイル8aと第1IC9aとを含む第1通信部6aを設け、第1アンテナコイル8aの内側に、平板状の軟磁性材料からなる磁芯19に第2アンテナコイル8bを巻回し第2IC9bを接続した第2通信部6bを配置したものである。なお、本実施例においても各々のアンテナコイルの構造は図の構成に限定されず、そのサイズ、形状、巻き数、線幅、配置位置、製法等は任意に設定することができる。
【0060】
上記構造のタグの性能を確認するために、長さ75mm×幅45mm、巻数2回の渦巻き状の第1アンテナコイル8aにISO15693に準拠した第1IC9aを接続し、第1アンテナコイル8aの内側の略中央部に、幅40mm×長さ25mm、厚さ0.5mmの複合材からなる磁芯19に箔線を5回巻いて第2アンテナコイル8bを形成し、ISO14443に準拠した第2IC9bを接続した試料を作成し、その作動距離を測定した。その結果、第1通信部6a(ISO15693)の作動距離は210mmであり、第2通信部6b(ISO14443)の作動距離は20mmであり、第4の実施例に近い作動距離が得られることが分かった。
【0061】
以上より、本実施例のように渦巻き状のアンテナと磁芯に導線を巻回したアンテナとを混在させる構造でもアンテナの相互干渉を抑制して各々の通信部の作動距離を大きくすることができる。また、このような構成では作動距離が最大となる方向が各々の通信部で略直交する方向となるため、所望のICを作動させる方向を意識的に選定することができるという特徴がある。
【0062】
[実施例6]
次に、本発明の第6の実施例に係るRFIDタグについて、図10を参照して説明する。図10は、第6の実施例に係るタグのアンテナコイルの構造を示す図である。なお、本実施例は平板状の磁芯に互いに直交する方向に導線を巻回してアンテナコイルを形成することを特徴とするものである。
【0063】
図10に示すように、本実施例のタグ2は、平板状の軟磁性材料からなる磁芯19に、一の方向(図では手前から奥側に向かう方向)に第1アンテナコイル8aを巻回して第1IC9aを接続した第1通信部6aと、直交する方向(図では左右方向)に第2アンテナコイル8bを巻回して第2IC9bを接続した第2通信部6bとを形成したものである。なお、本実施例においても各々のアンテナコイルの構造は図の構成に限定されず、そのサイズ、形状、巻き数、線幅、配置位置、製法等は任意に設定することができる。
【0064】
上記構造のタグ2の性能を確認するために、幅40mm×長さ40mm、厚さ0.5mmのフレークを含む複合材からなる磁芯19に厚さ35μm、幅1mmの箔線を10回巻いて第1アンテナコイル8aを形成してISO15693に準拠した第1IC9aを接続し、第1アンテナコイル8aと直交する方向に、厚さ35μm、幅1mmの箔線を5回巻いて第2アンテナコイル8bを形成してISO14443に準拠した第2IC9bを接続した試料を作成し、その作動距離を測定した。その結果、第1通信部6a(ISO15693)の作動距離は115mmであり、第2通信部6b(ISO14443)の作動距離は15mmであった。
【0065】
以上より、1つの磁芯に対して異なる方向に導線を巻回する本実施例の構造でもアンテナの相互干渉を抑制して各々の通信部の作動距離を大きくすることができると共に、作動距離が最大となる方向が直交するため、所望のICを作動させる方向を意識的に選定することができる。例えば、作動距離が最も長い方向はタグ2の面に平行であるため、側面に矩形の空芯アンテナを配置したゲートを通過する場合、胸のポケットに第1通信部6aのアンテナ軸を水平になる様に入れてゲートを通過すれば、作動距離が最も長い状態となるためポケットから取り出すことなくタグ2を検知することが可能である。
【0066】
[実施例7]
次に、本発明の第7の実施例に係るRFIDタグについて、図11乃至図14を参照して説明する。図11乃至図14は、第7の実施例に係るタグのアンテナコイルの構造を示す図である。なお、本実施例は2つの平板状の磁芯の各々に導線を巻回してアンテナコイルを形成することを特徴とするものである。
【0067】
図11に示すように、本実施例のタグ2は、平板状の軟磁性材からなる第1磁芯19aに、第1アンテナコイル8aを巻回し第1IC9aを接続した第1通信部6aと、同じく平板状の軟磁性材からなる第2磁芯19bに第2アンテナコイル8bを巻回し第2IC9bを接続した第2通信部6bとを並べて配置したものである。なお、本実施例においても各々のアンテナコイルの構造は図の構成に限定されず、そのサイズ、形状、巻き数、線幅、配置位置、製法等は任意に設定することができる。
【0068】
上記構造のタグの性能を確認するために、幅20mm×長さ70mm、厚さ0.5mmのフレークを含む複合材からなる磁芯を2つ設け、その一方に厚さ35μm、幅1mmの箔線を15回巻いて第1アンテナコイル8aを形成してISO15693に準拠した第1IC9aを接続し、他方に同じく厚さ35μm、幅1mmの箔線を8回巻いて第2アンテナコイル8bを形成してISO14443に準拠した第2IC9bを接続し、各々の磁芯を同一平面状に平行に並べて配置した試料を作成し、その作動距離を測定した。その結果、第1通信部6a(ISO15693)の作動距離は75mmであり、第2通信部6b(ISO14443)の作動距離は10mmであった。
【0069】
また、2つの磁芯を用いる構造の別の形態として、図12に示すように、平板状の軟磁性材からなる第1磁芯19aに第1アンテナコイル8aを巻回して第1IC9aを接続した第1通信部6aと、同様に平板状の軟磁性材からなる第2磁芯19bに第2アンテナコイル8bを巻回し第2IC9bを接続した第2通信部6bとを重ね合わせるように配置することができる。
【0070】
上記構造のタグの性能を確認するために、幅40mm×長さ70mm、厚さ0.5mmのフレークを含む複合材を2つ設け、一方に厚さ35μm、幅1mmの箔線を10回巻いて第1アンテナコイル8aを形成してISO15693準拠の第1IC9aを接続し、他方に厚さ35μm、幅1mmの箔線を5回巻いて第2アンテナコイル8bを形成してISO14443準拠の第2IC9bを接続し、両者を磁芯の面が対向するように重ね合わせた試料を作成し、その作動距離を測定した。その結果、第1通信部6a(ISO15693)の作動距離は120mmであり、第2通信部6b(ISO14443)の作動距離は15mmであった。
【0071】
以上より、本実施例の構造では、2つの通信部間をシール10等で分離しなくてもある程度の作動距離を確保することができる。この場合、図12の構造の方がアンテナコイルの面積を大きくできるために作動距離を大きくすることができるが、磁芯を2枚重ねる必要があるためカード型タグとした場合に厚みが増すという欠点がある。いずれの形態のタグとするかはRFIDシステムに求められる性能や使用形態を勘案して設定することができる。
【0072】
なお、図11及び図12では2つの磁芯の各々に同じ方向に箔線を巻回した構造としたが、各々の磁芯に直交する方向に箔線を巻回することもできる。例えば、互いに直交する方向に箔線を巻回したアンテナを重ね合わせる構造(図13参照)や、互いに直交する方向に箔線を巻回したアンテナを同一平面状に平行に並べる構造(図14参照)とすることもできる。このような構造の場合も2つの通信部間をシール10等で分離しなくてもある程度の作動距離を確保することができ、また、アンテナの軸を直交させることにより、第6の実施例と同様に、所望のICを動作させる方向を意識的に選定することができる。
【0073】
なお、上記各実施例では、タグ2内に、第1アンテナコイル8aと第1IC9aとを含む第1通信部6aと、第2アンテナコイル8bと第2IC9bとを含む第2通信部6bの2種類の通信部を設ける構造としたが、通信部は2種類に限定されず複数であればよく、各々の通信部の規格も近傍型(ISO15693)や近接型(ISO14443)に限定されず、任意の規格に準拠したものであればよい。また、上記実施例ではRFIDシステムに用いられるタグ用のアンテナについて記載したが、本発明は上記実施例に限定されるものではなく、異なる規格で準拠したアンテナを複数配置することが求められる任意のシステムに適用することができる。
【0074】
【発明の効果】
以上説明したように、本発明のRFIDタグ及び該タグとデータ交信を行うリーダ/ライタ並びに該タグを備えたRFIDシステムによれば、同一のタグを用いて、異なる形態(例えば、近傍型(ISO15693)と近接型(ISO14443)等)でリーダ/ライタと通信することができる。
【0075】
その理由は、タグのアンテナとして、大きな渦巻き状のアンテナの内側に小さい渦巻き状のアンテナを配置する構造(図2)、各々の形態に適したアンテナを所定の間隔をあけて並べて配置する構造(図3)、各々のベース板に形成したアンテナを軟磁性材/導電材/軟磁性材からなるシールを挟んで対向させる構造(図4)、各々のベース板に形成したアンテナをずらして対向させ、その間にシールを挿入する構造(図8)、渦巻き状のアンテナの内側に、平板状の磁芯に導線を巻回したアンテナを配置する構造(図9)、平板状の磁芯に互いに直交する方向に導線を巻回する構造(図10)、2つの平板状の磁芯に同一方向又は直交する方向に導線を巻回したアンテナを同一平面状に並べて又は重ね合わせて配置する構造(図11乃至図14)とし、各々のアンテナに異なる規格に準拠したICを接続することにより、アンテナの相互作用を抑制し、同一タグ内に異なる形態で動作する通信部を形成することができるからである。
【0076】
そして、このようなタグと、異なる規格の信号を処理する信号処理部を備えたリーダ/ライタとを備えたRFIDシステムを用いることにより、例えば、近傍型又は近接型のいずれの形態でも使用することが可能となる。また、同一のタグにより、通信距離やアンテナ軸方向の違いを利用して異なるリーダ/ライタとデータの通信を行うことができ、利用形態に合わせて複数のタグやリーダ/ライタを用意する必要がなくなり、RFIDシステムの汎用性、柔軟性、拡張性を高めることができる。
【図面の簡単な説明】
【図1】本発明のRFIDシステムの構成を模式的に示す図である。
【図2】本発明の第1の実施例に係るタグの構造を示す平面図である。
【図3】本発明の第2の実施例に係るタグの構造を示す平面図である。
【図4】本発明の第3の実施例に係るタグの構造を示す図であり、(a)は斜視図、(b)はA−A′線における断面図である。
【図5】本発明の第3の実施例に係るタグの効果を説明するための図であり、(a)は本実施例のタグの磁束、(b)は従来構造のタグの磁束を示す図である。
【図6】本発明の第3の実施例に係るタグに用いるシールの他の構造を示す図であり、(a)は斜視図、(b)はB−B′線における断面図である。
【図7】本発明に用いる軟磁性材の構造を模式的に示す図である。
【図8】本発明の第4の実施例に係るタグの構造を示す図であり、(a)は斜視図、(b)はC−C′線における断面図である。
【図9】本発明の第5の実施例に係るタグの構造を示す斜視図である。
【図10】本発明の第6の実施例に係るタグの構造を示す斜視図である。
【図11】本発明の第7の実施例に係るタグの構造を示す斜視図である。
【図12】本発明の第7の実施例に係るタグの他の構造を示す斜視図である。
【図13】本発明の第7の実施例に係るタグの他の構造を示す斜視図である。
【図14】本発明の第7の実施例に係るタグの他の構造を示す斜視図である。
【符号の説明】
1 RFIDシステム
2 タグ
3 リーダ/ライタ
4 リーダ/ライタ用アンテナ
5 信号処理部
6a 第1通信部
6b 第2通信部
7 ベース板
7a 第1ベース板
7b 第2ベース板
8a 第1アンテナコイル(近傍型(ISO15693)用)
8b 第2アンテナコイル(近接型(ISO14443)用)
9a 第1IC(近傍型(ISO15693)用)
9b 第2IC(近接型(ISO14443)用)
10 シール
11、11a、11b 軟磁性材
12 導電材
13、13a、13b 磁束
14 孔
15 フレーク
16 樹脂バインダー
17 アモルファス箔
18 絶縁層
19 磁芯
19a 第1磁芯
19b 第2磁芯[0001]
TECHNICAL FIELD OF THE INVENTION
The present invention relates to an RFID (Radio Frequency Identification) system that reads and writes data from and to an mounted IC chip in a non-contact manner, and particularly relates to an International Organization for Standard (ISO) / International Electrotechnical Communication (IEC). The present invention relates to a tag capable of complying with a plurality of standards conforming to the above-mentioned regulations, a reader or reader / writer communicating with the tag, and an RFID system provided with the tag.
[0002]
[Prior art]
In recent years, RFID systems for exchanging data between a tag having an IC chip and a reader / writer (or reader) have become widespread. Since the RFID system communicates data using antennas provided in each of the tag and the reader / writer, communication is possible even when the tag is separated from the reader / writer by several cm to several tens of cm. Due to its advantage of being resistant to static electricity and the like, it has been used in various fields such as factory production management, distribution management, and entry / exit management.
[0003]
The tag used in the RFID system includes a resonance circuit including an antenna coil and a capacitor, and an IC for storing information. The tag is adapted to the performance (eg, working distance and data communication speed) required of the RFID system. Tag and reader / writer are designed.
[0004]
Specifically, when the RFID system is classified by function, a proximity type (ISO15693) used for entry / exit / management of ID recognition and a proximity type (ISO14443) used for authentication / payment and electronic tickets can be used. In the proximity type, the communication speed is high (106 kbps), but the working distance is short (about 10 cm). On the other hand, in the proximity type, the communication speed (6.67 kbps) is lower than that in the proximity type, but the tag transmission capacity is increased To enable long-distance communication (50 cm to 70 cm), and the shape of the antenna coil of the tag, the IC to be used, the signal processing circuit of the reader / writer, etc. are designed according to each standard (for example, No. 183688).
[0005]
[Patent Document 1]
JP-A-14-183688 (page 2)
[0006]
[Problems to be solved by the invention]
As described above, in the RFID system, the working distance and the communication speed are specified in accordance with the use form, so that a tag manufactured according to the proximity type (or proximity type) standard can be used as the proximity type (or proximity type). In the case where the RFID system is used in a plurality of forms, it is necessary to prepare a plurality of sets of tags and readers / writers manufactured so as to correspond to each standard.
[0007]
Since this RFID system is capable of contactlessly exchanging data, it has been used for various purposes in recent years, and its use is expected to expand in the future. When the RFID system is applied, the user has to prepare tags for the number of uses, which is inconvenient, and the manufacturer also has to make tags and reader / writers for each use, which is efficient. is not.
[0008]
The present invention has been made in view of the above problems, and has as its main object to provide a tag capable of complying with a plurality of standards, a reader / writer for communicating with the tag, and an RFID system including the tag. To provide.
[0009]
[Means for Solving the Problems]
Since ISO15693 and ISO14443 have different communication systems, there is basically no interference. However, when a plurality of antennas, which are a plurality of resonance circuits, are arranged in one tag, the two resonance circuits are close to each other and interfere with each other to shorten the working distance. This mutual interference is a change in the resonance frequency and a significant decrease in the Q value. It is not impossible to cope with the change of the resonance frequency, such as changing the capacity of the capacitor so that the frequency becomes a predetermined frequency in the state of interference, but it is extremely difficult to implement because the coping itself changes the degree of interference. Cannot be prevented from significantly decreasing. The present invention proposes the following method for keeping mutual interference between coils within an acceptable range.
[0010]
The tag of the present invention is a tag for exchanging data with a reader or reader / writer without contact, and conforms to a plurality of antennas and different standards connected to the plurality of antennas in one tag. And a plurality of ICs.
[0011]
Further, the tag of the present invention is a tag for exchanging data with a reader or a reader / writer in a non-contact manner, in which two antennas composed of a spiral conducting wire are arranged in the same plane. An IC conforming to a different standard is connected to each of the two antennas, and one of the two antennas is arranged inside the other antenna; or , The two antennas may be arranged side by side at a predetermined interval.
[0012]
Further, the tag of the present invention is a tag for performing data communication with a reader or a reader / writer in a non-contact manner, and includes two antennas formed of a spiral-shaped conductor in one tag, and each of the antennas Are disposed so as to face each other via a three-layered separation layer in which a conductive material is sandwiched between soft magnetic materials, and an IC conforming to different standards is connected to each of the two antennas. The two antennas are arranged so as to be displaced in the direction of the antenna surface so that a part of the two antennas overlap when viewed from a direction orthogonal to the antenna surface, and the separation layer or the flat plate is provided at least in the overlapping region. The conductive material is not provided in a configuration in which a soft magnetic material in a shape of is provided, or in a substantially central portion of a region surrounded by the two antennas when viewed from a direction orthogonal to the antenna surface. Hole It can be configured to have been made.
[0013]
In the present invention, the conductive material is made of an aluminum plate or foil, or a copper plate or foil, and the thickness of the conductive material is set to approximately 5 μm to 300 μm, preferably approximately 8 μm to 20 μm. It can also be configured.
[0014]
Further, the tag of the present invention is a tag for performing data communication with a reader or a reader / writer in a non-contact manner, and includes a first antenna formed of a spiral conductive wire and a flat soft A second antenna in which a conductive wire is wound around a magnetic core made of a magnetic material, wherein each of the two antennas is connected to an IC conforming to a different standard, and the second antenna is The first antenna may be arranged such that the flat surface of the plate-shaped magnetic core is substantially parallel to the antenna surface of the first antenna.
[0015]
The tag of the present invention is a tag for performing data communication with a reader or a reader / writer in a non-contact manner. In one tag, lead wires are provided in different directions on a magnetic core made of a flat soft magnetic material. Two wound antennas are provided, and each of the two antennas is connected to an IC conforming to a different standard.
[0016]
Further, the tag of the present invention is a tag for performing data communication with a reader or a reader / writer in a non-contact manner, and in one tag, a conductive wire is connected to each of two magnetic cores made of a flat soft magnetic material. , And an IC conforming to different standards is connected to each of the two antennas, and the two antennas have their antenna axes substantially parallel or substantially orthogonal. Preferably, the conductive wire is wound so as to perform the above operation.
[0017]
In the present invention, the soft magnetic material is preferably a composite material of soft magnetic flakes or soft magnetic powder and plastic or rubber, and the IC includes an IC conforming to ISO15693 and an IC conforming to ISO14443. Is preferred.
[0018]
A reader or reader / writer of the present invention is a reader or reader / writer that communicates with the tag described above, and includes a plurality of signal processing units that enable data communication with each of the ICs conforming to the different standards. It is provided with.
[0019]
Further, an RFID system according to the present invention is an RFID system including the tag described above and a reader or reader / writer, wherein a plurality of antennas formed in one tag and a plurality of ICs conforming to different standards are provided. Are used to perform data communication in a plurality of forms having different working distances or different data communication speeds.
[0020]
As described above, according to the present invention, one tag includes a plurality of pairs of antennas and ICs designed to correspond to a plurality of standards (for example, standards conforming to the standards of ISO15693 and ISO14443), Since each antenna is arranged so that mutual interference can be suppressed, one tag can be used in a plurality of forms.
[0021]
Further, by providing the reader / writer with a plurality of signal processing units capable of exchanging data with tags operating in a plurality of standards, a plurality of RFID systems can be constructed with one reader / writer. Versatility and flexibility can be improved. Further, even in an environment where readers / writers operating in different forms are installed, data communication with a plurality of readers / writers can be performed using one tag, so that a plurality of tags suitable for each form are held. This eliminates the need to perform, and can enhance the convenience for the user.
[0022]
BEST MODE FOR CARRYING OUT THE INVENTION
In a preferred embodiment of the RFID tag according to the present invention, a plurality of antennas are arranged in one tag, and each antenna is provided with an IC conforming to a different standard such as an IC conforming to ISO15693 or an IC conforming to ISO14443. A structure in which a plurality of antennas are arranged such that a small spiral antenna coil is arranged inside a large spiral antenna coil (FIG. 2), and a predetermined interval is set without overlapping the two spiral antenna coils. Open side-by-side structure (Fig. 3), structure in which two spiral antenna coils are superposed on each other via a seal made of soft magnetic material, conductive material and soft magnetic material (Fig. 4), two spiral shapes Structure in which a part of the antenna coil is superimposed and displaced via the above-mentioned seal made of soft magnetic material or conductive material and soft magnetic material (FIG. 8). (FIG. 9), a structure in which conductors are wound so as to be orthogonal to each other on a flat magnetic core (FIG. 10), A structure in which two antennas each having a rectangular shape are provided, and antennas each of which is wound with a lead wire are arranged side by side or superposed so that their antenna axes are parallel or orthogonal (FIGS. 11 to 14), etc. It is possible to suppress the mutual interference between the two antennas and construct an RFID system that can be used in different forms such as a proximity type and a proximity type.
[0023]
【Example】
In order to describe the above-described embodiment of the present invention in more detail, examples of the present invention will be described.
[0024]
[Example 1]
First, a tag, a reader / writer, and an RFID system according to a first embodiment of the present invention will be described with reference to FIGS. FIG. 1 is a diagram schematically showing the configuration of the RFID system of the present invention, and FIG. 2 is a diagram showing the structure of the antenna coil of the tag according to the first embodiment.
[0025]
As shown in FIG. 1, an
[0026]
As shown in FIG. 2, the
[0027]
In the figure, the configuration is such that the spiral winding is wound twice, but the structure of the antenna coil is not limited to the configuration shown in the figure, and is formed on the
[0028]
In order to confirm the performance of the
[0029]
[Table 1]
[0030]
From Table 1, when the dimensions of the first antenna coil 8a and the second antenna coil 8b are the same (both 75 mm in length and 45 mm in width), both antennas interfere and the working distance is extremely short. On the other hand, when the size of the second antenna coil 8b is reduced and the second antenna coil 8b is arranged inside the first antenna coil 8a, the working distance is shorter than when the antenna is operated alone, but the first communication unit 6a ( A working distance of 55 to 70 mm for ISO15693) and a working distance of 4 to 8 mm for the second communication unit 6b (ISO14443) can be secured, and a plurality of antennas can coexist in one
[0031]
As described above, in the above structure, the interference between the two resonance circuits can be suppressed to an acceptable level. However, when the working distance of ISO15693 is increased, the working distance of ISO14443 is shortened. However, it has a feature that the
[0032]
[Example 2]
Next, an RFID tag according to a second embodiment of the present invention will be described with reference to FIG. FIG. 3 is a diagram illustrating the structure of the antenna coil of the tag according to the second embodiment.
[0033]
In the first embodiment, the second antenna coil 8b is installed inside the first antenna coil 8a, but it is preferable that the windings do not overlap to suppress mutual interference of the antennas. Therefore, in the present embodiment, as shown in FIG. 3, the first communication unit 6a including the first antenna coil 8a and the first IC 9a on the
[0034]
In the drawing, two antenna coils are formed so as to be symmetrical with substantially the same size, but the structure of each antenna coil is not limited to the configuration shown in the drawing, and each winding crosses over the
[0035]
In order to confirm the performance of the tag having the above structure, the first antenna coil 8a having a length of 75 mm × width 45 mm and two turns and the second antenna coil 8b having a length of 45 mm × width 27 mm and four turns are used. The working distance was measured when the distance (W) between the line closest to the line was changed, and the working distance when the line was operated at the same time. Table 2 shows the results.
[0036]
[Table 2]
[0037]
According to Table 2, when the distance between the first antenna coil 8a and the second antenna coil 8b is 0 mm, both antennas interfere and the working distance is extremely short, but the working distance increases as the distance increases. You can see that it has become. In particular, at a distance of 40 mm, a working distance almost the same as that of the case of operating alone is obtained, and it can be seen that mutual interference of antennas is suppressed more than in the first embodiment.
[0038]
In this structure, the antenna coil occupies a large area in order to arrange the antenna coils at predetermined intervals, and when the size of the
[0039]
[Example 3]
Next, an RFID tag according to a third embodiment of the present invention will be described with reference to FIGS. FIG. 4 is a diagram illustrating the structure of the antenna coil of the tag according to the third embodiment, and FIG. 5 is a diagram illustrating the effect of the present embodiment. FIG. 6 is a diagram showing another structure of the seal used for the tag of this embodiment, and FIG. 7 is a diagram schematically showing the structure of the soft magnetic material used in this embodiment. This embodiment is characterized in that a seal including a soft magnetic material and a conductive material is provided to suppress interference between two antenna coils.
[0040]
As shown in FIG. 4, the
[0041]
Here, when the two base plates 7a and 7b are arranged to face each other without the interposition of the
[0042]
Here, in the case of the structure in which the
[0043]
When the conductive material 12 exceeds 300 μm, radio waves do not pass at all, so that only the radio wave of the reader / writer 3 wrapping around the conductive material 12 reaches the antenna coil, so that the working distance is reduced. When the conductive material 12 is an extremely thin film (for example, a film having a thickness of about 0.1 μm) formed by sputtering or the like, the loss of the resistance increases the loss of the antenna coil. In consideration of the above shielding effect, loss of resistance, availability of materials, and the like, the conductive material 12 has a thickness of about 5 μm to 300 μm, preferably about 8 μm to 20 μm, which is widely used as an aluminum foil. is there.
[0044]
The soft magnetic material is a rapidly solidified material of amorphous alloy, permalloy, electromagnetic steel, silicon iron, sendust alloy, Fe-Al alloy or soft magnetic ferrite, a cast material, a rolled material, a forged material or a sintered material, or an amorphous foil. Or, a laminated material of amorphous foil, metal powder, carbonyl iron powder, reduced iron powder, atomized powder (pure iron, iron including Si, Cr, Al, etc., permalloy, Co-Fe, etc.), amorphous powder (B, P, A composite material of a granular powder or flake such as iron, Co, or Ni containing water containing Si, Cr, etc. and an organic substance such as plastic or rubber, or a paint containing the above powder or flake. It may be a coating film.
[0045]
Injection molding, coating, compression molding, rolling and the like can be used as a method for producing the composite material. A soft magnetic material formed by injection molding or compression molding is tougher than a material formed of ferrite, and thus has a feature that it is hard to crack even when thinned. In the case of application, for example, after the granular powder is flattened by an attritor, a ball mill, a stamp mill or the like to form flakes, the coating containing the flakes or the granular powder can be repeatedly applied / dried on a film to be formed. In this case, by applying a magnetic field during coating, the flakes can be oriented in a certain direction, and the characteristics can be improved.
[0046]
Further, as the plastic in the composite material, a thermoplastic plastic having good workability or a thermosetting plastic having good heat resistance can be used, and acrylic, polyester, or polychlorinated having insulating properties can be used. Resins such as vinyl, polyethylene, polystyrene, and epoxy can also be used.
[0047]
The above various materials and manufacturing methods can be appropriately selected according to the performance required of the
[0048]
In order to confirm the performance of the tag having the above structure, the working distance when the thickness of the conductive material 12 was changed and the working distance when the hole was provided and when the tag was operated simultaneously were measured. In addition, in order to confirm the effect of the
[0049]
[Table 3]
[0050]
From Table 3, it can be seen that the working distance is extremely short for both antennas in the sample without the
[0051]
As described above, in the structure of the present embodiment, even if the
[0052]
[Example 4]
Next, an RFID tag according to a fourth embodiment of the present invention will be described with reference to FIG. FIG. 8 is a diagram illustrating the structure of the antenna coil of the tag according to the fourth embodiment.
[0053]
As shown in FIG. 8, the
[0054]
In the above configuration, since the soft magnetic material 11 is provided only at the portion where the magnetic flux links, the shielding of the radio wave from the reader / writer 3 can be suppressed. In order to confirm the performance of the tag having the above structure, a first antenna coil 7a having a length of 45 mm × 45 mm and four turns is formed on the first base plate 7a, and a first IC 9a based on ISO15693 is connected to the first base plate 7a. A second antenna coil 7b having a length of 45 mm x a width of 45 mm and three turns is formed on the base plate 7b, a second IC 9b compliant with ISO14443 is connected, and the respective antenna coils are displaced to face each other. A sample on which the soft magnetic material 11 was arranged was prepared, and the working distance was measured. Table 4 shows the results. As the soft magnetic material 11, a composite material made of Fe-Cr-Si-based flakes and plastic was used, and a coating material obtained by applying a composite material having a thickness of 100 μm to PET having a thickness of 50 μm was used.
[0055]
[Table 4]
[0056]
From Table 4, the working distance of the first communication unit 6a is 250 mm, the working distance of the second communication unit 6b is 23 mm, and the working distance is smaller than that of the third embodiment in which the
[0057]
As described above, in the structure of this embodiment, the working distance can be made longer than that of the first to third embodiments, and is equivalent to the case where each
[0058]
[Example 5]
Next, an RFID tag according to a fifth embodiment of the present invention will be described with reference to FIG. FIG. 9 is a diagram illustrating the structure of the antenna coil of the tag according to the fifth embodiment. This embodiment is characterized in that an antenna coil formed in a spiral shape on a base plate and an antenna coil formed by winding a conductive wire around a magnetic core are mixed.
[0059]
As shown in FIG. 9, the
[0060]
In order to confirm the performance of the tag having the above structure, a first IC 9a based on ISO15693 is connected to a spiral first antenna coil 8a having a length of 75 mm × a width of 45 mm and two turns, and the inside of the first antenna coil 8a is connected. At a substantially central portion, a second antenna coil 8b is formed by winding a foil wire five times around a magnetic core 19 made of a composite material having a width of 40 mm × a length of 25 mm and a thickness of 0.5 mm, and a second IC 9b compliant with ISO14443 is connected. A working sample was prepared and its working distance was measured. As a result, the working distance of the first communication unit 6a (ISO15693) is 210 mm, and the working distance of the second communication unit 6b (ISO14443) is 20 mm, and a working distance close to that of the fourth embodiment can be obtained. Was.
[0061]
As described above, even in the structure in which the spiral antenna and the antenna in which the conductor is wound around the magnetic core are mixed as in the present embodiment, the mutual interference of the antennas can be suppressed and the working distance of each communication unit can be increased. . Further, in such a configuration, since the direction in which the working distance becomes maximum is a direction substantially orthogonal to each communication unit, there is a feature that the direction in which a desired IC is operated can be consciously selected.
[0062]
[Example 6]
Next, an RFID tag according to a sixth embodiment of the present invention will be described with reference to FIG. FIG. 10 is a diagram illustrating the structure of the antenna coil of the tag according to the sixth embodiment. This embodiment is characterized in that a conductor is wound around a flat magnetic core in a direction orthogonal to each other to form an antenna coil.
[0063]
As shown in FIG. 10, the
[0064]
In order to confirm the performance of the
[0065]
As described above, even in the structure of the present embodiment in which the conductor is wound in a different direction around one magnetic core, the mutual interference of the antennas can be suppressed and the working distance of each communication unit can be increased. Since the maximum directions are orthogonal to each other, it is possible to consciously select a direction for operating a desired IC. For example, since the direction in which the working distance is the longest is parallel to the surface of the
[0066]
[Example 7]
Next, an RFID tag according to a seventh embodiment of the present invention will be described with reference to FIGS. 11 to 14 are views showing the structure of the antenna coil of the tag according to the seventh embodiment. This embodiment is characterized in that a conductor is wound around each of two flat magnetic cores to form an antenna coil.
[0067]
As shown in FIG. 11, the
[0068]
In order to confirm the performance of the tag having the above structure, two magnetic cores made of a composite material including flakes having a width of 20 mm × a length of 70 mm and a thickness of 0.5 mm were provided, and one of them was a foil having a thickness of 35 μm and a width of 1 mm. The first antenna coil 8a is formed by winding the wire 15 times, and the first IC 9a conforming to ISO15693 is connected thereto. The other antenna coil 8b is formed by winding the same 35 mm thick and 1 mm wide foil wire on the other side. Then, a second IC 9b based on ISO14443 was connected, a sample was prepared in which the respective magnetic cores were arranged in parallel on the same plane, and the working distance was measured. As a result, the working distance of the first communication unit 6a (ISO15693) was 75 mm, and the working distance of the second communication unit 6b (ISO14443) was 10 mm.
[0069]
As another form of the structure using two magnetic cores, as shown in FIG. 12, a first antenna coil 8a is wound around a first magnetic core 19a made of a flat soft magnetic material, and a first IC 9a is connected. The first communication unit 6a and the second communication unit 6b in which the second antenna coil 8b is wound around the second magnetic core 19b also made of a soft magnetic material having a flat plate shape and the second IC 9b is connected to the first communication unit 6a are arranged so as to overlap each other. Can be.
[0070]
In order to confirm the performance of the tag having the above structure, two composite materials including flakes having a width of 40 mm x a length of 70 mm and a thickness of 0.5 mm were provided, and one of the foils having a thickness of 35 μm and a width of 1 mm was wound 10 times. To form a first antenna coil 8a to connect to a first IC 9a according to ISO15693, and to the other side, wind a foil wire having a thickness of 35 μm and a width of 1 mm five times to form a second antenna coil 8b to form a second IC9b according to ISO14443. A sample was prepared in which the magnetic cores were connected to each other and the magnetic core surfaces were opposed to each other, and the working distance was measured. As a result, the working distance of the first communication unit 6a (ISO15693) was 120 mm, and the working distance of the second communication unit 6b (ISO14443) was 15 mm.
[0071]
As described above, in the structure of the present embodiment, a certain working distance can be secured without separating the two communication units by the
[0072]
In FIGS. 11 and 12, a foil wire is wound around each of the two magnetic cores in the same direction. However, a foil wire may be wound around each of the magnetic cores in a direction perpendicular to the respective magnetic cores. For example, a structure in which antennas having foil wires wound in mutually orthogonal directions are superposed (see FIG. 13), or a structure in which antennas having foil wires wound in mutually orthogonal directions are arranged in parallel on the same plane (see FIG. 14) ). Even in the case of such a structure, a certain working distance can be ensured without separating the two communication units by the
[0073]
In each of the above embodiments, the
[0074]
【The invention's effect】
As described above, according to the RFID tag of the present invention, the reader / writer for performing data communication with the tag, and the RFID system including the tag, the same tag can be used in a different form (for example, a proximity type (ISO15693)). ) And a proximity type (such as ISO14443)).
[0075]
The reason is that as a tag antenna, a structure in which a small spiral antenna is arranged inside a large spiral antenna (FIG. 2), and a structure in which antennas suitable for each form are arranged at predetermined intervals (FIG. 2). FIG. 3), a structure in which the antennas formed on each base plate are opposed to each other with a seal made of soft magnetic material / conductive material / soft magnetic material therebetween (FIG. 4), and the antennas formed on each base plate are displaced and opposed. , A structure in which a seal is inserted therebetween (FIG. 8), a structure in which a conductive wire is wound around a flat magnetic core inside a spiral antenna (FIG. 9), and which are orthogonal to the flat magnetic core. (Fig. 10) A structure in which two flat magnetic cores are wound with conductors in the same direction or in a direction orthogonal to each other, and the antennas are arranged side by side or superposed on each other (Fig. 10). 11 to figure 4), and by connecting the IC conforming to different standards in each antenna, suppresses the interaction of the antenna, it is possible to form a communication unit which operates in different forms in the same tag.
[0076]
By using an RFID system including such a tag and a reader / writer including a signal processing unit that processes a signal of a different standard, for example, the RFID system can be used in either a proximity type or a proximity type. Becomes possible. In addition, the same tag enables data communication with different reader / writers by utilizing the difference in communication distance and antenna axis direction, and it is necessary to prepare a plurality of tags and reader / writers according to the usage form. As a result, the versatility, flexibility and expandability of the RFID system can be improved.
[Brief description of the drawings]
FIG. 1 is a diagram schematically showing a configuration of an RFID system according to the present invention.
FIG. 2 is a plan view showing the structure of the tag according to the first embodiment of the present invention.
FIG. 3 is a plan view showing a structure of a tag according to a second embodiment of the present invention.
4A and 4B are diagrams showing a structure of a tag according to a third embodiment of the present invention, wherein FIG. 4A is a perspective view, and FIG. 4B is a cross-sectional view taken along line AA ′.
FIGS. 5A and 5B are diagrams for explaining the effect of the tag according to the third embodiment of the present invention, wherein FIG. 5A shows the magnetic flux of the tag of the present embodiment, and FIG. FIG.
FIGS. 6A and 6B are diagrams showing another structure of the seal used for the tag according to the third embodiment of the present invention, wherein FIG. 6A is a perspective view and FIG. 6B is a cross-sectional view taken along line BB ′.
FIG. 7 is a diagram schematically showing a structure of a soft magnetic material used in the present invention.
FIGS. 8A and 8B are views showing the structure of a tag according to a fourth embodiment of the present invention, wherein FIG. 8A is a perspective view and FIG. 8B is a cross-sectional view taken along line CC ′.
FIG. 9 is a perspective view showing a structure of a tag according to a fifth embodiment of the present invention.
FIG. 10 is a perspective view illustrating a structure of a tag according to a sixth embodiment of the present invention.
FIG. 11 is a perspective view illustrating a structure of a tag according to a seventh embodiment of the present invention.
FIG. 12 is a perspective view showing another structure of the tag according to the seventh embodiment of the present invention.
FIG. 13 is a perspective view showing another structure of the tag according to the seventh embodiment of the present invention.
FIG. 14 is a perspective view showing another structure of the tag according to the seventh embodiment of the present invention.
[Explanation of symbols]
1 RFID system
2 tags
3 Reader / writer
4 Reader / writer antenna
5 Signal processing unit
6a First communication unit
6b Second communication unit
7 Base plate
7a First base plate
7b Second base plate
8a 1st antenna coil (for proximity type (ISO15693))
8b 2nd antenna coil (for proximity type (ISO14443))
9a 1st IC (for proximity type (ISO15693))
9b 2nd IC (for proximity type (ISO14443))
10 seals
11, 11a, 11b Soft magnetic material
12 conductive material
13, 13a, 13b Magnetic flux
14 holes
15 flakes
16 Resin binder
17 Amorphous foil
18 Insulating layer
19 magnetic core
19a 1st magnetic core
19b 2nd magnetic core
Claims (19)
1つの前記タグ内に、複数のアンテナと、該複数のアンテナに接続される、異なる規格に準拠した複数のICとを備えることを特徴とするタグ。A tag for exchanging data with a reader or reader / writer without contact,
A tag comprising a plurality of antennas and a plurality of ICs connected to the plurality of antennas and conforming to different standards, in one tag.
1つの前記タグ内に、渦巻き状の導線からなる2つのアンテナが同一平面状に配置され、前記2つのアンテナの各々には、異なる規格に準拠したICが接続されていることを特徴とするタグ。A tag for exchanging data with a reader or reader / writer without contact,
In one tag, two antennas made of a spiral conductive wire are arranged on the same plane, and each of the two antennas is connected to an IC conforming to a different standard. .
1つの前記タグ内に、渦巻き状の導線からなる2つのアンテナを備え、各々の前記アンテナは、導電材を軟磁性材で挟み込んだ3層構造の分離層を介して対向するように配置され、前記2つのアンテナの各々には、異なる規格に準拠したICが接続されていることを特徴とするタグ。A tag for communicating data with a reader or reader / writer without contact,
In one tag, there are provided two antennas made of a spiral-shaped conductive wire, and each of the antennas is arranged so as to face each other via a separation layer having a three-layer structure in which a conductive material is sandwiched between soft magnetic materials. An IC compliant with different standards is connected to each of the two antennas.
1つの前記タグ内に、渦巻き状の導線からなる2つのアンテナを備え、前記2つのアンテナは、アンテナ面に直交する方向から見て、該2つのアンテナの一部が相重なるように前記アンテナ面方向にずらして配置され、少なくとも前記相重なる領域に平板状の軟磁性材が配設され、前記2つのアンテナの各々には、異なる規格に準拠したICが接続されていることを特徴とするタグ。A tag for communicating data with a reader or reader / writer without contact,
In one tag, there are provided two antennas made of a spiral conductive wire, and the two antennas are arranged such that when viewed from a direction orthogonal to the antenna surface, the two antennas overlap each other so that a part of the two antennas overlap each other. A tag that is arranged in a direction shifted from each other, a flat soft magnetic material is provided at least in the overlapping area, and an IC conforming to different standards is connected to each of the two antennas. .
1つの前記タグ内に、渦巻き状の導線からなる第1のアンテナと、平板状の軟磁性材からなる磁芯に導線を巻回した第2のアンテナとを備え、前記2つのアンテナの各々には、異なる規格に準拠したICが接続されていることを特徴とするタグ。A tag for communicating data with a reader or reader / writer without contact,
In one tag, there is provided a first antenna made of a spiral conductive wire, and a second antenna formed by winding a conductive wire around a magnetic core made of a flat soft magnetic material, and each of the two antennas Is a tag to which ICs conforming to different standards are connected.
1つの前記タグ内に、平板状の軟磁性材からなる磁芯に異なる方向に導線を巻回した2つのアンテナを備え、前記2つのアンテナの各々には、異なる規格に準拠したICが接続されていることを特徴とするタグ。A tag for communicating data with a reader or reader / writer without contact,
In one tag, there are provided two antennas each having a conductor wound in a different direction around a magnetic core made of a flat soft magnetic material, and an IC conforming to different standards is connected to each of the two antennas. Tags characterized by the following.
1つの前記タグ内に、平板状の軟磁性材からなる2つの磁芯の各々に導線を巻回した2つのアンテナを備え、前記2つのアンテナの各々には、異なる規格に準拠したICが接続されていることを特徴とするタグ。A tag for communicating data with a reader or reader / writer without contact,
In one tag, there are provided two antennas each formed by winding a conductive wire around each of two magnetic cores made of a soft magnetic material in a plate shape, and an IC conforming to different standards is connected to each of the two antennas. A tag characterized by being performed.
前記異なる規格に準拠したICの各々とデータの交信を可能とする複数の信号処理部を備えることを特徴とするリーダ又はリーダ/ライタ。A reader or reader / writer for communicating with the tag according to any one of claims 1 to 17,
A reader or a reader / writer, comprising: a plurality of signal processing units capable of communicating data with each of the ICs conforming to the different standards.
1つの前記タグ内に形成された複数のアンテナ及び異なる規格に準拠した複数のICの各々により構成される複数の通信部を用い、作動距離又はデータの通信速度の異なる複数の形態でデータの交信を行うことを特徴とするRFIDシステム。An RFID system comprising the tag according to any one of claims 1 to 17 and a reader or a reader / writer,
Using a plurality of antennas formed in one tag and a plurality of communication units each constituted by a plurality of ICs conforming to different standards, data communication in a plurality of forms having different working distances or different data communication speeds. RFID system.
Priority Applications (1)
| Application Number | Priority Date | Filing Date | Title |
|---|---|---|---|
| JP2003002781A JP2004213582A (en) | 2003-01-09 | 2003-01-09 | RFID tag and reader / writer and RFID system provided with the tag |
Applications Claiming Priority (1)
| Application Number | Priority Date | Filing Date | Title |
|---|---|---|---|
| JP2003002781A JP2004213582A (en) | 2003-01-09 | 2003-01-09 | RFID tag and reader / writer and RFID system provided with the tag |
Publications (1)
| Publication Number | Publication Date |
|---|---|
| JP2004213582A true JP2004213582A (en) | 2004-07-29 |
Family
ID=32820417
Family Applications (1)
| Application Number | Title | Priority Date | Filing Date |
|---|---|---|---|
| JP2003002781A Pending JP2004213582A (en) | 2003-01-09 | 2003-01-09 | RFID tag and reader / writer and RFID system provided with the tag |
Country Status (1)
| Country | Link |
|---|---|
| JP (1) | JP2004213582A (en) |
Cited By (111)
| Publication number | Priority date | Publication date | Assignee | Title |
|---|---|---|---|---|
| JP2005204493A (en) * | 2003-12-19 | 2005-07-28 | Semiconductor Energy Lab Co Ltd | Semiconductor device and driving method therefor |
| WO2006033408A1 (en) * | 2004-09-22 | 2006-03-30 | Matsushita Electric Industrial Co., Ltd. | Loop antenna unit and wireless communication media processing apparatus |
| JP2006126901A (en) * | 2004-10-26 | 2006-05-18 | Mitsubishi Materials Corp | Tag and RFID system |
| WO2006072990A1 (en) * | 2005-01-07 | 2006-07-13 | Fujitsu Limited | Tag device, antenna and portable card |
| WO2007015353A1 (en) * | 2005-08-03 | 2007-02-08 | Matsushita Electric Industrial Co., Ltd. | Storage medium with built-in antenna |
| JP2007087223A (en) * | 2005-09-22 | 2007-04-05 | Dainippon Printing Co Ltd | Non-contact type data carrier inlet, non-contact type data carrier inlet roll, non-contact type data carrier, non-contact type data carrier inlet manufacturing method, non-contact type data carrier inlet roll manufacturing method, and non-contact type data carrier manufacturing method |
| JP2007094563A (en) * | 2005-09-27 | 2007-04-12 | Dainippon Printing Co Ltd | Non-contact type data carrier inlet, non-contact type data carrier inlet roll, non-contact type data carrier, and manufacturing methods thereof |
| JP2007188252A (en) * | 2006-01-12 | 2007-07-26 | Lintec Corp | Antenna circuit, IC inlet, multi-tag, and multi-tag manufacturing method |
| KR100747508B1 (en) | 2005-12-23 | 2007-08-08 | 주식회사 에스원 | A system including the RF ID TA and its RF ID TA which can be recognized bidirectionally |
| JP2007271362A (en) * | 2006-03-30 | 2007-10-18 | Railway Technical Res Inst | Wireless tag, reader / writer device, and abnormal state detection system |
| JP2007316810A (en) * | 2006-05-24 | 2007-12-06 | Orient Sokki Computer Kk | Magnetic sheet, its manufacturing method and non-contact ic medium |
| JP2008072243A (en) * | 2006-09-12 | 2008-03-27 | Murata Mfg Co Ltd | Wireless ic device |
| WO2008084689A1 (en) * | 2007-01-09 | 2008-07-17 | Orient Instrument Computer Co., Ltd. | Noncontact ic medium |
| JP2008306689A (en) * | 2007-06-11 | 2008-12-18 | Tamura Seisakusho Co Ltd | Booster antenna |
| KR100884522B1 (en) * | 2007-07-02 | 2009-02-18 | 주식회사 코비스 | Hybrid card, triple card, and quadruple card |
| JP2009043167A (en) * | 2007-08-10 | 2009-02-26 | Nippon Electronics Service Kk | Composite rfid data carrier |
| JP2009165061A (en) * | 2008-01-10 | 2009-07-23 | Toppan Printing Co Ltd | Document management system |
| WO2010001469A1 (en) * | 2008-07-02 | 2010-01-07 | 三菱電機株式会社 | Wireless communication device |
| WO2010013426A1 (en) * | 2008-07-31 | 2010-02-04 | 株式会社ルネサステクノロジ | Non-contact electronic device |
| JP2010062734A (en) * | 2008-09-02 | 2010-03-18 | Toshiba Corp | Radio apparatus, antenna device, and radio system |
| JP2010068275A (en) * | 2008-09-11 | 2010-03-25 | Toko Inc | Transmission antenna |
| JP2010098361A (en) * | 2008-10-14 | 2010-04-30 | Toppan Printing Co Ltd | Antenna structure, antenna sheet, housing case, rfid reader/writer device, and system for managing information transmission medium |
| JP2010122878A (en) * | 2008-11-19 | 2010-06-03 | Nec Tokin Corp | Rfid reader/writer device |
| CN101901369A (en) * | 2009-05-26 | 2010-12-01 | 索尼公司 | Communication device, antenna device and communication system |
| JP4671001B2 (en) * | 2008-07-04 | 2011-04-13 | 株式会社村田製作所 | Wireless IC device |
| JP2011091541A (en) * | 2009-10-21 | 2011-05-06 | Takaya Corp | Antenna device, and communication system |
| US7967216B2 (en) | 2008-05-22 | 2011-06-28 | Murata Manufacturing Co., Ltd. | Wireless IC device |
| JP4821924B1 (en) * | 2010-11-12 | 2011-11-24 | パナソニック株式会社 | Transmission / reception antenna and transmission / reception apparatus using the same |
| JP2012063933A (en) * | 2010-09-15 | 2012-03-29 | Omron Corp | Rfid tag |
| US8177138B2 (en) | 2008-10-29 | 2012-05-15 | Murata Manufacturing Co., Ltd. | Radio IC device |
| US8191791B2 (en) | 2007-07-17 | 2012-06-05 | Murata Manufacturing Co., Ltd. | Wireless IC device and electronic apparatus |
| US8228765B2 (en) | 2006-06-30 | 2012-07-24 | Murata Manufacturing Co., Ltd. | Optical disc |
| JP2012517316A (en) * | 2009-02-12 | 2012-08-02 | ハルダー アドバンスト テクノロジーズ リミテッド | Apparatus and method for identifying and tracking multiple tools and disposables |
| KR101189414B1 (en) * | 2006-11-16 | 2012-10-10 | 엘지이노텍 주식회사 | RFID device |
| US8299929B2 (en) | 2006-09-26 | 2012-10-30 | Murata Manufacturing Co., Ltd. | Inductively coupled module and item with inductively coupled module |
| US8336786B2 (en) | 2010-03-12 | 2012-12-25 | Murata Manufacturing Co., Ltd. | Wireless communication device and metal article |
| US8342416B2 (en) | 2009-01-09 | 2013-01-01 | Murata Manufacturing Co., Ltd. | Wireless IC device, wireless IC module and method of manufacturing wireless IC module |
| US8360330B2 (en) | 2007-12-26 | 2013-01-29 | Murata Manufacturing Co., Ltd. | Antenna device and radio frequency IC device |
| US8381997B2 (en) | 2009-06-03 | 2013-02-26 | Murata Manufacturing Co., Ltd. | Radio frequency IC device and method of manufacturing the same |
| US8400365B2 (en) | 2009-11-20 | 2013-03-19 | Murata Manufacturing Co., Ltd. | Antenna device and mobile communication terminal |
| KR101253147B1 (en) * | 2012-08-07 | 2013-04-10 | 하이쎌(주) | Both sides radio frequency communication tag and preparation method thereof |
| US8418928B2 (en) | 2009-04-14 | 2013-04-16 | Murata Manufacturing Co., Ltd. | Wireless IC device component and wireless IC device |
| US8424769B2 (en) | 2010-07-08 | 2013-04-23 | Murata Manufacturing Co., Ltd. | Antenna and RFID device |
| US8424762B2 (en) | 2007-04-14 | 2013-04-23 | Murata Manufacturing Co., Ltd. | Wireless IC device and component for wireless IC device |
| WO2013100278A1 (en) * | 2011-12-29 | 2013-07-04 | 주식회사 오승이에스 | Integrated smart card |
| US8531346B2 (en) | 2007-04-26 | 2013-09-10 | Murata Manufacturing Co., Ltd. | Wireless IC device |
| US8546927B2 (en) | 2010-09-03 | 2013-10-01 | Murata Manufacturing Co., Ltd. | RFIC chip mounting structure |
| US8552870B2 (en) | 2007-07-09 | 2013-10-08 | Murata Manufacturing Co., Ltd. | Wireless IC device |
| US8583043B2 (en) | 2009-01-16 | 2013-11-12 | Murata Manufacturing Co., Ltd. | High-frequency device and wireless IC device |
| US8590797B2 (en) | 2008-05-21 | 2013-11-26 | Murata Manufacturing Co., Ltd. | Wireless IC device |
| US8596545B2 (en) | 2008-05-28 | 2013-12-03 | Murata Manufacturing Co., Ltd. | Component of wireless IC device and wireless IC device |
| US8602310B2 (en) | 2010-03-03 | 2013-12-10 | Murata Manufacturing Co., Ltd. | Radio communication device and radio communication terminal |
| US8610636B2 (en) | 2007-12-20 | 2013-12-17 | Murata Manufacturing Co., Ltd. | Radio frequency IC device |
| US8613395B2 (en) | 2011-02-28 | 2013-12-24 | Murata Manufacturing Co., Ltd. | Wireless communication device |
| US8676117B2 (en) | 2006-01-19 | 2014-03-18 | Murata Manufacturing Co., Ltd. | Wireless IC device and component for wireless IC device |
| US8680971B2 (en) | 2009-09-28 | 2014-03-25 | Murata Manufacturing Co., Ltd. | Wireless IC device and method of detecting environmental state using the device |
| US8692718B2 (en) | 2008-11-17 | 2014-04-08 | Murata Manufacturing Co., Ltd. | Antenna and wireless IC device |
| WO2014054747A1 (en) * | 2012-10-05 | 2014-04-10 | 株式会社村田製作所 | Communication terminal device |
| WO2014057920A1 (en) * | 2012-10-10 | 2014-04-17 | デクセリアルズ株式会社 | Composite coil module and portable apparatus |
| US8718727B2 (en) | 2009-12-24 | 2014-05-06 | Murata Manufacturing Co., Ltd. | Antenna having structure for multi-angled reception and mobile terminal including the antenna |
| US8720789B2 (en) | 2012-01-30 | 2014-05-13 | Murata Manufacturing Co., Ltd. | Wireless IC device |
| US8740093B2 (en) | 2011-04-13 | 2014-06-03 | Murata Manufacturing Co., Ltd. | Radio IC device and radio communication terminal |
| US8757500B2 (en) | 2007-05-11 | 2014-06-24 | Murata Manufacturing Co., Ltd. | Wireless IC device |
| US8770489B2 (en) | 2011-07-15 | 2014-07-08 | Murata Manufacturing Co., Ltd. | Radio communication device |
| US8797148B2 (en) | 2008-03-03 | 2014-08-05 | Murata Manufacturing Co., Ltd. | Radio frequency IC device and radio communication system |
| US8797225B2 (en) | 2011-03-08 | 2014-08-05 | Murata Manufacturing Co., Ltd. | Antenna device and communication terminal apparatus |
| US8810456B2 (en) | 2009-06-19 | 2014-08-19 | Murata Manufacturing Co., Ltd. | Wireless IC device and coupling method for power feeding circuit and radiation plate |
| US8814056B2 (en) | 2011-07-19 | 2014-08-26 | Murata Manufacturing Co., Ltd. | Antenna device, RFID tag, and communication terminal apparatus |
| US8847831B2 (en) | 2009-07-03 | 2014-09-30 | Murata Manufacturing Co., Ltd. | Antenna and antenna module |
| US8853549B2 (en) | 2009-09-30 | 2014-10-07 | Murata Manufacturing Co., Ltd. | Circuit substrate and method of manufacturing same |
| US8872662B2 (en) | 2009-02-12 | 2014-10-28 | Haldor Advanced Technologies Ltd. | Antenna, apparatus and method for identifying and tracking multiple items |
| US8870077B2 (en) | 2008-08-19 | 2014-10-28 | Murata Manufacturing Co., Ltd. | Wireless IC device and method for manufacturing same |
| US8878739B2 (en) | 2011-07-14 | 2014-11-04 | Murata Manufacturing Co., Ltd. | Wireless communication device |
| US8905296B2 (en) | 2011-12-01 | 2014-12-09 | Murata Manufacturing Co., Ltd. | Wireless integrated circuit device and method of manufacturing the same |
| US8905316B2 (en) | 2010-05-14 | 2014-12-09 | Murata Manufacturing Co., Ltd. | Wireless IC device |
| US8937576B2 (en) | 2011-04-05 | 2015-01-20 | Murata Manufacturing Co., Ltd. | Wireless communication device |
| US8944335B2 (en) | 2010-09-30 | 2015-02-03 | Murata Manufacturing Co., Ltd. | Wireless IC device |
| JP5673891B1 (en) * | 2014-03-17 | 2015-02-18 | 株式会社村田製作所 | Antenna device, wireless communication terminal |
| US8976075B2 (en) | 2009-04-21 | 2015-03-10 | Murata Manufacturing Co., Ltd. | Antenna device and method of setting resonant frequency of antenna device |
| US8981906B2 (en) | 2010-08-10 | 2015-03-17 | Murata Manufacturing Co., Ltd. | Printed wiring board and wireless communication system |
| US8991713B2 (en) | 2011-01-14 | 2015-03-31 | Murata Manufacturing Co., Ltd. | RFID chip package and RFID tag |
| US9024837B2 (en) | 2010-03-31 | 2015-05-05 | Murata Manufacturing Co., Ltd. | Antenna and wireless communication device |
| US9024725B2 (en) | 2009-11-04 | 2015-05-05 | Murata Manufacturing Co., Ltd. | Communication terminal and information processing system |
| US9104950B2 (en) | 2009-01-30 | 2015-08-11 | Murata Manufacturing Co., Ltd. | Antenna and wireless IC device |
| US9117157B2 (en) | 2009-10-02 | 2015-08-25 | Murata Manufacturing Co., Ltd. | Wireless IC device and electromagnetic coupling module |
| US9123996B2 (en) | 2010-05-14 | 2015-09-01 | Murata Manufacturing Co., Ltd. | Wireless IC device |
| JP2015159617A (en) * | 2012-06-04 | 2015-09-03 | 株式会社村田製作所 | Antenna device and wireless communication device |
| WO2015141082A1 (en) * | 2014-03-17 | 2015-09-24 | 株式会社村田製作所 | Antenna device and wireless communication terminal |
| JP2015170268A (en) * | 2014-03-10 | 2015-09-28 | 共同印刷株式会社 | Ic card and inlet |
| US9166291B2 (en) | 2010-10-12 | 2015-10-20 | Murata Manufacturing Co., Ltd. | Antenna device and communication terminal apparatus |
| US9165239B2 (en) | 2006-04-26 | 2015-10-20 | Murata Manufacturing Co., Ltd. | Electromagnetic-coupling-module-attached article |
| US9178279B2 (en) | 2009-11-04 | 2015-11-03 | Murata Manufacturing Co., Ltd. | Wireless IC tag, reader-writer, and information processing system |
| US9231305B2 (en) | 2008-10-24 | 2016-01-05 | Murata Manufacturing Co., Ltd. | Wireless IC device |
| US9236651B2 (en) | 2010-10-21 | 2016-01-12 | Murata Manufacturing Co., Ltd. | Communication terminal device |
| US9281873B2 (en) | 2008-05-26 | 2016-03-08 | Murata Manufacturing Co., Ltd. | Wireless IC device system and method of determining authenticity of wireless IC device |
| US9378452B2 (en) | 2011-05-16 | 2016-06-28 | Murata Manufacturing Co., Ltd. | Radio IC device |
| US9444143B2 (en) | 2009-10-16 | 2016-09-13 | Murata Manufacturing Co., Ltd. | Antenna and wireless IC device |
| US9461363B2 (en) | 2009-11-04 | 2016-10-04 | Murata Manufacturing Co., Ltd. | Communication terminal and information processing system |
| US9460320B2 (en) | 2009-10-27 | 2016-10-04 | Murata Manufacturing Co., Ltd. | Transceiver and radio frequency identification tag reader |
| US9460376B2 (en) | 2007-07-18 | 2016-10-04 | Murata Manufacturing Co., Ltd. | Radio IC device |
| JP2016181797A (en) * | 2015-03-24 | 2016-10-13 | 共同印刷株式会社 | Antenna sheet designing method, antenna sheet manufacturing method, antenna sheet, inlet, and information recording medium |
| US9543642B2 (en) | 2011-09-09 | 2017-01-10 | Murata Manufacturing Co., Ltd. | Antenna device and wireless device |
| US9558384B2 (en) | 2010-07-28 | 2017-01-31 | Murata Manufacturing Co., Ltd. | Antenna apparatus and communication terminal instrument |
| WO2017094355A1 (en) * | 2015-12-03 | 2017-06-08 | 株式会社村田製作所 | Antenna device and electronic apparatus |
| US9692128B2 (en) | 2012-02-24 | 2017-06-27 | Murata Manufacturing Co., Ltd. | Antenna device and wireless communication device |
| JP6154952B1 (en) * | 2016-10-26 | 2017-06-28 | 三井住友カード株式会社 | Non-contact communication medium |
| US9727765B2 (en) | 2010-03-24 | 2017-08-08 | Murata Manufacturing Co., Ltd. | RFID system including a reader/writer and RFID tag |
| US9761923B2 (en) | 2011-01-05 | 2017-09-12 | Murata Manufacturing Co., Ltd. | Wireless communication device |
| US10013650B2 (en) | 2010-03-03 | 2018-07-03 | Murata Manufacturing Co., Ltd. | Wireless communication module and wireless communication device |
| US10235544B2 (en) | 2012-04-13 | 2019-03-19 | Murata Manufacturing Co., Ltd. | Inspection method and inspection device for RFID tag |
| KR102636196B1 (en) * | 2023-07-20 | 2024-02-16 | 엠포플러스(주) | Multiband radio frequency identification reader |
-
2003
- 2003-01-09 JP JP2003002781A patent/JP2004213582A/en active Pending
Cited By (152)
| Publication number | Priority date | Publication date | Assignee | Title |
|---|---|---|---|---|
| JP2005204493A (en) * | 2003-12-19 | 2005-07-28 | Semiconductor Energy Lab Co Ltd | Semiconductor device and driving method therefor |
| US7446729B2 (en) | 2004-09-22 | 2008-11-04 | Matsushita Electric Industrial Co., Ltd. | Loop antenna unit and radio communication medium processor |
| WO2006033408A1 (en) * | 2004-09-22 | 2006-03-30 | Matsushita Electric Industrial Co., Ltd. | Loop antenna unit and wireless communication media processing apparatus |
| GB2431053A (en) * | 2004-09-22 | 2007-04-11 | Matsushita Electric Industrial Co Ltd | Loop antenna unit and wireless communication media processing apparatus |
| GB2431053B (en) * | 2004-09-22 | 2009-01-28 | Matsushita Electric Industrial Co Ltd | Loop antenna unit and radio communication medium processor |
| JP2006126901A (en) * | 2004-10-26 | 2006-05-18 | Mitsubishi Materials Corp | Tag and RFID system |
| WO2006072990A1 (en) * | 2005-01-07 | 2006-07-13 | Fujitsu Limited | Tag device, antenna and portable card |
| US7880680B2 (en) | 2005-01-07 | 2011-02-01 | Fujitsu Limited | Tag device, antenna, and portable card |
| JPWO2007015353A1 (en) * | 2005-08-03 | 2009-02-19 | パナソニック株式会社 | Antenna built-in storage medium |
| JP4631910B2 (en) * | 2005-08-03 | 2011-02-16 | パナソニック株式会社 | Antenna built-in storage medium |
| US7924228B2 (en) | 2005-08-03 | 2011-04-12 | Panasonic Corporation | Storage medium with built-in antenna |
| WO2007015353A1 (en) * | 2005-08-03 | 2007-02-08 | Matsushita Electric Industrial Co., Ltd. | Storage medium with built-in antenna |
| JP2007087223A (en) * | 2005-09-22 | 2007-04-05 | Dainippon Printing Co Ltd | Non-contact type data carrier inlet, non-contact type data carrier inlet roll, non-contact type data carrier, non-contact type data carrier inlet manufacturing method, non-contact type data carrier inlet roll manufacturing method, and non-contact type data carrier manufacturing method |
| JP2007094563A (en) * | 2005-09-27 | 2007-04-12 | Dainippon Printing Co Ltd | Non-contact type data carrier inlet, non-contact type data carrier inlet roll, non-contact type data carrier, and manufacturing methods thereof |
| KR100747508B1 (en) | 2005-12-23 | 2007-08-08 | 주식회사 에스원 | A system including the RF ID TA and its RF ID TA which can be recognized bidirectionally |
| JP2007188252A (en) * | 2006-01-12 | 2007-07-26 | Lintec Corp | Antenna circuit, IC inlet, multi-tag, and multi-tag manufacturing method |
| US8676117B2 (en) | 2006-01-19 | 2014-03-18 | Murata Manufacturing Co., Ltd. | Wireless IC device and component for wireless IC device |
| US8725071B2 (en) | 2006-01-19 | 2014-05-13 | Murata Manufacturing Co., Ltd. | Wireless IC device and component for wireless IC device |
| JP2007271362A (en) * | 2006-03-30 | 2007-10-18 | Railway Technical Res Inst | Wireless tag, reader / writer device, and abnormal state detection system |
| US9165239B2 (en) | 2006-04-26 | 2015-10-20 | Murata Manufacturing Co., Ltd. | Electromagnetic-coupling-module-attached article |
| JP2007316810A (en) * | 2006-05-24 | 2007-12-06 | Orient Sokki Computer Kk | Magnetic sheet, its manufacturing method and non-contact ic medium |
| US8228765B2 (en) | 2006-06-30 | 2012-07-24 | Murata Manufacturing Co., Ltd. | Optical disc |
| JP2008072243A (en) * | 2006-09-12 | 2008-03-27 | Murata Mfg Co Ltd | Wireless ic device |
| US8299929B2 (en) | 2006-09-26 | 2012-10-30 | Murata Manufacturing Co., Ltd. | Inductively coupled module and item with inductively coupled module |
| KR101189414B1 (en) * | 2006-11-16 | 2012-10-10 | 엘지이노텍 주식회사 | RFID device |
| WO2008084689A1 (en) * | 2007-01-09 | 2008-07-17 | Orient Instrument Computer Co., Ltd. | Noncontact ic medium |
| US8424762B2 (en) | 2007-04-14 | 2013-04-23 | Murata Manufacturing Co., Ltd. | Wireless IC device and component for wireless IC device |
| US8531346B2 (en) | 2007-04-26 | 2013-09-10 | Murata Manufacturing Co., Ltd. | Wireless IC device |
| US8757500B2 (en) | 2007-05-11 | 2014-06-24 | Murata Manufacturing Co., Ltd. | Wireless IC device |
| JP2008306689A (en) * | 2007-06-11 | 2008-12-18 | Tamura Seisakusho Co Ltd | Booster antenna |
| KR100884522B1 (en) * | 2007-07-02 | 2009-02-18 | 주식회사 코비스 | Hybrid card, triple card, and quadruple card |
| US8662403B2 (en) | 2007-07-04 | 2014-03-04 | Murata Manufacturing Co., Ltd. | Wireless IC device and component for wireless IC device |
| US8552870B2 (en) | 2007-07-09 | 2013-10-08 | Murata Manufacturing Co., Ltd. | Wireless IC device |
| US8191791B2 (en) | 2007-07-17 | 2012-06-05 | Murata Manufacturing Co., Ltd. | Wireless IC device and electronic apparatus |
| US8413907B2 (en) | 2007-07-17 | 2013-04-09 | Murata Manufacturing Co., Ltd. | Wireless IC device and electronic apparatus |
| US9460376B2 (en) | 2007-07-18 | 2016-10-04 | Murata Manufacturing Co., Ltd. | Radio IC device |
| US9830552B2 (en) | 2007-07-18 | 2017-11-28 | Murata Manufacturing Co., Ltd. | Radio IC device |
| JP2009043167A (en) * | 2007-08-10 | 2009-02-26 | Nippon Electronics Service Kk | Composite rfid data carrier |
| US8610636B2 (en) | 2007-12-20 | 2013-12-17 | Murata Manufacturing Co., Ltd. | Radio frequency IC device |
| US8360330B2 (en) | 2007-12-26 | 2013-01-29 | Murata Manufacturing Co., Ltd. | Antenna device and radio frequency IC device |
| US8915448B2 (en) | 2007-12-26 | 2014-12-23 | Murata Manufacturing Co., Ltd. | Antenna device and radio frequency IC device |
| JP2009165061A (en) * | 2008-01-10 | 2009-07-23 | Toppan Printing Co Ltd | Document management system |
| US8797148B2 (en) | 2008-03-03 | 2014-08-05 | Murata Manufacturing Co., Ltd. | Radio frequency IC device and radio communication system |
| US9022295B2 (en) | 2008-05-21 | 2015-05-05 | Murata Manufacturing Co., Ltd. | Wireless IC device |
| US8590797B2 (en) | 2008-05-21 | 2013-11-26 | Murata Manufacturing Co., Ltd. | Wireless IC device |
| US8973841B2 (en) | 2008-05-21 | 2015-03-10 | Murata Manufacturing Co., Ltd. | Wireless IC device |
| US7967216B2 (en) | 2008-05-22 | 2011-06-28 | Murata Manufacturing Co., Ltd. | Wireless IC device |
| US9281873B2 (en) | 2008-05-26 | 2016-03-08 | Murata Manufacturing Co., Ltd. | Wireless IC device system and method of determining authenticity of wireless IC device |
| US8596545B2 (en) | 2008-05-28 | 2013-12-03 | Murata Manufacturing Co., Ltd. | Component of wireless IC device and wireless IC device |
| CN102084544B (en) * | 2008-07-02 | 2014-01-15 | 三菱电机株式会社 | Radio communication device |
| WO2010001469A1 (en) * | 2008-07-02 | 2010-01-07 | 三菱電機株式会社 | Wireless communication device |
| US8508429B2 (en) | 2008-07-02 | 2013-08-13 | Mitsubishi Electric Corporation | Radio communication equipment |
| US9077067B2 (en) | 2008-07-04 | 2015-07-07 | Murata Manufacturing Co., Ltd. | Radio IC device |
| JP4671001B2 (en) * | 2008-07-04 | 2011-04-13 | 株式会社村田製作所 | Wireless IC device |
| WO2010013426A1 (en) * | 2008-07-31 | 2010-02-04 | 株式会社ルネサステクノロジ | Non-contact electronic device |
| US8870077B2 (en) | 2008-08-19 | 2014-10-28 | Murata Manufacturing Co., Ltd. | Wireless IC device and method for manufacturing same |
| JP2010062734A (en) * | 2008-09-02 | 2010-03-18 | Toshiba Corp | Radio apparatus, antenna device, and radio system |
| JP2010068275A (en) * | 2008-09-11 | 2010-03-25 | Toko Inc | Transmission antenna |
| JP2010098361A (en) * | 2008-10-14 | 2010-04-30 | Toppan Printing Co Ltd | Antenna structure, antenna sheet, housing case, rfid reader/writer device, and system for managing information transmission medium |
| US9231305B2 (en) | 2008-10-24 | 2016-01-05 | Murata Manufacturing Co., Ltd. | Wireless IC device |
| US8177138B2 (en) | 2008-10-29 | 2012-05-15 | Murata Manufacturing Co., Ltd. | Radio IC device |
| US8692718B2 (en) | 2008-11-17 | 2014-04-08 | Murata Manufacturing Co., Ltd. | Antenna and wireless IC device |
| US8917211B2 (en) | 2008-11-17 | 2014-12-23 | Murata Manufacturing Co., Ltd. | Antenna and wireless IC device |
| JP2010122878A (en) * | 2008-11-19 | 2010-06-03 | Nec Tokin Corp | Rfid reader/writer device |
| US8342416B2 (en) | 2009-01-09 | 2013-01-01 | Murata Manufacturing Co., Ltd. | Wireless IC device, wireless IC module and method of manufacturing wireless IC module |
| US8544759B2 (en) | 2009-01-09 | 2013-10-01 | Murata Manufacturing., Ltd. | Wireless IC device, wireless IC module and method of manufacturing wireless IC module |
| US8583043B2 (en) | 2009-01-16 | 2013-11-12 | Murata Manufacturing Co., Ltd. | High-frequency device and wireless IC device |
| US9104950B2 (en) | 2009-01-30 | 2015-08-11 | Murata Manufacturing Co., Ltd. | Antenna and wireless IC device |
| JP2012517316A (en) * | 2009-02-12 | 2012-08-02 | ハルダー アドバンスト テクノロジーズ リミテッド | Apparatus and method for identifying and tracking multiple tools and disposables |
| US8872662B2 (en) | 2009-02-12 | 2014-10-28 | Haldor Advanced Technologies Ltd. | Antenna, apparatus and method for identifying and tracking multiple items |
| US8876010B2 (en) | 2009-04-14 | 2014-11-04 | Murata Manufacturing Co., Ltd | Wireless IC device component and wireless IC device |
| US8418928B2 (en) | 2009-04-14 | 2013-04-16 | Murata Manufacturing Co., Ltd. | Wireless IC device component and wireless IC device |
| US8690070B2 (en) | 2009-04-14 | 2014-04-08 | Murata Manufacturing Co., Ltd. | Wireless IC device component and wireless IC device |
| US9203157B2 (en) | 2009-04-21 | 2015-12-01 | Murata Manufacturing Co., Ltd. | Antenna device and method of setting resonant frequency of antenna device |
| US9564678B2 (en) | 2009-04-21 | 2017-02-07 | Murata Manufacturing Co., Ltd. | Antenna device and method of setting resonant frequency of antenna device |
| US8976075B2 (en) | 2009-04-21 | 2015-03-10 | Murata Manufacturing Co., Ltd. | Antenna device and method of setting resonant frequency of antenna device |
| JP2010278518A (en) * | 2009-05-26 | 2010-12-09 | Sony Corp | COMMUNICATION DEVICE, ANTENNA DEVICE, AND COMMUNICATION SYSTEM |
| CN101901369A (en) * | 2009-05-26 | 2010-12-01 | 索尼公司 | Communication device, antenna device and communication system |
| US8381997B2 (en) | 2009-06-03 | 2013-02-26 | Murata Manufacturing Co., Ltd. | Radio frequency IC device and method of manufacturing the same |
| US8810456B2 (en) | 2009-06-19 | 2014-08-19 | Murata Manufacturing Co., Ltd. | Wireless IC device and coupling method for power feeding circuit and radiation plate |
| US8847831B2 (en) | 2009-07-03 | 2014-09-30 | Murata Manufacturing Co., Ltd. | Antenna and antenna module |
| US8680971B2 (en) | 2009-09-28 | 2014-03-25 | Murata Manufacturing Co., Ltd. | Wireless IC device and method of detecting environmental state using the device |
| US8853549B2 (en) | 2009-09-30 | 2014-10-07 | Murata Manufacturing Co., Ltd. | Circuit substrate and method of manufacturing same |
| US9117157B2 (en) | 2009-10-02 | 2015-08-25 | Murata Manufacturing Co., Ltd. | Wireless IC device and electromagnetic coupling module |
| US9444143B2 (en) | 2009-10-16 | 2016-09-13 | Murata Manufacturing Co., Ltd. | Antenna and wireless IC device |
| JP2011091541A (en) * | 2009-10-21 | 2011-05-06 | Takaya Corp | Antenna device, and communication system |
| US9460320B2 (en) | 2009-10-27 | 2016-10-04 | Murata Manufacturing Co., Ltd. | Transceiver and radio frequency identification tag reader |
| US9024725B2 (en) | 2009-11-04 | 2015-05-05 | Murata Manufacturing Co., Ltd. | Communication terminal and information processing system |
| US9178279B2 (en) | 2009-11-04 | 2015-11-03 | Murata Manufacturing Co., Ltd. | Wireless IC tag, reader-writer, and information processing system |
| US9461363B2 (en) | 2009-11-04 | 2016-10-04 | Murata Manufacturing Co., Ltd. | Communication terminal and information processing system |
| US8704716B2 (en) | 2009-11-20 | 2014-04-22 | Murata Manufacturing Co., Ltd. | Antenna device and mobile communication terminal |
| US8400365B2 (en) | 2009-11-20 | 2013-03-19 | Murata Manufacturing Co., Ltd. | Antenna device and mobile communication terminal |
| US8718727B2 (en) | 2009-12-24 | 2014-05-06 | Murata Manufacturing Co., Ltd. | Antenna having structure for multi-angled reception and mobile terminal including the antenna |
| US10013650B2 (en) | 2010-03-03 | 2018-07-03 | Murata Manufacturing Co., Ltd. | Wireless communication module and wireless communication device |
| US8602310B2 (en) | 2010-03-03 | 2013-12-10 | Murata Manufacturing Co., Ltd. | Radio communication device and radio communication terminal |
| US8336786B2 (en) | 2010-03-12 | 2012-12-25 | Murata Manufacturing Co., Ltd. | Wireless communication device and metal article |
| US8528829B2 (en) | 2010-03-12 | 2013-09-10 | Murata Manufacturing Co., Ltd. | Wireless communication device and metal article |
| US9727765B2 (en) | 2010-03-24 | 2017-08-08 | Murata Manufacturing Co., Ltd. | RFID system including a reader/writer and RFID tag |
| US9024837B2 (en) | 2010-03-31 | 2015-05-05 | Murata Manufacturing Co., Ltd. | Antenna and wireless communication device |
| US9123996B2 (en) | 2010-05-14 | 2015-09-01 | Murata Manufacturing Co., Ltd. | Wireless IC device |
| US8905316B2 (en) | 2010-05-14 | 2014-12-09 | Murata Manufacturing Co., Ltd. | Wireless IC device |
| US8424769B2 (en) | 2010-07-08 | 2013-04-23 | Murata Manufacturing Co., Ltd. | Antenna and RFID device |
| US9558384B2 (en) | 2010-07-28 | 2017-01-31 | Murata Manufacturing Co., Ltd. | Antenna apparatus and communication terminal instrument |
| US8981906B2 (en) | 2010-08-10 | 2015-03-17 | Murata Manufacturing Co., Ltd. | Printed wiring board and wireless communication system |
| US8546927B2 (en) | 2010-09-03 | 2013-10-01 | Murata Manufacturing Co., Ltd. | RFIC chip mounting structure |
| JP2012063933A (en) * | 2010-09-15 | 2012-03-29 | Omron Corp | Rfid tag |
| US8944335B2 (en) | 2010-09-30 | 2015-02-03 | Murata Manufacturing Co., Ltd. | Wireless IC device |
| US9166291B2 (en) | 2010-10-12 | 2015-10-20 | Murata Manufacturing Co., Ltd. | Antenna device and communication terminal apparatus |
| US9236651B2 (en) | 2010-10-21 | 2016-01-12 | Murata Manufacturing Co., Ltd. | Communication terminal device |
| JP4821924B1 (en) * | 2010-11-12 | 2011-11-24 | パナソニック株式会社 | Transmission / reception antenna and transmission / reception apparatus using the same |
| US9761923B2 (en) | 2011-01-05 | 2017-09-12 | Murata Manufacturing Co., Ltd. | Wireless communication device |
| US8991713B2 (en) | 2011-01-14 | 2015-03-31 | Murata Manufacturing Co., Ltd. | RFID chip package and RFID tag |
| US8757502B2 (en) | 2011-02-28 | 2014-06-24 | Murata Manufacturing Co., Ltd. | Wireless communication device |
| US8613395B2 (en) | 2011-02-28 | 2013-12-24 | Murata Manufacturing Co., Ltd. | Wireless communication device |
| US8960561B2 (en) | 2011-02-28 | 2015-02-24 | Murata Manufacturing Co., Ltd. | Wireless communication device |
| US8797225B2 (en) | 2011-03-08 | 2014-08-05 | Murata Manufacturing Co., Ltd. | Antenna device and communication terminal apparatus |
| US8937576B2 (en) | 2011-04-05 | 2015-01-20 | Murata Manufacturing Co., Ltd. | Wireless communication device |
| US8740093B2 (en) | 2011-04-13 | 2014-06-03 | Murata Manufacturing Co., Ltd. | Radio IC device and radio communication terminal |
| US9378452B2 (en) | 2011-05-16 | 2016-06-28 | Murata Manufacturing Co., Ltd. | Radio IC device |
| US8878739B2 (en) | 2011-07-14 | 2014-11-04 | Murata Manufacturing Co., Ltd. | Wireless communication device |
| US8770489B2 (en) | 2011-07-15 | 2014-07-08 | Murata Manufacturing Co., Ltd. | Radio communication device |
| US8814056B2 (en) | 2011-07-19 | 2014-08-26 | Murata Manufacturing Co., Ltd. | Antenna device, RFID tag, and communication terminal apparatus |
| US9543642B2 (en) | 2011-09-09 | 2017-01-10 | Murata Manufacturing Co., Ltd. | Antenna device and wireless device |
| US8905296B2 (en) | 2011-12-01 | 2014-12-09 | Murata Manufacturing Co., Ltd. | Wireless integrated circuit device and method of manufacturing the same |
| WO2013100278A1 (en) * | 2011-12-29 | 2013-07-04 | 주식회사 오승이에스 | Integrated smart card |
| US8720789B2 (en) | 2012-01-30 | 2014-05-13 | Murata Manufacturing Co., Ltd. | Wireless IC device |
| US9692128B2 (en) | 2012-02-24 | 2017-06-27 | Murata Manufacturing Co., Ltd. | Antenna device and wireless communication device |
| US10235544B2 (en) | 2012-04-13 | 2019-03-19 | Murata Manufacturing Co., Ltd. | Inspection method and inspection device for RFID tag |
| JP2015159617A (en) * | 2012-06-04 | 2015-09-03 | 株式会社村田製作所 | Antenna device and wireless communication device |
| US9583834B2 (en) | 2012-06-04 | 2017-02-28 | Murata Manufacturing Co., Ltd. | Antenna module and radio communication device |
| KR101253147B1 (en) * | 2012-08-07 | 2013-04-10 | 하이쎌(주) | Both sides radio frequency communication tag and preparation method thereof |
| WO2014025177A1 (en) * | 2012-08-07 | 2014-02-13 | 하이쎌 주식회사 | Double-sided wireless communication tag, and method for manufacturing same |
| CN103999288A (en) * | 2012-10-05 | 2014-08-20 | 株式会社村田制作所 | communication terminal device |
| CN103999288B (en) * | 2012-10-05 | 2015-11-25 | 株式会社村田制作所 | Communication terminal |
| US9232034B2 (en) | 2012-10-05 | 2016-01-05 | Murata Manufacturing Co., Ltd. | Communication terminal device including a UHF-band RFID system |
| WO2014054747A1 (en) * | 2012-10-05 | 2014-04-10 | 株式会社村田製作所 | Communication terminal device |
| CN104704676A (en) * | 2012-10-10 | 2015-06-10 | 迪睿合电子材料有限公司 | Composite coil module and portable apparatus |
| WO2014057920A1 (en) * | 2012-10-10 | 2014-04-17 | デクセリアルズ株式会社 | Composite coil module and portable apparatus |
| JP2014078847A (en) * | 2012-10-10 | 2014-05-01 | Dexerials Corp | Composite coil module and portable apparatus |
| JP2015170268A (en) * | 2014-03-10 | 2015-09-28 | 共同印刷株式会社 | Ic card and inlet |
| WO2015141016A1 (en) * | 2014-03-17 | 2015-09-24 | 株式会社村田製作所 | Antenna device and wireless communication terminal |
| US9633305B2 (en) | 2014-03-17 | 2017-04-25 | Murata Manufacturing Co., Ltd. | Antenna device and wireless communication terminal |
| WO2015141082A1 (en) * | 2014-03-17 | 2015-09-24 | 株式会社村田製作所 | Antenna device and wireless communication terminal |
| JP5673891B1 (en) * | 2014-03-17 | 2015-02-18 | 株式会社村田製作所 | Antenna device, wireless communication terminal |
| GB2533181A (en) * | 2014-03-17 | 2016-06-15 | Murata Manufacturing Co | Antenna device and wireless communication terminal |
| JP2016181797A (en) * | 2015-03-24 | 2016-10-13 | 共同印刷株式会社 | Antenna sheet designing method, antenna sheet manufacturing method, antenna sheet, inlet, and information recording medium |
| WO2017094355A1 (en) * | 2015-12-03 | 2017-06-08 | 株式会社村田製作所 | Antenna device and electronic apparatus |
| JPWO2017094355A1 (en) * | 2015-12-03 | 2018-03-01 | 株式会社村田製作所 | ANTENNA DEVICE AND ELECTRONIC DEVICE |
| US10511089B2 (en) | 2015-12-03 | 2019-12-17 | Murata Manufacturing Co., Ltd. | Antenna device and electronic apparatus |
| JP2018074292A (en) * | 2016-10-26 | 2018-05-10 | 三井住友カード株式会社 | Non-contact communication medium |
| JP6154952B1 (en) * | 2016-10-26 | 2017-06-28 | 三井住友カード株式会社 | Non-contact communication medium |
| KR102636196B1 (en) * | 2023-07-20 | 2024-02-16 | 엠포플러스(주) | Multiband radio frequency identification reader |
Similar Documents
| Publication | Publication Date | Title |
|---|---|---|
| JP2004213582A (en) | RFID tag and reader / writer and RFID system provided with the tag | |
| JP3772778B2 (en) | Antenna coil, identification tag using the same, reader / writer device, reader device and writer device | |
| TW589765B (en) | Antenna coil and RFID, transponder antenna using the same | |
| JP4265114B2 (en) | Antenna coil for tags | |
| JP4196554B2 (en) | Tag antenna coil and RFID tag using the same | |
| JP5985366B2 (en) | Composite coil module and electronic device | |
| EP2555494B1 (en) | Antenna device and communication device | |
| JP3896965B2 (en) | Reader / writer antenna and reader / writer equipped with the antenna | |
| KR102091132B1 (en) | Wireless communication system, antenna module and electronic device | |
| JP5174424B2 (en) | Antenna circuit, resistance reduction method thereof, and transponder | |
| JP2002290131A (en) | Transponder antenna | |
| JP2004348497A (en) | RFID antenna structure and tag and reader / writer provided with the antenna having the structure | |
| KR20060120631A (en) | Magnetic core member, antenna module and portable communication terminal having the same | |
| US20100257725A1 (en) | Magnetic powder production method, magnetic sheet production method, and antenna module production method | |
| WO2008018413A1 (en) | Rfid magnetic sheet, noncontact ic card and portable mobile communication apparatus | |
| JP4117443B2 (en) | Method of manufacturing antenna coil for RFID | |
| JP4478135B2 (en) | Antenna coil | |
| KR20160135678A (en) | Shielding unit for a wireless charging and wireless power transfer module including the same | |
| CN106797073A (en) | Anneta module and electronic equipment | |
| JP2006295981A (en) | Reader / writer antenna and reader / writer equipped with the antenna | |
| JP2005006263A (en) | Magnetic core member and RFID antenna using the same | |
| JP4085597B2 (en) | Antenna coil | |
| JP2005184424A (en) | Antenna magnetic core and antenna including the magnetic core | |
| KR20160128861A (en) | Shielding unit for complex-antenna unit and complex-transmission module comprising the same | |
| KR101627844B1 (en) | Attractor for a wireless charging receiver module of a PMA wireless charging type, a wireless charging receiver module having the same, mobile phone |
Legal Events
| Date | Code | Title | Description |
|---|---|---|---|
| A621 | Written request for application examination |
Free format text: JAPANESE INTERMEDIATE CODE: A621 Effective date: 20050426 |
|
| A977 | Report on retrieval |
Free format text: JAPANESE INTERMEDIATE CODE: A971007 Effective date: 20070308 |
|
| A131 | Notification of reasons for refusal |
Free format text: JAPANESE INTERMEDIATE CODE: A131 Effective date: 20070322 |
|
| A02 | Decision of refusal |
Free format text: JAPANESE INTERMEDIATE CODE: A02 Effective date: 20070725 |
