[go: up one dir, main page]

EP4390280A1 - Method and apparatus for separating a carbon dioxide-containing gas mixture - Google Patents

Method and apparatus for separating a carbon dioxide-containing gas mixture Download PDF

Info

Publication number
EP4390280A1
EP4390280A1 EP23211091.6A EP23211091A EP4390280A1 EP 4390280 A1 EP4390280 A1 EP 4390280A1 EP 23211091 A EP23211091 A EP 23211091A EP 4390280 A1 EP4390280 A1 EP 4390280A1
Authority
EP
European Patent Office
Prior art keywords
gas
carbon dioxide
liquid
gas mixture
mixture
Prior art date
Legal status (The legal status is an assumption and is not a legal conclusion. Google has not performed a legal analysis and makes no representation as to the accuracy of the status listed.)
Pending
Application number
EP23211091.6A
Other languages
German (de)
French (fr)
Inventor
Michael Tran
Emilien REDON
Ludovic Granados
Current Assignee (The listed assignees may be inaccurate. Google has not performed a legal analysis and makes no representation or warranty as to the accuracy of the list.)
Air Liquide SA
LAir Liquide SA pour lEtude et lExploitation des Procedes Georges Claude
Original Assignee
Air Liquide SA
LAir Liquide SA pour lEtude et lExploitation des Procedes Georges Claude
Priority date (The priority date is an assumption and is not a legal conclusion. Google has not performed a legal analysis and makes no representation as to the accuracy of the date listed.)
Filing date
Publication date
Application filed by Air Liquide SA, LAir Liquide SA pour lEtude et lExploitation des Procedes Georges Claude filed Critical Air Liquide SA
Publication of EP4390280A1 publication Critical patent/EP4390280A1/en
Pending legal-status Critical Current

Links

Images

Classifications

    • FMECHANICAL ENGINEERING; LIGHTING; HEATING; WEAPONS; BLASTING
    • F25REFRIGERATION OR COOLING; COMBINED HEATING AND REFRIGERATION SYSTEMS; HEAT PUMP SYSTEMS; MANUFACTURE OR STORAGE OF ICE; LIQUEFACTION SOLIDIFICATION OF GASES
    • F25JLIQUEFACTION, SOLIDIFICATION OR SEPARATION OF GASES OR GASEOUS OR LIQUEFIED GASEOUS MIXTURES BY PRESSURE AND COLD TREATMENT OR BY BRINGING THEM INTO THE SUPERCRITICAL STATE
    • F25J3/00Processes or apparatus for separating the constituents of gaseous or liquefied gaseous mixtures involving the use of liquefaction or solidification
    • F25J3/08Separating gaseous impurities from gases or gaseous mixtures or from liquefied gases or liquefied gaseous mixtures
    • FMECHANICAL ENGINEERING; LIGHTING; HEATING; WEAPONS; BLASTING
    • F25REFRIGERATION OR COOLING; COMBINED HEATING AND REFRIGERATION SYSTEMS; HEAT PUMP SYSTEMS; MANUFACTURE OR STORAGE OF ICE; LIQUEFACTION SOLIDIFICATION OF GASES
    • F25JLIQUEFACTION, SOLIDIFICATION OR SEPARATION OF GASES OR GASEOUS OR LIQUEFIED GASEOUS MIXTURES BY PRESSURE AND COLD TREATMENT OR BY BRINGING THEM INTO THE SUPERCRITICAL STATE
    • F25J3/00Processes or apparatus for separating the constituents of gaseous or liquefied gaseous mixtures involving the use of liquefaction or solidification
    • F25J3/02Processes or apparatus for separating the constituents of gaseous or liquefied gaseous mixtures involving the use of liquefaction or solidification by rectification, i.e. by continuous interchange of heat and material between a vapour stream and a liquid stream
    • F25J3/0228Processes or apparatus for separating the constituents of gaseous or liquefied gaseous mixtures involving the use of liquefaction or solidification by rectification, i.e. by continuous interchange of heat and material between a vapour stream and a liquid stream characterised by the separated product stream
    • F25J3/0266Processes or apparatus for separating the constituents of gaseous or liquefied gaseous mixtures involving the use of liquefaction or solidification by rectification, i.e. by continuous interchange of heat and material between a vapour stream and a liquid stream characterised by the separated product stream separation of carbon dioxide
    • FMECHANICAL ENGINEERING; LIGHTING; HEATING; WEAPONS; BLASTING
    • F25REFRIGERATION OR COOLING; COMBINED HEATING AND REFRIGERATION SYSTEMS; HEAT PUMP SYSTEMS; MANUFACTURE OR STORAGE OF ICE; LIQUEFACTION SOLIDIFICATION OF GASES
    • F25JLIQUEFACTION, SOLIDIFICATION OR SEPARATION OF GASES OR GASEOUS OR LIQUEFIED GASEOUS MIXTURES BY PRESSURE AND COLD TREATMENT OR BY BRINGING THEM INTO THE SUPERCRITICAL STATE
    • F25J1/00Processes or apparatus for liquefying or solidifying gases or gaseous mixtures
    • F25J1/0002Processes or apparatus for liquefying or solidifying gases or gaseous mixtures characterised by the fluid to be liquefied
    • F25J1/0027Oxides of carbon, e.g. CO2
    • FMECHANICAL ENGINEERING; LIGHTING; HEATING; WEAPONS; BLASTING
    • F25REFRIGERATION OR COOLING; COMBINED HEATING AND REFRIGERATION SYSTEMS; HEAT PUMP SYSTEMS; MANUFACTURE OR STORAGE OF ICE; LIQUEFACTION SOLIDIFICATION OF GASES
    • F25JLIQUEFACTION, SOLIDIFICATION OR SEPARATION OF GASES OR GASEOUS OR LIQUEFIED GASEOUS MIXTURES BY PRESSURE AND COLD TREATMENT OR BY BRINGING THEM INTO THE SUPERCRITICAL STATE
    • F25J1/00Processes or apparatus for liquefying or solidifying gases or gaseous mixtures
    • F25J1/003Processes or apparatus for liquefying or solidifying gases or gaseous mixtures characterised by the kind of cold generation within the liquefaction unit for compensating heat leaks and liquid production
    • F25J1/0032Processes or apparatus for liquefying or solidifying gases or gaseous mixtures characterised by the kind of cold generation within the liquefaction unit for compensating heat leaks and liquid production using the feed stream itself or separated fractions from it, i.e. "internal refrigeration"
    • F25J1/0045Processes or apparatus for liquefying or solidifying gases or gaseous mixtures characterised by the kind of cold generation within the liquefaction unit for compensating heat leaks and liquid production using the feed stream itself or separated fractions from it, i.e. "internal refrigeration" by vaporising a liquid return stream
    • FMECHANICAL ENGINEERING; LIGHTING; HEATING; WEAPONS; BLASTING
    • F25REFRIGERATION OR COOLING; COMBINED HEATING AND REFRIGERATION SYSTEMS; HEAT PUMP SYSTEMS; MANUFACTURE OR STORAGE OF ICE; LIQUEFACTION SOLIDIFICATION OF GASES
    • F25JLIQUEFACTION, SOLIDIFICATION OR SEPARATION OF GASES OR GASEOUS OR LIQUEFIED GASEOUS MIXTURES BY PRESSURE AND COLD TREATMENT OR BY BRINGING THEM INTO THE SUPERCRITICAL STATE
    • F25J3/00Processes or apparatus for separating the constituents of gaseous or liquefied gaseous mixtures involving the use of liquefaction or solidification
    • F25J3/02Processes or apparatus for separating the constituents of gaseous or liquefied gaseous mixtures involving the use of liquefaction or solidification by rectification, i.e. by continuous interchange of heat and material between a vapour stream and a liquid stream
    • F25J3/0204Processes or apparatus for separating the constituents of gaseous or liquefied gaseous mixtures involving the use of liquefaction or solidification by rectification, i.e. by continuous interchange of heat and material between a vapour stream and a liquid stream characterised by the feed stream
    • F25J3/0223H2/CO mixtures, i.e. synthesis gas; Water gas or shifted synthesis gas
    • FMECHANICAL ENGINEERING; LIGHTING; HEATING; WEAPONS; BLASTING
    • F25REFRIGERATION OR COOLING; COMBINED HEATING AND REFRIGERATION SYSTEMS; HEAT PUMP SYSTEMS; MANUFACTURE OR STORAGE OF ICE; LIQUEFACTION SOLIDIFICATION OF GASES
    • F25JLIQUEFACTION, SOLIDIFICATION OR SEPARATION OF GASES OR GASEOUS OR LIQUEFIED GASEOUS MIXTURES BY PRESSURE AND COLD TREATMENT OR BY BRINGING THEM INTO THE SUPERCRITICAL STATE
    • F25J3/00Processes or apparatus for separating the constituents of gaseous or liquefied gaseous mixtures involving the use of liquefaction or solidification
    • F25J3/02Processes or apparatus for separating the constituents of gaseous or liquefied gaseous mixtures involving the use of liquefaction or solidification by rectification, i.e. by continuous interchange of heat and material between a vapour stream and a liquid stream
    • F25J3/0228Processes or apparatus for separating the constituents of gaseous or liquefied gaseous mixtures involving the use of liquefaction or solidification by rectification, i.e. by continuous interchange of heat and material between a vapour stream and a liquid stream characterised by the separated product stream
    • F25J3/0252Processes or apparatus for separating the constituents of gaseous or liquefied gaseous mixtures involving the use of liquefaction or solidification by rectification, i.e. by continuous interchange of heat and material between a vapour stream and a liquid stream characterised by the separated product stream separation of hydrogen
    • FMECHANICAL ENGINEERING; LIGHTING; HEATING; WEAPONS; BLASTING
    • F25REFRIGERATION OR COOLING; COMBINED HEATING AND REFRIGERATION SYSTEMS; HEAT PUMP SYSTEMS; MANUFACTURE OR STORAGE OF ICE; LIQUEFACTION SOLIDIFICATION OF GASES
    • F25JLIQUEFACTION, SOLIDIFICATION OR SEPARATION OF GASES OR GASEOUS OR LIQUEFIED GASEOUS MIXTURES BY PRESSURE AND COLD TREATMENT OR BY BRINGING THEM INTO THE SUPERCRITICAL STATE
    • F25J3/00Processes or apparatus for separating the constituents of gaseous or liquefied gaseous mixtures involving the use of liquefaction or solidification
    • F25J3/06Processes or apparatus for separating the constituents of gaseous or liquefied gaseous mixtures involving the use of liquefaction or solidification by partial condensation
    • F25J3/0605Processes or apparatus for separating the constituents of gaseous or liquefied gaseous mixtures involving the use of liquefaction or solidification by partial condensation characterised by the feed stream
    • F25J3/0625H2/CO mixtures, i.e. synthesis gas; Water gas or shifted synthesis gas
    • FMECHANICAL ENGINEERING; LIGHTING; HEATING; WEAPONS; BLASTING
    • F25REFRIGERATION OR COOLING; COMBINED HEATING AND REFRIGERATION SYSTEMS; HEAT PUMP SYSTEMS; MANUFACTURE OR STORAGE OF ICE; LIQUEFACTION SOLIDIFICATION OF GASES
    • F25JLIQUEFACTION, SOLIDIFICATION OR SEPARATION OF GASES OR GASEOUS OR LIQUEFIED GASEOUS MIXTURES BY PRESSURE AND COLD TREATMENT OR BY BRINGING THEM INTO THE SUPERCRITICAL STATE
    • F25J3/00Processes or apparatus for separating the constituents of gaseous or liquefied gaseous mixtures involving the use of liquefaction or solidification
    • F25J3/06Processes or apparatus for separating the constituents of gaseous or liquefied gaseous mixtures involving the use of liquefaction or solidification by partial condensation
    • F25J3/063Processes or apparatus for separating the constituents of gaseous or liquefied gaseous mixtures involving the use of liquefaction or solidification by partial condensation characterised by the separated product stream
    • F25J3/0655Processes or apparatus for separating the constituents of gaseous or liquefied gaseous mixtures involving the use of liquefaction or solidification by partial condensation characterised by the separated product stream separation of hydrogen
    • FMECHANICAL ENGINEERING; LIGHTING; HEATING; WEAPONS; BLASTING
    • F25REFRIGERATION OR COOLING; COMBINED HEATING AND REFRIGERATION SYSTEMS; HEAT PUMP SYSTEMS; MANUFACTURE OR STORAGE OF ICE; LIQUEFACTION SOLIDIFICATION OF GASES
    • F25JLIQUEFACTION, SOLIDIFICATION OR SEPARATION OF GASES OR GASEOUS OR LIQUEFIED GASEOUS MIXTURES BY PRESSURE AND COLD TREATMENT OR BY BRINGING THEM INTO THE SUPERCRITICAL STATE
    • F25J3/00Processes or apparatus for separating the constituents of gaseous or liquefied gaseous mixtures involving the use of liquefaction or solidification
    • F25J3/06Processes or apparatus for separating the constituents of gaseous or liquefied gaseous mixtures involving the use of liquefaction or solidification by partial condensation
    • F25J3/063Processes or apparatus for separating the constituents of gaseous or liquefied gaseous mixtures involving the use of liquefaction or solidification by partial condensation characterised by the separated product stream
    • F25J3/067Processes or apparatus for separating the constituents of gaseous or liquefied gaseous mixtures involving the use of liquefaction or solidification by partial condensation characterised by the separated product stream separation of carbon dioxide
    • FMECHANICAL ENGINEERING; LIGHTING; HEATING; WEAPONS; BLASTING
    • F25REFRIGERATION OR COOLING; COMBINED HEATING AND REFRIGERATION SYSTEMS; HEAT PUMP SYSTEMS; MANUFACTURE OR STORAGE OF ICE; LIQUEFACTION SOLIDIFICATION OF GASES
    • F25JLIQUEFACTION, SOLIDIFICATION OR SEPARATION OF GASES OR GASEOUS OR LIQUEFIED GASEOUS MIXTURES BY PRESSURE AND COLD TREATMENT OR BY BRINGING THEM INTO THE SUPERCRITICAL STATE
    • F25J2200/00Processes or apparatus using separation by rectification
    • F25J2200/02Processes or apparatus using separation by rectification in a single pressure main column system
    • FMECHANICAL ENGINEERING; LIGHTING; HEATING; WEAPONS; BLASTING
    • F25REFRIGERATION OR COOLING; COMBINED HEATING AND REFRIGERATION SYSTEMS; HEAT PUMP SYSTEMS; MANUFACTURE OR STORAGE OF ICE; LIQUEFACTION SOLIDIFICATION OF GASES
    • F25JLIQUEFACTION, SOLIDIFICATION OR SEPARATION OF GASES OR GASEOUS OR LIQUEFIED GASEOUS MIXTURES BY PRESSURE AND COLD TREATMENT OR BY BRINGING THEM INTO THE SUPERCRITICAL STATE
    • F25J2200/00Processes or apparatus using separation by rectification
    • F25J2200/40Features relating to the provision of boil-up in the bottom of a column
    • FMECHANICAL ENGINEERING; LIGHTING; HEATING; WEAPONS; BLASTING
    • F25REFRIGERATION OR COOLING; COMBINED HEATING AND REFRIGERATION SYSTEMS; HEAT PUMP SYSTEMS; MANUFACTURE OR STORAGE OF ICE; LIQUEFACTION SOLIDIFICATION OF GASES
    • F25JLIQUEFACTION, SOLIDIFICATION OR SEPARATION OF GASES OR GASEOUS OR LIQUEFIED GASEOUS MIXTURES BY PRESSURE AND COLD TREATMENT OR BY BRINGING THEM INTO THE SUPERCRITICAL STATE
    • F25J2200/00Processes or apparatus using separation by rectification
    • F25J2200/70Refluxing the column with a condensed part of the feed stream, i.e. fractionator top is stripped or self-rectified
    • FMECHANICAL ENGINEERING; LIGHTING; HEATING; WEAPONS; BLASTING
    • F25REFRIGERATION OR COOLING; COMBINED HEATING AND REFRIGERATION SYSTEMS; HEAT PUMP SYSTEMS; MANUFACTURE OR STORAGE OF ICE; LIQUEFACTION SOLIDIFICATION OF GASES
    • F25JLIQUEFACTION, SOLIDIFICATION OR SEPARATION OF GASES OR GASEOUS OR LIQUEFIED GASEOUS MIXTURES BY PRESSURE AND COLD TREATMENT OR BY BRINGING THEM INTO THE SUPERCRITICAL STATE
    • F25J2205/00Processes or apparatus using other separation and/or other processing means
    • F25J2205/02Processes or apparatus using other separation and/or other processing means using simple phase separation in a vessel or drum
    • FMECHANICAL ENGINEERING; LIGHTING; HEATING; WEAPONS; BLASTING
    • F25REFRIGERATION OR COOLING; COMBINED HEATING AND REFRIGERATION SYSTEMS; HEAT PUMP SYSTEMS; MANUFACTURE OR STORAGE OF ICE; LIQUEFACTION SOLIDIFICATION OF GASES
    • F25JLIQUEFACTION, SOLIDIFICATION OR SEPARATION OF GASES OR GASEOUS OR LIQUEFIED GASEOUS MIXTURES BY PRESSURE AND COLD TREATMENT OR BY BRINGING THEM INTO THE SUPERCRITICAL STATE
    • F25J2210/00Processes characterised by the type or other details of the feed stream
    • F25J2210/02Multiple feed streams, e.g. originating from different sources
    • FMECHANICAL ENGINEERING; LIGHTING; HEATING; WEAPONS; BLASTING
    • F25REFRIGERATION OR COOLING; COMBINED HEATING AND REFRIGERATION SYSTEMS; HEAT PUMP SYSTEMS; MANUFACTURE OR STORAGE OF ICE; LIQUEFACTION SOLIDIFICATION OF GASES
    • F25JLIQUEFACTION, SOLIDIFICATION OR SEPARATION OF GASES OR GASEOUS OR LIQUEFIED GASEOUS MIXTURES BY PRESSURE AND COLD TREATMENT OR BY BRINGING THEM INTO THE SUPERCRITICAL STATE
    • F25J2210/00Processes characterised by the type or other details of the feed stream
    • F25J2210/04Mixing or blending of fluids with the feed stream
    • FMECHANICAL ENGINEERING; LIGHTING; HEATING; WEAPONS; BLASTING
    • F25REFRIGERATION OR COOLING; COMBINED HEATING AND REFRIGERATION SYSTEMS; HEAT PUMP SYSTEMS; MANUFACTURE OR STORAGE OF ICE; LIQUEFACTION SOLIDIFICATION OF GASES
    • F25JLIQUEFACTION, SOLIDIFICATION OR SEPARATION OF GASES OR GASEOUS OR LIQUEFIED GASEOUS MIXTURES BY PRESSURE AND COLD TREATMENT OR BY BRINGING THEM INTO THE SUPERCRITICAL STATE
    • F25J2210/00Processes characterised by the type or other details of the feed stream
    • F25J2210/06Splitting of the feed stream, e.g. for treating or cooling in different ways
    • FMECHANICAL ENGINEERING; LIGHTING; HEATING; WEAPONS; BLASTING
    • F25REFRIGERATION OR COOLING; COMBINED HEATING AND REFRIGERATION SYSTEMS; HEAT PUMP SYSTEMS; MANUFACTURE OR STORAGE OF ICE; LIQUEFACTION SOLIDIFICATION OF GASES
    • F25JLIQUEFACTION, SOLIDIFICATION OR SEPARATION OF GASES OR GASEOUS OR LIQUEFIED GASEOUS MIXTURES BY PRESSURE AND COLD TREATMENT OR BY BRINGING THEM INTO THE SUPERCRITICAL STATE
    • F25J2215/00Processes characterised by the type or other details of the product stream
    • F25J2215/04Recovery of liquid products
    • FMECHANICAL ENGINEERING; LIGHTING; HEATING; WEAPONS; BLASTING
    • F25REFRIGERATION OR COOLING; COMBINED HEATING AND REFRIGERATION SYSTEMS; HEAT PUMP SYSTEMS; MANUFACTURE OR STORAGE OF ICE; LIQUEFACTION SOLIDIFICATION OF GASES
    • F25JLIQUEFACTION, SOLIDIFICATION OR SEPARATION OF GASES OR GASEOUS OR LIQUEFIED GASEOUS MIXTURES BY PRESSURE AND COLD TREATMENT OR BY BRINGING THEM INTO THE SUPERCRITICAL STATE
    • F25J2215/00Processes characterised by the type or other details of the product stream
    • F25J2215/80Carbon dioxide
    • FMECHANICAL ENGINEERING; LIGHTING; HEATING; WEAPONS; BLASTING
    • F25REFRIGERATION OR COOLING; COMBINED HEATING AND REFRIGERATION SYSTEMS; HEAT PUMP SYSTEMS; MANUFACTURE OR STORAGE OF ICE; LIQUEFACTION SOLIDIFICATION OF GASES
    • F25JLIQUEFACTION, SOLIDIFICATION OR SEPARATION OF GASES OR GASEOUS OR LIQUEFIED GASEOUS MIXTURES BY PRESSURE AND COLD TREATMENT OR BY BRINGING THEM INTO THE SUPERCRITICAL STATE
    • F25J2220/00Processes or apparatus involving steps for the removal of impurities
    • F25J2220/80Separating impurities from carbon dioxide, e.g. H2O or water-soluble contaminants
    • F25J2220/82Separating low boiling, i.e. more volatile components, e.g. He, H2, CO, Air gases, CH4
    • FMECHANICAL ENGINEERING; LIGHTING; HEATING; WEAPONS; BLASTING
    • F25REFRIGERATION OR COOLING; COMBINED HEATING AND REFRIGERATION SYSTEMS; HEAT PUMP SYSTEMS; MANUFACTURE OR STORAGE OF ICE; LIQUEFACTION SOLIDIFICATION OF GASES
    • F25JLIQUEFACTION, SOLIDIFICATION OR SEPARATION OF GASES OR GASEOUS OR LIQUEFIED GASEOUS MIXTURES BY PRESSURE AND COLD TREATMENT OR BY BRINGING THEM INTO THE SUPERCRITICAL STATE
    • F25J2230/00Processes or apparatus involving steps for increasing the pressure of gaseous process streams
    • F25J2230/30Compression of the feed stream
    • FMECHANICAL ENGINEERING; LIGHTING; HEATING; WEAPONS; BLASTING
    • F25REFRIGERATION OR COOLING; COMBINED HEATING AND REFRIGERATION SYSTEMS; HEAT PUMP SYSTEMS; MANUFACTURE OR STORAGE OF ICE; LIQUEFACTION SOLIDIFICATION OF GASES
    • F25JLIQUEFACTION, SOLIDIFICATION OR SEPARATION OF GASES OR GASEOUS OR LIQUEFIED GASEOUS MIXTURES BY PRESSURE AND COLD TREATMENT OR BY BRINGING THEM INTO THE SUPERCRITICAL STATE
    • F25J2235/00Processes or apparatus involving steps for increasing the pressure or for conveying of liquid process streams
    • F25J2235/80Processes or apparatus involving steps for increasing the pressure or for conveying of liquid process streams the fluid being carbon dioxide
    • FMECHANICAL ENGINEERING; LIGHTING; HEATING; WEAPONS; BLASTING
    • F25REFRIGERATION OR COOLING; COMBINED HEATING AND REFRIGERATION SYSTEMS; HEAT PUMP SYSTEMS; MANUFACTURE OR STORAGE OF ICE; LIQUEFACTION SOLIDIFICATION OF GASES
    • F25JLIQUEFACTION, SOLIDIFICATION OR SEPARATION OF GASES OR GASEOUS OR LIQUEFIED GASEOUS MIXTURES BY PRESSURE AND COLD TREATMENT OR BY BRINGING THEM INTO THE SUPERCRITICAL STATE
    • F25J2245/00Processes or apparatus involving steps for recycling of process streams
    • F25J2245/90Processes or apparatus involving steps for recycling of process streams the recycled stream being boil-off gas from storage
    • FMECHANICAL ENGINEERING; LIGHTING; HEATING; WEAPONS; BLASTING
    • F25REFRIGERATION OR COOLING; COMBINED HEATING AND REFRIGERATION SYSTEMS; HEAT PUMP SYSTEMS; MANUFACTURE OR STORAGE OF ICE; LIQUEFACTION SOLIDIFICATION OF GASES
    • F25JLIQUEFACTION, SOLIDIFICATION OR SEPARATION OF GASES OR GASEOUS OR LIQUEFIED GASEOUS MIXTURES BY PRESSURE AND COLD TREATMENT OR BY BRINGING THEM INTO THE SUPERCRITICAL STATE
    • F25J2270/00Refrigeration techniques used
    • F25J2270/02Internal refrigeration with liquid vaporising loop
    • FMECHANICAL ENGINEERING; LIGHTING; HEATING; WEAPONS; BLASTING
    • F25REFRIGERATION OR COOLING; COMBINED HEATING AND REFRIGERATION SYSTEMS; HEAT PUMP SYSTEMS; MANUFACTURE OR STORAGE OF ICE; LIQUEFACTION SOLIDIFICATION OF GASES
    • F25JLIQUEFACTION, SOLIDIFICATION OR SEPARATION OF GASES OR GASEOUS OR LIQUEFIED GASEOUS MIXTURES BY PRESSURE AND COLD TREATMENT OR BY BRINGING THEM INTO THE SUPERCRITICAL STATE
    • F25J2270/00Refrigeration techniques used
    • F25J2270/90External refrigeration, e.g. conventional closed-loop mechanical refrigeration unit using Freon or NH3, unspecified external refrigeration

Definitions

  • the invention relates to a method and an apparatus for separating a gas mixture containing carbon dioxide and at least one impurity lighter than carbon dioxide by phase separation and/or by distillation.
  • a gas mixture containing carbon dioxide and at least one light impurity which is for example an evaporation gas from a storage of liquid carbon dioxide
  • This makes it possible to produce purified carbon dioxide from storage vaporization gas in liquid form, the liquid being returned to at least one fixed or transportable storage facility through loading systems.
  • CO2-rich gases generated by several phenomena, are CO2 losses if they are not recycled or liquefied and returned as generally they are sent to a vent.
  • JP-S-57-149699 published in 1982 describes a distillation process producing liquid CO2 which is pressurized and sent to storage, with the overhead gas above the liquid level in the storage being sent to the distillation column.
  • the preamble to claim 1 contains the features common to this document.
  • the process according to the invention consists of recycling the evaporated gas, for example from storage and loading systems, to a unit for separating a CO2 mixture by distillation and/or partial condensation at a suitable location where the conditions (pressure /temperature) are favorable. Additionally, recycling of the BOG to the separation unit increases the coolant demand.
  • the invention describes the best location to recycle it in order to optimize the increase in fluid circulating on the liquefier.
  • it is planned to return the evaporated gases to a phase separator located upstream or downstream of the storages or in another CO2 separation process.
  • a distillation column contains means to promote heat and material exchange, such as trays, structured or bulk packings.
  • a phase separator does not contain means to promote heat and material exchange, essentially performing a separation equivalent to a single theoretical plate.
  • Refrigeration for separation optionally comes from a CO2-containing refrigerant cycle in an open or closed cycle. It is also possible to have a cascade diagram containing or other type of compound such as NH3 or any other refrigerant allowing the liquefaction of CO2.
  • a process for separating a first gas mixture containing carbon dioxide and at least one impurity lighter than carbon dioxide the first gas mixture coming from a dioxide storage liquid carbon or being produced during the filling of a liquid carbon dioxide storage in which the first gas mixture as well as a second gas mixture containing carbon dioxide and at least one impurity lighter than carbon dioxide are separated in a separation system comprising a heat exchanger and at least one distillation column to form a liquid flow purer in carbon dioxide than the second gas mixture and a gas less pure in carbon dioxide than the first gas mixture, the second gas mixture cools in the heat exchanger upstream of the separation, the liquid flow is withdrawn from a distillation column of the separation system, at least a first part of the liquid flow is sent to at least one storage of liquid carbon dioxide or even the storage of liquid carbon dioxide from which the first gas mixture comes possibly after having been pressurized characterized in that a second part of the liquid flow is partially vaporized to form a two-phase flow and the two-phase flow is separated
  • an apparatus for separating a first gas mixture containing carbon dioxide and at least one impurity lighter than carbon dioxide comprising means for bringing the first gas mixture from carbon dioxide storage liquid or a filling line for a storage of liquid carbon dioxide, a separation system comprising a heat exchanger as well as at least one phase separator and at least one distillation column, means for sending the first gas mixture separate in the separation system, means for sending a second gas mixture containing carbon dioxide and at least one impurity lighter than carbon dioxide to cool, or even condense in the heat exchanger, means for bringing the second mixture cooled in the heat exchanger separates in the at least one distillation column to form a liquid flow purer in carbon dioxide than the second gas mixture and a gas less pure in carbon dioxide than the second mixture gas, means for withdrawing the liquid flow from a distillation column of the separation system, optionally a pump for pressurizing at least a first part of the liquid flow, means for sending the at least a first part of the liquid flow to a
  • the apparatus may include means for expanding the first gas mixture upstream of the phase separator.
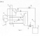
  • FIG. 1 represents a process according to the invention.
  • the apparatus for separating the first gas mixture 05 comprising CO2 and at least one impurity lighter than CO2 such as helium, methane, carbon monoxide, hydrogen, nitrogen, argon or the oxygen is constituted by a heat exchanger 20 and a distillation column 40.
  • the gas source 70 can be supplied exclusively with liquid CO2 by the device of the Figure 1 , exclusively by at least one other device for producing liquid CO2 or by both.
  • reboiling gas 07 which is a second gas mixture cooled in the heat exchanger 20.
  • this CO2-rich gas 07 can be formed by vaporizing part of the liquid from tank of column 40 in exchanger 20 and returning it to the column.
  • Other sources of reboiling gas are possible.
  • the first gas mixture 05 contains at least 90% mol CO2, preferably at least 95% mol CO2, or even at least 97% mol CO2 or at least 99% CO2.
  • the second mixture 07, 11 contains at least 20 mol% CO2, preferably at least 40 mol%. CO2, or even at least 60% mol CO2, at least 80% mol CO2, or at least 90% CO2.
  • the first mixture 05 is at least as pure in CO2 as the second mixture 07,11, 12.
  • Liquid formed in the tank of column 40 is withdrawn from the column and divided into two parts. This liquid is purer in CO2 than the second gas mixture 11 and possibly purer in CO2 than the first gas mixture 05. On the other hand, it may be less pure in CO2 than the first gas mixture 05.
  • a first part 33 is pressurized by a pump P and is sent directly to a storage 70, which may be gas source 05 or other storage, is treated to form a liquid to be sent to gas source 70 or other storage.
  • a second part 03 of the tank liquid is expanded to partially vaporize it, forming a two-phase flow.
  • the two-phase flow is sent to a tank 50 serving as a phase separator.
  • the gas and liquid formed in the tank serving as a phase separator are sent to the heat exchanger (to provide the necessary refrigeration energy) where the liquid vaporizes to form a gas, this gas and the gas from the separator 50 heated in the heat exchanger being mixed to form a gas 01.
  • the gas 01 in both cases, is compressed in a compressor 10 to form a compressed gas which is then cooled in the heat exchanger 20, then expanded in a valve to be sent as liquid 2 to an intermediate level of column 40.
  • a gas 11 containing carbon dioxide and at least one impurity lighter than carbon dioxide is sent to the compressor inlet or to an intermediate level of the compressor to be compressed. This gas constitutes the second gas mixture.
  • the storage or loading pressure can vary from 6 bara to 12 bara (or from 6 bara to 8 bara).
  • gas 05 is generally around -52°C. Under these conditions, the pressure of gas 05 is lower than the pressure at the phase separator or column 40.
  • the gas 05 from the source 70 is then expanded through the valve 60 to form a two-phase flow and is sent to the balloon 50 (generally operating at a pressure lower than the pressure of the storage 70, or generally at around 5.6 bara) . No part of the first gas mixture 05 is sent directly to column 40.
  • the first gas mixture 05 is sent to separate in column 40 but after having mixed with the fluids produced by expanding the second part 03 of the liquid of tank of column 40 and with part of the second mixture 11.
  • This arrangement may also be suitable in the case where the light impurity content of the first mixture 05 is so high that it must be mixed with a fluid richer in CO2 in order to be treated.
  • Insulation is provided for the gas line 05 so that it does not heat up between the source 70 and the separation device, since the source 70 operates at a subambient temperature.

Landscapes

  • Engineering & Computer Science (AREA)
  • Physics & Mathematics (AREA)
  • Mechanical Engineering (AREA)
  • Thermal Sciences (AREA)
  • General Engineering & Computer Science (AREA)
  • Chemical & Material Sciences (AREA)
  • Chemical Kinetics & Catalysis (AREA)
  • Separation By Low-Temperature Treatments (AREA)

Abstract

Dans un procédé de séparation d'un premier mélange gazeux (05) contenant du dioxyde de carbone et au moins une impureté plus légère que le dioxyde de carbone, le premier mélange gazeux provenant d'un stockage (70) de dioxyde de carbone liquide, un deuxième mélange gazeux (11, 12) contenant du dioxyde de carbone et au moins une impureté plus légère que le dioxyde de carbone est séparé dans un système de séparation comprenant un échangeur de chaleur (20) et une colonne de distillation (40) pour former un débit liquide plus pur en dioxyde de carbone que le deuxième mélange gazeux, le deuxième mélange gazeux se refroidit dans l'échangeur de chaleur en amont de la séparation, le débit liquide est soutiré d'une colonne de distillation du système de séparation, une première partie (33) du débit liquide est envoyée à un stockage (70) de dioxyde de carbone liquide, une deuxième partie (03) du débit liquide est envoyé à un séparateur de phases (50) avec le premier mélange gazeux, des fluides du séparateur de phases sont réchauffés, comprimés (10) et envoyés à la distillation.In a process for separating a first gas mixture (05) containing carbon dioxide and at least one impurity lighter than carbon dioxide, the first gas mixture coming from a storage (70) of liquid carbon dioxide, a second gas mixture (11, 12) containing carbon dioxide and at least one impurity lighter than carbon dioxide is separated in a separation system comprising a heat exchanger (20) and a distillation column (40) for form a liquid flow purer in carbon dioxide than the second gas mixture, the second gas mixture cools in the heat exchanger upstream of the separation, the liquid flow is withdrawn from a distillation column of the separation system, a first part (33) of the liquid flow is sent to a storage (70) of liquid carbon dioxide, a second part (03) of the liquid flow is sent to a phase separator (50) with the first gas mixture, fluids of the phase separator are reheated, compressed (10) and sent to distillation.

Description

L'invention est relative à un procédé et un appareil de séparation d'un mélange gazeux contenant du dioxyde de carbone et au moins une impureté plus légère que le dioxyde carbone par séparation de phases et/ou par distillation. Selon un tel procédé, un mélange gazeux contenant du dioxyde de carbone et au moins une impureté légère (O2, H2, CO etc.), qui est par exemple un gaz d'évaporation d'un stockage de dioxyde de carbone liquide, peut être séparé formant un liquide appauvri en impureté légère qui peut être renvoyé au stockage sous forme liquide ou réutilisé par ailleurs dans le procédé. Ceci permet de produire du dioxyde de carbone épuré provenant du gaz de vaporisation des stockages sous forme liquide, le liquide étant renvoyé dans au moins un stockage fixe ou transportable à travers des systèmes de chargement.The invention relates to a method and an apparatus for separating a gas mixture containing carbon dioxide and at least one impurity lighter than carbon dioxide by phase separation and/or by distillation. According to such a process, a gas mixture containing carbon dioxide and at least one light impurity (O2, H2, CO etc.), which is for example an evaporation gas from a storage of liquid carbon dioxide, can be separated forming a liquid depleted in light impurity which can be returned to storage in liquid form or reused elsewhere in the process. This makes it possible to produce purified carbon dioxide from storage vaporization gas in liquid form, the liquid being returned to at least one fixed or transportable storage facility through loading systems.

Des gaz d'évaporation (en anglais connus sous le nom « boil-off gases » ou « BOG ») sont généralement générés sur l'équipement final d'une usine de séparation de CO2 :

  • Dans au moins un stockage fixe de CO2 et/ou
  • Dans les systèmes de chargement de CO2 et/ou
  • Pendant les opérations de chargement de CO2 dans des stockages transportables (par exemple sur des bateaux / camions-citernes / trains) ou dans une canalisation
Boil-off gases (BOG) are generally generated on the final equipment of a CO2 separation plant:
  • In at least one fixed storage of CO2 and/or
  • In CO2 charging systems and/or
  • During CO2 loading operations into transportable storages (e.g. on ships/tankers/trains) or into a pipeline

Ces gaz riches en CO2, générés par plusieurs phénomènes, sont des pertes de CO2 s'ils ne sont pas recyclés ou liquéfiés et renvoyés car généralement ils sont envoyés vers un évent.These CO2-rich gases, generated by several phenomena, are CO2 losses if they are not recycled or liquefied and returned as generally they are sent to a vent.

Avec l'augmentation de la demande d'unités de captage et de séparation de CO2 et l'augmentation de la capacité de ces unités, il devient nécessaire de traiter les BOG (gaz d'évaporation) générés.With the increase in demand for CO2 capture and separation units and increase in the capacity of these units, it becomes necessary to treat the BOG (evaporation gas) generated.

JP-S-57-149699 publié en 1982 décrit un procédé de distillation produisant du CO2 liquide qui est pressurisé et envoyé à un stockage, le gaz du ciel au-dessus du niveau de liquide dans le stockage étant envoyé à la colonne de distillation. Le préambule de la revendication 1 contient les caractéristiques communes à ce document. JP-S-57-149699 published in 1982 describes a distillation process producing liquid CO2 which is pressurized and sent to storage, with the overhead gas above the liquid level in the storage being sent to the distillation column. The preamble to claim 1 contains the features common to this document.

Dans une usine de séparation de CO2 à petite échelle, les gaz évaporés générés dans les systèmes de stockage et de chargement sont actuellement :

  • Utilisés pour la régénération de l'adsorbant qui sert à sécher le gaz à liquéfier et ensuite rejetés dans l'atmosphère ou
  • Rejetés dans l'atmosphère directement.
In a small-scale CO2 separation plant, the boil-off gases generated in the storage and loading systems are currently:
  • Used for the regeneration of the adsorbent which is used to dry the gas to be liquefied and then released into the atmosphere or
  • Released directly into the atmosphere.

Le procédé selon l'invention consiste à recycler le gaz évaporé, par exemple des stockages et des systèmes de chargement, vers une unité de séparation d'un mélange de CO2 par distillation et/ou condensation partielle à un endroit adéquat où les conditions (pression/température) sont favorables. De plus, le recyclage du BOG vers l'unité de séparation augmente la demande de liquide de refroidissement. L'invention décrit le meilleur emplacement pour le recycler afin d'optimiser l'augmentation de fluide en circulation sur le liquéfacteur.The process according to the invention consists of recycling the evaporated gas, for example from storage and loading systems, to a unit for separating a CO2 mixture by distillation and/or partial condensation at a suitable location where the conditions (pressure /temperature) are favorable. Additionally, recycling of the BOG to the separation unit increases the coolant demand. The invention describes the best location to recycle it in order to optimize the increase in fluid circulating on the liquefier.

Selon un objet de l'invention, il est prévu de renvoyer les gaz évaporés vers un séparateur de phase localisé en amont ou en aval des stockages ou dans un autre procédé de séparation de CO2.According to one object of the invention, it is planned to return the evaporated gases to a phase separator located upstream or downstream of the storages or in another CO2 separation process.

Une colonne de distillation contient des moyens de favoriser l'échange de chaleur et de matière, tels que des plateaux, des garnissages structurés ou en vrac.A distillation column contains means to promote heat and material exchange, such as trays, structured or bulk packings.

Un séparateur de phase ne contient pas de moyens de favoriser l'échange de chaleur et de matière, effectuant essentiellement une séparation équivalent à un seul plateau théorique.A phase separator does not contain means to promote heat and material exchange, essentially performing a separation equivalent to a single theoretical plate.

La réfrigération pour la séparation provient éventuellement d'un cycle de réfrigérant contenant du CO2 en cycle ouvert ou fermé. Il est également possible d'avoir un schéma en cascade contenant ou autre type de composé comme le NH3 ou tout autre réfrigérant permettant la liquéfaction du CO2.Refrigeration for separation optionally comes from a CO2-containing refrigerant cycle in an open or closed cycle. It is also possible to have a cascade diagram containing or other type of compound such as NH3 or any other refrigerant allowing the liquefaction of CO2.

Selon un objet de l'invention, il est prévu un procédé de séparation d'un premier mélange gazeux contenant du dioxyde de carbone et au moins une impureté plus légère que le dioxyde de carbone, le premier mélange gazeux provenant d'un stockage de dioxyde de carbone liquide ou étant produit pendant le remplissage d'un stockage de dioxyde de carbone liquide dans lequel le premier mélange gazeux ainsi qu'un deuxième mélange gazeux contenant du dioxyde de carbone et au moins une impureté plus légère que le dioxyde de carbone sont séparés dans un système de séparation comprenant un échangeur de chaleur et au moins une colonne de distillation pour former un débit liquide plus pur en dioxyde de carbone que le deuxième mélange gazeux et un gaz moins pur en dioxyde de carbone que le premier mélange gazeux, le deuxième mélange gazeux se refroidit dans l'échangeur de chaleur en amont de la séparation, le débit liquide est soutiré d'une colonne de distillation du système de séparation, au moins une première partie du débit liquide est envoyée à au moins un stockage de dioxyde de carbone liquide voire au stockage de dioxyde de carbone liquide d'où provient le premier mélange gazeux éventuellement après avoir été pressurisée caractérisé en ce qu'une deuxième partie du débit liquide est partiellement vaporisée pour former un débit diphasique et le débit diphasique est séparé pour former un gaz et un liquide dans le séparateur de phase, le liquide du séparateur de phase est vaporisé dans l'échangeur de chaleur pour former un liquide vaporisé, le gaz du séparateur de phase est réchauffé dans l'échangeur de chaleur pour former un gaz réchauffé, un gaz est formé en mélangeant le liquide vaporisé
et le gaz réchauffé et est comprimé dans un compresseur avec au moins une partie du deuxième mélange, condensé au moins partiellement dans l'échangeur de chaleur et renvoyé à la colonne dont le débit liquide a été soutiré et le premier mélange gazeux est envoyé directement au séparateur de phases pour se mélanger avec le débit diphasique, éventuellement après avoir été détendu.
According to an object of the invention, there is provided a process for separating a first gas mixture containing carbon dioxide and at least one impurity lighter than carbon dioxide, the first gas mixture coming from a dioxide storage liquid carbon or being produced during the filling of a liquid carbon dioxide storage in which the first gas mixture as well as a second gas mixture containing carbon dioxide and at least one impurity lighter than carbon dioxide are separated in a separation system comprising a heat exchanger and at least one distillation column to form a liquid flow purer in carbon dioxide than the second gas mixture and a gas less pure in carbon dioxide than the first gas mixture, the second gas mixture cools in the heat exchanger upstream of the separation, the liquid flow is withdrawn from a distillation column of the separation system, at least a first part of the liquid flow is sent to at least one storage of liquid carbon dioxide or even the storage of liquid carbon dioxide from which the first gas mixture comes possibly after having been pressurized characterized in that a second part of the liquid flow is partially vaporized to form a two-phase flow and the two-phase flow is separated to form a gas and a liquid in the phase separator, the liquid from the phase separator is vaporized in the heat exchanger to form a vaporized liquid, the gas from the phase separator is reheated in the exchanger of heat to form a heated gas, a gas is formed by mixing the vaporized liquid
and the reheated gas is compressed in a compressor with at least part of the second mixture, condensed at least partially in the heat exchanger and returned to the column from which the liquid flow has been withdrawn and the first gas mixture is sent directly to the phase separator to mix with the two-phase flow, possibly after being relaxed.

Selon d'autres caractéristiques facultatives :

  • le premier mélange est détendu en amont du séparateur de phases
  • le premier mélange gazeux contenant du dioxyde de carbone et au moins une impureté est à une température inférieure à -45°C dans une conduite l'amenant depuis le stockage vers l'au moins une colonne et/ou l'au moins un séparateur de phases.
  • le premier mélange se sépare dans une colonne de distillation et un débit de reflux liquide constituant une partie du deuxième mélange est envoyé en tête de la colonne.
  • le premier mélange provient d'un stockage opérant à une pression supérieure à celle de la colonne dans lequel le premier mélange est séparé.
  • le premier mélange contient au moins 90% mol CO2, de préférence au moins 95% mol CO2, voire au moins 97% mol CO2 ou au moins 99% CO2
  • le deuxième mélange contient au moins 20% mol CO2, de préférence au moins 40% mol. CO2, voire au moins 60% mol CO2, au moins 80% mol CO2, ou au moins 90% CO2
  • le premier mélange est au moins aussi pur en CO2 que le deuxième mélange.
  • l'au moins une impureté plus légère que le dioxyde de carbone est de l'azote, de l'oxygène, de l'argon, du méthane, du monoxyde de carbone, de l'hydrogène.
  • Le premier mélange et/ou au moins une partie du deuxième mélange est envoyé à une colonne du système comme gaz de rebouillage
  • Un gaz de tête d'une/la colonne du système se réchauffe dans l'échangeur
  • Tout le liquide de cuve produit par une/la colonne du système est envoyé à au moins un stockage, éventuellement transportable
  • le débit liquide est moins pur ou plus pur en dioxyde de carbone que le premier mélange gazeux
  • le premier mélange gazeux contient au moins 90% mol CO2, de préférence au moins 95% mol CO2, voire au moins 97% mol CO2 ou au moins 99% CO2
  • le deuxième mélange contient au moins 20% mol CO2, de préférence au moins 40% mol. CO2, voire au moins 60% mol CO2, au moins 80% mol CO2, ou au moins 90% CO2
  • le premier mélange est au moins aussi pur en CO2 que le deuxième mélange.
  • l'au moins une impureté plus légère que le dioxyde de carbone est de l'azote, de l'oxygène, de l'argon, du méthane, du monoxyde de carbone, de l'hydrogène, de l'hélium.
  • le séparateur de phases fonctionne à une pression inférieure à la pression du stockage .
  • le séparateur de phases fonctionne à environ 5,6 bara.
  • le stockage fonctionne ou le remplissage s'effectue à entre 6 et 12 bara, voire entre 6 et 8 bara.
  • un gaz de tête d'une colonne du système ou de la colonne du système se réchauffe dans l'échangeur.
According to other optional features:
  • the first mixture is expanded upstream of the phase separator
  • the first gas mixture containing carbon dioxide and at least one impurity is at a temperature below -45°C in a pipe bringing it from storage to the at least one column and/or the at least one gas separator phases.
  • the first mixture separates in a distillation column and a flow of liquid reflux constituting part of the second mixture is sent to the top of the column.
  • the first mixture comes from storage operating at a pressure higher than that of the column in which the first mixture is separated.
  • the first mixture contains at least 90% mol CO2, preferably at least 95% mol CO2, or even at least 97% mol CO2 or at least 99% CO2
  • the second mixture contains at least 20 mol% CO2, preferably at least 40 mol%. CO2, or even at least 60% mol CO2, at least 80% mol CO2, or at least 90% CO2
  • the first mixture is at least as pure in CO2 as the second mixture.
  • the at least one impurity lighter than carbon dioxide is nitrogen, oxygen, argon, methane, carbon monoxide, hydrogen.
  • The first mixture and/or at least part of the second mixture is sent to a column of the system as reboiling gas
  • An overhead gas from one/the column of the system heats up in the exchanger
  • All the tank liquid produced by one/the column of the system is sent to at least one storage, possibly transportable
  • the liquid flow is less pure or purer in carbon dioxide than the first gas mixture
  • the first gas mixture contains at least 90% mol CO2, preferably at least 95% mol CO2, or even at least 97% mol CO2 or at least 99% CO2
  • the second mixture contains at least 20 mol% CO2, preferably at least 40 mol%. CO2, or even at least 60% mol CO2, at least 80% mol CO2, or at least 90% CO2
  • the first mixture is at least as pure in CO2 as the second mixture.
  • the at least one impurity lighter than carbon dioxide is nitrogen, oxygen, argon, methane, carbon monoxide, hydrogen, helium.
  • the phase separator operates at a pressure lower than the storage pressure.
  • the phase separator operates at approximately 5.6 bara.
  • storage operates or filling takes place at between 6 and 12 bara, or even between 6 and 8 bara.
  • an overhead gas from a column of the system or the column of the system heats up in the exchanger.

Selon un autre objet de l'invention, il est prévu un appareil de séparation d'un premier mélange gazeux contenant du dioxyde de carbone et au moins une impureté plus légère que le dioxyde de carbone, comprenant des moyens pour amener le premier mélange gazeux depuis un stockage de dioxyde de carbone liquide ou une conduite de remplissage d'un stockage de dioxyde de carbone liquide, un système de séparation comprenant un échangeur de chaleur ainsi qu'au moins un séparateur de phase et au moins une colonne de distillation, des moyens pour envoyer le premier mélange gazeux se séparer dans le système de séparation, des moyens pour envoyer un deuxième mélange gazeux contenant du dioxyde de carbone et au moins une impureté plus légère que le dioxyde de carbone se refroidir, voire se condenser dans l'échangeur de chaleur, des moyens pour amener le deuxième mélange refroidi dans l'échangeur de chaleur se séparer dans l'au moins une colonne de distillation pour former un débit liquide plus pur en dioxyde de carbone que le deuxième mélange gazeux et un gaz moins pur en dioxyde de carbone que le deuxième mélange gazeux, des moyens pour soutirer le débit liquide d'une colonne de distillation du système de séparation, éventuellement une pompe pour pressuriser au moins une première partie du débit liquide, des moyens pour envoyer l'au moins une première partie du débit liquide à un stockage de dioxyde de carbone liquide voire au stockage de dioxyde de carbone liquide d'où provient le premier mélange gazeux caractérisé en ce qu'il comprend des moyens pour vaporiser partiellement une deuxième partie du débit liquide pour former un débit diphasique, des moyens pour envoyer le débit diphasique dans le séparateur de phases pour former un gaz et un liquide, des moyens pour envoyer le liquide du séparateur de phases se vaporiser dans l'échangeur de chaleur pour former un liquide vaporisé, des moyens pour envoyer le gaz du séparateur de phases se réchauffer dans l'échangeur de chaleur pour former un gaz réchauffé, des moyens pour former un gaz en mélangeant le liquide vaporisé et le gaz réchauffé, un compresseur, des moyens pour envoyer le gaz formé en mélangeant le liquide et le gaz ainsi qu'au moins une partie du deuxième mélange gazeux au compresseur, des moyens pour envoyer le gaz comprimé dans le compresseur dans l'échangeur de chaleur, des moyens pour envoyer le gaz comprimé partiellement condensé à l'au moins un séparateur de phase du système ou à la colonne dont le débit liquide a été soutiré et des moyens pour envoyer le premier mélange au séparateur de phases pour se mélanger avec le débit diphasique.According to another object of the invention, there is provided an apparatus for separating a first gas mixture containing carbon dioxide and at least one impurity lighter than carbon dioxide, comprising means for bringing the first gas mixture from carbon dioxide storage liquid or a filling line for a storage of liquid carbon dioxide, a separation system comprising a heat exchanger as well as at least one phase separator and at least one distillation column, means for sending the first gas mixture separate in the separation system, means for sending a second gas mixture containing carbon dioxide and at least one impurity lighter than carbon dioxide to cool, or even condense in the heat exchanger, means for bringing the second mixture cooled in the heat exchanger separates in the at least one distillation column to form a liquid flow purer in carbon dioxide than the second gas mixture and a gas less pure in carbon dioxide than the second mixture gas, means for withdrawing the liquid flow from a distillation column of the separation system, optionally a pump for pressurizing at least a first part of the liquid flow, means for sending the at least a first part of the liquid flow to a storage of liquid carbon dioxide or even storage of liquid carbon dioxide from which the first gas mixture comes characterized in that it comprises means for partially vaporizing a second part of the liquid flow to form a two-phase flow, means for sending the two-phase flow in the phase separator to form a gas and a liquid, means for sending the liquid from the phase separator to vaporize in the heat exchanger to form a vaporized liquid, means for sending the gas from the phase separator heat up in the heat exchanger to form a heated gas, means for forming a gas by mixing the vaporized liquid and the heated gas, a compressor, means for sending the gas formed by mixing the liquid and the gas as well as at least part of the second gas mixture to the compressor, means for sending the compressed gas in the compressor into the heat exchanger, means for sending the partially condensed compressed gas to the at least one phase separator of the system or to the column from which the liquid flow has been withdrawn and means for sending the first mixture to the phase separator to mix with the two-phase flow.

L'appareil peut comprendre des moyens pour détendre le premier mélange gazeux en amont du séparateur de phases.The apparatus may include means for expanding the first gas mixture upstream of the phase separator.

L'invention sera décrite de manière plus détaillée, en se référant à la figure où :
[FIG. 1] représente un procédé selon l'invention.
The invention will be described in more detail, with reference to the figure where:
[ FIG. 1 ] represents a process according to the invention.

Dans la Figure 1, l'appareil de séparation du premier mélange gazeux 05 comprenant du CO2 et au moins une impureté plus légère que le CO2 telle que l'hélium, le méthane, le monoxyde de carbone, l'hydrogène, l'azote, l'argon ou l'oxygène est constitué par un échangeur de chaleur 20 et une colonne de distillation 40.In the Figure 1 , the apparatus for separating the first gas mixture 05 comprising CO2 and at least one impurity lighter than CO2 such as helium, methane, carbon monoxide, hydrogen, nitrogen, argon or the oxygen is constituted by a heat exchanger 20 and a distillation column 40.

La source 70 du premier mélange gazeux 05 peut être :

  • au moins un stockage fixe de CO2 liquide dans lequel un gaz d'évaporation 05 est généré par les rentrées de chaleur et/ou
  • au moins un système de chargement de CO2 liquide relié à un stockage produisant un gaz d'évaporation 05 et/ou
  • au moins un stockage transportable (par exemple sur des bateaux/ camions-citernes / trains), au moins une partie du premier mélange gazeux 05 étant générée pendant les opérations de chargement de CO2 liquide.
The source 70 of the first gas mixture 05 can be:
  • at least one fixed storage of liquid CO2 in which an evaporation gas 05 is generated by heat ingress and/or
  • at least one liquid CO2 loading system connected to a storage producing an evaporation gas 05 and/or
  • at least one transportable storage (for example on boats/tank trucks/trains), at least part of the first gas mixture 05 being generated during liquid CO2 loading operations.

La source de gaz 70 peut être alimentée exclusivement en CO2 liquide par l'appareil de la Fig 1, exclusivement par au moins un autre appareil de production de CO2 liquide ou par les deux.The gas source 70 can be supplied exclusively with liquid CO2 by the device of the Figure 1 , exclusively by at least one other device for producing liquid CO2 or by both.

Ici la colonne 40 est réchauffée en cuve par un débit de gaz de rebouillage 07, qui est un deuxième mélange gazeux refroidi dans l'échangeur de chaleur 20. En variante, ce gaz riche en CO2 07 peut être formé vaporisant une partie du liquide de cuve de la colonne 40 dans l'échangeur 20 et en la renvoyant à la colonne. D'autres sources du gaz de rebouillage sont possibles.Here the column 40 is reheated in the tank by a flow of reboiling gas 07, which is a second gas mixture cooled in the heat exchanger 20. Alternatively, this CO2-rich gas 07 can be formed by vaporizing part of the liquid from tank of column 40 in exchanger 20 and returning it to the column. Other sources of reboiling gas are possible.

Le premier mélange gazeux 05 contient au moins 90% mol CO2, de préférence au moins 95% mol CO2, voire au moins 97% mol CO2 ou au moins 99% CO2.The first gas mixture 05 contains at least 90% mol CO2, preferably at least 95% mol CO2, or even at least 97% mol CO2 or at least 99% CO2.

Le deuxième mélange 07, 11 contient au moins 20% mol CO2, de préférence au moins 40% mol. CO2, voire au moins 60% mol CO2, au moins 80% mol CO2, ou au moins 90% CO2.The second mixture 07, 11 contains at least 20 mol% CO2, preferably at least 40 mol%. CO2, or even at least 60% mol CO2, at least 80% mol CO2, or at least 90% CO2.

Le premier mélange 05 est au moins aussi pur en CO2 que le deuxième mélange 07,11, 12.The first mixture 05 is at least as pure in CO2 as the second mixture 07,11, 12.

Du liquide formé en cuve de la colonne 40 est soutiré de la colonne et divisé en deux parties. Ce liquide est plus pur en CO2 que le deuxième mélange gazeux 11 et éventuellement plus pur en CO2 que le premier mélange gazeux 05. Par contre, il peut être moins pur en CO2 que le premier mélange gazeux 05. Une première partie 33 est pressurisée par une pompe P et soit envoyée directement à un stockage 70, pouvant être la source de gaz 05 ou un autre stockage soit traitée pour former un liquide à envoyer au source de gaz 70 ou à un autre stockage.Liquid formed in the tank of column 40 is withdrawn from the column and divided into two parts. This liquid is purer in CO2 than the second gas mixture 11 and possibly purer in CO2 than the first gas mixture 05. On the other hand, it may be less pure in CO2 than the first gas mixture 05. A first part 33 is pressurized by a pump P and is sent directly to a storage 70, which may be gas source 05 or other storage, is treated to form a liquid to be sent to gas source 70 or other storage.

Une deuxième partie 03 du liquide de cuve est détendue pour la vaporiser partiellement formant un débit diphasique. Le débit diphasique est envoyé à un ballon 50 servant de séparateur de phases. Le gaz et le liquide formés dans le ballon servant de séparateur de phases sont envoyés à l'échangeur de chaleur (afin de fournir l'énergie de réfrigération nécessaire) où le liquide se vaporise pour former un gaz, ce gaz et le gaz du séparateur 50 réchauffé dans l'échangeur de chaleur étant mélangés pour former un gaz 01. Le gaz 01, dans les deux cas, est comprimé dans un compresseur 10 pour former un gaz comprimé qui est ensuite refroidi dans l'échangeur de chaleur 20, puis détendu dans une vanne pour être envoyé comme liquide 2 à un niveau intermédiaire de la colonne 40.A second part 03 of the tank liquid is expanded to partially vaporize it, forming a two-phase flow. The two-phase flow is sent to a tank 50 serving as a phase separator. The gas and liquid formed in the tank serving as a phase separator are sent to the heat exchanger (to provide the necessary refrigeration energy) where the liquid vaporizes to form a gas, this gas and the gas from the separator 50 heated in the heat exchanger being mixed to form a gas 01. The gas 01, in both cases, is compressed in a compressor 10 to form a compressed gas which is then cooled in the heat exchanger 20, then expanded in a valve to be sent as liquid 2 to an intermediate level of column 40.

Un gaz 11 contenant du dioxyde de carbone et au moins une impureté plus légère que le dioxyde de carbone est envoyé à l'entrée du compresseur ou à un niveau intermédiaire du compresseur pour être comprimé. Ce gaz constitue le deuxième mélange gazeux.A gas 11 containing carbon dioxide and at least one impurity lighter than carbon dioxide is sent to the compressor inlet or to an intermediate level of the compressor to be compressed. This gas constitutes the second gas mixture.

Dans le développement futur du transport de CO2, il est prévu d'installer des systèmes de stockage et de chargement fonctionnant à basse pression. La pression du stockage ou du chargement peut varier de 6 bara à 12 bara (ou de 6 bara à 8 bara). Dans ce cas, le gaz 05 est généralement à environ -52°C. Dans ces conditions, la pression du gaz 05 est inférieure à la pression au niveau du séparateur de phases ou de la colonne 40. Comme illustré à la Figure 1, le gaz 05 issu de la source 70 est ensuite détendu à travers la vanne 60 pour former un débit diphasique est envoyé au ballon 50 (fonctionnant généralement à une pression inférieure à la pression du stockage 70, voire généralement à environ 5,6 bara). Aucune partie du premier mélange gazeux 05 n'est envoyée directement à la colonne 40. Ainsi le premier mélange gazeux 05 est envoyé se séparer dans la colonne 40 mais après s'être mélangé avec le fluides produits en détendant la deuxième partie 03 du liquide de cuve de la colonne 40 et avec une partie du deuxième mélange 11. Cette disposition peut convenir aussi au cas où la teneur en impureté légère du premier mélange 05 est si élevée qu'il doit être mélangé avec un fluide plus riche en CO2 afin d'être traité.In the future development of CO2 transportation, it is planned to install storage and loading systems operating at low pressure. The storage or loading pressure can vary from 6 bara to 12 bara (or from 6 bara to 8 bara). In this case, gas 05 is generally around -52°C. Under these conditions, the pressure of gas 05 is lower than the pressure at the phase separator or column 40. As illustrated in Figure 1 , the gas 05 from the source 70 is then expanded through the valve 60 to form a two-phase flow and is sent to the balloon 50 (generally operating at a pressure lower than the pressure of the storage 70, or generally at around 5.6 bara) . No part of the first gas mixture 05 is sent directly to column 40. Thus the first gas mixture 05 is sent to separate in column 40 but after having mixed with the fluids produced by expanding the second part 03 of the liquid of tank of column 40 and with part of the second mixture 11. This arrangement may also be suitable in the case where the light impurity content of the first mixture 05 is so high that it must be mixed with a fluid richer in CO2 in order to be treated.

Il est prévu une isolation pour la conduite du gaz 05 de sorte que celui-ci ne se réchauffe pas entre la source 70 et l'appareil de séparation, puisque la source 70 opère à une température subambiante.Insulation is provided for the gas line 05 so that it does not heat up between the source 70 and the separation device, since the source 70 operates at a subambient temperature.

Claims (14)

Procédé de séparation d'un premier mélange gazeux (05) contenant du dioxyde de carbone et au moins une impureté plus légère que le dioxyde de carbone, le premier mélange gazeux provenant d'un stockage (70) de dioxyde de carbone liquide ou étant produit pendant le remplissage d'un stockage de dioxyde de carbone liquide dans lequel le premier mélange gazeux ainsi qu'un deuxième mélange gazeux (11) contenant du dioxyde de carbone et au moins une impureté plus légère que le dioxyde de carbone sont séparés dans un système de séparation comprenant un échangeur de chaleur (20) et au moins une colonne de distillation (40) pour former un débit liquide plus pur en dioxyde de carbone que le deuxième mélange gazeux et un gaz (45) moins pur en dioxyde de carbone que le premier mélange gazeux, le deuxième mélange gazeux se refroidit dans l'échangeur de chaleur en amont de la séparation, le débit liquide est soutiré d'une colonne de distillation du système de séparation, au moins une première partie (33) du débit liquide est envoyée à au moins un stockage (70) de dioxyde de carbone liquide voire au stockage de dioxyde de carbone liquide d'où provient le premier mélange gazeux éventuellement après avoir été pressurisée caractérisé en ce qu'une deuxième partie (03) du débit liquide est partiellement vaporisée pour former un débit diphasique et le débit diphasique est séparé pour former un gaz et un liquide dans le séparateur de phase (50), le liquide du séparateur de phase est vaporisé dans l'échangeur de chaleur pour former un liquide vaporisé, le gaz du séparateur de phase est réchauffé dans l'échangeur de chaleur pour former un gaz réchauffé, un gaz (01) est formé en mélangeant le liquide vaporisé
et le gaz réchauffé et est comprimé dans un compresseur (10) avec au moins une partie (11) du deuxième mélange, condensé au moins partiellement dans l'échangeur de chaleur et renvoyé à la colonne (40) dont le débit liquide a été soutiré et le premier mélange gazeux (05) est envoyé directement au séparateur de phases (50) pour se mélanger avec le débit diphasique, éventuellement après avoir été détendu.
Method for separating a first gas mixture (05) containing carbon dioxide and at least one impurity lighter than carbon dioxide, the first gas mixture coming from a storage (70) of liquid carbon dioxide or being produced during filling of a liquid carbon dioxide storage in which the first gas mixture as well as a second gas mixture (11) containing carbon dioxide and at least one impurity lighter than carbon dioxide are separated in a system separation comprising a heat exchanger (20) and at least one distillation column (40) to form a liquid flow purer in carbon dioxide than the second gas mixture and a gas (45) less pure in carbon dioxide than the first gas mixture, the second gas mixture cools in the heat exchanger upstream of the separation, the liquid flow is withdrawn from a distillation column of the separation system, at least a first part (33) of the liquid flow is sent to at least one storage (70) of liquid carbon dioxide or even to the storage of liquid carbon dioxide from which the first gas mixture comes possibly after having been pressurized characterized in that a second part (03) of the liquid flow is partially vaporized to form a two-phase flow and the two-phase flow is separated to form a gas and a liquid in the phase separator (50), the liquid from the phase separator is vaporized in the heat exchanger to form a vaporized liquid, the phase separator gas is heated in the heat exchanger to form a heated gas, a gas (01) is formed by mixing the vaporized liquid
and the reheated gas is compressed in a compressor (10) with at least part (11) of the second mixture, condensed at least partially in the heat exchanger and returned to the column (40) from which the liquid flow has been withdrawn and the first gas mixture (05) is sent directly to the phase separator (50) to mix with the two-phase flow, possibly after having been expanded.
Procédé selon la revendication 1 dans lequel le premier mélange gazeux (05) provient du stockage à une pression inférieure à celle de la colonne (40).Method according to claim 1 in which the first gas mixture (05) comes from storage at a pressure lower than that of the column (40). Procédé selon la revendication 1 dans lequel le premier mélange (05) provient d'un stockage (70) opérant à une pression supérieure à celle de la colonne (40) dans lequel le premier mélange est séparé.Method according to claim 1 in which the first mixture (05) comes from a storage (70) operating at a pressure higher than that of the column (40) in which the first mixture is separated. Procédé selon l'une des revendications précédentes dans lequel le premier mélange gazeux (05) contenant du dioxyde de carbone et au moins une impureté est à une température inférieure à -45°C dans une conduite l'amenant depuis le stockage (70) vers l'au moins une colonne (40) et/ou l'au moins un séparateur de phases.Method according to one of the preceding claims in which the first gas mixture (05) containing carbon dioxide and at least one impurity is at a temperature lower than -45°C in a pipe bringing it from the storage (70) to the at least one column (40) and/or the at least one phase separator. Procédé selon l'une des revendications précédentes dans lequel le premier mélange gazeux contient au moins 90% mol CO2, de préférence au moins 95% mol CO2, voire au moins 97% mol CO2 ou au moins 99% CO2Method according to one of the preceding claims in which the first gas mixture contains at least 90% mol CO2, preferably at least 95% mol CO2, or even at least 97% mol CO2 or at least 99% CO2 Procédé selon l'une des revendications précédentes dans lequel le deuxième mélange contient au moins 20% mol CO2, de préférence au moins 40% mol. CO2, voire au moins 60% mol CO2, au moins 80% mol CO2, ou au moins 90% CO2Method according to one of the preceding claims in which the second mixture contains at least 20 mol% CO2, preferably at least 40 mol%. CO2, or even at least 60% mol CO2, at least 80% mol CO2, or at least 90% CO2 Procédé selon l'une des revendications précédentes dans lequel le premier mélange est au moins aussi pur en CO2 que le deuxième mélange.Method according to one of the preceding claims in which the first mixture is at least as pure in CO2 as the second mixture. Procédé selon l'une des revendications précédentes dans lequel l'au moins une impureté plus légère que le dioxyde de carbone est de l'azote, de l'oxygène, de l'argon, du méthane, du monoxyde de carbone, de l'hydrogène.Method according to one of the preceding claims in which the at least one impurity lighter than carbon dioxide is nitrogen, oxygen, argon, methane, carbon monoxide, hydrogen. Procédé selon l'une des revendications précédentes dans lequel le séparateur de phases (50) fonctionne à une pression inférieure à la pression du stockage (70).Method according to one of the preceding claims in which the phase separator (50) operates at a pressure lower than the pressure of the storage (70). Procédé selon la revendication précédente dans lequel le séparateur de phases (50) fonctionne à environ 5,6 bara.Method according to the preceding claim in which the phase separator (50) operates at approximately 5.6 bara. Procédé selon l'une des revendications précédentes dans lequel le stockage (70) fonctionne ou le remplissage s'effectue à entre 6 et 12 bara, voire entre 6 et 8 bara.Method according to one of the preceding claims in which the storage (70) operates or the filling takes place at between 6 and 12 bara, or even between 6 and 8 bara. Procédé selon l'une des revendications précédentes dans lequel un gaz de tête (45) d'une colonne du système ou de la colonne du système se réchauffe dans l'échangeur (20).Method according to one of the preceding claims in which an overhead gas (45) from a column of the system or the column of the system is heated in the exchanger (20). Appareil de séparation d'un premier mélange gazeux contenant du dioxyde de carbone et au moins une impureté plus légère que le dioxyde de carbone, comprenant des moyens pour amener le premier mélange gazeux (05) depuis un stockage (70) de dioxyde de carbone liquide ou une conduite de remplissage d'un stockage de dioxyde de carbone liquide, un système de séparation (40, 50) comprenant un échangeur de chaleur (20) ainsi qu'au moins un séparateur de phase (50) et au moins une colonne de distillation (40), des moyens pour envoyer le premier mélange gazeux se séparer dans le système de séparation, des moyens pour envoyer un deuxième mélange gazeux (11, 12) contenant du dioxyde de carbone et au moins une impureté plus légère que le dioxyde de carbone se refroidir, voire se condenser dans l'échangeur de chaleur, des moyens pour amener le deuxième mélange refroidi dans l'échangeur de chaleur se séparer dans l'au moins une colonne de distillation pour former un débit liquide plus pur en dioxyde de carbone que le deuxième mélange gazeux et un gaz moins pur en dioxyde de carbone que le deuxième mélange gazeux, des moyens pour soutirer le débit liquide d'une colonne de distillation du système de séparation, éventuellement une pompe (P) pour pressuriser au moins une première partie (33) du débit liquide, des moyens pour envoyer l'au moins une première partie du débit liquide à un stockage (70) de dioxyde de carbone liquide voire au stockage de dioxyde de carbone liquide d'où provient le premier mélange gazeux caractérisé en ce qu'il comprend des moyens pour vaporiser partiellement une deuxième partie du débit liquide (03) pour former un débit diphasique, des moyens pour envoyer le débit diphasique dans le séparateur de phases (50) pour former un gaz et un liquide, des moyens pour envoyer le liquide du séparateur de phases se vaporiser dans l'échangeur de chaleur pour former un liquide vaporisé, des moyens pour envoyer le gaz du séparateur de phases se réchauffer dans l'échangeur de chaleur pour former un gaz réchauffé, des moyens pour former un gaz en mélangeant le liquide vaporisé et le gaz réchauffé, un compresseur (10), des moyens pour envoyer le gaz formé en mélangeant le liquide et le gaz ainsi qu'au moins une partie (11) du deuxième mélange gazeux au compresseur, des moyens pour envoyer le gaz comprimé dans le compresseur dans l'échangeur de chaleur, des moyens pour envoyer le gaz comprimé partiellement condensé à l'au moins un séparateur de phase (40') du système ou à la colonne (40) dont le débit liquide a été soutiré et des moyens pour envoyer le premier mélange au séparateur de phases (50) pour se mélanger avec le débit diphasique.Apparatus for separating a first gas mixture containing carbon dioxide and at least one impurity lighter than carbon dioxide, comprising means for bringing the first gas mixture (05) from a storage (70) of liquid carbon dioxide or a filling pipe for a storage of liquid carbon dioxide, a separation system (40, 50) comprising an exchanger heat (20) as well as at least one phase separator (50) and at least one distillation column (40), means for sending the first gas mixture to separate in the separation system, means for sending a second gas mixture (11, 12) containing carbon dioxide and at least one impurity lighter than carbon dioxide to cool, or even condense in the heat exchanger, means for bringing the second cooled mixture into the heat exchanger heat separate in the at least one distillation column to form a liquid flow purer in carbon dioxide than the second gas mixture and a gas less pure in carbon dioxide than the second gas mixture, means for withdrawing the liquid flow of a distillation column of the separation system, optionally a pump (P) for pressurizing at least a first part (33) of the liquid flow, means for sending the at least a first part of the liquid flow to a storage (70 ) of liquid carbon dioxide or even the storage of liquid carbon dioxide from which the first gas mixture comes , characterized in that it comprises means for partially vaporizing a second part of the liquid flow (03) to form a two-phase flow, means for sending the two-phase flow into the phase separator (50) to form a gas and a liquid, means for sending the liquid from the phase separator to vaporize in the heat exchanger to form a vaporized liquid, means for sending the gas from the phase separator heats up in the heat exchanger to form a heated gas, means for forming a gas by mixing the vaporized liquid and the heated gas, a compressor (10), means for sending the gas formed into mixing the liquid and the gas as well as at least a part (11) of the second gas mixture to the compressor, means for sending the compressed gas in the compressor into the heat exchanger, means for sending the partially condensed compressed gas to the at least one phase separator (40') of the system or column (40) from which the liquid flow has been withdrawn and means for sending the first mixture to the phase separator (50) to mix with the two-phase flow . Appareil selon la revendication 13 comprenant des moyens (60) pour détendre le premier mélange gazeux (05) en amont du séparateur de phases (50).Apparatus according to claim 13 comprising means (60) for expanding the first gas mixture (05) upstream of the phase separator (50).
EP23211091.6A 2022-12-12 2023-11-21 Method and apparatus for separating a carbon dioxide-containing gas mixture Pending EP4390280A1 (en)

Applications Claiming Priority (1)

Application Number Priority Date Filing Date Title
FR2213141 2022-12-12

Publications (1)

Publication Number Publication Date
EP4390280A1 true EP4390280A1 (en) 2024-06-26

Family

ID=85176128

Family Applications (1)

Application Number Title Priority Date Filing Date
EP23211091.6A Pending EP4390280A1 (en) 2022-12-12 2023-11-21 Method and apparatus for separating a carbon dioxide-containing gas mixture

Country Status (2)

Country Link
EP (1) EP4390280A1 (en)
KR (1) KR20240087581A (en)

Citations (5)

* Cited by examiner, † Cited by third party
Publication number Priority date Publication date Assignee Title
US3243967A (en) * 1963-11-20 1966-04-05 Continental Oil Co Carbon dioxide liquification plant and process
JPS57149699A (en) 1981-10-12 1982-09-16 Osaka Gas Co Ltd Vaporizing method for liquefied natural gas
US20080156035A1 (en) * 2004-07-16 2008-07-03 Statoil Asa Process and Apparatus for the Liquefaction of Carbon Dioxide
FR2972793A1 (en) * 2011-03-16 2012-09-21 Air Liquide Method for liquefying carbon dioxide enriched feed gas for transportation in boat, involves compressing and cooling cycle gas heated in exchanger to pressure, and expanding gas to another pressure for being cooled during refrigeration cycle
CN109721054A (en) * 2019-03-19 2019-05-07 淄博天润气体有限公司 The production method and device of scale electronic grade high-purity carbon dioxide

Patent Citations (5)

* Cited by examiner, † Cited by third party
Publication number Priority date Publication date Assignee Title
US3243967A (en) * 1963-11-20 1966-04-05 Continental Oil Co Carbon dioxide liquification plant and process
JPS57149699A (en) 1981-10-12 1982-09-16 Osaka Gas Co Ltd Vaporizing method for liquefied natural gas
US20080156035A1 (en) * 2004-07-16 2008-07-03 Statoil Asa Process and Apparatus for the Liquefaction of Carbon Dioxide
FR2972793A1 (en) * 2011-03-16 2012-09-21 Air Liquide Method for liquefying carbon dioxide enriched feed gas for transportation in boat, involves compressing and cooling cycle gas heated in exchanger to pressure, and expanding gas to another pressure for being cooled during refrigeration cycle
CN109721054A (en) * 2019-03-19 2019-05-07 淄博天润气体有限公司 The production method and device of scale electronic grade high-purity carbon dioxide

Non-Patent Citations (2)

* Cited by examiner, † Cited by third party
Title
ASPELUND ET AL: "Gas conditioning-The interface between CO"2 capture and transport", 20070616, vol. 1, no. 3, 16 June 2007 (2007-06-16), pages 343 - 354, XP022119495 *
SEOK GOO LEE ET AL: "Optimal design and operating condition of boil-off CO 2 re-liquefaction process, considering seawater temperature variation and compressor discharge temperature limit", CHEMICAL ENGINEERING RESEARCH AND DESIGN, vol. 124, 1 August 2017 (2017-08-01), AMSTERDAM, NL, pages 29 - 45, XP055611639, ISSN: 0263-8762, DOI: 10.1016/j.cherd.2017.05.029 *

Also Published As

Publication number Publication date
KR20240087581A (en) 2024-06-19

Similar Documents

Publication Publication Date Title
US7386996B2 (en) Natural gas liquefaction process
RU2350553C2 (en) Method and device for natural gas products, containing helium and liquefied natural gas
RU2509968C2 (en) System for separation of non-condensed component at natural gas liquefaction plant
EP2344821B1 (en) Method for producing liquid and gaseous nitrogen streams, a helium-rich gaseous stream, and a denitrogened hydrocarbon stream, and associated plant
US20140116069A1 (en) Methods and systems for storing and transporting gases
JP2002508054A (en) Improved liquefaction of natural gas
TW201213692A (en) Integrated liquid storage
JP6732946B2 (en) Equipment for feeding a flammable gas to a gas consuming member and liquefying the flammable gas
FR2885679A1 (en) METHOD AND INSTALLATION FOR SEPARATING LIQUEFIED NATURAL GAS
JP2012189316A (en) Natural gas liquefaction method, device therefor, computer simulation processing, and liquefied natural gas product material
KR102514327B1 (en) Systems and methods for treating gases resulting from evaporation of cryogenic liquids
GB2333148A (en) Liquifaction of gases
EP4390280A1 (en) Method and apparatus for separating a carbon dioxide-containing gas mixture
US8381543B2 (en) System for enhanced fuel gas composition control in an LNG facility
US20240019208A1 (en) Method and apparatus for recovering carbon dioxide from a combustion engine exhaust
US9285163B2 (en) Process and apparatus for cooling and compressing a wet gas rich in carbon dioxide
WO2025149242A1 (en) Method and apparatus for separating a gaseous mixture containing carbon dioxide
US11692771B2 (en) Process and apparatus for treating lean LNG
KR102902435B1 (en) Hydrogen-floating production and treatment system
KR102877797B1 (en) Hydrogen-floating production and treatment system
EP4417915A1 (en) Method and apparatus for liquefying a carbon dioxide rich gas
KR102893512B1 (en) Hydrogen-floating production and treatment system
KR102877802B1 (en) Hydrogen-floating production and treatment system
FR3164004A3 (en) Process for treating gas evaporated from a cryogenic liquid storage
FR3153382A3 (en) Method and apparatus for compressing a gas mixture

Legal Events

Date Code Title Description
PUAI Public reference made under article 153(3) epc to a published international application that has entered the european phase

Free format text: ORIGINAL CODE: 0009012

STAA Information on the status of an ep patent application or granted ep patent

Free format text: STATUS: THE APPLICATION HAS BEEN PUBLISHED

AK Designated contracting states

Kind code of ref document: A1

Designated state(s): AL AT BE BG CH CY CZ DE DK EE ES FI FR GB GR HR HU IE IS IT LI LT LU LV MC ME MK MT NL NO PL PT RO RS SE SI SK SM TR

STAA Information on the status of an ep patent application or granted ep patent

Free format text: STATUS: REQUEST FOR EXAMINATION WAS MADE

17P Request for examination filed

Effective date: 20250102